[go: up one dir, main page]

JP6676532B2 - Beverage preparation capsule - Google Patents

Beverage preparation capsule Download PDF

Info

Publication number
JP6676532B2
JP6676532B2 JP2016549581A JP2016549581A JP6676532B2 JP 6676532 B2 JP6676532 B2 JP 6676532B2 JP 2016549581 A JP2016549581 A JP 2016549581A JP 2016549581 A JP2016549581 A JP 2016549581A JP 6676532 B2 JP6676532 B2 JP 6676532B2
Authority
JP
Japan
Prior art keywords
hollow body
filter material
sheet
beverage
beverage preparation
Prior art date
Legal status (The legal status is an assumption and is not a legal conclusion. Google has not performed a legal analysis and makes no representation as to the accuracy of the status listed.)
Active
Application number
JP2016549581A
Other languages
Japanese (ja)
Other versions
JP2017511711A5 (en
JP2017511711A (en
Inventor
ウィックス,デイヴィッド
Current Assignee (The listed assignees may be inaccurate. Google has not performed a legal analysis and makes no representation or warranty as to the accuracy of the list.)
Lavazza Professional North America LLC
Original Assignee
Lavazza Professional North America LLC
Priority date (The priority date is an assumption and is not a legal conclusion. Google has not performed a legal analysis and makes no representation as to the accuracy of the date listed.)
Filing date
Publication date
Family has litigation
First worldwide family litigation filed litigation Critical https://patents.darts-ip.com/?family=52686403&utm_source=google_patent&utm_medium=platform_link&utm_campaign=public_patent_search&patent=JP6676532(B2) "Global patent litigation dataset” by Darts-ip is licensed under a Creative Commons Attribution 4.0 International License.
Priority claimed from GB201404290A external-priority patent/GB201404290D0/en
Priority claimed from GB201421494A external-priority patent/GB201421494D0/en
Application filed by Lavazza Professional North America LLC filed Critical Lavazza Professional North America LLC
Publication of JP2017511711A publication Critical patent/JP2017511711A/en
Publication of JP2017511711A5 publication Critical patent/JP2017511711A5/ja
Application granted granted Critical
Publication of JP6676532B2 publication Critical patent/JP6676532B2/en
Active legal-status Critical Current
Anticipated expiration legal-status Critical

Links

Images

Classifications

    • BPERFORMING OPERATIONS; TRANSPORTING
    • B65CONVEYING; PACKING; STORING; HANDLING THIN OR FILAMENTARY MATERIAL
    • B65DCONTAINERS FOR STORAGE OR TRANSPORT OF ARTICLES OR MATERIALS, e.g. BAGS, BARRELS, BOTTLES, BOXES, CANS, CARTONS, CRATES, DRUMS, JARS, TANKS, HOPPERS, FORWARDING CONTAINERS; ACCESSORIES, CLOSURES, OR FITTINGS THEREFOR; PACKAGING ELEMENTS; PACKAGES
    • B65D75/00Packages comprising articles or materials partially or wholly enclosed in strips, sheets, blanks, tubes or webs of flexible sheet material, e.g. in folded wrappers
    • B65D75/52Details
    • B65D75/58Opening or contents-removing devices added or incorporated during package manufacture
    • B65D75/5861Spouts
    • B65D75/5872Non-integral spouts
    • B65D75/5883Non-integral spouts connected to the package at the sealed junction of two package walls
    • BPERFORMING OPERATIONS; TRANSPORTING
    • B65CONVEYING; PACKING; STORING; HANDLING THIN OR FILAMENTARY MATERIAL
    • B65DCONTAINERS FOR STORAGE OR TRANSPORT OF ARTICLES OR MATERIALS, e.g. BAGS, BARRELS, BOTTLES, BOXES, CANS, CARTONS, CRATES, DRUMS, JARS, TANKS, HOPPERS, FORWARDING CONTAINERS; ACCESSORIES, CLOSURES, OR FITTINGS THEREFOR; PACKAGING ELEMENTS; PACKAGES
    • B65D77/00Packages formed by enclosing articles or materials in preformed containers, e.g. boxes, cartons, sacks or bags
    • B65D77/10Container closures formed after filling
    • B65D77/20Container closures formed after filling by applying separate lids or covers, i.e. flexible membrane or foil-like covers
    • B65D77/2024Container closures formed after filling by applying separate lids or covers, i.e. flexible membrane or foil-like covers the cover being welded or adhered to the container
    • BPERFORMING OPERATIONS; TRANSPORTING
    • B65CONVEYING; PACKING; STORING; HANDLING THIN OR FILAMENTARY MATERIAL
    • B65DCONTAINERS FOR STORAGE OR TRANSPORT OF ARTICLES OR MATERIALS, e.g. BAGS, BARRELS, BOTTLES, BOXES, CANS, CARTONS, CRATES, DRUMS, JARS, TANKS, HOPPERS, FORWARDING CONTAINERS; ACCESSORIES, CLOSURES, OR FITTINGS THEREFOR; PACKAGING ELEMENTS; PACKAGES
    • B65D85/00Containers, packaging elements or packages, specially adapted for particular articles or materials
    • B65D85/70Containers, packaging elements or packages, specially adapted for particular articles or materials for materials not otherwise provided for
    • B65D85/804Disposable containers or packages with contents which are mixed, infused or dissolved in situ, i.e. without having been previously removed from the package
    • B65D85/8043Packages adapted to allow liquid to pass through the contents
    • B65D85/8061Filters

Landscapes

  • Engineering & Computer Science (AREA)
  • Mechanical Engineering (AREA)
  • Apparatus For Making Beverages (AREA)
  • Packages (AREA)

Description

本発明は、飲料調製カプセルに関する。   The present invention relates to a beverage preparation capsule.

挽いたコーヒーなどの粒子状の飲料製造原料が入っているカプセルを、飲料製造装置の飲料製造ステーションに挿入することによって、一杯分の飲料を作るいくつかの飲料製造システムが知られている。この装置は次いでカプセル内に水を注入し、ここで飲料製造原料が水に溶解して、あるいは水に浸出して、飲料が生成される。飲料は、適切な排出口を通ってカプセルから流れ出る。排出口は、カプセルの単なる開口または穿孔でもよいし、または、カプセルの排出領域に孔をあける排出管を含むものでもよい。カプセルはフィルタを組み込んで、コーヒーかすなどの固形成分がカプセルから外へと移動するのを防ぐことができる。この一般的なタイプの飲料製造システムは、例えば、特許文献1、特許文献2、および特許文献3(全てNestle)、特許文献4(Keurig)、特許文献5(Kenco)、特許文献6(Sara Lee)、さらに特許文献7および特許文献8(Mars)に記載されている。   Several beverage production systems are known for producing a cup of beverage by inserting a capsule containing a particulate beverage production ingredient, such as ground coffee, into a beverage production station of a beverage production machine. The device then injects water into the capsule, where the beverage production ingredients dissolve or leach into the water to produce the beverage. The beverage flows out of the capsule through a suitable outlet. The outlet may be a simple opening or perforation in the capsule, or it may include an outlet tube that pierces the outlet area of the capsule. The capsule may incorporate a filter to prevent solid components, such as coffee grounds, from migrating out of the capsule. This general type of beverage production system is described, for example, in U.S. Pat. ), And furthermore, Patent Documents 7 and 8 (Mars).

特許文献9、特許文献10、特許文献7、特許文献11、および特許文献12は、フラビア(FLAVIA)という登録商標でマースドリンクスにより販売されている、現在幅広く利用されているタイプのカプセルベースの飲料調製システムを記載している。最新式のものによるフラビアカプセルの例示的な実施形態が、図1、2a、および2bに示されている。   U.S. Patents Nos. 5,059,093, 6,069,086, 6,053,073, and 6,064,058 are capsule-based capsules of the currently widely used type sold by Mars Drinks under the trademark FLAVIA. A beverage preparation system is described. Exemplary embodiments of state-of-the-art flavia capsules are shown in FIGS. 1, 2a and 2b.

図1、2a、および2bを参照すると、現在のフラビアタイプの飲料調製カプセル100は、以下でより詳細に説明するが、その上部縁端および側部縁端の周りで恒久的に一緒に接合された、液体および空気不浸透性シート材料の前方シート110および後方シート112を備えている。前方シートおよび後方シートはカプセルの下部縁端120に沿ってさらに一緒に接合されているが、この接合はカプセル内部の熱または圧力の影響下で解除可能である。例えば下部縁端120の接合は、感圧接着剤を用いたものでもよい。カプセル100内には、前方シートおよび後方シートの内壁に接合された、折り畳まれたフィルタ材料130のウェブが存在している。フィルタ材料のウェブは、挽いたコーヒーまたは茶葉などの飲料調製原料150を支持している。カプセル100は、管状孔142を有するノズル140をさらに備えている。カプセル100を飲料調製マシンに正確に設置するのを助けるようフランジが付されたこのノズルは、カプセルの上部縁端に挿入されて、前方シートおよび後方シートに気密状態で接合されている。ノズルの孔は最初に、適切な気密鮮度バリアによって密封されている。   With reference to FIGS. 1, 2a, and 2b, a current flavia-type beverage preparation capsule 100, described in more detail below, is permanently joined together around its top and side edges. Also provided is a front sheet 110 and a rear sheet 112 of liquid and air impermeable sheet material. The front and back sheets are further joined together along the lower edge 120 of the capsule, but this connection is releasable under the influence of heat or pressure inside the capsule. For example, the lower edge 120 may be joined using a pressure sensitive adhesive. Within the capsule 100 is a folded web of filter material 130 joined to the inner walls of the front and back sheets. The web of filter material supports a beverage preparation ingredient 150, such as ground coffee or tea leaves. The capsule 100 further includes a nozzle 140 having a tubular hole 142. This nozzle, which is flanged to help accurately place the capsule 100 on the beverage preparation machine, is inserted into the upper edge of the capsule and is hermetically joined to the front and back sheets. The nozzle bore is initially sealed by a suitable hermetic freshness barrier.

図2aを参照すると、ウェブ材料130のシートは折り畳まれて、不溶解性の飲料調製原料150を支持する「W」字状の断面を形成している。液体の導管を通じて液体が導入されると、液体の圧力によってWの頂点132が外側にめくり返され、図2bに示されているように下方に凸状の濾床が提供される。この外側にめくり返されることによる影響で、下部の継ぎ目120の感圧シールの破裂が助けられ、カプセル内で淹れられた飲料が分注される。この外側にめくり返されるフィルタウェブのさらなる詳細は、特許文献7において見出すことができる。   Referring to FIG. 2 a, the sheet of web material 130 has been folded to form a “W” -shaped cross section that supports insoluble beverage preparation ingredients 150. As the liquid is introduced through the liquid conduit, the pressure of the liquid causes the apex 132 of W to flip outward, providing a downwardly convex filter bed as shown in FIG. 2b. This outward flipping effect helps the pressure sensitive seal of the lower seam 120 rupture and dispenses the beverage brewed in the capsule. Further details of this outwardly turning filter web can be found in US Pat.

上記タイプの飲料製造カプセルは幅広い用途を見出した。しかしながら、このカプセルは特定の欠点を抱えている。このカプセルを製造する際には、適切に成形された構成要素を正確かつ確実なやり方でアセンブリすることが必要となり、これは製造コストを増加させる。さらに、原料およびフィルタシートを通る飲料の流速が、最適な飲料調製で望まれる速さおよび/または均一さと同等ではない可能性がある。上記システムでは、カプセル内部の飲料原料の不完全な溶解または抽出という難題が生じ得る。例えば、カプセルベースのシステムを用いて飲料を調製すると、特にエスプレッソおよびエスプレッソタイプの飲料の調製など比較的高圧が必要である場合、淹れている際に飲料調製原料の圧縮層を通って液体のチャネリングが起こる可能性がある。このチャネリングでは、液体は飲料調製原料の圧縮層内の優先的経路を通って導かれ、飲料調製原料が液体に均一に触れることを妨げる。これは無駄な飲料調製原料と、溶解または浸出された材料の濃度が減少した飲料をもたらし得る。チャネリングはさらに、飲料調製原料が均一に分配されていない場合にも起こり得る。生じ得る別の難題は、フィルタの下部領域など粒子状材料がより高密度な領域または堅く詰め込まれた領域での、水の流れの遮断または部分的な閉塞に起因する、過剰なシステムの背圧である。   Beverage production capsules of the above type have found wide application. However, this capsule has certain disadvantages. Manufacture of this capsule requires that properly shaped components be assembled in a precise and reliable manner, which increases manufacturing costs. Further, the flow rate of the beverage through the ingredients and the filter sheet may not be equal to the speed and / or uniformity desired for optimal beverage preparation. In such systems, the challenge of incomplete dissolution or extraction of the beverage ingredients inside the capsule can occur. For example, when preparing a beverage using a capsule-based system, particularly when relatively high pressures are required, such as in the preparation of espresso and espresso-type beverages, the liquid is passed through a compressed layer of beverage preparation ingredients during brewing. Channeling can occur. In this channeling, the liquid is directed through a preferential path in the compressed layer of the beverage preparation, preventing the beverage preparation from uniformly contacting the liquid. This can result in wasted beverage preparation ingredients and beverages with reduced concentrations of dissolved or leached ingredients. Channeling can also occur when the beverage preparation ingredients are not evenly distributed. Another challenge that can arise is excessive system back pressure due to blocked or partially obstructed water flow in areas where the particulate material is denser or more tightly packed, such as in the lower area of the filter. It is.

上記問題は全て、一貫性のない販売性能および飲料の味の悪さにつながり得る。上記問題を解決する試みが行われた。特許文献13は、フィルタ要素が平坦な底面と波型の側部とを有して、フィルタおよび飲料原料を通過する液体の流れを向上させる飲料カプセルを記載している。   All of the above problems can lead to inconsistent sales performance and poor palatability of the beverage. Attempts have been made to solve the above problems. US Pat. No. 5,077,064 describes a beverage capsule in which the filter element has a flat bottom surface and corrugated sides to improve the flow of liquid through the filter and the beverage ingredients.

国際公開第94/01344号International Publication No. 94/01344 欧州特許出願公開第0512468(A)号明細書European Patent Application No. 0512468 (A) 欧州特許出願公開第0468079(A)号明細書EP-A-0468079 (A) 米国特許第5,840,189号明細書U.S. Pat. No. 5,840,189 欧州特許出願公開第0272922(A)号明細書European Patent Application No. 0272922 (A) 欧州特許出願公開第0821906(A)号明細書European Patent Application Publication No. 0821906 (A) 欧州特許出願公開第0179641(A)号明細書EP-A-0179641 (A) 国際公開第02/19875(A)号International Publication No. WO 02/19875 (A) 英国特許出願公開第2121762(A)号明細書UK Patent Application No. 2121762 (A) 英国特許出願公開第2122881(A)号明細書UK Patent Application No. 2122281 (A) 欧州特許出願公開第0247841(A)号明細書EP-A-0247841 (A) 国際公開第99/05044(A)号International Publication No. WO 99/05044 (A) 国際公開第2005026018(A)号International Publication No. 200502618 (A)

しかしながら、フラビアタイプの設備での使用に適しているものの排他的ではない改良された飲料調製カプセルの必要性が未だ残っている。   However, there remains a need for improved beverage preparation capsules that are suitable, but not exclusive, for use in flavier-type equipment.

本発明は飲料調製カプセルを提供し、この飲料調製カプセルは、飲料調製原料を入れるのに適した中空体であって、中空体内へと液体を受け入れるための上端部と、中空体から飲料を分注するための、上端部に流体連通している下端部と、上端部および下端部の間の少なくとも1つの側壁とを有する、中空体、を備え、さらに中空体は、フィルタ材料であってこのフィルタ材料の表面積の少なくとも1つの寸法に沿って可変透過度を有するフィルタ材料を、中に含み、このフィルタ材料は、中空体の上部または注入口のより近くで、より透過性ではなく、かつ中空体の下部または排出口のより近くで、より透過性である、またはフィルタ材料は、中空体の側壁のより近くで、より透過性ではなく、かつフィルタ材料の中心のより近くで、より透過性である、あるいはこれら両方を組み合わせたものであることを特徴とする。使用時に上端部は、飲料調製原料に接触させるための液体を中空体内へと受け入れる。   The present invention provides a beverage preparation capsule, wherein the beverage preparation capsule is a hollow body suitable for containing a beverage preparation ingredient, the upper end for receiving a liquid into the hollow body, and the beverage being separated from the hollow body. A hollow body having a lower end in fluid communication with the upper end and at least one side wall between the upper end and the lower end for pouring, wherein the hollow body is a filter material; A filter material having a variable permeability along at least one dimension of the surface area of the filter material, wherein the filter material is less permeable and hollow near the top of the hollow body or near the inlet. Closer to the lower part of the body or to the outlet, more permeable, or the filter material is closer to the side walls of the hollow body, less permeable and closer to the center of the filter material, Peracetic, alternatively it is characterized in that a combination of both. In use, the upper end receives liquid into the hollow body for contacting the beverage preparation.

この手法では、実質的に全ての飲料材料が液体に接触するよう、飲料材料全体を通る一貫した液体の流れを促すために、また最も抵抗が小さい通路を通る液体のチャネリングを実質的に回避するために、中空体の上端部から下端部までの圧力降下(Δ−P)を全フィルタ材料に亘って類似したまたは同一のものとすることができる。これは特に、フィルタ材料の異なるエリアが異なる量の飲料原料を支持する場合に有用である。   In this manner, substantially all of the beverage material is in contact with the liquid, to promote consistent liquid flow through the entire beverage material, and substantially avoid channeling of the liquid through the least resistive passage. To this end, the pressure drop (Δ-P) from the upper end to the lower end of the hollow body can be similar or the same over all filter materials. This is particularly useful where different areas of the filter material support different amounts of beverage ingredients.

例えば、水がより多くの飲料原料を通過しなければならないフィルタ材料のエリア(フィルタ材料のより低い部分など)では、フィルタ材料の透過度はより大きくなり得、また水がより少ない量の飲料原料を通過しなければならないエリア(フィルタ材料のより高い部分など)では、フィルタ材料の透過度はより小さくなり得る。これは、フィルタ材料の全てのエリアを通じて、一貫した液体の流れを促す。   For example, in areas of the filter material where water must pass through more of the beverage ingredient (such as a lower portion of the filter material), the permeability of the filter material may be greater and the water may have a lower amount of the beverage ingredient. In areas that must pass through (e.g., higher portions of the filter material), the permeability of the filter material may be less. This promotes a consistent liquid flow through all areas of the filter material.

カプセルの側壁付近により透過性ではない領域を有した状態で、フィルタ材料の中心に向かって、より透過性の領域を提供すると、ポッドの側壁付近を優先的に進んで飲料調製原料のいくらかを避けて通るといった液体の傾向を、低減するのに有用である。   Providing a more permeable area toward the center of the filter material, with areas that are less permeable near the capsule sidewall, preferentially advance near the pod sidewall to avoid some of the beverage preparation ingredients. It is useful in reducing the tendency of liquid to pass through.

フィルタ材料の可変透過度は、フィルタ材料の表面積に亘って変化する、厚さ、細孔サイズ、細孔密度、または組成によって提供され得る。透過度は、異なる細孔サイズの分布、または細孔密度によって、変化することが好ましい。   The variable permeability of the filter material can be provided by a thickness, pore size, pore density, or composition that varies over the surface area of the filter material. Preferably, the permeability varies with different pore size distributions or pore densities.

可変透過度を有するフィルタ材料の寸法は、中空体の上端部に相対的に近い第1の位置と、中空体の下端部に相対的に近い第2の位置との間に延在し得るものである。フィルタ材料は、中空体の上部または注入口のより近くで、より透過性ではなく、かつ中空体の下部または排出口のより近くで、より透過性であることが好ましい。この手法では、フィルタ材料の下方エリアがより多量の飲料原料を支持し得るとしても、中空体の上端部から下端部への圧力降下は、全フィルタ材料に亘って類似したまたは同一のものになり得る。   The dimensions of the filter material having variable permeability may extend between a first position relatively near the upper end of the hollow body and a second position relatively closer to the lower end of the hollow body. It is. Preferably, the filter material is less permeable at the top of the hollow body or closer to the inlet, and more permeable at the bottom of the hollow body or closer to the outlet. In this approach, the pressure drop from the upper end to the lower end of the hollow body will be similar or identical throughout the filter material, even though the lower area of the filter material may support more beverage ingredients. obtain.

フィルタ材料がフィルタ材料のシートであり、種々の配置で存在させることができると都合がよい。例えばフィルタ材料のシートは、側壁に対して傾斜して中空体の内部を横切って延在しているものでもよく、好適にはこのときフィルタ材料のシートは、側壁上の第1の位置から側壁上の第2の位置へと直接延在しており、この第1の位置は中空体の上端部に相対的に近く、かつ第2の位置は中空体の下端部に相対的に近い。フィルタ材料のこの傾斜した配置は、フィルタ材料が中空体の上部または注入口のより近くで、より透過性ではなく、かつ中空体の下部または排出口のより近くで、より透過性である、本発明の実施形態を達成するのに特に有用であることが理解されよう。好適にはフィルタ材料の透過度は、中空体の内部を一方の側壁から他方へと横切って延在する寸法に亘って変化する。この手法では、フィルタ材料の透過度は、中空体の上端部に相対的に近い第1の位置から中空体の下端部に相対的に近い第2の位置に向かって増加し得、このフィルタ材料の透過度は、透過度が少しずつ変化することによって増加していることが好ましい。フィルタ材料のシートは、中空体の内部(キャビティ)を横切って延在しているフィルタ材料が折り畳まれていないという点で、単一の折り畳まれていない材料のシートであることが好ましい。   Conveniently the filter material is a sheet of filter material and can be present in various arrangements. For example, the sheet of filter material may extend across the interior of the hollow body at an angle to the side wall, and preferably the sheet of filter material then extends from the first position on the side wall to the side wall. It extends directly to a second position above, the first position being relatively close to the upper end of the hollow body and the second position being relatively closer to the lower end of the hollow body. This sloping arrangement of filter material is advantageous in that the filter material is less permeable, near the top of the hollow body or near the inlet, and less permeable, near the bottom of the hollow body or near the outlet. It will be appreciated that it is particularly useful for achieving embodiments of the invention. Preferably, the permeability of the filter material varies over a dimension extending across the interior of the hollow body from one side wall to the other. In this approach, the permeability of the filter material may increase from a first position relatively closer to the upper end of the hollow body toward a second position relatively closer to the lower end of the hollow body, Is preferably increased by slightly changing the transmittance. The sheet of filter material is preferably a single sheet of unfolded material, in that the filter material extending across the interior (cavity) of the hollow body is unfolded.

このやり方ではいくつかの利点が提供される。すなわち、製造時のカプセルの構造がより簡単になり、必要な構成材料、特にフィルタ材料がより少なくなり、より一貫した販売性能となり、さらに飲み味がより一貫したものとなる。特に、カプセルの中空体内部のフィルタ材料を傾斜させることによって、従来技術で使用されていた多層または複雑な折り畳んだ配置のフィルタ材料を必要とせずに、フィルタの表面積、およびフィルタ上に載っている飲料調製原料の液体接触面積が最大化される。これは、傾斜したフィルタ材料が中空体の上部へと上昇するにつれてより透過性ではなくなるという点で可変透過度を有する、フィルタ材料の都合のよい配置も可能にする。フィルタ材料の表面積は、中空体のキャビティの横断面積よりも大きいことが好ましい。フィルタ材料のシートは、中空体の内部(キャビティ)を横切って延在しているフィルタ材料が折り畳まれていないという点で、単一の折り畳まれていない材料のシートであることが好ましい。ただしフィルタ材料のシートの縁端は、カプセルにフィルタ材料を固定するのを助けるために折り畳まれていてもよいことを理解されたい。多層および複雑な折り畳んだ配置のフィルタ材料が必要なくなることによって、カプセルの構造の複雑さは最小限になる。さらに、飲料調製原料と液体との接触面積がより大きくなることによって、より短時間でのより完全な飲料調製原料の抽出が可能になると共に、液体に触れずに残存し無駄になる飲料調製原料の領域がより少なくなるよう液体のチャネリングが減少する。これにより、より一貫かつ向上した販売性能および飲み味が実現される。   This approach offers several advantages. That is, the structure of the capsule at the time of manufacture is simpler, the required constituent materials, especially the filter material, are less, the sales performance is more consistent, and the drinking taste is more consistent. In particular, by tilting the filter material inside the hollow body of the capsule, the surface area of the filter and on the filter is eliminated without the need for multilayer or complex folded arrangements of filter material used in the prior art. The liquid contact area of the beverage preparation ingredients is maximized. This also allows for a convenient arrangement of the filter material, having a variable permeability in that the sloping filter material becomes less transparent as it rises to the top of the hollow body. Preferably, the surface area of the filter material is greater than the cross-sectional area of the cavity of the hollow body. The sheet of filter material is preferably a single sheet of unfolded material, in that the filter material extending across the interior (cavity) of the hollow body is unfolded. However, it should be understood that the edges of the sheet of filter material may be folded to help secure the filter material to the capsule. The elimination of the need for multilayer and complex folded arrangements of filter material minimizes the complexity of the capsule structure. In addition, a larger contact area between the beverage preparation ingredient and the liquid allows for a more complete extraction of the beverage preparation ingredient in a shorter time, and the beverage preparation ingredient that remains without contact with the liquid and is wasted. The channeling of the liquid is reduced so that there is less area. Thereby, more consistent and improved sales performance and drinking taste are realized.

あるいはフィルタ材料のシートは、下部が丸みを帯びたまたは下部が平坦なU字状で、好適には単一の折り畳まれていない材料のシートとして、中空体の内部を横切って延在しているものでもよい。この手法では、フィルタ材料の透過度は、U字状のフィルタ材料の中心下部領域に向かって増加するものでもよく、このフィルタ材料の透過度は、透過度が少しずつ変化することによって増加していることが好ましい。   Alternatively, the sheet of filter material is rounded or flat at the bottom, U-shaped and extends across the interior of the hollow body, preferably as a single sheet of unfolded material. It may be something. In this approach, the permeability of the filter material may increase toward the lower center region of the U-shaped filter material, and the permeability of the filter material may be increased by a gradual change in permeability. Is preferred.

あるいはフィルタ材料のシートは折り畳まれたものでもよく、かつ中空体の内部を横切って、V字状またはW字状で、あるいは一連の溝を備えて、延在しているものでもよい。この手法では、フィルタ材料の透過度が、V字状、W字状、または一連の溝の、各溝の底面に向かって増加しているものでもよく、このフィルタ材料の透過度は、透過度が少しずつ変化することによって増加していることが好ましい。   Alternatively, the sheet of filter material may be folded and extend across the interior of the hollow body in a V or W shape, or with a series of grooves. In this approach, the permeability of the filter material may be V-shaped, W-shaped, or increasing toward the bottom of each groove in a series of grooves, where the permeability of the filter material is Is preferably increased by changing little by little.

本発明の一実施の形態において、フィルタ材料のシートの周囲縁端は、中空体の少なくとも1つの側壁に固定されている。より好適にはフィルタ材料は、シートの実質的に全周縁の周りで連続的に、最も好適にはシートの全周縁の周りで連続的に、中空体の少なくとも1つの側壁に固定されている。   In one embodiment of the invention, the peripheral edge of the sheet of filter material is fixed to at least one side wall of the hollow body. More preferably, the filter material is fixed to at least one side wall of the hollow body continuously around substantially the entire periphery of the sheet, most preferably continuously around the entire periphery of the sheet.

本発明の別の実施形態において、フィルタ材料のシートは中空体の1以上の側壁から形成されている。この事例において側壁のフィルタ領域は、フィルタ領域内において側壁が少なくとも部分的に透過性になるよう穿孔されている。従ってフィルタ材料のシートは、中空体の1以上の側壁と同じ材料を含むことになるが、側壁のフィルタ領域に積層された不織布フィルタ材料層をさらに備えてもよい。   In another embodiment of the invention, the sheet of filter material is formed from one or more sidewalls of the hollow body. In this case, the filter area of the side wall is perforated so that the side wall is at least partially transparent in the filter area. Thus, the sheet of filter material will comprise the same material as one or more sidewalls of the hollow body, but may further comprise a layer of non-woven filter material laminated to the filter region of the sidewall.

フィルタ材料のシートは中空体を、液体を受け入れるための注入チャンバと、飲料がここから分注される排出チャンバとに分割することが好ましい。   The sheet of filter material preferably divides the hollow body into an inlet chamber for receiving liquid and an outlet chamber from which the beverage is dispensed.

中空体は液体の注入口を備えていてもよく、液体はこの注入口を通って中空体に入ることができる。注入口は、中空体の上端部または上端部領域側壁に位置していることが好ましい。注入口は、孔を有しているノズルであることが好ましい。孔は使用前には、脆弱な鮮度バリアによって密封されていてもよい。例えば鮮度バリアは、ノズルの孔を横切って延在する、酸素不浸透性の金属箔の膜および/または熱可塑性フィルムを含み得る。注入口に関連する前述の特徴は、以下でより詳細に論じる本発明のサシェカプセルの実施形態において特に好ましい。   The hollow body may have a liquid inlet through which liquid can enter the hollow body. The inlet is preferably located at the upper end of the hollow body or the side wall of the upper end region. Preferably, the inlet is a nozzle having a hole. The holes may be sealed by a fragile freshness barrier before use. For example, the freshness barrier may comprise a membrane of oxygen impermeable metal foil and / or a thermoplastic film extending across the nozzle holes. The foregoing features associated with the inlet are particularly preferred in the sachet capsule embodiments of the present invention discussed in more detail below.

あるいは中空体の上端部が注入口を含まずに、使用時に中空体を切開するまたは中空体に孔をあけて、中空体内への液体の送出を可能にするものでもよい。この特徴は、以下でより詳細に論じる本発明のポッドカプセルの実施形態において特に好ましい。   Alternatively, the upper end of the hollow body does not include the injection port, and the hollow body may be incised or perforated at the time of use so that the liquid can be delivered into the hollow body. This feature is particularly preferred in the pod capsule embodiments of the present invention discussed in more detail below.

好適には中空体は排出口を備え、飲料はこの排出口を通って中空体から出ることができる。中空体の下端部または下端部領域側壁は、排出経路を備えていることが好ましい。排出経路は、飲料調製中に飲料をこの排出経路から流出させることができる開封可能なシールを用いて、任意の都合のよいやり方で密封してもよい。シールは、中空体内に空気または水などの流体媒体が導入されると開封され得る、熱および/または圧力で解除可能な接合で形成されていると都合がよい。排出口に関連する前述の特徴は、以下でより詳細に論じる本発明のサシェカプセルの実施形態において特に好ましい。   Preferably, the hollow body is provided with an outlet, through which the beverage can exit the hollow body. The lower end or lower end region side wall of the hollow body preferably has a discharge path. The drainage path may be sealed in any convenient manner with an openable seal that allows the beverage to flow out of the drainage path during beverage preparation. The seal is conveniently formed of a heat and / or pressure releasable bond that can be opened when a fluid medium such as air or water is introduced into the hollow body. The foregoing features relating to the outlet are particularly preferred in embodiments of the sachet capsule of the present invention, discussed in more detail below.

あるいは中空体の下端部は排出口を含まないものでもよく、使用時に中空体を切開し、または中空体に孔をあけて、飲料の流出を可能にするものでもよい。この特徴は、以下でより詳細に論じる本発明のポッドカプセルの実施形態において特に好ましい。   Alternatively, the lower end of the hollow body may not include a discharge port, and the hollow body may be incised or perforated at the time of use to allow the beverage to flow out. This feature is particularly preferred in the pod capsule embodiments of the present invention discussed in more detail below.

飲料調製カプセルは、フィルタ材料と中空体の上端部との間でフィルタ材料上に支持された、飲料調製原料を備えていることが好ましい。飲料調製原料は、不溶解性の飲料原料、例えば挽いたコーヒーまたは茶葉でもよい。飲料調製原料は、前述したようにカプセルの注入チャンバ内に存在していることが好ましい。飲料調製原料は、カプセル本体内に密閉されていることが好ましい。つまり中空体は、実質的に気密および液密の状態で飲料調製原料を封入したエンクロージャを、使用時に中空体の上端部が破られるまで画成し、注入口または穿孔を通じてエンクロージャ内に水を注入してエンクロージャ内部の原料から飲料を調製し、さらに飲料調製中に中空体の下端部に生成された排出口または穿孔から、こうして調製された飲料を流出させることができる。   Preferably, the beverage preparation capsule comprises a beverage preparation ingredient supported on the filter material between the filter material and the upper end of the hollow body. The beverage preparation ingredient may be an insoluble beverage ingredient, such as ground coffee or tea leaves. The beverage preparation ingredients are preferably present in the capsule injection chamber as described above. The beverage preparation ingredients are preferably sealed in the capsule body. In other words, the hollow body defines an enclosure that encloses the beverage preparation material in a substantially air-tight and liquid-tight state until the upper end of the hollow body is broken during use, and water is injected into the enclosure through an inlet or a perforation. Thus, the beverage can be prepared from the ingredients inside the enclosure, and the beverage thus prepared can flow out of the outlet or perforation created at the lower end of the hollow body during the preparation of the beverage.

フィルタ材料は、ウェブ材料または不織布繊維材料を含むことが好ましい。飲料調製原料が、浸出後にカプセル内に残存するよう意図された浸出タイプの飲料である場合(例えば、挽いたコーヒーまたは茶葉)、フィルタ材料は、液体飲料の自由な通過を可能にしながら、浸出された固形物質を残すよう、十分に細かいメッシュサイズを有することが好ましい。例示的なフィルタ材料は、メルトブローポリプロピレンがスパンボンデッドポリプロピレン不織布の層間に挟持された積層体である。コストおよび生分解性のために、セルロース系材料を用いることも望ましいであろう。飲料調製原料が分散または溶解タイプの飲料であり、カプセルの全内容物が分注されるよう意図されている場合、フィルタ材料は、飲料原料が流出することができるよう、比較的粗いメッシュ材料であることが好ましい。それでもなおこのフィルタ材料は、分散性原料の大部分の急速な流出を依然として防いで、その一纏まりを分散されていない粒子としてではなく分散液として残すべく、飲料液体と混合するための十分な時間を割り当てるものであるべきである。さらに使用前の保管中には、分散性材料の大部分は粗いフィルタ材料の上方側、すなわちフィルタ材料の表面と中空体の上端部との間に留まっているべきである。   Preferably, the filter material comprises a web material or a non-woven fibrous material. If the beverage preparation is a brewing type beverage intended to remain in the capsule after brewing (eg, ground coffee or tea leaves), the filter material is brewed while allowing free passage of the liquid beverage. It is preferable to have a sufficiently fine mesh size so as to leave solid material. An exemplary filter material is a laminate in which meltblown polypropylene is sandwiched between layers of spunbonded polypropylene nonwoven. It may also be desirable to use a cellulosic material for cost and biodegradability. If the beverage preparation ingredient is a dispersion or dissolution type beverage and the entire contents of the capsule are intended to be dispensed, the filter material should be a relatively coarse mesh material to allow the beverage ingredients to flow out. Preferably, there is. Nevertheless, the filter material still has sufficient time to mix with the beverage liquid to prevent the rapid spillage of most of the dispersible ingredients and leave the lumps as a dispersion instead of as undispersed particles. Should be assigned. Furthermore, during storage prior to use, the majority of the dispersible material should remain above the coarse filter material, i.e., between the surface of the filter material and the upper end of the hollow body.

カプセルは、一人分の飲料、すなわち約25mlから約500ml、好適には約100mlから約250mlの飲料の調製に十分な飲料調製原料が入っている、一杯分のカプセルであることが適している。例えばカプセルには、約2gから約25gの挽いたコーヒー、または約1gから約9gの茶葉、または約2gから約30gの水分散性原料が入っていてもよい。   Suitably, the capsule is a single serving of capsules containing sufficient beverage preparation ingredients to prepare a single serving of beverage, ie, about 25 ml to about 500 ml, preferably about 100 ml to about 250 ml of beverage. For example, a capsule may contain about 2 g to about 25 g of ground coffee, or about 1 g to about 9 g of tea leaves, or about 2 g to about 30 g of a water-dispersible ingredient.

本発明の一実施の形態において中空体は、対面した関係で配置されかつその縁端に沿って密封された、フレキシブルフィルム材料の前方シートと後方シートとを備えた、サシェの形を成しており、このときフィルタ材料は、中空体の前方シートから中空体の後方シートへと延在している。   In one embodiment of the invention, the hollow body is in the form of a sachet with a front sheet and a back sheet of flexible film material arranged in face-to-face relation and sealed along its edges. The filter material then extends from the front sheet of the hollow body to the rear sheet of the hollow body.

サシェの実施形態の前方シートおよび後方シートは、好適には空気および水不浸透性である、積層シートでもよい。   The front and back sheets of the sachet embodiment may be laminated sheets, which are preferably air and water impermeable.

好適にはサシェの実施形態のシートは、サシェの下部の継ぎ目に排出領域を提供した状態で、両横縁端の継ぎ目および上部の継ぎ目に沿って恒久的に一緒に接合されており、かつこのとき液体注入ノズルが、サシェの上部の継ぎ目または一方縁端の継ぎ目内へと挿入されている。これらの実施形態においてサシェの構造は、可変透過度フィルタ材料が付加されていることを除いて、上述した従来のフラビアカプセルと実質的に同じである。   Preferably, the sheet of the sachet embodiment is permanently joined together along the two lateral edge seams and the upper seam, providing a discharge area at the lower seam of the sachet, and Sometimes a liquid injection nozzle is inserted into the upper seam or one edge seam of the sachet. In these embodiments, the structure of the sachet is substantially the same as the conventional flavier capsule described above, except for the addition of a variable transmittance filter material.

サシェの実施形態の可変透過度フィルタ材料は、注入ノズルに相対的に近い、サシェの一方のシート上の第1の位置から、排出領域に相対的に近い、対向するシート上の第2の位置へと延在していることが好ましい。   The variable permeability filter material of the sachet embodiment includes a first position on one sheet of the sachet, relatively close to the injection nozzle, and a second position on the opposite sheet, relatively close to the discharge area. Preferably.

サシェの一実施の形態において、フィルタ材料のシートは、フレキシブルフィルム材料の前方シートおよび後方シートとは別個の材料片であり、フィルタ材料のシートの周囲縁端は前方シートおよび後方シートに固定されている。   In one embodiment of the sachet, the sheet of filter material is a separate piece of material from the front and back sheets of flexible film material, and the peripheral edges of the sheet of filter material are secured to the front and back sheets. I have.

サシェの別の実施形態において、フィルタ材料のシートは、フレキシブルフィルム材料の前方シートまたは後方シートのいずれかまたは両方から形成されている。この事例においてフレキシブルフィルム材料のフィルタ領域は、フィルタ領域内において材料が少なくとも部分的に透過性になるよう穿孔されている。例えば単一のフレキシブルフィルム材料のシートを、シートの第1の末端部分がカプセルの前方を形成し、シートの中間の傾斜した部分が穿孔されフィルタ材料として機能し、さらにシートの第2の末端部分がカプセルの後方を形成するように、「N」または「И」字状に折り畳んでもよい。別の例ではフレキシブルフィルム材料の第1のシートを、この第1のシートの第1の部分がカプセルの前方を形成し、第1のシートの第2の部分が穿孔されフィルタ材料として機能するように、「V」または「Λ」字状に折り畳んでもよい。カプセルの後方は、第1のシートの液体浸透性部分に接続された、フレキシブルフィルム材料の第2のシートから形成される。この手法では、唯一または2つのフレキシブルフィルム材料のシートを用いて、より容易で安価な構造で完全なカプセルを提供することができる。いずれの事例でも、シートの液体浸透性部分はレーザ穿孔されたものでもよく、またシートの液体浸透性部分を、積層された不織布フィルタ材料層と組み合わせてもよいし、または組み合わせなくてもよい。   In another embodiment of the sachet, the sheet of filter material is formed from either or both front and back sheets of flexible film material. In this case, the filter area of the flexible film material is perforated so that the material is at least partially permeable within the filter area. For example, a sheet of a single flexible film material, wherein a first end portion of the sheet forms the front of the capsule, a middle sloping portion of the sheet is perforated to function as a filter material, and a second end portion of the sheet. May be folded in an “N” or “И” shape so that forms the back of the capsule. In another example, a first sheet of flexible film material is formed such that a first portion of the first sheet forms the front of the capsule and a second portion of the first sheet is perforated to function as a filter material. Alternatively, it may be folded in a “V” or “Λ” shape. The rear of the capsule is formed from a second sheet of flexible film material connected to the liquid permeable portion of the first sheet. In this way, one or two sheets of flexible film material can be used to provide a complete capsule in an easier and less expensive construction. In either case, the liquid permeable portion of the sheet may be laser perforated, and the liquid permeable portion of the sheet may or may not be combined with the laminated nonwoven filter material layer.

可変透過度フィルタ材料は、サシェの上部または注入口のより近くで、より透過性ではなく、かつサシェの下部または排出口のより近くで、より透過性であることが好ましい。   Preferably, the variable permeability filter material is less permeable, near the top of the sachet or near the inlet, and more permeable near the bottom of the sachet or near the outlet.

サシェの実施形態の排出領域は、飲料調製中に飲料をこの排出領域から流出させることができる開封可能なシールを用いて、任意の都合のよいやり方で密封してもよい。このシールは、前方シートおよび後方シートを熱および/または圧力で解除可能な接合で一緒に接合することによって形成すると都合がよい。   The discharge area of the sachet embodiment may be sealed in any convenient manner with a closable seal that allows the beverage to drain from the discharge area during beverage preparation. The seal is conveniently formed by joining the front and back sheets together with a heat and / or pressure releasable joint.

特定の実施形態において、サシェの実施形態の中空体は、その一方の端部に排出領域を有する管の形を成した単一のシートから形成され得る。この管は押出成形によって形成してもよいし、あるいは単一のシートから、そのシートを折り重ね、縦方向のラップシールまたはフィンシールに沿ってその対向する縁端を接合することにより形成してもよい。   In certain embodiments, the hollow body of the sachet embodiment may be formed from a single sheet in the form of a tube having a discharge area at one end. The tube may be formed by extrusion, or from a single sheet, by folding the sheet and joining its opposing edges along a longitudinal lap or fin seal. Is also good.

サシェの実施形態の中空体の形成に使用される材料は、例えば既存のフラビアカプセルの形成に使用されたタイプのフレキシブルフィルム材料から、適切に実質的に構成され得る。フレキシブルフィルム材料は通常、2以上の以下の層を備えた積層シートになる。すなわちその層とは、中空体をカプセルの他の部材に接合するための熱可塑性シーラント層、アルミニウムフィルムなどの金属フィルムまたはポリビニルアルコール(PvOH)などの気体バリアポリマーとされ得る、実質的に気体不浸透性のバリア層、積層体の他の層間の付着を向上させる付着層、例えば穿刺抵抗を提供するための構造層、および/または印刷用基材層である。構造層は、ポリオレフィン、ポリエステル、ナイロン、または当技術において既知の他のポリマーから作製してもよい。一実施の形態において積層材料は、ポリプロピレン層およびポリビニルアルコール(PvOH)層を備えている。カプセル材料は、カプセルの内容物の可視性を実現するよう少なくとも透明領域を含み得る。   The material used to form the hollow body of the sachet embodiment may suitably be substantially comprised of, for example, a flexible film material of the type used to form existing flavier capsules. The flexible film material will usually be a laminated sheet with two or more layers. That is, the layer may be a thermoplastic sealant layer for joining the hollow body to other members of the capsule, a metal film such as an aluminum film, or a gas barrier polymer such as polyvinyl alcohol (PvOH). A permeable barrier layer, an adhesion layer that enhances adhesion between other layers of the laminate, such as a structural layer to provide puncture resistance, and / or a printing substrate layer. The structural layer may be made from polyolefin, polyester, nylon, or other polymers known in the art. In one embodiment, the laminate material comprises a polypropylene layer and a polyvinyl alcohol (PvOH) layer. The encapsulant may include at least a transparent area to achieve visibility of the contents of the capsule.

サシェの実施形態の中空体のシート材料は、ポリプロピレン層とポリビニルアルコール層とを備えた積層体であることが最も好ましい。   Most preferably, the sheet material of the hollow body of the sachet embodiment is a laminate having a polypropylene layer and a polyvinyl alcohol layer.

本発明のカプセルが、既存の飲料調製設備、特にフラビアタイプのマシンで、この設備を変更することなく使用できるよう、サシェの実施形態のサシェカプセルの寸法は、上述した既存のシステムで使用されるものに類似したものとされ得る。サシェの前方および後方のサイズは、約10cm×約7cm、または約10cm×約5cmであることが好ましい。サシェの注入ノズルの上面の形状は、2つの対向する約10mmの辺と、2つの対向する約3mmの辺と、2つの対向する約6mmの辺と、2つの対向する約3mmの辺とを有する、8面体であることが好ましい。   The dimensions of the sachet capsule of the sachet embodiment are used in the existing systems described above, so that the capsules of the present invention can be used without modification in existing beverage preparation equipment, especially flavier type machines. It can be similar to the one. Preferably, the size of the front and back of the sachet is about 10 cm x about 7 cm, or about 10 cm x about 5 cm. The shape of the top surface of the injection nozzle of the sachet has two opposing sides of about 10 mm, two opposing sides of about 3 mm, two opposing sides of about 6 mm, and two opposing sides of about 3 mm. Octahedron.

別の実施形態において中空体は、例えば熱成形または射出成形された半剛体の少なくとも1つのプラスチックおよび/または金属箔材料のシートを備えた、ポッドの形を成したものである。このシート材料は積層体でもよく、この積層体は、以下の層、すなわち中空体をカプセルの他の部材に接合するための熱可塑性シーラント層、アルミニウムフィルムなどの金属フィルムが適している実質的に気体不浸透性のバリア層、積層体の他の層間の付着を向上させる付着層、例えば穿刺抵抗を提供するための構造層、および/または印刷用基材層、のうちの少なくとも1つを備えたものでもよい。構造層は、ポリオレフィン、ポリスチレン、ポリエステル、ナイロン、または当技術において既知の他のポリマーから作製してもよい。カプセル材料は、カプセルの内容物の可視性を実現するよう少なくとも透明領域を備え得る。   In another embodiment, the hollow body is in the form of a pod with at least one sheet of plastic and / or metal foil material, for example thermoformed or injection molded semi-rigid. The sheet material may be a laminate, wherein the laminate is substantially composed of the following layers: a thermoplastic sealant layer for joining the hollow body to other components of the capsule, a metal film such as an aluminum film. At least one of a gas-impermeable barrier layer, an adhesion layer that enhances adhesion between other layers of the laminate, such as a structural layer to provide puncture resistance, and / or a printing substrate layer. May be used. The structural layer may be made from polyolefin, polystyrene, polyester, nylon, or other polymers known in the art. The encapsulant may comprise at least a transparent area to achieve visibility of the contents of the capsule.

好適にはポッドの実施形態は、例えば熱成形によってフランジ付きリムを有するカップまたはボウルの形状に形成された、第1のシートと、ポッドを形成するようフランジ付きリムを横切って接合された、第2のシートとを備え得る。例えば第1のシートは、フランジ付きリムを有するカップまたはボウルの形状に熱成形された、比較的堅い熱可塑性シートでもよく、第2のシートは、フランジ付きリムを横切って接合された平坦なシートであり、フレキシブルフィルム材料から成るでもよい。これらの実施形態においてポッドは円錐台形形状を有するものでもよく、孔をあけることが可能な上部および底面を有しているのが適している。カプセルの下部は孔をあけることが可能なものであるか、あるいはそうでなければ、例えば取外し可能なカバーまたはヒンジ付きカバーを備えた孔、またはセプタム、またはスプリットセプタム、または例えば国際公開第0219875(A)号に記載されているような脆弱な鮮度バリアを有するノズルなど、排出管を挿入するための手段を備えている。   An embodiment of the pod, preferably formed by thermoforming in the form of a cup or bowl with a flanged rim, joined to the first sheet across the flanged rim to form the pod, And two sheets. For example, the first sheet may be a relatively stiff thermoplastic sheet thermoformed in the shape of a cup or bowl having a flanged rim, and the second sheet may be a flat sheet joined across the flanged rim. And may be made of a flexible film material. In these embodiments, the pod may have a frusto-conical shape and suitably has a top and bottom surface that can be perforated. The lower part of the capsule is perforable or otherwise perforated, for example with a removable or hinged cover, or a septum, or a split septum, or, for example, WO0219875 ( Means for inserting a discharge tube, such as a nozzle with a fragile freshness barrier as described in A).

ポッドの実施形態の可変透過度フィルタ材料は、接着剤、またはポッドの内部表面に提供されたアニュラスへの溶接によって、ポッドの内部表面に固定され得ることが適しており、あるいは他の実施形態では、ポッドの内側でフランジを保持することによって所定の位置に保持してもよいし、またはフィルタ材料を覆って延在している、フィルタ層の周縁の周りでポッドの内面に接合された、液体浸透性シートによって保持することさえ可能である。フィルタ材料の面積は、約1cm2から約20cm2、例えば約2cm2から約10cm2であることが適している。 Suitably, the variable permeability filter material of the pod embodiment may be secured to the inner surface of the pod by adhesive or welding to an annulus provided on the inner surface of the pod, or in other embodiments, Liquid, which may be held in place by holding a flange inside the pod, or joined to the inner surface of the pod around the periphery of the filter layer, extending over the filter material It can even be held by a permeable sheet. Suitably, the area of the filter material is from about 1 cm 2 to about 20 cm 2 , for example, from about 2 cm 2 to about 10 cm 2 .

フィルタ材料が、中空体の側壁のより近くでより透過性ではなく、フィルタ材料の中心のより近くでより透過性であることは、本発明のポッドの実施形態において特に有益である。   It is particularly beneficial in pod embodiments of the present invention that the filter material be less permeable near the sidewalls of the hollow body and more permeable near the center of the filter material.

あるいは、またはさらに、可変透過度フィルタ材料は、ポッドの上部または注入口のより近くでより透過性ではなく、かつポッドの下部または排出口のより近くでより透過性であるものでもよい。   Alternatively or additionally, the variable permeability filter material may be less permeable at the top of the pod or near the inlet and more permeable at the bottom of the pod or near the outlet.

ポッドの実施形態において、フィルタ材料は柔軟なものでもよいし、あるいは剛性のものでもよい。   In a pod embodiment, the filter material may be flexible or rigid.

本発明のカプセルが、既存の飲料調製設備で、この設備を変更することなく使用できるよう、ポッドの実施形態のカプセルの寸法は、上述した既存のシステムで使用されるものに類似したものとされ得る。ポッドの内部容積は、約1cm3から約100cm3、例えば約5cm3から約50cm3であることが好ましい。 To enable the capsules of the present invention to be used in existing beverage preparation equipment without altering the equipment, the capsule dimensions of the pod embodiment are similar to those used in the existing systems described above. obtain. Preferably, the internal volume of the pod is from about 1 cm 3 to about 100 cm 3 , for example, from about 5 cm 3 to about 50 cm 3 .

ポッドの実施形態のポッドのベース部品の側壁とポッドの蓋は、蓋をベースに固定するための相補的な係合要素を備えていることが適している。適切な要素は相補的な突起または凹部であり、例えばねじ山、バヨネット嵌合、またはスナップ嵌合要素である。係合要素は、飲料調製後にポッドを蓋とベースとに分解することができるよう、解除可能なものであることが適している。従ってポッドは、蓋をベースに接着接合または溶融接合することによって形成されたものではないことが適している。   Suitably, the side wall of the base part of the pod of the pod embodiment and the lid of the pod are provided with complementary engagement elements for securing the lid to the base. Suitable elements are complementary protrusions or recesses, for example, thread, bayonet or snap-fit elements. Suitably, the engagement element is releasable so that the pod can be disassembled into a lid and a base after beverage preparation. Therefore, it is appropriate that the pod is not formed by adhesive bonding or fusion bonding of the lid to the base.

ポッドの実施形態の下部壁および側壁は、使用前の飲料原料の鮮度を維持するために、前述したような空気および水分不浸透性材料から形成され得る。これらの実施形態においてポッドは、飲料の調製前または調製中に開口されてポッド内部で生成された飲料を放出する、排出口を備えている。例えば排出口は、感圧接着剤でポッドに接着されたカバーシートにより密封された、ポッドの開口でもよい。カバーシートは、カプセルを組み立てる直前に取り外され廃棄される。あるいはポッドのシート材料が、開口を画成する打抜き脆弱ラインなどの脆弱ライン、例えばC字状またはU字状の脆弱ラインを備えていてもよい。ユーザは使用直前に、シート材料を押して脆弱ラインに沿ってポッドを開口する。さらに他の実施形態では、ポッド内への熱湯の注入により生じるポッド内部の熱または圧力によって解除可能な接着剤を用いて、開口の周りに接着された、フラップにより開口が密封される。   The lower wall and sidewalls of the pod embodiment may be formed from air and moisture impermeable materials as described above to maintain the freshness of the beverage ingredients prior to use. In these embodiments, the pod is provided with an outlet that is opened before or during the preparation of the beverage to release the beverage produced inside the pod. For example, the outlet may be an opening in the pod, which is sealed by a cover sheet adhered to the pod with a pressure sensitive adhesive. The cover sheet is removed and discarded immediately before assembling the capsule. Alternatively, the pod sheet material may comprise a weak line, such as a stamped weak line defining an opening, for example a C-shaped or U-shaped weak line. Immediately before use, the user presses the sheet material to open the pod along the line of weakness. In yet another embodiment, the opening is sealed by a flap glued around the opening using an adhesive that can be released by heat or pressure inside the pod resulting from the injection of boiling water into the pod.

ポッドの実施形態の代わりの形態において、ポッドの少なくとも下部領域および/または側壁を液体浸透性材料から作製してもよく、この液体浸透性材料が、ポッドの蓋から水を注入することによって生成される飲料のための、フィルタ材料として機能する。いくつかの実施形態においてポッドの下部壁は、側壁に対して傾斜したものでもよく、前述した傾斜したフィルタ材料として機能する。好適には、フィルタ材料として作用するポッドの下部壁は、中空体の側壁のより近くでより透過性ではなくかつ下部壁の中心のより近くでより透過性であるものでもよく、および/または、ポッドの上部または注入口のより近くでより透過性ではなくかつポッドの上部または注入口から離れるとより透過性であるものでもよい。ポッドは、使用前の飲料原料の鮮度を維持するために、空気および水分不浸透性パッケージ内に入れることが適している。   In an alternative form of the pod embodiment, at least the lower region and / or sidewalls of the pod may be made from a liquid permeable material, which is generated by injecting water from the pod lid. It functions as a filter material for beverages. In some embodiments, the lower wall of the pod may be sloped with respect to the side wall and function as the sloped filter material described above. Preferably, the lower wall of the pod acting as a filter material may be less permeable near the side wall of the hollow body and more permeable near the center of the lower wall, and / or It may be less permeable near the top of the pod or the inlet and more permeable away from the top of the pod or the inlet. The pods are suitably placed in an air and moisture impermeable package to maintain the freshness of the beverage ingredients prior to use.

さらなる態様において本発明は飲料を調製する方法を提供し、この方法は、本発明による飲料調製カプセルに水性の液体を通過させるステップを含む。水性の液体は、例えば85℃から99℃の温度の水であることが好ましい。この方法は、例えば上記の参照特許文献に記載されているような既存のカプセル形式で使用される既知の飲料調製装置において、装置を変更することなく実行することができる。水はシステムに応じて、フィルタタイプのコーヒーでは0.5から1.5バールゲージの圧力で、またエスプレッソタイプのコーヒーでは5〜20バールゲージなどのより高い圧力で、注入され得ることが適している。   In a further aspect, the invention provides a method for preparing a beverage, the method comprising passing an aqueous liquid through a beverage preparation capsule according to the invention. Preferably, the aqueous liquid is, for example, water at a temperature of 85 ° C to 99 ° C. The method can be carried out without modification in known beverage preparation devices used in existing capsule formats, for example as described in the above referenced patent documents. Suitably, the water may be injected at a pressure of 0.5 to 1.5 bar gauge for filter type coffee and higher pressures such as 5 to 20 bar gauge for espresso type coffee, depending on the system. I have.

本発明のサシェカプセルの実施形態を用いて飲料を調製する方法では、中空体の上端部または上端部領域側壁に位置している、ノズルを通じて、水注入管を中空体内へと挿入してもよく、さらに次いで、中空体の内部の飲料調製原料上へと液体を注入して、飲料または飲料成分を調製してもよい。中空体の下端部または下端部領域側壁は、中空体内に液体が導入されると破裂開口して飲料を中空体から排出管を通じて流出させることができる、感熱および/または感圧シールを備えていてもよい。   In the method of preparing a beverage using the embodiment of the sachet capsule of the present invention, a water injection pipe may be inserted into the hollow body through a nozzle, which is located on the upper end portion or the upper end region side wall of the hollow body. The liquid may then be injected onto the beverage preparation ingredients inside the hollow body to prepare a beverage or beverage component. The lower end or the lower end region side wall of the hollow body is provided with a heat and / or pressure sensitive seal that can rupture when liquid is introduced into the hollow body and allow the beverage to flow out of the hollow body through a drain. Is also good.

本発明のポッドカプセル実施形態を用いて飲料を調製する方法では、中空体の上端部または上端部領域側壁を、注入管で、注入管の開口がフィルタ材料のシートの上方に存在するように孔をあけてもよく、さらに次いで、中空体の内部の飲料調製原料上へと液体を注入して、飲料または飲料成分を調製してもよい。中空体の下端部または下端部領域側壁も同様に、中空体内に液体を注入する前または注入した後に、排出管で、排出管の開口がフィルタ材料のシートの下方に存在するように孔をあけてもよく、さらに次いで飲料を、排出管を通じて中空体から流出させることが可能になり得る。   In a method of preparing a beverage using a pod capsule embodiment of the present invention, the upper end of the hollow body or the side wall of the upper end region may be perforated with an infusion tube such that the opening of the infusion tube is above a sheet of filter material. Then, a liquid may be injected onto the beverage preparation material inside the hollow body to prepare a beverage or a beverage component. Similarly, before or after injecting the liquid into the hollow body, the lower end of the hollow body or the side wall of the lower end area is perforated with a discharge pipe such that the opening of the discharge pipe is below the sheet of filter material. The beverage may then be allowed to flow out of the hollow body through a drain.

本書では「可変透過度」という用語は、フィルタ材料などの材料の透過度が、材料の範囲に亘って変化するという意味で用いられる。材料の一方の端部での透過度が反対側の端部よりも大きいことが好ましい。ただしこの透過度は他の方向または向きにおいて変化するものでもよく、厳密に直線状または縦方向に進むものに限定されない。例えば透過度は、異なる透過度の一連の同心環など、フィルタ材料の中心からの半径に応じて変化するものでもよい。   The term "variable transmission" is used herein to mean that the transmission of a material, such as a filter material, varies over a range of materials. Preferably, the transmission at one end of the material is greater than at the opposite end. However, this transmittance may change in other directions or directions, and is not limited to a strictly linear or vertical direction. For example, the transmission may vary depending on the radius from the center of the filter material, such as a series of concentric rings of different transmission.

本書では「フィルタ材料」という用語は、飲料調製原料の少なくとも一部分の通過を部分的にまたは実質的に防ぐまたは妨害することができるが、飲料液体を通過させることができる材料という意味で用いられる。いくつかの実施形態において、飲料調製原料は挽いたコーヒーまたは茶葉などの不溶解性のタイプの原料でもよく、この場合フィルタ材料は、コーヒー粉および茶葉などの残存する不用な固形原料がカプセルから外へと通過するのを実質的に防ぐべきである。しかしながら他の実施形態において、飲料調製原料はスープなどの分散性または溶解性のタイプの原料でもよく、この場合フィルタ材料は、分散または溶解された原料が飲料液体と共にカプセルから外へと通過するのを可能にするべきであるが、分散または溶解されていない原料の通過は防ぐべきである。   As used herein, the term "filter material" is used to mean a material that can partially or substantially prevent or prevent the passage of at least a portion of the beverage preparation ingredient, but allows the passage of the beverage liquid. In some embodiments, the beverage preparation ingredient may be an insoluble type ingredient, such as ground coffee or tea leaves, where the filter material is used to remove residual waste solid ingredients such as coffee grounds and tea leaves from the capsule. Should be substantially prevented from passing through. However, in other embodiments, the beverage preparation ingredient may be a dispersible or dissolvable type ingredient, such as a soup, in which case the filter material is used to allow the dispersed or dissolved ingredient to pass out of the capsule along with the beverage liquid. Should be allowed, but the passage of undispersed or undissolved ingredients should be prevented.

「中空体」という用語は本書において、飲料抽出原料を保持するためのエンクロージャを含む3次元形状という、その通常の意味で用いられる。中空体は、平面図において、円形、正方形、他の通常の多角形、または台形など、任意の適切な形状のものでもよいことが理解されよう。中空体は原料チャンバを画成し、この中で飲料調製原料を保存することができ、また飲料調製原料の浸出または溶解により飲料を調製することができる。原料チャンバは、原料によって適切に実質的に満たされていることが好ましい。   The term "hollow body" is used herein in its ordinary sense of a three-dimensional shape that includes an enclosure for holding a beverage brewing ingredient. It will be appreciated that the hollow body may be of any suitable shape in plan view, such as circular, square, other regular polygons, or trapezoids. The hollow body defines an ingredient chamber in which the beverage preparation ingredients can be stored, and the beverage can be prepared by leaching or dissolving the beverage preparation ingredients. Preferably, the source chamber is suitably substantially filled with the source material.

「上端部」および「下端部」といった用語、さらに「上」「下」「より高い」および「より低い」などの関連する表現は、添付の図面に関して、カプセルの要素の相対位置を明確にするよう意図された相対的な表現である。カプセルの「上端部」は、使用時に実際に最上部になり得るが、これは飲料調製マシンの向き次第で必ずしも事実になり得ないことは当業者には容易に明らかであろう。いずれにしても、カプセルの「上部」または「上方」の領域は飲料調製中の液体の流れに対して上流の領域であり、「下部」または「下方」の要素は下流のものである。   Terms such as "top" and "bottom" and related expressions such as "up," "down," "higher," and "lower" define the relative positions of the elements of the capsule with respect to the accompanying drawings. It is a relative expression intended to be. It will be readily apparent to those skilled in the art that the "top" of the capsule may actually be the top when used, but this may not always be the case depending on the orientation of the beverage preparation machine. In any case, the "upper" or "upper" area of the capsule is the area upstream of the liquid flow during beverage preparation, and the "lower" or "lower" element is downstream.

同様に「前方」および「後方」という用語は、添付の図面に関して、カプセルの要素の相対位置を明確にするよう意図された相対的な表現である。特にカプセルの「前方」部分は、典型的には、「後方」部分に対向した配置に位置することになる。ただしカプセルの「前方」部分は、カプセルの向き次第で、飲料調製マシンの中または外で必ずしもユーザに面している必要はないことは容易に明らかであろう。   Similarly, the terms "front" and "rear" are relative expressions intended to clarify the relative positions of the elements of the capsule with respect to the accompanying drawings. In particular, the "front" portion of the capsule will typically be located in an arrangement opposite the "rear" portion. However, it will be readily apparent that the "front" portion of the capsule need not necessarily face the user inside or outside the beverage preparation machine, depending on the orientation of the capsule.

「排出経路」という用語は、飲料調製中に飲料がこれを通ってチャンバから流出する、飲料原料チャンバから延在する経路を称する。排出経路には、実質的に飲料原料が含まれないことが好ましい。排出経路は、飲料の流れの方向の長さと、流れに垂直な断面とを有することが好ましい。   The term "drain path" refers to a path extending from a beverage ingredient chamber through which beverage exits the chamber during beverage preparation. It is preferred that the discharge route is substantially free of beverage ingredients. The discharge path preferably has a length in the direction of flow of the beverage and a cross-section perpendicular to the flow.

本書では「脆弱な鮮度バリア」という用語は、カプセル内部の飲料調製原料の品質を、例えば雰囲気の水分または細菌によって時間と共に劣化させないような、カプセルの注入口、排出口、または他の開口を覆う、シールまたはキャップという意味で使用される。さらに、カプセルを飲料の調製に使用できるようにするためにシールまたはキャップを開封または開口できるという意味で、鮮度バリアは脆弱である。   As used herein, the term "fragile freshness barrier" covers a capsule inlet, outlet, or other opening that does not degrade the quality of the beverage preparation ingredients inside the capsule over time, for example, due to atmospheric moisture or bacteria. , Seal or cap. In addition, the freshness barrier is fragile in the sense that the seal or cap can be opened or opened to make the capsule usable for beverage preparation.

本書では「サシェ」という用語は、内部に飲料調製原料を保存することができる、実質的に柔軟な袋または小袋という意味で用いられる。   As used herein, the term "sachet" is used to mean a substantially flexible bag or sachet in which beverage preparation ingredients can be stored.

本書では「ポッド」という用語は、内部に飲料調製原料を保存することができる、実質的に剛性のまたは実質的に柔軟な蓋または上部をその上に備えている実質的に剛性のボウルまたはカップから好適には形成された、実質的に剛性の容器という意味で用いられる。   As used herein, the term "pod" refers to a substantially rigid bowl or cup having a substantially rigid or substantially flexible lid or top thereon on which the beverage preparation can be stored. And preferably formed from a substantially rigid container.

本書では「傾斜した」という用語は、より高い位置からより低い位置までの間で傾いているという、通常の意味で用いられる。   In this document, the term "tilted" is used in its ordinary sense to be tilted from a higher position to a lower position.

ここで本発明の実施形態を、例として添付の図面を参照してさらに説明する。   Embodiments of the present invention will now be further described, by way of example, with reference to the accompanying drawings.

従来技術による飲料調製カプセルの斜視図Perspective view of a beverage preparation capsule according to the prior art 使用前の図1の飲料調製カプセルの断面図FIG. 1 is a cross-sectional view of the beverage preparation capsule of FIG. 1 before use. 使用時の図1の飲料調製カプセルの断面図Sectional view of the beverage preparation capsule of FIG. 1 in use. 本発明のサシェの実施形態による飲料調製カプセルの斜視図FIG. 3 is a perspective view of a beverage preparation capsule according to an embodiment of the sachet of the present invention. 使用前の図3の飲料調製カプセルの断面図FIG. 3 is a cross-sectional view of the beverage preparation capsule of FIG. 3 before use. 使用時の図3の飲料調製カプセルの断面図Sectional view of the beverage preparation capsule of FIG. 3 in use. 本発明のポッドの実施形態による飲料調製カプセルの斜視図FIG. 3 is a perspective view of a beverage preparation capsule according to an embodiment of the pod of the present invention. 使用前の図5の飲料調製カプセルの断面図FIG. 5 is a cross-sectional view of the beverage preparation capsule of FIG. 5 before use. 使用時の図5の飲料調製カプセルの断面図5 is a cross-sectional view of the beverage preparation capsule of FIG. 5 in use. 傾斜したフィルタ材料の実施形態において配置された、使用時の可変透過度領域を有する本発明のフィルタ材料を示した図FIG. 3 illustrates a filter material of the present invention having a variable permeability region in use, arranged in a tilted filter material embodiment. 可変透過度領域を有する本発明のフィルタを示した図Diagram showing a filter of the present invention having a variable transmittance region 単一の液体および空気不浸透性材料のシートから形成された、本発明のサシェの実施形態による飲料調製カプセルの断面図FIG. 4 is a cross-sectional view of a beverage preparation capsule according to an embodiment of a sachet of the present invention formed from a single sheet of liquid and air impermeable material. 2つの液体および空気不浸透性材料のシートから形成された、本発明のサシェの実施形態による飲料調製カプセルの断面図FIG. 4 is a cross-sectional view of a beverage preparation capsule according to an embodiment of a sachet of the present invention formed from two sheets of liquid and air impermeable material. 下部が丸みを帯びたまたは下部が平坦な、U字状のフィルタ材料を備えている、本発明のポッドの実施形態による飲料調製カプセルの断面図FIG. 3 is a cross-sectional view of a beverage preparation capsule according to an embodiment of the pod of the present invention, comprising a U-shaped filter material with a rounded bottom or a flat bottom

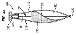
図3を参照すると、本発明のサシェの実施形態の飲料調製カプセル200は、以下でより詳細に説明するが、その上部縁端および側部縁端の周りで恒久的に一緒に接合された、液体および空気不浸透性シート材料の前方シート210および後方シート212を備えている。前方シートおよび後方シートはカプセルの下部縁端220に沿ってさらに一緒に接合されているが、この接合はカプセル内部の熱または圧力の影響下で解除可能である。例えば下部縁端220の接合は、感圧接着剤を用いたものでもよい。カプセル200は、管状孔242を有するノズル240をさらに備えている。カプセル200を飲料調製マシンに正確に設置するのを助けるようフランジが付されたこのノズルは、カプセルの上部縁端に挿入されて、前方シートおよび後方シートに気密状態で接合されている。ノズルの孔は最初に、適切な気密鮮度バリアによって密封されている。前方シート210および後方シート212の内壁に接合された、傾斜したフィルタ材料230のシートが、カプセル200の中空キャビティ260内に存在している。フィルタ材料230は、ウェブ材料または不織布材料である。フィルタ材料230のシートは、注入ノズル240により近いサシェの前方シート210上のより高い位置から、排出領域220により近いサシェの後方シート212上のより低い位置へと延在しているので、サシェの前方シート210および後方シート212に対して傾斜している。フィルタ材料230は、フィルタ材料の全周縁の周りで前方シート210および後方シート212の内壁に接合されており、それによりサシェの中空キャビティ260を、液体を受け入れるための注入チャンバ261と液体を分注するための排出チャンバ262とに分割する。フィルタ材料のシートは、挽いたコーヒーまたは茶葉などの飲料調製原料250を支持している。   Referring to FIG. 3, a beverage preparation capsule 200 of the sachet embodiment of the present invention, described in more detail below, is permanently joined together around its top and side edges. A front sheet 210 and a back sheet 212 of liquid and air impermeable sheet material are provided. The front and rear sheets are further joined together along the lower edge 220 of the capsule, but this connection is releasable under the influence of heat or pressure inside the capsule. For example, the lower edge 220 may be joined using a pressure sensitive adhesive. The capsule 200 further includes a nozzle 240 having a tubular hole 242. This nozzle, which is flanged to help accurately place the capsule 200 on the beverage preparation machine, is inserted into the upper edge of the capsule and is hermetically bonded to the front and rear sheets. The nozzle bore is initially sealed by a suitable hermetic freshness barrier. A sheet of sloping filter material 230 joined to the inner walls of the front sheet 210 and the back sheet 212 resides in the hollow cavity 260 of the capsule 200. Filter material 230 is a web material or a nonwoven material. The sheet of filter material 230 extends from a higher position on the front sheet 210 of the sachet closer to the injection nozzle 240 to a lower position on the rear sheet 212 of the sachet closer to the discharge area 220 so that the It is inclined with respect to the front seat 210 and the rear seat 212. Filter material 230 is joined to the inner walls of front sheet 210 and back sheet 212 around the entire perimeter of the filter material, thereby dividing hollow cavity 260 of the sachet with injection chamber 261 for receiving liquid and dispensing liquid. And a discharge chamber 262 for performing the operation. The sheet of filter material supports a beverage preparation ingredient 250, such as ground coffee or tea leaves.

使用時にはカプセル200を、フラビアディスペンシングマシン内へと導入する。フラビアディスペンシングマシンは、フランジの下でノズル240を把持するクランプと、中空注入管とを備えており、中空注入管は、ノズル孔242内に中空注入管を挿入することにより鮮度バリアに孔をあける機構を有している。このディスペンシングマシンは、熱湯の供給源と、熱湯を注入管に通してカプセル内へと注入する、ポンプとをさらに備えている。熱湯が注入管およびノズル孔242からカプセル200の注入チャンバ261内へと導入されると、カプセル200内に入っている飲料調製原料250が熱湯と混合されて飲料が淹れられる。カプセル200の下部の継ぎ目220がカプセル内部の熱および液体の圧力の影響下で開口し、カプセル200の排出チャンバ262内へと飲料がフィルタシート230を通過して、さらにこの飲料がカプセル200の開口した下部を通って、カプセル200の真下に位置する容器ステーションに設置された容器内に集められる。   In use, the capsule 200 is introduced into a flavier dispensing machine. The flavia dispensing machine includes a clamp that grips the nozzle 240 below the flange, and a hollow injection tube, which inserts a hole in the freshness barrier by inserting the hollow injection tube into the nozzle hole 242. It has an opening mechanism. The dispensing machine further includes a supply source of hot water and a pump that injects hot water into the capsule through an injection pipe. When hot water is introduced into the injection chamber 261 of the capsule 200 from the injection pipe and the nozzle hole 242, the beverage preparation ingredients 250 contained in the capsule 200 are mixed with the hot water to brew the beverage. The lower seam 220 of the capsule 200 opens under the influence of the heat and liquid pressure inside the capsule, the beverage passes through the filter sheet 230 into the discharge chamber 262 of the capsule 200, and the beverage is then Through the lower portion of the container 200 and collected in a container installed at a container station located directly below the capsule 200.

カプセル200の前方シートと後方シートとの間の接合は、上部の継ぎ目214から下向きに延在し下部の継ぎ目220の位置で内向きにテーパしている、一対の側部の継ぎ目216を含むことが分かるであろう。この側部の継ぎ目216は夫々、カプセルの「ウエスト」を形成するよう内向きに延在した、密封されたランド218を含む。ランドのさらなる接合領域が、カプセルの使用時にカプセルを管状の構成で維持するのを助ける。特にランド218は、カプセルの下部縁端が開口したときに上向きに丸まる傾向を低減し、それによりカプセルの下部からの飲料の流れの制御を向上させることができる。従ってランド218は、より一貫した正常なカプセルの開口を実現する。この特徴のさらなる詳細は、欧州特許出願公開第0247841(A)号明細書で見出すことができる。   The joint between the front and rear seats of the capsule 200 includes a pair of side seams 216 extending downward from the upper seam 214 and tapering inward at the lower seam 220. You will understand. Each of the side seams 216 includes sealed lands 218 extending inward to form the "waist" of the capsule. Additional joining areas of the lands help maintain the capsule in a tubular configuration during use of the capsule. In particular, the lands 218 may reduce the tendency of the capsule to curl upward when the lower edge of the capsule is opened, thereby improving control of the flow of beverage from the lower portion of the capsule. Thus, the land 218 provides a more consistent normal capsule opening. Further details of this feature can be found in EP-A-0247841 (A).

図4aを参照すると、フィルタ材料230のシートはサシェの前方シート210および後方シート212に対して傾斜しており、注入ノズル240により近いサシェの前方シート210上のより高い位置から、排出領域220により近いサシェの後方シート212上のより低い位置へと延在している。フィルタ材料は、不溶解性の飲料調製原料250を支持している。   Referring to FIG. 4 a, the sheet of filter material 230 is skewed with respect to the front and back sheets 210 and 212 of the sachet, and from a higher position on the front sheet 210 of the sachet closer to the injection nozzle 240, It extends to a lower position on the rear seat 212 of the near sachet. The filter material supports insoluble beverage preparation ingredients 250.

図4bを参照すると、液体がノズル240からカプセル200の注入チャンバ261内へと導入されると、液体は飲料調製原料250に接触して浸出し、飲料が生成される。次いで液体飲料が、不用な固形の飲料調製原料を残して、排出チャンバ262内へとフィルタ材料230のシートを通過する。液体の通過により下部の継ぎ目220の感圧シールが破裂し、カプセル200内で淹れられた飲料が分注される。フィルタ材料230の傾斜したシートは、サシェの中空キャビティの横断面積よりも大きい、大表面積を提供する。この手法では、液体および不溶解性飲料調製原料はより大きい表面積を有し、これを通って液体は、サシェ200を破裂させ得る過剰な圧力を必要とせずに、迅速かつ容易に通過することができる。   Referring to FIG. 4b, as liquid is introduced into the injection chamber 261 of the capsule 200 from the nozzle 240, the liquid contacts the beverage preparation ingredient 250 and leaches to produce a beverage. The liquid beverage then passes through a sheet of filter material 230 into the discharge chamber 262, leaving unnecessary solid beverage preparation ingredients. The passage of the liquid ruptures the pressure-sensitive seal of the lower seam 220 and the beverage brewed in the capsule 200 is dispensed. The sloping sheet of filter material 230 provides a large surface area that is greater than the cross-sectional area of the hollow cavity of the sachet. In this approach, the liquid and insoluble beverage preparation ingredients have a greater surface area through which the liquid can pass quickly and easily without the need for excessive pressure that can rupture the sachet 200. it can.

図5および6aを参照すると、本発明のポッドの実施形態の飲料調製カプセル300は、実質的に平坦な底面311と、フランジ付き上部312と、底面311から上部312へと延在している円錐台形の側壁313とを有する、カップ要素310を備えている。カップ要素は、適切な熱可塑性の例えばポリスチレンから、例えば熱成形によって形成されている。カップ要素の厚さおよび材料は、以下で説明されるように、飲料調製中にカップを潰すことなく底面に孔をあけ得るのに十分な剛性をカップ要素が有するように、選択される。カップのフランジ付き上部312は、前述したように、適切な積層シート材料のフレキシブルフィルムの蓋320で密封されている。蓋320は、溶融接合または接着によって従来のやり方でフランジ付き上部312の縁に接合されている。   Referring to FIGS. 5 and 6a, the beverage preparation capsule 300 of the pod embodiment of the present invention includes a substantially flat bottom surface 311, a flanged top 312, and a cone extending from the bottom surface 311 to the top 312. A cup element 310 having a trapezoidal side wall 313 is provided. The cup element is formed from a suitable thermoplastic, for example, polystyrene, for example by thermoforming. The thickness and material of the cup element are selected such that the cup element has sufficient rigidity to allow the bottom to be pierced during beverage preparation without crushing the cup, as described below. The flanged upper portion 312 of the cup is sealed with a flexible film lid 320 of a suitable laminated sheet material, as described above. Lid 320 is joined to the edge of flanged upper portion 312 in a conventional manner by fusion bonding or gluing.

フィルタ材料330のシートが、傾斜した向きでカプセル300の内部に提供されている。フィルタ材料330は、不織布織物材料シートまたはウェブ材料である。フィルタ材料330はカップ310の側壁313の内部表面に、接着剤、またはカップの側壁の内部表面に提供されたアニュラスへの溶接によって、固定されている。この例では挽いたコーヒーである飲料調製原料350が、カプセル300内部のフィルタ材料330上に堆積されている。   A sheet of filter material 330 is provided inside capsule 300 in an oblique orientation. Filter material 330 is a nonwoven fabric material sheet or web material. The filter material 330 is secured to the interior surface of the side wall 313 of the cup 310 by an adhesive or by welding to an annulus provided on the interior surface of the side wall of the cup. In this example, a beverage preparation ingredient 350, which is ground coffee, is deposited on the filter material 330 inside the capsule 300.

使用時にカプセル300は、図6bに示されているように、飲料製造装置のクランプ内で保持される。クランプは、カプセルのカップ要素310に嵌合するための凹部を備えた下方部分361と、カプセルの蓋320に隣接するよう移動可能な上方クランプ部分362とを有している。この例においてカプセルは、クランプによって把持され、飲料調製中にクランプによって部分的にのみ包囲される。しかしながら代わりの実施形態では、カプセルをクランプによって完全に包囲してもよく、これによれば飲料調製中にカプセルをバーストさせることなく、上昇した圧力を使用することが可能になる。あるいはカプセルのフランジ312を、飲料製造装置の環状カラー部によって単に支持してもよい。   In use, the capsule 300 is held in a clamp of the beverage maker, as shown in FIG. 6b. The clamp has a lower portion 361 with a recess for fitting into the cup element 310 of the capsule and an upper clamp portion 362 that is movable adjacent the lid 320 of the capsule. In this example, the capsule is gripped by the clamp and is only partially surrounded by the clamp during beverage preparation. However, in an alternative embodiment, the capsule may be completely surrounded by a clamp, which allows the use of elevated pressure without bursting the capsule during beverage preparation. Alternatively, the flange 312 of the capsule may simply be supported by the annular collar of the beverage production device.

飲料製造装置は、カプセルの蓋に孔をあけて飲料の調製のためにカプセル内に水を注入する注入管371に水を供給するための、熱湯の供給源であることが適している水の供給源(図示なし)を備えている。飲料調製装置は排出管372をさらに備え、この排出管372はカプセルの底面に孔をあけてカプセル内に短い距離だけ突出し、それにより排出管の開口端部はフィルタ材料330のシートの下に位置する。注入管および排出管は、夫々のクランプ部分に空間的に関連付けながら固定され得、この場合カプセルの穿孔は、クランプがカプセルの周りで閉じられたときに行われる。あるいは注入管および排出管は、カプセルがクランプされた後にカプセル内へと動き飲料の調製が完了した後にカプセル外へと動く、夫々の管の往復運動を提供する機構に関連付けられ得る。2以上の注入管および/または排出管が、適切であれば、提供され得ることは理解されよう。   The beverage production device is preferably a hot water supply source for supplying water to an injection tube 371 that pierces the capsule lid and injects water into the capsule for beverage preparation. A supply source (not shown) is provided. The beverage preparation device further comprises an outlet tube 372 which projects a short distance into the capsule by piercing the bottom of the capsule so that the open end of the outlet tube is located below the sheet of filter material 330. I do. The inlet tube and the outlet tube can be fixed in spatial association with the respective clamp part, in which case the piercing of the capsule takes place when the clamp is closed around the capsule. Alternatively, the inlet and outlet tubes may be associated with a mechanism that provides a reciprocating motion of the respective tube, which moves into the capsule after the capsule is clamped and moves out of the capsule after the beverage preparation is completed. It will be appreciated that more than one inlet and / or outlet tube may be provided, if appropriate.

本発明の本実施形態によるカプセル300は、極めてシンプルであり、製造コストが安価であり、さらに、排出管によって孔をあける飲料カプセルを使用する任意の既存の飲料調製設備で使用されるカプセルに適合し得ることが分かるであろう。前述の実施形態と同様に、フィルタ材料330の傾斜したシートは、ポッドの中空キャビティの横断面積よりも大きい、大表面積を提供する。この手法では、液体および不溶解性飲料調製原料はより大きい表面積を有し、これを通って液体は、過剰な圧力を必要とせずに迅速かつ容易に通過することができる。   Capsules 300 according to this embodiment of the present invention are extremely simple, inexpensive to manufacture, and compatible with capsules used in any existing beverage preparation equipment that uses beverage capsules that are pierced by a drain. You will see that As in the previous embodiment, the sloping sheet of filter material 330 provides a large surface area that is greater than the cross-sectional area of the hollow cavity of the pod. In this approach, the liquid and insoluble beverage preparation ingredients have a larger surface area through which the liquid can pass quickly and easily without the need for excessive pressure.

図7を参照すると、本発明のサシェの実施形態において使用される代表的なフィルタ材料配置が示されており、ここでフィルタ材料430は、その長さに沿って可変透過度を有している。ただしこのタイプのフィルタ材料は、図1から6に示されている任意の配置など、他の配置で使用することができる。図7においてフィルタ材料430は、サシェの上部または注入口440のより近くで、より厚く431従ってより透過性ではなく、かつサシェの下部または排出口420のより近くで、より薄く432従ってより透過性である。この手法では、圧力降下(Δ−P)が全フィルタ材料430に亘って類似したまたは同じものとなり、全飲料材料450を通じて一貫した液体470の流れが促される。これは、最も抵抗が小さい通路を通る液体のチャネリングと、液体が接触してない飲料材料がいくらか残されることを、回避する助けとなる。   Referring to FIG. 7, a representative filter material arrangement used in the sachet embodiment of the present invention is shown, wherein the filter material 430 has a variable transmission along its length. . However, this type of filter material can be used in other arrangements, such as any of the arrangements shown in FIGS. In FIG. 7, the filter material 430 is thicker 431 and thus less permeable, near the top of the sachet or inlet 440, and thinner 432 and therefore more permeable near the bottom of the sachet or outlet 420. It is. In this manner, the pressure drop (Δ-P) will be similar or the same across all filter materials 430, promoting a consistent flow of liquid 470 through all beverage materials 450. This helps to avoid channeling the liquid through the path of least resistance and leaving some beverage material untouched by the liquid.

図8は、その縦方向の長さに沿って可変透過度を有する、フィルタ材料のシートの別の例を示したものであり、ここで細孔531のサイズは、一方の横の端部532から他方の横の端部533へと徐々に増加している。さらに代わりの実施形態は、可変透過度を提供するために、異なる細孔密度、または様々なフィルタ材料、例えば可変疎水性を有する材料を使用してもよい。   FIG. 8 shows another example of a sheet of filter material having a variable permeability along its longitudinal length, where the size of the pores 531 is one of the lateral ends 532. To the other lateral end 533. Still alternative embodiments may use different pore densities or different filter materials, eg, materials with variable hydrophobicity, to provide variable permeability.

図9は、前方シート610、フィルタ材料630、および後方シート612が、単一の「И」字状に折り畳まれた液体および空気不浸透性材料のシートから形成されている、サシェ600の実施形態を示している(あるいはシートは、単に図9のサシェの鏡像である「N」字状に折り畳まれたものでもよい)。シート材料は液体および空気不浸透性材料であるため、シートのフィルタ領域630は、シートがフィルタ領域630内で少なくとも部分的に透過性になるよう穿孔されている。シートをレーザ穿孔してもよいし、またさらなる積層された不織布フィルタ材料層と組み合わせてもよい。前方シート610および後方シート612は、シートのフィルタ部分630が自由な状態のままサシェ内を横切って延在した状態で、その上部縁端および側部縁端の周りで恒久的に一緒に接合され、それによりサシェの中空キャビティは、液体を受け入れるための注入チャンバ661と液体を分注するための排出チャンバ662とに分割される。前方シート610および後方シート612はカプセルの下部縁端620に沿ってさらに一緒に接合されているが、この接合はカプセル内部の熱または圧力の影響下で解除可能である。例えば下部縁端620の接合は、感圧接着剤を用いたものでもよい。カプセル600は、管状孔を有するノズル640をさらに備えている。カプセル600を飲料調製マシンに正確に設置するのを助けるようフランジが付されたこのノズルは、カプセルの上部縁端に挿入されて気密状態で接合されている。ノズルの孔は最初に、適切な気密鮮度バリアによって密封されている。フィルタ材料630のシートは、挽いたコーヒーまたは茶葉などの飲料調製原料650を支持している。フィルタ材料630の透過度がサシェの排出口620のより近くでより大きく、注入ノズル640のより近くでより透過性ではなくなるように、フィルタ材料630の穿孔はフィルタ材料630の下方領域においてより多数であることが好ましい。   FIG. 9 illustrates an embodiment of a sachet 600 in which the front sheet 610, the filter material 630, and the back sheet 612 are formed from a single “И” folded sheet of liquid and air impermeable material. (Or the sheet may simply be folded into an “N” shape which is a mirror image of the sachet of FIG. 9). Since the sheet material is a liquid and air impermeable material, the filter region 630 of the sheet is perforated so that the sheet is at least partially permeable within the filter region 630. The sheet may be laser perforated or combined with an additional layer of nonwoven filter material. The front sheet 610 and the rear sheet 612 are permanently joined together around their upper and side edges, with the filter portion 630 of the sheet extending free across the sachet. , Whereby the hollow cavity of the sachet is divided into an inlet chamber 661 for receiving liquid and an outlet chamber 662 for dispensing liquid. The front sheet 610 and the rear sheet 612 are further joined together along the lower edge 620 of the capsule, but this connection can be released under the influence of heat or pressure inside the capsule. For example, the lower edge 620 may be joined using a pressure sensitive adhesive. The capsule 600 further includes a nozzle 640 having a tubular hole. This nozzle, which is flanged to help accurately place the capsule 600 on the beverage preparation machine, is inserted into the upper edge of the capsule and hermetically bonded. The nozzle bore is initially sealed by a suitable hermetic freshness barrier. The sheet of filter material 630 supports a beverage preparation ingredient 650, such as ground coffee or tea leaves. The perforations in the filter material 630 are more numerous in the lower region of the filter material 630 so that the permeability of the filter material 630 is greater near the outlet 620 of the sachet and less permeable near the injection nozzle 640. Preferably, there is.

図10は、前方シート710およびフィルタ材料730が、「V」字状に折り畳まれた液体および空気不浸透性材料の第1のシートから形成されている、サシェ700の別の実施形態を示している(あるいはシートは、「Λ」字状に折り畳まれたものでもよい)。シート材料は液体および空気不浸透性であるため、シートのフィルタ領域730は、シートがフィルタ領域730内で少なくとも部分的に透過性になるよう穿孔されている。シートをレーザ穿孔してもよいし、また積層された不織布フィルタ材料層と組み合わせてもよい。液体および空気不浸透性材料の第2のシートが、サシェの後方シート712を形成するよう、第1のシートのフィルタ材料部分730に接続されている。前方シート710および後方シート712は、シートのフィルタ部分730が自由な状態のままサシェ内を横切って延在した状態で、その上部縁端および側部縁端の周りで恒久的に一緒に接合され、それによりサシェの中空キャビティは、液体を受け入れるための注入チャンバ761と液体を分注するための排出チャンバ762とに分割される。前方シート710および後方シート712はカプセルの下部縁端720に沿ってさらに一緒に接合されているが、この接合はカプセル内部の熱または圧力の影響下で解除可能である。例えば下部縁端720の接合は、感圧接着剤を用いたものでもよい。カプセル700は、管状孔を有するノズル740をさらに備えている。カプセル700を飲料調製マシンに正確に設置するのを助けるようフランジが付されたこのノズルは、カプセルの上部縁端に挿入されて気密状態で接合されている。ノズルの孔は最初に、適切な気密鮮度バリアによって密封されている。フィルタ材料730のシートは、挽いたコーヒーまたは茶葉などの飲料調製原料750を支持している。フィルタ材料730の透過度がサシェの排出口720のより近くでより大きく、注入ノズル740のより近くでより透過性ではなくなるように、フィルタ材料730の穿孔はフィルタ材料730の下方領域においてより多数であることが好ましい。   FIG. 10 shows another embodiment of a sachet 700 in which the front sheet 710 and the filter material 730 are formed from a first sheet of liquid and air impermeable material that has been folded in a “V” shape. (Or the sheet may be folded in a “Λ” shape). Because the sheet material is liquid and air impermeable, the filter region 730 of the sheet is perforated so that the sheet is at least partially permeable within the filter region 730. The sheet may be laser perforated or combined with a laminated nonwoven filter material layer. A second sheet of liquid and air impermeable material is connected to the filter material portion 730 of the first sheet to form a backsheet 712 of the sachet. The front sheet 710 and the rear sheet 712 are permanently joined together around their top and side edges, with the filter portion 730 of the sheet extending free across the sachet. , Whereby the hollow cavity of the sachet is divided into an inlet chamber 761 for receiving liquid and an outlet chamber 762 for dispensing liquid. The front seat 710 and the rear seat 712 are further joined together along the lower edge 720 of the capsule, but this connection is releasable under the influence of heat or pressure inside the capsule. For example, the lower edge 720 may be joined using a pressure-sensitive adhesive. The capsule 700 further includes a nozzle 740 having a tubular hole. This nozzle, which is flanged to help accurately place the capsule 700 on the beverage preparation machine, is inserted into the upper edge of the capsule and hermetically bonded. The nozzle bore is initially sealed by a suitable hermetic freshness barrier. The sheet of filter material 730 supports a beverage preparation ingredient 750, such as ground coffee or tea leaves. The perforations in the filter material 730 are more numerous in the lower region of the filter material 730 so that the permeability of the filter material 730 is greater near the outlet 720 of the sachet and less permeable near the injection nozzle 740. Preferably, there is.

図11は、実質的に平坦な底面811と、フランジ付き上部812と、底面811から上部812へと延在している円錐台形の側壁813とを有しているカップ要素810を備えた、ポッド800の実施形態を示している。このカップ要素は、適切な熱可塑性の例えばポリスチレンから、例えば熱成形によって形成されている。カップ要素の厚さおよび材料は、以下で説明されるように、飲料調製中にカップを潰すことなく底面に孔をあけ得るのに十分な剛性をカップ要素が有するように、選択される。カップのフランジ付き上部812は、前述したように、適切な積層シート材料のフレキシブルフィルムの蓋820で密封されている。蓋820は、溶融接合または接着によって従来のやり方でフランジ付き上部812の縁に接合されている。フィルタ材料830のシートが、下部が丸みを帯びたまたは下部が平坦な、U字状の、単一の折り畳まれていない材料のシートとして、カプセル800の内部に提供されている。フィルタ材料830は、不織布織物材料シートまたはウェブ材料である。フィルタ材料830はカップ810の側壁813の内部表面に、接着剤、またはカップの側壁の内部表面に提供されたアニュラスへの溶接によって、固定されている。この例では挽いたコーヒーである飲料調製原料850が、カプセル800内部のフィルタ材料830の上に堆積されている。フィルタ材料830の透過度は、U字状のフィルタ材料830の中心下部領域831に向かってより大きくなり、カップの側壁813により近いフィルタ材料の縁端832に向かってより透過性ではなくなる。   FIG. 11 shows a pod with a cup element 810 having a substantially flat bottom surface 811, a flanged top 812, and a frustoconical side wall 813 extending from the bottom 811 to the top 812. 800 shows an embodiment. The cup element is formed from a suitable thermoplastic, for example polystyrene, for example by thermoforming. The thickness and material of the cup element are selected such that the cup element has sufficient rigidity to allow the bottom to be pierced during beverage preparation without crushing the cup, as described below. The flanged top 812 of the cup is sealed with a flexible film lid 820 of a suitable laminated sheet material, as described above. The lid 820 is joined to the edge of the flanged top 812 in a conventional manner by fusion bonding or gluing. A sheet of filter material 830 is provided inside capsule 800 as a single, unfolded sheet of U-shaped, rounded or flat bottom. Filter material 830 is a nonwoven fabric material sheet or web material. The filter material 830 is secured to the interior surface of the side wall 813 of the cup 810 by adhesive or welding to an annulus provided on the interior surface of the side wall of the cup. In this example, a beverage preparation ingredient 850, which is ground coffee, is deposited on the filter material 830 inside the capsule 800. The permeability of the filter material 830 becomes greater towards the lower central region 831 of the U-shaped filter material 830 and becomes less transparent towards the edge 832 of the filter material closer to the cup side wall 813.

上記実施形態は、単なる例として説明したものであることを理解されたい。添付の請求項の範囲に含まれる多くの他の実施形態が、当技術の読者には明らかであろう。任意の一実施の形態に関連して開示された任意の特徴は、任意の他の実施形態において、代わりにまたはさらに存在し得ることをさらに理解されたい。   It should be understood that the above embodiments have been described by way of example only. Many other embodiments that fall within the scope of the appended claims will be apparent to those of skill in the art. It is further to be understood that any feature disclosed in connection with any one embodiment may alternatively or additionally be present in any other embodiment.

200、300、800 カプセル
210 前方シート
212 後方シート
216 側部の継ぎ目
220 下部の継ぎ目
230、330、430、830 フィルタ材料
240 注入ノズル
242 管状孔
250、350、450、850 飲料調製原料
260 中空キャビティ
261 注入チャンバ
262 排水チャンバ
310、810 カップ要素
311、811 底面
312、812 フランジ付き上部
313、813 側壁
320、820 蓋
371 注入管
372 排出管
470 液体
200, 300, 800 Capsules 210 Front sheet 212 Back sheet 216 Side seam 220 Lower seam 230, 330, 430, 830 Filter material 240 Injection nozzle 242 Tubular hole 250, 350, 450, 850 Beverage preparation raw material 260 Hollow cavity 261 Injection chamber 262 Drainage chamber 310,810 Cup element 311,811 Bottom 312,812 Top with flange 313,813 Side wall 320,820 Lid 371 Injection pipe 372 Drainage pipe 470

Claims (26)

飲料調製カプセルにおいて、
飲料調製原料を入れるのに適した中空体であって、該中空体内へと液体を受け入れるための上端部と、前記中空体から飲料を分注するための、前記上端部に流体連通している下端部と、前記上端部および前記下端部の間の少なくとも1つの側壁とを有する、中空体、
を備え、さらに前記中空体が、フィルタ材料のシートであって該フィルタ材料のシートの表面積の少なくとも1つの寸法に沿って可変透過度を有するフィルタ材料を、中に含み、
前記フィルタ材料のシートが前記少なくとも1つの側壁に対して傾斜して前記中空体の内部を横切って延在するように、前記フィルタ材料のシートが、前記中空体の前記上端部に相対的に近い第1の位置において前記少なくとも1つの側壁に接合しているとともに、前記中空体の前記下端部に相対的に近い第2の位置において前記少なくとも1つの側壁に接合しており、
前記フィルタ材料のシートが、前記中空体の上部または注入口のより近くで、より透過性ではなく、かつ前記中空体の下部または排出口のより近くで、より透過性である、または前記フィルタ材料のシートが、前記中空体の前記側壁のより近くで、より透過性ではなく、かつ前記フィルタ材料のシートの中心のより近くで、より透過性である、あるいはこれら両方を組み合わせたものである、ことを特徴とする飲料調製カプセル。
In a beverage preparation capsule,
A hollow body suitable for containing beverage preparation ingredients, the upper end for receiving liquid into the hollow body, and the upper end for dispensing beverage from the hollow body, in fluid communication with the upper end. A hollow body having a lower end and at least one side wall between the upper end and the lower end;
The provided, further wherein the hollow body is a filter material having a variable permeability along at least one dimension of the surface area of the sheet of the filter material comprising a sheet of filter material, wherein in,
The sheet of filter material is relatively close to the upper end of the hollow body such that the sheet of filter material extends obliquely with respect to the at least one sidewall and across the interior of the hollow body. Joining to the at least one side wall at a first position and joining to the at least one side wall at a second position relatively close to the lower end of the hollow body;
The sheet of filter material is less permeable at the top of the hollow body or closer to the inlet, and less permeable at the bottom of the hollow body or closer to the outlet, or the filter material sheets, closer to the said side wall of said hollow body, rather than a more permeable, and closer to the center of the sheet of the filter material, which is more permeable, or a combination of both, A beverage preparation capsule, characterized in that:
前記フィルタ材料のシートの前記可変透過度が、前記フィルタ材料のシートの、可変厚さ、可変細孔サイズ、可変細孔密度、または可変組成、によって提供されることを特徴とする請求項1記載の飲料調製カプセル。 The variable permeability of the sheet of the filter material, the sheet of filter material, variable thickness, variable pore size, variable pore density or variable composition, according to claim 1, characterized in that provided by, Beverage preparation capsule. 前記フィルタ材料のシートの前記透過度が、前記中空体の前記上端部に相対的に近い前記第1の位置から前記中空体の前記下端部に相対的に近い前記第2の位置に向かって増加しており、前記フィルタ材料のシートの前記透過度が、該透過度が少しずつ変化することによって増加していることを特徴とする請求項1または2記載の飲料調製カプセル。 The permeability of the sheet of filter material increases from the first position relatively closer to the upper end of the hollow body to the second position relatively closer to the lower end of the hollow body. and it has the permeability of the sheet of the filter material, according to claim 1 or 2 beverage preparation capsule according translucent excessive is characterized in that it increased by changing little by little. 前記フィルタ材料のシートが、単一の折り畳まれていない材料のシートであることを特徴とする請求項からいずれか1項記載の飲料調製カプセル。 Sheets, beverage preparation capsule according to claim 1 to 3 any one of claims, characterized in that a sheet of material unfolded with a single of said filter material. 前記フィルタ材料のシートが該シートの周縁の周りで、前記中空体の前記少なくとも1つの側壁に固定されていることを特徴とする請求項からいずれか1項記載の飲料調製カプセル。 The beverage preparation capsule according to any one of claims 1 to 4, wherein a sheet of the filter material is fixed to the at least one side wall of the hollow body around a periphery of the sheet. 前記フィルタ材料のシートが前記中空体を、前記液体を受け入れるための注入チャンバと、排出チャンバであって前記飲料が該排出チャンバから分注される、排出チャンバとに分割することを特徴とする請求項からいずれか1項記載の飲料調製カプセル。 The sheet of filter material divides the hollow body into an inlet chamber for receiving the liquid and an outlet chamber, wherein the beverage is dispensed from the outlet chamber. Item 6. The beverage preparation capsule according to any one of items 1 to 5 . 前記フィルタ材料の表面積が、前記中空体のキャビティの横断面積よりも大きいことを特徴とする請求項1からいずれか1項記載の飲料調製カプセル。 The beverage preparation capsule according to any one of claims 1 to 6 , wherein a surface area of the filter material is larger than a cross-sectional area of a cavity of the hollow body. ノズルである液体の注入口であって、前記液体が該注入口を通って前記中空体に入ることができる、注入口をさらに備えていることを特徴とする請求項1からいずれか1項記載の飲料調製カプセル。 A inlet of the liquid is a nozzle may enter the hollow body wherein the liquid through the infusion inlet, characterized in that it further comprises an inlet claims 1 to 7 any one A beverage preparation capsule according to the above. 開口可能な継ぎ目である液体の排出口であって、前記飲料が該排出口を通って前記中空体から出ることができる、排出口をさらに備えていることを特徴とする請求項1からいずれか1項記載の飲料調製カプセル。 A discharge port of the liquid which is openable seam, the beverage can exit from the hollow body through the exhaust outlet, one of claims 1, characterized by further comprising a discharge port 8 A beverage preparation capsule according to claim 1. 前記排出口が、熱および/または圧力で解除可能な接合で密封されていることを特徴とする請求項記載の飲料調製カプセル。 10. A beverage preparation capsule according to claim 9 , wherein the outlet is sealed with a heat and / or pressure releasable joint. 前記フィルタ材料と前記中空体の前記上端部との間で前記フィルタ材料上に支持された、挽いたコーヒーまたは茶葉である前記飲料調製原料を備えていることを特徴とする請求項1から10いずれか1項記載の飲料調製カプセル。 The supported on the filter material between the upper end of the filter material and the hollow body, one of claims 1, characterized in that it comprises the beverage preparation material is ground coffee or tea leaves 10 A beverage preparation capsule according to claim 1. 前記飲料調製原料が、使用前に前記カプセル内に密閉されていることを特徴とする請求項11記載の飲料調製カプセル。 The beverage preparation capsule according to claim 11 , wherein the beverage preparation ingredient is sealed in the capsule before use. 前記フィルタ材料が、ウェブ材料または不織布繊維材料であることを特徴とする請求項1から12いずれか1項記載の飲料調製カプセル。 The beverage preparation capsule according to any one of claims 1 to 12 , wherein the filter material is a web material or a nonwoven fiber material. 約25mlから約500mlの飲料の調製のための、および/または、約2gから約25gの挽いたコーヒー、または約1gから約9gの茶葉、あるいは約2gから約30gの水分散性原料が入っている、一杯分のカプセルであることを特徴とする請求項1から13いずれか1項記載の飲料調製カプセル。 Containing from about 2 g to about 25 g of ground coffee, or from about 1 g to about 9 g of tea leaves, or from about 2 g to about 30 g of water-dispersible ingredients for the preparation of about 25 ml to about 500 ml of beverage; 14. A beverage preparation capsule according to any one of claims 1 to 13 , characterized in that it is a capsule for one cup. 前記中空体が、対面した関係で配置されかつその縁端に沿って密封された、フレキシブルフィルム材料の前方シートと後方シートとを備えた、サシェの形を成しており、前記フィルタ材料が、前記第1の位置において前記中空体の前記前方シートに接合しているとともに、前記第2の位置において前記中空体の前記後方シートに接合していることを特徴とする請求項1から14いずれか1項記載の飲料調製カプセル。 The hollow body is in the form of a sachet, comprising a front sheet and a back sheet of flexible film material, arranged in face-to-face relation and sealed along its edges, wherein the filter material comprises: together are joined to the front seat of the hollow body in the first position, 14 claim 1, characterized in that joined to the rear seat of the hollow body in said second position A beverage preparation capsule according to claim 1. 前記中空体の前記前方シートおよび前記後方シートが、空気および水不浸透性の積層シートであることを特徴とする請求項15記載の飲料調製カプセル。 The beverage preparation capsule according to claim 15 , wherein the front sheet and the rear sheet of the hollow body are air- and water-impermeable laminated sheets. 前記中空体の前記前方シートおよび前記後方シートが、前記中空体の下部の継ぎ目に排出領域を提供した状態で、両縁端の継ぎ目および上部の継ぎ目に沿って恒久的に一緒に接合されており、かつ液体の注入ノズルが、前記中空体の前記上部の継ぎ目または一方の縁端の継ぎ目内へと挿入されていることを特徴とする請求項15または16記載の飲料調製カプセル。 The front sheet and the rear sheet of the hollow body are permanently joined together along a seam at both edges and a seam at the top, providing a discharge area at a lower seam of the hollow body. 17. A capsule according to claim 15 or 16 , wherein a liquid injection nozzle is inserted into the upper seam or one edge seam of the hollow body. 前記排出領域が、熱および/または圧力で解除可能な接合で密封されていることを特徴とする請求項17記載の飲料調製カプセル。 18. The beverage preparation capsule according to claim 17 , wherein the discharge area is sealed with a heat and / or pressure releasable joint. 前記中空体の前記フレキシブルフィルム材料が積層体であり、該積層体が、前記中空体を前記カプセルの他の部材に接合するための熱可塑性シーラント層、実質的に気体不浸透性のバリア層、前記積層体の層間の付着を促進する付着層、構造層、のうちの2以上を備えていることを特徴とする請求項15から18いずれか1項記載の飲料調製カプセル。 The flexible film material of the hollow body is a laminate, the laminate is a thermoplastic sealant layer for joining the hollow body to another member of the capsule, a substantially gas-impermeable barrier layer, The beverage preparation capsule according to any one of claims 15 to 18 , comprising two or more of an adhesion layer and a structural layer that promote adhesion between layers of the laminate. 前記中空体のフィルム材料が、ポリプロピレン層とポリビニルアルコール層とを備えた積層体であることを特徴とする請求項19記載の飲料調製カプセル。 The beverage preparation capsule according to claim 19, wherein the film material of the hollow body is a laminate including a polypropylene layer and a polyvinyl alcohol layer. 飲料を調製する方法であって、請求項1から20いずれか1項記載の飲料調製カプセルに、水性の液体を通過させるステップを含むことを特徴とする方法。 A method for preparing a beverage, the method of the beverage preparation capsule according to any one of claims 1 20, comprising the step of passing the liquid aqueous. 前記中空体の前記上端部または上端部領域側壁に位置している、ノズルを通じて、水注入管を前記中空体内へと挿入し、さらに次いで、前記中空体の内部の前記飲料調製原料上へと前記液体を注入して、前記飲料または飲料成分を調製するステップを含むことを特徴とする請求項21記載の方法。 A water injection tube is inserted into the hollow body through a nozzle, which is located on the upper end or upper end region side wall of the hollow body, and then the beverage preparation raw material inside the hollow body is dropped onto the beverage preparation ingredient. 22. The method of claim 21 , comprising injecting a liquid to prepare the beverage or beverage component. 前記中空体の前記下端部または下端部領域側壁が、前記中空体内に前記液体が導入されると破裂開口して前記飲料を前記中空体から排出管を通じて流出させることができる、感熱および/または感圧シールを備えていることを特徴とする請求項21または22記載の方法。 The lower end or lower end region side wall of the hollow body is ruptured when the liquid is introduced into the hollow body, so that the beverage can flow out of the hollow body through a discharge pipe. the method of claim 21 or 22, wherein that it comprises a pressure seal. 飲料を調製する方法であって、請求項1から20のいずれか1項記載の飲料調製カプセルに、水性の液体を通過させるステップを含むことを特徴とする方法。 21. A method for preparing a beverage, comprising passing an aqueous liquid through the beverage preparation capsule according to any one of claims 1 to 20 . 前記中空体の前記上端部または上端部領域側壁に、注入管で、該注入管の開口が前記フィルタ材料の上方に存在するように孔をあけ、さらに次いで、前記中空体の内部の前記飲料調製原料上へと前記液体を注入して、前記飲料または飲料成分を調製するステップを含むことを特徴とする請求項24記載の方法。 Perforating the upper end or the upper end region side wall of the hollow body with an injection pipe so that an opening of the injection pipe is located above the filter material, and then further preparing the beverage inside the hollow body. 25. The method of claim 24 , comprising injecting the liquid onto ingredients to prepare the beverage or beverage component. 前記中空体の前記下端部または下端部領域側壁に、排出管で、該排出管の開口が前記フィルタ材料の下方に存在するように孔をあけ、さらに次いで前記飲料を、前記排出管を通じて前記中空体から流出させることを可能にするステップを含むことを特徴とする請求項24または25記載の方法。 A hole is formed in the lower end portion or the lower end region side wall of the hollow body so that an opening of the discharge tube is located below the filter material, and then the beverage is hollowed out through the discharge tube. 26. The method according to claim 24 or 25 , comprising the step of allowing it to flow out of the body.
JP2016549581A 2014-03-11 2015-03-10 Beverage preparation capsule Active JP6676532B2 (en)

Applications Claiming Priority (5)

Application Number Priority Date Filing Date Title
GB1404290.7 2014-03-11
GB201404290A GB201404290D0 (en) 2014-03-11 2014-03-11 Beverage preparation capsules
GB201421494A GB201421494D0 (en) 2014-12-03 2014-12-03 Beverage preparation capsules
GB1421494.4 2014-12-03
PCT/GB2015/050696 WO2015136267A1 (en) 2014-03-11 2015-03-10 Beverage preparation capsules

Publications (3)

Publication Number Publication Date
JP2017511711A JP2017511711A (en) 2017-04-27
JP2017511711A5 JP2017511711A5 (en) 2018-04-19
JP6676532B2 true JP6676532B2 (en) 2020-04-08

Family

ID=52686403

Family Applications (2)

Application Number Title Priority Date Filing Date
JP2016549581A Active JP6676532B2 (en) 2014-03-11 2015-03-10 Beverage preparation capsule
JP2016549518A Ceased JP2017511710A (en) 2014-03-11 2015-03-10 Beverage preparation capsules

Family Applications After (1)

Application Number Title Priority Date Filing Date
JP2016549518A Ceased JP2017511710A (en) 2014-03-11 2015-03-10 Beverage preparation capsules

Country Status (6)

Country Link
US (2) US20170081111A1 (en)
EP (2) EP3116804B1 (en)
JP (2) JP6676532B2 (en)
CN (3) CN106103310B (en)
CA (2) CA2938352C (en)
WO (2) WO2015136267A1 (en)

Families Citing this family (27)

* Cited by examiner, † Cited by third party
Publication number Priority date Publication date Assignee Title
US11832755B2 (en) * 2007-07-13 2023-12-05 Adrian Rivera Brewing material container for a beverage brewer
US10722066B2 (en) * 2010-12-04 2020-07-28 Adrian Rivera Windowed single serving brewing material holder
US10071851B2 (en) 2010-07-12 2018-09-11 Robert Bao Vu Apparatus and products for producing beverages, and methods for making and using same
PT3521208T (en) * 2010-07-22 2020-05-21 K Fee System Gmbh Portion capsule with barcode
JP6676532B2 (en) * 2014-03-11 2020-04-08 ラバッツァ プロフェッショナル ノース アメリカ,エルエルシーLavazza Professional North America,Llc Beverage preparation capsule
US11084650B2 (en) * 2015-06-10 2021-08-10 K-Fee System Gmbh Portion capsule with a three-ply nonwoven fabric
GB201521882D0 (en) * 2015-12-11 2016-01-27 Mars Inc Beverage preperation system and capsules
US20180029789A1 (en) * 2016-07-28 2018-02-01 (PBS) Professional Beauty Supply, Ltd. Tea Bag with Accessible Opening
US20180044084A1 (en) * 2016-08-14 2018-02-15 Anthony J. Orler Cellulose-based beverage cartridge
CN110114282A (en) * 2016-12-23 2019-08-09 颐紫普罗10公司 container
TWM542431U (en) * 2017-01-12 2017-06-01 Rui-Na Deng Filter bag
IT201700041430A1 (en) * 2017-04-13 2018-10-13 Sarong Spa Method and apparatus for making capsules with a filter
IT201700048363A1 (en) * 2017-05-04 2018-11-04 Goglio Spa Compostable multilayer membrane
US20180345171A1 (en) * 2017-06-03 2018-12-06 Elizabeth Hampton Nutmilk Extraction Bag
TWI634861B (en) * 2017-07-19 2018-09-11 林紫綺 Coffee filter cup structure with expandable filter
CN109592230B (en) * 2017-09-30 2020-11-24 广东美的生活电器制造有限公司 Beverage capsule and beverage machine
US20210007540A1 (en) * 2018-04-23 2021-01-14 2266170 Ontario Inc. Capsules, Beverage Brewing Systems And Fabrics With Optimum Filtration Characteristics
US10881582B2 (en) 2018-06-11 2021-01-05 Glaxosmithkline Consumer Healthcare Holdings (Us) Llc Individual dose pack
CN112512938A (en) * 2018-08-20 2021-03-16 雀巢产品有限公司 Bag for preparing food or beverage products
EP3865423A4 (en) 2018-10-10 2022-08-03 Café Rancheiro Agro Industrial LTDA SINGLE DOSE UNIT FOR FILTER COFFEE AND METHOD OF PRODUCTION AND BREWING THE SAME
US11730875B2 (en) * 2019-04-01 2023-08-22 Sterigear, Llc Dual drainage bag, assemblies, and related methods
EP3788884A1 (en) * 2019-09-05 2021-03-10 Delica AG Compostable capsule and production and use thereof
BR112023001105A2 (en) * 2020-07-30 2023-02-14 Nestle Sa FLEXIBLE PACKAGING FOR PREPARING FOOD OR DRINKS WITH A RIGID PART
JP2024532984A (en) * 2020-09-29 2024-09-12 ヨル アン,ビョン tea bag
US11805934B1 (en) * 2020-10-21 2023-11-07 Adrian Rivera Brewing material lid and container for a beverage brewer
TWI839663B (en) 2021-12-08 2024-04-21 緯創資通股份有限公司 Filter bag and filter assembly and extraction device having the same
US12166599B2 (en) * 2022-12-16 2024-12-10 Microsoft Technology Licensing, Llc Personalized navigable meeting summary generator

Family Cites Families (41)

* Cited by examiner, † Cited by third party
Publication number Priority date Publication date Assignee Title
NL8104569A (en) * 1980-10-29 1982-05-17 Maxs Ag LASTING USABLE COFFEE FILTER.
SE8302444L (en) * 1982-05-13 1983-11-14 Mars Ltd dispensing device
BE896730A (en) * 1982-05-13 1983-11-14 Mars Ltd Soc DISTRIBUTION OF BEVERAGES.
FI83197C (en) * 1984-10-23 1991-06-10 Mars G B Ltd DRYCKPAOSE.
NL8602863A (en) * 1986-11-12 1988-06-01 Philips Nv FILTERING DEVICE.
DE69028628T2 (en) 1990-07-27 1997-01-30 Nestle Sa Closed cartridge for the preparation of a beverage and method and device for producing the same
JP2599641B2 (en) 1990-09-21 1997-04-09 株式会社アペックス Beverage extraction pack
US5168140A (en) * 1991-02-11 1992-12-01 Helmut Welker Microwave coffee brewer and travel mug
US5840189A (en) 1992-09-16 1998-11-24 Keurig, Inc. Beverage filter cartridge
GB9305461D0 (en) * 1993-03-17 1993-05-05 Gen Foods Ltd Beverage packages
JPH07509393A (en) * 1993-06-02 1995-10-19 ソシエテ デ プロデユイ ネツスル ソシエテ アノニム Extraction method and equipment from a sealed flexible bag
WO1998039215A1 (en) * 1997-03-03 1998-09-11 Soughan John J Coffee flavoring means and method
US6038963A (en) * 1997-09-11 2000-03-21 Fort James Corporation Disposable beverage brewing system
US6589577B2 (en) 2000-02-18 2003-07-08 Keurig, Inc. Disposable single serve beverage filter cartridge
US6607762B2 (en) * 2000-02-18 2003-08-19 Keurig, Incorporated Disposable single serve beverage filter cartridge
CA2421128C (en) * 2002-03-14 2008-05-20 Robert Hale Beverage cartridge and filter assembly
US20040045443A1 (en) * 2002-06-19 2004-03-11 Lazaris Nicholas G. Disposable beverage filter package
US20050051478A1 (en) 2003-09-10 2005-03-10 Basil Karanikos Beverage filter cartridge
GB2406305B (en) * 2003-09-29 2006-04-19 Mars Inc Compostable packaging materials and methods
GB2426234A (en) * 2005-05-17 2006-11-22 Mars Inc Filling of valve bags
GB2433422A (en) * 2005-12-21 2007-06-27 Mars Inc Beverage preparation capsules
KR20070073557A (en) * 2006-04-16 2007-07-10 안영식 Disposable Powder Packaging Container
DE202007016661U1 (en) * 2007-12-03 2008-02-21 Melitta Haushaltsprodukte Gmbh & Co Kommanditgesellschaft Made of a filter paper, bag-like filter cartridge
PT2100824E (en) * 2008-03-12 2011-07-27 Nestec Sa Capsule with flow control and filtering member(
US8474368B2 (en) * 2009-05-13 2013-07-02 Curwood, Inc. Mineral composite beverage brewing cup and cartridge
US9750370B2 (en) * 2009-05-29 2017-09-05 Keurig Green Mountain, Inc. Cartridge with filter guard
MY169949A (en) 2009-08-28 2019-06-19 Keurig Green Mountain Inc Beverage cartridge and method for beverage formation using filter aid
DE102009041633A1 (en) * 2009-09-17 2011-06-01 Krüger Gmbh & Co. Kg Portion capsule and use of a portion capsule
US20110259205A1 (en) * 2010-04-26 2011-10-27 Delorme Kevin Sj Beverage Pod
US8361527B2 (en) * 2010-09-02 2013-01-29 Keurig, Incorporated Beverage cartridge
US9155418B2 (en) * 2010-11-15 2015-10-13 Conair Corporation Brewed beverage appliance and method
IT1402944B1 (en) 2010-12-15 2013-09-27 Sarong Spa CAP FOR BEVERAGE AND RELATIVE MACHINE TO USE THIS CAP
US9469471B2 (en) 2011-02-03 2016-10-18 2266170 Ontario Inc. Beverage capsule
PL2685838T3 (en) * 2011-03-14 2015-10-30 K Fee System Gmbh Portion capsule for producing a beverage
GB201110848D0 (en) * 2011-06-24 2011-08-10 Mars Inc Beverage preparation apparatus and method and beverage capsules for use therein
DE102011115833A1 (en) 2011-10-13 2013-04-18 K-Fee System Gmbh Portion capsule for making a drink with a portion capsule
EP2606777A1 (en) * 2011-12-23 2013-06-26 Melitta Europa GmbH & Co. KG Filter paper insert
US20130340626A1 (en) * 2012-06-22 2013-12-26 Touch Coffee and Beverages, LLC. Beverage brewing system
EP2730523B1 (en) 2012-11-12 2016-04-06 2266170 Ontario, Inc. Beverage capsule and process and system for making same
DE102014102404A1 (en) * 2013-11-14 2015-05-21 Gfm Ingenieur- Und Produktionstechnik Gmbh Filter insert, in particular for preparing a coffee or tea filtrate
JP6676532B2 (en) * 2014-03-11 2020-04-08 ラバッツァ プロフェッショナル ノース アメリカ,エルエルシーLavazza Professional North America,Llc Beverage preparation capsule

Also Published As

Publication number Publication date
WO2015136267A1 (en) 2015-09-17
CA2938352A1 (en) 2015-09-17
CN106103311B (en) 2017-12-05
US20170101258A1 (en) 2017-04-13
WO2015136268A1 (en) 2015-09-17
CA2945686A1 (en) 2015-09-17
CN106103310A (en) 2016-11-09
US20170081111A1 (en) 2017-03-23
EP3116804B1 (en) 2018-12-26
CA2938352C (en) 2022-03-01
JP2017511710A (en) 2017-04-27
EP3116803B1 (en) 2018-04-25
EP3116803A1 (en) 2017-01-18
JP2017511711A (en) 2017-04-27
EP3116803B2 (en) 2022-10-12
CN109625640A (en) 2019-04-16
EP3116804A1 (en) 2017-01-18
EP3116803B9 (en) 2023-01-25
CN106103311A (en) 2016-11-09
CN106103310B (en) 2018-11-02

Similar Documents

Publication Publication Date Title
JP6676532B2 (en) Beverage preparation capsule
JP6190469B2 (en) Beverage cartridge
CN102272017B (en) Capsules with flow control and filtration components
US11383920B2 (en) Beverage preparation capsule
EP2651781B1 (en) Capsule for beverage preparation
CN101970314B (en) Capsule with flow control and filtering member
US20160058234A1 (en) Single Serve Capsule and System
JP2014516651A (en) Apparatus and capsules for preparing beverages
JP2014524805A (en) Beverage preparation capsules
JP2013078600A (en) Beverage preparation material
KR102321312B1 (en) beverage preparation capsules
JP2022534027A (en) Beverage Machine Cartridge Capsules and Beverage Machine Cartridges

Legal Events

Date Code Title Description
A521 Request for written amendment filed

Free format text: JAPANESE INTERMEDIATE CODE: A523

Effective date: 20180302

A621 Written request for application examination

Free format text: JAPANESE INTERMEDIATE CODE: A621

Effective date: 20180302

A977 Report on retrieval

Free format text: JAPANESE INTERMEDIATE CODE: A971007

Effective date: 20190206

A131 Notification of reasons for refusal

Free format text: JAPANESE INTERMEDIATE CODE: A131

Effective date: 20190320

A601 Written request for extension of time

Free format text: JAPANESE INTERMEDIATE CODE: A601

Effective date: 20190620

A521 Request for written amendment filed

Free format text: JAPANESE INTERMEDIATE CODE: A523

Effective date: 20190805

A711 Notification of change in applicant

Free format text: JAPANESE INTERMEDIATE CODE: A711

Effective date: 20191122

RD03 Notification of appointment of power of attorney

Free format text: JAPANESE INTERMEDIATE CODE: A7423

Effective date: 20200115

A521 Request for written amendment filed

Free format text: JAPANESE INTERMEDIATE CODE: A821

Effective date: 20200121

RD04 Notification of resignation of power of attorney

Free format text: JAPANESE INTERMEDIATE CODE: A7424

Effective date: 20200121

TRDD Decision of grant or rejection written
A01 Written decision to grant a patent or to grant a registration (utility model)

Free format text: JAPANESE INTERMEDIATE CODE: A01

Effective date: 20200212

A61 First payment of annual fees (during grant procedure)

Free format text: JAPANESE INTERMEDIATE CODE: A61

Effective date: 20200312

R150 Certificate of patent or registration of utility model

Ref document number: 6676532

Country of ref document: JP

Free format text: JAPANESE INTERMEDIATE CODE: R150

R250 Receipt of annual fees

Free format text: JAPANESE INTERMEDIATE CODE: R250

R250 Receipt of annual fees

Free format text: JAPANESE INTERMEDIATE CODE: R250

R250 Receipt of annual fees

Free format text: JAPANESE INTERMEDIATE CODE: R250