[go: up one dir, main page]

JP6532755B2 - Probe unit, probe unit manufacturing method and inspection method - Google Patents

Probe unit, probe unit manufacturing method and inspection method Download PDF

Info

Publication number
JP6532755B2
JP6532755B2 JP2015105335A JP2015105335A JP6532755B2 JP 6532755 B2 JP6532755 B2 JP 6532755B2 JP 2015105335 A JP2015105335 A JP 2015105335A JP 2015105335 A JP2015105335 A JP 2015105335A JP 6532755 B2 JP6532755 B2 JP 6532755B2
Authority
JP
Japan
Prior art keywords
arm
arms
probe unit
probe
probing
Prior art date
Legal status (The legal status is an assumption and is not a legal conclusion. Google has not performed a legal analysis and makes no representation as to the accuracy of the status listed.)
Active
Application number
JP2015105335A
Other languages
Japanese (ja)
Other versions
JP2016170159A (en
JP2016170159A5 (en
Inventor
昌史 小林
昌史 小林
崇裕 小川原
崇裕 小川原
Current Assignee (The listed assignees may be inaccurate. Google has not performed a legal analysis and makes no representation or warranty as to the accuracy of the list.)
Hioki EE Corp
Original Assignee
Hioki EE Corp
Priority date (The priority date is an assumption and is not a legal conclusion. Google has not performed a legal analysis and makes no representation as to the accuracy of the date listed.)
Filing date
Publication date
Application filed by Hioki EE Corp filed Critical Hioki EE Corp
Priority to TW104119352A priority Critical patent/TWI645193B/en
Priority to KR1020150098979A priority patent/KR102207791B1/en
Priority to US14/801,114 priority patent/US9772352B2/en
Priority to CN201510426639.0A priority patent/CN105319405B/en
Publication of JP2016170159A publication Critical patent/JP2016170159A/en
Publication of JP2016170159A5 publication Critical patent/JP2016170159A5/ja
Application granted granted Critical
Publication of JP6532755B2 publication Critical patent/JP6532755B2/en
Active legal-status Critical Current
Anticipated expiration legal-status Critical

Links

Images

Classifications

    • GPHYSICS
    • G01MEASURING; TESTING
    • G01RMEASURING ELECTRIC VARIABLES; MEASURING MAGNETIC VARIABLES
    • G01R3/00Apparatus or processes specially adapted for the manufacture or maintenance of measuring instruments, e.g. of probe tips
    • GPHYSICS
    • G01MEASURING; TESTING
    • G01RMEASURING ELECTRIC VARIABLES; MEASURING MAGNETIC VARIABLES
    • G01R1/00Details of instruments or arrangements of the types included in groups G01R5/00 - G01R13/00 and G01R31/00
    • G01R1/02General constructional details
    • G01R1/06Measuring leads; Measuring probes
    • G01R1/067Measuring probes
    • G01R1/06711Probe needles; Cantilever beams; "Bump" contacts; Replaceable probe pins
    • G01R1/06716Elastic
    • G01R1/06727Cantilever beams
    • GPHYSICS
    • G01MEASURING; TESTING
    • G01RMEASURING ELECTRIC VARIABLES; MEASURING MAGNETIC VARIABLES
    • G01R1/00Details of instruments or arrangements of the types included in groups G01R5/00 - G01R13/00 and G01R31/00
    • G01R1/02General constructional details
    • G01R1/06Measuring leads; Measuring probes
    • G01R1/067Measuring probes
    • G01R1/073Multiple probes
    • G01R1/07307Multiple probes with individual probe elements, e.g. needles, cantilever beams or bump contacts, fixed in relation to each other, e.g. bed of nails fixture or probe card
    • G01R1/07342Multiple probes with individual probe elements, e.g. needles, cantilever beams or bump contacts, fixed in relation to each other, e.g. bed of nails fixture or probe card the body of the probe being at an angle other than perpendicular to test object, e.g. probe card

Landscapes

  • Physics & Mathematics (AREA)
  • General Physics & Mathematics (AREA)
  • Testing Or Measuring Of Semiconductors Or The Like (AREA)
  • Measuring Leads Or Probes (AREA)
  • Geometry (AREA)

Description

本発明は、プローブピンとプローブピンを支持する支持部とを備えたプローブユニットそのプローブユニットを製造するプローブユニット製造方法、およびそのプローブユニットを用いて基板を検査する検査方法に関するものである。 The present invention probe unit having a supporting portion for supporting the probe pin and the probe pins, the probe unit manufacturing method for manufacturing the probe unit, and an inspection method of inspecting a substrate using the probe unit.

この種のプローブユニットとして、下記特許文献1において出願人が開示したプローブが知られている。このプローブは、プローブ本体および固定具を備えている。固定具は、プローブ本体を固定するプローブ固定部と、プローブ案内機構に取り付けるための取付部と、プローブ固定部および取付部を連結する一対の連結用アームとを備えて構成されている。この場合、各連結用アームにおける取付部との連結箇所およびプローブ固定部との連結箇所には、連結用アームを厚み方向(上下方向)に円弧状に切り欠いた支点がそれぞれ形成されている。このプローブでは、固定具におけるプローブ固定部、取付部、連結用アームおよび各支点により、プロービングの向きとは逆向きへのプローブピンの直動または近似的な直動を許容する四節回転機構が構成される。このため、このプローブでは、プロービング対象の表面にプローブ本体の先端が接触した状態から取付部がさらに下降したときに、プロービング対象の表面上をプローブ本体の先端が移動することによる接触痕の発生を少なく抑えることが可能となっている。   A probe disclosed by the applicant in Patent Document 1 below is known as this type of probe unit. The probe comprises a probe body and a fixture. The fixture comprises a probe fixing portion for fixing the probe main body, a mounting portion for mounting on the probe guide mechanism, and a pair of connecting arms for connecting the probe fixing portion and the mounting portion. In this case, fulcrums in which the connecting arms are cut in an arc shape in the thickness direction (vertical direction) are respectively formed at the connecting portions with the mounting portions and the connecting portions with the probe fixing portion in each connecting arm. In this probe, a 4-node rotation mechanism that allows linear or approximate linear motion of the probe pin in the direction opposite to the direction of probing by means of the probe fixing portion, mounting portion, connecting arm and supporting point in the fixture Configured For this reason, with this probe, when the attachment portion is further lowered from the state where the tip of the probe main body is in contact with the surface to be probed, generation of contact marks due to movement of the tip of the probe main body on the surface of the probe target It is possible to reduce the number.

特許第4717144号公報(第5−6頁、第1図)Patent 4717144 (page 5-6, FIG. 1)

ところが、上記した従来のプローブには、改善すべき以下の課題がある。すなわち、このプローブでは、各連結用アームを厚み方向に切り欠くことによって支点を形成している。この場合、切り欠き部分を支点として機能させるには、切り欠き部分の剛性を他の部分よりも十分に低下させる必要があり、このためには、切り欠き部分と他の部分(切り欠いていない部分)との厚みを明確に異ならせる必要がある。このため、従来のプローブでは、連結用アームの厚み(切り欠いていない部分の厚み)をある程度厚くする必要がある。一方、プロービングの際には、プローブ本体の先端部と接触対象との接触によって接触対象に打痕が生じる。この場合、プローブ全体の質量が大きいほど大きな打痕が生じることとなる。このため、打痕を小さくするためには、プローブ全体の質量を小さくする必要がある。しかしながら、従来のプローブでは、上記したように、連結用アームの厚みをある程度厚くする必要があることから軽量化が困難となっており、この点の改善が望まれている。   However, the above-described conventional probe has the following problems to be improved. That is, in this probe, a fulcrum is formed by cutting out each connecting arm in the thickness direction. In this case, in order for the notch portion to function as a fulcrum, the stiffness of the notch portion needs to be sufficiently reduced compared to the other portions, and for this purpose, the notch portion and the other portion (not cut away) It is necessary to make the thickness clearly different from that of the part). For this reason, in the conventional probe, it is necessary to thicken the thickness of the connecting arm (the thickness of the portion not cut out) to some extent. On the other hand, at the time of probing, the contact object is nicked due to the contact between the tip of the probe body and the contact object. In this case, the larger the mass of the entire probe, the larger the dents. For this reason, in order to make a dent mark small, it is necessary to make mass of the whole probe small. However, in the conventional probe, as described above, it is difficult to reduce the weight because it is necessary to increase the thickness of the connecting arm to some extent, and improvement of this point is desired.

本発明は、かかる課題に鑑みてなされたものであり、軽量化を実現し得るプローブユニットプローブユニット製造方法、およびそのプローブユニットが有する効果を実現し得る検査方法を提供することを主目的とする。 The present invention has been made in view of such problems, and it is a main object of the present invention to provide a probe unit that can realize weight reduction , a probe unit manufacturing method , and an inspection method that can realize the effects of the probe unit. Do.

上記目的を達成すべく請求項1記載のプローブユニットは、プローブピンと、当該プローブピンを支持する支持部とを備えたプローブユニットであって、前記支持部は、前記プローブピンをプロービング対象にプロービングさせる際のプロービングの向きに沿って互いに離間して対向する状態で配置された帯状の第1アームおよび第2アームと、当該各アームの各基端部を保持する保持部と、前記プローブピンを取り付け可能に構成されると共に前記各アームの各先端部同士を連結する連結部とを備えて、前記プロービングの向きとは逆向きへの前記プローブピンの直動または近似的な直動を許容する四節リンク機構を構成し、前記各アームは、前記基端部よりもやや前記先端部側の部位および当該先端部よりもやや当該基端部側の部位に貫通孔がそれぞれ形成されて、当該各貫通孔の間の中間部位が前記四節リンク機構を構成する各リンクとして機能すると共に、当該各貫通孔の形成部位が前記四節リンク機構を構成するジョイントとして機能するように構成され、かつ当該アームの長さ方向に沿って前記中間部位に形成されたリブを備えて構成されている。 In order to achieve the above object, the probe unit according to claim 1 is a probe unit provided with a probe pin and a support portion for supporting the probe pin, and the support portion causes the probe pin to be probed for probing. Attach the strip-like first and second arms arranged to face each other in a mutually spaced-apart manner along the direction of probing, the holding portion for holding the proximal end of each arm, and the probe pin And a connecting portion configured to connect the respective tip portions of the arms and allowing linear movement or approximate linear movement of the probe pin in the direction opposite to the direction of the probing. A node link mechanism, and the respective arms pass through a portion slightly closer to the distal end portion than the proximal end portion and a portion slightly proximal to the proximal end portion than the distal end portion. Holes are respectively formed, and an intermediate portion between the respective through holes functions as each link constituting the four-bar linkage, and a formation portion of the respective through holes serves as a joint constituting the four-bar linkage. It is configured to function and includes a rib formed at the intermediate portion along the length direction of the arm .

請求項2記載のプローブユニットは、プローブピンと、当該プローブピンを支持する支持部とを備えたプローブユニットであって、前記支持部は、前記プローブピンをプロービング対象にプロービングさせる際のプロービングの向きに沿って互いに離間して対向する状態で配置された帯状の第1アームおよび第2アームと、当該各アームの各基端部を保持する保持部と、前記プローブピンを取り付け可能に構成されると共に前記各アームの各先端部同士を連結する連結部とを備えて、前記プロービングの向きとは逆向きへの前記プローブピンの直動または近似的な直動を許容する四節リンク機構を構成し、前記各アームは、前記基端部よりもやや前記先端部側の部位および当該先端部よりもやや当該基端部側の部位に貫通孔がそれぞれ形成されて、当該各貫通孔の間の中間部位が前記四節リンク機構を構成する各リンクとして機能すると共に、当該各貫通孔の形成部位が前記四節リンク機構を構成するジョイントとして機能するように構成され、前記各アームのうちの前記プロービングの際に前記プロービング対象側に位置するアームにおける当該プロービング対象に対向する面側に絶縁体を介して配設された導電性を有するシールド板を備えている。 The probe unit according to claim 2 is a probe unit provided with a probe pin and a support portion for supporting the probe pin, wherein the support portion is in the direction of probing when the probe pin is probed for probing. Along a strip-like first arm and a second arm disposed facing each other at a distance from each other, a holding portion for holding the proximal end of each arm, and the probe pins are attachable. Forming a four-bar linkage mechanism including a connecting portion for connecting the tip end portions of the respective arms and allowing linear movement or approximate linear movement of the probe pin in a direction opposite to the direction of the probing; In each arm, a through hole is formed in a portion slightly closer to the tip end portion than the proximal end portion and a portion slightly proximal to the proximal end portion than the tip portion. And the intermediate portion between the respective through holes functions as each link constituting the four-bar linkage, and the formation portion of each through hole functions as a joint constituting the four-bar linkage. And a conductive shield plate disposed via an insulator on the side of the arm on the probing target side facing the probing target during the probing among the arms. .

請求項3記載のプローブユニットは、請求項1または2記載のプローブユニットにおいて、前記アームは、当該アームにおける幅方向の端部と前記貫通孔との間の縁部の幅が、当該アームの長さ方向に沿って前記中間部位から離間するに従って広くなるように形成されている。 The probe unit according to claim 3 is the probe unit according to claim 1 or 2, wherein the arm has a width of an edge between the end in the width direction of the arm and the through hole is the length of the arm It is formed to be wider as it is separated from the intermediate portion along the longitudinal direction.

請求項4記載のプローブユニットは、請求項3記載のプローブユニットにおいて、前記アームは、前記貫通孔を挟んで対向する2つの前記縁部が、当該アームにおける前記幅方向の中心を通る前記長さ方向に沿った中心線を対称軸として線対称の形状となるように形成されている。 The probe unit according to claim 4, wherein, in the probe unit according to claim 3 Symbol mounting, the arms, the two said edge portions facing each other across the through hole, the length through the center of the width direction of the arm It is formed so as to be in a line symmetrical shape with the center line along the longitudinal direction as the axis of symmetry.

請求項5記載のプローブユニットは、請求項1から4のいずれかに記載のプローブユニットにおいて、前記プローブピンが前記第1アームの前記先端部および前記第2アームの前記先端部に固定されて当該プローブピンが前記連結部として機能するように構成されている。 The probe unit according to claim 5 is the probe unit according to any one of claims 1 to 4, wherein the probe pin is fixed to the tip end of the first arm and the tip end of the second arm. The probe pin is configured to function as the connecting portion.

請求項6記載のプローブユニットは、請求項1から5のいずれかに記載のプローブユニットにおいて、前記プローブピンを一対備えると共に、前記第1アームおよび前記第2アームをそれぞれ一対備え、前記保持部は、前記一対の第1アームが隣接して延在する状態で当該各第1アームの前記各基端部を保持すると共に、前記一対の第2アームが隣接して延在する状態で当該各第2アームの前記各基端部を保持する。   The probe unit according to claim 6 is the probe unit according to any one of claims 1 to 5, further comprising a pair of the probe pins, a pair of the first arm and the second arm, and the holding portion And holding the base end portions of the respective first arms in a state in which the pair of first arms extend adjacent to each other, and in the state in which the pair of second arms extend adjacent to each other The two proximal ends of the two arms are held.

請求項記載のプローブユニットは、請求項記載のプローブユニットにおいて、前記各第1アームは、非導電性を有して前記各基端部同士が連結された状態で前記保持部によって保持され、前記各第2アームは、非導電性を有して前記各基端部同士が連結された状態で前記保持部によって保持されている。 The probe unit according to claim 7, the holding in the probe unit according to claim 6, wherein each of the first arm, the front Symbol holder in a state where each other the respective proximal ends has a non-conductive is connected are, each second arm is held by the front Symbol holder in the a non-conductive state in which the respective base end portions are connected.

請求項記載のプローブユニット製造方法は、請求項6記載のプローブユニットを製造するプローブユニット製造方法であって、前記一対の第1アームの前記各基端部が前記保持部によって保持されるときの位置関係を維持した状態で当該両第1アームを一体に作製した後に、当該各第1アームにおける少なくとも前記基端部の近傍から前記先端部までの間を分離させて当該各第1アームを作製し、前記一対の第2アームの前記各基端部が前記保持部によって保持されるときの位置関係を維持した状態で当該両第2アームを一体に作製した後に、当該各第2アームにおける少なくとも前記基端部の近傍から前記先端部までの間を分離させて当該各第2アームを作製して前記プローブユニットを製造する。 A method of manufacturing a probe unit according to claim 8 is the method of manufacturing a probe unit according to claim 6, wherein the base end portions of the pair of first arms are held by the holding portion. The two first arms are integrally manufactured in a state in which the positional relationship between the two is maintained, and then the respective first arms are separated by separating at least the vicinity of the proximal end from the proximal end in the respective first arms. After the two second arms are manufactured integrally while maintaining the positional relationship when the respective base end portions of the pair of second arms are held by the holding portion, the two second arms are manufactured. The distance between at least the vicinity of the proximal end and the distal end is separated, the second arms are manufactured, and the probe unit is manufactured.

請求項記載のプローブユニット製造方法は、請求項記載のプローブユニット製造方法において、前記一対の第1アームの前記各基端部が前記保持部によって保持されるときの位置関係を維持した状態で、前記一体に作製した各第1アームの前記各基端部を前記保持部に保持させた状態で当該各第1アームにおける少なくとも前記基端部の近傍から前記先端部までの間を分離させ、前記一体に作製した各第2アームの前記各基端部を前記保持部に保持させた状態で当該各第2アームにおける少なくとも前記基端部の近傍から前記先端部までの間を分離させて前記プローブユニットを製造する。 In the method of manufacturing a probe unit according to claim 9, in the method of manufacturing a probe unit according to claim 8 , the positional relationship when the base end portions of the pair of first arms are held by the holding portion is maintained. And in a state in which the base end of each first arm produced integrally is held by the holding part, the distance from at least the vicinity of the base end to the tip in each first arm is separated And separating the distance from at least the vicinity of the base end to the tip end of the second arm while keeping the base end of the second arm integrally manufactured by the holding portion. The probe unit is manufactured.

請求項10記載の検査方法は、基板を検査する検査方法であって、請求項1からのいずれかに記載のプローブユニットの前記プローブピンを前記プロービング対象としての前記基板にプロービングさせ、当該プローブピンを介して入出力する電気信号に基づいて当該基板を検査する。 The inspection method according to claim 10 is an inspection method for inspecting a substrate, wherein the probe pins of the probe unit according to any one of claims 1 to 7 are probed on the substrate as the probing target, and the probe The substrate is inspected on the basis of an electrical signal input / output via a pin.

請求項1記載のプローブユニットでは、帯状の第1アームおよび第2アームにおける基端部よりもやや先端部側の部位および先端部よりもやや基端部側の部位に貫通孔がそれぞれ形成されて、各貫通孔の間の中間部位が各リンクとして機能すると共に、各貫通孔の形成部位がジョイントとして機能する四節リンク機構が支持部によって構成される。つまり、このプローブユニットでは、帯状の各アームに貫通孔を形成して、その貫通孔の形成部位を弾性変形し易くすることで、形成部位をジョイントとして機能させている。このため、このプローブユニットによれば、アームを厚み方向に切り欠いてその部分をジョイントとして機能させる(アームにある程度の厚みが必要な)従来の構成と比較して、各アームを十分に薄形化することができるため、各アームを十分に軽量化することができる結果、プローブユニットを十分に軽量化することができる。したがって、このプローブユニットによれば、プロービングの際のプロービング対象に対するプローブピンの接触によってプロービング対象に生じる打痕を十分に小さく抑えることができる。また、このプローブユニットによれば、アームの長さ方向に沿ってアームの中間部位に形成されたリブを備えてアームを構成したことにより、リブによって中間部位の剛性を他の部分(特に、貫通孔の形成部位)よりも高めることができるため、各貫通孔の形成部位をさらに弾性変形し易くすることができる。したがって、このプローブユニットによれば、プロービングの際にプロービング対象に生じる打痕をさらに小さく抑えることができる。 In the probe unit according to claim 1, through holes are respectively formed in a portion slightly closer to the tip end portion than the proximal end portion in the strip-like first arm and the second arm and a portion slightly proximal end portion than the tip portion. A four-bar link mechanism is constituted by the support portion in which an intermediate portion between each through hole functions as each link and a formation portion of each through hole functions as a joint. That is, in this probe unit, a through hole is formed in each strip-like arm, and the forming portion of the through hole is easily elastically deformed to function as a joint. For this reason, according to this probe unit, each arm is sufficiently thin compared to the conventional configuration in which the arm is notched in the thickness direction and the portion functions as a joint (the arm requires a certain thickness). As a result of being able to reduce the weight of each arm sufficiently, the weight of the probe unit can be reduced sufficiently. Therefore, according to this probe unit, it is possible to sufficiently reduce the dents generated in the probing target due to the contact of the probe pin with the probing target at the time of probing. Further, according to this probe unit, by forming the arm by providing the rib formed in the middle portion of the arm along the length direction of the arm, the rigidity of the middle portion is penetrated by the rib by the other portion (in particular, Since it can raise rather than the formation site | part of a hole, the formation site | part of each through-hole can be further easily elastically deformed. Therefore, according to this probe unit, it is possible to further reduce the mark formed on the object to be probed at the time of probing.

また、請求項2記載のプローブユニットによれば、プロービングの際にプロービング対象側に位置するアームにおけるプロービング対象に対向する面側に絶縁体を介して配設された導電性を有するシールド板を備えたことにより、アームとプロービング対象との間の浮遊容量を十分に低減させることができるため、浮遊容量による検査精度の低下を確実に防止することができる。 Further , according to the probe unit of the second aspect, the shield plate having conductivity disposed on the side of the arm located on the probing target side facing the probing target at the time of probing via the insulator is provided. As a result, since the floating capacity between the arm and the object to be probed can be sufficiently reduced, it is possible to reliably prevent the decrease in inspection accuracy due to the floating capacity.

また、請求項3記載のプローブユニットによれば、アームにおける幅方向の端部と貫通孔との間の縁部の幅が、アームの長さ方向に沿って中間部位から離間するに従って広くなるようにアームを形成したことにより、プロービングの際に各縁部に生じる応力の集中を小さく抑えることができるため、応力の集中による縁部の破損を確実に防止することができる。 Further, according to the probe unit according to claim 3, wherein, as the width of the edge between the end portion in the width direction of the arm and the through hole becomes wider as the distance from the intermediate portion along the length direction of the arm By forming the arms in this way, it is possible to minimize the concentration of stress generated at each edge during probing, so it is possible to reliably prevent breakage of the edge due to concentration of stress.

また、請求項4記載のプローブユニットによれば、貫通孔を挟んで対向する2つの縁部が、アームにおける幅方向の中心を通る中心線を対称軸として線対称の形状となるようにアームを形成したことにより、貫通孔を挟んで対向する2つの縁部において生じる応力が中心線を対称軸として線対称となるため、縁部における応力の集中をより小さく抑えることができる結果、各縁部の破損をより確実に防止することができる。 Further, according to the probe unit of the fourth aspect , the arm is formed so that two edges facing each other across the through hole form a line symmetry with the center line passing through the center in the width direction of the arm as the axis of symmetry. By forming the stress, the stress generated at the two opposing edges across the through hole is axisymmetrical with the center line as a symmetry axis, so that the concentration of the stress at the edge can be suppressed to a smaller value. Can be more reliably prevented.

また、請求項5記載のプローブユニットによれば、プローブピンを連結部として機能するようにプローブユニットを構成したことにより、プローブピンとは別部材の連結部を設ける構成と比較して、プローブユニットをさらに軽量化することができる。 Further, according to the probe unit of the fifth aspect, by configuring the probe unit so that the probe pin functions as the connecting portion, the probe unit can be compared to the configuration in which the connecting portion is provided separately from the probe pin. The weight can be further reduced.

また、請求項6記載のプローブユニットでは、プローブピンを一対備えると共に、第1アームおよび第2アームをそれぞれ一対備え、保持部が、一対の第1アームの各基端部を保持すると共に、一対の第2アームの各基端部を保持する。つまりこのプローブユニットでは、支持部によって一対のプローブピンが支持されている。このため、このプローブユニットによれば、プロービング対象における1つのプロービング部位に対して2つのプローブピンをプロービングさせて行う四端子法や四端子対法による測定や検査においてこのプローブユニットを好適に使用することができると共に、プロービングの際にプローブピンの打撃によって生じる打痕を十分に小さく抑えることができる。   In the probe unit according to claim 6, a pair of probe pins is provided, and a pair of first arms and a second arm are provided, and the holding portion holds the respective base end portions of the pair of first arms and the pair Hold the proximal end of the second arm. That is, in this probe unit, the pair of probe pins is supported by the support portion. For this reason, according to this probe unit, this probe unit is suitably used in the measurement or inspection by the four probe method or the four probe pair method in which two probe pins are probed to one probing site in the probing target. In addition to the above, it is possible to keep the dent caused by the impact of the probe pin sufficiently small during probing.

また、請求項記載のプローブユニットでは、各第1アームおよび第2アームが、非導電性を有して各基端部同士が連結された状態で保持部によって保持されている。このため、このプローブユニットによれば、各第1アームおよび各第2アームを保持部に一度に保持させることができる結果、組立効率を十分に向上させることができる。 Further, the probe unit according to claim 7, each of the first arm and the second arm is held by the hold unit in a state where the base end portions with a non-conductive is connected. For this reason, according to this probe unit, each first arm and each second arm can be held by the holding portion at one time, so that the assembly efficiency can be sufficiently improved.

また、請求項記載のプローブユニット製造方法によれば、一対の第1アームが保持されるときの位置関係を維持した状態で両第1アームを一体に作製した後に基端部の近傍から先端部までの間を分離させて各第1アームを作製し、一対の第2アームが保持されるときの位置関係を維持した状態で両第2アームを一体に作製した後に基端部の近傍から先端部までの間を分離させて各第2アームを作製することにより、一対の第1アームおよび一対の第2アームを同じ作製条件(同じ材質の材料や同じ材料の同一部分を用いた同じ加工条件)でそれぞれ一度に作製することができる。このため、このプローブユニット製造方法によれば、材質的なばらつきや条件の相異による各アームにおける寸法や弾性率などの諸元のばらつきを少なく抑えることができる。また、このプローブユニット製造方法によって製造されたプローブユニットによれば、各第1アームおよび各第2アームを一体に作製したときの位置関係を維持した状態で、各第1アームおよび各第2アームを保持部に保持させることができるため、各第1アームおよび各第2アームを保持部に保持させる際の各第1アーム同士および各第2アーム同士の位置ずれの発生を確実に防止することができる。したがって、このプローブユニット製造方法によれば、正確なプロービングが可能なプローブユニットを製造することができる。 Further, according to the method of manufacturing a probe unit according to claim 8 , after the first arms are integrally manufactured in a state in which the positional relationship when holding the pair of first arms is maintained, the tip end from the vicinity of the base end portion From the vicinity of the proximal end, the two arms are manufactured integrally while maintaining the positional relationship when the pair of second arms are held while the pair of second arms are held while maintaining the positional relationship when the first arms are separated. By separating the sections up to the tip and manufacturing each second arm, the pair of first arms and the pair of second arms are processed under the same preparation conditions (the same processing using the same material or the same portion of the same material) Each of the conditions can be prepared at one time. For this reason, according to this probe unit manufacturing method, it is possible to suppress the variation in dimensions such as dimensions and elastic modulus of each arm due to the variation in material and the difference in conditions . Moreover, according to the probe unit manufactured by this probe unit manufacturing method, each first arm and each second arm are maintained while maintaining the positional relationship when each first arm and each second arm are integrally manufactured. Can be held by the holding portion, so that the occurrence of positional deviation between the respective first arms and the respective second arms when holding the respective first arms and the respective second arms in the holding portion is surely prevented. Can. Therefore, according to this probe unit manufacturing method, a probe unit capable of accurate probing can be manufactured.

また、請求項記載のプローブユニット製造方法によれば、各第1アームおよび各第2アームを一体に作製したときの位置関係を維持した状態で、各第1アームおよび各第2アームを保持部に保持させることができるため、各第1アームおよび各第2アームを保持部に保持させる際の各第1アーム同士および各第2アーム同士の位置ずれの発生を確実に防止することができる。したがって、このプローブユニット製造方法によれば、より正確なプロービングが可能なプローブユニットを製造することができる。 Further, according to the method of manufacturing a probe unit according to claim 9 , the first arms and the second arms are held while maintaining the positional relationship when the first arms and the second arms are manufactured integrally. Since the first arm and the second arm can be held by the holding portion, the occurrence of positional deviation between the first arms and the second arms can be reliably prevented. . Therefore, according to this probe unit manufacturing method, a probe unit capable of more accurate probing can be manufactured.

また、請求項10記載の検査方法によれば、上記のプローブユニットのプローブピンをプロービング対象としての基板にプロービングさせ、プローブピンを介して入出力する電気信号に基づいて基板を検査することにより、プロービングの際の基板に対するプローブピンの接触によって基板に生じる打痕を十分に小さく抑えることができる。 Further, according to the inspection method of claim 10, the probe pins of the above-mentioned probe unit are probed on the substrate to be probed, and the substrate is inspected based on the electric signal input and output through the probe pins. By the contact of the probe pins with the substrate at the time of probing, it is possible to keep the dents formed on the substrate sufficiently small.

プローブユニット1の構成を示す斜視図である。FIG. 2 is a perspective view showing the configuration of a probe unit 1; 移動機構300に固定した状態のプローブユニット1の側面図である。FIG. 10 is a side view of the probe unit 1 in a state of being fixed to the moving mechanism 300. プローブユニット1の平面図である。FIG. 2 is a plan view of the probe unit 1; プローブユニット1の底面図である。FIG. 3 is a bottom view of the probe unit 1; プローブユニット1の動作を説明する第1の説明図である。FIG. 6 is a first explanatory view for explaining the operation of the probe unit 1; プローブユニット1の動作を説明する第2の説明図である。FIG. 8 is a second explanatory view for explaining the operation of the probe unit 1; プローブユニット101の構成を示す斜視図である。FIG. 2 is a perspective view showing a configuration of a probe unit 101. アーム111の作製方法を説明する第1の説明図である。FIG. 7 is a first explanatory view illustrating the method of manufacturing the arm 111. アーム111の作製方法を説明する第2の説明図である。FIG. 14 is a second explanatory view illustrating the method of manufacturing the arm 111. アーム112の作製方法を説明する第1の説明図である。FIG. 14 is a first explanatory view illustrating the method of manufacturing the arm 112. アーム112の作製方法を説明する第2の説明図である。It is 2nd explanatory drawing explaining the manufacturing method of arm 112. As shown in FIG. アーム501の構成を示す平面図である。It is a top view which shows the structure of arm 501. As shown in FIG. 図12におけるX−X線断面図である。It is XX sectional drawing in FIG. アーム501におけるリブ511の他の構成例を示す断面図である。FIG. 21 is a cross-sectional view showing another configuration example of the rib 511 in the arm 501. アーム502の構成を示す平面図である。It is a top view which shows the structure of arm 502. As shown in FIG. 図15におけるY−Y線断面図である。It is the YY sectional view taken on the line in FIG. アーム502におけるリブ512の他の構成例を示す断面図である。FIG. 18 is a cross-sectional view showing another configuration example of the rib 512 in the arm 502. プローブユニット1Aの平面図である。It is a top view of probe unit 1A. アーム11Aにおける貫通孔H1Aa近傍の構成を示す平面図である。It is a top view which shows the structure of through-hole H1Aa vicinity in arm 11A. アーム11Aにおける貫通孔H1Ab近傍の構成を示す平面図である。It is a top view which shows the structure of through-hole H1Ab vicinity in arm 11A. プローブユニット1Aの底面図である。It is a bottom view of probe unit 1A. アーム12Aにおける貫通孔H2Aa近傍の構成を示す平面図である。It is a top view which shows the structure of through-hole H2Aa vicinity in arm 12A. アーム12Aにおける貫通孔H2Ab近傍の構成を示す平面図である。It is a top view which shows the structure of through-hole H2Ab vicinity in arm 12A. プローブユニット1Bの側面図である。It is a side view of probe unit 1B. プローブユニット601の構成を示す斜視図である。FIG. 6 is a perspective view showing the configuration of a probe unit 601. プローブユニット601の製造方法を説明する第1の説明図である。FIG. 18 is a first explanatory view illustrating the method of manufacturing the probe unit 601. プローブユニット601の製造方法を説明する第2の説明図である。FIG. 18 is a second explanatory view illustrating the method of manufacturing the probe unit 601. プローブユニット601の製造方法を説明する第3の説明図である。FIG. 18 is a third explanatory view illustrating the method of manufacturing the probe unit 601. プローブユニット601の製造方法を説明する第4の説明図である。FIG. 21 is a fourth explanatory view illustrating the method of manufacturing the probe unit 601.

以下、プローブユニットプローブユニット製造方法および検査方法の実施の形態について、添付図面を参照して説明する。 Hereinafter, embodiments of a probe unit , a probe unit manufacturing method, and an inspection method will be described with reference to the attached drawings.

最初に、プローブユニットの一例としての図1に示すプローブユニット1の構成について説明する。プローブユニット1は、同図に示すように、プローブピン2および支持部3を備えて構成されている。   First, the configuration of the probe unit 1 shown in FIG. 1 as an example of the probe unit will be described. The probe unit 1 is comprised including the probe pin 2 and the support part 3 as shown to the same figure.

プローブピン2は、図1に示すように、先端部2aが尖った円柱状に形成されている。このプローブピン2は、移動機構300(図2参照)によってプローブユニット1が移動させられたときにプロービング対象(例えば、同図に示す基板200)に先端部2aがプロービング(接触)させられる。   As shown in FIG. 1, the probe pin 2 is formed in a cylindrical shape whose tip 2 a is pointed. When the probe unit 1 is moved by the moving mechanism 300 (see FIG. 2), the tip 2a of the probe pin 2 is probed (contacted) with the object to be probed (for example, the substrate 200 shown in FIG. 2).

支持部3は、プローブピン2を支持可能に構成されている。具体的には、支持部3は、図1,2に示すように、アーム11(第1アーム)、アーム12(第2アーム)および保持部13を備えて構成されている。   The support portion 3 is configured to be able to support the probe pin 2. Specifically, as shown in FIGS. 1 and 2, the support portion 3 includes an arm 11 (first arm), an arm 12 (second arm), and a holding portion 13.

アーム11,12は、図1〜図4に示すように、帯状(長細い板状)にそれぞれ形成されている。この場合、アーム11,12は、一例として、金属で形成されて、導電性を有している。また、アーム11,12は、プローブピン2をプロービングさせる際のプロービングの向き(図2における下向き)に沿って互いに離間して各面同士が対向する状態で配置されている。また、アーム11,12は、保持部13によって基端部21a,22aが保持されている。   As shown in FIGS. 1 to 4, the arms 11 and 12 are each formed in a band shape (long thin plate shape). In this case, the arms 11 and 12 are made of metal, for example, and have conductivity. Further, the arms 11 and 12 are disposed in a state in which the respective surfaces face each other while being spaced apart from each other along the direction of the probing (downward in FIG. 2) when probing the probe pin 2. The arms 11 and 12 have the base end portions 21 a and 22 a held by the holding portion 13.

また、図2〜図4に示すように、アーム11における基端部21aよりもやや先端部21b側の部位には、貫通孔H1aが形成され、アーム11における先端部21bよりもやや基端部21a側の部位には、貫通孔H1bが形成されている。また、アーム12における基端部22aよりもやや先端部22b側の部位には、貫通孔H2aが形成され、アーム1における先端部22bよりもやや基端部22a側の部位には、貫通孔H2bが形成されている。なお、以下の説明において、各貫通孔H1a,H1b,H2a,H2bを区別しないときには、「貫通孔H」ともいう。 Further, as shown in FIGS. 2 to 4, a through hole H 1 a is formed at a position on the distal end 21 b side of the proximal end 21 a of the arm 11, and a slightly proximal end of the distal end 21 b of the arm 11. A through hole H1b is formed in a portion on the side 21a. Further, at a portion slightly distal portion 22b side of the base end portion 22a of the arm 12, through holes H2a are formed, at a portion slightly of the base end portion 22a side of the distal end portion 22b of the arm 1 2, through-holes H2b is formed. In the following description, the through holes H1a, H1b, H2a, and H2b are also referred to as "through holes H" when not distinguished from one another.

ここで、アーム11,12に貫通孔Hを形成したことで、各貫通孔Hの形成部位P1a,P1b,P2a,P2b(図1〜図4参照:以下、区別しないときには「形成部位P」ともいう)の剛性が、アーム11,12における他の部位の剛性よりも十分に低下し、これによって各形成部位Pにおいて弾性変形がし易くなっている。   Here, by forming the through holes H in the arms 11 and 12, the formation sites P1a, P1b, P2a, P2b of the respective through holes H (see FIGS. 1 to 4): The rigidity of (A) is sufficiently lower than the rigidity of the other portions of the arms 11 and 12, thereby facilitating elastic deformation at each forming portion P.

また、図2〜図4に示すように、アーム11,12の各先端部21b,22bには、プローブピン2の基端部2bを挿通させて固定するための挿通孔21d,22dがそれぞれ形成されている。   Further, as shown in FIGS. 2 to 4, insertion holes 21 d and 22 d for inserting and fixing the proximal end 2 b of the probe pin 2 are formed in the respective tip portions 21 b and 22 b of the arms 11 and 12 respectively. It is done.

保持部13は、図1,2に示すように、3つの保持部材31〜33で構成されて、各アーム11,12の各基端部21a,22aを保持する。この場合、保持部13は、図2に示すように、保持部材31,32の間にアーム11を挟み込み、保持部材32,33の間にアーム12を挟み込んで、固定用ねじ34を各保持部材32,33の挿通孔に挿通させて保持部材31のねじ穴にねじ込むことによって各アーム11,12の各基端部21a,22aを保持するように構成されている。また、保持部材31には、プローブユニット1を移動機構300に固定するための固定用孔31aが形成されている。   The holding part 13 is comprised by the three holding members 31-33, as shown to FIG. 1, 2 and hold | maintains each base end part 21a, 22a of each arm 11,12. In this case, as shown in FIG. 2, the holding portion 13 holds the arm 11 between the holding members 31 and 32, holds the arm 12 between the holding members 32 and 33, and holds the fixing screws 34 as holding members. The proximal end portions 21a and 22a of the arms 11 and 12 are held by being inserted through the insertion holes 32 and 33 and screwed into the screw holes of the holding member 31. Further, in the holding member 31, a fixing hole 31 a for fixing the probe unit 1 to the moving mechanism 300 is formed.

このプローブユニット1では、図2に示すように、プローブピン2の基端部2b側が各アーム11,12の各先端部21b,22bに固定されており、プローブピン2によって各先端部21b,22b同士が連結されている。つまり、このプローブユニット1では、プローブピン2が連結部として機能するように構成されている。この場合、プローブピン2の基端部2b側を各アーム11,12の各先端部21b,22bに固定する方法としては、導電性接着剤で接着する方法、ろう付けやレーザーを用いて溶接する方法、およびプローブピン2の基端部2bをアーム11,12の挿通孔21d,22dに圧入する方法等の各種の方法を採用することができる。   In this probe unit 1, as shown in FIG. 2, the proximal end 2 b side of the probe pin 2 is fixed to the distal end portions 21 b and 22 b of the arms 11 and 12, and the distal end portions 21 b and 22 b Are connected to each other. That is, in the probe unit 1, the probe pin 2 is configured to function as a connecting portion. In this case, as a method of fixing the proximal end 2b side of the probe pin 2 to the distal end 21b, 22b of each arm 11, 12, a method of bonding with a conductive adhesive, welding using brazing or laser Various methods such as a method and a method of press-fitting the proximal end 2b of the probe pin 2 into the insertion holes 21d and 22d of the arms 11 and 12 can be adopted.

次に、プローブユニット1を構成する各構成要素の寸法の一例について、図面を参照して説明する。プローブピン2は、全長が4mm、直径が0.2mmに形成されている。また、プローブピン2は、図2に示すように、支持部3におけるアーム11,12の各先端部21b,22bにそれぞれ形成されている挿通孔21d,22dに基端部2bが挿通され、挿通孔21dに挿通されている部分(同図における上側の端部)と、アーム12の挿通孔21dに挿通されている部分(同図における上下方向の中間部分)との距離が2mmとなる状態で各先端部21b,22bに固定されている。   Next, an example of the dimension of each component which comprises the probe unit 1 is demonstrated with reference to drawings. The probe pin 2 is formed to have a total length of 4 mm and a diameter of 0.2 mm. Further, as shown in FIG. 2, the base end 2b of the probe pin 2 is inserted into the insertion holes 21d and 22d respectively formed in the tip portions 21b and 22b of the arms 11 and 12 in the support portion 3 In a state in which the distance between the portion inserted in the hole 21d (upper end in the figure) and the portion inserted in the insertion hole 21d of the arm 12 (intermediate portion in the vertical direction in the figure) is 2 mm It is being fixed to each tip part 21b and 22b.

支持部3のアーム11は、全長が12.7mm、幅が1mm、厚みが0.05mmに形成されている。また、アーム11は、支持部3における保持部材31の先端部(図1における右側の端部)から張り出している部分の長さが6mmに規定されている。また、アーム11の貫通孔H1a,H1bは、各辺が0.6mmの略矩形にそれぞれ形成されている。また、貫通孔H1aは、保持部材31の先端部と保持部材31の先端部側に位置する縁部との間の距離が0.2mmとなる位置に形成されている。また、貫通孔H1bは、アーム11の先端部21bに形成されているプローブピン2を挿通させる挿通孔21d(図2参照)と挿通孔21d側に位置する縁部との間の距離が0.3mmとなる位置に形成されている。   The arm 11 of the support portion 3 is formed to have a total length of 12.7 mm, a width of 1 mm, and a thickness of 0.05 mm. Further, the length of a portion of the arm 11 protruding from the tip end (the end on the right side in FIG. 1) of the holding member 31 in the support portion 3 is defined to be 6 mm. The through holes H1a and H1b of the arm 11 are each formed in a substantially rectangular shape with sides of 0.6 mm. The through hole H1a is formed at a position where the distance between the end of the holding member 31 and the edge located on the end of the holding member 31 is 0.2 mm. In the through hole H1b, the distance between the insertion hole 21d (see FIG. 2) through which the probe pin 2 formed in the tip 21b of the arm 11 is inserted and the edge positioned on the insertion hole 21d is 0. It is formed at a position of 3 mm.

支持部3のアーム12は、全長が13mm、幅が1mm、厚みが0.05mmに形成されている。また、アーム12は、支持部3における保持部材33の先端部(図1における右側の端部)から張り出している部分の長さが10mmに規定されている。また、アーム12の貫通孔H2a,H2bは、各辺が0.6mmの略矩形にそれぞれ形成されている。また、貫通孔H2aは、保持部材33の先端部と保持部材33の先端部側に位置する縁部との間の距離が0.2mmとなる位置に形成されている。また、貫通孔H2bは、アーム12の先端部22bに形成されているプローブピン2を挿通させる挿通孔22d(図2参照)と挿通孔22d側に位置する縁部との間の距離が0.3mmとなる位置に形成されている。なお、上記した各構成要素の寸法は、一例であって、適宜変更することができる。   The arm 12 of the support portion 3 is formed to have a total length of 13 mm, a width of 1 mm, and a thickness of 0.05 mm. Further, the arm 12 is defined to have a length of 10 mm in a portion of the support portion 3 which protrudes from the tip end (the end on the right side in FIG. 1) of the holding member 33. The through holes H2a and H2b of the arm 12 are each formed in a substantially rectangular shape with sides of 0.6 mm. The through hole H2a is formed at a position where the distance between the end of the holding member 33 and the edge located on the end of the holding member 33 is 0.2 mm. In the through hole H2b, the distance between the insertion hole 22d (see FIG. 2) through which the probe pin 2 formed in the tip 22b of the arm 12 is inserted and the edge positioned on the insertion hole 22d is 0. It is formed at a position of 3 mm. In addition, the dimension of each above-mentioned component is an example, Comprising: It can change suitably.

ここで、このプローブユニット1では、上記したように、アーム11,12が、各貫通孔Hの各形成部位Pにおいて弾性変形がし易くなっている。このため、プローブユニット1では、図5に示すように、保持部13が移動機構300に固定された状態で、プローブピン2の先端部2aに対してプロービングの向きとは逆向き(同図における上向き)に力が加わったときには、各形成部位Pを支点として、アーム11の中間部位21c、アーム12の中間部位22c、アーム11,12の各先端部21b,22bおよびプローブピン2が回動(移動)する。このようなプローブユニット1の各構成要素の回動動作は、図6に示すように、中間部位21c,22cがリンク(節)として機能すると共に、各形成部位Pがジョイント(関節または支点)として機能する四節リンク機構(四節回転機構)の回動動作と同様である。つまり、このプローブユニット1では、アーム11,12、保持部13および連結部として機能するプローブピン2によって四節リンク機構が構成される。また、このプローブユニット1では、プローブピン2に対してプロービングの向きとは逆向き(同図における上向き)に力が加わったときに、同図に示すように、プローブピン2の先端部2aが直動または近似的直動を許容するように、アーム11,12(中間部位21c,22c)の長さや、アーム11,12の間隔が規定されている。   Here, in the probe unit 1, as described above, the arms 11 and 12 easily undergo elastic deformation at each formation site P of each through hole H. For this reason, in the probe unit 1, as shown in FIG. 5, in the state where the holding portion 13 is fixed to the moving mechanism 300, the direction of probing is opposite to the direction of probing with respect to the tip 2a of the probe pin 2 (in FIG. When a force is applied upward), the middle portion 21c of the arm 11, the middle portion 22c of the arm 12, the tip portions 21b and 22b of the arms 11 and 12, and the probe pin 2 rotate around the forming portions P Moving. As shown in FIG. 6, while the intermediate portions 21c and 22c function as links (nodes), the respective forming portions P function as joints (joints or fulcrums) as shown in FIG. It is similar to the pivoting movement of a functioning four-bar linkage (four-bar rotation mechanism). That is, in the probe unit 1, a four-bar link mechanism is configured by the arms 11 and 12, the holding portion 13, and the probe pin 2 functioning as a connecting portion. In addition, in this probe unit 1, when a force is applied to the probe pin 2 in the direction opposite to the direction of probing (upward in the same figure), the tip 2a of the probe pin 2 The lengths of the arms 11 and 12 (intermediate portions 21c and 22c) and the distance between the arms 11 and 12 are defined so as to allow linear motion or approximate linear motion.

また、このプローブユニット1では、帯状に形成されたアーム11,12に貫通孔Hを形成して、その貫通孔Hの形成部位Pを弾性変形し易くすることで、形成部位Pをジョイントとして機能させている。このため、このプローブユニット1では、アームを厚み方向に切り欠いてその部分をジョイントとして機能させる従来の構成、つまり、アームにある程度の厚みが必要な構成と比較して、アーム11,12を十分に薄形化することができるため、アーム11,12を軽量化することができる結果、その分、プローブユニット1を軽量化することが可能となっている。   Further, in the probe unit 1, the through holes H are formed in the arms 11 and 12 formed in a strip shape, and the forming portions P of the through holes H are easily elastically deformed, so that the forming portion P functions as a joint I am doing it. For this reason, in this probe unit 1, the arms 11 and 12 are sufficient compared with the conventional configuration in which the arm is notched in the thickness direction and the portion functions as a joint, that is, the configuration in which the arm requires a certain thickness. As a result of reducing the weight of the arms 11 and 12, the weight of the probe unit 1 can be reduced accordingly.

次に、プローブユニット1を用いて、プロービング対象の一例としての基板200を検査する検査方法、およびプロービングの際のプローブユニット1の動作について、図面を参照して詳細に説明する。   Next, an inspection method for inspecting the substrate 200 as an example of a probing target using the probe unit 1 and an operation of the probe unit 1 at the time of probing will be described in detail with reference to the drawings.

このプローブユニット1は、図2に示すように、保持部13の保持部材31に形成されている固定用孔31aに固定用ねじ301を挿通させて、移動機構300のねじ穴に固定用ねじ301をねじ込むことによって移動機構300に固定される。   In this probe unit 1, as shown in FIG. 2, the fixing screw 301 is inserted into the fixing hole 31 a formed in the holding member 31 of the holding portion 13, and the fixing screw 301 is inserted into the screw hole of the moving mechanism 300. Is fixed to the moving mechanism 300 by screwing in.

移動機構300に対してプロービングの指示がされたときには、移動機構300が、プローブユニット1をプロービング対象としての基板200の上方に移動させる。次いで、移動機構300は、プローブユニット1を下降(下向きに移動)させる。続いて、プローブユニット1の下降に伴い、図2に示すように、プローブピン2の先端部2aが基板200の表面201に接触させられる。   When an instruction for probing is given to the moving mechanism 300, the moving mechanism 300 moves the probe unit 1 above the substrate 200 to be probed. Next, the moving mechanism 300 lowers (moves downward) the probe unit 1. Subsequently, as the probe unit 1 is lowered, as shown in FIG. 2, the tip 2 a of the probe pin 2 is brought into contact with the surface 201 of the substrate 200.

次いで、移動機構300は、図5に示すように、プローブユニット1をさらに下降させる。これに伴い、プローブピン2の先端部2aが基板200の表面201を下向き押圧する。また、プローブピン2の先端部2aに対して押圧力の反力が上向きに加わる。この際に、同図に示すように、アーム11,12の各形成部位Pを支点として、アーム11の中間部位21c、アーム12の中間部位22c、アーム11,12の各先端部21b,22bおよびプローブピン2が、四節リンク機構と同様の動作で回動する。具体的には、中間部位21cが形成部位P1aを支点として、同図における左回り(反時計回り)に回動し、中間部位22cが形成部位P2aを支点として、同図における左回りに回動する。また、プローブピン2によって連結された先端部21b,22bおよびプローブピン2が形成部位P1b,P2bを支点として、同図における右回り(時計回り)に回動する。   Next, the moving mechanism 300 further lowers the probe unit 1 as shown in FIG. Along with this, the tip 2 a of the probe pin 2 presses the surface 201 of the substrate 200 downward. Further, the reaction force of the pressing force is applied upward to the distal end portion 2 a of the probe pin 2. At this time, as shown in the figure, with each formation site P of arms 11 and 12 as a fulcrum, middle site 21c of arm 11, middle site 22c of arm 12, each tip 21b, 22b of arms 11 and 12, and The probe pin 2 rotates in the same operation as the four-bar linkage. Specifically, the intermediate portion 21c is pivoted counterclockwise (counterclockwise) in the figure with the formation portion P1a as a fulcrum, and the intermediate portion 22c is pivoted counterclockwise in the figure with the formation portion P2a as a fulcrum Do. Further, the tip portions 21b and 22b connected by the probe pin 2 and the probe pin 2 turn clockwise (clockwise) in the figure with the formation portions P1b and P2b as fulcrums.

続いて、移動機構300は、予め決められた距離だけプローブユニット1を下降させた時点で下降を停止する。   Subsequently, the moving mechanism 300 stops the lowering when the probe unit 1 is lowered by a predetermined distance.

この場合、このプローブユニット1では、上記したように、プローブピン2の先端部2aが直動または近似的直動を許容するように(図6参照)、アーム11,12の長さや、アーム11,12の間隔が規定されている。このため、プローブピン2の先端部2aが基板200の表面201に接触してからプローブユニット1の下降が停止するまでの間では、最初の接触位置に位置した状態が維持される。このため、このプローブユニット1では、プローブピン2の先端部2aが基板200の表面201上を移動することによる傷の発生を確実に防止することが可能となっている。   In this case, in the probe unit 1, as described above, the lengths of the arms 11 and 12, the arm 11, and the arm 11 allow the distal end portion 2 a of the probe pin 2 to linearly or approximately linearly move. , 12 intervals are defined. For this reason, from the time when the tip 2a of the probe pin 2 contacts the surface 201 of the substrate 200 until the lowering of the probe unit 1 is stopped, the first contact position is maintained. For this reason, in this probe unit 1, it is possible to reliably prevent the generation of a scratch due to the tip 2 a of the probe pin 2 moving on the surface 201 of the substrate 200.

また、このプローブユニット1では、上記したように、アーム11,12を薄形化して十分に軽量化することで、プローブユニット1を軽量化することが可能となっている。このため、プロービングの際の基板200(プロービング対象)に対するプローブピン2の先端部2aの接触によって基板200の表面201に生じる打痕を十分に小さく抑えることが可能となっている。   Further, in the probe unit 1, as described above, it is possible to reduce the weight of the probe unit 1 by thinning the arms 11 and 12 and sufficiently reducing the weight. For this reason, it is possible to sufficiently reduce the mark formed on the surface 201 of the substrate 200 due to the contact of the tip 2a of the probe pin 2 with the substrate 200 (target for probing) in probing.

次いで、図外の基板検査装置が、プローブピン2を介して入出力する電気信号に基づいて、基板200の検査を実行する。   Next, a substrate inspection apparatus (not shown) performs inspection of the substrate 200 based on the electrical signal input / output via the probe pin 2.

続いて、検査が終了して、移動機構300に対してプロービングの終了指示がされたときには、移動機構300が、プローブユニット1(保持部13)を上昇させる。これに伴い、プローブピン2による基板200の表面201に対する押圧が解除され、プローブピン2の先端部2aに対して上向きに加わる押圧力の反力が解除される。この際に、アーム11,12の各中間部位21c,22c、アーム11,12の各先端部21b,22bおよびプローブピン2が、四節リンク機構として動作して、つまり上記したプロービングの際の向きとは逆向きにそれぞれ回動して、図5に示す状態から図2に示す初期状態に復帰する。   Subsequently, when the inspection is finished and the end instruction of probing is given to the moving mechanism 300, the moving mechanism 300 raises the probe unit 1 (holding unit 13). Along with this, the pressure on the surface 201 of the substrate 200 by the probe pin 2 is released, and the reaction force of the pressing force applied upward to the tip 2 a of the probe pin 2 is released. At this time, the middle portions 21c and 22c of the arms 11 and 12, the tip portions 21b and 22b of the arms 11 and 12 and the probe pin 2 operate as a four-bar link mechanism, that is, the orientation in the above-described probing. And in the opposite direction, the state shown in FIG. 5 is returned to the initial state shown in FIG.

以上により、基板200に対するプローブユニット1のプローブピン2のプロービングおよびプロービング解除が終了する。   By the above, the probing of the probe pins 2 of the probe unit 1 with respect to the substrate 200 and the release of probing are completed.

このように、このプローブユニット1では、帯状のアーム11,12における基端部21aよりもやや先端部21b側の部位および先端部21bよりもやや基端部21a側の部位に貫通孔Hがそれぞれ形成されて、各貫通孔Hの間の中間部位21c,22cが各リンクとして機能すると共に、各貫通孔Hの各形成部位Pがジョイントとして機能する四節リンク機構が支持部3によって構成される。つまり、このプローブユニット1では、帯状のアーム11,12に貫通孔Hを形成して、その貫通孔Hの形成部位Pを弾性変形し易くすることで、形成部位Pをジョイントとして機能させている。このため、このプローブユニット1によれば、アームを厚み方向に切り欠いてその部分をジョイントとして機能させる(アームにある程度の厚みが必要な)従来の構成と比較して、アーム11,12を十分に薄形化することができるため、アーム11,12を十分に軽量化することができる結果、プローブユニット1を十分に軽量化することができる。したがって、このプローブユニット1によれば、プロービングの際のプロービング対象(基板200)に対するプローブピン2の接触によってプロービング対象に生じる打痕を十分に小さく抑えることができる。   As described above, in the probe unit 1, the through holes H are respectively in the portion slightly closer to the tip end 21 b than the proximal end 21 a in the belt-like arms 11 and 12 and the portion slightly closer to the base end 21 a than the tip 21 b A four-bar link mechanism is formed by the support portion 3 so that the intermediate portions 21c and 22c between the through holes H function as links and the forming portions P of the through holes H function as joints. . That is, in the probe unit 1, the through holes H are formed in the belt-like arms 11 and 12, and the forming portion P of the through holes H is easily elastically deformed, thereby causing the forming portion P to function as a joint . For this reason, according to this probe unit 1, the arms 11 and 12 are sufficient compared with the conventional configuration in which the arm is notched in the thickness direction and the portion functions as a joint (the arm needs a certain thickness). As a result of being able to reduce the weight of the arms 11 and 12 sufficiently, it is possible to reduce the weight of the probe unit 1 sufficiently. Therefore, according to this probe unit 1, it is possible to sufficiently reduce the mark formed on the probing target due to the contact of the probe pin 2 with the probing target (substrate 200) in the probing.

また、このプローブユニット1によれば、プローブピン2を連結部として機能するようにプローブユニット1を構成したことにより、プローブピン2とは別部材の連結部を設ける構成と比較して、プローブユニット1をさらに軽量化することができる。このため、このプローブユニット1によれば、プロービングの際のプロービング対象(基板200)に対するプローブピン2の接触によってプロービング対象に生じる打痕をさらに小さく抑えることができる。   In addition, according to this probe unit 1, the probe unit 1 is configured to function as the connection portion, so that the probe unit 1 is compared with the configuration in which the connection portion of a member different from the probe pin 2 is provided. 1 can be further reduced in weight. For this reason, according to this probe unit 1, it is possible to further reduce the mark formed on the probing target due to the contact of the probe pin 2 with the probing target (the substrate 200) at the time of probing.

また、この検査方法では、上記したプローブユニット1を用いてプロービング対象としての基板200を検査することにより、プローブユニット1が有する上記各効果、すなわち、プロービングの際に基板200に生じる打痕を十分に小さく抑えることができるという効果を実現することができる。   Moreover, in this inspection method, by inspecting the substrate 200 as a probing target using the above-described probe unit 1, the above-described effects of the probe unit 1, that is, the marks formed on the substrate 200 at the time of probing are sufficiently The effect of being able to be kept small can be realized.

次に、プローブユニットの他の一例としての図7に示すプローブユニット101の構成について説明する。なお、以下の説明において、上記したプローブユニット1と同じ構成要素については、同じ符号を付して、重複する説明を省略する。   Next, the configuration of the probe unit 101 shown in FIG. 7 as another example of the probe unit will be described. In the following description, the same components as those of the above-described probe unit 1 are denoted by the same reference numerals, and redundant description will be omitted.

プローブユニット101は、図7に示すように、一対のプローブピン2および支持部103を備えて構成されている。支持部103は、一対のアーム111(第1アーム)、一対のアーム112(第2アーム)および保持部113を備えて構成されている。各アーム111,112は、プローブユニット1のアーム11,12と同様にして、金属によって帯状にそれぞれ形成されている。また、各アーム111,112には、アーム11,12と同様にして、貫通孔Hが形成されている。   The probe unit 101 is configured to include a pair of probe pins 2 and a support portion 103, as shown in FIG. The support portion 103 includes a pair of arms 111 (first arm), a pair of arms 112 (second arm), and a holding portion 113. Each of the arms 111 and 112 is formed in a band shape of metal in the same manner as the arms 11 and 12 of the probe unit 1. Further, through holes H are formed in the arms 111 and 112 in the same manner as the arms 11 and 12.

保持部113は、図7に示すように、3つの保持部材131〜133で構成されて、各アーム111が隣接して平行に延在する状態(1つの仮想平面上に隣接して配置された配置状態)で各アーム111の各基端部121aを保持すると共に、各アーム112が隣接して平行に延在する状態(1つの仮想平面上に隣接して配置された配置状態)で各アーム112の各基端部122aを保持する。また、保持部材131には、プローブユニット101を移動機構300に固定するための固定用孔131aが形成されている。   As shown in FIG. 7, the holding portion 113 is composed of three holding members 131 to 133, and the respective arms 111 extend adjacently in parallel (arranged adjacently on one virtual plane) (Arrangement state) while holding each proximal end 121a of each arm 111, and each arm 112 adjacently extending in parallel (arrangement arranged adjacently on one virtual plane) Each proximal end 122a of 112 is held. Further, in the holding member 131, a fixing hole 131a for fixing the probe unit 101 to the moving mechanism 300 is formed.

このプローブユニット101では、支持部103によって一対のプローブピン2が支持されている。このため、プロービング対象における1つのプロービング部位に対して2つのプローブピン2をプロービングさせて行う四端子法や四端子対法による測定や検査においてこのプローブユニット101を好適に使用することができる。また、このプローブユニット101においても、上記したプローブユニット1と同様の効果、すなわち、プロービングの際のプローブピン2の移動による傷の発生の防止、およびプロービングの際にプローブピン2の打撃によって生じる打痕の抑制を実現することができる。また、このプローブユニット101を用いた検査方法においても、上記したプローブユニット1を用いた検査方法と同様の効果を実現することができる。   In the probe unit 101, a pair of probe pins 2 is supported by the support portion 103. For this reason, this probe unit 101 can be suitably used in the measurement or inspection by the four probe method or the four probe method performed by probing two probe pins 2 with respect to one probing site in the object to be probed. Also in this probe unit 101, the same effect as the probe unit 1 described above, that is, the generation of flaws due to the movement of the probe pin 2 at the time of probing, and the strike caused by the impact of the probe pin 2 at the time of probing It is possible to realize the suppression of the mark. Also in the inspection method using the probe unit 101, the same effect as the inspection method using the probe unit 1 described above can be realized.

次に、上記したプローブユニット101を製造するプローブユニット製造方法について、アーム111,112の作製方法を中心に説明する。このプローブユニット101に用いるアーム111を作製する際には、図8に示すように、まず、一対のアーム111を一体にした中間体401を作製する。この中間体401は、同図に示すように、一対のアーム111の各基端部121aが保持部113によって保持されるときの位置関係(図7参照)を維持した状態で、各アーム111が連結部411によって連結された形状をなしている。この場合、中間体401の作製方法としては、電鋳による作製方法、プレスによる方法、および削り出しによる作製方法などを採用することができる。   Next, a method of manufacturing a probe unit for manufacturing the above-described probe unit 101 will be described focusing on a method of manufacturing the arms 111 and 112. When manufacturing the arm 111 used for this probe unit 101, first, as shown in FIG. 8, the intermediate body 401 which made a pair of arms 111 integrated is produced. As shown in the figure, in the intermediate body 401, each arm 111 maintains the positional relationship (see FIG. 7) when the base end portions 121a of the pair of arms 111 are held by the holding portion 113. It has a shape connected by a connecting portion 411. In this case, as a method for producing the intermediate body 401, a production method by electroforming, a method by pressing, a production method by scraping, or the like can be employed.

次いで、中間体401(一体にした各アーム111)の連結部411を図8に破線で示す箇所で切断して切り離し、次いで、図9に示すように、各アーム111を分離させる。これにより、一対のアーム111が作製される。   Next, the connecting portion 411 of the intermediate body 401 (each arm 111 integrated) is cut and separated at a portion shown by a broken line in FIG. 8, and then each arm 111 is separated as shown in FIG. Thereby, a pair of arms 111 are produced.

また、アーム112を作製する際には、図10に示すように、一対のアーム112を一体にした中間体402を、中間体401の作製方法と同様の作製方法で作製する。この中間体402は、同図に示すように、一対のアーム112の各基端部122aが保持部113によって保持されるときの位置関係(図7参照)を維持した状態で、各アーム112が連結部412によって連結された形状をなしている。   Further, when producing the arm 112, as shown in FIG. 10, an intermediate 402 in which the pair of arms 112 are integrated is produced by the same production method as the production method of the intermediate 401. As shown in the figure, in the intermediate body 402, each arm 112 maintains the positional relationship (see FIG. 7) when the base end portions 122a of the pair of arms 112 are held by the holding portion 113. It has a shape connected by a connecting portion 412.

続いて、中間体402(一体にした各アーム112)の連結部412を図10に示す破線の箇所で切断して切り離し、次いで、図11に示すように、各アーム112を分離させる。これにより、一対のアーム112が作製される。   Subsequently, the connecting portion 412 of the intermediate body 402 (integral arms 112) is cut at a broken line shown in FIG. 10 and separated, and then the arms 112 are separated as shown in FIG. Thereby, a pair of arms 112 are produced.

次いで、各アーム111,112の基端部121a,122aを保持部113で保持する。続いて、各アーム111,112の先端部121b,122bにプローブピン2を固定する。以上によりプローブユニット101が製造される。   Next, the proximal end portions 121 a and 122 a of the arms 111 and 112 are held by the holding portion 113. Subsequently, the probe pin 2 is fixed to the distal end portions 121 b and 122 b of the arms 111 and 112. The probe unit 101 is manufactured by the above.

この製造方法によれば、上記の作製方法でアーム111,112を作製することにより、一対のアーム111を同じ作製条件で作製し、一対のアーム112を同じ作製条件で作製することができる。具体的には、例えば、電鋳によってアーム111,112を作製するときには、同じ電鋳材料を用いて同じ電鋳条件で各アーム111および各アーム112をそれぞれ一度に作製することができ、例えば、プレスや削り出しによってアーム111,112を作製するときには、加工する材料(金属板や金属ブロック)における同一部分を用いて同じプレス条件や同じ切削条件で各アーム111および各アーム112をそれぞれ一度に作製することができる。このため、この製造方法によれば、材質的なばらつきや条件の相異による各アーム111,112における寸法や弾性率などの諸元のばらつきを少なく抑えることができる結果、正確なプロービングが可能なプローブユニット101を製造することができる。また、このプローブユニット101を用いた検査方法によれば、正確なプロービングを行うことができる。   According to this manufacturing method, by manufacturing the arms 111 and 112 by the above manufacturing method, the pair of arms 111 can be manufactured under the same manufacturing conditions, and the pair of arms 112 can be manufactured under the same manufacturing conditions. Specifically, for example, when producing the arms 111 and 112 by electroforming, each arm 111 and each arm 112 can be produced at one time under the same electroforming conditions using the same electroforming material, for example, When manufacturing the arms 111 and 112 by pressing or shaving, each arm 111 and each arm 112 are manufactured at one time under the same pressing conditions and the same cutting conditions using the same portion in the material to be processed (metal plate or metal block) can do. For this reason, according to this manufacturing method, as a result of being able to suppress the variation of dimensions such as dimensions and elastic modulus of each arm 111, 112 due to the variation of material and the condition, it is possible to perform accurate probing. The probe unit 101 can be manufactured. Further, according to the inspection method using this probe unit 101, accurate probing can be performed.

なお、上記の例では、中間体401,402(一体にした各アーム111,112)を切断して一対のアーム111および一対のアーム112に分離した後に、各アーム111,112の各基端部121a,122aを保持部113に保持させてプローブユニット101を製造しているが、次のようにしてプローブユニット101を製造することもできる。まず、中間体401,402を作製した後に、中間体401,402における各アーム111,112の各基端部121a,122a側の部分だけを分離する。次いで、その状態(各基端部121a,122a側以外の部分が接続されて、各アーム111,112がそれぞれ一体となっている状態)のまま、各基端部121a,122aを保持部113に保持させる。次いで、その状態で中間体401,402における各基端部121a,122aの近傍から各先端部121b,122bまでの間を分離する。つまり、この時点で、各アーム111,112が各基端部121a,122aから各先端部121b,122bまで分離される。このようにして製造したプローブユニット101では、中間体401,402を形成したときの各アーム111および各アーム112の位置関係を維持した状態で、各アーム111および各アーム112を保持部113に保持させることができるため、各アーム111および各アーム112を保持部113に保持させる際の各アーム111同士および各アーム112同士の位置ずれの発生を確実に防止することができる。このため、この製造方法によれば、一層正確なプロービングが可能なプローブユニット101を製造することができる。また、このプローブユニット101を用いた検査方法によれば、一層正確なプロービングを行うことができる。   In the above example, after the intermediate body 401, 402 (each arm 111, 112 integrated) is cut and separated into a pair of arms 111 and a pair of arms 112, each proximal end of each arm 111, 112 Although the probe unit 101 is manufactured by holding the holders 121a and 122a in the holder 113, the probe unit 101 can also be manufactured as follows. First, after producing the intermediates 401 and 402, only the portions on the proximal end portions 121a and 122a side of the arms 111 and 112 in the intermediates 401 and 402 are separated. Next, the base end portions 121a and 122a are held in the holding portion 113 in that state (the state where the portions other than the base end portions 121a and 122a are connected and the arms 111 and 112 are integrated). Hold it. Next, in this state, the distance from the vicinity of each proximal end 121a, 122a in each of the intermediates 401, 402 to each distal end 121b, 122b is separated. That is, at this time, the arms 111 and 112 are separated from the proximal ends 121a and 122a to the distal ends 121b and 122b. In the probe unit 101 manufactured in this manner, the arms 111 and the arms 112 are held by the holding portion 113 while maintaining the positional relationship between the arms 111 and the arms 112 when the intermediates 401 and 402 are formed. Since the respective arms 111 and the respective arms 112 are held by the holding portion 113, the occurrence of positional deviation of the respective arms 111 and the respective arms 112 can be reliably prevented. For this reason, according to this manufacturing method, it is possible to manufacture a probe unit 101 capable of more accurate probing. Further, according to the inspection method using the probe unit 101, more accurate probing can be performed.

なお、プローブユニット、プローブユニット製造方法および検査方法は、上記の構成および方法に限定されない。例えば、アーム11,12(アーム111,112)に代えて、図12,15にそれぞれ示すアーム501,502を用いる構成および方法を採用することもできる。アーム501(第1アーム)は、図12に示すように、各貫通孔Hの間の中間部位521cにアーム501の長さ方向に沿って形成されたリブ511を備えて構成されている。この場合、リブ511は、一例として、図13に示すように、断面形状が上方に突出する直径が0.3mmの半円筒形(半楕円筒形)に形成されている。また、アーム501は、一例として、幅が1mmに形成されており、図12に示すように、リブ511は、アーム501の幅方向の中央部に形成されている。したがって、リブ511の幅方向の両端部からアーム501の幅方向の両縁部までの各々の長さが0.35mmとなっている。なお、図14に示すように、リブ511を、半円柱形(半楕円柱形)の断面形状に形成することもできる。   In addition, a probe unit, a probe unit manufacturing method, and an inspection method are not limited to said structure and method. For example, instead of the arms 11 and 12 (arms 111 and 112), a configuration and method using the arms 501 and 502 shown in FIGS. As shown in FIG. 12, the arm 501 (first arm) is configured to include a rib 511 formed along the longitudinal direction of the arm 501 at an intermediate portion 521 c between the through holes H. In this case, as an example, as shown in FIG. 13, the rib 511 is formed in a semi-cylindrical shape (semi-elliptic cylindrical shape) having a cross-sectional shape projecting upward and having a diameter of 0.3 mm. The arm 501 is, for example, 1 mm in width, and as shown in FIG. 12, the rib 511 is formed at the center of the arm 501 in the width direction. Therefore, the length from each end in the width direction of the rib 511 to each end in the width direction of the arm 501 is 0.35 mm. In addition, as shown in FIG. 14, the rib 511 can also be formed in the cross-sectional shape of a semi-cylindrical shape (semi-elliptic cylinder shape).

また、アーム502(第2アーム)は、図15に示すように、各貫通孔Hの間の中間部位522cにアーム502の長さ方向に沿って形成されたリブ512を備えて構成されている。この場合、リブ512は、一例として、図16に示すように、アーム501のリブ511と同様に、断面形状が上方に突出する直径が0.3mmの半円筒形(半楕円筒形)に形成されている。また、アーム502は、一例として、幅が1mmに形成されており、図15に示すように、リブ512は、アーム502の幅方向の中央部に形成されている。したがって、リブ512の幅方向の両端部からアーム502の幅方向の両縁部までの各々の長さが0.35mmとなっている。なお、図17に示すように、リブ512を、半円柱形(半楕円柱形)の断面形状に形成することもできる。この構成によれば、中間部位521c,522cに形成したリブ511,512によって中間部位521c,522cの剛性を他の部分(特に、貫通孔Hの形成部位P)よりも高めることができるため、各貫通孔Hが形成された各形成部位Pをさらに弾性変形し易くすることができる。したがって、この構成によれば、プロービングの際にプロービング対象に生じる打痕をさらに小さく抑えることができる。   Further, as shown in FIG. 15, the arm 502 (second arm) is configured to include a rib 512 formed along the longitudinal direction of the arm 502 at an intermediate portion 522c between the through holes H. . In this case, as an example, as shown in FIG. 16, the rib 512 is formed in a semi-cylindrical shape (semi-elliptical cylinder shape) with a cross-sectional shape projecting upwards, similar to the rib 511 of the arm 501, as shown in FIG. It is done. The arm 502 is, for example, formed to have a width of 1 mm, and as shown in FIG. 15, the rib 512 is formed at the central portion in the width direction of the arm 502. Therefore, the length from each end in the width direction of the rib 512 to each end in the width direction of the arm 502 is 0.35 mm. Note that, as shown in FIG. 17, the rib 512 can also be formed in a semi-cylindrical (semi-elliptical cylindrical) cross-sectional shape. According to this configuration, the rigidity of the intermediate portions 521c and 522c can be enhanced by the ribs 511 and 512 formed on the intermediate portions 521c and 522c more than other portions (in particular, the formation portion P of the through hole H). Each formation site P in which the through hole H is formed can be further easily elastically deformed. Therefore, according to this configuration, it is possible to further reduce the dents generated in the probing target at the time of probing.

また、アーム11,12(アーム111,112)の先端部21b,22b(先端部121b,122b)にプローブピン2を直接固定する構成、つまり、プローブピン2の基端部2b側を連結部として機能させる構成例について上記したが、プローブピン2とは別体に形成されて、プローブピン2を取り付け(着脱)可能に形成されて先端部21b,22b(先端部121b,122b)を連結する連結部を備えた構成を採用することもできる。   Further, the probe pin 2 is directly fixed to the tip portions 21b and 22b (tip portions 121b and 122b) of the arms 11 and 12 (arms 111 and 112), that is, the proximal end 2b side of the probe pin 2 is used as a connecting portion. Although the configuration example to function is described above, it is formed separately from the probe pin 2 and is formed so as to be attachable (removable) to the probe pin 2 to connect the tip portions 21b and 22b (tip portions 121b and 122b) It is also possible to adopt a configuration provided with a unit.

また、図18に示すプローブユニット1Aを採用することができる。なお、以下の説明において、上記したプローブユニット1,101と同じ構成要素については、同じ符号を付して、重複する説明を省略する。   Also, a probe unit 1A shown in FIG. 18 can be employed. In the following description, the same components as those of the above-described probe unit 1 and 101 are denoted by the same reference numerals, and redundant description will be omitted.

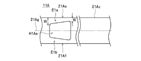
このプローブユニット1Aでは、図18〜図20に示すように、支持部3Aを構成するアーム11Aの側端部21Ae,21Af(幅方向の端部)と、アーム11Aにおける基端部21Aaよりもやや先端部21Ab側の部位に形成されている貫通孔H1Aaとの間の縁部E1a,E1bの幅Wが、アーム11Aの長さ方向(各図における左右方向)に沿って中間部位21Acから離間するに従って(基端部21Aaに近づくに従って)広くなるように形成されている。具体的には、このプローブユニット1Aでは、一例として、縁部E1a,E1bにおける中間部位21Acに最も近い部位における幅Wが0.1mmで、縁部E1a,E1bにおける中間部位21Acから最も離間する部位における幅Wが0.15mmとなるように形成されている。この場合、縁部E1a,E1b(貫通孔H1Aaを挟んで対向する2つの縁部)は、アーム11Aにおける幅方向の中心を通る長さ方向に沿った中心線21Agを対称軸として線対称の形状となるように形成されている。   In this probe unit 1A, as shown in FIGS. 18 to 20, the side ends 21Ae and 21Af (ends in the width direction) of the arm 11A constituting the support 3A and the base end 21Aa of the arm 11A Widths W of edges E1a and E1b between the through holes H1Aa formed in the region on the tip 21Ab side are separated from the intermediate region 21Ac along the length direction of the arm 11A (left and right direction in each drawing) Are formed to be wider (closer to the proximal end 21Aa). Specifically, in this probe unit 1A, as an example, the width W at a portion closest to the middle portion 21Ac in the edge portions E1a and E1b is 0.1 mm, and a portion most distant from the middle portion 21Ac in the edge portions E1a and E1b Is formed to have a width W of 0.15 mm. In this case, the edge portions E1a and E1b (two edge portions facing each other across the through hole H1Aa) have a shape of line symmetry with the center line 21Ag along the length direction passing the center in the width direction of the arm 11A as an axis of symmetry It is formed to be

また、このプローブユニット1Aでは、図18〜図20に示すように、アーム11Aの側端部21Ae,21Afと、アーム11Aにおける先端部21Abよりもやや基端部21Aa側の部位に形成されている貫通孔H1Abとの間の縁部E1c,E1dの幅Wが、アーム11Aの長さ方向に沿って中間部位21Acから離間するに従って(先端部21Abに近づくに従って)広くなるように形成されている。具体的には、このプローブユニット1Aでは、一例として、縁部E1c,E1dにおける中間部位21Acに最も近い部位における幅Wが0.1mmで、縁部E1c,E1dにおける中間部位21Acから最も離間する部位における幅Wが0.15mmとなるように形成されている。この場合、縁部E1c,E1d(貫通孔H1Abを挟んで対向する2つの縁部)は、アーム11Aの中心線21Agを対称軸として線対称の形状となるように形成されている。   Further, in this probe unit 1A, as shown in FIGS. 18 to 20, the side end portions 21Ae and 21Af of the arm 11A and a portion slightly proximal to the base end portion 21Aa than the tip end portion 21Ab of the arm 11A. The width W of the edge portions E1c and E1d between the through hole H1Ab and the through hole H1Ab is formed to be wider as it is separated from the intermediate portion 21Ac along the length direction of the arm 11A (as it approaches the tip portion 21Ab). Specifically, in this probe unit 1A, as an example, the width W at the portion closest to the intermediate portion 21Ac at the edge E1c, E1d is 0.1 mm, and the portion most distant from the intermediate portion 21Ac at the edge E1c, E1d Is formed to have a width W of 0.15 mm. In this case, the edge portions E1c and E1d (two edge portions facing each other across the through hole H1Ab) are formed in line symmetry with the center line 21Ag of the arm 11A as an axis of symmetry.

同様にして、このプローブユニット1Aでは、図21〜図23に示すように、支持部3Aを構成するアーム12Aの側端部22Ae,22Af(幅方向の端部)と、アーム12Aにおける基端部22Aaよりもやや先端部22Ab側の部位に形成されている貫通孔H2Aaとの間の縁部E2a,E2bの幅Wが、アーム12Aの長さ方向(各図における左右方向)に沿って中間部位22Acから離間するに従って(基端部22Aaに近づくに従って)広くなるように形成されている。具体的には、このプローブユニット1Aでは、一例として、縁部E2a,E2bにおける中間部位22Acに最も近い部位における幅Wが0.1mmで、縁部E2a,E2bにおける中間部位22Acから最も離間する部位における幅Wが0.15mmとなるように形成されている。この場合、縁部E2a,E2b(貫通孔H2Aaを挟んで対向する2つの縁部)は、アーム12Aにおける幅方向の中心を通る長さ方向に沿った中心線22Agを対称軸として線対称の形状となるように形成されている。   Similarly, in this probe unit 1A, as shown in FIGS. 21 to 23, side end portions 22Ae and 22Af (end portions in the width direction) of the arm 12A constituting the support portion 3A and a base end portion in the arm 12A. The width W of the edge portions E2a and E2b between the through hole H2Aa formed on the portion slightly closer to the tip end portion 22Ab than 22Aa and the width W of the edge portions E2a and E2b are intermediate portions along the length direction of the arm 12A (horizontal direction in each drawing) It is formed to be wider as it is separated from 22Ac (as it gets closer to the proximal end 22Aa). Specifically, in this probe unit 1A, as an example, the width W at a portion closest to the intermediate portion 22Ac at the edge E2a, E2b is 0.1 mm, and the portion most distant from the intermediate portion 22Ac at the edge E2a, E2b Is formed to have a width W of 0.15 mm. In this case, the edge portions E2a and E2b (two edge portions facing each other across the through hole H2Aa) have a shape of line symmetry with the center line 22Ag along the length direction passing the center in the width direction of the arm 12A as a symmetry axis It is formed to be

また、このプローブユニット1Aでは、図21〜図23に示すように、アーム12Aの側端部22Ae,22Afと、アーム12Aにおける先端部22Abよりもやや基端部22Aa側の部位に形成されている貫通孔H2Ab(以下、貫通孔H1Aa,H1Ab,H2Aa,H2Abを区別しないときには「貫通孔H」ともいう)との間の縁部E2c,E2d(以下、縁部E1a〜E1d,E2a〜E2dを区別しないときには「縁部E」ともいう)の幅Wが、アーム12Aの長さ方向に沿って中間部位22Acから離間するに従って(先端部22Abに近づくに従って)広くなるように形成されている。具体的には、このプローブユニット1Aでは、一例として、縁部E2c,E2dにおける中間部位22Acに最も近い部位における幅Wが0.1mmで、縁部E2c,E2dにおける中間部位22Acから最も離間する部位における幅Wが0.15mmとなるように形成されている。この場合、縁部E2c,E2d(貫通孔H2Abを挟んで対向する2つの縁部)は、アーム12Aの中心線22Agを対称軸として線対称の形状となるように形成されている。   Further, in this probe unit 1A, as shown in FIGS. 21 to 23, the side ends 22Ae and 22Af of the arm 12A and a portion slightly proximal to the base end 22Aa than the tip 22Ab of the arm 12A are formed. Distinguishing edge portions E2c and E2d (hereinafter, edge portions E1a to E1d and E2a to E2d between the through holes H2Ab (hereinafter also referred to as "through holes H" when not distinguishing the through holes H1Aa, H1Ab, H2Aa, H2Ab) When it does not, the width W of the “edge E” is formed to increase as it is separated from the intermediate portion 22Ac along the longitudinal direction of the arm 12A (as it approaches the tip 22Ab). Specifically, in this probe unit 1A, as an example, the width W at a portion closest to the intermediate portion 22Ac at the edge E2c, E2d is 0.1 mm, and the portion most distant from the intermediate portion 22Ac at the edge E2c, E2d Is formed to have a width W of 0.15 mm. In this case, the edge portions E2c and E2d (two edge portions facing each other across the through hole H2Ab) are formed in line symmetry with the center line 22Ag of the arm 12A as an axis of symmetry.

このプローブユニット1Aでは、図18〜図23に示すように、各貫通孔Hの形状を略台形とすることで、各縁部Eの幅Wや形状が上記した条件を満たすようにアーム11A,12Aが形成されている。   In this probe unit 1A, as shown in FIGS. 18 to 23, the shape of each through hole H is substantially trapezoidal, so that the width W and the shape of each edge E satisfy the conditions described above. 12A is formed.

このプローブユニット1Aでは、各縁部Eの幅Wが中間部位21Ac,22Acから離間するに従って広くなるようにアーム11A,12Aを形成したことで、プロービングの際に各縁部Eに生じる応力の集中を小さく抑えることができる。具体的には、アーム11A,12Aのような梁状の部材では、横断面の形状および面積がアーム11A,12Aの長さ方向におけるどの位置においても一定のときには、プロービングの際に生じる応力が、中間部位21Ac,22Acから離間するに従って(基端部21Aa,22Aa側においては基端部21Aa,22Aaに近いほど、先端部21Ab,22Ab側においては先端部21Ab,22Abに近いほど)大きくなる。このため、各縁部Eの幅Wが一定の構成では、各縁部Eに生じる応力が、中間部位21Ac,22Acから離間するほど大きくなって、中間部位21Ac,22Acから最も離間する部位に応力が集中する。これに対して、このプローブユニット1Aでは、各縁部Eの幅Wが中間部位21Ac,22Acから離間するに従って広くなるようにアーム11A,12Aが形成されているため、各縁部Eにおける応力の集中を小さく抑えることができる。このため、このプローブユニット1A、およびこのプローブユニット1Aを用いた検査方法によれば、応力の集中による各縁部Eの破損を確実に防止することができる。   In this probe unit 1A, by forming the arms 11A and 12A so that the width W of each edge E becomes wider as they are separated from the intermediate portions 21Ac and 22Ac, concentration of stress generated at each edge E during probing Can be kept small. Specifically, in beam-like members such as the arms 11A and 12A, when the shape and area of the cross section are constant at any position in the longitudinal direction of the arms 11A and 12A, the stress generated during probing is The distance from the intermediate portions 21Ac and 22Ac (the closer to the proximal end 21Aa and 22Aa at the proximal end 21Aa and 22Aa, and the closer to the distal end 21Ab and 22Ab at the distal end 21Ab and 22Ab), the larger the distance. For this reason, in a configuration in which the width W of each edge E is constant, the stress generated at each edge E increases with distance from the intermediate portions 21Ac and 22Ac, and the stress at a portion most separated from the intermediate portions 21Ac and 22Ac Concentrate. On the other hand, in the probe unit 1A, the arms 11A and 12A are formed such that the width W of each edge E becomes wider as it is separated from the intermediate portions 21Ac and 22Ac. Concentration can be kept small. For this reason, according to this probe unit 1A and the inspection method using this probe unit 1A, breakage of each edge E due to concentration of stress can be reliably prevented.

また、このプローブユニット1Aでは、各貫通孔Hを挟んで対向する2つの縁部Eが、アーム11A,12Aの中心線21Ag,22Agを対称軸として線対称の形状となるようにアーム11A,12Aが形成されているため、各貫通孔Hを挟んで対向する2つの縁部Eにおいて生じる応力分布が中心線21Ag,22Agを対称軸として線対称となる。つまり、各貫通孔Hを挟んで対向する2つの縁部Eにおいて生じる応力分布が図18〜図23における上下方向において均等となる。このため、このプローブユニット1A、およびこのプローブユニット1Aを用いた検査方法によれば、各縁部Eにおける応力の集中をより小さく抑えることができる結果、各縁部Eの破損をより確実に防止することができる   Further, in this probe unit 1A, the arms 11A and 12A are formed such that the two edge portions E facing each other across the through holes H have a shape of line symmetry with the center lines 21Ag and 22Ag of the arms 11A and 12A as symmetry axes. Because of the formation of the stress distribution, the stress distribution produced at the two edge portions E facing each other across the through holes H is line symmetrical with the center lines 21Ag and 22Ag as symmetry axes. That is, the stress distributions generated at the two edge portions E facing each other across the through holes H become uniform in the vertical direction in FIGS. Therefore, according to this probe unit 1A and the inspection method using this probe unit 1A, the concentration of stress at each edge E can be suppressed to a smaller value, and as a result, breakage of each edge E can be prevented more reliably. can do

また、図24に示すプローブユニット1Bを採用することもできる。なお、以下の説明において、上記したプローブユニット1,101,1Aと同じ構成要素については、同じ符号を付して、重複する説明を省略する。   Also, a probe unit 1B shown in FIG. 24 can be employed. In the following description, the same components as those of the above-described probe units 1, 101, and 1A will be assigned the same reference numerals and overlapping descriptions will be omitted.

このプローブユニット1Bは、図24に示すように、上記したプローブユニット1が備えている各構成素に加えて、絶縁シート41およびシールド板42を備えて構成されている。絶縁シート41は、絶縁体の一例であって、樹脂等の非導電性(絶縁性)を有する材料でシート状に形成されている。シールド板42は、例えば銅やアルミニウム等の導電性を有する金属によって薄板状に形成されている。このシールド板42は、同図に示すように、アーム11,12のうちの、プロービングの際にプロービング対象としての基板200側に位置するアーム12における基板200に対向する面(同図における下面:以下、「対向面」ともいう)側に絶縁シート41を介して(アーム12に対して絶縁された状態で)配設されて、固定用ねじ35によって保持部13(保持部材31,32)に固定されている。また、シールド板42は、図外の配線を介して、例えば接地電位(基準電位)に接続される。   As shown in FIG. 24, the probe unit 1B is configured to include an insulating sheet 41 and a shield plate 42 in addition to the components included in the above-described probe unit 1. The insulating sheet 41 is an example of an insulator, and is formed in a sheet shape of a non-conductive (insulating) material such as a resin. The shield plate 42 is formed in a thin plate shape by a conductive metal such as copper or aluminum. The shield plate 42 is, as shown in the figure, a surface of the arm 12 positioned on the side of the substrate 200 as a probing target at the time of probing among the arms 11 and 12 (a lower surface in the diagram: Hereinafter, it is disposed on the side facing the "facing surface" via the insulating sheet 41 (in a state of being insulated from the arm 12), and is held by the fixing screw 35 on the holding portion 13 (holding members 31, 32). It is fixed. In addition, the shield plate 42 is connected to, for example, the ground potential (reference potential) via a wire not shown.

この場合、シールド板42を備えていない構成では、アーム12が金属で形成されているため、アーム12とプロービング対象との間の浮遊容量が大きくなることがあり、この浮遊容量によって検査精度が低下するおそれがある。これに対して、このプローブユニット1Bによれば、アーム12の対向面側にシールド板42を配設したことにより、アーム12とプロービング対象との間の浮遊容量を十分に低減させることができる。このため、このプローブユニット1B、およびこのプローブユニット1Bを用いた検査方法によれば、浮遊容量による検査精度の低下を確実に防止することができる。なお、シールド板42の固定に用いている固定用ねじ35が金属製であったとしても、シールド板42と固定用ねじ35とが導通するため、固定用ねじ35によって生じる浮遊容量もキャンセルすることができる。また、シールド板42が薄板状に形成されているため、プロービングの際のアーム12とプロービング対象との間における十分なクリアランスを確保できる結果、プロービングに支障を来す事態を回避することができる。   In this case, in the configuration not provided with the shield plate 42, since the arm 12 is formed of metal, the stray capacitance between the arm 12 and the object to be probed may increase, and the stray capacitance lowers the inspection accuracy. There is a risk of On the other hand, according to this probe unit 1B, the stray capacitance between the arm 12 and the object to be probed can be sufficiently reduced by arranging the shield plate 42 on the opposing surface side of the arm 12. Therefore, according to the probe unit 1B and the inspection method using the probe unit 1B, it is possible to reliably prevent the decrease in the inspection accuracy due to the stray capacitance. Even if the fixing screw 35 used for fixing the shield plate 42 is made of metal, since the shield plate 42 and the fixing screw 35 are conducted, the stray capacitance generated by the fixing screw 35 is also cancelled. Can. Further, since the shield plate 42 is formed in a thin plate shape, a sufficient clearance can be secured between the arm 12 and the object to be probed at the time of probing, which can prevent the occurrence of troubles in probing.

また、金属で形成したアーム11,12(アーム111,112)を用いる例について上記したが、射出成形等によって形成した樹脂製のアーム(第1アームおよび第2アーム)を用いる構成を採用することもできる。この場合、樹脂製のアームを用いるときには、アームの表面の全体または一部に導電膜(導電層)を形成することで、プローブピン2と保持部13(保持部113)との間をその導電膜を介して電気的に接続する構成を採用することもできる。また、上記したプローブユニット101のように、一対のプローブピン2を備えたプローブユニットにおいて樹脂製のアームを用いるときには、一体に作製した一対のアーム(プローブユニット101における一対のアーム111、および一対のアーム112)を切り離す際に、各アームにおける基端部の近傍から先端部までの間だけを切り離して、各基端部同士を連結させたままの状態で保持部によって保持する構成(各アームにおける少なくとも基端部の近傍から先端部までの間を分離させる構成の一例)を採用することもできる。この構成を採用した具体例として、図25に示すプローブユニット601について以下説明する。なお上記したプローブユニット1,101,1A,1Bと同じ構成要素については、同じ符号を付して、重複する説明を省略する。   Further, although the example using the arms 11 and 12 (arms 111 and 112) formed of metal has been described above, a configuration using a resin arm (first arm and second arm) formed by injection molding or the like is adopted. You can also. In this case, when a resin arm is used, a conductive film (conductive layer) is formed on all or part of the surface of the arm, so that the probe pin 2 and the holding portion 13 (holding portion 113) are electrically conductive. It is also possible to adopt a configuration in which electrical connection is made via a membrane. When a resin arm is used in a probe unit provided with a pair of probe pins 2 as in the probe unit 101 described above, a pair of arms (a pair of arms 111 in the probe unit 101 and a pair In separating the arms 112), only the portion from the vicinity of the proximal end to the distal end in each arm is separated and held by the holding portion in a state in which the respective proximal ends are connected with each other It is also possible to employ an example of a configuration in which the distance between at least the vicinity of the proximal end and the distal end is separated. As a specific example adopting this configuration, a probe unit 601 shown in FIG. 25 will be described below. In addition, about the same component as probe unit 1, 101, 1A, 1B mentioned above, the same code | symbol is attached | subjected and the overlapping description is abbreviate | omitted.

このプローブユニット601は、図25に示すように、一対のプローブピン2および支持部603を備えて構成されている。支持部603は、一対のアーム611(第1アーム)、一対のアーム612(第2アーム)および保持部613を備えて構成されている。図27に示すように、各アーム611は、非導電性(絶縁性)を有する材料によって各基端部621a同士が連結された状態で一体に作製されると共に(各アーム611を一体化したものを「中間体701」ともいう)、図25に示すように、各基端部621aが連結された状態のまま保持部613によって保持されている。また、各アーム611は、各基端部621aが保持部613によって保持されるときの位置関係を維持した状態で両アーム611を一体に作製した後に(中間体701を作製した後に)、各基端部621aが保持部によって保持された状態で基端部621aの近傍から先端部621bまでの間が分離されて構成されている。この場合、このプローブユニット601では、同図に示すように、保持部613によって保持されるときの各アーム611の位置関係は、各アーム611が1つの仮想平面上に隣接しかつ各アーム611が基端部621aから先端部621bに向かうに従って互いに近接する位置関係となっている。また、図27に示すように、アーム611には、プローブピン2を図外の基板検査装置等に電気的に接続するための導体パターン641が形成されている。   As shown in FIG. 25, the probe unit 601 is configured to include a pair of probe pins 2 and a support portion 603. The support portion 603 is configured to include a pair of arms 611 (first arm), a pair of arms 612 (second arm), and a holding portion 613. As shown in FIG. 27, each arm 611 is integrally manufactured in a state in which base end portions 621 a are connected to each other by a non-conductive (insulating) material (in which each arm 611 is integrated) (Also referred to as “intermediate 701”), as shown in FIG. 25, the base end portions 621a are held by the holding portion 613 in a connected state. In addition, after the arms 611 are manufactured integrally after maintaining the positional relationship when the base end portions 621a are held by the holding portions 613 (after the intermediate body 701 is manufactured), the respective arms 611 In a state where the end portion 621a is held by the holding portion, the space from the vicinity of the proximal end portion 621a to the distal end portion 621b is separated. In this case, in this probe unit 601, as shown in the figure, the positional relationship of each arm 611 when held by the holding portion 613 is that each arm 611 is adjacent on one virtual plane and each arm 611 is There is a positional relationship in which they approach each other as they go from the proximal end 621a to the distal end 621b. Further, as shown in FIG. 27, the arm 611 is formed with a conductor pattern 641 for electrically connecting the probe pin 2 to a substrate inspection apparatus or the like not shown.

各アーム612は、図29に示すように、非導電性を有する材料によって各基端部622a同士が連結された状態で一体に作製されると共に(各アーム612を一体化したものを「中間体702」ともいう)、図25に示すように、各基端部622aが連結された状態のまま保持部613によって保持されている。また、各アーム612は、各アーム611と同様にして、各基端部622aが保持部613によって保持されるときの位置関係を維持した状態で両アーム612を一体に作製した後に(中間体702を作製した後に)、各基端部622aが保持部によって保持された状態で基端部622aの近傍から先端部622bまでの間が分離されて構成されている。この場合、同図に示すように、保持部613によって保持されるときの各アーム612の位置関係は、各アーム612が1つの仮想平面上に隣接しかつ各アーム612が基端部622aから先端部622bに向かうに従って互いに近接する位置関係となっている。また、図29に示すように、アーム612には、プローブピン2を図外の基板検査装置等に電気的に接続するための導体パターン642が形成されている。 As shown in FIG. 29, the respective arms 612 are integrally manufactured in a state in which the respective proximal end portions 622a are connected to each other by a non-conductive material (the one in which the respective arms 612 are integrated is referred to as “intermediate (Also referred to as “702”), as shown in FIG. 25, the base end portions 622 a are held by the holding portion 613 in a connected state. Further, each arm 612 is produced in a similar manner to each arm 611 after both arms 612 are integrally manufactured in a state in which the positional relationship when each base end 622 a is held by the holding portion 613 is maintained (intermediate 702 And the proximal end 622a is held by the holding portion, and the space between the proximal end 622a and the distal end 622b is separated. In this case, as shown in the figure, the positional relationship of each arm 612 when held by the holding portion 613 is such that each arm 612 is adjacent on one virtual plane and each arm 612 is proximal to the proximal end 622a. It becomes a positional relationship which adjoins each other as it goes to the part 622b. Further, as shown in FIG. 29, the arm 612 is provided with a conductor pattern 642 for electrically connecting the probe pin 2 to a substrate inspection apparatus or the like not shown.

次に、プローブユニット601の製造方法について説明する。まず、図26に示すように、樹脂等の非導電性(絶縁性)を有する材料を用いて中間体701を作製する。中間体701は、一対のアーム611の各基端部621aが保持部613によって保持されるときの位置関係(図25参照)を維持した状態で、各アーム611が連結部631a,631bによって連結されている。中間体701の作製方法としては、射出成形による作製方法、削り出しによる作製方法、および3Dプリンタを用いた作製方法などを採用することができる。次いで、図27に示すように、中間体701における各アーム611の基端部621aから先端部621bにかけて導体パターン641を形成する。   Next, a method of manufacturing the probe unit 601 will be described. First, as shown in FIG. 26, an intermediate 701 is manufactured using a non-conductive (insulating) material such as a resin. In the intermediate body 701, the arms 611 are connected by the connecting portions 631a and 631b while maintaining the positional relationship (see FIG. 25) when the base end portions 621a of the pair of arms 611 are held by the holding portion 613. ing. As a method of manufacturing the intermediate body 701, a method of manufacturing by injection molding, a method of manufacturing by shaving, a method of manufacturing using a 3D printer, or the like can be adopted. Next, as shown in FIG. 27, a conductor pattern 641 is formed from the base end 621a to the tip 621b of each arm 611 in the intermediate 701.

続いて、図28に示すように、樹脂等の非導電性を有する材料を用いて、中間体701の作製方法と同じ作製方法で中間体702を作製する。中間体702は、一対のアーム612の各基端部622aが保持部613によって保持されるときの位置関係(図25参照)を維持した状態で、各アーム611が連結部632a,632bによって連結されている。次いで、図29に示すように、中間体702における各アーム612の基端部622aから先端部622bにかけて導体パターン642を形成する。   Subsequently, as shown in FIG. 28, using a non-conductive material such as a resin, an intermediate 702 is manufactured by the same manufacturing method as the intermediate 701. In the intermediate 702, the arms 611 are connected by the connecting portions 632a and 632b while maintaining the positional relationship (see FIG. 25) when the base end portions 622a of the pair of arms 612 are held by the holding portion 613. ing. Next, as shown in FIG. 29, a conductor pattern 642 is formed from the proximal end 622 a to the distal end 622 b of each arm 612 in the intermediate 702.

次いで、中間体701,702の基端部側(連結部631a,632a)を保持部613で保持する。続いて、中間体701,702の先端部側、つまり、各アーム611,612の先端部621b,622b側の連結部631b,632bを図27,29に示す破線の箇所で切断して切り離して、各アーム611,612における基端部621a,622aの近傍から先端部621b,622bまでの間を分離させる。以上によりプローブユニット601が製造される。   Next, the base end sides (connection portions 631 a and 632 a) of the intermediates 701 and 702 are held by the holding portion 613. Subsequently, the end portions of the intermediate bodies 701 and 702, that is, the connecting portions 631b and 632b on the side of the end portions 621b and 622b of the arms 611 and 612 are cut at a broken line shown in FIGS. The distance from the vicinity of the proximal end 621a, 622a of each arm 611, 612 to the distal end 621b, 622b is separated. Thus, the probe unit 601 is manufactured.

このプローブユニット601では、上記したように、各アーム611および各アーム612が各基端部621a同士および各基端部622a同士を連結した状態でそれぞれ一体に作製されると共に、各基端部621a同士および各基端部622a同士を連結した状態のまま保持部613によって保持されている。このため、このプローブユニット601によれば、保持部613によって保持させるときの各アーム611および各アーム612の位置関係を維持した状態で各アーム611および各アーム612を作製することができ、かつ作製したときの位置関係を確実に維持した状態で保持部613に保持させる(取り付ける)ことができる。このため、このプローブユニット601によれば、各アーム611および各アーム612を作製する際の、材質的なばらつきや作製条件の相異による各アーム611同士および各アーム612同士の寸法や弾性率などの諸元のばらつきを少なく抑えることができると共に、各アーム611および各アーム612を保持部613に保持させる際の各アーム611同士および各アーム612同士の位置ずれの発生を確実に防止することができる。この結果、このプローブユニット601、およびこのプローブユニット601を用いた検査方法によれば、より正確なプロービングを行うことができる。また、このプローブユニット601によれば、一対のアーム611および一対のアーム612を保持部613に一度に保持させることができるため、プローブユニット601の組立効率を十分に向上させることができる。   In the probe unit 601, as described above, the arms 611 and the arms 612 are integrally manufactured in a state in which the base end portions 621a and 622a are connected to each other, and the base end portions 621a They are held by the holding portion 613 in a state in which the base end portions 622a are connected to each other. Therefore, according to this probe unit 601, each arm 611 and each arm 612 can be manufactured while maintaining the positional relationship between each arm 611 and each arm 612 when held by the holding portion 613, and manufactured. It is possible to hold (attach) the holding portion 613 in a state where the positional relationship at the time of holding is surely maintained. For this reason, according to this probe unit 601, the dimensions and elastic moduli of the arms 611 and arms 612 due to variations in materials and differences in manufacturing conditions at the time of producing the arms 611 and the arms 612, etc. Variation in the specifications of the components can be suppressed, and the occurrence of positional deviation between the arms 611 and the arms 612 when the arms 611 and the arms 612 are held by the holding portion 613 can be reliably prevented. it can. As a result, according to the probe unit 601 and the inspection method using the probe unit 601, more accurate probing can be performed. Further, according to this probe unit 601, since the pair of arms 611 and the pair of arms 612 can be held by the holding portion 613 at one time, the assembly efficiency of the probe unit 601 can be sufficiently improved.

1,1A,1B,101,601 プローブユニット
2 プローブピン
3,3A,103,603 支持部
11,11A,111,501,611 アーム
12,12A,112,502,612 アーム
13,113,613 保持部
21a,21Aa,121a,621a 基端部
22a,22Aa,122a,622a 基端部
21b,21Ab,121b,621b 先端部
22b,22Ab,122b,622b 先端部
21c,22c,21Ac,22Ac,521c,522c 中間部位
21Ae,21Af,22Ae,22Af 側端部
21Ag,22Ag 中心線
41 絶縁シート
42 シールド板
401,402,701,702 中間体
411,631a,631b,711 連結部
412,632a,632b,712 連結部
511,512 リブ
E1a〜E1d,E2a〜E2d 縁部
H1a,H1b,H1Aa,H1Ab 貫通孔
H2a,H2b,H2Aa,H2Ab 貫通孔
P1a,P1b,P2a,P2b 形成部位
W 幅
1, 1A, 1B, 101, 601 probe unit 2 probe pin 3, 3A, 103, 603 support portion 11, 11A, 111, 501, 611 arm 12, 12A, 112, 502, 612 arm 13, 113, 613 holding portion 21a, 21Aa, 121a, 621a proximal end 22a, 22Aa, 122a, 622a proximal end 21b, 21Ab, 121b, 621b distal end 22b, 22Ab, 122b, 622b distal end 21c, 22c, 21Ac, 22Ac, 521c, 522c middle Part 21Ae, 21Af, 22Ae, 22Af Side end 21Ag, 22Ag Center line 41 Insulating sheet 42 Shield plate 401, 402, 701, 702 Intermediate 411, 631a, 631b, 711 Connection part 412, 632a, 632b, 712 Connection part 11,512 ribs E1a~E1d, E2a~E2d edge H1a, H1b, H1Aa, H1Ab through holes H2a, H2b, H2Aa, H2Ab holes P1a, P1b, P2a, P2b formed part W width

Claims (10)

プローブピンと、当該プローブピンを支持する支持部とを備えたプローブユニットであって、
前記支持部は、前記プローブピンをプロービング対象にプロービングさせる際のプロービングの向きに沿って互いに離間して対向する状態で配置された帯状の第1アームおよび第2アームと、当該各アームの各基端部を保持する保持部と、前記プローブピンを取り付け可能に構成されると共に前記各アームの各先端部同士を連結する連結部とを備えて、前記プロービングの向きとは逆向きへの前記プローブピンの直動または近似的な直動を許容する四節リンク機構を構成し、
前記各アームは、前記基端部よりもやや前記先端部側の部位および当該先端部よりもやや当該基端部側の部位に貫通孔がそれぞれ形成されて、当該各貫通孔の間の中間部位が前記四節リンク機構を構成する各リンクとして機能すると共に、当該各貫通孔の形成部位が前記四節リンク機構を構成するジョイントとして機能するように構成され、かつ当該アームの長さ方向に沿って前記中間部位に形成されたリブを備えて構成されているプローブユニット。
A probe unit comprising a probe pin and a support for supporting the probe pin, the probe unit comprising:
The support portion is a strip-like first arm and a second arm disposed in a state of being spaced apart and facing each other along the direction of probing when probing the probe pins for probing, and the bases of the respective arms The probe in the direction opposite to the direction of the probing, comprising: a holding portion for holding an end portion; and a connecting portion configured to be attachable to the probe pin and connecting the tip end portions of the arms. Configure a four-bar linkage that allows linear or approximate linear motion of the pin,
In each arm, a through hole is formed in a portion slightly closer to the tip end portion than the proximal end portion and a portion slightly proximal to the proximal end portion than the tip portion, and an intermediate portion between the respective through holes Functions as each link forming the four-bar linkage, and the formation site of each through hole is configured to function as a joint forming the four-bar linkage , and along the length direction of the arm A probe unit including a rib formed at the middle portion .
プローブピンと、当該プローブピンを支持する支持部とを備えたプローブユニットであって、A probe unit comprising a probe pin and a support for supporting the probe pin, the probe unit comprising:
前記支持部は、前記プローブピンをプロービング対象にプロービングさせる際のプロービングの向きに沿って互いに離間して対向する状態で配置された帯状の第1アームおよび第2アームと、当該各アームの各基端部を保持する保持部と、前記プローブピンを取り付け可能に構成されると共に前記各アームの各先端部同士を連結する連結部とを備えて、前記プロービングの向きとは逆向きへの前記プローブピンの直動または近似的な直動を許容する四節リンク機構を構成し、  The support portion is a strip-like first arm and a second arm disposed in a state of being spaced apart and facing each other along the direction of probing when probing the probe pins for probing, and the bases of the respective arms The probe in the direction opposite to the direction of the probing, comprising: a holding portion for holding an end portion; and a connecting portion configured to be attachable to the probe pin and connecting the tip end portions of the arms. Configure a four-bar linkage that allows linear or approximate linear motion of the pin,
前記各アームは、前記基端部よりもやや前記先端部側の部位および当該先端部よりもやや当該基端部側の部位に貫通孔がそれぞれ形成されて、当該各貫通孔の間の中間部位が前記四節リンク機構を構成する各リンクとして機能すると共に、当該各貫通孔の形成部位が前記四節リンク機構を構成するジョイントとして機能するように構成され、  In each arm, a through hole is formed in a portion slightly closer to the tip end portion than the proximal end portion and a portion slightly proximal to the proximal end portion than the tip portion, and an intermediate portion between the respective through holes Is configured to function as each link constituting the four-bar linkage mechanism, and a formation site of each through hole is configured to function as a joint constituting the four-bar linkage mechanism,
前記各アームのうちの前記プロービングの際に前記プロービング対象側に位置するアームにおける当該プロービング対象に対向する面側に絶縁体を介して配設された導電性を有するシールド板を備えているプローブユニット。A probe unit provided with a conductive shield plate disposed via an insulator on the side of the arm located on the probing target side during the probing among the arms and facing the probing target. .
前記アームは、当該アームにおける幅方向の端部と前記貫通孔との間の縁部の幅が、当該アームの長さ方向に沿って前記中間部位から離間するに従って広くなるように形成されている請求項1または2記載のプローブユニット。 The arm is formed such that the width of the edge between the end in the width direction of the arm and the through hole is wider along the length direction of the arm as it is separated from the intermediate portion The probe unit according to claim 1 or 2 . 前記アームは、前記貫通孔を挟んで対向する2つの前記縁部が、当該アームにおける前記幅方向の中心を通る前記長さ方向に沿った中心線を対称軸として線対称の形状となるように形成されている請求項記載のプローブユニット。 In the arm, two opposing edges of the arm across the through hole have a shape that is line symmetrical with respect to a center line along the length direction passing through the widthwise center of the arm. The probe unit according to claim 3 formed. 前記プローブピンが前記第1アームの前記先端部および前記第2アームの前記先端部に固定されて当該プローブピンが前記連結部として機能するように構成されている請求項1からのいずれかに記載のプローブユニット。 To any one of claims 1 to 4 in which the probe pin the leading end portion and the distal end portion fixed to the probe pin of the second arm of the first arm is configured to serve as the connecting portion Probe unit as described. 前記プローブピンを一対備えると共に、前記第1アームおよび前記第2アームをそれぞれ一対備え、
前記保持部は、前記一対の第1アームが隣接して延在する状態で当該各第1アームの前記各基端部を保持すると共に、前記一対の第2アームが隣接して延在する状態で当該各第2アームの前記各基端部を保持する請求項1から5のいずれかに記載のプローブユニット。
A pair of the probe pins and a pair of the first arm and the second arm are provided.
The holding portion holds the base end portions of the respective first arms in a state in which the pair of first arms extend adjacent to each other, and a state in which the pair of second arms extends adjacent to each other The probe unit according to any one of claims 1 to 5, wherein the proximal end portion of each second arm is held.
前記各第1アームは、非導電性を有して前記各基端部同士が連結された状態で前記保持部によって保持され、
前記各第2アームは、非導電性を有して前記各基端部同士が連結された状態で前記保持部によって保持されている請求項記載のプローブユニット。
Wherein each of the first arm is held by a front Symbol holder in a state where each other the respective proximal ends has a non-conductive is connected,
Wherein each of the second arm, according to claim 6, wherein held by pre-Symbol holder in a state where each other the respective proximal ends has a non-conductive is connected probe unit.
請求項6記載のプローブユニットを製造するプローブユニット製造方法であって、
前記一対の第1アームの前記各基端部が前記保持部によって保持されるときの位置関係を維持した状態で当該両第1アームを一体に作製した後に、当該各第1アームにおける少なくとも前記基端部の近傍から前記先端部までの間を分離させて当該各第1アームを作製し、
前記一対の第2アームの前記各基端部が前記保持部によって保持されるときの位置関係を維持した状態で当該両第2アームを一体に作製した後に、当該各第2アームにおける少なくとも前記基端部の近傍から前記先端部までの間を分離させて当該各第2アームを作製して前記プローブユニットを製造するプローブユニット製造方法。
A probe unit manufacturing method for manufacturing the probe unit according to claim 6;
After the two first arms are integrally manufactured while maintaining the positional relationship when the base end portions of the pair of first arms are held by the holding portion, at least the base in the respective first arms is formed. Each of the first arms is manufactured by separating the vicinity of the end from the end to the tip,
After the two second arms are integrally manufactured while maintaining the positional relationship when the base end portions of the pair of second arms are held by the holding portion, at least the base in the respective second arms is maintained. A method of manufacturing a probe unit, comprising: separating each of the second arms by separating a portion from the vicinity of an end portion to the tip end portion to manufacture the probe unit.
前記一対の第1アームの前記各基端部が前記保持部によって保持されるときの位置関係を維持した状態で、
前記一体に作製した各第1アームの前記各基端部を前記保持部に保持させた状態で当該各第1アームにおける少なくとも前記基端部の近傍から前記先端部までの間を分離させ、
前記一体に作製した各第2アームの前記各基端部を前記保持部に保持させた状態で当該各第2アームにおける少なくとも前記基端部の近傍から前記先端部までの間を分離させて前記プローブユニットを製造する請求項記載のプローブユニット製造方法。
In a state where the positional relationship when the base end portions of the pair of first arms are held by the holding portion is maintained,
In a state in which the proximal end of each of the first arms produced in one piece is held by the holding portion, the distance from at least the vicinity of the proximal end to the distal end in each first arm is separated;
In a state where the base end portions of the second arms integrally manufactured are held by the holding portion, the distance from at least the vicinity of the base end portion to the tip end portion of each second arm is separated The probe unit manufacturing method according to claim 8 , wherein the probe unit is manufactured.
基板を検査する検査方法であって、
請求項1からのいずれかに記載のプローブユニットの前記プローブピンを前記プロービング対象としての前記基板にプロービングさせ、当該プローブピンを介して入出力する電気信号に基づいて当該基板を検査する検査方法。
An inspection method for inspecting a substrate,
An inspection method for probing the probe pin of the probe unit according to any one of claims 1 to 7 to the substrate as the probing target, and inspecting the substrate based on an electrical signal input / output through the probe pin. .
JP2015105335A 2014-07-29 2015-05-25 Probe unit, probe unit manufacturing method and inspection method Active JP6532755B2 (en)

Priority Applications (4)

Application Number Priority Date Filing Date Title
TW104119352A TWI645193B (en) 2014-07-29 2015-06-16 Probe unit, probe unit manufacturing method and detection method
KR1020150098979A KR102207791B1 (en) 2014-07-29 2015-07-13 Probe unit, method of manufacturing probe unit and method of inspecting
US14/801,114 US9772352B2 (en) 2014-07-29 2015-07-16 Prober having linkage portion, method for manufacturing the prober and method of testing circuit boards using the prober
CN201510426639.0A CN105319405B (en) 2014-07-29 2015-07-20 Probe unit, probe unit manufacturing method and inspection method

Applications Claiming Priority (4)

Application Number Priority Date Filing Date Title
JP2014153547 2014-07-29
JP2014153547 2014-07-29
JP2015048627 2015-03-11
JP2015048627 2015-03-11

Related Child Applications (1)

Application Number Title Priority Date Filing Date
JP2019057830A Division JP6703159B2 (en) 2014-07-29 2019-03-26 Probe unit, probe unit manufacturing method and inspection method

Publications (3)

Publication Number Publication Date
JP2016170159A JP2016170159A (en) 2016-09-23
JP2016170159A5 JP2016170159A5 (en) 2018-04-19
JP6532755B2 true JP6532755B2 (en) 2019-06-19

Family

ID=56983624

Family Applications (2)

Application Number Title Priority Date Filing Date
JP2015105335A Active JP6532755B2 (en) 2014-07-29 2015-05-25 Probe unit, probe unit manufacturing method and inspection method
JP2019057830A Active JP6703159B2 (en) 2014-07-29 2019-03-26 Probe unit, probe unit manufacturing method and inspection method

Family Applications After (1)

Application Number Title Priority Date Filing Date
JP2019057830A Active JP6703159B2 (en) 2014-07-29 2019-03-26 Probe unit, probe unit manufacturing method and inspection method

Country Status (2)

Country Link
JP (2) JP6532755B2 (en)
KR (1) KR102207791B1 (en)

Families Citing this family (4)

* Cited by examiner, † Cited by third party
Publication number Priority date Publication date Assignee Title
KR102653198B1 (en) * 2016-10-18 2024-04-01 삼성전기주식회사 Unit for measuring electrical characteristics
KR101886656B1 (en) * 2017-09-04 2018-08-09 임회진 Prove module for testing input apparatus
JP7032167B2 (en) 2018-02-09 2022-03-08 日置電機株式会社 Probe pins, probe units and inspection equipment
JP7393873B2 (en) * 2019-03-29 2023-12-07 株式会社日本マイクロニクス Electrical contacts and probe cards

Family Cites Families (9)

* Cited by examiner, † Cited by third party
Publication number Priority date Publication date Assignee Title
JPS4717144Y1 (en) 1969-06-13 1972-06-15
US4034293A (en) * 1974-03-04 1977-07-05 Electroglas, Inc. Micro-circuit test probe
JPS60209935A (en) * 1984-03-31 1985-10-22 Toshiba Corp Optical head device
JP2000131340A (en) * 1998-10-28 2000-05-12 Hioki Ee Corp Contact probe device
DE10160119A1 (en) * 2001-12-07 2003-10-02 Atg Test Systems Gmbh Test probe for a finger tester
JP2004156993A (en) * 2002-11-06 2004-06-03 Micronics Japan Co Ltd Probe and electrical connection device using the same
JP2007163288A (en) * 2005-12-14 2007-06-28 Japan Electronic Materials Corp Cantilever type probe and manufacturing method thereof
JP4717144B2 (en) * 2010-01-08 2011-07-06 日置電機株式会社 Contact probe fixture
JP5870762B2 (en) * 2012-03-01 2016-03-01 三菱電機株式会社 Electrical property measurement method, contact probe

Also Published As

Publication number Publication date
JP2016170159A (en) 2016-09-23
KR20160014528A (en) 2016-02-11
JP6703159B2 (en) 2020-06-03
KR102207791B1 (en) 2021-01-26
JP2019135493A (en) 2019-08-15

Similar Documents

Publication Publication Date Title
JP6703159B2 (en) Probe unit, probe unit manufacturing method and inspection method
US7889460B2 (en) Slider supporting apparatus including a flexure having spring characteristics and manufacturing method therefor
KR102522523B1 (en) Probe Card for A Testing Apparatus of Electronic Devices
US20170122980A1 (en) Contact probe for a testing head and corresponding manufacturing method
JP6872960B2 (en) Electrical connection device
US20080309363A1 (en) Probe assembly with wire probes
KR20220043184A (en) Probe heads for electronic devices and corresponding probe cards
JP2008180716A (en) Probe, and probe card therewith
CN108593980A (en) A kind of manufacturing method of contact probe, measuring head and contact probe
JP2016170159A5 (en)
US20020153910A1 (en) Testing head having vertical probes for semiconductor integrated electronic devices
JP5421893B2 (en) Wiring circuit board manufacturing method, wiring circuit board assembly sheet manufacturing method, wiring circuit board, and wiring circuit board assembly sheet
WO2020022085A1 (en) Measurement device
JP6534558B2 (en) Probe unit and probe unit manufacturing method
CN105319405B (en) Probe unit, probe unit manufacturing method and inspection method
JP6584816B2 (en) Probe unit and probe unit manufacturing method
JP5210550B2 (en) Electrical connection device
JP2009014480A (en) Inspection tool
JP2019144112A (en) Electrical connection device
JP2000131340A (en) Contact probe device
CN101506665A (en) Conductive contactor unit
JP2007139712A (en) Probe holder and probe unit
JP6697913B2 (en) probe
WO2015095775A1 (en) Microelectromechanical system (mems) based probe
TWI885400B (en) Probe device

Legal Events

Date Code Title Description
A521 Request for written amendment filed

Free format text: JAPANESE INTERMEDIATE CODE: A523

Effective date: 20180307

A621 Written request for application examination

Free format text: JAPANESE INTERMEDIATE CODE: A621

Effective date: 20180319

A977 Report on retrieval

Free format text: JAPANESE INTERMEDIATE CODE: A971007

Effective date: 20190128

A131 Notification of reasons for refusal

Free format text: JAPANESE INTERMEDIATE CODE: A131

Effective date: 20190205

A521 Request for written amendment filed

Free format text: JAPANESE INTERMEDIATE CODE: A523

Effective date: 20190327

TRDD Decision of grant or rejection written
A01 Written decision to grant a patent or to grant a registration (utility model)

Free format text: JAPANESE INTERMEDIATE CODE: A01

Effective date: 20190507

A61 First payment of annual fees (during grant procedure)

Free format text: JAPANESE INTERMEDIATE CODE: A61

Effective date: 20190522

R150 Certificate of patent or registration of utility model

Ref document number: 6532755

Country of ref document: JP

Free format text: JAPANESE INTERMEDIATE CODE: R150

R250 Receipt of annual fees

Free format text: JAPANESE INTERMEDIATE CODE: R250

R250 Receipt of annual fees

Free format text: JAPANESE INTERMEDIATE CODE: R250

R250 Receipt of annual fees

Free format text: JAPANESE INTERMEDIATE CODE: R250