[go: up one dir, main page]

JP6479221B2 - コルゲート金属シートを備えたコーナー配置が設けられた二次密閉膜を有する密閉断熱タンク - Google Patents

コルゲート金属シートを備えたコーナー配置が設けられた二次密閉膜を有する密閉断熱タンク Download PDF

Info

Publication number
JP6479221B2
JP6479221B2 JP2017566715A JP2017566715A JP6479221B2 JP 6479221 B2 JP6479221 B2 JP 6479221B2 JP 2017566715 A JP2017566715 A JP 2017566715A JP 2017566715 A JP2017566715 A JP 2017566715A JP 6479221 B2 JP6479221 B2 JP 6479221B2
Authority
JP
Japan
Prior art keywords
metal sheet
wall
edge
primary
tank
Prior art date
Legal status (The legal status is an assumption and is not a legal conclusion. Google has not performed a legal analysis and makes no representation as to the accuracy of the status listed.)
Active
Application number
JP2017566715A
Other languages
English (en)
Other versions
JP2018525578A (ja
Inventor
マルク ボイユ
マルク ボイユ
アントワーヌ フィリップ
アントワーヌ フィリップ
セバスチャン デラノー
セバスチャン デラノー
Original Assignee
ギャズトランスポルト エ テクニギャズ
ギャズトランスポルト エ テクニギャズ
Priority date (The priority date is an assumption and is not a legal conclusion. Google has not performed a legal analysis and makes no representation as to the accuracy of the date listed.)
Filing date
Publication date
Application filed by ギャズトランスポルト エ テクニギャズ, ギャズトランスポルト エ テクニギャズ filed Critical ギャズトランスポルト エ テクニギャズ
Publication of JP2018525578A publication Critical patent/JP2018525578A/ja
Application granted granted Critical
Publication of JP6479221B2 publication Critical patent/JP6479221B2/ja
Active legal-status Critical Current
Anticipated expiration legal-status Critical

Links

Images

Classifications

    • FMECHANICAL ENGINEERING; LIGHTING; HEATING; WEAPONS; BLASTING
    • F17STORING OR DISTRIBUTING GASES OR LIQUIDS
    • F17CVESSELS FOR CONTAINING OR STORING COMPRESSED, LIQUEFIED OR SOLIDIFIED GASES; FIXED-CAPACITY GAS-HOLDERS; FILLING VESSELS WITH, OR DISCHARGING FROM VESSELS, COMPRESSED, LIQUEFIED, OR SOLIDIFIED GASES
    • F17C3/00Vessels not under pressure
    • F17C3/02Vessels not under pressure with provision for thermal insulation
    • F17C3/025Bulk storage in barges or on ships
    • F17C3/027Wallpanels for so-called membrane tanks
    • FMECHANICAL ENGINEERING; LIGHTING; HEATING; WEAPONS; BLASTING
    • F04POSITIVE - DISPLACEMENT MACHINES FOR LIQUIDS; PUMPS FOR LIQUIDS OR ELASTIC FLUIDS
    • F04BPOSITIVE-DISPLACEMENT MACHINES FOR LIQUIDS; PUMPS
    • F04B15/00Pumps adapted to handle specific fluids, e.g. by selection of specific materials for pumps or pump parts
    • F04B15/06Pumps adapted to handle specific fluids, e.g. by selection of specific materials for pumps or pump parts for liquids near their boiling point, e.g. under subnormal pressure
    • F04B15/08Pumps adapted to handle specific fluids, e.g. by selection of specific materials for pumps or pump parts for liquids near their boiling point, e.g. under subnormal pressure the liquids having low boiling points
    • FMECHANICAL ENGINEERING; LIGHTING; HEATING; WEAPONS; BLASTING
    • F16ENGINEERING ELEMENTS AND UNITS; GENERAL MEASURES FOR PRODUCING AND MAINTAINING EFFECTIVE FUNCTIONING OF MACHINES OR INSTALLATIONS; THERMAL INSULATION IN GENERAL
    • F16LPIPES; JOINTS OR FITTINGS FOR PIPES; SUPPORTS FOR PIPES, CABLES OR PROTECTIVE TUBING; MEANS FOR THERMAL INSULATION IN GENERAL
    • F16L59/00Thermal insulation in general
    • F16L59/14Arrangements for the insulation of pipes or pipe systems
    • F16L59/141Arrangements for the insulation of pipes or pipe systems in which the temperature of the medium is below that of the ambient temperature
    • FMECHANICAL ENGINEERING; LIGHTING; HEATING; WEAPONS; BLASTING
    • F17STORING OR DISTRIBUTING GASES OR LIQUIDS
    • F17CVESSELS FOR CONTAINING OR STORING COMPRESSED, LIQUEFIED OR SOLIDIFIED GASES; FIXED-CAPACITY GAS-HOLDERS; FILLING VESSELS WITH, OR DISCHARGING FROM VESSELS, COMPRESSED, LIQUEFIED, OR SOLIDIFIED GASES
    • F17C13/00Details of vessels or of the filling or discharging of vessels
    • F17C13/004Details of vessels or of the filling or discharging of vessels for large storage vessels not under pressure
    • FMECHANICAL ENGINEERING; LIGHTING; HEATING; WEAPONS; BLASTING
    • F17STORING OR DISTRIBUTING GASES OR LIQUIDS
    • F17CVESSELS FOR CONTAINING OR STORING COMPRESSED, LIQUEFIED OR SOLIDIFIED GASES; FIXED-CAPACITY GAS-HOLDERS; FILLING VESSELS WITH, OR DISCHARGING FROM VESSELS, COMPRESSED, LIQUEFIED, OR SOLIDIFIED GASES
    • F17C3/00Vessels not under pressure
    • F17C3/02Vessels not under pressure with provision for thermal insulation
    • FMECHANICAL ENGINEERING; LIGHTING; HEATING; WEAPONS; BLASTING
    • F17STORING OR DISTRIBUTING GASES OR LIQUIDS
    • F17CVESSELS FOR CONTAINING OR STORING COMPRESSED, LIQUEFIED OR SOLIDIFIED GASES; FIXED-CAPACITY GAS-HOLDERS; FILLING VESSELS WITH, OR DISCHARGING FROM VESSELS, COMPRESSED, LIQUEFIED, OR SOLIDIFIED GASES
    • F17C3/00Vessels not under pressure
    • F17C3/02Vessels not under pressure with provision for thermal insulation
    • F17C3/04Vessels not under pressure with provision for thermal insulation by insulating layers
    • F17C3/06Vessels not under pressure with provision for thermal insulation by insulating layers on the inner surface, i.e. in contact with the stored fluid
    • FMECHANICAL ENGINEERING; LIGHTING; HEATING; WEAPONS; BLASTING
    • F17STORING OR DISTRIBUTING GASES OR LIQUIDS
    • F17CVESSELS FOR CONTAINING OR STORING COMPRESSED, LIQUEFIED OR SOLIDIFIED GASES; FIXED-CAPACITY GAS-HOLDERS; FILLING VESSELS WITH, OR DISCHARGING FROM VESSELS, COMPRESSED, LIQUEFIED, OR SOLIDIFIED GASES
    • F17C5/00Methods or apparatus for filling containers with liquefied, solidified, or compressed gases under pressures
    • F17C5/02Methods or apparatus for filling containers with liquefied, solidified, or compressed gases under pressures for filling with liquefied gases
    • FMECHANICAL ENGINEERING; LIGHTING; HEATING; WEAPONS; BLASTING
    • F04POSITIVE - DISPLACEMENT MACHINES FOR LIQUIDS; PUMPS FOR LIQUIDS OR ELASTIC FLUIDS
    • F04BPOSITIVE-DISPLACEMENT MACHINES FOR LIQUIDS; PUMPS
    • F04B15/00Pumps adapted to handle specific fluids, e.g. by selection of specific materials for pumps or pump parts
    • F04B15/06Pumps adapted to handle specific fluids, e.g. by selection of specific materials for pumps or pump parts for liquids near their boiling point, e.g. under subnormal pressure
    • F04B15/08Pumps adapted to handle specific fluids, e.g. by selection of specific materials for pumps or pump parts for liquids near their boiling point, e.g. under subnormal pressure the liquids having low boiling points
    • F04B2015/081Liquefied gases
    • FMECHANICAL ENGINEERING; LIGHTING; HEATING; WEAPONS; BLASTING
    • F17STORING OR DISTRIBUTING GASES OR LIQUIDS
    • F17CVESSELS FOR CONTAINING OR STORING COMPRESSED, LIQUEFIED OR SOLIDIFIED GASES; FIXED-CAPACITY GAS-HOLDERS; FILLING VESSELS WITH, OR DISCHARGING FROM VESSELS, COMPRESSED, LIQUEFIED, OR SOLIDIFIED GASES
    • F17C2201/00Vessel construction, in particular geometry, arrangement or size
    • F17C2201/01Shape
    • F17C2201/0147Shape complex
    • F17C2201/0157Polygonal
    • FMECHANICAL ENGINEERING; LIGHTING; HEATING; WEAPONS; BLASTING
    • F17STORING OR DISTRIBUTING GASES OR LIQUIDS
    • F17CVESSELS FOR CONTAINING OR STORING COMPRESSED, LIQUEFIED OR SOLIDIFIED GASES; FIXED-CAPACITY GAS-HOLDERS; FILLING VESSELS WITH, OR DISCHARGING FROM VESSELS, COMPRESSED, LIQUEFIED, OR SOLIDIFIED GASES
    • F17C2201/00Vessel construction, in particular geometry, arrangement or size
    • F17C2201/05Size
    • F17C2201/052Size large (>1000 m3)
    • FMECHANICAL ENGINEERING; LIGHTING; HEATING; WEAPONS; BLASTING
    • F17STORING OR DISTRIBUTING GASES OR LIQUIDS
    • F17CVESSELS FOR CONTAINING OR STORING COMPRESSED, LIQUEFIED OR SOLIDIFIED GASES; FIXED-CAPACITY GAS-HOLDERS; FILLING VESSELS WITH, OR DISCHARGING FROM VESSELS, COMPRESSED, LIQUEFIED, OR SOLIDIFIED GASES
    • F17C2203/00Vessel construction, in particular walls or details thereof
    • F17C2203/03Thermal insulations
    • F17C2203/0304Thermal insulations by solid means
    • F17C2203/0329Foam
    • F17C2203/0333Polyurethane
    • FMECHANICAL ENGINEERING; LIGHTING; HEATING; WEAPONS; BLASTING
    • F17STORING OR DISTRIBUTING GASES OR LIQUIDS
    • F17CVESSELS FOR CONTAINING OR STORING COMPRESSED, LIQUEFIED OR SOLIDIFIED GASES; FIXED-CAPACITY GAS-HOLDERS; FILLING VESSELS WITH, OR DISCHARGING FROM VESSELS, COMPRESSED, LIQUEFIED, OR SOLIDIFIED GASES
    • F17C2203/00Vessel construction, in particular walls or details thereof
    • F17C2203/03Thermal insulations
    • F17C2203/0304Thermal insulations by solid means
    • F17C2203/0358Thermal insulations by solid means in form of panels
    • FMECHANICAL ENGINEERING; LIGHTING; HEATING; WEAPONS; BLASTING
    • F17STORING OR DISTRIBUTING GASES OR LIQUIDS
    • F17CVESSELS FOR CONTAINING OR STORING COMPRESSED, LIQUEFIED OR SOLIDIFIED GASES; FIXED-CAPACITY GAS-HOLDERS; FILLING VESSELS WITH, OR DISCHARGING FROM VESSELS, COMPRESSED, LIQUEFIED, OR SOLIDIFIED GASES
    • F17C2203/00Vessel construction, in particular walls or details thereof
    • F17C2203/06Materials for walls or layers thereof; Properties or structures of walls or their materials
    • F17C2203/0602Wall structures; Special features thereof
    • F17C2203/0612Wall structures
    • F17C2203/0626Multiple walls
    • F17C2203/0631Three or more walls
    • FMECHANICAL ENGINEERING; LIGHTING; HEATING; WEAPONS; BLASTING
    • F17STORING OR DISTRIBUTING GASES OR LIQUIDS
    • F17CVESSELS FOR CONTAINING OR STORING COMPRESSED, LIQUEFIED OR SOLIDIFIED GASES; FIXED-CAPACITY GAS-HOLDERS; FILLING VESSELS WITH, OR DISCHARGING FROM VESSELS, COMPRESSED, LIQUEFIED, OR SOLIDIFIED GASES
    • F17C2205/00Vessel construction, in particular mounting arrangements, attachments or identifications means
    • F17C2205/03Fluid connections, filters, valves, closure means or other attachments
    • F17C2205/0302Fittings, valves, filters, or components in connection with the gas storage device
    • F17C2205/0352Pipes
    • F17C2205/0355Insulation thereof
    • FMECHANICAL ENGINEERING; LIGHTING; HEATING; WEAPONS; BLASTING
    • F17STORING OR DISTRIBUTING GASES OR LIQUIDS
    • F17CVESSELS FOR CONTAINING OR STORING COMPRESSED, LIQUEFIED OR SOLIDIFIED GASES; FIXED-CAPACITY GAS-HOLDERS; FILLING VESSELS WITH, OR DISCHARGING FROM VESSELS, COMPRESSED, LIQUEFIED, OR SOLIDIFIED GASES
    • F17C2221/00Handled fluid, in particular type of fluid
    • F17C2221/03Mixtures
    • F17C2221/032Hydrocarbons
    • F17C2221/033Methane, e.g. natural gas, CNG, LNG, GNL, GNC, PLNG
    • FMECHANICAL ENGINEERING; LIGHTING; HEATING; WEAPONS; BLASTING
    • F17STORING OR DISTRIBUTING GASES OR LIQUIDS
    • F17CVESSELS FOR CONTAINING OR STORING COMPRESSED, LIQUEFIED OR SOLIDIFIED GASES; FIXED-CAPACITY GAS-HOLDERS; FILLING VESSELS WITH, OR DISCHARGING FROM VESSELS, COMPRESSED, LIQUEFIED, OR SOLIDIFIED GASES
    • F17C2223/00Handled fluid before transfer, i.e. state of fluid when stored in the vessel or before transfer from the vessel
    • F17C2223/01Handled fluid before transfer, i.e. state of fluid when stored in the vessel or before transfer from the vessel characterised by the phase
    • F17C2223/0146Two-phase
    • F17C2223/0153Liquefied gas, e.g. LPG, GPL
    • F17C2223/0161Liquefied gas, e.g. LPG, GPL cryogenic, e.g. LNG, GNL, PLNG
    • FMECHANICAL ENGINEERING; LIGHTING; HEATING; WEAPONS; BLASTING
    • F17STORING OR DISTRIBUTING GASES OR LIQUIDS
    • F17CVESSELS FOR CONTAINING OR STORING COMPRESSED, LIQUEFIED OR SOLIDIFIED GASES; FIXED-CAPACITY GAS-HOLDERS; FILLING VESSELS WITH, OR DISCHARGING FROM VESSELS, COMPRESSED, LIQUEFIED, OR SOLIDIFIED GASES
    • F17C2223/00Handled fluid before transfer, i.e. state of fluid when stored in the vessel or before transfer from the vessel
    • F17C2223/03Handled fluid before transfer, i.e. state of fluid when stored in the vessel or before transfer from the vessel characterised by the pressure level
    • F17C2223/033Small pressure, e.g. for liquefied gas
    • FMECHANICAL ENGINEERING; LIGHTING; HEATING; WEAPONS; BLASTING
    • F17STORING OR DISTRIBUTING GASES OR LIQUIDS
    • F17CVESSELS FOR CONTAINING OR STORING COMPRESSED, LIQUEFIED OR SOLIDIFIED GASES; FIXED-CAPACITY GAS-HOLDERS; FILLING VESSELS WITH, OR DISCHARGING FROM VESSELS, COMPRESSED, LIQUEFIED, OR SOLIDIFIED GASES
    • F17C2227/00Transfer of fluids, i.e. method or means for transferring the fluid; Heat exchange with the fluid
    • F17C2227/01Propulsion of the fluid
    • F17C2227/0128Propulsion of the fluid with pumps or compressors
    • F17C2227/0135Pumps
    • FMECHANICAL ENGINEERING; LIGHTING; HEATING; WEAPONS; BLASTING
    • F17STORING OR DISTRIBUTING GASES OR LIQUIDS
    • F17CVESSELS FOR CONTAINING OR STORING COMPRESSED, LIQUEFIED OR SOLIDIFIED GASES; FIXED-CAPACITY GAS-HOLDERS; FILLING VESSELS WITH, OR DISCHARGING FROM VESSELS, COMPRESSED, LIQUEFIED, OR SOLIDIFIED GASES
    • F17C2260/00Purposes of gas storage and gas handling
    • F17C2260/01Improving mechanical properties or manufacturing
    • F17C2260/018Adapting dimensions
    • FMECHANICAL ENGINEERING; LIGHTING; HEATING; WEAPONS; BLASTING
    • F17STORING OR DISTRIBUTING GASES OR LIQUIDS
    • F17CVESSELS FOR CONTAINING OR STORING COMPRESSED, LIQUEFIED OR SOLIDIFIED GASES; FIXED-CAPACITY GAS-HOLDERS; FILLING VESSELS WITH, OR DISCHARGING FROM VESSELS, COMPRESSED, LIQUEFIED, OR SOLIDIFIED GASES
    • F17C2270/00Applications
    • F17C2270/01Applications for fluid transport or storage
    • F17C2270/0102Applications for fluid transport or storage on or in the water
    • F17C2270/0105Ships
    • F17C2270/0107Wall panels

Landscapes

  • Engineering & Computer Science (AREA)
  • General Engineering & Computer Science (AREA)
  • Mechanical Engineering (AREA)
  • Physics & Mathematics (AREA)
  • Thermal Sciences (AREA)
  • Filling Or Discharging Of Gas Storage Vessels (AREA)

Description

本発明は、低温流体などの流体を貯蔵および/または輸送する、薄膜を備えた密閉断熱タンクの分野に関する。
薄膜を備えた密閉断熱タンクは、特に、約−162℃の大気圧で貯蔵される液化天然ガス(LNG)を貯蔵するために用いられている。それらのタンクは、陸上または浮遊施設に設置することが可能である。浮遊施設の場合では、タンクは、液化天然ガスを輸送するために設計してもよく、あるいは、浮遊施設の駆動のための燃料に用いられる液化天然ガスを収容するために設計してもよい。
液化天然ガスの貯蔵用密閉断熱タンクは、船舶の二重船体のような耐力構造体に一体化されており、そのようなタンクは、特許文献1に開示されている。タンクは、多層構造を有し、連続的に、タンクの外側から内側までの厚み方向に、耐力構造体に保持される二次断熱バリアと、二次断熱バリアに支持される二次密閉膜と、二次密閉膜に支持される一次断熱バリアと、タンク内に収容された液化天然ガスに接触する一次密閉膜と、を有する。
二次密閉膜は、タンクの外側に向かって突出する2つの垂直なコルゲーションを備えた複数の金属シートからなる。このため、タンク内に貯蔵された流体で生成される熱応力の作用により二次密閉膜が変形する。二次断熱バリアは、スタンダード寸法の複数の断熱パネルを有する。複数の断熱パネルは、耐力構造体に並んで配置され、隙間によって分けられている。二次密閉膜の各金属シートは、二次断熱バリアのスタンダード断熱パネルに対応する長さおよび幅を有する。また、二次密閉膜の各金属シートが断熱パネルの4つにわたって延び且つコルゲート金属シートのコルゲーションが断熱パネルを分ける隙間の内側に挿入されるように、二次密閉膜の各金属シートは、断熱パネルに対してオフセットされて配置されている。
2つの壁間のコーナーの領域において、二次断熱バリアは、2つの傾斜断熱パネルで構成された傾斜構造を有する。2つの傾斜断熱パネルは、それぞれ、2つの壁の耐力構造体に配置されており、二次断熱バリアのコーナーを共に形成する。また、2つの傾斜断熱パネルのそれぞれは、その内面に金属接続ストリップ(metal connecting strip)を有する。金属アングルプレートは、2つの傾斜断熱パネルのそれぞれの金属接続ストリップに溶接され、二次密閉膜の密閉を提供する。各壁の縁部で、コルゲート金属シートは、金属接続ストリップに溶接されることにより、二次密閉膜の接続を傾斜構造に提供する。壁の縁部における金属シートの寸法は、他の金属シートの寸法と異なっていてもよく、傾斜構造の寸法に適合させることができる。
しかしながら、二次断熱バリアの配置および上述の二次密閉膜の配置は、完全に満足できるものではない。
特に、そのような配置は、耐力構造体の製造中における許容差により、各壁の二次断熱バリアの構造的寸法公差を補うことができない。具体的には、耐力構造体の構造的許容は、数cm、例えば、4cm程度に達する可能性がある。
また、このような配置は、製造可能なタンクの寸法に関する制限を課すことになる。具体的には、タンク壁の向かい合う2つのコーナーの領域に配置されている2つの傾斜構造体間の寸法は、二次断熱バリアのスタンダード断熱パネルの幅または長さのいずれかの整数倍に実質相当しなければならない。
国際公開第2014/167213号
本発明の1つの考えは、従来技術における上述の欠点の少なくとも1つが改善された多層構造の密閉断熱タンクを提供することである。
一実施形態によれば、本発明は、流体を貯蔵する密閉断熱タンクを提供する。前記タンクは、多層構造を示す複数の壁を有する。前記壁は、連続してタンクの外側から内側へ厚さ方向に、耐力構造体に支持される二次断熱バリアと、前記二次断熱バリアに支えられる二次密閉膜と、前記二次密閉膜に支持される一次断熱バリアと、前記一次断熱バリアに支えられ、前記タンク内の流体に接触する一次密閉膜と、を有する。前記壁の第1壁に設けられた二次断熱バリアは、前記第1壁の耐力構造体と隣接する第2壁の耐力構造体との間の交差部に沿って設けられた一次断熱パネル、および、前記第2壁に向かい合う前記一次断熱パネルの1つの縁部に沿って前記一次断熱パネルと並んで配置される二次断熱パネル、で構成される。前記一次、二次断熱パネルは、それぞれ、小さな金属プレートを備えた前記耐力構造体に向かい合う内面、を有する。前記第1壁に設けられた前記二次密閉膜は、第1金属シートおよび第2金属シートで構成される。前記第1金属シートは、少なくとも2つの垂直なコルゲーションと、互いに向かい合う第1、第2縁部と、を有する。前記第1縁部は、前記第2壁に面するよう配置され、前記第2縁部は、前記第2壁と離れて配置されている。前記第1金属シートの第1縁部は、一方が前記一次断熱パネルの前記小さな金属プレートに溶接されて、前記一次断熱パネルに対して前記第1金属シートを保持し、他方が前記第2壁の前記二次密閉膜の前記第1金属シートに溶接される第2フランジを備えた小さなアングルプレートの第1フランジに溶接される。前記第2金属シートは、少なくとも2つの垂直なコルゲーションと、互いに向かい合う第1、第2縁部と、を有する。前記第2金属シートの前記コルゲーションの1つは、前記第1金属シートのコルゲーションの1つの延長上に設けられている。前記第1縁部は、前記第2壁に向かって配向され、前記第2縁部は、前記第2壁から離れる方向に配向され、前記二次断熱パネルの前記小さな金属プレートに溶接されている。前記第1金属シートの第2縁部および前記第2金属シートの第1縁部が共に溶接されている。前記第1金属シートの前記第2縁部から1つの縁部および前記第2金属シートの前記第1縁部は、前記第1、第2金属シートが互いに重なり合って溶接させることが可能な段付き縁部を有する。
このため、2つのシート、すなわち、第1、第2金属シートを用いて、一次断熱パネルと二次断熱パネルとの間の二次密閉膜の密閉を作ることにより、第1、第2金属シート間の重なりの幅、または、第2金属シートの幅に適合させることで、耐力構造体の少なくとも寸法許容を補うことができる。
同様に、第1、第2金属シート間の重なりの幅、または、第2シートの幅を適合させることは、タンクの寸法を選択する際に、より大きな柔軟性を可能にする。
また、二次断熱パネルの寸法は、二次断熱バリアの製造上の寸法公差を補うため、および/または、タンクの所望の寸法に合わせるために、調整することができる。
また、第1、第2金属シートの接続は、タンクのコーナーの領域で、密閉膜の金属シートと二次断熱バリアの断熱パネルとの間のオフセットを行うことを可能にし、隣接する平面エリアにおける二次密閉膜の金属シートが、複数の断熱パネルを横断して延びることができる。
最終的に、二次密閉膜は、第1金属シートを介して、タンクの隣接する2つの壁間の交点の近くまで延びるコルゲーションを有する。コルゲーションは、傾斜構造の領域で優れた可撓性を備えたタンクを与えることを可能にする。
一実施形態によれば、流体用のそのような密閉断熱貯蔵は、以下の特徴を1つ以上有することができる。
段付き縁部は、4cm以上の幅を有する。
前記第1壁の二次密閉膜は、前記第2金属シートの第2縁部から前記第2壁に向かい合う第3壁に向かって延びる平面エリアに、少なくとも2つの垂直なコルゲーションを備えた複数のスタンダード金属シートを有する。前記少なくとも2つの垂直なコルゲーションの1つは、前記交差部に平行である。前記複数のスタンダード金属シートの交差部に平行な前記コルゲーションは、スタンダードのコルゲーション間距離で互いに分けられている。前記交差部に平行な前記第1金属シートのコルゲーションは、前記スタンダードのコルゲーション間距離とは異なるコルゲーション間距離で、前記交差部と平行な前記第2金属シートのコルゲーションと区別されている。つまり、交差部に平行な第1金属シートのコルゲーションと交差部に平行な第2金属シートのコルゲーションとのコルゲーション間距離は、壁のスタンダード平面エリアにおける交差部に平行な2つのコルゲーション間のスタンダードコルゲーション間距離とは異なる寸法である。
第1金属シートの第2縁部および第2金属シートの第1縁部は、前記一次、二次断熱パネルを分ける隙間と垂直に互いに溶接されている。
一次断熱パネルは、複数の連結要素を用いて、二次断熱パネルと組み合わせられる。各連結要素は、一次、二次断熱パネルの相互分離を防ぐために、一方が一次断熱パネルの内面の縁部に固定され、他方が二次断熱パネルの内面の対向する縁部に固定されている。
連結要素は、一次、二次断熱パネルの内面に支持される外面および内面を備えた連結プレートである。連結プレートの少なくとも1つは、小さな金属プレートを備えた内面を有する。第1金属シートの第2縁部および第2金属シートの第1縁部は、小さな金属プレートに溶接される。
第1金属シートは、第2壁を横断する方向に延びる複数のコルゲーションと、第1、第2壁間の交差部に平行な軸に沿って延びるシングルコルゲーションと、を有する。
前記第2金属シートは、前記第2壁を横断する方向に延びる複数のコルゲーションと、前記第1、第2壁間の交差部に平行な軸に沿って延びるシングルコルゲーションまたは2つのコルゲーションと、を有する。
前記金属アングルプレートは、前記第1、第2壁間の交差部と平行な方向に前記金属アングルプレートの変形を可能にするために、前記第1、第2フランジに沿って前記金属アングルプレートの一端から他端に延びるコルゲーションを有する。前記コルゲーションは、前記第2壁を横断する方向に延びる前記第1金属シートのコルゲーションの1つの延長上に延びている。
タンクは、シングルコルゲーションを有する複数の金属アングルプレートで構成されている。金属アングルプレートのそれぞれは、第1金属シートのコルゲーションの延長線上で第1金属シートに溶接される。
また、各金属アングルプレートは、一次断熱パネルの金属シートに溶接される。
第1、第2金属シートのコルゲーションは、耐力構造体の方向にタンクの外側に突出している。一次、二次断熱パネルの内面は、第1、第2金属シートのコルゲーションをそれぞれ収容する垂直な溝を有する。
一次断熱パネルは、第2壁を横断する2つの溝の各区間に、小さな金属プレートと、第1金属シートの第1縁部と、金属アングルプレートの第1フランジまたはそこに溶接される金属アングルプレートの1つと、を有する。
二次断熱パネルは、第2壁を分断する2つの溝の各区間に、金属シートと、そこに溶接される二次金属シートの第2縁部と、を有する。
第1、第2金属シートのコルゲーションは、タンクの内側に向かって突出している。一次断熱バリアは、断熱パネルで構成されている。各断熱パネルは、二次密閉膜の第1、第2金属シートのコルゲーションを収容する垂直な溝を備えた内面を有する。
前記第1壁の前記二次断熱バリアは、前記第2壁に向かい合う前記二次断熱パネルの縁部から前記第2壁に向かい合う第3壁に向かって延びる平面エリアにおいて、並列に並んで配置された複数のスタンダード断熱パネル、を有する。前記複数のスタンダード断熱パネルのそれぞれは、直方体形状であり、小さな金属プレートを備えた耐力構造体と向かい合う内面を有する。前記第1壁の前記二次密閉膜は、前記第2金属シートの第2縁部から前記第3壁に向かって延びる平面エリアにおいて、複数のスタンダード金属シートを有する。前記複数のスタンダード金属シートのそれぞれは、少なくとも2つの垂直なコルゲーションを有する。前記少なくとも2つの垂直なコルゲーションは、互いに溶接され、前記複数のスタンダード断熱パネルを横切ってそれぞれ設けられ、前記スタンダード断熱パネルの小さな金属プレートに溶接される。前記スタンダード金属シートの1つは、前記第2壁に向かって配向される縁部を有する前記第2金属シートに隣接している。前記第2金属シートは、一方が、前記二次断熱パネルの前記小さな金属プレートに溶接され、他方が、前記第2金属シートの前記第2縁部に溶接されている。
複数のスタンダード断熱パネルは、同じ寸法を有する。二次断熱パネルは、第2壁と向かい合う縁部に向かって第2壁に面して配向される縁部から延びる方向に、スタンダード断熱パネルの対応する寸法とは異なる寸法を有する。
一次パネルの一次断熱バリアは、固定部材を用いて二次断熱バリアの一次断熱パネルに固定される第1断熱ブロックを有する。第1金属シートは、固定部材の通路用オリフィスを有し、オリフィスの周りで固定部材に溶接される。
一実施形態によれば、一次断熱ブロックは、一次断熱ブロックに形成されたオリフィスを通るねじピンを用いて一次断熱パネルに固定される。ねじピンは、キャップナットに形成されたねじ穴と協働する。また、キャップナットは、第1金属シートに形成されたオリフィスを横断し、一次断熱パネルに取り付けられる小さな固定プレートに形成されたねじ穴と協働するねじ部を有する。また、キャップナットは、一次断熱パネルに対して第1金属シートを押すと共に、オリフィスの周りで第1金属プレートに溶接されるフランジ、を有する。
一次断熱パネルは、第2壁の一次断熱パネルと共に、第1、第2壁の間の交差部でタンクのコーナーを形成する予め組み立てられた傾斜構造を形成する。
このようなタンクは、例えばLNGを貯蔵する陸上貯蔵施設の一部で形成してもよく、あるいは、陸上や沖合の浮遊構造、特に、LNG船、浮体式貯蔵再ガス化設備(FSRU)、浮体式生産貯蔵積出設備(FPSO)等に設置することも可能である。
一実施形態によれば、冷液体物を輸送する船舶は、二重船体と、二重船体に設けられる上述のタンクと、を有する。
一実施形態によれば、本発明は、また、このような船舶に供給または排出する方法、または、このような船舶から供給または排出する方法、を提供する。流体は、浮遊貯蔵施設または陸上貯蔵施設から船舶のタンクまで、または、船舶のタンクから浮遊貯蔵施設または陸上貯蔵施設まで、断熱パイプラインを通って送られる。
一実施形態によれば、本発明は、また、流体を輸送するシステムを提供する。そのシステムは、船と、船の船体に取り付けられるタンクを浮遊貯蔵施設または陸上貯蔵施設につなぐ絶縁パイプと、浮遊貯蔵施設または陸上貯蔵施設から船のタンクまで、または、船のタンクから浮遊貯蔵施設または陸上貯蔵施設まで、絶縁パイプを介して液体を運ぶポンプと、を有する。
本発明は、広範囲の表面に容易に実装することができる密閉断熱多層構造を提供する考えに基づいている。
以下の本発明の実施形態の記載によって、本発明はより一層理解されやすく、また、本発明の他の目的、詳細、特徴および利点はより一層明確に理解される。本発明の実施形態の記載は、添付の図面を参照して説明を意図してなされたものであり、本発明の範囲を限定するものではない。
2つの壁間のコーナーエリアにおける流体の貯蔵用密閉断熱タンクの断面図である。 タンク壁の平面エリアの断面斜視図である。 タンクのコーナーエリアにおける二次断熱バリアを示す斜視図である。 タンクのコーナーエリアにおける二次断熱バリアおよび二次密閉膜を示す斜視図である。 隣接する2つの一次断熱パネル間の隙間の領域における二次断熱バリアおよび二次密閉膜の部分立体分解図である。 タンクのコーナーエリアにおける二次断熱バリアおよび二次密閉膜を部分的に示す断面図である。 図6の領域VIIの詳細図である。 タンクのコーナーにおける1つの壁の二次密閉膜を上から部分的に示す図である。 タンクのコーナーエリアにおける二次断熱バリア、二次密閉膜、および、一次断熱バリアを示す断面図である。 タンクのコーナーエリアにおける二次断熱バリア、二次密閉膜、一次断熱バリアを示す斜視図である。 タンクのコーナーエリアにおける一次密閉膜を示す分解斜視図である。 タンクのコーナーエリアにおける一次密閉膜を示す斜視図である。 タンクの2つの壁間のコーナーエリアにおける他の実施形態に係る流体の貯蔵用密閉断熱タンクの断面図である。 LNG船のタンク、および、タンクに、または、タンクから供給/排出する施設の概略図である。 別の実施形態にかかるタンクのコーナーエリアにおける二次断熱バリアおよび二次密閉膜を部分的に示す断面図である。 図15の領域XVIの詳細図である。 タンクの3つの壁間の交差部で二次断熱バリアを示す斜視図である。 タンクの3つの壁間の交差部で二次断熱バリアおよび一次断熱バリアを部分的に示す斜視図である。 タンクの3つの壁間の交差部で一次密閉膜を部分的に示す斜視図である。
通常、「外(external)」および「内(internal)」の用語は、タンクの内部およびタンクの外部に関連して、ある構成要素において他の構成要素に対する相対的な位置を定義するために用いられる。
図1と図2に関して、液化天然ガスを貯蔵する密閉断熱タンクの多層構造が示されている。タンクの各壁は、タンクの外側から内側に、二次断熱バリア1と、二次密閉膜4と、一次断熱バリア5と、一次密閉膜7と、を有する。二次断熱バリア1は、並んで配置されると共に二次保持部材8により耐力構造体3に固定される断熱パネル2、を備える。二次密閉膜4は、二次断熱バリア1の断熱パネル2に支持されている。一次断熱バリア5は、並んで配置されると共に一次保持部材19により二次断熱バリア1の断熱パネル2に固定される断熱パネル6、を備える。一次密閉膜7は、一次断熱バリア5の断熱パネル6に支持され、タンクに収容される液化天然ガスに接触する。
特に、耐力構造体3は、自立型金属シートであってもよく、または、より一般的には、適切な機械的特性を有する任意のタイプの剛性隔壁であってもよい。具体的には、耐力構造体3は、船舶の船体や二重船体で形成されていてもよい。また、耐力構造体3は、タンクの全体形状、通常は多面体形状を定義する壁を有する。
二次断熱バリア1は、図示されていない樹脂ビーズ、および/または、耐力構造体3に溶接されるピン8を用いて耐力構造体3に固定される複数の断熱パネル2を有する。
図1に示されているように、各断熱パネル2は、剛性内部プレート10と剛性外部プレート11との間に挟まれる断熱ポリマー発泡体層9を有する。剛性内部プレート10および剛性外部プレート11は、例えば、断熱ポリマー発泡体層9に接着される合板シートである。断熱ポリマー発泡体は、特に、ポリウレタン系発泡体であってもよい。ポリマー発泡体は、有利には、ガラスファイバーを用いて強化され、それにより、熱収縮係数の低減が促進される。
壁の平坦エリアでは、図2に示されているように、断熱パネル2は、略直方体形状を有し、平行な列に沿って並べて配置されており、機能的なアセンブリ間隔(functional assembly clearance)を確保する隙間12により互いに分けられている。断熱パネル2は、例えば、長さ3mと、幅1mと、を有する。隙間12は、図2に示されているように、例えば、ガラスウール、ロックウール、オープンセル軟質合成発泡体(flexible synthetic foam with open-cells)などの断熱ライニング13で充填される。断熱ライニング13は、断熱パネル2間の隙間12におけるガス流空間を提供するように、多孔性材料で作られることが有利である。隙間12は、例えば、30mmの幅を有する。
図2に示されているように、内部プレート10は、溝のネットワークを形成するために、互いに垂直な2つのシリーズの溝14、15を有する。各シリーズの溝14、15のそれぞれは、断熱パネルの対向する辺に平行である。溝14、15は、タンクの外側に向かって突出しており、二次密閉膜4の金属シート状に形成されるコルゲーションを収容するように設計されている。
図示されている実施形態において、壁の平坦エリアでは、各内部プレート10は、断熱パネル2の縦方向に延びる3個の溝14と、断熱パネル2の横方向に延びる9個の溝15と、を有する。
溝14、15は、内部プレート10の厚さを部分的にまたは全体的に通過する。全体的に通過する場合において、溝14、15は断熱ポリマー発泡体の層の領域内に開口する。また、溝14、15間の交差エリアにおいて、断熱パネル2は、断熱ポリマー発泡体の層に形成されるクリアランスオリフィス(clearance orifices)16を有する。クリアランスオリフィス16は、二次密閉膜4の金属シートのコルゲーション間の交点に形成される結合エリア(joining areas)の収容を可能にする。
また、内部プレート10には、二次密閉膜4のコルゲート金属シートを断熱パネル2に固定させるための小さな金属プレート17、18が、設けられている。小さな金属プレート17、18は、断熱パネル2の対向する2つの辺にそれぞれ平行である2つの垂直方向に延びている。小さな金属プレート17、18は、例えば、ねじ、リベット、または、ステープルなどで断熱パネル2の内部プレート10に取り付けられている。小さな金属プレート17、18は、小さな金属プレート17、18の内面が、内部プレート10の内面に接するように、内部プレート10に形成される凹部に配置されている。
また、内部プレート10には、ねじ付きピン19が設けられている。ねじ付きピン19は、タンクの内部に向かって突出しており、一次断熱バリア5を二次断熱バリア1の断熱パネル2に取り付けるように設計されている。
断熱パネル2を耐力構造体3に固定されたピン8に取り付けるために、断熱パネル2には、図2に示すように、円筒状の凹部20が設けられている。凹部20は、その断熱パネル全体の厚さにわたって断熱パネル2を横断し、断熱パネル2の4つのコーナーのそれぞれの領域に形成されている。円筒状の凹部20は、図示されていない断面変化を有し、ピン8のねじ切れされた端部と相互作用するナット用の支持面を画定する。
内部プレート10は、その縁部に沿って、2つの連続する溝14、15間の各隙間に、連結プレート22を収容するセットバック部を有する。連結プレート22は、隣接する2つの断熱パネル2にわたってそれぞれ配置されており、断熱パネル2間の隙間にまたがっている。各連結プレート22は、互いに離れないように、隣接する2つの断熱パネル2のそれぞれに固定されている。連結プレート22は、直方体形状を有し、例えば、合成シートで構成されている。連結プレート22の外面は、セットバック部21の底部に固定されている。セットバック部21の奥行きは、連結プレート22の内面が内部プレート10の他の平らなエリアの範囲まで実質的に達するように、連結プレート22の厚さに実質的に等しい。このため、連結プレート22は、二次密閉膜4の支持能力を連続的に保証することができる。
隣接するパネル間の連結力の適切な分配を確保するために、複数の連結プレート22は、断熱パネル2の内部プレート10の各縁部に沿って延びている。連結プレート22は、1シリーズの並列な溝における隣接する2つの溝14、15間に間隔をおいて配置されている。連結プレート22は、適切な手段により断熱パネル2の内部プレート10に固定されてもよい。その一方で、連結プレート22の外面と断熱パネル2の内部プレート10との間の接着剤、および、ステープルなどの機械的固定部材の使用、を組み合わせれば、特に効果的であることが観察されている。ステープルなどの固定部材は、連結プレート22を断熱パネルに押し付けることが可能である。
二次密閉膜4は、実質的に矩形形状の複数のコルゲート金属シート24を有する。コルゲート金属シート24は、コルゲート金属シート24のそれぞれが、隣接する4つの断熱パネル2と共に延びるように、二次断熱バリア1の断熱パネル2に対してオフセットして配置されている。各コルゲート金属シート24は、第1方向に延びる第1シリーズの並列コルゲーション25と、第2方向に延びる第2シリーズの並列コルゲーション26と、を有する。第1、第2シリーズの並列コルゲーション25、26の方向は、互いに垂直である。また、第1、第2シリーズの並列コルゲーション25、26のそれぞれは、コルゲート金属シート24の両端部に平行である。コルゲーション25、26は、タンクの外側、すなわち、耐力構造体3の方向に向かって突出している。コルゲート金属シート24は、コルゲーション25、26間に複数の平面を有する。2つのコルゲーション25、26間の交点のそれぞれの領域で、金属シートは、タンクの外側に向かって突出するトップ部を備えた結合エリアを有する。コルゲート金属シート24のコルゲーション25、26は、断熱パネル2の内部プレート10に形成された溝14、15に収容される。隣接するコルゲート金属シート24は、重なり合って共に接着される。また、コルゲート金属シート24は、タック溶接で小さな金属プレート17、18に固定される。
また、コルゲート金属シート24は、縦方向の縁部に沿って4つのコーナーの領域に、切り欠き28を有する。切り欠き28は、一次断熱バリア5を二次断熱バリア1に固定するピン19の通過を可能にする。
コルゲート金属シート24は、例えば、Invar(登録商標)、すなわち、典型的には1.2×10-6〜2×10-6-1の膨張係数を有する鉄とニッケルの合金、または、典型的には約7×10-6-1の膨張係数を有するマンガン含有量の高い鉄合金で製造される。あるいは、コルゲート金属シート24は、ステンレス鋼またはアルミニウムで製造されてもよい。
一次断熱バリア5は、略直方体形状の複数の断熱パネル6を有する。断熱パネル6は、異なることができる厚み以外は、断熱パネル2に等しい寸法を有する。断熱パネル6の厚みは、断熱パネル2より薄い厚みを有することが好ましい。この場合では、各断熱パネル6が、二次断熱バリア1の4つの断熱パネル2にわたって延びるように、断熱パネル6は二次断熱バリア1の断熱パネル2に対してオフセットされる。
断熱パネル6は、二次断熱バリア1の断熱パネル2と同様の構成、すなわち、例えば、合板で製造される2つの硬質シート間に挟まれる断熱ポリマー発泡体層からなるサンドイッチ構造、を有する。
一次断熱バリア5の断熱パネル6の内部プレート30には、一次密閉膜7のコルゲート金属シートを固定するための小さな金属プレート32、33が設けられている。小さな金属プレート32、33は、断熱パネル6の両縁部にそれぞれ平行である2つの垂直方向に延びている。また、小さな金属プレート32、33は、断熱パネル5の内部プレート30に形成される凹部に固定され、例えば、ねじ、リベット、または、ステープルにより凹部に固定される。
また、断熱パネル6の内部プレート30には、複数の圧力緩和スロット34が設けられている。圧力緩和スロット34は、断熱パネル6における過剰な機械的応力を発生させずに、一次密閉膜7を変形できるようにする。そのような圧力緩和スロットは、具体的には、フランス国第3001945号に記載されている。
一次断熱バリア5の断熱パネル6は、ねじ込みピン19を用いて、二次断熱バリアの断熱パネル2に固定される。これを達成するために、各断熱パネル6は、その縁部に沿ってそのコーナー領域において複数の切り欠き35を有し、切り欠き内には、ねじ込みピン19が延在する。断熱パネル2の外部プレートは、切り欠き35の内側に突出して、各ねじ込みピン19に滑動するねじ付きボアを含む保持部材用の支持面を形成する。保持部材は、切り欠き35の内部に収容され且つ切り欠き35の内側に突出する外部プレートの一部分に対して支持する突起(lugs)を有し、保持部材の突起と二次断熱バリア1の断熱パネル2との間の外部プレートを挟みこむ。このため、各断熱パネル6は、またがっている断熱パネル2に取り付けられる。
一次断熱バリア5は、一次密閉膜7の支持面が切り欠き35の領域で補うことが可能な複数の閉鎖プレート38、を有する。
一次密閉膜7は、複数のコルゲート金属シート39を組み立てることにより得られる。各コルゲート金属シート39は、第1方向に延びる第1シリーズの並列コルゲーション40(以下、上部コルゲーションと称する)と、第1シリーズと垂直な第2方向に延びる第2シリーズの並列コルゲーション41(以下、下部コルゲーションと称する)と、を有する。コルゲーション40、41は、タンクの内側に向かって突出している。コルゲーション金属シート39は、例えば、ステンレス鋼またはアルミニウムで製造される。図示されていない一実施形態では、第1、第2シリーズのコルゲーションは、同じ高さを有する。
図1を参照すると、第1壁42と第2壁43との間のコーナーの領域におけるタンク壁の構造が、示されている。
第1壁42と第2壁43との間に形成される角度は、図示されている実施形態において、略90°である。しかしながら、この角度は、任意の数値であってもよく、例えば、約135°であってもよい。
各壁42、43の二次断熱バリア1は、一次断熱パネル44のセットを有する。一次断熱パネル44のセットは、第1壁42の耐力構造体3と第2壁43の耐力構造体3との間の交差部45に沿ってそれぞれ配置されている。各一次断熱パネル44は、他の隣接する壁の一次断熱パネル44と共に、二次断熱バリア1のコーナーを形成するように、矩形台形形状(rectangular trapezium)の断面を有する。
このため、二次断熱バリア1の各一次断熱パネル44は、耐力構造体3に取り付けられる外面46と、二次密閉膜4を支持する内面47と、第1壁42の耐力構造体3と第2壁43の耐力構造体3との交差部45に向かい合い、外面46および内面47と垂直である縁部48と、交差部45に隣接する縁部49と、を有する。縁部49は、面取りされて、他の壁の一次断熱パネル44の面取りした縁部49と協力して、二次断熱バリア1のコーナーを形成する。また、各一次断熱パネル44は、交差部45の方向に互いに向かい合う2つの並列な終端部を有する。2つの並列な終端部は、内面46と、外面47と、交差部45に向かい合う縁部48と、に垂直である。
一実施形態によれば、壁42、43のそれぞれの一次断熱パネル44は、それらの面取りされた縁部49を介して接着結合により互いに接続されて、予め組み立てられた角度が付いた構造を形成する。
また、各壁42、43の二次断熱バリア1は、二次断熱パネル50のセットを有する。二次断熱パネル50は、一次断熱パネル44のセットと並んで配置されており、交差部49から離れて向かい合う一次断熱パネル44の縁部48に沿って延びている。図示されている実施形態において、二次断熱パネル50は、図2に関連して示された他の断熱パネル2のものと同様の構造を有する。
その一方で、二次断熱パネル50は、断熱パネル2のものと異なる幅を有することができる。その二次断熱パネル50の幅は、特に、二次断熱バリアの製造寸法公差(manufacturing dimensional tolerances)を補うために適合させることができ、および/または、タンクの所望の寸法に適合させることができる。このため、図示されている実施形態では、二次断熱パネル50が、それぞれ、二次断熱パネル50の縦方向に沿って延びる3つの溝14を有し、結果として、二次断熱バリア1の他のスタンダードの断熱パネル2のように、3つのコルゲーション区間に実質的に対応する幅を有する。二次断熱パネル50は、異なる幅を有してもよく、例えば、製造予定のタンクの寸法に応じて、2つのコルゲーション区間に実質的に対応する幅を有していてもよい。
各一次断熱パネル44は、複数の連結要素22を用いて、隣接する二次断熱パネル50に接続される。また、複数の連結要素22は、隣接する一次、二次断熱パネル44、50の相互分離を避けるために、一次断熱パネル44の内面47の縁部、および、隣接する二次断熱パネル50の内面10の縁部に固定される。
図3に関して、二次断熱膜1の一次断熱パネル44の構成が、詳細に示されている。
一次断熱パネル44は、2つの剛性プレート52、53の間に挟まれる断熱ポリマー体51の層のサンドイッチ構造を有する。2つの剛性プレート52、53は、例えば、合板で作られている。
一次断熱パネル4の内部プレート52は、二次密閉膜4の第1金属シートのセットのコルゲーションを収容する垂直な溝54、55のネットワークを有する。内部プレート52は、第1壁42の耐力構造体3と第2壁43の耐力構造体3との間の交差部45に平行に延びるシングル溝54を有する。また、内部プレート52は、シングル溝54に垂直な複数の溝55を有する。複数の溝55は、互いに平行であり、交差部45の方向に互いに間隔を置いて配置されている。
また、一次断熱パネル44の内部プレート52には、複数の小さな金属プレート56が設けられている。小さな金属プレート56は、例えば、Invar(登録商標)で作られており、以下に詳細に記載する二次密閉膜の第1金属シートの縁部を固定するために設計されている。小さな金属プレート56は、一次断熱パネル44の2つの終端部58、59、および、交差部45から離れて面する一次断熱パネル44の縁部48にそれぞれ平行である2つの垂直方向に設けられている。また、小さな金属プレート56は、金属アングルプレートの固定のために設けられている。金属アングルプレートは、傾斜エリアで二次密閉膜の密閉を確実に行うことができ、以下に詳細に説明する。また、小さな金属プレート56は、一次断熱パネル44の内部プレート52に形成された凹部に、例えば、ねじ、リベット、ステープルなどにより固定されている。
図示されている実施形態において、金属アングルプレートを固定するために設計された小さな金属プレート56の1つは、2つのコルゲーション55のそれぞれに設けられている。また、内部プレート52は、例えば、コンポジット膜によって形成された熱保護要素57に重なり合っている。熱保護要素57は、エリアに設けられており、そのエリアの一方が、第1金属シート上の金属アングルプレートの溶接エリアに向かい合っており、その他方が、小さな金属プレート56と重なり合わない。このため、熱保護要素57は、一次断熱パネル44、特に、ポリマー発泡体51の層を、金属アングルプレートおよび第1金属シートの溶接中に損傷を受けやすい温度に対して保護することを可能にする。
また、内部プレート52には、二次断熱バリア1の一次断熱パネル44に対して一次断熱バリアの断熱ブロックの固定を確実に行うための小さな固定プレート58が、設けられている。小さな固定プレート58は、例えば、内部プレート52に接着結合されている。
図4には、タンクのコーナー領域における二次密閉膜4の構成が示されている。
各壁42、43の二次密閉膜4は、実質的に全体が矩形形状の第1金属シート60のセットを有する。第1金属シート60は、2つの壁間の交差部に平行な対向する第1、第2縁部61、62を有する。第1縁部61は、他の隣接する壁に面しており、第2縁部62は、他の隣接する壁から離れて面している。また、第1金属シート60は、第3縁部63と、第4縁部64と、を有する。第3縁部63および第4縁部64は、互いに平行であり、第1縁部61および第2縁部62にそれぞれ垂直である。
各第1金属シート60は、第1、第2縁部61、62に平行な方向に延びるシングルコルゲーション65を有する。また、第1金属シート60は、そのコルゲーション65と垂直な数個のコルゲーション66、すなわち、第3、第4縁部63、64と平行なコルゲーション66のシリーズを有する。例として、第1金属シート60は、この場合では、シングルコルゲーション65と垂直な9個のコルゲーション66のシリーズを有する。コルゲーション65、66は、耐力構造体3の方向にタンクの外側に向かって突出しており、一次断熱パネル44の1つの内部プレート52に形成される各溝54、55に収容される。
第1金属シート60のそれぞれは、隣接する2つの一次断熱パネル44を横断して設けられており、その一次断熱パネルのそれぞれに固定されている。これを達成するために、第1金属シート60の第1縁部61は、小さな金属プレート56に溶接され、その一方で、第3、第4縁部63、64は、熱保護要素105と垂直に溶接されている。また、第1金属シート60は、第3、第4縁部63、64の領域で、互いに重なり合うように、密接に溶接されている。
また、二次密閉膜2は、複数の金属アングルプレート67を有する。金属アングルプレート67は、二次密閉膜4の他の金属シート24、60と同一の材料で製造されることが好ましい。
各金属アングルプレート67は、隣接する2つの壁42、43のそれぞれに平行な2つのフランジを有する。各金属アングルプレート67は、隣接する2つの壁42、43の耐力構造体間の交差部に平行な方向に金属アングルプレート67の変形を可能にするために、その2つのフランジに沿って金属アングルプレート67の一端から他端まで延びるコルゲーション68を有する。二次密閉膜4は、コルゲーション66間に金属アングルプレート67を有する。金属アングルプレートのコルゲーション68は、各コルゲーション66の延在方向に延びており、タンクのコーナーの領域における二次密閉膜4のコルゲーションのネットワークで連続性を保証する。
各金属アングルプレート67は、そのフランジの一方で第1壁42の一次断熱パネル44の2つの小さな金属プレート56に溶接されており、また、そのフランジの他方で第2壁43の一次断熱パネルの2つの小さな金属プレート56に溶接されている。各フランジは、その側縁部の1つと他方のフランジに向かい合う終端部との間の傾斜エリアで小さな金属プレート56に溶接されている。
また、図5には、同じ壁の隣接する一次断熱パネル44が、連結プレート69を用いて共に結合されたことが示されている。連結プレート69は、隣接する2つの一次断熱パネル44のそれぞれの内面52に固定されている。連結プレート69の内面は、小さな金属プレート82に部分的に重なり合う。小さな金属プレート82は、小さな金属プレート56の位置決め方向(positioning direction)に延び、2つの隣接する一次断熱パネル44を分ける隙間の領域において、2つの金属アングルプレート67および第1金属シート60の固定を可能にする。図示されていない形態では、小さな金属プレート82は、熱保護要素で取り替えられ、また、小さな金属プレートは、金属アングルプレート67の内面および第1金属シート60の内面に適用される。
図4に示されているように、第1金属シート60のそれぞれの第1縁部61は、金属アングルプレート67のフランジの1つに密接に溶接されている。
また、第1金属シート60は、複数のオリフィス(orifice)83を有する。固定部材は、そのオリフィスを通り、一次断熱バリアの断熱ブロックを固定させることができる。図6および図7に関して、キャップナット84が各オリフィス83を横断することが示されている。キャップナット84は、その外周上に、小さな固定プレート58の1つに形成されたねじ穴と協働するねじ部を有する。また、キャップナット84は、断熱バリアの断熱ブロックを固定するためのピンを収容するねじブラインド穴(threaded blind bore)を有する。さらに、キャップナット84は、第1金属シート60をフランジ85と小さな固定プレート58との間に挟み込ませることを可能にするフランジ85を有する。一実施形態によれば、各フランジ85は、二次密閉膜の密閉を確実に行うために、オリフィス83の外周上で第1金属シート60に溶接される。
図6および図7に示されている変形例では、各小さな固定プレート58が、内部プレート52を用いて一次断熱パネル44の1つに保持されている。これを達成するために、小さな固定プレート58は、内部プレート52のハウジングに収容されている。また、内部プレート52は、ハウジングに部分的に重なり且つ小さな固定プレート58の縁部107の一部に重なる縁部106を有し、断熱ポリマー発泡体51の層に対して小さな固定プレート58を保持する。そのような実施形態において、各小さな固定プレート58を断熱パネル44の1つに固定させることを確実に行うために、小さな固定プレート58は、内部プレート52に固定される前に、例えば、接着剤によって断熱ポリマー発泡体51の層に予め取り付けられている。また、各小さな固定プレート58は、ポリマー発泡体51の断熱層に接着剤で固定されていてもよい。
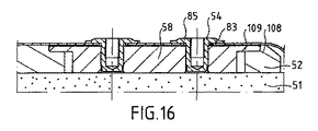
別の変形例では、図15および図16に示されているように、各小さな固定プレート58は、その内部プレート52を用いて断熱プレート44の1つに保持されておらず、各断熱パネル44の断熱ポリマー発泡体51の層に接着されることにより取り付けられている。各小さな固定プレート58は、各断熱パネル44の内部プレート52に形成されるハウジングに配置されている。有利には、内部プレート52に形成されるハウジングは、小さな固定プレート58の内縁部109用の支持面として役立つショルダー108を有する。
図示されていない別の実施形態によれば、各小さな固定プレート58は、キャップナット85の通過を可能にするオリフィスを備えた合板の層によって重なり合ってもよい。合板の層は、この場合では、第1金属シート60の支持を確実に行うことに貢献する。
また、図8に関して、各壁の二次密閉膜4が、第2金属シート86のセットを有する。第2金属シート86は、一方が二次断熱パネル50に固定され、他方が第1金属シート60に溶接されている。
第2金属シート86は、第1縁部87および第2縁部88によって画定される全体が実質的に矩形形状、を有する。第1縁部87および第2縁部88は、互いに向かい合っており、2つの壁42、43の間の隣接する交差部に平行である。第1縁部87は、タンクの隣接するコーナーに向かって面しており、一方、第2縁部88は、このコーナーから離れる方向に面している。また、第2金属シート86は、第3縁部と、第4縁部89と、を有する。ここで示されているのは、第3、第4縁部の一方だけである。第3縁部および第4縁部は、互いに平行であり、第1縁部87および第2縁部88にそれぞれ垂直である。
図示されている実施形態において、第2金属シート86は、それぞれ、第1、第2縁部87、88に平行な方向に延びるシングルコルゲーション90を有する。また、第1金属シートは、コルゲーション90に垂直な、すなわち、第3、第4縁部89に平行な複数のコルゲーション91のシリーズを有する。一例として、第2金属シート86は、この場合では、9個のコルゲーション91のシリーズを有する。
図示されていない別の実施形態において、第2金属シート86は、特に、二次断熱バリア1のスタンダード断熱パネル2に関連して、平面エリアの金属シート24の異なるオフセットを生成する場合において、第1、第2縁部87、88に平行な方向に延びる2つのコルゲーション90を有していてもよい。
コルゲーション90、91は、耐力構造体3の方向にタンクの外側に向かって突出しており、二次断熱パネル50の内部プレートに形成された各溝の1つにそれぞれ収容される。
第2金属シート86のそれぞれは、2つの隣接する二次断熱パネル50を横断して配置されており、その二次断熱パネル50のそれぞれに固定されている。これを達成するために、二次断熱パネル50は、小さな金属プレート92、93を有する。小さな金属プレート92、93は、2つの垂直方向に延びており、二次断熱パネル50の両側にそれぞれ平行である。第2金属シート86のそれぞれの第2縁部88は、小さな金属プレート92に溶接され、第3、第4縁部89は、小さな金属プレート93に溶接される。また小さな第2金属プレート86は、第3、第4縁部89の領域において互いに重なり合うように密接して溶接されている。
また、第2金属シート86のそれぞれの第1縁部87は、第1金属シート60の1つの第2縁部62に密接に溶接されている。第1金属シート60の第2縁部62および第2金属シート86の第1縁部87の1つの縁部には、段付き部(joggled portion)が設けられている。すなわち、段差のある部分を有し、それにより、他の縁部の上に置くことができる。図示されている実施形態では、段付き部は、第1金属シート60の第2縁部87に形成されている。
一実施形態によれば、第2の段付き縁部(second joggled edge)62は、十分な寸法を有する。第1金属シート60および第2金属シート86が重なり合うことにより、幅の適応が、二次断熱バリア1および関連する壁の二次密閉膜4の構造上の公差を補うことが少なくともできる。また、一実施形態によれば、段付き縁部は、4cm以上の幅を有する。
他の実施形態によれば、第1金属シート60の幅は、耐力構造体3の製造上の公差を補うために適合される。
第2金属シート86の第1縁部87および第1金属シート60の第2縁部62は、一次断熱パネル44を二次断熱パネル50と区別する隙間と垂直に共に溶接される。このため、第2金属シート86の第1縁部87および第1金属シート62の第2縁部62は、一次断熱パネル44と二次断熱パネル50とを組み合わせた連結プレート22に当接する。
一実施形態によれば、連結プレート22のいくつかまたは全てが、図示されていない熱保護要素を備えたそれらの内面に設けられている。第2金属シート86の第1縁部87および第1金属シート60の第2縁部62は、互いに支持するように溶接されている。
また、第2金属シート86の第2縁部88から隣接するタンクのコーナーに向かい合う方向に、二次密閉膜4は、図2に示されているように平面エリアに設けられているタイプの複数のスタンダード金属シート24を有する。第2金属シート86に接するスタンダード金属シート24は、2つの二次断熱パネル50および2つのスタンダード断熱パネル2を横断して設けられている。二次断熱パネル50へのスタンダード金属シート24の固定は、小さな金属プレート92、93を用いて行われる。
図9および図10に関して、一次断熱バリア5が、タンクのコーナーの領域において断熱ブロック94の予め組み立てられた一対を複数有することが示されている。一対の断熱ブロック94の一方は、第1壁42の第1金属シート60の1つに支持されて、第1壁42の一次断熱パネル44の1つに固定されている。また、その他方は、第2壁43の第1金属シート60の1つに支持されて、第2壁43の一次断熱パネル44の1つに固定されている。
断熱ブロック94は、内面と、内面を支持するアングルプレート95と、第1金属シート60の1つを支持する外面と、を有する。また、断熱ブロック94は、複合構造を有し、2つの合板シートの間に挟まれる断熱ポリマー発泡体の層を備えている。2つの合板シートは、ポリマー発泡体の層に接着接合される。
アングルプレート95は、金属アングルプレートであり、例えば、ステンレス鋼で作られている。また、アングルプレート95は、一対の断熱ブロックのそれぞれの内面に対して支持する2つのフランジを有する。図9に関して、アングルプレートの各フランジが、断熱ブロック94に固定するためのピン96を有することが示されている。断熱ブロック94は、フランジの外面に溶接されており、タンクの内側に向かって突出している。断熱ブロック94は、ピン96の通路を可能にし、且つ、内面に形成されるオリフィス、を有する。オリフィスは、断熱ブロックの外面に開口する円筒状凹部に連通している。ピン96にねじ込まれるナットは、円筒状凹部のベースを支持する。このため、アングルプレート95を断熱ブロック94に固定させることが確実に行える。よって、アングルプレート95は、断熱ブロック94がペアで接続することを可能にし、予め組み立てられたモジュールを形成することができる。
各アングルプレート95の各フランジは、また、その内面にピン97を有する。ピン97は、タンクの内側に向かって突出している。そのようなピン97は、一次密閉膜7の構成要素をアングルプレート95に溶接中に、溶接装置を固定することが可能である。
断熱ブロック94を二次断熱バリア1の一次断熱パネル44に取り付けることを確実に行うために、アングルプレート95および断熱ブロック94は、ピン98の通路を可能にするオリフィスを有する。ピン98は、図7に関して上述したように、キャップナット84の1つと協働するようにそれぞれ設計されている。
また、例えばポリマー発泡体のような断熱材料で作られた角度付きコネクタ(angled connector)99は、2つの断熱ブロック94のタンクのコーナーに隣接する縁部の間に設けられている。このため、タンクのコーナーの領域において、断熱の連続性を確実に行うことができる。また、断熱結合要素100は、隣接する断熱ブロック94の2つのペア間に挿入され、断熱の連続性を保証する。
図11や図12に示されているように、傾斜エリアに隣接する一次密閉膜7の金属シート39は、タンクのコーナーに向かって配向されるそれらの縁部に沿ってアングルプレート95に溶接される。また、一次密閉膜7は、隣接する2つのアングルプレート95に重なるように溶接される複数の金属傾斜部品101を有する。傾斜部品101は、一次密閉膜7の他の金属シート39と同じ材料で作られている。各傾斜部品101は、隣接する2つの壁42、43のそれぞれに平行な2つのフランジを有する。また、各傾斜部品101は、2つのフランジに沿って傾斜部品101の一端から他端まで延びるコルゲーション102を有し、壁42、43の交差部で形成される突起部に平行な方向に傾斜部品101の変形を可能にする。
各傾斜部品101のコルゲーション102は、一次密閉膜7のコルゲーションの延在方向に延びており、タンクのコーナー領域における一次密閉膜7のコルゲーションのネットワークの連続性を保証する。
また、タンクのコーナーの1つだけが上述されているが、タンクの他のコーナーも同じ配置を有することに留意すべきである。
図17および図18では、3つの壁42、43、110間の交差部における二次断熱バリア1および一次断熱バリア5の構造が、示されている。ここで示されている3つの壁は、それぞれ、底壁42と、端壁43と、下斜め壁110と、で構成されている。下斜め壁110は、底壁42に対して135°の角度を形成する。下斜め壁110および底壁42は、端壁43と垂直である。このような配置は、例えば、一般的に多面体形状を有し、8つの壁、すなわち、底壁と、水平上壁と、2つの垂直側壁と、側壁と上壁とを接続する2つの下斜め壁と、側壁と底壁とを接続する2つの下斜め壁と、で互いに接続されている八角形形状の2つの端壁を有するタンクに対応する。
このエリアでは、図17に示されているように、二次断熱バリア1は、3つの一次断熱パネル44a、44b、44cのセットにより形成される予め組み立てられた傾斜構造を有する。3つの一次断熱パネル44a、44b、44cは、それぞれ、3つの壁42、43、110のそれぞれの耐力構造体に固定される。各断熱パネル44a、44b、44cは、図3に関して開示された断熱パネル44と同様のサンドイッチ構造を有する。すなわち、各断熱パネル44a、44b、44cは、例えば合板で作られた2つの剛性プレート間に挟み込まれた断熱ポリマー発泡体の層からなる。
断熱パネル44b、44cは、67.5°の傾斜を有する面取り縁部を介して共に固定される。また、断熱パネル44b、44cは、45°の傾斜を有する面取り縁部を介して断熱パネル44aにそれぞれ固定される。また、断熱パネル44aは、直方体形状ではなく、V形状を有する。V形状の角度は、底壁42と下斜め壁110との間の角度に相当する。
また、図17に示されている金属で作られ密閉された傾斜部品111は、3つの断熱パネル44a、44b、44cを横断して固定されている。これを達成するために、傾斜部品111は、3つの壁42、43、110のそれぞれに平行な3つのフランジを有する。傾斜部品111は、有利には、二次密閉膜4の他の金属シート24、60と同じ材料で形成される。
また、このエリアでは、二次密閉膜4は、隣接する2つの壁にそれぞれ平行な2つのフランジを備えた金属アングルプレート、を有する。金属アングルプレートは、図4に関して上述した構造と同一の構造を有する。また、このエリアでは、二次密閉膜は、図示されていないシングルコルゲート金属シートを有する。特に、断熱パネル44b、44cのそれぞれに固定される二次密閉膜4は、他のコルゲーションの延長線上に延びる互いに垂直な2つのコルゲーションのみを備えたコルゲート金属シート、を有する。隣接壁に面するそのシートの2つの縁部は、断熱パネル44cまたは44d、および、金属アングルプレートに溶接される。隣接壁から離れて面する他の縁部は、それぞれ溶接されて、第1隣接金属シートの第3縁部または第4縁部と重なる。この重ね溶接は、重なり幅の適合が二次断熱バリア1および二次密閉膜4の構造上の公差を少なくとも補うことができる十分な寸法を有する段付き縁部(joggled edge)を用いて行われる。
また、図18に示されているように、3つの壁42、43、110の間の交差部の領域において、一次断熱バリア5は、33つの断熱パネル44a、44b、44cのそれぞれに対して支える3つの断熱ブロック94a、94b、94cで構成された予め組み立てられた傾斜構造、を有する。断熱ブロック94a、94b、94cは、断熱ブロック94a、94b、94cに形成されるオリフィスを通過し、図7に示されているようにキャップナット84と協働するねじピンを用いて、それぞれ断熱パネル44a、44b、44cに固定される。また、断熱ブロック94a、94b、94cは、それぞれ、内面と、3つのフランジを備えた傾斜部品112と、を有する。3つのフランジは、内面に対して支持する断熱ブロック94a、94b、94cのそれぞれを支持する。
また、図19に示されているように、壁42、43、110のコーナーの領域に設けられた一次密閉膜7の金属シート39のそれぞれは、2つの縁部を有する。2つの縁部は、隣接する壁に向かって面しており、傾斜部品112と隣接するアングルプレート95に溶接される。
図13に示されている実施形態は、二次密閉膜4が、タンクの内側に向かって突出し外側に向かって突出していないコルゲーション103を有する上述の実施形態と原理上異なる。スタンダード金属シート24、第1金属シート60、および、二次密閉膜4の第2金属シート86は、垂直なコルゲーション103の2つのシリーズを有する。
また、この実施形態では、断熱パネル6の外部プレート30および一次断熱バリア5の断熱ブロック94の外部プレート30は、溝のネットワークを形成するために、互いに垂直な2つのシリーズの溝104を有する。溝104は、コルゲーション103を収容するために設計されている。コルゲーション103は、タンクの内側に向かって突出し、二次密閉膜4の金属シート24、60、86に形成されている。
このような実施形態では、二次密閉膜は、上述のものと同一の全体構造を有する。唯一の違いは、タンクの内側に向かうコルゲーション66の向きである。
流体を貯蔵する密閉断熱タンクを製造するための上述の技術は、種々のタイプの容器で用いることもでき、例えば、陸上設備またはLNG船などの浮遊施設でLNG容器を形成するために用いてもよい。
図14を参照すると、LNG船70の断面図は、船舶の二重船体72に搭載される一般的に角柱形状の密閉断熱タンク71を示す。タンク71の壁は、タンク内に収容されるLNGと接触する一次密閉バリアと、一次密閉バリアと船舶の二重船体72との間に配置される二次密閉バリアと、一次密閉バリアと二次密閉バリアの間および二次密閉バリアと二重船体72との間にそれぞれ配置される2つの断熱バリアと、を有する。
それ自体公知の方法で、供給・排出パイプライン73は、船舶の上部デッキに設けられており、タンク71からまたはタンク71にLNG貨物を運ぶために、適切な接続機を用いて、浮遊または海岸ターミナルに接続してもよい。
図14は、供給・排出ステーション75と、海底パイプ76と、陸上施設77と、を備えた海上ターミナルの一例を示す。供給・排出ステーション75は、固定海上施設であり、可動式アーム74と、その可動式アーム74を支持するタワー78と、を有する。可動式アーム74は、供給・排出パイプライン73に接続可能な絶縁されたフレキシブルパイプ79の束を運ぶ。配向可能な可動式アーム74は、全てのメタン船のサイズに適合される。図示されていない接続パイプは、タワー78内部に延びている。供給・排出ステーション75は、LNG船70から陸上施設77まで、または、陸上施設77からLNG船70までの供給および排出を可能にする。この施設は、液化ガス貯蔵タンク80と、海底パイプ76を介して供給・排出ステーション75に接続される接続パイプ81と、を有する。海底パイプ76は、例えば、5kmといった長距離にわたって供給・排出ステーション75と陸上施設77との間で液化ガスの輸送を可能にする。このため、供給および排出作業中に、LNG船70を海岸から遠くに配置させることができる。
液化ガスの輸送に必要な圧力を生成するために、船舶70に搭載されるポンプ、陸上施設77に搭載されるポンプ、および/または、供給・排出ステーション75に搭載されるポンプが、用いられる。
本発明は、特定の実施形態との関連において説明したが、本発明がかかる特定の実施形態に限定されるものではないことは明らかであり、また、本発明の範囲を逸脱しないかぎり、記載された態様に対応する技術的等価物およびそれらの組み合せもまた含まれることは明らかである。
動詞の使用は、「から成る(to consist of)」、「有する(comprise)」、または「含む(include)」及びその共役の形態は、請求項に記載されたもの以外の要素又はステップの存在を排除するものではない。また、ステップの要素における不定冠詞「a」、「an」の使用は、特に特定しない限り、そのような要素又はステップの複数の存在を排除するものではない。
括弧内の任意の参照符号は、請求項を限定するものとして解釈すべきではない。

Claims (21)

  1. 流体を貯蔵する密閉断熱タンクであって、
    前記タンクは、多層構造を示す複数の壁(42、43)を有し、
    前記壁は、連続して前記タンクの外側から内側へ厚さ方向に、耐力構造体(3)に支持される二次断熱バリア(1)と、前記二次断熱バリア(1)に支えられる二次密閉膜(4)と、前記二次密閉膜(4)に支持される一次断熱バリア(5)と、前記一次断熱バリア(1)に支えられ、前記タンク内の流体に接触する一次密閉膜(7)と、を有し、
    前記壁(42、43)の第1壁に設けられる前記二次断熱バリア(1)は、前記第1壁(42)の前記耐力構造体(3)と隣接する第2壁(43)の前記耐力構造体(3)との間の交差部(45)に沿って設けられた一次断熱パネル(44)、および、前記第2壁(43)に向かい合う前記一次断熱パネル(44)の1つの縁部(48)に沿って前記一次断熱パネル(44)と並んで配置される二次断熱パネル(50)、で構成され、
    前記一次、二次断熱パネル(44、50)は、それぞれ、小さな金属プレート(56、82、92、93)を備えた前記耐力構造体に向かい合う内面(3)、を有し、
    前記第1壁(42)に設けられる前記二次密閉膜(4)は、第1金属シート(60)および第2金属シート(86)で構成され、
    前記第1金属シート(60)は、少なくとも2つの垂直なコルゲーション(65、66)と、互いに向かい合って且つ前記第1壁(42)の前記耐力構造体(3)と隣接する前記第2壁(43)の前記耐力構造体(3)との間の前記交差部(45)に平行な第1、第2縁部(61、62)と、を有し、
    前記第1縁部(61)は、前記第2縁部(62)よりも前記第2壁(43)の近くに設けられ、
    前記第1金属シート(60)の第1縁部(61)は、一方が、前記一次断熱パネル(44)の前記小さな金属プレート(56)に溶接されて、前記一次断熱パネル(44)に対して前記第1金属シート(60)を保持し、他方が、前記第2壁(43)の前記二次密閉膜(4)の前記第1金属シート(60)に溶接される第2フランジを備えた小さな金属アングルプレート(67)の第1フランジに溶接され、
    前記第2金属シート(86)は、少なくとも2つの垂直なコルゲーション(90、91)と、互いに向かい合って且つ前記第1壁(42)の前記耐力構造体(3)と隣接する前記第2壁(43)の前記耐力構造体(3)との間の前記交差部(45)に平行な第1、第2縁部(87、88)と、を有し、
    前記第2金属シート(86)の前記コルゲーションの1つ(91)は、前記第1金属シート(60)のコルゲーション(66)の1つの延長上に設けられており、
    前記第1縁部(87)は、前記第2縁部(88)よりも前記第2壁(43)の近くに設けられ、前記第2壁(43)に向かって配向され、
    前記第2縁部(88)は、前記第2壁(43)から離れる方向に配向され、前記二次断熱パネル(50)の前記小さな金属プレート(92)に溶接されており、
    前記第1金属シート(60)の第2縁部(62)および前記第2金属シート(86)の第1縁部(87)が共に溶接され、
    前記第1金属シート(60)の前記第2縁部(62)から1つの縁部および前記第2金属シート(86)の前記第1縁部(87)は、前記第1、第2金属シート(60、86)が互いに重なり合って溶接させることが可能な段付き縁部を有する
    ことを特徴とする密閉断熱タンク。
  2. 前記段付き縁部は、4cm以上の幅を有する
    ことを特徴とする請求項1に記載のタンク。
  3. 前記第1壁の二次密閉膜(4)は、前記第2金属シート(86)の第2縁部(88)から前記第2壁(42)に向かい合う第3壁に向かって延びる平面エリアに、少なくとも2つの垂直なコルゲーション(25、26)を備えた複数のスタンダード金属シート(24)を有し、
    前記少なくとも2つの垂直なコルゲーション(25、26)の1つは、前記交差部に平行であり、
    前記複数のスタンダード金属シート(24)の、前記交差部に平行な前記コルゲーション(25,26)は、第1コルゲーション間距離で互いに離れており、
    記第1金属シート(60)の、前記交差部に平行なコルゲーション(65)前記第2金属シート(86)の、前記交差部に平行なコルゲーション(90)とは、前記第1コルゲーション間距離とは異なる第2コルゲーション間距離で互いに離れている
    ことを特徴とする請求項1または2に記載のタンク。
  4. 前記第1金属シート(60)の第2縁部(62)および前記第2金属シート(86)の第1縁部(87)は、前記第一次、二次断熱パネル(44、50)を分ける隙間に垂直に互いに溶接されている
    ことを特徴とする請求項1〜3のいずれか一項に記載のタンク。
  5. 前記一次断熱パネル(44)は、複数の連結要素(22)を用いて、前記二次断熱パネル(50)と組み合わせられ、
    各前記連結要素(22)は、前記第一次、二次断熱パネル(44、50)の相互分離を防ぐために、一方が前記一次断熱パネル(44)の内面の縁部に固定され、他方が前記二次断熱パネル(50)の内面の対向する縁部に固定されている
    ことを特徴とする請求項4に記載のタンク。
  6. 前記連結要素(22)は、前記一次、二次断熱パネル(44、50)の内面に支持される外面および内面を備えた連結プレートであり、
    前記連結プレートの少なくとも1つは、小さな金属プレートを備えた内面を有し、
    前記第1金属シート(60)の第2縁部(62)および前記第2金属シート(86)の第1縁部(87)は、前記小さな金属プレートに溶接される
    ことを特徴とする請求項5に記載のタンク。
  7. 前記第1金属シート(60)は、前記第2壁(43)を横断する方向に延びる複数のコルゲーション(66)と、前記第1、第2壁(42、43)間の交差部に平行な軸に沿って延びるシングルコルゲーション(65)と、を有する
    ことを特徴とする請求項1〜6のいずれか一項に記載のタンク。
  8. 前記第2金属シート(86)は、前記第2壁を横断する方向に延びる複数のコルゲーション(91)と、前記第1、第2壁(42、43)間の交差部(45)に平行な軸に沿って延びるシングルコルゲーションまたは2つのコルゲーション(90)と、を有する
    ことを特徴とする請求項1〜7のいずれか一項に記載のタンク。
  9. 前記金属アングルプレート(67)は、前記第1、第2壁(42、43)間の交差部(45)と平行な方向に前記金属アングルプレート(67)の変形を可能にするために、前記第1、第2フランジに沿って前記金属アングルプレート(67)の一端から他端に延びるコルゲーション(68)を有し、
    前記コルゲーション(68)は、前記第2壁(43)を横断する方向に延びる前記第1金属シート(60)のコルゲーション(66)の1つの延長上に延びている
    ことを特徴とする請求項1〜8のいずれか一項に記載のタンク。
  10. 前記各金属アングルプレート(67)は、前記一次断熱パネル(44)の金属シート(56)に溶接される
    ことを特徴とする請求項1〜9のいずれか一項に記載のタンク。
  11. 前記第1、第2金属シート(60、86)のコルゲーション(65、66、90、91)は、前記耐力構造体の方向でタンクの外側に突出しており、
    前記一次、二次断熱パネル(44、50)の内面は、前記第1、第2金属シート(60、86)のコルゲーション(65、66、90、91)をそれぞれ収容する垂直な溝(14、15、55、54)を有する
    ことを特徴とする請求項1〜10のいずれか一項に記載のタンク。
  12. 前記一次断熱パネル(44)は、前記第2壁(43)を横断する2つの溝(55)の間の各区間に、小さな金属プレート(56)と、前記第1金属シート(60)の第1縁部(61)と、前記金属アングルプレートの前記第1フランジまたはそこに溶接される前記金属アングルプレート(67)の1つと、を有する
    ことを特徴とする請求項11に記載のタンク。
  13. 前記第1、第2金属シート(60、86)のコルゲーション(103)は、タンクの内側に向かって突出しており、
    前記一次断熱バリア(5)は、断熱パネル(、94)で構成され、
    前記断熱パネルは、前記二次密閉膜(4)の前記第1、第2金属シート(60、86)のコルゲーション(103)を収容する垂直な溝を備えた外面を有する
    ことを特徴とする請求項1〜10のいずれか一項に記載のタンク。
  14. 前記第1壁(42)の前記二次断熱バリア(1)は、前記第2壁(43)に向かい合う前記二次断熱パネル(50)の縁部から前記第2壁(42)に向かい合う第3壁に向かって延びる平面エリアにおいて、並列に並んで配置された複数のスタンダード断熱パネル(2)、を有し、
    前記複数のスタンダード断熱パネル(2)のそれぞれは、直方体形状であり、小さな金属プレート(17、18)を備えた耐力構造体(3)と向かい合う内面(10)を有し、
    前記第1壁(42)の前記二次密閉膜(4)は、前記第2金属シート(86)の第2縁部(88)から前記第3壁に向かって延びる平面エリアにおいて、複数のスタンダード金
    属シート(24)を有し、
    前記複数のスタンダード金属シート(24)のそれぞれは、少なくとも2つの垂直なコルゲーション(25、26)を有し、
    前記少なくとも2つの垂直なコルゲーション(25、26)は、互いに溶接され、前記複数のスタンダード断熱パネル(2)を横切ってそれぞれ設けられ、前記スタンダード断熱パネル(2)の小さな金属プレート(17、18)に溶接され、
    前記スタンダード金属シート(24)の1つは、前記第2壁(43)に向かって配向される縁部を有する前記第2金属シート(86)に隣接しており、
    前記第2金属シート(86)は、一方が、前記二次断熱パネル(50)の前記小さな金属プレート(92)に溶接され、他方が、前記第2金属シート(86)の前記第2縁部(88)に溶接されている
    ことを特徴とする請求項1〜13のいずれか一項に記載のタンク。
  15. 前記複数のスタンダード断熱パネル(2)は、同じ寸法を有し、
    前記二次断熱パネル(50)は、前記第2壁(43)と向かい合う縁部に向かって前記第2壁に面して配向される縁部から延びる方向に、前記スタンダード断熱パネル(2)とは異なる寸法を有する
    ことを特徴とする請求項14に記載のタンク。
  16. 前記一次パネル(42)の前記一次断熱バリア(5)は、固定部材(84)を用いて前記二次断熱バリア(1)の前記一次断熱パネル(44)に固定される第1断熱ブロック(94)を有し、
    前記第1金属シート(60)は、前記固定部材(84、98)の通路用オリフィス(83)を有し、前記オリフィス(83)の周りで前記固定部材(84、98)に溶接される
    ことを特徴とする請求項1〜15のいずれか一項に記載のタンク。
  17. 前記第1断熱ブロック(94)は、前記第1断熱ブロック(94)に形成されるオリフィスを通るねじピン(98)を用いて前記一次断熱パネル(44)に固定され、
    前記ねじピン(98)は、キャップナット(84)に形成されるねじ穴と協働し、
    前記キャップナット(84)は、前記第1金属シート(60)に形成されたオリフィス(83)を横断し、前記一次断熱パネル(44)に取り付けられる小さな固定プレート(58)に形成されたねじ穴と協働するねじ部を有し、
    前記キャップナット(84)は、前記一次断熱パネル(44)に対して前記第1金属シート(60)を押すと共に、前記オリフィス(83)の周りで前記第1金属シート(60)に溶接されるフランジ、を有する
    ことを特徴とする請求項16に記載のタンク。
  18. 前記一次断熱パネル(44)は、前記第2壁(43)の一次断熱パネル(44)と共に、前記第1、第2壁(42、43)間の交差部でタンクのコーナーを形成する予め組み立てられた傾斜構造を形成する
    ことを特徴とする請求項1〜17のいずれか一項に記載のタンク。
  19. 流体を輸送する船舶(70)であって、
    二重船体(72)と、
    前記二重船体に設けられる請求項1〜18に記載のいずれか一項に記載のタンク(71)と、を有する
    ことを特徴とする船舶。
  20. 請求項19に記載の船舶(70)から供給/排出、または、船舶に供給/排出する方法において、
    流体は、浮遊貯蔵施設または陸上貯蔵施設(77)から前記船舶のタンクまで、または、前記船舶のタンクから前記浮遊貯蔵施設または前記陸上貯蔵施設(77)まで、断熱パイプライン(73、79、76、81)を通って送られる
    ことを特徴とする方法。
  21. 流体を輸送するシステムにおいて、
    請求項19に記載の船舶と、
    前記船舶の船体に取り付けられたタンク(71)を浮遊貯蔵施設または陸上貯蔵施設(77)に接続するために設けられた断熱パイプラインと、
    前記浮遊貯蔵施設または陸上貯蔵施設から前記船舶のタンクまで、または、前記船舶のタンクから前記浮遊貯蔵施設または陸上貯蔵施設まで、前記断熱パイプラインを介して流体を運ぶポンプと、を有する
    ことを特徴とするシステム。
JP2017566715A 2015-07-06 2016-07-05 コルゲート金属シートを備えたコーナー配置が設けられた二次密閉膜を有する密閉断熱タンク Active JP6479221B2 (ja)

Applications Claiming Priority (3)

Application Number Priority Date Filing Date Title
FR1556356 2015-07-06
FR1556356A FR3038690B1 (fr) 2015-07-06 2015-07-06 Cuve etanche et thermiquement isolante ayant une membrane d'etancheite secondaire equipee d'un arrangement d'angle a toles metalliques ondulees
PCT/FR2016/051699 WO2017006044A1 (fr) 2015-07-06 2016-07-05 Cuve etanche et thermiquement isolante ayant une membrane d'etancheite secondaire equipee d'un arrangement d'angle a toles metalliques ondulees

Publications (2)

Publication Number Publication Date
JP2018525578A JP2018525578A (ja) 2018-09-06
JP6479221B2 true JP6479221B2 (ja) 2019-03-06

Family

ID=54066094

Family Applications (1)

Application Number Title Priority Date Filing Date
JP2017566715A Active JP6479221B2 (ja) 2015-07-06 2016-07-05 コルゲート金属シートを備えたコーナー配置が設けられた二次密閉膜を有する密閉断熱タンク

Country Status (13)

Country Link
US (1) US10415755B2 (ja)
EP (1) EP3320256B1 (ja)
JP (1) JP6479221B2 (ja)
KR (1) KR102515636B1 (ja)
CN (1) CN107820554B (ja)
AU (1) AU2016290011B2 (ja)
ES (1) ES2777599T3 (ja)
FR (1) FR3038690B1 (ja)
MY (1) MY197755A (ja)
PH (1) PH12017502405B1 (ja)
RU (1) RU2723275C2 (ja)
SG (1) SG11201710437RA (ja)
WO (1) WO2017006044A1 (ja)

Families Citing this family (33)

* Cited by examiner, † Cited by third party
Publication number Priority date Publication date Assignee Title
FR3042843B1 (fr) * 2015-10-23 2018-04-27 Gaztransport Et Technigaz Cuve comprenant des blocs isolants de coin equipes de fentes de relaxation
WO2018220331A1 (fr) 2017-06-01 2018-12-06 Gaztransport Et Technigaz Cuve etanche et thermiquement isolante
FR3069903B1 (fr) 2017-08-07 2019-08-30 Gaztransport Et Technigaz Cuve etanche et themiquement isolante
FR3070747B1 (fr) * 2017-09-04 2021-01-08 Gaztransport Et Technigaz Cuve etanche et thermiquement isolante comportant une bande de couverture anti-convective
FR3072758B1 (fr) * 2017-10-20 2019-11-01 Gaztransport Et Technigaz Cuve etanche et thermiquement isolante a plusieurs zones
FR3073271B1 (fr) 2017-11-06 2019-11-01 Gaztransport Et Technigaz Cuve etanche et thermiquement isolante
FR3073272B1 (fr) 2017-11-06 2019-11-01 Gaztransport Et Technigaz Cuve etanche et thermiquement isolante
FR3077278B1 (fr) 2018-02-01 2020-02-07 Gaztransport Et Technigaz Paroi etanche a membrane ondulee renforcee
FR3082594B1 (fr) 2018-06-13 2021-12-31 Gaztransport Et Technigaz Cuve etanche et thermiquement isolante
FR3082593B1 (fr) 2018-06-13 2020-06-19 Gaztransport Et Technigaz Cuve etanche munie d'un element de jonction ondule
FR3084438B1 (fr) * 2018-07-26 2020-07-31 Gaztransport Et Technigaz Cuve etanche et thermiquement isolante
FR3086031B1 (fr) * 2018-09-18 2020-09-11 Gaztransport Et Technigaz Installation de stockage pour gaz liquefie
FR3087872B1 (fr) 2018-10-30 2022-08-05 Gaztransport Et Technigaz Installation de stockage pour gaz liquefie
FR3089597B1 (fr) * 2018-12-06 2020-11-20 Gaztransport Et Technigaz Cuve étanche et thermiquement isolante
FR3093159B1 (fr) * 2019-02-21 2021-01-29 Gaztransport Et Technigaz Cuve étanche et thermiquement isolante
FR3094450B1 (fr) 2019-04-01 2021-06-25 Gaztransport Et Technigaz Cuve étanche et thermiquement isolante
FR3102228B1 (fr) * 2019-10-18 2021-09-10 Gaztransport Et Technigaz Cuve étanche et thermiquement isolante
FR3108267B1 (fr) 2020-03-23 2023-04-14 Gaztransport Et Technigaz Outil de poinçonnage et système pour la connexion d’une pluralité de renforts d’onde d’une membrane corruguée d’une cuve étanche et thermiquement isolante
FR3109979B1 (fr) 2020-05-05 2022-04-08 Gaztransport Et Technigaz Cuve étanche et thermiquement isolante comprenant des éléments de remplissage anti-convectif
FR3114138B1 (fr) 2020-09-11 2023-05-12 Gaztransport Et Technigaz Cuve étanche et thermiquement isolante
CN112298457A (zh) * 2020-11-06 2021-02-02 中太海事技术(上海)有限公司 一种用于液化天然气储存的a型舱次屏蔽及其防护装置
CN112303479B (zh) * 2020-11-06 2025-05-27 中太能源科技(上海)有限公司 一种用于液化天然气储存的b型储罐
CN112303481A (zh) * 2020-11-06 2021-02-02 中太海事技术(上海)有限公司 一种用于液化天然气储存的a型陆用储罐
CN113360986B (zh) * 2021-06-15 2023-03-24 中建八局第二建设有限公司 一种波纹金属板设计方法
CN113739061A (zh) * 2021-09-26 2021-12-03 中太海事技术(上海)有限公司 一种用于液氢储存的金属低温薄膜储罐
CN113790388A (zh) * 2021-09-26 2021-12-14 中太海事技术(上海)有限公司 一种用于冷冻液化气体储存的金属低温薄膜陆用储罐绝缘保冷箱
CN114294555A (zh) * 2021-12-06 2022-04-08 中太海事技术(上海)有限公司 一种带有高真空绝缘箱的陆用薄膜液氢储罐
CN116123436B (zh) * 2023-01-16 2024-02-09 宇欧围护技术(上海)有限公司 双拱直角膜和双拱多坡峰直角金属延展膜
CN117068326B (zh) * 2023-10-13 2024-02-09 沪东中华造船(集团)有限公司 一种薄膜型围护系统
FR3158350B1 (fr) 2024-01-15 2025-12-05 Gaztransport Et Technigaz Procédé de fabrication pour fabriquer une membrane d’étanchéité pour une cuve étanche et thermiquement isolante de stockage d’un gaz liquéfié
FR3158349B1 (fr) 2024-01-15 2025-12-05 Gaztransport Et Technigaz Procédé de fabrication pour fabriquer une membrane d’étanchéité pour une cuve étanche et thermiquement isolante de stockage d’un gaz liquéfié
CN118623202B (zh) * 2024-07-02 2024-12-27 中太能源科技(上海)有限公司 一种低温储罐折角区域的安装结构与安装方法
CN119267778B (zh) * 2024-12-10 2025-03-11 中太能源科技(上海)有限公司 一种低温储罐及其二面角区域的安装结构与安装方法

Family Cites Families (47)

* Cited by examiner, † Cited by third party
Publication number Priority date Publication date Assignee Title
US4128187A (en) * 1975-10-02 1978-12-05 Hitachi Shipbuilding & Engineering Co., Ltd. Secondary barrier construction for low temperature liquified gas storage tank carrying vessels
FR2361601A1 (fr) * 1976-08-10 1978-03-10 Technigaz Structure de paroi composite thermiquement isolante et procede de montage dans un reservoir de transport et/ou de stockage de gaz liquefies
FR2544441B1 (fr) * 1983-04-13 1985-09-13 Daetwyler France Piece d'etancheite pour la jonction de garnitures d'etancheite lineaires
FR2683786B1 (fr) * 1991-11-20 1994-02-18 Gaz Transport Cuve etanche et thermiquement isolante perfectionnee, integree a la structure porteuse d'un navire.
FR2709725B1 (fr) * 1993-09-09 1995-11-10 Gaz Transport Cuve étanche et thermiquement isolante intégrée à la structure porteuse d'un navire ayant une structure d'angle simplifiée.
FR2724623B1 (fr) * 1994-09-20 1997-01-10 Gaztransport Et Technigaz Cuve etanche et thermiquement isolante perfectionnee integree dans une structure porteuse
FR2780942B1 (fr) * 1998-07-10 2000-09-08 Gaz Transport & Technigaz Cuve etanche et thermiquement isolante a structure d'angle perfectionnee, integree dans une structure porteuse de navire
FR2798902B1 (fr) * 1999-09-29 2001-11-23 Gaz Transport & Technigaz Cuve etanche et thermiquement isolante integree dans une structure porteuse de navire et procede de fabrication de caissons isolants destines a etre utilises dans cette cuve
FR2813111B1 (fr) * 2000-08-18 2002-11-29 Gaz Transport & Technigaz Cuve etanche et thermiquement isolante aretes longitudinales ameliorees
DE10229663A1 (de) * 2002-07-02 2004-01-22 Linde Ag Coldboxblechmantel
US7137345B2 (en) * 2004-01-09 2006-11-21 Conocophillips Company High volume liquid containment system for ships
FR2867831B1 (fr) * 2004-03-17 2006-05-19 Gaz Transport & Technigaz Caisse autoporteuse en bois convenant pour le soutien et l'isolation thermique d'une membrane de cuve etanche
WO2006003192A1 (en) * 2004-07-06 2006-01-12 Shell Internationale Research Maatschappij B.V. Container for storing liquefied gas
FR2877639B1 (fr) * 2004-11-10 2006-12-15 Gaz Transp Et Technigaz Soc Pa Cuve etanche et thermiquement isolee integree a la stucture porteuse d'un navire
WO2006062271A1 (en) * 2004-12-08 2006-06-15 Korea Gas Corporation Lng storage tank and constructing method thereof
US7204195B2 (en) * 2004-12-08 2007-04-17 Korea Gas Corporation Ship with liquid tank
FR2893625B1 (fr) * 2005-11-18 2008-01-25 Chantiers De L Atlantique Sa Procede de collage d'une bande de nappe souple sur un support
JP4583394B2 (ja) * 2006-03-03 2010-11-17 韓国ガス公社 足場装置およびそれを用いた断熱システムの設置方法
KR100644217B1 (ko) * 2006-04-20 2006-11-10 한국가스공사 개선된 단열구조를 갖는 액화천연가스 저장탱크 및 그제조방법
FR2903165B1 (fr) * 2006-06-30 2008-09-05 Gaz Transport & Technigaz Panneau prefabrique avec film protecteur
KR100760482B1 (ko) * 2006-07-12 2007-09-20 한국과학기술원 액화천연가스 운반선의 단열방벽 접합구조 및 그 방법
JP4451439B2 (ja) * 2006-09-01 2010-04-14 韓国ガス公社 液化天然ガスの貯蔵タンクを形成するための構造体
FR2911576B1 (fr) * 2007-01-23 2009-03-06 Alstom Sa Procede de realisation d'une paroi isolante et etanche d'une cuve
US8820096B2 (en) * 2007-02-12 2014-09-02 Daewoo Shipbuilding & Marine Engineering Co., Ltd. LNG tank and operation of the same
US7896188B2 (en) * 2007-03-16 2011-03-01 National Steel And Shipbuilding Company Universal support arrangement for semi-membrane tank walls
KR100835090B1 (ko) * 2007-05-08 2008-06-03 대우조선해양 주식회사 Lng 운반선의 연료가스 공급 시스템 및 방법
CN101688640B (zh) * 2007-05-29 2011-06-08 现代重工业株式会社 具有焊接的次防壁的液化天然气储存箱绝热系统及其构造方法
EP2003389A3 (en) * 2007-06-15 2017-04-19 Daewoo Shipbuilding & Marine Engineering Co., Ltd Method and apparatus for treating boil-off gas in an LNG carrier having a reliquefaction plant, and LNG carrier having said apparatus for treating boil-off gas
US7644676B2 (en) * 2008-02-11 2010-01-12 Daewoo Shipbuilding & Marine Engineering Co., Ltd. Storage tank containing liquefied natural gas with butane
KR100967815B1 (ko) * 2008-02-26 2010-07-05 대우조선해양 주식회사 부유식 해상구조물의 lng 저장탱크
KR20090107805A (ko) * 2008-04-10 2009-10-14 대우조선해양 주식회사 천연가스 발열량 저감방법 및 장치
WO2009134099A2 (ko) * 2008-05-02 2009-11-05 삼성중공업 주식회사 화물창 인슐레이션 패널의 고정장치 및 이를 이용하는 인슐레이션 패널
FR2931535B1 (fr) * 2008-05-21 2010-08-20 Gaztransp Et Technigaz Fixation par collage de blocs isolants pour cuve de stockage de gaz liquefies a l'aide de cordons ondules
RU2373119C1 (ru) * 2008-05-28 2009-11-20 Открытое акционерное общество "Ракетно-космическая корпорация "Энергия" имени С.П. Королева" Устройство для хранения и подачи криогенной жидкости
KR101122292B1 (ko) * 2008-06-19 2012-03-21 삼성중공업 주식회사 액화천연가스 운반선 화물창의 단열구조 및 그것의 시공방법
FR2944335B1 (fr) * 2009-04-14 2011-05-06 Gaztransp Et Technigaz Arret de la membrane secondaire d'une cuve de gnl
FR2961580B1 (fr) * 2010-06-17 2012-07-13 Gaztransport Et Technigaz Cuve etanche et isolante comportant un pied de support
FR2968284B1 (fr) * 2010-12-01 2013-12-20 Gaztransp Et Technigaz Barriere d'etancheite pour une paroi de cuve
FR2977575B1 (fr) * 2011-07-06 2014-06-27 Gaztransp Et Technigaz Coupleur pour maintenir un element par rapport a une structure de retenue
FR2991748B1 (fr) * 2012-06-11 2015-02-20 Gaztransp Et Technigaz Cuve etanche et thermiquement isolante
FR2996520B1 (fr) * 2012-10-09 2014-10-24 Gaztransp Et Technigaz Cuve etanche et thermiquement isolante comportant une membrane metalique ondulee selon des plis orthogonaux
FR3001945B1 (fr) 2013-02-14 2017-04-28 Gaztransport Et Technigaz Paroi etanche et thermiquement isolante pour cuve de stockage de fluide
FR3004510B1 (fr) * 2013-04-12 2016-12-09 Gaztransport Et Technigaz Cuve etanche et thermiquement isolante de stockage d'un fluide
FR3004509B1 (fr) * 2013-04-12 2016-11-25 Gaztransport Et Technigaz Structure d'angle d'une cuve etanche et thermiquement isolante de stockage d'un fluide
WO2015147678A1 (ru) * 2014-03-28 2015-10-01 Открытое акционерное общество "Акционерная компания по транспорту нефти "ТРАНСНЕФТЬ" Способ тепловой изоляции резервуаров
US10106242B1 (en) * 2014-08-12 2018-10-23 The Boeing Company Mechanically attached thermal protection system
FR3026459B1 (fr) * 2014-09-26 2017-06-09 Gaztransport Et Technigaz Cuve etanche et isolante comportant un element de pontage entre les panneaux de la barriere isolante secondaire

Also Published As

Publication number Publication date
EP3320256A1 (fr) 2018-05-16
CN107820554B (zh) 2020-07-03
RU2017143846A3 (ja) 2019-12-06
AU2016290011B2 (en) 2019-01-17
KR20180026397A (ko) 2018-03-12
FR3038690B1 (fr) 2018-01-05
PH12017502405A1 (en) 2018-06-25
PH12017502405B1 (en) 2022-02-02
JP2018525578A (ja) 2018-09-06
ES2777599T3 (es) 2020-08-05
WO2017006044A1 (fr) 2017-01-12
RU2723275C2 (ru) 2020-06-09
FR3038690A1 (fr) 2017-01-13
SG11201710437RA (en) 2018-01-30
US10415755B2 (en) 2019-09-17
US20180180223A1 (en) 2018-06-28
RU2017143846A (ru) 2019-08-06
CN107820554A (zh) 2018-03-20
MY197755A (en) 2023-07-12
KR102515636B1 (ko) 2023-03-29
EP3320256B1 (fr) 2020-02-05
AU2016290011A1 (en) 2018-01-18

Similar Documents

Publication Publication Date Title
JP6479221B2 (ja) コルゲート金属シートを備えたコーナー配置が設けられた二次密閉膜を有する密閉断熱タンク
KR102389246B1 (ko) 밀봉되고 단열인 탱크의 코너 구조 및 그것의 조립 방법
KR102162020B1 (ko) 유체를 저장하기 위한 씰링 및 열적으로 인슐레이팅된 탱크
KR102120988B1 (ko) 2차 절연 배리어의 패널 사이의 브리징 요소를 포함하는 밀폐 및 절연 베슬
US9677710B2 (en) Corner structure of a sealed and thermally insulating tank for storing a fluid
KR102048641B1 (ko) 응력 완화 슬롯이 제공된 절연 코너 블록을 포함하는 선박
JP6368325B2 (ja) 流体を貯蔵するためのタンク用のシールされた断熱壁
KR102437681B1 (ko) 밀폐 및 단열 탱크
JP2016532066A (ja) かど部品を備える密封断熱容器
KR20200088359A (ko) 선박의 벽체를 위한 단열 배리어를 제조하기 위한 방법 및 이에 의해 제조된 단열 배리어
KR20230079225A (ko) 밀봉 및 단열 탱크
JP7681687B2 (ja) 密閉断熱タンク
US12270512B2 (en) Corner structure and liquefied gas storage tank having same
US12403988B2 (en) Corner structure and liquefied gas storage tank having same
KR20220064332A (ko) 탱크용 단열 배리어의 제조 방법
KR20170022664A (ko) 멤브레인형 저장탱크의 단열시스템 및 이를 포함하는 멤브레인형 저장탱크
KR20220049011A (ko) 밀폐 단열 탱크
CN116057313B (zh) 密封绝热罐

Legal Events

Date Code Title Description
A529 Written submission of copy of amendment under article 34 pct

Free format text: JAPANESE INTERMEDIATE CODE: A529

Effective date: 20180221

A621 Written request for application examination

Free format text: JAPANESE INTERMEDIATE CODE: A621

Effective date: 20180619

A871 Explanation of circumstances concerning accelerated examination

Free format text: JAPANESE INTERMEDIATE CODE: A871

Effective date: 20180619

A975 Report on accelerated examination

Free format text: JAPANESE INTERMEDIATE CODE: A971005

Effective date: 20180703

A131 Notification of reasons for refusal

Free format text: JAPANESE INTERMEDIATE CODE: A131

Effective date: 20180807

A521 Request for written amendment filed

Free format text: JAPANESE INTERMEDIATE CODE: A523

Effective date: 20181029

TRDD Decision of grant or rejection written
A01 Written decision to grant a patent or to grant a registration (utility model)

Free format text: JAPANESE INTERMEDIATE CODE: A01

Effective date: 20190108

A61 First payment of annual fees (during grant procedure)

Free format text: JAPANESE INTERMEDIATE CODE: A61

Effective date: 20190205

R150 Certificate of patent or registration of utility model

Ref document number: 6479221

Country of ref document: JP

Free format text: JAPANESE INTERMEDIATE CODE: R150

R250 Receipt of annual fees

Free format text: JAPANESE INTERMEDIATE CODE: R250

R250 Receipt of annual fees

Free format text: JAPANESE INTERMEDIATE CODE: R250

R250 Receipt of annual fees

Free format text: JAPANESE INTERMEDIATE CODE: R250

R250 Receipt of annual fees

Free format text: JAPANESE INTERMEDIATE CODE: R250