JP6361963B2 - Negative electrode composite of lithium air battery, lithium air battery, and lithium air battery module - Google Patents
Negative electrode composite of lithium air battery, lithium air battery, and lithium air battery module Download PDFInfo
- Publication number
- JP6361963B2 JP6361963B2 JP2014127652A JP2014127652A JP6361963B2 JP 6361963 B2 JP6361963 B2 JP 6361963B2 JP 2014127652 A JP2014127652 A JP 2014127652A JP 2014127652 A JP2014127652 A JP 2014127652A JP 6361963 B2 JP6361963 B2 JP 6361963B2
- Authority
- JP
- Japan
- Prior art keywords
- lithium
- negative electrode
- air
- air battery
- layer
- Prior art date
- Legal status (The legal status is an assumption and is not a legal conclusion. Google has not performed a legal analysis and makes no representation as to the accuracy of the status listed.)
- Active
Links
Images
Classifications
-
- Y—GENERAL TAGGING OF NEW TECHNOLOGICAL DEVELOPMENTS; GENERAL TAGGING OF CROSS-SECTIONAL TECHNOLOGIES SPANNING OVER SEVERAL SECTIONS OF THE IPC; TECHNICAL SUBJECTS COVERED BY FORMER USPC CROSS-REFERENCE ART COLLECTIONS [XRACs] AND DIGESTS
- Y02—TECHNOLOGIES OR APPLICATIONS FOR MITIGATION OR ADAPTATION AGAINST CLIMATE CHANGE
- Y02E—REDUCTION OF GREENHOUSE GAS [GHG] EMISSIONS, RELATED TO ENERGY GENERATION, TRANSMISSION OR DISTRIBUTION
- Y02E60/00—Enabling technologies; Technologies with a potential or indirect contribution to GHG emissions mitigation
- Y02E60/10—Energy storage using batteries
Landscapes
- Hybrid Cells (AREA)
- Battery Mounting, Suspending (AREA)
- Battery Electrode And Active Subsutance (AREA)
- Cell Electrode Carriers And Collectors (AREA)
- Inert Electrodes (AREA)
Description
本発明は、リチウム空気電池の負極複合体、リチウム空気電池、およびリチウム空気電池モジュールに関する。 The present invention relates to a negative electrode composite of a lithium air battery, a lithium air battery, and a lithium air battery module.
電気自動車の普及のために、リチウムイオン電池よりもはるかに大きいエネルギー密度を有する空気電池に期待が寄せられている。空気電池は、空気中の酸素を正極活物質に使用する。 Due to the widespread use of electric vehicles, there are expectations for air batteries having a much higher energy density than lithium ion batteries. The air battery uses oxygen in the air as a positive electrode active material.
ところで、負極活物質に金属リチウム、リチウム合金、またはリチウム化合物を使用するリチウム空気電池が知られている。電解質の種類に着目すると、リチウム空気電池は水溶液系電解質と、非水系電解質との2つに大別される。非水系電解質のリチウム空気電池は、空気極以外についてリチウムイオン電池の技術を利用できるために研究開発の主流となっている。 By the way, a lithium air battery using metal lithium, a lithium alloy, or a lithium compound as a negative electrode active material is known. Focusing on the type of electrolyte, lithium-air batteries are broadly divided into two types: aqueous electrolytes and nonaqueous electrolytes. Non-aqueous electrolyte lithium-air batteries have become the mainstream of research and development because they can utilize the technology of lithium-ion batteries other than the air electrode.
他方、未だ少数ではあるが、水溶液系電解質のリチウム空気電池の研究開発も進められている。水溶液系電解質のリチウム空気電池は、非水系電解質のリチウム空気電池に比べて、空気中の水分の影響を受けない、電解質が安価かつ不燃である等の長所がある。ただし、負極活物質である金属リチウムは、直接酸素や水に接触すると反応してしまう。そこで、水溶液系電解質のリチウム空気電池では、金属リチウムを大気や水溶液から保護するために、リチウムイオン伝導性固体電解質などの保護層を設ける必要があった。 On the other hand, research and development of an aqueous electrolyte-based lithium-air battery is also in progress, although the number is still small. Compared to lithium water batteries of non-aqueous electrolytes, lithium air batteries of aqueous electrolytes have advantages such as being not affected by moisture in the air and being inexpensive and non-combustible. However, metallic lithium, which is a negative electrode active material, reacts when directly in contact with oxygen or water. Therefore, in an aqueous electrolyte-type lithium-air battery, it is necessary to provide a protective layer such as a lithium ion conductive solid electrolyte in order to protect metallic lithium from the atmosphere or an aqueous solution.
そこで、板形状の金属リチウムの一面にポリマー電解質の緩衝層を形成し、ポリマー電解質の緩衝層の一面を、リチウムイオン伝導性(リチウムイオン電導性、リチウムイオン導電性とも表記する。)を有する耐水層としてのガラスセラミックスで覆った負極複合体を備えるリチウム空気電池が知られている(例えば、特許文献1および非特許文献1参照。)。
Therefore, a buffer layer of a polymer electrolyte is formed on one surface of the plate-shaped metallic lithium, and the one surface of the buffer layer of the polymer electrolyte is water resistant having lithium ion conductivity (also expressed as lithium ion conductivity or lithium ion conductivity). A lithium-air battery including a negative electrode composite covered with glass ceramics as a layer is known (see, for example,
特許文献1および非特許文献1に記載の従来の空気電池は、1つの空気極の一面を1つの負極複合体の一面に正対させて容器やラミネートフィルムに封入している。これら従来の空気電池は、入出力密度(重量あたりの出力)を増加させる場合、同じ構造の空気電池を単純に多数使用するか、同じ構造の空気電池を単純に大きくすることになる。しかし、同じ構造の空気電池を単純に多数使用する態様、または同じ構造の空気電池を単純に大きくする態様は、必要な空気電池の搭載スペースを非効率かつ大幅に増加させるため、電気自動車に搭載する場合等、現実的には採用し難い。
In the conventional air battery described in
また、非特許文献1に記載の従来の空気電池は、ポリプロピレン(PP)、アルミニウム箔、ポリエチレンテレフタラート(PET)の三層構造を有するガスバリア性のラミネートフィルムに負極複合体を封入する。そして、非特許文献1の負極複合体は、ラミネートフィルム内外のリチウムイオン伝導性を確保するため、リチウムイオン伝導性のある窓材としてのガラスセラミックスで、ラミネートフィルムに穿たれた開口を塞ぐ。
The conventional air battery described in Non-Patent
しかし、ラミネートフィルムのポリプロピレン(PP)と負極複合体のガラスセラミックスとの組合せを接着剤で接合することは困難であり耐久性を欠く。また、ラミネートフィルムを熱溶着して負極複合体を形成するためには、ラミネートフィルムの外周縁部に10mm程度の溶着しろを必要とし、結果、ラミネートフィルムの面積が拡大し、空気電池の体積が増加する。 However, it is difficult to bond a combination of polypropylene (PP) as a laminate film and glass ceramics as a negative electrode composite with an adhesive, and lack durability. In addition, in order to form a negative electrode composite by thermally welding the laminate film, a welding margin of about 10 mm is required on the outer peripheral edge of the laminate film. As a result, the area of the laminate film is increased and the volume of the air battery is increased. To increase.
つまり、従来の空気電池は、実験用の小型な単セルを開示するものであり、電池特性、特にエネルギー密度を増加させたコンパクトな実用セルを構成することが難しい。 In other words, the conventional air battery discloses a small single cell for experimentation, and it is difficult to construct a compact practical cell with increased battery characteristics, particularly energy density.
そこで、本発明は、従来の空気電池に比べてエネルギー密度および入出力密度を増加させても極端な大型化を抑制でき、軽量化および小型化を実現するリチウム空気電池の負極複合体、リチウム空気電池、およびリチウム空気電池の負極複合体を提供することを目的とする。 Therefore, the present invention provides a lithium-air battery negative electrode composite, lithium air, which can suppress an excessive increase in size even when the energy density and input / output density are increased as compared with a conventional air battery, and realizes a reduction in weight and size. An object is to provide a negative electrode composite of a battery and a lithium-air battery.
前記目的を達成するため、本発明はリチウム空気電池の負極複合体であって、板状または線状の負極集電体と、金属リチウム、リチウム合金、またはリチウム化合物を含み、前記負極集電体の一部を挟み込む板形状の2つの負極層と、一面が開口した中空箱形状であり、内部に前記2つの負極層を収容する、リチウムイオン伝導性を有する隔離層とを備えるリチウム空気電池の負極複合体を提供する。 In order to achieve the above object, the present invention provides a negative electrode composite for a lithium-air battery, which includes a plate-like or linear negative electrode current collector and metallic lithium, a lithium alloy, or a lithium compound, and the negative electrode current collector A lithium-air battery comprising two plate-shaped negative electrode layers sandwiching a portion of the electrode and a hollow box shape having one open surface, and a lithium ion conductive isolation layer accommodating the two negative electrode layers therein A negative electrode composite is provided.
本発明に係るリチウム空気電池の負極複合体は、その一態様において、前記開口がガスケットおよび/または接着剤により密閉されていることが好適である。 In one embodiment of the negative electrode composite for a lithium-air battery according to the present invention, the opening is preferably sealed with a gasket and / or an adhesive.
本発明に係るリチウム空気電池の負極複合体は、その一態様において、前記負極層と前記隔離層との間に緩衝層をさらに備えることが好適である。 In one aspect of the negative electrode composite of the lithium-air battery according to the present invention, it is preferable that a buffer layer is further provided between the negative electrode layer and the isolation layer.
本発明は、別の側面において、リチウム空気電池であり、上記負極複合体と、導電性材料を含有し、前記隔離層の少なくとも一面に対向する面を有する空気極層と、前記空気極層に電気的に接続された板状または線状の空気極集電体とを備える空気極とを備えるリチウム空気電池を提供する。 In another aspect, the present invention provides a lithium-air battery, the negative electrode composite, an air electrode layer containing a conductive material and having a surface facing at least one surface of the isolation layer, and the air electrode layer Provided is a lithium-air battery comprising an air electrode provided with a plate-like or linear air electrode current collector electrically connected.
本発明に係るリチウム空気電池は、その一態様において、前記空気極層が、一面が開口した中空箱形状であり、内部に前記負極複合体を収容し、前記空気極層の内面の各々が、前記隔離層の外面の1つと対向していることが好適である。 In one aspect of the lithium-air battery according to the present invention, the air electrode layer has a hollow box shape with one side opened, the negative electrode composite is accommodated therein, and each of the inner surfaces of the air electrode layer is It is preferable to face one of the outer surfaces of the isolation layer.
本発明に係るリチウム空気電池は、その一態様において、前記空気極層が、一体部品として形成されていることが好適である。 In one aspect of the lithium-air battery according to the present invention, it is preferable that the air electrode layer is formed as an integral part.
本発明は、別の側面において、リチウム空気電池モジュールであり、並列に接続された複数の上記リチウム空気電池を備えるリチウム空気電池モジュールを提供する。 In another aspect, the present invention provides a lithium-air battery module comprising a plurality of the lithium-air batteries connected in parallel.
本発明に係るリチウム空気電池モジュールは、その一態様において、前記複数のリチウム空気電池を収容するケースと、前記ケース内に蓄えられ、少なくとも前記空気極に接する電解質とをさらに備えることが好適である。 In one aspect, the lithium-air battery module according to the present invention preferably further includes a case that houses the plurality of lithium-air batteries, and an electrolyte that is stored in the case and contacts at least the air electrode. .
本発明によれば、従来の空気電池に比べてエネルギー密度および入出力密度を増加させても極端な大型化を抑制でき、軽量化および小型化を実現するリチウム空気電池の負極複合体、リチウム空気電池、およびリチウム空気電池の負極複合体を提供することができる。 According to the present invention, an anode composite of a lithium-air battery, which can suppress an excessive increase in size even when the energy density and input / output density are increased as compared with a conventional air battery, and realizes a reduction in weight and size, lithium air A negative electrode composite of a battery and a lithium air battery can be provided.
以下に、本発明に係るリチウム空気電池のリチウム空気電池の負極複合体、リチウム空気電池、およびリチウム空気電池モジュールについて、さらに詳細に説明する。本発明は、以下の実施形態に限定されるものではない。 Hereinafter, the negative electrode composite, the lithium air battery, and the lithium air battery module of the lithium air battery of the lithium air battery according to the present invention will be described in more detail. The present invention is not limited to the following embodiments.
図1に、本発明に係るリチウム空気電池の負極複合体について、その一実施形態を示す。図1に示すリチウム空気電池の負極複合体10は、主たる構成要素として、2つの負極層1、負極集電体2、および隔離層3を備えている。
FIG. 1 shows an embodiment of a negative electrode composite for a lithium-air battery according to the present invention. A
2つの負極層1は、長方形の平板形状であり、負極集電体2の一部を挟み込んでいる。2つの負極層1は、略同じサイズおよび形状である。負極層1の厚さおよびサイズは、所望の電池容量に応じて適宜調整することができる。
The two
負極層1は、金属リチウム、リチウム合金、またはリチウム化合物を含み、一般的なリチウムイオン電池に用いられる負極と同様のものを用いることができる。負極層1は、高容量化の観点から、金属リチウムを含むことが好適である。リチウム合金は、好ましくは、マグネシウム、カルシウム、アルミニウム、ケイ素、ゲルマニウム、スズ、鉛、ヒ素、アンチモン、ビスマス、銀、金、亜鉛、カドミウムからなる群から選択される少なくとも1種以上の金属元素と、リチウムとの合金である。リチウム化合物は、リチウムイオンを脱挿入できるものであれば特に限定されない。リチウム化合物としては、Li3−xMxN(式中、Mは、Co、Cu、またはNiなどを表す。)、リチウム酸化物、およびリチウム硫化物が挙げられる。
The
負極集電体2の材料としては、リチウム空気電池の動作範囲で安定して存在でき、所望の導電性を有していれば良い。例えば、銅、ニッケル、またはそれらの合金等を挙げることができる。負極集電体2は、板状または線状の形状である。負極集電体2は、2つの負極層1の間に挟み込まれる部分と、負極層1から導出されて隔離層3の外側に露出する部分とを有する。この露出部分は、外部と電気的に接続可能であり、負極端子として機能する。
The material of the negative electrode
隔離層3は、固体電解質からなり、負極複合体10の外殻の大部分を構成する。隔離層3は、一面が開口した中空直方体形状である。隔離層3の正対する前側面3bおよび後側面3cは、負極層1よりも一回り大きいサイズである。隔離層3の内部には、2つの負極層1が収容されており、負極集電体2が隔離層3の開口面3aから導出されている。図示は両略されているが、隔離層3の開口は、ゴム、エラストマー、および接着剤等の蓋材により適切に閉塞されている。
The
本実施形態では、隔離層3は中空直方体形状であるが、実質的に本発明の目的を達成する限り、隔離層3は中空箱形状であってよい。中空箱形状には、立方体や直方体形状の他に、平行多面体などの多面体、角錐体、円柱(楕円柱を含む)、円錐台等の任意の形状が含まれる。隔離層3は、角部などに部分的に曲面を有していてもよい。隔離層3には、諸条件が許す限り、凹凸部分、突起、穴、またはスリットなどが設けられていてもよい。「一面が開口した」とは、2つの負極層1を開口を通じて収容した後、該開口を塞ぐことができるものであり、開口を閉塞することを妨げるものではない。開口は、2つの負極層1が通過可能な程度の大きさとすることができる。
In this embodiment, the
隔離層3は、電解質を含む正極層と負極層1とを仕切るセパレータの役割を果たし、負極層1を水分から保護する。図1に示す実施形態では、隔離層3は、その内面が、負極層1と接触しない状態で配置されているが、接触してもよい。本実施形態において、隔離層3と負極層1とは直接に隣接するように配置されているが、隔離層3と負極層1とは、後述する緩衝層を間に介して配置されていてもよい。
The
隔離層3の開口面3aを除く5つの側面は、それぞれ電極として機能することができる。隔離層3の開口面3aを除く5つの側面は、各々が空気極層に対面することができるが、5つの側面のうち少なくとも1面、例えば1面、2面、3面、または4面が空気極層に対面していれば、リチウム空気電池を構成することができる。
The five side surfaces other than the opening
隔離層3は、好ましくは耐水性、およびリチウムイオン伝導性を有するガラスセラミックスからなる。隔離層3のリチウムイオン伝導率は、10−5S/cm以上であることが望ましい。隔離層3としては、例えば、NASICON(Na Super Ionic Conductor;ナトリウム超イオン導電体)型のリチウムイオン伝導体が挙げられる。さらに、隔離層3として、一般式LiM2(PO4)3(式中、MはZr、Ti、Ge等の4価のカチオンを表す)で表されるリチウムイオン伝導体の4価のカチオンMの一部をIn、Al等の3価のカチオンM’で置換することによりリチウムイオン伝導性を向上した一般式Li1+xM2−xM’x(PO4)3で表されるリチウムイオン伝導体が挙げられる。また、隔離層3として、一般式LiM2(PO4)3(式中、MはZr、Ti、Ge等の4価のカチオンを表す)で表されるリチウムイオン伝導体の4価のカチオンMの一部をTa等の5価のカチオンM”で置換することによりリチウムイオン伝導性を向上した一般式Li1−xM2−xM”x(PO4)3で表されるリチウムイオン伝導体が挙げられる。これらのリチウムイオン伝導体のPはSiで置換されている場合があり、一般式Li1+x+yTi2−xAlxP3−ySiyO12(LTAP)で表されるリチウムイオン伝導体がイオン伝導性の観点から望ましい。
The
隔離層3の内部には、有機電解質が満たされている。有機電解質は、負極層1と隔離層3との間に存在し、負極層1と隔離層3との間のリチウムイオンの電導を担う。リチウムイオン電導の観点からは、有機電解質が隔離層3内で満たされている状態が望ましいが、軽量化の観点からは、有機電解質を含浸する緩衝層4を介して負極層1と隔離層3との間が接して密着性が保たれており、リチウムイオン電導を有していれば良い。有機電解質は、例えば、プロピレンカーボネート(PC)、エチレンカーボネート(EC)、ジメチルカーボネート(DMC)、エチルメチルカーボネート(EMC)等の混合溶媒に、LiPF6(ヘキサフルオロリン酸リチウム)、LiClO4(過塩素酸リチウム)、LiBF4(テトラフルオロリン酸リチウム)などのリチウム塩を添加したものである。
The inside of the
本実施形態に係る負極複合体10は、直方体形状であり、6つの面のうち5つの面が電極として使用されることができ、発電に寄与させることができる。従来は活電部として寄与しなかった側面部の電極化により、従来のリチウム空気電池と比べて、単位体積あたりの電池反応に有効な面積を増加させて入出力密度を向上することができる。
The
本実施形態に係る負極複合体10は、隔離層3が中空直方体形状であり、有機電解質が漏れることがない構造である。よって、負極複合体の有機電解質が漏洩するのを防止するために開口面のみを封止すればよく、全ての側面部をガスケット等で封止する必要はない。さらに、負極複合体10を組み立てる際に隔離層3を傾ける必要がない。よって、有機電解質を漏出させることなく容易に負極複合体10を作製することができる。このように有機電解質が負極複合体内部から漏れるおそれがないため、有機電解質の注液量を目的の値とすることができ、目的の値通りの放電電圧を達成することができる。作製された負極複合体10ごとの有機電解質の量のバラツキも生じないため、同じ特性を有する負極複合体10を常に得ることができる。さらに、隔離層3の内部には、マイクロシリンジなどを用いて有機電解質を容易に注液することが可能である。よって、本実施形態に係る負極複合体10は、接着剤などの蓋材を外すことにより、後から有機電解質を内部に追加することが可能である。
The
一方、負極複合体が2枚の平板形状の隔離層で負極層を挟み込む構造である場合、各々の平板形状の隔離層の周縁に窓枠状のガスケットを配置したものを、負極層を挟み込むようにガスケット同士を重ね合わせることにより組み付ける。このような負極複合体では、ガスケット同士を重ね合わせて隔離層内の空間を密閉する前に有機電解質をあらかじめ隔離層上の枠状ガスケットに囲まれた空間に注入しておく。しかし、ガスケット同士を重ね合わせる際に、少なくとも一方の平板形状の隔離層を傾ける必要があるため、有機電解質がガスケットの枠内から漏れてしまい、有機電解質の量が目的の値よりも少なくなる。これにより、負極層と隔離層との間のイオン導電性が低下して内部抵抗が大きくなり、その結果、放電電圧が目的の値よりも小さくなるという問題がある。さらに、作製される負極複合体ごとに、内部の有機電解質の量にバラツキが生じる結果、同じ特性を有する負極複合体の作製が困難になる。また、このような負極複合体では、一旦密着させたガスケットを分解すると、負極複合体内部の有機電解質が漏れ出るため、負極複合体内部に後から有機電解質を追加することもできない。 On the other hand, in the case where the negative electrode composite has a structure in which the negative electrode layer is sandwiched between two flat plate-shaped isolation layers, a window frame-shaped gasket arranged on the periphery of each flat plate-shaped isolation layer is inserted between the negative electrode layers. Assemble by overlapping gaskets. In such a negative electrode composite, the organic electrolyte is previously injected into the space surrounded by the frame-shaped gasket on the isolation layer before the gaskets are overlapped to seal the space in the isolation layer. However, when the gaskets are overlapped with each other, it is necessary to incline at least one flat plate-shaped isolation layer, so that the organic electrolyte leaks from the inside of the gasket frame, and the amount of the organic electrolyte becomes less than the target value. As a result, the ionic conductivity between the negative electrode layer and the isolation layer is lowered and the internal resistance is increased. As a result, there is a problem that the discharge voltage becomes smaller than a target value. Furthermore, as a result of variations in the amount of the organic electrolyte in each negative electrode composite produced, it becomes difficult to produce a negative electrode composite having the same characteristics. Further, in such a negative electrode composite, once the gasket that has been brought into close contact is disassembled, the organic electrolyte inside the negative electrode composite leaks out, so that it is not possible to add an organic electrolyte later into the negative electrode composite.
図2に、本発明に係るリチウム空気電池の負極複合体の他の実施形態を示す。図3には、本実施形態に係るリチウム空気電池の負極複合体10Aの模式的な断面を示す。 In FIG. 2, other embodiment of the negative electrode composite of the lithium air battery which concerns on this invention is shown. In FIG. 3, the typical cross section of 10 A of negative electrode composites of the lithium air battery which concerns on this embodiment is shown.
図2および図3に示す実施形態に係るリチウム空気電池の負極複合体10Aは、主たる構成要素として、2つの負極層1、負極集電体2、隔離層3、緩衝層4、ガスケット5、および接着剤6を備える。本実施形態に係るリチウム空気電池の負極複合体10Aは、ガスケット5および接着剤6によって、内部が密閉されていることを特徴とする。なお、同一の符号を付した構成要素は、図1について説明した実施形態と同一の構成を持ち、重複する説明は省略する。
A negative electrode
緩衝層4は、負極層1と隔離層3の間に配置される。緩衝層4は、負極層1と隔離層3とを隔て、隔離層3を負極層1との接触から保護するとともに、負極層1と隔離層3とイオン伝導性を高める。緩衝層4は、好ましくは2つの負極層1の全体を覆うように包み込む。緩衝層4には、リチウムイオン伝導性のポリマー電解質、リチウムイオン伝導性の固体電解質または有機電解質が含まれる。緩衝層4のリチウムイオン伝導率(リチウムイオン導電率、電導率とも表記する。)は、10−5S/cm以上であることが望ましい。
The
緩衝層4は、リチウム塩をポリマーに分散させた固体状の電解質であってもよいし、リチウム塩を溶解した有機電解質をポリマーに膨潤させたゲル電解質であってもよい。固体電解質のホストとなるポリマーは、PEO(ポリエチレンオキシド)、PPO(ポリプロピレンオキシド)等である。ゲル電解質のホストとなるポリマーは、PEO(ポリエチレンオキシド)、PVDF(ポリフッ化ビリニデン)、PVDF−HFP(ポリフッ化ビリニデンとヘキサフロオロプロピレンとの共重合体)等である。リチウム塩は、LiPF6、LiClO4、LiBF4、LiTFSI(Li(CF3SO2)2N)、Li(C2F4SO2)2N、LiBOB(ビスオキサラトホウ酸リチウム)等である。
The
なお、固体状の電解質のポリマーとして、特に望ましいPEOを用いる場合には、PEOの分子量は104〜105であることが望ましく、PEOとリチウム塩とのモル比は、8〜30:1であることが望ましい。 In addition, when using especially desirable PEO as a polymer of a solid electrolyte, the molecular weight of PEO is desirably 10 4 to 10 5 , and the molar ratio of PEO and lithium salt is 8 to 30: 1. It is desirable to be.
緩衝層4の強度および電気化学的特性を向上させるため、さらに、セラミックスフィラー、例えば、BaTiO3の粉末をポリマーに分散させてもよい。セラミックフィラーの混合量は、残余の成分100重量部に対して1〜20重量部であることが望ましい。
In order to improve the strength and electrochemical characteristics of the
また、緩衝層4は有機電解質をセパレータに染み込ませたものであっても良い。1枚のセパレータで2つの負極層1の全体を包み込んでもよく、2枚以上のセパレータを用いて2つの負極層1を挟み込むように包んでもよい。セパレータの素材は、有機電解質が染み込みやすい多孔質の材料であり、例えば、紙(セルロース)、化学繊維不織布、並びにポリエチレン(PE)、ポリプロピレン(PP)、およびポリイミド(PI)などの多孔質高分子膜が挙げられる。セパレータに染み込ませる有機電解質は、例えば、プロピレンカーボネート(PC)、エチレンカーボネート(EC)、ジメチルカーボネート(DMC)、エチルメチルカーボネート(EMC)等の混合溶媒に、LiPF6(ヘキサフルオロリン酸リチウム)、LiClO4(過塩素酸リチウム)、LiBF4(テトラフルオロリン酸リチウム)などのリチウム塩を添加したものである。
Further, the
隔離層3がガラスセラミックスからなる場合、負極層1と隔離層3とが直接接触することにより、隔離層3のガラスセラミックスが負極層1のリチウムと反応して劣化する場合がある。例えば、隔離層3の材質がLTAPである場合、リチウムによってLTAPが反応して劣化する可能性がある。しかし、緩衝層4を挿入して負極層1と隔離層3との接触を防ぐことによって、そのような反応は抑制される。このことは、リチウム空気電池の長寿命化に寄与する。
When the
ガスケット5は、隔離層3の開口面3aを塞ぐように、隔離層3の開口端縁において側面間に固定される。ガスケット5は、開口面3aに装着可能な大きさの長方形の形状である。ガスケット5の厚さは、隔離層3の開口端縁の側面間に固定可能であれば、特に限定されず、当業者が適宜設定することができる。ガスケット5は、隔離層3の側面の各々の内面に任意の方法により固定されてよいが、好ましくはガスケット5自体の吸着性および/または粘着性により固定される。ガスケット5は、負極層1に接していてもよく、接触していなくてもよい。ガスケット5は、2枚のガスケットからなり、重ね合わせ面を通して負極集電体2を負極複合体10の外部に導出している。あるいは、ガスケット5は、1つの部材として構成されていてもよく、かかる場合は、負極集電体2のための貫通孔がガスケット5に設けられている。ガスケット5は、その一部が、隔離層3の開口端から外側にはみ出していてもよい。
The
ガスケット5により負極複合体内の空間が密閉されるため、負極複合体10Aへの水分や溶液の侵入や、負極複合体内からの有機電解質の漏出を防ぐことができる。有機電解質は、接着剤や樹脂等の劣化原因となるが、ガスケット5による有機電解質の漏出の防止により、接着剤6の劣化を抑制することができる。
Since the space in the negative electrode complex is sealed by the
ガスケット5の材料は、ゴムまたはエラストマーであり、好ましくは有機電解質に耐性があるゴムまたはエラストマーである。有機電解質に耐性であるゴムまたはエラストマーを用いれば、負極複合体内部の有機電解質によるガスケット5の劣化が起こりにくくなり、負極複合体10Aの内部の密閉性をより長期間にわたって維持することができる。ゴムまたはエラストマーは、エチレン−プロピレン−ジエンの共重合からなるゴムまたはエラストマー、またはフッ素系のゴムまたはエラストマーであることが好適である。エチレン−プロピレン−ジエンの共重合からなるゴムとしては、例えば、EPM、EPDM、EPTが挙げられる。フッ素系のゴムまたはエラストマーとしては、例えば、フッ化ビニリデン系(FKM)、テトラフルオロエチレン-プロピレン系(FEPM)、テトラフルオロエチレン-パープルオロビニルエーテル系(FFKM)等が挙げられる。ゴムまたはエラストマーの物性は、軟らかい硬度であることが好ましい。ガスケット材料の硬度は、好ましくはショアA50〜70付近である。ガスケット材料が著しく柔らかい場合、加工性が悪い等の問題がある場合がある。また、ゴムまたはエラストマーは、成形前の原料が液状のタイプで、吸着性および/または粘着性が高いものが好ましい。
The material of the
接着剤6は、隔離層3の開口面3aを塞ぐように、隔離層3の開口端縁に固定され、負極集電体2の残部を隔離層3の外側に露出させつつ隔離層内の空間を密閉する。接着剤6は、隔離層3の開口面3aの全体を覆うように固定される。接着剤6は、好ましくはガスケット5に接触し、ガスケット5を外部から固定する。接着剤6は、負極集電体4が貫通する貫通部を有する。接着剤6により、負極複合体10Aの密閉性をさらに向上させることができる。接着剤6としては、透湿性が低く、密閉性が高いものが好適であり、例えば、エポキシ系接着剤、アクリル系接着剤、シリコーン系接着剤、オレフィン系接着剤、および合成ゴム系接着剤などが挙げられる。より好ましくは、接着剤は、水系電解質(好ましくは有機電解質)に対する耐性をさらに有しており、例えばエポキシ系接着剤、オレフィン系接着剤等である。接着剤6は、室温で短時間で硬化する硬化条件を有するものが好ましい。また、接着剤6には、金属リチウムを劣化させるアルコール系溶剤等が微量成分として含まれる場合があるが、ガスケット5により隔離層内の空間が密閉されているため、このようなアルコール系溶剤の負極複合体10A内部への侵入を防ぐことができる。このため、使用可能な接着剤の種類の自由度を向上することができる。
The adhesive 6 is fixed to the opening edge of the
本実施形態に係るリチウム空気電池の負極複合体10Aは、ガスケット5および接着剤6により内部空間が密閉されている。よって、有機電解質が負極複合体内部に閉じ込められ、外側に漏出することがない。そのため、有機電解質が負極複合体10Aの外側に存在する電解質に触れて、電解質の濃度やpHが変化するというおそれがなく、所望の放電特性を達成することができる。
The internal space of the negative electrode
さらに、本実施形態に係るリチウム空気電池の負極複合体10Aでは、ガスケット5および接着剤6が、直方体形状の隔離層3の上面に位置する開口に固定されている。よって、リチウム空気電池の通常の使用状態では、負極複合体10Aの外側で空気極と負極複合体10Aとの間でリチウムイオンの伝導を担う電解質が、負極複合体10Aのガスケット5および接着剤6に付着しない。また、ガスケット5および接着剤6は、上面に位置する開口に固定されているため、負極複合体10Aの内部に存在する有機電解質とも接触しない。よって、本実施形態に係るリチウム空気電池の負極複合体10Aは、ガスケット5および接着剤6が電解質との接触によって劣化することがないという利点を有する。このため、ガスケット5および接着剤6の劣化による破損によって、内部の有機電解質が漏出することがなく、負極複合体10Aの密閉性が向上している。また、通常の使用の範囲では、ガスケット5および接着剤6は電解質および有機電解質に接触しないため、ガスケット5および接着剤6の材質について、電解質および有機電解質に対する相性を考慮しなくてもよい。よって、負極複合体10Aの設計の自由度が向上するという利点がある。
Furthermore, in the negative electrode
図4に、本発明に係るリチウム空気電池について、その一実施形態を示す。図5には、本実施形態に係るリチウム空気電池の模式的な断面を示す。 FIG. 4 shows an embodiment of a lithium air battery according to the present invention. In FIG. 5, the typical cross section of the lithium air battery which concerns on this embodiment is shown.
図4および図5に示す実施形態に係るリチウム空気電池100は、主たる構成要素として、負極複合体10Aと空気極13とを備える。空気極13は、空気極層11と空気極集電体12とを備える。なお、同一の符号を付した構成要素は、図1〜3について説明した実施形態と同一の構成を持ち、重複する説明は省略する。
The lithium-
空気極層11は、一面が開口した中空直方体形状であり、内部に負極複合体10Aを収容している。空気極層11の開口面を除く5つの内面の各々は、負極複合体10Aを構成する隔離層3の開口面を除く5つの面)のうちの1つと対向している。負極複合体10Aの隔離層3の外面と、空気極層11の内面とは、実際には相互に各々接しているが、図4および図5においては識別しやすいように離間させて示している。空気極層11は、一体部品として形成されている。空気極層11は、負極複合体10Aの形状、すなわち隔離層3の形状に合わせた形状であり、隔離層3を嵌め込み可能なように、隔離層3よりも一回り大きいサイズを有する。図示は省略されているが、空気極層11の開口は、ゴム、エラストマー、および接着剤等の蓋材により適切に閉塞されている。
The
本実施形態では、空気極層11は中空直方体形状であるが、隔離層3の形状に合わせて、立方体や直方体形状の他に、平行多面体などの多面体、角錐体、円柱(楕円柱を含む)、円錐台等の任意の形状の中空箱形状とすることができる。空気極層11は、角部などに部分的に曲面を有していてもよい。空気極層11には、諸条件が許す限り、凹凸部分、突起、穴、またはスリットなどが設けられていてもよい。「一面が開口した」とは、負極複合体10Aを開口を通じて収容した後、該開口を塞ぐことができるものであり、開口を閉塞することを妨げるものではない。開口は、負極複合体10Aが通過可能な程度の大きさとすることができる。
In the present embodiment, the
空気極層11は、導電性材料を含有する。空気極層11は、導電性およびガス拡散性を有する素材、好ましくは炭素繊維などの導電体を素材とする。具体的には、空気極層11は、多孔質構造、例えば、構成繊維が規則正しく配列されたメッシュ構造、ランダムに配列された不織布構造、三次元網目構造が挙げられる。具体的には、カーボンクロス、カーボン不織布、およびカーボンペーパ等のカーボン材料である。また、その他の多孔質構造を持つ材料として、例えば、多孔質性のステンレス、ニッケル、アルミニウム、鉄等の金属材料でも良い。好ましい空気極の材料は、導電性があり、軽量化に優れ、電解質に対する耐腐食性の高い材料であり、特に好ましくはカーボン材料である。空気極層11は、毛細管現象で電解質15を吸い上げて負極複合体10Aと空気極13との間に電解質を介在させる。
The
空気極層11は、貴金属や酸化金属等の触媒を含んでもよい。触媒としては、放電時には酸素還元反応、充電時には酸素酸化反応を促進させる触媒であれば良い。例えば、MnO2、CeO2、Co3O4、NiO、V2O5、Fe2O3、ZnO、CuO、La1.6Sr0.4NiO4、La2NiO4、La0.6Sr0.4FeO3、La0.6Sr0.4Co0.2Fe0.8O3、La0.8Sr0.2MnO3、Mn1.5Co1.5O4等の金属酸化物;Au、Pt、Ag等の貴金属;およびこれらの複合物等が挙げられる。触媒を含む空気極層11を作製する方法は、特に限定されないが、例えば、白金などの触媒金属を担持したカーボンをバインダー(結着剤)および有機溶媒と混合したもの(スラリー)を、カーボンクロスなどに付着させることにより行うことができる。有機溶媒としては、例えば、N−メチル−2−ピロリドン(NMP)、アセトニトリル、ジメチルホルムアミド(DMF)、ジメチルアセトアミド(DMA)、およびジメチルスルホキシド(DMSO)、アセトン、エタノール、1−プロパノールなどを使用することができる。バインダーとしては、例えば、ポリフッ化ビニリデン(PVdF)、ポリテトラフルオロエチレン(PTFE)、スチレン・ブタジエンゴム(SBR)等を挙げることができる。具体的な空気極層11への触媒の付着方法としては、前記のスラリーを、ドクターブレード法、スプレイ法により塗布および付着する方法が挙げられる。
The
空気極集電体12は、板状または線状の形状を有し、空気極層11に電気的に接続される。空気極集電体12は、空気極層11の外側に露出する部分を有し、この露出部分は外部と電気的に接続可能されて、正極端子として機能する。空気極集電体12の材料としては、リチウム空気電池100の動作範囲で安定して存在でき、所望とする導電性を有していれば良い。空気極集電体12の材料としては、例えば、ステンレス、ニッケル、アルミニウム、金、および白金等の金属材料、カーボンクロスおよびカーボン不織布等のカーボン材料が挙げられる。空気極集電体12は、空気極層11と同じ材料で形成されていてもよい。
The air electrode
図4および図5には示されていないが、リチウム空気電池100の使用の際には、容器内に貯留された電解質にリチウム空気電池100の一部を浸すなどして、電解質が適切に供給される。
Although not shown in FIGS. 4 and 5, when the
本実施形態に係るリチウム空気電池100は、中空直方体形状の空気極層11の5つの内面の各々が、隔離層3の側面または底面の1つと対向しており、負極電極の単位体積あたりの電池反応に有効な面積が大幅に増加している。よって、本実施形態に係るリチウム空気電池100は、従来のリチウム空気電池と比べて、エネルギー密度が向上している。
In the lithium-
さらに、本実施形態に係るリチウム空気電池100では、空気極層11が、負極複合体10の形状に合わせて、中空直方体形状の一体部品として形成されているため、負極複合体10と空気極層11との組み付け工程を簡易にすることができる。また、負極複合体10の側面および底面の数だけ、すなわち5つの空気極層を用意する必要がなく、空気極層としての部品の個数を低減させることができる。
Furthermore, in the lithium-
また、従来のリチウム空気電池は、1つの空気極の一面を1つの負極複合体の一面に正対させて容器やラミネートフィルムに封入していた。一方、本実施形態に係るリチウム空気電池100は、従来のリチウム空気電池におけるラミネートフィルムを不要にし、部品点数の低減、およびラミネートフィルムのポリプロピレンとガラスセラミックスとの接合における困難な接着を不要にする。
Further, the conventional lithium-air battery is enclosed in a container or a laminate film with one surface of one air electrode facing one surface of one negative electrode composite. On the other hand, the lithium-
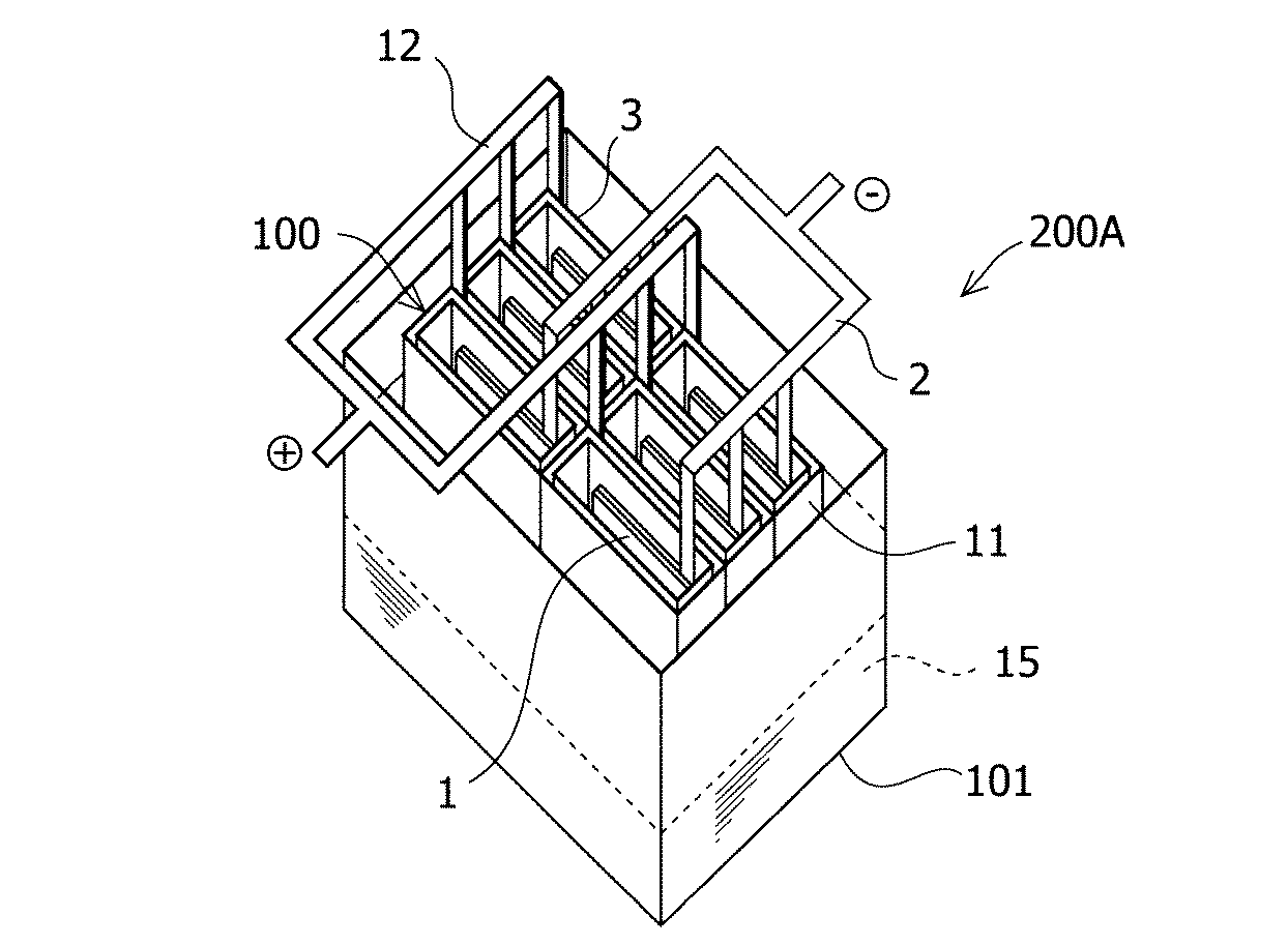
図6に、本発明に係るリチウム空気電池モジュールについて、その一実施形態を示す。図6に示す実施形態に係るリチウム空気電池モジュール200は、並列的に接続された複数のリチウム空気電池100を備える。なお、同一の符号を付した構成要素は、図1〜5について説明した実施形態と同一の構成を持ち、重複する説明は省略する。
FIG. 6 shows an embodiment of a lithium air battery module according to the present invention. The lithium
本実施形態に係るリチウム空気電池モジュール200では、複数のリチウム空気電池100が並列的に接続される。リチウム空気電池100は、相互に接触させて配置される。または、リチウム空気電池100は、直接接触させずに、間に空気が透過し反応性が向上し易いような通気孔を介して配置してもよい。複数のリチウム空気電池100は、ポリエチレン、ポリプロピレン、またはビニリデンフルオライド単位およびテトラフルオロエチレン単位を有するフルオロポリマーからなるフッ素樹脂の成形品や、ビニリデンフルオライド単位およびテトラフルオロエチレン単位を有するフルオロポリマーからなるフッ素樹脂等の材質で空気透過用の穴が空いたチューブなどにより相互に固定されてもよい。並列的に接続されるリチウム空気電池100の個数は、必要とする電流に合わせた個数とすることができる。なお、図示は両略されているが、各々のリチウム空気電池100は、空気極層11の開口が、ゴム、エラストマー、および接着剤等の蓋材により適切に閉塞されている。
In the lithium
図6には示されていないが、リチウム空気電池モジュール200の使用の際には、容器内に貯留された電解質にリチウム空気電池モジュール200の一部を浸すなどして、電解質が適切に供給される。
Although not shown in FIG. 6, when the lithium
本実施形態に係るリチウム空気電池モジュール200は、空気極層11自体がリチウム空気電池セルの外装の役割を兼ねているため、モジュール内部にリチウム空気電池セルごとの仕切りを設ける必要がない。このため、リチウム空気電池モジュール200は、軽量化およびコストダウンを実現可能である。一方、従来の空気電池モジュールでは、リチウム空気電池の外装に相当する仕切りをモジュール内に設け、仕切られた空間内で空気電池セルが形成されていた。そのため、仕切り板などの仕切り用の部品が別途必要であり、重量およびコストの観点で不利であった。
In the lithium-
従って、本実施形態に係るリチウム空気電池モジュール200によれば、従来の空気電池と比べてエネルギー密度および入出力密度を増加させても極端な大型化を抑制し、軽量化および小型化を実現することができる。
Therefore, according to the lithium
図7に、本実施形態に係るリチウム空気電池モジュールの他の例を示す。図7に示す実施形態に係るリチウム空気電池モジュール200Aは、主たる構成要素として、並列的に接続された複数のリチウム空気電池100と、ケース101と、電解質15とを備える。なお、同一の符号を付した構成要素は、図1〜6について説明した実施形態と同一の構成を持ち、重複する説明は省略する。
FIG. 7 shows another example of the lithium air battery module according to the present embodiment. A lithium
ケース101は、六面体、例えば直方体形状を呈する中空体である。ケース101の材質は、気体を透過する一方で、液体の不透過な材料、例えばポリエチレン、ポリプロピレン、またはビニリデンフルオライド単位およびテトラフルオロエチレン単位を有するフルオロポリマーからなるフッ素樹脂の成形品や、ビニリデンフルオライド単位およびテトラフルオロエチレン単位を有するフルオロポリマーからなるフッ素樹脂の多孔質体であることが好適である。あるいは、ケース101は、気体も液体も不透過な材料の成形品であっても良い。この場合には、ケース101の側壁に通気口が設けられる。通気口は、後述する電解質15を漏出させない位置に設けられ、ケース内外に空気を流通させる。
The
ケース101の内部には、電解質15と並列的に接続された複数のリチウム空気電池100とが収納される。ケース101の外側には負極集電体2および空気極集電体12のみが引き出されて露出している。図示は省略されているが、ケース101の上面には、電解質15の揮発・汚染防止のために、蓋が取り付けられていることが好ましい。
A plurality of lithium-
電解質15は、ケース101内に蓄えられ、リチウム空気電池100の空気極層11に接している。電解質15は、空気極層11に毛細管現象により吸い上げられ、空気極層11と負極複合体10との間に介在し、空気極層11と隔離層3との間でリチウムイオンの伝導を担う。
The
電解質15は、水系電解質である。水系電解液としては、通常、水にリチウム塩を含有させたものを用いることができる。リチウム塩としては、例えばLiCl、LiOH、LiNO3、CH3CO2Li等のリチウム塩等を挙げることができる。電解質15は、少なくとも空気極層11の底面に接していればよく、好ましくは空気極層11の側面の5分の1〜5分の3を浸す程度の量でケース101内に貯留される。
The
あるいは、電解質15は、ポリマー電解質であっても良い。この場合、電解質15は、空気極層11と隔離層3との間に挟まれる薄膜状体であってよく、空気極層11の表面をコーティングする膜状体であってもよい。
Alternatively, the
本実施形態に係るリチウム空気電池モジュール200Aは、複数のリチウム空気電池100を並列接続して1つのケース101に収容する。このような構造にすることにより、ケース内の全てのリチウム空気電池100に電解質15を共有させることができる。よって、リチウム空気電池100ごとに電解質を用意する必要がなく、電解質の貯留量を削減することができる。その結果、リチウム空気電池モジュール200A全体としての重量および体積を低減させ、軽量化を達成することができ、エネルギー密度を向上させることができる。
In the lithium-
さらに、本実施形態に係るリチウム空気電池モジュール200Aは、放電の進行に伴って電解質15が揮発しても、ケース101内に電解質を補充すればよく、各リチウム空気電池100ごとに電解質を補給する必要がない。
Further, in the lithium
また、本実施形態に係るリチウム空気電池モジュール200Aでは、リチウム空気電池100が直方体形状であるため、ケース101内にリチウム空気電池100を効率的に配置することが可能である。また、空気極層11自体が外装の役割を兼ねているため、ケース101内に、リチウム空気電池の外装に相当する仕切り用の部品を別途設ける必要がない。従って、ケース101内部の空間を有効に活用することができ、このことは、リチウム空気電池モジュール200Aのエネルギー密度の向上に寄与している。
Further, in the lithium
以下、実施例によって本発明を具体的に説明するが、本発明に係るリチウム空気電池の負極複合体、リチウム空気電池、およびリチウム空気電池モジュールは、下記実施例によって制限されるものではない。 EXAMPLES Hereinafter, although an Example demonstrates this invention concretely, the negative electrode composite_body | complex of lithium air battery which concerns on this invention, a lithium air battery, and a lithium air battery module are not restrict | limited by the following Example.
[実施例1]
1.箱状構造の固体電解質203の作製
(1)リチウムイオン伝導性ガラスセラミックス(LTAP)薄板をカットして、5枚の板状にした。
(2)2液硬化型のエポキシ系接着剤を板状のLTAP薄板の端面に塗布して、貼り合わせ、一面が開口した箱状の5面体を組み立てることにより、固体電解質203を作製した。
[Example 1]
1. Production of Box-shaped Structure Solid Electrolyte 203 (1) A lithium ion conductive glass ceramic (LTAP) thin plate was cut into five plates.
(2) A two-component curable epoxy adhesive was applied to the end face of a plate-shaped LTAP thin plate, bonded together, and a box-shaped pentahedron with one side opened was assembled to prepare a
2.負極複合体の作製
負極複合体210を、酸素濃度1ppm以下、露点−76℃dpのArによる不活性雰囲気下で以下の手順で組み立てた。図8には、負極複合体210の模式的な断面図を示す。
(1)負極複合体210の構成部材である上記1で作製した箱状の固体電解質203、銅箔(負極集電体)202の両面に貼り合わせた金属リチウム負極201(四角形、2枚)、PP樹脂の多孔質シートによるセパレータ204(四角形、2枚)、および上面に配置するガスケットシート205(EPDM、1枚)を準備した。
(2)金属リチウム負極201(銅箔202の集電体付き)を、2枚のPP樹脂の多孔質シートによるセパレータ204に挟み、箱状の固体電解質203内に挿入した。
(3)固体電解質203内に有機電解質(EC:EMC=1:1、1MのLiPF6)を滴下した。固体電解質203内の上部まで電解液に満たされているのを確認した。
(4)金属リチウム201に貼付された銅箔(負極集電体)202の一部を固体電解質203の外側に露出させ、固体電解質203の上部の開口部にガスケットシート205を取り付けた。ガスケットシート205と固体電解質203の端部をエポキシ系接着剤206(2液常温硬化型)にて接着して密閉した。
2. Production of Negative Electrode Composite The
(1) The box-shaped
(2) A metallic lithium negative electrode 201 (with a
(3) An organic electrolyte (EC: EMC = 1: 1, 1M LiPF 6 ) was dropped into the
(4) A part of the copper foil (negative electrode current collector) 202 affixed to the
3.空気極の作製
正極の酸素還元の触媒として白金担持カーボン(Pt45.8%)を400mgと、バインダー(結着剤)としてポリフッ化ビニリデン(PVdF)を100mgとを計り取り、N−メチル−2−ピロリドン(NMP)15mlを添加して混合溶媒を調製した。
混合溶媒を攪拌機(シンキ−製AR−100)で15分、超音波で60分攪拌および分散を行い、塗工機を用いて、カーボンクロス上に塗布し、その後、ホットプレート上に置いて110℃で1時間加熱乾燥させて、白金担持量0.25mg/cm2の空気極を作製した。その後、上記の箱状の固体電解質を覆うような一面が開口した箱状の5面体に空気極をカットして組み立てた。正極集電体は、空気極と同じ材質のものを空気極に貼付した。
3. Production of Air Electrode 400 mg of platinum-supported carbon (Pt 45.8%) as a catalyst for oxygen reduction of the positive electrode and 100 mg of polyvinylidene fluoride (PVdF) as a binder (binder) were weighed, and N-methyl-2- A mixed solvent was prepared by adding 15 ml of pyrrolidone (NMP).
The mixed solvent was stirred and dispersed with a stirrer (AR-100 manufactured by Shinki Co., Ltd.) for 15 minutes and with ultrasonic waves for 60 minutes, and coated on a carbon cloth using a coating machine, and then placed on a hot plate to be 110. An air electrode having a platinum loading of 0.25 mg / cm 2 was produced by heating and drying at 0 ° C. for 1 hour. After that, the air electrode was cut and assembled into a box-shaped pentahedron whose one surface was opened so as to cover the box-shaped solid electrolyte. The positive electrode current collector was affixed to the air electrode with the same material as the air electrode.
4.水系電解質の調製
42.4gのLiClを精製水500mlに溶解させ、2MのLiCl水溶液を調製した。
4). Preparation of aqueous electrolyte 42.4 g of LiCl was dissolved in 500 ml of purified water to prepare a 2M LiCl aqueous solution.
5.セルの作製
箱状の空気極に箱状の負極複合体210を収納したものを、空気極を収容可能な大きさの、通気口が空いたプラスチック製のケース内に入れて、水系電解質をセル全体が浸る程度に加え、実施例1のリチウム空気電池のセルとした。
5. Preparation of Cell A container in which a box-shaped
[比較例1]
1.負極複合体の作製
負極複合体310を、酸素濃度1ppm以下、露点−76℃dpのArによる不活性雰囲気下で以下の手順で作製した。図9に、負極複合体310の模式的な断面図を示す。負極複合体310は、実施例1の負極複合体210と同様の外形サイズを有する。
(1)負極複合体310の構成部材である固体電解質303(リチウムイオン伝導性ガラスセラミックス(LTAP)薄板、四角形、2枚)、金属リチウム301(金属Li、四角形、2枚、銅箔(負極集電体)310の両面に貼付)、セルロースセパレータ304(四角形、2枚)、およびガスケットシート308(EPDM、四角枠、2枚)を準備した。2枚の固体電解質303の各々にガスケットシート308を貼り付けた。
(2)図9において下側に示される1枚の固体電解質303上に、セルロースセパレータ304を、ガスケットシート308の枠内に入るように配置し、有機電解質(EC:EMC=1:1、1MのLiPF6)をセルロースセパレータ304に滴下して全体に染み込ませた。金属リチウム301を、セルロースセパレータ304上に、ガスケットシート308の枠内に入るように配置し、2枚目のセルロースセパレータ304を金属リチウム301上に配置した。2枚目のセルロースセパレータ304に有機電解質を滴下し、全体に染み込ませた。
(3)(1)で作製した上側の固体電解質303を、(2)の作製物の上から被せ、上側と下側のガスケットシート308をずれないように張り付けて、外部の空気等が入らないようにガスケットシート308の粘着性により密閉させた。負極複合体310の内部の構成部材同士が、密着性良く接触するように、外側から全体を押さえて固定させた。
(4)エポキシ系接着剤309(2液常温硬化型)を、2枚の固体電解質303の間を密閉するように、固体電解質303の外周端縁の全周に薄く塗布し、エポキシ系接着剤309を硬化させた。
[Comparative Example 1]
1. Production of Negative Electrode Composite A
(1) Solid electrolyte 303 (lithium ion conductive glass ceramics (LTAP) thin plate, square, two pieces), which is a constituent member of the
(2) On one
(3) The upper
(4) An epoxy adhesive 309 (two-component room temperature curing type) is thinly applied to the entire periphery of the outer peripheral edge of the
2.空気極の作製
正極の酸素還元の触媒として白金担持カーボン(Pt45.8%)を80mgと、バインダー(結着剤)としてポリフッ化ビニリデン(PVdF)を20mgとを計り取り、N−メチル−2−ピロリドン(NMP)3mlを添加して混合溶媒を調製した。
混合溶媒を攪拌機(シンキ−製AR−100)で15分、超音波で60分攪拌および分散を行い、塗工機(松尾産業製K202コントロールコーター)を用いて、カーボンクロス上に塗布し、その後、ホットプレート上に置いて110℃で1時間加熱乾燥させて、白金担持量0.25mg/cm2の空気極を作製した。空気極の集電体として、空気極のカーボンクロスを直方形の形状で延長させたものとした。
2. Production of Air Electrode Weigh 80 mg of platinum-supported carbon (Pt 45.8%) as a catalyst for oxygen reduction of the positive electrode and 20 mg of polyvinylidene fluoride (PVdF) as a binder (binder), and measure N-methyl-2- A mixed solvent was prepared by adding 3 ml of pyrrolidone (NMP).
Stir and disperse the mixed solvent for 15 minutes with an agitator (AR-100 manufactured by Shinki Co., Ltd.) and 60 minutes with ultrasonic waves, and apply on the carbon cloth using a coating machine (K202 Control Coater made by Matsuo Sangyo). Then, it was placed on a hot plate and dried by heating at 110 ° C. for 1 hour to produce an air electrode having a platinum loading of 0.25 mg / cm 2 . As a current collector for the air electrode, the carbon cloth of the air electrode was extended in a rectangular shape.
3.水系電解質の調製
水系電解質の調製は、実施例1と同様にして行った。
3. Preparation of aqueous electrolyte The aqueous electrolyte was prepared in the same manner as in Example 1.
4.セルの作製
負極複合体310を収容可能な大きさの、穴が開いたプラスチック製のケースに、空気極、水系電解質を滴下したセルロースシート、負極複合体310、水系電解質を滴下したセルロースシート、および空気極をこの順にズレが無いように重ねたものを収容し、比較例1のリチウム空気電池のセルとした。
4). Production of Cell In a plastic case with a hole and a size that can accommodate the
[放電試験]
実施例1および比較例1のセルにおいて、4mA/cm2(約0.1Cの放電レート)で放電した際の放電電圧をBAS社製ALS608Aで10時間にわたって測定した。ここで、1Cは、公称容量を有するセルを定電流放電して、ちょうど1時間で放電終了となる電流値を指している。放電電圧の測定結果を表1に示す。実施例1および比較例1のセルはいずれも放電の初期において高い放電電圧を示したが、実施例1のセルは、比較例1のセルと比べてさらに長時間高い放電電圧を維持した。
[Discharge test]
In the cells of Example 1 and Comparative Example 1, the discharge voltage when discharged at 4 mA / cm 2 (about 0.1 C discharge rate) was measured with ALS608A manufactured by BAS for 10 hours. Here, 1C indicates a current value at which discharge is completed in just one hour after constant-current discharge of a cell having a nominal capacity. The measurement results of the discharge voltage are shown in Table 1. The cells of Example 1 and Comparative Example 1 both showed a high discharge voltage at the beginning of discharge, but the cell of Example 1 maintained a higher discharge voltage for a longer time than the cell of Comparative Example 1.
1 負極層
2 負極集電体
3 隔離層
3a 開口面
3b 前側面
3c 後側面
4 緩衝層
5 ガスケット
6 接着剤
10、10A 負極複合体
11 空気極層
12 空気極集電体
13 空気極
15 電解質
100 リチウム空気電池
101 ケース
200、200A リチウム空気電池モジュール
201 金属リチウム
202 銅箔
203 固体電解質
204 セパレータ
205 ガスケットシート
206 エポキシ系接着剤
210 負極複合体
301 金属リチウム
302 銅箔
303 固体電解質
304 セルロースセパレータ
308 ガスケットシート
309 エポキシ系接着剤
310 負極複合体
DESCRIPTION OF
Claims (8)
金属リチウム、リチウム合金、またはリチウム化合物を含み、前記負極集電体の一部を挟み込む板形状の2つの負極層と、
一面が開口した中空箱形状であり、内部に前記2つの負極層を収容する、リチウムイオン伝導性を有する隔離層と
を備えるリチウム空気電池の負極複合体。 A plate-like or linear negative electrode current collector;
Two plate-shaped negative electrode layers containing metallic lithium, a lithium alloy, or a lithium compound and sandwiching a part of the negative electrode current collector;
A negative electrode composite for a lithium-air battery, which has a hollow box shape with one surface open and includes a lithium ion conductive isolation layer that accommodates the two negative electrode layers therein.
導電性材料を含有し、前記隔離層の少なくとも一面に対向する面を有する空気極層と、
前記空気極層に電気的に接続された板状または線状の空気極集電体と
を備える空気極と
を備えるリチウム空気電池。 The negative electrode composite according to any one of claims 1 to 3,
An air electrode layer containing a conductive material and having a surface opposite to at least one surface of the isolation layer;
A lithium air battery comprising: an air electrode comprising a plate-like or linear air electrode current collector electrically connected to the air electrode layer.
前記ケース内に蓄えられ、少なくとも前記空気極に接する電解質と
をさらに備える請求項7に記載のリチウム空気電池モジュール。 A case housing the plurality of lithium-air batteries;
The lithium air battery module according to claim 7, further comprising an electrolyte stored in the case and in contact with at least the air electrode.
Priority Applications (1)
| Application Number | Priority Date | Filing Date | Title |
|---|---|---|---|
| JP2014127652A JP6361963B2 (en) | 2014-06-20 | 2014-06-20 | Negative electrode composite of lithium air battery, lithium air battery, and lithium air battery module |
Applications Claiming Priority (1)
| Application Number | Priority Date | Filing Date | Title |
|---|---|---|---|
| JP2014127652A JP6361963B2 (en) | 2014-06-20 | 2014-06-20 | Negative electrode composite of lithium air battery, lithium air battery, and lithium air battery module |
Publications (2)
| Publication Number | Publication Date |
|---|---|
| JP2016009525A JP2016009525A (en) | 2016-01-18 |
| JP6361963B2 true JP6361963B2 (en) | 2018-07-25 |
Family
ID=55226970
Family Applications (1)
| Application Number | Title | Priority Date | Filing Date |
|---|---|---|---|
| JP2014127652A Active JP6361963B2 (en) | 2014-06-20 | 2014-06-20 | Negative electrode composite of lithium air battery, lithium air battery, and lithium air battery module |
Country Status (1)
| Country | Link |
|---|---|
| JP (1) | JP6361963B2 (en) |
Families Citing this family (2)
| Publication number | Priority date | Publication date | Assignee | Title |
|---|---|---|---|---|
| CN105591179B (en) * | 2016-01-31 | 2019-04-05 | 复旦大学 | A kind of threadiness lithium sky battery and preparation method thereof |
| CN109075413B (en) | 2016-04-25 | 2021-05-07 | 铃木株式会社 | Negative electrode composite structure of lithium air battery |
Family Cites Families (6)
| Publication number | Priority date | Publication date | Assignee | Title |
|---|---|---|---|---|
| US3607417A (en) * | 1967-12-04 | 1971-09-21 | Ionics | Battery cell |
| US7282295B2 (en) * | 2004-02-06 | 2007-10-16 | Polyplus Battery Company | Protected active metal electrode and battery cell structures with non-aqueous interlayer architecture |
| US20100266901A1 (en) * | 2009-04-13 | 2010-10-21 | Excellatron Solid State, Llc | Lithium Oxygen Battery Having Enhanced Anode Environment |
| JP5382573B2 (en) * | 2009-02-19 | 2014-01-08 | 国立大学法人三重大学 | Lithium air battery |
| JP5749476B2 (en) * | 2010-11-25 | 2015-07-15 | 昭和電工パッケージング株式会社 | Manufacturing method of outer case for air battery |
| JP2013211261A (en) * | 2012-02-29 | 2013-10-10 | Mitsubishi Heavy Ind Ltd | Negative electrode unit for battery and metal air battery |
-
2014
- 2014-06-20 JP JP2014127652A patent/JP6361963B2/en active Active
Also Published As
| Publication number | Publication date |
|---|---|
| JP2016009525A (en) | 2016-01-18 |
Similar Documents
| Publication | Publication Date | Title |
|---|---|---|
| JP6288511B2 (en) | Negative electrode composite of lithium air battery and lithium air battery | |
| US8129052B2 (en) | Polymer adhesive seals for protected anode architectures | |
| JP6155626B2 (en) | Lithium air battery and negative electrode composite of lithium air battery | |
| JP6493057B2 (en) | Metal-air battery negative electrode composite and metal-air battery | |
| CN102714338B (en) | Air battery and air battery stack | |
| CN104659443B (en) | Lithium-air battery and negative electrode complex of lithium-air battery | |
| CN104681895B (en) | Lithium Air Battery And Positive Electrode Structural Body Of Lithium Battery | |
| US20150104718A1 (en) | Flexible transparent air-metal batteries | |
| JP2013037999A (en) | Metal-air battery | |
| KR20170068730A (en) | Battery Cell Comprising Electrode Lead Having Gas Adsorbent | |
| EP3588605B1 (en) | Anode composite structure for lithium-air battery | |
| CN108539204A (en) | The cathode complex structure of lithium-air battery | |
| KR101305242B1 (en) | Secondary Battery of Novel Structure | |
| JP6260870B2 (en) | Metal air battery | |
| JP6361963B2 (en) | Negative electrode composite of lithium air battery, lithium air battery, and lithium air battery module | |
| JP6379715B2 (en) | Lithium air battery and negative electrode composite of lithium air battery | |
| JP5609829B2 (en) | Air battery | |
| JP6361476B2 (en) | Lithium air battery and negative electrode composite of lithium air battery | |
| KR20130005886A (en) | Battery case of high durability and secondary battery including the same | |
| JP6962070B2 (en) | Air battery and negative electrode complex used for it | |
| JP7131214B2 (en) | metal air battery | |
| JP2016004647A (en) | Negative electrode composite for lithium air battery and method for producing the same | |
| JP6583138B2 (en) | Metal air battery | |
| JP2016004648A (en) | Negative electrode composite and lithium-air battery | |
| JP2013037935A (en) | Metal-air battery and manufacturing method therefor |
Legal Events
| Date | Code | Title | Description |
|---|---|---|---|
| A621 | Written request for application examination |
Free format text: JAPANESE INTERMEDIATE CODE: A621 Effective date: 20170228 |
|
| A977 | Report on retrieval |
Free format text: JAPANESE INTERMEDIATE CODE: A971007 Effective date: 20171129 |
|
| A131 | Notification of reasons for refusal |
Free format text: JAPANESE INTERMEDIATE CODE: A131 Effective date: 20171208 |
|
| TRDD | Decision of grant or rejection written | ||
| A01 | Written decision to grant a patent or to grant a registration (utility model) |
Free format text: JAPANESE INTERMEDIATE CODE: A01 Effective date: 20180601 |
|
| A61 | First payment of annual fees (during grant procedure) |
Free format text: JAPANESE INTERMEDIATE CODE: A61 Effective date: 20180614 |
|
| R151 | Written notification of patent or utility model registration |
Ref document number: 6361963 Country of ref document: JP Free format text: JAPANESE INTERMEDIATE CODE: R151 |
