JP6099030B2 - Absorbent articles - Google Patents
Absorbent articles Download PDFInfo
- Publication number
- JP6099030B2 JP6099030B2 JP2012112268A JP2012112268A JP6099030B2 JP 6099030 B2 JP6099030 B2 JP 6099030B2 JP 2012112268 A JP2012112268 A JP 2012112268A JP 2012112268 A JP2012112268 A JP 2012112268A JP 6099030 B2 JP6099030 B2 JP 6099030B2
- Authority
- JP
- Japan
- Prior art keywords
- fiber
- sheet
- fibers
- raised
- nonwoven fabric
- Prior art date
- Legal status (The legal status is an assumption and is not a legal conclusion. Google has not performed a legal analysis and makes no representation as to the accuracy of the status listed.)
- Active
Links
Images
Classifications
-
- A—HUMAN NECESSITIES
- A61—MEDICAL OR VETERINARY SCIENCE; HYGIENE
- A61F—FILTERS IMPLANTABLE INTO BLOOD VESSELS; PROSTHESES; DEVICES PROVIDING PATENCY TO, OR PREVENTING COLLAPSING OF, TUBULAR STRUCTURES OF THE BODY, e.g. STENTS; ORTHOPAEDIC, NURSING OR CONTRACEPTIVE DEVICES; FOMENTATION; TREATMENT OR PROTECTION OF EYES OR EARS; BANDAGES, DRESSINGS OR ABSORBENT PADS; FIRST-AID KITS
- A61F13/00—Bandages or dressings; Absorbent pads
- A61F13/15—Absorbent pads, e.g. sanitary towels, swabs or tampons for external or internal application to the body; Supporting or fastening means therefor; Tampon applicators
- A61F13/51—Absorbent pads, e.g. sanitary towels, swabs or tampons for external or internal application to the body; Supporting or fastening means therefor; Tampon applicators characterised by the outer layers of the pads
- A61F13/511—Topsheet, i.e. the permeable cover or layer facing the skin
- A61F13/51104—Topsheet, i.e. the permeable cover or layer facing the skin the top sheet having a three-dimensional cross-section, e.g. corrugations, embossments, recesses or projections
-
- A—HUMAN NECESSITIES
- A61—MEDICAL OR VETERINARY SCIENCE; HYGIENE
- A61F—FILTERS IMPLANTABLE INTO BLOOD VESSELS; PROSTHESES; DEVICES PROVIDING PATENCY TO, OR PREVENTING COLLAPSING OF, TUBULAR STRUCTURES OF THE BODY, e.g. STENTS; ORTHOPAEDIC, NURSING OR CONTRACEPTIVE DEVICES; FOMENTATION; TREATMENT OR PROTECTION OF EYES OR EARS; BANDAGES, DRESSINGS OR ABSORBENT PADS; FIRST-AID KITS
- A61F13/00—Bandages or dressings; Absorbent pads
- A61F13/15—Absorbent pads, e.g. sanitary towels, swabs or tampons for external or internal application to the body; Supporting or fastening means therefor; Tampon applicators
- A61F13/51—Absorbent pads, e.g. sanitary towels, swabs or tampons for external or internal application to the body; Supporting or fastening means therefor; Tampon applicators characterised by the outer layers of the pads
- A61F13/511—Topsheet, i.e. the permeable cover or layer facing the skin
- A61F13/5116—Topsheet, i.e. the permeable cover or layer facing the skin being formed of multiple layers
Landscapes
- Health & Medical Sciences (AREA)
- Epidemiology (AREA)
- Engineering & Computer Science (AREA)
- Biomedical Technology (AREA)
- Heart & Thoracic Surgery (AREA)
- Vascular Medicine (AREA)
- Life Sciences & Earth Sciences (AREA)
- Animal Behavior & Ethology (AREA)
- General Health & Medical Sciences (AREA)
- Public Health (AREA)
- Veterinary Medicine (AREA)
- Absorbent Articles And Supports Therefor (AREA)
- Nonwoven Fabrics (AREA)
Description
本発明は、生理用ナプキン、失禁パッド、使い捨ておむつ等の吸収性物品に関する。 The present invention relates to absorbent articles such as sanitary napkins, incontinence pads, and disposable diapers.
従来より、使い捨ておむつ等の吸収性物品には、破断強度が高く加工適正に優れ、しかも経済的であるとの理由からスパンボンド不織布や低目付の不織布(エアースルー不織布やヒートロール不織布)が多用されている。しかし、スパンボンド不織布は、その製造法上、全体にふっくら感等が足らず、低目付の不織布もふっくら感等が足らず、吸収性物品のクッション性を向上させることが難しかった。 Conventionally, absorbent articles such as disposable diapers have been widely used for spunbond nonwoven fabrics and low-weight nonwoven fabrics (air-through nonwoven fabrics and heat roll nonwoven fabrics) because they have high breaking strength, excellent processing suitability, and are economical. Has been. However, the spunbonded nonwoven fabric has a lack of plumpness and the like due to its production method, and the nonwoven fabric with low basis weight has a lack of plumpness, making it difficult to improve the cushioning properties of the absorbent article.
例えば、特許文献1には、熱エンボス圧着処理により、複合長繊維の鞘成分を糸引きするように剥離して細繊度化した毛羽を形成し、該毛羽を有する熱エンボス圧着部が分散配置された不織布を用いた吸収性物品が記載されている。また、例えば、特許文献2には、構成繊維を起毛処理した起毛面を有するネル調風合いの不織布が記載されている。
For example, in
しかし、特許文献1に記載の不織布を、例えば、吸収性物品の表面シートに用いたとしても、不織布を構成する、糸引きにより細繊度化した毛羽が細すぎ、吸収性物品のクッション性の向上に寄与することができず、肌触りを向上することが難しい。また、特許文献2には、起毛面を有するネル調風合いの不織布を、吸収性物品の構成材料に用いることについて、何ら記載されていない。
また、植毛による不織布が知られているが、繊維を接着剤によりベースの基材に固定しているため、接着剤によるベタツキや肌に触れた際の肌トラブルが生じるなどの問題があった。
However, even if the nonwoven fabric described in
Moreover, although the nonwoven fabric by flocking is known, since the fiber was fixed to the base substrate with the adhesive, there were problems such as stickiness due to the adhesive and skin trouble when touching the skin.
したがって、本発明の課題は、吸収性物品のクッション性が向上し、肌触りの向上した吸収性物品を提供することにある。 Therefore, the subject of this invention is providing the absorbent article which the cushioning property of the absorbent article improved and the touch improved.
本発明は、肌対向面側に配された表面シートと、非肌対向面側に配された裏面シートと、これらシートの間に配された吸収体とを備えた吸収性物品であって、前記表面シート、及び/又は該表面シートと前記吸収体との間に配される液透過性のシートには、その構成繊維の一部が自由端部を有する起毛繊維を備えた不織布が用いられており、前記起毛繊維は、該起毛繊維の本数が8本/cm以上であり且つ起毛高さが0.2mm以上5mm以下である吸収性物品を提供するものである。 The present invention is an absorbent article comprising a top sheet disposed on the skin facing surface side, a back sheet disposed on the non-skin facing surface side, and an absorbent disposed between these sheets, For the topsheet and / or the liquid-permeable sheet disposed between the topsheet and the absorber, a non-woven fabric provided with raised fibers in which some of the constituent fibers have free ends is used. The raised fibers provide an absorbent article in which the number of the raised fibers is 8 / cm or more and the raised height is 0.2 mm or more and 5 mm or less.
本発明の吸収性物品によれば、クッション性が向上し、肌触りが向上する。 According to the absorbent article of the present invention, the cushioning property is improved and the touch is improved.
以下、本発明の吸収性物品を、まず、その好ましい第1実施形態に基づき、図1〜図11を参照しながら説明する。 Hereinafter, the absorbent article of this invention is first demonstrated based on the preferable 1st Embodiment, referring FIGS. 1-11.
第1実施形態の吸収性物品は、生理用ナプキンであり、第1実施形態の生理用ナプキン1A(以下、「ナプキン1A」ともいう。)は、図1,図2に示すように、肌対向面(着用者の肌側に向けられる面)側に配された液透過性の表面シート2と、非肌対向面(着用者の肌側とは反対側に向けられる面)側に配された液難透過性の裏面シート3と、これらシート2,3間に配された縦長の吸収体4とを備えた実質的に縦長のものである。また、ナプキン1Aには、図1,図2に示すように、長手方向(Y方向)に沿う両側部1s,1sに、一対のサイドシート5,5が配されており、幅方向(X方向)外方に延出する一対のウイング部6,6が設けられている。ナプキン1Aは、図1に示すように、ナプキン1Aの長手方向に延びる中心線CLに対して左右対称に形成されている。尚、各図に示す「Y方向」は、中心線CLに平行な方向であり、ナプキンの長手方向と同じ方向でもある。また各図に示す「X方向」は、中心線CLに直交する方向であり、ナプキンの幅方向と同じ方向でもある。
The absorbent article of the first embodiment is a sanitary napkin, and the
ナプキン1Aについて、詳述すると、ナプキン1Aは、図1に示すように、表面シート2、裏面シート3、これらシート2,3間に配された吸収体4を備えた吸収性本体10を有している。ナプキン1Aの吸収性本体10は、図1に示すように、ウイング部6,6の位置する領域である中央部A、ナプキン1Aの着用時に中央部Aより着用者の腹側に配される前方部B、及びナプキン1Aの着用時に中央部Aよりも着用者の背中側に配される後方部Cに区分される。ナプキン1Aの着用時には、通常、吸収性本体10の中央部Aが、着用者の排泄部(膣口等)に対向配置される。言い換えれば、ウイング部6は、吸収性本体10の排泄対向領域(着用者の排泄部に対向する領域)に形成されている。
The
吸収性本体10を形成する表面シート2及び裏面シート3それぞれは、図1に示すように、吸収体4の肌対向面側の全面及び非肌対向面側の全面を覆っており、吸収体4の周縁から延出する延出部分を有している。表面シート2は、図2に示すように、X方向の長さが裏面シート3のX方向の長さよりも短くなっている。一対のサイドシート5,5それぞれは、図1、図2に示すように、表面シート2の肌対向面側であって、表面シート2の長手方向(Y方向)に沿う側部全域に亘って配設固定されており、表面シート2の長手方向(Y方向)に沿う側部からX方向の外方に延出する延出部分を有している。ナプキン1Aにおいては、図1,図2に示すように、裏面シート3のX方向外方の延出部分とサイドシート5のX方向外方の延出部分とが、接着、融着等により固定されており、前方部B及び後方部Cよりも中央部Aにおいて大きく幅方向(X方向)外方に延出し、ウイング部6が形成されている。ナプキン1Aの裏面シート3の幅方向(X方向)中央部及びウイング部6の裏面シート3の延在部の非肌対向面上には、それぞれ粘着剤が塗布されて、ナプキン1Aをショーツ等の下着に固定するための固定部(図示せず)が形成されている。尚、各サイドシート5は、その幅方向(X方向)内方側(中心線CL側)の端部近傍に、長手方向(Y方向)に伸長状態の弾性部材を配設固定して、着用時に、その弾性部材の収縮力により、前記端部から所定幅の部分が表面シート2から離間する立体ギャザーを形成するようにしてもよい。
As shown in FIG. 1, each of the
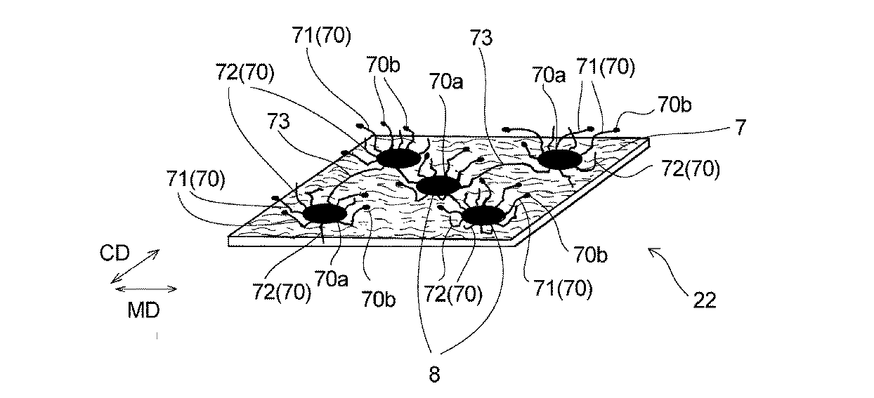
本発明の吸収性物品の備える表面シート2には、図3〜図5に示すように、その構成繊維の一部が自由端部70bを有する起毛繊維70を備えた不織布が用いられている。該不織布は、起毛繊維70と起毛していない繊維とからなる。本発明において、起毛繊維70は、起毛繊維の本数が8本/cm以上であり且つ起毛高さが0.2mm以上5mm以下のものである。起毛繊維の本数が8本/cm以上であり且つ起毛高さが0.2mm以上5mm以下とすることで、低目付けの例えばエアースルー不織布やヒートロール不織布において、触ったときに柔らかく、クッション性の良いものが得られる点で好ましいからである。また、同時に上記起毛とすることで液の吸収速度が速くなり、かつ、液残り量、ウエットバック量の低いものが得られる点で好ましいからである。「起毛繊維の本数」及び「起毛高さ」の測定方法については後で詳述する。
As shown in FIGS. 3 to 5, a non-woven fabric provided with raised
表面シート2に用いられる不織布としては、1枚の繊維シート、又は複数枚の繊維シートから形成されたものが用いられ、特に、複数枚の繊維シートから形成されたものである場合には、複数枚の繊維シートが多数のシート間接合部にて接合されて形成された接合体が用いられ、ナプキン1Aにおいては、図3,図4に示すように、2枚の繊維シート21,22からなり、2枚の繊維シート21,22が多数のシート間接合部23にて接合されて形成された接合体が用いられている。尚、図3,図4に示すように、ナプキン1Aにおける繊維シート21は、着用時に着用者の肌側に向けられるシートであり、肌対向面21d及び非肌対向面(繊維シート22に対向する対向面)21eを有しており、ナプキン1Aにおける繊維シート22は、着用時に着用者の肌側とは反対側に向けられるシートであり、肌対向面(繊維シート21に対向する対向面)22d及び非肌対向面22eを有している。
As the nonwoven fabric used for the
ナプキン1Aの表面シート2は、図3,図4に示すように、シート間接合部23にて繊維シート21及び繊維シート22が接合されて形成されており、表面シート2には、規則的な凹凸部が形成されている。具体的には、図3,図4に示すように、2枚の繊維シート21,22の一方の非肌対向面側に配される繊維シート22は、平坦であり、他方の肌対向面側に配される繊維シート21は、多数のシート間接合部23それぞれを含む多数の凹部24と、多数の凹部24で囲まれ肌対向面側に突出する多数の凸部25とが規則的に配された凹凸賦形をなしている。更に詳述すると、表面シート2には、ナプキン1Aにおいては、図3に示すように、多数のシート間接合部23が、平面視して、千鳥格子状に規則的に配されて、多数のシート間接合部23それぞれを含む多数の凹部24が形成されるとともに、連続しない4点のシート間接合部23それぞれを含む4つの凹部24で囲まれ且つ肌対向面側に突出する多数の凸部25が形成されており、Y方向及びX方向それぞれに沿って、凹部24及び凸部25が交互に配されている。表面シート2の凸部25それぞれの内部は、図3,図4に示すように、肌対向面側の繊維シート21の非肌対向面21eと非肌対向面側の繊維シート22の肌対向面21dとにより囲繞された中空構造である。
As shown in FIGS. 3 and 4, the
ナプキン1Aの表面シート2の凸部25は、図3に示すように、X方向と平行に位置しかつ相対向する一対の第1壁部25aを有している。また凸部25は、Y方向と平行に位置しかつ相対向する一対の第2壁部25bを有している。更に凸部25は、各第1壁部25aの上辺及び各第2壁部25bの上辺が連なる天面部25cを有している。更に凸部25は、図3,図4に示すように、天面部25cと対向する面である底面部25dを有している。第1壁部25a、第2壁部25b及び天面部25cは、繊維シート21から構成されており、底面部25dは、繊維シート22から構成されている。凸部25の形状としては、図3に示すように、ナプキン1Aにおいては、体液透過性の観点から、天面部25cの面積よりも底面部25dの面積の方が大きく設計されており、肌触り感の向上の観点から、稜線が丸みを帯びた四角錐形状に形成されている。
As shown in FIG. 3, the
表面シート2の凸部25における底面部25dの面積は、ナプキン1Aにおいては、凸形状を効果的に形成する観点から、4mm2以上100mm2以下であり、更に好ましくは、4mm2以上20mm2以下である。また、表面シート2の凸部25の高さhは、同様の観点から、ナプキン1Aにおいては、好ましくは、1mm以上10mm以下であり、更に好ましくは、1mm以上3mm以下である。
The area of the
ナプキン1Aの表面シート2の凸部25は、図3から明らかなように、各凸部25それぞれが別個に独立して存在しているのではなく、任意の1つの凸部25に着目したとき、X方向(及びY方向)に関して斜め前方に位置する2つの凸部25、及び斜め後方に位置する2つの凸部25と連結している。凸部25どうしの連結部の高さは、凸部25の頂部の高さよりも低くなっている。
As is apparent from FIG. 3, the
尚、上述したように、シート間接合部23は、図3に示すように、ナプキン1Aにおいては、規則的に千鳥格子状(シート間接合部23を4点で凸部25を取り囲むパターンのみ)に配されているが、規則的に配されていなくともよい。しかし、見栄えの観点及び形成される凸部25の形状維持の観点からは、規則的なパターンで配されていることが好ましい。千鳥格子状以外の他の規則的な配置パターンとしては、シート間接合部23を4点で凸部25を取り囲むパターンと、シート間接合部23を6点で凸部25を取り囲むパターンとの組合せや、シート間接合部23を5点で凸部25を取り囲むパターンと、シート間接合部23を6点で凸部25を取り囲むパターンとの組合せ等が挙げられる。
Note that, as described above, the
表面シート2のシート間接合部23は、接着剤や、ヒートエンボス、超音波エンボス、高周波エンボス等の熱融着により繊維シート間を固定することにより形成されており、接着剤に比べ形成されたシート間接合部23近傍の繊維間距離が短くなり、毛管作用が増して体液が吸収し易い観点から、熱融着により形成されていることが好ましい。シート間接合部23は、図3に示すように、ナプキン1Aにおいては、平面視して、矩形状であるが、その形状に特に限定されるものではなく、十文字状であっても、多角形状等であってもよい。
The
表面シート2を構成する繊維シート21及び繊維シート22それぞれは、単層又は多層で形成されており、ナプキン1Aにおいては、図4に示すように、何れも単層で形成されている。また、表面シート2を構成する2枚の繊維シート21及び繊維シート22は、少なくとも一方が、互いに対向する対向面に起毛繊維70が配されており、ナプキン1Aにおいては、より好ましい形態として図3,図4に示すように、繊維シート21の対向面21e及び繊維シート22の対向面22dそれぞれに、起毛繊維70が配されている。特に、ナプキン1Aの表面シート2においては、図4に示すように、凸部25における繊維シート21の対向面、即ち、表面シート2の中空構造の凸部25の内部を構成する繊維シート21の対向面21e及び凸部25における繊維シート22の対向面22dそれぞれに、起毛繊維70が配されている。これにより、中空構造内部に繊維がより充填され、また、繊維シート21e側から繊維シート22d側へ液が移行しやすくなり、さらに吸収体4側へと移行しやすくなるため、体液の吸収時における表面シート2中の液残りが減少し、肌への濡れ感が減少する。
Each of the
上述したように、表面シート2を構成する繊維シート21及び繊維シート22それぞれには、起毛繊維70を備えた不織布が用いられている。表面シート2を構成する繊維シート21及び繊維シート22は、ナプキン1Aにおいては、同じ不織布であるため、以下の説明においては、特に繊維シート22を例にして説明する。
図5は、繊維シート22を表す斜視図である。起毛繊維70を備えた不織布としては、例えば、短繊維からなる不織布を元に該不織布を起毛処理したものや、長繊維7からなるウェブを繊維熱融着部8により固定した不織布を元に該不織布を起毛処理したもの等が挙げられる。ここでいう「短繊維」とは、60mm未満(5mm以上)の繊維長を有するものである。
尚、短繊維からなるウエブを繊維熱融着部により固定した不織布としては、カード法により繊維ウエブを形成し、熱風を用いて繊維同士を熱融着させたエアースルー不織布、熱と圧力により繊維を間欠的に熱融着させたエンボス接合によるヒートロール不織布、が挙げられる。ヒートロール不織布においては接合時の熱と圧力により、接合点において繊維が扁平化されている。エンボス接合には後述する各種のものが用いられる。
さらにエアースルー不織布にエンボス接合を行ったもの、逆にヒートロール不織布にエアースルー処理を行ったものも挙げられる。特に、肌触りがよく嵩高で表面の液残りが少ないものが得られる点からエアースルー法のみで造られたものが好ましい。
また、破断強度が高く加工適正に優れ、しかも経済的であるとの観点から、長繊維7からなるウェブを繊維熱融着部8により固定した不織布であって、不織布を構成する長繊維7の一部が破断されて、一端部70aのみが繊維熱融着部8により固定され、自由端部70bを有する起毛繊維70を備えた不織布であることが好ましく、肌に接した際の柔らかさの観点、クッション性の向上の観点からは、繊維熱融着部8により、一端部70aのみが固定され、且つ他端部側の自由端部70bが太くなっている繊維71を備えた不織布であることが更に好ましい(図6参照)。ここで、「長繊維」とは、60mm以上の繊維長を有するもので、繊維長150mm以上の所謂連続長繊維であると破断強度が高い不織布が得られる点で好ましい。
尚、長繊維7からなるウェブを繊維熱融着部8により固定した不織布としては、スパンボンド不織布、又はスパンボンドの層とメルトブローンの層との積層不織布、カード法によるヒートロール不織布等が挙げられる。
As described above, the nonwoven fabric provided with the raised
FIG. 5 is a perspective view showing the
In addition, as a nonwoven fabric which fixed the web which consists of a short fiber by the fiber heat-fusion part, the fiber web was formed by the card | curd method, the air through nonwoven fabric which heat-fused the fibers using hot air, a fiber by heat and pressure The heat roll nonwoven fabric by the emboss joining which heat-sealed was intermittently heat-sealed. In the heat roll nonwoven fabric, the fibers are flattened at the joining point due to heat and pressure at the time of joining. For emboss bonding, various types described later are used.
Furthermore, what carried out the embossing joining to the air through nonwoven fabric, and conversely what carried out the air through process to the heat roll nonwoven fabric are mentioned. In particular, those produced only by the air-through method are preferred because they can be obtained with a good touch and bulkiness and little liquid residue on the surface.
In addition, from the viewpoint of high breaking strength, excellent processing suitability, and economic efficiency, the nonwoven fabric is a nonwoven fabric in which a web made of
In addition, as a nonwoven fabric which fixed the web which consists of the
ナプキン1Aの備える表面シート2を構成する繊維シート22は、図5に示すように、スパンボンド不織布、又はスパンボンドの層とメルトブローンの層との積層不織布を元に、スパンボンド不織布又は積層不織布を構成する長繊維7の一部が破断されて、スパンボンド不織布又積層不織布の有する繊維熱融着部8により、一端部70aのみが固定され、且つ他端部側の自由端部70bが太くなっている繊維71を備えている。繊維シート21,22については、図5に示すように、構成繊維の配向方向を見て繊維の配向方向に沿う方向をMD方向、それと直交する方向をCD方向と判断する。
As shown in FIG. 5, the
表面シート2を構成する繊維シート22は、安価でかつ、肌に接した際に良好な肌触り感が得られること、また加工適正の観点から、その坪量が、5g/m2以上100g/m2以下であることが好ましく、5g/m2以上25g/m2以下であることが更に好ましい。
The
表面シート2を構成する繊維シート22は、使用時の破れの防止、および加工適正の観点から、その破断強度の値が、5N/50mm以上であることが好ましく、8N/50mm以上30N/50mm以下であることが更に好ましい。尚、元の不織布の破断強度の値は、表面シート2における破断強度を上記値にする観点から、7N/50mm以上であることが好ましく、10N/50mm以上50N/50mm以下であることが更に好ましい。後述する起毛法によれば、他の起毛方法に比べて、製造される表面シート2を構成する繊維シート22の破断強度の値が、元の不織布の破断強度の値に比べて低下し難い。表面シート2を構成する繊維シート22と、その元の不織布の破断強度は、CD方向において前記の範囲を満たしていることが好ましい。表面シート2を構成する繊維シート22と、その元の不織布の破断強度の比(繊維シート22の破断強度/元の不織布の破断強度)は、0.5以上1.0以下であることが好ましく、0.7以上1.0以下であることが更に好ましい。破断強度は以下の方法で測定される。
The
〔破断強度の測定法〕
22℃65%RH環境下にて、表面シート2を構成する繊維シート22、又は元の不織布(例えば、スパンボンド不織布)から、CD方向に200mm、MD方向に50mmの寸法の長方形形状の測定片を切り出す。この切り出された長方形形状の測定片を測定サンプルとする。この測定サンプルを、CD方向が引張方向となるように、引張試験機(例えば、オリエンテック社製テンシロン引張り試験機「RTA−100」)のチャックに取り付ける。チャック間距離は150mmとする。測定サンプルを300mm/分で引っ張り、サンプル破断までの最大荷重点をCD方向の破断強度とする。また、MD方向に200mm、CD方向に50mmの寸法の長方形形状の測定片を切り出し、これを測定サンプルとする。この測定サンプルを、そのMD方向が引張方向となるように引張試験機のチャックに取り付ける。上述したCD方向の破断強度の測定方法と同様の手順によってMD方向の破断強度を求める。
[Measurement method of breaking strength]
A rectangular measurement piece having a size of 200 mm in the CD direction and 50 mm in the MD direction from the
本実施形態にナプキン1Aに使用される表面シート2を構成する繊維シート22は、自由端部70bを有する起毛繊維70を備えた面(対向面21e,22d)が肌に接した際に肌触り(風合い)が良いことによっても特長付けられる。
従来肌触りを表す特性値は多く知られており、特にカトーテック株式会社製のKESでの特性値が一般的に知られている(参考文献:風合い評価の標準化と解析(第2版)、著者 川端季雄、発行 昭和55年7月10日)。特にふっくら感を示すにはその中でも圧縮特性と呼ばれる三つの特性値のLC(圧縮荷重―圧縮ひずみ曲線の直線性)、WC(圧縮仕事量)、RC(圧縮レジリエンス)が知られている。これらの圧縮特性は荷重を0.5gf/cm2以上50gf/cm2以下(高感度測定では0.5gf/cm2以上10gf/cm2以下)かけたときの変形量から特性値を算出している。しかし目付けの小さい(5g/m2以上25g/m2以下)不織布などの大変薄い布では大きな差が出ず、肌触りとの相関は大きくなかった。さらに人間が吸収性物品を触る際の荷重は1g/cm2前後と大変軽い荷重で肌触りを感じており、本来の肌触りを表すためには従来の荷重よりも小さい範囲での特性値が有用であると考え、荷重が0.3gf/cm2から1gf/cm2の間の荷重とそのときの変形量から新しい特性値を見出した。この特性値はスパンボンド不織布とエアスルー不織布との肌触りの違いを如実に表す数値として示され、スパンボンド不織布の肌触りを表す新しい特性値として不織布を表すことができる。
The
Conventionally, many characteristic values representing the touch are known, and in particular, the characteristic values in KES manufactured by Kato Tech Co., Ltd. are generally known (reference: texture evaluation standardization and analysis (second edition), author) Issued by Katsuo Kawabata, July 10, 1980). In particular, LC (linearity of compression load-compression strain curve), WC (compression work), and RC (compression resilience) of three characteristic values called compression characteristics are known to show a feeling of plumpness. These compression characteristics to calculate the characteristic value from the deformation amount when (10 gf / cm 2 or less 0.5 gf / cm 2 or more for high sensitivity measurement) multiplied by 0.5 gf / cm 2 or more 50 gf / cm 2 or less load Yes. However, a very thin cloth such as a non-woven fabric having a small basis weight (5 g / m 2 or more and 25 g / m 2 or less) did not show a large difference, and the correlation with the touch was not large. Furthermore, the load when a human touches an absorbent article feels a very light load of around 1 g / cm 2 , and a characteristic value in a range smaller than the conventional load is useful to express the original touch. As a result, a new characteristic value was found from the load between 0.3 gf / cm 2 and 1 gf / cm 2 and the amount of deformation at that time. This characteristic value is shown as a numerical value that clearly represents the difference in feel between the spunbond nonwoven fabric and the air-through nonwoven fabric, and the nonwoven fabric can be expressed as a new characteristic value that represents the feel of the spunbond nonwoven fabric.
〔微小荷重時の圧縮特性値〕
22℃65%RH環境下にて、本明細書では微小荷重時の圧縮特性値を、肌触りを表す新しい特性値として定義している。測定は22℃65%RH環境下にて行った。微小荷重時の圧縮特性値の算出の元となるデータの測定はカトーテック株式会社製のKES FB3−AUTO−A(商品名)を用いた。表面シート2を構成する繊維シート22を20cm×20cmに3枚カットして測定サンプルを準備する。次にそのうちの1枚の測定サンプルを試験台に起毛面(起毛繊維70を備えた面(対向面22d))を上に向けて設置する(起毛してない場合、または両面が起毛している場合は両方測定して小さいほうを採用する)。次に、面積2cm2の円形平面をもつ鋼板間で圧縮する。圧縮速度20μm/sec、最大圧縮荷重10gf/cm2、回復過程も同一速度で測定する。このとき、鋼板間の変位量をx(mm)とし、荷重をy(gf/cm2)とし、荷重を検知した点の位置をx=0として圧縮方向に測定する。xの値は圧縮されるほど大きくなる。
[Compression characteristic value at minute load]
In the present specification, a compression characteristic value at a minute load is defined as a new characteristic value representing the touch under a 22 ° C. and 65% RH environment. The measurement was performed in an environment of 22 ° C. and 65% RH. KES FB3-AUTO-A (trade name) manufactured by Kato Tech Co., Ltd. was used for measurement of data that is a basis for calculating the compression characteristic value at the time of a minute load. Three
微小荷重時の圧縮特性値は測定したデータ(x、y)より、微小荷重時の厚みの変形量を抽出して算出する。具体的には回復過程ではない一回目の、荷重が0.30gf/cm2から1.00gf/cm2の間の荷重とそのときの変形量のデータを抽出し、xとyの関係について近似直線を最小二乗法により求め、そのときの傾きを上記特性値とする(単位(gf/cm2)/mm)。1枚の測定サンプルで3箇所測定する。3枚のサンプル合計9箇所の測定を行う。9箇所それぞれの特性値を算出して、それらの平均値をその不織布の微小荷重時の圧縮特性値とする。 The compression characteristic value at the minute load is calculated by extracting the deformation amount of the thickness at the minute load from the measured data (x, y). Specifically, the first load which is not a recovery process, the load between 0.30 gf / cm 2 and 1.00 gf / cm 2 and the deformation data at that time are extracted, and the relationship between x and y is approximated A straight line is obtained by the least square method, and the slope at that time is defined as the characteristic value (unit (gf / cm 2 ) / mm). Three points are measured with one measurement sample. A total of 9 points of 3 samples are measured. The characteristic values at each of the nine locations are calculated, and the average value is set as the compression characteristic value when the nonwoven fabric is subjected to a minute load.
微小荷重時の圧縮特性値は肌触りと相関があることを見出し、特に元の不織布が同じ場合に強い相関性があることを見出した。(微小荷重時の)圧縮特性値は低い数値ほど、小さな荷重で潰れやすいことを示しており、人間の肌触りを感じる感覚(特にふっくら感)の良好さを表すことができる。例えば、後述する加工処理を施していない、通常の目付けが5g/m2以上25g/m2以下の元の不織布(例えば、スパンボンド不織布)の上記圧縮特性値は20.0(gf/cm2)/mm以上30.0(gf/cm2)/mm以下であるのに対し、元の不織布(例えば、スパンボンド不織布)に後述する加工処理を施した表面シート2を構成する繊維シート22は、表面が潰れやすくなり18.0(gf/cm2)/mm以下になる。つまり肌触りの観点から、5g/m2以上25g/m2以下の元の不織布(例えば、スパンボンド不織布)に加工処理を施した表面シート2を構成する繊維シート22の上記圧縮特性値は、18.0(gf/cm2)/mm以下であり、15.0(gf/cm2)/mm以下であることが好ましく、肌触りのよいエアスルー不織布に近い肌触りになる観点から、10.0(gf/cm2)/mm以下になることがさらに好ましい。目付けが5g/m2以上25g/m2以下の元の不織布(例えば、スパンボンド不織布)に加工処理を施した表面シート2を構成する繊維シート22の上記圧縮特性値の下限は特に制限されないが、製造上の観点からは、1.00(gf/cm2)/mm程度である。従来の起毛方法等の加工処理では、5g/m2以上25g/m2以下といった目付けの低い元の不織布(特に、スパンボンド不織布)に、破断強度の大幅な減少をさせずにこのような特性値を有するように加工処理を施すことは困難であった。
It was found that the compression characteristic value at the time of a minute load has a correlation with the touch, and in particular, when the original nonwoven fabric is the same, there is a strong correlation. The lower the value of the compression characteristic (at the time of a minute load), the easier it is to be crushed with a smaller load, and the better the feeling of feeling the human touch (particularly plumpness). For example, the compression characteristic value of an original nonwoven fabric (for example, a spunbonded nonwoven fabric) having a normal basis weight of 5 g / m 2 or more and 25 g / m 2 or less that is not subjected to the processing described later is 20.0 (gf / cm 2 ) / Mm or more and 30.0 (gf / cm 2 ) / mm or less, whereas the
表面シート2を構成する繊維シート22を構成する長繊維7(元の不織布の構成繊維)は、熱可塑性樹脂を主として含み、熱可塑性樹脂としては、ポリオレフィン系樹脂、ポリエステル系樹脂、ポリアミド系樹脂、アクリロニトリル系樹脂、ビニル系樹脂、ビニリデン系樹脂などが挙げられる。ポリオレフィン系樹脂としてはポリエチレン、ポリプロピレン、ポリブデン等が挙げられる。ポリエステル系樹脂としてはポリエチレンテレフタレート、ポリブチレンテレフタレート等が挙げられる。ポリアミド系樹脂としてはナイロン等が挙げられる。ビニル系樹脂としてはポリ塩化ビニル等が挙げられる。ビニリデン系樹脂としてはポリ塩化ビニリデン等が挙げられる。これら各種樹脂の1種を単独で又は2種以上を混合して用いることもでき、これら各種樹脂の変成物を用いることもできる。また、不織布1を構成する長繊維として複合繊維を用いることもできる。複合繊維としてサイドバイサイド繊維、芯鞘繊維、偏芯したクリンプを有する芯鞘繊維、分割繊維などを用いることができる。複合繊維を道いる場合には、芯がポリプロピレン、鞘がポリエチレンからなる芯鞘繊維を用いると柔らかな起毛不織布が得られる点で好ましい。また長繊維7には、繊維着色剤、静電気防止特性剤、潤滑剤、親水剤など少量の添加物を付与した繊維を用いることもできる。長繊維7の繊径は、後述する加工前において、5μm以上30μm以下であることが好ましく、10μm以上20μm以下であることが更に好ましい。
The
表面シート2を構成する繊維シート22を形成する元の不織布は、紡糸性の観点からポリオレフィン系樹脂であるポリプロピレン樹脂から形成されていることが好ましい。ポリプロピレン樹脂としては、滑らかであり、肌に接した際に肌触りが向上する観点、破断のしやすさの観点から、ランダムコポリマー、ホモポリマー、ブロックコポリマーのいずれか1種以上を5質量%以上100質量%以下、より好ましくは25質量%以上80質量%以下含んだ樹脂であることが好ましい。また、これらのコポリマーやホモポリマーを混合してもよいし、他の樹脂を混合してもよいが、成形時に糸切れし難いことから、ポリプロピレンのホモポリマーとランダムコポリマーの混合が好ましい。これにより、繊維の結晶性を低下させて起毛繊維自体が柔らかくなり、肌に接した際の肌触りが良くなるとともに、不織布破断強度との両立ができ、起毛繊維がエンボスなどの融着部で切断されやすくなるため、エンボス融着点などの繊維熱融着部8での剥離がなくなり、起毛繊維が短くなり、毛玉ができにくく、外観も良好なものが得られる。また、融点の分布が広くなるためシール性が良くなる。
さらにはプロピレン成分をベースとしてランダムコポリマーとしてエチレンやα−オレフィンと共重合したものが好ましく、エチレンプロピレン共重合体樹脂が特に好ましい。ポリプロピレン樹脂としては、同様な観点から、エチレンプロピレン共重合体樹脂を5質量%以上含んだ樹脂であることが好ましく、25質量%以上含んだ樹脂であることが更に好ましい。エチレンプロピレン共重合体樹脂中にはエチレン濃度が1質量%以上20質量%以下含まれたものが好ましく、特に、べた付きがなく、しかも、延伸時に伸びやすく、毛羽抜けが少なく、破断強度が維持される点で、エチレン濃度が3%以上8%以下であることがより好ましい。また、ポリプロピレン樹脂としては、環境の観点から、再生ポリプロピレン樹脂を50質量%以上含んだ樹脂であることが好ましく、70質量%以上含んだ樹脂であることが更に好ましい。尚、表面シート2を構成する繊維シート22が、スパンボンドの層とメルトブローンの層との積層不織布を元に形成されている場合も同様である。
It is preferable that the original nonwoven fabric which forms the
Further, a copolymer copolymerized with ethylene or α-olefin as a random copolymer based on a propylene component is preferred, and an ethylene-propylene copolymer resin is particularly preferred. From the same viewpoint, the polypropylene resin is preferably a resin containing 5% by mass or more of an ethylene propylene copolymer resin, and more preferably a resin containing 25% by mass or more. The ethylene / propylene copolymer resin preferably contains an ethylene concentration of 1% by mass or more and 20% by mass or less, and particularly has no stickiness, is easy to stretch when stretched, has little fluff loss, and maintains the breaking strength. It is more preferable that the ethylene concentration is 3% or more and 8% or less. Moreover, as a polypropylene resin, it is preferable that it is resin containing 50 mass% or more of recycled polypropylene resins from an environmental viewpoint, and it is still more preferable that it is resin containing 70 mass% or more. The same applies to the case where the
エンボスによる繊維熱融着部8は、肌触りや、加工適正の観点から、各繊維熱融着部8の面積が、0.05mm2以上10mm2以下であることが好ましく、0.1mm2以上1mm2以下であることが更に好ましい。繊維熱融着部8の数は、10個/cm2以上250個/cm2以下であることが好ましく、35個/cm2以上65個/cm2以下であることが更に好ましい。CD方向に隣り合う繊維熱融着部8同士の中心間の距離は、0.5mm以上10mm以下であることが好ましく、1mm以上3mm以下であることが更に好ましく、MD方向に隣り合う繊維熱融着部8同士の中心間の距離は、0.5mm以上10mm以下であることが好ましく、1mm以上3mm以下であることが更に好ましい。
The fiber heat-sealed
繊維熱融着部8は、エンボス(エンボス凸ロールとフラットロールなどによる)による熱圧着により間欠的に形成されたものや、超音波融着によるもの、間欠的に熱風を加えて部分融着させたものなどが挙げられる。この中で熱圧着によるものが繊維を破断させやすい点で好ましい。繊維熱融着部8の形状は、特に制限されず、例えば、円形、菱形、三角形等の任意の形状であってもよい。表面シート2を構成する繊維シート21,22の一面の表面積に占める繊維熱融着部8の合計面積の割合は、5%以上30%以下であることが好ましく、10%以上20%以下であることが、毛玉が出来にくい点で更に好ましい。
The fiber heat-
ナプキン1Aの表面シート2を構成する繊維シート22は、例えば、長繊維7からなるスパンボンド不織布を元に形成されており、繊維7の一部が破断されて、一端部70aのみが繊維熱融着部8により固定されている繊維70が形成されており、繊維70は自由端部70bが太くなっている繊維71を含んでいる(図5参照)。先端が太くなっているものとして、その先端部における断面が扁平状(楕円や潰れた形状)であるものが好ましい。これにより、柔らかな先端の起毛繊維が得られ、肌への刺激が少ない不織布が得られる。図5に示すように、一端部70aのみが繊維熱融着部8により固定されている繊維70は、他端部側の自由端部70bが太くなっている繊維71及び自由端部70bが太くなっていない繊維72からなる。ここで、「自由端部」とは、一端部70aのみが繊維熱融着部8により固定されている繊維70における「他端部」のことを意味し、言い換えれば「先端部」を意味する。自由端部70bが太くなっているか否かは、以下の測定法により繊維径を測定し、先端繊維径の増加割合を算出し判断する。
The
〔繊維径の測定法〕
先ず、22℃65%RH環境下にて、図9(a)に示すように、測定する表面シート2を構成する繊維シート22から、鋭利なかみそりで、CD方向に2cm、MD方向に2cmの大きさの測定片を切り出して、図9(b)に示すように、複数個の繊維熱融着部8を通るCD方向に延びる折り返し線Zにて山折りした測定サンプルを、図9(c)に示すように、カーボンテープを載せた走査型電子顕微鏡(SEM)用アルミ製試料台に載せて固定する。次に、およそ750倍に拡大したSEM画像から、一端部70aのみが繊維熱融着部8により固定されている繊維70をランダムに10本選出し、それら繊維の自由端部の先端付近の写真撮影を行なう。得られた写真(図6参照)から、自由端部70bの先端から120μm離れた位置での繊維70の繊維径(自由端部70bを除く部位での繊維70の径71a)をそれぞれ測定する。自由端部70bを除く部位での繊維70の径71aの測定時における傾きを、そのまま自由端部70b側に平行移動し、自由端部70bの先端と先端から20μm離れた位置との間に挟まれた領域において最も太くなっている位置での繊維71の繊維径(自由端部70bでの繊維71の径71b)を測定する。尚、先端部が扁平状である場合は観察角度によっては先端が太く見えない場合もあるが、その場合でも得られた写真でそのまま測定する。
[Measurement method of fiber diameter]
First, under the environment of 22 ° C. and 65% RH, as shown in FIG. 9A, the
自由端部70bが太くなっている繊維71とは、先のランダムに選出した10本の繊維70の中で、10本の繊維70の写真それぞれから測定した、自由端部70bでの繊維70の径71bと、自由端部70bを除く部位での繊維70の径71aとから、下記の式(1)で求められる先端繊維径の増加割合の値が15%以上との要件を満たす繊維であることを意味し、繊維熱融着部8同士の間(繊維熱融着部8と繊維との境界を除く、繊維形態部分)での繊維の切断が抑えられ、破断強度の減少が抑えられ、肌触りの良いものが得られる点から、20%以上大きくなっていることが好ましく、25%以上大きくなっていることが更に好ましい。
先端繊維径の増加割合(%)=[(21b−21a)÷21a)×100]・・・(1)
The
Increase rate of tip fiber diameter (%) = [(21b-21a) ÷ 21a) × 100] (1)
表面シート2を構成する繊維シート22においては、肌に接した際の肌触りと破断強度の両立の観点、クッション性向上の観点から、一端部70aのみが繊維熱融着部8により固定されている繊維70(自由端部70bが太くなっている繊維71及び自由端部70bが太くなっていない繊維72)における、自由端部70bが太くなっている繊維71の割合が、20%以上であることが好ましく、30%以上であることが更に好ましく、40%以上であることが特に好ましい。自由端部70bが太くなっている繊維71の割合は、上述した繊維径の測定法において、ランダムに10本選んだ繊維70をおよそ750倍に拡大したSEM画像から、先端繊維径の増加割合をそれぞれ算出し、自由端部70bが太くなっている繊維71の割合を算出する。
また、表面シート2を構成する繊維シート22は、繊維熱融着部8の周辺部において切断された繊維を含んでいる。表面シート2を構成する繊維シート22の繊維熱融着部8を30個ランダムに選んで電子顕微鏡で観察し、そのうちの繊維熱融着部8の周辺部(繊維熱融着部8と繊維との境界から外側または内側へ100μm以内の範囲)において繊維が切断された跡(エンボス部の繊維が押し潰された形状と、押し潰されておらず繊維形状そのままの部分が非連続になっている部分)を数えた場合に、破断強度の高い不織布が得られる点で、この繊維が切断された跡の数が多いとごく表面のみ起毛していることになり、繊維熱融着部30個全ての合計で3ヶ所以上切断された不織布であることが好ましく、さらには5ヶ所以上15ヶ所以下切断された不織布であることが好ましい。
In the
Further, the
表面シート2を構成する繊維シート22は、図5に示すように、繊維熱融着部8,8同士の間でループ状に起立するループ状の繊維73を有している。起立している「ループ状の繊維73」とは、上述した繊維径の測定法において図9(c)のように観察した際、他端部側に自由端部70bを有さず、折り返し線Zから0.5mm以上離れて起立している繊維を意味する。本明細書において、ループ状の繊維73とは前記起立しているループ状の繊維をいう。表面シート2を構成する繊維シート22を構成する繊維は、自由端部70bが太くなっている繊維71及び自由端部70bが太くなっていない繊維72からなる、一端部70aのみが繊維熱融着部8により固定されている繊維70と、繊維70以外に、繊維熱融着部8,8同士の間でループ状に起立するループ状の繊維73とを有し、更に起毛していない繊維とを有している。起毛繊維70は、該起毛繊維70の少なくともその一部分が、起毛していない構成繊維と同じ繊維径を有している。ここで、「起毛繊維70の少なくともその一部分が、起毛していない構成繊維と同じ繊維径を有している」とは、起毛繊維の融着部から自由端までの間のどこかに、起毛していない構成繊維と同じ繊維径を有することを意味する。
ここで言う同じ繊維径とは、もともとの繊維径のバラツキも含むもので、起毛していない構成繊維の平均繊維径の±15%未満のものを同じ繊維径とみなす。構成繊維の平均繊維径は起毛していない繊維10本をランダムに選出し、上述した〔繊維径の測定法〕に基づいて同様に測定し平均値を求める。
As shown in FIG. 5, the
The same fiber diameter referred to here includes variations in the original fiber diameter, and those having an average fiber diameter of less than ± 15% of the average fiber diameter of the non-raised component fibers are regarded as the same fiber diameter. The average fiber diameter of the constituent fibers is randomly selected from 10 fibers that are not brushed, and measured in the same manner based on the above-mentioned [Fiber Diameter Measurement Method] to obtain an average value.
表面シート2を構成する繊維シート22は、肌に接した際に肌に引っ掛からずに、不快感が低減され、肌触りの向上につながる観点から、表面シート2を構成する繊維シート22を構成する繊維のうち、一端部70aのみが繊維熱融着部8により固定されている繊維70及びループ状の繊維73の総数における、ループ状の繊維73の割合が、50%より少ないことが好ましく、45%以下であることが更に好ましく、40%以下であることが特に好ましい。ループ状の繊維73の割合は、上述した繊維径の測定法において、およそ50倍に拡大したSEM画像から、ランダムに10本繊維を選び、ランダムに選んだ10本の繊維から、一端部70aのみが繊維熱融着部8により固定されている繊維70(自由端部70bが太くなっている繊維71、自由端部70bが太くなっていない繊維72)、及びループ状の繊維73を抽出し、繊維71、繊維72及び繊維73の総数における繊維73(ループ状の繊維)の割合を算出して求める。尚、測定値は、別の部位のSEM画像9点からも同様に割合を求め、それらの10点平均により算出する。尚、ランダムに選んだ10本の繊維の中にループ状の繊維73が1本含まれる場合には、ループ状の繊維73は、1本として数えられる。
The
表面シート2を構成する繊維シート22においては、自由度の比較的高くなった繊維を含むことによって繊維間の隙間が埋められて、表面の粗さが小さく滑らかになり、肌に接した際の肌触りの向上につながる観点から、繊維径の分布(分散度)は、広ければ広いほど好ましいが、肌触りの観点からは、0.33以上であれば十分に満足すべき効果が得られ、0.35以上であれば更に満足すべき効果が得られる。繊維径の分布(分散度)は、特に上限はないが、100以下が好ましい。より好ましくは、繊維径の分布(分散度)は、0.35以上0.9以下であることが好ましい。ここでいう繊維径の分布(分散度)とは、表面シート2を構成する繊維シート22を構成するすべての繊維の繊維径の分布(分散度)を意味し、一端部70aのみが繊維熱融着部8により固定されている繊維70、ループ状の繊維73、及び両端部が繊維熱融着部8により固定されており、ループ状に起立していない繊維(後述する加工処理による影響を受けない繊維)全体の分布である。繊維径の分布(分散度)は以下の方法で測定される。
In the
繊維径の測定法〔繊維径の分布(分散度)の測定法〕
先ず、22℃65%RH環境下にて、測定する表面シート2を構成する繊維シート222から、鋭利なかみそりで、CD方向に2cm、MD方向に2cmの大きさの測定片を切り出して、カーボンテープを載せた走査型電子顕微鏡(SEM)用アルミ製試料台に折り曲げずにそのまま載せて固定する。次に、およそ750倍に拡大したSEM画像から、ランダムに繊維を10本抽出し、自由端部70bを除く部位においてそれぞれの繊維径を測定する(尚、測定する表面シート2を構成する繊維シート22が、スパンボンドの層とメルトブローンの層との積層不織布を元に形成されている場合には、メルトブローンの層の繊維は選ばず、スパンボンドの層の繊維のみを選択する。)。1つの前記アルミ製試料台で10本の繊維径を上述のように測定し、測定された10本の繊維径d1〜d10から平均値daveを求め、得られた10本の繊維径d1〜d10と平均値daveとから、下記の式(2)で、ランダムに選んだ10本の繊維の繊維径の分布を求める。測定単位はμmとし、0.1μmの分解能で計測する。10本の繊維の繊維径の分布を、1つの表面シート2を構成する繊維シート22につき、6箇所前記アルミ製試料台を作成し、各箇所で得られた10本の繊維の繊維径の分布の平均値(下記の式(3)参照)を、表面シート2を構成する繊維シート22における繊維径の分布とする。尚、10本の繊維の繊維径の分布の算出には、マイクロソフト社の表計算ソフトexcel2003におけるVARPA関数を使用する。
10本の繊維の繊維径の分布=[(d1−dave)2+(d2−dave)2+・・・(d10−dave)2)]/10・・・(2)
表面シート2を構成する繊維シート22における繊維径の分布(分散度)=(上記式(2)で得られた10本の繊維の繊維径の分布の総和)/6・・・(3)
Fiber diameter measurement method [Fiber diameter distribution (dispersion degree) measurement method]
First, in a 22 ° C. and 65% RH environment, a measurement piece having a size of 2 cm in the CD direction and 2 cm in the MD direction was cut out from the
Fiber diameter distribution of 10 fibers = [(d 1 −d ave ) 2 + (d 2 −d ave ) 2 +... (D 10 −d ave ) 2 )] / 10 (2)
Fiber diameter distribution (dispersion degree) in the
表面シート2を構成する繊維シート22は、クッション性の向上の観点、肌に接した際に肌触りが良くなる観点から、起毛している繊維が、本発明においては、上述したように、8本/cm以上であるが、12本/cm以上であることがより好ましい。また、十分な破断強度が得られる観点から上限は100本/cm以下、より好ましくは外観上、毛羽立って見えない点から40本/cm以下が好ましい。起毛している繊維は、以下の測定法により測定する。本願において「起毛繊維を備えた不織布」とは、下記の測定法において、起毛している繊維が5本/cm以上である不織布を言う。
The
〔起毛している繊維の本数の測定法〕
図10は、22℃65%RH環境下にて、表面シート2を構成する繊維シート22を構成する繊維の中で起毛している繊維の本数を測定する方法を示した模式図である。先ず、測定する不織布から、鋭利なかみそりで、20cm×20cmの測定片を切り出し、図10(a)に示すように、測定片の起毛した面において山折りして測定サンプル104を形成する。次に、この測定サンプル104を、A4サイズの黒い台紙の上に載せ、図10(b)に示すように、さらにその上に、縦1cm×横1cmの穴107をあけたA4サイズの黒い台紙を載せる。このとき、図10(b)に示すように、測定サンプル104の折り目105が、上側の黒い台紙の穴107から見えるように配置する。両台紙には、富士共和製紙株式会社の「ケンラン(黒)連量265g」を用いた。その後、上側の台紙の穴107の両側それぞれから、折り目105に沿って外方に5cmはなれた位置に、50gのおもりをそれぞれ載せ、測定サンプル104が完全に折りたたまれた状態を作る。次に、図10(c)に示すように、マイクロスコープ(KEYENCE社製VHX−900)を用いて、30倍の倍率で、台紙の穴107内を観察し、測定サンプル104の折り目105から0.2mm上方に平行移動した位置に形成される仮想線108よりも上方に存在している1cmあたりの繊維の本数を計測する。9箇所計測し、平均値(少数第二位を四捨五入)を起毛している繊維の本数とする。
[Method of measuring the number of raised fibers]
FIG. 10 is a schematic diagram showing a method of measuring the number of fibers raised in the fibers constituting the
また、起毛している繊維の数を数える際には、例えば、図10(c)に示す繊維106aのように、折り目105から0.2mm上方にある仮想線108を2回横切る繊維がある場合、その繊維は2本と数える。具体的には、図10(c)に示す例では、仮想線108を1回横切る繊維が4本、仮想線108を2回横切る繊維106aが1本存在するが、2回横切る繊維106aは2本と数え、起毛した繊維の本数は6本となる。
Further, when counting the number of raised fibers, for example, there is a fiber that crosses the
表面シート2を構成する繊維シート22は、肌に接した際の肌触り向上の観点から、起毛している繊維(仮想線108を横切る繊維)の平均繊維径が、同じ面の起毛していない部位の表面繊維(仮想線108を横切らず、仮想線108に至っていない繊維)の平均繊維径より小さいことが好ましい。平均繊維径は、起毛している繊維、及び起毛していない繊維それぞれ12箇所の繊維径を顕微鏡(光学顕微鏡、またはSEM等)で計測した繊維径のことをいう。起毛している繊維の繊維径は、起毛していない繊維の97%以下40%以上が好ましく、90%以下40%以上であることが、肌触りに優れるのでより好ましい。
The
また、表面シート2を構成する繊維シート21,22は、上述したように、起毛繊維の本数が8本/cm以上であり且つ起毛している繊維の高さが5mm以下のものである。これにより、クッション性が向上し、肌触りの向上した吸収性物品が得られる。毛玉になりにくい、ケバ抜けし難い、観点から、起毛している繊維の高さが、4.0mm以下であることが更に好ましい。一方、0.2mm以上であれば良好な肌触りのものが得られる。さらに、体液の吸収特性におけるウエットバック量が減る点で、起毛高さは0.5mm以上であることが好ましい。肌に触れる面側に起毛面を用いる場合には肌にまとわりつきににくく感触が好ましいといった点で起毛高さは2.0mm以下が好ましい。また、起毛している繊維が15本/cm以上であることが、クッション性の向上、および体液の吸収速度の速いものが得られるといった点でよい。起毛繊維の本数の上限としては、破断強度の十分なものが得られる観点から100本/cm以下、より好ましくは80本/cm以下が好ましい。ここで、繊維の高さとは、繊維の長さと異なり、繊維を測定時に引っ張ることなく、自然状態での繊維の高さのことを意味する。起毛している繊維の長さの値が大きい場合や繊維の剛性が高いと、起毛している繊維の高さが高くなる傾向にある。起毛している繊維の高さは、以下の測定法により測定する。
Further, as described above, the
〔起毛している繊維の高さの測定法〕
起毛している繊維の高さは、起毛している繊維の本数を測定する際に、同時に測定する。具体的には、図10(c)に示すように、台紙の穴107内を観察し、折り目105から平行に線を0.05mmごとに起毛繊維が交わらなくなるところまで引く。次に、上述のように測定した起毛している繊維の本数(0.2mm上方にある仮想線108より判断)に比べて、平行な線に交わる繊維が半分になる平行線を選び、そこから折り目までの距離を起毛高さとする。以上の操作を測定する不織布に対して3枚分計測し、1枚につき3箇所、3枚で計9箇所の平均をとり、起毛している繊維の高さとする。
[Measurement method of raised fiber height]
The height of the raised fibers is measured simultaneously when the number of raised fibers is measured. Specifically, as shown in FIG. 10 (c), the inside of the
起毛している繊維の高さ、及び起毛している繊維に加えて、表面シート2を構成する繊維シート22のバルクソフトネスが8.0cN以下であることが、肌に接した際に柔軟なものが得られ肌触りに優れる点で好ましい。さらに0.5cN以上3.0cN以下であることが、乳児や幼児のうぶ着のようなしなやかなものになる点で好ましい。バルクソフトネスは、以下の測定法により測定する。
In addition to the height of the raised fiber and the raised fiber, the bulk softness of the
〔バルクソフトネスの測定方法〕
表面シート2を構成する繊維シート22のバルクソフトネスは、表面シート2を構成する繊維シート22をMD方向に150mm、CD方向に30mm切り出し、直径45mmのリング状に、ホッチキスを用いて端部を上下2箇所で止める。このときステープラーの芯はMD方向に長くなるようにする。引張試験機(例えば、オリエンテック社製テンシロン引張り試験機「RTA−100」)を用いて、試料台の上に前記リングを筒状に立て、上方から台とほぼ平行な平板にて圧縮速度10mm/分の速度で圧縮していった際の最大荷重を測定し、CD方向のバルクスフトネスとする。次に、MD方向とCD方向を変えてリングを作製し、同様にMD方向のバルクソフトネスを測定する。MD方向及びCD方向それぞれ2本ずつリングを作製して測定し、これらのCD方向とMD方向の平均値を、表面シート2を構成する繊維シート22のバルクスフトネスとする。
[Measurement method of bulk softness]
The bulk softness of the
表面シート2を構成する繊維シート22を形成する元の不織布に、柔軟剤を練りこんだり、塗布したりすれば、肌に接した際の肌触り向上の効果がより効果的である。柔軟剤としては、例えばワックスエマルジョン、反応型柔軟剤、シリコーン系化合物、界面活性剤などを使用することができる。特にアミノ基含有シリコーン、オキシアルキレン基含有シリコーン、界面活性剤を使用することが好ましい。界面活性剤としては、カルボン酸塩系のアニオン界面活性剤、スルホン酸塩系のアニオン界面活性剤、硫酸エステル塩系のアニオン界面活性剤、リン酸エステル塩系のアニオン界面活性剤(特にアルキルリン酸エステル塩)等のアニオン界面活性剤;ソルビタン脂肪酸エステル、ジエチレングリコールモノステアレート、ジエチレングリコールモノオレエート、グリセリルモノステアレート、グリセリルモノオレート、プロピレングリコールモノステアレート等の多価アルコールモノ脂肪酸エステル、オレイン酸アミド、ステアリン酸アミド、エルカ酸アミド等の脂肪酸アミド、N−(3−オレイロキシ−2−ヒドロキシプロピル)ジエタノールアミン、ポリオキシエチレン硬化ヒマシ油、ポリオキシエチレンソルビット蜜ロウ、ポリオキシエチレンソルビタンセスキステアレート、ポリオキシエチレンモノオレエート、ポリオキシエチレンソルビタンセスキステアレート、ポリオキシエチレングリセリルモノオレート、ポリオキシエチレンモノステアレート、ポリオキシエチレンモノラウレート、ポリオキシエチレンモノオレエート、ポリオキシエチレンセチルエーテル、ポリオキシエチレンラウリルエーテル等の、非イオン系界面活性剤;第4級アンモニウム塩、アミン塩又はアミン等のカチオン界面活性剤;カルボキシ、スルホネート、サルフェートを含有する第2級若しくは第3級アミンの脂肪族誘導体、又は複素環式第2級若しくは第3級アミンの脂肪族誘導体等の、両性イオン界面活性剤などを使用することができる。また、必要に応じて、公知の薬剤を副次的添加剤(少量成分)として柔軟剤に添加することができる。
柔軟剤を含むことにより、肌触りがよく、毛羽抜けが少なく、表面の肌摩擦も低く、破断強度も高くなる。
柔軟剤は、段落〔0033〕に記載の前記ランダムコポリマーとの併用が、よりその効果を増す点で好ましく、起毛した繊維においてランダムコポリマーによるぬめり感が生じるのを、柔軟剤により低減させることができ、さらりとした肌触りのものが得られる点で特に好ましい。
If the softening agent is kneaded or applied to the original nonwoven fabric forming the
By including the softening agent, the touch is good, the fluff is less, the skin friction on the surface is low, and the breaking strength is high.
The softener is preferably used in combination with the random copolymer described in paragraph [0033] from the viewpoint of further increasing its effect, and the softening agent can reduce the feeling of stickiness due to the random copolymer in the raised fiber. In particular, it is particularly preferable in that a smooth skin can be obtained.
また、表面シート2を構成する繊維シート22が、後述するスパンボンドの層とメルトブローンの層との積層不織布を元に形成されており、該積層不織布のスパンボンドの層が複数層からなる、例えば、スパンボンド−メルトブローン−スパンボンド積層不織布、スパンボンド−スパンボンド−メルトブローン−スパンボンド積層不織布等を用いる場合には、一層のスパンボンドの層のみに上記柔軟剤を練りこむことが好ましく、全てのスパンボンドの層に練りこむ等してもよい。一層のスパンボンドの層に柔軟剤を練りこんだ場合には、その層側に後述の加工処理を施し、自由端部が太くなっている繊維を備えるようにすると、肌に接した際の肌触りがよく、破断強度も高い点で好ましい。このように、表面シート2を構成する繊維シート22は、肌に接した際の肌触りやウェットバック量の点からは、スパンボンドの層とメルトブローンの層との積層不織布を元に形成するよりも、スパンボンド不織布単体を元に形成する方が好ましい。
Further, the
次に、ナプキン1Aに用いる表面シート2を構成する繊維シート21及び繊維シート22の製造方法について説明する。繊維シート21の製造方法及び繊維シート22の製造方法は、同じであるため、特に繊維シート22の製造方法を例にして説明する。
ナプキン1Aに用いる表面シート2を構成する繊維シート22の好適な製造方法について、図7,図8を参照しながら説明する。表面シート2を構成する繊維シート222の製造方法に好ましく用いられる製造装置は、プレ加工部200と、プレ加工部200の下流側に配される起毛加工部300とに大別される。このプレ加工を部分延伸加工ともいう。
Next, the manufacturing method of the
A suitable method for producing the
プレ加工部200は、図7に示すように、互いに噛み合う凸部211と凹部221とが周面に設けられた一対のロール210,220からなるスチールマッチングエンボスローラー230を備えている。図7に示すように、スチールマッチングエンボスローラー230は、ロール210の周面に設けられた複数個の凸部211とロール220の周面に設けられた複数個の凹部221とが、互いに噛み合うように形成されており、複数個の凸部211は、ロール210の回転軸方向及び周方向にそれぞれ均一に且つ規則的に配されている。一対のロール210,220は、何れか一方の回転軸に駆動手段(図示せず)からの駆動力が伝達されることによって噛み合って回転する。また、プレ加工部200は、たとえば図7に示すように、スチールマッチングエンボスローラー230の上流側及び下流側に、原料シート22''を搬送する搬送ロール250,260を備えている。
As shown in FIG. 7, the
ロール210の各凸部211は、ロール210の周面から凸部211の頂点までの高さが、1mm以上10mm以下であることが好ましく、2mm以上7mm以下であることが更に好ましい。回転軸方向に隣り合う凸部211同士の距離(ピッチ)は、0.01mm以上20mm以下であることが好ましく、1mm以上10mm以下であることが更に好ましく、周方向に隣り合う凸部211同士の距離(ピッチ)は、0.01mm以上20mm以下であることが好ましく、1mm以上10mm以下であることが更に好ましい。ロール210の各凸部211の頂部表面の形状に特に制限はなく、例えば、円形、多角形、楕円形等が用いられ、各凸部211の頂部表面の面積は、0.01mm2以上500mm2以下であることが好ましく、0.1mm2以上10mm2以下であることが更に好ましい。ロール220の各凹部221は、ロール210の各凸部211に対応する位置に配されている。ロール210の各凸部211とロール220の各凹部221との噛み合いの深さ(各凸部211と各凹部221とが重なっている部分の長さ)は、0.1mm以上10mm以下であることが好ましく、1mm以上5mm以下であることが更に好ましい。
Each
起毛加工部300は、図8に示すように、周面に凸部311が設けられた凸ロール310を備え、凸ロール310の上流側及び下流側に、原料シート22''を搬送する搬送ロール320,330を備えている。凸ロール310は、その回転軸に駆動手段(図示せず)からの駆動力が伝達されることによって回転する。
As illustrated in FIG. 8, the raised
凸ロール310の各凸部311は、凸ロール310の周面から凸部311の頂点までの高さが、0.001mm以上3mm以下であることが好ましく、0.001mm以上0.1mm以下であることが更に好ましい。回転軸方向に隣り合う凸部311同士の距離(ピッチ)は、0.1mm以上50mm以下であることが好ましく、0.1mm以上3mm以下であることが更に好ましく、周方向に隣り合う凸部311同士の距離(ピッチ)は、0.1mm以上50mm以下であることが好ましく、0.1mm以上3mm以下であることが更に好ましい。凸ロール310の各凸部311の頂部表面の形状に特に制限はなく、例えば、円形、多角形、楕円形等が用いられ、各凸部311の頂部表面の面積は、0.001mm2以上20mm2以下であることが好ましく、0.01mm2以上1mm2以下であることが更に好ましい。
Each
このような構成のプレ加工部200及び起毛加工部300を備える製造装置においては、先ず、表面シート2を構成する繊維シート22の原料である、例えば帯状の不織布(原料シート22'')を、ロール(不図示)から巻き出して、搬送ロール250,260により、原料シート22''をスチールマッチングエンボスローラー230の一対のロール210,220間に搬送する。プレ加工部200においては、図7に示すように、原料シート22''を一対のロール210,220間で挟圧し、原料シート22''にダメージを与える。ダメージを与える際、不織布の構成繊維間で熱融着を起こさない観点から、スチールマッチングエンボスローラー230の一対のロール210,220は、積極的に加熱をしないか、または原料シート22''を構成する繊維の成分のうち最も低い融点を示す成分の融点以下の温度で、特に、該融点よりさらに70℃以上低い温度でスチールマッチエンボス加工することが好ましい。
In the manufacturing apparatus including the
次に、ダメージが与えられた原料シート22'を、搬送ロール320,330により、周面に凸部311が設けられた凸ロール310に搬送する。起毛加工部300においては、ダメージを与えられた原料シート22'の表面を、凸ロール310により加工し、スパンボンド不織布を構成する繊維7の一部を破断し、一端部70aのみが不織布の繊維熱融着部8により固定されている繊維70を有する表面シート2を構成する繊維シート22を形成する(図5参照)。繊維7の一部を破断し、図5に示す繊維70を効率よく形成する観点から、凸ロール310の回転方向を、原料シート22'の搬送方向に対して逆方向に回転させることが好ましく、原料シート22'の搬送速度に対し、0.3倍以上10倍以下の速度で凸ロール310を回転させることが好ましい。また周方向(搬送方向に対して順方向)に回転させる場合には1.5倍以上20倍以下の速度で凸ロール310を回転させることが好ましい。ここで、凸ロール310の速度は、凸ロール310の周面での周速度のことを意味する。
Next, the damaged
繊維7の一部を更に効率よく破断し、図5に示す繊維70を更に効率よく形成する観点から、図8に示すように、凸ロール310より搬送ロール330の位置を高く設定し、ダメージを与えられた原料シート22'が凸ロール310の接触面に、10°以上180°以下の抱き角αで接触していることが好ましく、30°以上120°以下の抱き角αで接触していることが、不織布のネックインによる幅減少が抑えられるため、更に好ましい。
From the viewpoint of breaking a part of the
尚、一端部70aのみが繊維熱融着部8により固定されている繊維70を、表面シート2を構成する繊維シート21,22の両面に形成する場合には、凸ロール310により加工した原料シート22'の表面と異なる表面(裏面)を、更に、別の凸ロール310により加工することにより得られる。
In addition, when forming the
本発明者は、上記の繊維70が形成される理由として、スチールマッチングエンボスローラー230により不織布(原料シート22'')が延伸され、不織布(原料シート22'')の繊維熱融着部8に弱化点が形成され、その後、凸ロール310によって繊維熱融着部8の不織布のごく表面部の弱化点から短繊維7が破断され、繊維熱融着部8から切断された繊維が形成されると推測している。本発明者は、この繊維熱融着部8から切断された繊維が、自由端部70bが太くなっている繊維71であると推測している。また、本発明者は、凸ロール310により、繊維熱融着部8の弱化点から
長繊維7が剥離され、この繊維熱融着部8から剥離された繊維が、繊維熱融着部8,8同士の間でループ状に起立するループ状の繊維73になると推測している。また、本発明者は、凸ロール310により表面を加工する際に、繊維熱融着部8,8同士の間で長繊維7が破断され、自由端部70bの太くなっていない繊維72が形成されると推測している。上述した表面シート2を構成する繊維シート22の好適な製造方法により製造される不織布は、従来の起毛方法により製造される不織布に比べ、ループ状の繊維73や、太くなっていない繊維72の割合が少ないのが特徴である。従来の起毛方法により製造される不織布のように、太くなっていない繊維72が多く存在すると、エンボス部とエンボス部との間などの繊維熱融着部8間で破断されて、繊維熱融着部8間でいわゆる切れ目(裂け目、穴)ができることになる。これにより起毛していないベースの繊維を傷つけずに起毛でき、破断強度の高いものが得られる。逆に、弱化点が形成されていない状態で起毛しようとすると、より強い力で繊維表面を擦らないと繊維が起毛され難く、起毛していないごく表面以外のベースの繊維まで起毛時に傷つけてしまうことになるため、不織布全体が破断しやすく破断強度が保持されにくい。一方、上述した表面シート2を構成する繊維シート22の好適な製造方法により製造される不織布は、太くなっていない繊維72の割合が少ないので、破断強度を保持することができる。また弱化点が形成されていない状態で起毛すると、繊維熱融着部からの繊維剥離が生じ、起毛繊維の本数が少なくなるとともに、起毛高さが高くなる傾向にある。このため、毛羽になりやすい等の問題が生じやすくなる。
As a reason why the above-described
また、前記スチールマッチングエンボスローラー230によって、不織布(原料シート22'')の繊維熱融着部8と繊維熱融着部8の間の繊維が延伸されるとともに、繊維熱融着部8と繊維との境界において弱化点が形成され易い。弱化点の調整は、スチールマッチングエンボスローラー230の上下一対のロール210,220のかみ合い量によって調整される。この上下一対のロールの凹凸パターン構造によるかみ合いによって不織布は部分的に延伸される。弱化点は、延伸方向に対して繊維熱融着部と繊維熱融着部の間の繊維長さが短いものに形成されやすい。この弱化点が形成されることで、脆弱部ができ、起毛加工部300による起毛時において繊維が弱化点より切断されやすくなるため、起毛繊維の短いものが得られ、肌に接した際の肌触りに優れ、外観上もケバが目立たず、毛玉になりにくく、破断強度も高い起毛不織布が得られる点で好ましい。同時に、繊維熱融着部8と繊維熱融着部8の間の繊維を延伸することで繊維が細くなり、また、繊維熱融着部8も柔らかくなって肌触りの良い不織布が得られる。特に、スチールマッチングエンボスローラー230によって、繊維が細く延伸され、長く伸びることにより、繊維間の距離が増し通気性が向上する。これに加え、起毛加工部300によって起毛処理することで起毛した表面の繊維のかさ密度が低下するため、同じ目付けの不織布でも起毛した不織布の方が、通気度が向上する。上述したように、繊維の延伸と起毛処理とを組み合わせることにより、通気度が元の不織布に比べ1.2倍以上2.0倍以下、より好ましくは、1.3倍以上1.8倍以下に向上する。通気度は、カトーテック製AUTOMATIC AIR−PERMEABILITY TESTER KES−F8−AP1により通気抵抗を測定し、その逆数として求められる。得られた不織布の通気度は24m/(kPa・s)以上となっていることが好ましい。
原料シート22''のスパンボンド不織布としては、メルトブローン層を含まない、スパンボンド層のみが積層されたもの(例えば、スパンボンド−スパンボンド−スパンボンド)から構成されている不織布が肌触りと通気度の両方が良好な不織布を得る観点から好ましい。
Further, the steel matching
As the spunbond nonwoven fabric of the
上述したように、プレ加工部200と起毛加工部300とを有する装置を用いて処理を行い製造された繊維シート21の帯状部材及び繊維シート22の帯状部材から、ナプキン1Aの備える表面シート2を製造する好ましい製造方法を、図11を参照しながら説明する。
図11に示すように、先ず、繊維シート22の帯状部材を供給する。この状態の繊維シート22の帯状部材は、まだ立体賦形されていない。繊維シート22の帯状部材とは別に、繊維シート21の帯状部材を、繊維シート21の起毛繊維70を有する面と繊維シート22の起毛繊維70を有する面とが対向するように、繊維シート21の帯状部材を供給する。供給された繊維シート21の帯状部材を、周面に凸状部411及び凹状部を有し凹凸形状となっている第1のロール410と第1のロール410の凹凸形状と噛み合い形状となっており、かつ凸状部421及び凹状部からなる凹凸形状を周面に有する第2のロール420との噛み合わせ部に噛み込ませて繊維シート21の帯状部材を連続的に凹凸賦形する。第1のロール410は、図11に示すように図中の矢印方向である一方向へ回転している。第2のロール420は、第1のロール410と反対方向へほぼ同速で回転している。このような構造のロール410,420の詳細については、本出願人の先の出願に係る特開2004−174234号公報及び特開2005−111908号公報等に記載されている。
As described above, the
As shown in FIG. 11, first, a belt-like member of the
第1のロール410の周面を平面に引き延ばした状態での凸状部の配置パターンは、図11に示す表面シート2におけるシート間接合部23の配置パターンと一致している。即ち、第1のロール410の凸状部411は、シート間接合部23の配置パターンと対応するように配置されている。
The arrangement pattern of the convex portions in a state in which the peripheral surface of the
繊維シート21の帯状部材は、その長手方向に張力が加わった状態で搬送されて、第1及び第2のロール410,420の噛み合い部に挿入され、噛み合い状態の両ロール410,420間に押し込まれる。押し込みに際しては、第1のロール410を、その周面から中心部に向けて吸引することで、押し込みを補助することが好ましい。第1のロール410にそのような吸引手段を設ける詳細については、先に述べた特開2004−174234号公報及び特開2005−111908号公報等に記載されている。前記の押し込みによって、繊維シート21の帯状部材には、第1のロール410の形状に対応する凹凸形状が付与される。
The belt-like member of the
以上のプロセスによって、凹凸形状の立体賦形が形成された繊維シート21の帯状部材が得られる。立体賦形の繊維シート21の帯状部材は、第1のロール410の周面に抱かれた状態で搬送される。このような搬送によって、繊維シート21の帯状部材の立体賦形状態が首尾良く維持される。この目的のために、第1のロール410を、その周面から中心部に向けて吸引することが有利である。
By the above process, the belt-like member of the
繊維シート21の帯状部材を第1のロール410の周面に引き続き密着させた状態下に、図11示すように、該繊維シート21の帯状部材を、別途搬送されてきた繊維シート22の帯状部材と合流させて積層する。そして繊維シート21の帯状部材と繊維シート22の帯状部材とを積層したものを、第1のロール410とこれに対向配置された平滑ロール430との間で加熱挟圧して接合し、シート間接合部23を形成する。このようにシート間接合部23を形成することにより、多数のシート間接合部23それぞれを含む多数の凹部24と、多数の凹部24で囲まれ肌対向面側に突出する多数の凸部25とが規則的に配された凹凸賦形の形成された表面シート2を連続的に製造する。このように製造された表面シート2の各凸部25においては、繊維シート21の対向面、即ち、表面シート2の中空構造の凸部25の内部を構成する繊維シート21の対向面21eに起毛繊維70が配され、且つ繊維シート22の対向面22dに起毛繊維70が配された状態となっている。
In a state where the belt-like member of the
ナプキン1Aは、このように形成された凹凸賦形の表面シート2の連続体を用いて、後の工程では、従来の、いわゆる縦流れ方式の生理用ナプキンの製造方法と同様にして製造することができる。具体的には、凹凸賦形の表面シート2の連続体、裏面シート3の連続体、及び両シートの連続体間に、搬送方向(Y方向)に複数個の吸収体4,4・・・とを備えた吸収性本体10の連続体に、吸収性本体10の連続体の搬送方向(Y方向)の両側部それぞれに沿って、サイドシート5の連続体を配し、その連続体を切断加工して、ナプキン1Aを連続的に製造することができる。ナプキン1Aの製造方法に関し、特に説明しない点は、従来の、縦流れ方式の生理用ナプキンの製造方法と同様にして製造することができる。
The
本実施形態のナプキン1Aの形成材料について説明する。
吸収性本体10を構成する裏面シート3及び吸収体4としては、それぞれ、通常、使い捨ておむつ等の吸収性物品に用いられるものであれば、特に制限なく用いることができる。例えば、裏面シート3としては、液不透過性又は撥水性の樹脂フィルムや樹脂フィルムと不織布の積層体等を用いることができ、吸収体4としては、パルプ繊維等の繊維の集合体(不織布であっても良い)又はこれに吸水性ポリマーの粒子を保持させてなる吸収性コアを、透水性の薄紙や不織布からなるコアラップシートで被覆したもの等を用いることができる。サイドシート5としても、通常、使い捨ておむつ等の吸収性物品に用いられるものであれば、特に制限なく用いることができる。例えば、サイドシート5としては、裏面シート3と同様のものを用いることができる。
A material for forming the
As the
表面シート2、裏面シート3、吸収体4、及びサイドシート5の固定には、通常、使い捨ておむつ等の吸収性物品に用いられる接着剤やヒートエンボス、超音波エンボス、高周波エンボス等の融着手段が用いられる。
For fixing the
上述した本発明の第1実施形態の生理用ナプキン1Aを使用した際の作用効果について説明する。
ナプキン1Aは、図3〜図5に示すように、ナプキン1Aの備える表面シート2が、起毛する繊維の本数が8本/cm以上であり且つ起毛高さが5mm以下である起毛繊維70を備えた不織布から形成されているので、クッション性が向上し、肌触りが向上する。ナプキン1Aの表面シート2は、図5に示すように、起毛繊維70が、自由端部70bが太くなっている繊維71を備えているので、繊維先端が扁平状のため繊維先端に液が残りにくく液切れ性にも優れている。
また、ナプキン1Aの備える表面シート2は、図3〜図4に示すように、2枚の繊維シート21,22が多数のシート間接合部23にて接合されて形成されており、2枚の繊維シート21,22それぞれが、互いに対向する対向面21e,22dに起毛繊維70を備えているので、クッション性が更に向上し、肌触りが向上する。
特に、ナプキン1Aの備える表面シート2は、図3〜図4に示すように、多数の凹部24と、多数の凸部25とが規則的に配された凹凸賦形をなしており、各凸部25における対向面21e,22dに、起毛繊維70が配されているので、各凸部25が潰れ難く、クッション性が更に向上し、肌触りが向上する。
The effect at the time of using the
As shown in FIGS. 3 to 5, the
Further, as shown in FIGS. 3 to 4, the
In particular, as shown in FIGS. 3 to 4, the
次に、本発明の吸収性物品を、その好ましい第2実施形態に基づき、図12〜図14を参照しながら説明する。 Next, the absorbent article of this invention is demonstrated based on the preferable 2nd Embodiment, referring FIGS. 12-14.
第2実施形態の吸収性物品は、生理用ナプキンであり、第2実施形態の生理用ナプキン1B(以下、「ナプキン1B」ともいう。)については、第1実施形態の生理用ナプキン1Aと異なる点について説明する。特に説明しない点は、ナプキン1Aと同様であり、ナプキン1Aの説明が適宜適用される。
The absorbent article of the second embodiment is a sanitary napkin, and the
ナプキン1Bは、図12,図13に示すように、ナプキン1Aと同様に、一対のウイング部6,6を備えた生理用ナプキンであるが、表面シート2と吸収体4との間に、液透過性のセカンドシート9が配されている。セカンドシート9は、一般的に、表面シート2から吸収体4への液の透過性を向上されたり、吸収体4から表面シート2への液戻りを低減させたりするために設けられるものである。
ナプキン1Aの備えるセカンドシート9は、図12に示すように、Y方向に長い矩形状のシートであり、吸収体4の肌対向面の全域を覆うように配されている。
As shown in FIGS. 12 and 13, the
As shown in FIG. 12, the
ナプキン1Bの備える表面シート2及びセカンドシート9それぞれには、図14に示すように、起毛繊維70を備えた不織布が用いられている。表面シート2及びセカンドシート9は、ナプキン1Bにおいては、同じ不織布であるため、以下の説明においては、特に表面シート2を例にして説明する。
図14は、表面シート2を表す断面図であり、ナプキン1Aの備える表面シート2を表す図4相当図である。
ナプキン1Bの備える表面シート2は、平坦な繊維シート22と、規則的に凹凸賦形された繊維シート21とがシート間接合部23にて接合されて形成されているが、表面シート2を構成する繊維シート21は、単層ではなく、多層で形成されている。具体的には、表面シート2を構成する繊維シート21は、肌対向面側の上層21Uと非肌対向面側の下層21Dとから形成されており、下層21Dの非肌対向面(繊維シート22に対向する対向面)21eに起毛繊維70が配されている。従って、ナプキン1Bの備える表面シート2の各凸部25においては、繊維シート21の対向面、即ち、表面シート2の中空構造の凸部25の内部の対向面を構成する下層21Dの非肌対向面21eに起毛繊維70が配され、且つ繊維シート22の対向面22dに起毛繊維70が配された状態となっている。
As shown in FIG. 14, the nonwoven fabric provided with the raised
FIG. 14 is a cross-sectional view showing the
The
第2実施形態のナプキン1Bの形成材料について説明する。第2実施形態のナプキン1Bについては、第1実施形態の生理用ナプキン1Aの形成材料と同様である。
A material for forming the
上述した本発明の第2実施形態のナプキン1Bを使用した際の作用効果について説明する。
第2実施形態のナプキン1Bの効果については、第1実施形態の生理用ナプキン1Aの効果と異なる点について説明する。特に説明しない点は、第1実施形態の生理用ナプキン1Aの効果と同様であり、第1実施形態の生理用ナプキン1Aの効果の説明が適宜適用される。
The effect at the time of using the
About the effect of the
ナプキン1Bは、図14に示すように、平坦な繊維シート22と、規則的に凹凸賦形された多層の繊維シート21とがシート間接合部23にて接合されて形成された表面シート2を備えているので、クッション性が更に向上し、肌触りが向上する。
特に、ナプキン1Bは、図12,図13に示すように、平坦な繊維シート22と、規則的に凹凸賦形された繊維シート21とがシート間接合部23にて接合されて形成されたセカンドシート9を、表面シート2と吸収体4との間に、更に、備えているので、クッション性が特に向上し、肌触りが特に向上する。
As shown in FIG. 14, the
In particular, as shown in FIGS. 12 and 13, the
本発明の吸収性物品は、上述の第1実施形態の生理用ナプキン1A、第2実施形態の生理用ナプキン1Bに何ら制限されるものではなく、適宜変更可能である。また、上述の第1実施形態の生理用ナプキン1A,第2実施形態の生理用ナプキン1Bにおける各構成要件は、本発明の趣旨を損なわない範囲で、適宜組み合わせて実施できる。
The absorbent article of the present invention is not limited to the
例えば、上述の第1実施形態の生理用ナプキン1A、第2実施形態の生理用ナプキン1Bの有する表面シート2は、図4,図14に示すように、表面シート2を構成する2枚の繊維シート21,22それぞれに起毛繊維70が配されているが、何れか一方の繊維シートに起毛繊維70が配されていればよい。また、上述の第1実施形態の生理用ナプキン1A、第2実施形態の生理用ナプキン1Bの有する表面シート2は、図4,図14に示すように、表面シート2を構成する2枚の繊維シート21,22それぞれの対向面21e,22dに起毛繊維70が配されているが、何れか一方の繊維シートの対向面に起毛繊維70が配されていればよい。体液の吸収時において表面シートに液が残りにくくなる点で、両方の対向面に起毛繊維70が配されていることが好ましい。また、上述の第1実施形態の生理用ナプキン1A、第2実施形態の生理用ナプキン1Bの有する表面シート2は、図4,図14に示すように、表面シート2を構成する2枚の繊維シート21,22それぞれの対向面21e,22dにのみ起毛繊維70が配されているが、繊維シート21の肌対向面(非対向面)21dにも起毛繊維70が配されていてもよい。これにより肌に接した際の肌触りが向上する。さらに好ましくは、体液の吸収速度が速くなる点で繊維シート21,22それぞれの対向面21e,22dの何れか一方の繊維シートの対向面に起毛繊維70が配されており、かつ、繊維シート22の非肌対向面(非対向面)22eにも起毛繊維70が配されるとよい。
For example, the
また、上述の第1実施形態の生理用ナプキン1A、第2実施形態の生理用ナプキン1Bは、図1,図12に示すように、2枚の繊維シート21,22が接合されて形成された表面シート2が、多数の凹部24と多数の凸部25とを有する凹凸形状に賦形されているが、凹凸形状に賦形されていなくてもよい。即ち、表面シート2は、2枚の繊維シート21,22を多数のシート間接合部23にて接合して形成されていればよい。繊維シート21及び/又は他方の繊維シート22の互いに対向する対向面に起毛繊維が配されていると、接合部と接合部の間において、起毛された繊維によって充填された微小な空間が形成され、起毛していないものに比べ吸収体から表面材までの距離が増すため、ウエットバック量の少ない表面材が得られる点で好ましい。さらには、表面材から吸収体への体液の移行を早め、かつ、ウエットバック量を減らす点で繊維シート22の非肌対向面(非対向面)22eにも起毛繊維70が配されるとよい。
Further, the
また、上述の第1実施形態の生理用ナプキン1A、第2実施形態の生理用ナプキン1Bは、図1,図12に示すように、一対のウイング部6,6を備えているが、ウイング部6,6を備えていなくてもよい。また、一対のウイング部6,6を備える場合、ウイング部6を形成するサイドシート5の肌対向面にも起毛繊維70を配してもよい。
The
また、上述の第2実施形態の生理用ナプキン1Bは、表面シート2及びセカンドシート9それぞれに、図14に示すように、起毛繊維70を備えた不織布が用いられているが、表面シート2又はセカンドシート9に、起毛繊維70を備えた不織布が用いられていればよい。
Moreover, as for the
実施形態として生理用ナプキン1Aおよび生理用ナプキン1Bについて示したが、凸状構造ではないフラットな表面シートの形態として、液の吸収速度が速くなる点から、前記表面シート2、及び/又は表面シート2と吸収体4との間に配される液透過性のシート(セカンドシート9)における非肌対向面に、前記起毛繊維70が配されているものであってもよい。また、該表面シート2と前記吸収体4との間に配される液透過性のシート(セカンドシート9)が凹凸構造をなし、その肌対向面または非肌対抗面のいずれか一方、もしくは両方に前記起毛繊維が配されているものであってもよい。
また、該表面シートの凸部のみに起毛繊維があってもよいが、凹部と凸部の両方に起毛繊維が存在することが好ましい。この場合、起毛繊維の配されている面が肌対抗面の場合には表面から見た凸部に起毛繊維が存在することで表面に疎な構造を形成してウエットバック量が減少し、さらに凹部に液が残りにくく導水性に優れる点で好ましい。また、起毛繊維の配されている面が非肌対抗面の場合には、起毛繊維を伝わって表面から見た凸部の内側に液が残りにくい点で好ましい。この表面シートは起毛加工後に前記凹凸賦形加工することによって得ることができる。さらにはこの起毛加工前に前記プレ加工をすることが好ましい。
Although the
Further, the raised fibers may be present only on the convex portions of the surface sheet, but it is preferable that the raised fibers exist in both the concave portions and the convex portions. In this case, when the surface on which the raised fibers are arranged is the skin-opposing surface, the raised fibers are present on the convex portion viewed from the surface, thereby forming a sparse structure on the surface and reducing the amount of wetback. It is preferable in that the liquid hardly remains in the recess and has excellent water conductivity. Moreover, when the surface where the raising | fluff fiber is arranged is a non-skin opposing surface, it is preferable at the point which a liquid does not remain inside the convex part seen from the surface along the raising | fluff fiber. This surface sheet can be obtained by performing the uneven shape forming after the raising process. Furthermore, it is preferable to perform the pre-processing before the raising process.
本発明の吸収性物品は、生理用ナプキン以外の展開型の使い捨ておむつやパンツ型使い捨ておむつであってもよいし、ライナー等であってもよい。本発明の吸収性物品が使い捨ておむつである場合、使い捨ておむつは、幼児又は成人用の使い捨ておむつであってもよい。図15には、本発明の吸収性物品の他の実施形態である展開型の使い捨ておむつ1C(以下、「おむつ1C」ともいう。)が示されている。おむつ1Cは、図15に示すように、肌対向面側に配された液透過性の表面シート2と、非肌対向面側に配された液難透過性の裏面シート3と、これらシート2,3間に配された縦長の吸収体4とを備えている。おむつ1Cは、前方部Bの左右両側縁及び後方部Cの左右両側縁それぞれが中央部Cの左右両側縁よりも横方向(X方向)外方に延出している。そして、中央部Cの左右両側縁が横方向(X方向)内方に向かって円弧状に湾曲しており、全体として縦方向(Y方向)中央部が内方に括れた形状を有している。表面シート2及び裏面シート3は、それぞれ、吸収体4の左右両側縁及び前後両端縁から外方に延出している。表面シート2は、その横方向(X方向)の寸法が、裏面シート3の横方向(X方向)の寸法より小さくなっている。表面シート2及び裏面シート3はそれぞれ、吸収体4の周縁から外方に延出した延出部において互いに接合されており、吸収体4を挟持・固定している。おむつ1Cは、いわゆる展開型のおむつであり、前方部Bの左右両側縁部に一対のファスニングテープ11,11が設けられ、後方部Cの外表面(非肌対向面)に、該ファスニングテープ11,11を止着させるランディングテープ12が設けられている。図15に示すように、おむつ1Cの縦方向(Y方向)に沿う両側部それぞれには、Y方向に伸長状態で固定された弾性部材13を有するサイドシート5が、表面シート2の側部に配され固定されており、これによって一対の立体ギャザーが形成される。また、図15に示すように、おむつ1Cの縦方向(Y方向)に沿う両側部それぞれには、レッグギャザー形成用の複数本のレッグ弾性部材14がY方向に伸長状態に配されており、レッグ弾性部材14の収縮によりレッグギャザーが形成される。このような、おむつ1Cにおいては、表面シート2に、図3〜図5に示すような、その構成繊維の一部が自由端部70bを有する起毛繊維70を備えた不織布が用いられていてもよく、表面シート2と吸収体4との間に配される液透過性のシート(不図示)に、起毛繊維70を備えた不織布が用いられていてもよい。上述した実施形態に関し、さらに以下の吸収性物品を開示する。
The absorbent article of the present invention may be an unfolded disposable diaper other than a sanitary napkin, a pants-type disposable diaper, a liner, or the like. When the absorbent article of the present invention is a disposable diaper, the disposable diaper may be a disposable diaper for infants or adults. FIG. 15 shows an unfolded
<1>肌対向面側に配された表面シートと、非肌対向面側に配された裏面シートと、これらシートの間に配された吸収体とを備えた吸収性物品であって、
前記表面シート、及び/又は該表面シートと前記吸収体との間に配される液透過性のシートには、その構成繊維の一部が自由端部を有する起毛繊維を備えた不織布が用いられており、
前記起毛繊維は、該起毛繊維の本数が8本/cm以上であり且つ起毛高さが0.2mm以上5mm以下である吸収性物品。
<2>前記起毛繊維は、起毛繊維の本数が12本/cm以上100本/cm以下であり、且つ起毛高さが0.2mm以上2.0mm以下である前記<1>に記載の吸収性物品。
<3>前記不織布は、2枚の繊維シートからなり、2枚の該繊維シートが多数のシート間接合部にて接合されて形成されており、
2枚の前記繊維シートの少なくとも一方は、互いに対向する対向面に前記起毛繊維が配されており、
2枚の前記繊維シートそれぞれは、単層又は多層で形成されている前記<1>又は<2>に記載の吸収性物品。
<4>2枚の前記繊維シートの一方の繊維シートは、平坦であり、他方の繊維シートは、多数の前記シート間接合部それぞれを含む多数の凹部と、多数の該凹部で囲まれ肌対向面側に突出する多数の凸部とが規則的に配された凹凸賦形をなしており、
前記凸部における一方の前記繊維シート及び/又は他方の前記繊維シートの互いに対向する対向面に、前記起毛繊維が配されている前記<3>に記載の吸収性物品。
<5>前記凸部の内部が肌対向面側の繊維シートの非肌対向面と非肌対向面側の繊維シートの肌対向面とにより囲繞された中空構造である前記<4>記載の吸収性物品。
<6>前記凸部は、各第1壁部の上辺及び各第2壁部の上辺が連なる天面部と、該天面部と対向する面である底面部を有し、前記天面の面積よりも前記底面部の面積の方が大きく、稜線が丸みを帯びた四角錐形状に形成されている前記<4>又は<5>記載の吸収性物品。
<7>前記シート間接合部は、熱融着により形成されている前記<3>ないし<6>のいずれか1に記載の吸収性物品。
<8>前記不織布は、長繊維からなるウェブを繊維熱融着部により固定した不織布であって、該繊維熱融着部の面積が、0.05mm2以上10mm2以下であり、該繊維熱融着部の数は、10個/cm2以上250個/cm2以下である前記<3>ないし<7>のいずれか1に記載の吸収性物品。
<9>CD方向に隣り合う前記繊維熱融着部同士の中心間の距離は、0.5mm以上10mm以下であり、MD方向に隣り合う該繊維熱融着部同士の中心間の距離は、0.5mm以上10mm以下である前記<8>に記載の吸収性物品。
<10>前記繊維シートは、更にループ状の繊維を有しており、該繊維シートを構成する繊維のうち、一端部のみが繊維熱融着部により固定されている繊維及び前記ループ状の繊維の総数における、該ループ状の繊維の割合が、50%より少ない前記<3>ないし<9>のいずれか1に記載の吸収性物品。
<1> An absorbent article comprising a top sheet disposed on the skin facing surface side, a back sheet disposed on the non-skin facing surface side, and an absorbent disposed between these sheets,
For the topsheet and / or the liquid-permeable sheet disposed between the topsheet and the absorber, a non-woven fabric provided with raised fibers in which some of the constituent fibers have free ends is used. And
The raised fiber is an absorbent article in which the number of the raised fibers is 8 / cm or more and the raised height is 0.2 mm or more and 5 mm or less.
<2> The absorptive fiber according to <1>, wherein the number of the raised fibers is 12 / cm to 100 / cm and the raised height is 0.2 mm to 2.0 mm. Goods.
<3> The non-woven fabric is formed of two fiber sheets, and the two fiber sheets are formed by bonding at a large number of inter-sheet bonding portions,
At least one of the two fiber sheets is provided with the raised fibers on opposing surfaces facing each other,
Each of the two fiber sheets is an absorbent article according to the above <1> or <2>, which is formed of a single layer or multiple layers.
<4> One fiber sheet of the two fiber sheets is flat, and the other fiber sheet is surrounded by a large number of concave portions each including a large number of the inter-sheet bonding portions and a large number of the concave portions, and facing the skin. Concave and convex shaping is regularly arranged with a large number of convex parts projecting to the surface side,
The absorbent article according to <3>, wherein the raised fibers are arranged on opposing surfaces of one of the fiber sheets and / or the other fiber sheet of the convex portion.
<5> The absorption according to <4>, wherein the convex portion has a hollow structure surrounded by the non-skin facing surface of the fiber sheet on the skin facing surface side and the skin facing surface of the fiber sheet on the non-skin facing surface side. Sex goods.
<6> The convex portion has a top surface portion where the upper side of each first wall portion and the upper side of each second wall portion are continuous, and a bottom surface portion which is a surface facing the top surface portion. From the area of the top surface The absorbent article according to <4> or <5>, wherein the bottom portion has a larger area, and the ridgeline is rounded.
<7> The absorbent article according to any one of <3> to <6>, wherein the inter-sheet joint is formed by heat sealing.
<8> The non-woven fabric is a non-woven fabric in which a web made of long fibers is fixed by a fiber heat fusion part, and the area of the fiber heat fusion part is 0.05 mm 2 or more and 10 mm 2 or less. The absorbent article according to any one of <3> to <7>, wherein the number of fused parts is 10 pieces / cm 2 or more and 250 pieces / cm 2 or less.
<9> The distance between the centers of the fiber heat fusion parts adjacent in the CD direction is 0.5 mm or more and 10 mm or less, and the distance between the centers of the fiber heat fusion parts adjacent in the MD direction is Absorbent article as described in said <8> which is 0.5 mm or more and 10 mm or less.
<10> The fiber sheet further has a loop-shaped fiber, and among the fibers constituting the fiber sheet, a fiber in which only one end is fixed by a fiber heat-sealed portion and the loop-shaped fiber The absorbent article according to any one of <3> to <9>, wherein a ratio of the loop-like fibers in the total number of <3> to <9> is less than 50%.
<11>前記凸部における一方の前記繊維シート及び他方の前記繊維シートの互いに対向する対向面それぞれに、前記起毛繊維が配されている前記<3>ないし<10>のいずれか1に記載の吸収性物品。
<12>前記繊維シートを構成する繊維の繊維径の分布(分散度)は、0.35以上0.9以下である前記<3>ないし<11>のいずれか1に記載の吸収性物品。
<13>前記不織布は、長繊維からなるウェブを繊維熱融着部により固定した不織布であって、
前記起毛繊維は、前記長繊維の一部が破断されて、一端部のみが該繊維熱融着部により固定され、且つ他端部側の自由端部が太くなっている繊維を備えている前記<1>ないし<12>のいずれか1に記載の吸収性物品。
<14>前記構成繊維は短繊維を含み、該短繊維同士がお互いに融着している前記<1>ないし<12>のいずれか1に記載の吸収性物品。
<15>前記不織布は、短繊維からなるウェブを繊維熱融着部により固定した不織布であって、
前記起毛繊維は、前記繊維の一部が破断されて、一端部のみが該繊維熱融着部により固定され、且つ他端部側の自由端部が太くなっている繊維を備えている前記<1>ないし<12>のいずれか1に記載の吸収性物品。
<16>前記不織布が熱風を用いて繊維同士を熱融着させたエアースルー不織布である前記<14>又は<15>に記載の吸収性物品。
<17>前記不織布が表面シートに用いられている前記<1>ないし<16>のいずれか1に記載の吸収性物品。
<18>前記表面シートと前記吸収体との間に前記液透過性のシートを有し、該液透過性のシートが前記起毛繊維を有する不織布である前記<1>ないし<17>のいずれか1に記載の吸収性物品。
<19>前記吸収性物品が生理用ナプキンである前記<1>ないし<18>のいずれか1に記載の吸収性物品。
<20>前記吸収性物品が幼児用おむつである前記<1>ないし<19>のいずれか1に記載の吸収性物品。
<11> The <3> to <10> according to any one of the above <3> to <10>, wherein the raised fibers are arranged on each of opposing surfaces of the one fibrous sheet and the other fibrous sheet in the convex portion. Absorbent article.
<12> The absorbent article according to any one of <3> to <11>, wherein a fiber diameter distribution (dispersion degree) of the fibers constituting the fiber sheet is 0.35 or more and 0.9 or less.
<13> The non-woven fabric is a non-woven fabric in which a web composed of long fibers is fixed by a fiber heat-sealing portion,
The raised fiber includes a fiber in which a part of the long fiber is broken, only one end is fixed by the fiber heat fusion part, and the free end on the other end side is thick. The absorbent article according to any one of <1> to <12>.
<14> The absorbent article according to any one of <1> to <12>, wherein the constituent fibers include short fibers, and the short fibers are fused to each other.
<15> The non-woven fabric is a non-woven fabric in which a web made of short fibers is fixed by a fiber heat fusion part,
The raised fiber includes a fiber in which a part of the fiber is broken, only one end is fixed by the fiber heat fusion part, and the free end on the other end side is thick. The absorbent article according to any one of 1> to <12>.
<16> The absorbent article according to <14> or <15>, wherein the nonwoven fabric is an air-through nonwoven fabric in which fibers are heat-sealed using hot air.
<17> The absorbent article according to any one of <1> to <16>, wherein the nonwoven fabric is used for a surface sheet.
<18> Any one of the items <1> to <17>, wherein the liquid permeable sheet is provided between the top sheet and the absorber, and the liquid permeable sheet is a nonwoven fabric having the raised fibers. 2. The absorbent article according to 1.
<19> The absorbent article according to any one of <1> to <18>, wherein the absorbent article is a sanitary napkin.
<20> The absorbent article according to any one of <1> to <19>, wherein the absorbent article is a baby diaper.
[実施例1]
ポリプロピレンホモポリマー樹脂からなるスパンボンド不織布の層を2層有する、目付け20g/m2、繊維直径19μm、熱圧着部(エンボスによる熱融着部)の面積率9%、油剤により親水化処理を行ったスパンボンド不織布(SS不織布)を用いた。この不織布を用い、部分延伸加工と起毛加工を行った。部分延伸加工として、スチールマッチングエンボスローラー230を用いた。このロールにおける各凸部211は、その高さが2.8mmであり、ロール210の各凸部211とロール220の各凹部との噛み合いの深さDは、2.7mmであった。また、回転軸方向に隣り合う凸部211同士の距離(ピッチP2)は、7mmであり、周方向に隣り合う凸部211同士の距離(ピッチP1)は、7mmであった。スチールマッチエンボスのロールの温度は26℃で行い、スチールマッチエンボスのロールの周速度V2は20m/minであり、不織布の搬送速度V1は26m/minであった。次に、起毛に用いた凸ロール310の各凸部311の高さは、0.6mmであり、回転軸方向に隣り合う凸部同士の距離(ピッチ)は、1.4mmであり、周方向に隣り合う凸部同士の距離(ピッチ)は、2.1mmであった。不織布の搬送速度V3は20m/minであり、不織布の搬送方向に対して逆方向に4倍の周速度V4で凸ロール310を回転させた。抱き角は80度であった。不織布の上層面側のみ起毛加工を施した。また、不織布の熱圧着部のピッチと、凹凸ロールの凸部のピッチとの比(不織布の熱圧着部のピッチ/凸部のピッチ)はMD方向(ロール周方向)が0.31、CD方向(ロール回転軸方向)が0.29で行った。部分延伸加工前の不織布には自由端部が太くなっている繊維は見られず、起毛加工後の不織布の起毛された繊維は自由端部が太くなっていた。花王株式会社製の「ロリエ(登録商標)さらさらクッション ウィング付き」の製品から表面シートを取り除き、得られた不織布を代わりに用い、起毛繊維を有する面を吸収体と当接するようにして生理用ナプキンを作製した。
[Example 1]
2 layers of spunbond nonwoven fabric made of polypropylene homopolymer resin, 20 g / m 2 per unit area, 19 μm fiber diameter, 9% area ratio of thermocompression bonding part (heat-bonded part by embossing), hydrophilized with oil Spunbond nonwoven fabric (SS nonwoven fabric) was used. Using this nonwoven fabric, partial stretching and raising were performed. A steel matching
[実施例2]
芯がポリプロピレン樹脂、鞘がポリエチレン樹脂からなる繊維長51mmからなる親水油剤処理された短繊維を用いたカード法によるエアースル−不織布を用いた。肌にあたる上層の繊維には3.4dtexのものを用い、下層の繊維には2.2dtexの繊維を用いた。目付けは上層が10g/m2、下層が15g/m2、トータル25g/m2のものを用いた。この不織布を用い、実施例1と同様にして部分延伸加工と起毛加工を行った。不織布の上層面側のみ起毛加工を施した。花王株式会社製の「メリーズ(登録商標) メリーズパンツ」の製品から表面シートを取り除き、得られた不織布を代わりに用い、起毛繊維を有する面を肌側と当接する側になるようにして使い捨ておむつを作製した。
[Example 2]
An air-through non-woven fabric by a card method using a short fiber treated with a hydrophilic oil agent having a fiber length of 51 mm having a core made of polypropylene resin and a sheath made of polyethylene resin was used. The upper layer fibers corresponding to the skin were 3.4 dtex fibers, and the lower layer fibers were 2.2 dtex fibers. Basis weight layer is 10 g / m 2, the lower layer was used as a 15 g / m 2, total 25 g / m 2. Using this nonwoven fabric, partial stretching and raising were performed in the same manner as in Example 1. Only the upper surface side of the nonwoven fabric was raised. Disposable diapers by removing the surface sheet from the product of “Mary's (registered trademark) Mary's pants” manufactured by Kao Corporation and using the obtained non-woven fabric instead, so that the side having the raised fibers is in contact with the skin side Was made.
[実施例3]
実施例2において、部分延伸加工後、起毛に用いた凸ロールを不織布の搬送方向に対して逆方向に1倍の周速度V4で凸ロール31を回転させた。その他は実施例2と同様に行った。花王株式会社製の「メリーズ(登録商標) メリーズパンツ」の製品から表面シートを取り除き、得られた不織布を代わりに用い、起毛繊維を有する面を肌側と当接する側になるようにして使い捨ておむつを作製した。
[Example 3]
In Example 2, after the partial stretching process, the convex roll 31 was rotated at a circumferential speed V4 of 1 times in the reverse direction of the convex roll used for raising the nonwoven fabric. Others were the same as in Example 2. Disposable diapers by removing the surface sheet from the product of “Mary's (registered trademark) Mary's pants” manufactured by Kao Corporation and using the obtained non-woven fabric instead, so that the side having the raised fibers is in contact with the skin side Was made.
[実施例4]
実施例2において、部分延伸加工後、起毛に用いた凸ロールを不織布の搬送方向に対して逆方向に8倍の周速度V4で凸ロール31を回転させた。その他は実施例2と同様に行った。花王株式会社製の「メリーズ(登録商標) メリーズパンツ」の製品から表面シートを取り除き、得られた不織布を代わりに用い、起毛繊維を有する面を肌側と当接する側になるようにして使い捨ておむつを作製した。
[Example 4]
In Example 2, after the partial stretching process, the convex roll 31 was rotated at a peripheral speed V4 of 8 times in the opposite direction to the conveying direction of the nonwoven fabric. Others were the same as in Example 2. Disposable diapers by removing the surface sheet from the product of “Mary's (registered trademark) Mary's pants” manufactured by Kao Corporation and using the obtained non-woven fabric instead, so that the side having the raised fibers is in contact with the skin side Was made.
[実施例5]
花王株式会社製の「メリーズ(登録商標) メリーズパンツ」の製品から表面シートを取り除き、実施例1で得られた不織布を代わりに用い、起毛繊維を有する面を吸収体と当接するようにして使い捨ておむつを作製した。
[Example 5]
The surface sheet is removed from the product of “Mary's (registered trademark) Mary's pants” manufactured by Kao Corporation, and the nonwoven fabric obtained in Example 1 is used instead, and the surface having the raised fibers is disposed in contact with the absorbent. A diaper was made.
[実施例6]
実施例5と同様にして、花王株式会社製の「メリーズ(登録商標) メリーズパンツ」の製品から表面シートを取り除き、実施例1で得られた不織布を代わりに用い、起毛繊維を有する面を肌側と当接する側になるようにして使い捨ておむつを作製した。
[Example 6]
In the same manner as in Example 5, the surface sheet was removed from the product of “Mary's (registered trademark) Mary's pants” manufactured by Kao Corporation, and the non-woven fabric obtained in Example 1 was used instead, and the surface having the raised fibers was skinned. A disposable diaper was prepared so as to be in contact with the side.
[実施例7]
実施例1で得られた起毛加工されたスパンボンド不織布と加工前のスパンボンド不織布を用いて凹凸形状を形成した。周面に凸状部及び凹状部を有し凹凸形状となっている第1のロールと第1のロールの凹凸形状と噛み合い形状となっており、かつ凸状部及び凹状部からなる凹凸形状を周面に有する第2のロールとの噛み合わせ部に噛み込ませて加工前の未加工スパンボンド不織布を連続的に凹凸賦形し、起毛加工されたスパンボンド不織布と加熱挟圧して接合し凹凸形状表面シートを製作した。このとき、肌に触れる表面側に上記加工前の未加工スパンボンド不織布を用い、起毛面が貼り合わせ面の内側となるように起毛加工されたスパンボンド不織布と貼り合わせた。花王株式会社製の「メリーズ(登録商標) メリーズパンツ」の製品から表面シートを取り除き、得られた不織布を代わりに用い、凹凸形状をなした面を肌側と当接する側になるようにして使い捨ておむつを作製した。
[Example 7]
An uneven shape was formed using the raised spunbond nonwoven fabric obtained in Example 1 and the spunbond nonwoven fabric before processing. The first roll having convex and concave portions on the peripheral surface and the concave and convex shape of the first roll and the concave and convex shape of the first roll are meshed with each other, and the concave and convex shape composed of the convex and concave portions is formed. Unspun spunbond nonwoven fabric before processing is continuously shaped by engaging it with the second roll on the peripheral surface, and unevenness is formed by heating and pressing with the raised spunbond nonwoven fabric. A shaped surface sheet was produced. At this time, the unprocessed unspun spunbond nonwoven fabric was used on the surface side that touched the skin, and was bonded to the spunbond nonwoven fabric that had been brushed so that the raised surface was inside the bonded surface. The surface sheet is removed from the product of “Mary's (registered trademark) Mary's Pants” manufactured by Kao Corporation, and the resulting non-woven fabric is used instead. A diaper was made.
[比較例1]
ポリプロピレンホモポリマー樹脂からなるスパンボンド不織布の層を2層有する、目付け20g/m2、繊維直径19μm、熱圧着部(エンボスによる熱融着部)の面積率9%、油剤により親水化処理を行ったスパンボンド不織布(SS不織布)を、比較例1の不織布とした。実施例1と同様にして、花王株式会社製の「ロリエ(登録商標)さらさらクッション ウィング付き」の製品から表面シートを取り除き、比較例1で得られた不織布を代わりに用いて生理用ナプキンを作製した。
[Comparative Example 1]
2 layers of spunbond nonwoven fabric made of polypropylene homopolymer resin, 20 g / m 2 per unit area, 19 μm fiber diameter, 9% area ratio of thermocompression bonding part (heat-bonded part by embossing), hydrophilized with oil The spunbond nonwoven fabric (SS nonwoven fabric) was used as the nonwoven fabric of Comparative Example 1. In the same manner as in Example 1, the surface sheet was removed from the product of “Laurier (registered trademark) smooth cushion with wings” manufactured by Kao Corporation, and a sanitary napkin was produced using the nonwoven fabric obtained in Comparative Example 1 instead. did.
[比較例2]
実施例2と同じく、目付け25g/m2のエアースルー不織布を用いた。この加工前の元の不織布を、比較例2の不織布とした。実施例2と同様にして、花王株式会社製の「メリーズ(登録商標) メリーズパンツ」の製品から表面シートを取り除き、比較例2で得られた不織布を代わりに用いて使い捨ておむつを作製した。
[Comparative Example 2]
As in Example 2, an air-through nonwoven fabric having a basis weight of 25 g / m 2 was used. The original non-woven fabric before processing was used as the non-woven fabric of Comparative Example 2. In the same manner as in Example 2, the surface sheet was removed from the product of “Merry's (registered trademark) Mary's Pants” manufactured by Kao Corporation, and a disposable diaper was produced using the nonwoven fabric obtained in Comparative Example 2 instead.
[比較例3]
実施例2と同じく、目付け25g/m2のエアースルー不織布を用い、部分延伸加工は特に行わず、起毛に用いた凸ロールを不織布の搬送方向に対して逆方向に100倍の周速度V4で凸ロール31を回転させた。花王株式会社製の「メリーズ(登録商標) メリーズパンツ」の製品から表面シートを取り除き、得られた不織布を代わりに用い、起毛繊維を有する面を肌側と当接する側になるようにして使い捨ておむつを作製した。
[Comparative Example 3]
As in Example 2, using an air-through nonwoven fabric with a basis weight of 25 g / m 2 , partial stretching is not particularly performed, and the convex roll used for raising is at a peripheral speed V4 of 100 times in the opposite direction to the conveyance direction of the nonwoven fabric. The convex roll 31 was rotated. Disposable diapers by removing the surface sheet from the product of “Mary's (registered trademark) Mary's pants” manufactured by Kao Corporation and using the obtained non-woven fabric instead, so that the side having the raised fibers is in contact with the skin side Was made.
[比較例4]
実施例5と同じく、ポリプロピレンホモポリマー樹脂からなるスパンボンド不織布の層を2層有する、目付け20g/m2、繊維直径19μm、熱圧着部(エンボスによる熱融着部)の面積率9%、油剤により親水化処理を行ったスパンボンド不織布(SS不織布)を、比較例4の不織布とした。実施例5と同様にして、花王株式会社製の「メリーズ(登録商標) メリーズパンツ」の製品から表面シートを取り除き、比較例4で得られた不織布を代わりに用いて使い捨ておむつを作製した。
[Comparative Example 4]
As in Example 5, it has two layers of a spunbond nonwoven fabric made of polypropylene homopolymer resin, a basis weight of 20 g / m 2 , a fiber diameter of 19 μm, an area ratio of a thermocompression bonding part (heat fusion part by embossing), an oil agent The spunbonded nonwoven fabric (SS nonwoven fabric) that had been subjected to a hydrophilization treatment was used as the nonwoven fabric of Comparative Example 4. In the same manner as in Example 5, the surface sheet was removed from the product of “Merry's (registered trademark) Mary's Pants” manufactured by Kao Corporation, and a disposable diaper was produced using the nonwoven fabric obtained in Comparative Example 4 instead.
〔起毛した構成繊維の評価〕
実施例1〜7,比較例1〜4の生理用ナプキン又は使い捨ておむつの表面シートに用いた不織布について、前述した起毛した構成繊維の本数の測定方法により、起毛した構成繊維の本数を測定した。起毛した構成繊維の本数が8本以上の場合にBとし、10本以上の場合にAとし、8本未満の場合にDとして表1〜表3に示した。
[Evaluation of brushed constituent fibers]
About the nonwoven fabric used for the sanitary napkin of Examples 1-7 and Comparative Examples 1-4, or the surface sheet of a disposable diaper, the number of the raised constituent fiber was measured with the measuring method of the number of the raised constituent fiber mentioned above. Tables 1 to 3 show B when the number of raised constituent fibers is 8 or more, A when the number is 10 or more, and D when it is less than 8.
〔破断強度の評価〕
実施例1〜7,比較例1〜4の生理用ナプキン又は使い捨ておむつの表面シートに用いた不織布について、前述した破断強度の測定法により、CD方向に200mm、MD方向に50mmの測定サンプルを取り出し、チャック間を150mmにした引張試験機(島津製作所製)で、引張速度300mm/分で引っ張り、CD方向の強度を測定し、4枚の平均値をCD方向の強度とした。次に、各々の未処理の不織布に対して(実施例1と比較例1(実施例1に用いた表面シートの未処理の不織布)、実施例2〜4及び比較例3と比較例2(実施例2〜4及び比較例3に用いた表面シートの未処理の不織布)、実施例5〜7と比較例4(実施例5〜7に用いた表面シートの未処理の不織布))、CD方向の強度の比が50%以上の場合にBとし、50%未満の場合にDとして表1〜表3に示した。
[Evaluation of breaking strength]
About the nonwoven fabric used for the sanitary napkin of Examples 1-7 and Comparative Examples 1-4 or the surface sheet of a disposable diaper, the measurement sample of 200 mm in CD direction and 50 mm in MD direction was taken out by the measuring method of breaking strength mentioned above. Then, the tensile tester (manufactured by Shimadzu Corporation) with a chuck spacing of 150 mm was pulled at a tensile speed of 300 mm / min, and the strength in the CD direction was measured. The average value of the four sheets was taken as the strength in the CD direction. Next, for each untreated nonwoven fabric (Example 1 and Comparative Example 1 (untreated nonwoven fabric of the topsheet used in Example 1), Examples 2 to 4 and Comparative Example 3 and Comparative Example 2 ( Untreated nonwoven fabric of surface sheet used in Examples 2 to 4 and Comparative Example 3), Examples 5 to 7 and Comparative Example 4 (untreated nonwoven fabric of surface sheet used in Examples 5 to 7)), CD Tables 1 to 3 show B when the strength ratio in the direction is 50% or more, and D when the ratio is less than 50%.
〔液残り量の測定方法〕
測定環境は22℃65%RH環境下にて行った。実施例1及び比較例1の生理用ナプキンに関して、該ナプキンの表面シートを上に向けて水平面上に置いた状態で、生理用ナプキンの表面シート上に、円筒状の透過孔を有するアクリル板を重ねて、該ナプキンに100Paの一定荷重を掛けた。斯かる荷重下において、該アクリル板の透過孔から脱繊維馬血3.0gを流し込んだ。3.0gの脱繊維馬血を流し込んでから60秒後にアクリル板を取り除き、次いで不織布の重量(W2)を測定した。そして、予め測定しておいた、脱繊維馬血を流し込む前の不織布の重量(W1)との差(W2−W1)を算出した。以上の操作を3回行い、3回の平均値を液残り量(mg)とした。液残り量は、装着者の肌がどの程度濡れるのかの指標となるものであり、液残り量が少ないほど導水性に優れるものとなる。
[Measurement method of remaining liquid amount]
The measurement environment was 22 ° C. and 65% RH environment. With respect to the sanitary napkin of Example 1 and Comparative Example 1, an acrylic plate having a cylindrical transmission hole was placed on the top sheet of the sanitary napkin with the top sheet of the napkin facing upward. In addition, a constant load of 100 Pa was applied to the napkin. Under such a load, 3.0 g of defibrinated horse blood was poured from the permeation hole of the acrylic plate. Sixty seconds after pouring 3.0 g of defibrillated horse blood, the acrylic plate was removed, and then the weight (W2) of the nonwoven fabric was measured. And the difference (W2-W1) with the weight (W1) of the nonwoven fabric before pouring defibrillated horse blood measured beforehand was calculated. The above operation was performed 3 times, and the average value of 3 times was defined as the remaining liquid amount (mg). The liquid remaining amount is an index of how much the wearer's skin gets wet. The smaller the liquid remaining amount, the better the water conductivity.
〔ウエットバック量の評価測定法〕
測定環境は22℃65%RH環境下にて行った。実施例2〜7及び比較例2〜4の使い捨ておむつに関して、該おむつを平面状に拡げ、表面シートを上に向けて水平面上に固定した状態で、吸収体の中心部における該表面シート上に人工尿40gを吸収させ、10分間放置し、さらに人工尿40gを吸収させた。この操作を繰り返し合計160gの人工尿を注入した。次いで、人工尿の吸収部位上にToyo Roshi Kaisha,Ltd製の4Aろ紙20枚重ね、更にその上に荷重を10分間加えて人工尿をろ紙に吸収させた。荷重は30cm×15cmの面積に6kgが加わるようにした。10分経過後荷重を取り除き、人工尿を吸収したろ紙の重量を測定した。この重量から吸収前のろ紙の重量を差し引き、その値を各サンプルのウエットバック量を求めた。サンプル数は各3点とし、この平均値を求めてウエットバック量とした。このウエットバック量が少ないものほど不織布表面に液が残りにくく導水性に優れるものとなる。
[Evaluation measurement method of wetback amount]
The measurement environment was 22 ° C. and 65% RH environment. With respect to the disposable diapers of Examples 2 to 7 and Comparative Examples 2 to 4, the diaper was spread in a flat shape, and the top sheet was fixed on a horizontal surface with the top sheet facing upward, on the top sheet at the center of the absorber. 40 g of artificial urine was absorbed and allowed to stand for 10 minutes, and further 40 g of artificial urine was absorbed. This operation was repeated to inject a total of 160 g of artificial urine. Next, 20 sheets of 4A filter paper made by Toyo Roshi Kaisha, Ltd. were overlaid on the artificial urine absorption site, and a load was further applied for 10 minutes to absorb the artificial urine to the filter paper. The load was such that 6 kg was applied to an area of 30 cm × 15 cm. After 10 minutes, the load was removed, and the weight of the filter paper that absorbed artificial urine was measured. The weight of the filter paper before absorption was subtracted from this weight, and the wet back amount of each sample was obtained from the value. The number of samples was 3 points each, and the average value was obtained as the wetback amount. The smaller the amount of wetback, the less liquid remains on the nonwoven fabric surface and the better the water conductivity.
表面シートとしての性能評価
〔導水性の評価〕
上述した液残り量またはウエットバック量の評価を導水性の評価とし、実施例1〜7、比較例1〜3で得られた結果を表1〜表3に示した。
Performance evaluation as a surface sheet [Evaluation of water conductivity]
Table 1 to Table 3 show the results obtained in Examples 1 to 7 and Comparative Examples 1 to 3, with the evaluation of the remaining liquid amount or the wet back amount described above as the evaluation of water conductivity.
表1に示す結果から明らかなように、実施例1の生理用ナプキンの液残り量が比較例1生理用ナプキンよりも減少した。また、表2、表3に示す結果から明らかなように、実施例2〜4の使い捨ておむつのウエットバック量が比較例2の使い捨ておむつに比べて大きく減少した。比較例3に用いた不織布は起毛高さが高いため強度低下が大きく減少し、指先による引っかかりや毛羽抜けもみられた。実施例に用いた不織布を吸収性物品の表面シートに用いれば、導水性が向上し、液の吸収速度も速いことがわかった。また、実施例5に関しては、実施例4に比較して、肌側に当たる面に起毛繊維を配することで、ウエットバック量が減少されることが分かる。また、実施例の表面シートに用いた不織布に関して、起毛した繊維の多くは、ループ状ではなく端部が切れており、指先の引っかかりもなかった。毛羽抜けも問題なく、毛玉になりにくいものであった。また、肌表面の体毛と起毛繊維との絡まりによる引っかかりも見られなかった。さらに、実施例1、実施例2〜4、実施例5〜7に用いた不織布は、比較例1、比較例2、比較例4に用いた不織布に比べて、起毛量が多く、破断強度減少も少ない不織布であった。 As is clear from the results shown in Table 1, the liquid remaining amount of the sanitary napkin of Example 1 was smaller than that of Comparative Example 1 sanitary napkin. Moreover, as is clear from the results shown in Tables 2 and 3, the wetback amount of the disposable diapers of Examples 2 to 4 was greatly reduced as compared with the disposable diaper of Comparative Example 2. Since the nonwoven fabric used in Comparative Example 3 had a high raised height, the decrease in strength was greatly reduced, and fingertips and fluffing were also observed. When the nonwoven fabric used for the Example was used for the surface sheet of an absorbent article, it turned out that water-conductivity improves and the liquid absorption speed is also quick. Moreover, about Example 5, compared with Example 4, it turns out that the amount of wetbacks is reduced by arrange | positioning a raising fiber in the surface which contacts a skin side. Moreover, regarding the nonwoven fabric used for the surface sheet of the example, most of the raised fibers were not looped, but the ends were cut, and the fingertips were not caught. There was no problem with fluff loss and it was difficult to become pills. In addition, there was no catch due to the entanglement between the body hair on the skin surface and the raised fibers. Furthermore, the nonwoven fabrics used in Example 1, Examples 2 to 4, and Examples 5 to 7 have a larger amount of raising and a reduction in breaking strength than the nonwoven fabrics used in Comparative Example 1, Comparative Example 2, and Comparative Example 4. There were also few nonwoven fabrics.
1A,1B 生理用ナプキン 、1C 使い捨ておむつ
1s 側部
10 吸収性本体
2 表面シート
21 繊維シート
21U 上層,21D 下層
21d 肌対向面,21e 非肌対向面(繊維シート22との対向面)
22 繊維シート
22d 肌対向面(繊維シート21との対向面),22e 非肌対向面
23 シート間接合部
24 凹部
25 凸部
25a 第1壁部,25b 第2壁部,25c 天面部,25d 底面部
3 裏面シート
4 吸収体
5 サイドシート
6 ウイング部
7 長繊維
70 起毛繊維
70a 一端部,70b 自由端部
71 自由端部70bが太くなっている繊維
71a 自由端部70bを除く部位での繊維71の径
71b 自由端部70bでの繊維71の径
72 自由端部70bが太くなっていない繊維
73 ループ状の繊維
8 繊維熱融着部
9 セカンドシート
11 ファスニングテープ
12 ランディングテープ
13 弾性部材
14 レッグ弾性部材
104 測定サンプル
105 折り目
106a 2回横切る繊維
107 穴
108 仮想線
200 プレ加工部
210,220 一対のロール
211 凸部
230 スチールマッチングエンボスローラー
250,260 搬送ロール
300 起毛加工部
310 凸ロール
311 凸部
320,330 搬送ロール
220,220' 原料シート
410 第1のロール
411 凸状部
420 第2のロール
421 凸状部
430 平滑ロール
A 中央部、B 前方部、C 後方部
1A, 1B Sanitary napkin, 1C Disposable
22
Claims (8)
前記表面シート、及び/又は該表面シートと前記吸収体との間に配される液透過性のシートには、その構成繊維の一部が自由端部を有する起毛繊維を備えた不織布が用いられており、
前記起毛繊維は、該起毛繊維の本数が8本/cm以上であり且つ起毛高さが0.2mm以上5mm以下であり、
前記起毛繊維は、ウェブを固定した繊維熱融着部から破断されて、一端部のみが該繊維熱融着部により固定され、且つ他端部側の自由端部が太くなっている繊維を備えており、
前記繊維熱融着部の数が、10個/cm 2 以上250個/cm 2 以下である吸収性物品。 An absorbent article comprising a top sheet disposed on the skin facing surface side, a back sheet disposed on the non-skin facing surface side, and an absorbent disposed between these sheets,
For the topsheet and / or the liquid-permeable sheet disposed between the topsheet and the absorber, a non-woven fabric provided with raised fibers in which some of the constituent fibers have free ends is used. And
The raised fibers have a number of the raised fibers of 8 / cm or more and a raised height of 0.2 mm or more and 5 mm or less,
The raised fiber includes a fiber that is broken from a fiber heat-sealed portion that fixes a web, only one end is fixed by the fiber heat-fused portion, and the free end on the other end side is thick. and,
An absorptive article in which the number of fiber heat fusion parts is 10 pieces / cm 2 or more and 250 pieces / cm 2 or less .
2枚の前記繊維シートの少なくとも一方は、互いに対向する対向面に前記起毛繊維が配されており、
2枚の前記繊維シートそれぞれは、単層又は多層で形成されている請求項1又は2に記載の吸収性物品。 The non-woven fabric is composed of two fiber sheets, and the two fiber sheets are formed by joining at a large number of inter-sheet joints,
At least one of the two fiber sheets is provided with the raised fibers on opposing surfaces facing each other,
The absorbent article according to claim 1 or 2, wherein each of the two fiber sheets is formed of a single layer or multiple layers.
前記一端部のみが該繊維熱融着部により固定され且つ他端部側の自由端部が太くなっていない繊維、前記一端部のみが該繊維熱融着部により固定され且つ他端部側の自由端部が太くなっている繊維、及びループ状の繊維の総数における、該ループ状の繊維の割合が、50%より少ない請求項5に記載の吸収性物品。 The raised fiber has a fiber in which only one end is fixed by the fiber heat fusion part and the free end on the other end side is not thick,
Only the one end portion is fixed by the fiber heat fusion portion and the free end portion on the other end side is not thick, only the one end portion is fixed by the fiber heat fusion portion and the other end portion side is not The absorbent article according to claim 5, wherein a ratio of the loop-shaped fibers in the total number of fibers having a thick free end and loop-shaped fibers is less than 50%.
前記表面シートにおける前記起毛繊維を有する面が肌対向面側に配されている請求項1〜6の何れか1項に記載の吸収性物品。 The nonwoven fabric provided with the raised fibers is used for the top sheet,
The absorptive article given in any 1 paragraph of Claims 1-6 by which the field which has said raised fiber in said surface sheet is arranged on the skin opposing surface side.
前記起毛繊維を備えた不織布は、前記表面シートの前記平坦な繊維シートに用いられており、
前記平坦な繊維シートにおける前記起毛繊維を有する面が、前記平坦な繊維シートと前記凹凸賦形された繊維シートとの貼り合せ面の内側に配されている請求項1〜7の何れか1項に記載の吸収性物品。 The surface sheet is formed by joining a flat fiber sheet and a fiber sheet that is regularly unevenly shaped at a joint between sheets,
The nonwoven fabric provided with the raised fibers is used for the flat fiber sheet of the top sheet,
The surface having the raised fibers in the flat fiber sheet is disposed on the inner side of a bonding surface of the flat fiber sheet and the unevenly shaped fiber sheet. Absorbent article as described in 1.
Priority Applications (4)
| Application Number | Priority Date | Filing Date | Title |
|---|---|---|---|
| JP2012112268A JP6099030B2 (en) | 2011-06-23 | 2012-05-16 | Absorbent articles |
| CN201290000585.1U CN203724323U (en) | 2011-06-23 | 2012-06-12 | Absorbent article |
| RU2014101963/12U RU144245U1 (en) | 2011-06-23 | 2012-06-12 | ABSORBENT PRODUCT |
| PCT/JP2012/064994 WO2012176656A1 (en) | 2011-06-23 | 2012-06-12 | Absorbent article |
Applications Claiming Priority (3)
| Application Number | Priority Date | Filing Date | Title |
|---|---|---|---|
| JP2011139728 | 2011-06-23 | ||
| JP2011139728 | 2011-06-23 | ||
| JP2012112268A JP6099030B2 (en) | 2011-06-23 | 2012-05-16 | Absorbent articles |
Publications (2)
| Publication Number | Publication Date |
|---|---|
| JP2013027686A JP2013027686A (en) | 2013-02-07 |
| JP6099030B2 true JP6099030B2 (en) | 2017-03-22 |
Family
ID=47422496
Family Applications (1)
| Application Number | Title | Priority Date | Filing Date |
|---|---|---|---|
| JP2012112268A Active JP6099030B2 (en) | 2011-06-23 | 2012-05-16 | Absorbent articles |
Country Status (4)
| Country | Link |
|---|---|
| JP (1) | JP6099030B2 (en) |
| CN (1) | CN203724323U (en) |
| RU (1) | RU144245U1 (en) |
| WO (1) | WO2012176656A1 (en) |
Families Citing this family (37)
| Publication number | Priority date | Publication date | Assignee | Title |
|---|---|---|---|---|
| JP5779011B2 (en) * | 2011-06-23 | 2015-09-16 | 花王株式会社 | Absorbent articles |
| EP3113742B1 (en) * | 2014-03-06 | 2020-02-19 | The Procter and Gamble Company | Multi-component topsheets |
| US10285874B2 (en) | 2014-03-06 | 2019-05-14 | The Procter & Gamble Company | Multi-component topsheets |
| CN106061454A (en) | 2014-03-06 | 2016-10-26 | 宝洁公司 | 3D base |
| JP5619315B1 (en) * | 2014-05-09 | 2014-11-05 | ユニ・チャーム株式会社 | Absorbent articles |
| US10064766B2 (en) | 2014-09-12 | 2018-09-04 | The Procter & Gamble Company | Nonwoven material having discrete three-dimensional deformations that are configured to collapse in a controlled manner |
| MX2017003322A (en) | 2014-09-12 | 2017-11-22 | Procter & Gamble | Method of making nonwoven material having discrete three-dimensional deformations with wide base openings that are bonded to additional layer. |
| RU2017106639A (en) * | 2014-09-12 | 2018-10-12 | Дзе Проктер Энд Гэмбл Компани | Non-woven material with discrete three-dimensional deforming elements containing areas of varying opacity |
| US20160074250A1 (en) | 2014-09-12 | 2016-03-17 | The Procter & Gamble Company | Absorbent Articles |
| MY177779A (en) * | 2014-10-17 | 2020-09-23 | Kao Corp | Nonwoven fabric |
| JP6517007B2 (en) | 2014-11-27 | 2019-05-22 | 株式会社日立製作所 | Method of manufacturing lithium ion secondary battery |
| JP6538410B2 (en) * | 2015-04-14 | 2019-07-03 | 花王株式会社 | Nonwoven fabric and method of manufacturing the same |
| RU2690149C1 (en) * | 2015-07-21 | 2019-05-30 | Као Корпорейшн | Three-dimensional sheet and absorbing product using it |
| WO2017034796A1 (en) | 2015-08-26 | 2017-03-02 | The Procter & Gamble Company | Absorbent articles having three-dimensional substrates and indicia |
| JP6704236B2 (en) * | 2015-10-16 | 2020-06-03 | 花王株式会社 | Absorbent article |
| EP3364918A4 (en) | 2015-10-20 | 2019-06-05 | Tredegar Film Products Corporation | FILM ACQUISITION AND DISPENSING LAYER FORMED AND ABSORBENT DEVICE THEREOF |
| JP6654650B2 (en) * | 2016-01-27 | 2020-02-26 | 株式会社瑞光 | Apparatus for manufacturing powder-containing article and method for manufacturing powder-containing article |
| EP3216434A1 (en) | 2016-03-08 | 2017-09-13 | The Procter and Gamble Company | Absorbent article comprising a topsheet/acquisition web laminate |
| WO2017156209A1 (en) | 2016-03-11 | 2017-09-14 | The Procter & Gamble Company | Compositioned, textured nonwoven webs |
| JP6087462B1 (en) * | 2016-05-13 | 2017-03-01 | ユニ・チャーム株式会社 | Absorbent articles |
| EP3478235B1 (en) | 2016-07-01 | 2020-10-14 | The Procter and Gamble Company | Absorbent articles with improved topsheet dryness |
| JP6946023B2 (en) * | 2017-03-03 | 2021-10-06 | 花王株式会社 | Manufacturing method of stretchable non-woven fabric sheet and stretchable non-woven fabric sheet |
| EP3592548B1 (en) | 2017-03-09 | 2024-04-03 | The Procter & Gamble Company | Three-dimensional materials having apertures and voids |
| WO2019069881A1 (en) * | 2017-10-03 | 2019-04-11 | 花王株式会社 | Absorbent and absorbent article |
| JP7057108B2 (en) * | 2017-11-28 | 2022-04-19 | 花王株式会社 | Absorbent article |
| JP6523412B1 (en) * | 2017-11-28 | 2019-05-29 | 花王株式会社 | Absorbent body and absorbent article |
| US10792199B2 (en) | 2018-02-23 | 2020-10-06 | The Procter & Gamble Company | Substrates and laminates for absorbent articles |
| EP3829509B1 (en) | 2018-08-03 | 2023-12-13 | The Procter & Gamble Company | Webs with compositions applied thereto |
| WO2020028735A1 (en) | 2018-08-03 | 2020-02-06 | The Procter & Gamble Company | Webs with compositions thereon |
| JP7282601B2 (en) | 2018-09-19 | 2023-05-29 | 花王株式会社 | absorbent article |
| GB2593298B (en) * | 2018-09-19 | 2022-06-08 | Kao Corp | Absorbent article |
| WO2020131291A1 (en) | 2018-12-20 | 2020-06-25 | The Procter & Gamble Company | Bonded laminate including a formed nonwoven substrate |
| MY208644A (en) | 2019-02-15 | 2025-05-21 | Essity Hygiene & Health Ab | Absorbent article |
| CN113905702B (en) * | 2019-06-04 | 2022-09-09 | 花王株式会社 | Stretch sheet and absorbent article having the same |
| JP7282614B2 (en) * | 2019-06-27 | 2023-05-29 | 日本製紙クレシア株式会社 | absorbent article |
| JP7411950B2 (en) * | 2019-09-06 | 2024-01-12 | ユニチカ株式会社 | Surface material for sanitary materials and its manufacturing method |
| JP7612524B2 (en) * | 2021-06-07 | 2025-01-14 | 花王株式会社 | Nonwoven |
Family Cites Families (7)
| Publication number | Priority date | Publication date | Assignee | Title |
|---|---|---|---|---|
| JP4224890B2 (en) * | 1999-05-07 | 2009-02-18 | 株式会社日本吸収体技術研究所 | Bulky processing method for nonwoven web and bulky nonwoven fabric obtained thereby |
| JP2002065713A (en) * | 2000-08-29 | 2002-03-05 | San Road:Kk | Diaper pad |
| JP3877953B2 (en) * | 2000-10-31 | 2007-02-07 | ユニ・チャーム株式会社 | Non-woven surface sheet for disposable wearing articles |
| JP2003136621A (en) * | 2001-11-01 | 2003-05-14 | Kurabo Ind Ltd | Highly absorbent composites and diapers |
| JP4035070B2 (en) * | 2003-02-28 | 2008-01-16 | ユニ・チャーム株式会社 | Liquid-permeable surface sheet |
| JP5127222B2 (en) * | 2006-12-26 | 2013-01-23 | 花王株式会社 | Manufacturing method of composite sheet |
| JP4972478B2 (en) * | 2007-06-27 | 2012-07-11 | 大王製紙株式会社 | Absorbent articles |
-
2012
- 2012-05-16 JP JP2012112268A patent/JP6099030B2/en active Active
- 2012-06-12 CN CN201290000585.1U patent/CN203724323U/en not_active Expired - Fee Related
- 2012-06-12 RU RU2014101963/12U patent/RU144245U1/en not_active IP Right Cessation
- 2012-06-12 WO PCT/JP2012/064994 patent/WO2012176656A1/en not_active Ceased
Also Published As
| Publication number | Publication date |
|---|---|
| CN203724323U (en) | 2014-07-23 |
| RU144245U1 (en) | 2014-08-20 |
| WO2012176656A1 (en) | 2012-12-27 |
| JP2013027686A (en) | 2013-02-07 |
Similar Documents
| Publication | Publication Date | Title |
|---|---|---|
| JP6099030B2 (en) | Absorbent articles | |
| JP5898421B2 (en) | Absorber and absorbent article using the same | |
| JP4982615B2 (en) | Non-woven | |
| KR101798140B1 (en) | Non-woven fabric and method for producing non-woven fabric | |
| JP5622921B2 (en) | Non-woven | |
| CN108348374B (en) | Absorbent article | |
| JP5989988B2 (en) | Absorbent articles | |
| JP2004000465A (en) | Absorbent articles | |
| JP5843396B2 (en) | Nonwoven manufacturing method | |
| JP5530023B1 (en) | Non-woven | |
| JP5514948B1 (en) | Nonwoven fabric and method for producing the same | |
| JP5779011B2 (en) | Absorbent articles | |
| JP6170822B2 (en) | Nonwoven fabric and method for producing the same | |
| JP7188959B2 (en) | absorbent article | |
| JP6538410B2 (en) | Nonwoven fabric and method of manufacturing the same | |
| JP6546435B2 (en) | Method of manufacturing non-woven fabric | |
| JP6317143B2 (en) | Absorbent articles |
Legal Events
| Date | Code | Title | Description |
|---|---|---|---|
| A621 | Written request for application examination |
Free format text: JAPANESE INTERMEDIATE CODE: A621 Effective date: 20150306 |
|
| RD03 | Notification of appointment of power of attorney |
Free format text: JAPANESE INTERMEDIATE CODE: A7423 Effective date: 20151218 |
|
| A131 | Notification of reasons for refusal |
Free format text: JAPANESE INTERMEDIATE CODE: A131 Effective date: 20160209 |
|
| A521 | Request for written amendment filed |
Free format text: JAPANESE INTERMEDIATE CODE: A523 Effective date: 20160307 |
|
| A131 | Notification of reasons for refusal |
Free format text: JAPANESE INTERMEDIATE CODE: A131 Effective date: 20160802 |
|
| A521 | Request for written amendment filed |
Free format text: JAPANESE INTERMEDIATE CODE: A523 Effective date: 20160902 |
|
| TRDD | Decision of grant or rejection written | ||
| A01 | Written decision to grant a patent or to grant a registration (utility model) |
Free format text: JAPANESE INTERMEDIATE CODE: A01 Effective date: 20170207 |
|
| RD04 | Notification of resignation of power of attorney |
Free format text: JAPANESE INTERMEDIATE CODE: A7424 Effective date: 20170214 |
|
| A61 | First payment of annual fees (during grant procedure) |
Free format text: JAPANESE INTERMEDIATE CODE: A61 Effective date: 20170214 |
|
| R151 | Written notification of patent or utility model registration |
Ref document number: 6099030 Country of ref document: JP Free format text: JAPANESE INTERMEDIATE CODE: R151 |
|
| R250 | Receipt of annual fees |
Free format text: JAPANESE INTERMEDIATE CODE: R250 |
|
| R250 | Receipt of annual fees |
Free format text: JAPANESE INTERMEDIATE CODE: R250 |
|
| R250 | Receipt of annual fees |
Free format text: JAPANESE INTERMEDIATE CODE: R250 |
|
| R250 | Receipt of annual fees |
Free format text: JAPANESE INTERMEDIATE CODE: R250 |
|
| R250 | Receipt of annual fees |
Free format text: JAPANESE INTERMEDIATE CODE: R250 |
|
| R250 | Receipt of annual fees |
Free format text: JAPANESE INTERMEDIATE CODE: R250 |
