JP6050659B2 - 吸収性物品 - Google Patents
吸収性物品 Download PDFInfo
- Publication number
- JP6050659B2 JP6050659B2 JP2012251733A JP2012251733A JP6050659B2 JP 6050659 B2 JP6050659 B2 JP 6050659B2 JP 2012251733 A JP2012251733 A JP 2012251733A JP 2012251733 A JP2012251733 A JP 2012251733A JP 6050659 B2 JP6050659 B2 JP 6050659B2
- Authority
- JP
- Japan
- Prior art keywords
- basis weight
- temporary stock
- stock layer
- layer
- liquid
- Prior art date
- Legal status (The legal status is an assumption and is not a legal conclusion. Google has not performed a legal analysis and makes no representation as to the accuracy of the status listed.)
- Active
Links
Images
Landscapes
- Absorbent Articles And Supports Therefor (AREA)
Description
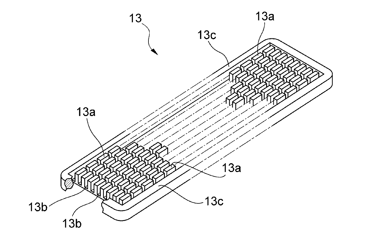
前記一時ストック層は、架橋セルロース繊維を含んで構成された積繊体であり、かつ
前記一時ストック層は、坪量が相対的に高い複数の高坪量部と、坪量が相対的に低い低坪量部とからなり、各高坪量部の周囲がその全域にわたって該低坪量部からなる溝部によって囲まれているブロック構造を複数有し、
前記吸収層は、高吸収性ポリマーを含んで構成されている、吸収性物品を提供するものである。
次いで、高坪量部13aと低坪量部13bの長手方向(Y方向)に延びた境界線に沿って、長さ50mm、幅は低坪量部13bの幅に合わせて、フェザー社製の片刃剃刀を用いて、細いストライプ状の低坪量部13bの小片を切り出す。得られた小片の質量を電子天秤(A&D社製電子天秤GR−300、精度:小数点以下4桁)を用いて測定する。求めた質量を低坪量部13bの小片の面積で除して小片の坪量を算出する。小片5個の坪量の平均を低坪量13bの坪量とする。非ブロック領域13cの坪量も、これらに準じて測定する。
<1> 着用者の肌当接面側に表面シート、着用者の非肌当接面側に裏面シート、該表面シートと該裏面シートとの間に位置する液の一時ストック層、及び該一時ストック層と該裏面シートとの間に位置する液の吸収層を備えた吸収性物品であって、
前記一時ストック層は、架橋セルロース繊維を含んで構成された積繊体であり、かつ
前記一時ストック層は、坪量が相対的に高い複数の高坪量部と、坪量が相対的に低い低坪量部とからなり、各高坪量部の周囲がその全域にわたって該低坪量部からなる溝部によって囲まれているブロック構造を複数有し、
前記吸収層は、高吸収性ポリマーを含んで構成されている、吸収性物品。
<3> 前記吸収層は、吸収コアと該吸収コアを覆う被覆シートからなり、少なくとも前記一時ストック層との対向面は、液拡散性の前記被覆シートが配置されている前記<1>又は<2>に記載の吸収性物品。
<4> 前記被覆シートは、その面方向にわたり疎密構造を有している前記<3>に記載の収性物品。
<5> 前記一時ストック層は、前記複数のブロック構造が規則的に配置されたブロック領域と、厚み及び坪量が一定になっている非ブロック領域を有し、
前記非ブロック領域は、前記ブロック領域を取り囲むように前記一時ストック層の最外周に位置している前記<1>ないし<4>のいずれか1に記載の吸収性物品。
<7> 前記一時ストック層は、架橋セルロース繊維に加えて他の材料を含む積繊体である前記<6>に記載の吸収性物品。
<8> 前記他の材料が、ナイロン、アクリル、アセテートのいずれかである前記<7>に記載の吸収性物品。
<9> 一時ストック層は、前記積繊体が液透過性シートで被覆されて構成されている前記<1>ないし<8>のいずれか1に記載の吸収性物品。
<10> 前記架橋セルロース繊維が、繊維を構成するセルロースを架橋剤によって架橋したものである前記<1>ないし<9>のいずれか1に記載の吸収性物品。
<12> 前記架橋セルロース繊維は、捲縮を有するか、撚り合わされているか、又はカールされている前記<1>ないし<11>のいずれか1に記載の吸収性物品。
<13> 前記一時ストック層は、その坪量が50g/m2以上、好ましくは100g/m2以上、300g/m2以下、好ましくは250g/m2以下である前記<1>ないし<12>のいずれか1に記載の吸収性物品。
<14> 前記一時ストック層は、その厚みが0.5mm以上、好ましくは1.0mm以上、6.0mm以下、好ましくは、5.0mm以下である前記<1>ないし<13>のいずれか1に記載の吸収性物品。
<15> 前記一時ストック層は、相対的に坪量が高く非肌当接面側に向けて突出した凸の形状を有する高坪量部と、高坪量部に隣接し、かつ相対的に坪量が低く肌当接面側に向けて凹んだ低坪量部とを有している<1>ないし<14>のいずれか1に記載の吸収性物品。
<17> 前記一時ストック層は、その非肌当接面側が凹凸構造となっており、かつ肌当接面側である表面シートと対向する面側が平坦となっている前記<1>ないし<16>のいずれか1に記載の吸収性物品。
<18> 前記一時ストック層において、低坪量部は、その複数本が一時ストック層の長手方向と平行に延びており、かつ、その複数本が一時ストック層の幅方向にも延びて、低坪量部は、一時ストック層の長手方向及び幅方向に延びる直交した格子状の形状をしている前記<1>ないし<17>のいずれか1に記載の吸収性物品。
<19> 前記一時ストック層において、各高坪量部の形状はほぼ同じであり、平面視して矩形をしており、長手方向の長さが、幅方向の長さよりも大きくなっている前記<1>ないし<18>のいずれか1に記載の吸収性物品。
<20> 前記一時ストック層における低坪量部の坪量は、高坪量部の坪量に対しての割合が、その下限値が1%以上であり、好ましくは3%以上であり、上限値は80%以下であり、好ましくは70%以下である前記<1>ないし<19>のいずれか1に記載の吸収性物品。
<22> 前記一時ストック層における非ブロック領域の厚みは、ブロック構造の高坪量部の厚みと同じになっている前記<5>に記載の吸収性物品。
<23> 前記吸収層は、吸収コアとこれを被覆する被覆シートから構成され、該被覆シートは、吸収コアの上面、すなわち一時ストック層との対向面の全域を被覆し、かつ、吸収コアの下面では裏面シートとの対向面の全域を被覆している前記<1>ないし<22>のいずれか1に記載の吸収性物品。
<24> 前記吸収コアは、親水性の繊維材料を含んで、そのような繊維材料としては、セルロース繊維を用い、このセルロース繊維は、架橋されていない前記<1>ないし<23>のいずれか1に記載の吸収性物品。
<25> 前記吸収コアにおける親水性の繊維材料と高吸収性ポリマーとの比率は、〔親水性の繊維材料/高吸収性ポリマー〕の割合で表して0.2以上、1.2以下である前記<1>ないし<24>のいずれか1に記載の吸収性物品。
<27> 前記吸収コアの上面に配置されている被覆シートとして、面方向への拡散性の高いシート材である、スパンボンド−メルトブローン−スパンボンド不織布を用いる前記<26>に記載の吸収性物品。
<28> 前記吸収性コアの用いる被覆シートは、単層の一枚の前記不織布にエンボス加工を施して、密度が相対的に高い部分と、密度が相対的に低い部分とを、該不織布の面方向にわたって形成した被覆シートである前記<23>ないし<27>のいずれか1に記載の吸収性物品。
<29> 前記吸収性コアに用いる被覆シートは、前記エンボスパターンが、個々に独立した散点状のパターンである前記<28>に記載の吸収性物品。
<30> 前記表面シートと前記一時ストック層との間に、サブレイヤーシートが位置している前記<1>ないし<29>のいずれか1に記載の吸収性物品。
<32> 前記吸収性物品は腹側部、背側部及び股下部を有する展開型の使い捨ておむつである前記<1>ないし<31>のいずれか1に記載の吸収性物品。
<33> 前記一時ストック層の下側に配置される吸収層は、前記吸収性物品の腹側部から背側部までの領域にわたって存在し、
前記吸収層は、一時ストック層の下面の全域を被覆するように配置されている前記<32>に記載の吸収性物品。
<34> 幅方向における左右両側部に、長手方向に延びる一対の防漏カフを有し、該防漏カフは、使い捨ておむつの全長にわたって延びている前記<32>又は<33>のいずれか1に記載の吸収性物品。
<35> 前記防漏カフは、長手方向に長い一枚のシートを、該長手方向に沿って二つ折りしたものから構成されている前記<34>に記載の吸収性物品。
<37> 前記使い捨ておむつの長手方向に沿う両側部には、レッグカフが形成され、該レッグカフにおいては、前記防漏カフの固定端と裏面シートとが接合している部位に、両者間に糸ゴム等の弾性部材が伸長状態で配置固定されている前記<32>ないし<36>のいずれか1に記載の吸収性物品。
モデル吸収性物品として、図1及び図2に示す構造の使い捨ておむつにおける吸収層14、一時ストック層13及びサブレイヤーシート15のみを用い、これらを図2に示す構造に積層した。この積層体を2kPaの圧力で5分間加圧して馴染ませ、次いで定量ポンプを用いてサブレイヤーシート15側から赤色に着色した人工尿を注入した。注入量は40g及び80gとした。80gの注入量の場合は、初めに40gの人工尿を注入し、注入完了後10分間放置し、次いで残りの40gを注入した。注入量が40gの場合及び80gの場合のいずれも、注入完了1分後に積層体から一時ストック層13を回収し、その質量を測定した。測定された質量を、人工尿の注入前の質量から差し引くことで、一時ストック層13の液残り量を算出した。人工尿は特開2008−149017号公報に記載のものを使用した。また、一時ストック層13におけるサブレイヤーシート15との対向面での液の拡散面積を、着色領域の面積を測定することで求めた。液注入後10分間静置した後、一時ストック層13におけるサブレイヤーシート15との対向面の拡散面積を測定し、この面積を一時ストック層の拡散面積とした。以上の結果を以下の表1に示す。
本比較例は、一時ストック層の構造が実施例1と異なる例である。本比較例では、一時ストック層として、実施例1と同様の架橋セルロース繊維の積繊体からなり、同実施例と同坪量及び同寸法のフラットな積繊体を用いた。これ以外は実施例1と同様にしてモデル吸収性物品を組み立て、同実施例と同様の評価を行った。その結果を表1に示す。
本比較例は、一時ストック層を構成する繊維の種類が実施例1と異なる例である。本比較例では、一時ストック層を構成する繊維として、架橋セルロース繊維ではなくフラッフパルプ(未架橋セルロース繊維)を用い、実施例1と同坪量及び同寸法を有し、かつ同実施例と同様のブロック構造を有する一時ストック層を用いた。これ以外は実施例1と同様にしてモデル吸収性物品を組み立て、同実施例と同様の評価を行った。その結果を表1に示す。
11 表面シート
12 裏面シート
13 一時ストック層
13a 高坪量部
13b 低坪量部
14 吸収層
14a 吸収コア
14b,14c 被覆シート
15 サブレイヤーシート
16 外層シート
17 防漏カフ
17a 防漏カフシート
17b 防漏カフの弾性部材
18 レッグカフ
18a レッグカフの弾性部材
Claims (5)
- 着用者の肌当接面側に位置する表面シート、着用者の非肌当接面側に位置する裏面シート、該表面シートと該裏面シートとの間に位置する液の一時ストック層、及び該一時ストック層と該裏面シートとの間に位置する液の吸収層を備えた吸収性物品であって、
前記一時ストック層は、架橋セルロース繊維を含んで構成された積繊体であり、かつ前記一時ストック層は、坪量が相対的に高い複数の高坪量部と、坪量が相対的に低い低坪量部とからなり、各高坪量部の周囲がその全域にわたって該低坪量部からなる溝部によって囲まれているブロック構造を複数有し、
前記低坪量部が肌側当接面側に偏在しており、
前記吸収層は、高吸収性ポリマーを含んで構成されている、吸収性物品。 - 前記吸収層は、吸収コアと該吸収コアを覆う被覆シートからなり、少なくとも前記一時ストック層との対向面に、液拡散性の前記被覆シートが配置されている請求項1に記載の吸収性物品。
- 前記被覆シートは、その面方向にわたり疎密構造を有している請求項2に記載の吸収性物品
- 前記一時ストック層は、前記複数のブロック構造が規則的に配置されたブロック領域と、厚み及び坪量が一定になっている非ブロック領域を有し、
前記非ブロック領域は、前記ブロック領域を取り囲むように前記一時ストック層の最外周に位置している請求項1ないし3のいずれか一項に記載の吸収性物品。 - 前記一時ストック層は、高吸収性ポリマーを非含有である請求項1ないし4のいずれか一項に記載の吸収性物品。
Priority Applications (1)
| Application Number | Priority Date | Filing Date | Title |
|---|---|---|---|
| JP2012251733A JP6050659B2 (ja) | 2012-11-16 | 2012-11-16 | 吸収性物品 |
Applications Claiming Priority (1)
| Application Number | Priority Date | Filing Date | Title |
|---|---|---|---|
| JP2012251733A JP6050659B2 (ja) | 2012-11-16 | 2012-11-16 | 吸収性物品 |
Publications (2)
| Publication Number | Publication Date |
|---|---|
| JP2014097257A JP2014097257A (ja) | 2014-05-29 |
| JP6050659B2 true JP6050659B2 (ja) | 2016-12-21 |
Family
ID=50939828
Family Applications (1)
| Application Number | Title | Priority Date | Filing Date |
|---|---|---|---|
| JP2012251733A Active JP6050659B2 (ja) | 2012-11-16 | 2012-11-16 | 吸収性物品 |
Country Status (1)
| Country | Link |
|---|---|
| JP (1) | JP6050659B2 (ja) |
Families Citing this family (30)
| Publication number | Priority date | Publication date | Assignee | Title |
|---|---|---|---|---|
| DE102014011372A1 (de) * | 2014-08-05 | 2016-02-11 | Fitesa Germany Gmbh | Aufnahme- und Verteilungsschicht für eine aufzunehmende Flüssigkeit und daraus hergestellte Produkte |
| JP6342765B2 (ja) * | 2014-09-25 | 2018-06-13 | 大王製紙株式会社 | 使い捨て紙おむつ |
| US10858768B2 (en) | 2015-07-31 | 2020-12-08 | The Procter & Gamble Company | Shaped nonwoven |
| EP3328337B1 (en) | 2015-07-31 | 2022-08-17 | The Procter & Gamble Company | Package of absorbent articles utilizing a shaped nonwoven |
| EP3329044B1 (en) | 2015-07-31 | 2020-09-09 | The Procter and Gamble Company | Forming belt for shaped nonwoven |
| ES2720805T3 (es) | 2016-04-29 | 2019-07-24 | Reifenhaeuser Masch | Dispositivo y procedimiento para fabricar no tejidos a base de filamentos continuos |
| US10888471B2 (en) | 2016-12-15 | 2021-01-12 | The Procter & Gamble Company | Shaped nonwoven |
| EP3558189B1 (en) | 2016-12-20 | 2021-06-23 | The Procter & Gamble Company | Methods and apparatuses for making elastomeric laminates with elastic strands provided with a spin finish |
| CN114134647B (zh) | 2017-01-31 | 2022-11-25 | 宝洁公司 | 成型非织造布 |
| DE112018000617T5 (de) | 2017-01-31 | 2019-11-07 | The Procter & Gamble Company | Geformte Vliesstoffe und diese enthaltende Artikel |
| GB2571897B (en) | 2017-01-31 | 2022-09-14 | Procter & Gamble | Shaped nonwoven |
| WO2018183627A1 (en) | 2017-03-31 | 2018-10-04 | Kimberly-Clark Worldwide, Inc. | Absorbent article with an exudate management layer |
| KR102164776B1 (ko) * | 2017-03-31 | 2020-10-13 | 킴벌리-클라크 월드와이드, 인크. | 삼출물 관리층을 구비한 흡수 용품 |
| KR102164191B1 (ko) | 2017-03-31 | 2020-10-12 | 킴벌리-클라크 월드와이드, 인크. | 삼출물 관리층을 구비한 흡수 용품 |
| US10577722B2 (en) | 2017-06-30 | 2020-03-03 | The Procter & Gamble Company | Method for making a shaped nonwoven |
| EP3644930A1 (en) | 2017-06-30 | 2020-05-06 | The Procter and Gamble Company | Shaped nonwoven |
| US11129753B2 (en) | 2017-09-01 | 2021-09-28 | The Procter & Gamble Company | Methods and apparatuses for making elastomeric laminates |
| US11925537B2 (en) | 2017-09-01 | 2024-03-12 | The Procter & Gamble Company | Beamed elastomeric laminate structure, fit, and texture |
| US11147718B2 (en) | 2017-09-01 | 2021-10-19 | The Procter & Gamble Company | Beamed elastomeric laminate structure, fit, and texture |
| US11547613B2 (en) | 2017-12-05 | 2023-01-10 | The Procter & Gamble Company | Stretch laminate with beamed elastics and formed nonwoven layer |
| US10765565B2 (en) | 2018-01-25 | 2020-09-08 | The Procter & Gamble Company | Method for manufacturing topsheets for absorbent articles |
| GB2589493B (en) | 2018-06-12 | 2022-11-09 | Procter & Gamble | Absorbent articles having shaped, soft and textured nonwoven fabrics |
| CN115737288A (zh) | 2018-06-19 | 2023-03-07 | 宝洁公司 | 具有功能成形的顶片的吸收制品及制造方法 |
| CN112638342B (zh) | 2018-09-27 | 2022-08-26 | 宝洁公司 | 衣服样的吸收制品 |
| US11505884B2 (en) | 2019-03-18 | 2022-11-22 | The Procter & Gamble Company | Shaped nonwovens that exhibit high visual resolution |
| US11999150B2 (en) | 2019-05-03 | 2024-06-04 | The Procter & Gamble Company | Nonwoven webs with one or more repeat units |
| US11819393B2 (en) | 2019-06-19 | 2023-11-21 | The Procter & Gamble Company | Absorbent article with function-formed topsheet, and method for manufacturing |
| US12053357B2 (en) | 2019-06-19 | 2024-08-06 | The Procter & Gamble Company | Absorbent article with function-formed topsheet, and method for manufacturing |
| DE102020132437A1 (de) | 2019-12-10 | 2021-06-10 | The Procter & Gamble Company | Vliesbahnen mit optisch wahrnehmbaren Mustern und verbesserter Texturwahrnehmung |
| JP2023516476A (ja) | 2020-03-13 | 2023-04-19 | ザ プロクター アンド ギャンブル カンパニー | ビーム式エラストマー積層体の性能及びゾーン |
Family Cites Families (3)
| Publication number | Priority date | Publication date | Assignee | Title |
|---|---|---|---|---|
| JP3055648B2 (ja) * | 1994-10-24 | 2000-06-26 | 花王株式会社 | 嵩高架橋セルロース繊維 |
| DE19732550C1 (de) * | 1997-07-29 | 1999-03-04 | Hartmann Paul Ag | Absorbierender Hygieneartikel zum einmaligen Gebrauch |
| JP2010011911A (ja) * | 2008-07-01 | 2010-01-21 | Oji Nepia Co Ltd | 吸収性物品 |
-
2012
- 2012-11-16 JP JP2012251733A patent/JP6050659B2/ja active Active
Also Published As
| Publication number | Publication date |
|---|---|
| JP2014097257A (ja) | 2014-05-29 |
Similar Documents
| Publication | Publication Date | Title |
|---|---|---|
| JP6050659B2 (ja) | 吸収性物品 | |
| CA2702001C (en) | Absorbent article including a plurality of longitudinally extending channels | |
| AU2015224442B2 (en) | Absorbent article demonstrating controlled deformation and longitudinal fluid distribution | |
| JP7149771B2 (ja) | 吸収体 | |
| AU2015224433B2 (en) | Absorbent article demonstrating controlled deformation and longitudinal fluid distribution | |
| AU2015224438B2 (en) | Absorbent article demonstrating controlled deformation and longitudinal fluid distribution | |
| AU2015224446B2 (en) | Absorbent article demonstrating controlled deformation and longitudinal fluid distribution | |
| EP3711728B1 (en) | Absorbent article demonstrating controlled deformation and longitudinal fluid distribution | |
| CN112533570A (zh) | 吸收性物品 | |
| AU2020204239A1 (en) | Absorbent article demonstrating controlled deformation and longitudinal fluid distribution | |
| CN210962666U (zh) | 吸收性物品的吸收体 | |
| JP6851349B2 (ja) | 吸収体 | |
| HK40008410A (en) | Absorbent article demonstrating controlled deformation and longitudinal fluid distribution | |
| HK40010163A (en) | Absorbent article demonstrating controlled deformation and longitudinal fluid distribution | |
| HK40010163B (en) | Absorbent article demonstrating controlled deformation and longitudinal fluid distribution | |
| HK40008410B (en) | Absorbent article demonstrating controlled deformation and longitudinal fluid distribution | |
| CA2906216A1 (en) | Absorbent article demonstrating controlled deformation and longitudinal fluid distribution |
Legal Events
| Date | Code | Title | Description |
|---|---|---|---|
| A621 | Written request for application examination |
Free format text: JAPANESE INTERMEDIATE CODE: A621 Effective date: 20150914 |
|
| RD03 | Notification of appointment of power of attorney |
Free format text: JAPANESE INTERMEDIATE CODE: A7423 Effective date: 20160107 |
|
| A977 | Report on retrieval |
Free format text: JAPANESE INTERMEDIATE CODE: A971007 Effective date: 20160415 |
|
| A131 | Notification of reasons for refusal |
Free format text: JAPANESE INTERMEDIATE CODE: A131 Effective date: 20160426 |
|
| A521 | Request for written amendment filed |
Free format text: JAPANESE INTERMEDIATE CODE: A523 Effective date: 20160608 |
|
| TRDD | Decision of grant or rejection written | ||
| A01 | Written decision to grant a patent or to grant a registration (utility model) |
Free format text: JAPANESE INTERMEDIATE CODE: A01 Effective date: 20161108 |
|
| A61 | First payment of annual fees (during grant procedure) |
Free format text: JAPANESE INTERMEDIATE CODE: A61 Effective date: 20161125 |
|
| R151 | Written notification of patent or utility model registration |
Ref document number: 6050659 Country of ref document: JP Free format text: JAPANESE INTERMEDIATE CODE: R151 |
|
| R250 | Receipt of annual fees |
Free format text: JAPANESE INTERMEDIATE CODE: R250 |
|
| R250 | Receipt of annual fees |
Free format text: JAPANESE INTERMEDIATE CODE: R250 |
|
| R250 | Receipt of annual fees |
Free format text: JAPANESE INTERMEDIATE CODE: R250 |
|
| R250 | Receipt of annual fees |
Free format text: JAPANESE INTERMEDIATE CODE: R250 |
|
| R250 | Receipt of annual fees |
Free format text: JAPANESE INTERMEDIATE CODE: R250 |
|
| R250 | Receipt of annual fees |
Free format text: JAPANESE INTERMEDIATE CODE: R250 |
|
| R250 | Receipt of annual fees |
Free format text: JAPANESE INTERMEDIATE CODE: R250 |
