JP5833415B2 - Absorbent articles - Google Patents
Absorbent articles Download PDFInfo
- Publication number
- JP5833415B2 JP5833415B2 JP2011258846A JP2011258846A JP5833415B2 JP 5833415 B2 JP5833415 B2 JP 5833415B2 JP 2011258846 A JP2011258846 A JP 2011258846A JP 2011258846 A JP2011258846 A JP 2011258846A JP 5833415 B2 JP5833415 B2 JP 5833415B2
- Authority
- JP
- Japan
- Prior art keywords
- paper
- liquid
- sheet
- pulp
- absorbent
- Prior art date
- Legal status (The legal status is an assumption and is not a legal conclusion. Google has not performed a legal analysis and makes no representation as to the accuracy of the status listed.)
- Active
Links
Images
Landscapes
- Absorbent Articles And Supports Therefor (AREA)
Description
本発明は、使い捨ておむつや吸収パッド、生理用ナプキン等の吸収性物品に関する。 The present invention relates to absorbent articles such as disposable diapers, absorbent pads, and sanitary napkins.
この種の吸収性物品として、液透過性の表面シート、液不透過性の裏面シート及びこれら両シート間に配置された縦長の吸収体を具備し、該吸収体が、木材パルプ等の親水性繊維及び吸水性ポリマーを含む吸収性コアと、該吸収性コアを被覆するコアラップシートとを含んで構成されているものが知られている。コアラップシートは、吸収体の製造時には吸水性ポリマー等の吸収性コア形成材料を受けるためのシートとして働き、製造後には吸収性コアを包んで形状化する役割などを果たす。コアラップシートとしては、従来、薄葉紙、不織布等の透水性シートが用いられている。 This type of absorbent article includes a liquid-permeable top sheet, a liquid-impermeable back sheet, and a vertically long absorbent body disposed between the two sheets, and the absorbent body is hydrophilic such as wood pulp. 2. Description of the Related Art There are known ones that include an absorbent core containing fibers and a water-absorbing polymer, and a core wrap sheet that covers the absorbent core. The core wrap sheet serves as a sheet for receiving an absorbent core-forming material such as a water-absorbing polymer at the time of manufacturing the absorbent body, and plays a role of wrapping and shaping the absorbent core after the manufacture. Conventionally, water-permeable sheets such as thin paper and nonwoven fabric are used as the core wrap sheet.
また従来、吸収性物品においては、軟便の吸収保持性能が問題となっている。具体的には、軟便が表面シートを通過せずに表面シート上に残る、あるいは表面シートを透過した軟便が吸収体により保持されずに表面シート上に逆戻りするといった事態が発生し、肌のかぶれや、煩雑な肌の拭き取り作業をもたらしている。そこで、軟便を速やかに肌から遠ざけると共に、肌から遠い位置に収容保持する性能(軟便等の吸収性)を向上させることを目的として、種々の技術が提案されている。 Conventionally, in absorbent articles, the ability to absorb and retain soft stool has been a problem. Specifically, a situation occurs in which soft stool remains on the surface sheet without passing through the surface sheet, or soft stool that has permeated through the surface sheet returns to the surface sheet without being held by the absorber. And it brings about complicated skin wiping work. Therefore, various techniques have been proposed for the purpose of promptly moving the soft stool away from the skin and improving the performance of accommodating and holding the soft stool at a position far from the skin (absorbability such as soft stool).
例えば特許文献1には、軟便の吸収性に優れる吸収性物品として、表面シートと吸収体との間に液透過性のセカンドシートを具備し、該吸収体を構成するコアラップシートが、該セカンドシートと該吸収体を構成する吸収性コアとの間に位置し密度が0.01〜0.2g/cm3の範囲にある不織布と、該吸収性コアの非肌対向面側を覆うクレープ紙とで構成されているものが記載されている。
For example,
また特許文献2には、湿式抄紙法によって得られる吸収性物品用の低拡散性透過紙として、構成繊維どうしが絡み合うことによって作られる細孔の大きさ(細孔直径)やその分布を所定範囲に制御したものが記載されている。特許文献2に記載の低拡散性透過紙は、構成繊維として親水性繊維を含み且つサイズ剤で処理されることで、特定の細孔直径分布を有するようになされており、液体に対して低拡散性及び高透過性を示し、表面シートと吸収体(コアラップシート)との間に配されるサブレイヤーシート(セカンドシート)として有用であるとされている。
また、コアラップシートのような比較的低坪量のシートには、高い液透過性を有することに加えて、製造時に破れが生じない程度のシート強度が要求される。シート強度を向上させる方法として、従来、紙力増強剤を添加する方法が採用されており、例えば特許文献3には、乾燥紙力増強剤及び湿潤紙力増強剤が添加され、引張強度が特定範囲にある家庭用衛生薄葉紙が記載されている。尚、特許文献3に記載の家庭用衛生薄葉紙は、ロールペーパー、ティッシュペーパー、ちり紙等、柔軟性や手触り感等の官能特性が重視される用途に適用されるものであり、特許文献3に開示されている主たる技術は、これらの官能特性とシート強度との両立を図ることを目的としている。 In addition, a sheet having a relatively low basis weight such as a core wrap sheet is required to have a sheet strength that does not cause tearing during manufacturing in addition to having high liquid permeability. Conventionally, a method of adding a paper strength enhancer has been adopted as a method for improving sheet strength. For example, Patent Literature 3 includes a dry paper strength enhancer and a wet strength enhancer, and the tensile strength is specified. Household hygiene tissue paper in range is described. Incidentally, the household sanitary thin paper described in Patent Document 3 is applied to uses such as roll paper, tissue paper, dust paper, etc. where sensory characteristics such as flexibility and touch feeling are important, and disclosed in Patent Document 3. The main technology that is being used aims to achieve both of these sensory characteristics and sheet strength.
特許文献1に記載のコアラップシートは、吸収性コアの肌対向面に対向配置される部位が、合成繊維を構成繊維とする不織布で構成されており、構成繊維どうしが熱融着で固定されている。そのため、合成繊維(構成繊維)が親水化処理されたものであっても、固形物を含む軟便がコアラップシートを透過するときに目詰まりが発生する等の不都合が生じるおそれがあり、繊維間距離を比較的長くする等して斯かる不都合を防止しないと、軟便の吸収性が低下するおそれがある。しかし、コアラップシートとしての不織布における繊維間距離を長くすると、吸収性コアから脱落した吸水性ポリマー等の吸収性コア形成材料が、不織布を透過して外部に漏れ出すおそれがあり、不織布製のコアラップシートは、軟便の吸収性の向上と吸収性コア形成材料の漏れ出し防止との両立が困難であった。特許文献1に記載の吸収性物品は、それを解決するために吸収体を多層化し、上層に吸収性ポリマーを含まない層とすることで、吸収性ポリマーの脱落を防止している。
In the core wrap sheet described in
また、コアラップシートの液透過性を高めるためには、シートの構成繊維の坪量を減らし、シートの密度を低下させる方法が有効であるが、斯かる方法は、構成繊維数の減少とそれに起因する構成繊維の繊維間結合点の数の減少を招くため、シート強度が低下するおそれがある。コアラップシートのシート強度が低下すると、製造時にコアラップシートが損傷を受け、使用時にその損傷部分から吸収性コア形成材料が漏れ出すおそれがある。コアラップシートのシート強度と液透過性とは二律背反の関係にあり、両者をバランス良く両立させることは難しいのが現状である。特許文献1〜3には、斯かる課題を解決する有効な手段は開示されていない。
In order to increase the liquid permeability of the core wrap sheet, a method of reducing the basis weight of the constituent fibers of the sheet and reducing the density of the sheet is effective. Since the number of inter-fiber bonding points of the constituent fibers is reduced, the sheet strength may be reduced. When the sheet strength of the core wrap sheet decreases, the core wrap sheet may be damaged during manufacture, and the absorbent core forming material may leak from the damaged portion during use. The sheet strength and liquid permeability of the core wrap sheet are in a trade-off relationship, and it is difficult to achieve a good balance between the two.
従って本発明の課題は、軟便等の高粘性液の吸収性に優れ、吸収性コア形成材料の漏れ出しが防止された吸収性物品を提供することにある。 Accordingly, an object of the present invention is to provide an absorbent article that is excellent in absorbability of a highly viscous liquid such as soft stool and in which leakage of the absorbent core forming material is prevented.
本発明は、吸収体を具備し、該吸収体が、親水性繊維及び吸水性ポリマーを含み且つ一方向に長い形状を有する吸収性コアと、該吸収性コアを被覆するコアラップシートとを含んで構成されている吸収性物品であって、前記コアラップシートは、前記吸収性コアの肌対向面に対向配置される高液透過性紙を含んでおり、前記高液透過性紙は、坪量が8〜20g/m2、密度が0.05〜0.2g/cm3、下記方法で測定される液透過時間が600秒以下であり、且つ製造時の搬送方向の乾燥引張強度が600cN/25mm以上である吸収性物品を提供することにより、前記課題を解決したものである。 The present invention includes an absorbent body, and the absorbent body includes an absorbent core including hydrophilic fibers and a water-absorbing polymer and having a shape that is long in one direction, and a core wrap sheet that covers the absorbent core. The core wrap sheet includes high-liquid-permeable paper disposed to face the skin-facing surface of the absorbent core, and the high-liquid-permeable paper is The amount is 8 to 20 g / m 2 , the density is 0.05 to 0.2 g / cm 3 , the liquid permeation time measured by the following method is 600 seconds or less, and the dry tensile strength in the conveying direction during production is 600 cN. The problem is solved by providing an absorbent article having a thickness of 25 mm or more.
<液透過時間の測定方法>
上下端が開口している内径35mmの2本の円筒を、両円筒の軸を一致させて上下に配し、測定対象のシートを上下の円筒間に挟み込み、その状態で上側の円筒内に、グリセリンとイオン交換水とを、前者:後者=94:6の質量比で混合してなる高粘性液(粘度290mPa・s)を10g±1g供給する。供給された高粘性液は、測定対象のシートを透過するか又は測定対象のシートに吸収されて上側の円筒内からなくなる。高粘性液の供給開始時から、高粘性液の液面が測定対象のシートの表面と同位置になるまでの時間を測定し、その時間を液透過時間とする。
<Measurement method of liquid permeation time>
Two cylinders with an inner diameter of 35 mm that open at the top and bottom are arranged vertically with the axes of both cylinders aligned, the sheet to be measured is sandwiched between the upper and lower cylinders, and in that state, in the upper cylinder, 10 g ± 1 g of a highly viscous liquid (viscosity 290 mPa · s) obtained by mixing glycerin and ion-exchanged water at a mass ratio of the former: the latter = 94: 6 is supplied. The supplied highly viscous liquid passes through the measurement target sheet or is absorbed by the measurement target sheet and disappears from the upper cylinder. The time from when the supply of the high-viscosity liquid is started until the liquid surface of the high-viscosity liquid reaches the same position as the surface of the sheet to be measured is measured, and the time is defined as the liquid permeation time.
本発明によれば、軟便等の高粘性液の吸収性に優れ、吸収性コア形成材料の漏れ出しが防止された吸収性物品が提供される。 ADVANTAGE OF THE INVENTION According to this invention, the absorptive article which was excellent in the absorbability of highly viscous liquids, such as a loose stool, and the leak of the absorptive core formation material was prevented.
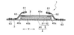
以下、本発明の吸収性物品について、その好ましい一実施形態である使い捨ておむつに基づき図面を参照しながら説明する。本実施形態のおむつ1は、いわゆる展開型の使い捨ておむつであり、図1及び図2に示すように、肌対向面を形成する液透過性の表面シート2、非肌対向面を形成する液不透過性ないし撥水性(以下、これらを総称して液不透過性という)の裏面シート3、及び両シート2,3間に配置された吸収体4を有し、実質的に縦長に形成されている。表面シート2、裏面シート3及び吸収体4は、何れも、一方向Xに長い縦長の形状を有している。表面シート2及び裏面シート3は、それぞれ、吸収体4よりも大きな寸法を有し、吸収体4の周縁から外方に延出している。表面シート2は、図2に示すように、その幅方向Yの寸法が、裏面シート3の幅方向Yの寸法よりも小さくなっている。
Hereinafter, the absorbent article of the present invention will be described based on a disposable diaper which is a preferred embodiment thereof with reference to the drawings. The
おむつ1は、図1に示すように、長手方向Xに、着用時に着用者の背側に配される背側部Aと、着用時に着用者の腹側に配される腹側部Bと、着用時に着用者の股下の配される股下部Cとを有している。股下部Cは、おむつ1の長手方向Xの中央部に位置している。おむつ1は、股下部Cの両側縁が内向きの円弧状に湾曲しており、図1に示す如き平面視において、長手方向Xの中央部が内方に括れた砂時計状の形状となっている。
As shown in FIG. 1, the
本明細書において、長手方向は、吸収性物品(使い捨ておむつ)又はその構成部材(例えば吸収性コア)の長辺に沿う方向であり、幅方向は、該長手方向と直交する方向である。図中、符号Xで示す方向は、おむつ1(吸収性コア40)の長手方向であり、符号Yで示す方向は、おむつ1(吸収性コア40)の幅方向である。また、肌対向面は、吸収性物品(使い捨ておむつ)又はその構成部材における、吸収性物品(使い捨ておむつ)の着用時に着用者の肌側に向けられる面であり、非肌対向面は、吸収性物品(使い捨ておむつ)又はその構成部材における、吸収性物品(使い捨ておむつ)の着用時に肌側とは反対側(衣類側)に向けられる面である。 In the present specification, the longitudinal direction is a direction along the long side of an absorbent article (disposable diaper) or a component (for example, an absorbent core), and the width direction is a direction orthogonal to the longitudinal direction. In the figure, the direction indicated by the symbol X is the longitudinal direction of the diaper 1 (absorbent core 40), and the direction indicated by the symbol Y is the width direction of the diaper 1 (absorbent core 40). Further, the skin facing surface is a surface that is directed to the wearer's skin when the absorbent article (disposable diaper) is worn in the absorbent article (disposable diaper) or a component thereof, and the non-skin facing surface is absorbent. In the article (disposable diaper) or a component thereof, the surface is directed to the side opposite to the skin side (clothing side) when the absorbent article (disposable diaper) is worn.
図1及び図2に示すように、おむつ1の長手方向Xに沿う両側部それぞれには、一側縁部に弾性部材61が伸長状態で固定されているサイドシート62が配されており、着用時における股下部Cには、一対の立体ギャザーが形成される。また、着用者の脚周りに配される左右のレッグ部には、弾性部材63が長手方向Xに沿って配されており、着用時におけるレッグ部には、弾性部材63の収縮により、一対のレッグギャザーが形成される。図2に示すように、一対のサイドシート62,62、表面シート2、吸収体4、弾性部材63及び裏面シート3は、ホットメルト型接着剤等の公知の接合手段により接合されている。
As shown in FIG.1 and FIG.2, the side sheet |
また、図1に示すように、背側部A及び腹側部Bそれぞれのウエスト開口端部には、ウエスト弾性部材64が配設されてウエストギャザーが形成されている。ウエスト弾性部材64は、帯状の形態を有し、おむつ1の幅方向Yに沿っておむつ1の略全幅に亘って、表面シート2と裏面シート3との間に挟持固定されている。また、背側部Aにおける胴回り部の左右両側部には、それぞれ複数本の胴回りギャザー形成用弾性部材65が配設されて左右一対の胴回りギャザーが形成されている。胴回りギャザー形成用弾性部材65は、幅方向Yに沿って略直線状に配され、表面シート2と裏面シート3との間に挟持固定されている。
Moreover, as shown in FIG. 1, the waist
図1に示すように、おむつ1の背側部Aの長手方向Xに沿う両側縁部には、一対のファスニングテープ8,8が設けられている。より具体的には、背側部A及び腹側部Bそれぞれの長手方向Xに沿う両側部には、吸収体4の長手方向Xに沿う両側縁部から幅方向Yの外方に延出するサイドフラップ7,7が形成されており、各サイドフラップ7に、ファスニングテープ8が幅方向Yの外方に延出して取り付けられている。ファスニングテープ8には、機械的面ファスナーのオス部材からなる止着部81が取り付けられている。
As shown in FIG. 1, a pair of
また、おむつ1の腹側部Bの非肌対向面には、機械的面ファスナーのメス部材からなる被止着領域9が形成されている。被止着領域9は、裏面シート3の非肌対向面に、機械的面ファスナーのメス部材を公知の接合手段(例えば、接着剤やヒートシール等)で接合固定して形成されており、ファスニングテープ8の止着部81を着脱自在に止着可能である。
In addition, a non-skin facing surface of the ventral side B of the
以下、吸収体4について詳細に説明する。吸収体4は、図1及び図2に示すように、吸収性コア40と該吸収性コア40を被覆するコアラップシート5とを含んで構成されている。吸収性コア40は、図1に示すように、一方向(おむつ1の長手方向X)に長い形状を有し、長手方向中央部が括れている。
Hereinafter, the
吸収性コア40は、親水性繊維及び吸水性ポリマーを含んで構成されている。親水性繊維としては、親水性表面を有する繊維であって、その湿潤状態において、繊維どうしが互いに高い自由度を有するシートを形成できるものであれば、特に制限なく用いることができる。そのような親水性繊維の例には、針葉樹クラフトパルプ、広葉樹クラフトパルプ等の木材パルプや木綿パルプ、ワラパルプ等の非木材パルプ等の天然セルロース繊維;レーヨン、キュプラ等の再生セルロース繊維;ポリビニルアルコール繊維、ポリアクリロニトリル繊維等の親水性合成繊維;ポリエチレンテレフタレート(PET)繊維、ポリエチレン(PE)繊維、ポリプロピレン(PP)繊維、ポリエステル繊維等の合成繊維を界面活性剤により親水化処理したもの等が挙げられ、これらの1種を単独で又は2種以上を混合して用いることができる。
The
また、吸水性ポリマーとしては、当該技術分野において従来用いられている各種のものを特に制限無く用いることができ、例えば、ポリアクリル酸ソーダ、(アクリル酸−ビニルアルコール)共重合体、ポリアクリル酸ソーダ架橋体、(デンプン−アクリル酸)グラフト重合体、(イソブチレン−無水マレイン酸)共重合体及びそのケン化物、ポリアクリル酸カリウム、並びにポリアクリル酸セシウム等が挙げられ、これらの1種を単独で又は2種以上を混合して用いることができる。吸水性ポリマーとしては、通常は粒子状のものが用いられるが、繊維状のものでも良い。粒子状の吸水性ポリマーには、その形状の違いから、不定形タイプ、塊状タイプ、俵状タイプ、球粒凝集タイプ、球状タイプ等があるが、何れのタイプも用いることができる。 As the water-absorbing polymer, various polymers conventionally used in the technical field can be used without particular limitation. Examples thereof include polyacrylic acid soda, (acrylic acid-vinyl alcohol) copolymer, polyacrylic acid. Cross-linked soda, (starch-acrylic acid) graft polymer, (isobutylene-maleic anhydride) copolymer and saponified product thereof, potassium polyacrylate, cesium polyacrylate, and the like are used alone. Or a mixture of two or more. As the water-absorbing polymer, particles are usually used, but fibers may be used. The particulate water-absorbing polymer includes an amorphous type, a block type, a bowl type, a spherical particle agglomeration type, a spherical type and the like due to the difference in shape, and any type can be used.
吸収性コア40における親水性繊維及び吸水性ポリマーの合計含有量は、吸収性コア40の質量に対して、例えば70〜100質量%であり、好ましくは85〜100質量%、更に好ましくは95〜100質量%である。親水性繊維と吸水性ポリマーとの含有質量比は、尿や軟便等を十分に保持固定し得るようにする観点から、親水性繊維:吸水性ポリマー=1/9〜9/1が好ましく、3/7〜7/3が更に好ましい。吸収性コア40には、必要に応じ、親水性繊維及び吸水性ポリマー以外の他の成分、例えば、pH緩衝材、親水性の微粉、消臭剤等の各種添加剤、及び非親水性繊維等を含有させても良い。
The total content of the hydrophilic fibers and the water-absorbing polymer in the
吸収性コア40の坪量は、200〜600g/m2、特に300〜600g/m2であることが、尿や軟便等を十分保持固定できる点から好ましい。同様の観点から、吸収性コア40の密度は、好ましくは0.10〜0.30g/cm3、更に好ましくは0.15〜0.30g/cm3である。また、吸収性コア40の無荷重下での厚みは、好ましくは1.5〜3.5mm、更に好ましくは1.7〜3.0mmである。
The basis weight of the
コアラップシート5は、図2に示すように、吸収性コア40の肌対向面40aに対向配置される(吸収性コア40の肌対向面40a側に配置される)、高液透過性紙51と、吸収性コア40の非肌対向面40bに対向配置され且つ吸収性コア40の長手方向Xに沿う両側縁部40s、40sを被覆する(吸収性コア40の非肌対向面40b側に配置される)、低液透過性シート52とを含んでいる。より具体的には、コアラップシート5は、幅方向Yの寸法が異なる2枚のシート51,52を含んで構成されており、そのうちの1枚が、吸収性コア40の長手方向X及び幅方向Yの長さ(ここでいう吸収性コアの長手方向及び幅方向の長さは、それぞれの方向の最大長さを意味する)と略同寸法の高液透過性紙51であり、他の1枚が、高液透過性紙51よりも幅広の低液透過性シート52である。高液透過性紙51と低液透過性シート52とは、長手方向Xの長さは同じである。高液透過性紙51は、吸収性コア40の肌対向面40aの略全域を被覆している。低液透過性シート52は、吸収性コア40の非肌対向面40bの略全域を被覆し、且つ吸収性コア40の両側縁部40s,40sから幅方向Yの外方に延出し、その延出部が、吸収性コア40の肌対向面40aに対向配置された高液透過性紙51上に巻き上げられ、高液透過性紙51の長手方向Xに沿う両側縁部を被覆している。高液透過性紙51と吸収性コア40との間、及び低液透過性シート52と吸収性コア40との間は、ホットメルト型接着剤等の公知の接合手段により接合されていても良い。
As shown in FIG. 2, the
本実施形態のおむつ1の主たる特長の1つとして、吸収性コア40の肌対向面40a上に他の部材を介在させずに直接配置される、高液透過性紙51が、強度特性が良好で液透過性に優れている点が挙げられる。
As one of the main features of the
即ち、高液透過性紙51は、液透過性の向上の観点から、坪量及び密度が比較的低く設定されており、具体的には、高液透過性紙51の坪量は8〜20g/m2、好ましくは10〜14.5g/m2、更に好ましくは11〜14g/m2であり、高液透過性紙51の密度は、密度は0.05〜0.2g/cm3、好ましくは0.07〜0.20g/cm3、更に好ましくは0.10〜0.20g/cm3である。高液透過性紙51の坪量が8g/m2未満又は密度が0.05g/cm3未満では、紙力が著しく低下するおそれがあり、また、高液透過性紙51の坪量が20g/m2超又は密度が0.2g/cm3超では、液透過性の向上効果に乏しいおそれがある。高液透過性紙51(コアラップシート5)の坪量及び密度は、それぞれ、次のように測定される。
That is, the high liquid-
<コアラップシートの坪量の測定方法>
JIS P8111の条件にてサンプル(コアラップシート)の調湿を行った後、サンプルから10cm四方(面積100cm2)の測定片を切り出し、該測定片の重量を少数点以下2桁の天秤にて測定し、その測定値を面積で除して該測定片の坪量を算出する。サンプルから切り出した10枚の測定片について、前記手順に従って坪量を算出し、それらの平均値をサンプルの坪量とする。
<Measurement method of basis weight of core wrap sheet>
After conditioning the sample (core wrap sheet) under the conditions of JIS P8111, a 10 cm square (100 cm 2 ) measurement piece was cut out from the sample, and the weight of the measurement piece was measured with a two-digit scale below the decimal point. The basis weight of the measurement piece is calculated by dividing the measured value by the area. About 10 measurement pieces cut out from the sample, the basis weight is calculated according to the above procedure, and the average value thereof is taken as the basis weight of the sample.
<コアラップシートの密度の測定方法>
20cm四方のサンプル(コアラップシート)を10枚重ねて積層体とし、該積層体を液体窒素で冷却固化させた後、カッターで該積層体の真ん中付近を切断する。そして、10枚のサンプルのうち、カッターによる切断で生じた断面にせん断がかかっていないものを選択し、選択したサンプルの厚みを光学顕微鏡により測定する。尚、サンプルの厚みは、当該サンプルに後述するクレープ等の凹凸がある場合は、その凹凸部における最底部から最上部までの長さ(見掛け厚み)ではなく、構成繊維が堆積している部分の長さ(実質厚み)である。こうして厚みを測定した20cm四方のサンプルの重量Wを、小数点以下2桁の天秤を用い測定する。目的とする密度は、サンプルの重量Wを次式により算出したサンプルの体積Vで除して(即ちW/Vにより)算出する。次式中、Tはサンプルの厚み(cm)、Aはサンプルのクレープ率(%)、Bはサンプルの1辺の長さ(20cm)である。クレープ率は後述する測定方法によって測定される。測定対象のコアラップシートがクレープを有していない場合(クレープ率が0%の場合)、次式においてA=0とする。 V={T×B×B×(100+A)/100}
<Method of measuring the density of the core wrap sheet>
Ten 20 cm square samples (core wrap sheets) are stacked to form a laminate, and the laminate is cooled and solidified with liquid nitrogen, and then the vicinity of the center of the laminate is cut with a cutter. Then, of the 10 samples, one having no shear applied to the cross section generated by cutting with the cutter is selected, and the thickness of the selected sample is measured with an optical microscope. In addition, the thickness of the sample is not the length (apparent thickness) from the bottom to the top of the concavo-convex part when the sample has concavo-convex parts such as crepes described later, but the part where the constituent fibers are deposited Length (substantial thickness). The weight W of the 20 cm square sample whose thickness has been measured in this way is measured using a balance with two decimal places. The target density is calculated by dividing the weight W of the sample by the volume V of the sample calculated by the following equation (that is, by W / V). In the following formula, T is the thickness (cm) of the sample, A is the crepe rate (%) of the sample, and B is the length of one side (20 cm) of the sample. The crepe rate is measured by a measurement method described later. When the core wrap sheet to be measured does not have a crepe (when the crepe rate is 0%), A = 0 in the following equation. V = {T × B × B × (100 + A) / 100}
そして、このような低坪量、低密度の高液透過性紙51は、下記方法で測定される液透過時間が600秒以下であり、好ましくは400秒以下、更に好ましくは300秒以下である。液透過時間が短いほど、液透過性が高く高評価となる。液透過時間が前記範囲にある高液透過性紙51は、液透過性に優れており、尿等の比較的低粘性の排泄液の他、軟便や経血等の比較的高粘性の排泄液を、素早く透過させて吸収性コア40に速やかに吸収させることができ、表面液残りを生じ難い。
Such a low basis weight, low density, highly liquid
<液透過時間の測定方法>
図3に示すように、上下端が開口している内径35mmの2本の円筒91,92を、両円筒91,92の軸を一致させて上下に配し、測定対象のシートS(高液透過性紙)を上下の円筒91,92間に挟み込む。このとき、上側の円筒91の下端及び下側の円筒92の上端に設けられた環状のフランジ部にクリップ93を嵌合させ、上下の円筒91,92を連結させることが好ましい。符号94は、円筒91,92の内径と同径同形状の貫通孔を有するゴム製等のパッキンである。このように、上下の円筒91,92で測定対象のシートSを挟持固定した状態で、上側の円筒91内に、図3中符合Wで示す粘度290mPa・s(株式会社エー・アンド・デイの振動式粘度計CJV5000で測定する。高粘性液を試料容器に約10g入れ、粘度計にセットし感応板を所定レベルに挿入し、計測レンジを50mVに選択し、計測スイッチを押して測定開始する。測定開始してから60秒後の値、25℃で測定。)の高粘性液を10g±1g供給する。供給された高粘性液は、測定対象のシートSを透過するか又は測定対象のシートSに吸収されて上側の円筒91内からなくなる。高粘性液の供給開始時から、高粘性液の液面が測定対象のシートSの表面(上側の円筒91側の面)と同位置になるまでの時間を測定し、その時間を液透過時間とする。高粘性液は、グリセリンとイオン交換水とを、前者:後者=94:6の質量比で混合して調製される。
<Measurement method of liquid permeation time>
As shown in FIG. 3, two
このように、高液透過性紙51は、液透過時間が600秒以下であって液透過性に優れているのに対し、高液透過性紙51と共にコアラップシート5を構成する低液透過性シート52は、液透過時間が600秒を超えており、液透過性に劣る。つまり、本実施形態における吸収性コア40は、軟便等の排泄液を直接受ける肌対向面40aが、液透過性に優れる高液透過性紙51で被覆されており、その反対側に位置する非肌対向面40b及び両側縁部40s,40sが、液透過性に劣る低液透過性シート52で被覆されている。
Thus, while the high
コアラップシート5の斯かる被覆形態により、吸収体4においては、おむつ1の着用時に排泄され表面シート2を透過した液は、高液透過性紙51の作用によって速やかに吸収体4内に引き込まれ、吸収性コア40によって吸収保持される。また、吸収性コア40の非肌対向面40b及び両側縁部40s,40sが低液透過性シート52で被覆されているので、吸収性コア40に一旦は吸収保持された液が吸収性コア40の外部に漏れ出したとしても、低液透過性シート52によって吸収体4の外部へ漏れ出すことは防止され、いわゆる横漏れが効果的に防止される。このような、低液透過性シート52による漏れ防止効果をより確実に奏させるようにする観点から、低液透過性シート52の液透過時間は、好ましくは600〜3000秒、更に好ましくは600〜2000秒である。
Due to such a covering form of the
低液透過性シート52としては、紙、不織布等を用いることができ、特に、クレープ(ちりめん状のシワ)を有するクレープ紙が好ましく用いられる。液透過時間が600秒を超えるようにする観点から、低液透過性シート52の坪量は、好ましくは13〜20g/m2、更に好ましくは15〜18g/m2であり、低液透過性シート52の密度は、好ましくは0.10〜0.30g/cm3、更に好ましくは0.20〜0.25g/cm3であり、低液透過性シート52のクレープ率は、好ましくは5〜20%、更に好ましくは7〜15%である。クレープは従来公知の方法によって付与することができ、クレープ率は、次のようにして測定される。
As the low-liquid-
<クレープ率の測定方法>
測定対象のシートから長さ方向(シートの製造時の搬送方向、MD)に200mm、幅方向(MDに直交する方向、CD)に100mmの矩形形状を切り出してサンプルとする。この矩形形状のサンプルを10分間水中に浸漬した直後のMDの長さCを測定し、次式によりクレープ率を算出する。 クレープ率(%)={(C−200)/200}×100
例えば、10分間浸漬後のMDの長さCが220mmであった場合、前記式により算出される当該シートのクレープ率は10%である。
<Measurement method of crepe rate>
A rectangular shape of 200 mm in the length direction (conveying direction at the time of manufacture of the sheet, MD) and 100 mm in the width direction (direction orthogonal to the MD, CD) is cut out from the measurement target sheet. The length C of the MD immediately after the rectangular sample is immersed in water for 10 minutes is measured, and the crepe rate is calculated by the following equation. Crepe rate (%) = {(C−200) / 200} × 100
For example, when the length C of the MD after immersion for 10 minutes is 220 mm, the crepe rate of the sheet calculated by the above formula is 10%.
高液透過性紙51について更に説明すると、高液透過性紙51は、前述したように、液透過性の向上の観点から坪量及び密度が比較的低く設定されているにもかかわらず、強度特性が良好であり、具体的には、製造時の搬送方向(Machine Direction、略してMD)の乾燥引張強度が600cN/25mm以上、好ましくは600〜1500cN/25mm、更に好ましくは700〜1200cN/25mmである。MDの乾燥引張強度が前記範囲にある高液透過性紙51は、実用上十分な強度を有しており、おむつ1の製造時に破れる等の不都合を起こし難く、吸収性コア形成材料の漏れ出しを起こし難い。
The high-liquid-
また、同様の観点から、高液透過性紙51のMDに直交する方向(Cross machine Direction、略してCD)の乾燥引張強度は、好ましくは150cN/25mm以上、更に好ましくは150〜350cN/25mm、特に好ましくは170〜300cN/25mmである。乾燥引張強度は次のようにして測定される。 From the same viewpoint, the dry tensile strength in the direction perpendicular to the MD of the highly liquid-permeable paper 51 (Cross machine direction, abbreviated as CD) is preferably 150 cN / 25 mm or more, more preferably 150 to 350 cN / 25 mm, Particularly preferred is 170 to 300 cN / 25 mm. The dry tensile strength is measured as follows.
<乾燥引張強度の測定方法>
測定対象のシート(高液透過性紙)を室温23℃±2℃、相対湿度50%RH±2%の環境下で12時間放置して一定状態になるよう調湿する。調湿後のシートから、MDに150mm、CDに25mmの寸法の長方形形状を切り出し、この切り出された長方形形状をサンプルとする。このサンプルを、そのMDが引張方向となるように引張試験機(島津製作所製オートグラフAG−1kN)のチャックに無張力で取り付ける。チャック間距離は100mmとする。サンプルを300mm/分の引張速度で引っ張り、サンプルが破断するまでの最大強度を測定する。測定は5回行い、これらの平均値をMDの乾燥引張強度とする。また、CDの乾燥引張強度は、調湿後のシートから、CDに150mm、MDに25mmの寸法の長方形形状を切り出してこれをサンプルとし、このサンプルを、そのCDが引張方向となるように引張試験機のチャックに無張力で取り付け、前記と同様の手順により、CDの乾燥引張強度を求める。
<Measurement method of dry tensile strength>
The sheet to be measured (highly liquid permeable paper) is allowed to stand for 12 hours in an environment of room temperature 23 ° C. ± 2 ° C. and relative humidity 50% RH ± 2%, and is conditioned to a constant state. A rectangular shape with dimensions of 150 mm for MD and 25 mm for CD is cut out from the humidity-adjusted sheet, and the cut out rectangular shape is used as a sample. This sample is attached to a chuck of a tensile testing machine (manufactured by Shimadzu Autograph AG-1kN) without tension so that the MD is in the tensile direction. The distance between chucks is 100 mm. The sample is pulled at a pulling speed of 300 mm / min, and the maximum strength until the sample breaks is measured. The measurement is performed 5 times, and the average of these values is taken as the MD dry tensile strength. Further, the dry tensile strength of CD is obtained by cutting a rectangular shape having dimensions of 150 mm for CD and 25 mm for MD from the humidity-controlled sheet, and using this as a sample, and pulling this sample so that the CD is in the tensile direction. Attached to the chuck of the testing machine without tension, the dry tensile strength of the CD is determined by the same procedure as described above.
高液透過性紙51は、クレープ(ちりめん状のシワ)を有していても良い。高液透過性紙51がクレープを有している場合、そのクレープは、ドライヤパートにおけるヤンキードライヤ等から乾燥状態の繊維ウエブ(高液透過性紙51)をドクターナイフ等で剥離する際に生じる、ドライクレープであることが好ましい。クレープを有する紙は、クレープを有しない紙に比して液透過性が高く、また、クレープ率が高くなるほど液透過性が高まる。但し、クレープ率が高くなると、強度特性(引張強度)は低下する傾向がある。本発明においては、斯かる知見に基づき、液透過性と強度特性とのバランスの観点から、高液透過性紙51のクレープ率は、5〜30%、特に5〜20%、とりわけ7〜15%とすることが好ましい。クレープ率は前記方法により測定される。
The high
このような、強度特性が良好で液透過性に優れている高液透過性紙51としては、下記高液透過性紙Aが好ましく用いられる。高液透過性紙Aは、繊維粗度の異なる2種の親水性セルロース繊維の集合体を主体とし、紙力増強剤が添加されている薄葉紙であって、前記2種の親水性セルロース繊維として、繊維粗度が0.13〜0.16mg/mの第1パルプと繊維粗度が0.17〜0.20mg/mの第2パルプとが含有されており、含有されている第1パルプと第2パルプとの繊維粗度の差が0.01〜0.07mg/mであり、前記集合体のフリーネスが400〜550mlである。以下、高液透過性紙Aについて詳細に説明する。
As such a high
高液透過性紙A(薄葉紙)は、繊維粗度の異なる2種の親水性セルロース繊維の集合体を必須成分として含有している。繊維粗度は、木材パルプのように、繊維の太さが不均一な繊維において、繊維の太さを表す尺度として用いられるものであり、後述するように市販の繊維粗度計を用いて測定される。即ち、高液透過性紙Aは、太さの異なる2種の親水性セルロース繊維の集合体を含んでおり、これにより強度特性と液透過性との両立を図っている。 Highly liquid-permeable paper A (thin paper) contains an aggregate of two types of hydrophilic cellulose fibers having different fiber roughness as an essential component. Fiber roughness is used as a measure of fiber thickness in fibers with uneven fiber thickness, such as wood pulp, and is measured using a commercially available fiber roughness meter as described later. Is done. That is, the highly liquid-permeable paper A includes an aggregate of two types of hydrophilic cellulose fibers having different thicknesses, thereby achieving both strength characteristics and liquid permeability.
高液透過性紙Aには、前記2種の親水性セルロース繊維として、繊維粗度が0.13〜0.16mg/m、好ましくは0.135〜0.155mg/m、更に好ましくは0.14〜0.15mg/mである第1パルプと、繊維粗度が0.17〜0.20mg/m、好ましくは0.175〜0.195mg/m、更に好ましくは0.18〜0.19mg/mである第2パルプとが含有されており、第2パルプの方が第1パルプよりも太い。このように、紙の構成繊維の一部として相対的に太いパルプを用いることで、紙の地合が粗くなり、液透過性が向上する。尚、パルプは、木材、じん皮、葉等の植物繊維を化学的あるいは機械的方法によって単繊維化したものである。 The high liquid permeability paper A has a fiber roughness of 0.13 to 0.16 mg / m, preferably 0.135 to 0.155 mg / m, more preferably 0.8 as the two kinds of hydrophilic cellulose fibers. The first pulp is 14 to 0.15 mg / m, and the fiber roughness is 0.17 to 0.20 mg / m, preferably 0.175 to 0.195 mg / m, more preferably 0.18 to 0.19 mg. / M, and the second pulp is thicker than the first pulp. Thus, by using a relatively thick pulp as a part of the constituent fibers of the paper, the paper becomes rough and the liquid permeability is improved. Pulp is obtained by converting plant fibers such as wood, kidneys and leaves into single fibers by a chemical or mechanical method.
そして、高液透過性紙Aに含有されている第1パルプと第2パルプとの繊維粗度の差が、0.01〜0.07mg/m、好ましくは0.02〜0.06mg/m、更に好ましくは0.03〜0.05mg/mである。両パルプの繊維粗度の差が0.01mg/m未満では、液透過性の向上効果に乏しく、繊維粗度の差が0.07mg/m超では、紙の強度が著しく低下するおそれがある。 And the difference of the fiber roughness of the 1st pulp and 2nd pulp contained in the high liquid permeability paper A is 0.01-0.07 mg / m, Preferably it is 0.02-0.06 mg / m. More preferably, it is 0.03-0.05 mg / m. If the difference in fiber roughness between the two pulps is less than 0.01 mg / m, the effect of improving the liquid permeability is poor, and if the difference in fiber roughness exceeds 0.07 mg / m, the strength of the paper may be significantly reduced. .
第1パルプ及び第2パルプそれぞれの平均繊維長は、好ましくは2〜3mm、更に好ましくは2.2〜2.8mmである。両パルプの平均繊維長がそれぞれ前記範囲にあることで、繊維どうしの交絡のバランスが良く、紙の地合も良いという効果が奏される。両パルプの平均繊維長は同じであっても良く、異なっていても良い。繊維粗度及び平均繊維長は、それぞれ、次のようにして測定される。 The average fiber length of each of the first pulp and the second pulp is preferably 2 to 3 mm, more preferably 2.2 to 2.8 mm. When the average fiber lengths of the two pulps are in the above ranges, the effects of good balance of the entanglement between the fibers and good formation of the paper are obtained. The average fiber length of both pulps may be the same or different. The fiber roughness and average fiber length are each measured as follows.
<繊維粗度及び平均繊維長の測定>
繊維粗度計FS−200(KAJAANI ELECTRONICS LTD.製)を用いて測定する。測定対象の繊維(パルプ)は未叩解のものとする。先ず、測定対象の繊維の真の重量を求めるために、該繊維を真空乾燥機内にて100℃で1時間乾燥させ、繊維中に存在している水分を除去する。こうして乾燥させた繊維から1gを正確に量りとる(誤差±0.1mg)。次に、量り取った繊維を、該繊維に極力損傷を与えないように注意しつつ、前記繊維粗度計に付属のミキサーで150mlの水中に完全に離解させ、これを全量が5000mlになるまで水で薄めて希釈液を得た。得られた希釈液から50mlを正確に量りとってこれを繊維粗度測定溶液とし、前記繊維粗度計の操作手順に従って目的とする繊維粗度及び平均繊維長をそれぞれ算出する。尚、平均繊維長の算出には、前記操作手順に基づき下記式により計算された値を用いる。
<Measurement of fiber roughness and average fiber length>
It is measured using a fiber roughness meter FS-200 (manufactured by KAJAANI ELECTRONICS LTD.). The fiber (pulp) to be measured shall be unbeaten. First, in order to obtain the true weight of the fiber to be measured, the fiber is dried in a vacuum dryer at 100 ° C. for 1 hour to remove moisture present in the fiber. 1 g is accurately weighed from the fibers thus dried (error ± 0.1 mg). Next, while taking care not to damage the fibers as much as possible, the weighed fibers are completely disaggregated in 150 ml of water with the mixer attached to the fiber roughness meter, and this is until the total amount reaches 5000 ml. Diluted with water to obtain a diluted solution. 50 ml is accurately weighed from the diluted solution thus obtained to make a fiber roughness measurement solution, and the target fiber roughness and average fiber length are calculated according to the operation procedure of the fiber roughness meter. In addition, the value calculated by the following formula based on the said operation procedure is used for calculation of average fiber length.
第1パルプと第2パルプとの含有質量比(第1パルプ/第2パルプ)は、強度特性と液透過性とのバランスの観点から、好ましくは3/7〜7/3、更に好ましくは4/6〜6/4である。相対的に繊維径の太い第2パルプが少なすぎると、十分な液透過性が得られないおそれがあり、逆に第2パルプが多すぎると、高液透過性紙Aの強度の急激な低下が生じるおそれがある。 The content mass ratio between the first pulp and the second pulp (first pulp / second pulp) is preferably 3/7 to 7/3, more preferably 4 from the viewpoint of the balance between strength characteristics and liquid permeability. / 6 to 6/4. If the second pulp having a relatively large fiber diameter is too small, sufficient liquid permeability may not be obtained. Conversely, if the second pulp is too large, the strength of the high liquid-permeable paper A is rapidly reduced. May occur.
第1パルプ及び第2パルプ(親水性セルロース繊維)としては、繊維粗度が前記範囲にあり且つ親水性表面を有する繊維であって、その湿潤状態において、繊維どうしが互いに高い自由度を有するシートを形成できるものであれば、特に制限無く用いることができる。そのような親水性セルロース繊維の例には、針葉樹晒クラフトパルプ(NBKP)、広葉樹晒クラフトパルプ(LBKP)等の木材パルプや木綿パルプ、ワラパルプ等の非木材パルプ等の天然セルロース繊維;レーヨン、キュプラ等の再生セルロース繊維;ポリビニルアルコール繊維、ポリアクリロニトリル繊維等の親水性合成繊維;ポリエチレンテレフタレート(PET)繊維、ポリエチレン(PE)繊維、ポリプロピレン(PP)繊維、ポリエステル繊維等の合成繊維を界面活性剤により親水化処理したもの等が挙げられ、これらの1種を単独で又は2種以上を混合して用いることができる。 The first pulp and the second pulp (hydrophilic cellulose fibers) are fibers having a fiber roughness in the above-mentioned range and having a hydrophilic surface, and the fibers have a high degree of freedom between each other in the wet state. If it can form, it can use without a restriction | limiting especially. Examples of such hydrophilic cellulose fibers include natural cellulose fibers such as wood pulp such as softwood bleached kraft pulp (NBKP) and hardwood bleached kraft pulp (LBKP), and non-wood pulp such as cotton pulp and straw pulp; rayon, cupra Recycled cellulose fibers such as: hydrophilic synthetic fibers such as polyvinyl alcohol fibers and polyacrylonitrile fibers; synthetic fibers such as polyethylene terephthalate (PET) fibers, polyethylene (PE) fibers, polypropylene (PP) fibers, and polyester fibers with surfactants The thing etc. which carried out the hydrophilization process are mentioned, These 1 type can be used individually or in mixture of 2 or more types.
これらの親水性セルロース繊維の中でも、特にNBKPが好ましく、第1パルプ及び第2パルプは、それぞれ、NBKPが好ましい。また、本発明で用いるNBKPとしては、この種の紙において通常用いられるNBKPを特に制限無く用いることができる。NBKPとして、パルプの漂白に塩素化合物を使用しないECF(エレメンタリー・クロリンフリー)漂白パルプやTCF(トータル・クロリンフリー)漂白パルプを使用しても良い。 Among these hydrophilic cellulose fibers, NBKP is particularly preferable, and each of the first pulp and the second pulp is preferably NBKP. Further, as NBKP used in the present invention, NBKP usually used in this type of paper can be used without any particular limitation. As NBKP, ECF (elementary chlorin-free) bleached pulp or TCF (total chlorin-free) bleached pulp that does not use a chlorine compound for pulp bleaching may be used.
高液透過性紙Aは、繊維粗度の異なる2種の親水性セルロース繊維(第1パルプ及び第2パルプ)の集合体を主体としている。ここで、「主体としている」とは、第1パルプ及び第2パルプの含有率が50質量%以上であることを意味する。該含有率は、強度特性と液透過性との両立を図る観点から、好ましくは70〜80質量%、更に好ましくは80〜100質量%である。 Highly liquid-permeable paper A is mainly composed of an aggregate of two kinds of hydrophilic cellulose fibers (first pulp and second pulp) having different fiber roughness. Here, “mainly” means that the contents of the first pulp and the second pulp are 50% by mass or more. The content is preferably 70 to 80% by mass, more preferably 80 to 100% by mass, from the viewpoint of achieving both strength characteristics and liquid permeability.
高液透過性紙Aにおいては、前記2種の親水性セルロース繊維(第1パルプ及び第2パルプ)の集合体のフリーネスを400〜550mlに設定している。即ち、第1パルプ及び第2パルプそれぞれのフリーネスは400〜550mlの範囲にある。フリーネスは、JIS P8121に規定するカナダ標準ろ水度(C.S.F.)で示される値であり、パルプの叩解(水の存在下でパルプを機械的に叩き、磨砕する処理)の度合いを示す値である。通常、フリーネスの値が小さいほど、叩解の度合いが強く、叩解による繊維の損傷が大きくてフィブリル化が進行している。フリーネスが前記範囲にある繊維は、フィブリル化が進行しているため繊維どうしが絡み合い易く、そのため、例えば液透過性の向上の観点から紙の低坪量化(低密度化)を図ることによって構成繊維の繊維間結合点の数が減少しても、各繊維間結合の強度は、フリーネスが550mlを超え相対的にフィブリル化が進行していない繊維に比して、高い。従って、フリーネスが400〜550mlである繊維の集合体を主体とする高液透過性紙Aは、良好な強度特性を有し得る。 In the highly liquid-permeable paper A, the freeness of the aggregate of the two types of hydrophilic cellulose fibers (first pulp and second pulp) is set to 400 to 550 ml. That is, the freeness of each of the first pulp and the second pulp is in the range of 400 to 550 ml. Freeness is a value indicated by Canadian Standard Freeness (C.S.F.) specified in JIS P8121, and is a value of pulp beating (a process of mechanically tapping and grinding pulp in the presence of water). It is a value indicating the degree. Usually, the smaller the freeness value, the stronger the degree of beating, the greater the damage of the fibers due to beating, and the more fibrillation proceeds. Fibers having a freeness in the above range are easily entangled with each other because fibrillation is in progress. For this reason, for example, from the viewpoint of improving liquid permeability, the fibers are made by reducing the basis weight (reducing density) of paper. Even if the number of interfiber bonding points is reduced, the strength of each interfiber bond is higher than that of fibers in which the freeness exceeds 550 ml and the fibrillation has not progressed relatively. Therefore, the highly liquid-permeable paper A mainly composed of an aggregate of fibers having a freeness of 400 to 550 ml can have good strength characteristics.
高液透過性紙Aで用いる2種の親水性セルロース繊維の集合体のフリーネスは、好ましくは450〜525ml、更に好ましくは475〜510mlである。フリーネスが400ml未満の場合は、繊維の絡み合いによる強度改善効果は飽和しており、また、繊維の切断が促進され、透過時間が遅くなるおそれがある。繊維の集合体の叩解は、繊維の集合体を構成する各親水性セルロース繊維(第1パルプ及び第2パルプ)を混合分散させた紙料(スラリー)に対して、ビーダー、ディスクリファイナー等の公知の叩解機を用いて常法に従って実施することができる。 The freeness of the aggregate of the two types of hydrophilic cellulose fibers used in the highly liquid-permeable paper A is preferably 450 to 525 ml, more preferably 475 to 510 ml. When the freeness is less than 400 ml, the strength improvement effect due to the entanglement of the fibers is saturated, and the fiber cutting is promoted, and the permeation time may be delayed. The beating of the fiber aggregate is a known method such as a beader or a disc refiner for a stock (slurry) in which each hydrophilic cellulose fiber (first pulp and second pulp) constituting the fiber aggregate is mixed and dispersed. This can be carried out according to a conventional method using a beating machine.
高液透過性紙Aは、第1パルプ及び第2パルプ以外の他の繊維を含んでいても良く、他の繊維は、両パルプの如き親水性セルロース繊維でなくても良い。他の繊維としては、例えば、広葉樹晒クラフトパルプ(LBKP)、針葉樹晒サルファイトパルプ(NBSP)、サーモメカニカルパルプ(TMP)等の木材パルプ;楮、三椏、雁皮等の靱皮繊維;藁、竹、ケナフ、麻等の非木材パルプ;ポリエステル繊維、レーヨン繊維、アクリル繊維等の合成繊維等が挙げられる。これら他の繊維の含有率は、好ましくは20質量%以下である。 The highly liquid-permeable paper A may contain fibers other than the first pulp and the second pulp, and the other fibers may not be hydrophilic cellulose fibers such as both pulps. Other fibers include, for example, hardwood bleached kraft pulp (LBKP), softwood bleached sulfite pulp (NBSP), thermomechanical pulp (TMP) and other wood pulp; Non-wood pulp such as kenaf and hemp; synthetic fibers such as polyester fiber, rayon fiber, acrylic fiber, and the like. The content of these other fibers is preferably 20% by mass or less.
高液透過性紙Aには、良好な強度特性(引張強度)を得る観点から、紙力増強剤が添加されている。紙力増強剤には、乾燥紙力を向上させる乾燥紙力増強剤と、湿潤紙力を向上させる湿潤紙力増強剤とがあり、何れを用いても良い。 From the viewpoint of obtaining good strength characteristics (tensile strength), a paper strength enhancer is added to the high liquid permeability paper A. The paper strength enhancer includes a dry paper strength enhancer that improves the dry paper strength and a wet paper strength enhancer that improves the wet paper strength, either of which may be used.
乾燥紙力増強剤としては、従来公知の乾燥紙力増強剤を用いることができ、例えば、カルボキシメチルセルロース(CMC)及びその塩、ポリアクリルアミド系樹脂及びその塩、カチオン化デンプン、ポリビニルアルコール(PVA)等が挙げられ、これらの1種を単独で又は2種以上を組み合わせて用いることができる。CMCあるいはポリアクリルアミド系樹脂の塩としては、それぞれ、ナトリウム塩が主に用いられる。ポリアクリルアミド系樹脂としては、例えば、カチオン性又はアニオン性ポリアクリルアミド(PAM)が挙げられる。これらの乾燥紙力増強剤の中でも、特にCMC及びその塩、アニオン性PAM及びその塩が、汎用性が高く、繊維どうしの凝集効果も低いため、好ましい。 As the dry paper strength enhancer, conventionally known dry paper strength enhancers can be used. For example, carboxymethyl cellulose (CMC) and salts thereof, polyacrylamide resins and salts thereof, cationized starch, polyvinyl alcohol (PVA). These can be used, and one of these can be used alone or in combination of two or more. As the salt of CMC or polyacrylamide resin, sodium salt is mainly used. Examples of the polyacrylamide resin include cationic or anionic polyacrylamide (PAM). Among these dry paper strength enhancers, CMC and salts thereof, anionic PAM and salts thereof are particularly preferable because of their high versatility and low aggregation effect between fibers.
湿潤紙力増強剤としては、従来公知の湿潤紙力増強剤を用いることができ、例えば、エポキシ化ポリアミドポリアミン樹脂(PAE)、尿素−ホルマリン樹脂、メラミン−ホルマリン樹脂、ジアルデヒドデンプン、ポリエチレンアミン、メチロール化ポリアミド等が挙げられ、これらの1種を単独で又は2種以上を組み合わせて用いることができる。これらの湿潤紙力増強剤の中でも、特にPAEが好ましい。 As the wet paper strength enhancer, conventionally known wet paper strength enhancers can be used. For example, epoxidized polyamide polyamine resin (PAE), urea-formalin resin, melamine-formalin resin, dialdehyde starch, polyethyleneamine, Examples include methylolated polyamide, and one of these can be used alone or two or more of them can be used in combination. Among these wet paper strength enhancers, PAE is particularly preferable.
高液透過性紙Aにおいて2種以上の紙力増強剤を用いる場合、それらの好ましい組み合わせとして、1)1種の乾燥紙力増強剤及び1種の湿潤紙力増強剤の組み合わせ、並びに2)2種の乾燥紙力増強剤及び1種の湿潤紙力増強剤の組み合わせが挙げられる。前記1)の組み合わせにおいて、1種の乾燥紙力増強剤としてはアニオン性PAMの塩が好ましく、1種の湿潤紙力増強剤としてはPAEが好ましい。また、前記2)の組み合わせにおいて、2種の乾燥紙力増強剤としてはCMCの塩及びアニオン性PAMの塩が好ましく、1種の湿潤紙力増強剤としてはPAEが好ましい。 When two or more kinds of paper strength enhancers are used in the highly liquid-permeable paper A, as a preferred combination thereof, 1) a combination of one dry paper strength enhancer and one wet paper strength enhancer, and 2) A combination of two dry paper strength enhancers and one wet paper strength enhancer. In the combination of 1) above, the one dry paper strength enhancer is preferably an anionic PAM salt, and the one wet paper strength enhancer is preferably PAE. In the combination 2), the two dry paper strength enhancers are preferably CMC salts and anionic PAM salts, and one wet paper strength enhancer is preferably PAE.
また、前記2)のように、2種の乾燥紙力増強剤としてCMCの塩及びアニオン性PAMの塩を用い、1種の湿潤紙力増強剤としてPAEを用いた場合、アニオン性PAMの塩の重量平均分子量は、800万以上、特に1000万以上、とりわけ1500万以上が好ましく、また、アニオン性PAMの塩の重量平均分子量の上限は、2500万が好ましい。このように特定の3種類の紙力増強剤を用いる場合において、それらのうちの1種であるアニオン性PAMの塩の重量平均分子量が前記範囲(800万以上2500万以下)であれば、アニオン性PAMの塩自体の接着性の発現による高液透過性紙Aの強度向上効果に加えて、CMCの塩の歩留まりの向上による高液透過性紙Aの強度向上効果が得られるため、両強度向上効果によって高液透過性紙Aのより良好な強度特性が得られる。また、アニオン性PAMの塩の重量平均分子量が2500万以下であると、高液透過性紙Aの製造時においてアニオン性PAMの塩の水中での分散性や粘度が比較的低く抑えられるため、ハンドリング性や抄紙機の汚れ防止の点で良い結果が得られる。 Further, as in 2) above, when two kinds of dry paper strength enhancers are CMC salt and anionic PAM salt, and one kind of wet paper strength enhancer is PAE, anionic PAM salt Is preferably 8 million or more, more preferably 10 million or more, and particularly preferably 15 million or more, and the upper limit of the weight average molecular weight of the anionic PAM salt is preferably 25 million. Thus, in the case of using three kinds of specific paper strength enhancers, if the weight average molecular weight of the salt of anionic PAM which is one of them is in the above range (8 million to 25 million), an anion In addition to the effect of improving the strength of the highly liquid-permeable paper A due to the expression of the adhesive property of the salt of the conductive PAM itself, the strength of the highly liquid-permeable paper A can be improved by improving the yield of the salt of the CMC. Due to the improvement effect, better strength characteristics of the highly liquid-permeable paper A can be obtained. In addition, when the weight average molecular weight of the anionic PAM salt is 25 million or less, the dispersibility and viscosity of the anionic PAM salt in water during production of the highly liquid-permeable paper A can be kept relatively low. Good results are obtained in terms of handling properties and prevention of dirt on the paper machine.
高液透過性紙Aにおける紙力増強剤の添加量は、高液透過性紙Aの全構成繊維の乾燥質量に対して、好ましくは0.01〜1.5質量%、更に好ましくは0.03〜1.2質量%である。紙力増強剤の添加量が少なすぎると、引張強度等の強度特性が十分に得られず、紙力増強剤の添加量が多すぎると、高液透過性紙Aの硬化(風合いの低下)の他、高液透過性紙Aの製造時におけるヤンキードライヤへの紙の張り付きやメッシュドラムへの紙力増強剤の付着等による、高液透過性紙Aの地合の低下を招くおそれがある。 The addition amount of the paper strength enhancer in the high liquid permeability paper A is preferably 0.01 to 1.5% by mass, more preferably 0.00%, based on the dry mass of all the constituent fibers of the high liquid permeability paper A. It is 03-1.2 mass%. If the added amount of the paper strength enhancer is too small, sufficient strength properties such as tensile strength cannot be obtained. If the added amount of the paper strength enhancer is too large, the highly liquid-permeable paper A is cured (decrease in texture). In addition, there is a possibility that the formation of the high liquid permeability paper A may be reduced due to the sticking of the paper to the Yankee dryer or the adhesion of the paper strength enhancer to the mesh drum during the production of the high liquid permeability paper A. .
また、紙力増強剤として、乾燥紙力増強剤の1種以上と湿潤紙力増強剤の1種以上との組み合わせを用いる場合、乾燥紙力増強剤の総添加質量と湿潤紙力増強剤の総添加質量との比(前者/後者)は、好ましくは0.01〜0.5、更に好ましくは0.03〜0.35である。 When a combination of one or more dry paper strength enhancers and one or more wet paper strength enhancers is used as the paper strength enhancer, the total added mass of the dry paper strength enhancer and the wet paper strength enhancer The ratio to the total added mass (the former / the latter) is preferably 0.01 to 0.5, more preferably 0.03 to 0.35.
また、前述したように、乾燥紙力増強剤としてCMCの塩及びアニオン性PAMの塩の2種を用い、湿潤紙力増強剤としてPAEの1種を用いる場合、高液透過性紙Aの全構成繊維の乾燥質量に対する各紙力増強剤の添加量は、CMCの塩が好ましくは0.05〜0.5質量%、更に好ましくは0.1〜0.3質量%であり、アニオン性PAMの塩が好ましくは0.001〜0.1質量%、更に好ましくは0.02〜0.05質量%であり、PAEが好ましくは0.5〜1.5質量%、更に好ましくは0.6〜1.2質量%である。 In addition, as described above, when two kinds of CMC salt and anionic PAM salt are used as the dry paper strength enhancer and one type of PAE is used as the wet paper strength enhancer, all of the high liquid permeable paper A is used. The addition amount of each paper strength enhancer with respect to the dry mass of the constituent fibers is preferably 0.05 to 0.5 mass%, more preferably 0.1 to 0.3 mass% of the salt of CMC, The salt is preferably 0.001 to 0.1% by mass, more preferably 0.02 to 0.05% by mass, and the PAE is preferably 0.5 to 1.5% by mass, more preferably 0.6 to 1.2% by mass.
高液透過性紙Aは、前述した、第1パルプ及び第2パルプ(親水性セルロース繊維)等の繊維及び紙力増強剤以外の他の成分を含んでいても良い。他の成分としては、例えば、タルク等の填料、染料、色顔料、抗菌剤、pH調整剤、歩留り向上剤、耐水化剤、消泡剤等の一般的に抄紙用原材料や添加物として使用されているものが挙げられ、これらの1種を単独で又は2種以上を組み合わせて用いることができる。 The highly liquid-permeable paper A may contain components other than the fibers such as the first pulp and the second pulp (hydrophilic cellulose fibers) and the paper strength enhancer described above. As other components, for example, fillers such as talc, dyes, color pigments, antibacterial agents, pH adjusters, yield improvers, water resistance agents, antifoaming agents and the like are generally used as raw materials for papermaking and additives. These can be used, and one of these can be used alone or in combination of two or more.
高液透過性紙Aは、公知の湿式抄紙法によって製造することができる。湿式抄紙法は、NBKP等の繊維の水分散液からなる紙料(スラリー)を調製する紙料調製工程と、紙料から繊維を抄いて繊維ウエブとしたものを搬送しながら乾燥する抄紙工程とを有するものである。抄紙工程は、通常、ワイヤパート、プレスパート、ドライヤパート、サイズプレス、カレンダパート等に分けられ、順次実施される。前述した乾燥紙力増強剤及び湿潤紙力増強剤は、通常、紙料調整工程において紙料に添加される。通常、湿潤紙力増強剤、乾燥紙力増強剤の順で紙料に添加するが、本発明における紙力増強剤の添加順序はこれに制限されず、添加順序をこれとは逆にしても良く、両者を同時に添加しても良い。湿式抄紙法は、例えば、長網抄紙機、ツインワイヤー抄紙機、オントップ抄紙機、ハイブリッド抄紙機又は丸網抄紙機等の抄紙機を用いて常法に従って実施することができる。 Highly liquid-permeable paper A can be produced by a known wet papermaking method. The wet papermaking method includes a stock preparation step for preparing a stock (slurry) made of an aqueous dispersion of fibers such as NBKP, and a paper making step for drying while transporting a fiber made from the stock into a fiber web. It is what has. The paper making process is usually divided into a wire part, a press part, a dryer part, a size press, a calendar part, etc., and is carried out sequentially. The above-mentioned dry paper strength enhancer and wet paper strength enhancer are usually added to the stock in the stock preparation step. Usually, the wet paper strength enhancer and the dry paper strength enhancer are added in the order of the paper strength enhancer, but the order of addition of the paper strength enhancer in the present invention is not limited to this, and the order of addition may be reversed. Both may be added simultaneously. The wet papermaking method can be carried out according to a conventional method using a paper machine such as a long paper machine, a twin wire paper machine, an on-top paper machine, a hybrid paper machine, or a round paper machine.
高液透過性紙Aは、強度特性及び液透過性に加えて、通気性にも優れている。その理由は、主として、繊維粗度の異なる2種の親水性セルロース繊維の集合体を主体としているためである。本発明者らは、繊維粗度の異なる2種の親水性セルロース繊維を用いることと薄葉紙の通気性との関係を調べるべく、パルプ配合の異なる2種類の薄葉紙(サンプルA、B)を用意し、これらの透気度を測定した。サンプルAは、第1パルプ及び第2パルプを繊維材料として含むもので後述する高液透過性紙IIであり、サンプルBは、第1パルプのみを繊維材料として含むもので後述する高液透過性紙Iである。サンプルA及びB共に坪量は13g/m2であった。透気度は次のようにして測定される。 The high liquid permeability paper A is excellent in air permeability in addition to strength characteristics and liquid permeability. The reason is mainly because it mainly comprises an aggregate of two types of hydrophilic cellulose fibers having different fiber roughness. In order to investigate the relationship between the use of two types of hydrophilic cellulose fibers having different fiber roughness and the breathability of thin paper, the present inventors prepared two types of thin paper (samples A and B) having different pulp compositions. The air permeability was measured. Sample A includes the first pulp and the second pulp as the fiber material, and is a high liquid permeability paper II described later. Sample B includes only the first pulp as the fiber material, and the high liquid permeability described later. Paper I. Both samples A and B had a basis weight of 13 g / m 2 . The air permeability is measured as follows.
<透気度の測定方法>
透気度の測定はJIS P8117に準じて実施する。15cm四方の測定対象シート(薄葉紙)を32枚用意し、これらを熱風乾燥機により105℃の熱風で30分間乾燥させた後、32枚全てを重ねて1つの積層体とし、該積層体をB形透気度計にセットする。そして、B形透気度計において、標線の0ccをスタ−トとし300ccに達するまでに要する時間を測定する。以上の操作を5回実施し、得られた5つの測定時間の平均値を、当該測定対象シート(薄葉紙)の透気度とする。透気度の単位は、「s/32P・300cc」であり、32枚のシートを300ccの空気が抜けるのに要する時間(秒)を表す。透気度の値が小さいほど空気が抜け易く、通気性に優れると評価できる。
<Measurement method of air permeability>
The air permeability is measured according to JIS P8117. After preparing 32 sheets of 15 cm square measurement object sheets (thin paper) and drying them with hot air dryer for 30 minutes with hot air at 105 ° C., all 32 sheets are stacked to form one laminate, and the laminate is B Set on the air permeability meter. Then, in the B-type air permeability meter, the time required to reach 300 cc is measured using 0 cc of the marked line as a start. The above operation is performed 5 times, and the average value of the obtained five measurement times is defined as the air permeability of the measurement target sheet (thin paper). The unit of air permeability is “s / 32P · 300 cc” and represents the time (seconds) required for 300 cc of air to escape through 32 sheets. It can be evaluated that the smaller the value of the air permeability, the easier the air can escape and the better the air permeability.
繊維材料として第1パルプのみを用いたサンプルB(後述する高液透過性紙I)は、透気度が2.1〜2.7s/32P・300ccの範囲であったのに対し、繊維材料として繊維粗度が互いに異なる2種のパルプ(第1及び第2パルプ)を用いたサンプルA(後述する高液透過性紙II)は、透気度が1.6〜2.2s/32P・300ccの範囲にあり、サンプルAの方がサンプルBよりも透気度の値が小さかった。このことから、繊維粗度の異なる2種の親水性セルロース繊維の集合体を主体として薄葉紙を構成することは、薄葉紙の通気性を向上させる上で有効であることがわかり、斯かる構成を具備する高液透過性紙Aが通気性に優れることが明らかである。 Sample B (highly liquid permeable paper I described later) using only the first pulp as the fiber material had an air permeability in the range of 2.1 to 2.7 s / 32 P · 300 cc, whereas the fiber material Sample A (highly liquid permeable paper II described later) using two kinds of pulps (first and second pulps) having different fiber roughness as the air permeability is 1.6 to 2.2 s / 32 P · In the range of 300 cc, the value of air permeability of sample A was smaller than that of sample B. From this, it can be seen that it is effective to improve the air permeability of the thin paper to make the thin paper mainly composed of an aggregate of two kinds of hydrophilic cellulose fibers having different fiber roughnesses. It is clear that the highly liquid-permeable paper A is excellent in air permeability.
高液透過性紙51は、前述した高液透過性紙Aに制限されず、坪量、密度、液透過時間及びMDの乾燥引張強度それぞれが前記範囲内にある紙であれば良い。例えば、高液透過性紙51は、フリーネスが400〜550ml、好ましくは475〜525ml、更に好ましくは490〜510mlであるNBKP(針葉樹晒クラフトパルプ)を主体とし、2種以上の紙力増強剤が添加されており、クレープ率が5〜30%、好ましくは5〜20%、更に好ましくは7〜15%である薄葉紙(クレープ紙)であっても良い。ここで、「主体としている」とは、フリーネスが斯かる範囲にあるNBKPの含有率が50質量%以上であることを意味する。該含有率は、良好な強度特性を得る観点から、好ましくは50〜100質量%、更に好ましくは80〜100質量%である。斯かるクレープ紙において、紙力増強剤の具体例など、特に説明しない点は、高液透過性紙Aについての説明が適宜適用される。
The high liquid
おむつ1における各部の形成材料について説明すると、表面シート2及び裏面シート3としては、当該技術分野において従来用いられている各種のものを用いることができる。表面シート2としては、不織布や開孔フィルム等の各種液透過性のシート材を用いることができる。裏面シート3としては、透湿性を有しない樹脂フィルムや、微細孔を有し、透湿性を有する樹脂フィルム、撥水不織布等の不織布、これらと他のシートとのラミネート体等の各種液不透過性ないし撥水性のものを用いることができる。また、サイドシート62としては、裏面シート3と同様のものを用いることができる。
If the formation material of each part in the
本実施形態のおむつ1は、公知の展開型の使い捨ておむつと同様に使用される。本実施形態のおむつ1は、コアラップシート5における、吸収性コア40の肌対向面40a側に配置される部位が高液透過性紙51であるため、斯かる部位が合成繊維を構成繊維とする不織布で形成されている、特許文献1に記載の吸収性物品に比して、特に軟便等の排泄液の吸収性(繰り返し吸収性)に優れ、吸水性ポリマー等の吸収性コア形成材料の漏れ出しを起こし難く、且つ製造コストが抑えられている。また、本実施形態のおむつ1は、コアラップシート5における、吸収性コア40の非肌対向面40b側に配置される部位が低液透過性シート52であるため、横漏れを起こし難い。
The
本発明は、前記実施形態に制限されず、本発明の趣旨を逸脱しない範囲で適宜変更が可能である。例えば、前記実施形態におけるコアラップシート5は、高液透過性紙51と低液透過性シート52とから構成されていたが、高液透過性紙51のみから構成されていても良い。その場合、コアラップシート5を2枚の高液透過性紙51から構成しても良く、例えば図2に示す実施形態において、低液透過性シート52を高液透過性紙51に代えても良い。
The present invention is not limited to the above-described embodiment, and can be appropriately changed without departing from the spirit of the present invention. For example, the
あるいは、図4に示すように、コアラップシート5を1枚の高液透過性紙51から構成しても良い。図4に示す実施形態においては、コアラップシート5として、吸収性コア40の幅方向Yの長さの2倍以上3倍以下の幅を有する1枚の高液透過性紙51を用いている。図4に示す吸収体4は、1枚の高液透過性紙51の幅方向Yの中央部に吸収性コア40を載置し、該高液透過性紙51の幅方向Yの両側部を吸収性コア40の上面側に折り返し、該高液透過性紙51の幅方向Yの両側縁部どうしをホットメルト型接着剤等の公知の接合手段により接合して該高液透過性紙51を筒状に形成し、上下反転させて得られる。
Alternatively, as shown in FIG. 4, the
また、本発明の吸収性物品は、ファスニングテープを有する展開型の使い捨ておむつの他、予めパンツ型に形成されたパンツ型の使い捨ておむつ、吸収パッド、生理用ナプキン等であっても良い。 Moreover, the absorbent article of the present invention may be a pants-type disposable diaper, an absorbent pad, a sanitary napkin, or the like previously formed in a pants shape, in addition to a deployable disposable diaper having a fastening tape.
以下、本発明を実施例により更に具体的に説明するが、本発明は斯かる実施例に限定されるものではない。特に断らない限り、「%」は「質量%」を意味する。 EXAMPLES Hereinafter, the present invention will be described more specifically with reference to examples, but the present invention is not limited to such examples. Unless otherwise specified, “%” means “mass%”.
〔高液透過性紙Iの製造方法〕
NBKP(Cariboo Pulp and Paper Company製、商品名「Cariboo」、北米産)を水中に均一に分散させて、繊維濃度2質量%のスラリーを調製し、このスラリーを叩解機にかけて、NBKPのフリーネスを500mlに調整した。更に、このスラリーに、第1紙力増強剤としてアニオン性PAMのナトリウム塩(乾燥紙力増強剤、MTアクアポリマー製、商品名「アコフロックA95」)を、スラリー中の全繊維の乾燥質量に対して0.2質量%投入し、次いで、第2紙力増強剤としてPAE(湿潤紙力増強剤、星光PMC株式会社製、商品名「WS4030」)を、スラリー中の全繊維の乾燥質量に対して0.2質量%投入し、各成分が均一になるように十分に撹拌した。こうして得られたスラリーを、ワイヤー目開き径90μm(166メッシュ)の金網抄紙ワイヤー上に散布し、金網抄紙ワイヤー上に紙層を形成させ、サクションボックスを用いて6ml/(cm2・sec)の速度で該紙層を脱水した後、該紙層をドライヤで乾燥させ、乾燥面からドクターブレードで紙層をはがしながら、ドライヤと巻き取りの速比をつけてクレープを付与した。こうして得られた薄葉紙(クレープ紙)を高液透過性紙Iとした。
[Production Method of Highly Liquid Permeable Paper I]
NBKP (Cariboo Pulp and Paper Company, trade name “Cariboo”, manufactured in North America) is uniformly dispersed in water to prepare a slurry with a fiber concentration of 2% by mass. Adjusted. Further, an anionic PAM sodium salt (dry paper strength enhancer, manufactured by MT Aqua Polymer, trade name “Akofloc A95”) as a first paper strength enhancer was added to this slurry with respect to the dry mass of all fibers in the slurry. 0.2 mass%, and then PAE (wet paper strength enhancer, trade name “WS4030”, manufactured by Seiko PMC Co., Ltd.) as the second paper strength enhancer, based on the dry weight of all the fibers in the slurry. Then, 0.2% by mass was added and sufficiently stirred so that each component was uniform. The slurry thus obtained was spread on a wire mesh paper wire having a wire opening diameter of 90 μm (166 mesh), a paper layer was formed on the wire mesh paper wire, and 6 ml / (cm 2 · sec) was formed using a suction box. After the paper layer was dehydrated at a speed, the paper layer was dried with a dryer, and the paper layer was peeled off from the dry surface with a doctor blade, and a crepe was applied at a speed ratio of the dryer and the winding. The thin paper (crepe paper) thus obtained was designated as a high liquid permeability paper I.
〔高液透過性紙II及びIIIの製造方法〕
パルプの種類(繊維粗度)やフリーネス等を適宜変更した以外は高液透過性紙Iと同様にして薄葉紙(クレープ紙)を製造し、それぞれ高液透過性紙II、IIIとした。高液透過性紙II及びIIIは、それぞれ、前述した高液透過性紙Aである。
[Method for Producing Highly Liquid Permeable Paper II and III]
A thin paper (crepe paper) was produced in the same manner as the high-liquid-permeable paper I except that the type of pulp (fiber roughness), freeness, and the like were changed as appropriate, and designated as high-liquid-permeable papers II and III, respectively. The high liquid permeability papers II and III are the above-described high liquid permeability paper A, respectively.
高液透過性紙I〜IIIで使用したパルプ(NBKP)の詳細は次の通り(繊維粗度の小さい順に記載)。これらのパルプは、日本紙パルプ商事又は伊藤忠商事を通じて入手した。
・繊維粗度0.13mg/m(商品名「Northwood」、ConFor製)
・繊維粗度0.15mg/m(商品名「Cariboo」、Cariboo Pulp and Paper Company製)
・繊維粗度0.18mg/m(商品名「ARAUCO」、ARAUCO製)
・繊維粗度0.2mg/m(商品名「Crofton CK」、Unifibra製)
The details of the pulp (NBKP) used in the high liquid-permeable papers I to III are as follows (described in ascending order of fiber roughness). These pulps were obtained through Nippon Paper Pulp Trading or Itochu Corporation.
-Fiber roughness 0.13mg / m (trade name "Northwood", manufactured by ConFor)
-Fiber roughness 0.15mg / m (Brand name "Cariboo", Cariboo Pulp and Paper Company)
-Fiber roughness 0.18mg / m (trade name "ARAUCO", manufactured by ARAUCO)
・ Fiber roughness 0.2mg / m (trade name "Crofton CK", Unifibra)
前記高液透過性紙I〜IIIの各種評価結果は下記表1の通りである。乾燥引張強度及び液透過時間は、それぞれ前述した方法によって測定した。 Various evaluation results of the high liquid permeability papers I to III are shown in Table 1 below. The dry tensile strength and the liquid permeation time were measured by the methods described above.
〔実施例1〕
図1及び図2に示す如き展開型の使い捨ておむつを作製し、これを実施例1のサンプルとした。実施例1では、コアラップシートを2枚の前記高液透過性紙Iから構成し、低液透過性シートは使用していない。表面シートとしては、合成繊維を構成繊維とする坪量25g/m2のエアスルー不織布を用いた。エアスルー不織布は、芯がポリプロピレン、鞘が直鎖状ポリエチレンからなる芯鞘型複合繊維(太さ2.1dtex、界面活性剤で表面処理、液透過性を有する)から構成されていた。裏面シートとしては、坪量20g/m2の多孔質フィルムと坪量20g/m2のポリプロピレン製スパンポンドとを1.5g/m2ホットメルト型接着剤で接着して複合化したものを用いた。裏面シートを構成する多孔質フィルムは、密度0.925g/m3の直鎖状ポリエチレン樹脂100質量部に、炭酸カルシウム150質量部及び第3成分としてエステル化合物4質量部を均一混合した物を、インフレーション成形した後、縦方向に一軸延伸したフィルムであった。吸収性コアとしては、親水性繊維としてウエハウザー社製のNB416を用い、吸水性ポリマーとしてサンダイヤ社製のサンウェットIM997を用い、親水性繊維と吸水性ポリマーとの含有質量比が前者/後者=10/6〜10/7であり、坪量が470g/m2の混合積繊型の吸収性コアを用いた。吸収性コアの長手方向の全長は360mm、幅方向の全長(最大長さ)は110mm、坪量は470g/m2、密度は0.17g/cm3、無荷重下での厚みは2.7mmであった。
[Example 1]
An unfolded disposable diaper as shown in FIGS. 1 and 2 was produced and used as a sample of Example 1. In Example 1, the core wrap sheet is composed of the two highly liquid permeable papers I, and the low liquid permeable sheet is not used. As the surface sheet, an air-through nonwoven fabric having a basis weight of 25 g / m 2 and comprising synthetic fibers as constituent fibers was used. The air-through nonwoven fabric was composed of a core-sheath type composite fiber (thickness: 2.1 dtex, surface treatment with a surfactant, and liquid permeability) having a core made of polypropylene and a sheath made of linear polyethylene. As the back sheet, a composite film in which a porous film having a basis weight of 20 g / m 2 and a spun pond made of polypropylene having a basis weight of 20 g / m 2 are bonded with a 1.5 g / m 2 hot-melt adhesive is used. It was. The porous film constituting the back sheet is obtained by uniformly mixing 100 parts by mass of a linear polyethylene resin having a density of 0.925 g / m 3 with 150 parts by mass of calcium carbonate and 4 parts by mass of an ester compound as a third component. After the inflation molding, the film was uniaxially stretched in the longitudinal direction. As the absorbent core, NB416 manufactured by Wafer User is used as the hydrophilic fiber, Sunwet IM997 manufactured by Sundia is used as the water-absorbing polymer, and the mass ratio of the hydrophilic fiber to the water-absorbing polymer is the former / the latter = 10. A mixed fiber type absorbent core having a basis weight of 470 to 10/7 and a basis weight of 470 g / m 2 was used. The total length in the longitudinal direction of the absorbent core is 360 mm, the total length in the width direction (maximum length) is 110 mm, the basis weight is 470 g / m 2 , the density is 0.17 g / cm 3 , and the thickness under no load is 2.7 mm. Met.
〔実施例2〜4及び比較例1〕
実施例1において、コアラップシート(吸収性コアの肌対向面側に配置される1枚及び吸収性コアの非肌対向面側に配置される他の1枚)を下記表2に示す通りに構成した以外は実施例1と同様にして展開型の使い捨ておむつを作製し、これらを実施例2〜4及び比較例1のサンプルとした。実施例及び比較例で用いた低液透過性シートIは、坪量16g/m2、密度0.23g/cm3、クレープ率10%のクレープ紙であった。
[Examples 2 to 4 and Comparative Example 1]
In Example 1, a core wrap sheet (one sheet disposed on the skin facing surface side of the absorbent core and another sheet disposed on the non-skin facing surface side of the absorbent core) as shown in Table 2 below. Except for the construction, unfolded disposable diapers were produced in the same manner as in Example 1, and these were used as samples of Examples 2 to 4 and Comparative Example 1. The low liquid permeability sheet I used in Examples and Comparative Examples was a crepe paper having a basis weight of 16 g / m 2 , a density of 0.23 g / cm 3 , and a crepe rate of 10%.
実施例及び比較例の各サンプル(使い捨ておむつ)の各種評価結果は下記表2の通りである。軟便吸収性及び横漏れ防止性は、下記方法により評価した。 Various evaluation results of each sample (disposable diaper) of Examples and Comparative Examples are shown in Table 2 below. Soft stool absorbability and side leakage prevention properties were evaluated by the following methods.
<軟便吸収性>
使い捨ておむつを平面状に拡げ、表面シートを上に向けて水平面上に固定した状態で、高粘性液のモデルである擬似軟便10gを、吸収体の中心部に表面シート側からシリンジを用いて定速(6秒)で一括注入し、3.5kPaの加重下で5分間放置した。このとき、加重をかけるための錘と使い捨ておむつとの間にOHPフィルムを挟んでおいた。その後、OHPフィルムに付着した擬似軟便の量を測定し、その測定値を肌付着量とした。また、吸収性コアに吸収された量を軟便吸収量とした。肌付着量が少ないほど、また軟便吸収量が多いほど、軟便吸収性に優れ高評価となる。擬似軟便の成分は、ベントナイト28.0g、グリセリン14.0g、イオン交換水114.1g、エマルゲン130K0.03重量%水溶液(花王)14.2gであり、粘度は300mPa・s(株式会社エー・アンド・デイの振動式粘度計CJV5000で測定する。300mlビーカーに入った擬似軟便約170gをスターラーで300rpmにて60秒間攪拌し、直ぐに粘度計にセットし感応板を所定レベルに挿入し、計測レンジを50mVに選択し、計測スイッチを押して測定開始する。測定開始してから60秒後の値、25℃で測定。)であった。
<Soft stool absorbability>
With a disposable diaper spread in a flat shape and fixed on a horizontal surface with the top sheet facing upward, 10 g pseudo-soft stool, which is a model of highly viscous liquid, is fixed to the center of the absorbent body using a syringe from the top sheet side. The batch injection was carried out at a high speed (6 seconds) and left for 5 minutes under a load of 3.5 kPa. At this time, an OHP film was sandwiched between a weight for applying a weight and a disposable diaper. Thereafter, the amount of pseudo-soft stool adhering to the OHP film was measured, and the measured value was defined as the skin adhesion amount. The amount absorbed by the absorbent core was defined as the amount of soft stool absorption. The smaller the skin adhesion amount and the greater the amount of loose stool absorption, the better the stool absorption and the higher the evaluation. The components of the artificial soft stool were bentonite 28.0 g, glycerin 14.0 g, ion-exchanged water 114.1 g, emulgen 130K 0.03% by weight aqueous solution (Kao) 14.2 g, and the viscosity was 300 mPa · s (A &・ Measure with a day-day vibration viscometer CJV 5000. Stir about 170 g of pseudo soft stool in a 300 ml beaker with a stirrer at 300 rpm for 60 seconds, immediately set in the viscometer, insert the sensitive plate at a predetermined level, and set the measurement range. Select 50 mV and start measurement by pressing the measurement switch.The value 60 seconds after the start of measurement, measured at 25 ° C.).
<横漏れ防止性>
使い捨ておむつを平面状に拡げ、表面シートを上に向けて水平面上に固定した状態で、該おむつの吸収体の中心部に対して表面シートを介してら2kPaで加圧しながら、40gの生理食塩水を注入して吸収させ、生理食塩水の注入から10分放置後、更に40gの生理食塩水を注入して吸収させた。この操作を、生理食塩水の合計注入量が160gになるまで繰り返し、生理食塩水注入後におむつの長手方向に沿う側部から幅方向外方に生理食塩水が流れ出るか否か(即ち横漏れがあるか否か)を目視で観察した。生理食塩水の合計注入量が160gとなった後も横漏れが見られない場合を○、合計注入量が120gとなった後は横漏れが見られないが、合計注入量が160gとなった後に横漏れが見られた場合を△、合計注入量が120gとなった後に横漏れが見られた場合を×と判定した。
<Side leakage prevention>
While expanding the disposable diaper into a flat shape and fixing the top sheet on the horizontal plane with the top sheet facing upward, 40 g of physiological saline is applied to the center of the absorbent body of the diaper while pressing through the top sheet with 2 kPa. Was injected and absorbed, and after 10 minutes from the injection of physiological saline, 40 g of physiological saline was injected and absorbed. This operation is repeated until the total injection amount of the physiological saline reaches 160 g. After the physiological saline is injected, whether or not the physiological saline flows outward from the side along the longitudinal direction of the diaper in the width direction (i.e., side leakage occurs). Whether or not there was) was visually observed. A case where no side leakage was observed even after the total injection amount of physiological saline reached 160 g, and no side leakage was observed after the total injection amount reached 120 g, but the total injection amount became 160 g. The case where lateral leakage was observed later was evaluated as Δ, and the case where lateral leakage was observed after the total injection amount reached 120 g was determined as ×.
表2に示す結果から明らかなように、吸収性コアの肌対向面に対向配置されるコアラップシートが特定の高液透過性紙である、各実施例の使い捨ておむつは、該コアラップシートが低液透過性シートである、比較例の使い捨ておむつに比して、軟便の肌への付着量が少なく且つ軟便吸収量が多く軟便吸収性に優れ、更には横漏れ防止性にも優れるものであった。特に、吸収性コアの非肌対向面に対向配置されるコアラップシートが低液透過性シートである、実施例2〜4の使い捨ておむつは、コアラップシート全体が特定の高液透過性紙である、実施例1の使い捨ておむつに比して横漏れ防止性に優れており、斯かる高液透過性紙及び低液透過性シートの組み合わせの有効性が明らかである。 As is clear from the results shown in Table 2, the disposable diaper of each example in which the core wrap sheet opposed to the skin-facing surface of the absorbent core is a specific highly liquid-permeable paper has the core wrap sheet Compared with the disposable diaper of the comparative example, which is a low liquid permeability sheet, the amount of loose stool attached to the skin is small, the amount of loose stool absorption is large and the stool absorbability is excellent, and the side leakage prevention property is also excellent. there were. In particular, in the disposable diapers of Examples 2 to 4, in which the core wrap sheet disposed opposite to the non-skin facing surface of the absorbent core is a low liquid permeable sheet, the entire core wrap sheet is a specific high liquid permeable paper. Compared with the disposable diaper of Example 1, it is excellent in the side leakage prevention property, and the effectiveness of the combination of such a high liquid permeability paper and a low liquid permeability sheet is clear.
1 吸収性物品(使い捨ておむつ)
2 表面シート
3 裏面シート
4 吸収体
40 吸収性コア
40a 吸収性コアの肌対向面
40b 吸収性コアの非肌対向面
40s 吸収性コアの側縁部
5 コアラップシート
51 高液透過性紙
52 低液透過性シート
1 Absorbent article (disposable diaper)
2 Top sheet 3
Claims (4)
前記コアラップシートは、前記吸収性コアの肌対向面に対向配置される高液透過性紙を含んでおり、
前記高液透過性紙は、坪量が8〜20g/m2、密度が0.05〜0.2g/cm3、下記方法で測定される液透過時間が600秒以下であり、且つ前記吸収性コアの長手方向と同方向の乾燥引張強度が600cN/25mm以上であり、
前記高液透過性紙は、繊維粗度の異なる2種の親水性セルロース繊維の集合体を主体とし、紙力増強剤が添加されており、
前記2種の親水性セルロース繊維として、繊維粗度が0.13〜0.16mg/mの第1パルプと繊維粗度が0.17〜0.20mg/mの第2パルプとが含有されており、含有されている第1パルプと第2パルプとの繊維粗度の差が0.01〜0.07mg/mであり、前記集合体のフリーネスが400〜550mlである吸収性物品。
<液透過時間の測定方法>
上下端が開口している内径35mmの2本の円筒を、両円筒の軸を一致させて上下に配し、測定対象のシートを上下の円筒間に挟み込み、その状態で上側の円筒内に、グリセリンとイオン交換水とを、前者:後者=94:6の質量比で混合してなる高粘性液(粘度290mPa・s)を10g±1g供給する。供給された高粘性液は、測定対象のシートを透過するか又は測定対象のシートに吸収されて上側の円筒内からなくなる。高粘性液の供給開始時から、高粘性液の液面が測定対象のシートの表面と同位置になるまでの時間を測定し、その時間を液透過時間とする。 Comprising an absorbent body, the absorbent body comprising a hydrophilic fiber and a water-absorbing polymer and having an elongated shape in one direction, and a core wrap sheet covering the absorbent core. An absorbent article,
The core wrap sheet includes a highly liquid permeable paper disposed to face the skin facing surface of the absorbent core,
The high liquid permeability paper has a basis weight of 8 to 20 g / m 2 , a density of 0.05 to 0.2 g / cm 3 , a liquid permeation time measured by the following method of 600 seconds or less, and the absorption. Ri der dry tensile strength in the longitudinal direction in the same direction 600 cN / 25 mm or more sexual core,
The high liquid permeability paper is mainly composed of an aggregate of two kinds of hydrophilic cellulose fibers having different fiber roughness, and a paper strength enhancer is added,
The two kinds of hydrophilic cellulose fibers include a first pulp having a fiber roughness of 0.13 to 0.16 mg / m and a second pulp having a fiber roughness of 0.17 to 0.20 mg / m. An absorbent article in which the difference in fiber roughness between the first pulp and the second pulp contained is 0.01 to 0.07 mg / m, and the freeness of the aggregate is 400 to 550 ml .
<Measurement method of liquid permeation time>
Two cylinders with an inner diameter of 35 mm that open at the top and bottom are arranged vertically with the axes of both cylinders aligned, the sheet to be measured is sandwiched between the upper and lower cylinders, and in that state, in the upper cylinder, 10 g ± 1 g of a highly viscous liquid (viscosity 290 mPa · s) obtained by mixing glycerin and ion-exchanged water at a mass ratio of the former: the latter = 94: 6 is supplied. The supplied highly viscous liquid passes through the measurement target sheet or is absorbed by the measurement target sheet and disappears from the upper cylinder. The time from when the supply of the high-viscosity liquid is started until the liquid surface of the high-viscosity liquid reaches the same position as the surface of the sheet to be measured is measured, and the time is defined as the liquid permeation time.
The absorbent article according to claim 3, wherein the low liquid permeability sheet is a crepe paper having a liquid permeation time measured by the method exceeding 600 seconds.
Priority Applications (5)
| Application Number | Priority Date | Filing Date | Title |
|---|---|---|---|
| JP2011258846A JP5833415B2 (en) | 2010-12-27 | 2011-11-28 | Absorbent articles |
| PCT/JP2011/077524 WO2012086374A1 (en) | 2010-12-21 | 2011-11-29 | Tissue paper and method for producing tissue paper |
| MYPI2013701034A MY184185A (en) | 2010-12-21 | 2011-11-29 | Tissue paper and method for producing tissue paper |
| CN201180060711.2A CN103261520B (en) | 2010-12-21 | 2011-11-29 | Tissue paper and method for producing tissue paper |
| RU2013133812/05A RU2568218C2 (en) | 2010-12-21 | 2011-11-29 | Napkin paper and methods of production of napkin paper |
Applications Claiming Priority (3)
| Application Number | Priority Date | Filing Date | Title |
|---|---|---|---|
| JP2010289542 | 2010-12-27 | ||
| JP2010289542 | 2010-12-27 | ||
| JP2011258846A JP5833415B2 (en) | 2010-12-27 | 2011-11-28 | Absorbent articles |
Publications (2)
| Publication Number | Publication Date |
|---|---|
| JP2012148060A JP2012148060A (en) | 2012-08-09 |
| JP5833415B2 true JP5833415B2 (en) | 2015-12-16 |
Family
ID=46790933
Family Applications (1)
| Application Number | Title | Priority Date | Filing Date |
|---|---|---|---|
| JP2011258846A Active JP5833415B2 (en) | 2010-12-21 | 2011-11-28 | Absorbent articles |
Country Status (1)
| Country | Link |
|---|---|
| JP (1) | JP5833415B2 (en) |
Families Citing this family (7)
| Publication number | Priority date | Publication date | Assignee | Title |
|---|---|---|---|---|
| JP5988848B2 (en) * | 2012-11-30 | 2016-09-07 | 日本製紙クレシア株式会社 | Absorbent articles |
| JP5936560B2 (en) | 2013-01-18 | 2016-06-22 | ユニ・チャーム株式会社 | Absorbent articles |
| JP6026314B2 (en) * | 2013-02-19 | 2016-11-16 | 日本製紙クレシア株式会社 | Absorbent articles |
| JP6229932B2 (en) * | 2013-09-27 | 2017-11-15 | 大王製紙株式会社 | Absorbent articles |
| JP6499466B2 (en) * | 2015-02-13 | 2019-04-10 | カミ商事株式会社 | Absorbent articles |
| JP6943694B2 (en) * | 2017-09-06 | 2021-10-06 | 花王株式会社 | Absorbent article |
| JP2019042397A (en) * | 2017-09-06 | 2019-03-22 | 花王株式会社 | Absorbent article |
Family Cites Families (9)
| Publication number | Priority date | Publication date | Assignee | Title |
|---|---|---|---|---|
| JPH02279154A (en) * | 1989-04-20 | 1990-11-15 | Kuraray Co Ltd | Facing material for hygienic material |
| JP2512579B2 (en) * | 1990-02-16 | 1996-07-03 | 株式会社クラレ | Bulk paper manufacturing method |
| JP3097980B2 (en) * | 1993-02-23 | 2000-10-10 | 株式会社クラレ | Biodegradable nonwoven material |
| JP3457417B2 (en) * | 1995-04-17 | 2003-10-20 | 花王株式会社 | Absorbent paper, method for producing the same, and absorbent article using the same |
| US5843056A (en) * | 1996-06-21 | 1998-12-01 | Kimberly-Clark Worldwide, Inc. | Absorbent article having a composite breathable backsheet |
| US6248097B1 (en) * | 1998-08-06 | 2001-06-19 | Kimberly-Clark Worldwide, Inc. | Absorbent article with more conformable elastics |
| JP2001314444A (en) * | 2000-05-10 | 2001-11-13 | Kao Corp | Absorbent articles |
| JP4822961B2 (en) * | 2006-07-13 | 2011-11-24 | 花王株式会社 | Absorbent articles |
| JP5352227B2 (en) * | 2008-12-25 | 2013-11-27 | 花王株式会社 | Absorber |
-
2011
- 2011-11-28 JP JP2011258846A patent/JP5833415B2/en active Active
Also Published As
| Publication number | Publication date |
|---|---|
| JP2012148060A (en) | 2012-08-09 |
Similar Documents
| Publication | Publication Date | Title |
|---|---|---|
| JP6080246B2 (en) | Absorbent articles | |
| CN103269669B (en) | Absorbent commodity | |
| CN204798134U (en) | Absorbent article | |
| JP5973156B2 (en) | Absorbent articles | |
| JP3319603B2 (en) | Liquid distribution member for absorbent products showing high suction and high capacity | |
| JP5833415B2 (en) | Absorbent articles | |
| JP3234235B2 (en) | High absorbent liquid absorbent components | |
| JP6229932B2 (en) | Absorbent articles | |
| RU2568218C2 (en) | Napkin paper and methods of production of napkin paper | |
| JP5851823B2 (en) | Absorber | |
| JP5074621B2 (en) | Tissue paper | |
| WO2012086374A1 (en) | Tissue paper and method for producing tissue paper | |
| JP5352227B2 (en) | Absorber | |
| JP3201136U (en) | Absorbent articles | |
| JPH09156014A (en) | Absorbent sheet, manufacturing method thereof, and absorbent article | |
| JP7058112B2 (en) | Absorber and absorbent article | |
| JP5855912B2 (en) | Tissue paper | |
| JP5934497B2 (en) | Tissue paper | |
| JP6824948B2 (en) | Absorbents and absorbent articles | |
| JP2019043103A (en) | Laminate sheet, manufacturing method thereof, and absorptive article | |
| JP2020188918A (en) | Absorbent article | |
| JP2020188919A (en) | Absorbent article | |
| JP4004210B2 (en) | Absorbent articles | |
| JP2022014309A (en) | Absorbent sheet and absorbent article | |
| BR112022009656B1 (en) | ABSORBENT HYGIENIC ARTICLE |
Legal Events
| Date | Code | Title | Description |
|---|---|---|---|
| A621 | Written request for application examination |
Free format text: JAPANESE INTERMEDIATE CODE: A621 Effective date: 20140916 |
|
| A131 | Notification of reasons for refusal |
Free format text: JAPANESE INTERMEDIATE CODE: A131 Effective date: 20151006 |
|
| A521 | Request for written amendment filed |
Free format text: JAPANESE INTERMEDIATE CODE: A523 Effective date: 20151008 |
|
| TRDD | Decision of grant or rejection written | ||
| A01 | Written decision to grant a patent or to grant a registration (utility model) |
Free format text: JAPANESE INTERMEDIATE CODE: A01 Effective date: 20151027 |
|
| A61 | First payment of annual fees (during grant procedure) |
Free format text: JAPANESE INTERMEDIATE CODE: A61 Effective date: 20151029 |
|
| R151 | Written notification of patent or utility model registration |
Ref document number: 5833415 Country of ref document: JP Free format text: JAPANESE INTERMEDIATE CODE: R151 |
|
| RD03 | Notification of appointment of power of attorney |
Free format text: JAPANESE INTERMEDIATE CODE: R3D03 |
|
| RD04 | Notification of resignation of power of attorney |
Free format text: JAPANESE INTERMEDIATE CODE: R3D04 |
|
| R250 | Receipt of annual fees |
Free format text: JAPANESE INTERMEDIATE CODE: R250 |
|
| R250 | Receipt of annual fees |
Free format text: JAPANESE INTERMEDIATE CODE: R250 |
|
| R250 | Receipt of annual fees |
Free format text: JAPANESE INTERMEDIATE CODE: R250 |
|
| R250 | Receipt of annual fees |
Free format text: JAPANESE INTERMEDIATE CODE: R250 |
|
| R250 | Receipt of annual fees |
Free format text: JAPANESE INTERMEDIATE CODE: R250 |
|
| R250 | Receipt of annual fees |
Free format text: JAPANESE INTERMEDIATE CODE: R250 |
|
| R250 | Receipt of annual fees |
Free format text: JAPANESE INTERMEDIATE CODE: R250 |
|
| R250 | Receipt of annual fees |
Free format text: JAPANESE INTERMEDIATE CODE: R250 |
