[go: up one dir, main page]

JP5789429B2 - Drug container - Google Patents

Drug container Download PDF

Info

Publication number
JP5789429B2
JP5789429B2 JP2011140517A JP2011140517A JP5789429B2 JP 5789429 B2 JP5789429 B2 JP 5789429B2 JP 2011140517 A JP2011140517 A JP 2011140517A JP 2011140517 A JP2011140517 A JP 2011140517A JP 5789429 B2 JP5789429 B2 JP 5789429B2
Authority
JP
Japan
Prior art keywords
sheet
drug
medicine
container
insertion port
Prior art date
Legal status (The legal status is an assumption and is not a legal conclusion. Google has not performed a legal analysis and makes no representation as to the accuracy of the status listed.)
Active
Application number
JP2011140517A
Other languages
Japanese (ja)
Other versions
JP2013005753A (en
Inventor
橋本 仁史
仁史 橋本
史敬 大神
史敬 大神
Current Assignee (The listed assignees may be inaccurate. Google has not performed a legal analysis and makes no representation or warranty as to the accuracy of the list.)
Kobayashi Pharmaceutical Co Ltd
Original Assignee
Kobayashi Pharmaceutical Co Ltd
Priority date (The priority date is an assumption and is not a legal conclusion. Google has not performed a legal analysis and makes no representation as to the accuracy of the date listed.)
Filing date
Publication date
Application filed by Kobayashi Pharmaceutical Co Ltd filed Critical Kobayashi Pharmaceutical Co Ltd
Priority to JP2011140517A priority Critical patent/JP5789429B2/en
Publication of JP2013005753A publication Critical patent/JP2013005753A/en
Application granted granted Critical
Publication of JP5789429B2 publication Critical patent/JP5789429B2/en
Active legal-status Critical Current
Anticipated expiration legal-status Critical

Links

Images

Landscapes

  • Catching Or Destruction (AREA)
  • Packaging Of Annular Or Rod-Shaped Articles, Wearing Apparel, Cassettes, Or The Like (AREA)
  • Disinfection, Sterilisation Or Deodorisation Of Air (AREA)

Description

本発明は、薬剤成分が含有された薬剤シートを収容する薬剤容器に関する。   The present invention relates to a drug container that contains a drug sheet containing a drug component.

従来より、芳香剤や防虫剤等の薬剤が含浸された薬剤シートを収容する種々の容器が提案されている。例えば、特許文献1には、薬剤シートを収容する容器が開示されている。この容器は、開口が形成された枠体と、この枠体に取り付けられ薬剤シートの背面を覆う蓋体とで構成されており、薬剤シートに含浸された薬剤を開口から放出するようになっている。   Conventionally, various containers for storing a drug sheet impregnated with a drug such as a fragrance or an insect repellent have been proposed. For example, Patent Document 1 discloses a container for storing a medicine sheet. This container is composed of a frame body having an opening formed therein and a lid body attached to the frame body and covering the back surface of the drug sheet, and releases the drug impregnated in the drug sheet from the opening. Yes.

特開2008−68098号公報JP 2008-68098 A

ところで、上記特許文献1に記載の薬剤容器は、薬剤シートを交換する際に、枠体から蓋体を取り外して容器を分解する必要があり、交換作業が面倒であるという問題があった。   By the way, the medicine container described in the above-mentioned patent document 1 has a problem that when replacing a medicine sheet, it is necessary to remove the lid from the frame body and disassemble the container, and the replacement work is troublesome.

本発明は、上記問題を解決するためになされたものであり、薬剤シートの交換を容易に行うことができる、薬剤容器を提供することを目的とする。また、本発明は、薬剤シートの交換を容易に行うことができるとともに、薬剤シートの抜け出しが防止された薬剤容器を提供することを目的とする。   The present invention has been made to solve the above-described problems, and an object of the present invention is to provide a drug container that can easily replace a drug sheet. It is another object of the present invention to provide a medicine container that can be easily exchanged and prevents the medicine sheet from slipping out.

本発明は、薬剤成分が含有された薬剤シートを収容する薬剤容器であって、薬剤シートを挿入可能な挿入口、及び前記薬剤成分を放出するための少なくとも一つの放出口が形成された容器本体と、前記容器本体の内部に設けられ、前記薬剤シートの一方面側及び他方面側にそれぞれ配置され、当該薬剤シートを挟持する挟持通路を形成する第1及び第2挟持部材と、を備えている。   The present invention relates to a drug container for storing a drug sheet containing a drug component, wherein the container body is formed with an insertion port into which the drug sheet can be inserted and at least one discharge port for discharging the drug component. And a first clamping member and a second clamping member that are provided inside the container main body and are respectively disposed on one side and the other side of the drug sheet, and form a clamping passage for clamping the drug sheet. Yes.

この構成によれば、薬剤シートを挿入可能な挿入口と、薬剤シートを挟持する第1及び第2挟持部材を備えているため、薬剤シートを挿入口から挿入して両挟持部材の間の挟持通路まで押し込むだけで、両挟持部材により、薬剤シートを保持することができる。したがって、薬剤シートの装着を容易に行うことができる。また、挿入口から薬剤シートを引っ張り出すだけで、容器本体から薬剤シートを取り出すことができるため、交換も容易に行うことができる。   According to this configuration, since the insertion port through which the drug sheet can be inserted and the first and second clamping members that clamp the drug sheet are provided, the drug sheet is inserted from the insertion port and sandwiched between the both clamping members. The drug sheet can be held by both clamping members simply by pushing it into the passage. Therefore, it is possible to easily attach the medicine sheet. Further, since the drug sheet can be taken out from the container body simply by pulling out the drug sheet from the insertion port, the replacement can be easily performed.

上記薬剤容器においては、挿入口を次のように構成することができる。例えば、挟持通路に沿って延びる平面と交差するように、第1挟持部材側から延びる係合壁と、係合壁と対向するように、第2挟持部材側から延びる対向壁と、を設け、係合壁と対向壁との間の隙間が、挿入口を構成するように構成することができる。これにより、次の効果を得ることができる。   In the medicine container, the insertion port can be configured as follows. For example, an engagement wall extending from the first clamping member side so as to intersect with a plane extending along the clamping passage, and an opposing wall extending from the second clamping member side so as to face the engagement wall are provided. The clearance gap between an engagement wall and an opposing wall can be comprised so that an insertion port may be comprised. Thereby, the following effect can be acquired.

挿入口から薬剤シートを挿入後、第1及び第2挟持部材により薬剤シートが挟持されると、薬剤シートは、湾曲した状態となる。これは、挿入口を構成する係合壁が、挟持通路に沿って延びる平面と交差するように、第1挟持部材側から延びているためである。すなわち、両挟持部材によって挟持される薬剤シートの挿入口側の端部は、係合壁によって押し上げられる。この状態からさらに薬剤シートを挿入口へ押し込むと、薬剤シートの端部は係合壁を乗り越えるとともに、湾曲状態から元に戻る。これにより、薬剤シートは、挟持通路に沿って延び、挿入口側の端部は係合壁が抜け止めになって、挿入口から抜け出すのが防止される。   After the medicine sheet is inserted from the insertion port, when the medicine sheet is clamped by the first and second clamping members, the medicine sheet is in a curved state. This is because the engaging wall constituting the insertion port extends from the first clamping member side so as to intersect with a plane extending along the clamping passage. That is, the end on the insertion port side of the drug sheet held by both the holding members is pushed up by the engagement wall. When the drug sheet is further pushed into the insertion port from this state, the end of the drug sheet gets over the engagement wall and returns from the curved state. As a result, the drug sheet extends along the clamping passage, and the engagement wall is prevented from coming off at the end on the insertion port side, thereby preventing the drug sheet from coming out of the insertion port.

ここで、係合壁の端部に薬剤シートの進入方向に延びる係止片をさらに設けることができる。これにより、薬剤シートの挿入口側の端部は、係止片によって係合壁を乗り越えるのを妨げられる。そのため、薬剤シートが挿入口から抜け出すのを確実に防止することができる。   Here, a locking piece extending in the entry direction of the drug sheet can be further provided at the end of the engagement wall. Thus, the end of the medicine sheet on the insertion port side is prevented from getting over the engagement wall by the locking piece. Therefore, it is possible to reliably prevent the drug sheet from coming out of the insertion port.

上記薬剤容器においては、係合壁及び対向壁の少なくとも一方に形成され、前薬剤シートの進入方向に延びる切り欠き部をさらに備えることができる。この切り欠き部により、薬剤シートをさらに容器本体の内部側に押し込むことができる。これにより、薬剤シートの端部が係合壁を乗り越えるまで、確実に押し込むことができる。   The drug container may further include a notch formed on at least one of the engagement wall and the opposing wall and extending in the entry direction of the front drug sheet. By this cutout portion, the medicine sheet can be further pushed into the inside of the container body. Thereby, it can push in reliably until the edge part of a chemical | medical agent sheet gets over an engagement wall.

上記薬剤容器においては、挿入口に挿入された薬剤シートを挟持通路まで案内するガイド部材をさらに設けることができる。これにより、薬剤シートを押し込む際に、挟持部材までスムーズに案内することができ、挟持部材により確実に挟持することができる。このとき、例えば、いずれか一方の挟持部材とガイド部材とを一体化することができ、こうすることで薬剤シートを挟持部材までさらにスムーズに案内することができる。   In the medicine container, a guide member for guiding the medicine sheet inserted into the insertion port to the holding passage can be further provided. Thereby, when pushing in a chemical | medical agent sheet | seat, it can guide smoothly to a clamping member, and can be clamped reliably by a clamping member. At this time, for example, any one of the sandwiching members and the guide member can be integrated, whereby the medicine sheet can be guided more smoothly to the sandwiching member.

また、上記薬剤容器において、挟持部材は種々の形態にすることができるが、例えば、各挟持部材を薬剤シートの進入方向に延びる、少なくとも一つのリブによって形成することができる。これにより、容器本体が撓るのを防止することができる。特に、容器本体を樹脂で成形する場合には、薬剤シートから揮散する薬剤の種類によっては樹脂が侵され、容器本体が撓るおそれがあるが、容器本体の内部にリブが設けられることで、撓りを防止することができる。特に、複数のリブを設けると、その効果が大きくなる。   Moreover, in the said medicine container, although a clamping member can be made into various forms, for example, each clamping member can be formed by at least one rib extending in the entrance direction of the medicine sheet. Thereby, it can prevent that a container main body bends. In particular, when molding the container body with resin, depending on the type of drug volatilized from the drug sheet, the resin may be eroded and the container body may be bent, but by providing a rib inside the container body, Bending can be prevented. In particular, providing a plurality of ribs increases the effect.

また、容器本体には、薬剤シートとは異なる種類の薬剤を収容する収容部をさらに備えることができる。例えば、薬剤シートに防虫用の薬剤成分を含浸させる一方、収容部には芳香成分を有する薬剤を収容することができる。これにより、複数の効能を一つの薬剤容器で得ることができる。   In addition, the container body can further include a storage unit that stores a different type of drug from the drug sheet. For example, the medicine sheet can be impregnated with an insect repellent medicine component, while a medicine having an aromatic component can be housed in the housing portion. Thereby, a plurality of effects can be obtained with one drug container.

以上のように、本発明に係る薬剤容器によれば、薬剤シートの交換を容易に行うことができる。   As described above, according to the medicine container of the present invention, the medicine sheet can be easily replaced.

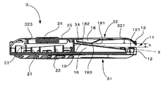
本発明に係る薬剤容器の一実施形態を示す斜視図である。It is a perspective view which shows one Embodiment of the chemical | medical agent container which concerns on this invention. 図1のA−A線断面図である。It is the sectional view on the AA line of FIG. 図1の薬剤容器の分解図である。It is an exploded view of the chemical | medical agent container of FIG. 芳香剤袋の断面図である。It is sectional drawing of an air freshener bag. 図1の薬剤容器の取扱方法を示す斜視図である。It is a perspective view which shows the handling method of the chemical | medical agent container of FIG. 図1の薬剤容器の取扱方法を示す断面図である。It is sectional drawing which shows the handling method of the chemical | medical agent container of FIG.

以下、本発明に係る薬剤容器の一実施形態について図面を参照しつつ説明する。図1は本実施形態に係る薬剤容器の斜視図、図2は図1のA−A線断面図、図3は図1の薬剤容器の分解図である。   Hereinafter, one embodiment of a medicine container concerning the present invention is described, referring to drawings. 1 is a perspective view of a drug container according to the present embodiment, FIG. 2 is a cross-sectional view taken along line AA of FIG. 1, and FIG. 3 is an exploded view of the drug container of FIG.

本実施形態に係る薬剤容器は、2種類の薬剤を収容するものである。すなわち、殺虫成分または忌避成分をシート状の保持体に含浸させた忌避剤シート(薬剤シート)10と、芳香液を封入した芳香剤袋20を収容するものである。図1〜図3に示すように、この薬剤容器は、忌避剤シート10を収容する第1収容室1と、芳香剤袋20を収容する第2収容室(収容部)2とを有する長方形状の容器本体3を備えている。以下では、図3の左右方向を容器本体3の長手方向、上下方向を幅方向と称することとする。容器本体3は、樹脂で形成され、長方形状の基台31と、これを覆うドーム状の蓋体32とで構成されている。そして、基台31と蓋体32とは、幅方向の端部に配置された2つのヒンジ33によって連結されており、図3に示す状態からヒンジ33を折り曲げて両者31,32を嵌め合わせることで、図1のような形態となる。図2に示すように、基台31の中央には、仕切り壁34が形成されており、この仕切り壁34を挟んで第1収容室1(図2の右側)と、第2収容室2(図2の左側)とが形成されている。   The drug container according to this embodiment contains two types of drugs. That is, a repellent sheet (medicine sheet) 10 in which an insecticidal component or a repellent component is impregnated in a sheet-like holding body and a fragrance bag 20 in which an fragrance liquid is enclosed are accommodated. As shown in FIGS. 1 to 3, the drug container has a rectangular shape having a first storage chamber 1 for storing the repellent sheet 10 and a second storage chamber (storage portion) 2 for storing the fragrance bag 20. The container body 3 is provided. In the following, the left-right direction in FIG. 3 is referred to as the longitudinal direction of the container body 3, and the up-down direction is referred to as the width direction. The container body 3 is formed of a resin and includes a rectangular base 31 and a dome-shaped lid 32 covering the base 31. And the base 31 and the cover body 32 are connected by the two hinges 33 arrange | positioned at the edge part of the width direction, bend | fold the hinge 33 from the state shown in FIG. 3, and fit both 31 and 32 together Thus, the configuration shown in FIG. 1 is obtained. As shown in FIG. 2, a partition wall 34 is formed at the center of the base 31, and the first storage chamber 1 (right side in FIG. 2) and the second storage chamber 2 ( The left side of FIG. 2 is formed.

まず、第1収容室1から説明する。第1収容室1に収容される忌避剤シート10は、角が斜めに切り落とされた正方形状に形成されている(図5参照)。忌避剤シート10は、濾紙、不織布、スポンジ、樹脂プレートなどのシート状又はプレート状の保持体に、殺虫成分や飛翔害虫忌避成分を含有させることで得られる。シート状保持体は、簡便には一層のシート材を用いることができるが、薬剤の揮散性を考慮して、素材、目付等の異なる多層のシート材を用いることもできる。また、忌避剤シート10は、その保形安定性を考慮して、シート状保持体を、開口を設けたブリスター容器に収容したものとすることもできる。殺虫成分としては、例えば、プロフルトリン、エムペントリン、メトフルトリン、トランスフルトリン、テフルトリン、テラレスリン等のピレスロイド系殺虫成分や、ジクロルボス等の有機リン系殺虫成分を挙げることができる。一方、飛翔害虫忌避成分としては、ジャスミン油、ネロリ油、ペパーミント油、ベルガモット油、オレンジ油、ゼラニウム油、プチグレン油、レモン油、シトロネラ油、レモングラス油、シナモン油、ユーカリ油、タイム油等の精油類、及びその組成成分の中から選ばれる2種以上の精油及び、又はその組成成分を挙げることができる。   First, the first storage chamber 1 will be described. The repellent sheet 10 accommodated in the 1st storage chamber 1 is formed in the square shape by which the corner was cut off diagonally (refer FIG. 5). The repellent sheet 10 is obtained by adding an insecticidal component or a flying insect repellent component to a sheet-shaped or plate-shaped holding body such as filter paper, nonwoven fabric, sponge, or resin plate. As the sheet-like holding body, a single sheet material can be used for convenience, but in consideration of the volatility of the drug, multilayer sheet materials having different materials, basis weights, and the like can also be used. Moreover, the repellent sheet 10 can also consider that the shape retention stability considers that the sheet-like holding body was accommodated in the blister container which provided the opening. Examples of the insecticidal component include pyrethroid insecticidal components such as profluthrin, empentrin, metofluthrin, transfluthrin, tefluthrin and teraleslin, and organic phosphorus insecticidal components such as dichlorvos. On the other hand, as flying insect repellent components, jasmine oil, neroli oil, peppermint oil, bergamot oil, orange oil, geranium oil, petitgren oil, lemon oil, citronella oil, lemongrass oil, cinnamon oil, eucalyptus oil, thyme oil, etc. The essential oils and two or more kinds of essential oils selected from the constituent components and / or the constituent components thereof may be mentioned.

続いて、第1収容室1の構造を説明する。第1収容室1は、容器本体3の端部に形成された挿入口11を有している。この挿入口11は、基台31の端部から蓋体32側へ突出する係合壁12と、蓋体32の端部から基台31側へ突出する対向壁13とが互いに対向することで形成されている。すなわち、係合壁12と対向壁13との隙間が挿入口11を形成しており、この挿入口11からシート状の忌避剤シート10が第1収容室1内へ挿入される。両壁12,13の中央には、基台31及び蓋体32に進入する切り欠き14,15が対向して形成されており、挿入口11から挿入される忌避剤シート10を挿入口11からさらに内側に押し込むことができる。両切り欠き部14,15によって係合壁12と対向壁13は、それぞれ2つの壁に分離されている。また、係合壁12の上端部には、進入方向に向かう係止片121が取り付けられており、この係止片121によって後述するように、忌避剤シート10の抜け止めとしての役割を果たす。   Then, the structure of the 1st storage chamber 1 is demonstrated. The first storage chamber 1 has an insertion port 11 formed at the end of the container body 3. The insertion port 11 is configured such that the engagement wall 12 protruding from the end of the base 31 toward the lid 32 and the opposing wall 13 protruding from the end of the lid 32 toward the base 31 face each other. Is formed. That is, the gap between the engagement wall 12 and the opposing wall 13 forms the insertion port 11, and the sheet-like repellent sheet 10 is inserted into the first storage chamber 1 from the insertion port 11. In the center of both walls 12 and 13, notches 14 and 15 that enter the base 31 and the lid 32 are formed to face each other, and the repellent sheet 10 that is inserted from the insertion port 11 is inserted from the insertion port 11. It can be pushed further inward. The engaging wall 12 and the opposing wall 13 are separated into two walls by the notches 14 and 15 respectively. Further, a locking piece 121 directed in the entering direction is attached to the upper end portion of the engaging wall 12, and plays a role as a retaining of the repellent sheet 10 by the locking piece 121 as will be described later.

図2及び図3に示すように、基台31には、係合壁12の近傍から忌避剤シート10の進入方向へ延びる2本の第1リブ(第1挟持部材)16が平行に形成されている。図2に示すように、第1リブ16は、挿入口11の近傍の基端部では、係合壁12よりも高さが低くなっており、挿入方向に向かって基台31からの高さが高くなるように傾斜している。また、基台31において、第1リブ16を挟んで幅方向の端部には、板状に形成され、忌避剤シート10の幅方向の動きを規制する一対の規制部材17が配置されている。   As shown in FIGS. 2 and 3, the base 31 is formed with two first ribs (first clamping members) 16 extending in parallel from the vicinity of the engagement wall 12 in the entry direction of the repellent sheet 10. ing. As shown in FIG. 2, the first rib 16 has a lower height than the engagement wall 12 at the base end near the insertion port 11, and the height from the base 31 toward the insertion direction. Inclined to be higher. Further, in the base 31, a pair of regulating members 17 that are formed in a plate shape and regulate the movement of the repellent sheet 10 in the width direction are disposed at the end in the width direction across the first rib 16. .

一方、蓋体32には複数の開口(放出口)321が形成されており、この開口321から忌避剤シート10の薬剤成分が放出するようになっている。また、蓋体32の下面には、第1リブ16と対向する位置に一対の第2リブ(第2挟持部材)18が進入方向に沿って形成されている。図3に示すように、第2リブ18は、側面視で三角形状に形成されており、挿入口11側の辺181が挿入口11にいくにしたがって第1リブ16から離れる方向に傾斜し、第1リブ16との組み合わせにより、挿入口11側に広がるような形態をなしている。一方、第2リブ18の第2収容室2側の辺182は、第1リブ16と平行に延びており、第1リブ16との間に忌避剤シート10を挟持するための挟持通路19を形成している。また、挟持通路19における挿入口側の端部、つまり第2リブ18の頂部183と第1リブ16が対向する位置は、係合壁12の高さよりも高くなっている(高さの差h)。   On the other hand, a plurality of openings (release ports) 321 are formed in the lid 32, and the drug component of the repellent sheet 10 is released from the openings 321. In addition, a pair of second ribs (second clamping members) 18 are formed on the lower surface of the lid body 32 at positions facing the first ribs 16 along the approach direction. As shown in FIG. 3, the second rib 18 is formed in a triangular shape in a side view, and is inclined in a direction away from the first rib 16 as the side 181 on the insertion port 11 side goes to the insertion port 11. The combination with the first rib 16 forms a shape that spreads toward the insertion port 11 side. On the other hand, the side 182 of the second rib 18 on the second storage chamber 2 side extends in parallel with the first rib 16, and a sandwiching passage 19 for sandwiching the repellent sheet 10 between the first rib 16 is provided. Forming. Further, the end on the insertion opening side in the sandwiching passage 19, that is, the position where the top 183 of the second rib 18 and the first rib 16 face each other is higher than the height of the engagement wall 12 (height difference h). ).

次に、第2収容室2について説明する。図4に示すように、第2収容室2に収容される芳香剤袋20は、着色された芳香液を収容する第1袋材201と、この第1袋材201を収容する第2袋材202とで構成されている。第1袋材201は、外部から圧力を加えられることにより、破れて内部の芳香液が排出されるようになっている。一方、第2袋材202は、ガス透過性の材料で形成されており、芳香液の芳香成分が外部に揮散するようになっている。両袋材201,202は透明になっており、外部から芳香液が視認できるようになっている。芳香液は、揮発性香料など、公知のものを用いることができる。   Next, the second storage chamber 2 will be described. As shown in FIG. 4, the fragrance bag 20 accommodated in the second storage chamber 2 includes a first bag material 201 that stores a colored aromatic liquid, and a second bag material that stores the first bag material 201. 202. The 1st bag material 201 is torn by being pressurized from the exterior, and an internal aromatic liquid is discharged | emitted. On the other hand, the 2nd bag material 202 is formed with the gas-permeable material, and the fragrance | flavor component of an aromatic liquid volatilizes outside. Both the bag materials 201 and 202 are transparent so that the aromatic liquid can be visually recognized from the outside. As the fragrance liquid, a known volatile fragrance or the like can be used.

続いて、第2収容室2の構造について説明する。第2収容室2の基台31には、挿入口11とは反対側の端部に、板状の規制板23が取り付けられている。そして、上述した芳香剤袋20は、仕切り板34と規制板23との間に配置されるようになっている。また、仕切り板34と規制板23との間には、円形の2つのリブ、つまり第1円形リブ21と、その中に同心状に配置される第2円形リブ22とが配置されている。一方、第2収容室2の蓋体32には、複数の開口(放出口)322が形成されており、これらの開口322から芳香成分が揮散するようになっている。また、蓋体32の中央に形成された開口323には、円形の押圧部材24が配置されており、この押圧部材24の端部に取り付けられ弾性変形可能な支持片25が開口323の縁部に連結されている。これにより、押圧部材24は、支持片25の弾性変形により基台31側に向けて押し込み可能となっている。また、押圧部材24は、その周縁部が、上述した第1円形リブ21と第2円形リブ22の間に位置するように配置されている。   Then, the structure of the 2nd storage chamber 2 is demonstrated. A plate-shaped regulating plate 23 is attached to the base 31 of the second storage chamber 2 at the end opposite to the insertion port 11. The fragrance bag 20 described above is arranged between the partition plate 34 and the restriction plate 23. Two circular ribs, that is, the first circular rib 21 and the second circular rib 22 concentrically disposed therein are disposed between the partition plate 34 and the regulating plate 23. On the other hand, a plurality of openings (release ports) 322 are formed in the lid 32 of the second storage chamber 2, and the aromatic component is volatilized from these openings 322. A circular pressing member 24 is disposed in the opening 323 formed in the center of the lid 32, and the elastically deformable support piece 25 attached to the end of the pressing member 24 is an edge of the opening 323. It is connected to. Thereby, the pressing member 24 can be pushed toward the base 31 side by elastic deformation of the support piece 25. Further, the pressing member 24 is disposed such that the peripheral edge portion thereof is located between the first circular rib 21 and the second circular rib 22 described above.

次に、上記薬剤容器の使用方法について、図5及び図6も参照しつつ説明する。図5及び図6は薬剤容器の使用方法を示す図である。まず、図3のように基台31と蓋体32とを展開した状態で、第2収容室2の基台31に芳香剤袋20を配置する。この状態からヒンジ33を折り畳んで、図2に示すように、基台31と蓋体32とを嵌め合わせる。続いて、図5に示すように、第1収容室1の挿入口11から忌避剤シート10を挿入する。忌避剤シート10を指で押し込むと、図6(a)に示すように、忌避剤シート10は第1リブ16によって案内されながら、その傾斜を昇っていく。そして、挟持通路19に達し、さらに押し込まれると、図6(b)に示すように、忌避剤シート10は、挟持通路19に進入することで、下方にやや湾曲した状態となる。これは、挟持通路19が形成する仮想平面X(図2参照)の延長上にある係合壁12が、この仮想平面Xと交差して上方に延びているからである。すなわち、忌避剤シート10の仕切り板34側の端部は挟持通路19で挟まれつつ、挿入口11側の端部は係合壁12によって押し上げられていることになる。この状態から指を切り欠き部14,15の中に入れるように忌避剤シート10をさらに押し込むと、図6(c)に示すように、忌避剤シート10の挿入口11側の端部が係合壁12を乗り越える。これにより、忌避剤シート10の湾曲が元に戻り、仮想平面Xに沿って延びた状態になる。そして、指を離して忌避剤シート10が第1リブの傾斜を下方に滑ると、図6(d)に示すように、忌避剤シート10の挿入口11側の端部は、係合壁12の基端部付近に配置される。その結果、係止片121が抜け止めになり、忌避剤シート10の端部が係合壁12を乗り越えるのを防止する。こうして、忌避剤シート10が第1収容室1に設置される。一方、仕切り板34は、挟持通路19の端部を塞ぐような高さに形成されているため、忌避剤シート10の抜け止めになっている。   Next, the usage method of the said medicine container is demonstrated, also referring FIG.5 and FIG.6. 5 and 6 are diagrams showing how to use the drug container. First, the fragrance bag 20 is placed on the base 31 of the second storage chamber 2 in a state where the base 31 and the lid 32 are deployed as shown in FIG. The hinge 33 is folded from this state, and the base 31 and the lid 32 are fitted together as shown in FIG. Subsequently, as shown in FIG. 5, the repellent sheet 10 is inserted from the insertion port 11 of the first storage chamber 1. When the repellent sheet 10 is pushed in with a finger, the repellent sheet 10 rises in inclination while being guided by the first rib 16 as shown in FIG. Then, when reaching the sandwiching passage 19 and being further pushed in, the repellent sheet 10 enters the sandwiching passage 19 and becomes slightly curved downward as shown in FIG. This is because the engagement wall 12 on the extension of the virtual plane X (see FIG. 2) formed by the sandwiching passage 19 intersects the virtual plane X and extends upward. That is, the end portion on the partition plate 34 side of the repellent sheet 10 is sandwiched by the clamping passage 19, and the end portion on the insertion port 11 side is pushed up by the engagement wall 12. When the repellent sheet 10 is further pushed in so that the finger is put into the notches 14 and 15 from this state, the end of the repellent sheet 10 on the insertion port 11 side is engaged as shown in FIG. Get over the wall 12. Thereby, the curvature of the repellent sheet 10 returns to its original state and extends along the virtual plane X. When the repellent sheet 10 slides down the inclination of the first rib by releasing the finger, the end of the repellent sheet 10 on the side of the insertion port 11 is, as shown in FIG. It is arrange | positioned near the base end part. As a result, the locking piece 121 is prevented from coming off, and the end portion of the repellent sheet 10 is prevented from getting over the engaging wall 12. Thus, the repellent sheet 10 is installed in the first storage chamber 1. On the other hand, since the partition plate 34 is formed so as to close the end portion of the sandwiching passage 19, it prevents the repellent sheet 10 from coming off.

一方、第2収容室2では、指により、押圧部材24を押し込むことで、芳香剤袋20が押圧部材24と両円形リブ21,22によって挟まれる。これにより、芳香剤袋20の第1袋材201が破れ、第2袋材202の中に流入する。こうして、芳香成分が第2袋材202から外部に揮散するようになる。以上の作業の後、容器本体3を所望の場所に設置すれば、忌避剤シート10及び芳香剤袋20の薬剤成分が揮散され、防虫殺虫効果を得られるほか、芳香効果も得ることができる。そして、殺虫防虫効果がなくなり、忌避剤シート10を交換する場合には、挿入口11の切り欠き部14,15から忌避剤シート10をつまみ、外部に引っ張り出す。そして、新たな忌避剤シート10を挿入口11から挿入して両リブ16,18の間に配置する。   On the other hand, in the second storage chamber 2, the fragrance bag 20 is sandwiched between the pressing member 24 and the circular ribs 21 and 22 by pressing the pressing member 24 with a finger. As a result, the first bag material 201 of the fragrance bag 20 is torn and flows into the second bag material 202. Thus, the fragrance component is volatilized from the second bag material 202 to the outside. If the container main body 3 is installed in a desired place after the above operations, the chemical components of the repellent sheet 10 and the fragrance bag 20 are volatilized, and an insecticidal and insecticidal effect can be obtained, and an aroma effect can also be obtained. When the insecticidal effect is lost and the repellent sheet 10 is replaced, the repellent sheet 10 is picked from the notches 14 and 15 of the insertion slot 11 and pulled out. Then, a new repellent sheet 10 is inserted from the insertion port 11 and disposed between the ribs 16 and 18.

以上のように、本実施形態によれば、忌避剤シート10を挿入可能な挿入口11と、忌避剤シート10を挟持する第1及び第2リブ16,18を備えているため、忌避剤シート10を挿入口11から挿入して両リブ16,18の間の挟持通路19まで押し込むだけで、両リブ16,18により、忌避剤シート10を保持することができる。したがって、忌避剤シート10の装着を容易に行うことができる。また、挿入口11から忌避剤シート10を引っ張り出すだけで、容器本体3から忌避剤シート10を取り出すことができるため、交換も容易に行うことができる、特に、挟持通路19が形成する仮想平面Xと交差するように係合壁12が形成されているため、挿入後に両リブ16,18によって挟持されている忌避剤シート10の端部は、係合壁12よりも低い位置に配置される。そのため、係合壁12が抜け止めになって、挿入口11から抜け出すのが防止される。   As described above, according to the present embodiment, since the insertion port 11 into which the repellent sheet 10 can be inserted and the first and second ribs 16 and 18 that sandwich the repellent sheet 10 are provided, the repellent sheet is provided. The repellent sheet 10 can be held by both ribs 16 and 18 simply by inserting 10 through the insertion opening 11 and pushing it into the clamping passage 19 between the ribs 16 and 18. Therefore, the repellent sheet 10 can be easily attached. Further, since the repellent sheet 10 can be taken out from the container main body 3 simply by pulling out the repellent sheet 10 from the insertion port 11, the replacement can be easily performed. In particular, the virtual plane formed by the holding passage 19 is formed. Since the engaging wall 12 is formed so as to intersect X, the end portion of the repellent sheet 10 sandwiched between the ribs 16 and 18 after insertion is disposed at a position lower than the engaging wall 12. . Therefore, the engagement wall 12 is prevented from coming off and prevented from coming out from the insertion port 11.

以上、本発明の一実施形態について説明したが、本発明はこれに限定されるものではなく、その趣旨を逸脱しない限りにおいて種々の変更が可能である。例えば、上記実施形態では、2対のリブ16,18で忌避剤シート10を挟持しているが、リブの数は特には限定されない。但し、安定的に忌避剤シート10を挟持するためには、2つ以上のリブを設けることが好ましい。また、容器本体3を樹脂で形成した場合、薬剤の種類によっては樹脂が侵されて、容器本体3が撓るおそれがあるが、リブ16,18を容器本体3と一体的に形成しておくと、撓りを防止することができる。また、上記実施形態では、第1及び第2リブ16,18によって忌避剤シート10を挟持しているが、忌避剤シート10の挟持はリブ以外でもよく、例えば、一対の平面によって挟持してもよい。この平面の形状は特には限定されず、例えば連続した平面でなくてもよい。要するに、忌避剤シート10を挟持できる限りは、どのような形態でもよい。   As mentioned above, although one Embodiment of this invention was described, this invention is not limited to this, A various change is possible unless it deviates from the meaning. For example, in the above embodiment, the repellent sheet 10 is sandwiched between the two pairs of ribs 16 and 18, but the number of ribs is not particularly limited. However, in order to stably hold the repellent sheet 10, it is preferable to provide two or more ribs. Moreover, when the container main body 3 is formed of resin, the resin may be eroded depending on the type of medicine, and the container main body 3 may be bent. However, the ribs 16 and 18 are formed integrally with the container main body 3. And bending can be prevented. Moreover, in the said embodiment, although the repellent sheet | seat 10 is clamped by the 1st and 2nd ribs 16 and 18, pinching of the repellent sheet | seat 10 may be other than a rib, for example, may be clamped by a pair of planes. Good. The shape of this plane is not particularly limited, and may not be a continuous plane, for example. In short, any form is acceptable as long as the repellent sheet 10 can be sandwiched.

上記実施形態では、第1リブ16は、忌避剤シート10を挟持するだけでなく、忌避剤シート10を挟持通路19まで案内するガイド部材としての役割を果たすが、ガイド部材を第1リブ16と分離して、別個に設けることもできる。また、挟持通路19の高さを、忌避剤シート10の厚さよりも小さくすることもでき、こうすることで、忌避剤シート10を挟持通路19に圧入して挟持通路19に固定することもできる。上記実施形態では、切り欠き部14,15によって係合壁12と対向壁13とがそれぞれ分離されているが、切り欠き部14,15は各壁の高さ全体に亘ってではなく、指を挿入可能に、高さ方向の一部に形成することもできる。また、係合壁12または対向壁13の一方のみに切り欠き部を形成することもでき、この場合、高さ方向の一部に形成することもできる。また、対向壁13は、必ずしも高さは要求されず、蓋体32の一部として係合壁12に対向する部分が形成されていればよい。   In the above embodiment, the first rib 16 not only sandwiches the repellent sheet 10 but also serves as a guide member that guides the repellent sheet 10 to the sandwiching passage 19. It can also be provided separately. Further, the height of the sandwiching passage 19 can be made smaller than the thickness of the repellent sheet 10, so that the repellent sheet 10 can be press-fitted into the sandwiching passage 19 and fixed to the sandwiching passage 19. . In the above embodiment, the engagement wall 12 and the opposing wall 13 are separated by the notches 14 and 15, respectively. However, the notches 14 and 15 do not extend over the entire height of each wall, but the fingers. It can also be formed in a part in the height direction so that it can be inserted. Moreover, a notch part can also be formed only in one of the engagement wall 12 or the opposing wall 13, and can also be formed in a part of height direction in this case. Further, the facing wall 13 is not necessarily required to have a height, and it is sufficient that a portion facing the engaging wall 12 is formed as a part of the lid 32.

また、第1収容室1に配置されるのが芳香液を含浸した芳香剤シートでもよい。また、上記実施形態では、第2収容室2に芳香剤袋20を配置できるようにしているが、第1収容室1と同様の構成を第2収容室に設けることもできる。これにより、2つの薬剤シート(例えば、異なる殺虫成分を含浸させた2つの忌避剤シート又は異なる芳香液を含浸させた2つの芳香剤シート)を配置できるようになる。また、第1収容室のみで容器本体を構成することもできる。   Further, the fragrance sheet impregnated with the fragrance liquid may be disposed in the first storage chamber 1. Moreover, in the said embodiment, although the fragrance | flavor bag 20 can be arrange | positioned in the 2nd storage chamber 2, the structure similar to the 1st storage chamber 1 can also be provided in a 2nd storage chamber. Thereby, two medicine sheets (for example, two repellent sheets impregnated with different insecticidal components or two fragrance sheets impregnated with different aromatic liquids) can be arranged. Moreover, a container main body can also be comprised only with a 1st storage chamber.

10 忌避剤シート(薬剤シート)
11 挿入口
12 係合壁
121 係止片
13 対向壁
14,15 切り欠き部
16 第1リブ(第1挟持部材)
18 第2リブ(第2挟持部材)
19 挟持通路
2 第2収容室(収容部)
3 容器本体
321 開口(放出口)
10 repellent sheet (drug sheet)
DESCRIPTION OF SYMBOLS 11 Insertion port 12 Engagement wall 121 Locking piece 13 Opposite walls 14 and 15 Notch 16 First rib (first clamping member)
18 2nd rib (2nd clamping member)
19 Clamping passage 2 Second storage chamber (storage section)
3 Container body 321 Opening (release port)

Claims (6)

薬剤成分が含有された薬剤シートを収容する薬剤容器であって、
薬剤シートを挿入可能な挿入口、及び前記薬剤成分を放出するための少なくとも一つの放出口が形成された容器本体と、
前記容器本体の内部に設けられ、前記薬剤シートの一方面側及び他方面側にそれぞれ配置され、当該薬剤シートを挟持する挟持通路を形成する第1及び第2挟持部材と、
を備え
前記各挟持部材は、前記薬剤シートの進入方向に延びる、少なくとも一つのリブによって形成されている、薬剤容器。
A drug container containing a drug sheet containing a drug component,
An insertion port into which a drug sheet can be inserted, and a container body formed with at least one discharge port for discharging the drug component;
First and second clamping members that are provided inside the container body, are respectively disposed on one side and the other side of the drug sheet, and form a clamping passage for clamping the drug sheet;
Equipped with a,
Each said clamping member is a chemical | medical agent container currently formed of the at least 1 rib extended in the approach direction of the said chemical | medical agent sheet .
前記挟持通路に沿って延びる平面と交差し、前記第1挟持部材側から延びる係合壁と、
前記係合壁と対向するように、前記第2挟持部材側から延びる対向壁と、
を有し、
前記係合壁と対向壁との間の隙間が、前記挿入口を構成する、請求項1に記載の薬剤容器。
An engagement wall that intersects a plane extending along the clamping passage and extends from the first clamping member side;
An opposing wall extending from the second clamping member side so as to face the engaging wall;
Have
The drug container according to claim 1, wherein a gap between the engagement wall and the opposing wall constitutes the insertion port.
前記係合壁の端部に形成され、前記薬剤シートの進入方向に延びる係止片をさらに備えている、請求項2に記載の薬剤容器。   The drug container according to claim 2, further comprising a locking piece formed at an end of the engagement wall and extending in an entry direction of the drug sheet. 前記係合壁及び対向壁の少なくとも一方に形成され、前記薬剤シートの進入方向に延びる切り欠き部をさらに備えている、請求項2または3に記載の薬剤容器。   The medicine container according to claim 2 or 3, further comprising a notch portion formed in at least one of the engagement wall and the opposing wall and extending in the entry direction of the medicine sheet. 前記挿入口に挿入された前記薬剤シートを前記挟持通路まで案内するガイド部材をさらに備えている、請求項1から4のいずれかに記載の薬剤容器。   The medicine container according to any one of claims 1 to 4, further comprising a guide member for guiding the medicine sheet inserted into the insertion port to the clamping passage. 前記容器本体には、前記薬剤シートとは異なる種類の薬剤を収容する収容部をさらに備えている、請求項1からのいずれかに記載の薬剤容器。
The medicine container according to any one of claims 1 to 5 , wherein the container main body further includes an accommodating portion for accommodating a kind of medicine different from the medicine sheet.
JP2011140517A 2011-06-24 2011-06-24 Drug container Active JP5789429B2 (en)

Priority Applications (1)

Application Number Priority Date Filing Date Title
JP2011140517A JP5789429B2 (en) 2011-06-24 2011-06-24 Drug container

Applications Claiming Priority (1)

Application Number Priority Date Filing Date Title
JP2011140517A JP5789429B2 (en) 2011-06-24 2011-06-24 Drug container

Publications (2)

Publication Number Publication Date
JP2013005753A JP2013005753A (en) 2013-01-10
JP5789429B2 true JP5789429B2 (en) 2015-10-07

Family

ID=47673697

Family Applications (1)

Application Number Title Priority Date Filing Date
JP2011140517A Active JP5789429B2 (en) 2011-06-24 2011-06-24 Drug container

Country Status (1)

Country Link
JP (1) JP5789429B2 (en)

Families Citing this family (3)

* Cited by examiner, † Cited by third party
Publication number Priority date Publication date Assignee Title
JP5933428B2 (en) * 2012-12-28 2016-06-08 株式会社吉野工業所 Volatilization container
JP6453128B2 (en) * 2015-03-25 2019-01-16 小林製薬株式会社 Chemical volatilizer
JP2021000997A (en) * 2019-06-19 2021-01-07 小林製薬株式会社 Medicine volatilization apparatus

Family Cites Families (11)

* Cited by examiner, † Cited by third party
Publication number Priority date Publication date Assignee Title
JPS602161Y2 (en) * 1980-08-25 1985-01-22 ア−ス製薬株式会社 Insect repellent for clothing
JPS6013901U (en) * 1984-06-18 1985-01-30 ア−ス製薬株式会社 Insect repellent and insecticide for clothing
ES2018492B3 (en) * 1986-03-27 1991-04-16 Firmenich & Cie AUTOMATIC DEVICE FOR THE DIFFUSION OF DISINFECTING GASES.
JP3827993B2 (en) * 2001-11-13 2006-09-27 大日本印刷株式会社 container
US20030175148A1 (en) * 2002-03-15 2003-09-18 The Procter & Gamble Company Methods, devices, and articles for controlling the release of volatile materials
JP4123414B2 (en) * 2002-05-17 2008-07-23 フマキラー株式会社 Drug diffusion device
US7503675B2 (en) * 2004-03-03 2009-03-17 S.C. Johnson & Son, Inc. Combination light device with insect control ingredient emission
JP4761384B2 (en) * 2006-08-30 2011-08-31 株式会社吉野工業所 Insect repellent container
JP4817249B2 (en) * 2006-08-31 2011-11-16 株式会社吉野工業所 Insect repellent container
JP2008068098A (en) * 2007-09-28 2008-03-27 Fumakilla Ltd Volatilization container
CN102395384B (en) * 2009-04-16 2015-02-25 宝洁公司 Apparatus for delivering a volatile material

Also Published As

Publication number Publication date
JP2013005753A (en) 2013-01-10

Similar Documents

Publication Publication Date Title
EP2974982A1 (en) Wipe dispenser
JP2015168460A (en) Wipe container holder and wipe dispenser
JP5789429B2 (en) Drug container
JP2018514470A (en) Glove dispensing assembly
JP7319176B2 (en) chemical volatilizer
JP2018076110A (en) Lid mechanism, package and dispensing container
JP6338841B2 (en) Drug container
JP2018514468A (en) Glove dispensing assembly
CN121127275A (en) Housing for volatile composition dispenser
JP5518345B2 (en) Insect repellent holder
JP2012158334A (en) Hanging container for volatilizing agent
JP6002389B2 (en) Drug diffuser
JP7770858B2 (en) Volatilization device
JP2018134832A (en) Storage case
JP6377461B2 (en) Drug volatilizer and outer case
JP2016084147A (en) Agent volatilization container
JP2023058976A (en) Drug container and volatilization device provided with the same
JP4761384B2 (en) Insect repellent container
JP7114735B2 (en) Flying pest control products
JP6377462B2 (en) Drug container and chemical volatilizer
JP2017063898A (en) Chemical volatilizer
JP2020117252A (en) Container with drawer
JP5898968B2 (en) Drug container
JP5554149B2 (en) Volatilizer container
JP2012229049A (en) Hanging type container for volatilizing agent

Legal Events

Date Code Title Description
A621 Written request for application examination

Free format text: JAPANESE INTERMEDIATE CODE: A621

Effective date: 20140521

A977 Report on retrieval

Free format text: JAPANESE INTERMEDIATE CODE: A971007

Effective date: 20150330

A131 Notification of reasons for refusal

Free format text: JAPANESE INTERMEDIATE CODE: A131

Effective date: 20150414

A521 Request for written amendment filed

Free format text: JAPANESE INTERMEDIATE CODE: A523

Effective date: 20150615

TRDD Decision of grant or rejection written
A01 Written decision to grant a patent or to grant a registration (utility model)

Free format text: JAPANESE INTERMEDIATE CODE: A01

Effective date: 20150707

A61 First payment of annual fees (during grant procedure)

Free format text: JAPANESE INTERMEDIATE CODE: A61

Effective date: 20150803

R150 Certificate of patent or registration of utility model

Ref document number: 5789429

Country of ref document: JP

Free format text: JAPANESE INTERMEDIATE CODE: R150

R250 Receipt of annual fees

Free format text: JAPANESE INTERMEDIATE CODE: R250

R250 Receipt of annual fees

Free format text: JAPANESE INTERMEDIATE CODE: R250

R250 Receipt of annual fees

Free format text: JAPANESE INTERMEDIATE CODE: R250

R250 Receipt of annual fees

Free format text: JAPANESE INTERMEDIATE CODE: R250

R250 Receipt of annual fees

Free format text: JAPANESE INTERMEDIATE CODE: R250

R250 Receipt of annual fees

Free format text: JAPANESE INTERMEDIATE CODE: R250

R250 Receipt of annual fees

Free format text: JAPANESE INTERMEDIATE CODE: R250

R250 Receipt of annual fees

Free format text: JAPANESE INTERMEDIATE CODE: R250