[go: up one dir, main page]

JP5706981B2 - Substrate processing equipment - Google Patents

Substrate processing equipment Download PDF

Info

Publication number
JP5706981B2
JP5706981B2 JP2014025753A JP2014025753A JP5706981B2 JP 5706981 B2 JP5706981 B2 JP 5706981B2 JP 2014025753 A JP2014025753 A JP 2014025753A JP 2014025753 A JP2014025753 A JP 2014025753A JP 5706981 B2 JP5706981 B2 JP 5706981B2
Authority
JP
Japan
Prior art keywords
substrate
nozzle
liquid
discharge port
processing
Prior art date
Legal status (The legal status is an assumption and is not a legal conclusion. Google has not performed a legal analysis and makes no representation as to the accuracy of the status listed.)
Expired - Fee Related
Application number
JP2014025753A
Other languages
Japanese (ja)
Other versions
JP2014103416A (en
Inventor
橋詰 彰夫
彰夫 橋詰
幸嗣 安藤
幸嗣 安藤
Current Assignee (The listed assignees may be inaccurate. Google has not performed a legal analysis and makes no representation or warranty as to the accuracy of the list.)
Screen Holdings Co Ltd
Original Assignee
Screen Holdings Co Ltd
Priority date (The priority date is an assumption and is not a legal conclusion. Google has not performed a legal analysis and makes no representation as to the accuracy of the date listed.)
Filing date
Publication date
Application filed by Screen Holdings Co Ltd filed Critical Screen Holdings Co Ltd
Priority to JP2014025753A priority Critical patent/JP5706981B2/en
Publication of JP2014103416A publication Critical patent/JP2014103416A/en
Application granted granted Critical
Publication of JP5706981B2 publication Critical patent/JP5706981B2/en
Expired - Fee Related legal-status Critical Current
Anticipated expiration legal-status Critical

Links

Images

Landscapes

  • Weting (AREA)
  • Exposure Of Semiconductors, Excluding Electron Or Ion Beam Exposure (AREA)
  • Cleaning Or Drying Semiconductors (AREA)

Description

この発明は、基板を処理する基板処理装置に関する。処理対象となる基板には、たとえば、半導体ウエハ、液晶表示装置用基板、プラズマディスプレイ用基板、FED(Field Emission Display)用基板、光ディスク用基板、磁気ディスク用基板、光磁気ディスク用基板、フォトマスク用基板などが含まれる。   The present invention relates to a substrate processing apparatus for processing a substrate. Examples of substrates to be processed include semiconductor wafers, liquid crystal display substrates, plasma display substrates, FED (Field Emission Display) substrates, optical disk substrates, magnetic disk substrates, magneto-optical disk substrates, and photomasks. Substrate etc. are included.

半導体装置や液晶表示装置などの製造工程では、半導体ウエハや液晶表示装置用ガラス基板などの基板を処理するための基板処理装置が用いられる。基板を1枚ずつ処理する枚葉式の基板処理装置は、たとえば、特許文献1および2に記載されている。この枚葉式の基板処理装置は、半導体ウエハなどの基板の表面の周縁部を処理液によって処理するように構成されている。   In a manufacturing process of a semiconductor device or a liquid crystal display device, a substrate processing apparatus for processing a substrate such as a semiconductor wafer or a glass substrate for a liquid crystal display device is used. For example, Patent Documents 1 and 2 describe single-wafer type substrate processing apparatuses that process substrates one by one. This single wafer type substrate processing apparatus is configured to process the peripheral portion of the surface of a substrate such as a semiconductor wafer with a processing liquid.

具体的には、前記枚葉式の基板処理装置は、基板を水平に保持して回転させるスピンチャックと、スピンチャックの上方に配置された遮断板と、基板の上面周縁部に向けて処理液を吐出するノズルとを備えている。ノズルは、アームにより支持されている。ノズルおよびアームは、駆動機構によって水平方向および鉛直方向に一体的に移動される。また、遮断板は、スピンチャックに保持された基板の上面に対向する下面と、遮断板を厚み方向に貫通し、遮断板の下面で開口するノズル挿入孔とを有している。ノズル挿入孔は、スピンチャックに保持された基板の上面周縁部に対向する位置に形成されている。ノズル挿入孔の大きさは、ノズル挿入孔の中でノズルが所定量移動できるように設定されている。   Specifically, the single-wafer type substrate processing apparatus includes a spin chuck that horizontally holds and rotates a substrate, a blocking plate disposed above the spin chuck, and a processing liquid toward an upper peripheral edge of the substrate. And a nozzle that discharges water. The nozzle is supported by the arm. The nozzle and the arm are integrally moved in the horizontal direction and the vertical direction by the drive mechanism. The blocking plate has a lower surface facing the upper surface of the substrate held by the spin chuck, and a nozzle insertion hole that penetrates the blocking plate in the thickness direction and opens at the lower surface of the blocking plate. The nozzle insertion hole is formed at a position facing the peripheral edge of the upper surface of the substrate held by the spin chuck. The size of the nozzle insertion hole is set so that the nozzle can move a predetermined amount in the nozzle insertion hole.

前記枚葉式の基板処理装置によって基板の表面の周縁部が処理液によって処理されるときには、スピンチャックに保持された基板の上面(表面)に遮断板の下面が近接された状態で、ノズルがノズル挿入孔に挿入される。そして、この状態で、回転状態の基板の上面周縁部に向けてノズルから処理液が吐出される。これにより、基板上面の環状の領域(処理領域)に処理液が供給され、基板の上面周縁部が処理される。また、処理幅(環状の処理領域の内周縁から基板の周端面までの基板に平行な方向への最短距離)が変更されるときは、ノズルが駆動機構によってノズル挿入孔の中で移動され、基板に対する処理液の供給位置(処理液の吹き付け位置)が変更される。   When the peripheral portion of the surface of the substrate is processed with the processing liquid by the single-wafer type substrate processing apparatus, the nozzle is placed in a state where the lower surface of the blocking plate is in close proximity to the upper surface (front surface) of the substrate held by the spin chuck. It is inserted into the nozzle insertion hole. In this state, the processing liquid is discharged from the nozzle toward the peripheral edge of the upper surface of the rotating substrate. As a result, the processing liquid is supplied to the annular region (processing region) on the upper surface of the substrate, and the peripheral edge of the upper surface of the substrate is processed. When the processing width (the shortest distance in the direction parallel to the substrate from the inner peripheral edge of the annular processing region to the peripheral edge surface of the substrate) is changed, the nozzle is moved in the nozzle insertion hole by the drive mechanism, The processing liquid supply position (processing liquid spray position) to the substrate is changed.

特開2007−142077号公報JP 2007-142077 A 特開2009−21339号公報JP 2009-21339 A

特許文献1および2に係る基板処理装置では、処理幅が変更されるときに、ノズルがノズル挿入孔の中で移動される。処理幅は、ノズル挿入孔内におけるノズルの位置に依存する。ノズルの位置は、駆動機構の移動精度に依存する。しかし、ノズルがアームを介して駆動機構に接続されているので、ノズル挿入孔内におけるノズルの位置を精密に制御するには、非常に高い移動精度が駆動機構に要求される。そのため、処理幅を精密に制御するには、精度の高い部品の使用が必要となり、駆動機構のコストが増加してしまう。その結果、基板処理装置のコストが増加してしまう   In the substrate processing apparatuses according to Patent Documents 1 and 2, when the processing width is changed, the nozzle is moved in the nozzle insertion hole. The processing width depends on the position of the nozzle in the nozzle insertion hole. The position of the nozzle depends on the movement accuracy of the drive mechanism. However, since the nozzle is connected to the drive mechanism via the arm, in order to precisely control the position of the nozzle in the nozzle insertion hole, very high movement accuracy is required for the drive mechanism. For this reason, in order to precisely control the processing width, it is necessary to use highly accurate parts, which increases the cost of the drive mechanism. As a result, the cost of the substrate processing apparatus increases.

そこで、この発明の目的は、ノズルを駆動する機構に要するコストの増加を抑制できる基板処理装置を提供することである。   SUMMARY OF THE INVENTION An object of the present invention is to provide a substrate processing apparatus capable of suppressing an increase in cost required for a mechanism for driving a nozzle.

前記目的を達成するための請求項1記載の発明は、基板を保持する基板保持機構と、前記基板保持機構に保持された基板の主面の中心に直交する直線から離れた位置に配置されており当該基板の主面を通る所定の回転軸線まわりに自転できるように構成され、前記回転軸線から離れた位置に配置された吐出口を有し、前記基板保持機構に保持された基板の主面の周縁部の一部に向けて処理液を吐出するノズルと、基板に対する処理液の供給位置が当該基板の主面の周縁部に沿って移動するように、前記基板保持機構に保持された基板および前記ノズルを相対移動させる相対移動機構と、前記ノズルを前記回転軸線まわりに自転させるノズル回転機構と、前記ノズルに処理液を供給する処理液供給機構と、前記ノズル回転機構に前記ノズルの回転角を変更させることにより、前記ノズルから吐出された処理液が供給される環状の処理領域の処理幅、すなわち、環状の処理領域の内周縁から基板の周端面までの基板に平行な方向への最短距離を調整する回転角制御装置とを含む、基板処理装置である。   In order to achieve the above object, the invention according to claim 1 is arranged at a position away from a substrate holding mechanism for holding a substrate and a straight line perpendicular to the center of the main surface of the substrate held by the substrate holding mechanism. The main surface of the substrate held by the substrate holding mechanism is configured to rotate around a predetermined rotation axis passing through the main surface of the substrate and has a discharge port disposed at a position away from the rotation axis. A nozzle that discharges the processing liquid toward a part of the peripheral edge of the substrate, and a substrate held by the substrate holding mechanism so that the supply position of the processing liquid to the substrate moves along the peripheral edge of the main surface of the substrate A relative movement mechanism for relatively moving the nozzle, a nozzle rotation mechanism for rotating the nozzle around the rotation axis, a treatment liquid supply mechanism for supplying a treatment liquid to the nozzle, and a rotation of the nozzle to the nozzle rotation mechanism. By changing the angle, the processing width of the annular processing region to which the processing liquid discharged from the nozzle is supplied, that is, in the direction parallel to the substrate from the inner peripheral edge of the annular processing region to the peripheral end surface of the substrate. A substrate processing apparatus including a rotation angle control device that adjusts the shortest distance.

この構成によれば、ノズルから処理液が吐出されている状態で、基板保持機構に保持された基板およびノズルが、相対移動機構によって相対移動される。基板に対する処理液の供給位置(処理液の吹き付け位置)は、基板およびノズルの相対移動によって、基板の主面の周縁部に沿って移動する。したがって、基板に供給された処理液が基板の主面に沿って外方(基板の中心から離れる方向)に広がっていくように基板処理装置が構成されている場合には、基板に対する処理液の供給位置およびその外側の領域を含む環状の領域(処理領域)に処理液が供給される。これにより、基板の主面の周縁部が処理される。   According to this configuration, the substrate and the nozzle held by the substrate holding mechanism are relatively moved by the relative movement mechanism while the processing liquid is being discharged from the nozzle. The processing liquid supply position (processing liquid spraying position) with respect to the substrate moves along the peripheral edge of the main surface of the substrate by the relative movement of the substrate and the nozzle. Therefore, when the substrate processing apparatus is configured such that the processing liquid supplied to the substrate spreads outward (in the direction away from the center of the substrate) along the main surface of the substrate, The processing liquid is supplied to an annular region (processing region) including the supply position and the region outside thereof. Thereby, the peripheral part of the main surface of a board | substrate is processed.

処理幅(環状の処理領域の内周縁から基板の周端面までの基板に平行な方向への最短距離)の調整は、ノズルの自転により行われる。具体的には、ノズルは、基板保持機構に保持された基板の主面を通る所定の回転軸線まわりに自転できるように構成されている。ノズルの吐出口は、回転軸線から離れた位置に配置されている。ノズルがノズル回転機構によって自転されると、基板に対する処理液の供給位置が、基板の中心から離れる方向または基板の中心に近づく方向に移動する。したがって、処理幅は、ノズルの回転によって調整される。   The adjustment of the processing width (the shortest distance in the direction parallel to the substrate from the inner peripheral edge of the annular processing region to the peripheral end surface of the substrate) is performed by the rotation of the nozzle. Specifically, the nozzle is configured to be able to rotate around a predetermined rotation axis passing through the main surface of the substrate held by the substrate holding mechanism. The discharge port of the nozzle is disposed at a position away from the rotation axis. When the nozzle is rotated by the nozzle rotating mechanism, the supply position of the processing liquid to the substrate moves in a direction away from the center of the substrate or a direction approaching the center of the substrate. Therefore, the processing width is adjusted by the rotation of the nozzle.

このように、処理幅は回転軸線まわりのノズルの回転角に依存するので、ノズルを自転させるための簡単な構成で処理幅の高精度な調整が可能である。したがって、ノズル挿入孔内でのノズルの移動により処理幅が調整される従来の構成に比べて、処理幅を調整するための機構(ノズル回転機構)が簡素化される。これにより、基板処理装置のコストが低減される。   Thus, since the processing width depends on the rotation angle of the nozzle around the rotation axis, the processing width can be adjusted with high accuracy with a simple configuration for rotating the nozzle. Therefore, a mechanism (nozzle rotation mechanism) for adjusting the processing width is simplified compared to the conventional configuration in which the processing width is adjusted by moving the nozzle in the nozzle insertion hole. Thereby, the cost of the substrate processing apparatus is reduced.

前記相対移動機構は、前記基板保持機構に保持された基板のみ、または前記ノズルのみを移動させるように構成されていてもよいし、前記基板および前記ノズルの両方を移動させるように構成されていてもよい。また、前記相対移動機構は、前記基板保持機構に保持された基板の主面を通る軸線まわりに当該基板を回転させる基板回転機構(10)を含んでいてもよい。この場合、基板の主面の周縁部に供給された処理液は、基板の回転による遠心力によって外方に広がっていく。したがって、ノズルから吐出された処理液は、基板に対する処理液の供給位置およびその外側の領域を含む環状の領域(処理領域)に供給される。   The relative movement mechanism may be configured to move only the substrate held by the substrate holding mechanism or only the nozzle, or may be configured to move both the substrate and the nozzle. Also good. The relative movement mechanism may include a substrate rotation mechanism (10) for rotating the substrate around an axis passing through the main surface of the substrate held by the substrate holding mechanism. In this case, the processing liquid supplied to the peripheral portion of the main surface of the substrate spreads outward due to the centrifugal force generated by the rotation of the substrate. Accordingly, the processing liquid discharged from the nozzle is supplied to an annular region (processing region) including the processing liquid supply position with respect to the substrate and the region outside the processing liquid.

また、前記ノズルは、前記基板保持機構に保持された基板の主面の周縁部に対して垂直に処理液が吹き付けられるように構成された垂直ノズル(5、205、305、405)を含んでいてもよいし、前記基板の主面の周縁部に対して斜めに処理液が吹き付けられるように構成された傾斜ノズル(805)を含んでいてもよい。具体的には、前記傾斜ノズルは、前記基板保持機構に保持された基板の主面の周縁部に対して、前記基板の中心から離れる方向に斜めに処理液が吹き付けられるように構成されていてもよい。この場合、基板に吹き付けられた処理液は、基板の主面に沿って外方に広がっていく。したがって、前記傾斜ノズルから吐出された処理液は、基板に対する処理液の供給位置およびその外側の領域を含む環状の領域(処理領域)に供給される。   The nozzle includes a vertical nozzle (5, 205, 305, 405) configured to spray a processing liquid perpendicularly to a peripheral portion of the main surface of the substrate held by the substrate holding mechanism. Alternatively, an inclined nozzle (805) configured to spray the processing liquid obliquely with respect to the peripheral edge of the main surface of the substrate may be included. Specifically, the inclined nozzle is configured such that the processing liquid is sprayed obliquely in a direction away from the center of the substrate with respect to the peripheral portion of the main surface of the substrate held by the substrate holding mechanism. Also good. In this case, the processing liquid sprayed on the substrate spreads outward along the main surface of the substrate. Therefore, the processing liquid discharged from the inclined nozzle is supplied to an annular area (processing area) including the supply position of the processing liquid with respect to the substrate and the area outside thereof.

また、請求項2に記載の発明のように、前記ノズルの前記回転軸線は、前記基板保持機構に保持された基板の主面を通る鉛直な軸線であってもよい。   Further, as in a second aspect of the invention, the rotation axis of the nozzle may be a vertical axis passing through the main surface of the substrate held by the substrate holding mechanism.

また、請求項3に記載の発明のように、前記ノズルは、前記回転軸線上に位置する中心軸線(L2)、および前記吐出口が形成された端面(5a)を有していてもよい。   Further, as in the invention described in claim 3, the nozzle may have a central axis (L2) located on the rotation axis and an end surface (5a) on which the discharge port is formed.

また、請求項4に記載の発明のように、前記ノズルは、前記吐出口から処理液が前記基板保持機構に保持された基板の主面の周縁部に向けて下方に吐出されるように形成されていてもよい。   According to a fourth aspect of the present invention, the nozzle is formed so that the processing liquid is discharged downward from the discharge port toward the peripheral portion of the main surface of the substrate held by the substrate holding mechanism. May be.

請求項5記載の発明は、前記処理液供給機構は、前記ノズルに第1薬液および第2薬液を含む複数種の処理液を供給するように構成されており、前記吐出口は、前記第1薬液を吐出する第1薬液吐出口(56a、256a)と、前記第2薬液を吐出する第2薬液吐出口(57a、257a)とを含み、前記ノズルは、前記第1薬液吐出口に接続された第1薬液流路(52)と、前記第2薬液吐出口に接続され、前記第1薬液流路とは独立して設けられた第2薬液流路(54)とを含む、請求項1〜4のいずれか一項に記載の基板処理装置である。   According to a fifth aspect of the present invention, the processing liquid supply mechanism is configured to supply a plurality of types of processing liquids including a first chemical liquid and a second chemical liquid to the nozzle, and the discharge port includes the first chemical liquid. A first chemical solution discharge port (56a, 256a) for discharging a chemical solution and a second chemical solution discharge port (57a, 257a) for discharging the second chemical solution, wherein the nozzle is connected to the first chemical solution discharge port; The first chemical liquid flow path (52) and the second chemical liquid flow path (54) connected to the second chemical liquid discharge port and provided independently of the first chemical liquid flow path. It is a substrate processing apparatus as described in any one of -4.

この構成によれば、第1薬液および第2薬液を含む複数種の処理液が、処理液供給機構からノズルに供給される。ノズルに供給された第1薬液は、第1薬液流路を通って第1薬液吐出口に供給される。また、ノズルに供給された第2薬液は、第2薬液流路を通って第2薬液吐出口に供給される。第1薬液流路および第2薬液流路は、互いに独立して設けられているから、ノズルに供給された第1薬液および第2薬液が、ノズル内で混ざり合うことはない。したがって、薬液の種類が切り替えられるときに、たとえば、種類の異なる薬液の混ざり合いを防ぐための流路の洗浄が不要である。したがって、このような処理を経ることなく、薬液の種類が切り替えられる。これにより、第1薬液および第2薬液の両方の薬液を用いて基板を処理するときの処理時間が短縮される。   According to this configuration, a plurality of types of processing liquids including the first chemical liquid and the second chemical liquid are supplied from the processing liquid supply mechanism to the nozzle. The first chemical liquid supplied to the nozzle is supplied to the first chemical liquid discharge port through the first chemical liquid flow path. Further, the second chemical liquid supplied to the nozzle is supplied to the second chemical liquid discharge port through the second chemical liquid flow path. Since the first chemical liquid flow path and the second chemical liquid flow path are provided independently of each other, the first chemical liquid and the second chemical liquid supplied to the nozzle do not mix in the nozzle. Therefore, when the type of the chemical solution is switched, for example, it is not necessary to clean the flow path to prevent mixing of different types of chemical solutions. Therefore, the type of the chemical solution can be switched without undergoing such processing. Thereby, the processing time when processing a board | substrate using both the 1st chemical | medical solution and the 2nd chemical | medical solution is shortened.

請求項6記載の発明は、前記処理液供給機構は、前記ノズルに薬液およびリンス液を含む複数種の処理液を供給するように構成されており、前記回転角制御装置は、前記ノズル回転機構を制御して、基板に対する薬液の供給位置よりも基板の中心側にリンス液が供給されるように、前記ノズルの回転角を制御する、請求項1〜5のいずれか一項に記載の基板処理装置である。   According to a sixth aspect of the present invention, the processing liquid supply mechanism is configured to supply a plurality of types of processing liquids including a chemical liquid and a rinsing liquid to the nozzle, and the rotation angle control device includes the nozzle rotation mechanism. The substrate according to any one of claims 1 to 5, wherein the rotation angle of the nozzle is controlled such that the rinsing liquid is supplied to the center side of the substrate from the supply position of the chemical solution to the substrate. It is a processing device.

この構成によれば、薬液およびリンス液を含む複数種の処理液が、処理液供給機構からノズルに供給される。これにより、薬液およびリンス液を含む複数種の処理液が、ノズルの吐出口から吐出され、基板の主面の周縁部に供給される。また、回転角制御装置によりノズル回転機構が制御されることにより、回転軸線まわりのノズルの回転角が、基板に対する薬液の供給位置よりも基板の中心側にリンス液が供給されるように調整される。したがって、基板に供給された処理液が基板の主面に沿って外方に広がっていくように基板処理装置が構成されている場合には、薬液が基板に供給された後にリンス液が基板に供給されることにより、薬液が供給された全ての領域(基板の主面の一部)にリンス液が供給される。これにより、基板に付着している薬液がリンス液によって確実に洗い流される。   According to this configuration, a plurality of types of processing liquids including the chemical liquid and the rinsing liquid are supplied from the processing liquid supply mechanism to the nozzle. Thereby, a plurality of types of processing liquids including the chemical liquid and the rinsing liquid are discharged from the discharge port of the nozzle and supplied to the peripheral portion of the main surface of the substrate. Further, by controlling the nozzle rotation mechanism by the rotation angle control device, the rotation angle of the nozzle around the rotation axis is adjusted so that the rinse liquid is supplied to the center side of the substrate from the supply position of the chemical solution to the substrate. The Therefore, when the substrate processing apparatus is configured such that the processing liquid supplied to the substrate spreads outward along the main surface of the substrate, the rinsing liquid is applied to the substrate after the chemical liquid is supplied to the substrate. By being supplied, the rinsing liquid is supplied to all regions (a part of the main surface of the substrate) to which the chemical liquid has been supplied. Thereby, the chemical | medical solution adhering to a board | substrate is wash | cleaned reliably by the rinse liquid.

請求項7記載の発明は、前記吐出口は、前記ノズルの回転方向(D1)に配列された薬液吐出口(56a、57a、256a、257a)およびリンス液吐出口(56b、57b、256b、257b)を含む、請求項1〜6のいずれか一項に記載の基板処理装置である。   According to a seventh aspect of the present invention, the discharge port includes a chemical solution discharge port (56a, 57a, 256a, 257a) and a rinse solution discharge port (56b, 57b, 256b, 257b) arranged in the rotation direction (D1) of the nozzle. Is a substrate processing apparatus according to any one of claims 1 to 6.

この構成によれば、薬液吐出口およびリンス液吐出口が、ノズルの回転方向に配列されている。すなわち、薬液吐出口およびリンス液吐出口は、回転軸線に直交する平面上において、回転軸線上に中心を有する円周上に配置されている。したがって、薬液吐出口およびリンス液吐出口のそれぞれが基板の中心に最も近づく位置(近接位置)が一致している。同様に、薬液吐出口およびリンス液吐出口のそれぞれが基板の中心から最も離れる位置(離間位置)が一致している。そのため、薬液処理およびリンス処理のいずれの処理においても、広く、かつ互いに等しい調整範囲(処理幅の調整範囲)が確保される。また、近接位置以外の位置で薬液吐出口から薬液が吐出されれば、基板に対する薬液の供給位置よりも基板の中心側にリンス液を供給することができる。これにより、薬液が供給された全ての領域(基板の主面の一部)にリンス液が供給され、基板に付着している薬液がリンス液によって確実に洗い流される。   According to this configuration, the chemical liquid discharge port and the rinse liquid discharge port are arranged in the rotation direction of the nozzle. That is, the chemical solution discharge port and the rinse solution discharge port are disposed on a circumference having a center on the rotation axis on a plane orthogonal to the rotation axis. Therefore, the positions (proximity positions) at which the chemical liquid discharge port and the rinse liquid discharge port are closest to the center of the substrate coincide. Similarly, the positions (separation positions) at which the chemical liquid discharge port and the rinse liquid discharge port are farthest from the center of the substrate coincide with each other. Therefore, in both the chemical treatment and the rinse treatment, a wide and equal adjustment range (adjustment range of the treatment width) is ensured. Further, if the chemical liquid is discharged from the chemical liquid discharge port at a position other than the proximity position, the rinse liquid can be supplied to the center side of the substrate from the supply position of the chemical liquid to the substrate. As a result, the rinsing liquid is supplied to all the regions (a part of the main surface of the substrate) to which the chemical liquid is supplied, and the chemical liquid adhering to the substrate is reliably washed away by the rinsing liquid.

本発明の第1実施形態に係る基板処理装置の概略構成を示す図である。It is a figure which shows schematic structure of the substrate processing apparatus which concerns on 1st Embodiment of this invention. 本発明の第1実施形態に係る基板処理装置に備えられた遮断板の底面図である。It is a bottom view of the interruption | blocking board with which the substrate processing apparatus which concerns on 1st Embodiment of this invention was equipped. 本発明の第1実施形態に係るスピンチャックおよびこれに関連する構成の平面図である。1 is a plan view of a spin chuck and a configuration related thereto according to a first embodiment of the present invention. 本発明の第1実施形態に係る支持ピンおよびこれに関連する構成の側面図である。It is a side view of the support pin which concerns on 1st Embodiment of this invention, and the structure relevant to this. 本発明の第1実施形態に係る支持ピンおよびこれに関連する構成の側面図である。It is a side view of the support pin which concerns on 1st Embodiment of this invention, and the structure relevant to this. 本発明の第1実施形態に係るノズルが処理位置にある状態でのノズルおよびこれに関連する構成の部分断面図である。It is a fragmentary sectional view of a nozzle in the state where a nozzle concerning a 1st embodiment of the present invention exists in a processing position, and the composition relevant to this. 本発明の第1実施形態に係るノズルが処理位置にある状態でのノズルの下面および遮断板の下面の一部を示す図である。It is a figure which shows a part of lower surface of the nozzle in the state which has the nozzle which concerns on 1st Embodiment of this invention in a processing position, and the lower surface of a shielding board. 本発明の第1実施形態に係る基板処理装置の電気的構成を説明するためのブロック図である。It is a block diagram for demonstrating the electrical constitution of the substrate processing apparatus which concerns on 1st Embodiment of this invention. 本発明の第1実施形態に係る基板処理装置による基板の処理の一例を説明するための工程図である。It is process drawing for demonstrating an example of the process of the board | substrate by the substrate processing apparatus which concerns on 1st Embodiment of this invention. 本発明の第2実施形態に係るノズルが処理位置にある状態でのノズルの下面および遮断板の下面の一部を示す図である。It is a figure which shows a part of lower surface of the nozzle in the state which has the nozzle which concerns on 2nd Embodiment of this invention in a process position, and the lower surface of a shielding board. 本発明の第3実施形態に係るノズルが処理位置にある状態でのノズルの下面および遮断板の下面の一部を示す図である。It is a figure which shows a part of lower surface of the nozzle in the state which has the nozzle which concerns on 3rd Embodiment of this invention in a process position, and the lower surface of a shielding board. 本発明の第4実施形態に係るノズルが処理位置にある状態でのノズルおよびこれに関連する構成の部分断面図である。It is a fragmentary sectional view of a nozzle in the state where a nozzle concerning a 4th embodiment of the present invention exists in a processing position, and the composition relevant to this. 本発明の第5実施形態に係るノズル回転機構およびこれに関連する構成の側面図である。It is a side view of the nozzle rotation mechanism which concerns on 5th Embodiment of this invention, and the structure relevant to this. 本発明の第6実施形態に係る基板処理装置の一部の側面図である。It is a partial side view of the substrate processing apparatus which concerns on 6th Embodiment of this invention. 本発明の第7実施形態に係る基板処理装置の一部の側面図である。It is a partial side view of the substrate processing apparatus which concerns on 7th Embodiment of this invention. 本発明の第8実施形態に係るノズルが処理位置にある状態でのノズルおよびこれに関連する構成の部分断面図である。It is a fragmentary sectional view of the nozzle in the state which has the nozzle which concerns on 8th Embodiment of this invention in a process position, and the structure relevant to this. 本発明の第9実施形態に係る基板処理装置の平面図である。It is a top view of the substrate processing apparatus concerning a 9th embodiment of the present invention.

以下では、本発明の実施の形態を、添付図面を参照して詳細に説明する。
図1は、本発明の一実施形態に係る基板処理装置1の概略構成を示す図である。また、図2は、本発明の一実施形態に係る基板処理装置1に備えられた遮断板4の底面図である。以下では、図1を参照して、基板処理装置1の概略構成について説明する。また、以下の説明において、図2を適宜参照する。
Hereinafter, embodiments of the present invention will be described in detail with reference to the accompanying drawings.
FIG. 1 is a diagram showing a schematic configuration of a substrate processing apparatus 1 according to an embodiment of the present invention. FIG. 2 is a bottom view of the blocking plate 4 provided in the substrate processing apparatus 1 according to one embodiment of the present invention. Below, with reference to FIG. 1, schematic structure of the substrate processing apparatus 1 is demonstrated. In the following description, FIG. 2 will be referred to as appropriate.

基板処理装置1は、半導体ウエハなどの円形の基板Wを処理するための装置である。基板処理装置1は、デバイス形成面である基板Wの表面の周縁部、非デバイス形成面である基板Wの裏面、および基板Wの周端面を処理するように構成された装置である。基板処理装置1は、図示しない隔壁で区画された処理室2内に、基板Wを水平に保持して回転させるスピンチャック3(基板保持機構)と、スピンチャック3の上方に配置された遮断板4(対向部材)と、基板Wの上面周縁部に向けて処理液を吐出する2つのノズル5(円柱状ノズル)と、ノズル5に処理液を供給する処理液供給機構6とを備えている。   The substrate processing apparatus 1 is an apparatus for processing a circular substrate W such as a semiconductor wafer. The substrate processing apparatus 1 is an apparatus configured to process a peripheral portion of the front surface of the substrate W that is a device forming surface, a back surface of the substrate W that is a non-device forming surface, and a peripheral end surface of the substrate W. The substrate processing apparatus 1 includes a spin chuck 3 (substrate holding mechanism) for horizontally holding and rotating a substrate W in a processing chamber 2 partitioned by a partition wall (not shown), and a blocking plate disposed above the spin chuck 3. 4 (opposing member), two nozzles 5 (columnar nozzles) that discharge the processing liquid toward the peripheral edge of the upper surface of the substrate W, and a processing liquid supply mechanism 6 that supplies the processing liquid to the nozzles 5. .

スピンチャック3は、鉛直に延びる回転軸7と、回転軸7の上端に水平に取り付けられた円盤状のスピンベース8と、スピンベース8上に配置された複数の支持ピン9と、回転軸7に結合されたチャック回転機構10(相対移動機構)とを備えている。複数の支持ピン9は、スピンベース8の上面周縁部においてスピンベース8の周方向に等間隔を空けて配置されている(図3参照)。スピンチャック3は、複数の支持ピン9の上端部を基板Wの下面周縁部に当接させることにより、スピンベース8の上方で基板Wを水平に支持するように構成されている。後述するように、複数の支持ピン9に支持された基板Wは、遮断板4から吹きつけられる気体によって複数の支持ピン9に押しつけられる。そして、この状態で、チャック回転機構10の駆動力が回転軸7に入力される。これにより、複数の支持ピン9に支持された基板Wが、複数の支持ピン9との間に生じる摩擦力によって複数の支持ピン9と一体回転する。これにより、複数の支持ピン9に支持された基板Wが、鉛直軸線(回転中心L1)まわりに回転される。チャック回転機構10は、モータなどのアクチュエータを含む。チャック回転機構10は、アクチュエータに加えて、歯車機構やプーリ・ベルト機構などの伝達機構を備えていてもよい。   The spin chuck 3 includes a rotary shaft 7 that extends vertically, a disk-shaped spin base 8 that is horizontally attached to the upper end of the rotary shaft 7, a plurality of support pins 9 that are disposed on the spin base 8, and a rotary shaft 7. And a chuck rotation mechanism 10 (relative movement mechanism) coupled to each other. The plurality of support pins 9 are arranged at equal intervals in the circumferential direction of the spin base 8 at the periphery of the upper surface of the spin base 8 (see FIG. 3). The spin chuck 3 is configured to horizontally support the substrate W above the spin base 8 by bringing the upper ends of the plurality of support pins 9 into contact with the peripheral edge of the lower surface of the substrate W. As will be described later, the substrate W supported by the plurality of support pins 9 is pressed against the plurality of support pins 9 by the gas blown from the blocking plate 4. In this state, the driving force of the chuck rotating mechanism 10 is input to the rotating shaft 7. As a result, the substrate W supported by the plurality of support pins 9 rotates integrally with the plurality of support pins 9 by the frictional force generated between the plurality of support pins 9. As a result, the substrate W supported by the plurality of support pins 9 is rotated around the vertical axis (rotation center L1). The chuck rotating mechanism 10 includes an actuator such as a motor. The chuck rotating mechanism 10 may include a transmission mechanism such as a gear mechanism and a pulley / belt mechanism in addition to the actuator.

また、各支持ピン9は、鉛直に延びるロッド11と、ロッド11の上端部に連結された第1支持部12と、ロッド11を取り囲む筒状のベローズ13と、ロッド11および第1支持部12を一体的に昇降させるピン昇降機構14とを含む。各第1支持部12は、基板Wの下面周縁部に点接触するように構成されている。各第1支持部12は、対応するピン昇降機構14によって、支持位置と、支持位置の真下の位置である退避位置との間で鉛直方向に昇降される。各第1支持部12の支持位置は、同じ高さであり、各第1支持部12の退避位置は、同じ高さである。複数の支持ピン9により支持された基板Wは、複数の支持ピン9が同期して昇降されることにより、スピンベース8の上方で鉛直方向に昇降される。複数の支持ピン9は、それぞれ3つ以上の支持ピン9により構成される第1支持ピン群9aおよび第2支持ピン群9bに二分される(図3参照)。第1支持ピン群9aを構成する複数の支持ピン9は、同期して昇降される。同様に、第2支持ピン群9bを構成する複数の支持ピン9は、同期して昇降される。第1支持ピン群9aを構成する複数の支持ピン9と、第2支持ピン群9bを構成する複数の支持ピン9とは、スピンベース8の周方向に交互に配置されている。   Each support pin 9 includes a vertically extending rod 11, a first support portion 12 connected to the upper end of the rod 11, a cylindrical bellows 13 surrounding the rod 11, and the rod 11 and the first support portion 12. And a pin elevating mechanism 14 that elevates and lowers integrally. Each of the first support portions 12 is configured to make point contact with the peripheral edge of the lower surface of the substrate W. Each first support portion 12 is lifted and lowered in the vertical direction by a corresponding pin lifting mechanism 14 between a support position and a retracted position that is a position directly below the support position. The support position of each first support part 12 is the same height, and the retracted position of each first support part 12 is the same height. The substrate W supported by the plurality of support pins 9 is moved up and down in the vertical direction above the spin base 8 as the plurality of support pins 9 are moved up and down in synchronization. The plurality of support pins 9 are divided into a first support pin group 9a and a second support pin group 9b each composed of three or more support pins 9 (see FIG. 3). The plurality of support pins 9 constituting the first support pin group 9a are moved up and down in synchronization. Similarly, the plurality of support pins 9 constituting the second support pin group 9b are moved up and down in synchronization. The plurality of support pins 9 constituting the first support pin group 9 a and the plurality of support pins 9 constituting the second support pin group 9 b are alternately arranged in the circumferential direction of the spin base 8.

また、回転軸7は中空に形成されている。下側処理液供給管15は、回転軸7の内周を挿通している。筒状の下側気体供給路16は、回転軸7の内周面と下側処理液供給管15の外周面との間に形成されている。下側気体供給路16の上端は、スピンベース8の上面中央部に位置する環状の下側気体吐出口17を形成している。また、下面ノズル18は、下側処理液供給管15の上端に連結されている。下面ノズル18の吐出口18aは、スピンベース8の上方に配置されている。下面ノズル18は、吐出口18aが複数の支持ピン9により支持された基板Wの下面中央部に対向するように構成されている。   Moreover, the rotating shaft 7 is formed hollow. The lower processing liquid supply pipe 15 is inserted through the inner periphery of the rotating shaft 7. The cylindrical lower gas supply path 16 is formed between the inner peripheral surface of the rotating shaft 7 and the outer peripheral surface of the lower processing liquid supply pipe 15. The upper end of the lower gas supply path 16 forms an annular lower gas discharge port 17 located at the center of the upper surface of the spin base 8. Further, the lower surface nozzle 18 is connected to the upper end of the lower processing liquid supply pipe 15. The discharge port 18 a of the lower surface nozzle 18 is disposed above the spin base 8. The lower surface nozzle 18 is configured such that the discharge port 18 a faces the lower surface central portion of the substrate W supported by the plurality of support pins 9.

また、下側薬液供給管19および下側リンス液供給管20は、下側処理液供給管15に接続されている。下側薬液バルブ21および下側リンス液バルブ22は、それぞれ、下側薬液供給管19および下側リンス液供給管20に介装されている。薬液およびリンス液は、それぞれ下側薬液供給管19および下側リンス液供給管20を介して下側処理液供給管15に供給される。薬液およびリンス液は、下側薬液バルブ21および下側リンス液バルブ22の開閉が制御されることにより選択的に下側処理液供給管15に供給される。下面ノズル18は、下側処理液供給管15から供給された薬液またはリンス液を基板Wの下面中央部に向けて吐出するように構成されている。   The lower chemical liquid supply pipe 19 and the lower rinse liquid supply pipe 20 are connected to the lower processing liquid supply pipe 15. The lower chemical liquid valve 21 and the lower rinse liquid valve 22 are interposed in the lower chemical liquid supply pipe 19 and the lower rinse liquid supply pipe 20, respectively. The chemical liquid and the rinse liquid are supplied to the lower processing liquid supply pipe 15 through the lower chemical liquid supply pipe 19 and the lower rinse liquid supply pipe 20, respectively. The chemical liquid and the rinsing liquid are selectively supplied to the lower processing liquid supply pipe 15 by controlling the opening and closing of the lower chemical liquid valve 21 and the lower rinsing liquid valve 22. The lower surface nozzle 18 is configured to discharge the chemical liquid or the rinsing liquid supplied from the lower processing liquid supply pipe 15 toward the center of the lower surface of the substrate W.

下側処理液供給管15に供給される薬液としては、硫酸、酢酸、硝酸、塩酸、フッ酸、アンモニア水、過酸化水素水、有機酸(たとえばクエン酸、蓚酸など)、有機アルカリ(たとえば、TMAH:テトラメチルアンモニウムハイドロオキサイドなど)、界面活性剤、腐食防止剤のうちの少なくとも1つを含む液を例示することができる。また、下側処理液供給管15に供給されるリンス液としては、純水(脱イオン水)、炭酸水、電解イオン水、水素水、オゾン水、IPA(イソプロピルアルコール)、HFE(ハイドロフロロエーテル)や、希釈濃度(たとえば、10〜100ppm程度)の塩酸水などを例示することができる。   Examples of the chemical solution supplied to the lower processing solution supply pipe 15 include sulfuric acid, acetic acid, nitric acid, hydrochloric acid, hydrofluoric acid, aqueous ammonia, hydrogen peroxide, organic acids (for example, citric acid and oxalic acid), and organic alkalis (for example, Examples thereof include a liquid containing at least one of TMAH (tetramethylammonium hydroxide, etc.), a surfactant and a corrosion inhibitor. The rinse liquid supplied to the lower processing liquid supply pipe 15 includes pure water (deionized water), carbonated water, electrolytic ionic water, hydrogen water, ozone water, IPA (isopropyl alcohol), HFE (hydrofluoroether). ) And dilute concentration (for example, about 10 to 100 ppm) hydrochloric acid and the like.

また、下側気体供給管23は、下側気体供給路16に接続されている。下側気体バルブ24は、下側気体供給管23に介装されている。気体の一例である窒素ガスは、下側気体供給管23を介して下側気体供給路16に供給される。そして、下側気体供給路16に供給された窒素ガスは、下側気体吐出口17から吐出される。下側気体吐出口17から吐出された窒素ガスは、スピンベース8の上面中央部と下面ノズル18との間を通って、スピンベース8の上方を放射状に広がっていく。下側気体供給路16への窒素ガスの供給は、下側気体バルブ24の開閉により制御される。下側気体供給路16に供給される気体は、窒素ガスに限らず、窒素ガス以外の不活性ガス、乾燥空気、清浄空気であってもよい。   The lower gas supply pipe 23 is connected to the lower gas supply path 16. The lower gas valve 24 is interposed in the lower gas supply pipe 23. Nitrogen gas, which is an example of gas, is supplied to the lower gas supply path 16 via the lower gas supply pipe 23. The nitrogen gas supplied to the lower gas supply path 16 is discharged from the lower gas discharge port 17. Nitrogen gas discharged from the lower gas discharge port 17 passes between the upper surface central portion of the spin base 8 and the lower surface nozzle 18 and spreads radially above the spin base 8. The supply of nitrogen gas to the lower gas supply path 16 is controlled by opening and closing the lower gas valve 24. The gas supplied to the lower gas supply path 16 is not limited to nitrogen gas, and may be inert gas other than nitrogen gas, dry air, or clean air.

遮断板4は、中空に形成された円板状の部材である。遮断板4は、中空に形成された支軸25の下端に水平な姿勢で連結されている。遮断板4の内部空間は、支軸25の内部空間に連通している。図2に示すように、遮断板4の中心軸線は、スピンチャック3の回転中心L1上に配置されている。遮断板4は、円形で平坦な下面26(対向面)と、遮断板4の下面26に形成された複数の気体吐出口27と、遮断板4の内部に設けられた流通空間28と、遮断板4の周縁部に形成された2つのノズル挿入孔29とを含む。遮断板4の下面26は、基板Wとほぼ同じ直径、あるいは基板Wよりも少し大きい直径を有している。遮断板4は、遮断板4の下面26が水平になるように配置されている。遮断板4は、遮断板4の下面26がスピンチャック3に保持された基板Wの上面に対向するように構成されている。   The blocking plate 4 is a disk-shaped member formed in a hollow shape. The blocking plate 4 is connected in a horizontal posture to the lower end of a support shaft 25 formed in a hollow shape. The internal space of the blocking plate 4 communicates with the internal space of the support shaft 25. As shown in FIG. 2, the central axis of the blocking plate 4 is disposed on the rotation center L <b> 1 of the spin chuck 3. The blocking plate 4 includes a circular and flat lower surface 26 (opposing surface), a plurality of gas discharge ports 27 formed on the lower surface 26 of the blocking plate 4, a flow space 28 provided inside the blocking plate 4, and a blocking And two nozzle insertion holes 29 formed on the peripheral edge of the plate 4. The lower surface 26 of the blocking plate 4 has substantially the same diameter as the substrate W or a slightly larger diameter than the substrate W. The shielding plate 4 is disposed so that the lower surface 26 of the shielding plate 4 is horizontal. The blocking plate 4 is configured such that the lower surface 26 of the blocking plate 4 faces the upper surface of the substrate W held by the spin chuck 3.

また、図2に示すように、複数の気体吐出口27は、遮断板4の中心軸線上に中心を有する所定の円周上で間隔を空けて配置されている。各気体吐出口27は、遮断板4の径方向に関して中央部よりも外側に配置されている。各気体吐出口27は、それぞれ、流通空間28に連通している。また、流通空間28は、対応する連通路30を介して各ノズル挿入孔29に連通している。各ノズル挿入孔29は、遮断板4の周縁部を遮断板4の厚み方向(図1では上下方向)に貫通している。後述するように、2つのノズル5は、それぞれ、2つのノズル挿入孔29に挿入される。図2に示すように、2つのノズル挿入孔29は、遮断板4の中心軸線に関して対称に配置されている。これにより、遮断板4の重心の偏りが防止されている。   Further, as shown in FIG. 2, the plurality of gas discharge ports 27 are arranged on a predetermined circumference having a center on the central axis of the blocking plate 4 at intervals. Each gas discharge port 27 is disposed outside the central portion in the radial direction of the blocking plate 4. Each gas discharge port 27 communicates with the circulation space 28. The circulation space 28 communicates with each nozzle insertion hole 29 through a corresponding communication passage 30. Each nozzle insertion hole 29 penetrates the peripheral portion of the blocking plate 4 in the thickness direction of the blocking plate 4 (vertical direction in FIG. 1). As will be described later, the two nozzles 5 are respectively inserted into the two nozzle insertion holes 29. As shown in FIG. 2, the two nozzle insertion holes 29 are arranged symmetrically with respect to the central axis of the blocking plate 4. Thereby, the bias | inclination of the gravity center of the interruption | blocking board 4 is prevented.

また、上側気体供給管31は、支軸25の上端部に接続されている。上側気体バルブ32は、上側気体供給管31に介装されている。気体の一例である窒素ガスは、上側気体供給管31を介して支軸25に供給される。そして、支軸25に供給された窒素ガスは、遮断板4の流通空間28を介して複数の気体吐出口27から下方に吐出される。また、遮断板4の流通空間28に供給された窒素ガスは、各連通路30を介して各ノズル挿入孔29に供給される。各ノズル挿入孔29に供給された窒素ガスは、各ノズル挿入孔29の上端および下端からそれぞれ上方および下方に吐出される。複数の支持ピン9によって基板Wが支持されており、かつ遮断板4が近接位置(図1に示す位置)にある状態で、複数の気体吐出口27から窒素ガスが吐出されると、当該基板Wは、遮断板4から吹きつけられる窒素ガスによって各支持ピン9に押しつけられる。遮断板4に供給される気体は、窒素ガスに限らず、窒素ガス以外の不活性ガス、乾燥空気、清浄空気であってもよい。   The upper gas supply pipe 31 is connected to the upper end portion of the support shaft 25. The upper gas valve 32 is interposed in the upper gas supply pipe 31. Nitrogen gas, which is an example of gas, is supplied to the support shaft 25 via the upper gas supply pipe 31. The nitrogen gas supplied to the support shaft 25 is discharged downward from the plurality of gas discharge ports 27 through the flow space 28 of the blocking plate 4. Further, the nitrogen gas supplied to the circulation space 28 of the blocking plate 4 is supplied to each nozzle insertion hole 29 via each communication path 30. Nitrogen gas supplied to each nozzle insertion hole 29 is discharged upward and downward from the upper end and lower end of each nozzle insertion hole 29, respectively. When nitrogen gas is discharged from the plurality of gas discharge ports 27 in a state where the substrate W is supported by the plurality of support pins 9 and the blocking plate 4 is in the proximity position (position shown in FIG. 1), the substrate W is pressed against each support pin 9 by nitrogen gas blown from the blocking plate 4. The gas supplied to the shielding plate 4 is not limited to nitrogen gas, but may be inert gas other than nitrogen gas, dry air, or clean air.

また、遮断板昇降機構33および遮断板回転機構34は、支軸25に結合されている。支軸25および遮断板4は、遮断板昇降機構33の駆動力が支軸25に入力されることにより、遮断板4の下面26がスピンチャック3に保持された基板Wの上面に近接する近接位置と、遮断板4がスピンチャック3の上方に大きく退避した退避位置との間で一体的に昇降される。また、支軸25および遮断板4は、遮断板回転機構34の駆動力が支軸25に入力されることにより、スピンチャック3の回転中心L1まわりに一体的に回転される。遮断板回転機構34は、遮断板4の回転角を精密に制御できるように構成されている。遮断板回転機構34は、たとえば、サーボモータを含む。遮断板回転機構34は、たとえば、遮断板4の回転が基板Wの回転と同期するように、または基板Wの回転速度とは異なる速度で遮断板4が回転するように制御されてもよい。また、遮断板回転機構34は省略されてもよく、遮断板4は、非回転状態で固定されていてもよい。   Further, the shield plate lifting mechanism 33 and the shield plate rotating mechanism 34 are coupled to the support shaft 25. The support shaft 25 and the shield plate 4 are close to each other so that the lower surface 26 of the shield plate 4 is close to the upper surface of the substrate W held by the spin chuck 3 when the driving force of the shield plate lifting mechanism 33 is input to the support shaft 25. The position is lifted and lowered integrally between the position and the retracted position where the blocking plate 4 is largely retracted above the spin chuck 3. Further, the support shaft 25 and the blocking plate 4 are integrally rotated around the rotation center L <b> 1 of the spin chuck 3 when the driving force of the blocking plate rotating mechanism 34 is input to the support shaft 25. The blocking plate rotating mechanism 34 is configured to be able to precisely control the rotation angle of the blocking plate 4. The blocking plate rotating mechanism 34 includes, for example, a servo motor. For example, the blocking plate rotating mechanism 34 may be controlled such that the rotation of the blocking plate 4 is synchronized with the rotation of the substrate W, or the blocking plate 4 rotates at a speed different from the rotation speed of the substrate W. Further, the blocking plate rotating mechanism 34 may be omitted, and the blocking plate 4 may be fixed in a non-rotating state.

各ノズル5は、たとえば、円柱状に形成されている。各ノズル5は、鉛直に配置されている。各ノズル5は、処理液供給機構6から供給された処理液をノズル5の下面5a(端面)に形成された吐出口から下に吐出するように構成されている。各ノズル5の上端部は、対応するノズル回転機構35に連結されている。また、各ノズル回転機構35は、対応するノズルアーム36に連結されている。各ノズル5は、対応するノズルアーム36によって支持されている。各ノズル5は、対応するノズル回転機構35によって、ノズル5の中心軸線L2(回転軸線)まわりに回転される。各中心軸線L2は、スピンチャック3に保持された基板Wの上面を通る鉛直な軸線である。各ノズル回転機構35は、モータなどのアクチュエータを含む。   Each nozzle 5 is formed in a cylindrical shape, for example. Each nozzle 5 is arranged vertically. Each nozzle 5 is configured to discharge the processing liquid supplied from the processing liquid supply mechanism 6 downward from a discharge port formed on the lower surface 5 a (end surface) of the nozzle 5. The upper end portion of each nozzle 5 is connected to the corresponding nozzle rotation mechanism 35. Each nozzle rotation mechanism 35 is connected to a corresponding nozzle arm 36. Each nozzle 5 is supported by a corresponding nozzle arm 36. Each nozzle 5 is rotated around the central axis L2 (rotation axis) of the nozzle 5 by the corresponding nozzle rotation mechanism 35. Each central axis L <b> 2 is a vertical axis passing through the upper surface of the substrate W held by the spin chuck 3. Each nozzle rotation mechanism 35 includes an actuator such as a motor.

また、各ノズルアーム36は、対応するアーム回転機構37に連結されている。各アーム回転機構37は、対応するアーム昇降機構38に連結されている。各アーム回転機構37は、スピンチャック3の周囲に設けられた鉛直な回動軸線L3まわりに対応するノズルアーム36を回動させるように構成されている。また、各アーム昇降機構38は、対応するノズルアーム36を鉛直方向に昇降させるように構成されている。各ノズルアーム36が回動軸線L3まわりに回動されることにより、各ノズル5が水平移動される。また、各ノズルアーム36が鉛直方向に昇降されることにより、各ノズル5が鉛直方向に移動される。   Each nozzle arm 36 is connected to a corresponding arm rotation mechanism 37. Each arm rotation mechanism 37 is connected to a corresponding arm lifting mechanism 38. Each arm rotation mechanism 37 is configured to rotate the corresponding nozzle arm 36 around a vertical rotation axis L3 provided around the spin chuck 3. Each arm raising / lowering mechanism 38 is configured to raise / lower the corresponding nozzle arm 36 in the vertical direction. As each nozzle arm 36 is rotated about the rotation axis L3, each nozzle 5 is moved horizontally. Further, each nozzle arm 36 is moved up and down in the vertical direction, whereby each nozzle 5 is moved in the vertical direction.

各ノズル5は、対応するアーム回転機構37によって、退避位置と中間位置(図1において二点鎖線で示す位置)との間で水平移動される。また、各ノズル5は、対応するアーム昇降機構38によって、中間位置と処理位置(図1において実線で示す位置)との間で鉛直方向に移動される。退避位置は、スピンチャック3および遮断板4から大きく離れた位置である。また、中間位置は、遮断板4の真上の位置である。また、処理位置は、各ノズル5がノズル挿入孔29内に配置され、かつ、各ノズル5の下面5aが遮断板4の下面26と同一平面上に配置される位置である。各ノズル5が処理位置に配置されるとき、遮断板4は、遮断板回転機構34によって回転されて、ノズル挿入位置(図1に示す位置)に配置される。ノズル挿入位置は、2つのノズル挿入孔29がそれぞれ2つのノズル5の中間位置の真下にくる位置である。各ノズル5は、遮断板4がノズル挿入位置に配置された状態で降下される。これにより、各ノズル5が対応するノズル挿入孔29に入り込んで、各ノズル5が処理位置に配置される。   Each nozzle 5 is horizontally moved between a retracted position and an intermediate position (a position indicated by a two-dot chain line in FIG. 1) by a corresponding arm rotation mechanism 37. Each nozzle 5 is moved in the vertical direction between an intermediate position and a processing position (position indicated by a solid line in FIG. 1) by a corresponding arm lifting mechanism 38. The retracted position is a position far away from the spin chuck 3 and the blocking plate 4. The intermediate position is a position directly above the blocking plate 4. The processing position is a position where each nozzle 5 is disposed in the nozzle insertion hole 29 and the lower surface 5 a of each nozzle 5 is disposed on the same plane as the lower surface 26 of the blocking plate 4. When each nozzle 5 is arranged at the processing position, the shielding plate 4 is rotated by the shielding plate rotating mechanism 34 and is arranged at the nozzle insertion position (position shown in FIG. 1). The nozzle insertion position is a position where the two nozzle insertion holes 29 are respectively located directly below the intermediate position of the two nozzles 5. Each nozzle 5 is lowered in a state where the blocking plate 4 is arranged at the nozzle insertion position. As a result, each nozzle 5 enters the corresponding nozzle insertion hole 29, and each nozzle 5 is arranged at the processing position.

また、各ノズル5は、退避位置から中間位置に移動されるときに、たとえば、当該ノズル5や対応するノズルアーム36がストッパ39に当接されることにより、中間位置に位置決めされる。図1では、一方のノズル5に対応するストッパ39のみが示されている。各ストッパ39の位置は、対応するノズル5が精度よく中間位置に位置決めされるように設定されている。したがって、各アーム回転機構37は、ノズル5またはノズルアーム36をストッパ39に当接させることができるように構成されていれば、ノズル5を精度よく中間位置に配置させる高い移動精度が要求されない。これにより、アーム回転機構37の構造が簡素化され、アーム回転機構37のコストが低減される。   Further, when each nozzle 5 is moved from the retracted position to the intermediate position, for example, the nozzle 5 and the corresponding nozzle arm 36 are brought into contact with the stopper 39 to be positioned at the intermediate position. In FIG. 1, only the stopper 39 corresponding to one nozzle 5 is shown. The position of each stopper 39 is set so that the corresponding nozzle 5 is accurately positioned at the intermediate position. Therefore, as long as each arm rotation mechanism 37 is configured so that the nozzle 5 or the nozzle arm 36 can be brought into contact with the stopper 39, high movement accuracy for accurately arranging the nozzle 5 at the intermediate position is not required. Thereby, the structure of the arm rotation mechanism 37 is simplified, and the cost of the arm rotation mechanism 37 is reduced.

図3は、スピンチャック3およびこれに関連する構成の平面図である。また、図4および図5は、それぞれ、支持ピン9およびこれに関連する構成の側面図である。図4は、支持ピン9が支持位置にある状態を示しており、図5は、支持ピン9が退避位置にある状態を示している。
基板処理装置1は、基板Wを所定位置に位置決めするように構成された位置決め機構40をさらに備えている。図3に示すように、位置決め機構40は、スピンベース8上に配置された2つの固定ピン41および2つのストッパ42と、押圧ブロック43と、ブロック移動機構44とを含む。2つの固定ピン41および2つのストッパ42は、それぞれ、スピンベース8の上面周縁部において隣接する支持ピン9の間に配置されている。一方の固定ピン41は、一方のストッパ42に対して、回転軸線まわりの位相が概ね180度異なる位置に配置されている。同様に、他方の固定ピン41は、他方のストッパ42に対して、回転軸線まわりの位相が概ね180度異なる位置に配置されている。
FIG. 3 is a plan view of the spin chuck 3 and a configuration related thereto. 4 and 5 are side views of the support pin 9 and the configuration related thereto, respectively. FIG. 4 shows a state where the support pin 9 is in the support position, and FIG. 5 shows a state where the support pin 9 is in the retracted position.
The substrate processing apparatus 1 further includes a positioning mechanism 40 configured to position the substrate W at a predetermined position. As shown in FIG. 3, the positioning mechanism 40 includes two fixing pins 41 and two stoppers 42 arranged on the spin base 8, a pressing block 43, and a block moving mechanism 44. The two fixing pins 41 and the two stoppers 42 are respectively disposed between the support pins 9 adjacent to each other on the peripheral edge of the upper surface of the spin base 8. One fixing pin 41 is disposed at a position where the phase around the rotation axis is approximately 180 degrees different from one stopper 42. Similarly, the other fixing pin 41 is disposed at a position where the phase around the rotation axis is approximately 180 degrees different from the other stopper 42.

各固定ピン41は、当該固定ピン41の上端部に設けられた第2支持部45を有している。また、図3に示すように、各ストッパ42は、当該ストッパ42の上端部に設けられた第3支持部46と、基板Wの周端面に当接されるストッパ面47とを有している。各第2支持部45および各第3支持部46は、同じ高さで基板Wの下面周縁部に点接触するように構成されている。2つの第2支持部45および2つの第3支持部46は、基板Wの下面周縁部に当接することにより協働して基板Wを支持するように構成されている。また、各ストッパ面47は、2つの固定ピン41および2つのストッパ42に支持された基板Wの中心がスピンチャック3の回転中心L1上に配置されているときに、当該基板Wの周端面に当接する位置に設けられている。したがって、2つの固定ピン41および2つのストッパ42に支持された基板Wの周端面が2つのストッパ面47に当接されることにより、当該基板Wの中心がスピンチャック3の回転中心L1上に配置される。   Each fixing pin 41 has a second support portion 45 provided at the upper end portion of the fixing pin 41. Further, as shown in FIG. 3, each stopper 42 has a third support portion 46 provided at the upper end portion of the stopper 42 and a stopper surface 47 that comes into contact with the peripheral end surface of the substrate W. . Each of the second support portions 45 and each of the third support portions 46 is configured to make point contact with the peripheral surface of the lower surface of the substrate W at the same height. The two second support portions 45 and the two third support portions 46 are configured to support the substrate W in cooperation by abutting against the peripheral edge of the lower surface of the substrate W. Each stopper surface 47 is formed on the peripheral end surface of the substrate W when the center of the substrate W supported by the two fixing pins 41 and the two stoppers 42 is disposed on the rotation center L1 of the spin chuck 3. It is provided at a position where it abuts. Therefore, when the peripheral end surfaces of the substrate W supported by the two fixing pins 41 and the two stoppers 42 are brought into contact with the two stopper surfaces 47, the center of the substrate W is on the rotation center L1 of the spin chuck 3. Be placed.

図4に示すように、各第2支持部45の上端位置は、支持位置に配置された各第1支持部12の上端位置より低い。また、図5に示すように、各第2支持部45の上端位置は、退避位置に配置された各第1支持部12の上端位置より高い。図示はしないが、各第3支持部46の上端位置も、各第2支持部45と同様に、支持位置に配置された各第1支持部12の上端位置より低く、かつ退避位置に配置された各第1支持部12の上端位置より高い。したがって、図4および図5を併せて参照すると分かるように、複数の支持ピン9が同期して昇降されることにより、複数の支持ピン9と2つの固定ピン41および2つのストッパ42との間で基板Wの受け渡しが行われる。   As shown in FIG. 4, the upper end position of each second support portion 45 is lower than the upper end position of each first support portion 12 disposed at the support position. As shown in FIG. 5, the upper end position of each second support portion 45 is higher than the upper end position of each first support portion 12 disposed at the retracted position. Although not shown, the upper end position of each third support portion 46 is also lower than the upper end position of each first support portion 12 disposed at the support position, and is disposed at the retracted position, similarly to each second support portion 45. Further, it is higher than the upper end position of each first support portion 12. Therefore, as can be seen by referring to FIG. 4 and FIG. 5 together, the plurality of support pins 9 are moved up and down synchronously, so that the space between the plurality of support pins 9 and the two fixing pins 41 and the two stoppers 42 is increased. Then, the substrate W is transferred.

また、押圧ブロック43は、たとえば、円柱状に形成されている。押圧ブロック43は、スピンベース8よりも高い位置で鉛直に配置されている。押圧ブロック43は、ブロック移動機構44によって、当接位置(図3において二点鎖線で示す位置)と非当接位置(図3において実線で示す位置)との間で水平移動される。当接位置は、2つの固定ピン41および2つのストッパ42に支持された基板Wの中心がスピンチャック3の回転中心L1上に配置されているときに、押圧ブロック43の外周面が基板Wの周端面に当接する位置である。また、非当接位置は、当接位置よりもスピンチャック3の回転中心L1から離れた位置である。2つの固定ピン41および2つのストッパ42に支持された基板Wの中心がスピンチャック3の回転中心L1に対してずれている状態で、押圧ブロック43が非当接位置から当接位置に移動されると、基板Wが押圧ブロック43によって2つのストッパ面47の方へ水平に押される。   Moreover, the press block 43 is formed in the column shape, for example. The pressing block 43 is arranged vertically at a position higher than the spin base 8. The pressing block 43 is horizontally moved by the block moving mechanism 44 between a contact position (a position indicated by a two-dot chain line in FIG. 3) and a non-contact position (a position indicated by a solid line in FIG. 3). The abutting position is such that when the center of the substrate W supported by the two fixing pins 41 and the two stoppers 42 is disposed on the rotation center L1 of the spin chuck 3, the outer peripheral surface of the pressing block 43 is the substrate W. It is a position that comes into contact with the peripheral end surface. Further, the non-contact position is a position farther from the rotation center L1 of the spin chuck 3 than the contact position. The pressing block 43 is moved from the non-contact position to the contact position in a state where the center of the substrate W supported by the two fixing pins 41 and the two stoppers 42 is shifted from the rotation center L1 of the spin chuck 3. Then, the substrate W is pressed horizontally by the pressing block 43 toward the two stopper surfaces 47.

図示しない搬送ロボットからスピンチャック3に基板Wが渡されるとき、たとえば、全ての支持ピン9が予め退避位置に配置される。そして、この状態で、スピンチャック3に基板Wが渡される。すなわち、2つの固定ピン41および2つのストッパ42に基板Wが載置される。基板Wが載置された後は、押圧ブロック43がブロック移動機構44によって当接位置に向けて水平移動させられる。このとき、基板Wの中心がスピンチャック3の回転中心L1に対してずれていれば、押圧ブロック43が基板Wの周端面に当接して、基板Wが水平に押される。そして、基板Wの周端面が2つのストッパ面47に当接するまで基板Wが水平に移動される。これにより、基板Wの中心がスピンチャック3の回転中心L1上に配置される。そして、押圧ブロック43が非当接位置まで戻された後、複数の支持ピン9が支持位置まで上昇される。2つの固定ピン41および2つのストッパ42に支持された基板Wは、複数の支持ピン9が支持位置まで上昇される過程で、当該複数の支持ピン9に支持される。これにより、基板Wの中心がスピンチャック3の回転中心L1上に配置された状態で、当該基板Wが複数の支持ピン9により支持される。   When the substrate W is transferred from the transfer robot (not shown) to the spin chuck 3, for example, all the support pins 9 are arranged in advance at the retracted position. In this state, the substrate W is transferred to the spin chuck 3. That is, the substrate W is placed on the two fixing pins 41 and the two stoppers 42. After the substrate W is placed, the pressing block 43 is horizontally moved toward the contact position by the block moving mechanism 44. At this time, if the center of the substrate W is deviated from the rotation center L1 of the spin chuck 3, the pressing block 43 comes into contact with the peripheral end surface of the substrate W and the substrate W is pressed horizontally. Then, the substrate W is moved horizontally until the peripheral end surface of the substrate W contacts the two stopper surfaces 47. Accordingly, the center of the substrate W is disposed on the rotation center L1 of the spin chuck 3. Then, after the pressing block 43 is returned to the non-contact position, the plurality of support pins 9 are raised to the support position. The substrate W supported by the two fixing pins 41 and the two stoppers 42 is supported by the plurality of support pins 9 in the process in which the plurality of support pins 9 are raised to the support position. Thus, the substrate W is supported by the plurality of support pins 9 in a state where the center of the substrate W is disposed on the rotation center L1 of the spin chuck 3.

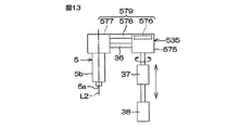
図6は、ノズル5が処理位置にある状態でのノズル5およびこれに関連する構成の部分断面図である。また、図7は、ノズル5が処理位置にある状態でのノズル5の下面5aおよび遮断板4の下面26の一部を示す図である。
前述のように、各ノズル5は、円柱状に形成されている。具体的には、各ノズル5は、当該ノズル5の下端部49の外径が他の部分の外径よりも小さくなるように形成されている。各ノズル5は、概ね一定の外径を有する円柱状の主体部48と、主体部48の外径よりも小さな外径を有する円柱状の下端部49とを含む。主体部48の下端および下端部49の上端は、同軸的に連結されている。各ノズル5は、下端部の外径が相対的に小さくなるように階段状に折れ曲がった円筒状の外周面5bを有している。各ノズル挿入孔29は、ノズル5の外周面5bに対応する円筒状に形成された内壁面51を有している。すなわち、各ノズル挿入孔29は、下端部の外径が相対的に小さくなるように階段状に折れ曲がった円筒状の内壁面51を有している。各ノズル挿入孔29の内壁面51は、概ね一定の直径を有する円筒状の大径部51aと、大径部51aよりも小さい直径を有する円筒状の小径部51bと、大径部51aの下端と小径部51bの上端とを全周にわたって連結する環状の連結部51cとを含む。
FIG. 6 is a partial cross-sectional view of the nozzle 5 and related components in a state where the nozzle 5 is in the processing position. FIG. 7 is a view showing a part of the lower surface 5a of the nozzle 5 and the lower surface 26 of the blocking plate 4 when the nozzle 5 is in the processing position.
As described above, each nozzle 5 is formed in a cylindrical shape. Specifically, each nozzle 5 is formed such that the outer diameter of the lower end portion 49 of the nozzle 5 is smaller than the outer diameter of other portions. Each nozzle 5 includes a cylindrical main body portion 48 having a substantially constant outer diameter, and a cylindrical lower end portion 49 having an outer diameter smaller than the outer diameter of the main body portion 48. The lower end of the main body 48 and the upper end of the lower end 49 are connected coaxially. Each nozzle 5 has a cylindrical outer peripheral surface 5b that is bent stepwise so that the outer diameter of the lower end portion is relatively small. Each nozzle insertion hole 29 has an inner wall surface 51 formed in a cylindrical shape corresponding to the outer peripheral surface 5 b of the nozzle 5. That is, each nozzle insertion hole 29 has a cylindrical inner wall surface 51 that is bent stepwise so that the outer diameter of the lower end portion is relatively small. The inner wall surface 51 of each nozzle insertion hole 29 includes a cylindrical large diameter portion 51a having a substantially constant diameter, a cylindrical small diameter portion 51b having a smaller diameter than the large diameter portion 51a, and a lower end of the large diameter portion 51a. And an annular connecting part 51c that connects the upper end of the small diameter part 51b over the entire circumference.

各ノズル5が処理位置に配置されているとき、各ノズル挿入孔29の内壁面51は、いずれの場所においてもノズル5の外周面5bに近接している。またこのとき、下端部の外径が相対的に小さくなるように階段状に折れ曲がった円筒状の微小隙間G1が、各ノズル挿入孔29の内壁面51と対応するノズル5の外周面5bとの間に形成されている。すなわち、各ノズル挿入孔29の大径部51aおよび小径部51bは、それぞれ、対応するノズル5の主体部48および下端部49を取り囲んでいる。また、各ノズル挿入孔29の連結部51cの内周部は、対応する主体部48の下面50の外周部に対向している。各小径部51bと対応するノズル5の下端部49との隙間、および各連結部51cと対応する主体部48の下面50との隙間は、たとえば、各大径部51aと対応するノズル5の主体部48との隙間よりも小さい。微小隙間G1に対して下から進入した流体は、階段状に折れ曲がった微小隙間G1の下端部によって減速されて、微小隙間G1の下端部またはその近傍に留められる。このようにして、各ノズル5の一部と対応するノズル挿入孔29の内壁面51の一部との間が非接触でシールされている。すなわち、この実施形態では、各ノズル挿入孔29の内壁面51の下端部(大径部51aの下端部、小径部51b、および連結部51c)および対応するノズル5の下端部49を含む非接触シール構造が設けられている。   When each nozzle 5 is disposed at the processing position, the inner wall surface 51 of each nozzle insertion hole 29 is close to the outer peripheral surface 5b of the nozzle 5 at any location. Further, at this time, a cylindrical minute gap G1 bent in a step shape so that the outer diameter of the lower end portion is relatively small is formed between the inner wall surface 51 of each nozzle insertion hole 29 and the outer peripheral surface 5b of the nozzle 5 corresponding thereto. It is formed between. That is, the large diameter part 51 a and the small diameter part 51 b of each nozzle insertion hole 29 surround the main part 48 and the lower end part 49 of the corresponding nozzle 5, respectively. Further, the inner peripheral portion of the connecting portion 51 c of each nozzle insertion hole 29 faces the outer peripheral portion of the lower surface 50 of the corresponding main body portion 48. The gap between each small diameter portion 51b and the corresponding lower end portion 49 of the nozzle 5 and the gap between each coupling portion 51c and the corresponding lower surface 50 of the main body portion 48 are, for example, the main body of the nozzle 5 corresponding to each large diameter portion 51a. It is smaller than the gap with the part 48. The fluid that has entered the minute gap G1 from below is decelerated by the lower end portion of the minute gap G1 that is bent in a step shape, and is retained at or near the lower end portion of the minute gap G1. In this way, a part of each nozzle 5 and a part of the inner wall surface 51 of the corresponding nozzle insertion hole 29 are sealed in a non-contact manner. That is, in this embodiment, the non-contact including the lower end portion of the inner wall surface 51 of each nozzle insertion hole 29 (the lower end portion of the large diameter portion 51a, the small diameter portion 51b, and the connecting portion 51c) and the corresponding lower end portion 49 of the nozzle 5 is provided. A seal structure is provided.

また、各ノズル5は、複数の処理液流路と、複数の処理液吐出口とを備えている。図6に示すように、前記複数の処理液流路は、ノズル5の内部においてそれぞれ独立して設けられた第1薬液流路52、第1リンス液流路53、第2薬液流路54、および第2リンス液流路55を含む。また、前記複数の処理液吐出口は、二対の薬液吐出口およびリンス液吐出口を含む。一方の対の薬液吐出口およびリンス液吐出口は、第1薬液吐出口56a(吐出口、薬液吐出口)および第1リンス液吐出口56b(吐出口、リンス液吐出口)であり、他方の対の薬液吐出口およびリンス液吐出口は、第2薬液吐出口57a(吐出口、薬液吐出口)および第2リンス液吐出口57b(吐出口、リンス液吐出口)である。第1薬液流路52、第1リンス液流路53、第2薬液流路54、および第2リンス液流路55は、それぞれ、第1薬液吐出口56a、第1リンス液吐出口56b、第2薬液吐出口57a、および第2リンス液吐出口57bに接続されている。各流路52〜55は、対応する吐出口56a、56b、57a、57bからたとえば真下に処理液が吐出されるように構成されている。   Each nozzle 5 includes a plurality of processing liquid flow paths and a plurality of processing liquid discharge ports. As shown in FIG. 6, the plurality of treatment liquid channels are a first chemical liquid channel 52, a first rinse liquid channel 53, a second chemical liquid channel 54, which are provided independently inside the nozzle 5. And a second rinse liquid channel 55. The plurality of treatment liquid discharge ports include two pairs of chemical solution discharge ports and a rinse liquid discharge port. One pair of the chemical liquid discharge port and the rinse liquid discharge port is a first chemical liquid discharge port 56a (discharge port, chemical liquid discharge port) and a first rinse liquid discharge port 56b (discharge port, rinse liquid discharge port), and the other The pair of chemical liquid discharge port and rinse liquid discharge port are a second chemical liquid discharge port 57a (discharge port, chemical liquid discharge port) and a second rinse liquid discharge port 57b (discharge port, rinse liquid discharge port). The first chemical liquid flow channel 52, the first rinse liquid flow channel 53, the second chemical liquid flow channel 54, and the second rinse liquid flow channel 55 are respectively a first chemical liquid discharge port 56a, a first rinse liquid discharge port 56b, The two chemical liquid discharge ports 57a and the second rinse liquid discharge port 57b are connected. Each of the flow paths 52 to 55 is configured such that the processing liquid is discharged, for example, directly below from the corresponding discharge ports 56a, 56b, 57a, and 57b.

また、図7に示すように、各ノズル5は、円形の下面5aを有している。各ノズル5の4つの吐出口(第1薬液吐出口56a、第1リンス液吐出口56b、第2薬液吐出口57a、および第2リンス液吐出口57b)は、それぞれ、ノズル5の下面5aの周縁部に配置されている。各ノズル5の4つの吐出口は、ノズル5の下面5a(中心軸線L2に直交する平面)上において、中心軸線L2上に中心を有する円周上に配置されている。各ノズル5の4つの吐出口は、第1リンス液吐出口56b、第1薬液吐出口56a、第2薬液吐出口57a、第2リンス液吐出口57bの順番でノズル5の周方向D1(ノズル5の回転方向)に配列されている。対を形成する薬液吐出口およびリンス液吐出口は、互いに近接している。また、一方の対の薬液吐出口およびリンス液吐出口と、他方の対の薬液吐出口およびリンス液吐出口とは、ノズル5の周方向D1に離れて配置されている。   Moreover, as shown in FIG. 7, each nozzle 5 has a circular lower surface 5a. Four discharge ports (a first chemical solution discharge port 56a, a first rinse solution discharge port 56b, a second chemical solution discharge port 57a, and a second rinse solution discharge port 57b) of each nozzle 5 are respectively provided on the lower surface 5a of the nozzle 5. It is arrange | positioned at the peripheral part. The four discharge ports of each nozzle 5 are arranged on a circle having a center on the central axis L2 on the lower surface 5a of the nozzle 5 (a plane orthogonal to the central axis L2). The four discharge ports of each nozzle 5 are arranged in the order of the first rinse liquid discharge port 56b, the first chemical liquid discharge port 56a, the second chemical liquid discharge port 57a, and the second rinse liquid discharge port 57b. 5 rotation direction). The chemical liquid discharge port and the rinse liquid discharge port forming the pair are close to each other. Further, one pair of the chemical solution discharge port and the rinse liquid discharge port and the other pair of the chemical solution discharge port and the rinse liquid discharge port are arranged apart from each other in the circumferential direction D1 of the nozzle 5.

また、図6に示すように、処理液供給機構6は、第1薬液供給管58、第1リンス液供給管59、第2薬液供給管60、および第2リンス液供給管61と、第1薬液供給管58、第1リンス液供給管59、第2薬液供給管60、および第2リンス液供給管61にそれぞれ介装された第1薬液バルブ62、第1リンス液バルブ63、第2薬液バルブ64、および第2リンス液バルブ65とを含む。第1薬液供給管58内の第1薬液は、第1薬液流路52を介して第1薬液吐出口56aに供給される。また、第2薬液供給管60内の第2薬液は、第2薬液流路54を介して第2薬液吐出口57aに供給される。第1および第2薬液は、互いに異なる種の薬液である。また、第1リンス液供給管59内を流れるリンス液は、第1リンス液流路53を介して第1リンス液吐出口56bに供給される。また、第2リンス液供給管61内を流れるリンス液は、第2リンス液流路55を介して第2リンス液吐出口57bに供給される。各供給管58〜61から対応する吐出口56a、56b、57a、57bへの処理液を供給は、各バルブ62〜65の開閉により制御される。   Further, as shown in FIG. 6, the treatment liquid supply mechanism 6 includes a first chemical liquid supply pipe 58, a first rinse liquid supply pipe 59, a second chemical liquid supply pipe 60, a second rinse liquid supply pipe 61, A first chemical liquid valve 62, a first rinse liquid valve 63, and a second chemical liquid respectively interposed in the chemical liquid supply pipe 58, the first rinse liquid supply pipe 59, the second chemical liquid supply pipe 60, and the second rinse liquid supply pipe 61. A valve 64 and a second rinse liquid valve 65 are included. The first chemical liquid in the first chemical liquid supply pipe 58 is supplied to the first chemical liquid discharge port 56 a via the first chemical liquid flow path 52. Further, the second chemical liquid in the second chemical liquid supply pipe 60 is supplied to the second chemical liquid discharge port 57 a via the second chemical liquid flow channel 54. The first and second chemicals are different types of chemicals. Further, the rinse liquid flowing in the first rinse liquid supply pipe 59 is supplied to the first rinse liquid discharge port 56 b via the first rinse liquid flow path 53. Further, the rinse liquid flowing in the second rinse liquid supply pipe 61 is supplied to the second rinse liquid discharge port 57 b via the second rinse liquid flow channel 55. The supply of the processing liquid from the supply pipes 58 to 61 to the corresponding discharge ports 56a, 56b, 57a, and 57b is controlled by opening and closing the valves 62 to 65.

第1薬液および第2薬液としては、それぞれ、エッチング液、無機薬液、有機薬液、ポリマー除去液などを例示することができる。具体的には、第1薬液および第2薬液としては、硫酸、酢酸、硝酸、塩酸、フッ酸、アンモニア水、過酸化水素水、リン酸、酢酸、有機酸(たとえばクエン酸、蓚酸など)、有機アルカリ(たとえば、TMAH:テトラメチルアンモニウムハイドロオキサイドなど)、界面活性剤、腐食防止剤のうちの少なくとも1つを含む液を例示することができる。また、ノズル5に供給されるリンス液としては、純水、炭酸水、電解イオン水、水素水、オゾン水、IPA(イソプロピルアルコール)、HFE(ハイドロフロロエーテル)や、希釈濃度(たとえば、10〜100ppm程度)の塩酸水などを例示することができる。   Examples of the first chemical liquid and the second chemical liquid include an etching liquid, an inorganic chemical liquid, an organic chemical liquid, and a polymer removing liquid, respectively. Specifically, as the first chemical solution and the second chemical solution, sulfuric acid, acetic acid, nitric acid, hydrochloric acid, hydrofluoric acid, aqueous ammonia, aqueous hydrogen peroxide, phosphoric acid, acetic acid, organic acid (for example, citric acid, oxalic acid, etc.), A liquid containing at least one of an organic alkali (for example, TMAH: tetramethylammonium hydroxide, etc.), a surfactant, and a corrosion inhibitor can be exemplified. The rinse liquid supplied to the nozzle 5 includes pure water, carbonated water, electrolytic ion water, hydrogen water, ozone water, IPA (isopropyl alcohol), HFE (hydrofluoroether), and dilution concentrations (for example, 10 to 10). For example, a hydrochloric acid solution of about 100 ppm) can be exemplified.

各ノズル5が処理位置にある状態でいずれかの吐出口(各ノズル5の4つの吐出口のいずれか)から処理液を吐出させながら、スピンチャック3によって基板Wを回転させると、基板Wの上面周縁部の全周に処理液が供給される。また、このとき基板Wに供給された処理液は、基板Wの回転による遠心力を受けて外方に広がっていく。したがって、回転状態の基板Wの上面周縁部に向けて各ノズル5から処理液を吐出させると、基板Wに対する処理液の供給位置(処理液が吹き付けられる位置)およびその外側を含む環状の領域(処理領域)に処理液が供給される。これにより、基板Wの上面周縁部が処理される。   When the substrate W is rotated by the spin chuck 3 while discharging the processing liquid from any one of the discharge ports (any of the four discharge ports of each nozzle 5) in a state where each nozzle 5 is at the processing position, The processing liquid is supplied to the entire periphery of the upper surface periphery. At this time, the processing liquid supplied to the substrate W spreads outward by receiving the centrifugal force generated by the rotation of the substrate W. Therefore, when the processing liquid is discharged from the nozzles 5 toward the peripheral edge of the upper surface of the substrate W in the rotating state, the processing liquid supply position (position where the processing liquid is sprayed) to the substrate W and an annular region including the outside thereof ( A processing liquid is supplied to the processing area. Thereby, the upper surface peripheral part of the board | substrate W is processed.

また、各ノズル5が、中心軸線L2まわりに回転されると、各ノズル5の4つの吐出口が、中心軸線L2まわりに回転して、スピンチャック3の回転中心L1から各吐出口までの距離が変化する。各ノズル5の各吐出口は、スピンチャック3の回転中心L1に最も近づく位置(近接位置)と、スピンチャック3の回転中心L1から最も離れる位置(離間位置)との間で移動される。各ノズル5の各吐出口の近接位置および離間位置は、中心軸線L2まわりに180度位相が異なる位置である。基板Wの上面周縁部に対する処理液の供給位置は、中心軸線L2まわりのノズル5の回転により変更される。これにより、基板Wの上面周縁部において処理液によって処理される環状の処理領域の幅(処理幅)が変更される。処理幅とは、環状の処理領域の内周縁から基板Wの周端面までの基板Wに平行な方向への最短距離である。   Further, when each nozzle 5 is rotated about the central axis L2, the four discharge ports of each nozzle 5 rotate about the central axis L2, and the distance from the rotation center L1 of the spin chuck 3 to each discharge port. Changes. Each discharge port of each nozzle 5 is moved between a position closest to the rotation center L1 of the spin chuck 3 (close position) and a position farthest from the rotation center L1 of the spin chuck 3 (separation position). The proximity position and the separation position of each discharge port of each nozzle 5 are positions that are 180 degrees out of phase around the central axis L2. The supply position of the processing liquid with respect to the peripheral edge of the upper surface of the substrate W is changed by the rotation of the nozzle 5 around the central axis L2. As a result, the width (processing width) of the annular processing region processed with the processing liquid at the peripheral edge of the upper surface of the substrate W is changed. The processing width is the shortest distance in the direction parallel to the substrate W from the inner peripheral edge of the annular processing region to the peripheral end surface of the substrate W.

図8は、基板処理装置1の電気的構成を説明するためのブロック図である。
基板処理装置1は、制御装置66(回転角制御装置)を備えている。制御装置66は、チャック回転機構10、ピン昇降機構14、遮断板昇降機構33、遮断板回転機構34、ノズル回転機構35、アーム回転機構37、アーム昇降機構38、ブロック移動機構44などの動作を制御する。また、基板処理装置1に備えられた各バルブの開閉は、制御装置66によって制御される。
FIG. 8 is a block diagram for explaining the electrical configuration of the substrate processing apparatus 1.
The substrate processing apparatus 1 includes a control device 66 (rotation angle control device). The control device 66 operates the chuck rotating mechanism 10, the pin lifting mechanism 14, the blocking plate lifting mechanism 33, the blocking plate rotating mechanism 34, the nozzle rotating mechanism 35, the arm rotating mechanism 37, the arm lifting mechanism 38, the block moving mechanism 44, and the like. Control. The opening / closing of each valve provided in the substrate processing apparatus 1 is controlled by the control device 66.

図9は、基板処理装置1による基板Wの処理の一例を説明するための工程図である。
以下では、図1、図3、図6および図9を参照して、表面に形成された複数枚の薄膜を有する基板W(半導体ウエハ)を処理するときの処理の一例について説明する。具体的には、基板Wの表面に形成された薄膜の周縁部をエッチングして除去するとともに、基板Wの裏面および周端面を洗浄するときの処理の一例について説明する。
FIG. 9 is a process diagram for explaining an example of processing of the substrate W by the substrate processing apparatus 1.
Hereinafter, an example of processing when processing a substrate W (semiconductor wafer) having a plurality of thin films formed on the surface will be described with reference to FIG. 1, FIG. 3, FIG. 6, and FIG. Specifically, an example of processing when the peripheral portion of the thin film formed on the surface of the substrate W is removed by etching and the back surface and the peripheral end surface of the substrate W are cleaned will be described.

未処理の基板Wは、遮断板4などの処理室2内の構成がそれぞれの退避位置に配置された状態で、図示しない搬送ロボットによって処理室2に搬入され、表面をたとえば上に向けて2つの固定ピン41および2つのストッパ42に載置される(ステップS1)。そして、制御装置66によりブロック移動機構44が制御されて、押圧ブロック43が当接位置に向けて水平移動させられる。このとき、基板Wの中心がスピンチャック3の回転中心L1に対してずれていれば、押圧ブロック43が当接位置に移動する過程で基板Wが水平に押されて、基板Wの周端面が2つのストッパ面47に当接される。これにより、基板Wの中心がスピンチャック3の回転中心L1上に配置される(ステップS2)。   The unprocessed substrate W is carried into the processing chamber 2 by a transfer robot (not shown) in a state where the configuration in the processing chamber 2 such as the blocking plate 4 is disposed at each retreat position, and the surface thereof is, for example, 2 facing upward. Placed on the two fixing pins 41 and the two stoppers 42 (step S1). Then, the block moving mechanism 44 is controlled by the control device 66, and the pressing block 43 is horizontally moved toward the contact position. At this time, if the center of the substrate W is deviated from the rotation center L1 of the spin chuck 3, the substrate W is pushed horizontally in the process of moving the pressing block 43 to the contact position, and the peripheral end surface of the substrate W is moved. It abuts against the two stopper surfaces 47. Thereby, the center of the substrate W is disposed on the rotation center L1 of the spin chuck 3 (step S2).

次に、制御装置66によりブロック移動機構44が制御されて、押圧ブロック43が非当接位置に向けて水平移動させられる。その後、制御装置66によりピン昇降機構14が制御されて、複数の支持ピン9が支持位置まで上昇される(ステップS3)。2つの固定ピン41および2つのストッパ42に支持された基板Wは、複数の支持ピン9が支持位置まで上昇される過程で、当該複数の支持ピン9に支持される。これにより、基板Wの中心がスピンチャック3の回転中心L1上に配置された状態で、当該基板Wが複数の支持ピン9により支持される。   Next, the block moving mechanism 44 is controlled by the control device 66, and the pressing block 43 is horizontally moved toward the non-contact position. Thereafter, the pin lifting mechanism 14 is controlled by the controller 66, and the plurality of support pins 9 are raised to the support position (step S3). The substrate W supported by the two fixing pins 41 and the two stoppers 42 is supported by the plurality of support pins 9 in the process in which the plurality of support pins 9 are raised to the support position. Thus, the substrate W is supported by the plurality of support pins 9 in a state where the center of the substrate W is disposed on the rotation center L1 of the spin chuck 3.

次に、制御装置66により上側気体バルブ32が開かれて、遮断板4の下面26に形成された複数の気体吐出口27から下方に窒素ガスが吐出される(ステップS4)。また、制御装置66により遮断板昇降機構33が制御されて、遮断板4が退避位置から近接位置まで降下される(ステップS5)。これにより、複数の気体吐出口27から吐出された窒素ガスがスピンチャック3に保持された基板Wの上面に吹き付けられ、当該基板Wが各支持ピン9に押しつけられる。そして、この状態で、制御装置66によりチャック回転機構10が制御されて、チャック回転機構10の駆動力がスピンチャック3の回転軸7に入力される。これにより、複数の支持ピン9に支持された基板Wが、複数の支持ピン9との間に生じる摩擦力によって複数の支持ピン9と一体回転する(ステップS6)。   Next, the upper gas valve 32 is opened by the control device 66, and nitrogen gas is discharged downward from the plurality of gas discharge ports 27 formed on the lower surface 26 of the blocking plate 4 (step S4). Further, the control plate 66 controls the shield plate lifting mechanism 33, and the shield plate 4 is lowered from the retracted position to the close position (step S5). Thereby, nitrogen gas discharged from the plurality of gas discharge ports 27 is blown onto the upper surface of the substrate W held by the spin chuck 3, and the substrate W is pressed against each support pin 9. In this state, the chuck rotation mechanism 10 is controlled by the controller 66, and the driving force of the chuck rotation mechanism 10 is input to the rotation shaft 7 of the spin chuck 3. Thereby, the board | substrate W supported by the some support pin 9 rotates integrally with the some support pin 9 by the frictional force which arises between the some support pins 9 (step S6).

次に、制御装置66により遮断板回転機構34が制御されて、遮断板4がノズル挿入位置に配置される(ステップS7)。そして、制御装置66により2つのアーム回転機構37および2つのアーム昇降機構38が制御されて、各ノズル5が、退避位置から中間位置を通って処理位置に移動される(ステップS8)。これにより、2つのノズル5がそれぞれ2つのノズル挿入孔29に挿入される。遮断板4は、この処理例のように近接位置に配置された後にノズル挿入位置に配置されてもよいし、近接位置に配置される前にノズル挿入位置に配置されてもよい。   Next, the blocking plate rotating mechanism 34 is controlled by the control device 66, and the blocking plate 4 is arranged at the nozzle insertion position (step S7). Then, the control device 66 controls the two arm rotation mechanisms 37 and the two arm lifting mechanisms 38, and each nozzle 5 is moved from the retracted position to the processing position through the intermediate position (step S8). Accordingly, the two nozzles 5 are inserted into the two nozzle insertion holes 29, respectively. The blocking plate 4 may be disposed at the nozzle insertion position after being disposed at the proximity position as in this processing example, or may be disposed at the nozzle insertion position before being disposed at the proximity position.

次に、基板Wの上面周縁部が第1薬液(エッチング液)によって第1処理幅でエッチングされる。具体的には、制御装置66により各ノズル回転機構35が制御されて、各ノズル5の回転角が第1処理角になるように、各ノズル5が中心軸線L2まわりに回転される(ステップS9)。各ノズル5は、この処理例のように処理位置に配置された後に回転されてもよいし、処理位置に配置される前に回転されてもよい。各ノズル5の回転角が第1処理角に設定されることにより、第1薬液吐出口56aから吐出された第1薬液が基板Wの上面周縁部の所定位置に吹き付けられるように調整される。またこのとき、各ノズル5の回転角は、第1リンス液吐出口56bが第1薬液吐出口56aよりも基板Wの中心側(スピンチャック3の回転中心L1側)に位置するように設定されている。   Next, the peripheral edge of the upper surface of the substrate W is etched with a first chemical solution (etching solution) with a first processing width. Specifically, each nozzle rotation mechanism 35 is controlled by the control device 66, and each nozzle 5 is rotated around the central axis L2 so that the rotation angle of each nozzle 5 becomes the first processing angle (step S9). ). Each nozzle 5 may be rotated after being arranged at the processing position as in this processing example, or may be rotated before being arranged at the processing position. By setting the rotation angle of each nozzle 5 to the first processing angle, the first chemical liquid discharged from the first chemical liquid discharge port 56a is adjusted to be sprayed to a predetermined position on the peripheral edge of the upper surface of the substrate W. At this time, the rotation angle of each nozzle 5 is set so that the first rinse liquid discharge port 56b is positioned closer to the center side of the substrate W (the rotation center L1 side of the spin chuck 3) than the first chemical liquid discharge port 56a. ing.

制御装置66は、各ノズル5の回転角が第1処理角に設定されている状態で、各処理液供給機構6に設けられた第1薬液バルブ62を開いて、回転状態の基板Wの上面周縁部に向けて各第1薬液吐出口56aから第1薬液を吐出させる(ステップS10)。これにより、第1処理幅を有する環状の領域(処理領域)に第1薬液が供給される。基板Wの最表面に位置する薄膜が金属膜である場合、第1薬液は、たとえば、フッ硝酸(フッ酸と硝酸の混合液)である。基板Wの最表面に位置する薄膜の周縁部は、第1薬液によってエッチングされ、基板Wから除去される。このようにして、基板Wの上面周縁部が第1薬液によって処理される。そして、第1薬液が吐出されてから所定時間が経過すると、制御装置66により各第1薬液バルブ62が閉じられて、第1薬液の吐出が停止される。   The control device 66 opens the first chemical solution valve 62 provided in each processing liquid supply mechanism 6 in a state where the rotation angle of each nozzle 5 is set to the first processing angle, and the upper surface of the substrate W in the rotating state. A 1st chemical | medical solution is discharged from each 1st chemical | medical solution discharge port 56a toward a peripheral part (step S10). As a result, the first chemical solution is supplied to the annular region (processing region) having the first processing width. When the thin film located on the outermost surface of the substrate W is a metal film, the first chemical liquid is, for example, hydrofluoric acid (mixed liquid of hydrofluoric acid and nitric acid). The peripheral edge of the thin film located on the outermost surface of the substrate W is etched by the first chemical solution and removed from the substrate W. In this way, the peripheral edge of the upper surface of the substrate W is processed with the first chemical solution. When a predetermined time elapses after the first chemical liquid is discharged, each first chemical liquid valve 62 is closed by the control device 66 and the discharge of the first chemical liquid is stopped.

次に、基板Wに付着している第1薬液がリンス液によって洗い流される。具体的には、ノズル5の回転角が第1処理角に維持された状態で、制御装置66により各処理液供給機構6に設けられた第1リンス液バルブ63が開かれて、回転状態の基板Wの上面周縁部に向けて各第1リンス液吐出口56bからリンス液(たとえば、純水)が吐出される(ステップS11)。第1処理角では、第1リンス液吐出口56bが第1薬液吐出口56aよりも基板Wの中心側に配置されている。したがって、各第1リンス液吐出口56bから吐出されたリンス液は、基板Wの上面周縁部において第1薬液が供給された領域よりも基板Wの中心側に吹き付けられる。これにより、第1薬液が供給された領域全体にリンス液が供給され、基板Wに付着している第1薬液がリンス液によって洗い流される。そして、リンス液が吐出されてから所定時間が経過すると、制御装置66により各第1リンス液バルブ63が閉じられて、リンス液の吐出が停止される。   Next, the first chemical liquid adhering to the substrate W is washed away by the rinse liquid. Specifically, in a state where the rotation angle of the nozzle 5 is maintained at the first processing angle, the first rinsing liquid valve 63 provided in each processing liquid supply mechanism 6 is opened by the control device 66, and A rinse liquid (for example, pure water) is discharged from each first rinse liquid discharge port 56b toward the peripheral edge of the upper surface of the substrate W (step S11). At the first processing angle, the first rinse liquid discharge port 56b is disposed closer to the center of the substrate W than the first chemical liquid discharge port 56a. Accordingly, the rinsing liquid discharged from each first rinsing liquid discharge port 56b is sprayed toward the center side of the substrate W rather than the region where the first chemical liquid is supplied at the upper peripheral edge of the substrate W. Thereby, the rinsing liquid is supplied to the entire region to which the first chemical liquid is supplied, and the first chemical liquid adhering to the substrate W is washed away by the rinsing liquid. When a predetermined time elapses after the rinsing liquid is discharged, the first rinsing liquid valve 63 is closed by the controller 66, and the discharge of the rinsing liquid is stopped.

次に、基板Wの上面周縁部が第2薬液(エッチング液)によって第2処理幅でエッチングされる。具体的には、制御装置66により各ノズル回転機構35が制御されて、各ノズル5の回転角が第2処理角になるように、各ノズル5が中心軸線L2まわりに回転される(ステップS12)。各ノズル5は、第1および第2処理幅の大きさが異なる場合には、この処理例のように回転されてもよいし、第1および第2処理幅の大きさが等しい場合には、回転されなくてもよい。各ノズル5の回転角が第2処理角に設定されることにより、各第2薬液吐出口57aから吐出された第2薬液が基板Wの上面周縁部の所定位置に吹き付けられるように調整される。またこのとき、各ノズル5の回転角は、第2リンス液吐出口57bが第2薬液吐出口57aよりも基板Wの中心側(スピンチャック3の回転中心L1側)に位置するように設定されている。   Next, the peripheral edge of the upper surface of the substrate W is etched by the second chemical liquid (etching liquid) with the second processing width. Specifically, each nozzle rotation mechanism 35 is controlled by the controller 66, and each nozzle 5 is rotated around the central axis L2 so that the rotation angle of each nozzle 5 becomes the second processing angle (step S12). ). Each nozzle 5 may be rotated as in this processing example when the first and second processing widths are different, or when the first and second processing widths are equal, It does not have to be rotated. By setting the rotation angle of each nozzle 5 to the second processing angle, the second chemical liquid discharged from each second chemical liquid discharge port 57a is adjusted to be sprayed to a predetermined position on the peripheral edge of the upper surface of the substrate W. . At this time, the rotation angle of each nozzle 5 is set such that the second rinse liquid discharge port 57b is positioned closer to the center side of the substrate W (the rotation center L1 side of the spin chuck 3) than the second chemical liquid discharge port 57a. ing.

制御装置66は、各ノズル5の回転角が第2処理角に設定されている状態で、各処理液供給機構6に設けられた第2薬液バルブ64を開いて、回転状態の基板Wの上面周縁部に向けて各第2薬液吐出口57aから第2薬液を吐出させる(ステップS13)。これにより、第2処理幅を有する環状の領域(処理領域)に第2薬液が供給される。基板Wの最表面の薄膜の下に形成された薄膜が酸化膜である場合には、第2薬液は、たとえば、希フッ酸(DHF)である。基板Wの最表面の薄膜の下に形成された薄膜の周縁部は、第2薬液によってエッチングされ、基板Wから除去される。このようにして、基板Wの上面周縁部が第2薬液によって処理される。そして、第2薬液が吐出されてから所定時間が経過すると、制御装置66により各第2薬液バルブ64が閉じられて、第2薬液の吐出が停止される。   The control device 66 opens the second chemical solution valve 64 provided in each processing liquid supply mechanism 6 in a state where the rotation angle of each nozzle 5 is set to the second processing angle, and the upper surface of the rotating substrate W. A 2nd chemical | medical solution is discharged from each 2nd chemical | medical solution discharge outlet 57a toward a peripheral part (step S13). As a result, the second chemical liquid is supplied to the annular region (processing region) having the second processing width. When the thin film formed under the thin film on the outermost surface of the substrate W is an oxide film, the second chemical liquid is, for example, dilute hydrofluoric acid (DHF). The peripheral portion of the thin film formed under the thin film on the outermost surface of the substrate W is etched from the second chemical solution and removed from the substrate W. In this way, the peripheral edge of the upper surface of the substrate W is processed with the second chemical solution. When a predetermined time elapses after the second chemical solution is discharged, each control device 66 closes each second chemical valve 64 and stops the discharge of the second chemical solution.

次に、基板Wに付着している第2薬液がリンス液によって洗い流される。具体的には、各ノズル5の回転角が第2処理角に維持された状態で、制御装置66により各処理液供給機構6に設けられた第2リンス液バルブ65が開かれて、回転状態の基板Wの上面周縁部に向けて各第2リンス液吐出口57bからリンス液(たとえば、純水)が吐出される(ステップS14)。第2処理角では、第2リンス液吐出口57bが第2薬液吐出口57aよりも基板Wの中心側に配置されている。したがって、各第2リンス液吐出口57bから吐出されたリンス液は、基板Wの上面周縁部において第2薬液が供給された領域よりも基板Wの中心側に吹き付けられる。これにより、第2薬液が供給された領域全体にリンス液が供給され、基板Wに付着している第2薬液がリンス液によって洗い流される。そして、リンス液が吐出されてから所定時間が経過すると、制御装置66により各第2リンス液バルブ65が閉じられて、リンス液の吐出が停止される。   Next, the second chemical liquid adhering to the substrate W is washed away by the rinse liquid. Specifically, in a state where the rotation angle of each nozzle 5 is maintained at the second processing angle, the second rinsing liquid valve 65 provided in each processing liquid supply mechanism 6 is opened by the control device 66 to rotate the nozzle 5. A rinsing liquid (for example, pure water) is discharged from each second rinsing liquid discharge port 57b toward the periphery of the upper surface of the substrate W (step S14). At the second processing angle, the second rinse liquid discharge port 57b is disposed closer to the center side of the substrate W than the second chemical liquid discharge port 57a. Accordingly, the rinsing liquid discharged from each second rinsing liquid discharge port 57b is sprayed to the center side of the substrate W rather than the region to which the second chemical liquid is supplied in the peripheral edge of the upper surface of the substrate W. Thereby, the rinsing liquid is supplied to the entire region to which the second chemical liquid is supplied, and the second chemical liquid adhering to the substrate W is washed away by the rinsing liquid. When a predetermined time elapses after the rinsing liquid is discharged, the second rinsing liquid valve 65 is closed by the control device 66, and the discharge of the rinsing liquid is stopped.

次に、基板Wの裏面および周端面が洗浄される。具体的には、制御装置66により2つのアーム回転機構37および2つのアーム昇降機構38が制御されて、各ノズル5が、退避位置に移動される(ステップS15)。これにより、各ノズル5がノズル挿入孔29から抜け出る。そして、各ノズル5が退避位置に移動した後に、制御装置66により遮断板回転機構34が制御されて、遮断板4が、たとえば、基板Wの回転速度と同じ回転速度で同じ方向に回転される(ステップS16)。また、制御装置66により下側気体バルブ24が開かれて、スピンベース8の上面中央部に形成された下側気体吐出口17から窒素ガスが吐出される。制御装置66は、下側気体吐出口17から窒素ガスを吐出させた状態で下側薬液バルブ21を開いて、回転状態の基板Wの下面中央部に向けて下面ノズル18の吐出口18aから薬液(洗浄液)を吐出させる(ステップS17)。また、制御装置66は、ピン昇降機構14を制御して、下面ノズル18の吐出口18aから薬液を吐出させながら、第1支持ピン群9aおよび第2支持ピン群9bを交互に昇降させる。   Next, the back surface and the peripheral end surface of the substrate W are cleaned. Specifically, the control device 66 controls the two arm rotation mechanisms 37 and the two arm lifting mechanisms 38, and each nozzle 5 is moved to the retracted position (step S15). As a result, each nozzle 5 comes out of the nozzle insertion hole 29. Then, after each nozzle 5 has moved to the retracted position, the control plate 66 controls the shield plate rotation mechanism 34 so that the shield plate 4 is rotated in the same direction at the same rotational speed as the rotational speed of the substrate W, for example. (Step S16). Further, the lower gas valve 24 is opened by the control device 66, and nitrogen gas is discharged from the lower gas discharge port 17 formed at the center of the upper surface of the spin base 8. The control device 66 opens the lower chemical liquid valve 21 in a state in which nitrogen gas is discharged from the lower gas discharge port 17, and moves the chemical liquid from the discharge port 18 a of the lower surface nozzle 18 toward the center of the lower surface of the rotating substrate W. (Cleaning liquid) is discharged (step S17). In addition, the control device 66 controls the pin lifting mechanism 14 to alternately lift and lower the first support pin group 9a and the second support pin group 9b while discharging the chemical solution from the discharge port 18a of the lower surface nozzle 18.

下面ノズル18の吐出口18aから吐出された薬液は、基板Wの下面中央部に吹き付けられた後、基板Wの回転による遠心力を受けて基板Wの下面に沿って外方に広がっていく。そして、基板Wの下面周縁部に達した薬液は、基板Wの周囲に振り切られる。また、基板Wの下面周縁部に達した薬液の一部は、基板Wの下面を伝って基板Wの周端面に達した後に基板Wの周囲に振り切られる。また、第1支持ピン群9aおよび第2支持ピン群9bが交互に昇降されることにより、基板Wの支持状態が、第1支持ピン群9aだけに支持された状態と、第2支持ピン群9bだけに支持された状態とに交互に切り替えられる。すなわち、第1支持ピン群9aおよび第2支持ピン群9bが基板Wの下面から交互に離れる。そのため、基板Wの下面周縁部に達した薬液は、基板Wの下面周縁部において各支持ピン9が当接される部分にも供給される。このようにして、基板Wの下面全域および基板Wの周端面全域に薬液が供給される。これにより、基板Wの裏面および周端面が洗浄される。そして、薬液が吐出されてから所定時間が経過すると、制御装置66により下側薬液バルブ21が閉じられて、薬液の吐出が停止される。   The chemical solution discharged from the discharge port 18a of the lower surface nozzle 18 is sprayed to the center of the lower surface of the substrate W, and then spreads outward along the lower surface of the substrate W under the centrifugal force due to the rotation of the substrate W. Then, the chemical solution that has reached the peripheral edge of the lower surface of the substrate W is shaken off around the substrate W. Further, a part of the chemical solution that has reached the peripheral edge of the lower surface of the substrate W is shaken off around the substrate W after reaching the peripheral end surface of the substrate W along the lower surface of the substrate W. Further, by alternately raising and lowering the first support pin group 9a and the second support pin group 9b, the support state of the substrate W is supported only by the first support pin group 9a, and the second support pin group It is switched alternately to the state supported only by 9b. That is, the first support pin group 9 a and the second support pin group 9 b are alternately separated from the lower surface of the substrate W. Therefore, the chemical solution that has reached the lower peripheral edge of the substrate W is also supplied to the portion where the support pins 9 are in contact with each other at the lower peripheral edge of the substrate W. In this way, the chemical solution is supplied to the entire lower surface of the substrate W and the entire peripheral end surface of the substrate W. Thereby, the back surface and peripheral end surface of the substrate W are cleaned. When a predetermined time elapses after the chemical liquid is discharged, the lower chemical liquid valve 21 is closed by the control device 66 and the discharge of the chemical liquid is stopped.

次に、基板Wに付着している薬液(洗浄液)がリンス液によって洗い流される。具体的には、制御装置66は、下側気体吐出口17から窒素ガスを吐出させた状態で下側リンス液バルブ22を開いて、回転状態の基板Wの下面中央部に向けて下面ノズル18の吐出口18aからリンス液(たとえば、純水)を吐出させる(ステップS18)。また、制御装置66は、ピン昇降機構14を制御して、下面ノズル18の吐出口18aからリンス液を吐出させながら、第1支持ピン群9aおよび第2支持ピン群9bを交互に昇降させる。下面ノズル18の吐出口18aから吐出されたリンス液は、薬液(洗浄液)の場合と同様に、基板Wの下面全域および基板Wの周端面全域に供給される。これにより、基板Wの裏面および周端面に付着している薬液がリンス液によって洗い流される。そして、リンス液が吐出されてから所定時間が経過すると、制御装置66により下側リンス液バルブ22が閉じられて、リンス液の吐出が停止される。   Next, the chemical liquid (cleaning liquid) adhering to the substrate W is washed away with the rinse liquid. Specifically, the control device 66 opens the lower rinsing liquid valve 22 in a state where nitrogen gas is discharged from the lower gas discharge port 17, and the lower surface nozzle 18 toward the lower surface center portion of the rotating substrate W. A rinsing liquid (for example, pure water) is discharged from the discharge port 18a (step S18). Further, the control device 66 controls the pin lifting mechanism 14 to alternately lift and lower the first support pin group 9a and the second support pin group 9b while discharging the rinse liquid from the discharge port 18a of the lower surface nozzle 18. The rinse liquid discharged from the discharge port 18a of the lower surface nozzle 18 is supplied to the entire lower surface of the substrate W and the entire peripheral end surface of the substrate W, as in the case of the chemical liquid (cleaning liquid). Thereby, the chemical | medical solution adhering to the back surface and peripheral end surface of the board | substrate W is washed away by the rinse liquid. When a predetermined time elapses after the rinsing liquid is discharged, the lower rinsing liquid valve 22 is closed by the control device 66 and the discharge of the rinsing liquid is stopped.

次に、基板Wを乾燥させる乾燥処理(スピンドライ)が行われる。具体的には、制御装置66は、複数の気体吐出口27および下側気体吐出口17から窒素ガスを吐出させた状態で、チャック回転機構10および遮断板回転機構34を制御して、基板Wおよび遮断板4を高回転速度(たとえば数千rpm)で回転させる(ステップS19)。これにより、基板Wに付着している処理液に大きな遠心力が作用して、処理液が基板Wの周囲に振り切られる。このようにして、基板Wから処理液が除去され、基板Wが乾燥する。そして、乾燥処理が所定時間にわたって行われた後は、制御装置66によりチャック回転機構10および遮断板回転機構34が制御されて、基板Wおよび遮断板4の回転が停止される(ステップS20)。また、制御装置66により遮断板昇降機構33が制御され、遮断板4が退避位置に向けて上昇される(ステップS21)。さらに、制御装置66により上側気体バルブ32および下側気体バルブ24が閉じられて、複数の気体吐出口27および下側気体吐出口17からの窒素ガスの吐出が停止される(ステップS22)。その後、処理済みの基板Wが搬送ロボットによって処理室2から搬出される(ステップS23)。   Next, a drying process (spin drying) for drying the substrate W is performed. Specifically, the control device 66 controls the chuck rotating mechanism 10 and the blocking plate rotating mechanism 34 in a state where nitrogen gas is discharged from the plurality of gas discharge ports 27 and the lower gas discharge ports 17, so that the substrate W Then, the blocking plate 4 is rotated at a high rotation speed (for example, several thousand rpm) (step S19). Thereby, a large centrifugal force acts on the processing liquid adhering to the substrate W, and the processing liquid is shaken off around the substrate W. In this way, the processing liquid is removed from the substrate W, and the substrate W is dried. After the drying process is performed for a predetermined time, the controller 66 controls the chuck rotating mechanism 10 and the blocking plate rotating mechanism 34 to stop the rotation of the substrate W and the blocking plate 4 (step S20). Further, the controller 66 controls the shield plate lifting mechanism 33, and the shield plate 4 is raised toward the retracted position (step S21). Further, the upper gas valve 32 and the lower gas valve 24 are closed by the control device 66, and the discharge of nitrogen gas from the plurality of gas discharge ports 27 and the lower gas discharge port 17 is stopped (step S22). Thereafter, the processed substrate W is unloaded from the processing chamber 2 by the transfer robot (step S23).

以上のように本実施形態では、遮断板4の下面26がスピンチャック3に保持された基板Wの上面に近接され、各ノズル5がノズル挿入孔29に挿入されている状態で、各ノズル5に供給された処理液が、回転状態の基板Wの上面周縁部に向けて吐出される。基板Wに対する処理液の供給位置は、基板Wの回転によって、基板Wの上面周縁部に沿って移動される。したがって、基板Wに対する処理液の供給位置およびその外側の領域を含む環状の領域(処理領域)に処理液が供給される。これにより、基板Wの上面が遮断板4の下面26によって覆われた状態で、基板Wの上面周縁部が処理される。したがって、基板Wの上面が遮断板4によって保護された状態で、基板Wの上面周縁部が処理される。   As described above, in this embodiment, each nozzle 5 is in a state where the lower surface 26 of the blocking plate 4 is brought close to the upper surface of the substrate W held by the spin chuck 3 and each nozzle 5 is inserted into the nozzle insertion hole 29. Is discharged toward the peripheral edge of the upper surface of the rotating substrate W. The supply position of the processing liquid with respect to the substrate W is moved along the peripheral edge of the upper surface of the substrate W by the rotation of the substrate W. Accordingly, the processing liquid is supplied to the annular region (processing region) including the position where the processing liquid is supplied to the substrate W and the region outside thereof. As a result, the peripheral edge of the upper surface of the substrate W is processed in a state where the upper surface of the substrate W is covered by the lower surface 26 of the blocking plate 4. Accordingly, the peripheral edge of the upper surface of the substrate W is processed in a state where the upper surface of the substrate W is protected by the blocking plate 4.

また、処理幅(環状の処理領域の内周縁から基板Wの周端面までの基板Wに平行な方向への最短距離)の調整は、中心軸線L2まわりのノズル5の自転により行われる。そのため、ノズル挿入孔内でのノズルの移動により処理幅が調整される従来の構成のような大きな隙間が、ノズル5とノズル挿入孔29の内壁面51との間に必要とされない。これにより、基板Wと遮断板4との間の気流の乱れが抑制される。したがって、ノズル挿入孔29内への処理液のミストの進入が抑制される。さらに、処理幅は、中心軸線L2まわりのノズル5の回転角に依存する。したがって、ノズル挿入孔内でのノズルの移動により処理幅が調整される従来の構成に比べて、処理幅を調整するための機構(ノズル回転機構35)が簡素化および小型化される。すなわち、簡単な構成で処理幅を精度良く調整できる。これにより、基板処理装置1のコストが低減される。   The adjustment of the processing width (the shortest distance in the direction parallel to the substrate W from the inner peripheral edge of the annular processing region to the peripheral end surface of the substrate W) is performed by the rotation of the nozzle 5 around the central axis L2. Therefore, a large gap is not required between the nozzle 5 and the inner wall surface 51 of the nozzle insertion hole 29 unlike the conventional configuration in which the processing width is adjusted by the movement of the nozzle in the nozzle insertion hole. Thereby, the turbulence of the airflow between the substrate W and the blocking plate 4 is suppressed. Accordingly, the entry of the mist of the processing liquid into the nozzle insertion hole 29 is suppressed. Further, the processing width depends on the rotation angle of the nozzle 5 around the central axis L2. Therefore, a mechanism (nozzle rotation mechanism 35) for adjusting the processing width is simplified and miniaturized as compared with the conventional configuration in which the processing width is adjusted by moving the nozzle in the nozzle insertion hole. That is, the processing width can be accurately adjusted with a simple configuration. Thereby, the cost of the substrate processing apparatus 1 is reduced.

また、本実施形態では、薬液およびリンス液を含む複数種の処理液が、各ノズル5に供給される。これにより、薬液およびリンス液を含む複数種の処理液が、各ノズル5の4つの吐出口(第1薬液吐出口56a、第1リンス液吐出口56b、第2薬液吐出口57a、および第2リンス液吐出口57b)から吐出され、基板Wの上面の周縁部に供給される。また、制御装置66により各ノズル回転機構35が制御されることにより、中心軸線L2まわりの各ノズル5の回転角が、基板Wに対する薬液の供給位置よりも基板Wの中心側にリンス液が供給されるように設定される。したがって、薬液が基板Wに供給された後にリンス液が基板Wに供給されることにより、薬液が供給された全ての領域(基板Wの上面の一部)にリンス液が供給される。これにより、基板Wに付着している薬液がリンス液によって確実に洗い流される。   In the present embodiment, a plurality of types of processing liquids including a chemical liquid and a rinsing liquid are supplied to each nozzle 5. As a result, a plurality of types of processing liquids including the chemical liquid and the rinsing liquid are supplied to the four discharge ports (first chemical liquid discharge port 56a, first rinse liquid discharge port 56b, second chemical liquid discharge port 57a, and second of each nozzle 5). It is discharged from the rinse liquid discharge port 57b) and supplied to the peripheral edge of the upper surface of the substrate W. Further, by controlling each nozzle rotating mechanism 35 by the controller 66, the rotation angle of each nozzle 5 around the central axis L2 is supplied to the center side of the substrate W from the supply position of the chemical solution to the substrate W. To be set. Accordingly, the rinsing liquid is supplied to the substrate W after the chemical liquid is supplied to the substrate W, whereby the rinsing liquid is supplied to all regions (a part of the upper surface of the substrate W) to which the chemical liquid is supplied. Thereby, the chemical | medical solution adhering to the board | substrate W is wash | cleaned reliably by the rinse liquid.

また、本実施形態では、各ノズル5の4つの吐出口が、ノズル5の回転方向に配列されている。すなわち、各ノズル5の4つの吐出口は、ノズル5の下面5a(中心軸線L2に直交する平面)上において、中心軸線L2上に中心を有する円周上に配置されている。したがって、各ノズル5において、各吐出口が基板Wの中心に最も近づく位置(近接位置)が一致している。同様に、各ノズル5において、各吐出口が基板Wの中心から最も離れる位置(離間位置)が一致している。そのため、薬液処理およびリンス処理のいずれの処理においても、広く、かつ互いに等しい調整範囲(処理幅の調整範囲)が確保される。また、近接位置以外の位置で薬液吐出口56a,57aから薬液が吐出されれば、基板Wに対する薬液の供給位置よりも基板Wの中心側にリンス液を供給することができる。これにより、薬液が供給された全ての領域(基板Wの上面の一部)にリンス液が供給され、基板Wに付着している薬液がリンス液によって確実に洗い流される。   In the present embodiment, the four discharge ports of each nozzle 5 are arranged in the rotation direction of the nozzle 5. That is, the four discharge ports of each nozzle 5 are arranged on the circumference having the center on the central axis L2 on the lower surface 5a of the nozzle 5 (a plane orthogonal to the central axis L2). Therefore, in each nozzle 5, the position where each discharge port is closest to the center of the substrate W (proximity position) matches. Similarly, in each nozzle 5, the position (separation position) where each discharge port is farthest from the center of the substrate W coincides. Therefore, in both the chemical treatment and the rinse treatment, a wide and equal adjustment range (adjustment range of the treatment width) is ensured. Further, if the chemical liquid is discharged from the chemical liquid discharge ports 56a and 57a at a position other than the proximity position, the rinse liquid can be supplied to the center side of the substrate W from the supply position of the chemical liquid to the substrate W. Thereby, the rinsing liquid is supplied to all the regions (a part of the upper surface of the substrate W) to which the chemical liquid is supplied, and the chemical liquid adhering to the substrate W is surely washed away by the rinsing liquid.

また、本実施形態では、第1薬液および第2薬液を含む複数種の処理液が、各ノズル5に供給される。各ノズル5に供給された第1薬液は、第1薬液流路52を通って第1薬液吐出口56aに供給される。また、各ノズル5に供給された第2薬液は、第2薬液流路54を通って第2薬液吐出口57aに供給される。各ノズル5の第1薬液流路52および第2薬液流路54は、互いに独立して設けられているから、各ノズル5に供給された第1薬液および第2薬液が、ノズル5内で混ざり合うことはない。したがって、薬液の種類が切り替えられるときに、たとえば、種類の異なる薬液の混ざり合いを防ぐための流路52、54の洗浄が不要である。したがって、このような処理を経ることなく、薬液の種類が切り替えられる。これにより、第1薬液および第2薬液の両方の薬液を用いて基板Wを処理するときの処理時間が短縮される。   In the present embodiment, a plurality of types of processing liquids including the first chemical liquid and the second chemical liquid are supplied to each nozzle 5. The first chemical liquid supplied to each nozzle 5 passes through the first chemical liquid flow path 52 and is supplied to the first chemical liquid discharge port 56a. Further, the second chemical liquid supplied to each nozzle 5 is supplied to the second chemical liquid discharge port 57 a through the second chemical liquid flow channel 54. Since the first chemical liquid flow path 52 and the second chemical liquid flow path 54 of each nozzle 5 are provided independently of each other, the first chemical liquid and the second chemical liquid supplied to each nozzle 5 are mixed in the nozzle 5. It does n’t fit. Therefore, when the type of the chemical solution is switched, for example, it is not necessary to clean the flow paths 52 and 54 for preventing mixing of different types of chemical solutions. Therefore, the type of the chemical solution can be switched without undergoing such processing. Thereby, the processing time when processing the board | substrate W using both the 1st chemical | medical solution and the 2nd chemical | medical solution is shortened.

また、本実施形態では、遮断板4の下面26近傍において、ノズル挿入孔29の内壁面51とノズル5との間とが非接触でシールされる。したがって、ノズル5とノズル挿入孔29との微小隙間G1への流体の進入がさらに抑制される。これにより、基板Wと遮断板4との間の気流の乱れがさらに抑制される。また、ノズル挿入孔29の内壁面51とノズル5との間とが非接触でシールされるから、ノズル挿入孔29に挿入されている状態でノズル5が回転されるときに、ノズル5の一部がノズル挿入孔29の内壁面51の一部に摺動することはない。これにより、摺動による異物(たとえば、パーティクル)の発生が防止される。さらに、遮断板4の下面26近傍において、ノズル挿入孔29の内壁面51の一部とノズル5の一部との間とがシールされるから、シールされる部分以外の部分が高い寸法精度で加工されていなくてもよい。これにより、ノズル挿入孔29およびノズル5の製造コストが低減される。   In the present embodiment, the space between the inner wall surface 51 of the nozzle insertion hole 29 and the nozzle 5 is sealed in the vicinity of the lower surface 26 of the blocking plate 4. Therefore, the entry of fluid into the minute gap G1 between the nozzle 5 and the nozzle insertion hole 29 is further suppressed. Thereby, the turbulence of the airflow between the substrate W and the blocking plate 4 is further suppressed. In addition, since the space between the inner wall surface 51 of the nozzle insertion hole 29 and the nozzle 5 is sealed without contact, when the nozzle 5 is rotated while being inserted into the nozzle insertion hole 29, The part does not slide on a part of the inner wall surface 51 of the nozzle insertion hole 29. Thereby, generation | occurrence | production of the foreign material (for example, particle) by sliding is prevented. Further, since a portion between the inner wall surface 51 of the nozzle insertion hole 29 and a portion of the nozzle 5 is sealed in the vicinity of the lower surface 26 of the blocking plate 4, portions other than the portion to be sealed are highly dimensional accurate. It may not be processed. Thereby, the manufacturing cost of the nozzle insertion hole 29 and the nozzle 5 is reduced.

また、本実施形態では、各ノズル5が、円柱状であり、中心軸線L2まわりに回転される。各ノズル5に供給された処理液は、ノズル5がノズル挿入孔29に挿入されている状態で、ノズル5の下面5aに形成された4つの吐出口から吐出される。各ノズル5がノズル挿入孔29に挿入されている状態では、ノズル挿入孔29の内壁面51がノズル5の外周面5bに近接しているから、ノズル5とノズル挿入孔29との微小隙間G1への流体の進入がさらに抑制される。また、各ノズル5が円柱状であり、中心軸線L2まわりに回転されるから、各ノズル5が回転されても、ノズル5とノズル挿入孔29との微小隙間G1の大きさが殆ど変化しない。したがって、中心軸線L2まわりの各ノズル5の回転角がどのような値であっても、気流の乱れが抑制される。   In the present embodiment, each nozzle 5 has a cylindrical shape and is rotated around the central axis L2. The processing liquid supplied to each nozzle 5 is discharged from four discharge ports formed in the lower surface 5 a of the nozzle 5 in a state where the nozzle 5 is inserted into the nozzle insertion hole 29. In a state where each nozzle 5 is inserted into the nozzle insertion hole 29, the inner wall surface 51 of the nozzle insertion hole 29 is close to the outer peripheral surface 5 b of the nozzle 5, and therefore a minute gap G 1 between the nozzle 5 and the nozzle insertion hole 29. The fluid is further prevented from entering. Further, since each nozzle 5 is cylindrical and is rotated around the central axis L2, the size of the minute gap G1 between the nozzle 5 and the nozzle insertion hole 29 hardly changes even when each nozzle 5 is rotated. Therefore, the turbulence of the airflow is suppressed regardless of the value of the rotation angle of each nozzle 5 around the central axis L2.

この発明の実施の形態の説明は以上であるが、この発明は、前述の実施形態の内容に限定されるものではなく、請求項記載の範囲内において種々の変更が可能である。たとえば、前述の実施形態では、各ノズル5が円柱状である場合について説明した。しかし、各ノズル5の形状は、円柱状に限らず、たとえば角柱状などのその他の形状であってもよい。この場合、各ノズル挿入孔29の内壁面51の形状は、ノズル5の形状に合わせて、微小隙間G1が小さくなるように形成されていればよい。   Although the embodiments of the present invention have been described above, the present invention is not limited to the contents of the above-described embodiments, and various modifications can be made within the scope of the claims. For example, in the above-described embodiment, the case where each nozzle 5 is cylindrical has been described. However, the shape of each nozzle 5 is not limited to a cylindrical shape, and may be other shapes such as a prismatic shape. In this case, the shape of the inner wall surface 51 of each nozzle insertion hole 29 may be formed so that the minute gap G <b> 1 becomes smaller in accordance with the shape of the nozzle 5.

また、前述の実施形態では、ノズル5が2つ設けられている場合について説明した。しかし、ノズル5の数は、1つでもよいし、3つ以上であってもよい。また、ノズル挿入孔29は、ノズル5の数に合わせて、1つ、または3つ以上設けられていてもよい。
また、前述の実施形態では、二対の薬液吐出口およびリンス液吐出口が各ノズル5に形成されており、一方の対と他方の対とがノズル5の周方向D1に離れて配置されている場合について説明した。しかし、たとえば図10に示すノズル205(円柱状ノズル)のように、4つの吐出口(第1薬液吐出口256a(吐出口、薬液吐出口)、第1リンス液吐出口256b(吐出、リンス液吐出口)、第2薬液吐出口257a(吐出口、薬液吐出口)および第2リンス液吐出口257b(吐出、リンス液吐出口))が、連続して(接近して)ノズル205の周方向D1に配列されていてもよい。ノズル205の構成は、4つの吐出口の位置を除き、前述のノズル5と同様である。複数の吐出口から処理液を吐出させて、複数の処理幅で基板Wを処理するときに、ノズル205が用いられれば、前述のノズル5が用いられる場合よりも全体として少ない回転量で処理幅が調整される。したがって、処理幅の調整に要する時間が短縮される。これにより、基板Wの処理時間が短縮される。
In the above-described embodiment, the case where two nozzles 5 are provided has been described. However, the number of nozzles 5 may be one or three or more. One or three or more nozzle insertion holes 29 may be provided in accordance with the number of nozzles 5.
Further, in the above-described embodiment, two pairs of the chemical liquid discharge port and the rinse liquid discharge port are formed in each nozzle 5, and one pair and the other pair are arranged apart from each other in the circumferential direction D <b> 1 of the nozzle 5. Explained the case. However, as in the nozzle 205 (columnar nozzle) shown in FIG. 10, for example, there are four discharge ports (first chemical liquid discharge port 256a (discharge port, chemical liquid discharge port), first rinse liquid discharge port 256b (discharge, rinse liquid). Discharge port), second chemical liquid discharge port 257a (discharge port, chemical liquid discharge port) and second rinse liquid discharge port 257b (discharge, rinse liquid discharge port)) are continuously (closed) in the circumferential direction of the nozzle 205. It may be arranged in D1. The configuration of the nozzle 205 is the same as that of the nozzle 5 described above except for the positions of the four discharge ports. When nozzles 205 are used when processing liquid is discharged from a plurality of discharge ports and the substrate W is processed with a plurality of processing widths, the processing width is reduced with a smaller amount of rotation as a whole than when the nozzle 5 is used. Is adjusted. Therefore, the time required for adjusting the processing width is shortened. Thereby, the processing time of the substrate W is shortened.

また、前述の実施形態では、薬液吐出口およびリンス液吐出口が2つずつ各ノズル5に形成されている場合について説明した。しかし、薬液吐出口の数は、1つであってもよいし、3つ以上であってもよい。同様に、リンス液吐出口の数は、1つであってもよいし、3つ以上であってもよい。また、薬液吐出口の数と、リンス液吐出口の数とが異なっていてもよい。図7を参照して具体的に説明すると、たとえば、第1リンス液吐出口56bまたは第2リンス液吐出口57bが設けられていなくてもよい。   Further, in the above-described embodiment, the case where two chemical liquid discharge ports and two rinse liquid discharge ports are formed in each nozzle 5 has been described. However, the number of the chemical solution discharge ports may be one or three or more. Similarly, the number of rinse liquid discharge ports may be one, or may be three or more. Further, the number of chemical solution discharge ports may be different from the number of rinse solution discharge ports. Specifically, referring to FIG. 7, for example, the first rinse liquid discharge port 56b or the second rinse liquid discharge port 57b may not be provided.

また、前述の実施形態では、各ノズル5において、薬液およびリンス液が異なる吐出口から吐出される場合について説明した。すなわち、薬液を吐出するための専用の吐出口と、リンス液を吐出するための専用の吐出口とが各ノズル5に設けられている場合について説明した。しかし、各ノズル5は、薬液およびリンス液が同一の吐出口から吐出されるように構成されていてもよい。   In the above-described embodiment, the case where the chemical liquid and the rinsing liquid are discharged from different discharge ports in each nozzle 5 has been described. That is, the case where each nozzle 5 is provided with a dedicated discharge port for discharging the chemical liquid and a dedicated discharge port for discharging the rinse liquid has been described. However, each nozzle 5 may be configured such that the chemical liquid and the rinse liquid are discharged from the same discharge port.

具体的には、たとえば図11に示すノズル305(円柱状ノズル)のように、1つの処理液吐出口367(吐出口)がノズル305の下面5aに形成されていてもよい。図示はしないが、ノズル305は、処理液吐出口367に接続された処理液流路を有している。また、処理液供給機構306は、処理液流路に接続された薬液供給管369およびリンス液供給管370と、薬液供給管369およびリンス液供給管370にそれぞれ介装された薬液バルブ371およびリンス液バルブ372とを有している。薬液供給管369およびリンス液供給管370からノズル305に供給された薬液およびリンス液は、処理液吐出口367から選択的に吐出される。ノズル305の構成は、処理液吐出口367および処理液流路を除き、前述のノズル5と同様である。このノズル305では、吐出口を1つ形成できる面積が、ノズル305の下面5aの周縁部に確保されていればよいから、複数の吐出口が形成された前述のノズル5、205に比べて、ノズルの外径を小さくできる。これにより、遮断板4の下面26に形成された開口(ノズル挿入孔29により形成された開口)を小さくして、基板Wと遮断板4との間の気流の乱れをさらに抑制できる。   Specifically, for example, one treatment liquid discharge port 367 (discharge port) may be formed on the lower surface 5a of the nozzle 305 as in a nozzle 305 (columnar nozzle) shown in FIG. Although not shown, the nozzle 305 has a processing liquid flow path connected to the processing liquid discharge port 367. In addition, the processing liquid supply mechanism 306 includes a chemical liquid supply pipe 369 and a rinse liquid supply pipe 370 connected to the processing liquid flow path, and a chemical liquid valve 371 and a rinse that are interposed in the chemical liquid supply pipe 369 and the rinse liquid supply pipe 370, respectively. A liquid valve 372. The chemical liquid and the rinse liquid supplied to the nozzle 305 from the chemical liquid supply pipe 369 and the rinse liquid supply pipe 370 are selectively discharged from the processing liquid discharge port 367. The configuration of the nozzle 305 is the same as that of the nozzle 5 described above except for the processing liquid discharge port 367 and the processing liquid flow path. In this nozzle 305, an area where one discharge port can be formed only needs to be ensured in the peripheral portion of the lower surface 5a of the nozzle 305. Therefore, compared to the nozzles 5 and 205 described above in which a plurality of discharge ports are formed, The outer diameter of the nozzle can be reduced. Thereby, the opening (opening formed by the nozzle insertion hole 29) formed in the lower surface 26 of the blocking plate 4 can be reduced, and the turbulence of the airflow between the substrate W and the blocking plate 4 can be further suppressed.

また、前述の実施形態では、下端部の外径が相対的に小さくなるように階段状に折れ曲がった円筒状の微小隙間G1が、各ノズル挿入孔29の内壁面51と対応するノズル5の外周面5bとの間に形成される場合について説明した。しかし、微小隙間G1は、たとえば、折り曲げられた部分のない円筒状に形成されていてもよい。具体的には、各ノズル挿入孔29の内壁面51および各ノズル5の外周面5bが円筒面に形成されていてもよい。   Further, in the above-described embodiment, the cylindrical minute gap G1 bent in a step shape so that the outer diameter of the lower end portion is relatively small is the outer periphery of the nozzle 5 corresponding to the inner wall surface 51 of each nozzle insertion hole 29. The case where it is formed between the surfaces 5b has been described. However, the minute gap G1 may be formed in a cylindrical shape without a bent portion, for example. Specifically, the inner wall surface 51 of each nozzle insertion hole 29 and the outer peripheral surface 5b of each nozzle 5 may be formed in a cylindrical surface.

また、図12に示すように、下端部が迷路状に形成された円筒状の微小隙間G2が、各ノズル挿入孔429の内壁面451と対応するノズル405(円柱状ノズル)の外周面405bとの間に形成されてもよい。具体的には、中心軸線L2を取り囲む環状の凹部473が、各ノズル405の環状部50に形成されていてもよい。また、ノズル挿入孔429の中心軸線を取り囲む環状の凸部474が、各ノズル挿入孔429の連結部51cに形成されていてもよい。各凸部474は、各ノズル405が処理位置にある状態で、非接触状態で凹部473に入り込むように構成されていてもよい。微小隙間G2に対して下から進入した流体は、迷路状に形成された微小隙間G2の下端部によって減速されて、微小隙間G2の下端部またはその近傍に留められる。すなわち、各ノズル挿入孔429の内壁面451の下端部(大径部51aの下端部、小径部51b、連結部51c、および凸部474)、ならびに対応するノズル405の下端部49および凹部473を含むラビリンスシール(非接触シール構造)が設けられている。   Also, as shown in FIG. 12, a cylindrical minute gap G <b> 2 whose lower end portion is formed in a maze shape is an outer peripheral surface 405 b of a nozzle 405 (columnar nozzle) corresponding to the inner wall surface 451 of each nozzle insertion hole 429. May be formed between. Specifically, an annular recess 473 surrounding the central axis L <b> 2 may be formed in the annular part 50 of each nozzle 405. Further, an annular convex portion 474 surrounding the central axis of the nozzle insertion hole 429 may be formed in the connecting portion 51 c of each nozzle insertion hole 429. Each convex portion 474 may be configured to enter the concave portion 473 in a non-contact state with each nozzle 405 in the processing position. The fluid that has entered the minute gap G2 from below is decelerated by the lower end portion of the minute gap G2 formed in a labyrinth and is held at or near the lower end portion of the minute gap G2. That is, the lower end portion (the lower end portion of the large diameter portion 51a, the small diameter portion 51b, the connecting portion 51c, and the convex portion 474) of the inner wall surface 451 of each nozzle insertion hole 429, and the corresponding lower end portion 49 and concave portion 473 of the nozzle 405 are formed. A labyrinth seal (non-contact seal structure) is provided.

また、前述の実施形態では、各ノズル回転機構35がモータなどのアクチュエータを含む場合について説明した。しかし、各ノズル回転機構35は、アクチュエータに加えて、アクチュエータの駆動力をノズル5に伝達する伝達機構をさらに含んでいてもよい。具体的には、たとえば図13に示すように、ノズル回転機構535は、アクチュエータ575と、駆動部材576、従動部材577、および伝達部材578を有する伝達機構579を含んでいてもよい。駆動部材576および従動部材577は、それぞれ、アクチュエータ575およびノズル5に連結されている。駆動部材576は、図13に示すようにアクチュエータ575に内蔵されていてもよいし、アクチュエータ575の外に配置されていてもよい。アクチュエータ575の駆動力は、駆動部材576に入力される。伝達部材578は、駆動部材576に入力された駆動力を従動部材577に伝達するように構成されている。伝達機構579としては、たとえば、プーリ・ベルト機構が挙げられる。   In the above-described embodiment, the case where each nozzle rotation mechanism 35 includes an actuator such as a motor has been described. However, each nozzle rotation mechanism 35 may further include a transmission mechanism that transmits the driving force of the actuator to the nozzle 5 in addition to the actuator. Specifically, for example, as shown in FIG. 13, the nozzle rotation mechanism 535 may include an actuator 575, a transmission mechanism 579 having a drive member 576, a driven member 577, and a transmission member 578. The drive member 576 and the driven member 577 are connected to the actuator 575 and the nozzle 5, respectively. The drive member 576 may be built in the actuator 575 as shown in FIG. 13 or may be disposed outside the actuator 575. The driving force of the actuator 575 is input to the driving member 576. The transmission member 578 is configured to transmit the driving force input to the driving member 576 to the driven member 577. An example of the transmission mechanism 579 is a pulley / belt mechanism.

また、前述の実施形態では、各ノズル5が、遮断板4とは独立して設けられている場合について説明した。しかし、図14に示す基板処理装置601のように、ノズル5が、支軸25に連結された遮断板アーム680に連結されていてもよい。同様に、図15に示す基板処理装置701のように、ノズル5が、支軸25に連結された遮断板アーム680に連結されていてもよい。   In the above-described embodiment, the case where each nozzle 5 is provided independently of the blocking plate 4 has been described. However, as in the substrate processing apparatus 601 shown in FIG. 14, the nozzle 5 may be connected to the blocking plate arm 680 connected to the support shaft 25. Similarly, the nozzle 5 may be connected to a blocking plate arm 680 connected to the support shaft 25 as in the substrate processing apparatus 701 shown in FIG.

図14に示す基板処理装置601では、ノズル5の上端部にハウジング681が連結されている。ノズル回転機構635およびノズル昇降機構682は、ハウジング681内に収容されている。ノズル回転機構635は、ノズル5の中心軸線まわりにノズル5を回転させるように構成されている。また、ノズル昇降機構682は、ノズル5を鉛直方向に昇降させるように構成されている。ノズル回転機構635は、たとえば、モータを含む。また、ノズル昇降機構682は、たとえば、エアシリンダ等の流体機器を含む。ハウジング681は、ノズルアーム636を介して遮断板アーム680に支持されている。   In the substrate processing apparatus 601 shown in FIG. 14, a housing 681 is connected to the upper end portion of the nozzle 5. The nozzle rotating mechanism 635 and the nozzle lifting / lowering mechanism 682 are accommodated in the housing 681. The nozzle rotation mechanism 635 is configured to rotate the nozzle 5 around the central axis of the nozzle 5. The nozzle lifting mechanism 682 is configured to lift and lower the nozzle 5 in the vertical direction. The nozzle rotation mechanism 635 includes, for example, a motor. Moreover, the nozzle raising / lowering mechanism 682 contains fluid apparatuses, such as an air cylinder, for example. The housing 681 is supported by the blocking plate arm 680 via the nozzle arm 636.

また、図15に示す基板処理装置701では、ノズル5の上端部にハウジング681が連結されている。ノズル回転機構635は、ハウジング681内に収容されている。ノズル昇降機構782は、遮断板アーム680に連結されている。ハウジング681は、ノズルアーム636およびノズル昇降機構682を介して遮断板アーム680に支持されている。ノズル昇降機構782は、ノズル5、ハウジング681、ノズル回転機構635、およびノズルアーム636を一体的に鉛直方向に昇降させるように構成されている。ノズル昇降機構782は、たとえば、エアシリンダ等の流体機器を含む。   In the substrate processing apparatus 701 shown in FIG. 15, a housing 681 is connected to the upper end of the nozzle 5. The nozzle rotation mechanism 635 is accommodated in the housing 681. The nozzle lifting mechanism 782 is connected to the blocking plate arm 680. The housing 681 is supported by the blocking plate arm 680 via the nozzle arm 636 and the nozzle lifting mechanism 682. The nozzle raising / lowering mechanism 782 is configured to integrally raise and lower the nozzle 5, the housing 681, the nozzle rotating mechanism 635, and the nozzle arm 636 in the vertical direction. The nozzle lifting mechanism 782 includes a fluid device such as an air cylinder, for example.

また、前述の実施形態では、ノズル5から吐出された処理液が、基板Wの上面周縁部に対して垂直に処理液が吹き付けられる場合について説明した。しかし、図16に示すように、ノズル805は、基板Wの上面周縁部に対して、基板Wの中心から離れる方向に斜めに処理液が吹き付けられるように構成されていてもよい。また、ノズル挿入孔829は、ノズル805が鉛直方向に対して斜めに挿入されるように構成されていてもよい。この場合、基板Wに吹き付けられた処理液は、基板Wの上面に沿って外方に広がっていく。したがって、ノズル805から吐出された処理液は、基板Wに対する処理液の供給位置およびその外側の領域を含む環状の領域(処理領域)に供給される。   In the above-described embodiment, the case where the processing liquid ejected from the nozzle 5 is sprayed perpendicularly to the peripheral edge of the upper surface of the substrate W has been described. However, as shown in FIG. 16, the nozzle 805 may be configured such that the treatment liquid is sprayed obliquely in the direction away from the center of the substrate W with respect to the peripheral edge of the upper surface of the substrate W. The nozzle insertion hole 829 may be configured such that the nozzle 805 is inserted obliquely with respect to the vertical direction. In this case, the processing liquid sprayed on the substrate W spreads outward along the upper surface of the substrate W. Accordingly, the processing liquid ejected from the nozzle 805 is supplied to an annular region (processing region) including the processing liquid supply position with respect to the substrate W and a region outside the processing liquid.

また、前述の実施形態では、処理対象となる基板Wが、半導体ウエハである場合について説明した。しかし、処理対象となる基板Wは、半導体ウエハに限らず、液晶表示装置用基板、プラズマディスプレイ用基板、FED用基板、光ディスク用基板、磁気ディスク用基板、光磁気ディスク用基板、フォトマスク用基板であってもよい。すなわち、処理対象となる基板Wは、半導体ウエハなどの円形基板であってもよいし、液晶表示装置用基板などの多角形基板であってもよい。   In the above-described embodiment, the case where the substrate W to be processed is a semiconductor wafer has been described. However, the substrate W to be processed is not limited to a semiconductor wafer, but a liquid crystal display substrate, a plasma display substrate, an FED substrate, an optical disk substrate, a magnetic disk substrate, a magneto-optical disk substrate, a photomask substrate. It may be. In other words, the substrate W to be processed may be a circular substrate such as a semiconductor wafer or a polygonal substrate such as a liquid crystal display device substrate.

処理対象となる基板Wがたとえば長方形基板である場合、図17に示すように、基板処理装置901は、基板Wの上面周縁部とノズル5とを直線的に相対移動させることにより、基板Wに対する処理液の供給位置を基板Wの上面周縁部に沿って移動させるように構成されていることが好ましい。また、この基板処理装置901に備えられた遮断板904(対向部材)は、ノズル5から吐出された処理液が基板Wの上面周縁部に供給されているときに、常に基板Wの上面全域を覆う大きさに形成されていてもよいし、基板Wの上面の少なくとも一部を覆う大きさに形成されていてもよい。また、この基板処理装置901に備えられたノズル5は、図16に示すノズル805のように、基板Wの上面周縁部に対して、基板Wの中心から離れる方向に斜めに処理液が吹き付けられるように構成されていていることが好ましい。この場合、基板Wを通る所定の軸線まわりに基板Wを回転させることなく、基板Wに対する処理液の供給位置およびその外側の領域を含む環状の領域(処理領域)に処理液が供給される。   When the substrate W to be processed is a rectangular substrate, for example, as shown in FIG. 17, the substrate processing apparatus 901 moves the upper peripheral edge of the substrate W and the nozzle 5 linearly relative to each other to move relative to the substrate W. It is preferable that the supply position of the processing liquid is configured to move along the peripheral edge of the upper surface of the substrate W. Further, the blocking plate 904 (opposing member) provided in the substrate processing apparatus 901 always covers the entire upper surface of the substrate W when the processing liquid discharged from the nozzle 5 is supplied to the peripheral edge of the upper surface of the substrate W. It may be formed in a size that covers, or may be formed in a size that covers at least part of the upper surface of the substrate W. Further, the nozzle 5 provided in the substrate processing apparatus 901 sprays the processing liquid obliquely in a direction away from the center of the substrate W with respect to the peripheral edge of the upper surface of the substrate W, like a nozzle 805 shown in FIG. It is preferable that it is comprised. In this case, the processing liquid is supplied to the annular region (processing region) including the processing liquid supply position with respect to the substrate W and the region outside the substrate W without rotating the substrate W around a predetermined axis passing through the substrate W.

その他、特許請求の範囲に記載された事項の範囲で種々の設計変更を施すことが可能である。   In addition, various design changes can be made within the scope of matters described in the claims.

1 基板処理装置
3 スピンチャック(基板保持機構)
5 ノズル(円柱状ノズル)
5a ノズルの下面(端面)
4 遮断板(対向部材)
6 処理液供給機構
10 チャック回転機構(相対移動機構)
26 遮断板の下面(対向面)
29 ノズル挿入孔
35 ノズル回転機構
51 内壁面
52 第1薬液流路
54 第2薬液流路
56a 第1薬液吐出口(吐出口、薬液吐出口)
56b 第1リンス液吐出口(吐出口、リンス液吐出口)
57a 第2薬液吐出口(吐出口、薬液吐出口)
57b 第2リンス液吐出口(吐出口、リンス液吐出口)
66 制御装置(回転角制御装置)
205 ノズル(円柱状ノズル)
256a 第1薬液吐出口(吐出口、薬液吐出口)
256b 第1リンス液吐出口(吐出口、リンス液吐出口)
257a 第2薬液吐出口(吐出口、薬液吐出口)
257b 第2リンス液吐出口(吐出口、リンス液吐出口)
305 ノズル(円柱状ノズル)
306 処理液供給機構
367 処理液吐出口(吐出口)
405 ノズル(円柱状ノズル)
429 ノズル挿入孔
451 内壁面
535 ノズル回転機構
601 基板処理装置
635 ノズル回転機構
701 基板処理装置
805 ノズル(円柱状ノズル)
829 ノズル挿入孔
901 基板処理装置
904 遮断板(対向部材)
D1 ノズルの周方向(回転方向)
L2 中心軸線(回転軸線)
W 基板
1. Substrate processing apparatus 3. Spin chuck (substrate holding mechanism)
5 nozzle (cylindrical nozzle)
5a The lower surface (end surface) of the nozzle
4 Blocking plate (opposing member)
6 Treatment liquid supply mechanism 10 Chuck rotation mechanism (relative movement mechanism)
26 Lower surface of the barrier plate (opposite surface)
29 Nozzle insertion hole 35 Nozzle rotation mechanism 51 Inner wall surface 52 First chemical liquid flow path 54 Second chemical liquid flow path 56a First chemical liquid discharge port (discharge port, chemical liquid discharge port)
56b First rinse liquid discharge port (discharge port, rinse liquid discharge port)
57a Second chemical solution discharge port (discharge port, chemical solution discharge port)
57b Second rinse liquid discharge port (discharge port, rinse liquid discharge port)
66 Control device (rotation angle control device)
205 nozzles (columnar nozzles)
256a First chemical liquid discharge port (discharge port, chemical liquid discharge port)
256b First rinse liquid discharge port (discharge port, rinse liquid discharge port)
257a Second chemical solution discharge port (discharge port, chemical solution discharge port)
257b Second rinse liquid discharge port (discharge port, rinse liquid discharge port)
305 nozzle (cylindrical nozzle)
306 Treatment liquid supply mechanism 367 Treatment liquid discharge port (discharge port)
405 nozzle (cylindrical nozzle)
429 Nozzle insertion hole 451 Inner wall surface 535 Nozzle rotation mechanism 601 Substrate processing apparatus 635 Nozzle rotation mechanism 701 Substrate processing apparatus 805 Nozzle (columnar nozzle)
829 Nozzle insertion hole 901 Substrate processing apparatus 904 Blocking plate (opposing member)
D1 Nozzle circumferential direction (rotational direction)
L2 Center axis (Rotation axis)
W substrate

Claims (7)

基板を保持する基板保持機構と、
前記基板保持機構に保持された基板の主面の中心に直交する直線から離れた位置に配置されており当該基板の主面を通る所定の回転軸線まわりに自転できるように構成され、前記回転軸線から離れた位置に配置された吐出口を有し、前記基板保持機構に保持された基板の主面の周縁部の一部に向けて処理液を吐出するノズルと、
基板に対する処理液の供給位置が当該基板の主面の周縁部に沿って移動するように、前記基板保持機構に保持された基板および前記ノズルを相対移動させる相対移動機構と、
前記ノズルを前記回転軸線まわりに自転させるノズル回転機構と、
前記ノズルに処理液を供給する処理液供給機構と、
前記ノズル回転機構に前記ノズルの回転角を変更させることにより、前記ノズルから吐出された処理液が供給される環状の処理領域の処理幅、すなわち、環状の処理領域の内周縁から基板の周端面までの基板に平行な方向への最短距離を調整する回転角制御装置とを含む、基板処理装置。
A substrate holding mechanism for holding the substrate;
The rotation axis line is arranged at a position away from a straight line orthogonal to the center of the main surface of the substrate held by the substrate holding mechanism and is capable of rotating about a predetermined rotation axis passing through the main surface of the substrate. A nozzle that discharges the processing liquid toward a part of the peripheral edge of the main surface of the substrate held by the substrate holding mechanism;
A relative movement mechanism for relatively moving the substrate held by the substrate holding mechanism and the nozzle so that the supply position of the processing liquid to the substrate moves along the peripheral edge of the main surface of the substrate;
A nozzle rotation mechanism for rotating the nozzle around the rotation axis;
A treatment liquid supply mechanism for supplying a treatment liquid to the nozzle;
By causing the nozzle rotation mechanism to change the rotation angle of the nozzle, the processing width of the annular processing region to which the processing liquid discharged from the nozzle is supplied, that is, from the inner periphery of the annular processing region to the peripheral end surface of the substrate And a rotation angle control device for adjusting the shortest distance in a direction parallel to the substrate up to.
前記回転軸線は、前記基板保持機構に保持された基板の主面を通る鉛直な軸線である、請求項1に記載の基板処理装置。   The substrate processing apparatus according to claim 1, wherein the rotation axis is a vertical axis passing through a main surface of the substrate held by the substrate holding mechanism. 前記ノズルは、前記回転軸線上に位置する中心軸線、および前記吐出口が形成された端面を有する、請求項1または2に記載の基板処理装置。   The substrate processing apparatus according to claim 1, wherein the nozzle has a central axis positioned on the rotation axis and an end surface on which the discharge port is formed. 前記ノズルは、前記吐出口から処理液が前記基板保持機構に保持された基板の主面の周縁部に向けて下方に吐出されるように形成されている、請求項1〜3のいずれか一項に記載の基板処理装置。   The said nozzle is formed so that a process liquid may be discharged below from the said discharge port toward the peripheral part of the main surface of the board | substrate hold | maintained at the said board | substrate holding mechanism. The substrate processing apparatus according to item. 前記処理液供給機構は、前記ノズルに第1薬液および第2薬液を含む複数種の処理液を供給するように構成されており、
前記吐出口は、前記第1薬液を吐出する第1薬液吐出口と、前記第2薬液を吐出する第2薬液吐出口とを含み、
前記ノズルは、前記第1薬液吐出口に接続された第1薬液流路と、前記第2薬液吐出口に接続され、前記第1薬液流路とは独立して設けられた第2薬液流路とを含む、請求項1〜4のいずれか一項に記載の基板処理装置。
The treatment liquid supply mechanism is configured to supply a plurality of types of treatment liquids including a first chemical liquid and a second chemical liquid to the nozzle,
The discharge port includes a first chemical solution discharge port for discharging the first chemical solution and a second chemical solution discharge port for discharging the second chemical solution,
The nozzle is connected to the first chemical liquid discharge port and the second chemical liquid flow path connected to the second chemical liquid discharge port and provided independently of the first chemical liquid flow path. The substrate processing apparatus as described in any one of Claims 1-4 containing these.
前記処理液供給機構は、前記ノズルに薬液およびリンス液を含む複数種の処理液を供給するように構成されており、
前記回転角制御装置は、前記ノズル回転機構を制御して、基板に対する薬液の供給位置よりも基板の中心側にリンス液が供給されるように、前記ノズルの回転角を制御する、請求項1〜5のいずれか一項に記載の基板処理装置。
The treatment liquid supply mechanism is configured to supply a plurality of kinds of treatment liquids including a chemical liquid and a rinse liquid to the nozzle,
The rotation angle control device controls the nozzle rotation mechanism to control the rotation angle of the nozzle so that the rinsing liquid is supplied to the center side of the substrate from the supply position of the chemical solution to the substrate. The substrate processing apparatus as described in any one of -5.
前記吐出口は、前記ノズルの回転方向に配列された薬液吐出口およびリンス液吐出口を含む、請求項1〜6のいずれか一項に記載の基板処理装置。   The substrate processing apparatus according to claim 1, wherein the discharge port includes a chemical solution discharge port and a rinse solution discharge port arranged in a rotation direction of the nozzle.
JP2014025753A 2014-02-13 2014-02-13 Substrate processing equipment Expired - Fee Related JP5706981B2 (en)

Priority Applications (1)

Application Number Priority Date Filing Date Title
JP2014025753A JP5706981B2 (en) 2014-02-13 2014-02-13 Substrate processing equipment

Applications Claiming Priority (1)

Application Number Priority Date Filing Date Title
JP2014025753A JP5706981B2 (en) 2014-02-13 2014-02-13 Substrate processing equipment

Related Parent Applications (1)

Application Number Title Priority Date Filing Date
JP2009295566A Division JP5480617B2 (en) 2009-12-25 2009-12-25 Substrate processing equipment

Publications (2)

Publication Number Publication Date
JP2014103416A JP2014103416A (en) 2014-06-05
JP5706981B2 true JP5706981B2 (en) 2015-04-22

Family

ID=51025604

Family Applications (1)

Application Number Title Priority Date Filing Date
JP2014025753A Expired - Fee Related JP5706981B2 (en) 2014-02-13 2014-02-13 Substrate processing equipment

Country Status (1)

Country Link
JP (1) JP5706981B2 (en)

Families Citing this family (1)

* Cited by examiner, † Cited by third party
Publication number Priority date Publication date Assignee Title
JP6970759B2 (en) * 2018-01-09 2021-11-24 東京エレクトロン株式会社 Board processing equipment, board processing method and computer-readable recording medium

Family Cites Families (6)

* Cited by examiner, † Cited by third party
Publication number Priority date Publication date Assignee Title
JPH04180625A (en) * 1990-11-15 1992-06-26 Nec Kyushu Ltd Liquid discharging device
JP2005317852A (en) * 2004-04-30 2005-11-10 Seiko Epson Corp Spin coater and substrate backside cleaning method
JP4632934B2 (en) * 2005-11-17 2011-02-16 大日本スクリーン製造株式会社 Substrate processing equipment
JP4657090B2 (en) * 2005-11-17 2011-03-23 大日本スクリーン製造株式会社 Substrate processing equipment
JP4936878B2 (en) * 2006-12-25 2012-05-23 大日本スクリーン製造株式会社 Substrate processing apparatus and substrate processing method
JP4950786B2 (en) * 2007-07-11 2012-06-13 大日本スクリーン製造株式会社 Substrate processing apparatus and substrate processing method

Also Published As

Publication number Publication date
JP2014103416A (en) 2014-06-05

Similar Documents

Publication Publication Date Title
JP5270607B2 (en) Substrate processing equipment
US10622225B2 (en) Substrate processing apparatus and nozzle cleaning method
US11031235B2 (en) Substrate processing apparatus
TWI684221B (en) Substrate processing apparatus
JP5480617B2 (en) Substrate processing equipment
JP5208666B2 (en) Substrate processing equipment
JP6993885B2 (en) Board processing method and board processing equipment
JP2017069531A (en) Substrate holding and rotating apparatus, substrate processing apparatus including the same, and substrate processing method
TWI655973B (en) Substrate processing method
JP5954776B2 (en) Substrate processing equipment
WO2016117363A1 (en) Substrate processing device
JP2016167582A (en) Substrate processing method and substrate processing apparatus
JP2018129432A (en) Substrate processing method and substrate processing apparatus
JP6562507B2 (en) Substrate holding device and substrate processing apparatus having the same
JP6562508B2 (en) Substrate holding device
JP2010093190A (en) Substrate processing device
JP6331189B2 (en) Substrate processing equipment
JP6491900B2 (en) Substrate processing apparatus and substrate processing method
JP5706981B2 (en) Substrate processing equipment
JP6416652B2 (en) Substrate processing equipment
JP5308211B2 (en) Substrate processing equipment
JP2009070946A (en) Substrate treating apparatus
JP6405259B2 (en) Substrate processing apparatus and substrate processing method
JP6443806B2 (en) Substrate processing equipment
KR102620707B1 (en) Liquid membrane forming apparatus, and liquid processing apparatus and substrate processing equipment including the same

Legal Events

Date Code Title Description
A131 Notification of reasons for refusal

Free format text: JAPANESE INTERMEDIATE CODE: A131

Effective date: 20140814

TRDD Decision of grant or rejection written
A01 Written decision to grant a patent or to grant a registration (utility model)

Free format text: JAPANESE INTERMEDIATE CODE: A01

Effective date: 20150205

A61 First payment of annual fees (during grant procedure)

Free format text: JAPANESE INTERMEDIATE CODE: A61

Effective date: 20150227

R150 Certificate of patent or registration of utility model

Ref document number: 5706981

Country of ref document: JP

Free format text: JAPANESE INTERMEDIATE CODE: R150

LAPS Cancellation because of no payment of annual fees