[go: up one dir, main page]

JP5569056B2 - Lid material - Google Patents

Lid material Download PDF

Info

Publication number
JP5569056B2
JP5569056B2 JP2010056427A JP2010056427A JP5569056B2 JP 5569056 B2 JP5569056 B2 JP 5569056B2 JP 2010056427 A JP2010056427 A JP 2010056427A JP 2010056427 A JP2010056427 A JP 2010056427A JP 5569056 B2 JP5569056 B2 JP 5569056B2
Authority
JP
Japan
Prior art keywords
resin layer
lid
layer
container
adhesive resin
Prior art date
Legal status (The legal status is an assumption and is not a legal conclusion. Google has not performed a legal analysis and makes no representation as to the accuracy of the status listed.)
Active
Application number
JP2010056427A
Other languages
Japanese (ja)
Other versions
JP2011189948A (en
Inventor
淳彦 武田
Current Assignee (The listed assignees may be inaccurate. Google has not performed a legal analysis and makes no representation or warranty as to the accuracy of the list.)
Dai Nippon Printing Co Ltd
Original Assignee
Dai Nippon Printing Co Ltd
Priority date (The priority date is an assumption and is not a legal conclusion. Google has not performed a legal analysis and makes no representation as to the accuracy of the date listed.)
Filing date
Publication date
Application filed by Dai Nippon Printing Co Ltd filed Critical Dai Nippon Printing Co Ltd
Priority to JP2010056427A priority Critical patent/JP5569056B2/en
Publication of JP2011189948A publication Critical patent/JP2011189948A/en
Application granted granted Critical
Publication of JP5569056B2 publication Critical patent/JP5569056B2/en
Active legal-status Critical Current
Anticipated expiration legal-status Critical

Links

Images

Landscapes

  • Packages (AREA)
  • Closures For Containers (AREA)
  • Package Specialized In Special Use (AREA)

Description

本発明は、スナック食品や即席麺等を包装するトレー状やカップ状等の容器に熱接着して密封する蓋材に関し、詳しくは、外蓋を剥離することにより内蓋に振出口や排湯口を形成することができる蓋材に関する。   The present invention relates to a lid material that is thermally bonded to a tray-like or cup-like container for packaging snack foods, instant noodles, and the like, and more specifically, the outer lid is peeled to peel off the outer lid and the outlet. It is related with the cover material which can form.

従来、外蓋を剥離することにより内蓋に開口が形成される構成の容器の蓋材としては、例えば、外側から紙、ポリエチレン、アルミニウム箔、シール剤が積層されて成り、紙とポリエチレンとの層間に離型剤の塗布された剥離領域と、該剥離領域内に配置された非剥離領域と、該剥離領域に隣接して配置された別の非剥離領域とに区画され、シール剤層から紙層の中間部に至る排湯の開口形成用ハーフカットが形成され、剥離領域内にあるつまみの首部にはシール剤層から紙層の中間部に至る剥離用ハーフカットが形成されている構成の蓋材であり、剥離用ハーフカットが形成された部分から剥離領域を剥離させることにより、剥離用ハーフカットに囲まれた領域が抜き取られて容器に接着した蓋材の一部に開口が形成される構成の蓋材が知られている(例えば、特許文献1参照)。   Conventionally, as a cover material of a container in which an opening is formed in the inner lid by peeling off the outer lid, for example, paper, polyethylene, aluminum foil, and a sealing agent are laminated from the outside. It is divided into a peeling area where a release agent is applied between the layers, a non-peeling area arranged in the peeling area, and another non-peeling area arranged adjacent to the peeling area, and from the sealing agent layer A configuration in which a half cut for forming an opening of hot water reaching the middle part of the paper layer is formed, and a half cut for peeling from the sealant layer to the middle part of the paper layer is formed at the neck of the knob in the peeling region By peeling the peeling area from the part where the peeling half-cut is formed, the area surrounded by the peeling half-cut is extracted and an opening is formed in a part of the lid that is adhered to the container Is known Is (e.g., see Patent Document 1).

しかしながら、上記構成の蓋材では、容器のフランジ部に熱接着される際に、蓋材と容器との位置ズレが生じ、剥離用ハーフカット部分が容器のフランジ部に重なる位置で熱接着されると、熱接着により剥離用ハーフカットされたシール剤層が再接着し、ハーフカットの効果が消滅し開口が形成されないことが時たまあるという欠点を有している。   However, in the cover material having the above-described configuration, when the cover member is thermally bonded to the flange portion of the container, the cover member and the container are misaligned, and the peeling half-cut portion is thermally bonded at a position where it overlaps the flange portion of the container. In addition, the sealing agent layer that has been half-cut for peeling by thermal bonding is re-bonded, and the half-cut effect disappears and an opening is sometimes not formed.

実開昭57−120472号公報Japanese Utility Model Publication No. 57-120472

そこで本発明の目的は、外蓋と内蓋とを開口用切目より剥離させて内蓋に開口を容易に形成することができる蓋材を提供することにある。   Accordingly, an object of the present invention is to provide a lid member that can easily form an opening in the inner lid by peeling the outer lid and the inner lid from the opening cut.

本発明は、上記課題を達成するためになされたものであり、請求項1記載の本発明は、少なくとも基材層を有する外蓋と少なくとも最内層にイージーピール性樹脂層を有する内蓋とが接着樹脂層を介して積層され外周縁に外方に突出する摘み部を備えた構成からなり、開口部周縁にフランジ部が設けられた容器のフランジ部に熱接着して該容器を密封する蓋材であって、前記外蓋と前記内蓋との間に剥離剤層を備えた易剥離領域と、前記易剥離領域に隣接して配設された非剥離領域とを有し、前記易剥離領域内には前記イージーピール性樹脂層側から前記内蓋と前記接着樹脂層を貫通する閉じた形状の開口用切目が形成され、前記摘み部と前記開口用切目との間で前記内蓋を二分し前記イージーピール性樹脂層側から前記内蓋と前記接着樹脂層を貫通する剥離開始用切目が形成され、前記イージーピール性樹脂層が、少なくとも最内層側から熱接着性樹脂層と前記熱接着性樹脂層の樹脂より融点が高い樹脂を含む樹脂からなるコア層が積層され、前記熱接着性樹脂層と前記コア層が剥離可能に積層されてなり、蓋材を前記容器のフランジ部に熱接着して前記容器を密封した後、蓋材の前記摘み部を摘み引っ張り上げたとき、熱接着部の外縁で、前記イージーピール性樹脂層の前記熱接着性樹脂層が破断し、さらに前記熱接着性樹脂層と前記コア層との間で層間剥離が起こり、開封が開始されることを特徴とする蓋材である。 The present invention has been made to achieve the above object, and the present invention according to claim 1 includes an outer lid having at least a base material layer and an inner lid having an easy-peeling resin layer in at least the innermost layer. A lid that has a configuration including a knob portion that is laminated via an adhesive resin layer and protrudes outward at the outer peripheral edge, and is thermally bonded to the flange portion of the container provided with a flange portion at the outer peripheral edge to seal the container An easy-peeling region comprising a release agent layer between the outer lid and the inner lid, and a non-peeling region disposed adjacent to the easy-peeling region, and the easy-peeling In the region, an opening notch having a closed shape penetrating the inner lid and the adhesive resin layer from the easy peel resin layer side is formed, and the inner lid is disposed between the knob and the opening notch. Bisecting the inner lid and the adhesive resin from the easy peel resin layer side A core layer made of a resin containing a resin having a melting point higher than that of the resin of the thermal adhesive resin layer and the thermal adhesive resin layer at least from the innermost layer side. The heat-adhesive resin layer and the core layer are releasably laminated, and the lid is thermally bonded to the flange portion of the container to seal the container, and then the knob portion of the lid is removed. When picking up and pulling, at the outer edge of the thermal adhesive part, the thermal adhesive resin layer of the easy peel resin layer breaks, and further delamination occurs between the thermal adhesive resin layer and the core layer, The lid material is characterized in that opening is started .

また、請求項2記載の本発明は、少なくとも基材層を有する外蓋と少なくとも最内層にイージーピール性樹脂層を有する内蓋とが接着樹脂層を介して積層され外周縁の対向する位置に外方に突出する開封用摘み部と湯切り孔形成用摘み部を備えた構成からなり、開口部周縁にフランジ部が設けられた容器のフランジ部に熱接着して該容器を密封する蓋材であって、前記湯切り孔形成用摘み部側より開封用摘み部側に向かって、前記外蓋と前記内蓋との間に剥離剤層を備えた易剥離領域と、前記易剥離領域に隣接して配設された非剥離領域とを有し、前記易剥離領域内には前記イージーピール性樹脂層側から前記内蓋と前記接着樹脂層を貫通する複数個の湯切り口形状の湯切り孔切目が形成され、前記湯切り孔形成用摘み部と前記湯切り孔切目との間で前記内蓋を二分し前記イージーピール性樹脂層側から前記内蓋と前記接着樹脂層を貫通する湯切り孔形成用切目が形成され、前記イージーピール性樹脂層が、少なくとも最内層側から熱接着性樹脂層と前記熱接着性樹脂層の樹脂より融点が高い樹脂を含む樹脂からなるコア層が積層され、前記熱接着性樹脂層と前記コア層が剥離可能に積層されてなり、蓋材を前記容器のフランジ部に熱接着して前記容器を密封した後、蓋材の前記湯切り孔形成用摘み部を摘み引っ張り上げたとき、熱接着部の外縁で、前記イージーピール性樹脂層の前記熱接着性樹脂層が破断し、さらに前記熱接着性樹脂層と前記コア層との間で層間剥離が起こり、開封が開始されることを特徴とする蓋材である。 According to the second aspect of the present invention, an outer lid having at least a base material layer and an inner lid having an easy-peeling resin layer at least on the innermost layer are laminated via an adhesive resin layer at a position opposite to the outer peripheral edge. A lid material that has a structure including an opening knob protruding outward and a hot water hole forming knob, and is thermally bonded to a flange portion of a container provided with a flange on the periphery of the opening to seal the container In the easy peeling region provided with a release agent layer between the outer lid and the inner lid from the hot water cut hole forming knob side toward the unsealing knob portion side, A non-peeling region disposed adjacent to the easy-peeling region, and a plurality of hot water cut-off cups that penetrate the inner lid and the adhesive resin layer from the easy peelable resin layer side. A hole cut is formed, and the hot water cut hole forming knob and the hot water cut hole cut are formed. The inner lid is bisected between the inner peel and the adhesive resin layer from the easy peel resin layer side to form a cut hole for hot water cut hole, and the easy peel resin layer is at least the innermost layer side A core layer made of a resin containing a resin having a melting point higher than that of the resin of the heat adhesive resin layer and the resin of the heat adhesive resin layer is laminated, and the heat adhesive resin layer and the core layer are laminated so as to be peelable , After the lid material is thermally bonded to the flange portion of the container and the container is sealed, the easy peel resin is formed at the outer edge of the thermal bonding portion when the hot water hole forming knob portion of the lid material is picked up and pulled. The heat-adhesive resin layer of the layer is broken, and further, delamination occurs between the heat-adhesive resin layer and the core layer, and opening is started .

本発明の請求項1記載の蓋材は、少なくとも基材層を有する外蓋と少なくとも最内層にイージーピール性樹脂層を有する内蓋とが接着樹脂層を介して積層され外周縁に外方に突出する摘み部を備えた構成からなり、開口部周縁にフランジ部が設けられた容器のフランジ部に熱接着して該容器を密封する蓋材であって、前記外蓋と前記内蓋との間に剥離剤層を備えた易剥離領域と、前記易剥離領域に隣接して配設された非剥離領域とを有し、前記易剥離領域内には前記イージーピール性樹脂層側から前記内蓋と前記接着樹脂層を貫通する閉じた形状の開口用切目が形成され、前記摘み部と前記開口用切目との間で前記内蓋を二分し前記イージーピール性樹脂層側から前記内蓋と前記接着樹脂層を貫通する剥離開始用切目が形成され、前記イージーピール性樹脂層が、少なくとも最内層側から熱接着性樹脂層とコア層が剥離可能に積層されてなる構成とすることにより、開口用切目が形成された部分より外蓋を内蓋から剥離させることにより、内蓋の開口用切目に囲まれた領域が外蓋に接着した状態で取り除かれるので容易に内蓋に開口を形成できる。特に、前記イージーピール性樹脂層が、少なくとも最内層側から熱接着性樹脂層とコア層が剥離可能に積層されてなる構成とすることにより、蓋材を容器のフランジ部に熱接着される際に、蓋材と容器との位置ズレを生じ、剥離開始用切目が容器のフランジ部に重なる位置で熱接着されても、摘み部を引っ張り上げると、まず、フランジ部に熱接着された外側周縁で蓋材の熱接着性樹脂層の破断が起こり、ついで熱接着性樹脂層とコア層との間で剥離し、剥離が剥離開始用切目に達すると剥離する層間が剥離剤層と接着樹脂層間に移行し、易剥離領域において外蓋が内蓋から確実に剥離させることができる。   The lid material according to claim 1 of the present invention is such that an outer lid having at least a base material layer and an inner lid having an easy peel resin layer at least on the innermost layer are laminated via an adhesive resin layer outwardly on the outer peripheral edge. A lid member that includes a projecting knob portion and is thermally bonded to a flange portion of a container provided with a flange portion at the periphery of the opening to seal the container. An easy-peeling region having a release agent layer in between, and a non-peeling region disposed adjacent to the easy-peeling region, and the inside of the easy-peeling region from the easy peel resin layer side An opening notch having a closed shape penetrating the lid and the adhesive resin layer is formed, and the inner lid is divided in half between the knob and the opening notch, and the inner lid is formed from the easy peel resin layer side. A peeling start cut through the adhesive resin layer is formed, and the easy By making the peelable resin layer a structure in which the heat-adhesive resin layer and the core layer are detachably laminated from at least the innermost layer side, the outer lid is peeled from the inner lid from the portion where the opening cut is formed. As a result, the region surrounded by the opening cut of the inner lid is removed in a state where it is adhered to the outer lid, so that the opening can be easily formed in the inner lid. In particular, when the easy-peelable resin layer is configured such that the heat-adhesive resin layer and the core layer are detachably laminated from at least the innermost layer side, the lid material is thermally bonded to the flange portion of the container. Even if the gap between the lid and the container is displaced and the peeling start notch is thermally bonded at the position where it overlaps the flange part of the container, when the knob is pulled up, the outer peripheral edge is first thermally bonded to the flange part. When the heat-adhesive resin layer of the lid breaks and then peels off between the heat-adhesive resin layer and the core layer, the peel-off layer is separated from the release agent layer and the adhesive resin layer when the peel reaches the cut for starting peeling. The outer lid can be reliably peeled from the inner lid in the easy peeling region.

また、請求項2記載の本発明は、少なくとも基材層を有する外蓋と少なくとも最内層にイージーピール性樹脂層を有する内蓋とが接着樹脂層を介して積層され外周縁の対向する位置に外方に突出する開封用摘み部と湯切り孔形成用摘み部を備えた構成からなり、開口部周縁にフランジ部が設けられた容器のフランジ部に熱接着して該容器を密封する蓋材であって、前記湯切り孔形成用摘み部側より開封用摘み部側に向かって、前記外蓋と前記内蓋との間に剥離剤層を備えた易剥離領域と、前記易剥離領域に隣接して配設された非剥離領域とを有し、前記易剥離領域内には前記イージーピール性樹脂層側から前記内蓋と前記接着樹脂層を貫通する複数個の湯切り口形状の湯切り孔切目が形成され、前記湯切り孔形成用摘み部と前記湯切り孔切目との間で前記内蓋を二分し前記イージーピール性樹脂層側から前記内蓋と前記接着樹脂層を貫通する湯切り孔形成用切目が形成され、前記イージーピール性樹脂層が、少なくとも最内層側から熱接着性樹脂層とコア層が剥離可能に積層されてなる構成の蓋材とすることにより、容器に熱接着された蓋材の湯切り孔形成用摘み部を引っ張り上げると上記の効果を奏し、内蓋に容易に湯切り口を形成できる。また、開封用摘み部を引っ張り上げると蓋材を容器より容易に剥離することができる。   According to the second aspect of the present invention, an outer lid having at least a base material layer and an inner lid having an easy-peeling resin layer at least on the innermost layer are laminated via an adhesive resin layer at a position opposite to the outer peripheral edge. A lid material that has a structure including an opening knob protruding outward and a hot water hole forming knob, and is thermally bonded to a flange portion of a container provided with a flange on the periphery of the opening to seal the container In the easy peeling region provided with a release agent layer between the outer lid and the inner lid from the hot water cut hole forming knob side toward the unsealing knob portion side, A non-peeling region disposed adjacent to the easy-peeling region, and a plurality of hot water cut-off cups that penetrate the inner lid and the adhesive resin layer from the easy peelable resin layer side. A hole cut is formed, and the hot water cut hole forming knob and the hot water cut hole cut are formed. The inner lid is bisected between the inner peel and the adhesive resin layer from the easy peel resin layer side to form a cut hole for hot water cut hole, and the easy peel resin layer is at least the innermost layer side The above-mentioned effect can be obtained by pulling up the knob for forming the hot water cut hole of the lid heat-bonded to the container. The hot water outlet can be easily formed in the inner lid. Further, when the opening knob is pulled up, the lid member can be easily peeled from the container.

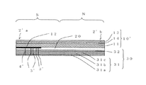
本発明に係る蓋材の第一実施形態を示す(イ)が平面図、(ロ)が底面図である。(A) which shows 1st embodiment of the cover material which concerns on this invention is a top view, (b) is a bottom view. 第一実施形態の積層構成を示す図1(イ)におけるX−X断面図である。It is XX sectional drawing in FIG. 1 (a) which shows the laminated structure of 1st embodiment. 本発明に係る第一実施形態の蓋材を容器開口部に接着した状態を示す断面図である。It is sectional drawing which shows the state which adhere | attached the cover material of 1st embodiment which concerns on this invention to the container opening part. 容器開口部に接着した第一実施形態の蓋材の外蓋を部分的に剥離した状態を示す断面図である。It is sectional drawing which shows the state which peeled partially the outer cover of the cover material of 1st embodiment adhere | attached on the container opening part. 本発明に係る蓋材の第二実施形態を示す(イ)が平面図、(ロ)が底面図である。(A) which shows 2nd embodiment of the cover material which concerns on this invention is a top view, (b) is a bottom view. 第二実施形態の積層構成を示す図5(イ)におけるY−Y断面図である。It is YY sectional drawing in FIG. 5 (a) which shows the laminated structure of 2nd embodiment. 本発明に係る第二実施形態の蓋材を容器開口部に接着した状態を示す部分断面図である。It is a fragmentary sectional view which shows the state which adhere | attached the cover material of 2nd embodiment which concerns on this invention to the container opening part. 容器開口部に接着した第二実施形態の蓋材の外蓋を部分的に剥離した状態を示す部分断面図である。It is a fragmentary sectional view which shows the state which peeled partially the outer cover of the cover material of 2nd embodiment adhere | attached on the container opening part.

上記の本発明について、図面等を用いて以下に詳述する。
図1は本発明に係る蓋材の第一実施形態を示す(イ)が平面図、(ロ)が底面図、図2は第一実施形態の積層構成を示す図1(イ)におけるX−X断面図、図3は本発明に係る第一実施形態の蓋材を容器開口部に接着した状態を示す断面図、図4は容器開口部に接着した第一実施形態の蓋材の外蓋を部分的に剥離した状態を示す断面図、図5は本発明に係る蓋材の第二実施形態を示す(イ)が平面図、(ロ)が底面図、図6は第二実施形態の積層構成を示す図5(イ)におけるY−Y断面図、図7は本発明に係る第二実施形態の蓋材を容器開口部に接着した状態を示す部分断面図、図8は容器開口部に接着した第二実施形態の蓋材の外蓋を部分的に剥離した状態を示す部分断面図であり、図中の2は摘み部、2’aは湯切り孔形成用摘み部、2’bは開封用摘み部、3は開口用切目、3’は湯切り孔切目、4は剥離開始用切目、4’は湯切り孔形成用切目、5はフランジ部、6は熱接着部、7は開口、8は湯切り孔、10、10’は外蓋、11は基材層、12は剥離剤層、13は表面層、14は接着剤層、20は接着樹脂層、30は内蓋、31はイージーピール性樹脂層、31aは熱接着性樹脂層、31bはコア層、31cはラミネート樹脂層、32は中間層、A、A’は蓋材、B、B’は容器、Sは易剥離領域、Nは非剥離領域をそれぞれ示す。
The above-described present invention will be described in detail below with reference to the drawings.
1A is a plan view, FIG. 1B is a bottom view showing a first embodiment of a lid according to the present invention, and FIG. 2 is a cross-sectional view of FIG. X sectional view, FIG. 3 is a sectional view showing a state in which the lid of the first embodiment according to the present invention is bonded to the container opening, and FIG. 4 is an outer lid of the lid of the first embodiment bonded to the container opening. FIG. 5 is a plan view, FIG. 5 is a bottom view, and FIG. 6 is a bottom view of the second embodiment of the lid according to the present invention. 5A is a cross-sectional view taken along line YY in FIG. 5A, FIG. 7 is a partial cross-sectional view showing a state in which the lid according to the second embodiment of the present invention is bonded to the container opening, and FIG. 8 is the container opening. It is a fragmentary sectional view which shows the state which peeled off the outer lid of the lid | cover material of 2nd embodiment adhere | attached to 2 in the figure, 2 is a knob | pick part, 2'a is a knob part for hot water cut hole formation, 2 'b is an opening knob, 3 is an opening cut, 3' is a cut hole for cut, 4 is a cut for peeling start, 4 'is a cut for forming a cut hole, 5 is a flange portion, 6 is a heat bonding portion, 7 is an opening, 8 is a hot water hole, 10 and 10 'are outer lids, 11 is a base material layer, 12 is a release agent layer, 13 is a surface layer, 14 is an adhesive layer, 20 is an adhesive resin layer, and 30 is an inner Lid, 31 is an easy peel resin layer, 31a is a heat-adhesive resin layer, 31b is a core layer, 31c is a laminate resin layer, 32 is an intermediate layer, A and A 'are lid materials, B and B' are containers, S Denotes an easy peeling region, and N denotes a non-peeling region.

本発明に係る蓋材の第一実施形態は図1、図2に示す通りである。図1に示すように蓋材Aは、外周縁に外方に突出する摘み部2を備えた略円形状であり、容器の開口部周縁に設けられたフランジ部に熱接着して容器を密封する蓋材として使用されるものである。蓋材Aの大きさは、容器のフランジ部の外周縁と略同じ大きさか、あるいはやや大きくするのが好ましく、蓋材Aの形状はフランジ部の外周縁の形状に合わせて決定すればよく、例えば円形、楕円形、角形等である。図1の(イ)は、蓋材Aの外面側から見た平面図であり、外蓋10が見えている状態を示す。蓋材Aの外面には販売促進のためのデザインや商品の内容等について印刷が施されている(図示しない)。図1の(ロ)は蓋材Aの内面側(容器に熱接着される面側)から見た底面図であり、内蓋30を構成するイージーピール性樹脂層31が見えている状態を示している。蓋材Aの内面には角丸の略四角形の開口用切目3が形成されている。開口用切目3は閉じた形状であれば、四角形に限定されるものではなく、内容物の振出やすさ、注ぎやすさにより任意に形成すればよく、さらに内容物が固体、液体、粉体等の性状により振出量や注出量をコントロールするために開口用切目3を複数個形成してもよい。ただし、開口用切目3を形成する位置は、フランジ部の内周縁の近傍に形成する方が、内容物が容器内に残存する量が少なくなるので好ましい。また、摘み部2と開口用切目3との間には、内蓋30を二分して剥離開始用切目4が形成されている。   The first embodiment of the lid according to the present invention is as shown in FIGS. As shown in FIG. 1, the lid A has a substantially circular shape with a knob 2 projecting outward on the outer peripheral edge, and is thermally bonded to a flange provided at the peripheral edge of the opening of the container to seal the container. It is used as a lid material. The size of the lid A is preferably substantially the same as or slightly larger than the outer peripheral edge of the flange portion of the container, and the shape of the lid A may be determined according to the shape of the outer peripheral edge of the flange portion, For example, a circle, an ellipse, a square, etc. FIG. 1A is a plan view seen from the outer surface side of the lid A and shows a state in which the outer lid 10 is visible. The outer surface of the lid A is printed on the design for sales promotion, the contents of the product, etc. (not shown). (B) of FIG. 1 is a bottom view seen from the inner surface side (the surface side thermally bonded to the container) of the lid material A, and shows a state where the easy peel resin layer 31 constituting the inner lid 30 is visible. ing. On the inner surface of the lid member A, a substantially square opening notch 3 with rounded corners is formed. The opening cut 3 is not limited to a quadrilateral shape as long as it is a closed shape, and may be arbitrarily formed depending on the ease with which the contents can be shaken out and poured, and the contents can be solid, liquid, powder, etc. A plurality of opening notches 3 may be formed in order to control the amount of ejection and the amount of dispensing depending on the properties of the above. However, it is preferable to form the opening notches 3 in the vicinity of the inner peripheral edge of the flange portion because the amount of contents remaining in the container is reduced. Further, between the knob portion 2 and the opening notch 3, a separation start notch 4 is formed by dividing the inner lid 30 into two.

図2は、本発明の蓋材Aの図1(イ)におけるX−X断面図を示す。図2に示すように本発明の蓋材Aは、基材層11を有する外蓋10と、中間層32としてアルミニウム箔と最内層にイージーピール性樹脂層31が積層された内蓋30とが接着樹脂層20を介して積層された構成である。外蓋10と内蓋30との間には、剥離剤層12を備えた易剥離領域Sと、易剥離領域Sに隣接して剥離剤層を有していない非剥離領域Nとが配設されている。易剥離領域Sは、摘み部2側の剥離開始用切目4、開口用切目3を含む領域に形成され、蓋材Aの約2/5の部分で非剥離領域Nと区画されている。易剥離領域Sは、通常、蓋材Aの面積の半分以下でよい。なお、分かりやすくするために図1(ロ)に易剥離領域Sを点線柄で透視して示した。易剥離領域S内にはイージーピール性樹脂層31側から内蓋30と接着樹脂層20を貫通する閉じた形状の開口用切目3が形成され、開口用切目3で囲まれた領域内は剥離剤層がなく接着樹脂層20を介して内蓋30と外蓋10は接着されている。開口用切目3に囲まれた領域内に剥離剤層があってもよいが、剥離剤層がない方が内蓋30に確実に開口部が形成できるので好ましい。また、摘み部2と開口用切目3との間には内蓋30を二分しイージーピール性樹脂層31側から内蓋30と接着樹脂層20を貫通する剥離開始用切目4が形成されている。剥離開始用切目4はフランジ部に略沿った形状で形成されている。なお、剥離開始用切目4が容器のフランジ部より開口部側と対向する位置にならないように形成することが肝要である。   FIG. 2: shows XX sectional drawing in FIG. 1 (a) of the cover material A of this invention. As shown in FIG. 2, the lid material A of the present invention includes an outer lid 10 having a base material layer 11, and an inner lid 30 in which an aluminum foil and an easy peel resin layer 31 are laminated on the innermost layer as an intermediate layer 32. In this configuration, the adhesive resin layers 20 are stacked. Between the outer lid 10 and the inner lid 30, an easy-peeling region S provided with the release agent layer 12 and a non-peeling region N adjacent to the easy-peel region S and having no release agent layer are disposed. Has been. The easy peeling region S is formed in a region including the peeling start cut 4 and the opening cut 3 on the knob portion 2 side, and is divided from the non-peeling region N by about 2/5 of the cover material A. The easy peeling region S may be usually less than half of the area of the lid A. For easy understanding, FIG. 1 (b) shows the easy-peeling region S through a dotted line pattern. In the easy peeling region S, a closed opening notch 3 penetrating the inner lid 30 and the adhesive resin layer 20 is formed from the easy peel resin layer 31 side, and the region surrounded by the opening notch 3 is peeled off. There is no agent layer, and the inner lid 30 and the outer lid 10 are bonded via the adhesive resin layer 20. Although there may be a release agent layer in the region surrounded by the opening notches 3, it is preferable that there is no release agent layer because the opening can be reliably formed in the inner lid 30. Further, between the knob 2 and the opening notch 3, an inner lid 30 is divided into two, and a peeling start notch 4 penetrating the inner lid 30 and the adhesive resin layer 20 from the easy peel resin layer 31 side is formed. . The peeling start cut 4 is formed in a shape substantially along the flange portion. It is important to form the peeling start cut 4 so as not to face the opening side of the flange portion of the container.

イージーピール性樹脂層31は、最内層側から熱接着性樹脂層31aと、熱接着性樹脂層31aを構成する樹脂より融点が高い樹脂を含む樹脂からなるコア層31bと、ラミネート樹脂層31cが、この順に積層された3層構成である。最内層となる熱接着性樹脂層31aは、105℃未満の低融点の樹脂からなり容易に容器のフランジ部に接着可能とされている。コア層31bは、熱接着性樹脂層31aを構成する樹脂より融点が高く、110℃以上の高融点の樹脂を含む樹脂からなる層である。このコア層31bに含まれる高融点の樹脂は、熱接着性樹脂層31aを構成する樹脂の融点と融点差が大きいほうが蓋材を容器のフランジ部に熱接着する温度範囲が広くなるので好ましい。この熱接着性樹脂層31aとコア層31bの接着強度は、熱接着性樹脂層31aと容器との熱接着強度より弱くされており、蓋材Aが熱接着された容器から蓋材を引っ張り上げて開封する際、コア層31bと熱接着性樹脂層31aとの間で層間剥離するようにされている。さらに、熱接着性樹脂層31aの厚みは10μm以下と薄くされており、より好ましくは5μm以下とされており、蓋材の開封開始点では熱接着性樹脂層31aが容易に破断する構成とされている。また、ラミネート樹脂層31cは、中間層を積層しない構成の場合には接着樹脂層20に、中間層を積層する構成の場合には中間層32に接着しやすくするための層である。   The easy-peelable resin layer 31 includes a heat-adhesive resin layer 31a from the innermost layer side, a core layer 31b made of a resin containing a resin having a melting point higher than that of the resin constituting the heat-adhesive resin layer 31a, and a laminate resin layer 31c. The three-layer structure is laminated in this order. The heat-adhesive resin layer 31a, which is the innermost layer, is made of a resin having a low melting point of less than 105 ° C. and can be easily bonded to the flange portion of the container. The core layer 31b is a layer made of a resin having a melting point higher than that of the resin constituting the thermoadhesive resin layer 31a and containing a high melting point resin of 110 ° C. or higher. A resin having a high melting point contained in the core layer 31b preferably has a larger melting point difference than the melting point of the resin constituting the heat-adhesive resin layer 31a because the temperature range for heat-bonding the lid material to the flange portion of the container becomes wider. The adhesive strength between the thermal adhesive resin layer 31a and the core layer 31b is weaker than the thermal adhesive strength between the thermal adhesive resin layer 31a and the container, and the lid material is pulled up from the container to which the lid material A is thermally bonded. When being opened, delamination is performed between the core layer 31b and the thermoadhesive resin layer 31a. Furthermore, the thickness of the heat-adhesive resin layer 31a is as thin as 10 μm or less, more preferably 5 μm or less, and the heat-adhesive resin layer 31a is easily broken at the opening start point of the lid. ing. Further, the laminate resin layer 31c is a layer for facilitating adhesion to the adhesive resin layer 20 in the case where the intermediate layer is not laminated, and to the intermediate layer 32 in the case where the intermediate layer is laminated.

蓋材を構成する外蓋10の積層構成としては、基材層11の表面に透明なプラスチックフィルムを表面層として積層することができる。表面層を積層することにより、基材層11に印刷された印刷インキの保護ができると共に表面に艶や艶消しを付加し、蓋材に高級感を与えることができる。また、内蓋30には、第一実施形態のように中間層32を積層することもできる。蓋材に要求されるガスバリア性、防湿性、耐突き刺し性等の内容物保護機能や表面光沢、耐摩擦性等の表面物性性能により積層構成および各層に使用する素材が適宜、決定される。   As a laminated structure of the outer lid 10 constituting the lid member, a transparent plastic film can be laminated on the surface of the base material layer 11 as a surface layer. By laminating the surface layer, it is possible to protect the printing ink printed on the base material layer 11 and to add gloss and matte to the surface to give the lid material a high-class feeling. Further, the intermediate layer 32 can be laminated on the inner lid 30 as in the first embodiment. The laminated structure and materials used for each layer are appropriately determined according to the content protection function such as gas barrier property, moisture proof property, and puncture resistance required for the lid material, and surface physical properties such as surface gloss and friction resistance.

次に、本発明の蓋材を構成する各層について説明する。外蓋10を構成する表面層には、ポリエステル、ポリプロピレン、ナイロン、ポリ乳酸等のプラスチックフィルムや、あるいはこれらのプラスチックフィルムに酸化珪素や酸化アルミ等の無機酸化物を蒸着したプラスチックフィルムが用いられる。プラスチックフィルムとしては、二軸延伸されたフィルムが好ましく、厚さは通常9〜40μm程度とするのがよい。   Next, each layer which comprises the cover material of this invention is demonstrated. For the surface layer constituting the outer lid 10, a plastic film such as polyester, polypropylene, nylon, or polylactic acid, or a plastic film obtained by depositing an inorganic oxide such as silicon oxide or aluminum oxide on these plastic films is used. As the plastic film, a biaxially stretched film is preferable, and the thickness is usually about 9 to 40 μm.

外蓋10を構成する基材層11としては、ポリエステル、ポリプロピレン、ナイロン、ポリ乳酸等のプラスチックフィルムや、ポリプロピレン、ポリエステル、ポリスチレン等の合成紙や、紙が用いられる。また、これらのいずれかを組合わせて積層したものが用いられる。プラスチックフィルムの厚みは9〜40μm程度であり、合成紙の厚みは60〜300μmである。紙を用いる場合には、印刷適性の優れた片面コート紙、両面コート紙が好ましい。また、紙の厚さとしては、外蓋10に表面層を積層する場合には30〜100g/m2 程度であり、表面層を積層しない場合には50〜130g/m2 程度である。 As the base material layer 11 constituting the outer lid 10, plastic films such as polyester, polypropylene, nylon, and polylactic acid, synthetic paper such as polypropylene, polyester, and polystyrene, and paper are used. Moreover, what laminated | stacked combining any of these is used. The thickness of the plastic film is about 9 to 40 μm, and the thickness of the synthetic paper is 60 to 300 μm. When paper is used, single-sided coated paper and double-sided coated paper having excellent printability are preferable. The thickness of the paper, in the case of laminating the surface layer on the outer lid 10 is about 30 to 100 g / m 2, when not laminated surface layer is about 50~130g / m 2.

剥離剤層12を形成する剥離剤としては、例えば、硝化綿系、ポリアミド系、ポリエステル系、アクリル系、ウレタン系、アルキッド系の樹脂が挙げられ、これらを単独若しくは二つ以上組合わせてインキとしグラビア印刷、フレキソ印刷等の加工法でパートコートして所定の位置に剥離剤層12を形成することができる。剥離剤にはワックスやシリコンなどを添加剤として混合して接着樹脂層との剥離強度を調整することもできる。また、剥離剤層12と基材層11との間には例えば硝化綿系、ポリエステル系、アクリル系、ウレタン系、アルキッド系等の樹脂を単独若しくは二つ以上組合わせて混合した目止め剤を用いてアンダーコート層を設けてもよい。特に、片面コート紙の非コート面に剥離剤層12を設ける場合には好ましい。   Examples of the release agent for forming the release agent layer 12 include nitrified cotton-based, polyamide-based, polyester-based, acrylic-based, urethane-based, and alkyd-based resins. These may be used alone or in combination of two or more. The release agent layer 12 can be formed at a predetermined position by part coating by a processing method such as gravure printing or flexographic printing. Wax, silicon or the like can be mixed as an additive to the release agent to adjust the peel strength from the adhesive resin layer. Further, between the release agent layer 12 and the base material layer 11, for example, a sealing agent obtained by mixing, for example, nitrified cotton-based, polyester-based, acrylic-based, urethane-based, alkyd-based resins alone or in combination of two or more. It may be used to provide an undercoat layer. In particular, it is preferable when the release agent layer 12 is provided on the non-coated surface of single-side coated paper.

外蓋10と内蓋30を接着させる接着樹脂層20としては、ポリエチレン、エチレン/酢酸ビニル共重合体、エチレン/アクリル酸共重合体、エチレン/メタアクリル酸共重合体、アイオノマー、ポリプロピレン等の熱可塑性樹脂を用いることができ、これらを熱溶融押出しして外蓋10と内蓋30とを押出しラミネーション法により積層する。また、接着樹脂層20は、エマルジョン接着剤やドライラミ接着剤を用いてロールコート、グラビアコート、キスコート等によりウエットラミネーション法、ドライラミネーション法により積層することもできるが、生産性の高い押出しラミネーション法が好ましい。   Examples of the adhesive resin layer 20 for bonding the outer lid 10 and the inner lid 30 include heat such as polyethylene, ethylene / vinyl acetate copolymer, ethylene / acrylic acid copolymer, ethylene / methacrylic acid copolymer, ionomer, and polypropylene. A plastic resin can be used, these are hot-melt extruded, and the outer lid 10 and the inner lid 30 are laminated by extrusion lamination. Further, the adhesive resin layer 20 can be laminated by wet lamination method or dry lamination method by roll coating, gravure coating, kiss coating, etc. using an emulsion adhesive or dry laminating adhesive. preferable.

内蓋30を構成する中間層には、表面層に用いたプラスチックフィルムや、エチレン/ビニルアルコール共重合体、塩化ビニリデン、ポリビニルアルコール等のプラスチックフィルムや、アルミニウム箔等が用いられる。厚さは通常9〜40μm程度である。   For the intermediate layer constituting the inner lid 30, a plastic film used for the surface layer, a plastic film such as ethylene / vinyl alcohol copolymer, vinylidene chloride, polyvinyl alcohol, aluminum foil, or the like is used. The thickness is usually about 9 to 40 μm.

内蓋30を構成するイージーピール性樹脂層31は、特に熱接着性樹脂層31aの厚さを薄くする必要があり、共押出し法により製造するのが好ましい。熱接着性樹脂層31aに使用される樹脂は、105℃未満の低融点の樹脂が使用され、蓋材が熱接着される容器の樹脂の種類により選定される。例えば、ポリエチレン、エチレン/酢酸ビニル共重合体、エチレン/(メタ)アクリル酸共重合体、エチレン/(メタ)アクリル酸エステル共重合体、アイオノマー等のポリオレフィン系樹脂、ポリスチレン、ポリエステル等の樹脂が挙げられ、これらの樹脂単体もしくは二つ以上の樹脂を混合して用いられる。
コア層31bに使用される樹脂は、少なくとも110℃以上の高融点の樹脂を含む樹脂からなる層である。高融点の樹脂としては、中密度あるいは高密度ポリエチレン、ポリプロピレン等の樹脂が挙げられる。コア層31bは熱接着性樹脂層31aと剥離可能に接着させる必要があり、コア層31bに用いられる樹脂としては、熱接着性樹脂層31aに用いられる樹脂と上記高融点の樹脂と例えば酸変性ポリオレフィン等の接着性樹脂とこれらの樹脂の相溶性を大きくするための相溶化剤を含む混合樹脂である。また、ラミネート樹脂層31cは、コア層31bと同様の混合樹脂で構成される。
The easy-peeling resin layer 31 constituting the inner lid 30 needs to be particularly thin in the thickness of the heat-adhesive resin layer 31a, and is preferably manufactured by a coextrusion method. The resin used for the heat-adhesive resin layer 31a is a resin having a low melting point of less than 105 ° C., and is selected according to the type of resin of the container to which the lid member is thermally bonded. For example, polyethylene, ethylene / vinyl acetate copolymer, ethylene / (meth) acrylic acid copolymer, ethylene / (meth) acrylic acid ester copolymer, polyolefin resin such as ionomer, resin such as polystyrene, polyester, etc. These resins are used alone or as a mixture of two or more resins.
The resin used for the core layer 31b is a layer made of a resin containing a resin having a high melting point of at least 110 ° C. or higher. Examples of the high melting point resin include resins such as medium density or high density polyethylene and polypropylene. The core layer 31b must be detachably bonded to the heat-adhesive resin layer 31a. As the resin used for the core layer 31b, the resin used for the heat-adhesive resin layer 31a, the above-described high-melting resin, and acid-modified , for example, It is a mixed resin containing an adhesive resin such as polyolefin and a compatibilizer for increasing the compatibility of these resins. The laminate resin layer 31c is made of a mixed resin similar to the core layer 31b.

本発明の蓋材が熱接着して取付けられる容器に使用される樹脂としては、ポリスチレン、ポリプロピレン、ポリエチレン、ポリエステル、エチレンビニルアルコール共重合体等が挙げられる。これらの樹脂をシートや発泡シートとし、これらのシートを単体もしくは積層して、真空成形、圧空成形、真空圧空成形することにより作製した成形容器、あるいは、これらの樹脂を射出成形することにより作製したインジェクション容器が使用できる。また、インジェクション容器には上記樹脂に発泡剤を混合して発泡樹脂製のインジェクション容器も使用できる。   Examples of the resin used for the container to which the lid material of the present invention is attached by thermal bonding include polystyrene, polypropylene, polyethylene, polyester, ethylene vinyl alcohol copolymer, and the like. These resins are used as sheets or foamed sheets, and these sheets are formed as a single body or laminated, and formed by vacuum forming, pressure forming, vacuum pressure forming, or by injection molding these resins. An injection container can be used. In addition, an injection container made of a foamed resin by mixing a foaming agent with the above resin can also be used for the injection container.

次に、開口用切目3、剥離開始用切目4の形成方法について説明する。基材層11の内面に形成される開口用切目3および剥離開始用切目4は、基材層11に剥離剤層12が形成された外蓋10と、中間層32とイージーピール性樹脂層31とが積層された内蓋30を、接着樹脂層20を介して積層して蓋材用の積層体を作製した後に、内蓋30のイージーピール性樹脂層31側からハーフカットを行うことにより形成されるものである。   Next, a method of forming the opening cut 3 and the peeling start cut 4 will be described. The opening notch 3 and the peeling start notch 4 formed on the inner surface of the base material layer 11 are the outer lid 10 in which the release agent layer 12 is formed on the base material layer 11, the intermediate layer 32, and the easy peel resin layer 31. After the inner lid 30 laminated with is laminated via the adhesive resin layer 20 to produce a laminate for the lid material, the inner lid 30 is formed by half-cutting from the easy peel resin layer 31 side of the inner lid 30 It is what is done.

図3は、本発明の第一実施形態の蓋材Aを容器開口部に接着した状態を示す断面図である。本発明の蓋材Aの使用状態は、図3に示すように、円形の開口部周縁にフランジ部が設けられた容器Bのフランジ部5に蓋材Aを熱接着して取付けられ、容器Bが蓋材Aで密封されるものである。熱接着部6は蓋材Aの周縁より内側の位置に所定巾で円周状に形成される。蓋材Aを容器Bに熱接着して熱接着部6にて取り付けた際に、剥離開始用切目4が熱接着部6の外側に位置するか、乃至は熱接着部6内に位置していてもよい。なお、図3では、剥離開始用切目4がフランジ部5と重なった位置、つまり、熱接着部6内にある状態の例を示している。従来の蓋材であれば剥離開始用切目の位置が熱接着部内に位置すると、蓋材を容器のフランジ部に熱接着した際に、剥離開始用切目が形成された熱接着性樹脂層が再接着し、ハーフカットの効果が消滅し、開口が形成されないことがあったが、本発明は、このような問題点を解決し、剥離開始用切目が熱接着部内に位置しても確実に開口できる。   FIG. 3 is a cross-sectional view showing a state in which the lid A of the first embodiment of the present invention is bonded to the container opening. As shown in FIG. 3, the cover material A of the present invention is used by attaching the cover material A to the flange portion 5 of the container B provided with a flange portion at the periphery of the circular opening, and attaching the container B Is sealed with the lid A. The heat bonding portion 6 is formed in a circular shape with a predetermined width at a position inside the periphery of the lid A. When the lid A is thermally bonded to the container B and attached by the heat bonding part 6, the peeling start cut 4 is located outside the heat bonding part 6 or is located in the heat bonding part 6. May be. In addition, in FIG. 3, the example which is in the position which the notch 4 for peeling start overlaps with the flange part 5, ie, the heat bonding part 6, is shown. In the case of a conventional lid material, when the position of the peeling start cut is located in the thermal bonding part, when the lid is heat bonded to the flange part of the container, the thermal adhesive resin layer on which the peeling start cut is formed is restored. Although the effect of half-cut disappeared and no opening was formed, the present invention solves such a problem, and even if the incision for starting peeling is located in the thermal bonding part, the opening is surely made. it can.

図4は、容器開口部に接着した本発明の第一実施形態の蓋材の外蓋を部分的に剥離した状態を示す断面図である。図3、図4に示すように本発明の蓋材Aの摘み部2を摘み引っ張り上げると、熱接着部6の外縁で、まず、イージーピール性樹脂層31の熱接着性樹脂層31aが破断し、熱接着性樹脂層31aとコア層31bとの間で層間剥離が発生し、さらに剥離が進み、剥離開始用切目4に達すると剥離する層間の移行が起こり、接着樹脂層20と剥離剤層12との間が剥離し、摘み部2の部分は内蓋30が外蓋10に接着した状態で、剥離開始用切目4より内側は内蓋30と接着樹脂層20とは容器Bに接着した状態で剥離が進み、開口用切目3に達すると開口用切目3に囲まれた接着樹脂層20と内蓋30は外蓋10に接着した状態で切り取られ、容器Bの上面には開口用切目3で囲まれた角丸の略四角形の開口7が形成され、開口7より内容物を取り出すことができる。   FIG. 4 is a cross-sectional view showing a state where the outer lid of the lid member of the first embodiment of the present invention adhered to the container opening is partially peeled. As shown in FIGS. 3 and 4, when the knob 2 of the lid A of the present invention is picked up and pulled up, the thermal adhesive resin layer 31 a of the easy peel resin layer 31 is first broken at the outer edge of the thermal adhesive part 6. Then, delamination occurs between the thermoadhesive resin layer 31a and the core layer 31b, further delamination proceeds, and when the delamination incision 4 is reached, a transition occurs between the delamination layers. The layer 12 is peeled off, and the knob portion 2 is in a state where the inner lid 30 is adhered to the outer lid 10, and the inner lid 30 and the adhesive resin layer 20 are adhered to the container B inside the separation start cut 4. In this state, the peeling progresses, and when the opening cut 3 is reached, the adhesive resin layer 20 and the inner lid 30 surrounded by the opening cut 3 are cut off in a state of being bonded to the outer lid 10. A substantially square opening 7 with rounded corners surrounded by the cut 3 is formed. Ri can be issued.

本発明に係る蓋材の第二実施形態は図5、図6に示す通りである。図5に示すように蓋材A’は、略四角形状であり、外周縁の対向する角部に外方に突出する湯切り孔形成用摘み部2’aと開封用摘み部2’bとを備え、四角形状の開口部を有する容器の開口部周縁に設けられたフランジ部に熱接着して容器を密封する蓋材として使用されるものであり、焼きそば等の即席食品をお湯で調理して、調理後、不要となったお湯を排湯するという用途に好ましく使用される。蓋材A’の大きさは、容器のフランジ部の外周縁と略同じ大きさか、あるいはやや大きくするのが好ましく、蓋材A’の形状はフランジ部の外周縁の形状に合わせて決定すればよく、四角形状以外に円形、楕円形、角形等にすることができる。図5の(イ)は、蓋材A’の外面側から見た平面図であり、外蓋10’が見えている状態を示す。蓋材A’の外面には販売促進のためのデザインや商品の内容等について印刷が施されている(図示しない)。図5の(ロ)は蓋材A’の内面側(容器に熱接着される面側)から見た底面図であり、内蓋30を構成するイージーピール性樹脂層31が見えている状態を示している。蓋材A’の内面には複数個の湯切り口形状の湯切り孔切目3’が形成されている。湯切り孔切目3’は閉じた形状であれば円形、楕円形、四角形等、湯切りのしやすさにより任意に形成できる。また、湯切り孔形成用摘み部2’aと湯切り孔切目3’との間には、内蓋30を二分する湯切り孔形成用切目4’が形成されている。   The second embodiment of the lid according to the present invention is as shown in FIGS. As shown in FIG. 5, the lid member A ′ has a substantially rectangular shape, and includes a hot water cut hole forming knob 2 ′ a and an unsealing knob 2 ′ b that protrude outward at opposite corners of the outer peripheral edge. It is used as a lid to seal the container by heat bonding to the flange provided at the periphery of the opening of the container having a rectangular opening, and cooks instant food such as fried noodles with hot water Thus, it is preferably used for the purpose of draining hot water that has become unnecessary after cooking. The size of the lid A ′ is preferably substantially the same as or slightly larger than the outer peripheral edge of the flange portion of the container, and the shape of the lid A ′ is determined according to the shape of the outer peripheral edge of the flange portion. In addition to the quadrangular shape, the shape may be circular, elliptical, rectangular, or the like. FIG. 5A is a plan view seen from the outer surface side of the lid A ′, showing a state in which the outer lid 10 ′ is visible. The outer surface of the lid A ′ is printed on the design for sales promotion and the contents of the product (not shown). (B) of FIG. 5 is a bottom view seen from the inner surface side (the surface side thermally bonded to the container) of the lid material A ′, and shows the state where the easy peel resin layer 31 constituting the inner lid 30 is visible. Show. On the inner surface of the lid member A ', a plurality of hot water cut hole-shaped cut holes 3' are formed. The hot water cut hole cut 3 ′ can be arbitrarily formed as long as it has a closed shape, such as a circle, an ellipse, or a square, depending on the ease of hot water cutting. Further, a hot water cut hole forming notch 4 ′ that bisects the inner lid 30 is formed between the hot water cut hole forming knob 2 ′ a and the hot water cut hole cut 3 ′.

図6は、本発明の蓋材A’の図5(イ)におけるY−Y断面図を示す。図6に示すように本発明の蓋材A’は、透明なプラスチックフィルムからなる表面層13と基材層11が接着剤層14を介して積層された外蓋10’と、中間層32としてアルミニウム箔と最内層にイージーピール性樹脂層31が積層された内蓋30とが接着樹脂層20を介して積層された構成である。外蓋10’と内蓋30との間には、剥離剤層12を備えた易剥離領域Sと、易剥離領域Sに隣接して剥離剤層を有していない非剥離領域Nとが配設されている。易剥離領域Sは、湯切り孔形成用摘み部2’a側の湯切り孔形成用切目4’、湯切り孔切目3’を含む領域に形成され、湯切り孔形成用摘み部2’aに隣接する両辺の約1/2の点を結ぶ部分で非剥離領域Nと区画されている。易剥離領域Sは、通常、蓋材A’の面積の半分以下でよい。易剥離領域S内にはイージーピール性樹脂層31側から内蓋30と接着樹脂層20を貫通する閉じた形状の湯切り孔切目3’が形成され、湯切り孔切目3’で囲まれた領域内は剥離剤層がなく接着樹脂層20を介して内蓋30と外蓋10’は接着されている。湯切り孔切目3’に囲まれた領域内に剥離剤層があってもよいが、剥離剤層がない方が内蓋30に確実に湯切り孔が形成できるので好ましい。また、湯切り孔形成用摘み部2’aと湯切り孔切目3’との間には内蓋30を二分しイージーピール性樹脂層31側から内蓋30と接着樹脂層20を貫通する湯切り孔形成用切目4’が形成されている。湯切り孔形成用切目4’はフランジ部に略沿った形状で形成されている。なお、湯切り孔形成用切目4’が容器のフランジ部より開口部側と対向する位置にならないように形成することが肝要である。   FIG. 6 is a YY cross-sectional view of the lid member A ′ of the present invention in FIG. As shown in FIG. 6, the lid A ′ of the present invention includes an outer lid 10 ′ in which a surface layer 13 made of a transparent plastic film and a base material layer 11 are laminated via an adhesive layer 14, and an intermediate layer 32. In this configuration, the aluminum foil and the inner lid 30 in which the easy peel resin layer 31 is laminated on the innermost layer are laminated via the adhesive resin layer 20. Between the outer lid 10 ′ and the inner lid 30, an easy peeling region S provided with the release agent layer 12 and a non-peeling region N that does not have a release agent layer adjacent to the easy release region S are arranged. It is installed. The easy peeling area S is formed in a region including the cut hole forming cut 4 ′ and the cut hole forming cut 3 ′ on the side of the cut hole forming knob 2′a, and the cut hole forming knob 2′a. Is separated from the non-peeling region N at a portion connecting about ½ points on both sides adjacent to each other. The easy-peeling region S may usually be half or less of the area of the lid material A ′. In the easy-peeling region S, a closed hot water cut 3 'penetrating the inner lid 30 and the adhesive resin layer 20 from the easy peel resin layer 31 side is formed and surrounded by the hot water cut 3'. There is no release agent layer in the region, and the inner lid 30 and the outer lid 10 ′ are bonded via the adhesive resin layer 20. Although there may be a release agent layer in the region surrounded by the hot water cut hole cut 3 ′, it is preferable that there is no release agent layer because a hot water cut hole can be reliably formed in the inner lid 30. Further, the inner lid 30 is divided in half between the hot water cut hole forming knob 2′a and the hot water cut hole cut 3 ′, and the hot water penetrating the inner lid 30 and the adhesive resin layer 20 from the easy peel resin layer 31 side. A cut hole forming cut 4 'is formed. The hot cut hole forming cut 4 'is formed in a shape substantially along the flange portion. It is important to form the cut hole forming cut 4 'so as not to face the opening side of the flange portion of the container.

蓋材の積層構成、および各層に使用される素材、並びに湯切り孔切目3’、湯切り孔形成用切目4’の形成方法は第一実施形態と同様であり説明を省略する。   The laminated structure of the lid material, the material used for each layer, and the method of forming the hot water cut hole cut 3 ′ and the hot water cut hole forming cut 4 ′ are the same as in the first embodiment, and a description thereof will be omitted.

図7は、本発明の第二実施形態の蓋材A’を容器の開口部に接着した状態を示す断面図である。本発明の蓋材A’の使用状態は、図7に示すように、例えば略四角形の開口部の周縁にフランジ部5を有するトレー状の容器B’に焼きそば等の即席麺とプラスチックフィルム製の小袋に密封包装された具材、スープ等を収容し、開口部に蓋材A’を覆い被せてフランジ部5に蓋材A’を熱接着して取付け、容器B’を蓋材A’で密封したものである。熱接着部6は蓋材A’の周縁より内側の位置に所定巾で略四角形状に形成される。蓋材A’を容器B’に熱接着して熱接着部6にて取り付けた際に、湯切り孔形成用切目4’が熱接着部6の外側に位置するか、乃至は熱接着部6内に位置していてもよい。図7には、湯切り孔形成用切目4’がフランジ部5と重なった位置、つまり、熱接着部6内にある状態の例を示す。従来の蓋材であれば湯切り孔形成用切目の位置が熱接着部内に位置すると、蓋材を容器のフランジ部に熱接着した際に、湯切り孔形成用切目が形成された熱接着性樹脂層が再接着し、ハーフカットの効果が消滅し、湯切り孔が形成されないことがあったが、本発明は、このような問題点を解決し、湯切り孔形成用切目が熱接着部内に位置しても確実に湯切り孔を形成できる。   FIG. 7 is a cross-sectional view showing a state in which the lid A ′ according to the second embodiment of the present invention is bonded to the opening of the container. As shown in FIG. 7, the use state of the lid A ′ of the present invention is, for example, made of instant noodles such as fried noodles and plastic film in a tray-like container B ′ having a flange portion 5 at the periphery of a substantially rectangular opening. Ingredients, soup, etc. hermetically packaged in a sachet are accommodated, the cover A ′ is covered with the opening, and the cover A ′ is thermally bonded to the flange 5 and the container B ′ is attached with the cover A ′. It is sealed. The thermal bonding portion 6 is formed in a substantially square shape with a predetermined width at a position inside the periphery of the lid member A ′. When the lid A ′ is thermally bonded to the container B ′ and attached by the heat bonding part 6, the cut hole forming cut 4 ′ is located outside the heat bonding part 6 or the heat bonding part 6 It may be located inside. FIG. 7 shows an example of a state where the cut hole forming cut 4 ′ overlaps with the flange portion 5, that is, in the thermal bonding portion 6. In the case of a conventional lid material, when the position of the cut hole forming slit is located in the thermal bonding portion, when the lid material is thermally bonded to the flange portion of the container, the thermal adhesiveness in which the cut hole forming slit is formed. The resin layer was re-adhered, the effect of half-cutting disappeared, and hot-cut holes were not formed. However, the present invention solves such problems and the cut-holes for hot-cut holes are formed in the thermal bonding section. Even if it is located, the hot water cut hole can be formed reliably.

図7に示す蓋材A’を取付けた容器を使用するには、先ず、蓋材A’の開封用摘み部2’bを摘んで蓋材A’を容器B’から所定の距離だけ引き剥がして部分的に容器の口部に開口部を設け、容器内に収納されている小袋に密封包装された具材、スープ等を取り出し、必要とされる具材等を容器内に投入した後に、開口部から容器B’内に熱湯を所定の水位まで注いだ後に蓋材A’で開口部を塞ぎ一定時間湯戻しする。図8に示すように、内容物が湯戻しされた後、湯切りを行うには、蓋材A’の湯切り孔形成用摘み部2’aを摘んで上方に引っ張り上げることにより、熱接着部6の外縁で、まず、イージーピール性樹脂層31の熱接着性樹脂層31aが破断し、熱接着性樹脂層31aとコア層31bとの間で層間剥離が発生し、さらに剥離が進み、湯切り孔形成用切目4’に達すると剥離する層間の移行が起こり、接着樹脂層20と剥離剤層12との間が剥離し、湯切り孔形成用摘み部2’aの部分は内蓋30が外蓋10’に接着した状態で、湯切り孔形成用切目4’より内側は内蓋30と接着樹脂層20とが容器B’に接着した状態で剥離が進み、湯切り孔切目3’に達すると、湯切り孔切目3’に囲まれた接着樹脂層20と内蓋30は外蓋10’に接着した状態で切り取られるので容器B’の上面には湯切り孔切目3’で囲まれた湯切り口形状の湯切り孔8が複数個形成される。而して、湯切り孔8を下方にして容器B’を傾けることにより湯切り孔8から容器B’内のお湯を排出させることができる。湯切り後、開封用摘み部2’bを摘んで蓋材A’を容器B’から剥離する。その後、添付のスープやふりかけ等をかけて食する。なお、蓋材A’の開封用摘み部2’bを摘んで蓋材A’を容器B’から引き剥がした場合には、図示しないが蓋材A’の開封用摘み部2’bを摘んで上方に引っ張り上げることにより、熱接着部6の外縁で、まず、イージーピール性樹脂層31の熱接着性樹脂層31aが破断し、熱接着性樹脂層31aとコア層31bとの間で層間剥離が発生し、さらに剥離が進み、熱接着部6の内縁に達すると再び熱接着性樹脂層31aが破断し、容器B’と蓋材A’とが剥離される。つまり、熱接着部6に沿って、熱接着性樹脂層31aが破断し、破断した熱接着性樹脂層31aの小片が熱接着部6に接着した状態となっている。   To use the container with the lid A ′ shown in FIG. 7, first, the opening knob 2′b of the lid A ′ is picked and the lid A ′ is peeled off from the container B ′ by a predetermined distance. After partially opening the container mouth, taking out the ingredients, soup, etc. hermetically sealed in a sachet stored in the container, after putting the necessary ingredients into the container, After pouring hot water into the container B ′ from the opening to a predetermined water level, the opening is closed with the lid A ′ and the hot water is returned for a certain time. As shown in FIG. 8, in order to perform hot water cutting after the contents have been reconstituted, hot water bonding is performed by picking the hot water hole forming knob 2 ′ a of the lid A ′ and pulling it upward. At the outer edge of the part 6, first, the thermal adhesive resin layer 31a of the easy peel resin layer 31 is broken, delamination occurs between the thermal adhesive resin layer 31a and the core layer 31b, and further peeling progresses. When it reaches the cut hole forming cut 4 ′, the transition between the peeling layers occurs, the adhesive resin layer 20 and the release agent layer 12 are peeled off, and the hot cut hole forming knob 2′a is formed on the inner lid. In the state where 30 is bonded to the outer lid 10 ′, peeling progresses while the inner lid 30 and the adhesive resin layer 20 are bonded to the container B ′ inside the cut hole forming cut 4 ′. When it reaches ′, the adhesive resin layer 20 and the inner lid 30 surrounded by the hot water cut hole 3 ′ are bonded to the outer lid 10 ′. Since the cut in a state 'on the upper surface of the hot water cutting hole cuts 3' container B Yu cut holes 8 of the hot water cut shape surrounded by is plural number. Thus, the hot water in the container B ′ can be discharged from the hot water cutting hole 8 by tilting the container B ′ with the hot water cutting hole 8 facing downward. After the hot water is cut off, the opening knob 2'b is picked to peel the lid A 'from the container B'. Then, eat with the attached soup or sprinkles. In addition, when the opening knob 2'b of the lid A 'is picked and the lid A' is peeled off from the container B ', the opening knob 2'b of the lid A' is not shown. By pulling upward, the thermal adhesive resin layer 31a of the easy-peelable resin layer 31 is first broken at the outer edge of the thermal adhesive portion 6, and an interlayer is formed between the thermal adhesive resin layer 31a and the core layer 31b. When peeling occurs and further peeling progresses and reaches the inner edge of the thermal bonding portion 6, the thermal adhesive resin layer 31a is broken again, and the container B ′ and the lid A ′ are peeled off. That is, the heat-adhesive resin layer 31 a is broken along the heat-bonding portion 6, and a small piece of the broken heat-adhesive resin layer 31 a is bonded to the heat-bonding portion 6.

次に本発明について実施例を挙げてさらに詳しく説明する。   Next, the present invention will be described in more detail with reference to examples.

基材層に片面コート紙79.1g/m2 を用い、コート面にウレタン系のグラビアインキを用いて所定の絵柄を、非コート面に絵柄に見当を合せて硝化綿・ポリアミド系のグラビアインキを用いて部分的に剥離剤層を、グラビア印刷機により両面印刷して<絵柄印刷/紙/剥離剤層>なる構成の外蓋シートを作製した。次に中間層にアルミニウム箔(Al)15μm、イージーピール性樹脂層として熱接着性樹脂層にポリスチレン樹脂を用い、ラミネート樹脂層/コア層/熱接着性樹脂層の厚さ35μmの3層共押出しフィルム(EP)を用い、接着樹脂層に低密度ポリエチレン(PE)を用いてエクストルージョン法により、外蓋シートの剥離剤層面とアルミニウム箔(Al)15μmとをPEを熱溶融させながら厚さ15μmとしてサンドイッチラミネーションし、Alの反対面にポリエステル−イソシアネート系接着剤を塗布し、接着剤層を形成し、EPのラミネート樹脂層面をドライラミネーション法(DL)により貼合し、<Al/DL/EP>なる構成の内蓋シートを作製すると同時に<絵柄印刷/紙79.1g/m2 /剥離剤層/PE15μm/Al15μm/DL/EP35μm>なる構成の蓋材用シートを作製した。なお、EPには、<熱接着性樹脂層5μm/コア層10μm/ラミネート樹脂層20>なる構成のフィルム(住化プラステック株式会社製、商品名:アシストMS430)を用いた。 Single-side coated paper 79.1g / m 2 is used for the base layer, urethane gravure ink is used for the coated surface, and the non-coated surface is registered to the pattern, and the nitrified cotton / polyamide gravure ink is used. The release agent layer was partially printed on both sides by a gravure printing machine to prepare an outer lid sheet having a structure of <pattern printing / paper / release agent layer>. Next, aluminum foil (Al) 15 μm is used for the intermediate layer, polystyrene resin is used for the heat-adhesive resin layer as the easy-peeling resin layer, and three-layer coextrusion with a thickness of 35 μm of laminate resin layer / core layer / thermoadhesive resin layer Using a film (EP), a low-density polyethylene (PE) as an adhesive resin layer, and a thickness of 15 μm while extruding the release agent layer surface of the outer lid sheet and aluminum foil (Al) 15 μm by heat melting PE. As a sandwich lamination, a polyester-isocyanate adhesive is applied to the opposite surface of Al, an adhesive layer is formed, and the laminate resin layer surface of EP is bonded by the dry lamination method (DL), and <Al / DL / EP > comprising preparing an inner lid sheet structure at the same time <picture-printed / paper 79.1 g / m 2 / release agent layer / PE15myuemu / a The sheet | seat for lid | cover materials of the structure of l15micrometer / DL / EP35micrometer> was produced. In addition, the film (Sumika Plustech Co., Ltd. make, brand name: assist MS430) of the structure which is <thermal adhesive resin layer 5micrometer / core layer 10micrometer / laminate resin layer 20> was used for EP.

その後、蓋材用シートの巻取に所定の開口用切目および剥離開始用切目を有する抜き型を備えたロータリーダイカッターでEP面から内蓋と接着樹脂層を貫通するハーフカットを施し所定の開口用切目および剥離開始用切目を形成した。その後、断裁、抜き加工をして図1に示す蓋材Aを作製した。   Then, a half cut that penetrates the inner lid and the adhesive resin layer from the EP surface is performed with a rotary die cutter provided with a punching die having a predetermined opening cut and a peeling start cut for winding the lid sheet, and the predetermined opening A cut for cutting and a cut for starting peeling were formed. Thereafter, the cover material A shown in FIG.

上記で作製した蓋材Aを発泡ポリスチレン製のカップ形状のインジェクション容器のフランジ部に熱接着して容器を密封した。剥離開始用切目と熱接着部6との位置関係について、剥離開始用切目が熱接着部6内にある状態(サンプルA)と、熱接着部6の外側縁とほぼ同じ位置の状態(サンプルB)と、熱接着部6の外側縁よりやや外側に位置する状態(サンプルC)とで熱接着して3種類のサンプルA、B、Cを作製した。その後、各サンプルについて蓋材を摘み部より引っ張り上げて容器から剥離し開封性を評価した。開封性の評価基準は、剥離開始用切目より外蓋が剥離剤層と接着樹脂層との間で剥離して、容器に接着された接着樹脂層と内蓋に開口を形成することができたものを良好と判定した。   The lid A prepared above was thermally bonded to the flange portion of a cup-shaped injection container made of expanded polystyrene, and the container was sealed. Regarding the positional relationship between the separation start cut and the thermal bonding portion 6, the state in which the separation start cut is in the thermal bonding portion 6 (sample A) and the state at the same position as the outer edge of the thermal bonding portion 6 (sample B) ) And a state (sample C) located slightly outside the outer edge of the thermal bonding portion 6 to produce three types of samples A, B, and C. Thereafter, the lid material was pulled up from the knob for each sample, peeled from the container, and the openability was evaluated. The evaluation criteria for openability was that the outer lid peeled off between the release agent layer and the adhesive resin layer from the cut for starting peeling, and an opening could be formed in the adhesive resin layer adhered to the container and the inner lid. Things were judged good.

開封性を評価した結果、サンプルA、サンプルB、サンプルCのいずれについても開封性は良好であった。開封開始点についてはサンプルB、Cは剥離開始用切目であった。サンプルAの開封開始点は、熱接着部6の外縁であり、該開封開始点で熱接着性樹脂層が破断し、熱接着性樹脂層とコア層との層間で剥離し、剥離開始用切目に剥離が到達するものであった。   As a result of evaluating the unsealing property, the unsealing property was good for all of Sample A, Sample B, and Sample C. Regarding the opening start point, Samples B and C were peeling start cuts. The opening start point of sample A is the outer edge of the thermal bonding part 6, the thermal adhesive resin layer breaks at the opening start point, peels between the layers of the thermal adhesive resin layer and the core layer, The peeling reached.

基材層に片面コート紙79.1g/m2 を用い、コート面にウレタン系のグラビアインキを用いて所定の絵柄を、非コート面に絵柄に見当を合せて硝化綿・ポリアミド系のグラビアインキを用いて部分的に剥離剤層を、グラビア印刷機により両面印刷して形成した。次に厚さ12μmの片面コロナ処理を施した二軸延伸ポリエチレンテレフタレートフィルム(PET)を表面層として用いて該コロナ処理面にポリエステル−イソシアネート系接着剤を塗布し、接着剤層を形成し、両面コート紙の絵柄面とをドライラミネーション法(DL)により貼合して<PET/DL/絵柄印刷/紙/剥離剤層>なる構成の外蓋シートを作製した。次に中間層、イージーピール性樹脂層には、実施例1と同じ厚みの同じ材料を用い、接着樹脂層に低密度ポリエチレン(PE)を用いてエクストルージョン法により、外蓋シートの剥離剤層面とアルミニウム箔(Al)15μmとをPEを熱溶融させながら厚さ15μmとしてサンドイッチラミネーションし、Alの反対面にポリエステル−イソシアネート系接着剤を塗布し、接着剤層を形成し、EPのラミネート樹脂層面をドライラミネーション法(DL)で貼合し、<Al/DL/EP>なる構成の内蓋シートを作製すると同時に<PET12μm/DL/絵柄印刷/紙79.1g/m2 /剥離剤層/PE15μm/Al15μm/DL/EP35μm>なる構成の湯切り孔付き蓋材用シートを作製した。 Single-side coated paper 79.1g / m 2 is used for the base layer, urethane gravure ink is used for the coated surface, and the non-coated surface is registered to the pattern, and the nitrified cotton / polyamide gravure ink is used. The release agent layer was partially formed by double-sided printing using a gravure printer. Next, using a biaxially stretched polyethylene terephthalate film (PET) with a single-sided corona treatment having a thickness of 12 μm as a surface layer, a polyester-isocyanate adhesive is applied to the corona-treated surface to form an adhesive layer. An outer cover sheet having a configuration of <PET / DL / pattern printing / paper / release agent layer> was prepared by laminating the pattern surface of the coated paper with a dry lamination method (DL). Next, for the intermediate layer and the easy peel resin layer, the same material having the same thickness as in Example 1 is used, and the release resin layer surface of the outer lid sheet is formed by an extrusion method using low density polyethylene (PE) for the adhesive resin layer. And aluminum foil (Al) 15 μm sandwiched with PE melted to a thickness of 15 μm, a polyester-isocyanate adhesive was applied to the opposite side of Al, an adhesive layer was formed, and the laminate resin layer surface of EP Are laminated by the dry lamination method (DL) to produce an inner lid sheet having a configuration of <Al / DL / EP> and simultaneously <PET 12 μm / DL / pattern printing / paper 79.1 g / m 2 / release agent layer / PE 15 μm A sheet for lid material with a hot water hole having a configuration of / Al15 μm / DL / EP35 μm> was produced.

その後、湯切り孔付き蓋材用シートの巻取に所定の湯切り孔切目および湯切り孔形成用切目を有する抜き型を備えたロータリーダイカッターでEP面から内蓋と接着樹脂層を貫通するハーフカットを施し所定の湯切り孔切目、湯切り孔形成用切目を形成した。その後、断裁、抜き加工をして図5に示す湯切り孔付き蓋材A’を作製した。   Then, the inner lid and the adhesive resin layer are penetrated from the EP surface with a rotary die cutter provided with a punching die having a predetermined hot water cut hole cut and a hot water cut hole forming cut for winding the hot water cut hole cover sheet. Half cut was performed to form predetermined hot water cut hole cuts and hot water cut hole forming cuts. Thereafter, cutting and punching were performed to produce a lid material A 'with a hot water cut hole shown in FIG.

容器に発泡ポリスチレン製の四角形のトレー形状の成形容器を用い、上記で作製した蓋材A’を該成形容器のフランジ部に熱接着して容器を密封した。湯切り孔形成用切目と熱接着部6との位置関係について、湯切り孔形成用切目が熱接着部6内にある状態(サンプルD)と、熱接着部6の外側縁とほぼ同じ位置の状態(サンプルE)と、熱接着部6の外側縁よりやや外側に位置する状態(サンプルF)とで熱接着して3種類のサンプルD、E、Fを作製した。その後、各サンプルについて蓋材を湯切り孔形成用摘み部より引っ張り上げて容器から剥離し開封性を評価した。開封性の評価基準は、湯切り孔形成用切目より外蓋が剥離剤層と接着樹脂層との間で剥離して、容器に接着された接着樹脂層と内蓋に湯切り孔を形成することができたものを良好と判定した。   A rectangular tray-shaped molded container made of polystyrene foam was used for the container, and the lid A ′ produced above was thermally bonded to the flange portion of the molded container to seal the container. Regarding the positional relationship between the hot-cut hole forming cut and the thermal bonding portion 6, the state in which the hot-cut hole forming cut is in the thermal bonding portion 6 (sample D) and the outer edge of the thermal bonding portion 6 are almost the same position. Three types of samples D, E, and F were manufactured by thermal bonding in a state (sample E) and a state (sample F) located slightly outside the outer edge of the thermal bonding portion 6. Thereafter, the lid material was pulled up from the knob for forming a hot water hole for each sample, peeled off from the container, and the openability was evaluated. The evaluation standard for openability is that the outer lid peels off between the release agent layer and the adhesive resin layer from the cut for forming the hot water cut hole, and a hot water cut hole is formed in the adhesive resin layer bonded to the container and the inner lid. Those that could be judged as good.

開封性を評価した結果、サンプルD、サンプルE、サンプルFのいずれについても開封性は良好であった。開封開始点についてはサンプルE、Fは湯切り孔形成用切目であった。サンプルDの開封開始点は、熱接着部6の外縁であり、該開封開始点で熱接着性樹脂層が破断し、熱接着性樹脂層とコア層との層間で剥離し、湯切り孔形成用切目に剥離が到達するものであった。   As a result of evaluating the openability, the openability was good for all of Sample D, Sample E, and Sample F. Regarding the opening start point, Samples E and F were cuts for hot water cut hole formation. The opening start point of sample D is the outer edge of the thermal bonding portion 6, the thermal adhesive resin layer breaks at the opening start point, peels off between the thermal adhesive resin layer and the core layer, and forms a hot water cut hole The peeling reached the cut line.

2 摘み部
2’a 湯切り孔形成用摘み部
2’b 開封用摘み部
3 開口用切目
3’ 湯切り孔切目
4 剥離開始用切目
4’ 湯切り孔形成用切目
5 フランジ部
6 熱接着部
7 開口
8 湯切り孔
10、10’ 外蓋
11 基材層
12 剥離剤層
13 表面層
14 接着剤層
20 接着樹脂層
30 内蓋
31 イージーピール性樹脂層
31a 熱接着性樹脂層
31b コア層
31c ラミネート樹脂層
32 中間層
A、A’ 蓋材
B、B’ 容器
S 易剥離領域
N 非剥離領域
2 Knob part 2'a Hot-cut hole forming knob 2'b Unsealing knob part 3 Opening cut 3 'Hot-cut hole cut 4 Separation start cut 4' Hot-cut hole forming cut 5 Flange part 6 Thermal bonding part 7 Opening 8 Hot water cutting hole 10, 10 'Outer lid 11 Base layer 12 Release agent layer 13 Surface layer 14 Adhesive layer 20 Adhesive resin layer 30 Inner lid 31 Easy peel resin layer 31a Thermal adhesive resin layer 31b Core layer 31c Laminate resin layer 32 Intermediate layer A, A 'Lid B, B' Container S Easy peeling area N Non-peeling area

Claims (2)

少なくとも基材層を有する外蓋と少なくとも最内層にイージーピール性樹脂層を有する内蓋とが接着樹脂層を介して積層され外周縁に外方に突出する摘み部を備えた構成からなり、開口部周縁にフランジ部が設けられた容器のフランジ部に熱接着して該容器を密封する蓋材であって、
前記外蓋と前記内蓋との間に剥離剤層を備えた易剥離領域と、前記易剥離領域に隣接して配設された非剥離領域とを有し、
前記易剥離領域内には前記イージーピール性樹脂層側から前記内蓋と前記接着樹脂層を貫通する閉じた形状の開口用切目が形成され、
前記摘み部と前記開口用切目との間で前記内蓋を二分し前記イージーピール性樹脂層側から前記内蓋と前記接着樹脂層を貫通する剥離開始用切目が形成され、
前記イージーピール性樹脂層が、少なくとも最内層側から熱接着性樹脂層と前記熱接着性樹脂層の樹脂より融点が高い樹脂を含む樹脂からなるコア層が積層され、前記熱接着性樹脂層と前記コア層が剥離可能に積層されてなり、
蓋材を前記容器のフランジ部に熱接着して前記容器を密封した後、蓋材の前記摘み部を摘み引っ張り上げたとき、熱接着部の外縁で、前記イージーピール性樹脂層の前記熱接着性樹脂層が破断し、さらに前記熱接着性樹脂層と前記コア層との間で層間剥離が起こり、開封が開始されることを特徴とする蓋材。
The outer lid having at least a base material layer and the inner lid having at least an inner peelable resin layer at the innermost layer are laminated via an adhesive resin layer and are provided with a knob that protrudes outward at the outer peripheral edge, and has an opening. A lid that seals the container by thermally bonding to the flange part of the container provided with a flange part on the periphery of the part,
An easily peelable region provided with a release agent layer between the outer lid and the inner lid; and a non-peelable region disposed adjacent to the easily peelable region,
In the easily peelable region, an opening notch having a closed shape penetrating the inner lid and the adhesive resin layer from the easy peel resin layer side is formed,
The inner lid is divided in half between the knob and the opening cut, and a peeling start notch penetrating the inner lid and the adhesive resin layer from the easy peel resin layer side is formed,
The easy-peelable resin layer is laminated at least from the innermost layer side with a heat-adhesive resin layer and a core layer made of a resin containing a resin having a melting point higher than that of the resin of the heat-adhesive resin layer, The core layer is laminated in a peelable manner ,
After the lid material is thermally bonded to the flange portion of the container and the container is sealed, when the knob portion of the lid material is picked and pulled up, the thermal adhesion of the easy peel resin layer at the outer edge of the thermal bonding portion The lid material is characterized in that the adhesive resin layer is broken, and further, delamination occurs between the thermal adhesive resin layer and the core layer, and opening is started .
少なくとも基材層を有する外蓋と少なくとも最内層にイージーピール性樹脂層を有する内蓋とが接着樹脂層を介して積層され外周縁の対向する位置に外方に突出する開封用摘み部と湯切り孔形成用摘み部を備えた構成からなり、開口部周縁にフランジ部が設けられた容器のフランジ部に熱接着して該容器を密封する蓋材であって、
前記湯切り孔形成用摘み部側より開封用摘み部側に向かって、前記外蓋と前記内蓋との間に剥離剤層を備えた易剥離領域と、前記易剥離領域に隣接して配設された非剥離領域とを有し、
前記易剥離領域内には前記イージーピール性樹脂層側から前記内蓋と前記接着樹脂層を貫通する複数個の湯切り口形状の湯切り孔切目が形成され、
前記湯切り孔形成用摘み部と前記湯切り孔切目との間で前記内蓋を二分し前記イージーピール性樹脂層側から前記内蓋と前記接着樹脂層を貫通する湯切り孔形成用切目が形成され、
前記イージーピール性樹脂層が、少なくとも最内層側から熱接着性樹脂層と前記熱接着性樹脂層の樹脂より融点が高い樹脂を含む樹脂からなるコア層が積層され、前記熱接着性樹脂層と前記コア層が剥離可能に積層されてなり、
蓋材を前記容器のフランジ部に熱接着して前記容器を密封した後、蓋材の前記湯切り孔形成用摘み部を摘み引っ張り上げたとき、熱接着部の外縁で、前記イージーピール性樹脂層の前記熱接着性樹脂層が破断し、さらに前記熱接着性樹脂層と前記コア層との間で層間剥離が起こり、開封が開始されることを特徴とする蓋材。
An opening knob and hot water in which an outer lid having at least a base material layer and an inner lid having an easy-peelable resin layer at least on the innermost layer are laminated via an adhesive resin layer and project outwardly at positions facing the outer peripheral edge It is a lid that seals the container by thermally bonding to the flange portion of the container having a flange portion provided at the periphery of the opening, comprising a structure having a cut hole forming knob.
An easy peeling region provided with a release agent layer between the outer lid and the inner lid from the hot water cut hole forming knob side toward the opening knob portion side, and adjacent to the easy peeling region. A non-peeling region provided,
In the easily peelable region, a plurality of hot water cut-off hole cuts penetrating the inner lid and the adhesive resin layer from the easy peel resin layer side are formed,
There is a cut hole forming cut that bisects the inner lid between the cut hole forming knob and the cut hole cut and penetrates the inner cover and the adhesive resin layer from the easy peel resin layer side. Formed,
The easy-peelable resin layer is laminated at least from the innermost layer side with a heat-adhesive resin layer and a core layer made of a resin containing a resin having a melting point higher than that of the resin of the heat-adhesive resin layer, The core layer is laminated in a peelable manner ,
After the lid material is thermally bonded to the flange portion of the container and the container is sealed, the easy peel resin is formed at the outer edge of the thermal bonding portion when the hot water hole forming knob portion of the lid material is picked up and pulled. A lid material in which the heat-adhesive resin layer of the layer is broken, delamination occurs between the heat-adhesive resin layer and the core layer, and opening is started .
JP2010056427A 2010-03-12 2010-03-12 Lid material Active JP5569056B2 (en)

Priority Applications (1)

Application Number Priority Date Filing Date Title
JP2010056427A JP5569056B2 (en) 2010-03-12 2010-03-12 Lid material

Applications Claiming Priority (1)

Application Number Priority Date Filing Date Title
JP2010056427A JP5569056B2 (en) 2010-03-12 2010-03-12 Lid material

Publications (2)

Publication Number Publication Date
JP2011189948A JP2011189948A (en) 2011-09-29
JP5569056B2 true JP5569056B2 (en) 2014-08-13

Family

ID=44795298

Family Applications (1)

Application Number Title Priority Date Filing Date
JP2010056427A Active JP5569056B2 (en) 2010-03-12 2010-03-12 Lid material

Country Status (1)

Country Link
JP (1) JP5569056B2 (en)

Families Citing this family (4)

* Cited by examiner, † Cited by third party
Publication number Priority date Publication date Assignee Title
JP7153428B2 (en) * 2017-05-30 2022-10-14 昭和電工パッケージング株式会社 Lid material and package
JP2019189276A (en) * 2018-04-24 2019-10-31 大日本印刷株式会社 Packaging container and lid material with draining hole
JP2019189275A (en) * 2018-04-24 2019-10-31 大日本印刷株式会社 Packaging container and lid material with draining hole
KR102617700B1 (en) * 2023-08-30 2023-12-22 김영완 Container sealing film and its manufacturing method

Family Cites Families (3)

* Cited by examiner, † Cited by third party
Publication number Priority date Publication date Assignee Title
JPS57120472U (en) * 1981-01-19 1982-07-27
JPH10166521A (en) * 1996-12-12 1998-06-23 Sumitomo Bakelite Co Ltd Easily tearable film with defogging property
JP4513253B2 (en) * 2002-10-25 2010-07-28 凸版印刷株式会社 Removable lid

Also Published As

Publication number Publication date
JP2011189948A (en) 2011-09-29

Similar Documents

Publication Publication Date Title
JP4138123B2 (en) Lid with hot water hole
CN102438916A (en) Cover member provided with liquid discharge holes
JP5569056B2 (en) Lid material
JP4955339B2 (en) Lid and packaging body and method for producing the packaging body
JP5369660B2 (en) Sealed container
JPH11147559A (en) Lid material and container using the same
JP4750502B2 (en) Lid capable of forming liquid passage hole and container using the same
JP2001122320A (en) Cover material for instant food containers with hot water draining function
JP6163902B2 (en) Lid material
JP4614298B2 (en) Lid with hot water hole
JP4853154B2 (en) Lid with a hot water drainer
JP6507646B2 (en) Blister package
JP5152289B2 (en) Lid with hot water hole
JP4357897B2 (en) Sheet-like lid
JP4483465B2 (en) Instant food container with hot water cut-off function
JP4435515B2 (en) Food container
JP4231311B2 (en) Sheet-like lid
JP4893217B2 (en) Lid with a hot water drainer
JP5915110B2 (en) Lid material
JP2007084109A (en) Lid with hot water draining function
JP6802988B2 (en) Blister pack
JP2023086365A (en) Composite film, lidding material, and lidded container containing contents
JP2012081989A (en) Lid material and its manufacturing method
JP4915410B2 (en) Lid with hot water hole
JP6163901B2 (en) Lid material

Legal Events

Date Code Title Description
A621 Written request for application examination

Free format text: JAPANESE INTERMEDIATE CODE: A621

Effective date: 20130111

RD01 Notification of change of attorney

Free format text: JAPANESE INTERMEDIATE CODE: A7421

Effective date: 20130823

A977 Report on retrieval

Free format text: JAPANESE INTERMEDIATE CODE: A971007

Effective date: 20130926

A131 Notification of reasons for refusal

Free format text: JAPANESE INTERMEDIATE CODE: A131

Effective date: 20131008

TRDD Decision of grant or rejection written
A01 Written decision to grant a patent or to grant a registration (utility model)

Free format text: JAPANESE INTERMEDIATE CODE: A01

Effective date: 20140527

A61 First payment of annual fees (during grant procedure)

Free format text: JAPANESE INTERMEDIATE CODE: A61

Effective date: 20140609

R150 Certificate of patent or registration of utility model

Ref document number: 5569056

Country of ref document: JP

Free format text: JAPANESE INTERMEDIATE CODE: R150