[go: up one dir, main page]

JP5523147B2 - Manufacturing method of composite elastic sheet - Google Patents

Manufacturing method of composite elastic sheet Download PDF

Info

Publication number
JP5523147B2
JP5523147B2 JP2010046891A JP2010046891A JP5523147B2 JP 5523147 B2 JP5523147 B2 JP 5523147B2 JP 2010046891 A JP2010046891 A JP 2010046891A JP 2010046891 A JP2010046891 A JP 2010046891A JP 5523147 B2 JP5523147 B2 JP 5523147B2
Authority
JP
Japan
Prior art keywords
cutting
elastic member
roll
cut
composite
Prior art date
Legal status (The legal status is an assumption and is not a legal conclusion. Google has not performed a legal analysis and makes no representation as to the accuracy of the status listed.)
Expired - Fee Related
Application number
JP2010046891A
Other languages
Japanese (ja)
Other versions
JP2011178124A (en
Inventor
俊逸 米内山
真 小久保
孝太 上野
Current Assignee (The listed assignees may be inaccurate. Google has not performed a legal analysis and makes no representation or warranty as to the accuracy of the list.)
Kao Corp
Original Assignee
Kao Corp
Priority date (The priority date is an assumption and is not a legal conclusion. Google has not performed a legal analysis and makes no representation as to the accuracy of the date listed.)
Filing date
Publication date
Application filed by Kao Corp filed Critical Kao Corp
Priority to JP2010046891A priority Critical patent/JP5523147B2/en
Publication of JP2011178124A publication Critical patent/JP2011178124A/en
Application granted granted Critical
Publication of JP5523147B2 publication Critical patent/JP5523147B2/en
Expired - Fee Related legal-status Critical Current
Anticipated expiration legal-status Critical

Links

Images

Landscapes

  • Perforating, Stamping-Out Or Severing By Means Other Than Cutting (AREA)
  • Absorbent Articles And Supports Therefor (AREA)

Description

本発明は、複合伸縮シートを連続的に製造する複合伸縮シートの製造方法に関する。   The present invention relates to a method for producing a composite stretch sheet for continuously producing a composite stretch sheet.

周面に弾性部材切断用の加圧部を備えたカットロールと、該カットロールに対向配置された表面平滑なアンビルロールとからなる弾性部材切断装置を使用し、カットロールとアンビルロールとの間に、弾性部材を有する複合伸縮部材を供給して、弾性部材を切断した複合伸縮部材を製造する技術が提案されている(下記特許文献1参照)。   Using an elastic member cutting device comprising a cut roll having a pressure member for cutting an elastic member on the peripheral surface and an anvil roll having a smooth surface disposed opposite to the cut roll, between the cut roll and the anvil roll In addition, a technique has been proposed in which a composite stretchable member having an elastic member is supplied to manufacture a composite stretchable member obtained by cutting the elastic member (see Patent Document 1 below).

ところで、特許文献1には、弾性部材の切断不良が発生した場合の解消法については何ら記載されていない。一般的に、弾性部材の切断不良が発生した場合、カットロールとアンビルロールとの間のクリアランスを人手により調整して、弾性部材の切断不良を解消している。その為、人の技量や人為的ミスにより、弾性部材の切断の切断成功率が変わったり、カットロールの備える弾性部材切断用の加圧部の寿命が変わったりする場合がある。   By the way, Patent Document 1 does not describe any method for solving the case where a defective cutting of the elastic member occurs. Generally, when a cutting failure of the elastic member occurs, the clearance between the cut roll and the anvil roll is manually adjusted to eliminate the cutting failure of the elastic member. Therefore, the success rate of cutting the elastic member may change due to human skill or human error, or the life of the pressure member for cutting the elastic member included in the cut roll may change.

特開2002−253605JP2002-253605

したがって、本発明の課題は、カットロールの寿命を長くすることができ、弾性部材の切断の切断成功率が向上する複合伸縮シートの製造方法を提供することにある。   Therefore, the subject of this invention is providing the manufacturing method of the composite elastic sheet which can lengthen the lifetime of a cut roll and the cutting success rate of a cutting | disconnection of an elastic member improves.

本発明は、連続的に搬送される帯状の基材シート上に、該基材シートの搬送方向に伸長させた弾性部材を多数の固定部にて非連続的に固定して帯状の複合伸縮シートを形成する複合伸縮シート形成工程と、前記帯状の複合伸縮シートを一対のカットロール及びアンビルロールの間に連続供給して、前記弾性部材を搬送方向に隣り合う前記固定部間にて切断する切断工程と、前記切断工程における前記弾性部材の前記切断の切断成功率を測定し、該切断成功率に基づいて、前記カットロール及び/又は前記アンビルロールの切断条件を制御する制御工程とを備える、複合伸縮シートを連続的に製造する複合伸縮シートの製造方法を提供するものである。   The present invention provides a belt-shaped composite stretchable sheet obtained by discontinuously fixing an elastic member extended in the transport direction of a base material sheet on a continuously transported belt-shaped base material sheet at a number of fixing portions. Forming a composite elastic sheet, and cutting the elastic member between the fixing portions adjacent to each other in the conveying direction by continuously supplying the band-shaped composite elastic sheet between a pair of cut rolls and an anvil roll. And a control step of measuring a cutting success rate of the cutting of the elastic member in the cutting step and controlling cutting conditions of the cut roll and / or the anvil roll based on the cutting success rate. The present invention provides a method for producing a composite stretchable sheet for continuously producing a composite stretchable sheet.

本発明の複合伸縮シートの製造方法によれば、カットロールの寿命を長くすることができ、弾性部材の切断の切断成功率の向上した複合伸縮シートを製造することができる。   According to the method for producing a composite stretchable sheet of the present invention, the life of the cut roll can be extended, and a composite stretchable sheet having an improved cutting success rate for cutting the elastic member can be produced.

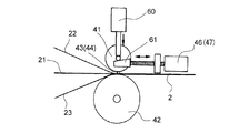
図1は、本発明の実施態様の複合伸縮性シートの製造方法に用いられるシートの加工装置及びそれを用いた複合伸縮性シートの製造工程を模式的に示す斜視図である。FIG. 1 is a perspective view schematically showing a sheet processing apparatus used in a method for producing a composite stretchable sheet according to an embodiment of the present invention and a process for producing a composite stretchable sheet using the same. 図2は、検知手段におけるCCDカメラ(撮像装置)で撮像した撮像領域Tの一例を画像モニターで表示した図である。FIG. 2 is a diagram in which an example of the imaging region T imaged by the CCD camera (imaging device) in the detection means is displayed on the image monitor. 図3は、検知手段における画像処理装置で撮像領域Tを均等に分割してトレンドエッジ検出法により弾性部材21の切断不良の有無を判断する為の一例であり、図3(a)は図2のQを基に判断した弾性部材21の切断不良の例、図3(b)は図2のPを基に判断した弾性部材21の切断良の例である。FIG. 3 is an example for equally dividing the imaging region T by the image processing apparatus in the detecting means and determining the presence or absence of cutting failure of the elastic member 21 by the trend edge detection method. FIG. FIG. 3B is an example of good cutting of the elastic member 21 determined based on P of FIG. 2. 図4は、本発明の実施態様における制御方法を示すフローチャートである。FIG. 4 is a flowchart showing a control method in the embodiment of the present invention. 図5は、本発明の伸縮性シートの製造方法に用いられる切断部の他の形態を模式的に示す側面図である。FIG. 5: is a side view which shows typically the other form of the cutting part used for the manufacturing method of the elastic sheet of this invention.

以下、本発明の複合伸縮シートの製造方法をその好ましい実施態様に基づいて、図面を参照しながら説明する。図1は、本実施態様の複合伸縮シートの製造方法に用いられる加工装置(以下、単に加工装置ともいう。)を模式的に示すものである。   Hereinafter, the manufacturing method of the composite elastic sheet of this invention is demonstrated based on the preferable embodiment, referring drawings. FIG. 1 schematically shows a processing apparatus (hereinafter also simply referred to as a processing apparatus) used in the method for producing a composite stretchable sheet of this embodiment.

図1に示すように、本実施態様の加工装置1は、弾性部材21の配された帯状の複合伸縮シート2を形成する複合伸縮シート形成部3と、形成された複合伸縮シート2の弾性部材21を切断する切断部4と、弾性部材21の切断の切断成功率を測定し、切断成功率に基づいて、切断部4のカットロール41とアンビルロール42とのクリアランスを制御する制御手段5とを具備する装置である。尚、図中のY方向は、原反(不図示)から繰り出された基材シート22,23を搬送する方向であり、図中のX方向は、搬送方向(Y方向)と直交する方向である。   As shown in FIG. 1, the processing apparatus 1 of this embodiment includes a composite stretchable sheet forming portion 3 that forms a strip-shaped composite stretchable sheet 2 on which an elastic member 21 is arranged, and an elastic member of the formed composite stretchable sheet 2. A cutting unit 4 that cuts 21, and a control means 5 that measures the cutting success rate of cutting the elastic member 21 and controls the clearance between the cut roll 41 and the anvil roll 42 of the cutting unit 4 based on the cutting success rate; It is an apparatus which comprises. Note that the Y direction in the figure is a direction in which the base sheets 22 and 23 fed out from the original fabric (not shown) are conveyed, and the X direction in the figure is a direction orthogonal to the conveyance direction (Y direction). is there.

複合伸縮シート形成部3は、図1に示すように、公知の接着剤塗工機31と、一対のニップロール32,33とを有している。本実施態様の接着剤塗工機31は、原反(不図示)から連続的に搬送される帯状の二枚の基材シート22,23の間に配され、帯状の基材シート23の上面に所定幅のホットメルト型接着剤をY方向に断続的に塗工する装置である。このY方向に断続的に塗工されたホットメルト型接着剤が多数の固定部24となる。尚、ホットメルト型接着剤は、基材シート22に塗工してもよく、両方のシートに塗工してもよい。また、ホットメルト型接着剤は、基材シート22,23には塗工せず、弾性部材21に付与してもよく、弾性部材21に間欠的に塗布することで固定してもよい。   As shown in FIG. 1, the composite stretchable sheet forming unit 3 includes a known adhesive coating machine 31 and a pair of nip rolls 32 and 33. The adhesive coating machine 31 of this embodiment is arranged between two strip-shaped base material sheets 22 and 23 continuously conveyed from a raw fabric (not shown), and the upper surface of the strip-shaped base material sheet 23. Is a device for intermittently applying a hot melt adhesive having a predetermined width in the Y direction. The hot melt adhesive applied intermittently in the Y direction forms a large number of fixing portions 24. The hot melt adhesive may be applied to the base sheet 22 or may be applied to both sheets. Further, the hot melt adhesive may be applied to the elastic member 21 without being applied to the base material sheets 22 and 23, or may be fixed by being intermittently applied to the elastic member 21.

一対のニップロール32,33は、図1に示すように、接着剤塗工機31の下流側に配されている。一対のニップロール32,33は、同じ形態の金属性のロールで構成されており、固定部24を介して、二枚の基材シート22,23及び弾性部材21を確実に固定する為に、油圧、空圧、バネ等の力を利用して、ニップロール32,33の軸受け部分が加圧されている。従って、一対のニップロール32,33間に、二枚の基材シート22,23と、それらシート22,23に挟まれた弾性部材21とを供給することにより、二枚の基材シート22,23及び弾性部材21を一体的に固定してなる複合伸縮シート2が形成される。   As shown in FIG. 1, the pair of nip rolls 32 and 33 are disposed on the downstream side of the adhesive coating machine 31. The pair of nip rolls 32 and 33 are made of metallic rolls having the same form, and in order to securely fix the two base sheet sheets 22 and 23 and the elastic member 21 via the fixing portion 24, hydraulic pressure is applied. The bearing portions of the nip rolls 32 and 33 are pressurized using a force such as air pressure or a spring. Therefore, by supplying the two base material sheets 22 and 23 and the elastic member 21 sandwiched between the sheets 22 and 23 between the pair of nip rolls 32 and 33, the two base material sheets 22 and 23 are supplied. And the composite elastic sheet 2 formed by fixing the elastic member 21 integrally is formed.

切断部4は、図1に示すように、複合伸縮シート形成部3の下流側に配されており、一対のカットロール41とアンビルロール42とを備えている。カットロール41は、金属性のロールの周面に、弾性部材21を切断する多数の凸部43を有する加圧部44を備えたロールである。アンビルロール42は、カットロール41に対向して配され、表面が平滑な金属性のロールである。なお、加圧部44は、カットロール41の軸方向に角度をつけて配されている連続する凸部で形成されていてもよい。   As shown in FIG. 1, the cutting unit 4 is disposed on the downstream side of the composite stretchable sheet forming unit 3 and includes a pair of cut rolls 41 and an anvil roll 42. The cut roll 41 is a roll provided with a pressing part 44 having a large number of convex parts 43 for cutting the elastic member 21 on the peripheral surface of a metallic roll. The anvil roll 42 is a metallic roll that is disposed facing the cut roll 41 and has a smooth surface. In addition, the pressurization part 44 may be formed with the continuous convex part distribute | arranged with an angle in the axial direction of the cut roll 41. As shown in FIG.

カットロール41の加圧部44は、図1に示すように、カットロール41の軸に沿って、カットロール41の周面から突出して設けられている。加圧部44には、多数の凸部43が分散配置されている。具体的には、凸部43が、カットロール41の加圧部44領域において周方向及び軸方向それぞれに分散して配されている。このように配することにより、カットロール41とアンビルロール42との間に、複合伸縮シート2を供給すると、複合伸縮シート2を構成する弾性部材21が、カットロール41の加圧部44とアンビルロール42との間で加圧されて、切断され易く、弾性部材21の切断の切断成功率が向上する。各凸部43の根元での幅は、1mm〜3mmであり、各凸部43の高さは、0.25mm〜1mmであることが好ましい。   As shown in FIG. 1, the pressing portion 44 of the cut roll 41 is provided so as to protrude from the peripheral surface of the cut roll 41 along the axis of the cut roll 41. A large number of convex portions 43 are distributed in the pressurizing portion 44. Specifically, the convex portions 43 are distributed in the circumferential direction and the axial direction in the pressurizing portion 44 region of the cut roll 41. By arranging in this way, when the composite stretchable sheet 2 is supplied between the cut roll 41 and the anvil roll 42, the elastic member 21 constituting the composite stretchable sheet 2 causes the pressurizing portion 44 of the cut roll 41 and the anvil. It is pressurized between the rolls 42 and is easily cut, and the success rate of cutting the elastic member 21 is improved. The width at the base of each convex portion 43 is preferably 1 mm to 3 mm, and the height of each convex portion 43 is preferably 0.25 mm to 1 mm.

カットロール41及びアンビルロール42は、本実施態様の加工装置1においては、図1に示すように、アンビルロール42を駆動するサーボモーター45からの駆動力が伝達されることによって、カットロール41及びアンビルロール42の各軸に取り付けられた駆動伝達用のギア(不図示)が噛み合って回転する。   In the processing apparatus 1 of the present embodiment, the cutting roll 41 and the anvil roll 42 are transmitted with a driving force from a servo motor 45 that drives the anvil roll 42 as shown in FIG. Drive transmission gears (not shown) attached to the respective axes of the anvil roll 42 mesh with each other and rotate.

切断部4のカットロール41は、図1に示すように、カットロール41とアンビルロール42とのクリアランス、具体的には、カットロール41の加圧部44とアンビルロール42の間隔を調整する為に、サーボモーター46,47と、サーボモーター46,47によってクリアランスを調整するクリアランス調整部48,49とを備えている。また、切断部4のアンビルロール42は、ロールの温度を高めるヒーター(不図示)を備えている。加工装置1においては、サーボモーター46,47とクリアランス調整部48,49とによって、カットロール41を移動させて、カットロール41とアンビルロール42とのクリアランスを変更したり、ヒーター(不図示)によって、アンビルロール42を熱膨張させて、カットロール41とアンビルロール42とのクリアランスを変更したりする後述の制御手段5によって、カットロール41とアンビルロール42とのクリアランスを調整することができる。加工装置1においては、カットロール41及び/又はアンビルロール42が熱膨張しない程度、即ち、カットロール41とアンビルロール42とのクリアランスが変化しない程度に、ヒーター(不図示)によってカットロール41及び/又はアンビルロール42の温度を高めることもできる。このとき、熱膨張しない程度とは、クリアランス調整のために、カットロール41及び/又はアンビルロール42を既に熱膨張させておき、切断性向上のため、カットロール41及び/又はアンビルロール42の温度を更に熱膨張しない程度に追加的に高める場合も含む。尚、本実施態様の加工装置1においては、図1に示すように、カットロール41を移動させて、カットロール41とアンビルロール42とのクリアランスを調整しているが、アンビルロール42を移動させて、クリアランスを調整してもよい。クリアランス調整部48,49は、例えばカットロール41およびアンビルロール42の軸の両端に取付けるベアリングと、そのベアリングを固定しているブロックで構成することができる。各ブロックにはサーボモータ46,47の軸が固定されている。   As shown in FIG. 1, the cutting roll 41 of the cutting unit 4 adjusts the clearance between the cutting roll 41 and the anvil roll 42, specifically, the interval between the pressing unit 44 of the cutting roll 41 and the anvil roll 42. In addition, servo motors 46 and 47 and clearance adjusting sections 48 and 49 for adjusting the clearance by the servo motors 46 and 47 are provided. Moreover, the anvil roll 42 of the cutting part 4 is equipped with the heater (not shown) which raises the temperature of a roll. In the processing apparatus 1, the cut roll 41 is moved by the servo motors 46 and 47 and the clearance adjustment units 48 and 49 to change the clearance between the cut roll 41 and the anvil roll 42, or by a heater (not shown). The clearance between the cut roll 41 and the anvil roll 42 can be adjusted by the control means 5 which will be described later by thermally expanding the anvil roll 42 and changing the clearance between the cut roll 41 and the anvil roll 42. In the processing apparatus 1, the cut roll 41 and / or the anvil roll 42 is not heated by a heater (not shown) to the extent that the cut roll 41 and / or the anvil roll 42 is not thermally expanded, that is, the clearance between the cut roll 41 and the anvil roll 42 is not changed. Alternatively, the temperature of the anvil roll 42 can be increased. At this time, the degree of not thermal expansion means that the cut roll 41 and / or anvil roll 42 has already been thermally expanded for clearance adjustment, and the temperature of the cut roll 41 and / or anvil roll 42 is improved in order to improve cutting performance. It includes the case where it is additionally increased to such an extent that it does not thermally expand. In the processing apparatus 1 of the present embodiment, as shown in FIG. 1, the cut roll 41 is moved to adjust the clearance between the cut roll 41 and the anvil roll 42, but the anvil roll 42 is moved. The clearance may be adjusted. The clearance adjustment parts 48 and 49 can be comprised by the bearing which attaches to the both ends of the axis | shaft of the cut roll 41 and the anvil roll 42, and the block which has fixed the bearing, for example. The shafts of servo motors 46 and 47 are fixed to each block.

制御手段5は、図1に示すように、切断部4の下流側に配されている検知部51と、制御部52とを備えている。
検知部51は、図1に示すように、搬送方向(Y方向)に搬送されている弾性部材21の切断された複合伸縮シート2を所定の画角で撮像するCCD(電荷結合素子)カメラ(撮像装置)510と、撮像部分を裏側から照らす照明器511と、CCDカメラ(撮像装置)510で撮像された画像データを受け取って画像処理を行い切断部4における弾性部材21の切断不良の有無を検知する画像処理装置512とを備えている。
As shown in FIG. 1, the control means 5 includes a detection unit 51 disposed on the downstream side of the cutting unit 4 and a control unit 52.
As shown in FIG. 1, the detection unit 51 is a CCD (charge coupled device) camera that captures an image of the composite elastic sheet 2 cut by the elastic member 21 being conveyed in the conveyance direction (Y direction) at a predetermined angle of view. Imaging device) 510, an illuminator 511 that illuminates the imaging portion from the back side, and image data captured by the CCD camera (imaging device) 510 is received and subjected to image processing to determine whether or not there is a cutting failure of the elastic member 21 in the cutting unit 4. And an image processing device 512 for detection.

CCDカメラ(撮像装置)510は、図2に示すように、搬送方向(Y方向)に搬送されている複合伸縮シート2における弾性部材21の切断部4による切断箇所を含む撮像領域Tを逐次撮像する。撮像領域Tは、図2に示すように、複合伸縮シート2における搬送方向(Y方向)に隣り合う固定部24,24の間の領域である。尚、図2に示すように、複合伸縮シート2に配される弾性部材21が複数本からなりX方向に並置されている場合には、CCDカメラ(撮像装置)510は、各弾性部材21毎の撮像領域Tを同時に逐次撮像する。   As shown in FIG. 2, the CCD camera (imaging device) 510 sequentially captures an imaging region T including a cut portion by the cutting portion 4 of the elastic member 21 in the composite stretchable sheet 2 conveyed in the conveyance direction (Y direction). To do. As shown in FIG. 2, the imaging region T is a region between the fixing portions 24 and 24 adjacent to each other in the conveyance direction (Y direction) in the composite stretchable sheet 2. As shown in FIG. 2, when a plurality of elastic members 21 arranged on the composite stretchable sheet 2 are arranged side by side in the X direction, the CCD camera (imaging device) 510 is provided for each elastic member 21. Are sequentially imaged simultaneously.

本実施態様の加工装置1における画像処理装置512は、CCDカメラ(撮像装置)510により逐次撮像された弾性部材21の撮像領域Tの画像を記憶装置内に取り込んで、画像モニター513に表示し、例えば、切断部4における弾性部材21の切断不良の有無をトレンドエッジ検出法により検知するための装置である。トレンドエッジ検出法とは、CCDカメラ(撮像装置)510により撮像された撮像領域Tを、画像処理装置512においてn個(nは5〜50の整数、好ましく10〜30の整数)に均等に分割し、分割されたn−2個以上の分割領域Dにおいて弾性部材21の有無を検知し、n−2個以上の分割領域Dにおいて弾性部材21が有りと検知された場合には、弾性部材21の切断不良と判断する方法である。詳述すると、加工装置1における画像処理装置512は、CCDカメラ(撮像装置)510による各弾性部材21の各撮像領域Tの画像を記憶装置内に取り込み、取り込んだ各撮像領域Tの画像を、図3の画像モニター513に示すように、例えば、15個に均等に分割して、15個の分割領域Dに分け、各分割領域Dの搬送方向(Y方向)の両端のエッジ部において弾性部材21の有無を検知する。ここで、各分割領域Dの両端のエッジ部それぞれに弾性部材21が検知される場合には、その分割領域Dにおいて弾性部材21が有ると検知する。そして、画像処理装置512は、13個以上の分割領域Dにおいて弾性部材21が検知された場合(図3(a)参照)には、弾性部材21の切断不良と判断し、12個以下の分割領域Dにおいて弾性部材21が検知された場合(図3(b)参照)には、弾性部材21は切断されたと判断して、画像処理装置512の記憶装置の所定の記憶領域に逐次記憶する。   The image processing apparatus 512 in the processing apparatus 1 according to the present embodiment captures the image of the imaging region T of the elastic member 21 sequentially captured by the CCD camera (imaging apparatus) 510 into the storage device and displays the image on the image monitor 513. For example, it is an apparatus for detecting the presence or absence of cutting failure of the elastic member 21 in the cutting portion 4 by a trend edge detection method. In the trend edge detection method, the imaging region T imaged by the CCD camera (imaging device) 510 is equally divided into n (n is an integer of 5 to 50, preferably an integer of 10 to 30) in the image processing device 512. If the presence or absence of the elastic member 21 is detected in the divided n−2 or more divided regions D, and the presence of the elastic member 21 is detected in the n−2 or more divided regions D, the elastic member 21 is detected. This is a method of determining that the cutting is defective. More specifically, the image processing device 512 in the processing device 1 captures the image of each imaging region T of each elastic member 21 by the CCD camera (imaging device) 510 into the storage device, and captures the captured image of each imaging region T. As shown in the image monitor 513 in FIG. 3, for example, the elastic member is divided into 15 equal parts and divided into 15 divided areas D, and elastic members are formed at the edge portions at both ends in the transport direction (Y direction) of each divided area D. The presence or absence of 21 is detected. Here, when the elastic member 21 is detected at each of the edge portions at both ends of each divided region D, it is detected that the elastic member 21 is present in the divided region D. Then, when the elastic member 21 is detected in 13 or more divided regions D (see FIG. 3A), the image processing apparatus 512 determines that the elastic member 21 is defective in cutting, and does not divide 12 or less. When the elastic member 21 is detected in the area D (see FIG. 3B), it is determined that the elastic member 21 has been cut, and is sequentially stored in a predetermined storage area of the storage device of the image processing apparatus 512.

CCDカメラ(撮像装置)510としては、例えば、白黒又はカラーの24万画素〜500万画素のカメラを用いることができる。照明器511としては、透過式の青色/白色/赤色LED、赤外光を照射する赤外LED、インバータ内蔵蛍光灯を用いることができる。画像処理装置512としては、CCDカメラ(撮像装置)510により撮像された撮像領域Tを、分割し、分割領域Dにおいて弾性部材21の有無を検知し、弾性部材21の切断不良か否か判断できるものであればよく、例えば、キーエンス製のCV−5000を用いることができる。   As the CCD camera (imaging device) 510, for example, a black and white or color camera having 240,000 to 5,000,000 pixels can be used. As the illuminator 511, a transmissive blue / white / red LED, an infrared LED that emits infrared light, and an inverter built-in fluorescent lamp can be used. As the image processing device 512, the imaging region T imaged by the CCD camera (imaging device) 510 is divided, the presence or absence of the elastic member 21 is detected in the divided region D, and it can be determined whether or not the elastic member 21 is defective in cutting. For example, CV-5000 made by Keyence can be used.

制御部52は、図1に示すように、カットロール41の加圧部44とアンビルロール42の間隔を調整するサーボモーター46,47を制御するサーボアンプ521,522と、アンビルロール42のロール温度を高めるヒーター(不図示)を制御する温調器523と、画像処理装置512で検知された切断部4における複合伸縮シート2の弾性部材21の切断不良の有無に基づいて、クリアランス調整部48,49への位置指令及びアンビルロール42のヒーター(不図示)への温度指令を、サーボアンプ521,522,温調器523を介して行う演算処理装置524と、演算処理装置524における各種設定を行う操作パネル525とを備えている。また、演算処理部524は、アンビルロール42を駆動するサーボモーター45への回転指令を、サーボアンプ(不図示)を介して行う。尚、アンビルロール42のロール温度を高める代わりに、温調器523によって、カットロール41のロール温度を高めるヒーター(不図示)を制御してもよいし、カットロール41及びアンビルロール42のロール温度を高めるヒーター(不図示)を制御してもよい。   As shown in FIG. 1, the control unit 52 includes servo amplifiers 521 and 522 that control servo motors 46 and 47 that adjust the distance between the pressurization unit 44 of the cut roll 41 and the anvil roll 42, and the roll temperature of the anvil roll 42. A temperature controller 523 for controlling a heater (not shown) for increasing the temperature of the elastic member 21 of the composite elastic sheet 2 in the cutting unit 4 detected by the image processing device 512, and the clearance adjusting unit 48, 49, and a processing unit 524 that performs a position command to 49 and a temperature command to a heater (not shown) of the anvil roll 42 via the servo amplifiers 521, 522, and the temperature controller 523, and performs various settings in the processing unit 524. And an operation panel 525. The arithmetic processing unit 524 issues a rotation command to the servo motor 45 that drives the anvil roll 42 via a servo amplifier (not shown). Instead of increasing the roll temperature of the anvil roll 42, a heater (not shown) for increasing the roll temperature of the cut roll 41 may be controlled by the temperature controller 523, or the roll temperature of the cut roll 41 and the anvil roll 42 may be controlled. You may control the heater (not shown) which raises.

演算処理部524は、中央処理装置(CPC)や記憶装置等を備えたコンピューターからなり、記憶装置内の所定のプログラムに従って、画像処理装置512の記憶領域から、弾性部材21の切断部4における切断不良の有無の結果を逐次取得し、10個〜100個毎の移動平均から弾性部材21の切断の切断成功率を算出する。尚、図2に示すように、複合伸縮シート2に配される弾性部材21が複数本からなる場合には、画像処理装置512の記憶領域から、各弾性部材21の切断部4における切断不良の有無の結果を逐次取得し、10個〜100個毎の移動平均値を求め、求められた移動平均値の平均値により複数本の弾性部材21全体の切断成功率を算出する。   The arithmetic processing unit 524 includes a computer including a central processing unit (CPC), a storage device, and the like, and cuts the elastic member 21 at the cutting unit 4 from the storage area of the image processing device 512 according to a predetermined program in the storage device. The result of the presence or absence of defects is sequentially acquired, and the cutting success rate of cutting the elastic member 21 is calculated from the moving average of 10 to 100 pieces. As shown in FIG. 2, when there are a plurality of elastic members 21 arranged on the composite stretchable sheet 2, the cutting failure of the cutting portion 4 of each elastic member 21 is determined from the storage area of the image processing device 512. The presence / absence results are sequentially acquired, moving average values for every 10 to 100 pieces are obtained, and the cutting success rate of the plurality of elastic members 21 as a whole is calculated based on the average value of the obtained moving average values.

そして、演算処理部524は、複合伸縮シート2に配された弾性部材21の切断部4における切断成功率の結果を操作パネル525に表示し、切断成功率の結果が、予め設定した設定値(例えば、90%)を下回った場合に、操作パネル525に「警告」を表示すると共に、切断成功率の結果に基づいて、カットロール41の加圧部44とアンビルロール42の適正な間隔(カットロール41の押し込み量)や、アンビルロール42のヒーター(不図示)の適正温度を算出し、その結果を操作パネル525に表示する。更に、演算処理部524は、操作パネル525の操作に基づき、切断成功率に応じたクリアランス調整部48,49への位置指令をサーボアンプ521,522に出力したり、切断成功率に応じたアンビルロール42のヒーター(不図示)への温度指令をサーボアンプ523に出力したりする。   And the arithmetic processing part 524 displays the result of the cutting success rate in the cutting part 4 of the elastic member 21 arranged on the composite elastic sheet 2 on the operation panel 525, and the result of the cutting success rate is a preset value ( For example, when the value is less than 90%, a “warning” is displayed on the operation panel 525, and an appropriate interval (cut) between the pressing unit 44 of the cut roll 41 and the anvil roll 42 is determined based on the result of the cutting success rate. The pressing amount of the roll 41) and the appropriate temperature of the heater (not shown) of the anvil roll 42 are calculated, and the result is displayed on the operation panel 525. Further, based on the operation of the operation panel 525, the arithmetic processing unit 524 outputs a position command to the clearance adjustment units 48 and 49 corresponding to the cutting success rate to the servo amplifiers 521 and 522, or an anvil corresponding to the cutting success rate. A temperature command to a heater (not shown) of the roll 42 is output to the servo amplifier 523.

上述したように、演算処理部524は、複合伸縮シート2に配される弾性部材21が複数本からなる場合には、複数本の弾性部材21全体の切断成功率を平均値により算出しているが、平均値で算出すると、複数本の弾性部材21の中の一本だけが他の弾性部材より目立って切断成功率が低い場合に、その異常を見過ごしてしまう場合も考えられる。従って、演算処理部524は、画像処理装置512の記憶領域から、各弾性部材21の切断部4における切断不良の有無の結果を逐次取得し、10個〜100個毎の移動平均値を求め、求められた何れかの弾性部材21の移動平均値が予め設定した設定値(例えば、50%)を下回った場合に、操作パネル525に「警告」等を表示するように設定することもできる。   As described above, the arithmetic processing unit 524 calculates the cutting success rate of the entire plurality of elastic members 21 by an average value when the elastic members 21 arranged on the composite stretchable sheet 2 are composed of a plurality. However, when the average value is calculated, when only one of the plurality of elastic members 21 is conspicuously lower than the other elastic members and the cutting success rate is low, the abnormality may be overlooked. Therefore, the arithmetic processing unit 524 sequentially acquires the result of the presence or absence of cutting failure in the cutting unit 4 of each elastic member 21 from the storage area of the image processing device 512, obtains a moving average value for every 10 to 100 pieces, It may be set so that “warning” or the like is displayed on the operation panel 525 when the calculated moving average value of any elastic member 21 falls below a preset value (for example, 50%).

複合伸縮シート2を形成する基材シート22,23の材質に、特に制限はないが、好ましい材質としては、例えば、カード法により製造された不織布、エアースルー不織布、スパンボンド不織布、メルトブローン不織布、スパンレース不織布及びニードルパンチ不織布等の種々の不織布やプラスチックフィルム等が用いられる。   Although there is no restriction | limiting in particular in the material of the base material sheets 22 and 23 which form the composite elastic sheet 2, As a preferable material, for example, the nonwoven fabric manufactured by the card method, an air through nonwoven fabric, a spun bond nonwoven fabric, a melt blown nonwoven fabric, a span Various nonwoven fabrics such as a lace nonwoven fabric and a needle punched nonwoven fabric, a plastic film, and the like are used.

複合伸縮シート2を形成する弾性部材21としては、例えば、スチレン−ブタジエン、ブタジエン、イソプレン、ネオプレン等の合成ゴム、天然ゴム、EVA、伸縮性ポリオレフィン、ポリウレタン等が用いられる。弾性部材21の形態としては、断面が矩形、正方形、円形、多角形状等の糸状(糸ゴム等)若しくは紐状(平ゴム等)のもの、又は複数本のフィラメントで形成されたマルチフィラメントタイプの糸状のもの等が用いられる。特に、本発明の複合伸縮シートの製造方法によれば、複合伸縮シート2がマルチフィラメントタイプの弾性部材21を用いて形成されている場合においても、画像処理装置512による弾性部材21の切断不良の判断を正確に行うことができる。具体的には、切断不良により、例えば少数本(二、三本)のフィラメントが残っており、マルチフィラメントタイプの弾性部材21が完全に切断されていない場合には、CCDカメラ(撮像装置)510によって、繋がっている少数本のフィラメントを撮像することは不可能であるが、切断されたその他複数本のフィラメントは撮像することは可能である。そのため、マルチフィラメントタイプの弾性部材21が完全に切断されていない場合には、完全に切断された場合(図3(b)参照)の離れ幅に比べ、間隔が短い状態で撮像される(図3(a)参照)。このように間隔が短い状態で撮像されれば、画像処理装置512は、上述したように、n−2個以上の分割領域Dにおいて弾性部材21の有無を検知しているため、マルチフィラメントタイプの弾性部材21を用いている場合においても、切断不良の判断を正確に行うことができる。
複合伸縮シート2に配された弾性部材21の伸長率は、130%〜230%であることが好ましい。ここで、弾性部材の伸長率とは、自然状態での長さを100としたときに何%伸長しているかを示すものである。
As the elastic member 21 forming the composite stretchable sheet 2, for example, synthetic rubber such as styrene-butadiene, butadiene, isoprene, or neoprene, natural rubber, EVA, stretchable polyolefin, polyurethane, or the like is used. As a form of the elastic member 21, a cross-section of a rectangular shape, a square shape, a circular shape, a polygonal shape or the like (thread rubber or the like) or a string shape (flat rubber or the like), or a multifilament type formed of a plurality of filaments. A thread-like thing etc. are used. In particular, according to the method for manufacturing a composite stretchable sheet of the present invention, even when the composite stretchable sheet 2 is formed using a multifilament type elastic member 21, the elastic processing member 512 is not properly cut by the image processing device 512. Judgment can be made accurately. Specifically, for example, when a small number (two or three) of filaments remain due to defective cutting, and the multifilament type elastic member 21 is not completely cut, a CCD camera (imaging device) 510 is used. Thus, it is impossible to image a few connected filaments, but it is possible to image a plurality of other filaments that have been cut. Therefore, when the multifilament type elastic member 21 is not completely cut, an image is taken with a short interval compared to the separation width when the multifilament type elastic member 21 is completely cut (see FIG. 3B) (see FIG. 3). 3 (a)). If the image is captured in such a short interval, the image processing apparatus 512 detects the presence or absence of the elastic member 21 in the n−2 or more divided regions D as described above. Even when the elastic member 21 is used, it is possible to accurately determine the cutting failure.
The elongation ratio of the elastic member 21 disposed on the composite stretchable sheet 2 is preferably 130% to 230%. Here, the expansion rate of the elastic member indicates how much the elastic member is expanded when the length in the natural state is 100.

次に、本発明の複合伸縮シートを製造する製造方法の本実施態様を、加工装置1を使用した複合伸縮シートの製造方法に基づいて説明する。   Next, this embodiment of the manufacturing method for manufacturing the composite stretchable sheet of the present invention will be described based on a method for manufacturing a composite stretchable sheet using the processing apparatus 1.

本実施態様においては、先ず、原反(不図示)から連続的に搬送される帯状の基材シート23の上面に接着剤塗工機31により固定部24となるホットメルト型接着剤を塗工した後、原反(不図示)から連続的に搬送される帯状の二枚の基材シート22,23の間に、複数本の弾性部材21をX方向に並置し、且つ各弾性部材21をY方向に伸長状態で配した状態の複合部材を、一対のニップロール32,33間に供給してニップすることにより、Y方向に伸長させた弾性部材21を多数の固定部24にて非連続的に固定した帯状の複合伸縮シート2を形成する(複合伸縮シート形成工程)。   In this embodiment, first, a hot melt adhesive that becomes the fixing portion 24 is applied to the upper surface of the belt-like substrate sheet 23 that is continuously conveyed from the original fabric (not shown) by the adhesive application machine 31. Then, a plurality of elastic members 21 are juxtaposed in the X direction between the two belt-like base sheets 22 and 23 continuously conveyed from the original fabric (not shown), and each elastic member 21 is The elastic member 21 extended in the Y direction is discontinuous by a large number of fixing parts 24 by supplying and nipping the composite member arranged in an extended state in the Y direction between the pair of nip rolls 32 and 33. A band-shaped composite stretchable sheet 2 fixed to the sheet is formed (composite stretchable sheet forming step).

次に、本実施態様においては、複合伸縮シート形成部3で形成された帯状の複合伸縮シート2を、一対のカットロール41及びアンビルロール42の間に供給し、複合伸縮シート2を形成するY方向に伸長状態の複数本の弾性部材21それぞれを、カットロール41の加圧部44の凸部43とアンビルロール42との間で加圧して切断する(切断工程)。弾性部材21の切断の位置は、搬送方向(Y方向)に隣り合う固定部24,24の間である。   Next, in this embodiment, the strip-shaped composite stretchable sheet 2 formed by the composite stretchable sheet forming portion 3 is supplied between the pair of cut rolls 41 and the anvil roll 42 to form the composite stretchable sheet 2. Each of the plurality of elastic members 21 stretched in the direction is pressed and cut between the convex portion 43 of the pressing portion 44 of the cut roll 41 and the anvil roll 42 (cutting step). The cutting position of the elastic member 21 is between the fixing portions 24 and 24 adjacent to each other in the transport direction (Y direction).

次に、本実施態様においては、切断部4における弾性部材21全体の切断の切断成功率を、制御手段5を用いて測定し、切断成功率に基づいて、カットロール41とアンビルロール42とのクリアランス等の切断条件を制御する(制御工程)。本実施態様の制御工程におけるカットロール41及びアンビルロール42のクリアランス等の切断条件の制御を、図4に示すフローチャートを参照しながら説明する。   Next, in this embodiment, the cutting success rate of the entire elastic member 21 in the cutting part 4 is measured using the control means 5, and the cutting roll 41 and the anvil roll 42 are determined based on the cutting success rate. Control cutting conditions such as clearance (control process). Control of cutting conditions such as the clearance of the cut roll 41 and the anvil roll 42 in the control process of this embodiment will be described with reference to the flowchart shown in FIG.

先ず、予め、演算処理部524に、弾性部材21全体の切断成功率の結果が90%を下回った場合に、操作パネル525に「警告」を表示するように入力する(ステップS1)。また、演算処理部524に、予め、弾性部材21全体の切断成功率の結果が85%〜90%の範囲にある場合に、操作パネル525に「アンビルロール温度」を表示し、切断成功率に応じたアンビルロール42のヒーターの適正温度を表示するように入力する(ステップS1)。更に、演算処理部524に、予め、切断成功率の結果が85%を下回る(切断成功率の結果が85%より低い)場合に、操作パネル525に「ロール押し込み量」を表示し、切断成功率に応じたカットロール41の加圧部44とアンビルロールの適正な間隔(カットロール41の押し込み量)を表示するように入力する(ステップS1)。尚、本実施態様においては、切断成功率を90%、85%〜90%の範囲、85%未満に設定したが、これらの設定値に限られない。   First, an input is made in advance to display a “warning” on the operation panel 525 when the result of the cutting success rate of the entire elastic member 21 is less than 90%, in the arithmetic processing unit 524 (step S1). In addition, when the result of the cutting success rate of the entire elastic member 21 is in the range of 85% to 90% in advance in the arithmetic processing unit 524, “anvil roll temperature” is displayed on the operation panel 525, and the cutting success rate is displayed. It inputs so that the appropriate temperature of the heater of the corresponding anvil roll 42 may be displayed (step S1). Further, when the result of the cutting success rate is lower than 85% (the cutting success rate result is lower than 85%) in advance in the arithmetic processing unit 524, the “roll push amount” is displayed on the operation panel 525, and the cutting is successful. It inputs so that the appropriate space | interval (pressing amount of the cut roll 41) of the press part 44 and the anvil roll of the cut roll 41 according to a rate may be displayed (step S1). In this embodiment, the cutting success rate is set to 90%, a range of 85% to 90%, and less than 85%, but is not limited to these set values.

次に、操作パネル525を操作して、加工装置1を運転すると、弾性部材21の切断部4における切断不良の有無の結果が、画像処理装置512から演算処理部524に入力され、弾性部材21全体の切断部4における切断成功率が算出される(ステップS2)。そして、算出された弾性部材21全体の切断成功率が、予め設定された切断成功率(90%)以下か否かが判断され(ステップS3)、切断成功率が90%以上であればそのままの条件で運転を継続する(ステップS4)。   Next, when the processing device 1 is operated by operating the operation panel 525, the result of the presence or absence of cutting failure in the cutting unit 4 of the elastic member 21 is input from the image processing device 512 to the arithmetic processing unit 524, and the elastic member 21. The cutting success rate in the entire cutting unit 4 is calculated (step S2). Then, it is determined whether or not the calculated cutting success rate of the entire elastic member 21 is equal to or lower than a preset cutting success rate (90%) (step S3). Operation is continued under conditions (step S4).

また、弾性部材21全体の切断成功率が90%未満である場合には操作パネル525に「警告」が表示され、画像モニター513を通して目視により状況確認する。その後、必要と判断した場合には、更に予め設定された切断成功率(85%)以下か否かが判断され(ステップS5)、切断成功率が85%以上90%未満であれば、操作パネル525に「アンビルロール温度」と表示されるので、アンビルロール42のヒーターの温度を調整する(ステップS6)。ヒーターの温度は、操作パネル525に表示されたアンビルロール42のヒーターの適正温度を目安に、操作パネル525をタッチしてヒーター温度を設定し、演算処理部524によりヒーター温度の制御信号が、サーボアンプ523に出力されて調整される。ヒーターの温度の調整によりアンビルロール42の温度を高めたり、カットロール41とアンビルロール42とのクリアランスを調整したりすることができる。アンビルロール42の温度を高めたり、カットロール41とアンビルロール42とのクリアランスを調整したりした後は、再度ステップS2に戻って、再び同様のステップを繰り返し、切断成功率が90%以上となるまでヒーター温度を調整する。ただし、使用される基材シート22,23の材質により溶解・穴あきが発生し易い等、ヒーターの温度に上限が設けられる場合がある。その為、ヒーターの温度を上限まで調整しても切断成功率が90%以上とならない場合には、それ以上、ヒーターの温度を調整せず、以下に説明する押し込み量を変更するように設定することもできる。   When the cutting success rate of the entire elastic member 21 is less than 90%, a “warning” is displayed on the operation panel 525, and the situation is visually confirmed through the image monitor 513. Thereafter, when it is determined that it is necessary, it is further determined whether or not the cutting success rate (85%) is not more than a preset value (step S5). Since “anvil roll temperature” is displayed at 525, the temperature of the heater of the anvil roll 42 is adjusted (step S6). The heater temperature is set by touching the operation panel 525 using the appropriate temperature of the heater of the anvil roll 42 displayed on the operation panel 525 as a guide. It is output to the amplifier 523 and adjusted. The temperature of the anvil roll 42 can be increased by adjusting the temperature of the heater, or the clearance between the cut roll 41 and the anvil roll 42 can be adjusted. After increasing the temperature of the anvil roll 42 or adjusting the clearance between the cut roll 41 and the anvil roll 42, the process returns to step S <b> 2 again and the same steps are repeated again, and the cutting success rate becomes 90% or more. Adjust the heater temperature until. However, there are cases where an upper limit is set for the temperature of the heater, for example, melting and perforation are likely to occur depending on the material of the base sheet 22 or 23 used. Therefore, if the cutting success rate does not become 90% or more even when the heater temperature is adjusted to the upper limit, the heater temperature is not adjusted any further and the pushing amount described below is changed. You can also.

弾性部材21全体の切断成功率が90%未満である場合には操作パネル525に「警告」が表示され、画像モニター513を通して目視により状況確認する。その後、必要と判断した場合には、更に予め設定された切断成功率(85%)以下か否かが判断され(ステップS5)、切断成功率が85%未満であれば、操作パネル525に「ロール押し込み量」と表示されるので、カットロール41の加圧部44とアンビルロールの間隔(カットロール41の押し込み量)を調整する(ステップS7)。カットロール41の押し込み量は、操作パネル525に表示されたカットロール41の加圧部44とアンビルロールの適正間隔を目安に、操作パネル525をタッチして間隔を設定し、演算処理部524により間隔の制御信号が、サーボモーター46,47を制御するサーボアンプ521,522に出力されて調整される。カットロール41の押し込み量の調整によりカットロール41とアンビルロール42とのクリアランスを調整した後は、再度ステップS2に戻って、再び同様のステップを繰り返し、切断成功率が90%以上となるまで調整する。   When the cutting success rate of the entire elastic member 21 is less than 90%, a “warning” is displayed on the operation panel 525, and the situation is visually confirmed through the image monitor 513. Thereafter, when it is determined that it is necessary, it is further determined whether or not the cutting success rate (85%) is not more than a preset value (step S5). If the cutting success rate is less than 85%, the operation panel 525 displays “ Since “roll push amount” is displayed, the distance between the pressurizing portion 44 of the cut roll 41 and the anvil roll (push amount of the cut roll 41) is adjusted (step S7). The amount of push of the cut roll 41 is set by touching the operation panel 525 using the appropriate distance between the pressure unit 44 of the cut roll 41 and the anvil roll displayed on the operation panel 525 as a guide. The interval control signal is output to the servo amplifiers 521 and 522 for controlling the servo motors 46 and 47 and adjusted. After adjusting the clearance between the cut roll 41 and the anvil roll 42 by adjusting the pushing amount of the cut roll 41, the process returns to step S2 again and repeats the same steps until the cutting success rate reaches 90% or more. To do.

具体的には、カットロール41の加圧部44とアンビルロールの間隔(カットロール41の押し込み量)の調整(ステップS7)により、切断成功率が90%以上となれば、その条件で運転を継続する(ステップS4)。また、カットロール41の加圧部44とアンビルロールの間隔(カットロール41の押し込み量)の調整(ステップS7)により、切断成功率が85%以上90%未満となれば、アンビルロール42のヒーターの温度を調整し(ステップS6)、切断成功率が90%以上となるまでヒーター温度を調整する。尚、カットロール41とアンビルロール42とのクリアランスを調整した後も、切断成功率が85%未満である場合には、運転を停止し(ステップS8)、カットロール41の加圧部44を点検または交換する。尚、操作パネル525に「警告」が表示され、クリアランスや温度を調整している間も、加工装置1は同じ速度で複合伸縮シート2を製造し続ける。   Specifically, if the cutting success rate is 90% or more by adjusting the distance between the pressurization unit 44 of the cut roll 41 and the anvil roll (the amount of push of the cut roll 41) (step S7), the operation is performed under the conditions. Continue (step S4). Further, if the cutting success rate is 85% or more and less than 90% by adjusting the distance between the pressurizing unit 44 of the cut roll 41 and the anvil roll (the amount of pressing of the cut roll 41) (step S7), the heater of the anvil roll 42 Is adjusted (step S6), and the heater temperature is adjusted until the cutting success rate becomes 90% or more. Even after the clearance between the cut roll 41 and the anvil roll 42 is adjusted, if the cutting success rate is less than 85%, the operation is stopped (step S8), and the pressurization unit 44 of the cut roll 41 is inspected. Or replace. Note that while the “warning” is displayed on the operation panel 525 and the clearance and temperature are adjusted, the processing apparatus 1 continues to manufacture the composite stretchable sheet 2 at the same speed.

以上説明したように、加工装置1を用いて複合伸縮シート2を連続的に製造する本実施態様の複合伸縮シートの製造方法によれば、複合伸縮シート形成工程と、弾性部材21を切断する切断工程とを備え、切断工程における弾性部材21の切断の切断成功率を測定し、切断成功率に基づいて、カットロール41とアンビルロール42とのクリアランス等の切断条件を制御する制御工程とを有しているので、人の技量の影響を受けないため、弾性部材21の切断の切断成功率が変わり難く、弾性部材21の切断の切断成功率が向上する。また、同様に、人為的ミスを防ぎ、カットロール41の備える弾性部材切断用の加圧部44の寿命を長くすることができ、弾性部材21の切断の切断成功率が向上する。また、切断成功率が減少してきた際に、切断条件の調整の要否について、加工装置1の使用者(特に、オペレーター)の技量による判断は殆ど不要であり、判断を迷う間に不良品を生産してしまうという失敗を防止し、すばやい調整が可能となる。   As explained above, according to the composite elastic sheet manufacturing method of the present embodiment in which the composite elastic sheet 2 is continuously manufactured using the processing apparatus 1, the composite elastic sheet forming step and the cutting for cutting the elastic member 21 are performed. A control step for measuring a cutting success rate of cutting the elastic member 21 in the cutting step and controlling cutting conditions such as a clearance between the cut roll 41 and the anvil roll 42 based on the cutting success rate. Therefore, since it is not influenced by human skill, the cutting success rate of the elastic member 21 is hardly changed, and the cutting success rate of the elastic member 21 is improved. Similarly, human error can be prevented, the life of the pressure member 44 for cutting the elastic member included in the cut roll 41 can be extended, and the cutting success rate of cutting the elastic member 21 can be improved. In addition, when the cutting success rate has decreased, it is almost unnecessary to judge the necessity of adjusting the cutting conditions based on the skill of the user of the processing apparatus 1 (especially the operator). It prevents production failures and enables quick adjustments.

また、加工装置1を用いて複合伸縮シート2を連続的に製造する本実施態様の複合伸縮シートの製造方法によれば、CCDカメラ(撮像装置)510により撮像された撮像領域Tを、均等に分割し、分割領域Dにおいて弾性部材21の有無を検知し、弾性部材21の切断不良を判断するため、伸長状態の弾性部材21の張力を抑えた場合においても、弾性部材21の切断不良の有無を判断することができる。従って、伸長状態の弾性部材21の張力を抑えた場合においても、弾性部材21の切断の切断成功率に基づいてカットロール41とアンビルロール42とのクリアランス等の切断条件を制御するため、弾性部材21の切断の切断成功率が向上する。   Also, according to the composite stretchable sheet manufacturing method of the present embodiment in which the composite stretchable sheet 2 is continuously manufactured using the processing device 1, the imaging region T imaged by the CCD camera (imaging device) 510 is evenly distributed. In order to detect the presence or absence of the elastic member 21 in the divided region D and determine the cutting failure of the elastic member 21, the presence or absence of the cutting failure of the elastic member 21 even when the tension of the elastic member 21 in the expanded state is suppressed Can be judged. Therefore, even when the tension of the stretched elastic member 21 is suppressed, the elastic member 21 controls the cutting conditions such as the clearance between the cut roll 41 and the anvil roll 42 based on the success rate of cutting the elastic member 21. The cutting success rate of 21 cutting is improved.

本発明は、前記実施態様に制限されない。
例えば、本実施態様の加工装置1においては、図1に示すように、カットロール41の加圧部44とアンビルロール42の間隔を調整する為に、切断部4のカットロール41は、搬送方向(Y方向)に垂直な位置にサーボモーター46,47と、クリアランス調整部48,49とを備えているが、図5に示すように、油圧シリンダー60を採用し、サーボモーター46,47を搬送方向(Y方向)に平行な位置に配してクサビ61の位置を制御することにより、カットロール41の加圧部44とアンビルロール42の間隔を調整してもよい。
The present invention is not limited to the above embodiment.
For example, in the processing apparatus 1 of this embodiment, as shown in FIG. 1, the cut roll 41 of the cutting unit 4 is moved in the transport direction in order to adjust the distance between the pressurizing unit 44 of the cut roll 41 and the anvil roll 42. Servo motors 46 and 47 and clearance adjustment units 48 and 49 are provided at positions perpendicular to the (Y direction). As shown in FIG. 5, a hydraulic cylinder 60 is used to convey the servo motors 46 and 47. The distance between the pressing portion 44 of the cut roll 41 and the anvil roll 42 may be adjusted by arranging the wedge 61 at a position parallel to the direction (Y direction).

また、本実施態様の加工装置1においては、操作パネル525に「アンビルロール温度」を表示し、切断成功率に応じたアンビルロール42のヒーターの適正温度を表示するように入力しているが、「アンビルロール温度」の代わりに、「カットロール温度」を表示し、切断成功率に応じたカットロール41のヒーターの適正温度を表示するように入力していてもよいし、操作パネル525に「アンビルロール温度」及び「カットロール温度」を表示し、切断成功率に応じたアンビルロール42及びカットロール41のヒーターの適正温度を表示するように入力してもよい。   Further, in the processing apparatus 1 of the present embodiment, “anvil roll temperature” is displayed on the operation panel 525, and input is performed so as to display the appropriate temperature of the heater of the anvil roll 42 according to the cutting success rate. Instead of “anvil roll temperature”, “cut roll temperature” may be displayed, and an appropriate temperature of the heater of the cut roll 41 corresponding to the cutting success rate may be displayed. An anvil roll temperature "and a" cut roll temperature "may be displayed and input so as to display the appropriate temperature of the heater of the anvil roll 42 and the cut roll 41 according to the cutting success rate.

また、本実施態様の加工装置1においては、検知手段51として光学式の撮像器を用いたが、検知手段51は、C−MOSカメラ、ランセンサー(一次元)であってもよいし、レーザーセンサーや光電センサーであってもよい。   In the processing apparatus 1 of this embodiment, an optical imaging device is used as the detection unit 51. However, the detection unit 51 may be a C-MOS camera, a run sensor (one-dimensional), or a laser. It may be a sensor or a photoelectric sensor.

また、本実施態様の加工装置1においては、制御手段5の制御部52に演算処理装置524とサーボアンプ521,522,温調器523とを用いたが、これらの機能を備えた一つの演算処理装置に置き換えることもできる。   Moreover, in the processing apparatus 1 of the present embodiment, the arithmetic processing unit 524 and the servo amplifiers 521, 522 and the temperature controller 523 are used as the control unit 52 of the control means 5, but one calculation having these functions is performed. It can also be replaced with a processing device.

また、本実施態様の加工装置1においては、操作パネル525を人がタッチして、ヒーター温度及びクリアランスを調整しているが、人を介せずに自動で調整してもよい。   Further, in the processing apparatus 1 of this embodiment, a person touches the operation panel 525 to adjust the heater temperature and the clearance, but the adjustment may be made automatically without using a person.

また、本実施態様の加工装置1により製造される複合伸縮シート2は、二枚の基材シート22,23間に弾性部材21を配して一体的に固定して形成されているが、一枚の基材シート上に弾性部材21を固定して形成してもよい。また、複合伸縮シート2は、一本の弾性部材21を固定して形成されていてもよい。   Further, the composite stretchable sheet 2 manufactured by the processing apparatus 1 according to the present embodiment is formed by arranging the elastic member 21 between the two base material sheets 22 and 23 and fixing them integrally. The elastic member 21 may be fixed and formed on a single substrate sheet. Moreover, the composite elastic sheet 2 may be formed by fixing one elastic member 21.

また、本実施態様の加工装置1により製造される複合伸縮シート2は、例えば、吸収性物品である使い捨ておむつの外装材として用いることができる。   Moreover, the composite elastic sheet 2 manufactured with the processing apparatus 1 of this embodiment can be used as an exterior material of the disposable diaper which is an absorbent article, for example.

1 加工装置
2 複合伸縮シート
21 弾性部材
22,23 基材シート
24 固定部
3 複合伸縮シート形成部
31 接着剤塗工機
32,33 ニップロール
4 切断部
41 カットロール
42 アンビルロール
43 凸部
44 加圧部
45,46,47 サーボモーター
47,48 クリアランス調整部
5 制御手段
51 検知手段
510 CCDカメラ(撮像装置)
511 照光器
512 画像処理装置
513 画像モニター
52 制御部
521,522 サーボアンプ
523 温調器
524 演算処理装置
525 操作パネル
60 油圧シリンダー
61 クサビ
DESCRIPTION OF SYMBOLS 1 Processing apparatus 2 Composite elastic sheet 21 Elastic member 22,23 Base material sheet 24 Fixing part 3 Composite elastic sheet formation part 31 Adhesive coating machine 32,33 Nip roll 4 Cutting part 41 Cut roll 42 Anvil roll 43 Convex part 44 Pressure Sections 45, 46, 47 Servo motors 47, 48 Clearance adjustment section 5 Control means 51 Detection means 510 CCD camera (imaging device)
511 Illuminator 512 Image processing device 513 Image monitor 52 Control unit 521, 522 Servo amplifier 523 Temperature controller 524 Arithmetic processing device 525 Operation panel 60 Hydraulic cylinder 61 Wedge

Claims (6)

連続的に搬送される帯状の基材シート上に、該基材シートの搬送方向に伸長させた弾性部材を多数の固定部にて非連続的に固定して帯状の複合伸縮シートを形成する複合伸縮シート形成工程と、
前記帯状の複合伸縮シートを一対のカットロール及びアンビルロールの間に連続供給して、前記弾性部材を搬送方向に隣り合う前記固定部間にて切断する切断工程と、
前記切断工程における前記弾性部材の前記切断の切断成功率を測定し、該切断成功率に基づいて、前記カットロール及び/又は前記アンビルロールの切断条件を制御する制御工程とを備える、
複合伸縮シートを連続的に製造する複合伸縮シートの製造方法。
A composite that forms a band-shaped composite stretchable sheet by discontinuously fixing elastic members, which are stretched in the conveying direction of the base sheet, on a continuous transported band-shaped base sheet at a number of fixing portions. Stretch sheet forming process,
A cutting step of continuously supplying the band-shaped composite stretchable sheet between a pair of cut rolls and an anvil roll, and cutting the elastic member between the fixed portions adjacent in the transport direction;
Measuring the cutting success rate of the cutting of the elastic member in the cutting step, and controlling the cutting conditions of the cut roll and / or the anvil roll based on the cutting success rate,
The manufacturing method of the composite elastic sheet which manufactures a composite elastic sheet continuously.
前記制御工程における前記切断条件は、前記カットロールと前記アンビルロールとのクリアランス、及び/又は前記カットロール及び/又は前記アンビルロールの温度である請求項1に記載の複合伸縮シートの製造方法。   The method for producing a composite stretchable sheet according to claim 1, wherein the cutting condition in the control step is a clearance between the cut roll and the anvil roll and / or a temperature of the cut roll and / or the anvil roll. 前記制御工程における前記切断条件がクリアランスの場合には、前記カットロール若しくは前記アンビルロールを移動させて前記クリアランスを調整する及び/又は前記アンビルロールを加熱して該アンビルロールを熱膨張させて前記クリアランスを調整する請求項2に記載の複合伸縮シートの製造方法。   When the cutting condition in the control step is clearance, the clearance is adjusted by moving the cut roll or the anvil roll and / or the anvil roll is heated to thermally expand the clearance. The manufacturing method of the composite elastic sheet of Claim 2 which adjusts. 前記制御工程においては、前記弾性部材の切断された前記固定部の間の領域を、撮像装置を用いて撮像し、撮像された撮像領域をn個(nは5〜50の整数)に均等に分割し、分割されたn−2個以上の分割領域において前記弾性部材が検知された場合に、前記弾性部材の切断不良と判断する請求項1〜3の何れかに記載の複合伸縮シートの製造方法。   In the control step, the area between the fixed portions where the elastic member is cut is imaged using an imaging device, and the number of imaged imaging areas is equal to n (n is an integer of 5 to 50). The composite stretchable sheet according to any one of claims 1 to 3, wherein the elastic member is divided and is determined to be defective in cutting of the elastic member when the elastic member is detected in the divided n-2 or more divided regions. Method. 前記弾性部材は、複数本のフィラメントで形成されている請求項1〜4の何れかに記載の複合伸縮シートの製造方法。   The said elastic member is a manufacturing method of the composite elastic sheet in any one of Claims 1-4 currently formed with the several filament. 前記弾性部材は複数本からなり、各前記弾性部材が搬送方向に直交する方向に並置されており、
前記切断成功率は、各前記弾性部材の切断成功率の移動平均値を求め、求められた該移動平均値の平均値である請求項1〜5の何れかに記載の複合伸縮シートの製造方法。
The elastic member is composed of a plurality of pieces, and the elastic members are juxtaposed in a direction perpendicular to the transport direction
The method for producing a composite stretchable sheet according to any one of claims 1 to 5, wherein the cutting success rate is a moving average value of cutting success rates of the elastic members, and is an average value of the obtained moving average values. .
JP2010046891A 2010-03-03 2010-03-03 Manufacturing method of composite elastic sheet Expired - Fee Related JP5523147B2 (en)

Priority Applications (1)

Application Number Priority Date Filing Date Title
JP2010046891A JP5523147B2 (en) 2010-03-03 2010-03-03 Manufacturing method of composite elastic sheet

Applications Claiming Priority (1)

Application Number Priority Date Filing Date Title
JP2010046891A JP5523147B2 (en) 2010-03-03 2010-03-03 Manufacturing method of composite elastic sheet

Publications (2)

Publication Number Publication Date
JP2011178124A JP2011178124A (en) 2011-09-15
JP5523147B2 true JP5523147B2 (en) 2014-06-18

Family

ID=44690152

Family Applications (1)

Application Number Title Priority Date Filing Date
JP2010046891A Expired - Fee Related JP5523147B2 (en) 2010-03-03 2010-03-03 Manufacturing method of composite elastic sheet

Country Status (1)

Country Link
JP (1) JP5523147B2 (en)

Families Citing this family (16)

* Cited by examiner, † Cited by third party
Publication number Priority date Publication date Assignee Title
JP5969911B2 (en) * 2012-12-14 2016-08-17 花王株式会社 Method for producing composite stretch sheet and method for producing absorbent article
WO2016067387A1 (en) * 2014-10-29 2016-05-06 ユニ・チャーム株式会社 Production method for adsorbent articles and production device
JP6510917B2 (en) * 2015-07-09 2019-05-08 花王株式会社 Disconnection detection method
JP6330091B2 (en) * 2016-08-08 2018-05-23 花王株式会社 Processing equipment
WO2018030183A1 (en) * 2016-08-08 2018-02-15 花王株式会社 Processing device
EP3558189B1 (en) 2016-12-20 2021-06-23 The Procter & Gamble Company Methods and apparatuses for making elastomeric laminates with elastic strands provided with a spin finish
US11129753B2 (en) 2017-09-01 2021-09-28 The Procter & Gamble Company Methods and apparatuses for making elastomeric laminates
US11147718B2 (en) 2017-09-01 2021-10-19 The Procter & Gamble Company Beamed elastomeric laminate structure, fit, and texture
US11925537B2 (en) 2017-09-01 2024-03-12 The Procter & Gamble Company Beamed elastomeric laminate structure, fit, and texture
US11547613B2 (en) 2017-12-05 2023-01-10 The Procter & Gamble Company Stretch laminate with beamed elastics and formed nonwoven layer
US10765565B2 (en) 2018-01-25 2020-09-08 The Procter & Gamble Company Method for manufacturing topsheets for absorbent articles
CN115737288A (en) 2018-06-19 2023-03-07 宝洁公司 Absorbent article with functionally shaped topsheet and method of manufacture
US12053357B2 (en) 2019-06-19 2024-08-06 The Procter & Gamble Company Absorbent article with function-formed topsheet, and method for manufacturing
US11819393B2 (en) 2019-06-19 2023-11-21 The Procter & Gamble Company Absorbent article with function-formed topsheet, and method for manufacturing
JP2023516476A (en) 2020-03-13 2023-04-19 ザ プロクター アンド ギャンブル カンパニー Performance and Zones of Beam Elastomer Laminates
CN113665184B (en) * 2021-08-25 2022-08-16 泉州市汉威机械制造有限公司 Elastic sheet and manufacturing method thereof

Family Cites Families (5)

* Cited by examiner, † Cited by third party
Publication number Priority date Publication date Assignee Title
JP3545210B2 (en) * 1998-07-09 2004-07-21 花王株式会社 Method for manufacturing elastic member
JP4262950B2 (en) * 2001-05-23 2009-05-13 株式会社瑞光 Apparatus and method for manufacturing disposable wearing articles
JP4750774B2 (en) * 2007-10-31 2011-08-17 大王製紙株式会社 Pants-type disposable diapers using elastic sheets
JP5149646B2 (en) * 2008-02-19 2013-02-20 日本リライアンス株式会社 Rotary cutter control device
JP5346177B2 (en) * 2008-06-03 2013-11-20 ユニ・チャーム株式会社 Pants-shaped wearing article and manufacturing method thereof

Also Published As

Publication number Publication date
JP2011178124A (en) 2011-09-15

Similar Documents

Publication Publication Date Title
JP5523147B2 (en) Manufacturing method of composite elastic sheet
JP6227024B2 (en) Cardboard sheet defect detection apparatus, cardboard sheet defect removal apparatus, and corrugated sheet manufacturing apparatus
JP2018199525A (en) Bag making machine
JP5602852B2 (en) Method for making a perforated web of elastomer
JP5762091B2 (en) Method for producing elastic sheet
JP2014507233A (en) Method for corrective action for work on absorbent hygiene production lines such as baby diapers or adult incontinence pads, sanitary napkins
TW201304750A (en) Failure detection system and failure detection method
TWI741074B (en) Product manufacturing method and product manufacturing device
JP2006509925A (en) Web zone stretching
JP6143645B2 (en) Double-sided corrugated sheet warpage preventing apparatus and method, and double-sided corrugated sheet manufacturing apparatus
JP6629563B2 (en) Nonwoven fabric manufacturing method
JP6558601B2 (en) Nip-switching tension adjustment mechanism for fiber opening device
US20150190980A1 (en) Method and apparatus for making a bag machine
KR20190133767A (en) Defect detection apparatus of corrugated sheet, defect removal apparatus of corrugated sheet, apparatus for manufacturing corrugated sheet
CA2601746C (en) Apparatus for reducing downtime in web processes
JP5329943B2 (en) Control method and control device for transport path in composite sheet transport process
JP6997448B2 (en) Packaging machine and packaging method
JP6858662B2 (en) How to manufacture extensible sheet
JP2013116267A (en) Method for manufacturing composite material
CN103079801A (en) Apparatus for joining tire components and method for manufacturing tire components
JP2023032725A (en) Manufacturing method and manufacturing system for unvulcanized rubber sheet member
JP4763428B2 (en) Mesh belt elongation detection device and heat treatment device
JP7404815B2 (en) Glass roll manufacturing method
JP4429249B2 (en) Processing method for elastic members
JP2019099956A (en) Stretchable sheet manufacturing method and stretchable sheet manufacturing unit

Legal Events

Date Code Title Description
A621 Written request for application examination

Free format text: JAPANESE INTERMEDIATE CODE: A621

Effective date: 20121203

A977 Report on retrieval

Free format text: JAPANESE INTERMEDIATE CODE: A971007

Effective date: 20130930

TRDD Decision of grant or rejection written
A01 Written decision to grant a patent or to grant a registration (utility model)

Free format text: JAPANESE INTERMEDIATE CODE: A01

Effective date: 20140401

A61 First payment of annual fees (during grant procedure)

Free format text: JAPANESE INTERMEDIATE CODE: A61

Effective date: 20140408

R151 Written notification of patent or utility model registration

Ref document number: 5523147

Country of ref document: JP

Free format text: JAPANESE INTERMEDIATE CODE: R151

R250 Receipt of annual fees

Free format text: JAPANESE INTERMEDIATE CODE: R250

R250 Receipt of annual fees

Free format text: JAPANESE INTERMEDIATE CODE: R250

R250 Receipt of annual fees

Free format text: JAPANESE INTERMEDIATE CODE: R250

R250 Receipt of annual fees

Free format text: JAPANESE INTERMEDIATE CODE: R250

R250 Receipt of annual fees

Free format text: JAPANESE INTERMEDIATE CODE: R250

R250 Receipt of annual fees

Free format text: JAPANESE INTERMEDIATE CODE: R250

R250 Receipt of annual fees

Free format text: JAPANESE INTERMEDIATE CODE: R250

R250 Receipt of annual fees

Free format text: JAPANESE INTERMEDIATE CODE: R250

LAPS Cancellation because of no payment of annual fees