JP5513158B2 - Active noise control device - Google Patents
Active noise control device Download PDFInfo
- Publication number
- JP5513158B2 JP5513158B2 JP2010033610A JP2010033610A JP5513158B2 JP 5513158 B2 JP5513158 B2 JP 5513158B2 JP 2010033610 A JP2010033610 A JP 2010033610A JP 2010033610 A JP2010033610 A JP 2010033610A JP 5513158 B2 JP5513158 B2 JP 5513158B2
- Authority
- JP
- Japan
- Prior art keywords
- noise
- characteristic
- filter coefficient
- frequency
- filter
- Prior art date
- Legal status (The legal status is an assumption and is not a legal conclusion. Google has not performed a legal analysis and makes no representation as to the accuracy of the status listed.)
- Expired - Fee Related
Links
- 238000001514 detection method Methods 0.000 claims description 60
- 238000004364 calculation method Methods 0.000 claims description 59
- 238000000034 method Methods 0.000 description 85
- 230000008569 process Effects 0.000 description 54
- 230000005236 sound signal Effects 0.000 description 32
- 238000012546 transfer Methods 0.000 description 23
- 238000012545 processing Methods 0.000 description 20
- 239000000872 buffer Substances 0.000 description 16
- 230000006870 function Effects 0.000 description 16
- 230000009467 reduction Effects 0.000 description 15
- 230000000694 effects Effects 0.000 description 14
- 238000001228 spectrum Methods 0.000 description 12
- 238000004458 analytical method Methods 0.000 description 7
- 238000010586 diagram Methods 0.000 description 5
- 230000014509 gene expression Effects 0.000 description 5
- 230000003044 adaptive effect Effects 0.000 description 4
- 230000007423 decrease Effects 0.000 description 4
- 230000002238 attenuated effect Effects 0.000 description 3
- 230000005540 biological transmission Effects 0.000 description 3
- 230000008859 change Effects 0.000 description 3
- 238000006243 chemical reaction Methods 0.000 description 3
- 208000009205 Tinnitus Diseases 0.000 description 2
- 238000007796 conventional method Methods 0.000 description 2
- 230000002542 deteriorative effect Effects 0.000 description 2
- 230000007613 environmental effect Effects 0.000 description 2
- 230000002452 interceptive effect Effects 0.000 description 2
- 238000005070 sampling Methods 0.000 description 2
- 230000003584 silencer Effects 0.000 description 2
- 239000011358 absorbing material Substances 0.000 description 1
- 238000010521 absorption reaction Methods 0.000 description 1
- 230000004913 activation Effects 0.000 description 1
- 238000004378 air conditioning Methods 0.000 description 1
- 230000003247 decreasing effect Effects 0.000 description 1
- 238000005516 engineering process Methods 0.000 description 1
- 238000005259 measurement Methods 0.000 description 1
- 238000002360 preparation method Methods 0.000 description 1
- 230000004044 response Effects 0.000 description 1
- 238000012795 verification Methods 0.000 description 1
Images
Landscapes
- Soundproofing, Sound Blocking, And Sound Damping (AREA)
Description
本発明は,騒音波に同振幅・逆位相の消音波を干渉させて該騒音波を減衰させるフィードフォワード型の能動騒音制御装置に関し,特に,周波数をスイープする有色雑音について連立方程式法の能動騒音制御による騒音低減効果を得るための技術に関するものである。 The present invention relates to a feedforward active noise control apparatus that attenuates a noise wave by interfering with a noise wave having the same amplitude and opposite phase, and more particularly to a colored noise that sweeps a frequency. The present invention relates to a technique for obtaining a noise reduction effect by control.
一般に,空調ファンやエンジン等が発する騒音を抑える手段としては,吸音材などを使用する受動騒音制御(Passive Noise Control:PNC)と,騒音波に同振幅・逆位相の消音波を干渉させて該騒音波を減衰させる能動騒音制御(Active Noise Control:ANC)とが知られている。なお,PNCは,高い周波数の騒音に対して有効であるが,低い周波数の騒音では波長が長いため,設備が大規模になりその分コストも必要となる。
一方,ANCは低い周波数の騒音に対しても有効である。ANCは,その構造からフィードフォワード型とフィードバック型の二通りに分類されるところ,本発明は,前者のフィードフォワード型のANCを実行する能動騒音制御装置に関するものである。
In general, there are two methods for suppressing noise generated by air conditioning fans and engines, such as passive noise control (PNC), which uses a sound absorbing material, and noise waves with the same amplitude and opposite phase. Active noise control (ANC) for attenuating noise waves is known. PNC is effective for high-frequency noise, but the low-frequency noise has a long wavelength. Therefore, the equipment becomes large and costs are required.
On the other hand, ANC is effective against low frequency noise. The ANC is classified into two types, feedforward type and feedback type, according to its structure, and the present invention relates to an active noise control apparatus for executing the former feedforward type ANC.
フィードフォワード型のANCの代表的なアルゴリズムの一つにFiltered-X LMS法がある。このFiltered-X LMS法では,消音波を出力する騒音制御スピーカから騒音制御対象地点に設けられた残差検出マイクロフォンに至る二次系と呼ばれる部分の伝達関数を,ANCの動作前に予め測定又は推定しておくことが必要である。そのため,ANC装置を設置したシステムに環境変化が起こると,その予め準備した二次系の伝達関数の値と変化後の値とに誤差が発生し,ANCの動作が不安定になることがある。
これに対し,予め二次系の伝達関数の測定又は推定を必要とせず,システムの環境が変化しても安定したANCの動作を行うことができる手法として連立方程式法が知られている(例えば,非特許文献1,2参照)。
この連立方程式法では,騒音検出マイクロフォンから残差検出マイクロフォンに至る一次系に,騒音制御スピーカから残差検出マイクロフォンに至る二次系を加えた総合系特性を同定する補助フィルタを導入し,未知系と同数の方程式で構成される連立方程式を解くことにより,二次系のフィルタ係数が随時算定される。これにより,周波数帯域全体にわたって均一な白色雑音のような騒音に対してANCを適用する場合には,二次系の事前準備を必要とせず,且つ温度や湿度の環境変化などに起因する伝達系の変化にも自動的に追従できる。
One of the typical feed-forward ANC algorithms is the Filtered-X LMS method. In this Filtered-X LMS method, a transfer function of a portion called a secondary system from a noise control speaker that outputs silenced sound to a residual detection microphone provided at a noise control target point is measured or measured in advance before the operation of the ANC. It is necessary to estimate. For this reason, when an environmental change occurs in a system in which an ANC device is installed, an error may occur between the value of the secondary transfer function prepared in advance and the value after the change, and the operation of the ANC may become unstable. .
On the other hand, the simultaneous equation method is known as a technique that does not require measurement or estimation of the transfer function of the second-order system in advance and can perform stable ANC operation even if the system environment changes (for example, Non-patent
This simultaneous equation method introduces an auxiliary filter that identifies the overall system characteristics by adding the secondary system from the noise control speaker to the residual detection microphone to the primary system from the noise detection microphone to the residual detection microphone. By solving simultaneous equations composed of the same number of equations, the filter coefficients of the second-order system are calculated as needed. As a result, when applying ANC to noise such as white noise that is uniform over the entire frequency band, there is no need for secondary preparation in advance, and the transmission system is caused by environmental changes in temperature and humidity. Can automatically follow changes in
ここで,図8を参照しつつ,従来の連立方程式法のANCの基本的原理について説明する。図8に示すP(z),C(z),H(z),S(z)それぞれは,一次系,二次系,騒音制御フィルタ104,補助フィルタ105の伝達関数を示している。また,図8に示すN(z),X(z),E(z),D(z)それぞれは,騒音源Aで発生する一次騒音,騒音制御フィルタ104の入力信号,残差検出マイクロフォン102の出力信号,残差信号E(z)と補助フィルタ105の出力信号との誤差信号を示している。
そして,連立方程式法では,補助フィルタ105の伝達特性S(z)を誤差信号D(z)が最小となるようにフィルタ係数を更新することにより,騒音制御フィルタ104の入力から残差検出マイクロフォン102に至る総合系特性の同定を行う。
図9は前記補助フィルタ105によって同定される総合系の構造である。この構造に対して,前記補助フィルタ105の伝達関数S(z)は同定後の誤差を無視すれば,下記の式(1)で表される。
S(z)=P(z)+C'(z)H(z) …(1)
ここで,C'(z)は,下記の式(2)で表される。
C'(z)=C(z)-ΔB(z)P(z) …(2)
従って,二次系の伝達関数C'(z)はΔB(z)によって変化する。ここに,B(z)は帰還系であって,騒音制御スピーカ103からの制御音が騒音検出マイクロフォン101に入る系である。そして,その帰還系B(z)の相殺誤差ΔB(z)は,下記の式(3)で表される。
ΔB(z)=B(z)-B'(z) …(3)
なお,B'(z)は,帰還制御フィルタであって,ハウリングが発生することを防止するものである。ここでは,前記帰還制御フィルタが適切に設定されており,ハウリングは発生していないことを前提とする。
前記式(1)から一次系P(z)を相殺し,残差検出マイクロフォン102からの残差信号E(z)をゼロ,即ち補助フィルタ105の伝達関数S(z)=0となるときの騒音制御フィルタ104の伝達関数Hopt(z)は,下記の式(4)で表される。
Hopt(z)=-P(z)/C'(z) …(4)
但し,このとき一次系の伝達特性P(z)及び二次系の伝達特性C'(z)は未知であるため,これでは騒音制御フィルタ104の伝達関数Hopt(z)を求めることはできない。
Here, the basic principle of the ANC of the conventional simultaneous equation method will be described with reference to FIG. P (z), C (z), H (z), and S (z) shown in FIG. 8 indicate transfer functions of the primary system, the secondary system, the
In the simultaneous equation method, the filter coefficient of the transfer characteristic S (z) of the
FIG. 9 shows the structure of the total system identified by the
S (z) = P (z) + C ′ (z) H (z) (1)
Here, C ′ (z) is represented by the following formula (2).
C ′ (z) = C (z) −ΔB (z) P (z) (2)
Accordingly, the transfer function C ′ (z) of the secondary system varies with ΔB (z). Here, B (z) is a feedback system, in which the control sound from the
ΔB (z) = B (z) -B ′ (z) (3)
Note that B ′ (z) is a feedback control filter and prevents howling from occurring. Here, it is assumed that the feedback control filter is appropriately set and no howling has occurred.
When the primary system P (z) is canceled from the above equation (1) and the residual signal E (z) from the
Hopt (z) =-P (z) / C '(z) (4)
However, since the transfer characteristic P (z) of the primary system and the transfer characteristic C ′ (z) of the secondary system are unknown at this time, the transfer function Hopt (z) of the
そこで,連立方程式法では,騒音制御フィルタ104に異なる二つのフィルタ係数を設定することで一次系の伝達特性P(z),二次系の伝達特性C'(z)を算出する。例えば,騒音制御フィルタ104の伝達関数H1(z),H2(z)とするフィルタ係数H1,H2(ただしH1≠H2)を順次与えて,補助フィルタ105によって総合系の伝達関数S1(z),S2(z)を同定すれば,以下の2つの関係式(5),(6)が得られる。
S1(z)=P(z)+C'(z)H1(z) …(5)
S2(z)=P(z)+C'(z)H2(z) …(6)
この連立方程式はH1(z)≠H2(z)であるため解くことが可能であり,その解は下記の式(7),(8)で表される。
C'(z)=[S1(z)-S2(z)]/[H1(z)-H2(z)] …(7)
P(z)=[S1(z)H2(z)-S2(z)H1(z)]/[H2(z)-H1(z)] …(8)
そして,前記式(7),(8)を前記式(4)へ代入すると,騒音制御フィルタ104の最適フィルタ係数の伝達特性Hopt(z)は,下記の式(9)で与えられる。
Hopt(z)=[S1(z)H2(z)-S2(z)H1(z)]/[S1(z)-S2(z)] …(9)
これにより,入力された騒音波を伝達特性Hopt(z)の騒音制御フィルタ104に通すことで同振幅・逆位相の消音波を生成し,該消音波を騒音制御スピーカ103から出力すれば,残差検出マイクロフォン102の騒音制御対象地点Bではその騒音がキャンセルされる。
Therefore, in the simultaneous equation method, the transfer characteristic P (z) of the primary system and the transfer characteristic C ′ (z) of the secondary system are calculated by setting two different filter coefficients for the
S1 (z) = P (z) + C ′ (z) H1 (z) (5)
S2 (z) = P (z) + C '(z) H2 (z) (6)
This simultaneous equation can be solved because H1 (z) ≠ H2 (z), and the solution is expressed by the following equations (7) and (8).
C '(z) = [S1 (z) -S2 (z)] / [H1 (z) -H2 (z)] (7)
P (z) = [S1 (z) H2 (z) -S2 (z) H1 (z)] / [H2 (z) -H1 (z)] (8)
Then, when the expressions (7) and (8) are substituted into the expression (4), the transfer characteristic Hopt (z) of the optimum filter coefficient of the
Hopt (z) = [S1 (z) H2 (z) -S2 (z) H1 (z)] / [S1 (z) -S2 (z)] (9)
As a result, when the input noise wave is passed through the
このとき,騒音制御フィルタ104の伝達関数Hopt(z)から最適フィルタ係数Hoptへの変換は,逆フーリエ変換を利用すればよい。具体的に,騒音制御フィルタ104の伝達関数Hopt(z)を与える前記式(9)を周波数領域に置き換え,角周波数をωとすると,騒音制御フィルタ104の周波数特性Hopt(ω)は下記の式(10)で表される。
Hopt(ω)=[S1(ω)H2(ω)-S2(ω)H1(ω)]/[S1(ω)-S2(ω)] …(10)
ここで,騒音制御フィルタ104の最適フィルタ係数の伝達特性Hopt(ω)の係数は,先に設定した2通りの騒音制御フィルタ104のフィルタ係数H1,H2とそれに伴う2通りの補助フィルタ105のフィルタ係数S1,S2との離散フーリエ変換を前記式(10)に代入した後に,それを逆フーリエ変換することで得ることができる。
実際にフーリエ変換は離散的にまた高速演算可能な高速フーリエ変換(FFT)で実行するため,角周波数ωから周波数ビン番号を示す要素番号kに置き換えると,騒音制御フィルタ104の周波数特性Hopt(k)は,下記式(11)で表される。なお,周波数ビン各々は所定幅ごとの周波数帯域に対応する。
Hopt(k)=[S1(k)H2(k)-S2(k)H1(k)]/[S1(k)-S2(k)] …(11)
そして,全ての周波数ビン番号kについて周波数特性を求めた後,逆フーリエ変換で騒音制御フィルタ104の最適フィルタ係数Hoptを算出する。
At this time, the conversion from the transfer function Hopt (z) of the
Hopt (ω) = [S1 (ω) H2 (ω) -S2 (ω) H1 (ω)] / [S1 (ω) -S2 (ω)] (10)
Here, the coefficient of the transfer characteristic Hopt (ω) of the optimum filter coefficient of the
Actually, the Fourier transform is executed by a fast Fourier transform (FFT) that can be performed discretely and at high speed. Therefore, when the angular frequency ω is replaced with the element number k indicating the frequency bin number, the frequency characteristic Hopt (k ) Is represented by the following formula (11). Each frequency bin corresponds to a frequency band for each predetermined width.
Hopt (k) = [S1 (k) H2 (k) -S2 (k) H1 (k)] / [S1 (k) -S2 (k)] (11)
Then, after obtaining the frequency characteristics for all the frequency bin numbers k, the optimum filter coefficient Hopt of the
ところで,前記騒音制御フィルタ104の伝達特性H(z)を設定したときの補助フィルタ105の周波数特性S(k)は,クロススペクトル法を用いる方法,ブロック実行型の周波数領域適応アルゴリズムで推定する方法などで求めることができる。
例えば,クロススペクトル法を用いる場合には,残差検出マイクロフォン102の出カスペクトルE(k)と騒音検出マイクロフォン101の出カスペクトルX(k)とにより,下記の式(12)に従って求めることができる(なお,*は複素共役をあらわす)。
S(k)=[E(k)X*(k)]/[X(k)X*(k)] …(12)
他方,ブロック実行型の周波数領域適応アルゴリズムで総合系を推定する場合には,各周波数ビンにおいて下記の式(13)の更新式(周波数領域LMS:Least Mean Square)で求めることができる。
For example, when the cross spectrum method is used, the output spectrum E (k) of the
S (k) = [E (k) X * (k)] / [X (k) X * (k)] (12)
On the other hand, when the total system is estimated by the block execution type frequency domain adaptive algorithm, it can be obtained by the update formula (frequency domain LMS: Least Mean Square) of the following formula (13) in each frequency bin.
ここに,図10は,連立方程式法による最適フィルタ係数の更新処理の手順の一例を示すフローチャートである。図10に示す手順に従って,騒音制御フィルタ104の最適フィルタ係数Hoptをシステムの電源ON時から順次更新することにより,伝達系の変動にも対応することが可能となる。なお,以下のフィルタ係数H1,H2,総合系特性S1(z),S2(z),最適フィルタ係数Hoptの各周波数特性であるH1(k),H2(k),S1(k),S2(k),Hopt(k)各々は所定のメモリに記憶される。
まず,騒音制御フィルタ104にフィルタ係数H1を設定する(ステップT101)。また,このときの騒音制御フィルタ104のフィルタ係数H1を離散フーリエ変換して騒音制御フィルタ104の周波数特性H1(k)を算出する(ステップT102)。そして,前記式(13)に従って総合系特性の周波数特性S1(k)を同定する(ステップT103)。
次に,騒音制御フィルタ104にフィルタ係数H1とは異なるH2を設定する(ステップT104)。また,このときの騒音制御フィルタ104のフィルタ係数H2を離散フーリエ変換して騒音制御フィルタ104の周波数特性H2(k)を算出する(ステップT105)。そして,前記式(13)に従って総合系の周波数特性S2(k)を同定する(ステップT106)。
その後,前記式(11)に従って最適フィルタ係数Hoptの周波数特性Hopt(k)を算出する(ステップT107)。続いて,その周波数特性Hopt(k)を逆離散フーリエ変換して最適フィルタ係数Hoptを算出する(ステップT108)。そして,その最適フィルタ係数Hoptを騒音制御フィルタ104に設定する(ステップT109)。
このとき,メモリに記憶されている周波数特性S1(k),H1(k)は,周波数特性S2(k),H2(k)に上書き保存される(ステップT110)。その後,メモリに記憶されている周波数特性H2(k)は,周波数特性Hopt(k)に上書き保存される(ステップT111)。
以後,前記ステップT106〜T111の処理が繰り返し実行されることにより,周波数特性H2(k)で総合系の周波数特性S2(k)が同定され,常に最新の周波数特性S1(k),H1(k),S2(k),H2(k)に基づいて最適フィルタ係数Hoptが更新される。これにより,発生している騒音が周波数帯域全体にわたって均一な白色雑音や周波数変化の少ない定常的な音である場合には,その騒音の伝達系の変動に対応して騒音を低減することが可能となる。
FIG. 10 is a flowchart showing an example of the procedure for updating the optimum filter coefficient by the simultaneous equation method. According to the procedure shown in FIG. 10, the optimum filter coefficient Hopt of the
First, the filter coefficient H1 is set in the noise control filter 104 (step T101). Further, the frequency coefficient H1 (k) of the
Next, H2 different from the filter coefficient H1 is set in the noise control filter 104 (step T104). Further, the frequency coefficient H2 (k) of the
Thereafter, the frequency characteristic Hopt (k) of the optimum filter coefficient Hopt is calculated according to the equation (11) (step T107). Subsequently, the frequency characteristic Hopt (k) is subjected to inverse discrete Fourier transform to calculate the optimum filter coefficient Hopt (step T108). Then, the optimum filter coefficient Hopt is set in the noise control filter 104 (step T109).
At this time, the frequency characteristics S1 (k) and H1 (k) stored in the memory are overwritten and saved on the frequency characteristics S2 (k) and H2 (k) (step T110). Thereafter, the frequency characteristic H2 (k) stored in the memory is overwritten and saved on the frequency characteristic Hopt (k) (step T111).
Thereafter, the processes of steps T106 to T111 are repeatedly executed, whereby the frequency characteristic S2 (k) of the total system is identified by the frequency characteristic H2 (k), and the latest frequency characteristics S1 (k), H1 (k ), S2 (k), H2 (k), the optimum filter coefficient Hopt is updated. As a result, when the generated noise is uniform white noise over the entire frequency band or stationary sound with little frequency change, it is possible to reduce the noise in response to fluctuations in the noise transmission system. It becomes.
ところで,上述した連立方程式法を用いたフィードフォワード型のANCを実行する能動騒音制御装置を実際に使用する環境として,車内(CAB)での乗員の耳元騒音の低減などが考えられる。このとき,車内の主な騒音としてはエンジンからの排出音が考えられるが,ほとんどのエンジンはその回転数により排出する騒音の周波数が決まり,エンジンの回転数が上がる(加速する)につれて騒音周波数も上がり,回転数が下がる(減速する)につれて騒音周波数も下がる。そのため,車内における騒音は,加速,減速に伴い有色雑音が周波数をスイープ(上下)するという特性を有する。
しかしながら,前述した従来の連立方程式法(図10のフローチャート参照)による最適フィルタ係数の更新処理では,周波数帯域全体にわたる白色雑音や周波数変動の少ない定常的な騒音に対しては有効であるが,周波数をスイープする有色雑音については最適フィルタ係数Hoptが正しく導出されない場合がある。
以下,この問題について,図11を参照しつつ,エンジンの回転数の変動により有色雑音の周波数がスイープする場合の車内の騒音に対し,従来の最適フィルタ係数の更新処理(図10参照)を実行する場合を例に挙げて説明する。ここに,図11(a)は前記更新処理における1回目の同定処理,図11(b)は2回目の同定処理の実行結果を示すものである。
By the way, as an environment in which an active noise control apparatus that executes feed-forward type ANC using the above-described simultaneous equation method is actually used, reduction of occupant's ear noise in a car (CAB) can be considered. At this time, exhaust noise from the engine can be considered as the main noise in the car, but most engines determine the frequency of the noise to be discharged depending on the rotational speed, and the noise frequency increases as the engine speed increases (accelerates). The noise frequency decreases as the speed increases and the speed decreases (decelerates). Therefore, the noise in the car has the characteristic that the colored noise sweeps (up and down) the frequency as it accelerates and decelerates.
However, the update processing of the optimum filter coefficient by the above-described conventional simultaneous equation method (see the flowchart of FIG. 10) is effective for white noise over the entire frequency band and stationary noise with little frequency fluctuation. In some cases, the optimal filter coefficient Hopt is not correctly derived for the colored noise that sweeps.
Hereinafter, with respect to this problem, the conventional optimum filter coefficient updating process (see FIG. 10) is performed on the noise in the vehicle when the frequency of the colored noise sweeps due to the fluctuation of the engine speed while referring to FIG. An example of the case will be described. FIG. 11A shows the first identification process in the update process, and FIG. 11B shows the execution result of the second identification process.
まず,前記ステップT101において騒音制御フィルタ104にフィルタ係数H1が設定されたとき,有色雑音が発生している周波数ビン番号kが「0」であったとする。このとき,前記ステップT103において,補助フィルタ105により総合系特性の周波数特性S1(k)が同定された場合は,図11(a)に示すように,周波数ビン番号kが「0」に対応する値については有効なデータが得られるが,その他の周波数ビン番号kが「0」でない値については有効なデータが得られない。
次に,前記ステップT104において騒音制御フィルタ104にフィルタ係数H2が設定されたとき,エンジンの回転数が上がって有色雑音がスイープし,有色雑音の周波数ビン番号kが「1」に変化したとする。この場合には,前記ステップT106において,補助フィルタ105により総合系特性の伝達関数S2(k)が同定されると,図11(a)に示すように,周波数ビン番号kが「1」に対応する値については有効なデータが得られるが,その他の周波数ビン番号kが「1」でない値については有効なデータが得られない。
この状態では,その後に前記ステップT107が実行されても,前記式(11)を解くために必要となる有効な情報が揃っていないため,いずれの周波数ビンについても周波数特性Hopt(k)を算出することができない。しかし,続くステップT108〜T111において,前記周波数特性H1(k),S1(k),H2(k)などが最新の値となるように更新される。そのため,続いて前記ステップT6〜T11の処理が繰り返されても,図11(b)に示すように,前記有色雑音の周波数ビン番号kが増減する限り,同じ周波数ビン番号kに対応して有効な周波数特性S1(k)及びS2(k)を同時に同定することができない。即ち,騒音制御フィルタ104に同じ周波数の有色雑音が入らなければ,前記式(11)により算出される周波数特性Hopt(k)が意味のない値となる。
なお,このとき算出される周波数特性Hopt(k)が騒音制御フィルタ104に設定されても,実際の騒音にその周波数ビン番号kの周波数成分が含まれていない場合には,見かけ上は問題が発生していないように見える。しかしながら,有色雑音の周波数ビン番号kが,前記のように前記周波数特性Hopt(k)の値に意味のない値が設定されている周波数ビン番号kの有色雑音に変化した場合には,その騒音を低減することができないだけでなく,騒音制御対象位置Bにおいてどのような音になるかわからないという問題が生じる。
このように,従来手法では,連立方程式法において常に最新の周波数特性H1(k),S1(k),H2(k),S2(k)を用いているため,エンジンの回転数が上下して有色雑音の周波数がスイープする騒音が発生している場合には,過去のデータに有効な値が入らない。そのため,連立方程式法により適切な最適フィルタ係数Hoptを求めことができず,有色雑音の周波数がスイープする騒音については騒音低減効果を得ることができない。
従って,本発明は前記事情に鑑みてなされたものであり,その目的とするところは,周波数をスイープする有色雑音についても,連立方程式法による能動騒音制御で騒音低減効果を得ることのできる能動騒音制御装置を提供することにある。
First, when the filter coefficient H1 is set in the
Next, when the filter coefficient H2 is set in the
In this state, even if the step T107 is subsequently executed, effective information necessary for solving the equation (11) is not prepared, and therefore the frequency characteristic Hopt (k) is calculated for any frequency bin. Can not do it. However, in subsequent steps T108 to T111, the frequency characteristics H1 (k), S1 (k), H2 (k), etc. are updated so as to have the latest values. Therefore, even if the processing of steps T6 to T11 is subsequently repeated, as shown in FIG. 11 (b), as long as the frequency bin number k of the colored noise increases or decreases, it is effective corresponding to the same frequency bin number k. Frequency characteristics S1 (k) and S2 (k) cannot be identified simultaneously. That is, if colored noise having the same frequency does not enter the
Even if the frequency characteristic Opt (k) calculated at this time is set in the
Thus, in the conventional method, the latest frequency characteristics H1 (k), S1 (k), H2 (k), and S2 (k) are always used in the simultaneous equation method, so that the engine speed increases and decreases. When noise that sweeps the frequency of colored noise is generated, the past data does not contain valid values. For this reason, an appropriate optimum filter coefficient Hopt cannot be obtained by the simultaneous equation method, and a noise reduction effect cannot be obtained for noise in which the frequency of colored noise sweeps.
Accordingly, the present invention has been made in view of the above circumstances, and an object of the present invention is to provide an active noise that can obtain a noise reduction effect by active noise control using the simultaneous equation method for colored noise that sweeps a frequency. It is to provide a control device.
前記目的を達成するために本発明は,騒音波を検出する騒音検出手段と,前記騒音波を低減したい騒音制御対象地点における残差波を検出する残差検出手段と,前記騒音波と逆位相の消音波を生成する騒音制御フィルタと,前記騒音制御フィルタにより生成された前記騒音波と逆位相の前記消音波を出力して該騒音波に干渉させる消音波出力手段と,前記騒音検出手段及び前記残差検出手段により検出された騒音波及び残差波に基づいて前記騒音検出手段から前記残差検出手段に至る総合系特性を同定する総合系同定手段とを備えてなるフィードフォワード型の能動騒音制御装置に適用されるものであって,以下の(1)〜(10)の構成要素を備えてなることを特徴とする。
(1)第一のフィルタ係数,該第一のフィルタ係数と異なる第二のフィルタ係数,第一の総合系特性,第二の総合系特性,最適フィルタ係数各々の周波数特性が記憶される特性記憶手段。
(2)前記騒音波の所定周波数帯域ごとの強度を検出する騒音強度検出手段。
(3)前記騒音強度検出手段により検出された強度が予め設定された閾値以上である有色周波数帯域を特定する有色周波数特定手段。
(4)前記総合系同定手段により前記総合系特性が同定されたときに前記騒音制御フィルタに設定されているフィルタ係数の周波数特性における前記有色周波数帯域の値が,前記第一のフィルタ係数の周波数特性における前記有色周波数帯域の値である場合は前記第一の総合系特性における前記有色周波数帯域の値のみを,前記第二のフィルタ係数の周波数特性における前記有色周波数帯域の値である場合は前記第二の総合系特性における前記有色周波数帯域の値のみを,それぞれ前記総合系特性における前記有色周波数帯域の値に更新する総合系特性更新手段。
(5)前記総合系特性更新手段により前記第一の総合系特性における前記有色周波数帯域の値が更新されたことを条件に,前記特性記憶手段に記憶された前記最適フィルタ係数の周波数特性における前記有色周波数帯域の値を前記第二のフィルタ係数の周波数特性における前記有色周波数帯域の値に更新する第一の最適フィルタ係数更新手段。
(6)前記総合系特性更新手段により前記第二の総合系特性における前記有色周波数帯域の値が更新されたことを条件に,前記特性記憶手段に記憶された前記第一のフィルタ係数,前記第二のフィルタ係数,前記第一の総合系特性,前記第二の総合系特性に基づいて,前記残差検出手段により検出される残差波が最小となる最適フィルタ係数を算出する最適フィルタ算出手段。
(7)前記最適フィルタ算出手段により前記最適フィルタ係数が算出されたことを条件に,該最適フィルタ係数の周波数特性における前記有色周波数帯域の値により,前記特性記憶手段に記憶された前記最適フィルタ係数の周波数特性における前記有色周波数帯域の値のみを更新する第二の最適フィルタ係数更新手段。
(8)前記第二の最適フィルタ係数更新手段により前記最適フィルタ係数が更新された後,前記特性記憶手段に記憶されている前記第一のフィルタ係数,前記第一の総合系特性,前記第二のフィルタ係数各々の周波数特性における前記有色周波数帯域の値を,前記第二のフィルタ係数,前記第二の総合系特性,前記最適フィルタ係数各々の周波数特性における前記有色周波数帯域の値に更新する周波数特性更新手段。
(9)前記周波数特性更新手段による更新後に,前記第二の総合系特性の周波数特性における前記有色周波数帯域の値を初期化する初期化手段。
(10)前記特性記憶手段に記憶された前記最適フィルタ係数を前記騒音制御フィルタに設定する最適フィルタ設定手段。
このように構成された本発明に係る能動騒音制御装置では,能動騒音制御(ANC)の対象が周波数のスイープする有色雑音であっても,いずれ前記総合系特性更新手段によって前記第一及び前記第二の総合系特性における前記有色周波数帯域の値が更新された時点で,前記残差検出手段により検出される残差波が最小となる最適フィルタ係数を前記騒音制御フィルタに設定することができ,該有色雑音について騒音低減効果を得ることができる。
In order to achieve the above object, the present invention provides a noise detection means for detecting a noise wave, a residual detection means for detecting a residual wave at a noise control target point at which the noise wave is to be reduced, and a phase opposite to the noise wave. A noise control filter for generating a noise cancellation filter, a noise cancellation output means for outputting the noise cancellation wave having a phase opposite to that of the noise wave generated by the noise control filter and interfering with the noise wave, the noise detection means, A feed-forward type active device comprising a total system identification unit for identifying a total system characteristic from the noise detection unit to the residual detection unit based on the noise wave and the residual wave detected by the residual detection unit The present invention is applied to a noise control device and is characterized by comprising the following components (1) to (10).
(1) Characteristic memory for storing frequency characteristics of the first filter coefficient, the second filter coefficient different from the first filter coefficient, the first total system characteristic, the second total system characteristic, and the optimum filter coefficient means.
(2) the noise intensity detecting means for detecting the intensity of each constant frequency band at said noise waves.
(3) Colored frequency specifying means for specifying a colored frequency band in which the intensity detected by the noise intensity detecting means is greater than or equal to a preset threshold value.
(4) The value of the colored frequency band in the frequency characteristic of the filter coefficient set in the noise control filter when the total system characteristic is identified by the total system identification unit is the frequency of the first filter coefficient. If it is a value of the colored frequency band in the characteristic, only the value of the colored frequency band in the first total system characteristic, and if it is a value of the colored frequency band in the frequency characteristic of the second filter coefficient, Total system characteristic updating means for updating only the value of the colored frequency band in the second total system characteristic to the value of the colored frequency band in the total system characteristic.
(5) On the condition that the value of the colored frequency band in the first total system characteristic is updated by the total system characteristic update unit, the frequency characteristic of the optimum filter coefficient stored in the characteristic storage unit First optimum filter coefficient updating means for updating the value of the colored frequency band to the value of the colored frequency band in the frequency characteristic of the second filter coefficient.
(6) The first filter coefficient stored in the characteristic storage unit, the first filter condition, on condition that the value of the colored frequency band in the second total system characteristic is updated by the total system characteristic updating unit. Optimal filter calculation means for calculating an optimum filter coefficient that minimizes the residual wave detected by the residual detection means based on the second filter coefficient, the first total system characteristic, and the second total system characteristic .
(7) The optimum filter coefficient stored in the characteristic storage means based on the value of the colored frequency band in the frequency characteristic of the optimum filter coefficient on the condition that the optimum filter coefficient is calculated by the optimum filter calculation means. Second optimum filter coefficient updating means for updating only the value of the colored frequency band in the frequency characteristics of
(8) After the optimum filter coefficient is updated by the second optimum filter coefficient update means, the first filter coefficient stored in the characteristic storage means, the first total system characteristic, the second A frequency at which the value of the colored frequency band in the frequency characteristic of each filter coefficient is updated to the value of the colored frequency band in the frequency characteristic of each of the second filter coefficient, the second total system characteristic, and the optimum filter coefficient. Characteristic update means.
(9) Initializing means for initializing the value of the colored frequency band in the frequency characteristic of the second total system characteristic after being updated by the frequency characteristic updating means.
(10) Optimal filter setting means for setting the optimum filter coefficient stored in the characteristic storage means in the noise control filter.
In the active noise control apparatus according to the present invention configured as described above, even if the target of active noise control (ANC) is a colored noise whose frequency is swept, the first and second functions are updated by the integrated system characteristic updating means. When the value of the colored frequency band in the second total system characteristic is updated, the optimum filter coefficient that minimizes the residual wave detected by the residual detection means can be set in the noise control filter, A noise reduction effect can be obtained for the colored noise.
本発明によれば,能動騒音制御(ANC)の対象が周波数のスイープする有色雑音であっても,いずれ前記総合系特性更新手段によって前記第一及び前記第二の総合系特性における前記有色周波数帯域の値が更新された時点で,前記残差検出手段により検出される残差波が最小となる最適フィルタ係数を前記騒音制御フィルタに設定することができ,該有色雑音について騒音低減効果を得ることができる。 According to the present invention, even if the target of active noise control (ANC) is colored noise whose frequency sweeps, the colored frequency band in the first and second integrated system characteristics is eventually detected by the integrated system characteristic updating means. The optimum filter coefficient that minimizes the residual wave detected by the residual detection means can be set in the noise control filter at the time when the value of is updated, and a noise reduction effect can be obtained for the colored noise. Can do.
以下添付図面を参照しながら,本発明の実施の形態について説明し,本発明の理解に供する。尚,以下の実施の形態は,本発明を具体化した一例であって,本発明の技術的範囲を限定する性格のものではない。
まず,図1を用いて,本発明の実施の形態に係る能動騒音制御装置Yの概略構成について説明する。
図1に示すように,本発明の実施の形態に係る能動騒音制御装置Yは,騒音検出マイクロフォン11(騒音検出手段の一例),残差検出マイクロフォン12(残差検出手段の一例),騒音制御スピーカ13(消音波出力手段の一例),ADC14,DAC15,DSP16などを備えて概略構成されている。なお,前記DSP16は,デジタルシグナルプロセッサ(Digital Signal Processor)である。また,前記能動騒音制御装置Yにおける音響特性は従来と同様である(図8,9参照)。
当該能動騒音制御装置Yは,図1に示すように,ある音響空間に騒音検出マイクロフォン11,残差検出マイクロフォン12,騒音制御スピーカ13各々が存在する状態で,騒音源Aから騒音検出マイクロフォン11を通じて入力されるリファレンス信号X(z)を,DSP16内の騒音制御フィルタ162に通過させることにより,そのリファレンス信号X(z)と同振幅・逆位相の消音波を生成し,その消音波を騒音制御スピーカ13から出力する。これにより,その消音波を前記騒音源Aからの騒音波に干渉させ,残差検出マイクロフォン12が設置された騒音制御対象地点Bにおける騒音を低減するフィードフォワード型のANCが実現される。
Hereinafter, embodiments of the present invention will be described with reference to the accompanying drawings so that the present invention can be understood. The following embodiment is an example embodying the present invention, and does not limit the technical scope of the present invention.
First, the schematic configuration of the active noise control device Y according to the embodiment of the present invention will be described with reference to FIG.
As shown in FIG. 1, an active noise control device Y according to an embodiment of the present invention includes a noise detection microphone 11 (an example of noise detection means), a residual detection microphone 12 (an example of residual detection means), and noise control. A speaker 13 (an example of a sound deadening output means), an
As shown in FIG. 1, the active noise control device Y includes a
前記騒音検出マイクロフォン11は,前記騒音源Aからの騒音波を検出し,リファレンス信号X(z)として前記ADC14に入力する。一方,前記残差検出マイクロフォン12は,前記騒音波を低減したい騒音制御対象地点Bに設けられており,その騒音制御対象地点Bに到達する残差波を検出し,残差信号E(z)として前記ADC14に入力する。
前記ADC14は,前記騒音検出マイクロフォン11や前記残差検出マイクロフォン12から入力されるリファレンス信号X(z)や残差信号E(z)を,アナログ信号からデジタル信号に変換するコンバータであって,その変換後のデジタル信号を前記DSP16に入力するものある。もちろん,リファレンス信号X(z)と残差信号E(z)に対応して個別のADCが設けられていてもよい(図6参照)。
一方,前記DAC15は,前記DSP16から出力される消音波を,デジタル信号からアナログ信号に変換するコンバータであって,その変換後のアナログ信号を前記騒音制御スピーカ13に入力するものである。
前記騒音制御スピーカ13は,前記騒音源Aと前記騒音制御対象地点Bとの間に設けられ,後述の騒音制御フィルタ162によって生成された消音波を出力して前記騒音波に干渉(合成)させるものである。従って,前記消音波が前記騒音源Aからの騒音波と同振幅・逆位相であれば,該騒音波を減衰させて前記騒音制御対象地点Bにおける騒音をキャンセルすることができる。
本発明の実施の形態に係る前記能動騒音制御装置Yは,前記DSP16で実行される連立方程式法を採用したフィードフォワード型の能動騒音制御処理の内容に特徴を有しており,以下,この点について詳述する。
The
The
On the other hand, the
The
The active noise control device Y according to the embodiment of the present invention is characterized by the content of a feedforward type active noise control process that employs the simultaneous equation method executed by the
図1に示すように,前記DSP16は,入力バッファ161,騒音制御フィルタ(FIRフィルタ)162,出力バッファ163,入力信号分析部171,フィルタ係数算出部172,パラメータ記憶部173などを備えて概略構成されたデジタル信号処理に特化したマイクロプロセッサである。
前記DSP16では,前記ADC14から前記入力バッファ161に入力される信号が,1サンプル毎に前記騒音制御フィルタ162を経て前記出力バッファ163に出力される。なお,フィードフォワード型のANCでは,音速を超える迅速な処理が必要となるため,入出力バッファはもたないことが多いが,前記騒音検出マイクロフォン11と前記騒音制御スピーカ13との位置関係が,フィードフォワード型のANCの実現が可能な距離にあれば,入出力バッファ(例えば2サンプル,4サンプルなどのピンポンバッファ)を使用することも可能である。要するに,前記騒音検出マイクロフォン11でサンプルした騒音波を前記DSP16で信号処理した後の消音波を前記騒音制御スピーカ13から出力したときに,該騒音波に干渉させることができる時間(=距離/音速)内に処理することができれば,複数サンプル毎に前記騒音制御フィルタ162を通して出力してもよい。
As shown in FIG. 1, the
In the
前記入力信号分析部171は,前記所定サンプル数のリファレンス信号X(z)ごとに離散フーリエ変換(FFT)を行うことにより,前記騒音波における予め定められた所定幅の周波数ビン(所定周波数帯域)ごとのパワースペクトル(強度)を検出するものである。ここに,係る検出処理を実行するときの前記入力信号分析部171が騒音強度検出手段に相当する。以下,前記周波数ビンの番号をkとし,周波数の低い方から順にk=0,1,…nとする。
さらに,前記入力信号分析部171は,前記騒音波における前記周波数ビンごとのパワースペクトルのうち予め設定された閾値Q以上である周波数ビンを有色雑音の周波数ビンとして特定する。ここに,係る特定処理を実行するときの前記入力信号分析部171が有色雑音特性手段に相当する。なお,前記閾値Qは,有色雑音を判別するための値であって,前記騒音波の強度に応じて適宜変更すればよい。例えば,前記閾値Qは,前記騒音波の総合強度に対する割合で定められたものであってもよい。
The input
Further, the input
前記フィルタ係数算出部172は,騒音検出マイクロフォン11から騒音波として入力されるリファレンス信号X(z),及び残差検出マイクロフォン12から入力される残差信号E(z)各々が,予め定められた所定サンプル数(例えば256程度)だけバッファリングされるごとに,リファレンス信号X(z)及び残差信号E(z)に基づいて,連立方程式法による上述の式(13)に従って,前記騒音制御スピーカ13から前記残差検出マイクロフォン12に至る総合系の周波数特性(以下,総合系特性S(k)という)を同定する。ここに,係る同定処理を実行するときの前記フィルタ係数算出部172が総合系同定手段に相当する。
また,前記フィルタ係数算出部172は,後述の最適フィルタ係数の更新処理(図2参照)を実行することにより,前記総合系特性S(k)が0(最小)となる前記騒音制御フィルタ162の最適フィルタ係数Hoptを随時更新し,該最適フィルタ係数Hoptを前記騒音制御フィルタ162に設定する。前記騒音制御フィルタ162は,前記フィルタ係数算出部172によって予め設定された前記最適フィルタ係数Hoptに応じて前記騒音波と同振幅・逆位相の消音波を生成して出力する。これにより,前記騒音制御スピーカ13から出力される前記消音波によって前記騒音波が減衰され,前記騒音制御対象地点Bにおける騒音が低減される。
前記パラメータ記憶部173は,フィルタ係数H1,H2,総合系特性S1(z),S2(z),最適フィルタ係数Hopt各々の周波数特性を表すH1(k),H2(k),S1(k),S2(k),Hopt(k)などの各種のパラメータを記憶する記憶媒体であって,例えばEPROMやハードディスク,フラッシュメモリなどである。具体的に,前記パラメータ記憶部173には,周波数特性H1(k),H2(k),S1(k),S2(k),Hopt(k)各々における前記周波数ビン番号kごとの値が記憶される。
In the filter
Further, the filter
The
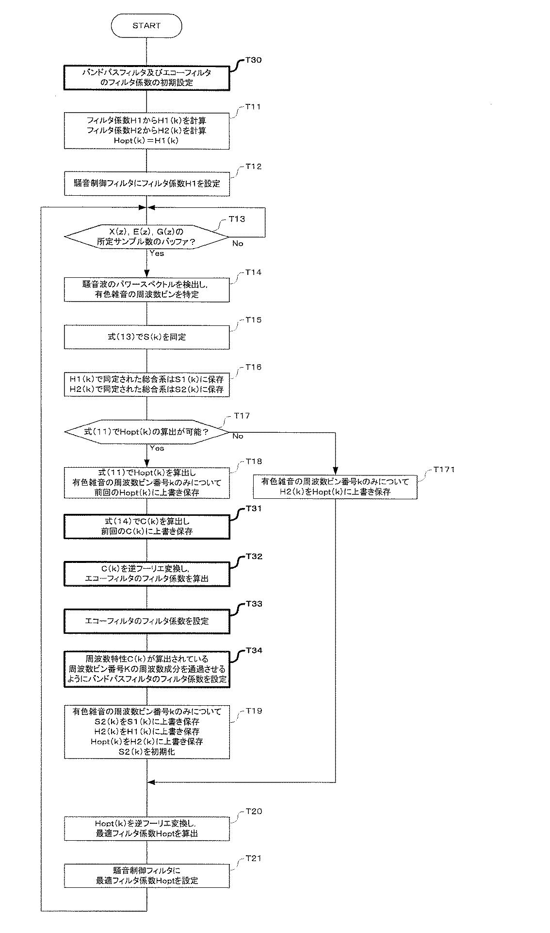
以下,図2のフローチャートに従って,前記DSP16で実行される最適フィルタ係数の更新処理の手順の一例について説明する。ここに,図中のT11,T12,…は処理手順(ステップ)の番号を表している。
前記能動騒音制御装置Yの動作開始時,前記フィルタ係数算出部172は,前記パラメータ記憶部173に記憶されるH1(k),H2(k),S1(k),S2(k),Hopt(k)をリセットする。
In the following, an example of the procedure of the optimum filter coefficient update process executed by the
At the start of the operation of the active noise control device Y, the filter
(ステップT11〜T13)
まず,ステップT11において,前記フィルタ係数算出部172は,前記騒音制御フィルタ162に設定する任意のフィルタ係数H1,H2(第一,第二のフィルタ係数に相当,但しH1≠H2)を決定して,それぞれの離散フーリエ変換(FFT)を算出し,その算出結果を騒音制御フィルタ162の周波数特性H1(k),H2(k)としてパラメータ記憶部173に保存する。このとき,前記周波数特性H1(k)≠H2(k)である。また,ステップT11において,前記フィルタ係数算出部172は,前記パラメータ記憶部173に記憶された最適フィルタ係数Hoptの周波数特性Hopt(k)の値に,前記騒音制御フィルタ162の周波数特性H1(k)を上書きする。即ち,前記周波数特性Hopt(0,1,…n)が前記周波数特性H1(0,1,…n)となる。
そして,前記フィルタ係数算出部172は,前記騒音制御フィルタ162に前記フィルタ係数H1を設定する。即ち,前記騒音制御フィルタ162の周波数特性が,前記パラメータ記憶部173に記憶された周波数特性Hopt(k)である周波数特性H1(k)に設定される(ステップT12)。
その後,前記フィルタ係数算出部172は,前記リファレンス信号X(z)及び前記残差信号E(z)各々が前記所定サンプル数だけバッファリングされるごとに(ステップT13のYes側),処理をステップT14に移行させる。なお,前記リファレンス信号X(z)及び前記残差信号E(z)各々のサンプリングレートは例えば4kHz程度であって,前記所定サンプル数は例えば256である。
(Steps T11 to T13)
First, in step T11, the filter
The filter
Thereafter, the filter
(ステップT14)
ステップT14では,前記入力信号分析部171が,前記騒音検出マイクロフォン11によって取得された騒音波であるリファレンス信号X(z)に含まれた前記周波数ビンごとのパワースペクトル(強度)を離散フーリエ変換(FFT)によって検出して,該パワースペクトルが予め設定された閾値Q以上である周波数ビン番号kを有色雑音の周波数ビンとして特定し,その周波数ビン番号kを前記パラメータ記憶部173に記憶させる。以下,ここで特定された周波数ビン番号kの周波数ビンを有色周波数ビンkaという
(Step T14)
In step T14, the input
(ステップT15)
そして,ステップT15では,前記フィルタ係数算出部172が,前記騒音検出マイクロフォン11から前記残差検出マイクロフォン12に至る総合系特性の周波数特性S(k)を同定する。
具体的に,前記フィルタ係数算出部172は,前記ステップT14における前記入力信号分析部171のパワースペクトルの検出時に得られたFFT結果を使用し,前述した周波数領域適応アルゴリズムによって前記式(13)を用いて前記周波数特性S(k)を同定する。なお,この同定結果が1回の学習処理単位であり,前記周波数領域適応アルゴリズムにおけるブロック実行処理は,この学習処理単位を任意の回数繰り返して平均化することにより,前記式(13)の分母がゼロになる可能性を低くしている。例えば,学習処理単位4回を1つのブロック単位とし,その後,前記周波数ビン毎に分母分子の除算結果にステップサイズμを積算し,現在の各周波数ビンのSj(k)に加算したものが各Sj+1(k)となる(jは更新回数)。例えば,前記ブロック単位の処理を12回繰り返すことで総合系特性の周波数特性S(k)の学習を行うことが考えられるが,その繰り返し数は任意に変更してもよい。要するに,総合系特性の周波数特性S(k)を収束させて前記騒音制御フィルタ162に設定したフィルタ係数に対応する周波数特性S(k)を同定することができればよい。
(Step T15)
In step T15, the filter
Specifically, the filter
(ステップT16)
そして,前記フィルタ係数算出部172は,前記ステップT15で同定した周波数特性S(k)に応じて,前記パラメータ記憶部173に記憶された前記周波数特性S1(k)又はS2(k)を順次上書き保存(更新)する。ここに,係る更新処理を実行するときの前記フィルタ係数算出部172が総合系特性更新手段に相当する。
具体的に,前記フィルタ係数算出部172は,前記ステップT15により前記周波数特性S(k)が同定されたときに前記騒音制御フィルタ162に設定されているフィルタ係数,即ち前記パラメータ記憶部173に記憶されている前記最適フィルタ係数Hoptの周波数特性Hopt(k)における前記有色周波数ビンkaの値が,前記周波数特性H1(k)における前記有色周波数ビンkaの値であれば,前記周波数特性H1(k)における前記有色周波数ビン番号kaの値のみを前記周波数特性S(z)における前記有色周波数ビン番号kaの値に更新する。
また,前記フィルタ係数算出部172は,前記ステップT15により前記周波数特性S(k)が同定されたときに前記騒音制御フィルタ162に設定されているフィルタ係数,即ち前記パラメータ記憶部173に記憶されている前記最適フィルタ係数Hoptの周波数特性Hopt(k)における前記有色周波数ビンkaの値が,前記周波数特性H2(k)における前記有色周波数ビンkaの値であれば,前記周波数特性H2(k)における前記有色周波数ビン番号kaの値のみを前記周波数特性S(z)における前記有色周波数ビン番号kaの値に更新する。
(Step T16)
The filter
Specifically, the filter
The filter
(ステップT17)
そして,ステップT17では,前記フィルタ係数算出部172は,前記式(11)により有効な周波数特性Hopt(k)を算出することができるか否かを判断する。
具体的に,前記パラメータ記憶部173に記憶された,前記周波数特性H1(k),H2(k)及び前記周波数特性S1(k),S2(k)各々における前記有色周波数ビンkaの値が有効な値である場合には,前記式(11)により前記周波数特性Hopt(k)を正しく算出することができる。ここに,前記ステップT16において,前記周波数特性S2(k)が更新されると,前記周波数特性H1(k),H2(k)及び前記周波数特性S1(k),S2(k)各々における前記有色周波数ビンkaの値として有効な値が前記パラメータ記憶部173に記憶されることになる。そのため,前記フィルタ係数算出部172は,前記ステップT16において,前記周波数特性S2(k)が更新された場合には,前記式(11)により有効な周波数特性Hopt(k)を算出することができると判断し(ステップT17のYes側),処理をステップT18に移行させ,前記ステップT16において,前記周波数特性S1(k)が更新された場合には,また前記式(11)により有効な周波数特性Hopt(k)を算出することができないと判断し(ステップT17のNo側),処理をステップT171に移行させる。
(Step T17)
In step T17, the filter
Specifically, the value of the colored frequency bin ka in each of the frequency characteristics H1 (k) and H2 (k) and the frequency characteristics S1 (k) and S2 (k) stored in the
(ステップT171)
前記ステップT16において前記周波数特性S1(k)が更新されたことを条件に実行されるステップT171では,前記フィルタ係数算出部172は,前記パラメータ記憶部173に記憶された前記周波数特性Hopt(k)における前記有色周波数ビンkaの値を前記周波数特性H2(k)における前記有色周波数ビンkaの値に上書き保存(更新)し,処理は後述のステップT20に移行する。即ち,前記有色周波数ビンkaを除く周波数ビン番号に対応する前記周波数特性Hopt(k)の値は残存したままである。ここに,係る更新処理を実行するときの前記フィルタ係数算出部172が第一の最適フィルタ係数更新手段に相当する。
(Step T171)
In step T171 executed on the condition that the frequency characteristic S1 (k) is updated in step T16, the filter
(ステップT18〜T19)
他方,前記ステップT16において前記周波数特性S2(k)が更新されたことを条件に実行されるステップT18では,前記フィルタ係数算出部172は,前記パラメータ記憶部173に記憶された前記周波数特性H1(k),H2(k),S1(k),S2(k)を前記式(11)式に代入して前記周波数特性Hopt(k)を算出し,該周波数特性Hopt(k)における前記有色周波数ビンkaの値により,前記パラメータ記憶部173に記憶された前記周波数特性Hopt(k)における前記有色周波数ビンkaの値のみを上書き保存(更新)する。ここに,係る算出処理を実行するときの前記フィルタ係数算出部172が最適フィルタ算出手段に相当し,係る更新処理を実行するときの前記フィルタ係数算出部172が第二の最適フィルタ係数更新手段に相当する
続いて,ステップT19において,前記フィルタ係数算出部172は,前記パラメータ記憶部173に記憶された前記周波数特性H1(k),S1(k),H2(k)における前記有色周波数ビンkaの値のみを,前記周波数特性H2(k),S2(k),Hopt(k)における前記有色雑音に対応する周波数ビン番号kの値に上書き保存(更新)する。ここに,係る更新処理を実行するときの前記フィルタ係数算出部172が周波数特性更新手段に相当する。また,前記フィルタ係数算出部172は,前記パラメータ記憶部173に記憶された前記周波数特性S2(k)を初期化(=0)する。ここに,係る初期化処理を実行するときの前記フィルタ係数算出部172が初期化手段に相当する。
即ち,当該更新処理では,前記ステップT18において前記周波数特性Hopt(k)が算出された場合にのみ,前記周波数特性S1(k)における前記有色周波数ビンkaの値が,前記周波数特性S2(k)における前記有色周波数ビンkaの値に更新され,それまでの間は前記周波数特性S1(k)の値は保持される。
(Steps T18-T19)
On the other hand, in step T18, which is executed on the condition that the frequency characteristic S2 (k) is updated in step T16, the filter
That is, in the update process, only when the frequency characteristic Hopt (k) is calculated in step T18, the value of the colored frequency bin ka in the frequency characteristic S1 (k) is changed to the frequency characteristic S2 (k). The value is updated to the value of the colored frequency bin ka at, and the value of the frequency characteristic S1 (k) is held until then.
(ステップT20〜T21)
そして,前記フィルタ係数算出部172は,前記パラメータ記憶部173に記憶された前記周波数特性Hopt(k)を逆フーリエ変換して最適フィルタ係数Hoptを算出し(ステップT20),その最適フィルタ係数Hoptを前記騒音制御フィルタ162に設定する(ステップT21)。ここに,係る設定処理を実行するときの前記フィルタ係数算出部172が最適フィルタ設定手段に相当する。
これにより,前記最適フィルタ係数Hopt(k)における前記有色周波数ビンkaの値が前記ステップT18で算出されたものである場合には,前記ステップT21で前記最適フィルタ係数Hoptが設定された後の前記騒音制御フィルタ162に騒音波が通過することによって生成される該騒音波と同振幅・逆位相の消音波が,前記騒音制御スピーカ13から出力されることにより,該騒音波を減衰させて前記騒音制御対象地点Bにおける騒音をキャンセルすることができる。
(Steps T20 to T21)
Then, the filter
Thereby, when the value of the colored frequency bin ka in the optimum filter coefficient Hopt (k) is calculated in the step T18, the value after the optimum filter coefficient Hopt is set in the step T21. A noise cancellation signal having the same amplitude and opposite phase as that of the noise wave generated when the noise wave passes through the
ここで,図3を参照しつつ,前記DSP16によって上述の最適フィルタ係数の更新処理(図2参照)が実行された結果の一例を説明する。ここに,図3(a)は1回目の同定処理,図3(b)は2回目の同定処理,図3(c)は6回目の同定処理の実行結果を示しており,図3(d)は6回目の同定処理の実行後の各種パラメータを示している。
ここでは,1回目の同定処理から5回目の同定処理が実行されるごとに,エンジンの回転数が徐々に上がって有色雑音の周波数ビン番号kが1つずつ増加し,6回目の同定処理が実行されたときには,5回目に比べて有色雑音の周波数ビン番号kが1つ減少した場合を例に挙げて説明する。
Here, referring to FIG. 3, an example of a result obtained by executing the above-described optimum filter coefficient update processing (see FIG. 2) by the
Here, every time the fifth identification process is executed from the first identification process, the engine speed gradually increases and the colored noise frequency bin number k increases by one, and the sixth identification process is performed. When executed, a case where the frequency bin number k of the colored noise is decreased by one compared to the fifth time will be described as an example.
(1回目の同定処理)
まず,図3(a)に示すように,1回目の同定処理では,周波数ビン番号k=0のパワースペクトル(強度)のみが予め設定された閾値Q以上であるため,前記周波数ビン番号k=0が有色雑音の周波数ビンであると特定される(ステップT14)。そして,この時点では,前記周波数特性Hopt(0)の値が前記周波数特性H1(0)の値であるため,図3(a)に示すように,前記ステップT15で同定された周波数特性S(0)の値が前記周波数特性S1(0)の値として記憶される(ステップT16)。
この段階では,前記周波数特性S2(0)が同定されていないため,前記周波数ビン番号k=0について,前記式(11)により有効な前記周波数特性Hopt(0)を算出することはできない(ステップT17のNo側)。この場合には,続くステップT171において,前記パラメータ記憶部173に記憶された前記周波数特性Hopt(0)の値が,前記周波数特性H2(0)の値に上書き(更新)される(図3(a))。
(First identification process)
First, as shown in FIG. 3A, in the first identification process, only the power spectrum (intensity) of the frequency bin number k = 0 is equal to or higher than a preset threshold value Q. Therefore, the frequency bin number k = It is specified that 0 is a frequency bin of colored noise (step T14). At this time, since the value of the frequency characteristic Hopt (0) is the value of the frequency characteristic H1 (0), as shown in FIG. 3A, the frequency characteristic S ( The value of 0) is stored as the value of the frequency characteristic S1 (0) (step T16).
At this stage, since the frequency characteristic S2 (0) has not been identified, the effective frequency characteristic Hopt (0) cannot be calculated from the equation (11) for the frequency bin number k = 0 (step S1). No side of T17). In this case, in the subsequent step T171, the value of the frequency characteristic Hopt (0) stored in the
(2回目の同定処理)
そして,図3(b)に示すように,2回目の同定処理では,有色雑音の周波数帯域が上がっており,周波数ビン番号k=1のパワースペクトルのみが前記閾値Q以上であるため,前記周波数ビン番号k=1が有色雑音の周波数ビンであると特定される(ステップT14)。そして,この時点では,前記周波数特性Hopt(1)の値が前記周波数特性H1(1)の値であるため,図3(b)に示すように,前記ステップT15で同定された周波数特性S(1)の値が前記周波数特性S1(1)の値として記憶される(ステップT16)。これにより,前記周波数特性S1(0),S1(1)各々に有効な値が設定されることとなる。
なお,この段階でもまだ,前記周波数特性S2(1)が同定されていないため,前記周波数ビン番号k=1について,前記式(11)により有効な前記周波数特性Hopt(1)を算出することはできない(ステップT17のNo側)。そのため,この場合にも続くステップT171において,前記パラメータ記憶部173に記憶された前記周波数特性Hopt(1)の値が,前記周波数特性H2(1)の値に上書き(更新)される(図3(b))。
このように,前記更新処理(図2参照)では,前記パラメータ記憶部173に記憶された前記周波数特性S1(k)における各周波数ビンの値が徐々に同定され,前記パラメータ記憶部173に記憶されることになる。具体的に,前記有色雑音の周波数ビン番号k=4となる5回目の同定処理まで同様の処理が実行されると,図3(c)に示すように,前記総合系特性の周波数特性S1(0),S1(1),…S1(4)の値が順に同定され,前記周波数特性Hopt(0),Hopt(1),…Hopt(4)には前記周波数特性H2(0),H2(1),…H2(4)の値が上書き保存(更新)される。
(Second identification process)
As shown in FIG. 3B, in the second identification process, the frequency band of the colored noise is increased, and only the power spectrum of the frequency bin number k = 1 is greater than or equal to the threshold value Q. The bin number k = 1 is identified as the colored noise frequency bin (step T14). At this time, since the value of the frequency characteristic Hopt (1) is the value of the frequency characteristic H1 (1), as shown in FIG. 3B, the frequency characteristic S ( The value of 1) is stored as the value of the frequency characteristic S1 (1) (step T16). As a result, effective values are set for the frequency characteristics S1 (0) and S1 (1).
At this stage, since the frequency characteristic S2 (1) has not yet been identified, it is possible to calculate the effective frequency characteristic Opt (1) using the equation (11) for the frequency bin number k = 1. Cannot (No side of step T17). Therefore, also in this case, in the subsequent step T171, the value of the frequency characteristic Opt (1) stored in the
Thus, in the update process (see FIG. 2), the value of each frequency bin in the frequency characteristic S1 (k) stored in the
(6回目の同定処理)
そして,図3(c)に示すように,6回目の同定処理では,周波数ビン番号k=3のパワースペクトルのみが前記閾値Q以上であるため,前記周波数ビン番号k=3が有色雑音の周波数ビンであると特定される(ステップT14)。この時点では,前記周波数特性Hopt(3)の値が前記周波数特性H2(3)の値であるため,図3(c)に示すように,前記ステップT15で同定された周波数特性S(3)の値が前記周波数特性S2(3)の値として記憶される(ステップT16)。従って,有色雑音の周波数ビンk=3に対応する周波数特性H1(3),H2(3),S1(3),S2(3)の全てに有効なデータが揃うこととなり,前記周波数ビン番号k=3について,前記式(11)により有効な前記周波数特性Hopt(3)を算出することができる(ステップT17のYes側)。
そのため,前記ステップT21で前記最適フィルタ係数Hoptが前記騒音制御フィルタ162に設定されると,前記騒音波の前記周波数ビン番号k=3の波形は,前記騒音制御スピーカ13からの消音波によって減衰することとなり周波数ビン番号k=3に周波数をスイープした有色雑音をキャンセルすることができる。
なお,6回目の同定処理が終了すると,図3(d)に示すように,前記有色雑音の周波数ビン番号k=3に対応する周波数特性H1(3),S1(3),H2(3)が周波数特性H2(3),S2(3),Hopt(3)に更新され,周波数特性S2(3)はリセットされる(ステップT19)。
(6th identification process)
As shown in FIG. 3C, in the sixth identification process, only the power spectrum of the frequency bin number k = 3 is equal to or greater than the threshold value Q. Therefore, the frequency bin number k = 3 is the frequency of the colored noise. A bin is identified (step T14). At this time, since the value of the frequency characteristic Hopt (3) is the value of the frequency characteristic H2 (3), as shown in FIG. 3C, the frequency characteristic S (3) identified in the step T15. Is stored as the value of the frequency characteristic S2 (3) (step T16). Therefore, effective data is obtained in all of the frequency characteristics H1 (3), H2 (3), S1 (3), and S2 (3) corresponding to the frequency bin k = 3 of the colored noise, and the frequency bin number k = 3, the effective frequency characteristic Hopt (3) can be calculated by the equation (11) (Yes side of step T17).
Therefore, when the optimum filter coefficient Hopt is set in the
When the sixth identification process is completed, as shown in FIG. 3D, frequency characteristics H1 (3), S1 (3), H2 (3) corresponding to the frequency bin number k = 3 of the colored noise. Are updated to the frequency characteristics H2 (3), S2 (3), and Hopt (3), and the frequency characteristics S2 (3) are reset (step T19).
以上,説明したように,前記能動騒音制御装置Yでは,能動騒音制御(ANC)の対象が周波数のスイープする有色雑音であっても,いずれ前記ステップT16によって総合系の周波数特性S1(k),S2(k)の両方における有色雑音の周波数ビン番号kの値が同定された時点で,前記残差検出マイクロフォン12により検出される残差波が最小となる最適フィルタ係数Hoptを前記騒音制御フィルタ162に設定することができ,該有色雑音について騒音低減効果を得ることができる。
ここに,図4は,本実施の形態の処理結果の一例を示すものであって,前記能動騒音制御装置Yにおいて,100Hz〜500Hzの−10dB正弦波スイープ信号について本発明に係るANCを実行したときの騒音制御結果(実線),及び同条件で従来のANCを実行したときの騒音制御結果(破線)を示す実験データである。なお,前記DSP16の動作の前提として,前記フィルタ係数算出部172で具現される補助フィルタのタップ数が256,前記騒音制御フィルタ162のタップ数が256であり,前記フィルタ係数算出部172における離散フーリエ変換の区間長が512,ステップサイズが0.5,サンプリングレートが4kHzであるものとする。
図4に示すように,従来手法(破線)では有色雑音についてANCによる騒音低減効果を奏していないが,本発明の手法(実線)によれば有色雑音についてANCによる騒音低減効果を奏することが確認できる。
As described above, in the active noise control device Y, even if the target of active noise control (ANC) is colored noise whose frequency is swept, the frequency characteristic S1 (k) of the total system is eventually determined by the step T16. At the time when the value of the frequency bin number k of the colored noise in both of S2 (k) is identified, the optimum filter coefficient Hopt that minimizes the residual wave detected by the
FIG. 4 shows an example of the processing result of the present embodiment. In the active noise control apparatus Y, the ANC according to the present invention was executed for a −10 dB sine wave sweep signal of 100 Hz to 500 Hz. Is the experimental data showing the noise control result (solid line) and the noise control result (dashed line) when the conventional ANC is executed under the same conditions. As a premise of the operation of the
As shown in FIG. 4, the conventional method (broken line) does not achieve the noise reduction effect by ANC for the colored noise, but the method of the present invention (solid line) confirms that the noise reduction effect by ANC is achieved for the colored noise. it can.
ところで,前記能動騒音制御装置Yを,車内(CAB)や室内における人の耳元騒音の低減などを目的として利用することが考えられるが,この場合には,ANCによって騒音を低減することにより,その車内や室内で再生されるラジオやオーディオなどの音(以降,「必要音」という)が消音波の影響を受け,その必要音の音質劣化が生じるおそれがある。また,その必要音の存在に起因して総合系特性の同定が正しく行われず,前記能動騒音制御装置Yによる騒音低減効果が妨げられるおそれもある。
そこで,本実施例では,音質を劣化させることなく必要音を出力させると共に,騒音低減効果を得ることのできる能動騒音制御装置Y1について説明する。なお,前記実施の形態で説明した前記能動騒音制御装置Yと同様の構成要素については同じ符号を付してその説明を省略する。
By the way, it is conceivable to use the active noise control device Y for the purpose of reducing the ear noise of the person in the car (CAB) or in the room. In this case, the noise is reduced by ANC. Sounds such as radio and audio that are played in the car or indoors (hereinafter referred to as “necessary sound”) may be affected by the sound deadening, and the sound quality of the necessary sound may deteriorate. In addition, due to the presence of the necessary sound, the identification of the overall system characteristics may not be performed correctly, and the noise reduction effect by the active noise control device Y may be hindered.
Therefore, in the present embodiment, an active noise control device Y1 capable of outputting a necessary sound without deteriorating sound quality and obtaining a noise reduction effect will be described. In addition, the same code | symbol is attached | subjected about the component similar to the said active noise control apparatus Y demonstrated in the said embodiment, and the description is abbreviate | omitted.
まず,図5を参照しつつ,前記能動騒音制御装置Y1の全体構造の概略について説明する。
ここでは,既知音源であるラジオやオーディオなどの外部音声信号入力部20から外部音声信号G(z)が必要音として入力される場合を例に挙げて説明する。
図5に示すように,前記能動騒音制御装置Y1は,前記外部音声信号入力部20から入力された外部音声信号G(z)のうち予め設定される周波数帯域の信号のみを通過させるバンドパスフィルタ21と,前記騒音制御スピーカ13から前記残差検出マイクロフォン12に到達する前記外部音声信号G(z)をエコー音として生成するエコーフィルタ22と,前記バンドパスフィルタ21の出力信号を前記騒音制御フィルタ162からの出力信号に加算する加算部164と,前記エコーフィルタ22で生成されるエコー音を前記残差検出マイクロフォン12の残差信号E(z)から減算するエコー減算部221とを備えている。
これにより,前記能動騒音制御装置Y1では,前記外部音声信号G(z)の影響なく総合系特性を同定し,騒音低減効果を得ることができると共に,該外部音声信号G(z)を出力することも可能である。
First, an outline of the overall structure of the active noise control device Y1 will be described with reference to FIG.
Here, a case where an external audio signal G (z) is input as a necessary sound from an external audio
As shown in FIG. 5, the active noise control device Y <b> 1 is a band-pass filter that passes only a signal in a preset frequency band among the external audio signal G (z) input from the external audio
As a result, the active noise control device Y1 can identify the overall system characteristics without being affected by the external audio signal G (z), obtain a noise reduction effect, and output the external audio signal G (z). It is also possible.
続いて,図6を参照しつつ,前記能動騒音制御装置Y1の詳細構成について説明する。
図6に示すように,前記能動騒音制御装置Y1のDSP16には,入力バッファ161c,バンドパスフィルタ21,エコーフィルタ22,前記エコー減算部221,FFT222,加算部164が設けられている。また,前記能動騒音制御装置Y1は,各種のパラメータを記憶するフラッシュメモリ23を備えている。なお,前記能動騒音制御装置Y1では,前記ADC14及び前記入力バッファ16に代えて,前記騒音検出マイクロフォン11,前記残差検出マイクロフォン12各々に対応するADC14a,14b及び入力バッファ161a,161bが設けられている。
前記騒音検出マイクロフォン11から前記入力バッファ161aに入力されたリファレンス信号X(z)は,1サンプルごとに前記騒音制御フィルタ162に出力される。また,前記残差検出マイクロフォン12から前記入力バッファ161bに入力された残差信号E(z)は,1サンプルごとに前記エコー減算部221に出力される。さらに,前記外部音声信号入力部20から前記入力バッファ161cに入力された外部音声信号G(z)は,1サンプルごとに前記エコーフィルタ22に出力される。
Next, a detailed configuration of the active noise control device Y1 will be described with reference to FIG.
As shown in FIG. 6, the
The reference signal X (z) input from the
前記バンドパスフィルタ21は,前記フィルタ係数算出部172によって設定されるフィルタ係数に応じて,所定の周波数帯域の信号のみを通過させる。なお,前記バンドパスフィルタ21のフィルタ係数と該バンドパスフィルタ21が通過させる所定の周波数帯域との関係は,前記フラッシュメモリ23などに予め記憶されている。
また,前記エコーフィルタ22は,前記外部音声信号G(z)及び前記フィルタ係数算出部172により設定されるフィルタ係数に応じて,前記騒音制御対象地点Bに到達する前記外部音声信号G(z)であるエコー音を生成する。
ここで,前記フィルタ係数算出部172は,前記外部音声信号G(z)と後述の二次系の周波数特性C(k)とに基づいて,前記騒音制御対象地点Bに到達する前記外部音声信号G(z)を算出し,該算出された外部音声信号G(z)が前記エコーフィルタ22で生成されるように,該エコーフィルタ22のフィルタ係数を設定する。例えば,前記フィルタ係数算出部172は,前記外部音声信号G(z)及び前記二次系の周波数特性C(k)を掛け算した結果を逆フーリエ変換することにより前記エコーフィルタ22のフィルタ係数を算出する。ここに,係る算出処理を実行するときの前記フィルタ係数算出部172がエコーフィルタ算出手段に相当する。
The band-
In addition, the
Here, the filter
そして,前記エコー減算部221は,前記エコーフィルタ22から入力されたエコー音を前記残差検出マイクロフォン12の残差信号E(z)から減算することにより,該残差信号E(z)から騒音波成分のみを抽出する。ここに,係る減算処理を実行する前記エコー減算部221が外部音声減算手段に相当する。
前記FFT222は,前記エコー減算部221から出力された残差信号E(z)を離散フーリエ変換して前記フィルタ係数算出部172に入力する。
前記加算部164は,前記騒音制御フィルタ162からの出力信号と前記バンドパスフィルタ21からの出力信号とを加算して前記出力バッファ163に入力する。これにより,前記騒音制御スピーカ13は,前記消音波及び前記外部音声信号G(z)を共に出力する。ここに,前記外部音声信号G(z)を出力するときの前記騒音制御スピーカ13が外部音声出力手段の一例である。
前記フラッシュメモリ23は,前記バンドパスフィルタ21におけるフィルタ係数と通過周波数との関係や,各種のパラメータの設定履歴などを記憶する記憶装置であって,前記フィルタ係数算出部172等によって読み書き(リード,ライト)される。
The
The
The
The flash memory 23 is a storage device that stores the relationship between the filter coefficient and the pass frequency in the band-
以下,図7のフローチャートを参照しつつ,前記能動騒音制御装置Y1において,前記DSP16内で実行される最適フィルタ係数の更新処理について説明する。なお,当該更新処理は,例えば前記能動騒音制御装置Y1の電源ON(起動)により開始される。
ここに,前記能動騒音制御装置Y1では,前記パラメータ記憶部173(二次系特性記憶手段に相当)に,前記周波数特性H1(k),H2(k),S1(k),S2(k),Hopt(k)に加えて,前記騒音制御スピーカ13から前記残差検出マイクロフォン12に至る二次系の周波数特性C(k)における前記周波数ビンごとの値も記憶される。なお,これらの情報は,前記パラメータ記憶部173に限らず前記フラッシュメモリ23に記憶されるものであっても,各々に記憶されるものであってもよい。ここで,前記二次系の周波数特性C(k)は,前記式(7)を周波数領域に変換した次式(14)で表される。
C(k)=[S1(k)-S2(k)]/[H1(k)-H2(k)] …(14)
当該更新処理では,前記実施の形態で説明した更新処理(図2参照)に加えて,以下のステップT30〜T34の処理が実行される。なお,前記実施の形態と同様の処理手順には同じ符号を付してその説明を省略する。
The optimum filter coefficient updating process executed in the
Here, in the active noise control device Y1, the frequency characteristics H1 (k), H2 (k), S1 (k), S2 (k) are stored in the parameter storage unit 173 (corresponding to the secondary system characteristic storage means). , Hopt (k), the value for each frequency bin in the secondary frequency characteristic C (k) from the
C (k) = [S1 (k) -S2 (k)] / [H1 (k) -H2 (k)] (14)
In the update process, in addition to the update process described in the above embodiment (see FIG. 2), the following processes of steps T30 to T34 are executed. Note that the same processing steps as those of the above-described embodiment are denoted by the same reference numerals and description thereof is omitted.
(ステップT30)
まず,ステップT30では,前記フィルタ係数算出部172によって,前記バンドパスフィルタ21及び前記エコーフィルタ22のフィルタ係数が初期設定される。
具体的に,前記フィルタ係数算出部172は,前記エコーフィルタ22のフィルタ係数をリセット(=0)する。一方,前記フィルタ係数算出部172は,前記外部音声信号G(z)の全ての周波数の信号が通過しないように前記バンドパスフィルタ21のフィルタ係数を設定する。そのため,後述のステップT34において前記バンドパスフィルタ21のフィルタ係数が変更されるまでは,該バンドパスフィルタ21から前記外部音声信号G(z)は出力されない。なお,前記バンドパスフィルタ21が通過させる周波数とフィルタ係数との関係は,前記フラッシュメモリ23などに記憶されており,前記フィルタ係数算出部172は,その関係に基づいて前記バンドパスフィルタ21のフィルタ係数を適宜設定する。
但し,過去に前記能動騒音制御装置Y1において前記外部音声信号入力部20から外部音声信号G(z)の入力がある状態で当該更新処理が実行されることにより,前記バンドパスフィルタ21及び前記エコーフィルタ22各々のフィルタ係数が前記フラッシュメモリ23などに履歴として記憶されている場合には,そのフィルタ係数各々を前記フラッシュメモリ23から読み出して前記バンドパスフィルタ21及び前記エコーフィルタ22各々に設定すればよい。これにより,前記能動騒音制御装置Y1の起動直後から前記外部音声信号G(z)を出力すると共に騒音低減効果を得ることができる。
ここでは,前記バンドパスフィルタ21及び前記エコーフィルタ22各々のフィルタ係数が前記フラッシュメモリ23などに履歴として記憶されていない場合を例に挙げて説明する。
(Step T30)
First, in step T30, the filter
Specifically, the filter
However, the update process is executed in the past in the active noise control device Y1 with the external audio signal G (z) being input from the external audio
Here, the case where the filter coefficients of the
(ステップT31)
次に,前記ステップT11〜T18までの処理が実行されると,前記フィルタ係数算出部172は,以下のステップT31〜T34の処理を実行する。
具体的に,前記フィルタ係数算出部172は,前記ステップT18〜T20において前記最適フィルタ係数Hoptを算出すると共に,ステップT31において,前記二次系の周波数特性C(k)を前記式(14)に従って算出し,その周波数特性C(k)における前記有色周波数ビンkaの値により,前記パラメータ記憶部173に記憶された周波数特性C(k)における前記有色周波数ビンkaの値のみを更新する。ここに,係る算出処理を実行するときの前記フィルタ係数算出部172が二次系周波数特性算出手段に相当し,係る更新処理を実行するときの前記フィルタ係数算出部172が二次系周波数特性更新手段に相当する。
(Step T31)
Next, when the processes from the steps T11 to T18 are executed, the filter
Specifically, the filter
(ステップT32〜T34)
そして,前記フィルタ係数算出部172は,前記パラメータ記憶部173に記憶された前記周波数特性C(k)を逆フーリエ変換して,前記エコーフィルタ22のフィルタ係数を算出し(ステップT32),該フィルタ係数を前記エコーフィルタ22に設定する(ステップT33)。
これにより,前記フィルタ係数算出部172は,前記ステップT15において,前記リファレンス信号X(z)と前記エコー減算部221によって前記外部音声信号G(z)の成分が除去された後の残差信号E(z)とに基づいて総合系特性の周波数特性S(k)を同定する。
また,ステップT34において,前記フィルタ係数算出部172は,前記外部音声信号G(z)のうち前記ステップT31により前記パラメータ記憶部173に既に記憶された前記周波数特性C(k)における周波数ビンと同じ周波数帯域の外部音声信号のみを通過させるように,前記バンドパスフィルタ21のフィルタ係数を設定する。これにより,前記バンドパスフィルタ21は,前記外部音声信号G(z)のうち前記エコー減算部221によって減算される周波数ビンに対応する信号のみを通過させて,前記騒音制御スピーカ13から出力させる。
なお,このときの前記バンドパスフィルタ21や前記エコーフィルタ22のフィルタ係数は,前記フィルタ係数算出部172により前記フラッシュメモリ23に履歴として記憶され,前記能動騒音制御装置Y1の再起動後に利用される。
(Steps T32 to T34)
Then, the filter
Accordingly, the filter
In step T34, the filter
The filter coefficients of the
以上,説明したように,前記能動騒音制御装置Y1では,前記DSP16において上述の更新処理(図7参照)が実行されることにより,前記外部音声信号入力部20から入力される外部音声信号G(z)の影響を除外して騒音制御処理(ANC)を実行することができるため,周波数をスイープする有色雑音の騒音低減効果を得ることができ,且つ前記外部音声信号G(z)はその音質を劣化させることなく出力することができる。
なお,本実施例では,前記騒音制御スピーカ13が前記外部音声信号入力部20から入力される外部音声信号G(z)を出力する機能を兼ねているため,システム全体の構成を単純化することができ,コストを抑制することができる。もちろん,これに限らず前記騒音制御スピーカ13と別に必要音を出力するためのスピーカが設けられた構成であってもよい。
As described above, in the active noise control device Y1, the external audio signal G (input from the external audio signal input unit 20) is executed by the
In this embodiment, since the
11:騒音検出マイクロフォン
12:残差検出マイクロフォン
13:騒音制御スピーカ
14,14a,14b:ADC
15:DAC
16:DSP
161,161a〜161c:入力バッファ
162:騒音制御フィルタ
163:出力バッファ
164:加算部
171:入力信号分析部
172:フィルタ係数算出部
173:パラメータ記憶部
20:外部音声信号入力部
21:バンドパスフィルタ
22:エコーフィルタ
221:エコー減算部
222:FFT
23:フラッシュメモリ
A:騒音源
B:騒音制御対象地点
Y,Y1:能動騒音制御装置
11: Noise detection microphone 12: Residual detection microphone 13:
15: DAC
16: DSP
161, 161a to 161c: input buffer 162: noise control filter 163: output buffer 164: adder 171: input signal analyzer 172: filter coefficient calculator 173: parameter storage unit 20: external audio signal input unit 21: band pass filter 22: Echo filter 221: Echo subtraction unit 222: FFT
23: Flash memory A: Noise source B: Noise control target point Y, Y1: Active noise control device
Claims (1)
第一のフィルタ係数,該第一のフィルタ係数と異なる第二のフィルタ係数,第一の総合系特性,第二の総合系特性,最適フィルタ係数各々の周波数特性が記憶される特性記憶手段と,
前記騒音波の所定周波数帯域ごとの強度を検出する騒音強度検出手段と,
前記騒音強度検出手段により検出された強度が予め設定された閾値以上である有色周波数帯域を特定する有色周波数特定手段と,
前記総合系同定手段により前記総合系特性が同定されたときに前記騒音制御フィルタに設定されているフィルタ係数の周波数特性における前記有色周波数帯域の値が,前記第一のフィルタ係数の周波数特性における前記有色周波数帯域の値である場合は前記第一の総合系特性における前記有色周波数帯域の値のみを,前記第二のフィルタ係数の周波数特性における前記有色周波数帯域の値である場合は前記第二の総合系特性における前記有色周波数帯域の値のみを,それぞれ前記総合系特性における前記有色周波数帯域の値に更新する総合系特性更新手段と,
前記総合系特性更新手段により前記第一の総合系特性における前記有色周波数帯域の値が更新されたことを条件に,前記特性記憶手段に記憶された前記最適フィルタ係数の周波数特性における前記有色周波数帯域の値を前記第二のフィルタ係数の周波数特性における前記有色周波数帯域の値に更新する第一の最適フィルタ係数更新手段と,
前記総合系特性更新手段により前記第二の総合系特性における前記有色周波数帯域の値が更新されたことを条件に,前記特性記憶手段に記憶された前記第一のフィルタ係数,前記第二のフィルタ係数,前記第一の総合系特性,前記第二の総合系特性に基づいて,前記残差検出手段により検出される残差波が最小となる最適フィルタ係数を算出する最適フィルタ算出手段と,
前記最適フィルタ算出手段により前記最適フィルタ係数が算出されたことを条件に,該最適フィルタ係数の周波数特性における前記有色周波数帯域の値により,前記特性記憶手段に記憶された前記最適フィルタ係数の周波数特性における前記有色周波数帯域の値のみを更新する第二の最適フィルタ係数更新手段と,
前記第二の最適フィルタ係数更新手段により前記最適フィルタ係数が更新された後,前記特性記憶手段に記憶されている前記第一のフィルタ係数,前記第一の総合系特性,前記第二のフィルタ係数各々の周波数特性における前記有色周波数帯域の値を,前記第二のフィルタ係数,前記第二の総合系特性,前記最適フィルタ係数各々の周波数特性における前記有色周波数帯域の値に更新する周波数特性更新手段と,
前記周波数特性更新手段による更新後に,前記第二の総合系特性の周波数特性における前記有色周波数帯域の値を初期化する初期化手段と,
前記特性記憶手段に記憶された前記最適フィルタ係数を前記騒音制御フィルタに設定する最適フィルタ設定手段と
を備えてなることを特徴とする能動騒音制御装置。 Noise detection means for detecting a noise wave, residual detection means for detecting a residual wave at a noise control target point at which the noise wave is desired to be reduced, a noise control filter for generating a sound wave having an opposite phase to the noise wave, A noise cancellation output means for outputting the noise cancellation wave having a phase opposite to that of the noise wave generated by the noise control filter to interfere with the noise wave, and a noise wave detected by the noise detection means and the residual detection means And a feedforward type active noise control device comprising an overall system identification means for identifying an overall system characteristic from the noise detection means to the residual detection means based on a residual wave,
Characteristic storage means for storing a first filter coefficient, a second filter coefficient different from the first filter coefficient, a first total system characteristic, a second total system characteristic, and a frequency characteristic of each optimum filter coefficient;
Noise intensity detecting means for detecting the intensity of the noise wave for each predetermined frequency band;
Colored frequency specifying means for specifying a colored frequency band in which the intensity detected by the noise intensity detecting means is greater than or equal to a preset threshold;
When the total system characteristic is identified by the total system identification unit, the value of the colored frequency band in the frequency characteristic of the filter coefficient set in the noise control filter is the frequency characteristic of the first filter coefficient. When it is a value of the colored frequency band, only the value of the colored frequency band in the first overall system characteristic is used, and when it is the value of the colored frequency band in the frequency characteristic of the second filter coefficient, the second Total system characteristic updating means for updating only the value of the colored frequency band in the total system characteristic to the value of the colored frequency band in the total system characteristic;
The colored frequency band in the frequency characteristic of the optimum filter coefficient stored in the characteristic storage means on condition that the value of the colored frequency band in the first overall system characteristic has been updated by the overall system characteristic updating means First optimal filter coefficient updating means for updating the value of the color filter to the value of the colored frequency band in the frequency characteristic of the second filter coefficient;
The first filter coefficient and the second filter stored in the characteristic storage unit on condition that the value of the colored frequency band in the second total system characteristic is updated by the total system characteristic updating unit. An optimum filter calculating means for calculating an optimum filter coefficient that minimizes a residual wave detected by the residual detecting means based on a coefficient, the first overall system characteristic, and the second overall system characteristic;
On the condition that the optimum filter coefficient is calculated by the optimum filter calculation means, the frequency characteristic of the optimum filter coefficient stored in the characteristic storage means by the value of the colored frequency band in the frequency characteristic of the optimum filter coefficient Second optimum filter coefficient updating means for updating only the value of the colored frequency band at
After the optimum filter coefficient is updated by the second optimum filter coefficient update means, the first filter coefficient, the first total system characteristic, and the second filter coefficient stored in the characteristic storage means Frequency characteristic updating means for updating the value of the colored frequency band in each frequency characteristic to the value of the colored frequency band in the frequency characteristic of each of the second filter coefficient, the second total system characteristic, and the optimum filter coefficient. When,
Initialization means for initializing a value of the colored frequency band in the frequency characteristic of the second overall system characteristic after the update by the frequency characteristic update means;
An active noise control device comprising: an optimum filter setting unit that sets the optimum filter coefficient stored in the characteristic storage unit in the noise control filter.
Priority Applications (1)
| Application Number | Priority Date | Filing Date | Title |
|---|---|---|---|
| JP2010033610A JP5513158B2 (en) | 2010-02-18 | 2010-02-18 | Active noise control device |
Applications Claiming Priority (1)
| Application Number | Priority Date | Filing Date | Title |
|---|---|---|---|
| JP2010033610A JP5513158B2 (en) | 2010-02-18 | 2010-02-18 | Active noise control device |
Publications (2)
| Publication Number | Publication Date |
|---|---|
| JP2011170088A JP2011170088A (en) | 2011-09-01 |
| JP5513158B2 true JP5513158B2 (en) | 2014-06-04 |
Family
ID=44684292
Family Applications (1)
| Application Number | Title | Priority Date | Filing Date |
|---|---|---|---|
| JP2010033610A Expired - Fee Related JP5513158B2 (en) | 2010-02-18 | 2010-02-18 | Active noise control device |
Country Status (1)
| Country | Link |
|---|---|
| JP (1) | JP5513158B2 (en) |
Families Citing this family (2)
| Publication number | Priority date | Publication date | Assignee | Title |
|---|---|---|---|---|
| KR101844822B1 (en) * | 2016-06-30 | 2018-05-18 | 한양대학교 산학협력단 | System and method for capturing 3d sound |
| CN114827798B (en) * | 2021-01-28 | 2024-07-26 | 炬芯科技股份有限公司 | Active noise reduction method, active noise reduction circuit, system and storage medium |
Family Cites Families (2)
| Publication number | Priority date | Publication date | Assignee | Title |
|---|---|---|---|---|
| JP3728837B2 (en) * | 1996-12-12 | 2005-12-21 | 住友電気工業株式会社 | Active noise control device |
| JP4616196B2 (en) * | 2006-03-07 | 2011-01-19 | ティーオーエー株式会社 | Unknown system identification system and method |
-
2010
- 2010-02-18 JP JP2010033610A patent/JP5513158B2/en not_active Expired - Fee Related
Also Published As
| Publication number | Publication date |
|---|---|
| JP2011170088A (en) | 2011-09-01 |
Similar Documents
| Publication | Publication Date | Title |
|---|---|---|
| US9363599B2 (en) | Systems and methods for protecting a speaker | |
| JP5026495B2 (en) | System for active noise control using audio signal compensation | |
| JP4283212B2 (en) | Noise removal apparatus, noise removal program, and noise removal method | |
| US9357300B2 (en) | Systems and methods for protecting a speaker | |
| US9761245B2 (en) | Externally estimated SNR based modifiers for internal MMSE calculations | |
| WO2009148049A1 (en) | Acoustic echo canceller and acoustic echo cancel method | |
| JP7162242B2 (en) | ACTIVE NOISE REDUCTION DEVICE, MOBILE DEVICE, AND ACTIVE NOISE REDUCTION METHOD | |
| US9449609B2 (en) | Accurate forward SNR estimation based on MMSE speech probability presence | |
| JP5513158B2 (en) | Active noise control device | |
| CN113593515A (en) | Wide-band and narrow-band hybrid active noise control system for coping with frequency offset | |
| US20220343891A1 (en) | Transfer function measuring method and active noise reduction device | |
| JP5466581B2 (en) | Echo canceling method, echo canceling apparatus, and echo canceling program | |
| JP5136396B2 (en) | Howling suppression device | |
| JP4690243B2 (en) | Digital filter, periodic noise reduction device, and noise reduction device | |
| JP2011221087A (en) | Active noise controller | |
| CN116312597A (en) | Method, device, equipment and system for detecting and suppressing howling in aircraft cockpit | |
| JP2005318518A (en) | Double-talk state judging method, echo cancel method, double-talk state judging apparatus, echo cancel apparatus, and program | |
| CN116052627A (en) | Engine noise active control method and system | |
| KR101283105B1 (en) | Apparatus for controlling active noise and method thereof | |
| JP2012141532A (en) | Active noise reduction device | |
| US12273691B2 (en) | Noise reduction system and noise reduction method | |
| JP2011205533A (en) | Adaptive equalizer, echo canceler and active noise control apparatus | |
| JP2014220589A (en) | Device, method and program for reducing non-linear distortion of speaker | |
| JP4094523B2 (en) | Echo canceling apparatus, method, echo canceling program, and recording medium recording the program | |
| JP4729072B2 (en) | Echo erasing device, echo erasing method, echo erasing program, and recording medium |
Legal Events
| Date | Code | Title | Description |
|---|---|---|---|
| RD02 | Notification of acceptance of power of attorney |
Free format text: JAPANESE INTERMEDIATE CODE: A7422 Effective date: 20110317 |
|
| RD04 | Notification of resignation of power of attorney |
Free format text: JAPANESE INTERMEDIATE CODE: A7424 Effective date: 20110324 |
|
| A621 | Written request for application examination |
Free format text: JAPANESE INTERMEDIATE CODE: A621 Effective date: 20120828 |
|
| A977 | Report on retrieval |
Free format text: JAPANESE INTERMEDIATE CODE: A971007 Effective date: 20130716 |
|
| A131 | Notification of reasons for refusal |
Free format text: JAPANESE INTERMEDIATE CODE: A131 Effective date: 20130911 |
|
| A521 | Request for written amendment filed |
Free format text: JAPANESE INTERMEDIATE CODE: A523 Effective date: 20131016 |
|
| A131 | Notification of reasons for refusal |
Free format text: JAPANESE INTERMEDIATE CODE: A131 Effective date: 20131203 |
|
| A521 | Request for written amendment filed |
Free format text: JAPANESE INTERMEDIATE CODE: A523 Effective date: 20140203 |
|
| TRDD | Decision of grant or rejection written | ||
| A01 | Written decision to grant a patent or to grant a registration (utility model) |
Free format text: JAPANESE INTERMEDIATE CODE: A01 Effective date: 20140304 |
|
| A61 | First payment of annual fees (during grant procedure) |
Free format text: JAPANESE INTERMEDIATE CODE: A61 Effective date: 20140327 |
|
| R150 | Certificate of patent or registration of utility model |
Ref document number: 5513158 Country of ref document: JP Free format text: JAPANESE INTERMEDIATE CODE: R150 |
|
| LAPS | Cancellation because of no payment of annual fees |
