[go: up one dir, main page]

JP5316172B2 - Wafer suction pad and pre-aligner having the same - Google Patents

Wafer suction pad and pre-aligner having the same Download PDF

Info

Publication number
JP5316172B2
JP5316172B2 JP2009089964A JP2009089964A JP5316172B2 JP 5316172 B2 JP5316172 B2 JP 5316172B2 JP 2009089964 A JP2009089964 A JP 2009089964A JP 2009089964 A JP2009089964 A JP 2009089964A JP 5316172 B2 JP5316172 B2 JP 5316172B2
Authority
JP
Japan
Prior art keywords
vacuum
wafer
pad
suction
vacuum groove
Prior art date
Legal status (The legal status is an assumption and is not a legal conclusion. Google has not performed a legal analysis and makes no representation as to the accuracy of the status listed.)
Expired - Fee Related
Application number
JP2009089964A
Other languages
Japanese (ja)
Other versions
JP2010245155A (en
Inventor
光昭 萩尾
真 大崎
Current Assignee (The listed assignees may be inaccurate. Google has not performed a legal analysis and makes no representation or warranty as to the accuracy of the list.)
Yaskawa Electric Corp
Original Assignee
Yaskawa Electric Corp
Priority date (The priority date is an assumption and is not a legal conclusion. Google has not performed a legal analysis and makes no representation as to the accuracy of the date listed.)
Filing date
Publication date
Application filed by Yaskawa Electric Corp filed Critical Yaskawa Electric Corp
Priority to JP2009089964A priority Critical patent/JP5316172B2/en
Publication of JP2010245155A publication Critical patent/JP2010245155A/en
Application granted granted Critical
Publication of JP5316172B2 publication Critical patent/JP5316172B2/en
Expired - Fee Related legal-status Critical Current
Anticipated expiration legal-status Critical

Links

Images

Landscapes

  • Container, Conveyance, Adherence, Positioning, Of Wafer (AREA)

Description

本発明は、半導体の製造装置や検査装置に使用され、ウェハのセンタリングやノッチ等の角度合わせを行うプリアライナに関するもので、特にウェハを吸引して保持するパッドに関するものである。   The present invention relates to a pre-aligner that is used in a semiconductor manufacturing apparatus or inspection apparatus and performs angle alignment such as wafer centering and notching, and more particularly to a pad that sucks and holds a wafer.

半導体ウェハには、その外周に結晶方向の目印となるノッチもしくはオリエンテーションフラット(オリフラ)が設けられている。半導体のウェハ処理プロセスにおいては、ウェハの位置を会わせた上で処理を行うプロセスがあり、プリアライナは、このノッチもしくはオリフラを所定の位置に合わせる装置である。
一般的にプリアライナは半導体製造装置や半導体の検査装置内にあって、ウェハハンドリングロボットの近傍に設置され、半導体搬送システムの一部として機能し、ウェハハンドリングロボットによって載置されたウェハの位置を合わせる。プリアライナは載置されたウェハのノッチを検出するためのノッチ検出センサを備えており、パッドにウェハが載置されると、ウェハを旋回させることでノッチ検出センサにて順次ウェハ外周をセンシングし、ノッチ位置を検出するとともに、その際の旋回位置情報から演算処理を行い、ノッチ位置をあらかじめ決められた所定の位置に旋回させる。従って、ウェハを載置するパッドは、ノッチ位置の検出や位置あわせのための旋回をするため、ウェハを確実に保持固定する必要がある。
A semiconductor wafer is provided with a notch or an orientation flat (orientation flat) serving as a mark in the crystal direction on the outer periphery thereof. In the semiconductor wafer processing process, there is a process in which processing is performed after matching the positions of the wafers, and the pre-aligner is a device that aligns the notch or orientation flat at a predetermined position.
In general, a pre-aligner is located in a semiconductor manufacturing apparatus or semiconductor inspection apparatus, is installed near a wafer handling robot, functions as a part of a semiconductor transfer system, and aligns the position of a wafer placed by the wafer handling robot. . The pre-aligner has a notch detection sensor for detecting the notch of the placed wafer. When the wafer is placed on the pad, the wafer outer periphery is sequentially sensed by the notch detection sensor by rotating the wafer. While detecting a notch position, a calculation process is performed from the turning position information at that time, and the notch position is turned to a predetermined position. Accordingly, since the pad on which the wafer is placed turns for detection and alignment of the notch position, it is necessary to securely hold and fix the wafer.

このようにプリアライナは、ウェハを1枚づつ順次位置合わせを行なうため、その動作時間が、半導体製造装置の単位時間当たりのウェハ処理能力を示すスループットを決めてしまう。そのためプリアライナには高速動作することが要求される。さらに、半導体ウェハ上には微細な電子回路を形成していくため、半導体ウェハのプロセスにおいては、ウェハの位置合わせに高い精度が要求される。また、微細な電子回路を形成していくため、極めて微小なゴミや異物であるパーティクルのウェハへの付着を回避する必要があり、最近の更なる微細化に伴ってウェハ表面だけでなく、裏面のパーティクルも微細化に影響があることが出てきていることから、パーティクル低減の要求があり、プリアライナについても、特にウェハを保持する部分であるパッドにおいてパーティクル低減の要求が高い。   Since the pre-aligner sequentially aligns the wafers one by one in this way, the operation time determines the throughput indicating the wafer processing capacity per unit time of the semiconductor manufacturing apparatus. Therefore, the pre-aligner is required to operate at high speed. Furthermore, since fine electronic circuits are formed on a semiconductor wafer, high accuracy is required for wafer alignment in the semiconductor wafer process. In addition, in order to form a fine electronic circuit, it is necessary to avoid adhesion of particles, which are extremely small dust and foreign matter, to the wafer. With the recent further miniaturization, not only the wafer surface but also the back surface There is a demand for particle reduction because the particles have an effect on miniaturization, and the pre-aligner also has a high demand for particle reduction particularly in a pad that is a part holding a wafer.

従来の半導体製造装置においてウェハを保持する方法として、複数のピン状の部材に支持されたウェハの裏面側をファンにて減圧することにより、ウェハを保持する方法がある(例えば、特許文献1参照)。
また、ガラス基板を保持する方法として、同心上に配置したゴムから成るシールリングの内側を真空ポンプで吸引して真空チャックする方法がある(例えば、特許文献2参照)。
As a method of holding a wafer in a conventional semiconductor manufacturing apparatus, there is a method of holding a wafer by decompressing the back side of the wafer supported by a plurality of pin-shaped members with a fan (see, for example, Patent Document 1). ).
Further, as a method for holding the glass substrate, there is a method in which the inside of a seal ring made of rubber arranged concentrically is sucked with a vacuum pump and vacuum chucked (for example, see Patent Document 2).

特開平6−37082号公報JP-A-6-37082

特開平6−61134号公報JP-A-6-61134

特許文献1はファンにて開放空間を吸引しながらそこで負圧を発生させるものであるが、ファンなので保持力を得るまでには時間がかかる。また、ファンであるから保持力の開放にも時間がかかるなど、応答性が悪いという問題があった。そのためにスループットを向上する事ができず、スループットを要求される装置には適用でき難いという問題があった。
また、特許文献1において、応答性の問題から、負圧を得る方法としてファンではなく、真空ポンプを接続した場合を考える。この場合には、ウェハ周辺部の大気部分の占める割合が大きいため、真空吸引する体積量が極めて大きく、すなわち開放空間を吸引することになるので、真空度が上がらずに十分な保持力を得ることができない、もしくは、保持力を得るまでに時間がかかる、真空ポンプなどの真空源の真空度が低下して、他の真空機器を使用している場合はそれらへの影響が出てくる、これらへの影響を少なくするためには大きな容量の真空ポンプが必要になる、など、多くの問題がある。
In Patent Document 1, a negative pressure is generated while sucking an open space with a fan. However, since the fan is a fan, it takes time to obtain a holding force. In addition, since it is a fan, it takes time to release the holding force, and there is a problem that the responsiveness is poor. For this reason, the throughput cannot be improved, and there is a problem that it cannot be applied to an apparatus that requires the throughput.
Further, in Patent Document 1, a case where a vacuum pump is connected instead of a fan is considered as a method for obtaining a negative pressure due to the problem of responsiveness. In this case, since the ratio of the atmospheric part to the wafer peripheral portion is large, the volume of vacuum suction is extremely large, that is, the open space is sucked, so that sufficient holding force is obtained without increasing the degree of vacuum. Cannot be used, or it takes time to obtain a holding force, the vacuum level of a vacuum source such as a vacuum pump is lowered, and if other vacuum equipment is used, the effect on them will be affected. There are many problems, such as the need for a large capacity vacuum pump to reduce these effects.

特許文献2においては、内側のシールリングと外側のシールリングを設けており、その内側には真空吸引を行うようになっており、シールリングで囲まれる部分が密閉状態となることから、保持力については期待できるが、連続した円環状のシールリングであることから、ウェハ裏面の接触部が多いため、ウェハ裏面のパーティクル汚染が多い問題がある。これは、ウェハに接触部についてはシールリングを介して、必ずパーティクルの転写による汚染が発生するため、その接触部分が多いとウェハ裏面が汚染されることになる。
また、ウェハの保持時は、シールリングによりウェハ裏面との間の気密性が保たれている。そのため、ウェハ搬送ロボットなどとのウェハ受け渡しの際に、保持力を開放させるために大気を流入させると、大気突入の勢いによりウェハの位置がずれる問題がある。アライメントを行ったウェハがずれると位置精度が保てず、結果としてプリアライナのアライメント精度が悪くなるという問題がある。この問題を最小限にするために、大気流入速度をスローベントなどの徐々に流入させる方法をとると、保持力開放までに時間がかかり、スループットを悪化させるという問題がある。
In Patent Document 2, an inner seal ring and an outer seal ring are provided, and vacuum suction is performed on the inner side, and the portion surrounded by the seal ring is in a sealed state. However, since it is a continuous annular seal ring, there are many contact portions on the back surface of the wafer, and there is a problem that there is much particle contamination on the back surface of the wafer. This is because the contact portion of the wafer is inevitably contaminated by the transfer of particles through the seal ring. Therefore, if the contact portion is large, the back surface of the wafer is contaminated.
Further, when the wafer is held, airtightness between the wafer back surface is maintained by the seal ring. For this reason, when the wafer is delivered to the wafer transfer robot or the like and the atmosphere is introduced to release the holding force, there is a problem that the position of the wafer is shifted due to the momentum of the atmosphere. If the aligned wafer is displaced, there is a problem that the positional accuracy cannot be maintained, and as a result, the alignment accuracy of the pre-aligner is deteriorated. In order to minimize this problem, when a method of gradually flowing the air inflow rate such as a slow vent is taken, there is a problem that it takes time until the holding force is released and the throughput is deteriorated.

本発明は、以上のことを鑑みたものであり、装置のスループットが求められるとともに、ウェハ保持部の開放後においてもパッド上でのウェハの位置精度が求められる装置に好適であることから、高スループット、アライメント精度が高精度でありながら、パーティクル汚染が極めて少ないプリアライナを提供する事を目的とする。

The present invention has been made in view of the above, and is suitable for an apparatus in which the throughput of the apparatus is required and the positional accuracy of the wafer on the pad is required even after the wafer holding unit is opened. An object of the present invention is to provide a pre-aligner that has very high throughput and alignment accuracy and is extremely low in particle contamination.

上記問題を解決するため、本発明は、次のように構成したのである。
発明は、ウェハを真空吸着して保持するウェハ吸引パッドにおいて、前記パッドの表面から突出して前記ウェハを直接支持し、前記パッドの表面と前記ウェハとの間に微小な隙間を形成する複数の支持片と、前記複数の支持片の内側に形成され、前記ウェハとともに略閉空間を形成する第1真空溝と、前記複数の支持片の外側に形成され、前記ウェハとともに略閉空間を形成する第2真空溝と、を備え、前記第1真空溝の略閉空間の圧力G1と前記第2真空溝の略閉空間の圧力G2との関係が、G1≦G2となるよう前記第1と第2の真空溝が真空吸引されることを特徴としたウェハ吸引パッドとするものである。
また、本発明は、前記複数の支持片のそれぞれが、ゴムで形成されることを特徴とする
また、本発明は、前記複数の支持片が、同一円周上に配置され、前記円周と同心の円を描くよう前記第1真空溝が形成され、前記複数の支持片の円周と前記第1真空溝が形成する円と同心の円を描くよう前記第2真空溝が環状に形成されることを特徴とする
また、本発明は、前記第1真空溝を真空吸引する真空源と、前記第2真空溝を真空吸引する真空源とが各々独立して設けられることを特徴とする
また、本発明は、前記第1真空溝を真空吸引する真空源と、前記第2真空溝を真空吸引する真空源とが同一のものであって、前記第2真空溝を真空吸引する流路に設けられたレギュレータによって前記第2真空溝の真空吸引が前記第1真空溝の真空吸引よりも弱められることを特徴とする
また、本発明は、ウェハを真空吸引によって保持するパッドと、前記ウェハを保持したパッドを旋回させる旋回機構と、前記パッドに保持されたウェハの外周を検知するセンサと、を備え、前記センサによって検出された前記ウェハのノッチ或いはオリフラを所望の方向へ回転させるプリアライナにおいて、前記パッドが、前記パッドの表面から突出して前記ウェハを直接支持し、前記パッドの表面と前記ウェハとの間に微小な隙間を形成する複数の支持片と、前記複数の支持片の内側に形成され、前記ウェハとともに略閉空間を形成する第1真空溝と、前記複数の支持片の外側に形成され、前記ウェハとともに略閉空間を形成する第2真空溝と、を備え、前記第1真空溝の略閉空間の圧力G1と前記第2真空溝の略閉空間の圧力G2との関係が、G1≦G2となるよう前記第1と第2の真空溝が真空吸引されることを特徴としたプリアライナとするものである。
また、本発明は、前記リアライナと、前記プリアライナに前記ウェハを載置するウェハハンドリングロボットと、を備えたことを特徴とする半導体搬送システムとするものである。
また、本発明は、前記の半導体搬送システムを備えたことを特徴とする半導体製造装置とするものである。
また、本発明は、前記半導体搬送システムを備えたことを特徴とする半導体検査装置とするものである。
In order to solve the above problem, the present invention is configured as follows.
The present invention provides a wafer suction pad for vacuum-sucking and holding a wafer to directly support the wafer by protruding from the surface of the pad and to form a plurality of gaps between the surface of the pad and the wafer. A support piece, a first vacuum groove formed inside the plurality of support pieces and forming a substantially closed space together with the wafer, and formed outside the plurality of support pieces and forming a substantially closed space together with the wafer. A second vacuum groove, and the relationship between the pressure G1 in the substantially closed space of the first vacuum groove and the pressure G2 in the substantially closed space of the second vacuum groove satisfies G1 ≦ G2. The wafer suction pad is characterized in that the two vacuum grooves are vacuum-sucked.
Further, the present invention each of the plurality of supporting pieces, characterized in that it is made of rubber.
Further, in the present invention, the plurality of support pieces are arranged on the same circumference, the first vacuum groove is formed so as to draw a circle concentric with the circumference, and the circumference of the plurality of support pieces and the It said second vacuum groove to draw a circle of a circle concentric to the first vacuum groove is formed, characterized in that it is formed in an annular shape.
Further, the present invention is characterized in that a vacuum source for vacuum suction of the first vacuum groove, a vacuum source for vacuum suction of the second vacuum groove is provided each independently.
In the present invention, the vacuum source for vacuum suction of the first vacuum groove and the vacuum source for vacuum suction of the second vacuum groove are the same, and the flow path for vacuum suction of the second vacuum groove vacuum suction of the second vacuum groove, characterized in that the weakened than vacuum suction of the first vacuum groove by a regulator provided.
Further, the present invention includes a pad for holding the wafer by vacuum suction, a turning mechanism for turning the pad holding the wafer, and a sensor for detecting the outer periphery of the wafer held by the pad. In the pre-aligner for rotating the detected notch or orientation flat of the wafer in a desired direction, the pad protrudes from the surface of the pad and directly supports the wafer, and a minute amount is provided between the surface of the pad and the wafer. A plurality of support pieces that form gaps, a first vacuum groove that is formed inside the plurality of support pieces and forms a substantially closed space together with the wafer, and that is formed outside the plurality of support pieces, together with the wafer A second vacuum groove that forms a substantially closed space, and a relationship between a pressure G1 of the substantially closed space of the first vacuum groove and a pressure G2 of the substantially closed space of the second vacuum groove. But, G1 ≦ G2 become such that the first and second vacuum grooves in which the pre-aligner that characterized in that it is vacuum.
Further, the present invention is a semiconductor conveyance system characterized by comprising said realigner, and a wafer handling robot for placing the wafer on the pre-aligner.
Further, the present invention is a semiconductor manufacturing apparatus characterized by comprising said semiconductor transfer system.
The present invention also provides a semiconductor inspection apparatus comprising the semiconductor transfer system.

本発明によると、2つの真空溝があることから充分な真空度を確保することができウェハの保持力が得られ、また、保持力印加時や開放時の応答性も高い事からアライメント時間の短縮ができ高スループットが達成できる。
また、保持力開放時の大気突入は、ウェハと真空溝とが略閉空間であることから、ウェハの位置には影響なく真空溝は大気圧に戻ることからウェハの位置ずれも発生しないため、高精度のアライメントができる。さらに、ウェハ裏面に接触しているのは支持片のみであり、ウェハ接触部の面積がほとんどないので、ウェハ裏面のパーティクル付着が極めて少ない。
したがって、本発明にて、高スループット、アライメント精度が高精度でありながら、パーティクル汚染が極めて少ないプリアライナを提供することができる。
According to the present invention, since there are two vacuum grooves, a sufficient degree of vacuum can be ensured and the holding force of the wafer can be obtained, and the response time when the holding force is applied and when it is released is also high. It can be shortened and high throughput can be achieved.
In addition, since the wafer and the vacuum groove are in a substantially closed space when the holding force is released, since the vacuum groove returns to atmospheric pressure without affecting the position of the wafer, the wafer does not shift. High precision alignment is possible. Further, only the support piece is in contact with the wafer back surface, and there is almost no area of the wafer contact portion, so that there is very little particle adhesion on the wafer back surface.
Therefore, according to the present invention, it is possible to provide a pre-aligner with extremely low particle contamination while having high throughput and high alignment accuracy.

本発明のプリアライナの側断面図Side sectional view of the pre-aligner of the present invention 図1のプリアライナのパッド部分を拡大した上面図と側断面図The top view and side sectional view which expanded the pad part of the pre-aligner of FIG. 本発明のプリアライナの流路形成における他の実施例を示すプリアライナの側断面図Side sectional view of a pre-aligner showing another embodiment in the flow path formation of the pre-aligner of the present invention 本発明のプリアライナのパッドにおける他の実施例を示す上面図と側断面図The top view and side sectional view showing other examples in the pad of the pre-aligner of the present invention

以下、本発明の実施の形態を、図を参照して説明する。   Hereinafter, embodiments of the present invention will be described with reference to the drawings.

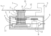
本発明の構成を各図を用いて説明する。図1は本発明のプリアライナの側断面図であり、図2はそのパット部分のみを拡大した上面図と側断面図である。
1はウェハを載置するパッドであり、パッドベース2に固定されている。パッドベース2の外周にはベアリングを設けており、パッドベース2およびパッド1は、装置本体に対して回転自在に支持されている。パッドベース2の下側には、ロータリジョイント4が接続されている。ロータリジョイント4は上下に2分割された部品で構成され、それらに圧縮空気もしくは真空を流す事が出来る流路が独立して複数路形成されており、上下いずれかの部品が連続して旋回できるようになっており、本実施例では上側を旋回させるものである。なお、旋回中であっても流路は独立してシールされているため、流路内の気体の圧力などは何ら変化はない。
また、パッドベース2にはプーリ5が設けられており、サーボモータである旋回用モータ8の軸端に設けているプーリ6とタイミングベルト7にて接続されていて、パットベース2は旋回動作ができるとともに、旋回位置情報が図示していないコントローラにて管理される。
9はノッチ検出センサであり、パッド1に載置されたウェハの外周付近に設けられ、ウェハのノッチ位置を検出することができる。パッド1に載置されたウェハを旋回させることで、ウェハ外周にあるノッチをノッチ検出センサ9がセンシングし、ノッチ位置情報と旋回位置情報を図示していないコントローラにより演算処理することで、ウェハのノッチを割り出し、ウェハを所定の位置へ旋回させることができる。
The configuration of the present invention will be described with reference to the drawings. FIG. 1 is a side sectional view of a pre-aligner of the present invention, and FIG. 2 is an enlarged top view and side sectional view of only the pad portion.
Reference numeral 1 denotes a pad on which a wafer is placed, and is fixed to the pad base 2. Bearings are provided on the outer periphery of the pad base 2, and the pad base 2 and the pad 1 are supported rotatably with respect to the apparatus main body. A rotary joint 4 is connected to the lower side of the pad base 2. The rotary joint 4 is composed of two parts divided into upper and lower parts, and a plurality of independent passages through which compressed air or vacuum can flow are formed, and either one of the upper and lower parts can turn continuously. In this embodiment, the upper side is turned. In addition, since the flow path is sealed independently even during turning, the pressure of the gas in the flow path does not change at all.
Further, the pad base 2 is provided with a pulley 5, and is connected to a pulley 6 provided at a shaft end of a turning motor 8 serving as a servo motor by a timing belt 7, and the pad base 2 performs a turning operation. The turning position information is managed by a controller (not shown).
A notch detection sensor 9 is provided near the outer periphery of the wafer placed on the pad 1 and can detect the notch position of the wafer. By turning the wafer placed on the pad 1, the notch detection sensor 9 senses a notch on the outer periphery of the wafer, and the notch position information and the turning position information are arithmetically processed by a controller (not shown). The notch can be indexed and the wafer can be swung to a predetermined position.

パッド1の上面には、パッド面からほんの僅かだけ飛び出したゴムから成る凸状のウェハ支持片10が円周上に4箇所配置されており、パッド1上の支持片10の内側には円状の第1真空溝11が形成されており、一方、支持片10の外側には第1真空溝11と同心円上に環状の第2真空溝12が形成されている。従ってウェハはウェハ支持片10によって支持されるので、パッド1自身の上面とは接触せず、パッド1の上面とウェハの下面との間に微小な隙間が生じる。
第1真空溝11、第2真空溝12は、パッドベース2内部に独立して形成された流路にそれぞれ接続しており、さらに、ロータリジョイント4の流路と連通している。ロータリジョイント4の固定側となる下側の部品から第1真空溝11に連通している流路は、大気流路との切り換え用のソレノイドバルブ13を介して半導体製造装置の真空源へと接続されている。一方、第2真空溝12に連通している流路は、圧縮空気などから真空を生成する真空発生器や大気流路との切り換え用のソレノイドバルブなどからなる真空発生ユニット14に接続されている。
On the upper surface of the pad 1, four convex wafer support pieces 10 made of rubber protruding only slightly from the pad surface are arranged on the circumference, and a circular shape is formed inside the support piece 10 on the pad 1. The first vacuum groove 11 is formed, and on the other hand, an annular second vacuum groove 12 is formed on the outer side of the support piece 10 concentrically with the first vacuum groove 11. Therefore, since the wafer is supported by the wafer support piece 10, it does not contact the upper surface of the pad 1 itself, and a minute gap is generated between the upper surface of the pad 1 and the lower surface of the wafer.
The first vacuum groove 11 and the second vacuum groove 12 are each connected to a flow path formed independently inside the pad base 2, and further communicated with the flow path of the rotary joint 4. The flow path communicating from the lower part serving as the fixed side of the rotary joint 4 to the first vacuum groove 11 is connected to the vacuum source of the semiconductor manufacturing apparatus via the solenoid valve 13 for switching to the atmospheric flow path. Has been. On the other hand, the flow path communicating with the second vacuum groove 12 is connected to a vacuum generation unit 14 including a vacuum generator for generating a vacuum from compressed air or the like, a solenoid valve for switching to the atmospheric flow path, and the like. .

図3は、本発明の流路の形成における他の実施例を示すもので、第2真空溝12に連通している流路に真空レギュレータ15を接続した上で、第1真空溝11に連通する流路に接続したもので、接続する真空源の真空生成能力や容量が充分大きい場合に適用できる。

図4は、パッドにおける他の実施例を示すもので、パッド面からのウェハ支持片10をゴムから成るOリングの切断片をほんの僅かだけ飛び出すように埋設固定したものである。
FIG. 3 shows another embodiment of the formation of the flow path of the present invention. The vacuum regulator 15 is connected to the flow path communicating with the second vacuum groove 12 and then communicated with the first vacuum groove 11. It can be applied when the vacuum generating capacity and capacity of the connected vacuum source are sufficiently large.

FIG. 4 shows another embodiment of the pad, in which the wafer support piece 10 from the pad surface is embedded and fixed so that a cut piece of an O-ring made of rubber protrudes only slightly.

次に本発明のプリアライナの動作について説明する。
図示していないウェハハンドリングロボットがプリアライナのパッド1にウェハを載置する。載置すると、ソレノイドバルブ13、真空発生ユニット14により、第1真空溝11と第2真空溝12に真空吸引を行う。ウェハはウェハ支持片10による摩擦力に加え、真空吸引による保持力が増加し、パッド1に保持される。次にノッチ位置検出のためにウェハ旋回動作を行う。
この真空吸引の際、第1真空溝11は、その外周にある第2真空溝12により、差圧が少ないため真空源に大きな負担なく、第1真空溝11が形成する略閉空間の真空を確保することができる。また、第2真空溝12は、第2真空溝12が形成する略閉空間の外側は大気であるので、この空間の真空度の確保の点では高い真空度まで吸引することは容易でないものの、第1真空溝11の真空源とは独立しているため、第1真空溝11に求める高い真空度の確保には何ら影響がない。
なお、第1真空溝11の真空源の能力が十分に大きい場合は、図3の例で示すように第1真空溝11に高い真空度が確保できるように真空レギュレータ15を調整すればよい。
Next, the operation of the pre-aligner of the present invention will be described.
A wafer handling robot (not shown) places the wafer on the pad 1 of the pre-aligner. When placed, vacuum suction is performed on the first vacuum groove 11 and the second vacuum groove 12 by the solenoid valve 13 and the vacuum generation unit 14. In addition to the frictional force caused by the wafer support piece 10, the holding force by vacuum suction increases and the wafer is held by the pad 1. Next, a wafer turning operation is performed to detect the notch position.
At the time of this vacuum suction, the first vacuum groove 11 evacuates the vacuum in the substantially closed space formed by the first vacuum groove 11 without a heavy burden on the vacuum source because the differential pressure is small due to the second vacuum groove 12 on the outer periphery. Can be secured. In addition, since the second vacuum groove 12 is the atmosphere outside the substantially closed space formed by the second vacuum groove 12, it is not easy to suck up to a high degree of vacuum in terms of securing the degree of vacuum in this space. Since it is independent of the vacuum source of the first vacuum groove 11, there is no influence on ensuring a high degree of vacuum required for the first vacuum groove 11.
When the capacity of the vacuum source of the first vacuum groove 11 is sufficiently large, the vacuum regulator 15 may be adjusted so that a high degree of vacuum can be secured in the first vacuum groove 11 as shown in the example of FIG.

本発明はこのような構成となっているため、真空吸引による保持力の増加はすぐにでき、直ちにノッチ位置検出のためのウェハ旋回動作が行える。
そして、ノッチ検出センサ9によるノッチ検出と、その際の旋回位置情報により、図示していないコントローラによる演算処理により、ノッチ位置があらかじめ決められた位置になるように、さらにウェハを旋回させて、アライメント動作を終了する。

その後、図示していないウェハハンドリングロボットがプリアライナのパッド1にアクセスしたところで、ソレノイドバルブ13.真空発生ユニット14の切り換えにより真空印加を開放し、ウェハを取り去る。真空吸引の開放についても、第1真空溝11、第2真空溝12には、支持片10によりウェハ下面との間に極僅かではあるが空隙がある略閉空間であるため、ウェハの位置がずれることなく、かつ時間がかかることなくすぐに真空吸引を開放することができる。
Since the present invention has such a configuration, the holding force can be immediately increased by vacuum suction, and the wafer turning operation for detecting the notch position can be immediately performed.
Then, the wafer is further swiveled so that the notch position becomes a predetermined position by the notch detection by the notch detection sensor 9 and the turning position information at that time by a calculation process by a controller (not shown), and alignment is performed. End the operation.

Thereafter, when a wafer handling robot (not shown) accesses the pad 1 of the pre-aligner, the solenoid valve 13. By switching the vacuum generation unit 14, the vacuum application is released and the wafer is removed. Regarding the opening of the vacuum suction, the first vacuum groove 11 and the second vacuum groove 12 are substantially closed spaces with a slight gap between the support piece 10 and the lower surface of the wafer. The vacuum suction can be released immediately without shifting and without taking time.

以上の説明のように、本発明によれば、2つの真空溝があることから充分な保持力が得られ、また、保持力印加時や開放時の応答性も高い事からアライメント時間の短縮ができる。また、保持力開放時にもウェハの位置ずれも発生しないため、高精度のアライメントができる。さらに、ウェハ裏面に接触しているのはウェハ支持片のみであり、ウェハ接触部の面積がほとんどないので、ウェハ裏面のパーティクル付着が極めて少ないプリアライナを提供できる。

As described above, according to the present invention, since there are two vacuum grooves, a sufficient holding force can be obtained, and since the responsiveness at the time of applying and releasing the holding force is high, the alignment time can be shortened. it can. In addition, since the wafer is not displaced even when the holding force is released, highly accurate alignment can be performed. Furthermore, since only the wafer support piece is in contact with the wafer back surface and there is almost no area of the wafer contact portion, it is possible to provide a pre-aligner with very little particle adhesion on the wafer back surface.

1 パッド
2 パッドベース
3 ベアリング
4 ロータリジョイント
5 プーリ
6 プーリ
7 タイミングベルト
8 旋回用モータ
9 ノッチ検出センサ
10 ウェハ支持片
11 第1真空溝
12 第2真空溝
13 ソレノイドバルブ
14 真空発生ユニット
15 真空レギュレータ
DESCRIPTION OF SYMBOLS 1 Pad 2 Pad base 3 Bearing 4 Rotary joint 5 Pulley 6 Pulley 7 Timing belt 8 Turning motor 9 Notch detection sensor 10 Wafer support piece 11 1st vacuum groove 12 2nd vacuum groove 13 Solenoid valve 14 Vacuum generation unit 15 Vacuum regulator

Claims (9)

ウェハを真空吸着して保持するウェハ吸引パッドにおいて、
前記パッドの表面から突出して前記ウェハを直接支持し、前記パッドの表面全体にわたって該表面と前記ウェハとの間に微小な隙間を形成する複数の支持片と、
前記複数の支持片の内側に形成され、前記ウェハとともに略閉空間を形成する第1真空溝と、
前記複数の支持片の外側に形成され、前記ウェハとともに略閉空間を形成する第2真空溝と、を備え、
前記第1真空溝の略閉空間の圧力G1と前記第2真空溝の略閉空間の圧力G2との関係が、G1≦G2となるよう前記第1と第2の真空溝が真空吸引されることを特徴としたウェハ吸引パッド。
In the wafer suction pad that holds the wafer by vacuum suction,
A plurality of support pieces that protrude from the surface of the pad and directly support the wafer, and form minute gaps between the surface and the wafer over the entire surface of the pad;
A first vacuum groove formed inside the plurality of support pieces and forming a substantially closed space together with the wafer;
A second vacuum groove formed outside the plurality of support pieces and forming a substantially closed space together with the wafer,
The first and second vacuum grooves are vacuum-sucked so that the relationship between the pressure G1 in the substantially closed space of the first vacuum groove and the pressure G2 in the substantially closed space of the second vacuum groove satisfies G1 ≦ G2. A wafer suction pad characterized by that.
前記複数の支持片のそれぞれが、ゴムで形成されることを特徴とした請求項1記載のウェハ吸引パッド。   The wafer suction pad according to claim 1, wherein each of the plurality of support pieces is made of rubber. 前記複数の支持片が、同一円周上に配置され、前記円周と同心の円を描くよう前記第1真空溝が形成され、前記複数の支持片の円周と前記第1真空溝が形成する円と同心の円を描くよう前記第2真空溝が環状に形成されることを特徴とした請求項1記載のウェハ吸引パッド。   The plurality of support pieces are arranged on the same circumference, the first vacuum groove is formed so as to draw a circle concentric with the circumference, and the circumference of the plurality of support pieces and the first vacuum groove are formed. 2. The wafer suction pad according to claim 1, wherein the second vacuum groove is formed in an annular shape so as to draw a circle concentric with the circle to be formed. 前記第1真空溝を真空吸引する真空源と、前記第2真空溝を真空吸引する真空源とが各々独立して設けられることを特徴とした請求項1記載のウェハ吸引パッド。   2. The wafer suction pad according to claim 1, wherein a vacuum source for vacuum suction of the first vacuum groove and a vacuum source for vacuum suction of the second vacuum groove are provided independently. 前記第1真空溝を真空吸引する真空源と、前記第2真空溝を真空吸引する真空源とが同一のものであって、前記第2真空溝を真空吸引する流路に設けられたレギュレータによって前記第2真空溝の真空吸引が前記第1真空溝の真空吸引よりも弱められることを特徴とした請求項1記載のウェハ吸引パッド。   The vacuum source for vacuum suction of the first vacuum groove and the vacuum source for vacuum suction of the second vacuum groove are the same, and a regulator provided in the flow path for vacuum suction of the second vacuum groove 2. The wafer suction pad according to claim 1, wherein the vacuum suction of the second vacuum groove is weaker than the vacuum suction of the first vacuum groove. ウェハを真空吸引によって保持するパッドと、前記ウェハを保持したパッドを旋回させる旋回機構と、前記パッドに保持されたウェハの外周を検知するセンサと、を備え、前記センサによって検出された前記ウェハのノッチ或いはオリフラを所望の方向へ回転させるプリアライナにおいて、
前記パッドが、
前記パッドの表面から突出して前記ウェハを直接支持し、前記パッドの表面全体にわたって該表面と前記ウェハとの間に微小な隙間を形成する複数の支持片と、
前記複数の支持片の内側に形成され、前記ウェハとともに略閉空間を形成する第1真空溝と、
前記複数の支持片の外側に形成され、前記ウェハとともに略閉空間を形成する第2真空溝と、を備え、
前記第1真空溝の略閉空間の圧力G1と前記第2真空溝の略閉空間の圧力G2との関係が、G1≦G2となるよう前記第1と第2の真空溝が真空吸引されることを特徴としたプリアライナ。
A pad for holding the wafer by vacuum suction, a turning mechanism for turning the pad holding the wafer, and a sensor for detecting an outer periphery of the wafer held by the pad, and the wafer detected by the sensor. In the pre-aligner that rotates the notch or orientation flat in the desired direction,
The pad is
A plurality of support pieces that protrude from the surface of the pad and directly support the wafer, and form minute gaps between the surface and the wafer over the entire surface of the pad;
A first vacuum groove formed inside the plurality of support pieces and forming a substantially closed space together with the wafer;
A second vacuum groove formed outside the plurality of support pieces and forming a substantially closed space together with the wafer,
The first and second vacuum grooves are vacuum-sucked so that the relationship between the pressure G1 in the substantially closed space of the first vacuum groove and the pressure G2 in the substantially closed space of the second vacuum groove satisfies G1 ≦ G2. Pre-aligner characterized by that.
請求項6記載のプリアライナと、前記プリアライナに前記ウェハを載置するウェハハンドリングロボットと、を備えたことを特徴とする半導体搬送システム。   7. A semiconductor transfer system comprising: the pre-aligner according to claim 6; and a wafer handling robot for placing the wafer on the pre-aligner. 請求項7記載の半導体搬送システムを備えたことを特徴とする半導体製造装置。   A semiconductor manufacturing apparatus comprising the semiconductor transfer system according to claim 7. 請求項7記載の半導体搬送システムを備えたことを特徴とする半導体検査装置。   A semiconductor inspection apparatus comprising the semiconductor transfer system according to claim 7.
JP2009089964A 2009-04-02 2009-04-02 Wafer suction pad and pre-aligner having the same Expired - Fee Related JP5316172B2 (en)

Priority Applications (1)

Application Number Priority Date Filing Date Title
JP2009089964A JP5316172B2 (en) 2009-04-02 2009-04-02 Wafer suction pad and pre-aligner having the same

Applications Claiming Priority (1)

Application Number Priority Date Filing Date Title
JP2009089964A JP5316172B2 (en) 2009-04-02 2009-04-02 Wafer suction pad and pre-aligner having the same

Publications (2)

Publication Number Publication Date
JP2010245155A JP2010245155A (en) 2010-10-28
JP5316172B2 true JP5316172B2 (en) 2013-10-16

Family

ID=43097881

Family Applications (1)

Application Number Title Priority Date Filing Date
JP2009089964A Expired - Fee Related JP5316172B2 (en) 2009-04-02 2009-04-02 Wafer suction pad and pre-aligner having the same

Country Status (1)

Country Link
JP (1) JP5316172B2 (en)

Families Citing this family (4)

* Cited by examiner, † Cited by third party
Publication number Priority date Publication date Assignee Title
JP2013157462A (en) * 2012-01-30 2013-08-15 Yaskawa Electric Corp Transfer mechanism, substrate positioning device and robot
CN111001544A (en) * 2019-12-31 2020-04-14 青岛天仁微纳科技有限责任公司 Uniform spin coating equipment for nano-imprinting
JP7538635B2 (en) * 2020-06-29 2024-08-22 京セラ株式会社 Suction pad
CN120048780B (en) * 2025-04-23 2025-07-08 素珀电子科技(上海)有限公司 A semiconductor wafer dynamic centering device

Family Cites Families (11)

* Cited by examiner, † Cited by third party
Publication number Priority date Publication date Assignee Title
JP2615317B2 (en) * 1992-08-05 1997-05-28 東京応化工業株式会社 Spinner chuck
JPH07142348A (en) * 1993-11-16 1995-06-02 Nikon Corp Exposure equipment
KR0176434B1 (en) * 1995-10-27 1999-04-15 이대원 Vacuum chuck apparatus
JPH10242255A (en) * 1997-02-28 1998-09-11 Kyocera Corp Vacuum suction device
JPH11214486A (en) * 1998-01-27 1999-08-06 Komatsu Ltd Substrate processing equipment
JP4289961B2 (en) * 2003-09-26 2009-07-01 キヤノン株式会社 Positioning device
JP4579004B2 (en) * 2005-02-23 2010-11-10 株式会社日立ハイテクノロジーズ Exposure apparatus, exposure method, and manufacturing method of display panel substrate
JP2006305713A (en) * 2005-03-28 2006-11-09 Nikon Corp Adsorption apparatus, polishing apparatus, semiconductor device, and semiconductor device manufacturing method
JP2007012838A (en) * 2005-06-30 2007-01-18 Nikon Corp Substrate holding method, position measuring method, substrate holding apparatus, exposure apparatus, device manufacturing method
JP5011736B2 (en) * 2006-01-31 2012-08-29 住友大阪セメント株式会社 Electrostatic chuck device
JP2007273693A (en) * 2006-03-31 2007-10-18 Nikon Corp Substrate holding member, substrate holding method, substrate holding apparatus, exposure apparatus, and exposure method

Also Published As

Publication number Publication date
JP2010245155A (en) 2010-10-28

Similar Documents

Publication Publication Date Title
TWI509725B (en) Substrate processing device
US8297568B2 (en) Sucking and holding device
JP3312163B2 (en) Vacuum suction device
CN110828359B (en) Pre-alignment device and silicon wafer pre-alignment method
JP2016111343A (en) Substrate holding device, lithographic apparatus, and manufacturing method of article
JPH08279549A (en) Vacuum suction device
JP5316172B2 (en) Wafer suction pad and pre-aligner having the same
TWI850451B (en) Wafer transfer device and wafer transfer method
JP2002329769A (en) Alignment equipment
CN111261565A (en) A semiconductor device, wafer transfer chamber and wafer transfer method thereof
CN110660700A (en) Alignment apparatus, semiconductor wafer processing apparatus, and alignment method
JP2004140058A (en) Wafer transfer device and wafer processing device
US6592679B2 (en) Clean method for vacuum holding of substrates
CN104103568A (en) Chuck Workbench
JP2014241357A (en) Substrate holding device, optical device, and substrate holding method
JP7708581B2 (en) Suction holding table and processing device
JPH08143147A (en) Sucking device for sheet-form work
JP4961893B2 (en) Substrate transport apparatus and substrate transport method
CN105914164B (en) Processing device
JP3817613B2 (en) Vacuum adsorption device
JP2008226976A (en) Device and method for treating substrate or the like
CN216980525U (en) Wafer alignment device
US20200312700A1 (en) Particle reduction in semiconductor fabrication
JP5329916B2 (en) Semiconductor wafer support
JP6756600B2 (en) Substrate processing equipment and substrate processing method

Legal Events

Date Code Title Description
A621 Written request for application examination

Free format text: JAPANESE INTERMEDIATE CODE: A621

Effective date: 20111214

RD02 Notification of acceptance of power of attorney

Free format text: JAPANESE INTERMEDIATE CODE: A7422

Effective date: 20120216

A977 Report on retrieval

Free format text: JAPANESE INTERMEDIATE CODE: A971007

Effective date: 20130122

A131 Notification of reasons for refusal

Free format text: JAPANESE INTERMEDIATE CODE: A131

Effective date: 20130129

A521 Written amendment

Free format text: JAPANESE INTERMEDIATE CODE: A523

Effective date: 20130301

TRDD Decision of grant or rejection written
A01 Written decision to grant a patent or to grant a registration (utility model)

Free format text: JAPANESE INTERMEDIATE CODE: A01

Effective date: 20130611

A61 First payment of annual fees (during grant procedure)

Free format text: JAPANESE INTERMEDIATE CODE: A61

Effective date: 20130624

R150 Certificate of patent or registration of utility model

Free format text: JAPANESE INTERMEDIATE CODE: R150

LAPS Cancellation because of no payment of annual fees