JP5301758B2 - Solar cell - Google Patents
Solar cell Download PDFInfo
- Publication number
- JP5301758B2 JP5301758B2 JP2005146845A JP2005146845A JP5301758B2 JP 5301758 B2 JP5301758 B2 JP 5301758B2 JP 2005146845 A JP2005146845 A JP 2005146845A JP 2005146845 A JP2005146845 A JP 2005146845A JP 5301758 B2 JP5301758 B2 JP 5301758B2
- Authority
- JP
- Japan
- Prior art keywords
- electrode
- solar cell
- substrate
- finger electrode
- width
- Prior art date
- Legal status (The legal status is an assumption and is not a legal conclusion. Google has not performed a legal analysis and makes no representation as to the accuracy of the status listed.)
- Expired - Lifetime
Links
Images
Classifications
-
- Y—GENERAL TAGGING OF NEW TECHNOLOGICAL DEVELOPMENTS; GENERAL TAGGING OF CROSS-SECTIONAL TECHNOLOGIES SPANNING OVER SEVERAL SECTIONS OF THE IPC; TECHNICAL SUBJECTS COVERED BY FORMER USPC CROSS-REFERENCE ART COLLECTIONS [XRACs] AND DIGESTS
- Y02—TECHNOLOGIES OR APPLICATIONS FOR MITIGATION OR ADAPTATION AGAINST CLIMATE CHANGE
- Y02E—REDUCTION OF GREENHOUSE GAS [GHG] EMISSIONS, RELATED TO ENERGY GENERATION, TRANSMISSION OR DISTRIBUTION
- Y02E10/00—Energy generation through renewable energy sources
- Y02E10/50—Photovoltaic [PV] energy
Landscapes
- Photovoltaic Devices (AREA)
Description
本発明は、少なくとも、PN接合が形成された半導体基板と、該半導体基板の少なくとも片面上に櫛歯状に形成されたフィンガー電極と、該フィンガー電極に接続するバスバー電極を具備する太陽電池であって、特に、フィンガー電極が、電極と基板との間の接触抵抗が低く、太陽光の遮蔽が小さい高効率の太陽電池に関する。 The present invention is a solar cell comprising at least a semiconductor substrate on which a PN junction is formed, a finger electrode formed in a comb shape on at least one surface of the semiconductor substrate, and a bus bar electrode connected to the finger electrode. In particular, the finger electrode relates to a high-efficiency solar cell with low contact resistance between the electrode and the substrate and low sunlight shielding.
太陽電池には、一般的に、PN接合が形成された半導体基板の受光面上に、該半導体基板から電力を取り出すための櫛歯状のフィンガー電極と、該フィンガー電極に接続して電力を取り出すバスバー電極とが形成される。 In a solar cell, generally, a comb-like finger electrode for taking out electric power from the semiconductor substrate on a light receiving surface of a semiconductor substrate on which a PN junction is formed, and electric power is taken out by connecting to the finger electrode. A bus bar electrode is formed.
高効率の太陽電池を得るために、基板の受光面上に形成されるフィンガー電極には、(1)基板から電力を取り出す際の障害となる、電極と基板との間の接触抵抗を低くすることと、(2)電極内の抵抗を低くして抵抗損失を減らすことと、(3)電極幅を細くして、基板に入射する太陽光の遮蔽を小さくすることが求められる。
その一方で、細いフィンガー電極を形成した場合には、電極と基板との接触面積が減少して、電極と基板の接着強度が低下してしまうという問題がある。
In order to obtain a high-efficiency solar cell, the finger electrode formed on the light-receiving surface of the substrate has (1) a low contact resistance between the electrode and the substrate, which becomes an obstacle when taking out power from the substrate. In addition, (2) the resistance in the electrode is lowered to reduce resistance loss, and (3) the electrode width is reduced to reduce the shielding of sunlight incident on the substrate.
On the other hand, when a thin finger electrode is formed, there is a problem that the contact area between the electrode and the substrate decreases, and the adhesive strength between the electrode and the substrate decreases.
また、フィンガー電極は、基板上に導電性ペーストをスクリーン印刷して焼成することによって低コストで形成することができるが、この導電性ペーストで形成されたフィンガー電極と基板との接触抵抗は、一般的に、真空蒸着等で作製された場合に比べて大きい。そのため、導電性ペーストによって形成されたフィンガー電極と基板との接触抵抗を下げるために、電極形成後の太陽電池をフッ化水素酸等の酸に浸漬する方法がある(特許文献1、2参照)。
この方法における接触抵抗低減の原理は、明らかではないが次のような仮説が考えられている。
In addition, the finger electrode can be formed at low cost by screen-printing and baking a conductive paste on the substrate, but the contact resistance between the finger electrode formed from this conductive paste and the substrate is generally In particular, it is larger than that produced by vacuum deposition or the like. Therefore, in order to reduce the contact resistance between the finger electrode formed of the conductive paste and the substrate, there is a method of immersing the solar cell after electrode formation in an acid such as hydrofluoric acid (see
The principle of contact resistance reduction in this method is not clear, but the following hypothesis is considered.
焼成後の導電性ペーストは、主に金属粒子とガラスフリットから構成され、内部に空孔を持つ多孔質の状態となっている。このガラスフリットは、金属粒子間や金属と基板間の接触を保つ接着剤としての役割を持つ。
しかし、一方でこのガラスフリットは不導体のために接触部分において接触抵抗の増大を引き起こしてもいる。
そこで、酸によってこの基板と電極界面付近におけるガラスフリットを溶解して除去することで、基板と電極内の金属粒子との接触点が増加するために、接触抵抗が低減すると言われている。
The conductive paste after firing is mainly composed of metal particles and glass frit, and is in a porous state having pores therein. This glass frit has a role as an adhesive for maintaining contact between metal particles or between a metal and a substrate.
However, on the other hand, this glass frit also causes an increase in contact resistance at the contact portion due to non-conductivity.
Therefore, it is said that by dissolving and removing the glass frit in the vicinity of the interface between the substrate and the electrode with acid, the contact point between the substrate and the metal particles in the electrode is increased, so that the contact resistance is reduced.
このように、酸浸漬によれば接触抵抗が低減できるが、接着剤としてのガラスフリットを溶解して除去することにもなるので、電極と基板との接着強度が低下して、基板からフィンガー電極の剥がれを誘発する。そのため、接触抵抗の低減幅が大きいものを安定的に得ることが困難であり、生産歩留まりが低いという問題がある。
また、電極と基板とは熱収縮率が相違するので、焼成後の電極と基板の間ではせん断もしくは引っ張りの応力が生じており、これによっても電極剥がれを助長している。
As described above, the contact resistance can be reduced by acid immersion, but the glass frit as an adhesive can be dissolved and removed, so that the adhesive strength between the electrode and the substrate is reduced, and the finger electrode is removed from the substrate. Induces peeling. Therefore, it is difficult to stably obtain a contact resistance with a large reduction width, and there is a problem that the production yield is low.
In addition, since the thermal contraction rate is different between the electrode and the substrate, a shearing or tensile stress is generated between the electrode and the substrate after firing, which also promotes electrode peeling.
さらに効率向上の要求から、従来より細いフィンガー電極を形成することが求められており、電極と基板との接触面積が減少し、接触強度が低下して、一層剥がれが生じ易いという問題がある。 Furthermore, it is required to form a finger electrode that is thinner than the conventional one because of the demand for improvement in efficiency, and there is a problem that the contact area between the electrode and the substrate is reduced, the contact strength is lowered, and peeling is more likely to occur.
また、電極を剥がれにくくするために、基板表面にリアクティブイオンエッチング法で微細な突起を多数形成することで下地の基板の表面積を増加させる方法がある(特許文献3参照)が、線幅が150μm以下のフィンガー電極の剥がれを防止するためには不十分であった。 In order to make the electrodes difficult to peel off, there is a method of increasing the surface area of the underlying substrate by forming many fine protrusions on the substrate surface by reactive ion etching (see Patent Document 3). It was insufficient to prevent peeling of finger electrodes of 150 μm or less.
そこで、本発明は、上記問題点に鑑みてなされたものであって、本発明の目的は、基板表面の電極による太陽光の遮蔽が小さく高効率であり、酸浸漬等による電極剥がれを防止できて生産歩留まりの高い太陽電池を提供することである。 Therefore, the present invention has been made in view of the above-mentioned problems, and the object of the present invention is to prevent sunlight from being peeled off by acid immersion or the like because the sunlight on the substrate surface is small and highly efficient. It is to provide a solar cell with a high production yield.
上記目的を達成するために、本発明によれば、少なくとも、PN接合が形成された半導体基板と、該半導体基板の少なくとも片面上に櫛歯状に形成されたフィンガー電極と、該フィンガー電極に接続するバスバー電極を具備する太陽電池であって、前記フィンガー電極が、少なくとも、前記バスバー電極と接続する電極幅が一定の定幅部と、該定幅部に接続する該定幅部よりも幅が広い幅広部とを有するものであることを特徴とする太陽電池が提供される。 In order to achieve the above object, according to the present invention, at least a semiconductor substrate having a PN junction formed thereon, a finger electrode formed in a comb shape on at least one surface of the semiconductor substrate, and connected to the finger electrode The finger electrode has at least a constant width portion having a constant electrode width connected to the bus bar electrode, and a width larger than the constant width portion connected to the constant width portion. A solar cell characterized by having a wide wide portion is provided .
このように、フィンガー電極が、バスバー電極と接続する電極幅が一定の定幅部と、該定幅部よりも幅が広い幅広部とを有するものとすることにより、該幅広部における電極と基板との接触面積が他の箇所に比べて増加するため、接着強度が向上し、これにより、電極と基板との界面に印加されるせん断力や引っ張り応力に対する耐性が向上し、酸浸漬等による電極剥がれを防止できて、高効率の太陽電池の生産歩留まりを向上させることができる。また、幅広となるのは一部であるため、遮蔽による効率低下もほとんどなく、むしろ接触抵抗の低下等により効率を向上させることができる。 As described above, the finger electrode has a constant width portion having a constant electrode width connected to the bus bar electrode, and a wide portion wider than the constant width portion, whereby the electrode and the substrate in the wide portion are provided. Since the contact area with the substrate increases compared to other locations, the adhesive strength is improved, thereby improving the resistance to shearing force and tensile stress applied to the interface between the electrode and the substrate, and the electrode by acid immersion etc. Peeling can be prevented and the production yield of highly efficient solar cells can be improved. Moreover, since it is only a part that becomes wide, there is almost no decrease in efficiency due to shielding, but rather the efficiency can be improved by reducing contact resistance or the like.
このとき、前記幅広部が、前記フィンガー電極の先端部に形成されたものであることが好ましい。
フィンガー電極の先端部は、特にフッ化水素酸等の酸の浸透量・浸透速度が大きいため非常に剥がれ易い。そのため、このように前記幅広部をフィンガー電極の先端部に形成することにより、電極剥がれを効果的に防止することができる。また、フィンガー電極の先端部は、基板からの電流が集中するため、このように前記幅広部を先端部に形成することにより、基板から集中する電流への抵抗を大きく低減することができ、より効果的に高効率の太陽電池の生産歩留まりを向上させることができる。
At this time, it is preferable that the said wide part is formed in the front-end | tip part of the said finger electrode .
The tip of the finger electrode is particularly easy to peel off because of the large penetration amount and penetration rate of acid such as hydrofluoric acid. Therefore, electrode peeling can be effectively prevented by forming the said wide part in the front-end | tip part of a finger electrode in this way. In addition, since the current from the substrate is concentrated at the tip of the finger electrode, the resistance to the current concentrated from the substrate can be greatly reduced by forming the wide portion at the tip as described above. The production yield of highly efficient solar cells can be improved effectively.
また、前記幅広部が、前記フィンガー電極の先端から2mmの範囲に形成されたものであることが好ましい。
このように幅広部を、特に剥がれ易い電極の先端から2mmの範囲に形成することにより電極剥がれを確実に防止することができる。また、先端から2mmの範囲に前記幅広部を形成することで、前記バスバー電極と接続する電極幅が一定の定幅部を長くして電極が太陽光を遮る面積を小さくすることができ、さらに高効率の太陽電池の生産歩留まりを向上させることができる。
Moreover, it is preferable that the said wide part is formed in the range of 2 mm from the front-end | tip of the said finger electrode .
In this way, the wide portion is formed within a range of 2 mm from the tip of the electrode that is particularly easily peeled off, so that electrode peeling can be reliably prevented. In addition, by forming the wide portion in the range of 2 mm from the tip, it is possible to lengthen the constant width portion having a constant electrode width connected to the bus bar electrode, and to reduce the area where the electrode blocks sunlight. The production yield of highly efficient solar cells can be improved.
さらに、前記幅広部の形状が、円状、楕円状、液滴状、多角形のいずれかの形状であることが好ましい。
このように幅広部の形状が、円状、楕円状、液滴状のいずれかの形状であることにより、酸浸漬の際に酸が集中的に作用する鋭角的な箇所がなく、剥がれ現象の開始点をなくすことができて、効果的に電極剥がれを防止することができる。また、前記幅広部の形状を多角形としてもよく、多角形状であれば形成し易く、かつ容易に、幅広部における電極と基板との接触面積を大きくすることができるため、効果的に電極剥がれを防止することができる。
Furthermore, it is preferable that the shape of the wide portion is any one of a circular shape, an elliptical shape, a droplet shape, and a polygonal shape .
Thus, the shape of the wide portion is one of a circular shape, an elliptical shape, and a droplet shape, so that there is no sharp spot where the acid acts intensively during acid immersion, and the peeling phenomenon The starting point can be eliminated, and electrode peeling can be effectively prevented. In addition, the shape of the wide portion may be a polygon. If the shape is a polygon, it is easy to form, and the contact area between the electrode and the substrate in the wide portion can be easily increased. Can be prevented.
また、前記バスバー電極と接続する定幅部の幅が、10〜150μmであることが好ましい。
このように定幅部の幅が10〜150μmであることにより、電極剥がれを防止できる程度に十分に広い基板との接触面積を有し、かつ、太陽光の遮断が十分に小さく狭い電極面積を有するものとなる。
Moreover, it is preferable that the width | variety of the constant width part connected with the said bus-bar electrode is 10-150 micrometers .
As described above, the width of the constant width portion is 10 to 150 μm, so that the contact area with the substrate is wide enough to prevent electrode peeling, and the blocking of sunlight is sufficiently small and the electrode area is small. It will have.
さらに、前記幅広部が、最大で定幅部の1.1〜3.0倍の幅を有するものであることが好ましい。
このように幅広部が最大で定幅部の1.1〜3.0倍の幅を有するものとすることにより、幅広部における電極と基板との接触面積を大きくすることができて、かつ、電極が太陽光を遮る面積を小さく抑えることができるため、効果的に電極剥がれを防止することができるとともに発電効率を下げることもない。
Furthermore, it is preferable that the wide part has a width 1.1 to 3.0 times that of the constant width part at the maximum .
Thus, by making the wide part have a width 1.1 to 3.0 times as large as the constant width part, the contact area between the electrode and the substrate in the wide part can be increased, and Since the area where the electrode blocks the sunlight can be kept small, it is possible to effectively prevent the electrode from peeling and not to reduce the power generation efficiency.
また、前記フィンガー電極は、導電性ペーストが印刷され焼成されたものであることが好ましい。
このようにフィンガー電極を、導電性ペーストが印刷され焼成されたものとすることにより、低コストで、高効率の太陽電池の生産歩留まりを向上させることができる。また、導電性ペーストを用いてフィンガー電極を作製したときに剥がれの問題を生じやすいので、本発明が特に有効である。
Moreover, it is preferable that the said finger electrode is what electroconductive paste was printed and baked .
Thus, by making the finger electrode into which conductive paste is printed and fired, the production yield of a high-efficiency solar cell can be improved at low cost. Further, the present invention is particularly effective because a problem of peeling is likely to occur when a finger electrode is produced using a conductive paste.
さらに、前記半導体基板は、ガリウムをドープしたp型単結晶シリコン基板であることが好ましい。
このように半導体基板を、ガリウムをドープしたp型単結晶シリコン基板とすることにより、光劣化を生じることのない光電変換効率が非常に高い実用的な太陽電池とすることができる。
Furthermore, the semiconductor substrate is preferably a p-type single crystal silicon substrate doped with gallium .
Thus, by using a p-type single crystal silicon substrate doped with gallium as the semiconductor substrate, a practical solar cell with very high photoelectric conversion efficiency without causing photodegradation can be obtained.
このように、本発明により、酸浸漬等による電極剥がれを防止できて、基板表面の電極による太陽光の遮蔽が小さく高効率である太陽電池の生産歩留まりを向上することが可能となった。特に、フッ化水素酸等の酸の浸透量・浸透速度が大きいために非常に剥がれ易いフィンガー電極の先端部からの電極剥がれを効果的に防止することができる。 As described above, according to the present invention, it is possible to prevent electrode peeling due to acid immersion or the like, and it is possible to improve the production yield of a solar cell which is small in shielding the sunlight by the electrode on the substrate surface and has high efficiency. In particular, it is possible to effectively prevent electrode peeling from the tip of the finger electrode, which is very easy to peel off due to a large penetration amount and penetration rate of acid such as hydrofluoric acid.
PN接合が形成された半導体基板の受光面上に、導電性ペーストが櫛歯状に印刷され焼成されることにより電極が形成された太陽電池は、フィンガー電極と半導体基板との接触抵抗を下げるために酸浸漬が行われるが、酸浸漬された場合、電極と基板の接着強度が低下するため、基板からの電極の剥がれを誘発して、接触抵抗の低減幅が大きいものを安定的に得ることは困難であり、生産歩留まりが低いという問題があった。
これに対して、電極と基板との接触面積を大きくすることが考えられるが、単に大きくしたのでは光を遮蔽してしまい太陽電池の変換効率を低下させてしまう。
A solar cell in which an electrode is formed by printing and firing a conductive paste in a comb-like shape on a light-receiving surface of a semiconductor substrate on which a PN junction is formed is intended to reduce the contact resistance between the finger electrode and the semiconductor substrate. Acid dipping is performed, but when the acid dipping is performed, the adhesion strength between the electrode and the substrate is lowered, so that peeling of the electrode from the substrate is induced to stably obtain a material with a large reduction in contact resistance. Is difficult and the production yield is low.
On the other hand, it is conceivable to increase the contact area between the electrode and the substrate. However, if the area is simply increased, the light is shielded and the conversion efficiency of the solar cell is lowered.
そこで、本発明者等は、鋭意研究を重ね、少なくとも、PN接合が形成された半導体基板と、該半導体基板の少なくとも片面上に櫛歯状に形成されたフィンガー電極と、該フィンガー電極に接続するバスバー電極を具備する太陽電池であって、前記フィンガー電極が、少なくとも、前記バスバー電極と接続する電極幅が一定の定幅部と、該定幅部に接続する該定幅部よりも幅が広い幅広部とを有する太陽電池とすることにより、該幅広部における電極と基板との接触面積が他の箇所に比べて増加して接着強度が向上し、電極と基板との界面に印加されるせん断力や引っ張り応力に対する耐性が向上して、酸浸漬等による電極剥がれを防止できて、かつ、定幅部を設けることで幅広部は一部とすることによって、遮光を最小限にとどめ、高効率の太陽電池の生産歩留まりを向上させることができることを見出した。 Accordingly, the present inventors have conducted extensive research and connected at least a semiconductor substrate having a PN junction formed thereon, a finger electrode formed in a comb shape on at least one surface of the semiconductor substrate, and the finger electrode. A solar cell including a bus bar electrode, wherein the finger electrode is at least a constant width portion having a constant electrode width connected to the bus bar electrode, and wider than the constant width portion connected to the constant width portion By forming a solar cell having a wide portion, the contact area between the electrode and the substrate in the wide portion is increased as compared with other locations to improve the adhesive strength, and the shear applied to the interface between the electrode and the substrate Improves resistance to force and tensile stress, prevents electrode peeling due to acid immersion, etc., and by providing a constant width part, the wide part becomes a part, minimizing light shielding and high efficiency It found that it is possible to improve the production yield of the solar cell.
以下、本発明の実施の形態について図面を参照しながら詳細に説明するが、本発明はこれらに限定されるものではない。
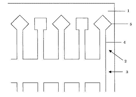
図1〜図3は、本発明に係る太陽電池の一例であって、フィンガー電極の先端部に幅広部が形成されたものの図である。
Hereinafter, embodiments of the present invention will be described in detail with reference to the drawings, but the present invention is not limited thereto.
FIGS. 1-3 is an example of the solar cell which concerns on this invention, Comprising: The wide part was formed in the front-end | tip part of a finger electrode.
本発明は、PN接合が形成された半導体基板1と、半導体基板1の少なくとも片面上に櫛歯状に形成されたフィンガー電極2と、フィンガー電極2に接続するバスバー電極3を具備する太陽電池であって、フィンガー電極2が、少なくとも、バスバー電極3と接続する電極幅が一定の定幅部4と、定幅部4に接続する定幅部4よりも幅が広い幅広部5とを有する太陽電池である。
The present invention is a solar cell comprising a
半導体基板1は、ガリウムをドープしたp型単結晶シリコン基板であることが好ましく、これにより、製造する太陽電池が光劣化を生じない光電変換効率の非常に高い実用的なものとなる。まず、半導体基板からエッチングによりダメージ層を除去した後、反射防止のためのテクスチャ構造を形成した半導体基板にPN接合を形成することが好ましい。
PN接合の形成は、受光面側にリンなどのn型不純物を熱拡散によって行うのが好ましいが、塗布拡散もしくはイオン注入法によって行ってもよい。ここで、太陽光反射防止と表面保護のために、プラズマCVD法またはPVD法等によって、窒化膜を受光面上に形成することが好ましい。
The
The PN junction is preferably formed by thermal diffusion of n-type impurities such as phosphorus on the light receiving surface side, but may be formed by coating diffusion or ion implantation. Here, in order to prevent sunlight reflection and protect the surface, it is preferable to form a nitride film on the light receiving surface by a plasma CVD method or a PVD method.
フィンガー電極2は、PN接合が形成された半導体基板1の受光面上に、導電性ペーストを櫛歯状にスクリーン印刷して焼成されることにより形成されることが好ましい。これにより、低コストで高効率の太陽電池を生産することができる。
The
バスバー電極3は、櫛歯状のフィンガー電極2の根元に接続するように形成されることが好ましい。さらに、バスバー電極3もフィンガー電極2と同様に半導体基板1の受光面上に、導電性ペーストをスクリーン印刷して焼成されることにより形成されることが好ましく、フィンガー電極2と一体的に同時に印刷され焼成されることにより形成されると、製造コストを抑制できるので、さらに好ましい。
The
定幅部4は、バスバー電極3と接続するフィンガー電極2の電極幅が一定の部分であるが、その幅が10〜150μmであることにより、電極剥がれを防止できる程度に十分に広い基板との接触面積を有し、かつ、太陽光の遮断が十分に小さく狭い電極面積を有するものとなる。さらに、定幅部4の幅は、50〜120μmであればより好ましく、80〜100μmであればさらに好ましい。
The
幅広部5は、フィンガー電極2の定幅部4に接続して定幅部4よりも幅が広い部分であり、定幅部4等の他の箇所に比べて基板との接触面積が増加するため、接着強度が向上する。これにより、電極と基板との界面に印加されるせん断力や引っ張り応力に対する耐性が向上し、酸浸漬等による電極剥がれを防止できて、高効率の太陽電池の生産歩留まりを向上させることができる。
The wide portion 5 is a portion that is connected to the
フィンガー電極2の先端部は、特にフッ化水素酸等の酸の浸透量・浸透速度が大きいため非常に剥がれ易い。そのため、このように幅広部5を先端部に形成することにより、電極剥がれを効果的に防止することができる。
また、フィンガー電極2の先端部は、基板からの電流が集中するため、このように前記幅広部を先端部に形成することにより、基板から集中する電流への抵抗を大きく低減することができ、より効果的に高効率の太陽電池の生産歩留まりを向上させることができる。
The tip portion of the
In addition, since the current from the substrate concentrates at the tip of the
さらに、フィンガー電極2の先端から2mmの範囲は、特に剥がれ易いため、この範囲に幅広部5を形成することにより、電極剥がれをより確実に防止することができる。また、先端から2mmの範囲に幅広部5を形成することで、バスバー電極3と接続する電極幅が一定の定幅部4を長くして電極が太陽光を遮る面積を小さくすることができ、さらに高効率の太陽電池の生産歩留まりを向上させることができる。
Furthermore, since the range of 2 mm from the tip of the
また、まれにフィンガー電極2の先端部以外の場所、例えば中央部付近で電極が剥がれて浮いてくる場合があるため、幅広部5は、フィンガー電極2の先端部以外の場所に形成されてもよい。さらにこの場合、より確実に電極剥がれを防止するために、幅広部5は、先端部および、先端部以外の所望場所の両方に形成されてもよい。
In addition, since the electrode may peel off and float in a place other than the tip part of the
幅広部5の形状が、図1や図2のように、楕円状、液滴状、あるいは円状のいずれかの形状であることにより、基板との接触面積を広くしつつ、酸浸漬の際に酸が集中的に作用する鋭角的な箇所がなく、剥がれ現象の開始点をなくすことができて、効果的に電極剥がれを防止することができる。 As shown in FIGS. 1 and 2, the wide portion 5 has an elliptical shape, a droplet shape, or a circular shape, so that the contact area with the substrate is widened and the acid immersion is performed. There are no sharp spots where the acid acts intensively, the starting point of the peeling phenomenon can be eliminated, and electrode peeling can be effectively prevented.
円状の形状とすれば、最も滑らかな曲線となって剥がれ現象の開始点を効果的になくすことができる。また、図1のように、楕円状の形状にした場合、幅をとることなく効果的に基板との接触面積を広げることができる。さらに、図2のように、液滴状の形状とした場合、剥がれやすい先端により近い位置で基板との接触面積を広げることができる。 If it is a circular shape, it becomes the smoothest curve and the starting point of the peeling phenomenon can be effectively eliminated. Further, as shown in FIG. 1, in the case of an elliptical shape, the contact area with the substrate can be effectively expanded without taking a width. Furthermore, as shown in FIG. 2, in the case of a droplet shape, the contact area with the substrate can be expanded at a position closer to the tip that is easily peeled off.
また、図3のように幅広部5の形状を多角形としてもよく、これにより、幅広部5における電極と基板との接触面積を確実に大きくすることができるため、効果的に電極剥がれを防止することができる。
なお、導電性ペーストを多角形の形状にスクリーン印刷する際、にじみや版の開口形状のダレによって、印刷形状の角部に丸みが生じるが、酸が集中して電極剥がれの原因となる鋭角的部分を解消することにもなるので、好ましい。
Further, as shown in FIG. 3, the shape of the wide portion 5 may be a polygon, and as a result, the contact area between the electrode and the substrate in the wide portion 5 can be reliably increased, thereby effectively preventing electrode peeling. can do.
In addition, when screen-printing the conductive paste into a polygonal shape, the corners of the printed shape may be rounded due to bleeding or sagging of the opening of the plate, but sharp edges that cause acid concentration and cause electrode peeling. This is preferable because it also eliminates the portion.
幅広部5は、最大で定幅部4の1.1〜3.0倍の幅を有するものとすることが好ましい。これにより、幅広部5によって電極と基板との接触面積を大きくして電極剥がれを防止しつつも、電極が太陽光を遮る面積を小さく抑えることができるため、高効率の太陽電池の生産歩留まりをより効果的に向上させることができる。
The wide portion 5 preferably has a width 1.1 to 3.0 times that of the
以上のような本発明の太陽電池の製造では、フィンガー電極を形成後に電極と基板との接触抵抗を下げるために、酸浸漬を行う。太陽電池の酸浸漬は、0.1〜10体積%のフッ化水素酸等の酸を含む水溶液に浸漬させることによって行うと、電極内に十分な量の酸を確実に浸漬させることができるため好ましい。浸漬時間としては、1秒から5分間程度が好ましい。 In the production of the solar cell of the present invention as described above, acid dipping is performed after the finger electrode is formed in order to reduce the contact resistance between the electrode and the substrate. When the acid immersion of the solar cell is performed by immersing it in an aqueous solution containing an acid such as 0.1 to 10% by volume of hydrofluoric acid, a sufficient amount of acid can be surely immersed in the electrode. preferable. The immersion time is preferably about 1 second to 5 minutes.
基板を浸漬させる酸としては、フッ化水素酸、臭化水素酸、DL−リンゴ酸、ステアリン酸、アジピン酸、サリチル酸、クエン酸、および乳酸などが電極腐食の問題を生じることなく優れた電気的特性を得ることができるので好ましい。特に、フッ化水素酸であれば、非常に優れた電気的特性を得ることができるのでさらに好ましく、また、臭化水素酸やDL−リンゴ酸であれば、高い電極強度を得ることができるので好ましい。 As the acid for immersing the substrate, hydrofluoric acid, hydrobromic acid, DL-malic acid, stearic acid, adipic acid, salicylic acid, citric acid, and lactic acid are excellent electrical materials without causing electrode corrosion problems. It is preferable because characteristics can be obtained. In particular, hydrofluoric acid is more preferable because very excellent electrical characteristics can be obtained, and hydrobromic acid and DL-malic acid can provide high electrode strength. preferable.
次に、半導体基板に付着した酸を水で洗い流す。ここでは、洗浄効果を高めるために揺動し、若しくは、超音波を印加しながら水洗するのが好ましい。そして、最後に半導体基板を乾燥させることにより、高効率の太陽電池を得ることができる。乾燥方法には、放置や温風、IPA乾燥などを用いてもよい。 Next, the acid adhering to the semiconductor substrate is washed away with water. Here, it is preferable to perform washing with water to increase the cleaning effect or while applying ultrasonic waves. And finally, a highly efficient solar cell can be obtained by drying a semiconductor substrate. As the drying method, standing, warm air, IPA drying, or the like may be used.
本発明の太陽電池は、このような酸浸漬を行う際に生じる電極剥がれを防止できて、特にフィンガー電極の定幅部が狭く、その先端に幅広部を設けることで電極による太陽光の遮蔽が小さくて高効率である太陽電池の生産歩留まりを向上することが可能となった。特に、フッ化水素酸等の酸の浸透量・浸透速度が大きいために非常に剥がれ易いフィンガー電極の先端部からの電極剥がれを効果的に防止することができる。 The solar cell of the present invention can prevent electrode peeling that occurs when such acid immersion is performed, and the constant width portion of the finger electrode is particularly narrow, and by providing a wide portion at the tip, sunlight can be shielded by the electrode. It has become possible to improve the production yield of small and highly efficient solar cells. In particular, it is possible to effectively prevent electrode peeling from the tip of the finger electrode, which is very easy to peel off due to a large penetration amount and penetration rate of acid such as hydrofluoric acid.
以下、実施例及び比較例を示して本発明をより具体的に説明するが、本発明はこれらに限定されるものではない。
(実施例、比較例)
III族元素のガリウムを不純物元素とするp型単結晶太陽電池用シリコン基板(100mm角、面方位{100}、基板厚300μm、抵抗率0.5Ωcm)を、水酸化カリウム水溶液によりエッチングしてダメージ層を取り除いた。
EXAMPLES Hereinafter, although an Example and a comparative example are shown and this invention is demonstrated more concretely, this invention is not limited to these.
(Examples and comparative examples)
Damage caused by etching a silicon substrate for p-type single crystal solar cells (100 mm square, surface orientation {100}, substrate thickness 300 μm, resistivity 0.5 Ωcm) using Group III element gallium as an impurity element with an aqueous potassium hydroxide solution The layer was removed.
さらにIPAを混入した水酸化カリウム水溶液により、反射防止構造であるテクスチャ構造を形成した後、受光面側にPOCl3液体ソースを利用した熱拡散によってV族元素のリンを不純物としたn領域を受光面に作製することにより、PN接合を形成した。
そして、太陽光反射防止と表面保護をかねてプラズマCVD法によって膜厚70nmの窒化膜を受光面上に形成した。
Further, after forming a texture structure as an antireflection structure with an aqueous solution of potassium hydroxide mixed with IPA, an n region containing phosphorus of group V element as an impurity is received on the light receiving surface side by thermal diffusion using a POCl 3 liquid source. A PN junction was formed on the surface.
Then, a 70 nm-thick nitride film was formed on the light-receiving surface by plasma CVD to prevent sunlight reflection and protect the surface.
さらに、受光面と反対側の裏面に対して、アルミニウム粒子を含む導電性ペーストを全面に印刷した後、受光面に対し、銀粒子を含む導電性ペーストをフィンガー電極とバスバー電極を形成するためにスクリーン印刷した。 Further, after the conductive paste containing aluminum particles is printed on the entire surface of the back surface opposite to the light receiving surface, the conductive paste containing silver particles is formed on the light receiving surface to form finger electrodes and bus bar electrodes. Screen printed.
ここで、フィンガー電極の先端部に円状の幅広部を形成した。その大きさは、円の直径(幅広部の最大幅)が、300μm(実施例1)、150μm(実施例2)、110μm(実施例3)の3種類である。フィンガー電極の定幅部の幅は100μmとした。
また、比較のために、幅広部を形成せず、幅が100μmの定幅部のみのフィンガー電極を形成したものを用意した(比較例1)。
Here, the circular wide part was formed in the front-end | tip part of a finger electrode. The sizes of the circles (the maximum width of the wide portion) are three types: 300 μm (Example 1), 150 μm (Example 2), and 110 μm (Example 3). The width of the constant width portion of the finger electrode was 100 μm.
For comparison, a wide electrode portion was not formed, and a finger electrode having a constant width portion having a width of 100 μm was prepared (Comparative Example 1).
次に、基板を700℃で3分間焼成した。
最後に、太陽電池を濃度1%のフッ化水素酸に60秒間浸漬した後、純水でフッ化水素酸を洗い流し、太陽電池を乾燥させた。そして、ソーラシミュレータ(光強度:1kW/m2、スペクトル:AM1.5グローバル)を用いて、作製した太陽電池の出力特性を測定した。得られた出力特性および、酸浸漬後のフィンガー電極の剥がれ発生確率を、表1に示す。
Next, the substrate was baked at 700 ° C. for 3 minutes.
Finally, after the solar cell was immersed in hydrofluoric acid having a concentration of 1% for 60 seconds, hydrofluoric acid was washed away with pure water, and the solar cell was dried. And the output characteristic of the produced solar cell was measured using the solar simulator (light intensity: 1 kW / m < 2 >, spectrum: AM1.5 global). Table 1 shows the obtained output characteristics and the probability of occurrence of peeling of the finger electrodes after acid immersion.
以上の結果から、フィンガー電極の先端部に円状の幅広部を形成することで、剥がれの発生確率は大幅に低下した。特に、円の直径(幅広部の最大幅)が300μmの実施例1の場合は、剥がれが全く発生しなかった。
また、本発明によってフィンガー電極の剥がれが防止されるため、直列抵抗が低く、フィルファクタが増加した。その結果、太陽電池の変換効率を高くすることができた。
From the above results, the probability of peeling significantly decreased by forming a circular wide portion at the tip of the finger electrode. In particular, in Example 1 in which the diameter of the circle (the maximum width of the wide portion) was 300 μm, no peeling occurred.
Moreover, since peeling of the finger electrode is prevented by the present invention, the series resistance is low and the fill factor is increased. As a result, the conversion efficiency of the solar cell could be increased.
なお、本発明は、上記実施形態に限定されるものではない。上記実施形態は例示であり、本発明の特許請求の範囲に記載された技術的思想と実質的に同一な構成を有し、同様な作用効果を奏するものは、いかなるものであっても本発明の技術的範囲に包含される。 The present invention is not limited to the above embodiment. The above-described embodiment is an exemplification, and the present invention has any configuration that has substantially the same configuration as the technical idea described in the claims of the present invention and that exhibits the same effects. Are included in the technical scope.
例えば、上記ではフィンガー電極およびバスバー電極を導電性ペーストを用いてスクリーン印刷で形成する場合を例として説明したが、本発明はこれには限られず、フィンガー電極の先端で剥がれが生じやすいのは、真空蒸着等で形成した場合等でも同じであり、本発明を適用することによって、剥がれの発生率を低減できることは言うまでもない。 For example, in the above description, the case where the finger electrode and the bus bar electrode are formed by screen printing using a conductive paste is described as an example, but the present invention is not limited to this, It is the same even when formed by vacuum deposition or the like, and it goes without saying that the occurrence rate of peeling can be reduced by applying the present invention.
また、上記では、受光面側にだけフィンガー電極を形成する場合につき説明したが、両面に形成してもよく、本発明は受光面のみならず、裏面のフィンガー電極に適用してもよいし、効果を奏する。 In the above description, the finger electrode is formed only on the light receiving surface side, but it may be formed on both surfaces, and the present invention may be applied not only to the light receiving surface but also to the finger electrode on the back surface, There is an effect.
1…半導体基板、 2…フィンガー電極、 3…バスバー電極、
4…定幅部、 5…幅広部。
DESCRIPTION OF
4 ... constant width part, 5 ... wide part.
Claims (5)
Priority Applications (1)
| Application Number | Priority Date | Filing Date | Title |
|---|---|---|---|
| JP2005146845A JP5301758B2 (en) | 2005-05-19 | 2005-05-19 | Solar cell |
Applications Claiming Priority (1)
| Application Number | Priority Date | Filing Date | Title |
|---|---|---|---|
| JP2005146845A JP5301758B2 (en) | 2005-05-19 | 2005-05-19 | Solar cell |
Publications (2)
| Publication Number | Publication Date |
|---|---|
| JP2006324504A JP2006324504A (en) | 2006-11-30 |
| JP5301758B2 true JP5301758B2 (en) | 2013-09-25 |
Family
ID=37543955
Family Applications (1)
| Application Number | Title | Priority Date | Filing Date |
|---|---|---|---|
| JP2005146845A Expired - Lifetime JP5301758B2 (en) | 2005-05-19 | 2005-05-19 | Solar cell |
Country Status (1)
| Country | Link |
|---|---|
| JP (1) | JP5301758B2 (en) |
Families Citing this family (31)
| Publication number | Priority date | Publication date | Assignee | Title |
|---|---|---|---|---|
| KR100953618B1 (en) * | 2008-01-11 | 2010-04-20 | 삼성에스디아이 주식회사 | Solar cell |
| JP5172480B2 (en) * | 2008-06-04 | 2013-03-27 | シャープ株式会社 | Photoelectric conversion device and manufacturing method thereof |
| JP5332683B2 (en) * | 2009-02-12 | 2013-11-06 | 信越化学工業株式会社 | Manufacturing method of solar cell |
| US9012766B2 (en) | 2009-11-12 | 2015-04-21 | Silevo, Inc. | Aluminum grid as backside conductor on epitaxial silicon thin film solar cells |
| US9214576B2 (en) | 2010-06-09 | 2015-12-15 | Solarcity Corporation | Transparent conducting oxide for photovoltaic devices |
| JP5974300B2 (en) * | 2010-08-24 | 2016-08-23 | パナソニックIpマネジメント株式会社 | Solar cell and manufacturing method thereof |
| US9773928B2 (en) | 2010-09-10 | 2017-09-26 | Tesla, Inc. | Solar cell with electroplated metal grid |
| US9800053B2 (en) | 2010-10-08 | 2017-10-24 | Tesla, Inc. | Solar panels with integrated cell-level MPPT devices |
| US9054256B2 (en) | 2011-06-02 | 2015-06-09 | Solarcity Corporation | Tunneling-junction solar cell with copper grid for concentrated photovoltaic application |
| TW201318187A (en) * | 2011-10-27 | 2013-05-01 | Motech Ind Inc | Solar cell and its module |
| JP5935050B2 (en) * | 2011-12-29 | 2016-06-15 | パナソニックIpマネジメント株式会社 | Solar cell and manufacturing method thereof |
| JP6048761B2 (en) * | 2012-03-23 | 2016-12-21 | パナソニックIpマネジメント株式会社 | Solar cell |
| JP2015528645A (en) * | 2012-09-17 | 2015-09-28 | アイメック・ヴェーゼットウェーImec Vzw | A method for improving the adhesion of plated metal layers to silicon. |
| JP6351601B2 (en) * | 2012-10-04 | 2018-07-04 | ソーラーシティ コーポレーション | Photovoltaic device using electroplated metal grid |
| US9865754B2 (en) | 2012-10-10 | 2018-01-09 | Tesla, Inc. | Hole collectors for silicon photovoltaic cells |
| EP2916361B1 (en) | 2012-11-01 | 2023-12-27 | Shin-Etsu Chemical Co., Ltd. | Solar cell and solar cell module |
| JP6196031B2 (en) * | 2012-11-27 | 2017-09-13 | 株式会社カネカ | SOLAR CELL, MANUFACTURING METHOD THEREOF, AND SOLAR CELL MODULE |
| US10074755B2 (en) | 2013-01-11 | 2018-09-11 | Tesla, Inc. | High efficiency solar panel |
| US9219174B2 (en) | 2013-01-11 | 2015-12-22 | Solarcity Corporation | Module fabrication of solar cells with low resistivity electrodes |
| US9412884B2 (en) | 2013-01-11 | 2016-08-09 | Solarcity Corporation | Module fabrication of solar cells with low resistivity electrodes |
| JP2015130405A (en) * | 2014-01-07 | 2015-07-16 | 三菱電機株式会社 | Photovoltaic device manufacturing method |
| US10309012B2 (en) | 2014-07-03 | 2019-06-04 | Tesla, Inc. | Wafer carrier for reducing contamination from carbon particles and outgassing |
| US9899546B2 (en) | 2014-12-05 | 2018-02-20 | Tesla, Inc. | Photovoltaic cells with electrodes adapted to house conductive paste |
| US9947822B2 (en) | 2015-02-02 | 2018-04-17 | Tesla, Inc. | Bifacial photovoltaic module using heterojunction solar cells |
| JP6595866B2 (en) | 2015-09-18 | 2019-10-23 | 信越化学工業株式会社 | Photovoltaic power generation system and method of using the same |
| US9761744B2 (en) | 2015-10-22 | 2017-09-12 | Tesla, Inc. | System and method for manufacturing photovoltaic structures with a metal seed layer |
| US9842956B2 (en) | 2015-12-21 | 2017-12-12 | Tesla, Inc. | System and method for mass-production of high-efficiency photovoltaic structures |
| US10115838B2 (en) | 2016-04-19 | 2018-10-30 | Tesla, Inc. | Photovoltaic structures with interlocking busbars |
| US10672919B2 (en) | 2017-09-19 | 2020-06-02 | Tesla, Inc. | Moisture-resistant solar cells for solar roof tiles |
| US11190128B2 (en) | 2018-02-27 | 2021-11-30 | Tesla, Inc. | Parallel-connected solar roof tile modules |
| US20240258442A1 (en) * | 2021-05-31 | 2024-08-01 | Idemitsu Kosan Co.,Ltd. | Photoelectric conversion element, solar cell module, and paddle |
Family Cites Families (6)
| Publication number | Priority date | Publication date | Assignee | Title |
|---|---|---|---|---|
| JPS6138206Y2 (en) * | 1981-01-12 | 1986-11-05 | ||
| JPS59129477A (en) * | 1983-01-14 | 1984-07-25 | Nec Corp | Method for manufacturing solar cell elements |
| JP3188178B2 (en) * | 1996-02-07 | 2001-07-16 | シャープ株式会社 | Solar cell and method for manufacturing the same |
| JP2000164902A (en) * | 1998-11-27 | 2000-06-16 | Kyocera Corp | Solar cell |
| JP4660642B2 (en) * | 2003-10-17 | 2011-03-30 | 信越化学工業株式会社 | Solar cell and manufacturing method thereof |
| JP2005136148A (en) * | 2003-10-30 | 2005-05-26 | Kyocera Corp | Solar cell element and method for manufacturing solar cell element |
-
2005
- 2005-05-19 JP JP2005146845A patent/JP5301758B2/en not_active Expired - Lifetime
Also Published As
| Publication number | Publication date |
|---|---|
| JP2006324504A (en) | 2006-11-30 |
Similar Documents
| Publication | Publication Date | Title |
|---|---|---|
| JP5301758B2 (en) | Solar cell | |
| TWI845484B (en) | Interdigitated back-contacted solar cell with p-type conductivity and manufacturing thereof and photovoltaic module | |
| JP5449849B2 (en) | Solar cell and method for manufacturing the same | |
| CN101540350B (en) | A preparation process of point-contact crystalline silicon solar cells on the back | |
| CN104781936A (en) | Photovoltaic device with electroplated metal grid | |
| CN104704639B (en) | Manufacturing method of solar cell | |
| WO2007122897A1 (en) | Solar cell with interconnector, solar cell module and method for manufacturing solar cell module | |
| TWI649883B (en) | Solar battery unit and method of manufacturing solar battery unit | |
| TWI611589B (en) | Solar battery and solar battery module | |
| JP6644884B2 (en) | Solar cell, solar cell manufacturing system, and solar cell manufacturing method | |
| AU2011304166B2 (en) | Solar cell and manufacturing method thereof | |
| JP2007214372A (en) | Solar cell and method for manufacturing the same | |
| CN113809185A (en) | Preparation method of solar cell and solar cell | |
| JP5375414B2 (en) | Solar cell and manufacturing method thereof | |
| JP5848417B1 (en) | Solar cell and method for manufacturing solar cell | |
| JP4212292B2 (en) | Solar cell and manufacturing method thereof | |
| JP6741626B2 (en) | High efficiency back electrode type solar cell and manufacturing method thereof | |
| JP2002270864A (en) | Solar cell and method of manufacturing the same | |
| JP5316491B2 (en) | Manufacturing method of solar cell | |
| JP2011187906A (en) | Solar cell element and method of manufacturing the same | |
| JP2006324519A (en) | Manufacturing method of solar cell | |
| JP2015062251A (en) | Solar cell and method for manufacturing the same | |
| JP2013149815A (en) | Solar battery and method of manufacturing the same | |
| JP2008078239A (en) | Method of manufacturing solar cell | |
| JP2015130405A (en) | Photovoltaic device manufacturing method |
Legal Events
| Date | Code | Title | Description |
|---|---|---|---|
| A621 | Written request for application examination |
Free format text: JAPANESE INTERMEDIATE CODE: A621 Effective date: 20080402 |
|
| A977 | Report on retrieval |
Free format text: JAPANESE INTERMEDIATE CODE: A971007 Effective date: 20100428 |
|
| A131 | Notification of reasons for refusal |
Free format text: JAPANESE INTERMEDIATE CODE: A131 Effective date: 20100518 |
|
| A521 | Request for written amendment filed |
Free format text: JAPANESE INTERMEDIATE CODE: A523 Effective date: 20100708 |
|
| A131 | Notification of reasons for refusal |
Free format text: JAPANESE INTERMEDIATE CODE: A131 Effective date: 20110419 |
|
| A521 | Request for written amendment filed |
Free format text: JAPANESE INTERMEDIATE CODE: A523 Effective date: 20110617 |
|
| A131 | Notification of reasons for refusal |
Free format text: JAPANESE INTERMEDIATE CODE: A131 Effective date: 20120313 |
|
| A521 | Request for written amendment filed |
Free format text: JAPANESE INTERMEDIATE CODE: A523 Effective date: 20120507 |
|
| A131 | Notification of reasons for refusal |
Free format text: JAPANESE INTERMEDIATE CODE: A131 Effective date: 20121218 |
|
| A521 | Request for written amendment filed |
Free format text: JAPANESE INTERMEDIATE CODE: A523 Effective date: 20130129 |
|
| TRDD | Decision of grant or rejection written | ||
| A01 | Written decision to grant a patent or to grant a registration (utility model) |
Free format text: JAPANESE INTERMEDIATE CODE: A01 Effective date: 20130604 |
|
| A61 | First payment of annual fees (during grant procedure) |
Free format text: JAPANESE INTERMEDIATE CODE: A61 Effective date: 20130620 |
|
| R150 | Certificate of patent or registration of utility model |
Ref document number: 5301758 Country of ref document: JP Free format text: JAPANESE INTERMEDIATE CODE: R150 Free format text: JAPANESE INTERMEDIATE CODE: R150 |
|
| R250 | Receipt of annual fees |
Free format text: JAPANESE INTERMEDIATE CODE: R250 |
|
| R250 | Receipt of annual fees |
Free format text: JAPANESE INTERMEDIATE CODE: R250 |
|
| R250 | Receipt of annual fees |
Free format text: JAPANESE INTERMEDIATE CODE: R250 |
|
| EXPY | Cancellation because of completion of term |
