[go: up one dir, main page]

JP5198406B2 - Display device, display control program, display control method, electronic device, and image forming apparatus - Google Patents

Display device, display control program, display control method, electronic device, and image forming apparatus Download PDF

Info

Publication number
JP5198406B2
JP5198406B2 JP2009244861A JP2009244861A JP5198406B2 JP 5198406 B2 JP5198406 B2 JP 5198406B2 JP 2009244861 A JP2009244861 A JP 2009244861A JP 2009244861 A JP2009244861 A JP 2009244861A JP 5198406 B2 JP5198406 B2 JP 5198406B2
Authority
JP
Japan
Prior art keywords
display
image
unit
instruction
coordinate position
Prior art date
Legal status (The legal status is an assumption and is not a legal conclusion. Google has not performed a legal analysis and makes no representation as to the accuracy of the status listed.)
Expired - Fee Related
Application number
JP2009244861A
Other languages
Japanese (ja)
Other versions
JP2011090584A (en
Inventor
良臣 松木
Current Assignee (The listed assignees may be inaccurate. Google has not performed a legal analysis and makes no representation or warranty as to the accuracy of the list.)
Kyocera Document Solutions Inc
Original Assignee
Kyocera Document Solutions Inc
Priority date (The priority date is an assumption and is not a legal conclusion. Google has not performed a legal analysis and makes no representation as to the accuracy of the date listed.)
Filing date
Publication date
Application filed by Kyocera Document Solutions Inc filed Critical Kyocera Document Solutions Inc
Priority to JP2009244861A priority Critical patent/JP5198406B2/en
Priority to US12/908,384 priority patent/US9035973B2/en
Priority to CN201010528320.6A priority patent/CN102053788B/en
Publication of JP2011090584A publication Critical patent/JP2011090584A/en
Application granted granted Critical
Publication of JP5198406B2 publication Critical patent/JP5198406B2/en
Expired - Fee Related legal-status Critical Current
Anticipated expiration legal-status Critical

Links

Images

Landscapes

  • Facsimiles In General (AREA)
  • User Interface Of Digital Computer (AREA)

Description

本発明は、表示装置、表示制御プログラム、表示制御方法、及び画像形成装置に関し、特に、複数の画像を表示部に表示する技術に関する。   The present invention relates to a display device, a display control program, a display control method, and an image forming apparatus, and more particularly to a technique for displaying a plurality of images on a display unit.

従来から、電子機器では、下記特許文献1に示されるように、LCD等からなる表示部の表示画面に複数の操作案内画像を表示するものが知られている。この電子機器では、当該表示画面に表示される複数の操作案内画像の中から操作者が所望の操作案内画像を選択する際の操作性を向上させるために、一部の操作案内画像がスクロール表示される。   2. Description of the Related Art Conventionally, as an electronic device, as shown in Patent Document 1 below, an electronic device that displays a plurality of operation guidance images on a display screen of a display unit including an LCD or the like is known. In this electronic apparatus, in order to improve operability when an operator selects a desired operation guide image from among a plurality of operation guide images displayed on the display screen, some operation guide images are scroll-displayed. Is done.

特開2008−46773号公報JP 2008-46773 A

しかしながら、上記特許文献1に示される電子機器の場合、上記スクロール表示により、画像選択時の操作性は向上するが、表示対象となる画像の数が多いと、スクロール表示時に操作者にとっての視認性が低下し、却って、操作者が所望の操作案内用画像を見付け難いという問題を有する。   However, in the case of the electronic device disclosed in Patent Document 1, the operability at the time of image selection is improved by the scroll display. However, if the number of images to be displayed is large, the visibility for the operator at the time of scroll display is improved. However, the problem is that it is difficult for the operator to find a desired operation guidance image.

本発明は、上記の問題を解決するためになされたもので、画像を表示部でスクロール表示する際に、操作者にとっての視認性を向上させ、操作者が所望の操作案内用画像を見付けやすくすることを目的とする。   The present invention has been made to solve the above-described problem. When scrolling and displaying an image on a display unit, the present invention improves visibility for the operator and makes it easier for the operator to find a desired operation guidance image. The purpose is to do.

本発明の請求項1に記載の発明は、画像を表示する表示部と、
複数の画像を前記画像ごとに予め定められた指示と対応付けて記憶する画像記憶部と、
前記画像記憶部に記憶されている各画像を所定の順番で繰り返し前記表示部に順次スクロール表示させる表示制御部と、
前記表示部の表示領域における座標位置が操作者から指定される座標位置指定部と、
前記表示制御部による前記各画像のスクロール表示中に、当該スクロール表示を停止させる停止指示を受け付ける停止指示受付部と、
前記停止されたスクロール表示を再開させる指示を受け付ける再開指示受付部と、
前記座標位置指定部で指定された座標位置に表示されている画像に対応付けられた指示の入力を受け付ける指示受付部とを備え、
前記表示制御部は、前記各画像のスクロール表示中に、前記座標位置指定部に前記座標位置が指定されると、当該指定された時点で当該座標位置にスクロール表示されている画像を前記表示部に停止して当該画像が確認可能な状態で表示させ、当該画像停止表示状態において、当該停止させて表示された画像の表示位置が前記座標位置指定部により再度指定されたときは、当該指定された表示位置の画像に対応付けられている指示を前記指示受付部が受け付け、前記画像停止表示状態において、前記再開指示受付部によって前記再開指示が受け付けられたときには、前記表示制御部は、前記停止して表示させた画像よりも更にスクロールが進んだ画像からスクロール表示を再開する表示装置である。
The invention according to claim 1 of the present invention includes a display unit for displaying an image,
An image storage unit that stores a plurality of images in association with predetermined instructions for each image;
A display control unit for repeatedly scrolling and displaying each image stored in the image storage unit in a predetermined order on the display unit;
A coordinate position designating unit in which a coordinate position in the display area of the display unit is designated by an operator;
A stop instruction receiving unit that receives a stop instruction to stop the scroll display during scroll display of each image by the display control unit;
A resumption instruction accepting unit that accepts an instruction to resume the stopped scroll display;
An instruction receiving unit that receives an input of an instruction associated with the image displayed at the coordinate position specified by the coordinate position specifying unit;
When the coordinate position is designated in the coordinate position designation unit during the scroll display of each image, the display control unit displays the image scrolled to the coordinate position at the designated time. stopped at is displayed in the image can be confirmed state, in the image stop display state, when the display position of the image displayed by the stopped is designated again by the coordinate position specifying unit, the designated When the instruction receiving unit receives an instruction associated with the image at the displayed display position, and the restart instruction is received by the restart instruction receiving unit in the image stop display state, the display control unit This is a display device that resumes scrolling display from an image that has been scrolled further than the stopped and displayed image.

また、請求項6に記載の発明は、複数の画像を電子機器の表示部に表示する表示制御プログラムであって、当該電子機器を、
複数の画像を前記画像ごとに予め定められた指示と対応付けて記憶する画像記憶部と、
前記画像記憶部に記憶されている各画像を所定の順番で繰り返し前記表示部に順次スクロール表示させる表示制御部と、
前記表示部の表示領域における座標位置が操作者から指定される座標位置指定部と、
前記表示制御部による前記各画像のスクロール表示中に、当該スクロール表示を停止させる停止指示を受け付ける停止指示受付部と、
前記停止されたスクロール表示を再開させる指示を受け付ける再開指示受付部と、
前記座標位置指定部で指定された座標位置に表示されている画像に対応付けられた指示の入力を受け付ける指示受付部として機能させ、
前記表示制御部が、前記各画像のスクロール表示中に、前記座標位置指定部に前記座標位置が指定されると、当該指定された時点で当該座標位置にスクロール表示されている画像を前記表示部に停止して当該画像が確認可能な状態で表示させ、当該画像停止表示状態において、当該停止させて表示された画像の表示位置が前記座標位置指定部により再度指定されたときは、当該指定された表示位置の画像に対応付けられている指示を前記指示受付部が受け付け、前記画像停止表示状態において、前記再開指示受付部によって前記再開指示が受け付けられたときには、前記表示制御部は、前記停止して表示させた画像よりも更にスクロールが進んだ画像からスクロール表示を再開するように機能させるものである。
The invention according to claim 6 is a display control program for displaying a plurality of images on a display unit of an electronic device.
An image storage unit that stores a plurality of images in association with predetermined instructions for each image;
A display control unit for repeatedly scrolling and displaying each image stored in the image storage unit in a predetermined order on the display unit;
A coordinate position designating unit in which a coordinate position in the display area of the display unit is designated by an operator;
A stop instruction receiving unit that receives a stop instruction to stop the scroll display during scroll display of each image by the display control unit;
A resumption instruction accepting unit that accepts an instruction to resume the stopped scroll display;
Function as an instruction receiving unit that receives an input of an instruction associated with the image displayed at the coordinate position specified by the coordinate position specifying unit;
When the display control unit designates the coordinate position in the coordinate position designation unit during scroll display of the images, the display unit displays an image scrolled to the coordinate position at the designated time. stopped at is displayed in the image can be confirmed state, in the image stop display state, when the display position of the image displayed by the stopped is designated again by the coordinate position specifying unit, the designated When the instruction receiving unit receives an instruction associated with the image at the displayed display position, and the restart instruction is received by the restart instruction receiving unit in the image stop display state, the display control unit The scroll display is restarted from an image further scrolled than the stopped and displayed image.

また、請求項7に記載の発明は、予め定められた複数の指示それぞれに対応付けられた複数の画像を電子機器の表示部に表示する表示方法であって、
各画像を所定の順番で繰り返し前記表示部に順次スクロール表示させる画像表示ステップと、
前記表示部の表示領域における座標位置の指定を操作者から受け付ける座標位置受付ステップと、
前記画像表示ステップによる前記各画像のスクロール表示中に、当該スクロール表示を停止させる停止指示を受け付ける停止指示受付ステップと、
前記停止されたスクロール表示を再開させる指示を受け付ける再開指示受付ステップと、
前記座標位置受付ステップで指定が受け付けられた座標位置に表示されている画像に対応付けられた指示の入力を受け付ける指示受付ステップと、
前記各画像のスクロール表示中に、前記座標位置受付ステップに前記座標位置の指定が受け付けられると、当該指定された時点で当該座標位置にスクロール表示されている画像を前記表示部に停止して当該画像が確認可能な状態で表示させ、当該画像停止表示状態において、当該画像の表示位置が前記座標位置受付ステップに前記座標位置の指定が受け付けられたときは、当該指定が受け付けられた表示位置の画像に対応付けられている指示を前記指示受付ステップが受け付け、前記画像停止表示状態において、前記再開指示受付ステップによって前記再開指示が受け付けられたときには、前記停止して表示させた画像よりも更にスクロールが進んだ画像からスクロール表示を再開する表示再開ステップと
を備えたものである。
The invention according to claim 7 is a display method for displaying a plurality of images associated with each of a plurality of predetermined instructions on a display unit of an electronic device,
An image display step of sequentially scrolling and displaying each image on the display unit in a predetermined order ;
A coordinate position receiving step for receiving designation of a coordinate position in the display area of the display unit from an operator;
A stop instruction receiving step for receiving a stop instruction for stopping the scroll display during scroll display of the images in the image display step;
A restart instruction receiving step for receiving an instruction to restart the stopped scroll display;
An instruction accepting step for accepting an input of an instruction associated with the image displayed at the coordinate position at which the designation is accepted in the coordinate position accepting step;
During said scrolling display of each image, the the coordinate position specified is accepted on the coordinate position receiving step, the stop image being scrolled on the coordinate position at the time of the said specified on the display unit image is displayed in a confirmation state, in the image stop display state, when the display position of the image is designated the coordinate position is received on the coordinate position receiving step, a display position where the designation is accepted When the instruction accepting step accepts an instruction associated with the image, and when the restart instruction is accepted by the resume instruction accepting step in the image stop display state, the instruction accepting step further includes the image displayed after the stop. A display resuming step for resuming the scroll display from the scrolled image.

これらの発明は、各画像のスクロール表示中に、操作者により座標位置が指定されると、当該指定された座標位置に表示している画像を停止させて表示部に表示した状態とし、当該画像表示状態において、当該停止して表示されている画像の表示位置が操作者により再度指定されたときは、当該指定された表示位置の画像に対応付けられている指示を受け付け、当該画像表示状態において、操作者により上記再開指示が受け付けられたときには、上記停止して表示させている画像よりも更にスクロールが進んだ画像からスクロール表示を再開するので、例えば、操作者が、表示部にスクロール表示されている各画像の中から所望の画像を見つけたとき、表示部の表示画面を当該所望の画像が表示された状態として当該画像の内容を確認でき、しかも、操作者が当該画像の内容を確認し終わって、スクロール表示を再開させた場合には、表示部に順次表示される先の画像が表示されることになるので、操作者が所望の画像が表示部に表示されるまでの待ち時間を減少させることが可能になる。これにより、本発明は、画像を表示部でスクロール表示する際に、操作者にとっての視認性を向上させ、操作者が所望の操作案内用画像を見付けやすくすることができる。   In these inventions, when a coordinate position is designated by an operator during scroll display of each image, the image displayed at the designated coordinate position is stopped and displayed on the display unit. In the display state, when the display position of the stopped and displayed image is designated again by the operator, an instruction associated with the image at the designated display position is received, When the resumption instruction is accepted by the operator, the scroll display is resumed from the image further scrolled than the image that is stopped and displayed. When a desired image is found from each of the images, the content of the image can be confirmed with the display screen of the display unit in a state where the desired image is displayed, In addition, when the operator finishes confirming the contents of the image and resumes the scroll display, the previous images sequentially displayed on the display unit are displayed. It is possible to reduce the waiting time until is displayed on the display unit. As a result, the present invention improves the visibility for the operator when scrolling the image on the display unit, and makes it easier for the operator to find the desired operation guidance image.

また、請求項2に記載の発明は、請求項1に記載の表示装置であって、前記画像停止表示状態のときに、前記再開指示受付部によって前記再開指示が受け付けられたときには、前記表示制御部は、前記画像停止表示が行われずにそれまでの前記スクロール表示を引き続き行った場合と同様のスクロール表示を再開するものである。   The invention according to claim 2 is the display device according to claim 1, wherein the display control is performed when the restart instruction is received by the restart instruction receiving unit in the image stop display state. The unit restarts the same scroll display as the case where the image display is not performed and the previous scroll display is continued.

これらの発明は、各画像のスクロール表示中に、操作者により座標位置が指定されると、当該指定された座標位置に表示している画像を表示部に表示した状態とし、当該画像表示状態において、当該画像の表示位置が操作者により再度指定されたときは、当該指定された表示位置の画像に対応付けられている指示を受け付け、当該画像表示状態において、操作者により上記再開指示が受け付けられたときには、上記座標位置の指定に基づく画像表示を行わずにそれまでのスクロール表示を引き続き行った場合と同様のスクロール表示を再開するので、例えば、操作者が、表示部にスクロール表示されている各画像の中から所望の画像を見つけたとき、表示部の表示画面を当該所望の画像が表示された状態として当該画像の内容を確認でき、しかも、操作者が当該画像の内容を確認し終わって、スクロール表示を再開させた場合には、上記停止表示を行わなかった場合と同様の先の画像が表示されることになるので、操作者が所望の画像が表示部に表示されるまでの待ち時間を減少させることが可能になる。これにより、本発明は、画像を表示部でスクロール表示する際に、操作者にとっての視認性を向上させ、操作者が所望の操作案内用画像を見付けやすくすることができる。   In these inventions, when the coordinate position is designated by the operator during scroll display of each image, the image displayed at the designated coordinate position is displayed on the display unit, and in the image display state, When the display position of the image is designated again by the operator, an instruction associated with the image at the designated display position is accepted, and the resume instruction is accepted by the operator in the image display state. In such a case, the scroll display similar to the case of continuing the scroll display up to then without restarting the image display based on the designation of the coordinate position is resumed. For example, the operator is scroll-displayed on the display unit. When a desired image is found from each image, the content of the image can be confirmed with the display screen of the display unit being displayed with the desired image displayed. However, when the operator finishes confirming the contents of the image and resumes scrolling display, the previous image similar to the case where the stop display is not performed is displayed. It is possible to reduce the waiting time until a desired image is displayed on the display unit. As a result, the present invention improves the visibility for the operator when scrolling the image on the display unit, and makes it easier for the operator to find the desired operation guidance image.

また、請求項3に記載の発明は、請求項1又は請求項2に記載の表示装置であって、前記表示制御部は、前記各画像のスクロール表示中に、前記座標位置指定部に前記座標位置が指定されたとき、当該指定された座標位置に表示している画像を前記表示部の前面に表示し、当該表示中の画像の背面において前記各画像のスクロール表示を続行させるものである。   The invention according to claim 3 is the display device according to claim 1 or 2, wherein the display control unit is configured to display the coordinates in the coordinate position designation unit during scroll display of the images. When the position is designated, the image displayed at the designated coordinate position is displayed on the front surface of the display unit, and the scroll display of each image is continued on the back surface of the displayed image.

この発明によれば、上記座標位置指定により表示する画像を表示部の前面に表示し、当該表示中の画像の背面において各画像のスクロール表示を続行させるので、操作者は、表示部にスクロール表示されている各画像の中から所望の画像を見つけたとき、表示部の表示画面を当該所望の画像が表示された状態として当該画像の内容を確認しつつ、スクロール表示により表示部に順次表示される各画像も視認することができる。   According to the present invention, the image to be displayed by specifying the coordinate position is displayed on the front surface of the display unit, and the scroll display of each image is continued on the back surface of the image being displayed. When a desired image is found from each of the displayed images, the display screen of the display unit is displayed on the display unit in a scrolling manner while confirming the contents of the image while the desired image is displayed. Each image can also be visually recognized.

また、請求項4に記載の発明は、請求項1乃至請求項3のいずれかに記載の表示装置を備えた電子機器である。   According to a fourth aspect of the present invention, there is provided an electronic apparatus comprising the display device according to any one of the first to third aspects.

また、請求項5に記載の発明は、請求項1乃至請求項3のいずれかに記載の表示装置を備えた画像形成装置である。
また、請求項8に記載の発明は、画像を表示する表示部と、
前記表示部に表示させる画像を複数記憶する画像記憶部と、
前記画像記憶部に記憶されている各画像を前記表示部に順次スクロール表示させる表示制御部と、
前記表示部の表示領域における座標位置が操作者から指定される座標位置指定部と、
前記表示制御部による前記各画像のスクロール表示中に、当該スクロール表示を停止させる停止指示を受け付ける停止指示受付部と、
前記停止されたスクロール表示を再開させる指示を受け付ける再開指示受付部と、
前記座標位置指定部で指定された座標位置に表示されている画像に対応付けられた指示の入力を受け付ける指示受付部とを備え、
前記表示制御部は、前記各画像のスクロール表示中に、前記座標位置指定部に前記座標位置が指定されると、当該指定された時点で当該座標位置にスクロール表示されている画像を前記表示部に停止して表示させる状態とし、当該停止表示中の画像の背面において前記各画像のスクロール表示を続行させ、当該画像停止表示状態において、当該停止させて表示された画像の表示位置が前記座標位置指定部により再度指定されたときは、当該指定された表示位置の画像に対応付けられている指示を前記指示受付部が受け付け、前記画像停止表示状態において、前記再開指示受付部によって前記再開指示が受け付けられたときには、前記表示制御部は、前記停止して表示させた画像よりも更にスクロールが進んだ画像からスクロール表示を再開する表示装置である
According to a fifth aspect of the present invention, there is provided an image forming apparatus comprising the display device according to any one of the first to third aspects.
The invention according to claim 8 is a display unit for displaying an image;
An image storage unit for storing a plurality of images to be displayed on the display unit;
A display control unit for sequentially scrolling and displaying each image stored in the image storage unit on the display unit;
A coordinate position designating unit in which a coordinate position in the display area of the display unit is designated by an operator;
A stop instruction receiving unit that receives a stop instruction to stop the scroll display during scroll display of each image by the display control unit;
A resumption instruction accepting unit that accepts an instruction to resume the stopped scroll display;
An instruction receiving unit that receives an input of an instruction associated with the image displayed at the coordinate position specified by the coordinate position specifying unit;
When the coordinate position is designated in the coordinate position designation unit during the scroll display of each image, the display control unit displays the image scrolled to the coordinate position at the designated time. And the scroll display of each image is continued on the back side of the image being stopped and displayed, and the display position of the stopped and displayed image is the coordinate position in the image stop display state. When designated again by the designation unit, the instruction accepting unit accepts an instruction associated with the image at the designated display position, and in the image stop display state, the resume instruction is given by the resume instruction accepting unit. When accepted, the display control unit resumes scrolling from an image that has been scrolled further than the stopped and displayed image. A display device.

本発明によれば、画像を表示部でスクロール表示する際に、操作者にとっての視認性を向上させ、操作者が所望の操作案内用画像を見付けやすくすることができる。   ADVANTAGE OF THE INVENTION According to this invention, when scroll-displaying an image on a display part, the visibility for an operator can be improved and an operator can find a desired operation guidance image easily.

本発明の一実施形態に係る画像形成装置の一例である複合機の構成を示す側面概略図である。1 is a schematic side view illustrating a configuration of a multifunction peripheral that is an example of an image forming apparatus according to an embodiment of the present disclosure. 操作部の部分拡大図である。It is the elements on larger scale of an operation part. 図1に示す複合機の制御ブロック図である。FIG. 2 is a control block diagram of the multifunction machine shown in FIG. 1. 複合機による表示部の表示制御処理の第1実施形態を示すフローチャートである。3 is a flowchart illustrating a first embodiment of display control processing of the display unit by the multifunction peripheral. 表示部の表示画面の一例を示す図である。It is a figure which shows an example of the display screen of a display part. (a)(b)は表示部の表示画面の一例を示す図である。(A) and (b) are figures which show an example of the display screen of a display part. 複合機による表示部の表示制御処理の第2実施形態を示すフローチャートである。10 is a flowchart illustrating a second embodiment of display control processing of the display unit by the multifunction peripheral. (a)(b)(c)は表示部の表示画面の一例を示す図である。(A) (b) (c) is a figure which shows an example of the display screen of a display part. (a)(b)は表示部の表示画面の一例を示す図である。(A) and (b) are figures which show an example of the display screen of a display part. 複合機による表示部の表示制御処理の第3実施形態を示すフローチャートである。10 is a flowchart illustrating a third embodiment of display control processing of the display unit by the multifunction peripheral. (a)(b)は表示部の表示画面の一例を示す図である。(A) and (b) are figures which show an example of the display screen of a display part. 複合機による表示部の表示制御処理の第4実施形態を示すフローチャートである。14 is a flowchart illustrating a fourth embodiment of display control processing of the display unit by the multifunction peripheral. (a)(b)(c)は表示部の表示画面の一例を示す図である。(A) (b) (c) is a figure which shows an example of the display screen of a display part. 複合機による表示部の表示制御処理の第5実施形態を示すフローチャートである。14 is a flowchart illustrating a fifth embodiment of display control processing of the display unit by the multifunction peripheral. (a)(b)は表示部の表示画面の一例を示す図である。(A) and (b) are figures which show an example of the display screen of a display part. (a)(b)は表示部の表示画面の一例を示す図である。(A) and (b) are figures which show an example of the display screen of a display part. 複合機による表示部の表示制御処理の第6実施形態を示すフローチャートである。14 is a flowchart illustrating a sixth embodiment of display control processing of the display unit by the multifunction peripheral. (a)(b)(c)は表示部の表示画面の一例を示す図である。(A) (b) (c) is a figure which shows an example of the display screen of a display part. 複合機による表示部の表示制御処理の第7実施形態を示すフローチャートである。18 is a flowchart illustrating a seventh embodiment of display control processing of the display unit by the multifunction peripheral. (a)(b)(c)は表示部の表示画面の一例を示す図である。(A) (b) (c) is a figure which shows an example of the display screen of a display part. 複合機による表示部の表示制御処理の第8実施形態を示すフローチャートである。It is a flowchart which shows 8th Embodiment of the display control process of the display part by a multifunctional device. (a)(b)は表示部の表示画面の一例を示す図である。(A) and (b) are figures which show an example of the display screen of a display part. 複合機による表示部の表示制御処理の第9実施形態を示すフローチャートである。It is a flowchart which shows 9th Embodiment of the display control process of the display part by a multifunction device. (a)乃至(d)は表示部の表示画面の一例を示す図である。(A) thru | or (d) is a figure which shows an example of the display screen of a display part. 複合機による表示部の表示制御処理の第10実施形態を示すフローチャートである。It is a flowchart which shows 10th Embodiment of the display control process of the display part by a multifunctional device. 表示部の表示画面の一例を示す図である。It is a figure which shows an example of the display screen of a display part. 複合機による表示部の表示制御処理の第11実施形態を示すフローチャートである。It is a flowchart which shows 11th Embodiment of the display control process of the display part by a multifunctional device. (a)(b)は表示部の表示画面の一例を示す図である。(A) and (b) are figures which show an example of the display screen of a display part. 複合機による表示部の表示制御処理の第12実施形態を示すフローチャートである。It is a flowchart which shows 12th Embodiment of the display control process of the display part by a multifunction device. (a)乃至(d)は表示部の表示画面の一例を示す図である。(A) thru | or (d) is a figure which shows an example of the display screen of a display part. 複合機による表示部の表示制御処理の第13実施形態を示すフローチャートである。It is a flowchart which shows 13th Embodiment of the display control process of the display part by a multifunctional device. (a)乃至(d)は表示部の表示画面の一例を示す図である。(A) thru | or (d) is a figure which shows an example of the display screen of a display part. 複合機による表示部の表示制御処理の第7実施形態の変型例を示すフローチャートである。16 is a flowchart illustrating a modified example of the seventh embodiment of display control processing of the display unit by the multifunction peripheral. (a)(b)(c)(d)は表示部の表示画面の一例を示す図である。(A) (b) (c) (d) is a figure which shows an example of the display screen of a display part.

以下、本発明に係る表示装置、これを備えた画像形成装置、表示制御プログラム、表示制御方法について説明する。図1は、本発明の一実施形態に係る画像形成装置の一例である複合機の構成を示す側面概略図である。図2は、操作部400の部分拡大図である。複合機1は、スキャナ機能、ファクシミリ機能、プリンタ機能、コピー機能等を兼ね備えている。複合機1は、本体部200と、本体部200の用紙搬出側、例えば左側に配設された用紙後処理部300と、操作者が種々の操作指令等を入力するための操作部400と、本体部200の上部に配設された原稿読み取り部500と、原稿読み取り部500の上部に配設された原稿給送部600とから構成される。   Hereinafter, a display device, an image forming apparatus including the display device, a display control program, and a display control method according to the present invention will be described. FIG. 1 is a schematic side view illustrating a configuration of a multifunction peripheral that is an example of an image forming apparatus according to an embodiment of the present disclosure. FIG. 2 is a partially enlarged view of the operation unit 400. The multifunction device 1 has a scanner function, a facsimile function, a printer function, a copy function, and the like. The multi-function device 1 includes a main body 200, a paper post-processing section 300 disposed on the paper carry-out side, for example, the left side of the main body 200, an operation section 400 for an operator to input various operation commands, and the like. The document reading unit 500 is disposed at the upper part of the main body unit 200 and the document feeding unit 600 is disposed at the upper part of the document reading unit 500.

図2にも示すように、操作部400は、LCD(Liquid Crystal Display)等からなる表示部410と、操作者から操作指示が入力される操作キー部430を備える。操作キー部430は、ヘルプキー431、スタートキー432、テンキー433、及び機能切換キー434等を備える。   As shown in FIG. 2, the operation unit 400 includes a display unit 410 made up of an LCD (Liquid Crystal Display) and the like, and an operation key unit 430 into which an operation instruction is input from the operator. The operation key unit 430 includes a help key 431, a start key 432, a numeric keypad 433, a function switching key 434, and the like.

ヘルプキー431は、操作者から、スキャナ機能、ファクシミリ機能、プリンタ機能、コピー機能等に関する各操作方法を表示する操作案内画面(ヘルプ画面)を表示部410に表示させる指示を受け付けるものである。   The help key 431 receives an instruction from the operator to cause the display unit 410 to display an operation guidance screen (help screen) that displays each operation method related to the scanner function, facsimile function, printer function, copy function, and the like.

スタートキー432は、コピー動作やスキャン動作等の各動作を開始させる指示を操作
者から受け付ける。テンキー433は、コピー部数を指定する指示等を操作者から受け付けるキーである。機能切換キー434は、コピー機能、送信機能(スキャナ機能、ファクシミリ機能等)、ボックス機能(後述するHDD74内に設けられている操作者毎の記憶領域(メールボックス)に記憶されているデータを読み出してプリントする機能)等を相互に切り替える機能切換指示を操作者から受け付けるキーである。
The start key 432 receives an instruction to start each operation such as a copy operation and a scan operation from the operator. The numeric keypad 433 is a key for receiving an instruction for designating the number of copies from the operator. A function switching key 434 reads out data stored in a storage area (mail box) for each operator provided in a copy function, transmission function (scanner function, facsimile function, etc.), box function (HDD 74 to be described later). This is a key for accepting from the operator a function switching instruction for switching between the two functions.

表示部410は、LCD(Liquid Crystal Display)等からなり、タッチパネルを組み合わせたタッチパネルユニット等を備えている。表示部410は、種々の操作画面を表示すると共に、操作者が表示面(表示されている操作キー)をタッチすることで種々の機能の実行指令を入力することが可能とされている。   The display unit 410 includes an LCD (Liquid Crystal Display) or the like, and includes a touch panel unit combined with a touch panel. The display unit 410 displays various operation screens and allows the operator to input execution commands for various functions by touching the display surface (displayed operation keys).

原稿給送部60は、原稿載置部601、給紙ローラ602、原稿搬送部603及び原稿排出部604を備え、原稿読み取り部500は、スキャナ501を備える。給紙ローラ602は、原稿載置部601にセットされた所要枚数分の原稿を一枚ずつ繰り出し、原稿搬送部603は、繰り出される原稿を順次スキャナ501の読み取り位置に搬送する。スキャナ501は搬送される原稿の画像を順次読み取り、読み取られた原稿は原稿排出部604に排出される。   The document feeding unit 60 includes a document placement unit 601, a paper feed roller 602, a document transport unit 603, and a document discharge unit 604, and the document reading unit 500 includes a scanner 501. The paper feed roller 602 feeds the required number of documents set on the document placement unit 601 one by one, and the document transport unit 603 sequentially transports the fed document to the reading position of the scanner 501. The scanner 501 sequentially reads images of the conveyed document, and the read document is discharged to the document discharge unit 604.

本体部200は、複数の給紙カセット201、複数の給紙ローラ202、転写ローラ203、感光体ドラム204、露光装置206、現像装置207、定着ローラ208、排出口209、及び排出トレイ210等を備える。   The main body 200 includes a plurality of paper feed cassettes 201, a plurality of paper feed rollers 202, a transfer roller 203, a photosensitive drum 204, an exposure device 206, a developing device 207, a fixing roller 208, a discharge port 209, a discharge tray 210, and the like. Prepare.

感光体ドラム204は、矢印方向に回転しながら帯電装置(図示省略)によって一様に帯電される。露光装置206は、原稿読み取り部500において読み取られた原稿の画像に応じて変調されたレーザ光を感光体ドラム204上に走査し、ドラム表面に各色毎の静電潜像を形成する。現像装置207は、黒色の現像剤を感光体ドラム204に供給してトナー画像を形成する。   The photosensitive drum 204 is uniformly charged by a charging device (not shown) while rotating in the direction of the arrow. The exposure device 206 scans the photosensitive drum 204 with laser light modulated according to the image of the original read by the original reading unit 500, and forms an electrostatic latent image for each color on the drum surface. The developing device 207 supplies a black developer to the photosensitive drum 204 to form a toner image.

一方、給紙ローラ202は、印刷用紙が収納された給紙カセット201から印刷用紙を引き出し、転写ローラ203まで給送する。転写ローラ203は、搬送された印刷用紙に感光体ドラム204上のトナー像を転写させ、定着ローラ208は、転写されたトナー像を加熱して印刷用紙に定着させる。その後、印刷用紙は、本体部200の排出口209から用紙後処理部300に搬入される。また、印刷用紙は、必要に応じて排出トレイ210へも排出される。   On the other hand, the paper feed roller 202 draws the print paper from the paper feed cassette 201 in which the print paper is stored, and feeds the print paper to the transfer roller 203. The transfer roller 203 transfers the toner image on the photosensitive drum 204 to the conveyed printing paper, and the fixing roller 208 heats and fixes the transferred toner image on the printing paper. Thereafter, the printing paper is carried into the paper post-processing unit 300 from the discharge port 209 of the main body unit 200. The printing paper is also discharged to the discharge tray 210 as necessary.

用紙後処理部300は、搬入口301、印刷用紙搬送部302、搬出口303及びスタックトレイ304等を備える。印刷用紙搬送部302は、排出口209から搬入口301に搬入された印刷用紙を順次搬送し、最終的に搬出口303からスタックトレイ304へ印刷用紙を排出する。スタックトレイ304は、搬出口303から搬出された印刷用紙の集積枚数に応じて矢印方向に上下動可能に構成されている。   The paper post-processing unit 300 includes a carry-in port 301, a print paper carrying unit 302, a carry-out port 303, a stack tray 304, and the like. The printing paper conveyance unit 302 sequentially conveys the printing paper carried into the carry-in port 301 from the discharge port 209 and finally discharges the printing paper from the carry-out port 303 to the stack tray 304. The stack tray 304 is configured to be movable up and down in the direction of the arrow in accordance with the number of print sheets stacked from the carry-out port 303.

図3は、図1に示す複合機の制御ブロック図である。複合機1は、スキャナ部11、画像処理部21、プリンタ部31、操作部400、制御部51、ネットワークI/F(インターフェース)部71、HDD(ハードディスクドライブ)74、及びファクシミリ通信部75を備える。   FIG. 3 is a control block diagram of the MFP shown in FIG. The multifunction device 1 includes a scanner unit 11, an image processing unit 21, a printer unit 31, an operation unit 400, a control unit 51, a network I / F (interface) unit 71, an HDD (hard disk drive) 74, and a facsimile communication unit 75. .

スキャナ部11は、図1に示すスキャナ501を構成する露光ランプ12及びCCD(電荷結合素子)13を含む。スキャナ部11は、露光ランプ12により原稿を照射し、その反射光をCCD13で受光することにより、原稿から画像を読み取り、読み取った画像に対応する画像を画像処理部21へ出力する。   The scanner unit 11 includes an exposure lamp 12 and a CCD (charge coupled device) 13 that constitute the scanner 501 shown in FIG. The scanner unit 11 irradiates the document with the exposure lamp 12 and receives the reflected light with the CCD 13, thereby reading an image from the document and outputting an image corresponding to the read image to the image processing unit 21.

画像処理部21は、補正部22、画像加工部23及び画像メモリ24を含む。画像処理部21は、読み取られた画像を必要に応じて補正部22及び画像加工部23により処理する。画像処理部21によって処理された画像は印刷用に画像メモリ24に記憶され、又はプリンタ部31に出力される。補正部22は、読み取られた画像に対してレベル補正、γ補正等の所定の補正処理を行う。画像加工部23は、画像の圧縮又は伸張処理、及び拡大又は縮小処理等の種々の加工処理を行う。   The image processing unit 21 includes a correction unit 22, an image processing unit 23, and an image memory 24. The image processing unit 21 processes the read image by the correction unit 22 and the image processing unit 23 as necessary. The image processed by the image processing unit 21 is stored in the image memory 24 for printing or output to the printer unit 31. The correction unit 22 performs predetermined correction processing such as level correction and γ correction on the read image. The image processing unit 23 performs various types of processing such as image compression or expansion processing and enlargement or reduction processing.

プリンタ部31は、図1に示す給紙カセット201及び給紙ローラ202等から構成される用紙搬送部32、図1に示す感光体ドラム204、露光装置206及び現像装置207等から構成される画像形成部33、図1に示す転写ローラ203等から構成される転写部34、及び図1に示す定着ローラ208等から構成される定着部35を含む。プリンタ部31は、スキャナ部11により読み取られた原稿データを用いて画像を記録紙に印刷する。具体的には、用紙搬送部32は記録紙を画像形成部33へ搬送し、画像形成部33は上記の画像に対応するトナー像を形成し、転写部34はトナー像を記録紙に転写し、定着部35はトナー像を記録紙に定着させて画像を形成する。   The printer unit 31 is an image composed of a paper transport unit 32 composed of the paper feed cassette 201 and paper feed roller 202 shown in FIG. 1, the photoconductive drum 204, the exposure device 206 and the development device 207 shown in FIG. The image forming apparatus includes a forming unit 33, a transfer unit 34 including the transfer roller 203 shown in FIG. 1, and a fixing unit 35 including the fixing roller 208 shown in FIG. The printer unit 31 prints an image on recording paper using the document data read by the scanner unit 11. Specifically, the paper transport unit 32 transports the recording paper to the image forming unit 33, the image forming unit 33 forms a toner image corresponding to the above image, and the transfer unit 34 transfers the toner image to the recording paper. The fixing unit 35 fixes the toner image on the recording paper to form an image.

ネットワークI/F部71は、ネットワークインタフェース(10/100Base-TX)等を用
い、LANを介して外部装置との間での種々のデータの送受信を制御する。
The network I / F unit 71 uses a network interface (10 / 100Base-TX) or the like, and controls transmission / reception of various data to / from an external device via the LAN.

HDD74は、スキャナ部11によって読み取られた画像及び当該画像に設定されている出力形式等を記憶する。   The HDD 74 stores an image read by the scanner unit 11, an output format set for the image, and the like.

操作部400は、図1及び図2に示したように表示部410、操作キー部430を備える。表示部410は、タッチパネル機能により各種指示の入力を受け付ける複数のキーを表示制御部522による制御の下で表示する。操作キー部430には、図2に示した機能切換キー434、スタートキー432、テンキー433等が設けられている。制御部51のCPU52は、上記表示部410及び操作部400の各キーから、操作者によって入力された指示を受け付ける。   The operation unit 400 includes a display unit 410 and an operation key unit 430 as illustrated in FIGS. 1 and 2. The display unit 410 displays a plurality of keys that accept input of various instructions by a touch panel function under the control of the display control unit 522. The operation key unit 430 is provided with the function switching key 434, the start key 432, the numeric keypad 433 and the like shown in FIG. The CPU 52 of the control unit 51 receives instructions input by the operator from the keys of the display unit 410 and the operation unit 400.

表示部410に設けられているタッチパネル(座標位置指定部)4101は、操作者による表示部410の表示画面へのタッチ操作に基づいて、当該操作者のタッチにより指定された表示部410表示領域における座標位置を操作者から受け付ける。   A touch panel (coordinate position designation unit) 4101 provided in the display unit 410 is based on a touch operation on the display screen of the display unit 410 by the operator, in the display unit 410 display area designated by the operator's touch. The coordinate position is received from the operator.

ファクシミリ通信部75は、符号化/復号化部(図示省略)、変復調部(図示省略)及びNCU(Network Control Unit)(図示省略)を含む。ファクシミリ通信部75は、スキャナ部11によって読み取られた原稿の画像データを、電話回線を介してファクシミリ装置等へ送信したり、ファクシミリ装置等から送信された画像データを受信したりする。符号化/復号化部は、送信する画像データを圧縮・符号化し、受信した画像データを伸長・復号化する。変復調部は、圧縮・符号化された画像データを音声信号に変調し、受信した信号(音声信号)を画像データに復調する。NCUは、送受信先となるファクシミリ装置等との電話回線による接続を制御する。   The facsimile communication unit 75 includes an encoding / decoding unit (not shown), a modem unit (not shown), and an NCU (Network Control Unit) (not shown). The facsimile communication unit 75 transmits image data of a document read by the scanner unit 11 to a facsimile device or the like via a telephone line, or receives image data transmitted from the facsimile device or the like. The encoding / decoding unit compresses and encodes image data to be transmitted, and decompresses and decodes received image data. The modem unit modulates the compressed and encoded image data into an audio signal, and demodulates the received signal (audio signal) into image data. The NCU controls connection via a telephone line to a facsimile machine or the like as a transmission / reception destination.

制御部51は、CPU52と、画像記憶部53とを備える。CPU52は、複合機1の動作制御を司るものである。画像記憶部53は、操作者に対する操作案内を表示するための各種データや上述した指示受付用画像の画像データ、更に、スキャナ機能、ファクシミリ機能、プリンタ機能、コピー機能等の各機能の動作状況やその重要度を表示するための画像データ(画像、文字、記号等の各データを含む)を記憶している。   The control unit 51 includes a CPU 52 and an image storage unit 53. The CPU 52 controls the operation of the multifunction device 1. The image storage unit 53 displays various data for displaying operation guidance for the operator, the image data of the above-described instruction receiving image, the operation status of each function such as a scanner function, a facsimile function, a printer function, and a copy function. Image data (including data such as images, characters, symbols, etc.) for displaying the importance is stored.

CPU52は、動作制御部521、表示制御部522、指示受付部523、速度検出部524、停止指示受付部525、及び再開指示受付部526を備える。   The CPU 52 includes an operation control unit 521, a display control unit 522, an instruction reception unit 523, a speed detection unit 524, a stop instruction reception unit 525, and a restart instruction reception unit 526.

動作制御部521は、複合機1の各部(スキャナ部11,画像処理部21、プリンタ部31等)の動作制御を司る。   The operation control unit 521 controls operation of each unit (the scanner unit 11, the image processing unit 21, the printer unit 31, etc.) of the multifunction machine 1.

表示制御部522は、表示部410の表示動作を制御する。表示制御部522は、操作案内画面の表示や、各動作状況及び重要度の表示に必要な画像データを画像記憶部53から読み出して表示部410に表示させる。また、表示制御部522は、画像記憶部53に記憶されている指示受付用画像を表示部410に順次スクロール表示させる制御を行う。なお、表示制御部522は、この他にも種々の処理を行うが、当該処理の詳細はフローチャート等を用いた説明により後述する。   The display control unit 522 controls the display operation of the display unit 410. The display control unit 522 reads out the image data necessary for displaying the operation guidance screen and displaying each operation status and importance from the image storage unit 53 and causes the display unit 410 to display the image data. In addition, the display control unit 522 performs control to sequentially scroll-display the instruction reception images stored in the image storage unit 53 on the display unit 410. Note that the display control unit 522 performs various other processes, and details of the processes will be described later with reference to a flowchart and the like.

指示受付部523は、タッチパネル4101で指定が受け付けられた座標位置の情報を、当該タッチパネル4101から取得して当該座標位置に表示されている指示受付用画像を検出し、当該検出した指示受付用画像に対応付けられている指示を特定して、この特定した指示の入力を受け付ける。また、指示受付部523は、この他にも種々の処理を行うが、当該処理の詳細はフローチャート等を用いた説明により後述する。   The instruction receiving unit 523 detects the instruction receiving image displayed on the coordinate position obtained from the touch panel 4101 by acquiring the information on the coordinate position received by the touch panel 4101, and the detected instruction receiving image. The instruction associated with is specified, and the input of the specified instruction is accepted. In addition, the instruction receiving unit 523 performs various other processes, the details of which will be described later with reference to flowcharts and the like.

速度検出部524は、タッチパネル4101で指定される座標位置が変化したとき、変化前後の座標位置に基づいて算出した変化量と、先に座標位置が指定された時刻と、これに続いて後に座標位置が指定された時刻までの時間に基づいて、先に指定された座標位置からこれに続いて後に座標位置に変化する変化速度を算出することにより、操作者により指定される座標位置の変化速度を検出する。   When the coordinate position designated on the touch panel 4101 changes, the speed detection unit 524 calculates the amount of change calculated based on the coordinate position before and after the change, the time when the coordinate position is designated first, and the coordinates after this The rate of change of the coordinate position specified by the operator by calculating the rate of change from the previously specified coordinate position to the subsequent coordinate position based on the time until the specified time. Is detected.

タッチパネル4101で指定される座標位置の変化後の座量を x、 変化量を dxとし、変化後の座量される時間を t、変化前からの経過時間を dt とすると、このとき、速度検出部524は、変化速度 v をdx/dt により算出する。例えば、変化開始点の座標位置:1(設定値1)でx=1、座標位置の変化終了点:3(設定値3)でx=3、経過時間 dt =0.5の場合、速度検出部524によって算出される変化速度 v は4 になる。   When the sitting amount after the change of the coordinate position specified on the touch panel 4101 is x, the changing amount is dx, the sitting time after the changing is t, and the elapsed time from the changing is dt, the speed is detected at this time. The unit 524 calculates the change speed v by dx / dt. For example, when the coordinate position of the change start point is 1 (set value 1), x = 1, the change end point of the coordinate position is 3 (set value 3), x = 3, and the elapsed time dt = 0.5, the speed is detected. The change speed v calculated by the unit 524 is 4.

速度検出部524は、タッチパネル4101で指定される変化前後の座標位置に基づいて、当該座標位置の変化方向及び変化速度を検出する。さらに好ましくは、速度検出部524は、表示制御部524によるスクロール表示時のスクロール表示速度を、当該表示制御部524から取得する速度情報に基づいて検出する。なお、速度検出部524による処理をこれらに限定する趣旨ではない(特に示さない限り、処理を限定しない旨は、動作制御部521、表示制御部522、指示受付部523、速度検出部524、停止指示受付部525、及び再開指示受付部526の各部について同様)。   The speed detection unit 524 detects a change direction and a change speed of the coordinate position based on the coordinate position before and after the change designated on the touch panel 4101. More preferably, the speed detection unit 524 detects the scroll display speed at the time of scroll display by the display control unit 524 based on the speed information acquired from the display control unit 524. Note that the processing by the speed detection unit 524 is not limited to these (unless otherwise indicated, the processing is not limited means that the operation control unit 521, the display control unit 522, the instruction reception unit 523, the speed detection unit 524, The same applies to each of the instruction receiving unit 525 and the restart instruction receiving unit 526).

停止指示受付部525は、表示制御部522によるスクロール表示を停止させる停止指示を受け付ける。停止指示受付部525は、例えば、表示制御部522によるスクロール表示中に、当該スクロール表示されている指示受付用画像のいずれかの表示位置の座標位置の指定がタッチパネル4101により受け付けられた場合に、当該指定を操作者からの停止指示として受け付ける。   The stop instruction receiving unit 525 receives a stop instruction for stopping the scroll display by the display control unit 522. The stop instruction receiving unit 525, for example, when the touch panel 4101 receives the designation of the coordinate position of any display position of the scrolling instruction receiving image during scroll display by the display control unit 522. The designation is accepted as a stop instruction from the operator.

再開指示受付部526は、停止されたスクロール表示を再開させる指示を、操作者によるタッチパネル4101の操作に基づいて受け付けるものである。   The restart instruction receiving unit 526 receives an instruction to restart the stopped scroll display based on an operation of the touch panel 4101 by the operator.

また、本発明の一実施形態に係る表示制御プログラムは、HDD74等の複合機1内の記憶媒体に記憶されており、CPU52が当該表示制御プログラムに従って動作制御を行うことで、上記動作制御部521、表示制御部522、指示受付部523、速度検出部524、停止指示受付部525、及び再開指示受付部526として機能する。この表示制御プログラムは、CD−ROM又はDVDからの読込、或いは、ネットワークI/F71によるインターネット上のサーバからダウンロードにより、HDD74等に記憶される。   A display control program according to an embodiment of the present invention is stored in a storage medium in the multifunction device 1 such as the HDD 74, and the operation control unit 521 is configured by the CPU 52 performing operation control according to the display control program. , Function as a display control unit 522, an instruction reception unit 523, a speed detection unit 524, a stop instruction reception unit 525, and a restart instruction reception unit 526. This display control program is stored in the HDD 74 or the like by reading from a CD-ROM or DVD, or by downloading from a server on the Internet via the network I / F 71.

但し、上記動作制御部521、表示制御部522、指示受付部523、速度検出部524、停止指示受付部525、及び再開指示受付部526は、CPU52が上記表示制御プログラムに従って動作制御することで実現されるものに限られず、上記動作制御部521、表示制御部522、指示受付部523、速度検出部524、停止指示受付部525、及び再開指示受付部526が回路等によりハード的に備えられていてもよい。   However, the operation control unit 521, the display control unit 522, the instruction reception unit 523, the speed detection unit 524, the stop instruction reception unit 525, and the restart instruction reception unit 526 are realized by the CPU 52 performing operation control according to the display control program. The operation control unit 521, the display control unit 522, the instruction reception unit 523, the speed detection unit 524, the stop instruction reception unit 525, and the restart instruction reception unit 526 are provided as hardware by a circuit or the like. May be.

また、本発明の一実施形態に係る表示装置は、上記CPU51(動作制御部521、表示制御部522、指示受付部523、速度検出部524、停止指示受付部525、及び再開指示受付部526のうちの所要部)と、表示部410と、タッチパネル4101と、画像記憶部53とを備えてなる。上記のように、動作制御部521、表示制御部522、指示受付部523、速度検出部524、停止指示受付部525、及び再開指示受付部526は、CPU52が上記表示制御プログラムに従って動作制御することで実現される場合には、本発明の一実施形態に係る表示装置は、当該表示制御プログラムが記憶されたHDD74等も備える。   The display device according to an embodiment of the present invention includes the CPU 51 (the operation control unit 521, the display control unit 522, the instruction reception unit 523, the speed detection unit 524, the stop instruction reception unit 525, and the restart instruction reception unit 526). A required unit), a display unit 410, a touch panel 4101, and an image storage unit 53. As described above, the operation control unit 521, the display control unit 522, the instruction reception unit 523, the speed detection unit 524, the stop instruction reception unit 525, and the restart instruction reception unit 526 are controlled by the CPU 52 according to the display control program. When realized by the above, the display device according to an embodiment of the present invention also includes an HDD 74 or the like in which the display control program is stored.

次に、複合機1による表示部410の表示制御処理の第1実施形態について説明する。図4は、複合機1による表示部410の表示制御処理の第1実施形態を示すフローチャートである。図5,図6(a)(b)は表示部410の表示画面の一例を示す図である。   Next, a first embodiment of the display control process of the display unit 410 by the multifunction machine 1 will be described. FIG. 4 is a flowchart illustrating the first embodiment of the display control process of the display unit 410 by the multifunction machine 1. FIGS. 5, 6 </ b> A, and 6 </ b> B are diagrams illustrating an example of the display screen of the display unit 410.

複合機1の主電源が操作者によってオンにされると、表示制御部522は、表示部410に図5に示すような操作画面(初期画面A)を表示させる(S1)。本実施形態では、表示制御部522は、初期画面Aの一例として、表示部410に、コピー機能の動作条件が設定可能な表示画面を表示させる。   When the main power supply of the multifunction device 1 is turned on by the operator, the display control unit 522 causes the display unit 410 to display an operation screen (initial screen A) as shown in FIG. 5 (S1). In the present embodiment, as an example of the initial screen A, the display control unit 522 causes the display unit 410 to display a display screen on which the operating conditions for the copy function can be set.

表示制御部522が、表示部410に初期画面Aを表示させているときに、操作者により、例えば、濃度ボタン410aがタッチされることで、タッチパネル4101及び指示受付部523によりコピー濃度の設定指示が受け付けられると、表示制御部522は、図6(a)に示すような濃度設定ボタン410b(濃度設定画面の一部)を表示部410に表示させる。   When the display control unit 522 displays the initial screen A on the display unit 410, for example, when the density button 410 a is touched by the operator, the touch panel 4101 and the instruction receiving unit 523 make an instruction to set the copy density. Is received, the display control unit 522 causes the display unit 410 to display a density setting button 410b (part of the density setting screen) as shown in FIG.

表示制御部522が、濃度設定ボタン410bを表示させているとき、操作者が、当該濃度設定ボタン410bを構成するボタン410b1〜410b5のいずれかをタッチして、タッチパネル4101により、ボタン410b1〜410b5のいずれかの表示位置の座標位置の指定が受け付けられると(S2でYES)、指示受付部523は、タッチパネル4101から当該指定された座標位置の情報を取得し、指示受付部523が自ら内蔵するタイマにより当該座標位置指定時からの経過時間を計測する(S3)。なお、タッチパネル4101によりボタン410b1〜410b5のいずれかの表示位置の座標位置の指定が受け付けられない場合は(S2でNO)、S1の処理が繰り返される。   When the display control unit 522 displays the density setting button 410b, the operator touches any one of the buttons 410b1 to 410b5 constituting the density setting button 410b, and the touch panel 4101 causes the buttons 410b1 to 410b5 to be displayed. When designation of the coordinate position of any display position is accepted (YES in S2), the instruction accepting unit 523 acquires information on the designated coordinate position from the touch panel 4101, and the instruction accepting unit 523 has a built-in timer. Is used to measure the elapsed time since the coordinate position was designated (S3). If designation of the coordinate position of any of the buttons 410b1 to 410b5 is not accepted by the touch panel 4101 (NO in S2), the process of S1 is repeated.

ここで、指示受付部523によって計測される時間が予め定められた経過時間(例えば、0.5秒)に達しても、タッチパネル4101により次の座標位置の指定が受け付けられない場合(S3でYES)、すなわち、操作者がボタン410b1〜410b5のいずれかの表示位置の座標位置で指を止めている場合は、当該座標位置に表示されている指示受付用画像(ボタン410b1〜410b5のいずれか)に対応する指示が指示受付部523により受け付けられる(S13)。   Here, even when the time measured by the instruction receiving unit 523 reaches a predetermined elapsed time (for example, 0.5 seconds), the designation of the next coordinate position cannot be received by the touch panel 4101 (YES in S3). That is, when the operator stops his finger at the coordinate position of any of the display positions of the buttons 410b1 to 410b5, it corresponds to the instruction receiving image (any of the buttons 410b1 to 410b5) displayed at the coordinate position. The instruction to be received is received by the instruction receiving unit 523 (S13).

一方、S3において、指示受付部523によって計測される時間が予め定められた経過時間に達しない間に(S3でNO)、更なる座標位置がタッチパネル4101により受け付けられた場合は(S4でYES)、速度検出部524が、当該変化前後の座標位置に基づいて変化速度を検出する(S5)。   On the other hand, if a further coordinate position is received by the touch panel 4101 while the time measured by the instruction receiving unit 523 does not reach the predetermined elapsed time (NO in S3) in S3 (YES in S4). The speed detector 524 detects the change speed based on the coordinate positions before and after the change (S5).

ここで、指示受付部523は、S5で速度検出部524により検出された変化速度に応じて、S4でタッチパネル4101に受け付けられた座標位置が示す表示位置に表示されているボタン(ボタン410b1〜410b5のいずれか。以下、拡大ボタンと称する)に対応付けられた指示の入力を受け付ける領域を拡大する(S6)。   Here, the instruction receiving unit 523 displays the buttons (buttons 410b1 to 410b5) displayed at the display positions indicated by the coordinate positions received by the touch panel 4101 in S4 according to the change speed detected by the speed detecting unit 524 in S5. (Hereinafter referred to as “enlarge button”), the area for receiving the input of the instruction is expanded (S6).

指示受付部523は、例えば、図6(b)に示すように、操作者が矢印方向に示すように座標位置の指定を変化させており、S4で受け付けられた座標位置が示す表示位置に表示されているボタンがボタン410b3である場合、当該ボタン410b3に対応付けられた指示の入力を受け付ける指示入力受付領域を、上記矢印方向側に隣接するボタン410b4の表示領域まで拡大する。   For example, as shown in FIG. 6B, the instruction receiving unit 523 changes the designation of the coordinate position as indicated by the operator in the direction of the arrow, and is displayed at the display position indicated by the coordinate position received in S4. If the button being operated is the button 410b3, the instruction input receiving area for receiving the input of the instruction associated with the button 410b3 is expanded to the display area of the button 410b4 adjacent to the arrow direction side.

上記拡大される指示入力受付領域の面積は、指示受付部523が、S5で速度検出部524により検出された変化速度に応じて変化させる。例えば、S5で速度検出部524により検出された変化速度が予め定められた速度(例えば、上述した例において、速度V=dx/dt=4。但し、当該速度を限定する趣旨ではない)に達している場合には、当該変化速度が速いほど指示入力受付領域を拡大させる面積を増大させ、S5で速度検出部524により検出された変化速度が上記予め定められた速度未満である場合には、指示入力受付領域を拡大させないようにする等の処理を指示受付部523が行うことが好ましい。   The area of the instruction input reception area to be enlarged is changed by the instruction reception unit 523 according to the change speed detected by the speed detection unit 524 in S5. For example, the change speed detected by the speed detection unit 524 in S5 reaches a predetermined speed (for example, the speed V = dx / dt = 4 in the above-described example, but this is not intended to limit the speed). If the change speed detected by the speed detector 524 in S5 is less than the predetermined speed, the area for expanding the instruction input reception area is increased as the change speed is higher. The instruction receiving unit 523 preferably performs processing such as preventing the instruction input receiving area from being enlarged.

指示受付部523は、当該ボタンの指示入力領域の拡大処理時からの経過時間を計測する(S7)。指示受付部523によって計測される時間が予め定められた経過時間(例えば、0.5秒)に達しても、タッチパネル4101により次の座標位置の指定が受け付けられない場合(S7でYES)、すなわち、操作者がS4でタッチパネル4101に受け付けられた座標位置で指を止めている場合は、当該座標位置に表示されているボタンに対応する指示が指示受付部523により受け付けられる(S13)。   The instruction receiving unit 523 measures the elapsed time from the time of the enlargement process of the instruction input area of the button (S7). Even if the time measured by the instruction receiving unit 523 reaches a predetermined elapsed time (for example, 0.5 seconds), the designation of the next coordinate position cannot be received by the touch panel 4101 (YES in S7), that is, the operation When the person stops the finger at the coordinate position received by the touch panel 4101 in S4, an instruction corresponding to the button displayed at the coordinate position is received by the instruction receiving unit 523 (S13).

他方、指示受付部523によって計測される時間が上記予め定められた経過時間に達する前に(S7でNO)、タッチパネル4101により次の座標位置の指定が受け付けられた場合(S8でYES)、指示受付部523は、当該座標位置の指定が受け付けられた時点からの経過時間を計測する(S9)。   On the other hand, if the designation of the next coordinate position is accepted by the touch panel 4101 (YES in S8) before the time measured by the instruction accepting unit 523 reaches the predetermined elapsed time (NO in S7), the instruction The accepting unit 523 measures an elapsed time from when the designation of the coordinate position is accepted (S9).

ここで、指示受付部523によって計測される時間が予め定められた経過時間(例えば、0.5秒)に達しても、タッチパネル4101により更なる次の座標位置の指定が受け付けられない場合は(S9でYES)、指示受付部523は、S8で指定された座標位置が上記拡大された指示入力領域の範囲内の座標位置であるかを判断する(S10)。   If the touch panel 4101 does not accept the designation of the next coordinate position even if the time measured by the instruction accepting unit 523 reaches a predetermined elapsed time (for example, 0.5 seconds) (in S9). YES), the instruction receiving unit 523 determines whether the coordinate position designated in S8 is a coordinate position within the enlarged instruction input area (S10).

指示受付部523は、S8で指定された座標位置が上記拡大された指示入力領域の範囲内の座標位置ではないと判断した場合は(S10でNO)、当該S8で指定された座標位置に本来表示されているボタンに対応する指示が、指示受付部523により受け付けられる(S13)。   If the instruction receiving unit 523 determines that the coordinate position specified in S8 is not within the range of the enlarged instruction input area (NO in S10), the instruction receiving unit 523 originally sets the coordinate position specified in S8. An instruction corresponding to the displayed button is received by the instruction receiving unit 523 (S13).

指示受付部523は、S8で指定された座標位置が上記拡大された指示入力領域の範囲内の座標位置であると判断した場合は(S10でYES)、上記拡大ボタンに対応付けられた指示の入力を受け付ける(S11)。すなわち、指示受付部523は、上記のように、拡大ボタンに対応する指示を受け付ける指示入力領域を拡大した場合には、当該拡大された指示入力領域に表示されている元々のボタン(上記拡大ボタンではない)に対応付けられた指示の入力を、上記予め定められた期間は受け付けない。   When the instruction receiving unit 523 determines that the coordinate position specified in S8 is a coordinate position within the range of the enlarged instruction input area (YES in S10), the instruction receiving unit 523 displays the instruction associated with the enlarge button. An input is accepted (S11). That is, when the instruction input area for receiving an instruction corresponding to the enlarge button is enlarged as described above, the instruction accepting unit 523 is configured to display the original button (the enlarge button described above) displayed in the enlarged instruction input area. The input of the instruction associated with (not) is not accepted during the predetermined period.

指示受付部523は、例えば、図6(b)に示すように、ボタン410b3に対応付けられた指示の入力を受け付ける指示入力受付領域をボタン410b4の表示領域まで拡大した場合、当該拡大されたボタン410b3の指示入力受付領域においては、ボタン410b4に対応付けられた指示の入力は、上記予め定められた期間は受け付けない。   For example, as illustrated in FIG. 6B, the instruction receiving unit 523 expands the instruction input receiving area that receives an instruction input associated with the button 410 b 3 to the display area of the button 410 b 4. In the instruction input reception area 410b3, the input of the instruction associated with the button 410b4 is not received during the predetermined period.

また、S9において、指示受付部523によって計測される時間が上記予め定められた経過時間に達する前に(S9でNO)、タッチパネル4101により更なる次の座標位置の指定が受け付けられた場合は(S12でYES)、処理はS5に戻り、再びS5以降の処理が行われる。なお、タッチパネル4101により更なる次の座標位置の指定が受け付けられない場合は(S12でNO)、S9の処理に戻る。   In S9, if the touch panel 4101 receives designation of the next coordinate position before the time measured by the instruction accepting unit 523 reaches the predetermined elapsed time (NO in S9) ( The process returns to S5, and the processes after S5 are performed again. If designation of a further next coordinate position is not accepted by the touch panel 4101 (NO in S12), the process returns to S9.

なお、上記では、指示受付部523がS5で速度検出部524により検出された変化速度に応じた大きさに、S4でタッチパネル4101に受け付けられた座標位置が示す表示位置に表示されているボタンに対応付けられた指示の入力を受け付ける領域を拡大するとき(S6)、指示受付部523によって計測される時間が予め定められた経過時間に達しても、タッチパネル4101により次の座標位置の指定が受け付けられない場合は(S7でYES)、すなわち、操作者がS4でタッチパネル4101に受け付けられた座標位置で指を止めている場合は、当該座標位置に表示されているボタンに対応する指示が指示受付部523により受け付けられるようにして(S13)、指示受付部523は、速度検出部524により検出される変化速度に応じた大きさに、当該指定された座標位置に表示されているボタンに対応付けられた指示の入力を受け付ける領域を、予め定められた期間だけ拡大するが、指示受付部523は、当該予め定められた期間を、このように速度検出部524により検出される変化速度に応じて変化させるようにしてもよい。例えば、指示受付部523は、S5で速度検出部524によって検出される変化速度が予め定められた速度(例えば、上述した例において、速度V=dx/dt=4。但し、当該速度を限定する趣旨ではない)に達している場合には、当該変化速度が速いほど当該予め定められた期間を長くする等の処理を行うようにしてもよい。   Note that, in the above, the button displayed on the display position indicated by the coordinate position received by the touch panel 4101 in S4 is set to a size corresponding to the change speed detected by the speed detection unit 524 in S5. When the area for receiving the input of the associated instruction is enlarged (S6), even if the time measured by the instruction receiving unit 523 reaches a predetermined elapsed time, designation of the next coordinate position is received by the touch panel 4101. If not (YES in S7), that is, if the operator stops his finger at the coordinate position received on the touch panel 4101 in S4, an instruction corresponding to the button displayed at the coordinate position is accepted. The instruction receiving unit 523 receives the change detected by the speed detecting unit 524 so as to be received by the unit 523 (S13). The area for accepting the input of the instruction associated with the button displayed at the designated coordinate position is enlarged to a size corresponding to the degree for a predetermined period, but the instruction accepting unit 523 You may make it change a predetermined period according to the change speed detected by the speed detection part 524 in this way. For example, the instruction receiving unit 523 sets the change speed detected by the speed detection unit 524 in S5 to a predetermined speed (for example, the speed V = dx / dt = 4 in the above-described example. However, the speed is limited. When the change rate is faster, the predetermined period may be lengthened as the change rate increases.

次に、複合機1による表示部410の表示制御処理の第2実施形態について説明する。図7は、複合機1による表示部410の表示制御処理の第2実施形態を示すフローチャートである。図8(a)(b)(c),図9(a)(b)は表示部410の表示画面の一例を示す図である。なお、上述した第1実施形態と同様の処理は説明を省略する。   Next, a second embodiment of the display control process of the display unit 410 by the multifunction device 1 will be described. FIG. 7 is a flowchart illustrating a second embodiment of the display control process of the display unit 410 by the multifunction device 1. FIGS. 8A, 8 </ b> B, 9 </ b> C, and 9 </ b> A and 9 </ b> B are diagrams illustrating examples of the display screen of the display unit 410. Note that the description of the same processing as that of the first embodiment described above will be omitted.

この第2実施形態では、指示受付部523が、S25で速度検出部524により検出された変化速度に応じて、S24でタッチパネル4101に受け付けられた座標位置が示す表示位置に表示されているボタン(拡大ボタン)に対応付けられた指示の入力を受け付ける領域を拡大する際(S26)、これに伴って、表示制御部522は、当該拡大された指示入力領域の全領域に、S24でタッチパネル4101に受け付けられた座標位置が示す表示位置に表示されているボタン(拡大ボタン)の画像を表示する(S27)。   In the second embodiment, the instruction receiving unit 523 displays a button (in a display position indicated by the coordinate position received by the touch panel 4101 in S24 according to the change speed detected by the speed detecting unit 524 in S25 ( When enlarging the area for receiving the input of the instruction associated with the enlargement button) (S26), the display control unit 522 causes the touch panel 4101 to display the entire area of the enlarged instruction input area in S24. An image of the button (enlarged button) displayed at the display position indicated by the received coordinate position is displayed (S27).

例えば、図8(b)に示すように、操作者が矢印方向に示すように座標位置の指定を変化させており、S24で受け付けられた座標位置が示す表示位置に表示されているボタンがボタン410b3である場合であって、指示受付部523により、当該ボタン410b3に対応付けられた指示の入力を受け付ける指示入力受付領域が、上記矢印方向側に隣接するボタン410b4の表示領域まで拡大される場合、表示制御部522は、当該ボタン410b4の表示領域にまで拡大されるボタン410b3の指示入力受付領域については、ボタン410b4の画像に代えて、ボタン410b3の画像を表示させる。   For example, as shown in FIG. 8B, the operator changes the designation of the coordinate position as shown in the arrow direction, and the button displayed at the display position indicated by the coordinate position accepted in S24 is a button. In the case of 410b3, when the instruction input receiving area for receiving the instruction input associated with the button 410b3 is expanded by the instruction receiving unit 523 to the display area of the button 410b4 adjacent to the arrow direction side. The display control unit 522 displays the image of the button 410b3 instead of the image of the button 410b4 in the instruction input reception area of the button 410b3 that is enlarged to the display area of the button 410b4.

なお、図8(c)に示すように、例えば、操作者が矢印方向に示すように座標位置の指定を変化させており、S24で受け付けられた座標位置が示す表示位置に表示されているボタンがボタン410b3である場合、指示受付部523による上記指示入力領域の拡大は、操作者が座標位置の指定を変化させる矢印方向に限られず、図8(c)における上下方向や斜め方向に向けて行ってもよい。この場合も、表示制御部522は、当該拡大される指示入力受付領域の全域にボタン410b3の画像を表示させ、ボタン410b4の表示領域に拡大されるボタン410b3の指示入力受付領域については、ボタン410b4の画像に代えて、ボタン410b3の画像を表示させる。   As shown in FIG. 8C, for example, the operator changes the designation of the coordinate position as shown in the arrow direction, and is displayed at the display position indicated by the coordinate position accepted in S24. Is the button 410b3, the expansion of the instruction input area by the instruction receiving unit 523 is not limited to the arrow direction in which the operator changes the designation of the coordinate position, but in the vertical direction or the diagonal direction in FIG. You may go. Also in this case, the display control unit 522 displays the image of the button 410b3 over the entire instruction input reception area to be enlarged, and the button 410b4 for the instruction input reception area of the button 410b3 to be enlarged in the display area of the button 410b4. Instead of this image, the image of the button 410b3 is displayed.

上記表示制御部522によるS27の表示処理により、操作者は、本来指定したい所望の指示受付用画像(上記図8(b)(c)の例におけるボタン410b3)が視認しやすくなり、当該所望の指示受付用画像に対応付けられた指示を的確に入力することが可能になる。   The display processing in S27 by the display control unit 522 makes it easier for the operator to visually recognize the desired instruction receiving image that the user wants to designate (the button 410b3 in the examples of FIGS. 8B and 8C). It is possible to accurately input an instruction associated with the instruction receiving image.

なお、表示制御部522が上記S27の表示処理を行って、図8(b)(c)に示すように、当該拡大される指示入力受付領域の全域にボタン410b3の画像を表示させる場合、例えば、図9(a)(b)に示すように、ボタン410b4の表示領域に拡大される指示入力受付領域についてはボタン410b3の画像を表示させつつ、当該ボタン410b3の画像に対して、ボタン410b4の画像を透過表示させるようにしてもよい。   When the display control unit 522 performs the display process of S27 and displays the image of the button 410b3 over the entire instruction input reception area to be enlarged as shown in FIGS. 8B and 8C, for example, As shown in FIGS. 9 (a) and 9 (b), in the instruction input reception area enlarged in the display area of the button 410b4, the image of the button 410b3 is displayed on the button 410b3 while the image of the button 410b3 is displayed. You may make it display an image transparently.

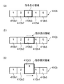
次に、複合機1による表示部410の表示制御処理の第3実施形態について説明する。図10は、複合機1による表示部410の表示制御処理の第3実施形態を示すフローチャートである。図11(a)(b)は表示部410の表示画面の一例を示す図である。   Next, a third embodiment of the display control process of the display unit 410 by the multifunction machine 1 will be described. FIG. 10 is a flowchart illustrating a third embodiment of the display control process of the display unit 410 by the multifunction machine 1. FIGS. 11A and 11B are diagrams illustrating an example of the display screen of the display unit 410.

当該第3実施形態は、表示制御部522が、表示部410に、指示受付用画像をスクロール表示させる場合の表示処理である。   The third embodiment is a display process in the case where the display control unit 522 causes the display unit 410 to scroll-display the instruction reception image.

複合機1の主電源が操作者によってオンにされると、表示制御部522は、表示部410に図5に示したような操作画面(初期画面A)を表示させる(S41)。表示制御部522が、表示部410に初期画面Aを表示させているときに、操作者により、例えば、濃度ボタン410aがタッチされることで、タッチパネル4101及び指示受付部523によりコピー濃度の設定指示が受け付けられると、表示制御部522は、図11(a)に示すような濃度設定ボタン410b(濃度設定画面の一部)を表示部410に表示させる。   When the main power supply of the multifunction device 1 is turned on by the operator, the display control unit 522 displays the operation screen (initial screen A) as shown in FIG. 5 on the display unit 410 (S41). When the display control unit 522 displays the initial screen A on the display unit 410, for example, when the density button 410 a is touched by the operator, the touch panel 4101 and the instruction receiving unit 523 make an instruction to set the copy density. Is received, the display control unit 522 causes the display unit 410 to display a density setting button 410b (part of the density setting screen) as shown in FIG.

表示制御部522が、濃度設定ボタン410bを表示させているとき、操作者が、当該濃度設定ボタン410bを構成するボタン410b1〜410b5のいずれかをタッチして、タッチパネル4101により、ボタン410b1〜410b5のいずれかの表示位置の座標位置の指定が受け付けられると(S42でYES)、指示受付部523は、タッチパネル4101から当該指定された座標位置の情報を取得し、指示受付部523が自ら内蔵するタイマにより当該座標位置指定時からの経過時間を計測する(S43)。なお、タッチパネル4101によりボタン410b1〜410b5のいずれかの表示位置の座標位置の指定が受け付けられない場合は(S42でNO)、S41の処理が繰り返される。   When the display control unit 522 displays the density setting button 410b, the operator touches any one of the buttons 410b1 to 410b5 constituting the density setting button 410b, and the touch panel 4101 causes the buttons 410b1 to 410b5 to be displayed. When designation of the coordinate position of any display position is accepted (YES in S42), the instruction accepting unit 523 acquires information on the designated coordinate position from the touch panel 4101, and the instruction accepting unit 523 has a built-in timer. Is used to measure the elapsed time since the coordinate position was designated (S43). If the designation of the coordinate position of any of the buttons 410b1 to 410b5 is not accepted by the touch panel 4101 (NO in S42), the process of S41 is repeated.

ここで、指示受付部523によって計測される時間が予め定められた経過時間(例えば、0.5秒)に達しても、タッチパネル4101により次の座標位置の指定が受け付けられない場合(S43でYES)、すなわち、操作者がボタン410b1〜410b5のいずれかの表示位置の座標位置で指を止めている場合は、当該座標位置に表示されている指示受付用画像(ボタン410b1〜410b5のいずれか)に対応する指示が指示受付部523により受け付けられる(S43)。   Here, even when the time measured by the instruction receiving unit 523 reaches a predetermined elapsed time (for example, 0.5 seconds), the touch panel 4101 cannot accept the designation of the next coordinate position (YES in S43). That is, when the operator stops his finger at the coordinate position of any of the display positions of the buttons 410b1 to 410b5, it corresponds to the instruction receiving image (any of the buttons 410b1 to 410b5) displayed at the coordinate position. The instruction to be received is received by the instruction receiving unit 523 (S43).

一方、S43において、指示受付部523によって計測される時間が予め定められた経過時間に達しない間に(S43でNO)、更なる座標位置がタッチパネル4101により受け付けられた場合は(S44でYES)、速度検出部524が、当該変化前後の座標位置に基づいて変化方向を検出する(S45)。さらに、速度検出部524は、当該変化前後の座標位置に基づいて変化速度を検出する(S46)。   On the other hand, in S43, when the time measured by the instruction receiving unit 523 does not reach the predetermined elapsed time (NO in S43), if a further coordinate position is received by the touch panel 4101 (YES in S44). The speed detection unit 524 detects the change direction based on the coordinate positions before and after the change (S45). Furthermore, the speed detector 524 detects the change speed based on the coordinate positions before and after the change (S46).

そして、表示制御部522は、S46で速度検出部524により検出された変化速度に応じて、上記スクロール表示の対象となる複数の指示受付用画像のうちの少なくとも1つの指示受付用画像の表示形態を、他の指示受付用画像とは異ならせて設定する(S47)。当該他の指示受付用画像とは異ならせる表示形態は、画像の大きさ、画像の輝度、画像の色彩等、種々の表示形態を採用することが可能である。   Then, the display control unit 522 displays a display form of at least one instruction reception image among the plurality of instruction reception images to be scrolled according to the change speed detected by the speed detection unit 524 in S46. Are set differently from other instruction receiving images (S47). Various display forms such as the size of the image, the brightness of the image, and the color of the image can be adopted as the display form different from the other instruction receiving images.

例えば、図11(a)に示すように、表示制御部522は、表示部410に、複数のボタン410b1〜410b9(図11(a)では、複数のボタン410b1〜410b9のうち5つのボタンが同時に表示部410に表示される例を示している。この図11(a)では、ボタン410b6〜410b9は非表示となっている)を並列させてスクロール表示させる場合、当該同時に並列表示する5つのボタンについて、図11(b)に示すように、当該並び方向の中心部に近付くにつれて各ボタンの画像を大きくスクロール表示されるように設定し、少なくとも、最大表示する図11(b)では中心部のボタン410b1を、上記S46で速度検出部524により検出される変化速度に応じて拡大した大きさ(例えば、上記S46で速度検出部524により検出される変化速度が速いほど拡大率を大きくする)に設定する。但し、表示制御部522は、当該同時に並列表示する5つのボタンの全て、或いは、当該同時に並列表示する5つのボタンの任意に抽出したボタンについて、上記S46で速度検出部524により検出された変化速度に応じて拡大した大きさに設定してもよい。   For example, as shown in FIG. 11A, the display control unit 522 displays a plurality of buttons 410b1 to 410b9 on the display unit 410 (in FIG. 11A, five buttons among the plurality of buttons 410b1 to 410b9 are simultaneously displayed. 11 shows an example displayed on the display unit 410. In FIG. 11A, when buttons 410b6 to 410b9 are not displayed in parallel and are scroll-displayed, the five buttons simultaneously displayed in parallel are displayed. As shown in FIG. 11B, the image of each button is set so as to be greatly scrolled as it approaches the center of the arrangement direction, and at least in the maximum display in FIG. The size of the button 410b1 is enlarged according to the change speed detected by the speed detection unit 524 in S46 (for example, the speed detection is performed in S46. Change speed detected is set fast enough to increase the magnification) by Part 524. However, the display control unit 522 detects the change speed detected by the speed detection unit 524 in S46 with respect to all the five buttons displayed in parallel at the same time, or arbitrarily extracted buttons of the five buttons displayed in parallel at the same time. You may set to the magnitude | size expanded according to.

表示制御部522は、このようにして設定した表示形態を用いて、表示の対象とする複数の指示受付用画像(ボタン410b1〜410b9)を、S45で速度検出部524により検出された変化方向に向けて表示部410にスクロール表示させる(S48)。例えば、図11(b)に示すように、S45で速度検出部524により検出された変化方向が矢印方向である場合、表示制御部522は、当該矢印方向に向けてボタン410b1〜410b9の各画像が5つずつ表示部410に表示されてスクロールするように、当該各画像を表示させる。   The display control unit 522 uses the display form set in this manner to display a plurality of instruction receiving images (buttons 410b1 to 410b9) to be displayed in the change direction detected by the speed detection unit 524 in S45. Then, scroll display is performed on the display unit 410 (S48). For example, as illustrated in FIG. 11B, when the change direction detected by the speed detection unit 524 in S45 is an arrow direction, the display control unit 522 displays each image of the buttons 410b1 to 410b9 in the direction of the arrow. Are displayed on the display unit 410 in increments of 5 so that each image is displayed.

次に、複合機1による表示部410の表示制御処理の第4実施形態について説明する。図12は、複合機1による表示部410の表示制御処理の第4実施形態を示すフローチャートである。図13(a)(b)(c)は表示部410の表示画面の一例を示す図である。当該第4実施形態も、第3実施形態と同様に、表示制御部522が、表示部410に、指示受付用画像をスクロール表示させる場合の表示処理である。なお、上述した第3実施形態と同様の処理は説明を省略する。   Next, a fourth embodiment of the display control process of the display unit 410 by the multifunction machine 1 will be described. FIG. 12 is a flowchart illustrating a fourth embodiment of the display control process of the display unit 410 by the multifunction machine 1. FIGS. 13A, 13 </ b> B, and 13 </ b> C are diagrams illustrating an example of a display screen of the display unit 410. Similarly to the third embodiment, the fourth embodiment is a display process when the display control unit 522 causes the display unit 410 to scroll-display the instruction reception image. Note that the description of the same processing as that of the third embodiment described above will be omitted.

この第4実施形態では、表示制御部522は、S56で速度検出部524により検出された変化速度に応じて、上記スクロール表示の対象となる複数の指示受付用画像のうちの少なくとも1つの指示受付用画像の表示形態を他の指示受付用画像とは異ならせて設定する処理として、S56で速度検出部524により検出された変化速度に応じて、表示部410に表示させる指示受付用画像の数を減少させる処理を採用する(S57)。   In the fourth embodiment, the display control unit 522 receives at least one instruction from the plurality of instruction receiving images to be scrolled according to the change speed detected by the speed detection unit 524 in S56. The number of instruction receiving images to be displayed on the display unit 410 in accordance with the change speed detected by the speed detecting unit 524 in S56 as processing for setting the display form of the image to be different from other instruction receiving images A process for reducing the value is adopted (S57).

例えば、図13(a)に示すように、表示制御部522は、表示部410に、複数のボタン410b1〜410b9のうちの5つを並列させてスクロール表示させる場合(図13(a)では、ボタン410b6〜410b9は非表示)、S56で速度検出部524により検出された変化速度が予め定められた標準速度Sよりも速い予め定められた速度S1に達した場合、図13(b)に示すように、表示部410に同時に並列表示させるボタン数を例えば3つに減らす。さらに、S56で速度検出部524により検出された変化速度が上記速度S1よりも更に速い予め定められた速度S2に達した場合、図13(c)に示すように、表示制御部522は、表示部410に同時に並列表示させるボタン数を、速度S1の場合よりも更に少ない例えば2つに減らす。これらの場合、表示制御部522は、表示対象とするボタンの画像の表示面積を並列表示領域において可能な限り大きく表示することが好ましい。   For example, as illustrated in FIG. 13A, the display control unit 522 causes the display unit 410 to scroll and display five of the plurality of buttons 410b1 to 410b9 in parallel (in FIG. 13A, Buttons 410b6 to 410b9 are not displayed), and when the change speed detected by the speed detector 524 in S56 reaches a predetermined speed S1 that is faster than the predetermined standard speed S, it is shown in FIG. 13 (b). As described above, the number of buttons to be displayed in parallel on the display unit 410 is reduced to, for example, three. Furthermore, when the change speed detected by the speed detection unit 524 in S56 reaches a predetermined speed S2 that is faster than the speed S1, the display control unit 522 displays the display as shown in FIG. The number of buttons simultaneously displayed in parallel on the unit 410 is reduced to, for example, two, which is even smaller than the case of the speed S1. In these cases, it is preferable that the display control unit 522 displays the display area of the button image to be displayed as large as possible in the parallel display area.

表示制御部522による当該表示制御により、スクロール表示が比較的速く行われる場合であっても、限られた領域である並列表示領域に指示受付用画像を大きく表示することで、スクロール表示時における操作者による各指示受付用画像に対する視認性を向上させることができる。   Even when scroll display is performed relatively quickly by the display control by the display control unit 522, an operation for scroll display can be performed by displaying a large instruction receiving image in a parallel display area that is a limited area. It is possible to improve the visibility of each instruction reception image by a person.

次に、複合機1による表示部410の表示制御処理の第5実施形態について説明する。図14は、複合機1による表示部410の表示制御処理の第5実施形態を示すフローチャートである。図15(a)(b),図16(a)(b)は表示部410の表示画面の一例を示す図である。当該第5実施形態も、第3及び第4実施形態と同様に、表示制御部522が、表示部410に、指示受付用画像をスクロール表示させる場合の表示処理である。なお、上述した第3又は第4実施形態と同様の処理は説明を省略する。   Next, a fifth embodiment of the display control process of the display unit 410 by the multifunction machine 1 will be described. FIG. 14 is a flowchart illustrating a fifth embodiment of the display control process of the display unit 410 by the multifunction machine 1. FIGS. 15A, 15B, 16A, and 16B are diagrams showing examples of the display screen of the display unit 410. FIG. Similarly to the third and fourth embodiments, the fifth embodiment is a display process in the case where the display control unit 522 causes the display unit 410 to scroll-display the instruction reception image. Note that the description of the same processing as in the third or fourth embodiment described above will be omitted.

この第5実施形態では、表示制御部522は、S66で速度検出部524により検出された変化速度に応じて、上記スクロール表示の対象となる複数の指示受付用画像のうちの少なくとも1つの指示受付用画像の表示形態を他の指示受付用画像とは異ならせて設定する処理として、S66で速度検出部524により検出された変化速度に応じて、並列表示する複数の指示受付用画像について、各指示受付用画像の大きさを維持した状態で、当該並び方向における中心部に近付くにつれて、各指示受付用画像内のキャラクタ(数字、文字、記号等)を大きく設定する処理を採用する(S67)。このとき、表示制御部522は、少なくとも、最大表示する中心部の指示受付用画像内のキャラクタを、S66で速度検出部524により検出された変化速度に応じて拡大した大きさとする。   In the fifth embodiment, the display control unit 522 receives at least one instruction from among the plurality of instruction receiving images to be scrolled according to the change speed detected by the speed detection unit 524 in S66. As a process of setting the display form of the image to be different from other instruction receiving images, each of the plurality of instruction receiving images to be displayed in parallel is displayed according to the change speed detected by the speed detecting unit 524 in S66. While maintaining the size of the instruction receiving image, a process of setting a larger character (number, character, symbol, etc.) in each instruction receiving image is adopted as it approaches the center in the arrangement direction (S67). . At this time, the display control unit 522 enlarges at least the character in the instruction receiving image at the central portion to be displayed in the maximum size according to the change speed detected by the speed detection unit 524 in S66.

例えば、図15(a)に示すように、表示制御部522は、表示部410に、複数のボタン410b1〜410b9のうちの5つを並列させて矢印方向にスクロール表示させる場合(図15(a)では、ボタン410b6〜410b9は非表示)、図15(b)に示すように、各ボタンの大きさを維持した状態で、当該並び方向における中心部に近付くにつれて各ボタンの画像内に表示されるキャラクタ(数字、文字、記号等)を大きく設定する処理を採用する(S67)。   For example, as illustrated in FIG. 15A, the display control unit 522 causes the display unit 410 to scroll and display five of the plurality of buttons 410b1 to 410b9 in the arrow direction (FIG. 15A). ), The buttons 410b6 to 410b9 are not displayed.) As shown in FIG. 15B, the buttons 410b6 to 410b9 are displayed in the image of each button as they approach the center in the arrangement direction while maintaining the size of each button. A process of setting a large character (number, character, symbol, etc.) is adopted (S67).

表示制御部522による当該表示制御により、操作者は、例えば当該変化速度が速くなった場合であっても、当該最大表示する中心部の指示受付用画像が示すキャラクタの視認性が向上するため、所望の指示受付用画像を特定しやすくなる。   By the display control by the display control unit 522, the operator can improve the visibility of the character indicated by the instruction receiving image at the center to be displayed at the maximum even when the change speed is increased, for example. It becomes easy to specify a desired instruction receiving image.

また、表示制御部522は、上記S67の処理として、各ボタン画像内のキャラクタを、S66で速度検出部524により検出された変化速度に応じて拡大する際、当該拡大表示される各ボタン画像内のキャラクタをその字数を減らした略称に変換した上で拡大するようにしてもよい。例えば、図16(a)に示すように、複数のボタン410b1〜410b9のうちの5つを並列させてスクロール表示させ、ボタン410b1内のキャラクタが「京都一郎」、ボタン410b2内のキャラクタが「大阪二郎」、ボタン410b3内のキャラクタが「神戸三郎」、ボタン410b4内のキャラクタが「奈良四郎」、ボタン410b5内のキャラクタが「滋賀五郎」である場合、表示制御部522は、S66で速度検出部524により検出された変化速度が予め定められた標準速度Sよりも速い予め定められた速度S1に達した場合、例えば、図16(b)に示すように、各ボタン内のキャラクタを、ボタン410b1内のキャラクタが「KI」、ボタン410b2内のキャラクタが「OG」、ボタン410b3内のキャラクタが「KS」、ボタン410b4内のキャラクタが「NS」、ボタン410b5内のキャラクタが「SG」といった、元のキャラクタよりも字数を減らした略称とした上で上記拡大表示を行うようにしてもよい。   Further, when the display control unit 522 enlarges the character in each button image according to the change speed detected by the speed detection unit 524 in S66, the display control unit 522 This character may be enlarged after being converted into an abbreviation with a reduced number of characters. For example, as shown in FIG. 16A, five of the plurality of buttons 410b1 to 410b9 are scrolled in parallel, the character in the button 410b1 is “Kyoto Ichiro”, and the character in the button 410b2 is “Osaka” In the case where “Jiro”, the character in the button 410b3 is “Saburo Kobe”, the character in the button 410b4 is “Shiro Nara”, and the character in the button 410b5 is “Shiro Shiga”, the display control unit 522 displays the speed detection unit in S66. When the change speed detected by 524 reaches a predetermined speed S1 higher than a predetermined standard speed S, for example, as shown in FIG. The character in is “KI”, the character in button 410b2 is “OG”, the character in button 410b3 is “KS” , Characters "NS" in button 410B4, characters in the button 410b5 is like "SG", after the abbreviation of reduced number of characters than the original character may perform the enlarged display.

当該表示制御によれば、当該キャラクタは、表示文字数の減少により、指示受付用画像内に更に大きく拡大表示されることが可能になり、操作者は所望の指示受付用画像を更に特定しやすくなる。   According to the display control, the character can be further enlarged and displayed in the instruction receiving image by reducing the number of display characters, and the operator can more easily specify a desired instruction receiving image. .

次に、複合機1による表示部410の表示制御処理の第6実施形態について説明する。図17は、複合機1による表示部410の表示制御処理の第6実施形態を示すフローチャートである。図18(a)(b)(c)は表示部410の表示画面の一例を示す図である。当該第6実施形態も、表示制御部522が、表示部410に、指示受付用画像をスクロール表示させる場合の表示処理である。   Next, a sixth embodiment of display control processing of the display unit 410 by the multifunction machine 1 will be described. FIG. 17 is a flowchart illustrating a sixth embodiment of the display control process of the display unit 410 by the multifunction machine 1. 18A, 18B, and 18C are diagrams showing examples of the display screen of the display unit 410. FIG. The sixth embodiment is also a display process in the case where the display control unit 522 causes the display unit 410 to scroll-display the instruction reception image.

例えば、図18(a)に示すように、複合機1において、表示制御部522が、スキャナ部11により読み取ったスキャンデータの送信先リストを示すリスト画像Lを表示する操作画面Bを表示部410に表示しているとき(S71)、操作者がリスト画像Lの一部をなすスクロールボタンSR1又はSR2をタッチすると、タッチパネル4101及び指示受付部523により、スクロール表示指示が受け付けられる(S72でYES)。なお、タッチパネル4101及び指示受付部523によりスクロール表示指示が受け付けられない場合は(S72でNO)、S71の処理が繰り返される。また、当該スクロール表示の方向は、例えば、図18(a)における下から上の方向である(以下、スクロールボタンSR1又はSR2を用いてスクロール表示指示が行われる実施形態について同じ)。   For example, as illustrated in FIG. 18A, in the multi function device 1, the display control unit 522 displays an operation screen B that displays a list image L indicating a transmission destination list of scan data read by the scanner unit 11. (S71), when the operator touches the scroll button SR1 or SR2 that forms part of the list image L, the touch display 4101 and the instruction receiving unit 523 receive a scroll display instruction (YES in S72). . If the scroll display instruction is not accepted by touch panel 4101 and instruction accepting unit 523 (NO in S72), the process of S71 is repeated. Further, the direction of the scroll display is, for example, the direction from the bottom to the top in FIG. 18A (hereinafter, the same applies to the embodiment in which the scroll display instruction is performed using the scroll buttons SR1 or SR2).

このとき、例えば、速度検出部524は、操作者によりスクロールボタンSR1又はSR2がタッチされる時間の長短に応じて、リスト画像Lを構成する各送信先画像L1〜Lnをスクロールさせる速度を算出する(S73)。例えば、速度検出部524は、操作者によりスクロールボタンSR1又はSR2がタッチされる時間が長い程、各送信先画像L1〜Lnをスクロールさせる速度を速くし、操作者によりスクロールボタンSR1又はSR2がタッチされる時間が短い程、各送信先画像L1〜Lnをスクロールさせる速度を遅くする。   At this time, for example, the speed detection unit 524 calculates the speed at which the destination images L1 to Ln constituting the list image L are scrolled according to the length of time that the scroll button SR1 or SR2 is touched by the operator. (S73). For example, the speed detection unit 524 increases the speed at which the destination images L1 to Ln are scrolled as the time for which the scroll button SR1 or SR2 is touched by the operator is longer, and the scroll button SR1 or SR2 is touched by the operator. The shorter the time is, the slower the scrolling speed of each of the destination images L1 to Ln.

なお、図18(a)に示すように、各送信先画像L1〜Lnは、それぞれに階層が対応付けられた複数の項目を有する。本実施形態では、各送信先画像L1〜Lnは、当該項目として、上位階層から順に、「所属部署」「所属課」「所属係」「名前」の各項目を有している。すなわち、各送信先画像L1〜Lnは、「所属部署」「所属課」「所属係」「名前」の4項目で構成されている。   As shown in FIG. 18A, each of the transmission destination images L1 to Ln has a plurality of items each associated with a hierarchy. In the present embodiment, each of the transmission destination images L1 to Ln has items of “affiliation department”, “affiliation section”, “affiliation staff”, and “name” in this order from the upper layer. That is, each of the transmission destination images L1 to Ln is composed of four items of “affiliation department”, “affiliation section”, “affiliation staff”, and “name”.

ここで、表示制御部522は、表示部410にスクロール表示させる各画像についての項目数を、S73で速度検出部524により検出される変化速度が速くなるに連れて減少させ、当該変化速度が遅くなるに連れて増加させるようにして、表示部410にスクロール表示させる各画像についての項目数を算出する(S74)。   Here, the display control unit 522 decreases the number of items for each image scroll-displayed on the display unit 410 as the change speed detected by the speed detection unit 524 in S73 increases, and the change speed decreases. As it increases, the number of items for each image to be scroll-displayed on the display unit 410 is calculated (S74).

例えば、図18(a)に示すように、表示制御部522は、表示部410に、複数の送信先画像L1〜Lnのうちの4つを図18(a)における上下方向に並列させてスクロール表示させる場合(図18(a)では、送信先画像L1〜L4以外は非表示)、S73で速度検出部524により検出されたスクロール表示速度が予め定められた標準速度Sよりも速い予め定められた速度S1に達した場合、例えば、図18(b)に示すように、表示部410に表示させる各送信先画像についての表示項目数を3つに減らし、上位の階層から「所属部署」「所属課」「所属係」までを各送信先画像についての表示項目とする。さらに、S73で速度検出部524により検出されたスクロール表示速度が上記速度S1よりも更に速い予め定められた速度S2に達した場合、図18(c)に示すように、表示制御部522は、表示部410に表示させる各送信先画像についての表示項目数を、速度S1の場合よりも更に少ない例えば2つに減らし、上位の階層から「所属部署」「所属課」までを各送信先画像についての表示項目とする。   For example, as shown in FIG. 18A, the display control unit 522 scrolls the display unit 410 with four of the plurality of destination images L1 to Ln arranged in parallel in the vertical direction in FIG. In the case of display (in FIG. 18A, except for the destination images L1 to L4 are not displayed), the scroll display speed detected by the speed detection unit 524 in S73 is determined in advance higher than the predetermined standard speed S. When the speed S1 is reached, for example, as shown in FIG. 18B, the number of display items for each destination image displayed on the display unit 410 is reduced to three. The items up to “Affiliation Division” and “Affiliation” are displayed items for each destination image. Further, when the scroll display speed detected by the speed detection unit 524 in S73 reaches a predetermined speed S2 that is faster than the speed S1, the display control unit 522 The number of display items for each destination image to be displayed on the display unit 410 is reduced to, for example, two, which is smaller than the case of the speed S1, and for each destination image from the upper hierarchy to “affiliation department” and “affiliation section”. Display items.

なお、S74において、表示制御部522は、S73で速度検出部524により検出されたスクロール表示速度が、速度S1及び速度S2よりも速い上記速度Eに達していると判断した場合には、図26に示すように、スクロール表示の対象とされる例えば送信先画像L1〜Lnについてそれぞれ最上位の階層の項目のみを表示させた状態でスクロール表示を行うようにしてもよい。さらには、速度Eを速度S1及び速度S2とは無関係とし(すなわち、上記速度S1及び速度S2に基づいた表示制御は行わない)、表示制御部522は、S73で速度検出部524により検出されたスクロール表示速度が、予め定められた標準速度Sよりも速い予め定められた速度Eに達した場合、上記S74において、スクロール表示の対象とされる例えば送信先画像L1〜Lnについてそれぞれ最上位の階層の項目のみを表示させた状態でスクロール表示を行うようにしてもよい。   When the display control unit 522 determines in S74 that the scroll display speed detected by the speed detection unit 524 in S73 has reached the speed E faster than the speed S1 and the speed S2, FIG. As shown in FIG. 4, scroll display may be performed in a state where only the items of the highest hierarchy are displayed for each of the destination images L1 to Ln that are targets of scroll display. Furthermore, the speed E is not related to the speed S1 and the speed S2 (that is, display control based on the speed S1 and the speed S2 is not performed), and the display control unit 522 is detected by the speed detection unit 524 in S73. When the scroll display speed reaches a predetermined speed E that is faster than a predetermined standard speed S, in S74, for example, the highest hierarchy for each of the transmission destination images L1 to Ln to be scrolled. Scroll display may be performed in a state where only the item is displayed.

これにより、操作者の画像視認性を低下させる高速の上記変化速度で上記画像がスクロール表示される場合には、各画像の項目数を減少させることで、操作者が視認する各画像についての情報量を減らし、高速スクロール表示時であっても操作者が各画像の内容を把握しやすくなる。また、操作者の画像視認性が低下しないと思われる低速の変化速度で上記画像がスクロール表示される場合は、各画像の項目数が増加されるので、操作者が視認する各画像についての情報量を減らすことなく、操作者が各画像の内容を十分に把握できる。   As a result, when the image is scrolled and displayed at a high change speed that reduces the image visibility of the operator, information about each image that the operator visually recognizes is reduced by reducing the number of items of each image. The amount is reduced, and the operator can easily grasp the contents of each image even during high-speed scroll display. In addition, when the image is scrolled and displayed at a low change speed that is considered not to reduce the image visibility of the operator, the number of items of each image is increased, so information about each image that the operator visually recognizes The operator can fully grasp the contents of each image without reducing the amount.

次に、複合機1による表示部410の表示制御処理の第7実施形態について説明する。図19は、複合機1による表示部410の表示制御処理の第7実施形態を示すフローチャートである。図20(a)(b)(c)は表示部410の表示画面の一例を示す図である。当該第7実施形態も、表示制御部522が、表示部410に、指示受付用画像をスクロール表示させる場合の表示処理である。なお、上記第6実施形態と同様の処理は説明を省略する。   Next, a seventh embodiment of the display control process of the display unit 410 by the multifunction machine 1 will be described. FIG. 19 is a flowchart illustrating a seventh embodiment of the display control process of the display unit 410 by the multifunction machine 1. 20A, 20B, and 20C are diagrams showing examples of the display screen of the display unit 410. FIG. The seventh embodiment is also a display process when the display control unit 522 causes the display unit 410 to scroll-display the instruction reception image. Note that description of the same processing as in the sixth embodiment is omitted.

第7実施形態では、表示制御部522は、送信先画像L1〜Lnを送信先画像同士での各項目の一致度合いが高いもの同士を連続させて表示部410にスクロール表示する。   In the seventh embodiment, the display control unit 522 scrolls and displays the transmission destination images L1 to Ln on the display unit 410 such that the items having a high degree of matching between the transmission destination images are consecutive.

そして、速度検出部524が、操作者によりスクロールボタンSR1又はSR2がタッチされる時間の長短に応じて、リスト画像Lを構成する各送信先画像L1〜Lnをスクロールさせる速度を算出すると(S83)、表示制御部522は、当該S83で速度検出部524により検出された変化速度が予め定められた第1の速度Aに達しているか否かを判断する(S84)。   Then, when the speed detection unit 524 calculates the speed at which the destination images L1 to Ln constituting the list image L are scrolled according to the length of time that the scroll button SR1 or SR2 is touched by the operator (S83). The display control unit 522 determines whether or not the change speed detected by the speed detection unit 524 in S83 has reached a predetermined first speed A (S84).

表示制御部522が、上記S83で速度検出部524により検出された変化速度が第1の速度Aに達していないと判断した場合は(S84でYES)、図20(a)に示すように、各送信先画像L1〜Lnについて全項目を表示させた状態で、各送信先画像L1〜Lnをスクロール表示させる(S89)。   When the display control unit 522 determines that the change speed detected by the speed detection unit 524 in S83 does not reach the first speed A (YES in S84), as shown in FIG. In a state where all items are displayed for each of the transmission destination images L1 to Ln, the transmission destination images L1 to Ln are scroll-displayed (S89).

一方、表示制御部522が、上記S83で速度検出部524により検出された変化速度が第1の速度Aに達していて、かつ、当該第1の速度Aよりも速い速度である第2の速度Bまでは達していないと判断した場合は(S84でNO,S85でYES)、表示制御部522は、表示部410にスクロール表示させる各送信先画像L1〜Lnについての項目であって、隣接表示される各送信先画像同士で一致する項目は非表示としてスクロール表示を行う(S86)。例えば、表示制御部522は、図20(a)に示すように各送信先画像が表示される場合に、図20(b)に示すように、隣接表示される各送信先画像同士で一致する項目は非表示とする。   On the other hand, the display controller 522 has a second speed at which the change speed detected by the speed detector 524 in S83 has reached the first speed A and is faster than the first speed A. If it is determined that B has not been reached (NO in S84, YES in S85), the display control unit 522 is an item for each of the transmission destination images L1 to Ln to be scroll-displayed on the display unit 410, and is adjacently displayed. The items that match among the destination images to be displayed are displayed in a scrolling manner (S86). For example, when the transmission destination images are displayed as shown in FIG. 20A, the display control unit 522 matches the transmission destination images displayed adjacent to each other as shown in FIG. 20B. The item is hidden.

他方、表示制御部522が、上記S83で速度検出部524により検出された変化速度が上記第2の速度Bに達していると判断した場合は(S84でNO,S85でNO)、表示制御部522は、最上位階層の項目が一致する各送信先画像同士の中から予め定められた個数の画像を抽出して表示する(S90)。例えば、表示制御部522は、図20(c)に示すように、最上位階層の項目が一致する各送信先画像の中で最も表示順が速い送信先画像のみを表示する。   On the other hand, when the display control unit 522 determines that the change speed detected by the speed detection unit 524 in S83 has reached the second speed B (NO in S84, NO in S85), the display control unit In step S90, a predetermined number of images are extracted from the transmission destination images having the same items in the highest hierarchy. For example, as illustrated in FIG. 20C, the display control unit 522 displays only the transmission destination image with the fastest display order among the transmission destination images having the same items in the highest hierarchy.

このように、本実施形態では、表示制御部522は、上記S83で速度検出部524により検出された変化速度が、第1の速度Aよりも速い第2の速度Bに達していると判断した場合(S84でNO,S85でNO)、すなわち、S86の処理を行った後に上記S90の処理を行うが、当該S90の処理は、S86の処理に代えて行うようにしてもよい。すなわち、S90の処理を行う基準となる第2の速度Bは第1の速度Aとは無関係とし、表示制御部522は、速度検出部524により検出された変化速度が当該第2の速度Bに達していると判断した場合に、最上位階層の項目が一致する各送信先画像同士の中から予め定められた個数の画像を抽出して表示する処理を行うものとしてもよい。   Thus, in the present embodiment, the display control unit 522 determines that the change speed detected by the speed detection unit 524 in S83 has reached the second speed B that is faster than the first speed A. In this case (NO in S84, NO in S85), that is, the process of S90 is performed after the process of S86 is performed, but the process of S90 may be performed instead of the process of S86. That is, the second speed B serving as a reference for performing the process of S90 is not related to the first speed A, and the display control unit 522 determines that the change speed detected by the speed detection unit 524 is the second speed B. When it is determined that the number of images has reached, a process may be performed in which a predetermined number of images are extracted and displayed from the transmission destination images having the same items in the highest hierarchy.

これにより、操作者が各画像同士の違いを識別するために必要な各送信先画像同士の差異部分が抽出されて表示部410に表示される。これにより、上記各送信先画像が高速にスクロール表示される場合であっても、操作者は、表示部410に表示される各画像同士の違いを容易に識別することが可能になる。   Thereby, the difference part between each transmission destination image required for the operator to identify the difference between each image is extracted and displayed on the display unit 410. Thereby, even when each of the transmission destination images is scroll-displayed at a high speed, the operator can easily identify the difference between the images displayed on the display unit 410.

次に、複合機1による表示部410の表示制御処理の第7実施形態の変型例について説明する。図33は、複合機1による表示部410の表示制御処理の第7実施形態の変型例を示すフローチャートである。図34(a)(b)(c)(d)は表示部410の表示画面の一例を示す図である。なお、上記図19及び図20を用いた第7実施形態と同様の処理は説明を省略する。   Next, a modified example of the seventh embodiment of the display control process of the display unit 410 by the multifunction device 1 will be described. FIG. 33 is a flowchart illustrating a modified example of the seventh embodiment of the display control process of the display unit 410 by the multifunction machine 1. 34A, 34B, 34C, and 34D are diagrams showing examples of the display screen of the display unit 410. FIG. The description of the same processing as that of the seventh embodiment using FIGS. 19 and 20 is omitted.

当該変型例でも、表示制御部522は、送信先画像L1〜Lnを送信先画像同士での各項目の一致度合いが高いもの同士を連続させて表示部410にスクロール表示するが、この変型例では、表示制御部522が、速度検出部524により検出された変化速度が第2の速度Bに達していると判断した場合(S184でNO,S185で「第2の速度B≦スクロール表示速度<第3の速度C」 なお、第3の速度Cは、第2の速度Bよりも速い予め定められた速度)、更に、隣接する画像であって上位階層が異なるものは、当該異なる上位階層の画像を、現在表示している画像の項目に表示してスクロール表示を行う(S191)。   Even in the modification example, the display control unit 522 scrolls and displays the transmission destination images L1 to Ln on the display unit 410 by continuously displaying the transmission images having a high degree of matching between the items. When the display control unit 522 determines that the change speed detected by the speed detection unit 524 has reached the second speed B (NO in S184, “Second speed B ≦ scroll display speed <first speed” in S185). Note that the third speed C is a predetermined speed that is higher than the second speed B), and the adjacent images having different upper layers are images of the different upper layers. Is displayed in the item of the currently displayed image and scroll display is performed (S191).

例えば、表示制御部522は、図34(c)に示すような表示を行う。なお、この変型例では、表示部410に一度に表示する送信先画像の数は5つである。但し、表示部410に一度に表示する送信先画像の数を5つに限定する趣旨ではない。すなわち、速度検出部524により検出された変化速度が、第1の速度A≦スクロール表示速度<第2の速度Bを満たしており、図34(b)に示すように、表示制御部522が、表示部410にスクロール表示させる各送信先画像L1〜Lnについての項目であって、隣接表示される各送信先画像同士で一致する項目は非表示としてスクロール表示を行っている状態から(S186)、速度検出部524により検出された変化速度が更に速くなって第2の速度Bに達した場合、図34(c)に示すように、表示制御部522は、先に表示されている送信先画像L1,L2とは上位階層の項目の画像が異なる送信先画像L3〜L5については、下位の階層である「名前」の項目に、それよりも1つ上位の階層である「所属係」の項目の画像を表示させる。この場合、表示制御部522は、「名前」の項目のみに画像を表示させることが好ましい。スクロール表示速度が速くなっているため、表示項目を減らすことによりユーザの画像視認性を向上させるためである。   For example, the display control unit 522 performs display as shown in FIG. In this variation, the number of destination images displayed on the display unit 410 at a time is five. However, this does not mean that the number of destination images displayed on the display unit 410 at a time is limited to five. That is, the change speed detected by the speed detection unit 524 satisfies the first speed A ≦ the scroll display speed <the second speed B. As shown in FIG. 34B, the display control unit 522 From the state where the items for each of the destination images L1 to Ln to be scroll-displayed on the display unit 410 and matching the destination images that are adjacently displayed are not displayed (S186). When the change speed detected by the speed detection unit 524 further increases and reaches the second speed B, the display control unit 522 displays the transmission destination image displayed first as shown in FIG. For destination images L3 to L5 in which the images of the upper layer items are different from L1 and L2, the “name” item that is the lower layer and the “affiliation” item that is one layer higher than that Display images of . In this case, the display control unit 522 preferably displays an image only on the item “name”. This is because the scroll display speed is increased, and thus the image visibility of the user is improved by reducing display items.

そして、更に、速度検出部524により検出された変化速度が第2の速度Bよりも速い予め定められた第3の速度Cに達し、表示制御部522が、当該検出された変化速度が第3の速度Cに達していると判断した場合(S184でNO,S185で「スクロール速度≧第3の速度C」)、表示制御部522は、先に表示されている画像に続いて表示される隣接する画像については、更に上位の階層が異なるものは、当該異なる更に上位階層の画像を、現在表示している画像の項目に表示してスクロール表示を行う(S190)。   Further, the change speed detected by the speed detection unit 524 reaches a predetermined third speed C that is faster than the second speed B, and the display control unit 522 determines that the detected change speed is the third speed C. When it is determined that the speed C has been reached (NO in S184, “Scroll speed ≧ third speed C” in S185), the display control unit 522 displays the adjacent image that is displayed following the previously displayed image. As for the image to be displayed, if the higher layer is different, the different higher layer image is displayed in the item of the currently displayed image and scrolled (S190).

例えば、図34(d)に示すように、送信先画像L4が先に表示されている場合について説明すると、表示制御部522は、先に表示されている送信先画像L4に対して、S19の表示処理を行うために同一性を判断していた「所属係」の項目の画像よりも、更に上位の階層の「所属課」の項目の画像について、先に表示されている送信先画像L4と後続の送信先画像L5…の同一性を判断し、当該更に上位階層の「所属課」の項目の画像が異なる送信先画像L5〜L8については、当該異なる更に上位階層の「所属課」の項目の画像を、現在表示している「名前」の項目に表示してスクロール表示を行う。この場合も、表示制御部522は、「名前」の項目のみに画像を表示させることが好ましい。スクロール表示速度が速くなっているため、表示項目を減らすことによりユーザの画像視認性を向上させるためである。図34(d)には、送信先画像L5〜L8については、「所属部署」「所属課」「所属係」の項目を破線で示しているが、これは、送信先画像L5〜L8の上位階層の画像内容を説明するために図示したものであり、好ましい表示形態を示したものではない。   For example, as shown in FIG. 34D, the case where the transmission destination image L4 is displayed first will be described. The display control unit 522 performs the process of S19 on the transmission destination image L4 displayed first. For the image of the “affiliation section” item at a higher level than the image of the “affiliation section” item that has been determined to be the same for display processing, the image of the transmission destination image L4 displayed earlier The identity of the subsequent destination images L5... Is judged, and for the destination images L5 to L8 in which the images of the “affiliation section” item in the higher hierarchy are different, the “affiliation section” items in the different higher hierarchy are different. Is displayed in the “name” item currently displayed, and scroll display is performed. Also in this case, the display control unit 522 preferably displays an image only on the item “name”. This is because the scroll display speed is increased, and thus the image visibility of the user is improved by reducing display items. In FIG. 34 (d), for the transmission destination images L5 to L8, the items of “affiliation department”, “affiliation section”, and “affiliation staff” are indicated by broken lines. It is shown for explaining the image content of the hierarchy, and does not show a preferable display form.

次に、複合機1による表示部410の表示制御処理の第8実施形態について説明する。図21は、複合機1による表示部410の表示制御処理の第8実施形態を示すフローチャートである。図22(a)(b)は表示部410の表示画面の一例を示す図である。当該第8実施形態も、表示制御部522が、表示部410に、指示受付用画像をスクロール表示させる場合の表示処理である。なお、上記第6又は第7実施形態と同様の処理は説明を省略する。   Next, an eighth embodiment of display control processing of the display unit 410 by the multifunction machine 1 will be described. FIG. 21 is a flowchart illustrating an eighth embodiment of display control processing of the display unit 410 by the multifunction machine 1. FIGS. 22A and 22B are diagrams showing an example of the display screen of the display unit 410. The eighth embodiment is also a display process when the display control unit 522 causes the display unit 410 to scroll-display the instruction reception image. Note that description of the same processing as in the sixth or seventh embodiment is omitted.

第8実施形態では、表示制御部522は、送信先画像L1〜Lnを送信先画像同士での各項目の一致度合いが高いもの同士を連続させて順番に表示部410にスクロール表示する。第8実施形態では、表示部410に一度に表示する送信先画像の数は4つである。但し、表示部410に一度に表示する送信先画像の数を4つに限定する趣旨ではない。   In the eighth embodiment, the display control unit 522 scrolls and displays the transmission destination images L1 to Ln in order on the display unit 410 in a sequence of items with a high degree of matching between the transmission destination images. In the eighth embodiment, the number of destination images displayed on the display unit 410 at a time is four. However, this is not intended to limit the number of destination images displayed on the display unit 410 at a time to four.

例えば、複合機1において、表示制御部522が、スキャナ部11により読み取ったスキャンデータの送信先リストを示すリスト画像Lを表示する操作画面Bを表示部410に表示しているとき(S101)、操作者がスクロールボタンSR1又はSR2をタッチし、これにより、タッチパネル4101及び指示受付部523により、スクロール表示指示が受け付けられると(S102でYES)、表示制御部522は、送信先画像L1〜Lnについて上記のスクロール表示を開始する(S103)。なお、タッチパネル4101及び指示受付部523によりスクロール表示指示が受け付けられない場合は(S102でNO)、S101の処理が繰り返される。   For example, in the multifunction device 1, when the display control unit 522 displays the operation screen B displaying the list image L indicating the transmission data list of the scan data read by the scanner unit 11 on the display unit 410 (S101). When the operator touches the scroll button SR1 or SR2, and thereby the scroll display instruction is received by the touch panel 4101 and the instruction receiving unit 523 (YES in S102), the display control unit 522 displays the transmission destination images L1 to Ln. The scroll display is started (S103). When the scroll display instruction is not received by the touch panel 4101 and the instruction receiving unit 523 (NO in S102), the process of S101 is repeated.

ここで、操作者がスクロールボタンSR1又はSR2へのタッチを中断する等の操作により、タッチパネル4101及び停止指示受付部525により、スクロール表示の停止指示が受け付けられると(S104でYES)、表示制御部522は、当該スクロール表示の停止指示が受け付けられた時点で表示部410にスクロール表示していた指示受付用画像(送信先画像L1〜Lnのいずれか)よりも、予め定められた画像数分だけ前に表示していた送信先画像から表示部410に表示させる(S106)。   Here, when an instruction to stop the scroll display is received by the touch panel 4101 and the stop instruction receiving unit 525 by an operation such as interrupting the touch on the scroll button SR1 or SR2 (YES in S104), the display control unit 522 is a predetermined number of images from the instruction receiving image (any one of the transmission destination images L1 to Ln) scroll-displayed on the display unit 410 when the scroll display stop instruction is received. The display unit 410 displays the transmission destination image displayed previously (S106).

例えば、図22(a)に示すように、表示制御部522によりスクロール表示が行われており、送信先画像L1〜Lnのうち、送信先画像L4〜L7が表示部410に表示されている状態において、タッチパネル4101及び停止指示受付部525によりスクロール表示の停止指示が受け付けられた場合、表示制御部522は、この表示状態を表示部410の表示画面とするのではなく、図22(b)に示すように、上記予め定められた画像数分が例えば3つとして、送信先画像L1〜L4が表示部410にスクロール表示されている状態を表示部410の表示画面としてスクロール表示を停止する。   For example, as shown in FIG. 22A, the display control unit 522 performs scroll display, and among the transmission destination images L1 to Ln, the transmission destination images L4 to L7 are displayed on the display unit 410. When the scroll display stop instruction is received by the touch panel 4101 and the stop instruction receiving unit 525, the display control unit 522 does not set the display state as the display screen of the display unit 410, but in FIG. As shown in the figure, the predetermined number of images is, for example, three, and the display of the transmission destination images L1 to L4 is scroll-displayed on the display unit 410, and the scroll display is stopped.

これにより、所望の送信先画像が表示されているときに操作者が停止指示受付部525から停止指示を入力できず、当該停止指示の入力タイミングが遅れても、操作者所望の画像が表示部410に表示されやすくなる。これにより、画像を表示部410でスクロール表示する際に、操作者にとっての視認性を向上させ、操作者が所望の操作案内用画像を見付けやすくすることができる。   As a result, when the desired transmission destination image is displayed, the operator cannot input a stop instruction from the stop instruction receiving unit 525, and even if the input timing of the stop instruction is delayed, the operator-desired image is displayed on the display unit. It becomes easy to be displayed on 410. Thereby, when the image is scroll-displayed on the display unit 410, the visibility for the operator can be improved, and the operator can easily find the desired operation guidance image.

但し、本実施形態においては、速度検出部524が、停止指示受付部525に上記停止指示が受け付けられたときにスクロール速度を検出するものとし、表示制御部522は、当該速度検出部524からスクロール速度を取得し、上記S106において、上記予め定められた画像数を当該スクロール速度に応じて上記予め定められた画像数を変更するようにしてもよい。例えば、表示制御部522は、当該スクロール速度が速いほど、当該予め定められた画像数を多くする等の処理を行うようにしてもよい。   However, in this embodiment, the speed detector 524 detects the scroll speed when the stop instruction is received by the stop instruction receiver 525, and the display controller 522 scrolls from the speed detector 524. The speed may be acquired, and in S106, the predetermined number of images may be changed according to the scroll speed. For example, the display control unit 522 may perform processing such as increasing the predetermined number of images as the scroll speed increases.

次に、複合機1による表示部410の表示制御処理の第9実施形態について説明する。図23は、複合機1による表示部410の表示制御処理の第9実施形態を示すフローチャートである。図24(a)乃至(d)は表示部410の表示画面の一例を示す図である。当該第9実施形態も、表示制御部522が、表示部410に、指示受付用画像をスクロール表示させる場合の表示処理である。なお、上記第6乃至第8実施形態と同様の処理は説明を省略する。   Next, a ninth embodiment of the display control process of the display unit 410 by the multifunction machine 1 will be described. FIG. 23 is a flowchart illustrating a ninth embodiment of display control processing of the display unit 410 by the multifunction machine 1. 24A to 24D are diagrams showing an example of the display screen of the display unit 410. FIG. The ninth embodiment is also a display process when the display control unit 522 causes the display unit 410 to scroll-display the instruction reception image. Note that description of the same processing as in the sixth to eighth embodiments is omitted.

第9実施形態も、第8実施形態と同様に、表示制御部522は、送信先画像L1〜Lnを送信先画像同士での各項目の一致度合いが高いもの同士を連続させて順番に表示部410にスクロール表示する。   In the ninth embodiment as well, as in the eighth embodiment, the display control unit 522 sequentially displays the transmission destination images L1 to Ln that have a high degree of coincidence between items in the transmission destination images. Scroll to 410.

そして、この第9実施形態では、例えば、複合機1において、スクロール表示指示が受け付けられると(S112でYES)、表示制御部522は、S113で速度検出部524により検出されたスクロール表示速度に応じて、表示部410に表示させる指示受付用画像の数を減少させる(S114)。ここで、表示制御部522は、表示部410にスクロール表示させる各画像についての項目数を、S73で速度検出部524により検出されるスクロール表示速度が速くなるに連れて減少させ、当該スクロール表示速度が遅くなるに連れて増加させるようにして、表示部410にスクロール表示させる各画像についての項目数を算出する(S114)。そして、表示制御部522は、スクロール表示の停止指示が受け付けられた時点で表示部410にスクロール表示していた指示受付用画像(送信先画像L1〜Lnのいずれか)よりも、予め定められた画像数分だけ前に表示していた送信先画像から表示部410に表示させる(S117)。   In the ninth embodiment, for example, when the multifunction device 1 receives a scroll display instruction (YES in S112), the display control unit 522 responds to the scroll display speed detected by the speed detection unit 524 in S113. Thus, the number of instruction reception images displayed on the display unit 410 is reduced (S114). Here, the display control unit 522 decreases the number of items for each image scroll-displayed on the display unit 410 as the scroll display speed detected by the speed detection unit 524 in S73 increases, and the scroll display speed is increased. The number of items for each image to be scroll-displayed on the display unit 410 is calculated in such a manner that the number is increased as the time becomes slower (S114). The display control unit 522 is determined in advance from the instruction receiving image (any one of the transmission destination images L1 to Ln) scroll-displayed on the display unit 410 when the scroll display stop instruction is received. The display unit 410 displays the transmission destination image that has been displayed by the number of images before (S117).

例えば、図24(a)に示すように、表示制御部522は、表示部410に、複数の送信先画像L1〜Lnのうちの4つ送信先画像L4〜L7を図24(a)における上下方向に並列させてスクロール表示させる場合(図24(a)では、送信先画像L4〜L7以外は非表示)、S113で速度検出部524により検出されたスクロール表示速度が予め定められた標準速度Sよりも速い予め定められた速度S1に達した場合は、例えば、図24(b)に示すように、表示部410に表示させる各送信先画像についての表示項目数を3つに減らし、上位の階層から「所属部署」「所属課」「所属係」までを各送信先画像についての表示項目とする。さらに、S113で速度検出部524により検出されたスクロール表示速度が上記速度S1よりも更に速い予め定められた速度S2に達した場合は、図24(c)に示すように、表示制御部522は、表示部410に表示させる各送信先画像についての表示項目数を、速度S1の場合よりも更に少ない例えば2つに減らし、上位の階層から「所属部署」「所属課」までを各送信先画像についての表示項目とする。   For example, as illustrated in FIG. 24A, the display control unit 522 displays four transmission destination images L4 to L7 among the plurality of transmission destination images L1 to Ln on the display unit 410. When scroll display is performed in parallel in the direction (in FIG. 24A, except for the transmission destination images L4 to L7 is not displayed), the scroll display speed detected by the speed detection unit 524 in S113 is a predetermined standard speed S. When the predetermined speed S1 is reached, the number of display items for each destination image displayed on the display unit 410 is reduced to three, for example, as shown in FIG. The items from the hierarchy to “affiliation department”, “affiliation section”, “affiliation staff” are set as display items for each transmission destination image. Furthermore, when the scroll display speed detected by the speed detection unit 524 in S113 reaches a predetermined speed S2 that is faster than the speed S1, the display control unit 522 displays the result as shown in FIG. The number of display items for each destination image to be displayed on the display unit 410 is reduced to, for example, two, which is even smaller than that in the case of the speed S1, and each destination image from the upper hierarchy to “affiliation department” and “affiliation section”. The display item for.

そして、このような表示状態において、タッチパネル4101及び停止指示受付部525によりスクロール表示の停止指示が受け付けられた場合、表示制御部522は、図24(d)に示すように、上記予め定められた画像数分を例えば3つとして、送信先画像L1〜L4が表示部410にスクロール表示されている状態を表示部410の表示画面としてスクロール表示を停止する。   In such a display state, when a scroll display stop instruction is received by the touch panel 4101 and the stop instruction receiving unit 525, the display control unit 522 performs the above-described predetermined operation as illustrated in FIG. For example, when the number of images is three, the display of the transmission destination images L1 to L4 is scroll-displayed on the display unit 410, and the scroll display is stopped.

これにより、操作者の画像視認性を低下させる高速の上記変化速度で上記画像がスクロール表示される場合には、各画像の項目数を減少させて、操作者が視認する各画像についての情報量を減らすので、高速スクロール表示時であっても操作者が各画像の内容を把握しやすくなる。   Thus, when the image is scrolled and displayed at a high change speed that reduces the image visibility of the operator, the number of items of each image is reduced, and the amount of information about each image that the operator visually recognizes Therefore, the operator can easily grasp the contents of each image even during high-speed scroll display.

次に、複合機1による表示部410の表示制御処理の第10実施形態について説明する。図25は、複合機1による表示部410の表示制御処理の第10実施形態を示すフローチャートである。図26は表示部410の表示画面の一例を示す図である。当該第10実施形態も、表示制御部522が、表示部410に、指示受付用画像をスクロール表示させる場合の表示処理である。なお、上記第6乃至第9実施形態と同様の処理は説明を省略する。   Next, a description will be given of a tenth embodiment of display control processing of the display unit 410 by the multifunction machine 1. FIG. FIG. 25 is a flowchart illustrating a tenth embodiment of display control processing of the display unit 410 by the multifunction machine 1. FIG. 26 is a diagram illustrating an example of a display screen of the display unit 410. The tenth embodiment is also a display process when the display control unit 522 causes the display unit 410 to scroll-display the instruction reception image. Note that description of the same processing as in the sixth to ninth embodiments is omitted.

第10実施形態も、第9実施形態と同様に、表示制御部522は、送信先画像L1〜Lnを送信先画像同士での各項目の一致度合いが高いもの同士を連続させて順番に表示部410にスクロール表示する。   In the tenth embodiment, as in the ninth embodiment, the display control unit 522 sequentially displays the transmission destination images L1 to Ln that have a high degree of coincidence between items in the transmission destination images. Scroll to 410.

そして、この第10実施形態では、例えば、複合機1において、スクロール表示指示が受け付けられると(S121でYES)、表示制御部522は、S123で速度検出部524により検出されたスクロール表示速度が、予め定められた速度Dよりも小さい標準的なスクロール表示速度であると判断した場合は(S124でYES)、送信先画像L1〜Lnについて全ての項目を表示させた状態でスクロール表示を行う(S130)。一方、表示制御部522は、S123で速度検出部524により検出されたスクロール表示速度が、標準的なスクロール表示速度よりも速い上記速度Dに達していると判断した場合は(S124でNO)、図26に示すように、送信先画像L1〜Lnについてそれぞれ最上位の階層の項目のみを表示させた状態でスクロール表示を行う(S125)。以降、スクロール表示の停止指示が停止指示受付部525に受け付けられた後の処理(S126乃至S129)は、第9実施形態と同様である。   In the tenth embodiment, for example, when the multifunction device 1 receives a scroll display instruction (YES in S121), the display control unit 522 displays the scroll display speed detected by the speed detection unit 524 in S123. If it is determined that the standard scroll display speed is lower than the predetermined speed D (YES in S124), scroll display is performed with all items displayed for the destination images L1 to Ln (S130). ). On the other hand, if the display control unit 522 determines that the scroll display speed detected by the speed detection unit 524 in S123 has reached the speed D faster than the standard scroll display speed (NO in S124), As shown in FIG. 26, scroll display is performed in a state where only the items of the highest hierarchy are displayed for the destination images L1 to Ln (S125). Thereafter, the processing (S126 to S129) after the scroll display stop instruction is received by the stop instruction receiving unit 525 is the same as in the ninth embodiment.

これにより、表示制御部522は、上記変化速度が予め定められた速度Dに達したときは、各送信先画像について最上位階層の項目のみを表示するので、表示部410に各送信先画像が更に高速にスクロール表示される場合であっても、操作者が各送信先画像の属性や種別を識別しやすいように、各送信先画像について表示対象とされる情報量が絞られる。これにより、上記各送信先画像が高速にスクロール表示される場合であっても、操作者は、表示部410に表示される各送信先画像から所望の画像を特定しやすくなる。また、スクロール表示の停止時には、各送信先画像を構成する全ての項目を表示させた状態になるので、表示されている送信先画像の内容を操作者が識別しやすい状態にあるときは、操作者が十分に各送信先画像の内容を把握できる。   As a result, when the change speed reaches the predetermined speed D, the display control unit 522 displays only the item of the highest layer for each transmission destination image, so that each transmission destination image is displayed on the display unit 410. Even when scroll display is performed at a higher speed, the amount of information to be displayed for each destination image is narrowed down so that the operator can easily identify the attribute and type of each destination image. Thereby, even if each transmission destination image is scroll-displayed at high speed, the operator can easily specify a desired image from each transmission destination image displayed on the display unit 410. In addition, when the scroll display is stopped, all the items constituting each transmission destination image are displayed, so if the operator can easily identify the contents of the displayed transmission destination image, Can sufficiently grasp the contents of each destination image.

次に、複合機1による表示部410の表示制御処理の第11実施形態について説明する。図27は、複合機1による表示部410の表示制御処理の第11実施形態を示すフローチャートである。図28(a)(b)は表示部410の表示画面の一例を示す図である。当該第11実施形態も、表示制御部522が、表示部410に、指示受付用画像をスクロール表示させる場合の表示処理である。なお、上記第6乃至第10実施形態と同様の処理は説明を省略する。   Next, an eleventh embodiment of display control processing of the display unit 410 by the multifunction machine 1 will be described. FIG. 27 is a flowchart illustrating an eleventh embodiment of display control processing of the display unit 410 by the multifunction machine 1. FIGS. 28A and 28B are diagrams showing an example of the display screen of the display unit 410. The eleventh embodiment is also a display process when the display control unit 522 causes the display unit 410 to scroll-display the instruction reception image. Note that description of the same processing as in the sixth to tenth embodiments is omitted.

第11実施形態も、第10実施形態と同様に、表示制御部522は、送信先画像L1〜Lnを送信先画像同士での各項目の一致度合いが高いもの同士を連続させて順番に表示部410にスクロール表示する。   In the eleventh embodiment as well, as in the tenth embodiment, the display control unit 522 displays the transmission destination images L1 to Ln in order by sequentially displaying the transmission images having a high degree of coincidence between items. Scroll to 410.

当該第11実施形態では、例えば、図28(a)に示すように、表示制御部522は、S133で速度検出部524により検出されたスクロール表示速度が、標準的なスクロール表示速度よりも速い上記速度Dに達していると判断した場合は(S134でNO)、送信先画像L1〜Lnについてそれぞれ最上位の階層の項目のみを表示させた状態でスクロール表示を行い(S135)、ここで、スクロール表示の停止指示が停止指示受付部525に受け付けられると(S136でYES)、図28(b)に示すように、表示制御部522は、当該スクロール表示の停止指示が受け付けられた時点でスクロール表示されている最上位階層の項目が一致する送信先画像L1〜Lnの中で、最先に表示される送信先画像を先頭として並べて表示した状態で、当該スクロール表示を停止させる(S137)。このとき、表示制御部522は、表示部410に、各送信先画像について全ての項目を表示させる。   In the eleventh embodiment, for example, as shown in FIG. 28A, the display control unit 522 is configured so that the scroll display speed detected by the speed detection unit 524 in S133 is faster than the standard scroll display speed. When it is determined that the speed D has been reached (NO in S134), scroll display is performed in a state where only the items of the highest hierarchy are displayed for the destination images L1 to Ln (S135). When the display stop instruction is received by the stop instruction receiving unit 525 (YES in S136), as shown in FIG. 28B, the display control unit 522 displays the scroll display when the stop instruction for the scroll display is received. Among the destination images L1 to Ln that match the items in the highest hierarchy, the destination image displayed first is displayed side by side as the top. Then, the scroll display is stopped (S137). At this time, the display control unit 522 causes the display unit 410 to display all items for each transmission destination image.

これによれば、スクロール表示の停止時には、停止指示受付部525にスクロール表示の停止指示が受け付けられた時点でスクロール表示されている最上位階層の項目が一致する各送信先画像の中で、最先に表示される送信先画像を先頭として並べて表示した状態になるので、最上位階層の項目が一致する各送信先画像のそれぞれの内容を操作者が十分に把握できる。   According to this, when the scroll display is stopped, the stop instruction receiving unit 525 receives a scroll display stop instruction, and when the scroll display is stopped, among the transmission destination images that match the items in the highest hierarchy that are scroll-displayed. Since the destination images displayed first are arranged and displayed at the top, the operator can sufficiently grasp the contents of each destination image that matches the items in the highest hierarchy.

次に、複合機1による表示部410の表示制御処理の第12実施形態について説明する。図29は、複合機1による表示部410の表示制御処理の第12実施形態を示すフローチャートである。図30(a)乃至(d)は表示部410の表示画面の一例を示す図である。当該第12実施形態も、表示制御部522が、表示部410に、指示受付用画像をスクロール表示させる場合の表示処理である。なお、上記第3実施形態と同様の処理は説明を省略する。   Next, a description will be given of a twelfth embodiment of the display control process of the display unit 410 by the multifunction device 1. FIG. FIG. 29 is a flowchart illustrating a twelfth embodiment of display control processing of the display unit 410 by the multifunction device 1. FIGS. 30A to 30D are diagrams illustrating an example of the display screen of the display unit 410. The twelfth embodiment is also a display process when the display control unit 522 causes the display unit 410 to scroll-display the instruction reception image. Note that description of the same processing as in the third embodiment is omitted.

複合機1の主電源が操作者によってオンにされると、表示制御部522は、表示部410に上述した図5に示したような操作画面(初期画面A)を表示させる(S141)。表示制御部522が、表示部410に初期画面Aを表示させているときに、操作者により、例えば、濃度ボタン410aがタッチされることで、タッチパネル4101及び指示受付部523によりコピー濃度の設定指示が受け付けられると、表示制御部522は、図30(a)に示すような濃度設定ボタン410b(濃度設定画面の一部)を表示部410に表示させる。   When the main power supply of the multifunction device 1 is turned on by the operator, the display control unit 522 displays the operation screen (initial screen A) as shown in FIG. 5 described above on the display unit 410 (S141). When the display control unit 522 displays the initial screen A on the display unit 410, for example, when the density button 410 a is touched by the operator, the touch panel 4101 and the instruction receiving unit 523 make an instruction to set the copy density. Is received, the display control unit 522 causes the display unit 410 to display a density setting button 410b (part of the density setting screen) as shown in FIG.

表示制御部522が、濃度設定ボタン410bを表示させているとき、操作者が、当該濃度設定ボタン410bを構成するボタン410b1〜410b5のいずれかをタッチして、タッチパネル4101により、ボタン410b1〜410b5のいずれかの表示位置の座標位置の指定が受け付けられると(S142でYES)、指示受付部523は、タッチパネル4101から当該指定された座標位置の情報を取得し、指示受付部523が自ら内蔵するタイマにより当該座標位置指定時からの経過時間を計測する(S143)。なお、タッチパネル4101によりボタン410b1〜410b5のいずれかの表示位置の座標位置の指定が受け付けられない場合は(S142でNO)、S141の処理が繰り返される。   When the display control unit 522 displays the density setting button 410b, the operator touches any one of the buttons 410b1 to 410b5 constituting the density setting button 410b, and the touch panel 4101 causes the buttons 410b1 to 410b5 to be displayed. When designation of the coordinate position of any display position is accepted (YES in S142), the instruction accepting unit 523 acquires information on the designated coordinate position from the touch panel 4101, and the instruction accepting unit 523 has a built-in timer. Is used to measure the elapsed time since the coordinate position was designated (S143). Note that if the touch panel 4101 does not accept the designation of the coordinate position of any of the buttons 410b1 to 410b5 (NO in S142), the process of S141 is repeated.

ここで、指示受付部523によって計測される時間が予め定められた経過時間(例えば、0.5秒)に達しても、タッチパネル4101により次の座標位置の指定が受け付けられない場合(S143でYES)、すなわち、操作者がボタン410b1〜410b5のいずれかの表示位置の座標位置で指を止めている場合は、当該座標位置に表示されている指示受付用画像(ボタン410b1〜410b5のいずれか)に対応する指示が指示受付部523により受け付けられる(S152)。   Here, even when the time measured by the instruction receiving unit 523 reaches a predetermined elapsed time (for example, 0.5 seconds), if the touch panel 4101 cannot accept the designation of the next coordinate position (YES in S143), That is, when the operator stops his finger at the coordinate position of any of the display positions of the buttons 410b1 to 410b5, it corresponds to the instruction receiving image (any of the buttons 410b1 to 410b5) displayed at the coordinate position. The instruction to be received is received by the instruction receiving unit 523 (S152).

一方、S143において、指示受付部523によって計測される時間が予め定められた経過時間に達しない間に(S143でNO)、更なる座標位置がタッチパネル4101により受け付けられた場合は(S144でYES)、速度検出部524が、当該変化前後の座標位置に基づいて変化方向を検出する(S145)。   On the other hand, if a further coordinate position is accepted by the touch panel 4101 while the time measured by the instruction accepting unit 523 does not reach the predetermined elapsed time (NO in S143) in S143 (YES in S144). The speed detector 524 detects the change direction based on the coordinate positions before and after the change (S145).

そして、表示制御部522は、表示の対象としている複数の指示受付用画像(ボタン410b1〜410b5)を、S145で速度検出部524により検出された変化方向に向けて表示部410にスクロール表示させる(S146)。例えば、図30(b)に示すように、S145で速度検出部524により検出された変化方向が矢印方向である場合、表示制御部522は、当該矢印方向に向けてボタン410b1〜410b9の各画像が5つずつ表示部410に表示されて順にスクロールするように、当該各画像を表示させる。   Then, the display control unit 522 scroll-displays the plurality of instruction receiving images (buttons 410b1 to 410b5) to be displayed on the display unit 410 in the change direction detected by the speed detection unit 524 in S145 ( S146). For example, as illustrated in FIG. 30B, when the change direction detected by the speed detection unit 524 in S145 is an arrow direction, the display control unit 522 displays each image of the buttons 410b1 to 410b9 in the direction of the arrow. Are displayed on the display unit 410 in increments of five, and each image is displayed so as to scroll in order.

ここで、操作者が、ボタン410b1〜410b9のいずれかをタッチして、タッチパネル4101により、ボタン410b1〜410b9のいずれかの表示位置の座標位置の指定が受け付けられると(S147でYES)、指示受付部523は、タッチパネル4101から当該指定された座標位置の情報を取得し、当該座標位置に表示されているボタンの画像(指示受付用画像)が表示部410に表示された状態でスクロール表示を停止させる(S148)。例えば、操作者により、ボタン410b9の表示位置の座標位置の指定が受け付けられた場合、図30(c)に実線で示すように、表示制御部522は、ボタン410b9の画像が表示された状態の表示画面を表示部410に表示させ(例えば拡大表示)、同じく図30(c)に破線で示すように、操作者からは指定されていない他のボタンの画像も表示された状態の表示画面を表示部410に表示させる。このように、操作者により指定されたボタン410b9の画像は、図30(c)に示すように他のボタンの画像よりも拡大して表示する等、他のボタンの画像とは表示を異ならせることが好ましい。   Here, when the operator touches any of the buttons 410b1 to 410b9 and the touch panel 4101 receives designation of the coordinate position of any of the display positions of the buttons 410b1 to 410b9 (YES in S147), the instruction is accepted. The unit 523 acquires information on the designated coordinate position from the touch panel 4101, and stops scrolling in a state where the button image (instruction reception image) displayed at the coordinate position is displayed on the display unit 410. (S148). For example, when the operator receives designation of the coordinate position of the display position of the button 410b9, the display control unit 522 displays the image of the button 410b9 in the state where the image of the button 410b9 is displayed, as indicated by a solid line in FIG. The display screen is displayed on the display unit 410 (for example, enlarged display), and as shown by the broken line in FIG. 30C, the display screen in which the image of other buttons not designated by the operator is also displayed. It is displayed on the display unit 410. As described above, the image of the button 410b9 designated by the operator is displayed differently from the image of the other buttons, for example, as shown in FIG. It is preferable.

上記のように操作者により指定されたボタン410b9の画像が表示された状態の表示画面が表示部410に表示されているときに、操作者が、当該表示されているボタンのいずれかをタッチして、タッチパネル4101により、表示されているボタンのいずれかの表示位置の座標位置の指定が受け付けられると(S149でYES)、当該座標位置に表示されている指示受付用画像(ボタン410b1〜410b9のいずれか)に対応する指示が指示受付部523により受け付けられる(S152)。   When the display screen displaying the image of the button 410b9 designated by the operator as described above is displayed on the display unit 410, the operator touches any of the displayed buttons. When the designation of the coordinate position of any of the displayed buttons is accepted by the touch panel 4101 (YES in S149), the instruction receiving image displayed on the coordinate position (the buttons 410b1 to 410b9). The instruction corresponding to any one is received by the instruction receiving unit 523 (S152).

また、操作者による上記表示位置の座標位置の指定が受け付けられることなく(S149でNO)、操作者によるタッチパネル4101の所定の操作(例えば、予め定められた時間内、例えば0.5秒未満の時間内に異なる2点座標位置を指定する等)によりスクロール表示の再開指示が指示受付部523に受け付けられると(S150でYES)、表示制御部522は、S148で停止して表示させている画像をスクロール表示させるのではなく、S148で停止して表示させている画像よりも更にスクロールが進んだ画像からスクロール表示を再開する(S151)。表示制御部522は、例えば、図30(c)に示す表示状態からスクロール表示を開始するのではなく、停止して表示させている画像よりも更にスクロールが進んだ画像からスクロール表示を開始する。例えば、表示制御部522は、S146で実行を開始したスクロール表示が停止されることなく、当該スクロール表示が引き続き行われていた場合と同様の表示内容でなるスクロール表示を行う。例えば、図30(d)に示すように、図30(c)に示す表示状態では複数の指示受付用画像の中央に表示されていたボタン410b9は、S147での座標指定時からS150でのスクロール表示再開指示時までの時間経過に応じた分だけ図30(d)の矢印方向(変化方向)に進んだ位置に表示される。この後、処理はS143に戻る。   In addition, the operator does not accept the designation of the coordinate position of the display position (NO in S149), and the operator performs a predetermined operation on the touch panel 4101 (for example, within a predetermined time, for example, within a time of less than 0.5 seconds). When the instruction accepting unit 523 accepts a scroll display restart instruction (by designating different two-point coordinate positions, etc.) (YES in S150), the display control unit 522 scrolls the image stopped and displayed in S148. Instead of displaying, scroll display is resumed from an image that has been scrolled further than the image stopped and displayed in S148 (S151). For example, the display control unit 522 does not start scroll display from the display state illustrated in FIG. 30C, but starts scroll display from an image that has been scrolled further than the stopped and displayed image. For example, the display control unit 522 performs the scroll display having the same display content as that in the case where the scroll display has been continuously performed without stopping the scroll display started in S146. For example, as shown in FIG. 30 (d), the button 410b9 displayed in the center of the plurality of instruction receiving images in the display state shown in FIG. 30 (c) is scrolled in S150 from the coordinate designation in S147. It is displayed at a position advanced in the arrow direction (change direction) in FIG. 30 (d) by the amount corresponding to the passage of time until the display restart instruction. Thereafter, the process returns to S143.

但し、S151の処理は、S148で停止して表示させている画像よりも更にスクロールが進んだ画像から表示制御部522がスクロール表示を再開するものであればよい。上記に示した、S146で実行を開始したスクロール表示が停止されることなく当該スクロール表示が引き続き行われていた場合と同様の表示内容でなるスクロール表示は、S151の処理の単なる一例である。   However, the process of S151 may be performed as long as the display control unit 522 restarts the scroll display from an image that has been scrolled further than the image stopped and displayed in S148. The above-described scroll display having the same display contents as the case where the scroll display that has been executed in S146 is continued without being stopped is merely an example of the process of S151.

これにより、例えば、操作者が、表示部410にスクロール表示されている各画像の中から所望の画像を見つけたとき、表示部410の表示画面に当該所望の画像を表示させた状態として当該画像の内容を確認でき、しかも、操作者が当該画像の内容を確認し終わって、スクロール表示を再開させた場合には、上記所望画像の表示時にも、あたかもスクロール表示が停止せずにそのまま続行されていた場合のような画像が表示されるので、所望の画像が表示部410に表示されるまでの待ち時間を減少させることが可能になる。   Thereby, for example, when the operator finds a desired image from among the images scrolled on the display unit 410, the image is displayed as a state in which the desired image is displayed on the display screen of the display unit 410. If the operator has confirmed the content of the image and resumes scroll display, the scroll display will continue as it is without stopping even when the desired image is displayed. Since an image as if it had been displayed is displayed, the waiting time until a desired image is displayed on the display unit 410 can be reduced.

次に、複合機1による表示部410の表示制御処理の第13実施形態について説明する。図31は、複合機1による表示部410の表示制御処理の第13実施形態を示すフローチャートである。図32(a)乃至(d)は表示部410の表示画面の一例を示す図である。当該第13実施形態も、表示制御部522が、表示部410に、指示受付用画像をスクロール表示させる場合の表示処理である。なお、上記第12実施形態と同様の処理は説明を省略する。   Next, a description will be given of a thirteenth embodiment of display control processing of the display unit 410 by the multifunction device 1. FIG. FIG. 31 is a flowchart illustrating a thirteenth embodiment of display control processing of the display unit 410 by the multifunction device 1. FIGS. 32A to 32D are diagrams showing examples of the display screen of the display unit 410. The thirteenth embodiment is also a display process when the display control unit 522 causes the display unit 410 to scroll-display the instruction reception image. Note that the description of the same processing as that in the twelfth embodiment will be omitted.

この第13実施形態では、表示制御部522が、S165で速度検出部524により検出された変化方向に向けて表示部410にスクロール表示させているときに(S166)、操作者から座標位置の指定がタッチパネル4101に受け付けられると(S167でYES)、指示受付部523は、タッチパネル4101から当該指定された座標位置の情報を取得し、例えば、図32(a)に示すように、当該座標位置に表示されているボタンの画像(指示受付用画像)を表示制御部522が表示部410の表示画面の前面に表示させる(S168)。   In the thirteenth embodiment, when the display control unit 522 scrolls the display unit 410 in the direction of change detected by the speed detection unit 524 in S165 (S166), the operator designates the coordinate position. Is received by the touch panel 4101 (YES in S167), the instruction receiving unit 523 acquires information on the designated coordinate position from the touch panel 4101. For example, as shown in FIG. The display control unit 522 displays the image of the displayed button (instruction reception image) on the front of the display screen of the display unit 410 (S168).

このとき、表示制御部522は、上記前面に表示させたボタンの画像(指示受付用画像)の背面側に、S166で開始させたスクロール表示を停止させることなく続行させた表示状態を維持する(S169)。例えば、図32(a)に示すように、表示制御部522は、上記前面にボタンの画像を表示させていても、背面の各ボタンのスクロール表示は図31(a)に示す状態に止めることなく、順次、図32(b)、更には図32(c)に示すように、スクロール表示を進める。   At this time, the display control unit 522 maintains the display state in which the scroll display started in S166 is continued on the back side of the button image (instruction reception image) displayed on the front surface without being stopped ( S169). For example, as shown in FIG. 32A, the display control unit 522 stops the scroll display of each button on the back in the state shown in FIG. 31A even if the button image is displayed on the front. Instead, as shown in FIG. 32 (b) and further FIG. 32 (c), the scroll display is advanced.

そして、操作者からスクロール表示の再開指示(上記前面側におけるボタン画像表示を停止させる指示)が指示受付部523に受け付けられると(S171でYES)、表示制御部522は、上記前面側におけるボタン画像表示を停止させて非表示とし、S166で開始して、S196において引き続き行っていたスクロール表示を表示部410の表示画面の前面に表示する(S172)。例えば、図32(d)に示すように、表示制御部522は、図32(a)に示す表示状態では左から2番目に表示されていたボタン410b8は、図32(d)の矢印方向(変化方向)に更に進んだ位置に表示されている。この後、処理はS163に戻る。   Then, when an instruction to restart scroll display (an instruction to stop button image display on the front side) is received by the instruction receiving unit 523 (YES in S171), the display control unit 522 displays the button image on the front side. The display is stopped and not displayed. The scroll display started in S166 and continued in S196 is displayed on the front surface of the display screen of the display unit 410 (S172). For example, as shown in FIG. 32D, the display control unit 522 indicates that the button 410b8 displayed second from the left in the display state shown in FIG. It is displayed at a position further advanced in the direction of change). Thereafter, the process returns to S163.

これにより、操作者は、表示部410にスクロール表示されている各画像の中から所望の画像を見つけたとき、表示部410の表示画面に当該所望の画像が表示された状態として当該画像の内容を確認しつつ、スクロール表示により表示部410に順次表示される各画像も視認することができる。   As a result, when the operator finds a desired image from among the images scroll-displayed on the display unit 410, the content of the image is displayed as a state in which the desired image is displayed on the display screen of the display unit 410. Each image sequentially displayed on the display unit 410 by scroll display can also be visually recognized.

なお、本発明は上記実施の形態の構成に限られず種々の変形が可能である。例えば、上記図1乃至図34に示した実施形態に係る構成及び処理は、本発明に係る画像形成装置の構成及び処理の単なる一例に過ぎず、本発明に係る画像形成装置の構成及び処理を上記に示した内容に限定するものではない。   The present invention is not limited to the configuration of the above embodiment, and various modifications can be made. For example, the configuration and processing according to the embodiment shown in FIGS. 1 to 34 are merely examples of the configuration and processing of the image forming apparatus according to the present invention, and the configuration and processing of the image forming apparatus according to the present invention are the same. The contents are not limited to those described above.

また、上記各実施形態では、本発明に係る表示装置は、上記複合機1等の画像形成装置に搭載されるものに限られず、他の電子機器、例えば、パーソナルコンピュータ、携帯電話、電子レンジ、洗濯機等、あらゆる電子機器に適用が可能である。   In each of the above embodiments, the display device according to the present invention is not limited to the one mounted on the image forming apparatus such as the multifunction machine 1, and other electronic devices such as a personal computer, a mobile phone, a microwave oven, It can be applied to all electronic devices such as washing machines.

更には、本発明に係る画像形成装置を複合機1として説明したが、本発明に係る画像形成装置は複合機に限定されず、コピー機、ファクシミリ装置、プリンタ等でも構わない。   Furthermore, although the image forming apparatus according to the present invention has been described as the multifunction device 1, the image forming apparatus according to the present invention is not limited to the multifunction device, and may be a copier, a facsimile machine, a printer, or the like.

また、上記実施形態では、指示受付用画像の表示形態を変更する処理に、速度検出部524によって検出される上記変化速度を用いているが、この変化速度としては、上述した変化速度に限られず、座標位置変更時の加速度、又はスクロール表示時のスクロール量等を用いてもよい。この場合、当該加速度及びスクロール量は速度検出部524等が検出するものとすればよい。   In the above embodiment, the change speed detected by the speed detection unit 524 is used for the process of changing the display form of the instruction receiving image. However, the change speed is not limited to the above-described change speed. Further, acceleration at the time of changing the coordinate position, scroll amount at the time of scroll display, or the like may be used. In this case, the acceleration and the scroll amount may be detected by the speed detection unit 524 or the like.

1 複合機
51 制御部
52 CPU
522 表示制御部
523 指示受付部
524 速度検出部
525 停止指示受付部
526 再開指示受付部
53 画像記憶部
400 操作部
410 表示部
4101 タッチパネル
1 MFP 51 Control Unit 52 CPU
522 Display control unit 523 Instruction reception unit 524 Speed detection unit 525 Stop instruction reception unit 526 Restart instruction reception unit 53 Image storage unit 400 Operation unit 410 Display unit 4101 Touch panel

Claims (8)

画像を表示する表示部と、
複数の画像を前記画像ごとに予め定められた指示と対応付けて記憶する画像記憶部と、
前記画像記憶部に記憶されている各画像を所定の順番で繰り返し前記表示部に順次スクロール表示させる表示制御部と、
前記表示部の表示領域における座標位置が操作者から指定される座標位置指定部と、
前記表示制御部による前記各画像のスクロール表示中に、当該スクロール表示を停止させる停止指示を受け付ける停止指示受付部と、
前記停止されたスクロール表示を再開させる指示を受け付ける再開指示受付部と、
前記座標位置指定部で指定された座標位置に表示されている画像に対応付けられた指示の入力を受け付ける指示受付部とを備え、
前記表示制御部は、前記各画像のスクロール表示中に、前記座標位置指定部に前記座標位置が指定されると、当該指定された時点で当該座標位置にスクロール表示されている画像を前記表示部に停止して当該画像が確認可能な状態で表示させ、当該画像停止表示状態において、当該停止させて表示された画像の表示位置が前記座標位置指定部により再度指定されたときは、当該指定された表示位置の画像に対応付けられている指示を前記指示受付部が受け付け、前記画像停止表示状態において、前記再開指示受付部によって前記再開指示が受け付けられたときには、前記表示制御部は、前記停止して表示させた画像よりも更にスクロールが進んだ画像からスクロール表示を再開する表示装置。
A display for displaying an image;
An image storage unit that stores a plurality of images in association with predetermined instructions for each image;
A display control unit for repeatedly scrolling and displaying each image stored in the image storage unit in a predetermined order on the display unit;
A coordinate position designating unit in which a coordinate position in the display area of the display unit is designated by an operator;
A stop instruction receiving unit that receives a stop instruction to stop the scroll display during scroll display of each image by the display control unit;
A resumption instruction accepting unit that accepts an instruction to resume the stopped scroll display;
An instruction receiving unit that receives an input of an instruction associated with the image displayed at the coordinate position specified by the coordinate position specifying unit;
When the coordinate position is designated in the coordinate position designation unit during the scroll display of each image, the display control unit displays the image scrolled to the coordinate position at the designated time. stopped at is displayed in the image can be confirmed state, in the image stop display state, when the display position of the image displayed by the stopped is designated again by the coordinate position specifying unit, the designated When the instruction receiving unit receives an instruction associated with the image at the displayed display position, and the restart instruction is received by the restart instruction receiving unit in the image stop display state, the display control unit A display device that resumes scrolling display from an image that has been scrolled further than the stopped and displayed image.
前記画像停止表示状態のときに、前記再開指示受付部によって前記再開指示が受け付けられたときには、前記表示制御部は、前記画像停止表示が行われずにそれまでの前記スクロール表示を引き続き行った場合と同様のスクロール表示を再開する請求項1に記載の表示装置。   When the restart instruction is accepted by the resume instruction accepting unit in the image stop display state, the display control unit continues the scroll display up to that time without performing the image stop display. The display device according to claim 1, wherein similar scroll display is resumed. 前記表示制御部は、前記各画像のスクロール表示中に、前記座標位置指定部に前記座標位置が指定されたとき、当該指定された座標位置にスクロール表示している画像を前記表示部の前面に停止して表示し、当該停止表示中の画像の背面において前記各画像のスクロール表示を続行させる請求項1又は請求項2に記載の表示装置。   When the coordinate position is designated by the coordinate position designation unit during the scroll display of each image, the display control unit displays an image that is scroll-displayed at the designated coordinate position on the front surface of the display unit. The display device according to claim 1, wherein the display is stopped and displayed, and the scroll display of each image is continued on the back surface of the image being stopped and displayed. 請求項1乃至請求項3のいずれかに記載の表示装置を備えた電子機器。   An electronic apparatus comprising the display device according to any one of claims 1 to 3. 請求項1乃至請求項3のいずれかに記載の表示装置を備えた画像形成装置。   An image forming apparatus comprising the display device according to claim 1. 複数の画像を電子機器の表示部に表示する表示制御プログラムであって、当該電子機器を、
複数の画像を前記画像ごとに予め定められた指示と対応付けて記憶する画像記憶部と、
前記画像記憶部に記憶されている各画像を所定の順番で繰り返し前記表示部に順次スクロール表示させる表示制御部と、
前記表示部の表示領域における座標位置が操作者から指定される座標位置指定部と、
前記表示制御部による前記各画像のスクロール表示中に、当該スクロール表示を停止させる停止指示を受け付ける停止指示受付部と、
前記停止されたスクロール表示を再開させる指示を受け付ける再開指示受付部と、
前記座標位置指定部で指定された座標位置に表示されている画像に対応付けられた指示の入力を受け付ける指示受付部として機能させ、
前記表示制御部が、前記各画像のスクロール表示中に、前記座標位置指定部に前記座標位置が指定されると、当該指定された時点で当該座標位置にスクロール表示されている画像を前記表示部に停止して当該画像が確認可能な状態で表示させ、当該画像停止表示状態において、当該停止させて表示された画像の表示位置が前記座標位置指定部により再度指定されたときは、当該指定された表示位置の画像に対応付けられている指示を前記指示受付部が受け付け、前記画像停止表示状態において、前記再開指示受付部によって前記再開指示が受け付けられたときには、前記表示制御部は、前記停止して表示させた画像よりも更にスクロールが進んだ画像からスクロール表示を再開するように機能させる表示制御プログラム。
A display control program for displaying a plurality of images on a display unit of an electronic device, the electronic device
An image storage unit that stores a plurality of images in association with predetermined instructions for each image;
A display control unit for repeatedly scrolling and displaying each image stored in the image storage unit in a predetermined order on the display unit;
A coordinate position designating unit in which a coordinate position in the display area of the display unit is designated by an operator;
A stop instruction receiving unit that receives a stop instruction to stop the scroll display during scroll display of each image by the display control unit;
A resumption instruction accepting unit that accepts an instruction to resume the stopped scroll display;
Function as an instruction receiving unit that receives an input of an instruction associated with the image displayed at the coordinate position specified by the coordinate position specifying unit;
When the display control unit designates the coordinate position in the coordinate position designation unit during scroll display of the images, the display unit displays an image scrolled to the coordinate position at the designated time. stopped at is displayed in the image can be confirmed state, in the image stop display state, when the display position of the image displayed by the stopped is designated again by the coordinate position specifying unit, the designated When the instruction receiving unit receives an instruction associated with the image at the displayed display position, and the restart instruction is received by the restart instruction receiving unit in the image stop display state, the display control unit A display control program that functions to resume scroll display from an image that has been scrolled further than an image that has been stopped and displayed.
予め定められた複数の指示それぞれに対応付けられた複数の画像を電子機器の表示部に表示する表示方法であって、
各画像を所定の順番で繰り返し前記表示部に順次スクロール表示させる画像表示ステップと、
前記表示部の表示領域における座標位置の指定を操作者から受け付ける座標位置受付ステップと、
前記画像表示ステップによる前記各画像のスクロール表示中に、当該スクロール表示を停止させる停止指示を受け付ける停止指示受付ステップと、
前記停止されたスクロール表示を再開させる指示を受け付ける再開指示受付ステップと、
前記座標位置受付ステップで指定が受け付けられた座標位置に表示されている画像に対応付けられた指示の入力を受け付ける指示受付ステップと、
前記各画像のスクロール表示中に、前記座標位置受付ステップに前記座標位置の指定が受け付けられると、当該指定された時点で当該座標位置にスクロール表示されている画像を前記表示部に停止して当該画像が確認可能な状態で表示させ、当該画像停止表示状態において、当該画像の表示位置が前記座標位置受付ステップに前記座標位置の指定が受け付けられたときは、当該指定が受け付けられた表示位置の画像に対応付けられている指示を前記指示受付ステップが受け付け、前記画像停止表示状態において、前記再開指示受付ステップによって前記再開指示が受け付けられたときには、前記停止して表示させた画像よりも更にスクロールが進んだ画像からスクロール表示を再開する表示再開ステップと
を備えた表示制御方法。
A display method for displaying a plurality of images associated with each of a plurality of predetermined instructions on a display unit of an electronic device,
An image display step of sequentially scrolling and displaying each image on the display unit in a predetermined order ;
A coordinate position receiving step for receiving designation of a coordinate position in the display area of the display unit from an operator;
A stop instruction receiving step for receiving a stop instruction for stopping the scroll display during scroll display of the images in the image display step;
A restart instruction receiving step for receiving an instruction to restart the stopped scroll display;
An instruction accepting step for accepting an input of an instruction associated with the image displayed at the coordinate position at which the designation is accepted in the coordinate position accepting step;
During said scrolling display of each image, the the coordinate position specified is accepted on the coordinate position receiving step, the stop image being scrolled on the coordinate position at the time of the said specified on the display unit image is displayed in a confirmation state, in the image stop display state, when the display position of the image is designated the coordinate position is received on the coordinate position receiving step, a display position where the designation is accepted When the instruction accepting step accepts an instruction associated with the image, and when the restart instruction is accepted by the resume instruction accepting step in the image stop display state, the instruction accepting step further includes the image displayed after the stop. A display control method comprising: a display resuming step of resuming scroll display from an image that has been scrolled.
画像を表示する表示部と、A display for displaying an image;
前記表示部に表示させる画像を複数記憶する画像記憶部と、  An image storage unit for storing a plurality of images to be displayed on the display unit;
前記画像記憶部に記憶されている各画像を前記表示部に順次スクロール表示させる表示制御部と、  A display control unit for sequentially scrolling and displaying each image stored in the image storage unit on the display unit;
前記表示部の表示領域における座標位置が操作者から指定される座標位置指定部と、  A coordinate position designating unit in which a coordinate position in the display area of the display unit is designated by an operator;
前記表示制御部による前記各画像のスクロール表示中に、当該スクロール表示を停止させる停止指示を受け付ける停止指示受付部と、  A stop instruction receiving unit that receives a stop instruction to stop the scroll display during scroll display of each image by the display control unit;
前記停止されたスクロール表示を再開させる指示を受け付ける再開指示受付部と、  A resumption instruction accepting unit that accepts an instruction to resume the stopped scroll display;
前記座標位置指定部で指定された座標位置に表示されている画像に対応付けられた指示の入力を受け付ける指示受付部とを備え、  An instruction receiving unit that receives an input of an instruction associated with the image displayed at the coordinate position specified by the coordinate position specifying unit;
前記表示制御部は、前記各画像のスクロール表示中に、前記座標位置指定部に前記座標位置が指定されると、当該指定された時点で当該座標位置にスクロール表示されている画像を前記表示部に停止して表示させる状態とし、当該停止表示中の画像の背面において前記各画像のスクロール表示を続行させ、当該画像停止表示状態において、当該停止させて表示された画像の表示位置が前記座標位置指定部により再度指定されたときは、当該指定された表示位置の画像に対応付けられている指示を前記指示受付部が受け付け、前記画像停止表示状態において、前記再開指示受付部によって前記再開指示が受け付けられたときには、前記表示制御部は、前記停止して表示させた画像よりも更にスクロールが進んだ画像からスクロール表示を再開する表示装置。  When the coordinate position is designated in the coordinate position designation unit during the scroll display of each image, the display control unit displays the image scrolled to the coordinate position at the designated time. And the scroll display of each image is continued on the back side of the image being stopped and displayed, and the display position of the stopped and displayed image is the coordinate position in the image stop display state. When designated again by the designation unit, the instruction accepting unit accepts an instruction associated with the image at the designated display position, and in the image stop display state, the resume instruction is given by the resume instruction accepting unit. When accepted, the display control unit resumes scrolling from an image that has been scrolled further than the stopped and displayed image. Display device.
JP2009244861A 2009-10-23 2009-10-23 Display device, display control program, display control method, electronic device, and image forming apparatus Expired - Fee Related JP5198406B2 (en)

Priority Applications (3)

Application Number Priority Date Filing Date Title
JP2009244861A JP5198406B2 (en) 2009-10-23 2009-10-23 Display device, display control program, display control method, electronic device, and image forming apparatus
US12/908,384 US9035973B2 (en) 2009-10-23 2010-10-20 Display device and display control method
CN201010528320.6A CN102053788B (en) 2009-10-23 2010-10-22 Display device and display control method

Applications Claiming Priority (1)

Application Number Priority Date Filing Date Title
JP2009244861A JP5198406B2 (en) 2009-10-23 2009-10-23 Display device, display control program, display control method, electronic device, and image forming apparatus

Publications (2)

Publication Number Publication Date
JP2011090584A JP2011090584A (en) 2011-05-06
JP5198406B2 true JP5198406B2 (en) 2013-05-15

Family

ID=44108762

Family Applications (1)

Application Number Title Priority Date Filing Date
JP2009244861A Expired - Fee Related JP5198406B2 (en) 2009-10-23 2009-10-23 Display device, display control program, display control method, electronic device, and image forming apparatus

Country Status (1)

Country Link
JP (1) JP5198406B2 (en)

Family Cites Families (4)

* Cited by examiner, † Cited by third party
Publication number Priority date Publication date Assignee Title
JPH09185482A (en) * 1995-12-28 1997-07-15 Hitachi Ltd Screen scroll control method
JP2006134288A (en) * 2004-10-06 2006-05-25 Sharp Corp Interface and interface program executed by computer
JP4885632B2 (en) * 2006-07-14 2012-02-29 パナソニック株式会社 Navigation device
JP5167850B2 (en) * 2008-02-13 2013-03-21 株式会社リコー GUI system, GUI generation method, program, and recording medium

Also Published As

Publication number Publication date
JP2011090584A (en) 2011-05-06

Similar Documents

Publication Publication Date Title
US9035973B2 (en) Display device and display control method
JP5075240B2 (en) Operation device, image processing device, and display method
CN100407748C (en) Complex function device and control method for the same
CN100472367C (en) Image forming apparatus and display control method
US8797364B2 (en) Display device and display control method
JP5198407B2 (en) Display device, display control program, display control method, electronic device, and image forming apparatus
JP5481157B2 (en) Electronics
US20140085671A1 (en) Display input device as well as electronic apparatus and image forming apparatus having the display input device
JP2008233483A (en) Display device and image forming apparatus equipped with the same
JP5640111B2 (en) Display device, display control program, display control method, electronic device, and image forming apparatus
JP5286225B2 (en) Display device, display control program, display control method, electronic device, and image forming apparatus
JP5297974B2 (en) Display device, display control program, display control method, electronic device, and image forming apparatus
JP5198406B2 (en) Display device, display control program, display control method, electronic device, and image forming apparatus
CN104219408B (en) Display apparatus, electronic apparatus, and image forming apparatus
JP5049362B2 (en) Image display apparatus, communication device, and image forming apparatus
JP2008225384A (en) Image forming apparatus
JP2001272884A (en) Image forming apparatus and control method thereof
JP2009037340A (en) Display control device and image forming apparatus
US11042282B2 (en) Information processor for changing scroll amount upon receiving touch operation performed on return key or forward key
JP5091968B2 (en) Image display apparatus and image forming apparatus
US9365062B2 (en) Display input device and image forming apparatus including the same as well as method for controlling the display input device
JP2010224976A (en) Display controller and image forming device
JP2010067208A (en) Display controller, image forming apparatus, and display control program
JP2008204296A (en) Display device and image forming device
JP5364665B2 (en) Image forming apparatus

Legal Events

Date Code Title Description
A621 Written request for application examination

Free format text: JAPANESE INTERMEDIATE CODE: A621

Effective date: 20111121

A977 Report on retrieval

Free format text: JAPANESE INTERMEDIATE CODE: A971007

Effective date: 20120823

A131 Notification of reasons for refusal

Free format text: JAPANESE INTERMEDIATE CODE: A131

Effective date: 20121009

A521 Request for written amendment filed

Free format text: JAPANESE INTERMEDIATE CODE: A523

Effective date: 20121203

TRDD Decision of grant or rejection written
A01 Written decision to grant a patent or to grant a registration (utility model)

Free format text: JAPANESE INTERMEDIATE CODE: A01

Effective date: 20130108

A61 First payment of annual fees (during grant procedure)

Free format text: JAPANESE INTERMEDIATE CODE: A61

Effective date: 20130206

FPAY Renewal fee payment (event date is renewal date of database)

Free format text: PAYMENT UNTIL: 20160215

Year of fee payment: 3

R150 Certificate of patent or registration of utility model

Ref document number: 5198406

Country of ref document: JP

Free format text: JAPANESE INTERMEDIATE CODE: R150

Free format text: JAPANESE INTERMEDIATE CODE: R150

LAPS Cancellation because of no payment of annual fees