JP5144986B2 - Dye-sensitized solar cell and dye-sensitized solar cell module - Google Patents
Dye-sensitized solar cell and dye-sensitized solar cell module Download PDFInfo
- Publication number
- JP5144986B2 JP5144986B2 JP2007205479A JP2007205479A JP5144986B2 JP 5144986 B2 JP5144986 B2 JP 5144986B2 JP 2007205479 A JP2007205479 A JP 2007205479A JP 2007205479 A JP2007205479 A JP 2007205479A JP 5144986 B2 JP5144986 B2 JP 5144986B2
- Authority
- JP
- Japan
- Prior art keywords
- dye
- solar cell
- sensitized solar
- semiconductor film
- porous semiconductor
- Prior art date
- Legal status (The legal status is an assumption and is not a legal conclusion. Google has not performed a legal analysis and makes no representation as to the accuracy of the status listed.)
- Expired - Fee Related
Links
Images
Classifications
-
- Y—GENERAL TAGGING OF NEW TECHNOLOGICAL DEVELOPMENTS; GENERAL TAGGING OF CROSS-SECTIONAL TECHNOLOGIES SPANNING OVER SEVERAL SECTIONS OF THE IPC; TECHNICAL SUBJECTS COVERED BY FORMER USPC CROSS-REFERENCE ART COLLECTIONS [XRACs] AND DIGESTS
- Y02—TECHNOLOGIES OR APPLICATIONS FOR MITIGATION OR ADAPTATION AGAINST CLIMATE CHANGE
- Y02E—REDUCTION OF GREENHOUSE GAS [GHG] EMISSIONS, RELATED TO ENERGY GENERATION, TRANSMISSION OR DISTRIBUTION
- Y02E10/00—Energy generation through renewable energy sources
- Y02E10/50—Photovoltaic [PV] energy
- Y02E10/542—Dye sensitized solar cells
Landscapes
- Photovoltaic Devices (AREA)
- Hybrid Cells (AREA)
- Connection Of Batteries Or Terminals (AREA)
Description
本発明は、色素増感太陽電池および色素増感太陽電池モジュールに関する。さらに詳しくは、本発明は、受光面積の減少を最小限にして集電のための導電層を形成した色素増感太陽電池およびそれを用いた色素増感太陽電池モジュールに関する。 The present invention relates to a dye-sensitized solar cell and a dye-sensitized solar cell module. More specifically, the present invention relates to a dye-sensitized solar cell in which a conductive layer for current collection is formed while minimizing a reduction in light receiving area, and a dye-sensitized solar cell module using the same.
色素増感太陽電池は、有機系太陽電池の中でも高い光電変換効率を示すため、広く注目されている。このような色素増感太陽電池では、表面に分光色素を吸着させて可視光領域に吸収スペクトルをもたせた半導体膜が光電変換材料として用いられている。
例えば、特許第2664194号公報(特許文献1)には、表面に遷移金属錯体からなる分光色素を吸着させた金属酸化物半導体膜を光電変換材料として用いた色素増感太陽電池が記載されている。
Dye-sensitized solar cells are attracting widespread attention because they exhibit high photoelectric conversion efficiency among organic solar cells. In such a dye-sensitized solar cell, a semiconductor film having a spectral dye adsorbed on its surface and having an absorption spectrum in the visible light region is used as a photoelectric conversion material.
For example, Japanese Patent No. 2664194 (Patent Document 1) describes a dye-sensitized solar cell using, as a photoelectric conversion material, a metal oxide semiconductor film having a surface adsorbed with a spectral dye made of a transition metal complex. .
また、特公平8−15097号公報(特許文献2)には、金属イオンをドープした酸化チタン半導体膜の表面に、遷移金属錯体などの分光色素層を有する色素増感太陽電池が記載されている。
さらに、特開平7−249790号公報(特許文献3)には、半導体膜の表面に分光増感剤のエタノール溶液を加熱還流させることにより得られた光電変換材料用半導体膜を用いた色素増感太陽電池が記載されている。
Japanese Patent Publication No. 8-15097 (Patent Document 2) describes a dye-sensitized solar cell having a spectral dye layer such as a transition metal complex on the surface of a titanium oxide semiconductor film doped with metal ions. .
Further, JP-A-7-249790 (Patent Document 3) discloses dye sensitization using a semiconductor film for a photoelectric conversion material obtained by heating and refluxing an ethanol solution of a spectral sensitizer on the surface of a semiconductor film. A solar cell is described.
色素増感太陽電池は、例えば、表面に電極が形成された2枚のガラス基板の電極間に、上記の光電変換材料と電解質層材料(電解液)とからなる光電変換層を挟持したものである。このような電解液を用いた色素増感太陽電池(図2参照)は一般に次のようにして作製される。
まず、透明支持体21上に透明導電体膜22および酸化チタンのような多孔性半導体膜23を順次形成し、得られた多孔性半導体膜23に色素を吸着させる。次いで、対極25上に任意に白金膜のような触媒層26を形成(コーティング)し、多孔性半導体膜23と触媒層26または対極25とが対向するように透明支持体21と対極25を重ね合わせる。次いで、これらの間に電解液を注入して電解液層24とし、透明支持体21と対極25との側面をエポキシ樹脂のような封止材27で封止することにより色素増感太陽電池を得る。
For example, a dye-sensitized solar cell is one in which a photoelectric conversion layer composed of the above-described photoelectric conversion material and electrolyte layer material (electrolytic solution) is sandwiched between electrodes of two glass substrates having electrodes formed on the surface. is there. A dye-sensitized solar cell (see FIG. 2) using such an electrolytic solution is generally produced as follows.
First, a
しかしながら、上記のような色素増感太陽電池の基本構造は、2枚のガラス基板の電極間に電解液を注入した形態であり、小面積の太陽電池の試作は可能であっても、1m角のような大面積の太陽電池への適用は困難である。つまり、1つの太陽電池セルの面積を大きくすると、発生電流は面積に比例して増加するが、電極部分に用いる透明導電層の面内方向の抵抗が増大し、ひいては太陽電池としての内部直列電気抵抗が増大する。その結果、太陽電池セルの特性、すなわち光電変換時の電流電圧特性における曲線因子(フィルファクタ、FF)、さらには短絡電流が低下し、光電変換効率が低くなるという問題が起こる。 However, the basic structure of the dye-sensitized solar cell as described above is a mode in which an electrolyte is injected between the electrodes of two glass substrates, and even if a small-area solar cell can be prototyped, a 1 m square It is difficult to apply to a large area solar cell. That is, when the area of one solar cell is increased, the generated current increases in proportion to the area, but the resistance in the in-plane direction of the transparent conductive layer used for the electrode portion increases, and as a result, the internal series electricity as a solar cell increases. Resistance increases. As a result, there arises a problem that the characteristics of the solar battery cell, that is, the fill factor (FF) in the current-voltage characteristics at the time of photoelectric conversion, and further, the short-circuit current is lowered and the photoelectric conversion efficiency is lowered.
そこで、上記の問題を解決するために次のような技術が提案されている。
特開2000−285977号公報(特許文献4)には、色素増感太陽電池を大面積化したときの基板抵抗を低減させることを目的として、透明導電性基板上に金属リード(バスパー電極やグリッド電極など)を形成した光電変換素子およびこれを用いた光電池が記載されている。
また、特開2004−39471号公報(特許文献5)には、より長波長側の光を利用し、かつ開放電圧を向上させることを目的として、酸化物半導体膜の膜厚を増加させ、かつ酸化物半導体膜の透明電極と反対側の少なくとも一部に導電層を形成した色素増感型太陽電池が記載されている。
さらに、特許第3237621号公報(特許文献6)には、基板を貫通する貫通孔を通じて裏面電極に接続することにより、単位光電変換素子を直列接続した光電変換装置が記載されている。
In order to solve the above problems, the following techniques have been proposed.
In Japanese Patent Laid-Open No. 2000-285777 (Patent Document 4), for the purpose of reducing the substrate resistance when the area of the dye-sensitized solar cell is increased, metal leads (busper electrodes and grids) are formed on the transparent conductive substrate. A photoelectric conversion element in which an electrode or the like is formed and a photovoltaic cell using the photoelectric conversion element are described.
Japanese Patent Laid-Open No. 2004-39471 (Patent Document 5) increases the thickness of an oxide semiconductor film for the purpose of using light on a longer wavelength side and improving the open-circuit voltage, and A dye-sensitized solar cell in which a conductive layer is formed on at least a part of the oxide semiconductor film opposite to the transparent electrode is described.
Furthermore, Japanese Patent No. 3237621 (Patent Document 6) describes a photoelectric conversion device in which unit photoelectric conversion elements are connected in series by connecting to a back electrode through a through hole penetrating a substrate.
特許文献4に記載の光電変換素子では、透明電極上に金属リードを形成するため、多孔性半導体膜を形成しない場合と、金属リード上に多孔性半導体膜を形成する場合があるが、いずれの場合でも金属リードの部分が光を遮断するため、受光面積が低下するという問題があった。そこで、受光面積を大きくするため金属リード間の距離を長くすると透明電極の抵抗が増大するためにセル特性が低下するという問題があった。
このように色素増感太陽電池において、大きな受光面積を確保しつつ、透明電極の抵抗を低減させることは困難であった。
In the photoelectric conversion element described in Patent Document 4, since a metal lead is formed on a transparent electrode, a porous semiconductor film may not be formed and a porous semiconductor film may be formed on a metal lead. Even in this case, the metal lead portion blocks the light, so that the light receiving area is reduced. Therefore, if the distance between the metal leads is increased in order to increase the light receiving area, the resistance of the transparent electrode is increased, and the cell characteristics are deteriorated.
As described above, in the dye-sensitized solar cell, it is difficult to reduce the resistance of the transparent electrode while securing a large light receiving area.
本発明は、受光面積の低下を抑制し、かつ透明電極の抵抗を減少させた、高い開放端電圧および光電変換効率を有する色素増感太陽電池(以下、「太陽電池」ともいう)およびそれを用いた色素増感太陽電池モジュール(以下、「モジュール」ともいう)を提供することを課題とする。 The present invention relates to a dye-sensitized solar cell (hereinafter, also referred to as a “solar cell”) having a high open-circuit voltage and photoelectric conversion efficiency, in which a decrease in the light receiving area is suppressed and the resistance of the transparent electrode is reduced, and It is an object to provide a dye-sensitized solar cell module (hereinafter also referred to as “module”).
本発明者らは上記の課題を解決すべく鋭意研究を行った結果、色素を吸着させた多孔性半導体膜が透明電極の非受光面側の少なくとも一部に形成された色素増感太陽電池において、多孔性半導体膜に非受光面側から前記透明電極に達する貫通孔を設け、かつ貫通孔内の透明電極と多孔性半導体膜が形成されていない領域の透明電極とを多孔性半導体膜の非受光面側に設けた導電層により電気的に接続することにより、上記の課題を解決できることを見出し、本発明を完成するに到った。 As a result of intensive studies to solve the above problems, the present inventors have found that in a dye-sensitized solar cell in which a porous semiconductor film on which a dye is adsorbed is formed on at least part of the non-light-receiving surface side of the transparent electrode The porous semiconductor film is provided with a through-hole that reaches the transparent electrode from the non-light-receiving surface side, and the transparent electrode in the through-hole and the transparent electrode in the region where the porous semiconductor film is not formed are connected to the porous semiconductor film. The inventors have found that the above problems can be solved by electrically connecting the conductive layers provided on the light receiving surface side, and have completed the present invention.
かくして本発明によれば、受光面となる透光性基板上に形成された透明電極と対極とが電解質層を介して対向配置され、色素を吸着させた多孔性半導体膜が前記透明電極の非受光面側の少なくとも一部に形成された太陽電池であり、前記多孔性半導体膜が、非受光面側から前記透明電極に達しかつ前記多孔性半導体膜で囲まれた貫通孔を具備し、かつ前記貫通孔内の前記透明電極と前記多孔性半導体膜が形成されていない領域の前記透明電極とが、前記多孔性半導体膜の非受光面側に形成された導電層により電気的に接続されてなることを特徴とする太陽電池が提供される。 Thus, according to the present invention, the transparent electrode formed on the translucent substrate serving as the light-receiving surface and the counter electrode are arranged to face each other through the electrolyte layer, and the porous semiconductor film on which the dye is adsorbed is formed on the non-transparent electrode. a solar cell which is formed on at least a portion of the light-receiving surface side, the porous semiconductor film is provided with a through hole surrounded by reach vital said porous semiconductor film on the transparent electrode from the non-light-receiving side, In addition, the transparent electrode in the through hole and the transparent electrode in a region where the porous semiconductor film is not formed are electrically connected by a conductive layer formed on the non-light-receiving surface side of the porous semiconductor film. A solar cell is provided.
また、本発明によれば、上記の太陽電池を含む少なくとも2つ以上の太陽電池のそれぞれの透明電極と対極とが電気的に直列に接続されてなることを特徴とするモジュールが提供される。 In addition, according to the present invention, there is provided a module characterized in that the transparent electrode and the counter electrode of each of at least two or more solar cells including the above solar cell are electrically connected in series.
本発明によれば、多孔性半導体膜に非受光面側から前記透明電極に達する貫通孔を設け、かつ貫通孔内の透明電極と多孔性半導体膜が形成されていない領域の透明電極とを多孔性半導体膜の非受光面側に設けた導電層により電気的に接続する、すなわち多孔性半導体膜に貫通孔を形成し、貫通孔および貫通孔内部と周囲の透明電極を導電層により電気的に接続するので、透明電極の抵抗を低減でき、優れた光電変換効率を有する太陽電池およびそれを用いたモジュールを提供することができる。 According to the present invention, the porous semiconductor film is provided with a through hole reaching the transparent electrode from the non-light-receiving surface side, and the transparent electrode in the through hole and the transparent electrode in the region where the porous semiconductor film is not formed are porous. Electrically connected by a conductive layer provided on the non-light-receiving surface side of the conductive semiconductor film, that is, a through-hole is formed in the porous semiconductor film, and the through-hole and the transparent electrode in and around the through-hole are electrically connected by the conductive layer. Since it connects, the resistance of a transparent electrode can be reduced and the solar cell which has the outstanding photoelectric conversion efficiency, and a module using the same can be provided.
特許文献5に記載の太陽電池は、厚膜の多孔性半導体膜の両面から電子を取り出すことにより長波長光を利用し、開放電圧を向上させるものであり、本発明の太陽電池とは形態やその効果が全く異なる。また、特許文献6に記載の光電変換装置は、基板そのものに貫通孔を開けて下部電極と上部電極を接続するものであり、本発明の太陽電池とは全く形態が異なる。 The solar cell described in Patent Document 5 uses long-wavelength light by taking out electrons from both sides of a thick porous semiconductor film, and improves the open-circuit voltage. The effect is quite different. Further, the photoelectric conversion device described in Patent Document 6 is a device in which a through hole is formed in a substrate itself to connect a lower electrode and an upper electrode, and the form is completely different from the solar cell of the present invention.
本発明の太陽電池は、受光面となる透光性基板上に形成された透明電極と対極とが電解質層を介して対向配置され、色素を吸着させた多孔性半導体膜が前記透明電極の非受光面側の少なくとも一部に形成された太陽電池であり、前記多孔性半導体膜が、非受光面側から前記透明電極に達する貫通孔を具備し、かつ前記貫通孔内の前記透明電極と前記多孔性半導体膜が形成されていない領域の前記透明電極とが、前記多孔性半導体膜の非受光面側に形成された導電層により電気的に接続されてなることを特徴とする。
また、本発明のモジュールは、上記の太陽電池を含む少なくとも2つ以上の太陽電池のそれぞれの透明電極と対極とが電気的に直列に接続されてなることを特徴とする。
In the solar cell of the present invention, a transparent electrode formed on a light-transmitting substrate serving as a light-receiving surface and a counter electrode are disposed to face each other through an electrolyte layer, and a porous semiconductor film on which a dye is adsorbed is formed on the non-transparent electrode. A solar cell formed on at least a part of the light receiving surface side, wherein the porous semiconductor film has a through hole reaching the transparent electrode from the non-light receiving surface side, and the transparent electrode in the through hole and the The transparent electrode in a region where a porous semiconductor film is not formed is electrically connected by a conductive layer formed on the non-light-receiving surface side of the porous semiconductor film.
The module of the present invention is characterized in that the transparent electrode and the counter electrode of at least two or more solar cells including the above-described solar cell are electrically connected in series.
本発明の太陽電池の好適な実施形態について、図面を用いて説明する。なお、この実施形態は一例であり、種々の形態での実施が本発明の範囲内で可能である。
図22は、本発明の太陽電池の層構成を示す要部の概略断面図である。図中、220は透光性基板、221は透明電極、222は色素を吸着しかつその間隙に電解液が充填された多孔性半導体膜、223は貫通孔および貫通孔内部と周囲の透明電極を電気的に接続する導電層、224は触媒層(白金膜)、225は対極付き支持基板(ITO導電性基板)、226は熱融着フィルム、227は電解液注入用孔、228は電解質層、229は紫外線硬化樹脂、230は集電電極部である。図番223の「周囲の透明電極」とは、多孔性半導体膜が形成されていない領域の多孔性半導体膜の外周およびその外側を意味する。
A preferred embodiment of the solar cell of the present invention will be described with reference to the drawings. In addition, this embodiment is an example and implementation with a various form is possible within the scope of the present invention.
FIG. 22 is a schematic cross-sectional view of the main part showing the layer structure of the solar cell of the present invention. In the figure, 220 is a translucent substrate, 221 is a transparent electrode, 222 is a porous semiconductor film that adsorbs a dye and is filled with an electrolytic solution, 223 is a through-hole and a transparent electrode in and around the through-hole. Electrically connected conductive layer, 224 is a catalyst layer (platinum film), 225 is a support substrate with a counter electrode (ITO conductive substrate), 226 is a heat fusion film, 227 is a hole for electrolyte injection, 228 is an electrolyte layer, 229 is an ultraviolet curable resin, and 230 is a collecting electrode portion. The “surrounding transparent electrode” in FIG. 223 means the outer periphery and the outer side of the porous semiconductor film in a region where the porous semiconductor film is not formed.
図1に示すように、本発明において多孔性半導体膜が具備する「貫通孔(図番3)」とは、周囲が多孔性半導体膜2で囲まれた、非受光面側から透明電極1に達する孔、すなわち透明電極1が剥き出しになるように多孔性半導体膜2に形成された孔を示す。
図1の(a)は本発明の太陽電池における多孔性半導体膜に形成した貫通孔を示す概略平面図を示し、(b)は断面概略図(X−Y断面)を示す。
As shown in FIG. 1, in the present invention, the “through hole (No. 3)” included in the porous semiconductor film refers to the
FIG. 1A shows a schematic plan view showing through-holes formed in the porous semiconductor film in the solar cell of the present invention, and FIG. 1B shows a schematic cross-sectional view (XY cross section).
貫通孔は、貫通孔内の透明電極と多孔性半導体膜が形成されていない領域の透明電極とが導電層を介して電気的に接続できるものであればよく、多孔性半導体膜に少なくとも1つあればよいが、本発明の効果を最大限に発揮させるためには、複数個あるのが好ましい。また、それらの貫通孔同士の距離は0.5〜40mm、好ましくは1〜10mmである。
貫通孔は透明電極の抵抗を低減させるために設けるものであり、貫通孔同士の距離が長いと透明電極の抵抗の影響が大きくなり、その距離が短いと貫通孔を数多く形成することになり受光面積が大幅に減少することになるので、上記の範囲が好ましい。
The through hole is not limited as long as the transparent electrode in the through hole and the transparent electrode in the region where the porous semiconductor film is not formed can be electrically connected via the conductive layer. However, in order to maximize the effects of the present invention, it is preferable to have a plurality. The distance between the through holes is 0.5 to 40 mm, preferably 1 to 10 mm.
The through-holes are provided to reduce the resistance of the transparent electrodes. If the distance between the through-holes is long, the effect of the resistance of the transparent electrode becomes large. If the distance is short, many through-holes will be formed. The above range is preferred because the area is greatly reduced.
また、貫通孔は多孔性半導体膜の外周から0.5〜40mm、好ましくは1〜10mmの距離に少なくとも1つ形成されているのが好ましい。
上記と同様に、貫通孔と多孔性半導体膜の外周からの距離が長いと透明電極の抵抗の影響が大きくなり、その距離が短いと貫通孔を数多く形成することになり受光面積が大幅に減少することになるので、上記の範囲が好ましい。
Moreover, it is preferable that at least one through hole is formed at a distance of 0.5 to 40 mm, preferably 1 to 10 mm from the outer periphery of the porous semiconductor film.
Similar to the above, if the distance between the through hole and the outer periphery of the porous semiconductor film is long, the effect of the resistance of the transparent electrode becomes large, and if the distance is short, many through holes are formed and the light receiving area is greatly reduced. Therefore, the above range is preferable.
貫通孔の面積は、0.01〜100mm2/個、好ましくは0.01〜10mm2である。貫通孔の面積が小さいと受光面積が減少し、その面積が大きいと透明電極の抵抗の低減効果が得られ難いので、上記の範囲が好ましい。
また、貫通孔の合計面積は、貫通孔を含む多孔性半導体膜の合計面積の0.05〜15%、好ましくは0.5〜10%である。貫通孔の合計面積が小さいと透明導電膜と十分な電気的な接続をするための貫通孔を必要な面積で必要な数だけ形成できず、大きいと受光面積が低下するので、上記の範囲が好ましい。
Area of the through holes, 0.01~100mm 2 / number, preferably 0.01 to 10 mm 2. If the area of the through hole is small, the light receiving area is reduced, and if the area is large, it is difficult to obtain the effect of reducing the resistance of the transparent electrode. Therefore, the above range is preferable.
The total area of the through holes is 0.05 to 15%, preferably 0.5 to 10% of the total area of the porous semiconductor film including the through holes. If the total area of the through-holes is small, the necessary number of through-holes for sufficient electrical connection with the transparent conductive film cannot be formed, and if it is large, the light-receiving area is reduced. preferable.
貫通孔の形状は、貫通孔内の透明電極と多孔性半導体膜が形成されていない領域の透明電極とが導電層を介して電気的に接続できるものであれば特に限定されず、具体的には、円形、楕円形、多角形などが挙げられる。
また、形成された貫通孔は、貫通孔内部の透明電極と導電層が電気的な接続ができれば、内部の透明電極の一部に多孔性半導体膜などの構成材料が付着していたり、貫通孔の形成時に透明導電膜の一部がなくなっていてもよい。
The shape of the through hole is not particularly limited as long as the transparent electrode in the through hole and the transparent electrode in the region where the porous semiconductor film is not formed can be electrically connected via the conductive layer. Examples of the shape include a circle, an ellipse, and a polygon.
In addition, if the transparent electrode inside the through hole and the conductive layer can be electrically connected, the formed through hole has a constituent material such as a porous semiconductor film attached to a part of the transparent electrode inside, or the through hole A part of the transparent conductive film may be lost at the time of forming.
本発明の太陽電池では、複数個の貫通孔の少なくとも1つの貫通孔内の透明導電膜と多孔性半導体膜の周囲の透明導電膜が導電層以外で電気的に接続されていないのが好ましい(実施例7参照)。
次に、貫通孔が設けられる多孔性半導体膜について説明する。
In the solar cell of the present invention, it is preferable that the transparent conductive film in at least one through hole of the plurality of through holes and the transparent conductive film around the porous semiconductor film are not electrically connected except for the conductive layer ( See Example 7).
Next, a porous semiconductor film provided with through holes will be described.
(多孔性半導体膜)
多孔性半導体膜を構成する材料は、一般に光電変換材料に使用されるものであれば特に限定されない。このような材料としては、例えば、酸化チタン、酸化亜鉛、酸化錫、酸化鉄、酸化ニオブ、酸化セリウム、酸化タングステン、チタン酸バリウム、チタン酸ストロンチウム、硫化カドミウム、硫化鉛、硫化亜鉛、リン化インジウム、銅−インジウム硫化物(CuInS2)、CuAlO2、SrCu2O2などの半導体化合物およびこれらの組み合わせが挙げられる。これらの中でも、安定性および安全性の点から、酸化チタンが特に好ましい。
(Porous semiconductor film)
The material which comprises a porous semiconductor film will not be specifically limited if it is generally used for a photoelectric conversion material. Examples of such materials include titanium oxide, zinc oxide, tin oxide, iron oxide, niobium oxide, cerium oxide, tungsten oxide, barium titanate, strontium titanate, cadmium sulfide, lead sulfide, zinc sulfide, and indium phosphide. , Semiconductor compounds such as copper-indium sulfide (CuInS 2 ), CuAlO 2 , SrCu 2 O 2 , and combinations thereof. Among these, titanium oxide is particularly preferable from the viewpoint of stability and safety.
この酸化チタンは、アナタース型酸化チタン、ルチル型酸化チタン、無定形酸化チタン、メタチタン酸、オルソチタン酸などの各種の狭義の酸化チタンおよび水酸化チタン、含水酸化チタンなどを包含し、これらは単独または混合物として用いることができる。アナターゼ型とルチル型の2種類の結晶系は、その製法や熱履歴によりいずれの形態にもなり得るが、アナターゼ型が一般的である。本発明においては、色素増感に関して、アナターゼ型の含有率の高いもの、例えば80%以上のものが特に好ましい。 This titanium oxide includes various narrowly defined titanium oxides such as anatase type titanium oxide, rutile type titanium oxide, amorphous titanium oxide, metatitanic acid, orthotitanic acid, titanium hydroxide, hydrous titanium oxide, etc. Or it can be used as a mixture. The two types of crystal systems, anatase type and rutile type, can be in any form depending on the production method and thermal history, but the anatase type is common. In the present invention, with respect to dye sensitization, those having a high anatase type content, for example, 80% or more are particularly preferred.
半導体膜の形態としては、半導体微粒子などの焼結により得られる多孔性半導体膜、ゾルーゲル法、スパッタ法、スプレー熱分解法などにより得られる薄膜状半導体膜、繊維状半導体膜、および針状晶からなる半導体膜などが挙げられ、太陽電池の使用目的に応じて適宜選択することができる。これらの中でも、色素吸着量などの観点から、多孔性半導体膜、針状晶からなる半導体膜などの比表面積の大きな半導体膜が好ましい。また、半導体微粒子の粒径により入射光の利用率などを調整できる観点から、半導体微粒子から形成される多孔性半導体膜が特に好ましい。 As for the form of the semiconductor film, a porous semiconductor film obtained by sintering semiconductor fine particles, etc., a thin-film semiconductor film obtained by a sol-gel method, a sputtering method, a spray pyrolysis method, a fibrous semiconductor film, and an acicular crystal The semiconductor film etc. which will be mentioned are mentioned, It can select suitably according to the intended purpose of a solar cell. Among these, a semiconductor film having a large specific surface area such as a porous semiconductor film or a semiconductor film made of needle crystals is preferable from the viewpoint of the amount of dye adsorption. In addition, a porous semiconductor film formed from semiconductor fine particles is particularly preferable from the viewpoint that the utilization factor of incident light can be adjusted by the particle size of the semiconductor fine particles.
半導体微粒子は、水熱合成法などのゾルーゲル法、硫酸法、塩素法などの公知の方法により製造することができ、目的の半導体微粒子を製造できる方法であれば特に限定されない。これらの中でも、結晶性の観点から、水熱合成法が特に好ましい。 The semiconductor fine particles can be produced by a known method such as a sol-gel method such as a hydrothermal synthesis method, a sulfuric acid method, or a chlorine method, and is not particularly limited as long as the target semiconductor fine particles can be produced. Among these, the hydrothermal synthesis method is particularly preferable from the viewpoint of crystallinity.
半導体微粒子の平均粒径は、1nm〜500nm程度であり、多孔性半導体膜の比表面積を大きくするという点から1〜50nm程度が好ましい。また、太陽電池における入射光を効率的に利用するためには、平均粒径の異なる半導体微粒子を混合してもよく、例えば、前記の半導体微粒子に平均粒径が200〜400nm程度の大きな半導体粒子を添加してもよい。 The average particle size of the semiconductor fine particles is about 1 nm to 500 nm, and about 1 to 50 nm is preferable from the viewpoint of increasing the specific surface area of the porous semiconductor film. In addition, in order to efficiently use incident light in a solar cell, semiconductor fine particles having different average particle diameters may be mixed. For example, the semiconductor fine particles have large average particle diameters of about 200 to 400 nm. May be added.
多孔性半導体膜の膜厚は、特に限定されるものではないが、透過性、変換効率などの観点から、0.5〜45μm程度が好ましい。 The thickness of the porous semiconductor film is not particularly limited, but is preferably about 0.5 to 45 μm from the viewpoints of permeability, conversion efficiency, and the like.
(多孔性半導体膜の形成方法)
多孔性半導体膜は、例えば、半導体微粒子を任意に高分子などの有機化合物と共に分散剤、有機溶剤、水などに加え、分散させて懸濁液を得、その懸濁液を透明基板上に形成された透明導電膜上に塗布し、得られた塗膜を乾燥、焼成することにより形成することができる。
(Method for forming porous semiconductor film)
A porous semiconductor film is, for example, a semiconductor fine particle optionally added together with an organic compound such as a polymer to a dispersant, an organic solvent, water, etc. and dispersed to obtain a suspension, and the suspension is formed on a transparent substrate It can apply | coat on the made transparent conductive film, and can form by drying and baking the obtained coating film.
懸濁液に有機化合物を添加することにより、有機化合物が焼成工程で燃焼して多孔性半導体膜中に空隙を確保するができる。また、有機化合物の分子量や添加量を選択することにより多孔性半導体膜の空隙率を変化させることができる。
このような有機化合物は、懸濁液中に溶解し、焼成工程で燃焼して除去できるものであれば特に限定されず、例えば、ポリエチレングリコール、エチルセルロースなどの高分子が挙げられる。
By adding an organic compound to the suspension, the organic compound is burned in the firing step, and a void can be secured in the porous semiconductor film. Further, the porosity of the porous semiconductor film can be changed by selecting the molecular weight or the addition amount of the organic compound.
Such an organic compound is not particularly limited as long as it can be dissolved in a suspension and burned and removed in a baking step, and examples thereof include polymers such as polyethylene glycol and ethyl cellulose.
有機化合物の種類や量は、使用する半導体微粒子の種類や懸濁液の総重量に対する割合により適宜設定すればよい。半導体微粒子の割合が小さ過ぎる場合には、太陽電池の多孔性半導体膜としての所望の強度が得られないことがあり、半導体微粒子の割合が大き過ぎる場合には、多孔性半導体膜としての所望の空隙率が得られないことがある。したがって、懸濁液の総重量に対する半導体微粒子の割合は、例えば、10〜40重量%程度である。 The type and amount of the organic compound may be appropriately set depending on the type of semiconductor fine particles used and the ratio to the total weight of the suspension. When the proportion of the semiconductor fine particles is too small, the desired strength as the porous semiconductor film of the solar cell may not be obtained. When the proportion of the semiconductor fine particles is too large, the desired strength as the porous semiconductor film may be obtained. Porosity may not be obtained. Therefore, the ratio of the semiconductor fine particles to the total weight of the suspension is, for example, about 10 to 40% by weight.
有機溶剤としては、エチレングリコールモノメチルエーテルなどのグライム系溶剤、イソプロピルアルコールなどのアルコール系溶剤、イソプロピルアルコール/トルエンなどの混合溶剤、水などが挙げられる。 Examples of the organic solvent include glyme solvents such as ethylene glycol monomethyl ether, alcohol solvents such as isopropyl alcohol, mixed solvents such as isopropyl alcohol / toluene, and water.
懸濁液の塗布方法は、貫通孔の有する多孔性半導体膜を形成できる方法であれば特に限定されず、ドクターブレード法、スキージ法、スピンコート法、スクリーン印刷法などの公知の方法が挙げられる。
多孔性半導体膜に貫通孔を形成する方法は、所望の貫通孔を形成し得る方法であれば特に限定されず、例えば、(1)多孔性半導体膜の形成前に予め貫通孔となる部分に被膜(例えば、高分子膜やテープなど)を形成し、懸濁液の塗布後に被膜を除去する方法、(2)多孔性半導体膜を形成した後、貫通孔となる部分を除去する方法、(3)貫通孔に対応するパターンを有するマスクを用いて懸濁液を塗布(例えば、スクリーン印刷法)する方法などが挙げられる。
The method for applying the suspension is not particularly limited as long as it is a method capable of forming a porous semiconductor film having through-holes, and includes known methods such as a doctor blade method, a squeegee method, a spin coating method, and a screen printing method. .
The method for forming the through hole in the porous semiconductor film is not particularly limited as long as it can form a desired through hole. For example, (1) before the formation of the porous semiconductor film, the portion that becomes the through hole is formed in advance. (2) A method of removing a film after forming a film (for example, a polymer film or a tape) and applying a suspension, (2) A method of removing a portion to be a through hole after forming a porous semiconductor film, 3) A method of applying a suspension (for example, a screen printing method) using a mask having a pattern corresponding to the through hole.
多孔性半導体膜は、特定の平均粒径を有する単一の半導体微粒子を用いて形成した単層膜のみならず、種類や平均粒径の異なる半導体微粒子を含む懸濁液を用いて形成した単層膜、種類や平均粒径の異なる半導体微粒子を含む個々の懸濁液を連続塗布した多層膜であってもよい。また、1回の塗布で所望の膜厚が得られない場合には、同一の懸濁液を連続塗布して膜厚を増加させてもよい。 The porous semiconductor film is not only a single layer film formed using a single semiconductor fine particle having a specific average particle diameter, but also a single film formed using a suspension containing semiconductor fine particles of different types and average particle diameters. The layer film may be a multilayer film in which individual suspensions containing semiconductor fine particles having different types and average particle diameters are continuously applied. When a desired film thickness cannot be obtained by a single application, the same suspension may be continuously applied to increase the film thickness.
次いで、得られた塗膜を乾燥および焼成するが、各工程における温度、時間、雰囲気などの条件は、多孔性半導体膜の支持体や半導体微粒子の種類などにより適宜設定すればよい。乾燥および焼成は、例えば大気雰囲気下または不活性ガス雰囲気下、50〜800℃程度の範囲内で、10秒〜12時間程度で行うことができる。この乾燥および焼成は、単一の温度で1回または温度を変化させて2回以上行うことができる。 Next, the obtained coating film is dried and fired. Conditions such as temperature, time, and atmosphere in each step may be appropriately set depending on the support of the porous semiconductor film, the type of semiconductor fine particles, and the like. Drying and baking can be performed, for example, in an air atmosphere or an inert gas atmosphere within a range of about 50 to 800 ° C. for about 10 seconds to 12 hours. This drying and baking can be performed once at a single temperature or twice or more at different temperatures.
太陽電池の光電変換効率を向上させるためには、多孔性半導体膜に後述する色素をより多く吸着させることが必要となる。このため、多孔性半導体膜は、比表面積がある程度大きなものが好ましく、10〜200m2/g程度が好ましい。
また、多孔性半導体膜の空隙率は、色素の吸着および後述する電解質層中のイオンの拡散、すなわち電荷輸送の観点から、40〜80%程度が好ましい。
なお、「空隙率」とは、多孔性半導体膜の体積の中で、細孔が占める体積の割合を%で示した値を意味する。
In order to improve the photoelectric conversion efficiency of the solar cell, it is necessary to adsorb more dye described later on the porous semiconductor film. For this reason, the porous semiconductor film preferably has a certain specific surface area to some extent, and is preferably about 10 to 200 m 2 / g.
The porosity of the porous semiconductor film is preferably about 40 to 80% from the viewpoints of dye adsorption and ion diffusion in the electrolyte layer described later, that is, charge transport.
The “porosity” means a value indicating the ratio of the volume occupied by the pores in% in the volume of the porous semiconductor film.
(導電層)
本発明において導電層は、多孔性半導体膜の非受光面側に形成されて、貫通孔内の透明電極と多孔性半導体膜が形成されていない領域の透明電極とを電気的に接続する。
このため、貫通孔内部が導電層で覆われていないと、その内部では発電ができないだけでなく、透明電極との電気的な接続もできないので、すべて貫通孔は導電層により覆われているのが好ましい。
(Conductive layer)
In the present invention, the conductive layer is formed on the non-light-receiving surface side of the porous semiconductor film, and electrically connects the transparent electrode in the through hole and the transparent electrode in the region where the porous semiconductor film is not formed.
For this reason, if the inside of the through hole is not covered with a conductive layer, not only power generation is not possible inside it but also electrical connection with the transparent electrode is not possible, so all the through holes are covered with the conductive layer. Is preferred.
導電層を構成する材料としては、チタン、タンタル、タングステン、ニッケル、インジウム、アルミニウム、ロジウム、金、銀、銅、亜鉛、イリジウムなどの金属、シリコンなどの半金属および半導体、酸化スズ、フッ素ドープ酸化スズ(FTO)、酸化インジウム、スズドープ酸化インジウム(ITO)、酸化亜鉛などの導電性酸化物などが挙げられる。
導電層を構成する材料の中でも、後述する電解質層に対して耐腐食性を有する材料は、導電層を保護する層を設ける必要がないので好ましい。このような材料としては、FTO、白金、ニッケル、チタン、タンタルなどが挙げられ、チタン、タンタルおよびニッケルから選択された金属材料が好ましく、チタンが特に好ましい。
The material constituting the conductive layer includes titanium, tantalum, tungsten, nickel, indium, aluminum, rhodium, gold, silver, copper, zinc, iridium and other metals, silicon and other semi-metals and semiconductors, tin oxide, fluorine-doped oxidation Examples thereof include conductive oxides such as tin (FTO), indium oxide, tin-doped indium oxide (ITO), and zinc oxide.
Among materials constituting the conductive layer, a material having corrosion resistance with respect to an electrolyte layer described later is preferable because it is not necessary to provide a layer for protecting the conductive layer. Examples of such a material include FTO, platinum, nickel, titanium, tantalum, and the like. A metal material selected from titanium, tantalum, and nickel is preferable, and titanium is particularly preferable.
また、導電層を構成する材料が後述する電解質層に対して耐腐食性を有さない材料、例えば、銀、銅、アルミニウムなどの場合には、導電層を保護する、すなわち導電層の表面が直接電解質層と触れないようにするために、集電電極と多孔性半導体層との間に保護層(電気絶縁層)を設けるのが好ましい。具体的には、後述する電気絶縁層を形成後、集電電極を形成する。
導電層を単一の材料で形成するのではなく、2つ以上の材料を用いて形成してもよい。例えば、貫通孔内の側面をシリカなど絶縁性の材料でコートし、その内部に銀を設置してこれを覆うようにチタンの導電層を形成する方法などが挙げられる。
Further, when the material constituting the conductive layer is a material that does not have corrosion resistance to the electrolyte layer described later, such as silver, copper, aluminum, etc., the conductive layer is protected, that is, the surface of the conductive layer is In order to prevent direct contact with the electrolyte layer, it is preferable to provide a protective layer (electrical insulating layer) between the collecting electrode and the porous semiconductor layer. Specifically, a current collecting electrode is formed after forming an electrical insulating layer to be described later.
The conductive layer may be formed using two or more materials instead of a single material. For example, the side surface in a through-hole is coated with an insulating material such as silica, and a method of forming a conductive layer of titanium so as to cover and cover the inside of silver is exemplified.
導電層の形状としては、貫通孔内の透明電極と多孔性半導体膜が形成されていない領域の透明電極とが導電層を介して電気的に接続できるものであれば特に限定されない。
しかしながら、導電層が多孔性半導体層の全面に形成されていると、電子の授受が阻害される、電解液の輸送が阻害されるなどの不都合が生じるため、導電層の形状は、線状またはその組み合わせが好ましい。
多孔性半導体膜が複数の貫通孔を具備している場合には、それぞれの貫通孔に対して線状の導電層を形成すると多孔性半導体膜を覆う割合が増えるので、同一の線状の導電層により少なくとも2つ以上の貫通孔が覆われているのが好ましい。
The shape of the conductive layer is not particularly limited as long as the transparent electrode in the through hole and the transparent electrode in the region where the porous semiconductor film is not formed can be electrically connected via the conductive layer.
However, if the conductive layer is formed on the entire surface of the porous semiconductor layer, problems such as the transfer of electrons and the transportation of the electrolyte solution occur, so the shape of the conductive layer is linear or That combination is preferred.
When the porous semiconductor film has a plurality of through-holes, forming a linear conductive layer for each through-hole increases the ratio of covering the porous semiconductor film. It is preferable that at least two or more through holes are covered with the layer.
導電層の形状としては、例えば、図3〜5に示されるようなストライプ状、図6および図7に示されるような格子状、図8に示されるような櫛歯状またはそれらの組み合わせが挙げられる。ここで「線状」とは直線あるいは曲線状の形状を意味する。
また、「ストライプ状」とは、多孔性半導体膜の周囲より内側に形成された線状の導電層が互いに交差せずに形成されたものを意味し、「格子状」とは少なくとも1箇所以上で交差して形成されているものを意味する。
Examples of the shape of the conductive layer include a stripe shape as shown in FIGS. 3 to 5, a lattice shape as shown in FIGS. 6 and 7, a comb shape as shown in FIG. 8, or a combination thereof. It is done. Here, “linear” means a straight or curved shape.
In addition, “striped” means a linear conductive layer formed inside the periphery of the porous semiconductor film without intersecting each other, and “lattice” means at least one or more places. It means what is formed by crossing.
また、導電層は、図9〜11に示されるように透明電極の非受光面側における多孔性半導体膜の外周上にも形成されていてもよい。
導電層は、図12および図13に示されるように透明電極以外に設けられた集電電極部と電気的に接続されていてもよい。また、導電層は、図13に示されるように集電電極部と一体化されていてもよい。
「集電電極部」とは、太陽電池の場合には、太陽電池(単セル)の接続端子部分を意味し、後述するモジュールの場合には、太陽電池(単セル)同士の接続部分を意味する。集電電極部については、実施例で具体的に述べる。
The conductive layer may also be formed on the outer periphery of the porous semiconductor film on the non-light-receiving surface side of the transparent electrode as shown in FIGS.
As shown in FIGS. 12 and 13, the conductive layer may be electrically connected to a collecting electrode portion provided in addition to the transparent electrode. Further, the conductive layer may be integrated with the current collecting electrode portion as shown in FIG.
In the case of a solar cell, the “collecting electrode part” means a connection terminal portion of the solar cell (single cell), and in the case of a module described later, it means a connection portion between the solar cells (single cells). To do. The collecting electrode part will be specifically described in the examples.
導電層は、透明電極以外に設けられた集電電極部と電気的に接続されているのが好ましく、導電層が透明電極を介さず直接集電電極部と電気的に接続されている、または導電層が集電電極部と一体化されているのが好ましい。 The conductive layer is preferably electrically connected to a collecting electrode part provided other than the transparent electrode, and the conductive layer is directly connected to the collecting electrode part directly without passing through the transparent electrode, or The conductive layer is preferably integrated with the collecting electrode portion.
導電層は、少なくともその一部が、集電電極部の長軸方向に対して垂直方向に形成されているのが好ましい。導電層は多孔性半導体膜で生成した電子を多孔性半導体膜の周囲に効率的に輸送する必要があることから、少なくとも導電層の一部は集電電極に対して最も短い距離で電子を輸送できる形状であることが好ましい。
本発明において、垂直とは厳密に90°である場合のみならず、略垂直である場合(45〜135°程度)を含む。
It is preferable that at least a part of the conductive layer is formed in a direction perpendicular to the major axis direction of the current collecting electrode portion. Since the conductive layer needs to efficiently transport electrons generated in the porous semiconductor film around the porous semiconductor film, at least a part of the conductive layer transports electrons at the shortest distance to the collector electrode. A shape that can be formed is preferable.
In the present invention, “vertical” includes not only strictly 90 ° but also substantially vertical (about 45 to 135 °).
また、導電層の幅は、特に限定されず、導電層に用いる材料の比抵抗や導電層の膜厚、コストによって勘案し設定することができるが、多孔性半導体膜と接する領域において0.05〜12mmであるのが好ましい。これにより、多孔性半導体膜を覆う割合を極力低くし、十分な電子の輸送を行うことができる。 In addition, the width of the conductive layer is not particularly limited and can be set by considering the specific resistance of the material used for the conductive layer, the thickness of the conductive layer, and the cost. It is preferably ˜12 mm. Thereby, the ratio which covers a porous semiconductor film can be made as low as possible, and sufficient electron transport can be performed.
導電層の幅は、その位置によって異なっていてもよい。導電層に複数の貫通孔から電子が流れ込むと多孔性半導体膜の周囲に近づくほど輸送される電子の数が多くなることから、導電層の幅は、図14〜17に示されるように多孔性半導体膜の外周に向かって広い、すなわち多孔性半導体膜の周囲に近付く程広いのが好ましい。
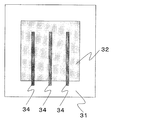
図3〜17は、それぞれ本発明の太陽電池における導電層の形状の一例を示す概略平面図であり、図中、31は透明電極、32は多孔性半導体膜、34は導電層、35は集電電極部である。
The width of the conductive layer may vary depending on its position. When electrons flow into the conductive layer from a plurality of through holes, the number of electrons transported increases toward the periphery of the porous semiconductor film. Therefore, the width of the conductive layer is porous as shown in FIGS. It is preferable that the width is wider toward the outer periphery of the semiconductor film, that is, as it gets closer to the periphery of the porous semiconductor film.
3 to 17 are schematic plan views showing examples of the shape of the conductive layer in the solar cell of the present invention, in which 31 is a transparent electrode, 32 is a porous semiconductor film, 34 is a conductive layer, and 35 is a collecting layer. It is an electric electrode part.
導電層が多孔性半導体膜を覆う割合は、0.01〜99%であり、好ましくは1〜40%であり、より好ましくは2〜25%である。 The ratio of the conductive layer covering the porous semiconductor film is 0.01 to 99%, preferably 1 to 40%, more preferably 2 to 25%.
(導電層の形成方法)
導電層を形成する方法は、特に限定されず、例えば、所定のパターンが形成されたマスクを用いて、マグネトロンスパッタ法および電子ビーム蒸着法などの物理的蒸着法などで金属を堆積させる方法、前記方法で金属を堆積させた後でフォトリソグラフィー法などによりパターニングする方法が挙げられる。目的の形状の導電層を形成するために、前記の工程を二回以上繰り返してもよい。また、各々の金属成分を含有するペーストを用いてスクリーン印刷法などによりパターニングした後で焼成する方法などが挙げられる。
(Method for forming conductive layer)
The method for forming the conductive layer is not particularly limited, for example, a method of depositing a metal by a physical vapor deposition method such as a magnetron sputtering method and an electron beam vapor deposition method using a mask in which a predetermined pattern is formed, Examples thereof include a method of patterning by photolithography after depositing a metal by the method. In order to form a conductive layer having a desired shape, the above steps may be repeated twice or more. Moreover, the method of baking after patterning by the screen printing method etc. using the paste containing each metal component is mentioned.
本発明の太陽電池における他の各構成要素について説明する。 Other components in the solar cell of the present invention will be described.
(透光性基板、透明支持体)
透光性基板を構成する材料は、少なくとも後述する色素に実効的な感度を有する波長の光を実質的に透過させ、かつ太陽電池を支持し得るものであれば特に限定されず、例えば、ソーダ石灰フロートガラス、石英ガラスなどのガラス、テトラアセチルセルロース(TAC)、ポリエチレンテレフタレート(PET)、ポリフェニレンスルファイド(PPS)、ポリカーボネート(PC)、ポリアリレート(PA)、ポリエーテルイミド(PEI)、フェノキシ樹脂などの透明ポリマーシートが挙げられる。最も一般的にはガラスが使用されるが、透明ポリマーシートは可撓性(フレキシビリティ)を有する点、コスト面において有利である。
透光性基板の厚さは、特に限定されないが、通常、0.5〜8mm程度である。
透光性基板上には、後述する透明電極が形成される。
(Translucent substrate, transparent support)
The material constituting the light-transmitting substrate is not particularly limited as long as it can substantially transmit light having a wavelength having effective sensitivity to at least a dye described later and can support a solar cell. For example, soda Glass such as lime float glass, quartz glass, tetraacetyl cellulose (TAC), polyethylene terephthalate (PET), polyphenylene sulfide (PPS), polycarbonate (PC), polyarylate (PA), polyetherimide (PEI), phenoxy resin And transparent polymer sheets. Although glass is most commonly used, the transparent polymer sheet is advantageous in terms of cost in that it has flexibility.
Although the thickness of a translucent board | substrate is not specifically limited, Usually, it is about 0.5-8 mm.
A transparent electrode to be described later is formed on the translucent substrate.
(透明電極、透明導電膜)
透明電極を構成する材料は、少なくとも後述する色素に実効的な感度を有する波長の光を実質的に透過させ得る材料であればよく、必ずしもすべての波長領域の光に対して透過性を有する必要はない。このような材料としては、例えば、インジウム錫複合酸化物(ITO)、酸化錫(SnO2)、フッ素をドープした酸化錫(FTO)、酸化亜鉛(ZnO)、タンタルあるいはニオブをドープした酸化チタンなどが挙げられる。
透明導電層は、スパッタ法、スプレー法などの公知の方法により、前記透光性基板上に形成することができる。透明導電層の膜厚は、0.02〜5μm程度であり、その膜抵抗は低いほどよく、40Ω/sq以下が好ましい。
透光性基板としてのソーダ石灰フロートガラス上に、透明導電層としてのFTOを積層した透光性導電基板が特に好ましく、本発明では、このような透光性導電基板の市販品を用いてもよい。
(Transparent electrode, transparent conductive film)
The material constituting the transparent electrode may be any material that can substantially transmit light having a wavelength having effective sensitivity to at least a dye described later, and is necessarily transparent to light in all wavelength regions. There is no. Examples of such materials include indium tin complex oxide (ITO), tin oxide (SnO 2 ), tin oxide doped with fluorine (FTO), zinc oxide (ZnO), titanium oxide doped with tantalum or niobium, and the like. Is mentioned.
The transparent conductive layer can be formed on the translucent substrate by a known method such as sputtering or spraying. The film thickness of the transparent conductive layer is about 0.02 to 5 μm, and the lower the film resistance, the better, preferably 40Ω / sq or less.
A translucent conductive substrate obtained by laminating FTO as a transparent conductive layer on soda-lime float glass as a translucent substrate is particularly preferable. In the present invention, a commercially available product of such a translucent conductive substrate may be used. Good.
また、透明電極は、多孔性半導体膜の全面と電気的に接続している必要はなく、スクライブなどにより絶縁されていてもよく、少なくとも1つ以上の貫通孔と導電層により電気的に接続されていればよい。スクライブなどにより区切られる透明電極の面積は限定されないが、貫通孔からの電子が十分に輸送されるように、貫通孔の面積および導電層の幅や厚さなどを考慮して適宜設定すればよい。 Further, the transparent electrode does not need to be electrically connected to the entire surface of the porous semiconductor film, and may be insulated by scribing or the like, and is electrically connected to at least one or more through holes and a conductive layer. It only has to be. The area of the transparent electrode delimited by scribe is not limited, but may be appropriately set in consideration of the area of the through hole and the width and thickness of the conductive layer so that electrons from the through hole are sufficiently transported. .
(色素)
多孔性半導体膜に吸着して光増感剤として機能する色素としては、種々の可視光領域および/または赤外光領域に吸収をもつ有機色素、金属錯体色素などが挙げられ、本発明ではこれらの色素の1種または2種以上を選択的に用いることができる。
(Dye)
Examples of the dye that functions as a photosensitizer by being adsorbed on the porous semiconductor film include various organic dyes and metal complex dyes having absorption in the visible light region and / or infrared light region. One or more of these dyes can be selectively used.
有機色素としては、例えば、アゾ系色素、キノン系色素、キノンイミン系色素、キナクリドン系色素、スクアリリウム系色素、シアニン系色素、メロシアニン系色素、トリフェニルメタン系色素、キサンテン系色素、ポリフィリン系色素、フタロシアニン系色素、ペリレン系色素、インジゴ系色素、ナフタロシアニン系色素などが挙げられる。 Examples of organic dyes include azo dyes, quinone dyes, quinone imine dyes, quinacridone dyes, squarylium dyes, cyanine dyes, merocyanine dyes, triphenylmethane dyes, xanthene dyes, porphyrin dyes, and phthalocyanines. And dyes, perylene dyes, indigo dyes, naphthalocyanine dyes and the like.
金属錯体色素としては、Cu、Ni、Fe、Co、V、Sn、Si、Ti、Ge、Cr、Zn、Ru、Mg、Al、Pb、Mn、In、Mo、Y、Zr、Nb、Sb、La、W、Pt、TA、Ir、Pd、Os、Ga、Tb、Eu、Rb、Bi、Se、As、Sc、Ag、Cd、Hf、Re、Au、Ac、Tc、Te、Rhなどの金属分子が配位結合した形態のものが挙げられ、具体的には、ルテニウムビピリジン系金属錯体色素、ルテニウムターピリジン系金属錯体色素、ルテニウムクォーターピリジン系金属錯体色素などのルテニウム系金属錯体色素が挙げられる。 As metal complex dyes, Cu, Ni, Fe, Co, V, Sn, Si, Ti, Ge, Cr, Zn, Ru, Mg, Al, Pb, Mn, In, Mo, Y, Zr, Nb, Sb, Metals such as La, W, Pt, TA, Ir, Pd, Os, Ga, Tb, Eu, Rb, Bi, Se, As, Sc, Ag, Cd, Hf, Re, Au, Ac, Tc, Te, Rh Specific examples include ruthenium metal complex dyes such as ruthenium bipyridine metal complex dyes, ruthenium terpyridine metal complex dyes, and ruthenium quarter pyridine metal complex dyes. .
また、多孔性半導体膜に色素を強固に吸着させるためには、色素分子中にカルボキシル基(COOH基)、アルコキシ基、ヒドロキシル基、ヒドロキシアルキル基、スルホン酸基、エステル基、メルカプト基、ホスホニル基などのインターロック基を有するものが好ましく、これらの中でもカルボキシル基が特に好ましい。一般に、インターロック基は、励起状態の色素と多孔性半導体膜の伝導帯との間の電子移動を容易にする電気的結合を供給する。
このようなインターロック基を有する色素としては、上記の有機色素および金属錯体色素が挙げられ、これらの中でも次式(1)〜(3)で表わされるルテニウム系金属錯体色素が特に好ましい。
Moreover, in order to adsorb | suck a pigment | dye firmly to a porous semiconductor film, a carboxyl group (COOH group), an alkoxy group, a hydroxyl group, a hydroxyalkyl group, a sulfonic acid group, an ester group, a mercapto group, a phosphonyl group in a pigment molecule. Those having an interlock group such as are preferable, and among these, a carboxyl group is particularly preferable. In general, the interlock group provides an electrical bond that facilitates electron transfer between the excited state dye and the conduction band of the porous semiconductor film.
Examples of the dye having such an interlock group include the above organic dyes and metal complex dyes, and among these, ruthenium-based metal complex dyes represented by the following formulas (1) to (3) are particularly preferable.
(色素の吸着法)
多孔性半導体膜に色素を吸着させる方法としては、例えば、透明電極上に形成された多孔性半導体膜を、色素を溶解した溶液(色素吸着用溶液)に浸漬する方法が挙げられる。
色素を溶解させる溶剤としては、色素を溶解するものであればよく、例えば、エタノールなどのアルコール類、アセトンなどのケトン類、ジエチルエーテル、テトラヒドロフランなどのエーテル類、アセトニトリルなどの窒素化合物類、クロロホルムなどのハロゲン化脂肪族炭化水素、ヘキサンなどの脂肪族炭化水素、ベンゼンなどの芳香族炭化水素、酢酸エチルなどのエステル類、水などが挙げられる。本発明では、これらの溶剤の2種類以上を混合して用いることもできる。
(Dye adsorption method)
Examples of the method of adsorbing the dye on the porous semiconductor film include a method of immersing the porous semiconductor film formed on the transparent electrode in a solution in which the dye is dissolved (dye adsorption solution).
The solvent for dissolving the dye may be any solvent that dissolves the dye. Examples thereof include alcohols such as ethanol, ketones such as acetone, ethers such as diethyl ether and tetrahydrofuran, nitrogen compounds such as acetonitrile, chloroform, and the like. Halogenated aliphatic hydrocarbons, aliphatic hydrocarbons such as hexane, aromatic hydrocarbons such as benzene, esters such as ethyl acetate, and water. In the present invention, two or more of these solvents can be mixed and used.
色素吸着用溶液中の色素濃度は、使用する色素および溶剤の種類などにより適宜調整することができるが、吸着機能を向上させるためにはある程度高濃度である方が好ましく、例えば、5×10-5モル/リットル以上の濃度であればよい。
また、色素の吸着状態や多孔性半導体膜の表面などを制御するために、色素吸着用溶液に共吸着剤としてデオキシコール酸などの有機化合物を添加してもよい。
The dye concentration in the dye adsorbing solution can be adjusted as appropriate depending on the type of dye and solvent to be used, but a higher concentration is preferable in order to improve the adsorption function. For example, 5 × 10 − The concentration may be 5 mol / liter or more.
Further, an organic compound such as deoxycholic acid may be added as a coadsorbent to the dye adsorption solution in order to control the dye adsorption state, the surface of the porous semiconductor film, and the like.
透明電極上に形成された多孔性半導体膜を色素吸着用溶液に浸漬するときの温度、時間、雰囲気などの条件は、多孔性半導体膜を構成する材料や状態、色素吸着用溶液の構成材料などにより適宜設定すればよい。浸漬は、例えば大気雰囲気下、室温程度で行うことができる。加熱下で浸漬することにより、多孔性半導体膜に色素を効率よく吸着させることができる。 Conditions such as temperature, time, and atmosphere when the porous semiconductor film formed on the transparent electrode is immersed in the dye adsorption solution are the materials and states constituting the porous semiconductor film, the composition material of the dye adsorption solution, etc. May be set as appropriate. Immersion can be performed at about room temperature in an air atmosphere, for example. By soaking under heating, the dye can be efficiently adsorbed to the porous semiconductor film.
(触媒層)
触媒層を構成する材料は、一般に光電変換材料に使用されるものであれば特に限定されない。このような材料としては、例えば、白金、カーボンブラック、ケッチェンブラック、カーボンナノチューブ、フラーレンなどが挙げられる。
触媒層は、例えば、白金を用いる場合には、スパッタ法、塩化白金酸の熱分解、電着などの公知の方法により形成することができる。その膜厚は、触媒機能を発現できればよく、例えば1〜2000nm程度である。また、カーボンブラック、ケッチェンブラック、カーボンナノチューブ、フラーレンなどのカーボンを用いる場合には、溶剤に分散してペースト状にしたカーボンをスクリーン印刷法などにより塗布して触媒層を形成することができる。
(Catalyst layer)
The material which comprises a catalyst layer will not be specifically limited if it is generally used for a photoelectric conversion material. Examples of such a material include platinum, carbon black, ketjen black, carbon nanotube, fullerene and the like.
For example, when using platinum, the catalyst layer can be formed by a known method such as sputtering, thermal decomposition of chloroplatinic acid, or electrodeposition. The film thickness should just be able to express a catalyst function, for example, is about 1 to 2000 nm. In the case of using carbon such as carbon black, ketjen black, carbon nanotube, or fullerene, a catalyst layer can be formed by applying carbon paste dispersed in a solvent by a screen printing method or the like.
(対極、対極導電層)
触媒層の抵抗が高い場合には、触媒層の非受光面側の層上に対極がさらに積層されてなるのが好ましい。
対極を構成する材料としては、インジウム錫複合酸化物(ITO)、酸化錫(SnO2)、酸化錫にフッ素をドープしたもの(F-doped SnO2、FTO)、酸化亜鉛(ZnO)、白金、金、銀、銅、アルミニウム、ニッケル、チタンなどが挙げられる。
対極は、スパッタ法、スプレー法などの公知の方法により、触媒層上に形成することができる。その膜厚は、0.02〜5μm程度であり、その膜抵抗は低いほどよく、40Ω/sq以下が好ましい。
(Counter electrode, counter electrode conductive layer)
When the resistance of the catalyst layer is high, it is preferable that a counter electrode is further laminated on the non-light-receiving surface side layer of the catalyst layer.
As the material constituting the counter electrode, indium tin composite oxide (ITO), tin oxide (SnO 2 ), tin oxide doped with fluorine (F-doped SnO 2 , FTO), zinc oxide (ZnO), platinum, Gold, silver, copper, aluminum, nickel, titanium, etc. are mentioned.
The counter electrode can be formed on the catalyst layer by a known method such as sputtering or spraying. The film thickness is about 0.02 to 5 μm, the film resistance is preferably as low as possible, and is preferably 40Ω / sq or less.
(支持基板、カバー)
支持基板としてはガラスや高分子フィルム、金属板(箔)などが考えられる。特に抵抗値を低下させるために、支持基板としては導電性基板が好ましい。また、支持基板の導電性が低いときには、導電層と同様な手法、および材料により電極を形成してもよい。
(Support substrate, cover)
As the support substrate, glass, a polymer film, a metal plate (foil), or the like can be considered. In particular, in order to reduce the resistance value, the support substrate is preferably a conductive substrate. Further, when the conductivity of the support substrate is low, the electrode may be formed by the same method and material as the conductive layer.
(電解質層)
電解質層は、イオンを輸送し得る導電性材料からなり、例えば、液体電解質層、固体電解質層などが挙げられる。
(Electrolyte layer)
The electrolyte layer is made of a conductive material that can transport ions, and examples thereof include a liquid electrolyte layer and a solid electrolyte layer.
液体電解質層は、酸化還元種を含む液状物であればよく、一般に電池や太陽電池などにおいて使用することができるものであれば特に限定されない。具体的には、酸化還元種とこれを溶解可能な溶剤からなる組成物が挙げられる。
酸化還元種としては、例えば、LiI、NaI、KI、CaI2などの金属ヨウ化物とヨウ素の組み合わせ、LiBr、NaBr、KBr、CaBr2などの金属臭化物と臭素の組み合わせ、ヨウ化物イオンからなる塩とヨウ素の組み合わせ、臭化物イオンからなる塩と臭素の組み合わせが挙げられ、これらの中でも、LiIとヨウ素の組み合わせ、ヨウ化物イオンからなる塩とヨウ素の組み合わせが好ましい。これらの酸化還元種は、2種以上を組み合わせて用いることができる。
液体電解質層には、電極表面への吸着などによる特性改善のために、グアニジンチオシアネートなどのイオン性化合物や4-tert-ブチルピリジンなどの窒素含有複素環化合物、その他の有機化合物が添加されていてもよい。
The liquid electrolyte layer is not particularly limited as long as it is a liquid substance containing a redox species, and can be generally used in a battery or a solar battery. Specifically, a composition comprising a redox species and a solvent capable of dissolving the same is mentioned.
Examples of the redox species include a combination of a metal iodide such as LiI, NaI, KI, and CaI 2 and iodine, a combination of a metal bromide such as LiBr, NaBr, KBr, and CaBr 2 and bromine, and a salt made of iodide ion. A combination of iodine, a combination of a salt made of bromide ions and a bromine can be mentioned. Among these, a combination of LiI and iodine, and a combination of a salt made of iodide ions and iodine are preferable. These redox species can be used in combination of two or more.
To the liquid electrolyte layer, ionic compounds such as guanidine thiocyanate, nitrogen-containing heterocyclic compounds such as 4-tert-butylpyridine, and other organic compounds are added to improve characteristics by adsorption to the electrode surface. Also good.
酸化還元種を溶解可能な溶剤としては、プロピレンカーボネートなどのカーボネート化合物、γ−ブチロラクトンなどのラクトン類、アセトニトリルなどのニトリル化合物、エタノールなどのアルコール類、水、非プロトン極性物質などが挙げられ、これらの中でも、カーボネート化合物、ラクトン類、ニトリル化合物が特に好ましい。これらの溶剤は2種類以上を混合して用いることもできる。 Examples of the solvent capable of dissolving the redox species include carbonate compounds such as propylene carbonate, lactones such as γ-butyrolactone, nitrile compounds such as acetonitrile, alcohols such as ethanol, water, aprotic polar substances, and the like. Among these, carbonate compounds, lactones, and nitrile compounds are particularly preferable. Two or more of these solvents can be used in combination.
酸化還元種を溶解可能な溶剤として溶融塩を用いることもでき、上記の溶剤と混合して用いることもできる。
「溶融塩」とは、溶剤を含まず、イオンのみから構成される液体状態の塩である。
溶融塩は、例えばInorg. Chem., 1996年, 35, p.1168-1178およびElectrochemistry., 2002年, 2, p.130-136などの文献、ならびに特表平9−507334号公報および特開平8−259543号公報などの特許文献に記載されているような、一般に電池や太陽電池などにおいて使用することができるものであれば特に限定されない。また、溶融塩は、酸化還元種の生成に関与するものでも関与しないものでもどちらでも用いることができ、これらを混合したものも用いることができる。
溶融塩としては、室温(25℃)より低い融点を有する塩、室温より高い融点を有していても他の溶融塩や溶融塩以外の電解質層塩と溶解させることにより室温で液体状態となる塩が好ましい。
A molten salt can also be used as a solvent capable of dissolving the redox species, and a mixture with the above-described solvent can also be used.
The “molten salt” is a salt in a liquid state that does not contain a solvent and is composed only of ions.
Molten salts are described in, for example, Inorg. Chem., 1996, 35, p. 1168-1178 and Electrochemistry., 2002, 2, p. 130-136, and Japanese Patent Publication No. 9-507334 and It is not particularly limited as long as it can be generally used in a battery, a solar battery, or the like as described in patent documents such as 8-259543. In addition, the molten salt may be used regardless of whether it is involved in the production of redox species, or a mixture thereof.
As the molten salt, a salt having a melting point lower than room temperature (25 ° C.), or a liquid state at room temperature by dissolving with another molten salt or an electrolyte layer salt other than the molten salt even when having a melting point higher than room temperature. Salts are preferred.
溶融塩のカチオンとしては、アンモニウム、イミダゾリウム、オキサゾリウム、チアゾリウム、ピラゾリウム、イソオキサゾリウム、チアジアゾリウム、オキサジアゾリウム、トリアゾリウム、ピロリジニウム、ピリジニウム、ピリミジニウム、ピリダジニウム、ピラジニウム、トリアジニウム、ホスホニウム、スルホニウム、カルバゾリウム、インドリウムおよびその誘導体が好ましく、これらの中でも、アンモニウム、イミダゾリウム、ピリジニウム、スルホニウムが特に好ましい。 Molten salt cations include ammonium, imidazolium, oxazolium, thiazolium, pyrazolium, isoxazolium, thiadiazolium, oxadiazolium, triazolium, pyrrolidinium, pyridinium, pyrimidinium, pyridazinium, pyrazinium, triazinium, phosphonium, sulfonium, carbazolium Indolium and its derivatives are preferable, and among these, ammonium, imidazolium, pyridinium, and sulfonium are particularly preferable.
溶融塩のアニオンとしては、AlCl4 -、Al2Cl7 -などの金属塩化物、PF6 -,BF4 -、CF3SO3 -、N(CF3SO2)2 -、N(SO2F)2 -、F(HF)n -などのフッ素含有物、NO3 -、CH3COO-、C6H11COO-、SCN-、N(CN)2 -などの非フッ素含有物、ヨウ素、臭素などのハロゲン化物が挙げられる。 Examples of the anion of the molten salt include metal chlorides such as AlCl 4 − and Al 2 Cl 7 − , PF 6 − , BF 4 − , CF 3 SO 3 − , N (CF 3 SO 2 ) 2 − , and N (SO 2 Fluorine-containing materials such as F) 2 − and F (HF) n − , non-fluorine-containing materials such as NO 3 − , CH 3 COO − , C 6 H 11 COO − , SCN − and N (CN) 2 — , iodine And halides such as bromine.
溶融塩は、上記の各種文献や特許公報に記載された公知の方法により合成することができる。4級アンモニウム塩を例に挙げると、第一段階として3級アミンにアルキル化剤としてアルキルハライドを用いてアミンの4級化を行い、第二段階としてハライドアニオンから目的のアニオンへイオン交換を行うという方法、および3級アミンを目的のアニオンを有する酸と反応させて一段階で目的の化合物を得る方法が挙げられる。 The molten salt can be synthesized by known methods described in the above-mentioned various documents and patent publications. Taking a quaternary ammonium salt as an example, a quaternization of an amine is performed using a tertiary amine as an alkylating agent as an alkylating agent as a first step, and an ion exchange from a halide anion to a target anion is performed as a second step. And a method of obtaining a target compound in one step by reacting a tertiary amine with an acid having a target anion.
酸化還元種を溶解可能な溶剤として溶剤や溶融塩を用いる場合には、導電層と対極との短絡を防止するために、これらの間にセパレータ層を設けてもよい。
セパレータ層は、電気的に絶縁であり、太陽電池の構成材料に対して安定なものであれば特に限定されず、具体的にはSiO2やZrO2などの金属酸化物から形成される多孔質層、高分子化合物などから形成される不織布などが挙げられる。
When a solvent or a molten salt is used as a solvent capable of dissolving the redox species, a separator layer may be provided between them in order to prevent a short circuit between the conductive layer and the counter electrode.
The separator layer is not particularly limited as long as it is electrically insulating and stable with respect to the constituent material of the solar cell. Specifically, the separator layer is a porous layer formed from a metal oxide such as SiO 2 or ZrO 2. Nonwoven fabrics formed from layers, polymer compounds, and the like.
電解質層を構成する固体電解質層としては、高分子化合物により液体電解質層を固体化した高分子電解質層(ゲル電解質層)、溶融塩を含む液体電解質層を微粒子により固体化した電解質層、有機P型半導体、CuIなどの無機P型半導体などが挙げられる。 As the solid electrolyte layer constituting the electrolyte layer, a polymer electrolyte layer (gel electrolyte layer) obtained by solidifying a liquid electrolyte layer with a polymer compound, an electrolyte layer obtained by solidifying a liquid electrolyte layer containing a molten salt with fine particles, organic P Type semiconductors, inorganic P-type semiconductors such as CuI, and the like.
高分子化合物により液体電解質層を固体化した高分子電解質層における高分子化合物は、混合溶剤と電解質層で構成される電解液を保持できる高分子化合物であれば特に限定されない。このような高分子化合物としては、下式一般式(4)で表わされるモノマー単位を重合もしくは共重合して得られるポリ(メタ)アクリレート系の重合体もしくは共重合体、イソシアネート基を有する化合物Aと活性水素基を有する化合物Bを重付加したもの、エポキシ樹脂類などが挙げられ、これらの中でもポリ(メタ)アクリレート系の重合体もしくは共重合体、イソシアネート基を有する化合物Aと活性水素基を有する化合物Bを重付加したものが好ましい。 The polymer compound in the polymer electrolyte layer obtained by solidifying the liquid electrolyte layer with the polymer compound is not particularly limited as long as it is a polymer compound that can hold the electrolytic solution composed of the mixed solvent and the electrolyte layer. Examples of such a polymer compound include a poly (meth) acrylate polymer or copolymer obtained by polymerizing or copolymerizing a monomer unit represented by the following general formula (4), and a compound A having an isocyanate group. And an epoxy resin and the like. Among these, a poly (meth) acrylate polymer or copolymer, a compound A having an isocyanate group and an active hydrogen group are included. A compound obtained by polyaddition of the compound B is preferably used.
上記の高分子化合物の重合方法は、特に限定されず、常温常圧下での重合、熱重合および光重合など、用いるモノマー材料などにより適宜設定すればよい。但し、多孔性半導体膜に酸化チタンを使用する場合には、紫外線領域の光照射により酸化チタンが光触媒反応を起こし、多孔性半導体膜に吸着した色素が分解するなどの問題が考えられるため、高分子化合物の重合は、常温常圧下での重合または熱重合が好ましい。 The polymerization method of the polymer compound is not particularly limited, and may be appropriately set depending on the monomer material used, such as polymerization under normal temperature and normal pressure, thermal polymerization, and photopolymerization. However, when titanium oxide is used for the porous semiconductor film, there is a problem that titanium oxide causes a photocatalytic reaction due to light irradiation in the ultraviolet region, and the dye adsorbed on the porous semiconductor film is decomposed. Polymerization of the molecular compound is preferably polymerization under normal temperature and normal pressure or thermal polymerization.
固体電解質層中への電解質層の注入方法は、使用する化合物により適宜選択すればよい。
例えば、ヨウ素が重合に影響しないイソシアネートを含む化合物と活性水素基を含む化合物を使用する場合には、重合前に電解質層を添加した溶剤と混合し、得られた混合物を重合させてゲル電解質層を得る。
また、ヨウ素が重合禁止剤として作用するラジカル重合により(メタ)アクリレート類を重合する場合には、高分子化合物と溶剤のみで重合し、得られた重合体を電解質層と溶剤からなる電解液中に浸漬することにより、ゲル電解質層を得る。
What is necessary is just to select suitably the injection | pouring method of the electrolyte layer in a solid electrolyte layer with the compound to be used.
For example, when using a compound containing an isocyanate in which iodine does not affect polymerization and a compound containing an active hydrogen group, the mixture is mixed with a solvent to which an electrolyte layer is added before polymerization, and the resulting mixture is polymerized to form a gel electrolyte layer. Get.
In addition, when (meth) acrylates are polymerized by radical polymerization in which iodine acts as a polymerization inhibitor, the polymer is polymerized only with a polymer compound and a solvent, and the resulting polymer is contained in an electrolyte solution composed of an electrolyte layer and a solvent. The gel electrolyte layer is obtained by immersing in
溶融塩を含む液体電解質層を微粒子により固体化した電解質層における微粒子としては、液体電解質層を固体化できる化合物であれば特に限定されない。このような化合物としては、酸化ケイ素などの金属酸化物、カーボンナノチューブなどが挙げられる。 The fine particles in the electrolyte layer obtained by solidifying the liquid electrolyte layer containing a molten salt with fine particles are not particularly limited as long as the liquid electrolyte layer can be solidified. Examples of such compounds include metal oxides such as silicon oxide and carbon nanotubes.
多孔性半導体膜中の電解質層の含有量が少ないと得られる太陽電池の光電変換効率が低くなる。したがって、多孔性半導体膜中(空孔内部)には、より多くの液体電解質層を注入もしくは固体電解質層を形成する必要がある。
液体電解質層が低粘度であれば、常温常圧下でも多孔性半導体膜中に液体電解質層を注入することは可能であるが、高粘度の溶剤や溶融塩を多量に含む高粘度の液体電解質層の場合には、常温常圧下でも多孔性半導体膜中に注入することは困難になる。したがって、多孔性半導体膜への液体電解質層の注入方法は、真空注入法が好ましい。
When the content of the electrolyte layer in the porous semiconductor film is small, the photoelectric conversion efficiency of the obtained solar cell is lowered. Therefore, it is necessary to inject more liquid electrolyte layers or form solid electrolyte layers in the porous semiconductor film (inside the pores).
If the liquid electrolyte layer has a low viscosity, it is possible to inject the liquid electrolyte layer into the porous semiconductor film even at room temperature and normal pressure, but the high viscosity liquid electrolyte layer contains a large amount of a high viscosity solvent or molten salt. In this case, it becomes difficult to inject into the porous semiconductor film even under normal temperature and pressure. Therefore, the method of injecting the liquid electrolyte layer into the porous semiconductor film is preferably a vacuum injection method.
電解質層として、高分子化合物により液体電解質層を固体化した高分子電解質層を使用する場合には、例えば、液状のプレポリマー溶液を多孔性半導体膜中に含浸させた後に重合させればよい。多孔性半導体膜中へのプレポリマー溶液の注入方法は、真空注入法が好ましい。
また、電解質層として、イオン結合などにより形成され、熱により可逆的に固液の相変化を起こす固体電解質層を使用する場合には、例えば、加熱などにより液体状態にした固体電解質層を真空注入法により多孔性半導体膜内に注入すればよい。
When a polymer electrolyte layer obtained by solidifying a liquid electrolyte layer with a polymer compound is used as the electrolyte layer, for example, a liquid prepolymer solution may be impregnated in a porous semiconductor film and then polymerized. The method of injecting the prepolymer solution into the porous semiconductor film is preferably a vacuum injection method.
Also, when using a solid electrolyte layer that is formed by ion bonding or the like and causes a solid-liquid phase change reversibly by heat, for example, vacuum injection of the solid electrolyte layer that has been changed to a liquid state by heating or the like. It may be injected into the porous semiconductor film by the method.
その他の構成要素、熱融着フィルム、電解液注入用孔および紫外線硬化樹脂は、当該技術分野で用いられる材料および形成方法を適用でき、これらについては、後述するモジュールの項で具体的に述べる。 The other components, heat-sealing film, electrolyte injection hole, and ultraviolet curable resin can be applied with materials and forming methods used in the technical field, and these will be specifically described in the section of the module described later.
(モジュール)
本発明のモジュールは、上記の太陽電池(太陽電池単セル)を含む少なくとも2つ以上の太陽電池のそれぞれの透明電極と対極とが電気的に直列に接続されてなる。すなわち、モジュールを構成する少なくとも2つ以上の太陽電池単セルの中で、少なくとも1つが本発明の太陽電池であればよい。ここで、「太陽電池単セル(色素増感太陽電池単セル)」とは、一対の透明電極と対極からなる太陽電池を示す。
(module)
In the module of the present invention, the transparent electrode and the counter electrode of at least two or more solar cells including the above-described solar cell (solar cell single cell) are electrically connected in series. That is, at least one of the at least two solar cell single cells constituting the module may be the solar cell of the present invention. Here, “solar cell single cell (dye-sensitized solar cell single cell)” refers to a solar cell comprising a pair of transparent electrodes and a counter electrode.
本発明のモジュールは、本発明の太陽電池の効果を最大限に発揮させるためには、2つ以上の太陽電池がすべて上記の太陽電池であるのが好ましく、太陽電池の多孔性半導体膜が同一基板上の透明電極上に形成されてなるのが好ましい。
また、本発明のモジュールは、多孔性半導体膜側が受光面である太陽電池と対極側が受光面である太陽電池のそれぞれの透明電極と対極とが電気的に直列に接続されていてもよく、このような場合には、図19に示されるように、多孔性半導体膜側が受光面である太陽電池が、本発明の太陽電池であるのが好ましい。
In the module of the present invention, in order to maximize the effects of the solar cell of the present invention, it is preferable that two or more solar cells are all the above-described solar cells, and the porous semiconductor films of the solar cells are the same. It is preferably formed on a transparent electrode on the substrate.
In the module of the present invention, the transparent electrode and the counter electrode of each of the solar cell whose porous semiconductor film side is the light receiving surface and the solar cell whose counter electrode side is the light receiving surface may be electrically connected in series. In such a case, as shown in FIG. 19, the solar cell having the light-receiving surface on the porous semiconductor film side is preferably the solar cell of the present invention.
本発明のモジュールの作製例について具体的に説明するが、これらの作製例により本発明が限定されるものではない。 Examples of manufacturing the module of the present invention will be specifically described, but the present invention is not limited to these manufacturing examples.
(作製例1)
図18に示される構成のモジュールを作製した。
図18は、本発明のモジュールの層構成を示す要部の概略断面図であり、図中、180は透光性基板、181は支持基板(カバー)、182は透明電極、183は色素を吸着しかつその間隙に電解液が充填された多孔性半導体膜、184は貫通孔および貫通孔内部と周囲の透明電極を電気的に接続する導電層、185はスクライブ上の絶縁層、186は多孔性絶縁層、187は触媒層、188は対極(導電膜)、189はセル間絶縁層、190は電解質層である。
(Production Example 1)
A module having the configuration shown in FIG. 18 was produced.
FIG. 18 is a schematic cross-sectional view of the main part showing the layer structure of the module of the present invention, in which 180 is a translucent substrate, 181 is a support substrate (cover), 182 is a transparent electrode, and 183 is an adsorbing dye. And 184 is a conductive layer that electrically connects the through-hole and the inside of the through-hole to the surrounding transparent electrode, 185 is an insulating layer on the scribe, and 186 is porous. An insulating layer, 187 is a catalyst layer, 188 is a counter electrode (conductive film), 189 is an inter-cell insulating layer, and 190 is an electrolyte layer.
ガラスからなる透光性基板180上にSnO2膜からなる透明電極182が成膜された、49mm×66.3mm×厚さ1mmのガラス基板(日本板硝子株式会社製、SnO2膜付ガラス)を用意した。YAGレーザー(基本波長:1.06μm)を搭載したレーザースクライブ装置(西進商事株式会社製)を用いて、透明電極182上の所定の位置にレーザー光を照射してSnO2膜を切断することにより、溝(スクライブライン)を形成した。
49 mm × 66.3 mm ×
次いで、貫通孔を具備した多孔性半導体膜のパターンを有するスクリーン版とスクリーン印刷機(ニューロング精密工業株式会社製、型番:LS−150)を用いて、透明電極182上に市販の酸化チタンペースト(Solaronix社製、商品名:Ti−Nanoxide T/SP)を塗布し、室温で1時間レベリングを行った。その後、得られた塗膜を80℃に設定したオーブンで20分間乾燥し、さらに450℃に設定した焼成炉(株式会社デンケン製、型番:KDF P−100)を用いて空気中で60分間焼成して、膜厚8μmの多孔性半導体膜αを得た。
Next, a commercially available titanium oxide paste is formed on the
次いで、上記のスクリーン版とスクリーン印刷機を用いて、多孔性半導体膜α上に、市販の酸化チタンペースト(Solaronix社製、商品名:Ti−Nanoxide D/SP)を塗布し、室温にて1時間レベリングを行った。その後、得られた塗膜を80℃に設定したオーブンで20分間乾燥し、さらに450℃に設定した上記の焼成炉を用いて空気中で60分間焼成した。この塗布および焼成工程を3回繰り返して、膜厚18μmの多孔性半導体膜βを得た。 Next, using the screen plate and the screen printing machine, a commercially available titanium oxide paste (manufactured by Solaronix, trade name: Ti-Nanoxide D / SP) is applied on the porous semiconductor film α, and 1 at room temperature. Time leveling was performed. Thereafter, the obtained coating film was dried in an oven set at 80 ° C. for 20 minutes, and further baked in the air for 60 minutes using the above baking furnace set at 450 ° C. This coating and baking process was repeated three times to obtain a porous semiconductor film β having a film thickness of 18 μm.
次いで、上記のスクリーン版とスクリーン印刷機を用いて、多孔性半導体膜β上に、予め調製しておいた酸化チタンペーストを塗布し、室温にて1時間レベリングを行った。その後、得られた塗膜を80℃に設定したオーブンで20分間乾燥し、さらに450℃に設定した上記の焼成炉を用いて空気中で40分間焼成して、膜厚5μmの多孔性半導体膜γを得、多孔性半導体膜α、β、γの3層からなる、貫通孔を有する多孔性半導体膜を得た。この多孔性半導体膜は、透明電極182側から光散乱性の低い層から高い層の順にα、β、γが積層された。
酸化チタンペーストは、平均一次粒径350nmのアナターゼ型酸化チタン粒子をテルピネオールに分散させ、さらにエチルセルロースを混合してペーストを調整した。
Next, a titanium oxide paste prepared in advance was applied onto the porous semiconductor film β using the screen plate and the screen printing machine, and leveling was performed at room temperature for 1 hour. Thereafter, the obtained coating film was dried in an oven set at 80 ° C. for 20 minutes, and further baked in the air for 40 minutes using the above baking furnace set at 450 ° C. to form a porous semiconductor film having a thickness of 5 μm. γ was obtained, and a porous semiconductor film having through-holes composed of three layers of porous semiconductor films α, β, and γ was obtained. In this porous semiconductor film, α, β, and γ were laminated in the order from a layer having a low light scattering property to a layer having a high light scattering property from the
The titanium oxide paste was prepared by dispersing anatase-type titanium oxide particles having an average primary particle size of 350 nm in terpineol and further mixing ethyl cellulose.
次いで、各多孔質半導体膜の間にスクライブ上絶縁層185を形成するためのスクリーン版と上記のスクリーン印刷機を用いて、スクライブライン上に、ガラスペースト(ノリタケカンパニーリミテド製)を塗布し、100℃に設定したオーブンで15分間乾燥し、さらに500℃に設定した上記の焼成炉を用いて空気中で60分間焼成して、スクライブ上の絶縁層185を得た。
次いで、所定のパターンが形成されたマスクおよび蒸着装置(アネルバ株式会社製、型番:EVD500A)を用いて蒸着速度0.5Å/Sで、多孔質半導体膜上にチタンを成膜して、膜厚800nmの貫通孔および貫通孔内部と周囲の透明電極を電気的に接続する導電層184をパターン形成した。
Next, a glass paste (manufactured by Noritake Co., Ltd.) is applied on the scribe line using a screen plate for forming the scribe upper insulating
Next, titanium is deposited on the porous semiconductor film at a deposition rate of 0.5 Å / S using a mask on which a predetermined pattern is formed and a vapor deposition apparatus (model number: EVD500A, manufactured by Anelva Corporation). The 800 nm through hole and the
次いで、導電層184を形成した多孔性半導体膜上に多孔性絶縁層186を形成するためのスクリーン版と上記のスクリーン印刷機を用いて、予め調製しておいた酸化ジルコニウムペーストを塗布し、室温で60分間レベリングを行った。次いで得られた塗膜を80℃で20分間予備乾燥し、450℃に設定した上記の焼成炉を用いて空気中で60分間焼成して、膜厚5μmの多孔性絶縁層186を得た。
酸化ジルコニウムペーストは、平均粒径100nmの酸化ジルコニウム粒子(シーアイ化成株式会社製)テルピネオールに分散させ、さらにエチルセルロースを混合してペーストを調整した。
Next, using a screen plate for forming the porous insulating
The zirconium oxide paste was dispersed in zirconium oxide particles having an average particle diameter of 100 nm (manufactured by CI Kasei Co., Ltd.) terpineol, and further mixed with ethyl cellulose to prepare a paste.
次いで、上記の蒸着装置を用いて蒸着速度0.5Å/Sで、多孔性絶縁層186上にPtを成膜して、膜厚50nmの触媒層187を得た。
さらに、上記の蒸着装置を用いて蒸着速度0.5Å/Sで、触媒層187上およびスクライブ上絶縁層185上、ならびにスクライブ上絶縁層185側の導電層184に達するように膜厚300nmのチタンを成膜して、対極(導電膜)188を得た。
Next, Pt was deposited on the porous insulating
Further, titanium having a film thickness of 300 nm is formed by using the above-described vapor deposition apparatus so as to reach the
次いで、予め調製しておいた色素吸着用溶液に上記の積層体を室温で24時間浸漬し、その後、積層体をエタノールで洗浄し、約60℃で約5分間乾燥させて、多孔性半導体膜に色素を吸着させた。
吸着用色素溶液は、前記式(3)の色素(Solaronix社製、商品名:Ruthenium620)を濃度3×10-4モル/リットルになるように、体積比1:1のアセトニトリルとt−ブタノールの混合溶剤に溶解させて調製した。
Next, the laminate is immersed in a dye adsorbing solution prepared in advance at room temperature for 24 hours, and then the laminate is washed with ethanol and dried at about 60 ° C. for about 5 minutes to obtain a porous semiconductor film. The dye was adsorbed on the surface.
The dye solution for adsorption is a mixture of acetonitrile and t-butanol in a volume ratio of 1: 1 so that the dye of the formula (3) (manufactured by Solaronix, trade name: Ruthenium 620) has a concentration of 3 × 10 −4 mol / liter. It was prepared by dissolving in a mixed solvent.
次いで、ディスペンサー(EFD社製、商品名:ULTRASAVER)を用いて、図18の導電層184上における図番189の位置に紫外線硬化樹脂(スリーボンド社製、型番:31X−101)を塗布し、別途用意した支持基板(カバー)181としての49mm×56mm×厚さ1mmのガラス基板(コーニング7059)を貼り合せた。ガラス基板には予め電解液注入用孔(図示せず)を設けておいた。次いで、紫外線ランプ(EFD社製、商品名:NOVACURE)を用いて、塗布部分にすばやく紫外線を照射して紫外線硬化樹脂を硬化させることにより、セル間絶縁層189を得ると同時に、透光性基板180と支持基板181とを固定した。
Next, using a dispenser (manufactured by EFD, trade name: ULTRASAVER), an ultraviolet curable resin (manufactured by ThreeBond, model number: 31X-101) is applied to the position of the
次いで、支持基板181の電解液注入用孔から予め調製しておいた電解液を注入して、電解質層190および色素を吸着しかつその間隙に電解液が充填された多孔性半導体膜183を得、上記と同様にして紫外線硬化樹脂を用いて電解液注入用孔を封止することによりモジュールを完成した。
電解液は、溶剤としてのアセトニトリルに、酸化還元種としてLiI(アルドリッチ社製)が濃度0.1モル/リットル、I2(キシダ化学社製)が濃度0.01モル/リットルになるように、さらに添加剤としてt−ブチルピリジン(アルドリッチ社製)が濃度0.5モル/リットル、ジメチルプロピルイミダゾールアイオダイド(四国化成工業社製)が濃度0.6モル/リットルになるように添加し、溶解させて得た。
Next, an electrolyte prepared in advance from the electrolyte injection hole of the
The electrolyte is acetonitrile as a solvent, LiI (manufactured by Aldrich) as a redox species at a concentration of 0.1 mol / liter, and I 2 (manufactured by Kishida Chemical) at a concentration of 0.01 mol / liter. Furthermore, t-butylpyridine (manufactured by Aldrich) is added as an additive to a concentration of 0.5 mol / liter, and dimethylpropylimidazole iodide (manufactured by Shikoku Kasei Kogyo Co., Ltd.) is added to a concentration of 0.6 mol / liter and dissolved. I got it.
(作製例2)
図19に示される構成のモジュールを作製した。
図19は、本発明のモジュールの層構成を示す要部の概略断面図であり、図中、191は透光性基板、192は支持基板(絶縁性支持体)、193は透明電極、194は対極(導電膜)、195は色素を吸着しかつその間隙に電解液Iが充填された多孔性半導体膜I、196は触媒層II、197は貫通孔および貫通孔内部と周囲の透明電極を電気的に接続する導電層、198はスクライブ(グリッド)電極、199は色素を吸着しかつその間隙に電解液IIが充填された多孔性半導体膜II、200は触媒層I、201はセル間絶縁層、202は電解液Iにより形成された電解質層I、203は電解液IIにより形成された電解質層IIである。
(Production Example 2)
A module having the configuration shown in FIG. 19 was produced.
FIG. 19 is a schematic cross-sectional view of the main part showing the layer structure of the module of the present invention, in which 191 is a translucent substrate, 192 is a support substrate (insulating support), 193 is a transparent electrode, and 194 is The counter electrode (conductive film) 195 is a porous semiconductor film I that adsorbs a dye and the gap is filled with an electrolytic solution I, 196 is a catalyst layer II, 197 is a through-hole and the inside of the through-hole and the surrounding transparent electrode are electrically connected 198 is a scribe (grid) electrode, 199 is a porous semiconductor film II that adsorbs a dye and is filled with an electrolytic solution II, 200 is a catalyst layer I, 201 is an inter-cell insulating layer , 202 is an electrolyte layer I formed by the electrolyte solution I, and 203 is an electrolyte layer II formed by the electrolyte solution II.
ガラスからなる透光性基板191上にSnO2膜からなる透明電極193が成膜された、49mm×71mm×厚さ1mmのガラス基板(日本板硝子株式会社製、SnO2膜付ガラス)を用意した。YAGレーザー(基本波長:1.06μm)を搭載したレーザースクライブ装置(西進商事株式会社製)を用いて、透明電極上の所定の位置にレーザー光を照射してSnO2膜を切断することにより、スクライブラインを形成した。
A 49 mm × 71 mm × 1 mm thick glass substrate (Nippon Sheet Glass Co., Ltd. glass with SnO 2 film) in which a
次いで、貫通孔を具備した多孔性半導体膜のパターンを有するスクリーン版とスクリーン印刷機(ニューロング精密工業株式会社製、型番:LS−150)を用いて、透明電極193上に市販の酸化チタンペースト(Solaronix社製、商品名:D/SP)を塗布し、室温で1時間レベリングを行った。その後、得られた塗膜を80℃に設定したオーブンで20分間乾燥し、さらに450℃に設定した焼成炉(株式会社デンケン製、型番:KDF P−100)を用いて空気中で60分間焼成した。この塗布および焼成工程を3回繰り返して、膜厚20μmの多孔性半導体膜を得た。
Next, a commercially available titanium oxide paste is formed on the
次いで、作製例1の同様にして蒸着装置を用いて蒸着速度0.5Å/Sで、透明電極193上にPtを成膜して、膜厚5nmの触媒層I196を得た。
次いで、作製例1の同様にして蒸着装置を用いて蒸着速度0.5Å/Sで、多孔質半導体膜上にチタンを成膜して、膜厚800nmの貫通孔および貫通孔内部と周囲の透明電極を電気的に接続する導電層197をパターン形成した。
このようにして得られた積層体を基板甲とする。
Next, Pt was deposited on the
Next, in the same manner as in Production Example 1, titanium was formed on the porous semiconductor film using a vapor deposition apparatus at a vapor deposition rate of 0.5 Å / S. A
The laminate obtained in this manner is used as the substrate upper.
次に、ガラスからなる支持基板(絶縁性支持体)192上にSnO2膜からなる対極(導電膜)194が成膜された、49mm×62mm×厚さ1mmのガラス基板(日本板硝子株式会社製、SnO2膜付ガラス)を用意した。基板甲と同様にして、レーザースクライブ装置を用いて、対極(導電膜)194上の所定の位置にスクライブラインを形成した。ガラス基板には予め電解液注入用孔(図示せず)を設けておいた。
次いで、作製例1の同様にして蒸着装置を用いて蒸着速度0.5Å/Sで、対極(導電膜)194上にチタンを成膜して、膜厚600nmのスクライブ(グリッド)電極198を得た。
Next, a glass substrate (manufactured by Nippon Sheet Glass Co., Ltd.) having a counter electrode (conductive film) 194 made of SnO 2 film formed on a support substrate (insulating support) 192 made of glass. , SnO 2 film-attached glass) was prepared. A scribe line was formed at a predetermined position on the counter electrode (conductive film) 194 using a laser scribing device in the same manner as the substrate upper. The glass substrate was previously provided with an electrolyte injection hole (not shown).
Next, titanium was deposited on the counter electrode (conductive film) 194 at a deposition rate of 0.5 Å / S using a vapor deposition apparatus in the same manner as in Production Example 1 to obtain a scribe (grid)
次いで、基板甲と同様にして、スクライブ(グリッド)電極198の一部にパターンを有するスクリーン版とスクリーン印刷機を用いて、酸化チタンペースト(Solaronix社製、商品名D/SP)を塗膜し、室温にて1時間レベリングを行った。その後、得られた塗膜を80℃に設定したオーブンで20分間乾燥し、さらに450℃に設定した焼成炉を用いて空気中で60分間焼成した。この塗布および焼成工程を3回繰り返して、膜厚20μmの貫通孔のない多孔性半導体膜を得た。
次いで、作製例1の同様にして蒸着装置を用いて蒸着速度0.5Å/Sで、スクライブ(グリッド)電極198と対極(導電膜)194上にPtを成膜して、膜厚5nmの触媒層I200を得た。
このようにして得られた積層体を基板乙とする。
Next, using a screen printing machine having a pattern on a part of the scribe (grid)
Next, a Pt film was formed on the scribe (grid)
The laminate obtained in this way is referred to as a substrate B.
次に、作製例1の同様にして、予め調製しておいた色素吸着用溶液に上記の基板甲および基板乙を浸漬し、これらを洗浄し乾燥させて、多孔性半導体膜に色素を吸着させた。
次いで、作製例1の同様にしてディスペンサーを用いて、基板甲および基板乙のいずれか一方における図19の図番201の位置に紫外線硬化樹脂を塗布した。次いで、図19に示されるように基板甲と基板乙とを貼り合せた。次いで、紫外線ランプを用いて、塗布部分にすばやく紫外線を照射して紫外線硬化樹脂を硬化させることにより、セル間絶縁層201を得ると同時に、基板甲と基板乙とを固定した。
Next, in the same manner as in Production Example 1, the above-mentioned substrate A and substrate B are immersed in a dye adsorption solution prepared in advance, and these are washed and dried to adsorb the dye to the porous semiconductor film. It was.
Next, using a dispenser in the same manner as in Production Example 1, an ultraviolet curable resin was applied to the position of the drawing
次いで、作製例1の同様にして、支持基板192の電解液注入用孔から多孔性半導体膜I195側には予め調製しておいた電解液Iを注入して、電解質層I202および色素を吸着しかつその間隙に電解液Iが充填された多孔性半導体膜I195を得、多孔性半導体膜II199側には予め調製しておいた電解液IIを注入して、電解質層II203および色素を吸着しかつその間隙に電解液IIが充填された多孔性半導体膜II199を得た。次いで、
紫外線硬化樹脂を用いて電解液注入用孔を封止することによりモジュールを完成した。
Next, in the same manner as in Production Example 1, the electrolyte solution I prepared in advance was injected into the porous semiconductor film I195 side from the electrolyte solution injection hole of the
The module was completed by sealing the electrolyte injection hole with an ultraviolet curable resin.
本発明を実施例および比較例によりさらに具体的に説明するが、これらの実施例および比較例により本発明が限定されるものではない。 The present invention will be described more specifically with reference to examples and comparative examples, but the present invention is not limited to these examples and comparative examples.
(実施例1)
図20〜22に基づいて太陽電池(単セル)を作製した。
図20および図21は、本発明の太陽電池の作製工程を説明するための概略平面図であり、図22は、その層構成を示す要部の概略断面図(図21のV−W断面)である。図中、31は透明電極基板、32は多孔性半導体膜、33は貫通孔、34は導電層、35は集電電極部であり、220は透光性基板、221は透明電極、222は色素を吸着しかつその間隙に電解液が充填された多孔性半導体膜、223は貫通孔および貫通孔内部と周囲の透明電極を電気的に接続する導電層、224は触媒層(白金膜)、225は対極付き支持基板(ITO導電性基板)、226は熱融着フィルム、227は電解液注入用孔、228電解質層はである。
Example 1
A solar cell (single cell) was produced based on FIGS.
20 and 21 are schematic plan views for explaining the manufacturing process of the solar cell of the present invention, and FIG. 22 is a schematic cross-sectional view of the main part showing the layer configuration (VW cross section in FIG. 21). It is. In the figure, 31 is a transparent electrode substrate, 32 is a porous semiconductor film, 33 is a through hole, 34 is a conductive layer, 35 is a collecting electrode part, 220 is a translucent substrate, 221 is a transparent electrode, and 222 is a dye. 226 is a conductive layer that electrically connects the through hole and the inside of the through hole with the surrounding transparent electrode, 224 is a catalyst layer (platinum film), 225 Is a support substrate with a counter electrode (ITO conductive substrate), 226 is a heat-sealing film, 227 is a hole for electrolyte injection, and 228 is an electrolyte layer.
ガラスからなる透光性基板上にSnO2膜からなる透明電極が成膜された、22.5mm×32.5mm×厚さ1mmの透明電極基板31(日本板硝子株式会社製、SnO2膜付ガラス)を用意した。
次いで、φ0.5mmの貫通孔33を具備した多孔性半導体膜のパターンを有するスクリーン版とスクリーン印刷機(ニューロング精密工業株式会社製、型番:LS−150)を用いて、透明電極31(透光性基板220+透明電極221)の透明電極221上に、市販の酸化チタンペースト(Solaronix社製、商品名:D/SP)を塗布し、室温で1時間レベリングを行った。その後、得られた塗膜を80℃に設定したオーブンで20分間乾燥し、さらに450℃に設定した焼成炉(株式会社デンケン製、型番:KDF P−100)を用いて空気中で60分間焼成した。この塗布および焼成工程を4回繰り返して、膜厚25μmの多孔性半導体膜32(222)を得た。
図20における各寸法は、aを22.5mm、bを32.5mm、cを18.5mm、dを2mm、eを4mm、fを10mm、gを3.5mm、hを5mmとした。
Transparent electrode made of SnO 2 film on a transparent substrate made of glass is deposited, 22.5 mm × 32.5 mm × 1mm thick transparent electrode substrate 31 (Nippon Sheet Glass Co. Ltd., glass with SnO 2 film ) Was prepared.
Next, using a screen plate having a porous semiconductor film pattern provided with a through
Each dimension in FIG. 20 was 22.5 mm, b 32.5 mm, c 18.5 mm,
次いで、所定のパターンが形成されたマスクおよび蒸着装置(アネルバ株式会社製、型番:EVD500A)を用いて蒸着速度0.5Å/Sで、多孔質半導体膜上32(222)にチタンを成膜して、貫通孔および貫通孔内部と周囲の透明電極を電気的に接続する、すなわち貫通孔33を覆いかつ集電電極部35の一部を覆う膜厚800nmの導電層34(223)を得た。
図21における各寸法は、cを18.5mm、gを3.5mm、hを5mm、iを0.5mm、jを1mm、kを5mmとした。
Next, titanium is deposited on the porous semiconductor film 32 (222) at a deposition rate of 0.5 Å / S using a mask on which a predetermined pattern is formed and a vapor deposition apparatus (model number: EVD500A manufactured by Anelva Corporation). Thus, the 800-nm-thick conductive layer 34 (223) is obtained that electrically connects the through-hole and the inside of the through-hole to the surrounding transparent electrode, that is, covers the through-
In FIG. 21, c is 18.5 mm, g is 3.5 mm, h is 5 mm, i is 0.5 mm, j is 1 mm, and k is 5 mm.
次いで、予め調製しておいた色素吸着用溶液に上記の積層体を室温で24時間浸漬し、その後、積層体をエタノールで洗浄し、約60℃で約5分間乾燥させて、多孔性半導体膜に色素を吸着させた。
吸着用色素溶液は、前記式(2)の色素(Solaronix社製、商品名:Ruthenium620 1H3TBA)を濃度4×10-4モル/リットルになるように、体積比1:1のアセトニトリルとt−ブタノールの混合溶剤に溶解させて調製した。
Next, the laminate is immersed in a dye adsorbing solution prepared in advance at room temperature for 24 hours, and then the laminate is washed with ethanol and dried at about 60 ° C. for about 5 minutes to obtain a porous semiconductor film. The dye was adsorbed on the surface.
The dye solution for adsorption is a mixture of acetonitrile and t-butanol at a volume ratio of 1: 1 so that the dye of the formula (2) (manufactured by Solaronix, trade name: Ruthenium 620 1H3TBA) has a concentration of 4 × 10 −4 mol / liter. It was prepared by dissolving in a mixed solvent.
次いで、得られた積層体と、触媒層(白金膜)224を具備した対極付き支持基板(ITO導電性基板)225とを、多孔性半導体膜223を囲う形に切り出した熱融着フィルム(デュポン社製、サーリン1702)226を用いて貼り合せた。対極付き支持基板225には予め電解液注入用孔227を設けておいた。次いで、約100℃に設定したオーブンで10分間加熱することによりこれらを圧着した。
Next, the obtained laminate and a support substrate with a counter electrode (ITO conductive substrate) 225 provided with a catalyst layer (platinum film) 224 were cut out so as to surround the porous semiconductor film 223 (DuPont). It was bonded using Surlyn 1702) 226 manufactured by the company. A
次いで、電解液注入用孔227から予め調製しておいた電解液を注入して、電解質層228および色素を吸着しかつその間隙に電解液が充填された多孔性半導体膜222を得、紫外線硬化樹脂(スリーボンド社製、型番:31X−101)229を用いて電解液注入用孔227を封止することにより太陽電池(単セル)を完成した。
電解液は、溶剤としてのアセトニトリルに、酸化還元種としてLiI(アルドリッチ社製)が濃度0.1モル/リットル、I2(キシダ化学社製)が濃度0.01モル/リットルになるように、さらに添加剤としてt−ブチルピリジン(アルドリッチ社製)が濃度0.5モル/リットル、ジメチルプロピルイミダゾールアイオダイド(四国化成工業社製)が濃度0.6モル/リットルになるように添加し、溶解させて得た。
Next, an electrolyte prepared in advance is injected from the
The electrolyte is acetonitrile as a solvent, LiI (manufactured by Aldrich) as a redox species at a concentration of 0.1 mol / liter, and I 2 (manufactured by Kishida Chemical) at a concentration of 0.01 mol / liter. Furthermore, t-butylpyridine (manufactured by Aldrich) is added as an additive to a concentration of 0.5 mol / liter, and dimethylpropylimidazole iodide (manufactured by Shikoku Kasei Kogyo Co., Ltd.) is added to a concentration of 0.6 mol / liter and dissolved. I got it.
得られた太陽電池に集電電極部35(230)としてAgペースト(藤倉化成株式会社製、商品名:ドータイト)を塗布した。次いで、太陽電池の受光面に、開口部の面積が3.4cm2である黒色のマスクを設置して、この太陽電池に1kW/m2の強度の光(AM1.5ソーラーシミュレータ)を照射して、光電変換効率を測定した。その結果を表1に示す。 Ag paste (manufactured by Fujikura Kasei Co., Ltd., trade name: Dotite) was applied to the obtained solar cell as the collecting electrode part 35 (230). Next, a black mask having an opening area of 3.4 cm 2 is installed on the light receiving surface of the solar cell, and the solar cell is irradiated with light of 1 kW / m 2 (AM1.5 solar simulator). The photoelectric conversion efficiency was measured. The results are shown in Table 1.
(実施例2〜6)
導電層34を図23〜27に示すようなパターンでそれぞれ形成したこと以外は実施例1と同様にして太陽電池(単セル)を作製し、その光電変換効率を測定した。それらの結果を表1に示す。
図23〜27は、太陽電池の作製に用いる導電層の形状を説明するための概略平面図であり、図中、31は透明電極基板、32は多孔性半導体膜、34は導電層、35、36は集電電極部である。
また、各図中における各寸法は、c、g、h、iおよびkは実施例1と同様であり、jを1mm、lを4mm、mを20.5mm、nを0.5mm、oを9.5mm、pを1、rを4.5mm、sを21.5mmとした。
(Examples 2 to 6)
A solar cell (single cell) was produced in the same manner as in Example 1 except that the
23 to 27 are schematic plan views for explaining the shape of a conductive layer used for manufacturing a solar cell, in which 31 is a transparent electrode substrate, 32 is a porous semiconductor film, 34 is a conductive layer, 35,
In each figure, c, g, h, i, and k are the same as in Example 1, j is 1 mm, l is 4 mm, m is 20.5 mm, n is 0.5 mm, and o 9.5 mm, p was 1, r was 4.5 mm, and s was 21.5 mm.
(実施例7)
作製例1と同様に、YAGレーザー(基本波長:1.06μm)を搭載したレーザースクライブ装置(西進商事株式会社製)を用いて、透明電極基板31における透明電極上の所定の位置にレーザー光を照射してSnO2膜を切断することにより、図28に示すように幅0.1mmのスクライブラインを形成したこと以外は、実施例1と同様にして太陽電池(単セル)を作製し、その光電変換効率を測定した。それらの結果を表1に示す。
図28は、太陽電池の作製に用いる、透明電極上に形成するスクライブラインの形状を説明するための概略平面図であり、図中、31は透明電極基板、37はスクライブラインである。また、図中における各寸法は、aおよびbは実施例1と同様であり、tを8.1mm、uを6.1mm、vを10.1mmとした。
(Example 7)
Similarly to Production Example 1, a laser scribing device (manufactured by Seishin Shoji Co., Ltd.) equipped with a YAG laser (basic wavelength: 1.06 μm) is used to emit laser light at a predetermined position on the transparent electrode in the
FIG. 28 is a schematic plan view for explaining the shape of a scribe line formed on a transparent electrode used for production of a solar cell, in which 31 is a transparent electrode substrate and 37 is a scribe line. In the figure, a and b are the same as those in Example 1, and t is 8.1 mm, u is 6.1 mm, and v is 10.1 mm.
(比較例1)
貫通孔33および導電層34を形成しないこと以外は実施例1と同様にして太陽電池(単セル)を作製し、その光電変換効率を測定した。それらの結果を表1に示す。
(Comparative Example 1)
Except not forming the through-
(実施例8)
作製例1に基づき、実施例1と同様の電解液を用いて、図30に示されるような3直列のモジュールを作製した。このモジュールにおける色素を吸着しかつその間隙に電解液が充填された多孔性半導体膜の受光面積は、13mm×29mm(貫通孔の面積を含む)である。
(Example 8)
Based on Production Example 1, a three-series module as shown in FIG. 30 was produced using the same electrolytic solution as in Example 1. The light receiving area of the porous semiconductor film that adsorbs the dye in this module and is filled with the electrolyte in the gap is 13 mm × 29 mm (including the area of the through hole).
図29は、本発明のモジュールの作製に用いた、(a)貫通孔および多孔性半導体膜の概略平面図、ならびに(b)多孔性半導体膜と導電層の概略平面図である。図中、31は透明電極基板、32は多孔性半導体膜、33は貫通孔、34は導電層である。
貫通孔の寸法はすべてφ0.5mmとし、図29における各寸法は、Aを13mm、Bを29mm、Cを5mm、Dを3.5mm、E(多孔性半導体膜間の距離)を2.6mm、Fを9.7mm、Gを1.5mmとした。
FIGS. 29A and 29B are (a) a schematic plan view of a through-hole and a porous semiconductor film, and (b) a schematic plan view of a porous semiconductor film and a conductive layer, which were used for manufacturing the module of the present invention. In the figure, 31 is a transparent electrode substrate, 32 is a porous semiconductor film, 33 is a through-hole, and 34 is a conductive layer.
The dimensions of the through holes are all φ0.5 mm. In FIG. 29, the dimensions are 13 mm for A, 29 mm for B, 5 mm for C, 3.5 mm for D, and 2.6 mm for E (distance between porous semiconductor films). , F was 9.7 mm, and G was 1.5 mm.
図30は、本発明のモジュールの層構成を示す要部の概略断面図である。図中、180は透光性基板、181は支持基板(カバー)、182は透明電極、183は色素を吸着しかつその間隙に電解液が充填された多孔性半導体膜、184は貫通孔および貫通孔内部と周囲の透明電極を電気的に接続する導電層、185はスクライブ上の絶縁層、186は多孔性絶縁層、187は触媒層、188は対極、189はセル間絶縁層、190は電解質層である。
図30における寸法は、Hを10mm、Iを13mm、Jを0.5mm、Kを0.6mm、Lを1.5mm、Mを1mm、Nを11mm、Oを13.25mm、Pを15.6mmとした。
FIG. 30 is a schematic cross-sectional view of the main part showing the layer structure of the module of the present invention. In the figure, 180 is a translucent substrate, 181 is a support substrate (cover), 182 is a transparent electrode, 183 is a porous semiconductor film that adsorbs a dye and is filled with an electrolyte, and 184 is a through hole and a through hole. Conductive layer that electrically connects the inside and surrounding transparent electrodes, 185 is an insulating layer on the scribe, 186 is a porous insulating layer, 187 is a catalyst layer, 188 is a counter electrode, 189 is an inter-cell insulating layer, 190 is an electrolyte Is a layer.
The dimensions in FIG. 30 are as follows: H is 10 mm, I is 13 mm, J is 0.5 mm, K is 0.6 mm, L is 1.5 mm, M is 1 mm, N is 11 mm, O is 13.25 mm, and P is 15. It was 6 mm.
得られたモジュールの受光面に、開口部の面積が12.8cm2である黒色のマスクを設置して、このモジュールに1kW/m2の強度の光(AM1.5ソーラーシミュレータ)を照射して、光電変換効率を測定した。その結果を表2に示す。 A black mask with an opening area of 12.8 cm 2 was installed on the light receiving surface of the obtained module, and this module was irradiated with light of 1 kW / m 2 intensity (AM1.5 solar simulator). The photoelectric conversion efficiency was measured. The results are shown in Table 2.
(比較例2)
貫通孔33および導電層34を形成しないこと以外は実施例8と同様にして太陽電池を作製し、その光電変換効率を測定した。その結果を表2に示す。
(Comparative Example 2)
A solar cell was produced in the same manner as in Example 8 except that the through
(実施例9)
作製例2に基づき、電解液Iとして実施例1と同様の電解液、電解液IIとして電解液Iのヨウ素濃度を0.01Mに変更した電解液を用いて、図33に示されような4直列のモジュールを作製した。なお、基板甲は作製例2に基づいて作成し、基板乙は導電層316と同様の手法で、同じ形状、同じ位置にグリッド電極として膜厚800nmのチタンを形成した。このモジュールにおける色素を吸着しかつその間隙に電解液が充填された多孔性半導体膜の受光面積は、13mm×29mm(貫通孔の面積を含む)である。
Example 9
As shown in FIG. 33, an electrolytic solution similar to that of Example 1 was used as the electrolytic solution I based on Preparation Example 2, and an electrolytic solution in which the iodine concentration of the electrolytic solution I was changed to 0.01M was used as the electrolytic solution II. A serial module was produced. The substrate A was prepared based on Production Example 2, and the substrate B was formed with 800 nm thick titanium as a grid electrode in the same shape and the same position by the same method as the
図31は、本発明のモジュールの作製に用いた貫通孔、多孔性半導体膜、触媒層およびスクライブラインの概略平面図である。図中、311は透明電極基板、312はスクライブライン、313は多孔性半導体膜、314は貫通孔、315は触媒層である。
図32は、本発明のモジュールの作製に用いる多孔性半導体膜、触媒層、スクライブラインおよび導電層の概略平面図であり、図中、316は導電層である。
FIG. 31 is a schematic plan view of a through hole, a porous semiconductor film, a catalyst layer, and a scribe line used for manufacturing the module of the present invention. In the figure, 311 is a transparent electrode substrate, 312 is a scribe line, 313 is a porous semiconductor film, 314 is a through hole, and 315 is a catalyst layer.
FIG. 32 is a schematic plan view of a porous semiconductor film, a catalyst layer, a scribe line, and a conductive layer used for manufacturing the module of the present invention, in which 316 is a conductive layer.
図33は、本発明のモジュールの層構成を示す要部の概略断面図である。図中、191は透光性基板、192は支持基板(絶縁性支持体)、193は透明電極、194は対極(導電膜)、195は色素を吸着しかつその間隙に電解液Iが充填された多孔性半導体膜I、196は触媒層II、197は貫通孔および貫通孔内部と周囲の透明電極を電気的に接続する導電層、198はスクライブ(グリッド)電極、199は色素を吸着しかつその間隙に電解液IIが充填された多孔性半導体膜II、200は触媒層I、201はセル間絶縁層、202は電解液Iにより形成された電解質層I、203は電解液IIにより形成された電解質層IIである。
貫通孔の寸法はすべてφ0.5mmとし、図31〜33における各寸法は、A、B、CおよびDは実施例8と同様とし、Qを2mm、Rを10mm、Sを10mm、Tを9mmとした。
FIG. 33 is a schematic cross-sectional view of the main part showing the layer structure of the module of the present invention. In the figure, 191 is a translucent substrate, 192 is a support substrate (insulating support), 193 is a transparent electrode, 194 is a counter electrode (conductive film), 195 is adsorbing a dye, and the gap is filled with an electrolytic solution I. The porous semiconductor film I, 196 is a catalyst layer II, 197 is a through hole and a conductive layer electrically connecting the inside of the through hole and the surrounding transparent electrode, 198 is a scribe (grid) electrode, 199 adsorbs a dye and Porous semiconductor film II, 200 filled with electrolyte solution II in the gap is catalyst layer I, 201 is an inter-cell insulating layer, 202 is electrolyte layer I formed by electrolyte solution I, and 203 is formed by electrolyte solution II. Electrolyte layer II.
The dimensions of the through holes are all φ0.5 mm, and the dimensions in FIGS. 31 to 33 are A, B, C and D as in Example 8, Q is 2 mm, R is 10 mm, S is 10 mm, and T is 9 mm. It was.
得られたモジュールの受光面に、開口部の面積が16.8cm2である黒色のマスクを設置して、このモジュールに1kW/m2の強度の光(AM1.5ソーラーシミュレータ)を照射して、光電変換効率を測定した。その結果を表3に示す。 A black mask with an opening area of 16.8 cm 2 was placed on the light receiving surface of the obtained module, and this module was irradiated with light having an intensity of 1 kW / m 2 (AM1.5 solar simulator). The photoelectric conversion efficiency was measured. The results are shown in Table 3.
(比較例3)
貫通孔314および導電層316を形成しないこと以外は実施例9と同様にしてモジュールを作製し、その光電変換効率を測定した。その結果を表3に示す。
(Comparative Example 3)
A module was produced in the same manner as in Example 9 except that the through
1 透明電極
2 多孔性半導体膜
3 貫通孔
21 透明支持体
22 透明導電体膜
23 多孔性半導体膜
24 電解液層
25 対極
26 触媒層(白金膜)
27 封止材(エポキシ樹脂)
31 透明電極
32 多孔性半導体膜
33 貫通孔
34 導電層
35、36 集電電極部
37 スクライブライン
DESCRIPTION OF
27 Sealing material (epoxy resin)
31
180 透光性基板
181 支持基板(カバー)
182 透明電極
183 色素を吸着しかつその間隙に電解液が充填された多孔性半導体膜
184 貫通孔および貫通孔内部と周囲の透明電極を電気的に接続する導電層
185 スクライブ上の絶縁層
186 多孔性絶縁層
187 触媒層
188 対極(導電膜)
189 セル間絶縁層
190 電解質層
180
182
189 Inter-cell
191 透光性基板
192 支持基板(絶縁性支持体)
193 透明電極
194 対極(導電膜)
195 色素を吸着しかつその間隙に電解液Iが充填された多孔性半導体膜I
196 触媒層II
197 貫通孔および貫通孔内部と周囲の透明電極を電気的に接続する導電層
198 スクライブ(グリッド)電極
199 色素を吸着しかつその間隙に電解液IIが充填された多孔性半導体膜II
200 触媒層I
201 セル間絶縁層
202 電解液Iにより形成された電解質層I
203 電解液IIにより形成された電解質層II
191
193
195 Porous semiconductor film I that adsorbs a dye and is filled with electrolyte I in the gap
196 Catalyst layer II
197
200 Catalyst layer I
201 Inter-cell
203 Electrolyte Layer II Formed with Electrolyte II
220 透光性基板
221 透明電極
222 色素を吸着しかつその間隙に電解液が充填された多孔性半導体膜
223 貫通孔および貫通孔内部と周囲の透明電極を電気的に接続する導電層
224 触媒層(白金膜)
225 対極付き支持基板(ITO導電性基板)
226 熱融着フィルム
227 電解液注入用孔
228 電解質層
229 紫外線硬化樹脂
230 集電電極部
220
225 Support substrate with counter electrode (ITO conductive substrate)
226
Claims (20)
Priority Applications (1)
| Application Number | Priority Date | Filing Date | Title |
|---|---|---|---|
| JP2007205479A JP5144986B2 (en) | 2007-08-07 | 2007-08-07 | Dye-sensitized solar cell and dye-sensitized solar cell module |
Applications Claiming Priority (1)
| Application Number | Priority Date | Filing Date | Title |
|---|---|---|---|
| JP2007205479A JP5144986B2 (en) | 2007-08-07 | 2007-08-07 | Dye-sensitized solar cell and dye-sensitized solar cell module |
Publications (2)
| Publication Number | Publication Date |
|---|---|
| JP2009043481A JP2009043481A (en) | 2009-02-26 |
| JP5144986B2 true JP5144986B2 (en) | 2013-02-13 |
Family
ID=40444027
Family Applications (1)
| Application Number | Title | Priority Date | Filing Date |
|---|---|---|---|
| JP2007205479A Expired - Fee Related JP5144986B2 (en) | 2007-08-07 | 2007-08-07 | Dye-sensitized solar cell and dye-sensitized solar cell module |
Country Status (1)
| Country | Link |
|---|---|
| JP (1) | JP5144986B2 (en) |
Families Citing this family (7)
| Publication number | Priority date | Publication date | Assignee | Title |
|---|---|---|---|---|
| KR101286126B1 (en) * | 2008-05-13 | 2013-07-15 | 주식회사 동진쎄미켐 | Dye sensitized solar cell module |
| WO2011155441A1 (en) * | 2010-06-09 | 2011-12-15 | シャープ株式会社 | Wet-type solar cell and wet-type solar cell module |
| KR101137378B1 (en) * | 2010-07-16 | 2012-04-20 | 삼성에스디아이 주식회사 | Dye-Sensitized Solar Cell |
| JP2013232362A (en) * | 2012-05-01 | 2013-11-14 | Sharp Corp | Photoelectric conversion element and photoelectric conversion module |
| JP6284138B2 (en) * | 2012-11-02 | 2018-02-28 | 島根県 | Dye-sensitized solar cell and method for producing the same |
| JP6277034B2 (en) * | 2014-03-26 | 2018-02-07 | 株式会社日本マイクロニクス | Multilayer secondary battery |
| WO2021020176A1 (en) * | 2019-07-29 | 2021-02-04 | シャープ株式会社 | Solar cell-attached electronic equipment |
Family Cites Families (1)
| Publication number | Priority date | Publication date | Assignee | Title |
|---|---|---|---|---|
| JP2001357898A (en) * | 2000-06-15 | 2001-12-26 | Matsushita Electric Works Ltd | Electrode for dye-sensitized solar cell and method for producing the same |
-
2007
- 2007-08-07 JP JP2007205479A patent/JP5144986B2/en not_active Expired - Fee Related
Also Published As
| Publication number | Publication date |
|---|---|
| JP2009043481A (en) | 2009-02-26 |
Similar Documents
| Publication | Publication Date | Title |
|---|---|---|
| US8933328B2 (en) | Dye-sensitized solar cell module and method of producing the same | |
| CN101361218B (en) | Dye sensitized solar cell and dye sensitized solar cell module | |
| EP2043191B1 (en) | Dye-sensitized solar cell module and method for fabricating same | |
| JP5422645B2 (en) | Dye-sensitized solar cell and dye-sensitized solar cell module | |
| JP5273709B2 (en) | Dye-sensitized solar cell, method for producing the same, and dye-sensitized solar cell module | |
| CN102414910B (en) | Porous electrode, dye-sensitized solar cell, and dye-sensitized solar cell module | |
| US10014122B2 (en) | Photoelectric conversion element and photoelectric conversion element module | |
| JP2005235725A (en) | Dye-sensitized solar cell module | |
| JP5144986B2 (en) | Dye-sensitized solar cell and dye-sensitized solar cell module | |
| JP2012009374A (en) | Dye-sensitized solar cell and its manufacturing method, and dye-sensitized solar cell module | |
| JP5657780B2 (en) | Photoelectric conversion element and photoelectric conversion module | |
| JP5922242B2 (en) | Photoelectric conversion element, method for manufacturing the same, photoelectric conversion element module, and method for manufacturing the same | |
| JP2009259485A (en) | Dye-sensitized solar battery, its manufacturing method and dye-sensitized solar battery module | |
| JP5536015B2 (en) | Photoelectric conversion element and photoelectric conversion element module | |
| WO2013164967A1 (en) | Photoelectric conversion element and photoelectric conversion module | |
| WO2013114733A1 (en) | Photoelectric conversion element module | |
| JP7295957B2 (en) | Dye-sensitized solar cell | |
| WO2012086377A1 (en) | Dye-sensitized solar cell and dye-sensitized solar cell module, and processes for production of those | |
| JP5758400B2 (en) | Dye-sensitized solar cell module and manufacturing method thereof | |
| JP2014229434A (en) | Photoelectric conversion element and dye-sensitized solar cell | |
| JP2013200960A (en) | Photoelectric conversion element module and manufacturing method thereof | |
| US10916382B2 (en) | Photoelectric conversion element and photoelectric conversion element module | |
| WO2012117995A1 (en) | Photoelectric conversion element and photoelectric conversion element module | |
| JP2013251229A (en) | Photoelectric conversion element and dye-sensitized solar cell | |
| JPWO2013161557A1 (en) | Photoelectric conversion element module and manufacturing method thereof |
Legal Events
| Date | Code | Title | Description |
|---|---|---|---|
| A621 | Written request for application examination |
Free format text: JAPANESE INTERMEDIATE CODE: A621 Effective date: 20090805 |
|
| A131 | Notification of reasons for refusal |
Free format text: JAPANESE INTERMEDIATE CODE: A131 Effective date: 20120807 |
|
| A521 | Request for written amendment filed |
Free format text: JAPANESE INTERMEDIATE CODE: A523 Effective date: 20121003 |
|
| TRDD | Decision of grant or rejection written | ||
| A01 | Written decision to grant a patent or to grant a registration (utility model) |
Free format text: JAPANESE INTERMEDIATE CODE: A01 Effective date: 20121030 |
|
| A01 | Written decision to grant a patent or to grant a registration (utility model) |
Free format text: JAPANESE INTERMEDIATE CODE: A01 |
|
| A61 | First payment of annual fees (during grant procedure) |
Free format text: JAPANESE INTERMEDIATE CODE: A61 Effective date: 20121126 |
|
| FPAY | Renewal fee payment (event date is renewal date of database) |
Free format text: PAYMENT UNTIL: 20151130 Year of fee payment: 3 |
|
| R150 | Certificate of patent or registration of utility model |
Ref document number: 5144986 Country of ref document: JP Free format text: JAPANESE INTERMEDIATE CODE: R150 Free format text: JAPANESE INTERMEDIATE CODE: R150 |
|
| LAPS | Cancellation because of no payment of annual fees |
