[go: up one dir, main page]

JP5088592B2 - Own vehicle position recognition device and own vehicle position recognition program - Google Patents

Own vehicle position recognition device and own vehicle position recognition program Download PDF

Info

Publication number
JP5088592B2
JP5088592B2 JP2010104470A JP2010104470A JP5088592B2 JP 5088592 B2 JP5088592 B2 JP 5088592B2 JP 2010104470 A JP2010104470 A JP 2010104470A JP 2010104470 A JP2010104470 A JP 2010104470A JP 5088592 B2 JP5088592 B2 JP 5088592B2
Authority
JP
Japan
Prior art keywords
information
feature
recognition
image
vehicle
Prior art date
Legal status (The legal status is an assumption and is not a legal conclusion. Google has not performed a legal analysis and makes no representation as to the accuracy of the status listed.)
Expired - Fee Related
Application number
JP2010104470A
Other languages
Japanese (ja)
Other versions
JP2010185879A (en
Inventor
功一 中尾
正樹 中村
基揮 勘場
Current Assignee (The listed assignees may be inaccurate. Google has not performed a legal analysis and makes no representation or warranty as to the accuracy of the list.)
Aisin AW Co Ltd
Original Assignee
Aisin AW Co Ltd
Priority date (The priority date is an assumption and is not a legal conclusion. Google has not performed a legal analysis and makes no representation as to the accuracy of the date listed.)
Filing date
Publication date
Application filed by Aisin AW Co Ltd filed Critical Aisin AW Co Ltd
Priority to JP2010104470A priority Critical patent/JP5088592B2/en
Publication of JP2010185879A publication Critical patent/JP2010185879A/en
Application granted granted Critical
Publication of JP5088592B2 publication Critical patent/JP5088592B2/en
Expired - Fee Related legal-status Critical Current
Anticipated expiration legal-status Critical

Links

Images

Landscapes

  • Instructional Devices (AREA)
  • Navigation (AREA)
  • Image Processing (AREA)
  • Image Analysis (AREA)

Description

本発明は、車両に搭載した撮像装置等により取得した車両周辺の画像情報に含まれる地物の情報と、記憶装置に記憶されている地物の位置情報とに基づき自車位置を認識する自車位置認識装置及び自車位置認識プログラムに関する。 The present invention recognizes the vehicle position based on the feature information included in the image information around the vehicle acquired by the imaging device or the like mounted on the vehicle, and the feature position information stored in the storage device. The present invention relates to a vehicle position recognition device and a vehicle position recognition program .

車両に搭載した撮像装置等により取得した車両周辺の画像情報に含まれる地物を画像認識することにより、自車両の位置補正を行うナビゲーション装置が知られている(例えば、下記に示す特許文献1参照。)。この装置は、車両に搭載され、車両前方の走行道路に沿った風景を補促するカメラ、カメラにより補促された風景画像より交差点シンボルを識別して交差点を検出すると共に車両位置から交差点(交差点シンボル)までの距離を求める交差点検出部、地図データから得られる前記交差点位置から前記距離だけ離れた走行道路上のポイントに車両位置を修正する車両位置修正手段を備えている。交差点シンボルとは、例えば信号機、横断歩道、中央分離帯用白線等である。特許文献1の装置を用いて、車両の位置補正を行う場合には、地物に相当するこれら交差点シンボルの種類や存在位置などの情報が明らかであることが望ましい。   There is known a navigation device that corrects the position of the host vehicle by recognizing a feature included in image information around the vehicle acquired by an imaging device or the like mounted on the vehicle (for example, Patent Document 1 shown below) reference.). This device is mounted on a vehicle, detects a crossing from a camera that prompts a landscape along a traveling road ahead of the vehicle, identifies a crossing symbol from a landscape image prompted by the camera, and detects an intersection from the vehicle position (intersection) And a vehicle position correcting means for correcting the vehicle position to a point on the traveling road that is separated from the intersection position obtained from map data by the distance. The intersection symbol is, for example, a traffic light, a pedestrian crossing, a white line for a median strip, or the like. When the position of the vehicle is corrected using the apparatus of Patent Document 1, it is desirable that information such as the type and location of these intersection symbols corresponding to the feature is clear.

下記に示す特許文献2には、このような地物に関するデータベースを構築する技術が示されている。これによれば、作業者が手作業でデータの書き換え等を行う従来の方法に代えて、計測用の車両を走行させながら地物を撮影し、撮影された画像から地物を自動認識させる。   Patent Document 2 shown below shows a technique for constructing a database relating to such a feature. According to this, instead of the conventional method in which the operator manually rewrites data, the feature is photographed while the measurement vehicle is running, and the feature is automatically recognized from the photographed image.

また、下記に示す特許文献3には、車両に搭載した撮像装置等により取得した車両周辺の画像情報に含まれる対象地物の画像認識結果に基づいて、地物の情報を収集するナビゲーション装置が開示されている。特許文献3では、道路に設置された交通標識や道路交通情報表示板を対象地物とする。そして、この装置は、車両に搭載された撮像装置により取得した画像情報に含まれる対象地物の画像認識を行い、その認識結果から抽出された標識情報等の地物情報を、位置情報や区間情報と関連付けて地図データベースに格納する。この際、地物情報と関連付けられる位置情報や区間情報は、ナビゲーション装置において一般的に用いられているGPS受信機、ジャイロ、車速センサ等からの情報に基づいて決定されている。   Further, in Patent Document 3 shown below, there is a navigation device that collects feature information based on an image recognition result of a target feature included in image information around the vehicle acquired by an imaging device or the like mounted on the vehicle. It is disclosed. In Patent Document 3, a traffic sign or a road traffic information display board installed on a road is a target feature. And this apparatus performs image recognition of the target feature included in the image information acquired by the imaging device mounted on the vehicle, and uses the feature information such as the sign information extracted from the recognition result as the position information and the section. Store it in the map database in association with the information. At this time, position information and section information associated with the feature information are determined based on information from a GPS receiver, a gyro, a vehicle speed sensor, and the like that are generally used in navigation devices.

特開平9−243389号公報JP-A-9-243389 特開2000−293670号公報JP 2000-293670 A 特開2006−038558号公報JP 2006-038558 A

しかし、ナビゲーション装置において用いられているGPS受信機、ジャイロ、車速センサ等により取得される位置情報は、一般的に、数メートルから数十メートルといった誤差を有している。そのため、地物情報を地図データベースに格納する際の位置情報もこのような誤差を有する情報となる可能性がある。特に、車両制御や自車位置補正等のために地物情報を用いる場合には、精度の高い位置情報を有する地物情報を整備することが望まれる。しかし、全ての道路において、特許文献2に記載されたように、計測車両などを用いて高精度な地物情報を収集することは、時間的、コスト的に現実的ではない。従って、
高精度な地物情報は、幹線道路など利用者の多い道路に対して優先的に整備される。一方、利用者にとっては、当人が頻繁に通行する道路において高精度な地物情報が整備され、ナビゲーションを含む種々のきめ細やかなサービスを享受できることが好ましい。従って、幹線道路か否かに拘らず、利用者の利用状況に合わせて、低コストで高精度な地物情報を整備することが望まれる。また、例えば山岳路等のように路面に定型的な道路標示などが設けられることが少ない道路では、そのような道路標示を対象とする地物情報の収集が困難である。
However, position information acquired by a GPS receiver, a gyro, a vehicle speed sensor, or the like used in a navigation device generally has an error of several meters to several tens of meters. Therefore, the position information when the feature information is stored in the map database may be information having such an error. In particular, when using feature information for vehicle control, vehicle position correction, etc., it is desired to prepare feature information having highly accurate position information. However, as described in Patent Document 2, on all roads, it is not realistic in terms of time and cost to collect highly accurate feature information using a measurement vehicle or the like. Therefore,
High-precision feature information is preferentially prepared for roads with many users such as main roads. On the other hand, it is preferable for the user that high-precision feature information is maintained on the road where the person frequently passes, and various fine services including navigation can be enjoyed. Therefore, it is desired to maintain high-precision feature information at a low cost according to the use situation of the user regardless of whether it is a main road or not. In addition, it is difficult to collect feature information for such road markings on roads such as mountain roads where there are few regular road markings on the road surface.

本発明は、上記課題に鑑みて創案されたものであり、地物情報が整備されていない道路について、利用者による道路の利用状況に応じて、低コストで高精度な地物情報を収集し、収集された高精度な地物情報を利用して、高精度な自車位置情報の補正を行なう自車位置認識装置及び自車位置認識プログラムを提供することにある。 The present invention has been developed in view of the above problems, and for roads for which feature information is not maintained, high-precision feature information is collected at low cost according to the use status of the road by the user. Another object of the present invention is to provide a host vehicle position recognition device and a host vehicle position recognition program for correcting the host vehicle position information with high accuracy using the collected highly accurate feature information.

本発明に係る、予め路面上の対象地物を撮像した画像情報に対して画像認識処理を行って得た、前記対象地物の認識結果であるエッジ成分の抽出数又はノイズ量と、前記対象地物の位置情報とを関連付けた地物情報を記憶した地物情報記憶手段と、自車両の現在位置を表す自車位置情報を取得する自車位置情報取得手段と、自車両の周辺の路面の画像情報である周辺画像情報を取得する画像情報取得手段と、前記周辺画像情報の画像認識処理を行う画像認識手段と、前記画像認識手段による画像認識結果に基づいて前記自車位置情報を補正する自車位置情報補正手段と、を備えた自車位置認識装置の特徴構成は、前記画像認識手段は、前記自車位置情報に基づいて前記地物情報記憶手段から抽出した自車両の周辺に存在する前記対象地物の前記地物情報に含まれるエッジ成分の抽出数又はノイズ量と、前記画像情報取得手段が取得した前記周辺画像情報に対して画像認識処理を行って得た認識結果であるエッジ成分の抽出数又はノイズ量と、に基づいて、前記周辺画像情報に含まれる、抽出した前記地物情報が示す前記対象地物を認識し、前記自車位置情報補正手段は、前記画像認識手段による前記対象地物の画像認識処理の結果と、前記画像認識手段が抽出した前記地物情報に含まれる位置情報とに基づいて、前記自車位置情報を補正する点にある。 According to the present invention, the number of extracted edge components or the amount of noise, which is the recognition result of the target feature, obtained by performing image recognition processing on image information obtained by capturing the target feature on the road surface in advance, and the target Feature information storage means for storing feature information associated with position information of features , own vehicle position information acquisition means for acquiring own vehicle position information indicating the current position of the own vehicle, and road surfaces around the own vehicle Image information acquisition means for acquiring peripheral image information that is image information of the image, image recognition means for performing image recognition processing of the peripheral image information, and correcting the vehicle position information based on an image recognition result by the image recognition means A vehicle position recognition device comprising: a vehicle position information correction unit, wherein the image recognition unit is arranged around the vehicle extracted from the feature information storage unit based on the vehicle position information. before the target feature that is present An extraction number or the noise amount of the edge components included in the feature information, the image information extraction number or noise of the edge component is a recognition result obtained by performing image recognition processing on the acquired the peripheral image information means obtains And the target position indicated by the extracted feature information included in the peripheral image information is recognized based on the amount, and the vehicle position information correction unit is configured to detect the target feature by the image recognition unit. The vehicle position information is corrected based on the result of the image recognition process and the position information included in the feature information extracted by the image recognition means .

認識対象の認識結果は、当該認識対象に対する画像認識処理によって得られる特徴量である。路面に地物がない状態では、路面の画像情報は均一であるが、何らかの地物が存在すると、均一性が崩れる。この均一性を崩す要因をノイズとし、ノイズを認識対象とすれば、ノイズ量の多少が認識結果としての特徴量となる。また、路面の染みや汚れ、ひび割れなどは、画像情報に公知のフィルタ処理を施すことによってエッジとして抽出可能である。このエッジを認識対象とすれば、エッジの抽出数の多少が認識結果としての特徴量となる。このように、認識対象を、ノイズ、エッジなどとすることによって、定量的な特徴量を求めることができる。特に、ノイズ、エッジなどの認識対象は、道路標識や道路標示などのような定型性を有さなくても、「何かが路面にある」といったような曖昧な状態で学習地物として収集することができる。従って、道路標示などが少ない道路においても、円滑に学習地物を収集することができる。 The recognition result of the recognition target is a feature amount obtained by image recognition processing for the recognition target. When there is no feature on the road surface, the image information on the road surface is uniform, but if any feature is present, the uniformity is lost. If the factor that destroys the uniformity is noise and the amount of noise is a recognition target, the amount of noise becomes a feature amount as a recognition result. In addition, stains, dirt, cracks, and the like on the road surface can be extracted as edges by performing known filter processing on the image information. If this edge is a recognition target, the number of extracted edges is a feature amount as a recognition result. In this way, quantitative features can be obtained by setting the recognition target to noise, edges, or the like. In particular, recognition targets such as noise and edges are collected as learning features in an ambiguous state such as "something is on the road surface", even if there is no fixed form such as road signs or road markings. be able to. Therefore, the learned features can be collected smoothly even on roads with few road markings.

そして、この特徴構成によれば、少なくとも学習地物に対する地物情報を対象地物の地物情報として記憶する地物情報記憶手段を備えるので、多くの道路において高精度な自車位置情報の補正が可能となる。 According to this feature configuration, since the feature information storage means for storing at least the feature information for the learned feature as the feature information of the target feature is provided, the vehicle position information can be corrected with high accuracy on many roads. Is possible.

ここで、前記地物情報記憶手段は、画像認識処理によるエッジ成分の抽出数が所定のしきい値以上であるエッジ成分の抽出数又はノイズ量が所定のしきい値以上であるノイズ前記対象地物の前記地物情報として記憶している構成とすると好適である。 Here, the feature information storage means, the extraction number or amount of noise in the edge component extraction number of edge components is equal to or greater than a predetermined threshold value by the image recognition processing is the amount of noise is above a predetermined threshold value It is preferable that the configuration is stored as the feature information of the target feature .

この構成によれば、定量的に示される認識結果(特徴量)に対し、認識対象(特徴)を充分に特徴づけているかどうかを判定可能になる。  According to this configuration, it is possible to determine whether or not the recognition target (feature) is sufficiently characterized with respect to the recognition result (feature value) indicated quantitatively.

ここで、前記地物情報記憶手段の前記地物情報にはさらに前記対象地物が存在するリンクのリンク情報が関連付けて記憶されており、前記画像認識手段は、前記自車位置情報に表される現在位置から自車両が走行中の道路のリンクの終端までの間に存在する前記対象地物の前記地物情報を抽出し、前記周辺画像情報に含まれる、抽出した当該地物情報が示す前記対象地物を認識することを特徴とすると好適である。 Here, the above are stored in association with the further link information links the target feature exists in the feature information of the feature information storage means, said image recognition unit is represented in the vehicle position information that the vehicle from the current position to extract the feature information of the target feature existing until the end of the link of the road in driving, the included in the peripheral image information, indicating the extracted the feature information It is preferable to recognize the target feature .

ここで、前記地物情報記憶手段の前記地物情報にはさらに時刻及び天候の少なくとも一方が関連付けて記憶されており、前記画像認識手段は、前記時刻及び天候の条件が整った場合に前記地物情報を抽出し、前記周辺画像情報に含まれる、抽出した当該地物情報が示す前記対象地物を認識することを特徴とすると好適である。 Here, the feature information and the at least one further time and weather in the feature information storage means is stored in association with the image recognition means, the ground when the time and the weather conditions are fully It is preferable that feature information is extracted and the target feature indicated by the extracted feature information included in the peripheral image information is recognized .

例えば、物の影は、昼間や晴天時に出現する。影は、路面などに対するコントラストが強いために、エッジなどを認識対象とすれば認識が容易である。しかし、影の出現は、時刻や天候の影響を受けるために認識結果は安定しない。本構成によれば、認識時刻や認識時の天候などの所定の条件を満たした場合にのみ有効な限定的学習地物とするので、好適な学習地物として利用可能な対象を広げることができる。 For example, the shadow of an object appears in the daytime or on fine weather. Shadow, for strong contrast to the road surface is, it is easy to recognize if the etc. edge di recognition target. However, since the appearance of shadows is affected by time and weather, the recognition result is not stable. According to this configuration, the limited learning features that are effective only when predetermined conditions such as the recognition time and the weather at the time of recognition are satisfied, the range of objects that can be used as suitable learning features can be expanded. .

また、本発明に係る、自車両の現在位置を表す自車位置情報を取得する自車位置情報取得程と、自車両周辺の路面の画像情報である周辺画像情報を取得する画像情報取得程と、前記周辺画像情報の画像認識処理を行う画像認識程と、前記画像認識程による画像認識結果に基づいて前記自車位置情報を補正する自車位置情報補正程と、をコンピュータに実行させるための自車位置認識プログラムの特徴構成は、前記画像認識程では、予め路面上の対象地物を撮像した画像情報に対して画像認識処理を行って得た、前記対象地物の認識結果であるエッジ成分の抽出数又はノイズ量と、前記対象地物の位置情報とを関連付けた地物情報を記憶した地物情報記憶手段を参照し、前記自車位置情報に基づいて前記地物情報記憶手段から抽出した自車両の周辺に存在する前記対象地物の前記地物情報に含まれるエッジ成分の抽出数又はノイズ量と、前記画像情報取得工程が取得した前記周辺画像情報に対して画像認識処理を行って得た認識結果であるエッジ成分の抽出数又はノイズ量と、に基づいて、前記周辺画像情報に含まれる、抽出した前記地物情報が示す前記対象地物を認識し、前記自車位置情報補正程では、前記画像認識程による前記対象地物の画像認識処理の結果と、前記画像認識工程が抽出した前記地物情報に含まれる位置情報とに基づいて、前記自車位置情報を補正する点にある。 Further, according to the present invention, the higher the vehicle position information obtaining Engineering for acquiring vehicle position information indicating the current position of the vehicle, the image information acquisition Engineering for acquiring a peripheral image information is image information of the road surface around the vehicle computer and extent, and as image recognition engineering for performing image recognition processing of the surrounding image information, and as the vehicle position information correcting Engineering for correcting the vehicle position information based on the image recognition result of the more the image recognition Engineering, the characteristic feature of the vehicle position recognition program to be executed, said image as recognition Engineering at was obtained by performing image recognition processing on the image information of the captured target feature on the advance road, the target feature the recognition result extraction speed or noise level of the edge component is, referring to the feature information storage means for storing position information and the feature information that associates the target feature, the based on the vehicle position information extracted from the feature information storage means An extraction number or amount of noise in the edge component included in the feature information of the target feature existing in the vicinity of the vehicle, an image recognition processing on the peripheral image information by the image information obtaining step obtains went The target feature indicated by the extracted feature information included in the peripheral image information is recognized based on the number of extracted edge components or the amount of noise that is the recognition result obtained in the above, and the vehicle position information as the correction Engineering, result of the image recognition processing of the target feature by as the image recognition Engineering, based on the position information included in the feature information by the image recognition process is extracted, the vehicle position information It is in the point to correct.

認識対象の認識結果は、当該認識対象に対する画像認識処理によって得られる特徴量である。路面に地物がない状態では、路面の画像情報は均一であるが、何らかの地物が存在すると、均一性が崩れる。この均一性を崩す要因をノイズとし、ノイズを認識対象とすれば、ノイズ量の多少が認識結果としての特徴量となる。また、路面の染みや汚れ、ひび割れなどは、画像情報に公知のフィルタ処理を施すことによってエッジとして抽出可能である。このエッジを認識対象とすれば、エッジの抽出数の多少が認識結果としての特徴量となる。このように、認識対象を、ノイズ、エッジなどとすることによって、定量的な特徴量を求めることができる。特に、ノイズ、エッジなどの認識対象は、道路標識や道路標示などのような定型性を有さなくても、「何かが路面にある」といったような曖昧な状態で学習地物として収集することができる。従って、道路標示などが少ない道路においても、円滑に学習地物を収集することができる。 The recognition result of the recognition target is a feature amount obtained by image recognition processing for the recognition target. When there is no feature on the road surface, the image information on the road surface is uniform, but if any feature is present, the uniformity is lost. If the factor that destroys the uniformity is noise and the amount of noise is a recognition target, the amount of noise becomes a feature amount as a recognition result. In addition, stains, dirt, cracks, and the like on the road surface can be extracted as edges by performing known filter processing on the image information. If this edge is a recognition target, the number of extracted edges is a feature amount as a recognition result. In this way, quantitative features can be obtained by setting the recognition target to noise, edges, or the like. In particular, recognition targets such as noise and edges are collected as learning features in an ambiguous state such as "something is on the road surface", even if there is no fixed form such as road signs or road markings. be able to. Therefore, the learned features can be collected smoothly even on roads with few road markings.

そして、この特徴構成によれば、少なくとも学習地物に対する地物情報を対象地物の地物情報として記憶する地物情報記憶手段を備えるので、多くの道路において高精度な自車位置情報の補正が可能となる。 According to this feature configuration, since the feature information storage means for storing at least the feature information for the learned feature as the feature information of the target feature is provided, the vehicle position information can be corrected with high accuracy on many roads. Is possible.

本発明の実施形態に係るナビゲーション装置の構成を模式的に示すブロック図The block diagram which shows typically the structure of the navigation apparatus which concerns on embodiment of this invention. 地図データベースに記憶されている地図情報の構成の例を示す図The figure which shows the example of a structure of the map information memorize | stored in the map database 地物データベースに記憶されている道路標示の地物情報の例を示す図The figure which shows the example of the feature information of the road marking memorize | stored in the feature database 自車両への撮像装置の配置構成の一例を示す図The figure which shows an example of the arrangement configuration of the imaging device to the own vehicle 地物情報が整備されていない道路を自車両が走行する場合の地物情報の収集処理の概要を説明するための説明図Explanatory drawing for explaining the outline of the feature information collection process when the vehicle travels on a road where the feature information is not maintained 図5(b)に示す学習データベースに記憶された学習値の要部拡大図FIG. 5B is an enlarged view of the main part of the learning value stored in the learning database shown in FIG. 認識対象に対する画像処理及び位置の情報の算出方法の例を示す説明図Explanatory drawing which shows the example of the calculation method of the image processing with respect to recognition object, and the information of a position 認識対象に対する画像処理の例を示す説明図Explanatory drawing which shows the example of the image processing with respect to recognition object 図8に示す地物の学習データベースに記憶された学習値の要部拡大図FIG. 8 is an enlarged view of the main part of the learning value stored in the feature learning database shown in FIG. 本実施形態に係るナビゲーション装置による地物情報収集方法の手順の一例を示すフローチャートThe flowchart which shows an example of the procedure of the feature information collection method by the navigation apparatus which concerns on this embodiment. 本発明の実施形態に係る地物情報収集装置の一部の構成がサーバ装置に設置された例を示す図The figure which shows the example in which the one part structure of the feature information collection apparatus which concerns on embodiment of this invention was installed in the server apparatus.

以下、本発明の実施形態について図面に基づいて説明する。図1は、本実施形態に係るナビゲーション装置1の概略構成を示すブロック図である。このナビゲーション装置1は、本発明の実施形態としての地物情報収集装置2、画像認識装置3、及び自車位置認識装置4を含んで構成されている。このナビゲーション装置1は、画像情報Gに含まれる認識対象の画像認識処理を行い、その認識対象の認識結果を表す認識情報に基づいて、繰り返し画像認識することが可能な認識対象を学習地物として抽出する。そして、学習地物の地物情報Fを地物データベースDB2に反映させることにより、地物情報Fが整備されていなかった道路においても、地物情報Fを用いた自車位置情報Pの補正を行うことを可能とする。そして、ナビゲーション装置1は、補正された自車位置情報Pに基づいて経路案内等のナビゲーション処理を行う。   Hereinafter, embodiments of the present invention will be described with reference to the drawings. FIG. 1 is a block diagram showing a schematic configuration of a navigation device 1 according to the present embodiment. The navigation device 1 includes a feature information collection device 2, an image recognition device 3, and a vehicle position recognition device 4 as an embodiment of the present invention. The navigation device 1 performs an image recognition process of a recognition target included in the image information G, and uses a recognition target that can be repeatedly recognized as a learning feature based on recognition information that represents a recognition result of the recognition target. Extract. Then, by reflecting the feature information F of the learned feature in the feature database DB2, the correction of the vehicle position information P using the feature information F is performed even on the road where the feature information F is not maintained. Make it possible to do. The navigation device 1 performs navigation processing such as route guidance based on the corrected vehicle position information P.

図1に示すナビゲーション装置1の各機能部、具体的には、画像情報取得部12、自車位置情報取得部16、地物情報取得部17、画像認識部18、自車位置補正部19、ナビゲーション用演算部20、学習地物抽出部31、推測位置判定部34、地物情報管理部35、及び道路属性情報取得部41は、CPU等の演算処理装置を中核部材として、入力されたデータに対して種々の処理を行うための機能部がハードウェア又はソフトウェア(プログラム)或いはその両方により実装されて構成されている。そして、これらの各機能部は、互いに情報の受け渡しを行うことができるように構成されている。また、ナビゲーション装置1の各データベースDB1〜DB3は、例えば、ハードディスクドライブ、DVD−ROMを備えたDVDドライブ、CD−ROMを備えたCDドライブ等のように、情報を記憶可能な記録媒体とその駆動手段とを有する装置をハードウェア構成として備えている。以下、本実施形態に係るナビゲーション装置1の各部の構成について詳細に説明する。   Each functional unit of the navigation device 1 shown in FIG. 1, specifically, an image information acquisition unit 12, a vehicle position information acquisition unit 16, a feature information acquisition unit 17, an image recognition unit 18, a vehicle position correction unit 19, The navigation calculation unit 20, the learned feature extraction unit 31, the estimated position determination unit 34, the feature information management unit 35, and the road attribute information acquisition unit 41 are input data using a calculation processing device such as a CPU as a core member. A functional unit for performing various processes is implemented by hardware or software (program) or both. Each of these functional units is configured to exchange information with each other. Further, each of the databases DB1 to DB3 of the navigation device 1 is a recording medium that can store information, such as a hard disk drive, a DVD drive equipped with a DVD-ROM, a CD drive equipped with a CD-ROM, and its drive. And a device having a means as a hardware configuration. Hereinafter, the configuration of each part of the navigation device 1 according to the present embodiment will be described in detail.

1.地図データベース
地図データベースDB1は、所定の区画毎に分けられた地図情報Mが記憶されたデータベースである。図2は、地図データベースDB1に記憶されている地図情報Mの構成の例を示す説明図である。この図に示すように、地図情報Mは、交差点に対応する多数のノードnと、各交差点間を結ぶ道路に対応するリンクkとの接続関係により道路ネットワークを表す道路情報Raを有している。各ノードnは、緯度及び経度で表現された地図上の位置(座標)の情報を有している。各リンクkは、ノードnを介して接続されている。また、各リンクkは、その属性情報として、道路種別、地域種別、リンク長、道路幅、リンク形状を表現するための形状補間点等の情報を有している。ここで、道路種別情報は、例えば、自動車専用道路、市街道路、細街路、山岳路等のように、道路を複数の種別に区分した際の道路種別の情報である。また、地域種別情報は、例えば、関東地方や関西地方等の地方、都道府県や市区町村等の行政区画等のように、リンクkに対応する道路が設けられている地域を複数に区分した際の地域種別の情報である。これらのリンクkの属性情報が、道路属性情報Rb(図1参照)に相当する。そして、本実施形態においては、この地図データベースDB1が、本発明における地図情報記憶手段に相当する。尚、図2においては、1つの区画の道路情報Raのみを図示し、他の区画の道路情報Raは省略して示している。
1. Map database The map database DB1 is a database in which map information M divided into predetermined sections is stored. FIG. 2 is an explanatory diagram showing an example of the configuration of the map information M stored in the map database DB1. As shown in this figure, the map information M has road information Ra representing a road network by connection relations between a large number of nodes n corresponding to intersections and links k corresponding to roads connecting the intersections. . Each node n has information on the position (coordinates) on the map expressed by latitude and longitude. Each link k is connected via a node n. Each link k has information such as a road type, a region type, a link length, a road width, and a shape interpolation point for expressing a link shape as attribute information. Here, the road type information is information on the road type when the road is divided into a plurality of types, such as an automobile-only road, a city road, a narrow street, a mountain road, and the like. In addition, the region type information is divided into a plurality of regions where roads corresponding to the link k are provided, such as regions such as the Kanto region and the Kansai region, and administrative divisions such as prefectures and municipalities. Information on the type of the area. The attribute information of these links k corresponds to the road attribute information Rb (see FIG. 1). And in this embodiment, this map database DB1 is corresponded to the map information storage means in this invention. In FIG. 2, only the road information Ra for one section is shown, and the road information Ra for other sections is omitted.

2.地物データベース
地物データベースDB2は、道路上や道路周辺に設けられた各種の地物の情報、即ち地物情報Fが記憶されたデータベースである。図1に示すように、本実施形態においては、地物データベースDB2には、初期地物情報Fa及び学習地物情報Fbの2種類の情報が記憶される。ここで、初期地物情報Faとは、地物データベースDB2に予め整備されて記憶されている複数の地物についての地物情報Fである。このような初期地物情報Faは、道路情報Raを含む地図情報Mが整備されている全ての地域の中で、大都市周辺や幹線道路等の一部の地域や道路についてのみ整備されている。一方、学習地物情報Fbとは、後述するように、画像認識部18による対象地物の画像認識結果を用いて学習した結果として地物データベースDB2に記憶される地物情報Fである。尚、以下の説明において、単に「地物情報F」というときは、これら初期地物情報Fa及び学習地物情報Fbを総称するものとする。本実施形態においては、この地物データベースDB2が、本発明における地物情報記憶手段に相当する。
2. Feature Database The feature database DB2 is a database in which information on various features provided on or around the road, that is, feature information F is stored. As shown in FIG. 1, in this embodiment, two types of information, initial feature information Fa and learning feature information Fb, are stored in the feature database DB2. Here, the initial feature information Fa is feature information F about a plurality of features that are prepared and stored in advance in the feature database DB2. Such initial feature information Fa is maintained only for some areas and roads such as the periphery of major cities and main roads among all areas where map information M including road information Ra is maintained. . On the other hand, the learned feature information Fb is feature information F stored in the feature database DB2 as a result of learning using the image recognition result of the target feature by the image recognition unit 18, as will be described later. In the following description, when “feature information F” is simply referred to, the initial feature information Fa and the learned feature information Fb are collectively referred to. In the present embodiment, this feature database DB2 corresponds to the feature information storage means in the present invention.

この地物データベースDB2に地物情報F(特に初期地物情報Fa)が記憶される地物には、道路の路面に設けられた道路標示(ペイント標示)が含まれている。図3は、地物データベースDB2に記憶されている道路標示の地物情報Fの例を示す説明図である。このような道路標示に係る地物としては、例えば、横断歩道、停止線、速度標示、道路に沿って車線を分ける区画線(実線、破線、二重線等の各種区画線を含む。)、各車線の進行方向を指定する進行方向別通行区分標示(矢印標示、例えば、直進矢印、右折矢印等を含む)等が含まれる。尚、地物情報Fが格納される地物としては、このような道路標示のほか、信号機、標識、陸橋、トンネル等の各種の地物も含めることができる。   The features whose feature information F (particularly the initial feature information Fa) is stored in the feature database DB2 include road markings (paint markings) provided on the road surface. FIG. 3 is an explanatory diagram showing an example of the feature information F of the road marking stored in the feature database DB2. Examples of such features related to road markings include pedestrian crossings, stop lines, speed markings, and lane lines that divide lanes along the road (including various lane markings such as solid lines, broken lines, and double lines). Included are travel direction indications (including arrow indications such as straight arrows, right-turn arrows, etc.) that specify the direction of travel of each lane. Note that the features in which the feature information F is stored can include various features such as traffic lights, signs, overpasses, and tunnels in addition to such road markings.

また、地物情報Fは、その内容として各地物の地物位置情報と、それに関連付けられた地物属性情報とを有している。ここで、地物位置情報は、道路情報Raを構成するリンクk又はノードn等と関連付けられた各地物の代表点の地図上の位置(座標)、及び各地物の向きの情報を有している。初期地物情報Faの代表点は、例えば、各地物の長さ方向及び幅方向の中央部付近に設定される。学習地物情報Fbの代表点については後述する。また、初期地物情報Faの地物属性情報は、地物種別情報や、地物の形状、大きさ、色彩等の地物形態情報等を含んでいる。例えば、初期地物情報Faの地物種別は、具体的には、「横断歩道」、「停止線」、「速度標示(30km/時)」等のような、基本的に同じ形態を有する地物の種別を表す情報である。学習地物情報Fbの地物属性情報については後述する。また、本実施形態においては、地物情報Fは、近接する他の地物との関係を表す関連付情報や、当該他の地物との間の地物間距離を表す地物間距離情報を有している。ここで、関連付情報は、自車両50が道路に沿って進行中に、1つの地物を画像認識することにより、前方に存在する他の地物を予測できるようにするための情報である。また、地物間距離情報は、そのような前方に存在する地物までの自車両50からの距離を正確に予測するための情報である。   The feature information F includes feature position information of each feature and feature attribute information associated therewith as its contents. Here, the feature position information includes information on the position (coordinates) of the representative point of each feature associated with the link k or the node n constituting the road information Ra on the map, and the orientation of each feature. Yes. The representative point of the initial feature information Fa is set, for example, near the center in the length direction and width direction of each feature. The representative points of the learned feature information Fb will be described later. The feature attribute information of the initial feature information Fa includes feature type information, feature form information such as the shape, size, and color of the feature. For example, the feature types of the initial feature information Fa are basically the same forms such as “pedestrian crossing”, “stop line”, “speed indication (30 km / hour)”, and the like. This is information indicating the type of the object. The feature attribute information of the learned feature information Fb will be described later. In the present embodiment, the feature information F is related information that represents a relationship with other nearby features, or distance information between features that represents the distance between the features. have. Here, the association information is information for allowing other features existing ahead to be predicted by recognizing an image of one feature while the host vehicle 50 is traveling along the road. . Further, the distance information between features is information for accurately predicting the distance from the own vehicle 50 to such a feature existing ahead.

3.学習データベース
学習データベースDB3は、学習地物抽出部31により導出された認識位置情報Aaを、各認識位置情報Aaに対応する認識対象が識別可能な状態で記憶するデータベースである。ここでは、各認識位置情報Aaに対応する認識対象を識別可能とするために、各認識位置情報Aaと、それに対応する認識対象の地物属性情報Abとを関連付けて記憶している。この学習データベースDB3に記憶される認識位置情報Aa及び地物属性情報Abの具体的な内容については、後で詳細に説明する。本実施形態においては、この学習データベースDB3が、本発明における認識結果記憶手段に相当する。
3. Learning Database The learning database DB3 is a database that stores the recognized position information Aa derived by the learned feature extracting unit 31 in a state where the recognition target corresponding to each recognized position information Aa can be identified. Here, in order to be able to identify the recognition target corresponding to each recognition position information Aa, each recognition position information Aa and the corresponding feature attribute information Ab of the recognition target are stored in association with each other. Specific contents of the recognized position information Aa and the feature attribute information Ab stored in the learning database DB3 will be described in detail later. In the present embodiment, this learning database DB3 corresponds to the recognition result storage means in the present invention.

4.画像情報取得部
画像情報取得部12は、撮像装置11により撮像した自車両の周辺の画像情報Gを取得する画像情報取得手段として機能する。ここで、撮像装置11は、撮像素子を備えた車載カメラ等であって、少なくとも自車両50の周辺の道路の路面を撮像可能な位置に設けられている。このような撮像装置11としては、例えば、図4に示すような自車両50の後方の路面を撮像するバックカメラを用いると好適である。画像情報取得部12は、撮像装置11により撮像した撮像情報を、フレームメモリ(不図示)などを介して所定の時間間隔で取り込む。この際の画像情報Gの取り込みの時間間隔は、例えば、10〜50ms程度とすることができる。これにより、画像情報取得部12は、撮像装置11により撮像した複数フレームの画像情報Gを連続的に取得することができる。ここで取得された画像情報Gは、画像認識部18へ出力される。
4). Image Information Acquisition Unit The image information acquisition unit 12 functions as an image information acquisition unit that acquires image information G around the host vehicle captured by the imaging device 11. Here, the imaging device 11 is an in-vehicle camera or the like provided with an imaging element, and is provided at a position where at least a road surface of the road around the host vehicle 50 can be imaged. As such an imaging device 11, for example, it is preferable to use a back camera that images the road surface behind the host vehicle 50 as shown in FIG. The image information acquisition unit 12 captures imaging information captured by the imaging device 11 at predetermined time intervals via a frame memory (not shown). The time interval for capturing the image information G at this time can be set to, for example, about 10 to 50 ms. Thereby, the image information acquisition unit 12 can continuously acquire the image information G of a plurality of frames captured by the imaging device 11. The acquired image information G is output to the image recognition unit 18.

5.自車位置情報取得部
自車位置情報取得部16は、自車両50の現在位置を示す自車位置情報Pを取得する自車位置情報取得手段として機能する。ここでは、自車位置情報取得部16は、GPS受信機13、方位センサ14、及び距離センサ15と接続されている。ここで、GPS受信機13は、GPS(Global Positioning System)衛星からのGPS信号を受信する装置である。このGPS信号は、通常1秒おきに受信され、自車位置情報取得部16へ出力される。自車位置情報取得部16では、GPS受信機13で受信されたGPS衛星からの信号を解析し、自車両50の現在位置(緯度及び経度)、進行方位、移動速度、時刻等の情報を取得することができる。方位センサ14は、自車両50の進行方位又はその進行方位の変化を検出するセンサである。この方位センサ14は、例えば、ジャイロセンサ、地磁気センサ、ハンドルの回転部に取り付けた光学的な回転センサや回転型の抵抗ボリューム、車輪部に取り付ける角度センサ等により構成される。そして、方位センサ14は、その検出結果を自車位置情報取得部16へ出力する。距離センサ15は、自車両50の車速や移動距離を検出するセンサである。この距離センサ15は、例えば、車両のドライブシャフトやホイール等が一定量回転する毎にパルス信号を出力する車速パルスセンサ、自車両50の加速度を検知するヨー・Gセンサ及び検知された加速度を積分する回路等により構成される。そして、距離センサ15は、その検出結果としての車速及び移動距離の情報を自車位置情報取得部16へ出力する。
5. Own vehicle position information acquisition unit The own vehicle position information acquisition unit 16 functions as own vehicle position information acquisition means for acquiring own vehicle position information P indicating the current position of the own vehicle 50. Here, the vehicle position information acquisition unit 16 is connected to the GPS receiver 13, the direction sensor 14, and the distance sensor 15. Here, the GPS receiver 13 is a device that receives GPS signals from GPS (Global Positioning System) satellites. This GPS signal is normally received every second and is output to the vehicle position information acquisition unit 16. The own vehicle position information acquisition unit 16 analyzes signals from GPS satellites received by the GPS receiver 13 and acquires information such as the current position (latitude and longitude), traveling direction, moving speed, and time of the own vehicle 50. can do. The direction sensor 14 is a sensor that detects the traveling direction of the host vehicle 50 or a change in the traveling direction. The azimuth sensor 14 includes, for example, a gyro sensor, a geomagnetic sensor, an optical rotation sensor attached to the rotating part of the handle, a rotary resistance volume, an angle sensor attached to the wheel part, and the like. Then, the direction sensor 14 outputs the detection result to the vehicle position information acquisition unit 16. The distance sensor 15 is a sensor that detects the vehicle speed and the moving distance of the host vehicle 50. The distance sensor 15 is, for example, a vehicle speed pulse sensor that outputs a pulse signal each time a drive shaft or wheel of the vehicle rotates by a certain amount, a yaw / G sensor that detects acceleration of the host vehicle 50, and integration of the detected acceleration. Configured by a circuit or the like. Then, the distance sensor 15 outputs information on the vehicle speed and movement distance as the detection result to the vehicle position information acquisition unit 16.

そして、自車位置情報取得部16は、これらのGPS受信機13、方位センサ14及び距離センサ15からの出力に基づいて、公知の方法により自車位置を特定する演算を行う。また、自車位置情報取得部16は、地図データベースDB1から抽出された自車位置周辺の道路情報Raを取得し、それに基づいて公知のマップマッチングを行うことにより自車位置を道路情報Raに示される道路上に合わせる補正も行う。このようにして、自車位置情報取得部16は、緯度及び経度で表された自車両50の現在位置の情報、及び自車両50の進行方位の情報を含む自車位置情報Pを取得する。   And the own vehicle position information acquisition part 16 performs the calculation which pinpoints an own vehicle position by a well-known method based on the output from these GPS receiver 13, the direction sensor 14, and the distance sensor 15. FIG. In addition, the vehicle position information acquisition unit 16 acquires road information Ra around the vehicle position extracted from the map database DB1, and indicates the vehicle position in the road information Ra by performing known map matching based on the road information Ra. Also make corrections to fit on the road. In this way, the host vehicle position information acquisition unit 16 acquires host vehicle position information P including information on the current position of the host vehicle 50 represented by latitude and longitude and information on the traveling direction of the host vehicle 50.

6.地物情報取得部
地物情報取得手段として機能する地物情報取得部17は、自車位置情報取得部16で取得された自車位置情報P等に基づいて、地物データベースDB2から自車両50の周辺に存在する地物の地物情報Fを抽出して取得する。地物情報Fには、初期地物情報Fa及び学習地物情報Fbの双方を含む。本実施形態においては、一例として、地物情報取得部17は、自車位置情報Pに基づいて、自車位置情報Pに示される自車両50の現在位置から、当該自車両50が走行中の道路を表すリンクkの終端までの間に存在する対象地物の地物情報Fを地物データベースDB2から抽出する。対象地物とは、画像認識部5による位置補正用画像認識処理(詳細は後述する。)の対象となる地物である。従って、地物情報取得部17により取得された地物情報Fは、画像認識部18及び自車位置情報補正部19へ出力される。本実施形態においては、初期地物として予め整備された、横断歩道、停止線、速度標示等のような、道路の路面に設けられた各種の道路標示の他、学習地物として収集された路面の染みや汚れ、ひび割れ、舗装のつなぎ目、マンホールの蓋なども対象地物となる。また、利用頻度が少ないために初期地物として登録されない種類の各種道路標示も学習地物として対象地物となる。さらに、影など、特定の時刻や天候などの所定の条件が整った場合に出現するものも、当該条件を満たす場合にのみ有効な限定的学習地物として対象地物となる。
6). Feature information acquisition unit The feature information acquisition unit 17 functioning as a feature information acquisition unit, based on the vehicle position information P acquired by the vehicle position information acquisition unit 16 and the like, from the feature database DB2 to the host vehicle 50. The feature information F of features existing around is extracted and acquired. The feature information F includes both the initial feature information Fa and the learned feature information Fb. In the present embodiment, as an example, the feature information acquisition unit 17 is based on the vehicle position information P, and the vehicle 50 is traveling from the current position of the vehicle 50 indicated by the vehicle position information P. The feature information F of the target feature existing before the end of the link k representing the road is extracted from the feature database DB2. The target feature is a feature that is a target of image correction processing for position correction (details will be described later) by the image recognition unit 5. Therefore, the feature information F acquired by the feature information acquisition unit 17 is output to the image recognition unit 18 and the vehicle position information correction unit 19. In this embodiment, the road surface collected as a learning feature in addition to various road markings provided on the road surface such as pedestrian crossings, stop lines, speed markings, etc., which are prepared in advance as initial features. Stains and stains, cracks, joints of pavements, manhole covers, etc. are also subject features. Also, various types of road markings that are not registered as initial features due to low usage frequency are also target features as learning features. Further, what appears when a predetermined condition such as a specific time or weather such as a shadow is satisfied becomes a target feature as a limited learning feature effective only when the condition is satisfied.

尚、地物情報取得部17は、自車位置情報Pに基づいて地物データベースDB2を参照し、自車両50の周辺に地物情報Fとして記憶された対象地物が存在するか否かを判定する存在判定手段としても機能する。自車両50の周辺に対象地物が存在しないと判定された場合には、後述するように、情報収集用画像認識処理が実施される。つまり、自車両50の周辺に対象地物が存在しないと判定された場合には、自車両50が後述する高精度自車位置認識状態にないと判定され、学習地物情報Fbを収集するための情報収集用画像認識処理が実施される。尚、存在判定手段として機能する際の地物情報Fは、学習地物情報Fbを含めてもよいし、初期地物情報Faに限ってもよい。本実施形態では両方を含む。   Note that the feature information acquisition unit 17 refers to the feature database DB2 based on the own vehicle position information P, and determines whether or not the target feature stored as the feature information F exists around the own vehicle 50. It also functions as presence determination means for determining. When it is determined that the target feature does not exist around the host vehicle 50, an information collection image recognition process is performed as described later. That is, when it is determined that the target feature does not exist in the vicinity of the host vehicle 50, it is determined that the host vehicle 50 is not in a high-accuracy host vehicle position recognition state to be described later, and the learned feature information Fb is collected. The information collection image recognition process is performed. Note that the feature information F when functioning as the presence determination unit may include the learned feature information Fb or may be limited to the initial feature information Fa. In this embodiment, both are included.

7.画像認識部
画像認識部18は、本実施形態においては、自車位置情報Pの補正に用いるための位置補正用画像認識処理と、地物の画像認識結果を学習して地物データベースDB2に反映させるための情報収集用画像認識処理との2種類の画像認識処理を行う。即ち、画像認識部18は、位置補正用画像認識処理として、自車位置情報Pに基づき地物データベースDB2から抽出した自車両50の周辺に存在する対象地物の地物情報Fに基づいて、画像情報Gに含まれる当該地物情報Fが示す対象地物の画像認識処理を行う画像認識手段として機能する。また、画像認識部18は、画像情報取得部12で取得された画像情報Gに含まれる認識対象の画像認識処理を行う画像認識手段として機能する。
7). Image Recognition Unit In this embodiment, the image recognition unit 18 learns position correction image recognition processing for use in correcting the vehicle position information P and the image recognition result of the feature and reflects it in the feature database DB2. Two types of image recognition processing are performed, namely, information collection image recognition processing for generating information. That is, the image recognition unit 18 performs the position correction image recognition processing based on the feature information F of the target feature existing around the host vehicle 50 extracted from the feature database DB2 based on the host vehicle position information P. It functions as image recognition means for performing image recognition processing of the target feature indicated by the feature information F included in the image information G. The image recognition unit 18 functions as an image recognition unit that performs image recognition processing of a recognition target included in the image information G acquired by the image information acquisition unit 12.

本実施形態においては、画像認識部18は、存在判定手段としても機能する地物情報取得部17により、自車両50の周辺に地物情報Fとして記憶された対象地物が存在すると判定された場合に位置補正用画像認識処理を行う。一方、地物情報取得部17により、自車両50の周辺に地物情報Fとして記憶された対象地物が存在しないと判定された場合に情報収集用画像認識処理を行う。地物情報Fが既に整備された道路上を自車両50が走行中の場合には、位置補正用画像認識処理による画像認識結果と、地物情報Fとに基づいて自車位置情報Pの補正処理が実施される。一方、地物情報Fが整備されていない道路上を自車両50が走行中の場合には、情報収集用画像認識処理を行い、画像情報Gに含まれる認識対象を学習地物として抽出する地物収集処理が実施される。   In the present embodiment, the image recognition unit 18 is determined by the feature information acquisition unit 17 that also functions as presence determination means that the target feature stored as the feature information F exists around the host vehicle 50. In this case, a position correction image recognition process is performed. On the other hand, when the feature information acquisition unit 17 determines that the target feature stored as the feature information F does not exist around the host vehicle 50, the information collection image recognition process is performed. When the vehicle 50 is traveling on a road on which the feature information F has already been prepared, the correction of the vehicle position information P is performed based on the image recognition result by the position correction image recognition process and the feature information F. Processing is performed. On the other hand, when the host vehicle 50 is traveling on a road where the feature information F is not maintained, an information collection image recognition process is performed, and a recognition target included in the image information G is extracted as a learning feature. A material collection process is performed.

位置補正用画像認識処理では、画像認識部18は、自車位置情報Pに基づいて地物データベースDB2から取得した自車両50の周辺に存在する対象地物の地物情報Fに基づいて、画像情報Gに含まれる当該地物情報Fが示す対象地物の画像認識処理を行う。この際、画像認識部18は、当該地物情報Fが示す対象地物の認識要求を行う所定の認識領域を設定し、この認識領域内の画像情報Gに対して対象地物の画像認識処理を行う。この認識領域は、道路情報Raが示すリンクk上における、当該対象地物が存在すると推測される位置範囲として設定される。ここで、各画像情報Gに含まれる現実の道路の撮像領域は、自車両50への撮像装置11の取り付け位置、取り付け角度、及び画角等に基づいて予め演算された自車位置と撮像領域との位置関係を用いることで、自車位置情報Pに基づいて求めることができる。よって、画像認識部18は、このように求めた各画像情報Gの撮像領域の情報に基づいて、各対象地物について設定された認識領域に対応する画像情報Gを抽出し、画像認識処理を行う。画像認識部18は、対象地物が初期地物である場合には、画像情報Gに対して公知の二値化処理やエッジ検出処理等を行い、当該画像情報Gに含まれている対象地物(道路標示)の輪郭情報を抽出する。そして、抽出された輪郭情報と、対象地物の形態とのパターンマッチングを行うことにより、画像情報Gに含まれる対象地物を認識する。対象地物が学習地物である場合には、後述するような、学習時の認識対象に対する画像認識処理と同様の処理を施して対象地物を認識する。そして、この位置補正用画像認識処理による対象地物の画像認識結果は、自車位置情報補正部19による自車位置情報Pの補正に用いられる。   In the image recognition processing for position correction, the image recognition unit 18 performs image processing based on the feature information F of the target feature existing around the host vehicle 50 acquired from the feature database DB2 based on the host vehicle position information P. Image recognition processing of the target feature indicated by the feature information F included in the information G is performed. At this time, the image recognition unit 18 sets a predetermined recognition area for requesting recognition of the target feature indicated by the feature information F, and performs image recognition processing of the target feature with respect to the image information G in the recognition area. I do. This recognition area is set as a position range on which the target feature is estimated to exist on the link k indicated by the road information Ra. Here, the imaging area of the actual road included in each image information G is the vehicle position and imaging area calculated in advance based on the mounting position, mounting angle, field angle, and the like of the imaging device 11 to the host vehicle 50. Can be obtained based on the vehicle position information P. Therefore, the image recognition unit 18 extracts the image information G corresponding to the recognition area set for each target feature based on the information of the imaging area of each image information G obtained in this way, and performs image recognition processing. Do. When the target feature is an initial feature, the image recognition unit 18 performs known binarization processing, edge detection processing, and the like on the image information G, and the target feature included in the image information G The contour information of the object (road marking) is extracted. Then, by performing pattern matching between the extracted contour information and the form of the target feature, the target feature included in the image information G is recognized. If the target feature is a learned feature, the target feature is recognized by performing a process similar to the image recognition process for the recognition target at the time of learning as described later. Then, the image recognition result of the target feature by the position correction image recognition process is used for correcting the vehicle position information P by the vehicle position information correction unit 19.

情報収集用画像認識処理では、画像認識部18は、画像情報Gに含まれる認識対象の画像認識処理を行う。この画像認識処理は、地物データベースDB2に記憶された地物情報Fを用いず、従って、対象地物及び上述したような認識領域を設定することなく、認識対象の画像認識処理を行う。ここで、認識対象とは、画像情報に含まれる特徴であり、ノイズ、エッジ、所定色、及び所定形状のいずれか1つ以上を含むものである。そして、これら認識対象の認識結果は、当該認識対象に対する所定の画像認識処理によって得られる特徴量である。例えば、路面に地物がない状態では、路面の画像情報は均一であるが、何らかの地物が存在すると、均一性が崩れる。この均一性を崩す要因をノイズとし、このノイズを認識対象とすれば、ノイズ量の多少が認識結果としての特徴量となる。このようなノイズは、画像情報Gの空間周波数において高周波成分となるため、ハイパスフィルタなどを利用したフィルタリング処理によってノイズ量を抽出することができる。   In the information collection image recognition process, the image recognition unit 18 performs an image recognition process of a recognition target included in the image information G. This image recognition process does not use the feature information F stored in the feature database DB2, and thus performs the image recognition process of the recognition target without setting the target feature and the recognition area as described above. Here, the recognition target is a feature included in the image information, and includes any one or more of noise, an edge, a predetermined color, and a predetermined shape. The recognition result of these recognition targets is a feature amount obtained by a predetermined image recognition process for the recognition target. For example, in the state where there is no feature on the road surface, the image information on the road surface is uniform, but if any feature exists, the uniformity is lost. If the factor that destroys the uniformity is noise, and this noise is a recognition target, the amount of noise becomes a feature amount as a recognition result. Since such noise becomes a high frequency component in the spatial frequency of the image information G, the amount of noise can be extracted by a filtering process using a high-pass filter or the like.

学習地物としてなり得る路面に存在する地物としては、道路の路面に設けられた道路標示、道路の路面上の染み、道路の路面上の汚れ、道路の路面のひび割れ、舗装のつなぎ目、マンホールの蓋、道路の路面上の影などがある。路面の染みや汚れ、ひび割れなどと路面との境界は、画像情報Gに公知のガウシアンフィルタ処理などを施すことによりエッジ成分として抽出可能である。このエッジ成分を認識対象とすれば、エッジ成分の抽出数の多少が認識結果としての特徴量となる。また、白や黄色、橙色でペイントされた道路標示は、画像情報Gに対して公知のウインドウコンパレータ処理を施すことによって、その色成分が抽出可能である。それぞれの色を認識対象とすれば、色の種類とそれに対する抽出数の多少が認識結果としての特徴量となる。また、特定の形状、例えば三角形、円形、四角形、数字などの特定形状を認識対象として、パターンマッチング処理を施し、その適合度を特徴量としてもよい。情報収集用画像認識処理による認識対象の認識結果(特徴量)は、その認識位置の情報と関連付けられて、学習データベースDB3に記憶される。   Features on the road surface that can be learned features include road markings on the road surface, stains on the road surface, dirt on the road surface, cracks on the road surface, pavement joints, manholes There are shadows on the road surface. The boundary between the road surface stains, dirt, cracks, and the like and the road surface can be extracted as an edge component by subjecting the image information G to a known Gaussian filter process or the like. If this edge component is a recognition target, the number of extracted edge components is a feature amount as a recognition result. Further, the color components of road markings painted in white, yellow, and orange can be extracted by performing known window comparator processing on the image information G. If each color is a recognition target, the type of color and the number of extractions corresponding to it become the feature value as a recognition result. Alternatively, a specific shape, for example, a specific shape such as a triangle, a circle, a quadrangle, or a number, may be used as a recognition target, and pattern matching processing may be performed, and the degree of adaptation may be used as a feature amount. The recognition result (feature amount) of the recognition target by the information collection image recognition process is stored in the learning database DB3 in association with the information on the recognition position.

8.自車位置情報補正部
自車位置情報補正部19は、画像認識部18による対象地物の画像認識処理の結果と、当該対象地物についての地物情報Fに含まれる当該対象地物の位置情報とに基づいて自車位置情報Pを補正する自車位置情報補正手段として機能する。本実施形態では、自車位置情報補正部19は、画像認識部18における地物情報Fに基づく位置補正用画像認識処理による対象地物の画像認識結果と、当該地物情報Fに含まれる当該対象地物の位置情報とを用いて、自車両50の進行方向に沿って自車位置情報Pを補正する。具体的には、自車位置情報補正部19は、まず、画像認識部18による位置補正用画像認識処理の結果と、撮像装置11の取り付け位置、取り付け角度、及び画角等とに基づいて、対象地物の画像を含む画像情報Gの取得時における自車両50と対象地物との位置関係を演算する。次に、自車位置情報補正部19は、この自車両50と対象地物との位置関係の演算結果と、当該対象地物についての地物情報Fに含まれる当該対象地物の位置情報とに基づいて、自車両50の進行方向における対象地物の位置情報(地物情報F)を基準とする高精度な自車両50の位置情報を演算して取得する。そして、自車位置情報補正部19は、このようにして取得した高精度な自車両50の位置情報に基づいて、自車位置情報取得部16で取得した自車位置情報Pに含まれる、自車両50の進行方向の現在位置の情報を補正する。その結果、自車位置情報取得部16は、このような補正後の高精度な自車位置情報Pを取得することになり、自車両50は高精度自車位置認識状態となる。
8). Self-vehicle position information correction unit The self-vehicle position information correction unit 19 is a result of image recognition processing of the target feature by the image recognition unit 18 and the position of the target feature included in the feature information F about the target feature. It functions as own vehicle position information correcting means for correcting own vehicle position information P based on the information. In the present embodiment, the vehicle position information correction unit 19 includes the image recognition result of the target feature by the image recognition process for position correction based on the feature information F in the image recognition unit 18 and the feature information F included in the feature information F. The own vehicle position information P is corrected along the traveling direction of the own vehicle 50 using the position information of the target feature. Specifically, the own vehicle position information correction unit 19 first, based on the result of the position correction image recognition processing by the image recognition unit 18 and the mounting position, mounting angle, angle of view, and the like of the imaging device 11, The positional relationship between the host vehicle 50 and the target feature when the image information G including the image of the target feature is acquired is calculated. Next, the own vehicle position information correction unit 19 calculates the positional relationship between the own vehicle 50 and the target feature, and the position information of the target feature included in the feature information F about the target feature. Based on the above, the position information of the subject vehicle 50 in the traveling direction of the subject vehicle 50 (feature information F) is calculated and acquired with high accuracy. Then, the own vehicle position information correction unit 19 includes the own vehicle position information P acquired by the own vehicle position information acquisition unit 16 based on the highly accurate position information of the own vehicle 50 acquired in this way. Information on the current position in the traveling direction of the vehicle 50 is corrected. As a result, the host vehicle position information acquisition unit 16 acquires the corrected host vehicle position information P with high accuracy, and the host vehicle 50 is in a highly accurate host vehicle position recognition state.

9.ナビゲーション用演算部
ナビゲーション用演算部20は、自車位置表示、出発地から目的地までの経路探索、目的地までの進路案内、目的地検索等のナビゲーション機能を実行するためにアプリケーションプログラム23に従って動作する演算処理手段である。例えば、ナビゲーション用演算部20は、自車位置情報Pに基づいて地図データベースDB1から自車両50周辺の地図情報Mを取得して表示入力装置21に地図の画像を表示するとともに、当該地図の画像上に、自車位置情報Pに基づいて自車位置マークを重ね合わせて表示する処理を行う。また、ナビゲーション用演算部20は、地図データベースDB1に格納された地図情報Mに基づいて、所定の出発地から目的地までの経路探索を行う。更に、ナビゲーション用演算部20は、探索された出発地から目的地までの経路と自車位置情報Pとに基づいて、表示入力装置21及び音声出力装置22の一方又は双方を用いて、運転者に対する進路案内を行う。また、本実施形態においては、ナビゲーション用演算部20は、表示入力装置21及び音声出力装置22に接続されている。表示入力装置21は、液晶表示装置等の表示装置とタッチパネル等の入力装置が一体となったものである。音声出力装置は、スピーカ等を有して構成されている。本実施形態においては、ナビゲーション用演算部20、表示入力装置21、及び音声出力装置22が、本発明における案内情報出力手段24として機能する。
9. Navigation Calculation Unit The navigation calculation unit 20 operates in accordance with the application program 23 in order to execute navigation functions such as display of the vehicle position, route search from the departure place to the destination, route guidance to the destination, and destination search. Arithmetic processing means. For example, the navigation calculation unit 20 acquires map information M around the host vehicle 50 from the map database DB1 based on the host vehicle position information P, displays a map image on the display input device 21, and displays the map image. On top of this, based on the vehicle position information P, a process of displaying the vehicle position mark in an overlapping manner is performed. Further, the navigation calculation unit 20 searches for a route from a predetermined departure point to a destination based on the map information M stored in the map database DB1. Further, the navigation calculation unit 20 uses one or both of the display input device 21 and the voice output device 22 based on the searched route from the departure point to the destination and the own vehicle position information P, and the driver. Provides route guidance for. In the present embodiment, the navigation calculation unit 20 is connected to the display input device 21 and the audio output device 22. The display input device 21 is a combination of a display device such as a liquid crystal display device and an input device such as a touch panel. The audio output device includes a speaker and the like. In the present embodiment, the navigation calculation unit 20, the display input device 21, and the audio output device 22 function as the guidance information output means 24 in the present invention.

10.学習地物抽出部
学習地物抽出部31は、同じ場所の画像情報Gが複数回画像認識されることにより学習データベースDB3に記憶された、同じ場所に関する複数の認識情報に基づいて、繰り返し画像認識することが可能な認識対象を学習地物として抽出し、当該学習地物の位置情報と共に出力する学習地物抽出手段として機能する。以下、学習地物抽出部31が行う処理の詳細について、図5〜図9を用いて説明する。ここで、学習地物とは、上述したように道路の路面に設けられた道路標示、道路の路面上の染み、道路の路面上の汚れ、道路の路面のひび割れ、舗装のつなぎ目、マンホールの蓋、道路の路面上の影などである。図5では、このような学習地物の一例として「染み」を地物f1〜f3としている。認識情報とは、画像認識部18による認識対象の認識結果を表す情報であり、上述したように、いわゆる特徴量である。認識対象とは、画像情報Gに含まれるノイズ、エッジ、所定色、所定形状などであり、画像処理によって定量的な認識結果(特徴量)を得ることのできる画像情報上の特徴である。
10. Learning Feature Extraction Unit The learning feature extraction unit 31 repeatedly performs image recognition based on a plurality of pieces of recognition information regarding the same location stored in the learning database DB3 by image recognition of the image information G at the same location multiple times. It can function as learning feature extraction means for extracting a recognition target that can be learned as a learning feature and outputting it together with position information of the learning feature. Hereinafter, the detail of the process which the learning feature extraction part 31 performs is demonstrated using FIGS. Here, the learning features are road markings provided on the road surface, stains on the road surface, dirt on the road surface, cracks on the road surface, pavement joints, manhole covers, as described above. And shadows on the road surface. In FIG. 5, “stain” is set as the features f1 to f3 as an example of such a learning feature. The recognition information is information representing the recognition result of the recognition target by the image recognition unit 18 and is a so-called feature amount as described above. The recognition target is noise, edge, predetermined color, predetermined shape, or the like included in the image information G, and is a feature on the image information from which a quantitative recognition result (feature amount) can be obtained by image processing.

学習地物抽出部31は、認識対象の認識位置を、自車位置情報Pを基準とする当該認識対象の道路上の位置を表す情報として導出する。つまり、学習地物抽出部31は、画像認識部18による認識対象の画像認識結果と、撮像装置11の取り付け位置、取り付け角度、及び画角等とに基づいて、認識対象(特徴)を含む画像情報Gの取得時における自車両50と認識対象との位置関係を演算する。次に、学習地物抽出部31は、この自車両50と認識対象との位置関係の演算結果と、当該画像情報Gの取得時における自車位置情報Pとに基づいて、自車位置情報Pを基準とする認識対象の位置を演算する。本例では、学習地物抽出部31は、この位置を、自車両50が走行中の道路を表すリンクkに沿った方向の位置として求める。そして、学習地物抽出部31は、このように演算された位置を、認識対象の認識位置として導出する。この認識位置は、当該認識対象を含む画像情報Gの取得時の自車位置情報Pを基準として導出されるため、自車位置情報Pが有する誤差を含んだ位置の情報となる。そこで、同じ場所の画像情報Gが複数回画像認識されることによって学習データベースDB3に記憶された、同じ場所に関する認識結果(認識情報)に基づき、位置情報が決定される。   The learning feature extraction unit 31 derives the recognition position of the recognition target as information representing the position of the recognition target on the road with reference to the vehicle position information P. That is, the learning feature extraction unit 31 includes an image including a recognition target (feature) based on the image recognition result of the recognition target by the image recognition unit 18 and the mounting position, mounting angle, and angle of view of the imaging device 11. The positional relationship between the host vehicle 50 and the recognition target when the information G is acquired is calculated. Next, the learning feature extraction unit 31 uses the own vehicle position information P based on the calculation result of the positional relationship between the own vehicle 50 and the recognition target and the own vehicle position information P when the image information G is acquired. The position of the recognition target is calculated with reference to. In this example, the learned feature extraction unit 31 obtains this position as a position in a direction along the link k representing the road on which the host vehicle 50 is traveling. Then, the learning feature extraction unit 31 derives the position calculated in this way as the recognition position of the recognition target. Since this recognition position is derived on the basis of the own vehicle position information P when the image information G including the recognition target is acquired, the recognition position becomes position information including an error included in the own vehicle position information P. Therefore, the position information is determined based on the recognition result (recognition information) regarding the same location stored in the learning database DB3 by recognizing the image information G of the same location multiple times.

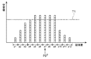
図5は、地物情報Fが整備されていない道路(リンクk)を自車両50が走行する場合を例とし、情報収集用画像認識処理の結果を用いた地物情報Fの収集処理の概要を説明するための説明図である。図5(a)に示すように、自車両50が走行する道路には、一例として、染みや汚れ、ひび割れなどである地物f1〜f3が存在している。学習地物抽出部31は、画像情報G上で各地物f1〜f3の特徴を表す認識対象に対する認識位置情報Aaを、画像認識部18による当該認識対象の認識位置が属する所定の位置範囲(後述する)についての学習値として生成する。そして、図5(b)に示すように、当該認識対象を認識する度に学習値を前記位置範囲毎に加算して学習データベースDB3に記憶する。学習地物抽出部31は学習値の加算結果に基づいて学習地物の推測位置pg(詳細は後述する)を導出する。この推測位置pgが学習地物情報Faに含まれる位置情報となる。   FIG. 5 is an example of the case where the host vehicle 50 travels on a road (link k) where the feature information F is not maintained, and outline of the collection processing of the feature information F using the result of the information collection image recognition processing. It is explanatory drawing for demonstrating. As shown in FIG. 5A, on the road on which the host vehicle 50 travels, for example, features f1 to f3 that are stains, dirt, cracks, and the like exist. The learning feature extraction unit 31 uses the recognition position information Aa for the recognition target representing the features of the features f1 to f3 on the image information G, and a predetermined position range (described later) to which the recognition position of the recognition target by the image recognition unit 18 belongs. Is generated as a learning value. And as shown in FIG.5 (b), whenever it recognizes the said recognition target, a learning value is added for every said position range, and it memorize | stores in learning database DB3. The learning feature extraction unit 31 derives an estimated position pg (details will be described later) of the learning feature based on the addition result of the learning value. This estimated position pg becomes position information included in the learned feature information Fa.

上述したように、学習地物抽出部31は、認識対象の認識位置を、自車位置情報Pを基準とする当該認識対象の道路上の位置を表す情報として導出する。学習地物抽出部31は、後述する学習値を、認識位置が属する所定の位置範囲毎に加算して、学習データベースDB3に記憶する。ここで、学習値とは、認識対象の認識結果(特徴量)が所定の学習条件を満たすことにより与えられる値である。例えば、認識対象(特徴)が「染みによる所定の路面の色とは異なる色」であり、特徴量が色抽出の結果としての色抽出数である場合、抽出数が所定のしきい値以上となることが所定の学習条件である。即ち、定量的に示される認識結果(特徴量)に対し、認識対象(特徴)を充分に特徴づけているかどうかを判定可能な条件が学習条件である。   As described above, the learned feature extraction unit 31 derives the recognition position of the recognition target as information representing the position of the recognition target on the road with reference to the own vehicle position information P. The learning feature extraction unit 31 adds a learning value to be described later for each predetermined position range to which the recognition position belongs, and stores it in the learning database DB3. Here, the learning value is a value given when the recognition result (feature amount) of the recognition target satisfies a predetermined learning condition. For example, when the recognition target (feature) is “a color different from a predetermined road surface color due to a stain” and the feature amount is the number of color extractions as a result of color extraction, the number of extractions is equal to or greater than a predetermined threshold value. This is a predetermined learning condition. That is, the condition for determining whether or not the recognition target (feature) is sufficiently characterized with respect to the recognition result (feature value) indicated quantitatively is the learning condition.

本例では、所定の位置範囲は、道路を表すリンクkに沿った方向に一定距離毎に区分され設定された範囲であり、例えば、リンクkに沿った方向に0.5〔m〕毎に区分された範囲とする。また、学習値は、画像認識に1回成功する毎に、学習データベースDB3における当該認識対象の地物の認識位置が属する位置範囲に加算される値である。例えば、画像認識に1回成功する毎に1点とする。即ち、本例では認識対象の地物の認識位置が含まれる位置範囲を表す情報と、その学習値(例えば「1」)の情報とにより、認識位置情報Aaが構成される。上述したように、認識位置は、認識対象を含む画像情報Gの取得時の自車位置情報Pを基準として導出されるため、自車位置情報Pが有する誤差を含んでいる。しかし、本例では、学習条件を満たした位置の微小な誤差は、所定の位置範囲の範囲内において吸収される。   In this example, the predetermined position range is a range that is divided and set at a certain distance in the direction along the link k representing the road, for example, every 0.5 [m] in the direction along the link k. The range is divided. The learning value is a value added to the position range to which the recognition position of the feature to be recognized belongs in the learning database DB3 every time image recognition is successful once. For example, every time image recognition is successful, one point is given. That is, in this example, the recognition position information Aa is configured by information indicating a position range including the recognition position of the feature to be recognized and information of the learning value (for example, “1”). As described above, the recognition position is derived on the basis of the own vehicle position information P when the image information G including the recognition target is acquired, and therefore includes an error included in the own vehicle position information P. However, in this example, a minute error at a position that satisfies the learning condition is absorbed within a predetermined position range.

ここで、図6は、図5(b)に示す学習データベースDB3に記憶された学習値の認識対象の地物f1に関する部分の拡大図である。例えば、図5(a)の例において、学習地物抽出部31により導出された認識対象(地物f1の特徴)の認識位置が、図6中に「a4」として示される位置範囲であった場合には、この図6中に破線で示すように、当該位置範囲a4の学習値に1が加算される。そして、自車両50が同じ道路を複数回通行することにより、同じ認識対象が複数回画像認識されると、学習データベースDB3には、図5(b)及び図6に示すように、当該認識対象が認識される毎に生成された複数の認識位置情報Aaとしての学習値が、当該認識対象の認識位置を表す位置範囲毎に積算されて蓄積される。そして、後述するように、位置範囲a4の学習値が所定の学習しきい値T1以上になると、位置範囲a4を代表する位置を代表点として地物情報生成部36により当該認識対象についての学習地物情報Fbが生成され、地物データベースDB2に記憶される。このように統計的な処理が実施されることにより、学習条件を満たした位置の大きな誤差も抑制される。図5の例では、地物f1及び地物f3に対応する学習地物情報Fb1及びFb3が、地物データベースDB2に記憶される。尚、図5に示す地物f2は、認識対象である地物f2の特徴に対する画像認識結果の学習値が所定の学習しきい値T1に達しないため、学習地物情報Fbは生成されず、地物データベースDB2にも記憶されない。   Here, FIG. 6 is an enlarged view of a part related to the feature f1 to be recognized of the learning value stored in the learning database DB3 shown in FIG. 5B. For example, in the example of FIG. 5A, the recognition position of the recognition target (feature of the feature f1) derived by the learning feature extraction unit 31 is the position range indicated as “a4” in FIG. In this case, as indicated by the broken line in FIG. 6, 1 is added to the learning value of the position range a4. And if the same recognition object is image-recognized several times by the own vehicle 50 passing the same road several times, as shown in FIG.5 (b) and FIG. The learning values as the plurality of recognition position information Aa generated each time is recognized are accumulated and accumulated for each position range representing the recognition position of the recognition target. As will be described later, when the learning value of the position range a4 is equal to or greater than a predetermined learning threshold T1, the feature information generating unit 36 uses the position representing the position range a4 as a representative point to learn about the recognition target. Object information Fb is generated and stored in the feature database DB2. By performing statistical processing in this way, large errors in positions that satisfy the learning conditions are also suppressed. In the example of FIG. 5, learning feature information Fb1 and Fb3 corresponding to the feature f1 and the feature f3 are stored in the feature database DB2. Note that the learning feature information Fb is not generated for the feature f2 shown in FIG. 5 because the learning value of the image recognition result for the feature of the feature f2 to be recognized does not reach the predetermined learning threshold T1. It is not stored in the feature database DB2.

上述したように、本実施形態によれば、道路標示のように定型物でなくても、「何かが路面にある」といったような曖昧な対象を学習地物とすることができる。従って、低コストで学習地物を収集することができる。勿論、より明確な画像認識を行ってもよく、色抽出やエッジ抽出の結果から、染みや汚れ、ひび割れなどの形状を特定し、曖昧さを抑制した学習地物を収集するようにしてもよい。図7は、色抽出やエッジ抽出の結果からさらに形状を認識する例を示し、図7(a)は路面の染みや汚れを認識する例、図7(b)は路面のひび割れを認識する例を示している。図7(a)に示すように、エッジe1が閉ループを有する場合には、この地物の属性は染みや汚れと推定され、その属性に応じた認識位置が演算される。例えば、リンクkに沿った方向に平行し、当該地物に外接する長方形領域を設定し、その頂点y1〜y4に基づいて重心位置x1を求め、これを認識位置とすることができる。図7(b)に示すように、エッジe2が閉ループを有さない、あるいは閉ループを有しても幅が狭い場合には、ひび割れと推定され、その属性に応じた認識位置が演算される。例えば、エッジe2の2箇所の端点y5とy6とを求め、y5とy6とを結ぶ直線の中点x2を認識位置とすることができる。   As described above, according to the present embodiment, an ambiguous object such as “something is on the road surface” can be used as a learning feature even if it is not a fixed object such as a road marking. Therefore, learning features can be collected at a low cost. Of course, clearer image recognition may be performed, and shapes such as stains, dirt, and cracks may be identified from the results of color extraction and edge extraction, and learning features with reduced ambiguity may be collected. . FIG. 7 shows an example of further recognizing the shape from the results of color extraction and edge extraction, FIG. 7A shows an example of recognizing a road surface stain and dirt, and FIG. 7B shows an example of recognizing a road surface crack. Is shown. As shown in FIG. 7A, when the edge e1 has a closed loop, the attribute of the feature is estimated as a stain or a dirt, and a recognition position corresponding to the attribute is calculated. For example, a rectangular area parallel to the direction along the link k and circumscribing the feature can be set, and the center of gravity position x1 can be obtained based on the vertices y1 to y4, which can be used as the recognition position. As shown in FIG. 7B, when the edge e2 does not have a closed loop, or has a closed loop and the width is narrow, it is estimated that the edge e2 is cracked, and the recognition position corresponding to the attribute is calculated. For example, two end points y5 and y6 of the edge e2 can be obtained, and a midpoint x2 of a straight line connecting y5 and y6 can be set as a recognition position.

上述したように、学習地物として路面に存在する地物としては、道路の路面に設けられた道路標示も含まれ、その種類は、初期地物と同一のものであってもよい。また、当然、利用頻度が少ない、形状の自由度が大きい、認識対象領域に対して面積が広い、などの理由により初期地物情報として登録されない種類の各種道路標示も含まれる。図8は、進入禁止領域(いわゆるゼブラゾーン)の特徴を認識対象とする例を示した説明図である。ここでは、認識対象となる特徴を「所定領域内の白の面積」とし、認識結果としての特徴量を「所定領域内の白の面積の割合」とする。画像認識部18は、所定の小領域rにおいて白のペイント部Wと路面とが識別可能なように、例えばウインドウコンパレータ処理を実施する。学習地物抽出部31は、小領域r中に所定の割合以上、ペイント部Wが含まれている場合には、学習値を「1」とする。上述したように、学習値は、画像認識に1回成功する毎に、学習データベースDB3における当該認識対象の認識位置が属する位置範囲に加算される。認識位置は、例えば、円形の小領域rの中心とすることができ、当該小領域rの中心が属する位置範囲に学習値が加算される。図9は、図8のようなゼブラゾーンに対する所定の位置範囲毎の学習値の積算例を示す図である。ゼブラゾーンは大きな面積を有しているため、図9に示すように、複数の小領域rにおいて学習値が積算されて、複数の位置範囲において同様の点数で学習しきい値T1を超えることになる。この場合には、例えば、その中間の位置範囲a7を学習地物の位置情報(推測位置pg)としてもよい。   As described above, the features present on the road surface as learning features include road markings provided on the road surface, and the type thereof may be the same as the initial feature. Naturally, various types of road markings that are not registered as initial feature information due to reasons such as low usage frequency, a high degree of freedom in shape, and a large area with respect to the recognition target area are also included. FIG. 8 is an explanatory diagram showing an example in which the characteristics of the entry prohibition area (so-called zebra zone) are recognized. Here, it is assumed that the feature to be recognized is “white area in the predetermined region”, and the feature amount as the recognition result is “ratio of white area in the predetermined region”. The image recognition unit 18 performs, for example, window comparator processing so that the white paint portion W and the road surface can be identified in a predetermined small region r. The learning feature extraction unit 31 sets the learning value to “1” when the paint area W is included in the small area r by a predetermined ratio or more. As described above, the learning value is added to the position range to which the recognition position of the recognition target belongs in the learning database DB3 every time image recognition is successful. The recognition position can be, for example, the center of a circular small region r, and the learning value is added to the position range to which the center of the small region r belongs. FIG. 9 is a diagram showing an example of integration of learning values for each predetermined position range with respect to the zebra zone as shown in FIG. Since the zebra zone has a large area, as shown in FIG. 9, learning values are accumulated in a plurality of small regions r and exceed the learning threshold value T1 with the same score in a plurality of position ranges. Become. In this case, for example, the intermediate position range a7 may be used as position information (estimated position pg) of the learned feature.

尚、認識対象となる特徴を備える地物は、定常的に路面に存在する染みや汚れ、ひび割れなどに限らず、特定の時刻や天候などの所定の条件が整った場合に出現するものも含めることができる。例えば、影などが該当する。この場合には、認識情報は、認識時刻及び認識時の天候の少なくとも一方の情報と関連付けられて学習データベースDB3に記憶される。そして、学習地物抽出部31は、認識時刻及び認識時の天候の少なくとも一方に関して、所定の条件のときに繰り返し画像認識することが可能な認識対象(影の特徴)を、当該条件を満たす場合にのみ有効な限定的学習地物として抽出する。具体的には、後述する地物属性情報Fbにこの限定条件を含めることによって限定的学習地物とすることができる。影のような地物は、路面などに対するコントラストが強いために認識対象として強い特徴を有するが、その出現が時刻や天候の影響を受ける点が不安定要因となる。しかし、このような地物が出現する時刻や天候などの所定の条件を加味された限定的学習地物とすることにより、好適な学習地物として利用することができる。   Note that features with features to be recognized are not limited to stains, dirt, cracks, etc. that are regularly present on the road surface, but also include features that appear when certain conditions such as specific times and weather conditions are met. be able to. For example, this corresponds to a shadow. In this case, the recognition information is stored in the learning database DB3 in association with at least one of the recognition time and the weather at the time of recognition. And the learning feature extraction part 31 is the case where the recognition target (shadow feature) capable of recognizing the image repeatedly under a predetermined condition with respect to at least one of the recognition time and the weather at the time of the recognition satisfies the condition. It is extracted as a limited learning feature that is effective only for. Specifically, a limited learning feature can be obtained by including this limitation condition in the feature attribute information Fb described later. A feature such as a shadow has a strong feature as a recognition target due to a strong contrast with a road surface or the like, but an unstable factor is that its appearance is affected by time and weather. However, it can be used as a suitable learning feature by using limited learning features that take into account predetermined conditions such as the time at which such features appear and the weather.

ところで、学習地物抽出部31は、当該画像認識に成功した認識対象を他の認識対象に対して識別可能な状態とするため、生成した認識位置情報Aaを、当該認識対象の各種属性を表す地物属性情報Abと関連付けて記憶している。ここで、地物属性情報Abが含む認識対象の属性は、当該1つの認識対象を他の認識対象と識別できるものであればよい。従って、例えば地物属性情報Abは、認識対象としての特徴の種類、即ち、色、エッジ、ノイズなどの区分や、形状認識を行った場合にはその具体的形状や大きさ、認識対象が存在するリンクkのリンクID等の中から選択される1又は2以上の情報を備えている。また、時刻や天候等の限定的学習地物の限定の条件も、地物属性情報Abに含めてよい。このような地物についての地物属性情報Abを構成する情報は、画像認識部18による認識対象の画像認識結果や、当該画像認識処理に係る画像情報Gの取得時の自車位置情報P等に基づいて生成される。   By the way, the learning feature extraction unit 31 represents the generated recognition position information Aa as various attributes of the recognition target so that the recognition target that has succeeded in the image recognition can be identified with respect to other recognition targets. It is stored in association with the feature attribute information Ab. Here, the recognition target attribute included in the feature attribute information Ab may be anything that can identify the one recognition target from the other recognition target. Therefore, for example, the feature attribute information Ab includes the type of feature as a recognition target, that is, the classification of color, edge, noise, etc., and the shape, size, and recognition target when a shape recognition is performed. 1 or two or more pieces of information selected from the link ID of the link k to be provided. In addition, the condition attribute information Ab may include conditions for limiting limited learning features such as time and weather. Information constituting the feature attribute information Ab for such a feature includes the image recognition result of the recognition target by the image recognition unit 18, the own vehicle position information P at the time of obtaining the image information G related to the image recognition processing, and the like. Is generated based on

11.推測位置判定部
推測位置判定部34は、同じ場所の画像情報が認識対象に相当するとして複数回画像認識されることにより学習データベースDB3に記憶された、同じ場所についての複数の認識位置情報Aaに基づいて、当該認識対象の推測位置pg(図5参照)を判定する推測位置判定手段として機能する。ここで、推測位置判定部34は、同じ場所に関する複数の認識位置情報Aaの分布に基づいて、当該分布の代表値を当該認識対象の推測位置pgとして判定する。本実施形態においては、分布の代表値として最頻値を用いる。即ち、推測位置判定部34は、各認識対象についての認識位置情報Aaとしての学習値が、最初に所定の学習しきい値T1以上となった位置範囲を代表する位置を代表点として、当該認識対象の推測位置pgと判定する。つまり、推測位置判定部34は、学習値が所定の学習しきい値T1以上となった位置範囲の認識対象を学習地物として抽出し、当該位置範囲を代表する位置を推測位置pgとする。一例として、図5の例における認識対象(地物f1の特徴)の推測位置pgを判定する場合の判定方法について説明する。図6に示すように、地物f1についての認識位置情報Aaとしての学習値は、位置範囲a4において最初に学習しきい値T1以上となっている。従って、推測位置判定部34は、位置範囲a4を代表する位置、例えば位置範囲a4の中央位置pg4を、地物f1に関する推測位置pgと判定する。
11. Estimated position determination unit The estimated position determination unit 34 stores a plurality of pieces of recognition position information Aa for the same location stored in the learning database DB3 by recognizing the image multiple times as image information at the same location corresponds to the recognition target. Based on this, it functions as an estimated position determination means for determining the estimated position pg (see FIG. 5) of the recognition target. Here, the estimated position determination unit 34 determines the representative value of the distribution as the estimated position pg of the recognition target based on the distribution of the plurality of recognized position information Aa regarding the same place. In the present embodiment, the mode value is used as the representative value of the distribution. That is, the estimated position determination unit 34 uses the position representing the position range where the learning value as the recognition position information Aa for each recognition target is initially equal to or greater than the predetermined learning threshold T1 as a representative point. The target estimated position pg is determined. That is, the estimated position determination unit 34 extracts the recognition target in the position range where the learning value is equal to or greater than the predetermined learning threshold T1 as the learning feature, and sets the position representing the position range as the estimated position pg. As an example, a determination method for determining the estimated position pg of the recognition target (feature of the feature f1) in the example of FIG. 5 will be described. As shown in FIG. 6, the learning value as the recognition position information Aa for the feature f1 is initially equal to or greater than the learning threshold value T1 in the position range a4. Therefore, the estimated position determination unit 34 determines a position representing the position range a4, for example, the center position pg4 of the position range a4, as the estimated position pg related to the feature f1.

12.地物情報管理部
地物情報管理部35は、学習データベースDB3に記憶された対象地物の学習結果に基づいて、地物データベースDB2に記憶された地物情報Fの管理を行う地物情報管理手段として機能する。本実施形態においては、この地物情報管理部35は、地物情報生成部36、及び地物間距離判定部37を備えている。以下、個別に説明する。
12 Feature information management unit The feature information management unit 35 manages the feature information F stored in the feature database DB2 based on the learning result of the target feature stored in the learning database DB3. Functions as a means. In the present embodiment, the feature information management unit 35 includes a feature information generation unit 36 and a feature distance determination unit 37. Hereinafter, it demonstrates individually.

12−1.地物情報生成部
地物情報生成部36は、学習データベースDB3に記憶された地物の学習結果に基づいて、学習地物情報Fbを生成する地物情報生成手段として機能する。即ち、地物情報生成部36は、推測位置判定部34により判定された各認識対象の推測位置pgを表す位置情報と、当該認識対象についての画像認識部18による画像認識結果に基づく地物属性情報とを関連付けた学習地物情報Fbを生成する。ここで、学習地物情報Fbを構成する地物属性情報は、学習データベースDB3において、当該認識対象についての認識位置情報Aaと関連付けて記憶されている地物属性情報Abの内容を用いて生成する。これにより、学習地物情報Fbは、初期地物情報Faと同様に、位置情報及びそれに関連付けられた地物属性情報を備えた情報として生成される。そして、この地物情報生成部36で生成された学習地物情報Fbは、地物データベースDB2に記憶される。本実施形態においては、例えば染み、汚れ、ひび割れ、道路標示(ペイント)などの種別、限定的学習地物の限定の条件などの地物の属性を含む学習地物情報Fb5が、地物情報生成部36により生成され、地物データベースDB2に記憶されている。
12-1. Feature Information Generation Unit The feature information generation unit 36 functions as a feature information generation unit that generates learning feature information Fb based on the learning result of the feature stored in the learning database DB3. In other words, the feature information generation unit 36 includes the position information indicating the estimated position pg of each recognition target determined by the estimated position determination unit 34 and the feature attribute based on the image recognition result by the image recognition unit 18 for the recognition target. Learning feature information Fb associated with the information is generated. Here, the feature attribute information constituting the learned feature information Fb is generated using the content of the feature attribute information Ab stored in the learning database DB3 in association with the recognition position information Aa for the recognition target. . Thereby, the learning feature information Fb is generated as information including the position information and the feature attribute information associated therewith like the initial feature information Fa. The learned feature information Fb generated by the feature information generating unit 36 is stored in the feature database DB2. In the present embodiment, learning feature information Fb5 including attributes of features such as types such as stains, dirt, cracks, road markings (paint), and limited learning feature limitation conditions is generated as feature information generation. Generated by the unit 36 and stored in the feature database DB2.

12−2.地物間距離判定部
地物間距離判定部37は、2つの学習地物についての複数の認識位置情報Aaに基づいて、当該2つの学習地物間の距離を表す地物間距離Dを判定する地物間距離判定手段として機能する。本実施形態においては、地物間距離判定部37は、推測位置判定部34により判定された2つの学習地物についての推測位置pgの情報を用いて、一方の学習地物の推測位置pgと、他の学習地物の推測位置pgとの間の距離を演算することにより、これら2つの学習地物の地物間距離Dを求める。図5(b)及び(c)に示す例では、地物間距離判定部37は、互いに隣接する2つの学習地物間の距離を求める。即ち、本例では、地物間距離判定部37は、地物f1と地物f3との間の地物間距離Dを判定して求めている。この地物間距離判定部37により判定された地物間距離Dの情報は、上記地物情報生成部36により生成される学習地物情報Fbを構成する情報として利用される。即ち、本実施形態においては、各学習地物についての学習地物情報Fbは、当該学習地物と近接する他の学習地物との関係を表す関連付情報と、当該他の学習地物との間の地物間距離Dを表す地物間距離情報を有するものとして生成される。これらの情報も、初期地物情報Faに含まれる関連付情報及び地物間距離情報と同じ内容のものとなる。
12-2. Feature distance determination unit The feature distance determination unit 37 determines a feature distance D representing the distance between the two learned features based on a plurality of recognition position information Aa for the two learned features. It functions as a distance determination means between features. In the present embodiment, the feature distance determination unit 37 uses the information on the estimated position pg for the two learned features determined by the estimated position determination unit 34 and uses the estimated position pg of one of the learned features. The distance D between the two learning features is obtained by calculating the distance between the estimated position pg of the other learning features. In the example shown in FIGS. 5B and 5C, the feature distance determination unit 37 calculates a distance between two learning features adjacent to each other. That is, in this example, the feature distance determination unit 37 determines and determines the feature distance D between the feature f1 and the feature f3. Information on the feature distance D determined by the feature distance determination unit 37 is used as information constituting the learned feature information Fb generated by the feature information generation unit 36. That is, in the present embodiment, the learning feature information Fb for each learning feature includes association information indicating the relationship between the learning feature and another learning feature that is in proximity, and the other learning feature. Is generated as having feature distance information representing the feature distance D between the two. These pieces of information also have the same contents as the association information and the inter-feature distance information included in the initial feature information Fa.

13.ナビゲーション装置の動作処理
次に、本実施形態に係るナビゲーション装置1において実行される、地物情報収集方法について説明する。図10は、本実施形態に係るナビゲーション装置1による地物情報収集方法の手順の一例を示すフローチャートである。ここでは、図5(a)及び(b)に基づいて上述したような学習方法を用いる場合を例として説明する。
13. Operation Process of Navigation Device Next, a feature information collecting method executed in the navigation device 1 according to the present embodiment will be described. FIG. 10 is a flowchart showing an example of the procedure of the feature information collecting method by the navigation device 1 according to the present embodiment. Here, the case where the learning method as described above is used based on FIGS. 5A and 5B will be described as an example.

図10に示すように、ナビゲーション装置1では、まず、自車位置情報取得部16により自車位置情報Pが取得される(自車位置情報取得工程:#1)。次に、画像情報取得部12により、撮像装置11が撮像した自車両50の周辺の画像情報Gが取得される(画像情報取得工程:#2)。その後、地物情報取得部17により、自車位置情報Pに示される自車両50の現在位置(自車位置)から、当該自車両50が走行中の道路を表すリンクkの終端までの間に存在する対象地物の地物情報Fを地物データベースDB2から取得され(地物情報取得工程:#3)、地物情報Fの存否が判定される(存在判定工程:#4)。地物情報Fは、初期地物情報Fa及び学習地物情報Fbの何れでもよい。   As shown in FIG. 10, in the navigation device 1, first, the vehicle position information acquisition unit 16 acquires the vehicle position information P (own vehicle position information acquisition step: # 1). Next, the image information acquisition unit 12 acquires image information G around the host vehicle 50 captured by the imaging device 11 (image information acquisition step: # 2). Thereafter, the feature information acquisition unit 17 performs a period from the current position (vehicle position) of the host vehicle 50 indicated in the host vehicle position information P to the end of the link k representing the road on which the host vehicle 50 is traveling. The feature information F of the existing target feature is acquired from the feature database DB2 (feature information acquisition step: # 3), and the presence / absence of the feature information F is determined (presence determination step: # 4). The feature information F may be either the initial feature information Fa or the learned feature information Fb.

地物情報Fがあると判定された場合には、自車両50は、地物データベースDB2が整備された道路を走行中である。従って、画像認識部18により上述した位置補正用画像認識処理が実施される(画像認識工程(位置補正用画像認識工程):#5)。つまり、画像認識部18は、取得された各地物情報Fが示す各対象地物について、認識領域を設定して画像認識処理を行う。認識領域内で対象地物が画像認識されると、当該対象地物の画像認識結果と、当該対象地物についての地物情報Fに含まれる当該対象地物の位置情報とに基づいて、自車位置情報補正部19により自車位置情報Pの補正が行われる(自車位置情報補正工程(不図示))。これにより、自車両50は、高精度自車位置認識状態となる。   If it is determined that there is the feature information F, the host vehicle 50 is traveling on the road where the feature database DB2 is maintained. Therefore, the image recognition unit 18 performs the above-described position correction image recognition process (image recognition process (position correction image recognition process): # 5). That is, the image recognition unit 18 performs the image recognition process by setting a recognition area for each target feature indicated by the acquired feature information F. When the target feature is image-recognized in the recognition area, the target feature is automatically recognized based on the image recognition result of the target feature and the position information of the target feature included in the feature information F about the target feature. The vehicle position information correction unit 19 corrects the vehicle position information P (own vehicle position information correction step (not shown)). Thereby, the own vehicle 50 will be in a highly accurate own vehicle position recognition state.

一方、地物情報Fがないと判定された場合には(#4)、ナビゲーション装置1は、地物情報収集用画像認識処理を実行する(#6)。初めに、画像認識部18により、画像情報Gに含まれる認識対象の画像処理が実施される。認識対象が画像認識されると、学習地物の候補となる地物があると判定され、認識対象が画像認識されない場合には処理が終了される(#7)。以上、ステップ#6及び#7は、本発明の画像認識工程(地物情報収集用画像認識工程)に相当する。   On the other hand, if it is determined that there is no feature information F (# 4), the navigation device 1 executes a feature information collection image recognition process (# 6). First, the image recognition unit 18 performs image processing of a recognition target included in the image information G. When the recognition target is image-recognized, it is determined that there is a feature that is a candidate for the learning feature, and when the recognition target is not image-recognized, the process is terminated (# 7). As described above, steps # 6 and # 7 correspond to the image recognition process (image recognition process for collecting feature information) of the present invention.

認識対象が画像認識された場合には(#7)、学習地物抽出部31により、ステップ#1で取得した自車位置情報Pに基づいて、当該地物の認識位置が導出される。そして、当該認識対象の位置情報と学習値とが、学習データベースDB3に記憶される(認識結果記憶工程:#8)。つまり、導出された地物の認識位置を表す認識位置情報Aaが、当該認識位置が属する所定の位置範囲についての学習値として生成され、図5(b)及び図6に示すように、位置範囲毎に加算して学習データベースDB3に記憶される。   When the recognition target is image-recognized (# 7), the learning feature extraction unit 31 derives the recognition position of the feature based on the own vehicle position information P acquired in step # 1. And the positional information and learning value of the said recognition object are memorize | stored in learning database DB3 (recognition result memory | storage process: # 8). That is, the recognition position information Aa representing the recognized recognition position of the feature is generated as a learning value for the predetermined position range to which the recognition position belongs, and as shown in FIG. 5B and FIG. It is added every time and stored in the learning database DB3.

次いで、学習データベースDB3に記憶された当該対象地物についての認識位置情報Aaとしての学習値が、所定の学習しきい値T1以上か否かが判定される(#9)。学習値が、所定の学習しきい値T1未満である場合には、処理を終了する。一方、学習データベースDB3に記憶された当該対象地物についての認識位置情報Aaとしての学習値が、所定の学習しきい値T1以上である場合には(#9)、推測位置判定部34により、当該地物の推測位置pgが判定される。その後、地物情報生成部36により、当該認識対象についての推測位置pgと画像認識結果に基づく地物属性情報とを関連付けた学習地物情報Fbが生成される(#10)。生成された学習地物情報Fbは地物データベースDB2に記憶される(#11)。以上、ステップ#9〜#11は、本発明の学習地物抽出工程に相当する。   Next, it is determined whether or not the learning value as the recognition position information Aa for the target feature stored in the learning database DB3 is equal to or greater than a predetermined learning threshold T1 (# 9). If the learning value is less than the predetermined learning threshold value T1, the process ends. On the other hand, when the learning value as the recognition position information Aa for the target feature stored in the learning database DB3 is equal to or greater than a predetermined learning threshold T1 (# 9), the estimated position determination unit 34 The estimated position pg of the feature is determined. After that, the feature information generation unit 36 generates learning feature information Fb in which the estimated position pg for the recognition target is associated with the feature attribute information based on the image recognition result (# 10). The generated learned feature information Fb is stored in the feature database DB2 (# 11). As described above, steps # 9 to # 11 correspond to the learned feature extraction step of the present invention.

14.その他の実施形態
(1)上記実施形態では、図5(b)に示すように、所定の位置範囲についての学習値を加算する方法を用いて学習地物の位置情報を推測した。しかし、この方法に限定されることなく、学習地物抽出部31は下記のような方法を用いて学習地物の位置情報を推測しても良い。学習データベースDB3は、認識対象に対して実施した画像認識処理によって得られる定量的な認識結果(特徴量)を図5(c)に示すように生値としてそのまま記憶する。つまり、学習データベースDB3は、認識対象の認識結果としての特徴量の生値を、位置情報に関連付けて連続的に記憶する。そして、学習地物抽出部31は、記憶された認識対象の認識結果の分布に基づいて、そのピークが存在する位置の認識対象を学習地物として抽出し、当該ピークが存在する位置の情報を当該学習地物の位置情報(推測位置pg)とする。
14 Other Embodiments (1) In the above embodiment, as shown in FIG. 5B, the position information of the learned features is estimated using a method of adding learning values for a predetermined position range. However, without being limited to this method, the learning feature extraction unit 31 may estimate the position information of the learning feature using the following method. The learning database DB3 stores the quantitative recognition result (feature value) obtained by the image recognition processing performed on the recognition target as a raw value as shown in FIG. 5C. That is, the learning database DB3 continuously stores the raw value of the feature value as the recognition result of the recognition target in association with the position information. Then, the learning feature extraction unit 31 extracts the recognition target at the position where the peak exists as a learning feature based on the distribution of the recognition result of the stored recognition target, and obtains information on the position where the peak exists. The position information (estimated position pg) of the learned feature is assumed.

図5では、学習地物となる染みを地物f1〜f3として例示しており、認識対象となる画像上の特徴は、例えば所定の路面の色とは異なる色や、路面色との境界である。画像認識処理として、路面の色を抽出対象としてウインドウコンパレータ処理を施すと、路面の色とは異なる色を抽出することもできる。図5(c)は、このようにして抽出された、路面とは異なる色の抽出数を特徴量(認識結果)として、認識位置との関係を表したものである。地物f1及びf3は、大きな染みであるので特徴量が多く、地物f2は小さな染みであるので特徴量が少ない。学習地物抽出部31は、例えば、特徴量の分布の中で、所定の特徴量しきい値T2以上の特徴量を有すと共に、そのピークが存在する場合に、認識対象(色の特徴を有する染み)を学習地物として抽出する。また、当該ピークが存在する位置の情報を、当該学習地物の位置情報(推測位置pg)とする。上述したように、認識結果の認識位置は、認識対象を含む画像情報Gの取得時の自車位置情報Pを基準として導出されるため、自車位置情報Pが有する誤差を含んだ位置の情報である。学習データベースDB3には、複数回走行した際の各回の特徴量の生値が積算されて記憶されるので、特徴量のピークが存在する位置は、上記誤差が吸収され、精度良く学習地物の位置情報を推測することができる。   In FIG. 5, stains as learning features are illustrated as the features f1 to f3, and the features on the image to be recognized are, for example, a color different from a predetermined road surface color or a boundary with a road surface color. is there. When window comparator processing is performed on the road surface color as an extraction target as the image recognition processing, a color different from the road surface color can be extracted. FIG. 5C shows the relationship with the recognition position using the extracted number of colors different from the road surface extracted as described above as the feature amount (recognition result). Since the features f1 and f3 are large stains, the feature amount is large, and the feature f2 is a small stain, so the feature amount is small. For example, the learning feature extraction unit 31 has a feature amount equal to or greater than a predetermined feature amount threshold value T2 in the distribution of feature amounts, and if the peak exists, (Stains) are extracted as learning features. Further, information on the position where the peak exists is assumed to be position information (estimated position pg) of the learned feature. As described above, the recognition position of the recognition result is derived on the basis of the own vehicle position information P at the time of acquisition of the image information G including the recognition target. Therefore, the position information including the error included in the own vehicle position information P. It is. In the learning database DB3, the raw values of the feature values of each time when traveling a plurality of times are accumulated and stored. Therefore, the position where the peak of the feature value exists absorbs the error, and the learning feature is accurately obtained. Position information can be estimated.

尚、この方法は、学習をすべきか否かの判定に用いることもできる。例えば、荒天時に撮像装置11のレンズに水滴が付くと、画像情報Gに乱れが生じる。その結果、認識結果の分布は、変化に乏しいものとなるので、この時の認識結果は学習のための記憶対象から除外するようにしてもよい。   This method can also be used to determine whether or not to learn. For example, when water droplets are attached to the lens of the imaging device 11 during stormy weather, the image information G is disturbed. As a result, the distribution of recognition results is poorly changed, and the recognition results at this time may be excluded from the storage target for learning.

(2)認識対象としての特徴を有する地物として、利用頻度が少なくて初期地物情報としては登録されないが単純な形状の道路標示を利用することができる。そのような道路標示の形状を所定形状として、その所定形状を認識対象とすることができる。例えば、「この先に優先道路有り」を示す三角形マーク、路面に描かれた指示表示の個々の文字などがこの道路標示に該当する。 (2) As a feature having a feature as a recognition target, a road sign having a simple shape can be used although the frequency of use is low and it is not registered as initial feature information. Such a road marking shape can be set as a predetermined shape, and the predetermined shape can be a recognition target. For example, a triangular mark indicating “there is a priority road ahead”, and individual characters of an instruction display drawn on the road surface correspond to this road marking.

(3)認識対象としての特徴を「路面上の白の割合」として、所定の色の抽出処理を行った結果に基づいて、当該認識対象としての特徴を有する地物が道路標示である可能性を判定してもよい。そして、道路標示である可能性が高い場合には、出現頻度の高い道路標示(横断歩道、停止線等)についての形状認識アルゴリズムを実行して、より精度の高い学習地物を収集するようにしてもよい。 (3) The feature as the recognition target may be a road marking based on the result of performing extraction processing of a predetermined color with the feature as the recognition target being the “ratio of white on the road surface” May be determined. If there is a high possibility of being a road marking, a shape recognition algorithm for a road marking with a high appearance frequency (such as a pedestrian crossing and a stop line) is executed to collect learning features with higher accuracy. May be.

(4)上記の実施形態では、認識位置情報Aaが表す認識対象の認識位置を、自車位置情報Pを基準とする当該地物の道路上の位置を表す情報として導出する場合を例として説明した。しかし、本発明に係る認識位置情報Aaは、このような位置の情報に限定されるものではない。従って、例えば、認識位置情報Aaが表す認識位置を、当該認識対象を含む画像情報Gを取得した際の自車位置情報Pが示す自車両50の位置とすることも、本発明の好適な実施形態の1つである。この場合、地物情報生成部36により学習地物情報Fbが生成される際に、撮像装置11の取り付け位置、取り付け角度、及び画角等に基づいて、自車両50の位置に対する画像情報G中の認識対象の地物の道路上の位置を演算し、当該認識対象としての特徴を有する地物の道路上の位置を、学習地物情報Fbが含む位置情報とすると好適である。 (4) In the above embodiment, the case where the recognition position of the recognition target represented by the recognition position information Aa is derived as information representing the position of the feature on the road with the vehicle position information P as a reference will be described as an example. did. However, the recognized position information Aa according to the present invention is not limited to such position information. Therefore, for example, the recognition position represented by the recognition position information Aa may be the position of the own vehicle 50 indicated by the own vehicle position information P when the image information G including the recognition target is acquired. One of the forms. In this case, when the learned feature information Fb is generated by the feature information generation unit 36, the image information G in the image information G with respect to the position of the host vehicle 50 is based on the mounting position, mounting angle, angle of view, etc. of the imaging device 11. It is preferable that the position of the feature to be recognized on the road is calculated and the position of the feature having the feature as the recognition target on the road is the position information included in the learned feature information Fb.

(5)上記の実施形態では、1回の画像認識に成功する毎に1点の学習値を加算する場合を例として説明した。しかし、本発明の実施形態はこれに限定されるものではなく、認識結果に応じて異なる点数を加算するようにしてもよい。例えば、図8を用いて上述したように、「所定領域内の白の面積」を認識対象となる特徴とし、認識結果としての特徴量を「所定領域内の白の面積の割合」とした場合、この「割合」に応じて異なる点数を加算してもよい。例えば、50%以上の場合は1点、さらに70%以上となると3点、というように認識結果に応じて点数を異ならせてもよい。 (5) In the above-described embodiment, an example has been described in which one learning value is added each time image recognition is successful. However, the embodiment of the present invention is not limited to this, and different points may be added according to the recognition result. For example, as described above with reference to FIG. 8, when “white area in a predetermined area” is a feature to be recognized and the feature amount as a recognition result is “ratio of white area in the predetermined area” Depending on the “ratio”, different points may be added. For example, the score may be varied according to the recognition result, such as 1 point for 50% or more and 3 points for 70% or more.

(6)上記の実施形態では、本発明に係る地物情報収集装置2の全ての構成が自車両50に搭載される場合を例として説明した。しかし、本発明の実施形態はこれに限定されるものではない。即ち、本発明の認識結果記憶手段としての学習データベースDB3を含む地物情報収集装置2の一部の構成が、図11に示すように、無線通信回線等を介して、複数の車両50と通信可能に接続されたサーバ装置60に設置された構成とすることも、本発明の好適な実施形態の1つである。地物情報収集装置2をこのような構成とすれば、複数の車両50による地物の学習結果をサーバ装置60に設置された学習データベースDB3に集積することができる。従って、より多くの認識位置情報Aaを用いて、更に高精度な位置情報を有する地物情報Fを生成することが可能となる。尚、サーバ装置60に設置する地物情報収集装置2の構成は、学習データベースDB3に限られず、撮像装置11や自車位置情報取得部16等のような、自車両50に搭載する必要がある構成以外の全ての構成を、サーバ装置60に設置することが可能である。また、同様に、画像認識装置3、自車位置認識装置4、及びナビゲーション装置1の一部の構成を、サーバ装置60に設置することも本発明の好適な実施形態の1つである。 (6) In the above embodiment, the case where all the configurations of the feature information collection device 2 according to the present invention are mounted on the host vehicle 50 has been described as an example. However, the embodiment of the present invention is not limited to this. That is, a part of the configuration of the feature information collection device 2 including the learning database DB3 as the recognition result storage means of the present invention communicates with a plurality of vehicles 50 via a wireless communication line or the like as shown in FIG. One of the preferred embodiments of the present invention is a configuration in which the server devices 60 are connected to each other. If the feature information collection device 2 has such a configuration, the learning results of features by the plurality of vehicles 50 can be accumulated in the learning database DB3 installed in the server device 60. Therefore, it is possible to generate the feature information F having more accurate position information by using more recognized position information Aa. Note that the configuration of the feature information collection device 2 installed in the server device 60 is not limited to the learning database DB3, and needs to be installed in the host vehicle 50, such as the imaging device 11 or the host vehicle position information acquisition unit 16. All configurations other than the configuration can be installed in the server device 60. Similarly, it is also one preferred embodiment of the present invention that part of the configuration of the image recognition device 3, the vehicle position recognition device 4, and the navigation device 1 is installed in the server device 60.

(7)上記の各実施形態では、画像認識装置3及び自車位置認識装置4を、ナビゲーション装置1に利用する場合の例について説明した。しかし、本発明の適用範囲はこれに限定されるものではなく、車両の走行制御装置等の他の用途に利用することも当然に可能である。 (7) In each of the above embodiments, an example in which the image recognition device 3 and the vehicle position recognition device 4 are used for the navigation device 1 has been described. However, the application range of the present invention is not limited to this, and can naturally be used for other purposes such as a vehicle travel control device.

本発明は、車両に搭載した撮像装置等により取得した車両周辺の画像情報に含まれる地物の情報と、記憶装置に記憶されている地物の位置情報とに基づき自車位置を認識する自車位置認識装置及び自車位置認識プログラムに適用することができる。 The present invention recognizes the vehicle position based on the feature information included in the image information around the vehicle acquired by the imaging device or the like mounted on the vehicle, and the feature position information stored in the storage device. The present invention can be applied to a vehicle position recognition device and a vehicle position recognition program .

1:ナビゲーション装置
2:地物情報収集装置
3:画像認識装置
4:自車位置認識装置
12:画像情報取得部(画像情報取得手段)
16:自車位置情報取得部(自車位置情報取得手段)
17:地物情報取得部(地物情報取得手段)
18:画像認識部(画像認識手段)
19:自車位置情報補正部(自車位置情報補正手段)
23:アプリケーションプログラム
24:案内情報出力手段
31:学習地物抽出部(学習地物抽出手段)
34:推測位置判定部(推測位置判定手段)
35:地物情報管理部(地物情報管理手段)
36:地物情報生成部(地物情報生成手段)
37:地物間距離判定部(地物間距離判定手段)
39:存在判定部(存在判定手段)
50:自車両
Aa:認識位置情報(学習地物の位置情報)
Ab:地物属性情報
DB1:地図データベース(道路情報記憶手段)
DB2:地物データベース(地物情報記憶手段)
DB3:学習データベース(認識結果記憶手段)
D:地物間距離
F:地物情報
G:画像情報
P:自車位置情報
T1:学習しきい値
a1〜a12:位置範囲
1: Navigation device 2: Feature information collection device 3: Image recognition device 4: Own vehicle position recognition device 12: Image information acquisition unit (image information acquisition means)
16: Own vehicle position information acquisition unit (own vehicle position information acquisition means)
17: Feature information acquisition unit (feature information acquisition means)
18: Image recognition unit (image recognition means)
19: Own vehicle position information correction unit (own vehicle position information correction means)
23: Application program 24: Guidance information output means 31: Learning feature extraction unit (learning feature extraction means)
34: Estimated position determination unit (estimated position determination means)
35: Feature information management department (feature information management means)
36: Feature information generation unit (feature information generation means)
37: Distance determination unit between features (distance determination unit between features)
39: Presence determining unit (presence determining means)
50: Own vehicle Aa: Recognition position information (position information of learned features)
Ab: feature attribute information DB1: map database (road information storage means)
DB2: Feature database (feature information storage means)
DB3: Learning database (recognition result storage means)
D: feature distance F: feature information G: image information P: own vehicle position information T1: learning thresholds a1 to a12: position range

Claims (5)

予め路面上の対象地物を撮像した画像情報に対して画像認識処理を行って得た、前記対象地物の認識結果であるエッジ成分の抽出数又はノイズ量と、前記対象地物の位置情報とを関連付けた地物情報を記憶した地物情報記憶手段と、
自車両の現在位置を表す自車位置情報を取得する自車位置情報取得手段と、
自車両の周辺の路面の画像情報である周辺画像情報を取得する画像情報取得手段と、
前記周辺画像情報の画像認識処理を行う画像認識手段と、
前記画像認識手段による画像認識結果に基づいて前記自車位置情報を補正する自車位置情報補正手段と、を備え、
前記画像認識手段は、前記自車位置情報に基づいて前記地物情報記憶手段から抽出した自車両の周辺に存在する前記対象地物の前記地物情報に含まれるエッジ成分の抽出数又はノイズ量と、前記画像情報取得手段が取得した前記周辺画像情報に対して画像認識処理を行って得た認識結果であるエッジ成分の抽出数又はノイズ量と、に基づいて、前記周辺画像情報に含まれる、抽出した前記地物情報が示す前記対象地物を認識し、
前記自車位置情報補正手段は、前記画像認識手段による前記対象地物の画像認識処理の結果と、前記画像認識手段が抽出した前記地物情報に含まれる位置情報とに基づいて、前記自車位置情報を補正する自車位置認識装置。
The number of extracted edge components or the amount of noise, which is the recognition result of the target feature, obtained by performing image recognition processing on image information obtained by capturing the target feature on the road surface in advance, and the position information of the target feature Feature information storage means for storing feature information associated with
Own vehicle position information acquisition means for acquiring own vehicle position information representing the current position of the own vehicle;
Image information acquisition means for acquiring peripheral image information which is image information of the road surface around the host vehicle;
Image recognition means for performing image recognition processing of the peripheral image information;
Vehicle position information correction means for correcting the vehicle position information based on the image recognition result by the image recognition means,
The image recognition means is the number of extracted edge components or the amount of noise included in the feature information of the target feature existing around the subject vehicle extracted from the feature information storage means based on the own vehicle position information. And the number of extracted edge components or the amount of noise, which is a recognition result obtained by performing image recognition processing on the peripheral image information acquired by the image information acquisition means, and is included in the peripheral image information , Recognizing the target feature indicated by the extracted feature information;
The own vehicle position information correction means is based on the result of image recognition processing of the target feature by the image recognition means and position information included in the feature information extracted by the image recognition means. A vehicle position recognition device that corrects position information.
前記地物情報記憶手段は、画像認識処理によるエッジ成分の抽出数が所定のしきい値以上であるエッジ成分の抽出数又はノイズ量が所定のしきい値以上であるノイズ前記対象地物の前記地物情報として記憶している請求項1に記載の自車位置認識装置。 The feature information storage means, the extraction number or amount of noise in the edge component extraction number of edge components is equal to or greater than a predetermined threshold value by the image recognition processing is the amount of noise is above a predetermined threshold target feature The vehicle position recognition device according to claim 1, which is stored as the feature information of the vehicle. 前記地物情報記憶手段の前記地物情報にはさらに前記対象地物が存在するリンクのリンク情報が関連付けて記憶されており、
前記画像認識手段は、前記自車位置情報に表される現在位置から自車両が走行中の道路のリンクの終端までの間に存在する前記対象地物の前記地物情報を抽出し、前記周辺画像情報に含まれる、抽出した当該地物情報が示す前記対象地物を認識することを特徴とする請求項1又は2に記載の自車位置認識装置。
Wherein are stored in association with the further link information links the target feature exists in the feature information of the feature information storage means,
Wherein the image recognition means extracts said feature information of the target features that vehicle from the current position represented in the vehicle position information is present until the end of the link of the road in driving, the peripheral The vehicle position recognition device according to claim 1 or 2, wherein the target feature indicated by the extracted feature information included in the image information is recognized.
前記地物情報記憶手段の前記地物情報にはさらに時刻及び天候の少なくとも一方が関連付けて記憶されており、
前記画像認識手段は、前記時刻及び天候の条件が整った場合に前記地物情報を抽出し、前記周辺画像情報に含まれる、抽出した当該地物情報が示す前記対象地物を認識することを特徴とする請求項1から3のいずれか一項に記載の自車位置認識装置。
Wherein are stored further time and at least one of weather association with the feature information of the feature information storage means,
The image recognition means extracts the feature information when the time and weather conditions are satisfied, and recognizes the target feature indicated by the extracted feature information included in the peripheral image information. The own vehicle position recognizing device according to any one of claims 1 to 3, wherein
自車両の現在位置を表す自車位置情報を取得する自車位置情報取得程と、
自車両周辺の路面の画像情報である周辺画像情報を取得する画像情報取得程と、
前記周辺画像情報の画像認識処理を行う画像認識程と、
前記画像認識程による画像認識結果に基づいて前記自車位置情報を補正する自車位置情報補正程と、をコンピュータに実行させるための自車位置認識プログラムであって、
前記画像認識程では、
予め路面上の対象地物を撮像した画像情報に対して画像認識処理を行って得た、前記対象地物の認識結果であるエッジ成分の抽出数又はノイズ量と、前記対象地物の位置情報とを関連付けた地物情報を記憶した地物情報記憶手段を参照し
前記自車位置情報に基づいて前記地物情報記憶手段から抽出した自車両の周辺に存在する前記対象地物の前記地物情報に含まれるエッジ成分の抽出数又はノイズ量と、前記画像情報取得工程が取得した前記周辺画像情報に対して画像認識処理を行って得た認識結果であるエッジ成分の抽出数又はノイズ量と、に基づいて、前記周辺画像情報に含まれる、抽出した前記地物情報が示す前記対象地物を認識し、
前記自車位置情報補正程では、前記画像認識程による前記対象地物の画像認識処理の結果と、前記画像認識工程が抽出した前記地物情報に含まれる位置情報とに基づいて、前記自車位置情報を補正する自車位置認識プログラム
And as the vehicle position information acquisition Engineering for acquiring vehicle position information indicating the current position of the vehicle,
And as the image information acquisition Engineering for acquiring a peripheral image information is image information of the road surface around the vehicle,
And as image recognition engineering for performing image recognition processing of the peripheral image information,
A vehicle position recognition program for executing a higher vehicle position information correcting Engineering for correcting the vehicle position information based on the image recognition result of the more the image recognition Engineering, to the computer,
In about the image recognition Engineering,
The number of extracted edge components or the amount of noise, which is the recognition result of the target feature, obtained by performing image recognition processing on image information obtained by capturing the target feature on the road surface in advance, and the position information of the target feature Referring to the feature information storage means that stores the feature information associated with
The number of edge components extracted or the amount of noise included in the feature information of the target feature existing around the subject vehicle extracted from the feature information storage means based on the subject vehicle position information, and the image information acquisition The extracted feature included in the peripheral image information based on the number of extracted edge components or the amount of noise, which is a recognition result obtained by performing image recognition processing on the peripheral image information acquired in the process Recognizing the target feature indicated by the information;
Wherein the higher the vehicle position information correction Engineering, based result of the image recognition processing of the target feature by as the image recognition Engineering, and the position information included in the feature information by the image recognition process has been extracted, the A vehicle position recognition program for correcting the vehicle position information.
JP2010104470A 2010-04-28 2010-04-28 Own vehicle position recognition device and own vehicle position recognition program Expired - Fee Related JP5088592B2 (en)

Priority Applications (1)

Application Number Priority Date Filing Date Title
JP2010104470A JP5088592B2 (en) 2010-04-28 2010-04-28 Own vehicle position recognition device and own vehicle position recognition program

Applications Claiming Priority (1)

Application Number Priority Date Filing Date Title
JP2010104470A JP5088592B2 (en) 2010-04-28 2010-04-28 Own vehicle position recognition device and own vehicle position recognition program

Related Parent Applications (1)

Application Number Title Priority Date Filing Date
JP2007091323A Division JP4569837B2 (en) 2007-03-30 2007-03-30 Feature information collecting apparatus and feature information collecting method

Publications (2)

Publication Number Publication Date
JP2010185879A JP2010185879A (en) 2010-08-26
JP5088592B2 true JP5088592B2 (en) 2012-12-05

Family

ID=42766603

Family Applications (1)

Application Number Title Priority Date Filing Date
JP2010104470A Expired - Fee Related JP5088592B2 (en) 2010-04-28 2010-04-28 Own vehicle position recognition device and own vehicle position recognition program

Country Status (1)

Country Link
JP (1) JP5088592B2 (en)

Families Citing this family (2)

* Cited by examiner, † Cited by third party
Publication number Priority date Publication date Assignee Title
JP6532412B2 (en) * 2016-01-22 2019-06-19 三菱電機株式会社 Self-position estimation system, self-position estimation method, mobile terminal, server and self-position estimation program
WO2017208503A1 (en) * 2016-05-30 2017-12-07 三菱電機株式会社 Map data update device, map data update method and map data update program

Family Cites Families (12)

* Cited by examiner, † Cited by third party
Publication number Priority date Publication date Assignee Title
JPH11351895A (en) * 1998-06-09 1999-12-24 Harness Syst Tech Res Ltd Car navigation system
JP3621065B2 (en) * 2000-12-25 2005-02-16 松下電器産業株式会社 Image detecting apparatus, program, and recording medium
JP3650997B2 (en) * 2002-07-01 2005-05-25 マツダ株式会社 Route guidance device, route guidance method, and route guidance program
JP3651001B2 (en) * 2002-08-08 2005-05-25 マツダ株式会社 Route guidance device, route guidance method, and route guidance program
JP2006038558A (en) * 2004-07-26 2006-02-09 Denso Corp Car navigation system
JP4577827B2 (en) * 2005-01-06 2010-11-10 アイシン・エィ・ダブリュ株式会社 Next road prediction device for traveling vehicle
JP4321821B2 (en) * 2005-01-28 2009-08-26 アイシン・エィ・ダブリュ株式会社 Image recognition apparatus and image recognition method
JP4596566B2 (en) * 2005-03-31 2010-12-08 アイシン・エィ・ダブリュ株式会社 Self-vehicle information recognition device and self-vehicle information recognition method
JP4240321B2 (en) * 2005-04-04 2009-03-18 住友電気工業株式会社 Obstacle detection center apparatus and obstacle detection method
JP2006330908A (en) * 2005-05-24 2006-12-07 Toyota Motor Corp Position recording apparatus and position recording method
JP2007041916A (en) * 2005-08-04 2007-02-15 Nissan Motor Co Ltd Stop line detection system for vehicles
JP4820712B2 (en) * 2005-08-05 2011-11-24 アイシン・エィ・ダブリュ株式会社 Road marking recognition system

Also Published As

Publication number Publication date
JP2010185879A (en) 2010-08-26

Similar Documents

Publication Publication Date Title
JP4569837B2 (en) Feature information collecting apparatus and feature information collecting method
JP4446201B2 (en) Image recognition apparatus and image recognition method
JP4437556B2 (en) Feature information collecting apparatus and feature information collecting method
CN115143987B (en) System and method for collecting condition information associated with road segments
CN101675442B (en) Lane determination device, lane determination method, and navigation equipment using the same
CN101447019B (en) Image recognition device and image recognition method
JP4831434B2 (en) Feature information collection device, feature information collection program, own vehicle position recognition device, and navigation device
US11015941B2 (en) Method and apparatus for path based map matching
JP6492469B2 (en) Own vehicle travel lane estimation device and program
JP4953012B2 (en) Image recognition device, program for image recognition device, navigation device using the same, and program for navigation device
JP2009008590A (en) Vehicle-position-recognition apparatus and vehicle-position-recognition program
EP4273501A1 (en) Method, apparatus, and computer program product for map data generation from probe data imagery
JP5141969B2 (en) Image recognition apparatus, image recognition program, and point information collection apparatus and navigation apparatus using the same
JP2009205403A (en) Road sign recognition device and road sign recognition method
EP4202365A1 (en) Method, apparatus, and computer program product for identifying and correcting lane geometry in map data
US12165406B2 (en) Method, apparatus, and computer program product for identifying and correcting intersection lane geometry in map data
JP5099460B2 (en) Feature information collecting apparatus and feature information collecting method
JP5088592B2 (en) Own vehicle position recognition device and own vehicle position recognition program
US20230194298A1 (en) Method, apparatus, and computer program product for correcting lane geometry in map data
JP5071737B2 (en) Lane determination device, lane determination program, and navigation device using the same
JP4817019B2 (en) Own vehicle position recognition device and own vehicle position recognition program
US20250369768A1 (en) Network generation of mapped drivable paths
JP2012208877A (en) Vehicle information acquisition device, vehicle information acquisition method and program

Legal Events

Date Code Title Description
A521 Written amendment

Free format text: JAPANESE INTERMEDIATE CODE: A523

Effective date: 20100528

A621 Written request for application examination

Free format text: JAPANESE INTERMEDIATE CODE: A621

Effective date: 20100528

A977 Report on retrieval

Free format text: JAPANESE INTERMEDIATE CODE: A971007

Effective date: 20120319

A131 Notification of reasons for refusal

Free format text: JAPANESE INTERMEDIATE CODE: A131

Effective date: 20120322

A521 Written amendment

Free format text: JAPANESE INTERMEDIATE CODE: A523

Effective date: 20120521

TRDD Decision of grant or rejection written
A01 Written decision to grant a patent or to grant a registration (utility model)

Free format text: JAPANESE INTERMEDIATE CODE: A01

Effective date: 20120816

A01 Written decision to grant a patent or to grant a registration (utility model)

Free format text: JAPANESE INTERMEDIATE CODE: A01

A61 First payment of annual fees (during grant procedure)

Free format text: JAPANESE INTERMEDIATE CODE: A61

Effective date: 20120829

FPAY Renewal fee payment (event date is renewal date of database)

Free format text: PAYMENT UNTIL: 20150921

Year of fee payment: 3

R150 Certificate of patent or registration of utility model

Ref document number: 5088592

Country of ref document: JP

Free format text: JAPANESE INTERMEDIATE CODE: R150

Free format text: JAPANESE INTERMEDIATE CODE: R150

LAPS Cancellation because of no payment of annual fees