JP5071144B2 - Manufacturing method of heat transfer plate - Google Patents
Manufacturing method of heat transfer plate Download PDFInfo
- Publication number
- JP5071144B2 JP5071144B2 JP2008039652A JP2008039652A JP5071144B2 JP 5071144 B2 JP5071144 B2 JP 5071144B2 JP 2008039652 A JP2008039652 A JP 2008039652A JP 2008039652 A JP2008039652 A JP 2008039652A JP 5071144 B2 JP5071144 B2 JP 5071144B2
- Authority
- JP
- Japan
- Prior art keywords
- base member
- joining
- rotary tool
- straightening
- plate
- Prior art date
- Legal status (The legal status is an assumption and is not a legal conclusion. Google has not performed a legal analysis and makes no representation as to the accuracy of the status listed.)
- Active
Links
Images
Landscapes
- Pressure Welding/Diffusion-Bonding (AREA)
Description
本発明は、例えば熱交換器や加熱機器あるいは冷却機器などに用いられる伝熱板の製造方法に関する。 The present invention relates to a method for manufacturing a heat transfer plate used in, for example, a heat exchanger, a heating device, a cooling device, or the like.
熱交換、加熱あるいは冷却すべき対象物に接触し又は近接して配置される伝熱板は、その本体であるベース部材に例えば高温液や冷却水などの熱媒体を循環させる熱媒体用管を挿通させて形成されている。
かかる伝熱板の製造方法は、例えば、特許文献1に記載された方法が知られている。図23は、特許文献1に係る伝熱板の製造方法によって形成された伝熱板を示した断面図である。特許文献1に係る伝熱板100は、表面に開口する断面視矩形の蓋溝106と、蓋溝106の底面に開口する凹溝108を有するベース部材102と、凹溝108に挿入される熱媒体用管116と、蓋溝106に挿入される蓋板110と、を備えている。伝熱板100は、蓋溝106における両側壁と蓋板110の両側面とが突き合わされたそれぞれの突合部J,Jに沿って摩擦攪拌接合を行って形成されている。これにより、伝熱板100の突合部J,Jには、塑性化領域W,Wがそれぞれ形成されている。
A heat transfer plate arranged in contact with or close to an object to be heat exchanged, heated or cooled is provided with a heat medium pipe for circulating a heat medium such as high-temperature liquid or cooling water through a base member as a main body. It is formed by insertion.
As a method for manufacturing such a heat transfer plate, for example, a method described in
かかる伝熱板の製造方法によって形成された伝熱板100は、ベース部材102の表面側のみから摩擦攪拌を行うため、熱収縮によって塑性化領域W,Wが縮むと、伝熱板が反って撓んでしまうという問題があった。
このような観点から、本発明は、平坦性の高い伝熱板を製造することができる伝熱板の製造方法を提供することを課題とする。
Since the
From such a viewpoint, an object of the present invention is to provide a method of manufacturing a heat transfer plate that can manufacture a heat transfer plate with high flatness.
このような課題を解決する本発明に係る伝熱板の製造方法は、ベース部材の表面側に開口する凹溝の周囲に形成された蓋溝に、蓋板を配置する蓋溝閉塞工程と、前記蓋溝の側壁と前記蓋板の側面との突合部に沿って接合用回転ツールを相対移動させて摩擦攪拌を行う接合工程と、矯正用回転ツールを用いて前記ベース部材の裏面側から摩擦攪拌を行う矯正工程と、を含むことを特徴とする。 A manufacturing method of a heat transfer plate according to the present invention that solves such a problem includes a lid groove closing step of arranging a lid plate in a lid groove formed around a concave groove that opens on the surface side of the base member; Friction from the back surface side of the base member using a correction rotating tool, a bonding step of relatively moving the bonding rotary tool along the abutting portion between the side wall of the lid groove and the side surface of the lid plate, and friction stir And a straightening step of stirring.
かかる製造方法によれば、ベース部材の裏面側からも摩擦攪拌を行うため、表面に行った摩擦攪拌によって発生した反りを解消し、伝熱板の平坦性を高めることができる。 According to this manufacturing method, since the friction stir is performed also from the back surface side of the base member, the warp generated by the friction stir performed on the surface can be eliminated, and the flatness of the heat transfer plate can be improved.
また、本発明は、前記矯正工程によって形成された塑性化領域の体積量が、前記接合工程によって形成された塑性化領域の体積量よりも少ないことが好ましい。かかる製造方法によれば、製造された伝熱板の平坦性をより高めることができる。 In the present invention, it is preferable that the volume amount of the plasticized region formed by the correction step is smaller than the volume amount of the plasticized region formed by the joining step. According to this manufacturing method, the flatness of the manufactured heat transfer plate can be further improved.
また、本発明は、ベース部材の表面側に開口する蓋溝の底面に形成された凹溝に、熱媒体用管を挿入する熱媒体用管挿入工程と、前記蓋溝に蓋板を配置する蓋溝閉塞工程と、前記蓋溝の側壁と前記蓋板の側面との突合部に沿って接合用回転ツールを相対移動させて摩擦攪拌を施す接合工程と、矯正用回転ツールを用いて前記ベース部材の裏面側から摩擦攪拌を行う矯正工程と、を含み、前記矯正工程によって形成された塑性化領域の体積量が、前記接合工程によって形成された塑性化領域の体積量よりも少ないことが好ましい。 According to the present invention, a heat medium tube insertion step of inserting a heat medium tube into a concave groove formed on the bottom surface of the cover groove opened on the surface side of the base member, and a cover plate is disposed in the cover groove. A lid groove closing step, a joining step of relatively moving the joining rotary tool along the abutting portion between the side wall of the lid groove and the side surface of the lid plate, and friction stir, and the base using the rotation tool for correction A correction step of performing frictional stirring from the back side of the member, and the volume amount of the plasticized region formed by the correction step is preferably smaller than the volume amount of the plasticized region formed by the joining step .
かかる製造方法によれば、ベース部材の裏面側からも摩擦攪拌を行うため、表面に行った摩擦攪拌によって発生した反りを解消し、伝熱板の平坦性を高めることができる。また、矯正工程における塑性化領域の体積量が、前記接合工程の塑性化領域の体積量よりも少ないため、製造された伝熱板の平坦性をより高めることができる。 According to this manufacturing method, since the friction stir is performed also from the back surface side of the base member, the warp generated by the friction stir performed on the surface can be eliminated, and the flatness of the heat transfer plate can be improved. Moreover, since the volume amount of the plasticization area | region in a correction process is smaller than the volume amount of the plasticization area | region of the said joining process, the flatness of the manufactured heat exchanger plate can be improved more.
また、本発明は、前記接合工程において、前記熱媒体用管の周囲に形成された空隙部に、摩擦熱によって流動化された塑性流動材を流入させることが好ましい。 In the present invention, it is preferable that, in the joining step, a plastic fluidized material fluidized by frictional heat is caused to flow into a gap formed around the heat medium pipe.
かかる製造方法によれば、空隙部に塑性流動材を流入させることで、空隙部を埋めることができるため、例えば、熱媒体用管から放熱される熱を効率よく周囲のベース部材及び蓋板に伝達することができる。これにより、熱交換効率の高い伝熱板を製造することができる。 According to this manufacturing method, since the gap can be filled by flowing the plastic fluid material into the gap, for example, the heat radiated from the heat medium pipe is efficiently transferred to the surrounding base member and the cover plate. Can communicate. Thereby, a heat exchanger plate with high heat exchange efficiency can be manufactured.
また、本発明は、ベース部材の表面側に開口する凹溝に、蓋板を挿入する蓋板挿入工程と、前記凹溝に沿って接合用回転ツールを相対移動させて摩擦攪拌を行う接合工程と、矯正用回転ツールを用いて前記ベース部材の裏面側から摩擦攪拌を行う矯正工程と、を含むことを特徴とする。 Further, the present invention provides a lid plate insertion step of inserting a lid plate into the concave groove opened on the surface side of the base member, and a joining step of performing frictional stirring by relatively moving the rotary tool for joining along the concave groove. And a straightening step of performing frictional stirring from the back side of the base member using a straightening rotary tool.
かかる製造方法によれば、ベース部材の裏面側からも摩擦攪拌を行うため、表面に行った摩擦攪拌によって発生した反りを解消し、伝熱板の平坦性を高めることができる。 According to this manufacturing method, since the friction stir is performed also from the back surface side of the base member, the warp generated by the friction stir performed on the surface can be eliminated, and the flatness of the heat transfer plate can be improved.
また、本発明は、前記矯正工程によって形成された塑性化領域の体積量が、前記接合工程によって形成された塑性化領域の体積量よりも少ないことが好ましい。かかる製造方法によれば、製造された伝熱板の平坦性をより高めることができる。 In the present invention, it is preferable that the volume amount of the plasticized region formed by the correction step is smaller than the volume amount of the plasticized region formed by the joining step. According to this manufacturing method, the flatness of the manufactured heat transfer plate can be further improved.
また、本発明は、ベース部材の表面側に開口する凹溝に、熱媒体用管を挿入する熱媒体用管挿入工程と、前記凹溝に蓋板を挿入する蓋板挿入工程と、前記凹溝に沿って接合用回転ツールを相対移動させて摩擦攪拌を行う接合工程と、矯正用回転ツールを用いて前記ベース部材の裏面側から摩擦攪拌を行う矯正工程と、を含み、前記矯正工程によって形成された塑性化領域の体積量が、前記接合工程によって形成された塑性化領域の体積量よりも少ないことを特徴とする。 Further, the present invention provides a heat medium tube insertion step of inserting a heat medium tube into a concave groove opened on the surface side of the base member, a lid plate insertion step of inserting a lid plate into the concave groove, and the concave portion. A joining step for performing friction stir by relatively moving the joining rotary tool along the groove, and a straightening step for carrying out friction stirring from the back side of the base member using the straightening rotary tool. The volume of the plasticized region formed is smaller than the volume of the plasticized region formed by the joining step.
かかる製造方法によれば、ベース部材の裏面側からも摩擦攪拌を行うため、表面に行った摩擦攪拌によって発生した反りを解消し、伝熱板の平坦性を高めることができる。また、矯正工程における塑性化領域の体積量が、前記接合工程の塑性化領域の体積量よりも少ないため、製造された伝熱板の平坦性をより高めることができる。 According to this manufacturing method, since the friction stir is performed also from the back surface side of the base member, the warp generated by the friction stir performed on the surface can be eliminated, and the flatness of the heat transfer plate can be improved. Moreover, since the volume amount of the plasticization area | region in a correction process is smaller than the volume amount of the plasticization area | region of the said joining process, the flatness of the manufactured heat exchanger plate can be improved more.
また、本発明は、前記接合工程において、前記接合用回転ツールの押圧力によって前記蓋板が前記熱媒体用管の上部を押圧するとともに、前記蓋板の少なくとも上部と前記ベース部材とを塑性流動化することが好ましい。 In the joining step, the lid plate presses the upper portion of the heat medium pipe by the pressing force of the joining rotary tool, and at least the upper portion of the lid plate and the base member are plastically flowed. Is preferable.
かかる製造方法によれば、熱媒体用管の上部を蓋部材で押し込みながら摩擦攪拌するため、熱媒体用管の周辺の空隙を減少させることができ、ひいては、熱伝導性を高めることができる。 According to this manufacturing method, since frictional stirring is performed while pushing the upper portion of the heat medium pipe with the lid member, the gap around the heat medium pipe can be reduced, and thus the thermal conductivity can be improved.
また、本発明は、前記矯正工程において、前記矯正用回転ツールの軌跡の形状が、前記ベース部材の中心に対して略点対称であることが好ましい。また、本発明は、前記矯正工程において、前記矯正用回転ツールの軌跡の形状が、前記ベース部材の外縁の形状と略相似形であることが好ましい。また、本発明は、前記矯正工程において、前記矯正用回転ツールの軌跡の形状が、前記ベース部材の表面側に形成される前記接合用回転ツールの軌跡の形状と略同一であることが好ましい。また、本発明は、前記矯正工程において、前記矯正用回転ツールの軌跡の全長が、前記ベース部材の表面側に形成される前記接合用回転ツールの軌跡の全長と略同一であることが好ましい。 In the correction process according to the aspect of the invention, it is preferable that the shape of the locus of the correction rotary tool is substantially point symmetric with respect to the center of the base member. In the correction process according to the aspect of the invention, it is preferable that the shape of the trajectory of the correction rotary tool is substantially similar to the shape of the outer edge of the base member. In the correction step, the shape of the locus of the correction rotary tool is preferably substantially the same as the shape of the connection rotary tool formed on the surface side of the base member. In the present invention, it is preferable that, in the correction step, the total length of the trajectory of the correction rotary tool is substantially the same as the total length of the trajectory of the bonding rotary tool formed on the surface side of the base member.
かかる製造方法によれば、伝熱板の表面側と裏面側の反りをバランスよく解消することができるので伝熱板の平坦性を高めることができる。 According to this manufacturing method, since the warpage of the front surface side and the back surface side of the heat transfer plate can be eliminated with a good balance, the flatness of the heat transfer plate can be improved.
また、本発明は、前記矯正工程において、前記矯正用回転ツールの軌跡の全長が、前記ベース部材の表面側に形成される前記接合用回転ツールの軌跡の全長よりも短いことが好ましい。また、本発明は、前記矯正工程で用いる前記矯正用回転ツールのショルダ部の外径が、前記接合工程で用いる前記接合用回転ツールのショルダ部の外径よりも小さいことが好ましい。また、本発明は、前記矯正工程で用いる前記矯正用回転ツールのピンの長さが、前記接合工程で用いる前記接合用回転ツールのピンの長さよりも短いことが好ましい。かかる製造方法によれば、矯正工程における塑性化領域の体積量を、前記接合工程の塑性化領域の体積量よりも低く設定することができるため、製造された伝熱板の平坦性をより高めることができる。 In the present invention, it is preferable that the total length of the trajectory of the correction rotary tool is shorter than the total length of the trajectory of the bonding rotary tool formed on the surface side of the base member. In the present invention, it is preferable that an outer diameter of a shoulder portion of the correction rotary tool used in the correction step is smaller than an outer diameter of a shoulder portion of the bonding rotary tool used in the bonding step. Moreover, it is preferable that the length of the pin of the said correction rotary tool used at the said correction process is shorter than the length of the pin of the said rotation tool used at the said connection process. According to this manufacturing method, since the volume amount of the plasticized region in the straightening process can be set lower than the volume amount of the plasticized region in the joining step, the flatness of the manufactured heat transfer plate is further increased. be able to.
また、本発明は、前記ベース部材の厚みが、前記接合用回転ツールのショルダ部の外径の1.5倍以上であることが好ましい。また、本発明は、前記ベース部材の厚みが前記接合用回転ツールのピンの長さの3倍以上であることが好ましい。 In the present invention, it is preferable that a thickness of the base member is 1.5 times or more an outer diameter of a shoulder portion of the rotating tool for joining. In the present invention, it is preferable that the thickness of the base member is three times or more the length of the pin of the rotating tool for joining.
かかる製造方法によれば、接合用回転ツールの各部位の大きさに対してベース部材が十分な厚みを備えているため、伝熱板の平坦性をより高めることができる。 According to such a manufacturing method, since the base member has a sufficient thickness with respect to the size of each part of the bonding rotary tool, the flatness of the heat transfer plate can be further improved.
また、本発明は、前記ベース部材が平面多角形である場合、前記矯正工程において、前記ベース部材の隅部に対して前記矯正用回転ツールにより摩擦攪拌を行う隅部摩擦攪拌工程を含むことが好ましい。かかる製造方法によれば、ベース部材の隅部において発生した反りを解消して伝熱板の平坦性を解消することができる。 In addition, the present invention may include a corner friction stirring step in which, when the base member is a planar polygon, the cornering of the base member is subjected to friction stirring by the correction rotating tool in the correction step. preferable. According to this manufacturing method, the warp generated at the corner of the base member can be eliminated and the flatness of the heat transfer plate can be eliminated.
また、前記熱媒体用管の内部にヒーターを備える場合、前記矯正工程後に前記ヒーターに通電して、前記伝熱板を焼鈍する焼鈍工程を含むことが好ましい。かかる製造方法によれば、塑性化領域に残留する内部応力を除去して伝熱板の反りを解消することができる。 Moreover, when providing a heater inside the said heat | fever medium pipe | tube, it is preferable to energize the said heater after the said correction process, and to include the annealing process which anneals the said heat exchanger plate. According to this manufacturing method, the internal stress remaining in the plasticized region can be removed to eliminate the warp of the heat transfer plate.
また、本発明は、前記矯正工程後に、前記ベース部材の裏面側を面削加工する面削工程を含み、前記面削加工の深さは、前記矯正用回転ツールのピンの長さよりも大きいことが好ましい。かかる製造方法によれば、伝熱板の裏面を平滑に形成することができる。 In addition, the present invention includes a chamfering process of chamfering the back surface side of the base member after the correction process, and the depth of the chamfering process is greater than the length of the pin of the rotating tool for correction. Is preferred. According to this manufacturing method, the back surface of the heat transfer plate can be formed smoothly.
本発明に係る伝熱板の製造方法によれば、平坦性の高い伝熱板を提供することができる。 According to the method for manufacturing a heat transfer plate according to the present invention, a heat transfer plate with high flatness can be provided.
[第一実施形態]
本発明の最良の実施形態について、図面を参照して詳細に説明する。まず、本実施形態に係る製造方法によって製造された伝熱板1について説明する。本実施形態においては、伝熱板1をヒートプレートとして用いる場合を例にして説明する。
[First embodiment]
The best embodiment of the present invention will be described in detail with reference to the drawings. First, the
伝熱板1は、図1の(a)及び(b)に示すように、平面視矩形の板厚のベース部材2と、ベース部材2の内部に埋設される熱媒体用管20と、ベース部材2に凹設された溝に配置された蓋板10と、を主に備えている。ベース部材2と蓋板10との突合部J1,J2は、それぞれ摩擦攪拌によって接合されている。かかる伝熱板1は、熱媒体用管20に挿通された図示しないマイクロヒーター等で加熱して使用される。
As shown in FIGS. 1A and 1B, the
ベース部材2は、熱媒体用管20に流れる熱媒体の熱を外部に伝達させる役割、あるいは、外部の熱を熱媒体用管20に流れる熱媒体に伝達させる役割を果たすものである。ベース部材2は、図2の(a)及び(b)に示すように、平面視正方形を呈する直方体であって、本実施形態では、厚みが、30mm〜120mmのものを用いる。ベース部材2は、例えば、アルミニウム、アルミニウム合金、銅、銅合金、チタン、チタン合金、マグネシウム、マグネシウム合金など摩擦攪拌可能な金属材料からなる。ベース部材2の表面Zaには、蓋溝6が凹設されており、蓋溝6の底面の中央には、蓋溝6よりも幅狭の凹溝8が凹設されている。
The
蓋溝6は、蓋板10が配置される部分であって、平面視略馬蹄状に一定の幅及び深さで連続して形成されている。蓋溝6は、断面視矩形を呈し、蓋溝6の底面6cから垂直に立ち上がる側壁6a,6bを備えている。
The
凹溝8は、熱媒体用管20が挿入される部分であって、蓋溝6の底面6cの中央部分において、蓋溝6の全長に亘って形成されている。凹溝8は、上方が開口した断面視U字状の溝であって、下端には半円形の底面7が形成されている。凹溝8の開口部分の幅は、底面7の直径と略同等の幅Aで形成されている。また、蓋溝6の幅は、溝幅E、凹溝8の深さは、深さCで形成されている。
The
熱媒体用管20は、図2の(a)及び(b)に示すように、断面視円形の中空部18を有する円筒管である。熱媒体用管20は、本実施形態では銅からなり、平面視馬蹄状を呈する。熱媒体用管20の外径Bは、凹溝8の幅A及び凹溝8の深さCと略同等に形成されているため、凹溝8に熱媒体用管20を配置すると、熱媒体用管20の下半部と凹溝8の底面7とが面接触するとともに、熱媒体用管20の上端が、蓋板10の下面12と接触する。
熱媒体用管20には、本実施形態においては、マイクロヒーターを挿通するが、他にも例えば、冷却水、冷却ガス、高温液、あるいは高温ガスなどの熱媒体を循環させて、熱媒体の熱をベース部材2及び蓋板10に、あるいは、ベース部材2及び蓋板10の熱を熱媒体に伝達させてもよい。
As shown in FIGS. 2A and 2B, the
In the present embodiment, a microheater is inserted into the
なお、本実施形態においては、熱媒体用管20は、断面視円形としたが、断面視角形であってもよい。また、熱媒体用管20は、本実施形態においては、銅管を用いているが、他の材料の管を用いてもよい。また、熱媒体用管20は、必ずしも設ける必要は無く、凹溝8に直接熱媒体を流入させてもよい。
In the present embodiment, the
蓋板10は、図2の(a)及び(b)に示すように、ベース部材2の蓋溝6の断面と略同じ矩形断面を形成する上面11、下面12、側面13a及び側面13bを有し、平面視略馬蹄状で形成されている。蓋板10は、本実施形態では、ベース部材2と同様の組成で形成されている。蓋板10の厚みは、蓋厚Hで形成されている。また、蓋板10の幅は、蓋溝6の溝幅Eと略同等に形成されているため、蓋板10を蓋溝6に配置すると、蓋板10の側面13a,13bは、蓋溝6の側壁6a,6bとそれぞれ面接触するか又は微細な隙間をあけて対向する。
As shown in FIGS. 2A and 2B, the
また、本実施形態においては、凹溝8と熱媒体用管20の下半部を面接触させ、かつ、熱媒体用管20の上端と蓋板10の下面12とを接触させたが、これに限定されるものではない。また、蓋溝6、凹溝8、蓋板10及び熱媒体用管20は、本実施形態では、平面視馬蹄状を呈するように形成したがこれに限定されるものではなく、伝熱板1の用途に応じて適宜設計すればよい。
In the present embodiment, the
次に、伝熱板1の製造方法について説明する。
本実施形態に係る伝熱板1の製造方法は、(1)溝形成工程、(2)熱媒体用管挿入工程、(3)蓋溝閉塞工程、(4)接合工程、(5)矯正工程、(6)焼鈍工程を含むものである。
Next, a method for manufacturing the
The manufacturing method of the
(1)溝形成工程
溝形成工程では、図3の(a)に示すように、ベース部材2の表面Zaに、所定の幅及び深さで蓋溝6及び凹溝8を形成する。溝形成工程は、例えば、公知のエンドミル等を用いて、切削加工により行う。
(1) Groove Forming Step In the groove forming step, the
(2)熱媒体用管挿入工程
熱媒体用管挿入工程では、図3の(b)に示すように、溝形成工程で形成された凹溝8に熱媒体用管20を挿入する。
(2) Heat medium tube insertion step In the heat medium tube insertion step, as shown in FIG. 3B, the
(3)蓋溝閉塞工程
蓋溝閉塞工程では、図3の(c)に示すように、蓋溝6に蓋板10を配置して、蓋溝6を閉塞する。ここで、蓋溝6と蓋板10との突き合わせ面において、蓋溝6と蓋板10の内縁とで突き合わされた部分を突合部J1とし、蓋溝6と蓋板10の外縁とで突き合わされた部分を突合部J2とする。
(3) Lid groove closing process In the lid groove closing process, as shown in FIG. 3C, the
(4)接合工程
接合工程では、突合部J1,J2に沿って、接合用回転ツールFを用いて摩擦攪拌を行う。接合工程は、本実施形態では、突合部J1を摩擦攪拌する第一接合工程と、突合部J2を摩擦攪拌する第二接合工程とを含む。
(4) Joining Step In the joining step, friction stirring is performed using the joining rotary tool F along the abutting portions J1 and J2. In the present embodiment, the joining process includes a first joining process in which the abutting portion J1 is frictionally stirred and a second joining process in which the abutting portion J2 is frictionally stirred.
ここで、本実施形態における接合工程の際に用いる接合用回転ツールF及び後記する矯正工程の際に用いる矯正用回転ツールGについて詳細に説明する。
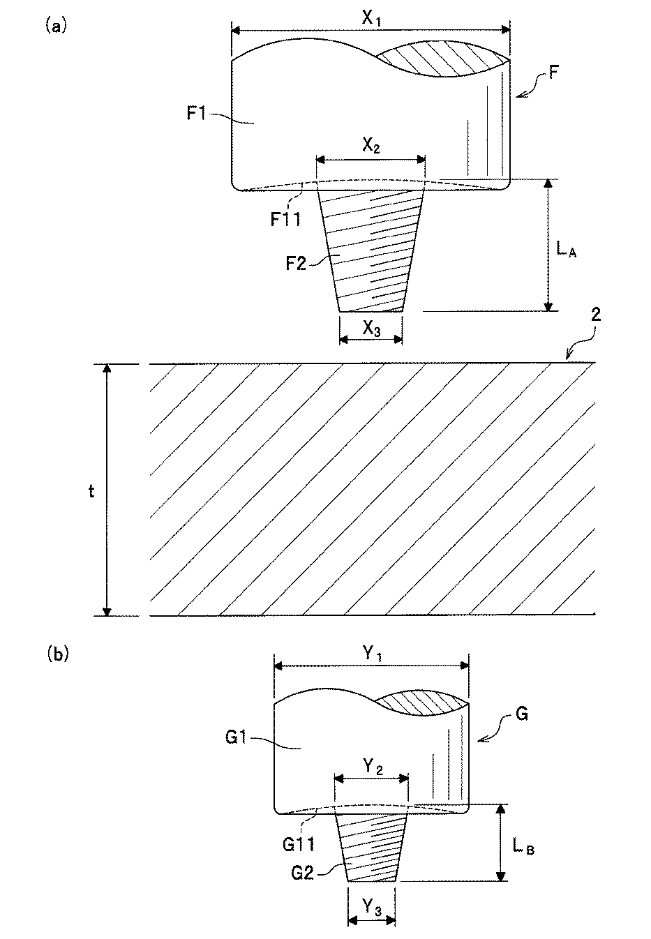
接合用回転ツールFは、図4の(a)に示すように、工具鋼などベース部材2よりも硬質の金属材料からなり、円柱状を呈するショルダ部F1と、このショルダ部F1の下端面F11に突設された攪拌ピン(プローブ)F2とを備えて構成されている。接合用回転ツールFの寸法・形状は、ベース部材2の材質や厚さ等に応じて設定すればよいが、少なくとも、後記する矯正工程で用いる矯正用回転ツールG(図4の(b)参照)よりも大型にする。
Here, the rotating tool F for bonding used in the bonding process in the present embodiment and the rotating tool G for correction used in the correcting process described later will be described in detail.
As shown in FIG. 4A, the joining rotary tool F is made of a metal material harder than the
ショルダ部F1の下端面F11は、塑性流動化した金属を押えて周囲への飛散を防止する役割を担う部位であり、本実施形態では、凹面状に成形されている。ショルダ部F1の外径X1の大きさに特に制限はないが、本実施形態では、矯正用回転ツールGのショルダ部G1の外径Y1よりも大きくなっている。 The lower end surface F11 of the shoulder portion F1 is a portion that plays a role of pressing the plastic fluidized metal and preventing scattering to the surroundings, and is formed in a concave shape in this embodiment. There is no particular limitation on the size of the outer diameter X 1 of the shoulder portion F1, in the present embodiment is larger than the outer diameter Y 1 of the shoulder portion G1 orthodontic rotary tool G.
攪拌ピンF2は、ショルダ部F1の下端面F11の中央から垂下しており、本実施形態では、先細りの円錐台状に成形されている。また、攪拌ピンF2の周面には、螺旋状に刻設された攪拌翼が形成されている。攪拌ピンF2の外径の大きさに特に制限はないが、本実施形態では、最大外径(上端径)X2が矯正用回転ツールGの攪拌ピンG2の最大外径(上端径)Y2よりも大きく、かつ、最小外径(下端径)X3が攪拌ピンG2の最小外径(下端径)Y3よりも大きい。攪拌ピンF2の長さLAは、矯正用回転ツールGの攪拌ピンG2の長さLB(図4の(b)参照)よりも大きく成形されている。 The stirring pin F2 hangs down from the center of the lower end surface F11 of the shoulder portion F1, and is formed into a tapered truncated cone shape in this embodiment. In addition, a stirring blade engraved in a spiral shape is formed on the peripheral surface of the stirring pin F2. There is no particular limitation on the size of the outer diameter of the stirring pin F2, in the present embodiment, the maximum outer diameter of the stirring pin G2 of the maximum outer diameter (upper diameter) X 2 is straightening rotary tool G (upper end diameter) Y 2 more, and the minimum outer diameter (bottom diameter) X 3 is larger than the minimum outer diameter (bottom diameter) Y 3 of the stirring pin G2. The length L A of the stirring pin F2 is formed to be larger than the length L B of the stirring pin G2 of the correction rotating tool G (see FIG. 4B).
ここで、図4の(a)に示すベース部材2の厚みtは、攪拌ピンF2の長さLAの3倍以上であることが好ましい。また、ベース部材2の厚みtは、ショルダ部F1の外径X1の1.5倍以上であることが好ましい。かかる設定によれば、接合用回転ツールFの大きさに対して、ベース部材2の厚みを十分に確保することができるため、摩擦攪拌を行う際に発生する反りを低減することができる。
The thickness t of the
図4の(b)に示す矯正用回転ツールGは、工具鋼などベース部材2よりも硬質の金属材料からなり、円柱状を呈するショルダ部G1と、このショルダ部G1の下端面G11に突設された攪拌ピン(プローブ)G2とを備えて構成されている。
The straightening rotary tool G shown in FIG. 4B is made of a metal material harder than the
ショルダ部G1の下端面G11は、接合用回転ツールFと同様に、凹面状に成形されている。攪拌ピンG2は、ショルダ部G1の下端面G11の中央から垂下しており、本実施形態では、先細りの円錐台状に成形されている。また、攪拌ピンG2の周面には、螺旋状に刻設された攪拌翼が形成されている。 The lower end surface G11 of the shoulder portion G1 is formed in a concave shape like the joining rotary tool F. The stirring pin G2 hangs down from the center of the lower end surface G11 of the shoulder portion G1, and is formed into a tapered truncated cone shape in this embodiment. In addition, a stirring blade engraved in a spiral shape is formed on the peripheral surface of the stirring pin G2.
第一接合工程では、図5、図6の(a)及び(b)に示すように、ベース部材2と蓋板10との突合部J1に沿って、摩擦攪拌を行う。
まず、ベース部材2の表面Zaの任意の位置に開始位置SM1を設定し、接合用回転ツールFの攪拌ピンF2をベース部材2に押し込む(押圧する)。開始位置SM1は、本実施形態では、ベース部材2の外縁の近傍であり、かつ、突合部J1の近傍に設定する。接合用回転ツールFのショルダ部F1の一部がベース部材2の表面Zaに接触したら、突合部J1の始点s1に向かって接合用回転ツールFを相対移動させる。そして、図6の(a)に示すように、始点s1に達したら、接合用回転ツールFを離脱させずに、そのまま突合部J1に沿って移動させる。
In the first joining step, friction agitation is performed along the abutting portion J1 between the
First, the start position SM1 is set at an arbitrary position on the surface Za of the
接合用回転ツールFが突合部J1の終点e1に達したら、接合用回転ツールFをそのまま開始位置SM1側に移動させて、任意の位置に設定した終了位置EM1で接合用回転ツールFを離脱させる。
なお、開始位置SM1、始点s1、終了位置EM1及び終点e1は、本実施形態の位置に限定するものではないが、ベース部材2の外縁の近傍であり、かつ、突合部J1の近傍であることが好ましい。
When the joining rotary tool F reaches the end point e1 of the abutting portion J1, the joining rotary tool F is moved to the start position S M1 as it is, and the joining rotary tool F is moved to the end position E M1 set at an arbitrary position. Let go.
The start position S M1 , the
次に、第二接合工程では、図6の(b)及び(c)に示すように、ベース部材2と蓋板10との突合部J2に沿って、摩擦攪拌を行う。
まず、ベース部材2の表面Zaの任意の地点hに開始位置SM2を設定し、接合用回転ツールFの攪拌ピンF2をベース部材2に押し込む(押圧する)。接合用回転ツールFのショルダ部F1の一部がベース部材2の表面Zaに接触したら、突合部J2の始点s2に向かって接合用回転ツールFを相対移動させる。そして、始点s2に達したら、接合用回転ツールFを離脱させずに、そのまま突合部J2に沿って移動させる。
Next, in the second joining step, friction agitation is performed along the abutting portion J2 between the
First, a start position SM2 is set at an arbitrary point h on the surface Za of the
接合用回転ツールFが突合部J2の終点e2に達したら、接合用回転ツールFをそのまま地点f側に移動させて、地点fに設定した終了位置EM2で接合用回転ツールFを離脱させる。
なお、開始位置SM2、及び終了位置EM2は、本実施形態の位置に限定するものではないが、ベース部材2の外縁の隅部であることが好ましい。これにより、終了位置EM2に抜け穴が残存する場合は、隅部を切削加工して除去することができる。
After joining rotation tool F reaches the end point e2 of the butting portion J2, a joining rotation tool F as it is moved to the point f side, disengaging the joining rotation tool F at the end position E M2 set in point f.
The start position S M2 and the end position E M2 are not limited to the positions in the present embodiment, but are preferably corners of the outer edge of the
図6の(c)に示すように、本接合工程によって、突合部J1及び突合部J2に沿って表面塑性化領域W1(W1a,W1b)が形成される。これにより、熱媒体用管20がベース部材2及び蓋板10によって密閉される。また、図1の(b)に示すように、本実施形態では、表面塑性化領域W1の深さが、蓋溝6の側壁6a,6b(図2の(b)参照)の高さと略同等に形成されているため、突合部J1及び突合部J2の深さ方向の全体を摩擦攪拌することができる。これにより、伝熱板1の気密性を高めることができる。
As shown in (c) of FIG. 6, the surface plasticizing region W1 (W1a, W1b) is formed along the abutting portion J1 and the abutting portion J2 by the main joining step. As a result, the
ここで、図7は、本実施形態の接合工程後を示した伝熱板1の斜視図である。伝熱板1は、接合工程によって表面塑性化領域W1が形成される。表面塑性化領域W1は、熱収縮によって縮むため、伝熱板1の表面Za側において、ベース部材2の各隅部側から中心側に向かって圧縮応力が作用する。これにより、伝熱板1は表面Za側が凹となるように、撓んでしまう可能性がある。特に、伝熱板1の表面Zaに示す地点a〜地点jのうち、伝熱板1の四隅に係る地点a,c,f,hにおいては、その反りの影響が顕著に現れる傾向がある。なお、地点jは、伝熱板1の中心地点を示す。
Here, FIG. 7 is a perspective view of the
(5)矯正工程
矯正工程では、矯正用回転ツールGを用いてベース部材2の裏面Zbから摩擦攪拌を行う。矯正工程は、前記した接合工程で発生した反り(撓み)を解消するために行う工程である。矯正工程は、本実施形態では、タブ材を配置するタブ材配置工程と、ベース部材2の裏面Zbに対して摩擦攪拌を行う矯正摩擦攪拌工程と、を含む。
(5) Straightening Step In the straightening step, friction stir is performed from the back surface Zb of the
タブ材配置工程では、図8に示すように、後記する矯正摩擦攪拌工程の開始位置及び終了位置を設定するタブ材31を配置する。タブ材31は、本実施形態では直方体を呈し、ベース部材2と同等の組成からなる。タブ材31は、ベース部材2の側面Zcの一部を覆い隠すようにして、側面Zcに当接されている。また、タブ材31は、タブ材31の両側面とベース部材2の側面Zcとを溶接によって仮接合されている。タブ材31の表面は、ベース部材2の裏面Zbと面一に形成することが好ましい。
In the tab material arranging step, as shown in FIG. 8, a
矯正摩擦攪拌工程では、図8の(a)及び(b)に示すように、矯正用回転ツールGを用いて、ベース部材2の裏面Zbに対して摩擦攪拌を行う。矯正摩擦攪拌工程のルートは、本実施形態では、中心地点j’を囲み、かつ、矯正摩擦攪拌工程によって形成される裏面塑性化領域W2が中心地点j’に対して放射状となるように設定する。なお、地点a’,地点b’・・・は、ベース部材2の表面Za側の地点a,地点b・・・(図7参照)のそれぞれ裏面Zb側に対応する地点をいう。
In the correction friction agitation step, friction agitation is performed on the back surface Zb of the
矯正摩擦攪拌工程では、図8の(a)に示すように、まず、タブ材31の表面に開始位置SM2を設定し、矯正用回転ツールGの攪拌ピンG2をタブ材31に押し込む(押圧する)。矯正用回転ツールGのショルダ部G1の一部がタブ材31に接触したら、ベース部材2に向かって矯正用回転ツールGを相対移動させる。そして、ベース部材2の裏面Zbにおける地点f’、地点a’、地点c’及び地点h’付近で凸状となるとともに、地点g‘、地点d’、地点b’及び地点e’付近で凹状となるように矯正用回転ツールGを相対移動させて摩擦攪拌を行う。即ち、図8の(b)に示すように、ベース部材2の中心線(一点鎖線)に対して線対称となるように裏面塑性化領域W2が形成される。本実施形態では、開始位置SM2と終了位置EM2とをタブ材31に設け、一筆書きの要領で摩擦攪拌を行う。これにより、摩擦攪拌を効率よく行うことができる。矯正摩擦攪拌工程が終了したら、タブ材31を切除する。
In the straightening friction stirring step, as shown in FIG. 8A, first, a start position SM2 is set on the surface of the
なお、本実施形態では、矯正用回転ツールGの軌跡、即ち、裏面塑性化領域W2の形状が、中心地点j’を囲み、かつ、中心地点j’に対して略放射状となるように形成したが、これに限定されるものではない。矯正用回転ツールGの軌跡のバリエーションについては、後記する。
また、本実施形態では、矯正用回転ツールGの軌跡の長さ(裏面塑性化領域W2の長さ)は、接合用回転ツールFの軌跡の長さ(表面塑性化領域W1の長さ)よりも短くなるように形成している。即ち、矯正工程における矯正用回転ツールGの加工度が、接合工程における接合用回転ツールFの加工度よりも小さくなるように設定している。これにより、伝熱板1の平坦性を高めることができる。この理由については実施例で説明する。ここで、加工度とは、摩擦攪拌によって形成された塑性化領域の体積量を示す。
また、本実施形態では矯正工程において、タブ材を配置したが、矯正摩擦攪拌工程における摩擦攪拌のルートによっては、タブ材を設けなくてもいい。
In the present embodiment, the trajectory of the correction rotary tool G, that is, the shape of the back surface plasticized region W2 is formed so as to surround the center point j ′ and to be substantially radial with respect to the center point j ′. However, the present invention is not limited to this. Variations of the locus of the correction rotating tool G will be described later.
Further, in the present embodiment, the length of the trajectory of the correction rotating tool G (the length of the back surface plasticizing region W2) is greater than the length of the trajectory of the rotating tool F for bonding (the length of the surface plasticizing region W1). Is also formed to be shorter. That is, the processing degree of the correction rotary tool G in the correction process is set to be smaller than the processing degree of the bonding rotary tool F in the bonding process. Thereby, the flatness of the
Further, in the present embodiment, the tab material is disposed in the correction process, but the tab material may not be provided depending on the friction stirring route in the correction friction stirring process.
(6)焼鈍工程
焼鈍工程では、伝熱板1を焼鈍することにより、伝熱板1の内部応力を除去する。本実施形態では、熱媒体用管20に、例えば、マイクロヒーターを通電させて焼鈍を行う。これにより、伝熱板1の内部応力を除去することができ、伝熱板1の使用時の変形を防止することができる。
(6) Annealing Step In the annealing step, the internal stress of the
以上説明した本実施形態に係る製造方法によれば、本接合工程による熱収縮によって、伝熱板1が撓んでしまったとしても、ベース部材2の裏面Zbにも摩擦攪拌を行うことで、表面Zaに発生した反りを解消して伝熱板1の平坦性を高めることができる。即ち、ベース部材2の裏面Zbに形成された裏面塑性化領域W2が、熱収縮により縮むため、伝熱板1の裏面Zb側において、ベース部材2の各隅部側から中心側に向かって圧縮応力が作用する。これにより、本接合工程によって形成された反りが解消されて、伝熱板1の平坦性を高めることができる。
According to the manufacturing method according to the present embodiment described above, even if the
また、本実施形態における矯正工程は、矯正用回転ツールGを一筆書きの要領で移動させるため、作業効率を高めることができる。 Moreover, since the correction | amendment process in this embodiment moves the rotation tool G for correction | amendment in the way of one-stroke writing, work efficiency can be improved.
[第一変形例]
第一実施形態においては、接合工程で摩擦攪拌を行ったとしても、熱媒体用管20の周囲に空隙が形成されてしまう。そこで、図9及び図10に示す第一変形例のように、熱媒体用管20の周囲に形成された空隙部に塑性流動材を流入させて、当該空隙部を埋めてもよい。
[First modification]
In the first embodiment, even if friction agitation is performed in the joining step, a gap is formed around the
即ち、図9に示すように、蓋溝6及び蓋板10の幅を前記した第一実施形態よりも小さく設定して、熱媒体用管20の近傍に突合部J1及び突合部J2が位置するように形成する。そして、接合用回転ツールFを所定の深さで押し込んで摩擦攪拌を行うことにより、熱媒体用管20の周囲に形成された空隙部P,Pに塑性流動材を流入させることができる。これにより、図10に示すように、熱媒体用管20の周囲が塑性化された金属で密閉されるため、伝熱性の高い伝熱板1を形成することができる。
なお、空隙部Pに塑性流動材をどの程度流動させるかは、接合用回転ツールFの大きさや押込み量、蓋溝6及び蓋板10の形状に応じて適宜設定すればよい。
That is, as shown in FIG. 9, the width of the
In addition, what is necessary is just to set suitably how much a plastic fluid material is made to flow into the space | gap part P according to the magnitude | size of the rotation tool F for joining, the pushing amount, and the shape of the cover groove |
[第二実施形態]
次に、本発明の第二実施形態について説明する。第二実施形態の説明においては、第一実施形態と重複する点は、簡単に説明する。前記した第一実施形態においては、蓋板10の両側面に沿ってそれぞれ摩擦攪拌を行うことで、表面塑性化領域W1,W1のように、二条の塑性化領域が形成されるようにして伝熱板を形成したが、第二実施形態のように、蓋板の幅を小さく設定して、一条の塑性化領域のみが形成されるようにして伝熱板を形成してもよい。
[Second Embodiment]
Next, a second embodiment of the present invention will be described. In the description of the second embodiment, the points overlapping with the first embodiment will be briefly described. In the first embodiment described above, by conducting frictional stirring along both side surfaces of the
第二実施形態によって製造された伝熱板41は、図11及び図12に示すように、平面視正方形の板厚のベース部材2と、ベース部材2に凹設された溝に挿入された熱媒体用管21と、ベース部材2に凹設された溝に挿入された蓋板42と、を主に備えている。蓋板42の上面は、一の摩擦攪拌によって接合されている。
As shown in FIGS. 11 and 12, the
図12及び図13に示すように、ベース部材2の表面Zaには、ベース部材2の一方の側面Zcから対向する他方の側面Zdまで連続して形成された凹溝43が形成されている。凹溝43は、熱媒体用管21及び蓋板42が挿入される部分である。凹溝43は、断面視U字状、平面視蛇行状を呈するように形成されている。図13に示すように、凹溝43の側壁43a,43b間の幅A’は、熱媒体用管20の外径と略同等に形成されている。また、凹溝43の幅A’は、接合用回転ツールFのショルダ部F1の外径X1よりも小さく形成されている。凹溝43の深さは、深さC’で形成されている。
As shown in FIGS. 12 and 13, the surface Za of the
熱媒体用管21は、凹溝43に挿入される管であって、ベース部材2の一方の側面Zcから他方の側面Zdまで貫通して形成されている。熱媒体用管21は、平面視蛇行状を呈し、凹溝43の平面視形状と略同等の形状を呈する。
The
蓋板42は、断面視矩形、平面視蛇行状を呈する部材であって凹溝43に挿入される部材である。蓋板42は、側面42a,42b及び上面42c、下面42dを備えている。蓋板42を凹溝43に挿入すると、上面42cとベース部材2の表面Zaとが面一になるとともに、蓋板42の側面42a,42bは、凹溝43の側壁43a,43bとそれぞれ面接触するか又は微細な隙間をあけて対向する。
The
次に、第二実施形態に係る製造方法について説明する。
第二実施形態に係る伝熱板の製造方法は、(1)溝形成工程、(2)熱媒体用管挿入工程、(3)蓋板挿入工程、(4)接合工程、(5)矯正工程、(6)面削工程を含むものである。
Next, a manufacturing method according to the second embodiment will be described.
The manufacturing method of the heat transfer plate according to the second embodiment includes (1) groove forming step, (2) heat medium tube inserting step, (3) lid plate inserting step, (4) joining step, and (5) straightening step. (6) A chamfering step is included.
(1)溝形成工程
溝形成工程では、図12及び図13に示すように、ベース部材2の表面Zaに所定の幅及び深さで凹溝43を形成する。溝形成工程は、例えば、公知のエンドミル等を用いて行う。
(1) Groove Forming Step In the groove forming step, as shown in FIGS. 12 and 13, the
(2)熱媒体用管挿入工程
熱媒体用管挿入工程では、図12及び図13に示すように、溝形成工程で形成された凹溝43に熱媒体用管21を挿入する。
(2) Heat medium tube insertion step In the heat medium tube insertion step, as shown in FIGS. 12 and 13, the
(3)蓋板挿入工程
蓋板挿入工程は、図12及び図13に示すように、凹溝43に蓋板42を挿入して凹溝43を閉塞する。ここで、凹溝43と蓋板42との突き合わせ面において、凹溝43の一方の側壁43aと、蓋板42の一方の側面42aとで突き合わされた部分を突合部J3とし、凹溝43の他方の側壁43bと、蓋板42の他方の側面42bとで突き合わされた部分を突合部J4とする。
(3) Lid Plate Inserting Step In the lid plate inserting step, as shown in FIGS. 12 and 13, the
(4)接合工程
接合工程では、蓋板42(凹溝43)に沿って接合用回転ツールFを用いて摩擦攪拌を行う。接合工程は、本実施形態ではタブ材を配置するタブ材配置工程と、摩擦攪拌を行う本接合工程とを含む。
(4) Joining Step In the joining step, friction stirring is performed using the joining rotary tool F along the lid plate 42 (concave groove 43). In the present embodiment, the joining process includes a tab material arranging process for arranging the tab material, and a main joining process for performing frictional stirring.
タブ材配置工程では、図14の(a)に示すように、ベース部材2の一方の側面Zc及び他方の側面Zdに一対のタブ材33,34をそれぞれ配置する。タブ材33,34の両側面とベース部材2とは溶接によって仮接合する。
In the tab material arranging step, as shown in FIG. 14A, a pair of
本接合工程では、図14の(a)及び(b)に示すように、蓋板42(凹溝43)に沿って摩擦攪拌を行う。即ち、タブ材33に設定した開始位置SM4に接合用回転ツールFを押し込んで、ショルダ部F1がベース部材2に接触したら、蓋板42に沿って接合用回転ツールFを相対移動させ、タブ材34に設定した終了位置EM4まで連続して摩擦攪拌を行う。図14の(b)に示すように、接合用回転ツールFのショルダ部F1の外径X1は、凹溝43の幅A’よりも大きく設定しているため、蓋板42の中心に沿って接合用回転ツールFを移動させると、突合部J3,J4が塑性化される。このように、本実施形態によれば、一のルートを設定するだけで、突合部J3,J4を摩擦攪拌することができるため、第一実施形態に比べて作業手間を大幅に省略することができる。また、摩擦攪拌を行う際に、接合用回転ツールFが蓋板42を押し込むため、熱媒体用管21も押圧されて変形する。これにより、熱媒体用管21の周囲に形成されている空隙部Pを低減することができるため、伝熱板41の伝熱性を高めることができる。
なお、本接合工程が終了したら、ベース部材2からタブ材を切除する。
In the main joining step, as shown in FIGS. 14A and 14B, friction stirring is performed along the cover plate 42 (concave groove 43). That is, when the joining rotary tool F is pushed into the start position SM4 set on the
When the main joining process is completed, the tab material is cut out from the
ここで図15は、本実施形態の本接合工程後を示した伝熱板41を示した斜視図である。伝熱板41は、接合工程によって、表面塑性化領域W3が形成される。表面塑性化領域W3は、熱収縮によって縮むため、伝熱板41が表面Za側に凹状となるように反って撓んでしまう可能性がある。特に、伝熱板41の表面Zaに示す地点a〜地点jのうち、伝熱板41の四隅に係る地点a,c,f,hに関しては、その反りが顕著に見られる傾向がある。なお、地点jは、伝熱板41の中心地点を示す。
FIG. 15 is a perspective view showing the
(5)矯正工程
矯正工程では、矯正用回転ツールGを用いてベース部材2の裏面Zbから摩擦攪拌を行う。矯正工程は、前記した接合工程で発生した反りを解消するために行う工程である。矯正工程は、本実施形態では、放射線状に摩擦攪拌を行う矯正摩擦攪拌工程と、ベース部材2の隅部に対して摩擦攪拌を行う隅部摩擦攪拌工程とを含むものである。
(5) Straightening Step In the straightening step, friction stir is performed from the back surface Zb of the
矯正摩擦攪拌工程では、図16の(a)に示すように、中心地点j’を通って放射状に塑性化領域が形成されるように摩擦攪拌を行う。即ち、地点a’と地点h’とを結ぶ直線上、地点d’と地点e’とを結ぶ直線上、地点f’と地点c’とを結ぶ直線上、地点g’と地点b’とを結ぶ直線上にそれぞれ摩擦攪拌の開始位置(SM5,SM6,SM7,SM8)及び終了位置(EM5,EM6,EM7,EM8)を設定するとともに、各開始位置から中心地点j’までの距離と、中心地点j’から各終了位置までの距離とが同等となるように摩擦攪拌のルートを設定する。
矯正摩擦攪拌工程の摩擦攪拌のルートを設定したら、各開始位置に矯正用回転ツールGを押し込み、各ルート(直線)に沿って矯正用回転ツールGを移動させる。図16の(b)に示すように、矯正摩擦攪拌工程によって形成された裏面塑性化領域W41〜W44は、中心地点j’に対して八方向に放射状に広がるように形成される。
In the straightening friction stirring step, as shown in FIG. 16A, friction stirring is performed so that a plasticized region is formed radially through the central point j ′. That is, on the straight line connecting point a ′ and point h ′, on the straight line connecting point d ′ and point e ′, on the straight line connecting point f ′ and point c ′, and on point g ′ and point b ′. The friction stirring start position (S M5 , S M6 , S M7 , S M8 ) and the end position (E M5 , E M6 , E M7 , E M8 ) are set on the connecting line, and the center point from each start position. The friction stir route is set so that the distance to j ′ is equal to the distance from the center point j ′ to each end position.
After setting the friction stir route in the straightening friction stirring step, the straightening rotary tool G is pushed into each start position, and the straightening rotary tool G is moved along each route (straight line). As shown in FIG. 16B, the back surface plasticized regions W41 to W44 formed by the correction friction stirring step are formed so as to radially spread in eight directions with respect to the central point j ′.
隅部摩擦攪拌工程では、図16の(b)に示すように、ベース部材2の地点a’、地点c’、地点f’及び地点h’に係る各隅部において、重点的に摩擦攪拌を行う。即ち、地点a’に係る隅部を構成する一辺2a側に摩擦攪拌の開始位置SM9及び終了位置EM9を設定し、他辺2b側に折返し位置SR9を設定する。そして、開始位置SM9に矯正用回転ツールGを押し込み、折返し位置SR9に向けて移動させた後、折返し位置SR9で折り返し、終了位置EM9で矯正用回転ツールGを離脱させる。同様の工程を、地点c’、地点f’及び地点h’の各隅部にも行う。隅部摩擦攪拌工程によれば、特に反りの大きいベース部材2の隅部に重点的に矯正工程を行うことができるため、より伝熱板41の平坦性を高めることができる。
In the corner friction agitation step, as shown in FIG. 16B, friction agitation is intensively performed at the corners of the
隅部摩擦攪拌工程は、本実施形態では、矯正用回転ツールGの軌跡が各隅部において、対角線と直交するように形成されているが、これに限定されるものではない。隅部の反りの大きさを考慮して適宜摩擦攪拌のルートを設定すればよい。なお、隅部摩擦攪拌工程で形成される裏面塑性化領域W45と裏面塑性化領域W47、裏面塑性化領域46と裏面塑性化領域W48はそれぞれ中心地点j’に対して点対称となるように形成されることが好ましい。これにより、伝熱板41の表面Za側と裏面Zb側の反りをバランスよく解消して伝熱板41の平坦性を高めることができる。
In this embodiment, the corner friction stirring step is formed so that the trajectory of the correction rotary tool G is perpendicular to the diagonal line at each corner, but is not limited thereto. A route for friction stirring may be set as appropriate in consideration of the degree of warping of the corner. In addition, the back surface plasticization region W45 and the back surface plasticization region W47, and the back surface plasticization region 46 and the back surface plasticization region W48 formed in the corner friction stirring step are formed so as to be symmetric with respect to the center point j ′. It is preferred that Thereby, the curvature of the surface Za side and the back surface Zb side of the heat-
(6)面削工程
面削工程では、公知のエンドミル等を用いて伝熱板41の裏面Zbを面削する。図16の(b)に示すように、伝熱板41の裏面Zbには、矯正用回転ツールGの抜き穴(図示省略)や、各回転ツールを押し込むことによって発生する溝(図示省略)、バリ等が発生する。したがって、面削工程を行うことにより、伝熱板41の裏面Zbを平滑に形成することができる。本実施形態では、図17に示すように、面削加工の厚みMaは、裏面塑性化領域W42の厚みWaよりも大きく設定する。これにより、ベース部材2の裏面Zbに形成される裏面塑性化領域W41〜W44が除去されるため、ベース部材2の性質の均一性を図ることができる。また、裏面Zbに裏面塑性化領域W42が露出しないため、意匠性等にも好適である。
(6) Chamfering step In the chamfering step, the back surface Zb of the
なお、本実施形態では、面削加工の厚みは、裏面塑性化領域の厚みよりも大きく設定したが、これに限定されるものではない。面削加工の厚みは、例えば、矯正用回転ツールGの攪拌ピンG2の長さよりも大きく設定してもよい。
また、本実施形態では、攪拌ピンG2を備えた矯正用回転ツールGを用いて矯正工程を行ったが、攪拌ピンG2を備えない矯正用回転ツールGを用いて矯正工程を行っても構わない。かかる回転ツールによれば、裏面塑性化領域の深さを浅くすることができるため、面削する厚みを小さくすることができる。これにより、面削部分が少ないためベース部材2のロスを小さくすることができ、コストを低減することができる。
In the present embodiment, the thickness of the chamfering process is set to be larger than the thickness of the back surface plasticizing region, but the present invention is not limited to this. The thickness of the chamfering process may be set larger than the length of the stirring pin G2 of the correction rotary tool G, for example.
Moreover, in this embodiment, although the correction process was performed using the rotation tool G for correction provided with the stirring pin G2, you may perform the correction process using the rotation tool G for correction that does not include the stirring pin G2. . According to such a rotating tool, since the depth of the back surface plasticization region can be reduced, the thickness to be chamfered can be reduced. Thereby, since there are few chamfering parts, the loss of the
以上説明した第二実施形態によれば、蓋板42と凹溝43との突合部J3,J4を接合用回転ツールFの一回の移動で摩擦攪拌することができるため、第一実施形態に比べて作業手間を大幅に省略することができる。また、ベース部材2の裏面Zbに対して、隅部摩擦攪拌工程を行うため、特に反りの大きい隅部に対して重点的に矯正を行って、伝熱板41の平坦性を高めることができる。
According to the second embodiment described above, the abutting portions J3 and J4 between the
以上本発明の実施形態について説明したが、本発明は前記した実施形態に限定されずに本発明の趣旨を逸脱しない範囲で適宜変更が可能である。
例えば、矯正工程は、前記した第一実施形態及び第二実施形態の摩擦攪拌のルートに限定されずに様々なルートを設定することができる。以下に、矯正工程に係る摩擦攪拌のルートの他の形態について説明する。
Although the embodiments of the present invention have been described above, the present invention is not limited to the above-described embodiments and can be appropriately changed without departing from the spirit of the present invention.
For example, the correction process is not limited to the friction stir route of the first embodiment and the second embodiment described above, and various routes can be set. Below, the other form of the route of friction stirring which concerns on a correction process is demonstrated.
[第二変形例]
例えば、図18及び図19に示す第二変形例のように、伝熱板の表面側及び裏面側に形成される塑性化領域が、略同等の形状を呈するように矯正工程に係る摩擦攪拌のルートを設定してもよい。図18は、本発明の第二変形例に係る伝熱板の表面側の一部破断平面図であって、図19は、本発明の第二変形例に係る伝熱板の裏面側の平面図である。なお、第二変形例においては、第一実施形態及び第二実施形態と重複する点は説明を省略する。
[Second modification]
For example, as in the second modification shown in FIGS. 18 and 19, the friction stirrer according to the correction process is performed so that the plasticized regions formed on the front surface side and the back surface side of the heat transfer plate have substantially the same shape. A route may be set. FIG. 18 is a partially broken plan view of the front surface side of the heat transfer plate according to the second modification of the present invention, and FIG. 19 is a plan view of the back surface side of the heat transfer plate according to the second modification of the present invention. FIG. In the second modified example, the description of the same points as those in the first embodiment and the second embodiment is omitted.
図18に示す伝熱板51は、中央に開口部52を備えたベース部材2と、ベース部材2に切り欠かれた凹溝(図示省略)に埋設された熱媒体用管53と、凹溝を塞ぐ蓋板54とを主に有している。
A
熱媒体用管53は、平面視中抜きの十字状を呈するように、ベース部材2の内部に埋設されている。熱媒体用管53の一端と他端は、ベース部材2の開口部52に露出している。即ち、開口部52に現れる熱媒体用管53の一端から熱を供給し、他端から熱を排出してベース部材2に熱が伝達される。
The
蓋板54とベース部材2との突合部は、接合用回転ツールFによって第二実施形態にかかる接合方法と略同等の工程によって、摩擦攪拌により接合されている。これにより、ベース部材2の表面Zaには、平面視略中抜き十字状を呈するように、表面塑性化領域W50が形成されている。
The abutting portion between the
一方、図19に示すように、伝熱板51の裏面Zbは、表面Zaと同様に、平面視中抜き十字状を呈するように裏面塑性化領域W51が形成されている。当該矯正工程における摩擦攪拌の開始位置及び終了位置は、ベース部材2の任意の一点に設定されている。また、裏面塑性化領域W51は、矯正用回転ツールGを用いて一筆書きの要領で摩擦攪拌されている。
On the other hand, as shown in FIG. 19, the back surface Zb of the
第二変形例のように、伝熱板51の表面Za及び裏面Zbにそれぞれ形成された表面塑性化領域W50及び裏面塑性化領域W51が略同等の形状を呈するように矯正工程に係る摩擦攪拌のルートを設定してもよい。かかる接合工程及び矯正工程によれば、伝熱板51の表面Za側及び裏面Zb側に形成される塑性化領域の形状が略同等となるため、伝熱板1の反りをバランスよく解消して平坦性を高めることができる。
なお、第二変形例によれば、ベース部材2の表面Za側に行う摩擦攪拌の軌跡の長さと、裏面Zb側に行う摩擦攪拌の軌跡の長さが略同等となるが、矯正用回転ツールGは、接合用回転ツールFよりも小さく形成されているため、矯正工程における加工度は、接合用工程における加工度に比べて小さくなる。
As in the second modification, the friction stirrer according to the correction process is performed so that the surface plasticized region W50 and the back plasticized region W51 formed on the front surface Za and the back surface Zb of the
According to the second modification, the length of the locus of friction agitation performed on the surface Za side of the
[第三〜第八変形例]
矯正工程に係る摩擦攪拌のルートは、前記した形態に限定されるものではなく、以下の形態でもよい。図20は、伝熱板の裏面側の平面図であって(a)は第三変形例、(b)は第四変形例、(c)は第五変形例、(d)は第六変形例、(e)は第七変形例、(f)は第八変形例を示す。
[Third to Eighth Modifications]
The route of the friction stirrer related to the correction process is not limited to the above-described form, and may be the following form. FIG. 20 is a plan view of the back side of the heat transfer plate, where (a) is a third modification, (b) is a fourth modification, (c) is a fifth modification, and (d) is a sixth modification. For example, (e) shows a seventh modification, and (f) shows an eighth modification.
図20の(a)及び(b)に示す第三変形例及び第四変形例の矯正用回転ツールの軌跡(裏面塑性化領域W2)は、いずれもベース部材2の中心地点j’を囲むように形成されていることを特徴とする。また、第三変形例は、ベース部材2の外形形状に対して相似になるように形成されている。また、図20の(b)に示す第四変形例のように、格子状に形成してもよい。
The trajectories (back surface plasticization region W2) of the correction rotary tool of the third and fourth modifications shown in FIGS. 20A and 20B all surround the center point j ′ of the
図20の(c)及び(d)に示す第五変形例及び第六変形例の矯正用回転ツールの軌跡(裏面塑性化領域W2)は、いずれもベース部材2の中心地点j’を通過して放射状となるように形成されていることを特徴とする。図20の(c)に示す第五変形例は、中心地点jを始点・終点とするループを複数含み、中心地点j’に対して点対称となるように形成されている。また、第五変形例は、一筆書きの要領で形成することができるため、作業効率を高めることができる。図20の(d)に示す第六変形例は、中心地点j’を通過するとともに、ベース部材2の対角線に対して平行となるように形成されている。
The trajectories (back surface plasticizing region W2) of the correction rotating tools of the fifth and sixth modifications shown in FIGS. 20C and 20D both pass through the center point j ′ of the
図20の(e)及び(f)に示す第七変形例及び第八変形例の矯正用回転ツールの軌跡(裏面塑性化領域W2)は、中心地点j’を通る直線で区分けした領域に、同形状の4つの軌跡がそれぞれ独立して形成されるとともに、中心地点j’を挟んで斜めに対向する軌跡が点対称となるように形成されている。4つの軌跡の形状は、同形状であれば、どのような形状であっても構わない。 The trajectory (back surface plasticization region W2) of the correction rotary tool of the seventh and eighth modifications shown in FIGS. 20 (e) and (f) is an area divided by a straight line passing through the central point j ′. Four trajectories having the same shape are formed independently, and trajectories that are diagonally opposed across the central point j ′ are formed to be point-symmetric. The four trajectories may have any shape as long as they have the same shape.
以上説明したように、矯正工程は、ベース部材2に行われる接合工程の摩擦攪拌の軌跡に応じて適宜摩擦攪拌のルートを設定して行えばよい。
なお、本実施形態の説明においては、ベース部材2は、平面視正方形のものを例示して説明したが、他の形状であってもよい。
[実施例]
As described above, the correction step may be performed by appropriately setting the route of friction stirring according to the locus of friction stirring in the joining step performed on the
In the description of the present embodiment, the
[Example]
次に、本発明の実施例について説明する。本発明に係る実施例は、図21(a)及び(b)に示すように平面視正方形のベース部材2の表面Za及び裏面Zbにそれぞれ3つの円を描くように摩擦攪拌を行い、表面Za側で発生した反りの変形量と、裏面Zb側で発生した反りの変形量を測定した。即ち、表面Za側で発生した反りの変形量の値と、裏面Zb側で発生した反りの変形量の値とが近いほど、ベース部材2の平坦性が高いことを示す。
Next, examples of the present invention will be described. In the embodiment according to the present invention, as shown in FIGS. 21 (a) and 21 (b), friction stirring is performed so as to draw three circles on the front surface Za and the rear surface Zb of the
ベース部材2は、平面視500mm×500mmの直方体であって、厚みが30mm、60mmの二種類ものを用いてそれぞれ測定を行った。ベース部材2の素材は、JIS規格の5052アルミニウム合金である。
The
摩擦攪拌の軌跡である3つの円は、ベース部材2の中心に設定した地点j又は地点j’を中心とし、表面Za及び裏面Zbともに半径r1=100mm(以下、小円ともいう)、r2=150mm(以下、中円ともいう)、r3=200mm(以下、大円ともいう)に設定した。摩擦攪拌の順序は、小円、中円、大円の順番で行った。
The three circles that are the locus of frictional stirring are centered on the point j or the point j ′ set at the center of the
回転ツールは、表面Za側及び裏面Zb側ともに同じ大きさの回転ツールを用いた。回転ツールのサイズは、ショルダ部の外径が20mm、攪拌ピンの長さが10mm、攪拌ピンの根元の大きさ(最大径)が9mm、攪拌ピンの先端の大きさ(最小径)が6mmのものを用いた。回転ツールの回転数は、600rpm、送り速度は、300mm/minに設定した。当該実施例における各測定結果を以下の表1〜表4に示す。 As the rotation tool, a rotation tool having the same size was used on both the front surface Za side and the back surface Zb side. The size of the rotating tool is such that the outer diameter of the shoulder portion is 20 mm, the length of the stirring pin is 10 mm, the base size (maximum diameter) of the stirring pin is 9 mm, and the tip size (minimum diameter) of the stirring pin is 6 mm. A thing was used. The rotational speed of the rotary tool was set to 600 rpm, and the feed rate was set to 300 mm / min. Each measurement result in the said Example is shown in the following Tables 1-4.
表1は、ベース部材の板厚が30mmであって、表面側から摩擦攪拌を行った場合の測定値を示した表である。「FSW前」は、摩擦攪拌を行う前において、中心地点j(基準j)と各地点(地点a〜地点h)との高低差を示している。「FSW後」は、基準jをゼロとして、3つの円の摩擦攪拌を行った後において、基準jと各地点との高低差を示している。「表面側変形量」は、各地点における(FSW後−FSW前)の値を示している。「表面側変形量」の最下欄は、地点a〜地点hの平均値を示す。「FSW前」及び「FSW後」のマイナス値は、基準jよりも下方に位置していることを意味する。 Table 1 is a table showing measured values when the plate thickness of the base member is 30 mm and frictional stirring is performed from the surface side. “Before FSW” indicates the height difference between the central point j (reference j) and each point (point a to point h) before the friction stir. “After FSW” indicates a difference in height between the reference j and each point after performing frictional stirring of three circles with the reference j being zero. The “surface side deformation amount” indicates a value of (after FSW−before FSW) at each point. The lowermost column of “surface side deformation amount” indicates an average value of the points a to h. Negative values of “before FSW” and “after FSW” mean that they are located below the reference j.
表2は、ベース部材の板厚が30mmであって、裏面側から摩擦攪拌を行った場合(矯正工程)の測定値を示した表である。「FSW前」は、摩擦攪拌を行う前において、中心地点j’(基準j’)と各地点(a’〜h’)との高低差を示している。
「FSW1」は、図22を参照するように、基準j’をゼロとして、小円(半径r1)の摩擦攪拌を行った後の、基準j’と各地点との高低差を示している。「裏面側変形量1」は、各地点における(FSW1−FSW前)の値を示している。「裏面側変形量1」の最下欄は、地点a〜地点hの平均値を示す。
「FSW2」は、基準j’をゼロとして、中円(半径r2)の摩擦攪拌を行った後の、基準j’と各地点との高低差を示している。「裏面側変形量2」は、各地点における(FSW2−FSW前)の値を示している。「裏面側変形量2」の最下欄は、地点a〜地点hの平均値を示す。
「FSW3」は、基準j’をゼロとして、大円(半径r3)の摩擦攪拌を行った後の、基準j’と各地点との高低差を示している。「裏面側変形量3」は、各地点における(FSW3−FSW前)の値を示している。「裏面側変形量3」の最下欄は、地点a〜地点hの平均値を示す。
Table 2 is a table showing the measured values when the plate thickness of the base member is 30 mm and frictional stirring is performed from the back side (correcting step). “Before FSW” indicates the height difference between the central point j ′ (reference j ′) and each point (a ′ to h ′) before the friction stir.
As shown in FIG. 22, “FSW1” indicates a difference in height between the reference j ′ and each point after the frictional stirring of the small circle (radius r1) is performed with the reference j ′ set to zero. “Back
“FSW2” indicates a difference in height between the reference j ′ and each point after performing frictional stirring of the middle circle (radius r2) with the reference j ′ as zero. “Back
“FSW3” indicates a difference in height between the reference j ′ and each point after performing frictional stirring of the great circle (radius r3) with the reference j ′ as zero. "Back
表3は、ベース部材の板厚が60mmであって、表面側から摩擦攪拌を行った場合の測定値を示した表である。表3の各項目は、表1の各項目と略同等の意味を示す。 Table 3 is a table showing the measured values when the plate thickness of the base member is 60 mm and frictional stirring is performed from the surface side. Each item in Table 3 has substantially the same meaning as each item in Table 1.
表4は、ベース部材の板厚が60mmであって、裏面側から摩擦攪拌を行った場合の測定値を示した表である。表4の各項目は、表2の各項目と略同等の意味を示す。 Table 4 is a table showing the measured values when the plate thickness of the base member is 60 mm and friction stirring is performed from the back side. Each item in Table 4 has substantially the same meaning as each item in Table 2.
表1の「表面側変形量」の平均値(1.61)と、表2の「裏面側変形量1」の平均値(2.04)とを比較すると、「裏面側変形量1」の値の方が大きい。同様に、「裏面側変形量2」の平均値(2.95)及び「裏面側変形量3」の平均値(3.53)も、「表面側変形量」の平均値(1.61)よりも大きな値となっている。つまり、ベース部材の板厚が30mmの場合は、裏面側から小円の摩擦攪拌のみを行っただけでも、ベース部材の反りが戻りすぎてしまう。したがって、ベース部材30mmの場合は、小円よりも小さな円の軌跡による摩擦攪拌、即ち、表面側よりも低い加工度でベース部材2の平坦性を高めることができる。
Comparing the average value (1.61) of “front side deformation” in Table 1 and the average value (2.04) of “back
表3の「表面側変形量」の平均値(0.98)と、表4の「裏面側変形量2」の平均値(0.91)とを比較すると、両者の変形量が近似している。したがって、ベース部材2の板厚が60mmの場合は、裏面側から小円及び中円の摩擦攪拌を行ったときに、ベース部材2の平坦性が高いことが確認できた。つまり、板厚が60mmの場合は、表面側に比べて裏面側の加工度を低く設定すればベース部材2の平坦性を高めることができる。
When the average value (0.98) of “front side deformation amount” in Table 3 is compared with the average value (0.91) of “back
1 伝熱板
2 ベース部材
6 蓋溝
8 凹溝
10 蓋板
20 熱媒体用管
F 接合用回転ツール
G 矯正用回転ツール
J 突合部
P 空隙部
W 塑性化領域
Za 表面
Zb 裏面
DESCRIPTION OF
Claims (20)
前記蓋溝の側壁と前記蓋板の側面との突合部に沿って接合用回転ツールを相対移動させて摩擦攪拌を行う接合工程と、
矯正用回転ツールを用いて前記ベース部材の裏面側から摩擦攪拌を行う矯正工程と、を含むことを特徴とする伝熱板の製造方法。 A lid groove closing step of disposing a lid plate in the lid groove formed around the concave groove opening on the surface side of the base member;
A joining step in which friction stir is performed by relatively moving the joining rotary tool along the abutting portion between the side wall of the lid groove and the side surface of the lid plate;
And a straightening step in which friction stir is performed from the back side of the base member using a straightening rotary tool.
前記蓋溝に蓋板を配置する蓋溝閉塞工程と、
前記蓋溝の側壁と前記蓋板の側面との突合部に沿って接合用回転ツールを相対移動させて摩擦攪拌を施す接合工程と、
矯正用回転ツールを用いて前記ベース部材の裏面側から摩擦攪拌を行う矯正工程と、を含み、
前記矯正工程によって形成された塑性化領域の体積量が、前記接合工程によって形成された塑性化領域の体積量よりも少ないことを特徴とする伝熱板の製造方法。 A heat medium tube insertion step of inserting the heat medium tube into the concave groove formed in the bottom surface of the lid groove opening on the surface side of the base member;
A lid groove closing step of disposing a lid plate in the lid groove;
A joining step in which friction stir is performed by relatively moving the joining rotary tool along the abutting portion between the side wall of the lid groove and the side surface of the lid plate;
A correction step of performing frictional stirring from the back side of the base member using a correction rotating tool,
The method for manufacturing a heat transfer plate, wherein a volume amount of the plasticized region formed by the straightening step is smaller than a volume amount of the plasticized region formed by the joining step.
前記凹溝に沿って接合用回転ツールを相対移動させて摩擦攪拌を行う接合工程と、
矯正用回転ツールを用いて前記ベース部材の裏面側から摩擦攪拌を行う矯正工程と、を含むことを特徴とする伝熱板の製造方法。 A lid plate insertion step of inserting a lid plate into the concave groove opened on the surface side of the base member;
A joining step of performing frictional stirring by relatively moving the joining rotary tool along the concave groove;
And a straightening step in which friction stir is performed from the back side of the base member using a straightening rotary tool.
前記凹溝に蓋板を挿入する蓋板挿入工程と、
前記凹溝に沿って接合用回転ツールを相対移動させて摩擦攪拌を行う接合工程と、
矯正用回転ツールを用いて前記ベース部材の裏面側から摩擦攪拌を行う矯正工程と、を含み、
前記矯正工程によって形成された塑性化領域の体積量が、前記接合工程によって形成された塑性化領域の体積量よりも少ないことを特徴とする伝熱板の製造方法。 A heat medium pipe insertion step of inserting the heat medium pipe into the concave groove opened on the surface side of the base member;
A lid plate insertion step of inserting a lid plate into the concave groove;
A joining step of performing frictional stirring by relatively moving the joining rotary tool along the concave groove;
A correction step of performing frictional stirring from the back side of the base member using a correction rotating tool,
The method for manufacturing a heat transfer plate, wherein a volume amount of the plasticized region formed by the straightening step is smaller than a volume amount of the plasticized region formed by the joining step.
The chamfering step of chamfering the back side of the base member after the straightening step, wherein the depth of the chamfering is larger than the length of the pin of the straightening rotary tool. The manufacturing method of the heat exchanger plate as described in any one of Claim 1 thru | or 19.
Priority Applications (8)
| Application Number | Priority Date | Filing Date | Title |
|---|---|---|---|
| JP2008039652A JP5071144B2 (en) | 2008-02-21 | 2008-02-21 | Manufacturing method of heat transfer plate |
| PCT/JP2009/050132 WO2009104426A1 (en) | 2008-02-21 | 2009-01-08 | Method of manufacturing heat transfer plate |
| CN201310419428.5A CN103551722A (en) | 2008-02-21 | 2009-01-08 | Method of manufacturing heat transfer plate |
| CN200980106125.XA CN101952079B (en) | 2008-02-21 | 2009-01-08 | Manufacturing method of heat transfer plate |
| CN201310419509.5A CN103551723B (en) | 2008-02-21 | 2009-01-08 | The manufacture method of heat transfer plate |
| CN201310419507.6A CN103551799B (en) | 2008-02-21 | 2009-01-08 | The manufacture method of heat transfer plate |
| KR1020107020722A KR101194097B1 (en) | 2008-02-21 | 2009-01-08 | Method of manufacturing heat transfer plate |
| TW098105218A TWI389755B (en) | 2008-02-21 | 2009-02-19 | Method of manufacturing heat transfer board |
Applications Claiming Priority (1)
| Application Number | Priority Date | Filing Date | Title |
|---|---|---|---|
| JP2008039652A JP5071144B2 (en) | 2008-02-21 | 2008-02-21 | Manufacturing method of heat transfer plate |
Publications (2)
| Publication Number | Publication Date |
|---|---|
| JP2009195940A JP2009195940A (en) | 2009-09-03 |
| JP5071144B2 true JP5071144B2 (en) | 2012-11-14 |
Family
ID=41140061
Family Applications (1)
| Application Number | Title | Priority Date | Filing Date |
|---|---|---|---|
| JP2008039652A Active JP5071144B2 (en) | 2008-02-21 | 2008-02-21 | Manufacturing method of heat transfer plate |
Country Status (1)
| Country | Link |
|---|---|
| JP (1) | JP5071144B2 (en) |
Cited By (5)
| Publication number | Priority date | Publication date | Assignee | Title |
|---|---|---|---|---|
| US12209559B2 (en) | 2023-03-30 | 2025-01-28 | Blue Origin, Llc | Transpiration-cooled systems having permeable and non-permeable portions |
| US12246392B2 (en) | 2023-03-30 | 2025-03-11 | Blue Origin Manufacturing, LLC | Deposition head for friction stir additive manufacturing devices and methods |
| US12303994B2 (en) | 2023-08-03 | 2025-05-20 | Blue Origin Manufacturing, LLC | Friction stir additive manufacturing formed parts and structures with integrated passages |
| US12383975B2 (en) | 2023-08-03 | 2025-08-12 | Blue Origin Manufacturing, LLC | Friction stir additive manufacturing formed parts and structures with integrated passages |
| US12415229B2 (en) | 2020-07-29 | 2025-09-16 | Blue Origin Manufacturing, LLC | Friction stir welding systems and methods |
Families Citing this family (5)
| Publication number | Priority date | Publication date | Assignee | Title |
|---|---|---|---|---|
| JP5267381B2 (en) * | 2009-08-19 | 2013-08-21 | 日本軽金属株式会社 | Manufacturing method of heat transfer plate |
| JP5862272B2 (en) * | 2011-12-19 | 2016-02-16 | 日本軽金属株式会社 | Manufacturing method of liquid cooling jacket |
| KR101881679B1 (en) | 2013-10-21 | 2018-07-24 | 니폰게이긴조쿠가부시키가이샤 | Method for manufacturing heat transfer plate |
| JP2015147217A (en) * | 2014-02-04 | 2015-08-20 | 日本軽金属株式会社 | Jointing method |
| TWI638696B (en) * | 2014-02-14 | 2018-10-21 | 日商亞伊色爾股份有限公司 | Manufacturing method, structure and heat exchanger of structure |
Family Cites Families (3)
| Publication number | Priority date | Publication date | Assignee | Title |
|---|---|---|---|---|
| JP2006150454A (en) * | 2000-12-22 | 2006-06-15 | Hitachi Cable Ltd | Cooling plate and manufacturing method thereof, and sputtering target and manufacturing method thereof |
| JP4325260B2 (en) * | 2003-04-15 | 2009-09-02 | 日本軽金属株式会社 | Manufacturing method of heat transfer element |
| JP4438403B2 (en) * | 2003-12-22 | 2010-03-24 | 川崎重工業株式会社 | Friction stir welding method |
-
2008
- 2008-02-21 JP JP2008039652A patent/JP5071144B2/en active Active
Cited By (5)
| Publication number | Priority date | Publication date | Assignee | Title |
|---|---|---|---|---|
| US12415229B2 (en) | 2020-07-29 | 2025-09-16 | Blue Origin Manufacturing, LLC | Friction stir welding systems and methods |
| US12209559B2 (en) | 2023-03-30 | 2025-01-28 | Blue Origin, Llc | Transpiration-cooled systems having permeable and non-permeable portions |
| US12246392B2 (en) | 2023-03-30 | 2025-03-11 | Blue Origin Manufacturing, LLC | Deposition head for friction stir additive manufacturing devices and methods |
| US12303994B2 (en) | 2023-08-03 | 2025-05-20 | Blue Origin Manufacturing, LLC | Friction stir additive manufacturing formed parts and structures with integrated passages |
| US12383975B2 (en) | 2023-08-03 | 2025-08-12 | Blue Origin Manufacturing, LLC | Friction stir additive manufacturing formed parts and structures with integrated passages |
Also Published As
| Publication number | Publication date |
|---|---|
| JP2009195940A (en) | 2009-09-03 |
Similar Documents
| Publication | Publication Date | Title |
|---|---|---|
| JP5071144B2 (en) | Manufacturing method of heat transfer plate | |
| WO2009104426A1 (en) | Method of manufacturing heat transfer plate | |
| JP4962423B2 (en) | Manufacturing method of heat transfer plate | |
| TWI402476B (en) | The method of manufacturing the heat transfer plate and the heat conducting plate | |
| JP5262508B2 (en) | Manufacturing method of heat transfer plate | |
| JP2017213604A (en) | Heat exchanger plate manufacturing method, and heat exchanger plate | |
| JP5434251B2 (en) | Manufacturing method of heat transfer plate | |
| JP5195098B2 (en) | Manufacturing method of heat transfer plate | |
| JP5440676B2 (en) | Heat transfer plate manufacturing method and heat transfer plate | |
| JP6201882B2 (en) | Heat transfer plate manufacturing method and heat transfer plate | |
| JP5267381B2 (en) | Manufacturing method of heat transfer plate | |
| JP5590206B2 (en) | Manufacturing method of heat transfer plate | |
| JP5401921B2 (en) | Manufacturing method of heat transfer plate | |
| JP4888422B2 (en) | Heat transfer plate manufacturing method and heat transfer plate | |
| JP2009178762A (en) | Manufacturing method of heat transfer plate | |
| JP5772920B2 (en) | Manufacturing method of heat transfer plate | |
| JP5573940B2 (en) | Manufacturing method of heat transfer plate | |
| JP5071249B2 (en) | Heat transfer plate manufacturing method and heat transfer plate | |
| JP5464236B2 (en) | Manufacturing method of heat transfer plate | |
| JP5459386B2 (en) | Manufacturing method of heat transfer plate | |
| JP6248730B2 (en) | Manufacturing method of heat transfer plate and manufacturing method of composite plate having no flow path inside | |
| JP5125760B2 (en) | Heat transfer plate manufacturing method and heat transfer plate | |
| JP5573939B2 (en) | Manufacturing method of heat transfer plate | |
| JP5071274B2 (en) | Heat transfer plate manufacturing method and heat transfer plate |
Legal Events
| Date | Code | Title | Description |
|---|---|---|---|
| A621 | Written request for application examination |
Free format text: JAPANESE INTERMEDIATE CODE: A621 Effective date: 20100818 |
|
| TRDD | Decision of grant or rejection written | ||
| A01 | Written decision to grant a patent or to grant a registration (utility model) |
Free format text: JAPANESE INTERMEDIATE CODE: A01 Effective date: 20120724 |
|
| A01 | Written decision to grant a patent or to grant a registration (utility model) |
Free format text: JAPANESE INTERMEDIATE CODE: A01 |
|
| A61 | First payment of annual fees (during grant procedure) |
Free format text: JAPANESE INTERMEDIATE CODE: A61 Effective date: 20120806 |
|
| R150 | Certificate of patent or registration of utility model |
Ref document number: 5071144 Country of ref document: JP Free format text: JAPANESE INTERMEDIATE CODE: R150 Free format text: JAPANESE INTERMEDIATE CODE: R150 |
|
| FPAY | Renewal fee payment (event date is renewal date of database) |
Free format text: PAYMENT UNTIL: 20150831 Year of fee payment: 3 |
|
| S531 | Written request for registration of change of domicile |
Free format text: JAPANESE INTERMEDIATE CODE: R313531 |
|
| R350 | Written notification of registration of transfer |
Free format text: JAPANESE INTERMEDIATE CODE: R350 |
|
| R250 | Receipt of annual fees |
Free format text: JAPANESE INTERMEDIATE CODE: R250 |
|
| R250 | Receipt of annual fees |
Free format text: JAPANESE INTERMEDIATE CODE: R250 |
