[go: up one dir, main page]

JP4993481B2 - Golf club - Google Patents

Golf club Download PDF

Info

Publication number
JP4993481B2
JP4993481B2 JP2007084575A JP2007084575A JP4993481B2 JP 4993481 B2 JP4993481 B2 JP 4993481B2 JP 2007084575 A JP2007084575 A JP 2007084575A JP 2007084575 A JP2007084575 A JP 2007084575A JP 4993481 B2 JP4993481 B2 JP 4993481B2
Authority
JP
Japan
Prior art keywords
restitution
coefficient
face portion
head
golf club
Prior art date
Legal status (The legal status is an assumption and is not a legal conclusion. Google has not performed a legal analysis and makes no representation as to the accuracy of the status listed.)
Expired - Fee Related
Application number
JP2007084575A
Other languages
Japanese (ja)
Other versions
JP2008237689A (en
Inventor
豊 奥
Current Assignee (The listed assignees may be inaccurate. Google has not performed a legal analysis and makes no representation or warranty as to the accuracy of the list.)
Globeride Inc
Original Assignee
Globeride Inc
Priority date (The priority date is an assumption and is not a legal conclusion. Google has not performed a legal analysis and makes no representation as to the accuracy of the date listed.)
Filing date
Publication date
Application filed by Globeride Inc filed Critical Globeride Inc
Priority to JP2007084575A priority Critical patent/JP4993481B2/en
Publication of JP2008237689A publication Critical patent/JP2008237689A/en
Application granted granted Critical
Publication of JP4993481B2 publication Critical patent/JP4993481B2/en
Expired - Fee Related legal-status Critical Current
Anticipated expiration legal-status Critical

Links

Images

Landscapes

  • Golf Clubs (AREA)

Description

本発明は、ゴルフクラブに関し、詳細には、ヘッドを構成するフェース部の打球面における反発係数を変化させたことを特徴とするゴルフクラブに関する。   The present invention relates to a golf club, and more particularly, to a golf club characterized by changing a coefficient of restitution on a hitting surface of a face portion constituting a head.

従来、中空構造のヘッドを装着したゴルフクラブでは、その飛距離を向上すべく、様々な工夫が施されている。ゴルフクラブにおいて、ボール打撃時に一番、ボール初速が速いとされるスイートスポットで打撃することは、ゴルフという競技に熟練したゴルファーほどその確率は高くなるが、経験の浅いアマチュア程、その確率は低くなる。このため、スイートスポットを外して打った(オフセンターヒット)とき、できるだけボール初速を落とさないように、フェース部の肉厚を周囲ほど薄くするような工夫がなされている。すなわち、ヘッドを構成するフェース部の肉厚は、ボールを打撃した際の撓みに関連するものであり、肉厚を薄くすることで撓み量を増加させ、これにより、打球時のボールのエネルギーロスを低下して飛距離の低下を抑制することができる。   2. Description of the Related Art Conventionally, various contrivances have been made to improve the flight distance of a golf club equipped with a hollow structure head. In golf clubs, hitting a sweet spot, which is said to have the fastest initial ball speed when hitting a ball, is more likely to be a golfer who is skilled in golf, but less likely to be a less experienced amateur. Become. For this reason, when the ball is hit with an off-sweet spot (off-center hit), the face portion is made as thin as possible around the periphery so as not to reduce the initial ball speed as much as possible. In other words, the thickness of the face part constituting the head is related to the deflection when the ball is hit, and by reducing the thickness, the amount of deflection is increased, thereby reducing the energy loss of the ball at the time of hitting the ball. The fall of the flight distance can be suppressed.

例えば、特許文献1には、フェース部の肉厚に着目して、飛距離の低下を抑制するゴルフクラブヘッドが開示されている。この公報に開示された中空構造のゴルフクラブヘッドは、フェース部の肉厚分布を、トウ側上部からヒール側下部の領域にかけて、楕円状に変化させており、これにより、フェース部におけるボールの打点位置がスイートスポットから外れてトウ側上部、又はヒール側下部にずれたとしても、中央部で打撃したときの撓みに近付けて、飛距離の低下を抑制させるようにしている。
特開2003−154040号
For example, Patent Document 1 discloses a golf club head that focuses on the thickness of the face portion and suppresses a decrease in flight distance. In the golf club head having a hollow structure disclosed in this publication, the thickness distribution of the face portion is changed in an elliptical shape from the upper portion of the toe side to the lower portion of the heel side. Even if the position deviates from the sweet spot and shifts to the upper side of the toe side or the lower side of the heel side, it approaches the bending when hit at the center part, and the decrease in the flight distance is suppressed.
JP 2003-154040 A

ところで、アマチュアゴルファーには、様々な癖があり、人によっては、打球ポイントが一致しないという問題がある。例えば、図1(a)〜(c)に示すように、人間のスイングによる打点のばらつきは、腕とシャフトの角度がずれることで発生し易い。具体的には、ボールをインパクトする際、常時、図1(b)の状態(スイートスポット領域でインパクトできる状態)になっているのが理想的であるが、アドレス時の腕とシャフトの成す角度に対してインパクト時に角度が増す場合、つまり手首が下に折れ曲がった状態になったとき、打点はトウ側の上方になり易い(図1(a)参照)。これは、ヘッドの位置が身体に近くなって地面に近い位置を通過するためである。逆に、インパクト時に腕とシャフトの成す角度が減少する場合、つまり手首が上に折れ曲がった状態になったときは、打点はヒール側の下方になり易い(図1(c)参照)。これはヘッドの位置が身体から離れて地面から離れる位置を通過するためである。   By the way, there are various habits of amateur golfers, and there is a problem that the hitting point does not match depending on the person. For example, as shown in FIGS. 1A to 1C, variations in hitting points due to human swing are likely to occur due to the angle between the arm and the shaft deviating. Specifically, when impacting the ball, it is ideal to always be in the state of FIG. 1B (a state where impact can be made in the sweet spot area), but the angle formed by the arm and shaft at the time of addressing On the other hand, when the angle increases at the time of impact, that is, when the wrist is bent downward, the hitting point tends to be higher on the toe side (see FIG. 1A). This is because the position of the head is close to the body and passes through a position close to the ground. On the contrary, when the angle formed by the arm and the shaft is reduced at the time of impact, that is, when the wrist is bent upward, the hitting point tends to be lower on the heel side (see FIG. 1C). This is because the head passes through a position away from the body and away from the ground.

結果として、腕とシャフトの角度がずれやすい癖のあるゴルファーにとっては、図2(a)の打球跡で示すように、トウの上方からヒールの下方に向かうライン上に打点が広がる傾向となり、一般的なアマチュアゴルファーでは、このような打点のばらつきが生じるケースが多い。なお、上記のようなケース以外にも、ゴルファーの癖によっては、様々な方向に打点がばらつくことが考えられる。例えば、図2(b)では、フェース部の中央領域において、クラウン・ソール方向に沿ってばらつく例を、図2(c)は、フェース部の中央領域の少し上方において、トウ・ヒール方向、及びクラウン・ソール方向に若干広がってばらつく例を、それぞれ示している。   As a result, for golfers with a habit that the angle between the arm and the shaft tends to shift, the hit points tend to spread on the line from the upper side of the toe to the lower side of the heel, as shown by the hitting track in FIG. In a typical amateur golfer, there are many cases where such a variation in hit points occurs. In addition to the above cases, it is conceivable that the hit points vary in various directions depending on the golfer's heel. For example, FIG. 2B shows an example in which the center region of the face part varies along the crown / sole direction, and FIG. 2C shows a toe-heel direction and a little above the center region of the face part. Each example spreads slightly in the crown / sole direction.

このように、アマチュアゴルファーの打点のばらつきを見ると、ある程度の方向性が生じていることが分かる。すなわち、図2(a)〜(c)に示すように、ばらついた打球跡は、近似的に略楕円形状に囲むことが可能となり、そのような楕円形状の長軸方向が、その人にとってのばらつく方向性と考えることができる。当然ながら、打球時にスイートスポット領域から外れると、飛距離が低下すると共に、ヘッドもぶれ易くなって方向性もばらつく傾向となる。   As described above, when the variation of the hit points of amateur golfers is seen, it can be seen that a certain degree of directionality occurs. That is, as shown in FIGS. 2 (a) to 2 (c), the scattered hit ball traces can be approximately enclosed in an approximately elliptical shape, and the major axis direction of such an elliptical shape is for the person. This can be thought of as a variable direction. Naturally, if the ball deviates from the sweet spot area at the time of hitting the ball, the flight distance is reduced, and the head tends to be shaken and the directionality tends to vary.

上記した特許文献1に開示されているように、フェース部の肉厚分布を変化させて、スイートスポット領域から外れても反発係数の低下を抑制することは好ましいと考えられるが、上記した特許文献1に開示された技術では、単に、フェース部材の肉厚分布に特徴を持たせるだけであり、上記したようなゴルファーの様々な特徴、及びヘッドの慣性モーメントについて充分に考慮されていないため、飛距離の低下を抑制し、かつ方向性を安定化するには限界が生じてしまう。すなわち、単に、フェース部における撓み量分布と、ゴルファーの打点分布を対応させただけでは、飛距離低下を充分に抑制し、方向の安定化を図ることはできない。   As disclosed in the above-mentioned Patent Document 1, it is considered preferable to change the thickness distribution of the face portion to suppress the decrease in the coefficient of restitution even if it is outside the sweet spot region. The technique disclosed in No. 1 merely gives a feature to the thickness distribution of the face member, and does not sufficiently consider various characteristics of the golfer as described above and the moment of inertia of the head. Limiting the decrease in the distance and stabilizing the directivity is limited. In other words, simply matching the deflection amount distribution in the face portion with the golfer hitting point distribution cannot sufficiently suppress the flight distance reduction and cannot stabilize the direction.

本発明は、上記した問題に基づいてなされたものであり、慣性モーメントとフェース部の特性を考慮して、打球時にスイートスポットを外してもボール飛距離の低下を抑制し、かつ方向性の安定化が図れるゴルフクラブを提供することを目的とする。   The present invention has been made on the basis of the above-described problems, and in consideration of the moment of inertia and the characteristics of the face portion, even if the sweet spot is removed at the time of hitting the ball, the decrease in the ball flight distance is suppressed, and the directionality is stabilized. An object of the present invention is to provide a golf club that can be converted into a golf club.

上記した目的を達成するために、本発明は、シャフトと、前記シャフトの一端に基準水平面に対して規定のライ角及びロフト角に設定されて固着され、ボールを打球する打球面を備えたフェース部を具備するヘッドと、を有するゴルフクラブにおいて、前記フェース部の打球面は、スイートスポットよりも周囲側の反発係数が連続的、又は段階的に減少するように形成されており、前記フェース部の打球面における反発係数の単位長さ当たりの変化率が最小となる方向を、ヘッドを正面視した際の最大慣性モーメントの方向Imに略一致させたことを特徴とする。   In order to achieve the above-described object, the present invention provides a shaft and a face provided with a ball striking face for hitting a ball, which is fixed to one end of the shaft at a predetermined lie angle and loft angle with respect to a reference horizontal plane. A hitting surface of the face portion is formed such that a coefficient of restitution on the peripheral side of the sweet spot decreases continuously or in a stepwise manner. The direction in which the rate of change per unit length of the coefficient of restitution on the ball striking surface is the same as the direction Im of the maximum moment of inertia when the head is viewed from the front.

上記した構成のゴルフクラブによれば、ゴルフクラブヘッドのフェース部の打球面が、スイートスポットよりも周囲側の反発係数が連続的、又は段階的に減少するように形成されており、スイートスポットを外して打球すると、反発係数が低い部分で打球がなされるため、ボールに対する速度が低下する。   According to the golf club having the above-described configuration, the hitting surface of the face portion of the golf club head is formed such that the coefficient of restitution on the peripheral side of the sweet spot is continuously or stepwise reduced. When it is removed and hit, the ball is hit at a portion where the coefficient of restitution is low, so the speed of the ball decreases.

一方、最大慣性モーメントの方向Imは、スイートスポットを外して打球した際、ヘッドが最もぶれ難い方向であることから、方向性の安定化は図れる。このため、反発係数の単位長さ当たりの変化率が最小となる方向を、ヘッドを正面視した際の最大慣性モーメントの方向Imに略一致させることで、方向性を安定化できると共に飛距離の低下を可能な限り抑制することが可能となる。すなわち、ヘッドの最大慣性モーメントの方向は、その方向上で打球がされると、最もヘッドがぶれ難いため、その方向上において、更に反発係数の単位長さ当たりの変化率が最小となるようにフェース部を形成することで、スイートスポットを外して打球した際の飛距離低下を、できるだけ抑制し、かつ安定した方向性を実現することが可能になる。   On the other hand, since the direction Im of the maximum moment of inertia is the direction in which the head hardly shakes when the ball is hit with the sweet spot removed, the directionality can be stabilized. Therefore, by making the direction in which the rate of change per unit length of the coefficient of restitution becomes the minimum substantially equal to the direction Im of the maximum moment of inertia when the head is viewed from the front, the directionality can be stabilized and the flight distance can be stabilized. It is possible to suppress the decrease as much as possible. That is, the direction of the maximum moment of inertia of the head is such that when the ball is hit in that direction, the head is most difficult to shake, so that the rate of change per unit length of the coefficient of restitution is further minimized in that direction. By forming the face portion, it is possible to suppress a decrease in the flight distance when the ball is hit with the sweet spot removed as much as possible, and to realize a stable directionality.

この場合、上述したように、ゴルファー毎に打球跡を検証すると、その人のばらつく方向性がある程度特定できる。このため、そのばらつく方向性に、最大慣性モーメントの方向が一致するようにし、かつ反発係数の単位長さ当たりの変化率が最小となる方向を略一致させることで、そのゴルファーにとって、最も方向性の安定化が図れ、かつ飛距離低下の少ないゴルフクラブとすることが可能になる。なお、ここでの最大慣性モーメントは、後述するように、ヘッドの重心を通る直線を回転軸とするものである。   In this case, as described above, when the hit ball trace is verified for each golfer, the direction of variation of the person can be specified to some extent. For this reason, the directionality of the maximum moment of inertia is matched with the directionality of variation, and the direction in which the rate of change per unit length of the coefficient of restitution is substantially the same is the most directional for the golfer. Can be achieved, and a golf club with little reduction in flight distance can be obtained. The maximum moment of inertia here is, as will be described later, a straight line passing through the center of gravity of the head as a rotation axis.

また、上記した目的を達成するために、本発明は、シャフトと、前記シャフトの一端に基準水平面に対して規定のライ角及びロフト角に設定されて固着され、ボールを打球する打球面を備えたフェース部を具備するヘッドと、を有するゴルフクラブにおいて、前記フェース部の打球面は、スイートスポットよりも周囲側の反発係数が連続的、又は段階的に増加するように形成されており、前記フェース部の打球面における反発係数の単位長さ当たりの増加率が最大となる方向を、ヘッドを正面視した際の最大慣性モーメントImの方向に略一致させたことを特徴とする。   In order to achieve the above-described object, the present invention includes a shaft and a ball striking surface that is fixedly attached to one end of the shaft at a specified lie angle and loft angle with respect to a reference horizontal plane and that hits a ball. A hitting surface of the face portion is formed such that the coefficient of restitution on the peripheral side of the sweet spot increases continuously or stepwise. The direction in which the increase rate per unit length of the coefficient of restitution on the hitting surface of the face portion is maximized is substantially matched with the direction of the maximum moment of inertia Im when the head is viewed from the front.

フェース部の特性として、例えば、その表面の材質を変えたり、熱処理したり、フェースの材料や肉厚を変化させたり、更には、スイートスポットの反発係数を低くする(例えば、ソール側からスイートスポットの反発係数を低くするためのアームを取り付ける等)など、或いは、これらを組み合わせることで、スイートスポットで打球するよりも周囲側の反発係数が高くなるように形成することが可能である。このような構成においても上記した構成と同様、反発係数の単位長さ当たりの増加率が最大となる方向を、ヘッドを正面視した際の最大慣性モーメントの方向Imに略一致させることで、方向を安定化し、飛距離の低下を可能な限り抑制することが可能となる。   As the characteristics of the face portion, for example, the surface material is changed, heat treatment is performed, the face material and thickness are changed, and the sweet spot restitution coefficient is lowered (for example, from the sole side to the sweet spot). For example, by attaching an arm for lowering the restitution coefficient, or by combining these, it is possible to form the restitution coefficient on the peripheral side higher than hitting with a sweet spot. In such a configuration as well as the above-described configuration, the direction in which the increase rate per unit length of the coefficient of restitution is maximized is approximately matched with the direction Im of the maximum moment of inertia when the head is viewed from the front. And a decrease in flight distance can be suppressed as much as possible.

本発明によれば、打球時にスイートスポットを外してもボール飛距離の低下を抑制することができ、かつ方向の安定化が図れるゴルフクラブが得られる。   According to the present invention, it is possible to obtain a golf club that can suppress a decrease in ball flight distance and stabilize the direction even if the sweet spot is removed at the time of hitting.

以下、本発明に係るゴルフクラブの実施形態について説明する。
図3及び図4は、本発明に係るゴルフクラブの第1の実施形態を示す図であり、図3はゴルフクラブの正面図、図4は図3のA−A線に沿った断面図である。
Hereinafter, embodiments of a golf club according to the present invention will be described.
3 and 4 are views showing a first embodiment of a golf club according to the present invention, FIG. 3 is a front view of the golf club, and FIG. 4 is a cross-sectional view taken along line AA of FIG. is there.

本実施形態に係るゴルフクラブ1は、金属やFRPで構成されたシャフト5の先端に、基準水平面Pに対して規定のライ角、及びロフト角に設定されたヘッド7を止着して構成されている。この場合、ヘッド7を構成するヘッド本体7Aは、打球面を有するフェース部7aと、フェース部7aの上縁から後方に延出するクラウン部7bと、フェース部7aの下縁から後方に延出するソール部7cとを備えており、更に、前記フェース部のトウ側縁からバック側を経由し、フェース部のヒール側縁にかけて延在し、前記クラウン部7b及びソール部7cの縁部を繋ぐサイド部7dとを備えた中空構造に形成されている。なお、図面において、そのようなサイド部7dを構成するトウ部、バック部及びヒール部を、夫々符号7e,7f,7gで示す。   The golf club 1 according to the present embodiment is configured by fixing a head 7 set to a specified lie angle and loft angle with respect to a reference horizontal plane P at the tip of a shaft 5 made of metal or FRP. ing. In this case, the head body 7A constituting the head 7 includes a face portion 7a having a hitting surface, a crown portion 7b extending rearward from the upper edge of the face portion 7a, and extending rearward from the lower edge of the face portion 7a. And a sole portion 7c that extends from the toe side edge of the face portion to the heel side edge of the face portion, and connects the edge portions of the crown portion 7b and the sole portion 7c. It is formed in the hollow structure provided with the side part 7d. In the drawings, the toe portion, the back portion, and the heel portion constituting such a side portion 7d are indicated by reference numerals 7e, 7f, and 7g, respectively.

前記フェース部7aは、実際に打球が成されるフェース面8を備えている。この場合、フェース部7aは、前記クラウン部7b、ソール部7c及びサイド部7dの前方側開口を閉塞する板状の部材で形成されていても良いし(フェース部全体が板状のフェース部材で構成される)、いわゆるカップ状に形成され、クラウン部7b、ソール部7c及びサイド部7dの一部を構成していても良い。或いは、フェース部7aに所定の大きさの開口を形成しておき、この開口部に板状のフェース部材を嵌合した構成であっても良い。   The face portion 7a includes a face surface 8 on which a hit ball is actually formed. In this case, the face portion 7a may be formed of a plate-like member that closes the front opening of the crown portion 7b, the sole portion 7c, and the side portion 7d (the entire face portion is a plate-like face member). It may be formed in a so-called cup shape and may constitute a part of the crown portion 7b, the sole portion 7c, and the side portion 7d. Alternatively, an opening having a predetermined size may be formed in the face portion 7a, and a plate-like face member may be fitted into the opening.

前記ヘッド本体7Aの構成材料については、特に限定されることはなく、例えば、チタン、チタン系合金、鉄系合金等によって一体形成することが可能である。或いは、ヘッド本体7Aを構成する各部材(フェース部、クラウン部、ソール部、サイド部;外殻部材)を個別に形成しておき、夫々を溶着、接着等によって固定してヘッド本体を形成しても良い。   The constituent material of the head main body 7A is not particularly limited, and can be integrally formed of, for example, titanium, a titanium alloy, an iron alloy, or the like. Alternatively, each member (face part, crown part, sole part, side part; outer shell member) constituting the head main body 7A is individually formed and fixed by welding, bonding or the like to form the head main body. May be.

また、前記フェース部7aについては、そのフェース面(打球面)8の反発係数が、その表面部分で変化するように形成されている。本実施形態では、反発係数の変化を、フェース部7aの肉厚を変化させることで実現しており、その肉厚の変化のさせ方を、以下のように、ヘッド本体7Aの慣性モーメントの方向に関連して変化させている。   The face portion 7a is formed such that the coefficient of restitution of the face surface (ball striking surface) 8 changes in the surface portion. In the present embodiment, the change in the coefficient of restitution is realized by changing the thickness of the face portion 7a. The change in the thickness is performed in the direction of the moment of inertia of the head body 7A as follows. In relation to.

ここで、慣性モーメントは、ヘッド本体7Aの重心Gを中心として、距離の二乗と微小質量の総和によって以下の式で定義される値であり、   Here, the moment of inertia is a value defined by the following expression based on the sum of the square of the distance and the minute mass around the center of gravity G of the head body 7A.

Figure 0004993481
ヘッド本体7Aには、重心Gを通って最も慣性モーメントの大きい方向(最大慣性モーメント方向)が生じる。この慣性モーメントが最大となる方向は、打球時において、ヘッド本体7Aが最もぶれ難い方向と一致しており、その方向上で打球すると、方向性の安定化が図れるようになる。従って、その方向上において打球時の初速の低下を抑制するように、反発係数が低下する割合を最小限にすることで、方向性を安定化できると共に飛距離の低下を可能な限り抑制することが可能となる。
Figure 0004993481
In the head main body 7A, a direction having the largest moment of inertia (maximum moment of inertia direction) occurs through the center of gravity G. The direction in which the moment of inertia is maximum coincides with the direction in which the head main body 7A is most difficult to shake at the time of hitting, and if the ball is hit in that direction, the directionality can be stabilized. Therefore, by minimizing the rate at which the coefficient of restitution decreases so as to suppress the decrease in initial velocity at the time of hitting in that direction, the directionality can be stabilized and the decrease in flight distance can be suppressed as much as possible. Is possible.

図3では、ヘッド7を正面視した際の慣性モーメントが最大となる方向をImで示している。なお、慣性モーメントが最大となる方向は、本来、ヘッド本体7Aの重心Gを通過するが、本発明では、その方向性とフェース部の反発係数との関係に特徴があることから、図3で示すImは、重心Gを通過する最大慣性モーメントの方向と平行で、かつスイートスポットS(重心Gからフェース部に垂線を下ろした点で定義される)を通過するように示してある。   In FIG. 3, the direction in which the moment of inertia when the head 7 is viewed from the front is indicated by Im. The direction in which the moment of inertia is maximum passes through the center of gravity G of the head main body 7A. In the present invention, however, the relationship between the directionality and the coefficient of restitution of the face portion is characteristic. Im shown is parallel to the direction of the maximum moment of inertia passing through the center of gravity G and passing through a sweet spot S (defined by a point perpendicular to the face portion from the center of gravity G).

上記したように、本実施形態では、フェース部7aの肉厚を変化させることで、そのフェース面8の反発係数を変化させている。具体的には、前記スイートスポットSを中心として、外側に移行するに従って肉厚を段階的に薄肉厚化しており、図3において、中心領域A1の肉厚をT1、その外側領域A2の肉厚をT2、その外側領域A3の肉厚をT3、その外側領域A4の肉厚をT4、更にその外側領域A5の肉厚をT5とした場合、T1>T2>T3>T4>T5となるように設定している(これらの領域A1〜A5の境界部分である点線は等厚分布線となる)。   As described above, in the present embodiment, the coefficient of restitution of the face surface 8 is changed by changing the thickness of the face portion 7a. Specifically, the thickness of the sweet spot S is gradually reduced as it moves to the outside, and in FIG. 3, the thickness of the central region A1 is T1, and the thickness of the outer region A2 thereof. Is T2, the thickness of the outer region A3 is T3, the thickness of the outer region A4 is T4, and the thickness of the outer region A5 is T5, so that T1> T2> T3> T4> T5. (The dotted line that is the boundary between these areas A1 to A5 is a uniform distribution line).

そして、上記したようにフェース部7aを、スイートスポットSを中心として肉厚変化させるに際し、フェース部7aの打球面における反発係数の単位長さ当たりの変化率が最小となる方向を、ヘッドを正面視した際の最大慣性モーメントの方向に略一致させるようにしている。本実施形態では、上記した段階的な肉厚変化を、スイートスポットSを中心とした同心状の楕円形状によって構成していることから、その短軸方向を前記Imに一致させている。   As described above, when the thickness of the face portion 7a is changed with the sweet spot S as the center, the direction in which the rate of change per unit length of the coefficient of restitution on the hitting surface of the face portion 7a is minimized is determined so that the head is It is made to substantially coincide with the direction of the maximum moment of inertia when viewed. In the present embodiment, since the above-described stepwise change in thickness is formed by a concentric elliptical shape with the sweet spot S as the center, the minor axis direction is made to coincide with Im.

ここで、フェース部7aの肉厚と反発係数の関係について説明する。
通常、ヘッド本体のフェース部の肉厚を均一にした場合、その反発係数は、中心領域が最も高く、周囲に移行するに連れて(クラウン部、サイド部、ソール部との連結部に近づく程)、その反発係数は低くなる。このため、フェース部の周辺領域を薄肉厚化することにより、スイートスポットSに対する反発係数が低下する割合を少なくすることが可能になる。すなわち、周辺側を薄肉厚化することで、その分、スイートスポットSに対する周辺側の反発係数の低下の割合を抑制することができ、ボールインパクト時における速度低下を抑制することが可能になる。
Here, the relationship between the thickness of the face portion 7a and the coefficient of restitution will be described.
Normally, when the thickness of the face portion of the head body is made uniform, the coefficient of restitution is the highest in the central region, and as it moves to the periphery (as it approaches the connecting portion with the crown portion, side portion, and sole portion) ), The coefficient of restitution is low. For this reason, by reducing the thickness of the peripheral region of the face portion, it is possible to reduce the rate at which the coefficient of restitution with respect to the sweet spot S decreases. That is, by reducing the thickness of the peripheral side, it is possible to suppress the rate of decrease in the coefficient of restitution on the peripheral side with respect to the sweet spot S, and to suppress the decrease in speed at the time of ball impact.

ところで、上記した最大慣性モーメントImの方向は、打球時において、最もヘッド7がぶれ難い方向であることから、スイートスポットSを外して打球しても、方向性の安定化は図れる。しかし、スイートスポットを外すことで、反発係数の低下による初速の低下を免れることはできないため、ボールに対する初速度低下を生じさせ、これが飛距離の低下につながっている。このため、反発係数の単位長さ当たりの変化率(低下率)が最小となる方向(ここでは、単位長さ当たりの肉厚変化が大きい短軸方向)を、最大慣性モーメントImの方向に略一致させることにより、飛距離の低下を可能な限り抑制するようにしている。すなわち、Imの方向上では、ボールをインパクトした際に、ヘッド7が最もぶれ難く、方向性の安定化が図れ、かつこのImの方向上での反発係数の低下の割合が、最も低くなるように設定することにより、方向性を安定化して飛距離の低下を可能な限り抑制することが可能となる。   By the way, since the direction of the maximum moment of inertia Im described above is the direction in which the head 7 is hardly shaken at the time of hitting, the directionality can be stabilized even if the sweet spot S is removed and hit. However, by removing the sweet spot, it is impossible to avoid the decrease in the initial velocity due to the decrease in the coefficient of restitution, which causes a decrease in the initial velocity with respect to the ball, which leads to a decrease in the flight distance. For this reason, the direction in which the rate of change (decrease rate) per unit length of the coefficient of restitution becomes the minimum (here, the short axis direction where the thickness change per unit length is large) is substantially in the direction of the maximum moment of inertia Im. By making them coincide with each other, a decrease in flight distance is suppressed as much as possible. That is, in the direction of Im, when the ball is impacted, the head 7 is most difficult to shake, the directionality is stabilized, and the rate of decrease in the coefficient of restitution in the direction of Im is the lowest. By setting to, it becomes possible to stabilize the directivity and suppress the decrease in the flight distance as much as possible.

実際には、予め、ゴルファー毎にばらつきの方向性を把握しておき、そのばらつき方向に、上記したIm方向を一致させ、かつ反発係数の単位長さ当たりの変化率(低下率)が最小となる方向を略一致させることで、そのゴルファーにとって、飛距離の低下を抑え、かつ方向性が安定したゴルフクラブとすることが可能となる。   Actually, the direction of variation is grasped in advance for each golfer, the above-mentioned Im direction is made to coincide with the variation direction, and the rate of change (reduction rate) per unit length of the coefficient of restitution is minimum. By making the directions substantially coincide with each other, it becomes possible for the golfer to obtain a golf club that suppresses a decrease in flight distance and has a stable directionality.

なお、上記した最大慣性モーメントImの方向については、図3に示すように、ヘッドのトウ部上方からヒール部下方向に延出するように、ヘッド本体7を設計することが好ましい。これは、一般的なアマチュアゴルファーでは、図1及び図2(a)で示すような傾向で打球がばらつくケースが多いと考えられることから、最大慣性モーメントの方向をそのように設定しておくことで、多くのアマチュアゴルファーにとって、飛距離の低下を抑え、かつ方向性が安定したゴルフクラブとすることが可能になる。   As shown in FIG. 3, it is preferable to design the head body 7 so that the direction of the maximum moment of inertia Im extends from above the head toe portion to below the heel portion. This is because, in general amateur golfers, it is considered that there are many cases where the hit balls vary with the tendency shown in FIG. 1 and FIG. 2 (a), so the direction of the maximum moment of inertia should be set as such. Thus, for many amateur golfers, it is possible to obtain a golf club that suppresses a decrease in flight distance and has a stable direction.

もちろん、ゴルファーの癖に応じて、最大慣性モーメントの方向については、適宜変形することが可能であり、その方向に略一致させて、反発係数の単位長さ当たりの変化率(低下率)が最小となるように、フェース部7aを肉厚変化させれば良い。例えば、図2(b)のケースでは、最大慣性モーメントImの方向をクラウン・ソール方向に設定したり、図2(c)のケースでは、スイートスポットSよりも上方位置で、最大慣性モーメントImの方向をトウ・ヒール方向に設定する等、適宜設定することが可能である。   Of course, depending on the golfer's habit, the direction of the maximum moment of inertia can be appropriately changed, and the rate of change (reduction rate) per unit length of the coefficient of restitution is minimized by making it approximately coincide with the direction. The thickness of the face portion 7a may be changed so that For example, in the case of FIG. 2B, the direction of the maximum inertia moment Im is set to the crown / sole direction. In the case of FIG. 2C, the maximum inertia moment Im is set at a position above the sweet spot S. It is possible to set the direction as appropriate, such as setting the direction to the toe / heel direction.

また、上記した構成において、反発係数の単位長さ当たりの変化率(低下率)が最小となる方向(ここでは、単位長さ当たりの肉厚変化が大きい短軸方向)は、最大慣性モーメントImの方向と正確に一致することが好ましいが、両者の間には、多少のズレ(±15°範囲以内)が生じていても良い。すなわち、この角度の範囲内のズレであれば、飛距離の低下を、許容範囲内で抑制することが可能になる。   In the configuration described above, the direction in which the rate of change (reduction rate) per unit length of the coefficient of restitution is the minimum (here, the minor axis direction in which the wall thickness change per unit length is large) is the maximum moment of inertia Im. It is preferable that the direction coincides exactly with this direction, but a slight deviation (within ± 15 ° range) may occur between the two directions. That is, if the deviation is within the range of this angle, it is possible to suppress a decrease in the flight distance within an allowable range.

また、上記した実施形態では、フェース部7aの打球面における反発係数の変化を、肉厚変化によって行っている。フェース部7aについては、クラウン部、サイド部、ソール部とは別に形成することが可能であり、例えば、チタン、チタン系合金、鉄系合金等の金属材料を、上記した肉厚分布となるようにプレス加工、或いは鍛造等することで、容易に一体形成することが可能である。すなわち、このように一体形成されたフェース部(フェース部材)を、溶着、Brazing(ろう付け)等によってヘッド本体7Aに止着すれば良い。もちろん、フェース部7aについては、別部材となるフェース部材を止着するのではなく前記ヘッド本体と共に一体形成しても良い。   Further, in the above-described embodiment, the change in the coefficient of restitution on the hitting surface of the face portion 7a is performed by the change in the wall thickness. The face portion 7a can be formed separately from the crown portion, the side portion, and the sole portion. For example, a metal material such as titanium, a titanium-based alloy, or an iron-based alloy has the above-described thickness distribution. It can be easily formed integrally by pressing or forging. That is, the integrally formed face portion (face member) may be fixed to the head body 7A by welding, brazing, or the like. Of course, the face portion 7a may be integrally formed with the head body instead of fixing a face member as a separate member.

さらに、上記した実施形態では、フェース部の肉厚変化によって、反発係数の単位長さ当たりの変化率が最小となるようにフェース部7aを形成したが、例えば、その表面の材質を変えたり、熱処理したり、フェースの材料や肉厚を変化させたり、更には、スイートスポットの反発係数を低くする(例えば、ソール側からスイートスポットの反発係数を低くするためのアームを取り付ける等)など、或いは、これらを組み合わせることで、スイートスポットSを中心として、周囲側の反発係数を低くするのではなく、逆に高くなるように形成することも可能である。このような構成においても、上記した構成と同様、反発係数の単位長さ当たりの増加率が最大となる方向を、ヘッドを正面視した際の最大慣性モーメントImの方向に略一致させることで、飛距離の低下を可能な限り抑制して方向性を安定化することが可能となる。   Furthermore, in the above-described embodiment, the face portion 7a is formed so that the rate of change per unit length of the coefficient of restitution is minimized due to the change in the thickness of the face portion. Heat treatment, changing the material and thickness of the face, and lowering the coefficient of restitution of the sweet spot (for example, attaching an arm to lower the coefficient of restitution of the sweet spot from the sole side), or By combining these, the rebound coefficient on the peripheral side around the sweet spot S is not lowered, but can be formed so as to be increased conversely. In such a configuration, as in the configuration described above, the direction in which the increase rate per unit length of the coefficient of restitution is maximized is substantially matched with the direction of the maximum moment of inertia Im when the head is viewed from the front. It is possible to stabilize the directivity by suppressing the decrease in the flight distance as much as possible.

図5は、本発明の第2の実施形態を示す図である。   FIG. 5 is a diagram showing a second embodiment of the present invention.

上記した実施形態では、肉厚変化(反発係数の段階的な変化)を、スイートスポットSを中心として、同心状に楕円形状としたが、反発係数を段階的に変化させる構成については適宜変形することが可能である。   In the above-described embodiment, the thickness change (stepwise change in the coefficient of restitution) is concentrically elliptical with the sweet spot S as the center, but the configuration for changing the coefficient of restitution in steps is modified as appropriate. It is possible.

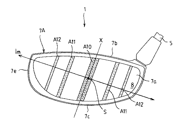
図5に示す実施形態では、フェース部7aを、スイートスポットSを通る中心線Cに対し、反発係数が段階的に変化する領域A11、A12を所定間隔おいて略平行に配設すると共に、中心線Cを、ヘッドを正面視した際の最大慣性モーメントImの主軸Xの方向に略一致させたことを特徴としている。   In the embodiment shown in FIG. 5, the face portion 7a is arranged substantially parallel to the center line C passing through the sweet spot S, with regions A11 and A12 in which the coefficient of restitution changes stepwise and substantially parallel to the center line C. The line C is characterized by being substantially coincident with the direction of the main axis X of the maximum moment of inertia Im when the head is viewed from the front.

反発係数を段階的に変化させる手段として、図5に示す構成では、領域A11、A12における夫々の肉厚T11、T12を、中心線Cと一致する領域A10の肉厚T10に対して段階的に薄くなるように形成している(T10>T11>T12)。すなわち、ヘッド7を正面視した際の最大慣性モーメントImの方向に対して略直交する方向に、反発係数が段階的に減少する領域A11、A12…が所定間隔おいて形成されている。   As means for changing the coefficient of restitution in a stepwise manner, in the configuration shown in FIG. 5, the thicknesses T11 and T12 in the regions A11 and A12 are changed stepwise relative to the thickness T10 in the region A10 that coincides with the center line C. It is formed to be thin (T10> T11> T12). That is, regions A11, A12... Where the coefficient of restitution decreases stepwise are formed in a direction substantially orthogonal to the direction of the maximum moment of inertia Im when the head 7 is viewed from the front.

このような構成のフェース部7aにおいても、最大慣性モーメントImの方向での反発係数の変化率(スイートスポットSからの単位長さ当たりの反発係数の減少率)は、他の方向に対して最小化された状態となっており、スイートスポットSを外して打球した際の飛距離低下を、できるだけ抑制して方向の安定化を図ることが可能になる。   Also in the face portion 7a having such a configuration, the rate of change of the coefficient of restitution (the rate of decrease of the coefficient of restitution per unit length from the sweet spot S) in the direction of the maximum moment of inertia Im is the minimum in other directions. It is possible to stabilize the direction by suppressing as much as possible a decrease in flight distance when the sweet spot S is removed and the ball is hit.

もちろん、反発係数が段階的に変化する領域A11、A12…について、反発係数が中心線Cから離れるに従って増加するようにフェース部7aを形成することが可能である。このようなフェース部の構造では、その最大慣性モーメントImの方向において、反発率が増加する変化率が最大化されることから、スイートスポットを外して打球した際の飛距離低下を、できるだけ抑制して方向の安定化を図ることが可能になる。   Of course, it is possible to form the face portion 7a so that the restitution coefficient increases with distance from the center line C in the regions A11, A12. In such a face portion structure, the rate of change in which the repulsion rate increases in the direction of the maximum moment of inertia Im is maximized, so that a decrease in flight distance when a ball is hit with the sweet spot removed is suppressed as much as possible. It is possible to stabilize the direction.

以上、本発明の実施形態について説明したが、本発明は、上記した実施形態に限定されることはなく種々変形することが可能である。例えば、反発係数を変化させる手段としてのフェース部における肉厚の変化に関しては、フェース部の裏面にリブを形成することで実現するものであっても良い。また、上記した各実施形態の反発係数は、肉厚、リブ、材質、又はこれらの任意の組み合わせによって任意に調整することが可能である。また、上記した実施形態では、反発係数を段階的に変化させていたが、反発係数はスイートスポットSを中心として連続して変化するような構成であっても良い。例えば、肉厚変化をスイートスポットSを中心として、周囲に移行するに従ってテーパ状に薄肉厚化しても良い。このような構成においても、スイートスポットSを中心として、反発係数の減少率が最小化される方向をヘッドの最大慣性モーメントImの方向と略一致させるか、或いは、反発係数の増加率が最大化される方向をヘッドの最大慣性モーメントImの方向と略一致させれば良い。   As mentioned above, although embodiment of this invention was described, this invention is not limited to above-described embodiment, It can change variously. For example, the change in thickness at the face portion as means for changing the coefficient of restitution may be realized by forming a rib on the back surface of the face portion. In addition, the coefficient of restitution of each of the above-described embodiments can be arbitrarily adjusted by the thickness, the rib, the material, or any combination thereof. In the above-described embodiment, the restitution coefficient is changed stepwise, but the restitution coefficient may be changed continuously around the sweet spot S. For example, the thickness change may be reduced in a tapered shape as the thickness changes around the sweet spot S. Even in such a configuration, the direction in which the reduction rate of the restitution coefficient is minimized with the sweet spot S as the center is substantially matched with the direction of the maximum inertia moment Im of the head, or the increase rate of the restitution coefficient is maximized. It is only necessary that the direction to be made substantially coincides with the direction of the maximum inertia moment Im of the head.

さらに、上記した実施形態のヘッド本体では、スイートスポットSは点で構成されていたが、エリアとして構成されていても良い。また、肉厚分布の中心位置は、図3に示したように、スイートスポットSに一致していることが好ましいが、両者は、多少ずれていても良い。この場合のずれについては、10mm以内になっていることが望ましい。   Furthermore, in the head main body of the above-described embodiment, the sweet spot S is configured with dots, but may be configured as an area. Further, as shown in FIG. 3, the center position of the thickness distribution preferably coincides with the sweet spot S, but both may be slightly shifted. The deviation in this case is desirably within 10 mm.

(a)〜(c)を含み、アマチュアゴルファーの打球時の癖により、ボールのインパクトが異なる例を示す図。The figure which includes (a)-(c) and shows the example from which the impact of a ball | bowl differs according to the wrinkle at the time of an amateur golfer hitting a ball. (a)〜(c)を含み、夫々インパクト時における打球のばらつきを示す図。The figure which contains (a)-(c) and shows the dispersion | variation in a hit ball at the time of an impact, respectively. 本発明に係るゴルフクラブの第1の実施形態を示す図であり、ヘッド部分の正面図。BRIEF DESCRIPTION OF THE DRAWINGS It is a figure which shows 1st Embodiment of the golf club which concerns on this invention, and is a front view of a head part. 図3のA−A線に沿った断面図。Sectional drawing along the AA line of FIG. 本発明に係るゴルフクラブの第2の実施形態を示す図であり、ヘッド部分の正面図。It is a figure which shows 2nd Embodiment of the golf club which concerns on this invention, and is a front view of a head part.

符号の説明Explanation of symbols

1 ゴルフクラブ
5 シャフト
7 ヘッド
7A ヘッド本体
7a フェース部
7b クラウン部
8 フェース面
P 基準水平面
S スイートスポット
DESCRIPTION OF SYMBOLS 1 Golf club 5 Shaft 7 Head 7A Head main body 7a Face part 7b Crown part 8 Face surface P Reference | standard horizontal surface S Sweet spot

Claims (4)

シャフトと、前記シャフトの一端に基準水平面に対して規定のライ角及びロフト角に設定されて固着され、ボールを打球する打球面を備えたフェース部を具備するヘッドと、を有するゴルフクラブにおいて、
前記フェース部の打球面は、スイートスポットよりも周囲側の反発係数が連続的、又は段階的に減少するように形成されており、
前記フェース部の打球面における反発係数の単位長さ当たりの変化率が最小となる方向を、ヘッドを正面視した際の最大慣性モーメントの方向Imに略一致させたことを特徴とするゴルフクラブ。
A golf club having a shaft, and a head including a face portion having a ball striking surface for hitting a ball, which is fixed to one end of the shaft at a specified lie angle and loft angle with respect to a reference horizontal plane,
The hitting surface of the face portion is formed so that the coefficient of restitution on the peripheral side of the sweet spot decreases continuously or stepwise.
A golf club characterized in that a direction in which a rate of change per unit length of a coefficient of restitution on a hitting surface of the face portion is minimized is substantially coincident with a direction Im of a maximum moment of inertia when the head is viewed from the front.
シャフトと、前記シャフトの一端に基準水平面に対して規定のライ角及びロフト角に設定されて固着され、ボールを打球する打球面を備えたフェース部を具備するヘッドと、を有するゴルフクラブにおいて、
前記フェース部の打球面は、スイートスポットよりも周囲側の反発係数が連続的、又は段階的に増加するように形成されており、
前記フェース部の打球面における反発係数の単位長さ当たりの増加率が最大となる方向を、ヘッドを正面視した際の最大慣性モーメントの方向Imに略一致させたことを特徴とするゴルフクラブ。
A golf club having a shaft, and a head including a face portion having a ball striking surface for hitting a ball, which is fixed to one end of the shaft at a specified lie angle and loft angle with respect to a reference horizontal plane,
The hitting surface of the face part is formed such that the coefficient of restitution on the peripheral side from the sweet spot increases continuously or stepwise.
A golf club characterized in that the direction in which the increase rate per unit length of the coefficient of restitution on the hitting surface of the face portion is maximized substantially coincides with the direction Im of the maximum moment of inertia when the head is viewed from the front.
前記方向Imは、ヘッドのトウ部上方からヒール部下方向に延出することを特徴とする請求項1又は2に記載のゴルフクラブ。   The golf club according to claim 1, wherein the direction Im extends from above the toe portion of the head to below the heel portion. 前記フェース部の打球面における反発係数の変化は、フェース部の肉厚の変化によってなされることを特徴とする請求項1乃至3のいずれか1項に記載のゴルフクラブ。   4. The golf club according to claim 1, wherein the change in the coefficient of restitution on the hitting surface of the face portion is made by a change in the thickness of the face portion. 5.
JP2007084575A 2007-03-28 2007-03-28 Golf club Expired - Fee Related JP4993481B2 (en)

Priority Applications (1)

Application Number Priority Date Filing Date Title
JP2007084575A JP4993481B2 (en) 2007-03-28 2007-03-28 Golf club

Applications Claiming Priority (1)

Application Number Priority Date Filing Date Title
JP2007084575A JP4993481B2 (en) 2007-03-28 2007-03-28 Golf club

Publications (2)

Publication Number Publication Date
JP2008237689A JP2008237689A (en) 2008-10-09
JP4993481B2 true JP4993481B2 (en) 2012-08-08

Family

ID=39909723

Family Applications (1)

Application Number Title Priority Date Filing Date
JP2007084575A Expired - Fee Related JP4993481B2 (en) 2007-03-28 2007-03-28 Golf club

Country Status (1)

Country Link
JP (1) JP4993481B2 (en)

Cited By (4)

* Cited by examiner, † Cited by third party
Publication number Priority date Publication date Assignee Title
US10888747B2 (en) 2008-07-15 2021-01-12 Taylor Made Golf Company, Inc. Aerodynamic golf club head
US11045694B2 (en) 2008-07-15 2021-06-29 Taylor Made Golf Company, Inc. Aerodynamic golf club head
US11130026B2 (en) 2008-07-15 2021-09-28 Taylor Made Golf Company, Inc. Aerodynamic golf club head
US12128278B2 (en) 2008-07-15 2024-10-29 Taylor Made Golf Company, Inc. Aerodynamic golf club head

Families Citing this family (16)

* Cited by examiner, † Cited by third party
Publication number Priority date Publication date Assignee Title
US7993216B2 (en) 2008-11-17 2011-08-09 Nike, Inc. Golf club head or other ball striking device having multi-piece construction
US8845454B2 (en) 2008-11-21 2014-09-30 Nike, Inc. Golf club or other ball striking device having stiffened face portion
US9795845B2 (en) 2009-01-20 2017-10-24 Karsten Manufacturing Corporation Golf club and golf club head structures
US9192831B2 (en) 2009-01-20 2015-11-24 Nike, Inc. Golf club and golf club head structures
US9149693B2 (en) 2009-01-20 2015-10-06 Nike, Inc. Golf club and golf club head structures
US10071290B2 (en) 2010-11-30 2018-09-11 Nike, Inc. Golf club heads or other ball striking devices having distributed impact response
US9687705B2 (en) 2010-11-30 2017-06-27 Nike, Inc. Golf club head or other ball striking device having impact-influencing body features
US9101808B2 (en) 2011-01-27 2015-08-11 Nike, Inc. Golf club head or other ball striking device having impact-influencing body features
US9409076B2 (en) 2011-04-28 2016-08-09 Nike, Inc. Golf clubs and golf club heads
US9186547B2 (en) 2011-04-28 2015-11-17 Nike, Inc. Golf clubs and golf club heads
US9409073B2 (en) 2011-04-28 2016-08-09 Nike, Inc. Golf clubs and golf club heads
US9433845B2 (en) 2011-04-28 2016-09-06 Nike, Inc. Golf clubs and golf club heads
US9375624B2 (en) 2011-04-28 2016-06-28 Nike, Inc. Golf clubs and golf club heads
US9433844B2 (en) 2011-04-28 2016-09-06 Nike, Inc. Golf clubs and golf club heads
CN107583254B (en) 2011-08-23 2020-03-27 耐克创新有限合伙公司 Golf club head with cavity
US9776050B2 (en) 2014-06-20 2017-10-03 Karsten Manufacturing Corporation Golf club head or other ball striking device having impact-influencing body features

Family Cites Families (6)

* Cited by examiner, † Cited by third party
Publication number Priority date Publication date Assignee Title
JP2002315854A (en) * 2001-02-14 2002-10-29 Shintomi Golf:Kk Wood type golf club head
JP2003019230A (en) * 2001-07-05 2003-01-21 Sumitomo Rubber Ind Ltd Wood type golf club head
JP2003154040A (en) * 2001-11-20 2003-05-27 Kasco Corp Golf club head
JP4365676B2 (en) * 2003-12-19 2009-11-18 Sriスポーツ株式会社 Wood type golf club head
JP4762172B2 (en) * 2007-01-23 2011-08-31 Jx日鉱日石金属株式会社 Furnace body water cooling structure of flash furnace
JP4993471B2 (en) * 2007-02-28 2012-08-08 グローブライド株式会社 Golf club

Cited By (9)

* Cited by examiner, † Cited by third party
Publication number Priority date Publication date Assignee Title
US10888747B2 (en) 2008-07-15 2021-01-12 Taylor Made Golf Company, Inc. Aerodynamic golf club head
US11045694B2 (en) 2008-07-15 2021-06-29 Taylor Made Golf Company, Inc. Aerodynamic golf club head
US11130026B2 (en) 2008-07-15 2021-09-28 Taylor Made Golf Company, Inc. Aerodynamic golf club head
US11465019B2 (en) 2008-07-15 2022-10-11 Taylor Made Golf Company, Inc. Aerodynamic golf club head
US11633651B2 (en) 2008-07-15 2023-04-25 Taylor Made Golf Company, Inc. Aerodynamic golf club head
US11707652B2 (en) 2008-07-15 2023-07-25 Taylor Made Golf Company, Inc. Aerodynamic golf club head
US12070663B2 (en) 2008-07-15 2024-08-27 Taylor Made Golf Company, Inc. Aerodynamic golf club head
US12128278B2 (en) 2008-07-15 2024-10-29 Taylor Made Golf Company, Inc. Aerodynamic golf club head
US12364908B2 (en) 2008-07-15 2025-07-22 Taylor Made Golf Company, Inc. Aerodynamic golf club head

Also Published As

Publication number Publication date
JP2008237689A (en) 2008-10-09

Similar Documents

Publication Publication Date Title
JP4993481B2 (en) Golf club
JP5989509B2 (en) Golf club head and golf club
JP6363406B2 (en) Golf club head
JP3923772B2 (en) Iron type golf club head
US8231481B2 (en) Golf club head
KR102081048B1 (en) Golf club head
JP5342393B2 (en) Golf club
JP4993471B2 (en) Golf club
JP5037445B2 (en) Golf club
JP4546681B2 (en) Iron type golf club set
JP5416737B2 (en) Iron golf club
JP2011072661A (en) Golf club
JP5785893B2 (en) Golf club head and golf club
JP5427598B2 (en) Golf club
JP5280914B2 (en) Golf club
JP2006102247A (en) Golf club
JP2011206243A (en) Golf club
JP5437981B2 (en) Iron type golf club
JP2006122371A (en) Golf club
JP2009160050A (en) Golf club
JP2007244480A (en) Golf club
JP2011072662A (en) Golf club
JP2001087426A (en) Golf club lead and golf club
JP2001246027A (en) Wood type golf club head
JP2006167163A (en) Golf club

Legal Events

Date Code Title Description
A621 Written request for application examination

Free format text: JAPANESE INTERMEDIATE CODE: A621

Effective date: 20090407

A977 Report on retrieval

Free format text: JAPANESE INTERMEDIATE CODE: A971007

Effective date: 20110519

A131 Notification of reasons for refusal

Free format text: JAPANESE INTERMEDIATE CODE: A132

Effective date: 20110526

TRDD Decision of grant or rejection written
A01 Written decision to grant a patent or to grant a registration (utility model)

Free format text: JAPANESE INTERMEDIATE CODE: A01

Effective date: 20120426

A01 Written decision to grant a patent or to grant a registration (utility model)

Free format text: JAPANESE INTERMEDIATE CODE: A01

A61 First payment of annual fees (during grant procedure)

Free format text: JAPANESE INTERMEDIATE CODE: A61

Effective date: 20120501

FPAY Renewal fee payment (event date is renewal date of database)

Free format text: PAYMENT UNTIL: 20150518

Year of fee payment: 3

R150 Certificate of patent or registration of utility model

Ref document number: 4993481

Country of ref document: JP

Free format text: JAPANESE INTERMEDIATE CODE: R150

Free format text: JAPANESE INTERMEDIATE CODE: R150

R250 Receipt of annual fees

Free format text: JAPANESE INTERMEDIATE CODE: R250

R250 Receipt of annual fees

Free format text: JAPANESE INTERMEDIATE CODE: R250

R250 Receipt of annual fees

Free format text: JAPANESE INTERMEDIATE CODE: R250

R250 Receipt of annual fees

Free format text: JAPANESE INTERMEDIATE CODE: R250

R250 Receipt of annual fees

Free format text: JAPANESE INTERMEDIATE CODE: R250

R250 Receipt of annual fees

Free format text: JAPANESE INTERMEDIATE CODE: R250

R250 Receipt of annual fees

Free format text: JAPANESE INTERMEDIATE CODE: R250

LAPS Cancellation because of no payment of annual fees