JP4968976B2 - Collagen material and production method thereof - Google Patents
Collagen material and production method thereof Download PDFInfo
- Publication number
- JP4968976B2 JP4968976B2 JP20140598A JP20140598A JP4968976B2 JP 4968976 B2 JP4968976 B2 JP 4968976B2 JP 20140598 A JP20140598 A JP 20140598A JP 20140598 A JP20140598 A JP 20140598A JP 4968976 B2 JP4968976 B2 JP 4968976B2
- Authority
- JP
- Japan
- Prior art keywords
- collagen
- fibers
- solution
- matrix
- extracted
- Prior art date
- Legal status (The legal status is an assumption and is not a legal conclusion. Google has not performed a legal analysis and makes no representation as to the accuracy of the status listed.)
- Expired - Fee Related
Links
Images
Landscapes
- Materials For Medical Uses (AREA)
Description
【0001】
【発明の属する技術分野】
本発明は、コラーゲン超微細線維性不織布状多層体のマトリックス中、又は生体適合性を有し、且つ生体内で分解吸収され得る物質の不織布状のマトリックス中に、生体適合性を有し、且つ生体内で分解吸収され得る物質を含有してなるコラーゲン材、該コラーゲン材を含む特定形態の材料、 該材料からなる医用材料及びそれらの製造方法に関する。
【0002】
【従来の技術】
医用材料として用いられる各種素材のうち動物由来のコラーゲンは、生体親和性及び組織適合性に優れ、抗原性が低く、宿主細胞の分化・増殖を促進させる作用を有し、止血作用を有し、生体内で完全に分解吸収されることから、医用材料の素材として特に優れた特性を有している。動物由来のコラーゲンとしては、現在、I〜XIX 型までが発見されており、このうちI〜V型コラーゲンが、医用材料として多様な方法で使用されている。なかでも細胞外マトリックスとして有用なI型コラーゲンが最も多く使用されている。これらのコラーゲンは、ウシ、ブタ、トリ、カンガルーなどの動物の皮膚、骨、軟骨、腱、臓器などの各種器官の結合組織から、酸可溶化法、アルカリ可溶化法、中性可溶化法、酵素可溶化法などによって抽出及び精製されたものである。従来使用されている抽出コラーゲンは、分子レベルでは、モノマー〜オリゴマー程度にまで分解されたものであり、粉末状又は液状で保存される。これらの抽出コラーゲンは、コラーゲン分子がモノマー〜オリゴマー程度に分解された状態であるため、水、体液又は血液などと接触すると、極めて早くゾル化してしまう。このため、これらのコラーゲンを医用材料として成形して用いる際には、加工時にある程度の強度を持たせるために、ナイロン、シリコーンなどの合成高分子材料の表面をコラーゲンで被覆して使用するか、あるいは生体に適用した場合にある程度の期間その形状を保持させるために、抽出コラーゲンの成形物を、架橋剤による化学的架橋処理、あるいは、放射線、電子線、紫外線、又は熱などによる物理的架橋処理に付して使用している。また、これらの抽出コラーゲンは、糸状に加工されて、医療用の糸としても使用されるが、その紡糸には、湿式紡糸法が採用されている。
【0003】
しかし、コラーゲンを合成高分子材料と組み合わせた材料の場合、合成高分子材料が生体内に異物として残存し、肉芽形成、炎症などの障害を引き起こし易く、また、このような材料を全ての細胞や臓器に適用することはできない。また、コラーゲン材料に架橋処理を行っても、コラーゲン材料の物性、特に引き裂き強度はほとんど上昇しないため、これを加工して、縫合を必要とする医用材料にすることは不可能であった。また、グルタールアルデヒド又はエポキシなどの架橋剤を用いると、架橋剤自体の生体に対する毒性が問題になるばかりでなく、コラーゲンが本来有する生化学的特性、特に、細胞増殖に対する促進効果が失われるという欠点もある。また物理的架橋処理では、架橋率が不安定で、十分な物性を付与することができず、また生体内での吸収速度をコントロールできるよう架橋処理することも困難であった。一方、紡糸したコラーゲンも、十分な強度を有さないため、縫合糸としては不十分であった。
【0004】
また一方、各種疾患又は外傷などのため、脳や、各種臓器の外科手術を行い、術創を閉じる際に、切開した脳硬膜、心膜、胸膜、腹膜又は漿膜などを再縫合して閉鎖する必要があるが、縫いしろによる短縮分が生じたり、膜が部分的に切除されるために術創を完全に閉鎖しきれず、膜に欠損部が生じることが多い。このような欠損部をそのまま放置すると、膜の欠損した箇所から脳、心臓、肺、腸などの臓器が脱出して重大な障害をおこしたり、臓器や臓器周辺から水や空気が漏出して術創が治癒しない。また臓器が周囲の組織との癒着を起こすため、組織が損傷し、良好な予後が得られない。このため従来は、この欠損部分の補填材として使用することのできる医用代替膜として、死体より採取した凍結乾燥ヒト脳硬膜や、多孔性の延伸ポリテトラフルオロエチレンフィルム材(EPTFE)(組織用ゴアテックス、登録商標)、ポリプロピレンメッシュ、テフロンシート、ダクロンシートなどが使用されており、また乳酸とε−カプロラクトンとの共重合体(50:50)が現在開発されつつある。また自己の大腿筋膜や自己の心膜、皮膚、筋肉などを用いる方法もやむなく行われている。
【0005】
しかし、ヒト脳硬膜の使用については、補填したヒト脳硬膜と脳実質組織とが癒着を生じ、術後にテンカンの発作を惹起する恐れがあるという難点があるばかりでなく、ヒトの死体から採取するという倫理上の問題や、供給量が非常に限定されているという問題があり、更にまた最近では、脳硬膜を移植された患者における、移植脳硬膜が原因のCreutzfeldt-JakobDisease(CJD)の発生が報告され(脳神経外科、21(2):167-170, 1993)、日本では、現在はヒト脳硬膜は使用されていない。また、EPTFE材などは、生体内で分解されず、異物として残存するため、感染をおこしやすく、また生体組織と接触すると、組織細胞が脂肪変性を起こしてしまうなど、術後合併症を起こすことが多いことが知られている。乳酸とε−カプロラクトンとの共重合体は、生体内分解性であり、生体への適用後、徐々に分解するが、分解吸収されるまでにほぼ2年という長期間を要する。そのため、やはり異物として生体内にしばらくの間残存して、分解過程で組織に炎症を惹起し、肉芽腫を形成することがある。この共重合体はモノマーとして、(L)体の乳酸を使用しているため、共重合体中で乳酸が結晶化して、炎症を惹起することがある。更に、EPTFE、乳酸とε−カプロラクトンとの共重合体のいずれにも、生体膜の再生を促す作用はない。また自己の大腿筋膜などを用いる方法は患者、医師の両方にとって大きな負担である。
【0006】
心膜の補填材としては、上記のEPTFE、ポリプロピレンメッシュ(マーレックス)、ヒト乾燥脳硬膜、グルタールアルデヒド(GA)処理ウシ心膜などが従来用いられてきたが、EPTFEとヒト乾燥脳硬膜は上述の欠点を有する。また、ポリプロピレンメッシュは、心臓との間に強い癒着を起こす。GA処理ウシ心膜は、生体内で吸収分解されずに残存するため、石灰沈着による劣化を起こし、またウシ心膜に対する免疫反応による間質性肺炎の合併症が観察されている。
【0007】
また肺手術後の手術箇所からの空気漏れを軽減するために、ポリグリコール酸不織布やウシ心膜が、胸膜補填材として、又はオートスーチャー用に使用されているが、ポリグルコール酸は不透明であるためオートスーチャーでは使用しにくい。またウシ心膜は、上述したような欠点を有する。
【0008】
【発明が解決しようとする課題】
上記の理由から、コラーゲンが本来有する生化学的特性を保持しながらも、縫合可能な程度の物性を有し、更に生体への適用後もある程度の期間その形状を保持することのできるコラーゲン材、その製造方法、及びそれに基づく医用材料、例えば、人工神経管、人工脊髄、人工食道、人工気管、人工血管、人工弁、代替脳硬膜などの人工医用代替膜、人工靭帯、人工腱、外科用縫合糸、外科用補填材、外科用補強材、創傷保護材、人工皮膚、又は人工角膜などの開発が求められてきた。そして各種医用材料のなかでも特に、倫理上の問題もなく、安定して供給され、生体への適用後は、術後の術創の癒着を防止し、感染の恐れがなく、組織の変性を起こさず、適用後の分解速度をコントロールでき、更に生体膜、特に脳硬膜、心膜、胸膜、腹膜又は漿膜に対して再生促進作用がある、医用代替膜として使用することができる材料の開発も臨床現場で強く求められてきた。
【0009】
【課題を解決するための手段】
本発明者は、上記課題を解決するために鋭意研究した結果、コラーゲンの超微細線維を基本単位とする不織布状多元構造体のマトリックス中に、生体適合性を有し、且つ生体内で分解吸収され得る物質を充填してなる又は介在させてなるコラーゲン材、又は生体適合性を有し、且つ生体内で分解吸収され得る物質の不織布状のマトリックス中に、生体適合性を有し、且つ生体内で分解吸収され得る物質を充填してなるコラーゲン材が、医用材料として特に優れた特性を有するとともに、縫合可能な物性を有することを見いだして本発明を完成した。
【0010】
すなわち、本発明は、コラーゲン材であって、コラーゲンの超微細線維を基本単位とするコラーゲン線維の不織布状多元構造体のマトリックス中に、生体適合性を有し、且つ生体内で分解吸収され得る物質を充填してなる又は介在させてなることを特徴とする。
【0011】
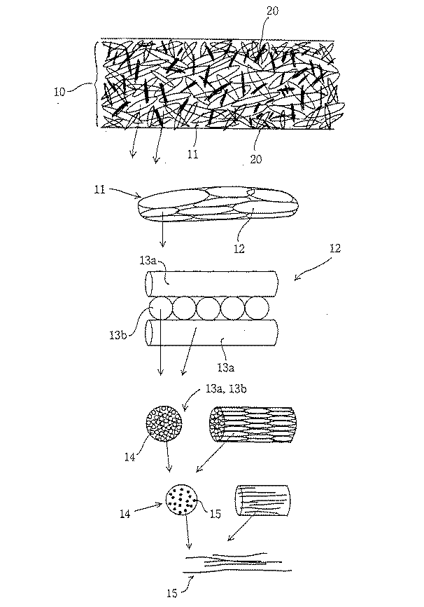
本発明のコラーゲン材は、図1に示すような基本構造を有しており、その中心をなすコラーゲン線維の不織布状多元構造体のマトリックスは、以下に説明するようにサイズ及び形態を異にする各種の線維性コラーゲンから多元的に構成されている。
【0012】
すなわち、コラーゲン線維の不織布状多元構造体は、コラーゲン分子数個からなる直径3〜7nmの超微細線維15をその基本単位とし、該超微細線維がバンドルとなって直径30〜70nmの微細線維14を形成し、該微細線維が更なるバンドルとなって直径1〜3μm の細線維13a、13bを形成し、次いで該細線維のバンドル列が縦横互い違いに積層されて直径5〜8μm の線維12を形成し、次に該線維が同軸方向に重なりあって直径20〜50μm の板状線維11を形成している。最終的にこの板状線維11が、ランダムに絡み合ってコラーゲン超微細線維性不織布状多層体10中の最大単位としての線維性コラーゲンを形成しているのである。
【0013】
本発明のコラーゲン材は、この板状線維11が不織布状に集合した線維化コラーゲンの多元構造体のマトリックス中に、生体適合性を有し、且つ生体内で分解吸収され得る物質を含有してなるものである。ここで、該生体適合性と生体内分解吸収性を有する物質としては、該マトリックス中に導入された抽出コラーゲンの塩酸溶液を、凍結と凍結乾燥処理に付し、それによって新たに該マトリックス中で線維化させたコラーゲンの超微細線維を含むコラーゲン線維が代表的なものであるが、該マトリックス中に該抽出コラーゲンの溶液又はヒアルロン酸溶液を導入し、該溶液を風乾せしめたもの(以下、コラーゲン由来のそれを、アモルファスコラーゲンという)も候補として挙げられる。
【0014】
更に、本発明のコラーゲン材は、前記のコラーゲン材の表面の所定部位に抽出コラーゲンの溶液を風乾せしめたものからなる層を更に形成せしめたものであってもよい。
【0015】
また本発明のコラーゲン材は、図1の構造を基本とするが、該材料の用途によっては、前記のコラーゲン線維の不織布状多元構造体の内部に生体内分解吸収性材料からなるシート状又は筒状のメッシュ様中間材を更に有するものにしてもよい。
【0016】
更に、本発明のコラーゲン材は、前記のマトリックスを、生体適合性を有し、且つ生体内で分解吸収され得る物質、例えば、ポリグリコール酸、ポリ乳酸、グリコール酸と乳酸の共重合体、ポリジオキサノン、グリコール酸とトリメチレンカーボネートの共重合体、又はポリグリコール酸とポリ乳酸の混合物の群から選択される材料からなる不織布状のシート又は筒状体とし、該マトリックス中に充填される生体適合性を有し、且つ生体内で分解吸収され得る物質を、前記のマトリックス中に充填したものと同様のコラーゲン(コラーゲン線維又はアモルファスコラーゲン)又はヒアルロン酸とするものであってもよい。
【0017】
このような本発明のコラーゲン材は、以下のステップからなるプロセスにて製造し得る。
【0018】
〔基本プロセス〕
ステップa
抽出コラーゲンの塩酸溶液を所望の厚みにキャスティングしてコラーゲン溶液層を形成する。ここで、キャスティングは、目的とするコラーゲン材の形状に応じて適宜公知の方法を選択して行えばよい。例えば、膜状のコラーゲン材を求める場合には、バット等をその型として、また管状のコラーゲン材を求める場合には、その壁部となる部分を空洞にした型を用いて、それぞれ行えばよい(以下、同様)。
【0019】
ステップb
該コラーゲン溶液層を一旦凍結し、所望時間その状態を保持し、次いで凍結乾燥する(この時点で、コラーゲンの超微細線維を基本単位とするコラーゲン線維の多元構造体が形成される。但し、該コラーゲン線維の多元構造体はマトリックス故その中には多数の空隙−溶液が侵入し得る空間という意味であり、いわゆる孔ではない−が存在している)。
【0020】
ステップc
該凍結乾燥されたものに熱脱水架橋を施す(マトリックスを構成する線維化コラーゲンに次ステップにおける所定の耐水溶解性を付与する)。
【0021】
ステップd
該熱脱水架橋が施こされたもののマトリックス中に抽出コラーゲンの塩酸溶液を導入する(結果として、該マトリックス中の空隙が非線維化コラーゲンにて埋められる。ここで、この操作にて埋められる空隙は、該マトリックス中の空隙の全容積である必要はない。尚、導入の具体的方法としては、弱い真空で吸引する方法が例示される。勿論、微少空間へ液を効果的に導入し得るものであれば同方法に限定されない)。
【0022】
ステップe
該抽出コラーゲンの溶液を導入されたものを再度凍結し、所望時間その状態を保持し、次いで凍結乾燥する(この操作にて、前記のマトリックス中の空隙の少なくとも一部が新たに線維化せしめられたコラーゲンの超微細線維を含むコラーゲン線維にて埋められる。ここで“埋められる”とは、正確には、該マトリックス中の空隙内で新たに線維化せしめられたコラーゲンの超微細線維を含むコラーゲン線維が該マトリックスを構成する線維化コラーゲンの各線維と絡みつくように存在せしめられていることをいう)。
【0023】
ステップg
該凍結乾燥されたものを圧縮する。
【0024】
ステップi
そして、該圧縮されたものに熱脱水架橋を施す(新たに線維化せしめられたコラーゲンの超微細線維を含むコラーゲン線維に最終製品としての、又は変法として行われる更なるステップにおける、所定の耐水溶解性を付与する)。
【0025】
更に、前記のステップeとステップgの間で下記のステップを順に行ってもよい(前記のマトリックス中の空隙を更に新たに線維化せしめられたコラーゲンの超微細線維を含むコラーゲン線維にて、でき上がったコラーゲン材に要求される強度以外の特性、例えば“風合い”とか“しなやかさ”等、が許容されるかぎり所望の強度を得るために該空隙を極力埋めるのが好ましい。因に、空隙率で表した該空隙の容積率は、一般的にマトリックスのそれが50〜60%、ステップeの後で10%程度、ステップdとステップeの繰り返し1回目のステップeの後で5%程度であり、該コラーゲン材の通常の用途、例えば医用代替膜においては、このステップf1及びf2は1回行うだけで十分である)。
【0026】
ステップf1
前記の凍結乾燥されたもののマトリックス中に該抽出コラーゲンの塩酸溶液を導入する。
【0027】
ステップf2
該抽出コラーゲンの塩酸溶液を導入されたものを、再度一旦凍結し、所望時間その状態を保持し、次いで凍結乾燥する。
【0028】
また更に、前記のステップgとステップiの間で、下記のステップを行ってもよい。
【0029】
ステップh1
前記の圧縮されたものの表面の所定部位に、コラーゲン溶液層を形成する(具体的には、該圧縮されたものを、少なくとも1回、抽出コラーゲンの塩酸溶液−好ましくはコラーゲン濃度が2.0%以下−に、所定の時間、浸漬・風乾すればよい。当該部位からの体液の侵入による強度低下を極力抑えたいコラーゲン材の用途を志向する場合。尚、“所定の部位”へのコラーゲン溶液層の形成は、抽出コラーゲンの塩酸溶液への浸漬において、該コラーゲン溶液層の形成を必要としない部分を公知の適当な手段にてブロックすればよい)。
【0030】
このステップh1を行う場合において、更に次ステップであるステップiを行う前に下記のステップh2、すなわち『前記のコラーゲン層を再度圧縮する』という操作を行ってもよい(コラーゲン材の表面の凹凸をなくす、又は少なくして、“風合い”や“肌さわり”の向上を所望する場合)。
【0031】
尚、前記のマトリックス中に充填する物質として該マトリックス中に抽出コラーゲンの塩酸溶液又はヒアルロン酸溶液(前記のステップdにおける「抽出コラーゲンの塩酸溶液」を「ヒアルロン酸溶液」と読み替える)を導入・風乾せしめたものを用いる場合には、前記のステップe〜ステップiの操作を省き、前記の抽出コラーゲンの塩酸溶液又はヒアルロン酸溶液をその中に導入されたマトリックスを加圧しつつ該マトリックスに所定の時間、熱脱水架橋を施せばよい。ここで、該マトリックスを加圧するのは、該マトリックス中に残存している空気の影響、すなわちコラーゲン材の局部的な“ふくれ”の発生を極力抑制するためである)。
【0032】
一方、前記のマトリックス中に介在させる生体適合性を有し、且つ生体内で分解され得る物質として、ポリグリコール酸、ポリ乳酸、グリコール酸と乳酸の共重合体、ポリジオキサノン、グリコール酸とトリメチレンカーボネートの共重合体、又はポリグリコール酸とポリ乳酸の混合物の群から選択される材料(以下、ポリグリコール酸等、という)を用いる場合には、前記のステップaにおいて、抽出コラーゲンの塩酸溶液のキャスティングを2回に分けて行い、両キャスティング操作の間で、前記の材料からなるシート状又は筒状のメッシュ様物を単に介在させればよい(具体的には1回目のキャスティングされたコラーゲン溶液層の上に該材料を載置−膜状物を得る場合−すればよい)。尚、これらの材料は親水性に乏しいので、介在の直前にプラズマ等でその表面を改質させておくことが好ましい)。尚、該マトリックス中にこのような材料を介在させる場合には、これらの材料とマトリックスとの複合効果にて所定の強度が得られるため、原則として該マトリックス中への線維化せしめられたコラーゲンの超微細線維を含むコラーゲン線維の新たなる増強は不要である(システム構成:一部変更したステップa→ステップb→ステップc→ステップg)。但し、圧縮されたものの表面の生化学的状態を整える意味でコラーゲン溶液層又はゼラチン溶液層の形成を行うことは好ましい。
【0033】
また、本発明のコラーゲン材として、前記のマトリックスを、生体適合性を有し、且つ生体内で分解吸収され得る物質、例えば、ポリグリコール酸、ポリ乳酸、グリコール酸と乳酸の共重合体、ポリジオキサノン、グリコール酸とトリメチレンカーボネートの共重合体、又はポリグリコール酸とポリ乳酸の混合物の群から選択される材料からなる不織布状のシート又は筒状体とし、該マトリックス中に充填される生体適合性を有し、且つ生体内で分解吸収され得る物質を、前記のマトリックス中に充填したものと同様のコラーゲン(コラーゲン線維又はアモルファスコラーゲン)又はヒアルロン酸とするものの場合には、以下に示すようにして製造すればよい。尚、説明の都合上、該マトリックス中に導入される物質がコラーゲンの場合であって、作成されるコラーゲン材が膜状のものである場合を例として以下に説明する。
【0034】
ステップj
ポリグリコール酸、ポリ乳酸、グリコール酸と乳酸の共重合体、ポリジオキサノン、グリコール酸とトリメチレンカーボネートの共重合体、又はポリグリコール酸とポリ乳酸の混合物の群から選択される材料からなる不織布状のシートからなるマトリックス中に抽出コラーゲンの塩酸溶液を導入した後、風乾する。この抽出コラーゲンの塩酸溶液の導入操作は、若干の減圧環境、例えば水流アスピレータ等でその中の空気が排除され大気圧より多少低い圧力雰囲気に置かれた容器内に、該マトリックスをその中に浸漬した所定濃度の抽出コラーゲンの塩酸溶液(別の容器に入れておく)を入れ、所定時間、その状態を保持することによってなされる。具体的には、該マトリックス中に該抽出コラーゲンの塩酸溶液がしみ込んでいくことによってなされる。尚、この操作から明らかなように、該マトリックスの内部のみならずその表面にも該抽出コラーゲンの塩酸溶液からなる薄層が必然的に形成されている。
【0035】
ステップl
該抽出コラーゲンの塩酸溶液が導入・風乾されたものの少なくとも一方の面にコラーゲン溶液層を形成する。具体的には、前記と同様の抽出コラーゲンの塩酸溶液へ該抽出コラーゲンの塩酸溶液が導入・風乾されたものを浸漬・風乾すればよい(好ましくは1〜5回程度繰り返す。その結果物がコラーゲン溶液層である。尚、片面だけにこのコラーゲン溶液層を形成させるには、もう一方の面を適当な手段にてブロックしてこのステップを行えばよい)。
【0036】
ステップo
該コラーゲン溶液層の上にゼラチン溶液層を形成する。具体的には、所定濃度のゼラチン水溶液の塗布又は該ゼラチン水溶液への浸漬を行えばよい。尚、このステップは、最終製品として癒着防止能が求められる場合に必要となる任意ステップである。
【0037】
ステップp
該ゼラチン溶液層が形成されたものに、所定の時間、熱脱水架橋を施す(目的は、先に述べた方法におけるコラーゲン線維等へのそれと同様耐水溶解性の付与である)。
【0038】
ここまでがこの方法における基本ステップであるが、この方法にも変法が存在する。その内の一つが、ステップjとステップlの間及びステップlとステップoの間でそれぞれ行う、コラーゲン溶液の線維化である。具体的には、先に述べた方法と同様、マトリックス中に導入された抽出コラーゲン及びコラーゲン溶液層に凍結→保持→凍結乾燥という一連の操作を加える(前者に対するそれ:付加ステップk、後者に対するそれ:付加ステップm1である)。尚、この付加ステップは用いる強度発現部材としてのマトリックスの強度が弱い(具体的には不織布状マトリックスの厚さが薄い)場合に採用するステップである。ここで、付加ステップm1に引き続き、該凍結乾燥されたものを圧縮する(付加ステップm2)ことが好ましい。全体としての強度が増すからである。
【0039】
更なる付加ステップとしては、熱脱水架橋が挙げられる。その実行場所としては、ステップlとステップoとの間、又はステップm2とステップoとの間である(付加ステップn。目的は先の方法にて述べたものと同様結果物の耐水溶解性の付与である)。
【0040】
本発明のコラーゲン材は、人工神経管、人工脊髄、人工食道、人工気管、人工血管、人工弁、人工靭帯、人工腱、外科用補填材、外科用補強材、創傷保護材、人工皮膚などの医用材料の主構成材料としても用い得るが、殆どそのままの形態にて使用し得るし、更にそれへの要望が大きいという点において生体膜、就中、脳硬膜、心膜、胸膜、腹膜、漿膜又は角膜などの人工医用代替膜用途に好適である。
【0041】
尚、外科用補填材、外科用補強材、創傷保護材などの膜様物においては、本発明のコラーゲン材の片面又は両面に架橋処理されたゼラチンゲル層又はヒアルロン酸層を更に有するものであってもよい。
【0042】
本発明のコラーゲン材は、更にまた、糸状材料及び該糸状材料からなる医用材料、例えば外科用縫合糸としても使用し得る。該糸状材料は、前記のステップaにおけるコラーゲン溶液層の形成に代え、湿式紡糸を行ってコラーゲン糸を先ず得る操作を行う点を除き、その他の材料と同様の操作にて製造し得る。
【0043】
【発明の実施の形態】
本発明のコラーゲン材の原料として使用するコラーゲンとしては、従来から用いられている各種コラーゲン、好ましくは中性可溶化コラーゲン、酸可溶化コラーゲン、アルカリ可溶化コラーゲン又は酵素可溶化コラーゲンを使用することができる。これらのうち、酵素可溶化コラーゲンは、不溶性コラーゲンを、酵素(例えば、ペプシン、トリプシン、キモトリプシン、パパイン、プロナーゼなど)処理したもので、これらの処理によりコラーゲン分子中の抗原性の強いテロペプチド部分が除去されて抗原性が低減されるので、特に好ましい。これらコラーゲンの由来は、特に限定されず、一般に、ウシ、ブタ、ウサギ、ヒツジ、カンガルー、鳥、魚などの動物の皮膚、骨、軟骨、腱、臓器などから抽出及び精製によって得られるI型コラーゲン、又はI型及びIII 型の混合コラーゲンを用いることができる。
【0044】
上述したようなコラーゲンの超微細線維を基本単位とするコラーゲン線維の不織布状多元構造体をマトリックスとして有する本発明のコラーゲン材を、従来各種医用材料として使用されてきたコラーゲン分子がモノマー〜オリゴマーの状態で分散しているアモルファス構造の非線維化コラーゲンのみからなる材料と比較すると、前者は、コラーゲンが本来有する生体に対する作用は保持しながらも、後者に比べて、優れた物性、特に優れた引き裂き強度を有するばかりでなく、生体内での吸収速度も十分に延長されている。また、本発明のコラーゲン材を含む糸状材料は、その形態が糸状であるという点を除けば、その構成においては先に述べたものと同じものであり、また、本発明のコラーゲン材を含む医用材料とは、同様のマトリックスとその中に生体適合性を有し、且つ生体内で分解吸収され得る物質を充填してなるコラーゲン材を、各種医用材料に加工したものである。医用材料の形態としては、膜状、管状、袋状、塊状などが挙げられる。本医用材料の用途としては、特に医用代替膜を挙げることができ、更に特にその片面又は両面に架橋処理されたゼラチンゲル層又はヒアルロン酸層を有する医用代替膜を好適に挙げることができる。この場合のその厚さは、好ましくは約0.1〜5mmである。
【0045】
本発明の医用代替膜がその表面に有していることのできるゼラチンゲル層は、ゼラチンの有する細胞の接着及び増殖を妨げる作用のため、癒着を防止する必要のある箇所において、周辺の生体組織からの細胞の伸展を防ぐための癒着防止層として作用する。また、ヒアルロン酸は、コラーゲンの安定性を向上させる効果を有し、また癒着防止能も有する。本発明の医用代替膜では、生体に適用後、約3〜4週間、ゼラチンゲル層又はヒアルロン酸層が分解吸収されずに残存する必要があるため、このゼラチンゲル層又はヒアルロン酸層もまた、架橋処理されている。
【0046】
本発明のコラーゲン材を調製するには、上記のような抽出コラーゲン(勿論、精製後)の約1N 塩酸溶液(pH約3)(コラーゲン分子がモノマー〜オリゴマーの状態で分散している非線維化コラーゲンの溶液である。以下、同様。コラーゲン濃度は、好ましくは約0.5〜3重量%、特に約1重量%)を調製し、流し込みなどの慣用の方法にて、シャーレなどの容器に、液層が任意の均一な厚さとなるようコラーゲン塩酸溶液の層を形成する(管状のものを求める場合には、例えば、その壁部が中空となった型を用いればよいし、場合によっては、マンドレルなどの基材の表面に塗布・風乾などして形成すればよい。コラーゲン以外のものであって、生体適合性を有し、且つ生体内で分解吸収され得る物質(コラーゲンマトリックス中への介在材料として)となり得るものとして、ポリグリコール酸等を用いる場合には、この操作の中で、該材料のシート状又は筒状のメッシュ様物そのものを該コラーゲン塩酸溶液の層中に介在せしめておけばよく、またそのような材料をマトリックスとして用いる場合(不織布様のシート状物又は筒状体)には、該マトリックス中にアモルファスコラーゲンや繊維化コラーゲン等のコラーゲン(場合によってはヒアルロン酸等)を該マトリックス中に充填(陰圧下でしみ込ませる等)すればよい。尚、以下の説明において、マトリックス中にコラーゲン等を充填すること及び該充填されたコラーゲン等に対する更なる処置並びにそのような処置を施されたマトリックスに対する更なる処置に関する説明は、特記しない限り、この非コラーゲン材料であって、生体適合性を有し、且つ生体内で分解吸収され得る物質をマトリックスとして用い、該マトリックス中にコラーゲン等を充填する形態のコラーゲン材の場合についても適用される)。コラーゲン塩酸溶液の層の厚さは、本発明のコラーゲン材の用途に応じて決定するが、例えば医用代替膜である脳硬膜として使用する場合、好ましくは約1〜5cm、特に約1〜3cmとする。これを、好ましくは約−10〜−196℃、特に約−20℃で、少なくとも約6時間、好ましくは約6〜48時間、特に約24時間凍結する。凍結することによって、塩酸溶液中に分散しているコラーゲン分子の間に微細な氷が形成され、コラーゲン塩酸溶液が層分離を起こし、コラーゲン分子が再配列することによって微細線維化する。凍結時間が6時間未満であると、コラーゲン塩酸溶液が十分に凍結しないため、コラーゲン分子の微細線維化が不十分であり、十分な物性が得られない。次に、上記の凍結させたコラーゲン塩酸溶液を、真空下、好ましくは約−40〜−80℃、特に約−80℃で、好ましくは約24〜48時間、特に約48時間凍結乾燥する。凍結乾燥することによって、コラーゲン分子間の微細な氷が気化するとともに、コラーゲン分子からなる超微細線維が基本単位となって、上述したような微細線維、細線維、線維、板状線維から多元的に構成された不織布状のコラーゲン構造体が得られる。尚、このコラーゲン塩酸溶液に凍結→(保持)→凍結乾燥という操作を施すことは、ポリグリコール酸等の非コラーゲン材料を併せ用いるコラーゲン材の場合においても線維化コラーゲンを求める場合には必須の操作である。
【0047】
次に、上記で得られた不織布状のコラーゲン構造体のマトリックス中に生体適合性を有し、且つ生体内で分解吸収され得る物質となり得るものの一つとしての非線維化コラーゲン、具体的には抽出コラーゲンの塩酸溶液を導入する(生体適合性を有し、且つ生体内で分解吸収され得る物質(コラーゲンマトリックス中への介在材料として)となり得るものとして、ポリグリコール酸等を用いる場合には、この操作は原則不要である)。ここで、該溶液のコラーゲン濃度としては0.5重量%以下のものを用いるのが好ましい。該導入がスムース且つ該導入された溶液の該マトリックス中での拡散がより均一に行われ、結果として該マトリックス内残存空気の排除がスムースに行われるからである。該溶液導入の具体的方法としては、該マトリックスはそれほど大きな抵抗を有さないので、50cmH2 O程度の弱い真空、例えばアスピレータを利用して該コラーゲン塩酸溶液を吸引する方法が簡単である(勿論、その他の方法、例えば、この前の操作である凍結乾燥における真空雰囲気を利用し、該マトリックスの中に該コラーゲン塩酸溶液を自然に滲み込ませる方法によってもよい)。尚、先の操作で形成された該マトリックス中のコラーゲン線維が該コラーゲン塩酸溶液(当然にその中には水を含んでいる)にて溶解されることを防止するため、該コラーゲン塩酸溶液の導入に先立ち該不織布状のコラーゲン層に対し熱脱水架橋(真空下、好ましくは約105〜150℃、特に約140℃で、好ましくは約6〜48時間、特に約24時間該マトリックスを加熱する。ここで、約105℃未満では十分な架橋反応が起きないし、一方、約150℃を超えるとコラーゲンが変性してしまう。尚、本発明のコラーゲン材を含む医用材料を生体への適用後、所望の期間残存させるように調節することがこの操作の本来の目的である)を施こしておくことが好ましい。
【0048】
次に、コラーゲン塩酸溶液がマトリックス中に導入された不織布状のコラーゲン構造体を一旦凍結し、その状態を所定時間保持した後、凍結乾燥し、該導入されたコラーゲン塩酸溶液を線維化コラーゲンに転換する(結果として、該マトリックスの空隙の所定空間が新たに線維化せしめられたコラーゲンにて埋められる、すなわち該マトリックスを構成している線維化コラーゲンに該新たに線維化されたコラーゲンが絡みつくように該マトリックス中の空隙が該新たに線維化されたコラーゲンにて充填される。尚、条件は、前記の凍結・凍結乾燥に同じ。生体適合性を有し、且つ生体内で分解吸収され得る物質(コラーゲンマトリックス中への介在材料として)となり得るものとして、ポリグリコール酸等を用いる場合には、この操作も原則不要である)。次いで、該新たに線維化されたコラーゲンにてその空隙の所定空間が充填された該マトリックスを圧縮(例えば、500kgf/cm2 ×15sec.)した後で熱脱水架橋を施す(条件は前記の熱脱水架橋に同じ)。
【0049】
以上のようにして製造された本発明のコラーゲン材は、乾燥状態で少なくとも30N の一点支持張力及び少なくとも65N の耐破断張力、湿潤状態で少なくとも1.4N の一点支持張力及び少なくとも6.5N の耐破断張力を有し(厚さ1mmの場合であって、マトリックス中に充填してなる生体適合性を有し、且つ生体内で分解吸収され得る物質−以下、生体分解吸収性物質、という−がマトリックス中で新たに微細線維化させたコラーゲンの超微細線維を含むコラーゲン線維−以下、充填コラーゲン線維、という−の場合)、又は乾燥状態で少なくとも10N の一点支持張力及び少なくとも25N の耐破断張力、湿潤状態で少なくとも5N の一点支持張力及び少なくとも15N の耐破断張力を有し(厚さ1mmの場合であって、マトリックス中に介在させてなる生体分解吸収性物質がポリグリコール酸等の場合。該マトリックスとして非コラーゲン材料を用いる場合には当然に該数値以上の能力を示す)、従来のコラーゲン材と比べて優れた強度を有するため、各種医用材料に加工することができ、縫合も可能である(特に後者のコラーゲン材においては、湿潤状態での強度がより優れたものとなるため術者の縫合技術の巧拙を問わない、という点において好都合である)。また生体内に適用された場合に約3〜8週間その形状を保持することができる。更に、コラーゲンが本来有する医用材料としての特性も保持している。
【0050】
尚、更なる強度の増強を所望の場合には、この、該コラーゲン塩酸溶液の該マトリックス中への導入(条件は前記に同じ)→凍結・凍結乾燥(条件は前記に同じ)という操作を少なくとも1回(通常は、1回で十分である)繰り返してもよい。
【0051】
一応、前記迄のステップにて本発明のコラーゲン材が得られるが、必要に応じて次に、前記のコラーゲン材の表面の所定の部位に非線維化コラーゲンの層を形成せしめる。その具体的方法は次の通りである。
▲1▼ 該圧縮されたコラーゲン材を抽出コラーゲンの塩酸溶液(コラーゲン濃度:約0.5〜3重量%、特に約2重量%)へ浸漬・風乾する(少なくとも1回。
通常の用途においては1回で十分である);そして
▲2▼ 該表面の所定の部位に非線維化コラーゲンの層を有するコラーゲン材に対し熱脱水架橋を施す(前記と同様の条件にて可)。
【0052】
ここで、前記の操作▲1▼と▲2▼との間で更に該表面の所定の部位に非線維化コラーゲンの層を有するコラーゲン材を圧縮してもよい。最終的に得られるコラーゲン材の表面の凸凹が小さくなり、“風合い”や“手触り感”が向上するからである。
【0053】
尚、これまでは前記のマトリックス中に充填する生体適合性を有し、且つ生体内で分解吸収され得る物質となり得るものとしてコラーゲン塩酸溶液を原料とし、該マトリックス中に該溶液を導入した後新たに該コラーゲンを繊維化させたものにて説明してきたが、用途によっては他のもの、例えば該溶液又はヒアルロン酸の溶液を該マトリックス中に導入した後単に風乾せしめたものであってもよい。これら導入後単に風乾せしめたものを充填物とするのは、本発明のコラーゲン材からなる医用材料を生体に適用した際の体液の空隙への更なる侵入によって湿潤状態の強度が低下することを多少なりとも該空隙をなくすことで抑制しようとするもの故、該マトリックス中への導入・風乾操作の後の操作としては、原則として熱脱水架橋の適用のみ(但し、この操作においては200kg/cm2の圧力での加圧下に行うのがよい)、場合によっては圧縮と前記の追加操作▲1▼を熱脱水架橋の適用に先立ち行えばよい。
【0054】
更に必要に応じて次に、上記の基本ステップ又は基本ステップ+追加ステップにて得られたコラーゲン材を、エチレンオキシドガス処理又は紫外線もしくはγ線照射などにより滅菌する。
【0055】
上記のようにして調製した本発明のコラーゲン材を、その片面又は両面に架橋処理されたゼラチンゲル層又はヒアルロン酸層を有する医用代替膜に加工する場合には、 ゼラチンゲル層の場合では、好ましくは約2〜70重量%、特に約60重量%のゼラチン水溶液を用いてゼラチンゲル層を形成するが、約60重量%のゼラチン水溶液を用いる場合、湿潤時で好ましくは約0.1〜5mm、特に約1mm、乾燥時で好ましくは約0.06〜3mm、特に約0.6mmになるように、ゼラチンゲル層を形成する。ゼラチンゲル層は、塗布、浸漬など、どのような方法によって形成してもよいが、例えば、シャーレなどの容器にゼラチン水溶液を注入して必要な厚さになるようにし、その上に上記のようにして得た本発明のコラーゲン材を置いて放置し、ゼラチンをゲル化させる。その両面にゼラチンゲル層を形成する場合は、もう一方の面についても、同様の処置を行って、両面にゼラチンゲル層を形成させる。
【0056】
次に、このようにして得たその片面又は両面にゼラチンゲル層を形成させたコラーゲン材を、架橋処理に付す。架橋処理を行うことによって、ゼラチンゲル層の分解吸収速度をコントロールする。架橋方法としては、熱脱水架橋が好ましい。ゼラチンゲル層を生体に適用後約3〜4週間残存させるには、該ゼラチンゲル層を形成させたコラーゲン材を、真空下、好ましくは約105〜150℃、特に約140℃で、好ましくは約6〜48時間、特に約24時間熱脱水架橋処理に付す(約105℃未満では、架橋反応が十分に起きず、約150℃を超えると、コラーゲンが変性してしまうので好ましくない)。
【0057】
このようにして形成された架橋処理されたゼラチンゲル層は、各生体膜が再生するまで、本医用代替膜のコラーゲン部分が周辺組織と癒着するのを防止する役割を有し、膜欠損部の周辺から生体膜が伸びて再生して、膜の欠損部分を塞ぐまでの約3〜4週間、ゼラチンゲル層は分解吸収されずに残存する。
【0058】
一方、ヒアルロン酸層を形成する場合には、好ましくは約0.5〜2.0mg/ml、特に約1.0mg/ml のヒアルロン酸ナトリウム水溶液を用いて、上記のようにして得た本発明のコラーゲン材の片面又は両面に、塗布又は浸漬などの方法によって、ヒアルロン酸ナトリウム水溶液層を形成し、この水溶液層を風乾することによってヒアルロン酸層とする。ヒアルロン酸ナトリウム水溶液層は、修復すべき膜の欠損部分の周辺から生体膜が伸びて再生して、膜の欠損部分を塞ぐまでの約3〜4週間ヒアルロン酸層が分解吸収されずに残存することができるよう、湿潤時で好ましくは約0.5〜4.0mm、特に約2mm、乾燥時で好ましくは約0.1〜2.0mm、特に約1.0mmの厚さとなるように形成する(約1.0mg/ml の水溶液の場合)。コラーゲン材の表面にヒアルロン酸を固定して、ヒアルロン酸層とするために、更に第2の架橋処理を行うが、ヒアルロン酸の場合は、水溶性カルボジイミド(WSC)で架橋処理を行うのが好ましい。この場合、ヒアルロン酸ナトリウム水溶液にあらかじめWSCを混合しておき、ヒアルロン酸ナトリウムと共に、コラーゲン材に適用することによって、コラーゲンのカルボキシル基とヒアルロン酸のアミノ基とを架橋させることが好ましい。ヒアルロン酸ナトリウム水溶液に含有させるWSCの濃度は、好ましくは約5〜20mg/ml、特に約8〜15mg/ml とする。このヒアルロン酸ナトリウム及びWSCを含有する水溶液を調製し、十分に撹拌し、厚さが好ましくは約1mmとなるように、コラーゲン材の両面又は片面に塗布し、風乾して、ヒアルロン酸層を形成する。
【0059】
本発明のコラーゲン材は、優れた強度を有するため、手術用縫合糸としても使用することができる。本発明のコラーゲン材を含む糸状材料は、前記のコラーゲン材の調整法の最初のステップを、抽出(勿論精製後の)コラーゲンの約1N 塩酸溶液(pH約3)(コラーゲン濃度は、好ましくは約0.5〜3重量%、特に約1重量%)を調製し、これを孔径が好ましくは約50〜300μm、特に約100μm のノズルから凝固浴中に噴出させることによって湿式紡糸する、ことに代え、その他のステップは前記のコラーゲン材の調整法と同様に行うことによって調製することができる。
【0060】
上記のように調製した本発明のコラーゲン材は、従来の抽出コラーゲン材料に比べて、優れた物性、特に優れた引き裂き強度を有するため、合成高分子材料などに積層せずにそれのみで、各種医用材料に加工することができ、縫合することもできる。また、本発明のコラーゲン材は、生体内に適用した場合、すぐには溶解せずに、約3〜8週間その形状を保持することができる。これらの理由から、本発明のコラーゲン材は、更に用途に応じて膜状、管状、袋状、塊状などの形態に加工することによって、各種医用材料として使用することができる。例えば、人工神経管、人工脊髄、人工食道、人工気管、人工血管、人工弁、人工脳硬膜などの人工医用代替膜、人工靭帯、人工腱、外科用縫合糸、外科用補填材、外科用補強材、創傷保護材、人工皮膚又は人工角膜などとして使用して、傷害を受けた生体組織が回復、再生するのを促すことができる。あるいは、圧迫止血材、あるいは細胞培養における三次元培地としても使用することができる。
【0061】
また、上記のようにして得られた本発明の医用材料からなる医用代替膜は、各種外科手術後の膜欠損部分を補填することによって、膜欠損部分における臓器と周辺組織との癒着を予防するために使用することができる。本発明の医用代替膜においては、癒着を防止する必要のある周辺組織と接する側に架橋したゼラチンゲル層又はヒアルロン酸層が向くように、その片面又は両面にゼラチンゲル層又はヒアルロン酸層を形成した本発明の医用代替膜を使用する。本医用代替膜を、心膜の代替膜として使用する場合は、両面にゼラチンゲル層又はヒアルロン酸層を形成した代替膜を、また胸膜、腹膜又は漿膜の代替膜として使用する場合は、片面にゼラチンゲル層又はヒアルロン酸層を形成した代替膜を、ゼラチンゲル層又はヒアルロン酸層が周辺組織と接する側に向くように使用する。脳硬膜の代替膜として使用する場合は、両面又は片面にゼラチンゲル層又はヒアルロン酸層を形成した代替膜のいずれも使用することができる。片面にゼラチンゲル層又はヒアルロン酸層を形成した代替膜を使用する場合は、ゼラチンゲル層又はヒアルロン酸層が、脳実質組織と接する側に向くように使用する。更にまた、上記の用途のほか、血管、消化管、気管、尿管、膀胱、粘膜、歯根膜などの縫合に、補強材としても使用することができる。
【0062】
上記のように生体膜の欠損部分を補填する材料としての本発明の医用代替膜は、脳硬膜、心膜、胸膜、腹膜又は漿膜の代替膜として使用することができる。本代替膜を術創に適用すると、術創周辺に残存している脳硬膜、心膜、胸膜、腹膜又は漿膜などの生体膜が、本代替膜との接触箇所から本代替膜のコラーゲン部分を再生の足場として伸展して再生する一方、生体組織がゼラチンゲル層又はヒアルロン酸層と接する箇所では、細胞の侵入・伸展が予防されるために癒着が防止され、最終的には欠損部分が、再生した生体膜によって塞がれ、本代替膜は、生体によって分解吸収され、完全に消失する。
【0063】
上述のように、本発明のコラーゲン材、及び本発明のコラーゲン材を含む医用材料、特に医用代替膜は、従来のコラーゲン材及びそれを含む医用材料に比べて、優れた引き裂き強度を有するが、本医用材料を、例えば人工膀胱などとして使用する際には、更に強度が必要とされる場合がある。このため、本発明のコラーゲン材、及び本発明のコラーゲン材を含む医用材料としては、前記のマトリックス中に生体内分解吸収性材料からなるシート状のメッシュ様中間材を介在せしめてもよい。生体内分解吸収性材料としては、ポリグリコール酸、ポリ乳酸、グリコール酸と乳酸の共重合体、ポリジオキサノン、グリコール酸とトリメチレンカーボネートの共重合体、又はポリグリコール酸とポリ乳酸の混合物を挙げることができる。これらの材料からなるシート状のメッシュ様中間材は、例えば約50〜2,000μm の孔径を有する、例えばメッシュシート、織布、不織布、パンチ穴を形成したシートなどの形態であり、その厚さは、例えば約100〜2,000μm であるが、メッシュ様中間材の孔径とその厚さは、用途に応じて適宜変更すればよい。
【0064】
このような、マトリックス中に生体内分解吸収性材料からなるシート状のメッシュ様中間材を介在せしめたコラーゲン材を調製するには、前記のコラーゲン材の調整法の最初のステップであるコラーゲン塩酸溶液層を形成する際にキャスティングしたコラーゲンの塩酸溶液の中に上記のようなシート状のメッシュ様中間材を浸したまま、該コラーゲン塩酸溶液層の凍結・凍結乾燥など以降のステップに付せばよい。但し、この形態の場合には、マトリックス中に新たなコラーゲンの超微細線維を充填することは原則不要故、該充填に要するステップ、例えば、抽出コラーゲンの塩酸溶液の追加導入→再凍結→再凍結乾燥というステップ及び最終的な熱脱水架橋ステップは行わなくてよい。一方、その他の追加ステップ、すなわち該コラーゲン材の表面(片面又は両面)への追加層の形成、例えば、コラーゲン溶液層とか、ゼラチンゲル層又はヒアルロン酸層の形成(原則としてこれらの操作の後では熱脱水架橋を行う)は、必要に応じて適宜行えば良い。
【0065】
以下に本発明を膜状のコラーゲン材を製造した実施例を1例として説明する。
【0066】
実施例1
豚皮由来のコラーゲンを用いて、抽出コラーゲンの1N 塩酸溶液(コラーゲン濃度:1重量%)を調製し、シャーレに注いで、18mmの厚さのコラーゲン溶液層とした。これを、−20℃で24時間凍結し、次に−80℃で48時間凍結乾燥した。次に該凍結乾燥させたコラーゲン線維の多元構造体(以下、単に多元構造体という)を真空下、140℃で24時間熱脱水架橋処理に付した後、流水アスピレータにて該多元構造体の内部に負圧 (50cmH2 O)を発生させて抽出コラーゲンの1N 塩酸溶液(コラーゲン濃度:0.5重量%)を該多元構造体中に導入し、該多元構造体の内部の空隙を非線維化コラーゲンにて埋め、次いで前記のそれと同一条件下、凍結と凍結乾燥を行った(新たに形成された線維化コラーゲンにより該多元構造体の内部の空隙を減らす操作)後、厚みが1mmまで圧縮(500kgf/cm2 )し、次いで該圧縮されたものを抽出コラーゲンの1N 塩酸溶液(コラーゲン濃度:2重量%)へ浸漬・風乾(コラーゲン溶液層の形成。回数は1回)し、前記のそれと同一条件下の熱脱水架橋処理を施して、本発明のコラーゲン材を得た。
【0067】
上記で調製した本発明のコラーゲン材について、以下に記載する方法により、その一点支持張力と耐破断張力を乾燥状態及び湿潤状態で測定した。その結果を表1に示す。
【0068】
大きさ10×25mmの短冊型の試験片を作製した。以下の方法で25℃、湿度50%の恒温恒湿室中でデジタルプッシュプルゲージ(AIKOHENGINEERING製CPUゲージ)を用いて試験片の長軸方向にISOのB速度(5mm/min) で均一に張力をかけ、膜が破断するまでの最大張力を乾燥状態及び湿潤状態(37℃の生理食塩水中で1分間又は30分間の水和を行ったもの)の両者で測定した。
【0069】
1.一点支持張力
試験片の片端の中央より5mm内側の部位を糸(4−Oプロリン又は2デキソン)で縫合固定し、他方の端はクリップで均一に把持して張力をかけた。
【0070】
2.耐破断張力
試験片の両端をクリップで均一に把持して張力をかけた。
結果を表1に示す(表中、「湿潤状態A」は水和時間が1分間のデータを、「湿潤状態B」は水和時間が30分間のデータである)。
【0071】
実施例2
前記の圧縮されたものへのコラーゲン溶液層の形成の回数を5回にしたことを除き実施例1と同様にして、本発明のコラーゲン材を得た。該コラーゲン材について、実施例1と同様の方法により、その一点支持張力と耐破断張力を乾燥状態及び湿潤状態で測定した。その結果を表1に示す。
【0072】
実施例3
前記の2回目の凍結乾燥操作と圧縮操作との間で、前記のそれと同一条件下、熱脱水架橋処理と新たに形成された線維化コラーゲンにより多元構造体の内部の空隙を減らす操作をこの順に行ったこと、及び前記の圧縮されたものへのコラーゲン溶液層の形成を行わなかったことを除き実施例1と同様の方法により、その一点支持張力と耐破断張力を乾燥状態及び湿潤状態で測定した。その結果を表1に示す。
【0073】
実施例4
前記の圧縮されたものへのコラーゲン溶液層の形成を行わなかったことを除き実施例1と同様にして、本発明のコラーゲン材を得た。該コラーゲン材について、実施例1と同様の方法により、その一点支持張力と耐破断張力を乾燥状態及び湿潤状態で測定した。その結果を表1に示す。
【0074】
実施例5
最初のコラーゲン溶液層の形成時に、予めその表面にプラズマ放電処理を施したポリグリコール酸のメッシュシート(目開き:1mm)を介在せしめたこと、及び新たに形成された線維化コラーゲンにより該多元構造体の内部の空隙を減らす操作を行わなかったことを除き実施例1と同様にして、本発明のコラーゲン材を得た。該コラーゲン材について、実施例1と同様の方法により、その一点支持張力と耐破断張力を乾燥状態及び湿潤状態で測定した。その結果を表1に示す。
【0075】
実施例6
前記の圧縮されたものへのコラーゲン溶液層の形成に代えて該圧縮されたものの片面にゼラチンゲル層を形成(15%ゼラチン水溶液を当該面に塗布・乾燥)したことを除き実施例5と同様にして、本発明のコラーゲン材を得た。該コラーゲン材について、実施例1と同様の方法により、その一点支持張力と耐破断張力を乾燥状態及び湿潤状態で測定した。その結果を表1に示す。
【0076】
実施例7
ゼラチンゲル層の形成を前記の圧縮されたものの両面に行ったことを除き実施例6と同様にして、本発明のコラーゲン材を得た。該コラーゲン材について、支持張力と耐破断張力を乾燥状態及び湿潤状張力と耐破断張力を乾燥状態及び湿潤状態で測定した。その結果を表1に示す。
【0077】
【表1】
【0078】
表1に示す通り、本発明のコラーゲン材は、縫合に耐える優れた物性を有することが確認された。尚、同表において参考とは、ポリグリコール酸のメッシュシートのみのデータである。
【0079】
実施例8
容器内にプラズマ放電処理を施したポリグリコール酸の不織布(2plies −厚さ:0.20mm、空隙率:88.75%−)とそれを浸漬可能な十分量の抽出コラーゲン塩酸溶液(コラーゲン濃度:1%)とを入れ、該容器をデシケータ中に収容し、該デシケータ内を水流アスピレータにて減圧(−50cmH2 O)し、所定時間(1〜2分間)その状態を保持して該不織布中に該抽出コラーゲン塩酸溶液を十分にしみ込ませた後、該不織布を該デシケータより取り出し風乾させた。該風乾させた不織布に実施例1と同様の条件にて凍結→保持→凍結乾燥→熱脱水架橋の各操作を行い、次いで、抽出コラーゲン塩酸溶液(コラーゲン濃度:1%)への浸漬と風乾を2回繰り返し、その中に線維化コラーゲンを充填された不織布の表面にアモルファスコラーゲンの溶液層を形成した。次いで、該アモルファスコラーゲンの溶液層の表面にゼラチンゲル層を形成させた(20%ゼラチン水溶液への浸漬と風乾を2回繰り返すことによって実行)後、実施例1と同様の条件にて熱脱水架橋を施して本発明のコラーゲン材を得た。
【0080】
実施例9
ポリグリコール酸の不織布として4plies (厚さ:0.55mm、空隙率:75.1%)のものを用いたこと及びその中に抽出コラーゲン塩酸溶液を十分にしみ込ませた該不織布に対し凍結→保持→凍結乾燥→熱脱水架橋という一連の操作を行わなかったことを除き実施例8と同様にして本発明のコラーゲン材を得た。尚、予備試験にて強度が得られることを確認し得たので実施例8のそれと同様、更なる詳細な強度試験を行わなかった。
【0081】
【発明の効果】
本発明のコラーゲン材は、コラーゲンが本来有する生化学的特性を保持しながらも、縫合可能な程度の物性を有するため、各種医療材料として広く使用することができる。また本発明の医用代替膜は、倫理上の問題もなく、安定して供給され、生体膜の欠損部分を補填する材料又は癒着防止材として術創に縫合することができる。また縫合後、生体膜が再生するまでの期間残存して、癒着防止効果を示す一方、徐々に分解吸収されるため、生体組織に長期間残存して炎症などを惹起することがなく、安全に使用することができる。
【図面の簡単な説明】
【図1】本発明のコラーゲン材の構造を示す。
【符号の説明】
10・・・・・・・・・・・・コラーゲン超微細線維性不織布状多層体
11・・・・・・・・・・・・板状線維
12・・・・・・・・・・・・線維
13a、13b・・細線維
14・・・・・・・・・・・・微細線維
15・・・・・・・・・・・・超微細線維
20・・・・・・・・・・・・新たに形成せしめた線維化コラーゲン[0001]
BACKGROUND OF THE INVENTION
The present invention has biocompatibility in a matrix of a collagen ultrafine fibrous non-woven multilayer body, or in a non-woven matrix of a substance that is biocompatible and can be decomposed and absorbed in vivo, and The present invention relates to a collagen material containing a substance that can be decomposed and absorbed in a living body, a material of a specific form including the collagen material, a medical material comprising the material, and a method for producing them.
[0002]
[Prior art]
Among various materials used as medical materials, animal-derived collagen is excellent in biocompatibility and tissue compatibility, has low antigenicity, has an action of promoting differentiation and proliferation of host cells, has a hemostatic action, Since it is completely decomposed and absorbed in vivo, it has particularly excellent characteristics as a raw material for medical materials. Currently, types I to XIX have been discovered as animal-derived collagen, and among these, types I to V are used in various ways as medical materials. Among them, type I collagen which is useful as an extracellular matrix is most frequently used. These collagens are obtained from connective tissues of various organs such as bovine, porcine, avian and kangaroo skins, bones, cartilage, tendons, organs, acid solubilization method, alkali solubilization method, neutral solubilization method, Extracted and purified by an enzyme solubilization method or the like. Conventionally used extracted collagen has been decomposed to the order of monomers to oligomers at the molecular level, and is stored in powder or liquid form. Since these extracted collagens are in a state in which collagen molecules are decomposed to the order of monomers to oligomers, they become sols very quickly when they come into contact with water, body fluids or blood. For this reason, when molding and using these collagens as medical materials, the surface of a synthetic polymer material such as nylon or silicone is coated with collagen in order to have a certain degree of strength during processing. Alternatively, in order to maintain the shape for a certain period of time when applied to a living body, the molded product of extracted collagen is subjected to a chemical cross-linking treatment with a cross-linking agent, or a physical cross-linking treatment with radiation, electron beam, ultraviolet light, heat, or the like. It is attached to. Further, these extracted collagens are processed into yarns and used as medical yarns, and a wet spinning method is adopted for spinning.
[0003]
However, in the case of a material in which collagen is combined with a synthetic polymer material, the synthetic polymer material remains as a foreign substance in the living body and easily causes problems such as granulation and inflammation. It cannot be applied to organs. Further, even if the collagen material is subjected to a crosslinking treatment, the physical properties of the collagen material, in particular, the tear strength, hardly increase. Therefore, it has been impossible to process the collagen material into a medical material that requires suturing. In addition, when a cross-linking agent such as glutaraldehyde or epoxy is used, not only the toxicity of the cross-linking agent itself to the living body becomes a problem, but also the biochemical properties inherent in collagen, particularly the effect of promoting cell proliferation is lost. There are also drawbacks. Further, in the physical crosslinking treatment, the crosslinking rate is unstable, sufficient physical properties cannot be imparted, and it is difficult to carry out the crosslinking treatment so that the absorption rate in vivo can be controlled. On the other hand, spun collagen is not sufficient as a suture because it does not have sufficient strength.
[0004]
On the other hand, due to various diseases or trauma, when the surgical operation of the brain or various organs is performed and the surgical wound is closed, the incised brain dura mater, pericardium, pleura, peritoneum or serosa are closed by re-stitching However, there are many cases where a shortened portion due to a sewing margin occurs, or because the membrane is partially excised, the surgical wound cannot be completely closed, and a defect is formed in the membrane. If such a defect is left as it is, organs such as the brain, heart, lungs, and intestines escape from the area where the membrane is missing, causing serious damage, or water and air leaking from the organ and surrounding organs. Wound does not heal. In addition, since the organs adhere to surrounding tissues, the tissues are damaged and a good prognosis cannot be obtained. For this reason, conventionally, as a medical substitute membrane that can be used as a filling material for this defect portion, a freeze-dried human brain dura mater collected from a cadaver or a porous expanded polytetrafluoroethylene film material (EPTFE) (for tissue) Gore-Tex, registered trademark), polypropylene mesh, Teflon sheet, Dacron sheet and the like are used, and a copolymer of lactic acid and ε-caprolactone (50:50) is currently being developed. In addition, methods using the own femoral fascia, own pericardium, skin, muscle, etc. are unavoidably performed.
[0005]
However, the use of human dura mater not only has the drawback that the supplemented human dura mater and the brain parenchyma will cause adhesions and cause seizures after surgery, but also human cadaver There is an ethical problem of collecting from the brain, and there is a problem that the supply amount is very limited. Recently, Creutzfeldt-JakobDisease ( CJD) has been reported (Neurosurgical Surgery, 21 (2): 167-170, 1993), and human dura mater is not currently used in Japan. In addition, EPTFE materials are not decomposed in the living body and remain as foreign substances, so that they are susceptible to infection, and when they come into contact with living tissue, postoperative complications such as tissue cell degeneration occur. It is known that there are many. A copolymer of lactic acid and ε-caprolactone is biodegradable and gradually degrades after application to a living body, but it takes a long period of time of approximately 2 years to be decomposed and absorbed. Therefore, it may remain in the living body as a foreign substance for a while and cause inflammation in the tissue during the degradation process, thereby forming granulomas. Since this copolymer uses (L) lactic acid as a monomer, lactic acid may crystallize in the copolymer and cause inflammation. Furthermore, none of EPTFE and the copolymer of lactic acid and ε-caprolactone has an effect of promoting the regeneration of the biological membrane. In addition, the method using the own thigh fascia is a heavy burden for both patients and doctors.
[0006]
As the pericardium filling material, EPTFE, polypropylene mesh (Marlex), human dry brain dura mater, glutaraldehyde (GA) -treated bovine pericardium, etc. have been conventionally used. The membrane has the above-mentioned drawbacks. Polypropylene mesh also causes strong adhesion with the heart. Since the GA-treated bovine pericardium remains in vivo without being absorbed and decomposed, it causes deterioration due to calcification, and complications of interstitial pneumonia due to an immune reaction against the bovine pericardium have been observed.
[0007]
Polyglycolic acid nonwoven fabric and bovine pericardium are used as a pleural prosthesis or for auto-suture to reduce air leakage from the surgical site after lung surgery, but polyglycolic acid is opaque Therefore, it is difficult to use with auto-suturer. In addition, bovine pericardium has the disadvantages described above.
[0008]
[Problems to be solved by the invention]
For the above reasons, a collagen material that retains the biochemical properties inherent in collagen, has physical properties that can be sutured, and can retain its shape for a period of time after application to a living body, Production method thereof and medical materials based thereon, for example, artificial neural tube, artificial spinal cord, artificial esophagus, artificial trachea, artificial blood vessel, artificial valve, artificial medical substitute membrane such as alternative brain dura mater, artificial ligament, artificial tendon, surgical use There has been a demand for the development of sutures, surgical fillers, surgical reinforcements, wound protection materials, artificial skin, or artificial corneas. Among various medical materials, there is no particular ethical problem, and it is supplied stably. After application to the living body, it prevents adhesion of postoperative wounds, there is no risk of infection, and tissue degeneration is prevented. Development of materials that can be used as a medical substitute membrane that can control the degradation rate after application without causing it, and also has a regeneration promoting effect on biological membranes, particularly cerebral dura mater, pericardium, pleura, peritoneum or serosa Has also been strongly sought after in the clinical setting.
[0009]
[Means for Solving the Problems]
As a result of earnest research to solve the above-mentioned problems, the present inventor has biocompatibility in a matrix of a non-woven multi-component structure having ultrafine fibers of collagen as a basic unit, and is decomposed and absorbed in vivo. In a non-woven matrix of a collagen material filled with or intervened with a substance that can be treated, or a substance that is biocompatible and can be decomposed and absorbed in vivo. It has been found that a collagen material filled with a substance that can be decomposed and absorbed in the body has particularly excellent properties as a medical material and has physical properties that can be sutured.
[0010]
That is, the present invention is a collagen material, and has biocompatibility and can be decomposed and absorbed in vivo in a matrix of a non-woven multi-component structure of collagen fibers whose basic unit is ultrafine fibers of collagen. It is characterized by being filled with or interposing a substance.
[0011]
The collagen material of the present invention has a basic structure as shown in FIG. 1, and the matrix of the non-woven multi-component structure of collagen fibers that forms the center of the collagen material has different sizes and shapes as described below. It is composed of various types of fibrous collagen.
[0012]
That is, the non-woven multi-component structure of collagen fibers has
[0013]
The collagen material of the present invention contains a substance having biocompatibility and capable of being decomposed and absorbed in a living body in a matrix of a multi-component structure of fibrotic collagen in which the plate-
[0014]
Furthermore, the collagen material of the present invention may be one in which a layer made of an air-dried solution of extracted collagen is further formed at a predetermined site on the surface of the collagen material.
[0015]
The collagen material of the present invention is based on the structure shown in FIG. 1, but depending on the use of the material, a sheet or tube made of a biodegradable absorbent material inside the non-woven multi-component structure of collagen fibers. You may further have a mesh-like intermediate material.
[0016]
Furthermore, the collagen material according to the present invention is a substance having biocompatibility and capable of being decomposed and absorbed in vivo, such as polyglycolic acid, polylactic acid, a copolymer of glycolic acid and lactic acid, polydioxanone. , A non-woven sheet or cylindrical body made of a material selected from the group consisting of a copolymer of glycolic acid and trimethylene carbonate, or a mixture of polyglycolic acid and polylactic acid, and is biocompatible with the matrix The substance that has the above and can be decomposed and absorbed in vivo may be the same collagen (collagen fiber or amorphous collagen) or hyaluronic acid as that filled in the matrix.
[0017]
Such a collagen material of the present invention can be produced by a process comprising the following steps.
[0018]
[Basic process]
Step a
A collagen solution layer is formed by casting a hydrochloric acid solution of extracted collagen to a desired thickness. Here, the casting may be performed by appropriately selecting a known method according to the shape of the target collagen material. For example, when a membrane-like collagen material is to be obtained, a bat or the like may be used as the mold, and when a tubular collagen material is to be obtained, a wall-type mold may be used. (The same applies hereinafter).
[0019]
Step b
The collagen solution layer is once frozen, kept in that state for a desired time, and then lyophilized (at this point, a multi-structure of collagen fibers based on collagen ultrafine fibers is formed, provided that the collagen solution layer is formed. The multi-component structure of collagen fibers is a matrix, and therefore, there are a large number of voids in the matrix (meaning a space into which a solution can invade, not a so-called pore).
[0020]
Step c
The freeze-dried product is subjected to thermal dehydration crosslinking (giving predetermined fibrosis resistance in the next step to the fibrillated collagen constituting the matrix).
[0021]
Step d
A hydrochloric acid solution of extracted collagen is introduced into the matrix subjected to the thermal dehydration cross-linking (as a result, voids in the matrix are filled with non-fibrotic collagen. It is not necessary that the total volume of the voids in the matrix is a specific method of introduction, for example, a method of sucking in a weak vacuum. If it is a thing, it is not limited to the same method).
[0022]
Step e
The solution into which the extracted collagen solution has been introduced is frozen again, and kept in that state for a desired time, and then freeze-dried (this operation causes at least a part of the voids in the matrix to be newly fibrillated. It is filled with collagen fibers including ultrafine fibers of collagen, and exactly “filled” means collagen containing ultrafine fibers of collagen newly fibrillated within the voids in the matrix. It means that the fibers are entangled with each fiber of the fibrillated collagen constituting the matrix).
[0023]
Step g
The lyophilized product is compressed.
[0024]
Step i
The compressed product is subjected to thermal dehydration cross-linking (predetermined water resistance in a further step performed as a final product or as a modified method on collagen fibers including ultrafine fibers of newly formed collagen. Imparts solubility).
[0025]
Further, the following steps may be sequentially performed between step e and step g (completed with collagen fibers including ultrafine fibers of collagen in which the voids in the matrix are further fibrillated. It is preferable to fill the void as much as possible in order to obtain a desired strength as long as characteristics other than the strength required for the collagen material, such as “feel” and “flexibility”, are allowed. The void volume ratio shown is generally 50-60% of that of the matrix, about 10% after step e, and about 5% after step e of step d and step e. In normal applications of the collagen material, such as a medical substitute membrane, steps f1 and f2 need only be performed once).
[0026]
Step f1
A hydrochloric acid solution of the extracted collagen is introduced into the matrix of the lyophilized product.
[0027]
Step f2
The extracted collagen-introduced hydrochloric acid solution is frozen once again, kept in that state for a desired time, and then freeze-dried.
[0028]
Furthermore, the following steps may be performed between step g and step i.
[0029]
Step h1
A collagen solution layer is formed at a predetermined site on the surface of the compressed material (specifically, the compressed material is extracted at least once with a hydrochloric acid solution of extracted collagen-preferably a collagen concentration of 2.0%). In the following, it is sufficient to immerse and air dry for a predetermined time.If you intend to use collagen materials that want to suppress the strength reduction due to intrusion of body fluid from the part as much as possible.Collagen solution layer to "predetermined part" In the formation of (3), a portion that does not require the formation of the collagen solution layer in the immersion of the extracted collagen in a hydrochloric acid solution may be blocked by a known appropriate means).
[0030]
In the case of performing this step h1, the following step h2, that is, the operation of “compressing the collagen layer again” may be performed before performing step i, which is the next step (relief on the surface of the collagen material). (If you want to improve the "texture" and "texture" by eliminating or reducing it).
[0031]
In addition, a hydrochloric acid solution or hyaluronic acid solution of extracted collagen (replaced “hydrochloric acid solution of extracted collagen” in the above step d as “hyaluronic acid solution”) is introduced into the matrix as a substance to be filled in the matrix. In the case of using a caulked one, the operations in the steps e to i are omitted, and the matrix into which the hydrochloric acid solution or hyaluronic acid solution of the extracted collagen is introduced is pressurized for a predetermined time in the matrix. Thermal dehydration crosslinking may be applied. Here, the reason why the matrix is pressurized is to suppress the influence of the air remaining in the matrix, that is, the occurrence of local “blowing” of the collagen material as much as possible.
[0032]
On the other hand, polyglycolic acid, polylactic acid, copolymers of glycolic acid and lactic acid, polydioxanone, glycolic acid and trimethylene carbonate are biocompatible and can be decomposed in vivo. When a material selected from the group consisting of a copolymer of polyglycolic acid and a mixture of polyglycolic acid and polylactic acid (hereinafter referred to as polyglycolic acid or the like) is cast in the hydrochloric acid solution of extracted collagen in step a above. Is performed in two steps, and a sheet-like or cylindrical mesh-like material made of the above-described material is simply interposed between the casting operations (specifically, the first-cast collagen solution layer is cast for the first time). The material is placed on the substrate-when a film-like material is obtained-). Since these materials have poor hydrophilicity, it is preferable to modify the surface with plasma or the like immediately before the interposition. In addition, when such a material is interposed in the matrix, since a predetermined strength is obtained by the combined effect of these materials and the matrix, in principle, the collagen fibrillated into the matrix It is not necessary to newly reinforce collagen fibers including ultrafine fibers (system configuration: partially changed step a → step b → step c → step g). However, it is preferable to form a collagen solution layer or a gelatin solution layer in the sense of adjusting the biochemical state of the compressed surface.
[0033]
In addition, as the collagen material of the present invention, the matrix is biocompatible and can be decomposed and absorbed in vivo, such as polyglycolic acid, polylactic acid, a copolymer of glycolic acid and lactic acid, polydioxanone. , A non-woven sheet or cylindrical body made of a material selected from the group consisting of a copolymer of glycolic acid and trimethylene carbonate, or a mixture of polyglycolic acid and polylactic acid, and is biocompatible with the matrix In the case where the same substance (collagen fiber or amorphous collagen) or hyaluronic acid as the one filled in the matrix is used as a substance that has a substance that can be decomposed and absorbed in vivo, as shown below What is necessary is just to manufacture. For convenience of explanation, a case where the substance introduced into the matrix is collagen and the collagen material to be created is a film-like material will be described below as an example.
[0034]
Step j
Non-woven fabric made of a material selected from the group consisting of polyglycolic acid, polylactic acid, a copolymer of glycolic acid and lactic acid, polydioxanone, a copolymer of glycolic acid and trimethylene carbonate, or a mixture of polyglycolic acid and polylactic acid A hydrochloric acid solution of extracted collagen is introduced into a matrix composed of sheets, and then air-dried. The operation of introducing the hydrochloric acid solution of the extracted collagen is carried out by immersing the matrix in a container in a slightly reduced pressure environment, for example, a water flow aspirator or the like, in which the air is removed and placed in a pressure atmosphere slightly lower than atmospheric pressure. A hydrochloric acid solution of extracted collagen having a predetermined concentration (stored in a separate container) is added and the state is maintained for a predetermined time. Specifically, this is done by allowing the hydrochloric acid solution of the extracted collagen to penetrate into the matrix. As is clear from this operation, a thin layer made of a hydrochloric acid solution of the extracted collagen is inevitably formed not only inside the matrix but also on the surface thereof.
[0035]
Step l
A collagen solution layer is formed on at least one surface of the extracted collagen hydrochloric acid solution introduced and air-dried. Specifically, a solution obtained by introducing the extracted collagen hydrochloric acid solution into the hydrochloric acid solution of the extracted collagen and air-dried may be immersed and air-dried (preferably about 1 to 5 times. The result is collagen. In order to form this collagen solution layer only on one side, the other side may be blocked by an appropriate means and this step may be performed).
[0036]
Step o
A gelatin solution layer is formed on the collagen solution layer. Specifically, a gelatin aqueous solution having a predetermined concentration may be applied or immersed in the gelatin aqueous solution. This step is an optional step required when adhesion prevention ability is required as the final product.
[0037]
Step p
The gelatin solution layer formed is subjected to thermal dehydration crosslinking for a predetermined time (the purpose is to impart water solubility resistance to collagen fibers and the like in the above-described method).
[0038]
This is the basic step in this method, but there are variations in this method. One of them is the fibrosis of the collagen solution performed between step j and step l and between step l and step o, respectively. Specifically, similar to the method described above, a series of operations of freezing → holding → freeze drying is added to the extracted collagen and collagen solution layer introduced into the matrix (that for the former: addition step k, that for the latter). : Additional step m1). This additional step is a step employed when the strength of the matrix as the strength developing member to be used is weak (specifically, the thickness of the nonwoven fabric matrix is thin). Here, following the adding step m1, it is preferable to compress the freeze-dried product (adding step m2). This is because the overall strength increases.
[0039]
An additional step includes thermal dehydration crosslinking. The place of execution is between step l and step o, or between step m2 and step o (additional step n. The purpose is the same as described in the previous method for the water solubility resistance of the resulting product. Grant).
[0040]
The collagen material of the present invention includes an artificial neural tube, an artificial spinal cord, an artificial esophagus, an artificial trachea, an artificial blood vessel, an artificial valve, an artificial ligament, an artificial tendon, a surgical prosthetic material, a surgical reinforcing material, a wound protective material, and artificial skin. Although it can be used as the main constituent material of medical materials, it can be used almost as it is, and in addition, there is a great demand for it. In particular, biological membranes, especially brain dura mater, pericardium, pleura, peritoneum, Suitable for artificial medical substitute membrane applications such as serosa or cornea.
[0041]
The membrane-like material such as a surgical filling material, a surgical reinforcing material, and a wound protection material further has a gelatin gel layer or a hyaluronic acid layer that is crosslinked on one or both sides of the collagen material of the present invention. May be.
[0042]
The collagen material of the present invention can also be used as a thread material and a medical material comprising the thread material, such as a surgical suture. The filamentous material can be produced in the same manner as the other materials, except that the collagen solution layer is formed in step a and that the wet spinning is performed to obtain the collagen yarn first.
[0043]
DETAILED DESCRIPTION OF THE INVENTION
As the collagen used as the raw material of the collagen material of the present invention, various conventionally used collagens, preferably neutral solubilized collagen, acid solubilized collagen, alkali solubilized collagen or enzyme solubilized collagen may be used. it can. Among these, enzyme-solubilized collagen is obtained by treating insoluble collagen with an enzyme (for example, pepsin, trypsin, chymotrypsin, papain, pronase, etc.). By these treatments, a strong antigenic telopeptide portion in the collagen molecule is obtained. It is particularly preferred because it is removed to reduce antigenicity. The origin of these collagens is not particularly limited, and is generally type I collagen obtained by extraction and purification from skin, bone, cartilage, tendon, organ, etc. of animals such as cows, pigs, rabbits, sheep, kangaroos, birds, fish, etc. Alternatively, mixed collagens of type I and type III can be used.
[0044]
As described above, the collagen material of the present invention having a non-woven multi-dimensional structure of collagen fibers having a basic unit of ultrafine fibers of collagen as a matrix, the collagen molecules conventionally used as various medical materials are in a monomer-oligomer state Compared with materials consisting only of non-fibrotic collagen with an amorphous structure dispersed in the former, the former retains its natural action on the living body, but has superior physical properties, particularly superior tear strength, compared to the latter. In addition, the absorption rate in vivo is sufficiently extended. Further, the filamentous material containing the collagen material of the present invention is the same as that described above except that the form thereof is a filamentous shape, and the medical material containing the collagen material of the present invention The material is obtained by processing a collagen material formed by filling a similar matrix and a substance having biocompatibility therein and capable of being decomposed and absorbed in vivo into various medical materials. Examples of the form of the medical material include a film shape, a tubular shape, a bag shape, and a lump shape. As the use of the present medical material, a medical substitute film can be mentioned in particular, and a medical substitute film having a gelatin gel layer or a hyaluronic acid layer cross-linked on one side or both sides can be particularly preferably mentioned. In this case, the thickness is preferably about 0.1 to 5 mm.
[0045]
The gelatin gel layer that the medical substitute membrane of the present invention can have on the surface thereof has a function of hindering adhesion and proliferation of cells possessed by gelatin. It acts as an anti-adhesion layer to prevent the cells from spreading. Further, hyaluronic acid has an effect of improving the stability of collagen and also has an adhesion preventing ability. In the medical alternative membrane of the present invention, the gelatin gel layer or the hyaluronic acid layer needs to remain without being decomposed and absorbed for about 3 to 4 weeks after application to the living body. Cross-linked.
[0046]
In order to prepare the collagen material of the present invention, about 1N hydrochloric acid solution (pH about 3) of the above-described extracted collagen (of course after purification) (non-fibrosis in which collagen molecules are dispersed in a monomer-oligomer state) The collagen concentration is preferably about 0.5 to 3% by weight, particularly about 1% by weight), and is prepared in a container such as a petri dish by a conventional method such as pouring. Form a layer of collagen hydrochloric acid solution so that the liquid layer has an arbitrary uniform thickness (in the case of obtaining a tubular one, for example, a mold having a hollow wall portion may be used. It may be formed by applying to the surface of a substrate such as a mandrel, air-drying, etc. Substances other than collagen that are biocompatible and can be decomposed and absorbed in vivo (incorporation in the collagen matrix) When polyglycolic acid or the like is used as a material), a sheet-like or cylindrical mesh-like material of the material itself may be interposed in the collagen hydrochloric acid solution layer during this operation. In addition, when such a material is used as a matrix (non-woven sheet-like material or cylindrical body), collagen such as amorphous collagen or fiberized collagen (hyaluronic acid or the like in some cases) is contained in the matrix. The matrix may be filled (soaked under a negative pressure, etc.) In the following description, the matrix is filled with collagen and the like, and further treatment for the filled collagen and the like are performed. Explanations regarding further treatments to the applied matrix will be made with this non-collagen material unless otherwise stated. It, biocompatible, and using a substance which can be degraded and absorbed in vivo as a matrix, is also applied to the case of collagen material forms filling the collagen or the like in the matrix). The layer thickness of the collagen hydrochloric acid solution is determined according to the use of the collagen material of the present invention. For example, when used as a brain dura mater which is a medical substitute membrane, it is preferably about 1 to 5 cm, particularly about 1 to 3 cm. And This is preferably frozen at about −10 to −196 ° C., in particular about −20 ° C., for at least about 6 hours, preferably about 6 to 48 hours, in particular about 24 hours. By freezing, fine ice is formed between the collagen molecules dispersed in the hydrochloric acid solution, the collagen hydrochloric acid solution undergoes layer separation, and the collagen molecules rearrange to form fine fibers. When the freezing time is less than 6 hours, the collagen hydrochloric acid solution does not freeze sufficiently, and the collagen fibers are not sufficiently fibrillated and sufficient physical properties cannot be obtained. The frozen collagen hydrochloric acid solution is then lyophilized under vacuum, preferably at about -40 to -80 ° C, particularly about -80 ° C, preferably about 24 to 48 hours, particularly about 48 hours. By freeze-drying, fine ice between collagen molecules evaporates, and ultrafine fibers composed of collagen molecules become the basic unit, and are multidimensional from fine fibers, fine fibers, fibers, and plate fibers as described above. A non-woven collagen structure having a structure as described above is obtained. The operation of freezing → (holding) → freeze-drying this collagen hydrochloric acid solution is an indispensable operation for obtaining fibrillated collagen even in the case of a collagen material using a non-collagen material such as polyglycolic acid. It is.
[0047]
Next, non-fibrotic collagen as one of materials that can be biocompatible in the matrix of the non-woven collagen structure obtained above and can be decomposed and absorbed in vivo, specifically, In the case of using polyglycolic acid or the like as an introduction of a hydrochloric acid solution of extracted collagen (which is biocompatible and can be decomposed and absorbed in vivo (as an intervening material in the collagen matrix) This operation is unnecessary in principle). Here, the collagen concentration of the solution is preferably 0.5% by weight or less. This is because the introduction is smooth and the introduced solution is more uniformly diffused in the matrix, and as a result, the remaining air in the matrix is smoothly removed. As a specific method of introducing the solution, since the matrix does not have a great resistance, 50 cmH2 A method of sucking the collagen hydrochloric acid solution using a vacuum as weak as O, such as an aspirator, is simple (of course, other methods such as using the vacuum atmosphere in lyophilization which is the previous operation) The collagen hydrochloric acid solution may be naturally soaked into the skin). In order to prevent the collagen fibers in the matrix formed in the previous operation from being dissolved in the collagen hydrochloric acid solution (which naturally contains water), the collagen hydrochloric acid solution is introduced. Prior to heating, the non-woven collagen layer is thermally dehydrated (heated under vacuum, preferably at about 105-150 ° C., especially at about 140 ° C., preferably about 6-48 hours, especially about 24 hours. However, when the temperature is less than about 105 ° C., sufficient crosslinking reaction does not occur, while when the temperature exceeds about 150 ° C., the collagen is denatured. It is preferable that the adjustment is made so that it remains for a period of time, which is the original purpose of this operation.
[0048]
Next, the non-woven collagen structure into which the collagen hydrochloric acid solution has been introduced into the matrix is once frozen, kept in this state for a predetermined time, and then freeze-dried, and the introduced collagen hydrochloric acid solution is converted into fibrotic collagen. (As a result, a predetermined space in the void of the matrix is filled with newly fibrillated collagen, that is, the newly fibrillated collagen is entangled with the fibrillated collagen constituting the matrix. The voids in the matrix are filled with the newly fibrillated collagen, and the conditions are the same as in the above-mentioned freeze / freeze-drying, a substance that is biocompatible and can be decomposed and absorbed in vivo. If polyglycolic acid or the like is used (as an intervening material in the collagen matrix), this operation is also a principle. It required a is). Next, the matrix filled with a predetermined space of the void is compressed with the newly fibrillated collagen (for example, 500 kgf / cm2 X15 sec.) And then subjected to thermal dehydration cross-linking (conditions are the same as the above-mentioned thermal dehydration cross-linking).
[0049]
The collagen material of the present invention produced as described above has a one-point support tension of at least 30 N and a breaking resistance of at least 65 N in a dry state, and a one-point support tension of at least 1.4 N and a resistance to at least 6.5 N in a wet state. A material having a breaking tension (in the case of a thickness of 1 mm, having biocompatibility filled in a matrix and capable of being decomposed and absorbed in vivo-hereinafter referred to as a biodegradable absorbent material) Collagen fibers comprising ultrafine fibers of collagen newly microfibrinated in a matrix (hereinafter referred to as filled collagen fibers), or at least 10 N single point support tension and at least 25 N breaking resistance in the dry state, It has a single point support tension of at least 5N and a breaking strength of at least 15N in the wet state (thickness 1 mm, interspersed in the matrix) When the biodegradable material to be absorbed is polyglycolic acid, etc. When a non-collagen material is used as the matrix, it naturally exhibits an ability higher than this value), and has superior strength compared to conventional collagen materials Therefore, it can be processed into various medical materials and can be sutured (especially, in the latter collagen material, regardless of the skill of the operator's suture technique because the strength in the wet state becomes better, That is advantageous). When applied in vivo, it can retain its shape for about 3 to 8 weeks. Furthermore, the characteristic as a medical material which collagen originally has is also hold | maintained.
[0050]
If further enhancement of strength is desired, the operation of introducing the collagen hydrochloric acid solution into the matrix (conditions are the same as above) → freezing / freeze-drying (conditions are the same as above) is at least performed. You may repeat once (usually one time is enough).
[0051]
The collagen material of the present invention can be obtained by the above steps. Next, if necessary, a non-fibrotic collagen layer is formed at a predetermined site on the surface of the collagen material. The specific method is as follows.
(1) The compressed collagen material is immersed in a hydrochloric acid solution of extracted collagen (collagen concentration: about 0.5 to 3% by weight, particularly about 2% by weight) and air-dried (at least once).
One time is sufficient for normal use); and
(2) Thermal dehydration crosslinking is applied to a collagen material having a non-fibrotic collagen layer at a predetermined site on the surface (possible under the same conditions as described above).
[0052]
Here, a collagen material having a non-fibrotic collagen layer at a predetermined site on the surface may be further compressed between the operations (1) and (2). This is because the unevenness of the surface of the collagen material finally obtained is reduced, and the “texture” and “feel” are improved.
[0053]
Heretofore, collagen hydrochloric acid solution was used as a raw material as a material having biocompatibility to be filled in the matrix and capable of being decomposed and absorbed in the living body. After introducing the solution into the matrix, However, depending on the application, other materials such as the solution or the solution of hyaluronic acid may be simply air-dried after being introduced into the matrix. The reason why the filler is simply air-dried after introduction is that the strength of the wet state is reduced by the further penetration of the body fluid into the void when the medical material made of the collagen material of the present invention is applied to the living body. Since it is intended to suppress by eliminating the voids to some extent, as an operation after introduction into the matrix and air drying operation, in principle, only thermal dehydration crosslinking is applied (however, in this operation, 200 kg / cm2In some cases, the compression and the additional operation (1) may be performed prior to the application of the thermal dehydration crosslinking.
[0054]
Further, if necessary, the collagen material obtained in the above basic step or basic step + addition step is sterilized by treatment with ethylene oxide gas or irradiation with ultraviolet rays or γ rays.
[0055]
When the collagen material of the present invention prepared as described above is processed into a medical substitute film having a gelatin gel layer or a hyaluronic acid layer crosslinked on one side or both sides, the gelatin gel layer is preferably used. The gelatin gel layer is formed using an aqueous gelatin solution of about 2 to 70% by weight, particularly about 60% by weight, but when an aqueous solution of gelatin of about 60% by weight is used, it is preferably about 0.1 to 5 mm when wet. The gelatin gel layer is formed so as to have a thickness of about 1 mm, preferably about 0.06 to 3 mm, particularly about 0.6 mm when dried. The gelatin gel layer may be formed by any method such as coating and dipping. For example, an aqueous gelatin solution is poured into a container such as a petri dish so that it has a required thickness, and the above is applied as described above. The collagen material of the present invention thus obtained is placed and allowed to stand to gelatinize the gelatin. When gelatin gel layers are formed on both sides, the same treatment is performed on the other side to form gelatin gel layers on both sides.
[0056]
Next, the collagen material having a gelatin gel layer formed on one or both sides thus obtained is subjected to a crosslinking treatment. By carrying out the crosslinking treatment, the degradation absorption rate of the gelatin gel layer is controlled. As the crosslinking method, thermal dehydration crosslinking is preferable. In order to leave the gelatin gel layer for about 3 to 4 weeks after application to the living body, the collagen material on which the gelatin gel layer has been formed is preferably at about 105 to 150 ° C, particularly about 140 ° C, preferably about It is subjected to a thermal dehydration cross-linking treatment for 6 to 48 hours, particularly about 24 hours (less than about 105 ° C., a crosslinking reaction does not occur sufficiently, and if it exceeds about 150 ° C., collagen is denatured, which is not preferable).
[0057]
The cross-linked gelatin gel layer formed in this way has a role of preventing the collagen portion of the medical substitute membrane from adhering to surrounding tissues until each biological membrane is regenerated. The gelatin gel layer remains without being decomposed and absorbed for about 3 to 4 weeks until the biological membrane stretches and regenerates from the periphery and plugs the defective portion of the membrane.
[0058]
On the other hand, when the hyaluronic acid layer is formed, the present invention obtained as described above is preferably used by using about 0.5 to 2.0 mg / ml, particularly about 1.0 mg / ml sodium hyaluronate aqueous solution. A sodium hyaluronate aqueous solution layer is formed on one or both surfaces of the collagen material by a method such as coating or dipping, and this aqueous solution layer is air-dried to form a hyaluronic acid layer. The sodium hyaluronate aqueous solution layer remains without being decomposed and absorbed for about 3 to 4 weeks until the biological membrane grows and regenerates from the periphery of the defective portion of the membrane to be repaired, and closes the defective portion of the membrane. The thickness is preferably about 0.5 to 4.0 mm, especially about 2 mm when wet, and preferably about 0.1 to 2.0 mm, especially about 1.0 mm when dry. (In the case of an aqueous solution of about 1.0 mg / ml). In order to fix hyaluronic acid to the surface of the collagen material to form a hyaluronic acid layer, a second crosslinking treatment is further performed. In the case of hyaluronic acid, it is preferable to perform a crosslinking treatment with water-soluble carbodiimide (WSC). . In this case, it is preferable to crosslink the carboxyl group of collagen and the amino group of hyaluronic acid by previously mixing WSC in a sodium hyaluronate aqueous solution and applying it to the collagen material together with sodium hyaluronate. The concentration of WSC contained in the aqueous sodium hyaluronate solution is preferably about 5 to 20 mg / ml, particularly about 8 to 15 mg / ml. Prepare an aqueous solution containing this sodium hyaluronate and WSC, stir well, apply to both or one side of the collagen material so that the thickness is preferably about 1 mm, and air dry to form a hyaluronic acid layer To do.
[0059]
Since the collagen material of the present invention has excellent strength, it can also be used as a surgical suture. In the filamentous material containing the collagen material of the present invention, the first step of the preparation method of the collagen material is the extraction (of course after purification) about 1N hydrochloric acid solution (pH about 3) (the collagen concentration is preferably about 3%). In place of 0.5 to 3% by weight, in particular about 1% by weight), which is wet spun by jetting it into a coagulation bath from a nozzle having a pore size of preferably about 50 to 300 μm, in particular about 100 μm. The other steps can be prepared by carrying out in the same manner as the method for preparing the collagen material.
[0060]
The collagen material of the present invention prepared as described above has excellent physical properties, particularly excellent tear strength, compared to conventional extracted collagen materials. It can be processed into medical material and can be sutured. In addition, when applied in vivo, the collagen material of the present invention does not dissolve immediately but can retain its shape for about 3 to 8 weeks. For these reasons, the collagen material of the present invention can be used as various medical materials by further processing into a film shape, a tubular shape, a bag shape, a lump shape or the like according to the application. For example, artificial neural tube, artificial spinal cord, artificial esophagus, artificial trachea, artificial blood vessel, artificial valve, artificial substitute membranes such as artificial dura mater, artificial ligament, artificial tendon, surgical suture, surgical filler, surgical It can be used as a reinforcing material, wound protection material, artificial skin or artificial cornea, etc., to promote recovery and regeneration of the damaged living tissue. Alternatively, it can also be used as a compression hemostatic material or a three-dimensional medium in cell culture.
[0061]
In addition, the medical substitute membrane made of the medical material of the present invention obtained as described above prevents adhesion between the organ and the surrounding tissue in the membrane defect portion by filling the membrane defect portion after various surgical operations. Can be used for. In the medical alternative membrane of the present invention, the gelatin gel layer or hyaluronic acid layer is formed on one side or both sides so that the crosslinked gelatin gel layer or hyaluronic acid layer faces the side in contact with the surrounding tissue that needs to prevent adhesion. The medical substitute membrane of the present invention is used. When this medical substitute membrane is used as a substitute membrane for the pericardium, a substitute membrane formed with a gelatin gel layer or a hyaluronic acid layer on both sides is used, and when used as a substitute membrane for the pleura, peritoneum or serosa, on one side. An alternative film formed with a gelatin gel layer or hyaluronic acid layer is used so that the gelatin gel layer or hyaluronic acid layer faces the side in contact with the surrounding tissue. When used as an alternative membrane for brain dura mater, any of alternative membranes in which a gelatin gel layer or a hyaluronic acid layer is formed on both sides or one side can be used. When an alternative membrane having a gelatin gel layer or hyaluronic acid layer formed on one side is used, the gelatin gel layer or hyaluronic acid layer is used so as to face the side in contact with the brain parenchyma. Furthermore, in addition to the above uses, it can also be used as a reinforcing material for sutures of blood vessels, gastrointestinal tract, trachea, ureter, bladder, mucous membrane, periodontal ligament and the like.
[0062]
As described above, the medical substitute membrane of the present invention as a material for filling a defect portion of a biological membrane can be used as a substitute membrane for the brain dura mater, pericardium, pleura, peritoneum or serosa. When this substitute membrane is applied to a surgical wound, the biological membrane such as cerebral dura mater, pericardium, pleura, peritoneum, or serosa remaining around the wound is removed from the contact area with the substitute membrane. While the tissue is in contact with the gelatin gel layer or the hyaluronic acid layer, the invasion / extension of the cells is prevented, and adhesion is prevented. The replacement membrane is blocked by the regenerated biological membrane, and the substitute membrane is decomposed and absorbed by the living body and completely disappears.
[0063]
As described above, the collagen material of the present invention and the medical material containing the collagen material of the present invention, particularly the medical substitute membrane, have superior tear strength compared to the conventional collagen material and the medical material containing the collagen material, When the medical material is used as, for example, an artificial bladder, further strength may be required. Therefore, as the collagen material of the present invention and the medical material containing the collagen material of the present invention, a sheet-like mesh-like intermediate material made of a biodegradable and absorbable material may be interposed in the matrix. Biodegradable and absorbable materials include polyglycolic acid, polylactic acid, copolymers of glycolic acid and lactic acid, polydioxanone, copolymers of glycolic acid and trimethylene carbonate, or mixtures of polyglycolic acid and polylactic acid Can do. The sheet-like mesh-like intermediate material made of these materials is, for example, in the form of, for example, a mesh sheet, a woven fabric, a non-woven fabric, a sheet having punch holes formed therein, having a pore diameter of about 50 to 2,000 μm, and its thickness. Is about 100 to 2,000 μm, for example, but the pore diameter and thickness of the mesh-like intermediate material may be appropriately changed depending on the application.
[0064]
In order to prepare a collagen material in which a sheet-like mesh-like intermediate material composed of a biodegradable and absorbable material is interposed in a matrix, a collagen hydrochloric acid solution, which is the first step of the collagen material preparation method, is prepared. The collagen hydrochloric acid solution layer may be subjected to subsequent steps such as freezing and freeze drying while the sheet-like mesh-like intermediate material is immersed in the hydrochloric acid solution of collagen cast when forming the layer. . However, in the case of this form, it is not necessary in principle to fill the matrix with new collagen ultrafine fibers, so the steps required for the filling, for example, additional introduction of hydrochloric acid solution of extracted collagen → refreezing → refreezing The drying step and the final thermal dehydration crosslinking step need not be performed. On the other hand, other additional steps, i.e. the formation of additional layers on the surface (one or both sides) of the collagen material, e.g. the formation of collagen solution layers, gelatin gel layers or hyaluronic acid layers (in principle after these operations The thermal dehydration crosslinking) may be performed as necessary.
[0065]
Hereinafter, the present invention will be described by way of an example in which a membranous collagen material is produced.
[0066]
Example 1
Using collagen derived from pig skin, a 1N hydrochloric acid solution of extracted collagen (collagen concentration: 1% by weight) was prepared and poured into a petri dish to obtain a collagen solution layer having a thickness of 18 mm. This was frozen at −20 ° C. for 24 hours and then lyophilized at −80 ° C. for 48 hours. Next, the freeze-dried collagen fiber multi-component structure (hereinafter simply referred to as multi-component structure) is subjected to thermal dehydration crosslinking treatment at 140 ° C. for 24 hours under vacuum, and then the interior of the multi-component structure is formed with a running water aspirator. Negative pressure (50cmH2 O) is generated and a 1N hydrochloric acid solution of extracted collagen (collagen concentration: 0.5% by weight) is introduced into the multi-component structure, and the void inside the multi-component structure is filled with non-fibrotic collagen, After freezing and freeze-drying under the same conditions as described above (operation to reduce the internal voids of the multi-component structure with newly formed fibrotic collagen), the thickness was compressed to 1 mm (500 kgf / cm2 Then, the compressed product is immersed in a 1N hydrochloric acid solution (collagen concentration: 2% by weight) of extracted collagen and air-dried (formation of a collagen solution layer once). The collagen material of the present invention was obtained by performing dehydration crosslinking treatment.
[0067]
About the collagen material of this invention prepared above, the one-point support tension | tensile_strength and fracture | rupture-proof tension | tensile_strength were measured by the method described below in the dry state and the wet state. The results are shown in Table 1.
[0068]
A strip-shaped test piece having a size of 10 × 25 mm was prepared. Using a digital push-pull gauge (AIKOHENGINEERING CPU gauge) in a constant temperature and humidity chamber at 25 ° C and 50% humidity, the test piece is tensioned uniformly at the ISO B speed (5 mm / min) in the major axis direction as follows. And the maximum tension until the membrane broke was measured both in a dry state and in a wet state (hydrated for 1 minute or 30 minutes in physiological saline at 37 ° C.).
[0069]
1. One point support tension
A portion 5 mm inside from the center of one end of the test piece was fixed by stitching with a thread (4-O proline or 2 dexons), and the other end was uniformly held by a clip to apply tension.
[0070]
2. Breaking tension
Both ends of the test piece were gripped uniformly with clips and tension was applied.
The results are shown in Table 1 (in the table, “wet state A” is data with a hydration time of 1 minute, and “wet state B” is data with a hydration time of 30 minutes).
[0071]
Example 2
A collagen material of the present invention was obtained in the same manner as in Example 1 except that the number of formation of the collagen solution layer on the compressed product was five. With respect to the collagen material, the one-point supporting tension and breaking resistance were measured in a dry state and a wet state by the same method as in Example 1. The results are shown in Table 1.
[0072]
Example 3
Between the second freeze-drying operation and the compression operation, an operation for reducing voids inside the multi-component structure in this order by thermal dehydration crosslinking treatment and newly formed fibrotic collagen under the same conditions as those described above. The one-point support tension and breaking resistance were measured in a dry state and a wet state by the same method as in Example 1 except that it was performed and the collagen solution layer was not formed on the compressed one. did. The results are shown in Table 1.
[0073]
Example 4
A collagen material of the present invention was obtained in the same manner as in Example 1 except that the collagen solution layer was not formed on the compressed product. With respect to the collagen material, the one-point supporting tension and breaking resistance were measured in a dry state and a wet state by the same method as in Example 1. The results are shown in Table 1.
[0074]
Example 5
At the time of forming the first collagen solution layer, a polyglycolic acid mesh sheet (aperture: 1 mm) preliminarily subjected to plasma discharge treatment was interposed, and the multi-structure was formed by newly formed fibrotic collagen. A collagen material of the present invention was obtained in the same manner as in Example 1 except that the operation for reducing the voids inside the body was not performed. With respect to the collagen material, the one-point supporting tension and breaking resistance were measured in a dry state and a wet state by the same method as in Example 1. The results are shown in Table 1.
[0075]
Example 6
Similar to Example 5 except that instead of forming the collagen solution layer on the compressed material, a gelatin gel layer was formed on one surface of the compressed material (15% gelatin aqueous solution was applied and dried on the surface). Thus, the collagen material of the present invention was obtained. With respect to the collagen material, the one-point supporting tension and breaking resistance were measured in a dry state and a wet state by the same method as in Example 1. The results are shown in Table 1.
[0076]
Example 7
A collagen material of the present invention was obtained in the same manner as in Example 6 except that the gelatin gel layer was formed on both sides of the compressed one. With respect to the collagen material, the support tension and breaking resistance were measured in a dry state, and the wet tension and breaking resistance were measured in a dry state and a wet state. The results are shown in Table 1.
[0077]
[Table 1]
[0078]
As shown in Table 1, it was confirmed that the collagen material of the present invention has excellent physical properties that endure suturing. In the table, “reference” refers to data of only a mesh sheet of polyglycolic acid.
[0079]
Example 8
A polyglycolic acid non-woven fabric (2 plies -thickness: 0.20 mm, porosity: 88.75%-) subjected to plasma discharge treatment in a container and a sufficient amount of an extracted collagen hydrochloric acid solution (collagen concentration: 1%), and the container is housed in a desiccator, and the desiccator is depressurized (-50 cmH) with a water aspirator.2 O) and the state was maintained for a predetermined time (1 to 2 minutes), and the extracted collagen hydrochloric acid solution was sufficiently impregnated into the nonwoven fabric, and then the nonwoven fabric was taken out from the desiccator and allowed to air dry. The air-dried nonwoven fabric is subjected to the operations of freezing → holding → freeze drying → thermal dehydration crosslinking under the same conditions as in Example 1, and then immersed in an extracted collagen hydrochloric acid solution (collagen concentration: 1%) and air-dried. Repeated twice, an amorphous collagen solution layer was formed on the surface of the nonwoven fabric filled with fibrotic collagen. Subsequently, a gelatin gel layer was formed on the surface of the amorphous collagen solution layer (executed by repeating immersion in a 20% gelatin aqueous solution and air drying twice), followed by thermal dehydration crosslinking under the same conditions as in Example 1. To obtain a collagen material of the present invention.
[0080]
Example 9
4 plies (thickness: 0.55 mm, porosity: 75.1%) used as the non-woven fabric of polyglycolic acid and the non-woven fabric in which the extracted collagen hydrochloric acid solution was sufficiently impregnated was frozen and held. The collagen material of the present invention was obtained in the same manner as in Example 8 except that the series of operations of freeze drying → thermal dehydration crosslinking was not performed. In addition, since it was confirmed that the strength was obtained in the preliminary test, a further detailed strength test was not performed as in the case of Example 8.
[0081]
【The invention's effect】
The collagen material of the present invention can be widely used as various medical materials because it has the physical properties that can be sutured while retaining the biochemical properties inherent in collagen. In addition, the medical substitute membrane of the present invention can be sutured to a surgical wound as a material that can be supplied stably without ethical problems, and can be used as a material for filling a defect portion of a biological membrane or as an adhesion prevention material. In addition, it remains for a period of time until the biological membrane regenerates after suturing, and exhibits an anti-adhesion effect. On the other hand, it is gradually decomposed and absorbed, so that it remains in the living tissue for a long period of time and does not cause inflammation. Can be used.
[Brief description of the drawings]
FIG. 1 shows the structure of a collagen material of the present invention.
[Explanation of symbols]
10 ・ ・ ・ ・ ・ ・ ・ ・ ・ ・ ・ ・ Collagen ultra-fine fibrous nonwoven multilayer
11 ... Plate fiber
12 ・ ・ ・ ・ ・ ・ ・ ・ ・ ・ ・ Fiber
13a, 13b ... Fine fiber
14 ・ ・ ・ ・ ・ ・ ・ ・ ・ ・ ・ Fine fibers
15 ・ ・ ・ ・ ・ ・ ・ ・ ・ ・ ・ ・ Ultrafine fiber
20 ・ ・ ・ ・ ・ ・ ・ ・ ・ ・ ・ ・ Fiberized collagen newly formed
Claims (24)
(該コラーゲン材において、前記のマトリックス中に充填してなる、生体適合性を有し、且つ生体内で分解吸収され得る物質は、前記のマトリックス中に導入した抽出コラーゲンの塩酸溶液から凍結と凍結乾燥操作によって新たに線維化させたコラーゲンの超微細線維を含むコラーゲン線維であり、また前記のマトリックス中に介在させてなる、生体適合性を有し、且つ生体内で分解吸収され得る物質は、ポリグリコール酸、ポリ乳酸、グリコール酸と乳酸の共重合体、ポリジオキサノン、グリコール酸とトリメチレンカーボネートの共重合体、又はポリグリコール酸とポリ乳酸の混合物の群から選択されるものであり、メッシュ状のシートもしくは筒状体又は不織布状のシートもしくは筒状体として用いられるものである)。Collagen material in which a matrix of a non-woven multi-component structure of collagen fibers having ultrafine collagen fibers as a basic unit is filled with or interspersed with a biocompatible substance that can be decomposed and absorbed in the living body
(In the collagen material, the biocompatible material that is filled in the matrix and can be decomposed and absorbed in vivo is frozen and frozen from the hydrochloric acid solution of the extracted collagen introduced into the matrix. A collagen fiber containing ultrafine fibers of collagen newly fibrillated by a drying operation, and a substance having biocompatibility and intervening in the matrix and capable of being decomposed and absorbed in the living body, Polyglycolic acid, polylactic acid, copolymer of glycolic acid and lactic acid, polydioxanone, copolymer of glycolic acid and trimethylene carbonate, or a mixture of polyglycolic acid and polylactic acid, mesh Used as a sheet or a cylindrical body or a non-woven sheet or a cylindrical body) .
(該コラーゲン材において、前記の不織布状のマトリックスを構成する、生体適合性を有し、且つ生体内で分解吸収され得る物質は、ポリグリコール酸、ポリ乳酸、グリコール酸と乳酸の共重合体、ポリジオキサノン、グリコール酸とトリメチレンカーボネートの共重合体、又はポリグリコール酸とポリ乳酸の混合物の群から選択されるものであり、また前記のマトリックス中に充填してなる、生体適合性を有し、且つ生体内で分解吸収され得る物質は、前記のマトリックス中に導入した抽出コラーゲンの塩酸溶液を風乾せしめたアモルファスコラーゲン、又は該抽出コラーゲンの塩酸溶液から凍結と凍結乾燥操作によって繊維化させたコラーゲンの微細線維を含むコラーゲン線維である)。Collagen material formed by filling a biocompatible and non-woven matrix of a substance that can be decomposed and absorbed in vivo with a substance that is biocompatible and can be decomposed and absorbed in vivo.
(In the collagen material, the non-woven matrix that is biocompatible and can be decomposed and absorbed in vivo is polyglycolic acid, polylactic acid, a copolymer of glycolic acid and lactic acid, It is selected from the group consisting of polydioxanone, a copolymer of glycolic acid and trimethylene carbonate, or a mixture of polyglycolic acid and polylactic acid, and has a biocompatibility formed by filling the matrix. A substance that can be decomposed and absorbed in vivo is amorphous collagen obtained by air-drying a hydrochloric acid solution of extracted collagen introduced into the matrix, or collagen obtained by fibrosis from a hydrochloric acid solution of the extracted collagen by freezing and freeze-drying operations. Collagen fibers including fine fibers) .
a.抽出コラーゲンの塩酸溶液を所望の厚みにキャスティングしてコラーゲン溶液層を形成する;
b.該コラーゲン溶液層を一旦凍結し、所望時間その状態を保持し、次いで凍結乾燥する;
c.該凍結乾燥されたものに、所定の時間、熱脱水架橋を施す;
d.該熱脱水架橋を施されたもののマトリックス中に該抽出コラーゲンの塩酸溶液を導入する;
e.該抽出コラーゲンの溶液を導入されたものを一旦凍結し、所望時間その状態を保持し、次いで凍結乾燥する;
g.該凍結乾燥されたものを圧縮する;そして
i.該圧縮されたものに、所定の時間、熱脱水架橋を施す。A method for producing a collagen material comprising performing at least the following steps in the order described:
a. Casting a collagen solution of extracted collagen to a desired thickness to form a collagen solution layer;
b. Freeze the collagen solution layer once, hold it for a desired time, and then freeze-dry;
c. The freeze-dried product is subjected to thermal dehydration crosslinking for a predetermined time;
d. Introducing a hydrochloric acid solution of the extracted collagen into the matrix of the thermally dehydrated crosslink;
e. The one introduced with the extracted collagen solution is once frozen, kept in that state for a desired time, and then freeze-dried;
g. Compress the lyophilized one; and i. The compressed product is subjected to thermal dehydration crosslinking for a predetermined time.
f1.該凍結乾燥されたもののマトリックス中に該抽出コラーゲンの塩酸溶液を再度、導入する;
f2.該抽出コラーゲンの溶液を導入されたものを一旦凍結し、所望時間その状態を保持し、次いで凍結乾燥する。The method according to claim 7 , wherein the following steps are sequentially performed between the step e and the step g.
f1. Reintroducing the hydrochloric acid solution of the extracted collagen into the matrix of the lyophilized one;
f2. The product into which the extracted collagen solution has been introduced is once frozen, kept in that state for a desired time, and then freeze-dried.
h1.該圧縮されたものの表面の所定部位に、コラーゲン溶液層を形成する。The method according to claim 7 or 8 , wherein the following steps are performed between the step g and the step i.
h1. A collagen solution layer is formed at a predetermined site on the surface of the compressed product.
h2.該コラーゲン溶液層を圧縮する。10. The method according to claim 9 , wherein the following steps are performed between step h1 and step i.
h2. The collagen solution layer is compressed.
h3.該圧縮されたものの少なくとも一方の面にコラーゲン溶液層又はゼラチン溶液層を形成する;
h4.該コラーゲン溶液層又はゼラチン溶液層を形成されたものに、熱脱水架橋を施す。15. The method of claim 14 , further comprising the following steps after said step g.
h3. Forming a collagen solution layer or a gelatin solution layer on at least one side of the compressed one;
h4. Thermal dehydration crosslinking is performed on the collagen solution layer or gelatin solution layer.
j.ポリグリコール酸、ポリ乳酸、グリコール酸と乳酸の共重合体、ポリジオキサノン、グリコール酸とトリメチレンカーボネートの共重合体、又はポリグリコール酸とポリ乳酸の混合物の群から選択される材料からなる不織布状のシート又は筒状体のマトリックス中に抽出コラーゲンの塩酸溶液を導入した後、風乾する;
l.該抽出コラーゲンの塩酸溶液が導入・風乾されたものの少なくとも一方の面にコラーゲン溶液層を形成する;
o.該コラーゲン溶液層の上にゼラチン溶液層を形成する;そして
p.該ゼラチン溶液層が形成されたものに、所定の時間、熱脱水架橋を施す。A method for producing a collagen material comprising performing at least the following steps in the order described:
j. Non-woven fabric made of a material selected from the group consisting of polyglycolic acid, polylactic acid, a copolymer of glycolic acid and lactic acid, polydioxanone, a copolymer of glycolic acid and trimethylene carbonate, or a mixture of polyglycolic acid and polylactic acid Introduce a hydrochloric acid solution of extracted collagen into the matrix of the sheet or cylinder and then air dry;
l. Forming a collagen solution layer on at least one surface of the extracted collagen hydrochloric acid solution introduced and air-dried;
o. Forming a gelatin solution layer on the collagen solution layer; and p. The gelatin solution layer formed is subjected to thermal dehydration crosslinking for a predetermined time.
k.該抽出コラーゲンを導入されたものを一旦凍結し、所望時間その状態を保持し、次いで凍結乾燥する;及び
m1.該コラーゲン溶液層が形成されたものを一旦凍結し、所望時間その状態を保持し、次いで凍結乾燥する;そして
m2.該凍結乾燥されたものを圧縮する。The method according to claim 18 , wherein the following step k is performed between the step j and the step l, and the following step m is performed between the step l and the step o.
k. The one into which the extracted collagen has been introduced is once frozen, kept in that state for a desired time, and then lyophilized; and m1. Once the collagen solution layer is formed, it is frozen, kept in that state for a desired time, and then lyophilized; and m2. The lyophilized product is compressed.
n.該コラーゲン溶液層が形成されたもの、又は該凍結乾燥されたものに所定の時間、熱脱水架橋を施す。The method according to claim 18 or 19 , wherein the following step n is performed between the step l and step o or between the step m2 and step o:
n. The collagen solution layer-formed one or the freeze-dried one is subjected to thermal dehydration crosslinking for a predetermined time.
Priority Applications (9)
| Application Number | Priority Date | Filing Date | Title |
|---|---|---|---|
| JP20140598A JP4968976B2 (en) | 1998-03-06 | 1998-07-16 | Collagen material and production method thereof |
| PCT/JP1999/003019 WO1999064655A1 (en) | 1998-06-11 | 1999-06-07 | Collagen material and process for producing the same |
| US09/719,316 US7084082B1 (en) | 1998-06-11 | 1999-06-07 | Collagen material and its production process |
| EP99923930A EP1098024A4 (en) | 1998-06-11 | 1999-06-07 | Collagen material and process for producing the same |
| KR1020007013982A KR20010052714A (en) | 1998-06-11 | 1999-06-07 | Collagen Material and Process for Producing the Same |
| CA002334664A CA2334664A1 (en) | 1998-06-11 | 1999-06-07 | Collagen material and its production process |
| CN99807217A CN1105795C (en) | 1998-06-11 | 1999-06-07 | Collagen material and its production method |
| TW88109458A TWI229113B (en) | 1998-06-11 | 1999-06-08 | Collagen material and its production process |
| CN03102533A CN1440818A (en) | 1998-06-11 | 2003-02-09 | Collagen material and its producing method |
Applications Claiming Priority (7)
| Application Number | Priority Date | Filing Date | Title |
|---|---|---|---|
| JP10-54782 | 1998-03-06 | ||
| JP5478298 | 1998-03-06 | ||
| JP1998054782 | 1998-03-06 | ||
| JP10-163674 | 1998-06-11 | ||
| JP16367498 | 1998-06-11 | ||
| JP1998163674 | 1998-06-11 | ||
| JP20140598A JP4968976B2 (en) | 1998-03-06 | 1998-07-16 | Collagen material and production method thereof |
Related Child Applications (1)
| Application Number | Title | Priority Date | Filing Date |
|---|---|---|---|
| JP2009227351A Division JP2010029684A (en) | 1998-03-06 | 2009-09-30 | Collagen material and process for producing the same |
Publications (2)
| Publication Number | Publication Date |
|---|---|
| JP2000060956A JP2000060956A (en) | 2000-02-29 |
| JP4968976B2 true JP4968976B2 (en) | 2012-07-04 |
Family
ID=27295406
Family Applications (1)
| Application Number | Title | Priority Date | Filing Date |
|---|---|---|---|
| JP20140598A Expired - Fee Related JP4968976B2 (en) | 1998-03-06 | 1998-07-16 | Collagen material and production method thereof |
Country Status (1)
| Country | Link |
|---|---|
| JP (1) | JP4968976B2 (en) |
Families Citing this family (20)
| Publication number | Priority date | Publication date | Assignee | Title |
|---|---|---|---|---|
| ATE402002T1 (en) * | 2000-11-17 | 2008-08-15 | Univ Virginia Commonwealth | ELECTROPROCESSED COLLAGEN |
| AU2002313195B2 (en) | 2001-06-15 | 2006-05-18 | Gunze Limited | Antiadhesive Material |
| KR100514582B1 (en) * | 2001-09-05 | 2005-09-13 | 한스바이오메드 주식회사 | A Process for Preparing a Biomaterial for Tissue Repair |
| US20030059460A1 (en) * | 2001-09-27 | 2003-03-27 | Yasuhiko Tabata | Hybrid material for regeneration of living body tissue |
| KR20030032420A (en) * | 2001-10-18 | 2003-04-26 | 한국과학기술연구원 | Porous Scaffold Made of Biodegradable Polymer for Reconstructing Damaged Ocular Tissue |
| JP4595279B2 (en) * | 2001-12-13 | 2010-12-08 | ニプロ株式会社 | Anti-adhesion membrane |
| JP4554916B2 (en) * | 2002-12-16 | 2010-09-29 | グンゼ株式会社 | Medical film |
| KR100803798B1 (en) | 2002-12-16 | 2008-02-14 | 군제 가부시키가이샤 | Medical film |
| US7056337B2 (en) * | 2003-10-21 | 2006-06-06 | Cook Incorporated | Natural tissue stent |
| JP2005349025A (en) * | 2004-06-11 | 2005-12-22 | Tohoku Univ | Biocompatible metal stent and luminal visceral regenerative medicine scaffold |
| US8747878B2 (en) | 2006-04-28 | 2014-06-10 | Advanced Cardiovascular Systems, Inc. | Method of fabricating an implantable medical device by controlling crystalline structure |
| US8747879B2 (en) * | 2006-04-28 | 2014-06-10 | Advanced Cardiovascular Systems, Inc. | Method of fabricating an implantable medical device to reduce chance of late inflammatory response |
| JP4596335B2 (en) | 2007-12-07 | 2010-12-08 | 東洋紡績株式会社 | Method for manufacturing nerve regeneration induction tube |
| JP4572996B2 (en) * | 2009-02-02 | 2010-11-04 | 東洋紡績株式会社 | Nerve regeneration induction tube |
| AU2015302021B2 (en) * | 2014-08-11 | 2019-05-30 | 3M Innovative Properties Company | Protease modulating wound interface layer for use with negative pressure wound therapy |
| AU2016209422B2 (en) * | 2015-01-21 | 2020-04-16 | Lifecell Corporation | Tissue matrices with controlled porosity or mechanical properties |
| JP6298783B2 (en) * | 2015-02-27 | 2018-03-20 | グンゼ株式会社 | Medical multilayer tubular body |
| EP3313460B1 (en) * | 2015-06-29 | 2021-11-10 | Modern Meadow, Inc. | Fabrics and methods of making them from cultured cells |
| CN112755251B (en) * | 2021-01-21 | 2022-05-20 | 中怡(深圳)医疗科技集团有限公司 | Bionic biological joint based on freeze casting technology and preparation method thereof |
| CN116856072B (en) * | 2023-05-25 | 2025-07-25 | 重庆科技大学 | Shell-core micropore extrusion device and method for preparing composite insoluble collagen fibers by using same |
Family Cites Families (3)
| Publication number | Priority date | Publication date | Assignee | Title |
|---|---|---|---|---|
| DE10017698B9 (en) * | 2000-04-08 | 2007-11-29 | Schott Ag | Cleaning-friendly glass ceramic body |
| JP4120793B2 (en) * | 2002-12-13 | 2008-07-16 | 日本電気硝子株式会社 | Cooker top plate |
| DE10342397B4 (en) * | 2003-09-13 | 2008-04-03 | Schott Ag | Transparent protective layer for a body and its use |
-
1998
- 1998-07-16 JP JP20140598A patent/JP4968976B2/en not_active Expired - Fee Related
Also Published As
| Publication number | Publication date |
|---|---|
| JP2000060956A (en) | 2000-02-29 |
Similar Documents
| Publication | Publication Date | Title |
|---|---|---|
| JP4251665B2 (en) | Collagen material and production method thereof | |
| US7084082B1 (en) | Collagen material and its production process | |
| JP4968976B2 (en) | Collagen material and production method thereof | |
| JPWO1998022157A1 (en) | Collagen material and its manufacturing method | |
| EP1022031B1 (en) | Suturable adhesion-preventing membrane | |
| EP0965310A1 (en) | Artificial blood vessel | |
| US11622892B2 (en) | Methods of making bioactive collagen wound care dressings | |
| IL90714A (en) | Surgical material | |
| JP3536295B2 (en) | Sutureable tissue regeneration induced adhesion prevention membrane | |
| JP3726280B2 (en) | Medical collagen membrane | |
| US9796769B2 (en) | Methods of making bioactive collagen medical scaffolds such as for wound care dressings, hernia repair prosthetics, and surgical incision closure members | |
| JPH06292716A (en) | Medical material | |
| KR20000057130A (en) | Artificial esophagus | |
| JP5946774B2 (en) | Composite base material | |
| JP2010029684A (en) | Collagen material and process for producing the same | |
| JP4345296B2 (en) | Anti-adhesion membrane | |
| JP4595279B2 (en) | Anti-adhesion membrane | |
| JP2007177074A (en) | Composition and method for producing the same | |
| JPWO1998022156A1 (en) | artificial esophagus |
Legal Events
| Date | Code | Title | Description |
|---|---|---|---|
| A621 | Written request for application examination |
Free format text: JAPANESE INTERMEDIATE CODE: A621 Effective date: 20050525 |
|
| A131 | Notification of reasons for refusal |
Free format text: JAPANESE INTERMEDIATE CODE: A131 Effective date: 20090331 |
|
| A521 | Written amendment |
Free format text: JAPANESE INTERMEDIATE CODE: A523 Effective date: 20090529 |
|
| A02 | Decision of refusal |
Free format text: JAPANESE INTERMEDIATE CODE: A02 Effective date: 20090630 |
|
| A521 | Written amendment |
Free format text: JAPANESE INTERMEDIATE CODE: A821 Effective date: 20091001 |
|
| A711 | Notification of change in applicant |
Free format text: JAPANESE INTERMEDIATE CODE: A711 Effective date: 20091028 |
|
| A521 | Written amendment |
Free format text: JAPANESE INTERMEDIATE CODE: A821 Effective date: 20091028 |
|
| A01 | Written decision to grant a patent or to grant a registration (utility model) |
Free format text: JAPANESE INTERMEDIATE CODE: A01 |
|
| A61 | First payment of annual fees (during grant procedure) |
Free format text: JAPANESE INTERMEDIATE CODE: A61 Effective date: 20120403 |
|
| FPAY | Renewal fee payment (event date is renewal date of database) |
Free format text: PAYMENT UNTIL: 20150413 Year of fee payment: 3 |
|
| R150 | Certificate of patent or registration of utility model |
Free format text: JAPANESE INTERMEDIATE CODE: R150 |
|
| S111 | Request for change of ownership or part of ownership |
Free format text: JAPANESE INTERMEDIATE CODE: R313111 |
|
| S111 | Request for change of ownership or part of ownership |
Free format text: JAPANESE INTERMEDIATE CODE: R313113 |
|
| R350 | Written notification of registration of transfer |
Free format text: JAPANESE INTERMEDIATE CODE: R350 |
|
| R350 | Written notification of registration of transfer |
Free format text: JAPANESE INTERMEDIATE CODE: R350 |
|
| LAPS | Cancellation because of no payment of annual fees |
