[go: up one dir, main page]

JP4966128B2 - Embedding tray for preparation of histopathological specimen - Google Patents

Embedding tray for preparation of histopathological specimen Download PDF

Info

Publication number
JP4966128B2
JP4966128B2 JP2007207486A JP2007207486A JP4966128B2 JP 4966128 B2 JP4966128 B2 JP 4966128B2 JP 2007207486 A JP2007207486 A JP 2007207486A JP 2007207486 A JP2007207486 A JP 2007207486A JP 4966128 B2 JP4966128 B2 JP 4966128B2
Authority
JP
Japan
Prior art keywords
paraffin
cassette
locking
embedding tray
sliding
Prior art date
Legal status (The legal status is an assumption and is not a legal conclusion. Google has not performed a legal analysis and makes no representation as to the accuracy of the status listed.)
Active
Application number
JP2007207486A
Other languages
Japanese (ja)
Other versions
JP2009042075A (en
Inventor
卓也 村角
英彦 村角
Current Assignee (The listed assignees may be inaccurate. Google has not performed a legal analysis and makes no representation or warranty as to the accuracy of the list.)
Murazumi Industrial Co Ltd
Original Assignee
Murazumi Industrial Co Ltd
Priority date (The priority date is an assumption and is not a legal conclusion. Google has not performed a legal analysis and makes no representation as to the accuracy of the date listed.)
Filing date
Publication date
Application filed by Murazumi Industrial Co Ltd filed Critical Murazumi Industrial Co Ltd
Priority to JP2007207486A priority Critical patent/JP4966128B2/en
Publication of JP2009042075A publication Critical patent/JP2009042075A/en
Application granted granted Critical
Publication of JP4966128B2 publication Critical patent/JP4966128B2/en
Active legal-status Critical Current
Anticipated expiration legal-status Critical

Links

Images

Landscapes

  • Sampling And Sample Adjustment (AREA)

Description

本発明は病理組織検査標本作成用の包埋トレイに関し、更に詳しくは、カセット外壁面へのパラフィンの付着量を少なくし、面倒なパラフィンの削り取り作業を省略又は軽減でき、またカセットと包埋トレイとの間のパラフィン付着量を少なく且つ均等にし、レベルのバランスしたパラフィンブロックを提供できる病理組織検査標本作成用の包埋トレイに関する。   The present invention relates to an embedding tray for preparing a histopathological specimen. More specifically, the amount of paraffin attached to the outer wall surface of the cassette can be reduced, and troublesome scraping work of paraffin can be omitted or reduced. It is related with the embedding tray for preparation of the histopathological examination sample which can provide the paraffin block in which the amount of paraffin adhering between the two is small and equal, and the level is balanced.

従来、この種の病理組織検査標本作成用の包埋トレイとしては、図17に示したようなものが多用されている。この包埋トレイTはパラフィン収容部T1と、その周縁に水平状に設けられたカセットを載置するためのカセット支承部T2と、その周縁に立設されたカセットの動きを止めるためのカセット係止壁T3と、その周縁に水平状に設けられた額縁部T4となり、更に、長手方向の額縁部T4の略中央部に横設された把持部T5とから構成されている。   Conventionally, as an embedding tray for preparing this type of histopathological specimen, the one shown in FIG. 17 has been frequently used. The embedding tray T includes a paraffin storage portion T1, a cassette support portion T2 for placing a horizontal cassette on the periphery thereof, and a cassette member for stopping the movement of the cassette standing on the periphery thereof. It consists of a stop wall T3 and a frame portion T4 provided horizontally around the periphery of the stop wall T3, and a grip portion T5 provided laterally at a substantially central portion of the frame portion T4 in the longitudinal direction.

また、近年では、方形の容器からなるパラフィン収容部とその周縁に設けられたパラフィンブロック付着体の載置部とからなり、前記載置部が少なくとも2個設けられており、サイズの異なる2種類以上のカセット等に対応できる病理組織検査標本作成用トレイが知られている(例えば、特許文献1参照)。   Further, in recent years, it is composed of a paraffin storage portion formed of a rectangular container and a placement portion for a paraffin block adhering body provided at the periphery thereof, and at least two placement portions are provided, and two types having different sizes are provided. A tray for preparing a histopathological examination specimen that can handle the above cassettes is known (for example, see Patent Document 1).

上記病理組織検査標本作成用トレイを使用して顕微鏡標本を作製するには、図21〜図23に示すように、まず、カセット本体C1内に採取した検体Sを収容して蓋C2を取り付け、記録部に被験者名等のデーターを記録しておく。次いで、カセット本体C1の底部や蓋C2に穿設された透孔C4からホルマリンを流入させて検体Sを固定処理し、次いでアルコールにより検体Sの水分を除去し、キシレンにより後述する液状パラフィンとの親和性を付与する。   In order to prepare a microscope specimen using the above-mentioned pathological examination specimen preparation tray, as shown in FIGS. 21 to 23, first, the specimen S collected in the cassette body C1 is accommodated and a lid C2 is attached. Record the subject name and other data in the recording section. Next, formalin is introduced from the bottom of the cassette body C1 and the through hole C4 drilled in the lid C2, the specimen S is fixed, the water in the specimen S is removed with alcohol, and the liquid paraffin described below is removed with xylene. Confer affinity.

次に、図23のカセットを例に挙げて説明すると、図24に示すとおり、検体Sを包埋トレイTに移してパラフィン収容部T1に溶融パラフィンを注ぎ入れ、次いでカセット支承部T2にカセット本体C1の底部を載せ、カセット本体C1が浮き上がらないように指で押えつけて上方からパラフィンPを注ぎ足す。次いで、パラフィンPを冷却固化させた後、包埋トレイTを取り除くことにより、図25に示したように、検体Sを包埋したパラフィンPがカセット本体C1の底部に付着してなるパラフィンブロックBを得る。その後、ミクロトームにカセットブロックBをカセット本体C1の開口部が下に向くように固定された状態でパラフィンに包埋された検体Sをスライスして薄片を得て、これに染色等の所定の処理を施すことにより顕微鏡標本を得るのである。   Next, the cassette of FIG. 23 will be described as an example. As shown in FIG. 24, the specimen S is transferred to the embedding tray T and molten paraffin is poured into the paraffin container T1, and then the cassette body is placed in the cassette support T2. Place the bottom of C1, press with your fingers so that the cassette body C1 does not rise, and add paraffin P from above. Next, after the paraffin P is cooled and solidified, the embedding tray T is removed, so that the paraffin P embedded with the specimen S adheres to the bottom of the cassette body C1 as shown in FIG. Get. Thereafter, the specimen S embedded in the paraffin is sliced in a state where the cassette block B is fixed to the microtome so that the opening of the cassette body C1 faces downward, and a slice is obtained. The microscope specimen is obtained by applying

しかしながら、上記の方法では周囲を取り囲むカセット係止壁T3のためにカセット本体と包埋トレイとの間に滞留する空気の押し出し及び余分なパラフィンP1の排出が困難であるため、パラフィンPは係止壁T3とカセット本体C1との間を上昇し、額縁部T4から空気が押し出され、余分なパラフィンP1が排出されることになり、その結果、カセット本体C1の外壁面の下部は余分なパラフィンP1によって覆われることになる(図24、図25)。カセット本体C1の外壁面下部が余分なパラフィンP1で覆われていると、このパラフィンP1で覆われていない面との間に段差が生じ、ミクロトームでスライスする際に、アダプターによりしっかりと固定できず、目的とする薄片を得ることが困難となる。また、カセットブロックを収納ケースに収納する場合にも、収納しにくくなる。更に、カセット本体C1の記録部C3の記録Rも下部がパラフィンP1により覆われるため、記録Rの内容が視認しにくく、被験者名やデーターを誤認して信頼性が大きく損なわれるという重大な結果を招く場合もある。   However, in the above method, it is difficult to push out the air staying between the cassette body and the embedding tray and discharge the excess paraffin P1 because of the cassette locking wall T3 that surrounds the periphery. Ascending between the wall T3 and the cassette body C1, air is pushed out from the frame portion T4, and excess paraffin P1 is discharged. As a result, the lower part of the outer wall surface of the cassette body C1 is excess paraffin P1. (FIGS. 24 and 25). If the lower part of the outer wall surface of the cassette body C1 is covered with extra paraffin P1, there will be a step between the surface not covered with this paraffin P1 and cannot be firmly fixed by the adapter when slicing with a microtome. It becomes difficult to obtain the target flakes. Further, when the cassette block is stored in the storage case, it is difficult to store the cassette block. Furthermore, since the lower part of the recording R of the recording part C3 of the cassette body C1 is covered with paraffin P1, the content of the recording R is difficult to visually recognize, and a serious result that the subject name and data are misidentified and the reliability is greatly impaired. It may be invited.

従って、カセット本体C1の外壁面に付着した余分なパラフィンP1をナイフで削り取る作業が不可欠となる。しかるに、冷却固化したパラフィンは硬く、このパラフィンP1の削り取り作業は極めて面倒で、多くの時間と手間を要し作業性を大きく低下させる原因となる。また、ナイフでパラフィンP1を削り取る作業中にカセット本体C1の外壁表面が傷つけられ、この傷にパラフィンが入り込み益々パラフィンを強固に付着させることになり、削り取り作業を一層困難にするばかりでなく、カセット本体C1の外観を損ない、繰り返し使用回数を低下させることにもなる。   Therefore, it is indispensable to scrape off excess paraffin P1 adhering to the outer wall surface of the cassette body C1 with a knife. However, the paraffin that has been cooled and solidified is hard, and the shaving operation of the paraffin P1 is extremely troublesome, requiring a lot of time and labor, and greatly reducing the workability. Further, the surface of the outer wall of the cassette body C1 is damaged during the operation of scraping off the paraffin P1 with a knife, and the paraffin enters into the scratch and more and more strongly adheres to the paraffin. The appearance of the main body C1 is impaired, and the number of repeated uses is also reduced.

更にまた、上記のように、係止壁T3により空気の押し出し及び余分なパラフィンP1の排出がしにくいため、図26、図27に示すように、カセット本体C1の底部と包埋トレイTのカセット支承部T2との間に滞留するパラフィンの量が増え、例えば、図示した如く、左右でのパラフィン量にアンバランスが生じ、この状態で冷却固化して得られるパラフィンブロックBもまた左右のレベルがアンバランスとなり易い。得られたパラフィンブロックBは、カセットCの開口部を下に向けてミクロトームにセットされスライスされるが、パラフィンブロックBのパラフィン量がアンバランスな場合は、パラフィンP中に包埋された検体Sもレベルもまたアンバランスとなるため、水平にスライスして得られる薄片は所望の検体を含んでいなかったり、また含んでいても局部的に含んでいたり、目的とする薄片が得られず信頼性の高い検査結果が得られない場合がある。
特開2006−300745号公報
Furthermore, as described above, it is difficult to push out air and discharge excess paraffin P1 by the locking wall T3. Therefore, as shown in FIGS. 26 and 27, the bottom of the cassette body C1 and the cassette of the embedding tray T are used. The amount of paraffin staying with the support portion T2 increases. For example, as shown in the drawing, the amount of paraffin on the left and right is unbalanced, and the paraffin block B obtained by cooling and solidifying in this state also has the left and right levels. It tends to be unbalanced. The obtained paraffin block B is set and sliced in a microtome with the opening of the cassette C facing downward, but when the amount of paraffin in the paraffin block B is unbalanced, the specimen S embedded in the paraffin P The slices obtained by slicing horizontally do not contain the desired specimen, or even if they are contained locally, even if they are contained, the desired flakes cannot be obtained and are reliable. In some cases, high-quality test results cannot be obtained.
JP 2006-300745 A

本発明者らは、かかる実情に鑑み、上記問題点を解消するべく鋭意研究の結果、上記カセット係止壁に代えて係止爪又は係止爪と係止壁とを採用して空気の押し出しや余分のパラフィンの排出を改善することにより、上記問題点が一挙に解消されることを見い出し、本発明を完成するに至った。   In view of such circumstances, the present inventors have intensively studied to solve the above-mentioned problems, and as a result of adopting a locking claw or a locking claw and a locking wall instead of the cassette locking wall, air is pushed out. In addition, it was found that the above problems could be solved at once by improving the discharge of extra paraffin, and the present invention was completed.

本発明は上記目的を達成するためになされたもので、本発明の請求項1は、底部とその周りに立設された側壁とからなるパラフィン収容部と、該収容部の上方外側に設けられたカセット支承部と、該支承部からその上方に立設されカセットの滑動を防止するための滑動防止部とからなる方形状の容器からなり、少なくとも一辺の滑動防止部が係止爪からなり、残余の辺の滑動防止部が、余分なパラフィンがその両側から排出されるように構成された係止壁からなることを特徴とする病理組織検査標本作成用の包埋トレイを内容とする。 The present invention has been made in order to achieve the above object, and claim 1 of the present invention is provided on the upper outer side of a paraffin storage portion comprising a bottom portion and a side wall standing around the bottom portion. and a cassette support portion, made from a container of square shape composed of a slide preventing unit for preventing sliding of the cassette is erected above the said supporting Seung portion Karaso, sliding prevention of at least one side from the locking pawl And a resting side anti-sliding portion comprising an embedding tray for preparing a histopathological specimen, characterized by comprising a locking wall configured to discharge excess paraffin from both sides. .

本発明の請求項2は、四辺に設けられた滑動防止部が係止爪からなることを特徴とする請求項1に記載の病理組織検査標本作成用の包埋トレイを内容とする。   According to a second aspect of the present invention, there is provided an embedding tray for preparing a histopathological specimen according to the first aspect, wherein the anti-sliding portions provided on the four sides are formed of locking claws.

本発明の請求項3は、三辺に設けられた滑動防止部が係止爪からなり、他の一辺に設けられた滑動防止部が係止壁からなることを特徴とする請求項1に記載の病理組織検査標本作成用の包埋トレイを内容とする。   According to a third aspect of the present invention, the anti-sliding portion provided on the three sides is formed by a locking claw, and the anti-sliding portion provided on the other side is formed by a locking wall. The embedding tray for preparation of histopathological specimens of

本発明の請求項4は、対向する二辺に設けられた滑動防止部が係止爪からなり、対向する他の二辺に設けられた滑動防止部が係止壁からなることことを特徴とする請求項1に記載の病理組織検査標本作成用の包埋トレイを内容とする。   Claim 4 of the present invention is characterized in that the anti-sliding portions provided on the two opposite sides are formed of locking claws, and the anti-sliding portions provided on the other two opposing sides are formed of locking walls. The embedding tray for preparing a histopathological examination specimen according to claim 1 is a content.

本発明の請求項5は、一辺に設けられた滑動防止部が係止爪からなり、他の三辺に設けられた滑動防止部が係止壁からなることを特徴とする請求項1に記載の病理組織検査標本作成用の包埋トレイを内容とする。   According to a fifth aspect of the present invention, the anti-sliding portion provided on one side comprises a locking claw, and the anti-sliding portion provided on the other three sides comprises an engaging wall. The embedding tray for preparation of histopathological specimens of

本発明の請求項6は、把持部が係止爪の上端から横設されていることを特徴とする請求項1〜5のいずれかに記載の病理組織検査標本作成用の包埋トレイを内容とする。 Claim 6 of the present invention, the contents of embedding tray for histopathology specimens prepared according to any one of claims 1 to 5, characterized in that the gripping portion is laterally disposed from the upper end of the locking nail And

本発明の請求項7は、把持部が枠状又はT字状である請求項6に記載の病理組織検査標本作成用の包埋トレイを内容とする。   A seventh aspect of the present invention includes an embedding tray for preparing a histopathological specimen as described in the sixth aspect, wherein the gripping portion has a frame shape or a T shape.

本発明の請求項8は、把持部が斜め上方向に延設されていることを特徴とする請求項6又は7に記載の病理組織検査標本作成用の包埋トレイを内容とする。   Claim 8 of the present invention includes an embedding tray for preparing a histopathological specimen according to claim 6 or 7, wherein the gripping portion extends obliquely upward.

本発明の病理組織検査標本作成用の包埋トレイは、カセット(カセット本体)の滑動を防止するための滑動防止部として少なくとも一辺に係止爪を採用したことにより、カセット本体と包埋トレイとの間の空気が抜け易くなるとともに、余分なパラフィンも排出され易くなる。従って、カセット本体と包埋トレイとの間に滞留するパラフィン量は少なくなり、その結果、例えば左右におけるパラフィン量のアンバランスも起こりにくくなり、レベルがバランスしたパラフィンブロックを得ることができる。   The embedding tray for preparing a histopathological specimen according to the present invention employs a locking claw on at least one side as a sliding prevention portion for preventing the cassette (cassette body) from sliding, so that the cassette body, the embedding tray, It is easy for air between them to escape and excess paraffin is also easily discharged. Accordingly, the amount of paraffin retained between the cassette body and the embedding tray is reduced, and as a result, for example, the unbalance of the paraffin amount on the left and right is less likely to occur, and a paraffin block with a balanced level can be obtained.

また、空気が押し出され易く、余分のパラフィンが排出され易いため、カセット本体の外壁面に付着するパラフィン量は極めて少量であり、ナイフによる削り取り作業を省略するか、又は簡単な削り取り作業ですみ、作業性は大巾に高められる。
特に、係止爪の部分は仮に余分のパラフィンが付着したとしても極く僅かであり、例えば、包埋トレイの係止爪のある辺にカセット本体の記録部の辺がくるように配置することにより、記録部の視認性は殆ど妨げられることがなく、誤認によるトラブルが解消される。更に、カセット本体と包埋トレイとを結合させるパラフィン中には殆ど空気が含まれていないので、大きな係合力が得られる。
In addition, since air is easily pushed out and excess paraffin is easily discharged, the amount of paraffin adhering to the outer wall surface of the cassette body is extremely small, and the cutting work with a knife is omitted or a simple cutting work is required. Workability is greatly enhanced.
In particular, the latching claw is extremely small even if extra paraffin adheres to it, for example, the recording tray side of the cassette body should be placed on the side of the embedding tray where the latching claw is located. Therefore, the visibility of the recording part is hardly hindered, and the trouble due to misidentification is eliminated. Further, since the paraffin that joins the cassette body and the embedding tray contains almost no air, a large engagement force can be obtained.

また、上記の如く、余分のパラフィンの排出性が良好であるので、包埋トレイのパラフィン収容部にパラフィンを注ぎ、その上面にカセットを載置し、カセット本体を包埋トレイに押し付けることによりカセット本体と包埋トレイとの間の空気が押し出されるとともに、余分のパラフィンは係止爪の両側から殆ど排出される。極く僅かに残留したパラフィンは、カセット本体の外壁面と包埋トレイの係止爪又は係止壁との間に入り込むが、少量であるため短時間で冷却固化し、恰も冷却固化したパラフィンが接着剤の如く作用して、カセット本体は包埋トレイに仮り止めされた状態となる。従って、引き続いて、カセット本体の上方から溶融パラフィンを注ぎ足す際に、カセット本体が浮き上がらないように指で押さえつける必要がなく、例えば溶融パラフィンで火傷をする恐れもなくなる。   Further, as described above, since the extra paraffin can be discharged well, the paraffin is poured into the paraffin container of the embedding tray, the cassette is placed on the upper surface, and the cassette body is pressed against the embedding tray. Air between the main body and the embedding tray is pushed out, and excess paraffin is almost discharged from both sides of the locking claw. The very small amount of paraffin that remains is entered between the outer wall surface of the cassette body and the locking claw or locking wall of the embedding tray. Acting like an adhesive, the cassette body is temporarily secured to the embedding tray. Therefore, when the molten paraffin is subsequently poured from above the cassette main body, it is not necessary to press the cassette main body with a finger so that the cassette main body does not float up, and there is no risk of burning with the molten paraffin, for example.

四辺に設けられた滑動防止部が全て係止爪からなる場合は、空気の押し出しや余分のパラフィンの排出は四辺から行われるのでカセット本体のいずれの外壁面に付着する余分なパラフィン量は一層少なくなる。
また、係止爪と係止壁を併設すると、カセット本体を包埋トレイのカセット支承部に載置する際、係止壁にカセット本体をあてがうことができるので、例えカセット支承部が狭小であっても、容易にカセット本体を載置できるので作業性が高められる。また、対向する二辺又は三辺に係止壁を設けると該係止壁によりカセット本体の載置は容易となるが、空気の押し出しや余分なパラフィンの排出は減少する傾向にある。
If all of the anti-skid parts on the four sides are made up of locking claws, the air is pushed out and the extra paraffin is discharged from the four sides, so the amount of extra paraffin adhering to any outer wall surface of the cassette body is even smaller. Become.
Further, when the locking claw and the locking wall are provided, the cassette main body can be attached to the locking wall when the cassette main body is placed on the cassette supporting portion of the embedding tray. However, since the cassette body can be easily placed, workability is improved. In addition, when a locking wall is provided on two or three sides facing each other, the locking wall facilitates the placement of the cassette body, but there is a tendency for air extrusion and excess paraffin discharge to be reduced.

係止爪の上端から把持部を横設すれば、包埋トレイを扱いやすくなり、作業性が向上する。この場合、2個の係止爪の上端から横設して枠状としたり、また、1個の係止爪の上端から横設してT字状とすることにより、把持部によって空気の押し出しや余分のパラフィンの排出が殆ど妨げられることがないので好ましい。更に、把持部が斜め上方向に延設することにより、例えば、机上面やホットプレート面から距離が取れるので把持し易く、またホットプレートに触れ火傷をしたりする恐れも小さくなる。更に、積み重ねができるので嵩張らない利点もある。 If the horizontal setting of the grip portion from the upper end of the locking pawl, making them easy to handle the embedding tray, the workability is improved. In this case, air is pushed out by the gripping part by setting it horizontally from the upper ends of the two locking claws and forming a frame shape or by setting it horizontally from the upper ends of the one locking claws. And discharge of excess paraffin is hardly disturbed, which is preferable. Furthermore, since the gripping portion extends obliquely upward, for example, it can be easily gripped because it is spaced from the desk top surface or hot plate surface, and the risk of burns coming into contact with the hot plate is reduced. Furthermore, since it can be stacked, there is also an advantage that it is not bulky.

本発明の包埋トレイは、底部とその周りに立設された側壁とからなるパラフィン収容部と、該収容部の上方外側に設けられたカセット支承部と、該支承部からその上方に立設されカセットの滑動を防止するための滑動防止部とからなる方形状の容器からなり、少なくとも一辺の滑動防止部が、余分なパラフィンがその両側から排出されるように構成された係止爪からなり、残余の辺の滑動防止部が係止壁からなることを特徴とする。 Embedding tray of the present invention, the bottom and the paraffin accommodating portion consisting of the erected side walls around it, and a cassette support portion disposed above the outside of the housing portion, standing above the said supporting Seung portion Karaso A locking claw comprising a rectangular container that is provided with a non-sliding portion for preventing the cassette from sliding, and at least one side of the non-sliding portion is configured to discharge excess paraffin from both sides thereof. The sliding prevention part of the remaining side consists of a locking wall.

本発明の包埋トレイは溶融パラフィンに耐える耐熱性素材から作られ、かかる素材としては、ステンレス等の金属、ポリプロピレン、ポリエステル、ポリアミド、ポリカーボネート、ポリアセタール、ABS等の樹脂等が挙げられるが、熱伝導性が良好である点で金属が好ましい。   The embedding tray of the present invention is made of a heat-resistant material that can withstand molten paraffin. Examples of such a material include metals such as stainless steel, resins such as polypropylene, polyester, polyamide, polycarbonate, polyacetal, and ABS. A metal is preferable in terms of good properties.

パラフィン収容部は、パラフィンブロックの脱型を容易にするため、通常、側壁が底部から開口部に向かって末広がりのテーパー状の容器からなる。   In order to facilitate the demolding of the paraffin block, the paraffin storage section is usually composed of a tapered container whose side wall extends from the bottom toward the opening.

パラフィン収容部の上方外側には、カセット本体を載置するためのカセット支承部が設けられる。カセット支承部はカセット本体を安定に載置できるかぎり特に限定されず、例えば、パラフィン収容部を形成する側壁の上端を用いてもよく、また、パラフィン収容部のコーナー部や各辺に沿って設けることもできる。   A cassette support part for placing the cassette body is provided on the upper outer side of the paraffin storage part. The cassette support portion is not particularly limited as long as the cassette body can be stably placed. For example, the upper end of the side wall forming the paraffin housing portion may be used, or provided along the corner portion or each side of the paraffin housing portion. You can also.

カセット支承部の上方外側には、カセットの滑動(横滑り)を防止するための滑動防止部が設けられるが、本発明の包埋カセットは、少なくとも一辺の滑動防止部は、余分なパラフィンがその両側から排出されるように構成された係止爪とする必要がある。 An anti-sliding part for preventing the cassette from sliding (side-sliding) is provided on the upper outer side of the cassette support part. However, in the embedding cassette of the present invention, at least one side of the anti-sliding part has extra paraffin on both sides. It is necessary to make it a latching claw configured to be discharged from

係止爪の形状、大きさ、個数は特に限定されないが、幅1〜5mm、好ましくは2〜5mmで、一辺当たりの係止爪の幅の合計は側壁の長さの1/5以下、更には1/20以下が好ましい。幅が5mmを超えると、その部分に冷却固化したパラフィンが盛り上がってしまうことがあり、1mm未満ではカセット本体の滑動を防止する効果が小さくなる。また、一辺当たりの係止爪の幅の合計が側壁の長さの1/5を超えると、空気の押し出し性や余分のパラフィンの排出性が低下する傾向がある。   The shape, size, and number of the locking claws are not particularly limited, but the width is 1 to 5 mm, preferably 2 to 5 mm, and the total width of the locking claws per side is 1/5 or less of the length of the side wall. Is preferably 1/20 or less. If the width exceeds 5 mm, the cooled and solidified paraffin may rise in that portion, and if it is less than 1 mm, the effect of preventing the cassette body from sliding is reduced. Moreover, when the sum total of the width | variety of the latching claw per side exceeds 1/5 of the length of a side wall, there exists a tendency for the extrusion property of air and the discharge | emission property of excess paraffin to fall.

なお、一辺あたり係止爪が一個だけであると、カセット支承部の幅を狭くした場合には、載置したカセット本体の安定性が低下する場合がある。また、狭いカセット支承部にカセット本体を載置する際に、位置決めがし難くなる傾向がある。従って、一辺あたり、係止爪を2個以上設けるほうが好ましく、さらにその辺の両端付近に設けるほうがさらに好ましい。
また、係止爪の高さはカセットの滑動を押さえられる限り特に限定されず、カセットや包埋トレイの大きさに応じて扱い易い程度の大きさとすることができる。
Note that if there is only one locking claw per side, the stability of the placed cassette body may be reduced when the width of the cassette support portion is reduced. Further, when the cassette body is placed on the narrow cassette support portion, positioning tends to be difficult. Therefore, it is preferable to provide two or more locking claws per side, and it is more preferable to provide near the both ends of the side.
Further, the height of the locking claw is not particularly limited as long as the sliding of the cassette can be suppressed, and can be set to a size that is easy to handle depending on the size of the cassette or the embedding tray.

残余の辺、即ち係止爪が設けられていない辺には係止壁が立設される。なお、係止壁も係止爪と同様、カセット本体の動きを抑えてカセット支承部に安定に載置する機能を有する点で共通するが、カセット本体と包埋トレイの間に滞留する空気や余分なパラフィンを排出する機能が劣る点で異なる。なお、本明細書において、係止壁とは包埋トレイの辺の長さの1/5を超える場合をいい、係止爪と区別して用いられる。
係止壁の高さはカセット本体の滑動を防止できれば特に限定されないが、カセット本体の外壁面には付着するパラフィンを減らし、また記録部に記載された文字等を確実に読み取るために、低く(例えば2〜3mm程度)形成するほうが好ましい。
A locking wall is erected on the remaining side, that is, the side where the locking claw is not provided. The locking wall is similar to the locking claw in that it has a function of suppressing the movement of the cassette body and stably placing it on the cassette support part. It differs in that the function of discharging excess paraffin is inferior. In this specification, the term “locking wall” refers to a case where the length of the side of the embedding tray exceeds 1/5, and is used separately from the locking claw.
The height of the locking wall is not particularly limited as long as it can prevent the cassette body from sliding, but is low in order to reduce paraffin adhering to the outer wall surface of the cassette body and to reliably read characters and the like written on the recording section ( For example, it is preferable to form it.

係止壁にはその一部を低くしたパラフィン排出部を形成してもよい。このようにすると、パラフィン排出部から余分なパラフィンが排出され、冷却固化後のパラフィンの盛り上がりが抑えられる。パラフィン排出部の大きさは特に限定されないが、他の部分より1mm以上低い部分を幅2mm以上に渡って設けるのが好ましい。   You may form the paraffin discharge part which made the one part low in the latching wall. If it does in this way, excess paraffin will be discharged | emitted from a paraffin discharge part, and the rise of the paraffin after cooling solidification will be suppressed. The size of the paraffin discharge part is not particularly limited, but it is preferable to provide a part 1 mm or more lower than the other part over a width of 2 mm or more.

係止壁を併設した場合、カセット支承部上にカセット本体をより安定して載置することができるばかりでなく、カセット本体をカセット支承部上に載置する際に、この係止壁にカセット本体の一辺をあてがうことにより、容易に位置決めをすることができる。係止爪と係止壁とは、係止爪を設けた辺が多い程空気の押し出しや余分のパラフィンの排出はし易くなるが、カセット本体のカセット支承部への載置性は低下する関係にある。従って、空気の押し出しや余分のパラフィンの排出性にウエイトを置く場合は、係止爪の辺は多くし、逆に、カセット本体の載置性にウエイトを置く場合は係止壁の辺を二辺又は三辺とするのがよい。尚、二辺を係止爪とし、残りの二辺を係止壁とする場合は、それぞれ対向する二辺を係止爪又は係止壁とするのが好ましい。尚、三辺に係止壁を設ける場合、係止壁を連続して設けてもよいが、空気の押し出し性、余分なパラフィンの排出性からは、例えば、コーナー部に隙間を設ける等不連続に設けるのが好ましい。   When a locking wall is also provided, the cassette body can be placed more stably on the cassette support part, and when the cassette body is placed on the cassette support part, the cassette is placed on the locking wall. Positioning can be easily performed by applying one side of the main body. The relationship between the locking claw and the locking wall is that the more the side where the locking claw is provided, the easier it is to push out air and discharge excess paraffin, but the ease with which the cassette body is mounted on the cassette support is reduced. It is in. Therefore, when placing weights on air extrusion or extra paraffin discharge, the side of the locking claw is increased. Conversely, when placing weights on the mounting property of the cassette body, two sides of the locking wall are used. A side or three sides is recommended. In addition, when two sides are used as a locking claw and the remaining two sides are used as a locking wall, it is preferable that the two opposite sides are a locking claw or a locking wall. In addition, when providing the locking walls on the three sides, the locking walls may be provided continuously. However, from the viewpoint of air extrudability and excess paraffin discharge, for example, discontinuity such as providing a gap at the corner. It is preferable to provide in.

係止爪、係止壁とカセット本体とは、両者の間の隙間ができるだけ小さくなるように設計することが好ましい。このようにすることにより、たとえ両者の隙間にパラフィンが入り込んでも少量で且つ薄く、ミクロトームのアダプターに装着する際に支障となることがないからである。本発明の包埋トレイでは、少なくとも一辺に係止爪を採用したのでこれの傾斜角の調整は比較的小さな力で可能であり、この係止爪の角度を調整することにより、係止爪又は係止壁とカセット本体との隙間を小さくすることができる。   The locking claw, the locking wall, and the cassette body are preferably designed so that the gap between them is as small as possible. By doing so, even if paraffin enters the gap between the two, the amount is small and thin, and there is no problem when it is attached to the adapter of the microtome. In the embedding tray of the present invention, since the locking claw is adopted on at least one side, the inclination angle can be adjusted with a relatively small force. By adjusting the angle of this locking claw, The gap between the locking wall and the cassette body can be reduced.

本発明の包埋トレイを取り扱いやすくするために把持部を設けてもよい。把持部は、係止爪の上端から横設するのが好ましい。把持部を係止爪の上端から設ける場合、係止爪が1個の場合は略T字状となり、また、係止爪が2個の場合は、内部に穴があいた枠状となり、空気の押し出しや余分のパラフィンは排出性は殆ど損なわれない。係止爪が3個以上の場合でも同様である。把持部を係止壁の上端から設ける場合も、内側に穴のあいた枠状に設け、内側の穴から空気を押し出し、余分のパラフィンを排出させるのが好ましい。
また、把持部は、包埋トレイから斜め上方向に向けて延設することもできる。このようにすると、例えば包埋トレイをホットプレート上で使用する場合でも、把持部のホットプレートからの距離が大きくなるので、包埋トレイを把持する際にホットプレートなどに手指が触れ、火傷をする等の危険性が減少する。斜め上方向の把持部は、例えば、パラフィン収容部が浅い場合や、係止壁を設けない包埋トレイの場合に特に有効である。また、斜め上方向の把持部は積み重ねができるので嵩張らない利点もある。斜め上方向に延設する角度は、余り小さいと上記した効果が小さいので30〜80度程度が好ましい。
In order to make the embedding tray of the present invention easy to handle, a grip portion may be provided. Gripper, preferably horizontal set from the upper end of the locking pawl. When the gripping portion is provided from the upper end of the locking claw, when there is one locking claw, it becomes a substantially T shape, and when there are two locking claws, it becomes a frame shape with a hole inside, Extrusion and excess paraffin will not impair the discharge. The same applies when there are three or more locking claws. Even when the gripping portion is provided from the upper end of the locking wall, it is preferable that the holding portion is provided in a frame shape with a hole on the inner side, and air is pushed out from the inner hole to discharge excess paraffin.
Further, the grip portion can be extended obliquely upward from the embedding tray. In this way, even when the embedding tray is used on a hot plate, for example, the distance from the hot plate of the gripping portion becomes large. The risk of doing so is reduced. The gripping portion in the obliquely upward direction is particularly effective when, for example, the paraffin container is shallow or an embedding tray without a locking wall. Moreover, since the holding | grip part of diagonally upward direction can be stacked, there also exists an advantage which is not bulky. The angle extending obliquely upward is preferably about 30 to 80 degrees because the above-described effect is small if it is too small.

パラフィン収容部の形状は、左右非対称とすることにより、ミクロトームでスライスされた薄片の左右が明確に区別されるので、作業性が高められ、また左右誤認により検体を取り違えるといったトラブルが防止されるので、検査の信頼性が向上する。
左右非対称とする方法は特に限定されないが、例えば、角部のうち一箇所のアール半径を変える(大きくする)方法や、側壁のうち一辺を波形や円弧形にするなどの方法が採用できる。
By making the shape of the paraffin storage part asymmetrical, the right and left of the slice sliced with the microtome are clearly distinguished, so that workability is improved and troubles such as mistaking the specimen due to misidentification of the left and right are prevented. , Improve the reliability of inspection.
The method of making the left-right asymmetry is not particularly limited, but for example, a method of changing (enlarging) the radius of curvature at one place in the corner or a method of making one side of the side wall into a waveform or an arc shape can be adopted.

本発明の包埋トレイでパラフィンブロックを作成するカセットはカセット本体の底面に透孔を有するカセットであれば特に限定はなく、代表的なカセットとして、例えば、側面にミクロトームのアダプターを係止するためのアダプター係止部C5を備えたカセット(図18,図21)、斜面状の記録部C3を備えたカセット(図19,図22)及びカセット本体の深さが大きく、アダプター係止部C5を備えたカセット(図20, 図23)が挙げられる。   The cassette for producing the paraffin block in the embedding tray of the present invention is not particularly limited as long as it is a cassette having a through hole on the bottom surface of the cassette body. As a typical cassette, for example, for locking a microtome adapter on the side surface. The cassette with the adapter locking portion C5 (FIGS. 18 and 21), the cassette with the sloped recording portion C3 (FIGS. 19 and 22), and the cassette body have a large depth. The provided cassette (FIG. 20, FIG. 23) is mentioned.

また、本発明の包埋トレイは図24,図25に例示された一般的な方法で用いることができるが、溶融パラフィンの流動性を高めて、余分な溶融パラフィンを排出しやすくするため、予め包埋トレイを暖めておくか、パラフィン注入中または注入後に包埋トレイを一時的に適温まで加熱するのが好ましい。   In addition, the embedding tray of the present invention can be used in the general method illustrated in FIGS. 24 and 25. However, in order to increase the fluidity of the molten paraffin and easily discharge excess molten paraffin, It is preferable to keep the embedding tray warm or to temporarily heat the embedding tray to an appropriate temperature during or after the paraffin injection.

以下、本発明の実施例を図面に基づいて更に詳細に説明するが、本発明はかかる実施例のみに限定されないことは云うまでもない。   Hereinafter, examples of the present invention will be described in more detail with reference to the drawings. However, it is needless to say that the present invention is not limited to the examples.

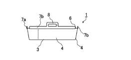
実施例1
本実施例の包埋トレイ1は、図1、図2に示すように、底部3とそれを取り囲む側壁4とから形成される方形の容器からなるパラフィン収容部2と、前記側壁4の上端、即ち、パラフィン収容部2の開口部の周縁に設けられたカセット支承部6と、このカセット支承部6の外縁に立設された係止爪7aからなる。
Example 1
As shown in FIGS. 1 and 2, the embedding tray 1 of this embodiment includes a paraffin container 2 made of a rectangular container formed of a bottom 3 and a side wall 4 surrounding the bottom 3, and an upper end of the side wall 4. That is, it comprises a cassette support portion 6 provided on the periphery of the opening of the paraffin storage portion 2 and a locking claw 7 a erected on the outer edge of the cassette support portion 6.

図1に示すように、本実施例においては包埋トレイ1の右辺側に2個の係止爪7aが、その他の辺にそれぞれ1個の係止爪7aが立設されている。即ち、カセット本体C1と包埋トレイ1との間の空気が全ての辺から抜けるとともに、余分なパラフィンも全ての辺から排出されるので、排出の速度は最も速く、カセット本体C1の周囲には余分なパラフィンP1は殆ど付着しない。また、カセット本体と係止爪7aとの間にパラフィンが少量入り込むが、少量であるため短時間で冷却固化し、この冷却固化したパラフィンが接着剤の如く作用してカセット本体が包埋トレイに仮り止めされた状態となり、従って、指で押さえることなく、溶融パラフィンを注ぎ足すことができる。更に、パラフィン収容部2は左下側の角の部分が三角形に切り欠かれた略方形状であり、左右非対称であるので、検体をスライスした際にも付着したパラフィン切片の形状を見ることにより検体の方向を確かめることができ、左右誤認による検体の取り違えといったトラブルが防止されるので、検査の信頼性が向上する。尚、この三角形の部分はカセット支承部6の一部としての役割も果たす。   As shown in FIG. 1, in this embodiment, two locking claws 7a are erected on the right side of the embedding tray 1, and one locking claw 7a is erected on the other side. That is, the air between the cassette body C1 and the embedding tray 1 escapes from all sides, and excess paraffin is also discharged from all sides. Excess paraffin P1 hardly adheres. In addition, a small amount of paraffin enters between the cassette body and the locking claw 7a, but since the amount is small, it is cooled and solidified in a short time, and this cooled and solidified paraffin acts like an adhesive so that the cassette body is placed in the embedding tray. Therefore, it is possible to add molten paraffin without pressing with a finger. Furthermore, since the paraffin container 2 has a substantially square shape with a lower left corner cut out in a triangle and is asymmetrical, the specimen can be observed by observing the shape of the attached paraffin section even when the specimen is sliced. The direction of the test can be ascertained, and troubles such as a sample being mistaken due to a left / right misidentification can be prevented, thus improving the reliability of the test. The triangular portion also serves as a part of the cassette support 6.

本実施例の包埋トレイ1は、検体Sをパラフィン収容部2に入れるとともに、カセット本体C1をカセット支承部6の上に載置して使用する。本実施例の場合、カセット本体C1の記録部C3は4辺のいずれにも配置することができるが、係止爪7aと記録部C3の間に余分なパラフィンP1が僅かに付着することもあるので、係止爪7aが1個だけ立設された辺に記録部C3を配置するのが好ましい。   The embedding tray 1 of the present embodiment uses the specimen S in the paraffin container 2 and places the cassette body C1 on the cassette support 6 for use. In the case of the present embodiment, the recording part C3 of the cassette body C1 can be arranged on any of the four sides, but extra paraffin P1 may slightly adhere between the locking claw 7a and the recording part C3. Therefore, it is preferable to arrange the recording portion C3 on the side where only one locking claw 7a is erected.

実施例2
本実施例の包埋トレイ1は、図3、図4に示すように、実施例1の包埋トレイ1とほぼ同様であるが、長辺側に立設された係止爪7aの上端からT字状の把持部8が横設されている点のみで異なる。従って、本実施例ではこの把持部8を持って作業することができるので、包埋トレイ1が扱いやすくなり、作業性が向上している。その上、長辺側の係止爪7aの幅は実施例1と同様なので、把持部8によって空気の押し出しや余分のパラフィンP1の排出が殆ど妨げられることがない。
Example 2
The embedding tray 1 of the present embodiment is substantially the same as the embedding tray 1 of the first embodiment as shown in FIGS. 3 and 4, but from the upper end of the locking claw 7 a erected on the long side. The only difference is that the T-shaped gripping portion 8 is provided horizontally. Therefore, in the present embodiment, it is possible to work with the gripping portion 8, so that the embedding tray 1 is easy to handle and the workability is improved. In addition, since the width of the locking claw 7a on the long side is the same as that of the first embodiment, the gripping portion 8 hardly prevents the air from being pushed out or the extra paraffin P1 from being discharged.

実施例3
本実施例の包埋トレイ1は、図5〜図7に示すように、実施例1の包埋トレイ1とほぼ同様であるが、長辺側の対向する二辺にはそのほぼ全面に渡って係止壁7bが立設されていると共に、その中央部付近から枠状の把持部8が斜め上方に延設されている点のみで異なる。従って、本実施例ではカセット本体C1は対向する二辺の係止壁7bの間に載置するので容易であり、載置性は優れている反面、実施例1の包埋トレイ1と比較して、空気の押し出しや余分のパラフィンの排出性が若干劣る。また、カセット本体と係止壁7bとの間にパラフィンが入り込むが少量であるので特に問題はない。更に、把持部が斜め上方向に延設されているので、例えば、机上面やホットプレート面から距離が取れるので把持し易く、またホットプレートに触れ火傷をしたりする恐れも小さくなる。更に、積み重ねができるので嵩張らない利点もある。
Example 3
The embedding tray 1 of the present embodiment is substantially the same as the embedding tray 1 of the first embodiment, as shown in FIGS. 5 to 7, but the two opposite sides on the long side cover almost the entire surface. The only difference is that the locking wall 7b is erected and that the frame-shaped gripping portion 8 extends obliquely upward from the vicinity of the central portion thereof. Accordingly, in this embodiment, the cassette body C1 is easy to place because it is placed between the two opposing locking walls 7b, and the placement property is excellent, but compared with the embedding tray 1 of the first embodiment. Thus, the extrusion of air and the discharge of excess paraffin are slightly inferior. Moreover, although paraffin enters between the cassette body and the locking wall 7b, there is no particular problem because the amount is small. Further, since the gripping portion extends obliquely upward, for example, it is easy to grip because it is spaced from the desk top surface or hot plate surface, and the risk of burns coming into contact with the hot plate is reduced. Furthermore, since it can be stacked, there is also an advantage that it is not bulky.

実施例4
本実施例の包埋トレイ1は、図8〜図10に示すように、実施例3の包埋トレイ1とほぼ同様であるが、右辺側にも係止壁7bが設けられている点のみで異なる。
従って、カセット本体C1はコの字状の係止壁7bの間に載置するのが極めて容易であり、上記実施例1〜3と比較しても載置性は最も優れている反面、空気の押し出しや余分のパラフィンの排出は主として左辺側だけで行われるため、係止爪のみの実施例に比べると劣るが、三辺の係止壁7bはコーナー部で隙間が設けられているため実用上特に問題はない。また、記録部C3を左辺側に向けた場合には、この記録部C3を覆うパラフィンの量はごく僅かであるので問題はない。また、カセット本体と係止壁7bとの間にパラフィンが入り込むが少量であるので特に問題はない。
Example 4
As shown in FIGS. 8 to 10, the embedding tray 1 of the present embodiment is substantially the same as the embedding tray 1 of the third embodiment, but only in that a locking wall 7b is provided on the right side. It is different.
Therefore, the cassette body C1 is extremely easy to be placed between the U-shaped locking walls 7b, and the placement property is the best as compared with the first to third embodiments. Extrusion and discharge of excess paraffin are mainly performed only on the left side, which is inferior to that of the embodiment with only the locking claw, but the three-side locking wall 7b is practical because a gap is provided at the corner. There is no particular problem. When the recording unit C3 is directed to the left side, there is no problem because the amount of paraffin covering the recording unit C3 is very small. Moreover, although paraffin enters between the cassette body and the locking wall 7b, there is no particular problem because the amount is small.

実施例5
本実施例の包埋トレイ1は、図11〜図13に示すように、底部3とそれを取り囲む側壁4とから形成され、左下が三角形状に切り欠かれた略方形の容器からなるパラフィン収容部2と、パラフィン収容部2の周囲に設けられた副収容部2aと、収容部2の上方外側であって副収容部2aの右側及び左側に設けられたカセット支承部6と、包埋トレイ1の長辺側にそれぞれ2個、左辺側に1個立設された係止爪7aと、右辺側に立設された係止壁7bと、長辺側の2個の係止爪7aの間に横設され、全体として枠状とされた把持部8からなる。
Example 5
The embedding tray 1 of this embodiment is formed of a bottom portion 3 and a side wall 4 surrounding the bottom portion 3 as shown in FIGS. 11 to 13, and contains paraffin in a substantially rectangular container with a lower left corner cut out in a triangular shape. Part 2, sub-accommodating part 2a provided around paraffin-accommodating part 2, cassette support part 6 provided on the right and left sides of sub-accommodating part 2a on the upper outer side of accommodating part 2, and embedding tray Two locking claws 7a erected on one long side and one on the left side, a locking wall 7b erected on the right side, and two locking claws 7a on the long side It consists of a gripping portion 8 that is horizontally disposed between them and has a frame shape as a whole.

本実施例の包埋トレイ1は、パラフィン収容部2のパラフィンのみならず、パラフィン副収容部2aのパラフィンによってもカセット本体C1と係合するので係合力が強いという特徴を有する。
本実施例では係止壁7bが左辺だけなので、空気の押し出し性や余分なパラフィンの排出性は特に問題ではなく、また載置性についても、カセット本体C1をカセット支承部6に載置する際、係止壁7bにカセット本体C1をあてがうことができるので、カセット載置性も良好である。
The embedding tray 1 according to the present embodiment has a feature that the engaging force is strong because the embedding tray 1 is engaged not only with the paraffin in the paraffin storage unit 2 but also with the paraffin in the paraffin sub storage unit 2a.
In this embodiment, since the locking wall 7b is only on the left side, the pushability of air and the discharge property of extra paraffin are not particularly problematic, and the placing property of the cassette body C1 when placing it on the cassette support portion 6 is also not problematic. Since the cassette body C1 can be applied to the locking wall 7b, the cassette mounting property is also good.

実施例6
本実施例の包埋トレイ1は、図14〜図16に示すように、パラフィン収容部2が左右に長く上下に短い点、左右側のカセット支承部6が幅広である点、及び把持部8が横向きで且つ大き目に延設されている点を除き、実施例4と同様である。
Example 6
As shown in FIGS. 14 to 16, the embedding tray 1 of this embodiment has a paraffin container 2 that is long in the left and right and short in the vertical direction, a cassette support 6 on the left and right sides is wide, and a grip 8 Is the same as that of the fourth embodiment, except that is horizontally oriented and extended to a large size.

叙上のとおり、本発明の病理組織検査標本作成用の包埋トレイは、少なくとも一辺のカセット滑動防止部として係止爪を採用したことにより、カセットと包埋トレイの間に滞留する空気の押し出し性及び余分なパラフィンの排出性が大巾に改善され、カセット外壁面へのパラフィンの付着量を少なくし、面倒なパラフィンの削り取り作業を省略又は軽減でき、またカセットと包埋トレイとの間のパラフィン付着量を少なく且つ均等にし、レベルのバランスしたパラフィンブロックを提供することが可能となり、病理組織検査標本を作成する作業性や検査の信頼性が大幅に高められる。   As described above, the embedding tray for preparing a histopathological specimen according to the present invention employs a locking claw as at least one side cassette sliding prevention portion, thereby pushing out air staying between the cassette and the embedding tray. And the discharge of excess paraffin are greatly improved, the amount of paraffin adhering to the outer wall surface of the cassette can be reduced, and the troublesome shaving of the paraffin can be omitted or reduced, and between the cassette and the embedding tray can be reduced. It is possible to provide a paraffin block with a small and uniform amount of paraffin adhesion and a balanced level, and the workability of preparing a histopathological specimen and the reliability of the examination are greatly improved.

本発明の包埋トレイの実施例1を示す平面図である。It is a top view which shows Example 1 of the embedding tray of this invention. 実施例1の右側面図である。2 is a right side view of Example 1. FIG. 本発明の包埋トレイの実施例2を示す平面図である。It is a top view which shows Example 2 of the embedding tray of this invention. 実施例2の右側面図である。6 is a right side view of Example 2. FIG. 本発明の包埋トレイの実施例3を示す平面図である。It is a top view which shows Example 3 of the embedding tray of this invention. 実施例3の正面図である。6 is a front view of Example 3. FIG. 実施例3の右側面図である。6 is a right side view of Example 3. FIG. 本発明の包埋トレイの実施例4を示す平面図である。It is a top view which shows Example 4 of the embedding tray of this invention. 実施例4の正面図である。10 is a front view of Example 4. FIG. 実施例4の右側面図である。It is a right view of Example 4. 本発明の包埋トレイの実施例5を示す平面図である。It is a top view which shows Example 5 of the embedding tray of this invention. 実施例5の正面図である。10 is a front view of Example 5. FIG. 実施例5の右側面図である。10 is a right side view of Example 5. FIG. 本発明の包埋トレイの実施例6を示す平面図である。It is a top view which shows Example 6 of the embedding tray of this invention. 実施例6の正面図である。10 is a front view of Example 6. FIG. 実施例6の側面図である。It is a side view of Example 6. 従来の包埋トレイの例を示す斜視図である。It is a perspective view which shows the example of the conventional embedding tray. 本発明の包埋トレイと共に使用するカセットの例を示す斜視図である。It is a perspective view which shows the example of the cassette used with the embedding tray of this invention. カセットの他の例を示す斜視図である。It is a perspective view which shows the other example of a cassette. カセットの他の例を示す斜視図である。It is a perspective view which shows the other example of a cassette. カセット内に検体を入れた状態を示す断面図である。It is sectional drawing which shows the state which put the test substance in the cassette. カセット内に検体を入れた状態を示す断面図である。It is sectional drawing which shows the state which put the test substance in the cassette. カセット内に検体を入れた状態を示す断面図である。It is sectional drawing which shows the state which put the test substance in the cassette. 従来の顕微鏡標本の作製方法を示す説明図である。It is explanatory drawing which shows the preparation methods of the conventional microscope sample. 従来の顕微鏡標本の作製方法を示す説明図である。It is explanatory drawing which shows the preparation methods of the conventional microscope sample. 従来の顕微鏡標本の作製方法を示す説明図である。It is explanatory drawing which shows the preparation methods of the conventional microscope sample. 従来の顕微鏡標本の作製方法を示す説明図である。It is explanatory drawing which shows the preparation methods of the conventional microscope sample.

符号の説明Explanation of symbols

1 包埋トレイ
2 パラフィン収容部
2a パラフィン副収容部
3 底部
4 側壁
5 角部
6 カセット支承部
7a 係止爪
7b 係止壁
8 把持部
C カセット
C1 本体
C2 蓋
C3 記録部
C4 透孔
C5 アダプター係止部
P パラフィン
P1 余分なパラフィン
S 検体
T 従来の包埋トレイ
T1 パラフィン収容部
T2 カセット支承部
T3 カセット係止壁
T4 額縁部
T5 把持部
B パラフィンブロック
DESCRIPTION OF SYMBOLS 1 Embedment tray 2 Paraffin accommodating part 2a Paraffin sub accommodating part 3 Bottom part 4 Side wall 5 Corner | angular part 6 Cassette support part 7a Locking claw 7b Locking wall 8 Grasp part C Cassette C1 Main body C2 Cover C3 Recording part C4 Through-hole C5 Adapter Stop part P Paraffin P1 Extra paraffin S Sample T Conventional embedding tray T1 Paraffin storage part T2 Cassette support part T3 Cassette locking wall T4 Frame part T5 Grasping part B Paraffin block

Claims (8)

底部とその周りに立設された側壁とからなるパラフィン収容部と、該収容部の上方外側に設けられたカセット支承部と、該支承部からその上方に立設されカセットの滑動を防止するための滑動防止部とからなる方形状の容器からなり、少なくとも一辺の滑動防止部が、余分なパラフィンがその両側から排出されるように構成された係止爪からなり、残余の辺の滑動防止部が係止壁からなることを特徴とする病理組織検査標本作成用の包埋トレイ。 Prevention bottom and the paraffin accommodating portion consisting of the erected side walls around it, and a cassette support portion disposed above the outside of the housing portion, the sliding of the cassette is erected above the said supporting Seung portion Karaso A non-sliding portion of the container, and at least one side of the non-sliding portion is formed of a locking claw configured to discharge excess paraffin from both sides , and the remaining side of the sliding An embedding tray for preparing a histopathological specimen, wherein the prevention portion is formed of a locking wall. 四辺に設けられた滑動防止部が係止爪からなることを特徴とする請求項1に記載の病理組織検査標本作成用の包埋トレイ。   2. The embedding tray for preparing a histopathological specimen according to claim 1, wherein the anti-sliding portions provided on the four sides are formed of locking claws. 三辺に設けられた滑動防止部が係止爪からなり、他の一辺に設けられた滑動防止部が係止壁からなることを特徴とする請求項1に記載の病理組織検査標本作成用の包埋トレイ。   The slide prevention part provided in three sides consists of a latching claw, and the slip prevention part provided in the other one side consists of a latching wall, The pathological examination sample preparation according to claim 1 characterized by things Embedding tray. 対向する二辺に設けられた滑動防止部が係止爪からなり、他の対向する二辺に設けられた滑動防止部が係止壁からなることことを特徴とする請求項1に記載の病理組織検査標本作成用の包埋トレイ。   2. The pathology according to claim 1, wherein the anti-sliding portions provided on the two opposing sides are formed of locking claws, and the anti-sliding portions provided on the other two opposing sides are formed of locking walls. Embedding tray for histological specimen preparation. 一辺に設けられた滑動防止部が係止爪からなり、他の三辺に設けられた滑動防止部が係止壁からなることを特徴とする請求項1に記載の病理組織検査標本作成用の包埋トレイ。   The pathological examination specimen preparation according to claim 1, wherein the anti-sliding portion provided on one side comprises a locking claw, and the anti-sliding portion provided on the other three sides comprises a locking wall. Embedding tray. 把持部が係止爪の上端から横設されていることを特徴とする請求項1〜5のいずれかに記載の病理組織検査標本作成用の包埋トレイ。 Embedding tray for histopathology specimens prepared according to any one of claims 1 to 5 gripper is characterized in that it is laterally disposed from the upper end of the locking pawl. 把持部が枠状又はT字状である請求項6に記載の病理組織検査標本作成用の包埋トレイ。   The embedding tray for preparing a histopathological specimen according to claim 6, wherein the gripping portion has a frame shape or a T shape. 把持部が斜め上方向に延設されていることを特徴とする請求項6又は7に記載の病理組織検査標本作成用の包埋トレイ。   The embedding tray for preparing a histopathological specimen according to claim 6 or 7, wherein the gripping portion extends obliquely upward.
JP2007207486A 2007-08-09 2007-08-09 Embedding tray for preparation of histopathological specimen Active JP4966128B2 (en)

Priority Applications (1)

Application Number Priority Date Filing Date Title
JP2007207486A JP4966128B2 (en) 2007-08-09 2007-08-09 Embedding tray for preparation of histopathological specimen

Applications Claiming Priority (1)

Application Number Priority Date Filing Date Title
JP2007207486A JP4966128B2 (en) 2007-08-09 2007-08-09 Embedding tray for preparation of histopathological specimen

Publications (2)

Publication Number Publication Date
JP2009042075A JP2009042075A (en) 2009-02-26
JP4966128B2 true JP4966128B2 (en) 2012-07-04

Family

ID=40442961

Family Applications (1)

Application Number Title Priority Date Filing Date
JP2007207486A Active JP4966128B2 (en) 2007-08-09 2007-08-09 Embedding tray for preparation of histopathological specimen

Country Status (1)

Country Link
JP (1) JP4966128B2 (en)

Families Citing this family (4)

* Cited by examiner, † Cited by third party
Publication number Priority date Publication date Assignee Title
JP5030841B2 (en) * 2008-04-07 2012-09-19 村角工業株式会社 Embedding tray for preparation of histopathological specimen
CN104870976B (en) * 2013-01-14 2017-11-28 郑善美 Cassettes, Embedding Molds and Embedding Assemblies for Biopsies
JP6463945B2 (en) * 2013-11-01 2019-02-06 村角工業株式会社 Medical examination cassette and paraffin block preparation tool
CN117705548B (en) * 2024-02-05 2024-11-05 遂宁市中心医院 Pathological specimen embedding device convenient to position

Family Cites Families (9)

* Cited by examiner, † Cited by third party
Publication number Priority date Publication date Assignee Title
JPS6143218Y2 (en) * 1980-10-24 1986-12-06
EP0142575A1 (en) * 1983-11-22 1985-05-29 Freiherr von Gise, Hardo, Dr. med. Incubation container for embedding biological samples in paraffin for use in automatic incubating and shaping devices
JPH0352654Y2 (en) * 1984-12-29 1991-11-15
JPH03100779U (en) * 1990-02-01 1991-10-21
US5269671A (en) * 1992-02-11 1993-12-14 Mccormick James B Apparatus for embedding tissue samples
JPH07242245A (en) * 1994-03-07 1995-09-19 Sanko Co Ltd Transport container
JP4058709B2 (en) * 2001-04-03 2008-03-12 悌二 竹崎 Pathological tissue sample cassette and method for forming an embedding block using the same
US7521021B2 (en) * 2003-11-26 2009-04-21 Leica Biosvstems St. Louis Llc System for in situ processing of a tissue specimen
JP4758672B2 (en) * 2005-04-21 2011-08-31 村角工業株式会社 Embedding tray for preparation of histopathological specimen

Also Published As

Publication number Publication date
JP2009042075A (en) 2009-02-26

Similar Documents

Publication Publication Date Title
JP5030841B2 (en) Embedding tray for preparation of histopathological specimen
US9546937B2 (en) Tissue cassette assembly
EP1842044B1 (en) Apparatus and method for histological processing of a tissue specimen with means for maintaining the orientation of the specimen throughout the processing
US5269671A (en) Apparatus for embedding tissue samples
EP0964242B1 (en) Tissue sample cassette
US3940219A (en) Compact telescoping tissue processing, embedding microtome holder and storage receptacle
JP4966128B2 (en) Embedding tray for preparation of histopathological specimen
US10295445B2 (en) Container system for tissue stabilization for molecular and histopathology diagnostics
US8329120B2 (en) Microtome sectionable biopsy support for orienting tissue samples
USRE28165E (en) Biological specimen processing and embedding apparatus
US3456300A (en) Composite histologic tissue receptacle and embedding structure
JP2008216235A (en) Embedding tray for preparing pathological tissue examination specimen
US7927564B2 (en) Histological specimen cassette
CN105190281A (en) Biological specimen handling apparatus and method
GB2518439A (en) Cassette
JP7103884B2 (en) Section preparation member
JP5112705B2 (en) Embedding tray for preparation of histopathological specimen
US7682572B2 (en) Frozen tissue microarray
JP4758672B2 (en) Embedding tray for preparation of histopathological specimen
JP2008145118A (en) Embedding tray for preparing pathologic tissue examination sample
US8409529B2 (en) Histology slide and paraffin block protector and transport sleeve
JP3433129B2 (en) Frame cassette for histopathological examination
JP2008145218A (en) Embedding tray for preparing pathological tissue examination sample
JP7105609B2 (en) Embedding tray and biological tissue preparation method
CN220987275U (en) Bait-spreading plate and fishing container provided with same

Legal Events

Date Code Title Description
A621 Written request for application examination

Free format text: JAPANESE INTERMEDIATE CODE: A621

Effective date: 20100723

A131 Notification of reasons for refusal

Free format text: JAPANESE INTERMEDIATE CODE: A131

Effective date: 20111213

A977 Report on retrieval

Free format text: JAPANESE INTERMEDIATE CODE: A971007

Effective date: 20111215

A521 Request for written amendment filed

Free format text: JAPANESE INTERMEDIATE CODE: A523

Effective date: 20120210

TRDD Decision of grant or rejection written
A01 Written decision to grant a patent or to grant a registration (utility model)

Free format text: JAPANESE INTERMEDIATE CODE: A01

Effective date: 20120306

A01 Written decision to grant a patent or to grant a registration (utility model)

Free format text: JAPANESE INTERMEDIATE CODE: A01

A61 First payment of annual fees (during grant procedure)

Free format text: JAPANESE INTERMEDIATE CODE: A61

Effective date: 20120330

R150 Certificate of patent or registration of utility model

Ref document number: 4966128

Country of ref document: JP

Free format text: JAPANESE INTERMEDIATE CODE: R150

Free format text: JAPANESE INTERMEDIATE CODE: R150

FPAY Renewal fee payment (event date is renewal date of database)

Free format text: PAYMENT UNTIL: 20150406

Year of fee payment: 3

R250 Receipt of annual fees

Free format text: JAPANESE INTERMEDIATE CODE: R250

R250 Receipt of annual fees

Free format text: JAPANESE INTERMEDIATE CODE: R250

R250 Receipt of annual fees

Free format text: JAPANESE INTERMEDIATE CODE: R250

RD02 Notification of acceptance of power of attorney

Free format text: JAPANESE INTERMEDIATE CODE: R3D02

R250 Receipt of annual fees

Free format text: JAPANESE INTERMEDIATE CODE: R250

R250 Receipt of annual fees

Free format text: JAPANESE INTERMEDIATE CODE: R250

R250 Receipt of annual fees

Free format text: JAPANESE INTERMEDIATE CODE: R250

R250 Receipt of annual fees

Free format text: JAPANESE INTERMEDIATE CODE: R250

R250 Receipt of annual fees

Free format text: JAPANESE INTERMEDIATE CODE: R250

R250 Receipt of annual fees

Free format text: JAPANESE INTERMEDIATE CODE: R250

R250 Receipt of annual fees

Free format text: JAPANESE INTERMEDIATE CODE: R250

R250 Receipt of annual fees

Free format text: JAPANESE INTERMEDIATE CODE: R250