JP4939903B2 - Wound dressing - Google Patents
Wound dressing Download PDFInfo
- Publication number
- JP4939903B2 JP4939903B2 JP2006301652A JP2006301652A JP4939903B2 JP 4939903 B2 JP4939903 B2 JP 4939903B2 JP 2006301652 A JP2006301652 A JP 2006301652A JP 2006301652 A JP2006301652 A JP 2006301652A JP 4939903 B2 JP4939903 B2 JP 4939903B2
- Authority
- JP
- Japan
- Prior art keywords
- sheet
- wound
- holes
- blood
- treatment pad
- Prior art date
- Legal status (The legal status is an assumption and is not a legal conclusion. Google has not performed a legal analysis and makes no representation as to the accuracy of the status listed.)
- Active
Links
- 239000002250 absorbent Substances 0.000 claims description 50
- 239000007788 liquid Substances 0.000 claims description 50
- 230000002745 absorbent Effects 0.000 claims description 43
- 230000002093 peripheral effect Effects 0.000 claims description 4
- 208000027418 Wounds and injury Diseases 0.000 description 118
- 210000001124 body fluid Anatomy 0.000 description 54
- 210000004369 blood Anatomy 0.000 description 53
- 239000008280 blood Substances 0.000 description 53
- 239000010839 body fluid Substances 0.000 description 53
- 229920003002 synthetic resin Polymers 0.000 description 28
- 239000000057 synthetic resin Substances 0.000 description 28
- 238000009792 diffusion process Methods 0.000 description 13
- 239000000463 material Substances 0.000 description 12
- 239000000853 adhesive Substances 0.000 description 10
- 230000001070 adhesive effect Effects 0.000 description 10
- 230000035876 healing Effects 0.000 description 10
- 230000000052 comparative effect Effects 0.000 description 9
- 239000002504 physiological saline solution Substances 0.000 description 9
- 208000004210 Pressure Ulcer Diseases 0.000 description 5
- 238000010521 absorption reaction Methods 0.000 description 5
- 239000004745 nonwoven fabric Substances 0.000 description 4
- 206010011985 Decubitus ulcer Diseases 0.000 description 3
- 238000011156 evaluation Methods 0.000 description 3
- 238000000034 method Methods 0.000 description 3
- 238000010030 laminating Methods 0.000 description 2
- 239000002245 particle Substances 0.000 description 2
- 229920013716 polyethylene resin Polymers 0.000 description 2
- 229920000098 polyolefin Polymers 0.000 description 2
- 229920005989 resin Polymers 0.000 description 2
- 239000011347 resin Substances 0.000 description 2
- 230000000717 retained effect Effects 0.000 description 2
- 229920000247 superabsorbent polymer Polymers 0.000 description 2
- XLYOFNOQVPJJNP-UHFFFAOYSA-N water Substances O XLYOFNOQVPJJNP-UHFFFAOYSA-N 0.000 description 2
- 229920000742 Cotton Polymers 0.000 description 1
- 208000032843 Hemorrhage Diseases 0.000 description 1
- 229920000297 Rayon Polymers 0.000 description 1
- 206010072170 Skin wound Diseases 0.000 description 1
- 238000005299 abrasion Methods 0.000 description 1
- 208000034158 bleeding Diseases 0.000 description 1
- 230000000740 bleeding effect Effects 0.000 description 1
- 239000012530 fluid Substances 0.000 description 1
- 230000035699 permeability Effects 0.000 description 1
- 239000012466 permeate Substances 0.000 description 1
- 239000002964 rayon Substances 0.000 description 1
- 239000002356 single layer Substances 0.000 description 1
- 238000010998 test method Methods 0.000 description 1
- 238000002560 therapeutic procedure Methods 0.000 description 1
- 239000002759 woven fabric Substances 0.000 description 1
Images
Landscapes
- Materials For Medical Uses (AREA)
Description
本発明は、皮膚の創傷部を被覆して治癒するために使用する創傷被覆材に関する。 The present invention relates to a wound dressing used for covering and healing a skin wound.
従来、創傷部の治癒の一つの方法として、この創傷部にガーゼなどの創傷被覆材を直接当てて被覆させる方法が知られている。ところが、この方法では、創傷部とガーゼとが血液または体液にてくっ付いてしまうことがあるから、この創傷部からガーゼを剥がすときに、この創傷部を傷付けてしまったり、激痛を与えたり、出血させてしまったりするおそれがある。 Conventionally, as a method for healing a wound part, a method is known in which a wound dressing material such as gauze is directly applied to the wound part. However, in this method, the wound part and the gauze may stick to each other with blood or body fluid, so when removing the gauze from this wound part, the wound part may be injured, severe pain, There is a risk of bleeding.
これに対し、創傷部に当接させる側である内面側に、複数の孔を有する合成樹脂フィルムシートが取り付けられた創傷被覆材では、ガーゼやその他の吸収性部材を創傷部に直接当接させる創傷被覆材に比べると、創傷部へのくっ付きが少ないため、この創傷被覆材を創傷部から剥がす際に、この創傷部を傷付けてしまうおそれが少ない。 On the other hand, in the wound dressing in which the synthetic resin film sheet having a plurality of holes is attached to the inner surface side that is the side to be brought into contact with the wound part, the gauze and other absorbent members are brought into direct contact with the wound part. Compared to a wound dressing, there is less sticking to the wound part, so there is less risk of damaging the wound part when peeling the wound dressing from the wound part.
また、合成樹脂フィルムシートを用いた創傷被覆材では、この合成樹脂フィルムシートの表面が滑らかで、創傷部と合成樹脂フィルムシートとの間の摩擦係数が小さい。このため、外側からの力で創傷被覆材が創傷部上をずれ動いたとしても、この合成樹脂フィルムシートが創傷部上を滑るように動くから、この合成樹脂フィルムシートによって創傷部が強く擦れることが少ない。 Moreover, in the wound dressing using a synthetic resin film sheet, the surface of this synthetic resin film sheet is smooth, and the friction coefficient between a wound part and a synthetic resin film sheet is small. For this reason, even if the wound dressing moves on the wound part due to the force from the outside, the synthetic resin film sheet moves so as to slide on the wound part, and the synthetic resin film sheet rubs the wound part strongly. Less is.
そこで、この種の創傷被覆材としては、創傷部から滲出してくる体液を、一枚の合成樹脂フィルムシートを通過させて吸収性シートに吸収できるように、この合成樹脂フィルムシートに複数の孔を開けた構成が知られている(例えば、特許文献1ないし3参照。)。
しかしながら、上記創傷被覆材では、創傷部から滲出してくる体液の一部を創傷部の近傍に留まらせることができないから、この創傷部が乾燥しないように、この創傷部を適度な湿潤状態に維持することが容易ではない。 However, in the above wound dressing, a part of the body fluid that exudes from the wound part cannot stay in the vicinity of the wound part, so that the wound part is appropriately moistened so that the wound part does not dry. It is not easy to maintain.
また、上記創傷被覆材は合成樹脂フィルムシートが一枚である。このため、創傷部と創傷被覆材とを接触させる際の圧力などの条件によっては、この合成樹脂フィルムシートの複数の孔の開口率とは無関係に、創傷部から滲出してくる血液または体液が毛細管現象によって合成樹脂フィルムシートの孔をすばやく通過して吸収性シートに吸収されてしまうおそれがある。したがって、創傷部周辺が乾燥してしまう可能性があるから、この創傷部を湿潤状態に確実に維持することが容易ではないという問題を有している。 Further, the wound dressing material is a single synthetic resin film sheet. For this reason, depending on conditions, such as the pressure at the time of making a wound part and a wound dressing contact, the blood or body fluid which exudes from a wound part is independent of the opening rate of a plurality of holes of this synthetic resin film sheet. There exists a possibility that it may pass through the holes of the synthetic resin film sheet quickly and be absorbed by the absorbent sheet due to capillary action. Accordingly, there is a possibility that the periphery of the wound portion may be dried, so that it is not easy to reliably maintain the wound portion in a wet state.
本発明は上記問題点に鑑みなされたもので、創傷部を湿潤状態に確実に維持できる創傷被覆材を提供する。 This invention is made | formed in view of the said problem, and provides the wound dressing which can maintain a wound part reliably in a moist state.
請求項1記載の発明の創傷被覆材は、内面側に位置した表面シートと、外面側に位置し不透液性を有する裏面シートと、この裏面シートと前記表面シートとの間に配設された吸液性シートと、この吸液性シートと前記表面シートとの間に配設された中間シートとを具備し、前記表面シートおよび中間シートのそれぞれは、複数の孔を有し、前記表面シートと前記中間シートとは、前記吸液性シートに重ならない部分である外周縁部が接着され、この吸液性シートに重なっている部分である内側部が接着されておらず互いにずれ動くように構成されているものである。 The wound dressing of the invention according to claim 1 is disposed between the top sheet positioned on the inner surface side, the back sheet positioned on the outer surface side and having liquid impermeability, and the back sheet and the top sheet. a liquid-absorbent sheet, comprising an intermediate sheet disposed between the liquid-absorbent sheet and said topsheet, each of the topsheet and the intermediate sheet, have a plurality of holes, said surface The sheet and the intermediate sheet are bonded to the outer peripheral edge, which is a portion that does not overlap the liquid absorbent sheet, and the inner portion, which is the portion that overlaps the liquid absorbent sheet, is not bonded, so that the sheet and the intermediate sheet are displaced from each other. It is configured .
請求項2記載の発明の創傷被覆材は、請求項1記載の創傷被覆材において、表面シートおよび中間シートは、前記複数の孔の開口率が2%以上6%以下であり、これら複数の孔は、それぞれが等しい内径寸法に形成されているものである。
The wound dressing of the invention according to
請求項3記載の発明の創傷被覆材は、請求項1または2記載の創傷被覆材において、中間シートと吸液性シートとは接着されているものである。
The wound dressing of the invention described in
請求項4記載の発明の創傷被覆材は、請求項1ないし3いずれか記載の創傷被覆材において、裏面シートには、交差する2方向に向けて一定間隔で模様が設けられているものである。 A wound dressing according to a fourth aspect of the present invention is the wound dressing according to any one of the first to third aspects, wherein the back sheet is provided with patterns at regular intervals in the two intersecting directions. .
請求項1記載の創傷被覆材によれば、吸液性シートと表面シートとの間に中間シートを配設し、この中間シートと表面シートとのそれぞれが複数の孔を有する構成としたことにより、例えば表面シート側を創傷部に接触させた際に、表面シートおよび中間シートを介した吸液性シートへの素早い吸液を防止できる。さらに、この創傷部から滲出してくる血液あるいは体液が表面シートと中間シートとの間に一時的に溜まり、この溜まった血液あるいは体液は、一部が毛細管現象によって中間シートの孔を介して吸液性シートへ吸収され、残りが表面シートの孔を行き来して創傷部と表面シートとの間に溜まるから、この創傷部を湿潤状態に確実に維持できる。 According to the wound dressing according to claim 1, the intermediate sheet is disposed between the liquid-absorbent sheet and the surface sheet, and each of the intermediate sheet and the surface sheet has a plurality of holes. For example, when the surface sheet side is brought into contact with the wound portion, quick liquid absorption to the liquid absorbent sheet via the surface sheet and the intermediate sheet can be prevented. Furthermore, blood or body fluid that exudes from the wound is temporarily accumulated between the top sheet and the intermediate sheet, and a part of the accumulated blood or body fluid is absorbed through the holes of the intermediate sheet by capillary action. The wound is absorbed into the liquid sheet, and the remainder travels through the holes in the top sheet and accumulates between the wound and the top sheet, so that the wound can be reliably maintained in a wet state.
請求項2記載の創傷被覆材によれば、表面シートおよび中間シートの複数の孔の開口率を2%以上6%以下とし、これら複数の孔のそれぞれを等しい内径寸法としたことにより、例えば表面シート側を創傷部に接触させた際に、この創傷部から滲出してくる血液あるいは体液のすべてが、これら表面シートおよび中間シートの孔を介して吸液性シートに吸収されなくなるから、この創傷部を湿潤状態により確実に維持できる。
According to the wound dressing according to
請求項3記載の創傷被覆材によれば、中間シートと吸液性シートとを接着したことにより、表面シートと中間シートとがずれ動きやすくなる。このため、例えば表面シート側を創傷部に接触させた際に中間シート側がずれ動いたとしても、表面シートが創傷部を擦るようにずれ動くことが少ないので、この創傷部への負担を少なくできる。 According to the wound dressing of the third aspect, since the intermediate sheet and the liquid-absorbent sheet are bonded, the top sheet and the intermediate sheet are easily displaced. For this reason, for example, even when the intermediate sheet side is displaced when the surface sheet side is brought into contact with the wound part, the surface sheet is less likely to be displaced so as to rub the wound part, so that the burden on the wound part can be reduced. .
請求項4記載の創傷被覆材によれば、交差する2方向に向けて一定間隔で模様を裏面シートに設けたことにより、吸液性シートに吸収された血液または体液の広がった部分の大きさを、裏面シートに設けた模様と容易に見比べて観察することにより、この吸液性シートの血液または体液の吸液量を容易に確認できる。 According to the wound dressing according to claim 4, the size of the part where the blood or body fluid absorbed by the liquid absorbent sheet spreads by providing the back sheet with a pattern at regular intervals in two intersecting directions. Is easily compared with the pattern provided on the back sheet, and the amount of blood or body fluid absorbed in the liquid absorbent sheet can be easily confirmed.
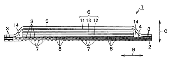
次に、本発明の創傷被覆材の第1の実施の形態の構成を、図1および図2を参照して説明する。 Next, the structure of 1st Embodiment of the wound dressing material of this invention is demonstrated with reference to FIG. 1 and FIG.
図1および図2において、1は創傷被覆材としての治療パッドで、この治療パッド1は、例えば人体の切り傷、擦り傷または褥瘡などの創傷部に当接させて被覆させた状態で取り付けて、この創傷部を適度な湿潤状態に維持させて、この創傷部を治癒させるために使用するラップ療法治癒パッドである。そして、この治療パッド1は、内面側に位置させる表面シート2と、この表面シート2の裏面側に積層されて外周縁が周方向に亘って表面シート2に接着剤3にて接合された中間シート4とを備えている。さらに、この治療パッド1は、中間シート4の裏面側に配設されて外周縁が周方向に亘って中間シート4に接着剤3にて接合され外面側に位置させる裏面シート5と、この裏面シート5と中間シート4との間に接着せずに接して介在させて配設される吸液性シートとしての吸収性シート6を備えている。
In FIG. 1 and FIG. 2, 1 is a treatment pad as a wound dressing, and this treatment pad 1 is attached in a state where it is in contact with and covered with a wound part such as a cut, an abrasion or a pressure ulcer of a human body. A lap therapy healing pad used to maintain the wound in a moderately moist condition and to heal the wound. And this treatment pad 1 is the intermediate | middle which was laminated | stacked on the
具体的に、表面シート2および中間シート4は、例えば等しい大きさの平面視正方形状のシートにて構成されている。さらに、表面シート2は、例えば人体の創傷部に当接させる側に配設されており、中間シート4は、この表面シート2と吸収性シート6との間に介在されて積層されて配設されている。
Specifically, the
また、これら表面シート2および中間シート4は、創傷部から滲出してくる血液や体液などを透過させることが可能な透液性を有している。さらに、これら表面シート2および中間シート4は、創傷部に当接させても、この創傷部への負担が少ない素材で形成されていることが好ましい。すなわち、これら表面シート2および中間シート4として、例えばポリエチレン樹脂のようなポリオレフィン系の合成樹脂にて構成された透明な孔あきの合成樹脂フィルムシートが好ましい。ここで、これら表面シート2および中間シート4としては、必ずしも同じ材質のシートで構成する必要はなく、また表面シート2よりも中間シート4をやや小さい平面視正方形状に形成しても良い。
Moreover, the
さらに、これら表面シート2および中間シート4は、例えば5μm以上30μm以下の厚さが適している。すなわち、これら表面シート2および中間シート4の厚さが5μmより薄い場合には、強度が低下して使用中に破れてしまう可能性があり、これら表面シート2および中間シート4の厚さが30μmより厚い場合には、これら表面シート2および中間シート4自体が硬くなりすぎてしまい、肌触りが悪くなるからである。
Further, the
そして、これら表面シート2および中間シート4には、これら表面シート2および中間シート4の縦方向Aおよび横方向Bのそれぞれに向けて等間隔に複数の孔7,8がそれぞれ形成されている。これら複数の孔7,8は、表面シート2および中間シート4の厚さ方向Cに向けて貫通してそれぞれが等しい大きさに形成されている。また、これら複数の孔7,8は、これら複数の孔7,8の開口率が、例えば2%以上6%以下となるように表面シート2または中間シート4に形成されている。
The
さらに、これら複数の孔7,8それぞれは、例えば0.4mm以上1.0mm以下の内径寸法、すなわち孔径に形成されていることが好ましい。すなわち、これら孔7,8の孔径が0.4mmより小さい場合には、創傷部から滲出してくる血液または体液の粘性が高いときに、これら血液または体液による各孔7,8の通過が極端に遅くなるおそれがある。一方、これら孔7,8の孔径が1.0mmより大きい場合には、これら孔7,8を血液または体液がすばやく通過してしまい、表面シート2あるいは中間シート4と創傷部との間を適度な湿潤状態に保持できないおそれがある。
Further, each of the plurality of
また、これら表面シート2および中間シート4は、表面シート2に形成されている孔7と、中間シート4に形成されている孔8とが重なって連通しないような状態で積層されている。ただし、これら表面シート2および中間シート4に形成されている孔7,8の間隔が狭い場合、例えば各孔7,8の開口率が6%で各孔7,8の孔径を0.4mmとし表面シート2および中間シート4の全面に孔7,8を均等に設けて各孔7,8の間隔が1mmとなった場合には、いずれかの孔7,8が重なって連通してしまう可能性が高い。この場合には、これら孔7,8の重なり程度が最も少なくなるように表面シート2と中間シート4とを積層させることが好ましい。
Further, the
さらに、これら表面シート2および中間シート4は、これら表面シート2および中間シート4のうち吸収性シート6に重ならない外側の部分である外周縁部が接着剤3にて接着されている。また、これら表面シート2および中間シート4のうち吸収性シート6に重なっている部分である内側部は、接着されておらず互いにずれ動くように構成されている。
Furthermore, the outer peripheral edge part which is the outer part which does not overlap with the
ここで、これら表面シート2および中間シート4に形成されている各孔7,8は、これら表面シート2および中間シート4のうちの吸収性シート6に対向する位置、すなわちこの吸収性シート6に接する位置のみに形成されていれば良い。ただし、これら表面シート2および中間シート4の生産性、具体的には連続生産性を考慮すると、これら表面シート2および中間シート4の全面に複数の孔7,8が形成されているシートが好ましい。
Here, the
次いで、裏面シート5は、表面シート2と略同じ大きさの平面視正方形状のシートであって、撥水性、あるいは血液または体液などの液体が透過できない不透液性を有している。具体的に、この裏面シート5としては、例えばポリエチレン樹脂のようなポリオレフィン系の合成樹脂にて構成されていることが好ましい。さらに、この裏面シート5としては、吸収性シート6に浸透して吸収されて広がった血液や体液の大きさDを裏面シート5の外側から透視して目視できるようにするとともに、この吸収性シート6に浸透して吸収されて広がった血液や体液がはっきりと目視できないようにするために、例えば30μm以上100μm以下程度の半透明なものが好ましい。
Next, the
ここで、この裏面シート5としては、合成樹脂にて構成された図示しない合成樹脂シートの表面側に、不織布にて構成された図示しない不織布シートを積層させて貼り合わせたシートを用いることもできる。また、この裏面シート5としては、この裏面シート5に接して配設されている吸収性シート6に接着されていることが好ましい。
Here, as the
さらに、吸収性シート6は、中間シート4に接着せずに配設されており、少なくとも1枚以上、例えば2枚の液拡散シート11,12と、これら液拡散シート11,12の間に積層された液保持シート13とを備えている。これら液拡散シート11,12および液保持シート13は、例えば血液や体液などの液体を吸収できる吸液性を有しており、中間シート4および裏面シート5よりも縦方向Aおよび横方向Bのそれぞれにおいて小さな平面視正方形状に形成されており、これら中間シート4と裏面シート5との間の接着剤3にて外周が接着された領域内に配設されている。
Further, the
具体的に、表面側に位置する液拡散シート12は、創傷部から滲出してきて表面シート2および中間シート4の各孔7,8を通過した血液や体液などを吸収しつつ拡散させる。さらに、この液拡散シート12は、この液拡散シート12が対向する中間シート4の外側に位置する外側面に対して所定の間隔を開けて間欠的に接着剤3にて接着されて固定されている。次いで、液保持シート13は、創傷部から滲出して表面シート2および中間シート4の各孔7,8を通過し液拡散シート12にて拡散された血液や体液などを吸収して保持させる。また、裏面側に位置する液拡散シート11は、液保持シート13から漏洩した血液や体液を吸収しつつ拡散させる。
Specifically, the
なお、この吸収性シート6としては、織布、不織布あるいは脱脂綿などにて形成されたシートや、高吸水性樹脂粒子を2枚の吸水紙の間に介在させて挟み込んだシートや、高吸水性樹脂粒子を粉砕パルプと混合させた後にシート状に加工したシートなどでも対応でき、これらシートを適宜選択して、1枚あるいは複数枚のシートを積層させて使用することもできる。
In addition, as this
さらに、この吸収性シート6の外縁部と、中間シート4および裏面シート5の接着剤3にて接着されている部分との間には、図2に示すように、これら中間シート4、裏面シート5および吸収性シート6相互の水平方向である面方向へのずれを許容させる空間部14が形成されている。ところが、これら中間シート4と裏面シート5との間で吸収性シート6がずれ難くなるようにするためには、この空間部14を形成しないことが好ましい。
Further, between the outer edge portion of the
次に、上記第1の実施の形態の創傷被覆材の作用を説明する。 Next, the operation of the wound dressing according to the first embodiment will be described.
まず、治療パッド1の表面シート2の内面側を、人体の創傷部に当接させて、例えば図示しない医療用テープなどで固定させる。
First, the inner surface side of the
そして、この人体の創傷部から血液あるいは体液が滲出してくる場合には、これら血液あるいは体液の一部が表面シート2に形成されている複数の孔7を通過して、この表面シート2と中間シート4との間に一時的に溜まる。
When blood or body fluid exudes from the wounded part of the human body, a part of the blood or body fluid passes through the plurality of holes 7 formed in the
さらに、この表面シート2と中間シート4との間に一時的に溜まった血液あるいは体液は、これら血液あるいは体液の一部が毛細管現象による作用によって中間シート4に形成されている孔8を通過して、液拡散シート12に吸収されつつ拡散される。
Further, the blood or body fluid temporarily accumulated between the
また、この表面シート2と中間シート4との間に一時的に溜まった血液あるいは体液の残りは、表面シート2に形成されている孔7を通過することにより、これら孔7を行き来して、創傷部と表面シート2との間に、この創傷部を一定の湿潤状態に維持できる程度のわずかな血液あるいは体液が溜まって保持される。
In addition, the remaining blood or body fluid temporarily accumulated between the
そして、この創傷部と表面シート2との間に溜まって保持された血液あるいは体液によって、表面シート2と創傷部との間が、この創傷部の治癒に適した適度な湿潤状態に保持されて、この適度な湿潤状態が維持される。
And between the
さらに、中間シート4の孔8を通過して液拡散シート12で拡散された血液や体液は、液保持シート13に吸収されて保持される。また、液保持シート13から漏洩した血液や体液は、液拡散シート11に吸収されつつ拡散される。
Further, the blood or body fluid that has passed through the
この結果、人体の創傷部から滲出してくる血液や体液が治療パッド1によって適度に保持されながら吸収されて、この創傷部が治癒に適した湿潤状態に保持されるから、この治療パッド1が当接されている創傷部の湿潤状態が適度な状態に保持されつつ維持されて、この創傷部が治癒されていく。 As a result, blood or body fluid that exudes from a wound part of the human body is absorbed while being appropriately held by the treatment pad 1, and the wound part is held in a moist state suitable for healing. The wet state of the wounded part is maintained while being maintained in an appropriate state, and the wounded part is healed.
ここで、治癒パッド1の表面シート2に形成した複数の孔7が大きいほど、人体の創傷部から滲出してくる血液や体液を通過させて吸収性シート6の吸収量が多くなり、創傷部の周辺に体液や血液が残りにくくなる。ところが、人体の創傷部の治癒には、この創傷部を常に適度な湿潤状態に保持することが良いから、この創傷部の周辺に滲出した血液や体液の一部を留まらせて、この創傷部が乾燥しない状態を維持することが望ましい。
Here, the larger the plurality of holes 7 formed in the
そこで、上述のように、治療パッド1の吸収性シート6と表面シート2との間に中間シート4を配設し、この中間シート4と表面シート2とのそれぞれに複数の孔7,8を形成し、これら孔7,8による中間シート4と表面シート2の開口率を2%以上6%以下とした。この結果、この治療パッド1の表面シート2側を創傷部に接触させた際に、この創傷部から滲出してくる血液あるいは体液の表面シート2および中間シート4を介した吸収性シート6への素早い吸収を防止できる。
Therefore, as described above, the intermediate sheet 4 is disposed between the
さらに、この創傷部から滲出してくる血液あるいは体液の一部が表面シート2と中間シート4との間に一時的に溜まる。そして、この表面シート2と中間シート4との間に溜まった血液あるいは体液は、その一部が毛細管現象によって中間シート4の孔8を介して吸収性シート6へ吸収され、その残りが表面シート2の孔7を行き来して創傷部と表面シート2との間に溜まる。したがって、この創傷部の湿潤状態を維持するために必要なわずかな血液あるいは体液を創傷部の周辺に留まらせることができるので、この創傷部の近傍を適度な湿潤状態に確実に維持できる。
Furthermore, a part of the blood or body fluid that exudes from the wound part temporarily accumulates between the
また、表面シート2および中間シート4それぞれの複数の孔7,8の開口率を2%以上6%以下とし、これら複数の孔7,8のそれぞれを等しい孔径としたことにより、治療パッド1の表面シート2側を創傷部に接触させた際に、この創傷部から滲出してくる血液あるいは体液のすべてが、これら表面シート2および中間シート4の孔7,8を介して吸収性シート6に吸収されなくできるから、この創傷部を湿潤状態により確実に維持できる。
Further, the opening ratio of the plurality of
さらに、中間シート4と吸収性シート6の液拡散シート12とを間欠的に接着剤3にて接着させたことにより、この中間シート4が吸収性シート6に固定されるから、表面シート2が中間シート4上を滑りやすくなり、この中間シート4が表面シート2に対して水平方向に向けてずれ動きやすくなる。このため、治療パッド1の表面シート2側を創傷部に接触させた状態で、この治療パッド1自体がずれ動いて、この治療パッド1の中間シート4側がずれ動いたとしても、創傷部に接している表面シート2が、この創傷部を擦るようにずれ動くことが少なくなる。したがって、この治療パッド1がずれ動くことによる表面シート2と創傷部との擦れを防止できるから、この創傷部にかかる負担を少なくできる。
Further, since the intermediate sheet 4 and the
このことから、この治療パッド1は、褥瘡(床ずれ)治療に効果的である。すなわち、人体の褥瘡部に治療パッド1を接触させて取り付けて治療しているときに、ベッドの傾きを変えるときに治療パッド1がずれ動くことがあるが、この褥瘡部と表面シート2との間の摩擦係数が比較的小さいことから、この褥瘡部に負担がかかりにくいからである。 Therefore, the treatment pad 1 is effective for treating pressure ulcers (bed sores). That is, when the treatment pad 1 is attached to and treated with the pressure ulcer part of the human body, the treatment pad 1 may be displaced when changing the tilt of the bed. Because the friction coefficient between them is relatively small, it is difficult to place a burden on the pressure ulcer part.
次いで、図3および図4に示す第2の実施の形態のように、治療パッド1の裏面シート5の外側に位置する外面としての表面に、交差する2方向、具体的には直交する縦方向Aおよび横方向Bのそれぞれに向けて一定間隔で直線Eが描かれて格子模様21を施すこともできる。この場合に、この格子模様21を構成する直線Eは、裏面シート5の表面の縦方向Aおよび横方向Bのいずれかに沿って設けられている。さらに、この格子模様21は、裏面シート5の表面の全面に設けられている。
Next, as in the second embodiment shown in FIG. 3 and FIG. 4, the two directions intersecting the surface as the outer surface located outside the
さらに、この裏面シート5は、図4に示すように、吸収性シート6に浸透して吸収されて広がった部分の血液や体液の大きさDを裏面シート5の外側から目視できるようにするために、白色または淡色の色調のシートで形成されている。ここで、この裏面シート5としては、不透液性を有する合成樹脂フィルムシートのみの単層や、この合成樹脂フィルムシートに不織布シートを積層させて組み合わせた積層シートなどであってもよい。
Further, as shown in FIG. 4, the
この結果、この治療パッド1の裏面シート5の表面に格子模様21を形成したことにより、図4に示すように、この治療パッド1の吸収性シート6に吸収されて保持された血液または体液の大きさDを、裏面シート5の格子模様21と見比べて、この吸収性シート6に保持された血液または体液の大きさDの変化を観察していくことで、この吸収性シート6による血液または体液の吸液量を容易に確認できるから、創傷部の治癒の程度や様子を間接的に把握できる。
As a result, by forming the
また、この治療パッド1の吸収性シート6に吸収されて保持された血液または体液の大きさDを裏面シート5の格子模様21と見比べて、この血液または体液の大きさDが格子模様21のます目の個数でいくつの部分に掛かったら新しい治療パッド1に取り替えるなどと医師や看護師が予め決めておくことにより、この格子模様21を治療パッド1の交換時期の判断の目安として利用できる。したがって、この治療パッド1の取り替え時期が医師や看護師の判断によって左右することなく、看護師の交代時に具体的に治療パッド1の交換状況などを伝えなくて済む。
Further, the size D of the blood or body fluid absorbed and held by the
さらに、この治療パッド1の吸収性シート6に吸収されて保持された血液または体液が広がった部分の大きさDを、裏面シート5の格子模様21のます目の個数で計測できるから、この吸収性シート6にて保持された血液または体液の広がった部分の大きさDを容易かつ正確に確認できる。したがって、この吸収性シート6にて保持された血液または体液の広がった部分の大きさDを具体的に記録できるとともに、この吸収性シート6にて保持された血液または体液の吸液量をより容易かつ正確に確認できる。
Furthermore, since the size D of the spread of the blood or body fluid absorbed and held by the
なお、治療パッド1の裏面シート5の表面に施した格子模様21の代わりに、この裏面シート5の表面に縦方向Aおよび横方向Bのそれぞれに向けて一定の間隔、すなわち等間隔に点を記して構成した図示しない点模様や、これら縦方向Aおよび横方向Bのそれぞれに向けて等間隔に+模様を記して構成し十字模様などとすることもできる。この場合、これら点模様の各点や十字模様の各+模様としては、格子模様21の各交点に配置させることで対応できる。さらに、これら格子模様21、点模様および十字模様は、裏面シート5の外側から目視できれば裏面シート5以外のいずれのシートに形成してもよい。
In addition, instead of the
また、治療パッド1の表面シート2と中間シート4との一部分を、間欠的に接着剤3などを用いて接着させることもできる。この場合、これら表面シート2および中間シート4に形成されている孔7,8に重ならず、これら表面シート2および中間シート4の孔7,8を介した血液あるいは体液の流れを妨げないように、これら表面シート2および中間シート4の縦方向Aおよび横方向Bのそれぞれに向けて離間させた位置のそれぞれを接着剤3にて部分的に接合させる。
In addition, a part of the
次に、上記第1の実施の形態の創傷被覆材の吸液試験について説明する。 Next, the liquid absorption test of the wound dressing according to the first embodiment will be described.
<試験方法>
まず、縦寸法:60mm×横寸法:50mm×厚さ寸法:5mmほどの大きさの図示しないスポンジに、10gの生理食塩水を含ませた。
<Test method>
First, 10 g of physiological saline was included in a sponge (not shown) having a vertical dimension of 60 mm × horizontal dimension: 50 mm × thickness dimension: about 5 mm.
次いで、このスポンジ上に、上記治療パッド1を載せてから、この治療パッド1上に500gの荷重を掛け、この状態を60分間静置させた。 Next, after the treatment pad 1 was placed on the sponge, a load of 500 g was applied on the treatment pad 1, and this state was allowed to stand for 60 minutes.
この後、このスポンジに残っている生理食塩水の重さを測定して、治療パッド1にて吸液されずにスポンジに残った生理食塩水の残液率(%)を算出した。 Thereafter, the weight of the physiological saline remaining in the sponge was measured, and the residual liquid ratio (%) of the physiological saline remaining in the sponge without being absorbed by the treatment pad 1 was calculated.
このとき、この治療パッド1の表面シート2、中間シート4および裏面シート5としては、縦寸法:180mm×横寸法180mm×厚さ寸法:20μmほどの大きさの合成樹脂フィルムシートを用いた。さらに、表面シート2および中間シート4のそれぞれには、孔径:0.4mmの孔を縦方向および横方向に向けて等間隔に形成した。
At this time, as the
また、この治療パッド1の吸収性シート6としては、縦寸法:140mm×横寸法:140mm×厚さ寸法:20μmほどの大きさのレーヨン不織布にて構成された液拡散シート11,12を用い、縦寸法:140mm×横寸法:140mm×厚さ寸法:20μmほどの大きさのSAPシート(高吸収性ポリマシート:Super Absorbent Polymer Sheet)にて構成された液保持シート13を用いた。
Moreover, as the
<実施例1ないし5>
まず、実施例1の治療パッド1の表面シート2および中間シート4として、孔径:0.4mmの孔7,8を複数開けて開口率:6%の上記合成樹脂フィルムシートを用いた。そして、この治療パッド1を用いて上記試験をしたところ、上記スポンジ中に残った残液率が10%となったので、この治療パッド1にて創傷部を適度な湿潤状態に保持できることが分かった。
<Examples 1 to 5>
First, as the
次いで、実施例2の治療パッド1の表面シート2および中間シート4として、孔径:0.4mmの孔7,8を複数開けて開口率:5%の上記合成樹脂フィルムシートを用いた。そして、この治療パッド1を用いて上記試験をしたところ、上記スポンジ中に残った残液率が24%となったので、この治療パッド1にて創傷部を適度な湿潤状態に保持できることが分かった。
Next, as the
さらに、実施例3の治療パッド1の表面シート2および中間シート4として、孔径:0.4mmの孔7,8を複数開けて開口率:4%の上記合成樹脂フィルムシートを用いた。そして、この治療パッド1を用いて上記試験をしたところ、上記スポンジ中に残った残液率が42%となったので、この治療パッド1にて創傷部を適度な湿潤状態に保持できることが分かった。
Further, as the
また、実施例4の治療パッド1の表面シート2および中間シート4として、孔径:0.4mmの孔7,8を複数開けて開口率:3%の上記合成樹脂フィルムシートを用いた。そして、この治療パッド1を用いて上記試験をしたところ、上記スポンジ中に残った残液率が56%となったので、この治療パッド1にて創傷部を適度な湿潤状態に保持できることが分かった。
Further, as the
次いで、実施例5の治療パッド1の表面シート2および中間シート4として、孔径:0.4mmの孔7,8を複数開けて開口率:2%の上記合成樹脂フィルムシートを用いた。そして、この治療パッド1を用いて上記試験をしたところ、上記スポンジ中に残った残液率が75%となったので、この治療パッド1にて創傷部を適度な湿潤状態に保持できることが分かった。
Next, as the
この結果、これら実施例1ないし5の開口率が2%以上6%以下の表面シート2および中間シート4を用いた治療パッド1では、いずれもスポンジ中に生理食塩水の一部を残留できた。したがって、これら治療パッド1を当接させた創傷部近傍に、この創傷部から滲出してくる血液または体液の一部を留まらせて、この創傷部の治癒に適した湿潤状態に保持して維持できるので、評価を○とした。
As a result, in each of the treatment pads 1 using the
<比較例1>
比較例1の治療パッド1の表面シート2として、孔径:0.4mmの孔7を複数設けて開口率:6%の上記合成樹脂フィルムシートを用い、中間シート4を配設せずに省略して一枚の孔あき成樹脂フィルムシートを用いた治療パッド1を用いた。そして、この治療パッド1を用いて上記試験をしたところ、上記スポンジ中に残った残液率が1%以下となったので、この治療パッド1にて創傷部を適度な湿潤状態に保持できないことが分かった。
<Comparative Example 1>
As the
よって、この比較例1の開口率が6%の表面シート2を用い中間シート4を省略した治療パッド1、すなわち孔あき合成樹脂フィルムシートが一枚の治療パッド1では、スポンジ中の生理食塩水のほぼ全量を吸収してしまい、このスポンジがほぼ乾燥した。この結果、このスポンジ中に生理食塩水の一部を残すことができなかったので、評価を×とした。 Therefore, in the treatment pad 1 in which the opening sheet of the comparative example 1 is 6% and the intermediate sheet 4 is omitted, that is, the treatment pad 1 having a single perforated synthetic resin film sheet, the physiological saline in the sponge is used. As a result, the sponge was almost dried. As a result, a part of the physiological saline could not be left in the sponge, and thus the evaluation was x.
<比較例2>
比較例2の治療パッド1の表面シート2および中間シート4として、孔径:0.4mmの孔7,8を複数開けて開口率:7%の上記合成樹脂フィルムシートを用いた。そして、この治療パッド1を用いて上記試験をしたところ、上記スポンジ中に残った残液率が1%以下となったので、この治療パッド1にて創傷部を適度な湿潤状態に保持できないことが分かった。
<Comparative example 2>
As the
よって、この比較例2の開口率が7%の表面シート2および中間シート4を用いた治療パッド1では、スポンジ中の生理食塩水のほぼ全量を吸収してしまい、このスポンジがほぼ乾燥した。この結果、このスポンジ中に生理食塩水の一部を残すことができなかったので、評価を×とした。
Therefore, in the treatment pad 1 using the
<比較例3>
比較例3の治療パッド1の表面シート2および中間シート4として、孔径:0.4mmの孔7,8を複数開けて開口率:1%の上記合成樹脂フィルムシートを用いた。そして、この治療パッド1を用いて上記試験をしたところ、上記スポンジ中に残った残液率が98%となったので、この治療パッド1にて創傷部を適度な湿潤状態に保持できないことが分かった。
<Comparative Example 3>
As the
すなわち、この比較例3の開口率が1%の表面シート2および中間シート4を用いた治療パッド1では、スポンジ中の生理食塩水のうち2%しか吸収できず、この生理食塩水の大部分がスポンジ中に残留していた。この結果、創傷部から滲出してくる血液または体液を吸収除去するという治療パッド1本来の目的を達成できなくなる可能性があることから、評価を×とした。
That is, in the treatment pad 1 using the
以上の結果から、治療パッド1の表面シート2および中間シート4それぞれの複数の孔7,8の開口率を2%以上6%以下とすることにより、この表面シート2を当接させた創傷部から滲出する血液または体液の一部を表面シート2と中間シート4との間に一時的に溜めることができ、この表面シート2と中間シート4との間に溜まった血液または体液を創傷部と表面シート2との間に行き来できるようになる。したがって、この表面シート2と創傷部との間に血液または体液の一部を留まらせて、この創傷部を治癒に適した適度な湿潤状態に確実に維持できるから、この治療パッド1を当接させた創傷部の治癒をより効率良くできることが分かった。
From the above results, the wound area where the
1 創傷被覆材としての治療パッド
2 表面シート
4 中間シート
5 裏面シート
6 吸液性シートとしての吸収性シート
7,8 孔
21 模様としての格子模様
DESCRIPTION OF SYMBOLS 1 Treatment pad as
21 Lattice pattern as pattern
Claims (4)
外面側に位置し不透液性を有する裏面シートと、
この裏面シートと前記表面シートとの間に配設された吸液性シートと、
この吸液性シートと前記表面シートとの間に配設された中間シートとを具備し、
前記表面シートおよび中間シートのそれぞれは、複数の孔を有し、
前記表面シートと前記中間シートとは、前記吸液性シートに重ならない部分である外周縁部が接着され、この吸液性シートに重なっている部分である内側部が接着されておらず互いにずれ動くように構成されている
ことを特徴とした創傷被覆材。 A surface sheet located on the inner surface side;
A back sheet located on the outer surface side and having liquid impermeability;
A liquid absorbent sheet disposed between the back sheet and the top sheet;
An intermediate sheet disposed between the liquid absorbent sheet and the top sheet,
Each of the topsheet and the intermediate sheet, have a plurality of holes,
The top sheet and the intermediate sheet are bonded to each other at an outer peripheral edge portion that does not overlap the liquid absorbent sheet, and an inner portion that is a portion that overlaps the liquid absorbent sheet is not bonded to each other. A wound dressing characterized by being configured to move .
これら複数の孔は、それぞれが等しい内径寸法に形成されている
ことを特徴とした請求項1記載の創傷被覆材。 The surface sheet and the intermediate sheet have an opening ratio of the plurality of holes of 2% or more and 6% or less,
The wound dressing according to claim 1, wherein each of the plurality of holes has an equal inner diameter.
ことを特徴とした請求項1または2記載の創傷被覆材。 The wound dressing according to claim 1 or 2, wherein the intermediate sheet and the liquid-absorbent sheet are bonded.
ことを特徴とした請求項1ないし3いずれか記載の創傷被覆材。 The wound dressing according to any one of claims 1 to 3, wherein the back sheet is provided with patterns at regular intervals in two intersecting directions.
Priority Applications (1)
| Application Number | Priority Date | Filing Date | Title |
|---|---|---|---|
| JP2006301652A JP4939903B2 (en) | 2006-11-07 | 2006-11-07 | Wound dressing |
Applications Claiming Priority (1)
| Application Number | Priority Date | Filing Date | Title |
|---|---|---|---|
| JP2006301652A JP4939903B2 (en) | 2006-11-07 | 2006-11-07 | Wound dressing |
Publications (2)
| Publication Number | Publication Date |
|---|---|
| JP2008113952A JP2008113952A (en) | 2008-05-22 |
| JP4939903B2 true JP4939903B2 (en) | 2012-05-30 |
Family
ID=39500422
Family Applications (1)
| Application Number | Title | Priority Date | Filing Date |
|---|---|---|---|
| JP2006301652A Active JP4939903B2 (en) | 2006-11-07 | 2006-11-07 | Wound dressing |
Country Status (1)
| Country | Link |
|---|---|
| JP (1) | JP4939903B2 (en) |
Families Citing this family (5)
| Publication number | Priority date | Publication date | Assignee | Title |
|---|---|---|---|---|
| JP4939900B2 (en) * | 2006-11-02 | 2012-05-30 | 白十字株式会社 | Wound dressing |
| JP5500602B2 (en) * | 2008-09-18 | 2014-05-21 | ケーシーアイ ライセンシング インコーポレイテッド | Layered dressing, system and method for applying reduced pressure to a tissue site |
| JP5507945B2 (en) * | 2009-10-05 | 2014-05-28 | 白十字株式会社 | Wound dressing |
| JP2011125397A (en) * | 2009-12-15 | 2011-06-30 | Jms Co Ltd | Wound covering material |
| JP5180410B2 (en) * | 2010-06-01 | 2013-04-10 | 株式会社瑞光 | Top sheet for wound dressing and wound dressing |
Family Cites Families (9)
| Publication number | Priority date | Publication date | Assignee | Title |
|---|---|---|---|---|
| JPS5426091A (en) * | 1977-07-29 | 1979-02-27 | Nitto Electric Ind Co | Composite absorptive member |
| DE2825944C3 (en) * | 1978-06-14 | 1981-10-22 | Hermann Berstorff Maschinenbau Gmbh, 3000 Hannover | Method and device for dielectric heating by means of microwave energy |
| US5106629A (en) * | 1989-10-20 | 1992-04-21 | Ndm Acquisition Corp. | Transparent hydrogel wound dressing |
| AU667766B2 (en) * | 1993-05-27 | 1996-04-04 | Paul Hartmann Ag | Hydrogel wound dressing product |
| US7619130B2 (en) * | 2000-07-18 | 2009-11-17 | Coloplast A/S | Multi-layer wound dressing formed as a single unit |
| JP2003310407A (en) * | 2002-04-22 | 2003-11-05 | Sanyu:Kk | Bedclothes |
| CN1809390B (en) * | 2003-06-26 | 2010-11-17 | 株式会社瑞光 | wound covering material and wound covering material kit |
| JP4761262B2 (en) * | 2005-04-14 | 2011-08-31 | アルケア株式会社 | Orthopedic foot cover |
| JP4939900B2 (en) * | 2006-11-02 | 2012-05-30 | 白十字株式会社 | Wound dressing |
-
2006
- 2006-11-07 JP JP2006301652A patent/JP4939903B2/en active Active
Also Published As
| Publication number | Publication date |
|---|---|
| JP2008113952A (en) | 2008-05-22 |
Similar Documents
| Publication | Publication Date | Title |
|---|---|---|
| JP6942768B2 (en) | Wound bandage | |
| JP7438264B2 (en) | wound dressing | |
| CN104287896B (en) | Wound dressing surface patch and wound dressing | |
| JP5767236B2 (en) | Wound dressing material | |
| CN101862237B (en) | Wound coating material and wound coating material kit | |
| JP4271513B2 (en) | Adhesive bandage | |
| JP7272964B2 (en) | Spacer layer for use in wound dressings | |
| JP2004130079A5 (en) | ||
| US20170209312A1 (en) | Absorbent articles including silicone | |
| JP5944673B2 (en) | Absorbent articles | |
| JP4939903B2 (en) | Wound dressing | |
| JP2014147670A (en) | Fluid absorption and distribution enhancement system | |
| JP4939900B2 (en) | Wound dressing | |
| CN113950311A (en) | Novel absorbent wound dressing construction allowing wound fluid to be assessed in use | |
| US20160113818A1 (en) | Wound dressing and a method for manufacturing a wound dressing | |
| JP2025507486A (en) | Wound dressings | |
| JP2005204954A (en) | Hemostasis tool | |
| CN221691633U (en) | A super-absorbent wound dressing for preventing pressure sores | |
| JP7351689B2 (en) | absorbent articles | |
| JP2025507489A (en) | Wound dressings | |
| CN203576743U (en) | Cover material for wounds | |
| JP5832677B1 (en) | Wound dressing | |
| JP2025507488A (en) | Wound dressings | |
| JP2005111205A (en) | Wound dressing material | |
| JP2018057786A (en) | Body fluid absorbing article and body fluid absorbing article manufacturing method |
Legal Events
| Date | Code | Title | Description |
|---|---|---|---|
| A621 | Written request for application examination |
Free format text: JAPANESE INTERMEDIATE CODE: A621 Effective date: 20090303 |
|
| A977 | Report on retrieval |
Free format text: JAPANESE INTERMEDIATE CODE: A971007 Effective date: 20110526 |
|
| A131 | Notification of reasons for refusal |
Free format text: JAPANESE INTERMEDIATE CODE: A131 Effective date: 20110601 |
|
| A521 | Request for written amendment filed |
Free format text: JAPANESE INTERMEDIATE CODE: A523 Effective date: 20110801 |
|
| TRDD | Decision of grant or rejection written | ||
| A01 | Written decision to grant a patent or to grant a registration (utility model) |
Free format text: JAPANESE INTERMEDIATE CODE: A01 Effective date: 20120208 |
|
| A01 | Written decision to grant a patent or to grant a registration (utility model) |
Free format text: JAPANESE INTERMEDIATE CODE: A01 |
|
| A61 | First payment of annual fees (during grant procedure) |
Free format text: JAPANESE INTERMEDIATE CODE: A61 Effective date: 20120227 |
|
| FPAY | Renewal fee payment (event date is renewal date of database) |
Free format text: PAYMENT UNTIL: 20150302 Year of fee payment: 3 |
|
| R150 | Certificate of patent or registration of utility model |
Ref document number: 4939903 Country of ref document: JP Free format text: JAPANESE INTERMEDIATE CODE: R150 Free format text: JAPANESE INTERMEDIATE CODE: R150 |
|
| R250 | Receipt of annual fees |
Free format text: JAPANESE INTERMEDIATE CODE: R250 |
|
| R250 | Receipt of annual fees |
Free format text: JAPANESE INTERMEDIATE CODE: R250 |
|
| R250 | Receipt of annual fees |
Free format text: JAPANESE INTERMEDIATE CODE: R250 |
|
| R250 | Receipt of annual fees |
Free format text: JAPANESE INTERMEDIATE CODE: R250 |
|
| R250 | Receipt of annual fees |
Free format text: JAPANESE INTERMEDIATE CODE: R250 |
|
| R250 | Receipt of annual fees |
Free format text: JAPANESE INTERMEDIATE CODE: R250 |
|
| R250 | Receipt of annual fees |
Free format text: JAPANESE INTERMEDIATE CODE: R250 |
|
| R250 | Receipt of annual fees |
Free format text: JAPANESE INTERMEDIATE CODE: R250 |
|
| R250 | Receipt of annual fees |
Free format text: JAPANESE INTERMEDIATE CODE: R250 |
|
| R250 | Receipt of annual fees |
Free format text: JAPANESE INTERMEDIATE CODE: R250 |
|
| R250 | Receipt of annual fees |
Free format text: JAPANESE INTERMEDIATE CODE: R250 |
