JP4902200B2 - Provide content-related advertising with client-side device support - Google Patents
Provide content-related advertising with client-side device support Download PDFInfo
- Publication number
- JP4902200B2 JP4902200B2 JP2005501985A JP2005501985A JP4902200B2 JP 4902200 B2 JP4902200 B2 JP 4902200B2 JP 2005501985 A JP2005501985 A JP 2005501985A JP 2005501985 A JP2005501985 A JP 2005501985A JP 4902200 B2 JP4902200 B2 JP 4902200B2
- Authority
- JP
- Japan
- Prior art keywords
- content
- client device
- advertisement
- document
- information
- Prior art date
- Legal status (The legal status is an assumption and is not a legal conclusion. Google has not performed a legal analysis and makes no representation as to the accuracy of the status listed.)
- Expired - Lifetime
Links
Images
Classifications
-
- G—PHYSICS
- G06—COMPUTING OR CALCULATING; COUNTING
- G06Q—INFORMATION AND COMMUNICATION TECHNOLOGY [ICT] SPECIALLY ADAPTED FOR ADMINISTRATIVE, COMMERCIAL, FINANCIAL, MANAGERIAL OR SUPERVISORY PURPOSES; SYSTEMS OR METHODS SPECIALLY ADAPTED FOR ADMINISTRATIVE, COMMERCIAL, FINANCIAL, MANAGERIAL OR SUPERVISORY PURPOSES, NOT OTHERWISE PROVIDED FOR
- G06Q30/00—Commerce
- G06Q30/02—Marketing; Price estimation or determination; Fundraising
Landscapes
- Business, Economics & Management (AREA)
- Strategic Management (AREA)
- Engineering & Computer Science (AREA)
- Accounting & Taxation (AREA)
- Development Economics (AREA)
- Finance (AREA)
- Economics (AREA)
- Game Theory and Decision Science (AREA)
- Entrepreneurship & Innovation (AREA)
- Marketing (AREA)
- Physics & Mathematics (AREA)
- General Business, Economics & Management (AREA)
- General Physics & Mathematics (AREA)
- Theoretical Computer Science (AREA)
- Management, Administration, Business Operations System, And Electronic Commerce (AREA)
- Information Transfer Between Computers (AREA)
Description
(関連出願)
本願は、2002年9月24日に出願され、Jeffrey A.Dean、GeorgesR.Harik及びPaul Buchheitを発明者として記載する「関連広告を供給するための方法及びデバイス(METHODS AND APPARATUS FOR SERVING RELEVANT ADVERTISING)」と題される米国仮出願第60/413,536号(参照によりここに組み込まれる)の利点を主張する、2002年12月6日に出願され、Jeffrey A.Dean、Georges R.Harik及びPaul Buchheitを発明者として記載する「関連広告を供給するための方法及びデバイス(METHODS AND APPARATUS FOR SERVING RELEVANT ADVERTISEMENTS)」と題される米国特許出願第10/314,427号(参照によりここに組み込まれる)の一部継続出願である、2003年2月26日に出願され、Darrel Anderson、Paul Bucheit、Alex Carobus、Claire Cui、Jeffrey A.Dean、Georges R.Harik、Deepak Jindal及びNarayanan Shivakumarを発明者として記載する「コンテンツに基づいて広告を供給すること(SERVING ADVERTISEMENTS BASED ON CONTENT)」と題される米国特許出願第10/375,900号(参照によりここに組み込まれる)の一部継続出願である。
(Related application)
This application was filed on September 24, 2002, and Jeffrey A. et al. Dean, Georges R .; US Provisional Application No. 60 / 413,536 entitled “METHODS AND APPARATUS FOR SERVING RELEVANT ADVERTISING”, which describes Harik and Paul Buchheit as inventors. Filed on Dec. 6, 2002, claiming the benefits of Dean, Georges R.D. US patent application Ser. No. 10 / 314,427 entitled “METHODS AND APPARATUS FOR SERVING RELEVANT ADVERTISEMENTS” which describes Harik and Paul Buchheit as inventors. Filed on February 26, 2003, which is a continuation-in-part application), Darrel Anderson, Paul Bucheit, Alex Carobus, Claire Cui, Jeffrey A. et al. Dean, Georges R.D. US patent application Ser. No. 10 / 375,900 entitled “SERVING ADVERTISEMENTS BASED ON CONTENT”, which states Harik, Deepak Jindal and Narayana Shivakumar as inventors. To be incorporated).
本願は、また2003年6月3日に出願され、Krishna Bharat、Gokul Rajaram、Marshall Spight、及びNarayanan Shivakumarを発明者として記載する「広告の供給のための積極的なシンジケーション(PROACTIVE SYNDICATION FOR THE SERVING OF ADVERTISEMENTS)」と題される、米国特許出願第10/453,909号(参照によりここに組み込まれる)の一部継続出願である。 This application is also filed on June 3, 2003 and describes Krishna Bharat, Gokul Rajaram, Marshall Spight, and Narayana Shivakumar as inventors, “PROACTIVE SYNDICATION FOR THE SERVING OF THE SERVING ADVERTISEMENTS), a continuation-in-part of US patent application Ser. No. 10 / 453,909 (incorporated herein by reference).
本発明は広告に関する。特に、本発明は広告主が自分の広告の目標を設定する機会を拡大することに関する。 The present invention relates to advertising. In particular, the present invention relates to expanding opportunities for advertisers to set their own advertising goals.
テレビ、ラジオ、新聞及び雑誌などの従来の媒体を使用する広告は周知である。残念なことに、人口統計学的な研究、及び多様な報道発信地の典型的な聴衆についての完全に妥当な仮定で防御していたと(armed)しても、広告主は広告予算の多くが単に無駄にされていることを認識する。さらに、このような無駄を特定し、排除することは非常に困難である。 Advertising using conventional media such as television, radio, newspapers and magazines is well known. Unfortunately, even though the demographic studies and armed with full reasonable assumptions about a typical audience in various media outlets, advertisers have much of their advertising budget Recognize that it is simply wasted. Furthermore, it is very difficult to identify and eliminate such waste.
最近では、より対話的な媒体での広告が一般的になってきた。例えば、インターネットを使用する人の数が爆発的に増加するにつれ、広告主はインターネット上で提供される媒体及びサービスを広告するための潜在的に強力な方法と認識するようになった。 Recently, advertising in more interactive media has become common. For example, as the number of people using the Internet has exploded, advertisers have recognized it as a potentially powerful way to advertise media and services provided on the Internet.
広告主はこのような広告の価値を最大限にしようとしていくつかの戦略を作成してきた。ある戦略では、広告主は多数の聴衆に接触するためのルートとして(一般性を失うことなく、本明細書中では「ウェブサイト」と呼ばれている)対話型の媒体又はサービスを提供するための人気のある存在又は手段を使用する。この最初の手法を使用すると、広告主は例えばニューヨークタイムズ(New York Times)のウェブサイト又はUSAトゥデイ(USA Today)のウェブサイトのホームページ上に広告を掲載できる。別の戦略では、広告主はその広告の目標をさらに狭いニッチの聴衆に設定し、それにより聴衆による肯定的な応答の尤度を高める。例えば、コスタリカの熱帯雨林の観光事業を宣伝している代理店はヤフー(Yahoo)のウェブサイトのエコツーリズム−旅行のサブディレクトリに広告を掲載する可能性がある。 Advertisers have created several strategies to maximize the value of such ads. In one strategy, advertisers provide interactive media or services (referred to herein as “websites”) as a route to reach a large audience (without loss of generality). Use popular presence or means. Using this first approach, advertisers can place advertisements on the homepage of, for example, the New York Times website or the USA Today website. In another strategy, advertisers set their advertising goals to a narrower niche audience, thereby increasing the likelihood of a positive response by the audience. For example, an agency advertising tourism in the Costa Rican rainforest may place an advertisement in the Ecotourism-Travel subdirectory of the Yahoo website.
戦略とは関係なく、ウェブサイトをベースにした広告(「ウェブ広告」とも呼ばれる)は、通常「バナー広告」(つまり、グラフィック成分を含んだ矩形のボックス)の形でその広告聴衆に提示される。広告聴衆の一員(一般性を失うことなく「視聴者」又は「ユーザ」と呼ばれる)がこれらのバナー広告の1つをクリックして選択すると、埋め込まれていたハイパテキストリンクが通常視聴者を広告主のウェブサイトに導く。視聴者が広告を選択するこのプロセスが、一般的には「クリックスルー」と呼ばれている(「クリックスルー」はユーザの選択をカバーすることを目的としている)。 Regardless of strategy, website-based ads (also called “web ads”) are usually presented to their advertising audience in the form of “banner ads” (that is, rectangular boxes containing graphic components). . When a member of the advertising audience (called a “viewer” or “user” without loss of generality) clicks on one of these banner ads to select, the embedded hypertext link advertises the regular viewer Lead to the main website. This process by which a viewer selects an advertisement is commonly referred to as “click-through” (“click-through” is intended to cover the user's selection).
広告主は、クリックスルー、クリックスルー率、変換、変換率等の測定可能又は確定できるユーザの行為の数を使用して広告キャンペーンの有効性を判定してよい。クリックスルー数対広告のインプレッション数(広告が表示される回数)の比率が一般的に広告の「クリックスルー率」と呼ばれる。 Advertisers may use a number of measurable or determinable user actions such as click-throughs, click-through rates, conversions, conversion rates, etc. to determine the effectiveness of an advertising campaign. The ratio of the number of click-throughs to the number of impressions of an advertisement (the number of times an advertisement is displayed) is generally called the “click-through rate” of the advertisement.
ユーザが過去に供給された広告に関連したトランザクションを完結すると「変換」が起こると言われている。変換を構成する内容は場合によって変わり、多岐に渡る方法で決定できる。例えば、ユーザが広告をクリックし、広告主のウェブページに差し向けられ、そのウェブページを離れる前に購入を完結すると変換が起こる場合もある。代わりに、変換はユーザが広告を見せられ、所定の時間(例えば7日間)内に広告主のウェブページ上で購入することと定義されてもよい。さらに別の実施形態では、変換は広告主により、例えばホワイトペーパーをダウンロードする、ウェブサイトの少なくとも指定の深さまでナビゲーションする、少なくとも特定数のウェブページを表示する、ウェブサイト又はウェブページ等で少なくとも所定量の時間を過ごす等の任意の測定可能/確定できるユーザアクションであると広告主により定義されてよい。言うまでもなく、ユーザアクションが完結した購入を示さない場合、変換を構成するユーザアクションがこれに限定されないが、それらは売り上げ手本(sales lead)を示してよい。実際、変換を構成する内容の多くの他の定義が考えられる。変換数対広告のインプレッション数(つまり広告が表示される回数)の比が一般的に変換率と呼ばれている。変換が広告の供給以来所定の時間内に発生できると定義される場合は、1つの考えられる該変換率の定義では過去において所定の時間より長く供給されていた広告だけが検討される可能性がある。 It is said that a “conversion” occurs when a user completes a transaction related to a previously served advertisement. The contents that make up the transformation vary from case to case and can be determined in a variety of ways. For example, a conversion may occur if a user clicks on an advertisement, is directed to the advertiser's web page, and completes the purchase before leaving the web page. Alternatively, conversion may be defined as the user being shown an advertisement and purchasing on the advertiser's web page within a predetermined time (eg, 7 days). In yet another embodiment, the conversion is performed at least by an advertiser, such as downloading a white paper, navigating to at least a specified depth of the website, displaying at least a certain number of web pages, a website or web pages, etc. It may be defined by the advertiser as any measurable / determinable user action, such as spending a certain amount of time. Of course, if the user action does not indicate a complete purchase, the user actions that make up the transformation are not limited to this, but they may indicate a sales lead. In fact, many other definitions of what constitutes a transformation are possible. A ratio of the number of conversions to the number of impressions of an advertisement (that is, the number of times an advertisement is displayed) is generally called a conversion rate. If it is defined that a conversion can occur within a given time since the advertisement was served, then one possible conversion rate definition could only consider advertisements that have been served in the past longer than the given time. is there.
ウェブサイトベースの広告の初期の展望にも関わらず、既存の手法にはいくつかの問題が残っている。広告主は多数の聴衆に接することができるが、彼らは多くの場合自らの広告投資に対する利潤に満足していない。 Despite the early prospects for website-based advertising, some problems remain with existing approaches. Although advertisers can interact with a large audience, they are often not satisfied with their profits on advertising investments.
同様に広告が提示されるウェブサイトのホスト(「ウェブサイトホスト」又は「広告消費者」と呼ばれる)にはユーザの経験を害することなく広告収入を最大限にするという課題がある。ユーザの関心より上に広告収入を位置付けることを選んだウェブサイトホストもいる。このようなウェブサイトが、ユーザの問い合わせに応えて「検索結果」を装う広告を返すいわゆる「サーチエンジン」サービスをホストしている「Overture.com」である。Overture.comのウェブサイトは、広告主が検索結果と言われているもののリストのより上の方に自分のウェブサイト(つまり、ターゲットウェブサイト)の広告を位置させるために支払うことができるようにしている。ユーザが広告をクリックした場合にだけ広告主が支払いをする(つまりクリックあたりのコスト)このような方式が実現される場合、目標の設定の仕方がまずい広告はクリックされず、したがって支払いを必要としないため、広告主は広告の目標を効果的に設定する動機を失ってしまう。
その結果、クリックあたりのコストが高い広告が一番上の近く又は一番上に表示されるが、視聴者はそれらをクリックしないため、必ずしも広告出版者にとっての本物の収入にはならない。さらに視聴者がクリックする広告はリストのさらに下の方にある、あるいは全くリストに記載されていないため、広告の妥当性は損なわれる。
Similarly, the host of a website where an advertisement is presented (referred to as a “website host” or “advertising consumer”) has the challenge of maximizing advertising revenue without harming the user experience. Some website hosts have chosen to place advertising revenue above user interest. Such a website is “Overture.com”, which hosts a so-called “search engine” service that responds to user queries and returns advertisements that masquerade as “search results”. Overture. com website allows advertisers to pay to position ads on their website (ie target website) higher in the list of what is said to be a search result . Advertisers pay only when a user clicks on an ad (i.e., cost per click) If such a scheme is implemented, ads that are not well-targeted are not clicked and therefore require payment Advertisers lose the motivation to set their advertising goals effectively.
As a result, advertisements with a high cost per click are displayed near or at the top, but viewers do not click on them, so they are not necessarily real revenue for the advertising publisher. In addition, the ad that the viewer clicks is further down the list, or not listed at all, so the ad validity is compromised.
例えばグーグルなどのサーチエンジンは広告主が、広告が照会から生じる検索結果ページに関連して表示されるように広告の目標を設定できるようにした。検索結果ページは広告主に広告の目標をより受容的な聴衆に設定する大きな機会を与えるが、検索結果のページはワールドワイドウェブ(「ウェブ」と呼ばれる)のページビューの断片に過ぎない。 For example, search engines such as Google have allowed advertisers to set advertising goals so that ads are displayed in relation to search results pages that result from queries. While search result pages provide advertisers with a great opportunity to set their advertising goals to a more receptive audience, search result pages are just a fragment of the world wide web (called “web”) page view.
(カリフォルニア州、レッドウッド市(Redwood City,CA)のゲーター社(Gator Corporation)によって使用されるもののような)既存のクライアント側広告ソフトウェアシステムは、コンテンツオーナによる認識又は関与なしに、表示されているウェブページに応えてユーザのブラウザ内又はユーザのデスクトップ上に広告を表示できる。このようなシステムはクライアント(エンドユーザの)コンピュータ上での存在を必要とし、一般的にはエンドユーザの許可を必要とする。ゲーター(Gator)システムでは、広告は(i)人口統計プロファイル及び生活様式プロファイル、(ii)(目標が設定されたカスタマイズメッセージを個々のオンライン上での行為に基づき、ユーザのコンピュータ画面上に表示できるようにする)行動の目標設定、(iii)(過去の行為に基づいて、目標が設定され、カスタマイズされた広告をユーザのコンピュータ画面上に表示できるようにする)履歴目標設定、及び(iv)(目標が設定され、カスタマイズされた広告を、そのオンライン行動が関心を示したが、それらがウェブの回りを移動するのにつれて、複数のインプレッションも送達する、ユーザのコンピュータ画面に表示できるようにする)tag−a−long目標設定を使用するユーザに目標設定されてよい。残念なことに、過去のユーザ動作は多くの場合、ユーザにとってどの広告が役立つのかを判断するための有効な測定基準となるが、このような過去の行動は現在のユーザ関心を示さない可能性がある。(家族の別の一員などの)複数の人が同じコンピュータ及びブラウザを使用し、インターネットにアクセスする場合、さらに指定されたユーザの過去のユーザ行動は追跡調査するのが困難な場合がある。さらにユーザのオンライン習慣を追跡調査することはそのユーザのプライバシーの繊細な問題を生じさせてよい。さらにこのような過去のユーザ行動がユーザのコンピュータに局所的に記憶される場合、それは必要とされる記憶資源を消費する可能性がある。 Existing client-side advertising software systems (such as those used by Gator Corporation of Redwood City, Calif.) Are being displayed without recognition or involvement by the content owner. In response to a web page, an advertisement can be displayed in the user's browser or on the user's desktop. Such a system requires presence on the client (end user) computer and generally requires end user permission. In the Gator system, advertisements can be displayed on a user's computer screen based on (i) demographic and lifestyle profiles, (ii) (targeted customized messages based on individual online actions) Action goal setting, (iii) history goal setting (allowing a goal to be set and customized advertisements to be displayed on the user's computer screen based on past actions), and (iv) (Goals are set and customized ads can be displayed on the user's computer screen, whose online behavior has shown interest, but also deliver multiple impressions as they move around the web. ) Targeted to users using tag-a-long goal setting. Unfortunately, past user behavior is often an effective metric to determine which ads are useful to the user, but such past behavior may not indicate current user interest. There is. If multiple people (such as another member of the family) use the same computer and browser and access the Internet, then the past user behavior of the designated user may be difficult to track. In addition, tracking a user's online habits may create sensitive issues for the user's privacy. Furthermore, if such past user behavior is stored locally on the user's computer, it may consume the required storage resources.
したがって、ウェブ上で広告機会をさらに完全に活用するニーズがある。このようにすることは、広告サーバが、関連性のある広告を供給することによりさらに多くの広告を見せ、エンドユーザの経験をさらに改善するのに役立つはずである。 Therefore, there is a need to more fully utilize advertising opportunities on the web. Doing so should help the ad server show more ads by serving relevant ads and further improve the end user experience.
(エンドユーザのコンピュータ上のブラウザ、ブラウザプラグイン、ブラウザツールバープラグイン等の)クライアント側アプリケーションは、クライアントデバイスに対するコンテンツ関連広告の供給をサポートするために使用される。該クライアント側アプリケーションは(単に「コンテンツサーバ」又は「CAS」と呼ばれる)コンテンツ関連広告サーバに対して(文書識別子、文書コンテンツ、コンテンツ関連性情報などの)文書情報を送信することによりこのようなサポートを提供してよい。 Client-side applications (such as browsers on end-user computers, browser plug-ins, browser toolbar plug-ins) are used to support the provision of content-related advertisements to client devices. The client-side application supports this by sending document information (such as document identifier, document content, content relevance information) to a content-related advertising server (simply called “content server” or “CAS”) May provide.
クライアント側アプリケーションは、文書のコンテンツ及び該コンテンツ関連広告を結合するためにも使用されてよい。例えば、クライアント側アプリケーションは、(例えばブラウザウィンドウ内に)文書のコンテンツ及びウィンドウ内の広告を結合してよく、文書ウィンドウの上の(例えば「ポップアップ」ウィンドウのような)ウィンドウに、文書ウィンドウの下の(「ポップアンダ」ウィンドウのような)ウィンドウに、あるいは文書ウィンドウに隣接するウィンドウに広告を提供してよく、ブラウザの「クロム」等に広告を提供してよい。 The client-side application may also be used to combine document content and the content-related advertisements. For example, a client-side application may combine document content and advertisements in a window (eg, in a browser window), and in a window above the document window (eg, a “pop-up” window) below the document window. An advertisement may be provided in a window (such as a “pop-under” window) or in a window adjacent to a document window, such as “chrome” in a browser.
本発明は、クライアント側アプリケーションを使用するコンテンツ関連広告の供給を容易にするための新規の方法、装置、メッセージフォーマット及び/又はデータ構造を含んでよい。以下の説明は当業者が本発明を製造、使用できるようにするために提示され、特定の応用例及びその要件に関連して示される。開示されている実施形態に対する多様な変型は当業者に明らかになり、後述される一般的な原則は他の実施形態及び応用例に適用されてよい。したがって、本発明は図示されている実施形態に限定されることを意図されず、発明者は自らの発明を説明されている特許可能な対象と見なす。 The present invention may include a novel method, apparatus, message format and / or data structure for facilitating the provision of content-related advertisements using client-side applications. The following description is presented to enable one of ordinary skill in the art to make and use the invention and is presented in the context of a particular application and its requirements. Various modifications to the disclosed embodiments will be apparent to those skilled in the art, and the general principles described below may be applied to other embodiments and applications. Accordingly, the present invention is not intended to be limited to the embodiments shown, but the inventor regards his invention as a patentable subject matter being described.
以下では、本発明が動作してよい環境が説明される。次に本発明の例示的な実施形態が説明される。最後に、本発明に関するいくつかの結論が述べられる。 In the following, an environment in which the present invention may operate is described. Next, exemplary embodiments of the present invention will be described. Finally, some conclusions regarding the present invention are stated.
(本発明がその中で又はそれを用いて動作してよい実施形態)
(例示的な広告環境)
図1は、広告環境の高水準図である。該環境は入力、維持管理及び送達システム120を含んでよい。広告主110は、システム120内で直接的に又は間接的に広告情報を入力、維持管理及び追跡調査してよい。広告はいわゆるバナー広告などのグラフィック広告、テキスト専用広告、画像広告、音声広告、ビデオ広告、このような構成要素のどれかの1つ以上を組み合わせる広告等の形を取ってよい。広告はリンク、及び/又は機械実行可能な命令などの埋め込まれた情報も含んでよい。広告消費者130は、システム120に広告に対する要求を提出し、その要求に応答する広告をシステム120から受け入れ、システム120に使用情報を提供する。広告消費者130以外のエンティティが広告に対する要求を開始してよい。図示されていないが、他のエンティティはシステム120に使用情報(例えば、広告に関連した変換又はクリックスルーが発生したかどうか)を提供してよい。この使用情報は、供給された広告に関連したユーザの測定又は観察された行動を含
んでよい。
(Embodiments in which the present invention may operate in or using it)
(Example advertising environment)
FIG. 1 is a high level diagram of an advertising environment. The environment may include an input, maintenance and
広告消費者130の一例は、(例えば、記事、ディスカッションスレッド、音楽、ビデオ、グラフィックス、検索結果、ウェブページリスティング等の)文書に対する要求を受け取り、該要求に、あるいはそれ以外の場合サービスに応えて要求された文書を検索する汎用コンテンツサーバである。該コンテンツサーバはシステム120に広告に対する要求を提出してよい。このような広告要求は所望される多くの広告を含んでよい。広告要求は文書要求情報も含んでよい。この情報は該文書自体(例えばページ)、該文書のコンテンツ又は該文書要求に対応するカテゴリ(例えばアート、ビジネス、コンピュータ、アート−映画、アート−音楽等)、文書要求の一部又は全て、コンテンツ年齢(age)、コンテンツタイプ(例えば、テキスト、グラフィック、ビデオ、音声、混合媒体等)、地理位置情報、コンテンツ主題(例えば、広告−安全性のレベル、ポルノフィルタ、ファミリフィルタ等)等を含んでよい。
An example of an
コンテンツサーバは、システム120によって提供される広告の1つ以上と要求された文書を結合してよい。次に、該文書コンテンツ及び広告を含むこの結合された情報はユーザへの提示のために文書を要求したエンドユーザに向けて転送される。最後に、コンテンツサーバは広告、及びどのようにして、いつ、及び/又はどこで広告が表示される必要があるのか(例えば、位置、クリックスルーかどうか、インプレッション時間、インプレッション日付、サイズ、変換かどうか等)についての情報をシステム120に送り返してよい。代わりに、又はさらに、このような情報は何らかの手段によってシステム120に提供され直してよい。
The content server may combine the requested document with one or more of the advertisements provided by the
2003年6月2日に出願され(参照によりここに組み込まれる)、Jeffrey A.Dean、Georges R.Harik及びPaul Bucheitを発明者として記載する「Eメールと関連付けられた情報を使用して広告を供給すること(SERVING ADVERTISEMENTS USING INFORMATION ASSOCIATED WITH E-MAIL)」と題される米国特許出願第10/452,830号に説明されるように、コンテンツはeメール情報であってよい。このようなケースでは、該コンテンツサーバはYahooメール又はMicrosoft HotMailなどのeメールサーバであってよい。 Filed June 2, 2003 (incorporated herein by reference), Jeffrey A. et al. Dean, Georges R.D. US patent application Ser. No. 10/452, entitled “Serving ADVERTISEMENTS USING INFORMATION ASSOCIATED WITH E-MAIL”, which states Harik and Paul Bucheit as inventors. , 830, the content may be email information. In such cases, the content server may be an email server such as Yahoo Mail or Microsoft HotMail.
広告消費者130の別の例はサーチエンジンである。サーチエンジンはサーチ結果に対する照会を受け取ってよい。それに応じて、サーチエンジンは(例えば、ウェブページのインデックスからの)関連する検索結果を検索してよい。例示的なサーチエンジンは、オーストラリア、ブリスベン(Brisbane,Australia)、第7回国際ワールワールドワイドウェブ会議(Seventh International World Wide Conference)、記事、S.Brin及びL.Page「大規模ハイパテキストサーチエンジンの組織(The Anatomy of a Large-Scale Hypertextual Search Engine)」、及び米国特許第6,285,999号(共に参照によりここに組み込まれる)に説明されている。このような検索結果は、例えば、ウェブページタイトルのリスト、それらのウェブページから抽出されたテキストの抜粋、及びそれらのウェブページに対するハイパテキストリンクを含んでよく、所定数の(例えば10の)検索結果に分類されてよい。
Another example of an
サーチエンジンはシステム120に対し広告に対する要求を提出してよい。該要求は所望される広告の数を含んでよい。この数は、検索結果、検索結果により占められる画面又はページ空間の量、サイズ、及び広告の形状等次第である。一実施形態では、所望される広告の数は1から10となり、好ましくは3から5となる。広告に対する要求は(入力又は解析されるような)照会、(地理位置情報、照会が関連会社からかどうか、及びこのような関連会社の識別子などの)照会に基づいた情報、及び/又は検索結果に関連付けられた、又は検索結果に基づいている情報を含んでよい。このような情報は、例えば検索結果に関連する識別子(例えば文書識別子つまり「docIDs」)、(例えば、照会と文書に対応する特徴ベクトルのドット積などの情報検索(「IR」)スコア、ページランク(Page Rank)スコア、及び/又はIRスコアとページランクスコアの組み合わせなどの)検索結果に関連するスコア、特定された文書(例えばウェブページ)から抽出されるテキストの抜粋、特定された文書の全文、特定された文書の特徴ベクトル等を含んでよい。
The search engine may submit a request for advertisements to the
サーチエンジンは検索結果をシステム120により提供される広告の1つ以上と結合してよい。検索結果及び広告を含むこの結合された情報は次にユーザに対する提示のためにコンテンツを要求したユーザに向かって転送される。好ましくは、検索結果は、支払われた広告とおそらく中立な検索結果の間でユーザを混乱させないように広告とは区別できるとして維持される。
The search engine may combine the search results with one or more of the advertisements provided by the
最後にサーチエンジンは、広告、及び広告がいつ、どこで及び/又はどのようにして表現される必要があったのか(例えば、位置、クリックスルーかどうか、インプレッション時間、インプレッション日付、サイズ、変換かどうか等)についての情報をシステム120に送り返してよい。代わりに、あるいは加えて、このような情報は何らかの他の手段によってシステム120に提供し直されてもよい。
Finally, the search engine will determine the ad and when, where and / or how the ad needed to be represented (eg position, click-through, impression time, impression date, size, conversion, etc. Etc.) may be sent back to the
広告要求はコンテンツサーバ及びサーチエンジンによって開始及び/又は送信できるが、クライアントデバイス(例えば、ユーザのコンピュータ、パーソナルデジタルアシスタント、携帯電話、モバイルデバイス等)も広告消費者130の機能を果たしてよい。例えば、クライアントデバイスに常駐するアプリケーションは広告システム120に広告要求を提出してよい。該要求はクライアントデバイス(例えば、ブラウザなどのコンテンツレンダリングアプリケーション上のウェブページ、eメールアプリケーション上のeメール等)上の(又はクライアントデバイスにより要求される)カスタマについての情報を含んでよい。例えば、該広告要求はコンテンツ関連性情報、概念、トピック等の該文書についての情報を含んでよい。要求内に提供される文書情報は、該文書のコンテンツ(情報)、又はこのような情報を取得できるようにする他の情報(例えばURL)を含んでよい。
Although an ad request can be initiated and / or transmitted by a content server and search engine, a client device (eg, a user's computer, personal digital assistant, mobile phone, mobile device, etc.) may also serve as an
前記から理解できるように、広告登録、維持管理及び送達システム120は、コンテンツサーバ、サーチエンジン及びクライアントデバイスなどの広告消費者130の役割を果たしてよい。前述されるように、サーチエンジンにより作成される検索結果ページに目標が設定される広告の供給が既知である。本発明は、さらにコンテンツサーバにより供給される文書に目標が設定された広告の供給を可能にする。例えば、図3の例示的な環境を参照すると、ネットワーク又はインタネットワーク(inter−netwrok)360が、サーチエンジン332からの検索結果ページ上の目標設定された広告を供給する広告サーバ320を含んでよい。インタネットワーク350はウェブであると仮定する。サーチエンジン332はコンテンツ350の多く又は全てをクロールする。このコンテンツ350のいくらか334は使用可能な(「インベントリ」とも呼ばれる)広告スポットを含む。さらに具体的には、1つ以上のコンテンツサーバ336は1つ以上の文書340を含んでよい。文書はコンテンツ、メタ情報及び機械実行可能命令などの埋め込まれた情報、及び使用可能な広告スポットを含んでよい。文書中の広告スポットの中に差し込まれた広告は、文書が供給されるたびに変化する可能性があることに注意する。代わりに、広告スポットの中に差し込まれた広告は指定文書と静的な関連つけを有することがある。さらに詳しく後述されるように、広告サーバは、使用可能な広告スポット334を含むコンテンツの該いくらか又は全ての別個のクロールの結果を使用してよい。該文書が明示的に定義された使用可能な広告スポットを含まないにしても、広告が文書の中で、又は文書(例えば、文書の上の、文書のコンテンツをカバーする(つまり分かりにくくする)「ポップアップ」ウィンドウの中に、文書の下の背景内の「ポップアンダ」ウィンドウの中に、ブラウザのクロムの中に等)と関連して供給できることが決定されてよい。広告は部分的に又は完全に文書をカバーし、文書と画面空間を共用し、文書から画面空間を取り、文書等によって部分的に又は完全にカバーされてよい。
As can be appreciated from the foregoing, the ad registration, maintenance and
(例示的な広告登録、維持管理及び送達環境)
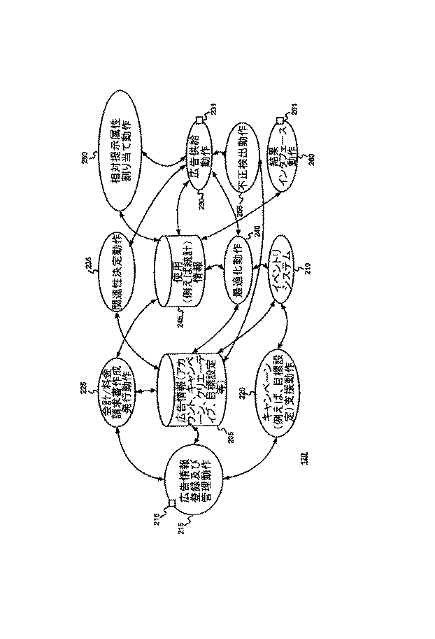
図2は、本発明が共に使用されてよい例示的な広告システム120’を図解している。例示的な広告システム120’はインベントリシステム210を含んでよく、広告情報205及び使用情報245を記憶してよい。例示的なシステム120’は広告情報入力及び管理動作215、キャンペーン(例えば、目標設定)支援動作、会計及び料金請求書作成発行動作225及び供給動作230、関連性決定動作235、最適化動作240、相対提示属性割り当て(例えば位置順序付け)動作250、不正検出動作255、及び結果インタフェース動作260をサポートしてよい。
(Example advertisement registration, maintenance and delivery environment)
FIG. 2 illustrates an
広告主110は、インタフェース216によって示されるように広告情報入力及び管理動作215を介してシステム120’と接続してよい。広告消費者130は、インタフェース231により示されるように広告供給動作230を介してシステム120’と接続してよい。広告消費者130及び/又は他のエンティティ(図示せず)もインタフェース261により示されるように結果インタフェース動作を介してシステム120’と接続してよい。
広告プログラムは、アカウント、キャンペーン、クリエーティブ(creatives)、目標設定等に関する情報を含んでよい。用語「アカウント」は指定広告主についての情報(例えば一意のeメールアドレス、パスワード、料金請求書作成発行情報等)に関する。「キャンペーン」又は「広告キャンペーン」は、1つ以上の広告の1つ以上のグループを指し、開始日、終了日、予算情報、ジオターゲティング情報、シンジケーション(syndication)情報等を含んでよい。例えば、ホンダ(Honda)がその自動車製品についてのある広告キャンペーン、及びその単車製品に対する別の広告キャンペーンを行う場合がある。その自動車製品のためのキャンペーンは1つ以上の広告グループを有し、それぞれが1つ以上の広告を含んでいる。各広告グループはキーワードの集合、及び最大コスト(クリックスルーあたりのコスト、変換あたりのコスト等)を含んでよい。代わりに、あるいは加えて、各広告グループは平均コスト(例えば、クリックスルーあたりの平均コスト、変換あたりの平均コスト等)を含んでよい。したがって、単一の最大コスト及び/又は単一の平均コストは1つ以上のキーワードと関連付けられてよい。述べられているように、それぞれの広告グループは1つ以上の広告、つまり「クリエーティブ」(すなわち、最終的にエンドユーザに表示される広告コンテンツ)を有する場合がある。広告情報205はさらに多くの、又はさらに少ない情報を含んでよく、多くの異なった方法で編成されてよいのは当然である。
The advertising program may include information regarding accounts, campaigns, creatives, goal setting, and the like. The term “account” relates to information about the designated advertiser (for example, a unique e-mail address, password, fee billing issue information, etc.). A “campaign” or “advertising campaign” refers to one or more groups of one or more advertisements and may include start date, end date, budget information, geo-targeting information, syndication information, and the like. For example, Honda may conduct one advertising campaign for its car product and another advertising campaign for its single car product. The campaign for the automotive product has one or more advertising groups, each containing one or more advertisements. Each advertisement group may include a set of keywords and a maximum cost (cost per click-through, cost per conversion, etc.). Alternatively or additionally, each advertising group may include an average cost (eg, average cost per click-through, average cost per conversion, etc.). Thus, a single maximum cost and / or a single average cost may be associated with one or more keywords. As stated, each ad group may have one or more ads, or “creatives” (ie, advertising content that is ultimately displayed to the end user). Of course, the
広告情報205は、広告情報入力及び管理動作215を介して入力、管理できる。キャンペーン(例えば目標設定)支援動作220は、広告主110が効果的な広告キャンペーンを作成するのを支援するために利用できる。例えば、キャンペーン支援動作220は、サーチエンジンと共に使用するための広告に関連して全ての考えられる広告インプレッション、すでに確保された広告インプレッション、及び指定キーワードのために使用可能な広告インプレッションを追跡調査してよいインベントリシステム210によって提供される情報を使用できる。広告供給動作230は広告消費者130から広告に対する要求にサービスを提供してよい。広告供給動作230は、関連性決定動作235を使用して、指定された要求のための候補広告を決定してよい。広告供給動作230は、次に最適化動作24を使用して、候補広告の1つ以上の最終的な集合を選択してよい。次に、広告供給動作230は、返される広告の提示を並べるために相対提示属性割り当て動作250を使用してよい。会計/料金請求書作成発行動作225は、広告の供給に関連する料金を追跡調査し、広告主に請求書を作成するために使用されてよい。不正検出動作255は、盗まれたクレジットカードの使用によるなど(例えば広告主による)広告システムの不正な使用を削減するために使用できる。最後に、結果インタフェース動作260は、クリックスルーが発生したかどうか、変換が発生したかどうか(例えば、広告された製品又はサービスの販売が、広告の表示から所定の時間内に開始されたか、あるいは完結されたかなど)の実際に供給された広告についての(広告消費者130又は何らかの他のエンティティからの)結果情報を受け入れるために使用されてよい。このような結果情報はインタフェース261で受け入れられてよく、関連付けられた結果だけではなく、広告及び広告が供給された時刻も特定するための情報を含んでよい。
The
(定義)
図1及び図2に関して前述された例示的なシステム、あるいは他のシステムで使用されている広告などのオンライン広告は、多様な本質的な特徴を有してよい。このような特徴は、アプリケーション及び/又は広告主により指定されてよい。これらの特徴は以下で「広告特徴」と呼ばれている。例えば、テキスト広告のケースでは、広告特徴はタイトル行、広告本文、埋め込まれたリンク等を含んでよい。画像広告のケースでは、広告特徴はさらに画像、実行可能コード及び埋め込まれたリンクを含んでよい。オンライン広告のタイプに応じて広告特徴は以下の1つ以上を含んでよい。つまり、テキスト、リンク、音声ファイル、ビデオファイル、画像ファイル、実行可能コード、埋め込まれた情報等である。
(Definition)
Online advertisements, such as the advertisements used in the exemplary system described above with respect to FIGS. 1 and 2, or other systems, may have a variety of essential characteristics. Such features may be specified by the application and / or advertiser. These features are referred to below as “advertising features”. For example, in the case of a text advertisement, the advertisement features may include a title line, an advertisement body, an embedded link, etc. In the case of image advertisements, the advertisement features may further include images, executable code and embedded links. Depending on the type of online advertisement, the advertisement features may include one or more of the following. That is, text, links, audio files, video files, image files, executable code, embedded information, and the like.
オンライン広告が供給されると、1つ以上のパラメータが、広告がどのようにして、いつ、及び/又はどこで供給されたのかを説明するために使用されてよい。これらのパラメータは以下の「供給側パラメータ」と呼ばれる。供給側パラメータは、例えば、以下の1つ以上を含んでよい。つまり広告が共に供給される文書(上の情報を含む)の特徴、広告の該供給と関連付けられる検索照会又は検索結果、ユーザ特性(例えば、その地理学的な場所、使用言語、使用ブラウザのタイプ、過去のページビュー、過去の行動等)、要求を開始したホスト又は関連会社のサイト(例えば、アメリカオンライン(America Online)、グーグル(Google)、ヤフー(Yahoo)、それが共に供給されたページ上での広告の絶対位置、供給される他の広告を基準にした広告の位置(空間的又は時間的)、広告の絶対的なサイズ、他の広告を基準にした広告のサイズ、広告の色、供給される他の広告の数、供給される他の広告のタイプ、供給される時刻、供給される週の時間、供給される年の時間等である。当然、本発明に関連して使用されてよい他の供給パラメータがある。 When an online advertisement is served, one or more parameters may be used to describe how, when and / or where the advertisement was served. These parameters are called “supply parameters” below. The supply-side parameter may include, for example, one or more of the following. That is, the characteristics of the document (including the information above) that the advertisement is served with, the search query or search result associated with the advertisement supply, user characteristics (eg, its geographical location, language used, browser type used) , Past page views, past actions, etc.), the site of the host or affiliate that initiated the request (eg, America Online, Google, Yahoo, on the page where it was supplied together) The absolute position of the ad on the ad, the position of the ad relative to other served ads (spatial or temporal), the absolute size of the ad, the size of the ad relative to the other ad, the color of the ad, The number of other advertisements served, the type of other advertisements served, the time served, the time of week served, the time of year served, etc. There may other serving parameters that may be used in connection with.
供給パラメータは広告特徴に非本質的であってよいが、それらは条件又は制約として広告と関連付けられてよい。供給条件又は制約として使用されるとき、このような供給パラメータは単に「供給制約」(つまり「目標設定基準」)と呼ばれる。例えば、いくつかのシステムでは、広告主は、その広告が、平日に、特定の位置より下に、特定の場所のユーザに対してだけ供給されることを指定することによってその該供給の目標を設定することができる場合がある。別の例として、いくつかのシステムでは、広告主は、その広告が、ページ又は検索照会が特定のキーワード又は句を含んでいる場合にだけ供給されると指定してよい。さらに別の例として、いくつかのシステムでは、広告主は、その広告が、供給されている文書が特定のトピック又は概念を含んでいる、あるいは特定の1つ以上のクラスタ又は何らかの他の1つ以上の分類に該当する場合にだけ供給されると指定してよい。 Although supply parameters may be non-essential to advertisement features, they may be associated with advertisements as conditions or constraints. When used as a supply condition or constraint, such supply parameters are simply referred to as “supply constraints” (ie, “target setting criteria”). For example, in some systems, an advertiser can target its supply by specifying that the advertisement is only served to users at a specific location below a specific location on weekdays. It may be possible to set. As another example, in some systems, an advertiser may specify that the advertisement is served only if the page or search query includes a particular keyword or phrase. As yet another example, in some systems, an advertiser may determine that the advertisement is served by a document that contains a particular topic or concept, or that one or more particular clusters or some other one You may specify that it is supplied only when it falls into the above classification.
「広告情報」は、(広告関連情報から派生する情報などの)このような情報の拡張だけではなく、広告特徴、広告供給制約、(「広告派生情報」と呼ばれる)広告特徴又は広告供給制約からの情報派生物、及び/又は(「広告関連情報」と呼ばれる)広告に関連する情報の任意の組み合わせも含んでよい。 “Advertisement information” is not only an extension of such information (such as information derived from advertisement-related information), but also from advertisement features, advertisement supply constraints, advertisement features (referred to as “advertisement-derived information”) or advertisement supply constraints. And / or any combination of information related to advertising (referred to as “advertisement related information”).
「文書」は、任意の機械読み取り可能、及び機械記憶可能な作業生産物を含むと幅広く解釈されなければならない。文書は、ファイル、ファイルの組み合わせ、他のファイルへの埋め込まれたリンクを備えた1つ以上のファイル等であってよい。ファイルはテキスト、音声、画像、ビデオ等の任意のタイプであってよい。エンドユーザに表示される文書の一部は文書の「コンテンツ」と見なすことができる。文書の広告スポットは、埋め込まれた情報又は命令で定義されてよい。インターネットとの関連では、共通文書はウェブページである。ウェブページは、多くの場合コンテンツを含み、(メタ情報、ハイパリンク等の)埋め込まれた情報、及び/又は(Javascript(Javaは登録商標)等の)埋め込まれた命令を含んでよい。多くのケースでは、文書は一意のアドレス指定可能な記憶場所を有し、したがってこのアドレス指定可能な場所により一意に特定できる。ユニバーサルリソースロケータ(URL)はインターネット上の情報にアクセスするために使用される一意のアドレスである。 “Document” should be interpreted broadly to include any machine-readable and machine-storable work product. A document may be a file, a combination of files, one or more files with embedded links to other files, and the like. The file may be any type such as text, audio, image, video, etc. The portion of the document displayed to the end user can be considered the “content” of the document. The advertising spot of the document may be defined with embedded information or instructions. In the context of the Internet, a common document is a web page. Web pages often include content, and may include embedded information (such as meta information, hyperlinks, etc.) and / or embedded instructions (such as Javascript (such as Java)). In many cases, a document has a unique addressable storage location and can therefore be uniquely identified by this addressable location. A universal resource locator (URL) is a unique address used to access information on the Internet.
「文書情報」は、(例えば関連情報から引き出された情報などの)このような情報の拡張だけではなく、文書に含まれている情報、(「文書派生情報」と呼ばれる)文書に含まれている情報から導き出せる情報、及び/又は(「文書関連情報」と呼ばれる)文書に関連した情報も含んでよい。文書派生情報の例は文書のテキストコンテンツに基づいた分類である。文書関連情報の例は、現在の情報がリンクする他の文書からの文書情報だけではなく現在の文書に対するリンクを持つ他の文書からの文書情報も含む。 “Document information” is not only an extension of such information (such as information derived from related information), but also included in the document (referred to as “document derivative information”). Information that can be derived from existing information and / or information related to a document (referred to as “document related information”) may also be included. An example of document derivation information is classification based on the text content of the document. Examples of document related information include document information from other documents that have links to the current document as well as document information from other documents to which the current information links.
文書からのコンテンツは「コンテンツレンダリングアプリケーション又はデバイス」で表現されてよい。コンテンツレンダリングアプリケーションの例は、インターネットブラウザ(例えば、Explorer又はNetscape)、メディアプレーヤ(例えばMP3プレーヤ、Realnetworksストリーミング音声ファイルプレーヤ等)、ビューワ(例えば、Adobe Acrobat pdfリーダ)等を含む。 Content from a document may be represented by a “content rendering application or device”. Examples of content rendering applications include Internet browsers (eg, Explorer or Netscape), media players (eg, MP3 players, Realnetworks streaming audio file players, etc.), viewers (eg, Adobe Acrobat pdf reader), and the like.
「コンテンツ所有者」とは、文書のコンテンツに何らかの財産権を有する人物又はエンティティである。コンテンツオーナはコンテンツのオーサであってよい。加えて、あるいは代わりに、コンテンツオーナはコンテンツを再現する権利、コンテンツの派生著作物を作成する権利、コンテンツを公に表示又は実行する権利、及び/又はコンテンツの所定の権利を有してよい。コンテンツ供給者は、それが供給する文書のコンテンツにおいてコンテンツオーナである可能性はあるが、これは必要ではない。 A “content owner” is a person or entity that has some property right in the content of a document. The content owner may be the content author. Additionally or alternatively, the content owner may have the right to reproduce the content, the right to create derivative works of the content, the right to publicly display or execute the content, and / or the predetermined right of the content. A content supplier may be a content owner in the content of the documents it supplies, but this is not necessary.
本発明の多様な例示的な実施形態がここで説明される。 Various exemplary embodiments of the invention will now be described.
(例示的な実施形態)
(クライアント側アプリケーションを使用してコンテンツ関連広告の供給を容易にすること)
本発明に一貫して、(エンドユーザシステムなどの)クライアントデバイスは、(1)1つ以上のコンテンツ関連広告を要求する、及び(2)要求された文書のコンテンツで少なくとも1つのコンテンツ関連広告をレンダリングするための1つ以上のアプリケーションを含んでよい。1つ以上のコンテンツ関連広告に対する要求は、(i)文書からのコンテンツ、(ii)文書のコンテンツの関連性情報(例えば、概念、トピック、カテゴリ、分類等)、及び/又は(iii)文書識別子(例えば、ウェブページのURL)などの要求された文書についての情報を含んでよい。返されたコンテンツ関連広告は、その内のいくつかが前述された任意の数の方法で文書のコンテンツと関連してレンダリングされてよい。該1つ以上のクライアントアプリケーションは、例えば、ブラウザ、ブラウザプラグイン、ブラウザツールバー、又は他の何らかのアプリケーションを含んでよい。
Exemplary Embodiment
(To facilitate the provision of content-related ads using client-side applications)
Consistent with the present invention, a client device (such as an end-user system) (1) requests one or more content-related advertisements, and (2) requests at least one content-related advertisement with the content of the requested document. One or more applications for rendering may be included. The request for one or more content-related advertisements may include: (i) content from the document, (ii) content relevance information (eg, concept, topic, category, classification, etc.) and / or (iii) document identifier It may include information about the requested document, such as (e.g., URL of a web page). The returned content-related advertisements may be rendered in association with the document content in any number of ways some of which are described above. The one or more client applications may include, for example, a browser, browser plug-in, browser toolbar, or some other application.
エンドユーザがコンピュータ上で広告を表示している場合、広告は、(i)エンドユーザのコンピュータ上での(例えばブラウザなどの)コンテンツレンダリング動作に対する拡張(例えばツールバーなどのプラグイン)、(ii)コンテンツレンダリング動作(例えばブラウザ)自体、又は(iii)別個のアプリケーションにより文書のコンテンツの中に差し込む、あるいは文書のコンテンツに関連して提示できる。例えば、図4は、1つ以上のエンドユーザシステム410が、1つ以上のコンテンツサーバ420から文書を要求し、コンテンツレンダリング動作412を使用して要求された文書のコンテンツをレンダリングできるシステム400を描いている。広告サーバ430は、文書のコンテンツに関連する広告を供給するために使用されてよい。エンドユーザシステム410、コンテンツサーバ420、及び広告サーバ430は、例えばインターネットなどの1つ以上のネットワーク又はインタネットワーク440を介して互いと通信してよい。
If the end user is displaying an advertisement on the computer, the advertisement is (i) an extension to a content rendering operation (eg, a browser, etc.) on the end user's computer (eg, a plug-in such as a toolbar), (ii) The content rendering operation (eg, browser) itself, or (iii) can be plugged into the content of the document or presented in association with the content of the document. For example, FIG. 4 depicts a system 400 in which one or more end user systems 410 can request a document from one or
いま述べられたように、エンドユーザシステム410は、例えばブラウザなどのコンテンツレンダリング動作412を含んでよい。エンドユーザシステム410の1つ以上はコンテンツ−目標設定広告供給サポート動作414も含んでよい。前記例では、コンテンツ−目標設定広告供給サポート動作414は、(エンドユーザシステム410bのコンテンツレンダリング動作412bの動作414bにより示されるように)ブラウザ、ブラウザ用プラグイン、ブラウザへの拡張、あるいは(両方ともエンドユーザシステム410a上に常駐するコンテンツレンダリング動作412aとは別個の動作414aによって示されるような)何か他のアプリケーションであってよい。
As just described, end user system 410 may include a content rendering operation 412 such as, for example, a browser. One or more of the end user systems 410 may also include a content-targeted ad serving
広告サーバは、コンテンツ広告供給動作432だけではなく1つ以上の広告434(及び関連つけられた広告情報(図示せず))も含んでよい。エンドユーザの経験を強化するために、広告サーバ410は、何らかの方法でエンドユーザにより要求されるコンテンツに関連する広告を供給する必要がある。一例として、2003年2月26日に出願され、Darrell Anderson、Paul Bucheit、Alex Carobus、Claire Cui、Jeffrey A.Dean、Georges R.Harik、Deepak Jindal及びNarayanan Shivakumarを発明者として記載する「コンテンツに基づいて広告を供給すること(SERVING ADVERTISEMENTS BASED ON CONTENT)」と題される米国特許出願第10/375,900号が、コンテンツ関連広告を供給するための多様な方法及びデバイスを説明する。コンテンツ関連広告供給動作432は、クライアントデバイスからの要求の中の文書情報を使用し、直接的に、あるいは1つ以上のコンテンツ関連広告を決定するために追加の文書情報を調べてよい。すなわち、文書情報(例えば、ウェブページコンテンツ)は広告要求の間に取得されてよい。例えば、クライアントデバイス上のアプリケーションは、広告要求で必要とされる全ての文書情報(例えば、ウェブページコンテンツ、ウェブページ概念等)を送信してよい、あるいは必要とされる文書情報は文書識別子を使用してフェッチされてよい。必要とされる文書情報(例えばウェブページコンテンツ)は、将来のコンテンツ関連広告目標設定のためにプリフェッチ(つまり特定の要求の前に取得)されてよい。さらに、2002年3月29日に出願された「ユーザへの電子文書送達の効率を高めるための方法及びデバイス(METHOD AND APPARATUS FOR INCREASING EFFICIENCY FOR ELECTRONIC DOCUMENT DELIVERY TO USERS)」と題される米国特許出願第10/113,796号(参照によりここに組み込まれる)、2000年12月13日に出願された「ハイパテキストブラウザアシスタント(HYPERTEXT BROWSER ASSISTANT)」と題される米国特許出願第09/734,886号(参照によりここに組み込まれる)、及び2000年12月13日に出願された「コンテキスト内検索を実行するためのシステム及び方法(SYSTEMS AND METHODS FOR PERFORMING IN-CONTEXT SEARCHING)」と題される米国特許出願第09/734,901号に開示されている方法など、文書情報を取得するための他の方法が存在する。 The advertisement server may include one or more advertisements 434 (and associated advertisement information (not shown)) as well as content advertisement supply operations 432. In order to enhance the end user experience, the ad server 410 needs to serve advertisements related to the content requested by the end user in some way. As an example, filed February 26, 2003, Darrell Anderson, Paul Bucheit, Alex Carobus, Claire Cui, Jeffrey A. et al. Dean, Georges R.D. US Patent Application No. 10 / 375,900 entitled “SERVING ADVERTISEMENTS BASED ON CONTENT”, which describes Harik, Deepak Jindal and Narayana Shivakumar as inventors, is content-related advertising. Various methods and devices for supplying are described. The content related advertisement supply operation 432 may use the document information in the request from the client device and examine additional document information directly or to determine one or more content related advertisements. That is, document information (eg, web page content) may be obtained during an advertisement request. For example, the application on the client device may send all the document information (eg, web page content, web page concept, etc.) required by the advertisement request, or the required document information uses a document identifier. And may be fetched. The required document information (eg web page content) may be prefetched (ie acquired before a specific request) for future content related advertising goal setting. In addition, a US patent application entitled “METHOD AND APPARATUS FOR INCREASING EFFICIENCY FOR ELECTRONIC DOCUMENT DELIVERY TO USERS” filed on March 29, 2002. No. 10 / 113,796 (incorporated herein by reference), US patent application Ser. No. 09 / 734,886, entitled “HYPERTEXT BROWSER ASSISTANT” filed Dec. 13, 2000. United States of America (incorporated herein by reference) and entitled “SYSTEMS AND METHODS FOR PERFORMING IN-CONTEXT SEARCHING” filed December 13, 2000 There are other methods for obtaining document information, such as the method disclosed in patent application 09 / 734,901.
各コンテンツサーバ420は、コンテンツ供給動作422だけではなくコンテンツ424も含んでよい。1つの例では、該コンテンツ供給動作422は、エンドユーザシステム410により提供されるユニバーサルリソースロケータ(URL)を使用して例えばウェブページなどの文書を供給する。
Each
本発明の多様な様々な実施形態が考えられる。このような実施形態では、クライアントデバイス(エンドユーザシステム)は文書要求及び1つ以上のコンテンツ関連広告に対する(文書情報を含む)要求を調達し、コンテンツサーバはソース文書を調達し、コンテンツ広告サーバは1つ以上のコンテンツ関連広告を調達し、クライアントデバイスは、文書とコンテンツ関連広告の両方ともを(共に、又は別個に)(直接的に又は間接的に)受け取るであろう。 A wide variety of embodiments of the invention are contemplated. In such an embodiment, the client device (end user system) procures a document request and a request (including document information) for one or more content-related advertisements, the content server procures the source document, and the content advertisement server One or more content-related advertisements will be procured and the client device will receive (directly or indirectly) both documents and content-related advertisements (both or separately).
図5及び図6は、本発明の多様な例示的な実施形態での(クライアントデバイスの一例として)エンドユーザシステム、広告サーバ及びコンテンツサーバにより交換される情報のメッセージング図である。本発明は図示される通信の順序に限定されない。他の実施形態が可能であり、当業者に明らかになるであろう。例えば、多様な実施形態は仲介ノード(例えばプロキシ)を含んでよいが、このような実施形態は図示されていない。 5 and 6 are messaging diagrams of information exchanged by an end user system, an ad server, and a content server (as an example of a client device) in various exemplary embodiments of the present invention. The present invention is not limited to the illustrated communication sequence. Other embodiments are possible and will be apparent to those skilled in the art. For example, various embodiments may include an intermediary node (eg, a proxy), but such embodiments are not shown.
図5に描かれている実施形態では、エンドユーザシステム510が文書に対する要求(通信550)をコンテンツサーバ520に提出すると、コンテンツサーバ520がエンドユーザシステム510に要求された文書(通信560)を戻す。エンドユーザシステム510は、次に文書情報(通信570)をコンテンツ関連広告サーバ530に転送する。コンテンツ関連広告サーバ530は、次にとりわけ1つ以上の広告を決定するために文書情報を使用する。該1つ以上の広告は、次にエンドユーザシステム510に提供される(通信580)。この実施形態では、エンドユーザシステム510は、文書の中に該1つ以上の広告を挿入するための手段を含んでよい。代わりに、該1つ以上の広告は(例えばポップアップウィンドウ又はポップアンダウィンドウの中に)文書コンテンツに関連してレンダリングできる。
In the embodiment depicted in FIG. 5, when
図6に描かれている実施形態では、エンドユーザシステム610が文書に対する要求(通信650)をコンテンツサーバ620に提供すると、それはまた文書情報ロケータ(例えばそのURL)(通信660)をコンテンツ関連広告サーバ630に提出する。コンテンツサーバは、エンドユーザシステム610に要求された文書(通信670)を戻す。コンテンツ関連広告サーバ630は(例えば過去にフェッチされた)文書情報を獲得するために文書ロケータを使用する。コンテンツ関連広告サーバ630は、次に、とりわけ1つ以上の広告を決定するためにこの文書情報を使用する。該1つ以上の広告は、次にエンドユーザシステム610に提供される(通信680)。この実施形態では、エンドユーザシステム610は該1つ以上の広告を文書の中に差し込むための手段を含んでよい。この実施形態では、エンドユーザシステム610が、文書の中に該1つ以上の広告を挿入するための手段を含んでよい。代わりに、該1つ以上の広告は、文書コンテンツと関連して(例えば、ポップアップ又はポップアンダウィンドウ内に)レンダリングできる。
In the embodiment depicted in FIG. 6, when end-
1つの例示的な実施形態では、クライアントデバイス上のブラウザ/ツールバーは、コンテンツ関連広告サーバに、表示のためにレンダリングされているウェブページのURLを送信する。コンテンツ関連広告サーバは、次に、このURLに関連付けられたコンテンツ/概念を決定するためにこのURL及びウェブページの過去のクロールの結果を使用する。該決定されたコンテンツ/概念に関連する1つ以上の広告が決定され、ブラウザに戻される。ブラウザは、次にブラウザフレーム内で(ただし、この特定の例示的な実施形態では、文書のコンテンツ内ではなく)戻された広告の少なくとも1つをレンダリングする。図8は、文書コンテンツ部分810及び文書部分の上に「ブラウザクロム」820と呼ばれる部分を含む例示的なブラウザウィンドウ800を描いている。図示されるように、本発明のこの例示的なインプリメンテーションでは、コンテンツ関連広告830がブラウザウィンドウ800のブラウザクロム820のツールバー部分にレンダリングされる。代替実施形態(図示せず)では、コンテンツ関連広告は、ブラウザクロム820の上又は下に、あるいはツールバーの上又は下のブラウザクロムの中に配列できるであろう。当然、コンテンツ関連広告、つまり他の広告は(例えば、IFramesを使用して、ウェブページを書くために使用されたマークアップ言語(例えば、HTML、XML等)を改変するためにブラウザアプリケーションを使用して、ウェブページ等の該マークアップ言語を改変するために何らかの他のクライアントデバイスアプリケーションを使用して)ウェブページ文書の本体内でレンダリングされてよい。
In one exemplary embodiment, the browser / toolbar on the client device sends the URL of the web page being rendered for display to the content-related ad server. The content-related ad server then uses the URL and past crawling results of the web page to determine the content / concept associated with the URL. One or more advertisements associated with the determined content / concept are determined and returned to the browser. The browser then renders at least one of the returned advertisements in the browser frame (but not in the document content in this particular exemplary embodiment). FIG. 8 depicts an
本発明のこの、及び他の例示的なインプリメンテーションでは、ウェブページのコンテンツは、1つ以上のコンテンツ関連広告がレンダリングされる前にレンダリングされる(あるいはレンダリングが少なくとも開始される)。実際には、本発明の1つの特定のインプリメンテーションでは、コンテンツ関連広告がクライアントデバイスアプリケーションによっても要求される前に、ウェブページはレンダリングできる(又はレンダリングは少なくとも開始される)。このようにすることは、該1つ以上のコンテンツ関連広告のレンダリングがウェブページコンテンツを阻止する、つまり取って代わることがないことを保証するために使用できる。当然、本発明はこのような処理順序を必要とせず、広告がウェブページコンテンツの前、ウェブページコンテンツと同時にレンダリングされる(あるいは広告のレンダリングが開始する)、あるいは早いもの順で(on a first−available basis)レンダリングされる実施形態が使用されてよい。他の実施形態では、文書識別子情報(例えばURL)は、より早く(例えば、コンテンツサーバへの情報に対する要求の前、又は要求と実質的に同時に)コンテンツ関連広告サーバに送信されてよく、その結果コンテンツ関連広告サーバは、該コンテンツ関連広告を選択して、戻すために必要とされる処理/一致を実行するためにさらに多くの時間を有し、このようにしてエンドユーザのブラウザ経験を改善する。 In this and other exemplary implementations of the present invention, the content of the web page is rendered (or at least started to render) before the one or more content-related advertisements are rendered. Indeed, in one particular implementation of the present invention, the web page can be rendered (or at least initiated) before the content-related advertisement is also requested by the client device application. This can be used to ensure that rendering of the one or more content-related advertisements does not block web page content or replace it. Of course, the present invention does not require such a processing order, and the advertisement is rendered before the web page content, at the same time as the web page content (or the rendering of the advertisement starts), or in an early order (on a first). -Available basis) rendered embodiments may be used. In other embodiments, the document identifier information (e.g., URL) may be sent to the content-related advertising server earlier (e.g., before or substantially simultaneously with the request for information to the content server), resulting in The content-related ad server has more time to perform the processing / matching required to select and return the content-related ad, thus improving the end user's browser experience .
1つ以上の広告は、所定の位置に、あるいは別個のウィンドウに示すことができる。広告は、少なくとも文書(例えばウェブページ)情報を使用して供給される。文書及び/又は文書に関係した何らかの情報が処理され、予想される広告、及び適切な望ましくは関連性のある広告との一致を可能にするフォーマットに変換される。文書は、広告がまさに図示されるときに分類できるか、あるいは事前にクロール、処理できたであろう。検索結果(又は他の何らかの動的に作成されたコンテンツ)に関連して、広告は、検索結果がロードされる前に隙間のページに差し込むことができる。それはサーチエンジンサイトでミラリングされる「キャッシュに入れられた」ページに差し込むことができる。それは(例えばグーグルビューワ(Google Viewer)のケースでは、封入するフレームの中に差し込むことができる。 One or more advertisements can be shown in a predetermined location or in a separate window. Advertisements are served using at least document (eg web page) information. The document and / or any information related to the document is processed and converted into a format that allows matching with the expected advertisement and the appropriate, preferably relevant advertisement. The document could have been categorized when the advertisement was just illustrated, or could have been crawled and processed in advance. In connection with the search results (or some other dynamically created content), the advertisement can be inserted into a gap page before the search results are loaded. It can be plugged into a “cached” page that is mirrored on a search engine site. It can be plugged into an encapsulating frame (eg in the case of a Google Viewer).
前記例に図示されないが、コンテンツ関連広告サーバは、エンドユーザシステムに広告識別子又は広告ロケータを単に戻すことができる。エンドユーザシステムは(例えば局所的に)広告を調べるために広告識別子又はロケータを使用できる。この装置は、広告が「嵩張る」(例えば、画像広告、フラッシュ広告等)場合に有利である場合がある。さらに具体的には、これはコンテンツ広告サーバ光を保持するために使用できる。 Although not illustrated in the above example, the content-related advertising server can simply return an advertising identifier or advertising locator to the end user system. The end user system can use the advertisement identifier or locator to look up the advertisement (eg, locally). This device may be advantageous when the advertisement is “bulky” (eg, image advertisement, flash advertisement, etc.). More specifically, this can be used to hold content advertising server light.
(例示的なデータ構造)
前述されたように、コンテンツ関連広告などの広告は、いわゆるバナー広告などのグラフィック広告、テキスト専用広告、画像広告、音声広告、ビデオ広告、このような構成要素等のどれかの1つ以上を結合する広告の形を取ってよい。広告はHTML,XML等のマークアップ言語で符号化されてよい。
(Example data structure)
As described above, advertisements such as content-related advertisements combine one or more of graphic advertisements such as so-called banner advertisements, text-only advertisements, image advertisements, audio advertisements, video advertisements, and such components. You may take the form of advertising. The advertisement may be encoded in a markup language such as HTML or XML.
本発明と一貫して、クライアントデバイスアプリケーションによって調達される1つ以上のコンテンツ関連広告に対する要求は、おそらくウェブページURLのような文書識別子ほど小さい文書情報を含んでよい。代わりに、あるいは加えて、要求は以下の情報の部分の1つ以上を含んでよい。
(例示的な装置)
図7は、前述された動作(例えば、エンドユーザによって実行される動作、コンテンツサーバによって実行される動作、又はコンテンツ関連広告サーバによって実行される動作)の1つ以上を達成してよい機械700の高水準ブロック図である。機械700は、基本的には、結合された要素の間での情報の伝達を容易にするために、1台以上のプロセッサ710、1台以上の入力/出力インタフェース装置730、1台以上の記憶装置720、及び1つ以上のシステムバス及び/又はネットワーク740を含む。1台以上の入力装置732及び1台以上の出力装置734は、1台以上の入力/出力インタフェース730で結合されてよい。
(Exemplary device)
FIG. 7 is an illustration of a machine 700 that may achieve one or more of the operations described above (eg, operations performed by an end user, operations performed by a content server, or operations performed by a content-related advertising server). It is a high level block diagram. The machine 700 basically includes one or more processors 710, one or more input / output interface devices 730, one or more storages to facilitate the transfer of information between the coupled elements.
1台以上のプロセッサ710は、本発明の1つ以上の態様を達成するために、機械実行可能な命令(例えば、カリフォルニア州パロアルト(Palo Alto、California)のサンマイクロシステムズ社(Sun Microsystems Inc.)Solarisオペレーティングシステム又は、ノースカロライナ州ダラム(Durham,North Carolina)のレッドハット社(Red Hat,Inc.)などの多くのベンダから幅広く入手可能なLinuxオペレーティングシステム上で実行しているC又はC++)を実行してよい。機械実行可能命令の少なくとも一部は、1台以上の記憶装置720上に(一時的に又はより恒久的に)記憶されてよい、及び/又は1つ以上の入力インタフェース装置730を介して外部ソースから受信されてよい。
One or more processors 710 may be used to implement machine-executable instructions (eg, Sun Microsystems Inc. of Palo Alto, Calif.) To accomplish one or more aspects of the invention. Run the Solaris operating system or C or C ++ running on a Linux operating system widely available from many vendors such as Red Hat, Inc. of Durham, North Carolina You can do it. At least a portion of the machine-executable instructions may be stored (temporarily or more permanently) on one or
一実施形態では、機械700は1台以上の従来のパーソナルコンピュータである場合がある。このケースでは、処理装置710は1台以上のマイクロプロセッサであってよい。該バス740はシステムバスを含んでよい。該記憶装置720は、読取専用メモリ(ROM)及び/又はランダムアクセスメモリ(RAM)などのシステムメモリを含んでよい。該記憶装置720はハードディスクに読み書きするためのハードディスクドライブ、(例えばリムーバブル)磁気ディスクに読み書きするための磁気ディスクドライブ、及びコンパクトディスクや他の光(磁気)媒体のようなリムーバブル光(磁気)ディスクに読み書きするための光ディスクドライブも含んでよい。
In one embodiment, the machine 700 may be one or more conventional personal computers. In this case, processing device 710 may be one or more microprocessors. The
ユーザは、例えば、キーボード及び(例えばマウスなどの)ポインティングデバイスなどの入力装置732を通してパーソナルコンピュータにコマンド及び情報を入力する。マイク、ジョイスティック、ゲームパッド、パラボラアンテナ、スキャナ等の他の入力装置も(又は代わりに)含まれてよい。これらの、及び他の入力装置は多くの場合、システムバス740に結合されている適切なインタフェース730を通して処理装置710に接続される。出力装置734は適切なインタフェースを介してシステムバス740に接続されてもよいモニタ又は他の種類のディスプレイ装置を含んでよい。モニタに加えて(の代わりに)、パーソナルコンピュータは、例えばスピーカ及びプリンタなどの他の(周辺)出力装置(図示せず)を含んでよい。
A user may enter commands and information into the personal computer through input devices 732, such as a keyboard and pointing device (e.g., a mouse). Other input devices such as a microphone, joystick, game pad, parabolic antenna, scanner, etc. (or alternatively) may also be included. These and other input devices are often connected to the processing unit 710 through a suitable interface 730 coupled to the
(結論)
前記説明により理解できるように、本発明は、広告主が自分の広告を、該広告が関連性するコンテンツを知覚するエンドユーザに供給するための機会を拡大する。1つ以上のクライアントデバイスアプリケーションは、(i)要求された文書のコンテンツに関連する広告を要求する、及び/又は(ii)要求された文書と関連して1つ以上のコンテンツ関連広告をレンダリングするために使用できる。
(Conclusion)
As can be appreciated from the above description, the present invention expands the opportunity for advertisers to serve their advertisements to end users who perceive content to which the advertisements are relevant. The one or more client device applications (i) request an advertisement associated with the content of the requested document and / or (ii) render one or more content-related advertisements associated with the requested document. Can be used for.
Claims (11)
広告サーバシステムにおいて、
a)前記クライアントデバイスによって要求される文書に関係する情報を、広告サーバシステムで受け取り、
前記要求される文書に関係する情報は、(A)クライアントデバイス上のブラウザアプリケーション、(B)クライアントデバイス上のブラウザプラグイン、(C)クライアントデバイス上のブラウザツールバーの少なくとも1つによって生成されて前記広告サーバシステムに送信される情報であり、
b)広告に関連付けられて前記広告サーバシステムに記憶されている一致する供給制約を見つけるために、少なくとも前記受け取られた情報を使用して前記文書のコンテンツに関連性のある少なくとも1つの広告を、広告サーバシステムで決定し、
c)前記クライアントデバイスに対して決定された前記少なくとも1つの広告を、広告サーバシステムで送信するステップを含んでおり、
前記受け取られた情報は、前記文書の前記コンテンツの少なくとも1つの概念を含んでいる文書関連性情報であり、
前記文書関連性情報は、(1)コンテンツスクレイピングコードを使用して前記要求される文書だけから自動的に決定され、(2)ユーザ指定の概念を含んでおらず、
前記文書の前記コンテンツに関連性のある少なくとも1つの広告の前記決定は、さらに、少なくとも広告概念を含んでいる広告関連性情報を使用する、コンピュータで実行される方法。In a computer-implemented method in a system including a client device and an ad server system,
In the ad server system,
a) receiving at the ad server system information related to the document requested by the client device;
The information related to the requested document is generated by at least one of (A) a browser application on the client device, (B) a browser plug-in on the client device, and (C) a browser toolbar on the client device. Information sent to the ad server system,
b) at least one advertisement relevant to the content of the document using at least the received information to find a matching supply constraint associated with the advertisement and stored in the advertisement server system; Determined by the ad server system,
c) sending the at least one advertisement determined to the client device at an ad server system;
The received information is document relevance information including at least one concept of the content of the document;
The document relevance information is automatically determined from only (1) the requested document using a content scraping code, and (2) does not include a user specified concept,
The computer-implemented method, wherein the determination of at least one advertisement relevant to the content of the document further uses advertisement relevance information that includes at least an advertising concept.
クライアントデバイスにおいて、
a)コンテンツを含む要求された文書を、前記クライアントデバイスによって受け取り、
b)コンテンツスクレイピングコードを実行して、前記受け取られた文書のコンテンツから概念をクライアントデバイスで抽出し、前記抽出された概念は、(1)コンテンツスクレイピングコードを使用して前記要求される文書だけから自動的に決定され、(2)ユーザ指定の概念を含んでおらず、
c)少なくとも1つのコンテンツ関連広告に対する要求を、前記コンテンツ関連広告サーバシステムに対して前記クライアントデバイスによって提出し、前記要求は前記クライアントデバイスで抽出された前記概念を含んでおり、
d)広告に関連付けられて前記コンテンツ関連広告サーバシステムに記憶されている一致する供給制約を見つけるために、抽出された前記概念を少なくとも使用して、少なくとも1つのコンテンツ関連広告を、前記コンテンツ関連広告サーバシステムで決定し、
e)前記コンテンツ関連広告サーバシステムによって出される少なくとも1つの前記コンテンツ関連広告を、前記クライアントデバイスによって受け取り、
f)前記受信された少なくとも1つのコンテンツ関連広告を、前記クライアントデバイスによってレンダリングするステップを含んでおり、
少なくとも1つのコンテンツ関連広告に対する前記要求は、(A)前記クライアントデバイス上のブラウザアプリケーション、(B)前記クライアントデバイス上のブラウザプラグイン、(C)前記クライアントデバイス上のブラウザツールバーの少なくとも1つによって作成、送信され、
前記受け取られた少なくとも1つのコンテンツ関連広告の前記少なくとも1つは、(A)前記クライアントデバイス上のブラウザアプリケーション、(B)前記クライアントデバイス上のブラウザプラグイン、(C)前記クライアントデバイス上のブラウザツールバーの少なくとも1つによりレンダリングされる、コンピュータで実行される方法。In a computer-implemented method in a system including a client device and a content-related advertising server system,
On the client device:
a) receiving a requested document containing content by the client device;
b) Execute content scraping code to extract a concept from the content of the received document at the client device, the extracted concept is (1) only from the requested document using the content scraping code Automatically determined, (2) does not include user-specified concepts,
c) submitting a request for at least one content-related advertisement to the content-related advertisement server system by the client device, the request including the concept extracted at the client device;
d) using at least the extracted concept to find at least one content-related advertisement in order to find a matching supply constraint associated with the advertisement and stored in the content-related advertisement server system; Determined by the server system,
e) receiving at least one content-related advertisement issued by the content-related advertisement server system by the client device;
f) rendering the received at least one content-related advertisement by the client device;
The request for at least one content-related advertisement is made by at least one of (A) a browser application on the client device, (B) a browser plug-in on the client device, and (C) a browser toolbar on the client device. , Sent,
The at least one of the received at least one content-related advertisement includes (A) a browser application on the client device, (B) a browser plug-in on the client device, and (C) a browser toolbar on the client device. A computer implemented method rendered by at least one of the following:
クライアントデバイスにおいて、
a)コンテンツを含む要求された文書を、前記クライアントデバイスによって受け取り、
b)前記受け取られた文書のコンテンツから概念を、クライアントデバイスで抽出し、前記抽出された概念は、(1)コンテンツスクレイピングコードを使用して前記要求される文書だけから自動的に決定され、(2)ユーザ指定の概念を含んでおらず、
c)少なくとも1つのコンテンツ関連広告に対する要求を、前記コンテンツ関連広告サーバシステムに対して前記クライアントデバイスによって提出し、前記要求は前記クライアントデバイスで抽出された前記概念を含んでおり、
d)前記コンテンツ関連広告サーバシステムによって出される少なくとも1つのコンテンツ関連広告を、前記クライアントデバイスによって受け取り、
e)前記受信された少なくとも1つのコンテンツ関連広告を、前記クライアントデバイスによってレンダリングするステップを含んでいる、コンピュータで実行される方法。In a computer-implemented method in a system including a client device and a content-related advertising server system,
On the client device:
a) receiving a requested document containing content by the client device;
b) extracting a concept from the content of the received document at a client device, wherein the extracted concept is automatically determined from only the requested document using (1) a content scraping code; 2) Does not include user-specified concepts,
c) submitting a request for at least one content-related advertisement to the content-related advertisement server system by the client device, the request including the concept extracted at the client device;
d) receiving at least one content-related advertisement issued by the content-related advertisement server system by the client device;
e) A computer-implemented method comprising rendering the received at least one content-related advertisement by the client device.
前記要求された文書のコンテンツをレンダリングする前記動作は、要求を提出する前記動作が前記要求を提出する前に開始される、請求項3記載のコンピュータで実行される方法。 f) further comprising rendering content of the requested document at a client device;
The computer-implemented method of claim 3 , wherein the act of rendering content of the requested document is initiated before submitting the request.
前記要求された文書のコンテンツをレンダリングする前記動作は、要求を提出する前記動作が前記要求を提出する前に完了される、請求項3記載のコンピュータで実行される方法。 f) further comprising rendering content of the requested document at a client device;
4. The computer-implemented method of claim 3 , wherein the act of rendering the requested document content is completed before submitting the request.
をさらに備え、
前記要求された文書のコンテンツをレンダリングする前記動作は、前記受け取られた少なくとも1つのコンテンツ関連広告の少なくとも1つをレンダリングする前記動作が開始される前に開始される、請求項3記載のコンピュータで実行される方法。 f) rendering the content of the requested document on a client device;
Further comprising
The computer of claim 3 , wherein the operation of rendering content of the requested document is initiated before the operation of rendering at least one of the received at least one content-related advertisement is initiated. The method that is performed.
をさらに備え、
前記要求された文書のコンテンツをレンダリングする前記動作は、前記受け取られた少なくとも1つのコンテンツ関連広告の少なくとも1つをレンダリングする前記動作が開始される前に完了される、請求項3記載のコンピュータで実行される方法。 f) rendering the content of the requested document on a client device;
Further comprising
The computer of claim 3 , wherein the act of rendering content of the requested document is completed before the act of rendering at least one of the received at least one content-related advertisement is initiated. The method that is performed.
をさらに備え、
前記受け取られた少なくとも1つのコンテンツ関連広告の前記少なくとも1つは前記ブラウザウィンドウの第2の部分でレンダリングされ、前記ブラウザウィンドウの前記第2の部分は前記ブラウザウィンドウの前記第1の部分と空間を共用せず、前記ブラウザウィンドウの前記第2の部分は、(A)前記ブラウザウィンドウのブラウザクロム部分、または、(B)ブラウザツールバーである、請求項3記載のコンピュータで実行される方法。 f) rendering the content of the document in a first portion of a browser window by the client device;
Further comprising
The at least one of the received at least one content-related advertisement is rendered in a second portion of the browser window, and the second portion of the browser window is in space with the first portion of the browser window. 4. The computer-implemented method of claim 3 , wherein the second portion of the browser window is not shared, and is (A) a browser chrome portion of the browser window or (B) a browser toolbar .
a)前記クライアントデバイスによって要求される文書に関係する情報を、受け取るための入力手段と、
b)広告に関連付けられて前記広告サーバシステムに記憶されている一致する供給制約を見つけるために、少なくとも前記受け取られた情報を使用して前記文書のコンテンツに関連する少なくとも1つの広告を、前記広告サーバシステムで決定するための手段と、
c)前記クライアントデバイスに対して決定された前記少なくとも1つの広告を送信するための手段と、
を備え、
前記要求される文書に関係する情報は、(A)クライアントデバイス上のブラウザアプリケーション、(B)クライアントデバイス上のブラウザプラグイン、(C)クライアントデバイス上のブラウザツールバーの少なくとも1つによって生成されて前記広告サーバシステムに送信される情報であり、
前記受け取られた情報は、前記文書の前記コンテンツの少なくとも1つの概念を含んでいる文書関連性情報であり、
前記文書関連性情報は、(1)コンテンツスクレイピングコードを使用して前記要求される文書だけから自動的に決定され、(2)ユーザ指定の概念を含んでおらず、
前記文書の前記コンテンツに関連する少なくとも1つの広告を決定するための前記手段は、さらに、少なくとも広告概念を含んでいる広告関連性情報を使用する、装置。In an apparatus for use in an environment including a client device and an advertisement server system,
a) input means for receiving information relating to the document requested by the client device;
b) at least one advertisement associated with the content of the document using at least the received information to find a matching supply constraint associated with the advertisement and stored in the advertisement server system; Means for determining in the server system;
c) means for transmitting the determined at least one advertisement to the client device;
With
The information related to the requested document is generated by at least one of (A) a browser application on the client device, (B) a browser plug-in on the client device, and (C) a browser toolbar on the client device. Information sent to the ad server system,
The received information is document relevance information including at least one concept of the content of the document;
The document relevance information is automatically determined from only (1) the requested document using a content scraping code, and (2) does not include a user specified concept,
The apparatus, wherein the means for determining at least one advertisement associated with the content of the document further uses advertisement relevance information that includes at least an advertising concept.
a)コンテンツスクレイピングコードを実行して、前記受け取られた文書のコンテンツから概念を抽出する手段と、
b)前記コンテンツ関連広告サーバに、少なくとも1つのコンテンツ関連広告に対する要求を提出するための手段と、
c)広告に関連付けられて前記コンテンツ関連広告サーバに記憶されている一致する供給制約を見つけるために、少なくとも前記抽出された概念を使用して少なくとも1つのコンテンツ関連広告を、前記コンテンツ関連広告サーバで決定する手段と、
d)i)コンテンツを含む要求文書と、
ii)前記コンテンツ関連広告サーバによって出される少なくとも1つのコンテンツ関連広告と、
を受け取るための入力手段と、
e)前記受け取られた少なくとも1つのコンテンツ関連広告の少なくとも1つをレンダリングするための手段と、
を備え、
前記抽出された概念は、(1)コンテンツスクレイピングコードを使用して前記要求される文書だけから自動的に決定され、(2)ユーザ指定の概念を含んでおらず、
前記要求は前記クライアントデバイスで抽出された前記概念を含んでおり、
少なくとも1つのコンテンツ関連広告に対する前記要求は、(A)前記クライアントデバイス上のブラウザアプリケーション、(B)前記クライアントデバイス上のブラウザプラグイン、(C)前記クライアントデバイス上のブラウザツールバーの少なくとも1つによって作成、送信され、
前記受け取られた少なくとも1つのコンテンツ関連広告の前記少なくとも1つは、(A)前記クライアントデバイス上のブラウザアプリケーション、(B)前記クライアントデバイス上のブラウザプラグイン、(C)前記クライアントデバイス上のブラウザツールバーの少なくとも1つによりレンダリングされる、装置。In an apparatus on a client device used with a content-related advertising server,
a) means for executing content scraping code to extract concepts from the content of the received document;
b) means for submitting a request for at least one content-related advertisement to the content-related advertisement server;
c) at least one content-related advertisement at the content-related advertising server using at least the extracted concept to find a matching supply constraint associated with the advertisement and stored in the content-related advertising server. Means to determine,
d) i) a request document containing the content;
ii) at least one content-related advertisement issued by the content-related advertisement server;
Input means for receiving,
e) means for rendering at least one of the received at least one content-related advertisement;
With
The extracted concepts are (1) automatically determined only from the requested document using content scraping code, and (2) do not include user-specified concepts,
The request includes the concept extracted at the client device;
The request for at least one content-related advertisement is made by at least one of (A) a browser application on the client device, (B) a browser plug-in on the client device, and (C) a browser toolbar on the client device. , Sent,
The at least one of the received at least one content-related advertisement includes (A) a browser application on the client device, (B) a browser plug-in on the client device, and (C) a browser toolbar on the client device. A device rendered by at least one of the following:
a)前記受け取られた文書のコンテンツから概念を抽出する手段と、
b)前記コンテンツ関連広告サーバに、少なくとも1つのコンテンツ関連広告に対する要求を提出するための手段と、
c)i)コンテンツを含む要求文書と、
ii)前記コンテンツ関連広告サーバによって出される少なくとも1つのコンテンツ関連広告と、
を受け取るための入力手段と、
d)前記受け取られた少なくとも1つのコンテンツ関連広告の少なくとも1つをレンダリングするための手段と、
を備え、
前記抽出された概念は、(1)コンテンツスクレイピングコードを使用して前記要求される文書だけから自動的に決定され、(2)ユーザ指定の概念を含んでおらず、
前記要求は前記クライアントデバイスで抽出された前記概念を含む、装置。In an apparatus on a client device used with a content-related advertising server,
a) means for extracting a concept from the content of the received document;
b) means for submitting a request for at least one content-related advertisement to the content-related advertisement server;
c) i) a request document containing the content;
ii) at least one content-related advertisement issued by the content-related advertisement server;
Input means for receiving,
d) means for rendering at least one of the received at least one content-related advertisement;
With
The extracted concepts are (1) automatically determined only from the requested document using content scraping code, and (2) do not include user-specified concepts,
The apparatus, wherein the request includes the concept extracted at the client device.
Applications Claiming Priority (11)
| Application Number | Priority Date | Filing Date | Title |
|---|---|---|---|
| US41353602P | 2002-09-24 | 2002-09-24 | |
| US60/413,536 | 2002-09-24 | ||
| US10/314,427 US7716161B2 (en) | 2002-09-24 | 2002-12-06 | Methods and apparatus for serving relevant advertisements |
| US10/314,427 | 2002-12-06 | ||
| US10/375,900 | 2003-02-26 | ||
| US10/375,900 US7136875B2 (en) | 2002-09-24 | 2003-02-26 | Serving advertisements based on content |
| US45390903A | 2003-06-03 | 2003-06-03 | |
| US10/453,909 | 2003-06-03 | ||
| US10/634,501 US8086559B2 (en) | 2002-09-24 | 2003-08-05 | Serving content-relevant advertisements with client-side device support |
| US10/634,501 | 2003-08-05 | ||
| PCT/US2003/030236 WO2004030338A2 (en) | 2002-09-24 | 2003-09-24 | Serving content-relevant advertisements with client-side device support |
Publications (2)
| Publication Number | Publication Date |
|---|---|
| JP2006505077A JP2006505077A (en) | 2006-02-09 |
| JP4902200B2 true JP4902200B2 (en) | 2012-03-21 |
Family
ID=46060783
Family Applications (1)
| Application Number | Title | Priority Date | Filing Date |
|---|---|---|---|
| JP2005501985A Expired - Lifetime JP4902200B2 (en) | 2002-09-24 | 2003-09-24 | Provide content-related advertising with client-side device support |
Country Status (1)
| Country | Link |
|---|---|
| JP (1) | JP4902200B2 (en) |
Families Citing this family (10)
| Publication number | Priority date | Publication date | Assignee | Title |
|---|---|---|---|---|
| US20060020506A1 (en) * | 2004-07-20 | 2006-01-26 | Brian Axe | Adjusting or determining ad count and/or ad branding using factors that affect end user ad quality perception, such as document performance |
| US20080086368A1 (en) * | 2006-10-05 | 2008-04-10 | Google Inc. | Location Based, Content Targeted Online Advertising |
| JP4940399B2 (en) * | 2006-10-12 | 2012-05-30 | 株式会社野村総合研究所 | Advertisement distribution apparatus and program |
| US20080232561A1 (en) * | 2007-03-20 | 2008-09-25 | Microsoft Corporation | Advertising funded data access services |
| JP4482614B2 (en) * | 2007-07-12 | 2010-06-16 | 株式会社ドリコム | Advertisement matching system based on browsing history, program, server, and advertisement providing method |
| US20110022464A1 (en) * | 2009-07-21 | 2011-01-27 | Microsoft Corporation | Optimizing ads by customization for a target device |
| US9710817B2 (en) | 2008-09-30 | 2017-07-18 | Microsoft Technology Licensing, Llc | Adaptive run-time advertisements |
| JP5348954B2 (en) * | 2008-07-07 | 2013-11-20 | インターナショナル・ビジネス・マシーンズ・コーポレーション | Service providing apparatus, program, service providing method, and service providing system |
| KR101523204B1 (en) * | 2013-01-24 | 2015-05-28 | 주식회사 이루온 | System and method for providing advertisement |
| KR101399633B1 (en) | 2013-03-29 | 2014-05-27 | 동국대학교 산학협력단 | Method and apparatus of composing videos |
-
2003
- 2003-09-24 JP JP2005501985A patent/JP4902200B2/en not_active Expired - Lifetime
Also Published As
| Publication number | Publication date |
|---|---|
| JP2006505077A (en) | 2006-02-09 |
Similar Documents
| Publication | Publication Date | Title |
|---|---|---|
| US8086559B2 (en) | Serving content-relevant advertisements with client-side device support | |
| JP5318349B2 (en) | Generation of user information for use in targeted advertisements | |
| JP4809219B2 (en) | Advertise using search of advertiser web information | |
| US8438154B2 (en) | Generating information for online advertisements from internet data and traditional media data | |
| KR100812116B1 (en) | Providing Content-based Advertising | |
| US7523087B1 (en) | Determining and/or designating better ad information such as ad landing pages | |
| JP5199213B2 (en) | Offer advertisements with documents that have one or more topics, using information about the user's interest in the topic | |
| US8571932B2 (en) | Using search query information to determine relevant ads for a landing page of an ad | |
| JP2006500701A (en) | How to serve ads using information associated with an email | |
| US20140122235A1 (en) | Determining ad targeting information and/or ad creative information using past search queries | |
| JP2006519425A (en) | Identify relevant information for a given content and / or present relevant information in connection with content-related advertisements | |
| CN1759388A (en) | Serving advertisements based on content by client terminal device | |
| US20130304572A1 (en) | Providing links to related advertisements | |
| JP2009295171A (en) | Using enhanced advertisement feature to increase competition in online advertising | |
| JP2007516522A (en) | Using concepts to target ads | |
| JP4902200B2 (en) | Provide content-related advertising with client-side device support | |
| US9858590B1 (en) | Determining better ad selection, scoring, and/or presentation techniques |
Legal Events
| Date | Code | Title | Description |
|---|---|---|---|
| A131 | Notification of reasons for refusal |
Free format text: JAPANESE INTERMEDIATE CODE: A131 Effective date: 20071106 |
|
| A601 | Written request for extension of time |
Free format text: JAPANESE INTERMEDIATE CODE: A601 Effective date: 20080205 |
|
| A602 | Written permission of extension of time |
Free format text: JAPANESE INTERMEDIATE CODE: A602 Effective date: 20080213 |
|
| A521 | Request for written amendment filed |
Free format text: JAPANESE INTERMEDIATE CODE: A523 Effective date: 20080507 |
|
| A131 | Notification of reasons for refusal |
Free format text: JAPANESE INTERMEDIATE CODE: A131 Effective date: 20080902 |
|
| A601 | Written request for extension of time |
Free format text: JAPANESE INTERMEDIATE CODE: A601 Effective date: 20081202 |
|
| A602 | Written permission of extension of time |
Free format text: JAPANESE INTERMEDIATE CODE: A602 Effective date: 20081209 |
|
| A521 | Request for written amendment filed |
Free format text: JAPANESE INTERMEDIATE CODE: A523 Effective date: 20090302 |
|
| A02 | Decision of refusal |
Free format text: JAPANESE INTERMEDIATE CODE: A02 Effective date: 20090512 |
|
| A521 | Request for written amendment filed |
Free format text: JAPANESE INTERMEDIATE CODE: A523 Effective date: 20090914 |
|
| A521 | Request for written amendment filed |
Free format text: JAPANESE INTERMEDIATE CODE: A821 Effective date: 20091106 |
|
| A911 | Transfer to examiner for re-examination before appeal (zenchi) |
Free format text: JAPANESE INTERMEDIATE CODE: A911 Effective date: 20091202 |
|
| A912 | Re-examination (zenchi) completed and case transferred to appeal board |
Free format text: JAPANESE INTERMEDIATE CODE: A912 Effective date: 20100108 |
|
| A601 | Written request for extension of time |
Free format text: JAPANESE INTERMEDIATE CODE: A601 Effective date: 20110629 |
|
| A602 | Written permission of extension of time |
Free format text: JAPANESE INTERMEDIATE CODE: A602 Effective date: 20110704 |
|
| A01 | Written decision to grant a patent or to grant a registration (utility model) |
Free format text: JAPANESE INTERMEDIATE CODE: A01 |
|
| A61 | First payment of annual fees (during grant procedure) |
Free format text: JAPANESE INTERMEDIATE CODE: A61 Effective date: 20111228 |
|
| R150 | Certificate of patent or registration of utility model |
Ref document number: 4902200 Country of ref document: JP Free format text: JAPANESE INTERMEDIATE CODE: R150 Free format text: JAPANESE INTERMEDIATE CODE: R150 |
|
| FPAY | Renewal fee payment (event date is renewal date of database) |
Free format text: PAYMENT UNTIL: 20150113 Year of fee payment: 3 |
|
| R250 | Receipt of annual fees |
Free format text: JAPANESE INTERMEDIATE CODE: R250 |
|
| R250 | Receipt of annual fees |
Free format text: JAPANESE INTERMEDIATE CODE: R250 |
|
| R250 | Receipt of annual fees |
Free format text: JAPANESE INTERMEDIATE CODE: R250 |
|
| R250 | Receipt of annual fees |
Free format text: JAPANESE INTERMEDIATE CODE: R250 |
|
| S533 | Written request for registration of change of name |
Free format text: JAPANESE INTERMEDIATE CODE: R313533 |
|
| R350 | Written notification of registration of transfer |
Free format text: JAPANESE INTERMEDIATE CODE: R350 |
|
| R250 | Receipt of annual fees |
Free format text: JAPANESE INTERMEDIATE CODE: R250 |
|
| R250 | Receipt of annual fees |
Free format text: JAPANESE INTERMEDIATE CODE: R250 |
|
| R250 | Receipt of annual fees |
Free format text: JAPANESE INTERMEDIATE CODE: R250 |
|
| R250 | Receipt of annual fees |
Free format text: JAPANESE INTERMEDIATE CODE: R250 |
|
| R250 | Receipt of annual fees |
Free format text: JAPANESE INTERMEDIATE CODE: R250 |
|
| EXPY | Cancellation because of completion of term |
