[go: up one dir, main page]

JP4873963B2 - LIGHT EMITTING DEVICE AND LIGHTING DEVICE USING THE SAME - Google Patents

LIGHT EMITTING DEVICE AND LIGHTING DEVICE USING THE SAME Download PDF

Info

Publication number
JP4873963B2
JP4873963B2 JP2006050721A JP2006050721A JP4873963B2 JP 4873963 B2 JP4873963 B2 JP 4873963B2 JP 2006050721 A JP2006050721 A JP 2006050721A JP 2006050721 A JP2006050721 A JP 2006050721A JP 4873963 B2 JP4873963 B2 JP 4873963B2
Authority
JP
Japan
Prior art keywords
light emitting
light
emitting device
wavelength conversion
emitting element
Prior art date
Legal status (The legal status is an assumption and is not a legal conclusion. Google has not performed a legal analysis and makes no representation as to the accuracy of the status listed.)
Expired - Fee Related
Application number
JP2006050721A
Other languages
Japanese (ja)
Other versions
JP2007234637A (en
Inventor
徹 三宅
真吾 松浦
裕樹 森
智也 田淵
Current Assignee (The listed assignees may be inaccurate. Google has not performed a legal analysis and makes no representation or warranty as to the accuracy of the list.)
Kyocera Corp
Original Assignee
Kyocera Corp
Priority date (The priority date is an assumption and is not a legal conclusion. Google has not performed a legal analysis and makes no representation as to the accuracy of the date listed.)
Filing date
Publication date
Application filed by Kyocera Corp filed Critical Kyocera Corp
Priority to JP2006050721A priority Critical patent/JP4873963B2/en
Publication of JP2007234637A publication Critical patent/JP2007234637A/en
Application granted granted Critical
Publication of JP4873963B2 publication Critical patent/JP4873963B2/en
Anticipated expiration legal-status Critical
Expired - Fee Related legal-status Critical Current

Links

Images

Classifications

    • H10W74/00
    • H10W76/63

Landscapes

  • Led Device Packages (AREA)
  • Led Devices (AREA)

Description

本発明は、発光素子が発する光を外部に効率よく放射する発光装置およびそれを用いた照明装置に関し、より詳細には発光素子が発する光を波長変換する波長変換部材の接着方法を改善した発光装置およびそれを用いた照明装置に関する。   The present invention relates to a light-emitting device that efficiently radiates light emitted from a light-emitting element to the outside and a lighting device using the same, and more specifically, light emission improved in a method for bonding a wavelength conversion member that converts the wavelength of light emitted from a light-emitting element. The present invention relates to a device and a lighting device using the same.

従来の発光ダイオード(LED)等の発光素子から発光される近紫外光や、青色,赤色,緑色,黄色等の可視領域波長の光を発光する発光装置を図12に示す。図12(a),図12(b)において、11は基体、12は反射部材、13は発光素子、14は透光性部材、15は波長変換部材を示す。   FIG. 12 shows a light-emitting device that emits near-ultraviolet light emitted from a light-emitting element such as a conventional light-emitting diode (LED) or light in the visible region wavelength such as blue, red, green, and yellow. 12 (a) and 12 (b), 11 is a substrate, 12 is a reflecting member, 13 is a light emitting element, 14 is a translucent member, and 15 is a wavelength converting member.

従来の発光装置は、上側主面に発光素子13を搭載するための搭載部11aを有し、搭載部11aまたはその周辺から発光装置の内外を電気的に導通接続する配線導体(図示せず)が形成された絶縁体からなる基体11と、搭載部11aに配線導体と導電性部材(図示せず)を介してフリップチップ実装され電気的に接続固定された発光素子13と、基体11上面に発光素子13を取り囲むように配置された反射部材12と、反射部材12の内周面12aの全周に形成された支持部12bの上面に、接着剤16(図12(a)参照)を介して接着されるか、または、支持部12bに載置され、透光性部材14(図12(b)参照)を介して反射部材12に取着された波長変換部材15とから主に構成されている。   The conventional light emitting device has a mounting portion 11a for mounting the light emitting element 13 on the upper main surface, and a wiring conductor (not shown) that electrically connects the inside and outside of the light emitting device from the mounting portion 11a or its periphery. A light-emitting element 13 that is flip-chip mounted and electrically connected and fixed to the mounting portion 11a via a wiring conductor and a conductive member (not shown), and an upper surface of the base 11 A reflective member 12 disposed so as to surround the light emitting element 13 and an upper surface of a support portion 12b formed on the entire circumference of the inner peripheral surface 12a of the reflective member 12 via an adhesive 16 (see FIG. 12A). Or a wavelength conversion member 15 mounted on the support member 12b and attached to the reflection member 12 via the translucent member 14 (see FIG. 12B). ing.

この波長変換部材15は、発光素子13が発する紫外領域から青色領域に含まれる光を所望の波長スペクトル、例えば白色に見える光に波長変換するもので、反射部材12の内側に発光素子13を覆うように配置される。   This wavelength conversion member 15 converts the light contained in the blue region from the ultraviolet region emitted by the light emitting element 13 into a desired wavelength spectrum, for example, light that looks white, and covers the light emitting element 13 inside the reflecting member 12. Are arranged as follows.

図12(a)に示される発光装置においては、波長変換部材15は、その外周面が反射部材12の内周面に段差状に形成された上面が平坦な支持部12bに、シリコーン樹脂,エポキシ樹脂,アクリル樹脂,ガラス接着剤等の発光素子13からの光に対して劣化しにくい接着剤16を介して接着される。   In the light emitting device shown in FIG. 12A, the wavelength conversion member 15 is formed of a silicone resin or epoxy on the support portion 12b whose outer peripheral surface is formed in a step shape on the inner peripheral surface of the reflection member 12, and whose upper surface is flat. It adheres through the adhesive agent 16 which is hard to deteriorate with respect to the light from the light emitting elements 13, such as resin, an acrylic resin, and a glass adhesive.

図12(b)に示される発光装置においては、波長変換部材15は、反射部材12の内側の支持部12bの上面位置まで充填された透光性部材14の表面に接触するように支持部12bに載置され、その後、透光性部材14が熱硬化されることによって透光性部材14を介して反射部材12に接着される。   In the light emitting device shown in FIG. 12B, the wavelength conversion member 15 is in contact with the surface of the translucent member 14 filled up to the upper surface position of the support portion 12b inside the reflection member 12. After that, the translucent member 14 is bonded to the reflecting member 12 via the translucent member 14 by thermosetting.

近年、この様な発光装置は、照明用光源として利用され始めており、特に発光装置の発光効率や放射される光の色再現性や色安定性,環境性に対する要求が高まってきている。
特開平10−190065号公報
In recent years, such a light-emitting device has begun to be used as a light source for illumination, and in particular, there has been an increasing demand for light emission efficiency of the light-emitting device, color reproducibility, color stability, and environmental properties of emitted light.
Japanese Patent Laid-Open No. 10-190065

しかしながら、図12(a)に示される発光装置においては、接着剤16が支持部12bの外周からさらに内周面12aを這い上がるように濡れ広がった形状で波長変換部材15が接着される傾向がある。内周面12aを這い上がるようにして接着剤16が硬化してしまうと、その上面に載置されている波長変換部材15が支持部12bから浮き上がるように配置されてしまい、支持部12bの上面と波長変換部材15との間に隙間が生じてしまう結果、この隙間を通して発光素子13の光が漏洩してしまうという問題点を生じていた。この場合、隙間から漏洩してしまう発光素子13からの光は、波長変換部材15によって有効に変換されず、よって発光装置の発光効率が低下してしまったり、発光装置から放射される光に色むらが生じたり、発光色が変化してしまったりする。   However, in the light emitting device shown in FIG. 12A, the wavelength conversion member 15 tends to be bonded in a shape in which the adhesive 16 wets and spreads further up the inner peripheral surface 12a from the outer periphery of the support portion 12b. is there. When the adhesive 16 is cured so as to scoop up the inner peripheral surface 12a, the wavelength conversion member 15 placed on the upper surface of the adhesive 16 is disposed so as to float from the support portion 12b, and the upper surface of the support portion 12b. As a result, a gap is generated between the light-emitting element 13 and the wavelength conversion member 15, so that light from the light emitting element 13 leaks through the gap. In this case, the light from the light emitting element 13 that leaks from the gap is not effectively converted by the wavelength conversion member 15, so that the light emission efficiency of the light emitting device is reduced, or the light emitted from the light emitting device is colored. Unevenness occurs or the color of the light emission changes.

また、波長変換部材15が支持部12bから浮き上がったように接着される結果、十分な接着強度が得られないという問題点があった。   Further, as a result of the wavelength conversion member 15 being bonded so as to be lifted from the support portion 12b, there is a problem that sufficient adhesive strength cannot be obtained.

また、図12(b)に示される発光装置においては、未硬化の透光性部材14が硬化する際に生じる体積収縮によって、波長変換部材12が下側に湾曲するように接着されてしまう傾向がある。そして、波長変換部材15の中央部が下側に湾曲するように変形する結果、波長変換部材15の外周面と支持部12bの上面との間には隙間が生じてしまう。その結果、この隙間を通して発光素子13からの光が漏洩してしまうという問題点を有していた。この場合も、隙間から漏洩してしまう発光素子13からの光は、波長変換部材15によって有効に変換されず、よって発光装置の発光効率が低下したり、発光装置から放射される光に色むらが生じたり、発光色が変化して色ばらつきが生じてしまったりする。   In the light emitting device shown in FIG. 12B, the wavelength conversion member 12 tends to be bonded so as to bend downward due to volume shrinkage that occurs when the uncured translucent member 14 is cured. There is. And as a result of changing so that the center part of wavelength conversion member 15 may curve below, a crevice will arise between the peripheral face of wavelength conversion member 15, and the upper surface of supporter 12b. As a result, the light from the light emitting element 13 leaks through this gap. Also in this case, the light from the light emitting element 13 that leaks from the gap is not effectively converted by the wavelength conversion member 15, so that the light emission efficiency of the light emitting device is reduced or the light emitted from the light emitting device is uneven in color. Or the emission color changes and color variations occur.

したがって、本発明はかかる従来の問題点に鑑みて完成されたものであり、その目的は、反射部材の支持部と波長変換部材との間に隙間が生じないように波長変換部材を支持部に平坦に取着し、発光素子から発せられる光が隙間から漏洩してしまわないようにすることにある。そして、発光装置の発光効率を向上させるとともに、発光装置から放射される光に色むらや色バラツキが生じることを抑制し、高品質な発光装置およびそれを用いた照明装置を提供することにある。
Therefore, the present invention has been completed in view of such conventional problems, and its purpose is to provide the wavelength conversion member as a support portion so that no gap is formed between the support portion of the reflection member and the wavelength conversion member. It is intended to prevent the light emitted from the light emitting element from leaking from the gap by attaching it flat. Then, it improves the luminous efficiency of the light emitting device, and suppress the color unevenness and color unevenness occurs in the light emitted from the light emitting device to provide an illumination device using the high-quality light-emitting device and its .

本発明の発光装置は、上側主面に発光素子が搭載される搭載部を有する基体と、前記搭載部に搭載された発光素子と、前記基体の上側主面に前記発光素子を取り囲むように配置された反射部材と、前記発光素子上に配置された波長変換部材とを具備する発光装置において、前記反射部材は、内周面の途中に接着剤を介して前記波長変換部材を上面で支持するための支持部を有するとともに、該支持部は前記上面に凹を有し、前記接着剤は、前記凹部に入りこんでいるとともに、前記反射部材の前記内周面における前記支持部よりも上に位置する領域から離れていることを特徴とする。
The light emitting device of the present invention has a base having a mounting portion on which the light emitting element is mounted on the upper main surface, a light emitting element mounted on the mounting portion, and an upper main surface of the base so as to surround the light emitting element. In the light emitting device comprising the reflected member and the wavelength converting member disposed on the light emitting element, the reflecting member supports the wavelength converting member on the upper surface via an adhesive in the middle of the inner peripheral surface. which has a support for, the support part has a concave portion on the upper surface, the adhesive with which penetrates into the recess, above the said support portion in the inner peripheral surface of the reflective member It is characterized by being away from the area where it is located .

本発明の照明装置は、上記本発明の発光装置と、前記発光装置が搭載され、前記発光装置を駆動する電気配線を有する駆動部と、前記発光装置から出射される光を反射する光反射手段とを含む。   The illuminating device of the present invention includes the light emitting device of the present invention, a drive unit on which the light emitting device is mounted and having an electrical wiring for driving the light emitting device, and light reflecting means for reflecting light emitted from the light emitting device. Including.

本発明の発光装置は、反射部材の内周面の途中に波長変換部材を接着剤を介して上面で支持するための支持部が設けられており、この支持部の上面に接着剤が入り込んだ凹部が設けられていることにより、支持部に塗布された接着剤が凹部内に流れ込み、接着剤が支持部周囲の内周面を濡れ広がるように這い上がることがない。したがって、支持部表面と波長変換部材との間に隙間が生じることを防ぐことができる。そして、熱を加えて接着剤を硬化させると、波長変換部材が熱膨張した状態で波長変換部材の周囲を接着することができ、その後、発光装置を常温に戻すと波長変換部材に周囲より引張力が働くので、波長変換部材の中央部が下側に湾曲するような変形を生じにくい。
In the light emitting device of the present invention, a support portion for supporting the wavelength conversion member on the upper surface via an adhesive is provided in the middle of the inner peripheral surface of the reflecting member, and the adhesive enters the upper surface of the support portion. By providing the concave portion, the adhesive applied to the support portion does not flow into the concave portion, and the adhesive does not crawl so as to spread over the inner peripheral surface around the support portion. Therefore, it is possible to prevent a gap from being generated between the support portion surface and the wavelength conversion member. When the adhesive is cured by applying heat, the periphery of the wavelength conversion member can be bonded in a state where the wavelength conversion member is thermally expanded. After that, when the light emitting device is returned to room temperature, the wavelength conversion member is pulled from the periphery. Since the force acts, it is difficult for the central portion of the wavelength conversion member to be deformed to be bent downward.

本発明の照明装置は、上記本発明の発光装置と、発光装置が搭載され、発光装置を駆動する電気配線を有する駆動部と、発光装置から出射される光を反射する光反射手段とを含むことにより、発光装置の輝度や、放射される光の波長等の変動が少なく、それぞれの発光装置の強度むらが抑制されるので、それらを集めて照明装置とした本発明の照明装置の輝度や波長変動および強度むらも抑制されたものとなる。   The lighting device of the present invention includes the above-described light emitting device of the present invention, a drive unit on which the light emitting device is mounted and having electric wiring for driving the light emitting device, and a light reflecting means for reflecting light emitted from the light emitting device. Therefore, there is little variation in the brightness of the light emitting device, the wavelength of the emitted light, etc., and the intensity unevenness of each light emitting device is suppressed. Wavelength fluctuation and intensity unevenness are also suppressed.

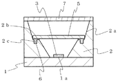
本発明の発光装置について以下に詳細に説明する。図1乃至図7はそれぞれ本発明の発光装置の実施の形態の各種の例を示す断面図または上視平面図である。それぞれの図において、1は基体、2は反射部材、3は発光素子、4は透光性部材、5は波長変換部材であり、主としてこれらで発光装置が構成される。また、2bは反射部材2の内周面に設けられた支持部、2cは支持部2bの上面に設けられた凹部、6は波長変換部材5と支持部2bとを接着する接着剤を示す。   The light emitting device of the present invention will be described in detail below. 1 to 7 are cross-sectional views or plan views showing various examples of embodiments of the light-emitting device of the present invention. In each figure, 1 is a substrate, 2 is a reflecting member, 3 is a light emitting element, 4 is a translucent member, and 5 is a wavelength converting member, and these mainly constitute a light emitting device. In addition, 2b is a support portion provided on the inner peripheral surface of the reflecting member 2, 2c is a recess portion provided on the upper surface of the support portion 2b, and 6 is an adhesive that bonds the wavelength conversion member 5 and the support portion 2b.

基体1は、酸化アルミニウム質焼結体,窒化アルミニウム質焼結体,ムライト質焼結体,ガラスセラミックス等のセラミックス、またはエポキシ樹脂や液晶ポリマー(PLC)等の樹脂から成る絶縁体であり、基体1上面に発光素子3が搭載されることによって、発光素子3を支持する支持部材として機能する。   The substrate 1 is an insulator made of a ceramic such as an aluminum oxide sintered body, an aluminum nitride sintered body, a mullite sintered body, a glass ceramic, or a resin such as an epoxy resin or a liquid crystal polymer (PLC). When the light emitting element 3 is mounted on the upper surface, it functions as a support member that supports the light emitting element 3.

また、基体1がセラミックス等から成る場合、基体1となる複数のグリーンシートに、発光装置の内外を電気的に導通接続するために、タングステン(W),モリブデン(Mo),マンガン(Mn),銅(Cu)等の金属ペーストから成る配線導体(図示せず)を配置し、基体1を焼成すると同時に金属ペーストも焼成することにより、配線導体を有する基体1が形成される。そして、発光素子3が、配線導体に導電性部材(図示せず)を介して電気的に接続され、基体1の側面や下面などに導出された配線導体が、発光装置駆動回路基板(図示せず)に電気的に接続されることにより、発光装置駆動回路基板と発光素子3とが電気的に接続される。このような配線導体は、上記周知のメタライズ法やメッキ法などを用いて形成される。   In addition, when the substrate 1 is made of ceramics or the like, tungsten (W), molybdenum (Mo), manganese (Mn), A wiring conductor (not shown) made of a metal paste such as copper (Cu) is disposed, and the base 1 having the wiring conductor is formed by firing the base 1 and simultaneously firing the metal paste. The light emitting element 3 is electrically connected to the wiring conductor via a conductive member (not shown), and the wiring conductor led out to the side surface and the lower surface of the base 1 is a light emitting device driving circuit board (not shown). The light emitting device driving circuit board and the light emitting element 3 are electrically connected. Such a wiring conductor is formed using the known metallization method or plating method.

なお、配線導体は、基体1の露出する表面に厚さ0.5〜9μmのニッケル(Ni)層や、厚さ0.5〜5μmの金(Au)層等の耐食性に優れる金属層が被着されていることがよく、これにより配線導体が酸化腐食することを有効に防止できるとともに、半田等の導電性部材による発光素子3との接合を強固にすることができる。
The wiring conductor is covered with a metal layer having excellent corrosion resistance such as a nickel (Ni) layer having a thickness of 0.5 to 9 μm or a gold (Au) layer having a thickness of 0.5 to 5 μm on the exposed surface of the substrate 1. it is wearing C., thereby together with the wiring conductor can be effectively prevented from being oxidized and corroded, it is possible to strengthen the bonding between the light-emitting element 3 by the conductive member such as solder.

また、基体1が樹脂から成る絶縁体の場合、配線導体は、Cu、銀(Ag)、アルミニウム(Al)、鉄(Fe)−Ni−コバルト(Co)合金またはFe−Ni合金等の金属材料から成るリード端子(図示せず)を基体1に埋設し、リード端子の一端を搭載部1aに導出し、他端を基体1の側面や下面に導出して露出させることによって形成される。   When the substrate 1 is an insulator made of resin, the wiring conductor is a metal material such as Cu, silver (Ag), aluminum (Al), iron (Fe) -Ni-cobalt (Co) alloy, or Fe-Ni alloy. A lead terminal (not shown) made of is embedded in the base 1, one end of the lead terminal is led out to the mounting portion 1 a, and the other end is led out to the side surface and the bottom surface of the base 1 and exposed.

さらに、基体1は、その上面に発光素子3からの光透過を抑制するとともに、基体1の上方に光を効率良く反射させることを目的として、配線導体またはリード端子に対して電気的に短絡しないように、Al,Ag,Au,白金(Pt),Cu等の金属層が蒸着法やメッキ法により形成され、基体1の上方へ反射するような光の反射率を向上させる反射層が作製されることがより好ましい。   Further, the base body 1 is not electrically short-circuited to the wiring conductor or the lead terminal for the purpose of suppressing light transmission from the light emitting element 3 on the upper surface and reflecting light efficiently above the base body 1. As described above, a metal layer such as Al, Ag, Au, platinum (Pt), or Cu is formed by a vapor deposition method or a plating method, and a reflective layer that improves the reflectance of light that reflects upward of the substrate 1 is produced. More preferably.

また、基体1は、その上面に発光素子3を取り囲むように配置された反射部材2を具備しており、その内周面2aに反射部材2の開口部を塞ぐように配置された、発光素子3からの光を波長変換する波長変換部材5を具備している。これにより、発光素子3から上方および側方に放射される光は、直接および反射部材2の内周面2aで上方に反射されて波長変換部材5に入射されるとともに、波長変換部材5によって波長変換されて発光装置の外部に放射される。   In addition, the base body 1 includes a reflecting member 2 disposed on the upper surface so as to surround the light emitting element 3, and the light emitting element disposed on the inner peripheral surface 2 a so as to close the opening of the reflecting member 2. 3 is provided with a wavelength conversion member 5 that converts the wavelength of the light from 3. Thereby, the light emitted upward and laterally from the light emitting element 3 is directly and directly reflected upward by the inner peripheral surface 2a of the reflecting member 2 and is incident on the wavelength converting member 5, and the wavelength is converted by the wavelength converting member 5. It is converted and emitted to the outside of the light emitting device.

なお、基体1は、配線導体となる金属材料およびこれを絶縁する絶縁体を組み合わせて、発光素子3を搭載する機能を有しておればよく、上記構成はその一例であって、これに限ることはない。   In addition, the base | substrate 1 should just have the function to mount the light emitting element 3 combining the metal material used as a wiring conductor, and the insulator which insulates this, The said structure is the example, Comprising: There is nothing.

本発明の反射部材2は、その内周面2aに波長変換部材5を接着剤6を介して支持するための支持部2bが設けられており、支持部2bの上面に接着剤6が入り込んだ凹部2cが設けられていることにより、支持部2bに塗布された接着剤6が凹部2c内に流れ込み、接着剤が支持部周囲の内周面を濡れ広がるように這い上がることがない。したがって、波長変換部材5が支持部2bの上面に密着しないで浮き上がるように接着されてしまうことがなく、反射部材2と波長変換部材5との接着強度を十分に保持しつつ、発光素子3を起点とする基体1に垂直な発光素子3の光軸に対して垂直かつ内周面2aの支持部2b上面との間に隙間なく波長変換部材5を接着固定できる。すなわち、反射部材2と波長変換部材5との接着に十分な量の接着剤6を用いても、余分な接着剤6は凹部2cに流れ込み、波長変換部材5および支持部2b上面の間の接着剤6を適量に調整できることから、支持部2bから内周面2aに這い上がってしまう接着剤6の量を低減できるとともに、波長変換部材5を支持部2bに強固に接着することができる。   The reflection member 2 of the present invention is provided with a support portion 2b for supporting the wavelength conversion member 5 via the adhesive 6 on the inner peripheral surface 2a, and the adhesive 6 enters the upper surface of the support portion 2b. By providing the concave portion 2c, the adhesive 6 applied to the support portion 2b does not flow into the concave portion 2c, and the adhesive does not crawl up so that the inner peripheral surface around the support portion spreads wet. Therefore, the wavelength conversion member 5 does not adhere to the upper surface of the support portion 2b so that the wavelength conversion member 5 is lifted, and the light emitting element 3 is mounted while sufficiently maintaining the adhesive strength between the reflection member 2 and the wavelength conversion member 5. The wavelength conversion member 5 can be bonded and fixed without any gap between the upper surface of the support portion 2b of the inner peripheral surface 2a and perpendicular to the optical axis of the light emitting element 3 that is perpendicular to the substrate 1 as a starting point. That is, even if a sufficient amount of adhesive 6 is used to bond the reflecting member 2 and the wavelength conversion member 5, the excess adhesive 6 flows into the recess 2c, and adhesion between the wavelength conversion member 5 and the upper surface of the support portion 2b. Since the agent 6 can be adjusted to an appropriate amount, the amount of the adhesive 6 that crawls up from the support portion 2b to the inner peripheral surface 2a can be reduced, and the wavelength conversion member 5 can be firmly bonded to the support portion 2b.

また、後述のように波長変換部材5を樹脂等の熱膨張率の大きい材料で作製した場合、熱を加えて接着剤6を硬化させると、波長変換部材5が熱膨張した状態で熱膨張率が比較的小さい反射部材2に接着されて固定される。その後、発光装置が常温に戻されると、波長変換部材5が熱収縮することによって波長変換部材5に周囲から引張力が働くので、波長変換部材5がたるむことがなく、中央部が下側に湾曲するような変形を生じない。   Further, when the wavelength conversion member 5 is made of a material having a high coefficient of thermal expansion such as a resin as will be described later, when the adhesive 6 is cured by applying heat, the coefficient of thermal expansion is expanded in a state where the wavelength conversion member 5 is thermally expanded. Is bonded and fixed to the relatively small reflecting member 2. After that, when the light emitting device is returned to room temperature, the wavelength conversion member 5 is thermally contracted, so that a tensile force acts on the wavelength conversion member 5 from the surroundings, so that the wavelength conversion member 5 does not sag and the central portion is on the lower side. It does not deform so as to bend.

さらに、接着剤6は、凹部2cの幅より細いシリンジ等によって凹部2cに充填し、その表面張力によって支持部2b上面から接着剤6の上端面が突出するようにしておき、その上に波長変換部材5を載置することによって、接着剤6が支持部2b上面と波長変換部材5との間を濡れ広がるようにするとよい。この方法によって、波長変換部材5と内周面2aとの間には、内周面2aを這い上がった接着剤6によって形成される隙間が生じにくく、発光素子3の光は無駄なく波長変換部材5を介して発光装置の外部に放射される。従って、発光装置の光出力および発光効率が向上するとともに、波長変換部材5を介さずに発光装置の外部に放射された発光素子3からの光による、発光装置の色むらや色バラツキを抑制できる。   Further, the adhesive 6 is filled into the concave portion 2c by a syringe or the like thinner than the width of the concave portion 2c, and the upper end surface of the adhesive 6 protrudes from the upper surface of the support portion 2b by the surface tension, and wavelength conversion is performed thereon. By placing the member 5, it is preferable that the adhesive 6 spreads between the upper surface of the support portion 2 b and the wavelength conversion member 5. By this method, a gap formed by the adhesive 6 scooping up the inner peripheral surface 2a is not easily formed between the wavelength converting member 5 and the inner peripheral surface 2a, and the light of the light emitting element 3 is used without waste. 5 is emitted to the outside of the light-emitting device. Accordingly, the light output and the light emission efficiency of the light emitting device are improved, and color unevenness and color variation of the light emitting device due to the light from the light emitting element 3 emitted outside the light emitting device without passing through the wavelength conversion member 5 can be suppressed. .

また、接着剤6を支持部2b上の凹部2cよりも内側寄り(発光素子3搭載側)に塗布しておき、その上に波長変換部材5を載置するようにして波長変換部材5を反射部材2に接着してもよい。この方法による場合も、接着剤6は凹部2c内に流れ込み、支持部2bの外周側の反射部材2の内周面2aに濡れ広がり難いものとできる。   Further, the adhesive 6 is applied on the inner side (the light emitting element 3 mounting side) of the concave portion 2c on the support portion 2b, and the wavelength conversion member 5 is reflected thereon so that the wavelength conversion member 5 is placed thereon. You may adhere to the member 2. Also in this method, the adhesive 6 flows into the recess 2c, and it is difficult to wet and spread on the inner peripheral surface 2a of the reflecting member 2 on the outer peripheral side of the support portion 2b.

なお、凹部2cの深さや幅については、接着剤6の粘度や接着強度および反射部材2の材質や内周面2aの表面特性を考慮し、適宜最適な寸法によって本発明の発光装置を作製できる。   Regarding the depth and width of the concave portion 2c, the light-emitting device of the present invention can be manufactured with an optimum dimension appropriately in consideration of the viscosity and adhesive strength of the adhesive 6, the material of the reflecting member 2, and the surface characteristics of the inner peripheral surface 2a. .

本発明の支持部2bは、必ずしも反射部材2の内周面2aの全周にわたって環状に設けられている必要はなく、内周面2aの中心に関して点対称な方向に周方向に沿って分割して設けられていてもよいのであるが、好ましくは、図2の平面図に示すように、反射部材2の内周面2aの全周にわたって環状に設けられていることがよい。これによって、波長変換部材5が反射部材2に強固に接着固定されるとともに、内周面2aの全周にわたって支持部2bの上面と波長変換部材5とが隙間なく接着され、しかも内周面2aの全周にわたって支持部2bによる段差が設けられるので、発光素子3からの光が内周面2aと波長変換部材5との隙間から漏出し難くなる。そして、発光素子3からのほとんどの光は、波長変換部材5に入射され、波長変換部材5において波長変換されて発光装置の外部に放射される。その結果、発光装置の光出力および発光効率が向上するとともに、支持部2bと波長変換部材5との隙間から発光装置の外部に放射される発光素子3からの光による、発光装置の色むらや色バラツキを抑制できる。
The support portion 2b of the present invention is not necessarily provided annularly over the entire circumference of the inner peripheral surface 2a of the reflecting member 2, and is divided along the circumferential direction in a point-symmetrical direction with respect to the center of the inner peripheral surface 2a. although the may be provided Te, preferably, as shown in the plan view of FIG. 2, it may be provided in the annular over the entire circumference of the inner circumferential surface 2a of the reflector member 2. As a result, the wavelength conversion member 5 is firmly bonded and fixed to the reflecting member 2, and the upper surface of the support portion 2 b and the wavelength conversion member 5 are bonded without gaps over the entire circumference of the inner peripheral surface 2 a, and the inner peripheral surface 2 a. Since the step by the support portion 2 b is provided over the entire circumference, light from the light emitting element 3 is difficult to leak from the gap between the inner peripheral surface 2 a and the wavelength conversion member 5. Then, most of the light from the light emitting element 3 is incident on the wavelength conversion member 5, converted in wavelength by the wavelength conversion member 5, and radiated to the outside of the light emitting device. As a result, the light output and the light emission efficiency of the light emitting device are improved, and color unevenness of the light emitting device due to the light from the light emitting element 3 radiated to the outside of the light emitting device through the gap between the support portion 2b and the wavelength conversion member 5 Color variation can be suppressed.

凹部2cは、図2に示すように、反射部材2の内周方向に沿って溝状に支持部2b上面に連続するように設けられてもよく、この場合、波長変換部材5はその外周部に沿って連続的かつ均一に支持部2bに接着固定される。その結果、波長変換部材5は、発光装置の作製工程や作動環境においても発光素子3の光軸に対して垂直に保持され、波長変換部材5が傾いたり、変形したりすることによって生じる発光装置の色むらや色バラツキを抑制できる。なお、凹部2cは周方向に一つだけ設けられる必要はなく、複数の凹部2cを設けてもよい。すなわち、一つの凹部2cを取り囲むように、その外周に他の凹部2cを設けるようにしてもよい。   As shown in FIG. 2, the recess 2c may be provided in a groove shape along the inner circumferential direction of the reflecting member 2 so as to be continuous with the upper surface of the support portion 2b. Are bonded and fixed to the support portion 2b continuously and uniformly. As a result, the wavelength conversion member 5 is held perpendicular to the optical axis of the light-emitting element 3 even in the manufacturing process and operating environment of the light-emitting device, and the light-emitting device generated when the wavelength conversion member 5 is tilted or deformed. Color unevenness and color variation can be suppressed. Note that it is not necessary to provide only one recess 2c in the circumferential direction, and a plurality of recesses 2c may be provided. That is, another recess 2c may be provided on the outer periphery so as to surround one recess 2c.

また、凹部2cは、図3に示すように反射部材2の内周方向に沿って支持部2b上面に分割して設けられてもよく、反射部材2と波長変換部材5との接着に十分な量の接着剤6を用いても、余分な接着剤6は凹部2cに十分流れ込み、波長変換部材5および支持部2b上面の間の接着剤6を適量に調整することができる。また、凹部2cに充填される接着剤6の体積収縮による応力が支持部2b上面で分割されることから、発光装置の作製工程や作動環境に応じて接着剤6に発生する応力を抑制できる。その結果、波長変換部材5が支持部2bから剥がれることを抑制でき、発光装置を長期間にわたって正常に作動できる。なお、図3においては、支持部2b上面に4分割された凹部2cが反射部材2の中心に関して点対象に配置されているが、4分割に限ることはなく、2分割以上の複数に分割されたものであればよい。多分割にすることにより、凹部2cの合計表面積が増えるので、接着剤6の接着力を向上させることができる。   Moreover, the recessed part 2c may be divided | segmented and provided in the upper surface of the support part 2b along the inner peripheral direction of the reflective member 2 as shown in FIG. 3, and sufficient for adhesion | attachment with the reflective member 2 and the wavelength conversion member 5 Even if the amount of the adhesive 6 is used, the excess adhesive 6 sufficiently flows into the concave portion 2c, and the adhesive 6 between the wavelength conversion member 5 and the upper surface of the support portion 2b can be adjusted to an appropriate amount. Moreover, since the stress due to the volume shrinkage of the adhesive 6 filled in the concave portion 2c is divided on the upper surface of the support portion 2b, the stress generated in the adhesive 6 according to the manufacturing process and the operating environment of the light emitting device can be suppressed. As a result, the wavelength conversion member 5 can be prevented from being peeled off from the support portion 2b, and the light emitting device can be normally operated over a long period of time. In FIG. 3, the concave portion 2 c divided into four on the upper surface of the support portion 2 b is arranged as a point object with respect to the center of the reflecting member 2, but is not limited to four divisions and is divided into a plurality of two or more divisions. Anything can be used. By making multiple divisions, the total surface area of the recesses 2c increases, so that the adhesive force of the adhesive 6 can be improved.

さらに、凹部2cは、図4に示すように反射部材2の内周方向に沿って支持部2b上面に分割して多数設けられているとともに、各凹部は平面視において円形状であることにより、凹部2cの合計表面積を増やすことができ、接着剤6の接着力が大きくなるとともに、発光装置の作製工程や作動環境において、凹部2cの内側面と接着剤6との界面で接着剤6に発生する応力が均一となる。すなわち、凹部2cが平面視において角部を有する場合、接着剤6に発生する応力は角部に集中し、この応力によって接着剤6が角部から剥がれやすくなるとともに凹部2cから剥がれ、接着剤6の反射部材2に対する接着強度が著しく低下するのに対し、凹部2cが円形状であるために、凹部2cに入り込んだ接着剤に発生する応力は、一部に集中することなく分散される。よって、発光装置の作製工程や作動環境において発生する接着剤6への応力が分散され、接着剤が凹部2cより剥がれ難くなる。   Furthermore, as shown in FIG. 4, the recess 2c is divided into a large number on the upper surface of the support portion 2b along the inner circumferential direction of the reflecting member 2, and each recess is circular in plan view. The total surface area of the recess 2c can be increased, the adhesive force of the adhesive 6 is increased, and the adhesive 6 is generated at the interface between the inner surface of the recess 2c and the adhesive 6 in the manufacturing process and operating environment of the light emitting device. The stress to be made becomes uniform. That is, when the concave portion 2c has a corner portion in plan view, the stress generated in the adhesive 6 is concentrated on the corner portion, and the adhesive 6 is easily peeled off from the corner portion due to the stress, and is peeled off from the concave portion 2c. However, since the recess 2c has a circular shape, the stress generated in the adhesive that has entered the recess 2c is dispersed without being concentrated in part. Therefore, the stress to the adhesive 6 generated in the manufacturing process and operating environment of the light emitting device is dispersed, and the adhesive is less likely to be peeled off from the recess 2c.

さらにまた、凹部2cは、図5に示すようにその縦断面形状が円弧状であることが好ましく、接着剤6は円弧状の内側面に沿って凹部2cに充填されるとともに、凹部2cの底面が円弧状に傾斜しているので、凹部2cの底面に角がある場合に比較して凹部2c底面の角部に気泡ができ難くなる。その結果、接着剤6または凹部2cと接着剤6との界面に残留する気泡等によって、接着剤6の接着強度が低下することを抑制できる。   Furthermore, as shown in FIG. 5, the recess 2c preferably has an arcuate longitudinal cross-sectional shape, and the adhesive 6 is filled in the recess 2c along the arcuate inner surface, and the bottom surface of the recess 2c. Is inclined in the shape of an arc, bubbles are less likely to be formed at the corners of the bottom surface of the recess 2c than when the bottom surface of the recess 2c has a corner. As a result, it is possible to suppress the adhesive strength of the adhesive 6 from being lowered due to bubbles remaining at the interface between the adhesive 6 or the recess 2 c and the adhesive 6.

なお、凹部2cは、従来周知の切削加工や金型成形等により形成される、または従来周知の切削加工や金型成形等によって上側面に凹部2cが形成された、樹脂または金属から成る枠状部材を、反射部材2とは別の部材として形成し、支持部2bに接合剤を用いて接合固定することによって形成される。   The recess 2c is formed by a conventionally known cutting process, mold forming, or the like, or a frame shape made of resin or metal having a recess 2c formed on the upper surface by a conventionally known cutting process, mold forming, or the like. The member is formed as a member different from the reflecting member 2 and is bonded and fixed to the support portion 2b using a bonding agent.

また、反射部材2は、基体1上面に発光素子3を取り囲むようにして、Ag−Cu,鉛(Pb)−錫(Sn),Au−Sn,Au−ケイ素(Si),Sn−Ag−Cu等の合金ロウ材や、シリコーン樹脂やエポキシ樹脂、アクリル樹脂等の樹脂接合材から成る接合材(図示せず)を介して取着されていてもよい。   In addition, the reflecting member 2 surrounds the light emitting element 3 on the upper surface of the base 1 so that Ag—Cu, lead (Pb) —tin (Sn), Au—Sn, Au—silicon (Si), Sn—Ag—Cu. It may be attached via a bonding material (not shown) made of an alloy brazing material such as silicone resin, epoxy resin, acrylic resin or the like.

なお、接合材は、基体1および反射部材2の材質や熱膨張係数等を考慮して適宜選定すればよく、特に限定されるものではない。また、基体1と反射部材2との接合に高信頼性が要求される場合、金属ロウ材や半田を用いるとよい。   The bonding material may be appropriately selected in consideration of the material of the base 1 and the reflecting member 2, the thermal expansion coefficient, and the like, and is not particularly limited. Further, when high reliability is required for joining the base 1 and the reflecting member 2, a metal brazing material or solder may be used.

さらに、反射部材2は、基体1と一体に形成されてもよく、例えば基体1および反射部材2がセラミックスからなる場合、基体1となるセラミックグリーンシートと反射部材2となるセラミックグリーンシートとを積層し、同時に焼成することによって形成される。   Further, the reflecting member 2 may be formed integrally with the base 1. For example, when the base 1 and the reflecting member 2 are made of ceramics, a ceramic green sheet to be the base 1 and a ceramic green sheet to be the reflecting member 2 are laminated. And by firing at the same time.

また、基体1および反射部材2は、エポキシ樹脂やLCP等の熱硬化型樹脂や熱可塑性樹脂等の樹脂から成る絶縁体から成る場合、基体1と反射部材2とが一体的に形成される成形型により、樹脂から成る絶縁体と金属材料から成るリード端子とを一体的にモールド成形することによって形成される。   Further, when the base 1 and the reflecting member 2 are made of an insulator made of a resin such as a thermosetting resin such as epoxy resin or LCP or a thermoplastic resin, the base 1 and the reflecting member 2 are integrally formed. It is formed by integrally molding an insulator made of resin and a lead terminal made of a metal material by a mold.

また、反射部材2は、内周面2aが発光素子3の光を効率良く反射する反射面とされ、発光素子3が内周面2aに取り囲まれている構成により、発光素子3から側方に発せられた光は、発光装置の上方に効率良く反射されるとともに、基体1および反射部材2による光の吸収や透過が効果的に抑制されながら波長変換部材5に入射される。その結果、発光装置の光出力や発光効率は著しく向上する。   Further, the reflecting member 2 has a configuration in which the inner peripheral surface 2a is a reflecting surface that efficiently reflects the light of the light emitting element 3, and the light emitting element 3 is surrounded by the inner peripheral surface 2a, so that the reflecting member 2 is laterally formed from the light emitting element 3. The emitted light is efficiently reflected above the light emitting device, and is incident on the wavelength conversion member 5 while the absorption and transmission of light by the base 1 and the reflection member 2 are effectively suppressed. As a result, the light output and light emission efficiency of the light emitting device are significantly improved.

なお、内周面2aは、発光素子3の光を上方に効率よく反射させるために、上側に向かうに伴って外側に広がるように傾斜していることがよい。これにより、発光素子3から側方に放射された光は効率よく発光装置の上方に反射される。
In addition, in order to reflect the light of the light emitting element 3 upward efficiently, it is good for the internal peripheral surface 2a to incline so that it may spread outside as it goes upwards. Thereby, the light emitted from the light emitting element 3 to the side is efficiently reflected upward of the light emitting device.

また、内周面2aは、Al,Ag,Au,Pt,チタン(Ti),クロム(Cr),Cu等の金属材料や白色等のセラミックス、白色等のエポキシ樹脂やLCP等で構成された反射部材2を、切削加工や金型成形や積層成形等の成形加工することによって形成される。   The inner peripheral surface 2a is a reflection made of a metal material such as Al, Ag, Au, Pt, titanium (Ti), chromium (Cr), or Cu, ceramics such as white, epoxy resin such as white, or LCP. The member 2 is formed by performing a molding process such as a cutting process, a mold molding process or a lamination molding process.

あるいは、内周面2aは、他の部材の表面にAl,Ag,Au等の金属鏡面を金属メッキや蒸着等により形成したり、エポキシ樹脂やシリコーン樹脂,アクリル樹脂等の未硬化の透明樹脂に、酸化アルミニウムや酸化チタン,酸化ジルコニウム等の金属酸化物から成る無機粒子を含有したペースト状の反射材料を塗布し、固化したりすることによって形成されてもよい。   Alternatively, the inner peripheral surface 2a is formed by forming a metal mirror surface such as Al, Ag, Au or the like on the surface of another member by metal plating or vapor deposition, or by using an uncured transparent resin such as an epoxy resin, a silicone resin, or an acrylic resin. Alternatively, it may be formed by applying and solidifying a paste-like reflective material containing inorganic particles made of metal oxide such as aluminum oxide, titanium oxide or zirconium oxide.

なお、内周面2aがAgやCu等の酸化により変色し易い金属からなる場合、その表面に、紫外光領域から可視光領域にわたり透過率の優れる低融点ガラス,ゾル−ゲルガラスなどの無機物や、シリコーン樹脂,エポキシ樹脂,アクリル樹脂などの有機物を被着することが良い。その結果、内周面2aの耐腐食性、耐薬品性、耐候性が向上する。
In addition, when the inner peripheral surface 2a is made of a metal that is easily discolored by oxidation such as Ag or Cu, an inorganic substance such as a low-melting glass or sol-gel glass having excellent transmittance from the ultraviolet light region to the visible light region, It is preferable to deposit organic substances such as silicone resin, epoxy resin, and acrylic resin. As a result, the corrosion resistance, chemical resistance, and weather resistance of the inner peripheral surface 2a are improved.

また、内周面2aは、その表面の算術平均粗さRaを4μm以下とする場合、発光素子3からの光を低損失にかつ良好に発光装置の上方に反射することができる。これにより、例えば、発光素子3から直接外部に取り出された光と、波長変換部材5からの光と混合して光を放射する発光装置において発光効率は向上する。   Further, when the inner peripheral surface 2a has an arithmetic average roughness Ra of 4 μm or less, the inner peripheral surface 2a can reflect light from the light emitting element 3 well above the light emitting device with low loss. Thereby, for example, the light emission efficiency is improved in a light emitting device that emits light by mixing light extracted directly from the light emitting element 3 and light from the wavelength conversion member 5.

なお、内周面2aの算術平均粗さRaが0.004μm未満の場合、このような面を安定かつ効率よく形成することが困難となるとともに、製品コストが高くなりやすい。従って、内周面2aの算術平均粗さは0.004μm以上4μm以下とすることが好ましい。
When the arithmetic average roughness Ra of the inner peripheral surface 2a is less than 0.004 μm, it is difficult to form such a surface stably and efficiently, and the product cost tends to increase. Therefore, it is preferable that the arithmetic average roughness of the inner peripheral surface 2a be 0.004 μm or more and 4 μm or less.

さらに、内周面2aは、その表面の算術平均粗さRaを4μmより大きくする場合、発光素子3からの光を内周面2aで発光装置の上方に拡散反射させることができることから、発光素子3からの光を反射部材2で波長変換部材5全体に効率よく入射させることができる。その結果、波長変換部材5は、その波長変換効率に応じた光を発生させることができ、発光装置の光出力や発光効率は向上する。   Further, when the arithmetic mean roughness Ra of the inner peripheral surface 2a is larger than 4 μm, the light from the light emitting element 3 can be diffusely reflected above the light emitting device by the inner peripheral surface 2a. 3 can be efficiently incident on the entire wavelength conversion member 5 by the reflection member 2. As a result, the wavelength conversion member 5 can generate light according to the wavelength conversion efficiency, and the light output and the light emission efficiency of the light emitting device are improved.

なお、内周面2aのRaを上記の範囲にするには、従来周知の電解研磨加工、化学研磨加工もしくは切削研磨加工等により形成すればよい。また、金型の面精度を利用した転写加工により形成する方法を用いてもよい。   In order to set the Ra of the inner peripheral surface 2a within the above range, it may be formed by a conventionally known electrolytic polishing process, chemical polishing process or cutting polishing process. Further, a method of forming by transfer processing using the surface accuracy of the mold may be used.

また、内周面2aを曲面状に形成することにより、発光素子3から指向性の強い光を波長変換部材5に入射させ、効率よく発光装置の外部に放射できる。一方、発光素子3からの光の大部分を波長変換部材5によって波長変換させる発光装置の場合、内周面2aを直線状に形成することにより、発光素子3からの光を波長変換部材5の下面から広範囲に入射でき、これによって波長変換部材5によって波長変換される発光素子3の光が増加し、発光装置の光出力や発光効率を向上できる。   In addition, by forming the inner peripheral surface 2a into a curved surface, light having high directivity can be incident on the wavelength conversion member 5 from the light emitting element 3 and can be efficiently emitted to the outside of the light emitting device. On the other hand, in the case of a light emitting device that converts the wavelength of most of the light from the light emitting element 3 by the wavelength converting member 5, the light from the light emitting element 3 is converted into the wavelength converting member 5 by forming the inner peripheral surface 2 a linearly. Incident light can be made in a wide range from the lower surface, whereby the light of the light emitting element 3 whose wavelength is converted by the wavelength conversion member 5 is increased, and the light output and light emission efficiency of the light emitting device can be improved.

内周面2aは、上記のように上側に向かうに伴って外側に広がるように傾斜していることがよいことから、支持部2bは、図1,図5,図6,図7の断面図に示すように、上側に向かうに伴って外側に広がるように傾斜している内周面2aの途中で基体1の上側主面と平行な段差の上面に設けることがよい。
The inner peripheral surface 2a, since it is good that is inclined so as to spread outwardly with the directed upward as described above, the support portion 2b, FIGS. 1, 5, 6, a cross-sectional view of FIG. 7 As shown in FIG. 5, it is preferable to provide the upper surface of a step parallel to the upper main surface of the base body 1 in the middle of the inner peripheral surface 2a inclined so as to spread outward as it goes upward.

さらに、反射部材2は、図6に示すように反射部材2の上端開口部にガラス、サファイア、石英、またはエポキシ樹脂,シリコーン樹脂,アクリル樹脂等の樹脂(プラスチック)などの透明部材から成る蓋体7を搭載固定しても良い。蓋体7を設けることにより、反射部材2の内側に設置された発光素子3、配線導体、波長変換部材5を保護するとともに、発光装置内部を気密に封止することができ、発光装置内部への耐浸水性が改善されるので、発光素子3を長期に安定した動作をさせることができる。また、蓋体7をレンズ状に形成して光学レンズの機能を付加することによって、光を集光または分散させて所望の放射角度、強度分布で光を発光装置の外部に取りだすことができる。   Further, as shown in FIG. 6, the reflecting member 2 is a lid made of a transparent member such as glass, sapphire, quartz, or a resin (plastic) such as an epoxy resin, a silicone resin, or an acrylic resin at the upper end opening of the reflecting member 2. 7 may be mounted and fixed. By providing the lid 7, the light emitting element 3, the wiring conductor, and the wavelength conversion member 5 installed inside the reflecting member 2 can be protected, and the inside of the light emitting device can be hermetically sealed. Therefore, the light-emitting element 3 can be operated stably for a long time. Further, by forming the lid 7 in a lens shape and adding the function of an optical lens, it is possible to collect or disperse the light and extract the light outside the light emitting device with a desired radiation angle and intensity distribution.

さらに、反射部材2は、発光素子3を外部環境や発光装置を落下させた際の衝撃から保護するとともに、波長変換部材5を保持する保持部材として機能する。従って、上記に示す構成はその一例であって、これに限ることはなく、上記機能を果たせるものであればよい。例えば、基体1と反射部材2とが一体に形成されており、反射部材2と呼ばれる部分がない場合、基体1が反射部材2の機能を兼ねることとなる。また、内周面2aが必ず反射面になっている必要もない。   Furthermore, the reflection member 2 functions as a holding member that holds the wavelength conversion member 5 while protecting the light emitting element 3 from an impact when the light emitting device 3 is dropped from the external environment. Therefore, the configuration described above is an example, and the configuration is not limited to this, and any configuration that can perform the above function may be used. For example, when the base body 1 and the reflection member 2 are integrally formed and there is no portion called the reflection member 2, the base body 1 also functions as the reflection member 2. Further, the inner peripheral surface 2a does not necessarily have to be a reflecting surface.

さらに、発光素子3は、図7に示すように透光性部材4に被覆されており、透光性部材4は、反射部材2の内側に波長変換部材5の下面との間に空隙が形成されるように配されていることが好ましく、発光素子3からの光は、発光素子3の内部から屈折率差の小さい透光性部材4内に効率よく取り出され、透光性部材4から空隙部を介して波長変換部材5に入射されるとともに波長変換部材5で波長変換される。この際、波長変換部材5の内部から下方に放射される一部の光は、スネルの法則に従って波長変換部材5と空隙部との界面で全反射され、発光装置の上方に反射される。その結果、発光装置内で閉じ込められる光が減少し、基体1および反射部材2による光吸収の影響が低減され、発光装置の光出力および発光効率は向上する。   Further, the light emitting element 3 is covered with a light transmissive member 4 as shown in FIG. 7, and the light transmissive member 4 forms a gap between the reflective member 2 and the lower surface of the wavelength conversion member 5. The light from the light emitting element 3 is efficiently extracted from the inside of the light emitting element 3 into the light transmissive member 4 having a small refractive index difference, and the light is transmitted from the light transmissive member 4 to the gap. The light is incident on the wavelength conversion member 5 through the unit and is wavelength-converted by the wavelength conversion member 5. At this time, a part of the light emitted downward from the inside of the wavelength conversion member 5 is totally reflected at the interface between the wavelength conversion member 5 and the gap according to Snell's law, and is reflected upward of the light emitting device. As a result, the light confined in the light emitting device is reduced, the influence of light absorption by the base 1 and the reflecting member 2 is reduced, and the light output and light emission efficiency of the light emitting device are improved.

さらに、発光装置の作製工程および作動環境における透光性部材4の熱膨張や熱収縮により、波長変換部材5が変形したり、湾曲したり、反射部材2との接着部に応力が発生したりすることを抑制できる。その結果、発光装置の作製工程および作動環境において波長変換部材5が変形することがなく、反射部材2から剥がれ難くなり、発光装置の作製工程における歩留まりが向上するとともに、発光装置を長期間にわたって正常に作動させることができる。   Further, the wavelength conversion member 5 is deformed or curved due to thermal expansion or thermal contraction of the translucent member 4 in the manufacturing process and operating environment of the light emitting device, and stress is generated in the bonding portion with the reflecting member 2. Can be suppressed. As a result, the wavelength conversion member 5 is not deformed in the manufacturing process and operating environment of the light emitting device, and is difficult to peel off from the reflecting member 2, and the yield in the manufacturing process of the light emitting device is improved. Can be operated.

なお、透光性部材4は、例えばシリコーン樹脂系,エポキシ樹脂系,アクリル樹脂系,フッ素樹脂系,ポリカーボネート樹脂系,ポリイミド樹脂系等が挙げられるが、これに限定されるものではなく、基体1や反射部材2の材質や熱膨張係数等を考慮して適宜選定すればよい。   The translucent member 4 includes, for example, a silicone resin system, an epoxy resin system, an acrylic resin system, a fluororesin system, a polycarbonate resin system, and a polyimide resin system, but is not limited to this, and the substrate 1 Or the material of the reflecting member 2, the thermal expansion coefficient, etc. may be selected as appropriate.

また、透光性部材4は、未硬化の透光性部材4が反射部材2の内側に発光素子3を被覆するようにディスペンサー等の注入器で注入される。その後、未硬化の透光性部材4は、加熱や自然放置または光照射によって硬化されて固化する。なお、透光性部材4の上部を透光性の蓋体で覆うことが必要になるが、液状の透光性部材4を用いてもよいことは言うまでもない。   Further, the translucent member 4 is injected by an injector such as a dispenser so that the uncured translucent member 4 covers the light emitting element 3 inside the reflecting member 2. Thereafter, the uncured translucent member 4 is cured and solidified by heating, natural standing or light irradiation. In addition, although it is necessary to cover the upper part of the translucent member 4 with a translucent cover body, it cannot be overemphasized that the liquid translucent member 4 may be used.

さらに、透光性部材4は、シリコーン樹脂から成ることがより好ましく、発光素子3から発せられる光が、紫外光や近紫外光または青色光等の波長が短くエネルギーが高い光の場合、このような発光素子3の光に対して透過性がよく、分子構造が切断されにくいため、透光性部材4の透過率が劣化し難く、封止信頼性に優れた発光装置を提供することができる。   Furthermore, the translucent member 4 is more preferably made of a silicone resin, and when the light emitted from the light emitting element 3 is light having a short wavelength and high energy such as ultraviolet light, near ultraviolet light, or blue light, The light-emitting element 3 has good transmissivity with respect to light and the molecular structure is difficult to be cut, so that the transmissivity of the translucent member 4 is hardly deteriorated and a light-emitting device excellent in sealing reliability can be provided. .

波長変換部材5は、例えば発光素子3の発する光を波長変換する蛍光体等の波長変換粒子(図示せず)が透明部材に含有されることにより、この波長変換粒子によって波長変換された所定の波長スペクトルを有する光、または発光素子3からの光と波長変換粒子によって波長変換された光とを混合した所定の波長スペクトルを有する光を発光装置から放射できる。   The wavelength conversion member 5 includes, for example, a wavelength conversion particle (not shown) such as a phosphor that converts the wavelength of light emitted from the light-emitting element 3 in the transparent member, so that a predetermined wavelength converted by the wavelength conversion particle is obtained. Light having a wavelength spectrum, or light having a predetermined wavelength spectrum obtained by mixing light from the light emitting element 3 and light converted in wavelength by the wavelength conversion particles can be emitted from the light emitting device.

なお、透明部材は、紫外光領域から可視光領域の光に対して透過率の高いシリコーン樹脂,エポキシ樹脂,ユリア樹脂,フッ素樹脂等の透明樹脂や、低融点ガラス,ゾル−ゲルガラス等の透明ガラスから成る。   The transparent member is made of a transparent resin such as silicone resin, epoxy resin, urea resin, and fluororesin having high transmittance with respect to light in the ultraviolet light region to visible light region, or transparent glass such as low-melting glass or sol-gel glass. Consists of.

また、波長変換粒子は、様々な材料が用いられ、例えば赤はLaS:Eu(EuドープLaS)の蛍光体やLiEuW、緑はZnS:Cu,AlやSrAl:Euの蛍光体、青は(SrCaBaMg)10(POCl:EuやBaMgAl1017:Euの蛍光体等の粒子状のものが用いられる。さらに、このような蛍光体は1種類に限らず、複数のものを任意の割合で配合することにより、所望の発光スペクトルを有する光を出力することができる。 Various materials are used for the wavelength conversion particles. For example, red is La 2 O 2 S: Eu (Eu-doped La 2 O 2 S) phosphor, LiEuW 2 O 8 , and green is ZnS: Cu, Al, SrAl 2 O 4 : Eu phosphor, and blue is (SrCaBaMg) 10 (PO 4 ) 6 Cl 2 : Eu or BaMgAl 10 O 17 : Eu phosphor. Furthermore, the number of such phosphors is not limited to one, and light having a desired emission spectrum can be output by blending a plurality of phosphors at an arbitrary ratio.

なお、波長変換部材5は、波長変換粒子が含有された未硬化の透明部材を、平滑面または粗面のガラス板等の平板または曲面板上に塗布し、加熱または大気中に放置することにより硬化させて形成される。そして、波長変換部材5は発光素子3を覆うように反射部材2に設置される。   The wavelength conversion member 5 is formed by applying an uncured transparent member containing wavelength conversion particles on a flat or curved plate such as a smooth or rough glass plate and heating or leaving it in the air. It is formed by curing. And the wavelength conversion member 5 is installed in the reflection member 2 so that the light emitting element 3 may be covered.

また、発光素子3は、少なくとも紫外領域から青色領域に含まれる光を放射する発光素子3であることがより好ましい。この場合、紫外領域から青色領域の短波長でエネルギーの高い発光素子3の光を、蛍光体等の波長変換粒子または波長変換材によって長波長でエネルギーの低い蛍光等に効率よく変換でき、発光装置の光出力や発光効率を向上できる。   The light emitting element 3 is more preferably a light emitting element 3 that emits light included in at least the ultraviolet region to the blue region. In this case, light of the light emitting element 3 having a short wavelength from the ultraviolet region to the blue region and having high energy can be efficiently converted into long wavelength and low energy fluorescence by using wavelength conversion particles or wavelength conversion materials such as phosphors. Light output and luminous efficiency can be improved.

さらに、発光素子3は、白色光や種々の色の光を発光装置から視感性よく放射させるという観点から200乃至500nmの波長範囲の紫外光から近紫外光および青色光の範囲に発光のピーク強度を有する素子であることがよい。例えば、サファイア基板上にガリウム(Ga)−窒素(N),Al−Ga−N,インジウム(In)−GaN等から構成されるバッファ層,N型層,発光層,P型層を順次積層した窒化ガリウム系化合物半導体やシリコンカーバイド(SiC)系化合物半導体、酸化亜鉛系化合物半導体やセレン化亜鉛系化合物半導体またはダイヤモンド系化合物半導体や窒化ホウ素系化合物半導体等が用いられる。 Furthermore, the light-emitting element 3 emits white light and various colors of light from the light-emitting device with high visibility, and emits light with a peak intensity from ultraviolet light in the wavelength range of 200 to 500 nm to near-ultraviolet light and blue light. It is preferable that the element has For example, a buffer layer composed of gallium (Ga) -nitrogen (N), Al-Ga-N, indium (In) -GaN, etc., an N-type layer, a light-emitting layer, and a P-type layer are sequentially stacked on a sapphire substrate. A gallium nitride compound semiconductor, a silicon carbide (SiC) compound semiconductor, a zinc oxide compound semiconductor, a zinc selenide compound semiconductor, a diamond compound semiconductor, a boron nitride compound semiconductor, or the like is used.

なお、発光素子3から発生する光の紫外領域とは、可視光の短波長端360〜400nmを下限とし、上限は1nmくらいまでの波長範囲の電磁波とする(理化学事典第5版/岩波書店)。また、青色領域とは、可視光の短波長端360〜400nmを上限とし、下限は495nmくらいまでの波長範囲とする(JIS Z8701 XYZ表色系の色度座標)。   Note that the ultraviolet region of light generated from the light emitting element 3 is the lower limit of the short wavelength end of 360 to 400 nm of visible light, and the upper limit is an electromagnetic wave having a wavelength range of up to about 1 nm (Rikagaku Encyclopedia 5th edition / Iwanami Shoten) . In addition, the blue region has an upper limit of the short wavelength end of 360 to 400 nm of visible light and a lower limit of a wavelength range up to about 495 nm (chromaticity coordinates of JIS Z8701 XYZ color system).

また、発光素子3は、その電極がAu−Sn,Sn−Ag,Sn−Ag−CuまたはSn−Pb等のロウ材や半田を用いた金属バンプ、またはAuやAg等の金属を用いた金属バンプ、エポキシ樹脂等の樹脂にAg等の金属粉末を含有して成る導電性樹脂から成る導電性部材(図示せず)を介してフリップチップ実装によって配線導体(図示せず)に電気的に接続される。例えば、配線導体(図示せず)上にペースト状のAu−SnやPb−Sn等の半田材やAgペースト等からなる導電性部材(図示せず)がディスペンサー等を用いて搭載され、発光素子3は発光素子3の電極と導電性部材(図示せず)とが接触するように搭載され、その後、全体が150度〜350度程度で加熱されることにより、発光素子3の電極と配線導体(図示せず)とが導電性部材(図示せず)によって電気的に接続された発光装置を作製する方法や、配線導体(図示せず)上にペースト状のAu−SnやPb−Sn等の半田材から成る導電性部材(図示せず)がディスペンサー等を用いて搭載されるとともに、全体が150度〜350度程度で加熱され、その後、発光素子3は発光素子3の電極と導電性部材(図示せず)とが接触するように搭載され、発光素子3の電極と配線導体(図示せず)とが導電性部材(図示せず)によって電気的に接続された発光装置を作製する方法等がある。また、配線導体(図示せず)および発光素子3の電極を、例えば、ボンディングワイヤ等の導電性部材(図示せず)で電気的に接続する方法を用いてもよく、フリップチップ実装にしか用いることができないものではない。   The light emitting element 3 has a metal bump using a solder material such as Au-Sn, Sn-Ag, Sn-Ag-Cu, or Sn-Pb, or a metal bump, or a metal using a metal such as Au or Ag. Electrically connected to a wiring conductor (not shown) by flip chip mounting via a conductive member (not shown) made of a conductive resin containing a metal powder such as Ag in a resin such as a bump or epoxy resin. Is done. For example, a conductive member (not shown) made of a paste material such as Au-Sn or Pb-Sn or a paste such as Ag paste is mounted on a wiring conductor (not shown) using a dispenser or the like. 3 is mounted so that the electrode of the light-emitting element 3 and a conductive member (not shown) are in contact with each other, and then the whole is heated at about 150 to 350 degrees, whereby the electrode of the light-emitting element 3 and the wiring conductor A method of manufacturing a light emitting device in which a conductive member (not shown) is electrically connected to a conductive member (not shown), paste-like Au—Sn, Pb—Sn, etc. on a wiring conductor (not shown) A conductive member (not shown) made of a solder material is mounted using a dispenser or the like, and the whole is heated at about 150 to 350 degrees. Thereafter, the light-emitting element 3 is electrically connected to the electrodes of the light-emitting element 3. Contact with a member (not shown) It is mounted on so that, the electrode and the wiring conductors of the light-emitting element 3 (not shown) are conductively member (not shown) and a method of manufacturing a light emitting device electrically connected by. Also, a method of electrically connecting the wiring conductor (not shown) and the electrode of the light emitting element 3 with, for example, a conductive member (not shown) such as a bonding wire may be used, which is used only for flip chip mounting. It's not something you can't do.

本発明の照明装置は、上記本発明の発光装置と、発光装置が搭載され、発光装置を駆動する電気配線を有する駆動部と、発光装置から出射される光を反射する光反射手段とを含むことにより、発光装置の輝度が向上し、放射される光の波長等の変動およびそれぞれの発光装置の強度むらが抑制され、それらを集めて照明装置とした本発明の照明装置の強度むらも抑制され、輝度の高いものとなる。   The lighting device of the present invention includes the above-described light emitting device of the present invention, a drive unit on which the light emitting device is mounted and having electric wiring for driving the light emitting device, and a light reflecting means for reflecting light emitted from the light emitting device. As a result, the brightness of the light emitting device is improved, fluctuations in the wavelength of the emitted light and the unevenness of the intensity of each light emitting device are suppressed, and the unevenness of the intensity of the lighting device of the present invention, which is collected as a lighting device, is also suppressed. As a result, the luminance becomes high.

また、本発明の照明装置において、図8,図9,図10,図11に示されるように、一個の発光装置から成る発光装置101を所定の配置となるように設置したり、または、複数個を、例えば、格子状や千鳥状、放射状等の所定の配置となるように設置したりしてもよい。あるいは、複数の発光装置101から成る円形状や多角形状の発光装置101群を同心状に複数群形成したもの等を所定の配置となるように設置してもよい。   Further, in the lighting device of the present invention, as shown in FIGS. 8, 9, 10, and 11, the light emitting devices 101 made up of one light emitting device are installed in a predetermined arrangement, or a plurality of light emitting devices 101 are arranged. For example, the pieces may be installed in a predetermined arrangement such as a lattice shape, a staggered shape, or a radial shape. Or you may install so that the circular shape which consists of the several light-emitting device 101, or the polygonal-shaped light-emitting device 101 group may form several groups concentrically, etc. may become predetermined arrangement | positioning.

例えば、図8の平面図およびその断面図を示す図9のように複数個の発光装置101が発光装置101を駆動するための電気配線を有する駆動部102上に複数列に配置され、発光装置101の周囲に任意の形状に光学設計された反射板等の光反射手段103が設置されてなる発光装置の場合、隣り合う発光装置101との間隔が最短にならない配置、例えば一列に配置された複数個の発光装置101の間に隣り合う列の発光装置101が配置された配置、いわゆる千鳥状の配置とすることが好ましい。即ち、発光装置101が格子状に配置される場合には、発光装置101が縦横直線状の格子に配列されることによりグレアが強くなり、このような発光装置101が人の視覚に入ってくることにより、不快感を起こしやすくなるのに対し、千鳥状とすることにより、グレアが抑制され人の眼に対する不快感を低減することができる。さらに、隣り合う発光装置101間の距離が長くなることにより、隣接する発光装置101間の熱的な干渉が有効に抑制され、発光装置101が実装された駆動部102内における熱のこもりが抑制され、発光装置101の外部に効率よく熱が放散される。その結果、人の眼に対して不快感が小さく、長期間にわたって光学特性の安定した長寿命の発光装置を作製することができる。   For example, as shown in the plan view of FIG. 8 and the cross-sectional view of FIG. 9, a plurality of light emitting devices 101 are arranged in a plurality of rows on a drive unit 102 having electrical wiring for driving the light emitting devices 101, In the case of a light emitting device in which light reflecting means 103 such as a reflecting plate optically designed in an arbitrary shape is installed around 101, the distance between adjacent light emitting devices 101 is not shortest, for example, arranged in a row It is preferable to adopt an arrangement in which adjacent rows of light emitting devices 101 are arranged between a plurality of light emitting devices 101, that is, a so-called staggered arrangement. That is, when the light emitting devices 101 are arranged in a grid, glare is strengthened by arranging the light emitting devices 101 in a vertical and horizontal linear grid, and such a light emitting device 101 enters human vision. Thus, discomfort is likely to occur, but the staggered shape can suppress glare and reduce discomfort to the human eye. Further, since the distance between the adjacent light emitting devices 101 is increased, thermal interference between the adjacent light emitting devices 101 is effectively suppressed, and heat accumulation in the drive unit 102 in which the light emitting devices 101 are mounted is suppressed. Then, heat is efficiently dissipated outside the light emitting device 101. As a result, it is possible to manufacture a light-emitting device with a long life with less discomfort to human eyes and stable optical characteristics over a long period of time.

また、発光装置が、図10の平面図およびその断面図を示す図11のような駆動部102上に複数の発光装置101からなる円形状や多角形状の発光装置101群を、同心状に複数群形成した発光装置の場合、一つの円形状や多角形状の発光装置101群における発光装置101の配置数を発光装置の中央側より外周側ほど多くすることが好ましい。これにより、発光装置101同士の間隔を適度に保ちながら発光装置101をより多く配置することができ、発光装置の照度をより向上させることができる。また、発光装置の中央部の発光装置101の密度を低くして駆動部102の中央部における熱のこもりを抑制することができる。その結果、駆動部102内における温度分布が一様となり、発光装置を設置した外部電気回路基板やヒートシンクに効率よく熱が伝達され、発光装置101の温度上昇を抑制することができ、発光装置101は長期間にわたり安定して動作することができるとともに長寿命の発光装置を作製することができる。   Further, the light emitting device includes a concentric arrangement of a plurality of circular or polygonal light emitting device groups 101 each made up of a plurality of light emitting devices 101 on the drive unit 102 as shown in the plan view of FIG. 10 and a cross-sectional view thereof. In the case of a group of light emitting devices, it is preferable to increase the number of light emitting devices 101 arranged in one circular or polygonal light emitting device 101 group from the center side of the light emitting device to the outer peripheral side. Thereby, it is possible to arrange more light emitting devices 101 while maintaining an appropriate interval between the light emitting devices 101, and it is possible to further improve the illuminance of the light emitting devices. Further, the density of the light emitting device 101 at the center of the light emitting device can be lowered to suppress the accumulation of heat at the center of the driving unit 102. As a result, the temperature distribution in the drive unit 102 becomes uniform, heat is efficiently transmitted to the external electric circuit board or heat sink on which the light emitting device is installed, and the temperature rise of the light emitting device 101 can be suppressed. Can operate stably over a long period of time and can produce a light-emitting device with a long lifetime.

このような発光装置を用いた照明装置としては、例えば、室内や室外で用いられる、一般照明用器具、シャンデリア用照明器具、住宅用照明器具、オフィス用照明器具、店装、展示用照明器具、街路灯用照明器具、誘導灯器具および信号装置、舞台およびスタジオ用の照明器具、広告灯、照明用ポール、水中照明用ライト、ストロボ用ライト、スポットライト、電柱等に埋め込む防犯用照明、非常用照明器具、懐中電灯、電光掲示板等や、調光器、自動点滅器、ディスプレイ等のバックライト、動画装置、装飾品、照光式スイッチ、光センサ、医療用ライト、車載ライト等が挙げられる。   Examples of the lighting device using such a light emitting device include, for example, general lighting fixtures, chandelier lighting fixtures, residential lighting fixtures, office lighting fixtures, store lighting, and display lighting fixtures that are used indoors and outdoors. Street lighting fixtures, guide lights and signaling devices, stage and studio lighting fixtures, advertising lights, lighting poles, underwater lighting lights, strobe lights, spotlights, security lights embedded in power poles, emergency use Examples include lighting fixtures, flashlights, electric bulletin boards, backlights such as dimmers, automatic flashers, displays, moving image devices, ornaments, illuminated switches, optical sensors, medical lights, vehicle lights, and the like.

本発明の発光装置について図1にもとづき以下に実施例を示す。   Examples of the light-emitting device of the present invention will be described below with reference to FIG.

まず、基体1となるアルミナセラミックス基板を準備し、10mm□(一辺10mmの正方形)で厚さ0.5mmの四角板状の上面中央部に、発光素子3が搭載される搭載部2aを形成した。   First, an alumina ceramic substrate serving as the substrate 1 was prepared, and a mounting portion 2a on which the light emitting element 3 was mounted was formed at the center of the upper surface of a square plate having a thickness of 10 mm □ (a square with a side of 10 mm) and a thickness of 0.5 mm. .

また、反射部材2となるアルミニウム部材を準備し、10mm□で高さ8mmの四角柱の中央部に、上側開口直径が8mm、下側開口直径が3mmの円錐台状の貫通孔を形成した。この貫通孔の内周面2aが図1に示す反射部材2の内周面2aとなる。   In addition, an aluminum member to be the reflecting member 2 was prepared, and a truncated cone-shaped through-hole having an upper opening diameter of 8 mm and a lower opening diameter of 3 mm was formed in the center of a quadrangular column of 10 mm □ and a height of 8 mm. The inner peripheral surface 2a of this through hole becomes the inner peripheral surface 2a of the reflecting member 2 shown in FIG.

そして、反射部材2の内周面2aにおいて基体1の上側主面から高さ4mmの位置に、上面が平坦で幅が1mmの支持部2bを設けた。   Then, a support portion 2b having a flat upper surface and a width of 1 mm was provided on the inner peripheral surface 2a of the reflecting member 2 at a position 4 mm high from the upper main surface of the base 1.

支持部2bの上面には、反射部材の内周方向に沿って連続した幅800μmの溝状で溝の断面形状が半径400μmの円弧である凹部2cを切削加工することによって形成した。   The upper surface of the support 2b was formed by cutting a recess 2c having a groove shape having a width of 800 μm and a groove having a radius of 400 μm that was continuous along the inner circumferential direction of the reflecting member.

また、0.35mm□で厚さ0.08mmの近紫外光を発する窒化物系化合物半導体から成る発光素子3を、Au−Snバンプを介して搭載部1aに導出された配線導体にフリップチップ実装によって電気的に接続した後、基体1の上側主面に内周面2aで発光素子3を取り囲むように反射部材2を樹脂接着剤で接着固定した。   Further, the light emitting element 3 made of a nitride compound semiconductor emitting near ultraviolet light having a thickness of 0.35 mm □ and a thickness of 0.08 mm is flip-chip mounted on a wiring conductor led to the mounting portion 1a through an Au—Sn bump. Then, the reflecting member 2 was bonded and fixed to the upper main surface of the substrate 1 with a resin adhesive so as to surround the light emitting element 3 with the inner peripheral surface 2a.

また、赤色発光,緑色発光,青色発光を行なう3種類の蛍光体を含有したシリコーン樹脂を、ディスペンサーで平坦なガラス基板状に塗布し、硬化させて厚さ0.9mmの板状の波長変換部材5を作製した。そして、波長変換部材5を支持部2bに搭載した際、反射部材2の開口部との間に隙間なく塞ぐことができる直径6mmの円盤形状に波長変換部材5を形成し、シリコーン樹脂から成る接着剤6を針先の細いシリンジを装着したディスペンス装置を用いることによって凹部2bに注入し支持部2bに接着固定して発光装置を作製した。その後、発光素子3に通電し、発光装置の色温度と全光束を測定した。   Also, a silicone resin containing three types of phosphors that emit red light, green light, and blue light is applied to a flat glass substrate with a dispenser and cured to form a plate-like wavelength conversion member having a thickness of 0.9 mm. 5 was produced. Then, when the wavelength conversion member 5 is mounted on the support portion 2b, the wavelength conversion member 5 is formed in a disk shape having a diameter of 6 mm that can be closed between the opening portion of the reflection member 2 without any gap, and is bonded with a silicone resin. The light-emitting device was manufactured by injecting the agent 6 into the concave portion 2b by using a dispensing device equipped with a syringe with a thin needle tip and bonding and fixing to the support portion 2b. Thereafter, the light emitting element 3 was energized, and the color temperature and total luminous flux of the light emitting device were measured.

なお、波長変換部材5に含有した蛍光体の密度は、発光装置から放射される光の色温度を6000Kにすることを目標とし、赤色蛍光体(La2O2S:Eu)が5.8g/cm、緑色蛍光体(BaMgAl10O17:Eu)が3.8g/cm、青色蛍光体(BaMgAl10O17:Eu、Mn)が3.8g/cmの蛍光体を波長変換部材5に配合した。 The density of the phosphor contained in the wavelength conversion member 5 is targeted to set the color temperature of the light emitted from the light emitting device to 6000 K, the red phosphor (La2O2S: Eu) is 5.8 g / cm 3 , A phosphor having a green phosphor (BaMgAl10O17: Eu) of 3.8 g / cm 3 and a blue phosphor (BaMgAl10O17: Eu, Mn) of 3.8 g / cm 3 was blended in the wavelength conversion member 5.

また、支持部2bに凹部2cを形成する構成を除いた発光装置を従来の発光装置として作製し、同様に色温度と全光束を測定するとともに本発明の発光装置の特性と比較した。   Further, a light emitting device excluding the configuration in which the concave portion 2c is formed in the support portion 2b was manufactured as a conventional light emitting device, and the color temperature and the total luminous flux were similarly measured and compared with the characteristics of the light emitting device of the present invention.

従来の発光装置では、発光装置から放射される光の全光束は3.2lm(3.2ルーメン)、色温度は6500Kとなり、目標値である6000Kから約500Kで8%程度のズレが生じた。色温度が500K高くなったのは、波長変換部材で変換されなかった発光素子3の光が直接外部にもれてしまい、発光スペクトルが変化し、その結果、色温度が高くなったと考えられる。一方、本発明の発光装置では、発光装置から放射される光の光束は3.4lm(3.4ルーメン)、色温度は5950Kとなり、目標値である6000Kから約50Kで1%程度のズレしか生じなかった。   In the conventional light emitting device, the total luminous flux of light emitted from the light emitting device is 3.2 lm (3.2 lumens), the color temperature is 6500K, and a deviation of about 8% occurs from the target value of 6000K to about 500K. . The reason why the color temperature is increased by 500 K is considered that the light of the light emitting element 3 that has not been converted by the wavelength conversion member is directly leaked to the outside, the emission spectrum is changed, and as a result, the color temperature is increased. On the other hand, in the light emitting device of the present invention, the luminous flux of light emitted from the light emitting device is 3.4 lm (3.4 lumens), the color temperature is 5950K, and the deviation is only about 1% from the target value of 6000K to about 50K. Did not occur.

以上により、本発明の発光装置において全光束は6%向上し、色温度のズレは1%未満に抑制することができ、発光装置の光出力および発光効率の向上と、色バラツキを抑制する構造として有用であることを確認できた。   As described above, in the light emitting device of the present invention, the total luminous flux is improved by 6%, the color temperature deviation can be suppressed to less than 1%, and the light output and light emission efficiency of the light emitting device are improved and the color variation is suppressed. It was confirmed that it was useful.

なお、本発明は上記の実施の形態例および実施例に限定されず、本発明の要旨を逸脱しない範囲内で種々の変更を行なうことは何等支障ない。例えば、反射部材2の内周面2aが平面視において円形状である例を示して説明したが、円形状に限定されることはなく、四角形状やその他の多角形状、楕円形状、その他星型等の不定形状であってもよい。また、反射部材2および基体1の外周形状も円形状に限定されることはなく、その他の多角形状、四角形状や楕円形状、その他の不定形状であってもよい。また、反射部材2の断面形状が直角三角形状のブロック状に示したが、例えば板材等で錐台状に形成されたものでもよい。   It should be noted that the present invention is not limited to the above-described embodiments and examples, and various modifications can be made without departing from the scope of the present invention. For example, the inner peripheral surface 2a of the reflecting member 2 has been described with an example in which the inner peripheral surface 2a has a circular shape in plan view, but is not limited to a circular shape, but a rectangular shape, other polygonal shapes, an elliptical shape, and other star shapes. The shape may be indefinite. Further, the outer peripheral shapes of the reflecting member 2 and the substrate 1 are not limited to a circular shape, and may be other polygonal shapes, quadrangular shapes, elliptical shapes, or other indefinite shapes. Moreover, although the cross-sectional shape of the reflecting member 2 is shown as a right triangle block, it may be formed in a frustum shape with, for example, a plate material.

また、上記説明において上下左右という用語は、単に図面上の位置関係を説明するために用いたものであり、実際の使用時における位置関係を意味するものではない。   In the above description, the terms “upper, lower, left and right” are merely used to describe the positional relationship on the drawing, and do not mean the positional relationship during actual use.

本発明の発光装置の実施の形態の一例を示す断面図である。It is sectional drawing which shows an example of embodiment of the light-emitting device of this invention. 本発明の発光装置の実施の形態の他の例を示す上視平面図である。It is a top view top view which shows the other example of embodiment of the light-emitting device of this invention. 本発明の発光装置の実施の形態の他の例を示す上視平面図である。It is a top view top view which shows the other example of embodiment of the light-emitting device of this invention. 本発明の発光装置の実施の形態の他の例を示す上視平面図である。It is a top view top view which shows the other example of embodiment of the light-emitting device of this invention. 本発明の発光装置の実施の形態の他の例を示す断面図である。It is sectional drawing which shows the other example of embodiment of the light-emitting device of this invention. 本発明の発光装置の実施の形態の他の例を示す断面図である。It is sectional drawing which shows the other example of embodiment of the light-emitting device of this invention. 本発明の発光装置の実施の形態の他の例を示す断面図である。It is sectional drawing which shows the other example of embodiment of the light-emitting device of this invention. 本発明の照明装置の実施の形態の一例を示す上視平面図である。It is a top view top view which shows an example of embodiment of the illuminating device of this invention. 図8の照明装置の断面図である。It is sectional drawing of the illuminating device of FIG. 本発明の照明装置の実施の形態の他の例を示す上視平面図である。It is a top view top view which shows the other example of embodiment of the illuminating device of this invention. 図10の照明装置の断面図である。It is sectional drawing of the illuminating device of FIG. 従来の発光装置の断面図である。It is sectional drawing of the conventional light-emitting device.

符号の説明Explanation of symbols

1:基体
1a:搭載部
2:反射部材
2a:内周面
2b:支持部
2c:凹部
3:発光素子
5:波長変換部材
6:接着剤
DESCRIPTION OF SYMBOLS 1: Base | substrate 1a: Mounting part 2: Reflection member 2a: Inner peripheral surface 2b: Support part 2c: Concave part 3: Light emitting element 5: Wavelength conversion member 6: Adhesive

Claims (8)

上側主面に発光素子が搭載される搭載部を有する基体と、前記搭載部に搭載された発光素子と、前記基体の上側主面に前記発光素子を取り囲むように配置された反射部材と、前記発光素子上に配置された波長変換部材とを具備する発光装置において、
記反射部材は、内周面の途中に接着剤を介して前記波長変換部材を上面で支持するための支持部を有するとともに、該支持部は前記上面に凹を有し、
前記接着剤は、前記凹部に入りこんでいるとともに、前記反射部材の前記内周面における前記支持部よりも上に位置する領域から離れていることを特徴とする発光装置。
A base having a mounting portion on which the light emitting element is mounted on the upper main surface; a light emitting element mounted on the mounting portion; a reflecting member disposed on the upper main surface of the base so as to surround the light emitting element; In a light emitting device comprising a wavelength conversion member disposed on a light emitting element,
Before Symbol reflecting member, and having a support portion for supporting the wavelength converting member by an adhesive in the middle of the inner peripheral surface at the upper surface, the support part has a concave portion on the upper surface,
The said adhesive agent has penetrated into the said recessed part, and is separated from the area | region located above the said support part in the said internal peripheral surface of the said reflection member, The light-emitting device characterized by the above-mentioned .
前記波長変換部材は、側面が前記接着剤から離れていることを特徴とする請求項1に記載の発光装置。 The light emitting device according to claim 1, wherein a side surface of the wavelength conversion member is separated from the adhesive . 平面透視したときに、前記凹部は前記波長変換部材の外周よりも内側に位置していることを特徴とする請求項1または請求項2に記載の発光装置。 3. The light emitting device according to claim 1 , wherein the concave portion is located on an inner side of an outer periphery of the wavelength conversion member when viewed through a plane . 前記凹部は、前記反射部材の内周方向に沿って前記支持部の前記上面に分割して設けられていることを特徴とする請求項1または請求項2に記載の発光装置。 The recess, the light emitting device according to claim 1 or claim 2, characterized in that it is provided by dividing the upper surface of the support portion along the inner circumferential direction of the reflecting member. 前記凹部は、平面視において円形状であることを特徴とする請求項4に記載の発光装置。   The light emitting device according to claim 4, wherein the concave portion has a circular shape in a plan view. 前記凹部は、その縦断面形状が円弧状であることを特徴とする請求項1乃至請求項5のいずれかに記載の発光装置。 The light emitting device according to any one of claims 1 to 5, wherein the concave portion has a circular cross-sectional shape. 前記発光素子は、透光性部材に被覆されており、該透光性部材は、前記反射部材の内側に前記波長変換部材の下面との間に空隙が形成されるように配されていることを特徴とする請求項1乃至請求項6のいずれかに記載の発光装置。 The light emitting element is covered with a translucent member, and the translucent member is disposed so that a gap is formed between the lower surface of the wavelength conversion member and the inner side of the reflection member. The light-emitting device according to any one of claims 1 to 6. 請求項1乃至請求項7のいずれかに記載の発光装置と、前記発光装置が搭載され、前記発光装置を駆動する電気配線を有する駆動部と、前記発光装置から出射される光を反射する光反射手段とを含む照明装置。   The light emitting device according to any one of claims 1 to 7, a driving unit including the light emitting device and having an electric wiring that drives the light emitting device, and light that reflects light emitted from the light emitting device. A lighting device including reflecting means;
JP2006050721A 2006-02-27 2006-02-27 LIGHT EMITTING DEVICE AND LIGHTING DEVICE USING THE SAME Expired - Fee Related JP4873963B2 (en)

Priority Applications (1)

Application Number Priority Date Filing Date Title
JP2006050721A JP4873963B2 (en) 2006-02-27 2006-02-27 LIGHT EMITTING DEVICE AND LIGHTING DEVICE USING THE SAME

Applications Claiming Priority (1)

Application Number Priority Date Filing Date Title
JP2006050721A JP4873963B2 (en) 2006-02-27 2006-02-27 LIGHT EMITTING DEVICE AND LIGHTING DEVICE USING THE SAME

Publications (2)

Publication Number Publication Date
JP2007234637A JP2007234637A (en) 2007-09-13
JP4873963B2 true JP4873963B2 (en) 2012-02-08

Family

ID=38554961

Family Applications (1)

Application Number Title Priority Date Filing Date
JP2006050721A Expired - Fee Related JP4873963B2 (en) 2006-02-27 2006-02-27 LIGHT EMITTING DEVICE AND LIGHTING DEVICE USING THE SAME

Country Status (1)

Country Link
JP (1) JP4873963B2 (en)

Families Citing this family (28)

* Cited by examiner, † Cited by third party
Publication number Priority date Publication date Assignee Title
WO2007144809A1 (en) * 2006-06-14 2007-12-21 Philips Intellectual Property & Standards Gmbh Lighting device
JP2009088112A (en) * 2007-09-28 2009-04-23 Kyocera Corp Light emitting device
JP2009231440A (en) * 2008-03-21 2009-10-08 Nippon Carbide Ind Co Inc Wiring substrate for mounting light emitting element, and light emitting device
RU2496182C2 (en) * 2008-04-08 2013-10-20 Конинклейке Филипс Электроникс Н.В. Illumination device with led and transmissive support containing luminescent material
JP5431706B2 (en) * 2008-10-01 2014-03-05 ミネベア株式会社 Light emitting device
KR100974338B1 (en) * 2008-11-21 2010-08-05 주식회사 루멘스 Light emitting diode package
EP2472613B1 (en) * 2009-08-27 2018-11-28 Kyocera Corporation Light-emitting device
JP5393802B2 (en) * 2009-10-29 2014-01-22 京セラ株式会社 Light emitting device
JP5770466B2 (en) * 2010-12-21 2015-08-26 Necトーキン株式会社 Pyroelectric infrared sensor and manufacturing method thereof
US9082946B2 (en) * 2011-03-07 2015-07-14 Koninklijke Philips N.V. Light emitting module, a lamp, a luminaire and a display device
WO2013041979A1 (en) 2011-09-20 2013-03-28 Koninklijke Philips Electronics N.V. A light emitting module, a lamp, a luminaire and a display device
KR101854777B1 (en) * 2011-11-25 2018-06-14 엘지이노텍 주식회사 Display device and mrthod of fabricating the same
JP5985201B2 (en) 2012-02-20 2016-09-06 シャープ株式会社 Light emitting device and lighting device
KR102080722B1 (en) * 2013-05-23 2020-02-24 엘지이노텍 주식회사 Light emitting module
JP2015109337A (en) * 2013-12-04 2015-06-11 日東電工株式会社 Thermosetting resin composition for optical semiconductor device, lead frame for optical semiconductor device obtained using the same, and optical semiconductor device
JP2015130476A (en) * 2013-12-04 2015-07-16 日東電工株式会社 Epoxy resin composition for optical semiconductor device and lead frame for optical semiconductor device, encapsulated optical semiconductor element and optical semiconductor device obtained using the same
JP5748007B2 (en) * 2014-01-29 2015-07-15 日亜化学工業株式会社 Light emitting device
JP6399783B2 (en) * 2014-03-31 2018-10-03 シチズン時計株式会社 LED light emitting device and manufacturing method thereof
KR102221598B1 (en) * 2014-06-16 2021-03-02 엘지이노텍 주식회사 Light emitting device package
JP6525782B2 (en) * 2015-07-21 2019-06-05 京セラ株式会社 Light emitting device
JP6560045B2 (en) * 2015-07-29 2019-08-14 京セラ株式会社 Light emitting device
US10877346B2 (en) 2016-03-24 2020-12-29 Saturn Licensing Llc Light-emitting device, display apparatus, and illumination apparatus
JP6782551B2 (en) * 2016-03-28 2020-11-11 シチズン時計株式会社 LED light emitting device
JP6825273B2 (en) * 2016-09-09 2021-02-03 日亜化学工業株式会社 Light emitting device
JP6888129B2 (en) * 2019-02-21 2021-06-16 シャープ株式会社 Light emitting device
JP7565843B2 (en) * 2020-03-31 2024-10-11 京セラ株式会社 Light-transmitting window assembly
JP7554694B2 (en) * 2021-03-12 2024-09-20 スタンレー電気株式会社 Semiconductor light emitting device and its manufacturing method
JP7348533B2 (en) * 2021-03-31 2023-09-21 日亜化学工業株式会社 light emitting device

Family Cites Families (6)

* Cited by examiner, † Cited by third party
Publication number Priority date Publication date Assignee Title
JPS58176979A (en) * 1982-04-09 1983-10-17 Matsushita Electric Ind Co Ltd Photo semiconductor device package
JPS63223723A (en) * 1987-03-13 1988-09-19 Fujitsu Ltd Structure for fixing photosemiconductor collimator
JPH04286377A (en) * 1991-03-15 1992-10-12 Toshiba Lighting & Technol Corp Light emitting diode and display device
JP4061869B2 (en) * 2001-07-26 2008-03-19 松下電工株式会社 Method for manufacturing light emitting device
JP4512330B2 (en) * 2002-07-12 2010-07-28 株式会社リコー Composite optical element and optical transceiver
JP3898721B2 (en) * 2004-01-28 2007-03-28 京セラ株式会社 Light emitting device and lighting device

Also Published As

Publication number Publication date
JP2007234637A (en) 2007-09-13

Similar Documents

Publication Publication Date Title
JP4873963B2 (en) LIGHT EMITTING DEVICE AND LIGHTING DEVICE USING THE SAME
JP4789672B2 (en) Light emitting device and lighting device
JP5196711B2 (en) LIGHT EMITTING DEVICE AND LIGHTING DEVICE USING THE SAME
KR100752586B1 (en) Light-emitting apparatus and illuminating apparatus
TWI433344B (en) Light-emitting device and lighting device
JP4698412B2 (en) Light emitting device and lighting device
KR100620844B1 (en) Light-emitting apparatus and illuminating apparatus
JP3978451B2 (en) Light emitting device
CN101447543B (en) Light-emitting device and lighting device
JP2007266356A (en) LIGHT EMITTING DEVICE AND LIGHTING DEVICE USING THE SAME
JP4143043B2 (en) Light emitting device and lighting device
JP2006237264A (en) Light emitting device and lighting device
JP2006066657A (en) Light emitting device and lighting device
JP2006093399A (en) LIGHT EMITTING DEVICE, ITS MANUFACTURING METHOD, AND LIGHTING DEVICE
JP2005277331A (en) Light emitting device and lighting device
JP4671745B2 (en) LIGHT EMITTING DEVICE AND LIGHTING DEVICE USING THE SAME
JP2006100441A (en) Light emitting element storage package, light emitting device, and lighting device
JP4845370B2 (en) Light emitting device and lighting device
JP4948818B2 (en) Light emitting device and lighting device
JP4417757B2 (en) LIGHT EMITTING DEVICE, ITS MANUFACTURING METHOD, AND LIGHTING DEVICE
JP4948841B2 (en) Light emitting device and lighting device
JP2005183897A (en) Light emitting element storage package, light emitting device, and lighting device
JP2007234639A (en) Light emitting device and lighting device
JP2006093612A (en) Light emitting device and lighting device
JP5085851B2 (en) Light emitting device and lighting device

Legal Events

Date Code Title Description
A621 Written request for application examination

Free format text: JAPANESE INTERMEDIATE CODE: A621

Effective date: 20080818

A977 Report on retrieval

Free format text: JAPANESE INTERMEDIATE CODE: A971007

Effective date: 20110208

A131 Notification of reasons for refusal

Free format text: JAPANESE INTERMEDIATE CODE: A131

Effective date: 20110215

A521 Request for written amendment filed

Free format text: JAPANESE INTERMEDIATE CODE: A523

Effective date: 20110414

TRDD Decision of grant or rejection written
A01 Written decision to grant a patent or to grant a registration (utility model)

Free format text: JAPANESE INTERMEDIATE CODE: A01

Effective date: 20111025

A01 Written decision to grant a patent or to grant a registration (utility model)

Free format text: JAPANESE INTERMEDIATE CODE: A01

A61 First payment of annual fees (during grant procedure)

Free format text: JAPANESE INTERMEDIATE CODE: A61

Effective date: 20111122

FPAY Renewal fee payment (event date is renewal date of database)

Free format text: PAYMENT UNTIL: 20141202

Year of fee payment: 3

R150 Certificate of patent or registration of utility model

Free format text: JAPANESE INTERMEDIATE CODE: R150

LAPS Cancellation because of no payment of annual fees