[go: up one dir, main page]

JP4831947B2 - Fuel cell cogeneration system - Google Patents

Fuel cell cogeneration system Download PDF

Info

Publication number
JP4831947B2
JP4831947B2 JP2004254475A JP2004254475A JP4831947B2 JP 4831947 B2 JP4831947 B2 JP 4831947B2 JP 2004254475 A JP2004254475 A JP 2004254475A JP 2004254475 A JP2004254475 A JP 2004254475A JP 4831947 B2 JP4831947 B2 JP 4831947B2
Authority
JP
Japan
Prior art keywords
fuel cell
fuel
heat
control means
demand
Prior art date
Legal status (The legal status is an assumption and is not a legal conclusion. Google has not performed a legal analysis and makes no representation as to the accuracy of the status listed.)
Expired - Fee Related
Application number
JP2004254475A
Other languages
Japanese (ja)
Other versions
JP2006073316A (en
Inventor
端 康 晴 川
Current Assignee (The listed assignees may be inaccurate. Google has not performed a legal analysis and makes no representation or warranty as to the accuracy of the list.)
Tokyo Gas Co Ltd
Original Assignee
Tokyo Gas Co Ltd
Priority date (The priority date is an assumption and is not a legal conclusion. Google has not performed a legal analysis and makes no representation as to the accuracy of the date listed.)
Filing date
Publication date
Application filed by Tokyo Gas Co Ltd filed Critical Tokyo Gas Co Ltd
Priority to JP2004254475A priority Critical patent/JP4831947B2/en
Publication of JP2006073316A publication Critical patent/JP2006073316A/en
Application granted granted Critical
Publication of JP4831947B2 publication Critical patent/JP4831947B2/en
Anticipated expiration legal-status Critical
Expired - Fee Related legal-status Critical Current

Links

Images

Classifications

    • YGENERAL TAGGING OF NEW TECHNOLOGICAL DEVELOPMENTS; GENERAL TAGGING OF CROSS-SECTIONAL TECHNOLOGIES SPANNING OVER SEVERAL SECTIONS OF THE IPC; TECHNICAL SUBJECTS COVERED BY FORMER USPC CROSS-REFERENCE ART COLLECTIONS [XRACs] AND DIGESTS
    • Y02TECHNOLOGIES OR APPLICATIONS FOR MITIGATION OR ADAPTATION AGAINST CLIMATE CHANGE
    • Y02EREDUCTION OF GREENHOUSE GAS [GHG] EMISSIONS, RELATED TO ENERGY GENERATION, TRANSMISSION OR DISTRIBUTION
    • Y02E60/00Enabling technologies; Technologies with a potential or indirect contribution to GHG emissions mitigation
    • Y02E60/30Hydrogen technology
    • Y02E60/50Fuel cells

Landscapes

  • Fuel Cell (AREA)

Description

本発明は、例えば固体酸化物燃料電池(SOFC)や溶融炭酸塩型燃料電池(MCFC)の様な高温作動型の燃料電池を備えたコジェネレーションシステムに関する。   The present invention relates to a cogeneration system including a high temperature operation type fuel cell such as a solid oxide fuel cell (SOFC) or a molten carbonate fuel cell (MCFC).

発電システムとして、固体酸化物燃料電池(SOFC)や溶融炭酸塩型燃料電池(MCFC)といった、高温作動型燃料電池を利用する燃料電池システムは、炭化水素系燃料を改質して利用し、SOFCでは600〜1000℃以上、MCFCでは約500〜900℃以上の高温で作動させる。  Fuel cell systems that use high-temperature operating fuel cells, such as solid oxide fuel cells (SOFC) and molten carbonate fuel cells (MCFC) as power generation systems, reform and use hydrocarbon fuels. Is operated at a high temperature of 600 to 1000 ° C. or more, and MCFC is operated at a temperature of about 500 to 900 ° C. or more.

そのような高温作動型燃料電池では、供給燃料の全てが電池内での発電に利用されることはなく、定格運転時でも60〜80%程度の燃料が発電に、残りの20〜40%程度は未反応燃料として電池外に排出される。未反応燃料はオフガス燃焼室等で燃焼し、その発生熱の一部は燃料電池システムの高温維持や供給燃料の改質などに利用される。また、燃料電池内においても、発電時に内部発熱が生じ、その熱によっても燃料電池システムは高温維持される。なお、ここで供給燃料の発熱量に対する、燃料電池の発電反応に相当する熱量(燃料電池の発電電力に相当する熱量と、燃料電池における発熱に相当する熱量の和)の比は、一般に燃料利用率と呼ばれる。   In such a high temperature operation type fuel cell, not all of the supplied fuel is used for power generation in the cell, and about 60 to 80% of the fuel is used for power generation even during rated operation, and the remaining 20 to 40%. Is discharged out of the battery as unreacted fuel. Unreacted fuel burns in an off-gas combustion chamber or the like, and a part of the generated heat is used for maintaining the fuel cell system at a high temperature, reforming the supplied fuel, or the like. In the fuel cell, internal heat is generated during power generation, and the fuel cell system is maintained at a high temperature by the heat. The ratio of the amount of heat corresponding to the power generation reaction of the fuel cell to the amount of heat generated by the supplied fuel (the sum of the amount of heat corresponding to the power generated by the fuel cell and the amount of heat corresponding to the heat generated by the fuel cell) Called rate.

燃料供給量が同じ場合でも、燃料利用率が異なると電池における発熱とオフガス燃焼による発熱のバランスが大きく変化する。例えば燃料供給量を定格運転時と同じままで燃料利用率を下げることで、燃料電池の出力を低下させることは可能であるが、その場合には電池内での内部発熱が減少し、電池温度が低下する一方、オフガス燃焼する燃料量が増加するため、オフガス部の温度は高温化する。しかし、オフガス燃焼部の熱が、必ずしも電池部分の効率よく伝わるとは限らず、その場合には電池温度が低下し、結果的に熱自立運転が困難となってしまう場合もある。   Even when the fuel supply amount is the same, if the fuel utilization rate is different, the balance between the heat generated in the battery and the heat generated by off-gas combustion changes greatly. For example, it is possible to reduce the output of the fuel cell by reducing the fuel utilization rate while keeping the fuel supply amount the same as during rated operation, but in that case the internal heat generation in the cell will decrease and the battery temperature will decrease. However, since the amount of fuel burned off-gas increases, the temperature of the off-gas portion increases. However, the heat of the off-gas combustion part is not necessarily transmitted efficiently in the battery part. In that case, the battery temperature is lowered, and as a result, the heat self-sustaining operation may become difficult.

また燃料同様、燃料電池に供給する酸化剤中の酸素(MCFCの場合は二酸化炭素も含む)も、その全てが発電に利用されるわけではなく、一般に20〜40%程度が利用され、これは酸化剤利用率と呼ばれる。   Also, as with fuel, oxygen in the oxidant supplied to the fuel cell (including carbon dioxide in the case of MCFC) is not all used for power generation, and generally 20 to 40% is used. Called oxidant utilization.

上記の燃料利用率や酸化剤利用率、また燃料供給量や酸化剤供給量のバランスにより、燃料電池の温度が変化すると同時に、オフガス燃焼の状況も変化することで、結果的に排ガス温度も変化する。
したがって、排ガスに熱交換器を通して給湯や蒸気供給、暖房などに用いる場合、排ガス温度が高すぎて余剰の蒸気やお湯を発生したり、逆に排ガス温度が低すぎる場合には、十分な量の蒸気や暖房エネルギーを供給出来ない場合がある。
The fuel cell temperature changes at the same time as the fuel cell temperature changes due to the fuel usage rate and oxidant usage rate, and the balance between the fuel supply amount and the oxidant supply amount. As a result, the exhaust gas temperature also changes. To do.
Therefore, when using exhaust gas through a heat exchanger for hot water supply, steam supply, heating, etc., if the exhaust gas temperature is too high and excessive steam or hot water is generated, or conversely, the exhaust gas temperature is too low, a sufficient amount Steam or heating energy may not be supplied.

ここで、図17を参照して、固体酸化物燃料電池(SOFC)や溶融炭酸塩型燃料電池(MCFC)といった、高温作動型燃料電池において、供給燃料を100とした場合の運転例として、
電主熱従運転時(利用可能な排熱は少なくても、出来るだけ発電出力を得たい時;Aケース)の(1)発電出力、(2)利用可能な排熱エネルギー、(3)熱自立と燃料改質に要するエネルギーの割合、及び
熱主電従運転時(発電出力は少なくても、出来るだけ温水や蒸気の供給量を増やしたい時;Bケース)の(1)発電出力、(2)利用可能な排熱エネルギー、(3)熱自立と燃料改質に要するエネルギーの割合、
について説明する。
Here, referring to FIG. 17, in a high temperature operation type fuel cell such as a solid oxide fuel cell (SOFC) or a molten carbonate fuel cell (MCFC), as an operation example when the supplied fuel is 100,
(1) Power generation output, (2) Available waste heat energy, and (3) Heat during power main heat operation (when you want to obtain power generation output as much as possible even if there is little waste heat available) (1) Power generation output in the ratio of energy required for self-sustainment and fuel reforming, and heat main operation (when power generation output is small, but want to increase the supply of hot water and steam as much as possible; Case B), ( 2) Available exhaust heat energy, (3) Ratio of energy required for heat self-supporting and fuel reforming,
Will be described.

図17の燃料電池コジェネレーションシステムScは、燃料電池1と空気供給ラインLaに介装されたブロワB、改質用純水を製造するために第1の水供給ラインLw1に介装した純水製造装置C、及び燃料電池1の排気系Hxに介装され、温熱取得用の第2の水供給ラインLw2の水を排気系Hxの熱と熱交換をして、その水に温熱エネルギー或いは蒸気を提供する熱交換器Hhとで構成されている。また、前記第1の水供給ラインLw1の当該システムScの上流には、温度計及び流量計M1が介装され、燃料ガス供給ラインLfの当該システムScの上流にはガスメータM2が介装されている。図17において符号Wは、発電出力ラインを示す。   The fuel cell cogeneration system Sc of FIG. 17 includes the fuel cell 1 and the blower B interposed in the air supply line La, and the pure water interposed in the first water supply line Lw1 to produce reforming pure water. The heat of the second water supply line Lw2 for obtaining heat is exchanged with the heat of the exhaust system Hx, and the heat energy or steam is exchanged with the heat of the exhaust system Hx. It is comprised with the heat exchanger Hh which provides. In addition, a thermometer and a flow meter M1 are installed upstream of the system Sc in the first water supply line Lw1, and a gas meter M2 is installed upstream of the system Sc in the fuel gas supply line Lf. Yes. In FIG. 17, the symbol W indicates a power generation output line.

燃料電池コジェネレーションシステムScは、供給燃料のエネルギーを100とした場合、凡そ、電主熱従運転(Aケース)の場合
(1) 発電出力(定格出力発電)の割合は40〜50、
(2) 利用可能な排熱エネルギーの割合は20〜30、
(3) 熱自立と燃料改質に要するエネルギーの割合は30〜40
である。
一方、熱主電従運転時(ケースB)の場合
(1) 発電出力(定格の25〜50%の発電出力)の割合は20〜30、
(2) 利用可能な排熱エネルギーの割合は40、
(3) 熱自立と燃料改質に要するエネルギーの割合は30〜40
である。
In the fuel cell cogeneration system Sc, assuming that the energy of the supplied fuel is 100, in the case of the electric main heat slave operation (A case) (1) The ratio of the power generation output (rated output power generation) is 40-50,
(2) The ratio of available exhaust heat energy is 20-30.
(3) The ratio of energy required for thermal independence and fuel reforming is 30-40
It is.
On the other hand, in the case of heat main power operation (case B) (1) The ratio of the power generation output (power generation output of 25 to 50% of the rating) is 20 to 30,
(2) The ratio of available waste heat energy is 40,
(3) The ratio of energy required for thermal independence and fuel reforming is 30-40
It is.

燃料電池コジェネレーションシステムでは、電気と熱とを発生する。ここで、燃料電池コジェネレーションシステムが設置される施設(一般家庭、オフィス、病院、その他)の電力需要と給湯需要の特性により、電主熱従運転とするべきか或いは熱主電従運転とするべきか、が異なる。   A fuel cell cogeneration system generates electricity and heat. Here, depending on the characteristics of power demand and hot water supply demand of the facility (general household, office, hospital, etc.) where the fuel cell cogeneration system is installed, it should be the main electric heat subordinate operation or the main heat subordinate operation It should be different.

ここで、図18は一般家庭における1日の電力需要(実線)、熱需要(破線)を共に電力量に換算して示したグラフであり、図19は病院や老人福祉施設などにおける1日の電力需要(実線)、熱需要(破線)を共に電力量に換算して示したグラフである。尚、図18、図19において2点鎖線は、熱電比が変えられない場合の燃料電池の出力を示している。   Here, FIG. 18 is a graph showing the daily power demand (solid line) and heat demand (broken line) in ordinary households converted into electric energy, and FIG. 19 shows the daily power demand in hospitals and elderly welfare facilities. It is the graph which converted and showed electric power demand (solid line) and heat demand (broken line) to electric energy. 18 and 19, the two-dot chain line indicates the output of the fuel cell when the thermoelectric ratio cannot be changed.

一般家庭では、凡そ18時から熱需要が増加し23時位まで熱需要が多い。特に、21時過ぎには入浴需要があるため、電力需要よりも熱需要が多いという需要パターンになる。それ以外の時間帯、すなわち深夜の11時(23時)から翌日の午後6時(18時)まで、特に5時〜18時頃までは、電力需要は多いが熱需要(給湯等)が少ないという需要パターンになる。
一般家庭においては1日を通して熱電比が変えられないので、燃料電池の出力も一定である。そして、18時から21時過ぎまでは、燃料電池の発電出力が電力需要に対して不足するため、外部電力に頼る(買電する)ことになる。
この様な需要パターンを考慮すれば、一般家庭で燃料電池を使用する場合には、図18で示す様に、18時から23時までは排熱回収が主で発電が従となる熱主電従運転を行い、それ以外の時間帯(23時から翌日の18時まで)では、発電が主で排熱回収が従となる電主熱従運転を行うことが好ましい。
In general households, heat demand increases from about 18:00, and there is much heat demand until around 23:00. In particular, since there is a bathing demand after 21:00, there is a demand pattern in which there is more heat demand than electric power demand. During other times, that is, from 11:00 (23:00) at midnight to 6:00 pm (18:00) the following day, especially from 5:00 to 18:00, there is much power demand but less heat demand (hot water supply, etc.) It becomes the demand pattern.
In general households, since the thermoelectric ratio cannot be changed throughout the day, the output of the fuel cell is also constant. From 18:00 to past 21:00, the power generation output of the fuel cell is insufficient with respect to the power demand, so that it depends on external power (purchased power).
Considering such a demand pattern, when a fuel cell is used in a general household, as shown in FIG. 18, from 18:00 to 23:00, the main heat recovery is mainly the heat recovery from the exhaust heat recovery. It is preferable to perform a subordinate operation and to perform a main power subordinate operation in which power generation is the main and exhaust heat recovery is subordinate in other time zones (from 23:00 to 18:00 on the next day).

図19に示すように、病院や老人福祉施設等では、昼間(8時前後から18時前後までの間)は医療機器や介護機器の使用によって電力需要は一様に多く、一方、熱に関しては余り気味である。これに反して、夜間(18時から翌朝の8時前後まで)は既に食事も終え、病人或いは老人を対象としているため、消灯時間は早く、電力は余るが、熱は(特に冬場などの暖房等によって)不足する。
即ち、病院や老人福祉施設等では、昼間(8時前後から18時前後までの間)は電主熱従運転とし、夜間(18時から翌朝の8時前後まで)は熱主電従運転とすることが好ましい。
As shown in FIG. 19, in hospitals and elderly welfare facilities, etc., there is a large amount of power demand during the daytime (between around 8 o'clock and around 18 o'clock) due to the use of medical equipment and nursing care equipment. It's too creepy. Contrary to this, meals have already been completed at night (from 18:00 to around 8:00 the next morning), and because it is intended for sick or elderly people, the turn-off time is fast and power is surplus, but heat (especially in the winter) Etc.)
That is, in hospitals and welfare facilities for the elderly, the main heating operation is performed during the daytime (between about 8 o'clock and around 18 o'clock) and the main heating operation is performed during the night (from 18 o'clock to around 8 o'clock the next morning). It is preferable to do.

上述した様に、同一施設であっても、時間帯によって、電主熱従運転とするべきか、或いは熱主電従運転とするべきか、が異なってくる。   As described above, even in the same facility, whether to perform the electric main heat slave operation or the heat main electric slave operation varies depending on the time zone.

従って、燃料電池コジェネレーションシステムの熱電比(同一の燃料供給量に対して、燃料電池コジェネレーションシステムの電気出力と熱出力との割合)が変更できることが好ましい。そのように、熱電比を変えることが出来ると、省エネルギーにつながる。   Therefore, it is preferable that the thermoelectric ratio of the fuel cell cogeneration system (the ratio of the electric output and the heat output of the fuel cell cogeneration system to the same fuel supply amount) can be changed. In this way, if the thermoelectric ratio can be changed, it will lead to energy saving.

しかし、高温作動型の燃料電池は、熱電比を変えると、熱バランスが崩れて、自立運転が出来なくなる可能性ある。   However, when the thermoelectric ratio is changed in a high-temperature operation type fuel cell, there is a possibility that the heat balance is lost and the self-sustained operation cannot be performed.

固体酸化物燃料電池(SOFC)や溶融炭酸塩型燃料電池(MCFC)などの高温作動方燃料電池とマイクロガスタービンとのハイブリッドシステムにおいて、燃料電池の発電出力を一定に保持したままでマイクロガスタービンの回転数を制御したり、余剰蒸気流量調整弁を制御する、すなわち余剰蒸気をタービンから流量調整弁の開度を調整しながら抽気することで、ハイブリッドシステムの発電出力と熱出力のバランスを制御し、システム全体の熱電比を制御する方法が提案されている(例えば、特許文献1参照)。   In a hybrid system of a high-temperature operating fuel cell such as a solid oxide fuel cell (SOFC) or a molten carbonate fuel cell (MCFC) and a micro gas turbine, the micro gas turbine maintains a constant power output of the fuel cell. The balance between the power generation output and heat output of the hybrid system is controlled by extracting the excess steam from the turbine while adjusting the opening of the flow adjustment valve. And the method of controlling the thermoelectric ratio of the whole system is proposed (for example, refer patent document 1).

然るに、上述の制御方法は、対象としているシステムが、図20に示すように、高温作動方燃料電池1とマイクロガスタービンTCとのハイブリッドシステムShであるため、システムの規模が大きい。従って家庭用や業務用など、中小規模の需要家に対するコジェネレーションシステムとしては設備規模が大き過ぎて、導入が困難である。   However, in the control method described above, the scale of the system is large because the target system is a hybrid system Sh of the high-temperature operating fuel cell 1 and the micro gas turbine TC as shown in FIG. Therefore, as a cogeneration system for small and medium-sized consumers such as home use and business use, the equipment scale is too large and it is difficult to introduce.

当該ハイブリッドシステムSh(図20)、SOFC又はMCFC等の高温作動方燃料電池1とタービンT及びコンプレッサCから成るマイクロガスタービンTCとタービンで駆動される発電機Gとで構成されており、燃料電池1の排気でタービンTを回し、そのタービンTの回転力によってコンプレッサCを駆動し、コンプレッサCは、吸気を圧縮して圧縮された加圧空気が加圧空気供給ラインLacによって燃料電池1に投入される様に構成されている。電力は、燃料電池1の電力ラインW1とタービンTCで駆動される発電機Gの電力ラインW2から得られる。   The hybrid system Sh (FIG. 20) is composed of a high-temperature operating fuel cell 1 such as SOFC or MCFC, a micro gas turbine TC composed of a turbine T and a compressor C, and a generator G driven by the turbine. The turbine T is rotated by the exhaust gas of 1 and the compressor C is driven by the rotational force of the turbine T. The compressor C compresses the intake air, and the compressed air compressed is supplied to the fuel cell 1 through the pressurized air supply line Lac. It is configured to be. Electric power is obtained from the power line W1 of the fuel cell 1 and the power line W2 of the generator G driven by the turbine TC.

上記ガスタービンTCの最適と、燃料電池1の最適とは一致しないので、妥協点をハイブリッドシステムShの最適点としているが、条件が変わると燃料電池1の運転条件が変わり、その結果ガスタービンTCの運転条件は激変してしまう。
したがって、高温作動型燃料電池1とマイクロガスタービンTCの協調運転制御が難しく、熱電比も同様に複雑な制御が必要となる。
Since the optimum of the gas turbine TC and the optimum of the fuel cell 1 do not coincide with each other, the compromise is set as the optimum point of the hybrid system Sh. However, when the conditions change, the operating conditions of the fuel cell 1 change, and as a result, the gas turbine TC The driving conditions will change drastically.
Therefore, cooperative operation control of the high-temperature operating fuel cell 1 and the micro gas turbine TC is difficult, and the thermoelectric ratio also needs to be complicatedly controlled.

更に、当該ハイブリッドシステムSh(電主熱従のシステム)の排熱利用では対応し切れない、例えば工場の製造プロセスで蒸気を大量に使用する(給湯では60℃程度であるが、それに対して、蒸気ではさらに大量の熱エネルギーが必要となる)等、大きな熱需要を持つ需要家に対して、熱供給が困難な場合がある。   Furthermore, the exhaust heat of the hybrid system Sh (electric main heat slave system) cannot be used, for example, a large amount of steam is used in the manufacturing process of a factory (about 60 ° C. for hot water supply, In some cases, it is difficult to supply heat to consumers who have a large demand for heat, such as steam, which requires a larger amount of thermal energy.

また、空気供給圧力を制御できる溶融炭酸塩方燃料電池(MCFC)において、燃料冷却用の空気を供給する圧縮機の回転数を制御し、電池冷却用の空気流量を制御することで、冷却空気の出口温度を変え、その結果排熱量を変えて(冷却空気で取られる熱量を変えて)、熱電比を変更させる技術が提案されている(例えば特許文献2参照)。   In a molten carbonate fuel cell (MCFC) capable of controlling the air supply pressure, cooling air is controlled by controlling the number of revolutions of a compressor that supplies fuel cooling air and controlling the air flow rate for battery cooling. Has been proposed (see, for example, Patent Document 2), in which the thermoelectric ratio is changed by changing the outlet temperature and changing the amount of exhaust heat (changing the amount of heat taken by the cooling air).

また、係る技術も燃料電池とマイクロガスタービンとのハイブリッドシステムであるため(技術の利用が空気圧縮機を有する溶融炭酸塩形燃料電池システムに限られるため)、上述(例えば、特許文献1の様な上述した技術)と同様に、燃料電池とマイクロガスタービンとの協調運転制御が困難であると言う問題点を有している。
更に、タービン(の圧縮機)の運転制御には補機動力を必要とするため、省エネ性が損なわれる。
そして、燃料電池とマイクロガスタービンとのハイブリッドシステムであるため、上述(例えば、特許文献1の様な上述した技術)と同様に、多量の熱を必要とする用途(熱主電従用途)には不向きである。
或いは、空気流量変化に伴い、燃料電池の熱自立バランスが崩れたり、低流量時には酸化剤枯れで電池が破損する恐れがある。
特開2004−111130号公報 特開2004−71279号公報
In addition, since the technology is also a hybrid system of a fuel cell and a micro gas turbine (because use of the technology is limited to a molten carbonate fuel cell system having an air compressor), the above-mentioned (for example, as in Patent Document 1) As described above, there is a problem that cooperative operation control between the fuel cell and the micro gas turbine is difficult.
Furthermore, since the auxiliary power is required for operation control of the turbine (compressor), energy saving performance is impaired.
And since it is a hybrid system of a fuel cell and a micro gas turbine, as in the above (for example, the above-described technique such as Patent Document 1), it is suitable for applications that require a large amount of heat (thermal main power usage). Is unsuitable.
Alternatively, with the change in air flow rate, the thermal self-supporting balance of the fuel cell may be lost, or the battery may be damaged due to oxidant withering at a low flow rate.
JP 2004-111130 A JP 2004-71279 A

本発明は上述した従来技術の問題点に鑑みて提案されたものであり、燃料電池の熱自立運転状態を維持しつつ熱電比が変更可能で、しかも大規模ではない燃料電池コジェネレーションシステムの提供を目的としている。   The present invention has been proposed in view of the above-described problems of the prior art, and provides a fuel cell cogeneration system that can change the thermoelectric ratio while maintaining the thermal self-sustaining operation state of the fuel cell and that is not large-scale. It is an object.

発明者等は、種々研究の結果、燃料電池コジェネレーションシステムの発電出力(例えば、電流密度及び/又は燃料利用率)を変動させればオフガス燃焼の状態も変化し、燃料電池の排気ガスの流量及び温度等の各種パラメータを変動させることで、熱電比を制御できることを見出した。   As a result of various studies, the inventors have changed the state of off-gas combustion if the power generation output (for example, current density and / or fuel utilization rate) of the fuel cell cogeneration system is changed, and the flow rate of the exhaust gas of the fuel cell It was also found that the thermoelectric ratio can be controlled by varying various parameters such as temperature.

本発明によれば、高温作動型の燃料電池(1)と、その燃料電池(1)の発電出力を制御する電流密度制御手段(3)と、その燃料電池(1)に供給される燃料供給量を制御する燃料調整バルブ(5)と、その燃料電池(1)に供給される酸化剤供給量を制御する酸化剤調整バルブ(7)と、その燃料電池(1)の排気系(Lh)に介装され燃料電池(1)の排熱を熱需要側に供給する熱回収手段(15)と、燃料電池システム温度計測器(2)とを備える燃料電池コジェネレーションシステムにおいて、前記電流密度制御手段(3)は出力電力ライン(Le)を介して電力需要(12)に接続されており、燃料電池(1)のオフガス燃焼部(1a)と前記熱回収手段(15)との間には排ガス温度センサ(17)が介装され、前記熱回収手段(15)で熱回収された熱を利用する熱利用手段と前記電力需要(12)と電流密度制御手段(3)と燃料電池システム温度計測手段(2)とからの入力信号を受けて前記燃料調整バルブ(5)と前記酸化剤調整バルブ(7)を制御する制御手段(8)を設け、その制御手段(8)は熱需要および電力需要を計測し(S1)、熱需要の比率が高まっていれば(S2)、燃料供給量を一定にしたまま電流密度制御手段(3)を絞り燃料電池(1)の発電出力を減少させる機能を有している。   According to the present invention, a high temperature operation type fuel cell (1), current density control means (3) for controlling the power generation output of the fuel cell (1), and fuel supply supplied to the fuel cell (1) A fuel adjustment valve (5) for controlling the amount, an oxidant adjustment valve (7) for controlling the amount of oxidant supplied to the fuel cell (1), and an exhaust system (Lh) of the fuel cell (1) In the fuel cell cogeneration system, comprising: a heat recovery means (15) for supplying exhaust heat of the fuel cell (1) to the heat demand side, and a fuel cell system temperature measuring instrument (2); The means (3) is connected to the power demand (12) via the output power line (Le), and is disposed between the off-gas combustion part (1a) of the fuel cell (1) and the heat recovery means (15). An exhaust gas temperature sensor (17) is interposed, and the heat recovery hand The fuel is received in response to input signals from the heat utilization means utilizing the heat recovered in (15), the power demand (12), the current density control means (3), and the fuel cell system temperature measurement means (2). A control means (8) for controlling the regulating valve (5) and the oxidant regulating valve (7) is provided. The control means (8) measures heat demand and power demand (S1), and the ratio of heat demand increases. If so (S2), the current density control means (3) is throttled while the fuel supply amount is kept constant, thereby reducing the power generation output of the fuel cell (1).

また本発明によれば、高温作動型の燃料電池(1)と、その燃料電池(1)の発電出力を制御する電流密度制御手段(3)と、その燃料電池(1)に供給される燃料供給量を制御する燃料調整バルブ(5)と、その燃料電池(1)に供給される酸化剤供給量を制御する酸化剤調整バルブ(7)と、その燃料電池(1)の排気系(Lh)に介装され燃料電池(1)の排熱を熱需要側に供給する熱回収手段(15)と、燃料電池システム温度計測器(2)とを備える燃料電池コジェネレーションシステムにおいて、前記電流密度制御手段(3)は出力電力ライン(Le)を介して電力需要(12)に接続されており、燃料電池(1)のオフガス燃焼部(1a)と前記熱回収手段(15)との間には排ガス温度センサ(17)が介装され、前記熱回収手段(15)で熱回収された熱を利用する熱利用手段と前記電力需要(12)と電流密度制御手段(3)と燃料電池システム温度計測手段(2)とからの入力信号を受けて前記燃料調整バルブ(5)と前記酸化剤調整バルブ(7)を制御する制御手段(8)を設け、その制御手段(8)は熱需要および電力需要を計測し(S11)、電力需要の比率が高まっていれば(S12)、燃料供給量を一定にしたまま電流密度制御手段(3)を開放して燃料電池(1)の発電出力を増大させる機能を有している。   Further, according to the present invention, the high-temperature operation type fuel cell (1), the current density control means (3) for controlling the power generation output of the fuel cell (1), and the fuel supplied to the fuel cell (1) A fuel adjustment valve (5) for controlling the supply amount, an oxidant adjustment valve (7) for controlling an oxidant supply amount supplied to the fuel cell (1), and an exhaust system (Lh) of the fuel cell (1) ) And a fuel cell cogeneration system comprising a heat recovery means (15) for supplying exhaust heat of the fuel cell (1) to the heat demand side, and a fuel cell system temperature meter (2). The control means (3) is connected to the power demand (12) via the output power line (Le), and between the off-gas combustion part (1a) of the fuel cell (1) and the heat recovery means (15). Is equipped with an exhaust gas temperature sensor (17), Receiving the input signals from the heat utilization means for utilizing the heat recovered by the means (15), the power demand (12), the current density control means (3), and the fuel cell system temperature measurement means (2); A control means (8) for controlling the fuel adjustment valve (5) and the oxidant adjustment valve (7) is provided. The control means (8) measures heat demand and power demand (S11), and the ratio of power demand is If it increases (S12), it has a function of increasing the power generation output of the fuel cell (1) by opening the current density control means (3) while keeping the fuel supply amount constant.

そして本発明によれば、高温作動型の燃料電池(1)と、その燃料電池(1)の発電出力を制御する電流密度制御手段(3)と、その燃料電池(1)に供給される燃料供給量を制御する燃料調整バルブ(5)と、その燃料電池(1)に供給される酸化剤供給量を制御する酸化剤調整バルブ(7)と、その燃料電池(1)の排気系(Lh)に介装され燃料電池(1)の排熱を熱需要側に供給する熱回収手段(15)と、燃料電池システム温度計測器(2)とを備える燃料電池コジェネレーションシステムにおいて、前記電流密度制御手段(3)はD/Dコンバータ(9)を有する出力電力ライン(Le)を介して電力需要(12)に接続されており、燃料電池(1)のオフガス燃焼部(1a)と前記熱回収手段(15)との間には排ガス温度センサ(17)と電気ヒータ(19)とが介装され、前記電気ヒータ(19)は電流制御手段(18)を介装したサブ電力ライン(Les)で前記D/Dコンバータ(9)に接続され、前記熱回収手段(15)で熱回収された熱を利用する熱利用手段と前記電力需要(12)と電流密度制御手段(3)と燃料電池システム温度計測手段(2)とからの入力信号を受けて前記燃料調整バルブ(5)と前記酸化剤調整バルブ(7)を制御しかつ電流制御手段(18)をオンオフする制御手段(8)を設け、その制御手段(8)は熱需要および電力需要を計測し(S21)、電力需要が余っていれば(S22)、熱需要に対し排熱回収量が不足しているか否かを判断し(S23)、熱需要に対して排熱回収量が不足していれば電流制御手段(18)を作動させ(S24)、排熱回収量が熱需要を上回っていれば(S26)、電流制御手段(18)を切る機能を有している。   According to the present invention, the high-temperature operating fuel cell (1), the current density control means (3) for controlling the power generation output of the fuel cell (1), and the fuel supplied to the fuel cell (1) A fuel adjustment valve (5) for controlling the supply amount, an oxidant adjustment valve (7) for controlling an oxidant supply amount supplied to the fuel cell (1), and an exhaust system (Lh) of the fuel cell (1) ) And a fuel cell cogeneration system comprising a heat recovery means (15) for supplying exhaust heat of the fuel cell (1) to the heat demand side, and a fuel cell system temperature meter (2). The control means (3) is connected to the power demand (12) via an output power line (Le) having a D / D converter (9), and the off-gas combustion part (1a) of the fuel cell (1) and the heat Between the recovery means (15) (17) and an electric heater (19) are interposed, and the electric heater (19) is connected to the D / D converter (9) by a sub power line (Les) interposing a current control means (18). Input from the heat recovery means that uses the heat recovered by the heat recovery means (15), the power demand (12), the current density control means (3), and the fuel cell system temperature measurement means (2). In response to the signal, there is provided control means (8) for controlling the fuel adjustment valve (5) and the oxidant adjustment valve (7) and for turning on / off the current control means (18). And if the power demand is measured (S21) and there is a surplus of power demand (S22), it is determined whether or not the exhaust heat recovery amount is insufficient with respect to the heat demand (S23), and the exhaust heat with respect to the heat demand. If the recovered amount is insufficient, turn the current control means (18) Is dynamic (S24), if the heat recovery amount if greater than the heat demand (S26), and has a function of turning off the current control means (18).

さらに本発明によれば、高温作動型の燃料電池(1)と、その燃料電池(1)の発電出力を制御する電流密度制御手段(3)と、その燃料電池(1)に供給される燃料供給量を制御する燃料調整バルブ(5)と、その燃料電池(1)に供給される酸化剤供給量を制御する酸化剤調整バルブ(7)と、その燃料電池(1)の排気系(Lh)に介装され燃料電池(1)の排熱を熱需要側に供給する熱回収手段(15)と、燃料電池システム温度計測器(2)とを備える燃料電池コジェネレーションシステムにおいて、前記電流密度制御手段(3)は出力電力ライン(Le)を介して電力需要(12)に接続されており、燃料電池(1)のオフガス燃焼部(1a)と前記熱回収手段(15)との間には排ガス温度センサ(17)が介装され、前記熱回収手段(15)で熱回収された熱を利用する熱利用手段と前記電力需要(12)と電流密度制御手段(3)と燃料電池システム温度計測手段(2)とからの入力信号を受けて前記燃料調整バルブ(5)と前記酸化剤調整バルブ(7)を制御する制御手段(8)を設け、その制御手段(8)は熱需要および電力需要を計測し(S31)、熱需要の比率が高まっていれば(S32)、電流密度及び/又は燃料利用率を一定にしたまま燃料調整バルブ(5)を開放して燃料供給量を増加させる機能を有している。   Furthermore, according to the present invention, the fuel cell (1) operated at high temperature, the current density control means (3) for controlling the power generation output of the fuel cell (1), and the fuel supplied to the fuel cell (1) A fuel adjustment valve (5) for controlling the supply amount, an oxidant adjustment valve (7) for controlling an oxidant supply amount supplied to the fuel cell (1), and an exhaust system (Lh) of the fuel cell (1) ) And a fuel cell cogeneration system comprising a heat recovery means (15) for supplying exhaust heat of the fuel cell (1) to the heat demand side, and a fuel cell system temperature meter (2). The control means (3) is connected to the power demand (12) via the output power line (Le), and between the off-gas combustion part (1a) of the fuel cell (1) and the heat recovery means (15). Is provided with an exhaust gas temperature sensor (17), and the heat In response to input signals from the heat utilization means utilizing the heat recovered by the collecting means (15), the power demand (12), the current density control means (3), and the fuel cell system temperature measurement means (2). Control means (8) for controlling the fuel adjustment valve (5) and the oxidant adjustment valve (7) is provided, and the control means (8) measures heat demand and power demand (S31), and the ratio of heat demand (S32), the fuel adjustment valve (5) is opened while the current density and / or fuel utilization rate is kept constant, thereby increasing the fuel supply amount.

かつ本発明によれば、高温作動型の燃料電池(1)と、その燃料電池(1)の発電出力を制御する電流密度制御手段(3)と、その燃料電池(1)に供給される燃料供給量を制御する燃料調整バルブ(5)と、その燃料電池(1)に供給される酸化剤供給量を制御する酸化剤調整バルブ(7)と、その燃料電池(1)の排気系(Lh)に介装され燃料電池(1)の排熱を熱需要側に供給する熱回収手段(15)と、燃料電池システム温度計測器(2)とを備える燃料電池コジェネレーションシステムにおいて、前記電流密度制御手段(3)は出力電力ライン(Le)を介して電力需要(12)に接続されており、燃料電池(1)のオフガス燃焼部(1a)と前記熱回収手段(15)との間には排ガス温度センサ(17)が介装され、前記熱回収手段(15)で熱回収された熱を利用する熱利用手段と前記電力需要(12)と電流密度制御手段(3)と燃料電池システム温度計測手段(2)とからの入力信号を受けて前記燃料調整バルブ(5)と前記酸化剤調整バルブ(7)を制御する制御手段(8)を設け、その制御手段(8)は熱需要および電力需要を計測し(S41)、電力需要の比率が低下していれば(S42)、電力需要が上回っていれば電流密度及び/又は燃料利用率を一定にしたまま燃料調整バルブ(5)を絞り燃料供給量を減少させる機能を有している。   And according to this invention, the fuel cell (1) of a high temperature operation type, the current density control means (3) which controls the electric power generation output of the fuel cell (1), and the fuel supplied to the fuel cell (1) A fuel adjustment valve (5) for controlling the supply amount, an oxidant adjustment valve (7) for controlling an oxidant supply amount supplied to the fuel cell (1), and an exhaust system (Lh) of the fuel cell (1) ) And a fuel cell cogeneration system comprising a heat recovery means (15) for supplying exhaust heat of the fuel cell (1) to the heat demand side, and a fuel cell system temperature meter (2). The control means (3) is connected to the power demand (12) via the output power line (Le), and between the off-gas combustion part (1a) of the fuel cell (1) and the heat recovery means (15). Is equipped with an exhaust gas temperature sensor (17), Receiving the input signals from the heat utilization means for utilizing the heat recovered by the means (15), the power demand (12), the current density control means (3), and the fuel cell system temperature measurement means (2); A control means (8) for controlling the fuel adjustment valve (5) and the oxidant adjustment valve (7) is provided, the control means (8) measures the heat demand and the power demand (S41), and the ratio of the power demand is If it is reduced (S42), if the power demand is higher, the fuel adjustment valve (5) is throttled while the current density and / or fuel utilization rate is kept constant, thereby reducing the fuel supply amount.

また本発明によれば、高温作動型の燃料電池(1)と、その燃料電池(1)の発電出力を制御する電流密度制御手段(3)と、その燃料電池(1)に供給される燃料供給量を制御する燃料調整バルブ(5)と、その燃料電池(1)に供給される酸化剤供給量を制御する酸化剤調整バルブ(7)と、その燃料電池(1)の排気系(Lh)に介装され燃料電池(1)の排熱を熱需要側に供給する熱回収手段(15)と、燃料電池システム温度計測器(2)とを備える燃料電池コジェネレーションシステムにおいて、前記電流密度制御手段(3)は出力電力ライン(Le)を介して電力需要(12)に接続されており、燃料電池(1)のオフガス燃焼部(1a)と前記熱回収手段(15)との間には排ガス温度センサ(17)が介装され、前記熱回収手段(15)で熱回収された熱を利用する熱利用手段と前記電力需要(12)と電流密度制御手段(3)と燃料電池システム温度計測手段(2)とからの入力信号を受けて前記燃料調整バルブ(5)と前記酸化剤調整バルブ(7)を制御する制御手段(8)を設け、その制御手段(8)は熱需要および電力需要を計測し(S51)、熱需要の比率が高まっていれば(S52)、燃料供給量を増加させつつ燃料電池(1)で酸化剤枯れが起きない範囲で電流密度制御手段(3)を調節して電流密度及び/又は燃料利用率を減少させる機能を有している。   Further, according to the present invention, the high-temperature operation type fuel cell (1), the current density control means (3) for controlling the power generation output of the fuel cell (1), and the fuel supplied to the fuel cell (1) A fuel adjustment valve (5) for controlling the supply amount, an oxidant adjustment valve (7) for controlling an oxidant supply amount supplied to the fuel cell (1), and an exhaust system (Lh) of the fuel cell (1) ) And a fuel cell cogeneration system comprising a heat recovery means (15) for supplying exhaust heat of the fuel cell (1) to the heat demand side, and a fuel cell system temperature meter (2). The control means (3) is connected to the power demand (12) via the output power line (Le), and between the off-gas combustion part (1a) of the fuel cell (1) and the heat recovery means (15). Is equipped with an exhaust gas temperature sensor (17), Receiving the input signals from the heat utilization means for utilizing the heat recovered by the means (15), the power demand (12), the current density control means (3), and the fuel cell system temperature measurement means (2); A control means (8) for controlling the fuel adjustment valve (5) and the oxidant adjustment valve (7) is provided, the control means (8) measures the heat demand and the power demand (S51), and the ratio of the heat demand is If it is increased (S52), the current density and / or the fuel utilization rate is decreased by adjusting the current density control means (3) within a range where the oxidant is not withered in the fuel cell (1) while increasing the fuel supply amount. It has a function to make it.

そして本発明によれば、高温作動型の燃料電池(1)と、その燃料電池(1)の発電出力を制御する電流密度制御手段(3)と、その燃料電池(1)に供給される燃料供給量を制御する燃料調整バルブ(5)と、その燃料電池(1)に供給される酸化剤供給量を制御する酸化剤調整バルブ(7)と、その燃料電池(1)の排気系(Lh)に介装され燃料電池(1)の排熱を熱需要側に供給する熱回収手段(15)と、燃料電池システム温度計測器(2)とを備える燃料電池コジェネレーションシステムにおいて、前記電流密度制御手段3)は出力電力ライン(Le)を介して電力需要(12)に接続されており、燃料電池(1)のオフガス燃焼部(1a)と前記熱回収手段(15)との間には排ガス温度センサ(17)が介装され、前記熱回収手段(15)で熱回収された熱を利用する熱利用手段と前記電力需要(12)と発電電力調整手段(3)と燃料電池システム温度計測手段(2)とからの入力信号を受けて前記燃料調整バルブ(5)と前記酸化剤調整バルブ(7)を制御する制御手段(8)を設け、その制御手段(8)は熱需要および電力需要を計測し(S61)、電力需要の比率が低下していれば(S62)、燃料供給量を減少させつつ燃料電池(1)で燃料枯れが起きない範囲で電流密度制御手段(3)を調整して電流密度及び/又は燃料利用率を増加させる機能を有している。   According to the present invention, the high-temperature operating fuel cell (1), the current density control means (3) for controlling the power generation output of the fuel cell (1), and the fuel supplied to the fuel cell (1) A fuel adjustment valve (5) for controlling the supply amount, an oxidant adjustment valve (7) for controlling an oxidant supply amount supplied to the fuel cell (1), and an exhaust system (Lh) of the fuel cell (1) ) And a fuel cell cogeneration system comprising a heat recovery means (15) for supplying exhaust heat of the fuel cell (1) to the heat demand side, and a fuel cell system temperature meter (2). The control means 3) is connected to the power demand (12) via the output power line (Le), and between the off-gas combustion part (1a) of the fuel cell (1) and the heat recovery means (15). An exhaust gas temperature sensor (17) is interposed to Receiving the input signals from the heat utilization means utilizing the heat recovered by the means (15), the power demand (12), the generated power adjustment means (3), and the fuel cell system temperature measurement means (2); A control means (8) for controlling the fuel adjustment valve (5) and the oxidant adjustment valve (7) is provided, the control means (8) measures the heat demand and the power demand (S61), and the ratio of the power demand is If it has decreased (S62), the current density and / or the fuel utilization rate are increased by adjusting the current density control means (3) within the range where fuel depletion does not occur in the fuel cell (1) while decreasing the fuel supply amount. It has a function to make it.

さらに本発明によれば、高温作動型の燃料電池(1)と、その燃料電池(1)の発電出力を制御する電流密度制御手段(3)と、その燃料電池(1)に供給される燃料供給量を制御する燃料調整バルブ(5)と、その燃料電池(1)に供給される酸化剤供給量を制御する酸化剤調整バルブ(7)と、その燃料電池(1)の排気系(Lh)に介装され燃料電池(1)の排熱を熱需要側に供給する熱回収手段(15)と、燃料電池システム温度計測器(2)とを備える燃料電池コジェネレーションシステムにおいて、前記電流密度制御手段(3)は出力電力ライン(Le)を介して電力需要(12)に接続されており、燃料電池(1)のオフガス燃焼部(1a)と前記熱回収手段(15)との間には排ガス温度センサ(17)が介装され、前記オフガス燃焼部(1a)に酸化剤バルブ(22)を介装したオフガス用空気供給ライン(21)に接続され、前記熱回収手段(15)で熱回収された熱を利用する熱利用手段と前記電力需要(12)と電流密度制御手段(3)と燃料電池システム温度計測手段(2)とからの入力信号を受けて前記燃料調整バルブ(5)と前記酸化剤調整バルブ(7)と酸化剤バルブ(22)とを制御する制御手段(8)を設け、その制御手段(8)はオフガスの燃焼状態が希薄側へ移行の必要があるか、ストイキ側に移行する必要があるかを判断し(S72)、希薄側に移行する必要があれば酸化剤バルブ(22)の開度を増し(S73)、ストイキ側に移行する必要があれば酸化剤バルブ(22)の開度を絞る機能を有している。   Furthermore, according to the present invention, the fuel cell (1) operated at high temperature, the current density control means (3) for controlling the power generation output of the fuel cell (1), and the fuel supplied to the fuel cell (1) A fuel adjustment valve (5) for controlling the supply amount, an oxidant adjustment valve (7) for controlling an oxidant supply amount supplied to the fuel cell (1), and an exhaust system (Lh) of the fuel cell (1) ) And a fuel cell cogeneration system comprising a heat recovery means (15) for supplying exhaust heat of the fuel cell (1) to the heat demand side, and a fuel cell system temperature meter (2). The control means (3) is connected to the power demand (12) via the output power line (Le), and between the off-gas combustion part (1a) of the fuel cell (1) and the heat recovery means (15). Is provided with an exhaust gas temperature sensor (17). A heat utilization means connected to an off-gas air supply line (21) having an oxidant valve (22) interposed in the gas combustion section (1a), and utilizing the heat recovered by the heat recovery means (15); The fuel adjustment valve (5), the oxidant adjustment valve (7), and the oxidant in response to input signals from the power demand (12), the current density control means (3), and the fuel cell system temperature measurement means (2). A control means (8) for controlling the valve (22) is provided, and the control means (8) judges whether the off-gas combustion state needs to shift to a lean side or to a stoichiometric side. (S72) If the shift to the lean side is necessary, the opening degree of the oxidizer valve (22) is increased (S73), and if the shift to the stoichiometric side is necessary, the opening degree of the oxidizer valve (22) is reduced. Have.

かつ本発明によれば、高温作動型の燃料電池(1)と、その燃料電池(1)の発電出力を制御する電流密度制御手段(3)と、その燃料電池(1)に供給される燃料供給量を制御する燃料調整バルブ(5)と、その燃料電池(1)に供給される酸化剤供給量を制御する酸化剤調整バルブ(7)と、その燃料電池(1)の排気系(Lh)に介装され燃料電池(1)の排熱を熱需要側に供給する熱回収手段(15)と、燃料電池システム温度計測器(2)とを備える燃料電池コジェネレーションシステムにおいて、前記電流密度制御手段(3)は出力電力ライン(Le)を介して電力需要(12)に接続されており、燃料電池(1)のオフガス燃焼部(1a)と前記熱回収手段(15)との間には排ガス温度センサ(17)が介装され、前記オフガス燃焼部(1a)は燃料バルブ(24)を介装したオフガス燃焼部用の燃料供給ライン(23)に接続され、前記熱回収手段(15)で熱回収された熱を利用する熱利用手段と前記電力需要(12)と電流密度制御手段(3)と燃料電池システム温度計測手段(2)とからの入力信号を受けて前記燃料調整バルブ(5)と前記酸化剤調整バルブ(7)と燃料バルブ(24)とを制御する制御手段(8)を設け、その制御手段(8)は排熱回収量が熱需要を下回っていれば(S81)、燃料バルブ(24)を開いてオフガス燃焼部(1a)に燃料を供給し(S82)、所定時間が経過した後に(S83)、排熱回収量が熱需要を上回ったらば(S84)、オフガス燃焼部(1a)への燃料の供給を停止する機能を有している。   And according to this invention, the fuel cell (1) of a high temperature operation type, the current density control means (3) which controls the electric power generation output of the fuel cell (1), and the fuel supplied to the fuel cell (1) A fuel adjustment valve (5) for controlling the supply amount, an oxidant adjustment valve (7) for controlling an oxidant supply amount supplied to the fuel cell (1), and an exhaust system (Lh) of the fuel cell (1) ) And a fuel cell cogeneration system comprising a heat recovery means (15) for supplying exhaust heat of the fuel cell (1) to the heat demand side, and a fuel cell system temperature meter (2). The control means (3) is connected to the power demand (12) via the output power line (Le), and between the off-gas combustion part (1a) of the fuel cell (1) and the heat recovery means (15). Is equipped with an exhaust gas temperature sensor (17) The heat combustion means (1a) is connected to a fuel supply line (23) for an off-gas combustion part having a fuel valve (24) interposed therebetween, and uses heat recovered by the heat recovery means (15). Receiving the input signals from the power demand (12), the current density control means (3) and the fuel cell system temperature measurement means (2), the fuel adjustment valve (5) and the oxidant adjustment valve (7) The control means (8) for controlling the fuel valve (24) is provided. If the exhaust heat recovery amount is less than the heat demand (S81), the control means (8) opens the fuel valve (24) to perform off-gas combustion. When the fuel is supplied to the part (1a) (S82) and a predetermined time has elapsed (S83) and the amount of exhaust heat recovery exceeds the heat demand (S84), the fuel is supplied to the off-gas combustion part (1a). Has a function to stop.

また本発明によれば、高温作動型の燃料電池(1)と、その燃料電池(1)の発電出力を制御する電流密度制御手段(3)と、その燃料電池(1)に供給される燃料供給量を制御する燃料調整バルブ(5)と、その燃料電池(1)に供給される酸化剤供給量を制御する酸化剤調整バルブ(7)と、その燃料電池(1)の排気系(Lh)に介装され燃料電池(1)の排熱を熱需要側に供給する熱回収手段(15)と、燃料電池システム温度計測器(2)とを備える燃料電池コジェネレーションシステムにおいて、前記電流密度制御手段(3)は出力電力ライン(Le)を介して電力需要(12)に接続されており、燃料電池(1)のオフガス燃焼部(1a)と前記熱回収手段(15)との間の排ガスライン(Lh)には排ガス温度センサ(17)と点火栓(25P)を有する追い焚きバーナ(25)とが介装され、その追い焚きバーナ(25)には燃料バルブ(27)を介装した燃料供給ライン(26)が接続され、前記熱回収手段(15)で熱回収された熱を利用する熱利用手段と前記電力需要(12)と電流密度制御手段(3)と燃料電池システム温度計測手段(2)とからの入力信号を受けて前記燃料調整バルブ(5)と前記酸化剤調整バルブ(7)と燃料バルブ(27)と点火栓(25P)とを制御する制御手段(8)を設け、その制御手段(8)は排熱回収量が熱需要を下回っていれば(S91)、燃料バルブ(27)を開き追い焚きバーナ(25)に燃料を供給して点火栓(25P)で着火させ(S92)、所定時間経過した後に(S93)、排熱回収量が熱需要を上回ってきたらば(S94)、追い焚きバーナ(25)を消して燃料供給をカットする(S95)機能を有している。   Further, according to the present invention, the high-temperature operation type fuel cell (1), the current density control means (3) for controlling the power generation output of the fuel cell (1), and the fuel supplied to the fuel cell (1) A fuel adjustment valve (5) for controlling the supply amount, an oxidant adjustment valve (7) for controlling an oxidant supply amount supplied to the fuel cell (1), and an exhaust system (Lh) of the fuel cell (1) ) And a fuel cell cogeneration system comprising a heat recovery means (15) for supplying exhaust heat of the fuel cell (1) to the heat demand side, and a fuel cell system temperature meter (2). The control means (3) is connected to the power demand (12) via the output power line (Le), and is connected between the off-gas combustion part (1a) of the fuel cell (1) and the heat recovery means (15). The exhaust gas temperature sensor (17) is connected to the exhaust gas line (Lh). And a reheating burner (25) having a spark plug (25P), and a fuel supply line (26) having a fuel valve (27) connected to the reheating burner (25), In response to input signals from the heat utilization means utilizing the heat recovered by the recovery means (15), the power demand (12), the current density control means (3), and the fuel cell system temperature measurement means (2). Control means (8) for controlling the fuel adjustment valve (5), the oxidant adjustment valve (7), the fuel valve (27), and the spark plug (25P) is provided, and the control means (8) is for recovering exhaust heat. If the amount is below the heat demand (S91), the fuel valve (27) is opened, fuel is supplied to the reheating burner (25) and ignited by the spark plug (25P) (S92). S93), Exhaust heat recovery exceeds heat demand If Kitara (S94), cutting the fuel supply to turn off the fired burner (25) to follow (S95) has a function.

上述した様な構成を具備する本発明によれば、燃料電池(1)と、該燃料電池(1)の発電出力(例えば、電流密度及び/又は燃料利用率)を制御する発電出力調整手段(例えば、パワーコンディショナー3)と、燃料電池(1)に供給する燃料供給量を制御する燃料供給量制御手段(燃料調整バルブ5)と、燃料電池(1)に供給する酸化剤(例えば、空気)供給量を制御する酸化剤供給量制御手段(酸化剤調整バルブ7)と、燃料電池(1)の排気系(Lh)に介装され燃料電池排熱を熱需要側(給湯器、ボイラ等)へ供給する熱回収手段(例えば、熱交換器15)と、燃料電池(1)の運転状態を監視する運転状態監視手段(例えば、燃料電池本体に介装された電池温度センサや、排気系に介装された排気ガス温度センサ17)と、制御手段(燃料電池コジェネ監視装置、電池コントローラー8)とを含み、該制御手段(8)は、熱需要の変動に対応して燃料電池(1)の発電出力(例えば、電流密度及び/又は燃料利用率)及び/又は燃料電池(1)の排気ガス温度を変化させる制御を行う様に構成されていて、燃料電池(1)単体で熱電比の変更が可能であり、装置や制御方法が大幅に簡略化される。   According to the present invention having the above-described configuration, the fuel cell (1) and the power generation output adjusting means for controlling the power generation output (for example, current density and / or fuel utilization rate) of the fuel cell (1) ( For example, a power conditioner 3), fuel supply amount control means (fuel adjustment valve 5) for controlling the amount of fuel supplied to the fuel cell (1), and an oxidant (for example, air) supplied to the fuel cell (1) An oxidant supply amount control means (oxidant adjustment valve 7) for controlling the supply amount, and an exhaust system (Lh) of the fuel cell (1) to dissipate the fuel cell exhaust heat on the heat demand side (water heater, boiler, etc.) The heat recovery means (for example, the heat exchanger 15) supplied to the fuel cell (1) and the operating state monitoring means for monitoring the operating state of the fuel cell (1) (for example, a battery temperature sensor interposed in the fuel cell main body or an exhaust system) An intervening exhaust gas temperature sensor 17), Means (fuel cell cogeneration monitoring device, battery controller 8), and the control means (8) generates power output (eg, current density and / or fuel utilization) of the fuel cell (1) in response to fluctuations in heat demand. Rate) and / or control to change the exhaust gas temperature of the fuel cell (1), the thermoelectric ratio can be changed by the fuel cell (1) alone, and the apparatus and control method are greatly increased. Simplified.

そして本発明によれば、発電出力1〜200kWの中小規模の燃料電池コジェネレーションシステムであって、熱電比変更可能な燃料電池コジェネレーションシステムを提供出来る。   According to the present invention, it is possible to provide a fuel cell cogeneration system with a power generation output of 1 to 200 kW, which is a medium to small scale fuel cell cogeneration system that can change the thermoelectric ratio.

さらに本発明によれば、従来は、ハイブリッドタイプに構成されていないと熱電比が変えられなかった燃料電池システムで、熱需要に対して熱供給能力が不足する場合でも、熱需要を賄うことが出来るシステムを提供出来る。   Furthermore, according to the present invention, conventionally, a fuel cell system whose thermoelectric ratio cannot be changed unless it is configured as a hybrid type can cover the heat demand even when the heat supply capacity is insufficient for the heat demand. Can provide a system that can.

さらに、不足熱需要を補う際に、追加燃料供給や、追い焚きバーナ(25)を利用する場合には、高温のオフガス燃焼部(1a)に追加燃料を供給し、或いは、高温排ガス中で追い焚きバーナ(25)を燃焼させるため、不足熱需要を補うための供給燃料量が少量で済む。   Further, when supplementing the shortage heat demand, when additional fuel supply or a reheating burner (25) is used, additional fuel is supplied to the high temperature off-gas combustion section (1a), or it is driven in the high temperature exhaust gas. Since the burning burner (25) is burned, a small amount of fuel is required to make up for the shortage of heat demand.

以下、添付図面を参照して、本発明の実施形態について説明する。   Embodiments of the present invention will be described below with reference to the accompanying drawings.

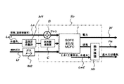
先ず、図1を参照して第1実施形態(全体を包含する実施形態)を説明する。   First, a first embodiment (embodiment including the whole) will be described with reference to FIG.

図1の第1実施形態のシステム(以降、燃料電池コジェネレーションシステムを単にシステムと言う)は、例えば、固体酸化物燃料電池(SOFC)や溶融炭酸塩型燃料電池(MCFC)の様な高温作動型の燃料電池1と、該燃料電池1の発電出力(例えば、電流密度及び/又は燃料利用率)を制御する発電出力調整手段である、パワーコンディショナー3とを有している。   The system of the first embodiment of FIG. 1 (hereinafter, the fuel cell cogeneration system is simply referred to as a system) is operated at a high temperature such as a solid oxide fuel cell (SOFC) or a molten carbonate fuel cell (MCFC). Type fuel cell 1 and a power conditioner 3 which is a power generation output adjusting means for controlling the power generation output (for example, current density and / or fuel utilization rate) of the fuel cell 1.

当該システムは、燃料電池1に燃料を供給する燃料供給ライン4と燃料電池1の酸化剤(例えば空気)を供給する酸化剤供給ライン6を備えており、燃料供給ライン4には燃料電池1に供給する燃料供給量を制御する燃料供給量制御手段(燃料調整バルブ)5が、一方、酸化剤供給ライン6には燃料電池1に供給する酸化剤(例えば、空気)供給量を制御する酸化剤供給量制御手段(酸化剤調整バルブ)7が介装されている。   The system includes a fuel supply line 4 that supplies fuel to the fuel cell 1 and an oxidant supply line 6 that supplies an oxidant (for example, air) of the fuel cell 1, and the fuel supply line 4 includes the fuel cell 1. A fuel supply amount control means (fuel adjustment valve) 5 for controlling the fuel supply amount to be supplied, and an oxidant for controlling an oxidant (for example, air) supply amount to be supplied to the fuel cell 1 in the oxidant supply line 6. Supply amount control means (oxidant adjusting valve) 7 is interposed.

燃料電池のオフガス燃焼部1aには排気系Lhが接続され、その排気系Lhには、燃料電池排熱を例えば上水(水道水)と熱交換して、熱需要側(給湯器、ボイラ等)へ熱回収ラインLbを介して供給する熱回収手段である例えば給湯器(以降、給湯器を熱交換器という)15が介装されており、排気系Lhの熱回収手段15とオフガス燃焼部1aとの間の領域には排気温度を計測するための排ガス温度センサ17が介装されている。
尚、燃料電池1にも直接燃料電池1内の各部の温度を計測するための燃料電池システム温度計測器2が設置されている。
An exhaust system Lh is connected to the off-gas combustion part 1a of the fuel cell, and the exhaust system Lh exchanges heat from the fuel cell exhaust heat with, for example, tap water (tap water) so that the heat demand side (water heater, boiler, etc.) ) Is provided with, for example, a water heater (hereinafter referred to as a heat exchanger) 15 which is a heat recovery means for supplying the heat recovery line Lb to the heat recovery line Lb. An exhaust gas temperature sensor 17 for measuring the exhaust gas temperature is interposed in the area between 1a.
The fuel cell 1 is also provided with a fuel cell system temperature measuring device 2 for directly measuring the temperature of each part in the fuel cell 1.

燃料電池1の出力電力ラインLeは電力需要12に接続され、その出力電力ラインLeには燃料電池1側から順に、電流密度及び/または燃料利用率の制御手段であるパワーコンディショナー3、D/Dコンバータ9、インバータ11が介装されている。   The output power line Le of the fuel cell 1 is connected to the power demand 12, and the output power line Le is sequentially connected from the fuel cell 1 side to the power conditioner 3, D / D which is a means for controlling the current density and / or the fuel utilization rate. A converter 9 and an inverter 11 are interposed.

当該システムは、制御手段(燃料電池コジェネ監視装置及び燃料電池コントロールユニットの複合体)8を有しており、前記燃料電池システム温度計測器2と入力信号ラインLi1で、排ガス温度センサ17と入力信号ラインLi2で、熱(蒸気や湯)使用手段である、例えば図示しない風呂操作パネル等と入力信号ラインLi3で、電力需要とは入力信号ラインLi4で接続されている。   The system includes a control means (a complex of a fuel cell cogeneration monitoring device and a fuel cell control unit) 8, and an exhaust gas temperature sensor 17 and an input signal by the fuel cell system temperature measuring instrument 2 and the input signal line Li 1. The line Li2 is a means for using heat (steam or hot water), for example, a bath operation panel (not shown) or the like and the input signal line Li3, and the power demand is connected by the input signal line Li4.

また、制御手段(以降、制御手段をコントロールユニットと言う)8は、前記燃料調整バルブ5と出力信号ラインLo1で、酸化剤調整バルブ7と出力信号ラインLo2で、パワーコンディショナー3と出力信号ラインLo3で接続されている。   Further, the control means (hereinafter, the control means is referred to as a control unit) 8 includes the fuel adjustment valve 5 and the output signal line Lo1, the oxidant adjustment valve 7 and the output signal line Lo2, the power conditioner 3 and the output signal line Lo3. Connected with.

そしてコントロールユニット8は、熱需要の変動に対応して、燃料電池1の発電出力(例えば、電流密度及び/又は燃料利用率)及び/又は燃料電池1の排気ガス温度を変動させる制御を行う様に構成されている。   The control unit 8 performs control to vary the power generation output (for example, current density and / or fuel utilization rate) and / or the exhaust gas temperature of the fuel cell 1 in response to fluctuations in heat demand. It is configured.

即ち、コントロールユニット8は、前記燃料電池システム温度計測器2からの情報も得ており、燃料電池1の熱自立を維持しつつ排熱回収量を変更出来る構成であり、且つ、発電量と排熱回収量の双方を制御している。   That is, the control unit 8 also obtains information from the fuel cell system temperature measuring instrument 2 and can change the exhaust heat recovery amount while maintaining the heat self-sustainability of the fuel cell 1. Both heat recovery amounts are controlled.

次に、図1及び図2を参照して第2実施形態を説明する。
第2実施形態は、図1の装置における制御方法、すなわち、燃料供給量を一定にし、電流密度及び/又は燃料利用率を低減して熱需要の増加に対処する(排熱回収量を制御する)制御方法に関する実施形態である。
詳細には、第2実施形態は、電力と熱の需要量の内、熱需要の比率が高まった際に、燃料電池の燃料供給量を一定にしたまま、電流密度及び/又は燃料利用率を減少させることで、発電量は減少するが、オフガス燃焼部で燃焼する燃料の割合が増加することで、排ガス温度が上昇し、排熱回収量を増大させる制御である。
Next, a second embodiment will be described with reference to FIGS.
In the second embodiment, the control method in the apparatus of FIG. 1, that is, the fuel supply amount is made constant, and the current density and / or the fuel utilization rate is reduced to cope with the increase in heat demand (control the exhaust heat recovery amount). ) An embodiment relating to a control method.
Specifically, in the second embodiment, the current density and / or the fuel utilization rate are maintained while keeping the fuel supply amount of the fuel cell constant when the ratio of the heat demand among the demand amounts of power and heat increases. By reducing the power generation amount, the power generation amount is reduced, but by increasing the proportion of the fuel combusted in the off-gas combustion section, the exhaust gas temperature rises and the exhaust heat recovery amount is increased.

先ず、ステップS1において、コントロールユニット8は熱需要情報の入力信号ラインLi3及び電力需要情報の入力信号ラインLi4からの情報に基づいて熱需要及び電力需要を計測する。   First, in step S1, the control unit 8 measures heat demand and power demand based on information from the input signal line Li3 for heat demand information and the input signal line Li4 for power demand information.

次のステップS2では、コントロールユニット8は熱需要が電力需要を(相当量)上回っている、すなわち、熱需要比率が高まったか否かを判断して、熱需要比率が高まっていれば(ステップS2のYES)、ステップS3に進み、熱需要比率が高まっていなければ(ステップS2のNO)、ステップS4に進む。   In the next step S2, the control unit 8 determines whether or not the heat demand exceeds the power demand (a considerable amount), that is, the heat demand ratio has increased, and if the heat demand ratio has increased (step S2). NO), the process proceeds to step S3, and if the heat demand ratio is not increased (NO in step S2), the process proceeds to step S4.

ステップS3では、燃料供給量を一定にしたまま、パワーコンディショナー3を絞り、燃料電池1の発電出力を減少させた後、再びステップS1に戻りステップS1以降を繰り返す。   In step S3, with the fuel supply amount kept constant, the power conditioner 3 is squeezed to reduce the power generation output of the fuel cell 1, and then the process returns to step S1 again to repeat step S1 and subsequent steps.

ステップS4では、コントロールユニット8は制御を終了するか否かを判断して、終了であれば(ステップS4のYES)、そのまま制御を終える。一方、制御を続けるのであれば(ステップS4のNO)、ステップS1に戻り再びステップS1以降を繰り返す。   In step S4, the control unit 8 determines whether or not to end the control, and if it is ended (YES in step S4), the control is ended as it is. On the other hand, if the control is continued (NO in step S4), the process returns to step S1 and repeats step S1 and subsequent steps.

図1及び図2の第2実施形態では、上述したように、熱需要比率が高まった場合に燃料供給量を一定にして、電流密度及び/または燃料利用率を低減すれば、オフガス燃焼部で燃焼する燃料の割合が増加する。
そして、オフガス燃焼部で燃焼する燃料の割合が増加すれば、当然、排熱量も増加して、排熱回収量も増加させることが出来る。
In the second embodiment of FIGS. 1 and 2, as described above, if the fuel supply amount is kept constant and the current density and / or fuel utilization rate is reduced when the heat demand ratio increases, the off-gas combustion unit The proportion of fuel that burns increases.
And if the ratio of the fuel combusted in an off-gas combustion part increases, naturally the amount of exhaust heat will also increase and the amount of exhaust heat recovery can also be increased.

次に、図1及び図3を参照して第3実施形態を説明する。
第3実施形態は、図1の装置における第2実施形態とは異なる制御方法、すなわち、電流密度及び/または燃料利用率を増加させて、電力需要の増加に対処する制御方法に関する実施形態である。
詳細には、電力需要比率が高まった際に、燃料電池の燃料供給量を一定としたまま、電流密度及び/又は燃料利用率を増加させることで発電出力を増加させる一方、オフガス燃焼する燃料ガスの割合を減少させて排熱回収量を減少させる制御である。
Next, a third embodiment will be described with reference to FIGS. 1 and 3.
The third embodiment is an embodiment relating to a control method different from the second embodiment in the apparatus of FIG. 1, that is, a control method that copes with an increase in power demand by increasing the current density and / or fuel utilization rate. .
Specifically, when the power demand ratio increases, the fuel gas that burns off gas while increasing the power output by increasing the current density and / or fuel utilization rate while keeping the fuel supply amount of the fuel cell constant. This is a control to reduce the amount of exhaust heat recovery by reducing the ratio of.

図3を参照して、第3実施形態を以下に説明する。
先ず、図3のステップS11において、コントロールユニット8は熱需要情報の入力信号ラインLi3及び電力需要情報の入力信号ラインLi4からの情報に基づいて熱需要及び電力需要を計測する。
A third embodiment will be described below with reference to FIG.
First, in step S11 of FIG. 3, the control unit 8 measures heat demand and power demand based on information from the input signal line Li3 for heat demand information and the input signal line Li4 for power demand information.

次のステップS12では、コントロールユニット8は電力需要が熱需要を(相当量)上回っている、すなわち、電力需要比率が高まったか否かを判断して、電力需要比率が高まっていれば(ステップS12のYES)、ステップS13に進み、電力需要比率が高まっていなければ(ステップS12のNO)、ステップS14に進む。   In the next step S12, the control unit 8 determines whether or not the power demand exceeds (a considerable amount) the heat demand, that is, whether the power demand ratio has increased, and if the power demand ratio has increased (step S12). NO), the process proceeds to step S13, and if the power demand ratio is not increased (NO in step S12), the process proceeds to step S14.

ステップS13では、燃料供給量を一定にしたまま、パワーコンディショナー3を開放して、燃料電池1の発電出力を増大させた後、再びステップS11に戻りステップS11以降を繰り返す。   In step S13, with the fuel supply amount kept constant, the power conditioner 3 is opened to increase the power generation output of the fuel cell 1, and then the process returns to step S11 again to repeat step S11 and subsequent steps.

ステップS14では、コントロールユニット8は制御を終了するか否かを判断して、終了であれば(ステップS14のYES)、そのまま制御を終える。一方、制御を続けるのであれば(ステップS14のNO)、ステップS11に戻り再びステップS11以降を繰り返す。   In step S14, the control unit 8 determines whether or not to end the control, and if it is ended (YES in step S14), the control is ended as it is. On the other hand, if the control is to be continued (NO in step S14), the process returns to step S11 and step S11 and subsequent steps are repeated again.

図1及び図3の第3実施形態では、上述したように、電力需要が増加した場合に燃料供給量を一定にして、電流密度及び/または燃料利用率を増大させれば、オフガス燃焼部で燃焼する燃料の割合が減少する。そして、オフガス燃焼部で燃焼する燃料の割合が減少すれば、当然、排熱量も減少して、排熱回収量も減少させることが出来る。   In the third embodiment of FIGS. 1 and 3, as described above, if the fuel supply amount is made constant when the power demand increases and the current density and / or fuel utilization rate is increased, the off-gas combustion unit The proportion of fuel that burns decreases. And if the ratio of the fuel combusted in an off-gas combustion part decreases, naturally the amount of exhaust heat will also decrease and the amount of exhaust heat recovery can also be decreased.

次に図4及び図5を参照して第4実施形態を説明する。
図4及び図5の第4実施形態は、電気が余っている状態において、熱需要に対して排熱回収量が不足する場合には、燃料電池で発生した電力で、排熱系に介装された、たとえば電気ヒータを作動させて排ガスを加熱し、不足の熱需要を充足させる実施形態である。
Next, a fourth embodiment will be described with reference to FIGS.
In the fourth embodiment shown in FIGS. 4 and 5, in the state where electricity is surplus, when the exhaust heat recovery amount is insufficient with respect to the heat demand, the power generated by the fuel cell is used to interpose the exhaust heat system. In this embodiment, for example, an electric heater is operated to heat the exhaust gas to satisfy the insufficient heat demand.

図4の第4実施形態の装置は、第1〜第3実施形態の装置(図1)に対して、排気系Lhの熱交器15と排ガス温度センサ17の間の領域に電気ヒータ19を介装し、その電気ヒータ19とD/Dコンバータ9をサブ電力ラインLesで接続し、そのサブ電力ラインLesに電流制御手段18を介装した実施形態である。   The apparatus of the fourth embodiment in FIG. 4 is different from the apparatus of the first to third embodiments (FIG. 1) in that an electric heater 19 is provided in the region between the heat exchanger 15 of the exhaust system Lh and the exhaust gas temperature sensor 17. In this embodiment, the electric heater 19 and the D / D converter 9 are connected by the sub power line Les, and the current control means 18 is interposed in the sub power line Les.

コントロールユニット8は電流制御手段18によって電気ヒータ19のON−OFFと、供給電流の制御を行う様に構成されている。
すなわち、第4実施形態では、電気ヒータ19に投入する電力は燃料電池1で発電した電力が用いられる。
The control unit 8 is configured to control the ON / OFF of the electric heater 19 and the supply current by the current control means 18.
That is, in the fourth embodiment, the electric power supplied to the electric heater 19 is the electric power generated by the fuel cell 1.

図5に基づき、図4をも参照して第4実施形態の制御方法を説明する。
先ず、ステップS21において、コントロールユニット8は熱需要情報の入力信号ラインLi3及び電力需要情報の入力信号ラインLi4からの情報に基づいて熱需要及び電力需要を計測する。
Based on FIG. 5, the control method of 4th Embodiment is demonstrated with reference also to FIG.
First, in step S21, the control unit 8 measures heat demand and power demand based on information from the input signal line Li3 for heat demand information and the input signal line Li4 for power demand information.

次のステップS22では、コントロールユニット8は電力需要に対して電力は余っているか否かを判断して、電力が余っていれば(ステップS22のYES)、ステップS23に進み、余っていなければ(ステップS22のNO)、ステップS27まで進む。   In the next step S22, the control unit 8 determines whether there is surplus power with respect to the power demand. If there is surplus power (YES in step S22), the process proceeds to step S23. The process proceeds to step S27 (NO in step S22).

ステップS23では、コントロールユニット8は、熱需要に対して排熱回収量が不足しているか否かを判断して、需要に対して排熱回収量が不足していれば(ステップS23のYES)、ステップS24に進み、需要に対して排熱回収量が不足していなければ(ステップS23のNO)、ステップS27まで進む。   In step S23, the control unit 8 determines whether or not the exhaust heat recovery amount is insufficient for the heat demand, and if the exhaust heat recovery amount is insufficient for the demand (YES in step S23). The process proceeds to step S24, and if the exhaust heat recovery amount is not insufficient with respect to the demand (NO in step S23), the process proceeds to step S27.

ステップS24では、電流制御手段18を作動させて、排熱ラインLhに介装した電気ヒータ19にD/Dコンバータ9を介して燃料電池1で発電した電力を投入し、ステップS25に進む。   In step S24, the electric current control means 18 is operated, the electric power generated by the fuel cell 1 is input to the electric heater 19 interposed in the exhaust heat line Lh via the D / D converter 9, and the process proceeds to step S25.

ステップS25ではコントロールユニット8は、排熱回収量が熱需要を上回ったか否かを判断して、排熱回収量が熱需要を上回った場合は(ステップS25のYES)、ステップS26に進み、上回らなければ(ステップS25のNO)、上回るまでステップS25のループを繰り返す。   In step S25, the control unit 8 determines whether or not the exhaust heat recovery amount exceeds the heat demand. If the exhaust heat recovery amount exceeds the heat demand (YES in step S25), the control unit 8 proceeds to step S26 and exceeds it. If not (NO in step S25), the loop of step S25 is repeated until it exceeds.

ステップS26では、電流制御手段18を切り、ステップS21まで戻り、再びステップS21以降を繰り返す。   In step S26, the current control means 18 is turned off, the process returns to step S21, and step S21 and subsequent steps are repeated again.

ステップS27ではコントロールユニット8は制御を終了するか否かを判断して、終了であれば(ステップS27のYES)、そのまま制御を終える。一方、制御を続けるのであれば(ステップS27のNO)、ステップS21に戻り再びステップS21以降を繰り返す。   In step S27, the control unit 8 determines whether or not to end the control, and if it is ended (YES in step S27), the control is ended as it is. On the other hand, if the control is continued (NO in step S27), the process returns to step S21 and repeats step S21 and subsequent steps.

次に、図1及び図6を参照して第5実施形態を説明する。
第2実施形態〜第4実施形態は燃料供給量を一定にして熱電比を変えているのに対して、第5実施形態〜第8実施形態では、燃料供給量を変動させて、排熱回収量を制御している。
Next, a fifth embodiment will be described with reference to FIGS. 1 and 6.
In the second to fourth embodiments, the fuel supply amount is kept constant and the thermoelectric ratio is changed. In the fifth to eighth embodiments, the fuel supply amount is changed to recover the exhaust heat. The amount is controlled.

第5実施形態は、熱需要比率が高まった際に、燃料電池の電流密度及び/又は燃料利用率を一定としたまま燃料供給量を増加させ、排熱回収率を増大させる制御方法である。
なお、第5実施形態の場合、電気需要は必ずしも増加していない。
The fifth embodiment is a control method for increasing the exhaust heat recovery rate by increasing the fuel supply amount while keeping the current density and / or fuel utilization rate of the fuel cell constant when the heat demand ratio increases.
In the case of the fifth embodiment, the demand for electricity is not necessarily increased.

先ず、図6のステップS31において、コントロールユニット8は熱需要情報の入力信号ラインLi3及び電力需要情報の入力信号ラインLi4からの情報に基づいて熱需要及び電力需要を計測する。   First, in step S31 of FIG. 6, the control unit 8 measures heat demand and power demand based on information from the input signal line Li3 for heat demand information and the input signal line Li4 for power demand information.

次のステップS32では、コントロールユニット8は熱需要が電力需要を(相当量)上回っているか、すなわち、熱需要比率が高まったか否かを判断して、熱需要比率が高まっていれば(ステップS32のYES)、ステップS33に進み、熱需要の比率が高まっていなければ(ステップS32のNO)、ステップS34に進む。   In the next step S32, the control unit 8 determines whether the heat demand exceeds (a considerable amount) the power demand, that is, whether the heat demand ratio has increased, and if the heat demand ratio has increased (step S32). NO), the process proceeds to step S33, and if the ratio of heat demand is not increased (NO in step S32), the process proceeds to step S34.

ステップS33では、電流密度及び/又は燃料利用率を一定にしたまま、燃料調整バルブ5を開放し、燃料供給量を増加させた後、再びステップS31に戻りステップS31以降を繰り返す。
発電出力を維持しつつ、燃料供給量を増加させれば、オフガス燃焼する燃料ガスの量が増加し排ガス温度は上がり、その結果、排熱回収量を増加させることが出来る。
In step S33, with the current density and / or fuel utilization rate kept constant, the fuel adjustment valve 5 is opened and the fuel supply amount is increased. Then, the process returns to step S31 again and repeats step S31 and subsequent steps.
If the fuel supply amount is increased while maintaining the power generation output, the amount of fuel gas for off-gas combustion increases and the exhaust gas temperature rises. As a result, the exhaust heat recovery amount can be increased.

なお、燃料供給量の増加に際しては、燃料電池1の自立運転状態が維持され、且つ酸化剤枯れ(燃料量に対する酸化剤の供給量が不足する現象であって、「酸化剤枯れ」が起きると燃料電池は損傷を受ける)が起きない範囲で、燃料供給量を増加させることが重要である。   When the fuel supply amount is increased, the fuel cell 1 is maintained in a self-sustained operation state, and oxidant depletion (a phenomenon in which the amount of oxidant supplied with respect to the fuel amount is insufficient, and “oxidant depletion” occurs). It is important to increase the fuel supply amount in such a range that the fuel cell is not damaged).

ステップS34では、コントロールユニット8は制御を終了するか否かを判断して、終了であれば(ステップS34のYES)、そのまま制御を終える。一方、制御を続けるのであれば(ステップS34のNO)、ステップS31に戻り再びステップS31以降を繰り返す。   In step S34, the control unit 8 determines whether or not to end the control, and if it is ended (YES in step S34), the control is ended as it is. On the other hand, if the control is to be continued (NO in step S34), the process returns to step S31 and repeats step S31 and subsequent steps.

次に、図1及び図7を参照して第6実施形態を説明する。
第6実施形態は、熱需要比率が低下した際に、燃料電池の電流密度及び/又は燃料利用率を一定にしたままで、燃料供給量を減少させることで、発電出力を維持しつつオフガス燃焼する燃料ガスの量を増大させて排ガス温度を下げ、その結果、排熱回収量を減少させる実施形態である。なお、第6実施形態の場合、電気需要は必ずしも変動しているとは限らない。
Next, a sixth embodiment will be described with reference to FIGS. 1 and 7.
In the sixth embodiment, when the heat demand ratio decreases, the fuel cell current density and / or the fuel utilization rate remain constant, and the fuel supply amount is decreased to maintain off-gas combustion while maintaining the power generation output. This is an embodiment in which the amount of fuel gas to be increased is increased to lower the exhaust gas temperature, and as a result, the exhaust heat recovery amount is decreased. In the case of the sixth embodiment, the electricity demand does not necessarily fluctuate.

先ず、図7のステップS41において、コントロールユニット8は熱需要情報の入力信号ラインLi3及び電力需要情報の入力信号ラインLi4からの情報に基づいて熱需要及び電力需要を計測する。   First, in step S41 of FIG. 7, the control unit 8 measures heat demand and power demand based on information from the input signal line Li3 for heat demand information and the input signal line Li4 for power demand information.

次のステップS42では、コントロールユニット8は電力需要が熱需要を(相当量)上回っているか、すなわち、電力需要比率が減少したか否かを判断して、電力需要比率が減少していれば(ステップS42のYES)、ステップS43に進み、電力需要の比率が高まっていなければ(ステップS42のNO)、ステップS44に進む。   In the next step S42, the control unit 8 determines whether or not the power demand exceeds the heat demand (a considerable amount), that is, whether or not the power demand ratio has decreased, and if the power demand ratio has decreased ( If YES in step S42), the process proceeds to step S43, and if the power demand ratio is not increased (NO in step S42), the process proceeds to step S44.

ステップS43では、電流密度及び/又は燃料利用率を一定にしたまま、燃料調整バルブ5を絞り、燃料供給量を減少させた後、再びステップS41に戻りステップS41以降を繰り返す。
発電出力を維持しつつ、燃料供給量を減少させれば、オフガス燃焼する燃料ガスの量が減少し排ガス温度は下がり、その結果、排熱回収量を減少させることが出来る。
In step S43, with the current density and / or fuel utilization rate kept constant, the fuel adjustment valve 5 is throttled to reduce the fuel supply amount, and then the process returns to step S41 again to repeat step S41 and subsequent steps.
If the fuel supply amount is decreased while maintaining the power generation output, the amount of fuel gas that burns off-gas decreases, the exhaust gas temperature decreases, and as a result, the exhaust heat recovery amount can be decreased.

なお、燃料供給量の減少に際しては、燃料電池1の自立運転状態が維持され且つ燃料枯れ(酸化剤に対する燃料の供給量が不足する現象であって、「燃料枯れ」が起きると燃料電池は損傷を受ける)が起きない範囲で、燃料供給量を減少させることが重要である。   When the fuel supply amount is decreased, the fuel cell 1 is maintained in a self-sustained operation state and the fuel cell is exhausted (a phenomenon in which the fuel supply amount to the oxidant is insufficient. It is important to reduce the amount of fuel supplied to the extent that does not occur.

ステップS44では、コントロールユニット8は制御を終了するか否かを判断して、終了であれば(ステップS44のYES)、そのまま制御を終える。一方、制御を続けるのであれば(ステップS44のNO)、ステップS41に戻り再びステップS41以降を繰り返す。   In step S44, the control unit 8 determines whether or not to end the control, and if it is ended (YES in step S44), the control is ended as it is. On the other hand, if the control is continued (NO in step S44), the process returns to step S41 and repeats step S41 and subsequent steps.

次に、図1及び図8を参照して第7実施形態を説明する。
第5実施形態では出力(電流密度及び/または燃料利用率)は一定だが、図1及び図8の第7実施形態では、熱需要が高まった際に、燃料電池の燃料供給量を増加させつつ、燃料電池で酸化剤枯れが起きない範囲で出力(電流密度及び/または燃料利用率)を減少させ、発電出力を低下させつつオフガス燃焼割合を増加させて排熱回収量を増大させる制御である。
Next, a seventh embodiment will be described with reference to FIGS. 1 and 8.
In the fifth embodiment, the output (current density and / or fuel utilization rate) is constant, but in the seventh embodiment of FIGS. 1 and 8, when the heat demand increases, the fuel supply amount of the fuel cell is increased. In this control, the output (current density and / or fuel utilization rate) is reduced within the range where oxidant depletion does not occur in the fuel cell, and the amount of exhaust heat recovery is increased by increasing the off-gas combustion rate while reducing the power generation output. .

先ず、図8のステップS51において、コントロールユニット8は熱需要情報の入力信号ラインLi3及び電力需要情報の入力信号ラインLi4からの情報に基づいて熱需要及び電力需要を計測する。     First, in step S51 of FIG. 8, the control unit 8 measures heat demand and power demand based on information from the input signal line Li3 for heat demand information and the input signal line Li4 for power demand information.

次のステップS52では、コントロールユニット8は電力需要の比率が高まったか否かを判断して、電力需要の比率が高まっていれば(ステップS52のYES)、ステップS53に進み、電力需要の比率が高まっていなければ(ステップS52のNO)、ステップS54に進む。   In the next step S52, the control unit 8 determines whether or not the power demand ratio has increased, and if the power demand ratio has increased (YES in step S52), the process proceeds to step S53, where the power demand ratio is If not increased (NO in step S52), the process proceeds to step S54.

ステップS53では、燃料供給量を増加させつつ、燃料電池1で酸化剤枯れが起きない範囲で、パワーコンディショナー3を調節して電流密度及び/又は燃料利用率を減少させた後、ステップS51に戻り、再びステップS51以降を繰り返す。
電流密度及び/又は燃料利用率を減少させることにより、発電出力は低下し、オフガス燃焼割合が増加する。そして、オフガス燃焼割合の増加とともに排熱回収量は増大する。
In step S53, the power conditioner 3 is adjusted to decrease the current density and / or the fuel utilization rate within a range in which the fuel cell 1 does not oxidize with increasing the fuel supply amount, and then the process returns to step S51. Step S51 and subsequent steps are repeated again.
By reducing the current density and / or fuel utilization, the power generation output is reduced and the off-gas combustion rate is increased. As the off-gas combustion rate increases, the amount of exhaust heat recovery increases.

ステップS54では、コントロールユニット8は制御を終了するか否かを判断して、終了であれば(ステップS54のYES)、そのまま制御を終える。一方、制御を続けるのであれば(ステップS54のNO)、ステップS51に戻り再びステップS51以降を繰り返す。   In step S54, the control unit 8 determines whether or not to end the control, and if it is ended (YES in step S54), the control is ended as it is. On the other hand, if the control is to be continued (NO in step S54), the process returns to step S51 and repeats step S51 and subsequent steps.

次に、図1及び図9を参照して第8実施形態:図1及びフローチャートを説明する。
第6実施形態では出力(電流密度及び/または燃料利用率)は一定だが、図1及び図9の第8実施形態では、熱需要が低下した際に、燃料電池の燃料供給量を減少させつつ、燃料電池で燃料枯れが起きない範囲で出力(電流密度及び/または燃料利用率)を増加させ、発電出力を増加させつつオフガス燃焼割合を減少させて排熱回収量を減少させる制御である。
Next, an eighth embodiment: FIG. 1 and a flowchart will be described with reference to FIGS.
In the sixth embodiment, the output (current density and / or fuel utilization rate) is constant, but in the eighth embodiment of FIGS. 1 and 9, when the heat demand decreases, the fuel supply amount of the fuel cell is decreased. In this control, the output (current density and / or fuel utilization rate) is increased within a range where fuel depletion does not occur in the fuel cell, and the amount of exhaust heat recovery is decreased by increasing the power generation output and decreasing the off-gas combustion rate.

先ず、図9のステップS61において、コントロールユニット8は熱需要情報の入力信号ラインLi3及び電力需要情報の入力信号ラインLi4からの情報に基づいて熱需要及び電力需要を計測する。   First, in step S61 of FIG. 9, the control unit 8 measures heat demand and power demand based on information from the input signal line Li3 for heat demand information and the input signal line Li4 for power demand information.

次のステップS62では、コントロールユニット8は電力需要比率が低下したか否かを判断して、電力需要比率が低下していれば(ステップS62のYES)、ステップS63に進み、電力需要の比率が低下していなければ(ステップS62のNO)、ステップS64に進む。   In the next step S62, the control unit 8 determines whether or not the power demand ratio has decreased. If the power demand ratio has decreased (YES in step S62), the process proceeds to step S63, where the power demand ratio is If not lowered (NO in step S62), the process proceeds to step S64.

ステップS63では、燃料供給量を減少させつつ、燃料電池1で燃料枯れが起きない範囲で、パワーコンディショナー3を調節して電流密度及び/又は燃料利用率を増加させた後、ステップS61に戻り、再びステップS61以降を繰り返す。
電流密度及び/又は燃料利用率を増加させることにより、発電出力は増加し、オフガス燃焼割合が減少する。そして、オフガス燃焼割合の減少とともに排熱回収量は減少する。
In step S63, the power conditioner 3 is adjusted to increase the current density and / or the fuel utilization rate within a range where fuel depletion does not occur in the fuel cell 1 while reducing the fuel supply amount, and then the process returns to step S61. Step S61 and subsequent steps are repeated again.
By increasing the current density and / or fuel utilization, the power generation output increases and the off-gas combustion rate decreases. As the off-gas combustion rate decreases, the amount of exhaust heat recovery decreases.

ステップS64では、コントロールユニット8は制御を終了するか否かを判断して、終了であれば(ステップS64のYES)、そのまま制御を終える。一方、制御を続けるのであれば(ステップS64のNO)、ステップS61に戻り再びステップS61以降を繰り返す。   In step S64, the control unit 8 determines whether or not to end the control, and if it is ended (YES in step S64), the control is ended as it is. On the other hand, if the control is to be continued (NO in step S64), the process returns to step S61 and repeats step S61 and subsequent steps.

次に、図10及び図11を参照して第9実施形態を説明する。
オフガスは燃料電池1の発電反応に寄与しなかった燃料ガスで、燃料電池下流側のオフガス燃焼部に生じる。そして、オフガスが燃えることにより、排ガスの温度がさらに上昇する。
従って、オフガスの量を変動させてやれば、排熱回収量が調整出来る。
Next, a ninth embodiment will be described with reference to FIGS. 10 and 11.
The off gas is a fuel gas that has not contributed to the power generation reaction of the fuel cell 1 and is generated in the off gas combustion portion downstream of the fuel cell. And when off-gas burns, the temperature of exhaust gas further rises.
Therefore, if the amount of off-gas is varied, the amount of exhaust heat recovery can be adjusted.

図10及び図11の第9実施形態では、オフガス燃焼部に酸化剤(空気)を添加し、その流量を調整することにより、オフガス燃焼を希薄燃焼にするか、ストイキ燃焼にするかを決定する。すなわち、酸化剤流量を増加すれば燃焼状態が希薄燃焼側に移行し、低い排気温度となり、排熱回収量は減少する。
一方、酸化剤流量を減少させれば燃焼状態はストイキ燃焼側に移行し、高い排気温度となり、排熱回収量は増加する。
In the ninth embodiment shown in FIGS. 10 and 11, an oxidant (air) is added to the off-gas combustion section, and the flow rate is adjusted to determine whether the off-gas combustion is lean or stoichiometric. . That is, if the oxidant flow rate is increased, the combustion state shifts to the lean combustion side, the exhaust temperature becomes lower, and the exhaust heat recovery amount decreases.
On the other hand, if the oxidant flow rate is decreased, the combustion state shifts to the stoichiometric combustion side, the exhaust gas temperature becomes high, and the exhaust heat recovery amount increases.

システムの構成は、図10に示すように、図1の例えば第1実施形態の構成に対して、オフガス燃焼部1aにオフガス用空気供給ライン21を設けそのオフガス用空気供給ライン21に酸化剤バルブ(空気調整バルブ)22を介装したものであり、それ以外は図1と同様の構成である。   As shown in FIG. 10, the system has a configuration in which an off-gas air supply line 21 is provided in the off-gas combustion unit 1a and an oxidizer valve is provided in the off-gas air supply line 21 as compared with the configuration of the first embodiment in FIG. (Air adjustment valve) 22 is interposed, and the other configuration is the same as in FIG.

酸化剤バルブ22の開度を調節することで、希薄燃焼、或いはストイキ燃焼が選択出来、希薄燃焼では、低温で大流量の排気となり、ストイキ燃焼では、高温、小流量の排気となる。
すなわち、オフガス燃焼部1aにおけるオフガス燃焼を希薄燃焼にするか、ストイキ燃焼にするかにより、排熱回収量を調整することが出来る。
By adjusting the opening degree of the oxidizer valve 22, lean combustion or stoichiometric combustion can be selected. In lean combustion, exhaust gas has a high flow rate at a low temperature, and in stoichiometric combustion, exhaust gas has a high temperature and a small flow rate.
That is, the amount of exhaust heat recovery can be adjusted depending on whether off-gas combustion in the off-gas combustion unit 1a is lean combustion or stoichiometric combustion.

オフガス燃焼を希薄燃焼にするか、ストイキ燃焼にするかを決定するパラメータとしては、電力需要、熱需要、排気系Lhに介装した熱交換器(熱交換給湯器)15の構造、排気側Lhと給湯側Lbとの温度差等を採用する。   Parameters for determining whether off-gas combustion is lean combustion or stoichiometric combustion include power demand, heat demand, the structure of the heat exchanger (heat exchange water heater) 15 interposed in the exhaust system Lh, and the exhaust side Lh. And a temperature difference between the hot water supply side Lb and the like.

図11に基づいて図10をも参照して第9実施形態の制御方法を説明する。
先ず、ステップS71では、コントロールユニット8は第2、第3、第5〜第8実施形態の制御中であるか否かを判断して、第2、第3、第5〜第8実施形態の制御中である場合は(ステップS71のYES)、ステップS72に進み、第2、第3、第5〜第8実施形態の制御中ではない場合は(ステップS71のNO)、ステップS75に進む。
A control method according to the ninth embodiment will be described with reference to FIG.
First, in step S71, the control unit 8 determines whether or not the control of the second, third, fifth to eighth embodiments is being performed, and the second, third, fifth to eighth embodiments are controlled. If the control is being performed (YES in step S71), the process proceeds to step S72. If the control in the second, third, and fifth to eighth embodiments is not being performed (NO in step S71), the process proceeds to step S75.

ステップS72では、コントロールユニットは、排ガス温度センサ17からの排ガス温度情報(Li2)、給湯ラインLbからの給湯情報(Li3)、電力需要12からの電力需要情報(Li4)等によって、オフガス燃焼状態はOKであるか、希薄燃焼側への移行の必要があるか、或いはストイキ側に移行の必要があるか、を判断する。   In step S72, the control unit determines the off-gas combustion state based on the exhaust gas temperature information (Li2) from the exhaust gas temperature sensor 17, the hot water supply information from the hot water supply line Lb (Li3), the power demand information from the power demand 12 (Li4), and the like. It is determined whether it is OK, whether it is necessary to shift to the lean combustion side, or whether it is necessary to shift to the stoichiometric side.

オフガス燃焼状態がOKである場合はステップS75に進み、希薄燃焼側への移行の必要がある場合は、ステップS73に進み、ストイキ側に移行の必要がある場合はステップS74に進む。   If the off-gas combustion state is OK, the process proceeds to step S75. If it is necessary to shift to the lean combustion side, the process proceeds to step S73. If it is necessary to shift to the stoichiometric side, the process proceeds to step S74.

ステップS73では、酸化剤バルブ22の開度を増やし、オフガス燃焼部1aに供給する酸化剤(空気)の量を増加させてステップS75に進む。
オフガス燃焼部1aに供給する酸化剤(空気)の量を増加させることによって、オフガス燃焼部1aでは希薄燃焼となり、排ガス温度が下がるため、排ガスラインに介装された熱交換器15で得られる回収熱量は減少する。
In step S73, the opening degree of the oxidant valve 22 is increased, the amount of oxidant (air) supplied to the off-gas combustion unit 1a is increased, and the process proceeds to step S75.
By increasing the amount of oxidant (air) supplied to the off-gas combustion unit 1a, the off-gas combustion unit 1a becomes lean combustion, and the exhaust gas temperature is lowered. Therefore, the recovery obtained by the heat exchanger 15 interposed in the exhaust gas line The amount of heat decreases.

ステップS74では、酸化剤バルブ22の開度を絞り、オフガス燃焼部1aに供給する酸化剤(空気)の量を減少させてステップS75に進む。
オフガス燃焼部1aに供給する酸化剤(空気)の量を減少させることによって、オフガス燃焼部1aではストイキ燃焼となり、排ガス温度が上昇するため、排ガスラインに介装された熱交換器15で得られる回収熱量は増加する。
In step S74, the opening degree of the oxidant valve 22 is reduced, the amount of oxidant (air) supplied to the off-gas combustion unit 1a is decreased, and the process proceeds to step S75.
By reducing the amount of oxidant (air) supplied to the off-gas combustion section 1a, the off-gas combustion section 1a becomes stoichiometric combustion, and the exhaust gas temperature rises. Therefore, it is obtained by the heat exchanger 15 interposed in the exhaust gas line. The amount of heat recovered increases.

ステップS75では、コントロールユニット8は制御を終了するか否かを判断し、終了であれば(ステップS75のYES)、そのまま制御を終える。一方、終了しないのであれば(ステップS75のNO)、ステップS71まで戻り、再びステップS71以降を繰り返す。   In step S75, the control unit 8 determines whether or not to end the control. If the control unit 8 has ended (YES in step S75), the control is ended as it is. On the other hand, if not finished (NO in step S75), the process returns to step S71, and step S71 and subsequent steps are repeated again.

次に、図12及び図13を参照して第10実施形態を説明する。
図12及び図13の第10実施形態は、熱回収量が熱需要を下回る場合に、オフガス燃焼部に不足熱需要に相当する燃料を供給することで排熱回収量を増大させて不足分を補う実施形態である。
Next, a tenth embodiment will be described with reference to FIGS. 12 and 13.
The tenth embodiment shown in FIGS. 12 and 13 increases the exhaust heat recovery amount by supplying fuel corresponding to the insufficient heat demand to the off-gas combustion unit when the heat recovery amount is lower than the heat demand, thereby reducing the shortage. It is an embodiment to supplement.

システムの構成は、図12に示すように、図1の例えば第1実施形態の構成に対して、オフガス燃焼部1aにオフガス燃焼部用燃料供給ライン23を設けそのオフガス燃焼部用燃料供給ライン23に燃料バルブ(流量調整バルブ)24を介装したものであり、それ以外は図1と同様の構成である。   As shown in FIG. 12, the system is configured by providing an off-gas combustion unit fuel supply line 23 in the off-gas combustion unit 1a with respect to the configuration of the first embodiment of FIG. 1 is provided with a fuel valve (flow rate adjusting valve) 24, and the other configuration is the same as in FIG.

なお、燃料バルブ24の開度を調節することで、希薄燃焼、或いはストイキ燃焼が選択出来、希薄燃焼では、低温で大流量の排気とすることが出来、ストイキ燃焼では、高温、小流量の排気とすることが出来る。
すなわち、オフガス燃焼部1aにおけるオフガス燃焼を希薄燃焼にするか、ストイキ燃焼にするかにより、排熱回収量を調整することが出来る。
It is to be noted that lean combustion or stoichiometric combustion can be selected by adjusting the opening of the fuel valve 24. In lean combustion, exhaust gas can be made at a low temperature and a large flow rate. In stoichiometric combustion, exhaust gas at a high temperature and a small flow rate can be selected. It can be.
That is, the amount of exhaust heat recovery can be adjusted depending on whether off-gas combustion in the off-gas combustion unit 1a is lean combustion or stoichiometric combustion.

オフガス燃焼を希薄燃焼にするか、ストイキ燃焼にするかを決定するパラメータとしては、電力需要、熱需要、排気系Lhに介装した熱交換器(熱交換給湯器)15の構造、排気側Lhと給湯側Lbとの温度差等を採用する。   Parameters for determining whether off-gas combustion is lean combustion or stoichiometric combustion include power demand, heat demand, the structure of the heat exchanger (heat exchange water heater) 15 interposed in the exhaust system Lh, and the exhaust side Lh. And a temperature difference between the hot water supply side Lb and the like.

図13に基づいて、図12をも参照して第10実施形態の制御方法を説明する。
先ず、ステップS81において、コントロールユニット8は熱回収量が熱需要を下回っているか否かを判断して、下回っている場合は(ステップS81のYES)、ステップS82に進み、下回っていない場合は(ステップS81のNO)、ステップS86まで進む。
Based on FIG. 13, the control method of the tenth embodiment will be described with reference to FIG.
First, in step S81, the control unit 8 determines whether or not the heat recovery amount is below the heat demand. If it is below (YES in step S81), the control unit 8 proceeds to step S82, and if not below ( The process proceeds to step S86 (NO in step S81).

ステップS82では、燃料供給ライン23に介装した燃料バルブ24を開き、オフガス燃焼部1aに燃料を供給する。   In step S82, the fuel valve 24 interposed in the fuel supply line 23 is opened, and fuel is supplied to the off-gas combustion unit 1a.

次のステップS83では、コントロールユニット8は、所定時間が経過するまで監視しており、所定時間が経過したら、ステップS84に進む。ステップS84では、コントロールユニット8は、排熱回収量が熱需要を上回ってきたか否かを判断する。
排熱回収量が熱需要を上回ってきたら(ステップS84のYES)、ステップS85に進み、未だ、上回っていなければ(ステップS84のNO)、ステップS84のループを繰り返す。
In the next step S83, the control unit 8 monitors until a predetermined time elapses, and when the predetermined time elapses, the process proceeds to step S84. In step S84, the control unit 8 determines whether or not the exhaust heat recovery amount has exceeded the heat demand.
If the amount of exhaust heat recovery exceeds the heat demand (YES in step S84), the process proceeds to step S85, and if not yet exceeded (NO in step S84), the loop of step S84 is repeated.

ステップS85では、燃料バルブ24を閉じ、オフガス燃焼部1aへの燃料供給を停止した後、次のステップS86に進む。ステップS86では、コントロールユニット8は制御を終了するか否かを判断しており、終了するのであれば(ステップS86のYES)、そのまま制御は終了する。一方、未だ終了しないのであれば(ステップS86のNO)、ステップS81に戻り、再びステップS81以降を繰り返す。   In step S85, the fuel valve 24 is closed and the fuel supply to the off-gas combustion unit 1a is stopped, and then the process proceeds to the next step S86. In step S86, the control unit 8 determines whether or not to end the control. If the control unit 8 ends the control (YES in step S86), the control ends as it is. On the other hand, if not finished yet (NO in step S86), the process returns to step S81 and repeats step S81 and subsequent steps.

次に、図14及び図15を参照して第11実施形態を説明する。
図14及び図15の第11実施形態は、図14の構成で示すように、燃料電池1の排ガス流路Lhにおける熱交換器15上流部(図示の例)、又は熱交換器15内部に追い焚きバーナ25を介装している。
Next, an eleventh embodiment will be described with reference to FIGS. 14 and 15.
In the eleventh embodiment shown in FIGS. 14 and 15, as shown in the configuration of FIG. 14, the heat exchanger 15 is disposed upstream of the heat exchanger 15 (example shown) in the exhaust gas flow path Lh of the fuel cell 1 or inside the heat exchanger 15. A burning burner 25 is interposed.

その追い焚きバーナ25に燃料流量調整バルブ27を介装した燃料供給ライン26を接続し、燃料電池1の排気によるエネルギー回収量が熱需要を下回った時に、追い焚きバーナ25に設けた点火栓25Pを着火させることによって、追い焚きバーナ25で供給された燃料を燃焼させ、排気の熱エネルギー回収量を増大させる様にしたシステムおよびその制御方法である。   A fuel supply line 26 having a fuel flow rate adjusting valve 27 interposed is connected to the reheating burner 25, and an ignition plug 25P provided in the reheating burner 25 when the amount of energy recovered by exhausting the fuel cell 1 falls below the heat demand. By igniting the fuel, the fuel supplied by the reheating burner 25 is combusted to increase the amount of heat energy recovered from the exhaust, and the control method therefor.

ここで、追い焚きバーナ25直前の排ガス温度が高く、また、当該排ガス中には酸素が十分に含有されている。そのため、追い焚きバーナ25に供給される燃料流量が少なくても、不足熱需要を賄うのに十分な燃焼熱が発生する。   Here, the exhaust gas temperature immediately before the reheating burner 25 is high, and oxygen is sufficiently contained in the exhaust gas. Therefore, even if the flow rate of fuel supplied to the reheating burner 25 is small, sufficient combustion heat is generated to meet the shortage heat demand.

図15に基づいて、図14をも参照して第11実施形態の制御方法を説明する。
先ず、ステップS91において、コントロールユニット8は熱回収量が熱需要を下回っているか否かを判断して、下回っている場合は(ステップS91のYES)、ステップS92に進み、下回っていない場合は(ステップS91のNO)、ステップS96まで進む。
Based on FIG. 15, the control method of the eleventh embodiment will be described with reference also to FIG.
First, in step S91, the control unit 8 determines whether or not the heat recovery amount is lower than the heat demand. If it is lower (YES in step S91), the process proceeds to step S92. The process proceeds to step S96 (NO in step S91).

ステップS92では、燃料供給ライン26に介装した燃料バルブ27を開き、燃料を追い焚きバーナ25に供給し、追い焚きバーナ25の点火栓25Pで着火させた後、ステップS93に進む。   In step S92, the fuel valve 27 provided in the fuel supply line 26 is opened, fuel is supplied to the reheating burner 25 and ignited by the spark plug 25P of the reheating burner 25, and then the process proceeds to step S93.

次のステップS93では、コントロールユニット8は、所定時間が経過するまで監視しており、所定時間が経過したら、ステップS94に進む。ステップS94では、コントロールユニット8は、排熱回収量が熱需要を上回ってきたか否かを判断する。
排熱回収量が熱需要を上回ってきたら(ステップS94のYES)、ステップS95に進み、未だ、上回っていなければ(ステップS94のNO)、ステップS94のループを繰り返す。
In the next step S93, the control unit 8 monitors until a predetermined time elapses, and when the predetermined time elapses, the process proceeds to step S94. In step S94, the control unit 8 determines whether or not the exhaust heat recovery amount has exceeded the heat demand.
If the amount of exhaust heat recovery exceeds the heat demand (YES in step S94), the process proceeds to step S95, and if not yet exceeded (NO in step S94), the loop of step S94 is repeated.

ステップS95では、追い焚きバーナを消し、供給していた燃料もカットした後、次のステップS96に進む。
ステップS96では、コントロールユニット8は制御を終了するか否かを判断しており、終了するのであれば(ステップS96のYES)、そのまま制御は終了する。一方、未だ終了しないのであれば(ステップS96のNO)、ステップS91に戻り、再びステップS91以降を繰り返す。
In step S95, the burner burner is turned off and the supplied fuel is cut, and then the process proceeds to the next step S96.
In step S96, the control unit 8 determines whether or not to end the control. If the control unit 8 is to end (YES in step S96), the control ends as it is. On the other hand, if not finished yet (NO in step S96), the process returns to step S91 and repeats step S91 and subsequent steps.

次に、図16を参照して第12実施形態を説明する。
図16の第12実施形態は、第4実施形態、第10実施形態及び第11実施形態の一つ以上を含むコジェネレーションシステムにおいて、熱需要比率が高まった際に、はじめは燃料電池側では、第4実施形態、第10実施形態及び第11実施形態以外の一つ以上の制御方法を用いて熱供給割合を増大させ、それでも熱需要を補いきれない場合に、第4実施形態、第10実施形態及び第11実施形態以外の一つ以上のシステム構成及び制御方法を利用することで、不足分の熱需要を賄う実施形態である。
尚、第4実施形態は発電出力を一部消費するタイプであり、第10、第11実施形態は外部からエネルギー(燃料)を供給するタイプである。
以下、図16に基づいて第12実施形態の制御方法を説明する。
Next, a twelfth embodiment will be described with reference to FIG.
In the cogeneration system including one or more of the fourth embodiment, the tenth embodiment, and the eleventh embodiment, the twelfth embodiment of FIG. 16 starts with the fuel cell side when the heat demand ratio increases. When the heat supply ratio is increased by using one or more control methods other than the fourth embodiment, the tenth embodiment, and the eleventh embodiment, and the heat demand cannot be compensated, the fourth embodiment, the tenth embodiment It is an embodiment that covers the shortage of heat demand by using one or more system configurations and control methods other than the embodiment and the eleventh embodiment.
The fourth embodiment is a type that consumes part of the power generation output, and the tenth and eleventh embodiments are types that supply energy (fuel) from the outside.
Hereinafter, the control method of the twelfth embodiment will be described with reference to FIG.

先ず、ステップS101において、コントロールユニット8は熱需要情報の入力信号ラインLi3及び電力需要情報の入力信号ラインLi4からの情報に基づいて熱需要及び電力需要を計測する。   First, in step S101, the control unit 8 measures heat demand and power demand based on information from the input signal line Li3 for heat demand information and the input signal line Li4 for power demand information.

次のステップS102では、コントロールユニット8は熱需要比率が高まっているか否かを判断して、熱需要比率が高まっていれば(ステップS102のYES)、ステップS103に進み、熱需要比率が高まっていなければ(ステップS102のNO)、ステップS107に進む。   In the next step S102, the control unit 8 determines whether or not the heat demand ratio is increased. If the heat demand ratio is increased (YES in step S102), the process proceeds to step S103, where the heat demand ratio is increased. If not (NO in step S102), the process proceeds to step S107.

ステップS103では、第2、第3、第5〜第9実施形態の制御を実施して、排熱回収量を増加させ、次のステップS104に進み、所定時間が経過するまで監視しており、所定時間が経過したなら(ステップS104のYES)、ステップS105に進む。   In step S103, the control of the second, third, fifth to ninth embodiments is performed to increase the exhaust heat recovery amount, and the process proceeds to the next step S104, where it is monitored until a predetermined time elapses. If the predetermined time has elapsed (YES in step S104), the process proceeds to step S105.

ステップS105では、コントロールユニット8は回収された熱量が需要を下回ったままか否かを判断して、未だ回収された熱量が需要を下回ったままであれば(ステップS105のYES)、ステップS106に進み、第4実施形態、第10実施形態、第11実施形態の一つ以上の制御を行った後、ステップS101に戻り、再びステップS101以降を繰り返す。   In step S105, the control unit 8 determines whether or not the recovered heat quantity remains below the demand, and if the recovered heat quantity still remains below the demand (YES in step S105), the process proceeds to step S106. After performing one or more controls of the fourth embodiment, the tenth embodiment, and the eleventh embodiment, the process returns to step S101 and repeats the steps after step S101 again.

一方、既に熱需要を上回れば(ステップS105のNO)、ステップS107に進み、コントロールユニット8で、制御を終了するか否かを判断する。制御を終了するのであれば(ステップS107のYES)、そのまま終了し、未だ終了しないのであれば(ステップS107のNO)、ステップS101に戻り、再びステップS101以降を繰り返す。   On the other hand, if the heat demand has already been exceeded (NO in step S105), the process proceeds to step S107, and the control unit 8 determines whether or not to end the control. If the control is to be terminated (YES in step S107), the process is terminated as it is, and if it is not yet terminated (NO in step S107), the process returns to step S101, and step S101 and subsequent steps are repeated again.

図示の実施形態はあくまでも例示であり、本発明の技術的範囲を限定する趣旨の記述ではない旨を付記する。   It should be noted that the illustrated embodiment is merely an example, and is not a description to limit the technical scope of the present invention.

本発明の第1実施形態の構成を示すブロック図。The block diagram which shows the structure of 1st Embodiment of this invention. 本発明の第2実施形態の制御方法を示すフローチャート。The flowchart which shows the control method of 2nd Embodiment of this invention. 本発明の第3実施形態の制御方法を示すフローチャート。The flowchart which shows the control method of 3rd Embodiment of this invention. 本発明の第4実施形態の構成を示すブロック図。The block diagram which shows the structure of 4th Embodiment of this invention. 本発明の第4実施形態の制御方法を示すフローチャート。The flowchart which shows the control method of 4th Embodiment of this invention. 本発明の第5実施形態の制御方法を示すフローチャート。The flowchart which shows the control method of 5th Embodiment of this invention. 本発明の第6実施形態の制御方法を示すフローチャート。The flowchart which shows the control method of 6th Embodiment of this invention. 本発明の第7実施形態の制御方法を示すフローチャート。The flowchart which shows the control method of 7th Embodiment of this invention. 本発明の第8実施形態の制御方法を示すフローチャート。The flowchart which shows the control method of 8th Embodiment of this invention. 本発明の第9実施形態の構成を示すブロック図。The block diagram which shows the structure of 9th Embodiment of this invention. 本発明の第9実施形態の制御方法を示すフローチャート。The flowchart which shows the control method of 9th Embodiment of this invention. 本発明の第10実施形態の構成を示すブロック図。The block diagram which shows the structure of 10th Embodiment of this invention. 本発明の第10実施形態の制御方法を示すフローチャート。The flowchart which shows the control method of 10th Embodiment of this invention. 本発明の第11実施形態の構成を示すブロック図。The block diagram which shows the structure of 11th Embodiment of this invention. 本発明の第11実施形態の制御方法を示すフローチャート。The flowchart which shows the control method of 11th Embodiment of this invention. 本発明の第12実施形態の制御方法を示すフローチャート。The flowchart which shows the control method of 12th Embodiment of this invention. 一般的な高温作動方燃料電池コジェネレーションシステムの構成を示したブロック図。The block diagram which showed the structure of the general high temperature operation method fuel cell cogeneration system. 一般家庭で利用される燃料電池システムにおける電力及び給湯需要の1日の変化を示したグラフ。The graph which showed the daily change of the electric power and hot water supply demand in the fuel cell system utilized at a general household. 病院や老人福祉施設などで利用される燃料電池システムにおける電力及び給湯、蒸気需要の1日の変化を示したグラフ。A graph showing daily changes in demand for electric power, hot water, and steam in a fuel cell system used in hospitals and welfare facilities for the elderly. 従来技術であって、高温作動方燃料電池とマイクロガスタービンを組み合わせたハイブリッドシステムの構成を示したブロック図。The block diagram which was the prior art, and showed the structure of the hybrid system which combined the high temperature operation method fuel cell and the micro gas turbine.

符号の説明Explanation of symbols

1・・・燃料電池
2・・・燃料電池運転状況判定手段/電池監視装置
3・・・電流密度制御手段/パワーコンディショナー
4・・・燃料供給系統
5・・・燃料供給量制御手段/燃料調整バルブ
6・・・酸化剤供給系統
7・・・酸化剤供給量制御手段/酸化剤調整バルブ
8・・・燃料電池制御手段/コントロールユニット
9・・・DC/DCコンバータ
11・・・双方向インバータ
12・・・電力需要
15・・・熱交換器
17・・・排ガス温度センサ
19・・・電気ヒータ
21・・・オフガス燃焼部用空気供給ライン
22・・・酸化剤バルブ/空気調整バルブ
23・・・オフガス燃焼部用燃料供給ライン
24・・・燃料バルブ/流量調整弁
25・・・追い焚きバーナ
Li・・・入力信号ライン
Lo・・・制御信号ライン
Le・・・出力電力ライン
DESCRIPTION OF SYMBOLS 1 ... Fuel cell 2 ... Fuel cell operating condition determination means / Battery monitoring device 3 ... Current density control means / Power conditioner 4 ... Fuel supply system 5 ... Fuel supply amount control means / Fuel adjustment Valve 6 ... Oxidant supply system 7 ... Oxidant supply amount control means / Oxidant adjustment valve 8 ... Fuel cell control means / control unit 9 ... DC / DC converter 11 ... Bidirectional inverter 12 ... Electric power demand 15 ... Heat exchanger 17 ... Exhaust gas temperature sensor 19 ... Electric heater 21 ... Off-gas combustion part air supply line 22 ... Oxidant valve / air regulating valve 23 .... Fuel supply line 24 for off-gas combustion section ... Fuel valve / flow rate adjustment valve 25 ... Reheating burner Li ... Input signal line Lo ... Control signal line Le ... Output power line

Claims (10)

高温作動型の燃料電池(1)と、その燃料電池(1)の発電出力を制御する電流密度制御手段(3)と、その燃料電池(1)に供給される燃料供給量を制御する燃料調整バルブ(5)と、その燃料電池(1)に供給される酸化剤供給量を制御する酸化剤調整バルブ(7)と、その燃料電池(1)の排気系(Lh)に介装され燃料電池(1)の排熱を熱需要側に供給する熱回収手段(15)と、燃料電池システム温度計測器(2)とを備える燃料電池コジェネレーションシステムにおいて、前記電流密度制御手段(3)は出力電力ライン(Le)を介して電力需要(12)に接続されており、燃料電池(1)のオフガス燃焼部(1a)と前記熱回収手段(15)との間には排ガス温度センサ(17)が介装され、前記熱回収手段(15)で熱回収された熱を利用する熱利用手段と前記電力需要(12)と電流密度制御手段(3)と燃料電池システム温度計測手段(2)とからの入力信号を受けて前記燃料調整バルブ(5)と前記酸化剤調整バルブ(7)を制御する制御手段(8)を設け、その制御手段(8)は熱需要および電力需要を計測し(S1)、熱需要の比率が高まっていれば(S2)、燃料供給量を一定にしたまま電流密度制御手段(3)を絞り燃料電池(1)の発電出力を減少させる機能を有することを特徴とする燃料電池コジェネレーションシステム。 High temperature operation type fuel cell (1), current density control means (3) for controlling the power generation output of the fuel cell (1), and fuel adjustment for controlling the amount of fuel supplied to the fuel cell (1) A fuel cell interposed between a valve (5), an oxidant adjusting valve (7) for controlling the amount of oxidant supplied to the fuel cell (1), and an exhaust system (Lh) of the fuel cell (1). In the fuel cell cogeneration system including the heat recovery means (15) for supplying the exhaust heat of (1) to the heat demand side and the fuel cell system temperature measuring instrument (2), the current density control means (3) outputs An exhaust gas temperature sensor (17) is connected between the off-gas combustion part (1a) of the fuel cell (1) and the heat recovery means (15). Is installed, and the heat recovery means (15) Receiving the input signals from the heat utilization means for utilizing the generated heat, the power demand (12), the current density control means (3), and the fuel cell system temperature measurement means (2), the fuel adjustment valve (5) Control means (8) for controlling the oxidant adjusting valve (7) is provided, and the control means (8) measures heat demand and power demand (S1), and if the ratio of heat demand is increased (S2). The fuel cell cogeneration system has a function of reducing the power generation output of the fuel cell (1) by restricting the current density control means (3) while keeping the fuel supply amount constant. 高温作動型の燃料電池(1)と、その燃料電池(1)の発電出力を制御する電流密度制御手段(3)と、その燃料電池(1)に供給される燃料供給量を制御する燃料調整バルブ(5)と、その燃料電池(1)に供給される酸化剤供給量を制御する酸化剤調整バルブ(7)と、その燃料電池(1)の排気系(Lh)に介装され燃料電池(1)の排熱を熱需要側に供給する熱回収手段(15)と、燃料電池システム温度計測器(2)とを備える燃料電池コジェネレーションシステムにおいて、前記電流密度制御手段(3)は出力電力ライン(Le)を介して電力需要(12)に接続されており、燃料電池(1)のオフガス燃焼部(1a)と前記熱回収手段(15)との間には排ガス温度センサ(17)が介装され、前記熱回収手段(15)で熱回収された熱を利用する熱利用手段と前記電力需要(12)と電流密度制御手段(3)と燃料電池システム温度計測手段(2)とからの入力信号を受けて前記燃料調整バルブ(5)と前記酸化剤調整バルブ(7)を制御する制御手段(8)を設け、その制御手段(8)は熱需要および電力需要を計測し(S11)、電力需要の比率が高まっていれば(S12)、燃料供給量を一定にしたまま電流密度制御手段(3)を開放して燃料電池(1)の発電出力を増大させる機能を有することを特徴とする燃料電池コジェネレーションシステム。 High temperature operation type fuel cell (1), current density control means (3) for controlling the power generation output of the fuel cell (1), and fuel adjustment for controlling the amount of fuel supplied to the fuel cell (1) A fuel cell interposed between a valve (5), an oxidant adjusting valve (7) for controlling the amount of oxidant supplied to the fuel cell (1), and an exhaust system (Lh) of the fuel cell (1). In the fuel cell cogeneration system including the heat recovery means (15) for supplying the exhaust heat of (1) to the heat demand side and the fuel cell system temperature measuring instrument (2), the current density control means (3) outputs An exhaust gas temperature sensor (17) is connected between the off-gas combustion part (1a) of the fuel cell (1) and the heat recovery means (15). Is installed, and the heat recovery means (15) Receiving the input signals from the heat utilization means for utilizing the generated heat, the power demand (12), the current density control means (3), and the fuel cell system temperature measurement means (2), the fuel adjustment valve (5) Control means (8) for controlling the oxidant adjusting valve (7) is provided, and the control means (8) measures heat demand and power demand (S11), and if the ratio of power demand is increased (S12). The fuel cell cogeneration system has a function of increasing the power generation output of the fuel cell (1) by opening the current density control means (3) while keeping the fuel supply amount constant. 高温作動型の燃料電池(1)と、その燃料電池(1)の発電出力を制御する電流密度制御手段(3)と、その燃料電池(1)に供給される燃料供給量を制御する燃料調整バルブ(5)と、その燃料電池(1)に供給される酸化剤供給量を制御する酸化剤調整バルブ(7)と、その燃料電池(1)の排気系(Lh)に介装され燃料電池(1)の排熱を熱需要側に供給する熱回収手段(15)と、燃料電池システム温度計測器(2)とを備える燃料電池コジェネレーションシステムにおいて、前記電流密度制御手段(3)はD/Dコンバータ(9)を有する出力電力ライン(Le)を介して電力需要(12)に接続されており、燃料電池(1)のオフガス燃焼部(1a)と前記熱回収手段(15)との間には排ガス温度センサ(17)と電気ヒータ(19)とが介装され、前記電気ヒータ(19)は電流制御手段(18)を介装したサブ電力ライン(Les)で前記D/Dコンバータ(9)に接続され、前記熱回収手段(15)で熱回収された熱を利用する熱利用手段と前記電力需要(12)と電流密度制御手段(3)と燃料電池システム温度計測手段(2)とからの入力信号を受けて前記燃料調整バルブ(5)と前記酸化剤調整バルブ(7)を制御しかつ電流制御手段(18)をオンオフする制御手段(8)を設け、その制御手段(8)は熱需要および電力需要を計測し(S21)、電力需要が余っていれば(S22)、熱需要に対し排熱回収量が不足しているか否かを判断し(S23)、熱需要に対して排熱回収量が不足していれば電流制御手段(18)を作動させ(S24)、排熱回収量が熱需要を上回っていれば(S26)、電流制御手段(18)を切る機能を有することを特徴とする燃料電池コジェネレーションシステム。 High temperature operation type fuel cell (1), current density control means (3) for controlling the power generation output of the fuel cell (1), and fuel adjustment for controlling the amount of fuel supplied to the fuel cell (1) A fuel cell interposed between a valve (5), an oxidant adjusting valve (7) for controlling the amount of oxidant supplied to the fuel cell (1), and an exhaust system (Lh) of the fuel cell (1). In the fuel cell cogeneration system including the heat recovery means (15) for supplying the exhaust heat of (1) to the heat demand side and the fuel cell system temperature measuring instrument (2), the current density control means (3) is D / D converter (9) is connected to power demand (12) via an output power line (Le), and is connected between the off-gas combustion part (1a) of the fuel cell (1) and the heat recovery means (15). Between the exhaust gas temperature sensor (17) and the electric heater (19) is interposed, and the electric heater (19) is connected to the D / D converter (9) through a sub power line (Les) interposed with current control means (18), and the heat recovery means ( The fuel adjustment by receiving input signals from the heat utilization means utilizing the heat recovered in 15), the power demand (12), the current density control means (3), and the fuel cell system temperature measurement means (2) A control means (8) for controlling the valve (5) and the oxidant adjusting valve (7) and turning on and off the current control means (18) is provided, and the control means (8) measures heat demand and power demand ( S21) If there is a surplus in power demand (S22), it is determined whether the exhaust heat recovery amount is insufficient with respect to the heat demand (S23), and the exhaust heat recovery amount is insufficient with respect to the heat demand. If the current control means (18) is activated (S24), If the amount of recovered if exceeded heat demand (S26), the fuel cell cogeneration system characterized by having a function of turning off the current control means (18). 高温作動型の燃料電池(1)と、その燃料電池(1)の発電出力を制御する電流密度制御手段(3)と、その燃料電池(1)に供給される燃料供給量を制御する燃料調整バルブ(5)と、その燃料電池(1)に供給される酸化剤供給量を制御する酸化剤調整バルブ(7)と、その燃料電池(1)の排気系(Lh)に介装され燃料電池(1)の排熱を熱需要側に供給する熱回収手段(15)と、燃料電池システム温度計測器(2)とを備える燃料電池コジェネレーションシステムにおいて、前記電流密度制御手段(3)は出力電力ライン(Le)を介して電力需要(12)に接続されており、燃料電池(1)のオフガス燃焼部(1a)と前記熱回収手段(15)との間には排ガス温度センサ(17)が介装され、前記熱回収手段(15)で熱回収された熱を利用する熱利用手段と前記電力需要(12)と電流密度制御手段(3)と燃料電池システム温度計測手段(2)とからの入力信号を受けて前記燃料調整バルブ(5)と前記酸化剤調整バルブ(7)を制御する制御手段(8)を設け、その制御手段(8)は熱需要および電力需要を計測し(S31)、熱需要の比率が高まっていれば(S32)、電流密度及び/又は燃料利用率を一定にしたまま燃料調整バルブ(5)を開放して燃料供給量を増加させる機能を有することを特徴とする燃料電池コジェネレーションシステム。 High temperature operation type fuel cell (1), current density control means (3) for controlling the power generation output of the fuel cell (1), and fuel adjustment for controlling the amount of fuel supplied to the fuel cell (1) A fuel cell interposed between a valve (5), an oxidant adjusting valve (7) for controlling the amount of oxidant supplied to the fuel cell (1), and an exhaust system (Lh) of the fuel cell (1). In the fuel cell cogeneration system including the heat recovery means (15) for supplying the exhaust heat of (1) to the heat demand side and the fuel cell system temperature measuring instrument (2), the current density control means (3) outputs An exhaust gas temperature sensor (17) is connected between the off-gas combustion part (1a) of the fuel cell (1) and the heat recovery means (15). Is installed, and the heat recovery means (15) Receiving the input signals from the heat utilization means for utilizing the generated heat, the power demand (12), the current density control means (3), and the fuel cell system temperature measurement means (2), the fuel adjustment valve (5) Control means (8) for controlling the oxidant adjusting valve (7) is provided, and the control means (8) measures heat demand and power demand (S31), and if the ratio of heat demand is increased (S32). The fuel cell cogeneration system has a function of increasing the fuel supply amount by opening the fuel adjustment valve (5) while keeping the current density and / or the fuel utilization rate constant. 高温作動型の燃料電池(1)と、その燃料電池(1)の発電出力を制御する電流密度制御手段(3)と、その燃料電池(1)に供給される燃料供給量を制御する燃料調整バルブ(5)と、その燃料電池(1)に供給される酸化剤供給量を制御する酸化剤調整バルブ(7)と、その燃料電池(1)の排気系(Lh)に介装され燃料電池(1)の排熱を熱需要側に供給する熱回収手段(15)と、燃料電池システム温度計測器(2)とを備える燃料電池コジェネレーションシステムにおいて、前記電流密度制御手段(3)は出力電力ライン(Le)を介して電力需要(12)に接続されており、燃料電池(1)のオフガス燃焼部(1a)と前記熱回収手段(15)との間には排ガス温度センサ(17)が介装され、前記熱回収手段(15)で熱回収された熱を利用する熱利用手段と前記電力需要(12)と電流密度制御手段(3)と燃料電池システム温度計測手段(2)とからの入力信号を受けて前記燃料調整バルブ(5)と前記酸化剤調整バルブ(7)を制御する制御手段(8)を設け、その制御手段(8)は熱需要および電力需要を計測し(S41)、電力需要の比率が低下していれば(S42)、電力需要が上回っていれば電流密度及び/又は燃料利用率を一定にしたまま燃料調整バルブ(5)を絞り燃料供給量を減少させる機能を有することを特徴とする燃料電池コジェネレーションシステム。 High temperature operation type fuel cell (1), current density control means (3) for controlling the power generation output of the fuel cell (1), and fuel adjustment for controlling the amount of fuel supplied to the fuel cell (1) A fuel cell interposed between a valve (5), an oxidant adjusting valve (7) for controlling the amount of oxidant supplied to the fuel cell (1), and an exhaust system (Lh) of the fuel cell (1). In the fuel cell cogeneration system including the heat recovery means (15) for supplying the exhaust heat of (1) to the heat demand side and the fuel cell system temperature measuring instrument (2), the current density control means (3) outputs An exhaust gas temperature sensor (17) is connected between the off-gas combustion part (1a) of the fuel cell (1) and the heat recovery means (15). Is installed, and the heat recovery means (15) Receiving the input signals from the heat utilization means for utilizing the generated heat, the power demand (12), the current density control means (3), and the fuel cell system temperature measurement means (2), the fuel adjustment valve (5) Control means (8) for controlling the oxidant adjusting valve (7) is provided, and the control means (8) measures heat demand and power demand (S41), and if the ratio of power demand is reduced (S42). ), A fuel cell cogeneration system having a function of reducing the fuel supply amount by restricting the fuel adjustment valve (5) while keeping the current density and / or the fuel utilization rate constant if the power demand exceeds. 高温作動型の燃料電池(1)と、その燃料電池(1)の発電出力を制御する電流密度制御手段(3)と、その燃料電池(1)に供給される燃料供給量を制御する燃料調整バルブ(5)と、その燃料電池(1)に供給される酸化剤供給量を制御する酸化剤調整バルブ(7)と、その燃料電池(1)の排気系(Lh)に介装され燃料電池(1)の排熱を熱需要側に供給する熱回収手段(15)と、燃料電池システム温度計測器(2)とを備える燃料電池コジェネレーションシステムにおいて、前記電流密度制御手段(3)は出力電力ライン(Le)を介して電力需要(12)に接続されており、燃料電池(1)のオフガス燃焼部(1a)と前記熱回収手段(15)との間には排ガス温度センサ(17)が介装され、前記熱回収手段(15)で熱回収された熱を利用する熱利用手段と前記電力需要(12)と電流密度制御手段(3)と燃料電池システム温度計測手段(2)とからの入力信号を受けて前記燃料調整バルブ(5)と前記酸化剤調整バルブ(7)を制御する制御手段(8)を設け、その制御手段(8)は熱需要および電力需要を計測し(S51)、熱需要の比率が高まっていれば(S52)、燃料供給量を増加させつつ燃料電池(1)で酸化剤枯れが起きない範囲で電流密度制御手段(3)を調節して電流密度及び/又は燃料利用率を減少させる機能を有することを特徴とする燃料電池コジェネレーションシステム。 High temperature operation type fuel cell (1), current density control means (3) for controlling the power generation output of the fuel cell (1), and fuel adjustment for controlling the amount of fuel supplied to the fuel cell (1) A fuel cell interposed between a valve (5), an oxidant adjusting valve (7) for controlling the amount of oxidant supplied to the fuel cell (1), and an exhaust system (Lh) of the fuel cell (1). In the fuel cell cogeneration system including the heat recovery means (15) for supplying the exhaust heat of (1) to the heat demand side and the fuel cell system temperature measuring instrument (2), the current density control means (3) outputs An exhaust gas temperature sensor (17) is connected between the off-gas combustion part (1a) of the fuel cell (1) and the heat recovery means (15). Is installed, and the heat recovery means (15) Receiving the input signals from the heat utilization means for utilizing the generated heat, the power demand (12), the current density control means (3), and the fuel cell system temperature measurement means (2), the fuel adjustment valve (5) Control means (8) for controlling the oxidant adjusting valve (7) is provided, and the control means (8) measures heat demand and power demand (S51), and if the ratio of heat demand is increased (S52). The fuel cell (1) has a function of adjusting the current density control means (3) and reducing the current density and / or the fuel utilization rate within a range where oxidant withering does not occur in the fuel cell (1) while increasing the fuel supply amount. Fuel cell cogeneration system. 高温作動型の燃料電池(1)と、その燃料電池(1)の発電出力を制御する電流密度制御手段(3)と、その燃料電池(1)に供給される燃料供給量を制御する燃料調整バルブ(5)と、その燃料電池(1)に供給される酸化剤供給量を制御する酸化剤調整バルブ(7)と、その燃料電池(1)の排気系(Lh)に介装され燃料電池(1)の排熱を熱需要側に供給する熱回収手段(15)と、燃料電池システム温度計測器(2)とを備える燃料電池コジェネレーションシステムにおいて、前記電流密度制御手段3)は出力電力ライン(Le)を介して電力需要(12)に接続されており、燃料電池(1)のオフガス燃焼部(1a)と前記熱回収手段(15)との間には排ガス温度センサ(17)が介装され、前記熱回収手段(15)で熱回収された熱を利用する熱利用手段と前記電力需要(12)と発電電力調整手段(3)と燃料電池システム温度計測手段(2)とからの入力信号を受けて前記燃料調整バルブ(5)と前記酸化剤調整バルブ(7)を制御する制御手段(8)を設け、その制御手段(8)は熱需要および電力需要を計測し(S61)、電力需要の比率が低下していれば(S62)、燃料供給量を減少させつつ燃料電池(1)で燃料枯れが起きない範囲で電流密度制御手段(3)を調整して電流密度及び/又は燃料利用率を増加させる機能を有することを特徴とする燃料電池コジェネレーションシステム。 High temperature operation type fuel cell (1), current density control means (3) for controlling the power generation output of the fuel cell (1), and fuel adjustment for controlling the amount of fuel supplied to the fuel cell (1) A fuel cell interposed between a valve (5), an oxidant adjusting valve (7) for controlling the amount of oxidant supplied to the fuel cell (1), and an exhaust system (Lh) of the fuel cell (1). In the fuel cell cogeneration system comprising the heat recovery means (15) for supplying the exhaust heat of (1) to the heat demand side and the fuel cell system temperature measuring instrument (2), the current density control means 3) is the output power. An exhaust gas temperature sensor (17) is connected between the off-gas combustion part (1a) of the fuel cell (1) and the heat recovery means (15). Heat recovery by the heat recovery means (15) Receiving the input signals from the heat utilization means for utilizing the generated heat, the power demand (12), the generated power adjustment means (3), and the fuel cell system temperature measurement means (2), the fuel adjustment valve (5) Control means (8) for controlling the oxidant adjusting valve (7) is provided, and the control means (8) measures heat demand and power demand (S61), and if the ratio of power demand is reduced (S62). ), A function of increasing the current density and / or the fuel utilization rate by adjusting the current density control means (3) within a range in which fuel depletion does not occur in the fuel cell (1) while reducing the fuel supply amount. Fuel cell cogeneration system. 高温作動型の燃料電池(1)と、その燃料電池(1)の発電出力を制御する電流密度制御手段(3)と、その燃料電池(1)に供給される燃料供給量を制御する燃料調整バルブ(5)と、その燃料電池(1)に供給される酸化剤供給量を制御する酸化剤調整バルブ(7)と、その燃料電池(1)の排気系(Lh)に介装され燃料電池(1)の排熱を熱需要側に供給する熱回収手段(15)と、燃料電池システム温度計測器(2)とを備える燃料電池コジェネレーションシステムにおいて、前記電流密度制御手段(3)は出力電力ライン(Le)を介して電力需要(12)に接続されており、燃料電池(1)のオフガス燃焼部(1a)と前記熱回収手段(15)との間には排ガス温度センサ(17)が介装され、前記オフガス燃焼部(1a)に酸化剤バルブ(22)を介装したオフガス用空気供給ライン(21)に接続され、前記熱回収手段(15)で熱回収された熱を利用する熱利用手段と前記電力需要(12)と電流密度制御手段(3)と燃料電池システム温度計測手段(2)とからの入力信号を受けて前記燃料調整バルブ(5)と前記酸化剤調整バルブ(7)と酸化剤バルブ(22)とを制御する制御手段(8)を設け、その制御手段(8)はオフガスの燃焼状態が希薄側へ移行の必要があるか、ストイキ側に移行する必要があるかを判断し(S72)、希薄側に移行する必要があれば酸化剤バルブ(22)の開度を増し(S73)、ストイキ側に移行する必要があれば酸化剤バルブ(22)の開度を絞る機能を有することを特徴とする燃料電池コジェネレーションシステム。 High temperature operation type fuel cell (1), current density control means (3) for controlling the power generation output of the fuel cell (1), and fuel adjustment for controlling the amount of fuel supplied to the fuel cell (1) A fuel cell interposed between a valve (5), an oxidant adjusting valve (7) for controlling the amount of oxidant supplied to the fuel cell (1), and an exhaust system (Lh) of the fuel cell (1). In the fuel cell cogeneration system including the heat recovery means (15) for supplying the exhaust heat of (1) to the heat demand side and the fuel cell system temperature measuring instrument (2), the current density control means (3) outputs An exhaust gas temperature sensor (17) is connected between the off-gas combustion part (1a) of the fuel cell (1) and the heat recovery means (15). Is installed in the off-gas combustion section (1a). Connected to an off-gas air supply line (21) having an agent valve (22) interposed therebetween, heat utilization means for utilizing the heat recovered by the heat recovery means (15), the power demand (12), and current In response to input signals from the density control means (3) and the fuel cell system temperature measurement means (2), the fuel adjustment valve (5), the oxidant adjustment valve (7), and the oxidant valve (22) are controlled. Control means (8) is provided, and the control means (8) determines whether the off-gas combustion state needs to be shifted to the lean side or the stoichiometric side (S72). If it is necessary to shift, the opening of the oxidizer valve (22) is increased (S73), and if it is necessary to shift to the stoichiometric side, the fuel has a function of reducing the opening of the oxidizer valve (22). Battery cogeneration system. 高温作動型の燃料電池(1)と、その燃料電池(1)の発電出力を制御する電流密度制御手段(3)と、その燃料電池(1)に供給される燃料供給量を制御する燃料調整バルブ(5)と、その燃料電池(1)に供給される酸化剤供給量を制御する酸化剤調整バルブ(7)と、その燃料電池(1)の排気系(Lh)に介装され燃料電池(1)の排熱を熱需要側に供給する熱回収手段(15)と、燃料電池システム温度計測器(2)とを備える燃料電池コジェネレーションシステムにおいて、前記電流密度制御手段(3)は出力電力ライン(Le)を介して電力需要(12)に接続されており、燃料電池(1)のオフガス燃焼部(1a)と前記熱回収手段(15)との間には排ガス温度センサ(17)が介装され、前記オフガス燃焼部(1a)は燃料バルブ(24)を介装したオフガス燃焼部用の燃料供給ライン(23)に接続され、前記熱回収手段(15)で熱回収された熱を利用する熱利用手段と前記電力需要(12)と電流密度制御手段(3)と燃料電池システム温度計測手段(2)とからの入力信号を受けて前記燃料調整バルブ(5)と前記酸化剤調整バルブ(7)と燃料バルブ(24)とを制御する制御手段(8)を設け、その制御手段(8)は排熱回収量が熱需要を下回っていれば(S81)、燃料バルブ(24)を開いてオフガス燃焼部(1a)に燃料を供給し(S82)、所定時間が経過した後に(S83)、排熱回収量が熱需要を上回ったらば(S84)、オフガス燃焼部(1a)への燃料の供給を停止する機能を有することを特徴とする燃料電池コジェネレーションシステム。 High temperature operation type fuel cell (1), current density control means (3) for controlling the power generation output of the fuel cell (1), and fuel adjustment for controlling the amount of fuel supplied to the fuel cell (1) A fuel cell interposed between a valve (5), an oxidant adjusting valve (7) for controlling the amount of oxidant supplied to the fuel cell (1), and an exhaust system (Lh) of the fuel cell (1). In the fuel cell cogeneration system including the heat recovery means (15) for supplying the exhaust heat of (1) to the heat demand side and the fuel cell system temperature measuring instrument (2), the current density control means (3) outputs An exhaust gas temperature sensor (17) is connected between the off-gas combustion part (1a) of the fuel cell (1) and the heat recovery means (15). And the off-gas combustion part (1a) Connected to a fuel supply line (23) for an off-gas combustion section with a fuel valve (24) interposed therebetween, and a heat utilization means for utilizing the heat recovered by the heat recovery means (15) and the power demand (12) And the fuel adjustment valve (5), the oxidant adjustment valve (7), and the fuel valve (24) in response to input signals from the current density control means (3) and the fuel cell system temperature measurement means (2). A control means (8) for controlling is provided, and if the exhaust heat recovery amount is less than the heat demand (S81), the control means (8) opens the fuel valve (24) to supply fuel to the off-gas combustion section (1a). Supplying (S82), and after a predetermined time has passed (S83), if the amount of exhaust heat recovery exceeds the heat demand (S84), it has a function of stopping the supply of fuel to the off-gas combustion unit (1a). Characteristic fuel cell cogeneration System. 高温作動型の燃料電池(1)と、その燃料電池(1)の発電出力を制御する電流密度制御手段(3)と、その燃料電池(1)に供給される燃料供給量を制御する燃料調整バルブ(5)と、その燃料電池(1)に供給される酸化剤供給量を制御する酸化剤調整バルブ(7)と、その燃料電池(1)の排気系(Lh)に介装され燃料電池(1)の排熱を熱需要側に供給する熱回収手段(15)と、燃料電池システム温度計測器(2)とを備える燃料電池コジェネレーションシステムにおいて、前記電流密度制御手段(3)は出力電力ライン(Le)を介して電力需要(12)に接続されており、燃料電池(1)のオフガス燃焼部(1a)と前記熱回収手段(15)との間の排ガスライン(Lh)には排ガス温度センサ(17)と点火栓(25P)を有する追い焚きバーナ(25)とが介装され、その追い焚きバーナ(25)には燃料バルブ(27)を介装した燃料供給ライン(26)が接続され、前記熱回収手段(15)で熱回収された熱を利用する熱利用手段と前記電力需要(12)と電流密度制御手段(3)と燃料電池システム温度計測手段(2)とからの入力信号を受けて前記燃料調整バルブ(5)と前記酸化剤調整バルブ(7)と燃料バルブ(27)と点火栓(25P)とを制御する制御手段(8)を設け、その制御手段(8)は排熱回収量が熱需要を下回っていれば(S91)、燃料バルブ(27)を開き追い焚きバーナ(25)に燃料を供給して点火栓(25P)で着火させ(S92)、所定時間経過した後に(S93)、排熱回収量が熱需要を上回ってきたらば(S94)、追い焚きバーナ(25)を消して燃料供給をカットする(S95)機能を有することを特徴とする燃料電池コジェネレーションシステム。 High temperature operation type fuel cell (1), current density control means (3) for controlling the power generation output of the fuel cell (1), and fuel adjustment for controlling the amount of fuel supplied to the fuel cell (1) A fuel cell interposed between a valve (5), an oxidant adjusting valve (7) for controlling the amount of oxidant supplied to the fuel cell (1), and an exhaust system (Lh) of the fuel cell (1). In the fuel cell cogeneration system including the heat recovery means (15) for supplying the exhaust heat of (1) to the heat demand side and the fuel cell system temperature measuring instrument (2), the current density control means (3) outputs It is connected to the electric power demand (12) via the electric power line (Le), and the exhaust gas line (Lh) between the off-gas combustion part (1a) of the fuel cell (1) and the heat recovery means (15) Exhaust gas temperature sensor (17) and spark plug (25P) A refueling burner (25) having a fuel supply line (26) interposed between the refueling burner (25) and a fuel valve (27) is connected to the reheating burner (25). The fuel regulating valve (5) receives input signals from the heat utilization means utilizing the recovered heat, the power demand (12), the current density control means (3), and the fuel cell system temperature measuring means (2). And a control means (8) for controlling the oxidant adjusting valve (7), the fuel valve (27), and the spark plug (25P), and the control means (8) has an exhaust heat recovery amount less than the heat demand. If this is the case (S91), the fuel valve (27) is opened and fuel is supplied to the reheating burner (25) and ignited by the spark plug (25P) (S92). If it exceeds the heat demand (S94) The fuel cell cogeneration system, comprising a fuel supply to cut (S95) functions erase the fired burner (25) follow.
JP2004254475A 2004-09-01 2004-09-01 Fuel cell cogeneration system Expired - Fee Related JP4831947B2 (en)

Priority Applications (1)

Application Number Priority Date Filing Date Title
JP2004254475A JP4831947B2 (en) 2004-09-01 2004-09-01 Fuel cell cogeneration system

Applications Claiming Priority (1)

Application Number Priority Date Filing Date Title
JP2004254475A JP4831947B2 (en) 2004-09-01 2004-09-01 Fuel cell cogeneration system

Publications (2)

Publication Number Publication Date
JP2006073316A JP2006073316A (en) 2006-03-16
JP4831947B2 true JP4831947B2 (en) 2011-12-07

Family

ID=36153718

Family Applications (1)

Application Number Title Priority Date Filing Date
JP2004254475A Expired - Fee Related JP4831947B2 (en) 2004-09-01 2004-09-01 Fuel cell cogeneration system

Country Status (1)

Country Link
JP (1) JP4831947B2 (en)

Cited By (1)

* Cited by examiner, † Cited by third party
Publication number Priority date Publication date Assignee Title
CN107819141A (en) * 2016-09-13 2018-03-20 通用电气公司 Integrated fuel cell system

Families Citing this family (25)

* Cited by examiner, † Cited by third party
Publication number Priority date Publication date Assignee Title
JP5117690B2 (en) * 2006-07-06 2013-01-16 Jx日鉱日石エネルギー株式会社 Fuel cell system
JP5323333B2 (en) 2007-08-28 2013-10-23 本田技研工業株式会社 Fuel cell system and operation method thereof
DE102010001011A1 (en) * 2010-01-19 2011-07-21 Robert Bosch GmbH, 70469 Method for operating a combined heat and power plant
WO2013111655A1 (en) 2012-01-26 2013-08-01 コニカミノルタ株式会社 Fuel cell system
JP5578294B1 (en) * 2012-09-19 2014-08-27 コニカミノルタ株式会社 Fuel cell system
US9077007B2 (en) 2013-03-15 2015-07-07 Exxonmobil Research And Engineering Company Integrated power generation and chemical production using fuel cells
WO2014151184A1 (en) 2013-03-15 2014-09-25 Exxonmobil Research And Engineering Company Integrated power generation and carbon capture using fuel cells
US9819042B2 (en) 2013-09-30 2017-11-14 Exxonmobil Research And Engineering Company Fuel cell integration within a heat recovery steam generator
US9556753B2 (en) 2013-09-30 2017-01-31 Exxonmobil Research And Engineering Company Power generation and CO2 capture with turbines in series
US9755258B2 (en) 2013-09-30 2017-09-05 Exxonmobil Research And Engineering Company Integrated power generation and chemical production using solid oxide fuel cells
KR102610184B1 (en) 2018-11-30 2023-12-04 퓨얼셀 에너지, 인크 Fuel cell staging for molten carbonate fuel cells
US12374703B2 (en) 2018-11-30 2025-07-29 ExxonMobil Technology and Engineering Company Flow field baffle for molten carbonate fuel cell cathode
US11211621B2 (en) 2018-11-30 2021-12-28 Exxonmobil Research And Engineering Company Regeneration of molten carbonate fuel cells for deep CO2 capture
JP7286769B2 (en) 2018-11-30 2023-06-05 エクソンモービル・テクノロジー・アンド・エンジニアリング・カンパニー Cathode Current Collector Structure of Molten Carbonate Fuel Cell
KR102610181B1 (en) 2018-11-30 2023-12-04 퓨얼셀 에너지, 인크 Modification of catalyst patterns for fuel cells operating with improved CO2 utilization
WO2020112774A1 (en) 2018-11-30 2020-06-04 Exxonmobil Research And Engineering Company Elevated pressure operation of molten carbonate fuel cells with enhanced co2 utilization
WO2020112812A1 (en) 2018-11-30 2020-06-04 Exxonmobil Research And Engineering Company Operation of molten carbonate fuel cells with enhanced co 2 utilization
US11695122B2 (en) 2018-11-30 2023-07-04 ExxonMobil Technology and Engineering Company Layered cathode for molten carbonate fuel cell
JP2023503995A (en) 2019-11-26 2023-02-01 エクソンモービル・テクノロジー・アンド・エンジニアリング・カンパニー Fuel cell module assembly and system using same
AU2019476660B2 (en) 2019-11-26 2023-09-14 ExxonMobil Technology and Engineering Company Operation of molten carbonate fuel cells with high electrolyte fill level
JP7465966B2 (en) 2019-11-26 2024-04-11 エクソンモービル テクノロジー アンド エンジニアリング カンパニー Fuel Cell Assembly with External Manifold for Parallel Flow - Patent application
US11978931B2 (en) 2021-02-11 2024-05-07 ExxonMobil Technology and Engineering Company Flow baffle for molten carbonate fuel cell
JP7778629B2 (en) * 2022-03-30 2025-12-02 東京瓦斯株式会社 Heat source machine system, heat source machine system operation method
JP2023149029A (en) * 2022-03-30 2023-10-13 東京瓦斯株式会社 Heat source equipment system, heat source equipment system operation method
JP7778630B2 (en) * 2022-03-30 2025-12-02 東京瓦斯株式会社 Heat source system

Family Cites Families (3)

* Cited by examiner, † Cited by third party
Publication number Priority date Publication date Assignee Title
JP4052784B2 (en) * 2000-08-15 2008-02-27 三洋電機株式会社 Combined heat and power fuel cell power generator and method of operating the same
JP2002289227A (en) * 2001-03-23 2002-10-04 Aisin Seiki Co Ltd Fuel cell cogeneration system
JP2003187843A (en) * 2001-12-21 2003-07-04 Mitsubishi Heavy Ind Ltd Fuel cell system and cogeneration system

Cited By (2)

* Cited by examiner, † Cited by third party
Publication number Priority date Publication date Assignee Title
CN107819141A (en) * 2016-09-13 2018-03-20 通用电气公司 Integrated fuel cell system
CN107819141B (en) * 2016-09-13 2022-08-23 通用电气公司 Integrated fuel cell system

Also Published As

Publication number Publication date
JP2006073316A (en) 2006-03-16

Similar Documents

Publication Publication Date Title
JP4831947B2 (en) Fuel cell cogeneration system
US5985474A (en) Integrated full processor, furnace, and fuel cell system for providing heat and electrical power to a building
US20090297900A1 (en) Fuel Cell System
JP2006032262A (en) Fuel cell system and control method
JP2002063927A (en) Control method of fuel cell system and its device
JP2005166439A (en) Fuel cell system and starting method thereof
JP5069489B2 (en) Solid oxide fuel cell system
JP6174578B2 (en) Solid oxide fuel cell system
JP6943285B2 (en) Fuel cell system and fuel cell system control method
JP2585210B2 (en) Fuel cell power plant
JP4981281B2 (en) FUEL CELL SYSTEM AND CONTROL METHOD FOR FUEL CELL SYSTEM
JP2004288603A (en) Cogeneration system
JP4751589B2 (en) Fuel cell power generation system
JP2007080767A (en) Fuel cell module and combined power generation system using same
JP3992423B2 (en) Method and apparatus for starting operation of fuel cell system
JP3897149B2 (en) Solid oxide fuel cell and Stirling engine combined system
JPH11185786A (en) Fuel cell power generation system
JP4638132B2 (en) Fuel cell system
JP5167746B2 (en) FUEL CELL SYSTEM AND METHOD FOR OPERATION AND CONTROL OF FUEL CELL SYSTEM
JPH0613093A (en) Cogeneration system and building with cogeneration system
JP2006147588A (en) Fuel cell system
KR101690638B1 (en) Hybrid Power Generation System using Fuel Cell and Engine which is capable of Load Following
JP2025110780A (en) Method for determining the number of power supply systems and power generating units to be installed
JPS61133576A (en) Fuel cell power generating system
JPS62278768A (en) Fuel cell power generating plant

Legal Events

Date Code Title Description
A621 Written request for application examination

Free format text: JAPANESE INTERMEDIATE CODE: A621

Effective date: 20070207

A977 Report on retrieval

Free format text: JAPANESE INTERMEDIATE CODE: A971007

Effective date: 20100914

A131 Notification of reasons for refusal

Free format text: JAPANESE INTERMEDIATE CODE: A131

Effective date: 20100929

A521 Written amendment

Free format text: JAPANESE INTERMEDIATE CODE: A523

Effective date: 20101117

TRDD Decision of grant or rejection written
A01 Written decision to grant a patent or to grant a registration (utility model)

Free format text: JAPANESE INTERMEDIATE CODE: A01

Effective date: 20110920

A01 Written decision to grant a patent or to grant a registration (utility model)

Free format text: JAPANESE INTERMEDIATE CODE: A01

A61 First payment of annual fees (during grant procedure)

Free format text: JAPANESE INTERMEDIATE CODE: A61

Effective date: 20110920

R150 Certificate of patent or registration of utility model

Free format text: JAPANESE INTERMEDIATE CODE: R150

FPAY Renewal fee payment (event date is renewal date of database)

Free format text: PAYMENT UNTIL: 20140930

Year of fee payment: 3

R250 Receipt of annual fees

Free format text: JAPANESE INTERMEDIATE CODE: R250

R250 Receipt of annual fees

Free format text: JAPANESE INTERMEDIATE CODE: R250

R250 Receipt of annual fees

Free format text: JAPANESE INTERMEDIATE CODE: R250

R250 Receipt of annual fees

Free format text: JAPANESE INTERMEDIATE CODE: R250

LAPS Cancellation because of no payment of annual fees