[go: up one dir, main page]

JP4776660B2 - Refrigeration cycle equipment - Google Patents

Refrigeration cycle equipment Download PDF

Info

Publication number
JP4776660B2
JP4776660B2 JP2008156143A JP2008156143A JP4776660B2 JP 4776660 B2 JP4776660 B2 JP 4776660B2 JP 2008156143 A JP2008156143 A JP 2008156143A JP 2008156143 A JP2008156143 A JP 2008156143A JP 4776660 B2 JP4776660 B2 JP 4776660B2
Authority
JP
Japan
Prior art keywords
refrigerant
compressor
accumulator
way valve
hfc
Prior art date
Legal status (The legal status is an assumption and is not a legal conclusion. Google has not performed a legal analysis and makes no representation as to the accuracy of the status listed.)
Active
Application number
JP2008156143A
Other languages
Japanese (ja)
Other versions
JP2009300022A (en
Inventor
哲二 七種
Current Assignee (The listed assignees may be inaccurate. Google has not performed a legal analysis and makes no representation or warranty as to the accuracy of the list.)
Mitsubishi Electric Corp
Original Assignee
Mitsubishi Electric Corp
Priority date (The priority date is an assumption and is not a legal conclusion. Google has not performed a legal analysis and makes no representation as to the accuracy of the date listed.)
Filing date
Publication date
Application filed by Mitsubishi Electric Corp filed Critical Mitsubishi Electric Corp
Priority to JP2008156143A priority Critical patent/JP4776660B2/en
Publication of JP2009300022A publication Critical patent/JP2009300022A/en
Application granted granted Critical
Publication of JP4776660B2 publication Critical patent/JP4776660B2/en
Active legal-status Critical Current
Anticipated expiration legal-status Critical

Links

Images

Landscapes

  • Compression-Type Refrigeration Machines With Reversible Cycles (AREA)

Description

この発明は、冷凍サイクル装置に関するものである。   The present invention relates to a refrigeration cycle apparatus.

従来の冷凍サイクル装置においては、例えば「非共沸の混合冷媒を封入した冷凍装置において、前記膨張機構の入口側冷媒配管に弁装置を介して、冷媒を貯留する冷媒タンクを接続すると共に、該タンクのガス域を減圧機構を介して前記冷媒回路における低圧側配管に接続する一方、前記弁装置を介して前記タンク内の冷媒を気液分離状態に制御する制御手段を設けた」ものが提案されている(例えば、特許文献1参照)。   In a conventional refrigeration cycle apparatus, for example, in a refrigeration apparatus enclosing a non-azeotropic refrigerant mixture, a refrigerant tank for storing refrigerant is connected to an inlet side refrigerant pipe of the expansion mechanism via a valve device, and `` Proposed a control means for controlling the refrigerant in the tank to a gas-liquid separation state via the valve device while connecting the gas region of the tank to the low pressure side pipe in the refrigerant circuit via a pressure reducing mechanism '' (For example, refer to Patent Document 1).

特開昭61−86537号公報(特許請求の範囲、図1)JP-A-61-86537 (Claims, FIG. 1)

従来の冷凍サイクル装置において、テトラフルオロプロペンと、このテトラフルオロプロペンよりも沸点の低いHFC系冷媒とを含む非共沸混合冷媒を用いた場合、低沸点のHFC系冷媒がリッチの状態で運転すると、圧縮機の冷媒吐出温度が上昇し、2重結合を有するテトラフルオロプロペンは分解しやすくなるという問題点があった。   In a conventional refrigeration cycle apparatus, when a non-azeotropic refrigerant mixture including tetrafluoropropene and an HFC refrigerant having a boiling point lower than that of tetrafluoropropene is used, the low-boiling HFC refrigerant is operated in a rich state. However, the refrigerant discharge temperature of the compressor is increased, and tetrafluoropropene having a double bond is easily decomposed.

この発明は、上記のような課題を解消するためになされたもので、テトラフルオロプロペンの分解を抑制することができる冷凍サイクル装置を得ることを目的とする。   The present invention has been made to solve the above-described problems, and an object thereof is to obtain a refrigeration cycle apparatus capable of suppressing the decomposition of tetrafluoropropene.

この発明に係る冷凍サイクル装置は、圧縮機、凝縮器、絞り装置、蒸発器、アキュームレータを環状に接続した冷媒回路と、前記圧縮機の運転を制御する制御手段とを備え、冷媒としてテトラフルオロプロペンと該テトラフルオロプロペンよりも沸点の低いHFC系冷媒とを含む非共沸混合冷媒を用い、冷凍機油としてアルキルベンゼン油を用い、前記制御手段は、前記圧縮機の回転数を制御し、前記アキュームレータ内の圧力を変化させることにより、前記アキュームレータに滞留した前記アルキルベンゼン油の温度を変化させ、該アルキルベンゼン油への前記テトラフルオロプロペンの溶解度を変化させて前記非共沸混合冷媒の組成比を変化させるものである。 A refrigeration cycle apparatus according to the present invention comprises a refrigerant circuit in which a compressor, a condenser, a throttling device, an evaporator, and an accumulator are connected in an annular shape, and a control means for controlling the operation of the compressor. Tetrafluoropropene is used as a refrigerant. And an HFC refrigerant having a boiling point lower than that of tetrafluoropropene, using an alkylbenzene oil as the refrigerating machine oil , the control means controls the rotational speed of the compressor, The temperature of the alkylbenzene oil staying in the accumulator is changed by changing the pressure of the accumulator, and the composition ratio of the non-azeotropic refrigerant mixture is changed by changing the solubility of the tetrafluoropropene in the alkylbenzene oil. It is.

この発明は、冷媒としてテトラフルオロプロペンと該テトラフルオロプロペンよりも沸点の低いHFC系冷媒とを含む非共沸混合冷媒を用い、冷凍機油としてアルキルベンゼン油を用いたので、テトラフルオロプロペンの分解を抑制することができる。   This invention uses a non-azeotropic refrigerant mixture containing tetrafluoropropene and an HFC refrigerant having a boiling point lower than that of tetrafluoropropene as the refrigerant, and uses alkylbenzene oil as the refrigerating machine oil, thereby suppressing the decomposition of tetrafluoropropene. can do.

実施の形態1.
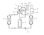
図1はこの発明の実施の形態1に係る冷凍サイクル装置の冷媒回路図である。
図1に示すように、本実施の形態1に係る冷凍サイクル装置は、圧縮機1、四方弁2、室外熱交換器5、絞り装置4、室内熱交換器3、アキュームレータ6を環状に接続した冷媒回路を有する。尚、図1は冷房運転時の状態を示す。
Embodiment 1 FIG.
1 is a refrigerant circuit diagram of a refrigeration cycle apparatus according to Embodiment 1 of the present invention.
As shown in FIG. 1, the refrigeration cycle apparatus according to the first embodiment has a compressor 1, a four-way valve 2, an outdoor heat exchanger 5, an expansion device 4, an indoor heat exchanger 3, and an accumulator 6 connected in an annular shape. It has a refrigerant circuit. FIG. 1 shows a state during the cooling operation.

圧縮機1は、吐出側が四方弁2に管を介して接続されている。また、圧縮機1は、図示しない制御手段により運転が制御される。
四方弁2は、室内熱交換器3及び室外熱交換器5と管を介して接続されている。
アキュームレータ6は、一方が四方弁2に、他方が圧縮機1の吸入側にそれぞれ管を介して接続されている。
絞り装置4は、室外熱交換器5と室内熱交換器3との間の管に設けられている。
The discharge side of the compressor 1 is connected to the four-way valve 2 via a pipe. The operation of the compressor 1 is controlled by control means (not shown).
The four-way valve 2 is connected to the indoor heat exchanger 3 and the outdoor heat exchanger 5 via a pipe.
One of the accumulators 6 is connected to the four-way valve 2 and the other is connected to the suction side of the compressor 1 via pipes.
The expansion device 4 is provided in a pipe between the outdoor heat exchanger 5 and the indoor heat exchanger 3.

また、この冷媒サイクル装置は、冷媒としてテトラフルオロプロペン(例えば、2,3,3,3−テトラフルオロプロペン−1−ene、以下「HFO−1234yf」という。)と、このHFO−1234yfよりも沸点の低いHFC系冷媒(例えばHFC−32)とからなる非共沸混合冷媒(以下、単に「冷媒」ともいう。)を用いる。   In addition, this refrigerant cycle device has tetrafluoropropene (for example, 2,3,3,3-tetrafluoropropene-1-ene, hereinafter referred to as “HFO-1234yf”) as a refrigerant and a boiling point higher than that of HFO-1234yf. A non-azeotropic refrigerant mixture (hereinafter, also simply referred to as “refrigerant”) composed of a low HFC refrigerant (for example, HFC-32).

HFO−1234yfは、沸点−29℃の高沸点冷媒である。
HFC−32は、沸点−52℃の低沸点冷媒である。
HFO-1234yf is a high boiling point refrigerant having a boiling point of -29 ° C.
HFC-32 is a low boiling point refrigerant having a boiling point of -52 ° C.

HFO−1234yfは、分子構造として2重結合を持つため、高温になると分解しやすい特性を有する。
HFC−32は、HFC−1234yfと比較して、吐出温度が上がりやすい特徴を有する。
Since HFO-1234yf has a double bond as a molecular structure, it has a characteristic of being easily decomposed at a high temperature.
HFC-32 has a feature that the discharge temperature is likely to rise as compared with HFC-1234yf.

同一温度におけるHFO−1234yfの冷媒ガス密度は、HFC−32に比べて小さい。   The refrigerant gas density of HFO-1234yf at the same temperature is smaller than that of HFC-32.

また、HFO−1234yfは、地球温暖化係数(以下、「GWP」という。)が4と低く、大気中に漏洩しても地球環境に与える影響が小さい特徴を有する。
HFC−32は、GWPが550と高く、大気への漏洩が発生すると、地球環境に与える影響が大きい特徴を有する。
HFO-1234yf has a low global warming potential (hereinafter referred to as “GWP”) as low as 4 and has a small effect on the global environment even if it leaks into the atmosphere.
HFC-32 has a high GWP of 550, and has a characteristic of having a great influence on the global environment when leakage to the atmosphere occurs.

また、この冷媒サイクル装置は、冷凍機油としてアルキルベンゼン油20を用いる。
アルキルベンゼン油20は、HFO−1234yfと相溶性であるが、HFC−32とは非相溶性であるという特性を有している。
In addition, this refrigerant cycle device uses alkylbenzene oil 20 as the refrigerating machine oil.
The alkylbenzene oil 20 is compatible with HFO-1234yf but has an incompatibility with HFC-32.

次に、この冷凍サイクル装置の動作を、冷房運転を例に説明する。
圧縮機1の起動後、圧縮機1は高温高圧のガス冷媒を吐出する。このとき圧縮機1内部で攪拌された冷凍機油は冷媒と共に吐出する。
この冷媒は、四方弁2を通って室外熱交換器5に入る。
室外熱交換器5は、凝縮器として動作し、冷媒は空気と熱交換を行い凝縮して液冷媒となり、絞り装置4に入る。
絞り装置4では冷媒は減圧され、乾き度0.2〜0.3の低温低圧の二相冷媒となって室内熱交換器3に入る。
室内熱交換器3は蒸発器として動作し、冷媒は空気と熱交換を行い蒸発して乾き度0.9〜1.0の低温低圧の二相冷媒となり、四方弁2を経由してアキュームレータ6に入る。
アキュームレータ6に入った冷媒は気液分離され、ガス冷媒は圧縮機1に吸入される。
そして、アキュームレータ6の内部には、余剰の液冷媒30とアルキルベンゼン油20とが貯留される。
Next, the operation of this refrigeration cycle apparatus will be described taking cooling operation as an example.
After starting up the compressor 1, the compressor 1 discharges a high-temperature and high-pressure gas refrigerant. At this time, the refrigerating machine oil stirred inside the compressor 1 is discharged together with the refrigerant.
This refrigerant enters the outdoor heat exchanger 5 through the four-way valve 2.
The outdoor heat exchanger 5 operates as a condenser, and the refrigerant exchanges heat with air to condense into a liquid refrigerant and enters the expansion device 4.
In the expansion device 4, the refrigerant is decompressed and enters the indoor heat exchanger 3 as a low-temperature and low-pressure two-phase refrigerant having a dryness of 0.2 to 0.3.
The indoor heat exchanger 3 operates as an evaporator, and the refrigerant exchanges heat with air and evaporates to become a low-temperature and low-pressure two-phase refrigerant having a dryness of 0.9 to 1.0. The accumulator 6 passes through the four-way valve 2. to go into.
The refrigerant entering the accumulator 6 is separated into gas and liquid, and the gas refrigerant is sucked into the compressor 1.
In the accumulator 6, excess liquid refrigerant 30 and alkylbenzene oil 20 are stored.

次に、冷凍サイクル装置の運転開始時における、非共沸混合冷媒のHFO−1234yfとHFC−32との組成比について説明する。
アキュームレータ6の内部に存在するアルキルベンゼン油20には、HFO−1234yfが選択的に多く溶解している。
特に、冷凍サイクル装置の運転が停止中の場合、アキュームレータ6内の圧力が上昇するため、アルキルベンゼン油20の溶解度は増加している。
Next, the composition ratio between HFO-1234yf and HFC-32 of the non-azeotropic refrigerant mixture at the start of operation of the refrigeration cycle apparatus will be described.
A large amount of HFO-1234yf is selectively dissolved in the alkylbenzene oil 20 existing inside the accumulator 6.
In particular, when the operation of the refrigeration cycle apparatus is stopped, the pressure in the accumulator 6 increases, so the solubility of the alkylbenzene oil 20 increases.

この状態から圧縮機1を起動すると、アキュームレータ6内の圧力は低下する。
アキュームレータ6内の圧力が低下すると、アキュームレータ6の内部に存在するアルキルベンゼン油20の溶解度が低下する。
尚、圧力低下に伴い、アルキルベンゼン油20の温度が低下するが、運転開始時におけるアキュームレータ6内の圧力変化は大きいため、圧力変化が溶解度に与える影響が大きく、アルキルベンゼン油20の溶解度は低下することとなる。
When the compressor 1 is started from this state, the pressure in the accumulator 6 decreases.
When the pressure in the accumulator 6 decreases, the solubility of the alkylbenzene oil 20 existing inside the accumulator 6 decreases.
As the pressure decreases, the temperature of the alkylbenzene oil 20 decreases. However, since the pressure change in the accumulator 6 at the start of operation is large, the pressure change greatly affects the solubility, and the solubility of the alkylbenzene oil 20 decreases. It becomes.

アルキルベンゼン油20の溶解度が低下すると、アルキルベンゼン油20に選択的に溶解していたHFO−1234yfが放出される。
このため、冷媒回路を循環する非共沸混合冷媒は、HFO−1234yfの組成比が増加し、相対的にHFC−32の組成比は低下する。
When the solubility of the alkylbenzene oil 20 decreases, HFO-1234yf that was selectively dissolved in the alkylbenzene oil 20 is released.
For this reason, in the non-azeotropic refrigerant mixture circulating in the refrigerant circuit, the composition ratio of HFO-1234yf increases and the composition ratio of HFC-32 relatively decreases.

次に、冷凍サイクル装置が動作中における、非共沸混合冷媒のHFO−1234yfとHFC−32との組成比について図2及び図3を用いて説明する。
アキュームレータ6の内部に存在するアルキルベンゼン油20には、HFO−1234yfが選択的に多く溶解している。
定常運転中において、アルキルベンゼン油20の溶解度は、アキュームレータ6内の圧力変化、及びアルキルベンゼン油20の温度変化により増減する。
Next, the composition ratio of HFO-1234yf and non-azeotropic refrigerant mixture HFC-32 during operation of the refrigeration cycle apparatus will be described with reference to FIGS.
A large amount of HFO-1234yf is selectively dissolved in the alkylbenzene oil 20 existing inside the accumulator 6.
During steady operation, the solubility of the alkylbenzene oil 20 increases or decreases due to a pressure change in the accumulator 6 and a temperature change of the alkylbenzene oil 20.

(S11)
上述したように、圧縮機1を起動すると、圧縮機1はアキュームレータ6内の低圧のガス冷媒を吸入し、高圧のガス冷媒を吐出する。
(S11)
As described above, when the compressor 1 is started, the compressor 1 sucks the low-pressure gas refrigerant in the accumulator 6 and discharges the high-pressure gas refrigerant.

(S12)
例えば、制御回路100は、吐出温度センサー12により検出された圧縮機1の吐出温度(Td)を取り込む。
(S12)
For example, the control circuit 100 takes in the discharge temperature (Td) of the compressor 1 detected by the discharge temperature sensor 12.

(S13)
制御回路100は、吐出温度(Td)と所定の基準値とを比較する。
この基準値は、例えば、HFO−1234yfの分解を抑制できる吐出温度とする。
(S13)
The control circuit 100 compares the discharge temperature (Td) with a predetermined reference value.
This reference value is, for example, a discharge temperature at which decomposition of HFO-1234yf can be suppressed.

(S15)
制御回路100は、検出した吐出温度(Td)が基準値より小さいとき、圧縮機1の回転数を増速させる。
圧縮機1に吸入されるガス冷媒量が増加し、アキュームレータ6の内部の圧力が低下する。
アキュームレータ6内の圧力が低下すると、アキュームレータ6の内部に滞留するアルキルベンゼン油20の温度が低下する。
アルキルベンゼン油20の温度が低下すると、アキュームレータ6の内部に存在するアルキルベンゼン油20の溶解度が増加する。
尚、定常運転中におけるアキュームレータ6内の圧力変化は小さいので、温度変化が溶解度に与える影響が大きく、アルキルベンゼン油20の溶解度が増加することとなる。
(S15)
The control circuit 100 increases the rotation speed of the compressor 1 when the detected discharge temperature (Td) is smaller than the reference value.
The amount of gas refrigerant sucked into the compressor 1 increases, and the pressure inside the accumulator 6 decreases.
When the pressure in the accumulator 6 is lowered, the temperature of the alkylbenzene oil 20 staying inside the accumulator 6 is lowered.
When the temperature of the alkylbenzene oil 20 decreases, the solubility of the alkylbenzene oil 20 existing inside the accumulator 6 increases.
Since the pressure change in the accumulator 6 during steady operation is small, the temperature change has a great influence on the solubility, and the solubility of the alkylbenzene oil 20 increases.

アルキルベンゼン油20の溶解度が増加すると、アルキルベンゼン油20に溶解するHFO−1234yfが増加する。
このため、冷媒回路を循環する非共沸混合冷媒は、HFO−1234yfの組成比が低下し、相対的にHFC−32の組成比は増加し、吐出温度は上昇する。
When the solubility of the alkylbenzene oil 20 increases, the HFO-1234yf dissolved in the alkylbenzene oil 20 increases.
For this reason, in the non-azeotropic refrigerant mixture circulating in the refrigerant circuit, the composition ratio of HFO-1234yf is decreased, the composition ratio of HFC-32 is relatively increased, and the discharge temperature is increased.

(S14)
また、制御回路100は、検出した吐出温度(Td)が基準値より大きいとき、圧縮機1の回転数を減速させる。
圧縮機1に吸入されるガス冷媒量が減少し、アキュームレータ6の内部の圧力が上昇する。
アキュームレータ6内の圧力が上昇すると、アキュームレータ6の内部に滞留するアルキルベンゼン油20の温度が上昇する。
アルキルベンゼン油20の温度が上昇すると、アキュームレータ6の内部に存在するアルキルベンゼン油20の溶解度が低下する。
(S14)
Further, the control circuit 100 decelerates the rotational speed of the compressor 1 when the detected discharge temperature (Td) is larger than the reference value.
The amount of gas refrigerant sucked into the compressor 1 decreases, and the pressure inside the accumulator 6 increases.
When the pressure in the accumulator 6 increases, the temperature of the alkylbenzene oil 20 that stays in the accumulator 6 increases.
When the temperature of the alkylbenzene oil 20 rises, the solubility of the alkylbenzene oil 20 existing inside the accumulator 6 decreases.

アルキルベンゼン油20の溶解度が低下すると、アルキルベンゼン油20に溶解するHFO−1234yfが放出する。
このため、冷媒回路を循環する非共沸混合冷媒は、HFO−1234yfの組成比が上昇し、相対的にHFC−32の組成比は減少し、吐出温度は低下する。
なお、ここで説明した基準値は、運転状態などにより異なっていてもよいし、制御の安定性を確保するため、ある幅を持っていてもよい。
When the solubility of the alkylbenzene oil 20 decreases, HFO-1234yf dissolved in the alkylbenzene oil 20 is released.
For this reason, in the non-azeotropic refrigerant mixture circulating in the refrigerant circuit, the composition ratio of HFO-1234yf increases, the composition ratio of HFC-32 relatively decreases, and the discharge temperature decreases.
In addition, the reference value demonstrated here may differ with an operating state etc., and may have a certain width | variety, in order to ensure the stability of control.

以上のように本実施の形態においては、冷媒としてHFC−1234yfと、このHFC−1234yfよりも沸点の低いHFC系冷媒(例えば、HFC−32)とからなる非共沸混合冷媒を用い、冷凍機油としてアルキルベンゼン油20を用いた。
このため、アルキルベンゼン油20の選択溶解性を利用して、冷媒回路を循環する非共沸混合冷媒のHFO−1234yfとHFC−32との組成比を変化させることができる。
As described above, in the present embodiment, as the refrigerant, a non-azeotropic refrigerant mixture composed of HFC-1234yf and an HFC refrigerant having a boiling point lower than that of HFC-1234yf (for example, HFC-32) is used. Alkylbenzene oil 20 was used.
For this reason, the composition ratio of HFO-1234yf and HFC-32 of the non-azeotropic refrigerant mixture circulating in the refrigerant circuit can be changed using the selective solubility of the alkylbenzene oil 20.

また、圧縮機1の運転開始時(起動時)においては、HFO−1234yfの組成比を増加させることができ、HFO−1234yfが非相溶性の冷凍機油を用いた場合と比較して、HFC−32の組成比が低下して、冷媒の吐出温度の上昇を抑制することができる。よって、2重結合を持つHFO−1234yfの分解を抑制することができる。
これにより、信頼性の高い冷凍サイクル装置を実現できる。
In addition, at the start of operation of the compressor 1 (at the time of start-up), the composition ratio of HFO-1234yf can be increased. Compared with the case where HFO-1234yf uses incompatible refrigerating machine oil, HFC- The composition ratio of 32 can be reduced, and an increase in the refrigerant discharge temperature can be suppressed. Therefore, decomposition of HFO-1234yf having a double bond can be suppressed.
Thereby, a highly reliable refrigeration cycle apparatus can be realized.

また、アキュームレータ6内に滞留したアルキルベンゼン油20の温度を変化させることにより、アルキルベンゼン油20へのHFO−1234yfの溶解度を変化させることができるので、非共沸混合冷媒の冷媒密度又は冷媒循環量を制御することができる。
これにより、冷凍サイクル装置の能力を制御することができる。
Moreover, since the solubility of HFO-1234yf in the alkylbenzene oil 20 can be changed by changing the temperature of the alkylbenzene oil 20 staying in the accumulator 6, the refrigerant density or the refrigerant circulation amount of the non-azeotropic refrigerant mixture can be changed. Can be controlled.
Thereby, the capability of the refrigeration cycle apparatus can be controlled.

また、圧縮機1の回転数を制御し、アキュームレータ6内の圧力を変化させることにより、アルキルベンゼン油20の温度を変化させ、アルキルベンゼン油20の溶解度を変化させることができる。よって、圧縮機1の回転数を制御することにより、非共沸混合冷媒の冷媒密度又は冷媒循環量を制御することができる。   Moreover, the temperature of the alkylbenzene oil 20 can be changed and the solubility of the alkylbenzene oil 20 can be changed by controlling the rotation speed of the compressor 1 and changing the pressure in the accumulator 6. Therefore, by controlling the rotation speed of the compressor 1, the refrigerant density or the refrigerant circulation amount of the non-azeotropic refrigerant mixture can be controlled.

実施の形態2.
図4はこの発明の実施の形態2に係る冷凍サイクル装置の冷媒回路図である。
図5はこの発明の実施の形態2に係る冷凍サイクル装置の起動前の状態を示す冷媒回路図である。
尚、図1と同一部分は同一符号で示す。
Embodiment 2. FIG.
FIG. 4 is a refrigerant circuit diagram of the refrigeration cycle apparatus according to Embodiment 2 of the present invention.
FIG. 5 is a refrigerant circuit diagram showing a state before activation of the refrigeration cycle apparatus according to Embodiment 2 of the present invention.
In addition, the same part as FIG. 1 is shown with the same code | symbol.

図4に示すように、本実施の形態2に係る冷凍サイクル装置は、圧縮機1、四方弁2、室外熱交換器5、絞り装置4、室内熱交換器3、アキュームレータ6を環状に接続した冷媒回路を備える。
また、第1のバイパス路13a、第1の二方弁14a、毛細管15、高低圧熱交換器16、レシーバ7、第2のバイパス路13b、第2の二方弁14bを備える。
尚、図4は冷房運転時の状態を示す。また、図5は運転開始前の状態を示す。
As shown in FIG. 4, in the refrigeration cycle apparatus according to the second embodiment, the compressor 1, the four-way valve 2, the outdoor heat exchanger 5, the expansion device 4, the indoor heat exchanger 3, and the accumulator 6 are connected in an annular shape. A refrigerant circuit is provided.
Moreover, the 1st bypass path 13a, the 1st two-way valve 14a, the capillary tube 15, the high-low pressure heat exchanger 16, the receiver 7, the 2nd bypass path 13b, and the 2nd two-way valve 14b are provided.
FIG. 4 shows a state during the cooling operation. FIG. 5 shows a state before starting operation.

第1のバイパス路13aは、圧縮機1と四方弁2とを接続する管とレシーバ7とを接続する。
第1の二方弁14aは、第1のバイパス路13aを開閉する。
毛細管15は、第1のバイパス路13aの冷媒流量を調整する。
高低圧熱交換器16は、アキュームレータ6から圧縮機1に吸入される低圧の非共沸混合冷媒と、第1のバイパス路13a内を通る高圧の非共沸混合冷媒とを熱交換する。
レシーバ7は、上部が第1のバイパス路13aに、下部が第2のバイパス路13bに接続される。
第2のバイパス路13bは、アキュームレータ6と四方弁2とを接続する管と、レシーバ7とを接続する。
第2の二方弁14bは、第2のバイパス路13bを開閉する。
The first bypass passage 13 a connects the pipe connecting the compressor 1 and the four-way valve 2 to the receiver 7.
The first two-way valve 14a opens and closes the first bypass passage 13a.
The capillary 15 adjusts the refrigerant flow rate of the first bypass passage 13a.
The high-low pressure heat exchanger 16 exchanges heat between the low-pressure non-azeotropic mixed refrigerant sucked into the compressor 1 from the accumulator 6 and the high-pressure non-azeotropic mixed refrigerant passing through the first bypass passage 13a.
The receiver 7 has an upper portion connected to the first bypass passage 13a and a lower portion connected to the second bypass passage 13b.
The second bypass path 13 b connects the receiver 7 and a pipe connecting the accumulator 6 and the four-way valve 2.
The second two-way valve 14b opens and closes the second bypass passage 13b.

また、圧縮機1は、図示しない制御手段により運転が制御される。
尚、制御手段は、圧縮機1の運転状態に応じて、第1の二方弁14a、及び第2の二方弁14bの開閉を制御するようにしても良い。
The operation of the compressor 1 is controlled by control means (not shown).
The control means may control the opening and closing of the first two-way valve 14a and the second two-way valve 14b according to the operating state of the compressor 1.

また、この冷媒サイクル装置は、上記実施の形態1と同様に、冷媒としてHFO−1234yfと、このHFO−1234yfよりも沸点の低いHFC系冷媒(例えば、HFC−32)とからなる非共沸混合冷媒(以下、単に「冷媒」ともいう。)を用いる。   In addition, as in the first embodiment, this refrigerant cycle apparatus is a non-azeotropic mixture comprising HFO-1234yf as a refrigerant and an HFC refrigerant (for example, HFC-32) having a boiling point lower than that of HFO-1234yf. A refrigerant (hereinafter also simply referred to as “refrigerant”) is used.

尚、本実施の形態における冷凍機油は、アルキルベンゼン油20に限らず、任意の冷凍機油を用いても良い。   In addition, the refrigerating machine oil in this Embodiment is not restricted to the alkylbenzene oil 20, You may use arbitrary refrigerating machine oil.

次に、この冷凍サイクル装置の動作を、冷房運転を例に説明する。
図5に示すように、冷凍サイクル装置の運転開始前(起動前)において、アキュームレータ6の内部には、余剰の液冷媒30が貯留されている。
尚、上記実施の形態1と同様に、アキュームレータ6には冷凍機油が貯留されるが図示しない。
Next, the operation of this refrigeration cycle apparatus will be described taking cooling operation as an example.
As shown in FIG. 5, the surplus liquid refrigerant 30 is stored in the accumulator 6 before the operation of the refrigeration cycle apparatus is started (before starting).
As in the first embodiment, the accumulator 6 stores refrigeration oil, which is not shown.

また、運転開始時には、第1の二方弁14aが開状態、第2の二方弁14bが閉状態になっているものとする。
尚、図示しない制御手段により、圧縮機1を起動する際に、弁の開閉制御を行うようにしても良い。
At the start of operation, the first two-way valve 14a is opened and the second two-way valve 14b is closed.
In addition, when the compressor 1 is started by a control means (not shown), valve opening / closing control may be performed.

この状態から圧縮機1を起動すると、アキュームレータ6内の圧力は低下する。
アキュームレータ6内の圧力が低下すると、アキュームレータ6に貯留された液冷媒30は、まず、低沸点冷媒であるHFC−32が蒸発する。
このため、HFO−1234yfよりHFC−32の比率が高い冷媒ガスが、圧縮機1に吸入される。
When the compressor 1 is started from this state, the pressure in the accumulator 6 decreases.
When the pressure in the accumulator 6 decreases, the liquid refrigerant 30 stored in the accumulator 6 first evaporates HFC-32, which is a low boiling point refrigerant.
For this reason, the refrigerant gas having a higher ratio of HFC-32 than HFO-1234yf is sucked into the compressor 1.

そして、圧縮機1は高温高圧でHFC−32リッチのガス冷媒を吐出する。
このHFC−32リッチの冷媒は、四方弁2を通って室外熱交換器5に入る。
The compressor 1 discharges a gas refrigerant rich in HFC-32 at high temperature and pressure.
The HFC-32 rich refrigerant enters the outdoor heat exchanger 5 through the four-way valve 2.

また、圧縮機1が吐出した高温高圧でHFC−32リッチのガス冷媒の一部は、第1の二方弁14aの開により、第1のバイパス路13aへ流入する。
第1のバイパス路13aに入った高温高圧のガス冷媒は、毛細管15を通り、さらに高低圧熱交換器16を通る。
高低圧熱交換器16では、高温高圧のガス冷媒は、圧縮機1に吸入される低圧の冷媒と熱交換され、高圧でHFC−32リッチの凝縮液冷媒となってレシーバ7に貯蓄される。
A part of the high-temperature, high-pressure, HFC-32 rich gas refrigerant discharged from the compressor 1 flows into the first bypass passage 13a by opening the first two-way valve 14a.
The high-temperature and high-pressure gas refrigerant that has entered the first bypass passage 13 a passes through the capillary tube 15 and further passes through the high- and low-pressure heat exchanger 16.
In the high-low pressure heat exchanger 16, the high-temperature and high-pressure gas refrigerant is heat-exchanged with the low-pressure refrigerant sucked into the compressor 1, and is stored in the receiver 7 as a high-pressure HFC-32 rich condensate refrigerant.

一方、アキュームレータ6に貯留された液冷媒30は、遅れて、高沸点冷媒であるHFO−1234yfが蒸発する。
圧縮機1は高温高圧でHFO−1234yfリッチのガス冷媒を吐出する。
このHFO−1234yfの冷媒は、四方弁2を通って室外熱交換器5に入る。
室外熱交換器5は、凝縮器として動作し、冷媒は空気と熱交換を行い凝縮して液冷媒となり、絞り装置4に入る。
絞り装置4では冷媒は減圧され、乾き度0.2〜0.3の低温低圧の二相冷媒となって室内熱交換器3に入る。
室内熱交換器3は蒸発器として動作し、冷媒は空気と熱交換を行い蒸発して乾き度0.9〜1.0の低温低圧の二相冷媒となり、四方弁2を経由してアキュームレータ6に入る。
アキュームレータ6に入った冷媒は気液分離され、ガス冷媒は圧縮機1に吸入される。
On the other hand, the liquid refrigerant 30 stored in the accumulator 6 is delayed and HFO-1234yf which is a high boiling point refrigerant evaporates.
The compressor 1 discharges a gas refrigerant rich in HFO-1234yf at high temperature and pressure.
The refrigerant of HFO-1234yf enters the outdoor heat exchanger 5 through the four-way valve 2.
The outdoor heat exchanger 5 operates as a condenser, and the refrigerant exchanges heat with air to condense into a liquid refrigerant and enters the expansion device 4.
In the expansion device 4, the refrigerant is decompressed and enters the indoor heat exchanger 3 as a low-temperature and low-pressure two-phase refrigerant having a dryness of 0.2 to 0.3.
The indoor heat exchanger 3 operates as an evaporator, and the refrigerant exchanges heat with air and evaporates to become a low-temperature and low-pressure two-phase refrigerant having a dryness of 0.9 to 1.0. The accumulator 6 passes through the four-way valve 2. to go into.
The refrigerant entering the accumulator 6 is separated into gas and liquid, and the gas refrigerant is sucked into the compressor 1.

これにより、冷媒回路を循環する非共沸混合冷媒の冷媒組成は、HFC−1234yfがリッチの状態で循環する。   Thereby, the refrigerant composition of the non-azeotropic refrigerant mixture circulating in the refrigerant circuit circulates in a state where HFC-1234yf is rich.

以上のように本実施の形態においては、圧縮機1から吐出された高温高圧でHFC−32リッチのガス冷媒の一部を、第1のバイパス路13aを経由させ、HFC−32リッチの冷媒をレシーバ7に貯留する。
このため、冷媒回路を循環する非共沸混合冷媒の冷媒組成を、HFO−1234yfリッチで運転することができ、圧縮機1の吐出温度を低下させることができる。よって、2重結合を持つHFO−1234yfの分解を抑制することができる。
これにより、信頼性の高い冷凍サイクル装置を実現できる。
As described above, in the present embodiment, a part of the high-temperature and high-pressure HFC-32 rich gas refrigerant discharged from the compressor 1 is passed through the first bypass passage 13a, and the HFC-32 rich refrigerant is supplied. Store in the receiver 7.
For this reason, the refrigerant composition of the non-azeotropic refrigerant mixture circulating in the refrigerant circuit can be operated with HFO-1234yf rich, and the discharge temperature of the compressor 1 can be lowered. Therefore, decomposition of HFO-1234yf having a double bond can be suppressed.
Thereby, a highly reliable refrigeration cycle apparatus can be realized.

実施の形態3.
上記実施の形態2では、HFO−1234yfリッチで運転することにより、圧縮機1の吐出温度を低下させ、HFO−1234yfの分解を抑制した。
一方、HFC−32リッチで運転することにより、冷媒回路内で発生する冷媒の圧力損失を低減することができる利点もある。
本実施の形態3では、HFO−1234yfの分解を抑制するとともに、冷媒回路内で発生する冷媒の圧力損失を低減する。
Embodiment 3 FIG.
In the said Embodiment 2, by operating by HFO-1234yf rich, the discharge temperature of the compressor 1 was reduced and decomposition | disassembly of HFO-1234yf was suppressed.
On the other hand, there is also an advantage that the pressure loss of the refrigerant generated in the refrigerant circuit can be reduced by operating with HFC-32 rich.
In the third embodiment, decomposition of HFO-1234yf is suppressed, and pressure loss of the refrigerant generated in the refrigerant circuit is reduced.

図6はこの発明の実施の形態3に係る冷凍サイクル装置の冷媒回路図である。
尚、図4と同一部分は同一符号で示す。
6 is a refrigerant circuit diagram of a refrigeration cycle apparatus according to Embodiment 3 of the present invention.
In addition, the same part as FIG. 4 is shown with the same code | symbol.

図6に示すように、本実施の形態2に係る冷凍サイクル装置は、実施の形態2の構成(図4)に加え、吐出温度センサー12、及び制御手段である制御回路100を備える。   As shown in FIG. 6, the refrigeration cycle apparatus according to the second embodiment includes a discharge temperature sensor 12 and a control circuit 100 that is a control means in addition to the configuration of the second embodiment (FIG. 4).

吐出温度センサー12は、圧縮機1の吐出側(例えば吐出管)に設置される。
制御回路100は、吐出温度センサー12の検知温度に基づき、第1の二方弁14a、及び第2の二方弁14bの開閉を制御する。
The discharge temperature sensor 12 is installed on the discharge side (for example, a discharge pipe) of the compressor 1.
The control circuit 100 controls the opening and closing of the first two-way valve 14a and the second two-way valve 14b based on the temperature detected by the discharge temperature sensor 12.

次に、本実施の形態3の動作を、図7に基づき説明する。   Next, the operation of the third embodiment will be described with reference to FIG.

図7はこの発明の実施の形態3に係る冷凍サイクル装置の二方弁の制御を説明するフローチャートである。以下、図7の各ステップについて説明する。   FIG. 7 is a flowchart illustrating the control of the two-way valve of the refrigeration cycle apparatus according to Embodiment 3 of the present invention. Hereinafter, each step of FIG. 7 will be described.

(S21)
上述した実施の形態2と同様に、圧縮機1を起動すると、アキュームレータ6内の圧力は低下し、まず、低沸点冷媒であるHFC−32が蒸発し、遅れて、高沸点冷媒であるHFO−1234yfが蒸発する。
(S21)
As in the second embodiment described above, when the compressor 1 is started, the pressure in the accumulator 6 decreases. First, HFC-32, which is a low-boiling point refrigerant, evaporates, and later, HFO-, which is a high-boiling point refrigerant. 1234yf evaporates.

(S22)
制御回路100は、吐出温度センサー12により検出された圧縮機1の吐出温度(Td)を取り込む。
(S22)
The control circuit 100 takes in the discharge temperature (Td) of the compressor 1 detected by the discharge temperature sensor 12.

(S23)
制御回路100は、吐出温度(Td)と所定の基準値とを比較する。
この基準値は、例えば、HFO−1234yfの分解を抑制できる吐出温度とする。
(S23)
The control circuit 100 compares the discharge temperature (Td) with a predetermined reference value.
This reference value is, for example, a discharge temperature at which decomposition of HFO-1234yf can be suppressed.

(S24)
制御回路100は、検出した吐出温度(Td)が基準値より大きいとき、第1の二方弁14aを開状態、第2の二方弁14bを閉状態にする。そして、上述した実施の形態2と同様に、HFC−32リッチの冷媒をレシーバ7に貯留する。
これにより、冷媒回路を循環する非共沸混合冷媒の冷媒組成は、HFC−1234yfがリッチの状態で循環する。
(S24)
When the detected discharge temperature (Td) is higher than the reference value, the control circuit 100 opens the first two-way valve 14a and closes the second two-way valve 14b. Then, similarly to the second embodiment described above, the HFC-32 rich refrigerant is stored in the receiver 7.
Thereby, the refrigerant composition of the non-azeotropic refrigerant mixture circulating in the refrigerant circuit circulates in a state where HFC-1234yf is rich.

(S25)
制御回路100は、検出した吐出温度(Td)が基準値より小さいとき、第1の二方弁14aを閉状態、第2の二方弁14bを開状態にする。そして、レシーバ7に貯留されたHFC−32リッチの液冷媒を、第2のバイパス路13bを経て、冷媒回路内へ放出する。
これにより、冷媒回路を循環する非共沸混合冷媒の、HFC−32の冷媒組成を増加させる。
(S25)
When the detected discharge temperature (Td) is lower than the reference value, the control circuit 100 closes the first two-way valve 14a and opens the second two-way valve 14b. Then, the HFC-32 rich liquid refrigerant stored in the receiver 7 is discharged into the refrigerant circuit through the second bypass 13b.
Thereby, the refrigerant composition of HFC-32 of the non-azeotropic refrigerant mixture circulating in the refrigerant circuit is increased.

制御回路100は、上記ステップS22〜S25を繰り返す。   The control circuit 100 repeats the above steps S22 to S25.

以上のように本実施の形態においては、吐出温度が基準値より大きいとき、HFC−32リッチの冷媒をレシーバ7に貯留する。
このため、吐出温度が高いとき、冷媒回路を循環する非共沸混合冷媒の冷媒組成を、HFO−1234yfリッチで運転することができる。よって、吐出温度を低減させることができ、2重結合を持つHFO−1234yfの分解を抑制することができる。これにより、信頼性優先の運転を実施することが可能となる。
As described above, in the present embodiment, when the discharge temperature is higher than the reference value, the HFC-32 rich refrigerant is stored in the receiver 7.
For this reason, when the discharge temperature is high, the refrigerant composition of the non-azeotropic refrigerant mixture circulating in the refrigerant circuit can be operated with HFO-1234yf rich. Therefore, the discharge temperature can be reduced and decomposition of HFO-1234yf having a double bond can be suppressed. As a result, it is possible to perform reliability-priority operation.

また、吐出温度が基準値より小さいとき、レシーバ7に貯留されたHFC−32リッチの液冷媒を冷媒回路内へ放出する。
このため、吐出温度が低いとき、冷媒回路を循環するHFC−32の冷媒組成を増加させることができる。よって、冷媒回路内で発生する冷媒の圧力損失を低減することができる。これにより、効率優先の運転を実施することができる。
When the discharge temperature is lower than the reference value, the HFC-32 rich liquid refrigerant stored in the receiver 7 is discharged into the refrigerant circuit.
For this reason, when the discharge temperature is low, the refrigerant composition of HFC-32 circulating in the refrigerant circuit can be increased. Therefore, the pressure loss of the refrigerant generated in the refrigerant circuit can be reduced. As a result, it is possible to perform an operation with priority on efficiency.

また、吐出温度に応じて、冷媒回路を循環する非共沸混合冷媒の冷媒組成を変化させることができるので、信頼性を確保しながら効率の良い運転が実現できる。これにより、COP(成績係数)を向上することができる。なお、ここで説明した基準値は、運転状態などにより異なっていてもよいし、制御の安定性を確保するため、ある幅を持っていてもよい。   Moreover, since the refrigerant composition of the non-azeotropic refrigerant mixture circulating in the refrigerant circuit can be changed according to the discharge temperature, an efficient operation can be realized while ensuring reliability. Thereby, COP (coefficient of performance) can be improved. In addition, the reference value demonstrated here may differ with an operating state etc., and may have a certain width | variety, in order to ensure the stability of control.

実施の形態4.
図8はこの発明の実施の形態4に係る冷凍サイクル装置の冷媒回路図である。
尚、図8は冷房運転時の状態を示す。また、図1と同一部分は同一符号で示す。
Embodiment 4 FIG.
FIG. 8 is a refrigerant circuit diagram of the refrigeration cycle apparatus according to Embodiment 4 of the present invention.
FIG. 8 shows a state during the cooling operation. The same parts as those in FIG. 1 are denoted by the same reference numerals.

図8に示すように、本実施の形態4に係る冷凍サイクル装置は、圧縮機1、四方弁2、室外熱交換器5、絞り装置4、室内熱交換器3、アキュームレータ6を環状に接続した冷媒回路を備える。
また、油貯留容器8、第3の二方弁14c、第4の二方弁14d、第5の二方弁14e、第6の二方弁14fを備える。
さらに、吐出温度センサー12、及び図示しない制御回路100を備える。
尚、制御回路100は、本発明における制御手段である。
As shown in FIG. 8, in the refrigeration cycle apparatus according to the fourth embodiment, the compressor 1, the four-way valve 2, the outdoor heat exchanger 5, the expansion device 4, the indoor heat exchanger 3, and the accumulator 6 are connected in an annular shape. A refrigerant circuit is provided.
Moreover, the oil storage container 8, the 3rd two-way valve 14c, the 4th two-way valve 14d, the 5th two-way valve 14e, and the 6th two-way valve 14f are provided.
Furthermore, a discharge temperature sensor 12 and a control circuit 100 (not shown) are provided.
The control circuit 100 is a control means in the present invention.

油貯留容器8の内部には、アルキルベンゼン油20が貯留されている。
また、油貯留容器8は、高圧側バイパス路、及び低圧側バイパス路により、冷媒回路に接続される。
An alkylbenzene oil 20 is stored in the oil storage container 8.
The oil storage container 8 is connected to the refrigerant circuit by a high-pressure side bypass path and a low-pressure side bypass path.

高圧側バイパス路は、圧縮機1と四方弁2とを接続する管から、第3の二方弁14cを介して油貯留容器8へ至り、油貯留容器8から、第4の二方弁14dを介して圧縮機1と四方弁2とを接続する管に戻る。   The high pressure side bypass passage extends from the pipe connecting the compressor 1 and the four-way valve 2 to the oil storage container 8 via the third two-way valve 14c, and from the oil storage container 8 to the fourth two-way valve 14d. Is returned to the pipe connecting the compressor 1 and the four-way valve 2.

低圧側バイパス路は、アキュームレータ6と圧縮機1とを接続する管から、第5の二方弁14eを介して油貯留容器8へ至り、油貯留容器8から、第6の二方弁14fを介してアキュームレータ6と圧縮機1とを接続する管に戻る。   The low-pressure side bypass passage extends from the pipe connecting the accumulator 6 and the compressor 1 to the oil storage container 8 via the fifth two-way valve 14e, and from the oil storage container 8 to the sixth two-way valve 14f. To the pipe connecting the accumulator 6 and the compressor 1.

吐出温度センサー12は、圧縮機1の吐出側(例えば吐出管)に設置される。
制御回路100は、吐出温度センサー12の検知温度に基づき、第3の二方弁14c、第4の二方弁14d、第5の二方弁14e、及び第6の二方弁14fの開閉を制御する。
The discharge temperature sensor 12 is installed on the discharge side (for example, a discharge pipe) of the compressor 1.
Based on the temperature detected by the discharge temperature sensor 12, the control circuit 100 opens and closes the third two-way valve 14c, the fourth two-way valve 14d, the fifth two-way valve 14e, and the sixth two-way valve 14f. Control.

この冷媒サイクル装置は、上記実施の形態1と同様に、冷媒としてHFO−1234yfと、このHFO−1234yfよりも沸点の低いHFC系冷媒(例えば、HFC−32)とからなる非共沸混合冷媒(以下、単に「冷媒」ともいう。)を用いる。   As in the first embodiment, this refrigerant cycle apparatus is a non-azeotropic refrigerant mixture (HFC-1234yf as a refrigerant and an HFC refrigerant (for example, HFC-32) having a boiling point lower than that of HFO-1234yf. Hereinafter, it is also simply referred to as “refrigerant”).

また、実施の形態1で説明したように、アルキルベンゼン油20は選択溶解性を有する。よって、油貯留容器8内のアルキルベンゼン油20には、HFO−1234yfが選択的に溶解している。   Moreover, as demonstrated in Embodiment 1, the alkylbenzene oil 20 has selective solubility. Therefore, HFO-1234yf is selectively dissolved in the alkylbenzene oil 20 in the oil storage container 8.

次に、本実施の形態4の動作を、図9に基づき説明する。   Next, the operation of the fourth embodiment will be described with reference to FIG.

図9はこの発明の実施の形態4に係る冷凍サイクル装置の二方弁の制御を説明するフローチャートである。以下、図9の各ステップについて説明する。   FIG. 9 is a flowchart illustrating control of the two-way valve of the refrigeration cycle apparatus according to Embodiment 4 of the present invention. Hereinafter, each step of FIG. 9 will be described.

(S31)
上述した実施の形態1と同様に、圧縮機1を起動すると、圧縮機1はアキュームレータ6内の低圧のガス冷媒を吸入し、高圧のガス冷媒を吐出する。
(S31)
As in the first embodiment, when the compressor 1 is started, the compressor 1 sucks the low-pressure gas refrigerant in the accumulator 6 and discharges the high-pressure gas refrigerant.

(S32)
制御回路100は、吐出温度センサー12により検出された圧縮機1の吐出温度(Td)を取り込む。
(S32)
The control circuit 100 takes in the discharge temperature (Td) of the compressor 1 detected by the discharge temperature sensor 12.

(S33)
制御回路100は、吐出温度(Td)と所定の基準値とを比較する。
この基準値は、例えば、HFO−1234yfの分解を抑制できる吐出温度とする。
(S33)
The control circuit 100 compares the discharge temperature (Td) with a predetermined reference value.
This reference value is, for example, a discharge temperature at which decomposition of HFO-1234yf can be suppressed.

(S34)
制御回路100は、検出した吐出温度(Td)が基準値より大きいとき、第3の二方弁14c、及び第4の二方弁14dを閉状態にし、第5の二方弁14e、及び第6の二方弁14fを開状態にして、油貯留容器8を低圧側バイパス路に接続する。
(S34)
When the detected discharge temperature (Td) is higher than the reference value, the control circuit 100 closes the third two-way valve 14c and the fourth two-way valve 14d, and sets the fifth two-way valve 14e and the second two-way valve 14e. 6 two-way valve 14f is opened, and oil reservoir 8 is connected to the low-pressure side bypass.

これにより、油貯留容器8の内部の圧力が低くなる。
アキュームレータ6内の圧力が低下すると、アキュームレータ6の内部に存在するアルキルベンゼン油20の溶解度が低下する。
尚、油貯留容器8は、冷媒回路とは独立して設けられているため、油貯留容器8内の温度変化は少ない。このため、圧力変化が溶解度に与える影響が大きく、アルキルベンゼン油20の溶解度は低下することとなる。
Thereby, the pressure inside the oil storage container 8 becomes low.
When the pressure in the accumulator 6 decreases, the solubility of the alkylbenzene oil 20 existing inside the accumulator 6 decreases.
In addition, since the oil storage container 8 is provided independently of the refrigerant circuit, the temperature change in the oil storage container 8 is small. For this reason, the influence which the pressure change has on the solubility is large, and the solubility of the alkylbenzene oil 20 is lowered.

アルキルベンゼン油20の溶解度が低下すると、アルキルベンゼン油20に選択的に溶解していたHFO−1234yfが放出される。
このため、冷媒回路を循環する非共沸混合冷媒は、HFO−1234yfの組成比が増加し、相対的にHFC−32の組成比は低下する。
When the solubility of the alkylbenzene oil 20 decreases, HFO-1234yf that was selectively dissolved in the alkylbenzene oil 20 is released.
For this reason, in the non-azeotropic refrigerant mixture circulating in the refrigerant circuit, the composition ratio of HFO-1234yf increases and the composition ratio of HFC-32 relatively decreases.

(S35)
制御回路100は、検出した吐出温度(Td)が基準値より小さいとき、第3の二方弁14c、及び第4の二方弁14dを開状態にし、第5の二方弁14e、及び第6の二方弁14fを閉状態にして、油貯留容器8を高圧側バイパス路に接続する。
(S35)
When the detected discharge temperature (Td) is smaller than the reference value, the control circuit 100 opens the third two-way valve 14c and the fourth two-way valve 14d, opens the fifth two-way valve 14e, 6 is closed, and the oil storage container 8 is connected to the high-pressure side bypass.

これにより、油貯留容器8の内部の圧力が高くなる。
アキュームレータ6内の圧力が高くなると、アキュームレータ6の内部に存在するアルキルベンゼン油20の溶解度が増加する。
尚、油貯留容器8は、冷媒回路とは独立して設けられているため、油貯留容器8内の温度変化は少ない。このため、圧力変化が溶解度に与える影響が大きく、アルキルベンゼン油20の溶解度は増加することとなる。
Thereby, the pressure inside the oil storage container 8 becomes high.
When the pressure in the accumulator 6 increases, the solubility of the alkylbenzene oil 20 existing inside the accumulator 6 increases.
In addition, since the oil storage container 8 is provided independently of the refrigerant circuit, the temperature change in the oil storage container 8 is small. For this reason, the influence which the pressure change has on the solubility is large, and the solubility of the alkylbenzene oil 20 is increased.

アルキルベンゼン油20の溶解度が増加すると、アルキルベンゼン油20に溶解するHFO−1234yfが増加する。
このため、冷媒回路を循環する非共沸混合冷媒は、HFO−1234yfの組成比が低下し、相対的にHFC−32の組成比は増加する。
When the solubility of the alkylbenzene oil 20 increases, the HFO-1234yf dissolved in the alkylbenzene oil 20 increases.
For this reason, in the non-azeotropic refrigerant mixture circulating in the refrigerant circuit, the composition ratio of HFO-1234yf decreases, and the composition ratio of HFC-32 relatively increases.

以上のように本実施の形態においては、アルキルベンゼン油20が貯留された油貯留容器8を備え、高圧側バイパス路、又は低圧側バイパス路に接続することにより、油貯留容器8内の圧力を変化させる。
このため、アルキルベンゼン油20の選択溶解性を利用して、冷媒回路を循環する非共沸混合冷媒のHFO−1234yfとHFC−32との組成比を変化させることができる。
As described above, in the present embodiment, the oil storage container 8 in which the alkylbenzene oil 20 is stored is provided, and the pressure in the oil storage container 8 is changed by connecting to the high pressure side bypass path or the low pressure side bypass path. Let
For this reason, the composition ratio of HFO-1234yf and HFC-32 of the non-azeotropic refrigerant mixture circulating in the refrigerant circuit can be changed using the selective solubility of the alkylbenzene oil 20.

また、吐出温度が基準値より大きいとき、油貯留容器8を低圧側バイパス路に接続する。
このため、吐出温度が高いとき、冷媒回路を循環する非共沸混合冷媒の冷媒組成を、HFO−1234yfリッチで運転することができる。よって、吐出温度を低減させることができ、2重結合を持つHFO−1234yfの分解を抑制することができる。これにより、信頼性優先の運転を実施することが可能となる。
When the discharge temperature is higher than the reference value, the oil storage container 8 is connected to the low pressure side bypass.
For this reason, when the discharge temperature is high, the refrigerant composition of the non-azeotropic refrigerant mixture circulating in the refrigerant circuit can be operated with HFO-1234yf rich. Therefore, the discharge temperature can be reduced and decomposition of HFO-1234yf having a double bond can be suppressed. As a result, it is possible to perform reliability-priority operation.

また、吐出温度が基準値より小さいとき、油貯留容器8を高圧側バイパス路に接続する。
このため、吐出温度が低いとき、冷媒回路を循環するHFC−32の冷媒組成を増加させることができる。よって、冷媒回路内で発生する冷媒の圧力損失を低減することができる。これにより、効率優先の運転を実施することができる。
Further, when the discharge temperature is lower than the reference value, the oil storage container 8 is connected to the high pressure side bypass.
For this reason, when the discharge temperature is low, the refrigerant composition of HFC-32 circulating in the refrigerant circuit can be increased. Therefore, the pressure loss of the refrigerant generated in the refrigerant circuit can be reduced. As a result, it is possible to perform an operation with priority on efficiency.

また、吐出温度に応じて、冷媒回路を循環する非共沸混合冷媒の冷媒組成を変化させることができるので、信頼性を確保しながら効率の良い運転が実現できる。これにより、COP(成績係数)を向上することができる。   Moreover, since the refrigerant composition of the non-azeotropic refrigerant mixture circulating in the refrigerant circuit can be changed according to the discharge temperature, an efficient operation can be realized while ensuring reliability. Thereby, COP (coefficient of performance) can be improved.

実施の形態5.
図10はこの発明の実施の形態5に係る冷凍サイクル装置の冷媒回路図である。
尚、図10は冷房運転時の状態を示す。また、図1と同一部分は同一符号で示す。
Embodiment 5 FIG.
FIG. 10 is a refrigerant circuit diagram of a refrigeration cycle apparatus according to Embodiment 5 of the present invention.
FIG. 10 shows a state during the cooling operation. The same parts as those in FIG. 1 are denoted by the same reference numerals.

図10に示すように、本実施の形態5に係る冷凍サイクル装置は、圧縮機1、四方弁2、室外熱交換器5、絞り装置4、室内熱交換器3を環状に接続した冷媒回路を備える。
また、圧縮機1は、図示しないモータを内蔵している。
As shown in FIG. 10, the refrigeration cycle apparatus according to Embodiment 5 includes a refrigerant circuit in which a compressor 1, a four-way valve 2, an outdoor heat exchanger 5, an expansion device 4, and an indoor heat exchanger 3 are connected in an annular shape. Prepare.
The compressor 1 has a built-in motor (not shown).

圧縮機1に内蔵されたモータは、DCモータを用いる。また、永久磁石が希土類磁石で構成されている。   The motor built in the compressor 1 uses a DC motor. The permanent magnet is composed of a rare earth magnet.

以上のように本実施の形態においては、圧縮機1に内蔵されたモータは、DCモータを用い、永久磁石が希土類磁石で構成されている。
このため、ACモータやフェライト磁石で構成されたモータを内蔵した圧縮機と比べて効率が高く、モータ発熱量を小さくすることができる。よって、圧縮機1が吐出する冷媒の吐出温度の上昇を抑制することができ、2重結合を持つHFO−1234yfの分解を抑制することができる。
As described above, in the present embodiment, the motor built in the compressor 1 uses a DC motor, and the permanent magnet is composed of a rare earth magnet.
For this reason, efficiency is high compared with the compressor which incorporated the motor comprised with the AC motor or the ferrite magnet, and motor calorific value can be made small. Therefore, the rise in the discharge temperature of the refrigerant discharged from the compressor 1 can be suppressed, and the decomposition of HFO-1234yf having a double bond can be suppressed.

尚、上記実施の形態1〜4において、本実施の形態5で説明したDCモータを圧縮機1に内蔵するようにしても良い。
これにより、圧縮機1が吐出する冷媒の吐出温度の上昇を抑制することができ、2重結合を持つHFO−1234yfの分解を抑制することができる。
In the first to fourth embodiments, the DC motor described in the fifth embodiment may be built in the compressor 1.
Thereby, the raise of the discharge temperature of the refrigerant | coolant which the compressor 1 discharges can be suppressed, and decomposition | disassembly of HFO-1234yf which has a double bond can be suppressed.

本発明は、圧縮機吐出温度の基準値にあわせる制御を圧縮機の回転数を変化させ、アキュームレータ内等の圧力と温度を変化させて冷媒の溶解度を変えて信頼性が高い冷凍サイクルを得るものであるが、1つの基準温度より高いか低いかによるものでなく、基準温度範囲を設けこの範囲の高いほうの温度を超える場合には各アクチュエータにて吐出温度を下げる制御を行い、この範囲の低いほうの温度より低くなる場合には各アクチュエータにて吐出温度を上げる制御を行っても良いことは当然である。冷凍サイクルにおける圧縮機の吐出温度は、圧縮機の回転数以外の多くのアクチュエータ、例えば絞り装置の開度、室外熱交換器へ送風を行う送風機の回転数などによっても変化する。これらのどのアクチュエータを制御しても良いし複数のものを使用しても良い。これにより信頼性の高い運転が可能な圧縮機吐出温度の範囲内で利用側の熱交換器の能力制御など他の制御が有効に行えることになる。   The present invention provides a highly reliable refrigeration cycle by changing the number of revolutions of the compressor, changing the pressure and temperature in the accumulator, etc., and changing the solubility of the refrigerant by changing the control to match the reference value of the compressor discharge temperature. However, it does not depend on whether the temperature is higher or lower than one reference temperature. If a reference temperature range is set and the higher temperature of this range is exceeded, the discharge temperature is controlled by each actuator. Of course, when the temperature is lower than the lower temperature, control to increase the discharge temperature by each actuator may be performed. The discharge temperature of the compressor in the refrigeration cycle also varies depending on many actuators other than the rotation speed of the compressor, such as the opening of the expansion device, the rotation speed of the blower that blows air to the outdoor heat exchanger, and the like. Any of these actuators may be controlled, or a plurality of them may be used. As a result, other controls such as the capacity control of the heat exchanger on the use side can be effectively performed within the range of the compressor discharge temperature at which highly reliable operation is possible.

この発明の実施の形態1に係る冷凍サイクル装置の冷媒回路図である。It is a refrigerant circuit figure of the refrigerating cycle device concerning Embodiment 1 of this invention. この発明の実施の形態1に係る冷凍サイクル装置の圧縮機の制御を説明する冷媒回路図である。It is a refrigerant circuit figure explaining control of the compressor of the refrigerating cycle device concerning Embodiment 1 of this invention. この発明の実施の形態1に係る冷凍サイクル装置の圧縮機の制御を説明するフローチャートである。It is a flowchart explaining control of the compressor of the refrigerating-cycle apparatus which concerns on Embodiment 1 of this invention. この発明の実施の形態2に係る冷凍サイクル装置の冷媒回路図である。It is a refrigerant circuit figure of the refrigerating cycle device concerning Embodiment 2 of this invention. この発明の実施の形態2に係る冷凍サイクル装置の起動前の状態を示す冷媒回路図である。It is a refrigerant circuit figure which shows the state before starting of the refrigerating-cycle apparatus which concerns on Embodiment 2 of this invention. この発明の実施の形態3に係る冷凍サイクル装置の冷媒回路図である。It is a refrigerant circuit figure of the refrigerating cycle device concerning Embodiment 3 of this invention. この発明の実施の形態3に係る冷凍サイクル装置の二方弁の制御を説明するフローチャートである。It is a flowchart explaining control of the two-way valve of the refrigerating-cycle apparatus which concerns on Embodiment 3 of this invention. この発明の実施の形態4に係る冷凍サイクル装置の冷媒回路図である。It is a refrigerant circuit figure of the refrigerating cycle device concerning Embodiment 4 of this invention. この発明の実施の形態4に係る冷凍サイクル装置の二方弁の制御を説明するフローチャートである。It is a flowchart explaining control of the two-way valve of the refrigerating-cycle apparatus which concerns on Embodiment 4 of this invention. この発明の実施の形態5に係る冷凍サイクル装置の冷媒回路図である。It is a refrigerant circuit figure of the refrigerating cycle device concerning Embodiment 5 of this invention.

符号の説明Explanation of symbols

1 圧縮機、2 四方弁、3 室内熱交換器、4 絞り装置、5 室外熱交換器、6 アキュームレータ、7 レシーバ、8 油貯留容器、12 吐出温度センサー、13a 第1のバイパス路、13b 第2のバイパス路、14a 第1の二方弁、14b 第2の二方弁、14c 第3の二方弁、14d 第4の二方弁、14e 第5の二方弁、14f 第6の二方弁、15 毛細管、16 高低圧熱交換器、20 アルキルベンゼン油、30 液冷媒、100 制御回路。   DESCRIPTION OF SYMBOLS 1 Compressor, 2 Four way valve, 3 Indoor heat exchanger, 4 Expansion apparatus, 5 Outdoor heat exchanger, 6 Accumulator, 7 Receiver, 8 Oil storage container, 12 Discharge temperature sensor, 13a 1st bypass, 13b 2nd Bypass path, 14a first two-way valve, 14b second two-way valve, 14c third two-way valve, 14d fourth two-way valve, 14e fifth two-way valve, 14f sixth two-way Valve, 15 Capillary tube, 16 High / low pressure heat exchanger, 20 Alkylbenzene oil, 30 liquid refrigerant, 100 Control circuit.

Claims (2)

圧縮機、凝縮器、絞り装置、蒸発器、アキュームレータを環状に接続した冷媒回路と、
前記圧縮機の運転を制御する制御手段
備え、
冷媒としてテトラフルオロプロペンと該テトラフルオロプロペンよりも沸点の低いHFC系冷媒とを含む非共沸混合冷媒を用い、
冷凍機油としてアルキルベンゼン油を用い、
前記制御手段は、
前記圧縮機の回転数を制御し、前記アキュームレータ内の圧力を変化させることにより、前記アキュームレータに滞留した前記アルキルベンゼン油の温度を変化させ
該アルキルベンゼン油への前記テトラフルオロプロペンの溶解度を変化させて前記非共沸混合冷媒の組成比を変化させることを特徴とする冷凍サイクル装置。
A refrigerant circuit in which a compressor, a condenser, a throttling device, an evaporator, and an accumulator are connected in an annular shape;
Control means for controlling the operation of the compressor ;
With
As a refrigerant, a non-azeotropic refrigerant mixture containing tetrafluoropropene and an HFC refrigerant having a boiling point lower than that of the tetrafluoropropene is used.
Use alkylbenzene oil as refrigerating machine oil,
The control means includes
By controlling the rotation speed of the compressor and changing the pressure in the accumulator, the temperature of the alkylbenzene oil staying in the accumulator is changed ,
Refrigerating cycle apparatus characterized by changing the composition ratio of the non-azeotropic refrigerant by changing the solubility of the tetrafluoropropene to the alkylbenzene oil.
前記圧縮機は、永久磁石を希土類磁石で構成したDCモータを有することを特徴とする請求項1記載の冷凍サイクル装置。 The compressor according to claim 1 Symbol placement of the refrigeration cycle apparatus characterized by having a DC motor having a permanent magnet composed of a rare earth magnet.
JP2008156143A 2008-06-16 2008-06-16 Refrigeration cycle equipment Active JP4776660B2 (en)

Priority Applications (1)

Application Number Priority Date Filing Date Title
JP2008156143A JP4776660B2 (en) 2008-06-16 2008-06-16 Refrigeration cycle equipment

Applications Claiming Priority (1)

Application Number Priority Date Filing Date Title
JP2008156143A JP4776660B2 (en) 2008-06-16 2008-06-16 Refrigeration cycle equipment

Related Child Applications (2)

Application Number Title Priority Date Filing Date
JP2011033740A Division JP5208231B2 (en) 2011-02-18 2011-02-18 Refrigeration cycle equipment
JP2011033866A Division JP5409668B2 (en) 2011-02-18 2011-02-18 Refrigeration cycle equipment

Publications (2)

Publication Number Publication Date
JP2009300022A JP2009300022A (en) 2009-12-24
JP4776660B2 true JP4776660B2 (en) 2011-09-21

Family

ID=41547106

Family Applications (1)

Application Number Title Priority Date Filing Date
JP2008156143A Active JP4776660B2 (en) 2008-06-16 2008-06-16 Refrigeration cycle equipment

Country Status (1)

Country Link
JP (1) JP4776660B2 (en)

Cited By (1)

* Cited by examiner, † Cited by third party
Publication number Priority date Publication date Assignee Title
CN102679607A (en) * 2012-06-07 2012-09-19 中山市隐福电器有限公司 A method of utilizing waste heat for refrigeration and its refrigeration system

Families Citing this family (5)

* Cited by examiner, † Cited by third party
Publication number Priority date Publication date Assignee Title
JP5849233B2 (en) * 2010-04-28 2016-01-27 パナソニックIpマネジメント株式会社 Rotary compressor
JP5906461B2 (en) * 2010-06-07 2016-04-20 パナソニックIpマネジメント株式会社 Hermetic compressor
JP6289611B2 (en) * 2014-03-17 2018-03-07 三菱電機株式会社 Refrigeration cycle equipment
JP2016027296A (en) * 2014-07-02 2016-02-18 旭硝子株式会社 Heat cycle system
JP2022157187A (en) * 2021-03-31 2022-10-14 ダイキン工業株式会社 Heat pump device

Family Cites Families (3)

* Cited by examiner, † Cited by third party
Publication number Priority date Publication date Assignee Title
JPH08327185A (en) * 1995-05-29 1996-12-13 Matsushita Electric Ind Co Ltd Refrigeration cycle equipment
JP3465654B2 (en) * 1999-12-14 2003-11-10 ダイキン工業株式会社 Refrigeration equipment
TWI482748B (en) * 2005-06-24 2015-05-01 Honeywell Int Inc Compositions containing fluorine substituted olefins

Cited By (1)

* Cited by examiner, † Cited by third party
Publication number Priority date Publication date Assignee Title
CN102679607A (en) * 2012-06-07 2012-09-19 中山市隐福电器有限公司 A method of utilizing waste heat for refrigeration and its refrigeration system

Also Published As

Publication number Publication date
JP2009300022A (en) 2009-12-24

Similar Documents

Publication Publication Date Title
JP5797354B1 (en) Air conditioner
JP5430667B2 (en) Heat pump equipment
CN103328909B (en) Air-conditioning device
US9709304B2 (en) Air-conditioning apparatus
EP2813784B1 (en) Air conditioner
JP4776660B2 (en) Refrigeration cycle equipment
JP2004183913A (en) Air conditioner
WO2013018148A1 (en) Refrigeration device
KR101901540B1 (en) Air conditioning device
JP2015148406A (en) Refrigeration equipment
JPWO2015140887A1 (en) Refrigeration cycle equipment
JP6080939B2 (en) Air conditioner
JP2008241065A (en) Refrigeration apparatus and oil return method for refrigeration apparatus
JPWO2015140885A1 (en) Refrigeration cycle equipment
JP5208231B2 (en) Refrigeration cycle equipment
JP2015087020A (en) Refrigeration cycle equipment
JP2010019439A (en) Refrigerating cycle device and operation method of refrigerating cycle device
JP2009222357A (en) Refrigeration device
WO2017010007A1 (en) Air conditioner
JP5409668B2 (en) Refrigeration cycle equipment
JP2005049057A (en) Refrigeration cycle equipment
WO2015140881A1 (en) Refrigeration cycle apparatus
JP2010096486A (en) Refrigerating device
WO2015140950A1 (en) Air conditioner
JP2008241205A (en) Air conditioner

Legal Events

Date Code Title Description
A131 Notification of reasons for refusal

Free format text: JAPANESE INTERMEDIATE CODE: A131

Effective date: 20101221

A977 Report on retrieval

Free format text: JAPANESE INTERMEDIATE CODE: A971007

Effective date: 20101224

A521 Request for written amendment filed

Free format text: JAPANESE INTERMEDIATE CODE: A523

Effective date: 20110218

TRDD Decision of grant or rejection written
A01 Written decision to grant a patent or to grant a registration (utility model)

Free format text: JAPANESE INTERMEDIATE CODE: A01

Effective date: 20110531

A01 Written decision to grant a patent or to grant a registration (utility model)

Free format text: JAPANESE INTERMEDIATE CODE: A01

A61 First payment of annual fees (during grant procedure)

Free format text: JAPANESE INTERMEDIATE CODE: A61

Effective date: 20110628

R150 Certificate of patent or registration of utility model

Ref document number: 4776660

Country of ref document: JP

Free format text: JAPANESE INTERMEDIATE CODE: R150

Free format text: JAPANESE INTERMEDIATE CODE: R150

FPAY Renewal fee payment (event date is renewal date of database)

Free format text: PAYMENT UNTIL: 20140708

Year of fee payment: 3

R250 Receipt of annual fees

Free format text: JAPANESE INTERMEDIATE CODE: R250

R250 Receipt of annual fees

Free format text: JAPANESE INTERMEDIATE CODE: R250

R250 Receipt of annual fees

Free format text: JAPANESE INTERMEDIATE CODE: R250

R250 Receipt of annual fees

Free format text: JAPANESE INTERMEDIATE CODE: R250

R250 Receipt of annual fees

Free format text: JAPANESE INTERMEDIATE CODE: R250

R250 Receipt of annual fees

Free format text: JAPANESE INTERMEDIATE CODE: R250

R250 Receipt of annual fees

Free format text: JAPANESE INTERMEDIATE CODE: R250

R250 Receipt of annual fees

Free format text: JAPANESE INTERMEDIATE CODE: R250

R250 Receipt of annual fees

Free format text: JAPANESE INTERMEDIATE CODE: R250

R250 Receipt of annual fees

Free format text: JAPANESE INTERMEDIATE CODE: R250