JP4744172B2 - Acrylic adhesive sheet and method for producing the same - Google Patents
Acrylic adhesive sheet and method for producing the same Download PDFInfo
- Publication number
- JP4744172B2 JP4744172B2 JP2005085204A JP2005085204A JP4744172B2 JP 4744172 B2 JP4744172 B2 JP 4744172B2 JP 2005085204 A JP2005085204 A JP 2005085204A JP 2005085204 A JP2005085204 A JP 2005085204A JP 4744172 B2 JP4744172 B2 JP 4744172B2
- Authority
- JP
- Japan
- Prior art keywords
- meth
- sensitive adhesive
- acrylate
- weight
- acrylic
- Prior art date
- Legal status (The legal status is an assumption and is not a legal conclusion. Google has not performed a legal analysis and makes no representation as to the accuracy of the status listed.)
- Expired - Fee Related
Links
Images
Landscapes
- Adhesive Tapes (AREA)
- Adhesives Or Adhesive Processes (AREA)
Description
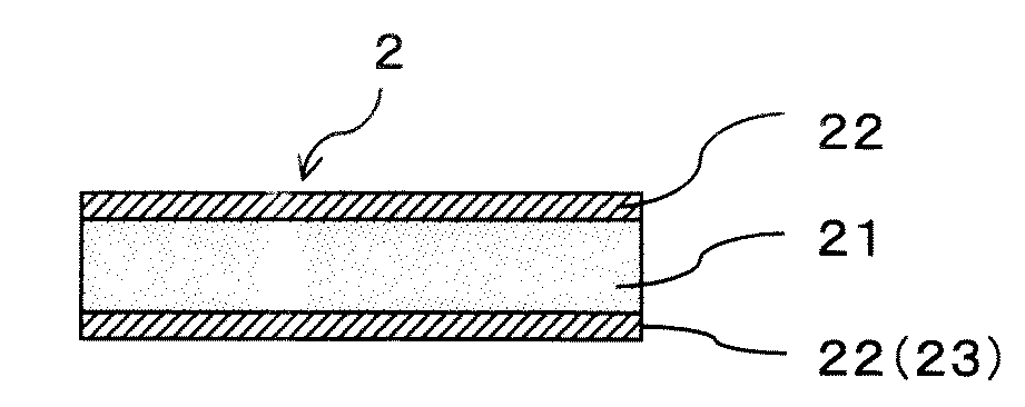
本発明は、微小球状体を含む粘弾性体層の少なくとも片面に、紫外線硬化性のアクリル系粘着剤層を設けたアクリル系粘着シート、およびその製造方法に関する。 The present invention relates to an acrylic pressure-sensitive adhesive sheet in which an ultraviolet curable acrylic pressure-sensitive adhesive layer is provided on at least one surface of a viscoelastic material layer containing microspheres, and a method for producing the same.
粘着テープまたはシートとして、粘着剤層中にガラスのミクロバブル(中空微粒子)を分散させることで、接着強さと剪断力に優れた発泡体様粘着テープが知られている(特許文献1参照)。しかしながら、上記発泡体様粘着テープは、十分なせん断強度を得るためにガラスのミクロバブルを分散させているため、それ自体では接着性の点で満足いくものではない。 As a pressure-sensitive adhesive tape or sheet, there is known a foam-like pressure-sensitive adhesive tape having excellent adhesive strength and shearing force by dispersing glass microbubbles (hollow fine particles) in a pressure-sensitive adhesive layer (see Patent Document 1). However, the foam-like pressure-sensitive adhesive tape itself is not satisfactory in terms of adhesion because it contains glass microbubbles dispersed in order to obtain sufficient shear strength.
このような発泡体用粘着テープの接着性を改良する試みとして、例えば塩素化ポリオフィンを配合した紫外線重合粘着剤を接着剤層としてもつ発泡体様材料が報告されている(特許文献2参照)。この方法によれば、自動車ペイント、鋼、ステンレス鋼などの極性の強い被着体によく接着するとともに、オレフィン表面などの低極性な被着体にも優れた接着性を示すとされる。しかしながら、塩素化ポリオレフィンはアクリルモノマーとの相溶性がよいとはいえず、塩素化ポリオレフィンの溶解に長時間を要したり、モノマーを加温したりする必要があり、このため生産性が塩素化ポリオレフィンを添加しない場合よりも低くなっていた。さらに、アクリルモノマーの組成が変わると、塩素化ポリオレフィンの溶解性が変わり、特にアクリルモノマーの極性を高めると溶解性に乏しくなることから、非極性表面への接着は優れる反面、極性表面への接着は従来の粘着剤よりも低くなってしまう場合もあった。 As an attempt to improve the adhesiveness of such a foam pressure-sensitive adhesive tape, for example, a foam-like material having an ultraviolet polymerization pressure-sensitive adhesive containing chlorinated polyophine as an adhesive layer has been reported (see Patent Document 2). . According to this method, it adheres well to highly polar adherends such as automobile paint, steel, and stainless steel, and also exhibits excellent adhesion to low polar adherends such as olefin surfaces. However, chlorinated polyolefins cannot be said to have good compatibility with acrylic monomers, and it is necessary to dissolve chlorinated polyolefins for a long time or to warm the monomers. It was lower than when no polyolefin was added. Furthermore, if the composition of the acrylic monomer changes, the solubility of the chlorinated polyolefin will change, and especially if the polarity of the acrylic monomer is increased, the solubility will be poor. May become lower than the conventional pressure-sensitive adhesive.
また無機中空粒子を添加してなる粘着剤を基材層とし、光活性官能基を有するアクリル系高分子量体を主成分とする粘着剤層を設けた光硬化型の両面粘着テープが報告されている(特許文献3参照)。このような粘着テープでは、高粘着性と高耐熱性を両立できることが示されているが、ステンレス板を被着体とした場合に高い接着性を示すものであって、低極性の被着体への接着性は満足いくものではない。
本発明では、上記の課題を解決しようとするものであり、高いせん断強度を有し、自動車塗料や鋼、ステンレス鋼など極性の高い被着体だけでなく、ポリエチレンやポリプロピレンなどの低極性の難接着性の被着体に対しても十分な接着強度を有するアクリル系粘着シートを提供することを目的とする。 The present invention is intended to solve the above-mentioned problems, has high shear strength, and not only high polarity adherends such as automobile paint, steel, and stainless steel, but also low polarity difficulties such as polyethylene and polypropylene. An object of the present invention is to provide an acrylic pressure-sensitive adhesive sheet having sufficient adhesive strength even for an adhesive adherend.
本発明者らは、上記の目的を達成するために鋭意検討した結果、下記アクリル系粘着シートにより上記目的を解決できることを見出し本発明を完成するに至った。即ち本発明は、以下に示す通りである。 As a result of intensive studies to achieve the above object, the present inventors have found that the above object can be solved by the following acrylic pressure-sensitive adhesive sheet, and have completed the present invention. That is, the present invention is as follows.
1.中空の微小球状体を粘弾性体層の全体積に対して5〜50体積%含むとともに、ベースポリマーとして(メタ)アクリル酸エステルを単量体主成分とするアクリル系ポリマーを含有する粘弾性体で構成された粘弾性体層(X)の少なくとも片面に、
少なくとも、炭素数2〜14個のアルキル基を有するアルキル(メタ)アクリレート(a1)を主成分とするビニル系モノマーまたはその部分重合物(a)、該ビニル系モノマーまたはその部分重合物(a)100重量部に対し0.001〜5重量部の光重合開始剤(b)、該ビニル系モノマーまたはその部分重合物(a)100重量部に対し5〜40重量部の、軟化温度Tsが40℃以上であり、かつ重量平均分子量が1000〜30000である(メタ)アクリル酸エステルオリゴマー(c)を含有してなるアクリル系粘着剤組成物に紫外線照射して得られる粘着剤層(Y)が設けられていることを特徴とするアクリル系粘着シートである。
1. Viscoelastic body containing 5-50% by volume of hollow microspheres with respect to the total volume of the viscoelastic body layer, and containing an acrylic polymer having (meth) acrylic acid ester as the main monomer component as a base polymer On at least one side of the viscoelastic layer (X) composed of
A vinyl monomer or a partially polymerized product (a) thereof mainly comprising an alkyl (meth) acrylate (a1) having an alkyl group having 2 to 14 carbon atoms, or the vinyl monomer or a partially polymerized product (a). 0.001 to 5 parts by weight of the photopolymerization initiator (b) with respect to 100 parts by weight, 5 to 40 parts by weight of the softening temperature Ts with respect to 100 parts by weight of the vinyl monomer or its partial polymer (a) is 40. A pressure-sensitive adhesive layer (Y) obtained by irradiating an acrylic pressure-sensitive adhesive composition containing a (meth) acrylic acid ester oligomer (c) having a weight average molecular weight of 1000 to 30000 with an ultraviolet ray at or above An acrylic pressure-sensitive adhesive sheet is provided.
2.(メタ)アクリル酸エステルオリゴマー(c)が、ホモポリマーとした時の溶解度パラメーターが21.5(MPa 1/2 )以下であり、かつガラス転移温度Tgが15℃以上であるアルキル(メタ)アクリレート(c1)をモノマーユニットとして50重量%以上含む重合体であることを特徴とする上記1記載のアクリル系粘着シート。
2. Alkyl (meth) acrylate having a solubility parameter of 21.5 (MPa 1/2 ) or less and a glass transition temperature Tg of 15 ° C. or more when the (meth) acrylate oligomer (c) is a
3.中空の微小球状体が、中空ガラスバルーンであることを特徴とする上記1又は2に記載のアクリル系粘着シート。 3. 3. The acrylic pressure-sensitive adhesive sheet as described in 1 or 2 above, wherein the hollow microsphere is a hollow glass balloon.
4.中空の微小球状体の比重が0.1〜0.8g/cm 3 である上記1〜3のいずれか1に記載のアクリル系粘着シート。
5.中空の微小球状体の平均粒子径が1〜500μmである上記1〜4のいずれか1に記載のアクリル系粘着シート。
4). The acrylic pressure-sensitive adhesive sheet according to any one of 1 to 3 , wherein the hollow microsphere has a specific gravity of 0.1 to 0.8 g / cm 3 .
5. 5. The acrylic pressure-sensitive adhesive sheet according to any one of 1 to 4 above, wherein the hollow microspheres have an average particle diameter of 1 to 500 μm.
6.粘着剤層(Y)のゲル分率が45〜99重量%である上記1〜5のいずれか1に記載のアクリル系粘着シート。6). The acrylic pressure-sensitive adhesive sheet according to any one of 1 to 5, wherein the gel fraction of the pressure-sensitive adhesive layer (Y) is 45 to 99% by weight.
7.粘弾性体層(X)は、中空の微小球状体と(メタ)アクリル酸エステルを主モノマーとして含む粘弾性体組成物に紫外線照射して硬化させて得られることを特徴とする上記1〜6のいずれか1に記載のアクリル系粘着シート。 7). Viscoelastic material layer (X), said characterized in that it is obtained hollow of microspheres of (meth) acrylic acid ester cured by ultraviolet irradiation in the viscoelastic material composition comprising as a main monomer 1-6 The acrylic pressure-sensitive adhesive sheet according to any one of the above.
8.上記1〜7のいずれか1に記載のアクリル系粘着シートを製造する方法であって、中空の微小球状体とアルキル(メタ)アクリレートを主モノマーとして含む粘弾性体組成物からなる層の少なくとも片面に、
炭素数2〜14個のアルキル基を有するアルキル(メタ)アクリレート(a1)を主成分とするビニル系モノマーまたはその部分重合物(a)、該ビニル系モノマーまたはその部分重合物(a)100重量部に対し0.001〜5重量部の光重合開始剤(b)、該ビニル系モノマーまたはその部分重合物(a)100重量部に対し5〜40重量部の、軟化温度Tsが40℃以上であり、かつ重量平均分子量が1000〜30000である(メタ)アクリル酸エステルオリゴマー(c)を含有してなるアクリル系粘着剤組成物層を設け、
これら積層体に紫外線照射することで粘弾性体層(X)および粘着剤層(Y)を形成することを特徴とするアクリル系粘着シートの製造方法。
8). 8. A method for producing the acrylic pressure-sensitive adhesive sheet according to any one of 1 to 7, wherein at least one side of a layer comprising a viscoelastic composition containing hollow microspheres and alkyl (meth) acrylate as main monomers In addition,
100 weight of vinyl monomer or partial polymer (a) thereof mainly composed of alkyl (meth) acrylate (a1) having an alkyl group having 2 to 14 carbon atoms, the vinyl monomer or partial polymer (a) thereof 0.001 to 5 parts by weight of the photopolymerization initiator (b), 5 to 40 parts by weight of the softening temperature Ts of 40 ° C. or more with respect to 100 parts by weight of the vinyl monomer or its partial polymer (a) And an acrylic pressure-sensitive adhesive composition layer containing a (meth) acrylic acid ester oligomer (c) having a weight average molecular weight of 1000 to 30000,
A method for producing an acrylic pressure-sensitive adhesive sheet, comprising forming the viscoelastic material layer (X) and the pressure-sensitive adhesive layer (Y) by irradiating these laminates with ultraviolet rays.
本発明のアクリル系粘着シートによれば、自動車塗料や鋼、ステンレス鋼など極性の高い被着体だけでなく、ポリエチレンやポリプロピレンなどの低極性の難接着性の被着体に対しても十分な接着強度を有するアクリル系粘着シートを得ることができる。 According to the acrylic pressure-sensitive adhesive sheet of the present invention, it is sufficient not only for highly polar adherends such as automobile paint, steel, and stainless steel, but also for low-polarity hardly adherent adherends such as polyethylene and polypropylene. An acrylic pressure-sensitive adhesive sheet having adhesive strength can be obtained.
以下、本発明の実施の形態について詳細に説明する。 Hereinafter, embodiments of the present invention will be described in detail.
本発明のアクリル系粘着シートは、微小球状体を含む粘弾性体層(X)の少なくとも片面に、
少なくとも、炭素数2〜14個のアルキル基を有するアルキル(メタ)アクリレート(a1)を主成分とするビニル系モノマーまたはその部分重合物(a)、光重合開始剤(b)、軟化温度Tsが40℃以上であり、かつ重量平均分子量が1000〜30000である(メタ)アクリル酸エステルオリゴマー(c)を含有してなるアクリル系粘着剤組成物に紫外線照射して得られる粘着剤層(Y)が設けられていることを特徴とする。
The acrylic pressure-sensitive adhesive sheet of the present invention has at least one surface of the viscoelastic layer (X) containing microspheres,
A vinyl monomer having at least an alkyl (meth) acrylate (a1) having an alkyl group having 2 to 14 carbon atoms or a partial polymer thereof (a), a photopolymerization initiator (b), and a softening temperature Ts. A pressure-sensitive adhesive layer (Y) obtained by irradiating an acrylic pressure-sensitive adhesive composition containing (meth) acrylic acid ester oligomer (c) having a weight average molecular weight of 1000 to 30,000 at 40 ° C. or higher with ultraviolet rays Is provided.
本発明の粘着剤層(Y)は、少なくとも、炭素数2〜14個のアルキル基を有するアルキル(メタ)アクリレート(a1)を主成分とするビニル系モノマーまたはその部分重合物(a)、光重合開始剤(b)、軟化温度Tsが40℃以上であり、かつ重量平均分子量が1000〜30000である(メタ)アクリル酸エステルオリゴマー(c)を含有してなるアクリル系粘着剤組成物に紫外線照射して得ることを特徴とする。 The pressure-sensitive adhesive layer (Y) of the present invention comprises at least a vinyl monomer having a main component of an alkyl (meth) acrylate (a1) having an alkyl group having 2 to 14 carbon atoms or a partial polymer (a) thereof, light An acrylic pressure-sensitive adhesive composition containing a polymerization initiator (b) and a (meth) acrylic acid ester oligomer (c) having a softening temperature Ts of 40 ° C. or higher and a weight average molecular weight of 1,000 to 30,000 is ultraviolet rays. It is obtained by irradiation.
炭素数2〜14個のアルキル基を有するアルキル(メタ)アクリレート(a1)としては、例えば、エチル(メタ)アクリレート、n−プロピル(メタ)アクリレート、イソプロピル(メタ)アクリレート、n−ブチル(メタ)アクリレート、sec−ブチル(メタ)アクリレート、t−ブチル(メタ)アクリレート、ペンチル(メタ)アクリレート、イソペンチル(メタ)アクリレート、ヘキシル(メタ)アクリレート、ヘプチル(メタ)アクリレート、n−オクチル(メタ)アクリレート、イソオクチル(メタ)アクリレート、2−エチルヘキシル(メタ)アクリレート、ノニル(メタ)アクリレート、イソノニル(メタ)アクリレート、デシル(メタ)アクリレート、イソデシル(メタ)アクリレート、ウンデシル(メタ)アクリレート、ドデシル(メタ)アクリレートなどが挙げられる。これらアルキル(メタ)アクリレート(a1)は1種または2種以上が用いられる。 Examples of the alkyl (meth) acrylate (a1) having an alkyl group having 2 to 14 carbon atoms include ethyl (meth) acrylate, n-propyl (meth) acrylate, isopropyl (meth) acrylate, and n-butyl (meth). Acrylate, sec-butyl (meth) acrylate, t-butyl (meth) acrylate, pentyl (meth) acrylate, isopentyl (meth) acrylate, hexyl (meth) acrylate, heptyl (meth) acrylate, n-octyl (meth) acrylate, Isooctyl (meth) acrylate, 2-ethylhexyl (meth) acrylate, nonyl (meth) acrylate, isononyl (meth) acrylate, decyl (meth) acrylate, isodecyl (meth) acrylate, undecyl (meth) acrylate , And dodecyl (meth) acrylate. These alkyl (meth) acrylates (a1) are used alone or in combination of two or more.
前記アルキル(メタ)アクリレート(a1)は、ビニル系モノマー(a)の全量とすることができるが、ビニル系モノマー(a)には前記モノマー(a1)とともに、共重合性のモノマー(a2)を用いることができる。共重合性モノマー(a2)としては、アクリル酸、メタクリル酸、カルボキシエチル(メタ)アクリレート、カルボキシペンチル(メタ)アクリレート、イタコン酸、マレイン酸、フマル酸、クロトン酸等のカルボキシル基含有モノマー;(メタ)アクリル酸ヒドロキシエチル、(メタ)アクリル酸ヒドロキシプロピル、(メタ)アクリル酸ヒドロキシブチル、(メタ)アクリル酸ヒドロキシへキシル等のヒドロキシル基含有モノマー;無水マレイン酸、無水イタコン酸等の酸無水物モノマー;2−アクリルアミド−2−メチルプロパンスルホン酸、スルホプロピルアクリレート等のスルホン酸基含有モノマー;2−ヒドロキシエチルアクリロイルホスフェート等の燐酸基含有モノマーなどが挙げられる。また(メタ)アクリルアミド、N−メチロールアクリルアミド等のN−置換(メタ)アクリルアミド等のアミド系モノマー、N−(メタ)アクリロイルオキシメチレンスクシンイミド、N−(メタ)アクリロイル−6−オキシへキサメチレンスクシンイミド、N−(メタ)アクリロイル−8−オキシオクタメチレンスクシンインミド等のスクシンイミド系モノマーなども共重合性のモノマー(a2)として挙げられる。さらに酢酸ビニル、N−ビニルピロリドン、N−ビニルカルボン酸アミド類、スチレン、N−ビニルカプロラクタム等のビニル系モノマー;アクリロニトリル、メタクリロニトリル等のシアノアクリレート系モノマー、(メタ)アクリル酸グリシジル、テトラヒドロフルフリル(メタ)アクリレート、ポリエチレングリコール(メタ)アクリレート、ポリプロピレングリコール(メタ)アクリレート、フッ素(メタ)アクリレート、シリコーン(メタ)アクリレート、2−メトキシエチル(メタ)アクリレート等のアクリル酸エステル系モノマー;メチル(メタ)アクリレートやオクタデシル(メタ)アクリレート等の上記主成分をなすアルキル(メタ)アクリレート(a1)とは異なるアルキル基を有するアルキル(メタ)アクリレート等も共重合性モノマー(a2)として挙げられる。共重合性モノマーは(a2)は1種または2種以上を用いることができる。 The alkyl (meth) acrylate (a1) can be the total amount of the vinyl monomer (a), but the vinyl monomer (a) includes the monomer (a1) and a copolymerizable monomer (a2). Can be used. As the copolymerizable monomer (a2), carboxyl group-containing monomers such as acrylic acid, methacrylic acid, carboxyethyl (meth) acrylate, carboxypentyl (meth) acrylate, itaconic acid, maleic acid, fumaric acid, and crotonic acid; ) Hydroxyl group-containing monomers such as hydroxyethyl acrylate, hydroxypropyl (meth) acrylate, hydroxybutyl (meth) acrylate, hydroxyhexyl (meth) acrylate; acid anhydride monomers such as maleic anhydride and itaconic anhydride Sulfonic acid group-containing monomers such as 2-acrylamido-2-methylpropanesulfonic acid and sulfopropyl acrylate; phosphoric acid group-containing monomers such as 2-hydroxyethylacryloyl phosphate. Further, amide monomers such as N-substituted (meth) acrylamide such as (meth) acrylamide and N-methylolacrylamide, N- (meth) acryloyloxymethylene succinimide, N- (meth) acryloyl-6-oxyhexamethylene succinimide, Examples of the copolymerizable monomer (a2) include succinimide monomers such as N- (meth) acryloyl-8-oxyoctamethylenesuccinimide. Furthermore, vinyl monomers such as vinyl acetate, N-vinyl pyrrolidone, N-vinyl carboxylic acid amides, styrene, N-vinyl caprolactam; cyanoacrylate monomers such as acrylonitrile and methacrylonitrile, glycidyl (meth) acrylate, tetrahydrofur Acrylic ester monomers such as furyl (meth) acrylate, polyethylene glycol (meth) acrylate, polypropylene glycol (meth) acrylate, fluorine (meth) acrylate, silicone (meth) acrylate, 2-methoxyethyl (meth) acrylate; methyl ( Alkyl (meth) acrylates having an alkyl group different from alkyl (meth) acrylate (a1), which is the main component, such as meth) acrylate and octadecyl (meth) acrylate, etc. Be cited as copolymerizable monomers (a2). As the copolymerizable monomer (a2), one type or two or more types can be used.
上記モノマー(a1)とモノマー(a2)を用いる場合、モノマー(a1)を70〜99.9重量%、モノマー(a2)を0.1〜30重量%とするのが好ましい。さらに好ましくは、モノマー(a1)を80〜99,9重量%、モノマー(a2)を0.1〜20重量%である。さらに好ましくは、モノマー(a1)を90〜99重量%、モノマー(a2)を1〜10重量%である。 When the monomer (a1) and the monomer (a2) are used, it is preferable that the monomer (a1) is 70 to 99.9% by weight and the monomer (a2) is 0.1 to 30% by weight. More preferably, the monomer (a1) is 80 to 99,9% by weight and the monomer (a2) is 0.1 to 20% by weight. More preferably, the monomer (a1) is 90 to 99% by weight and the monomer (a2) is 1 to 10% by weight.
モノマー(a2)としては、ヒドロキシル基含有モノマー、カルボキシル基含有モノマーが好ましく、特にアクリル酸が好ましく、その使用割合は1〜10重量%とするのが好ましい。前記範囲で用いることで接着力を向上させることができる。 As the monomer (a2), a hydroxyl group-containing monomer and a carboxyl group-containing monomer are preferable, and acrylic acid is particularly preferable, and the use ratio is preferably 1 to 10% by weight. Adhesive force can be improved by using in the said range.
光重合開始剤(b)としては、各種のものを特に制限なく使用できる。例えば、2,2−ジメトキシ−1,2−ジフェニルエタン−1−オン(イルガキュア651:チバ・スペシャリティ・ケミカル社製)などのケタール系、1−ヒドロキシ−シクロヘキシル−フェニルケトン(イルガキュア184:チバ・スペシャリティ・ケミカル社製)、2−ヒドロキシ−2−メチル−1−フェニル-プロパン−1−オン(ダロキュア1173:チバ・スペシャリティ・ケミカル社製)、1−[4−(2−ヒドロキシエトキシ)−フェニル]−2−ヒドロキシ−2−メチル−1−プロパン−1−オン(イルガキュア2959:チバ・スペシャリティ・ケミカル社製)などのα−ヒドロキシケトン系、2−メチル−1−[4−(メチルチオ)フェニル]−2−モルフォリノプロパン−1−オン(イルガキュア907:チバ・スペシャリティ・ケミカル社製)、2−ベンジル−2−ジメチルアミノ−1−(4−モルフォリノフェニル)−ブタノン−1(イルガキュア369:チバ・スペシャリティ・ケミカル社製)などのα−アミノケトン系、2,4,6−トリメチルベンゾイルジフェニルホスフィンオキシド(ルシリンTPO:BASF社製)等のアシルホスフィンオキサイド系、その他、ベンゾフェノン系、ベンゾイン系、チオキサントン系などが挙げられる。 Various kinds of photopolymerization initiators (b) can be used without particular limitation. For example, ketal series such as 2,2-dimethoxy-1,2-diphenylethane-1-one (Irgacure 651: manufactured by Ciba Specialty Chemicals), 1-hydroxy-cyclohexyl-phenyl ketone (Irgacure 184: Ciba Specialty) Chemical), 2-hydroxy-2-methyl-1-phenyl-propan-1-one (Darocur 1173: Ciba Specialty Chemicals), 1- [4- (2-hydroxyethoxy) -phenyl] Α-hydroxy ketones such as 2-hydroxy-2-methyl-1-propan-1-one (Irgacure 2959, manufactured by Ciba Specialty Chemicals), 2-methyl-1- [4- (methylthio) phenyl] -2-morpholinopropan-1-one (Irgacure 907: Ciba Α-amino ketones such as 2-benzyl-2-dimethylamino-1- (4-morpholinophenyl) -butanone-1 (Irgacure 369: manufactured by Ciba Specialty Chemicals), 2, Examples include acylphosphine oxides such as 4,6-trimethylbenzoyldiphenylphosphine oxide (Lucirin TPO: manufactured by BASF), benzophenone, benzoin, and thioxanthone.
これらの光重合開始剤(b)の使用量は、前記ビニル系モノマー(a)100重量部に対して、0.001〜5重量部の割合であるのが好ましい。より好ましくは0.01〜4重量部であり、さらに好ましくは0.1〜3重量部の割合で用いられる。 It is preferable that the usage-amount of these photoinitiators (b) is a ratio of 0.001-5 weight part with respect to 100 weight part of said vinylic monomers (a). More preferably, it is 0.01-4 weight part, More preferably, it is used in the ratio of 0.1-3 weight part.
(メタ)アクリル酸エステルオリゴマー(c)は、軟化温度Tsが40℃以上であり、かつ重量平均分子量1000〜30000である。(メタ)アクリル酸エステルオリゴマー(c)の軟化温度Tsは、定荷重細管押出し式レオメーター(島津フローテスタCFT−500D)を用いて測定される軟化温度Tsを指し、ダイ:1mm×1mm、荷重:4.9N、昇音速度:5℃/分の条件で測定されたものを指す。ポリエチレンやポリプロピレンなどの低極性被着体への接着性の観点から、軟化温度Tsは45℃以上、さらには55℃以上であるのが好ましい。一方軟化温度Tsが高くなりすぎると、粘着剤組成物のTgが高くなり、初期タックなどが低下するため、軟化温度Tsは200℃以下、さらには150℃以下であるのが好ましい。 The (meth) acrylic acid ester oligomer (c) has a softening temperature Ts of 40 ° C. or higher and a weight average molecular weight of 1000 to 30000. The softening temperature Ts of the (meth) acrylate ester oligomer (c) refers to the softening temperature Ts measured using a constant load capillary extrusion rheometer (Shimadzu Flow Tester CFT-500D), die: 1 mm × 1 mm, load : 4.9 N, sound increase rate: measured at 5 ° C./min. From the viewpoint of adhesion to low-polar adherends such as polyethylene and polypropylene, the softening temperature Ts is preferably 45 ° C. or higher, more preferably 55 ° C. or higher. On the other hand, if the softening temperature Ts is too high, the Tg of the pressure-sensitive adhesive composition is increased and the initial tack and the like are lowered. Therefore, the softening temperature Ts is preferably 200 ° C. or lower, more preferably 150 ° C. or lower.
また(メタ)アクリル酸エステルオリゴマーは(c)は、重量平均分子量が1000〜30000である。好ましくは2000〜10000である。重量平均分子量が1000未満ではポリエチレンやポリプロピレンなどの低極性被着体への接着性を向上させる効果に乏しい。一方、重量平均分子量が30000を越えると、(メタ)アクリル酸エステルオリゴマー(c)が層分離しやすくなり、粘着性能や外観に悪影響を及ぼす場合がある。重量平均分子量の測定は、GPC法によりポリスチレン換算して求められる。具体的には東ソー株式会社製の『HPLC8020』に、カラムとして『TSKgelGMH−H(20)』を2本連結して用いて、テトラヒドロフラン溶媒で流速0.5ml/分の条件にて測定される。 The (meth) acrylic acid ester oligomer (c) has a weight average molecular weight of 1000 to 30000. Preferably it is 2000-10000. When the weight average molecular weight is less than 1000, the effect of improving the adhesion to low-polar adherends such as polyethylene and polypropylene is poor. On the other hand, when the weight average molecular weight exceeds 30000, the (meth) acrylic acid ester oligomer (c) is easily separated into layers, which may adversely affect the adhesive performance and appearance. The measurement of a weight average molecular weight is calculated | required in polystyrene conversion by GPC method. Specifically, two columns of “TSKgelGMH-H (20)” are connected to “HPLC8020” manufactured by Tosoh Corporation, and measurement is performed with a tetrahydrofuran solvent at a flow rate of 0.5 ml / min.
(メタ)アクリル酸エステルオリゴマー(c)を形成する(メタ)アクリル酸エステルとしては、(メタ)アクリル酸エステルオリゴマー(c)が、ホモポリマーとした時の溶解度パラメーターが21.5(MPa1/2)以下であり、かつTgが15℃以上であるアルキル(メタ)アクリレート(c1)をモノマーユニットとして50重量%以上含む重合体を好ましく使用できる。 The (meth) acrylic acid ester forming the (meth) acrylic acid ester oligomer (c) has a solubility parameter of 21.5 (MPa 1 / MPa) when the (meth) acrylic acid ester oligomer (c) is a homopolymer. 2 ) A polymer containing 50% by weight or more of an alkyl (meth) acrylate (c1) having a Tg of 15 ° C. or more as a monomer unit can be preferably used.
溶解度パラメーター(SP値)は、R.T.Fedors,Polymer Engineering and Science,14,147(1974)に記載されている方法により算出される。溶解度パラメーターは、ポリエチレンやポリプロピレンのような低極性表面を有する被着体への接着性の観点から、好ましくは21.3(MPa1/2)以下、さらに好ましくは21.0(MPa1/2)以下である。なお、溶解度パラメーターが小さくなりすぎるとアクリル系粘着剤組成物の主成分となる、ビニル系モノマーまたはその部分重合物(a)との相溶性、特に、一般的に用いられる、アクリル酸ブチルや2−エチルヘキシルアクリレートとアクリル酸の共重合体物に対する相溶性が低くなるため、溶解度パラメーターは18.0(MPa1/2)以上、さらに好ましくは18.5(MPa1/2)以上である。 Solubility parameter (SP value) T.A. It is calculated by the method described in Fedors, Polymer Engineering and Science, 14, 147 (1974). The solubility parameter is preferably 21.3 (MPa 1/2 ) or less, more preferably 21.0 (MPa 1/2 ), from the viewpoint of adhesion to an adherend having a low polarity surface such as polyethylene or polypropylene. ) If the solubility parameter is too small, the main component of the acrylic pressure-sensitive adhesive composition is compatible with the vinyl monomer or its partially polymerized product (a), in particular, commonly used butyl acrylate or 2 -Since the compatibility with the copolymer of ethylhexyl acrylate and acrylic acid is lowered, the solubility parameter is 18.0 (MPa 1/2 ) or more, more preferably 18.5 (MPa 1/2 ) or more.
またTgは、POLYMER HANDBOOK FORTH EDITIONに記載されている数値より判断される。Tgは、粘着剤の凝集力、接着力の観点から、好ましくは30℃以上、さらに好ましくは50℃以上である。なお、Tgが高くなりすぎると、粘着剤組成物のTgを引き上げて初期タックなどが低下するなどの点で好ましくないため、Tgは200℃以下、さらに好ましくは190℃以下である。 Tg is determined from a numerical value described in POLYMER HANDBOOK FORTH EDITION. Tg is preferably 30 ° C. or higher, more preferably 50 ° C. or higher, from the viewpoint of cohesive strength and adhesive strength of the pressure-sensitive adhesive. In addition, when Tg becomes too high, it is not preferable in that the Tg of the pressure-sensitive adhesive composition is raised to reduce initial tack and the like, and therefore Tg is 200 ° C. or lower, more preferably 190 ° C. or lower.
ホモポリマーとしたときに溶解度パラメーター(SP値)が21.5以下、Tgが15℃以上であるアルキル(メタ)アクリレート(c1)の具体例としては、t−ブチルアクリレート(Tg:43℃,SP値:19.2(MPa1/2))、3,3,5−トリメチルシクロヘキシルアクリレート(Tg:15℃,SP値:19.1(MPa1/2))、イソボルニルアクリレート(Tg:94℃,SP値:19.7(MPa1/2))、メチルメタクリレート(Tg:105℃,SP値:20.3(MPa1/2))、エチルメタクリレート(Tg:65℃,SP値:19.9(MPa1/2))、シクロヘキシルメタクリレート(Tg:83℃,SP値:20.1(MPa1/2))、イソブチルメタクリレート(Tg:53℃,SP値:19.0(MPa1/2))、t−ブチルメタクリレート(Tg:118℃,SP値:18.6(MPa1/2))などが挙げられる。 Specific examples of alkyl (meth) acrylate (c1) having a solubility parameter (SP value) of 21.5 or less and a Tg of 15 ° C. or higher when a homopolymer is used include t-butyl acrylate (Tg: 43 ° C., SP Value: 19.2 (MPa 1/2 )), 3,3,5-trimethylcyclohexyl acrylate (Tg: 15 ° C., SP value: 19.1 (MPa 1/2 )), isobornyl acrylate (Tg: 94 ° C, SP value: 19.7 (MPa 1/2 )), methyl methacrylate (Tg: 105 ° C, SP value: 20.3 (MPa 1/2 )), ethyl methacrylate (Tg: 65 ° C, SP value: 19) .9 (MPa 1/2)), cyclohexyl methacrylate (Tg: 83 ℃, SP value: 20.1 (MPa 1/2)), isobutyl methacrylate (Tg: 53 ℃, SP value: 19.0 (MP 1/2)), t-butyl methacrylate (Tg: 118 ℃, SP value: 18.6 (MPa 1/2)) and the like.
前記(メタ)アクリル酸エステルオリゴマー(c)は、前記アルキル(メタ)アクリレート(c1)をモノマーユニットとして50重量%以上含む重合体であることが好ましい。前記アルキル(メタ)アクリレート(c1)は、1種類または2種以上が用いられる。アルキル(メタ)アクリレート(c1)の含有量が50重量%未満では、ポリエチレンやポリプロピレンなどの低極性被着体への接着性を十分向上させられない点で好ましくない。アルキル(メタ)アクリレート(c1)の含有量は50重量%以上、さらには80重量%以上である。なお、(メタ)アクリル酸エステルオリゴマー(c)は、軟化温度Tsが40℃以上であり、かつ重量平均分子量が1000〜30000であれば、アルキル(メタ)アクリレート(c1)の他に、溶解度パラメーターが21.5(MPa1/2)を超えたり、かつTgが15℃未満である他のモノマーを共重合することもできる。 The (meth) acrylic acid ester oligomer (c) is preferably a polymer containing 50% by weight or more of the alkyl (meth) acrylate (c1) as a monomer unit. The alkyl (meth) acrylate (c1) is used alone or in combination of two or more. If the content of the alkyl (meth) acrylate (c1) is less than 50% by weight, it is not preferable because the adhesion to a low-polar adherend such as polyethylene or polypropylene cannot be sufficiently improved. The content of the alkyl (meth) acrylate (c1) is 50% by weight or more, and further 80% by weight or more. The (meth) acrylic acid ester oligomer (c) has a solubility parameter in addition to the alkyl (meth) acrylate (c1) if the softening temperature Ts is 40 ° C. or more and the weight average molecular weight is 1000 to 30000. May be copolymerized with another monomer having a Tg of less than 15 ° C. and a Tg of more than 21.5 (MPa 1/2 ).
(メタ)アクリル酸エステルオリゴマー(c)の使用量は、前記ビニル系モノマー(a)100重量部に対して、5〜40重量部の割合であるのが好ましい。より好ましくは10〜30重量部の割合で用いられる。5重量部未満であると、ポリエチレンやポリプロピレンなどの低極性被着体への接着性を向上させる効果に乏しく、40重量部を超えると(メタ)アクリル酸エステルオリゴマー(c)が相分離しやすくなり、粘着性能や外観に悪影響を及ぼす場合がある。 The amount of the (meth) acrylic acid ester oligomer (c) used is preferably 5 to 40 parts by weight with respect to 100 parts by weight of the vinyl monomer (a). More preferably, it is used in a proportion of 10 to 30 parts by weight. When the amount is less than 5 parts by weight, the effect of improving the adhesion to low-polar adherends such as polyethylene and polypropylene is poor. When the amount exceeds 40 parts by weight, the (meth) acrylate oligomer (c) is easily phase-separated. May adversely affect the adhesive performance and appearance.
本発明のアクリル系粘着剤組成物は、粘着剤層(Y)に適度なゲル分率を付与するために、多官能(メタ)アクリレートを配合することもできる。多官能(メタ)アクリレートとしては、少なくとも2個の(メタ)アクリロイル基を有する化合物を特に制限なく使用できる。例えば、トリメチロールプロパントリ(メタ)アクリレート、ペンタエリスリトールテトラ(メタ)アクリレート、1,2−エチレングリコールジ(メタ)アクリレート、1,6−ヘキサンジオールジ(メタ)アクリレート、1,12−ドデカンジオール(メタ)アクリレート等が挙げられる。 The acrylic pressure-sensitive adhesive composition of the present invention can also contain a polyfunctional (meth) acrylate in order to impart an appropriate gel fraction to the pressure-sensitive adhesive layer (Y). As the polyfunctional (meth) acrylate, a compound having at least two (meth) acryloyl groups can be used without particular limitation. For example, trimethylolpropane tri (meth) acrylate, pentaerythritol tetra (meth) acrylate, 1,2-ethylene glycol di (meth) acrylate, 1,6-hexanediol di (meth) acrylate, 1,12-dodecanediol ( And (meth) acrylate.
多官能(メタ)アクリレートの使用量は、上記成分(a)乃至(c)を含有するアクリル系粘着剤組成物から形成されるアクリル系粘着剤層のゲル分率が45重量%以上となるように配合するのが好ましい。前記ゲル分率は50重量%以上であるのがより好ましい。ゲル分率が45重量%未満となると、粘着剤層の凝集力が不足し、保持力や剪断方向への接着強さが不足する場合がある。一方、ゲル分率が高くなりすぎると、粘着剤層のタックが低下し、粘着性能や外観に悪影響を及ぼす場合があることから、ゲル分率は99重量%以下、さらには97重量%以下であるのが好ましい。 The amount of the polyfunctional (meth) acrylate used is such that the gel fraction of the acrylic pressure-sensitive adhesive layer formed from the acrylic pressure-sensitive adhesive composition containing the components (a) to (c) is 45% by weight or more. It is preferable to blend in. The gel fraction is more preferably 50% by weight or more. When the gel fraction is less than 45% by weight, the cohesive force of the pressure-sensitive adhesive layer may be insufficient, and the holding force and the adhesive strength in the shearing direction may be insufficient. On the other hand, if the gel fraction becomes too high, the tackiness of the pressure-sensitive adhesive layer is lowered, and the adhesive performance and appearance may be adversely affected. Therefore, the gel fraction is 99% by weight or less, and further 97% by weight or less. Preferably there is.
なお、ゲル分率は、粘着剤約1gを精秤し、これを酢酸エチル約40gに7日間浸漬し、その後、酢酸エチルに対する不溶解分を全て回収し、130℃で2時間乾燥し、その重量を求め、得られた数値を以下の式に代入して算出した。 As for the gel fraction, about 1 g of the adhesive was precisely weighed, and this was immersed in about 40 g of ethyl acetate for 7 days. Thereafter, all insolubles in ethyl acetate were collected and dried at 130 ° C. for 2 hours. The weight was determined, and the obtained numerical value was substituted into the following formula.
溶剤不溶分(%)=(不溶解分重量/浸漬前の粘着剤重量)×100
多官能(メタ)アクリレートの使用量は、その分子量や官能基数などにより異なるが、通常、前記ビニル系モノマー(a)100重量部に対して、0.001〜30重量部の割合であるのが好ましい。より好ましくは0.05〜20重量部の割合で用いられる。
Solvent insoluble content (%) = (weight of insoluble content / weight of adhesive before immersion) × 100
The amount of polyfunctional (meth) acrylate used varies depending on the molecular weight, the number of functional groups, and the like, but is usually in a ratio of 0.001 to 30 parts by weight with respect to 100 parts by weight of the vinyl monomer (a). preferable. More preferably, it is used at a ratio of 0.05 to 20 parts by weight.
本発明のアクリル系粘着剤層は、上記成分(a)乃至(c)を含有するアクリル系粘着剤組成物を光重合することにより形成される。当該アクリル系粘着剤組成物は、その取り扱い上、塗工に適した粘度(通常、B型粘度計における粘度測定において、25℃で0.3〜40Pa・s)に調整するのが好ましい。そのため、上記モノマー(a1)またはモノマー(a1)とモノマー(a2)からなるビニル系モノマー(a)は予備重合して部分重合物としておくことができる。ビニル系モノマー(a)の部分重合物の重合率は、部分重合物中のポリマー分子量にもよるが、2〜40重量%程度とするのが好ましい。さらには、5〜20重量%とするのが好ましい。部分重合する際には、酸素との接触を避けて紫外線照射するのが好ましい。なお、部分重合物の重合率は、部分重合物約0.5gを精秤し、これを130℃で2時間乾燥した後の重量を精秤し、得られた数値を以下の式に代入して算出した。 The acrylic pressure-sensitive adhesive layer of the present invention is formed by photopolymerizing an acrylic pressure-sensitive adhesive composition containing the components (a) to (c). The acrylic pressure-sensitive adhesive composition is preferably adjusted to a viscosity suitable for coating (usually, 0.3 to 40 Pa · s at 25 ° C. in viscosity measurement with a B-type viscometer). Therefore, the monomer (a1) or the vinyl monomer (a) composed of the monomer (a1) and the monomer (a2) can be prepolymerized to be a partially polymerized product. The polymerization rate of the partially polymerized vinyl monomer (a) is preferably about 2 to 40% by weight, although it depends on the polymer molecular weight in the partially polymerized product. Furthermore, it is preferable to set it as 5 to 20 weight%. In partial polymerization, it is preferable to irradiate with ultraviolet rays while avoiding contact with oxygen. The polymerization rate of the partially polymerized product was precisely weighed about 0.5 g of the partially polymerized product, weighed after drying it at 130 ° C. for 2 hours, and the obtained numerical value was substituted into the following formula. Calculated.
部分重合物の重合率(%)=(乾燥後の部分重合物の重量/乾燥前の部分重合物の重量)×100
またアクリル系粘着剤組成物は、増粘用ポリマーを適宜に配合することにより粘度調整することもできる。増粘用ポリマーとしては、前記した(メタ)アクリル酸アルキルエステル(a1)にアクリル酸、アクリルアミド、アクリロニトリル、アクリロイルモルホリン等を共重合したアクリル系ポリマーや、スチレンブタジエンゴム(SBR)、エチレン−酢酸ビニル共重合体、アクリルゴム、ポリウレタン、ポリエステル等を用いることができる。これら増粘剤用ポリマーは、アクリル系粘着剤組成物中40重量%以下の範囲で用いられる。増粘用ポリマーを用いる場合には5〜40重量%とするのがよい。
Polymerization rate of partial polymer (%) = (weight of partial polymer after drying / weight of partial polymer before drying) × 100
The viscosity of the acrylic pressure-sensitive adhesive composition can also be adjusted by appropriately blending a thickening polymer. Examples of the thickening polymer include acrylic polymers obtained by copolymerizing acrylic acid, acrylamide, acrylonitrile, acryloylmorpholine, and the like (meth) acrylic acid alkyl ester (a1), styrene butadiene rubber (SBR), ethylene-vinyl acetate. A copolymer, acrylic rubber, polyurethane, polyester, or the like can be used. These thickener polymers are used in an acrylic pressure-sensitive adhesive composition in an amount of 40% by weight or less. When using a polymer for thickening, the content is preferably 5 to 40% by weight.
またアクリル系粘着剤組成物には、その他にも可塑剤、軟化剤、充填剤、顔料、染料などの従来公知の各種の添加剤を、光重合性を阻害しない範囲内で適宜配合することができる。 In addition, the acrylic pressure-sensitive adhesive composition may be appropriately mixed with various conventionally known additives such as plasticizers, softeners, fillers, pigments, dyes and the like within a range that does not impair photopolymerizability. it can.
本発明のアクリル系粘着シートを構成する粘着剤層(Y)は、前記粘着剤組成物を適宜な基材上に塗工した後、紫外線照射することにより得られる。通常は、波長300〜400nmにおける照度が1〜200mW/cm2である紫外線を、光量400〜4000mJ/cm2程度照射して光重合させることによりアクリル系粘着剤層が得られる。なお、この時の重合率は90重量%以上とすることが望ましい。未反応モノマーは通常の乾燥工程により除去することもできる。なお、重合率は前述の方法と同様の方法により算出できる。また、アクリル系粘着剤組成物中に(メタ)アクリル酸エステルオリゴマー(c)等を含んでいる場合にも、前記同様に重合率として扱い、前記重合率は90%以上とするのが好ましい。 The pressure-sensitive adhesive layer (Y) constituting the acrylic pressure-sensitive adhesive sheet of the present invention is obtained by applying the pressure-sensitive adhesive composition on a suitable substrate and then irradiating it with ultraviolet rays. Usually, an acrylic pressure-sensitive adhesive layer is obtained by irradiating an ultraviolet ray having an illuminance of 1 to 200 mW / cm 2 at a wavelength of 300 to 400 nm with a light amount of about 400 to 4000 mJ / cm 2 for photopolymerization. The polymerization rate at this time is desirably 90% by weight or more. Unreacted monomers can also be removed by a normal drying process. The polymerization rate can be calculated by the same method as described above. Moreover, also when (meth) acrylic acid ester oligomer (c) etc. are included in an acrylic adhesive composition, it treats as a polymerization rate similarly to the above, and it is preferable that the said polymerization rate shall be 90% or more.
アクリル系粘着剤層の厚さは特に制限されないが、良好な接着強度を確保するため、通常10μm以上、好ましくは20μm以上、より好ましくは30μm以上(通常400μmまで)であるのがよい。 The thickness of the acrylic pressure-sensitive adhesive layer is not particularly limited, but is usually 10 μm or more, preferably 20 μm or more, more preferably 30 μm or more (usually up to 400 μm) in order to ensure good adhesive strength.
微小球状体を含む粘弾性体層(X)は、少なくとも粘弾性体を構成するベースポリマーと、微小球状体とを含む粘弾性体組成物からなる。 The viscoelastic body layer (X) containing microspheres is composed of a viscoelastic body composition containing at least a base polymer constituting the viscoelastic body and microspheres.
ベースポリマーとしては、特に限定されず、公知のベースポリマーから適宜選択して用いることができ、例えば、アクリル系ポリマー、ゴム系ポリマー、ビニルアルキルエーテル系ポリマー、シリコーン系ポリマー、ポリエステル系ポリマー、ポリアミド系ポリマー、ウレタン系ポリマー、フッ素系ポリマー、エポキシ系ポリマーなどを挙げることができる。特に本発明においては、これらのベースポリマーのうち、粘着剤層(Y)との接着性の良さから、アクリル系ポリマーが好適に用いられる。 The base polymer is not particularly limited and can be appropriately selected from known base polymers. For example, acrylic polymer, rubber polymer, vinyl alkyl ether polymer, silicone polymer, polyester polymer, polyamide polymer can be used. Examples thereof include polymers, urethane polymers, fluorine polymers, and epoxy polymers. In particular, in the present invention, among these base polymers, acrylic polymers are preferably used because of their good adhesiveness with the pressure-sensitive adhesive layer (Y).
アクリル系ポリマーは、アルキル(メタ)アクリレートをモノマー主成分とするポリマーであり、1種または2種以上のアルキル(メタ)アクリレートが用いられる。
前記アクリル系ポリマーにおけるアルキル(メタ)アクリレートとしては、メチル(メタ)アクリレート、エチル(メタ)アクリレート、n−プロピル(メタ)アクリレート、イソプロピル(メタ)アクリレート、n−ブチル(メタ)アクリレート、sec−ブチル(メタ)アクリレート、t−ブチル(メタ)アクリレート、ペンチル(メタ)アクリレート、イソペンチル(メタ)アクリレート、ヘキシル(メタ)アクリレート、ヘプチル(メタ)アクリレート、n−オクチル(メタ)アクリレート、イソオクチル(メタ)アクリレート、2−エチルヘキシル(メタ)アクリレート、ノニル(メタ)アクリレート、イソノニル(メタ)アクリレート、デシル(メタ)アクリレート、イソデシル(メタ)アクリレート、ウンデシル(メタ)アクリレート、ドデシル(メタ)アクリレート、トリデシル(メタ)アクリレート、テトラデシル(メタ)アクリレート、ペンタデシル(メタ)アクリレート、ヘキサデシル(メタ)アクリレート、ヘプタデシル(メタ)アクリレート、オクタデシル(メタ)アクリレート、ナノデシル(メタ)アクリレート、エイコシル(メタ)アクリレートなどの炭素数1〜20のアルキル基を有するアルキル(メタ)アクリレートが挙げられる。好ましくは炭素数2〜14のアルキル(メタ)アクリレートであり、さらに好ましくは炭素数2〜10のアルキル(メタ)アクリレートが望ましい。
The acrylic polymer is a polymer having an alkyl (meth) acrylate as a main monomer component, and one or more alkyl (meth) acrylates are used.
Examples of the alkyl (meth) acrylate in the acrylic polymer include methyl (meth) acrylate, ethyl (meth) acrylate, n-propyl (meth) acrylate, isopropyl (meth) acrylate, n-butyl (meth) acrylate, sec-butyl. (Meth) acrylate, t-butyl (meth) acrylate, pentyl (meth) acrylate, isopentyl (meth) acrylate, hexyl (meth) acrylate, heptyl (meth) acrylate, n-octyl (meth) acrylate, isooctyl (meth) acrylate 2-ethylhexyl (meth) acrylate, nonyl (meth) acrylate, isononyl (meth) acrylate, decyl (meth) acrylate, isodecyl (meth) acrylate, undecyl (meth) acrylate Rate, dodecyl (meth) acrylate, tridecyl (meth) acrylate, tetradecyl (meth) acrylate, pentadecyl (meth) acrylate, hexadecyl (meth) acrylate, heptadecyl (meth) acrylate, octadecyl (meth) acrylate, nanodecyl (meth) acrylate, Examples thereof include alkyl (meth) acrylates having an alkyl group having 1 to 20 carbon atoms such as eicosyl (meth) acrylate. Preferably it is a C2-C14 alkyl (meth) acrylate, More preferably, a C2-C10 alkyl (meth) acrylate is desirable.
またアルキル(メタ)アクリレート以外の(メタ)クリリレートとしては、例えば、シクロペンチル(メタ)アクリレート、シクロヘキシル(メタ)アクリレート、イソボルニル(メタ)アクリレート等の脂環式炭化水素基を有する(メタ)アクリル酸エステルや、フェニル(メタ)アクリレート等の芳香族炭化水素基を有する(メタ)アクリル酸エステルなどが挙げられる。 Examples of (meth) acrylates other than alkyl (meth) acrylates include (meth) acrylic acid esters having an alicyclic hydrocarbon group such as cyclopentyl (meth) acrylate, cyclohexyl (meth) acrylate, and isobornyl (meth) acrylate. And (meth) acrylic acid ester having an aromatic hydrocarbon group such as phenyl (meth) acrylate.
なお、アルキル(メタ)アクリレートは、アクリル系ポリマーのモノマー主成分として用いられているので、アクリル系ポリマーを調整するためのモノマー成分全量に対して60重量%以上、好ましくは80重量%用いることが望ましい。 In addition, since alkyl (meth) acrylate is used as a monomer main component of an acrylic polymer, it is used in an amount of 60% by weight or more, preferably 80% by weight, based on the total amount of monomer components for adjusting the acrylic polymer. desirable.
前記アクリル系ポリマーでは、モノマー成分として、極性基含有モノマーや多官能性モノマーなどの各種の共重合性モノマーを用いてもよい。モノマー成分として、共重合性モノマーを用いることにより、例えば、弾性や柔軟性など基材としての特性を改良することができる。 In the acrylic polymer, various copolymerizable monomers such as a polar group-containing monomer and a polyfunctional monomer may be used as a monomer component. By using a copolymerizable monomer as the monomer component, for example, properties as a base material such as elasticity and flexibility can be improved.
前記極性基含有モノマーとしては、例えば、アクリル酸、メタクリル酸、カルボキシエチル(メタ)アクリレート、カルボキシペンチル(メタ)アクリレート、イタコン酸、マレイン酸、フマル酸、クロトン酸、イソクロトン酸等のカルボキシル基含有モノマー;(メタ)アクリル酸2−ヒドロキシエチル、(メタ)アクリル酸3−ヒドロキシプロピル、(メタ)アクリル酸4−ヒドロキシブチル、(メタ)アクリル酸6−ヒドロキシへキシル、(メタ)アクリル酸8−ヒドロキシオクチル、(メタ)アクリル酸10−ヒドロキシデシル、(メタ)アクリル酸12−ヒドロキシラウリル、(4−ヒドロキシメチルシクロヘキシル)−メチルアクリレート等のヒドロキシル基含有モノマー;無水マレイン酸、無水イタコン酸等の酸無水物モノマー;2−アクリルアミド−2−メチルプロパンスルホン酸、スルホプロピルアクリレート等のスルホン酸基含有モノマー;2−ヒドロキシエチルアクリロイルホスフェート等の燐酸基含有モノマーなどが挙げられる。また(メタ)アクリルアミド、N,N−ジメチル(メタ)アクリルアミド、N−メチロール(メタ)アクリルアミド、N−メトキシメチル(メタ)アクリルアミド、N−ブトキシメチル(メタ)アクリルアミド等のアミド系モノマー、アミノエチル(メタ)アクリレート、ジメチルアミノエチル(メタ)アクリレート、t−ブチルアミノエチル(メタ)アクリレート等のアミノ基含有モノマー;グリシジル(メタ)アクリレート、メチルグリシジル(メタ)アクリレート等のグリシジル基含有モノマー;アクリロニトリル、メタクリロニトリル等のシアノアクリレート系モノマー;N−ビニル−2−ピロリドン、(メタ)アクリロイルモリホリンの他、N−ニミルピリジン、N−ビニルピペリドン、N−ビニルピリミジン、N−ビニルピペラジン、N−ビニルピラジン、N−ビニルピロール、N−ビニルイミダゾール、N−ビニルオキサゾール等の複素環含有ビニル系モノマーなどが挙げられる。極性基含有モノマーは、アクリル酸やメタクリル酸等のカルボキシル基含有モノマーが好適に用いられる。このような極性基含有モノマーは、1種または2種以上を用いることができる。 Examples of the polar group-containing monomer include carboxyl group-containing monomers such as acrylic acid, methacrylic acid, carboxyethyl (meth) acrylate, carboxypentyl (meth) acrylate, itaconic acid, maleic acid, fumaric acid, crotonic acid, and isocrotonic acid. ; 2-hydroxyethyl (meth) acrylate, 3-hydroxypropyl (meth) acrylate, 4-hydroxybutyl (meth) acrylate, 6-hydroxyhexyl (meth) acrylate, 8-hydroxy (meth) acrylate Hydroxyl group-containing monomers such as octyl, 10-hydroxydecyl (meth) acrylate, 12-hydroxylauryl (meth) acrylate and (4-hydroxymethylcyclohexyl) -methyl acrylate; acid anhydrides such as maleic anhydride and itaconic anhydride Monomer ; 2-acrylamido-2-methylpropane sulfonic acid, a sulfonic acid group-containing monomers such as sulfopropyl acrylate; and phosphoric acid group-containing monomers 2-hydroxyethyl acryloyl phosphate and the like. In addition, amide monomers such as (meth) acrylamide, N, N-dimethyl (meth) acrylamide, N-methylol (meth) acrylamide, N-methoxymethyl (meth) acrylamide, N-butoxymethyl (meth) acrylamide, aminoethyl ( Amino group-containing monomers such as meth) acrylate, dimethylaminoethyl (meth) acrylate, t-butylaminoethyl (meth) acrylate; glycidyl group-containing monomers such as glycidyl (meth) acrylate and methylglycidyl (meth) acrylate; acrylonitrile, methacrylic Cyanoacrylate monomers such as nitrile; N-vinyl-2-pyrrolidone, (meth) acryloyl morpholine, N-nimyrpyridine, N-vinylpiperidone, N-vinylpyrimidine, N-vinylpipera Emissions, N- vinyl pyrazine, N- vinyl pyrrole, N- vinyl imidazole, and heterocyclic-containing vinyl monomers such as N- vinyl oxazole and the like. As the polar group-containing monomer, a carboxyl group-containing monomer such as acrylic acid or methacrylic acid is preferably used. Such polar group-containing monomers can be used alone or in combination of two or more.
極性基含有モノマーの使用量としては、アクリル系ポリマーを調整するためのモノマー成分全量に対して30重量%以下(例えば1〜30重量%)であり、好ましくは3〜20重量%である。極性基含有モノマーの使用量が30重量%を超えると、例えば、粘弾性体層(X)の柔軟性が損なわれ、粘着シートとして凹凸のある被着体などに対して接着性が低下するおそれがある。また、極性基含有モノマーの使用量が少なすぎると(例えばアクリル系ポリマーを調整するためのモノマー成分全量に対して1重量%未満であると)粘弾性体層(X)の凝集力が乏しなり、粘着シートとして保持性能が低下したり、シートを切断あるいは打ち抜くなどする際の加工性が低下するおそれがある。 The amount of the polar group-containing monomer used is 30% by weight or less (for example, 1 to 30% by weight), preferably 3 to 20% by weight, based on the total amount of monomer components for adjusting the acrylic polymer. When the amount of the polar group-containing monomer exceeds 30% by weight, for example, the flexibility of the viscoelastic body layer (X) is impaired, and the adhesiveness may be lowered with respect to an adherend having unevenness as an adhesive sheet. There is. Moreover, when there is too little usage-amount of a polar group containing monomer (for example, it is less than 1 weight% with respect to the monomer component whole quantity for adjusting an acrylic polymer), the cohesive force of a viscoelastic body layer (X) will become scarce. The holding performance of the pressure-sensitive adhesive sheet may be reduced, and the workability when cutting or punching the sheet may be reduced.
前記多官能性モノマーとしては、例えば、ヘキサンジオール(メタ)アクリレート、(ポリ)エチレングリコールジ(メタ)アクリレート、(ポリ)プロピレングリコールジ(メタ)アクリレート、ネオペンチルグリコールジ(メタ)アクリレート、ペンタエリスリトールジ(メタ)アクリレート、ペンタエリスリトールトリ(メタ)アクリレート、ジペンタエリスリトールヘキサ(メタ)アクリレート、トリメチロールプロパントリ(メタ)アクリレート、テトラメチロールメタントリ(メタ)アクリレート、アリル(メタ)アクリレート、ビニル(メタ)アクリレート、ジビニルベンゼン、エポキシアクリレート、ポリエステルアクリレート、ウレタンアクリレート、ジブチル(メタ)アクリレート、ヘキシジル(メタ)アクリレートなどが挙げられる。 Examples of the polyfunctional monomer include hexanediol (meth) acrylate, (poly) ethylene glycol di (meth) acrylate, (poly) propylene glycol di (meth) acrylate, neopentyl glycol di (meth) acrylate, and pentaerythritol. Di (meth) acrylate, pentaerythritol tri (meth) acrylate, dipentaerythritol hexa (meth) acrylate, trimethylolpropane tri (meth) acrylate, tetramethylolmethane tri (meth) acrylate, allyl (meth) acrylate, vinyl (meta ) Acrylate, divinylbenzene, epoxy acrylate, polyester acrylate, urethane acrylate, dibutyl (meth) acrylate, hexidyl (meth) acrylate And the like.
多官能性モノマーの使用量としては、アクリル系ポリマーを調整するためのモノマー成分全量に対して2重量%以下(例えば、0.01〜2重量%)であり、好ましくは0.02〜1重量%である。多官能性単量体の使用量がアクリル系ポリマーを調整するためのモノマー成分全量に対して2重量%を超えると、例えば粘弾性体層(X)の柔軟性が損なわれ、粘着シートとして凹凸のある被着体などに対して接着性が低下するおそれがある。また、多官能性単量体の使用量が少なすぎると(例えばアクリル系ポリマーを調整を調整するためのモノマー成分全量に対して0.01重量%未満であると)、例えば、粘弾性体層(X)の凝集力が乏しなり、粘着シートとして保持性能が低下したり、シートを切断あるいは打ち抜くなどする際の加工性が低下するおそれがある。 The amount of the polyfunctional monomer used is 2% by weight or less (for example, 0.01 to 2% by weight), preferably 0.02 to 1% by weight based on the total amount of monomer components for adjusting the acrylic polymer. %. When the amount of the polyfunctional monomer used exceeds 2% by weight based on the total amount of monomer components for adjusting the acrylic polymer, for example, the flexibility of the viscoelastic body layer (X) is impaired, and the adhesive sheet is uneven. There is a possibility that the adhesiveness may be lowered with respect to an adherend having a surface. Moreover, when there is too little usage-amount of a polyfunctional monomer (for example, it is less than 0.01 weight% with respect to the monomer component whole quantity for adjusting adjustment of an acrylic polymer), for example, a viscoelastic body layer The cohesive force of (X) becomes poor, and the holding performance as an adhesive sheet may be reduced, and the workability when cutting or punching the sheet may be reduced.
また、極性基含有モノマーや多官能性モノマー以外の共重合性モノマーとしては、例えば、酢酸ビニル、プロピオン酸ビニルなどのビニルエステル類、スチレンビニルトルエンなどの芳香族ビニル化合物、エチレン、ブタジエン、イソプレン、イソブチレンなどのオレフィン又はジエン類;ビニルアルキルエーテルなどのビニルエーテル類;塩化ビニル、(メタ)アクリル酸メトキシエチル、(メタ)アクリル酸エトキシエチルなどの(メタ)アクリル酸アルコキシアルキル系モノマー;ビニルスルホン酸ナトリウムなどのスルホン酸基含有単量体;2−ヒドロキシエチルアクリロイルフォスフェートなどのリン酸基含有単量体;シクロヘキシルマレイミド、イソプロピルマレイミドなどのイミド基含有単量体;2−メタクリロイルオキシエチルイソシアネートなどのイソシアネート基含有単量体;フッ素原子含有(メタ)アクリレート、ケイ素原子含有(メタ)アクリレートなどが挙げられる。 Examples of copolymerizable monomers other than polar group-containing monomers and polyfunctional monomers include vinyl esters such as vinyl acetate and vinyl propionate, aromatic vinyl compounds such as styrene vinyl toluene, ethylene, butadiene, isoprene, Olefins or dienes such as isobutylene; vinyl ethers such as vinyl alkyl ether; (meth) acrylic acid alkoxyalkyl monomers such as vinyl chloride, methoxyethyl (meth) acrylate and ethoxyethyl (meth) acrylate; sodium vinyl sulfonate Sulfonic acid group-containing monomers such as 2-hydroxyethyl acryloyl phosphate, etc .; imide group-containing monomers such as cyclohexylmaleimide and isopropylmaleimide; 2-methacryloyloxye Isocyanate group-containing monomers such as Le isocyanate; fluorine-containing (meth) acrylate, and silicon atom-containing (meth) acrylate.
本発明では、前記ベースポリマーとしてアクリル系ポリマーの調整に際して、従来公知の溶液重合や乳化重合、塊状重合などの重合方法によりアクリル系ポリマーを調整することができるが、光重合開始剤(光開始剤)を用いた活性エネルギー光線による硬化反応を利用することが好ましい。すなわち、本発明における粘弾性体層(X)を構成する粘弾性体組成物には光重合開始剤が含まれてもよい。このように光重合開始剤が含まれていると活性エネルギー光線による硬化が可能となり、粘着剤層(Y)と同時に粘弾性体層(X)を製造することが可能となる。 In the present invention, when preparing the acrylic polymer as the base polymer, the acrylic polymer can be prepared by a conventionally known polymerization method such as solution polymerization, emulsion polymerization, bulk polymerization, etc., but the photopolymerization initiator (photoinitiator It is preferable to use a curing reaction by active energy rays using That is, a photopolymerization initiator may be included in the viscoelastic composition constituting the viscoelastic layer (X) in the present invention. When the photopolymerization initiator is thus contained, curing with an active energy ray becomes possible, and the viscoelastic layer (X) can be produced simultaneously with the pressure-sensitive adhesive layer (Y).
前記重合開始剤としては、特に限定されず、例えば、ケタール系光重合開始剤、α-ヒドロキシケトン系光重合開始剤、α-アミノケトン系光重合開始剤、アシルホスフィンオキサイド系光重合開始剤、ベンゾフェノン系光重合開始剤、ベンゾイン系光重合開始剤、チオキサントン系光重合開始剤などを用いることができる。 The polymerization initiator is not particularly limited, and examples thereof include ketal photopolymerization initiators, α-hydroxyketone photopolymerization initiators, α-aminoketone photopolymerization initiators, acylphosphine oxide photopolymerization initiators, and benzophenones. A photopolymerization initiator, a benzoin photopolymerization initiator, a thioxanthone photopolymerization initiator, or the like can be used.
具体的には、ケタール系光重合開始剤としては、例えば2,2−ジメトキシ−1,2−ジフェニルエタン−1−オン(イルガキュア651:チバ・スペシャリティ・ケミカル社製)などが挙げられる。α-ヒドロキシケトン系光重合開始剤としては、例えば、1−ヒドロキシ−シクロヘキシル−フェニルケトン(イルガキュア184:チバ・スペシャリティ・ケミカル社製)、2−ヒドロキシ−2−メチル−1−フェニル-プロパン−1−オン(ダロキュア1173:チバ・スペシャリティ・ケミカル社製)、1−[4−(2−ヒドロキシエトキシ)−フェニル]−2−ヒドロキシ−2−メチル−1−プロパン−1−オン(イルガキュア2959:チバ・スペシャリティ・ケミカル社製)などが挙げられる。α-アミノケトン系光重合開始剤としては、例えば、2−メチル−1−[4−(メチルチオ)フェニル]−2−モルフォリノプロパン−1−オン(イルガキュア907:チバ・スペシャリティ・ケミカル社製)、2−ベンジル−2−ジメチルアミノ−1−(4−モルフォリノフェニル)−ブタノン−1(イルガキュア369:チバ・スペシャリティ・ケミカル社製)などが挙げられる。アシルホスフィンオキサイド系光重合開始剤としては、例えば、2,4,6-トリメチルベンゾイルジフェニルホスフィンオキシド(ルシリンTPO:BASF社製)等が挙げられる。 Specifically, examples of the ketal photopolymerization initiator include 2,2-dimethoxy-1,2-diphenylethane-1-one (Irgacure 651: manufactured by Ciba Specialty Chemicals). Examples of the α-hydroxyketone photopolymerization initiator include 1-hydroxy-cyclohexyl-phenylketone (Irgacure 184: manufactured by Ciba Specialty Chemicals), 2-hydroxy-2-methyl-1-phenyl-propane-1 -One (Darocur 1173: manufactured by Ciba Specialty Chemicals), 1- [4- (2-hydroxyethoxy) -phenyl] -2-hydroxy-2-methyl-1-propan-1-one (Irgacure 2959: Ciba・ Specialty Chemical Co.). Examples of the α-aminoketone photopolymerization initiator include 2-methyl-1- [4- (methylthio) phenyl] -2-morpholinopropan-1-one (Irgacure 907: manufactured by Ciba Specialty Chemicals), 2-Benzyl-2-dimethylamino-1- (4-morpholinophenyl) -butanone-1 (Irgacure 369: manufactured by Ciba Specialty Chemicals) and the like. Examples of the acylphosphine oxide photopolymerization initiator include 2,4,6-trimethylbenzoyldiphenylphosphine oxide (Lucirin TPO: manufactured by BASF).
光重合開始剤の使用量としては、特に限定されないが、例えば、粘弾性体組成物中のベースポリマーを形成するための全モノマー成分[特に(メタ)アクリル酸エステルを単量体の主成分とするアクリル系ポリマーを形成するための全モノマー成分]100重量部に対して0.01〜5重量部(好ましくは0.05〜3重量部)の範囲から選択することができる。 The amount of the photopolymerization initiator used is not particularly limited. For example, all monomer components for forming the base polymer in the viscoelastic composition [particularly (meth) acrylic acid ester as the main component of the monomer are used. The total monomer components for forming the acrylic polymer to be selected] can be selected from the range of 0.01 to 5 parts by weight (preferably 0.05 to 3 parts by weight) with respect to 100 parts by weight.
光重合開始剤の活性化に際しては、活性エネルギー光線を粘弾性体に照射することが重要である。このような活性エネルギー光線としては、例えば、α線、β線、γ線、中性子線、電子線などの電離性放射線や、紫外線などが挙げられ、特に紫外線が好適である。また、活性エネルギー光線の照射エネルギーや、その照射時間などは特に限定されず、光重合開始剤を活性させて、モノマー成分の反応を生じさせることができればよい。 When activating the photopolymerization initiator, it is important to irradiate the viscoelastic body with an active energy ray. Examples of such active energy rays include ionizing radiation such as α rays, β rays, γ rays, neutron rays, electron rays, and ultraviolet rays, and ultraviolet rays are particularly preferable. The irradiation energy of the active energy beam, the irradiation time, etc. are not particularly limited as long as the photopolymerization initiator can be activated to cause the reaction of the monomer component.
また本発明における粘弾性体層(X)を構成する粘弾性体組成物には、熱重合開始剤が含まれていてもよい。熱重合開始剤としては、例えば、アゾ系重合開始剤[例えば、2,2′−アゾビスイソブチロニトリル、2,2′−アゾビス−2−メチルブチロニトリル、2,2′−アゾビス(2−メチルプロピオン酸)ジメチル、4,4′−アゾビス−4−シアノバレリアン酸、アゾビスイソバレロニトリル、2,2′−アゾビス(2−アミジノプロパン)ジヒドロクロライド、2,2′−アゾビス[2−(5−メチル−2−イミダゾリン−2−イル)プロパン]ジヒドロクロライド、2,2′−アゾビス(2−メチルプロピオンアミジン)二硫酸塩、2,2′−アゾビス(N,N′−ジメチレンイソブチルアミジン)ジヒドロクロライドなど]、過酸化物系重合開始剤(例えば、ジベンゾイルペルオキシド、t−ブチルペルマレエートなど)、レドックス系重合開始剤などが挙げられる。熱重合開始剤の使用量としては特に限定されず、従来、重合開始剤として利用可能な範囲であればよい。 Moreover, the viscoelastic body composition which comprises the viscoelastic body layer (X) in this invention may contain the thermal-polymerization initiator. Examples of the thermal polymerization initiator include azo polymerization initiators [for example, 2,2′-azobisisobutyronitrile, 2,2′-azobis-2-methylbutyronitrile, 2,2′-azobis ( 2-methylpropionic acid) dimethyl, 4,4′-azobis-4-cyanovaleric acid, azobisisovaleronitrile, 2,2′-azobis (2-amidinopropane) dihydrochloride, 2,2′-azobis [2 -(5-Methyl-2-imidazolin-2-yl) propane] dihydrochloride, 2,2'-azobis (2-methylpropionamidine) disulfate, 2,2'-azobis (N, N'-dimethylene) Isobutylamidine) dihydrochloride], peroxide polymerization initiators (eg, dibenzoyl peroxide, t-butylpermaleate, etc.), redock System polymerization initiator, and the like. The amount of the thermal polymerization initiator used is not particularly limited as long as it can be conventionally used as a polymerization initiator.
本発明の粘弾性体層(X)は、微小球状体を含むことを特徴とする。粘弾性体に微小球状体が含まれることにより、例えば、粘弾性体層(X)における凝集力、剪断強度を高めることができ、また、加工性を向上させることができる。微小球状体は単独で、又は2種以上組み合わせて使用することができる。 The viscoelastic body layer (X) of the present invention is characterized by containing a microsphere. By including microspheres in the viscoelastic body, for example, the cohesive force and shear strength in the viscoelastic body layer (X) can be increased, and the workability can be improved. The microspheres can be used alone or in combination of two or more.
本発明に用いる微小球状体としては、内部に空間を有する中空のものであっても、また内部が充填されている中実のものであってもかまわないが、紫外線の透過性を妨げ難いという理由から中空の微小球状体が好適に用いられる。また微小球状体は、無機系微小球状体であってもよく、有機系微小球状体であってもよい。具体的には、中空の無機系微小球状体としては、例えば、中空ガラスバルーン等のガラス製の中空バルーン;中空アルミナバルーン等の金属化合物性の中空バルーン;中空セラミックバルーン等の磁器製中空バルーンなどが挙げられる。また、中空の有機系微小球状体としては、例えば中空アクリルバルーン、中空の塩化ビニリデンバルーン等の樹脂製の中空バルーンなどが挙げられる。 The microsphere used in the present invention may be a hollow one having a space inside or a solid one filled inside, but it is difficult to impede the transmittance of ultraviolet rays. For this reason, hollow microspheres are preferably used. The microspheres may be inorganic microspheres or organic microspheres. Specifically, examples of the hollow inorganic microspheres include glass hollow balloons such as hollow glass balloons; metal compound hollow balloons such as hollow alumina balloons; porcelain hollow balloons such as hollow ceramic balloons and the like. Is mentioned. Examples of the hollow organic microspheres include resin hollow balloons such as hollow acrylic balloons and hollow vinylidene chloride balloons.
また中実の無機微小球状体としては、ガラスビーズやシリカビーズなどが挙げられ、中実の有機微小球状体としてはスチレンビーズ、アクリルビーズなどのポリマービーズが挙げられる。 Examples of solid inorganic microspheres include glass beads and silica beads, and examples of solid organic microspheres include polymer beads such as styrene beads and acrylic beads.
微小球状体の粒径(平均粒子径)としては特に制限されないが、例えば1〜500μm(好ましくは5〜200μm、さらに好ましくは10〜100μm)の範囲から選択することができる。 Although it does not restrict | limit especially as a particle size (average particle diameter) of a microsphere, For example, it can select from the range of 1-500 micrometers (preferably 5-200 micrometers, More preferably, 10-100 micrometers).
微小球状体の比重としては、特に限定されないが、例えば、0.1〜0.8g/cm3(好ましくは0.12〜0.5g/cm3)の範囲から選択することができる。中空微小球状体の比重が0.1g/cm3よりも小さいと、微小球状体を粘弾性体組成物中に配合して混合する際に、浮き上がりが大きくなり、均一に分散させること難しくなり、一方、0.8g/cm3よりも大きいと、高価になり、コストが高くなる。 The specific gravity of the microspheres is not particularly limited, for example, 0.1 to 0.8 g / cm 3 (preferably 0.12 / cm 3) can be selected from the range of. When the specific gravity of the hollow microspheres is less than 0.1 g / cm 3 , when the microspheres are mixed and mixed in the viscoelastic composition, the floating becomes large and it becomes difficult to uniformly disperse, On the other hand, when it is larger than 0.8 g / cm 3 , it becomes expensive and the cost becomes high.
微小球状体の使用量としては、特に限定されず、例えば、粘弾性体により形成された粘弾性体層(X)の全体積に対して5〜50容積%(体積%)、好ましくは10〜50容積%、さらに好ましくは15〜40容積%となるような範囲から選択することができる。微小球状体の使用量が粘弾性体により形成された粘弾性体層(X)の全体積に対して5容積%未満となるような使用量であると、微小球状体を添加した効果が低く、一方、50容積%を超えるような使用量であると、例えば、弾性が乏しくなるおそれがある。 The amount of microspheres used is not particularly limited, and is, for example, 5 to 50% by volume (volume%), preferably 10 to the total volume of the viscoelastic layer (X) formed of the viscoelastic body. It can be selected from a range of 50% by volume, more preferably 15 to 40% by volume. When the usage amount of the microspheres is less than 5% by volume with respect to the total volume of the viscoelastic body layer (X) formed of the viscoelastic body, the effect of adding the microspheres is low. On the other hand, if the usage amount exceeds 50% by volume, for example, the elasticity may be poor.
本発明のアクリル系粘着シートにおける粘弾性体層(X)は、微小球状体のほか、気泡を含有することができる。粘弾性体層(X)に気泡を含有することで、クッション性や密着性が向上するという利点がある。粘弾性体層(X)に混合可能な気泡量としては、基材特性等を損なわない範囲で適宜選択できるが、粘弾性体層(X)の全体積に対して通常5〜50体積%(好ましくは10〜40体積%、更に好ましくは12〜30体積%)である。気泡量が5体積%未満であると、気泡を含有する効果に乏しいという不具合がある。また50体積%を超えるとシートを貫通する気泡が形成し、粘弾性体層(X)が柔らかくなりすぎ、保持力、剪断強度が劣ることが多い。 The viscoelastic body layer (X) in the acrylic pressure-sensitive adhesive sheet of the present invention can contain bubbles in addition to microspheres. By containing bubbles in the viscoelastic body layer (X), there is an advantage that cushioning properties and adhesion are improved. The amount of air bubbles that can be mixed in the viscoelastic layer (X) can be appropriately selected within a range that does not impair the properties of the base material. Preferably it is 10-40 volume%, More preferably, it is 12-30 volume%. If the amount of bubbles is less than 5% by volume, there is a problem that the effect of containing bubbles is poor. On the other hand, if it exceeds 50% by volume, bubbles penetrating the sheet are formed, the viscoelastic body layer (X) becomes too soft, and the holding force and shear strength are often inferior.
粘弾性体層(X)中に混合される気泡は、基本的には、独立気泡タイプの気泡であることが望ましいが、独立気泡タイプの気泡と連続気泡タイプの気泡とが混在していてもよい。 Basically, it is desirable that the bubbles mixed in the viscoelastic layer (X) are closed-cell type bubbles, but even if closed-cell type bubbles and open-cell type bubbles are mixed. Good.
また、このような気泡としては、通常、球状の形状を有しているが、いびつな形状の球状を有していてもよい。前記気泡において、その平均気泡径(直径)としては、特に限定されず、例えば、1〜1000μm(好ましくは10〜500μm、さらに好ましくは30〜300μm)の範囲から選択することができる。 In addition, such bubbles usually have a spherical shape, but may have an irregular spherical shape. In the said bubble, it does not specifically limit as the average bubble diameter (diameter), For example, it can select from the range of 1-1000 micrometers (preferably 10-500 micrometers, More preferably, 30-300 micrometers).
なお、気泡に含まれる気体成分(気泡を形成するガス成分;「気泡形成ガス」と称する場合がある)としては、特に限定されず、窒素、二酸化炭素、アルゴンなどの不活性ガスの他、空気などの各種気体成分を用いることができる。気泡形成ガスとしては、気泡形成ガスを混合した後に、重合反応等の反応を行う場合は、その反応を阻害しないものを用いることが重要である。気泡形成ガスとしては、反応を阻害しないことや、コスト的観点などから窒素が好適である。 The gas component contained in the bubbles (gas component forming bubbles; sometimes referred to as “bubble-forming gas”) is not particularly limited, and air, in addition to an inert gas such as nitrogen, carbon dioxide, and argon. Various gas components such as can be used. As the bubble forming gas, when a reaction such as a polymerization reaction is performed after mixing the bubble forming gas, it is important to use a gas that does not inhibit the reaction. As the bubble forming gas, nitrogen is preferable from the viewpoint of not inhibiting the reaction and from the viewpoint of cost.
本発明のアクリル系粘着シートにおける粘弾性体層(X)においては、粘弾性体を構成するポリマー成分と微小球状体に加え、フッ素系界面活性剤を配合することが好ましい。分子中に特定の構造を有する界面活性剤を用いることにより、微小球状体と粘弾性体層(X)中のポリマーとの間の密着性や摩擦が低下し、高い応力分散性が得られ、これにより粘弾性体組成物の凝集強さと凹凸面に対する良好な追従性とが同時に実現し、接着強さと剪断強さのバランスに優れた粘弾性体層(X)を形成することが可能である。 In the viscoelastic body layer (X) in the acrylic pressure-sensitive adhesive sheet of the present invention, it is preferable to blend a fluorosurfactant in addition to the polymer component and the microspheres constituting the viscoelastic body. By using a surfactant having a specific structure in the molecule, the adhesion and friction between the microspheres and the polymer in the viscoelastic layer (X) are reduced, and high stress dispersibility is obtained. As a result, the cohesive strength of the viscoelastic composition and good followability to the uneven surface can be realized at the same time, and it is possible to form the viscoelastic body layer (X) having an excellent balance between adhesive strength and shear strength. .
フッ素系界面活性剤としては分子中にオキシC2-3アルキレン基及びフッ素化炭化水素基を有するフッ素系界面活性剤が好適に用いられる。オキシC2-3アルキレン基は式:−R−O−(Rは炭素数2又は3の直鎖状又は分岐鎖状のアルキレン基)で表される。分子中にオキシC2-3アルキレン基を有することにより、微小球体とベースポリマーとの密着度や摩擦抵抗が低減され、応力分散性が発現する。そのため、本発明のアクリル系粘着シートの粘弾性体層(X)とした場合は、高い接着性が得られる。フッ素化炭化水素基を有することにより上記摩擦抵抗等の低減効果に加えて、気泡混合性及び気泡安定性を高める効果も得られる。フッ素系界面活性剤はオキシC2-3アルキレン基及びフッ素化炭化水素基を有していれば特に限定されないが、ベースポリマーに対する分散性の観点から非イオン型界面活性剤が好ましい。また、分子中にオキシエチレン基(−CH2CH2O−)、オキシプロピレン基[−CH2CH(CH3)O−]等の何れか1種を有していてもよく、2種以上を有していてもよい。なお、フッ素系界面活性剤は、単独で、又は2種以上組み合わせて使用することができる。 As the fluorine-based surfactant, a fluorine-based surfactant having an oxy C 2-3 alkylene group and a fluorinated hydrocarbon group in the molecule is preferably used. The oxy C 2-3 alkylene group is represented by the formula: —R—O— (R is a linear or branched alkylene group having 2 or 3 carbon atoms). By having an oxy C 2-3 alkylene group in the molecule, the degree of adhesion and frictional resistance between the microsphere and the base polymer are reduced, and stress dispersibility is exhibited. Therefore, when it is set as the viscoelastic body layer (X) of the acrylic adhesive sheet of this invention, high adhesiveness is obtained. By having a fluorinated hydrocarbon group, in addition to the effect of reducing the frictional resistance and the like, the effect of improving the bubble mixing property and bubble stability is also obtained. The fluorosurfactant is not particularly limited as long as it has an oxy C 2-3 alkylene group and a fluorinated hydrocarbon group, but a nonionic surfactant is preferred from the viewpoint of dispersibility with respect to the base polymer. Further, the molecule may have any one kind of oxyethylene group (—CH 2 CH 2 O—), oxypropylene group [—CH 2 CH (CH 3 ) O—], etc., and two or more kinds. You may have. In addition, a fluorine-type surfactant can be used individually or in combination of 2 or more types.
フッ素化炭化水素基としては、特に制限されないがパーフルオロ基が好適であり、該パーフルオロ基は、1価であってもよく、2価以上の多価であっても良い。また、フッ素化炭化水素基は二重結合や三重結合を有していても良く、直鎖でも枝分かれ構造や環式構造を有していても良い。フッ素化炭化水素基の炭素数としては特に限定されず、1又は2以上、好ましくは3〜30、さらに好ましくは4〜20である。これらのフッ素化炭化水素基が界面活性剤分子中に1種又は2種以上導入されている。オキシC2-3アルキレン基としては、末端の酸素原子に水素原子が結合したアルコール、他の炭化水素基と結合したエーテル、カルボニル基を介して他の炭化水素基と結合したエステル等、何れの形態でも良い。また、環式エーテル類やラクトン類等、環状構造の一部に該構造を有する形態でもよい。 The fluorinated hydrocarbon group is not particularly limited, but is preferably a perfluoro group, and the perfluoro group may be monovalent or divalent or higher. Further, the fluorinated hydrocarbon group may have a double bond or a triple bond, and may be a straight chain or a branched structure or a cyclic structure. It does not specifically limit as carbon number of a fluorinated hydrocarbon group, It is 1 or 2 or more, Preferably it is 3-30, More preferably, it is 4-20. One or two or more of these fluorinated hydrocarbon groups are introduced into the surfactant molecule. Examples of the oxy C 2-3 alkylene group include alcohols in which a hydrogen atom is bonded to a terminal oxygen atom, ethers bonded to other hydrocarbon groups, and esters bonded to other hydrocarbon groups via a carbonyl group. Form may be sufficient. Moreover, the form which has this structure in a part of cyclic structure, such as cyclic ethers and lactones, may be sufficient.
フッ素系界面活性剤の構造としては特に制限されないが、例えば、オキシC2-3アルキレン基を有する単量体及びフッ素化炭化水素基を有する単量体をモノマー成分として含む共重合体を好適に用いることができる。このような共重合体としては、ブロック共重合体、グラフト共重合体など、様々な構造が考えられるが、何れも好適に用いられる。 The structure of the fluorosurfactant is not particularly limited. For example, a copolymer containing a monomer having an oxy C 2-3 alkylene group and a monomer having a fluorinated hydrocarbon group as a monomer component is preferably used. Can be used. As such a copolymer, various structures such as a block copolymer and a graft copolymer are conceivable, and any of them is preferably used.
ブロック共重合体(主鎖にオキシC2-3アルキレン基及びフッ素化炭化水素基を有する共重合体)としては、例えば、ポリオキシエチレンパーフルオロアルキルエーテル、ポリオキシエチレンパーフルオロアルキレート、ポリオキシプロピレンパーフルオロアルキルエーテル、ポリオキシイソプロピレンパーフルオロアルキルエーテル、ポリオキシエチレンソルビタンパーフルオロアルキレート、ポリオキシエチレンポリオキシプロピレンブロックコポリマーパーフルオロアルキレート、ポリオキシエチレングリコールパーフルオロアルキレート等である。 Examples of the block copolymer (copolymer having an oxy C 2-3 alkylene group and a fluorinated hydrocarbon group in the main chain) include polyoxyethylene perfluoroalkyl ether, polyoxyethylene perfluoroalkylate, polyoxyethylene Examples thereof include propylene perfluoroalkyl ether, polyoxyisopropylene perfluoroalkyl ether, polyoxyethylene sorbitan perfluoroalkylate, polyoxyethylene polyoxypropylene block copolymer perfluoroalkylate, and polyoxyethylene glycol perfluoroalkylate.
グラフト共重合体(側鎖にオキシC2-3アルキレン基及びフッ素化炭化水素基を有する共重合体)としては、モノマー成分として少なくとも、ポリオキシアルキレン基を有するビニル系化合物及びフッ素化炭化水素基を有するビニル系化合物を含む共重合体、特に、アクリル系共重合体が好適に用いられる。ポリオキシアルキレン基を有するビニル系化合物としては、例えば、ポリオキシエチレン(メタ)アクリレート、ポリオキシプロピレン(メタ)アクリレート、ポリオキシエチレンポリオキシプロピレン(メタ)アクリレートなどのポリオキシアルキレン(メタ)アクリレートが挙げられる。フッ素化炭化水素基を有するビニル系化合物としては、例えば、パーフルオロブチル(メタ)アクリレート、パーフルオロイソブチル(メタ)アクリレート、パーフルオロペンチル(メタ)アクリレートなどのパーフルオロアルキル(メタ)アクリレート等、フッ素化炭化水素を含有する(メタ)アクリル酸エステルが挙げられる。 As a graft copolymer (a copolymer having an oxy C 2-3 alkylene group and a fluorinated hydrocarbon group in the side chain), at least a vinyl compound having a polyoxyalkylene group and a fluorinated hydrocarbon group as a monomer component A copolymer containing a vinyl-based compound having, particularly an acrylic copolymer, is preferably used. Examples of the vinyl compound having a polyoxyalkylene group include polyoxyalkylene (meth) acrylates such as polyoxyethylene (meth) acrylate, polyoxypropylene (meth) acrylate, and polyoxyethylene polyoxypropylene (meth) acrylate. Can be mentioned. Examples of vinyl compounds having a fluorinated hydrocarbon group include perfluoroalkyl (meth) acrylates such as perfluorobutyl (meth) acrylate, perfluoroisobutyl (meth) acrylate, and perfluoropentyl (meth) acrylate, fluorine And (meth) acrylic acid ester containing a fluorinated hydrocarbon.
フッ素系界面活性剤は、分子中に上記構造の他に脂環式炭化水素基や芳香族炭化水素基などの構造を有していてもよく、ベースポリマーへの分散性を阻害しない範囲内でカルボキシル基、スルホン酸基、シアノ基、アミド基、アミノ基等様々な官能基を有していてもよい。例えばフッ素系界面活性剤がビニル系共重合体である場合は、モノマー成分として、ポリオキシアルキレン基を有するビニル系化合物及びフッ素化炭化水素基を有するビニル系化合物と共重合可能なモノマー成分が用いられてもよい。このようなモノマーは単独で又は2種以上組み合わせて使用することができる。 In addition to the above structure, the fluorosurfactant may have a structure such as an alicyclic hydrocarbon group or an aromatic hydrocarbon group in the molecule, as long as the dispersibility in the base polymer is not inhibited. You may have various functional groups, such as a carboxyl group, a sulfonic acid group, a cyano group, an amide group, an amino group. For example, when the fluorosurfactant is a vinyl copolymer, a monomer component copolymerizable with a vinyl compound having a polyoxyalkylene group and a vinyl compound having a fluorinated hydrocarbon group is used as the monomer component. May be. Such monomers can be used alone or in combination of two or more.
上記共重合可能なモノマー成分としては、例えば、(メタ)アクリル酸ウンデシル、(メタ)アクリル酸ドデシルなどの(メタ)アクリル酸C1-20アルキルエステル;シクロペンチル(メタ)アクリレートなどの脂環式炭化水素基を有する(メタ)アクリル酸エステル;フェニル(メタ)アクリレートなどの芳香族炭化水素基を有する(メタ)アクリル酸エステルが好適に用いられる。その他、マレイン酸、クロトン酸等のカルボキシル基含有単量体;ビニルスルホン酸ナトリウムなどのスルホン酸基含有単量体;スチレン、ビニルトルエンなどの芳香族ビニル化合物;エチレン、ブタジエンなどのオレフィン又はジエン類;ビニルアルキルエーテルなどのビニルエーテル類;アクリルアミド等のアミド基含有単量体;(メタ)アクリロイルモルホリンなどのアミノ基含有単量体;(メタ)アクリル酸メチルグリシジルなどのグリシジル基含有単量体;2−メタクリロイルオキシエチルイソシアネートなどのイソシアネート基含有単量体などが挙げられる。さらにまた、ジペンタエリスリトールヘキサ(メタ)アクリレート、ジビニルベンゼンなどの多官能性共重合性単量体(多官能モノマー)が用いられてもよい。 Examples of the copolymerizable monomer component include (meth) acrylic acid C 1-20 alkyl esters such as undecyl (meth) acrylate and dodecyl (meth) acrylate; alicyclic carbonization such as cyclopentyl (meth) acrylate. A (meth) acrylic acid ester having a hydrogen group; a (meth) acrylic acid ester having an aromatic hydrocarbon group such as phenyl (meth) acrylate is preferably used. In addition, carboxyl group-containing monomers such as maleic acid and crotonic acid; sulfonic acid group-containing monomers such as sodium vinyl sulfonate; aromatic vinyl compounds such as styrene and vinyl toluene; olefins and dienes such as ethylene and butadiene Vinyl ethers such as vinyl alkyl ethers; amide group-containing monomers such as acrylamide; amino group-containing monomers such as (meth) acryloylmorpholine; glycidyl group-containing monomers such as methyl glycidyl (meth) acrylate; 2 -Isocyanate group-containing monomers such as methacryloyloxyethyl isocyanate. Furthermore, polyfunctional copolymerizable monomers (polyfunctional monomers) such as dipentaerythritol hexa (meth) acrylate and divinylbenzene may be used.
フッ素系界面活性剤の分子量は特に制限されないが、重量平均分子量が20000未満(例えば500以上、20000未満)であると粘弾性体組成物中のベースポリマーと中空微小球状体との間の密着性や摩擦抵抗を低減する効果が高い。さらに重量平均分子量20000以上(例えば20000〜100000、好ましくは22000〜80000、さらに好ましくは24000〜60000)のフッ素系界面活性剤を併用すると、気泡の混合性や、混合された気泡の安定性が高まる。 The molecular weight of the fluorosurfactant is not particularly limited, but when the weight average molecular weight is less than 20000 (for example, 500 or more and less than 20000), the adhesion between the base polymer and the hollow microspheres in the viscoelastic composition. Highly effective in reducing frictional resistance. Furthermore, when a fluorosurfactant having a weight average molecular weight of 20000 or more (for example, 20000 to 100000, preferably 22000 to 80000, more preferably 24000 to 60000) is used in combination, the mixing property of the bubbles and the stability of the mixed bubbles are increased. .
オキシC2-3アルキレン基及びフッ素化炭化水素基を有し、且つ重量平均分子量20000未満のフッ素系界面活性剤の具体例としては、商品名「フタージェント251」(株式会社ネオス製)、商品名「FTX−218」(株式会社ネオス製)、商品名「メガファックF−477」(大日本インキ化学工業株式会社製)、商品名「メガファックF−470」(大日本インキ化学工業株式会社製)、商品名「サーフロンS−381」(セイケミカル株式会社製)、商品名「サーフロンS−383」(セイケミカル株式会社製)、商品名「サーフロンS−393」(セイケミカル株式会社製)、商品名「サーフロンKH−20」(セイケミカル株式会社製)、商品名「サーフロンKH−40」(セイケミカル株式会社製)などが挙げられる。オキシC2-3アルキレン基及びフッ素化炭化水素基を有し、且つ重量平均分子量20000以上であるフッ素系界面活性剤の具体例としては、商品名「エフトップEF−352」(株式会社ジェムコ製)、商品名「エフトップEF−801」(株式会社ジェムコ製)、商品名「ユニダインTG−656」(ダイキン工業株式会社製)などが挙げられ、何れも本発明に好適に用いることができる。 As a specific example of a fluorosurfactant having an oxy C 2-3 alkylene group and a fluorinated hydrocarbon group and having a weight average molecular weight of less than 20000, trade name “Futgent 251” (manufactured by Neos Co., Ltd.), product Name “FTX-218” (manufactured by Neos Co., Ltd.), trade name “Megafac F-477” (manufactured by Dainippon Ink & Chemicals, Inc.) ), Trade name “Surflon S-381” (manufactured by Sey Chemical Co., Ltd.), trade name “Surflon S-383” (manufactured by Sey Chemical Co., Ltd.), trade name “Surflon S-393” (manufactured by Sey Chemical Co., Ltd.) Trade name “Surflon KH-20” (manufactured by Sey Chemical Co., Ltd.), trade name “Surflon KH-40” (manufactured by Sey Chemical Co., Ltd.), and the like. As a specific example of the fluorosurfactant having an oxy C2-3 alkylene group and a fluorinated hydrocarbon group and having a weight average molecular weight of 20000 or more, a trade name “F-top EF-352” (manufactured by Gemco Co., Ltd.) , Trade name “F-top EF-801” (manufactured by Gemco Co., Ltd.), trade name “Unidyne TG-656” (manufactured by Daikin Industries, Ltd.), and the like, all of which can be suitably used in the present invention.
フッ素系界面活性剤の使用量(固形分)としては、特に制限されないが、例えば、粘弾性体組成物のベースポリマーを形成するための全モノマー成分[特に(メタ)アクリル酸アルキルエステルを単量体主成分とするアクリル系ポリマーを形成するための全モノマー成分]100重量部に対して0.01〜5重量部(好ましくは0.02〜3重量部、さらに好ましくは0.03重量部〜1重量部)の範囲で選択することができる。0.01部未満であると微小球状体と粘弾性体層(X)中のポリマーとの間の密着性や摩擦を低減させる効果が得られず、5重量部を超えると高価となりコストが高くなる、あるいは接着強さを低下させる場合があるという不具合がある。 The amount of use (solid content) of the fluorosurfactant is not particularly limited. For example, all monomer components for forming the base polymer of the viscoelastic composition [particularly a single amount of (meth) acrylic acid alkyl ester Total monomer components for forming acrylic polymer as main body component] 0.01 to 5 parts by weight (preferably 0.02 to 3 parts by weight, more preferably 0.03 parts by weight to 100 parts by weight) 1 part by weight). If it is less than 0.01 part, the effect of reducing the adhesion and friction between the microsphere and the polymer in the viscoelastic layer (X) cannot be obtained, and if it exceeds 5 parts by weight, the cost becomes high and the cost is high. Or the adhesive strength may be reduced.
粘弾性体層(X)を構成する粘弾性体組成物には、前記成分(ベースポリマー、中空微小球状体、重合開始剤、フッ素系界面活性剤など)の他に、適宜な添加剤が含まれていてもよい。例えば、架橋剤(例えば、ポリイソシアネート系架橋剤、シリコーン系架橋剤、エポキシ系架橋剤、アルキルエーテル化メラミン系架橋剤など)、粘着付与剤(例えば、ロジン誘導体樹脂、ポリテルペン樹脂、石油樹脂、油溶性フェノール樹脂などからなる常温で固体、半固体、あるいは液状のもの)、可塑剤、充填剤、老化防止剤、着色剤(顔料や染料など)などの適宜な添加剤を含んでもよい。例えば、光重合開始剤を用いて粘弾性体層(X)を形成する場合、粘弾性体層(X)を着色するために、光重合を阻害されない程度の顔料(着色顔料)を使用することができる。粘弾性体層(X)の着色として黒色が望まれる場合は、例えば、カーボンブラックを用いることができる。着色顔料としてのカーボンブラックの使用量としては、着色度合いや、光重合反応を阻害しない観点から、例えば、粘弾性体層(X)を構成する粘弾性体組成物中のベースポリマーを形成するための全モノマー[特に(メタ)アクリル酸エステルを単量体とするアクリル系ポリマーを形成するための全モノマー成分]100重量部に対して0.15重量部以下(例えば0.001〜0.15重量部)好ましくは0.02〜0.1重量部の範囲から選択することが望ましい。 The viscoelastic composition constituting the viscoelastic layer (X) contains appropriate additives in addition to the above components (base polymer, hollow microsphere, polymerization initiator, fluorosurfactant, etc.). It may be. For example, a crosslinking agent (for example, polyisocyanate crosslinking agent, silicone crosslinking agent, epoxy crosslinking agent, alkyl etherified melamine crosslinking agent, etc.), tackifier (for example, rosin derivative resin, polyterpene resin, petroleum resin, oil) It may contain appropriate additives such as a soluble phenol resin or the like at room temperature, solid, semi-solid, or liquid), a plasticizer, a filler, an anti-aging agent, a colorant (such as a pigment or a dye). For example, when the viscoelastic layer (X) is formed using a photopolymerization initiator, a pigment (colored pigment) that does not inhibit photopolymerization is used to color the viscoelastic layer (X). Can do. When black is desired as the coloring of the viscoelastic layer (X), for example, carbon black can be used. The amount of carbon black used as the color pigment is, for example, for forming a base polymer in the viscoelastic material composition constituting the viscoelastic material layer (X) from the viewpoint of not inhibiting the degree of coloring and the photopolymerization reaction. 0.15 parts by weight or less (for example, 0.001 to 0.15) based on 100 parts by weight of all the monomers [particularly, all monomer components for forming an acrylic polymer having (meth) acrylic acid ester as a monomer] Parts by weight) It is desirable to select from the range of 0.02 to 0.1 parts by weight.
本発明では、粘弾性体層(X)に気泡を含有させる場合、粘弾性体組成物中に気泡を安定的に混合して存在させるために、気泡は粘弾性体組成物中に最後の成分として配合し混合させることが好ましく、特に、気泡を混合する前の粘弾性体組成物(「気泡含有粘弾性前駆体」と称する場合がある)の粘度を高くすることが好ましい。気泡を含有させる前の粘弾性体組成物の粘度としては、混合された気泡を安定的に保持することが可能な粘度であれば特に限定されないが、例えば、粘度計としてBH粘度計を用いて、ローター:No.5ローター、回転数:10rpm、測定温度:30℃の条件で測定された粘度としては、5〜50Pa・s(好ましくは10〜40Pa・s)であることが望ましい。粘度(BH粘度計、No.5ローター、10rpm、30℃)が、5Pa・s未満であると、粘度が低すぎて、混合した気泡がすぐに合一して系外に抜けてしまう場合があり、一方、50Pa・sを超えていると、粘弾性体層(X)を形成する際に粘度が高すぎて困難となる。 In the present invention, when bubbles are contained in the viscoelastic body layer (X), the bubbles are the last component in the viscoelastic composition so that the bubbles are stably mixed and present in the viscoelastic composition. It is preferable to mix and mix as described above, and it is particularly preferable to increase the viscosity of the viscoelastic composition before mixing the bubbles (sometimes referred to as “bubble-containing viscoelastic precursor”). The viscosity of the viscoelastic composition before the bubbles are contained is not particularly limited as long as it is a viscosity capable of stably holding the mixed bubbles. For example, a BH viscometer is used as a viscometer. , Rotor: No. The viscosity measured under the conditions of 5 rotors, rotation speed: 10 rpm, and measurement temperature: 30 ° C. is preferably 5 to 50 Pa · s (preferably 10 to 40 Pa · s). When the viscosity (BH viscometer, No. 5 rotor, 10 rpm, 30 ° C.) is less than 5 Pa · s, the viscosity is too low, and the mixed bubbles may immediately merge and escape from the system. On the other hand, if it exceeds 50 Pa · s, the viscosity becomes too high when the viscoelastic body layer (X) is formed, which makes it difficult.
なお、気泡を含有させる前の粘弾性体組成物の粘度は、例えば、アクリルゴム、増粘性添加剤などの各種ポリマー成分を配合する方法、ベースポリマーを形成するためのモノマー成分[例えば、アクリル系ポリマーを形成させるためのアルキル(メタ)アクリレートなどのモノマー成分など]を一部重合させる方法などにより、調整することができる。具体的には、例えば、ベースポリマーを形成するためのモノマー成分[例えば、アクリル系ポリマーを形成させるためのアルキル(メタ)アクリレートなどのモノマー成分など]と、重合開始剤(例えば、光重合開始剤など)とを混合してモノマー混合物を調整し、該モノマー混合物に対して重合開始剤の種類に応じた重合反応を行って、一部のモノマー成分のみが重合した組成物(シロップ)を調製した後、該シロップに中空微小球状体と、必要に応じてフッ素系界面活性剤や各種添加剤とを配合して、気泡を安定的に含有することが可能な適度な粘度を有することができる。そして、この気泡含有粘弾性前駆体に、気泡を導入して混合させることにより、気泡を安定的に含有している粘弾性体組成物を得ることができる。なお、前記シロップの調製に際しては、モノマー混合中に、予め、フッ素系界面活性剤や、中空微小球状体が適宜配合されてもよい。 In addition, the viscosity of the viscoelastic body composition before containing bubbles is determined by, for example, a method of blending various polymer components such as acrylic rubber and a thickening additive, a monomer component for forming a base polymer [for example, an acrylic type It can be adjusted by a method of partially polymerizing a monomer component such as an alkyl (meth) acrylate for forming a polymer]. Specifically, for example, a monomer component for forming a base polymer [for example, a monomer component such as alkyl (meth) acrylate for forming an acrylic polymer, etc.] and a polymerization initiator (for example, a photopolymerization initiator) To prepare a composition (syrup) in which only a part of the monomer components are polymerized by performing a polymerization reaction according to the type of the polymerization initiator on the monomer mixture. Thereafter, hollow microspheres and, if necessary, a fluorosurfactant and various additives can be blended into the syrup to have an appropriate viscosity capable of stably containing bubbles. And the viscoelastic body composition which contains the bubble stably can be obtained by introduce | transducing and mixing a bubble to this bubble containing viscoelastic precursor. In preparing the syrup, a fluorosurfactant and hollow microspheres may be appropriately blended in advance during monomer mixing.
気泡を混合する方法としては特に限定されず、公知の気泡混合方法を利用することができる。例えば、装置の例としては、中央部に貫通孔を持った円盤上に、細かい歯が多数ついたステータと、歯のついているステータとを対向しており、円盤上にステータと同様の細かい歯がついているロータとを備えた装置などが挙げられる。この装置におけるステータ上の歯とロータ上の歯との間に粘弾性体組成物を導入し、ロータを高速回転させながら、貫通孔を通して気泡を形成させるためのガス成分(気泡形成ガス)を気泡含有粘弾性前駆体中に導入させることにより、気泡形成ガスが気泡含有粘弾性前駆体中に細かく分散され混合された気泡含有粘弾性体組成物を得ることができる。 The method for mixing bubbles is not particularly limited, and a known bubble mixing method can be used. For example, as an example of the device, a stator having a large number of fine teeth on a disk having a through hole in the center and a stator having teeth are opposed to each other, and the same fine teeth as the stator are on the disk. And a device having a rotor with a mark. In this device, a viscoelastic composition is introduced between the teeth on the stator and the teeth on the rotor, and the gas component (bubble forming gas) for forming bubbles through the through-holes while rotating the rotor at high speed By introducing it into the viscoelastic precursor, it is possible to obtain a bubble-containing viscoelastic composition in which the bubble-forming gas is finely dispersed and mixed in the bubble-containing viscoelastic precursor.
なお、気泡の合一を抑制又は防止するためには、気泡の混合から、粘弾性体層(X)の形成までの行程を一連の工程として連続的に行うことが好ましい。すなわち、前述のようにして気泡を混合させて気泡を含有した粘弾性体組成物を調製した後、続いて、公知の粘弾性体層の形成方法を利用して気泡を含有した粘弾性体層を形成することが好ましい。 In order to suppress or prevent the coalescence of bubbles, it is preferable to continuously perform the steps from the mixing of bubbles to the formation of the viscoelastic layer (X) as a series of steps. That is, after preparing a viscoelastic body composition containing bubbles by mixing bubbles as described above, a viscoelastic body layer containing bubbles using a known viscoelastic body layer formation method. Is preferably formed.
本発明の粘弾性体層(X)は、前記粘弾性体組成物を、所定の面上に塗布し、必要に応じて乾燥や硬化等を行うことにより、微小球状体を含む粘弾性体層(X)として形成することができる。なお、粘弾性体層(X)の形成に際しては、前述のように、活性エネルギー光線の照射により、硬化させることが好ましい。すなわち、光重合開始剤を含有する粘弾性体組成物を用い、該粘弾性体組成物を、所定の面上に塗布した後、活性エネルギー光線の照射を行って、粘弾性体層(X)を形成することができる。 The viscoelastic body layer (X) of the present invention is a viscoelastic body layer containing microspheres by applying the viscoelastic body composition on a predetermined surface and performing drying or curing as necessary. (X) can be formed. In addition, when forming viscoelastic body layer (X), as mentioned above, it is preferable to make it harden | cure by irradiation of an active energy ray. That is, using a viscoelastic composition containing a photopolymerization initiator, applying the viscoelastic composition on a predetermined surface, and then irradiating with an active energy ray, the viscoelastic layer (X) Can be formed.
粘弾性体層(X)の厚みとしては、特に制限されず、例えば、200〜5000μm(好ましくは300〜4000μm、さらに好ましくは400〜3000μm)の範囲から選択することができる。粘弾性体層(X)の厚みが200μmよりも小さいと、クッション性が低下して、曲面や凹凸面に対する接着性が低下し、5000μmよりも大きいと、均一な厚みの層又はシートが得られにくくなる。 The thickness of the viscoelastic layer (X) is not particularly limited, and can be selected from the range of 200 to 5000 μm (preferably 300 to 4000 μm, more preferably 400 to 3000 μm), for example. When the thickness of the viscoelastic layer (X) is smaller than 200 μm, the cushioning property is lowered, and the adhesion to a curved surface or an uneven surface is lowered. When the thickness is larger than 5000 μm, a layer or sheet having a uniform thickness is obtained. It becomes difficult.
なお、粘弾性体層(X)は、単層、複層のいずれの形態を有していてもよい。 The viscoelastic layer (X) may have either a single layer or a multilayer.
このようにして得られる粘弾性体層(X)は、粘弾性体層(X)を構成する粘弾性体層組成物中に含まれるベースポリマーの種類やその他添加剤の種類により、それ自身が粘着シートとして必要な接着力を有する粘着シートとすることができる。また配合を選ぶことにより、接着力を有さない支持体としてのシートとすることもできる。 The viscoelastic body layer (X) obtained in this manner is itself dependent on the type of base polymer and other additives contained in the viscoelastic body layer composition constituting the viscoelastic body layer (X). It can be set as the adhesive sheet which has adhesive force required as an adhesive sheet. Moreover, it can also be set as the sheet | seat as a support body which does not have adhesive force by selecting a mixing | blending.
本発明のアクリル系粘着シートは、微小球状体を含む粘弾性体層(X)の少なくとも片面に粘着剤層(Y)を設ける構成であり、例えば図1に示されるように粘弾性体層(X)(11)の片面に粘着剤層(Y)(12)を設けた形態のアクリル系粘着シート(1)であってもよい。この場合、粘弾性体層(X)(11)が粘着シートとしての接着力を有する場合は、両面が接着面(粘着面)となっている両面粘着シートとしての形態を有する。また粘弾性体層(X)(11)が粘着シートとしての接着力を有さない場合は、粘着剤層(Y)(12)側が接着面(粘着面)となっている片面接着性の粘着シートとしての形態を有する。 The acrylic pressure-sensitive adhesive sheet of the present invention has a structure in which a pressure-sensitive adhesive layer (Y) is provided on at least one surface of a viscoelastic layer (X) containing microspheres. For example, as shown in FIG. X) It may be an acrylic pressure-sensitive adhesive sheet (1) in which a pressure-sensitive adhesive layer (Y) (12) is provided on one side of (11). In this case, when viscoelastic body layer (X) (11) has the adhesive force as an adhesive sheet, it has a form as a double-sided adhesive sheet in which both surfaces become an adhesive surface (adhesive surface). When the viscoelastic body layer (X) (11) does not have an adhesive force as a pressure-sensitive adhesive sheet, the single-sided adhesive pressure-sensitive adhesive layer (Y) (12) side is an adhesive surface (adhesive surface). It has a form as a sheet.
また本発明のアクリル系粘着シートは、図2に示されるように粘弾性体層(X)(21)の両面に粘着剤層(Y)(22)を設けた形態のアクリル系粘着シート(2)であってもよい。この場合、アクリル系粘着シートは両面とも粘着剤層(Y)(22)を有する構成であるので、両面とも接着面(粘着面)となっている両面粘着シートとしての形態を有する。なおこの場合、粘弾性体層(X)(21)の両面に設けられる粘着剤層(Y)は、同じ粘着剤層(22)であってもよいし、その目的により異なる粘着剤層(22)(23)を設けてもよい。 The acrylic pressure-sensitive adhesive sheet of the present invention has an acrylic pressure-sensitive adhesive sheet (2) in which a pressure-sensitive adhesive layer (Y) (22) is provided on both sides of the viscoelastic layer (X) (21) as shown in FIG. ). In this case, since the acrylic pressure-sensitive adhesive sheet is configured to have the pressure-sensitive adhesive layer (Y) (22) on both surfaces, the acrylic pressure-sensitive adhesive sheet has a form as a double-sided pressure-sensitive adhesive sheet in which both surfaces are adhesive surfaces (adhesive surfaces). In this case, the pressure-sensitive adhesive layers (Y) provided on both surfaces of the viscoelastic layer (X) (21) may be the same pressure-sensitive adhesive layer (22), or different pressure-sensitive adhesive layers (22) depending on the purpose. ) (23) may be provided.
本発明のアクリル系粘着シートは、前記アクリル系粘着剤組成物から得られた着剤層(Y)を、微小球体を含む粘弾性体層(X)の少なくとも片面に設けるものであって、当該アクリル系粘着シートは、粘弾性体層(X)および粘着剤層(Y)を別々に製造し、それらを貼りあわせることで製造することができる。またあらかじめ粘弾性体層(X)を製造しておき、この粘弾性体層(X)の片面または両面に前記アクリル系粘着剤組成物を塗工し、光重合等させることにより作製することができる。 The acrylic pressure-sensitive adhesive sheet of the present invention is provided with the adhesive layer (Y) obtained from the acrylic pressure-sensitive adhesive composition on at least one surface of the viscoelastic layer (X) containing microspheres, The acrylic pressure-sensitive adhesive sheet can be produced by separately producing the viscoelastic body layer (X) and the pressure-sensitive adhesive layer (Y) and bonding them together. Alternatively, the viscoelastic body layer (X) may be produced in advance, and the acrylic pressure-sensitive adhesive composition may be applied to one or both sides of the viscoelastic body layer (X) and photopolymerized. it can.
特に本発明においては、粘弾性体層(X)を構成する粘弾性体組成物および粘着剤層を構成する粘着剤組成物のいずれにもアクリル系モノマーおよび光重合開始剤を含有させておき、微小球体を含む粘弾性体組成物の層を形成し、その片面または両面に前記アクリル系粘着剤組成物による層を積層した状態で紫外線照射し、粘弾性体層(X)および粘着剤層(Y)を同時に光重合させることによりアクリル系粘着シートを得ることが好ましい。このような方法を用いることで、生産性に優れ、さらに粘弾性体層(X)と粘着剤層(Y)とが一体化することで接着強さを向上させるような利点がある。 In particular, in the present invention, an acrylic monomer and a photopolymerization initiator are contained in any of the viscoelastic body composition constituting the viscoelastic body layer (X) and the adhesive composition constituting the adhesive layer, A layer of a viscoelastic composition containing microspheres is formed, and UV irradiation is performed in a state where a layer made of the acrylic pressure-sensitive adhesive composition is laminated on one or both sides thereof, and the viscoelastic layer (X) and the pressure-sensitive adhesive layer ( It is preferable to obtain an acrylic pressure-sensitive adhesive sheet by simultaneously photopolymerizing Y). By using such a method, there is an advantage that the productivity is excellent and the adhesive strength is improved by integrating the viscoelastic body layer (X) and the pressure-sensitive adhesive layer (Y).
以下に実施例に基づいて本発明をより詳細に説明するが、本発明はこれらの実施例により何ら限定されるものではない。なお、以下で部、%とあるのはいずれも重量基準である。 Hereinafter, the present invention will be described in more detail based on examples, but the present invention is not limited to these examples. In the following, parts and% are based on weight.
実施例1
((メタ)アクリル酸エステルオリゴマーの調整)
トルエン100部、シクロヘキシルメタクリレート100部、アゾビスイソブチロニトリル0.3部および2−メルカプトエタノール3部を4つ口フラスコに投入し、窒素雰囲気下に70℃で6時間、80℃で1時間反応させた。その後該反応液をメタノール中へ添加し、オリゴマーを沈殿させ取り出し、更に減圧乾燥機により乾燥処理した。得られたシクロヘキシルメタクリレートオリゴマーの重量平均分子量は3800、軟化点Tsは97℃であった。
Example 1
(Preparation of (meth) acrylic acid ester oligomer)
100 parts of toluene, 100 parts of cyclohexyl methacrylate, 0.3 part of azobisisobutyronitrile and 3 parts of 2-mercaptoethanol are put into a four-necked flask, and are placed at 70 ° C. for 6 hours and at 80 ° C. for 1 hour in a nitrogen atmosphere. Reacted. Thereafter, the reaction solution was added to methanol to precipitate the oligomer, which was further dried by a vacuum dryer. The resulting cyclohexyl methacrylate oligomer had a weight average molecular weight of 3800 and a softening point Ts of 97 ° C.
(アクリル系粘着剤組成物の調整)
ブチルアクリレート95部、アクリル酸5部、光開始剤(「イルガキュア184」チバ・スペシャリティ・ケミカル社製)0.35部、光開始剤(「イルガキュア651」チバ・スペシャリティ・ケミカル社製)0.35部を4つ口フラスコに投入し,窒素雰囲気下で紫外線に曝露して光重合させることによって,重合率7%の部分重合物(モノマーシロップ)を得た。
(Adjustment of acrylic adhesive composition)
95 parts of butyl acrylate, 5 parts of acrylic acid, 0.35 parts of photoinitiator ("Irgacure 184" manufactured by Ciba Specialty Chemicals), 0.35 of photoinitiator ("Irgacure 651" manufactured by Ciba Specialty Chemicals) Part was put into a four-necked flask and exposed to ultraviolet light in a nitrogen atmosphere for photopolymerization to obtain a partial polymer (monomer syrup) having a polymerization rate of 7%.
この部分重合物100部に、上記で得られたシクロヘキシルメタクリレートオリゴマー20部、トリメチロールプロパントリアクリレート0.15部を添加した後、これらを均一に混合してアクリル系粘着剤組成物(1)を得た。 To 100 parts of this partially polymerized product, 20 parts of the cyclohexyl methacrylate oligomer obtained above and 0.15 part of trimethylolpropane triacrylate were added, and these were uniformly mixed to obtain an acrylic pressure-sensitive adhesive composition (1). Obtained.
(粘弾性体組成物の調整)
2−エチルヘキシルアクリレート90部、アクリル酸10部、光開始剤(「イルガキュア184」チバ・スペシャリティ・ケミカル社製)0.05部、光開始剤(「イルガキュア651」チバ・スペシャリティ・ケミカル社製)0.05部を4つ口フラスコに投入し,窒素雰囲気下で紫外線に曝露して光重合させることによって,重合率7%の部分重合物(モノマーシロップ)を得た。
(Adjustment of viscoelastic composition)
2-ethylhexyl acrylate 90 parts, acrylic acid 10 parts, photoinitiator ("Irgacure 184" manufactured by Ciba Specialty Chemicals) 0.05 part, photoinitiator ("Irgacure 651" manufactured by Ciba Specialty Chemicals) 0 .05 parts were placed in a four-necked flask and exposed to ultraviolet light in a nitrogen atmosphere to cause photopolymerization, thereby obtaining a partial polymer (monomer syrup) having a polymerization rate of 7%.
この部分重合物100部に、1,6−ヘキサンジオールジアクリレート0.1部、平均粒径60μm、かさ比重0.17g/cm3の中空ガラスビーズ(「セルスターZ−27」東海工業社製)を9.5部添加し、これらをプロペラミキサーを用いて均一に混合し、次いでデシケーターの中で真空ポンプを用いて脱泡させ、粘弾性体組成物を得た。 To 100 parts of this partially polymerized product, 0.16 parts of 1,6-hexanediol diacrylate, an average particle diameter of 60 μm, and a hollow glass bead having a bulk specific gravity of 0.17 g / cm 3 (“Cell Star Z-27” manufactured by Tokai Kogyo Co., Ltd.) 9.5 parts was added, and these were uniformly mixed using a propeller mixer, and then defoamed using a vacuum pump in a desiccator to obtain a viscoelastic composition.
(アクリル系粘着シートの作製)
前記アクリル系粘着剤組成物(1)を、塗布面がシリコーンで離型処理された厚み38μmポリエステルフィルムに、最終的な厚みが60μmになるように塗布し塗布層(Y1)を形成した。これとは別に前記粘弾性体組成物を、塗布面がシリコーンで離型処理された厚み38μmポリエステルフィルムに、最終的な厚みが800μmになるように塗布し塗布層(X1)を形成した。アクリル系粘着剤組成物からなる塗布層(Y1)と、粘弾性体組成物からなる塗布層(X1)とを貼り合わせ、塗布層(Y1)と(X1)の両側からブラックライトランプ(東芝社製)にて照度4mW/cm2(約350nmに最大感度をもつ「トプコンUVR−T1」で測定)の紫外線を240秒間照射してアクリル系粘着シートを得た
(Production of acrylic adhesive sheet)
The acrylic pressure-sensitive adhesive composition (1) was applied to a 38 μm-thick polyester film whose surface was release-treated with silicone so that the final thickness was 60 μm to form a coating layer (Y1). Separately from this, the viscoelastic composition was applied to a 38 μm thick polyester film having a coated surface released from silicone so that the final thickness would be 800 μm to form a coated layer (X1). A coating layer (Y1) made of an acrylic pressure-sensitive adhesive composition and a coating layer (X1) made of a viscoelastic composition were bonded together, and a black light lamp (Toshiba Corp.) was applied from both sides of the coating layers (Y1) and (X1). Made by irradiation with ultraviolet rays having an illuminance of 4 mW / cm 2 (measured with “Topcon UVR-T1” having a maximum sensitivity of about 350 nm) for 240 seconds to obtain an acrylic pressure-sensitive adhesive sheet.
実施例2
(アクリル系粘着剤組成物の調整)
2−エチルヘキシルアクリレート90部、アクリル酸10部、光開始剤(「イルガキュア184」チバ・スペシャリティ・ケミカル社製)0.05部、光開始剤(「イルガキュア651」チバ・スペシャリティ・ケミカル社製)0.05部を4つ口フラスコに投入し,窒素雰囲気下で紫外線に曝露して光重合させることによって,重合率7%の部分重合物(モノマーシロップ)を得た。
Example 2
(Adjustment of acrylic adhesive composition)
2-ethylhexyl acrylate 90 parts, acrylic acid 10 parts, photoinitiator ("Irgacure 184" manufactured by Ciba Specialty Chemicals) 0.05 part, photoinitiator ("Irgacure 651" manufactured by Ciba Specialty Chemicals) 0 .05 parts were placed in a four-necked flask and exposed to ultraviolet light in a nitrogen atmosphere to cause photopolymerization, thereby obtaining a partial polymer (monomer syrup) having a polymerization rate of 7%.
この部分重合物100部に、上記で得られたシクロヘキシルメタクリレートオリゴマー10部、1,6−ヘキサンジオールジアクリレート0.1部を添加した後、これらを均一に混合してアクリル系粘着剤組成物(2)を得た。 To 100 parts of this partially polymerized product, 10 parts of the cyclohexyl methacrylate oligomer obtained above and 0.1 part of 1,6-hexanediol diacrylate were added, and then mixed uniformly to prepare an acrylic pressure-sensitive adhesive composition ( 2) was obtained.
(アクリル系粘着シートの作製)
前記アクリル系粘着剤組成物(2)を、塗布面がシリコーンで離型処理された厚み38μmポリエステルフィルムに、最終的な厚みが50μmになるように塗布し塗布層(Y2)を形成した。これ以外は実施例1と同様にして、アクリル系粘着シートを得た。
(Production of acrylic adhesive sheet)
The acrylic pressure-sensitive adhesive composition (2) was applied to a 38 μm-thick polyester film whose surface was release-treated with silicone so that the final thickness was 50 μm to form a coating layer (Y2). Except this, it carried out similarly to Example 1, and obtained the acrylic adhesive sheet.
比較例1
実施例1において、粘弾性体組成物を塗布面がシリコーンで離型処理された厚み38μmポリエステルフィルムに、最終的な厚みが800μmになるように塗布し塗布層(X1)を形成した。ブラックライトランプ(東芝社製)にて照度4mW/cm2(約350nmに最大感度をもつ「トプコンUVR−T1」で測定)の紫外線を240秒間照射した。その後、130℃の乾燥機で3分間熱処理して、微量に残ったモノマーを揮発させて、粘着剤層を有さない粘弾性体層のみからなるアクリル系粘着シートを得た。
Comparative Example 1
In Example 1, the viscoelastic composition was applied to a 38 μm thick polyester film whose surface was release-treated with silicone so that the final thickness was 800 μm, thereby forming a coating layer (X1). An ultraviolet ray with an illuminance of 4 mW / cm 2 (measured with “Topcon UVR-T1” having a maximum sensitivity of about 350 nm) was irradiated for 240 seconds with a black light lamp (manufactured by Toshiba). Then, it heat-processed for 3 minutes with a 130 degreeC dryer, the monomer which remained in trace amount was volatilized, and the acrylic adhesive sheet which consists only of a viscoelastic body layer which does not have an adhesive layer was obtained.
比較例2
実施例2のアクリル系粘着剤組成物において、シクロヘキシルメタクリレートオリゴマーを添加しなかった以外は、実施例2と同様にして、アクリル系粘着シートを得た。
Comparative Example 2
In the acrylic pressure-sensitive adhesive composition of Example 2, an acrylic pressure-sensitive adhesive sheet was obtained in the same manner as in Example 2 except that the cyclohexyl methacrylate oligomer was not added.
以上の実施例および比較例で得られたアクリル系粘着シートについて下記評価を行った。結果を表1に示す。 The following evaluation was performed about the acrylic adhesive sheet obtained by the above Example and comparative example. The results are shown in Table 1.
<接着力>
作製したアクリル系粘着シートの粘弾性体層面に、厚さ50μmのポリエステルフィルムを貼り合わせ、幅が25mmとなるようにカットした。23℃中で、清浄なポリエステル/メラミン(白)塗料を塗布した塗装鋼板およびポリプロピレン(PP)板に5kgローラー片道で圧着させ、20分間以上エージングした後、180度剥離方向に引っ張り速度50mm/分にてテープを剥離して接着強さを測定した。
<Adhesive strength>
A polyester film having a thickness of 50 μm was bonded to the viscoelastic body layer surface of the prepared acrylic pressure-sensitive adhesive sheet and cut so as to have a width of 25 mm. At 23 ° C, a 5kg roller is applied to a coated steel plate and polypropylene (PP) plate coated with a clean polyester / melamine (white) paint, aging for 20 minutes or more, and then a pulling speed of 50mm / min in the 180 degree peeling direction. The tape was peeled to measure the adhesive strength.
<保持力>
作製したアクリル系粘着シートの粘弾性体層面に、厚さ50μmのポリエステルフィルムを貼り合わせ、幅が10mmとなるようにカットした。清浄なベークライト板にテープ幅10mm、長さ20mmの接着面積となるように貼りあわせた。80℃で20分間以上エージングした後、80℃で500gfの荷重を掛けて2時間保持しズレ距離あるいは落下時間を測定した。
<Retention force>
A polyester film having a thickness of 50 μm was bonded to the viscoelastic body layer surface of the prepared acrylic pressure-sensitive adhesive sheet and cut so as to have a width of 10 mm. It bonded together on the clean bakelite board so that it might become the adhesion area of tape width 10mm and length 20mm. After aging at 80 ° C. for 20 minutes or more, a load of 500 gf was applied at 80 ° C. and held for 2 hours, and the shift distance or drop time was measured.
実施例および比較例の結果から明らかなように、本発明のアクリル系粘着剤は、高いせん断強度を有し、塗装板のような極性の高い被着体だけでなく、ポリプロピレンのような低極性の難接着性の被着体に対しても十分な接着強度を有することが分かる。
As is apparent from the results of Examples and Comparative Examples, the acrylic pressure-sensitive adhesive of the present invention has high shear strength, and has a low polarity such as polypropylene as well as a highly polar adherend such as a coated plate. It can be seen that it has a sufficient adhesive strength even with respect to the hardly adherent adherend.
1, 2 アクリル系粘着シート
11,21 粘弾性体層
12,22 粘着剤層
1, 2 Acrylic
Claims (8)
少なくとも、炭素数2〜14個のアルキル基を有するアルキル(メタ)アクリレート(a1)を主成分とするビニル系モノマーまたはその部分重合物(a)、該ビニル系モノマーまたはその部分重合物(a)100重量部に対し0.001〜5重量部の光重合開始剤(b)、該ビニル系モノマーまたはその部分重合物(a)100重量部に対し5〜40重量部の、軟化温度Tsが40℃以上であり、かつ重量平均分子量が1000〜30000である(メタ)アクリル酸エステルオリゴマー(c)を含有してなるアクリル系粘着剤組成物に紫外線照射して得られる粘着剤層(Y)が設けられていることを特徴とするアクリル系粘着シート。 Viscoelastic body containing 5-50% by volume of hollow microspheres with respect to the total volume of the viscoelastic body layer, and containing an acrylic polymer having (meth) acrylic acid ester as the main monomer component as a base polymer On at least one side of the viscoelastic layer (X) composed of
A vinyl monomer or a partially polymerized product (a) thereof mainly comprising an alkyl (meth) acrylate (a1) having an alkyl group having 2 to 14 carbon atoms, or the vinyl monomer or a partially polymerized product (a). 0.001 to 5 parts by weight of the photopolymerization initiator (b) with respect to 100 parts by weight, 5 to 40 parts by weight of the softening temperature Ts with respect to 100 parts by weight of the vinyl monomer or its partial polymer (a) is 40. A pressure-sensitive adhesive layer (Y) obtained by irradiating an acrylic pressure-sensitive adhesive composition containing a (meth) acrylic acid ester oligomer (c) having a weight average molecular weight of 1000 to 30000 with an ultraviolet ray at or above An acrylic pressure-sensitive adhesive sheet characterized by being provided.
炭素数2〜14個のアルキル基を有するアルキル(メタ)アクリレート(a1)を主成分とするビニル系モノマーまたはその部分重合物(a)、該ビニル系モノマーまたはその部分重合物(a)100重量部に対し0.001〜5重量部の光重合開始剤(b)、該ビニル系モノマーまたはその部分重合物(a)100重量部に対し5〜40重量部の、軟化温度Tsが40℃以上であり、かつ重量平均分子量が1000〜30000である(メタ)アクリル酸エステルオリゴマー(c)を含有してなるアクリル系粘着剤組成物層を設け、
これら積層体に紫外線照射することで粘弾性体層(X)および粘着剤層(Y)を形成することを特徴とするアクリル系粘着シートの製造方法。 A method for producing the acrylic pressure-sensitive adhesive sheet according to any one of claims 1 to 7, wherein the layer comprises a viscoelastic composition comprising hollow microspheres and alkyl (meth) acrylate as main monomers. At least on one side,
100 weight of vinyl monomer or partial polymer (a) thereof mainly composed of alkyl (meth) acrylate (a1) having an alkyl group having 2 to 14 carbon atoms, the vinyl monomer or partial polymer (a) thereof 0.001 to 5 parts by weight of the photopolymerization initiator (b), 5 to 40 parts by weight of the softening temperature Ts of 40 ° C. or more with respect to 100 parts by weight of the vinyl monomer or its partial polymer (a) And an acrylic pressure-sensitive adhesive composition layer containing a (meth) acrylic acid ester oligomer (c) having a weight average molecular weight of 1000 to 30000,
A method for producing an acrylic pressure-sensitive adhesive sheet, comprising forming the viscoelastic material layer (X) and the pressure-sensitive adhesive layer (Y) by irradiating these laminates with ultraviolet rays.
Priority Applications (1)
| Application Number | Priority Date | Filing Date | Title |
|---|---|---|---|
| JP2005085204A JP4744172B2 (en) | 2005-03-24 | 2005-03-24 | Acrylic adhesive sheet and method for producing the same |
Applications Claiming Priority (1)
| Application Number | Priority Date | Filing Date | Title |
|---|---|---|---|
| JP2005085204A JP4744172B2 (en) | 2005-03-24 | 2005-03-24 | Acrylic adhesive sheet and method for producing the same |
Publications (2)
| Publication Number | Publication Date |
|---|---|
| JP2006265368A JP2006265368A (en) | 2006-10-05 |
| JP4744172B2 true JP4744172B2 (en) | 2011-08-10 |
Family
ID=37201665
Family Applications (1)
| Application Number | Title | Priority Date | Filing Date |
|---|---|---|---|
| JP2005085204A Expired - Fee Related JP4744172B2 (en) | 2005-03-24 | 2005-03-24 | Acrylic adhesive sheet and method for producing the same |
Country Status (1)
| Country | Link |
|---|---|
| JP (1) | JP4744172B2 (en) |
Families Citing this family (30)
| Publication number | Priority date | Publication date | Assignee | Title |
|---|---|---|---|---|
| JP2008115374A (en) * | 2006-10-12 | 2008-05-22 | Nitto Denko Corp | Acrylic adhesive tape or sheet and method for producing the same |
| WO2008047636A1 (en) * | 2006-10-12 | 2008-04-24 | Nitto Denko Corporation | Acrylic adhesive tape or sheet, and method for producing the same |
| JP5235294B2 (en) * | 2006-11-10 | 2013-07-10 | 日東電工株式会社 | Heat-foaming type removable acrylic adhesive tape or sheet |
| JP5089201B2 (en) * | 2007-03-12 | 2012-12-05 | 日東電工株式会社 | Acrylic adhesive tape or sheet and method for producing the same |
| JP5419376B2 (en) * | 2007-04-20 | 2014-02-19 | 日東電工株式会社 | Adhesive sheet adhesion to automobile coating surface |
| JP5038770B2 (en) * | 2007-05-01 | 2012-10-03 | 日東電工株式会社 | Adhesive sheet adhesion method for vehicle paint film surface |
| JP5095279B2 (en) * | 2007-07-06 | 2012-12-12 | 日東電工株式会社 | Adhesive sheet for vehicle surface adhesion |
| JP5260136B2 (en) * | 2007-09-06 | 2013-08-14 | 日東電工株式会社 | Method for producing acrylic viscoelastic material layer using both photopolymerization reaction and redox polymerization reaction, and adhesive tape or sheet |
| JP2009067916A (en) * | 2007-09-14 | 2009-04-02 | Sunrise Msi Corp | Automotive body sealer |
| JP5289747B2 (en) * | 2007-10-10 | 2013-09-11 | 日東電工株式会社 | Double-sided adhesive tape or sheet for printed circuit board and printed circuit board |
| JP5280034B2 (en) * | 2007-10-10 | 2013-09-04 | 日東電工株式会社 | Double-sided adhesive tape or sheet for printed circuit board and printed circuit board |
| JP5097567B2 (en) * | 2008-02-08 | 2012-12-12 | 日東電工株式会社 | Acrylic adhesive sheet |
| CN102333818A (en) * | 2009-03-17 | 2012-01-25 | 积水化学工业株式会社 | Inorganic microparticle-dispersed paste composition |
| JP5634803B2 (en) * | 2009-09-16 | 2014-12-03 | 日東電工株式会社 | Acrylic adhesive tape |
| WO2011118181A1 (en) * | 2010-03-25 | 2011-09-29 | 日東電工株式会社 | Acrylic adhesive composition and acrylic adhesive tape |
| JP5781063B2 (en) | 2010-03-25 | 2015-09-16 | 日東電工株式会社 | Optical acrylic pressure-sensitive adhesive composition and optical acrylic pressure-sensitive adhesive tape |
| CN102858897A (en) * | 2010-03-25 | 2013-01-02 | 日东电工株式会社 | Acrylic Adhesive Tape |
| JP2011236413A (en) * | 2010-04-13 | 2011-11-24 | Nitto Denko Corp | Acrylic pressure-sensitive adhesive composition and acrylic pressure-sensitive adhesive tape |
| JP2012117040A (en) * | 2010-11-12 | 2012-06-21 | Nitto Denko Corp | Pressure-sensitive adhesive tape or sheet |
| TWI447192B (en) | 2010-11-24 | 2014-08-01 | Lg Hausys Ltd | Pressure-sensitive adhesive composition for touch panel, pressure-sensitive adhesive film and touch panel |
| CN103562333A (en) * | 2011-03-24 | 2014-02-05 | 琳得科株式会社 | Pressure sensitive adhesive and pressure sensitive adhesive sheet |
| US20130078463A1 (en) * | 2011-09-22 | 2013-03-28 | Nitto Denko Corporation | Acrylic pressure-sensitive adhesive composition, acrylic pressure-sensitive adhesive layer, and acrylic pressure-sensitive adhesive tape |
| JP2012251159A (en) * | 2012-08-23 | 2012-12-20 | Nitto Denko Corp | Acrylic adhesive tape or sheet, and method for producing the same |
| JP2013216899A (en) * | 2013-06-04 | 2013-10-24 | Nitto Denko Corp | Double-sided pressure-sensitive adhesive tape or sheet for wiring circuit board and wiring circuit board |
| JP5676798B1 (en) * | 2013-08-26 | 2015-02-25 | 日東電工株式会社 | Foam sheet |
| KR101471361B1 (en) * | 2014-03-18 | 2014-12-11 | (주)앤디포스 | Double-sided tape for touch screen panel and manufacturing method thereof |
| JP6470523B2 (en) | 2014-08-08 | 2019-02-13 | 日東電工株式会社 | Adhesive sheet |
| CN104342058B (en) * | 2014-10-25 | 2016-08-24 | 深圳飞世尔新材料股份有限公司 | A kind of preparation method of photocuring anisotropic conductive film |
| JP2017537180A (en) * | 2014-11-11 | 2017-12-14 | ダウ グローバル テクノロジーズ エルエルシー | Adhesive composition having glass spheres |
| JP6670958B2 (en) * | 2019-01-18 | 2020-03-25 | 日東電工株式会社 | Adhesive sheet |
Family Cites Families (6)
| Publication number | Priority date | Publication date | Assignee | Title |
|---|---|---|---|---|
| EP0312228B2 (en) * | 1987-10-14 | 1997-09-17 | Rohm And Haas Company | Polymeric additives for use in adhesive compositions |
| JP3384979B2 (en) * | 1999-03-02 | 2003-03-10 | 株式会社スリオンテック | Pressure-sensitive double-sided adhesive tape and method for producing the same |
| JP4825992B2 (en) * | 1999-08-11 | 2011-11-30 | 綜研化学株式会社 | Acrylic pressure-sensitive adhesive composition, method for producing pressure-sensitive adhesive tape using the composition, and pressure-sensitive adhesive tape |
| JP5135494B2 (en) * | 1999-12-22 | 2013-02-06 | 綜研化学株式会社 | Acrylic adhesive tape and method for producing the same |
| JP4878423B2 (en) * | 2001-08-03 | 2012-02-15 | 綜研化学株式会社 | Acrylic adhesive tape manufacturing method and acrylic adhesive tape |
| JP4656626B2 (en) * | 2003-02-17 | 2011-03-23 | 日東電工株式会社 | Acrylic adhesive layer and acrylic adhesive sheet |
-
2005
- 2005-03-24 JP JP2005085204A patent/JP4744172B2/en not_active Expired - Fee Related
Also Published As
| Publication number | Publication date |
|---|---|
| JP2006265368A (en) | 2006-10-05 |
Similar Documents
| Publication | Publication Date | Title |
|---|---|---|
| JP4744172B2 (en) | Acrylic adhesive sheet and method for producing the same | |
| JP5038770B2 (en) | Adhesive sheet adhesion method for vehicle paint film surface | |
| CN101688089B (en) | Pressure-sensitive adhesive sheet for application to vehicle coating film | |
| JP4756834B2 (en) | Bubble-containing viscoelastic composition and pressure-sensitive adhesive tape or sheet | |
| CN101636461B (en) | Acrylic adhesive tape or sheet and method for producing the same | |
| JP5294931B2 (en) | Acrylic adhesive sheet | |
| CN101652447B (en) | Acrylic adhesive composition, acrylic adhesive sheet, and method for bonding the adhesive sheet to coated surface of automobile | |
| CN101522845A (en) | Acrylic pressure-sensitive adhesive tape or sheet and method for producing same | |
| JP4145783B2 (en) | Bubble-containing viscoelastic composition and pressure-sensitive adhesive tape or sheet | |
| CN109196067B (en) | Acrylic rubber foam and double-sided adhesive tape comprising same | |
| JPWO2010122942A1 (en) | Heat-expandable removable acrylic adhesive tape or sheet | |
| JP2010209261A (en) | Acrylic self-adhesive sheet | |
| EP2653516B1 (en) | Pressure-sensitive adhesive sheet and pressure-sensitive adhesive composition | |
| KR20120073231A (en) | Acrylic adhesive tape | |
| CN102190969A (en) | Adhesive tape | |
| JP5097567B2 (en) | Acrylic adhesive sheet | |
| CN103865406A (en) | Adhesive composition and adhesive sheet | |
| JP4757344B2 (en) | Bubble-containing viscoelastic composition and pressure-sensitive adhesive tape or sheet | |
| JP6317938B2 (en) | Adhesive sheet | |
| JP2012251159A (en) | Acrylic adhesive tape or sheet, and method for producing the same | |
| JP2008115374A (en) | Acrylic adhesive tape or sheet and method for producing the same | |
| JP5138066B2 (en) | Bubble-containing viscoelastic composition and pressure-sensitive adhesive tape or sheet |
Legal Events
| Date | Code | Title | Description |
|---|---|---|---|
| A621 | Written request for application examination |
Free format text: JAPANESE INTERMEDIATE CODE: A621 Effective date: 20071113 |
|
| A977 | Report on retrieval |
Free format text: JAPANESE INTERMEDIATE CODE: A971007 Effective date: 20110113 |
|
| A131 | Notification of reasons for refusal |
Free format text: JAPANESE INTERMEDIATE CODE: A131 Effective date: 20110215 |
|
| A521 | Request for written amendment filed |
Free format text: JAPANESE INTERMEDIATE CODE: A523 Effective date: 20110407 |
|
| RD02 | Notification of acceptance of power of attorney |
Free format text: JAPANESE INTERMEDIATE CODE: A7422 Effective date: 20110407 |
|
| TRDD | Decision of grant or rejection written | ||
| A01 | Written decision to grant a patent or to grant a registration (utility model) |
Free format text: JAPANESE INTERMEDIATE CODE: A01 Effective date: 20110510 |
|
| A01 | Written decision to grant a patent or to grant a registration (utility model) |
Free format text: JAPANESE INTERMEDIATE CODE: A01 |
|
| A61 | First payment of annual fees (during grant procedure) |
Free format text: JAPANESE INTERMEDIATE CODE: A61 Effective date: 20110510 |
|
| FPAY | Renewal fee payment (event date is renewal date of database) |
Free format text: PAYMENT UNTIL: 20140520 Year of fee payment: 3 |
|
| R150 | Certificate of patent or registration of utility model |
Ref document number: 4744172 Country of ref document: JP Free format text: JAPANESE INTERMEDIATE CODE: R150 Free format text: JAPANESE INTERMEDIATE CODE: R150 |
|
| R250 | Receipt of annual fees |
Free format text: JAPANESE INTERMEDIATE CODE: R250 |
|
| R250 | Receipt of annual fees |
Free format text: JAPANESE INTERMEDIATE CODE: R250 |
|
| R250 | Receipt of annual fees |
Free format text: JAPANESE INTERMEDIATE CODE: R250 |
|
| R250 | Receipt of annual fees |
Free format text: JAPANESE INTERMEDIATE CODE: R250 |
|
| R250 | Receipt of annual fees |
Free format text: JAPANESE INTERMEDIATE CODE: R250 |
|
| LAPS | Cancellation because of no payment of annual fees |
