JP4652160B2 - Lamination composite straightening jig, straightening method, and molded product - Google Patents
Lamination composite straightening jig, straightening method, and molded product Download PDFInfo
- Publication number
- JP4652160B2 JP4652160B2 JP2005202096A JP2005202096A JP4652160B2 JP 4652160 B2 JP4652160 B2 JP 4652160B2 JP 2005202096 A JP2005202096 A JP 2005202096A JP 2005202096 A JP2005202096 A JP 2005202096A JP 4652160 B2 JP4652160 B2 JP 4652160B2
- Authority
- JP
- Japan
- Prior art keywords
- composite material
- laminated composite
- jig
- thickness
- curing
- Prior art date
- Legal status (The legal status is an assumption and is not a legal conclusion. Google has not performed a legal analysis and makes no representation as to the accuracy of the status listed.)
- Expired - Lifetime
Links
Images
Landscapes
- Casting Or Compression Moulding Of Plastics Or The Like (AREA)
- Moulding By Coating Moulds (AREA)
Description
本願発明は、L形またはC形断面を有するように賦形した積層複合材を加熱すると共に加圧バッグを介して加圧することによって硬化処理する際に、該硬化処理用のオス型治具上に配置された賦形後の積層複合材に被せて該積層複合材の板厚を硬化後も均一に維持する治具、該治具を使用した板厚矯正方法、およびその方法によって矯正された成形品に関する。 In the present invention, when a laminated composite material shaped so as to have an L-shaped or C-shaped cross section is heated and cured through pressurization through a pressure bag, on the male jig for the curing process. A jig that is placed on the laminated composite material after shaping and maintains the plate thickness of the laminated composite material even after curing, a plate thickness correcting method using the jig, and the method corrected by the method It relates to molded products.
たとえば、複合材シートを型治具上に賦形しながら積層していき、L形およびC形断面のようなコーナーR部を有した賦形品を得、その後、加熱硬化させて成形品を得る場合、複合材シートを積層したときの板厚(つまり、積層時板厚)は、硬化後の板厚(つまり、硬化後板厚)に比べて大きい。これは、積層時にはマトリックス樹脂の流動性が余りないので複合材シート同士が完全に密着できず、多くの場合、空気を巻き込んでいるからであり、また、樹脂自体が硬化時に体積収縮するからである。この板厚減少は、一般に「着膨れ」と呼ばれる(たとえば、特許文献1を参照)。 For example, a composite sheet is laminated while shaping on a mold jig to obtain a shaped product having a corner R portion such as L-shaped and C-shaped cross sections, and then heat-cured to obtain a molded product. When obtained, the plate thickness when the composite sheets are laminated (that is, the plate thickness at the time of lamination) is larger than the plate thickness after curing (that is, the plate thickness after curing). This is because the matrix resin does not have much fluidity when laminated, so the composite sheets cannot be completely adhered to each other, and in many cases, air is entrained, and the resin itself shrinks in volume when cured. is there. This reduction in plate thickness is generally referred to as “blowing” (see, for example, Patent Document 1).
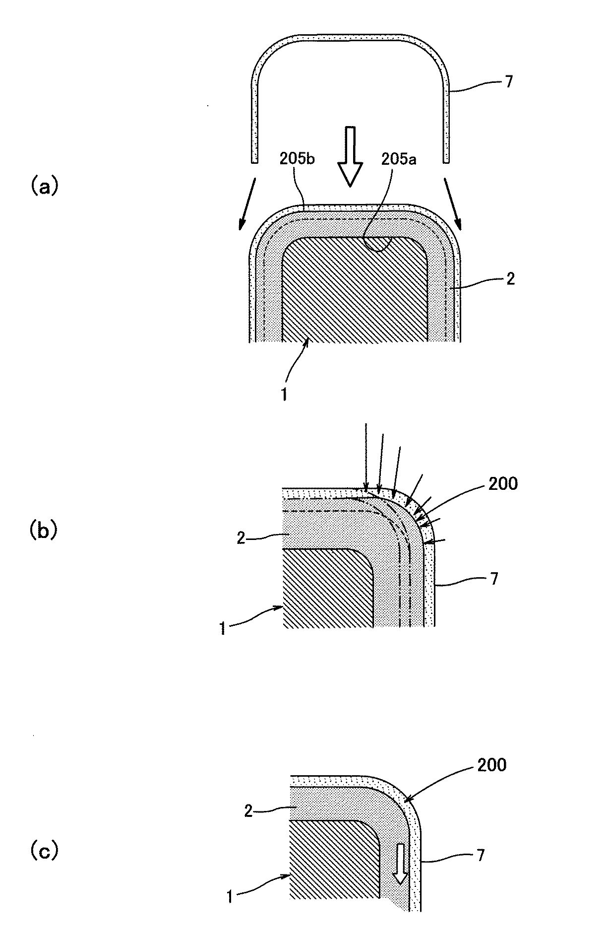
図1(a)にたとえば積層時の状態を示すように、オス型治具1のコーナーR部に沿って曲げられたL形断面の積層複合材2を、この状態で硬化処理すると、図1(b)に示すように、積層複合材2のコーナーR部200が外部から摘まれたように膨れ上がる部分を形成する。これは「R部の摘まれ」と呼ばれる成形不具合である。
As shown in FIG. 1 (a), for example, during lamination, when the laminated
R部の摘まれは、積層時(硬化前)の積層複合材2の板厚が硬化後には着膨れの分小さくなることに伴い、コーナーR部200の外周円弧長は幾何学的には小さくなる(周長差が生ずる)が、実際の外周円弧及びその内側近傍の強化繊維は、この幾何学的な周長差分収縮することができないので、周長差分の繊維長さの余りが外側にはみ出してしまうために発生する。
When the R portion is picked, the outer peripheral arc length of the
この繊維長さの余りは、板厚が大きいほど、および/または、コーナーR部200が小さいほど顕著であり、これが顕著である場合、繊維の余った分は容易に屈曲する。この屈曲は、リンクル201と呼ばれる成形不具合であり、前述の「R部の摘まれ」としばしば併発する。
The remainder of the fiber length is more conspicuous as the plate thickness is larger and / or the
同様に、メス型治具1Bを用いた場合、図2(a)に示すようにメス型治具1BのコーナーR部に沿って曲げられたL形断面の積層複合材2を、この状態で硬化処理をすると、図2(b)に示すように、積層複合材2のコーナーR部200Bの内側円弧長の硬化前後における周長差分の繊維が、内周円弧及びその近傍で足らなくなり、ブリッジする。このブリッジ202の程度によっては、その内側に空洞203が発生する場合もある(たとえば、特許文献1を参照)。
Similarly, when the
このような成形不具合の発生を防ぐために、コーナーR部の半径を大きくする設計が推奨されるが、これは成形品のサイズを大きくすることになり、したがってこの成形品を部品として使用する製品(たとえば、航空機)の設計自由度を奪うことになる。また、或る程度の成形不具合を許容するような設計も可能である。しかしながら、多くのL形およびC形材では、コーナーR部の腰曲げが破壊標定になっているため、成形不具合を許容するための試験が膨大になってしまう。さらには、このコーナーR部の腰曲げが強度のボトルネックになるため、全体の板厚が増大し、コストおよび重量増加の要因になる。 In order to prevent the occurrence of such molding defects, a design in which the radius of the corner R portion is increased is recommended. However, this increases the size of the molded product, and thus the product using this molded product as a part ( For example, the degree of freedom of design of aircraft) is taken away. Also, a design that allows a certain degree of molding failure is possible. However, in many L-shaped and C-shaped materials, the waist bending at the corner R portion is a fracture orientation, and therefore, the test for allowing a molding defect becomes enormous. Furthermore, since the waist bending of the corner R portion becomes a strong bottleneck, the overall plate thickness increases, causing an increase in cost and weight.
このような成形不具合の軽減のための他の方法は、たとえば、図3(a)および(b)に示すようなカールプレート3の使用である。カールプレート3は、一般には、スチール製からなる厚肉板状のL形の部材であり、一般には均一な厚みを有している。カールプレート3は、積層複合材2のオス型治具1に当接する側の面(つまり、型面)205aとは反対側の面(つまり、積層複合材2を密封可能なフィルムとしての加圧バッグが当接する面であり、バッグ面と言う)205bに配置される。
Another method for reducing such molding defects is, for example, the use of a
カールプレート3には、その内面をバッグ面205bに密着させて、バッグ面205bを滑らかにする(つまり、面精度を向上させる)という本来の作用があるほか、積層複合材2の板厚が比較的薄い場合にはバッグ面205bを拘束してR部の摘まれや、リンクル201の発生を抑えることができるという副次的な効果も呈する。カールプレート3のコーナーR部の寸法は、積層複合材2の硬化後のコーナーR部200の半径寸法に合わせてある。これは、本来は硬化後寸法が必要だからである。
The
しかしながら、カールプレート3には、積層複合材2の板厚が比較的薄い場合にしかコーナーR部の矯正効果がないという不都合がある。たとえば、オス型治具で成形するL形材の場合、カールプレート3は、コーナーR部200を挟むアングルの辺、すなわち直線部分に密着することは容易であるが、コーナーR部200は、着膨れにより外周円弧が大きくなっているので、積層複合材2のコーナーR部200でカールプレート3との間にできる隙間204が大きくなる。この隙間204は、硬化処理中におけるカールプレート3のコーナーR部200への有効な拘束作用を阻害し、加圧バッグ外からの加圧および、または加圧バッグ内の真空圧によってカールプレート3が積層複合材2に押し付けられてもなお隙間が硬化処理中に無くならなければ、コーナーR部200における成形不具合であるポロシティ(空洞)の原因になり、隙間が無くなれば、成形不具合であるリンクル201(図3(b)参照)の原因となる。リンクル201は、加圧および/または真空圧によって、図3(b)に示すように積層複合材2の板厚の減少によりコーナーR部200がカールプレート3と密着するのに伴って、コーナーR部200の両側から隙間204に向かって押し込んで来る余った繊維が逃げ場を失うために発生する。
However, the
さらに、カールプレート3は、オス型治具1で成形するC形材には適用が非常に難しいという不都合がある。なぜなら、カールプレート3の幅(C形の開口幅)は硬化後の寸法に設定する必要があるが、一般に厚肉に設計されているために剛性が非常に大きく、着膨れで形材幅寸法が大きくなっているC形材には被せられないためである。
Further, the
図3(a)および(b)は、オス型治具1に対するカールプレート3の適用例を示しているが、カールプレート3は、積層複合材3の板厚が比較的薄い場合、すなわち加圧バッグ外からの加圧および、または加圧バッグ内の真空圧によって、メス型治具に積層された積層複合材のバッグ面(内面)をカールプレートが拘束できる場合にはメス型治具にも適用することができる。
3 (a) and 3 (b) show an application example of the
しかしながら、積層複合材の板厚が比較的厚い時には、ブリッジが顕著となって、内面のコーナーR部(図2(a)の200B参照)が、カールプレートがコーナーR部200Bを挟むアングルの辺(つまり、直線部分)に密着すること、すなわち面を拘束することを阻み、もはやカールプレートとしての効果が期待できなくなる。 However, when the thickness of the laminated composite material is relatively large, the bridge becomes prominent, and the corner R portion (see 200B in FIG. 2A) on the inner surface is the side of the angle between which the curl plate sandwiches the corner R portion 200B. In other words, the curling plate can no longer be expected to have an effect as a close contact with (that is, the straight portion), that is, restraining the surface.
さらに、C形材の場合に適用できないのはオス型治具のときと同じで、カールプレートは、その幅が着膨れしたC形材の開口部より大きくなるから、C形材に嵌らなくなる。一般に、メス型治具の使用はオス型治具の使用より不利であることは後に示す。 Further, in the case of the C-shaped material, it is not possible to apply to the case of the male jig, and the curl plate becomes larger than the opening of the expanded C-shaped material, so that it does not fit into the C-shaped material. In general, it will be shown later that the use of a female jig is disadvantageous than the use of a male jig.
また、カールプレートは、ホットドレープした積層複合材には適用しても効果が出ないという不都合もある。ホットドレープは、図4(a)に示すように、固定プレート4Aの上に載置されたオス型治具1に、あらかじめ必要な枚数が積層された複合材の平板2Bを置き、複合材中の樹脂は硬化しないが流動性が増す程度の加熱および加圧下でアングル形状に曲げる工法である。加圧は、例えば、固定プレート4A上でオス型治具1および複合材平板2Bを密封して覆うゴム製のフィルム(ダイヤフラム)内の空間を真空引きすることによって行なう。
Further, the curl plate has a disadvantage that it is not effective even when applied to a hot-draped laminated composite material. As shown in FIG. 4 (a), hot drape is performed by placing a
ホットドレープでは、コーナーR部200に圧力が集中し易く、且つ、マトリックス樹脂が流動し易い条件で成形するので、原理的にはコーナーR部200の着膨れを無くすことができる。しかしながら、余り長い時間加熱すると複合材の硬化が進んで成形品質が悪くなるため、賦形時間は、60℃〜90℃の加熱で数十分以内程度に抑えられる。この時間的制約から、強制的な折り曲げ変形に樹脂流動が追い付かない場合には、図4(b)に示すように、むしろコーナーR部200外側の繊維が突っ張ってコーナーR部200の板厚が絞られてしまう(たとえば、特許文献2を参照)。これは、「絞り過ぎ」と呼ばれるものであり、積層複合材2Bの厚さが大きく、コーナーR部200が小さいほど顕著になるが、積層複合材2Bの厚さがよほど薄くない限り(たとえば、1mm以下)発生する。
In hot drape, molding is performed under the condition that the pressure tends to concentrate on the
このようにコーナーR部200の板厚が図4(b)において破線で示すような正規の半径寸法よりも絞られてしまうと、カールプレートはコーナーR部200に密着して拘束することができず、特にコーナーR部200の板厚は正規の寸法形状にはならないのである。
In this way, when the plate thickness of the
オス型治具では、メス型治具の場合よりも治具への積層時にコーナーR部をしごいて板厚を絞り易い。しかしながら、しごいてもしばらくすると再び浮き上がって元の板厚に戻ろうとするので、板厚を絞ったままに維持することは困難である。また、手作業でしごくので、ばらつきも大きく、このしごき作業により繊維が損傷することもあり、オス型治具を使ってもコーナーR部の着膨れおよびそれに繋がる成形不具合(R部の摘まれやリンクルなど)の発生を無くすことはできない。 With the male jig, it is easier to squeeze the corner R portion when laminating the jig than when the female jig is used. However, even after squeezing, after a while, it floats again and tries to return to the original plate thickness, so it is difficult to keep the plate thickness narrowed. Also, since the ironing is done manually, the variation is large, and the fiber may be damaged by this ironing work. Even if a male jig is used, the corner R part swells and the molding defects (the R part is picked or wrinkled). Etc.) cannot be eliminated.
このように、オス型治具を使った場合には、少なくともメス型治具を使った場合より成形不具合の程度を軽くしたり、成形不具合が発生する板厚の上限を上げることができる。 As described above, when the male jig is used, it is possible to reduce the degree of molding failure or to increase the upper limit of the thickness at which the molding failure occurs, at least when the female jig is used.
ところで、欲しい形状によってはどうしてもメス型治具を使用しないといけない場合がある。たとえば、該当する複合材部品の他部品との取り合い面が外側となるときには、取り合い面の面精度を確保するために、メス型治具を用いて複合材部品を硬化させなくてはならない。これは、メス型治具を用いたときにはバッグ面の面精度は確保は非常に困難であることから、取り合い面を治具面として面精度を確保するのである。 By the way, depending on the shape you want, you may have to use a female jig. For example, when the mating surface of the corresponding composite material part with the other part is on the outside, the composite material part must be cured using a female jig in order to ensure the surface accuracy of the mating surface. This is because it is very difficult to ensure the surface accuracy of the bag surface when a female jig is used. Therefore, the surface accuracy is ensured by using the mating surface as the jig surface.
メス型治具に複合材を直接積層していくと前述したようにコーナーR部にブリッジなどの成形不具合が発生してしまうが、これは前述のようにオス型治具における成形不具合より発生しやすいので、図5(a)に示すように、積層型1Cと呼ばれる積層用のオス型治具に複合材シートをあらかじめ賦形・積層する。そして、積層型1Cを取り除き、賦形した積層複合材2を反転して、今度は、図5(b)に示すように、硬化用のメス型治具1Bを用いて硬化させる。
When the composite material is directly laminated on the female jig, as described above, a molding defect such as a bridge occurs in the corner R portion. This is caused by a molding defect in the male jig as described above. Since it is easy, as shown to Fig.5 (a), a composite material sheet is preshaped and laminated | stacked on the male jig | tool for lamination | stacking called the lamination type 1C. Then, the laminated mold 1C is removed, the shaped laminated
このように、メス型治具の使用が必要である取り合い面が外側になる複合材部品に対してもオス型治具を使用したときと同程度の成形品質を求める場合には、2種類の治具が必要であり、また、ハンドリングが2段階となることから、コストも高い。しかし、それでも前述したオス型治具におけるカールプレート使用時と同様の不都合が残る。
本願発明は、斯かる事情に鑑みてなされたものであり、積層した複合材の着膨れを効果的に軽減し、したがって「R部の摘まれ」、「リンクル」、「ブリッジ」、「空洞」、「ポロシティ」、「絞り過ぎ」などの成形不具合を抑制することができる積層複合材の板厚矯正治具、該治具を使用した板厚矯正方法、およびその方法によって矯正された成形品を提供することを目的とする。 The present invention has been made in view of such circumstances, and effectively reduces the swelling of the laminated composite material. Therefore, the “R portion is picked”, “wrinkle”, “bridge”, “hollow”, Providing plate thickness correction jigs for laminated composite materials that can suppress molding defects such as “porosity” and “too narrow”, plate thickness correction methods using the jigs, and molded products corrected by these methods The purpose is to do.
本願発明に係る積層複合材の板厚矯正治具は、L形またはC形断面を有するように賦形した積層複合材を加熱すると共に密封可能なフィルムを介して加圧することによって硬化処理する際に、該硬化処理用のオス型治具上に配置された賦形後の積層複合材に被せて硬化させる治具であって、少なくとも前記複合材の熱硬化温度より低い温度では可撓性を有する材料からなり、前記積層複合材の硬化後の外側寸法に合わせた内側寸法を有し、前記オス型治具上に配置された前記積層複合材に被せたときに弾性変形することを特徴とする。 The thickness correction jig for a laminated composite material according to the present invention is a method in which a laminated composite material shaped so as to have an L-shaped or C-shaped cross section is heated and pressed through a sealable film. Further, a jig that is cured by being placed on the laminated composite material after shaping placed on the male jig for curing treatment, and at least at a temperature lower than the thermosetting temperature of the composite material, flexibility is provided. An inner dimension that matches the outer dimension after curing of the laminated composite material, and is elastically deformed when covered with the laminated composite material disposed on the male jig. To do.
上記の加圧は、前記フィルム内を真空吸引することによってすることが可能である。 The above pressurization can be performed by vacuum suction in the film.
前記板厚矯正治具材料の熱膨張率は、前記複合材と同等であることが可能であり、この材料の弾性係数は、ヤング率で10〜80GPaであることが可能である。このような材料としては、たとえば、炭素繊維強化プラスチックである。 The coefficient of thermal expansion of the plate thickness correcting jig material can be equal to that of the composite material, and the elastic modulus of the material can be 10 to 80 GPa in Young 's modulus. An example of such a material is carbon fiber reinforced plastic .
前記積層複合材のコーナーR部に相当する部位の厚さは、それ以外の直線部位よりも薄くされ、これら厚さの異なる部位同士は、滑らかに厚さを変化させた部位を通じて接続されていることが可能であり、前記滑らかに厚さを変化させた部位は、テーパー状の部位であることが可能である。 The thickness of the portion corresponding to the corner R portion of the laminated composite material is made thinner than other straight portions, and the portions having different thicknesses are connected through the portions where the thickness is smoothly changed. The portion where the thickness is smoothly changed can be a tapered portion.
本願発明に係る矯正方法は、L形またはC形断面を有するように賦形した積層複合材を加熱すると共に密封可能なフィルムを介して加圧することによって硬化処理する際に、該硬化処理用のオス型治具上に配置された賦形後の積層複合材に被せて硬化させる方法であって、少なくとも前記複合材の熱硬化温度より低い温度では可撓性を有する材料からなり、前記積層複合材の硬化後の外側寸法に合わせた内側寸法を有する矯正治具を、前記オス型治具上に配置された前記積層複合材に被せて弾性変形させることを特徴とする。 The correction method according to the present invention is a method for heating a laminated composite material shaped so as to have an L-shaped or C-shaped cross section and by applying pressure through a sealable film. A method of covering and curing a laminated composite material after shaping formed on a male jig, comprising at least a material having flexibility at a temperature lower than the thermosetting temperature of the composite material, wherein the laminated composite An orthodontic jig having an inner dimension matched with an outer dimension after hardening of the material is covered with the laminated composite material arranged on the male jig and elastically deformed .
上記の加圧は、前記フィルム内を真空吸引することによってすることが可能である。 The above pressurization can be performed by vacuum suction in the film.
前記オス型治具は、L形断面を有する前記積層複合材の硬化後寸法に合わせた大きさの欠落部を有することが可能である。 The male jig may have a missing portion having a size that matches the post-curing dimension of the laminated composite having an L-shaped cross section.
本願発明に係る成形品は、上記の方法により矯正される。 The molded product according to the present invention is corrected by the above method .
上記発明によれば、積層した複合材の着膨れを原因とする「R部の摘まれ」、「リンクル」、「ブリッジ」、「空洞」、「ポロシティ」、「絞り過ぎ」などの成形不具合を抑制することができる。 According to the above-described invention, molding defects such as “R section picked”, “wrinkle”, “bridge”, “cavity”, “porosity”, “over-squeezing” due to swelling of laminated composite materials are suppressed. can do.
以下、本願発明に係る積層複合材の板厚矯正治具、板厚矯正方法、および成形品について添付の図面を参照しながら具体的に説明する。 Hereinafter, a plate thickness correcting jig, a plate thickness correcting method, and a molded product of a laminated composite material according to the present invention will be specifically described with reference to the accompanying drawings.
図6(a)において、オス型治具1は、C形断面を有している。このオス型治具1上には、プリプレグなどからなる複合材シートがオス型治具1の形状に賦形されながら複数枚(たとえば、24枚)積層され、積層複合材2を形成している。なお、図6(a)および(b)において、破線は、積層複合材2の硬化後の正規の輪郭位置(つまり、硬化後寸法に相当する位置)を示している。
In FIG. 6A, the
賦形・積層された積層複合材2の上からは、図6(a)において白抜矢符で示すように、本実施の形態にかかる板厚矯正治具7が全体に亘って被せられる。この板厚矯正治具7は、たとえばCFRP(炭素繊維強化プラスチック:Carbon Fiber Reinforced Plastics)などの弾性材料からなり、ここでは厚さ均一(たとえば、0.2mm〜1.5mm程度)に構成されている。また、板厚矯正治具7は、積層複合材2に当接する側の面、つまり内側の面を積層複合材2の硬化後寸法に合わせて製作されている。硬化後寸法とは、硬化処理の後で成形不具合が発生していない状態の理想的な状態の積層複合材2の寸法である。
As shown by white arrows in FIG. 6A, the plate
上述のように、C形断面をなす板厚矯正治具7は、内側の面を積層複合材2の硬化後寸法に合わせて製作されていることから、積層複合材2に被せられたときには、図6(a)において矢印で示すように両側のフランジ部を押し広げられるように弾性変形するが、積層複合材2に被せられることによって水平方向には自己拘束されている。また、板厚矯正治具7は、可撓性を有しているので、硬化過程には、加圧バッグを介しての加圧および/または真空圧によって、積層複合材2の表面に密着せしめられている。
As described above, the plate
この弾性変形により、板厚矯正治具7を被せられた積層複合材2は、図6(b)に圧力分布を矢印で示すように、上面と左右両端のコーナーR部200(一方のみを図示)との接続部(つまり、R止まり)で最も大きなバネ力(板厚矯正治具7の弾性変形を元に戻そうとする復元力)を加えられ、このようなバネ力は、板厚矯正治具7のフランジ部先端へ向かうに従って小さくなっている。これにより、板厚矯正治具7のバネ力は、図6(b)において二点鎖線で示すように、積層複合材2の「着膨れ」をしごくように作用し、図6(c)に白抜矢符で示すようにフランジ部先端の方へ押し出す。これによってコーナーR部200の形状が正規の硬化後板厚による形状に近づくと、元の形状正規の硬化後板厚による形状である板厚矯正治具7のバネ力は弱まり、最終的に積層複合材2のコーナーR部200は正規板厚寸法による寸法に収束する。なお、実際には板厚矯正治具7および積層複合材2には、前記バネ力のほかに加圧バッグを介しての加圧および/または真空圧が加えられているが、この圧力は静水圧であるので、形状の矯正に作用するのは、圧力分布を有するバネ力だけであると考えることができる。
Due to this elastic deformation, the laminated
「絞り過ぎ」の場合は逆であって、板厚矯正治具の弾性変形によるバネ力は「絞り過ぎ」部分に足らない材料をフランジ部先端から引き戻す方向に働く。 In the case of “too much drawing”, the reverse is true, and the spring force due to the elastic deformation of the plate thickness correcting jig works in the direction of pulling back the material that is insufficient for the “too much drawing” part from the front end of the flange portion.
一方で、板厚矯正治具7は可撓性を有するといっても、硬化前の積層複合材2に比べれば十分に剛性が高いので、その表面が平滑であれば、加圧バッグを介しての加圧および/または真空圧によって積層複合材2のバッグ面205bに密着して、積層複合材2の表面を平滑にするとともに全体の板厚を均一に近付ける。
On the other hand, even though the plate
なお、平面部の平滑性をより向上させたい場合は、後に述べる別の実施の形態がある。(図8参照)
このように、板厚矯正治具7は、コーナーR部200の寸法を正規の硬化後半径寸法に矯正する作用を持っているとともに、積層複合材2の全体の板厚を均一に近付け、かつ表面を平滑にする作用を持っている。
Note that there is another embodiment to be described later when it is desired to further improve the smoothness of the planar portion. (See Figure 8)
As described above, the plate
本実施の形態にかかる板厚矯正治具7は、上述したC形断面以外の断面形状を有する積層複合材2にもそのまま適用することが可能である。たとえば、L形断面の場合には、上記の手順でC形断面の積層複合材2を製作し、その後、縦方向に半分に切断すればよい。また、上記とは直交方向(つまり、形材で言えば、長手方向)の断面に曲率を有した形状にも適用することが可能であることは言うまでもない。
The plate
図7は、L形断面の積層複合材2を得る別の方法を示している。この方法では、L形断面の積層複合材2に対してもC形断面のときと同じ形状の板厚矯正治具7が適用可能である。ただし、この場合、オス型治具1Dには、硬化後の積層複合材2の全体部分が嵌合するような寸法とされた欠落部105が形成されている。したがって、積層複合材2の型面205aは、この欠落部105に当接しており、欠落部105以外のオス型治具1Dの外形面(外側面)が積層複合材2のバッグ面205bに当接している。
FIG. 7 shows another method for obtaining a laminated
図8に示すように、別の実施の形態にかかる板厚矯正治具7Bは、直線部分70の板厚を増すなど、その剛性を上げることによって直線部分70でメス型治具を使用したときと同様の平面度(面精度)を得ることができる。つまり、メス型治具を使用することなく、外側となる取り合い面の面精度を確保することができるのである。図8の例では、板厚矯正治具7Bは、板厚の厚い直線部分70と板厚の薄いコーナーR部71との間は、滑らかに板厚の変化するテーパー部72で接続されており、これにより、板厚矯正治具7Bが積層複合材2に付与するバネ力あるいは圧力の分布を滑らかにすることができる。
As shown in FIG. 8, the plate
図9(a)〜(f)は、図6(a)〜(c)に示したような板厚矯正治具7を使用してC形断面の積層複合材2を製作する手順を説明する図である。なお、板厚矯正治具7の厚さは0.75mm、ヤング率は10〜80GPaとしてある。
9 (a) to 9 (f) illustrate a procedure for manufacturing a laminated
まず、図9(a)および(b)に示すように、複数枚のプリプレグからなる複合材シートを積層し、平板状の積層複合材2を得る。次に、図9(c)に示すように、この平板状の積層複合材2をオス型治具1上に載せ、図9(d)に示すようにホットドレープを行う。このホットドレープでは、積層複合材2が硬化しない程度の温度(40℃〜90℃程度)で加熱して積層複合材2中の樹脂を軟化させ、真空引きで加圧することによって、積層複合材2をオス型治具1に沿って曲げている。
First, as shown in FIGS. 9A and 9B, a composite material sheet composed of a plurality of prepregs is laminated to obtain a flat laminated
この積層複合材2の硬化後板厚は5mmであるが、ホットドレープ後の積層複合材2は、図10(a)に示すように、コーナーR部200の板厚は、5mmよりもかなり絞られている(つまり、「絞り過ぎ」が発生している)。そこで、図9(e)に示すように、板厚矯正治具7を積層複合材2に被せ、そして、図9(f)に示すようにバッグ材40で包囲し、真空バッグする。バッグ材40は、たとえば、積層複合材2を、離型フィルム、ブリーザ(ポリエステルマット)、およびナイロンフィルムの順で包むようなものである。
The thickness of the laminated
そして、所定の硬化サイクルでオートクレーブを行なう(硬化処理)。通常は、180℃および5.5気圧で、約2時間である。このように、板厚矯正治具7を使用して積層複合材2の硬化処理をすれば、図10(b)に示すように、コーナーR部200の板厚は、直線部分とほぼ同じ厚さになり、「絞り過ぎ」は解消されている。
Then, autoclave is performed in a predetermined curing cycle (curing treatment). Usually, it is about 2 hours at 180 ° C. and 5.5 atm. Thus, if the laminated
前述したように、板厚矯正治具7を使用した場合、これが接触するバッグ面205bの面精度は非常に良く、他部品との取り合い面(あるいは基準面)として使用することができる。図9(a)〜(f)の条件で製作した積層複合材2の面精度を、図11(a)〜(c)および図12(a)〜(c)に示す方法で測定した。なお、ここで、C形断面を有する積層複合材2は、長さ400mm、幅100mmの大きさであり、フランジ部の先端部はトリムしていない。
As described above, when the plate
まず、図11(a)に示すように、C形断面の形材に形成された積層複合材2の長手方向の面精度を測定するために、積層複合材2の上面に、長手方向に沿って定規81を配置する。図11(b)に示すように、R止まり(つまり、コーナーR部とその上の直線部分との間の位置)から内側へ所定距離(ここでは、10mmとした)入った位置を「測定箇所1」、その反対側の同じ位置を「測定箇所2」、そして、「測定箇所1」と「測定箇所2」との間の中間位置を「測定箇所中央」とし、これら3箇所に沿って定規81をそれぞれ配置した。
First, as shown in FIG. 11 (a), in order to measure the surface accuracy in the longitudinal direction of the laminated
そして、図11(c)に示すように、これら3箇所について、定規81の長手方向の一端を積層複合材2の上面に押し付けたときの、他端の積層複合材2の上面からの浮き上がり量を測定した(表1)。
And as shown in FIG.11 (c), when the one end of the longitudinal direction of the
そして、図12(c)に示すように、これら3箇所について、定規82と積層複合材2の上面との間の隙間を測定し、このうち最大隙間を採用した(表2)。
And as shown in FIG.12 (c), the clearance gap between the
以上のように、本願発明に係る積層複合材の板厚板厚矯正治具、板厚矯正方法、および成形品は、積層した複合材の着膨れを効果的に軽減し、したがって「R部の摘まれ」、「リンクル」、「ブリッジ」、「空洞」、「ポロシティ」、「絞り過ぎ」などの成形不具合を抑制することが要求される用途にも適用可能である。 As described above, the laminated composite sheet thickness correction jig, the sheet thickness correction method, and the molded product according to the present invention effectively reduce the swelling of the laminated composite material. The present invention can also be applied to uses that are required to suppress molding defects such as “rare”, “wrinkle”, “bridge”, “cavity”, “porosity”, and “too narrow”.
1,1D オス型治具
2 積層複合材
7 板厚矯正治具
72 テーパー部
105 (オス型治具の)欠落部
200 (積層複合材の)コーナーR部
205a 型面
205b バッグ面
1,1D male jig
2 Laminated composite materials
7 Plate thickness correction jig
72 Taper
105 Missing part (male jig)
200 Corner R section (of laminated composite)
205a mold surface
205b Bag side
Claims (11)
少なくとも前記複合材の熱硬化温度より低い温度では可撓性を有する材料からなり、
前記積層複合材の硬化後の外側寸法に合わせた内側寸法を有し、
前記オス型治具上に配置された前記積層複合材に被せたときに弾性変形することを特徴とする積層複合材の板厚矯正治具。 When the laminated composite shaped so as to have an L-shaped or C-shaped cross section is heated and pressurized through a sealable film, it is placed on the male jig for the curing process. It is a jig that is cured by covering the laminated composite material after shaping ,
At least at a temperature lower than the thermosetting temperature of the composite material, it is made of a flexible material,
Having an inner dimension that matches the outer dimension of the laminated composite after curing;
A laminated composite sheet thickness correcting jig, which is elastically deformed when covered with the laminated composite material disposed on the male jig.
これら厚さの異なる部位同士は、滑らかに厚さを変化させた部位を通じて接続されていることを特徴とする請求項1乃至5のいずれかに記載の積層複合材の板厚矯正治具。 The thickness of the portion corresponding to the corner R portion of the laminated composite is made thinner than other straight portions,
6. The laminated composite sheet thickness correcting jig according to claim 1, wherein the portions having different thicknesses are connected to each other through a portion whose thickness is smoothly changed.
少なくとも前記複合材の熱硬化温度より低い温度では可撓性を有する材料からなり、前記積層複合材の硬化後の外側寸法に合わせた内側寸法を有する矯正治具を、前記オス型治具上に配置された前記積層複合材に被せて弾性変形させることを特徴とする積層複合材の板厚矯正方法。 When the laminated composite shaped so as to have an L-shaped or C-shaped cross section is heated and pressurized through a sealable film, it is placed on the male jig for the curing process. It is a method of covering and curing the laminated composite material after shaping ,
A correction jig made of a material having flexibility at least at a temperature lower than the thermosetting temperature of the composite material, and having an inner dimension matching the outer dimension after curing of the laminated composite material is placed on the male jig. A method for correcting the thickness of a laminated composite material, wherein the laminated composite material is elastically deformed over the laminated composite material.
Priority Applications (1)
| Application Number | Priority Date | Filing Date | Title |
|---|---|---|---|
| JP2005202096A JP4652160B2 (en) | 2005-07-11 | 2005-07-11 | Lamination composite straightening jig, straightening method, and molded product |
Applications Claiming Priority (1)
| Application Number | Priority Date | Filing Date | Title |
|---|---|---|---|
| JP2005202096A JP4652160B2 (en) | 2005-07-11 | 2005-07-11 | Lamination composite straightening jig, straightening method, and molded product |
Publications (2)
| Publication Number | Publication Date |
|---|---|
| JP2007015351A JP2007015351A (en) | 2007-01-25 |
| JP4652160B2 true JP4652160B2 (en) | 2011-03-16 |
Family
ID=37752905
Family Applications (1)
| Application Number | Title | Priority Date | Filing Date |
|---|---|---|---|
| JP2005202096A Expired - Lifetime JP4652160B2 (en) | 2005-07-11 | 2005-07-11 | Lamination composite straightening jig, straightening method, and molded product |
Country Status (1)
| Country | Link |
|---|---|
| JP (1) | JP4652160B2 (en) |
Cited By (1)
| Publication number | Priority date | Publication date | Assignee | Title |
|---|---|---|---|---|
| CN104669637A (en) * | 2013-12-02 | 2015-06-03 | 昌河飞机工业(集团)有限责任公司 | Laying moulding method for cylindrical composite part |
Families Citing this family (13)
| Publication number | Priority date | Publication date | Assignee | Title |
|---|---|---|---|---|
| ITTO20070773A1 (en) * | 2007-10-31 | 2009-05-01 | Alenia Aeronautica Spa | PROCEDURE FOR THE APPLICATION OF A VACUUM BAG A POLYMERIZED COMPOSITE FUSELAGE BARREL AROUND. |
| KR101594976B1 (en) * | 2010-12-27 | 2016-02-17 | 카와사키 주코교 카부시키 카이샤 | Molding die, molding jig, and molding method |
| US8961732B2 (en) * | 2011-01-03 | 2015-02-24 | The Boeing Company | Method and device for compressing a composite radius |
| ITTO20110421A1 (en) * | 2011-05-12 | 2012-11-13 | Alenia Aeronautica Spa | STRUCTURAL ELEMENT WITH ALA AVENTE BORDO NET, AND ITS MANUFACTURING PROCESS |
| JP6216134B2 (en) * | 2013-03-28 | 2017-10-18 | 三菱航空機株式会社 | Apparatus and method for molding fiber reinforced plastic member |
| JP6273804B2 (en) * | 2013-12-02 | 2018-02-07 | 東レ株式会社 | Manufacturing method of fiber reinforced plastic molding |
| JP6581875B2 (en) | 2015-10-06 | 2019-09-25 | 三菱重工業株式会社 | Composite material molding method |
| JP6543577B2 (en) | 2016-01-22 | 2019-07-10 | 三菱重工業株式会社 | Method of forming composite material and jig for forming composite material |
| JP6785866B2 (en) | 2016-09-07 | 2020-11-18 | 三菱重工業株式会社 | Composite material molding method and composite material molding jig |
| US10647406B2 (en) * | 2017-06-01 | 2020-05-12 | The Boeing Company | Closed-angle composite airfoil spar and method of fabricating the same |
| CN113290884B (en) * | 2021-04-22 | 2023-05-09 | 上海复合材料科技有限公司 | Composite material plate shell with thickness gradient region and forming device and method thereof |
| CN115583046A (en) * | 2022-09-01 | 2023-01-10 | 海鹰空天材料研究院(苏州)有限责任公司 | A thermal diaphragm preform packaging method and device capable of preventing prepreg stack shift |
| CN117067639B (en) * | 2023-09-22 | 2023-12-29 | 哈尔滨远驰航空装备有限公司 | Forming method and product of small-fillet composite material outer lining |
Family Cites Families (5)
| Publication number | Priority date | Publication date | Assignee | Title |
|---|---|---|---|---|
| JPS61915U (en) * | 1984-06-06 | 1986-01-07 | 川崎重工業株式会社 | Rubber mold for molding composite parts |
| JP2738553B2 (en) * | 1988-12-28 | 1998-04-08 | 富士重工業株式会社 | Composite panel bending section forming method |
| FR2685249B1 (en) * | 1991-12-24 | 1994-02-11 | Snecma | METHOD FOR MANUFACTURING A BLOWER BLADE OF COMPOSITE MATERIAL AND MOLDING TOOLS. |
| US5520532A (en) * | 1994-08-01 | 1996-05-28 | United Technologies Corporation | Molding assembly for forming airfoil structures |
| JP2000006177A (en) * | 1998-06-23 | 2000-01-11 | Mitsubishi Heavy Ind Ltd | Molding device |
-
2005
- 2005-07-11 JP JP2005202096A patent/JP4652160B2/en not_active Expired - Lifetime
Cited By (1)
| Publication number | Priority date | Publication date | Assignee | Title |
|---|---|---|---|---|
| CN104669637A (en) * | 2013-12-02 | 2015-06-03 | 昌河飞机工业(集团)有限责任公司 | Laying moulding method for cylindrical composite part |
Also Published As
| Publication number | Publication date |
|---|---|
| JP2007015351A (en) | 2007-01-25 |
Similar Documents
| Publication | Publication Date | Title |
|---|---|---|
| JP4652160B2 (en) | Lamination composite straightening jig, straightening method, and molded product | |
| JP5931906B2 (en) | Method of forming a composite structure with a flange | |
| JP5424891B2 (en) | Apparatus and method for forming a hat-reinforced composite part using a thermal expansion tooling call | |
| US9327467B2 (en) | Composite mandrel for autoclave curing applications | |
| JP5315713B2 (en) | Method for manufacturing preform for FRP member | |
| JP6785866B2 (en) | Composite material molding method and composite material molding jig | |
| JP5476916B2 (en) | Manufacturing method of fiber reinforced plastic | |
| JP2010528899A (en) | Fiber composite structural member processing apparatus and fiber composite structural member processing method | |
| JPH10146898A (en) | Molding method of fiber reinforced composite material | |
| US20090091052A1 (en) | Method of monitoring the performance of a pressure intensifier | |
| WO2014069503A1 (en) | Method for manufacturing preform and method for manufacturing fiber-reinforced resin molded article | |
| CN106796205A (en) | The manufacture method of artificial defect material and FRP structures | |
| JPWO2019031478A1 (en) | Fiber-reinforced plastic and method for producing fiber-reinforced plastic | |
| JP5251004B2 (en) | Preform manufacturing method, preform, and fiber reinforced plastic girder | |
| JP5315147B2 (en) | Method for molding prepreg molded body for hollow structure and molding method for composite material molded product | |
| JP5698526B2 (en) | Mold | |
| US10583642B2 (en) | Honeycomb structural body and method of manufacturing honeycomb structural body | |
| CN116494558B (en) | Molding method with curvature structure | |
| JP6717105B2 (en) | Method for producing fiber-reinforced resin molding | |
| JP7039738B2 (en) | Laminate molding method and laminate molding equipment | |
| JP2007118598A (en) | Method and apparatus for manufacturing preform | |
| JPH0356333Y2 (en) | ||
| JP5078865B2 (en) | Laminated composite material and method for producing laminated composite material | |
| WO2014099841A1 (en) | Expandable mandrel and method of making hollow composite structures | |
| JP2004148700A (en) | Composite laminate shim and method of making same |
Legal Events
| Date | Code | Title | Description |
|---|---|---|---|
| A621 | Written request for application examination |
Free format text: JAPANESE INTERMEDIATE CODE: A621 Effective date: 20070906 |
|
| A977 | Report on retrieval |
Free format text: JAPANESE INTERMEDIATE CODE: A971007 Effective date: 20100709 |
|
| A131 | Notification of reasons for refusal |
Free format text: JAPANESE INTERMEDIATE CODE: A131 Effective date: 20100713 |
|
| A521 | Request for written amendment filed |
Free format text: JAPANESE INTERMEDIATE CODE: A523 Effective date: 20100818 |
|
| TRDD | Decision of grant or rejection written | ||
| A01 | Written decision to grant a patent or to grant a registration (utility model) |
Free format text: JAPANESE INTERMEDIATE CODE: A01 Effective date: 20101214 |
|
| A01 | Written decision to grant a patent or to grant a registration (utility model) |
Free format text: JAPANESE INTERMEDIATE CODE: A01 |
|
| A61 | First payment of annual fees (during grant procedure) |
Free format text: JAPANESE INTERMEDIATE CODE: A61 Effective date: 20101215 |
|
| R150 | Certificate of patent or registration of utility model |
Ref document number: 4652160 Country of ref document: JP Free format text: JAPANESE INTERMEDIATE CODE: R150 Free format text: JAPANESE INTERMEDIATE CODE: R150 |
|
| FPAY | Renewal fee payment (event date is renewal date of database) |
Free format text: PAYMENT UNTIL: 20131224 Year of fee payment: 3 |
|
| FPAY | Renewal fee payment (event date is renewal date of database) |
Free format text: PAYMENT UNTIL: 20141224 Year of fee payment: 4 |
|
| R250 | Receipt of annual fees |
Free format text: JAPANESE INTERMEDIATE CODE: R250 |
|
| R250 | Receipt of annual fees |
Free format text: JAPANESE INTERMEDIATE CODE: R250 |
|
| EXPY | Cancellation because of completion of term |
