JP4646830B2 - Absorbent articles - Google Patents
Absorbent articles Download PDFInfo
- Publication number
- JP4646830B2 JP4646830B2 JP2006053919A JP2006053919A JP4646830B2 JP 4646830 B2 JP4646830 B2 JP 4646830B2 JP 2006053919 A JP2006053919 A JP 2006053919A JP 2006053919 A JP2006053919 A JP 2006053919A JP 4646830 B2 JP4646830 B2 JP 4646830B2
- Authority
- JP
- Japan
- Prior art keywords
- superabsorbent polymer
- absorbent
- absorbent body
- web
- liquid
- Prior art date
- Legal status (The legal status is an assumption and is not a legal conclusion. Google has not performed a legal analysis and makes no representation as to the accuracy of the status listed.)
- Expired - Fee Related
Links
Images
Landscapes
- Absorbent Articles And Supports Therefor (AREA)
- Orthopedics, Nursing, And Contraception (AREA)
Description
本発明は、使い捨ておむつ、生理用ナプキン、失禁パッド等の吸収性物品に関する。 The present invention relates to absorbent articles such as disposable diapers, sanitary napkins, and incontinence pads.
連続フィラメントの開繊トウを用いた吸収性物品の吸収体が知られている。例えば、捲縮性アセテート繊維のトウ層と、この層の片面に積層した粉砕パルプ層とからなる吸収体であって、該吸収体の厚さ方向に両層をプレスで一体化したものが知られている(特許文献1参照)。この吸収体によれば、体液の拡散性が向上するとされている。しかし、アセテート繊維はパルプよりも吸水能力が劣るので、この吸収体の吸収容量を高めるためには、多量の粉砕パルプを使用しなければならない。その結果、吸収体が厚くなってしまい、吸収性物品の着用感が低下してしまう。 Absorbents for absorbent articles using continuous filament spread tows are known. For example, an absorber comprising a tow layer of crimpable acetate fibers and a pulverized pulp layer laminated on one side of this layer, in which both layers are integrated by pressing in the thickness direction of the absorber, is known. (See Patent Document 1). According to this absorber, the diffusibility of body fluid is improved. However, since acetate fibers have a lower water absorption capacity than pulp, a large amount of pulverized pulp must be used to increase the absorption capacity of the absorber. As a result, the absorber becomes thick, and the wearing feeling of the absorbent article is lowered.
また、吸水コアを上層、下層及び両層間に位置する吸収層から構成し、該吸収層として、高吸収性ポリマーの散布層上にアセテート繊維のトウからなる繊維層を配したものが知られている(特許文献2参照)。高吸収性ポリマーはその一部が接着剤によって下層に結合されており、また別の一部はトウの繊維層内に収容されている。この吸水コアでは、高吸収性ポリマーの一部がトウの繊維層内に収容されてはいるものの、大部分の高吸収性ポリマーは下層に結合された状態になっている。つまりトウの繊維層と高吸収性ポリマーの散布層とが別個に存在している。その結果、着用者の動作に起因して、吸収性物品の着用中に吸水コアが変形した場合、その構造が壊れやすい。 Also, it is known that the water-absorbing core is composed of an upper layer, a lower layer and an absorbent layer located between both layers, and a fiber layer made of acetate fiber tow is disposed on the spray layer of the superabsorbent polymer as the absorbent layer. (See Patent Document 2). A part of the superabsorbent polymer is bonded to the lower layer by an adhesive, and another part is housed in the fiber layer of the tow. In this water-absorbent core, although a part of the superabsorbent polymer is accommodated in the fiber layer of the tow, most of the superabsorbent polymer is bonded to the lower layer. That is, a fiber layer of tow and a spray layer of superabsorbent polymer exist separately. As a result, when the water absorbing core is deformed during wearing of the absorbent article due to the wearer's movement, the structure is easily broken.
連続フィラメントのトウを有する吸収層として、トウが吸収層の厚み方向に延びているものも知られている(特許文献3参照)。特許文献3によれば、排泄物は、トウの繊維間間隙を通って上から下へ移動し、着用者の肌から遠く離せることができるので、むれやかぶれの原因になることがないとされている。この吸収層がこのような構造を有するためには、トウの長さがある程度長いことが必要である。そのために吸収層が厚くなってしまう。
As an absorption layer having a continuous filament tow, one in which the tow extends in the thickness direction of the absorption layer is also known (see Patent Document 3). According to
従って本発明の目的は、前述した従来技術が有する欠点を解消し得る吸収性物品を提供することにある。 Therefore, the objective of this invention is providing the absorbent article which can eliminate the fault which the prior art mentioned above has.
本発明は、親水性を有する長繊維のウエブを備えた吸収体を有し、2.0kPa荷重下での通液速度が30〜300ml/minである高吸収性ポリマーが該ウエブ中に含まれており、該吸収体における該高吸収性ポリマーと該長繊維との重量比(高吸収性ポリマー/長繊維)が2以上である吸収性物品を提供することにより前記目的を達成したものである。 The present invention includes an absorbent body having a hydrophilic long-fiber web, and a superabsorbent polymer having a liquid flow rate of 30 to 300 ml / min under a load of 2.0 kPa is contained in the web. The object is achieved by providing an absorbent article in which the weight ratio of the superabsorbent polymer to the long fibers (superabsorbent polymer / long fibers) in the absorbent body is 2 or more. .
また本発明は、親水性を有する長繊維のウエブを備えた吸収体を有し、該ウエブ中に高吸収性ポリマーが含まれており、該高吸収性ポリマーは、以下の方法で測定されたパルプとの親和性の尺度が0・3〜0.9である吸収性物品を提供することにより前記目的を達
成したものである。
〔パルプとの親和性の尺度〕
高吸収性ポリマー1.0gを、濾紙(アドバンテック東洋製4A185mm)上の中心から半径5cmの円内に均一に散布する。その後、高吸収性ポリマーを膨潤させるために、0.9重量%NaCl水溶液50gを前記円内に均一に塗布し、完了から1分経過後に濾紙のポリマー散布面を下に向ける。パルプとの親和性は落下したポリマーの量Aと脱落せずに濾紙に付着しているポリマー量Bを測定し、次式によって求められる。
パルプとの親和性=B/(A+B)
Further, the present invention has an absorbent body having a hydrophilic long fiber web, and the web contains a superabsorbent polymer, and the superabsorbent polymer was measured by the following method. The object is achieved by providing an absorbent article having a measure of affinity with pulp of 0.3 to 0.9.
[Measure of affinity with pulp]
1.0 g of the superabsorbent polymer is uniformly dispersed in a circle having a radius of 5 cm from the center on the filter paper (Advantech Toyo 4A 185 mm). Thereafter, in order to swell the superabsorbent polymer, 50 g of 0.9 wt% NaCl aqueous solution is uniformly applied in the circle, and after 1 minute from the completion, the polymer spray surface of the filter paper is directed downward. The affinity with the pulp is obtained by the following equation by measuring the amount A of the dropped polymer and the amount B of the polymer adhering to the filter paper without falling off.
Affinity with pulp = B / (A + B)
本発明の吸収性物品によれば、体液の吸収による高吸収性ポリマーのゲルブロッキングが防止され、表面シートから液を吸収する速度が向上する。また吸収体に一旦吸収された液の逆戻り、即ちウエットバックが起こりづらくなる。更に、吸液した高吸収性ポリマーに起因して生じやすいゲル感が抑えられ、感触が良好になる。 According to the absorbent article of the present invention, gel blocking of the superabsorbent polymer due to absorption of body fluid is prevented, and the speed of absorbing liquid from the topsheet is improved. Further, the liquid once absorbed by the absorber does not easily return, that is, wetback occurs. Furthermore, the gel feeling that is likely to occur due to the absorbed superabsorbent polymer is suppressed, and the feel is improved.
以下本発明を、その好ましい実施形態に基づき説明する。本発明の吸収性物品は、主として尿や経血等の排泄体液を吸収保持するために用いられるものである。本発明の吸収性物品には例えば使い捨ておむつ、生理用ナプキン、失禁パッド等が包含されるが、これらに限定されるものではなく、人体から排出される液の吸収に用いられる物品を広く包含する。 Hereinafter, the present invention will be described based on preferred embodiments thereof. The absorbent article of the present invention is mainly used for absorbing and holding excretory body fluids such as urine and menstrual blood. The absorbent article of the present invention includes, for example, disposable diapers, sanitary napkins, incontinence pads, etc., but is not limited thereto, and widely includes articles used for absorbing liquid discharged from the human body. .
本発明の吸収性物品は、典型的には、表面シート、裏面シート及び両シート間に介在配置された液保持性の吸収体を具備している。表面シート及び裏面シートとしては、当該技術分野において通常用いられている材料を特に制限無く用いることができる。例えば表面シートとしては、親水化処理が施された各種不織布や開孔フィルム等の液透過性のシートを用いることができる。裏面シートとしては、熱可塑性樹脂のフィルムや、該フィルムと不織布とのラミネート等の液不透過性又は撥水性のシートを用いることができる。裏面シートは水蒸気透過性を有していてもよい。吸収性物品は更に、該吸収性物品の具体的な用途に応じた各種部材を具備していてもよい。そのような部材は当業者に公知である。例えば吸収性物品を使い捨ておむつや生理用ナプキンに適用する場合には、表面シート上の左右両側部に一対又は二対以上の立体ガードを配置することができる。 The absorbent article of the present invention typically includes a top sheet, a back sheet, and a liquid-retaining absorbent disposed between both sheets. As the top sheet and the back sheet, materials usually used in the technical field can be used without particular limitation. For example, as the surface sheet, liquid permeable sheets such as various nonwoven fabrics and perforated films subjected to a hydrophilic treatment can be used. As the back sheet, a liquid-impermeable or water-repellent sheet such as a thermoplastic resin film or a laminate of the film and a nonwoven fabric can be used. The back sheet may have water vapor permeability. The absorbent article may further include various members depending on the specific application of the absorbent article. Such members are known to those skilled in the art. For example, when applying an absorbent article to a disposable diaper or a sanitary napkin, a pair or two or more pairs of three-dimensional guards can be disposed on the left and right sides of the topsheet.
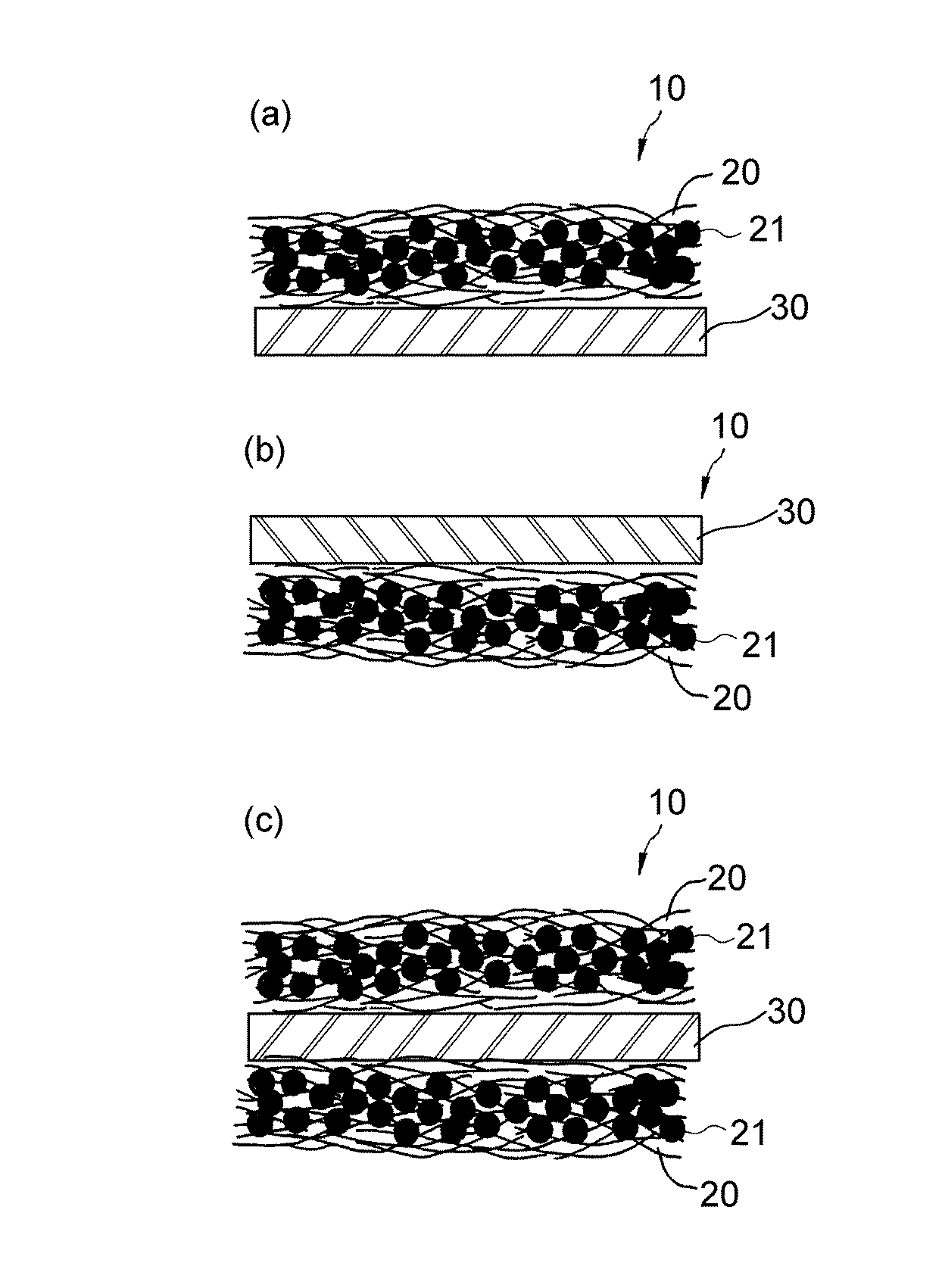
図1には、本実施形態の吸収性物品における吸収体の断面の構造が模式的に示されている。同図に示す吸収体10は、長繊維のウエブ(以下、ウエブという)20の単層構造になっている。ウエブ20中には高吸収性ポリマー21が含まれている。高吸収性ポリマー21は、ウエブ20中に均一に埋没担持されている。
FIG. 1 schematically shows the cross-sectional structure of the absorbent body in the absorbent article of the present embodiment. The
長繊維は親水性を有するものであることが好ましい。親水性を有する長繊維として本発明において用いられるものには、本来的に親水性を有する長繊維、及び本来的には親水性を有さないが、親水化処理が施されることによって親水性が付与された長繊維の双方が包含される。好ましい長繊維は本来的に親水性を有する長繊維であり、特にアセテートやレーヨンの長繊維が好ましい。とりわけアセテートは湿潤しても嵩高性が保持されるので特に好ましい。アセテートとしては、セルローストリアセテート及びセルロースジアセテートが好ましい。 The long fiber is preferably hydrophilic. What is used in the present invention as a long fiber having hydrophilicity is a long fiber that is inherently hydrophilic, and inherently has no hydrophilicity, but is hydrophilic by being subjected to a hydrophilic treatment. Both of the long fibers to which is given are included. Preferred long fibers are inherently hydrophilic long fibers, and particularly preferred are acetate and rayon long fibers. In particular, acetate is particularly preferable because it retains bulkiness even when wet. As the acetate, cellulose triacetate and cellulose diacetate are preferable.
図1に示す吸収体10は、それに含まれる高吸収性ポリマー21によって特徴付けられる。この高吸収性ポリマー21は、荷重下での通液速度が高いことを特徴とするものである。通液速度は、高吸収性ポリマーを十分に吸液させて飽和させた状態下に荷重を加えて測定される。従って、通液速度が速いということは、高吸収性ポリマーが吸液して飽和した状態で圧力が加わっても、液の通過が妨げられにくいことを意味する。それ故、通液速度が速い高吸収性ポリマーを用いることは、繰り返し液を吸収した状態にある吸収性物品の吸収体が着用者の体圧を受けても、高吸収性ポリマーのゲルブロッキングが起こりにくい。高吸収性ポリマーのゲルブロッキングは、体液を表面シートから吸収する速度を低下させる。即ち高吸収性ポリマーのゲルブロッキングは、長時間にわたり肌と表面シートの間に体液が存在することを意味する。すなわち、皮膚のかぶれ、尿のもれ、吸収体の液吸収容量の低下や、ウエットバック発生の原因となるものである。
The
高吸収性ポリマーのゲルブロッキングを効果的に防止する観点から、本実施形態においては高吸収性ポリマーとしてその通液速度の値が30〜300ml/min、好ましくは32〜200ml/min、更に好ましくは35〜100ml/minのものを用いている。通液速度の値が30ml/min未満である場合、吸液によって飽和膨潤した高吸収性ポリマーどうしが荷重下に付着し合って、液の通過を妨げてしまいゲルブロッキング発生が起こりやすくなる。通液速度の値は大きければ大きいほどゲルブロッキングの発生を防止する観点から好ましい。通液速度が300ml/minを超える場合は、吸収体中の液の流れ性が高すぎて、特に一度に多量の排泄物が排泄された場合や、月齢の高い乳幼児或いは大人の例に見られるように排泄速度が速い場合、さらに吸収体の薄型化を図った場合に、液の固定が十分でなく、漏れを生じる可能性がある。また、一般に、通液速度を高めることは高吸収性ポリマーの架橋度を高くすることになり、高吸収性ポリマーの単位重量あたりの吸収容量が低くなり、多量の高吸収性ポリマーを使用しなければならない。これらの観点から通液速度の上限値は決定される。 From the viewpoint of effectively preventing gel blocking of the superabsorbent polymer, in the present embodiment, the superabsorbent polymer has a liquid flow rate value of 30 to 300 ml / min, preferably 32 to 200 ml / min, more preferably. The thing of 35-100 ml / min is used. When the value of the liquid flow rate is less than 30 ml / min, the superabsorbent polymers saturated and swollen by the liquid absorption adhere to each other under load, and the passage of the liquid is hindered, so that gel blocking easily occurs. The larger the value of the flow rate, the better from the viewpoint of preventing the occurrence of gel blocking. When the liquid flow rate exceeds 300 ml / min, the fluidity of the liquid in the absorber is too high, especially when a large amount of excreta is excreted at once, or in the case of older infants or adults. When the excretion rate is high as described above, the liquid may not be sufficiently fixed and leakage may occur when the absorber is further thinned. In general, increasing the liquid flow rate increases the degree of crosslinking of the superabsorbent polymer, lowering the absorption capacity per unit weight of the superabsorbent polymer, and a large amount of superabsorbent polymer must be used. I must. From these viewpoints, the upper limit value of the flow rate is determined.
前記の範囲の高通液速度を有する高吸収性ポリマー21は従来知られていた。しかし、パルプを主体とする吸収体を備えた従来の吸収性物品においては、パルプが高吸収性ポリマー間に介在しているために、体液の吸収によって高吸収性ポリマー21が十分膨潤しても、パルプがゲルブロッキングを防ぎ且つ体液の通液路として働く。またパルプが吸収体コアの骨格を成していると、体圧が加わっても潰れないため吸収体コア中に内在している高吸収性ポリマーには体圧ほどの圧力が加わらない。従ってパルプを主体とする吸収体を備えた従来の吸収性物品では、前記の範囲の高通液速度を有する高吸収性ポリマー21ほどの物性は必要とは考えられていなかった。つまり、前記の範囲の高通液速度を有する高吸収性ポリマー21は、長繊維のウエブ20と組み合わせた吸収体10において、その効果を発現するものである。
A
前記の範囲の通液速度を有する高吸収性ポリマー21を得るためには、例えば高吸収性ポリマーの粒子内部及び表面の架橋密度を調整したり、架橋密度に勾配を設けたり、粒子表面に無機物質を添加したり、高吸収性ポリマーの粒子形状を調整するなどの様々な方法が知られている。所望の通液速度を有する高吸収性ポリマー21を得るには、本出願人の先の出願に係る特許第2721658号公報に記載の陰イオン界面活性剤を分散剤として用いた逆相懸濁重合法を用いてもよいし、水溶液重合法などの他の方法を用いてもよい。
In order to obtain the
高吸収性ポリマー21の通液速度の測定は、2.0kPa荷重下で行われる。この荷重は、吸収性物品を着用している間に吸収体に加わる体圧にほぼ相当する。通液速度の具体的な測定方法は、例えば特開2003−235889号公報の段落0005に記載されている。本発明においては、この公報に記載されている測定方法で用いられる試料の重量である0.200gを0.32gに変更して測定を行う。具体的には以下の手順で通液速度を測定する。
The measurement of the flow rate of the
〔通液速度の測定方法〕
ゲル通液速度は、垂直に立てた円筒(内径25.4mm)の開口部の下端に金網(目開き150μm)とコック(内径2mm)付き細管(内径4mm、長さ8cm)とを有する濾過円筒管内に、該コックを閉鎖した状態で、850〜150μmの粒度に調整した測定試料0.32gを投入し、生理食塩水50mlを注ぎ、注ぎ始めてから30分間静置した後、金網(目開き150μm、直径25mm)付き荷重(21.2g)を金網と測定試料が接するようにして濾過円筒内に挿入し、1分後におもり(77.0g)を金網付き荷重の上にのせ、さらに1分間静置した後該コックを開き、0.9重量%生理食塩水の液面が40mlの目盛り線から20mlの目盛り線に達するまでの時間(T1)(秒)を計測して、次式から求める{(T0)は測定試料なしのときの時間である}。
通液速度(ml/min)=20×60/(T1−T0)
[Measurement method of flow rate]
The gel flow rate is a filtration cylinder having a vertically arranged cylinder (inner diameter: 25.4 mm) and a narrow tube (inner diameter: 4 mm, length: 8 cm) with a wire mesh (aperture: 150 μm) and a cock (inner diameter: 2 mm) at the lower end of the opening. In the tube, with the cock closed, 0.32 g of a measurement sample adjusted to a particle size of 850 to 150 μm was poured, 50 ml of physiological saline was poured, and after standing for 30 minutes, a wire mesh (mesh opening 150 μm , 25 mm diameter) load (21.2 g) was inserted into the filtration cylinder so that the wire mesh and measurement sample were in contact, and after 1 minute, the weight (77.0 g) was placed on the wire mesh load and allowed to stand for 1 minute. Then, the cock is opened, and the time (T1) (seconds) until the liquid level of 0.9 wt% physiological saline reaches the 20 ml scale line from the 40 ml scale line is obtained from the following formula { (T0) It is the time when there is no constant sample}.
Flow rate (ml / min) = 20 × 60 / (T1-T0)
通液速度の更に詳細な測定方法は前記の公報の段落0008及び0009に記載されている。測定装置は同公報の図1及び図3に記載されている。 A more detailed method for measuring the flow rate is described in paragraphs 0008 and 0009 of the above publication. The measuring apparatus is described in FIGS. 1 and 3 of the publication.
高吸収性ポリマー21は前記の範囲の通液速度を有するので、これを多量にウエブ20中に配合しても、ゲルブロッキングが起こりにくい。高吸収性ポリマー21をウエブ20中に多量に配合できることは、吸収体10の液吸収容量を向上させ得る点から有利である。この観点から、吸収体10においては、高吸収性ポリマーと長繊維との重量比(高吸収性ポリマー/長繊維)を2以上に設定し、好ましくは3以上に設定する。この重量比に特に制限はないが、5以上、特に10程度であれば、吸収体10の液吸収容量を十分に大きくすることができる。
Since the
従来の吸収性物品の吸収体においても繊維材料の量を多くすれば高吸収性ポリマーを多量に保持することは可能であった。しかし、その場合には吸収体の坪量及び厚みが大きくなってしまう。これに対して本発明においては、繊維材料であるウエブ20の量に対して高吸収性ポリマー21の量を相対的に大きくすることが容易である。このことは、吸収体10を厚くすることなくその液吸収容量を向上させ得る点から非常に有利である。長繊維に対する高吸収性ポリマー21の重量比の上限値は、高吸収性ポリマー21の極端な移動や脱落防止の観点から決定される。長繊維の捲縮の有無や捲縮の程度にもよるが、該上限値が10程度であれば、着用者が激しい動作を行っても高吸収性ポリマーの極端な移動や脱落は起こりにくい。
Even in an absorbent body of a conventional absorbent article, it was possible to retain a large amount of superabsorbent polymer by increasing the amount of fiber material. However, in this case, the basis weight and thickness of the absorber are increased. On the other hand, in the present invention, it is easy to relatively increase the amount of the
前記の範囲の通液速度を有する高吸収性ポリマー21は、JIS K7224(VORTEX法)に従い測定された初期吸収速度が高いことが好ましい。通液速度は、高吸収性ポリマーを十分に吸液させて飽和させた状態下に測定されるものであること、液を吸収していない初期状態においても吸収速度が高い高吸収性ポリマーを用いることで、長繊維のウエブを備えた吸収体の吸収速度が一層高まることが本発明者らの検討の結果判明した。これと共に高吸収性ポリマーのゲルブロッキングが一層起こりづらくなり、また液吸収後の吸収体の感触が改善されることも判明した。
The
前記の方法に従い測定される初期吸収速度は、その値が小さいほど液の吸収速度が高いことを意味する。高吸収性ポリマー21の初期吸収速度が好ましくは45秒以下、更に好ましくは35秒以下であると、十分に満足すべき性能の吸収性物品、具体的には液吸収速度が高く且つゲルブロッキングが起こりづらい吸収体を備えた吸収性物品が得られる。
The initial absorption rate measured according to the above method means that the smaller the value, the higher the liquid absorption rate. When the initial absorption rate of the
前記の初期吸収速度を有する高吸収性ポリマーを調製するには、例えば、先に述べた本出願人の先の出願に係る特許2721658号公報に記載の陰イオン界面活性剤を分散剤として用いた逆相懸濁重合法を用いればよいし、水溶液重合法を用いて合成してもよい。 In order to prepare the superabsorbent polymer having the initial absorption rate, for example, an anionic surfactant described in Japanese Patent No. 2721658 according to the earlier application of the applicant described above was used as a dispersant. A reverse phase suspension polymerization method may be used, or synthesis may be performed using an aqueous solution polymerization method.
なお、高吸収性ポリマーの初期吸収速度の評価方法としては、上述のVORTEX法の他にDW法が知られている。これらの両者のうち、本発明の吸収性物品における吸収体が、高吸収性ポリマーと長繊維のウエブとを備えていることを考慮すると、DW法よりもVORTEX法に従い高吸収性ポリマーの初期吸収速度を評価することが適切である。 In addition, as a method for evaluating the initial absorption rate of the superabsorbent polymer, the DW method is known in addition to the above-mentioned VORTEX method. Among these, considering that the absorbent body in the absorbent article of the present invention includes a superabsorbent polymer and a long fiber web, the initial absorption of the superabsorbent polymer is more in accordance with the VORTEX method than in the DW method. It is appropriate to evaluate the speed.
以上説明した高吸収性ポリマー21とは別に、本発明においては、高吸収性ポリマー21として、以下の方法で測定されたパルプとの親和性の尺度が0.3〜0.9、好ましくは0.4〜0.8、更に好ましくは0.5〜0.7のものを用いることもできる。この数値は0から1までの値をとり、値が大きいほどパルプとの親和性が低いことを意味する。以下の測定方法から明らかなように、パルプとの親和性が低いとは、高吸収性ポリマー21がパルプに付着しづらいことをいう。パルプとの親和性の尺度が前記の範囲ということは、本発明においては、パルプとの親和性が低い高吸収性ポリマー21を用いることが有利であることを意味している。このような高吸収性ポリマー21は、吸液してもポリマーどうしが粘着しづらいので、吸液した状態の吸収体10においては、ポリマーどうしの間に自由水(間隙水)が少ない状態になっている。従って、吸収体10に着用者の体圧が加わっても、その自由水(間隙水)を吸収体10の横方向(平面方向)へ逃し得る空間がポリマーどうしの間に維持される。その結果、吸収体10からの液の逆戻り、即ちウエットバックが起こりづらくなり、吸収性物品の肌当接面がさらさらしたドライ感を呈する。パルプとの親和性の尺度が前記の範囲高吸収性ポリマー21を得るためには、例えば、本出願人の先の出願に係る特許第2721658号公報に記載の陰イオン界面活性剤を分散剤として用いた逆相懸濁重合法を採用してもよいし、水溶液重合法を用いて合成してもよい。
Apart from the
パルプを主体とする従来の吸収体においては、パルプとの親和性が低い高吸収性ポリマーを併用すると、ポリマーがパルプに付着しづらい。更に、吸収体の形状安定性が劣るので、着用者の活動時に吸収体がよれ、それによってポリマーが吸収体中で偏在しやすかった。この現象を防ぐためには、高吸収性ポリマーに対してパルプの混合比率を高めねばならず、その結果、パルプの使用量を下げることができず、高吸収性ポリマーの特性を十分生かすことができなかった。これに対して、本発明者らは意外にも、長繊維のウエブ20を主体とする吸収体を用いることで、パルプとの親和性が低い高吸収性ポリマーであってもこれをウエブ中に均一に担持できることを見出した。もちろん長繊維のウエブ20を主体とする吸収体は、パルプとの親和性が高いポリマーも均一担持することができる。
In a conventional absorbent body mainly composed of pulp, when a superabsorbent polymer having low affinity with pulp is used in combination, the polymer is difficult to adhere to the pulp. Furthermore, since the shape stability of the absorbent body is inferior, the absorbent body is swayed during the wearer's activity, whereby the polymer tends to be unevenly distributed in the absorbent body. In order to prevent this phenomenon, the mixing ratio of the pulp must be increased with respect to the superabsorbent polymer. As a result, the amount of pulp used cannot be reduced, and the characteristics of the superabsorbent polymer can be fully utilized. There wasn't. In contrast, the present inventors surprisingly use an absorbent body mainly composed of a long-
パルプとの親和性の尺度は次の方法で測定される。高吸収性ポリマー1.0gを、濾紙(アドバンテック東洋製4A185mm)上の中心から半径5cmの円内に均一に散布する。その後、高吸収性ポリマーを膨潤させるために、0.9重量%NaCl水溶液50gを前記円内に均一に塗布し、完了から1分経過後に濾紙のポリマー散布面を下に向ける。パルプとの親和性は落下したポリマーの量Aと脱落せずに濾紙に付着しているポリマー量Bを測定し、次式によって求められる。
パルプとの親和性=B/(A+B)
The measure of affinity with pulp is measured by the following method. 1.0 g of the superabsorbent polymer is uniformly dispersed in a circle having a radius of 5 cm from the center on the filter paper (Advantech Toyo 4A 185 mm). Thereafter, in order to swell the superabsorbent polymer, 50 g of 0.9 wt% NaCl aqueous solution is uniformly applied in the circle, and after 1 minute from the completion, the polymer spray surface of the filter paper is directed downward. The affinity with the pulp is obtained by the following equation by measuring the amount A of the dropped polymer and the amount B of the polymer adhering to the filter paper without falling off.
Affinity with pulp = B / (A + B)
上述した何れの高吸収性ポリマーを用いる場合であっても、該高吸収性ポリマーは、JIS K7223に従い測定された無荷重下における保持量が28g/g以上、特に33g/g以上、とりわけ35g/g以上であることが好ましい。また、同法に従い2kPa荷重下における保持量が13g/g以上、特に15g/g以上であることが好ましい。保持量は、高吸収性ポリマーがどの程度の液を吸収保持できるかの尺度となるものであり、この値が大きいほど多量の液を吸収することができ、且つそれを再放出することなく保持することができる。本発明で用いられる高吸収性ポリマーの液の保持量が前記の値以上であることによって、漏れが発生するまでに吸収できる液の量を高めることができ、またウエットバック量を少なくすることができるという利点がある。更に、液吸収後の吸収体の感触が改善される。液の保持量の測定条件として、無荷重下及び2kPa荷重下という2つの条件を設定した理由は、排尿の際に吸収性物品に体圧が加わっていない場合(例えば着用者が立っている場合や、這っている場合)と、体圧が加わっている場合(例えば着用者が座っている場合や、俯せ寝している場合)とがあることを考慮したものである。なお2kPaの荷重が吸収性物品を着用している間に吸収体に加わる体圧にほぼ相当することは、先に述べた通りである。 Even when any of the above-described superabsorbent polymers is used, the superabsorbent polymer has a retention amount of 28 g / g or more, particularly 33 g / g or more, particularly 35 g / g or more under no load measured according to JIS K7223. It is preferable that it is more than g. Further, according to the same method, the holding amount under a load of 2 kPa is preferably 13 g / g or more, particularly preferably 15 g / g or more. The amount of retention is a measure of how much liquid the superabsorbent polymer can absorb and hold, and the higher this value, the more liquid can be absorbed and retained without re-releasing it. can do. When the amount of the superabsorbent polymer liquid used in the present invention is not less than the above value, the amount of liquid that can be absorbed before leakage occurs can be increased, and the amount of wetback can be reduced. There is an advantage that you can. Furthermore, the feel of the absorber after liquid absorption is improved. The reason why the two conditions of no load and 2 kPa load are set as the measurement conditions for the amount of liquid retained is when the body pressure is not applied to the absorbent article during urination (for example, when the wearer is standing) Or when the body pressure is applied (for example, when the wearer is sitting or lying on the floor). As described above, the load of 2 kPa substantially corresponds to the body pressure applied to the absorbent body while wearing the absorbent article.
高吸収性ポリマーの液の保持量の測定方法は図2に示す通りである。先ず図2(a)に示すように、直径60mmの円筒100を用意する。円筒100は、上部100a及び下部100bに分離可能になっている。上部100aと下部100bとは螺合によって一体可能になっている。上部100aと下部100bとの間には400メッシュ(目の大きさ38μm)の金網101を配置し、上部100aと下部100bとの螺合によって金網101を円筒100に固定する。
The method for measuring the amount of superabsorbent polymer retained is as shown in FIG. First, as shown in FIG. 2A, a
次に図2(b)に示すように、金網101の上に、吸水前のドライな状態の高吸収性ポリマーPを1g散布する。その上に、ガラスフィルタ102を載せ、更にその上におもり103を載せて、高吸収性ポリマーPに2kPaの荷重が加わるようにする。このときの全体重量をA(g)とする。
Next, as shown in FIG. 2 (b), 1 g of the superabsorbent polymer P in a dry state before water absorption is spread on the
次に図2(c)に示すように、生理食塩水の入った容器104内に円筒100を沈め、高吸収性ポリマーPに生理食塩水を吸収させる。30分間静置し、高吸収性ポリマーPを充分に膨潤させた後、図2(d)に示すように円筒100を容器104から引き上げ、水切り台105の上に載置して30分間水を切る。水切り後の全体重量を測定し、その値をB(g)とする。
Next, as shown in FIG. 2 (c), the
以上の操作とは別に、高吸収性ポリマーPを散布せずに図2(a)〜(d)と同様の操作を行い、図2(e)に示すように全体重量を測定し、その値をC(g)とする。 Separately from the above operation, the same operation as in FIGS. 2A to 2D was performed without spraying the superabsorbent polymer P, and the total weight was measured as shown in FIG. Is C (g).
2kPa荷重下における高吸収性ポリマーPの保持量(g/g)は、前記のA、B及びCの値を用い、(B−A−C)で算出される。 The retention amount (g / g) of the superabsorbent polymer P under a load of 2 kPa is calculated by (B-A-C) using the values of A, B, and C described above.
一方、無荷重下における高吸収性ポリマーPの保持量(g/g)は、図2(a)〜(e)の操作において、おもり103を用いない以外は、2kPa荷重下における高吸収性ポリマーPの保持量の測定と同様にして測定される。
On the other hand, the retention amount (g / g) of the superabsorbent polymer P under no load is the superabsorbent polymer under the load of 2 kPa except that the
前記の保持量を有する高吸収性ポリマーを調製するには、例えば、先に述べた本出願人の先の出願に係る2721658号公報に記載の陰イオン界面活性剤を分散剤として用いた逆相懸濁重合法を用いればよい。 In order to prepare the superabsorbent polymer having the above-mentioned retention amount, for example, a reversed phase using an anionic surfactant described in Japanese Patent No. 2721658 according to the above-mentioned previous application of the present applicant as a dispersant. A suspension polymerization method may be used.
図1においては、高吸収性ポリマー21がウエブ20中にほぼ均一に埋没担持されている状態が示されている。しかし高吸収性ポリマー21の分散状態はこれに限られない。例えば高吸収性ポリマー21は、ウエブ20の肌対向面側に偏倚して埋没担持されていてもよい。或いは、高吸収性ポリマー21は、ウエブ20中において、ウエブ20の肌非対向面側に偏倚して埋没担持されていてもよい。高吸収性ポリマー21が、ウエブ20の肌対向面側又は肌非対向面側に偏倚している場合、高吸収性ポリマー21の存在量は、ウエブ20の厚み方向に関して連続的に変化していてもよく、或いは段階的に変化していてもよい。高吸収性ポリマー21が、ウエブ20の肌対向面側に偏倚していると、液のスポット吸収性が高くなる。そのような吸収体10を備えた吸収性物品は軽失禁者用の失禁パッドや生理用ナプキンとして好適である。一方、高吸収性ポリマー21が、ウエブ20の肌非対向面側に偏倚していると、液の拡散性が高くなり、吸収体全体での液の吸収性が高くなる。そのような吸収体10を備えた吸収性物品は使い捨ておむつとして好適である。
FIG. 1 shows a state in which the
図3には本発明の吸収性物品に係る吸収体10の他の例が示されている。本実施形態の吸収体10は、同種又は異種のウエブ20,20及び高吸収性ポリマー21の散布層を備えている。吸収体10はウエブ20を複数備えており、ウエブ20,20間にポリマー21の散布層が位置している。ウエブの層数の上限の数に特に制限はなく、吸収性物品の具体的な用途に応じて適切な数のウエブが用いられる。高吸収性ポリマー21はその一部がウエブ20内に担持されている。本実施形態の吸収体10は、ウエブ20の厚さ方向中央部に、高吸収性ポリマーが偏倚したものと捉えることができる。
FIG. 3 shows another example of the
吸収体10における高吸収性ポリマー21の厚み方向における散布状態は前述した通りであり、平面方向における散布状態としては、次に述べるものが挙げられる。先ず典型的な散布状態としては平面方向に均一に高吸収性ポリマー21が散布される状態が挙げられる。別の散布状態として、高吸収性ポリマー21が吸収体10の前側に偏倚するように散布される状態が挙げられる。この場合、吸収体10の幅方向での散布坪量を同じにして、且つ吸収体10の前側ほど散布坪量を高くすることができる。或いは、吸収体10の後側に向けて開口したコ字状となるように高吸収性ポリマー21を散布することもできる。高吸収性ポリマー12が吸収体10の前側に偏倚するように散布されていると、身体の前側からの液漏れの防止効果が高い吸収性物品が得られる。このような吸収性物品は、パンツ型使い捨ておむつとして特に有用である。
The dispersion state in the thickness direction of the
吸収体10の平面方向における高吸収性ポリマー21の別の散布状態として、高吸収性ポリマー21が吸収体10の後側に偏倚するように散布される状態が挙げられる。例えば、吸収体10の前側に向けて開口したコ字状となるように高吸収性ポリマー21を散布することができる。高吸収性ポリマー21が吸収体10の後側に偏倚するように散布されていると、身体の後側からの液漏れの防止効果が高い吸収性物品が得られる。このような吸収性物品は、低月齢乳児や寝たきりの方用の使い捨ておむつとして特に有用である。
Another spraying state of the
吸収体10の平面方向における高吸収性ポリマー21の更に別の散布状態として、吸収体10の周縁領域には高吸収性ポリマー21を散布せず、周縁領域に取り囲まれる中央領域に高吸収性ポリマーを散布する状態が挙げられる。吸収体10の周縁領域に高吸収性ポリマー21が散布されていないことで、吸収体10からの高吸収性ポリマー21の脱落を効果的に防止できる。
As another dispersion state of the
吸収体10においては、ウエブ20を構成する長繊維が、吸収体10の平面方向に一方向に配向していることが好ましい。長繊維が一方向に配向していることに起因して、吸収体10に液が吸収されると、該液は長繊維の配向方向へ優先的に拡散する。つまり吸収体10の平面方向に優先的に拡散する。逆に、長繊維の配向方向と直交する方向への拡散は抑制される。長繊維が吸収性物品の長手方向に配向している場合には、吸収性物品の側部からの液漏れ(横漏れ)が効果的に防止される。一方、長繊維が吸収性物品の幅方向に配向している場合には、吸収性物品の長手方向への拡散が抑制され、スポット吸収性が得られる。
In the
ウエブ20を構成する長繊維としては捲縮しているものを用いることが好ましい。長繊維はその捲縮率(JIS L0208)が10〜90%、特に10〜60%、とりわけ20〜50%であることが好ましい。捲縮した長繊維からウエブ20を形成することで、ウエブ20中に高吸収性ポリマー21を安定的に且つ多量に埋没担持することが容易となる。長繊維を捲縮させる手段に特に制限はない。また、捲縮は二次元的でもよく或いは三次元的でもよい。捲縮率は、長繊維を引き伸ばしたときの長さAと、元の長繊維の長さBとの差の、伸ばしたときの長さAに対する百分率で定義され、以下の式から算出される。
捲縮率=(A−B)/A × 100 (%)
As the long fibers constituting the
Crimp rate = (A−B) / A × 100 (%)
元の長繊維の長さとは、長繊維が自然状態において、長繊維の両端部を直線で結んだ長さをいう。自然状態とは、長繊維の一方の端部を水平な板に固定し、繊維の自重で下方に垂らした状態をいう。長繊維を引き伸ばした時の長さとは、長繊維の捲縮がなくなるまで伸ばした時の最小荷重時の長さをいう。 The length of the original long fiber means a length in which both ends of the long fiber are connected with a straight line when the long fiber is in a natural state. The natural state means a state in which one end of the long fiber is fixed to a horizontal plate and hung downward by its own weight. The length when the long fiber is stretched refers to the length at the minimum load when the long fiber is stretched until there is no crimp.
長繊維の捲縮率は前述の通りであり、捲縮数は1cm当たり2〜25個、特に4〜20個、とりわけ10〜20個であることが好ましい。 The crimp rate of the long fibers is as described above, and the number of crimps is preferably 2 to 25, particularly 4 to 20, especially 10 to 20 per cm.
長繊維の繊維径は、高吸収性ポリマーの担持性に関連している。ウエブ20の坪量が同一であることを条件として、1.0〜10dtex、特に1.7〜7.8dtexの長繊維を用いることで満足すべき担持性が得られる。本発明において長繊維とは、繊維長をJIS L1015の平均繊維長測定方法(C法)で測定した場合、好ましくは70mm以上、更に好ましくは80mm以上、一層好ましくは100mm以上である繊維のことをいう。ただし、測定対象とするウエブの全長が100mm未満である場合には、当該ウエブ中の繊維の好ましくは50%以上、更に好ましくは70%以上、一層好ましくは80%以上がウエブ全長にわたって延びている場合に、当該ウエブの繊維は長繊維であるとする。本発明で用いられる長繊維は一般に連続フィラメントと呼ばれるものである。また、連続フィラメントの束は一般にトウと呼ばれている。従って、本発明における長繊維とは、連続フィラメントを含む概念のものである。また長繊維が配向したウエブとは、ウエブを形成する原料としての長繊維の束(いわゆるトウ)と、連続フィラメントのトウ層を含む概念のものである。また、該長繊維の一部が切断され繊維長が上記値を下回る繊維(切断された繊維)が、吸収体中に混合されても良い。多くの場合、該切断された繊維は製造工程において生じるものである。
The fiber diameter of the long fiber is related to the supportability of the superabsorbent polymer. On the condition that the basis weight of the
以上の構造を有する本実施形態の吸収体10は、薄型で低坪量のものとなる。吸収体10の厚さや坪量は、吸収性物品の具体的な用途に応じて適切な値が選択される。例えば乳幼児用の使い捨ておむつの吸収体として用いる場合には、ウエブ20はその坪量が5〜200g/m2、特に10〜100g/m2であることが好ましい。この場合、一方、高吸収性ポリマー21の散布坪量は50〜500g/m2、特に100〜300g/m2であることが好ましい。
The
生理用ナプキンの吸収体として用いる場合には、ウエブ20はその坪量が5〜100g/m2、特に10〜50g/m2であることが好ましい。一方、高吸収性ポリマー21の散布坪量は10〜200g/m2、特に15〜100g/m2であることが好ましい。失禁パッドの吸収体として用いる場合には、ウエブ20はその坪量が5〜200g/m2、特に10〜100g/m2であることが好ましい。一方、高吸収性ポリマー21の散布坪量は10〜500g/m2、特に15〜350g/m2であることが好ましい。
When used as an absorbent body of a sanitary napkin, the
吸収体10におけるウエブ20及び高吸収性ポリマー21の合計の坪量は、吸収体10を例えば使い捨ておむつに用いる場合には、好ましくは120〜400g/m2、特に150〜300g/m2である。生理用ナプキンに用いる場合には、好ましくは35〜200g/m2、特に50〜150g/m2である。失禁パッドに用いる場合には、好ましくは35〜500g/m2、特に50〜400g/m2である。
The total basis weight of the
吸収体10は、高吸収性ポリマー21が含まれたウエブ20のみから構成されていてもよく、或いはウエブ20が、例えば各種シート材料によって包まれていてもよい。また、ウエブ20の上面及び/又は下面に各種シート材料が配されていてもよく、更にそれら全体が別のシート材料によって包まれていてもよい。前記シート材料としては、フラッフパルプやティッシュペーパーなどの紙、乾式パルプシート、不織布(例えばエアスルー不織布、エアレイド不織布)等が挙げられる。吸収体10が使い捨ておむつに用いられる場合には、該吸収体10が前記のどのような形態である場合でもその厚みが好ましくは1〜4mm、更に好ましくは1.5〜3mmという薄型のものである。生理用ナプキンに用いられる場合には、好ましくは0.5〜3mm、更に好ましくは1〜2mmである。失禁パッドとして用いられる場合には、好ましくは0.5〜4mm、更に好ましくは1〜3mmである。
The
吸収体10の厚みは、吸収体10上に5cm×5cmの大きさのアクリル板を載せ、更にその上に重りを載せ、2.5g/cm2の荷重が加わった状態下に測定される。本実施形態においては、キーエンス社のLK080クラス2レーザー変位計を用いて厚みを測定した。測定点数は5点の平均とし、20%以上測定値が振れた場合はそのデータを削除し、別の測定値を追加した。試料には予め250g/cm2の荷重を12時間掛けて、しわを伸ばした状態としておいた。
The thickness of the
図4には本発明の吸収性物品に係る吸収体10の更に他の例が示されている。本実施形態の吸収体10は、フラッフパルプの積繊層22の上に、高吸収性ポリマー21を含む長繊維のウエブ20を重ねた構造を有している。積繊層22中には、ウエブ20中に含まれている高吸収性ポリマー21と同種又は異種の高吸収性ポリマー23が含まれている。なお図4では積繊層22中にはポリマーが含まれている状態が示されているが、これに代えて積繊層22中にポリマーを含有させなくてもよい。この吸収体10では、フラッフパルプの積繊層22が、排泄された液の一次ストック層として作用するので、液の排泄速度が高い場合(例えば尿が排泄される場合)であっても、液漏れを効果的に防止できる。この観点から、ウエブ20中に埋没担持される高吸収性ポリマー21は、ウエブ20の肌非対向面側に偏倚して埋没担持されていることが好ましい。なお、フラッフパルプの積繊層22中には高吸収性ポリマー23を含有させなくてもよい。尤も、高吸収性ポリマー23を含有させた方が、積繊層22による液の一次ストック層としての効果が一層高くなるので好ましい。この吸収体10を備えた吸収性物品は使い捨ておむつとして好適である。
FIG. 4 shows still another example of the
本発明の吸収性物品に係る吸収体10のその他の例として、図5ないし図7に示すものも用いることができる。図5(a)ないし(c)には、1枚の液透過性シート30と、高吸収性ポリマー21を含む長繊維のウエブ20の1層又は2層とを組み合わせた形態の吸収体10が示されている。液透過性シート30としては、例えば乾式パルプシート、コットンシート、不織布、フラッフパルプと高吸収性ポリマーとの混合シートなどが挙げられる。図5(a)においては、ウエブ20の下側に液透過性シート30が配置されている。図5(b)においては、ウエブ20の上側に液透過性シート30が配置されている。図5(b)においては、2層のウエブ20間に液透過性シート30が配置されている。
As other examples of the
図6(a)ないし(c)には、2枚の液透過性シート30と、高吸収性ポリマー21を含む長繊維のウエブ20の1層又は2層とを組み合わせた形態の吸収体10が示されている。2枚の液透過性シート30は同種でもよく、或いは異種でもよい。図6(a)においては、液透過性シート30とその上に配置されたウエブ20とを一組とする組み合わせが二組積層されている。図6(b)においては、ウエブ20とその上に配置された液透過性シート30とを一組とする組み合わせが二組積層されている。図6(c)においては、ウエブ20の上下に液透過性シート30がそれぞれ配置されている。
6 (a) to 6 (c) show an
図7には、3枚の液透過性シート30と、高吸収性ポリマー21を含む長繊維のウエブ20の2層とを組み合わせた形態の吸収体10が示されている。3枚の液透過性シート30は同種でもよく、或いは異種でもよい。同様に、2層のウエブ20は同種でもよく、或いは異種でもよい。図7に示す吸収体10は、上下に隣り合う液透過性シート30の間にウエブ20が配置されて構成されている。
FIG. 7 shows the
本発明の吸収性物品に係る吸収体の好ましい製造方法は次の通りである。例えば図1に示す形態の吸収体10を製造する場合には、まず、先に述べた捲縮率を有する長繊維のトウを用意する。このトウに張力を加えて長手方向に引き伸ばした状態で搬送しながら所定手段によって開繊しウエブを得る。開繊には例えば圧縮空気を利用した空気開繊装置を用いることができる。長繊維は捲縮を有しているので、張力が加わることによって、該長繊維はその長手方向に容易に引き伸ばされた状態となる。開繊したウエブには、その上から高吸収性ポリマーが散布される。散布に際しては、開繊したウエブの搬送速度を減速した状態で、該ウエブをバキュームコンベア上に転写させる。ウエブは、該バキュームコンベア上で張力が緩められる。それによってウエブの引き伸ばし状態が解除され、長繊維は捲縮した状態に復帰する。またウエブは、その厚みが引き伸ばし状態時よりも大きくなり、高吸収性ポリマーの埋没担持性が向上する。この状態下に高吸収性ポリマーが散布される。捲縮状態となっている長繊維は、その繊維間に高吸収性ポリマーを収容し得る空隙を有する。この空隙に高吸収性ポリマーが埋没担持される。これにより、所望の坪量の高吸収性ポリマーを埋没担持させることができる。高吸収性ポリマーの散布と同時に、ウエブにおけるポリマーの散布面と反対側の面から吸引を行い、ポリマーの埋没担持を促進させることが効果的である。吸引の程度を適宜調整することで、ウエブの厚み方向におけるポリマーの分布を変えることができる。
The preferable manufacturing method of the absorber which concerns on the absorbent article of this invention is as follows. For example, when manufacturing the
なお前記実施形態においては、ウエブ20中には、前記の通液速度を有する高吸収性ポリマー21又はパルプとの親和性の尺度が前記の範囲内の高吸収性ポリマー21のみが含まれていたが、これに代えて、吸収性物品に他の機能を付与する目的で、高吸収性ポリマー21以外の高吸収性ポリマーを配合してもよい。尤も、高吸収性ポリマー21以外の高吸収性ポリマーを配合し過ぎると、前記の通液速度を有する高吸収性ポリマー21を配合することによる利点が減殺されるので、高吸収性ポリマー21以外の高吸収性ポリマーの配合量は、高吸収性ポリマーの全配合量に対して60重量%以下、特に20重量%以下であることが好ましい。
In the above-described embodiment, the
別の実施形態においては、前記ウエブ中の高吸収性ポリマーと積層するフラッフパルプ中に混合する高吸収性ポリマーは、ウエブ中の高吸収性ポリマーと同一のものを用いても良く、異なるものを用いても良い。異なる高吸収性ポリマーを用いる場合は、好ましくは互いに2.0kPa荷重下での通液速度が30〜300ml/minの性能を確保した高吸収性ポリマーを使用する。互いの高吸収性ポリマー間で、前記の通液性のレベルが異なっている場合は、肌に近い側に位置する層内の高吸収性ポリマーの通液性が、肌から遠い側に位置する層内の高吸収性ポリマーの通液性よりも高い方が、素早く排泄物を吸収し、肌から遠い側に位置する層内で排泄物を固定できる点で好ましい。また、肌から遠い側に位置する層内の高吸収性ポリマーの吸収容量のほうが高いほうが好ましい。好ましくは肌に近い側に位置する層がウエブ層で、肌から遠い側に位置する層が高吸収性ポリマーを含むフラッフパルプの層である。 In another embodiment, the superabsorbent polymer mixed in the fluff pulp to be laminated with the superabsorbent polymer in the web may be the same as the superabsorbent polymer in the web, or different ones. It may be used. In the case of using different superabsorbent polymers, it is preferable to use superabsorbent polymers that ensure the performance of a liquid passing speed of 30 to 300 ml / min under a load of 2.0 kPa. When the level of liquid permeability differs between the superabsorbent polymers, the liquid permeability of the superabsorbent polymer in the layer located on the side close to the skin is located on the side far from the skin. Higher liquid permeability of the superabsorbent polymer in the layer is preferable in that the excrement can be absorbed quickly and the excrement can be fixed in the layer located on the side far from the skin. Further, it is preferable that the absorption capacity of the superabsorbent polymer in the layer located on the side far from the skin is higher. Preferably, the layer located on the side close to the skin is a web layer, and the layer located on the side far from the skin is a fluff pulp layer containing a superabsorbent polymer.
図8〜図11には、本発明の吸収性物品の一実施形態としてのパンツ型の使い捨ておむつ1が示されている。おむつ1は、液透過性の表面シート2、液不透過性又は撥水性の裏面シート3及び両シート2,3間に位置する液保持性の吸収体10を有する吸収性本体5と、該吸収性本体5の外側(非肌当接面側)に位置して該吸収性本体5を接合固定している外装体100とを具備する。おむつ1は、着用者の股間部に配される股下部Cと、その前後に延在する腹側部A及び背側部Bを有している。腹側部Aは着用時に着用者の腹側に配され、背側部Bは着用時に着用者の背側に配される。
The pants-type
外装体100は、図10に示すように、2枚のシート111,112と、これら2枚のシート間に固定された各部の弾性部材とからなる。おむつ1においては、図9に示すように、2枚のシート111,112間に、ウエスト開口部7の周縁部にウエストギャザーを形成するウエスト部弾性部材71、レッグ開口部8の周縁部にレッグギャザーを形成するレッグ部弾性部材81、及びウエスト開口部7の周縁端から下方に20mm離間した位置からレッグ開口部8の上端までの領域である胴回り部Dに左右に分割された状態の胴回りギャザーを形成する胴回り弾性部材91がそれぞれ伸張状態で固定されている。各弾性部材71、81、91はホットメルト型接着剤等の接合手段により接合されている。
As shown in FIG. 10, the
本実施形態のおむつ1における吸収体10は、図9〜図11に示すように、吸収体10の肌当接面側の第1吸収体41と吸収体10の非肌当接面側の第2吸収体42とからなる。第1吸収体41は、第2吸収体42の肌当接面側に配されている。本実施形態における第1吸収体41は、平面視矩形状であり、吸収性本体5の長手方向の略全長に亘る長さ及び該吸収性本体5の幅より若干狭い幅を有している。そして、第1吸収体41として、高吸収性ポリマーが含まれた親水性を有する長繊維のウエブが用いられ、また第2吸収体42として、パルプと高吸収性ポリマーとの混合積繊体が用いられている。第1吸収体41及び第2吸収体42を含む吸収体10全体の2.0kPa荷重下での通液速度は30〜300ml/minになっている。また、第1吸収体41における高吸収性ポリマーと長繊維との重量比(高吸収性ポリマー/長繊維)は2以上になっている。
As shown in FIGS. 9 to 11, the
第2吸収体42は、平面視したときの概略形状はほぼ矩形状であるが、股下部Cの左右に、吸収体10の立体形状への変形を容易とする欠落部44,44を有している。吸収体10の立体形状への変形としては、(イ)吸収体10がおむつ幅方向の断面(例えば図11に示す断面)において凹状をなすように変形する幅方向の変形、(ロ)吸収体10がおむつ長手方向の断面において凹状をなすように変形する縦方向の変形、及び(ハ)これら両方向の変形が組み合わされた複合型の変形が代表例である。本実施形態における欠落部44は、図9及び図11に示すように、股下部Cにおける吸収体10の側縁部43から離間した部位に、該吸収体10の長手方向に沿って延びるように形成されている。股下部Cに形成された欠落部44の形成部位に関し、吸収体10の側縁部43から離間しているとは、少なくとも、おむつ長手方向中央位置において離間していれば良い。おむつ長手方向中央位置とは、展開且つ伸長状態としたおむつの長手方向の全長を2等分する位置であり、図9中のII−II線の位置である。
The second
欠落部44は、直線部45及び該直線部45の各端部に連なる円弧部46によって画定される略弓形の細長い形状をしている。各欠落部44においては、その直線部45が、吸収体10の側縁部43寄りに位置し、円弧部46が吸収体10の幅方向内方寄りに位置している。欠落部44は、第2吸収体42の長手方向の各端縁までは延びておらず、第2吸収体42の長手方向の略中央部にのみ形成されている。従って、欠落部44の各端部と、第2吸収体42の長手方向の前後端縁との間は、欠落部が存在しない積繊部になっている。
The missing
本実施形態における第1吸収体41は、図10及び図11に示すように、第2吸収体42の肌当接面側に重ねて配されており、第2吸収体42の欠落部44,44は、何れも第1吸収体41の下に位置している。吸収体の肌当接面側とは、吸収体の両面のうち、着用時に着用者の肌側に向けられる面側であり、吸収体の非肌当接面側とは、吸収体の両面のうち、着用時に着用者の肌側とは反対側に向けられる面側である。
As shown in FIGS. 10 and 11, the first
本実施形態における吸収体10は、第2吸収体42が欠落部44を有することにより、該吸収体の立体形状への変形性が向上しており、図11に示すように、吸収体10の両側部、具体的には、第2吸収体42の幅方向中央域の両側に位置する側部域が、おむつ着用時に、着用者の肌側に向けて容易に起立する。
In the
吸収体10の両側部を良好に起立させ、排尿部を包み込む理想的な立体形状を形成させる観点及び吸収体10の幅方向中央域の作用によって股間部における吸収体のよれを防止する観点から、おむつ幅方向における、吸収体の側縁部43と欠落部44(欠落部のおむつ幅方向中央寄り端部の位置)との間の距離W1(図9参照)は、吸収体10の幅W(図9参照)の10〜40%であることが好ましく、20〜30%であることがより好ましい。左右の欠落部44間の幅W2(図9参照)は、20〜120mm、特に40〜100mmが好ましい。欠落部44の幅(おむつ幅方向の寸法)は、3〜20mm、特に5〜15mmが好ましい。また、欠落部44のおむつ長手方向の長さは、幼児用のおむつにおいては、10〜35cm、特に15〜30cmが好ましく、成人用のおむつにおいては、15〜55cm、特に20〜50cmが好ましい。
From the viewpoint of satisfactorily standing on both sides of the
尚、本実施形態における吸収体10は、全体として、おむつ前後方向に縦長の矩形状の平面視形状を有している。また、吸収体10は、その全体が、ティッシュペーパーや透水性の不織布からなる透水性の被覆シート(図示略)で被覆された状態で、表面シート2と裏面シート3との間に固定されている。また、本実施形態における表面シート2は、吸収体10の両側縁部よりも延出する部分が、吸収体10の非肌当接面に巻き下げられており、吸収体の非肌当接面側において、裏面シート3に図示しない接着剤等により固定されている。尚、第1吸収体41及び第2吸収体42は、そのそれぞれが各々被覆シートで被覆されていても良い。第1吸収体41と第2吸収体42との間は接着剤等により部分的に接着されていても良いし、接着されていなくても良い。
In addition, the
吸収性本体5の長手方向の両側それぞれには、おむつ長手方向へ延びるように防漏カフ6が設けられている。防漏カフ6は、図10及び図11に示すように、防漏カフ形成用シート60、及び該防漏カフ形成用シート60に伸張状態で固定された弾性部材61によって形成されている。
Leak-
防漏カフ形成用シート60は、吸収性本体5の両側縁部5cを覆うように配されていることが好ましい。ここで、吸収性本体5の両側縁部を覆うようにとは、股下部に起立性を有する防漏カフを形成でき、該防漏カフの存在によって、吸収性本体の側縁部が装着者の肌に直接接触しにくくなっていることをいう。より具体的には、防漏カフ形成用シート60は、展開且つ伸張状態(図9参照)のおむつ1における腹側部A及び背側部B(好ましくは更に股下部C)において、おむつの吸収性本体5の肌当接面側5aから非肌当接面側5bに亘るように配されていることが好ましい。また、防漏カフ形成用シート60は、腹側部A及び背側部Bそれぞれにおいて、吸収性本体5の肌当接面側5aに固定されていることが好ましい。このような構成により、防漏カフが吸収性本体5の両側部を包み込み易くなって防漏性が向上する。肌当接面側5aとは、吸収性本体5の両面のうち、着用時に着用者の肌側に向けられる面側であり、吸収性本体5の非肌当接面側5bとは、吸収性本体5の両面のうち、着用時に着用者の肌側とは反対側に向けられる面側である。
The leak-proof
防漏カフ6は、図11に示すように、少なくとも股下部Cにおいて起立可能である。防漏カフ6の自由端62近傍には、複数本の弾性部材61が自由端62に沿って固定されている。防漏カフ形成用シート60は、腹側部A及び背側部Bそれぞれにおいて、2ヶ所の折り曲げ部64、65で折り曲げられて三つ折り状態で、吸収性本体5の肌当接面側の面上に公知の接合手段(ヒートシール、接着剤等)63により固定されている。
The leak-
本実施形態においては、防漏カフ形成用シート60として、所定幅の帯状の撥水性シート一枚を、その長手方向に沿う折り曲げ線で二つ折りして、相対向する層間をホットメルト型接着剤又は部分的な熱又は超音波シール等で接合した2層構造のシートを用いている。弾性部材61は、この2層構造シートの層間に伸張状態で固定されている。
In the present embodiment, a sheet-shaped water-repellent sheet having a predetermined width is folded as a leak-proof
股下部Cにおける吸収性本体5は、図11に示すように、該吸収性本体5の長手方向の両側縁部5cよりもおむつ幅方向に対して内側の部位に、防漏カフ6の固定端を形成する防漏カフ形成用シート60との固定部67を有する。固定部67は、ヒートシール、高周波シール、超音波シール、ホットメルト型の接着剤等の公知の接合手段により、防漏カフ形成用シート60と巻き下げられた表面シート2の延出部とを接合して形成されている。
As shown in FIG. 11, the absorbent
吸収性本体5における、固定部67よりもおむつ幅方向外側の部位には、該吸収性本体の側部立ち上げ用の弾性部材66が伸張状態で配されている。弾性部材66は、吸収性本体5の両側縁部に、各側縁部に沿って且つ腹側部Aと背側部Bとの間に亘るように配されている。本実施形態における弾性部材66は、吸収性本体5の両側縁部に配されているが、固定部67よりも外側であれば、配設部位は特に制限されず、吸収体10とその肌当接面側に位置する表面シート2との間、吸収体10と裏面シート3との間、吸収体10の被覆シート(図示略)内部等に配することもできる。これらの2カ所以上に配することもできる。但し、吸収性本体5の両側縁部又はその近傍に配することが好ましい。固定部67は、吸収性本体5の両側縁部5cから5〜50mm、特に10〜30mm程度、おむつ幅方向内側に入り込んだ部位に存在することが好ましい。
An
図11に示すように、股下部Cの幅方向において、防漏カフ6の固定端の位置P1は、欠落部44の位置(欠落部44のおむつ幅方向中央寄り端部の位置)P2と略一致していることが好ましい。防漏カフ6の固定端は、防漏カフ6の自由端とは反対側に存する、吸収性本体5と防漏カフ形成シート60とが接合されている箇所である。位置P1とP2とが略一致していることによって、吸収性本体5の両側部の立ち上がり性が一層向上し、吸収性本体5は排尿部を包み込む理想的な立体形状をより形成し易くなることから漏れ防止性能が一層向上する。位置P1とP2とが略一致しているという表現には、位置P1と位置P2とが完全に一致している場合の他、製造時の精度誤差も考慮し、両位置P1,P2間の距離L(図11参照)が10mm以内である場合も含まれる。上述した吸収体の側縁部41と欠落部44との間の距離W1、吸収体の幅W、左右の欠落部44間の幅W2、欠落部の幅、固定部67の吸収性本体5の両側縁部5cからの距離、前記位置P1,P2間の距離等の好ましい数値範囲は、おむつ長手方向中央位置において測定するものとする。
As shown in FIG. 11, in the width direction of the crotch part C, the position P1 of the fixed end of the leak-
本実施形態のおむつ1によれば、吸収体10の両側部が容易に屈曲して起立することに加えて、弾性部材66の存在及び吸収性本体5と防漏カフ形成シート60との固定部が特定の位置にあること等によって、図11に示すように、吸収体10の起立した両側部ないし起立した吸収性本体5の両側部間に、肌当接面側に向けて凹状のポケット構造が形成される。そのポケット構造は、排泄物の漏れだしが生じにくく、また、多量の尿が短時間にまとまって排泄されたり、吸収されにくい水状便や軟便等が排泄された場合等にも、その凹状のポケット構造から排泄物が漏れだし難い。また、凹状のポケットから漏れ出した場合であっても、吸収性本体5の側縁部を覆う防漏カフ6が存在するため、おむつからの漏れだしが阻止される。即ち、排泄物が、股下部において起立した吸収性本体の側縁部を超えてしまった場合でも、この防漏カフがその外側に位置して、それ以上の排泄物の漏れを防止することができるので漏れ性能に優れている。更に、防漏カフ6によって、吸収性本体の側縁部が着用時に装着者の肌に直接接触しにくくなっているため、装着時の違和感を防止することもできる。
According to the
また、股下部Cは、装着者の動き等によって左右からの圧迫を特に受け易い部分であるため、当該部分において装着者の動きによって左右から加わった圧迫力が、吸収体10の両側部が起立することにより緩和されるため、吸収体10のパッドスタビリティ(ヨレ防止効果など)も向上させることができる。更に、装着者が脚を広げる動きや上半身を捩る動きなどにより欠落部44が開き、第2吸収体42の幅方向中央域と側部域とが離間するような場合において、第2吸収体42の欠落部44が第1吸収体41と重なっていることにより、第2吸収体42の中央域と側部域との間に生じた隙間を第1吸収体41が覆い、この隙間から排泄物が漏れ出ることを防止する。
Further, the crotch part C is a part that is particularly susceptible to pressure from the left and right due to the movement of the wearer and the like, and therefore, the compression force applied from the left and right by the movement of the wearer in that part rises on both sides of the
また、本実施形態のおむつ1によれば、横漏れ防止性能を飛躍的に向上させることができるため、防漏性能を向上させ、或いは低下を抑制しつつ、吸収性本体の幅や股下部の幅を狭くしてフィット性の向上を図ることができる。このような効果は、股下部Cにおける防漏カフ6が、着用者の肌に向かって大きく起立し、充分な高さを確保することができると共に、潰れても実質的な液吸収面を狭くしにくいことと相俟って一層確実に奏される。
Further, according to the
股下部の幅を狭くした使い捨ておむつとしては、例えば、以下に示す条件を満たす使い捨ておむつを特に好ましい例として例示できる。吸収体10の幅;背側部B及び腹側部Aそれぞれにおける最大幅が60〜140mm、特に80〜120mm、股下部Cにおける最大幅が50〜140mm、特に70〜120mm。図10及び図11中の符号9は、吸収性本体5と外装体10とを接合する接着剤である。
As a disposable diaper which narrowed the width | variety of a crotch part, the disposable diaper which satisfy | fills the conditions shown below can be illustrated as a particularly preferable example, for example. The width of the
以下、実施例により本発明を更に詳細に説明する。しかしながら本発明の範囲はかかる実施例に制限されない。 Hereinafter, the present invention will be described in more detail with reference to examples. However, the scope of the present invention is not limited to such examples.
〔実施例1〜4及び比較例1〜2〕
先ず、捲縮したアセテート長繊維のトウを用意した。この長繊維の繊維径は2.1dtexであった。トウの全繊維量は2.5万dtexであった。このトウを、伸張下に搬送し空気開繊装置を用いて開繊し、開繊ウエブを得た。次いで、多数の円盤が軸周りに所定間隔おきに組み込まれたロールと、平滑な受けロールとの間に開繊ウエブを通して、該ウエブを梳いた。その後、幅100mmに調節し、その搬送速度を減速した状態でバキュームコンベア上に転写し、当該バキュームコンベア上でのウエブの張力を緩めて捲縮を発現させた。この時のウエブの捲縮率は30%、繊維1cm当たりの捲縮数は15個であった。これによって長繊維間の空間を広げ、高吸収性ポリマーを入り込ませ易くし、またウエブを厚くして高吸収性ポリマーの埋没担持性を向上させた。ウエブ上に高吸収性ポリマーを散布し、該高吸収性ポリマーを開繊ウエブ中に埋没担持させ、高吸収性ポリマーを含むウエブを得た。このウエブの下側に、パルプと高吸収性ポリマーの均一混合シートを配し複合化させた。ウエブ中に含まれる高吸収性ポリマーは、アクリル酸系の重合体であり、その物性値及び重合方法は表1に示す通りである。表1におけるポリマーA及びFは市販品であり、ポリマーB−Eは特許第2721658号公報に記載の逆相懸濁重合法に従い合成した。ウエブの坪量は25g/m2、ウエブ中の高吸収性ポリマーの坪量は147g/m2であった。パルプとポリマーの均一混合シートは等重量で混合積繊し、その坪量は300g/m2であった。この全体を、ホットメルト粘着剤をスプレー塗工した坪量16g/m2のティッシュペーパーで包みプレスをかけて吸収体を得た。吸収体全体の坪量は488g/m2、厚さは1.8mmであった。
[Examples 1-4 and Comparative Examples 1-2]
First, a crimped acetate long fiber tow was prepared. The fiber diameter of this long fiber was 2.1 dtex. The total fiber content of tow was 25,000 dtex. This tow was conveyed under extension and opened using an air opening device to obtain an opening web. Next, the web was wound through a spread web between a roll in which a large number of disks were incorporated around the axis at predetermined intervals and a smooth receiving roll. Thereafter, the width was adjusted to 100 mm, and the transfer speed was reduced and transferred onto a vacuum conveyor. The tension of the web on the vacuum conveyor was relaxed to cause crimps. At this time, the crimp rate of the web was 30%, and the number of crimps per cm of fiber was 15. As a result, the space between the long fibers was widened to facilitate the entry of the superabsorbent polymer, and the web was thickened to improve the embedding supportability of the superabsorbent polymer. A superabsorbent polymer was sprayed on the web, and the superabsorbent polymer was embedded and supported in the spread web to obtain a web containing the superabsorbent polymer. Under the web, a uniform mixed sheet of pulp and superabsorbent polymer was placed and combined. The superabsorbent polymer contained in the web is an acrylic acid polymer, and the physical properties and polymerization method are as shown in Table 1. Polymers A and F in Table 1 are commercially available products, and polymer BE was synthesized according to the reverse phase suspension polymerization method described in Japanese Patent No. 2721658. The basis weight of the web was 25 g / m 2 , and the basis weight of the superabsorbent polymer in the web was 147 g / m 2 . The uniformly mixed sheet of pulp and polymer was mixed and piled at an equal weight, and the basis weight was 300 g / m 2 . The whole was wrapped with a tissue paper having a basis weight of 16 g / m 2 and spray-coated with a hot melt adhesive, and pressed to obtain an absorbent. The basis weight of the entire absorbent body was 488 g / m 2 and the thickness was 1.8 mm.
表面シートとして坪量25g/m2のエアスルー不織布を用いた。エアスルー不織布、芯がポリプロピレン、鞘が直鎖状低密度ポリエチレンからなる芯鞘型複合繊維(太さ2.1dtex、界面活性剤で表面の親水処理し液透過性を有する)から構成されていた。裏面シートとして坪量20g/m2の多孔質フィルムに、坪量20g/m2のポリプロピレン製スパンボンド不織布をホットメルト1.5g/m2で接着して複合化したものを用いた。多孔質フィルムは、密度0.925g/cm2の直鎖上低密度ポリエチレン樹脂100重量部に、炭酸カルシウム150重量部、及び第三成分としてエステル化合物4重量部を均一混合したものを、インフレーション成形した後、縦方向に2倍に一軸延伸したフィルムであった。それ以外は通常の使い捨ておむつの製造方法に従い図8〜図11に示す使い捨ておむつを得た。吸収体は、ウエブの配向方向が、おむつの長手方向に一致するように配した。実施例及び比較例で得られた吸収体の物性は表2に示す通りであった。 An air-through nonwoven fabric having a basis weight of 25 g / m 2 was used as the surface sheet. It was composed of an air-through non-woven fabric, a core-sheath type composite fiber (having a thickness of 2.1 dtex, having a surface treated with a surfactant and having liquid permeability) made of polypropylene and a sheath made of linear low density polyethylene. A porous film having a basis weight of 20 g / m 2 as a backsheet, used was composite by bonding a polypropylene spunbond nonwoven fabric having a basis weight of 20 g / m 2 hot melt 1.5 g / m 2. The porous film is obtained by uniformly forming 100 parts by weight of a linear low density polyethylene resin having a density of 0.925 g / cm 2 and 150 parts by weight of calcium carbonate and 4 parts by weight of an ester compound as a third component. The film was uniaxially stretched twice in the longitudinal direction. Other than that, according to the manufacturing method of a normal disposable diaper, the disposable diaper shown in FIGS. 8-11 was obtained. The absorber was arranged so that the orientation direction of the web coincided with the longitudinal direction of the diaper. Table 2 shows the physical properties of the absorbers obtained in the examples and comparative examples.
実施例及び比較例で得られた使い捨ておむつについて、荷重下で繰り返し液を吸収させたときの液吸収時間を以下の方法で測定した。その結果を表3に示す。 About the disposable diaper obtained by the Example and the comparative example, the liquid absorption time when a liquid was repeatedly absorbed under load was measured with the following method. The results are shown in Table 3.
〔液吸収時間の測定〕
所定の速度及び量で擬似尿を繰り返し排尿でき、且つ赤ちゃんの体型及び体重を模したモデルに、前記のおむつをはかせて、うつぶせ寝をしている体勢にした。この体勢では、お腹付近の吸収体にかかる体圧がほぼ2.0kPaになる。この状態で排尿させ、表面シートから擬似尿がなくなるまでの時間を液吸収時間として測定した。液吸収時間が遅くなればなるほど、モデルと表面シートの間に擬似尿が液残りしている時間が長いことを意味する。モデルは、赤ちゃんの体型、体重、体勢、擬似尿の速度、量、排尿間隔を任意に調整できるようになっている。
(Measurement of liquid absorption time)
The diaper was placed on a model that can repeatedly urinate pseudo urine at a predetermined speed and amount, and imitates the baby's body shape and weight, so that the body is lying on its back. In this posture, the body pressure applied to the absorber near the stomach becomes approximately 2.0 kPa. The urination was performed in this state, and the time until the pseudo urine disappeared from the top sheet was measured as the liquid absorption time. It means that the longer the liquid absorption time, the longer the simulated urine remains between the model and the surface sheet. The model can adjust the baby's body shape, weight, posture, simulated urine speed, volume, and urination interval arbitrarily.
表3に示す結果から明らかなように、実施例のおむつは比較例のおむつに比べて、荷重下で繰り返し液を吸収させた場合、液の吸収回数が増加しても液吸収時間が長くなりづらいことが判る。 As is apparent from the results shown in Table 3, the diaper of the example has a longer liquid absorption time when the liquid is repeatedly absorbed under load, even if the number of times of liquid absorption is increased, as compared to the diaper of the comparative example. I find it difficult.
10 吸収体
20 長繊維のウエブ
21 高吸収性ポリマー
22 パルプの積繊層
23 高吸収性ポリマー
30 液透過性シート
DESCRIPTION OF
Claims (6)
第1吸収体として、高吸収性ポリマーが含まれた親水性を有する長繊維のウエブが用いられ、第2吸収体として、パルプと高吸収性ポリマーとの混合積繊体が用いられており、
第2吸収体は、股下部の左右に、前記吸収体の立体形状への変形を容易とする欠落部を有しており、
前記欠落部が、股下部における前記吸収体の側縁部から離間した部位に、該吸収体の長手方向に沿って延びるように形成されており、
第1吸収体に含まれる高吸収性ポリマーは、以下の方法で測定されたパルプとの親和性の尺度が0.3〜0.9であり、かつ以下の方法で測定された2.0kPa荷重下での通液速度が30〜300ml/minであり、
前記親水性を有する長繊維のウエブが、アセテート長繊維のトウからなる吸収性物品。
〔パルプとの親和性の尺度〕
高吸収性ポリマー1.0gを、濾紙(アドバンテック東洋製4A185mm)上の中心から半径5cmの円内に均一に散布する。その後、高吸収性ポリマーを膨潤させるために、0.9重量%NaCl水溶液50gを前記円内に均一に塗布し、完了から1分経過後に濾紙のポリマー散布面を下に向ける。パルプとの親和性は落下したポリマーの量Aと脱落せずに濾紙に付着しているポリマー量Bを測定し、次式によって求められる。
パルプとの親和性=B/(A+B)
〔2.0kPa荷重下での通液速度〕
垂直に立てた円筒(内径25.4mm)の開口部の下端に金網(目開き150μm)とコック(内径2mm)付き細管(内径4mm、長さ8cm)とを有する濾過円筒管内に、該コックを閉鎖した状態で、850〜150μmの粒度に調整した測定試料0.32gを投入し、生理食塩水50mlを注ぎ、注ぎ始めてから30分間静置した後、金網(目開き150μm、直径25mm)付き荷重(21.2g)を金網と測定試料が接するようにして濾過円筒内に挿入し、1分後におもり(77.0g)を金網付き荷重の上にのせ、さらに1分間静置した後該コックを開き、0.9重量%生理食塩水の液面が40mlの目盛り線から20mlの目盛り線に達するまでの時間(T1)(秒)を計測して、次式から求める{(T0)は測定試料なしのときの時間である}。
通液速度(ml/min)=20×60/(T1−T0) An absorbent body having a first absorbent body on the skin contact surface side and a second absorbent body on the non-skin contact surface side;
A hydrophilic long fiber web containing a superabsorbent polymer is used as the first absorbent, and a mixed product of pulp and superabsorbent polymer is used as the second absorbent,
The second absorbent body has left and right crotch parts with missing portions that facilitate deformation of the absorbent body into a three-dimensional shape,
The missing part is formed at a portion spaced from the side edge of the absorber in the crotch portion so as to extend along the longitudinal direction of the absorber,
Superabsorbent polymer contained in the first absorbent body, following affinity measure of the measured pulp way 0.3-0.9 der is, and was measured by the following method 2.0kPa The liquid flow rate under load is 30 to 300 ml / min,
An absorbent article, wherein the hydrophilic long fiber web comprises acetate long fiber tows .
[Measure of affinity with pulp]
1.0 g of the superabsorbent polymer is uniformly dispersed in a circle having a radius of 5 cm from the center on the filter paper (Advantech Toyo 4A 185 mm). Thereafter, in order to swell the superabsorbent polymer, 50 g of 0.9 wt% NaCl aqueous solution is uniformly applied in the circle, and after 1 minute from the completion, the polymer spray surface of the filter paper is directed downward. The affinity with the pulp is obtained by the following equation by measuring the amount A of the dropped polymer and the amount B of the polymer adhering to the filter paper without falling off.
Affinity with pulp = B / (A + B)
[Liquid flow rate under 2.0 kPa load]
The cock is placed in a filtering cylindrical tube having a metal mesh (mesh size: 150 μm) and a narrow tube (inner diameter: 4 mm, length: 8 cm) at the lower end of a vertically standing cylinder (inner diameter: 25.4 mm). In a closed state, 0.32 g of a measurement sample adjusted to a particle size of 850 to 150 μm is added, 50 ml of physiological saline is poured, and after standing for 30 minutes, a load with a wire mesh (aperture 150 μm, diameter 25 mm) is applied. (21.2 g) was inserted into the filter cylinder so that the wire mesh and the measurement sample were in contact, and after 1 minute, the weight (77.0 g) was placed on the load with the wire mesh, and left still for 1 minute. Open and measure the time (T1) (seconds) until the liquid surface of 0.9% by weight physiological saline reaches the 20 ml scale line from the 40 ml scale line. Without Which is the time}.
Flow rate (ml / min) = 20 × 60 / (T1-T0)
前記吸収性本体の長手方向の両側それぞれに、吸収性物品の長手方向へ延びるように防漏カフが設けられており、
前記防漏カフは、自由端とその反対側に存する固定端とを有し、該防漏カフは、該固定端の位置で前記吸収性本体の非肌当接面と接合されており、
前記防漏カフの固定端の位置が前記欠落部の位置と略一致している請求項1記載の吸収性物品。 A liquid-permeable top sheet, a liquid-impermeable or water-repellent back sheet, and an absorbent main body having the absorbent body positioned between both sheets, and the non-skin contact surface side of the absorbent main body Comprising an outer body that is bonded and fixed to the absorbent main body,
Leak-proof cuffs are provided on both sides in the longitudinal direction of the absorbent main body so as to extend in the longitudinal direction of the absorbent article,
The leak-proof cuff has a free end and a fixed end existing on the opposite side, and the leak-proof cuff is joined to the non-skin contact surface of the absorbent main body at the position of the fixed end,
The absorbent article according to claim 1, wherein the position of the fixed end of the leak-proof cuff substantially coincides with the position of the missing portion.
Priority Applications (1)
| Application Number | Priority Date | Filing Date | Title |
|---|---|---|---|
| JP2006053919A JP4646830B2 (en) | 2005-10-27 | 2006-02-28 | Absorbent articles |
Applications Claiming Priority (2)
| Application Number | Priority Date | Filing Date | Title |
|---|---|---|---|
| JP2005313550 | 2005-10-27 | ||
| JP2006053919A JP4646830B2 (en) | 2005-10-27 | 2006-02-28 | Absorbent articles |
Publications (2)
| Publication Number | Publication Date |
|---|---|
| JP2007144101A JP2007144101A (en) | 2007-06-14 |
| JP4646830B2 true JP4646830B2 (en) | 2011-03-09 |
Family
ID=38206209
Family Applications (1)
| Application Number | Title | Priority Date | Filing Date |
|---|---|---|---|
| JP2006053919A Expired - Fee Related JP4646830B2 (en) | 2005-10-27 | 2006-02-28 | Absorbent articles |
Country Status (1)
| Country | Link |
|---|---|
| JP (1) | JP4646830B2 (en) |
Families Citing this family (9)
| Publication number | Priority date | Publication date | Assignee | Title |
|---|---|---|---|---|
| JP2009072420A (en) * | 2007-09-21 | 2009-04-09 | Kao Corp | Absorbent articles |
| JP5107008B2 (en) * | 2007-12-05 | 2012-12-26 | 花王株式会社 | Sanitary napkin |
| JP2012010972A (en) * | 2010-06-30 | 2012-01-19 | Unicharm Corp | Thin absorbent article |
| JP2012010980A (en) * | 2010-06-30 | 2012-01-19 | Unicharm Corp | Thin absorbent article |
| JP6150357B2 (en) | 2015-09-30 | 2017-06-21 | 大王製紙株式会社 | Absorbent article and manufacturing method thereof |
| JP6897926B2 (en) * | 2016-10-07 | 2021-07-07 | 日本製紙クレシア株式会社 | Absorbent article |
| CN108236542B (en) * | 2016-12-27 | 2023-03-10 | 大王制纸株式会社 | Method for manufacturing absorbent article and absorbent article |
| MY202169A (en) * | 2018-03-22 | 2024-04-13 | Dsg Technology Holdings Ltd | Disposable absorbent article and absorbent core composite or construction for incorporation therewith, components therefor or thereof, and systems, apparatus and methods of making the same |
| CN111374838A (en) * | 2018-12-29 | 2020-07-07 | 尤妮佳股份有限公司 | Absorbent article |
Family Cites Families (7)
| Publication number | Priority date | Publication date | Assignee | Title |
|---|---|---|---|---|
| JP2938920B2 (en) * | 1990-01-31 | 1999-08-25 | 住友精化株式会社 | Method for producing water absorbent resin |
| JP3202767B2 (en) * | 1991-08-01 | 2001-08-27 | 株式会社日本触媒 | Manufacturing method of water absorbing agent |
| JPH0751315A (en) * | 1993-08-19 | 1995-02-28 | Kuraray Co Ltd | Absorber |
| JP2721658B2 (en) * | 1995-03-23 | 1998-03-04 | 花王株式会社 | Method for producing polymer particles |
| EP1096047A1 (en) * | 1999-10-25 | 2001-05-02 | Celanese Acetate, LLC. | Apparatus, method and system for air opening of textile tow and opened textile tow web produced thereby |
| US20040024375A1 (en) * | 2002-08-02 | 2004-02-05 | John Litvay | Multi-functional tissue for absorbent articles |
| JP4926474B2 (en) * | 2004-02-05 | 2012-05-09 | 株式会社日本触媒 | Particulate water-absorbing agent, method for producing the same, and water-absorbing article |
-
2006
- 2006-02-28 JP JP2006053919A patent/JP4646830B2/en not_active Expired - Fee Related
Also Published As
| Publication number | Publication date |
|---|---|
| JP2007144101A (en) | 2007-06-14 |
Similar Documents
| Publication | Publication Date | Title |
|---|---|---|
| JP4273179B2 (en) | Multi-layer absorbent article | |
| JP4557914B2 (en) | Disposable diapers | |
| US20110106036A1 (en) | Absorbent product | |
| JP3892324B2 (en) | Body fluid absorbent article | |
| JP5057876B2 (en) | Auxiliary absorbent article | |
| CN101299979A (en) | absorbent article | |
| US20080294138A1 (en) | Absorbent Product | |
| JPH09173381A (en) | Absorbent articles | |
| JP4519094B2 (en) | Disposable diapers | |
| JP4646830B2 (en) | Absorbent articles | |
| JPH1066710A (en) | Absorbent articles | |
| JP4536024B2 (en) | Absorbent articles | |
| MXPA05011638A (en) | Absorbent article with improved absorbency performance. | |
| JP3986446B2 (en) | Absorbent articles | |
| JP2001104371A (en) | Absorbent articles | |
| JP2003180721A (en) | Absorbent articles | |
| JP6603922B2 (en) | Absorbent articles | |
| JP2020130653A (en) | Absorbent body and absorbent article including the same | |
| JP2021029600A (en) | Underpants type absorbent article | |
| JP7372889B2 (en) | absorbent articles | |
| JPH11216162A (en) | Absorbent articles | |
| JP7282614B2 (en) | absorbent article | |
| JP4724475B2 (en) | Absorbent articles | |
| KR20250111301A (en) | Shorts-type pad, and packaging of shorts-type pad | |
| WO2006135018A1 (en) | Absorbent article |
Legal Events
| Date | Code | Title | Description |
|---|---|---|---|
| A621 | Written request for application examination |
Free format text: JAPANESE INTERMEDIATE CODE: A621 Effective date: 20080214 |
|
| A977 | Report on retrieval |
Free format text: JAPANESE INTERMEDIATE CODE: A971007 Effective date: 20090820 |
|
| A131 | Notification of reasons for refusal |
Free format text: JAPANESE INTERMEDIATE CODE: A131 Effective date: 20090825 |
|
| A521 | Request for written amendment filed |
Free format text: JAPANESE INTERMEDIATE CODE: A523 Effective date: 20091016 |
|
| A131 | Notification of reasons for refusal |
Free format text: JAPANESE INTERMEDIATE CODE: A131 Effective date: 20100615 |
|
| A521 | Request for written amendment filed |
Free format text: JAPANESE INTERMEDIATE CODE: A523 Effective date: 20100806 |
|
| TRDD | Decision of grant or rejection written | ||
| A01 | Written decision to grant a patent or to grant a registration (utility model) |
Free format text: JAPANESE INTERMEDIATE CODE: A01 Effective date: 20101207 |
|
| A01 | Written decision to grant a patent or to grant a registration (utility model) |
Free format text: JAPANESE INTERMEDIATE CODE: A01 |
|
| A61 | First payment of annual fees (during grant procedure) |
Free format text: JAPANESE INTERMEDIATE CODE: A61 Effective date: 20101207 |
|
| FPAY | Renewal fee payment (event date is renewal date of database) |
Free format text: PAYMENT UNTIL: 20131217 Year of fee payment: 3 |
|
| FPAY | Renewal fee payment (event date is renewal date of database) |
Free format text: PAYMENT UNTIL: 20131217 Year of fee payment: 3 |
|
| R250 | Receipt of annual fees |
Free format text: JAPANESE INTERMEDIATE CODE: R250 |
|
| LAPS | Cancellation because of no payment of annual fees |
