[go: up one dir, main page]

JP4351660B2 - Medical suture material - Google Patents

Medical suture material Download PDF

Info

Publication number
JP4351660B2
JP4351660B2 JP2005234839A JP2005234839A JP4351660B2 JP 4351660 B2 JP4351660 B2 JP 4351660B2 JP 2005234839 A JP2005234839 A JP 2005234839A JP 2005234839 A JP2005234839 A JP 2005234839A JP 4351660 B2 JP4351660 B2 JP 4351660B2
Authority
JP
Japan
Prior art keywords
medical
suturing
suture material
suture
material according
Prior art date
Legal status (The legal status is an assumption and is not a legal conclusion. Google has not performed a legal analysis and makes no representation as to the accuracy of the status listed.)
Expired - Fee Related
Application number
JP2005234839A
Other languages
Japanese (ja)
Other versions
JP2006015160A (en
Inventor
敬二 伊垣
昌俊 森
重夫 大井
Current Assignee (The listed assignees may be inaccurate. Google has not performed a legal analysis and makes no representation or warranty as to the accuracy of the list.)
Gunze Ltd
Original Assignee
Gunze Ltd
Priority date (The priority date is an assumption and is not a legal conclusion. Google has not performed a legal analysis and makes no representation as to the accuracy of the date listed.)
Filing date
Publication date
Application filed by Gunze Ltd filed Critical Gunze Ltd
Priority to JP2005234839A priority Critical patent/JP4351660B2/en
Publication of JP2006015160A publication Critical patent/JP2006015160A/en
Application granted granted Critical
Publication of JP4351660B2 publication Critical patent/JP4351660B2/en
Anticipated expiration legal-status Critical
Expired - Fee Related legal-status Critical Current

Links

Images

Landscapes

  • Materials For Medical Uses (AREA)
  • Surgical Instruments (AREA)

Description

本発明は、生体組織の切除部位等に縫い合わされる医療用縫合材に関し、特に、自動縫合器に装着して使用される医療用縫合材に関する。   The present invention relates to a medical suture material that is sewn to a resection site or the like of a living tissue, and more particularly to a medical suture material that is used by being attached to an automatic suturing device.

従来、生体組織に生じた病巣の切除は、外科的手術による方法が一般的に行われているが、患者に対する負担の軽減などを目的に、内視鏡下での手術等が施術されるようになってきている。   Conventionally, excision of lesions in living tissues has been generally performed by surgical operation. However, for the purpose of reducing the burden on the patient, endoscopic surgery, etc. is performed. It is becoming.

例えば、自動縫合器を用いた切除術等は、その一例である。自動縫合器は、穿孔から生体内へ導入され、患部を切除すると同時に切除部位の縫合を行うものであり、これを用いることで患部の切開が不要となるという利点がある。したがって、上述の自動縫合器は、先端に生体組織の切除部位を挟み込む縫合機構部を有し、さらにこの縫合機構部には、縫合のための複数のステープルラインや生体組織の切断機構(例えばナイフ)が設けられている。   For example, resection using an automatic suturing device is an example. The automatic suturing device is introduced into a living body through a perforation and excises the affected part, and simultaneously sutures the excision site. Using this, there is an advantage that incision of the affected part is not required. Therefore, the above-described automatic suturing device has a suturing mechanism section that sandwiches the excision site of the living tissue at the tip, and further includes a plurality of staple lines for suturing and a cutting mechanism for living tissue (for example, a knife) ) Is provided.

勿論、外科的手術においても、自動縫合器の使用は、縫合、切開時間の短縮や、施術の簡便化に有利である。   Of course, also in a surgical operation, the use of an automatic suturing device is advantageous for suturing, shortening the incision time, and simplifying the treatment.

ところで、肺、気管支、肝臓、消化管等の脆弱な組織に対して前述の自動縫合器で施術する場合、ステープルによる縫合のみでは、組織の断裂の虞があり、また、例えば肺の手術においては、空気漏れが発生する虞がある。前記空気漏れは、患者にとって致命的であり、これを確実に防止することが望まれる。   By the way, when performing the above-mentioned automatic suturing device on fragile tissues such as the lungs, bronchi, liver and digestive tract, there is a risk of tissue tearing only by suturing with staples, and for example, in lung surgery There is a risk of air leakage. The air leak is fatal to the patient, and it is desirable to prevent it reliably.

そこで、従来、自動縫合器に縫合材を装着しておき、これを生体組織の切除部位にステープルで縫い合わせるということが行われている。   Therefore, conventionally, a suture material is attached to an automatic suturing device, and this is sewn to the excision site of the living tissue with staples.

この場合、縫合材を自動縫合器に装着可能とし、確実に患部に到達させるためには、何らかの工夫が必要であり、例えば、フェルト状の縫合材に伸縮性ニットを重ね、これらを仮縫い糸で両側縁に沿って縫い付け、筒状にしたものが提案されている。   In this case, in order to make it possible to attach the suture material to the automatic suturing device and to surely reach the affected area, it is necessary to make some contrivance. It has been proposed to sew along the side edges to form a cylinder.

ところで、伸縮性ニットを縫い付けて自動縫合器への装着を可能とした縫合材では、自動縫合器を生体内に挿入して患部へ導入する際に、挿入方向で収縮し自動縫合器の基端側に片寄ったり、自動縫合器の周囲で回転(いわゆるツイスト)する等の不都合が発生している。   By the way, in the case of a suture material that can be attached to an automatic suturing device by sewing an elastic knit, when the automatic suturing device is inserted into a living body and introduced into an affected area, the suture material contracts in the insertion direction and the base of the automatic suturing device. There are inconveniences such as shifting to the end side and rotating around the automatic suturing device (so-called twist).

縫合材に片寄りや回転が生ずると、的確な処置が難しく、特に内視鏡下のような限られた視野での施術の際に、大きな問題となる。   When the suture material is displaced or rotated, it is difficult to perform an accurate treatment, which is a serious problem particularly when performing a treatment with a limited visual field such as under an endoscope.

そこで、本発明は、このような実情に鑑みて提案されたものであって、自動縫合器の挿入時に片寄りや回転による不都合が発生することがなく、例えば肺の手術に用いた場合に空気漏れを確実に防止することが可能な医療用縫合材を提供することを目的とする。   Therefore, the present invention has been proposed in view of such circumstances, and there is no inconvenience due to deviation or rotation when the automatic suturing device is inserted. For example, when used in lung surgery, the air An object of the present invention is to provide a medical suture material capable of reliably preventing leakage.

上述したような目的を達成するため、本発明に係る医療用縫合材は、互いに重ね合わせられた2枚の医療用縫合材料の両側縁から先端側に亘る部分が縫糸によって縫い合わせられ、先端側が閉塞された袋状に縫合されるとともに、上記袋状に縫合された先端側部分は、先端に向かって次第に幅狭となるように形成され、ステープルラインを有する自動縫合器に装着可能に形成したものである。 In order to achieve the above-described object, in the medical suture material according to the present invention, the portions extending from both side edges to the distal end side of the two medical suture materials superimposed on each other are sewn together with a sewing thread, and the distal end side is closed. The front end portion sewn in the bag shape is formed so as to become gradually narrower toward the front end and can be attached to an automatic suturing device having a staple line. It is.

本発明に係る縫合材において、その主体となる縫合材料には、フェルトのような不織布や、織布、ニット等、ある程度の柔軟性、伸縮性を有するものであれば任意の形態のものが使用でき、その材質も公知のものがいずれも使用できるが、術後を考えると、ポリグリコール酸のような生体吸収性高分子や、生体組織の一部、例えば心のう膜等の臓器保護膜を用いることが望ましい。   In the suturing material according to the present invention, as a main suturing material, a non-woven fabric such as felt, a woven fabric, a knit, or the like having any degree of flexibility and stretchability is used. Any known material can be used, but considering the postoperative period, a bioabsorbable polymer such as polyglycolic acid or a part of a living tissue, for example, an organ protective film such as the pericardium It is desirable to use

本発明に係る医療用縫合材料を構成する複数の縫合材料は、同一の材料であってもよいし、別の材料であってもよい。また、縫合材料と共に縫い合わせられる他の材料は、縫合材料でなくともよく、例えば通常のニット等が用いられる。   The plurality of suture materials constituting the medical suture material according to the present invention may be the same material or different materials. Further, the other material sewn together with the suture material may not be the suture material, and for example, a normal knit or the like is used.

本発明に係る医療用縫合材は、先端が閉塞された袋状に縫い合わされたものであるので、自動縫合器への挿入の際に、挿入方向に収縮することによる片寄りの発生を防止できる。特に、複数枚の縫合材料を袋状に縫い合わせた縫合材は、全周に亘り縫合材料のみによって構成されるため、不用意に回転(ツイスト)したとしても、常に縫合材料が患部に当接される。   Since the medical suture material according to the present invention is sewn into a bag shape with the closed end, it can prevent the occurrence of deviation due to contraction in the insertion direction upon insertion into the automatic suturing device. . In particular, a suture material in which a plurality of suture materials are stitched together in a bag shape is constituted only by the suture material over the entire circumference, so that even if the suture material is rotated carelessly (twist), the suture material is always brought into contact with the affected area. The

したがって、本発明に係る縫合材を用いることによって、縫合部位の補強を確実に行うことができ、組織の断裂や空気漏れを抑えることが可能である。   Therefore, by using the suture material according to the present invention, it is possible to reliably reinforce the suture site, and to suppress tissue tearing and air leakage.

以下、本発明を適用した実施の形態を図面を参照しながら詳細に説明する。   Embodiments to which the present invention is applied will be described in detail below with reference to the drawings.

まず、本発明に係る医療用縫合材の実施の形態の説明に先立って、本発明に係る医療用縫合材と同様に自動縫合器に装着されて用いられる本発明に先行する医療用縫合材の例を挙げて説明する。   First, prior to the description of the embodiment of the medical suturing material according to the present invention, the medical suturing material prior to the present invention used by being mounted on an automatic suturing device in the same manner as the medical suturing material according to the present invention. An example will be described.

本発明に先行する医療用縫合材1は、本願の発明者等が提案したものであって、図1に示すように、例えば吸収性ポリグリコール酸のフェルト(例えば、グンゼ社製、商品名ネオベール等)よりなる1枚の主縫合材2を先端が閉塞された袋状に縫合せてなるものであり、極めてシンプルな構成を有するものである。   The medical suturing material 1 preceding the present invention has been proposed by the inventors of the present application, and as shown in FIG. 1, for example, an absorbent polyglycolic acid felt (for example, trade name Neobale, manufactured by Gunze Co., Ltd.). Etc.), and a single main suture material 2 is stitched into a bag shape with its tip closed, and has a very simple configuration.

ここで、主縫合材2には、吸収性ポリグリコール酸のような生体吸収性高分子の他、従来縫合材として用いられているものがいずれも使用可能である。例えば、心のう膜等の臓器保護膜のような生体組織の一部を使用することも可能である。   Here, as the main suture material 2, in addition to a bioabsorbable polymer such as absorbable polyglycolic acid, any conventionally used suture material can be used. For example, a part of a living tissue such as an organ protective film such as a pericardium can be used.

この主縫合材2は、後述の自動縫合器の装着部位の長さとほぼ等しい長さを有し、2つ折りにして、幅方向一側縁に沿って縫糸3によって縫い合わされている。ここで用いる縫糸3は、抜き取り易さを考慮すると、いわゆるモノフィラメントがよく、その材質は任意である。例えば、生体吸収性ポリマーの糸や、滑り性の良好なポリアミド糸(いわゆるナイロン糸)等が好適である。   This main suture material 2 has a length substantially equal to the length of a mounting portion of an automatic suturing device to be described later, and is folded in two and is sewn together with a sewing thread 3 along one side edge in the width direction. The sewing thread 3 used here is preferably a so-called monofilament in consideration of ease of extraction, and the material thereof is arbitrary. For example, bioabsorbable polymer yarns and polyamide yarns having excellent slipperiness (so-called nylon yarns) are suitable.

このように構成された医療用縫合材は、自動縫合器に装着して使用される。そこで、次に、自動縫合器の構造、医療用縫合材の使用方法について説明する。   The medical suturing material thus configured is used by being mounted on an automatic suturing device. Then, next, the structure of an automatic suturing device and the usage method of a medical suture material are demonstrated.

自動縫合器は、図2に示すように、シャフト11の先端に開閉自在な縫合部12を有してなるものであって、基端部には把持及び操作を行うための操作部13が設けられている。   As shown in FIG. 2, the automatic suturing device has a suture part 12 that can be freely opened and closed at the distal end of the shaft 11, and an operation part 13 for holding and operating is provided at the proximal end part. It has been.

縫合部12は、図3に示すように、ステープルが収容されたカートリッジやナイフブレードが装填される縫合機構部12a及び生体組織を挟み込むための顎部12bとからなり、縫合機構部12aの挟み込み面には、複数(本例では、3列×3列=6列)のステープルライン14やナイフの走査ライン15が臨んでいる。   As shown in FIG. 3, the suturing portion 12 includes a suturing mechanism portion 12a loaded with a cartridge in which staples are stored and a knife blade, and a jaw portion 12b for sandwiching a living tissue, and the sandwiching surface of the suturing mechanism portion 12a. A plurality of (in this example, 3 rows × 3 rows = 6 rows) staple lines 14 and knife scanning lines 15 are facing.

この自動縫合器は、サージポートと称されるアタッチメントを介して生体内に導入される。すなわち、先ず、生体に設けた穿孔にサージポートを装着し、このサージポートを通して自動縫合器のシャフト11を生体内へと挿入する。これによって、生体に設けた穿孔の密閉が保たれる。   This automatic suturing device is introduced into a living body through an attachment called a surge port. That is, first, a surge port is attached to the perforation provided in the living body, and the shaft 11 of the automatic suturing device is inserted into the living body through the surge port. Thereby, the perforation provided in the living body is kept sealed.

上述した医療用縫合材1は、自動縫合器の縫合部12に装着して使用される。図4は、縫合材1を自動縫合器の縫合部12に装着した状態を示すもので、縫合機構部12a及び顎部12bにそれぞれ縫合材1が取り付けられる。縫合材1の縫合部12への装着は、袋状の縫合材1を縫合部12に被せることで円滑に行うことができる。   The above-described medical suturing material 1 is used by being attached to a suturing portion 12 of an automatic suturing device. FIG. 4 shows a state in which the suturing material 1 is attached to the suturing portion 12 of the automatic suturing device, and the suturing material 1 is attached to the suturing mechanism portion 12a and the jaw portion 12b, respectively. The suture material 1 can be smoothly mounted on the suture portion 12 by covering the suture portion 12 with the bag-like suture material 1.

この状態で、先に述べたようにサージポートを介して自動縫合器を生体内へと挿入し、患部へと到達させる。このとき、自動縫合器に装着される縫合材1は、袋状のものを閉塞された部分より押し込むかたちになっているので、収縮による片寄りやツイストが発生することはない。   In this state, as described above, the automatic suturing device is inserted into the living body through the surge port and reaches the affected area. At this time, the suturing material 1 attached to the automatic suturing device has a shape in which the bag-like material is pushed in from the closed portion, so that no deviation or twist due to contraction occurs.

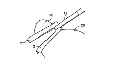
縫合部12を患部へ導入した後、図5に示すように、生体組織20の切除部位を縫合機構部12a及び顎部12bによって挟み込む。これによって、前記切除部位は主縫合材2で覆われることになる。   After the suture part 12 is introduced into the affected part, as shown in FIG. 5, the excision site of the living tissue 20 is sandwiched between the suture mechanism part 12a and the jaw part 12b. As a result, the excision site is covered with the main suture material 2.

次に、自動縫合器の操作部13に設けられた操作レバー13aを操作し、ステープルライン13からステープルを打針する。これによって、生体組織20の切除部位に沿ってステープルが打針され、縫合処置が施されるが、このとき、同時に縫合部12に装着された縫合材1の主縫合材2が生体組織20の切除部位に押し当てられ、ステープルによって縫合される。   Next, the operation lever 13 a provided in the operation unit 13 of the automatic suturing device is operated to staple staples from the staple line 13. As a result, staples are driven along the excision site of the biological tissue 20 and a suture treatment is performed. At this time, the main suture material 2 of the suture material 1 attached to the suture part 12 is excised at the same time. It is pressed against the site and sutured with staples.

主縫合材2は、縫合の際の補強材として機能し、生体組織20の切断部分をこの主縫合材2を介して縫合することで、組織の断裂が防止され、例えば巨大肺のう胞の切除術等においては、空気漏れが防止される。   The main suture material 2 functions as a reinforcing material at the time of suturing, and the cut portion of the living tissue 20 is sutured through the main suture material 2 to prevent tissue tearing. For example, excision of a giant lung cyst Etc., air leakage is prevented.

次いで、縫合機構部12aに設けられたナイフを走査ライン15に沿って走査し、生体組織20及び主縫合材2を切断する。   Next, a knife provided in the suturing mechanism 12 a is scanned along the scanning line 15 to cut the living tissue 20 and the main suture material 2.

以上によって縫合処置が完了するが、本例の縫合材1を用いることによって、縫合操作を円滑に進めることができ、しかも確実に縫合部位の補強、空気漏れの防止を行うことができる。図6は、縫合終了状態を示すものであり、生体組織20の縫合部位には、主縫合材2が縫い合わされ、縫合状態が極めて安定なものとなっている。   Although the suturing procedure is completed as described above, by using the suturing material 1 of the present example, the suturing operation can be smoothly proceeded, and the sutured portion can be reliably reinforced and air leakage can be reliably prevented. FIG. 6 shows the sutured state, and the main suture material 2 is stitched to the stitched portion of the living tissue 20, and the stitched state is extremely stable.

次に、本発明を適用した医療用縫合材21の実施形態を説明する。この縫合材21は、図7に示すように、2枚の縫合材料22、23を先端側が閉塞された袋状に縫い合わせて形成されたものである。

Next, an embodiment of the medical suture material 21 according to the present invention. As shown in FIG. 7, the suture material 21 is formed by sewing two suture materials 22 and 23 together in a bag shape closed at the tip side.

この医療用縫合材21を構成する各縫合材料22、23は、いずれも先端に向かって次第に幅狭となるような形状とされており、縫糸24、25により両側縁に沿って縫い合わされている。また、これら縫糸24、25は、縫合材料22、23の形状により、縫合材料22、23の先端部において交差され、袋状の縫い合わせを確実なものとしている。   Each of the suture materials 22 and 23 constituting the medical suture material 21 is shaped so as to gradually become narrower toward the tip, and is sewn along both side edges by sewing threads 24 and 25. . The sewing threads 24 and 25 are crossed at the distal end portions of the sewing materials 22 and 23 depending on the shape of the sewing materials 22 and 23 to ensure the bag-like sewing.

ここで用いる縫糸24、25は、前述した医療用縫合材1に用いるものと同様に、抜き取り易さを考慮し、いわゆるモノフィラメントを用いることが望ましく、その材質は任意であるが、例えば、生体吸収性ポリマーの糸や、滑り性の良好なポリアミド糸(いわゆるナイロン糸)等が好適である。   The sewing threads 24 and 25 used here are preferably so-called monofilaments in consideration of easiness of extraction as in the above-described medical suture material 1, and any material may be used. A suitable polymer yarn or a polyamide yarn (so-called nylon yarn) having good slipperiness is suitable.

ここで用いる縫合材料22、23は、同一の材料であってもよいし、別の材料であってもよい。具体的に、第1の縫合材料22を吸収性ポリグリコール酸のフェルト(例えば、グンゼ社製、商品名ネオベール等)により構成し、第2の縫合材料23を別の材料により構成した。このように、別の材料で構成することにより、コストを削減することができ、製造上有利である。   The suture materials 22 and 23 used here may be the same material or different materials. Specifically, the first suture material 22 was made of absorbable polyglycolic acid felt (for example, trade name Neobale, etc., manufactured by Gunze), and the second suture material 23 was made of another material. Thus, by using another material, cost can be reduced and it is advantageous in manufacturing.

なお、本発明に係る医療用縫合材21は、上述した本発明に先行する縫合材1と同様、自動縫合器に装着して使用されるものであり、その使用方法は上述した縫合材1と同様であるので、更なる詳細な説明は省略する。   The medical suture material 21 according to the present invention is used by being attached to an automatic suturing device in the same manner as the suture material 1 preceding the present invention described above. Since it is the same, further detailed description is abbreviate | omitted.

以上、本発明の実施の形態を説明したが、本発明はこの実施の形態に限られるものではなく、材質、形状等において種々の変形が可能であることは言うまでもない。   As mentioned above, although embodiment of this invention was described, it cannot be overemphasized that various deformation | transformation is possible in a material, a shape, etc., this invention is not limited to this embodiment.

本発明に先行する医療用縫合材を示す概略斜視図である。It is a schematic perspective view which shows the medical suture material prior to this invention. 自動縫合器の一例を示す概略斜視図である。It is a schematic perspective view which shows an example of an automatic suturing device. 自動縫合器の縫合機構部の要部概略斜視図である。It is a principal part schematic perspective view of the suturing mechanism part of an automatic suturing device. 縫合材の自動縫合器への装着状態を示す概略斜視図である。It is a schematic perspective view which shows the mounting state to the automatic suturing device of a suture material. 自動縫合器による縫合操作状態を示す概略斜視図である。It is a schematic perspective view which shows the suturing operation state by an automatic suturing device. 縫合処置終了状態を示す概略斜視図である。It is a schematic perspective view which shows the suture treatment completion state. 本発明に係る発明医療用縫合材の実施の形態を示す概略斜視図である。1 is a schematic perspective view showing an embodiment of the inventive medical suture material according to the present invention.

符号の説明Explanation of symbols

21 医療用縫合材、 13 ステープルライン、 22、23 縫合材料、 24、25 縫糸   21 Medical suture material, 13 Staple line, 22, 23 Suture material, 24, 25 Sewing thread

Claims (8)

互いに重ね合わせられた2枚の医療用縫合材料の両側縁から先端側に亘る部分が縫糸によって縫い合わせられ、先端側が閉塞された袋状に縫合されるとともに、上記袋状に縫合された先端側部分は、先端に向かって次第に幅狭となるように形成され、ステープルラインを有する自動縫合器に装着可能されていることを特徴とする医療用縫合材。 The portions of the two medical suturing materials superimposed on each other from both side edges to the front end side are sewn together with a sewing thread, and are sewn into a bag shape with the front end side closed, and the front end side portion sewn into the bag shape. is formed to be narrower gradually wide toward the tip, the medical suture, characterized in that it is can be mounted in an automatic suturing device having a staple line. 上記縫合材料は、不織布、織布、ニットから選ばれる少なくとも1種よりなることを特徴とする請求項1記載の医療用縫合材。 The medical suturing material according to claim 1 , wherein the suturing material comprises at least one selected from a nonwoven fabric, a woven fabric, and a knit. 上記縫合材料は、合成高分子よりなることを特徴とする請求項1記載の医療用縫合材。 The medical suture material according to claim 1 , wherein the suture material is made of a synthetic polymer. 上記2枚の医療用縫合材料のうちの少なくとも一方は、生体吸収性高分子よりなることを特徴とする請求項1記載の医療用縫合材。 The medical suture material according to claim 1 , wherein at least one of the two medical suture materials is made of a bioabsorbable polymer. 上記生体吸収性高分子は、ポリグリコール酸であることを特徴とする請求項4記載の医療用縫合材。 The medical suturing material according to claim 4 , wherein the bioabsorbable polymer is polyglycolic acid. 上記縫合材料は、生体組織の一部よりなることを特徴とする請求項1記載の医療用縫合材。 The medical suturing material according to claim 1 , wherein the suturing material comprises a part of a living tissue. 上記生体組織は、臓器保護膜であることを特徴とする請求項6記載の医療用縫合材。 7. The medical suture material according to claim 6 , wherein the living tissue is an organ protective film. 上記生体組織は、心のう膜であることを特徴とする請求項6記載の医療用縫合材。 The medical suture material according to claim 6 , wherein the living tissue is a pericardium.
JP2005234839A 1995-05-08 2005-08-12 Medical suture material Expired - Fee Related JP4351660B2 (en)

Priority Applications (1)

Application Number Priority Date Filing Date Title
JP2005234839A JP4351660B2 (en) 1995-05-08 2005-08-12 Medical suture material

Applications Claiming Priority (2)

Application Number Priority Date Filing Date Title
JP10983495 1995-05-08
JP2005234839A JP4351660B2 (en) 1995-05-08 2005-08-12 Medical suture material

Related Parent Applications (1)

Application Number Title Priority Date Filing Date
JP11754195A Division JP3795100B2 (en) 1995-05-08 1995-05-16 Medical suture material

Publications (2)

Publication Number Publication Date
JP2006015160A JP2006015160A (en) 2006-01-19
JP4351660B2 true JP4351660B2 (en) 2009-10-28

Family

ID=35789873

Family Applications (1)

Application Number Title Priority Date Filing Date
JP2005234839A Expired - Fee Related JP4351660B2 (en) 1995-05-08 2005-08-12 Medical suture material

Country Status (1)

Country Link
JP (1) JP4351660B2 (en)

Also Published As

Publication number Publication date
JP2006015160A (en) 2006-01-19

Similar Documents

Publication Publication Date Title
JP3795100B2 (en) Medical suture material
JP3526487B2 (en) Medical sutures
JP4122066B2 (en) Suture holding member for medical use
EP3890624B1 (en) Endoscopic tissue approximation system
JP5049326B2 (en) Implantable prosthesis
JPWO1998043543A1 (en) Medical suture holding member
US9186053B2 (en) Methods of using light to repair hernia defects
JP2018536465A (en) Extensible buttress assembly for surgical staplers
JP3136392B2 (en) Suture prosthesis
JP4351660B2 (en) Medical suture material
KR100289262B1 (en) Medical Suture Materials
JP6153430B2 (en) Suture prosthesis for automatic suturing device
US12207999B2 (en) Device for facilitating the implantation of a surgical mesh
AU765367B2 (en) Medical suture holding member
AU2003212041B2 (en) Medical Suture Holding Member

Legal Events

Date Code Title Description
RD04 Notification of resignation of power of attorney

Free format text: JAPANESE INTERMEDIATE CODE: A7424

Effective date: 20080626

A131 Notification of reasons for refusal

Free format text: JAPANESE INTERMEDIATE CODE: A132

Effective date: 20090508

A521 Written amendment

Free format text: JAPANESE INTERMEDIATE CODE: A523

Effective date: 20090624

TRDD Decision of grant or rejection written
A01 Written decision to grant a patent or to grant a registration (utility model)

Free format text: JAPANESE INTERMEDIATE CODE: A01

Effective date: 20090717

A01 Written decision to grant a patent or to grant a registration (utility model)

Free format text: JAPANESE INTERMEDIATE CODE: A01

A61 First payment of annual fees (during grant procedure)

Free format text: JAPANESE INTERMEDIATE CODE: A61

Effective date: 20090724

FPAY Renewal fee payment (event date is renewal date of database)

Free format text: PAYMENT UNTIL: 20120731

Year of fee payment: 3

R150 Certificate of patent or registration of utility model

Free format text: JAPANESE INTERMEDIATE CODE: R150

FPAY Renewal fee payment (event date is renewal date of database)

Free format text: PAYMENT UNTIL: 20120731

Year of fee payment: 3

FPAY Renewal fee payment (event date is renewal date of database)

Free format text: PAYMENT UNTIL: 20130731

Year of fee payment: 4

FPAY Renewal fee payment (event date is renewal date of database)

Free format text: PAYMENT UNTIL: 20140731

Year of fee payment: 5

LAPS Cancellation because of no payment of annual fees