[go: up one dir, main page]

JP4306798B2 - Substrate carrier and load lock door drive device - Google Patents

Substrate carrier and load lock door drive device Download PDF

Info

Publication number
JP4306798B2
JP4306798B2 JP50529197A JP50529197A JP4306798B2 JP 4306798 B2 JP4306798 B2 JP 4306798B2 JP 50529197 A JP50529197 A JP 50529197A JP 50529197 A JP50529197 A JP 50529197A JP 4306798 B2 JP4306798 B2 JP 4306798B2
Authority
JP
Japan
Prior art keywords
carrier
load lock
door
grip
assembly
Prior art date
Legal status (The legal status is an assumption and is not a legal conclusion. Google has not performed a legal analysis and makes no representation as to the accuracy of the status listed.)
Expired - Lifetime
Application number
JP50529197A
Other languages
Japanese (ja)
Other versions
JPH11513006A (en
Inventor
リチャード エス. ムカ
マイケル ダブリュ. ピピンズ
ミッチェル エイ. ドリュー
Original Assignee
ブルックス オートメーション インコーポレイテッド
Priority date (The priority date is an assumption and is not a legal conclusion. Google has not performed a legal analysis and makes no representation as to the accuracy of the date listed.)
Filing date
Publication date
Priority claimed from US08/499,069 external-priority patent/US5613821A/en
Priority claimed from US08/498,859 external-priority patent/US5607276A/en
Priority claimed from US08/498,597 external-priority patent/US5609459A/en
Application filed by ブルックス オートメーション インコーポレイテッド filed Critical ブルックス オートメーション インコーポレイテッド
Publication of JPH11513006A publication Critical patent/JPH11513006A/en
Application granted granted Critical
Publication of JP4306798B2 publication Critical patent/JP4306798B2/en
Anticipated expiration legal-status Critical
Expired - Lifetime legal-status Critical Current

Links

Images

Classifications

    • BPERFORMING OPERATIONS; TRANSPORTING
    • B65CONVEYING; PACKING; STORING; HANDLING THIN OR FILAMENTARY MATERIAL
    • B65GTRANSPORT OR STORAGE DEVICES, e.g. CONVEYORS FOR LOADING OR TIPPING, SHOP CONVEYOR SYSTEMS OR PNEUMATIC TUBE CONVEYORS
    • B65G49/00Conveying systems characterised by their application for specified purposes not otherwise provided for
    • B65G49/05Conveying systems characterised by their application for specified purposes not otherwise provided for for fragile or damageable materials or articles
    • B65G49/07Conveying systems characterised by their application for specified purposes not otherwise provided for for fragile or damageable materials or articles for semiconductor wafers Not used, see H01L21/677
    • H10P72/3406
    • H10P72/3412

Description

発明の背景
1.発明の属する技術分野
本発明はパーティクル汚染を低減する標準化された機構インターフェースに関し、特に半導体処理装置の密閉コンテナを用いてパーティクル(粒子)汚染を防ぐ装置に関する。さらに本発明は特に、クラスター装置などの処理設備に移送時に待機する環境制御ができるロードロック室と、搬送コンテナまたはキャリアとの間で半導体ウエハを効率的に移送するシステムに関する。本発明によって製造プロセスのスループットを大きく改善できる。
本発明の開示するところにおいて、「ウエハ」の語は一貫してシリコンウエハや平面ガラスパネルなどの平面基板をいう場合に用いているが、全ての基板に当てはまる広い意味を意図している。通常、そのような基板は円形で、直径200mm、厚さ約0.760mmであるが、最近同じ厚さで直径は300mmに進展している。
2.従来の技術
VLSI回路の製造にとって微粒子汚染の制御はコスト、高収率、高収益の点で肝要である。一層小さなラインアンドスペースの設計ルールが要求されてきており、パーティクル数の制御とさらに小さなパーティクルの除去がますます必要になっている。
汚染パーティクルはライン間に不完全なエッチングを生じさせ、不必要なブリッジを形成する場合がある。このような物理的な欠陥の他に、ゲート接合や誘電体の中にイオンやトラップ中心による電気的な欠陥を起こすパーティクル汚染がある。
パーティクル汚染の主な発生源は人、装置、化学薬品である。人の発生するパーティクルは環境を通じて、また物理的接触やウエハ表面へのマイグレーションによって移される。たとえば剥がれ落ちた皮膚は容易にイオン化され欠陥を生じるため、人はパーティクルの重大な発生源である。
近頃の処理装置は0.01ミクロン以下から200ミクロンの大きさまでのパーティクルに関係する。これらの大きさのパーティクルは半導体プロセスにおいて非常に損害を与える。今日の通常の半導体プロセスは1ミクロン以下の大きさを用いている。0.1ミクロン以上の大きさの汚染パーティクルは1ミクロンを用いる半導体装置に実際上支障となる。もちろん傾向としては半導体プロセスの大きさは一層小さくなっていく。
近年、フィルタやその他の技術によって「クリーンルーム」が確立され、0.03ミクロン以上のパーティクルを除去する試みがなされてきた。しかしプロセス環境を改善する必要がある。従来の「クリーンルーム」は望むようなパーティクルの無い状態を維持できない。従来の「クリーンルーム」では0.01ミクロン以下のパーティクルの無い状態を保つのは実際上不可能である。無塵衣はパーティクルの放出を低減させるけれども、完全にパーティクルを保持することはできない。完全な着衣をした作業者でも1分間に0.028m3(1立方フィート)当たり6000個のパーティクルを自身の近くに放出していることが知られている。
汚染パーティクルを制御する工業界の傾向は、HEPAやULPA空気循環システムを備えた、より綿密な(しかも高価な)クリーンルームを建てることである。許容されるレベルの清浄度を得るためには、フィルタ効率は1分間99.999%以上の完全な空気交換が要求される。
装置および化学薬品の中のパーティクルは「プロセス欠陥」と呼ばれる。プロセス欠陥を最小化するにはプロセス装置の製造者は発生したパーティクルがウエハに到達するのを防がなければならず、ガスや液体化学薬品の供給者はより清浄な製品を提供しなければならない。最も重要なのはウエハをプロセス装置に保存、輸送、移送する際にウエハをパーティクルから効果的に分離することである。
ウエハへのパーティクル量を大幅に減らしパーティクル汚染を低減するため標準機械インターフェース(SMIF:Standard Mechanical Interface)システムが考案され用いられている。ウエハの保存、輸送、プロセスの際に機械的にウエハ周囲のガス媒質(空気や窒素など)がウエハに対して本質的に静止するようにし、外部雰囲気からパーティクルがウエハ環境に即座に入り込まないようにすることでこの目的は達成される。
SMIFのコンセプトは、パーティクルの無い静止した小体積で、パーティクルの内部発生源が無いことがウエハにとって最も清浄な環境であるということにある。
通常SMIFシステムは、(1)保存・輸送用の最小体積の防塵箱またはキャリア、(2)解放棚のウエハカセットを用い、(3)箱またはキャリアの扉がプロセス装置のポートと一致するよう設計され、2つの扉を同時に開けることができ扉外部面のパーティクルが扉の間で捕獲される(「挟まれる」)ようになっている。
通常のSMIFシステムでは、箱またはキャリアはインターフェースポートと、箱の扉およびポートの扉を同時に開放するラッチ(掛け金)との場所に置かれる。機械的な昇降機が扉を下げ、カセットが天辺に乗る。マニピュレータがカセットを取り上げ装置のカセットポート/昇降機の上に置く。プロセスの後は逆の操作が行われる。
SMIFシステムはクリーンルームの内外で用いる実験がされ、効果的であることが証明された。このSMIFではクリーンルーム内で解放カセットを扱う従来の方法に比べ十倍改善された。
SMIFシステムを用いることによって、カセットによってウエハを離して保持し、多数のウエハを箱またはキャリアに入れて運ぶのが一般的になった。この技術では、カセットにウエハが載せられ、カセットは箱またはカセット内に輸送され、次に1枚ずつカセットから取り出されてクラスター装置の受け入れチャンバーまたは他のプロセス装置に配置される。最近、カセットは多数のウエハを同時に輸送できるさらに効率的でパーティクルの無いカセットに置き換わってきた。
前述の従来技術から本発明は理解され実行に移される。特に本発明は、クリーンルーム環境を維持し多数のウエハを同時に搬送し、一方で設備の棚卸し、すなわち初期コストを低減し、簡単・小型で、維持費用も少なく、またプロセスのスループットを向上させている。前述の多くはSMIFシステム、およびウエハを扱う環境の制御に関するものであったが、本発明のウエハが晒される環境など、材料を取り扱う局面について広く適用できる。
発明の概要
本発明は、複数のウエハを離して積層し、パーティクルの無い環境へ搬送する可搬型キャリアからロードロックに半導体ウエハをバッチでロードするためのシステムである。キャリアはパーティクルの無い環境を有するロードロック室に隣接して支持される。ロードロック室に関連する多段の端部作動器(エフェクタ)は複数の端部エフェクタの組を有し、各組はキャリア中の対応するウエハと整列するように配置され、ウエハを保持するようになっている。ウエハはグループとしてまとめて取り出せるようになっており、次の搬送のためロードロック室に保持され、隣の搬送室に一度に送られ、クラスタ装置のうちの特定の複数のプロセス装置に供給される。分離ハウジングまたは小囲いはロードロック室およびキャリア内部を周囲環境から密閉して分離する。キャリアからロードロック室へ複数のウエハを搬送した後で、キャリアおよびロードロック室は密閉されロードロック室と搬送室は排気される。端部エフェクタの組を動かすために様々な機構、すなわちキャリアおよびロードロック室への出し入れのための昇降機構、キャリアドアおよびロードロックドアを封止した閉位置と開位置、およびキャリアおよびロードロック室の間から離れた停止位置に動かすための機構などが備えられている。さらにキャリアドアおよびロードロックドアを封止した閉位置と開位置の間で個別に動かし、それらを一体としてキャリアおよびロードロック室の間から離れた停止位置に動かすための機構などが備えられている。
本発明は基板キャリアの清浄環境を維持しつつウエハキャリアをロードロックに送るインターフェースを提供する。本発明はプロセスステップの実行時に外部環境から保護しつつプロセスのスループットを最大化する効率的で、迅速な動作、統一された設計を提供する。
ロードロックアームがロードロック内に、本来的には構造に制約のない、カセットとして働くバッチ端部エフェクタを有しているのでウエハの搬送に昇降機を必要としない。カセットからのガス汚染(通常、ガス放出する重合体)も除去されておりウエハプロセスの質を改善している。またアームアセンブリには主にガス放出が最小な金属を用いており短時間で向上した真空度に達する。
本発明では不必要なカセットおよびその在庫を必要としない統一されたキャリアとカセットの構造が得られる。カセットをSMIFボックスから降ろしロードロックに搬送する従来のSMIFローダーのように、ウエハを空気中で搬送しパーティクル汚染に晒すような危険を除去している。本発明の例では、ウエハをバッチ構成でロードしているため間接的な時間を減少でき、高いスループットを得ている。
さらに本発明の特長、利点、恩恵は下記の説明および図面によってより明確となるであろう。前述の概略および下記の詳細説明は例示的、説明的なものであって本発明を制限するものではない。詳細な説明と共に、本発明の一実施例を説明し本発明の一部を構成する添付図面は本発明の原理を一般的に説明するのに役立つ。同様に本開示を通して数字は同様な部品を意味している。
【図面の簡単な説明】
図1は、本発明によるウエハプロセスシステムを、搬送室からカバーを取り除いた状態を示す模式的上面図である。
図2は、図1に示すある一定の部分を詳細に示し、明確さのために部品の一部を断面で示した側方立面図である。
図3は、模式的な詳細側方立面図であり、明確さのためある部品は断面で、または割愛され、図2のある部品を詳細に説明し、キャリアドアは閉位置にあることを示している。
図3Aは、図3の微小部分を詳細に説明する断面図である。
図4は、キャリアドアが開位置にあるときの、図2の一部を示す模式的な側方立面図である。
図5は、明確さのためある部品は断面で示し、図3の部品を詳細に説明する透視図である。
図6は、図2の一部を詳細に示す側方立面図である。
図7は、図4の線7−7に沿った断面図である。
図8,9,10および11は部品の連続的な相対位置を説明する図4に類似の模式的な側方立面図である。
図12は、図2の部品をより詳細に説明する詳細な透視図である。
図13は、本発明の他の実施例を示す拡大断面の詳細な上平面図である。
図14は、図13の他の位置における部品をより詳細に説明する、さらに詳細な上平面図である。
図15は、図14の詳細な透視図であり、ある部分を切り取った断面を示す。
発明の詳細な説明
図面を参照すると、まず図1はウエハや平面パネルなどのシリコン平面基板を処理するプロセスシステム20を示している。前述のように本開示を通して「ウエハ」という語はこのような基板について用いているが、全ての基板に当てはまる広い意味を意図している。本発明は特に、より新しい基板を処理するのに有益である。
プロセスシステム20は処理しようとするウエハを最初に受け取るロードロック22と、鏡面プラズマエッチングなどのウエハ表面処理を施す複数の単一ウエハプロセス装置24を有する。プロセス装置24は一点鎖線26で示すように、通常閉じた軌跡の周りに配置される。プロセスの前後でロードロック22とプロセス装置の間でウエハを移送するため、搬送室28はロードロック22とプロセス装置24の同一中心に配置されている。プロセス装置24と搬送室28の境界部およびロードロック22と搬送室28の境界部に複数の分離バルブ30が個別に備えられている。
前述のように今では運搬可能なSMIF箱またはコンテナ、ここでは「キャリア」と呼ぶ、が半導体ウエハなどを清浄に保つために用いられることが知られている。ウエハはプロセスシステム20から出し入れし、キャリア内には実質的にパーティクルが無いように保つことによってウエハは清浄に保たれる。カセットによってウエハを離して保持し、多数のウエハを箱またはキャリアに入れて運ぶのが一般的なことについては前述した。この技術では、カセットにウエハが載せられ、カセットは箱またはカセット内に搬送され、次に1枚ずつキャリア内のカセットから取り出されてロードロック22に置かれるか、またはウエハを載せたカセットはキャリア、SMIF箱などとウエハ処理装置との間の小さな清浄環境部分に移送される。
本発明によれば、図2および図3に示すように変形可搬キャリア32が実質的にパーティクルの無い環境で離れて置かれた複数のウエハ34を保持し搬送するために備えられている。キャリア32は、ウエハを通常垂直方向に離して、通常水平に保つため複数の棚部材の組36を有する。
キャリア32は、その内部40に入れるようにキャリアポート38を有している。キャリアのキャリアドア42はキャリアポートに接した閉位置(図3)とキャリアポートから離れた開位置(図4)との間で動かすことができる。キャリアドア42は一般に長方形のプレート44を有し、周囲に広がる連続的なフランジ46を有するように描かれている。キャリアドアが閉位置にあるときキャリアの内部40を周囲環境から密閉するために、フランジ46とキャリアポート38との間に適当なシール48が挿入されている。
フランジ46からキャリア32に向かって、少なくとも1対の対向したロック用タブ50が伸びており、各ロック用タブはその中に穴52を有している。ロック用タブ50のそれぞれには、ロッキングピン56を動作させるソレノイド状のロック用部材54が付いている。特に図5を見ると、ロック用部材がキャリア32に適切に取り付けられている。ロッキングピン56が対応する穴52とかみ合ったときキャリアドア42はフランジ46とキャリアポート38に対ししっかり固定され、フランジとポートとの間のシール48によってキャリア内部40のパーティクルの無い状態が維持される。ロッキングピン56が対応する穴52から引き抜かれたときは、キャリアドア42は下記に述べるようにキャリアから自由に取り外せる。
また本発明においては、周囲環境からキャリア32の内部40とロードロック22を密閉分離するために、分離ハウジングあるいは小囲い(mini-environment)58(特に図2参照)が備えられている。キャリアはある適当な方法で離れた所から運ばれ、小囲い58の一部である台60に載せられ、プロセスシステム20から離れる方向に突き出る。台60の上面62には、キャリアの底から伸びた足部66を受けるように複数の窪み64が適当な間隔で形成されている。足部66が完全に窪み64にかみ合ったときキャリア32の前面68は小囲い58の外部面70に接近している。
小囲いには通常ロードロック22と整合する、しかし離れて配置された窓72を有し、キャリアが台60に載せられたときにキャリアドア42がその窓を通して小囲いの内部へ伸びるようになっている。キャリアが台に固定されたときにキャリアと小囲い58の間には適当なシール74が設けられ、キャリアポート38と小囲いの窓72を封じ、キャリア内部、小囲い内部およびロードロックを周囲環境から分離する。図3に示すようにキャリア32が台60上に置かれたとき、小囲い58の外部面70にピボット状に取り付けられた複数の留め金300(図3A)は、キャリアの外部周辺面に設けられた留め金凹部302と選択的にかみ合うように動作する。それぞれの場合で、留め金アクチュエータ304は凹部302とかみ合う部分から離れた一端で留め金300にピボット状に取り付けられた作動ロッド306を引き伸ばしたり引っ込めたりする。信号によって留め金アクチュエータ304は留め金300が実線で示す凹部302とかみ合った位置から破線で示す凹部からはずれた位置に動くよう作動する。キャリア32の全ての留め金300が実線の位置にあるとき、シール74はキャリアと小囲いの間でしっかりと締め付けられている。
ロードロック22は実質的にパーティクルの無い室76を画定し、ロードロック室に通じたロードロックポート78を有している。前述のようにロードロック22はキャリア32と搬送室28の間に位置している。ロードロックドア80は、ロードロックポート78を覆って閉じる位置とそれから離れて開いた位置の間を移動できるようにロードロックに適切に取り付けられている。
ロードロック室76内のロードロックアーム82は、キャリア32から離れた非作動位置(図2参照)とキャリア近傍にある作動位置(図3参照)との間を動くことができる。このロードロックアームおよびその動作機構は1995年7月6日に出願され出願番号第08/498,835号が付与されて本願出願人と同一人に譲渡された本願と同時係属中の「ロードロック用搬送アーム」(パーマン アンド グリーン(Perman and Green)事件番号第390-955938-NA号)と題する特許出願に開示の構成のものでもよい。ここに上記特許出願全体を参考文献として挙げる。
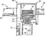
図3、図4に加え図6を参照すると、多段端部エフェクタ84がロードロックアーム82の上に取り付けられている。図6でよりはっきりとわかるように、多段端部エフェクタ84は、ロードロックアーム82に載せられ上方に、特にロードロックアームにピボット状に取り付けられた関節接合88,90の一方の延長接合88から上方に突き出る搭載マニフォールド86を有している。複数の垂直方向に間隔をおいて配置された端部エフェクタの組92は搭載マニフォールドとの複合体であり、マニフォールドから外側にキャリアの方向に突き出て等間隔の平行平板の状態になる。
端部エフェクタの組92の間隔は、この説明が進むにつれて明らかになる理由でウエハの厚さよりも実質的に広い。端部エフェクタの組92はそれぞれ横方向に間隔をおいて配置された一対の端部エフェクタフィンガー94(図7参照)を有しており、水平面にウエハを保持するのに適している。複数の端部エフェクタの組92はそれぞれ搬送アームが作動位置にきたとき棚部材の組36と、つまりキャリアに保持されているウエハ34と一列になるようになっている。多段端部エフェクタ84がキャリア32に入るために、後述するような動きができるようにロードロックドア80およびキャリアドア42は開くことができ、図8に示すように離れた位置に動くことができなければならない。
したがってロードロックアーム82が作動位置にあるとき多段端部エフェクタ84は、ウエハから離れた引き込んだ位置からキャリア32の内部40へ、ロードロックポート78およびキャリアポート38を通って、ウエハを集合体として回収するように動くことができる。ロードロックアーム82は多段端部エフェクタ84を左へ(図9)動かし、端部エフェクタの組92がそれぞれウエハ34の下方でウエハとかみ合わないように動作する。多段端部エフェクタ84が左方への動きの限界点に達したときロードロックアームは多段端部エフェクタ84と共に十分な距離を上昇し、棚部材の組からウエハを集合体として持ち上げる。その後、上昇位置に保持したままでロードロックアーム82が再度動作し、多段端部エフェクタ84を右方にロードロック室76内の引き込んだ位置まで、多段端部エフェクタ84上にウエハ34の一群を載せて移動する。図11を参照のこと。
ロードロック室76内の多段端部エフェクタ84上にウエハ34の一群が位置した後は、搬送室28内の搬送アーム96はウエハ34を多段端部エフェクタから取り込み、複数のプロセス装置24の特定の1つに供給するように動作する。
多段端部エフェクタ84が上記で述べたように動作するためには、第1にキャリアドア42およびロードロックドア80の開きを調整しなければならない。この調整動作について以下に説明する。初めにキャリアドアが開けられ、次にロードロックドアが開けられ、その後両方のドアがキャリア内部とロードロック室の間の領域から離れた位置へ動く。
キャリアドアを動かす機構は、選択的にキャリアドア42とかみ合い、キャリアドアから離れロードロックドア80に隣接した第1の位置(図2)と、ロードロックドアに隣接したロードロックドアから離れた第2の位置(図3)との間を動かすことができる結合装置98を有する。第1のアクチュエータ100がロードロックドア上に取り付けられ、駆動ロッド102を介して結合装置98が第1と第2の位置との間を動くように働く。結合装置98は駆動ロッドに取り付けられたカプラ枠103、カプラ枠により支持され導かれる対向軸に配置された一対のグリップ部材104,106を有する。グリップ部材104,106はカプラ枠103により支持、導かれグリップ位置と非グリップ位置との間を動く、対向軸に配置されたグリップロッド108を有している。特にグリップ部材104,106は両端にグリップフィンガー110を有し、グリップ部材がグリップ位置にあるときグリップフィンガーはキャリアドア42の周辺リム(縁)112とかみ合う。
このようにグリップフィンガーはキャリアドア42とかみ合っていない非グリップ位置(図3)と周辺リム112とかみ合っているグリップ位置(図4)との間を動くことができる。このようなグリップ部材104,106によるキャリアドアのかみ合わせは結合装置98が第1の位置にあるときのみ起きる。カプラ枠103上の第2のアクチュエータ114はグリップ部材104,106が適切な圧力のグリップロッド108を介してグリップ位置と非グリップ位置との間を動くように働く。
キャリアドア42を開く一連の動作は、まず第1のアクチュエータ100が、グリップフィンガー110が周辺リム112の面内に入るように結合装置98をキャリアドアのごく近くまで左方に動かすことによって開始される。その後に第2のアクチュエータ114が、周辺リム112にグリップフィンガーがしっかりとかみ合うまでグリップ部材を放射状に動かし始める。その後再び第1のアクチュエータ100は、結合装置を右方に動かし内側に向いたフランジ46の端部116が、それまで周囲環境から密閉していたシール48から外れるように動作する。駆動ロッド102によって、結合装置98と、それと共にキャリアドア42がロードロックドア80に隣接した位置まで右方に動く。
ロードロックドア80に隣接した位置にキャリアドア42がある状態で、ロードロックドアの駆動機構118はロードロックドアと、それと共に結合装置98とキャリアドア42からなる部分を閉じた位置から開いた位置へ動かすよう動作する。閉じた位置ではロードロックドア80は、外気からロードロック室76を分離する適当なシール120に対ししっかりと押さえられている(図2、図12を参照)。上記はたとえば、間隔をおいて、対向した、通常は垂直な案内溝121とロードロック22,およびロードロックドア80の反対側の面によって達成される。
ロードロックドアの駆動機構118は小囲い58の底部124に取り付けられた駆動アクチュエータ122を有している。駆動アクチュエータ122は駆動アクチュエータ軸123と共に垂直に、キャリアとロードロック室76の中間に配置され、ロードロックドア80が上昇して閉じた位置と下降して開いた位置の間を動くようにロードロックドア80に適切に取り付けられている。
駆動機構118がロードロックドア、結合装置98、キャリアドア42を図8に示すように全て下げた位置になるまで多段端部エフェクタ84の動作は行われないことが理解されるであろう。
インデックス駆動機構126がロードロックアームを非作動位置(図11)と作動位置(図10)との間で動かすために設けられている。前述のようにロードロックアーム82およびその動作機構、さらにインデックス駆動機構126は1996年12月31日発行の米国特許第5,588,789号に開示の構成のものでもよい。
インデックス駆動機構126は適当なインデックスアクチュエータ軸130を伸ばすことのできる種類のインデックスアクチュエータ128を有し、粗動時は長い距離を急速に動かし、微動時には増分ステップ動作ができるものであってもよい。このようにインデックスアクチュエータは1つの動作モードとして、全ての端部エフェクタの組92がキャリア42の内部40の棚部材の組36と一直線に整列された(aligned)作動位置(図8−10)と、全ての端部エフェクタの組が棚部材の組と整列されていない非作動位置(図11)との間でロードロックアームを動かす。前者ではクラッチ132はかみ合っており、後者では外れている。
アーム駆動機構134は、ロードロックアーム82とそれと共に多段端部エフェクタ84を引き込み位置と前進位置との間で動かす適当な回転アクチュエータを有する。アーム駆動機構134はさらに、かみ合わせのできるクラッチ要素132aと132bを有し、これらはインデックス駆動機構がロードロックアームと多段端部エフェクタを作動位置に動かすときだけかみ合う。その時には前述のように端部エフェクタ84をキャリアの内部に前進させることができる。
前述したように、搬送室28の搬送アーム96は多段端部エフェクタからウエハ34を一度に取り込み複数のプロセス装置24の特定の1つに供給するように動作する。インデックス駆動機構126は、特定の端部エフェクタの組92と搬送室28内の搬送アーム96に付いているロボット端部エフェクタフィンガー138の高さを合わせるように増分モードで動作してもよい。このようにクラッチ要素132a、132bが外れて、搬送アクチュエータ140により駆動された搬送アーム96は多段端部エフェクタ84からウエハを一度に取り込み複数のプロセス装置24の特定の1つに供給するように動作する。搬送アーム96および関連する搬送アクチュエータ140はヘンドリクソン(Hendrickson)による米国特許第5,180,276号に開示の構成のものでもよい。ここに上記特許全体を参考文献として挙げる。
適当な分離バルブ30が前述のようにロードロック室76と搬送室28の間に備えられている。分離バルブは、ウエハ34を支えるロボット端部エフェクタフィンガーを通すには十分大きく、ロードロック室と搬送室の間の流体の往来を防ぎ、またある場合には許すような選択的な動作が可能である。加えて分離バルブがロードロック室と搬送室の間の流体の往来を許すような位置の時に周囲環境からロードロックと搬送室を分離するために、適当なシール142がロードロック22と搬送室28との間に挟まれている。
真空源144がロードロック室76と搬送室28を選択的に排気するために備えられている。導管146が真空源144とロードロック室の間に伸びており、導管146内の選択的動作が可能なバルブ148は、ロードロックドア80が閉じているときに真空源とロードロック室をつなぎ、ロードロックドアが開いているときにロードロック室から真空源を切り離す。同様に導管150が真空源144と搬送室の間に伸びている。導管150内の選択的動作が可能なバルブ152は、搬送室が周囲環境から分離されているときに真空源と搬送室を相互接続している。
他の望ましいキャリアドア駆動機構の実施例160について図13−15を参照する。この場合ではキャリア162は、間隔を置いて通常積み重ねた複数のウエハ34を保持し搬送する前述のキャリア32と同様である。前と同じようにキャリア162はその内部166に入ることができるようにキャリアポート164を有している。また周囲環境からロードロック室とキャリアの内部を分離、密閉する小囲い168がある。さらにキャリア162は、周囲環境から内部166を密閉するためキャリアポート164に覆い被さる閉じた位置と、キャリアポートから離れた開いた位置との間で可動なキャリアドア170を有する。
ロードロックのロードロックドア172は前述のように、周囲環境からロードロック室を密閉するためロードロックポートに覆い被さる閉じた位置と、それから離れた開いた位置との間で動くことができる。キャリアドア駆動機構とその動作はまた、前述した通りである。
小囲い168は通常ロードロックポートと整列し離れて配置された窓を有し、キャリアポート164が小囲いの窓174と近接するようにキャリア162を支持する台60を有する。適当なシール176が小囲いとキャリアの間に備えられ、キャリアが台に支持されキャリアポートと小囲いの窓を囲むときに周囲環境から小囲いの内部とロードロック室を分離する。
キャリアドア駆動機構160は、キャリアドア170と選択的にかみ合い、ロードロックドアに近くキャリアから離れた第1の位置(図13の破線で示す)と、ロードロックドアから離れキャリアに近い第2の位置(図13の実線で示す)との間を動く結合機構178を有する。第1のアクチュエータ180はロードロックドア172の上に取り付けられ、第1および第2の位置の間で結合機構178を動かす駆動ロッド182を有する。
キャリアドア170は184の所(図14および図15)で空洞になっており、その中にグリップ溝186を有する。結合機構178は駆動ロッド182に据え付けられ、結合機構が前述の第2の位置にあるときに小囲い168の窓174係合する(窓174に収容される)ドアグリップ板188を有する。ドアグリップ板188に取り付けられたドアグリップ棒190は、キャリアドア170内のグリップ溝186を掴むようにかみ合うグリップ位置と、外れた解放位置との間を動く一対の曲がりフィンガー194をその末端に有している。
加えて、ラッチ機構196がキャリアドアに設けられ、キャリアと選択的にかみ合いキャリアドアをキャリアにしっかりと固定する。この目的のため、キャリア162はキャリアポート164内にラッチ凹部198(図14)を有する。ラッチ凹部198と共に、ラッチ機構196はラッチ凹部とかみ合ったラッチ位置とラッチ凹部から外れた非ラッチ位置との間で動く、キャリアドア170に201の所でピボット状に取り付けられたラッチ200を有する。保持ピン202は凹部184において第1端部204でラッチにピボット状に接続されており、第1端部の反対側に第2曲がり端部206を有する。曲がり端部206は一対の曲がりフィンガー194の間の溝208で受けられ、ドアグリップ棒190とかみ合うことができる。
圧縮バネ210は保持ピン202を取り囲み、凹部184内でラッチ200をラッチ位置に押し付けている。バネはその左端(図14および図15に示す)に、キャリアドア170内で凹部198の対向する両壁から突き出た肩部212で止まっている。バネ210の右端は肩部212から適度な位置で保持ピン202に固定されたC型留め具214で押し付けられている。この構成によって保持ピンおよびその第2曲がり端部206は、図13−15に見られるように右方に押し付けられている。このようにバネ210はラッチ200をラッチ凹部198とかみ合ったノーマリクローズ位置に保持するのに有効である。しかし、一対の曲がりフィンガー194をグリップ溝186を掴むようにかみ合うグリップ位置に動かすドアグリップ棒190の動きは同時にラッチをラッチ凹部から外れた位置に動かすのにも有効である。グリップ溝186とかみ合う曲がりフィンガー194を保持し、ラッチ200を開位置に保持する(全て図14に示されている)アクチュエータ192の連続的な動作で、キャリアドア170とドアグリップ板188は一体となり、アクチュエータ180によって図13で破線で示す開位置へ動かすことができる。
本発明の望ましい実施態様について詳細に説明したが、当業者であれば本明細書および請求の範囲に記載された本発明の範囲から逸脱せずに様々な変形が可能であることは理解できるであろう。
Background of the Invention
1. TECHNICAL FIELD OF THE INVENTION
The present invention relates to a standardized mechanism interface for reducing particle contamination, and more particularly to an apparatus for preventing particle contamination using a sealed container of a semiconductor processing apparatus. Furthermore, the present invention particularly relates to a system for efficiently transferring a semiconductor wafer between a load lock chamber capable of environmental control waiting for transfer to a processing facility such as a cluster apparatus and a transfer container or carrier. The present invention can greatly improve the throughput of the manufacturing process.
In the present disclosure, the term “wafer” is consistently used to refer to a planar substrate such as a silicon wafer or a flat glass panel, but is intended to have a broad meaning that applies to all substrates. Usually, such a substrate is circular and has a diameter of 200 mm and a thickness of about 0.760 mm, but recently has evolved to 300 mm with the same thickness.
2. Conventional technology
Control of particulate contamination is essential for VLSI circuit manufacturing in terms of cost, high yield, and high profitability. Smaller line and space design rules have been demanded, and there is an increasing need to control the number of particles and remove even smaller particles.
Contaminated particles can cause incomplete etching between lines and form unwanted bridges. In addition to such physical defects, there is particle contamination that causes electrical defects due to ions and trap centers in gate junctions and dielectrics.
The main sources of particle contamination are people, equipment and chemicals. Human-generated particles are transferred through the environment, physical contact, and migration to the wafer surface. For example, humans are a significant source of particles because peeled skin is easily ionized and produces defects.
Modern processing equipment is concerned with particles ranging from 0.01 microns or less to sizes of 200 microns. Particles of these sizes are very damaging in semiconductor processes. Today's normal semiconductor processes use sizes below 1 micron. Contaminating particles having a size of 0.1 microns or more actually impede the semiconductor device using 1 micron. Of course, as a trend, the size of the semiconductor process is getting smaller.
In recent years, “clean rooms” have been established by filters and other techniques, and attempts have been made to remove particles larger than 0.03 microns. But the process environment needs to be improved. The conventional “clean room” cannot maintain the desired particle-free state. In the conventional “clean room”, it is practically impossible to maintain a state of no particles of 0.01 μm or less. Dust-free garments reduce particle emissions, but cannot hold particles completely. Even a fully dressed worker is 0.028m per minute Three It is known that 6000 particles are released close to itself per cubic foot.
The industry trend to control contaminating particles is to build a more elaborate (and expensive) clean room with HEPA and ULPA air circulation systems. In order to obtain an acceptable level of cleanliness, the filter efficiency requires a complete air exchange of 99.999% or more per minute.
Particles in equipment and chemicals are called “process defects”. To minimize process defects, process equipment manufacturers must prevent generated particles from reaching the wafer, and gas and liquid chemical suppliers must provide cleaner products. . The most important is to effectively separate the wafer from the particles when the wafer is stored, transported and transferred to the process equipment.
A standard mechanical interface (SMIF) system has been devised and used to greatly reduce the amount of particles on the wafer and reduce particle contamination. During storage, transportation, and processing of the wafer, the gas medium (air, nitrogen, etc.) around the wafer is mechanically stationary with respect to the wafer so that particles do not immediately enter the wafer environment from the outside atmosphere. This purpose is achieved.
The SMIF concept is that the cleanest environment for a wafer is a small, stationary volume with no particles and no internal source of particles.
Typically, SMIF systems use (1) a dust-proof box or carrier with a minimum volume for storage and transportation, (2) a wafer cassette with a release shelf, and (3) the box or carrier door is designed to match the port of the process equipment Thus, the two doors can be opened at the same time, and the particles on the outer surface of the door are captured ("sandwiched") between the doors.
In a normal SMIF system, the box or carrier is placed at the interface port and at the location of the box door and a latch that opens the port door simultaneously. A mechanical elevator lowers the door and the cassette rides on the top. A manipulator picks up the cassette and places it on the cassette port / elevator of the device. The reverse operation is performed after the process.
The SMIF system has been experimented with inside and outside a clean room and has proven effective. This SMIF is a 10-fold improvement over the conventional method of handling a release cassette in a clean room.
By using the SMIF system, it has become common to hold wafers apart by a cassette and carry multiple wafers in boxes or carriers. In this technique, wafers are placed on a cassette, the cassettes are transported into boxes or cassettes, and then one by one removed from the cassette and placed in a receiving chamber or other process equipment of the cluster apparatus. Recently, cassettes have been replaced by more efficient and particle-free cassettes that can transport multiple wafers simultaneously.
From the foregoing prior art, the present invention is understood and put into practice. In particular, the present invention maintains a clean room environment and transports a large number of wafers at the same time, while inventorying equipment, that is, reducing initial costs, being simple and small, having low maintenance costs, and improving process throughput. . Much of the foregoing has been related to the SMIF system and control of the environment in which the wafer is handled, but it can be widely applied to aspects of handling materials, such as the environment to which the wafer of the present invention is exposed.
Summary of the Invention
The present invention is a system for batch loading semiconductor wafers onto a load lock from a portable carrier that separates and stacks a plurality of wafers and transports them to a particle-free environment. The carrier is supported adjacent to a load lock chamber having a particle free environment. The multi-stage end effector (effector) associated with the load lock chamber has a plurality of end effector sets, each set being arranged to align with a corresponding wafer in the carrier to hold the wafer. It has become. Wafers can be taken out as a group, held in the load lock chamber for the next transfer, sent to the next transfer chamber at a time, and supplied to a plurality of specific process devices in the cluster system . A separate housing or enclosure seals and separates the load lock chamber and carrier interior from the surrounding environment. After the plurality of wafers are transferred from the carrier to the load lock chamber, the carrier and the load lock chamber are sealed, and the load lock chamber and the transfer chamber are exhausted. Various mechanisms for moving the end effector set, ie, a lifting mechanism for entering and exiting the carrier and load lock chamber, closed and open positions with the carrier door and load lock door sealed, and the carrier and load lock chamber A mechanism for moving to a stop position away from the space is provided. Furthermore, a mechanism for moving the carrier door and the load lock door individually between the sealed closed position and the open position and moving them together to a stop position away from between the carrier and the load lock chamber is provided. .
The present invention provides an interface for sending a wafer carrier to a load lock while maintaining a clean environment for the substrate carrier. The present invention provides an efficient, fast operation, unified design that maximizes process throughput while protecting from the external environment during process step execution.
Since the load lock arm has a batch end effector functioning as a cassette, which is inherently structurally unconstrained, no elevator is required for wafer transfer. Gas contamination from the cassette (usually outgassing polymer) has also been removed, improving the quality of the wafer process. In addition, the arm assembly is mainly made of metal that emits a minimum amount of gas, and the degree of vacuum is improved in a short time.
The present invention provides a unified carrier and cassette structure that does not require unnecessary cassettes and their inventory. Like the conventional SMIF loader that lowers the cassette from the SMIF box and transports it to the load lock, it removes the danger of transporting the wafer in air and exposing it to particle contamination. In the example of the present invention, since the wafers are loaded in a batch configuration, the indirect time can be reduced and high throughput is obtained.
Further features, advantages, and benefits of the present invention will become more apparent from the following description and drawings. The foregoing summary and the following detailed description are exemplary and explanatory and are not restrictive of the invention. Together with the detailed description, the accompanying drawings, which illustrate one embodiment of the invention and form a part of the invention, serve to generally explain the principles of the invention. Similarly, numbers throughout this disclosure refer to similar parts.
[Brief description of the drawings]
FIG. 1 is a schematic top view showing a state in which a cover is removed from a transfer chamber of a wafer processing system according to the present invention.
FIG. 2 is a side elevational view showing certain parts shown in FIG. 1 in detail, with some parts shown in cross-section for clarity.
FIG. 3 is a schematic detailed side elevational view, where some parts are shown in cross-section or omitted for clarity, and some parts of FIG. 2 will be described in detail, with the carrier door in a closed position. Show.
FIG. 3A is a cross-sectional view illustrating in detail a minute portion of FIG.
FIG. 4 is a schematic side elevational view showing a portion of FIG. 2 when the carrier door is in the open position.
FIG. 5 is a perspective view illustrating in detail the parts of FIG. 3 with certain parts shown in cross-section for clarity.
FIG. 6 is a side elevational view showing a portion of FIG. 2 in detail.
7 is a cross-sectional view taken along line 7-7 of FIG.
8, 9, 10 and 11 are schematic side elevational views similar to FIG. 4 illustrating the continuous relative position of the parts.
FIG. 12 is a detailed perspective view illustrating the part of FIG. 2 in more detail.
FIG. 13 is a detailed top plan view of an enlarged section showing another embodiment of the present invention.
FIG. 14 is a more detailed top plan view illustrating in more detail components at other positions in FIG.
FIG. 15 is a detailed perspective view of FIG. 14, showing a cross-section with a portion cut away.
Detailed Description of the Invention
Referring to the drawings, FIG. 1 first shows a process system 20 for processing a silicon planar substrate such as a wafer or planar panel. As mentioned above, the term “wafer” is used throughout this disclosure for such substrates, but is intended to have a broad meaning that applies to all substrates. The present invention is particularly useful for processing newer substrates.
The process system 20 includes a load lock 22 that first receives a wafer to be processed, and a plurality of single wafer processing devices 24 that perform wafer surface processing such as specular plasma etching. The process device 24 is arranged around a normally closed trajectory, as indicated by the alternate long and short dash line 26. In order to transfer the wafer between the load lock 22 and the process apparatus before and after the process, the transfer chamber 28 is arranged at the same center of the load lock 22 and the process apparatus 24. A plurality of separation valves 30 are individually provided at the boundary between the process device 24 and the transfer chamber 28 and at the boundary between the load lock 22 and the transfer chamber 28.
As mentioned above, now transportable SMIF boxes or containers, here called “carriers”, are known to be used to keep semiconductor wafers and the like clean. The wafer is kept clean by taking it in and out of the process system 20 and keeping it substantially free of particles in the carrier. As described above, it is common to hold wafers separated by a cassette and carry a large number of wafers in a box or carrier. In this technique, a wafer is placed on a cassette, the cassette is transported into a box or cassette, and then one by one is removed from the cassette in the carrier and placed on the load lock 22, or the cassette with the wafer placed on the carrier , And transferred to a small clean environment part between the SMIF box and the wafer processing apparatus.
According to the present invention, as shown in FIGS. 2 and 3, a deformable portable carrier 32 is provided for holding and transporting a plurality of wafers 34 placed apart in an environment substantially free of particles. The carrier 32 has a plurality of sets of shelf members 36 to keep the wafers normally horizontal and separated normally.
The carrier 32 has a carrier port 38 so as to enter the inside 40 thereof. The carrier door 42 of the carrier can be moved between a closed position in contact with the carrier port (FIG. 3) and an open position away from the carrier port (FIG. 4). The carrier door 42 has a generally rectangular plate 44 and is depicted as having a continuous flange 46 extending around it. A suitable seal 48 is inserted between the flange 46 and the carrier port 38 to seal the carrier interior 40 from the ambient environment when the carrier door is in the closed position.
Extending from the flange 46 toward the carrier 32 is at least one pair of opposing locking tabs 50 with each locking tab having a hole 52 therein. Each of the locking tabs 50 is provided with a solenoid-like locking member 54 for operating the locking pin 56. With particular reference to FIG. 5, the locking member is suitably attached to the carrier 32. When the locking pin 56 engages with the corresponding hole 52, the carrier door 42 is firmly fixed to the flange 46 and the carrier port 38, and a particle-free state inside the carrier 40 is maintained by the seal 48 between the flange and the port. . When the locking pin 56 is withdrawn from the corresponding hole 52, the carrier door 42 can be freely removed from the carrier as described below.
In the present invention, a separation housing or mini-environment 58 (see particularly FIG. 2) is provided to hermetically separate the inside 40 of the carrier 32 and the load lock 22 from the surrounding environment. The carrier is carried in a suitable manner from a remote location and is placed on a platform 60 that is part of the enclosure 58 and protrudes away from the process system 20. A plurality of depressions 64 are formed on the upper surface 62 of the table 60 at appropriate intervals so as to receive the foot portions 66 extending from the bottom of the carrier. When the foot 66 is completely engaged with the recess 64, the front surface 68 of the carrier 32 is close to the outer surface 70 of the enclosure 58.
The enclosure usually has a window 72 that is aligned with, but spaced from, the load lock 22 so that when the carrier is placed on the platform 60, the carrier door 42 extends through the window into the interior of the enclosure. ing. A suitable seal 74 is provided between the carrier and the enclosure 58 when the carrier is secured to the pedestal, sealing the carrier port 38 and the enclosure window 72 to allow the carrier interior, enclosure interior and load lock to be enclosed in the ambient environment. Separate from. When the carrier 32 is placed on the platform 60 as shown in FIG. 3, a plurality of clasps 300 (FIG. 3A) pivotally attached to the outer surface 70 of the small enclosure 58 are provided on the outer peripheral surface of the carrier. It operates to selectively engage with the formed clasp recess 302. In each case, the clasp actuator 304 extends or retracts the actuation rod 306 pivotally attached to the clasp 300 at one end away from the portion that engages the recess 302. The clasp actuator 304 is operated by the signal so that the clasp 300 moves from a position where the clasp 300 is engaged with the concave portion 302 indicated by the solid line to a position deviated from the concave portion indicated by the broken line. When all the clasps 300 of the carrier 32 are in the solid line position, the seal 74 is tightly clamped between the carrier and the enclosure.
The load lock 22 defines a substantially particle-free chamber 76 and has a load lock port 78 leading to the load lock chamber. As described above, the load lock 22 is located between the carrier 32 and the transfer chamber 28. The load lock door 80 is suitably attached to the load lock so that it can move between a position that covers and closes the load lock port 78 and a position that opens away from it.
The load lock arm 82 in the load lock chamber 76 can move between a non-actuated position away from the carrier 32 (see FIG. 2) and an actuated position near the carrier (see FIG. 3). This load lock arm and its operating mechanism were filed on July 6, 1995 and assigned application number 08 / 498,835 and assigned to the same applicant as the present applicant, It may be of the construction disclosed in the patent application entitled "Arm" (Perman and Green Case No. 390-955938-NA). The entire patent application is cited here as a reference.
Referring to FIG. 6 in addition to FIGS. 3 and 4, a multistage end effector 84 is mounted on the load lock arm 82. As can be seen more clearly in FIG. 6, the multi-stage end effector 84 is mounted on the load lock arm 82 and upward, in particular from one extension joint 88 of the articulations 88, 90 pivotally attached to the load lock arm. It has a mounting manifold 86 protruding upward. A plurality of end effector sets 92 spaced apart in the vertical direction is a composite with the mounting manifold, and protrudes outwardly from the manifold in the direction of the carrier to be in the form of equidistant parallel plates.
The spacing between the end effector sets 92 is substantially wider than the wafer thickness for reasons that will become apparent as this description proceeds. Each end effector set 92 has a pair of end effector fingers 94 (see FIG. 7) spaced laterally apart, and is suitable for holding a wafer in a horizontal plane. Each of the plurality of end effector sets 92 is aligned with the shelf member set 36, that is, the wafer 34 held by the carrier, when the transfer arm is in the operating position. As the multi-stage end effector 84 enters the carrier 32, the load lock door 80 and the carrier door 42 can be opened so that they can move as described below, and can be moved away as shown in FIG. There must be.
Thus, when the load lock arm 82 is in the operative position, the multi-stage end effector 84 collects the wafer from the retracted position away from the wafer into the interior 40 of the carrier 32 through the load lock port 78 and the carrier port 38. Can move to collect. The load lock arm 82 moves the multi-stage end effector 84 to the left (FIG. 9) and operates so that the end effector sets 92 do not engage the wafer below the wafer 34, respectively. When the multi-stage end effector 84 reaches the limit of leftward movement, the load lock arm moves up a sufficient distance together with the multi-stage end effector 84 and lifts the wafer from the set of shelf members as an aggregate. Thereafter, the load lock arm 82 operates again while being held in the raised position, and the group of wafers 34 is placed on the multi-stage end effector 84 until the multi-stage end effector 84 is pulled in the load lock chamber 76 to the right. Move on the move. See FIG.
After the group of wafers 34 is positioned on the multi-stage end effector 84 in the load lock chamber 76, the transfer arm 96 in the transfer chamber 28 takes the wafer 34 from the multi-stage end effector, Operates to feed one.
In order for the multi-stage end effector 84 to operate as described above, first, the opening of the carrier door 42 and the load lock door 80 must be adjusted. This adjustment operation will be described below. The carrier door is first opened, then the load lock door is opened, and then both doors move away from the area between the carrier interior and the load lock chamber.
The mechanism for moving the carrier door selectively engages the carrier door 42 and is separated from the carrier door in a first position adjacent to the load lock door 80 (FIG. 2) and away from the load lock door adjacent to the load lock door. It has a coupling device 98 that can be moved between two positions (FIG. 3). A first actuator 100 is mounted on the load lock door and serves to move the coupling device 98 between the first and second positions via the drive rod 102. The coupling device 98 includes a coupler frame 103 attached to the drive rod, and a pair of grip members 104 and 106 arranged on opposing shafts supported and guided by the coupler frame. The grip members 104 and 106 have grip rods 108 arranged on opposite shafts that are supported and guided by the coupler frame 103 and move between a grip position and a non-grip position. In particular, the grip members 104 and 106 have grip fingers 110 at both ends, and the grip fingers mesh with the peripheral rim (edge) 112 of the carrier door 42 when the grip members are in the grip position.
In this manner, the grip fingers can move between a non-grip position (FIG. 3) that is not engaged with the carrier door 42 and a grip position (FIG. 4) that is engaged with the peripheral rim 112. Such engagement of the carrier door by the grip members 104 and 106 occurs only when the coupling device 98 is in the first position. A second actuator 114 on the coupler frame 103 serves to cause the grip members 104, 106 to move between a grip position and a non-grip position via a grip rod 108 of appropriate pressure.
A series of actions to open the carrier door 42 is first initiated by the first actuator 100 moving the coupling device 98 to the left, very close to the carrier door, so that the grip fingers 110 are in the plane of the peripheral rim 112. The Thereafter, the second actuator 114 begins to move the gripping member radially until the gripping fingers are firmly engaged with the peripheral rim 112. The first actuator 100 then again operates to move the coupling device to the right so that the end 116 of the inwardly directed flange 46 disengages from the seal 48 previously sealed from the surrounding environment. The drive rod 102 moves the coupling device 98 and, with it, the carrier door 42 to the right adjacent to the load lock door 80.
With the carrier door 42 in a position adjacent to the load lock door 80, the load lock door drive mechanism 118 is a position where the load lock door and the portion including the coupling device 98 and the carrier door 42 are opened from the closed position. Operates to move to. In the closed position, the load lock door 80 is firmly held against an appropriate seal 120 that separates the load lock chamber 76 from the outside air (see FIGS. 2 and 12). This is achieved, for example, by spaced, opposed, normally vertical guide grooves 121 and load lock 22 and the opposite surface of load lock door 80.
The load lock door drive mechanism 118 has a drive actuator 122 attached to the bottom 124 of the enclosure 58. The drive actuator 122 is vertically disposed with the drive actuator shaft 123 in the middle of the carrier and the load lock chamber 76 so that the load lock door 80 moves between the closed position and the opened position. Appropriately attached to the door 80.
It will be appreciated that the multi-stage end effector 84 will not operate until the drive mechanism 118 is in the position where the load lock door, coupling device 98, and carrier door 42 are all lowered as shown in FIG.
An index drive mechanism 126 is provided for moving the load lock arm between a non-actuated position (FIG. 11) and an actuated position (FIG. 10). As described above, the load lock arm 82, its operating mechanism, and the index driving mechanism 126 may have the structure disclosed in US Pat. No. 5,588,789 issued on Dec. 31, 1996.
The index drive mechanism 126 may include an index actuator 128 of a type capable of extending a suitable index actuator shaft 130, and may move a long distance rapidly during coarse movement and perform incremental step movement during fine movement. Thus, the index actuator has one operating mode in which all end effector sets 92 are aligned with the set of shelf members 36 in the interior 40 of the carrier 42 (FIGS. 8-10). , Move the load lock arm between non-actuated positions (FIG. 11) where all end effector sets are not aligned with the shelf member sets. In the former, the clutch 132 is engaged, and in the latter, it is disengaged.
The arm drive mechanism 134 has a load actuator arm 82 and a suitable rotary actuator that moves the multi-stage end effector 84 with the load lock arm 82 between the retracted position and the advanced position. The arm drive mechanism 134 further includes engageable clutch elements 132a and 132b that engage only when the index drive mechanism moves the load lock arm and multi-stage end effector to the operating position. At that time, the end effector 84 can be advanced into the carrier as described above.
As described above, the transfer arm 96 of the transfer chamber 28 operates to take in the wafer 34 from the multi-stage end effector at a time and supply it to a specific one of the plurality of process devices 24. The index drive mechanism 126 may operate in incremental mode to match the height of a particular end effector set 92 and the robot end effector finger 138 attached to the transfer arm 96 in the transfer chamber 28. Thus, the clutch elements 132a and 132b are disengaged, and the transfer arm 96 driven by the transfer actuator 140 operates to take in the wafer from the multi-stage end effector 84 at a time and supply it to a specific one of the plurality of process devices 24. To do. The transfer arm 96 and associated transfer actuator 140 may be configured as disclosed in US Pat. No. 5,180,276 by Hendrickson. The entire patent is hereby incorporated by reference.
A suitable separation valve 30 is provided between the load lock chamber 76 and the transfer chamber 28 as described above. The isolation valve is large enough to pass the robot end effector fingers that support the wafer 34, prevent fluid flow between the load lock chamber and the transfer chamber, and allow for selective movement in some cases. is there. In addition, a suitable seal 142 is provided between the load lock 22 and the transfer chamber 28 to separate the load lock and transfer chamber from the surrounding environment when the separation valve is in a position that allows fluid to flow between the load lock chamber and the transfer chamber. It is sandwiched between.
A vacuum source 144 is provided to selectively evacuate the load lock chamber 76 and the transfer chamber 28. A conduit 146 extends between the vacuum source 144 and the load lock chamber, and a valve 148 capable of selective operation within the conduit 146 connects the vacuum source and the load lock chamber when the load lock door 80 is closed, Disconnect the vacuum source from the load lock chamber when the load lock door is open. Similarly, a conduit 150 extends between the vacuum source 144 and the transfer chamber. A valve 152 capable of selective operation within the conduit 150 interconnects the vacuum source and the transfer chamber when the transfer chamber is isolated from the surrounding environment.
13-15 for another preferred carrier door drive mechanism embodiment 160. In this case, the carrier 162 is the same as the carrier 32 described above that holds and transports a plurality of wafers 34 that are normally stacked at intervals. As before, the carrier 162 has a carrier port 164 so that it can enter its interior 166. There is also a small enclosure 168 that separates and seals the interior of the load lock chamber and the carrier from the surrounding environment. The carrier 162 further includes a carrier door 170 that is movable between a closed position that covers the carrier port 164 to seal the interior 166 from the ambient environment and an open position that is remote from the carrier port.
As described above, the load lock door 172 of the load lock can move between a closed position covering the load lock port to seal the load lock chamber from the surrounding environment and an open position away from it. The carrier door drive mechanism and its operation are also as described above.
The shroud 168 has a window 60 that is normally aligned and spaced apart from the load lock port, and has a platform 60 that supports the carrier 162 so that the carrier port 164 is in close proximity to the shroud window 174. A suitable seal 176 is provided between the enclosure and the carrier to separate the interior of the enclosure and the loadlock chamber from the surrounding environment when the carrier is supported on the platform and surrounds the carrier port and the enclosure window.
The carrier door drive mechanism 160 selectively engages with the carrier door 170 and is in a first position close to the load lock door and away from the carrier (shown by a broken line in FIG. 13) and a second position away from the load lock door and near the carrier. It has a coupling mechanism 178 that moves between positions (shown in solid lines in FIG. 13). The first actuator 180 is mounted on the load lock door 172 and has a drive rod 182 that moves the coupling mechanism 178 between first and second positions.
The carrier door 170 is hollow at 184 (FIGS. 14 and 15) and has a grip groove 186 therein. The coupling mechanism 178 is mounted on the drive rod 182 and when the coupling mechanism is in the second position described above. A window 174 in a small enclosure 168 When Engage (contained in window 174) A door grip plate 188 is provided. The door grip rod 190 attached to the door grip plate 188 has a pair of bent fingers 194 at its end that move between a grip position that engages the grip groove 186 in the carrier door 170 and a released release position. is doing.
In addition, a latch mechanism 196 is provided on the carrier door to selectively engage the carrier and secure the carrier door to the carrier. For this purpose, the carrier 162 has a latch recess 198 (FIG. 14) in the carrier port 164. Along with the latch recess 198, the latch mechanism 196 has a latch 200 pivotally attached at 201 to the carrier door 170 that moves between a latched position engaged with the latch recess and a non-latched position out of the latch recess. The holding pin 202 is pivotally connected to the latch at the first end 204 in the recess 184 and has a second bent end 206 on the opposite side of the first end. The bent end 206 is received in a groove 208 between a pair of bent fingers 194 and can engage the door grip bar 190.
The compression spring 210 surrounds the holding pin 202 and presses the latch 200 to the latch position within the recess 184. The spring stops at its left end (shown in FIGS. 14 and 15) with a shoulder 212 protruding from both opposing walls of the recess 198 in the carrier door 170. The right end of the spring 210 is pressed from the shoulder 212 by a C-shaped fastener 214 fixed to the holding pin 202 at an appropriate position. With this configuration, the holding pin and its second bent end 206 are pressed to the right as seen in FIGS. 13-15. Thus, the spring 210 is effective in holding the latch 200 in the normally closed position engaged with the latch recess 198. However, the movement of the door grip bar 190 that moves the pair of bent fingers 194 to a grip position that engages the grip groove 186 is also effective to move the latch to a position that is out of the latch recess. The carrier door 170 and the door grip plate 188 come together as a result of the continuous operation of the actuator 192 (all shown in FIG. 14) holding the bent fingers 194 engaging the grip grooves 186 and holding the latch 200 in the open position. The actuator 180 can be moved to an open position indicated by a broken line in FIG.
Although preferred embodiments of the present invention have been described in detail, those skilled in the art will recognize that various modifications can be made without departing from the scope of the invention as set forth in the specification and claims. I will.

Claims (8)

半導体ウエハをバッチローディングするシステムと組合せて使用される伝達受け渡しアセンブリであって、
前記システムは、
実質的にパーティクルの無い環境において、間隔を置いて積み重ねた複数の半導体ウエハを支えつつ搬送する可搬型キャリアと、
実質的にパーティクルの無い環境を有するロードロック室を画定するロードロックと、
前記ロードロックと前記キャリアの間に設けられ、前記ロードロック室および前記キャリアの内部を周囲環境から密閉して分離する分離ハウジングと、からなり、
前記ロードロックは前記ロードロック室に通じたロードロックポートを有し、
前記可搬型キャリアは、自身の内部へのアクセスを可能にするキャリアポートを有し、
前記アセンブリは、
前記キャリアに設けられ、前記キャリアポートを覆い前記周囲環境から前記キャリアの内部を密閉するキャリア閉位置と前記キャリアポートと間隔を置いたキャリア開位置との間を動き得るキャリアドアと、
前記ロードロックに設けられ、前記ロードロックポートを覆い前記周囲環境から前記ロードロック室を密閉するロードロック閉位置と前記ロードロックポートと間隔を置いたロードロック開位置との間を動き得るロードロックドアと、
前記ロードロックドアに設けられ、前記キャリア閉位置と前記キャリア開位置の間で前記キャリアドアを動かすキャリアドア駆動機構と、を含み、
前記分離ハウジングは前側の窓と後側の窓を有し、前記後側の窓は前記ロードロックポートと間隔を置いて整列しており
記分離ハウジングは、前記キャリアポートが前記前側の窓に接近するよう前記キャリアを支持する台を有し、前記半導体ウエハは前記キャリアから前記前側の窓を通って前記分離ハウジングに入ることができ、且つ、前記半導体ウエハは前記後側の窓から前記ロードロックに入ることができ、
記アセンブリはさらに、
前記キャリアが前記台に支持されたときに前記分離ハウジングと前記キャリアの間に位置し、前記周囲環境から前記キャリアの内部及び前記分離ハウジングの内部をシールするシール手段を含み、
前記ロードロックドアが前記ロードロック閉位置からロードロック開位置へ動く方向は、前記半導体ウエハが前記キャリアから前記分離ハウジングを通って前記ロードロックに移動する方向と直交していることを特徴とするアセンブリ。
A transfer delivery assembly used in combination with a system for batch loading semiconductor wafers,
The system
In substantially no particle environment, and portable carrier we send transportable while supporting a plurality of semiconductor wafers stacked at intervals,
A load lock defining a load lock chamber having a substantially particle-free environment;
A separation housing that is provided between the load lock and the carrier and seals and separates the load lock chamber and the inside of the carrier from the surrounding environment;
The load lock has a load lock port leading to the load lock chamber;
The portable carrier has a carrier port allowing access to its interior;
The assembly is
A carrier door which is provided on the carrier and which can move between a carrier closed position which covers the carrier port and seals the inside of the carrier from the surrounding environment and a carrier open position spaced apart from the carrier port;
A load lock provided on the load lock and movable between a load lock closed position that covers the load lock port and seals the load lock chamber from the surrounding environment and a load lock open position spaced apart from the load lock port. Door,
A carrier door drive mechanism provided on the load lock door and moving the carrier door between the carrier closed position and the carrier open position;
The separation housing has a front window and a rear window, the rear window being aligned with a distance from the load lock port;
Before SL separation housing has a base which said carrier port supports the carrier so as to approach the front of the window, the semiconductor wafer can enter the separating housing through the front window from the carrier And the semiconductor wafer can enter the load lock from the rear window,
Before Symbol assembly further,
The separation housing and located between the carrier, before Symbol viewed including the internal and sealing means for sealing the interior of the separation housing of the carrier from the ambient environment when said carrier is supported on said platform,
The direction in which the load lock door moves from the load lock closed position to the load lock open position is orthogonal to the direction in which the semiconductor wafer moves from the carrier through the separation housing to the load lock. assembly.
請求項1に記載のアセンブリであって、前記キャリアドア駆動機構が、
前記キャリアドアに係合可能であり、前記キャリアドアから離れ前記ロードロックドアに隣接した第1の位置と、前記キャリアドアに隣接し前記ロードロックドアから離れた第2の位置との間を動くことができる結合手段と、
前記ロードロックドアに設けられ、前記第1の位置と前記第2の位置との間で前記結合手段を動かす第1アクチュエータと、を有し、
前記結合手段は、前記結合手段が前記第の位置にあるとき、前記キャリアドアに係合しない非グリップ位置と前記キャリアドアに係合するグリップ位置との間を動くことができるグリップ部材を有し、
前記キャリアドア駆動機構はさらに、前記非グリップ位置と前記グリップ位置との間で前記グリップ部材を動かす第2アクチュエータを有することを特徴とするアセンブリ。
The assembly of claim 1, wherein the carrier door drive mechanism is
Engageable with the carrier door and moves between a first position away from the carrier door and adjacent to the load lock door and a second position adjacent to the carrier door and away from the load lock door. A coupling means capable of,
A first actuator provided on the load lock door and moving the coupling means between the first position and the second position;
It said coupling means, when the front Symbol coupling means is in said second position, the gripping member is movable between a gripping position engaging the non-gripping position not engaging the carrier door to the carrier door Have
The carrier door drive mechanism further comprises a second actuator for moving the grip member between the non-grip position and the grip position.
請求項2に記載のアセンブリであって、前記キャリアドアが周辺リムを有し、
前記第1アクチュエータが前記第1および第2の位置の間で前記結合手段を動かす駆動ロッドを有し、
前記結合手段が前記駆動ロッドに取り付けられた結合器枠を有し、
前記グリップ部材が対向配置されたグリップロッドを有し、当該グリップロッドは前記結合器枠により軸方向に整列するように保持され、且つ、前記非グリップ位置と前記グリップ位置との間で動くように導かれ、前記グリップ部材のそれぞれが端部に横方向グリップフィンガーを有し、
前記グリップフィンガーがグリップ位置にあるとき前記グリップフィンガーは前記周辺リムと係合することを特徴とするアセンブリ。
The assembly of claim 2, wherein the carrier door has a peripheral rim;
The first actuator has a drive rod that moves the coupling means between the first and second positions;
The coupling means comprises a coupler frame attached to the drive rod;
The grip member has a grip rod oppositely disposed, the grip rod is held in axial alignment by the coupler frame, and is moved between the non-grip position and the grip position. Each of the gripping members has a lateral gripping finger at the end;
The assembly wherein the grip finger engages the peripheral rim when the grip finger is in a grip position.
請求項1に記載のアセンブリであって、
前記ロードロック閉位置と前記ロードロック開位置の間で前記ロードロックドアを動かすロードロックドア駆動機構を有することを特徴とするアセンブリ。
The assembly of claim 1, comprising:
An assembly comprising a load lock door drive mechanism for moving the load lock door between the load lock closed position and the load lock open position.
請求項3に記載のアセンブリであって、
前記ロードロックドアを前記ロードロック閉位置と前記ロードロック開位置との間で動かすロードロックドア駆動機構を有し、
ロードロックドアが前記ロードロック開位置へ動く際に、前記ロードロックドア駆動機構は前記ロードロックドアと一体的に前記結合手段および前記キャリアドアを動かすことを特徴とするアセンブリ。
The assembly of claim 3, comprising:
A load lock door drive mechanism for moving said load lock door between the Rodoro' click open position and the Rodoro' click closed position,
When prior Symbol load lock door is moved to the load lock open position, the load lock door drive mechanism assembly, characterized in that moving said coupling means and said carrier door the load lock door and integrally.
請求項2に記載のアセンブリであって、
前記キャリアドアがグリップ溝を有し、
前記第1アクチュエータが前記第1の位置と前記第2の位置の間で前記結合手段を動かす駆動ロッドを有し、
前記結合手段がドアグリップ板とドアグリップ棒とを有し、
前記ドアグリップ板は前記駆動ロッドに取り付けられ、前記結合手段が前記第2の位置にあるときに前記分離ハウジングの前側の窓に嵌合し、
前記ドアグリップ棒は前記第2アクチュエータに取り付けられ、前記キャリアドア内の前記グリップ溝に係合するグリップ位置と、係合が外れる解放位置との間を動き、末端に一対の曲がりフィンガーを有することを特徴とするアセンブリ。
The assembly of claim 2, comprising:
The carrier door has a grip groove ;
Wherein the first actuator includes a drive rod for moving said coupling means between said first position and the second position,
The coupling means includes a door grip plate and a door grip rod;
The door grip plate is attached to the drive rod and engages a front window of the separation housing when the coupling means is in the second position;
The door grip rod is attached to the second actuator and moves between a grip position engaging with the grip groove in the carrier door and a release position where the engagement is released, and has a pair of bending fingers at the end. An assembly featuring.
請求項6に記載のアセンブリであって、
前記キャリアドア上に、前記キャリアと係合して前記キャリアドアを前記キャリアに固定するラッチ手段を有することを特徴とするアセンブリ。
The assembly of claim 6, comprising:
An assembly comprising: latch means on the carrier door for engaging the carrier and securing the carrier door to the carrier.
請求項7に記載のアセンブリであって、
前記キャリアが前記キャリアポート内にラッチ凹部を有し、
前記ラッチ手段が、
前記キャリアドアにピボット状に取り付けられ、前記ラッチ凹部に係合するラッチ位置と前記ラッチ凹部から外れた非ラッチ位置との間で動くラッチと、
前記ラッチにピボット状に接続され、前記キャリアドア内に第1端部を有し、前記第1端部の反対側に第2曲がり端部を有し、前記曲がり端部が前記一対の曲がりフィンガーの間に係合し前記ドアグリップ棒と係合する保持ピンと、
前記ラッチを前記ラッチ位置に押し付ける弾性手段と、からなり
前記一対の曲がりフィンガーを前記グリップ溝に係合させる前記グリップ位置に動かす前記ドアグリップ棒の動きによって、同時に前記ラッチを前記ラッチ凹部から外れた前記非ラッチ位置に動かすことを特徴とするアセンブリ。
The assembly according to claim 7, comprising:
The carrier has a latch recess in the carrier port;
The latch means;
A latch pivotally attached to the carrier door and moving between a latch position engaging the latch recess and a non-latching position disengaged from the latch recess;
The latch is pivotally connected, has a first end in the carrier door, has a second bent end on the opposite side of the first end, and the bent end is the pair of bent fingers. A retaining pin that engages between and engages the door grip bar;
Elastic means for pressing the latch against the latch position, and the movement of the door grip rod that moves the pair of bending fingers to the grip position to engage with the grip groove simultaneously releases the latch from the latch recess. The assembly is moved to the non-latching position.
JP50529197A 1995-07-06 1996-07-02 Substrate carrier and load lock door drive device Expired - Lifetime JP4306798B2 (en)

Applications Claiming Priority (9)

Application Number Priority Date Filing Date Title
US49898795A 1995-07-06 1995-07-06
US08/498,597 1995-07-06
US08/499,069 1995-07-06
US08/499,069 US5613821A (en) 1995-07-06 1995-07-06 Cluster tool batchloader of substrate carrier
US08/498,859 1995-07-06
US08/498,859 US5607276A (en) 1995-07-06 1995-07-06 Batchloader for substrate carrier on load lock
US08/498,987 1995-07-06
US08/498,597 US5609459A (en) 1995-07-06 1995-07-06 Door drive mechanisms for substrate carrier and load lock
PCT/US1996/011244 WO1997002199A1 (en) 1995-07-06 1996-07-02 Door drive mechanisms for substrate carrier and load lock

Publications (2)

Publication Number Publication Date
JPH11513006A JPH11513006A (en) 1999-11-09
JP4306798B2 true JP4306798B2 (en) 2009-08-05

Family

ID=27504398

Family Applications (1)

Application Number Title Priority Date Filing Date
JP50529197A Expired - Lifetime JP4306798B2 (en) 1995-07-06 1996-07-02 Substrate carrier and load lock door drive device

Country Status (7)

Country Link
EP (1) EP0886617A1 (en)
JP (1) JP4306798B2 (en)
KR (1) KR19990028767A (en)
CN (1) CN1195332A (en)
AU (1) AU6408996A (en)
TW (1) TW278200B (en)
WO (1) WO1997002199A1 (en)

Cited By (2)

* Cited by examiner, † Cited by third party
Publication number Priority date Publication date Assignee Title
KR102200250B1 (en) * 2020-05-29 2021-01-11 주식회사 싸이맥스 Load port module provided with a Foup loadlock door, and a method for opening and closing the Load port module door and the Foup loadlock door
KR102247183B1 (en) * 2020-05-29 2021-05-04 주식회사 싸이맥스 Wafer processing equipment with efficient installation area

Families Citing this family (14)

* Cited by examiner, † Cited by third party
Publication number Priority date Publication date Assignee Title
SG47226A1 (en) * 1996-07-12 1998-03-20 Motorola Inc Method and apparatus for transporting and using a semiconductor substrate carrier
US6280134B1 (en) 1997-06-17 2001-08-28 Applied Materials, Inc. Apparatus and method for automated cassette handling
DE19805624A1 (en) * 1998-02-12 1999-09-23 Acr Automation In Cleanroom Lock for opening and closing clean room transport boxes
US6610150B1 (en) * 1999-04-02 2003-08-26 Asml Us, Inc. Semiconductor wafer processing system with vertically-stacked process chambers and single-axis dual-wafer transfer system
JP4628530B2 (en) * 2000-08-25 2011-02-09 株式会社ライト製作所 Transport container lid attaching / detaching device
SG115630A1 (en) * 2003-03-11 2005-10-28 Asml Netherlands Bv Temperature conditioned load lock, lithographic apparatus comprising such a load lock and method of manufacturing a substrate with such a load lock
KR101131417B1 (en) * 2003-11-12 2012-04-03 주성엔지니어링(주) Loadlock and loadlock chamber using the same
JP4748816B2 (en) * 2008-11-28 2011-08-17 Tdk株式会社 Closed container lid opening and closing system
JP5279576B2 (en) * 2009-03-27 2013-09-04 大日本スクリーン製造株式会社 Substrate processing equipment
JP4919123B2 (en) 2010-03-08 2012-04-18 Tdk株式会社 Processing substrate storage pod and lid opening / closing system of processing substrate storage pod
US10741432B2 (en) * 2017-02-06 2020-08-11 Applied Materials, Inc. Systems, apparatus, and methods for a load port door opener
US10510573B2 (en) * 2017-11-14 2019-12-17 Taiwan Semiconductor Manufacturing Co., Ltd. Loading apparatus and operating method thereof
US11302553B1 (en) * 2021-01-07 2022-04-12 Taiwan Semiconductor Manufacturing Company, Ltd. Transport carrier docking device
CN114777490B (en) * 2022-06-21 2022-09-09 上海陛通半导体能源科技股份有限公司 Semiconductor device capable of realizing automatic omnidirectional opening and closing

Family Cites Families (4)

* Cited by examiner, † Cited by third party
Publication number Priority date Publication date Assignee Title
US4550242A (en) * 1981-10-05 1985-10-29 Tokyo Denshi Kagaku Kabushiki Kaisha Automatic plasma processing device and heat treatment device for batch treatment of workpieces
JPH0461146A (en) * 1990-06-22 1992-02-27 Mitsubishi Electric Corp Shifter for semiconductor wafer
JPH04206547A (en) * 1990-11-30 1992-07-28 Hitachi Ltd Transfer method between devices
JP3275390B2 (en) * 1992-10-06 2002-04-15 神鋼電機株式会社 Portable closed container circulation type automatic transfer system

Cited By (2)

* Cited by examiner, † Cited by third party
Publication number Priority date Publication date Assignee Title
KR102200250B1 (en) * 2020-05-29 2021-01-11 주식회사 싸이맥스 Load port module provided with a Foup loadlock door, and a method for opening and closing the Load port module door and the Foup loadlock door
KR102247183B1 (en) * 2020-05-29 2021-05-04 주식회사 싸이맥스 Wafer processing equipment with efficient installation area

Also Published As

Publication number Publication date
EP0886617A1 (en) 1998-12-30
AU6408996A (en) 1997-02-05
CN1195332A (en) 1998-10-07
JPH11513006A (en) 1999-11-09
WO1997002199A1 (en) 1997-01-23
TW278200B (en) 1996-06-11
KR19990028767A (en) 1999-04-15

Similar Documents

Publication Publication Date Title
US5664925A (en) Batchloader for load lock
US5609459A (en) Door drive mechanisms for substrate carrier and load lock
US5613821A (en) Cluster tool batchloader of substrate carrier
US5607276A (en) Batchloader for substrate carrier on load lock
US6120229A (en) Substrate carrier as batchloader
US5752796A (en) Vacuum integrated SMIF system
JP4306798B2 (en) Substrate carrier and load lock door drive device
JP5244097B2 (en) Device with transport pod and interface for substrates
USRE43023E1 (en) Dual loading port semiconductor processing equipment
US6517304B1 (en) Method for transporting substrates and a semiconductor manufacturing apparatus using the method
EP0980585B1 (en) Multiple single-wafer loadlock wafer processing apparatus and loading and unloading method therefor
US6176023B1 (en) Device for transporting flat objects and process for transferring said objects between said device and a processing machine
US6042623A (en) Two-wafer loadlock wafer processing apparatus and loading and unloading method therefor
JP3417821B2 (en) Clean box, clean transfer method and device
US4859137A (en) Apparatus for transporting a holder between a port opening of a standardized mechanical interface system and a loading and unloading station
KR20010020944A (en) Load-lock with external staging area
JPH0746694B2 (en) Interface device between two sealed environments
US20080219816A1 (en) Small lot loadport configurations
KR20240096824A (en) stalker system
KR20230024415A (en) Batch wafer degassing chamber, and integration into factory interfaces and vacuum-based mainframes
JP4359109B2 (en) Substrate processing apparatus and substrate processing method
KR20030065275A (en) Substrate container with non-friction door element
JP3461140B2 (en) Clean box, clean transfer method and system
JP3400382B2 (en) Clean box, clean transfer method and system
KR20010098420A (en) Foup structure and substrate accommodating jig delivery device

Legal Events

Date Code Title Description
A131 Notification of reasons for refusal

Free format text: JAPANESE INTERMEDIATE CODE: A131

Effective date: 20060613

A601 Written request for extension of time

Free format text: JAPANESE INTERMEDIATE CODE: A601

Effective date: 20060911

A602 Written permission of extension of time

Free format text: JAPANESE INTERMEDIATE CODE: A602

Effective date: 20061030

A521 Request for written amendment filed

Free format text: JAPANESE INTERMEDIATE CODE: A523

Effective date: 20061211

A02 Decision of refusal

Free format text: JAPANESE INTERMEDIATE CODE: A02

Effective date: 20070213

A521 Request for written amendment filed

Free format text: JAPANESE INTERMEDIATE CODE: A523

Effective date: 20070611

A911 Transfer to examiner for re-examination before appeal (zenchi)

Free format text: JAPANESE INTERMEDIATE CODE: A911

Effective date: 20070628

A912 Re-examination (zenchi) completed and case transferred to appeal board

Free format text: JAPANESE INTERMEDIATE CODE: A912

Effective date: 20080228

A601 Written request for extension of time

Free format text: JAPANESE INTERMEDIATE CODE: A601

Effective date: 20080811

A601 Written request for extension of time

Free format text: JAPANESE INTERMEDIATE CODE: A601

Effective date: 20080818

A602 Written permission of extension of time

Free format text: JAPANESE INTERMEDIATE CODE: A602

Effective date: 20080821

A521 Request for written amendment filed

Free format text: JAPANESE INTERMEDIATE CODE: A523

Effective date: 20081120

A521 Request for written amendment filed

Free format text: JAPANESE INTERMEDIATE CODE: A523

Effective date: 20081211

RD13 Notification of appointment of power of sub attorney

Free format text: JAPANESE INTERMEDIATE CODE: A7433

Effective date: 20090114

RD03 Notification of appointment of power of attorney

Free format text: JAPANESE INTERMEDIATE CODE: A7423

Effective date: 20090123

A521 Request for written amendment filed

Free format text: JAPANESE INTERMEDIATE CODE: A523

Effective date: 20090313

A01 Written decision to grant a patent or to grant a registration (utility model)

Free format text: JAPANESE INTERMEDIATE CODE: A01

A61 First payment of annual fees (during grant procedure)

Free format text: JAPANESE INTERMEDIATE CODE: A61

Effective date: 20090428

R150 Certificate of patent or registration of utility model

Free format text: JAPANESE INTERMEDIATE CODE: R150

FPAY Renewal fee payment (event date is renewal date of database)

Free format text: PAYMENT UNTIL: 20120515

Year of fee payment: 3

FPAY Renewal fee payment (event date is renewal date of database)

Free format text: PAYMENT UNTIL: 20130515

Year of fee payment: 4

R250 Receipt of annual fees

Free format text: JAPANESE INTERMEDIATE CODE: R250

R250 Receipt of annual fees

Free format text: JAPANESE INTERMEDIATE CODE: R250

R250 Receipt of annual fees

Free format text: JAPANESE INTERMEDIATE CODE: R250

R250 Receipt of annual fees

Free format text: JAPANESE INTERMEDIATE CODE: R250

EXPY Cancellation because of completion of term