[go: up one dir, main page]

JP4185389B2 - Absorbent articles - Google Patents

Absorbent articles Download PDF

Info

Publication number
JP4185389B2
JP4185389B2 JP2003092484A JP2003092484A JP4185389B2 JP 4185389 B2 JP4185389 B2 JP 4185389B2 JP 2003092484 A JP2003092484 A JP 2003092484A JP 2003092484 A JP2003092484 A JP 2003092484A JP 4185389 B2 JP4185389 B2 JP 4185389B2
Authority
JP
Japan
Prior art keywords
embossed
absorbent article
top sheet
longitudinal direction
width direction
Prior art date
Legal status (The legal status is an assumption and is not a legal conclusion. Google has not performed a legal analysis and makes no representation as to the accuracy of the status listed.)
Expired - Fee Related
Application number
JP2003092484A
Other languages
Japanese (ja)
Other versions
JP2004298271A (en
Inventor
理恵 鈴木
Current Assignee (The listed assignees may be inaccurate. Google has not performed a legal analysis and makes no representation or warranty as to the accuracy of the list.)
Daio Paper Corp
Original Assignee
Daio Paper Corp
Priority date (The priority date is an assumption and is not a legal conclusion. Google has not performed a legal analysis and makes no representation as to the accuracy of the date listed.)
Filing date
Publication date
Application filed by Daio Paper Corp filed Critical Daio Paper Corp
Priority to JP2003092484A priority Critical patent/JP4185389B2/en
Publication of JP2004298271A publication Critical patent/JP2004298271A/en
Application granted granted Critical
Publication of JP4185389B2 publication Critical patent/JP4185389B2/en
Anticipated expiration legal-status Critical
Expired - Fee Related legal-status Critical Current

Links

Images

Landscapes

  • Absorbent Articles And Supports Therefor (AREA)
  • Orthopedics, Nursing, And Contraception (AREA)

Description

【0001】
【発明の属する技術分野】
本発明は、経血やおりものなどの体液を吸収するための生理用ナプキン、パンティライナー、失禁パッド等の吸収性物品に係り、詳しくは表面材にエンボス加工が施された吸収性物品に関する。
【0002】
【従来の技術】
従来より、生理用ナプキン、パンティライナー、失禁パッドなどの吸収性物品におけるトップシートなどの表面材にエンボス加工を施し、体液の吸収速度性能や、肌触り感を向上させたものが知られている(例えば、特許文献1参照。)。
【0003】
【特許文献1】
特開2002−345885号公報
【0004】
【発明が解決しようとする課題】
しかしながら、上記特許文献1の場合、吸収性物品において、形状や方向性が画一的なエンボス加工が施されているというものであった。
そのため、生理用ナプキンにおいて、体液である経血が集中する排血口対応部のように多くの体液を吸収する中央側の部位と、生理用ナプキンの周囲端部側の部位とにおいて表面材のエンボスが形状や方向性において画一的であることにより、それぞれの部位における体液の吸収に差が生じやすく、吸収性物品全体としての体液吸収バランスが悪くなり、体液漏れをおこしてしまう場合があった。
【0005】
本発明の課題は、体液漏れを起こしにくいエンボス構造を有する吸収性物品を提供することである。
【0006】
【課題を解決するための手段】
以上の課題を解決するため、請求項1記載の発明は、
人体との接触面側に設けられるトップシート(3)と、人体との接触面と反対面側に設けられるバックシート(2)と、前記トップシートと前記バックシートとの間に介装される吸収体(4)とを備え、前記トップシートの表面に複数の略長方形状或いは略楕円形状のエンボス凹部(8)を有する吸収性物品(例えば、ナプキン100等)であって、
前記エンボス凹部の長軸方向に複数の前記エンボス凹部が所定の間隔で、前記吸収性物品の長手方向に略一直線上に連なって形成された縦エンボス列(8b)と、
前記エンボス凹部の長軸方向に複数の前記エンボス凹部が所定の間隔で、前記吸収性物品の幅方向に略一直線上に連なって形成された横エンボス列(8a)と、を備え、
前記吸収性物品の長手方向の両端部側には、前記吸収性物品の幅方向全幅に亘る前記横エンボス列が、前記吸収性物品の長手方向に所定の間隔で複数設けられ、
前記吸収性物品の長手方向の略中央側には、前記縦エンボス列が、前記吸収性物品の幅方向に所定の間隔で複数設けられていることを特徴とする。
【0007】
請求項1記載の発明によれば、吸収性物品におけるトップシートの表面において、吸収性物品の長手方向の両端部側には、略長方形状或いは略楕円形状の複数のエンボス凹部が長軸方向に略一直線上に連なって形成された横エンボス列が、吸収性物品の長手方向に所定の間隔で複数設けられており、吸収性物品の長手方向の略中央側には、略長方形状或いは略楕円形状の複数のエンボス凹部が長軸方向に略一直線上に連なって形成された縦エンボス列が、吸収性物品の幅方向に所定の間隔で複数設けられている。
【0008】
ここで、体液等の水様成分は、トップシートの表面に形成された略長方形状或いは略楕円形状のエンボス凹部の長軸方向の向きや長さ、また、そのエンボス凹部が略一直線上に連なって形成されたエンボス列(横エンボス列、縦エンボス列)等のエンボス構造に従い、その拡散方向などが調整、コントロールされる。
例えば、エンボス凹部は、その長軸方向に沿って体液等の水様成分を拡散しやすく、その長さが長いほど拡散しやすい。また、エンボス凹部は、その長軸方向に交わる方向に向かう体液等の水様成分の拡散を妨げやすい。
またエンボス列は、略一直線上に連なった方向に体液等の水様成分を拡散しやすく、略一直線上に連なった方向に交わる方向に向かう体液等の水様成分の拡散を妨げやすい。
また、エンボス列の間隔が広いほど、そのエンボス列間を体液は拡散しやすく、エンボス列間が狭いほど、そのエンボス列間を体液は拡散しにくい。
【0009】
よって、吸収性物品におけるトップシートの表面の略中央部に排出された体液を、トップシートに形成された縦エンボス列が吸収性物品の長手方向に拡散させるとともに、吸収性物品の長手方向の両端部側においては、トップシートに形成された横エンボス列がその拡散を妨げる。
従って、吸収性物品において、トップシートの表面の略中央部に排出された体液は、吸収性物品の幅方向より長手方向に拡散しやすく、その長手方向の端部側ではその拡散が防がれるので、吸収性物品の幅方向の端部及び長手方向の端部から体液が漏れることを防ぎつつ拡散させ、好適に吸収体に体液を満遍なく吸収させることができる。
このように、トップシートの表面に形成された複数のエンボス凹部が連なった横エンボス列や縦エンボス列により、吸収性物品における体液漏れを起こしにくくすることができる。
【0010】
請求項2記載の発明は、
人体との接触面側に設けられるトップシート(3)と、人体との接触面と反対面側に設けられるバックシート(2)と、前記トップシートと前記バックシートとの間に介装される吸収体(4)とを備え、前記トップシートの表面に複数の略長方形状或いは略楕円形状のエンボス凹部(8)を有する吸収性物品(例えば、ナプキン100等)であって、
前記エンボス凹部の長軸方向に複数の前記エンボス凹部が所定の間隔で、前記吸収性物品の長手方向に略一直線上に連なって形成された縦エンボス列(8b)と、
前記エンボス凹部の長軸方向に複数の前記エンボス凹部が所定の間隔で、前記吸収性物品の幅方向に略一直線上に連なって形成された横エンボス列(8a)と、を備え、
前記吸収性物品の長手方向の両端部側には、前記吸収性物品の幅方向の端部側のものほど、長軸方向の長さが短く形成された前記エンボス凹部を有する前記横エンボス列が、前記吸収性物品の長手方向に所定の間隔で複数設けられ、
前記吸収性物品の長手方向の略中央側には、前記吸収性物品の長手方向の端部側のものほど、長軸方向の長さが短く形成された前記エンボス凹部を有する前記縦エンボス列が、前記吸収性物品の幅方向に所定の間隔で複数設けられていることを特徴とする。
【0011】
請求項2記載の発明によれば、請求項1に記載の発明と同様の作用を奏するとともに、横エンボス列におけるエンボス凹部は吸収性物品の幅方向の端部側のものほど短い形状を有し、縦エンボス列におけるエンボス凹部は吸収性物品の長手方向の端部側のものほど短い形状を有しているので、吸収性物品において、トップシートの表面の略中央部に排出された体液は、より吸収性物品の長手方向に拡散しやすく、吸収性物品の幅方向へは拡散しにくい。
よって、吸収性物品の幅方向の端部及び長手方向の端部から体液が漏れることを防ぎつつ拡散させ、好適に吸収体に体液を満遍なく吸収させることができ、吸収性物品における体液漏れを起こしにくくすることができる。
【0012】
請求項3記載の発明は、
人体との接触面側に設けられるトップシート(3)と、人体との接触面と反対面側に設けられるバックシート(2)と、前記トップシートと前記バックシートとの間に介装される吸収体(4)とを備え、前記トップシートの表面に複数の略長方形状或いは略楕円形状のエンボス凹部(8)を有する吸収性物品(例えば、ナプキン100等)であって、
前記エンボス凹部の長軸方向に複数の前記エンボス凹部が所定の間隔で、前記吸収性物品の長手方向に略一直線上に連なって形成された縦エンボス列(8b)と、
前記エンボス凹部の長軸方向に複数の前記エンボス凹部が所定の間隔で、前記吸収性物品の幅方向に略一直線上に連なって形成された横エンボス列(8a)と、を備え、
前記吸収性物品の長手方向の両端部側には、前記吸収性物品の長手方向の端部側に向かうにつれて、狭い間隔で配置される前記横エンボス列が、前記吸収性物品の長手方向に所定の間隔で複数設けられ、
前記吸収性物品の長手方向の略中央側には、前記吸収性物品の幅方向の端部側に向かうにつれて、狭い間隔で配置される前記縦エンボス列が、前記吸収性物品の幅方向に所定の間隔で複数設けられていることを特徴とする。
【0013】
請求項3記載の発明によれば、請求項1に記載の発明と同様の作用を奏するとともに、横エンボス列は吸収性物品の長手方向の端部側に向かうにつれて狭い間隔で配置されており、縦エンボス列は吸収性物品の幅方向の端部側に向かうにつれて狭い間隔で配置されているので、吸収性物品の長手方向端部側へ体液は拡散しにくく、また幅方向端部側へも体液は拡散しにくい。
よって、吸収性物品の幅方向の端部及び長手方向の端部から体液が漏れることを防ぐとともに、好適に吸収体に体液を吸収させることができ、吸収性物品における体液漏れを起こしにくくすることができる。
【0014】
請求項4記載の発明は、
人体との接触面側に設けられるトップシート(3)と、人体との接触面と反対面側に設けられるバックシート(2)と、前記トップシートと前記バックシートとの間に介装される吸収体(4)とを備え、前記トップシートの表面に複数の略長方形状或いは略楕円形状のエンボス凹部(8)を有する吸収性物品(例えば、ナプキン110等)であって、
前記エンボス凹部の長軸方向に複数の前記エンボス凹部が所定の間隔で、前記吸収性物品の長手方向の全域に亘って略一直線上に連なって形成された縦エンボス列(8b)が、前記吸収性物品の幅方向に所定の間隔で複数設けられ、
前記エンボス凹部の長軸方向に複数の前記エンボス凹部が所定の間隔で、前記吸収性物品の幅方向の全域に亘って略一直線上に連なって形成された横エンボス列(8a)が、前記吸収性物品の長手方向に、前記縦エンボス列のエンボス凹部と重ならないように所定の間隔で複数設けられ、
前記横エンボス列における前記エンボス凹部は、前記吸収性物品の長手方向の端部側のものほど、長軸方向の長さが長く形成され、
前記縦エンボス列における前記エンボス凹部は、前記吸収性物品の長手方向の端部側のものほど、長軸方向の長さが短く形成されていることを特徴とする。
【0015】
請求項4記載の発明によれば、吸収性物品におけるトップシートの表面において、略長方形状或いは略楕円形状の複数のエンボス凹部が長軸方向に略一直線上に連なって形成された横エンボス列が、吸収性物品の長手方向に所定の間隔で複数設けられており、略長方形状或いは略楕円形状の複数のエンボス凹部が長軸方向に略一直線上に連なって形成された縦エンボス列が、吸収性物品の幅方向に所定の間隔で複数設けられている。そして、横エンボス列におけるエンボス凹部は、吸収性物品の長手方向の端部側のものほど長い形状を有し、縦エンボス列におけるエンボス凹部は、吸収性物品の長手方向の端部側のものほど短い形状を有している。
よって、吸収性物品において、トップシートの表面の略中央部に排出された体液は、より吸収性物品の長手方向に拡散しやすく、吸収性物品の幅方向へは拡散しにくい。また、吸収性物品の長手方向端部側では、体液を幅方向へ拡散させる。
従って、吸収性物品の幅方向の端部及び長手方向の端部から体液が漏れることを防ぎつつ拡散させ、好適に吸収体に体液を満遍なく吸収させることができ、吸収性物品における体液漏れを起こしにくくすることができる。
【0016】
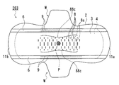
請求項5記載の発明は、
人体との接触面側に設けられるトップシート(3)と、人体との接触面と反対面側に設けられるバックシート(2)と、前記トップシートと前記バックシートとの間に介装される吸収体(4)とを備え、前記トップシートの面側に、前記トップシートの中心を挟み長手方向に延びる左右一対のエンボス溝(88c、88c)と、前記トップシートの中心を挟み幅方向に延びる前後一対のエンボス溝(88a、88b)の、少なくとも一方を有する吸収性物品(例えば、ナプキン200等)であって、
前記エンボス溝に挟まれる前記トップシートの表面には、複数の略長方形状或いは略楕円形状のエンボス凹部(8)が形成されており、
前記エンボス凹部の長軸方向に複数の前記エンボス凹部が所定の間隔で、前記吸収性物品の長手方向に略一直線上に連なって形成された縦エンボス列(8b)が、前記吸収性物品の略中央側に前記吸収性物品の幅方向に所定の間隔で複数設けられ、
前記エンボス凹部の長軸方向に複数の前記エンボス凹部が所定の間隔で、前記吸収性物品の幅方向に略一直線上に連なって形成された横エンボス列(8a)が、前記縦エンボス列の両側において前記吸収性物品の両端側に前記吸収性物品の長手方向に所定の間隔で複数設けられていることを特徴とする。
【0017】
請求項5記載の発明によれば、吸収性物品には、トップシートの面側に、トップシートの中心を挟む左右一対のエンボス溝と、トップシートの中心を挟む前後一対のエンボス溝の、少なくとも一方が施されている。このエンボス溝に挟まれる吸収性物品中心側であるトップシートの表面において、吸収性物品の幅方向の両端部側には、略長方形状或いは略楕円形状の複数のエンボス凹部が長軸方向に略一直線上に連なって形成された横エンボス列が、吸収性物品の長手方向に所定の間隔で複数設けられており、吸収性物品の幅方向の略中央側には、略長方形状或いは略楕円形状の複数のエンボス凹部が長軸方向に略一直線上に連なって形成された縦エンボス列が、吸収性物品の幅方向に所定の間隔で複数設けられている。
よって、吸収性物品のトップシートにおけるエンボス溝に挟まれた内側表面に排出された体液を、トップシートに形成された縦エンボス列により吸収性物品の長手方向に拡散させるとともに、トップシートに形成された横エンボス列により吸収性物品の幅方向へ拡散させる。
このように、吸収性物品において、トップシートの表面に排出された体液は、エンボス溝に挟まれた内側で拡散されるので、エンボス溝に挟まれた内側の吸収体に体液を吸収させることができる。
従って、トップシートの表面に形成されたエンボス溝と複数のエンボス凹部により形成された横エンボス列や縦エンボス列とにより、吸収性物品における体液漏れを起こしにくくすることができる。
【0018】
請求項6記載の発明は、請求項5に記載の吸収性物品において、
前記エンボス溝より、前記吸収性物品の中心から幅方向の外側における前記トップシートの表面には、複数の略長方形状或いは略楕円形状のエンボス凹部をその長軸方向に所定の間隔で前記吸収性物品の長手方向に略一直線上に連ねて形成した縦エンボス列が、前記吸収性物品の幅方向に所定の間隔で複数設けられていることを特徴とする。
【0019】
請求項6記載の発明によれば、請求項5に記載の発明と同様の作用を奏するとともに、吸収性物品において、エンボス溝に挟まれる範囲より、吸収性物品の中心から幅方向の外側におけるトップシートの表面には、略長方形状或いは略楕円形状の複数のエンボス凹部が長軸方向に略一直線上に連なって形成された縦エンボス列が、吸収性物品の幅方向に所定の間隔で複数設けられているので、エンボス溝に挟まれる範囲より吸収性物品の中心から幅方向の外側への体液の拡散は、その縦エンボス列により妨げられる。
よって、吸収性物品の幅方向の端部から体液が漏れることを防ぐとともに、好適に吸収体に体液を吸収させることができ、吸収性物品における体液漏れを起こしにくくすることができる。
【0020】
請求項7記載の発明は、請求項5又は6に記載の吸収性物品において、
前記エンボス溝より、前記吸収性物品の中心から長手方向の外側における前記トップシートの表面には、複数の略長方形状或いは略楕円形状のエンボス凹部をその長軸方向に所定の間隔で前記吸収性物品の幅方向に略一直線上に連ねて形成した横エンボス列が、前記吸収性物品の長手方向に所定の間隔で形成されていることを特徴とする。
【0021】
請求項7記載の発明によれば、請求項5又は6に記載の発明と同様の作用を奏するとともに、吸収性物品において、エンボス溝に挟まれる範囲より、吸収性物品の中心から長手方向の外側におけるトップシートの表面には、略長方形状或いは略楕円形状の複数のエンボス凹部が長軸方向に略一直線上に連なって形成された横エンボス列が、吸収性物品の長手方向に所定の間隔で複数設けられているので、エンボス溝に挟まれる範囲より吸収性物品の長手方向の外側への体液の拡散は、その横エンボス列により妨げられる。
よって、吸収性物品の長手方向の端部から体液が漏れることを防ぐとともに、好適に吸収体に体液を吸収させることができ、吸収性物品における体液漏れを起こしにくくすることができる。
【0022】
請求項8記載の発明は、請求項5〜7の何れか一項に記載の吸収性物品において、
前記エンボス溝より、前記吸収性物品の中心から長手方向の外側における前記トップシートの表面には、複数の略長方形状或いは略楕円形状のエンボス凹部をその長軸方向に所定の間隔で前記吸収性物品の長手方向に略一直線上に連ねて形成した縦エンボス列が、前記吸収性物品の幅方向に所定の間隔で形成されていること特徴とする。
【0023】
請求項8記載の発明によれば、請求項5〜7の何れか一項に記載の発明と同様の作用を奏するとともに、吸収性物品において、エンボス溝に挟まれる範囲より、吸収性物品の中心から長手方向の外側における前記トップシートの表面には、略長方形状或いは略楕円形状の複数のエンボス凹部が長軸方向に略一直線上に連なって形成された縦エンボス列が、吸収性物品の幅方向に所定の間隔で複数設けられているので、エンボス溝に挟まれる範囲より吸収性物品の長手方向の外側へ拡散した体液が、さらに吸収性物品の幅方向の端部へ拡散する場合には、その縦エンボス列により妨げられる。
よって、吸収性物品の端部から体液が漏れることを防ぐとともに、好適に吸収体に体液を吸収させることができ、吸収性物品における体液漏れを起こしにくくすることができる。
【0024】
請求項9記載の発明は、
人体との接触面側に設けられるトップシート(3)と、人体との接触面と反対面側に設けられるバックシート(2)と、前記トップシートと前記バックシートとの間に介装される吸収体(4)とを備え、前記トップシートの面側に、前記トップシートの中心を挟み長手方向に延びる左右一対のエンボス溝(88c、88c)と、前記トップシートの中心を挟み幅方向に延びる前後一対のエンボス溝(88a、88b)との少なくとも一方を有する吸収性物品(例えば、ナプキン201等)であって、
前記エンボス溝に挟まれる前記トップシートの表面には、複数の略長方形状或いは略楕円形状のエンボス凹部(8)が形成されており、前記エンボス凹部の長軸方向に複数の前記エンボス凹部が所定の間隔で、前記吸収性物品の長手方向に略一直線上に連なって形成された縦エンボス列(8b)が、前記吸収性物品の幅方向に所定の間隔で複数設けられ、その縦エンボス列における前記エンボス凹部は、前記吸収性物品の長手方向の端部側のものほど、長軸方向の長さが短く形成され、
前記エンボス溝より、前記吸収性物品の中心から幅方向の外側における前記トップシートの表面には、複数の略長方形状或いは略楕円形状のエンボス凹部をその長軸方向に所定の間隔で前記吸収性物品の長手方向に略一直線上に連ねて形成した縦エンボス列が、前記吸収性物品の幅方向に所定の間隔で複数設けられていることを特徴とする。
【0025】
請求項10記載の発明は、
人体との接触面側に設けられるトップシート(3)と、人体との接触面と反対面側に設けられるバックシート(2)と、前記トップシートと前記バックシートとの間に介装される吸収体(4)とを備え、前記トップシートの面側に、前記トップシートの中心を挟み長手方向に延びる左右一対のエンボス溝(88c、88c)と、前記トップシートの中心を挟み幅方向に延びる前後一対のエンボス溝(88a、88b)との少なくとも一方を有する吸収性物品(例えば、ナプキン201等)であって、
前記エンボス溝に挟まれる前記トップシートの表面には、複数の略長方形状或いは略楕円形状のエンボス凹部(8)が形成されており、前記エンボス凹部の長軸方向に複数の前記エンボス凹部が所定の間隔で、前記吸収性物品の長手方向に略一直線上に連なって形成された縦エンボス列(8b)が、前記吸収性物品の幅方向に所定の間隔で複数設けられ、その縦エンボス列における前記エンボス凹部は、前記吸収性物品の長手方向の端部側のものほど、長軸方向の長さが短く形成され、
前記エンボス溝より、前記吸収性物品の中心から長手方向の外側における前記トップシートの表面には、複数の略長方形状或いは略楕円形状のエンボス凹部をその長軸方向に所定の間隔で前記吸収性物品の幅方向に略一直線上に連ねて形成した横エンボス列が、前記吸収性物品の長手方向に所定の間隔で形成されていることを特徴とする。
【0026】
請求項11記載の発明は、
人体との接触面側に設けられるトップシート(3)と、人体との接触面と反対面側に設けられるバックシート(2)と、前記トップシートと前記バックシートとの間に介装される吸収体(4)とを備え、前記トップシートの面側に、前記トップシートの中心を挟み長手方向に延びる左右一対のエンボス溝(88c、88c)と、前記トップシートの中心を挟み幅方向に延びる前後一対のエンボス溝(88a、88b)との少なくとも一方を有する吸収性物品(例えば、ナプキン201等)であって、
前記エンボス溝に挟まれる前記トップシートの表面には、複数の略長方形状或いは略楕円形状のエンボス凹部(8)が形成されており、前記エンボス凹部の長軸方向に複数の前記エンボス凹部が所定の間隔で、前記吸収性物品の長手方向に略一直線上に連なって形成された縦エンボス列(8b)が、前記吸収性物品の幅方向に所定の間隔で複数設けられ、その縦エンボス列における前記エンボス凹部は、前記吸収性物品の長手方向の端部側のものほど、長軸方向の長さが短く形成され、
前記エンボス溝より、前記吸収性物品の中心から長手方向の外側における前記トップシートの表面には、複数の略長方形状或いは略楕円形状のエンボス凹部をその長軸方向に所定の間隔で前記吸収性物品の長手方向に略一直線上に連ねて形成した縦エンボス列が、前記吸収性物品の幅方向に所定の間隔で形成されていることを特徴とする。
【0027】
請求項12記載の発明は、請求項9〜11の何れか一項に記載の吸収性物品において、前記縦エンボス列は、前記吸収性物品の幅方向の端部側に向かうにつれて、狭い間隔で配置されていることを特徴とする。
請求項12記載の発明によれば、請求項9〜11の何れか一項に記載の発明と同様の作用を奏するとともに、縦エンボス列は吸収性物品の幅方向の端部側に向かうにつれて狭い間隔で配置されているので、吸収性物品の幅方向端部側へ体液は拡散しにくい。
よって、吸収性物品の幅方向の端部から体液が漏れることを防ぐとともに、好適に吸収体に体液を吸収させることができ、吸収性物品における体液漏れを起こしにくくすることができる。
【0028】
請求項13記載の発明は、
人体との接触面側に設けられるトップシート(3)と、人体との接触面と反対面側に設けられるバックシート(2)と、前記トップシートと前記バックシートとの間に介装される吸収体(4)とを備え、前記トップシートの面側に、前記トップシートの中心を挟み長手方向に延びる左右一対のエンボス溝(88c、88c)と、前記トップシートの中心を挟み幅方向に延びる前後一対のエンボス溝(88a、88b)との少なくとも一方を有する吸収性物品(例えば、ナプキン203等)であって、
前記エンボス溝に挟まれる前記トップシートの表面には、複数の略長方形状或いは略楕円形状のエンボス凹部(8)が形成されており、前記エンボス凹部の長軸方向に複数の前記エンボス凹部が所定の間隔で、前記吸収性物品の幅方向に略一直線上に連なって形成された横エンボス列(8a)が、前記吸収性物品の長手方向に所定の間隔で複数設けられ、その横エンボス列における前記エンボス凹部は、前記吸収性物品の幅方向の端部側のものほど、長軸方向の長さが短く形成され、
前記エンボス溝より、前記吸収性物品の中心から幅方向の外側における前記トップシートの表面には、複数の略長方形状或いは略楕円形状のエンボス凹部をその長軸方向に所定の間隔で前記吸収性物品の長手方向に略一直線上に連ねて形成した縦エンボス列が、前記吸収性物品の幅方向に所定の間隔で複数設けられていることを特徴とする。
【0029】
請求項14記載の発明は、
人体との接触面側に設けられるトップシート(3)と、人体との接触面と反対面側に設けられるバックシート(2)と、前記トップシートと前記バックシートとの間に介装される吸収体(4)とを備え、前記トップシートの面側に、前記トップシートの中心を挟み長手方向に延びる左右一対のエンボス溝(88c、88c)と、前記トップシートの中心を挟み幅方向に延びる前後一対のエンボス溝(88a、88b)との少なくとも一方を有する吸収性物品(例えば、ナプキン203等)であって、
前記エンボス溝に挟まれる前記トップシートの表面には、複数の略長方形状或いは略楕円形状のエンボス凹部(8)が形成されており、前記エンボス凹部の長軸方向に複数の前記エンボス凹部が所定の間隔で、前記吸収性物品の幅方向に略一直線上に連なって形成された横エンボス列(8a)が、前記吸収性物品の長手方向に所定の間隔で複数設けられ、その横エンボス列における前記エンボス凹部は、前記吸収性物品の幅方向の端部側のものほど、長軸方向の長さが短く形成され、
前記エンボス溝より、前記吸収性物品の中心から長手方向の外側における前記トップシートの表面には、複数の略長方形状或いは略楕円形状のエンボス凹部をその長軸方向に所定の間隔で前記吸収性物品の幅方向に略一直線上に連ねて形成した横エンボス列が、前記吸収性物品の長手方向に所定の間隔で形成されていることを特徴とする。
【0030】
請求項15記載の発明は、
人体との接触面側に設けられるトップシート(3)と、人体との接触面と反対面側に設けられるバックシート(2)と、前記トップシートと前記バックシートとの間に介装される吸収体(4)とを備え、前記トップシートの面側に、前記トップシートの中心を挟み長手方向に延びる左右一対のエンボス溝(88c、88c)と、前記トップシートの中心を挟み幅方向に延びる前後一対のエンボス溝(88a、88b)との少なくとも一方を有する吸収性物品(例えば、ナプキン203等)であって、
前記エンボス溝に挟まれる前記トップシートの表面には、複数の略長方形状或いは略楕円形状のエンボス凹部(8)が形成されており、前記エンボス凹部の長軸方向に複数の前記エンボス凹部が所定の間隔で、前記吸収性物品の幅方向に略一直線上に連なって形成された横エンボス列(8a)が、前記吸収性物品の長手方向に所定の間隔で複数設けられ、その横エンボス列における前記エンボス凹部は、前記吸収性物品の幅方向の端部側のものほど、長軸方向の長さが短く形成され、
前記エンボス溝より、前記吸収性物品の中心から長手方向の外側における前記トップシートの表面には、複数の略長方形状或いは略楕円形状のエンボス凹部をその長軸方向に所定の間隔で前記吸収性物品の長手方向に略一直線上に連ねて形成した縦エンボス列が、前記吸収性物品の幅方向に所定の間隔で形成されていることを特徴とする。
【0031】
請求項16記載の発明は、請求項13〜15の何れか一項に記載の吸収性物品において、
前記横エンボス列は、前記吸収性物品の長手方向の端部側に向かうにつれて、狭い間隔で配置されていることを特徴とする。
請求項16記載の発明によれば、請求項13〜15の何れか一項に記載の発明と同様の作用を奏するとともに、横エンボス列は吸収性物品の長手方向の端部側に向かうにつれて狭い間隔で配置されているので、吸収性物品の長手方向端部側へ体液は拡散しにくい。
よって、吸収性物品の長手方向の端部から体液が漏れることを防ぐとともに、好適に吸収体に体液を吸収させることができ、吸収性物品における体液漏れを起こしにくくすることができる。
【0032】
【発明の実施の形態】
以下、本発明の実施の形態を図1から図19に基づいて説明する。
〔第1の実施の形態〕
図1は本発明を適用した生理用ナプキンの斜視図であり、図2は同生理用ナプキンの展開図である。図3は、図2のIII−III線における断面図である。
【0033】
吸収性物品としての生理用ナプキン(以下、ナプキンという。)100は、ポリエチレンシートなどからなる不透液性のバックシート2と、経血やおりものなどの体液を速やかに透過させる透液性のトップシート3と、これらバックシート2とトップシート3との間に介装される綿状パルプまたは合成パルプなどからなる吸収体4と、この吸収体4を囲繞するクレープ紙5と、吸収体4の略側縁部を起立基端とし、少なくとも排血口対応部(例えば、図1、図2に示されるポイントP)から前後方向に所定の区間において人体との接触面側に起立するように設けられた左右一対のギャザーシート6、6等により構成されている。
【0034】
ナプキン100の吸収体4の周囲において、ナプキン100の長手方向の両端部(前端部11a、後端部11b)では、バックシート2とトップシート3の外縁部がホットメルトなどの接着剤やヒートシール等の接着手段によって接着されている。
また、ナプキン100の両側縁部では、吸収体4よりも側方に延出しているバックシート2と、ギャザーシート6の一部分とがホットメルトなどの接着剤やヒートシール等の接着手段によって接着されている。このバックシート2とギャザーシート6とが接着されてなる積層シート部分が、ナプキン100の長手方向の中央部からやや前側において側方に突出するようにウイング状フラップW、Wが形成されている。
【0035】
バックシート2は、ポリエチレン等の少なくとも遮水性を有するシート材により形成されている。また、ムレ防止の観点から透湿性を有するシート材であることが好ましく、この遮水性と透湿性とを具備するシート材としては、ポリエチレンやポリプロピレン等のオレフィン系樹脂中に無機充填剤を溶融混練してシートを成形した後、一軸または二軸方向に延伸することにより得られる微多孔性シート材が好適に用いられる。
また、バックシート2の外面には一又は複数条の粘着剤層(図示せず)が形成されており、身体への装着時にナプキン100を下着に固定するようになっている。
【0036】
トップシート3は、有孔または無孔の不織布や、多孔性プラスチックシート、また不織布にプラスチックシートがラミネートされたシートなどにより形成されている。不織布を構成する素材繊維としては、ポリエチレンまたはポリプロピレン等のオレフィン系、ポリエステル系、ポリアミド系等の合成繊維の他、レーヨンやキュプラ等の再生繊維、綿等の天然繊維を用いることができる。また、不織布を製造する方法としては、公知の方法を適宜用いることができ、例えば、スパンレース法、スパンボンド法、サーマルボンド法、メルトブロー法、ニードルパンチ法、或いはこれらを組み合わせた方法等によって不織布を製造することができる。このトップシート3に多数の透孔を形成した場合には、経血やおりもの等の体液がより速やかに吸収されるようになり、ドライタッチ性に優れたものとなる。
【0037】
また、図2に示されるように、トップシート3には、複数のエンボス凹部8が形成されており、これらエンボス凹部8がその長軸方向に所定の間隔で、ナプキン100の長手方向に略一直線上に連なった縦エンボス列8bと、これらエンボス凹部8がその長軸方向に所定の間隔で、ナプキン100の幅方向に略一直線上に連なった横エンボス列8aとがそれぞれ複数列形成されている。
このエンボス凹部8は、図4に示されるように、長方形状を有している。
エンボス凹部8の短辺81と長辺82との長さの比は、1:2以上であり、短辺81の長さは0.5mm〜3.0mmであることが好ましい。また、隣り合うエンボス凹部8との距離L1、L2はそれぞれ1mm〜10mmであり、好ましくは3mm〜5mmである。
【0038】
トップシート3におけるナプキン100の長手方向の両端部側においては、複数の横エンボス列8aがナプキン100の長手方向に所定の間隔で設けられている。
また、トップシート3におけるナプキン100の長手方向の略中央側における、左右のウイング状フラップW、Wにほぼ挟まれる範囲においては、複数の縦エンボス列8bがナプキン100の幅方向に所定の間隔で設けられている。
【0039】
横エンボス列8aは、トップシート3においてナプキン100の長手方向に広がろうとする体液の拡散を防ぐようになっており、縦エンボス列8bは、トップシート3においてナプキン100の長手方向に体液の拡散させるとともに、ナプキン100の幅方向に広がろうとする体液の拡散を防ぐようになっている。
また、エンボス凹部8は長軸方向の長さが長いものほど、そのエンボス凹部8の長手方向に沿うように体液を拡散させやすく、また、エンボス凹部8の長軸方向の長さが長いものほど、そのエンボス凹部8の長手方向に交わる向きの体液の拡散を防ぎやすくなっている。
【0040】
吸収体4は、体液を吸収するものであり、通常はフラッフ状パルプ中に吸水性ポリマー粉末を混入したものが吸収機能およびコストの点から好適に使用されるが、体液を吸収・保持し得るものであれば良い。吸収体4は、形状保持等のためにクレープ紙5によって囲繞することが望ましい。
【0041】
ギャザーシート6、6は、吸収体4の略側縁部において、ナプキン100の前端部11aから後端部11bにわたって備えられている。ギャザーシート6は、不透液性の不織布のシートを二つ折りにし、折り合わされた面を、例えば、ホットメルトや、ヒートシール等により接着することにより形成されている。
この不織布シートを二つ折りにした折り返し部分側の端部を自由端部61、ナプキン本体側に固定される端部を固定端部62とする。その固定端部62が、バックシート2に固着されることにより、ギャザーシート6、6がナプキン本体側に固定されている。そして、その不織布が折り合わされた面間に、複数本の糸状の弾性部材9・・・が挟み込まれて固着されて備えられている。
このギャザーシート6、6がナプキン100(バックシート2)に固着されて備えられた状態において、自由端部61が起立することにより、立体ギャザーが形成される。そして、この弾性部材9・・・によりギャザーシート6は、着用者の体型に合わせて伸縮自在に変形し、着用者にフィットしやすい構造となっている。
【0042】
ウイング状フラップWは、排血口対応部であるポイントPに相当する箇所に対応するように、ナプキン100の側方に突出している。このウイング状フラップWの外面側(バックシート2の外面)には、粘着材層(図示せず)が備えられており、ナプキン100を装着する際に、ウイング状フラップWを人体との反対側に折り返し、ショーツのクロッチ部分に巻き付けて、止着するようになっている。
【0043】
前述のように構成されたナプキン100の使用に際して、ナプキン100の排血口対応部であるポイントPに体液としての経血が排出されると、その経血はナプキン100のトップシート3を介して吸収体4に吸収される。
この際、経血は、トップシート3に形成された縦エンボス列8bに誘導されて、ナプキン100の長手方向に拡散しやすく、幅方向には拡散しにくくなっているので、ナプキン100の幅方向から経血が漏れる、いわゆる横漏れを起こしにくい。
また、ナプキン100の長手方向に拡散した経血は、トップシート3の端部側に形成された横エンボス列8aにより、最端部へ広がろうとする経血の拡散が防がれるので、ナプキン100の長手方向から経血が漏れる、いわゆる後ろ漏れや前漏れを起こしにくい。
【0044】
このようにナプキン100において、ナプキン100の部位に応じてトップシート3に複数の横エンボス列8aと複数の縦エンボス列8bとをそれぞれ形成することにより、トップシート3における経血の拡散をコントロールし、吸収効率よく吸収体4に経血を吸収させることができ、ナプキン100における経血漏れを起こしにくくすることができる。
また、トップシート3に複数のエンボス凹部を形成したことにより、トップシート3における人体との接触面側は凹凸形状を有している。よって、肌との接触面積はより少なくて済むのでドライタッチ性が向上するとともに、肌とトップシート3との間のムレを低減することができる。また、形成されたエンボス凹部8に基づくトップシート3表面の凹凸により柔らかい肌触り感が得られる。
【0045】
また、上記第1の実施の形態におけるナプキン100のトップシート3に形成されたエンボス凹部8の形状は、すべて同一形状として説明したが、本発明はこれに限らず、変形例として、例えば、図5、図6に示すように異なる形状にしてもよい。
【0046】
〔第1の変形例〕
次に、図5を参照して、本発明の第1の実施の形態における第1の変形例について説明する。なお、図2と同一部分には同一符号を付し、異なる部分についてのみ説明する。
ナプキン101のトップシート3には、ナプキン101の長手方向の両端部側に複数の横エンボス列8aと、ナプキン101の長手方向の略中央側に複数の縦エンボス列8bとが所定の配列に従い形成されている。
横エンボス列8aにおけるエンボス凹部8は、ナプキン101の幅方向の端部側のものほど長軸方向の長さが短い形状を有している。また、縦エンボス列8bにおけるエンボス凹部8は、ナプキン101の長手方向の端部側のものほど長軸方向の長さが短い形状を有している。
このようなエンボス凹部8の形状、横エンボス列8aや縦エンボス列8bの配列であっても、図2に示すナプキン100と同様に、トップシート3における経血の拡散をコントロールし、吸収効率よく吸収体4に経血を吸収させることができ、ナプキン101における経血漏れを起こしにくくすることができる。
【0047】
〔第2の変形例〕
次に、図6を参照して、本発明の第1の実施の形態における第2の変形例について説明する。なお、図2と同一部分には同一符号を付し、異なる部分についてのみ説明する。
ナプキン102のトップシート3には、ナプキン102の長手方向の両端部側に複数の横エンボス列8aと、ナプキン102の長手方向の略中央側に複数の縦エンボス列8bとが所定の配列に従い形成されている。
横エンボス列8aにおけるエンボス凹部8は、ナプキン102の幅方向の端部側のものほど長軸方向の長さが短い形状を有している。そして、横エンボス列8aは、ナプキン102の長手方向に端部側に向かうにつれて、その間隔が狭くなっている。
また、縦エンボス列8bにおけるエンボス凹部8は、ナプキン102の長手方向の端部側のものほど長軸方向の長さが短い形状を有している。そして、縦エンボス列8bは、ナプキン102の幅方向の端部側に向かうにつれて、その間隔が狭くなっている。
このようなエンボス凹部8の形状や、横エンボス列8a、縦エンボス列8bの配列であっても、図2に示すナプキン100と同様に、トップシート3における経血の拡散をコントロールし、吸収効率よく吸収体4に経血を吸収させることができ、ナプキン102における経血漏れを起こしにくくすることができる。
特に、エンボス列(横エンボス列8a、縦エンボス列8b)の間隔が狭いほど、そのエンボス列に垂直な方向への経血の拡散は起こりにくいので、ナプキン102における後ろ漏れや前漏れは起こりにくく、ナプキン102の長手方向中央付近における横漏れは起こりにくい。
【0048】
〔第2の実施の形態〕
次に、図7を参照して、本発明の第2の実施の形態について説明する。なお、第1の実施の形態と同一部分には同一符号を付し、異なる部分についてのみ説明する。
ナプキン110のトップシート3には、ナプキン110の長手方向の両端部にわたって、複数の横エンボス列8aと、複数の縦エンボス列8bとが所定の配列に従い形成されている。なお、それぞれのエンボス凹部8は重ならないように形成されている。
横エンボス列8aにおけるエンボス凹部8は、ナプキン110の長手方向端部側のものほど長軸方向の長さが長い形状を有している。
また、縦エンボス列8bにおけるエンボス凹部8は、ナプキン110の長手方向端部側のものほど長軸方向の長さが短い形状を有している。
このようなエンボス凹部8の形状や、横エンボス列8a、縦エンボス列8bの配列であっても、第1の実施の形態と同様に、トップシート3における経血の拡散をコントロールし、吸収効率よく吸収体4に経血を吸収させることができ、ナプキン110における経血漏れを起こしにくくすることができる。
特に、ナプキン110の略中央部において、より長いエンボス凹部8を有する縦エンボス列8bがナプキン110の長手方向に経血をより速やかに拡散させるとともに、ナプキン110の両端部側において、より長いエンボス凹部8を有する横エンボス列8aがその経血の拡散を防ぐことにより、吸収体4全体に満遍なく経血を吸収させることができるので、より経血漏れを起こしにくくすることができる。
【0049】
〔第3の実施の形態〕
次に、図8を参照して、本発明の第3の実施の形態について説明する。なお、第1の実施の形態と同一部分には同一符号を付し、異なる部分についてのみ説明する。
ナプキン200には、吸収体4をナプキン200の所定の位置に保持するため、また表面側(人体側)に吸収体4を膨出させるため、また吸収した体液を封じ込める等のために、トップシート3を介して吸収体4の略中央部を囲うように、ナプキン200の長手方向に延びる左右一対のエンボス溝88c、88cが形成されている。
【0050】
ナプキン200のエンボス溝88c、88cに挟まれる範囲のトップシート3には、複数のエンボス凹部8が所定の配置に従い形成されている。
エンボス溝88c、88cに挟まれる範囲のトップシート3において、ナプキン200の幅方向の両端側には複数の横エンボス列8aが所定の配列に従い形成されている。
また、エンボス溝88c、88cに挟まれる範囲のトップシート3において、ナプキン200の幅方向の略中央側には複数の縦エンボス列8bが所定の配列に従い形成されている。
【0051】
前述のように構成されたナプキン200の使用に際して、ナプキン200の排血口対応部であるポイントPに体液としての経血が排出されると、その経血はナプキン200のトップシート3を介して吸収体4に吸収される。
この際、経血は、トップシート3に形成された縦エンボス列8bに誘導されて、ナプキン200の長手方向に拡散される。また、経血は、トップシート3に形成された横エンボス列8aに誘導されて、ナプキン200の幅方向であるエンボス溝88c側に拡散される。
このようにナプキン200において、エンボス溝88c、88cに挟まれる範囲の位置に応じてトップシート3に複数の横エンボス列8aと複数の縦エンボス列8bとをそれぞれ形成することにより、トップシート3における経血の拡散をコントロールし、経血をエンボス溝88c、88cに挟まれる範囲の吸収体4全体に満遍なく、吸収効率よく吸収させることができる。
よって、ナプキン200における経血漏れを起こしにくくすることができる。
【0052】
なお、本実施の形態において、左右一対のエンボス溝88c、88cは、図8に示されるように、ナプキン200の中心に向かって凸の弧を描く曲線形状のものを例に説明したが、本発明はこれに限定されるものではなく、エンボス溝88c、88cの形状は、ナプキン200の幅方向外側に向かって凸の弧を描く曲線形状(例えば、( )のような形状)や、一対の平行な直線形状(例えば、||のような形状)や、一対の矩形括弧形状(例えば、〔 〕のような形状)など、その形状は任意である。
【0053】
また、上記第3の実施の形態におけるナプキン200のエンボス溝88c、88cに挟まれる範囲のトップシート3には、横エンボス列8aと縦エンボス列8bとをそれぞれ形成したが、本発明はこれに限らず、変形例として、例えば、図9、図10、図11、図12に示すように、横エンボス列8a又は縦エンボス列8bの一方のみを形成してもよい。
【0054】
〔第1の変形例〕
次に、図9を参照して、本発明の第3の実施の形態における第1の変形例について説明する。なお、図8と同一部分には同一符号を付し、異なる部分についてのみ説明する。
ナプキン201には、吸収体4をナプキン201の所定の位置に保持するため、また表面側(人体側)に吸収体4を膨出させるため、また吸収した体液を封じ込める等のために、トップシート3を介して吸収体4の略中央部を囲うように、ナプキン201の幅方向に延びる前後一対のエンボス溝88a、88bが形成されている。
【0055】
ナプキン201のエンボス溝88a、88bに挟まれる範囲のトップシート3には、複数の縦エンボス列8bが所定の配列に従い形成されている。
縦エンボス列8bにおけるエンボス凹部8は、ナプキン201の長手方向の端部側のものほど長軸方向の長さが短い形状を有している。
このような縦エンボス列8bであっても、図8に示すナプキン200と同様に、トップシート3における経血の拡散をコントロールし、吸収効率よく吸収体4に経血を吸収させることができ、ナプキン201における経血漏れを起こしにくくすることができる。
特に、ナプキン201の略中央部において、より長いエンボス凹部8を有する縦エンボス列8bがナプキン201の長手方向に経血をより速やかに拡散させることにより、エンボス溝88a、88bに挟まれる範囲の吸収体4全体に満遍なく経血を吸収させることができるので、より経血漏れを起こしにくくすることができる。
【0056】
なお、本実施の形態において、前後一対のエンボス溝88a、88bは、図9に示されるように、ナプキン201の長手方向外側に向かって凸の弧を描く曲線形状(つまり、( )のような形状)のものを例に説明したが、本発明はこれに限定されるものではなく、エンボス溝88a、88bの形状は、一対の平行な直線形状(例えば、||のような形状)や、一対の角形括弧形状(例えば、〈 〉のような形状)など、その形状は任意である。
【0057】
〔第2の変形例〕
次に、図10を参照して、本発明の第3の実施の形態における第2の変形例について説明する。なお、図8と同一部分には同一符号を付し、異なる部分についてのみ説明する。
ナプキン202には、吸収体4をナプキン202の所定の位置に保持するため、また表面側(人体側)に吸収体4を膨出させるため、また吸収した体液を封じ込める等のために、トップシート3を介して吸収体4の略中央部を囲うように、ナプキン202の幅方向に延びる前後一対のエンボス溝88a、88bが形成されている。
【0058】
ナプキン202のエンボス溝88a、88bに挟まれる範囲のトップシート3には、複数の縦エンボス列8bが所定の配列に従い形成されている。
縦エンボス列8bにおけるエンボス凹部8は、ナプキン202の長手方向端部側のものほど長軸方向の長さが短い形状を有している。そして、ナプキン202の幅方向の端部側に向かうにつれて、縦エンボス列8b間の間隔が狭くなっている。
このような縦エンボス列8bであっても、図8に示すナプキン200と同様に、トップシート3における経血の拡散をコントロールし、吸収効率よく吸収体4に経血を吸収させることができ、ナプキン202における経血漏れを起こしにくくすることができる。
特に、ナプキン202の略中央部において、より長いエンボス凹部8により縦エンボス列8bがナプキン202の長手方向に経血をより速やかに拡散させるとともに、縦エンボス列8b間の間隔を狭くすることにより、ナプキン202の幅方向の端部側への経血の拡散を制御することにより、エンボス溝88a、88bに挟まれる範囲の吸収体4全体に満遍なく経血を吸収させることができるので、より経血漏れを起こしにくくすることができる。
【0059】
〔第3の変形例〕
次に、図11を参照して、本発明の第3の実施の形態における第3の変形例について説明する。なお、図8と同一部分には同一符号を付し、異なる部分についてのみ説明する。
ナプキン203のエンボス溝88c、88cに挟まれる範囲のトップシート3には、複数の横エンボス列8aが所定の配列に従い形成されている。
横エンボス列8aにおけるエンボス凹部8は、ナプキン203の幅方向端部側のものほど長軸方向の長さが短い形状を有している。
このような横エンボス列8aであっても、図8に示すナプキン200と同様に、トップシート3における経血の拡散をコントロールし、エンボス溝88c、88cに挟まれる範囲の吸収体4全体に満遍なく、吸収効率よく経血を吸収させることができるので、ナプキン203における経血漏れを起こしにくくすることができる。
【0060】
〔第4の変形例〕
次に、図12を参照して、本発明の第3の実施の形態における第4の変形例について説明する。なお、図8と同一部分には同一符号を付し、異なる部分についてのみ説明する。
ナプキン204のエンボス溝88c、88cに挟まれる範囲のトップシート3には、複数の横エンボス列8aが所定の配列に従い形成されている。
横エンボス列8aにおけるエンボス凹部8は、ナプキン204の幅方向端部側のものほど長軸方向の長さが短い形状を有している。そして、ナプキン204の長手向端部側に向かうにつれて、横エンボス列8a間の間隔が狭くなっている。
このような横エンボス列8aであっても、図8に示すナプキン200と同様に、トップシート3における経血の拡散をコントロールし、エンボス溝88c、88cに挟まれる範囲の吸収体4全体に満遍なく、吸収効率よく経血を吸収させることができるので、ナプキン204における経血漏れを起こしにくくすることができる。
【0061】
〔第4の実施の形態〕
次に、図13を参照して、本発明の第4の実施の形態について説明する。なお、第1、第3の実施の形態と同一部分には同一符号を付し、異なる部分についてのみ説明する。
ナプキン300のトップシート3には、エンボス溝88c、88cに挟まれる範囲よりナプキン300の中心から幅方向の外側において、複数の縦エンボス列8bが所定の配列に従い形成されている。
【0062】
前述のように構成されたナプキン300の使用に際して、ナプキン300の排血口対応部であるポイントPに体液としての経血が排出されると、その経血はナプキン300のトップシート3を介して、エンボス溝88c、88cに挟まれる範囲の吸収体4に選択的に吸収される。
ただし、経血量が多く、エンボス溝88c、88cに挟まれる範囲の吸収体4における許容吸収量を越えた場合などにおいては、エンボス溝88c、88cの外側における吸収体4によって経血の吸収を行うことになる。このような場合において、エンボス溝88cからナプキン300の幅方向の外側に向かう経血の拡散を、ナプキン300のトップシート3に形成された縦エンボス列8bが防ぎ、吸収体4に経血を吸収させることができる。
よって、ナプキン300における経血漏れ、特に横漏れを起こしにくくすることができる。
【0063】
〔第5の実施の形態〕
次に、図14を参照して、本発明の第5の実施の形態について説明する。なお、第1、第3の実施の形態と同一部分には同一符号を付し、異なる部分についてのみ説明する。
ナプキン400のトップシート3には、エンボス溝88c、88cに挟まれる範囲よりナプキン400の中心から長手方向に外側の両端部側に複数の横エンボス列8aが所定の配列に従い形成されている。
【0064】
前述のように構成されたナプキン400の使用に際して、ナプキン400の排血口対応部であるポイントPに体液としての経血が排出されると、その経血はナプキン400のトップシート3を介して、エンボス溝88c、88cに挟まれる範囲の吸収体4に選択的に吸収される。
ただし、経血量が多く、エンボス溝88c、88cに挟まれる範囲の吸収体4における許容吸収量を越えた場合などにおいては、エンボス溝88c、88cに挟まれる範囲の外側における吸収体4によって経血の吸収を行うことになる。このような場合において、ナプキン400の長手方向の外側に向かう経血の拡散を、ナプキン400のトップシート3に形成された横エンボス列8aが防ぎ、吸収体4に経血を吸収させることができる。
よって、ナプキン400における経血漏れ、特に後ろ漏れや前漏れを起こしにくくすることができる。
【0065】
〔第6の実施の形態〕
次に、図15を参照して、本発明の第6の実施の形態について説明する。なお、第1、第3の実施の形態と同一部分には同一符号を付し、異なる部分についてのみ説明する。
ナプキン500のトップシート3には、エンボス溝88c、88cに挟まれる範囲よりナプキン500の中心から長手方向に外側の両端部側において、その幅方向側端部側には複数の縦エンボス列8bが所定の配列に従い形成されている。
【0066】
前述のように構成されたナプキン500の使用に際して、ナプキン500の排血口対応部であるポイントPに体液としての経血が排出されると、その経血はナプキン500のトップシート3を介して、エンボス溝88c、88cに挟まれる範囲の吸収体4に選択的に吸収される。
ただし、経血量が多く、エンボス溝88c、88cに挟まれる範囲の吸収体4における許容吸収量を越えた場合などにおいては、エンボス溝88c、88cに挟まれる範囲の外側における吸収体4によって経血の吸収を行うことになる。このような場合において、ナプキン500長手方向の両端部側に拡散し、さらにナプキン500の幅方向の外側に向かう経血の拡散を、ナプキン500のトップシート3に形成された縦エンボス列8bが防ぎ、吸収体4に経血を吸収させることができる。
よって、ナプキン500における経血漏れ、特に、横漏れを起こしにくくすることができる。
【0067】
〔第7の実施の形態〕
次に、図16を参照して、本発明の第7の実施の形態について説明する。なお、第1、第3の実施の形態と同一部分には同一符号を付し、異なる部分についてのみ説明する。
ナプキン600のトップシート3には、エンボス溝88c、88cに挟まれる範囲よりナプキン600の中心から長手方向に外側の両端部側に複数の横エンボス列8aと縦エンボス列8bとが所定の配列に従い形成されている。
ナプキン600の長手方向の両端部側におけるトップシート3において、ナプキン600の幅方向の略中央側には複数の横エンボス列8aが形成されている。
また、ナプキン600の長手方向の両端部側におけるトップシート3において、ナプキン600の幅方向の両端側には複数の縦エンボス列8bが形成されている。
なお、ナプキン600の長手方向の最端部側においては、ナプキン600の幅方向にわたって、横エンボス列8aが形成されている。
【0068】
前述のように構成されたナプキン600の使用に際して、ナプキン600の排血口対応部であるポイントPに体液としての経血が排出されると、その経血はナプキン600のトップシート3を介して、エンボス溝88c、88cに挟まれる範囲の吸収体4に選択的に吸収される。
ただし、経血量が多く、エンボス溝88c、88cに挟まれる範囲の吸収体4における許容吸収量を越えた場合などにおいては、エンボス溝88c、88cに挟まれる範囲の外側における吸収体4によって経血の吸収を行うことになる。このような場合において、ナプキン600の長手方向の両端部側に拡散し、長手方向の外側に向かう経血の拡散をトップシート3に形成された横エンボス列8aが防ぐとともに、さらにナプキン600の長手方向の両端部においてナプキン600の幅方向の外側に向かう経血の拡散をナプキン600のトップシート3に形成された縦エンボス列8bが防ぐことにより、吸収体4に経血を吸収させることができる。
よって、ナプキン600における経血漏れを起こしにくくすることができる。
【0069】
〔第8の実施の形態〕
次に、図17を参照して、本発明の第8の実施の形態について説明する。なお、第1の実施の形態と同一部分には同一符号を付し、異なる部分についてのみ説明する。
ナプキン700には、吸収体4をナプキン700の所定の位置に保持するため、また表面側(人体側)に吸収体4を膨出させるため、また吸収した体液を封じ込める等のために、トップシート3を介して吸収体4の略中央部を囲うように、前後一対のエンボス溝88a、88bが形成されている。また、前後一対のエンボス溝88a、88bの外側を更に囲うように、略矩形環形状のエンボス溝88が形成されている。
【0070】
ナプキン700のエンボス溝88a、88bに挟まれる範囲のトップシート3には、複数のエンボス凹部8が所定の配置に従い形成されている。
エンボス溝88a、88bに挟まれる範囲のトップシート3において、ナプキン700の幅方向の両端側には複数の横エンボス列8aが所定の配列に従い形成されている。
また、エンボス溝88a、88bに挟まれる範囲のトップシート3において、ナプキン700の幅方向の略中央側には複数の縦エンボス列8bが所定の配列に従い形成されている。
【0071】
また、エンボス溝88a、88bよりナプキン700の長手方向端部側であって、略矩形環形状のエンボス溝88の内側におけるトップシート3には、複数の横エンボス列8aが所定の配列に従い形成されている。
【0072】
また、略矩形環形状のエンボス溝88の外側であって、ナプキン700の長手方向端部側には、複数の横エンボス列8aが所定の配列に従い形成されており、ナプキン700の幅方向端部側には、複数の縦エンボス列8bが所定の配列に従い形成されている。
【0073】
このようにナプキン700において、エンボス溝88a、88bに挟まれる範囲の位置に応じてトップシート3に複数の横エンボス列8aと複数の縦エンボス列8bとをそれぞれ形成することにより、トップシート3における経血の拡散をコントロールし、経血をエンボス溝88a、88bに挟まれる範囲の吸収体4全体に満遍なく、吸収効率よく吸収させることができる。
さらに、エンボス溝88a、88bに挟まれる範囲の外側に略矩形環形状のエンボス溝88を形成し、その内側、外側ともに複数のエンボス凹部8(横エンボス列8a、縦エンボス列8b)を形成することにより、より確実に吸収体4に経血を吸収させることができる。
よって、ナプキン700における経血漏れを起こしにくくすることができる。
【0074】
このように、本発明のように、吸収性物品であるナプキンのトップシート3の表面に、ナプキンの部位、位置に応じて複数の横エンボス列8aや縦エンボス列8b(複数のエンボス凹部8)を形成することにより、トップシート3における体液である経血の拡散をコントロールし、吸収効率よく吸収体4に経血を吸収させるようにし、ナプキンにおける体液漏れ、経血漏れを起こしにくくすることができる。
【0075】
特に、ナプキンにおける部位等に応じて、エンボス凹部8の形状や向き、また、横エンボス列8a、縦エンボス列8bの向きや間隔等を異ならすことにより、体液の拡散をコントロールし、それら部位毎に体液漏れをより防ぐことができる。例えば、ナプキンの幅方向からの体液漏れ(横漏れ)を特に防ぐタイプのものや、ナプキンの長手方向からの体液漏れ(後ろ漏れ、前漏れ)を特に防ぐタイプのものや、よりナプキンの内側に体液を吸収させるタイプのものや、よりナプキンの全体に満遍なく体液を吸収させるタイプのものなどを構成することができる。
また、エンボス溝(前後一対のエンボス溝88a,88b、左右一対のエンボス溝88c,88c、略矩形環形状のエンボス溝88)を適宜エンボス凹部8に組み合わせて形成することにより、より確実に体液の吸収を行うナプキンを構成することができる。
【0076】
なお、以上の実施の形態においては、エンボス凹部8の配列を、図4に示すように、エンボス凹部8の端部を揃えるようにしたが、本発明はこれに限定されるものではなく、図18(a)に示すように、エンボス凹部8の端部をオーバーラップさせたり、図18(b)に示すように、エンボス凹部8の端部を揃えずに離すように配列してもよい。
【0077】
また、エンボス凹部8の形状は長方形状に限らず、図19に示すようにエンボス凹部は、長方形状の四隅を略円弧状に切り欠いた、短軸81’、長軸82’を有する略楕円形状のエンボス凹部8’であってもよい。
【0078】
また、前後一対のエンボス溝88a、88bと、左右一対のエンボス溝88c、88cとが、ともにトップシート3に形成されてもよい。また、前後一対のエンボス溝88a、88bと、左右一対のエンボス溝88c、88cとがその端部どうしを接続した環形状のエンボス溝(例えば、略矩形環形状のエンボス溝88のような、環形状のエンボス溝)を形成してもよい。
【0079】
また、弾性部材9は、ゴム製やポリウレタン製などの弾性を有する糸状部材であればよい。
【0080】
また、本実施の形態においては、吸収性物品としてナプキンを例に説明したが、本発明はこれに限定されるものではなく、吸収性物品としては、インナーパッド、オムツ等であってもよい。
【0081】
また、その他、具体的な細部構造等についても適宜に変更可能であることは勿論である。
【0082】
【発明の効果】
請求項1記載の発明によれば、吸収性物品におけるトップシートの表面において、吸収性物品の長手方向の両端部側には、略長方形状或いは略楕円形状の複数のエンボス凹部が長軸方向に略一直線上に連なって形成された横エンボス列が、吸収性物品の長手方向に所定の間隔で複数設けられており、吸収性物品の長手方向の略中央側には、略長方形状或いは略楕円形状の複数のエンボス凹部が長軸方向に略一直線上に連なって形成された縦エンボス列が、吸収性物品の幅方向に所定の間隔で複数設けられている。
よって、吸収性物品におけるトップシートの表面の略中央部に排出された体液を、トップシートに形成された縦エンボス列が吸収性物品の長手方向に拡散させるとともに、吸収性物品の長手方向の両端部側においては、トップシートに形成された横エンボス列がその拡散を妨げる。
従って、吸収性物品において、トップシートの表面の略中央部に排出された体液は、吸収性物品の幅方向より長手方向に拡散しやすく、その長手方向の端部側ではその拡散が防がれるので、吸収性物品の幅方向の端部及び長手方向の端部から体液が漏れることを防ぎつつ拡散させ、好適に吸収体に体液を満遍なく吸収させることができる。
このように、トップシートの表面に形成された複数のエンボス凹部が連なった横エンボス列や縦エンボス列により、吸収性物品における体液漏れを起こしにくくすることができる。
【0083】
請求項2記載の発明によれば、請求項1に記載の発明と同様の作用を奏するとともに、横エンボス列におけるエンボス凹部は吸収性物品の幅方向の端部側のものほど短い形状を有し、縦エンボス列におけるエンボス凹部は吸収性物品の長手方向の端部側のものほど短い形状を有しているので、吸収性物品において、トップシートの表面の略中央部に排出された体液は、より吸収性物品の長手方向に拡散しやすく、吸収性物品の幅方向へは拡散しにくい。
よって、吸収性物品の幅方向の端部及び長手方向の端部から体液が漏れることを防ぎつつ拡散させ、好適に吸収体に体液を満遍なく吸収させることができ、吸収性物品における体液漏れを起こしにくくすることができる。
【0084】
請求項3記載の発明によれば、請求項1に記載の発明と同様の作用を奏するとともに、横エンボス列は吸収性物品の長手方向の端部側に向かうにつれて狭い間隔で配置されており、縦エンボス列は吸収性物品の幅方向の端部側に向かうにつれて狭い間隔で配置されているので、吸収性物品の長手方向端部側へ体液は拡散しにくく、また幅方向端部側へも体液は拡散しにくい。
よって、吸収性物品の幅方向の端部及び長手方向の端部から体液が漏れることを防ぐとともに、好適に吸収体に体液を吸収させることができ、吸収性物品における体液漏れを起こしにくくすることができる。
【0085】
請求項4記載の発明によれば、吸収性物品におけるトップシートの表面において、略長方形状或いは略楕円形状の複数のエンボス凹部が長軸方向に略一直線上に連なって形成された横エンボス列が、吸収性物品の長手方向に所定の間隔で複数設けられており、略長方形状或いは略楕円形状の複数のエンボス凹部が長軸方向に略一直線上に連なって形成された縦エンボス列が、吸収性物品の幅方向に所定の間隔で複数設けられている。そして、横エンボス列におけるエンボス凹部は、吸収性物品の長手方向の端部側のものほど長い形状を有し、縦エンボス列におけるエンボス凹部は、吸収性物品の長手方向の端部側のものほど短い形状を有している。
よって、吸収性物品において、トップシートの表面の略中央部に排出された体液は、より吸収性物品の長手方向に拡散しやすく、吸収性物品の幅方向へは拡散しにくい。また、吸収性物品の長手方向端部側では、体液を幅方向へ拡散させる。
従って、吸収性物品の幅方向の端部及び長手方向の端部から体液が漏れることを防ぎつつ拡散させ、好適に吸収体に体液を満遍なく吸収させることができ、吸収性物品における体液漏れを起こしにくくすることができる。
【0086】
請求項5記載の発明によれば、吸収性物品には、トップシートの面側に、トップシートの中心を挟む左右一対のエンボス溝と、トップシートの中心を挟む前後一対のエンボス溝の、少なくとも一方が施されている。このエンボス溝に挟まれる吸収性物品中心側であるトップシートの表面において、吸収性物品の幅方向の両端部側には、略長方形状或いは略楕円形状の複数のエンボス凹部が長軸方向に略一直線上に連なって形成された横エンボス列が、吸収性物品の長手方向に所定の間隔で複数設けられており、吸収性物品の幅方向の略中央側には、略長方形状或いは略楕円形状の複数のエンボス凹部が長軸方向に略一直線上に連なって形成された縦エンボス列が、吸収性物品の幅方向に所定の間隔で複数設けられている。
よって、吸収性物品のトップシートにおけるエンボス溝に挟まれた内側表面に排出された体液を、トップシートに形成された縦エンボス列により吸収性物品の長手方向に拡散させるとともに、トップシートに形成された横エンボス列により吸収性物品の幅方向へ拡散させる。
このように、吸収性物品において、トップシートの表面に排出された体液は、エンボス溝に挟まれた内側で拡散されるので、エンボス溝に挟まれた内側の吸収体に体液を吸収させることができる。
従って、トップシートの表面に形成されたエンボス溝と複数のエンボス凹部により形成された横エンボス列や縦エンボス列とにより、吸収性物品における体液漏れを起こしにくくすることができる。
【0087】
請求項6記載の発明によれば、請求項5に記載の発明と同様の作用を奏するとともに、吸収性物品において、エンボス溝に挟まれる範囲より、吸収性物品の中心から幅方向の外側におけるトップシートの表面には、略長方形状或いは略楕円形状の複数のエンボス凹部が長軸方向に略一直線上に連なって形成された縦エンボス列が、吸収性物品の幅方向に所定の間隔で複数設けられているので、エンボス溝に挟まれる範囲より吸収性物品の中心から幅方向の外側への体液の拡散は、その縦エンボス列により妨げられる。
よって、吸収性物品の幅方向の端部から体液が漏れることを防ぐとともに、好適に吸収体に体液を吸収させることができ、吸収性物品における体液漏れを起こしにくくすることができる。
【0088】
請求項7記載の発明によれば、請求項5又は6に記載の発明と同様の作用を奏するとともに、吸収性物品において、エンボス溝に挟まれる範囲より、吸収性物品の中心から長手方向の外側におけるトップシートの表面には、略長方形状或いは略楕円形状の複数のエンボス凹部が長軸方向に略一直線上に連なって形成された横エンボス列が、吸収性物品の長手方向に所定の間隔で複数設けられているので、エンボス溝に挟まれる範囲より吸収性物品の長手方向の外側への体液の拡散は、その横エンボス列により妨げられる。
よって、吸収性物品の長手方向の端部から体液が漏れることを防ぐとともに、好適に吸収体に体液を吸収させることができ、吸収性物品における体液漏れを起こしにくくすることができる。
【0089】
請求項8記載の発明によれば、請求項5〜7の何れか一項に記載の発明と同様の作用を奏するとともに、吸収性物品において、エンボス溝に挟まれる範囲より、吸収性物品の中心から長手方向の外側における前記トップシートの表面には、略長方形状或いは略楕円形状の複数のエンボス凹部が長軸方向に略一直線上に連なって形成された縦エンボス列が、吸収性物品の幅方向に所定の間隔で複数設けられているので、エンボス溝に挟まれる範囲より吸収性物品の長手方向の外側へ拡散した体液が、さらに吸収性物品の幅方向の端部へ拡散する場合には、その縦エンボス列により妨げられる。
よって、吸収性物品の端部から体液が漏れることを防ぐとともに、好適に吸収体に体液を吸収させることができ、吸収性物品における体液漏れを起こしにくくすることができる。
【0090】
請求項9、10、11記載の発明によれば、吸収性物品には、トップシートの面側に、トップシートの中心を挟む左右一対のエンボス溝と、トップシートの中心を挟む前後一対のエンボス溝の、少なくとも一方が施されている。このエンボス溝に挟まれる吸収性物品中心側であるトップシートの表面には、略長方形状或いは略楕円形状の複数のエンボス凹部が長軸方向に略一直線上に連なって形成された縦エンボス列が、吸収性物品の幅方向に所定の間隔で複数設けられている。そして、その縦エンボス列におけるエンボス凹部は吸収性物品の長手方向の端部側のものほど短い形状を有している。
よって、吸収性物品のトップシートにおけるエンボス溝に挟まれた内側表面に排出された体液を、トップシートに形成された縦エンボス列がエンボス溝に挟まれた内側において長手方向により速やかに拡散させることができる。そして、吸収性物品において、エンボス溝に挟まれた内側で拡散された体液は、エンボス溝に挟まれた内側の吸収体に吸収される。
従って、トップシートの表面に形成されたエンボス溝と複数の縦エンボス列とにより、吸収性物品における体液漏れを起こしにくくすることができる。
【0091】
請求項12記載の発明によれば、請求項9〜11の何れか一項に記載の発明と同様の作用を奏するとともに、縦エンボス列は吸収性物品の幅方向の端部側に向かうにつれて狭い間隔で配置されているので、吸収性物品の幅方向端部側へ体液は拡散しにくい。
よって、吸収性物品の幅方向の端部から体液が漏れることを防ぐとともに、好適に吸収体に体液を吸収させることができ、吸収性物品における体液漏れを起こしにくくすることができる。
【0092】
請求項13、14、15記載の発明によれば、吸収性物品には、トップシートの面側に、トップシートの中心を挟む左右一対のエンボス溝と、トップシートの中心を挟む前後一対のエンボス溝の、少なくとも一方が施されている。このエンボス溝に挟まれる吸収性物品中心側であるトップシートの表面には、略長方形状或いは略楕円形状の複数のエンボス凹部が長軸方向に略一直線上に連なって形成された横エンボス列が、吸収性物品の長手方向に所定の間隔で複数設けられている。そして、その横エンボス列におけるエンボス凹部は吸収性物品の幅方向の端部側のものほど短い形状を有している。
よって、吸収性物品のトップシートにおけるエンボス溝に挟まれた内側表面に排出された体液を、トップシートに形成された横エンボス列がエンボス溝に挟まれた内側において満遍なく拡散させることができる。そして、吸収性物品において、エンボス溝に挟まれた内側で拡散された体液は、エンボス溝に挟まれた内側の吸収体に吸収される。
従って、トップシートの表面に形成されたエンボス溝と複数の横エンボス列とにより、吸収性物品における体液漏れを起こしにくくすることができる。
【0093】
請求項16記載の発明によれば、請求項13〜15の何れか一項に記載の発明と同様の作用を奏するとともに、横エンボス列は吸収性物品の長手方向の端部側に向かうにつれて狭い間隔で配置されているので、吸収性物品の長手方向端部側へ体液は拡散しにくい。
よって、吸収性物品の長手方向の端部から体液が漏れることを防ぐとともに、好適に吸収体に体液を吸収させることができ、吸収性物品における体液漏れを起こしにくくすることができる。
【図面の簡単な説明】
【図1】本発明に係るナプキンの斜視図である。
【図2】本発明の第1の実施の形態におけるナプキンを示す平面図である。
【図3】図2のIII−III線における断面図である。
【図4】本実施の形態におけるエンボス凹部及びその配列パターンを示す説明図である。
【図5】本発明の第1の実施の形態におけるナプキンの第1の変形例を示す平面図である。
【図6】本発明の第1の実施の形態におけるナプキンの第2の変形例を示す平面図である。
【図7】本発明の第2の実施の形態におけるナプキンを示す平面図である。
【図8】本発明の第3の実施の形態におけるナプキンを示す平面図である。
【図9】本発明の第3の実施の形態におけるナプキンの第1の変形例を示す平面図である。
【図10】本発明の第3の実施の形態におけるナプキンの第2の変形例を示す平面図である。
【図11】本発明の第3の実施の形態におけるナプキンの第3の変形例を示す平面図である。
【図12】本発明の第3の実施の形態におけるナプキンの第4の変形例を示す平面図である。
【図13】本発明の第4の実施の形態におけるナプキンを示す平面図である。
【図14】本発明の第5の実施の形態におけるナプキンを示す平面図である。
【図15】本発明の第6の実施の形態におけるナプキンを示す平面図である。
【図16】本発明の第7の実施の形態におけるナプキンを示す平面図である。
【図17】本発明の第8の実施の形態におけるナプキンを示す平面図である。
【図18】エンボス凹部の配列パターンの変形例を示す説明図であり、(a)はエンボス凹部の端部がオーバーラップする場合、(b)はエンボス凹部の端部が離れている場合を示すものである。
【図19】エンボス凹部の変形例を示す説明図である。
【符号の説明】
2 バックシート
3 トップシート
4 吸収体
5 クレープ紙
6 ギャザーシート
8(8’) エンボス凹部
81 短辺
82 長辺
8a 横エンボス列
8b 縦エンボス列
88 エンボス溝(環形状のエンボス溝)
88a エンボス溝(前後一対のエンボス溝)
88b エンボス溝(前後一対のエンボス溝)
88c エンボス溝(左右一対のエンボス溝)
9 弾性部材
11a 前端部
11b 後端部
100、101、102、110、200、201、202、203、204、300、400、500、600、700 ナプキン(吸収性物品)
P ポイント(排血口対応部)
W ウイング状フラップ
L1,L2 距離
[0001]
BACKGROUND OF THE INVENTION
The present invention relates to absorbent articles such as sanitary napkins, panty liners, and incontinence pads for absorbing bodily fluids such as menstrual blood and vaginal discharge, and more particularly to an absorbent article having a surface material embossed.
[0002]
[Prior art]
Conventionally, surface materials such as top sheets in absorbent articles such as sanitary napkins, panty liners, and incontinence pads have been embossed to improve body fluid absorption rate performance and feel (( For example, see Patent Document 1.)
[0003]
[Patent Document 1]
JP 2002-345885 A
[0004]
[Problems to be solved by the invention]
However, in the case of the said patent document 1, in the absorbent article, the shape and directionality were embossed with uniform.
Therefore, in the sanitary napkin, the surface material is absorbed in a central part that absorbs a large amount of bodily fluid, such as a blood drainage outlet corresponding part where menstrual blood, which is a bodily fluid, concentrates, and a peripheral end part of the sanitary napkin. Since the embossing is uniform in shape and direction, there is a possibility that a difference in the absorption of body fluid in each part is likely to occur, the body fluid absorption balance of the absorbent article as a whole becomes worse, and body fluid leaks. It was.
[0005]
The subject of this invention is providing the absorbent article which has an embossed structure which does not raise | generate a bodily fluid leak easily.
[0006]
[Means for Solving the Problems]
  In order to solve the above problems, the invention described in claim 1
  It is interposed between the top sheet (3) provided on the contact surface side with the human body, the back sheet (2) provided on the surface opposite to the contact surface with the human body, and the top sheet and the back sheet. An absorbent article (4), having a plurality of substantially rectangular or substantially elliptical embossed recesses (8) on the surface of the top sheet, such as a napkin 100,
  A plurality of the embossed recesses at a predetermined interval in the longitudinal direction of the embossed recesses, and a vertical embossed row (8b) formed in a substantially straight line in the longitudinal direction of the absorbent article;
  A plurality of the embossed recesses in the major axis direction of the embossed recesses, and a horizontal embossed row (8a) formed in a substantially straight line in a width direction of the absorbent article;
  On both end sides in the longitudinal direction of the absorbent article,Across the entire width of the absorbent articleA plurality of the horizontal embossed rows are provided at predetermined intervals in the longitudinal direction of the absorbent article,
  A plurality of the vertical embossed rows are provided at a predetermined interval in the width direction of the absorbent article on substantially the center side in the longitudinal direction of the absorbent article.
[0007]
According to the first aspect of the present invention, on the surface of the top sheet of the absorbent article, a plurality of substantially rectangular or substantially elliptical embossed concave portions are provided in the major axis direction on both ends in the longitudinal direction of the absorbent article. A plurality of horizontal emboss rows formed in a line on a substantially straight line are provided at a predetermined interval in the longitudinal direction of the absorbent article. A plurality of vertical embossed rows in which a plurality of embossed concave portions having a shape are formed so as to be substantially aligned in the long axis direction are provided at predetermined intervals in the width direction of the absorbent article.
[0008]
Here, the water-like component such as bodily fluid has a substantially rectangular or elliptical shape of the embossed concave portion formed on the surface of the top sheet in the direction and length of the major axis direction, and the embossed concave portion is arranged in a substantially straight line. The diffusion direction and the like are adjusted and controlled in accordance with an embossed structure such as an embossed row (horizontal embossed row, vertical embossed row) formed.
For example, the embossed recesses easily diffuse water-like components such as body fluids along the long axis direction, and the longer the length, the easier the diffusion. In addition, the embossed recess tends to prevent diffusion of a water-like component such as a body fluid that goes in a direction intersecting with the major axis direction.
In addition, the embossed row tends to diffuse water-like components such as body fluids in a direction that extends in a substantially straight line, and tends to prevent diffusion of water-like components such as body fluids in a direction that intersects in a direction that runs in a substantially straight line.
Further, the wider the interval between the embossed rows, the easier the body fluid diffuses between the embossed rows, and the narrower the distance between the embossed rows, the less likely the body fluid diffuses between the embossed rows.
[0009]
Accordingly, the body fluid discharged to the substantially central portion of the surface of the top sheet in the absorbent article is diffused in the longitudinal direction of the absorbent article by the longitudinal embossed rows formed in the top sheet, and both ends in the longitudinal direction of the absorbent article On the part side, the horizontal emboss row formed on the top sheet prevents the diffusion.
Therefore, in the absorbent article, the body fluid discharged to the substantially central portion of the surface of the top sheet is more likely to diffuse in the longitudinal direction than the width direction of the absorbent article, and the diffusion is prevented on the end side in the longitudinal direction. Therefore, the body fluid can be diffused while preventing leakage from the end in the width direction and the end in the longitudinal direction of the absorbent article, and the body fluid can be preferably absorbed evenly.
As described above, the horizontal embossing row and the vertical embossing row in which a plurality of embossed concave portions formed on the surface of the top sheet are continuous can make it difficult to cause body fluid leakage in the absorbent article.
[0010]
  The invention according to claim 2
It is interposed between the top sheet (3) provided on the contact surface side with the human body, the back sheet (2) provided on the surface opposite to the contact surface with the human body, and the top sheet and the back sheet. An absorbent article (4), having a plurality of substantially rectangular or substantially elliptical embossed recesses (8) on the surface of the top sheet, such as a napkin 100,
A plurality of the embossed recesses at a predetermined interval in the longitudinal direction of the embossed recesses, and a vertical embossed row (8b) formed in a substantially straight line in the longitudinal direction of the absorbent article;
A plurality of the embossed recesses in the major axis direction of the embossed recesses, and a horizontal embossed row (8a) formed in a substantially straight line in a width direction of the absorbent article;
The lateral embossed rows having the embossed recesses formed such that the length in the longitudinal direction of the absorbent article is shorter on the both end sides in the longitudinal direction of the absorbent article. A plurality of the absorbent articles are provided at predetermined intervals in the longitudinal direction;
The longitudinal embossing row having the embossed recesses formed such that the length in the longitudinal direction of the absorbent article is shorter at the substantially central side in the longitudinal direction of the absorbent article. A plurality of the absorbent articles are provided at predetermined intervals in the width direction of the absorbent article.It is characterized by that.
[0011]
According to invention of Claim 2, while having the effect | action similar to the invention of Claim 1, the embossing recessed part in a horizontal embossing row | line | column has a shape short toward the edge part side of the width direction of an absorbent article. The embossed recesses in the longitudinal embossed row have a shorter shape toward the end in the longitudinal direction of the absorbent article, so in the absorbent article, the body fluid discharged to the approximate center of the surface of the topsheet is It is easier to diffuse in the longitudinal direction of the absorbent article, and difficult to diffuse in the width direction of the absorbent article.
Therefore, it is possible to diffuse while preventing body fluid from leaking from the end in the width direction and the end in the longitudinal direction of the absorbent article, and it is possible for the absorbent body to absorb the body fluid evenly and cause the body fluid leakage in the absorbent article. Can be difficult.
[0012]
  The invention described in claim 3
It is interposed between the top sheet (3) provided on the contact surface side with the human body, the back sheet (2) provided on the surface opposite to the contact surface with the human body, and the top sheet and the back sheet. An absorbent article (4), having a plurality of substantially rectangular or substantially elliptical embossed recesses (8) on the surface of the top sheet, such as a napkin 100,
A plurality of the embossed recesses at a predetermined interval in the longitudinal direction of the embossed recesses, and a vertical embossed row (8b) formed in a substantially straight line in the longitudinal direction of the absorbent article;
  A plurality of the embossed recesses in the major axis direction of the embossed recesses, and a horizontal embossed row (8a) formed in a substantially straight line in a width direction of the absorbent article;
The lateral embossed rows that are arranged at narrower intervals toward the ends in the longitudinal direction of the absorbent article are predetermined at both ends in the longitudinal direction of the absorbent article in the longitudinal direction of the absorbent article. Are provided at intervals of
The longitudinal embossed rows arranged at a narrower interval toward the end in the width direction of the absorbent article are arranged in a substantially central side in the longitudinal direction of the absorbent article in the width direction of the absorbent article. Are provided at intervals ofIt is characterized by that.
[0013]
  According to invention of Claim 3,Claim 1The horizontal embossed rows are arranged at a narrower distance toward the end in the longitudinal direction of the absorbent article, and the vertical embossed rows are end portions in the width direction of the absorbent article. Since it arrange | positions at a narrow space | interval as it goes to the side, a bodily fluid does not spread | diffuse easily to the longitudinal direction edge part side of an absorbent article, and a bodily fluid does not spread easily also to the width direction edge part side.
  Therefore, it is possible to prevent body fluid from leaking from the end in the width direction and the end in the longitudinal direction of the absorbent article, and suitably absorb the body fluid, and make it difficult to cause body fluid leakage in the absorbent article. Can do.
[0014]
  The invention described in claim 4
  It is interposed between the top sheet (3) provided on the contact surface side with the human body, the back sheet (2) provided on the surface opposite to the contact surface with the human body, and the top sheet and the back sheet. An absorbent article (e.g., napkin 110) having a plurality of substantially rectangular or substantially elliptical embossed recesses (8) on the surface of the top sheet.
  The longitudinal direction of the absorbent article is a plurality of the embossed recesses at predetermined intervals in the major axis direction of the embossed recesses.Across the wholeA plurality of vertical embossed rows (8b) formed on a substantially straight line are provided at predetermined intervals in the width direction of the absorbent article,
  A plurality of the embossed recesses at predetermined intervals in the major axis direction of the embossed recesses, and the width direction of the absorbent articleAcross the wholeA plurality of horizontal embossed rows (8a) formed continuously in a straight line are provided at predetermined intervals in the longitudinal direction of the absorbent article so as not to overlap with the embossed concave portions of the vertical embossed rows,
  The embossed recess in the horizontal embossed row is formed such that the longer the end in the longitudinal direction of the absorbent article, the longer the length in the major axis direction.
  The embossed recesses in the vertical embossed row are formed such that the longer the end in the longitudinal direction of the absorbent article, the shorter the length in the major axis direction.
[0015]
According to the invention of claim 4, there is a horizontal embossed row in which a plurality of embossed concave portions having a substantially rectangular shape or a substantially elliptical shape are formed on the surface of the top sheet of the absorbent article so as to be substantially aligned in the major axis direction. A plurality of embossed recesses having a substantially rectangular shape or a substantially elliptical shape are provided at predetermined intervals in the longitudinal direction of the absorbent article. A plurality of articles are provided at predetermined intervals in the width direction of the active article. And the embossing recessed part in a horizontal embossing row | line | column has a long shape as the thing of the edge part side of the absorbent article in the longitudinal direction, and the embossing recessed part in a vertical embossing row | line | column is the thing of the edge part side of the absorbent article in the longitudinal direction. Has a short shape.
Therefore, in the absorbent article, the body fluid discharged to the substantially central portion of the surface of the top sheet is more likely to diffuse in the longitudinal direction of the absorbent article and less likely to diffuse in the width direction of the absorbent article. Further, the body fluid is diffused in the width direction on the end side in the longitudinal direction of the absorbent article.
Therefore, it is possible to diffuse while preventing body fluid from leaking from the end in the width direction and the end in the longitudinal direction of the absorbent article, and it is possible to absorb the body fluid evenly in the absorbent body, and to cause body fluid leakage in the absorbent article. Can be difficult.
[0016]
  The invention according to claim 5
  It is interposed between the top sheet (3) provided on the contact surface side with the human body, the back sheet (2) provided on the surface opposite to the contact surface with the human body, and the top sheet and the back sheet. And a pair of left and right embossed grooves (88c, 88c) extending in the longitudinal direction across the center of the top sheet, and in the width direction across the center of the top sheet. An absorbent article (for example, a napkin 200) having at least one of a pair of front and rear embossed grooves (88a, 88b) extending,
  On the surface of the top sheet sandwiched between the embossed grooves, a plurality of substantially rectangular or substantially elliptical embossed recesses (8) are formed,
  A vertical embossing row (8b) formed by connecting a plurality of the embossed recesses in a major axis direction of the embossed recesses in a substantially straight line at a predetermined interval in a longitudinal direction of the absorbent article is substantially the same as the absorbent article. A plurality is provided at predetermined intervals in the width direction of the absorbent article on the center side,
  A plurality of the embossed recesses in the major axis direction of the embossed recesses at a predetermined interval, and a horizontal embossed row (8a) formed in a substantially straight line in the width direction of the absorbent article,On both sides of the vertical emboss rowA plurality of the absorbent articles are provided at predetermined intervals in the longitudinal direction of the absorbent article on both end sides of the absorbent article.
[0017]
According to the invention of claim 5, the absorbent article includes at least a pair of left and right emboss grooves sandwiching the center of the top sheet and a pair of front and rear emboss grooves sandwiching the center of the top sheet on the surface side of the top sheet. One side is given. On the surface of the top sheet that is the center side of the absorbent article sandwiched between the embossed grooves, a plurality of substantially rectangular or substantially elliptical embossed recesses are substantially arranged in the major axis direction on both ends in the width direction of the absorbent article. A plurality of horizontal embossed rows formed in a straight line are provided at predetermined intervals in the longitudinal direction of the absorbent article, and at a substantially central side in the width direction of the absorbent article, a substantially rectangular shape or a substantially elliptical shape. A plurality of vertical embossed rows in which the plurality of embossed concave portions are formed in a substantially straight line in the major axis direction are provided at predetermined intervals in the width direction of the absorbent article.
Therefore, the body fluid discharged to the inner surface sandwiched between the embossed grooves in the top sheet of the absorbent article is diffused in the longitudinal direction of the absorbent article by the vertical emboss row formed in the top sheet, and formed in the top sheet. The transverse embossed rows are diffused in the width direction of the absorbent article.
Thus, in the absorbent article, the body fluid discharged to the surface of the top sheet is diffused inside the embossed groove, so that the body fluid can be absorbed by the inner absorbent body sandwiched by the embossed groove. it can.
Therefore, it is possible to make it difficult to cause body fluid leakage in the absorbent article due to the embossed grooves formed on the surface of the top sheet and the horizontal embossed rows and the vertical embossed rows formed by the plurality of embossed recesses.
[0018]
  The invention described in claim 6The absorbent article according to claim 5,
A plurality of substantially rectangular or substantially elliptical embossed recesses are formed at predetermined intervals in the major axis direction on the surface of the top sheet on the outer side in the width direction from the center of the absorbent article from the embossed groove. A plurality of vertical embossed rows formed in a substantially straight line in the longitudinal direction of the article are provided at predetermined intervals in the width direction of the absorbent article.It is characterized by that.
[0019]
  According to the invention described in claim 6,In the absorbent article, the surface of the top sheet outside the width direction from the center of the absorbent article is substantially rectangular or Since a plurality of vertical embossed rows in which a plurality of substantially oval-shaped embossed recesses are formed in a substantially straight line in the major axis direction are provided at predetermined intervals in the width direction of the absorbent article, they are sandwiched between embossed grooves. The diffusion of the body fluid from the center of the absorbent article to the outside in the width direction from the range is hindered by the vertical embossed row.
Therefore, while preventing a bodily fluid from leaking from the edge part of the width direction of an absorbent article, a bodily fluid can be suitably absorbed by an absorber and it can be made hard to raise | generate the bodily fluid leak in an absorbent article.
[0020]
  The invention described in claim 7The absorbent article according to claim 5 or 6,
From the embossed groove, a plurality of substantially rectangular or substantially elliptical embossed recesses are formed on the surface of the top sheet on the outer side in the longitudinal direction from the center of the absorbent article at predetermined intervals in the major axis direction. Horizontal embossed rows formed in a line in a substantially straight line in the width direction of the article are formed at predetermined intervals in the longitudinal direction of the absorbent article.It is characterized by that.
[0021]
  According to invention of Claim 7,In the absorbent article, the surface of the top sheet on the outer side in the longitudinal direction from the center of the absorbent article is substantially less than the range sandwiched between the embossed grooves in the absorbent article. Since a plurality of horizontal embossed rows in which a plurality of rectangular or substantially elliptical embossed recesses are formed in a straight line in the major axis direction are provided at predetermined intervals in the longitudinal direction of the absorbent article, Diffusion of body fluid from the area sandwiched between the absorbent articles to the outside in the longitudinal direction of the absorbent article is hindered by the lateral emboss row.
Therefore, while preventing a bodily fluid from leaking from the edge part of the longitudinal direction of an absorbent article, a bodily fluid can be suitably absorbed by an absorber and it can be made hard to raise | generate the bodily fluid leak in an absorbent article.
[0022]
  The invention described in claim 8In the absorptive article according to any one of claims 5 to 7,
From the embossed groove, a plurality of substantially rectangular or substantially elliptical embossed recesses are formed on the surface of the top sheet on the outer side in the longitudinal direction from the center of the absorbent article at predetermined intervals in the major axis direction. Longitudinal embossed rows formed in a straight line in the longitudinal direction of the article are formed at predetermined intervals in the width direction of the absorbent article.It is a feature.
[0023]
  According to invention of Claim 8,The same effect as that of the invention according to any one of claims 5 to 7 is achieved, and in the absorbent article, the top sheet on the outer side in the longitudinal direction from the center of the absorbent article than the range sandwiched between the embossed grooves. On the surface, a plurality of vertical embossed rows in which a plurality of substantially rectangular or substantially elliptical embossed recesses are formed in a line in a substantially straight line in the major axis direction are provided at predetermined intervals in the width direction of the absorbent article. Therefore, when the body fluid diffused to the outside in the longitudinal direction of the absorbent article from the range sandwiched between the embossed grooves further diffuses to the end in the width direction of the absorbent article, it is hindered by the longitudinal emboss row.
Therefore, while preventing a bodily fluid from leaking from the edge part of an absorbent article, a bodily fluid can be suitably absorbed by an absorber and it can be made hard to raise | generate the bodily fluid leak in an absorbent article.
[0024]
The invention according to claim 9
It is interposed between the top sheet (3) provided on the contact surface side with the human body, the back sheet (2) provided on the surface opposite to the contact surface with the human body, and the top sheet and the back sheet. And a pair of left and right embossed grooves (88c, 88c) extending in the longitudinal direction across the center of the top sheet, and in the width direction across the center of the top sheet. An absorbent article (for example, a napkin 201) having at least one of a pair of front and rear embossed grooves (88a, 88b) extending,
A plurality of substantially rectangular or substantially elliptical embossed recesses (8) are formed on the surface of the top sheet sandwiched between the embossed grooves, and a plurality of the embossed recesses are predetermined in the major axis direction of the embossed recesses. A plurality of vertical embossed rows (8b) formed in a straight line in the longitudinal direction of the absorbent article at predetermined intervals are provided at predetermined intervals in the widthwise direction of the absorbent article. The embossed recess is formed such that the longer the end in the longitudinal direction of the absorbent article, the shorter the length in the major axis direction,
A plurality of substantially rectangular or substantially elliptical embossed recesses are formed at predetermined intervals in the major axis direction on the surface of the top sheet on the outer side in the width direction from the center of the absorbent article from the embossed groove. A plurality of vertical embossed rows formed in a straight line in the longitudinal direction of the article are provided at predetermined intervals in the width direction of the absorbent article.
[0025]
The invention according to claim 10 is:
It is interposed between the top sheet (3) provided on the contact surface side with the human body, the back sheet (2) provided on the surface opposite to the contact surface with the human body, and the top sheet and the back sheet. And a pair of left and right embossed grooves (88c, 88c) extending in the longitudinal direction across the center of the top sheet, and in the width direction across the center of the top sheet. An absorbent article (for example, a napkin 201) having at least one of a pair of front and rear embossed grooves (88a, 88b) extending,
A plurality of substantially rectangular or substantially elliptical embossed recesses (8) are formed on the surface of the top sheet sandwiched between the embossed grooves, and a plurality of the embossed recesses are predetermined in the major axis direction of the embossed recesses. A plurality of vertical embossed rows (8b) formed in a straight line in the longitudinal direction of the absorbent article at predetermined intervals are provided at predetermined intervals in the widthwise direction of the absorbent article. The embossed recess is formed such that the longer the end in the longitudinal direction of the absorbent article, the shorter the length in the major axis direction,
From the embossed groove, a plurality of substantially rectangular or substantially elliptical embossed recesses are formed on the surface of the top sheet on the outer side in the longitudinal direction from the center of the absorbent article at predetermined intervals in the major axis direction. The lateral embossed rows formed in a substantially straight line in the width direction of the article are formed at predetermined intervals in the longitudinal direction of the absorbent article.
[0026]
The invention according to claim 11
It is interposed between the top sheet (3) provided on the contact surface side with the human body, the back sheet (2) provided on the surface opposite to the contact surface with the human body, and the top sheet and the back sheet. And a pair of left and right embossed grooves (88c, 88c) extending in the longitudinal direction across the center of the top sheet, and in the width direction across the center of the top sheet. An absorbent article (for example, a napkin 201) having at least one of a pair of front and rear embossed grooves (88a, 88b) extending,
A plurality of substantially rectangular or substantially elliptical embossed recesses (8) are formed on the surface of the top sheet sandwiched between the embossed grooves, and a plurality of the embossed recesses are predetermined in the major axis direction of the embossed recesses. A plurality of vertical embossed rows (8b) formed in a straight line in the longitudinal direction of the absorbent article at predetermined intervals are provided at predetermined intervals in the widthwise direction of the absorbent article. The embossed recess is formed such that the longer the end in the longitudinal direction of the absorbent article, the shorter the length in the major axis direction,
From the embossed groove, a plurality of substantially rectangular or substantially elliptical embossed recesses are formed on the surface of the top sheet on the outer side in the longitudinal direction from the center of the absorbent article at predetermined intervals in the major axis direction. Longitudinal embossed rows formed in a straight line in the longitudinal direction of the article are formed at predetermined intervals in the width direction of the absorbent article.
[0027]
Invention of Claim 12 is an absorbent article as described in any one of Claims 9-11, The said vertical embossing row | line | column is a narrow space | interval as it goes to the edge part side of the width direction of the said absorbent article. It is arranged.
According to the twelfth aspect of the invention, the same effect as the invention according to any one of the ninth to eleventh aspects is exerted, and the vertical embossed row becomes narrower toward the end side in the width direction of the absorbent article. Since it arrange | positions at the space | interval, a bodily fluid does not spread | diffuse easily to the width direction edge part side of an absorbent article.
Therefore, while preventing a bodily fluid from leaking from the edge part of the width direction of an absorbent article, a bodily fluid can be suitably absorbed by an absorber and it can be made hard to raise | generate the bodily fluid leak in an absorbent article.
[0028]
The invention according to claim 13
It is interposed between the top sheet (3) provided on the contact surface side with the human body, the back sheet (2) provided on the surface opposite to the contact surface with the human body, and the top sheet and the back sheet. And a pair of left and right embossed grooves (88c, 88c) extending in the longitudinal direction across the center of the top sheet, and in the width direction across the center of the top sheet. An absorbent article (for example, a napkin 203) having at least one of a pair of front and rear embossed grooves (88a, 88b),
A plurality of substantially rectangular or substantially elliptical embossed recesses (8) are formed on the surface of the top sheet sandwiched between the embossed grooves, and a plurality of the embossed recesses are predetermined in the major axis direction of the embossed recesses. A plurality of horizontal embossed rows (8a) formed in a substantially straight line in the width direction of the absorbent article at a predetermined interval are provided at predetermined intervals in the longitudinal direction of the absorbent article. The embossed recess is formed such that the longer the end in the width direction of the absorbent article, the shorter the length in the major axis direction,
A plurality of substantially rectangular or substantially elliptical embossed recesses are formed at predetermined intervals in the major axis direction on the surface of the top sheet on the outer side in the width direction from the center of the absorbent article from the embossed groove. A plurality of vertical embossed rows formed in a straight line in the longitudinal direction of the article are provided at predetermined intervals in the width direction of the absorbent article.
[0029]
The invention according to claim 14
It is interposed between the top sheet (3) provided on the contact surface side with the human body, the back sheet (2) provided on the surface opposite to the contact surface with the human body, and the top sheet and the back sheet. And a pair of left and right embossed grooves (88c, 88c) extending in the longitudinal direction across the center of the top sheet, and in the width direction across the center of the top sheet. An absorbent article (for example, a napkin 203) having at least one of a pair of front and rear embossed grooves (88a, 88b),
A plurality of substantially rectangular or substantially elliptical embossed recesses (8) are formed on the surface of the top sheet sandwiched between the embossed grooves, and a plurality of the embossed recesses are predetermined in the major axis direction of the embossed recesses. A plurality of horizontal embossed rows (8a) formed in a substantially straight line in the width direction of the absorbent article at a predetermined interval are provided at predetermined intervals in the longitudinal direction of the absorbent article. The embossed recess is formed such that the longer the end in the width direction of the absorbent article, the shorter the length in the major axis direction,
From the embossed groove, a plurality of substantially rectangular or substantially elliptical embossed recesses are formed on the surface of the top sheet on the outer side in the longitudinal direction from the center of the absorbent article at predetermined intervals in the major axis direction. The lateral embossed rows formed in a substantially straight line in the width direction of the article are formed at predetermined intervals in the longitudinal direction of the absorbent article.
[0030]
The invention according to claim 15 is:
It is interposed between the top sheet (3) provided on the contact surface side with the human body, the back sheet (2) provided on the surface opposite to the contact surface with the human body, and the top sheet and the back sheet. And a pair of left and right embossed grooves (88c, 88c) extending in the longitudinal direction across the center of the top sheet, and in the width direction across the center of the top sheet. An absorbent article (for example, a napkin 203) having at least one of a pair of front and rear embossed grooves (88a, 88b),
A plurality of substantially rectangular or substantially elliptical embossed recesses (8) are formed on the surface of the top sheet sandwiched between the embossed grooves, and a plurality of the embossed recesses are predetermined in the major axis direction of the embossed recesses. A plurality of horizontal embossed rows (8a) formed in a substantially straight line in the width direction of the absorbent article at a predetermined interval are provided at predetermined intervals in the longitudinal direction of the absorbent article. The embossed recess is formed such that the longer the end in the width direction of the absorbent article, the shorter the length in the major axis direction,
From the embossed groove, a plurality of substantially rectangular or substantially elliptical embossed recesses are formed on the surface of the top sheet on the outer side in the longitudinal direction from the center of the absorbent article at predetermined intervals in the major axis direction. Longitudinal embossed rows formed in a straight line in the longitudinal direction of the article are formed at predetermined intervals in the width direction of the absorbent article.
[0031]
The invention according to claim 16 is the absorbent article according to any one of claims 13 to 15,
The said horizontal embossing row | line | column is arrange | positioned by the narrow space | interval as it goes to the edge part side of the longitudinal direction of the said absorbent article.
According to the sixteenth aspect of the invention, the same effect as in the invention of any one of the thirteenth to fifteenth aspects is achieved, and the lateral emboss row is narrower toward the end in the longitudinal direction of the absorbent article. Since it arrange | positions at the space | interval, a bodily fluid cannot diffuse easily to the longitudinal direction edge part side of an absorbent article.
Therefore, while preventing a bodily fluid from leaking from the edge part of the longitudinal direction of an absorbent article, a bodily fluid can be suitably absorbed by an absorber and it can be made hard to raise | generate the bodily fluid leak in an absorbent article.
[0032]
DETAILED DESCRIPTION OF THE INVENTION
Hereinafter, embodiments of the present invention will be described with reference to FIGS.
[First Embodiment]
FIG. 1 is a perspective view of a sanitary napkin to which the present invention is applied, and FIG. 2 is a development view of the sanitary napkin. 3 is a cross-sectional view taken along line III-III in FIG.
[0033]
A sanitary napkin (hereinafter referred to as a napkin) 100 as an absorbent article is a liquid-permeable back sheet 2 made of a polyethylene sheet or the like, and a liquid-permeable material that quickly permeates body fluids such as menstrual blood and vaginal discharge. Top sheet 3, absorbent body 4 made of cotton-like pulp or synthetic pulp interposed between back sheet 2 and top sheet 3, crepe paper 5 surrounding absorbent body 4, and absorbent body 4 As shown in FIG. 1, the side edge of the body is erected on the side of the contact surface with the human body in a predetermined section in the front-rear direction from at least the blood outlet corresponding part (for example, point P shown in FIGS. 1 and 2). The left and right gather sheets 6 and 6 are provided.
[0034]
Around the absorbent body 4 of the napkin 100, the outer edges of the back sheet 2 and the top sheet 3 are adhesives such as hot melt or heat seal at both ends (front end 11a, rear end 11b) of the napkin 100 in the longitudinal direction. It is bonded by a bonding means such as.
Further, at both side edges of the napkin 100, the back sheet 2 extending to the side of the absorbent body 4 and a part of the gather sheet 6 are bonded by an adhesive such as hot melt or an adhesive means such as heat seal. ing. Wing-like flaps W and W are formed so that a laminated sheet portion formed by bonding the back sheet 2 and the gather sheet 6 protrudes laterally slightly from the center in the longitudinal direction of the napkin 100.
[0035]
The back sheet 2 is formed of a sheet material having at least water shielding properties such as polyethylene. In addition, it is preferable that the sheet material has moisture permeability from the viewpoint of preventing stuffiness, and as the sheet material having the water barrier property and moisture permeability, an inorganic filler is melt-kneaded in an olefin resin such as polyethylene or polypropylene. Then, after forming the sheet, a microporous sheet material obtained by stretching in a uniaxial or biaxial direction is suitably used.
In addition, one or a plurality of adhesive layers (not shown) are formed on the outer surface of the back sheet 2, and the napkin 100 is fixed to the underwear when worn on the body.
[0036]
The top sheet 3 is formed of a perforated or non-porous nonwoven fabric, a porous plastic sheet, a sheet obtained by laminating a plastic sheet on the nonwoven fabric, or the like. As the raw material fibers constituting the nonwoven fabric, synthetic fibers such as polyethylene or polypropylene, synthetic fibers such as polyester and polyamide, recycled fibers such as rayon and cupra, and natural fibers such as cotton can be used. In addition, as a method for producing the nonwoven fabric, a known method can be appropriately used. For example, the nonwoven fabric is obtained by a spunlace method, a spunbond method, a thermal bond method, a melt blow method, a needle punch method, or a combination of these methods. Can be manufactured. When a large number of through holes are formed in the top sheet 3, body fluids such as menstrual blood and vaginal discharge are absorbed more quickly, and the dry touch properties are excellent.
[0037]
In addition, as shown in FIG. 2, the top sheet 3 has a plurality of embossed recesses 8 formed therein, and these embossed recesses 8 are substantially straight in the longitudinal direction of the napkin 100 at a predetermined interval in the major axis direction. A plurality of vertical embossed rows 8b connected in a line and horizontal embossed rows 8a in which the embossed concave portions 8 are connected in a substantially straight line in the width direction of the napkin 100 are formed at predetermined intervals in the major axis direction. .
The embossed recess 8 has a rectangular shape as shown in FIG.
The ratio of the length of the short side 81 to the long side 82 of the embossed recess 8 is 1: 2 or more, and the length of the short side 81 is preferably 0.5 mm to 3.0 mm. The distances L1 and L2 between the adjacent embossed recesses 8 are 1 mm to 10 mm, preferably 3 mm to 5 mm.
[0038]
A plurality of horizontal embossed rows 8 a are provided at predetermined intervals in the longitudinal direction of the napkin 100 on both ends of the top sheet 3 in the longitudinal direction of the napkin 100.
Further, in a range that is substantially sandwiched between the left and right wing-shaped flaps W, W on the substantially central side in the longitudinal direction of the napkin 100 in the top sheet 3, the plurality of vertical embossed rows 8 b are arranged at predetermined intervals in the width direction of the napkin 100. Is provided.
[0039]
The horizontal embossed row 8a prevents diffusion of body fluids that are to spread in the longitudinal direction of the napkin 100 in the top sheet 3, and the vertical embossed row 8b diffuses body fluids in the longitudinal direction of the napkin 100 in the top sheet 3. In addition, the body fluid is prevented from diffusing to spread in the width direction of the napkin 100.
Further, the longer the length of the embossed recess 8 in the long axis direction, the easier it is to diffuse the body fluid along the longitudinal direction of the embossed recess 8, and the longer the length of the embossed recessed portion 8 in the long axis direction. Further, it is easy to prevent diffusion of body fluid in the direction intersecting with the longitudinal direction of the embossed recess 8.
[0040]
Absorbent body 4 absorbs body fluids, and normally, fluffy pulp mixed with water-absorbing polymer powder is preferably used in terms of absorption function and cost, but can absorb and retain body fluids. Anything is fine. The absorber 4 is desirably surrounded by the crepe paper 5 in order to maintain the shape.
[0041]
The gather sheets 6, 6 are provided from the front end portion 11 a to the rear end portion 11 b of the napkin 100 at the substantially side edge portion of the absorbent body 4. The gather sheet 6 is formed by folding a liquid-impervious nonwoven fabric sheet in two and bonding the folded surfaces by, for example, hot-melting or heat sealing.
The end portion on the folded portion side of the non-woven fabric sheet folded in half is defined as a free end portion 61 and the end portion fixed to the napkin body side is defined as a fixed end portion 62. Since the fixed end 62 is fixed to the back sheet 2, the gather sheets 6 and 6 are fixed to the napkin body side. A plurality of thread-like elastic members 9... Are sandwiched and fixed between the surfaces where the nonwoven fabric is folded.
In a state where the gather sheets 6 and 6 are fixedly provided to the napkin 100 (back sheet 2), the free end portion 61 rises to form a three-dimensional gather. And the gathering sheet 6 is elastically deformed according to the wearer's body shape by the elastic members 9... And has a structure that easily fits the wearer.
[0042]
The wing-shaped flap W protrudes to the side of the napkin 100 so as to correspond to a location corresponding to the point P which is a blood drainage port corresponding portion. An adhesive layer (not shown) is provided on the outer surface side of the wing-shaped flap W (the outer surface of the back sheet 2), and when the napkin 100 is worn, the wing-shaped flap W is opposite to the human body. It wraps around and wraps around the crotch part of the shorts and fastens.
[0043]
When using the napkin 100 configured as described above, when menstrual blood is discharged as a body fluid to the point P corresponding to the blood discharge port corresponding part of the napkin 100, the menstrual blood passes through the top sheet 3 of the napkin 100. Absorbed by the absorber 4.
At this time, menstrual blood is guided to the vertical embossed row 8b formed on the top sheet 3, and is easily diffused in the longitudinal direction of the napkin 100, and difficult to diffuse in the width direction. It is difficult for menstrual blood to leak, so-called side leakage.
Further, the menstrual blood diffused in the longitudinal direction of the napkin 100 is prevented from spreading by the lateral emboss row 8a formed on the end portion side of the top sheet 3 so as to spread the menstrual blood to the most end portion. The menstrual blood leaks from the longitudinal direction of 100, so-called back leakage and pre-leakage hardly occur.
[0044]
In this way, in the napkin 100, a plurality of horizontal embossed rows 8a and a plurality of vertical embossed rows 8b are formed on the top sheet 3 according to the location of the napkin 100, respectively, thereby controlling the diffusion of menstrual blood in the top sheet 3. Further, menstrual blood can be absorbed into the absorbent body 4 with high absorption efficiency, and menstrual blood leakage in the napkin 100 can be made difficult to occur.
In addition, by forming a plurality of embossed recesses in the top sheet 3, the contact surface side of the top sheet 3 with the human body has an uneven shape. Therefore, since the contact area with the skin is smaller, the dry touch property is improved, and the stuffiness between the skin and the top sheet 3 can be reduced. Moreover, a soft touch feeling is acquired by the unevenness | corrugation of the top sheet 3 surface based on the formed embossing recessed part 8. FIG.
[0045]
Moreover, although the shape of the embossing recessed part 8 formed in the top sheet 3 of the napkin 100 in the said 1st Embodiment was all demonstrated as the same shape, this invention is not limited to this, As a modification, for example, FIG. 5. Different shapes may be used as shown in FIG.
[0046]
[First Modification]
Next, a first modification of the first embodiment of the present invention will be described with reference to FIG. The same parts as those in FIG. 2 are denoted by the same reference numerals, and only different parts will be described.
On the top sheet 3 of the napkin 101, a plurality of horizontal embossed rows 8a are formed on both ends in the longitudinal direction of the napkin 101, and a plurality of vertical embossed rows 8b are formed on the substantially central side in the longitudinal direction of the napkin 101 according to a predetermined arrangement. Has been.
The embossed recesses 8 in the horizontal embossed row 8 a have a shape in which the length in the major axis direction is shorter toward the end in the width direction of the napkin 101. Further, the embossed recess 8 in the vertical embossed row 8b has a shape in which the length in the major axis direction is shorter toward the end of the napkin 101 in the longitudinal direction.
Even with the shape of the embossed recesses 8 and the arrangement of the horizontal embossed rows 8a and the vertical embossed rows 8b, like the napkin 100 shown in FIG. Menstrual blood can be absorbed by the absorbent body 4, and menstrual blood leakage in the napkin 101 can be made difficult to occur.
[0047]
[Second Modification]
Next, with reference to FIG. 6, the 2nd modification in the 1st Embodiment of this invention is demonstrated. The same parts as those in FIG. 2 are denoted by the same reference numerals, and only different parts will be described.
On the top sheet 3 of the napkin 102, a plurality of horizontal embossed rows 8a are formed on both ends of the napkin 102 in the longitudinal direction, and a plurality of vertical embossed rows 8b are formed on the substantially central side in the longitudinal direction of the napkin 102 according to a predetermined arrangement. Has been.
The embossed recesses 8 in the horizontal embossed row 8 a have a shape in which the length in the major axis direction is shorter toward the end of the napkin 102 in the width direction. And the space | interval of the horizontal embossing row | line | column 8a becomes narrow as it goes to the edge part side in the longitudinal direction of the napkin 102. FIG.
Further, the embossed recesses 8 in the vertical emboss row 8b have a shape in which the length in the major axis direction is shorter toward the end of the napkin 102 in the longitudinal direction. The intervals between the vertical embossed rows 8b become narrower toward the end of the napkin 102 in the width direction.
Even with the shape of the embossed recess 8 and the arrangement of the horizontal embossed row 8a and the vertical embossed row 8b, the diffusion of menstrual blood in the top sheet 3 is controlled and the absorption efficiency is the same as the napkin 100 shown in FIG. It is possible to absorb the menstrual blood well into the absorbent body 4 and to prevent menstrual blood leakage in the napkin 102.
In particular, the narrower the interval between the embossed rows (the horizontal embossed row 8a and the vertical embossed row 8b), the less the menstrual blood diffuses in the direction perpendicular to the embossed row, and therefore the back and front leaks in the napkin 102 are less likely to occur. Lateral leakage near the center in the longitudinal direction of the napkin 102 hardly occurs.
[0048]
[Second Embodiment]
Next, a second embodiment of the present invention will be described with reference to FIG. In addition, the same code | symbol is attached | subjected to the same part as 1st Embodiment, and only a different part is demonstrated.
On the top sheet 3 of the napkin 110, a plurality of horizontal embossed rows 8a and a plurality of vertical embossed rows 8b are formed in accordance with a predetermined arrangement over both ends of the napkin 110 in the longitudinal direction. In addition, each embossing recessed part 8 is formed so that it may not overlap.
The embossed recess 8 in the horizontal embossed row 8a has a shape in which the length in the major axis direction is longer toward the end of the napkin 110 in the longitudinal direction.
Further, the embossed recess 8 in the vertical embossed row 8b has a shape in which the length in the major axis direction is shorter toward the end of the napkin 110 in the longitudinal direction.
Even with the shape of the embossed recess 8 and the arrangement of the horizontal embossed row 8a and the vertical embossed row 8b, the diffusion of menstrual blood in the top sheet 3 is controlled and the absorption efficiency is the same as in the first embodiment. The menstrual blood can be well absorbed by the absorbent body 4, and menstrual leakage at the napkin 110 can be made difficult to occur.
In particular, the vertical embossed row 8b having the longer embossed recesses 8 in the substantially central portion of the napkin 110 diffuses menstrual blood more quickly in the longitudinal direction of the napkin 110, and longer embossed recesses on both end sides of the napkin 110. By preventing the menstrual blood from being diffused by the horizontal embossed row 8a having 8, menstrual blood can be absorbed evenly throughout the absorber 4, so that menstrual blood leakage can be further prevented.
[0049]
[Third Embodiment]
Next, a third embodiment of the present invention will be described with reference to FIG. In addition, the same code | symbol is attached | subjected to the same part as 1st Embodiment, and only a different part is demonstrated.
The napkin 200 has a top sheet for holding the absorbent body 4 at a predetermined position of the napkin 200, for causing the absorbent body 4 to bulge on the surface side (human body side), and for containing the absorbed body fluid. A pair of left and right embossed grooves 88 c and 88 c extending in the longitudinal direction of the napkin 200 are formed so as to surround a substantially central portion of the absorbent body 4 via 3.
[0050]
A plurality of embossed recesses 8 are formed in a predetermined arrangement in the top sheet 3 in a range sandwiched between the embossed grooves 88c, 88c of the napkin 200.
In the top sheet 3 in a range sandwiched between the embossed grooves 88c, 88c, a plurality of horizontal embossed rows 8a are formed in accordance with a predetermined arrangement on both ends in the width direction of the napkin 200.
Further, in the top sheet 3 in a range sandwiched between the embossed grooves 88c, 88c, a plurality of vertical embossed rows 8b are formed in a predetermined arrangement on the substantially central side in the width direction of the napkin 200.
[0051]
When using the napkin 200 configured as described above, when menstrual blood as body fluid is discharged to the point P which is a blood outlet corresponding part of the napkin 200, the menstrual blood passes through the top sheet 3 of the napkin 200. Absorbed by the absorber 4.
At this time, menstrual blood is guided to the longitudinal emboss row 8 b formed on the top sheet 3 and diffused in the longitudinal direction of the napkin 200. Further, menstrual blood is guided to the lateral emboss row 8 a formed on the top sheet 3 and diffused to the emboss groove 88 c side which is the width direction of the napkin 200.
In this way, in the napkin 200, by forming the plurality of horizontal emboss rows 8a and the plurality of vertical emboss rows 8b on the top sheet 3 according to the position of the range sandwiched between the emboss grooves 88c, 88c, The diffusion of menstrual blood can be controlled, and menstrual blood can be absorbed uniformly throughout the absorbent body 4 in the range sandwiched between the embossed grooves 88c and 88c.
Therefore, menstrual leakage in the napkin 200 can be made difficult to occur.
[0052]
In the present embodiment, the pair of left and right embossed grooves 88c and 88c have been described as an example of a curved shape that draws a convex arc toward the center of the napkin 200 as shown in FIG. The invention is not limited to this, and the shape of the embossed grooves 88c, 88c may be a curved shape (for example, a shape like ()) that draws a convex arc toward the outside in the width direction of the napkin 200, or a pair of The shape is arbitrary, such as a parallel straight line shape (for example, a shape like ||) or a pair of rectangular bracket shapes (for example, a shape like []).
[0053]
Moreover, although the horizontal embossing row | line | column 8a and the vertical embossing row | line | column 8b were each formed in the top sheet 3 of the range pinched | interposed into the embossing groove | channels 88c and 88c of the napkin 200 in the said 3rd Embodiment, this invention is based on this. For example, as shown in FIGS. 9, 10, 11, and 12, only one of the horizontal emboss row 8 a or the vertical emboss row 8 b may be formed as a modification.
[0054]
[First Modification]
Next, with reference to FIG. 9, the 1st modification in the 3rd Embodiment of this invention is demonstrated. In addition, the same code | symbol is attached | subjected to FIG. 8 and an identical part, and only a different part is demonstrated.
The napkin 201 is provided with a top sheet for holding the absorbent body 4 at a predetermined position of the napkin 201, for swelling the absorbent body 4 on the surface side (human body side), and for containing the absorbed body fluid. A pair of front and rear embossed grooves 88 a and 88 b extending in the width direction of the napkin 201 are formed so as to surround the substantially central portion of the absorbent body 4 via 3.
[0055]
A plurality of vertical embossed rows 8b are formed in a predetermined arrangement on the top sheet 3 in a range sandwiched between the embossed grooves 88a and 88b of the napkin 201.
The embossed recesses 8 in the vertical emboss row 8b have a shape in which the length in the major axis direction is shorter toward the end of the napkin 201 in the longitudinal direction.
Even in such a vertical embossed row 8b, like the napkin 200 shown in FIG. 8, the diffusion of menstrual blood in the top sheet 3 can be controlled, and the absorbent 4 can absorb menstrual blood efficiently. It is possible to make menstrual leakage in the napkin 201 difficult to occur.
In particular, in a substantially central portion of the napkin 201, the longitudinal embossing row 8b having the longer embossed recesses 8 diffuses menstrual blood more quickly in the longitudinal direction of the napkin 201, so that absorption in a range sandwiched between the embossed grooves 88a and 88b is achieved. Since menstrual blood can be absorbed evenly throughout the body 4, menstrual blood leakage can be made more difficult to occur.
[0056]
In the present embodiment, the pair of front and rear embossed grooves 88a and 88b are formed in a curved shape that draws a convex arc toward the outside in the longitudinal direction of the napkin 201 (that is, like ()), as shown in FIG. Although the present invention is not limited to this, the shape of the embossed grooves 88a and 88b is a pair of parallel linear shapes (for example, a shape like ||), The shape is arbitrary, such as a pair of square bracket shapes (for example, shapes such as <>).
[0057]
[Second Modification]
Next, a second modification of the third embodiment of the present invention will be described with reference to FIG. In addition, the same code | symbol is attached | subjected to FIG. 8 and an identical part, and only a different part is demonstrated.
The napkin 202 is provided with a top sheet for holding the absorbent body 4 at a predetermined position of the napkin 202, for swelling the absorbent body 4 on the surface side (human body side), and for containing the absorbed body fluid. A pair of front and rear embossed grooves 88 a and 88 b extending in the width direction of the napkin 202 are formed so as to surround the substantially central portion of the absorbent body 4 via 3.
[0058]
A plurality of vertical embossed rows 8b are formed in a predetermined arrangement on the top sheet 3 in a range sandwiched between the embossed grooves 88a and 88b of the napkin 202.
The embossed recess 8 in the vertical embossed row 8b has a shape in which the length in the major axis direction is shorter toward the end of the napkin 202 in the longitudinal direction. And the space | interval between the vertical embossing rows 8b becomes narrow as it goes to the edge part side of the width direction of the napkin 202. FIG.
Even in such a vertical embossed row 8b, like the napkin 200 shown in FIG. 8, the diffusion of menstrual blood in the top sheet 3 can be controlled, and the absorbent 4 can absorb menstrual blood efficiently. It is possible to make it difficult for menstrual blood leakage to occur in the napkin 202.
In particular, in the substantially central portion of the napkin 202, the longer embossed recesses 8 cause the longitudinal embossed rows 8b to diffuse menstrual blood more quickly in the longitudinal direction of the napkin 202 and reduce the spacing between the longitudinal embossed rows 8b. By controlling the spread of menstrual blood toward the end in the width direction of the napkin 202, menstrual blood can be absorbed evenly throughout the absorbent body 4 in the range sandwiched between the embossed grooves 88a and 88b. Leakage can be made difficult.
[0059]
[Third Modification]
Next, with reference to FIG. 11, the 3rd modification in the 3rd Embodiment of this invention is demonstrated. In addition, the same code | symbol is attached | subjected to FIG. 8 and an identical part, and only a different part is demonstrated.
A plurality of horizontal embossed rows 8a are formed in a predetermined arrangement on the top sheet 3 in a range sandwiched between the embossed grooves 88c, 88c of the napkin 203.
The embossed recess 8 in the horizontal embossed row 8a has a shape in which the length in the major axis direction is shorter toward the end of the napkin 203 in the width direction.
Even in such a horizontal embossed row 8a, similarly to the napkin 200 shown in FIG. 8, the diffusion of menstrual blood in the top sheet 3 is controlled, and the entire absorbent body 4 in the range sandwiched between the embossed grooves 88c, 88c is evenly distributed. Since menstrual blood can be absorbed efficiently, menstrual leakage at the napkin 203 can be made difficult to occur.
[0060]
[Fourth Modification]
Next, with reference to FIG. 12, the 4th modification in the 3rd Embodiment of this invention is demonstrated. In addition, the same code | symbol is attached | subjected to FIG. 8 and an identical part, and only a different part is demonstrated.
A plurality of horizontal embossed rows 8a are formed in a predetermined arrangement on the top sheet 3 in a range sandwiched between the embossed grooves 88c, 88c of the napkin 204.
The embossed recesses 8 in the horizontal embossed row 8a have a shape in which the length in the major axis direction is shorter toward the end of the napkin 204 in the width direction. And the space | interval between the horizontal embossing rows 8a becomes narrow as it goes to the longitudinal direction end part side of the napkin 204.
Even in such a horizontal embossed row 8a, similarly to the napkin 200 shown in FIG. 8, the diffusion of menstrual blood in the top sheet 3 is controlled, and the entire absorbent body 4 in the range sandwiched between the embossed grooves 88c, 88c is evenly distributed. Since menstrual blood can be absorbed efficiently, menstrual leakage at the napkin 204 can be made difficult to occur.
[0061]
[Fourth Embodiment]
Next, a fourth embodiment of the present invention will be described with reference to FIG. In addition, the same code | symbol is attached | subjected to the same part as 1st, 3rd embodiment, and only a different part is demonstrated.
On the top sheet 3 of the napkin 300, a plurality of vertical embossed rows 8b are formed in a predetermined arrangement on the outer side in the width direction from the center of the napkin 300 from the range sandwiched between the embossed grooves 88c, 88c.
[0062]
When using the napkin 300 configured as described above, when menstrual blood as a body fluid is discharged to the point P that is the blood outlet corresponding part of the napkin 300, the menstrual blood passes through the top sheet 3 of the napkin 300. The absorber 4 is selectively absorbed by the embossed grooves 88c and 88c.
However, when the amount of menstrual blood is large and the allowable absorption amount in the absorbent body 4 in the range sandwiched between the embossed grooves 88c and 88c is exceeded, absorption of menstrual blood is absorbed by the absorbent body 4 outside the embossed grooves 88c and 88c. Will do. In such a case, the longitudinal emboss row 8b formed on the top sheet 3 of the napkin 300 prevents diffusion of menstrual blood from the embossed groove 88c toward the outside in the width direction of the napkin 300, and the absorbent 4 absorbs menstrual blood. Can be made.
Therefore, it is possible to make menstrual leakage in the napkin 300, in particular, side leakage difficult to occur.
[0063]
[Fifth Embodiment]
Next, a fifth embodiment of the present invention will be described with reference to FIG. In addition, the same code | symbol is attached | subjected to the same part as 1st, 3rd embodiment, and only a different part is demonstrated.
In the top sheet 3 of the napkin 400, a plurality of horizontal embossed rows 8a are formed in a predetermined arrangement on both ends on the outer side in the longitudinal direction from the center of the napkin 400 from the range sandwiched between the embossed grooves 88c, 88c.
[0064]
When using the napkin 400 configured as described above, when menstrual blood as a body fluid is discharged to the point P which is the blood outlet corresponding part of the napkin 400, the menstrual blood passes through the top sheet 3 of the napkin 400. The absorber 4 is selectively absorbed by the embossed grooves 88c and 88c.
However, when the amount of menstrual blood is large and the permissible absorption amount of the absorber 4 in the range sandwiched between the embossed grooves 88c, 88c is exceeded, the absorbent 4 on the outside of the range sandwiched between the embossed grooves 88c, 88c is used. Will absorb blood. In such a case, the spread of menstrual blood toward the outside in the longitudinal direction of the napkin 400 can be prevented by the lateral emboss row 8a formed on the top sheet 3 of the napkin 400, and the absorbent 4 can absorb menstrual blood. .
Therefore, menstrual leakage in the napkin 400, particularly back leakage and front leakage, can be made difficult to occur.
[0065]
[Sixth Embodiment]
Next, a sixth embodiment of the present invention will be described with reference to FIG. In addition, the same code | symbol is attached | subjected to the same part as 1st, 3rd embodiment, and only a different part is demonstrated.
On the top sheet 3 of the napkin 500, a plurality of vertical embossed rows 8b are provided at both end portions on the outer side in the longitudinal direction from the center of the napkin 500 from the range sandwiched between the embossed grooves 88c, 88c. It is formed according to a predetermined arrangement.
[0066]
When using the napkin 500 configured as described above, when menstrual blood as a body fluid is discharged to the point P corresponding to the blood outlet corresponding to the napkin 500, the menstrual blood passes through the top sheet 3 of the napkin 500. The absorber 4 is selectively absorbed by the embossed grooves 88c and 88c.
However, when the amount of menstrual blood is large and the permissible absorption amount of the absorber 4 in the range sandwiched between the embossed grooves 88c, 88c is exceeded, the absorbent 4 on the outside of the range sandwiched between the embossed grooves 88c, 88c is used. Will absorb blood. In such a case, the vertical embossing row 8b formed on the top sheet 3 of the napkin 500 prevents diffusion of menstrual blood that diffuses to both ends in the longitudinal direction of the napkin 500 and further to the outside in the width direction of the napkin 500. The menstrual blood can be absorbed by the absorber 4.
Therefore, menstrual leakage in the napkin 500, in particular, side leakage can be made difficult to occur.
[0067]
[Seventh Embodiment]
Next, a seventh embodiment of the present invention will be described with reference to FIG. In addition, the same code | symbol is attached | subjected to the same part as 1st, 3rd embodiment, and only a different part is demonstrated.
In the top sheet 3 of the napkin 600, a plurality of horizontal embossing rows 8a and vertical embossing rows 8b are arranged in a predetermined arrangement on both ends on the outer side in the longitudinal direction from the center of the napkin 600 from the range sandwiched between the embossed grooves 88c, 88c. Is formed.
In the top sheet 3 on both end sides in the longitudinal direction of the napkin 600, a plurality of horizontal embossed rows 8a are formed on the substantially central side in the width direction of the napkin 600.
Further, in the top sheet 3 on both end sides in the longitudinal direction of the napkin 600, a plurality of vertical emboss rows 8b are formed on both end sides in the width direction of the napkin 600.
A lateral emboss row 8 a is formed across the width direction of the napkin 600 on the end side in the longitudinal direction of the napkin 600.
[0068]
When using the napkin 600 configured as described above, when menstrual blood is discharged as a body fluid to the point P corresponding to the blood discharge port corresponding part of the napkin 600, the menstrual blood passes through the top sheet 3 of the napkin 600. The absorber 4 is selectively absorbed by the embossed grooves 88c and 88c.
However, when the amount of menstrual blood is large and the permissible absorption amount of the absorber 4 in the range sandwiched between the embossed grooves 88c, 88c is exceeded, the absorbent 4 on the outside of the range sandwiched between the embossed grooves 88c, 88c is used. Will absorb blood. In such a case, the lateral emboss row 8a formed on the top sheet 3 prevents diffusion of menstrual blood that diffuses to both ends in the longitudinal direction of the napkin 600 and moves outward in the longitudinal direction. The longitudinal emboss row 8b formed on the top sheet 3 of the napkin 600 prevents the menstrual blood from diffusing toward the outside in the width direction of the napkin 600 at both ends in the direction, thereby allowing the absorbent body 4 to absorb menstrual blood. .
Therefore, menstrual leakage in the napkin 600 can be made difficult to occur.
[0069]
[Eighth Embodiment]
Next, an eighth embodiment of the present invention will be described with reference to FIG. In addition, the same code | symbol is attached | subjected to the same part as 1st Embodiment, and only a different part is demonstrated.
The napkin 700 has a top sheet for holding the absorbent body 4 at a predetermined position of the napkin 700, for swelling the absorbent body 4 on the surface side (human body side), and for containing the absorbed body fluid. A pair of front and rear embossed grooves 88 a and 88 b are formed so as to surround the substantially central portion of the absorbent body 4 via 3. Also, a substantially rectangular ring-shaped emboss groove 88 is formed so as to further surround the outside of the pair of front and rear emboss grooves 88a, 88b.
[0070]
A plurality of embossed recesses 8 are formed in the top sheet 3 in a range sandwiched between the embossed grooves 88a and 88b of the napkin 700 in accordance with a predetermined arrangement.
In the top sheet 3 in a range sandwiched between the embossed grooves 88a and 88b, a plurality of horizontal embossed rows 8a are formed in accordance with a predetermined arrangement on both ends in the width direction of the napkin 700.
Further, in the top sheet 3 in a range sandwiched between the embossed grooves 88a and 88b, a plurality of vertical embossed rows 8b are formed according to a predetermined arrangement on a substantially central side in the width direction of the napkin 700.
[0071]
Further, a plurality of lateral embossing rows 8a are formed in a predetermined arrangement on the top sheet 3 on the end side in the longitudinal direction of the napkin 700 from the embossing grooves 88a and 88b and inside the embossing groove 88 having a substantially rectangular ring shape. ing.
[0072]
Further, a plurality of horizontal embossed rows 8 a are formed in a predetermined arrangement on the outer side of the substantially rectangular ring-shaped emboss groove 88 and on the end side in the longitudinal direction of the napkin 700. On the side, a plurality of vertical embossed rows 8b are formed according to a predetermined arrangement.
[0073]
In this way, in the napkin 700, by forming the plurality of horizontal emboss rows 8a and the plurality of vertical emboss rows 8b on the top sheet 3 in accordance with the position of the range sandwiched between the emboss grooves 88a, 88b, The diffusion of menstrual blood can be controlled, and menstrual blood can be absorbed evenly throughout the absorber 4 in a range sandwiched between the embossed grooves 88a and 88b.
Further, a substantially rectangular ring-shaped embossed groove 88 is formed outside the range sandwiched between the embossed grooves 88a and 88b, and a plurality of embossed recesses 8 (lateral embossed row 8a and vertical embossed row 8b) are formed on both the inside and the outside. Thus, menstrual blood can be more reliably absorbed by the absorbent body 4.
Therefore, menstrual leakage in the napkin 700 can be made difficult to occur.
[0074]
Thus, like the present invention, on the surface of the top sheet 3 of the napkin, which is an absorbent article, a plurality of horizontal embossed rows 8a and vertical embossed rows 8b (a plurality of embossed recesses 8) depending on the location and position of the napkin. By controlling the diffusion of menstrual blood, which is a body fluid in the top sheet 3, it is possible to cause the absorber 4 to absorb menstrual blood with high absorption efficiency, thereby making it difficult to cause body fluid leakage and menstrual leakage in the napkin. it can.
[0075]
In particular, depending on the location of the napkin, the shape and orientation of the embossed recesses 8 and the orientation and spacing of the horizontal embossed rows 8a and vertical embossed rows 8b are controlled to control the diffusion of body fluids. In addition, body fluid leakage can be prevented more. For example, a type that specifically prevents body fluid leakage (lateral leakage) from the width direction of the napkin, a type that specifically prevents body fluid leakage from the longitudinal direction of the napkin (back leakage, front leakage), and more inside the napkin A type that absorbs bodily fluids, a type that absorbs bodily fluids evenly throughout the napkin, and the like can be configured.
Further, by forming the embossed grooves (a pair of front and rear embossed grooves 88a and 88b, a pair of left and right embossed grooves 88c and 88c, and a substantially rectangular ring-shaped embossed groove 88) in combination with the embossed recess 8 as appropriate, more reliable body fluid A napkin that absorbs can be constructed.
[0076]
In the above embodiment, the embossed recesses 8 are arranged so that the end portions of the embossed recesses 8 are aligned as shown in FIG. 4, but the present invention is not limited to this. As shown in FIG. 18A, the end portions of the embossed concave portions 8 may be overlapped, or as shown in FIG. 18B, the end portions of the embossed concave portions 8 may be arranged without being aligned.
[0077]
Further, the shape of the embossed recess 8 is not limited to a rectangular shape, and as shown in FIG. 19, the embossed recess has a substantially elliptical shape having a short axis 81 ′ and a long axis 82 ′ with the four corners of the rectangle cut out in a substantially arc shape. The shape may be an embossed recess 8 '.
[0078]
A pair of front and rear embossed grooves 88 a and 88 b and a pair of left and right embossed grooves 88 c and 88 c may be formed in the top sheet 3. In addition, a ring-shaped embossed groove in which a pair of front and rear embossed grooves 88a and 88b and a pair of left and right embossed grooves 88c and 88c connect the ends thereof (for example, a ring shaped like a substantially rectangular ring-shaped embossed groove 88) An embossed groove having a shape may be formed.
[0079]
The elastic member 9 may be a thread-like member having elasticity such as rubber or polyurethane.
[0080]
Moreover, in this Embodiment, although the napkin was demonstrated to the example as an absorbent article, this invention is not limited to this, An inner pad, a diaper, etc. may be sufficient as an absorbent article.
[0081]
In addition, it is needless to say that other specific detailed structures can be appropriately changed.
[0082]
【The invention's effect】
According to the first aspect of the present invention, on the surface of the top sheet of the absorbent article, a plurality of substantially rectangular or substantially elliptical embossed concave portions are provided in the major axis direction on both ends in the longitudinal direction of the absorbent article. A plurality of horizontal emboss rows formed in a line on a substantially straight line are provided at a predetermined interval in the longitudinal direction of the absorbent article. A plurality of vertical embossed rows in which a plurality of embossed concave portions having a shape are formed so as to be substantially aligned in the long axis direction are provided at predetermined intervals in the width direction of the absorbent article.
Accordingly, the body fluid discharged to the substantially central portion of the surface of the top sheet in the absorbent article is diffused in the longitudinal direction of the absorbent article by the longitudinal embossed rows formed in the top sheet, and both ends in the longitudinal direction of the absorbent article On the part side, the horizontal emboss row formed on the top sheet prevents the diffusion.
Therefore, in the absorbent article, the body fluid discharged to the substantially central portion of the surface of the top sheet is more likely to diffuse in the longitudinal direction than the width direction of the absorbent article, and the diffusion is prevented on the end side in the longitudinal direction. Therefore, the body fluid can be diffused while preventing leakage from the end in the width direction and the end in the longitudinal direction of the absorbent article, and the body fluid can be preferably absorbed evenly.
As described above, the horizontal embossing row and the vertical embossing row in which a plurality of embossed concave portions formed on the surface of the top sheet are continuous can make it difficult to cause body fluid leakage in the absorbent article.
[0083]
According to invention of Claim 2, while having the effect | action similar to the invention of Claim 1, the embossing recessed part in a horizontal embossing row | line | column has a shape short toward the edge part side of the width direction of an absorbent article. The embossed recesses in the longitudinal embossed row have a shorter shape toward the end in the longitudinal direction of the absorbent article, so in the absorbent article, the body fluid discharged to the approximate center of the surface of the topsheet is It is easier to diffuse in the longitudinal direction of the absorbent article, and difficult to diffuse in the width direction of the absorbent article.
Therefore, it is possible to diffuse while preventing body fluid from leaking from the end in the width direction and the end in the longitudinal direction of the absorbent article, and it is possible for the absorbent body to absorb the body fluid evenly and cause the body fluid leakage in the absorbent article. Can be difficult.
[0084]
  According to invention of Claim 3,Claim 1The horizontal embossed rows are arranged at a narrower distance toward the end in the longitudinal direction of the absorbent article, and the vertical embossed rows are end portions in the width direction of the absorbent article. Since it arrange | positions at a narrow space | interval as it goes to the side, a bodily fluid does not spread | diffuse easily to the longitudinal direction edge part side of an absorbent article, and a bodily fluid does not spread easily also to the width direction edge part side.
  Therefore, it is possible to prevent body fluid from leaking from the end in the width direction and the end in the longitudinal direction of the absorbent article, and suitably absorb the body fluid, and make it difficult to cause body fluid leakage in the absorbent article. Can do.
[0085]
According to the invention of claim 4, there is a horizontal embossed row in which a plurality of embossed concave portions having a substantially rectangular shape or a substantially elliptical shape are formed on the surface of the top sheet of the absorbent article so as to be substantially aligned in the major axis direction. A plurality of embossed recesses having a substantially rectangular shape or a substantially elliptical shape are provided at predetermined intervals in the longitudinal direction of the absorbent article. A plurality of articles are provided at predetermined intervals in the width direction of the active article. And the embossing recessed part in a horizontal embossing row | line | column has a long shape as the thing of the edge part side of the absorbent article in the longitudinal direction, and the embossing recessed part in a vertical embossing row | line | column is the thing of the edge part side of the absorbent article in the longitudinal direction. Has a short shape.
Therefore, in the absorbent article, the body fluid discharged to the substantially central portion of the surface of the top sheet is more likely to diffuse in the longitudinal direction of the absorbent article and less likely to diffuse in the width direction of the absorbent article. Further, the body fluid is diffused in the width direction on the end side in the longitudinal direction of the absorbent article.
Therefore, it is possible to diffuse while preventing body fluid from leaking from the end in the width direction and the end in the longitudinal direction of the absorbent article, and it is possible to absorb the body fluid evenly in the absorbent body, and to cause body fluid leakage in the absorbent article. Can be difficult.
[0086]
According to the invention of claim 5, the absorbent article includes at least a pair of left and right emboss grooves sandwiching the center of the top sheet and a pair of front and rear emboss grooves sandwiching the center of the top sheet on the surface side of the top sheet. One side is given. On the surface of the top sheet that is the center side of the absorbent article sandwiched between the embossed grooves, a plurality of substantially rectangular or substantially elliptical embossed recesses are substantially arranged in the major axis direction on both ends in the width direction of the absorbent article. A plurality of horizontal embossed rows formed in a straight line are provided at predetermined intervals in the longitudinal direction of the absorbent article, and at a substantially central side in the width direction of the absorbent article, a substantially rectangular shape or a substantially elliptical shape. A plurality of vertical embossed rows in which the plurality of embossed concave portions are formed in a substantially straight line in the major axis direction are provided at predetermined intervals in the width direction of the absorbent article.
Therefore, the body fluid discharged to the inner surface sandwiched between the embossed grooves in the top sheet of the absorbent article is diffused in the longitudinal direction of the absorbent article by the vertical emboss row formed in the top sheet, and formed in the top sheet. The transverse embossed rows are diffused in the width direction of the absorbent article.
Thus, in the absorbent article, the body fluid discharged to the surface of the top sheet is diffused inside the embossed groove, so that the body fluid can be absorbed by the inner absorbent body sandwiched by the embossed groove. it can.
Therefore, it is possible to make it difficult to cause body fluid leakage in the absorbent article due to the embossed grooves formed on the surface of the top sheet and the horizontal embossed rows and the vertical embossed rows formed by the plurality of embossed recesses.
[0087]
According to the invention described in claim 6, the same effect as that of the invention described in claim 5 is achieved, and in the absorbent article, the top in the width direction from the center of the absorbent article than the range sandwiched between the embossed grooves. On the surface of the sheet, a plurality of vertical embossed rows in which a plurality of substantially rectangular or substantially elliptical embossed recesses are formed in a substantially straight line in the major axis direction are provided at predetermined intervals in the width direction of the absorbent article. Therefore, the diffusion of the body fluid from the center of the absorbent article to the outside in the width direction from the range sandwiched between the embossed grooves is hindered by the vertical embossed row.
Therefore, while preventing a bodily fluid from leaking from the edge part of the width direction of an absorbent article, a bodily fluid can be suitably absorbed by an absorber and it can be made hard to raise | generate the bodily fluid leak in an absorbent article.
[0088]
According to the seventh aspect of the invention, the same effect as that of the fifth or sixth aspect of the invention can be obtained, and in the absorbent article, the outer side in the longitudinal direction from the center of the absorbent article than the range sandwiched between the embossed grooves. On the surface of the top sheet, horizontal embossed rows in which a plurality of embossed concave portions having a substantially rectangular shape or a substantially elliptical shape are arranged in a straight line in the major axis direction are arranged at predetermined intervals in the longitudinal direction of the absorbent article. Since a plurality of the fluids are provided, diffusion of the body fluid from the range sandwiched between the embossed grooves to the outside in the longitudinal direction of the absorbent article is hindered by the lateral embossed rows.
Therefore, while preventing a bodily fluid from leaking from the edge part of the longitudinal direction of an absorbent article, a bodily fluid can be suitably absorbed by an absorber and it can be made hard to raise | generate the bodily fluid leak in an absorbent article.
[0089]
According to the invention described in claim 8, the same effect as the invention described in any one of claims 5 to 7 is achieved, and in the absorbent article, the center of the absorbent article is more than the range sandwiched between the embossed grooves. From the surface of the top sheet on the outer side in the longitudinal direction, a vertical embossed row in which a plurality of substantially rectangular or substantially elliptical embossed recesses are formed in a substantially straight line in the major axis direction is the width of the absorbent article. When the body fluid diffused to the outside in the longitudinal direction of the absorbent article from the range sandwiched between the embossed grooves further diffuses to the end in the width direction of the absorbent article. Hindered by its vertical embossed rows.
Therefore, while preventing a bodily fluid from leaking from the edge part of an absorbent article, a bodily fluid can be suitably absorbed by an absorber and it can be made hard to raise | generate the bodily fluid leak in an absorbent article.
[0090]
According to the invention of Claims 9, 10, and 11, the absorbent article includes a pair of left and right embossed grooves sandwiching the center of the top sheet on the surface side of the top sheet, and a pair of front and rear embossments sandwiching the center of the top sheet. At least one of the grooves is provided. On the surface of the top sheet on the center side of the absorbent article sandwiched between the embossed grooves, there are vertical embossed rows in which a plurality of substantially rectangular or substantially elliptical embossed recesses are formed in a straight line in the major axis direction. A plurality of absorbent articles are provided at predetermined intervals in the width direction of the absorbent article. And the embossing recessed part in the vertical embossing row | line | column has a shape short as the thing of the edge part side of the longitudinal direction of an absorbent article.
Therefore, the body fluid discharged to the inner surface sandwiched between the embossed grooves in the top sheet of the absorbent article is quickly diffused in the longitudinal direction inside the longitudinal embossed row formed in the top sheet sandwiched between the embossed grooves. Can do. In the absorbent article, the body fluid diffused inside the embossed groove is absorbed by the inner absorbent body sandwiched between the embossed grooves.
Therefore, body fluid leakage in the absorbent article can be made difficult to occur due to the embossed grooves and the plurality of vertical embossed rows formed on the surface of the top sheet.
[0091]
According to the twelfth aspect of the invention, the same effect as the invention according to any one of the ninth to eleventh aspects is exerted, and the vertical embossed row becomes narrower toward the end side in the width direction of the absorbent article. Since it arrange | positions at the space | interval, a bodily fluid does not spread | diffuse easily to the width direction edge part side of an absorbent article.
Therefore, while preventing a bodily fluid from leaking from the edge part of the width direction of an absorbent article, a bodily fluid can be suitably absorbed by an absorber and it can be made hard to raise | generate the bodily fluid leak in an absorbent article.
[0092]
According to the invention of Claims 13, 14, and 15, the absorbent article includes a pair of left and right embossed grooves sandwiching the center of the top sheet on the surface side of the top sheet, and a pair of front and rear embossments sandwiching the center of the top sheet. At least one of the grooves is provided. On the surface of the top sheet, which is the center side of the absorbent article, sandwiched between the embossed grooves, there is a horizontal embossed row in which a plurality of substantially rectangular or substantially elliptical embossed recesses are formed in a substantially straight line in the major axis direction. A plurality of absorbent articles are provided at predetermined intervals in the longitudinal direction of the absorbent article. And the embossing recessed part in the horizontal embossing row | line | column has a shape short as the thing of the edge part side of the width direction of an absorbent article.
Therefore, the body fluid discharged | emitted by the inner surface pinched | interposed into the embossing groove | channel in the top sheet | seat of an absorbent article can be spread | diffused uniformly in the inner side where the horizontal embossing row | line | column formed in the top sheet was pinched | interposed into the embossing groove | channel. In the absorbent article, the body fluid diffused inside the embossed groove is absorbed by the inner absorbent body sandwiched between the embossed grooves.
Therefore, body fluid leakage in the absorbent article can be made difficult to occur due to the embossed grooves and the plurality of horizontal embossed rows formed on the surface of the top sheet.
[0093]
According to the sixteenth aspect of the invention, the same effect as in the invention of any one of the thirteenth to fifteenth aspects is achieved, and the lateral emboss row is narrower toward the end in the longitudinal direction of the absorbent article. Since it arrange | positions at the space | interval, a bodily fluid cannot diffuse easily to the longitudinal direction edge part side of an absorbent article.
Therefore, while preventing a bodily fluid from leaking from the edge part of the longitudinal direction of an absorbent article, a bodily fluid can be suitably absorbed by an absorber and it can be made hard to raise | generate the bodily fluid leak in an absorbent article.
[Brief description of the drawings]
FIG. 1 is a perspective view of a napkin according to the present invention.
FIG. 2 is a plan view showing a napkin according to the first embodiment of the present invention.
3 is a cross-sectional view taken along line III-III in FIG.
FIG. 4 is an explanatory diagram showing an embossed recess and its arrangement pattern in the present embodiment.
FIG. 5 is a plan view showing a first modification of the napkin in the first embodiment of the present invention.
FIG. 6 is a plan view showing a second modification of the napkin in the first embodiment of the present invention.
FIG. 7 is a plan view showing a napkin according to a second embodiment of the present invention.
FIG. 8 is a plan view showing a napkin according to a third embodiment of the present invention.
FIG. 9 is a plan view showing a first modification of the napkin in the third embodiment of the present invention.
FIG. 10 is a plan view showing a second modification of the napkin in the third embodiment of the present invention.
FIG. 11 is a plan view showing a third modification of the napkin in the third embodiment of the present invention.
FIG. 12 is a plan view showing a fourth modification of the napkin in the third embodiment of the present invention.
FIG. 13 is a plan view showing a napkin according to a fourth embodiment of the present invention.
FIG. 14 is a plan view showing a napkin according to a fifth embodiment of the present invention.
FIG. 15 is a plan view showing a napkin according to a sixth embodiment of the present invention.
FIG. 16 is a plan view showing a napkin according to a seventh embodiment of the present invention.
FIG. 17 is a plan view showing a napkin according to an eighth embodiment of the present invention.
18A and 18B are explanatory diagrams showing a modification of the arrangement pattern of the embossed recesses, where FIG. 18A shows a case where the end portions of the embossed recesses overlap, and FIG. Is.
FIG. 19 is an explanatory view showing a modification of the embossed recess.
[Explanation of symbols]
2 Back sheet
3 Top sheet
4 Absorber
5 Crepe paper
6 Gather sheet
8 (8 ') Embossed recess
81 short side
82 Long side
8a Horizontal emboss row
8b Vertical emboss row
88 Embossed groove (ring-shaped embossed groove)
88a Embossed groove (a pair of front and rear embossed grooves)
88b Embossed grooves (a pair of front and rear embossed grooves)
88c Embossed groove (a pair of left and right embossed grooves)
9 Elastic members
11a Front end
11b Rear end
100, 101, 102, 110, 200, 201, 202, 203, 204, 300, 400, 500, 600, 700 Napkin (absorbent article)
P point (Department of blood drainage)
W wing flap
L1, L2 distance

Claims (16)

人体との接触面側に設けられるトップシートと、人体との接触面と反対面側に設けられるバックシートと、前記トップシートと前記バックシートとの間に介装される吸収体とを備え、前記トップシートの表面に複数の略長方形状或いは略楕円形状のエンボス凹部を有する吸収性物品であって、
前記エンボス凹部の長軸方向に複数の前記エンボス凹部が所定の間隔で、前記吸収性物品の長手方向に略一直線上に連なって形成された縦エンボス列と、
前記エンボス凹部の長軸方向に複数の前記エンボス凹部が所定の間隔で、前記吸収性物品の幅方向に略一直線上に連なって形成された横エンボス列と、を備え、
前記吸収性物品の長手方向の両端部側には、前記吸収性物品の幅方向全幅に亘る前記横エンボス列が、前記吸収性物品の長手方向に所定の間隔で複数設けられ、
前記吸収性物品の長手方向の略中央側には、前記縦エンボス列が、前記吸収性物品の幅方向に所定の間隔で複数設けられていることを特徴とする吸収性物品。
A top sheet provided on the contact surface side with the human body, a back sheet provided on the surface opposite to the contact surface with the human body, and an absorber interposed between the top sheet and the back sheet, An absorbent article having a plurality of substantially rectangular or substantially elliptical embossed recesses on the surface of the top sheet,
A plurality of the embossed recesses in the major axis direction of the embossed recesses at a predetermined interval, and a vertical emboss row formed in a substantially straight line in the longitudinal direction of the absorbent article;
A plurality of the embossed recesses in the major axis direction of the embossed recesses at a predetermined interval, and a horizontal emboss row formed continuously in a straight line in the width direction of the absorbent article,
A plurality of the lateral emboss rows across the entire width in the width direction of the absorbent article are provided at predetermined intervals in the longitudinal direction of the absorbent article on both ends in the longitudinal direction of the absorbent article.
An absorbent article, wherein a plurality of the vertical embossed rows are provided at a predetermined interval in the width direction of the absorbent article on a substantially central side in the longitudinal direction of the absorbent article.
人体との接触面側に設けられるトップシートと、人体との接触面と反対面側に設けられるバックシートと、前記トップシートと前記バックシートとの間に介装される吸収体とを備え、前記トップシートの表面に複数の略長方形状或いは略楕円形状のエンボス凹部を有する吸収性物品であって、
前記エンボス凹部の長軸方向に複数の前記エンボス凹部が所定の間隔で、前記吸収性物品の長手方向に略一直線上に連なって形成された縦エンボス列と、
前記エンボス凹部の長軸方向に複数の前記エンボス凹部が所定の間隔で、前記吸収性物品の幅方向に略一直線上に連なって形成された横エンボス列と、を備え、
前記吸収性物品の長手方向の両端部側には、前記吸収性物品の幅方向の端部側のものほど、長軸方向の長さが短く形成された前記エンボス凹部を有する前記横エンボス列が、前記吸収性物品の長手方向に所定の間隔で複数設けられ、
前記吸収性物品の長手方向の略中央側には、前記吸収性物品の長手方向の端部側のものほど、長軸方向の長さが短く形成された前記エンボス凹部を有する前記縦エンボス列が、前記吸収性物品の幅方向に所定の間隔で複数設けられていることを特徴とする吸収性物品。
A top sheet provided on the contact surface side with the human body, a back sheet provided on the surface opposite to the contact surface with the human body, and an absorber interposed between the top sheet and the back sheet, An absorbent article having a plurality of substantially rectangular or substantially elliptical embossed recesses on the surface of the top sheet,
A plurality of the embossed recesses in the major axis direction of the embossed recesses at a predetermined interval, and a vertical emboss row formed in a substantially straight line in the longitudinal direction of the absorbent article;
A plurality of the embossed recesses in the major axis direction of the embossed recesses at a predetermined interval, and a horizontal emboss row formed continuously in a straight line in the width direction of the absorbent article,
The lateral embossed rows having the embossed recesses formed such that the length in the longitudinal direction of the absorbent article is shorter on the both end sides in the longitudinal direction of the absorbent article. A plurality of the absorbent articles are provided at predetermined intervals in the longitudinal direction;
The longitudinal embossing row having the embossed recesses formed such that the length in the longitudinal direction of the absorbent article is shorter at the substantially central side in the longitudinal direction of the absorbent article. A plurality of absorbent articles are provided at predetermined intervals in the width direction of the absorbent article.
人体との接触面側に設けられるトップシートと、人体との接触面と反対面側に設けられるバックシートと、前記トップシートと前記バックシートとの間に介装される吸収体とを備え、前記トップシートの表面に複数の略長方形状或いは略楕円形状のエンボス凹部を有する吸収性物品であって、
前記エンボス凹部の長軸方向に複数の前記エンボス凹部が所定の間隔で、前記吸収性物品の長手方向に略一直線上に連なって形成された縦エンボス列と、
前記エンボス凹部の長軸方向に複数の前記エンボス凹部が所定の間隔で、前記吸収性物品の幅方向に略一直線上に連なって形成された横エンボス列と、を備え、
前記吸収性物品の長手方向の両端部側には、前記吸収性物品の長手方向の端部側に向かうにつれて、狭い間隔で配置される前記横エンボス列が、前記吸収性物品の長手方向に所定の間隔で複数設けられ、
前記吸収性物品の長手方向の略中央側には、前記吸収性物品の幅方向の端部側に向かうにつれて、狭い間隔で配置される前記縦エンボス列が、前記吸収性物品の幅方向に所定の間隔で複数設けられていることを特徴とする吸収性物品。
A top sheet provided on the contact surface side with the human body, a back sheet provided on the surface opposite to the contact surface with the human body, and an absorber interposed between the top sheet and the back sheet, An absorbent article having a plurality of substantially rectangular or substantially elliptical embossed recesses on the surface of the top sheet,
A plurality of the embossed recesses in the major axis direction of the embossed recesses at a predetermined interval, and a vertical emboss row formed in a substantially straight line in the longitudinal direction of the absorbent article;
A plurality of the embossed recesses in the major axis direction of the embossed recesses at a predetermined interval, and a horizontal emboss row formed continuously in a straight line in the width direction of the absorbent article,
The lateral embossed rows that are arranged at narrower intervals toward the ends in the longitudinal direction of the absorbent article are predetermined at both ends in the longitudinal direction of the absorbent article in the longitudinal direction of the absorbent article. Are provided at intervals of
The longitudinal embossed rows arranged at a narrower interval toward the end in the width direction of the absorbent article are arranged in a substantially central side in the longitudinal direction of the absorbent article in the width direction of the absorbent article. A plurality of absorbent articles provided at intervals.
人体との接触面側に設けられるトップシートと、人体との接触面と反対面側に設けられるバックシートと、前記トップシートと前記バックシートとの間に介装される吸収体とを備え、前記トップシートの表面に複数の略長方形状或いは略楕円形状のエンボス凹部を有する吸収性物品であって、
前記エンボス凹部の長軸方向に複数の前記エンボス凹部が所定の間隔で、前記吸収性物品の長手方向の全域に亘って略一直線上に連なって形成された縦エンボス列が、前記吸収性物品の幅方向に所定の間隔で複数設けられ、
前記エンボス凹部の長軸方向に複数の前記エンボス凹部が所定の間隔で、前記吸収性物品の幅方向の全域に亘って略一直線上に連なって形成された横エンボス列が、前記吸収性物品の長手方向に、前記縦エンボス列のエンボス凹部と重ならないように所定の間隔で複数設けられ、
前記横エンボス列における前記エンボス凹部は、前記吸収性物品の長手方向の端部側のものほど、長軸方向の長さが長く形成され、
前記縦エンボス列における前記エンボス凹部は、前記吸収性物品の長手方向の端部側のものほど、長軸方向の長さが短く形成されていることを特徴とする吸収性物品。
A top sheet provided on the contact surface side with the human body, a back sheet provided on the surface opposite to the contact surface with the human body, and an absorber interposed between the top sheet and the back sheet, An absorbent article having a plurality of substantially rectangular or substantially elliptical embossed recesses on the surface of the top sheet,
A plurality of the embossed recesses in the major axis direction of the embossed recesses are arranged at predetermined intervals, and a vertical emboss row formed in a straight line over the entire region in the longitudinal direction of the absorbent article. A plurality are provided at predetermined intervals in the width direction,
A plurality of the embossed recesses in the major axis direction of the embossed recesses are arranged at predetermined intervals across the entire region in the width direction of the absorbent article. In the longitudinal direction, a plurality are provided at predetermined intervals so as not to overlap with the embossed recesses of the vertical embossed rows,
The embossed recess in the horizontal embossed row is formed such that the longer the end in the longitudinal direction of the absorbent article, the longer the length in the major axis direction.
The said embossing recessed part in the said vertical embossing row | line | column is formed in the length of the longitudinal direction edge part of the said absorbent article so that the length of a major axis direction is formed short.
人体との接触面側に設けられるトップシートと、人体との接触面と反対面側に設けられるバックシートと、前記トップシートと前記バックシートとの間に介装される吸収体とを備え、前記トップシートの面側に、前記トップシートの中心を挟み長手方向に延びる左右一対のエンボス溝と、前記トップシートの中心を挟み幅方向に延びる前後一対のエンボス溝の、少なくとも一方を有する吸収性物品であって、
前記エンボス溝に挟まれる前記トップシートの表面には、複数の略長方形状或いは略楕円形状のエンボス凹部が形成されており、
前記エンボス凹部の長軸方向に複数の前記エンボス凹部が所定の間隔で、前記吸収性物品の長手方向に略一直線上に連なって形成された縦エンボス列が、前記吸収性物品の略中央側に前記吸収性物品の幅方向に所定の間隔で複数設けられ、
前記エンボス凹部の長軸方向に複数の前記エンボス凹部が所定の間隔で、前記吸収性物品の幅方向に略一直線上に連なって形成された横エンボス列が、前記縦エンボス列の両側において前記吸収性物品の長手方向に所定の間隔で複数設けられていることを特徴とする吸収性物品。
A top sheet provided on the contact surface side with the human body, a back sheet provided on the surface opposite to the contact surface with the human body, and an absorber interposed between the top sheet and the back sheet, Absorbency having at least one of a pair of left and right emboss grooves extending in the longitudinal direction across the center of the top sheet and a pair of front and rear emboss grooves extending in the width direction across the center of the top sheet on the surface side of the top sheet Goods,
On the surface of the top sheet sandwiched between the embossed grooves, a plurality of substantially rectangular or substantially elliptical embossed recesses are formed,
A plurality of the embossed recesses in the major axis direction of the embossed recesses are arranged at a predetermined interval in a substantially straight line in the longitudinal direction of the absorbent article. A plurality of the absorbent articles are provided at predetermined intervals in the width direction of the absorbent article,
A plurality of the embossed depressions is a predetermined interval in the longitudinal direction of the embossed depressions, lateral embossing row formed continuous with the substantially straight line in the width direction of the absorbent article, the absorbent on both sides of the longitudinal embossed column A plurality of absorbent articles provided at predetermined intervals in the longitudinal direction of the absorbent article.
前記エンボス溝より、前記吸収性物品の中心から幅方向の外側における前記トップシートの表面には、複数の略長方形状或いは略楕円形状のエンボス凹部をその長軸方向に所定の間隔で前記吸収性物品の長手方向に略一直線上に連ねて形成した縦エンボス列が、前記吸収性物品の幅方向に所定の間隔で複数設けられていることを特徴とする請求項5に記載の吸収性物品。  A plurality of substantially rectangular or substantially elliptical embossed recesses are formed at predetermined intervals in the major axis direction on the surface of the top sheet on the outer side in the width direction from the center of the absorbent article from the embossed groove. 6. The absorbent article according to claim 5, wherein a plurality of vertical embossed rows formed in a straight line in the longitudinal direction of the article are provided at predetermined intervals in the width direction of the absorbent article. 前記エンボス溝より、前記吸収性物品の中心から長手方向の外側における前記トップシートの表面には、複数の略長方形状或いは略楕円形状のエンボス凹部をその長軸方向に所定の間隔で前記吸収性物品の幅方向に略一直線上に連ねて形成した横エンボス列が、前記吸収性物品の長手方向に所定の間隔で形成されていることを特徴とする請求項5又は6に記載の吸収性物品。  From the embossed groove, a plurality of substantially rectangular or substantially elliptical embossed recesses are formed on the surface of the top sheet on the outer side in the longitudinal direction from the center of the absorbent article at predetermined intervals in the major axis direction. The absorbent article according to claim 5 or 6, wherein the horizontal embossed rows formed in a line in a substantially straight line in the width direction of the article are formed at predetermined intervals in the longitudinal direction of the absorbent article. . 前記エンボス溝より、前記吸収性物品の中心から長手方向の外側における前記トップシートの表面には、複数の略長方形状或いは略楕円形状のエンボス凹部をその長軸方向に所定の間隔で前記吸収性物品の長手方向に略一直線上に連ねて形成した縦エンボス列が、前記吸収性物品の幅方向に所定の間隔で形成されていること特徴とする請求項5〜7の何れか一項に記載の吸収性物品。  From the embossed groove, a plurality of substantially rectangular or substantially elliptical embossed recesses are formed on the surface of the top sheet on the outer side in the longitudinal direction from the center of the absorbent article at predetermined intervals in the major axis direction. 8. The vertical embossed row formed in a substantially straight line in the longitudinal direction of the article is formed at a predetermined interval in the width direction of the absorbent article. Absorbent articles. 人体との接触面側に設けられるトップシートと、人体との接触面と反対面側に設けられるバックシートと、前記トップシートと前記バックシートとの間に介装される吸収体とを備え、前記トップシートの面側に、前記トップシートの中心を挟み長手方向に延びる左右一対のエンボス溝と、前記トップシートの中心を挟み幅方向に延びる前後一対のエンボス溝の、少なくとも一方を有する吸収性物品であって、  A top sheet provided on the contact surface side with the human body, a back sheet provided on the surface opposite to the contact surface with the human body, and an absorber interposed between the top sheet and the back sheet, Absorbency having at least one of a pair of left and right emboss grooves extending in the longitudinal direction across the center of the top sheet and a pair of front and rear emboss grooves extending in the width direction across the center of the top sheet on the surface side of the top sheet An article,
前記エンボス溝に挟まれる前記トップシートの表面には、複数の略長方形状或いは略楕円形状のエンボス凹部が形成されており、前記エンボス凹部の長軸方向に複数の前記エンボス凹部が所定の間隔で、前記吸収性物品の長手方向に略一直線上に連なって形成された縦エンボス列が、前記吸収性物品の幅方向に所定の間隔で複数設けられ、その縦エンボス列における前記エンボス凹部は、前記吸収性物品の長手方向の端部側のものほど、長軸方向の長さが短く形成され、  A plurality of substantially rectangular or substantially elliptical embossed recesses are formed on the surface of the top sheet sandwiched between the embossed grooves, and the plurality of embossed recesses are spaced at predetermined intervals in the major axis direction of the embossed recesses. A plurality of vertical embossed rows formed in a substantially straight line in the longitudinal direction of the absorbent article are provided at predetermined intervals in the width direction of the absorbent article, and the embossed recesses in the vertical embossed row are The longer the end in the longitudinal direction of the absorbent article, the shorter the length in the major axis direction,
前記エンボス溝より、前記吸収性物品の中心から幅方向の外側における前記トップシートの表面には、複数の略長方形状或いは略楕円形状のエンボス凹部をその長軸方向に所定の間隔で前記吸収性物品の長手方向に略一直線上に連ねて形成した縦エンボス列が、前記吸収性物品の幅方向に所定の間隔で複数設けられていることを特徴とする吸収性物品。  A plurality of substantially rectangular or substantially elliptical embossed recesses are formed at predetermined intervals in the major axis direction on the surface of the top sheet on the outer side in the width direction from the center of the absorbent article from the embossed groove. An absorbent article, wherein a plurality of vertical embossed rows formed in a straight line in the longitudinal direction of the article are provided at predetermined intervals in the width direction of the absorbent article.
人体との接触面側に設けられるトップシートと、人体との接触面と反対面側に設けられるバックシートと、前記トップシートと前記バックシートとの間に介装される吸収体とを備え、前記トップシートの面側に、前記トップシートの中心を挟み長手方向に延びる左右一対のエンボス溝と、前記トップシートの中心を挟み幅方向に延びる前後一対のエンボス溝の、少なくとも一方を有する吸収性物品であって、  A top sheet provided on the contact surface side with the human body, a back sheet provided on the surface opposite to the contact surface with the human body, and an absorber interposed between the top sheet and the back sheet, Absorbency having at least one of a pair of left and right emboss grooves extending in the longitudinal direction across the center of the top sheet and a pair of front and rear emboss grooves extending in the width direction across the center of the top sheet on the surface side of the top sheet Goods,
前記エンボス溝に挟まれる前記トップシートの表面には、複数の略長方形状或いは略楕円形状のエンボス凹部が形成されており、前記エンボス凹部の長軸方向に複数の前記エンボス凹部が所定の間隔で、前記吸収性物品の長手方向に略一直線上に連なって形成された縦エンボス列が、前記吸収性物品の幅方向に所定の間隔で複数設けられ、その縦エンボス列における前記エンボス凹部は、前記吸収性物品の長手方向の端部側のものほど、長軸方向の長さが短く形成され、  A plurality of substantially rectangular or substantially elliptical embossed recesses are formed on the surface of the top sheet sandwiched between the embossed grooves, and the plurality of embossed recesses are spaced at predetermined intervals in the major axis direction of the embossed recesses. A plurality of vertical embossed rows formed in a substantially straight line in the longitudinal direction of the absorbent article are provided at predetermined intervals in the width direction of the absorbent article, and the embossed recesses in the vertical embossed row are The longer the end in the longitudinal direction of the absorbent article, the shorter the length in the major axis direction,
前記エンボス溝より、前記吸収性物品の中心から長手方向の外側における前記トップシートの表面には、複数の略長方形状或いは略楕円形状のエンボス凹部をその長軸方向に所定の間隔で前記吸収性物品の幅方向に略一直線上に連ねて形成した横エンボス列が、前記吸収性物品の長手方向に所定の間隔で形成されていることを特徴とする吸収性物品。  From the embossed groove, a plurality of substantially rectangular or substantially elliptical embossed recesses are formed on the surface of the top sheet on the outer side in the longitudinal direction from the center of the absorbent article at predetermined intervals in the major axis direction. An absorbent article, characterized in that laterally embossed rows formed in a straight line in the width direction of the article are formed at predetermined intervals in the longitudinal direction of the absorbent article.
人体との接触面側に設けられるトップシートと、人体との接触面と反対面側に設けられるバックシートと、前記トップシートと前記バックシートとの間に介装される吸収体とを備え、前記トップシートの面側に、前記トップシートの中心を挟み長手方向に延びる左右一対のエンボス溝と、前記トップシートの中心を挟み幅方向に延びる前後一対のエンボス溝の、少なくとも一方を有する吸収性物品であって、  A top sheet provided on the contact surface side with the human body, a back sheet provided on the surface opposite to the contact surface with the human body, and an absorber interposed between the top sheet and the back sheet, Absorbency having at least one of a pair of left and right emboss grooves extending in the longitudinal direction across the center of the top sheet and a pair of front and rear emboss grooves extending in the width direction across the center of the top sheet on the surface side of the top sheet Goods,
前記エンボス溝に挟まれる前記トップシートの表面には、複数の略長方形状或いは略楕円形状のエンボス凹部が形成されており、前記エンボス凹部の長軸方向に複数の前記エンボス凹部が所定の間隔で、前記吸収性物品の長手方向に略一直線上に連なって形成された縦エンボス列が、前記吸収性物品の幅方向に所定の間隔で複数設けられ、その縦エンボス列における前記エンボス凹部は、前記吸収性物品の長手方向の端部側のものほど、長軸方向の長さが短く形成され、  A plurality of substantially rectangular or substantially elliptical embossed recesses are formed on the surface of the top sheet sandwiched between the embossed grooves, and the plurality of embossed recesses are spaced at predetermined intervals in the major axis direction of the embossed recesses. A plurality of vertical embossed rows formed in a substantially straight line in the longitudinal direction of the absorbent article are provided at predetermined intervals in the width direction of the absorbent article, and the embossed recesses in the vertical embossed row are The longer the end in the longitudinal direction of the absorbent article, the shorter the length in the major axis direction,
前記エンボス溝より、前記吸収性物品の中心から長手方向の外側における前記トップシートの表面には、複数の略長方形状或いは略楕円形状のエンボス凹部をその長軸方向に所定の間隔で前記吸収性物品の長手方向に略一直線上に連ねて形成した縦エンボス列が、前記吸収性物品の幅方向に所定の間隔で形成されていることを特徴とする吸収性物品。  From the embossed groove, a plurality of substantially rectangular or substantially elliptical embossed recesses are formed on the surface of the top sheet on the outer side in the longitudinal direction from the center of the absorbent article at predetermined intervals in the major axis direction. An absorbent article, characterized in that vertical embossed rows formed in a straight line in the longitudinal direction of the article are formed at predetermined intervals in the width direction of the absorbent article.
前記縦エンボス列は、前記吸収性物品の幅方向の端部側に向かうにつれて、狭い間隔で配置されていることを特徴とする請求項9〜11の何れか一項に記載の吸収性物品。  The absorbent article according to any one of claims 9 to 11, wherein the vertical embossed rows are arranged at a narrower interval toward the end in the width direction of the absorbent article. 人体との接触面側に設けられるトップシートと、人体との接触面と反対面側に設けられるバックシートと、前記トップシートと前記バックシートとの間に介装される吸収体とを備え、前記トップシートの面側に、前記トップシートの中心を挟み長手方向に延びる左右一対のエンボス溝と、前記トップシートの中心を挟み幅方向に延びる前後一対のエンボス  A top sheet provided on the contact surface side with the human body, a back sheet provided on the surface opposite to the contact surface with the human body, and an absorber interposed between the top sheet and the back sheet, A pair of left and right emboss grooves extending in the longitudinal direction across the center of the top sheet, and a pair of front and rear embossings extending in the width direction across the center of the top sheet, on the surface side of the top sheet 溝の、少なくとも一方を有する吸収性物品であって、An absorbent article having at least one of the grooves,
前記エンボス溝に挟まれる前記トップシートの表面には、複数の略長方形状或いは略楕円形状のエンボス凹部が形成されており、前記エンボス凹部の長軸方向に複数の前記エンボス凹部が所定の間隔で、前記吸収性物品の幅方向に略一直線上に連なって形成された横エンボス列が、前記吸収性物品の長手方向に所定の間隔で複数設けられ、その横エンボス列における前記エンボス凹部は、前記吸収性物品の幅方向の端部側のものほど、長軸方向の長さが短く形成され、  A plurality of substantially rectangular or substantially elliptical embossed recesses are formed on the surface of the top sheet sandwiched between the embossed grooves, and the plurality of embossed recesses are spaced at predetermined intervals in the major axis direction of the embossed recesses. A plurality of lateral emboss rows formed in a line in a substantially straight line in the width direction of the absorbent article are provided at predetermined intervals in the longitudinal direction of the absorbent article, and the embossed recesses in the lateral emboss row are The longer the end of the absorbent article in the width direction, the shorter the length in the major axis direction,
前記エンボス溝より、前記吸収性物品の中心から幅方向の外側における前記トップシートの表面には、複数の略長方形状或いは略楕円形状のエンボス凹部をその長軸方向に所定の間隔で前記吸収性物品の長手方向に略一直線上に連ねて形成した縦エンボス列が、前記吸収性物品の幅方向に所定の間隔で複数設けられていることを特徴とする吸収性物品。  A plurality of substantially rectangular or substantially elliptical embossed recesses are formed at predetermined intervals in the major axis direction on the surface of the top sheet on the outer side in the width direction from the center of the absorbent article from the embossed groove. An absorbent article, wherein a plurality of vertical embossed rows formed in a straight line in the longitudinal direction of the article are provided at predetermined intervals in the width direction of the absorbent article.
人体との接触面側に設けられるトップシートと、人体との接触面と反対面側に設けられるバックシートと、前記トップシートと前記バックシートとの間に介装される吸収体とを備え、前記トップシートの面側に、前記トップシートの中心を挟み長手方向に延びる左右一対のエンボス溝と、前記トップシートの中心を挟み幅方向に延びる前後一対のエンボス溝の、少なくとも一方を有する吸収性物品であって、  A top sheet provided on the contact surface side with the human body, a back sheet provided on the surface opposite to the contact surface with the human body, and an absorber interposed between the top sheet and the back sheet, Absorbency having at least one of a pair of left and right emboss grooves extending in the longitudinal direction across the center of the top sheet and a pair of front and rear emboss grooves extending in the width direction across the center of the top sheet on the surface side of the top sheet Goods,
前記エンボス溝に挟まれる前記トップシートの表面には、複数の略長方形状或いは略楕円形状のエンボス凹部が形成されており、前記エンボス凹部の長軸方向に複数の前記エンボス凹部が所定の間隔で、前記吸収性物品の幅方向に略一直線上に連なって形成された横エンボス列が、前記吸収性物品の長手方向に所定の間隔で複数設けられ、その横エンボス列における前記エンボス凹部は、前記吸収性物品の幅方向の端部側のものほど、長軸方向の長さが短く形成され、  A plurality of substantially rectangular or substantially elliptical embossed recesses are formed on the surface of the top sheet sandwiched between the embossed grooves, and the plurality of embossed recesses are spaced at predetermined intervals in the major axis direction of the embossed recesses. A plurality of lateral emboss rows formed in a line in a substantially straight line in the width direction of the absorbent article are provided at predetermined intervals in the longitudinal direction of the absorbent article, and the embossed recesses in the lateral emboss row are The longer the end of the absorbent article in the width direction, the shorter the length in the major axis direction,
前記エンボス溝より、前記吸収性物品の中心から長手方向の外側における前記トップシートの表面には、複数の略長方形状或いは略楕円形状のエンボス凹部をその長軸方向に所定の間隔で前記吸収性物品の幅方向に略一直線上に連ねて形成した横エンボス列が、前記吸収性物品の長手方向に所定の間隔で形成されていることを特徴とする吸収性物品。  From the embossed groove, a plurality of substantially rectangular or substantially elliptical embossed recesses are formed on the surface of the top sheet on the outer side in the longitudinal direction from the center of the absorbent article at predetermined intervals in the major axis direction. An absorbent article, characterized in that laterally embossed rows formed in a straight line in the width direction of the article are formed at predetermined intervals in the longitudinal direction of the absorbent article.
人体との接触面側に設けられるトップシートと、人体との接触面と反対面側に設けられるバックシートと、前記トップシートと前記バックシートとの間に介装される吸収体とを備え、前記トップシートの面側に、前記トップシートの中心を挟み長手方向に延びる左右一対のエンボス溝と、前記トップシートの中心を挟み幅方向に延びる前後一対のエンボス溝の、少なくとも一方を有する吸収性物品であって、  A top sheet provided on the contact surface side with the human body, a back sheet provided on the surface opposite to the contact surface with the human body, and an absorber interposed between the top sheet and the back sheet, Absorbency having at least one of a pair of left and right emboss grooves extending in the longitudinal direction across the center of the top sheet and a pair of front and rear emboss grooves extending in the width direction across the center of the top sheet on the surface side of the top sheet Goods,
前記エンボス溝に挟まれる前記トップシートの表面には、複数の略長方形状或いは略楕円形状のエンボス凹部が形成されており、前記エンボス凹部の長軸方向に複数の前記エンボス凹部が所定の間隔で、前記吸収性物品の幅方向に略一直線上に連なって形成された横エンボス列が、前記吸収性物品の長手方向に所定の間隔で複数設けられ、その横エンボス列における前記エンボス凹部は、前記吸収性物品の幅方向の端部側のものほど、長軸方向の長さが短く形成され、  A plurality of substantially rectangular or substantially elliptical embossed recesses are formed on the surface of the top sheet sandwiched between the embossed grooves, and the plurality of embossed recesses are spaced at predetermined intervals in the major axis direction of the embossed recesses. A plurality of lateral emboss rows formed in a line in a substantially straight line in the width direction of the absorbent article are provided at predetermined intervals in the longitudinal direction of the absorbent article, and the embossed recesses in the lateral emboss row are The longer the end of the absorbent article in the width direction, the shorter the length in the major axis direction,
前記エンボス溝より、前記吸収性物品の中心から長手方向の外側における前記トップシートの表面には、複数の略長方形状或いは略楕円形状のエンボス凹部をその長軸方向に所定の間隔で前記吸収性物品の長手方向に略一直線上に連ねて形成した縦エンボス列が、前記吸収性物品の幅方向に所定の間隔で形成されていることを特徴とする吸収性物品。  From the embossed groove, a plurality of substantially rectangular or substantially elliptical embossed recesses are formed on the surface of the top sheet on the outer side in the longitudinal direction from the center of the absorbent article at predetermined intervals in the major axis direction. An absorbent article, characterized in that vertical embossed rows formed in a straight line in the longitudinal direction of the article are formed at predetermined intervals in the width direction of the absorbent article.
前記横エンボス列は、前記吸収性物品の長手方向の端部側に向かうにつれて、狭い間隔で配置されていることを特徴とする請求項13〜15の何れか一項に記載の吸収性物品。  The absorbent article according to any one of claims 13 to 15, wherein the horizontal embossed rows are arranged at a narrower interval toward an end in the longitudinal direction of the absorbent article.
JP2003092484A 2003-03-28 2003-03-28 Absorbent articles Expired - Fee Related JP4185389B2 (en)

Priority Applications (1)

Application Number Priority Date Filing Date Title
JP2003092484A JP4185389B2 (en) 2003-03-28 2003-03-28 Absorbent articles

Applications Claiming Priority (1)

Application Number Priority Date Filing Date Title
JP2003092484A JP4185389B2 (en) 2003-03-28 2003-03-28 Absorbent articles

Publications (2)

Publication Number Publication Date
JP2004298271A JP2004298271A (en) 2004-10-28
JP4185389B2 true JP4185389B2 (en) 2008-11-26

Family

ID=33405561

Family Applications (1)

Application Number Title Priority Date Filing Date
JP2003092484A Expired - Fee Related JP4185389B2 (en) 2003-03-28 2003-03-28 Absorbent articles

Country Status (1)

Country Link
JP (1) JP4185389B2 (en)

Cited By (5)

* Cited by examiner, † Cited by third party
Publication number Priority date Publication date Assignee Title
US10195092B2 (en) 2014-03-06 2019-02-05 The Procter & Gamble Company Multi-component topsheets
US10206826B2 (en) 2014-03-06 2019-02-19 The Procter & Gamble Company Three-dimensional substrates
US10285874B2 (en) 2014-03-06 2019-05-14 The Procter & Gamble Company Multi-component topsheets
US10973702B2 (en) 2015-08-26 2021-04-13 The Procter & Gamble Company Absorbent articles having three dimensional substrates and indicia
US11202723B2 (en) 2016-07-01 2021-12-21 The Procter & Gamble Company Absorbent articles with improved topsheet dryness

Families Citing this family (13)

* Cited by examiner, † Cited by third party
Publication number Priority date Publication date Assignee Title
JP5054962B2 (en) 2006-11-06 2012-10-24 ユニ・チャーム株式会社 Absorbent articles
JP5053815B2 (en) * 2007-12-03 2012-10-24 花王株式会社 Absorbent articles
JP5455363B2 (en) * 2008-12-25 2014-03-26 ユニ・チャーム株式会社 Thin absorbent article
JP5649361B2 (en) * 2010-08-02 2015-01-07 ユニ・チャーム株式会社 Absorbent articles
JP5701027B2 (en) * 2010-11-30 2015-04-15 ユニ・チャーム株式会社 Disposable wearing items
EP3215096B1 (en) * 2014-11-06 2023-05-24 The Procter & Gamble Company Apertured webs and methods for making the same
WO2018088164A1 (en) * 2016-11-08 2018-05-17 花王株式会社 Absorbent article
JP6355808B2 (en) * 2016-11-08 2018-07-11 花王株式会社 Absorbent articles
GB2571897B (en) * 2017-01-31 2022-09-14 Procter & Gamble Shaped nonwoven
CN114134647B (en) 2017-01-31 2022-11-25 宝洁公司 Shaped nonwoven fabric
JP7520866B2 (en) * 2019-10-28 2024-07-23 株式会社瑞光 Disposable diapers
JP2022012702A (en) * 2020-07-02 2022-01-17 ジェー2エルエフエー カンパニー,リミテッド Sanitary napkin
JP2025165039A (en) * 2024-04-22 2025-11-04 ユニ・チャーム株式会社 absorbent articles

Cited By (6)

* Cited by examiner, † Cited by third party
Publication number Priority date Publication date Assignee Title
US10195092B2 (en) 2014-03-06 2019-02-05 The Procter & Gamble Company Multi-component topsheets
US10206826B2 (en) 2014-03-06 2019-02-19 The Procter & Gamble Company Three-dimensional substrates
US10285874B2 (en) 2014-03-06 2019-05-14 The Procter & Gamble Company Multi-component topsheets
US11033440B2 (en) 2014-03-06 2021-06-15 The Procter & Gamble Company Three-dimensional substrates
US10973702B2 (en) 2015-08-26 2021-04-13 The Procter & Gamble Company Absorbent articles having three dimensional substrates and indicia
US11202723B2 (en) 2016-07-01 2021-12-21 The Procter & Gamble Company Absorbent articles with improved topsheet dryness

Also Published As

Publication number Publication date
JP2004298271A (en) 2004-10-28

Similar Documents

Publication Publication Date Title
JP4652626B2 (en) Absorbent article and manufacturing method thereof
JP4185389B2 (en) Absorbent articles
JP5305812B2 (en) Absorbent articles
JP5623828B2 (en) Absorbent articles
JP5924898B2 (en) Absorbent articles
KR101782763B1 (en) Absorbing article
CN109152681B (en) absorbent articles
WO2012105533A1 (en) Absorbent article
KR20170005131A (en) Absorbent product
JP6484416B2 (en) Absorbent articles
JP2013248309A (en) Absorbent article
JP6694734B2 (en) Absorbent article
JP4024998B2 (en) Absorbent articles
JP7129382B2 (en) absorbent article
KR102642080B1 (en) absorbent article
JP5944953B2 (en) Absorbent articles
JP6073619B2 (en) Absorbent articles
JP6232459B2 (en) Absorbent articles
CN105025855A (en) Absorbent article
JP6346059B2 (en) Absorbent articles
JP7091101B2 (en) Absorbent article
JP2017153768A5 (en)
JP2018000332A (en) Absorbent article
JP5177396B2 (en) Absorbent articles
JP7109942B2 (en) absorbent article

Legal Events

Date Code Title Description
A621 Written request for application examination

Free format text: JAPANESE INTERMEDIATE CODE: A621

Effective date: 20050707

A977 Report on retrieval

Free format text: JAPANESE INTERMEDIATE CODE: A971007

Effective date: 20061228

A131 Notification of reasons for refusal

Free format text: JAPANESE INTERMEDIATE CODE: A131

Effective date: 20071113

A521 Request for written amendment filed

Free format text: JAPANESE INTERMEDIATE CODE: A523

Effective date: 20080115

TRDD Decision of grant or rejection written
A01 Written decision to grant a patent or to grant a registration (utility model)

Free format text: JAPANESE INTERMEDIATE CODE: A01

Effective date: 20080812

A01 Written decision to grant a patent or to grant a registration (utility model)

Free format text: JAPANESE INTERMEDIATE CODE: A01

A61 First payment of annual fees (during grant procedure)

Free format text: JAPANESE INTERMEDIATE CODE: A61

Effective date: 20080905

FPAY Renewal fee payment (event date is renewal date of database)

Free format text: PAYMENT UNTIL: 20110912

Year of fee payment: 3

R150 Certificate of patent or registration of utility model

Ref document number: 4185389

Country of ref document: JP

Free format text: JAPANESE INTERMEDIATE CODE: R150

Free format text: JAPANESE INTERMEDIATE CODE: R150

FPAY Renewal fee payment (event date is renewal date of database)

Free format text: PAYMENT UNTIL: 20110912

Year of fee payment: 3

FPAY Renewal fee payment (event date is renewal date of database)

Free format text: PAYMENT UNTIL: 20110912

Year of fee payment: 3

FPAY Renewal fee payment (event date is renewal date of database)

Free format text: PAYMENT UNTIL: 20110912

Year of fee payment: 3

FPAY Renewal fee payment (event date is renewal date of database)

Free format text: PAYMENT UNTIL: 20120912

Year of fee payment: 4

R250 Receipt of annual fees

Free format text: JAPANESE INTERMEDIATE CODE: R250

FPAY Renewal fee payment (event date is renewal date of database)

Free format text: PAYMENT UNTIL: 20120912

Year of fee payment: 4

FPAY Renewal fee payment (event date is renewal date of database)

Free format text: PAYMENT UNTIL: 20120912

Year of fee payment: 4

FPAY Renewal fee payment (event date is renewal date of database)

Free format text: PAYMENT UNTIL: 20130912

Year of fee payment: 5

R250 Receipt of annual fees

Free format text: JAPANESE INTERMEDIATE CODE: R250

R250 Receipt of annual fees

Free format text: JAPANESE INTERMEDIATE CODE: R250

R250 Receipt of annual fees

Free format text: JAPANESE INTERMEDIATE CODE: R250

R250 Receipt of annual fees

Free format text: JAPANESE INTERMEDIATE CODE: R250

R250 Receipt of annual fees

Free format text: JAPANESE INTERMEDIATE CODE: R250

R250 Receipt of annual fees

Free format text: JAPANESE INTERMEDIATE CODE: R250

R250 Receipt of annual fees

Free format text: JAPANESE INTERMEDIATE CODE: R250

R250 Receipt of annual fees

Free format text: JAPANESE INTERMEDIATE CODE: R250

R250 Receipt of annual fees

Free format text: JAPANESE INTERMEDIATE CODE: R250

R250 Receipt of annual fees

Free format text: JAPANESE INTERMEDIATE CODE: R250

LAPS Cancellation because of no payment of annual fees