JP4173725B2 - Sensors using evanescent waves - Google Patents
Sensors using evanescent waves Download PDFInfo
- Publication number
- JP4173725B2 JP4173725B2 JP2002362306A JP2002362306A JP4173725B2 JP 4173725 B2 JP4173725 B2 JP 4173725B2 JP 2002362306 A JP2002362306 A JP 2002362306A JP 2002362306 A JP2002362306 A JP 2002362306A JP 4173725 B2 JP4173725 B2 JP 4173725B2
- Authority
- JP
- Japan
- Prior art keywords
- sample
- light beam
- measurement
- sensor
- dielectric block
- Prior art date
- Legal status (The legal status is an assumption and is not a legal conclusion. Google has not performed a legal analysis and makes no representation as to the accuracy of the status listed.)
- Expired - Fee Related
Links
Images
Landscapes
- Sampling And Sample Adjustment (AREA)
- Optical Measuring Cells (AREA)
- Investigating Or Analysing Materials By Optical Means (AREA)
Description
【0001】
【発明の属する技術分野】
本発明は、試料に接した薄膜層と誘電体ブロックとの界面で光ビームを全反射させてエバネッセント波を発生させ、それにより全反射した光ビームの強度に表れる変化を測定して試料の分析を行うエバネッセント波を利用したセンサーに関するものである。
【0002】
【従来の技術】
従来より、エバネッセント波を利用したセンサーの1つとして、表面プラズモンセンサーが知られている。金属中においては、自由電子が集団的に振動して、プラズマ波と呼ばれる粗密波が生じる。そして、金属表面に生じるこの粗密波を量子化したものは、表面プラズモンと呼ばれている。表面プラズモンセンサーは、この表面プラズモンが光波によって励起される現象を利用して、試料の特性を分析するものであり、種々のタイプのセンサーが提案されている。そして、それらの中で特に良く知られているものとして、 Kretschmann配置と称される系を用いるものが挙げられる(例えば特許文献1参照)。
【0003】
上記の系を用いる表面プラズモンセンサーは基本的に、例えばプリズム状に形成された誘電体ブロックと、この誘電体ブロックの一面に形成されて試料に接触させられる金属膜と、光ビームを発生させる光源と、上記光ビームを誘電体ブロックに対して、該誘電体ブロックと金属膜との界面で全反射条件が得られるように種々の角度で入射させる光学系と、上記界面で全反射した光ビームの強度を検出する光検出手段と、該光検出手段の検出結果に基づいて表面プラズモン共鳴の状態を測定する測定手段とを備えてなるものである。
【0004】
なお上述のように種々の入射角を得るためには、比較的細い光ビームを入射角を変化させて上記界面に入射させてもよいし、あるいは光ビームに種々の角度で入射する成分が含まれるように、比較的太い光ビームを上記界面に収束光状態であるいは発散光状態で入射させてもよい。前者の場合は、入射した光ビームの入射角の変化に従って、反射角が変化する光ビームを、上記反射角の変化に同期して移動する小さな光検出器によって検出したり、反射角の変化方向に沿って延びるエリアセンサによって検出することができる。一方後者の場合は、種々の反射角で反射した各光ビームを全て受光できる方向に延びるエリアセンサによって検出することができる。
【0005】
上記構成の表面プラズモンセンサーにおいて、光ビームを金属膜に対して全反射角以上の特定入射角θSPで入射させると、該金属膜に接している試料中に電界分布をもつエバネッセント波が生じ、このエバネッセント波によって金属膜と試料との界面に表面プラズモンが励起される。エバネッセント光の波数ベクトルが表面プラズモンの波数と等しくて波数整合が成立しているとき、両者は共鳴状態となり、光のエネルギーが表面プラズモンに移行するので、誘電体ブロックと金属膜との界面で全反射した光の強度が鋭く低下する。この光強度の低下は、一般に上記光検出手段により暗線として検出される。
【0006】
なお上記の共鳴は、入射ビームがp偏光のときにだけ生じる。したがって、光ビームがp偏光で入射するように予め設定しておく必要がある。
【0007】
この光強度の低下が生じる全反射角以上の特定入射角θSP(以後全反射減衰角θSPと記載)より表面プラズモンの波数が解ると、試料の誘電率が求められる。すなわち表面プラズモンの波数をKSP、表面プラズモンの角周波数をω、cを真空中の光速、εmとεsをそれぞれ金属、試料の誘電率とすると、以下の関係がある。
【0008】
【数1】
試料の誘電率εsが分かれば、所定の較正曲線等に基づいて試料の屈折率等が分かるので、結局、全反射減衰角θSPを知ることにより、試料の誘電率つまりは屈折率に関連する特性を求めることができる。
【0009】
また、エバネッセント波を利用した類似のセンサーとして、漏洩モードセンサーも知られている(例えば非特許文献1参照)。この漏洩モードセンサーは基本的に、例えばプリズム状に形成された誘電体ブロックと、この誘電体ブロックの一面に形成されたクラッド層と、このクラッド層の上に形成されて、試料に接触させられる光導波層と、光ビームを発生させる光源と、上記光ビームを上記誘電体ブロックに対して、該誘電体ブロックとクラッド層との界面で全反射条件が得られるように種々の角度で入射させる光学系と、上記界面で全反射した光ビームの強度を測定する光検出手段と、該光検出手段の検出結果に基づいて導波モードの励起状態を測定する測定手段とを備えてなるものである。
【0010】
上記構成の漏洩モードセンサーにおいて、光ビームを誘電体ブロックを通してクラッド層に対して全反射角以上の入射角で入射させると、このクラッド層を透過した後に光導波層においては、ある特定の波数を有する特定入射角の光のみが導波モードで伝搬するようになる。こうして導波モードが励起されると、入射光のほとんどが光導波層に取り込まれるので、上記界面で全反射する光の強度が鋭く低下する全反射減衰が生じる。そして導波光の波数は光導波層の上の試料の屈折率に依存するので、全反射減衰角θSPを知ることによって、試料の屈折率や、それに関連する試料の特性を分析することができる。
【0011】
また、上述した表面プラズモンセンサーや漏洩モードセンサーは、創薬研究分野等において、所望のセンシング物質に結合する特定物質を見いだすランダムスクリーニングへ使用されることがあり、この場合には前記薄膜層(表面プラズモンセンサーの場合は金属膜であり、漏洩モードセンサーの場合はクラッド層および光導波層)上にセンシング物質を固定し、該センシング物質上に種々の被検体の溶液(液体試料)を添加し、所定時間が経過する毎に前述の全反射減衰角θSPを測定している。液体試料中の被検体が、センシング物質と結合するものであれば、この結合によりセンシング物質の屈折率が時間経過に伴って変化する。したがって、所定時間経過毎に上記全反射減衰角θSPを測定し、全反射減衰角θSPに変化が生じているか否か測定することにより、被検体とセンシング物質の結合が行われているか否か、すなわち被検体がセンシング物質と結合する特定物質であるか否かを判定することができる。このような特定物質とセンシング物質との組み合わせとしては、例えば抗原と抗体あるいは抗体と抗体が挙げられ、そのようなものに関する具体的な測定としては、一例として、センシング物質をウサギ抗ヒトIgG抗体とし、被検体であるヒトIgG抗体との結合の有無検出とその定量分析を行う測定が挙げられる。
【0012】
なお、液体試料中の被検体とセンシング物質の結合状態を測定するためには、必ずしも全反射減衰角θSPの角度そのものを検出する必要はない。例えばセンシング物質に被検体が含まれた液体試料を添加し、その後の全反射減衰角θSPの角度変化量を測定して、その角度変化量の大小に基づいて結合状態を測定することもできる。
【0013】
また、本発明者等は、使い勝手のよいウェル形状の測定チップを用いて、上記全反射減衰の状態の測定を行うセンサーを提案している。(例えば特許文献2参照)。このようなウェル形状の測定チップを用いることにより、例えば試料として液体試料を用いる場合であれば、測定チップ内に入る少量の液体試料を準備するのみで、測定を行うことができる。また測定チップを複数個保持可能なテーブルを用いることにより、短時間で容易に多種の試料の測定を行うことができる。
【0014】
なお、エバネッセント波を利用したセンサーにおいて、光検出手段により前記界面で全反射した光ビームの強度を検出して、試料の特性を分析する方法としては種々の方法があり、例えば、前述したように、光ビームを前記界面で全反射条件が得られる種々の入射角で入射させ、各入射角に対応した位置毎に前記界面で全反射した光ビームの強度を検出して、全反射減衰により発生した暗線の位置(全反射減衰角θSP)を検出することにより全反射減衰の状態を測定して、試料の特性を分析してもよいし、複数の波長の光ビームを前記界面で全反射条件が得られる入射角で入射させ、各波長毎に前記界面で全反射した光ビームの強度を検出して、各波長毎の全反射減衰の程度を検出することにより試料の特性を分析してもよい(例えば非特許文献2参照)。
【0015】
また、光ビームを前記界面で全反射条件が得られる入射角で入射させるとともに、この光ビームの一部を、この光ビームが前記界面に入射する前に分割し、この分割した光ビームを、前記界面で全反射した光ビームと干渉させて、その干渉後の光ビームの強度を検出することにより試料の特性を分析してもよい。(例えば非特許文献3参照)。
【0016】
【特許文献1】
特開平6−167443号公報
【0017】
【特許文献2】
特開2002−296172号公報
【0018】
【非特許文献1】
「分光研究」第47巻 第1号(1998)第21〜23頁および第26〜27頁
【0019】
【非特許文献2】
D.V.Noort,K.johansen,C.-F.Mandenius, Porous Gold in Surface Plasmon Resonance Measurement, EUROSENSORS XIII, 1999, pp.585-588
【0020】
【非特許文献3】
P.I.Nikitin,A.N.Grigorenko,A.A.Beloglazov,M.V.Valeiko,A.I.Savchuk,O.A.Savchuk, Surface Plasmon Resonance Interferometry for Micro-Array Biosensing, EUROSENSORS XIII, 1999, pp.235-238
【0021】
【発明が解決しようとする課題】
一方、上記のようなエバネッセント波を利用して試料の特性を分析するセンサーとしては、センシング物質が固定された平板上の測定チップ上に流路機構を用いて、液体試料を連続的に供給して測定を行うセンサーが知られている。この形態のセンサーを用いれば、センシング物質と特定物質との結合状態を測定する際に、常に新しい液体試料が測定チップ上に供給されるため、液体試料中の被検体の濃度が変化せず、結合状態の測定を精度良く行うことができる。また、センシング物質と特定物質の結合状態を測定したのち、結合が行われている場合には、この結合体が固定されている測定チップ上に、特定物質が含まれていない液体試料(以後バッファ液と記載)を流すことより、センシング物質と特定物質との解離状態を測定することができる。さらに、例えば試料として気体を用いる場合、あるいは気体が溶在している液体試料を用いる場合に、流路機構を用いて、容易に測定チップ上に試料を供給することができる。
【0022】
このように、試料を連続的に供給することにより、種々の効果が得られるが、一方で測定チップ上に連続的に試料を供給するために、多量の試料を準備しなければならない、あるいは多種の試料の測定を短時間で行うことが困難であるなどの欠点もある。このため、使用者は、ウェル形状の測定チップを用いたセンサーと、平板形状の測定チップと流路機構を備えたセンサーの両者を用意しないと、望ましい測定を行うことができないという問題がある。
【0023】
本発明は、上記事情に鑑みてなされたものであり、ウェル形状の測定チップを備えたエバネッセント波を利用したセンサーにおいて、測定チップ内に試料を溜めて行う通常の測定に加え、測定チップ内に試料を連続的に供給して行う測定も可能とすることを目的とする。
【0024】
【課題を解決するための手段】
本発明の第1のエバネッセント波を利用したセンサーは、
光ビームを発生させる光源と、
前記光ビームに対して透明な誘電体ブロック、この誘電体ブロックの一面に形成される薄膜層、この薄膜層の表面上に試料を保持可能に形成された試料保持機構を備えてなるウェル形状の測定チップと、
前記光ビームを前記誘電体ブロックに対して、該誘電体ブロックと前記薄膜層との界面で全反射条件が得られる角度で入射させる光学系と、
前記界面で全反射した光ビームの強度を検出する光検出手段と、
該光検出手段の検出結果に基づいて、全反射減衰の状態を測定する測定手段とを備えてなるエバネッセント波を利用したセンサーにおいて、
前記測定チップに着脱可能に形成され、前記薄膜層の表面上に前記試料を連続的に供給するとともに、この供給された試料を連続的に排出する試料給排手段をさらに備えたことを特徴とするものである。
【0025】
なお、上記各実施の形態においては、「供給された試料を連続的に排出する」際には、供給された試料を吸引等により排出してもよいし、あるいは単に排出路が接続された閉空間に試料を連続的に供給することにより、試料が排出路から排出されてもよい。
【0026】
上記各エバネッセント波を利用したセンサーにおいては、前記試料給排手段として、前記薄膜層の表面上に前記試料を供給する供給路と、前記表面上から前記試料を排出する排出路と、前記供給路と前記排出路を前記ウェル形状の測定チップに出入自在に保持する流路ホルダとを備えたものを用いることができる。
【0027】
また、前記流路ホルダとしては、該流路ホルダの下面に前記供給路の出口と、前記排出路の入口とを開口させて有し、かつ該下面の前記薄膜層の表面と接する領域に、前記出口と前記入口を囲むシール手段を備えたものを用いることができる。
【0028】
【発明の効果】
本発明のエバネッセント波を利用したセンサーは、ウェル形状の測定チップに着脱可能に形成され、測定チップの薄膜層の表面上に試料を連続的に供給するとともに、この供給された試料を連続的に排出する試料給排手段を備えたことにより、測定チップ内に試料を溜めて行う通常の測定に加え、測定チップ内に試料を連続的に供給して行う測定も可能となる。
【0029】
また、薄膜層上にセンシング物質を固定して、液体試料中の特定物質との結合状態を測定する場合であれば、連続的に新しい液体試料を供給することが可能であるため、測定中に液体試料に含まれる被検体の濃度を一定に保つことができ、結合状態を精度良く測定することができる。また、結合係数なども容易に求めることができる。さらに、センシング物質と特定物質の結合体が固定されている測定チップの薄膜上に、上記試料給排手段を用いて、バッファ液を連続的に供給することにより、センシング物質と特定物質との解離状態を精度良く測定することができる。また解離係数等も容易に求めることができる。
【0030】
また、試料給排手段が測定チップに対して、着脱可能に形成されているため、測定目的に応じて、試料給排手段を測定チップに取り付けずに、試料を測定チップ内に保持した状態で行う測定と、試料給排手段を測定チップに取り付けて、試料を測定チップ内に連続的に供給した状態で行う測定のどちらかを選択することができる。
【0031】
また、上記試料給排手段として、測定チップの薄膜層の表面上に前記試料を供給する供給路と、該表面上から前記試料を排出する排出路と、該供給路と排出路を前記ウェル形状の測定チップに出入自在に保持する流路ホルダとを備えたものを用いる場合には、測定チップに試料給排手段を簡単に着脱することができる。
【0032】
上記流路ホルダが、該流路ホルダの下面に前記供給路の出口と、前記排出路の入口とを開口させて有し、かつ該下面の前記薄膜層の表面と接する領域に、前記出口と前記入口を囲むシール手段を備えたものである場合には、試料が試料給排手段から測定チップ内に漏れ出すことがなく、試料の種類を変更して測定を継続する際等に、測定精度の低下を防止することができる。
【0033】
【発明の実施の形態】
以下、図面を参照して本発明の実施の形態を詳細に説明する。本発明の第1の実施形態のエバネッセント波を利用したセンサーは、表面プラズモン共鳴を利用した表面プラズモンセンサーであり、図1は表面プラズモンセンサーの側面形状を示すものであり、図2は、この表面プラズモンセンサーに用いられる流路ユニットの上面図および側面図である。
【0034】
この表面プラズモンセンサーは、例えば概略四角錐の一部が切り取られた形状とされた誘電体ブロック10と、この誘電体ブロック10の一面(図中の上面)に形成された、例えば金、銀、銅、アルミニウム等からなる金属膜12とからなるウェル形状の測定チップ9を有している。
【0035】
誘電体ブロック10は例えば透明樹脂等からなり、金属膜12が形成された部分の周囲が嵩上げされた形とされ、この嵩上げされた部分は液体試料11を貯える試料保持部10aとして機能する。なお本例では、金属膜12の上にセンシング物質30が固定されるが、このセンシング物質30については後述する。
【0036】
測定チップ9の試料保持部10a内には、金属膜12上に流路を形成するための流路ユニット50が取り付けられている。この流路ユニット50は、図2に示すように、概略四角錐の一部が切り取られた形状に形成されている流路ホルダ51に、液体試料を供給するための供給路52および液体試料を排出するための排出路53が取り付けられ、測定チップ9内に簡単に着脱することができる。流路ホルダ51の下部には、供給路52の出口と排出路53の入口が開口され、また流路ホルダ51の下面の金属膜12の表面と接する領域に、この供給路52の出口と排出路53の入口を囲むシール部54が設けられている。このため、この流路ユニット50を測定チップ9に取り付けた場合には、図1に示すように、金属膜12およびシール部54によりシールされた測定流路55が形成される。なお、シール部54は、流路ホルダ51の上部部分と一体形成されたものであってもよいし、上部部分とは異なる素材により形成され、後付されたものであってもよく、例えばOリング等を流路ホルダ51の下部部分に取り付けたものであってもよい。
【0037】
流路ユニット50の供給路52には、ポンプ56が接続され、該ポンプ56には液溜部57が接続されている。流路ユニット50、ポンプ56および液溜部57が、発明の試料給排手段として機能する。液溜部57には予め被検体を含む液体試料11が準備されている。
【0038】
本実施形態の表面プラズモンセンサーは、上記誘電体ブロック10に加えてさらに、1本の光ビーム13を発生させる半導体レーザ等からなる光源14(以下、レーザ光源14という)と、上記光ビーム13を誘電体ブロック10に通し、該誘電体ブロック10と金属膜12との界面10bに対して、種々の入射角が得られるように入射させる光学系15と、上記界面10bで全反射した光ビーム13を平行光化するコリメーターレンズ16と、この平行光化された光ビーム13を検出するフォトダイオードアレイ17と、フォトダイオードアレイ17に接続された差動アンプアレイ18と、ドライバ19と、コンピュータシステム等からなる信号処理部20と、この信号処理部20に接続された表示部21とを備えている。
【0039】
入射光学系15は、レーザ光源14から発散光状態で出射した光ビーム13を平行光化するコリメーターレンズ15aと、該平行光化された光ビーム13を上記界面10b上で収束させる集光レンズ15bとから構成されている。なお、光ビーム13は、集光レンズ15bにより流路エリア51内の界面10bに集光される。
【0040】
光ビーム13は、上述のように集光されるので、界面10bに対して種々の入射角θで入射する成分を含むことになる。なおこの入射角θは、全反射角以上の角度とされる。そこで、光ビーム13は界面10bで全反射し、この反射した光ビーム13には、種々の反射角で反射する成分が含まれることになる。なお、上記光学系15は、光ビーム13を界面10bにデフォーカス状態で入射させるように構成されてもよい。そのようにすれば、表面プラズモン共鳴の状態検出の誤差が平均化されて、測定精度が高められる。
【0041】
なお光ビーム13は、界面10bに対してp偏光で入射させる。そのようにするためには、予めレーザ光源14をその偏光方向が所定方向となるように配設すればよい。その他、波長板で光ビーム13の偏光の向きを制御してもよい。
【0042】
以下、上記構成の表面プラズモンセンサーによる試料分析について説明する。測定に先立ち、測定チップ9をテーブル31に設けられたチップ保持孔31aに嵌合固定する。その後、流路ユニット50のシール部54が測定チップ9の金属膜12に密着するように、流路ユニット50を測定チップ9に取り付ける。ポンプ56を作動させ、液溜部57に準備されている液体試料11を流路ユニット50の供給路52を介して測定流路55へ供給する。測定を行っている間は、ポンプ56を作動させ続けるため、液体試料11は測定流路55に連続的に供給される。測定流路55はシール部54によりシールされているため、測定流路55に供給された液体試料11は順次排出路53を通って排出される。
【0043】
測定流路55内に、液体試料11が供給された後、測定を開始する。なお、前述したように、測定を行っている間は、液体試料11は連続的に供給される。図1に示す通り、レーザ光源14から発散光状態で出射した光ビーム13は、光学系15の作用により、測定流路55の下の誘電体ブロック10と金属膜12との界面10b上で収束する。この際、光ビーム13は、界面10bに対して種々の入射角θで入射する成分を含むことになる。なおこの入射角θは、全反射角以上の角度とされる。そこで、光ビーム13は界面10bで全反射し、この反射した光ビーム13には、種々の反射角で反射する成分が含まれることになる。
【0044】
界面10bで全反射した後、コリメーターレンズ16によって平行光化された光ビーム13は、フォトダイオードアレイ17により検出される。本例におけるフォトダイオードアレイ17は、複数のフォトダイオード17a、17b、17c……が1列に並設されてなり、図1の図示面内において、平行光化された光ビーム13の進行方向に対してフォトダイオード並設方向がほぼ直角となる向きに配設されている。したがって、上記界面10bにおいて種々の反射角で全反射した光ビーム13の各成分を、それぞれ異なるフォトダイオード17a、17b、17c……が受光することになる。
【0045】
図3は、この表面プラズモンセンサーの電気的構成を示すブロック図である。図示の通り上記ドライバ19は、差動アンプアレイ18の各差動アンプ18a、18b、18c……の出力をサンプルホールドするサンプルホールド回路22a、22b、22c……、これらのサンプルホールド回路22a、22b、22c……の各出力が入力されるマルチプレクサ23、このマルチプレクサ23の出力をデジタル化して信号処理部20に入力するA/D変換器24、マルチプレクサ23とサンプルホールド回路22a、22b、22c……とを駆動する駆動回路25、および信号処理部20からの指示に基づいて駆動回路25の動作を制御するコントローラ26から構成されている。
【0046】
上記フォトダイオード17a、17b、17c……の各出力は、差動アンプアレイ18の各差動アンプ18a、18b、18c……に入力される。この際、互いに隣接する2つのフォトダイオードの出力が、共通の差動アンプに入力される。したがって各差動アンプ18a、18b、18c……の出力は、複数のフォトダイオード17a、17b、17c……が出力する光検出信号を、それらの並設方向に関して微分したものと考えることができる。
【0047】
各差動アンプ18a、18b、18c……の出力は、それぞれサンプルホールド回路22a、22b、22c……により所定のタイミングでサンプルホールドされ、マルチプレクサ23に入力される。マルチプレクサ23は、サンプルホールドされた各差動アンプ18a、18b、18c……の出力を、所定の順序に従ってA/D変換器24に入力する。A/D変換器24はこれらの出力をデジタル化して信号処理部20に入力する。
【0048】
図4は、界面10bで全反射した光ビーム13の入射角θ毎の光強度と、差動アンプ18a、18b、18c……の出力との関係を説明するものである。ここで、光ビーム13の界面10bへの入射角θと上記光強度Iとの関係は、同図(1)のグラフに示すようなものであるとする。
【0049】
界面10bにある特定の入射角θSPで入射した光は、金属膜12と液体試料11との界面に表面プラズモンを励起させるので、この光については反射光強度Iが鋭く低下する。つまりθSPが全反射減衰角であり、この角度θSPにおいて反射光強度Iは最小値を取る。この反射光強度Iの低下は、図1にDで示すように、反射光中の暗線として観察される。
【0050】
また図4の(2)は、フォトダイオード17a、17b、17c……の並設方向を示しており、先に説明した通り、これらのフォトダイオード17a、17b、17c……の並設方向位置は上記入射角θと一義的に対応している。
【0051】
そしてフォトダイオード17a、17b、17c……の並設方向位置、つまりは入射角θと、差動アンプ18a、18b、18c……の出力I’(反射光強度Iの微分値)との関係は、同図(3)に示すようなものとなる。
【0052】
信号処理部20は、A/D変換器24から入力された微分値I’の値に基づいて、差動アンプ18a、18b、18c……の中から、全反射減衰角θSPに対応する微分値I’=0に最も近い出力が得られているもの(図3の例では差動アンプ18dとなる)を選択し、それが出力する微分値I’に所定の補正処理を施してから、その値を表示部21に表示させる。なお、場合によっては微分値I’=0を出力している差動アンプが存在することもあり、そのときは当然その差動アンプが選択される。
【0053】
以後、所定時間が経過する毎に上記選択された差動アンプ18dが出力する微分値I’が、所定の補正処理を受けてから表示部21に表示される。この微分値I’は、測定チップの金属膜12に接している物質の誘電率つまりは屈折率が変化し、全反射減衰角θSPが変化して、図4(1)に示す曲線が左右方向に移動する形で変化すると、それに応じて上下する。したがって、この微分値I’を時間の経過とともに測定し続けることにより、金属膜12に接しているセンシング物質30の屈折率変化を調べることができる。
【0054】
特に本実施形態では液体試料11に含まれる被検体が、センシング物質30と結合する特定物質であれば、センシング物質30と被検体との結合状態に応じてセンシング物質30の屈折率が変化するので、上記微分値I’を測定し続けることにより、被検体がセンシング物質30と結合する特定物質であるか否かを検出することができる。
【0055】
なお、本実施例においては、測定流路55に対する液体試料11の供給を測定終了まで継続する。このため、測定開始から測定終了までの間、液体試料11の中に含まれる被検体の濃度は一定に保たれる。
【0056】
また、液体試料11の中の被検体とセンシング物質30とが結合する場合には、この測定の終了後に、被検体とセンシング物質30との解離状態の変化の様子を時間経過とともに調べる測定を行うことができる。この際には、被検体が結合しているセンシング物質30に対して、被検体が含まれていない液体試料であるバッファ液を連続的に供給し、測定を行う。センシング物質30と結合している被検体は、徐々にバッファ液中に解離し、それらの解離状態に応じてセンシング物質30の屈折率が変化するので、上記微分値I’を測定し続けることにより、この解離状態の変化の様子を精度良く調べることができる。また、新しいバッファ液が常時供給されるため、容易に解離係数を求めることができる。
【0057】
以上の説明から明かなように本実施の形態によるエバネッセント波を利用したセンサーによれば、金属膜12上にセンシング物質30を固定して、液体試料11中の被検体との結合状態を測定する際に、流路ユニット50を介して、測定チップ9内に連続的に新しい液体試料11を供給することが可能であるため、測定中に液体試料11に含まれる被検体の濃度を一定に保つことができ、結合状態を精度良く測定することができる。また、結合係数なども容易に求めることができる。さらに、センシング物質30と被検体の結合体が固定されている測定チップ9の金属膜12上に、被検体が含まれていない液体試料であるバッファ液を連続的に供給することにより、センシング物質30と被検体との解離状態を精度良く測定することができる。また解離係数等も容易に求めることができる。
【0058】
また、流路ユニット50が、測定チップ9に対して、着脱可能に形成されているため、測定目的に応じて、流路ユニット50を測定チップ9に取り付けずに、液体試料11を測定チップ9内に保持した状態で行う通常の測定と、流路ホルダ51を測定チップ9に取り付けて、液体試料11を測定チップ9内に連続的に供給する状態で行う測定のどちらかを適宜選択することができる。なお、流路ユニット50は、液体試料11を供給する供給路52と、液体試料11を排出する排出路53と、該供給路52および排出路53を保持する流路ホルダ51から形成されているため、容易に測定チップ9に着脱することができる。
【0059】
また、流路ホルダ51が、シール部54を備えているため、液体試料11が測定流路55から測定チップ9内に漏れ出すことがなく、例えば上述したように、結合状態を測定後、引き続き解離状態を測定するような場合であっても、被検体が含まれていない液体試料11に、被検体が含まれている液体試料が測定チップ9内から混入することがないので、測定精度の低下を防止することができる。
【0060】
なお、本実施の形態は、上述したように、センシング物質30と被検体との結合状態の測定に使用方法が限定されるものではない。例えば気体が溶在している液体試料を流路ユニット50を用いて、センシング物質30が固定されていない測定チップ9内に供給することにより、この液体試料の屈折率を精度良く測定することができる。
【0061】
なお、液体試料11の中の特定物質とセンシング物質30との結合状態の変化の様子を時間経過とともに調べるためには、所定時間が経過する毎の微分値I’を求めて表示するほか、最初に計測した微分値I’(0)と所定時間経過時に計測した微分値I’(t)との差ΔI’を求めて表示してもよい。
【0062】
また、本実施の形態の変型例として、図5の(a)にその上面図を示すような供給路および排出路を複数本備えた流路ユニット60を用いることもできる。この流路ユニット60は、概略四角錐の一部が切り取られた形状に形成されている流路ホルダ61に、液体試料を供給するための第1の供給路62、第2の供給路64および液体試料を排出するための第1の排出路63、第2の排出路65が取り付けられ、測定チップ9内に簡単に着脱することができる。流路ホルダ61の下部には、第1の供給路62の出口と第1の排出路63の入口が開口され、また第2の供給路64の出口と第2の排出路65の入口が開口され、流路ホルダ61の下面の金属膜12の表面と接する領域に、第1の供給路62の出口と第1の排出路63の入口および第2の供給路64の出口と第2の排出路65の入口を囲むシール部66が設けられている。このため、この流路ユニット60を測定チップ9に取り付けた場合には、図5の(a)に示すように、金属膜12およびシール部66によりシールされた測定流路67および測定流路68が形成される。
【0063】
さらに、本実施の形態の他の変型例として、図5の(b)にその上面図を示すような供給路、連結路および排出路を備えた流路ユニット70を用いることもできる。この流路ユニット70は、概略四角錐の一部が切り取られた形状に形成されている流路ホルダ71に、液体試料を供給するための供給路72、液体試料を排出するための排出路73および流路ホルダ71内で流路を連結する連結路74が取り付けられ、測定チップ9内に簡単に着脱することができる。流路ホルダ71の下部には、供給路73の出口と連結路74の入口が開口され、また連結路74の出口と排出路73の入口が開口され、流路ホルダ71の下面の金属膜12の表面と接する領域に、供給路72の出口と連結路74の入口および連結路74の出口と排出路73の入口を囲むシール部75が設けられている。このため、この流路ユニット70を測定チップ9に取り付けた場合には、図5の(b)に示すように、金属膜12およびシール部75によりシールされた測定流路76および測定流路77が形成される。
【0064】
例えば、金属膜12上の半分の領域にセンシング物質30が固定され、残りの領域にはセンシング物質30が固定されていない測定チップを作成し、各測定流路がそれぞれの領域上に形成されるように、測定ユニットを取り付け、2つの測定流路における測定値の差を求めることにより、液体試料の温度変化等の影響で生じる測定誤差を相殺した測定結果を得ることができる。
【0065】
なお、上述のように、測定流路を複数個形成する流路ユニット60あるいは70を用いた場合には、レーザ光源14、光学系15、コリメータレンズ16およびフォトダイオードアレイ17から成る測定系を2組配設して、同時に2つの測定流路の測定を行ってもよいし、あるいは1組の測定系を用いて、この測定系あるいは測定チップ9を移動させて、時分割で測定を行ってもよい。
【0066】
また、本実施の形態の他の変型例として、流路ホルダ51の下面を金属膜12上に接しないように、流路ユニット50を測定チップ9に取り付けて使用するものも考えられる。このような場合には、流路ホルダ51と測定チップ9の内壁の間にOリング等を設けるか、あるいは排出路53側に吸引機能を付け加え、液体試料11の供給量と排出量を一致させればよい。
【0067】
次に、図6を参照して本発明の第2の実施の形態について説明する。なおこの図6において、図1中の要素と同等の要素には同番号を付してあり、それらについての説明は特に必要の無い限り省略する。
【0068】
この第2の実施の形態のエバネッセント波を利用したセンサーは、第1の実施の形態で説明した表面プラズモンセンサーを漏洩モードセンサーに変更したものであり、本例でも測定チップ化された誘電体ブロック10を用いるように構成されている。この誘電体ブロック10の一面(図中の上面)にはクラッド層40が形成され、さらにその上には光導波層41が形成されている。
【0069】
誘電体ブロック10は、例えば合成樹脂やBK7等の光学ガラスを用いて形成されている。一方クラッド層40は、誘電体ブロック10よりも低屈折率の誘電体や、金等の金属を用いて薄膜状に形成されている。また光導波層41は、クラッド層40よりも高屈折率の誘電体、例えばPMMAを用いてこれも薄膜状に形成されている。クラッド層40の膜厚は、例えば金薄膜から形成する場合で36.5nm、光導波層41の膜厚は、例えばPMMAから形成する場合で700nm程度とされる。
【0070】
上記構成の漏洩モードセンサーにおいて、レーザ光源14から出射した光ビーム13を誘電体ブロック10を通してクラッド層40に対して全反射角以上の入射角で入射させると、該光ビーム13が誘電体ブロック10とクラッド層40との界面10bで全反射するが、クラッド層40を透過して光導波層41に特定入射角で入射した特定波数の光は、該光導波層41を導波モードで伝搬するようになる。こうして導波モードが励起されると、入射光のほとんどが光導波層41に取り込まれるので、上記界面10bで全反射する光の強度が鋭く低下する全反射減衰が生じる。
【0071】
光導波層41における導波光の波数は、該光導波層41の上のセンシング物質30の屈折率に依存するので、全反射減衰が生じる上記特定入射角を知ることによって、センシング物質30の屈折率を知ることができる。また、差動アンプアレイ18の各差動アンプが出力する微分値I’に基づいてセンシング物質30と液体試料11の中の被検体との結合状態の変化の様子を調べることができる。なお、液体試料11の中の被検体とセンシング物質30とが結合する場合には、この測定の終了後に、被検体が含まれていない液体試料11を連続的に供給し、センシング物質30と被検体の解離状態の変化の様子を調べることができる。また、上記第2の実施の形態においても第1の実施の形態と同様の効果を得ることができる。
【0072】
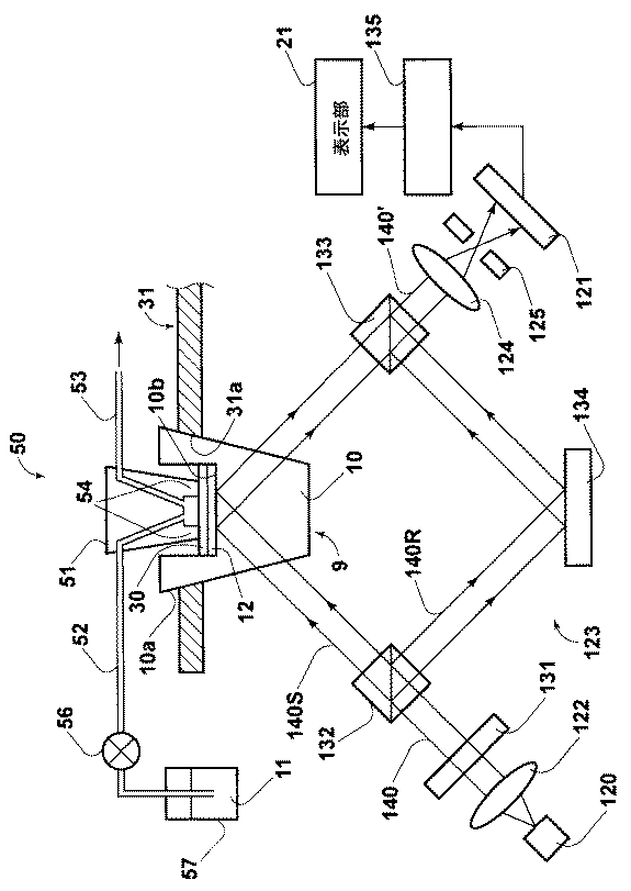
次に図7を参照して本発明の第3の実施の形態について説明する。なお、この図7において、図1中の要素と同等の要素には同番号を付してあり、それらについての説明は特に必要の無い限り省略する。本実施の形態のエバネッセント波を利用したセンサーは、表面プラズモンセンサーであり、上記第1の実施の形態の表面プラズモンセンサーと比べ測定方法を変更したものである。図7は、本実施の形態の表面プラズモンセンサーの側面形状を示すものであり、本表面プラズモンセンサーの測定位置には、レーザ光源120 とCCD121 が配設されており、レーザ光源120 とCCD121 との間には、コリメータレンズ122 、干渉光学系123 、集光レンズ124 およびアパーチャー125 が配設されている。
【0073】
上記干渉光学系123 は、偏光フィルタ131 、ハーフミラー132 、ハーフミラー133 およびミラー134 により構成されている。さらに、CCD121 は測定手段135 に接続されており、測定手段135 は表示部21に接続されている。
【0074】
以下、本実施の形態の表面プラズモンセンサーにおける測定動作について説明する。レーザ光源120 が駆動されて光ビーム140 が発散光の状態で出射される。この光ビーム140 はコリメータレンズ122 により平行光化されて偏光フィルタ131 に入射する。偏光フィルタ131 を透過して界面10bに対してp偏光で入射するようにされた光ビーム140 は、ハーフミラー132 により一部がレファレンス光ビーム140Rとして分割され、ハーフミラー132 を透過した残りの光ビーム140Sは界面10bに入射する。界面10bで全反射した光ビーム140Sおよびミラー134 で反射したレファレンス光ビーム140Rはハーフミラー133 に入射して合成される。合成された光ビーム140'は集光レンズ124 により集光され、アパーチャー125 を通過してCCD121 によって検出される。このとき、CCD121 で検出される光ビーム140'は、光ビーム140Sとレファレンス光ビーム140Rとの干渉の状態に応じて干渉縞を発生させる。
【0075】
ここで、液体試料11中の被検体が金属膜12の表面に固定されているセンシング物質30と結合するか否かを、液体試料11を測定チップ9へ供給後、継続的に測定を行い、CCD121 により検出される干渉縞の変化を検出することにより、判定することができる。
【0076】
すなわち、上記液体試料11中の被検体とセンシング物質30との結合状態に応じてセンシング物質30の屈折率が変化するため、界面10bで全反射した光ビーム140Sおよびレファレンス光ビーム140Rがハーフミラー133 により合成される際に、干渉の状態が変化するため、上記干渉縞の変化に応じて結合反応の有無を検出することができる。測定手段135 は、以上の原理に基づいて上記反応の有無を検出し、その結果が表示部21に表示される。
【0077】
なお、第1および第2に実施例と同様に、液体試料11の中の被検体とセンシング物質30とが結合する場合には、この測定の終了後に、被検体が含まれていない液体試料11を連続的に供給し、センシング物質30と被検体の解離状態の変化の様子を調べることができる。また、上記第3の実施の形態においても、第1の実施の形態と同様の効果を得ることができる。
【図面の簡単な説明】
【図1】本発明の第1の実施の形態による表面プラズモンセンサーの側面図
【図2】上記表面プラズモンセンサーに用いられる流路ユニットの構成図
【図3】上記表面プラズモンセンサーの電気的構成を示すブロック図
【図4】上記表面プラズモンセンサーにおける光ビーム入射角と検出光強度との関係、並びに光ビーム入射角と光強度検出信号の微分値との関係を示す概略図
【図5】上記表面プラズモンセンサーに用いられる他の流路ユニットの上面図
【図6】本発明の第2の実施の形態による漏洩モードセンサーの側面図
【図7】本発明の第3の実施の形態による表面プラズモンセンサーの側面図
【符号の説明】
9 測定チップ
10 誘電体ブロック
10a 試料保持部
10b 界面
11 液体試料
12 金属膜
13 光ビーム
14 レーザ光源
15 光学系
16 コリメーターレンズ
17 フォトダイオードアレイ
17a、17b、17c…… フォトダイオード
18 差動アンプアレイ
18a、18b、18c…… 差動アンプ
19 ドライバ
20 信号処理部
21 表示部
22a、22b、22c…… サンプルホールド回路
23 マルチプレクサ
24 A/D変換器
25 駆動回路
26 コントローラ
30 センシング物質
31 テーブル
40 クラッド層
41 光導波層
50、60、70 流路ユニット
51、61、71 流路ホルダ
52、62、64、72 供給路
53、63、65、73 排出路
54、66、75 シール部
55、67、68、76、77 測定流路
56 ポンプ
57 液溜部
120 レーザ光源
121 CCD
122 コリメータレンズ
123 干渉光学系
124 集光レンズ
125 アパーチャー
134 ミラー
135 測定手段
140 光ビーム[0001]
BACKGROUND OF THE INVENTION
In the present invention, the light beam is totally reflected at the interface between the thin film layer in contact with the sample and the dielectric block to generate an evanescent wave, thereby measuring the change in the intensity of the totally reflected light beam and analyzing the sample. The present invention relates to a sensor using evanescent waves.
[0002]
[Prior art]
Conventionally, a surface plasmon sensor is known as one of sensors using an evanescent wave. In the metal, free electrons collectively vibrate to generate a dense wave called a plasma wave. A quantized version of this dense wave generated on the metal surface is called surface plasmon. The surface plasmon sensor analyzes the characteristics of a sample using a phenomenon in which the surface plasmon is excited by a light wave, and various types of sensors have been proposed. Among them, one that uses a system called Kretschmann configuration is well known (for example, see Patent Document 1).
[0003]
A surface plasmon sensor using the above system basically includes, for example, a dielectric block formed in a prism shape, a metal film formed on one surface of the dielectric block and brought into contact with a sample, and a light source that generates a light beam. An optical system that causes the light beam to be incident on the dielectric block at various angles so that a total reflection condition is obtained at the interface between the dielectric block and the metal film, and a light beam that is totally reflected at the interface A light detecting means for detecting the intensity of the light and a measuring means for measuring the surface plasmon resonance state based on the detection result of the light detecting means.
[0004]
In order to obtain various incident angles as described above, a relatively thin light beam may be incident on the interface by changing the incident angle, or a component incident on the light beam at various angles is included. As described above, a relatively thick light beam may be incident on the interface in a convergent light state or a divergent light state. In the former case, a light beam whose reflection angle changes according to the change in the incident angle of the incident light beam is detected by a small photodetector that moves in synchronization with the change in the reflection angle, or the direction in which the reflection angle changes Can be detected by an area sensor extending along the line. On the other hand, in the latter case, it can be detected by an area sensor extending in a direction in which each light beam reflected at various reflection angles can be received.
[0005]
In the surface plasmon sensor having the above-described configuration, the specific incident angle θ is greater than the total reflection angle with respect to the metal film. SP The evanescent wave having an electric field distribution is generated in the sample in contact with the metal film, and surface plasmons are excited at the interface between the metal film and the sample by the evanescent wave. When the wave number vector of the evanescent light is equal to the wave number of the surface plasmon and the wave number matching is established, both are in a resonance state and the energy of the light is transferred to the surface plasmon, so that the entire energy is transferred to the interface between the dielectric block and the metal film. The intensity of the reflected light decreases sharply. This decrease in light intensity is generally detected as a dark line by the light detection means.
[0006]
The resonance described above occurs only when the incident beam is p-polarized light. Therefore, it is necessary to set in advance so that the light beam is incident as p-polarized light.
[0007]
Specific incident angle θ that is greater than the total reflection angle at which this light intensity decrease occurs SP (Hereinafter referred to as total reflection attenuation angle θ SP And the dielectric constant of the sample can be obtained. In other words, the wave number of surface plasmon is K SP , Ω is the angular frequency of the surface plasmon, c is the speed of light in vacuum, ε m And ε s Are the metal and the dielectric constant of the sample, respectively.
[0008]
[Expression 1]
Dielectric constant of sample ε s Since the refractive index of the sample can be found based on a predetermined calibration curve, the total reflection attenuation angle θ SP By knowing, it is possible to obtain the characteristics related to the dielectric constant, that is, the refractive index of the sample.
[0009]
Further, a leak mode sensor is also known as a similar sensor using an evanescent wave (see, for example, Non-Patent Document 1). This leakage mode sensor is basically a dielectric block formed in a prism shape, for example, a clad layer formed on one surface of the dielectric block, and formed on the clad layer to be brought into contact with a sample. An optical waveguide layer, a light source that generates a light beam, and the light beam are incident on the dielectric block at various angles so that a total reflection condition is obtained at the interface between the dielectric block and the cladding layer. An optical system, a light detecting means for measuring the intensity of the light beam totally reflected at the interface, and a measuring means for measuring the excited state of the waveguide mode based on the detection result of the light detecting means. is there.
[0010]
In the leaky mode sensor having the above configuration, when a light beam is incident on the cladding layer through the dielectric block at an incident angle greater than the total reflection angle, the light waveguide layer transmits a specific wave number after passing through the cladding layer. Only light having a specific incident angle is propagated in the guided mode. When the waveguide mode is excited in this way, most of the incident light is taken into the optical waveguide layer, resulting in total reflection attenuation in which the intensity of light totally reflected at the interface is sharply reduced. Since the wave number of guided light depends on the refractive index of the sample on the optical waveguide layer, the total reflection attenuation angle θ SP By knowing, it is possible to analyze the refractive index of the sample and the characteristics of the sample related to it.
[0011]
The surface plasmon sensor or leakage mode sensor described above may be used for random screening to find a specific substance that binds to a desired sensing substance in the field of drug discovery research. In this case, the thin film layer (surface In the case of a plasmon sensor, it is a metal film, and in the case of a leak mode sensor, a sensing substance is fixed on the cladding layer and the optical waveguide layer), and various analyte solutions (liquid samples) are added on the sensing substance, Each time the predetermined time elapses, the above-mentioned total reflection attenuation angle θ SP Is measuring. If the analyte in the liquid sample binds to the sensing substance, the refractive index of the sensing substance changes with time due to this binding. Therefore, the total reflection attenuation angle θ SP Measure the total reflection attenuation angle θ SP It is possible to determine whether or not the analyte and the sensing substance are bound, that is, whether or not the analyte is a specific substance that binds to the sensing substance. . Examples of such a combination of a specific substance and a sensing substance include an antigen and an antibody or an antibody and an antibody. As a specific measurement related to such a substance, for example, the sensing substance is a rabbit anti-human IgG antibody. In addition, there is a measurement for detecting the presence or absence of binding to a human IgG antibody as a specimen and quantitative analysis thereof.
[0012]
In order to measure the binding state between the analyte and the sensing substance in the liquid sample, the total reflection attenuation angle θ SP There is no need to detect the angle itself. For example, a liquid sample containing the analyte in the sensing substance is added, and then the total reflection attenuation angle θ SP It is also possible to measure the amount of change in angle and measure the coupling state based on the magnitude of the amount of change in angle.
[0013]
Further, the present inventors have proposed a sensor for measuring the total reflection attenuation state using a well-shaped measurement chip that is easy to use. (For example, refer to Patent Document 2). By using such a well-shaped measurement chip, for example, when a liquid sample is used as a sample, it is possible to perform measurement only by preparing a small amount of liquid sample that enters the measurement chip. In addition, by using a table that can hold a plurality of measurement chips, various samples can be easily measured in a short time.
[0014]
There are various methods for analyzing the characteristics of the sample by detecting the intensity of the light beam totally reflected at the interface by the light detection means in the sensor using the evanescent wave. For example, as described above, A light beam is incident on the interface at various incident angles that can obtain a total reflection condition, and the intensity of the light beam totally reflected on the interface is detected at each position corresponding to each incident angle, and generated by total reflection attenuation. Dark line position (total reflection attenuation angle θ SP ) To measure the state of total reflection attenuation, and analyze the characteristics of the sample, or enter a light beam of a plurality of wavelengths at an incident angle at which the total reflection condition is obtained at the interface, The characteristics of the sample may be analyzed by detecting the intensity of the light beam totally reflected at the interface for each wavelength and detecting the degree of total reflection attenuation for each wavelength (see, for example, Non-Patent Document 2).
[0015]
Further, the light beam is incident at an incident angle at which a total reflection condition is obtained at the interface, and a part of the light beam is divided before the light beam is incident on the interface. The characteristics of the sample may be analyzed by causing interference with the light beam totally reflected at the interface and detecting the intensity of the light beam after the interference. (For example, refer nonpatent literature 3).
[0016]
[Patent Document 1]
JP-A-6-167443
[0017]
[Patent Document 2]
JP 2002-296172 A
[0018]
[Non-Patent Document 1]
“Spectroscopy” Vol. 47, No. 1 (1998), pages 21-23 and pages 26-27
[0019]
[Non-Patent Document 2]
DVNoort, K. johansen, C.-F. Mandenius, Porous Gold in Surface Plasmon Resonance Measurement, EUROSENSORS XIII, 1999, pp.585-588
[0020]
[Non-Patent Document 3]
PINikitin, ANGrigorenko, AABeloglazov, MVValeiko, AISavchuk, OASavchuk, Surface Plasmon Resonance Interferometry for Micro-Array Biosensing, EUROSENSORS XIII, 1999, pp.235-238
[0021]
[Problems to be solved by the invention]
On the other hand, as a sensor for analyzing the characteristics of a sample using the evanescent wave as described above, a liquid sample is continuously supplied using a flow path mechanism on a measurement chip on a flat plate on which a sensing substance is fixed. Sensors that perform measurements are known. With this form of sensor, when measuring the binding state between a sensing substance and a specific substance, a new liquid sample is always supplied onto the measurement chip, so the concentration of the analyte in the liquid sample does not change, The coupled state can be measured with high accuracy. In addition, if the binding is performed after measuring the binding state of the sensing substance and the specific substance, a liquid sample that does not contain the specific substance (hereinafter referred to as a buffer) The state of dissociation between the sensing substance and the specific substance can be measured. Furthermore, for example, when a gas is used as the sample, or when a liquid sample in which a gas is dissolved is used, the sample can be easily supplied onto the measurement chip using the flow path mechanism.
[0022]
As described above, various effects can be obtained by supplying the sample continuously. On the other hand, in order to supply the sample continuously on the measurement chip, a large amount of samples must be prepared or various kinds of samples can be prepared. There is also a drawback that it is difficult to measure the sample in a short time. For this reason, unless the user prepares both a sensor using a well-shaped measurement chip and a sensor having a flat plate-shaped measurement chip and a flow path mechanism, there is a problem that a desired measurement cannot be performed.
[0023]
The present invention has been made in view of the above circumstances, and in a sensor using an evanescent wave provided with a well-shaped measurement chip, in addition to the normal measurement performed by collecting a sample in the measurement chip, An object is to enable measurement to be performed by continuously supplying samples.
[0024]
[Means for Solving the Problems]
The sensor using the first evanescent wave of the present invention is:
A light source that generates a light beam;
A well-shaped dielectric block comprising a dielectric block transparent to the light beam, a thin film layer formed on one surface of the dielectric block, and a sample holding mechanism formed to hold a sample on the surface of the thin film layer A measuring chip;
An optical system that makes the light beam incident on the dielectric block at an angle at which a total reflection condition is obtained at an interface between the dielectric block and the thin film layer;
Light detecting means for detecting the intensity of the light beam totally reflected at the interface;
In a sensor using an evanescent wave comprising a measuring means for measuring the state of total reflection attenuation based on the detection result of the light detecting means,
It is detachably formed on the measurement chip, and further comprises a sample supply / discharge means for continuously supplying the sample onto the surface of the thin film layer and continuously discharging the supplied sample. To do.
[0025]
In each of the above embodiments, when “the supplied sample is continuously discharged”, the supplied sample may be discharged by suction or the like, or simply closed with a discharge path connected thereto. The sample may be discharged from the discharge path by continuously supplying the sample to the space.
[0026]
In the sensor using each evanescent wave, as the sample supply / discharge means, a supply path for supplying the sample onto the surface of the thin film layer, a discharge path for discharging the sample from the surface, and the supply path And a flow path holder that holds the discharge path in the well-shaped measurement chip so as to be freely inserted and removed.
[0027]
In addition, as the flow path holder, the lower surface of the flow path holder has the outlet of the supply path and the inlet of the discharge path opened, and in a region in contact with the surface of the thin film layer on the lower surface, What provided the sealing means surrounding the said exit and the said entrance can be used.
[0028]
【The invention's effect】
The sensor using the evanescent wave of the present invention is detachably formed on the well-shaped measurement chip, and continuously supplies the sample onto the surface of the thin film layer of the measurement chip and continuously supplies the supplied sample. By providing the sample supply / discharge means for discharging, in addition to the normal measurement performed by collecting the sample in the measurement chip, the measurement performed by continuously supplying the sample into the measurement chip is also possible.
[0029]
In addition, if a sensing substance is fixed on a thin film layer and the binding state with a specific substance in a liquid sample is measured, a new liquid sample can be continuously supplied. The concentration of the analyte contained in the liquid sample can be kept constant, and the binding state can be accurately measured. In addition, the coupling coefficient can be easily obtained. Further, the buffer solution is continuously supplied onto the thin film of the measurement chip on which the conjugate of the sensing substance and the specific substance is fixed, thereby dissociating the sensing substance and the specific substance. The state can be accurately measured. Also, the dissociation coefficient can be easily determined.
[0030]
In addition, since the sample supply / discharge means is detachable from the measurement chip, the sample supply / discharge means is not attached to the measurement chip depending on the measurement purpose, and the sample is held in the measurement chip. Either the measurement to be performed or the measurement to be performed in a state where the sample supply / discharge means is attached to the measurement chip and the sample is continuously supplied into the measurement chip can be selected.
[0031]
Also, as the sample supply / discharge means, a supply path for supplying the sample onto the surface of the thin film layer of the measuring chip, a discharge path for discharging the sample from the surface, and the supply path and the discharge path are formed in the well shape. When using a device having a flow path holder that is detachably held in the measurement chip, the sample supply / discharge means can be easily attached to and detached from the measurement chip.
[0032]
The flow path holder has an outlet of the supply path and an inlet of the discharge path opened on the lower surface of the flow path holder, and the outlet is in a region in contact with the surface of the thin film layer on the lower surface. In the case of having a sealing means surrounding the inlet, the sample does not leak into the measurement chip from the sample supply / discharge means, and the measurement accuracy can be improved when changing the sample type and continuing the measurement. Can be prevented.
[0033]
DETAILED DESCRIPTION OF THE INVENTION
Hereinafter, embodiments of the present invention will be described in detail with reference to the drawings. The sensor using the evanescent wave according to the first embodiment of the present invention is a surface plasmon sensor using surface plasmon resonance. FIG. 1 shows a side shape of the surface plasmon sensor, and FIG. It is the upper side figure and side view of a flow-path unit used for a plasmon sensor.
[0034]
The surface plasmon sensor includes, for example, a
[0035]
The
[0036]
A
[0037]
A
[0038]
In addition to the
[0039]
The incident
[0040]
Since the
[0041]
The
[0042]
Hereinafter, sample analysis by the surface plasmon sensor having the above-described configuration will be described. Prior to measurement, the
[0043]
After the
[0044]
The
[0045]
FIG. 3 is a block diagram showing an electrical configuration of the surface plasmon sensor. As shown in the figure, the
[0046]
The outputs of the
[0047]
The outputs of the
[0048]
FIG. 4 explains the relationship between the light intensity for each incident angle θ of the
[0049]
Specific incident angle θ at the
[0050]
(2) in FIG. 4 shows the direction in which the
[0051]
The relationship between the positions of the
[0052]
Based on the value of the differential value I ′ input from the A /
[0053]
Thereafter, every time a predetermined time elapses, the differential value I ′ output from the selected
[0054]
In particular, in this embodiment, if the analyte contained in the
[0055]
In the present embodiment, the supply of the
[0056]
In addition, when the analyte in the
[0057]
As is clear from the above description, according to the sensor using the evanescent wave according to the present embodiment, the sensing
[0058]
Further, since the
[0059]
In addition, since the
[0060]
In the present embodiment, as described above, the method of use is not limited to the measurement of the binding state between the sensing
[0061]
In addition, in order to examine the change of the binding state between the specific substance in the
[0062]
Further, as a modified example of the present embodiment, a
[0063]
Furthermore, as another modified example of the present embodiment, a
[0064]
For example, the sensing
[0065]
As described above, when the
[0066]
Further, as another modified example of the present embodiment, it is conceivable to use the
[0067]
Next, a second embodiment of the present invention will be described with reference to FIG. In FIG. 6, the same elements as those in FIG. 1 are denoted by the same reference numerals, and description thereof will be omitted unless particularly required.
[0068]
The sensor using the evanescent wave according to the second embodiment is obtained by replacing the surface plasmon sensor described in the first embodiment with a leaky mode sensor, and in this example also a dielectric block formed as a
[0069]
The
[0070]
In the leakage mode sensor configured as described above, when the
[0071]
Since the wave number of guided light in the
[0072]
Next, a third embodiment of the present invention will be described with reference to FIG. In FIG. 7, the same elements as those in FIG. 1 are denoted by the same reference numerals, and description thereof will be omitted unless particularly necessary. The sensor using the evanescent wave of the present embodiment is a surface plasmon sensor, and the measurement method is changed as compared with the surface plasmon sensor of the first embodiment. FIG. 7 shows the side shape of the surface plasmon sensor of the present embodiment. A
[0073]
The interference
[0074]
Hereinafter, the measurement operation in the surface plasmon sensor of the present embodiment will be described. The
[0075]
Here, whether or not the analyte in the
[0076]
That is, since the refractive index of the
[0077]
As in the first and second embodiments, when the analyte in the
[Brief description of the drawings]
FIG. 1 is a side view of a surface plasmon sensor according to a first embodiment of the present invention.
FIG. 2 is a configuration diagram of a flow path unit used in the surface plasmon sensor.
FIG. 3 is a block diagram showing an electrical configuration of the surface plasmon sensor.
FIG. 4 is a schematic diagram showing the relationship between the light beam incident angle and the detected light intensity and the relationship between the light beam incident angle and the differential value of the light intensity detection signal in the surface plasmon sensor.
FIG. 5 is a top view of another flow path unit used in the surface plasmon sensor.
FIG. 6 is a side view of a leakage mode sensor according to a second embodiment of the present invention.
FIG. 7 is a side view of a surface plasmon sensor according to a third embodiment of the present invention.
[Explanation of symbols]
9 Measuring chip
10 Dielectric block
10a Sample holder
10b interface
11 Liquid sample
12 Metal film
13 Light beam
14 Laser light source
15 Optical system
16 Collimator lens
17 Photodiode array
17a, 17b, 17c …… Photodiode
18 Differential amplifier array
18a, 18b, 18c ... Differential amplifier
19 Drivers
20 Signal processor
21 Display
22a, 22b, 22c ... Sample hold circuit
23 Multiplexer
24 A / D converter
25 Drive circuit
26 Controller
30 Sensing substances
31 tables
40 Clad layer
41 Optical waveguide layer
50, 60, 70 Channel unit
51, 61, 71 Flow path holder
52, 62, 64, 72 Supply path
53, 63, 65, 73 Discharge path
54, 66, 75 Seal
55, 67, 68, 76, 77 Measurement channel
56 Pump
57 Liquid reservoir
120 Laser light source
121 CCD
122 Collimator lens
123 Interferometric optics
124 condenser lens
125 aperture
134 Mirror
135 Measuring means
140 Light beam
Claims (3)
前記光ビームに対して透明な誘電体ブロック、この誘電体ブロックの一面に形成される薄膜層、この薄膜層の表面上に試料を保持可能に形成された試料保持機構を備えてなるウェル形状の測定チップと、
前記光ビームを前記誘電体ブロックに対して、該誘電体ブロックと前記薄膜層との界面で全反射条件が得られる角度で入射させる光学系と、
前記界面で全反射した光ビームの強度を検出する光検出手段と、
該光検出手段の検出結果に基づいて、全反射減衰の状態を測定する測定手段とを備えてなるエバネッセント波を利用したセンサーにおいて、
前記誘電体ブロックおよび前記試料保持部とが、同素材により一体的に製造されたものであり、
前記測定チップに着脱可能に形成され、前記薄膜層の表面上に前記試料を連続的に供給するとともに、この供給された試料を連続的に排出する試料給排手段をさらに備えたことを特徴とするエバネッセント波を利用したセンサー。A light source that generates a light beam;
A well-shaped dielectric block comprising a dielectric block transparent to the light beam, a thin film layer formed on one surface of the dielectric block, and a sample holding mechanism formed to hold a sample on the surface of the thin film layer A measuring chip;
An optical system that makes the light beam incident on the dielectric block at an angle at which a total reflection condition is obtained at an interface between the dielectric block and the thin film layer;
Light detecting means for detecting the intensity of the light beam totally reflected at the interface;
In a sensor using an evanescent wave comprising a measuring means for measuring the state of total reflection attenuation based on the detection result of the light detecting means,
The dielectric block and the sample holder are manufactured integrally from the same material ,
The apparatus further comprises a sample supply / discharge unit that is detachably formed on the measurement chip and continuously supplies the sample onto the surface of the thin film layer and continuously discharges the supplied sample. A sensor that uses evanescent waves.
Priority Applications (1)
| Application Number | Priority Date | Filing Date | Title |
|---|---|---|---|
| JP2002362306A JP4173725B2 (en) | 2001-12-25 | 2002-12-13 | Sensors using evanescent waves |
Applications Claiming Priority (3)
| Application Number | Priority Date | Filing Date | Title |
|---|---|---|---|
| JP2001-390942 | 2001-12-25 | ||
| JP2001390942 | 2001-12-25 | ||
| JP2002362306A JP4173725B2 (en) | 2001-12-25 | 2002-12-13 | Sensors using evanescent waves |
Publications (2)
| Publication Number | Publication Date |
|---|---|
| JP2003254906A JP2003254906A (en) | 2003-09-10 |
| JP4173725B2 true JP4173725B2 (en) | 2008-10-29 |
Family
ID=28677041
Family Applications (1)
| Application Number | Title | Priority Date | Filing Date |
|---|---|---|---|
| JP2002362306A Expired - Fee Related JP4173725B2 (en) | 2001-12-25 | 2002-12-13 | Sensors using evanescent waves |
Country Status (1)
| Country | Link |
|---|---|
| JP (1) | JP4173725B2 (en) |
Families Citing this family (7)
| Publication number | Priority date | Publication date | Assignee | Title |
|---|---|---|---|---|
| JP4740010B2 (en) * | 2005-04-13 | 2011-08-03 | 富士フイルム株式会社 | Liquid feeding device, liquid feeding method thereof, and measuring device using total reflection attenuation |
| JP4516477B2 (en) * | 2005-05-19 | 2010-08-04 | 富士フイルム株式会社 | Measuring apparatus using total reflection attenuation and measuring method thereof |
| JP4580291B2 (en) * | 2005-06-30 | 2010-11-10 | 富士フイルム株式会社 | Measuring method using biosensor |
| JP5556139B2 (en) * | 2009-11-20 | 2014-07-23 | オムロン株式会社 | Surface plasmon resonance sensing system and surface plasmon resonance in-line measurement method |
| ES2367615B1 (en) * | 2009-12-15 | 2013-01-22 | Consejo Superior De Investigaciones Científicas (Csic) | MULTIANALYTIC SYSTEM AND PROCEDURE BASED ON IMPEDIMETRIC MEASUREMENTS. |
| JP5776140B2 (en) * | 2010-06-09 | 2015-09-09 | コニカミノルタ株式会社 | Optical sensor and chip structure used for optical sensor |
| TWI664397B (en) * | 2018-07-10 | 2019-07-01 | 精準基因生物科技股份有限公司 | Sensing apparatus |
Family Cites Families (18)
| Publication number | Priority date | Publication date | Assignee | Title |
|---|---|---|---|---|
| EP0341928A1 (en) * | 1988-05-10 | 1989-11-15 | AMERSHAM INTERNATIONAL plc | Improvements relating to surface plasmon resonance sensors |
| EP0341927B1 (en) * | 1988-05-10 | 1993-07-14 | AMERSHAM INTERNATIONAL plc | Biological sensors |
| SE8804074D0 (en) * | 1988-11-10 | 1988-11-10 | Pharmacia Ab | SENSOR UNIT AND ITS USE IN BIOSENSOR SYSTEM |
| SE462408B (en) * | 1988-11-10 | 1990-06-18 | Pharmacia Ab | OPTICAL BIOSENSOR SYSTEM USING SURFACE MONITORING RESONSE FOR THE DETECTION OF A SPECIFIC BIOMOLIC CYCLE, TO CALIBRATE THE SENSOR DEVICE AND TO CORRECT FOUND BASELINE OPERATION IN THE SYSTEM |
| SE8902043L (en) * | 1988-11-10 | 1990-05-11 | Pharmacia Ab | PROCEDURE CHARACTERIZES MACROMOLECULES |
| JPH06167443A (en) * | 1992-10-23 | 1994-06-14 | Olympus Optical Co Ltd | Measuring apparatus utilizing surface plasmon resonance |
| JP3136104B2 (en) * | 1996-09-30 | 2001-02-19 | アヴェンティス・リサーチ・ウント・テクノロジーズ・ゲーエムベーハー・ウント・コー・カーゲー | Optical sensor for detecting organic substances in water |
| JPH10239233A (en) * | 1997-02-26 | 1998-09-11 | Fuji Photo Film Co Ltd | Surface plasmon sensor |
| JP3460923B2 (en) * | 1997-02-07 | 2003-10-27 | 富士写真フイルム株式会社 | Surface plasmon sensor |
| JP3399804B2 (en) * | 1997-02-26 | 2003-04-21 | 富士写真フイルム株式会社 | Surface plasmon sensor |
| US6222619B1 (en) * | 1997-09-18 | 2001-04-24 | University Of Utah Research Foundation | Diagnostic device and method |
| JPH11271212A (en) * | 1998-03-20 | 1999-10-05 | Dainippon Printing Co Ltd | Measuring chip for optical analyzer |
| JPH11281570A (en) * | 1998-03-26 | 1999-10-15 | Toto Ltd | Sensor device |
| JP3399836B2 (en) * | 1998-05-21 | 2003-04-21 | 富士写真フイルム株式会社 | Surface plasmon sensor |
| JP2000065732A (en) * | 1998-08-24 | 2000-03-03 | Nippon Laser Denshi Kk | Surface plasmon resonance angle detection apparatus and sample temperature control method |
| DE50006533D1 (en) * | 1999-12-17 | 2004-06-24 | Zeptosens Ag Witterswil | ARRANGEMENT OF SAMPLE CONTAINERS AND THEIR USE FOR THE MULTIANALYT DETERMINATION |
| JP2001330560A (en) * | 2000-03-16 | 2001-11-30 | Fuji Photo Film Co Ltd | Measuring method using total reflection attenuation and its device |
| JP4368535B2 (en) * | 2000-05-11 | 2009-11-18 | 富士フイルム株式会社 | Measuring chip |
-
2002
- 2002-12-13 JP JP2002362306A patent/JP4173725B2/en not_active Expired - Fee Related
Also Published As
| Publication number | Publication date |
|---|---|
| JP2003254906A (en) | 2003-09-10 |
Similar Documents
| Publication | Publication Date | Title |
|---|---|---|
| JP2005257455A (en) | Measuring apparatus and measuring unit | |
| US7027159B2 (en) | Sensor utilizing evanescent wave | |
| JP2006064514A (en) | Measuring unit | |
| JP2006105911A (en) | Unidimensional measuring unit | |
| JP4173725B2 (en) | Sensors using evanescent waves | |
| JP2006105914A (en) | Measuring method and measuring device | |
| JP2006266906A (en) | Measuring method and measuring instrument | |
| JP4064169B2 (en) | Sensors using specific substance recovery methods and total reflection attenuation | |
| JP3910498B2 (en) | measuring device | |
| JP4124465B2 (en) | Measuring unit | |
| JP2007225354A (en) | measuring device | |
| JP3830827B2 (en) | Sensor using total reflection attenuation | |
| JP4475577B2 (en) | Measuring device and measuring unit | |
| JP4170350B2 (en) | Sensor using total reflection attenuation | |
| JP4053236B2 (en) | Sensor using total reflection attenuation | |
| JP2006258636A (en) | Measuring method and measuring device | |
| JP2006275912A (en) | Measurement apparatus | |
| JP2005265693A (en) | Measuring instrument | |
| JP2006220605A (en) | Measurement method and measurement device | |
| JP4014805B2 (en) | Sensor using total reflection attenuation | |
| JP3776371B2 (en) | measuring device | |
| JP2006078437A (en) | Measuring method and measuring apparatus | |
| JP2006105915A (en) | Sample supply confirmation method, and measuring instrument | |
| JP2004053279A (en) | Positioning mechanism for measuring chip | |
| JP2006098207A (en) | Measuring method and measuring instrument |
Legal Events
| Date | Code | Title | Description |
|---|---|---|---|
| A621 | Written request for application examination |
Free format text: JAPANESE INTERMEDIATE CODE: A621 Effective date: 20050209 |
|
| A711 | Notification of change in applicant |
Free format text: JAPANESE INTERMEDIATE CODE: A712 Effective date: 20061205 |
|
| A131 | Notification of reasons for refusal |
Free format text: JAPANESE INTERMEDIATE CODE: A131 Effective date: 20061219 |
|
| A131 | Notification of reasons for refusal |
Free format text: JAPANESE INTERMEDIATE CODE: A131 Effective date: 20070522 |
|
| A131 | Notification of reasons for refusal |
Free format text: JAPANESE INTERMEDIATE CODE: A131 Effective date: 20071016 |
|
| A521 | Written amendment |
Free format text: JAPANESE INTERMEDIATE CODE: A523 Effective date: 20071207 |
|
| TRDD | Decision of grant or rejection written | ||
| A01 | Written decision to grant a patent or to grant a registration (utility model) |
Free format text: JAPANESE INTERMEDIATE CODE: A01 Effective date: 20080812 |
|
| A01 | Written decision to grant a patent or to grant a registration (utility model) |
Free format text: JAPANESE INTERMEDIATE CODE: A01 |
|
| A61 | First payment of annual fees (during grant procedure) |
Free format text: JAPANESE INTERMEDIATE CODE: A61 Effective date: 20080814 |
|
| R150 | Certificate of patent or registration of utility model |
Free format text: JAPANESE INTERMEDIATE CODE: R150 |
|
| FPAY | Renewal fee payment (event date is renewal date of database) |
Free format text: PAYMENT UNTIL: 20110822 Year of fee payment: 3 |
|
| FPAY | Renewal fee payment (event date is renewal date of database) |
Free format text: PAYMENT UNTIL: 20110822 Year of fee payment: 3 |
|
| FPAY | Renewal fee payment (event date is renewal date of database) |
Free format text: PAYMENT UNTIL: 20120822 Year of fee payment: 4 |
|
| FPAY | Renewal fee payment (event date is renewal date of database) |
Free format text: PAYMENT UNTIL: 20120822 Year of fee payment: 4 |
|
| FPAY | Renewal fee payment (event date is renewal date of database) |
Free format text: PAYMENT UNTIL: 20130822 Year of fee payment: 5 |
|
| R250 | Receipt of annual fees |
Free format text: JAPANESE INTERMEDIATE CODE: R250 |
|
| R250 | Receipt of annual fees |
Free format text: JAPANESE INTERMEDIATE CODE: R250 |
|
| LAPS | Cancellation because of no payment of annual fees |
