JP3949125B2 - Multi-needle holder - Google Patents
Multi-needle holder Download PDFInfo
- Publication number
- JP3949125B2 JP3949125B2 JP2004209196A JP2004209196A JP3949125B2 JP 3949125 B2 JP3949125 B2 JP 3949125B2 JP 2004209196 A JP2004209196 A JP 2004209196A JP 2004209196 A JP2004209196 A JP 2004209196A JP 3949125 B2 JP3949125 B2 JP 3949125B2
- Authority
- JP
- Japan
- Prior art keywords
- holder
- needle
- cap
- nozzle
- chemical solution
- Prior art date
- Legal status (The legal status is an assumption and is not a legal conclusion. Google has not performed a legal analysis and makes no representation as to the accuracy of the status listed.)
- Expired - Fee Related
Links
Images
Classifications
-
- A—HUMAN NECESSITIES
- A61—MEDICAL OR VETERINARY SCIENCE; HYGIENE
- A61M—DEVICES FOR INTRODUCING MEDIA INTO, OR ONTO, THE BODY; DEVICES FOR TRANSDUCING BODY MEDIA OR FOR TAKING MEDIA FROM THE BODY; DEVICES FOR PRODUCING OR ENDING SLEEP OR STUPOR
- A61M5/00—Devices for bringing media into the body in a subcutaneous, intra-vascular or intramuscular way; Accessories therefor, e.g. filling or cleaning devices, arm-rests
- A61M5/178—Syringes
- A61M5/31—Details
- A61M5/3129—Syringe barrels
- A61M5/3134—Syringe barrels characterised by constructional features of the distal end, i.e. end closest to the tip of the needle cannula
-
- A—HUMAN NECESSITIES
- A61—MEDICAL OR VETERINARY SCIENCE; HYGIENE
- A61M—DEVICES FOR INTRODUCING MEDIA INTO, OR ONTO, THE BODY; DEVICES FOR TRANSDUCING BODY MEDIA OR FOR TAKING MEDIA FROM THE BODY; DEVICES FOR PRODUCING OR ENDING SLEEP OR STUPOR
- A61M5/00—Devices for bringing media into the body in a subcutaneous, intra-vascular or intramuscular way; Accessories therefor, e.g. filling or cleaning devices, arm-rests
- A61M5/178—Syringes
- A61M5/31—Details
- A61M2005/3103—Leak prevention means for distal end of syringes, i.e. syringe end for mounting a needle
- A61M2005/3104—Caps for syringes without needle
Landscapes
- Health & Medical Sciences (AREA)
- Vascular Medicine (AREA)
- Engineering & Computer Science (AREA)
- Anesthesiology (AREA)
- Biomedical Technology (AREA)
- Heart & Thoracic Surgery (AREA)
- Hematology (AREA)
- Life Sciences & Earth Sciences (AREA)
- Animal Behavior & Ethology (AREA)
- General Health & Medical Sciences (AREA)
- Public Health (AREA)
- Veterinary Medicine (AREA)
- Infusion, Injection, And Reservoir Apparatuses (AREA)
Description
本発明は、マルチ針付きホルダーに関する。 The present invention relates to a holder with multiple needles.
患者に輸液を投与するのに先立って、輸液容器内に充填された輸液にビタミン剤、ミネラル類、抗生物質のような様々な薬剤を必要に応じて配合することが行われている。 Prior to administration of an infusion solution to a patient, various drugs such as vitamins, minerals, and antibiotics are blended into the infusion solution filled in the infusion container as necessary.
また、救急医療の現場では注射器によって自律神経作用薬、昇圧薬などの複数併用および大量投与が行われている。 Moreover, in the field of emergency medical care, multiple combined use and large-scale administration of an autonomic nerve action drug, a pressor medicine, etc. are performed with the syringe.
このような薬剤の配合や投与は、バイアル瓶から注射器によって薬液を吸引し、次いで輸液容器あるいは直接血管に薬液を注入することによって行われている。しかしながら、このような薬剤の配合及び投与は操作が煩雑であり、配合に要する時間、投与に要する時間が長くかかるという欠点がある。さらに上記の操作は、大気と接触した状態で行われるため、細菌汚染や異物混入のおそれがあった。 Such compounding and administration of drugs are performed by sucking a drug solution from a vial with a syringe and then injecting the drug solution into an infusion container or directly into a blood vessel. However, the compounding and administration of such a drug has a drawback in that the operation is complicated, and it takes a long time for compounding and administration. Furthermore, since the above operation is performed in contact with the atmosphere, there is a risk of bacterial contamination or contamination.
これらの問題を解決するものとして注射器に予め薬液を充填し先端のノズルにゴムキャップをしたいわゆるプレフィルドシリンジが提案された。しかし、従来のプレフィルドシリンジは、シリンジノズルがキャップによって密着する形で被せられている。従って、高圧蒸気滅菌時、ノズルとキャップの間に蒸気が侵入せずこの部分の滅菌が行えなかった。この問題を解決するために蒸気が侵入するようノズルとキャップの間に隙間を設けたものが提案されている。 In order to solve these problems, a so-called prefilled syringe has been proposed in which a syringe is prefilled with a chemical solution and a nozzle cap is provided with a rubber cap. However, the conventional prefilled syringe is covered with the syringe nozzle in close contact with the cap. Therefore, during high-pressure steam sterilization, steam did not enter between the nozzle and the cap, and this portion could not be sterilized. In order to solve this problem, there has been proposed one in which a gap is provided between the nozzle and the cap so that steam enters.
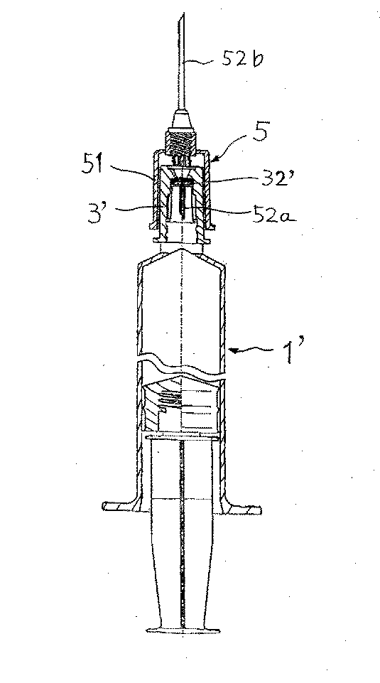
ところで、図4に示すように、上記キャップ3’を有するプレフィルドシリンジ1’には、マルチ針付きホルダー5が装着して使用される。このマルチ針付きホルダー5は、筒状をなすホルダー本体51と、該ホルダー本体51の先端部に固定され内針52aおよび外針52bを有するマルチ針52とで構成され、マルチ針52の内針52aをキャップ3’のゴム膜32’に刺通して使用される。
By the way, as shown in FIG. 4, the prefilled syringe 1 'having the cap 3' is used with the
しかし、従来のプレフィルドシリンジ用マルチ針付きホルダー5は、ホルダー本体51の内径がホルダー本体51の全長にわたってほぼ一定であるため、プレフィルドシリンジ1’に装着後、キャップ3’の外周面とホルダー本体51の内周面との間に隙間ができることがあり(図4参照)、装着の安定性に劣る場合があるという問題があった。
However, since the inner diameter of the holder
そこで、本発明の目的は、既充填薬液容器に対し簡単な操作で確実に固定することができ、装着の安定性に優れるマルチ針付きホルダーを提供することにある。 Accordingly, an object of the present invention is to provide a holder with a multi-needle that can be reliably fixed to an already-filled drug solution container by a simple operation and has excellent mounting stability.
このような目的は、下記(1)、(2)の本発明により達成される。
(1) ホルダー本体とマルチ針とで構成されるマルチ針付きホルダーであって、
前記ホルダー本体は、既充填薬液容器のキャップを収納し得る略筒状の収納部と、前記マルチ針を固定するホルダー雌ネジと、前記収納部の基端部内周面に形成されたホルダー環状凸部とを備え、
前記マルチ針は、互いに連通する内部通路を有する中空針で構成された内針および外針と、これら両針の間に設けられ前記ホルダー雌ネジに螺合する雄ネジが形成されたハブと、前記内針を覆うように設けられ再シール性を有するゴムチップとを備え、
前記ホルダー環状凸部は、前記キャップの外周面に設けられたキャップ環状凸部と係合し、前記内針を前記既充填薬液容器のゴム膜に刺通したときに前記ゴムチップの復元力によりマルチ針付きホルダーから前記既充填薬液容器が脱落するのを防止する機能を有するものであることを特徴とするマルチ針付きホルダー。
Such an object is achieved by the present inventions (1) and (2) below.
(1) A holder with a multi-needle comprising a holder body and a multi-needle,
The holder main body includes a substantially cylindrical storage portion that can store a cap of a pre-filled chemical solution container, a holder female screw that fixes the multi-needle, and a holder annular protrusion formed on an inner peripheral surface of a base end portion of the storage portion. With
The multi-needle includes an inner needle and an outer needle formed by hollow needles having internal passages communicating with each other, a hub provided between these needles and formed with a male screw that is screwed into the holder female screw, A rubber tip provided so as to cover the inner needle and having resealability;
The holder annular convex portion engages with a cap annular convex portion provided on the outer peripheral surface of the cap, and when the inner needle is pierced through the rubber film of the pre-filled chemical solution container, the holder annular convex portion A holder with a multi-needle, which has a function of preventing the pre-filled chemical solution container from falling off the holder with a needle.
(2) 前記ホルダー本体は、前記収納部の前記ホルダー環状凸部よりも先端側の部位にその内径が縮径する縮径部を有する上記(1)に記載のマルチ針付きホルダー。 (2) The holder with a multi-needle according to (1), wherein the holder main body has a reduced diameter portion whose inner diameter is reduced at a position closer to a tip side than the holder annular convex portion of the storage portion.
本発明によれば、既充填薬液容器に対し簡単な操作で装着することができ、特に、ホルダーの内周面にホルダー環状凸部を設けたことにより、当該ホルダー環状凸部が既充填薬液容器のキャップに係合し、優れた装着安定性が得られる。また、ホルダー本体が縮径部を有する場合には、前記効果がより顕著となる。 According to the present invention, it is possible to attach the prefilled chemical solution container with a simple operation, and in particular, by providing the holder annular convex portion on the inner peripheral surface of the holder, the holder annular convex portion is provided with the prefilled chemical solution container. It is possible to obtain excellent mounting stability. Moreover, when the holder main body has a reduced diameter portion, the effect becomes more prominent.
まず、本発明のマルチ針付きホルダー(以下単に「ホルダー」と言う)が装着される既充填薬液容器の構成例について説明する。 First, a configuration example of a pre-filled chemical solution container to which a holder with a multi-needle of the present invention (hereinafter simply referred to as “holder”) is mounted will be described.
既充填薬液容器は、薬液吐出機構によって吐出される薬液を収納した容器本体のノズルを封止するキャップをノズルを滅菌可能なようにノズルとの間に蒸気が通過可能な隙間を持たせたものにおいて生ずることのある、キャップ内表面のくもりやキャップとノズルの間に残存した水分による黴の発生のおそれをなくすことができる。すなわち、キャップの閉塞端側に容器本体内を液密に封止する封止部を有するとともにキャップ開放端側に隙間を有した状態でノズルと係止する係止部を有し、かつキャップ内部の閉塞端と開放端との中間部にはキャップ内面とノズル外表面とで形成される空間部を有するよう構成されており、滅菌後、キャップ内面とノズル外表面間に残存した水分が容易に蒸散することができる。その結果、キャップ部分のくもりや黴の発生のおそれが除去された。 The pre-filled chemical solution container is a cap that seals the nozzle of the container body containing the chemical solution discharged by the chemical solution discharge mechanism, and has a gap through which steam can pass between the nozzle and the nozzle so that the nozzle can be sterilized It is possible to eliminate the possibility of generation of wrinkles due to cloudiness of the inner surface of the cap and moisture remaining between the cap and the nozzle, which may occur in That is, the cap has a sealing portion for liquid-tightly sealing the inside of the container body on the closed end side of the cap, and has a locking portion for locking with the nozzle in a state having a gap on the cap open end side. The space between the closed end and the open end of the cap has a space formed by the inner surface of the cap and the outer surface of the nozzle. After sterilization, water remaining between the inner surface of the cap and the outer surface of the nozzle can be easily removed. Can be transpiration. As a result, the possibility of cloudiness and wrinkles in the cap portion was eliminated.
薬液収納部は内部空間に用途に応じてビタミン剤、抗生物質、抗癌剤、等の薬液が充填されている。薬液収納部の材質はガラス、ポリプロピレン、ポリエチレン、ポリスチレン、各種エラストマー等の合成樹脂、あるいはステンレスやアルミニウム等の金属等が利用でき、後述する薬液吐出機構の構造に応じて適切な材料を選択することができるが、充填された薬液を目視できるように透明性のある材料であることが好ましい。また、既充填薬液容器の滅菌時あるいは保管中の雰囲気に含まれる酸素等のガスや水分によって変質しやすい薬液が充填されている場合にはそれぞれガス非透過性、水分非透過性の材質を選択することが好ましい。これらの例としてはガラスや、ステンレスやアルミニウム等の金属、合成樹脂では環状ポリオレフィン、ポリビニルアルコール等が好ましく、合成樹脂を酸化珪素や酸化アルミニウムあるいは上記したガス・水分非透過性樹脂で被覆したもの、さらに、必要に応じてこれらを層成分の一つとして多層構造としたものがある。また、既充填薬液容器は湿熱滅菌されるので、これに耐える耐熱性を有することが好ましい。 The chemical solution storage part is filled with chemical solutions such as vitamins, antibiotics, anticancer agents, etc. in the internal space according to the intended use. As the material for the chemical solution storage part, glass, polypropylene, polyethylene, polystyrene, synthetic resins such as various elastomers, or metals such as stainless steel and aluminum can be used, and an appropriate material should be selected according to the structure of the chemical solution discharge mechanism described later. However, it is preferable that the material is transparent so that the filled chemical solution can be visually observed. In addition, when the prefilled chemical solution container is filled with a chemical solution that is easily altered by gas or moisture such as oxygen contained in the atmosphere during sterilization or storage, select a material that is impermeable to gas and moisture impervious respectively. It is preferable to do. Examples of these include glass, metals such as stainless steel and aluminum, synthetic polyolefins such as cyclic polyolefin, polyvinyl alcohol, etc., and synthetic resins coated with silicon oxide, aluminum oxide or the gas / water impermeable resin described above, Furthermore, there is a multilayer structure in which these are used as one of layer components as required. In addition, since the prefilled chemical solution container is sterilized by moist heat, it is preferable to have heat resistance to withstand this.
ノズルは薬液収納部内に充填された薬液を外部に吐出できる内部通路を有しており、通路の両端は外部と薬液収納部とにそれぞれ連通している。そしてノズルは薬液収納部と一体に同一の材料で形成されることが望ましい。 The nozzle has an internal passage through which the chemical liquid filled in the chemical liquid storage portion can be discharged to the outside, and both ends of the passage communicate with the outside and the chemical liquid storage portion, respectively. The nozzle is preferably formed of the same material integrally with the chemical solution storage unit.
次に、薬液吐出機構について説明する。薬液吐出機構は、充填された薬液を薬液収納部からノズルを介して外部に吐出するためのものであり、薬液に対して圧を加えることにより吐出する構造をとることが好ましい。 Next, the chemical solution discharge mechanism will be described. The chemical solution discharge mechanism is for discharging the filled chemical solution from the chemical solution storage part to the outside through the nozzle, and preferably has a structure for discharging by applying pressure to the chemical solution.
具体的には、薬液収納部を合成樹脂等で柔軟に形成し、薬液収納部に外圧を加えて薬液を加圧することで吐出可能とするよう構成したものがある。薬液収納部を形成する材料としては、ポリ塩化ビニル、ポリプロピレン、ポリエチレン、各種エラストマー等の合成樹脂が挙げられ、やや硬い材料を採用する場合には薬液を加圧しやすいように薄くしたり、添加剤により軟質化することが好ましい。なお、選択した薬液収納部の形成材料ではノズルとしての硬度が不十分と判断される場合には別部材でノズルを形成し、薬剤収納部と一体化することもできる。 Specifically, there is a configuration in which a chemical solution storage portion is formed flexibly with a synthetic resin or the like, and discharge is possible by applying an external pressure to the chemical solution storage portion to pressurize the chemical solution. Synthetic resins such as polyvinyl chloride, polypropylene, polyethylene, and various elastomers can be used as the material for forming the chemical solution storage section. When a slightly hard material is used, the chemical solution can be thinned to make it easier to press or additives. It is preferable to soften. In addition, when it is judged that the selected material for forming the chemical solution storage portion has insufficient hardness as a nozzle, the nozzle may be formed with a separate member and integrated with the drug storage portion.
また、いわゆるシリンジ状に薬液収納部を構成することにより、既充填薬液容器に薬液吐出機構を付与することもできる。すなわち、硬質の薬液収納部を一端が開放し他端が閉塞した筒状体に形成し、開放している一端を液密に封止し筒状体内を軸方向に液密に摺動可能とするガスケットと、閉塞している他端側にノズルとが設けられていることにより薬液収納部の薬液を吐出可能とするよう構成されている。ガスケットには予めあるいは使用時直前にプランジャーを結合し、薬液の吐出を容易にすることが好ましい。予め結合してある場合は、ガスケットとプランジャーを嵌合によって結合したり、一体成形によって一体的に成形することができる。また、使用時直前に両者を結合する場合は、ガスケットとプランジャーに一対の雌・雄ネジを設けたり、ラチェット機構を採用することができる。筒状体を形成する材料は、筒状体を硬質とすることができる材料であり、ガラス、ステンレスやアルミニウム等の金属、合成樹脂ではポリプロピレンや環状ポリオレフィン等が好ましい。ガスケットを形成する材料は、天然ゴムや合成ゴム、各種エラストマーが使用できる。また、プランジャーの形成材料は、薬液の吐出や吸引の操作に耐える硬質材料で形成され、ガラス、ステンレスやアルミニウム等の金属、ポリプロピレンやポリスチレン等の硬質合成樹脂等、各種硬質材料から適宜選択できる。 Moreover, a chemical solution discharge mechanism can also be provided to an already-filled chemical solution container by configuring the chemical solution storage portion in a so-called syringe shape. That is, the hard chemical storage part is formed into a cylindrical body that is open at one end and closed at the other end, and the open end is liquid-tightly sealed so that it can slide in the axial direction in a liquid-tight manner. And a nozzle on the other end side that is closed, so that the chemical solution in the chemical solution storage section can be discharged. It is preferable that a plunger is connected to the gasket in advance or immediately before use to facilitate the discharge of the chemical solution. In the case of being bonded in advance, the gasket and the plunger can be combined by fitting or integrally formed by integral molding. Further, when both are combined just before use, a pair of female and male screws can be provided on the gasket and plunger, or a ratchet mechanism can be employed. The material forming the cylindrical body is a material that can harden the cylindrical body, and glass, stainless steel, aluminum and other metals, and synthetic resins such as polypropylene and cyclic polyolefin are preferable. As a material for forming the gasket, natural rubber, synthetic rubber, and various elastomers can be used. Further, the plunger forming material is formed of a hard material that can withstand the operation of discharging and sucking the chemical solution, and can be appropriately selected from various hard materials such as glass, metals such as stainless steel and aluminum, and hard synthetic resins such as polypropylene and polystyrene. .
キャップは、容器本体に装着され、薬液収納部に充填された薬液が使用時までノズルから吐出しないよう封止するものである。このキャップは、閉塞端(先端)と開口端(基端開口)とを有する中空体で構成され、閉塞端側ではノズル先端開口を液密に封止している。 The cap is attached to the container main body and seals the chemical liquid filled in the chemical liquid storage unit from being discharged from the nozzle until use. The cap is formed of a hollow body having a closed end (tip end) and an open end (base end opening), and the nozzle tip opening is liquid-tightly sealed on the closed end side.
キャップを構成するキャップ本体は、ステンレスやアルミニウム等の金属、ポリエチレンやポリプロピレン等の合成樹脂等で形成することができ、ノズルの先端開口に当接した部分(後述するゴム膜)を加硫天然ゴムや合成ゴム、各種エラストマー等の弾性体で形成すればより確実に封止することができ好ましい。また、キャップ先端面の少なくとも中央部を針で刺通可能な合成樹脂やゴム等の材質、好ましくは再シール性を有するものや刺通した中空針にコアリングを生じさせにくい材質を有するもので形成すれば、キャップをノズルに取り付けたまま両頭針等の中空針をキャップ先端面の中央部に直接刺通して薬液の投与等を行うようにすることもできる。その際、キャップ先端面(後述するゴム膜)の中央部がキャップ先端の外周縁より引き込んだ位置に設けられていれば、既充填薬液容器を包装(包材)から取り出しても中空針の刺通部となる部分が汚染されないようにすることができる。引き込みは2mm以上とることが好ましい。 The cap body that constitutes the cap can be formed of a metal such as stainless steel or aluminum, a synthetic resin such as polyethylene or polypropylene, etc., and a portion (a rubber film described later) in contact with the tip opening of the nozzle is vulcanized natural rubber Or an elastic body such as synthetic rubber or various elastomers is preferable because it can be more reliably sealed. Also, it is made of a material such as a synthetic resin or rubber that can be pierced with a needle at least at the center of the tip of the cap, preferably a material having resealability, or a material that does not easily cause coring on the pierced hollow needle. If formed, it is also possible to administer a drug solution by directly inserting a hollow needle such as a double-ended needle into the central portion of the tip of the cap with the cap attached to the nozzle. At that time, if the central part of the cap tip surface (rubber film described later) is provided at a position drawn from the outer peripheral edge of the cap tip, the hollow needle can be inserted even if the pre-filled drug solution container is taken out of the packaging (packaging material). It is possible to prevent the passage portion from being contaminated. The pull-in is preferably 2 mm or more.
また、キャップ閉塞端内面に凸部を形成し、凸部がノズル内面に嵌入した状態で凸部とノズル内面との間で封止するようにしても良い。この場合、両者間の封止はテーパ嵌合で構成することも、凸部を弾性体としノズル内面に密着させることによってもできる。 Further, a convex portion may be formed on the inner surface of the cap closed end, and sealing may be performed between the convex portion and the inner surface of the nozzle in a state where the convex portion is fitted into the inner surface of the nozzle. In this case, the seal between them can be configured by taper fitting, or the convex portion can be an elastic body and can be brought into close contact with the inner surface of the nozzle.
キャップはさらに基端においてノズルと係止する係止部を有している。係止部は滅菌時に水蒸気がキャップとノズルの間に侵入するための隙間を有している。この隙間は例えば、係止部を一対の雄雌ネジで構成することにより生じるネジ間の隙間を利用することができる。 The cap further has a locking portion that locks with the nozzle at the proximal end. The locking portion has a gap for water vapor to enter between the cap and the nozzle during sterilization. As this gap, for example, a gap between screws generated by configuring the locking portion with a pair of male and female screws can be used.
キャップ内部の閉塞端と開放端との中間部にはキャップ内面とノズル外表面とで形成される空間部が設けられている。この空間部により、滅菌のためにノズルとキャップの間に導入された水蒸気を滅菌後、容易に乾燥させることができる。キャップ内面とノズル外表面との間隔は0.2〜1mmが好ましい。 A space formed by the inner surface of the cap and the outer surface of the nozzle is provided at an intermediate portion between the closed end and the open end inside the cap. By this space part, the water vapor introduced between the nozzle and the cap for sterilization can be easily dried after sterilization. The distance between the cap inner surface and the nozzle outer surface is preferably 0.2 to 1 mm.
なお、キャップを形成する各部品はいずれも透明性を有することが液漏れ等の確認を容易にするために好ましい。また、ノズルや薬液収納部も同様の理由あるいは内容物の確認のために透明性を有することが好ましい。 In addition, it is preferable that each part forming the cap has transparency so as to facilitate confirmation of liquid leakage or the like. Moreover, it is preferable that a nozzle and a chemical | medical solution storage part also have transparency for the same reason or confirmation of the contents.
以下図示したプレフィルドシリンジ(既充填薬液容器)に基づいて本発明を詳細に説明する。 Hereinafter, the present invention will be described in detail based on the prefilled syringe (filled drug solution container) shown in the drawings.
図1は、プレフィルドシリンジの構成例を示す縦断面図であり、図2は、プレフィルドシリンジのキャップの構成例を示す縦断面図である。プレフィルドシリンジ1はシリンジ本体2とキャップ3とから構成されている。シリンジ本体2は薬液Aが充填された筒状体21、ノズル22、ガスケット23およびプランジャー24を有している。筒状体21は筒状のポリプロピレンや環状オレフィン等からなり、先端が閉塞し基端は開口している。該基端には一対のフランジ21aが対向して設けられている。閉塞した先端にはノズル22が筒状体21と一体に設けられ、充填された薬液Aを該ノズル22を介して吐出可能とする内部通路22aを有している。ノズル22は基端側外側面にキャップ3の基端側と対をなして螺合部を構成する雄ネジ22bを有している。また、雄ネジ22bより先端側の外側面はルアーテーパとし、三方活栓等への接続を可能にしている。筒状体21の基端開口よりガスケット23が筒状体内面と液密を維持した状態で軸方向に摺動可能なように挿入され、薬液Aの筒状体基端方向への移動を規制している。ガスケット23はブチルゴムや加硫天然ゴム等で形成され、摺動性を向上させるために必要に応じてシリコーン等の潤滑剤を塗布したり、摺動部分に低摩擦係数を有するフッ素樹脂等の合成樹脂を配しても良い。ガスケット23の基端にはポリプロピレン等の材質からなるプランジャー24がネジ嵌合により固定されている。従って、使用前はガスケット23から外しておけるので収納空間を小さくすることができる。
FIG. 1 is a longitudinal sectional view showing a configuration example of a prefilled syringe, and FIG. 2 is a longitudinal sectional view showing a configuration example of a cap of the prefilled syringe. The prefilled syringe 1 is composed of a
ノズル22にはキャップ3が被冠されノズルの内部通路を封止しており、充填された薬液Aが筒状体先端方向へ移動するのを規制している。キャップ3はキャップ本体31とゴム膜32とからなる。キャップ本体31は先端中央部にキャップ内部に通じる貫通孔31aを有しており、該貫通孔31aは注射針(後述する内針42a)が刺通しやすいようにテーパが施され、またキャップ本体の先端部を肉厚に形成することにより貫通孔両端間の距離が大きくとられ、後述するゴム膜32が図示しない包装(包材)から開封され外部雰囲気に晒された際にも汚染されないようになっている。キャップ本体31の基端部内面には先述のノズル22の雄ネジ22bと対をなす雌ネジ31bを有している。雄ネジ22bと雌ネジ31bとは螺合した状態で軸方向に気体流通可能な隙間Bを有しており、滅菌用水蒸気がキャップとノズルの間に侵入でき、この部分の滅菌が確実に行えるよう構成されている。
The
ゴム膜32は、貫通孔31aの基端開口を覆うようにキャップ本体31の内部に固定され、キャップ3をノズル22に螺合し係止した際にノズル22の先端開口を液密に封止している。ゴム膜32は加硫天然ゴム、合成ゴムあるいは各種エラストマー製で再シール性を有しており、厚さは0.1〜1mmが好ましい。
The
図2に示すように、キャップ3の基端部外周面には、キャップ環状凸部31dが形成されている。
As shown in FIG. 2, a cap annular
キャップ3においては、ノズル22の外側面(外周面)からキャップ3の先端内面と雌ネジ31bとの間の内側面(内周面)31cを離間するよう構成したことにより空間Cを形成してある。この空間Cによって、滅菌時にノズル−キャップ間に導入された水蒸気を滅菌後容易に乾燥することが可能となる。
In the
本実施例について、キャップとノズル間の滅菌後の乾燥状態について実験を行った。キャップ本体31に厚さ0.2mmのブチルゴム製のゴム膜32を固定し、かつノズル22とキャップ内面との間隔が0.5mmであるポリプロピレン製のキャップ3を作成した。これを生理食塩水20mlを充填した環状ポリオレフィン製20ml容量のシリンジのノズルに装着した。比較例としてキャップの代わりにノズル外面に密着したゴムキャップを同様の生理食塩水充填シリンジに装着した。実施例及び比較例各25本について105℃の高圧蒸気滅菌またはスプレー滅菌を行った。この2種類の滅菌によりスプレー滅菌では蒸気の侵入の確認を、高圧蒸気滅菌では滅菌終了時の乾燥状態の確認を行い、結果をそれぞれ表1、表2に示した。本発明に係るプレフィルドシリンジは、キャップ−ノズル間の滅菌、乾燥ともに良好に行えることが分かった。
About this example, it experimented about the dry state after sterilization between a cap and a nozzle. A
以上のようなプレフィルドシリンジ1は、本発明のホルダーと組み合わせて使用される。すなわち、プレフィルドシリンジに充填された薬液を輸液バッグに混注したり、患者の血管へ直接注射する際には、キャップ3のゴム膜32に中空針の内針を刺通し、該内針とは反対側に設けられた外針を有するホルダー4をキャップ3に接続する。
The prefilled syringe 1 as described above is used in combination with the holder of the present invention. That is, when the medicinal solution filled in the prefilled syringe is mixedly injected into the infusion bag or directly injected into the blood vessel of the patient, the inner needle of the hollow needle is pierced through the
図3は本発明のホルダーの実施形態を示す縦断面図である。ホルダー4はホルダー本体41とマルチ針(両頭針)42とで構成されている。
FIG. 3 is a longitudinal sectional view showing an embodiment of the holder of the present invention. The
ホルダー本体41は、プレフィルドシリンジ1のキャップ3を収納する略筒状の収納部41aと、収納部41aの先端側に位置しマルチ針42を固定するホルダー雌ネジ41bと、収納部41aの基端部内周面に形成されたホルダー環状凸部41cとを有している。また、図3に示すように、収納部41aのホルダー環状凸部41cよりも先端側の部位には、内径が縮径する縮径部41dを有している。
The holder body 41 includes a substantially
マルチ針42は、互いに連通する内部通路を有する中空針であるステンレスや合成樹脂製の内針42aおよび外針42bを有し、両者の間にハブ42cが設けられ、該ハブ42cには先述のホルダー雌ネジ41bと螺合する雄ネジ42dが形成されている。
The multi-needle 42 has an
また、内針42aを覆うように加硫天然ゴムや合成ゴムあるいは各種エラストマー製の再シール性を有するゴムチップ42eが設けられている。従って、外針42bを輸液バッグ等の混注口に穿刺したままにしても内針42aが露出せず、内針42aをプレフィルドシリンジ1のゴム膜32に刺通しているときのみ内針42aがゴムチップ42eから現れるので、複数本のプレフィルドシリンジを連続して注入することができる。また、血管への刺通時にはさらに外針42bが刺通した血管からの血液の逆流出を防止できる。
Further, a
ホルダー4をプレフィルドシリンジ1に装着した際、縮径部41dにキャップ3の先端部が嵌合するとともに、ホルダー環状凸部41cがキャップ3の基端部外周面に設けられた先述のキャップ環状凸部31dと係合する。これにより、内針42aをプレフィルドシリンジのゴム膜32に刺通したときにゴムチップ42eの復元力によりホルダー4からプレフィルドシリンジが脱落するのを防止することができる。
When the
使用する手順は、まず、ホルダー本体41とマルチ針42とが組み立てられたホルダー4の外針42bを輸液容器等の混注口に穿刺する。次に、プレフィルドシリンジ1のキャップ3の部分をホルダー4の収納部41a内に挿入して嵌合し、両者にそれぞれ設けられたキャップ環状凸部31dとホルダー環状凸部41cとを係合させ、ホルダー4にプレフィルドシリンジ1を装着する。このとき、ホルダー4の内針42aがゴムチップ42eを貫通し、キャップ3のゴム膜32を刺通する。
First, the
次に、プレフィルドシリンジ1のプランジャー24の操作により充填された薬液を混注口より輸液容器等に注入する。注入が完了した後、プレフィルドシリンジ1をキャップ3ごとホルダー4から取り外し、複数の薬液を同一の輸液容器等に注入する場合には同様に薬液の充填された他のプレフィルドシリンジをホルダー4に順次装着して薬液を注入する。また、これらの薬液の混注操作中のゴムチップ42eは、ホルダー4からプレフィルドシリンジが抜き取られるごとに元の形状に復元し、液の飛散や浮遊菌による汚染を防止している。
Next, the chemical solution filled by the operation of the
本実施例についてキャップ3の先端側に位置するゴム膜32の汚染について実験を行った。上記実験と同様に作成し、ゴム膜32をキャップ本体31の先端面より2mmの位置に着けたキャップ3を装着したプレフィルドシリンジのゴム膜32に上記ホルダー4の内針42aを刺通した。内針42aがゴムチップ42eおよびゴム膜32を貫通した状態で、プレフィルドシリンジのプランジャー24を押し込み、プレフィルドシリンジ内の薬液を吐出する操作について、従来のシリンジ(比較例)を使用した混注操作との微生物汚染の点より比較を行った。比較方法は、実施例のキャップ先端及び比較例のシリンジノズル先端へ強制的に微生物を付着させ、ホルダー又は注射針を使用して混注操作を行い、薬液への菌の侵入を比較した。具体的には、保存してあるStaphylococcus Epidermidis(ATCC株番号:No.14990株)をTSA培地上に画線しこれを37℃、24時間培養した後、菌をコンラージ棒で均一の厚さになるように画線したものを用意した。次に実施例では菌繁殖培地に垂直にキャップの先端を押しつけ、比較例ではノズル先端を同様にして押しつけた後、それぞれ上述の混注操作を行い、薬液内への混入菌数を測定した。結果を表3に示す。本発明に係るプレフィルドシリンジはキャップ先端面より2mmの位置にゴム膜を配し封止部材としたため、先端が露出する比較例に比べて汚染がないことが確認された。
In this example, an experiment was conducted on contamination of the
1 プレフィルドシリンジ(既充填薬液容器)
2 シリンジ本体
21 筒状体
21a フランジ
22 ノズル
22a 内部通路
22b 雄ネジ
23 ガスケット
24 プランジャー
3 キャップ
31 キャップ本体
31a 貫通孔
31b 雌ネジ
31c 内側面
31d キャップ環状凸部
32 ゴム膜
A 薬液
B 隙間
C 空間(空間部)
4 ホルダー
41 ホルダー本体
41a 収納部
41b ホルダー雌ネジ
41c ホルダー環状凸部
41d 縮径部
42 マルチ針
42a 内針
42b 外針
42c ハブ
42d 雄ネジ
42e ゴムチップ
5 従来のマルチ針付きホルダー
51 ホルダー本体
52 マルチ針
52a 内針
52b 外針
1 Prefilled syringe (filled chemical container)
2
4 Holder 41
Claims (2)
前記ホルダー本体は、既充填薬液容器のキャップを収納し得る略筒状の収納部と、前記マルチ針を固定するホルダー雌ネジと、前記収納部の基端部内周面に形成されたホルダー環状凸部とを備え、
前記マルチ針は、互いに連通する内部通路を有する中空針で構成された内針および外針と、これら両針の間に設けられ前記ホルダー雌ネジに螺合する雄ネジが形成されたハブと、前記内針を覆うように設けられ再シール性を有するゴムチップとを備え、
前記ホルダー環状凸部は、前記キャップの外周面に設けられたキャップ環状凸部と係合し、前記内針を前記既充填薬液容器のゴム膜に刺通したときに前記ゴムチップの復元力によりマルチ針付きホルダーから前記既充填薬液容器が脱落するのを防止する機能を有するものであることを特徴とするマルチ針付きホルダー。 A holder with a multi-needle composed of a holder body and a multi-needle,
The holder main body includes a substantially cylindrical storage portion that can store a cap of a pre-filled chemical solution container, a holder female screw that fixes the multi-needle, and a holder annular protrusion formed on an inner peripheral surface of a base end portion of the storage portion. With
The multi-needle includes an inner needle and an outer needle formed by hollow needles having internal passages communicating with each other, a hub provided between these needles and formed with a male screw that is screwed into the holder female screw, Bei example a rubber chips having a re-sealable provided so as to cover the inner needle,
The holder annular convex portion engages with a cap annular convex portion provided on the outer peripheral surface of the cap, and when the inner needle is pierced through the rubber film of the pre-filled chemical solution container, the holder annular convex portion A holder with a multi-needle , which has a function of preventing the pre-filled chemical solution container from falling off the holder with a needle.
Priority Applications (1)
| Application Number | Priority Date | Filing Date | Title |
|---|---|---|---|
| JP2004209196A JP3949125B2 (en) | 2004-07-15 | 2004-07-15 | Multi-needle holder |
Applications Claiming Priority (1)
| Application Number | Priority Date | Filing Date | Title |
|---|---|---|---|
| JP2004209196A JP3949125B2 (en) | 2004-07-15 | 2004-07-15 | Multi-needle holder |
Related Parent Applications (1)
| Application Number | Title | Priority Date | Filing Date |
|---|---|---|---|
| JP12950097A Division JP3634560B2 (en) | 1997-05-20 | 1997-05-20 | Filled chemical container |
Publications (2)
| Publication Number | Publication Date |
|---|---|
| JP2004283630A JP2004283630A (en) | 2004-10-14 |
| JP3949125B2 true JP3949125B2 (en) | 2007-07-25 |
Family
ID=33297246
Family Applications (1)
| Application Number | Title | Priority Date | Filing Date |
|---|---|---|---|
| JP2004209196A Expired - Fee Related JP3949125B2 (en) | 2004-07-15 | 2004-07-15 | Multi-needle holder |
Country Status (1)
| Country | Link |
|---|---|
| JP (1) | JP3949125B2 (en) |
Cited By (1)
| Publication number | Priority date | Publication date | Assignee | Title |
|---|---|---|---|---|
| CN104162212A (en) * | 2013-05-17 | 2014-11-26 | 王善理 | Newly designed insulin injection needle |
-
2004
- 2004-07-15 JP JP2004209196A patent/JP3949125B2/en not_active Expired - Fee Related
Cited By (1)
| Publication number | Priority date | Publication date | Assignee | Title |
|---|---|---|---|---|
| CN104162212A (en) * | 2013-05-17 | 2014-11-26 | 王善理 | Newly designed insulin injection needle |
Also Published As
| Publication number | Publication date |
|---|---|
| JP2004283630A (en) | 2004-10-14 |
Similar Documents
| Publication | Publication Date | Title |
|---|---|---|
| US8177761B2 (en) | Assembly for cleaning luer connectors | |
| US8197749B2 (en) | Methods for cleaning luer connectors | |
| US20090270832A1 (en) | Needleless port assembly for a container | |
| CN213852500U (en) | prefillable container | |
| JP2001112867A (en) | Syringe containing drug | |
| CN105102045A (en) | Syringe assembly, syringe assembly packaging, seal cap for outer cylinder, and pre-filled syringe | |
| JP2009536085A (en) | Vented infusion access device | |
| US6773427B2 (en) | Infusion container | |
| WO2016039111A1 (en) | Syringe assembly, syringe assembly packaging, outer cylinder seal cap, and prefilled syringe | |
| JP3811005B2 (en) | Medical container | |
| JP2002172166A (en) | Pre-filled syringe | |
| JP3949124B2 (en) | Cap and prefilled chemical container | |
| JP5502579B2 (en) | Medical device connector and drug administration device | |
| JP2002078799A (en) | Liquid injection appliance | |
| JP3634560B2 (en) | Filled chemical container | |
| JP4004106B2 (en) | Chemical injection device | |
| JP4378966B2 (en) | Multi-chamber drug container | |
| JP3949125B2 (en) | Multi-needle holder | |
| JP4691773B2 (en) | Drug enclosing container set and manufacturing method thereof | |
| JP2014131763A (en) | Medical device connector and medicament administration device | |
| JP2009219855A (en) | Syringe-cum-container | |
| EP0812158A1 (en) | Infusion bag with injection port | |
| JP2002253641A (en) | Syringe package for prefilled syringe | |
| JPWO2002072175A1 (en) | Chemical liquid injection port and chemical liquid container including the same | |
| JP3688629B2 (en) | Syringe |
Legal Events
| Date | Code | Title | Description |
|---|---|---|---|
| A621 | Written request for application examination |
Free format text: JAPANESE INTERMEDIATE CODE: A621 Effective date: 20040806 |
|
| A131 | Notification of reasons for refusal |
Free format text: JAPANESE INTERMEDIATE CODE: A131 Effective date: 20061116 |
|
| A521 | Written amendment |
Free format text: JAPANESE INTERMEDIATE CODE: A523 Effective date: 20070110 |
|
| TRDD | Decision of grant or rejection written | ||
| A01 | Written decision to grant a patent or to grant a registration (utility model) |
Free format text: JAPANESE INTERMEDIATE CODE: A01 Effective date: 20070327 |
|
| A61 | First payment of annual fees (during grant procedure) |
Free format text: JAPANESE INTERMEDIATE CODE: A61 Effective date: 20070417 |
|
| R150 | Certificate of patent or registration of utility model |
Free format text: JAPANESE INTERMEDIATE CODE: R150 |
|
| FPAY | Renewal fee payment (event date is renewal date of database) |
Free format text: PAYMENT UNTIL: 20100427 Year of fee payment: 3 |
|
| FPAY | Renewal fee payment (event date is renewal date of database) |
Free format text: PAYMENT UNTIL: 20110427 Year of fee payment: 4 |
|
| FPAY | Renewal fee payment (event date is renewal date of database) |
Free format text: PAYMENT UNTIL: 20120427 Year of fee payment: 5 |
|
| FPAY | Renewal fee payment (event date is renewal date of database) |
Free format text: PAYMENT UNTIL: 20120427 Year of fee payment: 5 |
|
| FPAY | Renewal fee payment (event date is renewal date of database) |
Free format text: PAYMENT UNTIL: 20130427 Year of fee payment: 6 |
|
| FPAY | Renewal fee payment (event date is renewal date of database) |
Free format text: PAYMENT UNTIL: 20130427 Year of fee payment: 6 |
|
| FPAY | Renewal fee payment (event date is renewal date of database) |
Free format text: PAYMENT UNTIL: 20140427 Year of fee payment: 7 |
|
| LAPS | Cancellation because of no payment of annual fees |
