JP3722850B2 - Organic-inorganic polymer and method for producing the same - Google Patents
Organic-inorganic polymer and method for producing the same Download PDFInfo
- Publication number
- JP3722850B2 JP3722850B2 JP27551893A JP27551893A JP3722850B2 JP 3722850 B2 JP3722850 B2 JP 3722850B2 JP 27551893 A JP27551893 A JP 27551893A JP 27551893 A JP27551893 A JP 27551893A JP 3722850 B2 JP3722850 B2 JP 3722850B2
- Authority
- JP
- Japan
- Prior art keywords
- organic
- atom
- polymer
- silicon
- inorganic
- Prior art date
- Legal status (The legal status is an assumption and is not a legal conclusion. Google has not performed a legal analysis and makes no representation as to the accuracy of the status listed.)
- Expired - Lifetime
Links
- 229920000592 inorganic polymer Polymers 0.000 title claims description 30
- 238000004519 manufacturing process Methods 0.000 title claims description 10
- 125000000962 organic group Chemical group 0.000 claims description 35
- 229910052710 silicon Inorganic materials 0.000 claims description 32
- 239000010703 silicon Substances 0.000 claims description 32
- 150000002894 organic compounds Chemical class 0.000 claims description 31
- XUIMIQQOPSSXEZ-UHFFFAOYSA-N Silicon Chemical compound [Si] XUIMIQQOPSSXEZ-UHFFFAOYSA-N 0.000 claims description 30
- 229920000642 polymer Polymers 0.000 claims description 30
- 150000001875 compounds Chemical class 0.000 claims description 26
- 229910052782 aluminium Inorganic materials 0.000 claims description 16
- 239000011259 mixed solution Substances 0.000 claims description 16
- WOBHKFSMXKNTIM-UHFFFAOYSA-N Hydroxyethyl methacrylate Chemical group CC(=C)C(=O)OCCO WOBHKFSMXKNTIM-UHFFFAOYSA-N 0.000 claims description 14
- -1 methacryloxy group Chemical group 0.000 claims description 13
- 238000002156 mixing Methods 0.000 claims description 13
- 229920000620 organic polymer Polymers 0.000 claims description 13
- 239000000126 substance Substances 0.000 claims description 13
- 238000000034 method Methods 0.000 claims description 12
- 125000003545 alkoxy group Chemical group 0.000 claims description 11
- 229910052751 metal Inorganic materials 0.000 claims description 9
- 239000002184 metal Substances 0.000 claims description 9
- 229910052802 copper Inorganic materials 0.000 claims description 8
- 229910052742 iron Inorganic materials 0.000 claims description 8
- 229910052749 magnesium Inorganic materials 0.000 claims description 8
- 229910052748 manganese Inorganic materials 0.000 claims description 8
- 229910052759 nickel Inorganic materials 0.000 claims description 8
- 229910052720 vanadium Inorganic materials 0.000 claims description 8
- 229910052732 germanium Inorganic materials 0.000 claims description 7
- 229910052726 zirconium Inorganic materials 0.000 claims description 6
- VVQNEPGJFQJSBK-UHFFFAOYSA-N Methyl methacrylate Chemical compound COC(=O)C(C)=C VVQNEPGJFQJSBK-UHFFFAOYSA-N 0.000 claims description 5
- 230000008569 process Effects 0.000 claims description 5
- 150000003839 salts Chemical class 0.000 claims description 5
- 230000032683 aging Effects 0.000 claims description 3
- 150000004703 alkoxides Chemical class 0.000 claims description 3
- 229910052500 inorganic mineral Inorganic materials 0.000 claims description 3
- 229910017053 inorganic salt Inorganic materials 0.000 claims description 3
- 239000011707 mineral Substances 0.000 claims description 3
- 229910052615 phyllosilicate Inorganic materials 0.000 claims description 3
- 239000002798 polar solvent Substances 0.000 claims description 3
- 239000003513 alkali Substances 0.000 claims description 2
- 238000007334 copolymerization reaction Methods 0.000 claims description 2
- 239000002210 silicon-based material Substances 0.000 claims 1
- 239000010410 layer Substances 0.000 description 28
- 239000000463 material Substances 0.000 description 14
- 239000011248 coating agent Substances 0.000 description 12
- 238000000576 coating method Methods 0.000 description 12
- 238000006116 polymerization reaction Methods 0.000 description 10
- 230000009477 glass transition Effects 0.000 description 8
- 239000000945 filler Substances 0.000 description 7
- 239000000243 solution Substances 0.000 description 7
- 239000002904 solvent Substances 0.000 description 7
- HEMHJVSKTPXQMS-UHFFFAOYSA-M Sodium hydroxide Chemical compound [OH-].[Na+] HEMHJVSKTPXQMS-UHFFFAOYSA-M 0.000 description 6
- 238000007792 addition Methods 0.000 description 6
- 229910010272 inorganic material Inorganic materials 0.000 description 6
- 239000011147 inorganic material Substances 0.000 description 6
- 239000007788 liquid Substances 0.000 description 6
- 239000011777 magnesium Substances 0.000 description 6
- NIXOWILDQLNWCW-UHFFFAOYSA-N acrylic acid group Chemical group C(C=C)(=O)O NIXOWILDQLNWCW-UHFFFAOYSA-N 0.000 description 5
- 239000004927 clay Substances 0.000 description 5
- 239000003999 initiator Substances 0.000 description 5
- 239000004593 Epoxy Substances 0.000 description 4
- 239000002734 clay mineral Substances 0.000 description 4
- 238000010438 heat treatment Methods 0.000 description 4
- 239000000203 mixture Substances 0.000 description 4
- 239000000047 product Substances 0.000 description 4
- 238000003756 stirring Methods 0.000 description 4
- OKKJLVBELUTLKV-UHFFFAOYSA-N Methanol Chemical compound OC OKKJLVBELUTLKV-UHFFFAOYSA-N 0.000 description 3
- 238000006243 chemical reaction Methods 0.000 description 3
- 239000002131 composite material Substances 0.000 description 3
- 239000013078 crystal Substances 0.000 description 3
- 125000003700 epoxy group Chemical group 0.000 description 3
- 238000005342 ion exchange Methods 0.000 description 3
- 125000005395 methacrylic acid group Chemical group 0.000 description 3
- 239000011368 organic material Substances 0.000 description 3
- 239000002994 raw material Substances 0.000 description 3
- 229920005989 resin Polymers 0.000 description 3
- 239000011347 resin Substances 0.000 description 3
- 125000000391 vinyl group Chemical group [H]C([*])=C([H])[H] 0.000 description 3
- XLYOFNOQVPJJNP-UHFFFAOYSA-N water Substances O XLYOFNOQVPJJNP-UHFFFAOYSA-N 0.000 description 3
- XDLMVUHYZWKMMD-UHFFFAOYSA-N 3-trimethoxysilylpropyl 2-methylprop-2-enoate Chemical compound CO[Si](OC)(OC)CCCOC(=O)C(C)=C XDLMVUHYZWKMMD-UHFFFAOYSA-N 0.000 description 2
- CSCPPACGZOOCGX-UHFFFAOYSA-N Acetone Chemical compound CC(C)=O CSCPPACGZOOCGX-UHFFFAOYSA-N 0.000 description 2
- FEXQDZTYJVXMOS-UHFFFAOYSA-N Isopropyl benzoate Chemical compound CC(C)OC(=O)C1=CC=CC=C1 FEXQDZTYJVXMOS-UHFFFAOYSA-N 0.000 description 2
- NBIIXXVUZAFLBC-UHFFFAOYSA-N Phosphoric acid Chemical compound OP(O)(O)=O NBIIXXVUZAFLBC-UHFFFAOYSA-N 0.000 description 2
- BLRPTPMANUNPDV-UHFFFAOYSA-N Silane Chemical compound [SiH4] BLRPTPMANUNPDV-UHFFFAOYSA-N 0.000 description 2
- 125000003277 amino group Chemical group 0.000 description 2
- QVGXLLKOCUKJST-UHFFFAOYSA-N atomic oxygen Chemical compound [O] QVGXLLKOCUKJST-UHFFFAOYSA-N 0.000 description 2
- 230000008859 change Effects 0.000 description 2
- 230000000694 effects Effects 0.000 description 2
- 150000002500 ions Chemical class 0.000 description 2
- 230000001678 irradiating effect Effects 0.000 description 2
- 239000012074 organic phase Substances 0.000 description 2
- 239000003960 organic solvent Substances 0.000 description 2
- 229910052760 oxygen Inorganic materials 0.000 description 2
- 239000001301 oxygen Substances 0.000 description 2
- 239000003973 paint Substances 0.000 description 2
- 230000000704 physical effect Effects 0.000 description 2
- 239000000843 powder Substances 0.000 description 2
- 229910000077 silane Inorganic materials 0.000 description 2
- 239000007790 solid phase Substances 0.000 description 2
- MSAHTMIQULFMRG-UHFFFAOYSA-N 1,2-diphenyl-2-propan-2-yloxyethanone Chemical compound C=1C=CC=CC=1C(OC(C)C)C(=O)C1=CC=CC=C1 MSAHTMIQULFMRG-UHFFFAOYSA-N 0.000 description 1
- LFQSCWFLJHTTHZ-UHFFFAOYSA-N Ethanol Chemical compound CCO LFQSCWFLJHTTHZ-UHFFFAOYSA-N 0.000 description 1
- FYYHWMGAXLPEAU-UHFFFAOYSA-N Magnesium Chemical group [Mg] FYYHWMGAXLPEAU-UHFFFAOYSA-N 0.000 description 1
- CERQOIWHTDAKMF-UHFFFAOYSA-N Methacrylic acid Chemical compound CC(=C)C(O)=O CERQOIWHTDAKMF-UHFFFAOYSA-N 0.000 description 1
- 239000006087 Silane Coupling Agent Substances 0.000 description 1
- 201000010001 Silicosis Diseases 0.000 description 1
- 238000005299 abrasion Methods 0.000 description 1
- 230000009471 action Effects 0.000 description 1
- 125000001931 aliphatic group Chemical group 0.000 description 1
- 229910000147 aluminium phosphate Inorganic materials 0.000 description 1
- 239000007864 aqueous solution Substances 0.000 description 1
- 238000012662 bulk polymerization Methods 0.000 description 1
- 125000002915 carbonyl group Chemical group [*:2]C([*:1])=O 0.000 description 1
- 239000003054 catalyst Substances 0.000 description 1
- 239000007795 chemical reaction product Substances 0.000 description 1
- 238000013329 compounding Methods 0.000 description 1
- 238000009833 condensation Methods 0.000 description 1
- 230000005494 condensation Effects 0.000 description 1
- 230000018044 dehydration Effects 0.000 description 1
- 238000006297 dehydration reaction Methods 0.000 description 1
- 239000006185 dispersion Substances 0.000 description 1
- 230000002708 enhancing effect Effects 0.000 description 1
- 238000001914 filtration Methods 0.000 description 1
- 238000010304 firing Methods 0.000 description 1
- 125000000524 functional group Chemical group 0.000 description 1
- GNPVGFCGXDBREM-UHFFFAOYSA-N germanium atom Chemical compound [Ge] GNPVGFCGXDBREM-UHFFFAOYSA-N 0.000 description 1
- 150000002291 germanium compounds Chemical class 0.000 description 1
- 239000011521 glass Substances 0.000 description 1
- 229920001519 homopolymer Polymers 0.000 description 1
- 230000007062 hydrolysis Effects 0.000 description 1
- 238000006460 hydrolysis reaction Methods 0.000 description 1
- 230000001771 impaired effect Effects 0.000 description 1
- 230000006872 improvement Effects 0.000 description 1
- 238000009830 intercalation Methods 0.000 description 1
- 230000002687 intercalation Effects 0.000 description 1
- 239000007791 liquid phase Substances 0.000 description 1
- 239000006193 liquid solution Substances 0.000 description 1
- 229940050906 magnesium chloride hexahydrate Drugs 0.000 description 1
- DHRRIBDTHFBPNG-UHFFFAOYSA-L magnesium dichloride hexahydrate Chemical compound O.O.O.O.O.O.[Mg+2].[Cl-].[Cl-] DHRRIBDTHFBPNG-UHFFFAOYSA-L 0.000 description 1
- 239000008204 material by function Substances 0.000 description 1
- 238000005259 measurement Methods 0.000 description 1
- 230000007246 mechanism Effects 0.000 description 1
- 150000007522 mineralic acids Chemical class 0.000 description 1
- 150000007524 organic acids Chemical class 0.000 description 1
- 235000005985 organic acids Nutrition 0.000 description 1
- 239000012044 organic layer Substances 0.000 description 1
- 238000006053 organic reaction Methods 0.000 description 1
- 125000000082 organogermanium group Chemical group 0.000 description 1
- 150000003961 organosilicon compounds Chemical class 0.000 description 1
- 229920001558 organosilicon polymer Polymers 0.000 description 1
- 239000000049 pigment Substances 0.000 description 1
- 239000004014 plasticizer Substances 0.000 description 1
- 229920000768 polyamine Polymers 0.000 description 1
- 230000000379 polymerizing effect Effects 0.000 description 1
- 238000002360 preparation method Methods 0.000 description 1
- 125000002924 primary amino group Chemical group [H]N([H])* 0.000 description 1
- 125000001436 propyl group Chemical group [H]C([*])([H])C([H])([H])C([H])([H])[H] 0.000 description 1
- 239000007787 solid Substances 0.000 description 1
- 238000006467 substitution reaction Methods 0.000 description 1
- PXQLVRUNWNTZOS-UHFFFAOYSA-N sulfanyl Chemical class [SH] PXQLVRUNWNTZOS-UHFFFAOYSA-N 0.000 description 1
- 238000010557 suspension polymerization reaction Methods 0.000 description 1
- 229920003002 synthetic resin Polymers 0.000 description 1
- 239000000057 synthetic resin Substances 0.000 description 1
- 230000007704 transition Effects 0.000 description 1
- 238000001291 vacuum drying Methods 0.000 description 1
- 238000005406 washing Methods 0.000 description 1
Images
Landscapes
- Graft Or Block Polymers (AREA)
- Polymers With Sulfur, Phosphorus Or Metals In The Main Chain (AREA)
- Silicon Polymers (AREA)
Description
【0001】
【産業上の利用分野】
本発明は、コート材、樹脂へのフィラーあるいは種々の機能性材料などへの利用が可能な有機−無機重合体およびその製造方法に関する。
【0002】
【従来の技術】
一般にコート材、成形体などの主成分材料あるいはフィラーとしての無機材料は高硬度、耐熱性などの特徴をもつが、液相もしくは溶液から迅速に緻密な固相を形成するには加熱焼成を必要とする。
また、これらの無機材料は、有機溶媒や有機物相との親和性が良くない。一方、有機材料は可撓性や常温での迅速な成膜性などの特徴をもつが、硬度や耐熱性が劣るという欠点がある。このため従来より、無機材料と有機材料との上記の特徴を併せもち、しかも上記の欠点を可及的に制限した無機−有機ハイブリッド材料とかかる材料を、たとえば室温付近の温度などの容易な条件下で迅速に製造できる有効な製造方法の開発が望まれている。
【0003】
かかる要望に答えようとする技術として、特開平1−108272号公報には、無機−有機ハイブリッド塗料が開示されている。この塗料は、エポキシシランの部分加水分解物とカルボニル基含有化合物と非シラン系ベースの脂肪族ポリアミンとの反応生成物とからなる耐摩耗性コーティング材料である。
しかし、この場合塗膜中の無機構造は有機ポリマーに導入された1部分に限られ、しかも室温付近での有機反応による塗膜中に無機構造部分が成長したり、成膜したりすることがないため、無機材料の特徴を充分に発現させることができず、有機ポリマーに比べて飛躍的な向上は望めない。
【0004】
次に本件出願人の出願に係る特開昭62−74957号公報には、本発明とは利用分野が一致していないが、無機−有機ハイブリッド材料である有機化粘土(層状粘土鉱物の層間にイオン交換反応により有機化合物を導入した層間化合物)が開示されている。かかる有機粘土は、上記出願に係る発明の目的を達成する上では極めて有効であるが、本発明が目的とする分野への適用において必ずしも充分ではない。
【0005】
上記の有機化粘土は、有機物をイオン交換反応により粘土鉱物の層間に導入するため、イオン化の困難な有機物、たとえばエポキシ部分を含むもの、末端にアミノ基を有するものなどは導入できない。また粘土鉱物固有のイオン交換容量までしか有機物が導入できない。さらに粘土鉱物と有機物とはイオン結合により結合しているため、実用の際の操作などでイオン結合が切れて有機物が遊離するおそれがある。
【0006】
【発明が解決しようとする課題】
本発明は、無機部と有機部とが強固な結合をし堅牢で緻密な固相を形成した重合体であり、無機部と有機部との比率を制御が容易な重合体およびその製造方法を提供することを目的とする。
【0007】
【課題を解決するための手段】
本発明者らは、先に表面に重合性の有機側鎖をもつ珪素系新規層状高分子を出願した。珪素系新規層状高分子の有機側鎖がアクリル、エポキシ、ビニル基のような同種の反応基をもつとき、反応基の重合反応により賦形可能な重合体を得ることができる。この重合体は無機成分を含まないものに比べ耐熱性、硬度に優れ、無機材料にない可撓性をもつが、用途によってはさらに高い可撓性をもつことが必要とされる場合がある。本発明は上記の重合体に有機分子を結合させることにより、無機部と有機部の割合を制御することで必要な物性が付与できることを見出し本発明を完成したものである。
【0008】
本発明の第1の有機−無機重合体は、珪素、Geから選ばれる少なくとも1種の原子、または該原子の一部をAl、Fe、Pから選ばれる少なくとも1種の原子により置換した原子を中心原子とする4面体面構造が構成する4面体構造層とMg、Al、Ni、Co、Cu、Mn、Fe、Li、V、Zrから選ばれる少なくとも1種の金属を中心原子とする8面体面構造が構成する8面体構造層との2:1型または1:1型の積層体からなるフィロ珪酸塩鉱物型の層状構造を有する結晶性の積層構造体と、該積層構造体を形成する前記4面体面構造の中心原子である珪素、Geのうちの少なくとも一部の原子と共有結合により結合する有機物をもつ有機重合体層と、から構成され、前記有機重合体層の前記有機物は、珪素、Geのうちの少なくとも一部の原子と共有結合により珪素またはGe1つあたりに1つ結合し重合可能な反応基としてメタクリロキシ基を有する有機基と、該有機基の反応基と共重合により結合するメタクリル酸メチルおよび/またはメタクリル酸2−ヒドロキシエチルと、からなることを特徴とする。
【0009】
本発明の第2の有機−無機重合体の製造方法は、3つのアルコキシ基をもち、かつ重合可能な反応基を有する有機基と共有結合で結合した珪素を有する化合物および3つのアルコキシ基をもち、かつ重合可能な反応基を有する有機基と共有結合で結合したGeを有する化合物から選ばれた少なくとも1種の化合物と、Mg、Al、Ni、Co、Cu、Mn、Fe、Li、V、Zrから選ばれる少なくとも1種の金属の無機塩、有機塩あるいはアルコキシドと、無機または有機の1種類あるいは2種類以上を混合した極性溶媒と、を混合して混合溶液とする混合工程と、
該混合溶液にアルカリを加えて該混合溶液のpHをアルカリ性に調整してそのまま、あるいはエージングにより、珪素、Geから選ばれる少なくとも1種の原子、または該原子の一部をAl、Feから選ばれる少なくとも1種の原子により置換した原子を中心原子とする4面体面構造が構成する4面体構造層と、Mg、Al、Ni、Co、Cu、Mn、Fe、Li、V、Zrから選ばれる少なくとも1種の金属を中心原子とする8面体面構造が構成する8面体構造層とが結晶性の積層構造体を形成する積層構造形成工程と、
前記積層構造体と、該積層構造体の有機基の反応基と重合可能でかつ単独で重合体を形成できる有機化合物と、を混合して前記有機基と前記有機化合物とを共重合させて前記積層構造体に該有機化合物の重合体層を形成する重合体形成工程と、からなることを特徴とする。
本発明の第2の有機−無機重合体の製造方法において、前記混合溶液は、Pを有する化合物を含み、前記4面体面構造の中心原子である珪素、Geから選ばれる少なくとも1種の原子の一部をPにより置換するのが好ましい。
さらに、前記混合溶液は、3つのアルコキシ基を有するシリコンアルコキシド、3つのアルコキシ基を有するゲルマニウムアルコキシド、ゲルマニウムから選ばれる少なくとも1種の化合物を含み、前記4面体面構造の中心原子である珪素、Geから選ばれる少なくとも1種の原子のうちの一部を、重合可能な反応基を有する前記有機基と共有結合しない原子とするのが望ましい。
【0010】
本発明の第1は、珪素、Geから選ばれる少なくとも1種の原子、または該原子の一部をAl、Fe、Pから選ばれる少なくとも1種の原子により置換した原子を中心原子とする4面体面構造が構成する4面体構造層と、Mg、Al、Ni、Co、Cu、Mn、Fe、Li、V、Zrから選ばれる少なくとも1種の金属を中心原子とする8面体面構造が構成する8面体構造層とがフィロ珪酸塩鉱物型の層状構造を有する結晶性の積層構造を形成している。この積層構造は、8面体構造層の両側に4面体構造層が形成されたいわゆる2:1型構造のものと、8面体構造層の片側に4面体構造層が形成されたいわゆる1:1型構造のものとがある。有機基を多く含ませたい場合や、有機基相互の結合強度を向上させたい場合には、2:1型構造のものがより望ましい。
【0011】
この2:1型あるいは1:1型構造を形成するには4面体面構造を構成する原子と8面体面構造を構成する原子の割合を調製することで形成することができる。
4面体面構造の中心原子である珪素およびGeのうちの少なくとも1種の一部はAl、FeおよびPから選ばれる1種または複数の原子で置換することができる。これらAl、Fe、Pは、珪素またはGeとの中心原子置換により容易に導入できる。
【0012】
4面体面構造を形成する原子には、その一部または全部が重合性の反応基をもつ有機基と共有結合で結合している。この有機基の導入可能量は最大限で4面体の中心原子1個当たり1〜3個という充分すぎる程導入できる。
この有機基は、重合可能な反応基を有し、それ自身も重合して重合体を形成できる有機化合物と共重合して有機−無機重合体の有機重合体層を形成している。このため有機化合物の積層構造体との配合比率を調整することで有機−無機重合体の有機性、無機性を変化させることができる。
【0013】
したがって、この有機−無機重合体は、たとえばコート材などとして使用する際は有機性を高めて可撓性や常温で迅速な成膜性などの有機材料の特徴を確保でき、かつ、無機性を高めてフィラーなどとして使用する際の有機溶媒や有機物相との親和性も確保できる。
さらに、この有機−無機重合体は、有機基が共有結合で4面体面構造を構成する原子に結合しているので積層構造体からなる無機部と有機重合体層からなる有機部との両者の結合が堅牢であり、コート材やフィラーとして使用する際の他の組成成分との混合および実用にあたっての各種の操作をおこなっても両者の間の結合が損なわれることはない。
【0014】
また、この有機−無機重合体は、従来の粘土ハイブリッド複合材料などと比べても、より多くの表面有機基をもつため極微量の積層構造体の添加で有機化合物重合体の耐熱性などの物性の改善を図ることができる。積層構造体の添加量は原理的には0%を超え100%未満の添加で有用な重合体の成形物を得ることができるが0.05重量%から85重量%が望ましい。
【0015】
本発明の有機−無機重合体の中でも、以下のものはシランカップリング剤として用いられる安価なオルガノアルコキシシランから容易に合成可能であり、また反応性の高い有機側鎖をもつことが望ましい。これは、アミノ、エポキシ、メルカプト、アクリル、メタクリルまたはビニル基をもつ有機側鎖をもち、これと共有結合したSiを中心としてそのまわりに酸素が4面体配位した構造の4面体構造層と、Mg等を中心原子とし、そのまわりに酸素が8面体配位した構造の8面体構造層とが積層した結晶性の積層構造体を有する有機珪素系重合体である。
【0016】
本願の第2の発明の製造方法は、各成分を混合する混合工程と、混合物のpHを調製して無機部の結晶性積層構造を形成する積層構造形成工程と、積層構造体に有機化合物を加えて重合させる重合体形成工程とからなる。
混合工程では、4面体面構造の中心原子を有する化合物、8面体面構造の中心原子を有する化合物と、必要に応じてPを有する化合物、またはシリコンアルコキシド、ゲルマニウムアルコキシド、またはゲルマニウムハロゲン化物と極性溶液を混合液とする。4面体面構造の中心原子を有する化合物としては、たとえば、アルコキシ基および重合可能な官能基を有するオルガノアルコキシシランなどの有機珪素化合物、オルガノゲルマニウムなどの有機ゲルマニウム化合物などが挙げられる。8面体面構造の中心原子を有する化合物としては、Mg、Al、Ni、Co、Cu、Mn、Fe、Li、V、Zrから選ばれる少なくとも1種の金属原子の無機塩、有機塩、アルコキシドなどを用いる。このうち、Al、Feは8面体面構造の中心原子となると共にその一部は4面体面構造の中心原子(珪素、Ge)の一部を置換する原子となる。極性溶媒としては水、アルコール、アセトン、有機酸、無機酸などのうちの1種または2種以上の混合した極性溶液が利用できる。4面体面構造の中心原子を有する化合物、8面体面構造の中心原子を有する化合物は必ずしも完全に溶解する必要はなく、ある程度の分散状態であっても目的を達成できる。
【0017】
なお、混合時にPを有する化合物を添加することができる。この化合物中のPが4面体面構造の中心原子(珪素、Ge)の一部を置換する原子となる。この化合物としては、リン酸またはその誘導体、Pの無機塩、Pの有機塩等がある。
また混合時に、シリコンアルコキシド、ゲルマニウムアルコキシド、またはゲルマニウムハロゲン化物を添加することができる。これらの化合物も、4面体面構造の中心原子を有する化合物と同様にし積層構造体に組み込まれる。これは本願ではアルコキシ基は特に有機基と定義していない。これらの化合物の添加により4面体面構造の中心原子である珪素またはGeのうちの一部を重合可能な反応基を有する有機基と共有結合していない原子とする。これらの化合物を4面体面構造の中心原子を有する化合物に対して所定の比率で併用することにより積層構造体中の無機部の割合が調整できる。
【0018】
積層構造形成工程では、調製された混合溶液のpHをアルカリ性にして積層構造体の成長を促進する。混合溶液をアルカリ性にするpH値は、原料系の選択などの要因により一律には規定できないが、たとえば、pH8〜10程度であるが、積層構造の結晶が成長して混合溶液のゲル化が希望する程度以上の速さで進行するpHで、かつ結合している有機基が損なわれる様な強アルカリ性でなければよい。この積層構造形成工程は室温でも十分進行するが、有機基を損なわない程度の一定の高さの温度条件でおこなうこともできる。この積層構造形成工程は、原料の選択や反応条件次第で、直ちに完了する場合もある。またある程度、たとえば1〜2日間程度のエージングを要する場合もある。得られたゲル状の積層構造体は、一旦溶媒を除去して乾燥粉末として単離するのが好ましい。
【0019】
本発明の積層構造形成工程で積層構造体が形成されるメカニズムは必ずしも明確ではないが、混合溶液のpHをアルカリ性に調整すると、金属を中心原子とする8面体面の結晶構造が先行して成長しつつこれに追従してオルガノアルコキシシランの珪素がアルコキシ基の加水分解の後の脱水縮合により8面体構造層に結合し、この珪素を中心に4面体面の結晶構造が成長して4面体構造層と8面体構造層との積層構造が形成されていくものと推定している。中心原子がGeの場合でも同様であると考えられる。したがって、4面体面構造の珪素またはGeの一部に有機基が直接結合した状態でも珪素またはGeの4面体構造層は8面体構造層に追従して形成され、結局無機質の積層構造が形成されると考えている。
【0020】
重合体形成工程では、積層構造体に有機化合物を混合し通常の重合法により積層構造体の有機基を有機化合物に共重合させる。この場合必要に応じて開始剤あるいは加熱により重合を進行させる。重合法はいわゆる、注型重合、塊状重合、懸濁重合などが適用できる。また、光線を照射して光重合させることもできる。この有機化合物は粉体である積層構造体に均一に混合させるため常温または加熱により液状となるか溶媒に可溶であることが必要である。これらの条件を満たすものであれば利用できるが、たとえば、有機基がアクリル系であればアクリル系有機化合物、ビニル基をもつ有機化合物が適当であり、エポキシ系であればエポキシ基をもつ有機分子もしくは重合末端がアミノ基になるようなポリマーを形成する有機化合物が適当である。またここでいう有機化合物は必ずしも低分子量である必要はなく、高分子もしくはオリゴマーであってもよい。この有機化合物の量を調製することで有機部の無機部に対する比率を制御することができる。
【0021】
添加する有機化合物が液状であればそのまま積層構造体に添加混合すればよい。また加熱により液状となる有機化合物の場合は熱浴中での添加、混合が必要である。溶媒中で両者を混合する際は、積層構造体が膨潤し、かつ有機化合物が溶解するような共通溶媒を用いる必要がある。
添加する有機化合物もしくは溶媒によっては積層構造体が即座に分散せず時間が必要となるばあいがあるが、その場合はミキサーなど強制攪拌したり超音波を加えるなどして有機化合物もしくは溶媒の分散を促進することができる。
【0022】
加える有機化合物によっては重合に必要な触媒、もしくは開始剤などが必要である。また上記の有機化合物に加えて顔料、可塑剤のような成分を加えることができる。
本発明の有機−無機重合体は、有機部と無機部とが共有結合で結合されており表面の有機部と内部の無機部とで形成されている。このため本発明の有機−無機重合体は、従来のFPRなどの複合材料で合成樹脂とその中に分散している無機物の間に化学結合がなく単に混合している状態のものとは異なる。また粘土表面に有機イオンを含む樹脂と結ばれている粘土−ハイブリッド複合材料もあるが、これは粘土と有機イオンの間の結合はイオン結合のため共有結合と異なり結合力が弱く切れやすい。ところが本発明では樹脂層の有機部と無機部とが共有結合で結ばれ他の結合に比べて強固な結合を形成している。
【0023】
【作用】
本発明の有機−無機重合体は、結晶性の無機構造部分が、4面体面と8面体面とが積層された構造で形成されており、該4面体面を構成する中心原子には、重合性の有機基が共有結合で結合し、該有機基が他の重合性の有機化合物と共重合して有機部を形成している。そのため有機部と無機部とが積層しており、有機部を主体とした場合は無機部により有機部に高硬度、高耐熱性を付与することができる。逆に無機部が主体となっている場合には、有機物で覆われた無機材料としてフィラー、コート材として使用することができる。
【0024】
このため、他の有機物との親和性が高く可撓性のあるフィラー、コート材とすることができる。またこの有機−無機重合体の製造方法では、工程中で有機部と無機部の割合を容易に制御することができる。すなわち、共重合させる有機化合物の量や、混合工程で添加するアルコキシシランの量などにより有機−無機重合体中の有機部、無機部の割合を制御できる。
【0025】
この有機−無機重合体は、無機構造のうちの4面体面を構成する中心原子と有機基とが共有結合で結合しており、この有機基は有機層部を構成する有機化合物と共重合して重合体を形成している。このため無機部と有機部とが従来のイオン結合で無機部に有機部が結合している場合に比べ強固に結合しており、操作時および使用時に無機部と有機部との間の結合が切れて両者が剥離するのが防止できる。
【0026】
この有機−無機重合体の製造は、極性溶液に所定の原料を溶解し、溶液のpHを弱アルカリ性にすることで容易に積層構造体が形成できる。この積層構造体に有機化合物を添加混合して通常の重合法により製造することができる。そして無機部と有機部の比率は混合工程および重合工程での配合仕込み比を変えるのみで容易にできる。
【0027】
【実施例】
以下、実施例により本発明を具体的に説明する。
(実施例1)
(混合工程)
1Nの水酸化ナトリウム水溶液200mlに水4000mlを加えて希釈した水酸化ナトリウム水溶液(A液)を調整した。別に1000mlのメタノールに3−メタクリロキシプロピルトリメトキシシラン(MPTS)49.6gと塩化マグネシウム6水和物20.4gを加えてよく攪拌してB液を調整した。
(積層構造形成工程)
B液を攪拌しながらA液を添加混合して混合液をゲル化させて珪素原子を中心とする4面体面構造とマグネシウム原子を中心とする8面体面構造とが積層した結晶性の積層構造を有する積層構造体を合成した。このゲル化物を濾過、水洗、真空乾燥して粉末状として単離した。この積層構造体は4面体面の珪素を中心原子に、有機基のメタクリル酸が活性基として珪素にプロピル基を介して共有結合を形成して有機基を形成している。
(重合工程)
上記の積層構造生成物1gにメタクリル酸2−ヒドロキシエチル(HEMA)2g、光重合開始剤としてベンゾイルイソプロピルエーテル0.03gを加えて攪拌混合した。この混合液をアクリル板に(膜厚100μmおよび500μm(0.5mm)程度に)塗布し、高圧紫外線ランプで1時間紫外線を照射して光重合させた。その結果、アクリル板上にHEMAとメタクリル酸残基とが共重合した有機重合体層をもつ有機−無機重合体のコート膜が形成された。このコート膜の表面硬度を鉛筆法により測定したところどちらも6Hであり、HEMA単独重合体の表面硬度6B以下に比べてより向上していた。このことにより有機−無機重合体が有機重合体の表面硬度を向上させることが可能であることを示している。また、0.5mmと従来のVV系ハードコート材料(50μm以下)にくらべ厚塗りが可能となった。
(実施例2)
実施例1で作製した積層構造体12gにメタクリル酸メチル(MMA)5g、光重合開始剤としてベンゾインイソプロピルエーテル0.07gを加えて攪拌混合した。この混合液をアクリル板状に膜厚100μm程度に塗布し、高圧紫外線ランプで1時間紫外線を照射して光重合させた。その結果、MMAと積層構造体のメタクリル酸残基とが共重合した有機重合体層をもつ有機−無機重合体のコート膜が形成された。このコート膜の表面硬度を鉛筆法により測定したところ9Hであり、MMA重合体の表面硬度6Bに比べて著しく向上していた。
【0028】
(実施例3)
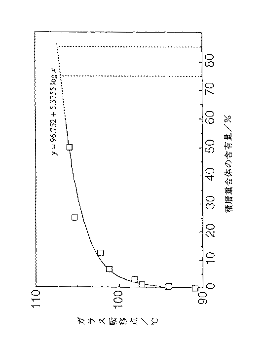
実施例1で作製した積層構造体をHEMAに対して0.05、0.5、1、3、6.5、12.5、25、50、75、85重量%の割合となるようにHEMAに混合した試料を作製した。この各試料に光重合開始剤のベンゾイルイソプロピルエーテル1重量%加えて攪拌混合した。これを20mm×10mm×1mmの型に流し込み高圧紫外線ランプで1時間紫外線を照射して光重合させて板状物を得た。上記で得た各板状物についてDMA(動的粘弾性)を測定した。DMAの測定から得られた損失弾性率E”のピークにより各板状重合体のガラス転移点を求めた。その結果を図および表1に示す。
【0029】
【表1】
表1にはHEMA重合体中に配合した積層構造体の割合とガラス転移温度との関係を示した。表1に示すように積層構造体に0.05重量%HEMAに加え重合した珪素系重合体は、HEMA単独の重合体に比べてガラス転移温度が約4℃高くなる。さらにHEMAに配合する積層構造体の量が増えるにしたがい有機珪素系重合体のガラス転移温度も上昇し、積層構造体の添加量が50重量%の場合はHEMA単独の重合体に比べてガラス転移温度が15℃高くなっている。さらに積層構造体の添加割合が75重量%以上では有機−無機重合体のガラス転移温度を示さなくなる。したがって、無機性の強い有機−無機重合体になっている。
【0031】
図1は表1のデータを線グラフとして描いたもので、少量の積層構造体の添加でガラス転移温度が急激に上昇することを示している。さらにこの有機−無機重合体のガラス転移温度yと積層構造体xの含有率との間にはy=96.752+5.3755logxの関係があることが判明した。
このことは光重合時に積層構造体とHEMAが反応し結合していることを示す。また0.05重量%といった極少量の積層構造体の添加でHEMA重合体の耐熱性を高めるのに寄与することが判明した。
【0032】
【発明の効果】
この有機−無機重合体は、有機重合体層を形成する共重合性の有機化合物の種類により色、表面の親水性/疎水性、比誘電率などの特性を付与することができる。
また、有機−無機重合体は、有機化合物の積層構造体との比率を変えることにより有機性、無機性を変化させることができ、有機重合体のフィラーやコート材などの用途に利用できる。
【図面の簡単な説明】
【図1】 この図は、積層構造体の含有%による重合体のガラス転移温度の変化の様子を示す線グラフである。[0001]
[Industrial application fields]
The present invention relates to an organic-inorganic polymer that can be used as a coating material, a filler for a resin, various functional materials, and the like, and a method for producing the same.
[0002]
[Prior art]
In general, the main component materials such as coating materials and molded bodies or inorganic materials as fillers have characteristics such as high hardness and heat resistance, but heating and firing are required to quickly form a dense solid phase from a liquid phase or solution. And
Moreover, these inorganic materials do not have good affinity with organic solvents or organic phases. On the other hand, the organic material has characteristics such as flexibility and rapid film forming property at room temperature, but has a drawback of poor hardness and heat resistance. For this reason, the inorganic-organic hybrid material having the above-mentioned characteristics of the inorganic material and the organic material and limiting the above disadvantages as much as possible and such a material are conventionally used under easy conditions such as a temperature around room temperature. It is desired to develop an effective manufacturing method that can be quickly manufactured below.
[0003]
As a technique for responding to such a request, Japanese Patent Application Laid-Open No. 1-108272 discloses an inorganic-organic hybrid paint. This paint is an abrasion resistant coating material comprising a partial hydrolyzate of epoxy silane, a reaction product of a carbonyl group-containing compound and a non-silane based aliphatic polyamine.
In this case, however, the inorganic structure in the coating film is limited to one part introduced into the organic polymer, and the inorganic structure part may grow or form a film in the coating film due to an organic reaction near room temperature. Therefore, the characteristics of the inorganic material cannot be fully exhibited, and a dramatic improvement cannot be expected as compared with the organic polymer.
[0004]
Next, Japanese Patent Application Laid-Open No. 62-74957 related to the applicant's application discloses that the field of application does not match that of the present invention, but an organized clay (layered clay mineral between layers) that is an inorganic-organic hybrid material. An intercalation compound in which an organic compound is introduced by an ion exchange reaction) is disclosed. Such an organoclay is extremely effective in achieving the object of the invention according to the above application, but is not necessarily sufficient for application in the field to which the present invention is intended.
[0005]
In the above-mentioned organic clay, organic substances are introduced between the layers of the clay mineral by an ion exchange reaction. Therefore, organic substances that are difficult to ionize, such as those containing an epoxy moiety and those having an amino group at the terminal cannot be introduced. Moreover, organic substances can be introduced only up to the ion exchange capacity inherent to clay minerals. Furthermore, since the clay mineral and the organic substance are bonded by an ionic bond, there is a possibility that the ionic bond is broken and the organic substance is liberated by a practical operation or the like.
[0006]
[Problems to be solved by the invention]
The present invention relates to a polymer in which an inorganic part and an organic part are firmly bonded to form a solid and dense solid phase, and a polymer in which the ratio between the inorganic part and the organic part can be easily controlled and a method for producing the same. The purpose is to provide.
[0007]
[Means for Solving the Problems]
The inventors previously filed a novel silicon-based layered polymer having a polymerizable organic side chain on the surface. When the organic side chain of the silicon-based novel layered polymer has the same kind of reactive group such as acryl, epoxy, and vinyl group, a polymer that can be shaped by the polymerization reaction of the reactive group can be obtained. This polymer is superior in heat resistance and hardness to those not containing an inorganic component, and has flexibility that is not found in inorganic materials. However, depending on the application, it may be required to have higher flexibility. The present invention has been completed by finding that necessary physical properties can be imparted by controlling the ratio of the inorganic part to the organic part by bonding organic molecules to the above-mentioned polymer.
[0008]
The first organic-inorganic polymer of the present invention comprises at least one atom selected from silicon and Ge, or an atom obtained by substituting a part of the atom with at least one atom selected from Al, Fe and P. A tetrahedral structure layer composed of a tetrahedral surface structure as a central atom and an octahedral surface having at least one metal selected from Mg, Al, Ni, Co, Cu, Mn, Fe, Li, V, and Zr as a central atom A crystalline layered structure having a layered structure of a phyllosilicate mineral type composed of a layered structure of 2: 1 type or 1: 1 type with an octahedral structure layer constituting the body surface structure, and forming the layered structure An organic polymer layer having an organic substance that is covalently bonded to at least a part of atoms of silicon and Ge that are central atoms of the tetrahedral plane structure, and the organic substance of the organic polymer layer includes: Less of silicon and Ge Also, an organic group having one bonded methacryloxy group as a polymerizable reactive group per one silicon or Ge1 covalently bound to some of the atoms, methyl methacrylate together by a reactive group copolymerizable with the organic group and / Or 2-hydroxyethyl methacrylate.
[0009]
The second method for producing an organic-inorganic polymer of the present invention comprises a compound having silicon having three alkoxy groups and covalently bonded to an organic group having a polymerizable reactive group and three alkoxy groups. And at least one compound selected from compounds having Ge covalently bonded to an organic group having a polymerizable reactive group, and Mg, Al, Ni, Co, Cu, Mn, Fe, Li, V, A mixing step in which an inorganic salt, organic salt or alkoxide of at least one metal selected from Zr and a polar solvent in which one or more of inorganic or organic are mixed are mixed to form a mixed solution;
An alkali is added to the mixed solution to adjust the pH of the mixed solution to be alkaline, or at least one atom selected from silicon and Ge, or a part of the atom is selected from Al and Fe by aging. A tetrahedral structure layer comprising a tetrahedral plane structure having an atom substituted by at least one kind of atom as a central atom, and at least selected from Mg, Al, Ni, Co, Cu, Mn, Fe, Li, V, and Zr A stacked structure forming step in which an octahedral structure layer formed by an octahedral surface structure having one kind of metal as a central atom forms a crystalline stacked structure;
The laminated structure and an organic compound that can be polymerized with a reactive group of an organic group of the laminated structure and can form a polymer alone are mixed to copolymerize the organic group and the organic compound. And a polymer forming step of forming a polymer layer of the organic compound on the laminated structure.
In the second method for producing an organic-inorganic polymer of the present invention, the mixed solution contains a compound having P, and includes at least one kind of atom selected from silicon and Ge that are central atoms of the tetrahedral plane structure. Preference is given to partial replacement by P.
Furthermore, the mixed solution contains at least one compound selected from silicon alkoxide having three alkoxy groups, germanium alkoxide having three alkoxy groups, and germanium, and silicon, Ge, which is a central atom of the tetrahedral plane structure. It is desirable that a part of at least one atom selected from is an atom that is not covalently bonded to the organic group having a polymerizable reactive group.
[0010]
The first aspect of the present invention is a four-plane structure having at least one atom selected from silicon and Ge, or an atom obtained by substituting a part of the atom with at least one atom selected from Al, Fe and P as a central atom. A tetrahedral structure layer formed by the body surface structure and an octahedral surface structure having at least one metal selected from Mg, Al, Ni, Co, Cu, Mn, Fe, Li, V, and Zr as a central atom are formed. The octahedral structure layer forms a crystalline laminated structure having a phyllosilicate mineral type layered structure . This laminated structure has a so-called 2: 1 type structure in which a tetrahedral structure layer is formed on both sides of an octahedral structure layer, and a so-called 1: 1 type in which a tetrahedral structure layer is formed on one side of the octahedral structure layer. There is a thing of structure. When it is desired to include a large amount of organic groups or to improve the bond strength between organic groups, a 2: 1 type structure is more desirable.
[0011]
The 2: 1 type or 1: To form a type structure can be formed by preparing a fraction of the atoms that constitute atoms and octahedral surface structure forming the tetrahedral surface structure.
A part of at least one of silicon and Ge, which are the central atoms of the tetrahedral structure , can be substituted with one or more atoms selected from Al, Fe and P. These Al, Fe, and P can be easily introduced by central atom substitution with silicon or Ge.
[0012]
A part or all of the atoms forming the tetrahedral plane structure are covalently bonded to an organic group having a polymerizable reactive group. The maximum possible introduction amount of the organic group is 1 to 3 per one central atom of the tetrahedron.
This organic group has a polymerizable reactive group and is itself copolymerized with an organic compound that can form a polymer to form an organic-inorganic polymer organic polymer layer . For this reason, the organic property and inorganic property of an organic-inorganic polymer can be changed by adjusting a compounding ratio with the laminated structure of an organic compound.
[0013]
Therefore, when this organic-inorganic polymer is used as, for example, a coating material, the organic property can be enhanced to ensure the characteristics of the organic material such as flexibility and rapid film forming property at room temperature. Affinity with an organic solvent or an organic phase when used as a filler can be ensured.
Further, in this organic-inorganic polymer, the organic group is covalently bonded to the atoms constituting the tetrahedral plane structure, so that both the inorganic part composed of the laminated structure and the organic part composed of the organic polymer layer are used. The bond is robust, and even when mixed with other composition components when used as a coating material or a filler and subjected to various operations in practical use, the bond between the two is not impaired.
[0014]
In addition, since this organic-inorganic polymer has more surface organic groups than conventional clay hybrid composite materials, the physical properties such as heat resistance of organic compound polymers can be achieved by adding a very small amount of laminated structure. Can be improved. In principle, the addition amount of the laminated structure is more than 0% and less than 100%, and a useful polymer molded product can be obtained, but 0.05 to 85% by weight is desirable.
[0015]
Among the organic-inorganic polymers of the present invention, the following can be easily synthesized from inexpensive organoalkoxysilanes used as silane coupling agents, and desirably have highly reactive organic side chains. This has an organic side chain having an amino, epoxy, mercapto, acrylic, methacrylic or vinyl group, and a tetrahedral structure layer having a structure in which oxygen is tetrahedrally coordinated around Si covalently bonded thereto , This is an organosilicon polymer having a crystalline laminated structure in which Mg or the like is a central atom and an octahedral structural layer having a structure in which oxygen is octahedrally coordinated is laminated around the central atom.
[0016]
The manufacturing method of the second invention of the present application includes a mixing step of mixing each component, a laminated structure forming step of adjusting the pH of the mixture to form a crystalline laminated structure of an inorganic part, and an organic compound in the laminated structure. And a polymer forming step for polymerizing.
In the mixing step, a compound having a central atom of tetrahedral surface structure, a compound having a central atom of octahedral surface structure, compounds having a P as needed or silicon alkoxide, germanium alkoxide or a germanium halide compound, and the polarity solvent solution and mixture. And a compound having a central atom of tetrahedral surface structure, for example, organosilicon compounds such as organoalkoxysilane having an alkoxy group and a polymerizable functional group, such as an organic germanium compound such as organo germanium and the like. 8 is a compound having a central atom of tetrahedral surface structure, Mg, Al, Ni, Co , Cu, Mn, Fe, Li, V, inorganic salts of at least one metal atom selected from Zr, organic salts , Alkoxide or the like is used. Among these, Al and Fe become the central atoms of the octahedral plane structure, and some of them become atoms that replace a part of the central atoms (silicon, Ge 2 ) of the tetrahedral plane structure . Is a polar Solvent available water, alcohol, acetone, organic acids, one or more of the mixed polar solution of an inorganic acid. A compound having a tetrahedral surface structure central atom and a compound having an octahedral surface structure central atom are not necessarily completely dissolved, and the object can be achieved even in a certain degree of dispersion.
[0017]
Incidentally, it is possible to add a compound having a P at the time of mixing. P in this compound is an atom that substitutes a part of the central atom (silicon, Ge) of the tetrahedral plane structure . Is in this compound, is phosphoric acid or a derivative thereof, an inorganic salt of P, organic salts, such as P,.
Also during mixing, silicon Arco key Sid, germanium alkoxide or germanium halide compound, can be added. The compounds of these are also then integrated into the laminated structure in the same manner as the compound having a central atom of tetrahedral surface structure. In this application, the alkoxy group is not particularly defined as an organic group. And atom not covalently bound to the organic group having a polymerizable reactive group a part of the silicon or Ge is the central atom of the tetrahedral surface structure by the addition of these compounds. The these compounds can be adjusted ratio of the inorganic portion in the stack structure by combination at a predetermined ratio for a compound having a central atom of tetrahedral surface structure.
[0018]
In the laminated structure forming step, the pH of the prepared mixed solution is made alkaline to promote the growth of the laminated structure. The pH value at which the mixed solution becomes alkaline cannot be uniformly defined due to factors such as the selection of the raw material system. For example, the pH value is about 8 to 10, but the crystal of the laminated structure grows and the gel of the mixed solution is desired. It is sufficient that the pH is not so strong that the organic group to be bonded is damaged at a pH that proceeds at a rate higher than the above-described rate. This laminated structure forming step proceeds sufficiently even at room temperature, but can also be performed under a temperature condition of a certain level that does not damage the organic group. This laminated structure forming step may be completed immediately depending on the selection of raw materials and reaction conditions. In some cases, for example, aging for about 1 to 2 days may be required. The obtained gel-like laminated structure is preferably isolated as a dry powder once the solvent is removed.
[0019]
Mechanisms laminated structure of a laminated structure forming step of the present invention is formed is not necessarily clear, when the pH of the mixed-solution is adjusted to alkaline, preceded the crystal structure of the octahedral surface whose central atom of the metal silicosis elements of Oruganoa Turkey Kishishiran binds to octahedral structural layer by dehydration condensation after hydrolysis of the alkoxy groups to follow to growing, the crystal structure of tetrahedral surface around this silicofluoride-containing grows 4 layered structure of the tetrahedral structure layer and the octahedral structural layer is estimated that will be formed. This is considered to be the same when the central atom is Ge. Thus, tetrahedral structural layer also of silicon or Ge in a state in which an organic group is bonded directly to a portion of the silicon or Ge of tetrahedral surface structures 8 are formed following the tetrahedral structure layer eventually stacked structure of the inorganic is formed I think.
[0020]
In the polymer forming step, an organic compound is mixed with the laminated structure, and an organic group of the laminated structure is copolymerized with the organic compound by an ordinary polymerization method. In this case, the polymerization is allowed to proceed with an initiator or heating as necessary. As the polymerization method, so-called cast polymerization, bulk polymerization, suspension polymerization and the like can be applied. It can also be photopolymerized by irradiation with light. This organic compound needs to be liquid at room temperature or heating or soluble in a solvent in order to be uniformly mixed with the laminated structure as a powder. It can be used as long as these conditions are satisfied. For example, if the organic group is an acrylic group, an acrylic organic compound or an organic compound having a vinyl group is suitable. If the organic group is an epoxy group, an organic molecule having an epoxy group is suitable. Alternatively, an organic compound that forms a polymer whose polymerization terminal is an amino group is suitable. The organic compound here does not necessarily have a low molecular weight, and may be a polymer or an oligomer. By adjusting the amount of the organic compound, the ratio of the organic part to the inorganic part can be controlled.
[0021]
If the organic compound to be added is liquid, it may be added and mixed with the laminated structure as it is. In the case of an organic compound that becomes liquid upon heating, addition and mixing in a heat bath are required. When mixing both in a solvent, it is necessary to use a common solvent in which the laminated structure swells and the organic compound dissolves.
Depending on the organic compound or solvent to be added, the laminated structure may not be instantly dispersed and time may be required. In this case, the organic compound or solvent is dispersed by, for example, forced stirring with a mixer or applying ultrasonic waves. Can be promoted.
[0022]
Depending on the organic compound to be added, a catalyst necessary for polymerization or an initiator is required. In addition to the above organic compounds, components such as pigments and plasticizers can be added.
In the organic-inorganic polymer of the present invention, the organic part and the inorganic part are bonded by a covalent bond, and the organic part on the surface and the inorganic part inside are formed. For this reason, the organic-inorganic polymer of the present invention is different from a conventional composite material such as FPR in which there is no chemical bond between the synthetic resin and the inorganic substance dispersed therein and it is simply mixed. There is also a clay-hybrid composite material that is bonded to a resin containing organic ions on the clay surface. However, the bond between the clay and the organic ion is an ionic bond, so that the bonding force is weak and easily cut. However, in the present invention, the organic part and the inorganic part of the resin layer are connected by a covalent bond to form a stronger bond than other bonds.
[0023]
[Action]
In the organic-inorganic polymer of the present invention, a crystalline inorganic structure portion is formed in a structure in which a tetrahedral surface and an octahedral surface are laminated, and the central atom constituting the tetrahedral surface is polymerized. Organic groups are bonded by a covalent bond, and the organic group is copolymerized with another polymerizable organic compound to form an organic part. Therefore, the organic part and the inorganic part are laminated, and when the organic part is mainly used, the inorganic part can impart high hardness and high heat resistance to the organic part. On the contrary, when the inorganic part is mainly used, it can be used as a filler or a coating material as an inorganic material covered with an organic substance.
[0024]
For this reason, it can be set as a flexible filler and coating material with high affinity with another organic substance. Further, in this method for producing an organic-inorganic polymer, the ratio between the organic part and the inorganic part can be easily controlled during the process. That is, the ratio of the organic part and the inorganic part in the organic-inorganic polymer can be controlled by the amount of the organic compound to be copolymerized and the amount of alkoxysilane added in the mixing step.
[0025]
In this organic-inorganic polymer, the central atom constituting the tetrahedral surface of the inorganic structure and the organic group are covalently bonded, and this organic group is copolymerized with the organic compound constituting the organic layer portion. To form a polymer. For this reason, the inorganic part and the organic part are strongly bonded as compared with the case where the organic part is bonded to the inorganic part by the conventional ionic bond, and the bond between the inorganic part and the organic part during operation and use is reduced. It is possible to prevent them from being cut and peeled off.
[0026]
In the production of the organic-inorganic polymer, a laminated structure can be easily formed by dissolving a predetermined raw material in a polar solution and making the pH of the solution weakly alkaline. An organic compound can be added to and mixed with this laminated structure and produced by a normal polymerization method. And the ratio of an inorganic part and an organic part can be easily performed only by changing the mixing preparation ratio in a mixing process and a polymerization process.
[0027]
【Example】
Hereinafter, the present invention will be described specifically by way of examples.
(Example 1)
(Mixing process)
A sodium hydroxide aqueous solution (solution A) diluted by adding 4000 ml of water to 200 ml of 1N aqueous sodium hydroxide solution was prepared. Separately, 49.6 g of 3-methacryloxypropyltrimethoxysilane (MPTS) and 20.4 g of magnesium chloride hexahydrate were added to 1000 ml of methanol, and the mixture was stirred well to prepare solution B.
(Laminated structure forming process)
Crystalline laminated structure in which liquid A is added and mixed while stirring liquid B, and the mixed liquid is gelled to form a tetrahedral structure centered on silicon atoms and an octahedral surface structure centered on magnesium atoms. A laminated structure having was synthesized. The gelled product was isolated by filtration, washing with water, and vacuum drying. In this laminated structure, an organic group is formed by forming a covalent bond with silicon as a central atom and methacrylic acid of an organic group as an active group through silicon and a propyl group.
(Polymerization process)
To 1 g of the laminated structure product, 2 g of 2-hydroxyethyl methacrylate (HEMA) and 0.03 g of benzoyl isopropyl ether as a photopolymerization initiator were added and mixed with stirring. This mixed solution was applied to an acrylic plate (with a film thickness of about 100 μm and 500 μm (0.5 mm)), and photopolymerized by irradiating ultraviolet rays with a high-pressure ultraviolet lamp for 1 hour. As a result, the organic having the organic polymer layer and HEMA and methacrylic Le residues are copolymerized onto the acrylic plate - coating film of an inorganic polymer is formed. When the surface hardness of this coat film was measured by the pencil method, both were 6H, which was more improved than the surface hardness 6B or less of the HEMA homopolymer. This indicates that the organic-inorganic polymer can improve the surface hardness of the organic polymer. In addition, 0.5 mm is thicker than conventional VV hard coat materials (50 μm or less).
(Example 2)
To 12 g of the laminated structure produced in Example 1, 5 g of methyl methacrylate (MMA) and 0.07 g of benzoin isopropyl ether as a photopolymerization initiator were added and mixed with stirring. This mixed solution was applied to an acrylic plate with a film thickness of about 100 μm and photopolymerized by irradiating with ultraviolet rays with a high-pressure ultraviolet lamp for 1 hour. As a result, the organic having the organic polymer layer and a methacrylic Le residues of MMA and the laminated structure obtained by copolymerization - coating film of an inorganic polymer is formed. When the surface hardness of this coat film was measured by the pencil method, it was 9H, which was markedly improved compared to the surface hardness 6B of the MMA polymer.
[0028]
(Example 3)
The HEMA was prepared such that the laminated structure manufactured in Example 1 had a ratio of 0.05, 0.5, 1, 3, 6.5, 12.5, 25, 50, 75, and 85% by weight with respect to HEMA. A sample mixed with was prepared. 1% by weight of a photopolymerization initiator benzoyl isopropyl ether was added to each sample and mixed. This was poured into a 20 mm × 10 mm × 1 mm mold and irradiated with ultraviolet rays for 1 hour with a high-pressure ultraviolet lamp to effect photopolymerization to obtain a plate-like product. DMA (dynamic viscoelasticity) was measured for each plate-like material obtained above. The glass transition point of each plate-like polymer was determined from the peak of the loss modulus E ″ obtained from the DMA measurement. The results are shown in FIG.
[0029]
[Table 1]
Table 1 shows the relationship between the ratio of the laminated structure blended in the HEMA polymer and the glass transition temperature. As shown in Table 1, the silicon polymer polymerized in addition to 0.05% by weight of HEMA on the laminated structure has a glass transition temperature of about 4 ° C. higher than that of the polymer of HEMA alone. Further risen glass transition temperature of the organic silicofluoride Motokei polymer according increases the amount of the laminated structure be incorporated into the HEMA, if the added amount is 50 wt.% Of the laminate structure as compared to the polymer of HEMA alone glass The transition temperature is increased by 15 ° C. Further, when the addition ratio of the laminated structure is 75% by weight or more, the glass transition temperature of the organic-inorganic polymer is not exhibited. Therefore, it is a highly inorganic organic-inorganic polymer.
[0031]
FIG. 1 shows the data of Table 1 as a line graph, and shows that the glass transition temperature rises sharply with the addition of a small amount of laminated structure. Furthermore, it has been found that there is a relationship of y = 96.752 + 5.3755 logx between the glass transition temperature y of this organic-inorganic polymer and the content of the laminated structure x.
This indicates that the laminated structure and HEMA are reacted and bonded during photopolymerization. It was also found that the addition of a very small amount of laminated structure such as 0.05% by weight contributes to enhancing the heat resistance of the HEMA polymer.
[0032]
【The invention's effect】
This organic-inorganic polymer can impart properties such as color, surface hydrophilicity / hydrophobicity, and dielectric constant depending on the type of copolymerizable organic compound forming the organic polymer layer .
In addition, the organic-inorganic polymer can change the organicity and the inorganicity by changing the ratio of the organic compound to the laminated structure, and can be used for applications such as a filler or a coating material of the organic polymer.
[Brief description of the drawings]
FIG. 1 is a line graph showing a change in glass transition temperature of a polymer depending on the content percentage of a laminated structure.
Claims (4)
前記有機重合体層の前記有機物は、珪素、Geのうちの少なくとも一部の原子と共有結合により珪素またはGe1つあたりに1つ結合し重合可能な反応基としてメタクリロキシ基を有する有機基と、該有機基の反応基と共重合により結合するメタクリル酸メチルおよび/またはメタクリル酸2−ヒドロキシエチルと、からなることを特徴とする有機−無機重合体。A tetrahedron having a tetrahedral structure having a central atom composed of at least one atom selected from silicon and Ge, or an atom obtained by substituting a part of the atom with at least one atom selected from Al, Fe and P 2: a structure layer and an octahedral structure layer constituted by an octahedral structure having at least one metal selected from Mg, Al, Ni, Co, Cu, Mn, Fe, Li, V, and Zr as a central atom; A crystalline laminated structure having a layered structure of a phyllosilicate mineral type comprising a laminate of type 1 or 1: 1, and silicon, Ge, which is a central atom of the tetrahedral plane structure forming the laminated structure An organic polymer layer having an organic substance that is covalently bonded to at least some of the atoms, and
The organic substance of the organic polymer layer includes an organic group having a methacryloxy group as a reactive group capable of being bonded to one or more silicon or Ge by a covalent bond with at least a part of atoms of silicon and Ge; An organic-inorganic polymer comprising methyl methacrylate and / or 2-hydroxyethyl methacrylate bonded to a reactive group of an organic group by copolymerization.
Mg、Al、Ni、Co、Cu、Mn、Fe、Li、V、Zrから選ばれる少なくとも1種の金属の無機塩、有機塩あるいはアルコキシドと、
無機または有機の1種類あるいは2種類以上を混合した極性溶媒と、
を混合して混合溶液とする混合工程と、
該混合溶液にアルカリを加えて該混合溶液のpHをアルカリ性に調整してそのまま、あるいはエージングにより、珪素、Geから選ばれる少なくとも1種の原子、または該原子の一部をAl、Feから選ばれる少なくとも1種の原子により置換した原子を中心原子とする4面体面構造が構成する4面体構造層と、Mg、Al、Ni、Co、Cu、Mn、Fe、Li、V、Zrから選ばれる少なくとも1種の金属を中心原子とする8面体面構造が構成する8面体構造層とが結晶性の積層構造体を形成する積層構造形成工程と、
前記積層構造体と、該積層構造体の有機基の反応基と重合可能でかつ単独で重合体を形成できる有機化合物と、を混合して前記有機基と前記有機化合物とを共重合させて前記積層構造体に該有機化合物の重合体層を形成する重合体形成工程と、
からなる有機−無機重合体の製造方法。A silicon-containing compound covalently bonded to an organic group having three alkoxy groups and having a polymerizable reactive group, and a covalent bond to an organic group having three alkoxy groups and having a polymerizable reactive group At least one compound selected from compounds having Ge,
Inorganic salt, organic salt or alkoxide of at least one metal selected from Mg, Al, Ni, Co, Cu, Mn, Fe, Li, V, Zr;
A polar solvent in which one or more of inorganic or organic are mixed,
Mixing step to make a mixed solution,
An alkali is added to the mixed solution to adjust the pH of the mixed solution to be alkaline, or at least one atom selected from silicon and Ge, or a part of the atom is selected from Al and Fe by aging. A tetrahedral structure layer comprising a tetrahedral plane structure having an atom substituted by at least one kind of atom as a central atom, and at least selected from Mg, Al, Ni, Co, Cu, Mn, Fe, Li, V, and Zr A stacked structure forming step in which an octahedral structure layer formed by an octahedral surface structure having one kind of metal as a central atom forms a crystalline stacked structure;
The laminated structure and an organic compound that can be polymerized with a reactive group of an organic group of the laminated structure and can form a polymer alone are mixed to copolymerize the organic group and the organic compound. A polymer forming step of forming a polymer layer of the organic compound on the laminated structure;
A process for producing an organic-inorganic polymer comprising:
Priority Applications (2)
| Application Number | Priority Date | Filing Date | Title |
|---|---|---|---|
| JP27551893A JP3722850B2 (en) | 1993-11-04 | 1993-11-04 | Organic-inorganic polymer and method for producing the same |
| US08/422,606 US5527871A (en) | 1992-12-28 | 1995-04-12 | Layered inorganic-organic polymer shaped article thereof and process for producing the same |
Applications Claiming Priority (1)
| Application Number | Priority Date | Filing Date | Title |
|---|---|---|---|
| JP27551893A JP3722850B2 (en) | 1993-11-04 | 1993-11-04 | Organic-inorganic polymer and method for producing the same |
Publications (2)
| Publication Number | Publication Date |
|---|---|
| JPH07126396A JPH07126396A (en) | 1995-05-16 |
| JP3722850B2 true JP3722850B2 (en) | 2005-11-30 |
Family
ID=17556588
Family Applications (1)
| Application Number | Title | Priority Date | Filing Date |
|---|---|---|---|
| JP27551893A Expired - Lifetime JP3722850B2 (en) | 1992-12-28 | 1993-11-04 | Organic-inorganic polymer and method for producing the same |
Country Status (1)
| Country | Link |
|---|---|
| JP (1) | JP3722850B2 (en) |
Families Citing this family (8)
| Publication number | Priority date | Publication date | Assignee | Title |
|---|---|---|---|---|
| US6465054B2 (en) * | 1997-10-21 | 2002-10-15 | Roche Diagnostics Gmbh | Process for coating surfaces |
| GB2390094B (en) * | 2001-02-08 | 2004-11-10 | Asahi Chemical Ind | Organic domain/inorganic domain hybrid material and use thereof |
| JP3938528B2 (en) | 2002-08-05 | 2007-06-27 | 株式会社豊田中央研究所 | Coating composition, method for producing abrasion-resistant coating film using coating composition, and abrasion-resistant coating film comprising coating composition |
| JP4725048B2 (en) * | 2004-07-23 | 2011-07-13 | 東レ株式会社 | Layered structure and organic-inorganic composite material |
| JP4757618B2 (en) * | 2005-12-05 | 2011-08-24 | 株式会社豊田中央研究所 | Zn complex-containing layered polymer, method for producing the same, calcium carbonate synthesis catalyst, and method for synthesizing calcium carbonate |
| CN102892518B (en) | 2010-04-14 | 2014-10-01 | 关西涂料株式会社 | Method and coated article for forming multilayer coating film |
| WO2013065638A1 (en) * | 2011-10-31 | 2013-05-10 | 株式会社豊田中央研究所 | Bivalent-trivalent metal organic-inorganic layered composite, and manufacturing method for same |
| JP5626594B2 (en) * | 2011-10-31 | 2014-11-19 | 株式会社豊田中央研究所 | Divalent-trivalent metal-based organic-inorganic layered composite and method for producing the same |
-
1993
- 1993-11-04 JP JP27551893A patent/JP3722850B2/en not_active Expired - Lifetime
Also Published As
| Publication number | Publication date |
|---|---|
| JPH07126396A (en) | 1995-05-16 |
Similar Documents
| Publication | Publication Date | Title |
|---|---|---|
| JP4354156B2 (en) | Polymer compound containing silicon ester and composition obtained therefrom | |
| US5527871A (en) | Layered inorganic-organic polymer shaped article thereof and process for producing the same | |
| JPH05115772A (en) | Novel particle mixture comprising silica and polymer as base material, film forming composi- tion containing said particle, film obtained from said composition and method for its preparation | |
| CN102858806B (en) | Method for producing hybrid particles | |
| CN1462282A (en) | Emulsion polymerization methods involving lightly modified clay and compositions comprising same | |
| JP3722850B2 (en) | Organic-inorganic polymer and method for producing the same | |
| JP2000129078A (en) | Manufacturing method of nanocomposite material | |
| JPH0267324A (en) | Stable aqueous emulsion copolymer with siloxane functionality | |
| JP5827369B2 (en) | Hybrid particles made from polymers and nanoparticles | |
| CN1159368C (en) | Preparation method of inorganic filler reinforced polymer composite material | |
| JPH06200034A (en) | Layered organosilicon polymer, its molding and their preparation | |
| JPH11199671A (en) | Production of organic and inorganic composite particle | |
| JP2966881B2 (en) | Hydraulic composition for autoclave curing | |
| JP2568814B2 (en) | Method for bonding a thermoplastic matrix polymer to a substrate | |
| US20140322786A1 (en) | Polymer modified substrates, their preparation and uses thereof | |
| JP4134412B2 (en) | Organic inorganic composite | |
| JP3075709B2 (en) | Composite material | |
| US4431768A (en) | Aqueous compositions containing organic polymers curable at low temperatures in the wet state | |
| JP6991527B2 (en) | Method for producing silica-containing fine particles, method for coating the surface of a base material, and catalyst for sol-gel reaction. | |
| JPH07102016A (en) | Metal compound ion-crosslinked polymer and method for producing the same | |
| JP3516025B2 (en) | Resin particles and FRP composition | |
| JP2002348414A (en) | Polyolefin composite resin and its production method | |
| JP5184776B2 (en) | Masterbatch composition, composite material composition, composite material molded body, and production method thereof | |
| JPS59202225A (en) | Production of polyvinyl alcohol block copolymer | |
| JPH0873690A (en) | Resin composition |
Legal Events
| Date | Code | Title | Description |
|---|---|---|---|
| A131 | Notification of reasons for refusal |
Free format text: JAPANESE INTERMEDIATE CODE: A131 Effective date: 20040427 |
|
| A521 | Written amendment |
Free format text: JAPANESE INTERMEDIATE CODE: A523 Effective date: 20040628 |
|
| A131 | Notification of reasons for refusal |
Free format text: JAPANESE INTERMEDIATE CODE: A131 Effective date: 20040827 |
|
| A521 | Written amendment |
Free format text: JAPANESE INTERMEDIATE CODE: A523 Effective date: 20041025 |
|
| A131 | Notification of reasons for refusal |
Free format text: JAPANESE INTERMEDIATE CODE: A131 Effective date: 20050107 |
|
| A521 | Written amendment |
Free format text: JAPANESE INTERMEDIATE CODE: A523 Effective date: 20050303 |
|
| A131 | Notification of reasons for refusal |
Free format text: JAPANESE INTERMEDIATE CODE: A131 Effective date: 20050405 |
|
| A521 | Written amendment |
Free format text: JAPANESE INTERMEDIATE CODE: A523 Effective date: 20050415 |
|
| TRDD | Decision of grant or rejection written | ||
| A01 | Written decision to grant a patent or to grant a registration (utility model) |
Free format text: JAPANESE INTERMEDIATE CODE: A01 Effective date: 20050913 |
|
| A61 | First payment of annual fees (during grant procedure) |
Free format text: JAPANESE INTERMEDIATE CODE: A61 Effective date: 20050914 |
|
| FPAY | Renewal fee payment (event date is renewal date of database) |
Free format text: PAYMENT UNTIL: 20090922 Year of fee payment: 4 |
|
| FPAY | Renewal fee payment (event date is renewal date of database) |
Free format text: PAYMENT UNTIL: 20100922 Year of fee payment: 5 |
|
| FPAY | Renewal fee payment (event date is renewal date of database) |
Free format text: PAYMENT UNTIL: 20110922 Year of fee payment: 6 |
|
| FPAY | Renewal fee payment (event date is renewal date of database) |
Free format text: PAYMENT UNTIL: 20110922 Year of fee payment: 6 |
|
| FPAY | Renewal fee payment (event date is renewal date of database) |
Free format text: PAYMENT UNTIL: 20120922 Year of fee payment: 7 |
|
| FPAY | Renewal fee payment (event date is renewal date of database) |
Free format text: PAYMENT UNTIL: 20120922 Year of fee payment: 7 |
|
| S531 | Written request for registration of change of domicile |
Free format text: JAPANESE INTERMEDIATE CODE: R313532 |
|
| FPAY | Renewal fee payment (event date is renewal date of database) |
Free format text: PAYMENT UNTIL: 20120922 Year of fee payment: 7 |
|
| R350 | Written notification of registration of transfer |
Free format text: JAPANESE INTERMEDIATE CODE: R350 |
