[go: up one dir, main page]

JP3649235B2 - Digital camera and printing system - Google Patents

Digital camera and printing system Download PDF

Info

Publication number
JP3649235B2
JP3649235B2 JP2003350621A JP2003350621A JP3649235B2 JP 3649235 B2 JP3649235 B2 JP 3649235B2 JP 2003350621 A JP2003350621 A JP 2003350621A JP 2003350621 A JP2003350621 A JP 2003350621A JP 3649235 B2 JP3649235 B2 JP 3649235B2
Authority
JP
Japan
Prior art keywords
image data
image
print
recording medium
digital camera
Prior art date
Legal status (The legal status is an assumption and is not a legal conclusion. Google has not performed a legal analysis and makes no representation as to the accuracy of the status listed.)
Expired - Lifetime
Application number
JP2003350621A
Other languages
Japanese (ja)
Other versions
JP2004104818A (en
Inventor
隆一 塩原
Current Assignee (The listed assignees may be inaccurate. Google has not performed a legal analysis and makes no representation or warranty as to the accuracy of the list.)
Seiko Epson Corp
Original Assignee
Seiko Epson Corp
Priority date (The priority date is an assumption and is not a legal conclusion. Google has not performed a legal analysis and makes no representation as to the accuracy of the date listed.)
Filing date
Publication date
Application filed by Seiko Epson Corp filed Critical Seiko Epson Corp
Priority to JP2003350621A priority Critical patent/JP3649235B2/en
Publication of JP2004104818A publication Critical patent/JP2004104818A/en
Application granted granted Critical
Publication of JP3649235B2 publication Critical patent/JP3649235B2/en
Anticipated expiration legal-status Critical
Expired - Lifetime legal-status Critical Current

Links

Images

Landscapes

  • Television Signal Processing For Recording (AREA)
  • Storing Facsimile Image Data (AREA)
  • Editing Of Facsimile Originals (AREA)
  • Studio Devices (AREA)

Description

本発明はデジタルカメラに関し、特に、画像データを直接プリンタに出力することのできるデジテルカメラおよびそれを用いた印刷システムに関する。   The present invention relates to a digital camera, and more particularly to a digital camera capable of directly outputting image data to a printer and a printing system using the same.

近年、デジタルカメラ(電子スチルカメラ)が開発/販売され普及しつつある。   In recent years, digital cameras (electronic still cameras) have been developed / sold and are becoming popular.

デジタルカメラは撮像光を光電変換して画像データを得て記録媒体に記録し、パーソナルコンピュータ(以下、PC)等の外部画像処理装置に出力するよう構成されている。外部画像処理装置側で印刷画像データ作成処理を行ない、作成された印刷画像データをプリンタに出力して用紙上に撮影画像を印刷/再生している。   The digital camera is configured to photoelectrically convert imaging light to obtain image data, record it on a recording medium, and output it to an external image processing apparatus such as a personal computer (hereinafter, PC). The external image processing apparatus performs print image data creation processing, outputs the created print image data to a printer, and prints / reproduces the captured image on paper.

なお、多くのデジタルカメラは撮像結果を表示する液晶ディスプレイを備えており、また、光電変換により得られた画像データは圧縮処理して記録媒体に記録されている。圧縮処理は通常JPEG(Joint Photographic Expert Group)規格による圧縮(以下、JPEG圧縮)が施される。   Many digital cameras are provided with a liquid crystal display for displaying an imaging result, and image data obtained by photoelectric conversion is compressed and recorded on a recording medium. In the compression process, compression according to JPEG (Joint Photographic Expert Group) standard (hereinafter referred to as JPEG compression) is usually performed.

PC側で画像選択を行なう場合には、JPEG圧縮された複数のサムネイル画像(後述)を先に取込んでモニターに表示させる。選択されたサムネイル画像に対応する撮影画像データをデジタルカメラ側から取込んで伸張処理を施してからモニターに表示し、ユーザの確認を得てカラー印刷画像データ作成処理を行ない、PCに接続するプリンタで画像印刷を行なう。   When image selection is performed on the PC side, a plurality of JPEG-compressed thumbnail images (described later) are first captured and displayed on the monitor. A printer connected to a PC that captures captured image data corresponding to the selected thumbnail image from the digital camera side, decompresses it, displays it on a monitor, obtains user confirmation and performs color print image data creation processing Print the image with.

サムネイル画像はPC等で取込んだ画像データの中から所望の画像を選択する場合に用いる縮小画像であり、例えば、1フレーム分の画像データの大きさを680×480ピクセルとすると、対応のサムネイル画像は80×60ピクセル程度にデータが間引かれて縮小されており、通常の撮影画像と対応付けられてデジタルカメラの記録媒体上に記録されている。   A thumbnail image is a reduced image used when a desired image is selected from image data captured by a PC or the like. For example, if the size of image data for one frame is 680 × 480 pixels, a corresponding thumbnail is displayed. The image is reduced by thinning out data to about 80 × 60 pixels, and is recorded on a recording medium of a digital camera in association with a normal photographed image.

また、カラー印刷画像データ作成処理時には、カラー画像(映像)の高精度な再生印刷を行なうためにPC側でプログラム群による印刷画像データ作成処理を行ない描画に必要な印刷色毎にビットマップデータを作成して制御信号と共にプリンタに与え記録紙上にカラー画像再生動作を行なわせている。   Also, during color print image data creation processing, in order to perform high-precision reproduction printing of color images (video), print image data creation processing by a program group is performed on the PC side, and bitmap data is generated for each print color required for drawing. A color image reproduction operation is performed on a recording sheet that is created and given to a printer together with a control signal.

なお、カラープリンタとして、絵画や写真のような高品質の画像印刷が可能なカラー印刷用インクジェットプリンタが開発/販売されている。   In addition, as a color printer, an inkjet printer for color printing capable of printing a high-quality image such as a picture or a photograph has been developed / sold.

また、上述の印刷画像データ作成処理プログラム群は、図11に示すようなデータ処理モジュール210の中のプリンタドライバと呼ばれるプログラム群に含まれている。プリンタドライバ220は、通常、ラスタライザ、色補正およびハーフトーンの3モジュールを2値データを得るための手段として備えている。   The above-described print image data creation processing program group is included in a program group called a printer driver in the data processing module 210 as shown in FIG. The printer driver 220 normally includes three modules of rasterizer, color correction, and halftone as means for obtaining binary data.

しかしながら、PCはその汎用性のために画像(または映像)印刷処理以外の多くのアプリケーションプログラムを備えているのが通例である。これらのアプリケーションプログラムや上述のプリンタドライバはWindowsやMS−DOS(いずれもマイクロソフト社製PC用OS (Operating System) の商品名)等の管理下で動作する。   However, a PC usually has many application programs other than image (or video) printing processing due to its versatility. These application programs and the above-described printer driver operate under the management of Windows, MS-DOS (both are trade names of OS (Operating System) for PC manufactured by Microsoft), and the like.

従って、画像の印刷処理を行なう場合には、使用者はOSで規定されたコマンド入力操作を行なって、印刷処理アプリケーションプログラムおよびプリンタドライバをそれらが格納されている格納装置(例えば、磁気ディスク)からPCの内部メモリーに取込んで、実行可能状態にする必要がある。しかし、コマンド入力や印刷処理アプリケーションプログラムおよびプリンタドライバの取込に時間(いわゆる、オーバーヘッドタイム)を要し、オーバーヘッドタイムは短くても数分間を要するため起動に時間がかかるという問題点があった。   Therefore, when performing image print processing, the user performs a command input operation defined by the OS, and the print processing application program and the printer driver are stored in a storage device (for example, a magnetic disk) in which they are stored. It is necessary to load it into the internal memory of the PC and make it executable. However, it takes time (so-called overhead time) to input a command, print processing application program, and printer driver, and there is a problem that it takes several minutes to start up because the overhead time is short.

また、PCは普及が著しいとはいえ、実際に使いこなすにはまだ解決すべき問題が多く、持っていても使いこなせない者が大多数であるとの指摘もある。これらの者が、画像(映像)の印刷処理用アプリケーションプログラムやプリンタドライバをインストールしようとしても、インストール自体が困難であったり、コマンド入力の方法がわからない、という不都合が生じかねないという問題点もある。   In addition, although PCs are remarkably widespread, there are still many problems to be solved to actually use them, and it is pointed out that a large number of people cannot use them even if they have them. Even if these people try to install an application program for image (video) print processing or a printer driver, there is a problem that the installation itself is difficult or the inconvenience of not knowing the command input method may occur. .

さらに、撮像した画像を印刷するためだけに高価なPCを必要とするのは、ユーザの利便性を著しく損うという問題点もある。   Further, the need for an expensive PC just for printing a captured image has a problem that the convenience of the user is remarkably impaired.

ここで、印刷処理時の操作の簡易化とオーバーヘッドタイムをほぼゼロにしたいという要請をデジタルカメラからの側から検討すると、例えば、PCを介することなくデジタルカメラからプリンタに直接画像データを出力し、所望の撮像画像を所望の印刷枚数、用紙サイズおよび印刷色等で印刷できれば好適である。また、プリンタを含めて画像データの送信先外部装置を指定できれさらに好適である。   Here, considering the request from the digital camera side to simplify the operation during the printing process and to make the overhead time almost zero, for example, the image data is directly output from the digital camera to the printer without using the PC, It is preferable if a desired captured image can be printed with a desired number of printed sheets, paper size, printing color, and the like. In addition, it is more preferable that a destination external device for image data including a printer can be designated.

本発明は上記観点に基づいてなされたものであり、デジタルカメラから外部装置に画像データを出力する機能を有すると共に、所望の画像を所望の印刷仕様(印刷枚数、用紙サイズ,印刷色等)で印刷できる機能を有するデジタルカメラの提供を目的とする。また、前述のデジタルカメラを用いた印刷システムの提供を他の目的とする。   The present invention has been made based on the above viewpoint, and has a function of outputting image data from a digital camera to an external device, and a desired image with desired print specifications (number of printed sheets, paper size, print color, etc.). An object is to provide a digital camera having a printable function. Another object is to provide a printing system using the above-described digital camera.

本発明のデジタルカメラは、撮像光を光電変換したのちに画像データおよび該画像データの縮小画像データとして記録するデジタルカメラであって、
画像を表示する表示部と、
前記画像データおよび縮小画像データを記録する記録媒体と、
前記記録媒体から縮小画像データを順次読み出して前記表示部に画像を早送り表示するとともに、所望の画像が選択されたときに前記記録媒体から選択された画像データを取得する画像データ選択手段と、
前記選択された画像の印刷枚数を指定するための出力方法指定画面を前記表示部に表示する出力方法指定画面表示手段と、
前記選択された画像データを外部プリンタに出力する出力手段と、
を備え、
前記出力手段は、前記画像データ選択手段による画像の選択と前記出力方法指定画面表示手段を用いた印刷枚数の指定と前記選択された画像に対応付けた印刷枚数の格納とが複数回繰り返して行われた後に、次の候補画像がないことを判断すると複数の画像データを前記外部プリンタに一度に連続して直接出力させるための処理に移行する
The digital camera of the present invention is a digital camera that records image data and reduced image data of the image data after photoelectrically converting imaging light,
A display for displaying an image;
A recording medium for recording the image data and the reduced image data ;
As well as fast-forward display an image on the display unit sequentially reads the reduced image data from said recording medium, and the image data selection means for acquiring image data selected from said recording medium when the desired image is selected,
An output method designation screen display means for displaying an output method designation screen for designating the number of prints of the selected image on the display unit;
Output means for outputting the selected image data to an external printer;
With
The output means repeatedly performs the selection of the image by the image data selection means, the designation of the number of prints using the output method designation screen display means, and the storage of the number of prints associated with the selected image a plurality of times. If it is determined that there is no next candidate image , the process proceeds to processing for directly outputting a plurality of image data to the external printer directly at a time .

このデジタルカメラでは、複数の画像について印刷枚数をそれぞれ指定した後に、まとめて外部プリンタに画像データを出力することができる。In this digital camera, image data can be output to an external printer after specifying the number of prints for a plurality of images.

本発明による第2のデジタルカメラは、撮像光を光電変換したのちに画像データとして記録するデジタルカメラであって、
画像を表示する表示部と、
前記画像データを記録する記録媒体と、
前記記録媒体から所望の画像データを選択する画像データ選択手段と、
前記選択された画像の印刷枚数を指定するための出力方法指定画面を前記表示部に表示する出力方法指定画面表示手段と、
前記選択された画像データと前記指定された印刷枚数とを外部プリンタに直接出力する出力手段と、
を備える
A second digital camera according to the present invention is a digital camera that records image data after photoelectrically converting imaging light,
A display for displaying an image;
A recording medium for recording the image data;
Image data selection means for selecting desired image data from the recording medium;
An output method designation screen display means for displaying an output method designation screen for designating the number of prints of the selected image on the display unit;
Output means for directly outputting the selected image data and the designated number of prints to an external printer;
Is provided .

図1は本発明のデジタルカメラの構成例を示すブロック図である。   FIG. 1 is a block diagram showing a configuration example of a digital camera of the present invention.

図1(a)に示すように、デジタルカメラ100は、レンズ、絞り機構等からなりCCD2上に撮影対象像からの反射光を入射する光学系1と、光学系1からの撮像光を電気信号に変換するCCD2と、CCD2からの信号を処理し多値(R、G、B)のラスタデータ(画像データ)としてフレームメモリ6に出力する信号処理部3と、信号処理部3、フレームメモリー6、6’、信号処理部7および記録媒体制御部8の動作制御、画像処理および画像圧縮伸張処理等の実行を制御する制御部4、スイッチ等の操作による使用者からの指示を入力しデジタル信号に変換して制御部4に与える入力手段5と、フレームメモリ上のR、G、Bラスタデータを輝度成分Yおよび色差成分U、Vに変換してさらにJPEG圧縮し、また、サムネイル画像を作成するための縮小処理を行なう信号処理部7と、信号処理部7の出力を受け取ってJPEG圧縮された画像データ(以下、JPEG画像データと記す)およびサムネイル画像データの記録媒体9または拡張記録媒体10の所定の位置への書込や、また記録された各JPEG画像データの読出等の制御を行なう記録媒体制御部8と、画像データを格納する記録媒体9と、拡張記録媒体10と、外部装置とデータの授受を行なう場合に用いるインターフェイス11と、スイッチの状態表示や機能仕様表示を行なうLEDランプ等の表示手段15と、撮影した像あるいは撮像対象を表示する液晶ディスプレイ等からなる表示手段16を備えている。   As shown in FIG. 1A, a digital camera 100 includes a lens, a diaphragm mechanism, and the like, an optical system 1 that receives reflected light from an image to be photographed on a CCD 2, and imaging light from the optical system 1 as an electrical signal. CCD 2 to be converted into a signal, a signal processing unit 3 that processes signals from the CCD 2 and outputs them to the frame memory 6 as multi-value (R, G, B) raster data (image data), a signal processing unit 3, and a frame memory 6 , 6 ', the control unit 4 for controlling the operation of the signal processing unit 7 and the recording medium control unit 8, the execution of the image processing and the image compression / decompression processing, etc., an instruction from the user by the operation of the switch, etc. The input means 5 for converting the image data to the control unit 4 and converting the R, G, and B raster data in the frame memory into the luminance component Y and the color difference components U and V, further JPEG compression, and the thumbnail image A signal processing unit 7 that performs a reduction process for generating the image data, and a recording medium 9 or extended recording of image data (hereinafter referred to as JPEG image data) and thumbnail image data that have been received and output from the signal processing unit 7 and are JPEG compressed A recording medium control unit 8 for controlling writing to a predetermined position of the medium 10 and reading of each recorded JPEG image data, a recording medium 9 for storing image data, an extended recording medium 10, An interface 11 used when data is exchanged with an external device, a display means 15 such as an LED lamp for displaying a switch status or a function specification, and a display means such as a liquid crystal display for displaying a photographed image or an imaging target. 16 is provided.

フレームメモリ6は通常は液晶ディスプレイ16の画像表示用メモリとして用いられ、画像データがビットマップイメージで展開される。また、フレームメモリ6’は液晶ディスプレイ16のメニュー表示用メモリとして用いられる。液晶ディスプレイ16への表示時にはフレームメモリ6および6’の内容が重畳して表示される。   The frame memory 6 is normally used as an image display memory of the liquid crystal display 16 and image data is developed as a bitmap image. The frame memory 6 ′ is used as a menu display memory for the liquid crystal display 16. At the time of display on the liquid crystal display 16, the contents of the frame memories 6 and 6 'are superimposed and displayed.

記録媒体9は、カメラ100の内部に固定された4MBのフラッシュメモリで構成されている。記録媒体9には、画像データだけでなく、プログラム等も記録すうように構成することも可能である。また、拡張記憶媒体10は実施例では4〜40MBのコンパクト・フラッシュ(サン・ディスク社の商標)が用いられている。   The recording medium 9 is composed of a 4 MB flash memory fixed inside the camera 100. The recording medium 9 can be configured to record not only image data but also programs and the like. In the embodiment, the extended storage medium 10 is a compact flash of 4 to 40 MB (trademark of SanDisk Corporation).

インターフェイス11は実施例ではシリアルインターフェイスを用いており、PC200等のコンピュータ装置から送られるプログラムの受信、画像データのPC200への送信、モデム150を介しての画像データの通信回線160等への送出、プリンタ240やファクシミリ装置への印刷画像データの送信に用いられる。   In the embodiment, the interface 11 uses a serial interface, and receives a program sent from a computer device such as the PC 200, sends image data to the PC 200, sends image data to the communication line 160, etc. via the modem 150, It is used for transmission of print image data to the printer 240 and the facsimile apparatus.

図1(b)は制御部4の構成を示し、制御部4はCPU41、RAM42およびROM43から構成され、ROM43にはデジタルカメラ100の動作制御、データ圧縮処理等デジタルカメラ内部でのデータ処理に必要なプログラム群から構成される制御手段430が格納されている(図2)。   FIG. 1B shows the configuration of the control unit 4. The control unit 4 includes a CPU 41, a RAM 42 and a ROM 43, and the ROM 43 is necessary for data processing inside the digital camera such as operation control of the digital camera 100 and data compression processing. Control means 430 composed of various program groups is stored (FIG. 2).

プリンタドライバを始めとする印刷用データ作成プログラムは、ROM43に格納する構成としてもよい。または、シリアルインターフェイス11を介して、磁気ディスクや、CD−ROMあるいはメモリカード等の外部記録媒体から取り込んで、予め記録媒体9または拡張記録媒体10に格納しておき、所望の時期に読み出して実行するように構成することもできる。   A print data creation program such as a printer driver may be stored in the ROM 43. Alternatively, it is taken in from an external recording medium such as a magnetic disk, CD-ROM, or memory card via the serial interface 11 and stored in the recording medium 9 or the extended recording medium 10 in advance, and is read and executed at a desired time. It can also be configured to.

図2はROM43に格納されている制御手段430の構成例を示す図である。
制御手段430は、デジタルカメラ100の動作制御に必須な手段、画像データの圧縮等の画像データの格納に致る過程に必要な画像データ処理手段および画像データの伸張、印刷用データの作成に関する各手段とから構成されている。通例、これらの手段はプログラムから構成される。
FIG. 2 is a diagram illustrating a configuration example of the control unit 430 stored in the ROM 43.
The control unit 430 is a unit essential for operation control of the digital camera 100, an image data processing unit necessary for a process corresponding to image data storage, such as compression of image data, and decompression of image data and creation of print data. Means. Typically, these means consist of programs.

制御手段430は、コントロールシステム431、入力指示判定手段432、内部プログラム群433、外部プログラム受信手段434、データ管理手段435および表示用データ出力手段436を有している。   The control unit 430 includes a control system 431, an input instruction determination unit 432, an internal program group 433, an external program reception unit 434, a data management unit 435, and a display data output unit 436.

コントロールシステム431はデジタルカメラ100全体の動作制御を行なう。例えば、光学系の絞りモータ駆動部(図示せず)に対する制御、信号処理部3、フレームメモリ6、信号処理部7と記録媒体制御部8の動作制御、および入力指示判定手段432〜表示用データ出力手段436の実行制御等を行なう。   A control system 431 controls the operation of the entire digital camera 100. For example, control for an aperture motor drive unit (not shown) of the optical system, operation control of the signal processing unit 3, frame memory 6, signal processing unit 7 and recording medium control unit 8, and input instruction determination means 432 to display data The execution control of the output means 436 is performed.

入力指示判定手段432は、デジタルカメラ100に設けられたスイッチ等をユーザーが操作して所望の動作あるいは処理を選択した場合に、入力手段5から出力されるデジタル信号を判定して、ユーザの指示した動作が何であるかを判定する。その判定結果によって、内部プログラム群433のうちの対応のプログラムに制御を渡したり、外部プログラム受信手段434による外部プログラム受信実行のためコントロールシステム431に制御を渡す。   The input instruction determination unit 432 determines a digital signal output from the input unit 5 when a user operates a switch or the like provided in the digital camera 100 to select a desired operation or process, and instructs the user Determine what the action was. Depending on the determination result, control is transferred to a corresponding program in the internal program group 433, or control is transferred to the control system 431 for external program reception execution by the external program receiving means 434.

内部プログラム群433は、撮像から撮像した画像データの記録媒体9への格納、拡張記録媒体10からの画像データの読み込みあるいは書き込み、撮像時のLED表示等の制御を行なうプログラムからなり、基本的処理プログラムとしてROM43に内蔵されている。内部プログラムの例としては、記録媒体9に画像データを書込む際に必要なJPEG圧縮プログラムがある。   The internal program group 433 includes programs for controlling the storage of image data taken from imaging to the recording medium 9, reading or writing of image data from the extended recording medium 10, LED display at the time of imaging, and the like. It is built in the ROM 43 as a program. As an example of the internal program, there is a JPEG compression program necessary for writing image data on the recording medium 9.

外部プログラム受信手段434は、入力指示判定手段432から外部プログラム導入指示が出された場合に起動される。   The external program receiving unit 434 is activated when an external program introduction instruction is issued from the input instruction determining unit 432.

外部プログラム受信手段434は、PC等からのプログラムの導入か、拡張記録媒体10のセットによるプログラムの導入か、通信回線を介してのプログラムの導入かを、外部プログラム導入指示の内容から判別して対応の受信処理を行なった後、データ管理手段435に制御を渡す。   The external program receiving means 434 determines from the contents of the external program introduction instruction whether the program is introduced from a PC or the like, the program introduced by the set of the extended recording medium 10 or the program is introduced via a communication line. After performing the corresponding reception process, control is passed to the data management means 435.

データ管理手段435は、撮像した画像データの記録媒体9への書込、削除、追加あるいは外部から導入したプログラムコードの書込、削除、追加にあたり、PC等のコンピュータ装置で広く行なわれているファイル管理に相当するデータ管理を行なう。   The data management means 435 is a file widely used in computer devices such as PCs for writing, deleting and adding captured image data to the recording medium 9 or writing, deleting and adding program codes introduced from the outside. Data management equivalent to management is performed.

画像データ(JPEG圧縮データ)およびサムネイル画像データは、内部プログラム433あるいはそれに相当する回路によって処理され、記録媒体制御部8により記録媒体9に書込まれる。   Image data (JPEG compressed data) and thumbnail image data are processed by the internal program 433 or a circuit corresponding thereto, and written to the recording medium 9 by the recording medium control unit 8.

表示用データ出力手段436は、LED表示、画像データあるいはメニュー等の表示データをデジタルカメラ100のLED14または液晶ディスプレイ16に出力する。   The display data output means 436 outputs display data such as LED display, image data, or menu to the LED 14 or the liquid crystal display 16 of the digital camera 100.

図3は、画像選択手段45の構成例を示すブロック図である。   FIG. 3 is a block diagram illustrating a configuration example of the image selection unit 45.

図3(a)に示す画像選択手段45Aは、撮影した画像データを順に液晶ディスプレイ16に表示してユーザに所望の印刷画像を選択させる印刷画像選択手段453と、印刷枚数、印刷用紙サイズ、印刷色(フルカラー、モノカラー、白黒)等の印刷仕様および画像データの送信先である外部装置を指定する出力方法指定手段454とを有する(実施例1参照)。   The image selection unit 45A shown in FIG. 3A is a print image selection unit 453 that displays captured image data on the liquid crystal display 16 in order and allows the user to select a desired print image, and the number of prints, print paper size, and print. Output specifications specifying means 454 for specifying printing specifications such as colors (full color, mono color, black and white) and an external device to which image data is transmitted (see Example 1).

図3(b)に示す画像選択手段45Bは、サムネイル画像データを液晶ディスプレイ16に早送り表示するサムネイル画像表示手段452と、表示されたサムネイル画像から所望の画像をユーザーに選択させ、選択されたサムネイル画像に対応する画像データを表示して確認を得る印刷画像選択手段453’と、印刷仕様および画像データの送信先である外部装置を指定する出力方法指定手段454を有する(実施例2参照)。   The image selection unit 45B shown in FIG. 3B has a thumbnail image display unit 452 that fast-displays thumbnail image data on the liquid crystal display 16, and a user selects a desired image from the displayed thumbnail images, and the selected thumbnail. A print image selection unit 453 ′ that displays image data corresponding to an image and obtains confirmation, and an output method designation unit 454 that designates an external apparatus that is a transmission destination of print specifications and image data (see Example 2).

図3(c)に示す画像選択手段45Cは、サムネイル画像データに索引コードを付してプリンタに送信し印刷させるサムネイル画像印刷手段452’と、液晶ディスプレイ16にサムネイル画像選択画面を表示し、ユーザに印刷されたサムネイル画像を基に所望の画像を指定させ、指定された画像データを表示して確認を得る印刷画像選択手段453”と、印刷仕様および画像データの送信先である外部装置を指定する出力方法指定手段454を有する(実施例3参照)。   The image selection unit 45C shown in FIG. 3C displays a thumbnail image selection screen on the liquid crystal display 16 and a thumbnail image printing unit 452 ′ for sending the thumbnail image data with an index code and sending it to the printer for printing. Specify the desired image based on the thumbnail image printed on the printer, select the print image selection means 453 "that displays the specified image data for confirmation, and specify the external device that is the destination of the print specifications and image data Output method designating means 454 (see Example 3).

図3(d)に示す画像選択手段45Dは、画像選択方法451を付加して画像選択手段45Bまたは画像選択手段45Cのいずれかを選択させるように構成した例である。   An image selection unit 45D shown in FIG. 3D is an example configured to add an image selection method 451 to select either the image selection unit 45B or the image selection unit 45C.

上記画像選択手段45A、45B、45Cあるいは45Dは外部から導入してもよく、または制御手段430(図2)を構成する内部プログラム433の一つとしてROM43に格納するよう構成することもできる。また、出力方法指定手段454は、各設定値と画像の索引番号を対応させた設定値登録テーブルを有している。   The image selection means 45A, 45B, 45C or 45D may be introduced from the outside or may be stored in the ROM 43 as one of the internal programs 433 constituting the control means 430 (FIG. 2). The output method designating unit 454 has a set value registration table in which each set value is associated with the image index number.

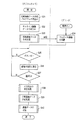
図4は、プリンタに印刷用画像データを送信するダイレクトプリント機能を実行するための説明図であり、画像選択手段45と印刷画像データ作成用プログラム群430および制御手段50との関係を示す。図5はダイレクトプリント機能実行時の制御部4の動作を示すフローチャートである。   FIG. 4 is an explanatory diagram for executing the direct print function for transmitting print image data to the printer, and shows the relationship between the image selection means 45, the print image data creation program group 430, and the control means 50. FIG. 5 is a flowchart showing the operation of the control unit 4 when the direct print function is executed.

図4および図5でユーザーが画像選択処理スイッチをオンすると、入力指示判定手段432が画像選択を意味するコードをコントロールシステム431に与える。コントロールシステム431は、ROM43から、または記録媒体制御部8を介して記録媒体9から画像選択手段(プログラム)45を読み出してRAM42に展開する(P1)。   When the user turns on the image selection processing switch in FIGS. 4 and 5, the input instruction determination unit 432 gives a code meaning image selection to the control system 431. The control system 431 reads the image selection means (program) 45 from the ROM 43 or the recording medium 9 via the recording medium control unit 8 and develops it in the RAM 42 (P1).

画像選択手段45がRAM42に展開されると、コントロールシステム431は画像選択手段45に制御を渡す。画像選択手段45は、ユーザーにより所望の画像の選択および出力方法の指定がされると、画像データ送信先外部装置がプリンタ240かファクシミリ装置の場合にはステップP3に移行する。外部装置がPC200であるかモデム150を介して通信回線に画像データを送出する場合には、ステップP5に移行してコントロールシステム431に制御を渡す(P2)。   When the image selection unit 45 is expanded in the RAM 42, the control system 431 passes control to the image selection unit 45. When the user selects a desired image and designates an output method, the image selection means 45 proceeds to step P3 when the image data transmission destination external apparatus is the printer 240 or the facsimile apparatus. When the external device is the PC 200 or image data is sent to the communication line via the modem 150, the process proceeds to step P5 and the control is transferred to the control system 431 (P2).

コントロールシステム431は、ROM43、または記録媒体制御部8を介して記録媒体9に、格納されている印刷画像データ作成用プログラム群50の読み出しを指示する。印刷画像データ作成用プログラム群50の各プログラム(51、52、531、532、533、54)は、コントロールシステム431の指示順に逐次読み出されてRAM42に展開される(P3)。   The control system 431 instructs the recording medium 9 to read out the stored print image data creation program group 50 via the ROM 43 or the recording medium control unit 8. Each program (51, 52, 531, 532, 533, 54) of the print image data creation program group 50 is sequentially read out in the order instructed by the control system 431 and developed in the RAM 42 (P3).

コントロールシステム431は、印刷画像データ作成用プログラム群50の各プログラムに対し逐次制御を渡し、印刷画像データの作成を実行させる。印刷画像データの作成が終るとステップP5に移行する(P4)。なお、1フレーム分の画像データを副走査方向に幾つかのブロックに分割して、印刷画像データを作成するように構成することもできる。   The control system 431 sequentially passes control to each program of the print image data creation program group 50 to execute creation of print image data. When the creation of the print image data is finished, the process proceeds to step P5 (P4). The image data for one frame can be divided into several blocks in the sub-scanning direction to create print image data.

画像データ送信手段54は、指定された外部装置がプリンタ装240の場合には、印刷画像データおよび印刷制御データをインターフェイス11を介してプリンタ240に送信する。外部装置がファクシミリ装置の場合には、白黒の印刷画像データを送信する。外部装置がPC200の場合、あるいはモデム150を介して通信回線に送出する場合には、画像データ、あるいは印刷画像データと印刷制御データを送信する(P5)。   When the designated external device is the printer device 240, the image data transmission unit 54 transmits the print image data and the print control data to the printer 240 via the interface 11. When the external apparatus is a facsimile apparatus, monochrome print image data is transmitted. When the external device is the PC 200 or when it is sent to the communication line via the modem 150, image data or print image data and print control data are transmitted (P5).

なお、上記印刷画像データ作成用プログラム群50に渡す画像データ(YUV成分データ)のUV成分をU=u、V=v(−1<u<1、−1<v<1)とすることによって、印刷画像データ作成用プログラム群50から出力される画像データをモノカラー(単色カラー;例えば、セピア色や、青色や、緑色等のカラー一色)画像データとすることができる。また、U=0、V=0とすることによって、印刷画像データ作成用プログラム群50から出力される画像データを白黒画像データとすることができる。   The UV component of the image data (YUV component data) to be passed to the print image data creation program group 50 is set to U = u, V = v (-1 <u <1, -1 <v <1). The image data output from the print image data creation program group 50 can be monocolor (single color; for example, sepia, blue, or green). Further, by setting U = 0 and V = 0, the image data output from the print image data creation program group 50 can be converted into monochrome image data.

印刷画像データ作成用プログラム群50は、記録媒体9から読み出された圧縮された画像データを伸張して展開するデータ伸張プログラム51、YUV成分からなっている画像データをRGB成分に変換するRGB変換プログラム42、プリンタドライバ53および印刷用データを送信する画像データ送信プログラム54を含んでいる。   The print image data creation program group 50 includes a data decompression program 51 that decompresses and decompresses compressed image data read from the recording medium 9, and RGB conversion that converts image data composed of YUV components into RGB components. A program 42, a printer driver 53, and an image data transmission program 54 for transmitting print data are included.

プリンタドライバ53は、PC等での印刷データ作成用のプリンタドライバと同じ構成であり、ラスタライザ、色補正およびハーフトーンの3つのモジュールを2値データを得るために備えている。   The printer driver 53 has the same configuration as a printer driver for creating print data on a PC or the like, and includes three modules for rasterizer, color correction, and halftone to obtain binary data.

なお、RGB変換プログラム52に色変換パラメータを付加し、色変換パラメータが一定の値(例えば’0,0’)のときにRGB変換の前段でU=0、Y=0とするUV値変換ルーチンを付加するよう構成することが望ましい。   Note that a color conversion parameter is added to the RGB conversion program 52, and when the color conversion parameter is a constant value (eg, “0, 0”), a UV value conversion routine that sets U = 0 and Y = 0 in the previous stage of RGB conversion. It is desirable to configure to add.

また、デジタルカメラ100をインターフェイス11に接続されたモデムを介して通信回線に接続し、印刷画像データを送信するよう画像データ送信プログラム54を構成することもできる。さらに、デジタルカメラ100をインターフェイス11に接続されたモデムを介して携帯電話機のような無線装置と接続し、印刷画像データを無線送信するように画像データ送信プログラム54を構成することもできる。   Further, the image data transmission program 54 can be configured to connect the digital camera 100 to a communication line via a modem connected to the interface 11 and transmit print image data. Further, the image data transmission program 54 can be configured to wirelessly transmit print image data by connecting the digital camera 100 to a wireless device such as a mobile phone via a modem connected to the interface 11.

図6は出力方法指定手段454の構成を示すブロック図である。出力方法指定手段454は、印刷仕様および画像データ送信先外部装置を指定するための出力方法指定画面(図7(b))を表示する出力方法指定画面表示手段4541、印刷枚数を指定する印刷枚数指定手段4542、印刷用紙サイズを指定する印刷サイズ指定手段4543、印刷色を指定する印刷色指定手段4544、画像データを送信する外部装置を指定するた出力装置指定手段4545を有している。   FIG. 6 is a block diagram showing the configuration of the output method designation means 454. The output method designation means 454 is an output method designation screen display means 4541 that displays an output method designation screen (FIG. 7B) for designating print specifications and an image data transmission destination external device. The printer includes a designation unit 4542, a print size designation unit 4543 for designating a print paper size, a print color designation unit 4544 for designating a print color, and an output device designation unit 4545 for designating an external device for transmitting image data.

なお、印刷サイズ指定手段4543は、予め印刷する用紙のサイズ(例えば、A4、A6、はがき等、あるいは通常の銀塩写真で使われる、名刺サイズ、L判、E判等)を登録したテーブルを備えるよう構成することが望ましい。   Note that the print size designation means 4543 stores a table in which the size of paper to be printed in advance (for example, A4, A6, postcard, etc., or a business card size, L size, E size, etc. used in ordinary silver halide photography) It is desirable to be configured to provide.

図7はデジタルカメラ100の背面部分の一例である。デジタルカメラ100の背面には、画像あるいは機能メニュー等を表示する液晶ディスプレイ16と液晶ディスプレイ16の画面を上下、左右にスクロールさせるボタン19、20と機能選択用ボタン17、18が設けられている。なお、図8(a)は画像表示の例、(b)は出力方法指定画面の例である。   FIG. 7 is an example of the back portion of the digital camera 100. On the back of the digital camera 100, there are provided a liquid crystal display 16 for displaying an image or a function menu, buttons 19 and 20 for scrolling the screen of the liquid crystal display 16 up and down, left and right, and function selection buttons 17 and 18. FIG. 8A shows an example of image display, and FIG. 8B shows an example of an output method designation screen.

以下、画像選択手段45(45A、45B、45C、45Dのいずれか)の各実施例について述べる。   Hereinafter, each embodiment of the image selection unit 45 (any one of 45A, 45B, 45C, and 45D) will be described.

<実施例1>
図8は画像選択手段45Aの動作を示すフローチャートである。撮影済みの画像データを順に液晶ディスプレイに表示してユーザに所望の印刷画像を選択させ、印刷枚数、印刷用紙サイズ、印刷色(カラー、モノカラーあるいは白黒)等の印刷仕様を指定し、印刷画像データを作成し外部装置に送信するまでの動作例を示す。
<Example 1>
FIG. 8 is a flowchart showing the operation of the image selection means 45A. The captured image data is displayed in sequence on the liquid crystal display, allowing the user to select the desired print image, specifying the print specifications such as the number of prints, the print paper size, and the print color (color, monocolor or black and white). An example of operation until data is created and transmitted to an external device is shown.

画像選択手段45AがRAM42に転送されるとコントロールシステム431は画像選択手段45Aに制御を渡す。印刷画像選択手段453は1枚分の画像データを読み出しフレームメモリ6に転送し、データ伸張プログラムを用いてJPEG画像データを伸張して候補画像31を液晶ディスプレイ16上に表示する(S1)。この場合、候補画像には索引番号を付加して表示する。   When the image selection unit 45A is transferred to the RAM 42, the control system 431 passes control to the image selection unit 45A. The print image selection means 453 reads out the image data for one sheet, transfers it to the frame memory 6, decompresses the JPEG image data using the data decompression program, and displays the candidate image 31 on the liquid crystal display 16 (S1). In this case, the candidate image is displayed with an index number added.

ユーザがボタン19を押しつづけると印刷画像選択手段453は候補画像を順次表示し、ユーザーがボタンから手を離すとその時点の画像で表示を停止する。
ユーザーがボタン20を押しつづけると印刷画像選択手段453は前の候補画像を順次表示し、ユーザーがボタンから手を離すとその時点の候補画像で表示を停止する(S2)。
When the user continues to press the button 19, the print image selection unit 453 sequentially displays the candidate images, and when the user releases the button, the display stops at the image at that time.
When the user continues to press the button 20, the print image selection unit 453 sequentially displays the previous candidate images, and when the user releases the button, the display stops at the current candidate image (S2).

ユーザーがボタン17あるいは18の何れかを押すと、印刷画像選択手段453はその候補画像が選択されたものとみなし、制御を出力方法指定手段454に移す(S3)。   When the user presses either the button 17 or 18, the print image selection unit 453 considers that the candidate image has been selected, and transfers control to the output method designation unit 454 (S3).

出力方法指定手段454は、出力方法指定画面表示手段4541により、図7(b)に示すような出力方法指定メニューを表示し、ユーザーに各印刷仕様および画像データ送信先外部装置の選択或いは入力を促す。   The output method designation unit 454 displays an output method designation menu as shown in FIG. 7B on the output method designation screen display unit 4541 and allows the user to select or input each print specification and image data transmission destination external device. Prompt.

このとき、初期表示として例えば、「印刷枚数=1、印刷用紙サイズ=A4、印刷色=フルカラー、出力装置=カラープリンタ」が表示される。指定あるいは選択ができる矩形枠21の内部は、他の矩形枠とは異なる色で表示される(S4)。   At this time, for example, “printing number = 1, printing paper size = A4, printing color = full color, output device = color printer” is displayed as the initial display. The interior of the rectangular frame 21 that can be designated or selected is displayed in a color different from other rectangular frames (S4).

先ず、印刷枚数指定手段4542は、ユーザがボタン17またはボタン18の何れかを押すと印刷枚数を指定するステップに移行する。ユーザーがボタン19を押すとその都度印刷枚数を初期値から1ずつカウントアップして枚数を表示する。ボタン20を押す都度表示は1ずつカウントダウンする。ユーザーがボタン17またはボタン18の何れかを押すと、その時点の表示値を印刷枚数としてセットして設定値登録テーブルの画像索引番号に対応する位置に格納して次のステップに移行する(S5)。   First, the print number designation means 4542 proceeds to a step for designating the number of prints when the user presses either the button 17 or the button 18. Each time the user presses the button 19, the number of printed sheets is incremented by one from the initial value and the number of sheets is displayed. Each time the button 20 is pressed, the display counts down by one. When the user presses either the button 17 or the button 18, the display value at that time is set as the number of prints, stored in the position corresponding to the image index number in the setting value registration table, and the process proceeds to the next step (S5). ).

印刷サイズ指定手段4543は、ユーザがボタン17またはボタン18の何れかを押すと印刷用紙サイズを選択するステップに移行し、予め印刷用紙サイズが登録された印刷サイズ登録テーブルの内容を表示する。ボタン19あるいはボタン20を押して所望の印刷用紙サイズを選択し、ボタン17またはボタン18の何れかを押すと選択した印刷用紙サイズをセットして設定値登録テーブルの画像索引番号に対応する位置に格納して、次のステップに移行する(S6)。   When the user presses either the button 17 or the button 18, the print size designation unit 4543 proceeds to the step of selecting the print paper size, and displays the contents of the print size registration table in which the print paper size is registered in advance. Press button 19 or 20 to select the desired print paper size, and press either button 17 or button 18 to set the selected print paper size and store it in the position corresponding to the image index number in the setting value registration table. Then, the process proceeds to the next step (S6).

印刷色指定手段4544は、ユーザーがボタン17またはボタン18の何れかを押すと印刷色を選択するステップに移行し、予め印刷色が登録された印刷色登録テーブルの内容を表示する。ボタン19あるいはボタン20を押して所望の印刷色を選択し、ボタン17またはボタン18の何れかを押すと選択した印刷色がセットされる。印刷色としてフルカラーを選択すると、RGB変換プログラム52の印刷色パラメータを1にする。印刷色としてモノカラーを選択すると、RGB変換プログラム52の印刷色パラメータを2にする。印刷色として白黒を選択すると、RGB変換プログラム52の印刷色パラメータを3にする。印刷色パラメータは、設定値登録テーブルの画像索引番号に対応する位置に格納される(S7)。   When the user presses either the button 17 or the button 18, the print color designation unit 4544 proceeds to a step of selecting a print color, and displays the contents of the print color registration table in which the print color is registered in advance. When the button 19 or 20 is pressed to select a desired print color, and either the button 17 or 18 is pressed, the selected print color is set. When full color is selected as the print color, the print color parameter of the RGB conversion program 52 is set to 1. When a mono color is selected as the print color, the print color parameter of the RGB conversion program 52 is set to 2. When monochrome is selected as the print color, the print color parameter of the RGB conversion program 52 is set to 3. The print color parameter is stored at a position corresponding to the image index number in the set value registration table (S7).

出力装置指定手段4545は、ユーザーがボタン17またはボタン18の何れかを押すと出力装置を選択するステップに移行し、予め出力装置が登録された出力装置登録テーブルの内容を表示する。出力装置としてカラープリンタを選択すると、画像データ送信プログラム54の出力装置パラメータを1とする。出力装置としてファクシミリを選択すると、画像データ送信プログラム54の出力装置パラメータを2にする。出力装置としてPCを選択すると、画像データ送信プログラム54の出力装置パラメータを3にする。出力装置として通信端末を選択すると、画像データ送信プログラム54の出力装置パラメータを4にする。ユーザーがボタン17または18を押すと選択した出力装置がセットされ、設定値として設定値登録テーブルの画像索引番号に対応する位置に格納し、次の候補画像を表示するためにステップS1に戻る。次の候補画像がない場合には出力装置パラメータの値を調べ、その値が1または2のときはステップS9に移行し、3または4の時はステップS16に進む(S8)。   When the user presses either the button 17 or the button 18, the output device designation unit 4545 moves to a step of selecting an output device, and displays the contents of the output device registration table in which the output device is registered in advance. When a color printer is selected as the output device, the output device parameter of the image data transmission program 54 is set to 1. When facsimile is selected as the output device, the output device parameter of the image data transmission program 54 is set to 2. When PC is selected as the output device, the output device parameter of the image data transmission program 54 is set to 3. When a communication terminal is selected as the output device, the output device parameter of the image data transmission program 54 is set to 4. When the user presses the button 17 or 18, the selected output device is set, stored as a set value at a position corresponding to the image index number of the set value registration table, and returns to step S1 to display the next candidate image. If there is no next candidate image, the value of the output device parameter is checked. If the value is 1 or 2, the process proceeds to step S9, and if it is 3 or 4, the process proceeds to step S16 (S8).

コントロールプログラム431は、印刷画像データ作成用プログラム群50を順次RAM42に展開し、圧縮データ伸張プログラム51に制御を移す(S9)。   The control program 431 sequentially expands the print image data creation program group 50 in the RAM 42, and transfers control to the compressed data expansion program 51 (S9).

圧縮データ伸張プログラム51は、印刷画像選択手段453によって選択された画像データ(JPEG画像データ)をRAM42に取り込み、データの伸張処理を行なう(S10)。   The compressed data decompression program 51 takes in the image data (JPEG image data) selected by the print image selection means 453 to the RAM 42 and performs data decompression processing (S10).

当該圧縮画像データの伸張処理が終ると、RGB変換プログラム52は印刷色パラメータを調べ、印刷色パラメータの値が1の場合にはステップS12に移行する。また、印刷色パラメータの値が2の場合には画像データのUV成分を全てU=u、V=vに変換し、印刷色パラメータの値が3の場合には画像データのUV成分を全てU=0、V=0に変換する(S11)。   When the decompression process of the compressed image data is completed, the RGB conversion program 52 checks the print color parameter, and if the print color parameter value is 1, the process proceeds to step S12. When the print color parameter value is 2, all the UV components of the image data are converted to U = u and V = v. When the print color parameter value is 3, all the UV components of the image data are converted to U. = 0 and V = 0 (S11).

RGB変換プログラム52は、YUV成分からなる画像データをR(赤)、G(緑)、B(青)成分からなる画像データに変換する。UV成分がU=u、V=vのときはモノカラー画像データとなり、UV成分がU=0、V=0のときは白黒画像データとなる(S12)。   The RGB conversion program 52 converts image data composed of YUV components into image data composed of R (red), G (green), and B (blue) components. When the UV component is U = u and V = v, it is mono-color image data, and when the UV component is U = 0 and V = 0, it is monochrome image data (S12).

ラスタライザ531は、画像データをR、G、B毎にラスタ変換されたRGB多階調(例えば、256階調)ビットイメージデータとする(S13)。   The rasterizer 531 converts the image data into RGB multi-gradation (for example, 256 gradation) bit image data raster-converted for each of R, G, and B (S13).

色補正モジュール532は、印刷色に対応させるため、RGB多階調ビットイメージデータに色補正処理を施し、K(ブラック)、C(シアン)、M(マゼンタ)およびY(イエロー)の印刷用のCMYK多階調ビットイメージデータに変換する(S14)。   The color correction module 532 performs color correction processing on RGB multi-gradation bit image data to correspond to the print color, and prints K (black), C (cyan), M (magenta), and Y (yellow). Conversion into CMYK multi-gradation bit image data (S14).

ハーフトーンモジュール533は、CMYK多階調ビットイメージデータに、ディザ法や誤差拡散法を用いてハーフトーン処理を実行する。これにより色毎に2値化されたビットマップ(2値データ・テーブル)が作成される(S15)。   The halftone module 533 executes halftone processing on the CMYK multi-gradation bit image data using a dither method or an error diffusion method. As a result, a bitmap (binary data table) binarized for each color is created (S15).

ハーフトーン処理が終わると、画像データ送信プログラム54は、印刷色パラメータを調べ、印刷色パラメータの値が1の場合には印刷枚数の設定値、印刷用紙サイズの設定値、印刷用制御信号および2値のビットマップデータをインターフェイス11を介して、例えばカラーインクジェットプリンタ240に送信する。カラーインクジェットプリンタ240は、デジタルカメラ100から直接印刷用制御信号および印刷用データを受け取って所望の枚数の撮影画像を所望のサイズの記録紙上に印刷することができる。   When the halftone processing is completed, the image data transmission program 54 checks the print color parameter. If the print color parameter value is 1, the print number setting value, the print paper size setting value, the print control signal, and 2 The value bitmap data is transmitted to the color inkjet printer 240, for example, via the interface 11. The color inkjet printer 240 can directly receive a printing control signal and printing data from the digital camera 100 and print a desired number of photographed images on a recording paper of a desired size.

なお、ユーザーが印刷色としてモノカラーまたは白黒を指定した場合には、カラー撮影であってもモノカラーまたは白黒で印刷される。また、出力装置パラメータの値が2の場合には、印刷枚数の設定値、印刷用紙サイズの設定値、印刷用制御信号および2値のビットマップデータをインターフェイス11を介してファクシミリ装置に送信する。出力装置パラメータの値が3または4の場合には、JPEG画像データ、あるいは印刷枚数の設定値、印刷用紙サイズの設定値、印刷用制御信号および2値のビットマップデータをインターフェイス11を介してPC200に、またはモデム150を介して通信回線160に接続する端末装置に送信する(S16)。   When the user designates mono color or black and white as the print color, the color is printed in mono color or black and white even when shooting. When the value of the output device parameter is 2, the setting value of the number of printed sheets, the setting value of the printing paper size, the printing control signal, and binary bitmap data are transmitted to the facsimile apparatus via the interface 11. If the value of the output device parameter is 3 or 4, the JPEG image data or the setting value of the number of printed sheets, the setting value of the printing paper size, the printing control signal, and the binary bitmap data are transmitted via the interface 11 to the PC 200. Or to the terminal device connected to the communication line 160 via the modem 150 (S16).

<実施例2>
図9は、サムネイル画像を表示して所望の画像を選択し、印刷枚数、印刷用紙サイズ、印刷色等の印刷仕様および画像データの送信先の出力装置を指定する画像選択手段45B(図3(B))の動作例を示すフローチャートである。
<Example 2>
FIG. 9 shows an image selection means 45B for displaying a thumbnail image, selecting a desired image, and designating the print specifications such as the number of printed sheets, the print paper size, the print color, and the output device to which the image data is transmitted (FIG. 3 ( It is a flowchart which shows the operation example of B)).

画像選択手段45BがRAM42に転送されると、コントロールシステム431は画像択手段45Bに制御を渡す。サムネイル画像表示手段452は、全てのサムネイル画像データを読み出しRAM42に展開する(S21)。   When the image selection means 45B is transferred to the RAM 42, the control system 431 passes control to the image selection means 45B. The thumbnail image display means 452 reads out all thumbnail image data and develops them in the RAM 42 (S21).

また、サムネイル画像表示手段452は、データ伸張プログラムを用いてサムネイル画像データに伸張処理を施し、更に拡大処理を施して拡大サムネイル画像データに索引番号を付加して液晶ディスプレイ16に表示する(S22)。なお、サムネイル画像に拡大処理を施さないで複数のサムネイル画像を液晶ディスプレイ16に表示するようにしてもよい。   Also, the thumbnail image display means 452 performs a decompression process on the thumbnail image data using a data decompression program, further performs an enlargement process, adds an index number to the enlarged thumbnail image data, and displays it on the liquid crystal display 16 (S22). . A plurality of thumbnail images may be displayed on the liquid crystal display 16 without performing the enlargement process on the thumbnail images.

ユーザーがボタン19を押す度に、印刷画像選択手段453’は拡大サムネイル画像を順次表示し、ボタン19を押すのを止めるとその時点のサムネイル画像を表示し続ける。また、ユーザがボタン20を押す度に、印刷画像選択手段453’は前のサムネイル画像を順次表示し、ボタン20を押すのを止めるとその時点のサムネイル画像を表示し続ける(S23)。   Each time the user presses the button 19, the print image selection unit 453 ′ sequentially displays enlarged thumbnail images, and when the user stops pressing the button 19, the thumbnail image at that time is continuously displayed. Each time the user presses the button 20, the print image selection means 453 'sequentially displays the previous thumbnail images, and when the user stops pressing the button 20, continues to display the current thumbnail image (S23).

ボタン19または20を押すのを止めてサムネイル画像が表示されている状態で、ユーザーがボタン17または18の何れかを押すと印刷画像選択手段453’はその画像が選択されたものとみなす。引き続きサムネイル画像から対応する画像を選択し、所望の画像の選択がすべて終了すると制御をコントロールプログラム431に移す(S24)。   When the user presses either the button 17 or 18 while the button 19 or 20 is stopped and the thumbnail image is displayed, the print image selection unit 453 'assumes that the image has been selected. Subsequently, a corresponding image is selected from the thumbnail images, and when all the desired images have been selected, control is transferred to the control program 431 (S24).

コントロールプログラム431は出力方法指定手段454に制御を移す。出力方法指定手段454は、印刷仕様および画像データの送信先の出力装置等の出力方法の指定処理を行ない、出力装置パラメータの値を調べ、その値が1または2のときはステップS26に進み、3または4の時はステップS27に進む(S25)。   Control program 431 transfers control to output method designation means 454. The output method designating unit 454 performs processing for designating an output method such as a print specification and an output device to which image data is transmitted, and checks the value of the output device parameter. If the value is 1 or 2, the process proceeds to step S26. If it is 3 or 4, the process proceeds to step S27 (S25).

コントロールプログラム431は、印刷画像データと印刷画像データ作成用プログラム群50を順次RAM42に展開し、印刷画像データ作成用プログラム群50に制御を移行する(S26)。   The control program 431 sequentially expands the print image data and the print image data creation program group 50 in the RAM 42, and shifts control to the print image data creation program group 50 (S26).

印刷画像データ作成用プログラム群50は図8のステップ10からステップS15と同様な処理、即ち、印刷画像選択手段453’によって選択された画像データ(JPEG画像データ)の伸張処理、RGB変換処理、ラスタライズ、色補正処理、ハーフトーン処理を行なう(S27)。   The print image data creation program group 50 is processed in the same manner as steps 10 to S15 in FIG. 8, that is, the expansion processing, RGB conversion processing, and rasterization of the image data (JPEG image data) selected by the print image selection means 453 ′. Then, color correction processing and halftone processing are performed (S27).

ハーフトーン処理がおわると、画像データ送信プログラム54は図8のステップS16と同様に、出力装置パラメータを調べ、指定された出力装置に印刷画像データあるいはJPEG画像データを送信する(S28)。   When the halftone processing is completed, the image data transmission program 54 checks the output device parameters and transmits the print image data or JPEG image data to the designated output device, as in step S16 of FIG. 8 (S28).

<実施例3>
図10は、サムネイル画像データをプリンタで印刷させ、印刷されたサムネイル画像から所望の画像を選び、印刷枚数、印刷用紙サイズ、印刷色等の印刷仕様および画像データの送信先の出力装置を指定する画像選択手段45C(図4(c))の動作例を示すフローチャートである。
<Example 3>
In FIG. 10, thumbnail image data is printed by a printer, a desired image is selected from the printed thumbnail images, print specifications such as the number of prints, print paper size, print color, and the like, and an output device to which image data is transmitted are specified. It is a flowchart which shows the operation example of image selection means 45C (FIG.4 (c)).

コントロールシステム431は、印刷画像データ作成用プログラム群50を順次RAM42に展開し、画像選択手段45Cに制御を渡す(S31)。   The control system 431 sequentially develops the print image data creation program group 50 in the RAM 42, and passes control to the image selection unit 45C (S31).

サムネイル画像印刷手段452’は、全てのサムネイル画像データを読み出しRAM42に展開し、RAM42上のサムネイル画像データにデータ伸張処理を施し、さらに、各サムネイル画像データに索引番号を付加する(S32)。   The thumbnail image printing means 452 'reads out all thumbnail image data, expands them in the RAM 42, performs data expansion processing on the thumbnail image data on the RAM 42, and adds an index number to each thumbnail image data (S32).

印刷画像データ作成用プログラム群50は、図8のステップS12からステップS15に述べたと同様に、RGB変換処理、ラスタライズ処理、色変換処理、ハーフトーン処理を施して、印刷用サムネイル画像データの作成を行ないプリンタ240に送信する(S33)。なお、この場合、サムネイル画像印刷手段452’でRAM42のサムネイル画像データのU、V成分についてU=0、V=0として、プリンタ240で白黒サムネイル画像を印刷するように構成してもよい。   The print image data creation program group 50 performs RGB conversion processing, rasterization processing, color conversion processing, and halftone processing in the same manner as described in steps S12 to S15 in FIG. The data is transmitted to the printer 240 (S33). In this case, the thumbnail image printing unit 452 ′ may be configured such that the printer 240 prints a black and white thumbnail image with U = 0 and V = 0 for the U and V components of the thumbnail image data in the RAM 42.

プリンタ240では索引番号付のサムネイル画像を印刷する(S34)。   The printer 240 prints a thumbnail image with an index number (S34).

印刷画像選択手段453”は、ユーザーが印刷されたサムネイル画像のなかから所望の画像を選び、その索引番号の入力を促すメッセージを液晶ディスプレイに表示してユーザーの操作を待つ(S35)。   The print image selection unit 453 ″ selects a desired image from among the thumbnail images printed by the user, displays a message prompting the input of the index number on the liquid crystal display, and waits for the user's operation (S35).

さらに、印刷画像選択手段453”は、ユーザが所望の画像の索引番号の数だけボタン19を押してから、ボタン17またはボタン18を押すと、その索引番号に対応する画像データを記録媒体9から読み出してフレームメモリ6に取り込み、その画像を液晶ディスプレイ16に表示する(S36)。   Further, when the user presses the button 19 or 18 after pressing the button 19 by the number of index numbers of the desired image, the print image selecting means 453 ″ reads the image data corresponding to the index number from the recording medium 9. The image is taken into the frame memory 6 and the image is displayed on the liquid crystal display 16 (S36).

ユーザがさらにボタン17または18を押すと、印刷画像選択手段453”はその画像が選択されたものとみなし、制御を出力方法指定手段454に移す(S37)。   When the user further presses the button 17 or 18, the print image selecting means 453 "assumes that the image has been selected, and transfers control to the output method specifying means 454 (S37).

出力方法指定手段454は、図8のステップS4からステップS8と同様に印仕様の設定および画像データの送信先の出力装置の指定を行なう。次の候補画像を選択するためにステップS35に戻る。次の候補画像がない場合には出力装置パラメータの値を調べ、その値が1または2のときはステップS39に移行し、3または4の時はステップS40に進む(S38)。   The output method designating unit 454 sets the mark specification and designates the output device to which image data is to be transmitted, in the same manner as in steps S4 to S8 in FIG. The process returns to step S35 to select the next candidate image. If there is no next candidate image, the value of the output device parameter is checked. If the value is 1 or 2, the process proceeds to step S39, and if it is 3 or 4, the process proceeds to step S40 (S38).

印刷画像データ作成処理用プログラム群50は、図8ステップS10からステップS15と同様にして選択された画像データ(JPEG画像データ)の伸張処理、RGB変換処理、ラスタライズ処理、色補正処理、ハーフトーン処理を行なう(S39)。   The print image data creation processing program group 50 is a decompression process, RGB conversion process, rasterization process, color correction process, and halftone process of image data (JPEG image data) selected in the same manner as in steps S10 to S15 in FIG. (S39).

ハーフトーン処理がおわると、画像データ送信プログラム54は図8のステップS16と同様にして出力装置パラメータを調べ、指定された出力装置に印刷画像データあるいはJPEG画像データを送信する(S40)。   When the halftone processing is completed, the image data transmission program 54 checks the output device parameters in the same manner as in step S16 of FIG. 8, and transmits the print image data or JPEG image data to the designated output device (S40).

以上本発明の一実施例について説明したが、本発明は上記実施例に限定されるものではなく、種々の変形実施が可能であることはいうまでもない。   Although one embodiment of the present invention has been described above, the present invention is not limited to the above embodiment, and it goes without saying that various modifications can be made.

本発明のデジタルカメラの構成例を示すブロック図である。It is a block diagram which shows the structural example of the digital camera of this invention. ROMに格納されている制御手段の構成例を示す図である。It is a figure which shows the structural example of the control means stored in ROM. 画像選択手段の構成例を示すブロック図である。It is a block diagram which shows the structural example of an image selection means. 画像選択手段と印刷画像データ作成用プログラム群および制御手段との関係を示す図である。It is a figure which shows the relationship between an image selection means, the program group for print image data creation, and a control means. 制御部4の概略動作を示すフローチャートである。4 is a flowchart showing a schematic operation of a control unit 4. 出力方法指定手段の一構成例を示すブロック図である。It is a block diagram which shows the example of 1 structure of an output method designation | designated means. デジタルカメラの背面部分図の一例である。It is an example of the back surface partial view of a digital camera. 画像選択から印刷画像データ作成までの動作例を示すフローチャートである。It is a flowchart which shows the operation example from image selection to print image data creation. 画像選択から印刷画像データ作成までの他の動作例を示すフローチャートである。It is a flowchart which shows the other operation example from image selection to print image data preparation. 画像選択から印刷画像データ作成までの他の動作例を示すフローチャートである。It is a flowchart which shows the other operation example from image selection to print image data preparation. パーソナルコンピュータで印刷用データを作成する場合に用いる印刷画像データ作成プログラム群の例を示す図である。It is a figure which shows the example of the print image data creation program group used when creating the data for printing with a personal computer.

符号の説明Explanation of symbols

9 記録媒体
15 液晶ディスプレイ(表示部)
50 印刷画像データ作成プログラム群
100 デジタルカメラ
240 カラーインクジェットプリンタ(外部プリンタ)
430 制御手段
452 サムネイル画像表示手段
452’ サムネイル画像印刷手段
453 印刷画像選択手段
453’ 印刷画像選択手段
453” 印刷画像選択手段
454 出力方法指定手段
9 Recording medium 15 Liquid crystal display (display unit)
50 Print Image Data Creation Program Group 100 Digital Camera 240 Color Inkjet Printer (External Printer)
430 Control means 452 Thumbnail image display means 452 'Thumbnail image printing means 453 Print image selection means 453' Print image selection means 453 "Print image selection means 454 Output method designation means

Claims (4)

撮像光を光電変換したのちに画像データおよび該画像データの縮小画像データとして記録するデジタルカメラであって、
画像を表示する表示部と、
前記画像データおよび縮小画像データを記録する記録媒体と、
前記記録媒体から縮小画像データを順次読み出して前記表示部に画像を早送り表示するとともに、所望の画像が選択されたときに前記記録媒体から選択された画像データを取得する画像データ選択手段と、
前記選択された画像の印刷枚数を指定するための出力方法指定画面を前記表示部に表示する出力方法指定画面表示手段と、
前記選択された画像データを外部プリンタに出力する出力手段と、
を備え、
前記出力手段は、前記画像データ選択手段による画像の選択と前記出力方法指定画面表示手段を用いた印刷枚数の指定と前記選択された画像に対応付けた印刷枚数の格納とが複数回繰り返して行われた後に、次の候補画像がないことを判断すると複数の画像データを前記外部プリンタに一度に連続して直接出力させるための処理に移行する、デジタルカメラ。
A digital camera that records image data and reduced image data of the image data after photoelectrically converting imaging light,
A display for displaying an image;
A recording medium for recording the image data and the reduced image data ;
As well as fast-forward display an image on the display unit sequentially reads the reduced image data from said recording medium, and the image data selection means for acquiring image data selected from said recording medium when the desired image is selected,
An output method designation screen display means for displaying an output method designation screen for designating the number of prints of the selected image on the display unit;
Output means for outputting the selected image data to an external printer;
With
The output means repeatedly performs the selection of the image by the image data selection means, the designation of the number of prints using the output method designation screen display means, and the storage of the number of prints associated with the selected image a plurality of times. If it is determined that there is no next candidate image , the digital camera shifts to a process for outputting a plurality of image data directly and continuously to the external printer at once .
撮像光を光電変換したのちに画像データおよび該画像データの縮小画像データとして記録するデジタルカメラと、
外部プリンタと、
を備える印刷システムであって、
前記デジタルカメラは、
画像を表示する表示部と、
前記画像データおよび縮小画像データを記録する記録媒体と、
前記記録媒体から縮小画像データを順次読み出して前記表示部に画像を早送り表示するとともに、所望の画像が選択されたときに前記記録媒体から選択された画像データを取得する画像データ選択手段と、
前記選択された画像の印刷枚数を指定するための出力方法指定画面を前記表示部に表示する出力方法指定画面表示手段と、
前記選択された画像データを前記外部プリンタに出力する出力手段と、
を備え、
前記出力手段は、前記画像データ選択手段による画像の選択と前記出力方法指定画面表示手段を用いた印刷枚数の指定と前記選択された画像に対応付けた印刷枚数の格納とが複数回繰り返して行われた後に、次の候補画像がないことを判断すると複数の画像データを前記外部プリンタに一度に連続して直接出力させるための処理に移行する、印刷システム。
A digital camera that records image data and reduced image data of the image data after photoelectrically converting the imaging light;
An external printer,
A printing system comprising:
The digital camera
A display for displaying an image;
A recording medium for recording the image data and the reduced image data ;
As well as fast-forward display an image on the display unit sequentially reads the reduced image data from said recording medium, and the image data selection means for acquiring image data selected from said recording medium when the desired image is selected,
An output method designation screen display means for displaying an output method designation screen for designating the number of prints of the selected image on the display unit;
Output means for outputting the selected image data to the external printer;
With
The output means repeatedly performs the selection of the image by the image data selection means, the designation of the number of prints using the output method designation screen display means, and the storage of the number of prints associated with the selected image a plurality of times. If it is determined that there is no next candidate image , the printing system shifts to a process for causing the external printer to directly output a plurality of image data at once in succession .
撮像光を光電変換したのちに画像データとして記録するデジタルカメラであって、A digital camera that records image data after photoelectrically converting imaging light,
画像を表示する表示部と、  A display for displaying an image;
前記画像データを記録する記録媒体と、  A recording medium for recording the image data;
前記記録媒体から所望の画像データを選択する画像データ選択手段と、  Image data selection means for selecting desired image data from the recording medium;
前記選択された画像の印刷枚数を指定するための出力方法指定画面を前記表示部に表示する出力方法指定画面表示手段と、  An output method designation screen display means for displaying an output method designation screen for designating the number of prints of the selected image on the display unit;
前記選択された画像データと前記指定された印刷枚数とを外部プリンタに直接出力する出力手段と、  Output means for directly outputting the selected image data and the designated number of prints to an external printer;
を備える、デジタルカメラ。A digital camera.
撮像光を光電変換したのちに画像データとして記録するデジタルカメラと、A digital camera that records image data after photoelectrically converting the imaging light;
外部プリンタと、  An external printer,
を備える印刷システムであって、A printing system comprising:
前記デジタルカメラは、  The digital camera is
画像を表示する表示部と、  A display for displaying an image;
前記画像データを記録する記録媒体と、  A recording medium for recording the image data;
前記記録媒体から所望の画像データを選択する画像データ選択手段と、  Image data selection means for selecting desired image data from the recording medium;
前記選択された画像の印刷枚数を指定するための出力方法指定画面を前記表示部に表示する出力方法指定画面表示手段と、  An output method designation screen display means for displaying an output method designation screen for designating the number of prints of the selected image on the display unit;
前記選択された画像データと前記指定された印刷枚数とを前記外部プリンタに直接出力する出力手段と、  Output means for directly outputting the selected image data and the designated number of prints to the external printer;
を備える、印刷システム。A printing system comprising:
JP2003350621A 1997-05-26 2003-10-09 Digital camera and printing system Expired - Lifetime JP3649235B2 (en)

Priority Applications (1)

Application Number Priority Date Filing Date Title
JP2003350621A JP3649235B2 (en) 1997-05-26 2003-10-09 Digital camera and printing system

Applications Claiming Priority (2)

Application Number Priority Date Filing Date Title
JP13537897 1997-05-26
JP2003350621A JP3649235B2 (en) 1997-05-26 2003-10-09 Digital camera and printing system

Related Parent Applications (1)

Application Number Title Priority Date Filing Date
JP12376098A Division JP3832089B2 (en) 1996-05-06 1998-05-06 Digital camera and printing system

Publications (2)

Publication Number Publication Date
JP2004104818A JP2004104818A (en) 2004-04-02
JP3649235B2 true JP3649235B2 (en) 2005-05-18

Family

ID=32299916

Family Applications (1)

Application Number Title Priority Date Filing Date
JP2003350621A Expired - Lifetime JP3649235B2 (en) 1997-05-26 2003-10-09 Digital camera and printing system

Country Status (1)

Country Link
JP (1) JP3649235B2 (en)

Also Published As

Publication number Publication date
JP2004104818A (en) 2004-04-02

Similar Documents

Publication Publication Date Title
JP3832089B2 (en) Digital camera and printing system
JP3832503B2 (en) Digital camera and printing system
JP3832493B2 (en) Digital camera and printing system
JP4413195B2 (en) Digital camera and printing system
JP4075948B2 (en) Digital camera
JP3649235B2 (en) Digital camera and printing system
JP3832494B2 (en) Digital camera and printing system
JP3649233B2 (en) Digital camera and printing system
JP3649232B2 (en) Digital camera and printing system
JP3864992B2 (en) Digital camera and printing system
JP3649234B2 (en) Digital camera and printing system
JP3879776B2 (en) Digital camera and printing system
JP3832502B2 (en) Digital camera and printing system
JP3832501B2 (en) Digital camera and printing system
JP5071510B2 (en) Digital camera, image output method, and apparatus
JP3427838B2 (en) Digital camera
JP3427837B2 (en) Digital camera

Legal Events

Date Code Title Description
A521 Request for written amendment filed

Free format text: JAPANESE INTERMEDIATE CODE: A523

Effective date: 20031222

A621 Written request for application examination

Free format text: JAPANESE INTERMEDIATE CODE: A621

Effective date: 20031222

A871 Explanation of circumstances concerning accelerated examination

Free format text: JAPANESE INTERMEDIATE CODE: A871

Effective date: 20031222

A975 Report on accelerated examination

Free format text: JAPANESE INTERMEDIATE CODE: A971005

Effective date: 20040413

A131 Notification of reasons for refusal

Free format text: JAPANESE INTERMEDIATE CODE: A131

Effective date: 20040518

A521 Request for written amendment filed

Free format text: JAPANESE INTERMEDIATE CODE: A523

Effective date: 20040720

TRDD Decision of grant or rejection written
A01 Written decision to grant a patent or to grant a registration (utility model)

Free format text: JAPANESE INTERMEDIATE CODE: A01

Effective date: 20050125

A61 First payment of annual fees (during grant procedure)

Free format text: JAPANESE INTERMEDIATE CODE: A61

Effective date: 20050207

R150 Certificate of patent or registration of utility model

Free format text: JAPANESE INTERMEDIATE CODE: R150

FPAY Renewal fee payment (event date is renewal date of database)

Free format text: PAYMENT UNTIL: 20080225

Year of fee payment: 3

FPAY Renewal fee payment (event date is renewal date of database)

Free format text: PAYMENT UNTIL: 20090225

Year of fee payment: 4

FPAY Renewal fee payment (event date is renewal date of database)

Free format text: PAYMENT UNTIL: 20090225

Year of fee payment: 4

FPAY Renewal fee payment (event date is renewal date of database)

Free format text: PAYMENT UNTIL: 20100225

Year of fee payment: 5

FPAY Renewal fee payment (event date is renewal date of database)

Free format text: PAYMENT UNTIL: 20110225

Year of fee payment: 6

FPAY Renewal fee payment (event date is renewal date of database)

Free format text: PAYMENT UNTIL: 20110225

Year of fee payment: 6

FPAY Renewal fee payment (event date is renewal date of database)

Free format text: PAYMENT UNTIL: 20120225

Year of fee payment: 7

FPAY Renewal fee payment (event date is renewal date of database)

Free format text: PAYMENT UNTIL: 20130225

Year of fee payment: 8

FPAY Renewal fee payment (event date is renewal date of database)

Free format text: PAYMENT UNTIL: 20130225

Year of fee payment: 8

S531 Written request for registration of change of domicile

Free format text: JAPANESE INTERMEDIATE CODE: R313531

R350 Written notification of registration of transfer

Free format text: JAPANESE INTERMEDIATE CODE: R350

EXPY Cancellation because of completion of term