JP2024524361A - Hub and valve system for suction catheters - Google Patents
Hub and valve system for suction catheters Download PDFInfo
- Publication number
- JP2024524361A JP2024524361A JP2023580395A JP2023580395A JP2024524361A JP 2024524361 A JP2024524361 A JP 2024524361A JP 2023580395 A JP2023580395 A JP 2023580395A JP 2023580395 A JP2023580395 A JP 2023580395A JP 2024524361 A JP2024524361 A JP 2024524361A
- Authority
- JP
- Japan
- Prior art keywords
- valve
- lumen
- rack
- pinion
- hub
- Prior art date
- Legal status (The legal status is an assumption and is not a legal conclusion. Google has not performed a legal analysis and makes no representation as to the accuracy of the status listed.)
- Pending
Links
Images
Classifications
-
- A—HUMAN NECESSITIES
- A61—MEDICAL OR VETERINARY SCIENCE; HYGIENE
- A61B—DIAGNOSIS; SURGERY; IDENTIFICATION
- A61B17/00—Surgical instruments, devices or methods
- A61B17/22—Implements for squeezing-off ulcers or the like on inner organs of the body; Implements for scraping-out cavities of body organs, e.g. bones; for invasive removal or destruction of calculus using mechanical vibrations; for removing obstructions in blood vessels, not otherwise provided for
-
- A—HUMAN NECESSITIES
- A61—MEDICAL OR VETERINARY SCIENCE; HYGIENE
- A61B—DIAGNOSIS; SURGERY; IDENTIFICATION
- A61B17/00—Surgical instruments, devices or methods
- A61B17/22—Implements for squeezing-off ulcers or the like on inner organs of the body; Implements for scraping-out cavities of body organs, e.g. bones; for invasive removal or destruction of calculus using mechanical vibrations; for removing obstructions in blood vessels, not otherwise provided for
- A61B17/221—Gripping devices in the form of loops or baskets for gripping calculi or similar types of obstructions
-
- A—HUMAN NECESSITIES
- A61—MEDICAL OR VETERINARY SCIENCE; HYGIENE
- A61M—DEVICES FOR INTRODUCING MEDIA INTO, OR ONTO, THE BODY; DEVICES FOR TRANSDUCING BODY MEDIA OR FOR TAKING MEDIA FROM THE BODY; DEVICES FOR PRODUCING OR ENDING SLEEP OR STUPOR
- A61M25/00—Catheters; Hollow probes
- A61M25/0067—Catheters; Hollow probes characterised by the distal end, e.g. tips
- A61M25/0074—Dynamic characteristics of the catheter tip, e.g. openable, closable, expandable or deformable
-
- A—HUMAN NECESSITIES
- A61—MEDICAL OR VETERINARY SCIENCE; HYGIENE
- A61M—DEVICES FOR INTRODUCING MEDIA INTO, OR ONTO, THE BODY; DEVICES FOR TRANSDUCING BODY MEDIA OR FOR TAKING MEDIA FROM THE BODY; DEVICES FOR PRODUCING OR ENDING SLEEP OR STUPOR
- A61M25/00—Catheters; Hollow probes
- A61M25/01—Introducing, guiding, advancing, emplacing or holding catheters
- A61M25/02—Holding devices, e.g. on the body
- A61M25/04—Holding devices, e.g. on the body in the body, e.g. expansible
-
- A—HUMAN NECESSITIES
- A61—MEDICAL OR VETERINARY SCIENCE; HYGIENE
- A61M—DEVICES FOR INTRODUCING MEDIA INTO, OR ONTO, THE BODY; DEVICES FOR TRANSDUCING BODY MEDIA OR FOR TAKING MEDIA FROM THE BODY; DEVICES FOR PRODUCING OR ENDING SLEEP OR STUPOR
- A61M39/00—Tubes, tube connectors, tube couplings, valves, access sites or the like, specially adapted for medical use
- A61M39/02—Access sites
- A61M39/06—Haemostasis valves, i.e. gaskets sealing around a needle, catheter or the like, closing on removal thereof
-
- A—HUMAN NECESSITIES
- A61—MEDICAL OR VETERINARY SCIENCE; HYGIENE
- A61B—DIAGNOSIS; SURGERY; IDENTIFICATION
- A61B17/00—Surgical instruments, devices or methods
- A61B2017/00982—General structural features
- A61B2017/00986—Malecots, e.g. slotted tubes, of which the distal end is pulled to deflect side struts
-
- A—HUMAN NECESSITIES
- A61—MEDICAL OR VETERINARY SCIENCE; HYGIENE
- A61B—DIAGNOSIS; SURGERY; IDENTIFICATION
- A61B17/00—Surgical instruments, devices or methods
- A61B17/22—Implements for squeezing-off ulcers or the like on inner organs of the body; Implements for scraping-out cavities of body organs, e.g. bones; for invasive removal or destruction of calculus using mechanical vibrations; for removing obstructions in blood vessels, not otherwise provided for
- A61B17/22031—Gripping instruments, e.g. forceps, for removing or smashing calculi
- A61B2017/22034—Gripping instruments, e.g. forceps, for removing or smashing calculi for gripping the obstruction or the tissue part from inside
-
- A—HUMAN NECESSITIES
- A61—MEDICAL OR VETERINARY SCIENCE; HYGIENE
- A61B—DIAGNOSIS; SURGERY; IDENTIFICATION
- A61B17/00—Surgical instruments, devices or methods
- A61B17/22—Implements for squeezing-off ulcers or the like on inner organs of the body; Implements for scraping-out cavities of body organs, e.g. bones; for invasive removal or destruction of calculus using mechanical vibrations; for removing obstructions in blood vessels, not otherwise provided for
- A61B2017/22038—Implements for squeezing-off ulcers or the like on inner organs of the body; Implements for scraping-out cavities of body organs, e.g. bones; for invasive removal or destruction of calculus using mechanical vibrations; for removing obstructions in blood vessels, not otherwise provided for with a guide wire
-
- A—HUMAN NECESSITIES
- A61—MEDICAL OR VETERINARY SCIENCE; HYGIENE
- A61B—DIAGNOSIS; SURGERY; IDENTIFICATION
- A61B17/00—Surgical instruments, devices or methods
- A61B17/22—Implements for squeezing-off ulcers or the like on inner organs of the body; Implements for scraping-out cavities of body organs, e.g. bones; for invasive removal or destruction of calculus using mechanical vibrations; for removing obstructions in blood vessels, not otherwise provided for
- A61B2017/22038—Implements for squeezing-off ulcers or the like on inner organs of the body; Implements for scraping-out cavities of body organs, e.g. bones; for invasive removal or destruction of calculus using mechanical vibrations; for removing obstructions in blood vessels, not otherwise provided for with a guide wire
- A61B2017/22042—Details of the tip of the guide wire
-
- A—HUMAN NECESSITIES
- A61—MEDICAL OR VETERINARY SCIENCE; HYGIENE
- A61B—DIAGNOSIS; SURGERY; IDENTIFICATION
- A61B17/00—Surgical instruments, devices or methods
- A61B17/22—Implements for squeezing-off ulcers or the like on inner organs of the body; Implements for scraping-out cavities of body organs, e.g. bones; for invasive removal or destruction of calculus using mechanical vibrations; for removing obstructions in blood vessels, not otherwise provided for
- A61B2017/22038—Implements for squeezing-off ulcers or the like on inner organs of the body; Implements for scraping-out cavities of body organs, e.g. bones; for invasive removal or destruction of calculus using mechanical vibrations; for removing obstructions in blood vessels, not otherwise provided for with a guide wire
- A61B2017/22049—Means for locking the guide wire in the catheter
-
- A—HUMAN NECESSITIES
- A61—MEDICAL OR VETERINARY SCIENCE; HYGIENE
- A61B—DIAGNOSIS; SURGERY; IDENTIFICATION
- A61B17/00—Surgical instruments, devices or methods
- A61B17/22—Implements for squeezing-off ulcers or the like on inner organs of the body; Implements for scraping-out cavities of body organs, e.g. bones; for invasive removal or destruction of calculus using mechanical vibrations; for removing obstructions in blood vessels, not otherwise provided for
- A61B2017/22051—Implements for squeezing-off ulcers or the like on inner organs of the body; Implements for scraping-out cavities of body organs, e.g. bones; for invasive removal or destruction of calculus using mechanical vibrations; for removing obstructions in blood vessels, not otherwise provided for with an inflatable part, e.g. balloon, for positioning, blocking, or immobilisation
- A61B2017/22065—Functions of balloons
- A61B2017/22067—Blocking; Occlusion
-
- A—HUMAN NECESSITIES
- A61—MEDICAL OR VETERINARY SCIENCE; HYGIENE
- A61B—DIAGNOSIS; SURGERY; IDENTIFICATION
- A61B17/00—Surgical instruments, devices or methods
- A61B17/22—Implements for squeezing-off ulcers or the like on inner organs of the body; Implements for scraping-out cavities of body organs, e.g. bones; for invasive removal or destruction of calculus using mechanical vibrations; for removing obstructions in blood vessels, not otherwise provided for
- A61B2017/22079—Implements for squeezing-off ulcers or the like on inner organs of the body; Implements for scraping-out cavities of body organs, e.g. bones; for invasive removal or destruction of calculus using mechanical vibrations; for removing obstructions in blood vessels, not otherwise provided for with suction of debris
-
- A—HUMAN NECESSITIES
- A61—MEDICAL OR VETERINARY SCIENCE; HYGIENE
- A61B—DIAGNOSIS; SURGERY; IDENTIFICATION
- A61B17/00—Surgical instruments, devices or methods
- A61B17/32—Surgical cutting instruments
- A61B2017/320004—Surgical cutting instruments abrasive
- A61B2017/320008—Scrapers
-
- A—HUMAN NECESSITIES
- A61—MEDICAL OR VETERINARY SCIENCE; HYGIENE
- A61B—DIAGNOSIS; SURGERY; IDENTIFICATION
- A61B2217/00—General characteristics of surgical instruments
- A61B2217/002—Auxiliary appliance
- A61B2217/005—Auxiliary appliance with suction drainage system
-
- A—HUMAN NECESSITIES
- A61—MEDICAL OR VETERINARY SCIENCE; HYGIENE
- A61M—DEVICES FOR INTRODUCING MEDIA INTO, OR ONTO, THE BODY; DEVICES FOR TRANSDUCING BODY MEDIA OR FOR TAKING MEDIA FROM THE BODY; DEVICES FOR PRODUCING OR ENDING SLEEP OR STUPOR
- A61M25/00—Catheters; Hollow probes
- A61M2025/0004—Catheters; Hollow probes having two or more concentrically arranged tubes for forming a concentric catheter system
-
- A—HUMAN NECESSITIES
- A61—MEDICAL OR VETERINARY SCIENCE; HYGIENE
- A61M—DEVICES FOR INTRODUCING MEDIA INTO, OR ONTO, THE BODY; DEVICES FOR TRANSDUCING BODY MEDIA OR FOR TAKING MEDIA FROM THE BODY; DEVICES FOR PRODUCING OR ENDING SLEEP OR STUPOR
- A61M25/00—Catheters; Hollow probes
- A61M25/0067—Catheters; Hollow probes characterised by the distal end, e.g. tips
- A61M25/0082—Catheter tip comprising a tool
- A61M2025/0096—Catheter tip comprising a tool being laterally outward extensions or tools, e.g. hooks or fibres
-
- A—HUMAN NECESSITIES
- A61—MEDICAL OR VETERINARY SCIENCE; HYGIENE
- A61M—DEVICES FOR INTRODUCING MEDIA INTO, OR ONTO, THE BODY; DEVICES FOR TRANSDUCING BODY MEDIA OR FOR TAKING MEDIA FROM THE BODY; DEVICES FOR PRODUCING OR ENDING SLEEP OR STUPOR
- A61M25/00—Catheters; Hollow probes
- A61M25/10—Balloon catheters
- A61M2025/1043—Balloon catheters with special features or adapted for special applications
- A61M2025/1047—Balloon catheters with special features or adapted for special applications having centering means, e.g. balloons having an appropriate shape
Landscapes
- Health & Medical Sciences (AREA)
- Life Sciences & Earth Sciences (AREA)
- Heart & Thoracic Surgery (AREA)
- General Health & Medical Sciences (AREA)
- Veterinary Medicine (AREA)
- Engineering & Computer Science (AREA)
- Biomedical Technology (AREA)
- Public Health (AREA)
- Animal Behavior & Ethology (AREA)
- Surgery (AREA)
- Anesthesiology (AREA)
- Hematology (AREA)
- Pulmonology (AREA)
- Orthopedic Medicine & Surgery (AREA)
- Vascular Medicine (AREA)
- Nuclear Medicine, Radiotherapy & Molecular Imaging (AREA)
- Biophysics (AREA)
- Medical Informatics (AREA)
- Molecular Biology (AREA)
- Media Introduction/Drainage Providing Device (AREA)
- Surgical Instruments (AREA)
- External Artificial Organs (AREA)
Abstract
吸引カテーテル等のカテーテルのバルブシステムが開示され、近位端と遠位端とを有するバルブを含む。バルブの遠位端は、カテーテルに連結される。バルブは、圧縮されているまたはねじられている第1状態にある可撓性ルーメンを有する。バルブシステムは、ハブ内に収容され、ハブのボタンの作動によりバルブの近位端および遠位端を互いに対して回転させ、ルーメンを圧縮されていないまたはねじられていない状態である第2状態にする。
【選択図】図3
A valve system for a catheter, such as a suction catheter, is disclosed that includes a valve having a proximal end and a distal end. The distal end of the valve is coupled to the catheter. The valve has a flexible lumen in a first state that is compressed or twisted. The valve system is contained within a hub, and actuation of a button on the hub rotates the proximal and distal ends of the valve relative to one another to place the lumen in a second state that is uncompressed or untwisted.
[Selected figure] Figure 3
Description
関連出願の相互参照
本願は、優先権に関して、「吸引カテーテル用のハブおよびバルブシステム」と題する2021年6月28日に出願された米国仮特許出願第63/215,579号に依拠し、その内容全体を参照により本明細書に援用する。
CROSS-REFERENCE TO RELATED APPLICATIONS This application relies on U.S. Provisional Patent Application No. 63/215,579, filed June 28, 2021, entitled "Hub and Valve System for Aspiration Catheters," for priority purposes, the entire contents of which are incorporated herein by reference.
本願は、また、優先権に関して、「凝血塊除去方法および特化した凝血塊除去要素を有するデバイス」と題する2022年5月4日に出願された米国仮特許出願第63/364,168号および「患者へと再輸液するために凝血塊を除去およびろ過し、血液を分離する方法およびデバイス」と題する2022年2月16日に出願された米国仮特許出願第63/268,094号に依拠する。 This application also relies for priority on U.S. Provisional Patent Application No. 63/364,168, filed May 4, 2022, entitled "METHOD AND DEVICE HAVING SPECIALIZED CLOTTING REMOVAL ELEMENTS" and U.S. Provisional Patent Application No. 63/268,094, filed February 16, 2022, entitled "METHOD AND DEVICE FOR REMOVING AND FILTERING BLOOD CLOTS AND SEPARATORY BLOOD FOR REINFUSION INTO A PATIENT."
本願は、また、同じ題で2021年10月14日に出願された米国特許出願第17/450,977号の継続出願である、「凝血塊除去方法および独立的に制御可能な複数の要素を有するデバイス」と題する2022年1月10日に出願された米国特許出願第17/572,138号の一部継続出願である。 This application is a continuation-in-part of U.S. Patent Application No. 17/572,138, filed January 10, 2022, entitled "BLOOD CLOTTING REMOVAL METHOD AND DEVICE HAVING MULTIPLE INDEPENDENTLY CONTROLLABLE ELEMENTS," which is also a continuation-in-part of U.S. Patent Application No. 17/450,977, filed October 14, 2021, entitled "BLOOD CLOTTING REMOVAL METHOD AND DEVICE HAVING MULTIPLE INDEPENDENTLY CONTROLLABLE ELEMENTS."
本願は、また、同じ題で2021年10月14日に出願された米国特許出願第17/450,978号の継続出願である、「凝血塊除去方法および独立的に制御可能な複数の要素を有するデバイス」と題する2022年1月10日に出願された米国特許出願第17/572,206号の一部継続出願である。
米国特許出願第17/450,977号および米国特許出願第17/450,978号の双方とも、優先権に関して以下の仮出願に依拠する。
「カテーテルをベースとした回収デバイス」と題する2021年8月19日に出願された米国仮特許出願第63/260,406号、
「2つの解剖構造間の病理学的接続を治療するためのデバイスおよびデバイスの使用方法」と題する2021年6月28日に出願された米国仮特許出願第63/215,724号、
「吸引カテーテル用のハブおよびバルブシステム」という標題で、2021年6月28日に出願された米国仮特許出願第63/215,579号、
「吸引カテーテルおよびその使用方法」と題する2021年6月28日に出願された米国仮特許出願第63/215,573号、
「血管閉鎖デバイスおよびその使用方法」と題する2021年6月28日に出願された米国仮特許出願第63/215,587号、
「拡張可能および折り畳み可能ルーメンを有するカテーテル」と題する2021年6月28日に出願された米国仮特許出願第63/215,583号、
「カテーテルをベースとした回収デバイス」と題する2021年6月28日に出願された米国仮特許出願第63/215,565号、および
「軸方向に自由な動きを持つ近位体を有するカテーテルをベースとした回収デバイス」と題する2020年10月15日に出願された米国仮特許出願第63/092,428号。
上述の特許および出願の全てはその内容全体を参照により本明細書に援用する。
This application is a continuation-in-part of U.S. patent application Ser. No. 17/572,206, filed on January 10, 2022, entitled "BLOOD CLOTTING REMOVAL METHOD AND DEVICE HAVING MULTIPLE INDEPENDENTLY CONTROLLABLE ELEMENTS," which is a continuation-in-part of U.S. patent application Ser. No. 17/450,978, filed on October 14, 2021, of the same title.
Both U.S. Patent Application No. 17/450,977 and U.S. Patent Application No. 17/450,978 rely for priority on the following provisional applications:
U.S. Provisional Patent Application No. 63/260,406, filed August 19, 2021, entitled “Catheter-Based Retrieval Device”;
U.S. Provisional Patent Application No. 63/215,724, filed June 28, 2021, entitled "Device and Method of Using the Device for Treating a Pathological Connection Between Two Anatomical Structures";
U.S. Provisional Patent Application No. 63/215,579, filed June 28, 2021, entitled "Hub and Valve System for Aspiration Catheters";
U.S. Provisional Patent Application No. 63/215,573, filed June 28, 2021, entitled “Aspiration Catheters and Methods of Use Thereof”;
U.S. Provisional Patent Application No. 63/215,587, filed June 28, 2021, entitled "Vascular Closure Devices and Methods of Use Thereof";
U.S. Provisional Patent Application No. 63/215,583, filed June 28, 2021, entitled “Catheter Having an Expandable and Collapsible Lumen”;
U.S. Provisional Patent Application No. 63/215,565, filed June 28, 2021, entitled "Catheter-Based Retrieval Device," and U.S. Provisional Patent Application No. 63/092,428, filed October 15, 2020, entitled "Catheter-Based Retrieval Device Having a Proximal Body with Axial Free Movement."
All of the above mentioned patents and applications are incorporated herein by reference in their entirety.
本開示は、一般的に、バルブを通して吸引カテーテルに吸引力を印加することおよび除去することを可能にするハブおよびバルブ機構に関する。 The present disclosure generally relates to a hub and valve mechanism that allows for the application and removal of suction to a suction catheter through a valve.
例えば、機械的血栓除去術等の多くの医療処置は、診断または処置を必要とする身体位置へと医療機器を前進させることができるように、少なくとも1つの医療機器を動脈系、静脈系、および神経系に導入することを要する。例えば、ガイドカテーテルは、患者の脈管構造(例えば脳内の脈管構造)を通って所望の処置箇所まで前進することができ、医療機器は、血栓等の閉塞物の除去のためにガイドカテーテルを通って前進する。ガイドカテーテルは、多くの場合、医療機器によって処置箇所から取り除かれる閉塞物質を除去するために吸引カテーテルを通して挿入される。 Many medical procedures, such as, for example, mechanical thrombectomy, require the introduction of at least one medical device into the arterial, venous, and neurological systems so that the medical device can be advanced to the body location requiring diagnosis or treatment. For example, a guide catheter can be advanced through the patient's vasculature (e.g., the vasculature in the brain) to the desired treatment site, and the medical device is advanced through the guide catheter for removal of an obstructing material, such as a thrombus. The guide catheter is often inserted through an aspiration catheter to remove obstructing material that is dislodged from the treatment site by the medical device.
ハブは典型的にバルブを介して吸引カテーテルの近位端に連結される。ハブは、バルブの開閉を制御するように作動し、その結果、吸引カテーテルを通して吸引力の印加を操作する。 The hub is typically coupled to the proximal end of the suction catheter via a valve. The hub operates to control the opening and closing of the valve, thereby manipulating the application of suction force through the suction catheter.
作動が容易なバルブおよびハブシステムの改良には継続的な必要性がある。所望の際に関連バルブを開くことおよびシールすることを片手で操作できるハブの必要性もある。 There is a continuing need for improved valve and hub systems that are easy to operate. There is also a need for hubs that can be operated with one hand to open and seal the associated valve when desired.
下記の実施形態およびその態様は、システム、ツール、および方法と併せて説明され、示されており、これらは例示および説明を意図したものであり、範囲を限定するものではない。本願は、多数の実施形態を開示する。 The following embodiments and aspects thereof are described and illustrated in conjunction with systems, tools, and methods that are intended to be exemplary and explanatory, not limiting in scope. This application discloses numerous embodiments.
本明細書は、カテーテルに連結されるように構成されているバルブシステムを開示する。前記バルブシステムは、近位端と、遠位端とを有するバルブであって、前記バルブの前記遠位端は、カテーテルのルーメンに連結され、前記バルブは、前記近位端と遠位端との間に延びる可撓性材料を備え、前記バルブルーメンは、第1ねじり状態と、第2非ねじり状態とを有する、バルブと、本体と、ラックと、前記ラックに物理的に連結されるピニオンと、アクチュエータとを有するハブであって、前記本体は前記ラックを包囲し、前記ピニオンは前記バルブの前記近位端に連結され、前記アクチュエータに力をかけることで前記ラックを移動させて前記ピニオンを第1方向へ回転させ、これにより、前記ルーメンのねじれを解き、前記第2非ねじり状態となるように、前記アクチュエータが前記ラックに連結されている、ハブと、を備える。 The present specification discloses a valve system configured to be coupled to a catheter. The valve system includes a valve having a proximal end and a distal end, the distal end of the valve being coupled to a lumen of a catheter, the valve comprising a flexible material extending between the proximal and distal ends, the valve lumen having a first twisted state and a second untwisted state, a hub having a body, a rack, a pinion physically coupled to the rack, and an actuator, the body encircling the rack, the pinion coupled to the proximal end of the valve, the actuator coupled to the rack such that application of a force to the actuator moves the rack to rotate the pinion in a first direction, thereby untwisting the lumen and achieving the second untwisted state.
任意選択で、圧力または物理的な力を前記アクチュエータから取り除くことで自動的に前記ラックを移動させ、これにより、前記ピニオンを第2方向に回転させて、前記ルーメンが前記第1ねじり状態となるように、前記アクチュエータが前記ラックに連結されている。 Optionally, the actuator is coupled to the rack such that removing pressure or physical force from the actuator automatically moves the rack, thereby rotating the pinion in a second direction and positioning the lumen in the first torsional state.
任意選択で、前記可撓性材料は、ポリテトラフルオロエチレン、ウレタン、またはシリコーンのうちの少なくとも1つを備える。 Optionally, the flexible material comprises at least one of polytetrafluoroethylene, urethane, or silicone.
任意選択で、前記バルブは、前記ハブ内に少なくとも1つのギアをさらに備え、前記ピニオンは、前記少なくとも1つのギアを通して前記バルブの前記近位端に連結される。 Optionally, the valve further comprises at least one gear within the hub, and the pinion is coupled to the proximal end of the valve through the at least one gear.
任意選択で、前記バルブは、ステンレス鋼、ニチノール、またはナイロンのうちの少なくとも1つを備える1以上の部材で強化されている。 Optionally, the valve is reinforced with one or more members comprising at least one of stainless steel, nitinol, or nylon.
任意選択で、前記バルブルーメンは、0.01インチ~2インチの範囲の内径を有する。任意選択で、前記バルブルーメンは、0.0002インチ~0.125インチの範囲の肉厚を有する。任意選択で、前記バルブルーメンは、0.01インチ~2インチの範囲の長さを有する。 Optionally, the valvular lumen has an inner diameter in the range of 0.01 inches to 2 inches. Optionally, the valvular lumen has a wall thickness in the range of 0.0002 inches to 0.125 inches. Optionally, the valvular lumen has a length in the range of 0.01 inches to 2 inches.
前記バルブシステムは、前記ハブ内に少なくとも1つのギアをさらに備え、前記ラックは、前記少なくとも1つのギアを通して前記ピニオンに連結される。 The valve system further includes at least one gear within the hub, and the rack is coupled to the pinion through the at least one gear.
前記バルブルーメンは、前記ルーメンを前記第1状態にするために、90度~360度の範囲の角度で回転されるように構成されている。 The bulb lumen is configured to be rotated through an angle ranging from 90 degrees to 360 degrees to place the lumen in the first state.
本明細書は、カテーテルに連結されるように構成されているバルブシステムも開示し、前記バルブシステムは、近位端と、遠位端と、を有するバルブであって、前記バルブの前記遠位端は、前記カテーテルのルーメンに連結され、前記バルブは、前記近位端、遠位端、およびそれらの間に延びるルーメンを画定する可撓性材料を備え、前記バルブルーメンは、第1ねじり状態と、第2非ねじり状態とを有する、バルブと、本体、第1ラック、第2ラック、前記第1ラックおよび前記第2ラックと並行して係合するように構成されているピニオン、およびアクチュエータを有するハブであって、前記第2ラックは、前記バルブの前記近位端に連結され、前記アクチュエータに力をかけることで前記ピニオンを回転させ、前記ピニオンを前記第1ラックに沿って移動させ、前記第2ラックを第1方向に移動させ、その結果、前記バルブルーメンのねじれを解き、前記第2非ねじり状態となるように、前記アクチュエータが前記ピニオンに連結されているハブと、を備える。 The present specification also discloses a valve system configured to be coupled to a catheter, the valve system comprising: a valve having a proximal end and a distal end, the distal end of the valve being coupled to a lumen of the catheter, the valve comprising a flexible material defining the proximal end, the distal end, and a lumen extending therebetween, the valve lumen having a first twisted state and a second untwisted state; and a hub having a body, a first rack, a second rack, a pinion configured to engage the first rack and the second rack in parallel, and an actuator, the second rack being coupled to the proximal end of the valve, the actuator being coupled to the pinion such that application of a force to the actuator rotates the pinion, moves the pinion along the first rack, and moves the second rack in a first direction, thereby untwisting the valve lumen and achieving the second untwisted state.
任意選択で、前記第1ラックは動かないように構成され、前記第2ラックは移動可能に構成されている。 Optionally, the first rack is configured to be stationary and the second rack is configured to be movable.
任意選択で、前記第1ねじり状態は、前記カテーテルに対してシールを形成する。 Optionally, the first twisted state forms a seal with the catheter.
任意選択で、前記第2非ねじり状態は、前記カテーテル内への流体の流れまたはデバイスの通過を可能にする。 Optionally, the second untwisted state allows for the flow of fluid or the passage of a device into the catheter.
任意選択で、前記可撓性材料は、PTFE、ePTFE、ウレタン、またはシリコーンのうちの少なくとも1つを備える。任意選択で、前記ハブは、ステンレス鋼部材、ニチノール部材、またはナイロン部材のうちの少なくとも1つを備える。 Optionally, the flexible material comprises at least one of PTFE, ePTFE, urethane, or silicone. Optionally, the hub comprises at least one of a stainless steel member, a nitinol member, or a nylon member.
任意選択で、前記バルブルーメンは、0.01インチ~2インチの範囲の内径を有する。任意選択で、前記バルブルーメンは、0.0002インチ~0.125インチの範囲の肉厚を有する。任意選択で、前記バルブルーメンは、0.01インチ~2インチの範囲の長さを有する。 Optionally, the valvular lumen has an inner diameter in the range of 0.01 inches to 2 inches. Optionally, the valvular lumen has a wall thickness in the range of 0.0002 inches to 0.125 inches. Optionally, the valvular lumen has a length in the range of 0.01 inches to 2 inches.
任意選択で、前記アクチュエータから力を取り除くことで前記ピニオンを回転させ、前記ピニオンを前記第1ラックに沿って移動させ、前記第2ラックが前記第1方向の反対である第2方向に移動させ、その結果、前記バルブルーメンをねじり、前記第1ねじり状態となるように、前記アクチュエータは前記ピニオンに連結される。任意選択で、前記可撓性ルーメンは、前記ルーメンを前記第1ねじり状態で圧縮させるため、90度~360度の範囲の角度で回転されるように構成されている。 Optionally, the actuator is coupled to the pinion such that removing force from the actuator rotates the pinion, causing the pinion to move along the first rack and the second rack to move in a second direction opposite the first direction, thereby twisting the bulb lumen into the first torsional state. Optionally, the flexible lumen is configured to be rotated through an angle ranging from 90 degrees to 360 degrees to compress the lumen into the first torsional state.
本明細書は、吸引カテーテル用のバルブシステムも開示し、前記システムは、近位端と、遠位端と、を有するバルブであって、前記バルブの前記遠位端は、前記吸引カテーテルに連結され、前記バルブは、第1状態にある可撓性ルーメンを有するチューブである、バルブと、シリンダを包囲する本体および前記本体に位置付けられているスライダを有するハブであって、前記シリンダは、前記シリンダの外面に形成されている実質的にらせん状の溝を有し、前記スライダは、前記本体に形成されているスロット内で移動するように制限され、前記スライダは、前記溝と係合して前記溝をたどるピンを有する、ハブと、を備え、前記スライダを遠位に移動させることで前記ピンが前記溝内で移動することと、前記シリンダを第1方向に回転させ、前記第1方向への前記シリンダの前記回転は、前記バルブの前記近位端および遠位端が互いに対して回転させ、前記相対的な回転は、前記ルーメンを第2状態にする。 The present specification also discloses a valve system for a suction catheter, the system comprising: a valve having a proximal end and a distal end, the distal end of the valve being coupled to the suction catheter, the valve being a tube having a flexible lumen in a first state; and a hub having a body surrounding a cylinder and a slider positioned on the body, the cylinder having a substantially helical groove formed on an outer surface of the cylinder, the slider being constrained to move within a slot formed in the body, the slider having a pin that engages and follows the groove, and moving the slider distally causes the pin to move within the groove and rotates the cylinder in a first direction, the rotation of the cylinder in the first direction causes the proximal and distal ends of the valve to rotate relative to each other, the relative rotation placing the lumen in a second state.
任意選択で、前記第1状態は、前記ルーメンが圧縮されている状態に対応する。任意選択で、前記第2状態は、前記ルーメンが開いている状態に対応する。 Optionally, the first state corresponds to a state in which the lumen is compressed. Optionally, the second state corresponds to a state in which the lumen is open.
任意選択で、前記チューブは、PTFE、ePTFE、ウレタン、またはシリコーンのうちの少なくとも1つから製造される。任意選択で、前記チューブは、ステンレス鋼、ニチノール、またはナイロンの部材で強化されている。 Optionally, the tube is fabricated from at least one of PTFE, ePTFE, urethane, or silicone. Optionally, the tube is reinforced with stainless steel, nitinol, or nylon members.
任意選択で、前記チューブは、0.01インチ~2インチの範囲の内径を有する。任意選択で、前記チューブは、0.0002インチ~0.125インチの範囲の肉厚を有する。任意選択で、前記チューブは、0.01インチ~2インチの範囲の長さを有する。 Optionally, the tube has an inner diameter in the range of 0.01 inches to 2 inches. Optionally, the tube has a wall thickness in the range of 0.0002 inches to 0.125 inches. Optionally, the tube has a length in the range of 0.01 inches to 2 inches.
任意選択で、前記スライダを近位に移動させることで前記ピンに前記溝内での移動と、前記第1方向の反対である第2方向に前記シリンダを回転させ、前記第2方向への前記シリンダの前記回転は、前記バルブの前記近位端および遠位端を互いに対して回転させ、前記相対的な回転は前記ルーメンを第2状態にする。
任意選択で、前記チューブは、前記ルーメンを前記第1状態で圧縮させるため、90度~360度の範囲の角度で回転されるように構成されている。
Optionally, moving the slider proximally causes the pin to move within the groove and rotate the cylinder in a second direction opposite to the first direction, the rotation of the cylinder in the second direction causing the proximal and distal ends of the valve to rotate relative to one another, the relative rotation placing the lumen in a second state.
Optionally, said tube is configured to be rotated through an angle in the range of 90 degrees to 360 degrees to compress said lumen in said first state.
本明細書は、解放されるまでバレル内に後ろに引かれた状態でプランジャを自動的に保持するように構成されているシリンジも開示し、前記シリンジは、前記バレルの外面に取り付けられるラッチベースと、前記ラッチベースに移動自在に連結されるレバーと、を備え、前記レバーは前記ラッチベースに対して旋回し、前記レバーは一端にアームを、他端にハンマーを有し、前記プランジャの遠位端はフランジを含み、前記プランジャを近位に移動させることで前記ハンマーが前記フランジの後ろの所定の位置に落ち着かせ、その結果、前記プランジャを前記後ろに引かれた状態で保持する。 The present specification also discloses a syringe configured to automatically hold a plunger in a retracted position within a barrel until released, the syringe comprising a latch base attached to an exterior surface of the barrel, and a lever movably connected to the latch base, the lever pivoting relative to the latch base, the lever having an arm at one end and a hammer at the other end, the distal end of the plunger including a flange, and moving the plunger proximally causes the hammer to settle in a predetermined position behind the flange, thereby holding the plunger in the retracted position.
任意選択で、前記レバーの前記アームを押し下げることで前記ハンマーが引き上げられ、その結果、前記プランジャを前方へ押すように解放する。 Optionally, depressing the arm of the lever raises the hammer, thereby releasing it to push the plunger forward.
本明細書は、吸引カテーテル用のバルブシステムをも開示する。前記バルブシステムは、近位端と、遠位端とを有するバルブであって、前記バルブの前記遠位端は、吸引カテーテルに固定的に連結され、前記バルブは、前記近位端と前記遠位端との間に延びる可撓性ルーメンを有するチューブを備え、前記ルーメンは第1圧縮状態にある、バルブと、本体を有するハブと、を備える。前記ハブは、ラックと、前記ラックと係合するピニオンと、前記ピニオンと係合する増速歯車と、前記本体に位置付けられるアクチュエータと、を備え、前記ラックは前記アクチュエータに連結され、前記増速歯車は前記バルブの前記近位端に連結され、前記アクチュエータ、ラック、ピニオン、および増速歯車は、前記アクチュエータに力をかけることで直線軸に沿って前記ラックをずらして、第1方向へと前記ピニオンを回転させて前記ピニオンを前記ラックに沿って動かし、次に、前記増速歯車を前記第1方向へと回転させ、次に、前記近位端を前記遠位端に対して回転させ、前記相対的な回転は、前記可撓性ルーメンを第2開状態にするように構成されている。 This specification also discloses a valve system for a suction catheter. The valve system includes a valve having a proximal end and a distal end, the distal end of the valve being fixedly coupled to the suction catheter, the valve comprising a tube having a flexible lumen extending between the proximal end and the distal end, the lumen being in a first compressed state, and a hub having a body. The hub includes a rack, a pinion that engages the rack, a speed increasing gear that engages the pinion, and an actuator positioned on the body, the rack is coupled to the actuator, the speed increasing gear is coupled to the proximal end of the valve, and the actuator, rack, pinion, and speed increasing gear are configured such that applying a force to the actuator shifts the rack along a linear axis, rotates the pinion in a first direction to move the pinion along the rack, then rotates the speed increasing gear in the first direction, and then rotates the proximal end relative to the distal end, the relative rotation placing the flexible lumen in a second open state.
任意選択で、前記第1圧縮状態は、前記吸引カテーテルの周囲にシールを形成する。 Optionally, the first compressed state forms a seal around the suction catheter.
任意選択で、前記第2開状態は、前記吸引カテーテルへの流体の流れまたはデバイスの通過を可能にする。 Optionally, the second open state allows fluid flow into the aspiration catheter or passage of a device.
任意選択で、前記チューブの材料は、ポリテトラフルオロエチレン、ウレタン、またはシリコーンのうちの少なくとも1つを備える。任意選択で、前記チューブは、ステンレス鋼部材、ニチノール部材、またはナイロン部材のうちの少なくとも1つをさらに備える。 Optionally, the material of the tube comprises at least one of polytetrafluoroethylene, urethane, or silicone. Optionally, the tube further comprises at least one of a stainless steel member, a nitinol member, or a nylon member.
任意選択で、前記可撓性ルーメンは、0.01インチ~2インチの範囲の内径を有する。 Optionally, the flexible lumen has an inner diameter in the range of 0.01 inches to 2 inches.
任意選択で、前記可撓性ルーメンは、0.0002インチ~0.125インチの範囲の肉厚を有する。 Optionally, the flexible lumen has a wall thickness in the range of 0.0002 inches to 0.125 inches.
任意選択で、前記可撓性ルーメンは、0.01インチ~2インチの範囲の長さを有する。 Optionally, the flexible lumen has a length in the range of 0.01 inches to 2 inches.
任意選択で、圧力または物理的な力を前記アクチュエータから取り除くことで前記ラックに沿った前記ピニオンを自動的に移動させ、前記増速歯車を前記第1方向の反対である第2方向に回転させ、前記第2方向への前記増速歯車の前記回転は、前記バルブの前記近位端を前記遠位端に対して回転させ、前記相対的な回転は、前記可撓性ルーメンを前記第1圧縮状態へと戻すように、前記アクチュエータが前記ラックに連結されている。任意選択で、前記ルーメンを前記第1状態に圧縮させるために、前記可撓性ルーメンは、90度~360度の範囲の角度で回転するように構成されている。 Optionally, the actuator is coupled to the rack such that removing pressure or physical force from the actuator automatically moves the pinion along the rack and rotates the speed increasing gear in a second direction opposite the first direction, the rotation of the speed increasing gear in the second direction rotates the proximal end of the valve relative to the distal end, the relative rotation returning the flexible lumen to the first compressed state. Optionally, the flexible lumen is configured to rotate an angle in the range of 90 degrees to 360 degrees to compress the lumen to the first state.
任意選択で、本明細書は、カテーテルに吸引力を選択的に印加する方法も開示し、前記方法は、カテーテルと、前記カテーテルに連結されるバルブシステムとを提供することであって、前記バルブシステムは、近位端と、遠位端と、を有するバルブであって、前記バルブの前記遠位端は、前記カテーテルのルーメンに連結され、前記バルブは、前記近位端、遠位端、およびそれらの間に延びるルーメンを画定する可撓性材料を備え、前記バルブルーメンは、第1ねじり状態と、第2非ねじり状態とを有する、バルブと、本体、ラック、前記ラックに物理的に係合するピニオン、およびアクチュエータを有するハブであって、前記本体は、前記ラックを包囲し、前記ピニオンは、前記バルブの前記近位端に連結され、前記アクチュエータに力をかけることで前記ラックを移動させ、前記ピニオンを第1方向に回転させて、前記バルブルーメンのねじれを解き、前記第2非ねじり状態となるように、前記アクチュエータが前記ラックに連結されている、ハブと、を備える、カテーテルとバルブシステムとを提供することと、前記バルブルーメンのねじれを解き、前記第2非ねじり状態となるように前記アクチュエータに力をかけることと、前記カテーテルに連結されるシリンジを使用することと、前記カテーテルに吸引力を印加することと、前記バルブルーメンをねじり、前記第1ねじり状態となるように前記アクチュエータから前記力を取り除くこととを備える。 Optionally, the present specification also discloses a method for selectively applying suction to a catheter, the method comprising providing a catheter and a valve system coupled to the catheter, the valve system comprising a valve having a proximal end and a distal end, the distal end of the valve being coupled to a lumen of the catheter, the valve comprising a flexible material defining the proximal end, the distal end and a lumen extending therebetween, the valve lumen having a first twisted state and a second untwisted state, and a hub having a body, a rack, a pinion physically engaging the rack, and an actuator, the body surrounding the rack and the pinion rotating the pinion relative to the valve lumen, the valve system comprising a valve having a proximal end and a distal end, the distal end of the valve being coupled to a lumen of the catheter, the valve comprising a flexible material defining the proximal end, the distal end and a lumen extending therebetween, the valve lumen having a first twisted state and a second untwisted state, the hub having a body, a rack, a pinion physically engaging the rack, and an actuator, the body surrounding the rack and the pinion rotating the pinion relative to the valve lumen, the valve system comprising a valve having a proximal end and a distal end, the distal end being coupled to a lumen of the catheter, the valve system comprising a valve having a proximal end and a distal end, the distal end being coupled to a lumen of the catheter, the valve system comprising a flexible material defining the proximal end, the distal end and a lumen extending therebetween, the valve lumen having a first twisted state and a second untwisted state ... providing a catheter and valve system comprising: a hub coupled to the proximal end of the valve, the actuator coupled to the rack such that applying a force to the actuator moves the rack and rotates the pinion in a first direction to untwist the valve lumen to the second untwisted state; applying a force to the actuator to untwist the valve lumen to the second untwisted state; using a syringe coupled to the catheter; applying a suction force to the catheter; and removing the force from the actuator to twist the valve lumen to the first twisted state.
任意選択で、前記アクチュエータからの前記力を取り除くことで前記ラックを移動させ、前記ピニオンを第2方向へ回転させて、前記バルブルーメンのねじれと、前記第1ねじり状態となるように、前記アクチュエータは前記ラックに連結される。 Optionally, the actuator is coupled to the rack such that removing the force from the actuator moves the rack and rotates the pinion in a second direction to twist the valve lumen and to the first torsional state.
本明細書は、カテーテルに吸引力を選択的に印加する方法も開示し、前記方法は、カテーテルと、前記カテーテルに連結されるバルブシステムとを提供することであって、前記バルブシステムは、近位端と、遠位端と、を有するバルブであって、前記バルブの前記遠位端は、前記カテーテルのルーメンに連結され、前記バルブは、前記近位端、遠位端、およびそれらの間に延びるルーメンを画定する可撓性材料を備え、前記バルブルーメンは、第1ねじり状態と、第2非ねじり状態とを有する、バルブと、本体、第1ラック、第2ラック、前記第1ラックおよび前記第2ラックと並行して係合するように構成されているピニオン、およびアクチュエータを有するハブであって、前記第2ラックは、前記バルブの前記近位端に連結され、前記アクチュエータに力をかけることで前記ピニオンを回転させ、前記ピニオンを前記第1ラックに沿って移動させて、前記第2ラックを第1方向に移動させ、その結果、前記バルブルーメンのねじれを解き、前記第2非ねじり状態となるように、前記アクチュエータが前記ピニオンに連結されている、ハブと、を備える、カテーテルとバルブシステムとを提供することと、前記バルブルーメンのねじれを解き、前記第2非ねじり状態となるように前記アクチュエータに力をかけることと、前記カテーテルに連結されるシリンジを使用することと、前記カテーテルに吸引力を印加することと、前記バルブルーメンをねじり、前記第1ねじり状態となるように前記アクチュエータから前記力を取り除くこととを備える。 The present specification also discloses a method of selectively applying suction to a catheter, the method comprising providing a catheter and a valve system coupled to the catheter, the valve system comprising a valve having a proximal end and a distal end, the distal end of the valve being coupled to a lumen of the catheter, the valve comprising a flexible material defining the proximal end, the distal end, and a lumen extending therebetween, the valve lumen having a first twisted state and a second untwisted state, and a hub having a body, a first rack, a second rack, a pinion configured to engage the first rack and the second rack in parallel, and an actuator, the second rack being coupled to the proximal end of the valve. and a hub, the actuator coupled to the pinion such that applying a force to the actuator rotates the pinion, moving the pinion along the first rack and moving the second rack in a first direction, thereby untwisting the valve lumen and achieving the second untwisted state; applying a force to the actuator to untwist the valve lumen and achieve the second untwisted state; using a syringe coupled to the catheter; applying a suction force to the catheter; and removing the force from the actuator to twist the valve lumen and achieve the first twisted state.
任意選択で、前記アクチュエータから前記力を取り除くことで前記ピニオンを回転させ、前記ピニオンを前記第1ラックに沿って移動させて、前記第2ラックを前記第1方向の反対である第2方向に移動させ、その結果、前記バルブルーメンをねじり、前記第1ねじり状態となるように、前記アクチュエータは前記ピニオンに連結される。 Optionally, the actuator is coupled to the pinion such that removing the force from the actuator rotates the pinion, causing the pinion to move along the first rack and the second rack to move in a second direction opposite the first direction, thereby twisting the valve lumen into the first twisted state.
本明細書は、カテーテルに吸引力を選択的に印加する方法も開示し、前記方法は、カテーテルと、前記カテーテルに連結されるバルブシステムとを提供することであって、前記バルブシステムは、近位端と、遠位端と、を有するバルブであって、前記バルブの前記遠位端は、前記吸引カテーテルに連結され、前記バルブは、第1圧縮状態にある可撓性ルーメンを有するチューブを備える、バルブと、シリンダを包囲する本体および前記本体に位置付けられているスライダを有するハブであって、前記シリンダは、前記シリンダの外面に形成されている実質的にらせん状の溝を有し、前記スライダは、前記本体に形成されているスロット内で移動するように制限され、前記スライダは、前記溝と係合して前記溝をたどるピンを有し、前記スライダを遠位に移動させることで前記ピンに前記溝内で移動することと、前記シリンダを第1方向に回転させ、前記第1方向への前記シリンダの前記回転は、前記バルブの前記近位端および遠位端が互いに対して回転させ、前記相対的な回転は、前記ルーメンを第2非ねじり状態にする、ハブと、を備えるカテーテルとバルブシステムとを提供することと、前記可撓性ルーメンのねじれを解き、前記第2非ねじり状態となるように前記スライダに力をかけることと、前記カテーテルに連結されるシリンジを使用することと、前記カテーテルに吸引力を印加することと、前記可撓性ルーメンをねじり、前記第1ねじり状態となるように前記スライダから前記力を取り除くこととを備える。 The present specification also discloses a method for selectively applying suction to a catheter, the method comprising providing a catheter and a valve system coupled to the catheter, the valve system comprising a valve having a proximal end and a distal end, the distal end of the valve being coupled to the suction catheter, the valve comprising a tube having a flexible lumen in a first compressed state, and a hub having a body surrounding a cylinder and a slider positioned on the body, the cylinder having a substantially helical groove formed on an outer surface of the cylinder, the slider being constrained to move within a slot formed in the body, the slider engaging and compressing the groove. a hub having a pin that fits inside the groove and that moves the slider distally to move the pin within the groove; rotating the cylinder in a first direction, the rotation of the cylinder in the first direction causing the proximal and distal ends of the valve to rotate relative to one another, the relative rotation placing the lumen in a second untwisted state; applying a force to the slider to untwist the flexible lumen and place it in the second untwisted state; using a syringe coupled to the catheter; applying suction to the catheter; and removing the force from the slider to twist the flexible lumen and place it in the first twisted state.
本明細書は、吸引カテーテル用のバルブシステムも開示し、前記バルブシステムは、近位端と、遠位端と、を有するバルブであって、前記バルブの前記遠位端は、前記吸引カテーテルのルーメンに連結され、前記バルブは、前記バルブの長さを通って延び、ルーメンを画定する可撓性材料を備え、前記バルブルーメンは、第1状態にある、バルブと、関連するピニオンと係合するラックを包囲する本体を有するハブであって、前記ハブは、前記本体に位置付けられるボタンを備え、前記ピニオンは、前記バルブの近位端に連結され、前記ボタンは、前記ラックに連結される、ハブと、を備え、前記ボタンに力をかけることで前記ラックを移動させ、前記ピニオンを第1方向に回転させて、前記バルブの前記近位端および遠位端を互いに対して回転させるように前記ボタンは構成され、前記相対的な回転は前記バルブルーメンを第2状態にする。 The present specification also discloses a valve system for a suction catheter, the valve system comprising: a valve having a proximal end and a distal end, the distal end of the valve being coupled to a lumen of the suction catheter, the valve comprising a flexible material extending through a length of the valve and defining a lumen, the valve lumen being in a first state; and a hub having a body enclosing a rack that engages an associated pinion, the hub comprising a button positioned on the body, the pinion being coupled to the proximal end of the valve, the button being coupled to the rack, the button being configured to move the rack by applying a force to the button and rotate the pinion in a first direction to rotate the proximal and distal ends of the valve relative to one another, the relative rotation placing the valve lumen in a second state.
任意選択で、前記第1状態は、前記ルーメンが圧縮されるように前記ルーメンがねじられている状態に対応する。 Optionally, the first state corresponds to a state in which the lumen is twisted such that the lumen is compressed.
任意選択で、前記第2状態は、前記ルーメンが圧縮されないように前記ルーメンのねじりが解かれる状態に対応する。 Optionally, the second state corresponds to a state in which the lumen is untwisted such that the lumen is not compressed.
任意選択で、前記可撓性材料は、ePTFE、ウレタン、またはシリコーンのうちの少なくとも1つを備える。任意選択で、前記バルブは、ステンレス鋼、ニチノール、またはナイロンのうちの少なくとも1つを備える1以上の部材で強化されている。 Optionally, the flexible material comprises at least one of ePTFE, urethane, or silicone. Optionally, the valve is reinforced with one or more members comprising at least one of stainless steel, nitinol, or nylon.
任意選択で、前記バルブルーメンは、0.01インチ~2インチの範囲の内径を有する。 Optionally, the bulb lumen has an inner diameter in the range of 0.01 inches to 2 inches.
任意選択で、前記バルブルーメンは、0.0002インチ~0.125インチの範囲の肉厚を有する。 Optionally, the bulb lumen has a wall thickness in the range of 0.0002 inches to 0.125 inches.
任意選択で、前記バルブルーメンは、0.01インチ~2インチの範囲の長さを有する。 Optionally, the bulb lumen has a length in the range of 0.01 inches to 2 inches.
任意選択で、前記ボタンの解放は、前記ラックを移動させ、前記第1方向の反対である第2方向に前記ピニオンを回転させて、前記バルブの前記近位端および遠位端を互いに対して回転させ、前記相対的な回転は、前記ルーメンを前記第1状態にする。任意選択で、前記チューブは、前記ルーメンを前記第1状態で圧縮させるため、90度~360度の範囲の角度で回転されるように構成されている。 Optionally, release of the button moves the rack and rotates the pinion in a second direction opposite the first direction to rotate the proximal and distal ends of the valve relative to one another, the relative rotation placing the lumen in the first state. Optionally, the tube is configured to be rotated through an angle ranging from 90 degrees to 360 degrees to compress the lumen in the first state.
本明細書は、吸引カテーテル用のバルブシステムも開示し、前記システムは、近位端と、遠位端と、を有するバルブであって、前記バルブの前記遠位端は、前記吸引カテーテルに連結され、前記バルブは、可撓性ルーメンを有するチューブを備え、前記ルーメンは、第1圧縮状態にある、バルブと、第1ラック、第2ラック、ならびに前記第1および第2ラックと係合するピニオンを包囲する本体を有するハブであって、前記ハブは、前記本体に位置付けられるアクチュエータを備え、前記ピニオンは、前記アクチュエータに連結され、前記第2ラックは、前記バルブの前記近位端に連結される、ハブと、を備え、前記アクチュエータに力をかけることで前記ピニオンを回転させ、前記ピニオンを前記第1ラックに沿って移動させて、前記第2ラックを第1方向に移動させ、前記第2ラックの前記第1方向への前記移動は、前記バルブの前記近位端および遠位端を互いに対して回転させ、前記相対的な回転は、前記ルーメンを第2非ねじり状態にする。 The present specification also discloses a valve system for a suction catheter, the system comprising: a valve having a proximal end and a distal end, the distal end of the valve being coupled to the suction catheter, the valve comprising a tube having a flexible lumen, the lumen being in a first compressed state; and a hub having a body enclosing a first rack, a second rack, and a pinion engaging the first and second racks, the hub comprising an actuator positioned on the body, the pinion being coupled to the actuator, and the second rack being coupled to the proximal end of the valve, the application of a force to the actuator rotates the pinion, moving the pinion along the first rack to move the second rack in a first direction, the movement of the second rack in the first direction rotates the proximal and distal ends of the valve relative to one another, the relative rotation placing the lumen in a second untwisted state.
任意選択で、前記第1ラックは動かず、第2ラックは移動可能である。 Optionally, the first rack is stationary and the second rack is movable.
任意選択で、前記第1圧縮状態は前記吸引カテーテルにシールを形成する。 Optionally, the first compressed state forms a seal with the aspiration catheter.
任意選択で、前記第2非圧縮状態は、前記吸引カテーテルへの流体の流れまたはデバイスの通過を可能にする。 Optionally, the second uncompressed state allows fluid flow into the aspiration catheter or through the device.
任意選択で、前記チューブの材料は、ePTFE、ウレタン、またはシリコーンのうちの少なくとも1つを備える。任意選択で、前記チューブは、ステンレス鋼部材、ニチノール部材、またはナイロン部材のうちの少なくとも1つをさらに備える。 Optionally, the tube material comprises at least one of ePTFE, urethane, or silicone. Optionally, the tube further comprises at least one of a stainless steel member, a nitinol member, or a nylon member.
任意選択で、前記可撓性ルーメンは、0.01インチ~2インチの範囲の内径を有する。 Optionally, the flexible lumen has an inner diameter in the range of 0.01 inches to 2 inches.
任意選択で、可撓性ルーメンは、0.0002インチ~0.125インチの範囲の肉厚を有する。 Optionally, the flexible lumen has a wall thickness in the range of 0.0002 inches to 0.125 inches.
任意選択で、前記可撓性ルーメンは、0.01インチ~2インチの範囲の長さを有する。 Optionally, the flexible lumen has a length in the range of 0.01 inches to 2 inches.
任意選択で、前記アクチュエータから力を取り除くことで前記ピニオンを回転させ、前記ピニオンを前記第1ラックに沿って移動させて、前記第2ラックが前記第1方向の反対である第2方向に移動させ、前記第2方向への前記第2ラックの前記移動は、前記バルブの前記近位端および遠位端を互いに対して回転させ、前記相対的な回転は、前記ルーメンを前記第1圧縮状態へと戻す。任意選択で、前記可撓性ルーメンは、前記ルーメンを前記第1状態で圧縮させるため、90度~360度の範囲の角度で回転されるように構成されている。 Optionally, removing force from the actuator rotates the pinion, moving the pinion along the first rack and moving the second rack in a second direction opposite the first direction, the movement of the second rack in the second direction rotates the proximal and distal ends of the valve relative to one another, the relative rotation returning the lumen to the first compressed state. Optionally, the flexible lumen is configured to be rotated through an angle ranging from 90 degrees to 360 degrees to compress the lumen in the first state.
本明細書は、吸引カテーテル用のバルブシステムも開示し、前記システムは、近位端と、遠位端と、を有するバルブであって、前記バルブの前記遠位端は、前記吸引カテーテルに連結され、前記バルブは、第1状態にある可撓性ルーメンを有するチューブである、バルブと、シリンダを包囲する本体および前記本体に位置付けられているスライダを有するハブであって、前記シリンダは、前記シリンダの外面に形成されている実質的にらせん状の溝を有し、前記スライダは、前記本体に形成されているスロット内で移動するように制限され、前記スライダは、前記溝と係合して前記溝をたどるピンを有する、ハブと、を備え、前記スライダを遠位に移動させることで前記ピンに前記溝内で移動することと、前記シリンダを第1方向に回転させ、前記第1方向への前記シリンダの前記回転は、前記バルブの前記近位端および遠位端を互いに対して回転させ、前記相対的な回転は、前記ルーメンを第2状態にする。 The present specification also discloses a valve system for a suction catheter, the system comprising: a valve having a proximal end and a distal end, the distal end of the valve being coupled to the suction catheter, the valve being a tube having a flexible lumen in a first state; and a hub having a body surrounding a cylinder and a slider positioned on the body, the cylinder having a substantially helical groove formed on an outer surface of the cylinder, the slider being constrained to move within a slot formed in the body, the slider having a pin that engages with and follows the groove, and moving the slider distally causes the pin to move within the groove and rotates the cylinder in a first direction, the rotation of the cylinder in the first direction rotates the proximal and distal ends of the valve relative to each other, the relative rotation placing the lumen in a second state.
任意選択で、前記第1状態は、前記ルーメンが圧縮されている状態に対応する。 Optionally, the first state corresponds to a state in which the lumen is compressed.
任意選択で、前記第2状態は、前記ルーメンが開いている状態に対応する。 Optionally, the second state corresponds to a state in which the lumen is open.
任意選択で、前記チューブは、ePTFE、ウレタン、またはシリコーンのうちの少なくとも1つから作られる。
任意選択で、前記チューブは、ステンレス鋼、ニチノール、またはナイロン部材で強化される。
Optionally, the tube is made from at least one of ePTFE, urethane, or silicone.
Optionally, the tube is reinforced with stainless steel, nitinol, or nylon material.
任意選択で、前記チューブは、0.01インチ~2インチの範囲の内径を有する。 Optionally, the tube has an inner diameter in the range of 0.01 inches to 2 inches.
任意選択で、前記チューブは、0.0002インチ~0.125インチの範囲の肉厚を有する。 Optionally, the tube has a wall thickness in the range of 0.0002 inches to 0.125 inches.
任意選択で、前記チューブは、0.01インチ~2インチの範囲の長さを有する。 Optionally, the tube has a length in the range of 0.01 inches to 2 inches.
任意選択で、前記スライダを近位に移動させることで前記ピンに前記溝内で移動することと、前記シリンダを前記第1方向の反対である第2方向に回転させ、前記第2方向への前記シリンダの前記回転は、前記バルブの前記近位端および遠位端を互いに対して回転させ、前記相対的な回転は、前記ルーメンを第2状態にする。任意選択で、前記チューブは、前記ルーメンを前記第1状態で圧縮させるため、90度~360度の範囲の角度で回転されるように構成されている。 Optionally, moving the slider proximally to move the pin within the groove and rotating the cylinder in a second direction opposite the first direction, the rotation of the cylinder in the second direction rotating the proximal and distal ends of the valve relative to one another, the relative rotation placing the lumen in a second state. Optionally, the tube is configured to be rotated through an angle ranging from 90 degrees to 360 degrees to compress the lumen in the first state.
本明細書は、解放されるまでバレル内に後ろに引かれた状態でプランジャを自動的に保持するように構成されているシリンジも開示し、前記シリンジは、前記バレルの外面に取り付けられるラッチベースと、前記ラッチベースに移動自在に連結されるレバーと、を備え、前記レバーは、前記ラッチベースに対して旋回し、前記レバーは、一端にアームを、他端にハンマーを有し、前記プランジャの遠位端は、フランジを含み、前記プランジャを近位に移動させることで前記ハンマーが前記フランジに後ろで所定の位置に落ち着かせ、その結果、前記プランジャは、前記後ろに引かれた状態で保持される。 The present specification also discloses a syringe configured to automatically hold a plunger in a retracted position within a barrel until released, the syringe comprising a latch base attached to an exterior surface of the barrel, and a lever movably connected to the latch base, the lever pivoting relative to the latch base, the lever having an arm at one end and a hammer at the other end, the distal end of the plunger including a flange, and moving the plunger proximally causes the hammer to settle into a predetermined position behind the flange, such that the plunger is held in the retracted position.
任意選択で、前記レバーの前記アームを押し下げることで前記ハンマーが引き上げさせ、その結果、前記プランジャが解放されて、前方へ押される。 Optionally, depressing the arm of the lever causes the hammer to lift, thereby releasing the plunger and pushing it forward.
本明細書の前述および他の実施形態は、以下に提供される図面および詳細な説明においてより深く説明される。 The above and other embodiments herein are described in more depth in the figures and detailed description provided below.
添付の図面は、本開示のシステム、方法の様々な実施形態および様々な他の態様の実施形態を示す。当業者であれば誰でも、図中に示された要素の境界(例えば、箱、箱のグループ、または他の形状)は、境界における一例を表すものであると理解するであろう。いくつかの例では、1つの要素が複数の要素として設計されてもよいし、複数の要素が1つの要素として設計されてもよいかもしれない。いくつかの例では、1つの要素の内部要素として示されている要素は、他において外部要素として実装されてもよいし、その逆もまた同様である。さらに、要素は縮尺通りに描かれていなくてもよい。非限定的であり、非網羅的な説明が以下の図面を参照して行われる。図中の構成要素は、必ずしも原寸に比例しているわけではなく、その代わりに原理を説明することに重きを置いている。
本明細書は、複数の実施形態に対するものである。以下の開示は、本発明を当業者が実施できるようにするために提供される。本明細書中で使用される言語は、いずれかの特定の1つの実施形態を全般的に否認するものとして解釈されるべきではなく、または、請求項内で使用される用語の意味を越えて請求項を限定するものとして使用されるべきではない。本明細書中に定義される一般原則は、本発明の思想および範囲から逸脱することなく、他の実施形態および応用に適用されてもよい。また、使用される専門用語および言語表現は、実施形態例を説明する目的のものであり、限定するものと考えられるべきではない。このように、本発明には、開示される原則および特性と一貫した多数の代替手段、改良、および等価物を含む最も幅広い範囲が認められる。明確にする目的のため、本発明に関連する技術分野で既知の技術資料に関する細部は、本発明を不必要に曖昧にしないように、詳細に説明されない。 This specification is directed to multiple embodiments. The following disclosure is provided to enable one skilled in the art to practice the invention. The language used in this specification should not be construed as a general disclaimer of any one particular embodiment, or used to limit the claims beyond the meaning of the terms used in the claims. The general principles defined herein may be applied to other embodiments and applications without departing from the spirit and scope of the invention. Furthermore, the terminology and language used are for the purpose of describing the example embodiments, and should not be considered limiting. Thus, the present invention is accorded the widest scope, including numerous alternatives, modifications, and equivalents consistent with the principles and characteristics disclosed. For purposes of clarity, details relating to known technical material in the art related to the invention are not described in detail so as not to unnecessarily obscure the invention.
本出願の明細書および請求項において、「備える(comprise)」、「含む(include)」、「有する(have)」、「包含する(contain)」、およびそれらの形のそれぞれは、単語が関連し得るリスト内にあるものに必ずしも限定されるわけではない。このように、それらは、意味において同等であると意図され、これらの単語のいずれか1つの後に続く1つのアイテムまたは複数のアイテムが、そのような1つのアイテムまたは複数のアイテム中の網羅的な項目であることを意味しない、または列挙されたアイテムまたは複数のアイテムのみに限定されることを意味しないという点で制約がないと意図される。特定の実施形態に関連して説明される、いかなる特性または構成要素も、別途、明確に示唆されない限り、その他の実施形態とともに使用および実装されてもよいことにここで注意されたい。 In the specification and claims of this application, the words "comprise," "include," "have," "contain," and each of their forms are not necessarily limited to those in the list to which the words may be related. As such, they are intended to be equivalent in meaning and open-ended in that an item or items following any one of these words does not mean that such an item or items is an exhaustive list of such item or items, or that it is limited to only the listed item or items. It should be noted here that any feature or component described in connection with a particular embodiment may be used and implemented with other embodiments, unless expressly indicated otherwise.
本明細書中および添付の請求項で使用された場合、「a」、「an」、および「the」の単数形は、文脈が別途示さない限り、複数を言及することを含むということも注意されなくてはならない。本明細書中に説明されたものに同様または同等なシステムおよび方法はいかなるものも本開示の実施形態の実践で、または試験において使用できるが、好適なシステムおよび方法がここより説明される。 It should also be noted that, as used herein and in the appended claims, the singular forms "a," "an," and "the" include plural references unless the context indicates otherwise. Although any systems and methods similar or equivalent to those described herein can be used in the practice or testing of embodiments of the present disclosure, the preferred systems and methods are now described.
図1Aは、本明細書のいくつかの実施形態による回収デバイス100を示す。デバイス100は、複数の伸縮チューブを介して先端部104に連結されるハンドル105を含む第1ユニット102を備え、ハンドル105は、閉塞物に近接して先端部104を誘導するように構成されて、血栓除去術を行う。いくつかの実施形態では、近位要素142および遠位要素144が先端部104に位置付けられている。
FIG. 1A illustrates a
デバイス100は、遠位端114と近位端116とを有する吸引カテーテル112を含む第2ユニット110をさらに備える。近位端116は、本明細書の実施形態では、可撓性ルーメンチューブ(またはバルブ)120を含むポート118に連結される。実施形態では、デバイス100は、可撓性ルーメンチューブまたはバルブ120に対して遠位である吸引ポート119を含む。ハブ122は、吸引ポート119の近位端126に連結される。例えば、シリンジ等の負圧源128が、ハブ122の近位端130に連結される。ハブ122のボタン124を作動または非作動とすることで、吸引ポート119を介して吸引カテーテル112に(負圧源128からの)吸引力を印加する、または吸引カテーテル112から(負圧源128からの)吸引力を遮断することが可能になる。
The
血栓除去処置中、先端部104が送達カテーテル135内に設置され、その後、送達カテーテル135がポート118を通して吸引カテーテル112内へと挿入されて、少なくとも先端部104が吸引カテーテル112の遠位端114から遠位に突出するようにする。本明細書の態様によると、デバイス100は、閉塞物を機械的に摘出し、tPA(組織プラスミノーゲン活性化因子)を最小限に抑え、出血を減らし、末梢塞栓保護を提供しつつ、ハブ122を作動させることで吸引するために、オペレータがハンドル部105(第1、第2、および第3ノブ150、152、および154を使用して)を片手で操作/作動させることを可能にするように構成されている。
During a thrombectomy procedure, the
本明細書のいくつかの態様によると、第1および第2ユニット102、110は、別々のスタンドアローンのユニットまたはデバイスとして製造される。これは、医師が第1ユニット102を任意の第三者の吸引カテーテルと使用し得るという点において有利である。いくつかの実施形態では、吸引カテーテル112は、12Fr、16Fr、20Fr、および24Fr(Frはフレンチスケールまたはゲージシステムを表す)等であるが、これらに限定されない複数の外径で利用できる。いくつかの実施形態では、シリンジ128は、一例となり、非限定的な、60立方センチメートルの容積を有する。
According to some aspects herein, the first and
いくつかの実施形態では、機械的血栓除去処置での使用から離れて、図2、3、4、5、6、および7を参照して説明されているハブおよびバルブ装置は、大口径大腿骨閉鎖術に使用されてもよい。より詳細には、血栓除去デバイスは、いくつかの実施形態では、米国特許第10,172,634号明細書および第10,898,215号明細書、米国特許出願公開第17/127,521号明細書および米国仮特許出願第63/092,428号明細書および第63/215,565号明細書に開示されているデバイスであってもよく、これらの全ては本明細書中にその内容全体が参照により援用される。ハブおよびバルブの実施形態は、可撓性ルーメンチューブまたはバルブ120に位置付けることでカテーテル112と流体連結するように位置付けられてもよく、ハブおよびバルブの実施形態の遠位部はカテーテル112と流体連結にあり、ハブおよびバルブの実施形態の近位部は医療機器を受け、血液の流出を可能とするように構成されている。
In some embodiments, apart from use in mechanical thrombectomy procedures, the hub and valve device described with reference to Figs. 2, 3, 4, 5, 6, and 7 may be used in large diameter femoral closure procedures. More specifically, the thrombectomy device may in some embodiments be the device disclosed in U.S. Patent Nos. 10,172,634 and 10,898,215, U.S. Patent Application Publication No. 17/127,521, and U.S. Provisional Patent Application Nos. 63/092,428 and 63/215,565, all of which are incorporated herein by reference in their entirety. The hub and valve embodiment may be positioned in fluid communication with the
図1Bは、本明細書のいくつかの実施形態による、接続された負圧源128を有するカテーテル112およびバルブ123に連結されるハブ118の他の実施形態の写真画像を示す。ハブ118は、ハブの本体内に位置付けられている可撓性ルーメンチューブまたはバルブ120を含む(図1Bでは破線で示す)。デフォルトで、可撓性ルーメンチューブまたはバルブ120は、非圧縮にされない限りいかなる要素もそれを通過できないように圧縮状態にある。カテーテル112は、ハブ118の遠位部に連結される。吸引ポート119は、可撓性ルーメンチューブまたはバルブ120に対し遠位で、カテーテル112に対し近位でハブ118に含まれる。可撓性ルーメンチューブまたはバルブ120に対し遠位である吸引ポート119に吸引力が印加されてもよい。吸引バルブ123は、吸引ポート119に接続され、カテーテル112からの吸引を制御するように構成されている。いくつかの実施形態では、バルブ123は、親指スライダ125により作動され、親指スライダ125は、開位置から閉位置へと移動されると、バルブ123内の柔軟なチューブ127(本明細書中では可撓性ルーメンチューブまたはバルブ120とも記載されている)上に部材を圧し潰して(または圧力をかけて)、バルブ123を閉鎖する。別の実施形態では、バルブ123は、後述する異なる機構を使用して作動される。バルブ123の開閉は、シリンジ等の負圧源128から吸引を効果的に印加する。従って、可撓性ルーメンチューブまたはバルブ120は、バルブ123が作動されて、吸引を可能にする限り、非圧縮状態とされる。吸引ポート119は、可撓性ルーメンチューブまたはバルブ120に対して遠位に配置され、従って、吸引が起こる。このように、実施形態では、可撓性ルーメンチューブまたはバルブ120は吸引に関与しないが、可撓性ルーメンチューブまたはバルブ120は吸引力が印加された際にその近位端からの漏出を防ぐためにシールするように使用される。
FIG. 1B shows a photographic image of another embodiment of a
図1Cは、本明細書による、カテーテル112cに連結されているハブ118cおよび接続された負圧源128cを有するバルブ123cを含むデバイスアセンブリの他の実施形態を示す。アセンブリの上面図102cは、ハブ118cおよびバルブ123cを含む一方で、アセンブリの第2図104cは側方図を示す。実施形態では、ハブ118cは、ハブの本体(不図示)内に位置付けられる可撓性ルーメンチューブまたはバルブを含む。本明細書中で止血弁とも呼ばれるバルブは、アクチュエータ130cにより操作される。実施形態では、側方図104cを参照すると、ハブ118cの側方長さ(高さ)は、2インチ~5インチの範囲にわたり、2.25インチ~3.50インチが好ましい。側方図104cを参照すると、止血弁130cが閉位置にある場合、ハブ118cの側方長さ(高さ)は、約3.39インチ(in)である。止血弁130cが開位置にある場合、ハブ118cの側方長さ(高さ)は、約2.51インチ(in)である。実施形態では、カテーテル112cは、ハブ118cの遠位端に連結される。
FIG. 1C illustrates another embodiment of a device assembly according to the present disclosure, including a
吸引ポート119cは、可撓性ルーメンチューブまたはバルブに対して遠位に、およびカテーテル112cに対して近位に、ハブ118cに含まれる。いくつかの実施形態では、ハブ118cから吸引バルブ123cまでの吸引ポート119cの全長は、10cmから20cmの間の範囲であり、16~17cmの範囲が好ましい。吸引力が可撓性ルーメンチューブまたはバルブに対して遠位である吸引ポート119cに印加されてもよい。吸引バルブ123cは、吸引ポート119cに接続され、カテーテル112cからの吸引を制御するように構成されている。いくつかの実施形態では、バルブ123cは、親指スライダ125cにより作動され、親指スライダ125cは、開位置から閉位置へと移動されると(第1図102cに示されるように)、バルブ123c内の柔軟なチューブ(不図示)上に部材を圧し潰して(または圧力をかけて)、バルブ123cを閉鎖する。
A
実施形態では、バルブ123cの開閉は、クイックコネクタ126に接続されるシリンジ等の負圧源128cから吸引を効果的に印加するために使用される。吸引ポート123cは、可撓性ルーメンチューブまたはバルブに対して遠位に配置され、従って、吸引が起こる。このように、実施形態では、ハブ118c内に位置付けられる可撓性ルーメンチューブまたは止血弁は、吸引に関与しないが、吸引力が印加された際にその近位端からの漏出を防止するシールを形成するように使用される。換言すると、可撓性ルーメンチューブまたは止血弁は、第1閉状態にある際に、カテーテル112cを通過するように予め導入された医療デバイスに対して横方向に押圧してシールを形成するが、シールはハブ118cおよびカテーテル112c内でのデバイスの軸方向または長手方向の移動は防止しない。このような場合、デバイスがハブおよびカテーテルを通って往復して長手方向に移動されている際であっても、シールは側圧(デバイスの表面に垂直)を働かせ続ける。
In an embodiment, the opening and closing of the
いくつかの実施形態では、可撓性ルーメンチューブまたは止血弁の近位端および遠位端は、公称上、ねじられた状態で、ばね負荷がかけられ、チューブまたは止血弁のルーメンを圧縮または締め付け、バルブのルーメンのねじれを解くためには、ばねにかけられる力を必要とし、これにより、ルーメンを圧縮または締め付けから解放させる。いくつかの実施形態では、非圧縮または開いた状態で、止血弁は、0.29cmの最小内径を有する。いくつかの実施形態では、止血弁はシールを高める追加的なロバスト性のためにePTFEを覆うデザインに超軟ポリエーテルまたはポリエステルベースのブレンド(NeuSoft UR842A等だが、これに限定されない)を含む熱可塑性ポリウレタンを追加することにより作られる。いくつかの実施形態では、円筒キャップ132cが止血弁のアクチュエータ130cに固定的に取り付けられる。実施形態ではプラスチックから作られるキャップ132cは、アクチュエータ130cの上部を窪ませて、ねじり歪みを取り除き、ハブ118cがその使用前に保管されている期間、止血弁を開いたままにする。展開の際に、ユーザは、引っ張り出してアクチュエータ130cから外すことで、キャップ132cを取り外すことができる。止血弁およびアクチュエータ付きのハブ118cのさらなる詳細は、図3を参照して後述する。
In some embodiments, the proximal and distal ends of the flexible lumen tube or hemostasis valve are spring loaded in a nominally twisted state, compressing or pinching the lumen of the tube or hemostasis valve and requiring a force to be applied to the spring to untwist the lumen of the valve, thereby releasing the lumen from the compression or pinching. In some embodiments, in the uncompressed or open state, the hemostasis valve has a minimum inner diameter of 0.29 cm. In some embodiments, the hemostasis valve is made by adding a thermoplastic polyurethane, including an ultra-soft polyether or polyester-based blend (such as, but not limited to, NeuSoft UR842A), to the design over the ePTFE for additional robustness to enhance the seal. In some embodiments, a
図2は、本明細書のいくつかの実施形態による、可撓性ルーメンチューブまたは止血弁220(図1Aのバルブ120)の第1および第2断面図202、204を示す。図202は第2状態にある可撓性ルーメンチューブまたはバルブ220を示す一方で、図204は第1状態にある可撓性ルーメンチューブまたはバルブ220を示す。実施形態では、バルブ220は、その元の状態または初期状態で第1状態に留まる。さらに、バルブ220は、バルブ220に接続されているアクチュエータが作動されている限りにおいて、第2状態に残る。第2状態は可撓性ルーメンチューブまたはバルブ220が開いているまたはねじれていない状態に対応する一方で、第1状態は可撓性ルーメンチューブまたはバルブ220が圧縮、締め付け、またはねじられている状態に対応する。
2 shows first and second
可撓性ルーメンチューブまたはバルブ220は、近位端および遠位端205、210を有する。近位端205はハブ218(図1Aのハブ118)に連結される一方で、遠位端210は吸引カテーテル212(図1Aのカテーテル112)に連結される。第2図204に示されるように、いくつかの実施形態では、近位端および遠位端205、210は、公称上、ねじられた状態または第1状態で、ばね負荷がかけられ、バルブ220のチューブのルーメンを圧縮または締め付けている。
The flexible lumen tube or
第1図202に示されるように、互いに対し近位端および遠位端205、210を回転させることにより、チューブまたはバルブ220のルーメンが開くまたは第2状態となるように、可撓性ルーメンチューブまたはバルブ220のねじれが解かれる。いくつかの実施形態では、近位端205は第1方向(例えば、時計回りまたは反時計回り)に回転、および遠位端210は第1方向の反対である第2方向(例えば、反時計回りまたは時計回り)に回転されて、チューブまたはバルブ220のルーメンが開くまたは第2状態となるように、可撓性ルーメンチューブまたはバルブ220のねじれが解かれてもよい。いくつかの実施形態では、遠位端210が固定される一方で、近位端205は回転されて、チューブまたはバルブ220のルーメンが開くまたは第2状態となるように、可撓性ルーメンチューブまたはバルブ220のねじれが解かれる。閉、すなわち第1(初期)状態にある場合、第2図204に示されるように、カテーテルハブのねじられた可撓性ルーメンチューブまたはバルブ220は、カテーテル212の近位端をシールする。第1図202に示される、開、すなわち第2状態にある場合、可撓性ルーメンチューブまたはバルブ220は、医療デバイスの通過と、血液の流出とを可能にする。
As shown in FIG. 1 202, the flexible lumen tube or
いくつかの実施形態では、可撓性ルーメンチューブまたはバルブ220は、PTFE(ポリテトラフルオロエチレン)、ePTFE(延伸ポリテトラフルオロエチレン)、ウレタン、またはシリコーン等であるが、これらに限定されない薄い可撓性材料製である。いくつかの実施形態では、チューブまたはバルブ220は、ステンレス、NiTi(ニチノール)および/もしくはナイロン部材、またはNeuSoft UR842Aで強化されてもよい。いくつかの実施形態では、可撓性ルーメンチューブまたはバルブ220は、0.01インチ~1インチの範囲の内径を有する。いくつかの実施形態では、可撓性ルーメンチューブまたはバルブ220は、0.01インチ~2インチの範囲の内径を有する。いくつかの実施形態では、可撓性ルーメンチューブまたはバルブ220の壁の厚さは、0.0002インチ~0.125インチの範囲である。いくつかの実施形態では、可撓性ルーメンチューブまたはバルブ220の長さは、0.01インチ~2インチの範囲である。いくつかの実施形態では、可撓性ルーメンチューブまたはバルブ220の長さは、少なくとも可撓性ルーメンチューブまたはバルブの径に等しく、ねじることにより完全な閉鎖構成を実現し、その結果、確実な圧縮を実現する。いくつかの実施形態では、可撓性ルーメンチューブまたはバルブ220の径は0.47インチ(12mm)であり、可撓性ルーメンチューブまたはバルブ220の長さは0.47インチ(12mm)である。様々な実施形態で、可撓性ルーメンチューブまたはバルブ220は、バルブ120をシール、圧縮、または締め付けるために、90度~360度の範囲にわたって角度的に回転するように構成されている。いくつかの実施形態では、可撓性ルーメンチューブまたはバルブ220は、0フレンチ~24フレンチの範囲の肺動脈圧に対してシールするように構成されている。
In some embodiments, the flexible lumen tube or
様々な実施形態で、ハブ218(図1Aのハブ118)は、第1方向221の回転動作またはねじり動作によって作動されて、近位端および遠位端205、210が互いに対して回転することを可能にし、その結果、チューブまたはバルブ220のルーメンが開または第2状態となるように、可撓性ルーメンチューブまたはバルブ220のねじれが解かれる。可撓性ルーメンチューブまたはバルブ220は、ハブ218の作動の間、第2状態のまま残る。実施形態では、カテーテル212は、ハブ218に対してしっかりと保持されて、または第1方向221の反対である第2方向222に回転またはねじられて、チューブまたはバルブ220のルーメンを開く補助となってもよい。
In various embodiments, the hub 218 (
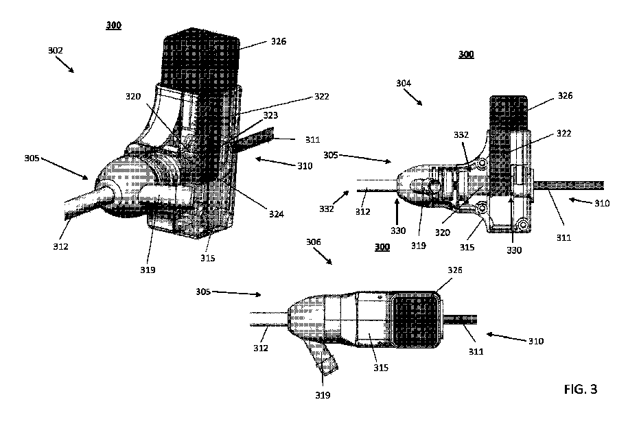
図3は、本明細書のいくつかの実施形態による可撓性ルーメンチューブまたはバルブ320とともに使用するための単一ラックアンドピニオン装置323を含むハブ300の斜視図、側面図、および上面図302、304、306を示す。実施形態では、ハブ300は、ハブ300の遠位端305において吸引カテーテル312に連結され、ハブ300の近位端310において医療デバイス311を受けるように構成されている。可撓性ルーメンチューブまたはバルブ320は、回転自在な近位端330と、ハブ300内に位置付けられる吸引カテーテル312に固定的に連結される遠位端332とを有し、ラックアンドピニオン装置323によって第1のねじられたまたは圧縮された状態から第2の開いたまたは非圧縮の状態へと変化するように構成されている。実施形態では、デフォルトで、可撓性ルーメンチューブまたはバルブ320は、ねじられた状態にあって、チューブまたはバルブ320のルーメンを圧縮または締め付け、その結果、可撓性ルーメンチューブまたはバルブ320を介するハブ300を通したいかなる血液の流出または可撓性ルーメンチューブまたはバルブ320を介する医療デバイス311のハブ300およびカテーテル312内への導入を防止する。いくつかの実施形態では、先にハブ300を通過してカテーテル312内へと通された医療デバイス311は、可撓性ルーメンチューブまたはバルブ320が閉じられた第1状態にある場合にも、まだ移動されていてもよい。言い換えると、可撓性ルーメンチューブまたはバルブ320は、第1閉状態にある場合に、先に導入された医療デバイス311に対して横方向に押圧してシールを形成するが、シールはハブ300およびカテーテル312内でのデバイス311の軸方向または長手方向の移動を防止しない。このような場合、デバイスがハブおよびカテーテルを通って往復して長手方向に移動されている際であっても、シールは側圧(デバイスの表面に垂直)を働かせ続ける。いくつかの実施形態では、可撓性ルーメンチューブまたはバルブ320の近位端および遠位端330、332は、公称上、ねじられた状態で、ばね負荷がかけられ、バルブ320のチューブのルーメンを圧縮または締め付け、バルブのルーメンのねじれを解くためには、ばねにかけられる力を必要とし、これにより、ルーメンが圧縮または締め付けから解放される。例えば、シリンジ等の負圧源(図1Aの128)への接続のため、ハブ300の遠位端に吸引ポート319が含まれる。
3 shows perspective, side, and
図示のように、ハブ300は、ラック322および関連するピニオンまたはギア324の機構を備える、ラックアンドピニオン装置323を収容する本体または筐体315を有する。ボタンまたはノブ326は、本体または筐体315に位置付けられている。ボタンまたはノブ326は、ラック322に連結され、ラック322は、次に、関連するピニオンまたはギア324に係合される。ピニオンまたはギア324は、可撓性ルーメンチューブまたはバルブ320の近位端330に連結される。ピニオン324は、近位ピニオン付バルブモジュールを遠位バルブモジュールから離れるように押すばねによって横方向に移動し、ボタン326が押されると、近位ピニオン付モジュールが回転して可撓性ルーメンチューブまたはバルブ320を開き、バルブの緩みを解放するようにする。近位ピニオン付バルブモジュールがばねによって遠位モジュールから離れるように押され、バルブ320を伸ばし、引っ張られた状態でそれを保つことで緩みは取られる。
As shown, the
ボタンまたはノブ326を下向きに押すまたは押し下げると、ラック322を下向きに摺動、平行移動、または移動させ、関連するピニオンまたはギア324を第1方向へ回転させる。ピニオンまたはギア324の回転は、可撓性ルーメンチューブまたはバルブ320の近位端330を可撓性ルーメンチューブまたはバルブ320の遠位端332に対して回転させる(ピニオンまたはギア324が近位端330に連結されているため)。近位端および遠位端330、332の互いに対するこの回転は、可撓性ルーメンチューブまたはバルブ320のねじれを解き、チューブまたはバルブ320のルーメンが開状態となるようにする。開状態では、可撓性ルーメンチューブまたはバルブ320は、ハブ305およびカテーテル312内へと医療デバイスの通過と、血液がカテーテル312から流出することとを可能にする。
Pressing or depressing the button or
ボタンまたはノブ326を解放する(その結果、ボタンまたはノブ326は上向きに移動する)と、ラック322は、上向きに摺動、平行移動、または移動して戻り(その元の位置への)、第1方向の反対である第2方向への関連するピニオンまたはギア324を回転させる。ピニオンまたはギア324の回転は、可撓性ルーメンチューブまたはバルブ320の近位端330を可撓性ルーメンチューブまたはバルブ320の遠位端332に対して回転させる(ピニオンまたはギア324が近位端330に連結されているため)。近位端および遠位端330、332の、第2方向への互いに対するこの回転は、可撓性ルーメンチューブまたはバルブ320を再びねじれさせ、チューブまたはバルブ320のルーメンを圧縮または締め付け、その結果、可撓性ルーメンチューブまたはバルブ320の近位端330をシールする。このように、ボタンまたはノブ326にかけられる圧力は、ラック322により、ピニオンまたはギア324の回転動作へと変換される。
Upon releasing the button or knob 326 (so that it moves upward), the
いくつかの実施形態では、ラック322の上向きの移動およびピニオンまたはギア324の第2方向への回転は、可撓性ルーメンチューブまたはバルブ320の近位端および遠位端330、332に働いているばね負荷によって支援される。
In some embodiments, the upward movement of the
図4は、本明細書のいくつかの実施形態による、可撓性ルーメンチューブまたはバルブ420とともに使用するための二重ラックアンドピニオン装置423を含むハブ400の近位端の正面図を示す。実施形態では、ハブ400はその中に可撓性ルーメンチューブまたはバルブ420を含む。カテーテル412は、可撓性ルーメンチューブまたはバルブ420の先端部に連結される。可撓性ルーメンチューブまたはバルブ420は、回転自在な近位端430と、吸引カテーテル412に固定的に連結される遠位端432とを有する。実施形態では、デフォルトで、可撓性ルーメンチューブまたはバルブ420はねじられた状態にあって、チューブまたはバルブ420のルーメンを圧縮または締め付け、その結果、可撓性ルーメンチューブまたはバルブ420をシールする。いくつかの実施形態では、近位端および遠位端430、432は公称上、ねじられた状態で、ばね負荷がかけられ、バルブ420のチューブのルーメンを圧縮または締め付けている。
4 shows a front view of the proximal end of a
図示のように、ハブ400は、第1ラック422aと、第2ラック422bと、第1および第2ラック422a、422bと係合するピニオンまたはギア424と、を収容する本体または筐体415を有する。いくつかの実施形態では、第1ラック422aは動かず、その一方で第2ラック422bは摺動可能または移動可能である。ボタンまたはノブ426が本体または筐体415に位置付けられている。ボタンまたはノブ426は、ボタンまたはノブ426の底面から延びている摺動可能アーム416によってピニオンまたはギア424に連結され、第2ラック422b(摺動可能)は、可撓性ルーメンチューブまたはバルブ420の近位端430に連結される。いくつかの実施形態では、二重ラックアンドピニオン装置423は、本体または筐体415内に位置付けられている水平支持部材425を含む。水平支持部材425は、第1開口部427および第2開口部429を含む。第1開口部427は、アーム416を摺動可能に受けるように構成され、第2開口部429は、第2ラック422bを摺動可能に受けるように構成される。ボタンまたはノブ426が押されると、水平支持部材425は、これらの要素の横方向の移動を防止しつつ、第1開口部427および第2開口部429それぞれを通してアーム416および第2ラック422bの上下の移動を可能にし、その結果、ハブ400において二重ラックアンドピニオン装置423を安定化する。実施形態では、垂直支持部材421がボタンまたはノブ426の底面から延び、ボタンまたはノブ426が押されると、本体または筐体415内に位置付けられている凹部428内へ、および凹部428から外へと移動するように構成されている。垂直支持部材421および凹部428は、ボタンまたはノブ426のためのガイドサポートとして機能し、ハブ400および二重ラックアンドピニオン装置423を安定させるのに役立つ。
As shown, the
ボタンまたはノブ426を下向きに押すことまたは押し下げることは、ピニオンまたはギア424を動かない第1ラック422aに沿って第1方向に回転させ、および軸方向に移動させる。さらに、ピニオンまたはギア424の回転および軸方向の移動は、第2ラック422bを第1方向への移動または摺動させる。第2ラック422bの摺動移動は、可撓性ルーメンチューブまたはバルブ420の近位端430を可撓性ルーメンチューブまたはバルブ420の遠位端432に対して第1方向への回転させる(第2ラック422bが近位端430に連結されているため)。第1方向への互いに対する近位端および遠位端430、432のこの回転は、可撓性ルーメンチューブまたはバルブ420のねじれを解消させ、チューブまたはバルブ420のルーメンが開状態となるようにする。開状態では、可撓性ルーメンチューブまたはバルブ420は、血液の流れまたは医療デバイスの通過を可能にする。
Pressing or depressing the button or
ピニオンまたはギア424の軸方向の移動と回転動作によって影響を受けるため、第2ラック422bはボタンまたはノブ426の2倍遠くへ移動することが理解されるべきである。言い換えると、ハブ400の二重ラックアンドピニオンシステムは、単一ラック(例えば、図3に描写される単一ラックアンドピニオン装置323)を有する実施形態と比較して、ボタンまたはノブ426のストロークを増幅させて、ボタンまたはノブ426の移動を減らすことができ、可撓性ルーメンチューブまたはバルブ420の近位端430の同じ角度の回転を達成する。いくつかの実施形態では、ハブ400の二重ラックアンドピニオンシステムは、単一ラックを有する実施形態と比較して、2:1の比率でボタンまたはノブ426のストロークを増幅させる。
It should be understood that the
ボタンまたはノブ426の解放(その結果、ボタンまたはノブ426は上向きに移動する)は、ピニオンまたはギア424を第1ラック422a(動かない)に沿った第1方向の反対である第2方向へ回転させ、軸方向に移動させる。さらに、回転および軸方向に移動するピニオンまたはギア424は、第2ラック422bを第2方向へ移動または摺動させる。第2ラック422bの摺動移動は、可撓性ルーメンチューブまたはバルブ420の近位端430を可撓性ルーメンチューブまたはバルブ420の遠位端432に対して第2方向へ回転させる(第2ラック422bが近位端430に連結されているため)。第2方向への互いに対する近位端および遠位端430、432のこの回転は、可撓性ルーメンチューブまたはバルブ420を再びねじれさせ、チューブまたはバルブ420のルーメンを圧縮または締め付け、その結果、可撓性ルーメンチューブまたはバルブを通した血液の流れまたは医療デバイスの通過を防止する。
Release of the button or knob 426 (resulting in the button or
いくつかの実施形態では、第2ラック422bの第2方向への移動およびピニオンまたはギア424の第2方向への移動は、可撓性ルーメンチューブまたはバルブ420の近位端および遠位端430、432に働くばね負荷により支援される。
In some embodiments, movement of the
図5は、本明細書のいくつかの実施形態による、可撓性ルーメンチューブまたはバルブ520とともに使用するためのカム付きスライダにより駆動されるツイスト機構を含むハブ500の斜視図、側面図、および上面図502、504、506を示す。実施形態では、ハブ500は、その中に可撓性ルーメンチューブまたはバルブ520を含む。可撓性ルーメンチューブまたはバルブ520は、回転自在な近位端530と、吸引カテーテルに固定的に連結される遠位端532とを有する。実施形態では、デフォルトで、可撓性ルーメンチューブまたはバルブ520は、ねじられた状態にあって、チューブまたはバルブ520のルーメンを圧縮または締め付け、その結果、吸引カテーテルからまたは吸引カテーテルへの可撓性ルーメンチューブまたはバルブ520を通した血液の流れまたは医療デバイスの通過が防止されている。いくつかの実施形態では、近位端および遠位端530、532は、公称上、ねじられた状態で、ばね負荷がかけられ、バルブ520のチューブのルーメンを圧縮または締め付けている。
5 shows perspective, side, and
図示のように、ハブ500は、内部要素518を収容する本体または筐体515を有する。いくつかの実施形態では、内部要素518は実質的に円筒形状を有する。内側円筒要素518は、可撓性ルーメンチューブまたはバルブ520(点線で示す)を収容する。円筒内部要素518は、所定の外径、近位端562、および遠位端564を有する。図502に示されるように、円筒内部要素518の長手軸550aは、ハブ500の長手軸550bと実質的に平行にある。実質的にらせん状の溝552が、らせん状溝552が内部要素518の外径の周囲を包むように、内部要素518の外面に形成されている。
As shown, the
スライダ526は、本体または筐体515に位置付けられている。スライダ526は、本体または筐体515に形成された(所定の長さの)スロット521内で軸方向に、実質的にはハブ500の長手軸550bと平行に移動するように制限されている。スライダ526に取り付けられているピン556は、溝552と係合し、溝552をたどる。
The
内部要素518の近位端562は、ハブ500の近位端510と流体連結する一方、内部要素518の遠位端564は、ハブ500の遠位端505と流体連結する。
The
スライダ526を遠位にまたは前方へと移動または平行移動させることは、ピン556を実質的にらせん状の溝552内へと移動させ、その結果、内部要素518を第1方向に回転させる。このように、内部要素518は、溝552内でのピン556の位置およびスロット521内でスライダ526により移動された距離に基づいて回転する。内部要素518の回転は、可撓性ルーメンチューブまたはバルブ520の近位端530を可撓性ルーメンチューブまたはバルブ520の遠位端532に対して回転させる(内部要素518の近位端562が可撓性ルーメンチューブまたはバルブ520の近位端530に連結されているため)。互いに対する近位端および遠位端530、532のこの回転は、可撓性ルーメンチューブまたはバルブ520のねじれを解き、チューブまたはバルブ520のルーメンが開状態となるようにする。開状態では、可撓性ルーメンチューブまたはバルブ520は、可撓性ルーメンチューブまたはバルブ520を介しハブ500を通した血液の流れまたは医療デバイスの通過を可能にする。
Moving or translating the
スライダ526を可撓性ルーメンチューブまたはバルブ520から離れるように近位にまたは後方へと移動または平行移動させることは、ピン556を実質的にらせん状の溝552内へと移動させ、その結果、内部要素518を第1方向の反対である第2方向に回転させる。内部要素518の回転は、可撓性ルーメンチューブまたはバルブ520の遠位端532に対して可撓性ルーメンチューブまたはバルブ520の近位端530を回転させる(内部要素518の近位端562が可撓性ルーメンチューブまたはバルブ520の近位端530に連結されているため)。第2方向への互いに対する近位端および遠位端530、532のこの回転は、可撓性ルーメンチューブまたはバルブ520を再びねじれさせ、チューブまたはバルブ520のルーメンを圧縮または締め付け、その結果、可撓性ルーメンチューブまたはバルブ520をシールし、吸引カテーテルを通した血液の流れまたは医療デバイスの通過を防止する。
Moving or translating the
いくつかの実施形態では、スライダ526の後ろ向きの移動および第2方向への内部要素518の回転は、可撓性ルーメンチューブまたはバルブ520の近位端および遠位端530、532に働くばね負荷により支援される。
In some embodiments, rearward movement of the
本明細書の態様によると、図3、4、および5のハブは、可撓性ルーメンチューブまたはバルブを制御して、従って、可撓性ルーメンチューブまたはバルブを通した吸引力または負圧の印加および防止するため、ユーザによって片手で作動または操作されるように構成されているボタン、ノブ、またはスライダによって特徴付けられている。 In accordance with aspects of the present specification, the hubs of Figures 3, 4, and 5 are characterized by a button, knob, or slider configured to be actuated or manipulated with one hand by a user to control the flexible lumen tube or valve and thus apply and prevent suction or negative pressure through the flexible lumen tube or valve.
図6は、本明細書によるバルブ機構に含まれるハブの別の実施形態を示す。第1図602は、バルブ機構600の正面図の模式的な図である。第2図604は、近位側が左で、遠位側が右であるバルブ機構600の側面図の模式的な図である。図602および604を同時に参照すると、模式図は、筺体612内にラック606、ピニオン608、および増速歯車610の装置を示している。装置は、本明細書のいくつかの実施形態による可撓性ルーメンチューブまたはバルブ614の圧縮/閉鎖および膨張/開口の両方の動作のために使用される。
FIG. 6 shows another embodiment of a hub included in a valve mechanism according to the present disclosure. FIG. 1 602 is a schematic diagram of a front view of the
実施形態では、可撓性ルーメンチューブまたはバルブ614は、ハブ600の筺体612内に設置される。吸引カテーテル616が可撓性ルーメンチューブまたはバルブ614の遠位端に連結される。可撓性ルーメンチューブまたはバルブ614は、回転自在な近位端618と、吸引カテーテル616に固定的に連結される遠位端620とを有する。実施形態では、デフォルトで、可撓性ルーメンチューブまたはバルブ614は第1ねじり状態にあり、チューブまたはバルブ614のルーメンを圧縮または締め付け、その結果、可撓性ルーメンチューブまたはバルブ614をシールする。いくつかの実施形態では、近位端および遠位端618、620は、公称上、ねじられた状態で、ばね負荷がかけられ、バルブ614のチューブのルーメンを圧縮または締め付けている。
In an embodiment, the flexible lumen tube or
図示のように、ハブ600は、ラック606と、ラック606の近位端と係合されるように構成されているピニオンまたはギア608とを収容する本体または筐体612を有する。さらに、ピニオン608は、ピニオン608の半径の2~6倍の範囲、好適には4倍の半径を有する増速歯車610と係合するように構成されている。ラック606は、アクチュエータ622に接続される遠位端を有して、ピニオン608の接線に沿って直線的に延びている。実施形態では、アクチュエータ622は、約0.25インチの高さを持つ押しボタンまたはノブであり、筺体612の上部に位置付けられる。アクチュエータ622が押されると、ラック606は(アクチュエータ622へのその接続によって)筺体612の底側に向かって直線的にずらされ、ピニオン608を一方向へ回転させる。アクチュエータ622の起動(実施形態では、下向きに押すまたは押し下げることによる)は、ピニオン608を、ラック606の長さに沿って第1方向に回転させ、軸方向に移動させる。さらに、ピニオン608が回転するにつれ、ピニオン608の回転および軸方向移動は、ピニオン608と係合するように構成されている増速歯車610の第1方向へ回転させる。増速歯車610は、可撓性ルーメンチューブまたはバルブ614の近位端618に連結される。いくつかの実施形態では、増速歯車610は、近位端618に位置付けられるギア624を通して可撓性ルーメンチューブまたはバルブ614に連結される。実施形態では、ギア624は、増速歯車610の半径の約3/4~1/6、好適には、増速歯車610の半径の1/2である半径を有する。実施形態では、ギア624の半径は、可撓性ルーメンチューブまたはバルブ614の近位端618がそれを通過することを可能にしつつ、アクチュエータ622を押すことで最大の回転を実現するように可能な限り小さくなっている。
As shown, the
増速歯車610の回転は、可撓性ルーメンチューブまたはバルブ614の近位端618を遠位端620に対して回転させる。増速歯車構成は、遠位端620に対する可撓性ルーメンチューブまたはバルブ614の近位端618の、アクチュエータの作動または押圧よりも大きな回転または高速度での回転を提供する。言い換えると、ハブ600の増速歯車610構成はアクチュエータ622のストロークを増幅させ、単一ギア(例えば、図3に描写される単一ラックアンドピニオン装置323)を有する実施形態と比較して、可撓性ルーメンチューブまたはバルブ614の近位端618の同じ角度の回転を実現するためのアクチュエータ622の移動を可能にする。いくつかの実施形態では、ハブ600の増速歯車610構成は、単一ギアを有する実施形態と比較して、2:1の比率でアクチュエータ622のストロークを増幅する。近位端618および遠位端620のこの相対的な回転は、可撓性ルーメンチューブまたはバルブ614の第3方向へのねじれを解くまたは真っ直ぐにし、チューブまたはバルブ614のルーメンが開状態となるようにする。開状態では、可撓性ルーメンチューブまたはバルブ614は、カテーテル616を通して血液の流れまたは医療デバイスの通過を可能にする。
Rotation of the
アクチュエータ622の解放(その結果、ボタンまたはノブは上向きに移動する)は、ラック606に沿った第1方向の反対である第2方向へピニオン608を回転させ、軸方向に移動させる。次に、ピニオン608の回転および軸方向の移動は、増速歯車610を第2方向へ回転させる。最終的に、増速歯車610の回転は、可撓性ルーメンチューブまたはバルブ614の近位端618を遠位端620に対して回転させる。第3方向の反対である第4方向への近位端618および遠位端620の相対的な回転は、可撓性ルーメンチューブまたはバルブ614を再びねじれさせ、チューブまたはバルブ614のルーメンが圧縮または締め付け、その結果、可撓性ルーメンチューブまたはバルブを通した血液の流れまたは医療デバイスの通過を防止する。
Release of the actuator 622 (resulting in the button or knob moving upward) rotates and axially moves the
いくつかの実施形態では、第2方向へのピニオン608および増速歯車610の両方の移動は、可撓性ルーメンチューブまたはバルブ614の近位端618および遠位端620に働くばね負荷により支援される。
In some embodiments, movement of both the
図7は、本明細書によるバルブ機構に含まれるハブ700の他の実施形態を示す。第1図702は、アクチュエータ722が押された場合のバルブ機構700の概略断面図である。第2図704は、アクチュエータ722が解放および/または押されていない場合の概略断面図である。図702および704を同時に参照すると、概略図は、筺体712内の第1固定ラック706、ピニオン708、および第2浮動ラック710の構成を示す。いくつかの実施形態によると、構成は、可撓性ルーメンチューブまたはバルブ(不図示)の圧縮/閉鎖および膨張/開口を可能にするために採用される。
7 shows another embodiment of a
実施形態では、ハブ700は、可撓性ルーメンチューブまたはバルブ(不図示)がその中に設置されている筺体712を含む。吸引カテーテル(不図示)は、可撓性ルーメンチューブまたはバルブの遠位端に連結される。可撓性ルーメンチューブまたはバルブは、回転自在な近位端と、吸引カテーテルに固定的に連結される遠位端とを有する。実施形態では、デフォルトで、可撓性ルーメンチューブまたはバルブは第1ねじり状態にあって、チューブまたはバルブのルーメンを圧縮または締め付け、その結果、可撓性ルーメンチューブまたはバルブをシールする。いくつかの実施形態では、近位端および遠位端は、公称上、ねじられた状態で、ばね負荷がかけられ、バルブのチューブのルーメンを圧縮または締め付けている。
In embodiments, the
実施形態では、固定ラック706が筺体712の内壁上に垂直の直線軸に沿って位置付けられる。固定ラック706の鋸歯状または歯付き縁部が筺体712内で内側に面する。ピニオン708は、固定ラック706と係合するように構成されている。第1側726と第2側728とを有する浮動ラック710は、固定ラック706に平行に位置付けられ、その第1側726でピニオン708と係合するように構成されている。浮動ラック710は、その第2側728(第1側726の反対)で、ギア724と係合するように構成されている。実施形態では、浮動ラック710は、0.3~2インチの範囲、好適には、約0.9インチの長さを有し、これはその横方向の移動の時にピニオン708によって利用可能である。ギア724は、可撓性ルーメンチューブまたはバルブをさらに備えるバルブ機構の近位側718の一部を備える。ギア724と可撓性ルーメンチューブまたはバルブとの相対的な構成は、図6に示されるものと同様で、本明細書中では繰り返されない。
In an embodiment, the fixed
さらに、ピニオン708は、細長いコネクタ730を通してアクチュエータ722の底側に取り付けられる。実施形態では、アクチュエータ722は、押しボタンまたはノブであり、筺体712の上部に位置付けられている。アクチュエータ722がその上部から押されると、アクチュエータ722は、図702に示されるように、下向きに移動する。アクチュエータ722の底側に取り付けられているコネクタ730は、続いて、下方向へと移動し、ピニオン708を下方向へ移動させ、同時にラック706および710に沿って回転させる。さらに、ピニオン708の回転および軸方向の移動は、浮動ラック710を下方向に直線的に移動させる。浮動ラック710の移動は、ギア724を回転させ、可撓性ルーメンチューブまたはバルブの近位端718を遠位端に対して回転させる。近位端718と遠位端とのこの相対的な回転は、可撓性ルーメンチューブまたはバルブのねじれを解き、チューブまたはバルブのルーメンが開状態となるようにする。開状態では、可撓性ルーメンチューブまたはバルブは、吸引カテーテルを通した血液の流れまたは医療デバイスの通過を可能にする。
Furthermore, the
ピニオン708はその軸周りに移動と回転との両方を行っているので、アクチュエータ722はボタンのストロークの間2倍の距離を移動するということが理解されるべきである。実施形態では、0.3~2インチの範囲、好適には約0.9インチの長さを有するアクチュエータ722は、アクチュエータ722が押し下げられると、筺体712内にその長さの下半分を有する一方で、上半分は筺体712の上方で外に残っている。従って、システム700は、アクチュエータ722のストロークを増幅させて、アクチュエータ722のずれの量を少なくすることを可能にしてギア724の同じ角度回転を実現し、従って、可撓性ルーメンチューブまたはバルブの同じ角度回転を実現する。
It should be understood that because the
アクチュエータ722の解放(その結果、ボタンまたはノブは上向きに移動する)は、図704に示されるように、ピニオン708をラック706に沿った下方向の反対である上方向に回転させ、軸方向に移動させる。さらに、ピニオン708の回転および軸方向の移動は、浮動ラック710を上方向に移動させる。ラック710の回転は、可撓性ルーメンチューブまたはバルブの近位端718を遠位端に対して回転させる。先の方向と反対である方向への近位端および遠位端の相対的な回転は、可撓性ルーメンチューブまたはバルブを再びねじれさせ、チューブまたはバルブのルーメンの圧縮または締め付け、その結果、可撓性ルーメンチューブまたはバルブを通した血液の流れまたは医療デバイスの通過を防止する。いくつかの実施形態では、上方向へのラック710の移動およびピニオン708の移動は、可撓性ルーメンチューブまたはバルブの近位端718および遠位端に働くばね負荷により支援される。
Release of the actuator 722 (resulting in the button or knob moving upward) rotates and axially moves the
図8は、本明細書のいくつかの実施形態による、先では要素128として示されていた、ロックシリンジ800の第1、第2、および第3図802、804、806を示す。様々な実施形態で、ロックシリンジ800は、ハブ(図1Aの119)の吸引ポートを通して吸引カテーテルにかけられる負圧または吸引力源として使用される。本明細書の態様によると、シリンジ800は、ユーザにより解放されるまで、プランジャ805を後ろに引かれた状態に自動的に保つように構成されている。
Figure 8 shows first, second and
ここで図802、804、806を参照し、シリンジ800は、プランジャ805と、シリンジバレルまたは本体812の外面上に取り付けられているラッチの基部810と、基部810に移動自在に連結されるレバー815とを含む。レバー815は、基部810に対して旋回し、一端にアーム815aと、他端にハンマー815bとを含む。シリンジバレルまたは本体812は近位端822と遠位端824とを有する一方で、プランジャ805は近位端826と遠位端828とを有する。いくつかの実施形態では、ラッチの基部810は、シリンジバレルまたは本体812の近位端822に近接して位置付けられる。プランジャ805の遠位端828は、フランジまたは棚状物830を含む。
802, 804, and 806, a
図802および804に示されるように、プランジャ805が後ろまたは近位に引かれている場合、ハンマー815bがフランジまたは棚状物830の遠位にまたはその後ろへと所定位置に落ち着き、その結果、プランジャ805が前方または遠位に押されることを防止する。いくつかの実施形態では、レバー815は、ピボットで付勢され(例えば、ばね負荷によって等)、デフォルトでハンマー815bを所定位置に落ち着かせる。レバー815のアーム815aが押し下げられると、ハンマー815bは引き上げられ(レバー815が基部810に対して旋回するため)、その結果、プランジャ805が解放されて前方または遠位に押される。
As shown in Figs. 802 and 804, when the
図9は、本明細書のいくつかの実施形態による、ロックシリンジ(例えば、図8のシリンジ800)を有するハブの吸引ポートに接続される吸引カテーテルを使用する吸引を実施または引き起こすための方法の一例を示すフローチャートである。その元のまたはデフォルト状態で、可撓性ルーメンを備えるバルブは、吸引カテーテルに連結されている。バルブは、バルブ内のルーメンが、ルーメンを圧縮させてシールし、ねじり構成となるように、ハブ内で機構により保たれている。ハブ内に位置付けられる機構は、本明細書中で上述された様々な実施形態の任意のものであってもよい。ステップ902において、ユーザはアクチュエータに力をかけ、第1方向へとバルブルーメンのねじれが解かれ、非圧縮状態とするような方法でハブ内の機構を係合させる。ルーメンは、アクチュエータに力がかけられる限りにおいて、この非圧縮状態のまま留まる。
9 is a flow chart illustrating an example of a method for performing or inducing aspiration using a suction catheter connected to a suction port of a hub with a locked syringe (e.g.,
ステップ904において、ユーザは、ハブに接続されているロックシリンジを使用して、非圧縮のバルブルーメンを通してカテーテルへと負圧をかける。シリンジは、解放されるまでプランジャを後ろに引いた状態で保つように構成されている。その後ろに保たれた状態にあるプランジャのデフォルト位置は、バルブルーメンが非圧縮状態にある際に吸引のための負圧を提供する。プランジャが後ろに引かれると、ハンマー(図8のハンマー815b)は、棚状物(図8の棚状物830)に遠位にまたはその後ろへと所定位置に落ち着き、その結果、プランジャが前方へまたは遠位に押されることを防止する。レバーが、シリンジのバレルの外面に取り付けられているラッチの基部に移動自在に連結されている。レバーは、ピボットで付勢され(例えば、ばね負荷によって等)、デフォルトでハンマーが所定位置に落ち着かせる。レバーのアームが押し下げられた場合のみ、ハンマーは引き上げられ(レバーが基部に対して旋回されるため)、その結果、プランジャが解放されて前方または遠位に押される。
In
ステップ906において、ユーザは、アクチュエータにかかっている力を取り除き、バルブルーメンをその元のねじられた(圧縮された)状態に戻す。
In
上記の例は、本明細書のデバイスの多くの用途の例示に過ぎない。本明細書中には本発明のほんの少しの実施形態のみが説明されているが、本発明の主旨または範囲から逸脱することなく、その他の多くの特有の形態で具現化されうることが理解されるべきである。そのため、本例および実施形態は、例示的なものであり、限定的なものではないと考えられ、本発明は添付の請求項の範囲内で変更されてもよい。 The above examples are merely illustrative of the many uses of the devices herein. Only a few embodiments of the invention are described herein, and it should be understood that the invention may be embodied in many other specific forms without departing from the spirit or scope of the invention. As such, the examples and embodiments are to be considered as illustrative and not limiting, and the invention may be modified within the scope of the appended claims.
Claims (20)
本体と、ラックと、前記ラックに物理的に連結されるピニオンと、アクチュエータとを有するハブであって、前記本体は前記ラックを包囲し、前記ピニオンは前記バルブの前記近位端に連結され、前記アクチュエータに力をかけることで前記ラックを移動させて前記ピニオンを第1方向へ回転させ、これにより、前記ルーメンのねじれを解き、前記第2非ねじり状態となるように、前記アクチュエータが前記ラックに連結されている、ハブと、を備える、前記カテーテルに連結されるように構成されているバルブシステム。 a valve having a proximal end and a distal end, the distal end of the valve being coupled to a lumen of a catheter, the valve comprising a flexible material extending between the proximal and distal ends, the valve lumen having a first twisted state and a second untwisted state;
11. A valve system configured to be coupled to the catheter, comprising: a hub having a body, a rack, a pinion physically coupled to the rack, and an actuator, wherein the body encloses the rack, the pinion is coupled to the proximal end of the valve, and the actuator is coupled to the rack such that application of a force to the actuator moves the rack and rotates the pinion in a first direction, thereby untwisting the lumen to the second untwisted state.
前記ピニオンは、前記少なくとも1つのギアを通して前記バルブの前記近位端に連結される、請求項1に記載のバルブシステム。 further comprising at least one gear within said hub;
The valve system of claim 1 , wherein the pinion is coupled to the proximal end of the valve through the at least one gear.
前記ラックは、前記少なくとも1つのギアを通して前記ピニオンに連結される、請求項1に記載のバルブシステム。 further comprising at least one gear within said hub;
The valve system of claim 1 , wherein the rack is coupled to the pinion through the at least one gear.
本体を有するハブと、を備え、
前記ハブは、
ラックと、
前記ラックと係合するピニオンと、
前記ピニオンと係合する増速歯車と、
前記本体に位置付けられるアクチュエータと、を備え、
前記ラックは前記アクチュエータに連結され、前記増速歯車は前記バルブの前記近位端に連結され、
前記アクチュエータ、ラック、ピニオン、および増速歯車は、前記アクチュエータに力をかけることで直線軸に沿って前記ラックをずらして、第1方向へと前記ピニオンを回転させて前記ピニオンを前記ラックに沿って動かし、次に、前記増速歯車を前記第1方向へと回転させ、次に、前記近位端を前記遠位端に対して回転させ、前記相対的な回転は、前記可撓性ルーメンを第2開状態にするように構成されている、吸引カテーテル用のバルブシステム。 a valve having a proximal end and a distal end, the distal end of the valve fixedly coupled to an aspiration catheter, the valve comprising a tube having a flexible lumen extending between the proximal end and the distal end, the lumen being in a first compressed state;
a hub having a body;
The hub includes:
A rack and
a pinion engaging the rack;
a speed increasing gear engaged with the pinion;
an actuator positioned on the body;
the rack is coupled to the actuator and the speed increasing gear is coupled to the proximal end of the valve;
the actuator, rack, pinion, and speed increasing gear are configured such that application of a force to the actuator shifts the rack along a linear axis to rotate the pinion in a first direction to move the pinion along the rack, which in turn rotates the speed increasing gear in the first direction, which in turn rotates the proximal end relative to the distal end, the relative rotation placing the flexible lumen in a second open state.
Applications Claiming Priority (27)
| Application Number | Priority Date | Filing Date | Title |
|---|---|---|---|
| US202163215587P | 2021-06-28 | 2021-06-28 | |
| US202163215565P | 2021-06-28 | 2021-06-28 | |
| US202163215583P | 2021-06-28 | 2021-06-28 | |
| US202163215573P | 2021-06-28 | 2021-06-28 | |
| US202163215579P | 2021-06-28 | 2021-06-28 | |
| US202163215724P | 2021-06-28 | 2021-06-28 | |
| US63/215,583 | 2021-06-28 | ||
| US63/215,724 | 2021-06-28 | ||
| US63/215,579 | 2021-06-28 | ||
| US63/215,565 | 2021-06-28 | ||
| US63/215,587 | 2021-06-28 | ||
| US63/215,573 | 2021-06-28 | ||
| US202163260406P | 2021-08-19 | 2021-08-19 | |
| US63/260,406 | 2021-08-19 | ||
| US17/450,977 US12201315B2 (en) | 2017-10-16 | 2021-10-14 | Clot removal methods and devices with multiple independently controllable elements |
| US17/450,977 | 2021-10-14 | ||
| US17/450,978 | 2021-10-14 | ||
| US17/450,978 US12114877B2 (en) | 2017-10-16 | 2021-10-14 | Clot removal methods and devices with multiple independently controllable elements |
| US17/572,138 US11382643B2 (en) | 2017-10-16 | 2022-01-10 | Clot removal methods and devices with multiple independently controllable elements |
| US17/572,138 | 2022-01-10 | ||
| US17/572,206 US11589881B2 (en) | 2017-10-16 | 2022-01-10 | Clot removal methods and devices with multiple independently controllable elements |
| US17/572,206 | 2022-01-10 | ||
| US202263268094P | 2022-02-16 | 2022-02-16 | |
| US63/268,094 | 2022-02-16 | ||
| US202263364168P | 2022-05-04 | 2022-05-04 | |
| US63/364,168 | 2022-05-04 | ||
| PCT/US2022/073234 WO2023279005A1 (en) | 2021-06-28 | 2022-06-28 | Hub and valve systems for an aspiration catheter |
Publications (1)
| Publication Number | Publication Date |
|---|---|
| JP2024524361A true JP2024524361A (en) | 2024-07-05 |
Family
ID=84692985
Family Applications (1)
| Application Number | Title | Priority Date | Filing Date |
|---|---|---|---|
| JP2023580395A Pending JP2024524361A (en) | 2021-06-28 | 2022-06-28 | Hub and valve system for suction catheters |
Country Status (2)
| Country | Link |
|---|---|
| JP (1) | JP2024524361A (en) |
| WO (3) | WO2023279007A1 (en) |
Family Cites Families (14)
| Publication number | Priority date | Publication date | Assignee | Title |
|---|---|---|---|---|
| US3329390A (en) * | 1965-02-18 | 1967-07-04 | Eldon E Hulsey | Variable orifice valve |
| US6652492B1 (en) * | 1991-12-13 | 2003-11-25 | Endovascular Technologies, Inc. | Dual valve, flexible sheath and method |
| US5395349A (en) * | 1991-12-13 | 1995-03-07 | Endovascular Technologies, Inc. | Dual valve reinforced sheath and method |
| US5409470A (en) * | 1993-05-07 | 1995-04-25 | C. R. Bard, Inc. | Dilatation catheter and guidewire with threaded tip connection |
| US7381198B2 (en) * | 2000-08-23 | 2008-06-03 | Revascular Therapeutics, Inc. | Steerable distal support system |
| US6536739B1 (en) * | 2001-11-01 | 2003-03-25 | Fresenius Usa, Inc. | Flow control device |
| US6932829B2 (en) * | 2002-06-24 | 2005-08-23 | Cordis Corporation | Centering catheter |
| US8241250B2 (en) * | 2006-08-31 | 2012-08-14 | Cook Medical Technologies Llc | Rotationally actuated fixation mechanism |
| WO2012123930A2 (en) * | 2011-03-15 | 2012-09-20 | Henry William Lupton | An anchoring device for anchoring a boring tool in a lumen or vessel |
| US9655999B2 (en) * | 2013-03-12 | 2017-05-23 | Carnegie Mellon University | Coated vaso-occlusive device for treatment of aneurysms |
| US10376363B2 (en) * | 2015-04-30 | 2019-08-13 | Edwards Lifesciences Cardiaq Llc | Replacement mitral valve, delivery system for replacement mitral valve and methods of use |
| EP3554391A4 (en) * | 2017-02-24 | 2020-09-16 | Inceptus Medical LLC | VESSEL LOCKING DEVICES AND METHODS |
| US10258357B1 (en) * | 2017-10-16 | 2019-04-16 | Michael Bruce Horowitz | Catheter based retrieval device with proximal body having axial freedom of movement |
| CN114401700B (en) * | 2019-07-16 | 2025-12-12 | 微仙美国有限公司 | Medical devices with enhanced shape features |
-
2022
- 2022-06-28 JP JP2023580395A patent/JP2024524361A/en active Pending
- 2022-06-28 WO PCT/US2022/073236 patent/WO2023279007A1/en not_active Ceased
- 2022-06-28 WO PCT/US2022/073238 patent/WO2023279009A2/en not_active Ceased
- 2022-06-28 WO PCT/US2022/073234 patent/WO2023279005A1/en not_active Ceased
Also Published As
| Publication number | Publication date |
|---|---|
| WO2023279007A1 (en) | 2023-01-05 |
| WO2023279009A9 (en) | 2023-10-26 |
| WO2023279009A2 (en) | 2023-01-05 |
| WO2023279005A1 (en) | 2023-01-05 |
| WO2023279009A3 (en) | 2023-02-16 |
| WO2023279007A9 (en) | 2023-12-07 |
Similar Documents
| Publication | Publication Date | Title |
|---|---|---|
| JP6054916B2 (en) | Apparatus and method for treating an obstruction in a body lumen | |
| US10898695B2 (en) | Apparatus and methods for treating obstructions within body lumens | |
| CA2768506C (en) | Apparatus having a spring element for treating obstructions within body lumens | |
| JP2023537487A (en) | SELF-LOCKING VACUUM SYRINGE AND RELATED SYSTEMS AND METHODS | |
| US6656207B2 (en) | Expansile device for use in blood vessels and tracts in the body and method | |
| CA2853350A1 (en) | Apparatus and methods for treating obstructions within body lumens | |
| US20220387057A1 (en) | Hub and Valve Systems for an Aspiration Catheter | |
| JP2024524361A (en) | Hub and valve system for suction catheters | |
| CN220370037U (en) | Valve system for suction catheter | |
| AU2021403807A1 (en) | A retractable backflush instrument | |
| CA2913525C (en) | Apparatus and method comprising an expandable balloon or member for treating obstructions within body lumens |
Legal Events
| Date | Code | Title | Description |
|---|---|---|---|
| A521 | Request for written amendment filed |
Free format text: JAPANESE INTERMEDIATE CODE: A523 Effective date: 20240229 |
|
| A621 | Written request for application examination |
Free format text: JAPANESE INTERMEDIATE CODE: A621 Effective date: 20250627 |
|
| A977 | Report on retrieval |
Free format text: JAPANESE INTERMEDIATE CODE: A971007 Effective date: 20260130 |
|
| A131 | Notification of reasons for refusal |
Free format text: JAPANESE INTERMEDIATE CODE: A131 Effective date: 20260203 |
