JP2024021254A - Transportation information processing system - Google Patents
Transportation information processing system Download PDFInfo
- Publication number
- JP2024021254A JP2024021254A JP2022123965A JP2022123965A JP2024021254A JP 2024021254 A JP2024021254 A JP 2024021254A JP 2022123965 A JP2022123965 A JP 2022123965A JP 2022123965 A JP2022123965 A JP 2022123965A JP 2024021254 A JP2024021254 A JP 2024021254A
- Authority
- JP
- Japan
- Prior art keywords
- transportation
- store
- information processing
- cargo
- virtual container
- Prior art date
- Legal status (The legal status is an assumption and is not a legal conclusion. Google has not performed a legal analysis and makes no representation as to the accuracy of the status listed.)
- Pending
Links
- 230000010365 information processing Effects 0.000 title claims abstract description 143
- 238000010586 diagram Methods 0.000 claims abstract description 104
- 238000012384 transportation and delivery Methods 0.000 claims description 39
- 238000000034 method Methods 0.000 claims description 29
- 238000012545 processing Methods 0.000 claims description 29
- 230000008569 process Effects 0.000 claims description 20
- 238000007726 management method Methods 0.000 claims description 15
- 238000004891 communication Methods 0.000 claims description 13
- 230000001629 suppression Effects 0.000 claims description 2
- 230000032258 transport Effects 0.000 description 18
- 230000002776 aggregation Effects 0.000 description 15
- 238000004220 aggregation Methods 0.000 description 15
- 230000004931 aggregating effect Effects 0.000 description 8
- 230000008859 change Effects 0.000 description 5
- 238000013473 artificial intelligence Methods 0.000 description 2
- 230000005540 biological transmission Effects 0.000 description 2
- 238000004364 calculation method Methods 0.000 description 2
- 238000012790 confirmation Methods 0.000 description 2
- 230000005764 inhibitory process Effects 0.000 description 2
- 238000013439 planning Methods 0.000 description 2
- 238000007639 printing Methods 0.000 description 2
- 238000009825 accumulation Methods 0.000 description 1
- 230000002354 daily effect Effects 0.000 description 1
- 238000013497 data interchange Methods 0.000 description 1
- 230000000694 effects Effects 0.000 description 1
- 238000005516 engineering process Methods 0.000 description 1
- 230000003203 everyday effect Effects 0.000 description 1
- 239000000284 extract Substances 0.000 description 1
- 230000010006 flight Effects 0.000 description 1
- 230000006872 improvement Effects 0.000 description 1
- 230000033001 locomotion Effects 0.000 description 1
- 238000012067 mathematical method Methods 0.000 description 1
- 230000004048 modification Effects 0.000 description 1
- 238000012986 modification Methods 0.000 description 1
- 238000002360 preparation method Methods 0.000 description 1
- 239000007787 solid Substances 0.000 description 1
Images
Landscapes
- Management, Administration, Business Operations System, And Electronic Commerce (AREA)
Abstract
【課題】事業所間の積み合わせ貨物の運送を行う輸送方式において、効率的でかつ制御しようとする荷物や運行車両等を予測通りに行われているかを確認できる運送情報処理システムを提供する。
【解決手段】 荷物の集荷段階で、時間を考慮した複数の輸送手段の運行コースを列車ダイヤに似た時間を考慮したダイヤグラムを作成して複数の輸送ルートを設定する。そして、発店から着点までの運行コースを設定し、発店から着店までに荷物が搭載されるコンテナとして運送情報処理システム上に仮想のコンテナを設定し、同じ着店に運送される荷物を同一の仮想コンテナに搭載されたものとして、運送情報処理システム上で扱う。仮想のコンテナに搭載された荷物は、発店から着店まで運送される間、選定された運行コースの輸送手段に仮想のコンテナに搭載されていることが確認しながら運送する。
【選択図】 図2
An object of the present invention is to provide a transportation information processing system that is efficient and capable of confirming whether the cargo, operating vehicles, etc. to be controlled are being carried out as predicted in a transportation system for transporting cargo that is loaded between business establishments.
[Solution] At the stage of baggage collection, multiple transport routes are set by creating a diagram that takes time into consideration, similar to a train schedule, for the operation courses of multiple means of transport that take time into account. Then, a travel course from departure to arrival is set, a virtual container is set up on the transportation information processing system as a container in which cargo will be loaded from departure to arrival at the store, and the cargo is transported to the same destination. are handled on the transportation information processing system as if they were loaded in the same virtual container. While the cargo loaded in the virtual container is transported from departure to arrival at the store, it is transported while confirming that it is loaded in the virtual container on the transportation means of the selected operation course.
[Selection diagram] Figure 2
Description
本発明は、運送情報処理システムに関する。 The present invention relates to a transportation information processing system.
運送会社の支店、営業所などの事業場において、集貨された貨物の仕分けを行い、集貨された貨物を組合わせて他の事業場に運送し、当該他の事業場において、運送された荷物の配達に必要な仕分けを行う者であって、これらの事業場間における当該積み合わせた荷物の運行を定期的に行うものを、特別積合せ貨物運送事業という(貨物自動車運送事業法第2条第6項)。この特別積合せ貨物運送は、言い換えると、不特定多数の顧客から集荷した荷物を事業所間で運送する幹線輸送と、各事業所から着荷主に届けるまたは発荷主から集荷するラストワンマイル輸送とで成り立っている。この事業所間を結ぶ運行車両等による輸送は運行コースと称される。 At a business location such as a branch or business office of a transportation company, the collected cargo is sorted, the collected cargo is combined and transported to another business location, and the transported cargo is transported at the other business location. A person who performs the sorting necessary for the delivery of cargo and who regularly operates the consolidated cargo between these business establishments is called a special consolidated cargo transportation business (According to Article 2 of the Truck Transportation Business Law). Article 6). In other words, this special consolidated cargo transportation consists of trunk transportation, in which cargo collected from an unspecified number of customers is transported between offices, and last-mile transportation, in which cargo is delivered from each office to the receiver or collected from the sender. It's working. This transportation by operating vehicles etc. that connects the business establishments is called an operating course.
これらの幹線輸送での運行コースの運用では、コストの視点でのみから運行車両の積載効率の向上が図られてきたが、今後は、できるだけ少ない便数で多量の荷物を安定的に輸送することが望まれると考えられる。このため、さらなる輸送効率の向上と輸送品質の向上とを兼ね備えた輸送が望まれる。 In the operation of these routes for trunk transportation, efforts have been made to improve the loading efficiency of operating vehicles only from a cost perspective, but in the future, it will be necessary to stably transport large amounts of cargo with as few flights as possible. It is considered desirable. Therefore, there is a desire for transportation that combines further improvement in transportation efficiency and transportation quality.
従来の運行コースの設定では、運行コスト上の理由から、集荷した荷物が発店からある運行コースに積載されたことは分かるが、どのように、着店まで輸送されるかの見える化が十分でなかった。例えば、九州の支店から、大阪の支店まで荷物を運送する場合に、九州の支店から集約店まで運送されるのは分かるが、集約店で何時の定期便に積載され、どのような中継店を経由して、いつ頃までに、大阪の支店に輸送されるかが、発店または着店ではわからない場合があった。 With conventional operation course settings, for operational cost reasons, it is clear that the collected cargo has been loaded on a certain route from the departure store, but it is difficult to fully visualize how it will be transported to the store. It wasn't. For example, if you are transporting a package from a branch in Kyushu to a branch in Osaka, you will know that it will be transported from the branch in Kyushu to a central store, but what time will it be loaded at the central store and what kind of relay store will it be sent to? In some cases, it was unclear at the point of departure or arrival at the store, by when the goods would be transported to the branch in Osaka.
また、不特定多数の顧客の荷物を混載する特別積合せ貨物運送では、同一の着店に輸送される荷物を同一の収納容器に収納して輸送する場合がある。このような収納容器として、例えば、宅配便事業者は、ロールボックスパレット(以下パレットという)やカゴ車を用いて、同一の着店への荷物を仕分けるようにしている。このパレットやカゴ車に荷物をまとめて収納して一体と取り扱うことは、パレットやカゴ車への積載が発店から着店への輸送の予約でかつ実施となるので、パレットやカゴ車(パレットやカゴ車のような運送用収納容器を以下コンテナという)の輸送が、物流の発生店から着店への移動を意味しており、その輸送ルートが確保されることとなって、荷物の円滑で効率的な輸送を管理できる。 In addition, in special consolidated cargo transportation in which cargo from an unspecified number of customers is mixed, cargo to be transported to the same destination store may be stored and transported in the same storage container. As such storage containers, for example, delivery service companies use roll box pallets (hereinafter referred to as pallets) and basket trucks to sort packages destined for the same store. Storing goods together on pallets and basket cars and handling them as one unit means that loading onto pallets and basket cars is a reservation and implementation of transportation from departure to arrival at the store. Transportation of storage containers such as carts and carts (hereinafter referred to as containers) means the movement of logistics from the store where it originates to the store where it ends, and by securing the transportation route, it is possible to smoothly transport goods. can manage efficient transportation.
このコンテナを用いる輸送方式は、輸送の発店、着店で互いに同じ性質の同じ量の荷物が存在する場合は最適な輸送方式となる。しかしながら、輸送の需要からみると必ずしもバランスがとれた状態とはなっていない。行きは満載であっても、帰りはほとんど空の状態で、物理的なコンテナを返送する輸送コストが発生している。また発着荷物の偏りが小さい輸送ネットワークを持つ事業者の場合は、空になったコンテナの輸送負荷は小さいかもしれないが、輸送が一方向に偏る傾向が強い荷物を輸送する事業者の場合は、空のコンテナの輸送は、輸送コストの負担が大きい。 This transportation method using containers is the optimal transportation method when there are the same amount of cargo with the same properties at the point of departure and arrival at the destination. However, from the viewpoint of transportation demand, the situation is not necessarily balanced. Even if the container is full on the way out, it will be almost empty on the way back, incurring the transportation costs of returning the physical container. In addition, if a business operator has a transportation network with a small imbalance in arrival and departure baggage, the transport load of empty containers may be small, but in the case of a business operator that transports freight that tends to be biased in one direction, , Transporting empty containers incurs heavy transportation costs.
また、荷物の集荷、発集約店や着集約店での仕分け、車両への積み込み、配達では、作業員が、ハンディターミナルを用いて、荷物に貼付された荷札のバーコード、二次元コードなどの識別記号を読み取る作業がなされ、そのデータが、中央の情報処理装置に送信されて、荷物の運送を把握する運送情報処理システムが構築されている。しかし、ハンディターミナルでの読み取りは、荷物の現状を把握するためのものとして機能しており、現状の状況に反応してそれを記録する運送情報処理システムに過ぎなかった。逆に、今後、どのように、荷物が運送されるかを予測する輸送計画に基づいて、各時点でその予測を確認でき、予測と異なった事象が生じたかを知らせることができる運送情報処理システムではなかった。 In addition, when collecting packages, sorting them at originating and receiving stores, loading them into vehicles, and delivering them, workers use handheld terminals to check the barcodes, two-dimensional codes, etc. on the tags affixed to the packages. A transportation information processing system is constructed in which the identification symbol is read and the data is sent to a central information processing device to track the transportation of cargo. However, the reading on handheld terminals only functioned as a way to understand the current status of cargo, and was nothing more than a transportation information processing system that reacted to and recorded the current situation. On the other hand, a transportation information processing system that can check the prediction at each point in time based on a transportation plan that predicts how cargo will be transported in the future, and can notify you if an event that differs from the prediction occurs. It wasn't.
特別積合せ貨物運送事業者として、出願人は、日ごと、数千台もの車両を運行している。運行する各車両には、測地システムとしてのGPS(Global Positioning System)端末を搭載し、リアルタイムで運行する車両の位置や速度等の運行データを収集し、中央の情報処理装置で、各車両の運行状態を把握できる運送情報処理システムを運用している。しかし、常に、リアルタイムでかつ短い時間間隔で、各車両の運行状態のデータを収集し、それを中央の情報処理装置で処理するとなると、その負荷は膨大なものとなる。 As a special consolidated freight forwarding company, the applicant operates thousands of vehicles on a daily basis. Each vehicle in operation is equipped with a GPS (Global Positioning System) terminal, which serves as a geodetic system, and collects operation data such as the position and speed of the vehicle in real time. We operate a transportation information processing system that allows us to understand the status. However, if data on the operating status of each vehicle is constantly collected in real time and at short time intervals and processed by a central information processing device, the load will be enormous.
また、従来の運送情報処理システムでは、発荷主、着荷主の住所については、荷物に貼付する荷札に記載された住所名に基づいて管理するものであった。しかし、運送情報処理システム上では、緯度経度情報に変換して処理することが運行コースの設定や集配のルーティングの設定において、緯度経度で表された地図情報データとの相性がよい。一方、文字で表された住所表示は、配達などを行う作業員が認知する上では便利であるが、運送情報処理システムとして処理する上では、地図情報との相性はよくない。 Furthermore, in conventional transportation information processing systems, the addresses of shippers and receivers are managed based on the address names written on tags attached to packages. However, in a transportation information processing system, converting and processing into latitude and longitude information is compatible with map information data expressed in latitude and longitude when setting operation courses and collection and delivery routing. On the other hand, while address displays expressed in characters are convenient for delivery workers to recognize, they are not compatible with map information when processed as a transportation information processing system.
本発明は、かかる問題に鑑みてなされたものであり、その目的とするところは、実空間での動作や結果を計画・予測し、予測通りの作業が行われていることを確認できる運送情報処理シテスムを提供しようとするものである。また、効率的でかつ高品質の輸送を提供できる運送情報処理シテスムを提供しようとするものである。 The present invention was made in view of this problem, and its purpose is to provide transportation information that allows planning and prediction of operations and results in real space and confirmation that work is being performed as predicted. It attempts to provide a processing system. It also aims to provide a transportation information processing system that can provide efficient and high-quality transportation.
上記課題を解決するために、少なくとも、顧客の荷物の発送元である発店の情報処理装置、荷物の発送先である着店の情報処理装置、全体を制御する運送情報処理装置が通信網を介して接続され、これら各情報処理装置と、運送情報処理装置との間で荷物の運送に関する情報を処理して、発店から着店への荷物の運送を管理する運送情報処理シテスムにおいて、運送情報処理装置は、発店から着店までの輸送ルートを示す複数の店間輸送ダイヤグラムから、運送する荷物の運送コスト、到着時間、輸送時間が顧客の条件にあう店間輸送ダイヤグラムを選択し、店間輸送ダイヤグラムにより荷物の輸送を管理する管理手段を備え、店間輸送ダイヤグラムは、発店、着店、または発店から着店の間に存在する拠点間を結ぶ輸送ルートについて輸送手段の出発する拠点と発時刻、および到着する拠点と着時刻、並びにその輸送時間を表す運行コースから構成されている。 In order to solve the above problems, at least the information processing device at the originating store, which is the source of the customer's package, the information processing device at the destination store, which is the destination of the package, and the transportation information processing device, which controls the entire system, are connected to a communication network. In a transportation information processing system that processes information related to cargo transportation between these information processing devices and a transportation information processing device to manage the transportation of cargo from a store to a destination. The information processing device selects an inter-store transportation diagram whose transportation cost, arrival time, and transportation time of the cargo to be transported meet the customer's conditions from a plurality of inter-store transportation diagrams showing transportation routes from store departure to store arrival. Equipped with a management means for managing the transportation of goods using an inter-store transportation diagram, the inter-store transportation diagram shows the departure of the means of transportation for the departure from the store, arrival at the store, or transport route connecting the bases that exist between the departure and the arrival at the store. It consists of a service course that shows the base and time of departure, the base and time of arrival, and the transportation time.
本発明によると、運送する荷物がどのように発店から着店まで輸送されるのかが各段階で見える化されるので、中継荷作業、着店での到着時刻や到着量、配達先が分かる。そのため、配達作業計画を立てることができる。また、荷物の運送の予測が立てやすくなるので、運送の隘路を予測して回避するルートの選択が可能となる。また、荷物運送に係る情報処理の負荷が軽減でき、運送情報処理シテスムのコストを低減できる。 According to the present invention, it is possible to visualize how the cargo is transported from the point of origin to the destination at each stage, so it is possible to know the relay cargo work, arrival time and quantity at the destination, and delivery destination. . Therefore, a delivery work plan can be established. Furthermore, since it becomes easier to predict the transportation of cargo, it becomes possible to predict transportation bottlenecks and select a route that avoids them. Further, the load of information processing related to cargo transportation can be reduced, and the cost of the transportation information processing system can be reduced.
<特別積合せ貨物運送の概略>
図1は、発荷主から着荷主へ物品(以下、荷物と称する)が、特別積み合わせ貨物運送事業者(以下、事業者と称する)の運行車両により運送される様子を表したものである。
<Outline of special consolidated cargo transportation>
FIG. 1 shows how goods (hereinafter referred to as cargo) are transported from a shipper to a receiver by vehicles operated by a special cargo transport company (hereinafter referred to as a business operator).
まず、事業者の発店では、顧客である発荷主から着荷主に運送される荷物が集荷などによって受け付けられる。この受け付けた荷物は、発店から、エリアを統括して荷物を集約する発集約店に運送されて集約される。この発店から発集約店までの運送を横持ともいう。 First, at the originating store of a business operator, packages to be transported from a shipper, who is a customer, to a receiver are received by collection or the like. The received baggage is transported from the originating store to the originating and aggregating store, which oversees the area and consolidates the luggage. This transportation from the originating store to the originating and aggregating store is also called Yokomochi.
発集約店では、発店から集められた荷物の仕分けを行って、着集約店へ向けて車両などの輸送手段で運送する。この運送は、幹線の輸送ルートで行うので、幹線輸送ともいう。 At the origination aggregation store, the packages collected from the origination store are sorted and transported by vehicle or other means of transportation to the destination aggregation store. This transportation is also called trunk transportation because it is carried out along trunk transportation routes.
着集約店では、到着した荷物を、荷物の着店ごとに仕分し、着荷主のエリアにあって着荷主への配達を担う着店へ向けて運送する。そして、着店から、到着した荷物が顧客である着荷主に配達される。このような運送の他に、発店から着店へ直接運送される場合、発集約店から他の店に立ち寄ってから、着集約店へ運送される場合もある。 At the destination aggregation store, the arrived packages are sorted by destination store, and transported to the destination store in the consignee's area that is responsible for delivery to the consignee. Then, the arrived package is delivered from the destination store to the destination owner, who is the customer. In addition to such transportation, there are cases in which the goods are directly transported from the originating store to the destination store, or the goods are transported from the originating store to the destination store after stopping at another store.
発店は、荷物の輸送を依頼する顧客の集荷エリアにある拠点である。例えば営業所であり、ここで、顧客の荷物を集荷、持ち込みなどで受け入れる。発集約店は、エリアを統括し荷物の集積・集約を行う拠点である。発集約店は、仕分け機能を有し、複数の発店から運送されてきた荷物を、着集約店向けに仕分けして、幹線を運行する運行車両や鉄道・船舶などの輸送手段に積み合わせて積載して発送する。着集約店は、荷物の着店のエリアにある集積・集約を行う拠点である。着集約店では、発集約店から輸送されてきた荷物の仕分けを行い、運行車両によって着店に向けて発送する。着店は、配達エリアにある拠点であり、当該エリアの営業所に相当する。着店では、着集約店から輸送されてきた荷物を顧客である着荷主に届ける。着店での荷物の着荷主へ届ける方法は、配達の他、荷主が取りに来るなどの方法もある。 A branch is a base located in the collection area of customers who request the transportation of packages. For example, it is a business office, where customers' packages are picked up, brought in, etc. A dispatch center is a base that oversees an area and collects and consolidates luggage. The originating and aggregating store has a sorting function, and sorts the cargo transported from multiple originating stores to the destination aggregating store, and then loads it onto transportation vehicles such as vehicles operating on main lines, trains, ships, etc. Load and ship. Arrival aggregation stores are bases for accumulation and aggregation located in the area where luggage is delivered. At the destination aggregation store, the parcels transported from the origin aggregation store are sorted and sent by operating vehicles to the destination store. The arrival store is a base located in the delivery area and corresponds to a sales office in that area. At the destination store, the cargo transported from the destination aggregation store is delivered to the destination owner, who is the customer. In addition to delivery, there are other ways to deliver the package to the consignor at the store, such as having the consignor come and pick it up.
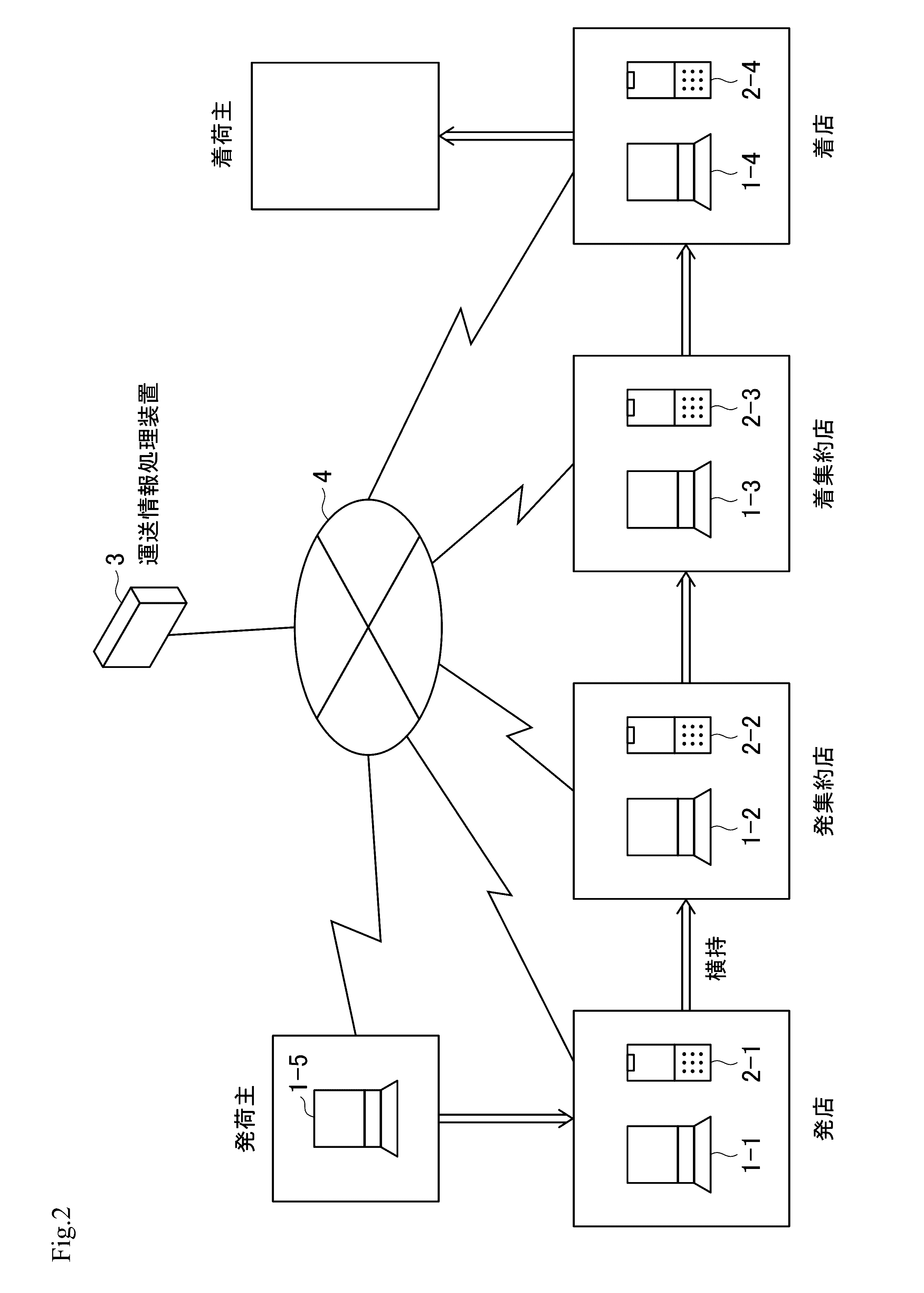
<運送情報処理システムの概略>
図2は、発店から着店への荷物の輸送を管理する運送情報処理システムの概略構成を示す図である。
<Overview of transportation information processing system>
FIG. 2 is a diagram showing a schematic configuration of a transportation information processing system that manages the transportation of packages from a store to a destination.
運送情報処理システムにおいて、発店、発集約店、着集約店、着店、荷物の発送を依頼する発荷主には、情報処理装置である情報処理端末1-1~1-5(以下、個々に区別する必要がない場合、単に、情報処理端末1と称する。他の場合も同様である)が、それぞれ設置されている。また、発店、発集約店、着集約店、着店には、荷物の集配や仕分け、積載、荷降ろしなどの荷作業を行う作業員が携行する情報処理装置であるハンディターミナル2-1~2-4が備えられている。さらに、運送情報処理システムの中央情報処理装置に相当し、各店の情報処理端末1やハンディターミナル2と結んで、相互にデータのやり取りを行う運送情報処理装置3が設けられている。
In the transportation information processing system, the shipper who requests the originating store, originating aggregation store, destination aggregating store, arrival store, and shipping of the package is provided with information processing terminals 1-1 to 1-5 (hereinafter referred to as individual information processing devices). If there is no need to distinguish between the terminals, they will simply be referred to as information processing terminals 1 (the same applies to other cases), respectively. In addition, at departure stores, departure aggregation stores, arrival aggregation stores, and arrival stores, Handy Terminals 2-1, which are information processing devices carried by workers who carry out cargo work such as collection, delivery, sorting, loading, and unloading, are installed. 2-4 are provided. Furthermore, there is provided a transportation
これらの各店の情報処理端末1およびハンディターミナル2、並びに運送情報処理装置3は、専用回線、無線回線、インターネットなどの通信網4を介して、接続されており、相互に各種情報の送受信が可能である。
The information processing terminals 1, handy terminals 2, and transportation
情報処理端末1は、キーボード、バーコードリーダ、スキャナー等の入力部、データを表示する表示出力装置、データをラベルやバーコードとして印字できる印刷装置、通信網4を介してデータの送受信をする通信部、各種データを記憶している記憶部、各種処理プログラムに従って各部を制御する制御部を備えている。
The information processing terminal 1 includes an input unit such as a keyboard, a barcode reader, and a scanner, a display output device that displays data, a printing device that can print data as a label or barcode, and a communication device that sends and receives data via a
発荷主である顧客は、運送を依頼したい荷物について、その大きさ、内容、重量、届け先の情報などを入力し、送り状、荷物に貼付する荷札の印刷もできる。特別積合せ貨物輸送では、業者間の荷物の輸送に特化した、B2B(Business to Business)の業務を行うものがある。業者間であれば、荷物の依頼者は、定常的に自社から送りたい荷物の情報を入力し、輸送事業者に集荷・運送を依頼するのが通常であるので、本運送情報処理システムでも、依頼者のもとに情報処理端末1-5を置いて、通信網4を介して、運送情報処理装置3に接続して荷物の情報を入力して予約する形態をとることができる。また、顧客は、情報処理端末1-5を介して、直接運送情報処理システムにアクセス可能としたり、本運送情報処理システムのWEBサイトを介して荷物情報などを入力することも可能である。
Customers who are shippers can input the size, contents, weight, destination information, etc. of the cargo they wish to request for transportation, and can also print a shipping bill and tag to attach to the cargo. Some types of special consolidated cargo transportation operate on a B2B (Business to Business) basis, specializing in the transportation of cargo between companies. If it is between business operators, the person requesting the package regularly enters the information about the package they want to send from their company and requests the transportation company to pick up and transport the package, so this transportation information processing system also provides An information processing terminal 1-5 may be placed at the requester's location, connected to the transportation
ハンディターミナル2は、入力ボタン、バーコードリーダ、スキャナー等の入力部、データを表示する表示出力装置、データをラベルやバーコードとして印字できる印刷装置、自装置の緯度経度情報を取得するGPS装置、通信網4を介してデータの送受信をする通信部、各種データを記憶している記憶部、各種処理プログラムに従って情報処理を行い各部を制御する制御部を備えている。
The handy terminal 2 includes an input section such as an input button, a barcode reader, and a scanner, a display output device that displays data, a printing device that can print data as a label or barcode, a GPS device that acquires the latitude and longitude information of the device itself, It includes a communication section that sends and receives data via the
なお、各ハンディターミナル2は、WiFi(登録商標)やその他の無線装置を搭載しており、通信網4に直接接続して運送情報処理システムとデータの送受信が可能であるが、各店においては、LAN(Local Area Network)を構築して、LANを経由して運送情報処理システムの通信網4に接続する形態であってもよい。
Each handy terminal 2 is equipped with WiFi (registered trademark) and other wireless devices, and can be directly connected to the
運送情報処理装置3は、キーボード等の入力部、データを表示する表示出力装置、通信網4を介してデータの送受信をする通信部、各種データを記憶している記憶部、各種処理プログラムに従って各部を制御する制御部を備えている。なお、この運送情報処理装置3は、中央情報処理装置として表しているが、その情報処理は、クラウドでの処理としてもよく、また、情報ネットワークでの分散処理システムとして構成することも可能である。
The transportation
詳細は後述するが、運送情報処理装置3は、顧客から受け付けた荷物の発店から着店までの輸送ルートを示す複数の店間輸送ダイヤグラムから、運送する荷物の運送コスト、到着時間、輸送時間が顧客の条件にあう店間輸送ダイヤグラムを選択し、店間輸送ダイヤグラムにより荷物の輸送を管理する。店間輸送ダイヤグラムは、発店、着店、または発店から着店の間に存在する拠点間を結ぶ輸送ルートについて輸送手段の出発する拠点と発時刻、および到着する拠点と着時刻、並びにその輸送時間を表す運行コースから構成されている。また、同じ発店から同じ着店に配送される荷物群は、1つの仮想コンテナに登録され、運送情報処理システム上、店間輸送ダイヤグラムを構成する複数の運行コースの運行車両に積載されて輸送されるものとして管理される。そのため、仮想コンテナに登録された荷物は、実際は、店間輸送ダイヤグラムを構成する運行コースの運行車両に積載されて着店に輸送される。
Although the details will be described later, the transportation
<店間輸送ダイヤグラム>
店間輸送ダイヤグラムについて説明する。図3は、荷物の運送が複数の運行コースを経由して運送されることを示す図である。図3の例では、発集約店から着集約店への輸送のルートとして直行する輸送のルートと、途中に、中継店に立ち寄る輸送のルートが設けられている。このような店間の輸送ルートは、時間経過に従って表したダイヤグラムとして表すことができる。すなわち、輸送手段として運行する運行車両、鉄道、船舶、その他の輸送手段を用いて、荷物の発送元である発集約店(発店)から荷物の輸送先である着集約店(着店)までの輸送手段の輸送ルートを列車ダイヤグラムと同様の店間輸送ダイヤグラムとして表すことができる。
<Inter-store transportation diagram>
The inter-store transportation diagram will be explained. FIG. 3 is a diagram showing that cargo is transported via a plurality of operation courses. In the example of FIG. 3, there are provided a direct transportation route from the originating aggregation store to the destination aggregation store, and a transportation route that stops at intermediate stores along the way. Such transportation routes between stores can be represented as a diagram expressed over time. In other words, using operating vehicles, trains, ships, and other means of transportation, from the originating and collecting store (departure store) that is the source of the shipment to the destination collection store (arrival store) that is the destination of the shipment. The transportation route of the means of transportation can be represented as an inter-store transportation diagram similar to a train diagram.
図4は、運行コースと店間輸送ダイヤグラムの例を示す。点線の矢印は、運行コースである。実線の矢印は店間輸送ダイヤグラムである。運行コースは、発店、着店、または発店と着店の間に存在する中継店を結ぶ輸送ルートについて、輸送手段の出発する店と発時刻、および到着する店と着時刻、並びにその輸送時間を表す。店間輸送ダイヤグラムは、運行コースの組み合わせ(ネットワーク)であって、発店から着店までの輸送経路およびスケジュール(以下、輸送ルートと称する)を表す。図4の例では、東京支店から福山支店の輸送ルートとしての、3本の店間輸送ダイヤグラムD1,D2,D3が示されている。店間輸送ダイヤグラムD1は、発店から着店に直行する輸送ルートを、店間輸送ダイヤグラムD2は、発店から、いったん、発集約店に荷物を集約し、着集約店に輸送し、着集約店から着店に輸送する輸送ルートを、そして店間輸送ダイヤグラムD3は、発店から中継店に立ち寄り、中継店でいったん仮置き、その後、着店に輸送する輸送ルートである。 FIG. 4 shows an example of an operation course and an inter-store transportation diagram. The dotted arrow indicates the operating course. The solid arrow indicates the inter-store transportation diagram. The operation course includes the departure store and departure time of the transportation means, the arrival store and arrival time, and the transportation route that connects the departure store, arrival store, or relay store that exists between the departure store and arrival store. represents time. The inter-store transportation diagram is a combination (network) of operation courses, and represents the transportation route and schedule from departure to arrival at the store (hereinafter referred to as transportation route). In the example of FIG. 4, three inter-store transportation diagrams D1, D2, and D3 are shown as transportation routes from the Tokyo branch to the Fukuyama branch. The inter-store transportation diagram D1 shows the transportation route that goes directly from the originating store to the destination store, and the inter-store transportation diagram D2 shows the transportation route that goes directly from the originating store to the destination store, and the inter-store transportation diagram D2 shows the transportation route from the originating store to the originating aggregating store, transporting it to the destination aggregating store, and then consolidating the goods. The transportation route from the store to the destination store, and the inter-store transportation diagram D3, is the transportation route from the originating store to the relay store, temporary storage at the relay store, and then transportation to the destination store.
例えば発店の作業員が、情報処理端末1-1に、荷物の発送元である発店、荷物の発送先である着店と希望着時刻、荷物の重量を入力する(仮想コンテナを指定することで入力する)と、その情報が運送情報処理装置3に供給され、運送情報処理装置3において、輸送時間や到着時間の短いものから、順に、5個から6個ほどの店間輸送ダイヤグラムが抽出される。運行コースは、運送情報処理装置3の運行データベースに予め登録されている。
For example, a worker at a store enters the store from which the package will be shipped, the arrival store where the package will be shipped, the desired arrival time, and the weight of the package on the information processing terminal 1-1 (specifying a virtual container). The information is then supplied to the transportation
一般に、発集約店から着集約店までを結ぶ幹線ルートを車両、鉄道などの輸送手段で輸送されるルートを運行コースというが、集約店でなくても、荷物の発送や到着量の多い店間を結ぶ運行コースも存在する。また、幹線ルートも途中中継店があり、必ずしも発集約店と着集約店とを直行するルートだけが運行コースではない。本明細書では、発店から着店までの輸送手段のルートを運行コースとした。 In general, the main route that connects the originating aggregation store to the destination aggregation store, and is transported by means of transportation such as vehicles or trains, is called a service course. There are also routes that connect the two. In addition, there are relay shops along the way on the main route, so routes that go directly between the departure and arrival shops are not necessarily the only routes that can be operated. In this specification, the route of the means of transportation from departure to arrival at the store is defined as the operation course.
運行コースは、(発時刻,出発地)と(着時刻,到着地)を表すノードと、次の3つのエッジから構成される。
第一は、異なる店のノードを結ぶ運行コースを意味するエッジである。
第二は、運行車両の中継店での到着を示すノードと出発を示すノードとを接続するエッジである。
第三は、同じ店での到着を示すノードから出発を示すノードを接続する、中継を意味するエッジである。
A travel course is composed of nodes representing (time of departure, place of departure) and (time of arrival, place of arrival), and the following three edges.
The first is an edge, which refers to a travel course that connects nodes of different stores.
The second is an edge that connects the node indicating the arrival of the operating vehicle at the relay store and the node indicating the departure.
The third is an edge, meaning a relay, that connects a node indicating arrival at the same store to a node indicating departure.
ユーザは、運行指令に基づいて所定の情報を運送情報処理装置3に入力すると、運送情報処理装置3では、以下のように運行コースが作成され、運行データベースに登録される。なお運行データベースは、各店を結ぶ車両、列車・船舶を利用する効率的な輸送計画が数理的手法やAI(Artificial Intellignece)に基づいて作成される。
運行指令で発店から着店まで直行する場合、
ノード(発時刻,発店)とノード(着時刻,着店)と、それらを結ぶ運行としてのエッジとで作成される。このとき、エッジの重みは、ノード間の時間差になる。
運行指令で中継店がある場合、
(A)ノード(発時刻,発店)とノード(着時刻,中継店)と、それらを結ぶ運行としてのエッジとで作成される。エッジの重みは、ノード間の時間差になる。
(B)中継店でのノード(着時刻,中継店)と、その中継店から次の中継店、もしくは着店へ出発するノード(発時刻,中継店)と、それらを結ぶエッジとで作成される。
また、中継店が繰り返される場合、上記の(A)と(B)の繰り返しとなる。
When the user inputs predetermined information into the transportation
If the train goes directly from departure to arrival due to operational instructions,
It is created with a node (departure time, departure store), a node (arrival time, arrival store), and an edge as a service connecting them. At this time, the edge weight is the time difference between nodes.
If there is a relay store in the operation order,
(A) It is created with a node (departure time, departure store), a node (arrival time, relay store), and an edge as a service that connects them. The edge weight is the time difference between nodes.
(B) Created from a node at a relay store (arrival time, relay store), a node departing from that relay store to the next relay store or arrival store (departure time, relay store), and an edge connecting them. Ru.
Furthermore, when the relay shop is repeated, the above (A) and (B) are repeated.
運行指令のこれらの作業が終了した後は、到着を意味するノードから出発を意味するノードに対して、荷物を中継する時間的余裕がある場合は、そのノード間が中継エッジとして結ばれる。 After these operations of the operation command are completed, if there is time to relay the cargo from the node indicating arrival to the node indicating departure, the nodes are connected as a relay edge.
図4における店間輸送ダイヤグラムD1は、図5に示すように「ノード(19:00,東京支店)⇒ノード(32:00,福山支店)」の運行車両運行コースからなる。店間輸送ダイヤグラムD2は、図6に示すように、「ノード(21:00,東京支店)⇒ノード(21:40,品川駅)」の運行車両運行コース、「ノード(21:40,品川駅)⇒ノード(23:00,品川駅)」のコンテナ列車積載待ち(中継エッジ)、「ノード(23:00,品川駅)⇒ノード(35:00,福山駅)」のコンテナ列車、「ノード(35:00,福山駅)⇒ノード(36:00,福山駅)」のコンテナ輸送待ち(中継エッジ)、「ノード(36:00,福山駅)⇒ノード(37:00,福山支店)」の運行車両運行コースのネットワークからなる。店間輸送ダイヤグラムD3は、図7に示すように、「ノード(23:00,東京支店)⇒ノード(32:00,大阪支店)」の運行車両運行コース、「ノード(32:00,大阪支店)⇒ノード(45:00,大阪支店)」の中継待ち(中継エッジ)、「ノード(45:00,大阪支店)⇒ノード(51:00,福山支店)」の運行車両運行コースのネットワークからなる。なお、図5~図7での時間の標記は、当日は0:00から24:00で、翌日は、24、翌々日は48を足したものとしている The inter-store transportation diagram D1 in FIG. 4 consists of a vehicle operation course from "Node (19:00, Tokyo Branch) to Node (32:00, Fukuyama Branch)" as shown in FIG. As shown in Figure 6, the inter-store transportation diagram D2 includes the operating vehicle operation course of "Node (21:00, Tokyo Branch) ⇒ Node (21:40, Shinagawa Station)" and "Node (21:40, Shinagawa Station)". ) ⇒ Node (23:00, Shinagawa Station)" container train waiting to be loaded (relay edge), "Node (23:00, Shinagawa Station) ⇒ Node (35:00, Fukuyama Station)" container train, "Node ( 35:00, Fukuyama Station) ⇒ Node (36:00, Fukuyama Station)'' container transport waiting (relay edge), operation of ``Node (36:00, Fukuyama Station) ⇒ Node (37:00, Fukuyama Branch)'' Consists of a network of vehicle operation courses. As shown in FIG. 7, the inter-store transportation diagram D3 shows the operating vehicle operation course of "Node (23:00, Tokyo Branch) ⇒ Node (32:00, Osaka Branch)" and "Node (32:00, Osaka Branch)". ) ⇒ Node (45:00, Osaka Branch)” waiting for relay (relay edge), “Node (45:00, Osaka Branch) ⇒ Node (51:00, Fukuyama Branch)” The network consists of a vehicle operation course network. . In addition, the time markings in Figures 5 to 7 are from 0:00 to 24:00 on the current day, 24 on the next day, and 48 on the day after the next day.
同じ支店で発生するイベントを表すノードも、発時刻や着時刻が違うため複数存在する。店間を結ぶルートを検索する場合は、指定時間以後に、発店から出発するすべての出発イベントを示すノードの集合から、目的支店にある時刻以前に到着するすべての到着イベントを示すノードの集合へのルートを洗い出すことで、店間輸送ダイヤグラムが作成される。以下は、図4および図7の店間輸送ダイヤグラムD3のデータ構造である。
中継イベント=[84,85,8258,8259]
イベント84:東京支店から出発 at 23:00
イベント85:大阪支店に到着 at 32:00(08:00(翌日))
到着日の夜まで大阪支店で留まり、
イベント8258:大阪支店から出発 at 45:00(21:00(翌日))
イベント8259:福山支店に到着 at 51:00(03:00(翌々日)
東京支店から出発 23:00から大阪支店に到着 at 08:00(翌日)、そして大阪支店から出発 21:00から福山支店に到着 03:00(翌々日)の実輸送時間=28.0 時間
There are multiple nodes representing events that occur at the same branch because their departure and arrival times are different. When searching for a route between stores, you can select from a set of nodes that represent all departure events that depart from the store after a specified time, and a set of nodes that represent all arrival events that arrive at the destination branch before a certain time. An inter-store transportation diagram is created by identifying the routes. The following is the data structure of the inter-store transportation diagram D3 in FIGS. 4 and 7.
Relay event = [84,85,8258,8259]
Event 84: Departs from Tokyo Branch at 23:00
Event 85: Arrival at Osaka branch at 32:00 (08:00 (next day))
Stayed at the Osaka branch until the night of arrival,
Event 8258: Departs from Osaka Branch at 45:00 (21:00 (next day))
Event 8259: Arrival at Fukuyama Branch at 51:00 (03:00 (the next day)
Departs from Tokyo Branch Arrives at Osaka Branch from 23:00 at 08:00 (next day), Departs from Osaka Branch Arrives at Fukuyama Branch from 21:00 Actual transportation time at 03:00 (next day) = 28.0 hours
<仮想コンテナ>
仮想コンテナについて説明する。本実施の形態の運送情報処理システムでは、同じ発店から同じ着店に配送される荷物群を、1つの仮想コンテナに登録し、仮想コンテナに登録された荷物は、運送情報処理システム上、店間輸送ダイヤグラムを構成する運行コースの運行車両に一塊として積載されているとして輸送管理される。仮想コンテナは、荷物の輸送で用いられているパレットやカゴ車等のコンテナに対応するもので、運送情報処理システム上に形成された仮想の概念である。仮想コンテナに登録された荷物は、実際は、店間輸送ダイヤグラムを構成する運行コースの運行車両に積載されて着店に輸送される。
<Virtual container>
Explain virtual containers. In the transportation information processing system of this embodiment, a group of parcels delivered from the same originating store to the same destination store is registered in one virtual container, and the parcels registered in the virtual container are stored in the transportation information processing system. Transport management is performed as if the cargo were loaded as a unit on the operating vehicles of the operating course that constitutes the inter-vehicle transportation diagram. A virtual container corresponds to a container such as a pallet or a cart used in transporting cargo, and is a virtual concept created on a transportation information processing system. The luggage registered in the virtual container is actually loaded onto a traveling vehicle on a traveling course that constitutes the inter-store transportation diagram and transported to the store.
(仮想コンテナによる輸送管理)
仮想コンテナは、発店、発時刻および着店により識別され、それらをコード化したIDが設けられている。また、発店から運行車両が1日1回定期的に出発する店間輸送ダイヤグラムであれば、発時刻を発日付としてもよい。仮想コンテナは、着店までの仮想コンテナが、所属するすべての集配車に分割されて割り当てられているものとする。例えば、運送事業者の営業所で着店が300ヶ所あれば、300個の仮想コンテナがあることになる。この仮想コンテナが、当該荷物を集荷する支店(発店)に所属するすべての集配車に分割されて割り当てられている。荷物を集荷した集配車が発店に戻ると、着店ごとに仮想コンテナが併合されて、当該発店発で同一着店宛ての荷物についての仮想コンテナが生成される。なお、発店に顧客が荷物を持ち込んだ場合も、荷物の荷札のバーコードまたは送り状のバーコードをスキャン等により荷物の発送先が判明した段階で、その着店の仮想コンテナに登録される。なお荷物の荷札のバーコードまたは送り状のバーコードをスキャンすることを、以下において、単に、荷物をスキャンする、送り状をスキャンすると称する。
(Transportation management using virtual containers)
The virtual container is identified by the departure store, departure time, and arrival store, and is provided with an ID that encodes these. Furthermore, if the inter-store transportation diagram is such that a vehicle departs regularly from a departure store once a day, the departure time may be used as the departure date. It is assumed that the virtual container until it arrives at the store is divided and allocated to all the belonging collection and delivery vehicles. For example, if a transportation company has 300 locations, there will be 300 virtual containers. This virtual container is divided and allocated to all collection and delivery vehicles belonging to the branch (departing branch) that collects the package. When the pickup and delivery vehicle that has collected the luggage returns to the store from which it arrived, virtual containers are merged for each store it arrives at, and a virtual container is created for the luggage originating from the store and destined for the same store. Furthermore, even if a customer brings a package to a store, once the destination of the package is determined by scanning the barcode on the package tag or the barcode on the invoice, it will be registered in the virtual container of the destination store. Note that scanning the barcode on the tag of a package or the barcode on an invoice will hereinafter be simply referred to as scanning the package or scanning the invoice.
仮想コンテナは、事前に着店の数に応じて作成されるとしたが、集荷された荷物の着店が判明した段階で、作成されるようにもできる。 The virtual container is created in advance according to the number of stores arriving at the store, but it can also be created at the stage when it is known which store the collected cargo will arrive at.
仮想コンテナとしては、荷物が積載される第一の仮想コンテナと、この第一の仮想コンテナを包含する(積載する)第二の仮想コンテナとの二種類を運送情報処理システムで作成して取り扱うことができる。適宜、第一の仮想コンテナを仮想コンテナと称し、第二の仮想コンテナをハイパーコンテナと称する。ハイパーコンテナは、店間輸送ダイヤグラムで、仮想コンテナを輸送する運行コースを指定し、積載重量を管理するために用いられる。走行に使用する実運行車両が決定されるとそれに対応付けられる。輸送開始時に運行コースの運行車両が指定されたのち、当該運行車両に積載されるものとする。 Two types of virtual containers are created and handled in the transportation information processing system: a first virtual container in which cargo is loaded, and a second virtual container that includes (loads) this first virtual container. Can be done. Where appropriate, the first virtual container is referred to as a virtual container and the second virtual container is referred to as a hypercontainer. Hypercontainer is used in the inter-store transportation diagram to specify the travel course for transporting virtual containers and to manage the loaded weight. Once the actual operating vehicle to be used for driving is determined, it is associated with it. After the operating vehicle for the operating course is designated at the start of transportation, the cargo shall be loaded onto the operating vehicle.
図8は、仮想コンテナによる輸送管理のイメージを示す図である。同じ着店に配送される荷物群を、1つの仮想コンテナVC1に登録し、仮想コンテナVC1に登録された荷物は、運送情報処理システム上、店間輸送ダイヤグラムを構成する運行コースの運行車両T1(運行車両T1に対応付けられているハイパーコンテナHVC1)と運行車両T2(運行車両T2に対応付けられているハイパーコンテナHVC2)に積載されているとして輸送管理される(図8上段)。仮想コンテナVC1に登録された荷物は、実際は、店間輸送ダイヤグラムを構成する運行コースの運行車両T1,T2に積載されて着店に輸送される(図8下段)。 FIG. 8 is a diagram showing an image of transportation management using virtual containers. A group of packages to be delivered to the same destination store is registered in one virtual container VC1, and the packages registered in the virtual container VC1 are stored in the operating vehicle T1 ( The transport is managed as being loaded on the hyper container HVC1 associated with the operating vehicle T1) and the hyper container HVC2 associated with the operating vehicle T2 (upper row of FIG. 8). The luggage registered in the virtual container VC1 is actually loaded onto the operating vehicles T1 and T2 of the operating course that constitutes the inter-store transportation diagram and transported to the destination store (lower row of FIG. 8).
ハイパーコンテナは、運行車両の到着店に到着後、運送情報処理システム上、消去される。ハイパーコンテナは、運行コースで結ばれる店間で輸送されるものであるから、ハイパーコンテナを運送する運行車両の到着店で到着後消去される。中継店で、別の運行車両に積載するときは、発店、発時刻(または発日付)、および着店で識別される仮想コンテナが別のハイパーコンテナに積載されたとして扱われる。荷物が積載される仮想コンテナは、運送情報処理システム上、着店で消去される。 After the hypercontainer arrives at the destination store of the operating vehicle, it is deleted from the transportation information processing system. Since the hypercontainer is transported between stores connected by a service route, it is deleted after arriving at the store where the service vehicle transporting the hypercontainer arrives. When loading onto another operating vehicle at a relay store, the virtual container identified by the departure store, departure time (or departure date), and arrival store is treated as being loaded into another hypercontainer. The virtual container in which the cargo is loaded is deleted from the transportation information processing system upon arrival at the store.
運行車両の積載重量管理は、ハイパーコンテナにより行われる。仮想コンテナが、当該運行車両に対応付けられるハイパーコンテナに積載されると、ハイパーコンテナには、積載される仮想コンテナに登録された荷物の重量が加算される。ハイパーコンテナの重量の最大値は、運行車両の積載重量の最大値である。 The loaded weight of operating vehicles is managed using hypercontainers. When a virtual container is loaded into a hypercontainer associated with the operating vehicle, the weight of the luggage registered in the loaded virtual container is added to the hypercontainer. The maximum weight of the hypercontainer is the maximum weight of the operating vehicle.
このように、ハイパーコンテナを運行車両に対応付けて、運行車両に積載される荷物の重量を記録するようにしたので、仮想コンテナに登録される荷物を運行車両に積載した場合、最大積載重量を超えるか否かを判断することができ、仮想コンテナに登録される荷物を積載した場合に最大積載重量を超える運行車両の運行コースを含む店間輸送ダイヤグラムが選択されることを防止することができる。 In this way, hypercontainers are associated with operating vehicles and the weight of the cargo loaded on the operating vehicle is recorded, so when cargo registered in a virtual container is loaded onto an operating vehicle, the maximum loading weight can be recorded. It is possible to determine whether or not the maximum loading weight is exceeded, and to prevent the selection of an inter-store transport diagram that includes a travel course of an operating vehicle that exceeds the maximum loading weight when the virtual container is loaded with cargo registered in the virtual container. .
なお仮想コンテナに登録される荷物を運行車両に積載すると最大積載重量を超えてしまう場合であって、他の運行コースを利用することができる場合、または、運行コースを新たに設けることができる場合は、仮想コンテナは、枝番を付与して分割し、異なるハイパーコンテナに積載される。または、積載量がより大きな運行車両を使用して最大積載重量を超えてしまったハイパーコンテナを積載する選択肢もある。逆に、積載量が小さい運行車両に変更し、積載効率を上げる選択肢もある。 In addition, in cases where the maximum loading weight is exceeded when the cargo registered in the virtual container is loaded onto the operating vehicle, and it is possible to use another operating course, or when a new operating course can be established. In this case, virtual containers are divided by assigning branch numbers and loaded into different hypercontainers. Alternatively, there is an option to load hypercontainers that have exceeded the maximum loading weight using operating vehicles with larger loading capacities. Conversely, there is also the option of changing to a vehicle with a smaller loading capacity to increase loading efficiency.
図9は、仮想コンテナが分割される場合のイメージを示す図である。中継店から着店に向かう運行車両T2に、仮想コンテナVC1に登録された荷物を積載すると、運行車両T2の積載量の上限を超えてしまうので、他の運行コースの運行車両T3と分けて運行される。運行車両T2には最大積載重量を超えない範囲の荷物が積載され、運行車両T3には残りの荷物が積載される(運行車両T3の最大積載重量は超えないものとする)。運送情報処理システム上では、仮想コンテナVC1は、運行車両T2に積載される荷物が登録された仮想コンテナVC1-1と、運行車両T3に積載される荷物が登録された仮想コンテナVC1-2に分割される。そして仮想コンテナVC1-1に登録された荷物は、運送情報処理システム上、運行車両T2(運行車両T2に対応付けられているハイパーコンテナHVC2)と運行車両T3(運行車両T3に対応付けられているハイパーコンテナHVC3)に積載されているとして輸送管理される。 FIG. 9 is a diagram illustrating an image when a virtual container is divided. If the cargo registered in the virtual container VC1 is loaded onto the operating vehicle T2 heading from the relay store to the arrival store, the upper limit of the loading capacity of the operating vehicle T2 will be exceeded, so it will be operated separately from the operating vehicle T3 of other operating courses. be done. The operating vehicle T2 is loaded with luggage that does not exceed the maximum loading weight, and the remaining cargo is loaded on the operating vehicle T3 (the maximum loading weight of the operating vehicle T3 is not exceeded). On the transportation information processing system, virtual container VC1 is divided into virtual container VC1-1, in which cargo to be loaded on operating vehicle T2 is registered, and virtual container VC1-2, in which cargo to be loaded on operating vehicle T3 is registered. be done. The cargo registered in the virtual container VC1-1 is then registered in the transportation information processing system as the operating vehicle T2 (hyper container HVC2 associated with the operating vehicle T2) and the operating vehicle T3 (the hypercontainer HVC2 associated with the operating vehicle T3). Transport is managed as being loaded onto a hypercontainer (HVC3).
なおハイパーコンテナの積載量は、予定の値であって、実際の積載量は、発店、中継店での運行車両への積み込みによって変更される。 Note that the loading capacity of a hypercontainer is a planned value, and the actual loading capacity is changed depending on loading onto operating vehicles at departure stores and relay stores.
仮想コンテナをどの運行コースの運行車両(ハイパーコンテナ)で運送するかについては、最初から決定しておく固定方式、あるいは予約方式が採用される。また、中継する中継店があることを考えると、両者を混合した方式も可能である。さらに、当日の輸送量によって変動がある場合は、当日の輸送量によっても仮想コンテナを変更することもできる。
これらのいわば発生した仮想コンテナは、実際の輸送の途中で、枝番がついて分割されたり、予約外の運行コースの車両に積載されるようにできる。また、それによって、仮想コンテナの到着予測も変更になる。また、輸送計画の変更があれば、仮想コンテナの到着予測も変更になる。
A fixed method or a reservation method is used to determine which service route a virtual container will be transported in by a vehicle (hypercontainer) from the beginning. Furthermore, considering that there is a relay shop that relays information, a system that combines both methods is also possible. Furthermore, if there is a change depending on the amount of transportation on the day, the virtual container can also be changed depending on the amount of transportation on that day.
During actual transportation, these so-called virtual containers can be assigned branch numbers and divided into parts, or loaded onto vehicles on unreserved routes. This also changes the predicted arrival of the virtual container. Additionally, if there is a change in the transportation plan, the predicted arrival of the virtual container will also change.
(仮想コンテナによる荷物積載等管理)
仮想コンテナは、店間輸送ダイヤグラムを構成する運行コースの運行車両が到着する各店の作業員のハンディターミナル2に適宜ダウンロードされる。そして作業員が荷物をスキャンすることで、積載作業または荷降ろし作業の記録を仮想コンテナに反映させることができる。荷物を運行車両に積載する場合、積載する荷物をスキャンして、運行車両に積載すると、荷物が運行車両のハイパーコンテナに積載された仮想コンテナに積載されたことが仮想コンテナに記録される。すなわち積載すべき荷物が運行車両に積載されたことを、仮想コンテナを介して確認することができる。この作業を、積載すべき荷物の消し込み作業という。
(Management of cargo loading, etc. using virtual containers)
The virtual container is appropriately downloaded to the handy terminal 2 of the worker at each store where the operating vehicle of the operating course constituting the inter-store transportation diagram arrives. By scanning the cargo, a worker can reflect the loading or unloading process on the virtual container. When loading luggage onto an operating vehicle, the luggage to be loaded is scanned and loaded onto the operating vehicle, and the virtual container records that the cargo has been loaded into the virtual container loaded into the hypercontainer of the operating vehicle. That is, it is possible to confirm via the virtual container that the cargo to be loaded has been loaded onto the operating vehicle. This work is called clearing work for the cargo to be loaded.
また運行車両から荷降ろしする場合、荷降ろしする荷物をスキャンして、運行車両から降ろすと、荷物が運行車両から降ろされたことが仮想コンテナに記録される。すなわち荷降ろしすべき荷物が運行車両から降ろされたことを、仮想コンテナを介して確認することができる。この作業を、荷降ろしすべき荷物の消し込み作業という。 Also, when unloading from an operating vehicle, the luggage to be unloaded is scanned and unloaded from the operating vehicle, and the fact that the luggage has been unloaded from the operating vehicle is recorded in the virtual container. That is, it is possible to confirm via the virtual container that the cargo to be unloaded has been unloaded from the operating vehicle. This work is called clearing work for the cargo to be unloaded.
(仮想コンテナによる各店での作業管理)
仮想コンテナがどの店間輸送ダイヤグラムに基づいて運送されるか決定されると、その輸送計画は、各店で共有される。すなわち、仮想コンテナに登録された荷物は、店間輸送ダイヤグラムを構成する運行コースの運行車両などによって輸送されるように取り扱われるので、店間輸送ダイヤグラムを構成する運行コース(ハイパーコンテナ)のつながりにより各店における荷物、着時刻、発時刻が認識できる。すなわち各店において必要な作業量等を事前に把握することができるので、それに応じた準備を行うことができる。着店では、荷物の到着までに、効率的な配送計画をあらかじめ準備することができる。また、配送車両がどの荷物を積載すべきかの計画も事前に行うことができる。
(Work management at each store using virtual containers)
Once it is determined based on which inter-store transportation diagram the virtual container will be transported, the transportation plan is shared by each store. In other words, the luggage registered in the virtual container is handled as if it were to be transported by the operating vehicles of the operating courses that make up the inter-store transportation diagram, so the cargo registered in the virtual container is You can recognize your luggage, arrival time, and departure time at each store. In other words, since the amount of work required at each store can be known in advance, preparations can be made accordingly. At the store, an efficient delivery plan can be prepared in advance before the package arrives. It is also possible to plan in advance which cargo the delivery vehicle should load.
<運送情報処理システムの実現>
図10は、運送情報処理システムに基づく運送情報処理を示すフローチャートである。
<Realization of transportation information processing system>
FIG. 10 is a flowchart showing transportation information processing based on the transportation information processing system.
ステップS1において、顧客からの運送荷物受け付け処理が行われる。次に、ステップS2において、仮想コンテナによる店間輸送ダイヤグラムの予約処理が行われる。そしてステップS3において、店間輸送ダイヤグラムに基づく輸送処理が行われる。 In step S1, a process for accepting transportation cargo from a customer is performed. Next, in step S2, a reservation process for an inter-store transportation diagram using a virtual container is performed. Then, in step S3, transportation processing based on the inter-store transportation diagram is performed.
ステップS1の顧客からの運送荷物受け付け処理を、図11のフローチャートを参照して説明する。 The process of accepting freight from a customer in step S1 will be explained with reference to the flowchart of FIG.
ステップS11において、荷物の集荷が行われる。定期集荷は、毎日あるいは決められた曜日に、ドライバーが顧客を訪問して集荷する。なお事前に訪問順の変更などがあった場合は巡回セールスマン問題(TSP)の計算結果に基づいて決める周知のルーティング手法で訪問順が決定される。集荷申込の場合、荷主が集荷を電話、またはインターネットを介して申し込み、ドライバーが顧客を訪問して集荷する。配達時に荷主から依頼を受けて集荷することもできる。荷主持ち込みは、顧客が自ら店に荷物を持ち込むものであり、作業員が、店で荷物を集荷する。 In step S11, cargo is collected. In regular collection, drivers visit customers and collect the goods every day or on a predetermined day of the week. Note that if there is a change in the visiting order in advance, the visiting order is determined by a well-known routing method based on the calculation results of the Traveling Salesman Problem (TSP). In the case of a pickup application, the shipper applies for pickup over the phone or the Internet, and the driver visits the customer and picks up the shipment. It is also possible to collect the cargo upon request from the shipper at the time of delivery. Cargo-carry-in means that customers bring their own luggage to the store, and workers collect the luggage at the store.
ドライバー等は、送り状や集荷する荷物をハンディターミナル2でスキャンする。なお顧客としての発荷主と着荷主の情報は、顧客データベース(運送情報処理装置3に記録されている)に登録されており、定期集荷と集荷申込の場合、訪問するドライバーのハンディターミナル2には顧客の情報が予めダウンロードされているものとする。また荷主持ち込みも、顧客が送り状のデータを事前に情報処理端末1-5などで入力していることを前提として、事前の入力と、荷物に貼付した荷札などが店の作業員のハンディターミナル2にダウンロードされているものとする。 Drivers and others use Handy Terminal 2 to scan invoices and packages to be picked up. Information on shippers and receivers as customers is registered in the customer database (recorded in the transportation information processing device 3), and in the case of regular collection and collection applications, the information on the visiting driver's handy terminal 2 is It is assumed that customer information has been downloaded in advance. In addition, when the consignor brings in the package, it is assumed that the customer has input the invoice data in advance on the information processing terminal 1-5, etc., and the data such as the tag attached to the package is inputted in advance and the tag attached to the package is sent to the store worker's handy terminal 2. It is assumed that it has been downloaded to .
集荷時に、発荷主の情報は、以下のように入力される。
・発荷主名:ハンディターミナル2のGPS情報と事前の情報提供により、選択的に選ぶことができる。選択できない場合は、電話番号が入力される。
・発荷主住所:集荷時の荷物のスキャンで得られるGPSの緯度経度データが発荷主住所とされる。
・着荷主名/着荷主住所:ハンディターミナル2で着荷主が検索できない場合は、郵便番号など、着店が判明する情報が入力される。加えて、電話番号、屋号や、荷札のコピーを取って、着荷主データベース(運送情報処理装置3に記録されている)などを利用して、自動もしくは人が介入して、輸送途中で着荷主が判明できるようにすることもできる。事前に荷物の情報が顧客から入力されており、送り状や荷札が用意されている場合は、その情報をスキャンするだけで荷物の受け入れとすることもできる。
At the time of collection, the shipper's information is entered as follows.
・Shipper's name: Can be selected selectively based on the GPS information of Handy Terminal 2 and information provided in advance. If a selection cannot be made, a phone number will be entered.
- Shipper's address: The shipper's address is the GPS latitude and longitude data obtained by scanning the package at the time of collection.
・Consignor name/Consignee address: If the consignee cannot be searched on the handy terminal 2, information such as postal code that identifies the destination store is input. In addition, by taking a copy of the phone number, store name, and tag, and using the consignee database (recorded in the transportation information processing device 3), automatic or human intervention can be used to identify the consignee during transportation. It is also possible to make it clear. If the customer has entered the package information in advance and the invoice or tag is prepared, the package can be accepted by simply scanning that information.
荷札または送り状が、運送情報処理システムで事前に荷主が情報を入力し、それに基づいて、作成されている場合(EDI(Electronic Data Interchange))、ステップS12において、スキャンした荷物に対し、ドライバーまたは作業員は、ハンディターミナル2に「着店(着店番号)」、「重量」を手入力する。なお、この手入力は、状況により省略こともできる。一方、荷札または送り状が手書きの場合は、ステップS13において、ドライバーまたは作業員は、スキャンした荷物IDに対し、ハンディターミナル2に「顧客番号(多くは電話番号)」、「着店(多くは郵便番号)」、「重量」を手入力する。なお、発店は、集荷した店または、発集約店になるが、ハンディターミナル2には、店番号が設定されているので、発店番号はデータとして入力される。 If the tag or invoice is created based on the information entered in advance by the shipper in the transportation information processing system (EDI (Electronic Data Interchange)), in step S12, the driver or worker The employee manually enters the "arrival store (arrival store number)" and "weight" into the handy terminal 2. Note that this manual input may be omitted depending on the situation. On the other hand, if the tag or invoice is handwritten, in step S13, the driver or worker enters the scanned luggage ID into the handy terminal 2 with the "customer number (often a telephone number)" and the "arrival number (often a mail order number)" Manually enter the number) and weight. Note that the originating store is the store that collected the goods or the originating and collecting store, but since the store number is set in the handy terminal 2, the originating store number is input as data.
荷物の個数のデータは、集荷した者(ドライバーや作業員)が数えるのではなく、スキャンした荷物IDの数を設定するようにする。また、手書き原票など着店番号のない場合は、ドライバー等が、ハンディターミナル2で配達先の郵便番号を入力し、着店番号が複数ある場合には、荷札や送り状を見て判断する。 The data on the number of packages is set by the number of scanned package IDs, rather than being counted by the person who collected the packages (driver or worker). If there is no store number such as a handwritten original slip, the driver or the like inputs the postal code of the delivery destination on the handy terminal 2, and if there are multiple store numbers, the driver or the like makes a decision by looking at the tag or invoice.
仮想コンテナは、発店からのすべての着店までの仮想コンテナが所属するすべての集配車に(分割されて)対応付けて設定されている。上述したように「着店(着店番号)」、「重量」等が入力されると、集荷する荷物の情報が、着店に応じた仮想コンテナに紐づけられる(登録される)。 The virtual container is set in association (divided) with all the collection and delivery vehicles to which the virtual container belongs, from the store departure to all arrival stores. As described above, when the "arrival store (arrival store number)", "weight", etc. are input, the information on the package to be collected is linked (registered) with the virtual container corresponding to the arrival store.
例えば、運送事業者の営業所で着店が300ヶ所あれば、300個の仮想コンテナが用意されている。この仮想コンテナは、当該荷物を集荷する支店(発店)に所属するすべての集配車や店に分割されて割り当てられている。仮想コンテナは、発店、発時刻および着店により識別され、それらをコード化した識別IDが設けられている。 For example, if a transportation company has 300 locations, 300 virtual containers are prepared. This virtual container is divided and allocated to all collection and delivery vehicles and stores belonging to the branch (originating branch) that collects the package. The virtual container is identified by departure store, departure time, and arrival store, and is provided with an identification ID that encodes these.
図12は、店D1を発店とする荷物を集配する集配車C1に割り当てられた仮想コンテナVC-D1/A1,VC-D1/A2のイメージを示す図である。仮想コンテナVC-D1/A1は、着店を店A1とするものであり、仮想コンテナVC-D1/A2は、着店を店A2とするものである。図13は、店D1を発店とする荷物を集配する集配車C2に割り当てられた仮想コンテナVC-D1/A1,VC-D1/A2のイメージを示す図である。 FIG. 12 is a diagram showing an image of the virtual containers VC-D1/A1 and VC-D1/A2 assigned to the collection and delivery vehicle C1 that collects and delivers packages originating from the store D1. The virtual container VC-D1/A1 has the destination store A1, and the virtual container VC-D1/A2 has the destination store A2. FIG. 13 is a diagram showing an image of the virtual containers VC-D1/A1 and VC-D1/A2 assigned to the collection and delivery vehicle C2 that collects and delivers packages originating from the store D1.
このような仮想コンテナが割り当てられた集配車の集荷によって、荷物の情報が、その配送先(着店)の仮想コンテナに登録される。図14は、集配車C1に割り当てられた仮想コンテナVC-D1/A1,VC-D1/A2に、集配車C1が集荷した店A1と店A2を着店とする荷物が登録されたイメージを示す図である。図15は、集配車C2に割り当てられた仮想コンテナVC-D1/A1,VC-D1/A2に、集配車C2が集荷した店A1と店A2を着店とする荷物が登録されたイメージを示す図である。 When a pickup/delivery vehicle to which such a virtual container is assigned picks up the package, information about the package is registered in the virtual container at the delivery destination (arrival store). FIG. 14 shows an image in which packages destined for stores A1 and A2, which were collected by the collection and delivery vehicle C1, are registered in virtual containers VC-D1/A1 and VC-D1/A2 assigned to the collection and delivery vehicle C1. It is a diagram. FIG. 15 shows an image in which packages destined for stores A1 and A2, which were picked up by the collection and delivery vehicle C2, are registered in the virtual containers VC-D1/A1 and VC-D1/A2 assigned to the collection and delivery vehicle C2. It is a diagram.
発店に顧客が荷物を持ち込んだ場合も、荷札または送り状のスキャン等により荷物の発送先が判明した段階で、その着店への仮想コンテナに登録される。 Even when a customer brings a package to a store, once the destination of the package is determined by scanning the tag or invoice, it is registered in a virtual container for the destination store.
ステップS14において、ハンディターミナル2にスキャンされたデータおよび入力されたデータ(荷物ID等が登録された仮想コンテナを含む)は、外出先で、発店の情報処理端末1-1に携帯無線回線で自動送信されるか、帰店後にWiFiや構内LANなどで情報処理端末1-1に送信される。 In step S14, the data scanned and input into the handy terminal 2 (including the virtual container in which the luggage ID etc. are registered) are transferred to the information processing terminal 1-1 at the store via a mobile wireless line while away from the store. It is sent automatically, or sent to the information processing terminal 1-1 via WiFi, campus LAN, etc. after returning to the store.
ステップS15において、発店の情報処理端末1-1は、運送情報処理システムで作成された荷物情報である荷主から送られた、荷物ID、顧客番号、発店、着店、個数の出荷データと、ハンディターミナル2から送信されてきたデータである、荷物ID、発店、着店、個数、重量とを結合する。荷物の顧客番号は、荷物の運賃を顧客に紐づけするためである。なお、手書きの場合には、スキャンデータ(荷物ID、発店、着店、個数、重量)から出荷データが作成される。 In step S15, the information processing terminal 1-1 at the originating store collects shipping data such as the luggage ID, customer number, departure from the store, arrival at the store, and quantity sent from the consignor, which is the luggage information created by the transportation information processing system. , the data transmitted from the handy terminal 2, such as baggage ID, store departure, store arrival, number, and weight, are combined. The customer number of the package is used to link the freight charge of the package to the customer. In addition, in the case of handwriting, shipping data is created from the scan data (baggage ID, store departure date, store arrival date, quantity, weight).
ステップS16において、発店の情報処理端末1-1は、集荷した荷物が登録された仮想コンテナを、着店等に応じて統合し、仮想コンテナに登録された荷物の重量を算出して記録する。図16は、集配車C1,C2の着店A1用の仮想コンテナVC-D1/A1(図14の上段,図15の上段)が統合されたイメージを示す図である。図17は、集配車C1,C2の着店A2用の仮想コンテナVC-D1/A1(図14の下段,図15の下段)が統合されたイメージを示す図である。 In step S16, the information processing terminal 1-1 at the departure store integrates the virtual containers in which the collected packages are registered, depending on the arrival at the store, etc., and calculates and records the weight of the packages registered in the virtual containers. . FIG. 16 is a diagram showing an image in which virtual containers VC-D1/A1 (upper row in FIG. 14, upper row in FIG. 15) for arrival store A1 of collection and delivery vehicles C1 and C2 are integrated. FIG. 17 is a diagram showing an image in which virtual containers VC-D1/A1 (lower row in FIG. 14, lower row in FIG. 15) for arrival store A2 of collection and delivery vehicles C1 and C2 are integrated.
その後、処理は、ステップS2に進む。 After that, the process proceeds to step S2.
ステップS2の仮想コンテナによる店間輸送ダイヤグラムの予約処理を、図18のフローチャートを参照して説明する。 The reservation processing of the inter-store transportation diagram using the virtual container in step S2 will be explained with reference to the flowchart of FIG. 18.
ステップS21において、例えば、発店の作業員は、仮想コンテナを指定して、その仮想コンテナの輸送計画を作成する旨の操作を情報処理端末1-1に対して行う。荷物の発送元である発店、荷物の発送先である着店、および着時刻、重量を入力すると、ステップS22において、情報処理端末1-1は、入力された情報を運送情報処理装置3に供給する。運送情報処理装置3は、運行データベースに基づいて、入力された条件に応じた店間輸送ダイヤグラムを生成するとともに、例えば輸送時間や到着時間の短いものから、順に、5個から6個ほどの店間輸送ダイヤグラムを検索する。
In step S21, for example, a store opening worker specifies a virtual container and performs an operation on the information processing terminal 1-1 to create a transportation plan for the virtual container. After inputting the store from which the package will be shipped, the destination store where the package will be shipped, the time of arrival, and the weight, the information processing terminal 1-1 transmits the input information to the transportation
ステップS23において、運送情報処理装置3は、検索した店間輸送ダイヤグラムについて、輸送時間の短い順、運賃が安い順(運送コストが安い順)、または運行コースを期日指定(何日までに到着)の条件に合う順に優先順位を設定する。通常、輸送時間が短い順に優先順位を決定するが、荷主からの要望により、運賃、期日指定により優先順位を決定することができる。同じ発店、着店であっても、荷主の要望により、異なる運行コースを使用する場合は、ハイパーコンテナの重量オーバーの時のように、仮想コンテナは分割され、荷主の要望に沿ったハイパーコンテナに積載される。
In step S23, the transportation
ステップS24において、運送情報処理装置3は、荷主の要望を満たし且つ優先順位の順番に店間輸送ダイヤグラムを1つ選択する。
In step S24, the transportation
次に、ステップS25において、運送情報処理装置3は、選択した店間輸送ダイヤグラムを構成する運行コースの運行車両について、運行車両に対応付けられたハイパーコンテナに記録されている積載重量とこれから予約する仮想コンテナに登録された荷物の重量の合計が最大積載重量を超える運行車両が存在するか否かを判定し、超えている運行車両が存在すると判定した場合、ステップS24に戻り、すべての運行車両が最大積載重量を超えていない運行コースからなる店間輸送ダイヤグラムが選択されるまで処理を繰り返す。
Next, in step S25, the transportation
運行車両に対応付けられたハイパーコンテナに記録されている積載重量とこれから予約する仮想コンテナに登録された荷物の重量の合計が最大積載重量を超える運行車両が存在しない、すなわちすべての運行車両が最大輸送量を超えていない運行コースからなる店間輸送ダイヤグラムが選択された場合、ステップS26において、運送情報処理装置3は、選択した店間輸送ダイヤグラムに対して仮想コンテナを予約する。この予約により店間輸送ダイヤグラムを構成する運行コースの運行車両に仮想コンテナが対応付けられる(運行車両に対応付けられるハイパーコンテナに仮想コンテナが積載される)。このとき、運行車両のハイパーコンテナに運行車両に積載される荷物の重量が加算される。
There is no operating vehicle in which the sum of the loaded weight recorded in the hypercontainer associated with the operating vehicle and the weight of the luggage registered in the virtual container to be reserved exceeds the maximum loaded weight, that is, all operating vehicles exceed the maximum loaded weight. If an inter-store transportation diagram consisting of an operation course that does not exceed the transportation amount is selected, in step S26, the transportation
この店間輸送ダイヤグラムに対する仮想コンテナの予約により、輸送計画が構築され、この情報は各店の情報処理端末1で共有される。 A transportation plan is constructed by reserving virtual containers for this inter-store transportation diagram, and this information is shared by the information processing terminals 1 of each store.
ステップS27において、各店の情報処理端末1は、共有された輸送計画から、自店における出発運行コース数、各運行コースの出発予定時刻と積み込み予定重量を抽出して、作業計画を構築する。例えば積載または荷降ろしが必要な時間と作業者数が設定される。なお例えば、自店での負荷上限を設定しておき、その上限を超える場合には、その店の担当者にプッシュ型で警告を発することができる。荷主に対しては、荷物の着店(到着店)への到着予定時刻について、メールによって知らせることができる。 In step S27, the information processing terminal 1 of each store extracts the number of departing service courses, the scheduled departure time and scheduled loading weight of each service course for its own store from the shared transportation plan, and constructs a work plan. For example, the time required for loading or unloading and the number of workers are set. For example, it is possible to set an upper limit on the load at the store, and if the load exceeds the upper limit, a push-type warning can be issued to the person in charge of the store. The shipper can be notified by email of the estimated time of arrival of the package at the destination store (arrival store).
運送の管理を行っている部署には、各運行コースの利用率、各店の時間帯滞貨量、最大輸送量を超えたため荷主の希望条件が通らなかった運行コースの一覧などについて、運送情報処理装置3から、運行管理部署に情報が送信される。この情報は、運行管理部署では常時監視することができ、輸送計画、運行データベース、店間輸送ダイヤグラムの作成、変更につながる。
The department in charge of transportation management processes transportation information, including the utilization rate of each service course, the amount of cargo held at each store during each time period, and a list of service courses that exceeded the maximum transport volume and did not meet the shipper's desired conditions. Information is transmitted from the
ステップS3の店間輸送ダイヤグラムに基づく輸送処理を、図19のフローチャートを参照して説明する。 The transportation process based on the inter-store transportation diagram in step S3 will be explained with reference to the flowchart of FIG. 19.
ステップS31において、発店の作業員は、これから荷物を積載する運行車両に対応付けられている仮想コンテナ(所定の着店用の仮想コンテナ)に登録された荷物の荷物ID、仮想コンテナID、発店、着店、荷物IDの情報をハンディターミナル2-1にダウンロードする。ハンディターミナル2-1には、例えば、図16に示した仮想コンテナVC-D1/A1、図17に示した仮想コンテナVC-D1/A2がダウンロードされ、例えば仮想コンテナVC-D1/A1が対応付けられた運行車両に荷物を積載する際には、図16の仮想コンテナVC-D1/A1が、運行車両に積載すべき荷物を示す情報としてハンディターミナル2-1に表示される。 In step S31, the worker at the departure store checks the luggage ID, the virtual container ID, and the Download the store, arrival store, and baggage ID information to the handy terminal 2-1. For example, the virtual container VC-D1/A1 shown in FIG. 16 and the virtual container VC-D1/A2 shown in FIG. 17 are downloaded to the handy terminal 2-1, and the virtual container VC-D1/A1 is associated. When loading cargo onto the operating vehicle, the virtual container VC-D1/A1 shown in FIG. 16 is displayed on the handy terminal 2-1 as information indicating the cargo to be loaded onto the operating vehicle.
発店の作業員は、集荷された荷物をスキャンし、仮想コンテナが対応付けられたハイパーコンテナに対応している運行車両に積載する。荷物がスキャンされることをもって、図20に示すように、仮想コンテナ上において荷物が運行車両に積載された旨が記録される。図20は、荷物ID「123」の荷物が運行車両に積載されたことを意味する。このような積載すべき荷物の消し込み作業により、積載すべき荷物が運行車両に積載されたことを、仮想コンテナを介して確認することができる。 Workers at the departure store scan the collected packages and load them onto operating vehicles that are compatible with the hypercontainer to which the virtual container is associated. When the luggage is scanned, as shown in FIG. 20, the fact that the luggage has been loaded onto the operating vehicle is recorded on the virtual container. FIG. 20 means that the luggage with the luggage ID “123” has been loaded on the operating vehicle. Through such a process of erasing the cargo to be loaded, it is possible to confirm via the virtual container that the cargo to be loaded has been loaded onto the operating vehicle.
なお運行コースが固定または、予約されている場合は、それに従って積載が行われる。着店への荷物が頭積みされ、もっとも遠い中継店から順に積載される。積載順とおりにハンディターミナル2に仮想コンテナをダウンロードして積載順に消し込んでいくことで、荷降ろし順に対応して荷物を積載することができる。 If the operating course is fixed or reserved, loading will be carried out accordingly. Baggage to the destination store is loaded head first, and the cargo is loaded in order starting from the furthest relay store. By downloading a virtual container to the handy terminal 2 in the order of loading and erasing it in the order of loading, it is possible to load luggage in accordance with the order of unloading.
仮想コンテナに登録された荷物の全てに対して運行車両に積載されたことを示す旨が記録されると(消込が完了すると)(図21)、運行車両は、予定時刻に発店を出発する。運行車両は、走行中、GPSによる車両の位置情報を取得する。この位置情報は、中継店および着店の情報処理端末1と共有される。この運行車両の位置情報の取得と処理の負荷は大きいので、後述のように、取得や処理を抑制して情報処理の負荷を軽減する。中継店および着店では、運行車両の位置情報を運送情報処理システム上で確認し、作業計画を立てることができる。 When all of the luggage registered in the virtual container is recorded as having been loaded onto the operating vehicle (when the clearing is completed) (Figure 21), the operating vehicle departs from the departure store at the scheduled time. do. While the operating vehicle is traveling, it acquires vehicle position information using GPS. This location information is shared with the information processing terminal 1 at the relay store and the destination store. Since the load of acquiring and processing this location information of operating vehicles is large, as will be described later, the load of information processing is reduced by suppressing the acquisition and processing. At relay stores and arrival stores, the location information of operating vehicles can be checked on the transportation information processing system and work plans can be made.
ステップS32において、中継店の作業員は、中継店に到着する運行車両に対応付けらえている仮想コンテナをハンディターミナル2にダウンロードする。ハンディターミナル2には、例えば、図21に示す仮想コンテナVC-D1/A1がダウンロードされ、仮想コンテナVC-D1/A1が対応付けられた運行車両から荷物を降ろす際には、図21の仮想コンテナVC-D1/A1が、運行車両から荷降ろしすべき荷物を示す情報としてハンディターミナル2に表示される。 In step S32, the worker at the relay store downloads to the handy terminal 2 the virtual container that is associated with the operating vehicle that will arrive at the relay store. For example, the virtual container VC-D1/A1 shown in FIG. 21 is downloaded to the handy terminal 2, and when unloading cargo from the operating vehicle to which the virtual container VC-D1/A1 is associated, the virtual container VC-D1/A1 shown in FIG. VC-D1/A1 is displayed on the handy terminal 2 as information indicating the cargo to be unloaded from the operating vehicle.
中継店の作業員は、運行車両に積載されている荷物を降ろしながらスキャンする。荷物がスキャンされることをもって、図22に示すように、仮想コンテナ上において荷物が運行車両から降ろされた旨が記録される。このような荷降ろしすべき荷物の消し込み作業により、荷降ろしすべき荷物が運行車両から降ろされたことを、仮想コンテナを介して確認することができる。 Workers at transit stores scan packages as they are unloaded from operating vehicles. When the luggage is scanned, as shown in FIG. 22, it is recorded on the virtual container that the luggage has been unloaded from the operating vehicle. Through such a process of erasing the cargo to be unloaded, it is possible to confirm via the virtual container that the cargo to be unloaded has been unloaded from the operating vehicle.
仮想コンテナの記録によって降ろすべき荷物が全て降ろされたことを確認すると(図23)、荷物を降ろした運行車両に対応付けられているハイパーコンテナは消去される。次に、中継店の作業員は、ステップS31と同様の積載作業を行う。仮想コンテナに登録された荷物の全てに対して運行車両に積載されたことを示す旨が記録されると(消込が完了すると)、運行車両は、予定時刻に中継店を出発する。運行車両は、走行中、GPSによる車両の位置情報を取得する。この位置情報は、中継店および着店の情報処理端末1と共有される。 When it is confirmed by the virtual container record that all the baggage to be unloaded has been unloaded (FIG. 23), the hypercontainer associated with the operating vehicle that unloaded the baggage is deleted. Next, the worker at the relay shop performs the same loading operation as in step S31. When it is recorded that all of the luggage registered in the virtual container has been loaded onto the operating vehicle (when the erasure is completed), the operating vehicle departs from the relay store at the scheduled time. While the operating vehicle is traveling, it acquires vehicle position information using GPS. This location information is shared with the information processing terminal 1 at the relay store and the destination store.
なお運行車両の中でコンパートメントなどで、異なる着店の荷物と区別されるように積載されている場合は、荷物の個別のスキャンを不要とすることができる。 Furthermore, if the luggage is loaded in a compartment or the like in the operating vehicle so that it can be distinguished from luggage arriving at different stores, it is possible to eliminate the need to scan each luggage individually.
図20,21の例では、「積載済」が記録されるものとしたが、積載された荷物の情報が削除されるようにもできる(消されるようにもできる)。図22,23の例の場合も同様である。 In the examples shown in FIGS. 20 and 21, "loaded" is recorded, but the information on the loaded luggage can also be deleted (it can also be erased). The same applies to the examples shown in FIGS. 22 and 23.
ステップS33において、着店の作業員は、着店に運行車両が到着すると、ステップS32と同様の荷降ろし作業を行う。仮想コンテナの記録によって降ろすべき荷物が全て降ろされたことを確認すると、運送情報処理システムからハイパーコンテナおよび仮想コンテナが消去される。その後、処理は終了する。 In step S33, when the operating vehicle arrives at the store, the worker at the store performs the same unloading work as in step S32. When it is confirmed by the virtual container record that all the cargo to be unloaded has been unloaded, the hypercontainer and virtual container are deleted from the transportation information processing system. The process then ends.
発店から着店に直接輸送される場合は、ステップS32の処理は省略される。 If the goods are directly transported from the departure store to the arrival store, the process of step S32 is omitted.
なお、仮想コンテナにて積載、荷降ろしが記録されているので、次の等式が成り立つ。
現店での荷降ろし予定荷物+着店での荷降ろし予定荷物=最初に積載した荷物-途中店での荷降ろし完了荷物
このため、現在店で荷降ろしが多い場合には、現在店での荷降ろしスキャンを省略して、着店での荷降ろしするはずの荷物をスキャンして、すべて積載されていることを確認することが可能である。例えば、最大の荷降ろし店で荷降ろししたのちに、運行車両には数個の荷物が残るだけならば、残りの荷物をスキャンして差し引き関係を確認する。そして着店では、すべて荷降ろしが終了したという確認のスキャンをしなくても荷降ろしが完了したと設定される。このために、最大荷降ろし店に来た場合に、ハンディターミナル2に、荷降ろしすべき荷物と荷降ろしてはいけない荷物の情報をダウンロードして、選択できるようにしてもよい。
Note that since loading and unloading are recorded in the virtual container, the following equation holds true.
Baggage scheduled to be unloaded at the current store + Baggage scheduled to be unloaded at the arrival store = First loaded baggage - Completed baggage unloaded at the store on the way Therefore, if there are many unloaded items at the current store, It is possible to omit the unloading scan and scan the baggage to be unloaded at the arrival store to confirm that it is all loaded. For example, if only a few packages remain in the vehicle after being unloaded at the largest unloading store, the remaining packages are scanned to confirm the balance. Then, at the store, the unloading is set as complete without the need for a scan to confirm that all unloading has been completed. For this purpose, when the user comes to the largest unloading store, information on the cargo that should be unloaded and the cargo that should not be unloaded may be downloaded to the handy terminal 2 so that the user can make a selection.
<集荷作業がアンバランスの場合の処理>
事前に十分な集荷の情報が入手できる場合は、巡回セールスマン問題の計算によって、集荷車両の積載率のアンバランスを解消するようにする。十分な事前情報がない場合や、定期集荷の顧客が普段より多い集荷量がある場合などでは、集荷作業者の集荷スキャンの情報によって、巡回セールスマン問題計算システムを利用して各集荷業者の集荷計画を再設定したり、他の集荷業者に応援を依頼することができる。
<Processing when the collection work is unbalanced>
If sufficient collection information can be obtained in advance, the imbalance in the loading rate of collection vehicles can be resolved by calculating the traveling salesman problem. In cases where there is not enough advance information, or when a regular collection customer has a larger volume than usual, the traveling salesman problem calculation system can be used to determine the collection of each collection agent based on the information from the collection worker's collection scan. You can reset your plans or request assistance from other collection companies.
<配達>
着店では、着荷主名、配達先緯度経度データ、住所の着荷主データがある場合は、巡回セールスマン問題の計算によって配達計画を立てる。また、他の配達のルーティング手法を用いて配達計画を立てることができる。配達計画では、道路地図情報を参照して配達ルートを設定するが、さらに、その地域に詳しい集配者に任せてもよい。
作業員は、顧客に荷物を受け渡す際にハンディターミナル2で確認をとって、受け渡しの確認作業をする。
<Delivery>
At the arrival store, if there is consignor data such as the consignor's name, delivery destination latitude and longitude data, and address, a delivery plan is made by calculating the traveling salesman problem. Additionally, delivery planning can be done using other delivery routing techniques. In the delivery plan, the delivery route is set by referring to road map information, but it may also be left to a delivery person who is familiar with the area.
When the worker hands over the package to the customer, he or she checks the handheld terminal 2 and confirms the delivery.
<荷物IDの重複>
本実施の形態の運送情報処理システムでは、発店や途中の中継店、着店で、仮想コンテナに積載すべき荷物IDをハンディターミナル2にダウンロードし、荷物をハンディターミナル2でスキャンして消し込んで、確認をとる方式がとられる。この場合に、仮想コンテナに登録された荷物の荷物IDに重複があったとしても、同じ荷物IDのグループとして発店から着店まで運送できる。このような場合、荷物IDに重複があったとしても、荷物は違う顧客の荷物だが、同じ荷物IDのグループの荷物として扱うことで処理できる。
<Duplicity of baggage ID>
In the transportation information processing system of this embodiment, the ID of the luggage to be loaded into the virtual container is downloaded to the handy terminal 2 at the departure store, intermediate store, and arrival store, and the luggage is scanned and erased by the handy terminal 2. A method of confirmation is used. In this case, even if the luggage IDs of the luggage registered in the virtual container are duplicated, the luggage can be transported as a group with the same luggage ID from the departure store to the arrival store. In such a case, even if there is a duplication of package IDs, the packages can be processed by treating them as packages with the same package ID, even though they belong to different customers.
運送事業者は、顧客から依頼を受けて荷物の運送を行うが、顧客は業者であり、かつ定常的な依頼者であるため、顧客が情報処理端末1-5により、運送情報処理装置3にアクセスして荷物の運送の依頼を行い、送付状や荷札の発券を行うことができる。特に、顧客が他の運送事業者である場合、顧客は顧客が識別できるように、独自に顧客単位で荷物にユニークな番号や記号を付与し、出願人を含む関係者同士の識別情報が一致することもあり得る。すなわち荷物IDが重複することもあり得るが、上述したように、本実施例によれば問題なく荷物を取り扱うことができる。
The transportation business transports cargo upon receiving a request from a customer, but since the customer is a business and a regular requester, the customer transmits information to the transportation
<住所データの緯度経度情報化>
本実施の形態の運送情報処理システムでは、発荷主および着荷主の荷主(顧客でもある)情報として、荷主の住所データを荷主住所データベースとして有している。この荷主住所データベースとして運送情報処理システム内では、荷主の住所データは、緯度経度のデータで扱う。緯度経度データは、地図情報処理システムとの融合性に優れており、運送情報処理システム内では、緯度経度データで扱う。送り状や荷札に表す、文字による住所表示は、作業をする人が認知のためだけに使用する。
荷主の住所を電話番号のように、数値で表したデータをキーとすれば、緯度経度データと文字住所データとを紐づけて扱うことが可能である。
荷主の住所データが既知でない場合は、作業員が集荷したとき、あるいは配達したときに、GPS端末を有するハンディターミナル2で荷物を受け渡したときのGPSデータの緯度経度情報を入力して登録すれば、荷主の住所データとして獲得することが可能である。
<Converting address data to latitude and longitude information>
The transportation information processing system of this embodiment has address data of the shipper as a shipper address database as shipper (also a customer) information of the shipper and the receiver. In the transportation information processing system as the consignor address database, consignor address data is treated as latitude and longitude data. Latitude and longitude data has excellent compatibility with map information processing systems, and is handled as latitude and longitude data within transportation information processing systems. Addresses in letters on invoices and tags are used only for recognition purposes by workers.
If the consignor's address is expressed as a numerical value, such as a telephone number, as a key, latitude and longitude data and text address data can be linked and handled.
If the consignor's address data is not known, you can register it by entering the latitude and longitude information from the GPS data when the worker picked up or delivered the package, using a handy terminal 2 equipped with a GPS terminal. , can be obtained as the shipper's address data.
<車両の運行データの取得・処理の抑止>
運行データの取得・処理の制限について説明する。
特別積合せ貨物輸送の事業者は、自社の運行車両の運行データを取得するために、リアルタイムで運行車両のGPSデータを取得する運行管理を行っている。しかし、運行車両が数千台となると、取得するデータの処理による運送情報処理システムの負担が大きくなってしまう。例えば、運行車両に設けられているデジタルタコメータは、0.5秒間隔で、その車両のその時の緯度、経度、速度、前回位置からの移動距離を記録し、8分もしくは1分などの時間間隔ですべてのデータを送信し、無線回線を介して、運送情報処理装置3に送信されてくる。
このようなリアルタイムあるいは準リアルタイムで車両の位置、運行データを把握することで、運送情報処理システムには、膨大な処理量と送信タイミングとのずれ、処理の負荷の問題が発生する。このため、本実施の形態の運送情報処理システムでは、運行管理上、必要性の少ない時間帯では、GPSデータや走行速度などの車両の運行データの収集を抑止あるいは制限する処理を行う。例えば、車両が出発したら、途中経過を無視するモードと、リアルタイムあるいは準リアルタイムで車両を追跡するモードとを設定して、運送情報処理システムの負荷を減らす。
<Suppression of acquisition and processing of vehicle operation data>
This section explains restrictions on obtaining and processing operation data.
In order to obtain the operation data of the company's own operating vehicles, special cargo transportation companies conduct operation management that acquires GPS data of the operating vehicles in real time. However, when the number of vehicles in operation increases to several thousand, the burden on the transportation information processing system due to processing of the acquired data becomes large. For example, a digital tachometer installed in a vehicle in operation records the vehicle's current latitude, longitude, speed, and distance traveled from its previous location at 0.5 second intervals, and records the vehicle's current latitude, longitude, speed, and distance traveled from its previous location at time intervals such as 8 minutes or 1 minute. All the data is sent to the transportation
Ascertaining vehicle position and operation data in real time or near real time causes problems in transportation information processing systems, such as a huge amount of processing, a lag in transmission timing, and a processing load. For this reason, the transportation information processing system of this embodiment performs a process of suppressing or restricting the collection of vehicle operation data such as GPS data and travel speed during time periods when there is little need for operation management. For example, once a vehicle has departed, a mode that ignores progress along the way and a mode that tracks the vehicle in real time or near real time are set to reduce the load on the transportation information processing system.
具体的には、車両の次のプライオリティエリアまでの余裕を持った到着時刻を予測する。そして、その時刻に到達するまでは、データ処理の優先度を下げる、またはデータ処理をせずにデータ記録するにとどめ、余分なデータ処理を避ける。優先度を下げた車両が予測時間に達した場合には、その優先度を上げて通常の処理に戻す。
また、優先度が上げられた車両の現在位置と、近接のプライオリティエリアまでの距離が近いが、何らの理由で、プライオリティエリアに到達していない場合は、再度車両の到達時間を予測しなおし、処理の優先度を下げる処理を行う。
プライオリティエリアに到達して優先度が上げられた車両は、最優先で存在場所処理がリアルタイムまたは準リアルタイムで行われる。これにより、当該車両の情報が1分、8分などの時間間隔で得られる。プライオリティエリアを抜けた場合は、次のプライオリティエリアまでの到達予測を行って、運行データの処理の優先度を下げる。車両が着店に到着した場合には、車両の追跡を終了する。
Specifically, the arrival time of the vehicle to the next priority area is predicted with plenty of time to spare. Then, until that time is reached, redundant data processing is avoided by lowering the priority of data processing or recording data without data processing. When a vehicle whose priority level has been lowered reaches the predicted time, its priority level is increased and normal processing is resumed.
In addition, if the current position of a vehicle whose priority has been raised is close to a nearby priority area, but for some reason it has not reached the priority area, the vehicle's arrival time is re-predicted, Perform processing to lower the priority of processing.
Vehicles that have reached the priority area and have their priority raised are given the highest priority and location processing is performed in real time or near real time. As a result, information about the vehicle can be obtained at time intervals of 1 minute, 8 minutes, etc. If the vehicle leaves the priority area, it predicts arrival at the next priority area and lowers the priority of operation data processing. When the vehicle arrives at the store, tracking of the vehicle ends.
プライオリティエリアとしては、事故や災害などにより運行がスムーズでない場合、店の近傍、乗務基準で重要と思わる地点やその他、指定した場所を設定すればよい。また、緊急事態が発生したり、渋滞などが発生した場合は、そのイベントの発生を検知すれば、イベントの発生の契機として、運行データの収集抑止や送信抑止を解除することもできる。 As a priority area, if the service is not running smoothly due to an accident or disaster, you can set a designated location near the store, a point that is considered important based on crew standards, or any other designated location. Furthermore, in the event of an emergency situation or traffic jam, if the occurrence of the event is detected, it is possible to use the occurrence of the event as a trigger to cancel the inhibition of collection and transmission of operation data.
<効果のまとめ>
運送情報処理装置3は、発店から着店までの輸送ルートを示す複数の店間輸送ダイヤグラムから、運送する荷物の運送コスト、到着時間、輸送時間が顧客の条件にあう店間輸送ダイヤグラムを選択し、店間輸送ダイヤグラムにより荷物の輸送を管理する管理手段を備え、店間輸送ダイヤグラムは、発店、着店、または発店から着店の間に存在する拠点間を結ぶ輸送ルートについて輸送手段の出発する拠点と発時刻、および到着する拠点と着時刻、並びにその輸送時間を表す運行コースから構成されている。運送情報処理装置3は、同じ発店から同じ着店に配送される荷物群を、1つの仮想コンテナに登録し、店間輸送ダイヤグラムにて運送を管理する。仮想コンテナに登録された荷物は、店間輸送ダイヤグラムを構成する運行コースの運行車両のハイパーコンテナに積載されて、輸送される。また各拠点における荷物の積載および荷降ろしは、荷物をスキャンして仮想コンテナから消し込むようになっている。
<Summary of effects>
The transportation
このような構成を有するようにしたので、運送情報処理システム上の荷物の運送状態と、現実の荷物の運送状態との対比が可能となる。その結果、仮想の運送情報処理システム上で荷物の運送と現実の荷物の運送との同期が実現でき、荷物が運行コースを乗り継いで、どのように着店まで輸送されるかを認識することができる。各拠点での荷物の到着、出発、そしてその量を把握することができるので、各拠点での荷物取り扱いの作業を予め把握し、その作業に備えることができる。 With such a configuration, it is possible to compare the transportation status of the luggage on the transportation information processing system with the actual transportation status of the luggage. As a result, it is possible to synchronize the transportation of parcels with the actual transportation of parcels on a virtual transportation information processing system, and it is possible to recognize how parcels change routes and are transported to stores. can. Since it is possible to know the arrival, departure, and quantity of cargo at each location, it is possible to know in advance the cargo handling work at each location and prepare for that work.
また、荷物を積載する仮想コンテナと、この仮想コンテナを積載するハイパーコンテナとを用いることで、ハイパーコンテナで仮想コンテナの荷物の重量を把握して、運行車両を予約できる。すなわち店間輸送ダイヤグラムを選択する際、輸送途中の運行コースのどれかが隘路となり、積み残しが起こる可能性が発生するかを、発店で運び出す前に予測することができ、適切な店間輸送ダイヤグラム、すなわち運行ルートを選択することができる。また、運行車両の積載重量制限を把握して、仮想コンテナの積載を調整することが運送情報処理システム上で可能となり、運送情報処理システム上で荷物の積載処理と、運行車両との予約処理とを分離することができる。 Furthermore, by using a virtual container that loads luggage and a hypercontainer that loads this virtual container, the hypercontainer can grasp the weight of the luggage in the virtual container and reserve an operating vehicle. In other words, when selecting an inter-store transportation diagram, it is possible to predict whether any of the operation courses during transportation will become a bottleneck and the possibility of backlogs occurring, before the transportation is carried out at the store, and to select appropriate inter-store transportation. You can select a diagram, that is, a route. In addition, the transportation information processing system can grasp the loading weight limit of operating vehicles and adjust the loading of virtual containers, and the transportation information processing system can handle cargo loading and reservation processing with operating vehicles. can be separated.
従来、着店への荷物を輸送する場合に、輸送の効率を上げるために、物理的なコンテナに荷物を纏めて収納して輸送していた。しかし、この従来の物理的なコンテナは、使用後には、荷物の存在するところに返送する必要がある。同じ性質の荷物が偏在しない場合は、最適な輸送方法といえるが、荷物が偏在すると、空の状態でこの物理的なコンテナを返送するコストが生じてしまう。 Conventionally, when transporting luggage to a store, in order to increase the efficiency of transportation, the luggage was stored in a physical container and transported. However, after use, this traditional physical container must be returned to the location of the shipment. If cargo of the same nature is not unevenly distributed, it can be said to be the optimal transportation method, but if cargo is unevenly distributed, the cost of returning this physical container empty will be incurred.
この点を仮想コンテナは、物理的なコンテナを使用することなく、あたかも仮想のパレットやカゴ車などに荷物が混載され車両に積載されて輸送されているように扱うものである。情報システム上では、荷物の発店と着店間を方向性をもつ一つの仮想コンテナが輸送され、同時にその中の荷物が輸送されると把握されるもので、方向性をもつ仮想コンテナは、着店に着くと消去され、他店への回送は不必要である。仮想コンテナは、物理的な実態はなく、サーバ空間上のコンテナとして処理されるので、実空間で実際に荷物が運行車両などに積載されて輸送されるまでは、容量に制限はない。制限は、具体的に発店あるいは発集約店などで仮想コンテナの荷物が車両などに積載されるときに、使用される運行車両などの積載制限により発生する。そのときは、仮想コンテナは分割されるものとして扱い、枝番号を付与して、具体的な車両などに積載された個々の仮想コンテナを識別すれば問題はない。前述のように、同じ発店から同じ着店への仮想コンテナが荷主の要望により、運行コースが異なる場合、やはり分割し、違うハイパーコンテナに積載することも可能である。 In this respect, virtual containers handle cargo as if it were being mixed on virtual pallets, carts, etc., and loaded onto a vehicle for transportation, without using a physical container. On the information system, it is understood that a virtual container with directionality is transported between the departure and arrival of the goods, and the goods inside it are transported at the same time.A virtual container with directionality is When it arrives at the store, it will be deleted and there is no need to forward it to another store. A virtual container has no physical reality and is processed as a container in server space, so there is no limit to its capacity until the cargo is actually loaded onto a moving vehicle or the like and transported in real space. Specifically, the restrictions occur due to the loading restrictions of the operating vehicles used when the virtual container cargo is loaded onto a vehicle or the like at a departure store or an originating and aggregating store. In that case, there is no problem if the virtual container is treated as being divided and a branch number is assigned to identify each virtual container loaded on a specific vehicle. As mentioned above, if the virtual containers from the same departure store to the same destination store have different operation courses due to the shipper's request, it is also possible to divide the containers and load them into different hypercontainers.
また、ハンディターミナルには、測位シテスムの受信装置と、受信した測位情報である緯度経度情報を記憶または送信する装置を備え、運送情報処理装置は、集荷作業または配達作業で測位した顧客の住所を測位した経度緯度情報で記憶設定される。これにより、顧客の住所情報を情報システム上の地図情報として管理でき、情報管理を容易にできる。 In addition, the handy terminal is equipped with a positioning system receiving device and a device for storing or transmitting latitude and longitude information, which is the received positioning information. The longitude and latitude information determined is stored and set. Thereby, customer address information can be managed as map information on the information system, and information management can be facilitated.
また、運送情報処理装置3は、同一の仮想コンテナに、同一の荷物識別記号が付された荷物が、集荷されても、同一仮想コンテナに搭載される場合には、一つのグループの荷物として同一仮想コンテナに積載されたものとして処理する。これより、顧客自身のユニークな識別記号が重複しても問題なく輸送することができる。
In addition, even if packages with the same package identification symbol attached to the same virtual container are loaded in the same virtual container, the transportation
また、荷物を運送する車両が搭載して運送情報処理装置3に送信する車両の位置、走行速度などの車両の走行データは、発送拠点から車両が出発して、次に到達する拠点の近傍に設定されたプライオリティエリアに入る予測時間まで、走行データの収集または処理を抑止し、予測時間を経過すると、前記抑止を解除する。これにより、リアルタイムで車両の運行データ処理の負荷を低減できる。
In addition, vehicle travel data such as the vehicle position and traveling speed that are carried by the vehicle that transports the cargo and transmitted to the transportation
1-1~1-5…情報処理端末
2-1~2-4…ハンディターミナル
3…運送情報処理装置
4…通信網
1-1 to 1-5...Information processing terminal 2-1 to 2-4...
Claims (7)
前記運送情報処理装置は、
前記発店から前記着店までの輸送ルートを示す複数の店間輸送ダイヤグラムから、運送する前記荷物の運送コスト、到着時間、輸送時間が顧客の条件にあう店間輸送ダイヤグラムを選択し、店間輸送ダイヤグラムにより前記荷物の輸送を管理する管理手段を備え、
前記店間輸送ダイヤグラムは、前記発店、前記着店、または前記発店から前記着店の間に存在する拠点間を結ぶ輸送ルートについて輸送手段の出発する発拠点と発時刻、および到着する着拠点と着時刻、並びにその輸送時間を表す運行コースから構成されている
ことを特徴とする運送情報処理シテスム。 At least, an information processing device at the originating store where the customer's package is shipped, an information processing device at the destination store where the package is shipped, and a transportation information processing device that controls the entire system are connected via a communication network. A transportation information processing system that processes information regarding the transportation of the luggage between the information processing device and the transportation information processing device to manage the transportation of the luggage from the departure store to the arrival store,
The transportation information processing device includes:
From a plurality of inter-store transportation diagrams showing transportation routes from the store departure to the arrival store, select the inter-store transportation diagram that meets the customer's conditions for the transportation cost, arrival time, and transportation time of the cargo to be transported, and comprising a management means for managing the transportation of the cargo using a transportation diagram,
The inter-store transportation diagram shows the departure point and departure time from which the means of transportation departs, and the arrival time for the transportation route connecting the departure store, the arrival store, or between the bases existing between the departure store and the arrival store. A transportation information processing system characterized by consisting of a travel course that represents the base, arrival time, and transportation time.
前記運送情報処理装置は、
前記発拠点で明示され、前記着拠点への荷物が積載される収納容器として、仮想コンテナを作成し、前記仮想コンテナに同一の前記着拠点を宛先とする前記荷物を収納して運送されるとして、前記荷物の輸送を管理する、
ことを特徴とする運送情報処理シテスム。 The transportation information processing system according to claim 1,
The transportation information processing device includes:
It is assumed that a virtual container is created as a storage container specified at the departure point and loaded with cargo destined for the destination point, and that the cargo destined for the same destination point is stored and transported in the virtual container. , managing the transportation of said cargo;
A transportation information processing system characterized by:
前記仮想コンテナは、前記着拠点への荷物が積載される第一の仮想コンテナと、前記選定された店間輸送ダイヤグラムの運行ルートの輸送手段に積載され、前記第一の仮想コンテナが積載される第二の仮想コンテナとを有する、
ことを特徴とする運送情報処理システム。 In the transportation information processing system according to claim 2,
The virtual container is loaded into a first virtual container in which cargo to the arrival point is loaded, and a transportation means on the operation route of the selected inter-store transportation diagram, and the first virtual container is loaded. a second virtual container;
A transportation information processing system characterized by:
前記荷物の荷作業を行う前記発拠点、前記着拠点、荷物の集約を行う集約拠点は、荷作業を行う作業員が携行するハンディターミナルを備えており、
作業員が荷作業を行う際には、前記仮想コンテナに紐づけされた前記荷物の識別記号が前記ハンディターミナルに表示されて、荷作業の確認が行われる、
ことを特徴とする運送情報処理システム。 In the transportation information processing system according to claim 2 or 3,
The departure base where the cargo is loaded, the arrival base where the luggage is loaded, and the collection base where the luggage is consolidated are equipped with handheld terminals carried by workers who carry out the cargo work,
When a worker carries out cargo work, the identification symbol of the cargo linked to the virtual container is displayed on the handy terminal, and the cargo work is confirmed.
A transportation information processing system characterized by:
前記ハンディターミナルには、測位シテスムの受信装置と、受信した測位情報である緯度経度情報を記憶または送信する装置を備え、
前記運送情報処理装置は、集荷作業または配達作業で測位した顧客の住所を測位した経度緯度情報で記憶設定する、
ことを特徴とする運送情報処理シテスム。 In the transportation information processing system according to claim 4,
The handy terminal includes a positioning system receiving device and a device for storing or transmitting latitude and longitude information that is received positioning information,
The transportation information processing device stores and sets the customer's address, which is determined during the collection or delivery operation, using the determined longitude and latitude information.
A transportation information processing system characterized by:
前記運送情報処理装置は、
同一の仮想コンテナに、同一の荷物識別記号が付された荷物が、集荷されても、同一仮想コンテナに搭載される場合には、一つのグループの荷物として、同一仮想コンテナに積載されたものとして処理する、
ことを特徴とする運送情報処理シテスム。 In the transportation information processing system according to claim 2 or 3,
The transportation information processing device includes:
Even if cargoes with the same cargo identification symbol are collected in the same virtual container, if they are loaded into the same virtual container, they will be treated as one group of cargo and loaded into the same virtual container. process,
A transportation information processing system characterized by:
前記運送情報処理装置は、
前記荷物を運送する車両が搭載して前記運送情報処理装置に送信する車両の位置、走行速度などの車両の走行データは、発送拠点から車両が出発して、次に到達する拠点の近傍に設定されたプライオリティエリアに入る予測時間まで、走行データの収集または処理を抑止し、予測時間を経過すると、前記抑止を解除する、
ことを特徴とする運送情報処理システム。 In the transportation information processing system according to claim 2 or 3,
The transportation information processing device includes:
Vehicle travel data, such as vehicle position and travel speed, which is carried by the vehicle transporting the cargo and transmitted to the transportation information processing device, is set near the base where the vehicle departs from the shipping base and arrives at the next base. suppressing the collection or processing of driving data until the predicted time when the vehicle enters the priority area, and canceling the suppression when the predicted time elapses;
A transportation information processing system characterized by:
Priority Applications (1)
| Application Number | Priority Date | Filing Date | Title |
|---|---|---|---|
| JP2022123965A JP2024021254A (en) | 2022-08-03 | 2022-08-03 | Transportation information processing system |
Applications Claiming Priority (1)
| Application Number | Priority Date | Filing Date | Title |
|---|---|---|---|
| JP2022123965A JP2024021254A (en) | 2022-08-03 | 2022-08-03 | Transportation information processing system |
Publications (1)
| Publication Number | Publication Date |
|---|---|
| JP2024021254A true JP2024021254A (en) | 2024-02-16 |
Family
ID=89855226
Family Applications (1)
| Application Number | Title | Priority Date | Filing Date |
|---|---|---|---|
| JP2022123965A Pending JP2024021254A (en) | 2022-08-03 | 2022-08-03 | Transportation information processing system |
Country Status (1)
| Country | Link |
|---|---|
| JP (1) | JP2024021254A (en) |
Cited By (3)
| Publication number | Priority date | Publication date | Assignee | Title |
|---|---|---|---|---|
| CN119151411A (en) * | 2024-11-18 | 2024-12-17 | 青岛前湾集装箱码头有限责任公司 | Container tracking data processing method based on machine learning |
| JP7623756B1 (en) * | 2024-08-23 | 2025-01-29 | 株式会社ティスコ運輸 | Support equipment for mixed transport |
| CN119558753A (en) * | 2025-01-26 | 2025-03-04 | 山东港口烟台港集团有限公司 | A port logistics control method and system |
-
2022
- 2022-08-03 JP JP2022123965A patent/JP2024021254A/en active Pending
Cited By (3)
| Publication number | Priority date | Publication date | Assignee | Title |
|---|---|---|---|---|
| JP7623756B1 (en) * | 2024-08-23 | 2025-01-29 | 株式会社ティスコ運輸 | Support equipment for mixed transport |
| CN119151411A (en) * | 2024-11-18 | 2024-12-17 | 青岛前湾集装箱码头有限责任公司 | Container tracking data processing method based on machine learning |
| CN119558753A (en) * | 2025-01-26 | 2025-03-04 | 山东港口烟台港集团有限公司 | A port logistics control method and system |
Similar Documents
| Publication | Publication Date | Title |
|---|---|---|
| US20250045651A1 (en) | Baggage delivery system and method | |
| JP3416635B2 (en) | Vehicle dispatching service providing system and vehicle dispatching planning system | |
| Grünert et al. | Planning models for long-haul operations of postal and express shipment companies | |
| RU2337768C2 (en) | Method and device for distribution of parcels or similar transported cargo | |
| US8880416B2 (en) | Systems and methods for creating on-demand routes for powered industrial vehicles | |
| JP2024021254A (en) | Transportation information processing system | |
| JPH11296581A (en) | Cargo information management method and cargo management system using electronic tags | |
| JP3875672B2 (en) | Joint delivery information management system | |
| US20210097636A1 (en) | Logistics System and Logistics Method | |
| Behnke | Recent trends in last mile delivery: Impacts of fast fulfillment, parcel lockers, electric or autonomous vehicles, and more | |
| JP2020166505A (en) | A system that supports the delivery of packages | |
| JP2019112226A (en) | Delivery method of article and delivery information processing system | |
| JP2001225926A (en) | Delivery support device, sorting support device, and delivery method using electronic tag | |
| JPH09110137A (en) | Transport management device | |
| JP3516606B2 (en) | Transportation planning method and system | |
| JP2002308439A (en) | Commodities delivery system | |
| JP7511835B2 (en) | Delivery management system and delivery management method | |
| JP2002193450A (en) | Transport freight logistics control method and logistics control system | |
| JP2011207593A (en) | Delivery information processing system using roll box pallet | |
| US20200286027A1 (en) | System and methods for last mile delivery of goods | |
| JP5833736B1 (en) | Delivery method of baggage roll box pallet | |
| JP2003171020A (en) | Distribution method and system for goods such as goods | |
| KR100816983B1 (en) | Delivery system and method using wireless information | |
| KR20020019736A (en) | System for transferring goods and method thereof | |
| JP2000302212A (en) | Logistics planning calculation system |
