JP2023104451A - 給送装置及び記録装置 - Google Patents
給送装置及び記録装置 Download PDFInfo
- Publication number
- JP2023104451A JP2023104451A JP2022005444A JP2022005444A JP2023104451A JP 2023104451 A JP2023104451 A JP 2023104451A JP 2022005444 A JP2022005444 A JP 2022005444A JP 2022005444 A JP2022005444 A JP 2022005444A JP 2023104451 A JP2023104451 A JP 2023104451A
- Authority
- JP
- Japan
- Prior art keywords
- holder
- feeding
- feeding device
- roller
- paper
- Prior art date
- Legal status (The legal status is an assumption and is not a legal conclusion. Google has not performed a legal analysis and makes no representation as to the accuracy of the status listed.)
- Granted
Links
Images
Classifications
-
- B—PERFORMING OPERATIONS; TRANSPORTING
- B65—CONVEYING; PACKING; STORING; HANDLING THIN OR FILAMENTARY MATERIAL
- B65H—HANDLING THIN OR FILAMENTARY MATERIAL, e.g. SHEETS, WEBS, CABLES
- B65H3/00—Separating articles from piles
- B65H3/02—Separating articles from piles using friction forces between articles and separator
- B65H3/06—Rollers or like rotary separators
-
- B—PERFORMING OPERATIONS; TRANSPORTING
- B65—CONVEYING; PACKING; STORING; HANDLING THIN OR FILAMENTARY MATERIAL
- B65H—HANDLING THIN OR FILAMENTARY MATERIAL, e.g. SHEETS, WEBS, CABLES
- B65H3/00—Separating articles from piles
- B65H3/46—Supplementary devices or measures to assist separation or prevent double feed
- B65H3/52—Friction retainers acting on under or rear side of article being separated
- B65H3/5246—Driven retainers, i.e. the motion thereof being provided by a dedicated drive
- B65H3/5253—Driven retainers, i.e. the motion thereof being provided by a dedicated drive the retainers positioned under articles separated from the top of the pile
- B65H3/5261—Retainers of the roller type, e.g. rollers
-
- B—PERFORMING OPERATIONS; TRANSPORTING
- B65—CONVEYING; PACKING; STORING; HANDLING THIN OR FILAMENTARY MATERIAL
- B65H—HANDLING THIN OR FILAMENTARY MATERIAL, e.g. SHEETS, WEBS, CABLES
- B65H3/00—Separating articles from piles
- B65H3/34—Article-retaining devices controlling the release of the articles to the separators
-
- B—PERFORMING OPERATIONS; TRANSPORTING
- B65—CONVEYING; PACKING; STORING; HANDLING THIN OR FILAMENTARY MATERIAL
- B65H—HANDLING THIN OR FILAMENTARY MATERIAL, e.g. SHEETS, WEBS, CABLES
- B65H3/00—Separating articles from piles
- B65H3/46—Supplementary devices or measures to assist separation or prevent double feed
- B65H3/52—Friction retainers acting on under or rear side of article being separated
- B65H3/5207—Non-driven retainers, e.g. movable retainers being moved by the motion of the article
- B65H3/5215—Non-driven retainers, e.g. movable retainers being moved by the motion of the article the retainers positioned under articles separated from the top of the pile
-
- B—PERFORMING OPERATIONS; TRANSPORTING
- B65—CONVEYING; PACKING; STORING; HANDLING THIN OR FILAMENTARY MATERIAL
- B65H—HANDLING THIN OR FILAMENTARY MATERIAL, e.g. SHEETS, WEBS, CABLES
- B65H3/00—Separating articles from piles
- B65H3/46—Supplementary devices or measures to assist separation or prevent double feed
- B65H3/56—Elements, e.g. scrapers, fingers, needles, brushes, acting on separated article or on edge of the pile
- B65H3/565—Elements, e.g. scrapers, fingers, needles, brushes, acting on separated article or on edge of the pile for reintroducing partially separated articles in the stack
-
- B—PERFORMING OPERATIONS; TRANSPORTING
- B65—CONVEYING; PACKING; STORING; HANDLING THIN OR FILAMENTARY MATERIAL
- B65H—HANDLING THIN OR FILAMENTARY MATERIAL, e.g. SHEETS, WEBS, CABLES
- B65H2402/00—Constructional details of the handling apparatus
- B65H2402/50—Machine elements
- B65H2402/54—Springs, e.g. helical or leaf springs
-
- B—PERFORMING OPERATIONS; TRANSPORTING
- B65—CONVEYING; PACKING; STORING; HANDLING THIN OR FILAMENTARY MATERIAL
- B65H—HANDLING THIN OR FILAMENTARY MATERIAL, e.g. SHEETS, WEBS, CABLES
- B65H2404/00—Parts for transporting or guiding the handled material
- B65H2404/10—Rollers
- B65H2404/14—Roller pairs
- B65H2404/143—Roller pairs driving roller and idler roller arrangement
- B65H2404/1431—Roller pairs driving roller and idler roller arrangement idler roller details
-
- B—PERFORMING OPERATIONS; TRANSPORTING
- B65—CONVEYING; PACKING; STORING; HANDLING THIN OR FILAMENTARY MATERIAL
- B65H—HANDLING THIN OR FILAMENTARY MATERIAL, e.g. SHEETS, WEBS, CABLES
- B65H2404/00—Parts for transporting or guiding the handled material
- B65H2404/10—Rollers
- B65H2404/15—Roller assembly, particular roller arrangement
- B65H2404/152—Arrangement of roller on a movable frame
-
- B—PERFORMING OPERATIONS; TRANSPORTING
- B65—CONVEYING; PACKING; STORING; HANDLING THIN OR FILAMENTARY MATERIAL
- B65H—HANDLING THIN OR FILAMENTARY MATERIAL, e.g. SHEETS, WEBS, CABLES
- B65H2404/00—Parts for transporting or guiding the handled material
- B65H2404/10—Rollers
- B65H2404/15—Roller assembly, particular roller arrangement
- B65H2404/152—Arrangement of roller on a movable frame
- B65H2404/1521—Arrangement of roller on a movable frame rotating, pivoting or oscillating around an axis, e.g. parallel to the roller axis
-
- B—PERFORMING OPERATIONS; TRANSPORTING
- B65—CONVEYING; PACKING; STORING; HANDLING THIN OR FILAMENTARY MATERIAL
- B65H—HANDLING THIN OR FILAMENTARY MATERIAL, e.g. SHEETS, WEBS, CABLES
- B65H2404/00—Parts for transporting or guiding the handled material
- B65H2404/10—Rollers
- B65H2404/16—Details of driving
- B65H2404/165—Details of driving braking roller
-
- B—PERFORMING OPERATIONS; TRANSPORTING
- B65—CONVEYING; PACKING; STORING; HANDLING THIN OR FILAMENTARY MATERIAL
- B65H—HANDLING THIN OR FILAMENTARY MATERIAL, e.g. SHEETS, WEBS, CABLES
- B65H2405/00—Parts for holding the handled material
- B65H2405/30—Other features of supports for sheets
- B65H2405/32—Supports for sheets partially insertable - extractable, e.g. upon sliding movement, drawer
- B65H2405/324—Supports for sheets partially insertable - extractable, e.g. upon sliding movement, drawer between operative position and non operative position
-
- B—PERFORMING OPERATIONS; TRANSPORTING
- B65—CONVEYING; PACKING; STORING; HANDLING THIN OR FILAMENTARY MATERIAL
- B65H—HANDLING THIN OR FILAMENTARY MATERIAL, e.g. SHEETS, WEBS, CABLES
- B65H2407/00—Means not provided for in groups B65H2220/00 – B65H2406/00 specially adapted for particular purposes
- B65H2407/20—Means not provided for in groups B65H2220/00 – B65H2406/00 specially adapted for particular purposes for manual intervention of operator
- B65H2407/21—Manual feeding
-
- B—PERFORMING OPERATIONS; TRANSPORTING
- B65—CONVEYING; PACKING; STORING; HANDLING THIN OR FILAMENTARY MATERIAL
- B65H—HANDLING THIN OR FILAMENTARY MATERIAL, e.g. SHEETS, WEBS, CABLES
- B65H2801/00—Application field
- B65H2801/03—Image reproduction devices
- B65H2801/06—Office-type machines, e.g. photocopiers
Landscapes
- Engineering & Computer Science (AREA)
- Mechanical Engineering (AREA)
- Sheets, Magazines, And Separation Thereof (AREA)
Abstract
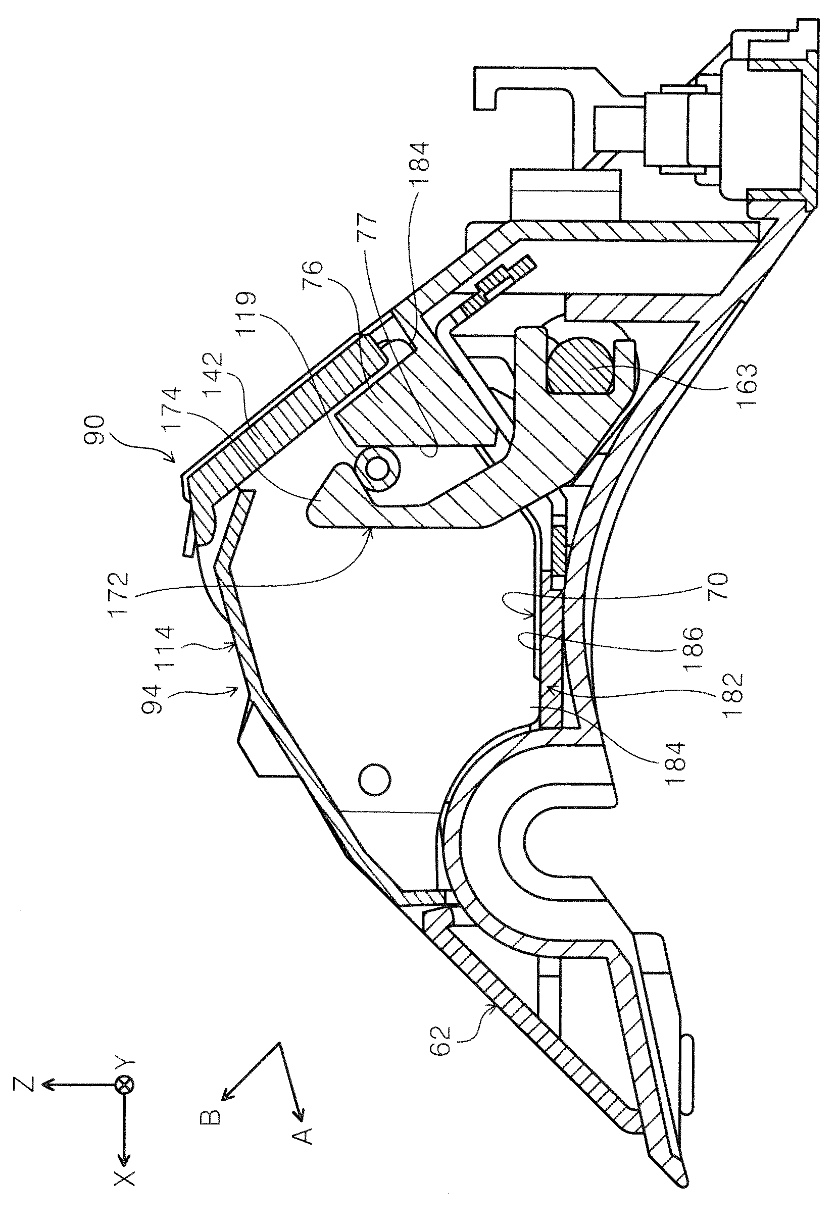
【解決手段】給送ユニット50は、リタードローラー52と、第1ホルダー96と、第2ホルダー114と、収容部70と、押圧部80と、第2押圧部156と、レリースレバー162と、第2規制部182とを備える。収容部70は第2ホルダー114を収容する。第2押圧部156は、+Z方向に第2ホルダー114を押圧する。レリースレバー162は第2ホルダー114の+Z方向の移動を規制する。第2ホルダー114は、Y方向且つ+A方向のそれぞれに被規制部184が複数設けられる。第2規制部182は第2ホルダー114の-Z方向の移動を規制する。第2規制部182は、規制面186を有する。規制面186は、収容部70に設けられ複数の被規制部184と接触可能である。
【選択図】図18
Description
しかし、第2ホルダーは、離脱補助バネが弾性変形するため、下方へ移動した場合に位置が決まらなくなる虞がある。このように、第1ホルダー及び第2ホルダーを有し且つ第2ホルダーを収容部に収容する構成において、第2ホルダーの位置が決まらなくなる虞がある。
第1の態様に係る給送装置は、媒体を給送する給送ローラーと接触することで回転されるリタードローラーと、前記リタードローラーを回転可能に保持する第1ホルダーと、前記第1ホルダーを揺動可能に保持する第2ホルダーと、前記第2ホルダーを収容する収容部と、前記第2ホルダーが前記収容部から離れる退避方向に前記第2ホルダーを押圧する押圧部と、前記第2ホルダーの前記退避方向の移動を規制する第1規制部と、前記第2ホルダーの前記退避方向とは反対方向の移動を規制する第2規制部と、を備え、前記第2ホルダーは、前記媒体の給送方向及び前記退避方向の両方と交差する前記媒体の幅方向、且つ前記給送方向のそれぞれに被規制部が複数設けられ、前記第2規制部は、前記収容部に設けられ複数の前記被規制部と接触可能な規制面を有することを特徴とする。
また、前記給送ローラーと前記リタードローラーとで形成されるニップ部に、所定の厚さより厚い前記媒体が進入した場合、前記リタードローラーの前記反対方向の移動に伴って前記第1ホルダーが揺動される。これにより、前記第2ホルダーに前記反対方向の力が作用する可能性があるが、前記第2ホルダーが前記反対方向に変位しようとした場合、複数の前記被規制部の少なくとも1つと、前記第2規制部の前記規制面とが接触することで、前記第2ホルダーの前記反対方向の移動が規制される。
これらの作用により、前記第2ホルダーの位置が、前記退避方向又は前記反対方向にずれることを抑制できる。
本態様によれば、前記第2ホルダーの前記幅方向の両端部において、前記係合部が前記被係合部に係合されることで、前記第2ホルダーの前記退避方向の移動が規制される。これにより、前記第2ホルダーの前記幅方向の1箇所のみが規制される構成に比べて、前記第2ホルダーの移動の規制時に、前記第2ホルダーに不要なモーメントが作用しにくくなるので、前記第2ホルダーの姿勢の変化を抑制できる。
本態様によれば、前記第1規制部がスライドする構成に比べて前記第1規制部の移動範囲を小さくできるので、前記給送装置を小型化できる。
本態様によれば、前記操作部を有することで、前記第1規制部を揺動させるときの操作を行い易くなる。
本態様によれば、前記第1傾斜面が前記被係合部と接触することで、前記被係合部に前記反対方向の成分を含む押付力が作用する。これにより、前記第2ホルダーを前記収容部に保持し易くなる。
また、前記第2傾斜面が前記被係合部と接触することで、前記被係合部に前記退避方向の成分を含む押付力が作用する。これにより、前記第2ホルダーを前記収容部から離脱させ易くなる。
本態様によれば、前記被係合部が前記係合部と前記縦壁部とで挟まれることで移動されにくくなるので、前記係合部が前記被係合部に係合した場合の前記被係合部の位置ずれを抑制できる。
本態様によれば、前記他の押圧部から前記第1ホルダーに作用する押圧力によって、前記リタードローラーが前記給送ローラーに近づく。これにより、前記給送ローラーと前記リタードローラーとの間のニップ部に、比較的厚い前記媒体が進入する場合でも、前記媒体を前記リタードローラーによって捌き易くなる。
本態様によれば、前記第2ホルダーを前記収容部に収容した状態において、前記第2ホルダーに対して前記案内部の位置を調整可能となる。これにより、前記給送ローラーの外周面と前記案内部とで形成される間隔の調整を行い易くなる。
本態様によれば、第1の態様から第8の態様のいずれか一つと同様の作用及び効果を得ることができる。
以下、本発明に係る記録装置及び給送装置の一例である実施形態1として、プリンター10及び給送ユニット50を具体的に説明する。
図1には、プリンター10が示される。プリンター10は、媒体の一例としての用紙Pに対し、液体の一例であるインクQを吐出することで記録を行う記録装置の一例である。具体的には、プリンター10は、給送装置の一例である給送ユニット50と、給送ユニット50から給送される用紙Pに記録する記録部の一例である記録ヘッド24とを備える。
X方向は、プリンター10のユーザーから見た装置幅方向であり、水平方向である。X方向のうち左に向かう方向を+X方向、右に向かう方向を-X方向とする。
Y方向は、用紙Pの給送方向と交差する用紙Pの幅方向且つ装置奥行方向であり、水平方向である。Y方向の手前に向かう方向を-Y方向、奥に向かう方向を+Y方向とする。
Z方向は、装置高さ方向であり、一例として、鉛直方向である。Z方向の上に向かう方向を+Z方向、下に向かう方向を-Z方向とする。+Z方向は、退避方向の一例である。-Z方向は、反対方向の一例である。
また、給紙トレイ21において、用紙Pが積載される方向を+B方向とする。つまり、+B方向は、積載方向の一例であり、A方向、X方向、Y方向及びZ方向と交差する方向である。+B方向とは反対となる方向を-B方向とする。
扉部17には、-X方向に向けて開口する開口部19が形成される。また、扉部17には、開口部19を開閉可能な給紙トレイ21が設けられる。給紙トレイ21については後述する。
また、搬送経路Tは、用紙Pの表裏を反転させるための反転路T2と繋がる。さらに、搬送経路Tは、用紙Pを搬送する不図示の複数の搬送ローラー対と、搬送路を切り替えるフラップ23と、用紙PのY方向の幅を検出する不図示のセンサーとが配置される。
また、搬送経路Tには、既述の記録ヘッド24と、記録ヘッド24と対向する位置において用紙Pを支持する支持台26とが配置される。
制御部28は、不図示のCPU(Central Processing Unit)、ROM(Read Only Memory)、RAM(Random Access Memory)及びストレージを含んで構成され、プリンター10における用紙Pの搬送や、記録ヘッド24を含む各部の動作を制御する。
上壁33は、直立された給紙トレイ21の+Z方向の端部と接触する。
下壁34は、上壁33に対する-Z方向且つ+X方向の位置に設けられる。また、下壁34には、ローラーカバー36が設けられる。下壁34に対する-Z方向には、後述するベースガイド62が設けられる。
扉部17へのローラーカバー36の装着状態において、ローラーカバー36は、後述する給送ローラー46(図3)、ツマミ112(図10)及び操作部164(図6)を+Z方向且つ-X方向から覆う。一方、ローラーカバー36が扉部17から取り外された状態では、給送ローラー46、ツマミ112及び操作部164が、+Z方向且つ-X方向に露出される。
図2、図3、図4に示されるように、給送ユニット50は、給紙トレイ21と、リフター29と、給送ローラー46と、リタードローラー52と、ベースガイド62と、収容部70と、第1押圧部80と、ホルダー部94と、ガイドプレート142とを備える。さらに、給送ユニット50は、捌き部150(図4)と、第2押圧部156(図7)と、レリースレバー162(図16)と、第2規制部182(図7)と、外側捌き部167(図6)とを備える。
また、給紙トレイ21は、板状に形成される。給紙トレイ21は、用紙Pが載置される載置面21Aを有する。載置面21Aには、サイドガイド22が設けられる。サイドガイド22は、載置面21Aに積載された複数の用紙PのY方向の両端を揃える。
駆動軸42は、Y方向を軸方向として延びる。駆動軸42は、扉部17に回転可能に支持される。また、駆動軸42は、不図示のモーター及びギヤにより回転される。
また、給送ローラー46は、Y方向を軸方向として配置される。給送ローラー46は、駆動軸42に装着されることで、駆動軸42の回転に伴う回転が可能となる。なお、給送ローラー46は、駆動軸42に対して着脱可能に設けられる。
リタードローラー52は、用紙Pを分離する分離部材の一例である。
収容部70は、前壁部63のY方向の中央部と上壁部64のY方向の中央部とに跨って形成される。具体的には、収容部70は、+Z方向に開放された凹部として形成される。
底壁72は、ほぼX-Y面に沿って配置される。底壁72の+Y方向の端部には、貫通孔73が形成される。貫通孔73の縁部には、2つのガイド壁74がY方向に間隔をあけて設けられる。2つのガイド壁74は、底壁72から+Z方向に直立する。
2つの縦壁部76は、前壁75から+X方向及び+Z方向に突出する。2つの縦壁部76の高さは、後述する内側壁92の高さより低い。2つの縦壁部76における+X方向の端部には、接触面77が形成される。縦壁部76における+Z方向の端部には、上面78(図17)が形成される。
上面78(図17)は、収容部70への第2ホルダー114の装着時に、ダボ119及びダボ128の押し込みによりレリースレバー162(図16)を揺動させるための斜面であり、第2ホルダー114の離脱時にダボ119及びダボ128を保持する役割を兼ねる。
このように、収容部70には、ダボ119及びダボ128をZ方向に案内する縦壁部76が設けられる。
後壁86には、Y方向に間隔をあけて2つの貫通孔87が形成される。貫通孔87の縁部88は、後述する突出部132(図9)が保持される部位である。
内側壁92は、底壁72、前壁75及び後壁86におけるそれぞれのY方向の両端部からZ方向に直立される。また、内側壁92は、X-Z面に沿って配置される。内側壁92には、後述する係合部172をY方向に露出させる窪み部93が設けられる。
コイルばね85は、不図示のフレームに取り付けられ、貫通孔75Aを通して前壁75から+Z方向に突出される。
2つの延在部83Aは、Y方向に間隔をあけて配置され、それぞれX方向に延びる。2つの延在部83Aにおいて、それぞれの+X方向の端部には、不図示の連結ピンが形成される。該連結ピンは、リブ84の不図示の連結孔に連結される。これにより、押圧レバー83は、該連結ピンを中心として回動可能となる。
接触部83Cは、キャップ部83BのY方向の中央部において、+Z方向に突出された部位である。また、接触部83Cは、Y方向に延びる半円柱状に形成される。
押圧レバー83は、コイルばね85によって+Z方向に押圧される。そして、接触部83Cは、後述する湾曲壁99(図9)に-Z方向から接触することで、第1ホルダー96(図9)を+Z方向に押圧する。
ホルダー部94は、収容部70(図7)に収容される。なお、ホルダー部94における少なくとも+Z方向の部位は、ベースガイド62(図7)から外側へ露出される。
ここで、リタードローラー52、トルクリミッター55、ホルダー部94及び後述するガイドプレート142をまとめて着脱ユニット90と称する。着脱ユニット90は、収容部70に対して装着及び離脱可能である。換言すると、ホルダー部94は、収容部70に着脱可能に設けられる。
ローラー収容部98は、半円筒状に形成されており、湾曲壁99と、左側壁101と、右側壁102とを有する。湾曲壁99は、リタードローラー52の一部を収容可能に形成される。
連結ピン108は、摘み部104から+Y方向及び-Y方向に突出される。なお、-Y方向の連結ピン108の図示は省略する。連結ピン108は、摘み部104が弾性変形されることで、後述する左フレーム116及び右フレーム117に連結される。これにより、第1ホルダー96は、第2ホルダー114に対して相対的な回転が可能となる。
なお、リタードローラー52は、ツマミ112が-Z方向の成分を含む方向に操作されることで、給送ローラー46(図3)から離れる。
前フレーム115は、第2ホルダー114の中心に対する-X方向且つ-Z方向の部位を構成する。また、前フレーム115は、Y方向に延在される。前フレーム115には、後述するコイルばね146の下端部が接触される。
ダボ119は、円柱状に形成されており、左フレーム116から-Y方向に突出される。左フレーム116における+X方向且つ+Z方向の位置には、不図示の連結孔が形成される。
上フレーム118は、Z方向から見て-X方向に開口するU字状に形成される。また、上フレーム118は、左フレーム116及び右フレーム117を+Z方向から覆う。
ダボ119及びダボ128は、第2ホルダー114のY方向の両端部に設けられた被係合部の一例である。
突出部132は、Y方向から見てL字状に形成されており、X方向に弾性変形が可能である。突出部132は、縁部88(図7)との接触状態を維持したまま、縁部88に対する揺動が可能である。換言すると、突出部132は、Y方向から見て、ホルダー部94の揺動の支点となる。
被押圧部136は、上フレーム118から-Z方向に延びる。また、被押圧部136は、一例として、+Z方向に見て十字形状に形成される。被押圧部136の-Z方向の端部には、被押圧面139が形成される。被押圧面139には、後述する第2押圧部156(図7)が接触する。このように、被押圧部136は、第2押圧部156によって+Z方向に押圧される部位である。
第1ホルダー96と第2ホルダー114は、連結ピン108などにより連結されている。そして、第1ホルダー96は、第1ホルダー96に外力が作用された場合、揺動される。
ガイドプレート142は、第2ホルダー114の前フレーム115に設けられる。換言すると、ガイドプレート142は、ホルダー部94に設けられる。
2つの調整孔143は、それぞれB方向に延びる長孔である。また、2つの調整孔143は、2つのねじ孔103Aと連通可能に、Y方向に間隔をあけて配置される。
孔部144は、+Y方向の調整孔143よりも+Y方向の位置であり、且つガイドプレート142の+Y方向の端部の位置にある。
2つのフランジ部147は、ガイドプレート142のY方向の両端部から+A方向に向けて延びる板状の部位である。2つのフランジ部147には、後述する捌き部150が設けられる。換言すると、捌き部150は、ガイドプレート142に一体的に設けられており、用紙Pと接触可能である。
ねじ109がねじ孔103Aに対して緩んだ状態において、固定前のガイドプレート142の-B方向の端部がコイルばね146に接触された場合、コイルばね146は、ガイドプレート142を給送ローラー46(図3)に向けて押圧する。この状態において、ガイドプレート142に作用する外力の大きさが変わることで、ガイドプレート142の+B方向の位置が変わる。
2つの第1パッド152は、フランジ部147に設けられる。また、2つの第1パッド152は、+A方向から見て、給送ローラー46の外周面48A(図3)に対するY方向の外側に位置する。
第1パッド152は、+A方向の寸法に対してY方向の寸法が大きい矩形状の板材である。第1パッド152は、一例として、樹脂部材で構成される。なお、第1パッド152は、ゴムなどの弾性部材で構成されてもよい。第1パッド152は、フランジ部147に接着される。第1パッド152の+B方向の面である捌き面152Aは、用紙Pと接触する。捌き面152Aの用紙Pとの接触における摩擦係数μ1は、所定の値に設定されている。
ニップ部NPは、給送ローラー46とリタードローラー52との接触により形成される。給送ローラー46とリタードローラー52が線接触する状態では、ニップ部NPは、Y方向に沿った直線状に形成される。給送ローラー46とリタードローラー52が面接触する状態では、ニップ部NPは、+A方向に所定の幅を有しY方向に延びる帯状に形成される。ニップ部NPの+A方向の中央の仮想点Cとし、仮想点Cを通る外周面48Aの接線を基準線Mとする。仮想点Cは、用紙Pが分離される分離ニップ点である。仮想点Cを通り、基準線Mと直交する線を垂線Dとする。
Y方向から見て、捌き面152Aは、基準線Mに沿って延びる。
ガイドプレート142の+B方向の位置が決まった後で、ねじ109(図10)を用いて、ガイドプレート142が第2ホルダー114に取り付けられる。
点Hから捌き面152Aの+A方向の端までの長さL3〔mm〕とする。長さL3は、用紙Pが捌き面152Aを滑る距離に相当する。
外側捌き部167は、給送ローラー46(図3)に向かう用紙Pを捌く。外側捌き部167は、一例として、Y方向に間隔をあけて複数設けられる。具体的には、複数の外側捌き部167は、2つの第2パッド168により構成される。
2つの第2パッド168は、上壁部64に接着により取り付けられる。
外側捌き部167の用紙Pと接触する外側捌き面168Aは、Z方向において、捌き部150の用紙Pと接触する捌き面152Aより上方に位置する。
外側捌き面168AとX方向とが成す角度は、捌き面152AとX方向とが成す角度より大きい。
コイルばね157は、軸方向がほぼZ方向に沿うように配置される。コイルばね157の-Z方向の端部は、ベースガイド62の一部に取り付けられる。また、コイルばね157は、2つのガイド壁74(図7)の間において+Z方向に延びる。
軸部163は、Y方向に延びる円柱状に形成される。軸部163のY方向の両端部は、ベースガイド62(図15)に設けられた不図示の支持部に回転可能に支持される。軸部163には、不図示のトーションスプリングが設けられる。これにより、軸部163には、後述する係合部172を規制位置に向けて押し付ける押付力が作用する。
山部174は、Y方向から見て台形状の部位である。また、山部174は、窪み部93(図7)において収容部70の内側に露出される。そして、山部174は、ダボ119、128(図9)と係合される。
第1傾斜面176は、ダボ119及びダボ128と接触することで、ダボ119及びダボ128(図9)に-Z方向の成分を含む押付力を作用させる。
第2傾斜面178は、ダボ119及びダボ128と接触することで、ダボ119及びダボ128に+Z方向の成分を含む押付力を作用させる。
ここで、点Tに対して、線A2は、線A1より反時計回り方向に傾いている。反時計回り方向は、係合部172がダボ119及びダボ128から離れる方向である。つまり、係合部172において、第1傾斜面176は、ダボ119及びダボ128から退避し易いように傾きが調整されている。
第2規制部182は、一例として、収容部70に設けられた規制面186を有する。
4つの被規制部184は、Y方向且つ+A方向のそれぞれに間隔をあけて2つずつ設けられる。つまり、4つの被規制部184は、Y方向の辺及び+A方向の辺を有する長方形の頂点に位置するように配置される。
被規制部184Bは、左フレーム116における-Z方向且つ+X方向に位置する端部から、-Z方向に突出された凸部である。
被規制部184Cは、縦壁117Bにおける-Z方向且つ-X方向に位置する端部から、-B方向に突出された凸部である。
被規制部184Dは、縦壁117Bにおける-Z方向且つ+X方向に位置する端部から、-Z方向に突出された凸部である。
このように、被規制部184Bは、被規制部184Aに対する+A方向に位置する。被規制部184Cは、被規制部184Aに対する+Y方向に位置する。被規制部184Dは、被規制部184Bに対する+Y方向且つ被規制部184Cに対する+A方向に位置する。
規制面186は、一例として、底壁72の+Z方向の上面186Aと、前壁75の+B方向の上面186Bとから成る。
ここで、被規制部184A及び被規制部184Cが上面186Aと接触し、被規制部184B及び被規制部184Dが上面186Bと接触することで、第2ホルダー114の-Z方向の移動が規制される。
収容状態において、着脱ユニット90の中心線CLに対する-Y方向の部位は、ダボ119が-Y方向の係合部172と係合することで、+Z方向の移動が規制される。着脱ユニット90の中心線CLに対する+Y方向の部位は、ダボ128が+Y方向の係合部172と係合することで、+Z方向の移動が規制される。
さらに、第2ホルダー114の4つの被規制部184(図9)は、規制面186(図19)と接触することで、-Z方向の移動が規制される。
このように、収容状態において、着脱ユニット90は、+Z方向及び-Z方向の移動が規制される。
図3及び図4に示されるように、給送ローラー46及びリタードローラー52を交換する場合、給紙トレイ21が開放され、ローラーカバー36が取り外される。第1ホルダー96のツマミ112が押し下げられることで、給送ローラー46への押圧状態が解除される。そして、給送ローラー46が-Y方向に取り外される。
続いて、第1ホルダー96のツマミ112が押し下げられた状態で、給送ローラー46が取り付けられる。続いて、ローラーカバー36が扉部17に取り付けられることで交換作業が終了する。
給送ユニット50によれば、用紙Pの下流端が第2ホルダー114又はガイドプレート142と接触することで、第2ホルダー114が+Z方向に変位しようとした場合、レリースレバー162が第2ホルダー114の+Z方向の移動を規制する。
また、給送ローラー46とリタードローラー52とで形成されるニップ部NPに、所定の厚さより厚い用紙Pが進入した場合、リタードローラー52の-Z方向の移動に伴って第1ホルダー96が揺動される。これにより、第2ホルダー114に-Z方向の力が作用する可能性があるが、第2ホルダー114が-Z方向に変位しようとした場合、複数の被規制部184の少なくとも1つと、第2規制部182の規制面186とが接触することで、第2ホルダー114の-Z方向の移動が規制される。
これらの作用により、第2ホルダー114の位置が、+Z方向又は-Z方向にずれることを抑制できる。
給送ユニット50によれば、操作部164を有することで、レリースレバー162を揺動させるときの操作を行い易くなる。
また、第2傾斜面178がダボ119、128と接触することで、ダボ119、128に+Z方向の成分を含む押付力が作用する。これにより、第2ホルダー114を収容部70から離脱させ易くなる。
給送ユニット50によれば、第1押圧部80から第1ホルダー96に作用する押圧力によって、リタードローラー52が給送ローラー46に近づく。これにより、給送ローラー46とリタードローラー52との間のニップ部NPに、比較的厚い用紙Pが進入する場合でも、用紙Pをリタードローラー52によって捌き易くなる。
給送ユニット50によれば、第2ホルダー114を収容部70に収容した状態において、第2ホルダー114に対してガイドプレート142の位置を調整可能となる。これにより、給送ローラー46の外周面48Aとガイドプレート142とで形成される間隔dの調整を行い易くなる。
ここで、給送ローラー46に対してガイドプレート142の位置が変更されることで間口49の大きさが調整されるので、間口49を通って給送ローラー46に供給される用紙Pの枚数を所定の枚数内に制限することができる。
さらに、間口49の大きさが調整される場合、捌き部150がガイドプレート142に一体的に設けられているので、給送ローラー46に対するガイドプレート142の位置だけでなく、給送ローラー46に対する捌き部150の位置も調整される。つまり、間口49の大きさの調整に合わせて、給送ローラー46と捌き部150との間隔dも調整される。これにより、給送ローラー46と捌き部150とで挟まれる用紙Pに所定の負荷を作用させられるので、捌き部150によって用紙Pを捌く作用が低下することを抑制できる。
給送ユニット50によれば、用紙PのY方向の同じ位置に給送ローラー46及び捌き部150が接触することがなくなるので、用紙Pの一部が他の部位に比べて摩耗され易くなることを抑制できる。
給送ユニット50によれば、捌き部150が最小サイズの用紙PSにも接触するように配置されているので、給送ユニット50において給送可能な全てのサイズの用紙Pを捌き部150において捌くことができる。
ここで、捌き部150の捌き面152Aが基準線Mに沿って延びているので、捌き面152Aが基準線Mの方向とは異なる方向に沿っている構成に比べて、捌き部150と用紙Pとの接触機会が増えると共に、用紙Pをニップ部NPに案内し易くなる。これにより、捌き部150が、ニップ部NPに向けて進む用紙Pを捌く効果を高めることができる。
給送ユニット50によれば、ホルダー部94にリタードローラー52及びガイドプレート142が設けられるので、ガイドプレート142がホルダー部94とは異なる部材に設けられる構成に比べて、リタードローラー52に対するガイドプレート142の位置精度を高めることができる。
給送ユニット50によれば、Y方向の外側に位置する外側捌き面168Aが、捌き面152AよりZ方向の上方に位置する。これにより、用紙PのY方向の両端部が垂れ下がることがあっても、用紙Pの両端部を上方に持ち上げながら外側捌き面168Aによって捌けるので、用紙PのY方向の両端部を捌き易くなる。
給送ユニット50によれば、外側捌き面168Aを複数有することで用紙Pと外側捌き部167との接触機会が増えるので、外側捌き部167による用紙Pの捌き性能を高めることができる。
以下、実施形態2の給送ユニット190を具体的に説明する。なお、実施形態1のプリンター10及び給送ユニット50と同様の構成については、同一符号を付して、その説明を省略する。
捌き部192は、+A方向に並び用紙Pと接触する捌き面194A、196Aを有する。具体的には、捌き部192は、下パッド194と、上パッド196とをB方向に重ねて接着した多層構造を有する。
上パッド196のY方向の寸法は、下パッド194のY方向の寸法と同じである。上パッド196の+A方向の寸法は、下パッド194の+A方向の寸法より小さい。上パッド196は、上パッド196の-A方向の端面と下パッド194の-A方向の端面とを揃えた状態で、+B方向から下パッド194に重ねられ、接着される。
このように、捌き面194Aは、捌き面196Aに対して-B方向且つ+A方向に位置する。
一例として、4枚の用紙Pが給送される場合、まず、上パッド196において用紙Pを4枚から3枚に分離する。続いて、下パッド194において用紙Pを3枚から2枚に分離する。最後に、ニップ部NPにおいて用紙Pを2枚から1枚に分離する。このようにすることで、ニップ部NPに対する+A方向の上流における前捌きが行われる。
本発明の実施形態1、2に係る給送ユニット50、190は、以上のべたような構成を有することを基本とするものであるが、本願発明の要旨を逸脱しない範囲内での部分的構成の変更や省略等を行うことも勿論可能である。
捌き部198は、+A方向に並ぶ第1板部198Aと、第2板部198Bとを有し、これらが一体化されている。第1板部198Aと第2板部198Bは、Y方向から見て、+A方向に対する延在方向の角度が異なる。第2板部198Bの角部は、第1板部198Aの角部に対して-A方向且つ+B方向の位置にある。このように、+A方向に並ぶ複数の捌き部を設けることで、用紙Pと捌き部との接触機会を増やしてもよい。
給送ユニット50において、ダボ119と-Y方向の係合部172、ダボ128と+Y方向の係合部172のいずれか一方が設けられていなくてもよい。レリースレバー162は、揺動するものに限らず、一方向にスライドするものであってもよい。レリースレバー162は、操作部164を有していなくてもよい。係合部172において、第2傾斜面178が無くてもよい。縦壁部76が無くてもよい。第1押圧部80が無くてもよい。
被規制部184がY方向且つ+A方向のそれぞれに複数設けられる構成とは、+A方向又はY方向から見た場合の数が複数ある構成を意味する。換言すると、被規制部184の数は、4つに限らず、3つあるいは5つ以上の複数あってもよい。
捌き部150、190、198のY方向の間隔の大きさは、用紙PSのY方向の大きさより大きくてもよい。捌き面152Aは、基準線Mに沿って延びていなくてもよい。
ガイドプレート142は、第2ホルダー114とは異なる部材に設けられてもよい。
捌き部150、190、198は、+A方向から見て、給送ローラー46の外周面48Aに対するY方向の内側に一部が位置してもよい。
15…搬送ローラー対、16…排出部、17…扉部、18…カセット、19…開口部、
21…給紙トレイ、21A…載置面、22…サイドガイド、23…フラップ、
24…記録ヘッド、26…支持台、28…制御部、29…リフター、32…ロック部、
33…上壁、34…下壁、36…ローラーカバー、37…取付部、38…把持部、
42…駆動軸、46…給送ローラー、47…ローラー本体、48…弾性部、
48A…外周面、49…間口、50…給送ユニット、52…リタードローラー、
53…軸部、54…弾性部、54A…外周面、55…トルクリミッター、
62…ベースガイド、63…前壁部、64…上壁部、65…側壁部、
70…収容部、72…底壁、73…貫通孔、74…ガイド壁、75…前壁、
75A…貫通孔、76…縦壁部、77…接触面、78…上面、79…挿通孔、
80…第1押圧部、81…ストッパー部、82…取付板、82A…取付孔、
83…押圧レバー、83A…延在部、83B…キャップ部、83C…接触部、
84…リブ、86…後壁、87…貫通孔、88…縁部、90…着脱ユニット、
92…内側壁、93…窪み部、94…ホルダー部、96…第1ホルダー、
98…ローラー収容部、99…湾曲壁、101…左側壁、102…右側壁、
103…板金部材、103A…ねじ孔、104…摘み部、108…連結ピン、
112…ツマミ、114…第2ホルダー、115…前フレーム、116…左フレーム、
117…右フレーム、117A…縦壁、117B…縦壁、117C…底壁、
118…上フレーム、119…ダボ、122…窓部、125…開口部、126…連結孔、
128…ダボ、132…突出部、136…被押圧部、139…被押圧面、
142…ガイドプレート、142A…案内面、143…調整孔、144…孔部、
146…コイルバネ、147…フランジ部、150…捌き部、152…第1パッド、
152A…捌き面、156…第2押圧部、158…キャップ、159…接触面、
162…レリースレバー、163…軸部、164…操作部、167…外側捌き部、
168…第2パッド、168A…外側捌き面、172…係合部、173…アーム部、
174…山部、176…第1傾斜面、178…第2傾斜面、182…第2規制部、
184…被規制部、184A…被規制部、184B…被規制部、184C…被規制部、
184D…被規制部、186…規制面、186A…上面、186B…上面、
190…給送ユニット、192…捌き部、194…下パッド、194A…捌き面、
196…上パッド、196A…捌き面、198…捌き部、198A…第1板部、
198B…第2板部、A1…線、A2…線、C…仮想点、CL…中心線、d…間隔、
D…垂線、E…延長線、F…外力、G…接線、H…点、K…点、L1…長さ、
L2…長さ、L3…長さ、L4…長さ、M…基準線、NP…ニップ部、P…用紙、
PS…用紙、Q…インク、S…点、ST…線分、T…点、T1…給送路、T2…反転路
Claims (9)
- 媒体を給送する給送ローラーと接触することで回転されるリタードローラーと、
前記リタードローラーを回転可能に保持する第1ホルダーと、
前記第1ホルダーを揺動可能に保持する第2ホルダーと、
前記第2ホルダーを収容する収容部と、
前記第2ホルダーが前記収容部から離れる退避方向に前記第2ホルダーを押圧する押圧部と、
前記第2ホルダーの前記退避方向の移動を規制する第1規制部と、
前記第2ホルダーの前記退避方向とは反対方向の移動を規制する第2規制部と、
を備え、
前記第2ホルダーは、前記媒体の給送方向及び前記退避方向の両方と交差する前記媒体の幅方向、且つ前記給送方向のそれぞれに被規制部が複数設けられ、
前記第2規制部は、前記収容部に設けられ複数の前記被規制部と接触可能な規制面を有する、
ことを特徴とする給送装置。 - 請求項1に記載の給送装置において、
前記第2ホルダーは、前記幅方向の両端部にそれぞれ被係合部が設けられ、
前記第1規制部は、前記被係合部と係合されることで前記第2ホルダーの前記退避方向の移動を規制する係合部を有する、
ことを特徴とする給送装置。 - 請求項2に記載の給送装置において、
前記第1規制部は、前記係合部と前記被係合部が係合する規制位置と、前記係合部が前記被係合部から退避する退避位置とに揺動可能に設けられる、
ことを特徴とする給送装置。 - 請求項3に記載の給送装置において、
前記第1規制部は、操作されることで前記第1規制部を揺動させる操作部を有する、
ことを特徴とする給送装置。 - 請求項3又は請求項4に記載の給送装置において、
前記係合部は、前記幅方向から見て、第1傾斜面及び第2傾斜面を有し、
前記第1傾斜面は、前記被係合部と接触することで前記被係合部に前記反対方向の成分を含む押付力を作用させ、
前記第2傾斜面は、前記被係合部と接触することで前記被係合部に前記退避方向の成分を含む押付力を作用させる、
ことを特徴とする給送装置。 - 請求項2から請求項5のいずれか一項に記載の給送装置において、
前記収容部には、前記被係合部を前記退避方向に案内する縦壁部が設けられ、
前記係合部は、前記被係合部との係合状態において、前記被係合部を前記縦壁部に押し付ける、
ことを特徴とする給送装置。 - 請求項1から請求項6のいずれか一項に記載の給送装置において、
前記リタードローラーが前記給送ローラーと接触するように前記第1ホルダーを押圧する他の押圧部が設けられる、
ことを特徴とする給送装置。 - 請求項1から請求項7のいずれか一項に記載の給送装置において、
前記媒体の前記給送方向の下流端を前記給送ローラーに向けて案内する案内部が設けられ、
前記案内部は、前記給送ローラーの外周面との間隔を調整可能に前記第2ホルダーに設けられる、
ことを特徴とする給送装置。 - 請求項1から請求項8のいずれか一項に記載の給送装置と、
前記給送装置から給送される前記媒体に記録する記録部と、
を備える、
ことを特徴とする記録装置。
Priority Applications (2)
| Application Number | Priority Date | Filing Date | Title |
|---|---|---|---|
| JP2022005444A JP7773126B2 (ja) | 2022-01-18 | 2022-01-18 | 給送装置及び記録装置 |
| US18/154,829 US12208982B2 (en) | 2022-01-18 | 2023-01-15 | Feeding device and recording device |
Applications Claiming Priority (1)
| Application Number | Priority Date | Filing Date | Title |
|---|---|---|---|
| JP2022005444A JP7773126B2 (ja) | 2022-01-18 | 2022-01-18 | 給送装置及び記録装置 |
Publications (2)
| Publication Number | Publication Date |
|---|---|
| JP2023104451A true JP2023104451A (ja) | 2023-07-28 |
| JP7773126B2 JP7773126B2 (ja) | 2025-11-19 |
Family
ID=87162573
Family Applications (1)
| Application Number | Title | Priority Date | Filing Date |
|---|---|---|---|
| JP2022005444A Active JP7773126B2 (ja) | 2022-01-18 | 2022-01-18 | 給送装置及び記録装置 |
Country Status (2)
| Country | Link |
|---|---|
| US (1) | US12208982B2 (ja) |
| JP (1) | JP7773126B2 (ja) |
Families Citing this family (1)
| Publication number | Priority date | Publication date | Assignee | Title |
|---|---|---|---|---|
| JP7543885B2 (ja) * | 2020-12-07 | 2024-09-03 | セイコーエプソン株式会社 | 給送装置 |
Citations (3)
| Publication number | Priority date | Publication date | Assignee | Title |
|---|---|---|---|---|
| JPH10111632A (ja) * | 1996-10-04 | 1998-04-28 | Ricoh Co Ltd | 画像形成装置 |
| JP2017075054A (ja) * | 2015-10-14 | 2017-04-20 | シャープ株式会社 | 用紙搬送装置およびそれを備える画像形成装置 |
| JP2018016458A (ja) * | 2016-07-28 | 2018-02-01 | 京セラドキュメントソリューションズ株式会社 | シート搬送装置およびこれを備える画像形成装置 |
Family Cites Families (6)
| Publication number | Priority date | Publication date | Assignee | Title |
|---|---|---|---|---|
| US9904228B2 (en) * | 2014-05-14 | 2018-02-27 | Canon Finetech Nisca, Inc. | Sheet conveyance apparatus, image reading apparatus, and image forming apparatus |
| JP6344300B2 (ja) * | 2015-04-28 | 2018-06-20 | 京セラドキュメントソリューションズ株式会社 | 給紙装置及び画像形成装置 |
| US9862558B2 (en) * | 2015-09-30 | 2018-01-09 | Kyocera Document Solutions Inc. | Sheet feeding device and image forming apparatus |
| JP6528688B2 (ja) * | 2016-01-06 | 2019-06-12 | 京セラドキュメントソリューションズ株式会社 | 給紙装置及び画像形成装置 |
| JP7619788B2 (ja) * | 2020-11-30 | 2025-01-22 | 株式会社Pfu | 媒体搬送装置 |
| JP7543885B2 (ja) * | 2020-12-07 | 2024-09-03 | セイコーエプソン株式会社 | 給送装置 |
-
2022
- 2022-01-18 JP JP2022005444A patent/JP7773126B2/ja active Active
-
2023
- 2023-01-15 US US18/154,829 patent/US12208982B2/en active Active
Patent Citations (3)
| Publication number | Priority date | Publication date | Assignee | Title |
|---|---|---|---|---|
| JPH10111632A (ja) * | 1996-10-04 | 1998-04-28 | Ricoh Co Ltd | 画像形成装置 |
| JP2017075054A (ja) * | 2015-10-14 | 2017-04-20 | シャープ株式会社 | 用紙搬送装置およびそれを備える画像形成装置 |
| JP2018016458A (ja) * | 2016-07-28 | 2018-02-01 | 京セラドキュメントソリューションズ株式会社 | シート搬送装置およびこれを備える画像形成装置 |
Also Published As
| Publication number | Publication date |
|---|---|
| US20230227280A1 (en) | 2023-07-20 |
| US12208982B2 (en) | 2025-01-28 |
| JP7773126B2 (ja) | 2025-11-19 |
Similar Documents
| Publication | Publication Date | Title |
|---|---|---|
| US4838535A (en) | Sheet feeding device with detachable holder means for thick cut sheets | |
| JP2023104451A (ja) | 給送装置及び記録装置 | |
| JP2023104548A (ja) | 給送装置及び記録装置 | |
| US20070290433A1 (en) | Paper feed cassette | |
| CN114590617B (zh) | 供送装置 | |
| JPH08324804A (ja) | 用紙カセット | |
| JP2008156035A (ja) | 給紙機構及びそれを備えた記録装置 | |
| EP3124412A1 (en) | Sheet conveyance device and image formation device | |
| US8734038B2 (en) | Image forming apparatus which guides an ejected recording medium downwards | |
| JPS6056740A (ja) | 手差し給送装置 | |
| JPH0752110Y2 (ja) | 給紙カセット | |
| JPH03216424A (ja) | 給紙カセット | |
| JP2910021B2 (ja) | 画像形成装置 | |
| JPH0616247A (ja) | 複写紙カセット | |
| JP2006160497A (ja) | 給紙装置及びそれを用いた情報処理装置 | |
| JPH0657572B2 (ja) | シ−ト給送装置 | |
| JPS59190126A (ja) | 給紙カセツト | |
| JPH11334892A (ja) | 給紙カセット装置 | |
| JPH0647420B2 (ja) | 給紙カセツト | |
| JP5741329B2 (ja) | シート搬送装置 | |
| JPS61243741A (ja) | 給紙装置 | |
| JPH03216421A (ja) | 大容量給紙カセット | |
| JPH11139630A (ja) | 手差し給紙装置 | |
| JP2797167B2 (ja) | 給紙カセット | |
| JP2012082076A (ja) | 給紙機構及びそれを備えた記録装置 |
Legal Events
| Date | Code | Title | Description |
|---|---|---|---|
| A621 | Written request for application examination |
Free format text: JAPANESE INTERMEDIATE CODE: A621 Effective date: 20241112 |
|
| A977 | Report on retrieval |
Free format text: JAPANESE INTERMEDIATE CODE: A971007 Effective date: 20250723 |
|
| A131 | Notification of reasons for refusal |
Free format text: JAPANESE INTERMEDIATE CODE: A131 Effective date: 20250729 |
|
| A521 | Request for written amendment filed |
Free format text: JAPANESE INTERMEDIATE CODE: A523 Effective date: 20250909 |
|
| TRDD | Decision of grant or rejection written | ||
| A01 | Written decision to grant a patent or to grant a registration (utility model) |
Free format text: JAPANESE INTERMEDIATE CODE: A01 Effective date: 20251008 |
|
| A61 | First payment of annual fees (during grant procedure) |
Free format text: JAPANESE INTERMEDIATE CODE: A61 Effective date: 20251021 |
|
| R150 | Certificate of patent or registration of utility model |
Ref document number: 7773126 Country of ref document: JP Free format text: JAPANESE INTERMEDIATE CODE: R150 |
