JP2023075988A - Remote meeting support system - Google Patents
Remote meeting support system Download PDFInfo
- Publication number
- JP2023075988A JP2023075988A JP2021189109A JP2021189109A JP2023075988A JP 2023075988 A JP2023075988 A JP 2023075988A JP 2021189109 A JP2021189109 A JP 2021189109A JP 2021189109 A JP2021189109 A JP 2021189109A JP 2023075988 A JP2023075988 A JP 2023075988A
- Authority
- JP
- Japan
- Prior art keywords
- data
- meeting
- host
- guest
- remote meeting
- Prior art date
- Legal status (The legal status is an assumption and is not a legal conclusion. Google has not performed a legal analysis and makes no representation as to the accuracy of the status listed.)
- Pending
Links
Images
Landscapes
- Management, Administration, Business Operations System, And Electronic Commerce (AREA)
Abstract
【課題】主催者の負担で、リモート会合の参加者に飲食物をタイムリーに提供することができるリモート会合支援システムを提供する。
【解決手段】ホスト及びゲストそれぞれの端末4と公衆通信網3を通じて通信可能なサーバ2を備え、サーバ2は、ホストがリモート会合に招待するゲストの通信可能な連絡先を入手する連絡先入手手段と、ゲストの連絡先にリモート会合への参加案内が含まれる招待メッセージを送信する招待メッセージ送信手段と、招待メッセージを受けたゲストからの参加の可否データを入手する参加者データ入手手段と、可否データに基づいてリモート会合の参加者に金銭的価値を有するギフト券データを送信する配布手段と、を有する。
【選択図】図2
A remote meeting support system capable of providing food and drink to participants of a remote meeting in a timely manner at the expense of the host.
A server 2 capable of communicating with terminals 4 of a host and a guest respectively through a public communication network 3 is provided, and the server 2 is a contact obtaining means for obtaining communicable contact information of a guest invited by the host to a remote meeting. an invitation message sending means for sending an invitation message containing a invitation to participate in a remote meeting to the contact information of the guest; a participant data obtaining means for obtaining data on whether or not the guest who received the invitation message can participate; and distribution means for transmitting gift voucher data having monetary value to remote meeting participants based on the data.
[Selection drawing] Fig. 2
Description
本発明は、公衆通信網を使ったリモート会合支援システムに関する。 The present invention relates to a remote meeting support system using a public communication network.
様々な産業分野において、直接対面して行われる会議、懇親会等の会合に参加するために要する出張費、移動時間等を削減するべく、社会的インフラストラクチャである公衆通信網を利用して、互いに離れた場所にいながら会合を行う、いわゆるリモート会合が普及してきている。特に近年では、直接対面することによる飛沫感染のリスクを低減するために、家族、友人、同僚等の個人的利用に限らず、顧客、取引先等の商業的利用においてもリモート会合を行う機会が増えてきている。 In various industrial fields, in order to reduce travel expenses, travel time, etc. required to participate in face-to-face meetings, social gatherings, etc., using public communication networks, which are social infrastructure, So-called remote meetings, in which people hold meetings while they are away from each other, are becoming widespread. Especially in recent years, in order to reduce the risk of droplet infection due to face-to-face contact, there are opportunities to hold remote meetings not only for personal use such as family, friends and colleagues, but also for commercial use such as customers and business partners. It is increasing.
リモート会合を開催するにあたって、リモート会合を主催するホストは、電話、メール等の種々の通信手段を用いて、招待するゲストに参加の有無を確認し、その結果を集計して、参加者のために会合で用いる資料作成、また資料の送付等を行う必要がある。このようなホストに掛かる負担を軽減することのできるリモート会合支援システムが知られている。 When holding a remote meeting, the host who hosts the remote meeting uses various communication means such as telephone and e-mail to confirm whether or not the invited guests will participate. It is necessary to prepare and send materials to be used at the meeting. A remote meeting support system capable of reducing such a burden on the host is known.
例えば、特許文献1に示されるリモート会合支援システムは、ホスト及びゲストそれぞれの端末と公衆通信網を通じて通信可能なサーバを備え、サーバは、ホストが招待するゲストの通信可能な連絡先を入手する連絡先入手手段と、ゲストの連絡先にリモート会合への参加案内が含まれる招待メッセージを送信する招待メッセージ送信手段と、招待メッセージを受けたゲストからの参加の可否データを入手する参加者データ入手手段を有している。これにより、サーバは、ゲストの連絡先にインスタントメッセージを送信し、ゲストからの参加の可否データからリモート会合への参加者を集計し、ホストに対して集計結果を通知することが可能となっている。
For example, the remote meeting support system disclosed in
特許文献1のようなリモート会合支援システムにおいては、ゲストの連絡先、開催日時、会合のタイトル等のデータをホストから入手することにより、ホストに対してリモート会合への参加者を伝達することができるため、ホストに掛かる負担を軽減することができる。
In a remote meeting support system such as that disclosed in
ところで、直接対面する会合では、参加者に対して飲食物を提供する場合があるが、直接対面することのないリモート会合では、このような飲食物の提供は難しい。例えば宅配サービスを利用しようとしても、宅配先として参加者の個人情報である住所等を確認する必要があり、また経費として計上するためには個々の宅配サービスに応じた領収書を入手する必要がある等、非常に手間が掛かる上に、宅配サービスの範囲外の地域については手配自体ができないという問題がある。結果的に、ゲストに飲食物等の費用を負担してもらうことでホストに対する印象が悪くなる虞があり、円滑な会合の運営に支障を来すことがあった。 By the way, in a face-to-face meeting, food and drink may be provided to the participants, but it is difficult to provide such food and drink in a remote meeting where the participants do not face each other face-to-face. For example, even if you try to use a delivery service, it is necessary to confirm the address, which is the personal information of the participant, as the delivery destination, and to record it as an expense, it is necessary to obtain a receipt for each delivery service. In addition to being extremely troublesome, there is the problem that arrangements cannot be made for areas outside the delivery service. As a result, there is a risk that the host will be left with a bad impression by having the guest bear the cost of food and drink, which may interfere with the smooth operation of the meeting.
本発明は、このような問題点に着目してなされたもので、主催者の負担で、リモート会合の参加者に飲食物をタイムリーに提供することができるリモート会合支援システムを提供することを目的とする。 The present invention has been made by focusing on such problems, and aims to provide a remote meeting support system capable of timely providing food and drink to participants of a remote meeting at the expense of the organizer. aim.
前記課題を解決するために、本発明のリモート会合支援システムは、
ホスト及びゲストそれぞれの端末と公衆通信網を通じて通信可能なサーバを備え、
前記サーバは、
前記ホストがリモート会合に招待するゲストの通信可能な連絡先を入手する連絡先入手手段と、
前記ゲストの連絡先に前記リモート会合への参加案内が含まれる招待メッセージを送信する招待メッセージ送信手段と、
前記招待メッセージを受けたゲストからの参加の可否データを入手する参加者データ入手手段と、
前記可否データに基づいて前記リモート会合の参加者に金銭的価値を有するギフト券データを送信する配布手段と、を有することを特徴としている。
この特徴によれば、リモート会合が開始される前の適宜な時間にギフト券データを提供できるため、ゲストに金銭的負担をかけることなく会合用の飲食物を用意することができるようになる。
In order to solve the above problems, the remote meeting support system of the present invention includes:
Equipped with a server that can communicate with the terminals of the host and guests through a public communication network,
The server is
a contact obtaining means for obtaining contact information of a guest whom the host invites to a remote meeting;
invitation message transmission means for transmitting an invitation message including invitation to participate in the remote meeting to the contact information of the guest;
Participant data obtaining means for obtaining participation permission data from the guest who received the invitation message;
and distribution means for transmitting gift certificate data having a monetary value to participants of the remote meeting based on the acceptability data.
According to this feature, the gift certificate data can be provided at an appropriate time before the remote meeting starts, so food and drink for the meeting can be prepared without imposing a financial burden on the guest.
前記ホストから決済処理アカウントデータを入手する決済処理アカウントデータ入手手段と、
前記可否データに基づいて集計された前記ギフト券データの総額を、前記決済処理アカウントデータに基づいて決済する決済手段と、を有することを特徴としている。
この特徴によれば、サーバを用いて決済処理を行うことができるため、ギフト券データの総額を正確に決済することができる。
payment processing account data obtaining means for obtaining payment processing account data from the host;
and settlement means for settlement of the total amount of the gift certificate data aggregated based on the acceptability data based on the settlement processing account data.
According to this feature, the settlement process can be performed using the server, so that the total amount of the gift certificate data can be settled accurately.
前記サーバは、前記決済手段の処理を終了した後に、前記配布手段の処理を実行することを特徴としている。
この特徴によれば、ギフト券データの総額に掛かる代金を確実に入手することができる。
The server is characterized by executing the processing of the distributing means after finishing the processing of the settlement means.
According to this feature, it is possible to reliably obtain the price for the total amount of the gift certificate data.
前記サーバは、前記リモート会合時よりも前の予め決められた時点に前記決済手段の処理を実行した後、前記配布手段の処理を実行することを特徴としている。
この特徴によれば、リモート会合が開始される直前まで決済を保留することができる。
The server is characterized in that it executes the processing of the payment means at a predetermined time before the remote meeting, and then executes the processing of the distribution means.
According to this feature, payment can be put on hold until just before the remote meeting starts.
前記サーバは、前記決済手段の処理が終了した後に、決済金額に基づいたレシートを発行する発行手段を有することを特徴としている。
この特徴によれば、ホストはギフト券データの総額に基づいたレシートを的確に得ることができる。
The server is characterized by having issuing means for issuing a receipt based on the settlement amount after the processing of the settlement means is completed.
This feature allows the host to accurately obtain a receipt based on the total value of the gift certificate data.
前記サーバは、前記ギフト券データとして金銭的価値に交換可能なコードを管理していることを特徴としている。
この特徴によれば、コードが金銭的価値に交換されたか否かの管理が可能である。
The server is characterized by managing codes that can be exchanged for monetary value as the gift coupon data.
According to this feature, it is possible to manage whether or not the code has been exchanged for monetary value.
本発明に係るリモート会合支援システムを実施するための形態を実施例に基づいて以下に説明する。 A mode for implementing a remote meeting support system according to the present invention will be described below based on an embodiment.
まず、本実施例のリモート会合支援システム1は、図1に示すように、ホストがリモート会合を開催するにあたって、招待するゲストに参加の可否を確認し、その結果を集計することで、ホストに掛かる負担を軽減するためのものであり、インターネットや電話網からなる公衆通信網3を介して、多数の利用者が個々に所有しているスマートフォン、パーソナルコンピュータ、タブレット端末等からなる情報端末4,…とデータ通信可能なサービス提供者が所有するサーバ2により主に構成されている。
First, as shown in FIG. 1, the remote
なお、図1はワイヤレスインターネット等無線を利用した通信構成の例である。また、情報端末4,…は、本実施例では、インターネットに接続可能な一般的なスマートフォン、パーソナルコンピュータ、タブレット等の市販の端末が適用されているが、これに限られず、サーバ2と情報を送受信する用途のみに使用される専用端末であってもよい。
FIG. 1 shows an example of a communication configuration using radio such as wireless Internet. In this embodiment, the
サーバ2は、リモート会合支援システム1のプログラムに応じて各種制御を行うとともに、公衆通信網3を介して情報端末4,…と通信可能な制御部20と、リモート会合に関するデータが登録される会合データDB(データベース)21と、ホスト及びゲスト、すなわちリモート会合支援システム1の利用者のデータが登録される利用者データDB22と、クレジットカード情報が登録される決済処理アカウントデータDB23と、電子マネーを付与するためのギフト券データのコードが登録されるギフト券データコードDB24と、から主に構成されている。
The
なお、本実施例においてサーバ2は、各データを登録するためのデータベースとして、会合データDB21、利用者データDB22、決済処理アカウントデータDB23、ギフト券データコードDB24の4種類を備える構成として説明するが、これに限られず、例えば、利用者データDB22に決済処理アカウントデータDB23の内容が共に保管されるデータベースとしてもよく、各データベースの構成及び種類は適宜変更されてもよい。
In this embodiment, the
以降、リモート会合支援システム1の利用手順に基づいて説明する。なお、本説明にあたり、リモート会合支援システム1は、一般公開されているウェブサイトの形式で利用者に対してサービスの提供を行うものとして説明するが、これに限られず、情報端末4に登録されているアプリの形式でサービスの提供を行ってもよく、ウェブサイトとアプリとを併用してサービスの提供を行ってもよく、公衆通信網3を通じて提供可能であれば形式は適宜変更されてもよい。
Hereinafter, the procedure for using the remote
リモート会合を開催することを決定したホスト(佐藤リモ子(図10参照))は、図4に示されるように、まずURL(Uniform Resource Locator)の入力、各種検索システム等を利用して、リモート会合支援システム1のサービスを提供しているウェブサイトのTOPページ50にアクセスする。このアクセスに応じて、制御部20は、ホストの情報端末4の表示部41にTOPページ50を表示させる。
The host (Rimoko Sato (see FIG. 10)) who has decided to hold a remote meeting first inputs a URL (Uniform Resource Locator), uses various search systems, etc. Access the
そして、TOPページ50に表示されている「リモート会合登録開始」と記載された「開始」アイコン50aがタップされると、図2に示されるように、制御部20はリモート会合支援を開始する。
Then, when the "Start"
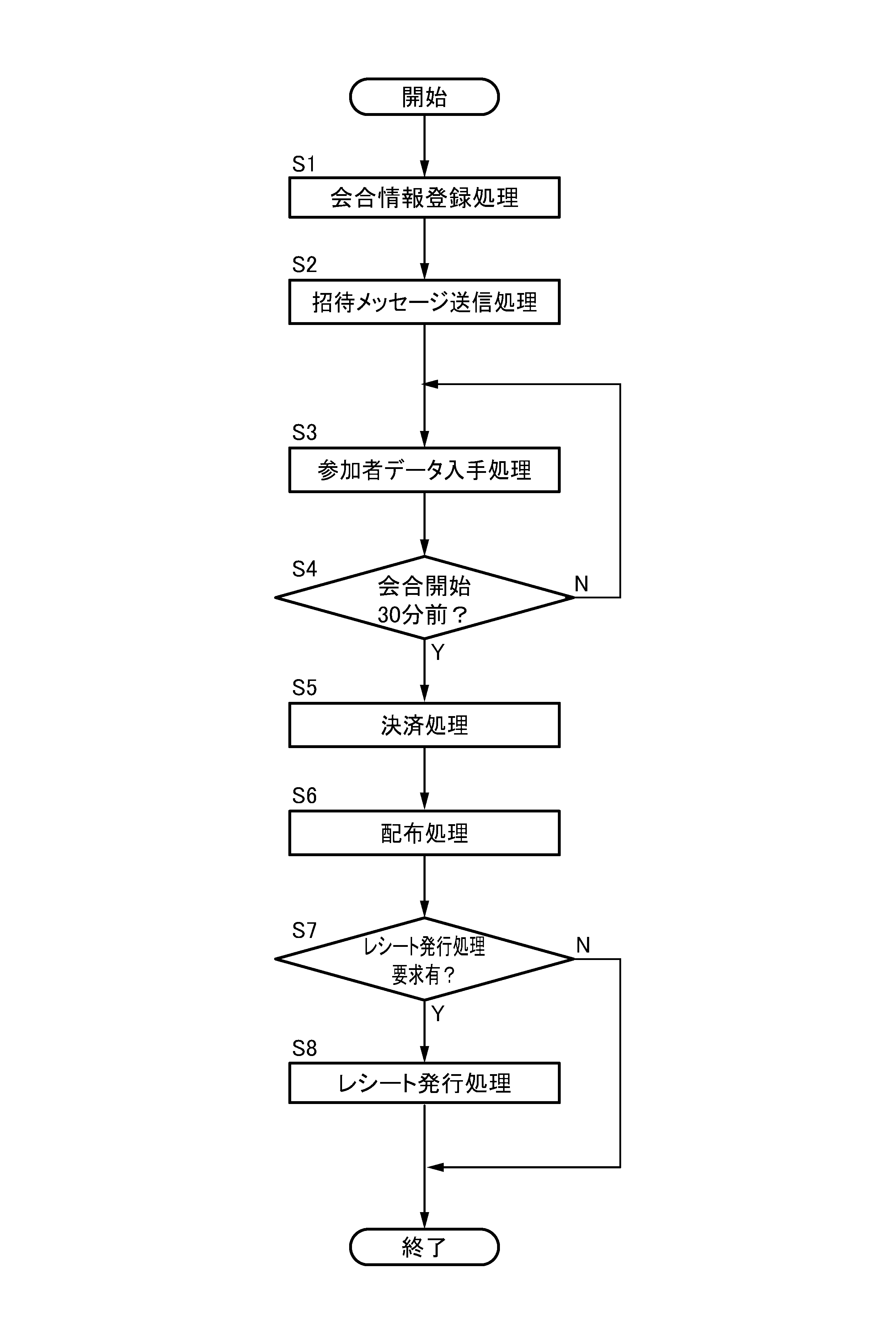
図2に示されるように、サーバ2の制御部20は、リモート会合支援を行う処理として、会合データ、ホスト及びゲストへの連絡先を登録するための会合情報登録処理S1、ゲストに対してリモート会合への参加案内が含まれるメールを送信する招待メッセージ送信処理S2、招待メッセージを受けたゲストの参加の可否を特定するための可否データを入手する参加者データ入手処理S3、ギフト券データの決済を行う決済処理S5、ギフト券データを参加者に配布する配布処理S6、決済内容を示すレシートを発行するレシート発行処理S8等を順に実行可能となっている。ここで参加者とは、会合のホスト及び、会合に招待されたゲストのうち参加を決定した者をいう。
As shown in FIG. 2, the
図3に示されるように、制御部20は、会合情報登録処理S1において、リモート会合のタイトル、リモート会合の開催日時、リモート会合の参加者に対して配布するギフト券データの金種を登録する会合データ入手処理S11、ホストの情報を入手するためのホストデータ入手処理S12、ゲストの情報を入手するためのゲストデータ入手処理S13、カード番号等の決済処理アカウントデータを入手するための決済処理アカウントデータ入手処理S14を順に行う。
As shown in FIG. 3, in the meeting information registration process S1, the
図3,図5に示されるように、会合データ入手処理S11において制御部20は、ホストの情報端末4の表示部41に会合データ入力ページ51(図5参照)を表示させる。
As shown in FIGS. 3 and 5, in the meeting data obtaining process S11, the
会合データ入力ページ51には、会合のタイトルを入力するタイトル入力欄51a、開催日を入力する日付入力欄51b、開始時刻を入力する開始時刻入力欄51c、ギフト券データの金種、すなわち金額の種類を選択するための複数のラジオボタン51d~51mと、TOPページ50に戻るための「戻る」アイコン51nと、会合情報を登録し、次のホストデータ入手処理S12に進むための「次へ」アイコン51pが表示されている。
The meeting
タイトル入力欄51a、日付入力欄51b、及び開始時刻入力欄51cには、情報端末4の表示部41に表示されるキーボード、情報端末4に接続された外部機器のキーボード、音声入力等の入力手段を利用して、入力することが可能である。本説明では、タイトル入力欄51aに「ミーティング」、日付入力欄51bに「2021年10月21日」、開始時刻入力欄51cに「19:00」が入力されている。
In the
なお、日付入力欄51bに入力するにあたっては、カレンダを表示し所望の日付を選択する方式等であってもよく、直接数値等を入力する構成に限定されるものではない。これは、開始時刻入力欄51cを含め、以降登場する各入力欄についても同様である。
It should be noted that when inputting data in the date input field 51b, a method such as displaying a calendar and selecting a desired date may be used, and the configuration is not limited to directly inputting numeric values or the like. This is the same for each input field that appears later, including the start
ギフト券データの金種は、ラジオボタン51dに対応する500円(税込550円)、ラジオボタン51eに対応する700円(税込770円)、ラジオボタン51fに対応する1000円(税込1100円)、ラジオボタン51gに対応する1500円(税込1650円)、ラジオボタン51hに対応する2000円(税込2200円)、ラジオボタン51jに対応する3000円(税込3300円)、ラジオボタン51kに対応する10000円(税込11000円)、ラジオボタン51mに対応する20000円(税込22000円)の中から選択可能である。
The denomination of the gift certificate data is 500 yen (550 yen including tax) corresponding to the
制御部20は、タイトル入力欄51a、日付入力欄51b及び開始時刻入力欄51cに入力がなされ、複数のラジオボタン51d~51mのいずれかが選択された状態で、「次へ」アイコン51pがタップされると、他の会合IDと重複していない会合ID「KA768」を発行し、会合データDB21(図9参照)の会合ID欄に登録する。
The
続けて制御部20は、図9に示されるように、会合データDB21における会合タイトル欄にタイトル入力欄51aに入力されたタイトル「ミーティング」を登録し、日時欄に日付入力欄51bに入力された日付「2021年10月21日」及び、開始時刻入力欄51cに入力された時刻「19:00」を登録し、ギフト券データ金種欄に選択されたラジオボタン51dに対応するギフト券データの金種情報「1」を登録する。そして、次のホストデータ入手処理S12に移行する。
Subsequently, as shown in FIG. 9, the
ここで、会合データDB21及び後述するギフト券データコードDB24にて登録されるギフト券データの金種情報は、ギフト券データの金種に対応する1~8のいずれかの数字である。詳しくは、「1」は500円、「2」は700円、「3」は1000円、「4」は1500円、「5」は2000円、「6」は3000円、「7」は10000円、「8」は20000円に対応している。
Here, the denomination information of the gift coupon data registered in the
なお、「次へ」アイコン51pがタップされた際に、タイトル入力欄51a、日付入力欄51b及び開始時刻入力欄51cのいずれかに記載漏れ、誤記(例えば過去の日付が入力されている)があった場合には、会合データDB21への登録に移行せず、該当する入力欄への記載漏れ、誤記等を指摘するメッセージを表示して、再度「次へ」アイコン51pがタップされるまで待機する。これは、以降の説明についても同様である。
Note that when the “next”
図3,図6に示されるように、制御部20は、ホストデータ入手処理S12において、ホストの情報端末4の表示部41にホストデータ入力ページ52(図6参照)を表示させる。
As shown in FIGS. 3 and 6, the
ホストデータ入力ページ52には、ホストのメールアドレスを入力するホストメールアドレス入力欄52aと、ホストの名前を入力するホスト名入力欄52bと、ホストの名前のフリガナを入力するホストフリガナ入力欄52cと、会合データ入力ページ51に戻るための「戻る」アイコン52dと、ホストデータを登録し、次のゲストデータ入手処理S13に進むための「次へ」アイコン52eが表示されている。
The host
制御部20は、ホストメールアドレス入力欄52a、ホスト名入力欄52b、及びホストフリガナ入力欄52cに入力がなされた状態で、「次へ」アイコン52eがタップされると、他の利用者IDと重複していない利用者ID「qaw123」を発行し、利用者データDB22(図10参照)の利用者ID欄に登録する。
When the "next"
続けて制御部20は、図10に示されるように、利用者データDB22における名前欄にホスト名入力欄52bに入力されたホスト名「佐藤リモ子」を登録し、フリガナ欄にホストフリガナ入力欄52cに入力されたホストのフリガナ「サトウリモコ」を登録し、メールアドレス欄にホストメールアドレス入力欄52aに入力されたホストのメールアドレス「rimo@xx.ne.jp」を登録する。
Subsequently, as shown in FIG. 10, the
なお、本実施例では、ホスト及びゲストといった利用者に対する連絡手段としてメールを使用しているが、これに限られず、メッセージアプリ等であってもよく、連絡手段は適宜変更されてもよい。そのため、連絡先は、メールアドレスに限られず、メッセージアプリのアカウントIDであってもよく、使用される連絡手段に応じて適宜変更されてもよい。 In this embodiment, email is used as a communication means for users such as the host and guests, but the communication means is not limited to this, and may be a message application or the like, and the communication means may be changed as appropriate. Therefore, the contact is not limited to the email address, but may be the account ID of the message application, and may be changed as appropriate according to the contact means used.
また、制御部20は、図9に示されるように、会合データDB21の利用者ID欄に、ホストの利用者ID「qaw123」を登録し、ホストorゲスト欄にホストであることを示す「1」を登録する。そして、次のゲストデータ入手処理S13に移行する。
Further, as shown in FIG. 9, the
なお、例えば会員登録等により、ホストの利用者データが登録済みかつ認証済みである場合には、ホストデータ入手処理を省略してもよい。このような場合には、会合データ入手処理S11終了後に、上述したように、会合データDB21の利用者ID欄にホストの利用者IDを登録し、ホストorゲスト欄にホストであることを示す「1」を登録した後、次のゲストデータ入手処理S13に移行するとよい。
If the user data of the host has been registered and authenticated by, for example, membership registration, the host data obtaining process may be omitted. In such a case, after the meeting data obtaining process S11 ends, as described above, the user ID of the host is registered in the user ID column of the
図3,図7に示されるように、制御部20は、ゲストデータ入手処理S13において、ホストの情報端末4の表示部41にゲストデータ入力ページ53(図7参照)を表示させる。
As shown in FIGS. 3 and 7, the
ゲストデータ入力ページ53には、ゲストのメールアドレスを入力するゲストメールアドレス入力欄53aと、ゲストの名前を入力するゲスト名入力欄53bと、ゲストの名前のフリガナを入力するゲストフリガナ入力欄53cと、ゲストデータを追加・登録するための「追加」アイコン53dと、リモート会合への参加予定者であるホスト名及びそのメールアドレス、ゲスト名及びそのメールアドレスを表示する参加予定者リスト53eと、ホストデータ入力ページ52に戻るための「戻る」アイコン53fと、次の決済処理アカウントデータ入手処理S14に進むための「次へ」アイコン53gが表示されている。
The guest
制御部20は、ゲストメールアドレス入力欄53a、ゲスト名入力欄53b、及びゲストフリガナ入力欄53cに入力がなされた状態で、「追加」アイコン53dがタップされると、他の利用者IDと重複していない利用者ID「sed456」を発行し、利用者データDB22(図10参照)の利用者ID欄に登録する。
When the "Add"
続けて制御部20は、図10に示されるように、利用者データDB22における名前欄にゲスト名入力欄53bに入力されたゲスト名「鈴木A子」を登録し、フリガナ欄にゲストフリガナ入力欄53cに入力されたゲストのフリガナ「スズキエイコ」を登録し、メールアドレス欄にゲストメールアドレス入力欄53aに入力されたゲストのメールアドレス「eiko@yy.com」を登録する。
Subsequently, as shown in FIG. 10, the
また、会合データDB21(図9参照)におけるホストの次の列のID欄、会合タイトル欄、ギフトデータ金種欄に、ホストと同じ「KA768」、「ミーティング」、「2021年10月21日 19:00」、「1」を登録した後、会合データDB21の利用者ID欄に、ゲストの利用者ID「sed456」を登録し、ホストorゲスト欄にゲストであることを示す「0」を登録する。
Also, in the meeting data DB 21 (see FIG. 9), the ID column, the meeting title column, and the gift data denomination column in the columns next to the host have the same "KA768", "meeting", and "October 21, 2021 19 :00" and "1" are registered, then the user ID of the guest "sed456" is registered in the user ID column of the
制御部20は、これらの登録を行うと、図7に示されるように、参加予定者リスト53eにゲストメールアドレス入力欄53a、ゲスト名入力欄53b、及びゲストフリガナ入力欄53cに入力された情報を追加する。また、ゲストメールアドレス入力欄53a、ゲスト名入力欄53b、及びゲストフリガナ入力欄53cを空欄とし、他のゲストデータを入力できるようにする。そして、ゲストが追加される度、上述した登録を繰り返し行う。
When these registrations are performed, the
なお、本実施例では、図9,図10に示されるように、ホストは、利用者ID「sed456」の鈴木A子、利用者ID「rft789」の高橋B太、利用者ID「gyh012」の田中C介の3名を招待している。 In this embodiment, as shown in FIGS. 9 and 10, the hosts are Ako Suzuki with user ID "sed456", Bta Takahashi with user ID "rft789", and Three people, Csuke Tanaka, have been invited.
制御部20は、少なくとも1名のゲストが追加された状態で、「次へ」アイコン53gがタップされると(図7参照)、次の決済処理アカウントデータ入手処理S14に移行する。
When the "next"
なお、ゲストデータ入手処理S13において、ホストが過去に招待したことのある利用者、過去の会合で同席したことのある利用者等の一覧を表示可能とし、一覧から招待するゲストを選択し、会合データDB21及び参加予定者リスト53eに追加するように構成してもよい。
In the guest data acquisition process S13, a list of users whom the host has invited in the past, users who have attended meetings in the past, etc. can be displayed, and guests to be invited can be selected from the list and It may be configured to add to the
図3,図8に示されるように、制御部20は、決済処理アカウントデータ入手処理S14において、ホストの情報端末4の表示部41に決済処理アカウントデータ入力ページ54(図8参照)を表示させる。
As shown in FIGS. 3 and 8, the
決済処理アカウントデータ入力ページ54には、決済に使用されるクレジットカードの番号を入力するカード番号入力欄54aと、同クレジットカードの有効期限を入力する有効期限入力欄54bと、同クレジットカードのセキュリティコードを入力するセキュリティコード入力欄54cと、ゲストデータ入力ページ53に戻るための「戻る」アイコン54dと、決済処理アカウントデータを登録し、確認ページに移行するための「次へ」アイコン54eが表示されている。
The payment processing account
また、制御部20は、決済処理アカウントデータ入力ページ54を表示するにあたって、会合データ入手処理S11で指定されたギフト券データ金種「1(税込550円)」を参照し、リモート会合に全員が参加する場合の最大参加人数「4名」を算出した後、ギフト券データ金種と最大参加人数との積である最大請求金額「2200円(=550円×4名)」を算出する。
In addition, when displaying the payment processing account
また、会合データDB21に登録されている開催日時を基に、それより所定時間前(本実施例では30分前)の決済がなされる決済日時「2021年10月21日 18:30」を算出する。
Also, based on the meeting date and time registered in the
そして、これらの情報を決済処理アカウントデータ入力ページ54に併記し、ホストに対して、リモート会合が開始される30分前に、招待したゲスト全員が参加の場合に最大請求金額が決済されることを通知する。これにより、ホストは、最大請求金額、決済がなされる日時等を確認することができるため、クレジットカードの利用可能な残高、有効期限等を考慮しつつ、適したクレジットカードを選択することができる。なお、請求金額には、リモート支援システムの利用費等を別途加算する構成であってもよい。
Then, these information are written together on the payment processing account
制御部20は、カード番号入力欄54a、有効期限入力欄54b、及びセキュリティコード入力欄54cに入力がなされた状態で、「次へ」アイコン54eがタップされると、他の決済処理アカウントデータIDと重複していない決済処理アカウントデータID「ujk345」を発行し、決済処理アカウントデータDB23(図11参照)の決済処理アカウントデータID欄に登録する。
When the "Next"
続けて、カード番号欄にカード番号入力欄54aに入力されたカード番号「1111-3333-5555-7777」を登録し、有効期限欄に有効期限入力欄54bに入力された有効期限「yy/mm」を登録し、セキュリティコード欄にセキュリティコード入力欄54cに入力されたセキュリティコード「xyz」を登録する。
Next, register the card number "1111-3333-5555-7777" input in the card
また、制御部20は、カード番号、有効期限、セキュリティコードが正しいか否か、これらの示すクレジットカードを用いて最大請求金額を決済可能であるか否かを、公衆通信網3を介してクレジットカードサーバに問い合わせる。そして、カード番号、有効期限、セキュリティコードのいずれかが誤りであった場合、最大請求金額がクレジットカードの限度額を超える場合、または決済日時が有効期限外である場合には、その旨を通知し、誤記の修正やクレジットカードの変更を促し、再度「次へ」アイコン54eがタップされるまで待機する。
In addition, the
一方、限度額を超えない場合、カード番号、有効期限、セキュリティコードのいずれもが正しかった場合には、上述した登録を完了して、次の確認ページを表示する。 On the other hand, if the limit is not exceeded, and if the card number, expiration date, and security code are all correct, the above registration is completed and the next confirmation page is displayed.
また、利用者データDB22(図10参照)におけるホストの決済処理アカウントデータID欄に、入力したクレジットカード情報に紐づいた決済処理アカウントデータID「ujk345」を登録する。 Also, the payment processing account data ID "ujk345" linked to the input credit card information is registered in the payment processing account data ID column of the host in the user data DB 22 (see FIG. 10).
なお、決済処理アカウントデータが既に登録済みである場合には、登録されているクレジットカードを用いて決済がなされてもよいかを確認してもよい。そのうえで、クレジットカードを変更する旨をホストが選択した場合に、上述した決済処理アカウントデータ入力ページ54を表示するようにしてもよい。
If the account data for payment processing has already been registered, it may be confirmed whether or not the registered credit card may be used for payment. After that, when the host selects to change the credit card, the payment processing account
そして、制御部20は、会合データ、ホストデータ、ゲストデータ、及び決済処理アカウントデータの記載内容を確認する確認ページ(図示略)を表示する。確認ページにおいて、誤記、ゲストの追加等、内容に問題があるとホストが判断し、「戻る」アイコンがタップされると、制御部20は決済処理アカウントデータ入手処理S14に戻る。一方、問題がないとホストが判断し、終了アイコンがタップされることで、制御部20は会合情報登録処理S1を終了する。
Then, the
会合情報登録処理S1が終了すると、制御部20は、招待メッセージ送信処理S2を実行する。招待メッセージ送信処理S2では、会合データDB21(図9参照)にて会合ID「KA678」、かつホストorゲスト欄がゲストであることを示す「0」である利用者ID「sed456」、「rft789」、「gyh012」を検出し、利用者データDB22(図10参照)にてメールアドレス欄に登録されているメールアドレスを検出する。
After completing the meeting information registration process S1, the
その後、会合ID「KA678」に紐づいて検出したメールアドレスに対して、会合データDB21に記録された情報を参照して、リモート会合が開催されること、ホスト名、開催される日時、配布されるギフト券データの金額、参加不参加を登録するためのウェブサイトへ誘導するURLを含む招待メッセージが記載された招待メールを送信する。
After that, by referring to the information recorded in the
図12では、招待されたゲストが参加不参加を登録するためのウェブサイトである出欠確認ページ55を示している。出欠確認ページ55に誘導するためのURLは会合ID及び利用者IDに応じて異なっているため、制御部20は、アクセスしてきたゲスト及びこのゲストが回答しようとしているリモート会合を特定することができるようになっている。これにより、ゲストは個人情報等の入力を省略することができるため、リモート会合支援システム1の利用が容易である。
FIG. 12 shows an
なお、ゲストが出席するか欠席するかを返答するにあたって、メールに例えば参加アイコンと欠席アイコンを表示させ、いずれかを選択することで、制御部20に、そのゲストが参加するか欠席するかを返答できる構成としてもよい。
In response to whether the guest will attend or not, for example, a participation icon and an absence icon are displayed in the mail, and by selecting one of them, the
図2,図12に示されるように、制御部20は、招待メールに記載されたURLがタップされると、URLに紐づけられているゲストに対する参加者データ入手処理S3に移行し、ゲストの情報端末4の表示部41に出欠確認ページ55(図12参照)を表示させる。
As shown in FIGS. 2 and 12, when the URL described in the invitation mail is tapped, the
制御部20は、出欠確認ページ55を表示するにあたって、会合データDB21、及び利用者データDB22を参照して、タイトル「ミーティング」を出欠確認ページ55の会合タイトル表示欄55aに表示し、ホストの名前「佐藤リモ子」を主催者名表示欄55bに表示し、開催日時「2021年10月21日 19:00」を日時表示欄55cに表示する。
When displaying the
また、出席する・しないを選択するためのラジオボタン55d,55e、入力を中断するための「戻る」アイコン55fと、記載内容を登録するための「次へ」アイコン55gと、を表示する。
In addition,
また、制御部20は、会合データDB21に登録されている開催日時を基に、それより30分前の回答期限時刻「2021年10月21日 18:30」を算出し、表示する。
Based on the date and time registered in the
制御部20は、招待されたゲストによって、会合データDB21(図9参照)における対応するゲストの可否データ欄に、「出席する」ラジオボタン55dが選択された状態で「次へ」アイコン55gがタップされると、参加を示す可否データとして1を登録し、「出席しない」ラジオボタン55eが選択された状態で「次へ」アイコン55gがタップされると、不参加を示す可否データとして0を登録する。
The
なお、出席するか欠席するかを変更する場合には、再びURLを通じて出欠確認ページ55にアクセスすることで、ラジオボタン55d,55eの選択を変更することができる。また、例えば会員登録等により、ゲストの利用者データが登録済みかつ認証済みである場合には、ゲストの個人ページより該当するリモート会合を選択し、そのリモート会合に出席するか欠席するかを変更するようにしてもよい。
When changing whether to attend or not to attend, the selection of the
また、出席するか欠席するかのみを選択可能に構成するのではなく、例えば出席(ギフト券データコード要)、出席(ギフト券データコード不要)、欠席等、選択肢の種類・数は適宜変更されてもよい。このような構成であれば、例えばゲストの中に公務員等、ギフト券データコードの受領を避けたい者が含まれているような場合であっても、会合への参加を促すことができる。 In addition, instead of being able to select only whether to attend or not, for example, attendance (gift certificate data code required), attendance (gift certificate data code not required), absence, etc. The type and number of options can be changed as appropriate. may With such a configuration, even if the guests include a person such as a government employee who wants to avoid receiving the gift certificate data code, it is possible to encourage the guest to participate in the meeting.
図2に示されるように、制御部20は、会合が開始される所定時間の30分前となるまでは、ゲスト側からURLへのアクセスがある度、参加者データ入手処理S3を実行して更新可能となっている(ステップS4:N)。
As shown in FIG. 2, the
一方、制御部20は、リモート会合が開始される30分前になった場合には(ステップS4:Y)、決済処理S5に移行する。このとき、出席するか欠席するかについて未回答のゲストがいた場合には、制御部20は、そのゲストに対応する会合データDB21の可否データ欄に、不参加を示す可否データとして0を登録して、決済処理S5に移行する。
On the other hand, when it is 30 minutes before the start of the remote meeting (step S4: Y), the
図13に示されるように、制御部20は、決済処理S5において、会合情報登録処理S1において登録されたギフト券データ金種を検出するためのギフト券データ金種参照処理S51、ホスト及び招待したゲストのうち出席する参加者数を確定するための参加者カウント処理S52、ギフト券データの金種及び参加者の人数を基に最終的な請求金額を算出する請求金額算出処理S53、カード番号等の決済処理アカウントデータを確認するための決済処理アカウントデータ参照処理S54、決済処理アカウントデータに基づいて最終的な請求金額を、クレジットカード会社を介して支払処理する清算処理S55を順に行う。
As shown in FIG. 13 , in the payment processing S5, the
図13に示されるように、ギフト券データ金種参照処理S51において制御部20は、会合データDB21(図9参照)にて会合ID「KA678」が一致するデータのギフト券データ金種欄を参照し、各利用者IDのギフト券データ金種「1(税込550円)」を検出する。なお、本実施例では、共通する会合IDにおいては、共通のギフト券データ金種が登録されている構成であるが、これに限られず、ゲスト毎にギフト券データ金種を選択できるようにしてもよい。
As shown in FIG. 13, in the gift coupon data denomination reference process S51, the
次いで、制御部20は、参加者カウント処理S52を行う。参加者カウント処理S52では、会合データDB21(図9参照)にて会合ID「KA678」かつ可否データ欄に登録されている「1」の数をカウントし、その合計値、すなわち参加者が3名であることを確定する。続けて、請求金額算出処理S53にて、ギフト券データ金種「1(税込550円)」に参加者数3名を乗じて、最終的な合計の請求金額「1650(=550×3)」(以降、単に「請求金額」と称する)を算出する。そして、制御部20は、決済処理アカウントデータDB23における、決済処理アカウントデータID「ujk345」に対応する請求金額欄に請求金額「1650」を登録し、次の決済処理アカウントデータ参照処理S54に移行する。
Next, the
制御部20は、決済処理アカウントデータ参照処理S54において、会合データDB21(図9参照)にて会合ID「KA678」かつ、ホストorゲスト欄が「1」である利用者ID「qaw123」を検出し、利用者データDB22(図10参照)の決済処理アカウントデータID「ujk345」を検出し、決済処理アカウントデータDB23(図11参照)のカード番号「1111-3333-5555-7777」、有効期限「yy/mm」、セキュリティコード「xyz」を検出する。
In the payment processing account data reference processing S54, the
次いで、制御部20は、清算処理S55を行う。清算処理S55では、公衆通信網3を介してクレジットカード会社にアクセスし、決済処理アカウントデータ参照処理S54にて検出した、ホストが入力済みのカード番号、有効期限、セキュリティコードを用いて、請求金額算出処理S53にて算出した最終的な請求金額の支払い処理を行う。そして、決済処理S5を終了し、次の配布処理S6に移行する。
Next, the
図14に示されるように、制御部20は、配布処理S6において、ギフト券データコードを発行したか否かを判定するための発行確認処理S61、発行確認処理S61においてギフト券データコードが未発行の利用者IDがあると判定した場合に(S61:Y)、この利用者IDに対して発行するギフト券データコードを割り当てるギフト券データコード割り当て処理S62、このギフト券データコードを送付するメールアドレスを検出するための配布先参照処理S63、対象のメールアドレスに対応するギフト券データコードを送付するギフト券データコード送信処理S64を順に行った後、再度発行確認処理S61に移行する。そして、発行確認処理S61においてギフト券データコードが未発行の利用者IDがいないと判定した場合に(S61:N)、配布処理S6を終了する。
As shown in FIG. 14, in the distribution processing S6, the
図14に示されるように、制御部20は、発行確認処理S61において、会合データDB21(図9参照)にて会合ID「KA678」、可否データが「1」かつギフト券データID欄に登録がなされていない利用者IDを検索する。
As shown in FIG. 14, in the issuance confirmation process S61, the
そして、発行確認処理S61において、会合ID「KA678」、可否データが「1」かつギフト券データID欄に登録がなされていない利用者ID「qaw123」が検出された場合に(S61:Y)、次のギフト券データコード割り当て処理S62に移行する。 Then, in the issuance confirmation process S61, when the meeting ID "KA678", the availability data "1" and the user ID "qaw123" not registered in the gift certificate data ID column are detected (S61: Y), The process proceeds to the next gift coupon data code allocation process S62.
ギフト券データコード割り当て処理S62では、発行確認処理S61において検出された利用者ID「qaw123」のギフト券データ金種「1」を、ギフト券データコードDB24(図15参照)に照会する。 In the gift certificate data code allocation process S62, the gift certificate data code DB 24 (see FIG. 15) is queried for the gift certificate data denomination "1" of the user ID "qaw123" detected in the issuance confirmation process S61.
ここで、ギフト券データコードDB24について説明する。図15に示されるように、ギフト券データコードDB24には、このリモート会合支援システム1の運営者が予め購入したギフト券の管理情報が登録されている。具体的には、ギフト券データを管理するためのギフト券データID、ギフト券データIDに紐づけられたギフト券データの金種を電子マネーとして対応するアプリ・ウェブサイトに登録するためのギフト券データコード、ギフト券データ金種、ギフト券データの有効期限、発行済みであるか否かを示す発行可否データが登録されている。
Here, the gift certificate
制御部20は、ギフト券データコードDB24において、対応するギフト券データ金種「1」であり、有効期限以内であり、かつ発行済欄において発行されていないことを示す発行可否データとしての0が登録されているギフト券データID「azs」を、会合データDB21(図9参照)における利用者ID「qaw123」のギフト券データID欄に登録する。そして、ギフト券データコードDB24において、ギフト券データID「azs」の発行済欄に発行されたことを示す発行可否データとしての1を登録する。
The
次いで、制御部20は、図14に示す配布先参照処理S63を行う。配布先参照処理S63では、利用者データDB22(図10参照)より、利用者ID「qaw123」のメールアドレス「eiko@yy.com」を検出する。続けて、ギフト券データID「azs」から、ギフト券データコードDB24(図15参照)に登録されているギフト券データコード「111qaz」を検出する。
Next, the
そして、ギフト券データコード送信処理S64に移行し、配布先参照処理S63にて検出したメールアドレスに対して、配布先参照処理S63にて検出したギフト券データコードを記載したメールを送信する。その後、再び発行確認処理S61に戻る。 Then, the process proceeds to the gift certificate data code transmission processing S64, and an e-mail containing the gift certificate data code detected in the distribution destination reference processing S63 is transmitted to the mail address detected in the distribution destination reference processing S63. After that, the process returns to the issuance confirmation process S61.
これらの処理(S61~S64)を参加者の人数分ループして(本実施例では3周分)行った後、次(本実施例では4周目)の発行確認処理S61にてギフト券データコードが未発行の利用者IDがいないと判定した場合に(S61:N)、配布処理S6を終了する。 After performing these processes (S61 to S64) in a loop for the number of participants (three rounds in this embodiment), the next (fourth round in this embodiment) issuance confirmation process S61 gift certificate data If it is determined that there is no user ID for which a code has not yet been issued (S61: N), the distribution processing S6 is terminated.
図2に示されるように、制御部20は、配布処理S6を終了した後、所定期間(例えば30日)が経過するまでにホストよりレシート発行処理S8が要求された場合に(ステップS7:Y)、レシート発行処理S8を開始する。なお、所定期間(例えば30日)が経過するまでにホストよりレシート発行処理S8が要求されなかった場合には(ステップS7:N)、リモート会合支援を終了する。 As shown in FIG. 2, when the host requests the receipt issuing process S8 within a predetermined period of time (for example, 30 days) after the distribution process S6 ends (step S7: Y ), the receipt issuing process S8 is started. If the host does not request the receipt issuing process S8 before a predetermined period of time (for example, 30 days) elapses (step S7: N), the remote meeting support is terminated.
図16に示されるように、制御部20は、レシート発行処理S8において、レシート発行に必要な情報を入手するためのレシート情報入力処理S81、レシートを作成し発行するレシート作成処理S82を順に行った後、リモート会合支援を終了する。
As shown in FIG. 16, in the receipt issuing process S8, the
図16,図17に示されるように、制御部20は、レシート情報入力処理S81において、ホストの情報端末4の表示部41にレシート情報入力ページ56(図17参照)を表示させる。
As shown in FIGS. 16 and 17, the
制御部20は、会合データDB21(図9参照)、利用者データDB22(図10参照)、決済処理アカウントデータDB23(図11参照)を参照し、会合ID「KA678」を会合ID表示欄56aに表示し、リモート会合のタイトル「ミーティング」を開催名表示欄56bに表示し、お支払い額表示欄56cに請求金額「1650」を表示し、開催日時「2021年10月21日 19:00」及びタイトル「ミーティング」を但し書き欄56fに表示し、ギフト券データ金種「500円」、発行枚数「3枚」、参加者の名前を明細欄56gに表示する。
The
但し書き欄56fには、上述した開催日時及びタイトルが自動的に入力されるが、さらにホストが任意で削除または追記することが可能となっている。また、但し書き欄56fに表示されているチェックボックスのチェックを付けることで、レシートに但し書きを表示することができ、チェックボックスのチェックを外すことで、レシートに但し書きを非表示にすることができる。これは、明細欄56gについても同様である。なお、但し書き欄56f及び明細欄56g共に、自動入力されず、ホストが自身で入力を行うことのみが可能な構成であってもよい。
In the proviso column 56f, the date and time of the event and the title described above are automatically entered, but the host can arbitrarily delete or add them. By checking a check box displayed in the proviso column 56f, the proviso can be displayed on the receipt, and by unchecking the check box, the proviso can be hidden on the receipt. This is the same for the
また、制御部20は、レシートの宛名を入力するための宛名入力欄56dと、レシートの科目名を入力するための科目名入力欄56eと、レシートのダウンロードに移行するための「ダウンロード」アイコン56hと、ホストの情報端末4の表示部41へレシートを表示させるための「開く」アイコン56jと、レシート発行処理S8を終了させるための「閉じる」アイコン56kを表示する。
The
「開く」アイコン56jがタップされることで、制御部20は、レシート作成処理S82に移行する。レシート作成処理S82では、レシート情報入力処理S81で検出した情報と、宛名入力欄56dに入力された「パテント株式会社」、科目名入力欄56eに入力された「会議費」、但し書き欄56f及び明細欄56gの記載内容を基に、図18に示されるようにレシート57を作成し、ホストの情報端末4の表示部41に表示させる。
By tapping the "open" icon 56j, the
また、図18に示されたレシート57は、「印刷」アイコン57aがタップされることで紙媒体に印刷可能となっている。なお、「印刷」アイコン57aは省略され、ホストの情報端末4が有する各種印刷機能を用いて印刷されてもよい。
Also, the
また、「ダウンロード」アイコン56hがタップされた場合には、レシート57のデータをホストの情報端末4に送信する。一方、「閉じる」アイコン56kがタップされた場合には、レシート発行処理S8を終了する。
Also, when the "download"
以上説明したように、本実施例のリモート会合支援システム1では、サーバ2は、制御部20、及び利用者データDB22によって主に構成される連絡先入手手段と、制御部20、会合データDB21、及び利用者データDB22によって主に構成される招待メッセージ送信手段と、制御部20、及び会合データDB21によって主に構成される参加者データ入手手段と、制御部20、会合データDB21、利用者データDB22、及びギフト券データコードDB24によって主に構成される配布手段と、を有し、連絡先入手手段によるゲストデータ入手処理S13と、招待メッセージ送信手段による招待メッセージ送信処理S2と、参加者データ入手手段による参加者データ入手処理S3と、配布手段による配布処理S6と、を実行可能となっている。
As described above, in the remote
これにより、リモート会合支援システム1は、リモート会合が開始される前の30分前にギフト券データコードを各参加者に対して提供できるため、ゲストに金銭的負担をかけることなく会合用の飲食物を用意することができるようになる。
As a result, the remote
また、サーバ2は、制御部20、会合データDB21、利用者データDB22、及び決済処理アカウントデータDB23から主に構成される決済処理アカウントデータ入手手段と、制御部20、会合データDB21、利用者データDB22、及び決済処理アカウントデータDB23から主に構成される決済手段と、を有し、決済処理アカウントデータ入手手段による決済処理アカウントデータ入手処理S14と、決済手段による決済処理S5と、を実行可能となっている。
In addition, the
これにより、リモート会合支援システム1では、サーバ2を用いて決済処理S5を行うことができるため、ギフト券データの総額を正確に決済することができる。
As a result, in the remote
また、サーバ2は、決済処理S5を終了した後に、配布処理S6を実行するため、ギフト券データの総額に掛かる代金を確実に入手することができる。
In addition, since the
また、サーバ2は、リモート会合時よりも前の30分前に決済処理S5を実行した後、配布処理S6を実行するため、リモート会合が開始される直前まで決済を保留することができる。
In addition, the
また、サーバ2は、会合データDB21、利用者データDB22、及び決済処理アカウントデータDB23によって主に構成されている発行手段を有するため、ホストはギフト券データの総額に基づいたレシート57を的確に得ることができる。
In addition, since the
また、サーバ2は、ギフト券データコードDB24を用いてギフト券データとして金銭的価値に交換可能なコードを管理しているため、コードを発行元に問い合わせる等して、コードが金銭的価値に交換されたか否かの管理が可能である。
In addition, since the
また、サーバ2は、リモート会合に掛かった決済金額を一つのレシート57として発行することができるため、例えばゲスト毎にレシートを入手する手間を省略することができる。このことから、経費としての清算が容易である。
In addition, since the
以上、本発明の実施例を図面により説明してきたが、具体的な構成はこれら実施例に限られるものではなく、本発明の要旨を逸脱しない範囲における変更や追加があっても本発明に含まれる。 Although the embodiments of the present invention have been described above with reference to the drawings, the specific configuration is not limited to these embodiments, and any changes or additions within the scope of the present invention are included in the present invention. be
例えば、前記実施例では、ギフト券データを電子マネーである構成として説明したが、これに限られず、例えば店舗に提示することで商品と引き換え可能な引き換え券のデータであってもよく、割引などの種々のサービスを受けることのできるクーポン券であってもよく、金銭的価値を有するものであれば適宜変更されてもよい。 For example, in the above embodiment, the gift coupon data is described as being electronic money, but it is not limited to this, and may be, for example, the data of an exchange coupon that can be exchanged for a product by presenting it at a store, such as a discount. It may be a coupon that allows you to receive various services, or it may be changed as appropriate as long as it has monetary value.
また、前記実施例では、回答期限時刻、及び決済時刻を共に30分前である構成として説明したが、これに限られず、回答期限時刻が決済時刻よりも前であればよく、適宜変更されてもよい。 Further, in the above-described embodiment, the answer deadline time and the settlement time are both set to 30 minutes before. However, the present invention is not limited to this. good too.
また、前記実施例では、決済処理S5終了後に、配布処理S6を行う構成として説明したが、これに限られず、配布処理S6を行った後に決済処理を行ってもよい。 Also, in the above-described embodiment, the distribution processing S6 is performed after the payment processing S5 is completed.
また、前記実施例では、決済処理アカウントデータとしてクレジットカード情報が登録される構成として説明したが、これに限られず、ホスト側が所有する電子マネー等、リモート会合支援システム1に支払いを代行させることが可能な決済手段であれば、適宜変更されてもよい。
Also, in the above-described embodiment, the description has been given of the configuration in which credit card information is registered as account data for settlement processing, but the present invention is not limited to this, and the remote
1 リモート会合支援システム
2 サーバ
3 公衆通信網
4 情報端末
20 制御部(連絡先入手手段、招待メッセージ送信手段、参加者データ入手手段、配布手段、決済処理アカウントデータ入手手段、決済手段)
21 会合データDB(招待メッセージ送信手段、参加者データ入手手段、配布手段、決済処理アカウントデータ入手手段、決済手段)
22 利用者データDB(連絡先入手手段、招待メッセージ送信手段、配布手段、決済処理アカウントデータ入手手段、決済手段)
23 決済処理アカウントデータDB(決済処理アカウントデータ入手手段、決済手段)
24 ギフト券データコードDB(配布手段)
1 remote
21 meeting data DB (invitation message sending means, participant data obtaining means, distribution means, payment processing account data obtaining means, payment means)
22 User data DB (Means for obtaining contact information, Means for sending invitation message, Means for distributing, Means for obtaining account data for payment processing, Payment method)
23 Payment processing account data DB (means for obtaining payment processing account data, payment method)
24 Gift certificate data code DB (distribution means)
Claims (6)
前記サーバは、
前記ホストがリモート会合に招待するゲストの通信可能な連絡先を入手する連絡先入手手段と、
前記ゲストの連絡先に前記リモート会合への参加案内が含まれる招待メッセージを送信する招待メッセージ送信手段と、
前記招待メッセージを受けたゲストからの参加の可否データを入手する参加者データ入手手段と、
前記可否データに基づいて前記リモート会合の参加者に金銭的価値を有するギフト券データを送信する配布手段と、を有することを特徴とするリモート会合支援システム。 Equipped with a server that can communicate with the terminals of the host and guests through a public communication network,
The server is
a contact obtaining means for obtaining contact information of a guest whom the host invites to a remote meeting;
invitation message transmission means for transmitting an invitation message including invitation to participate in the remote meeting to the contact information of the guest;
Participant data obtaining means for obtaining participation permission data from the guest who received the invitation message;
and distribution means for transmitting gift coupon data having a monetary value to participants of the remote meeting based on the acceptance/rejection data.
前記可否データに基づいて集計された前記ギフト券データの総額を、前記決済処理アカウントデータに基づいて決済する決済手段と、を有することを特徴とする請求項1に記載のリモート会合支援システム。 payment processing account data obtaining means for obtaining payment processing account data from the host;
2. The remote meeting support system according to claim 1, further comprising settlement means for settlement of the total amount of said gift certificate data aggregated based on said acceptance/rejection data based on said settlement processing account data.
Priority Applications (1)
| Application Number | Priority Date | Filing Date | Title |
|---|---|---|---|
| JP2021189109A JP2023075988A (en) | 2021-11-22 | 2021-11-22 | Remote meeting support system |
Applications Claiming Priority (1)
| Application Number | Priority Date | Filing Date | Title |
|---|---|---|---|
| JP2021189109A JP2023075988A (en) | 2021-11-22 | 2021-11-22 | Remote meeting support system |
Publications (1)
| Publication Number | Publication Date |
|---|---|
| JP2023075988A true JP2023075988A (en) | 2023-06-01 |
Family
ID=86547918
Family Applications (1)
| Application Number | Title | Priority Date | Filing Date |
|---|---|---|---|
| JP2021189109A Pending JP2023075988A (en) | 2021-11-22 | 2021-11-22 | Remote meeting support system |
Country Status (1)
| Country | Link |
|---|---|
| JP (1) | JP2023075988A (en) |
Cited By (1)
| Publication number | Priority date | Publication date | Assignee | Title |
|---|---|---|---|---|
| CN116668393A (en) * | 2023-07-07 | 2023-08-29 | 中国平安人寿保险股份有限公司 | Message interception method, device, electronic equipment and medium based on forwarding protocol |
Citations (2)
| Publication number | Priority date | Publication date | Assignee | Title |
|---|---|---|---|---|
| JP2003331073A (en) * | 2002-05-14 | 2003-11-21 | Ginga Net:Kk | System and method for providing ceremonial occasion service |
| JP2008257308A (en) * | 2007-03-31 | 2008-10-23 | Fujifilm Graphic Systems Co Ltd | Album production system and server device |
-
2021
- 2021-11-22 JP JP2021189109A patent/JP2023075988A/en active Pending
Patent Citations (2)
| Publication number | Priority date | Publication date | Assignee | Title |
|---|---|---|---|---|
| JP2003331073A (en) * | 2002-05-14 | 2003-11-21 | Ginga Net:Kk | System and method for providing ceremonial occasion service |
| JP2008257308A (en) * | 2007-03-31 | 2008-10-23 | Fujifilm Graphic Systems Co Ltd | Album production system and server device |
Non-Patent Citations (1)
| Title |
|---|
| カードタイプの引出物!WEBギフトカタログ「E-ORDER-CHOICE WEDDING」が新登場, JPN6025048070, 2 February 2018 (2018-02-02), ISSN: 0005742493 * |
Cited By (1)
| Publication number | Priority date | Publication date | Assignee | Title |
|---|---|---|---|---|
| CN116668393A (en) * | 2023-07-07 | 2023-08-29 | 中国平安人寿保险股份有限公司 | Message interception method, device, electronic equipment and medium based on forwarding protocol |
Similar Documents
| Publication | Publication Date | Title |
|---|---|---|
| RU2621630C2 (en) | Customer loyalty system in restaurant and retail networks using web-servers, mobile devices and terminals in the points of sale | |
| US8977568B1 (en) | Anonymous mobile payments | |
| US20070228148A1 (en) | Transaction processing systems and methods | |
| TWI769393B (en) | Credit value-based platform contract execution method and device | |
| US20130117087A1 (en) | System and method for authenticating electronic transaction instruments | |
| JP6276632B2 (en) | SNS event participation fee payment system and payment method thereof | |
| WO2013070611A1 (en) | System and method for secure management of customer data in a loyalty program | |
| US20070288302A1 (en) | Donation Pages for an On-Line Campaign Management | |
| WO2009114732A2 (en) | Social network enabled group gift card | |
| US20140006123A1 (en) | Microgift System and Method of Operation | |
| CA2605484A1 (en) | Electronic voucher system and associated method | |
| KR20130138637A (en) | Personal marketing system and method using mobile coupon and online shopping | |
| US11928535B2 (en) | Tracking, monitoring, and consolidating transactions using quick response codes | |
| JP5605798B2 (en) | Ceremonial occasion support system and ceremonial occasion support method | |
| JP6396613B2 (en) | SNS system, bank system and credit card company system | |
| US20140164269A1 (en) | Using successive levels of authentication in online commerce | |
| US9807614B2 (en) | Using successive levels of authentication in online commerce | |
| JP6424720B2 (en) | Charge storage system, billing server and charge storage method | |
| JP2023075988A (en) | Remote meeting support system | |
| KR102187419B1 (en) | Data management system for culture art performance between participants and data management method thereof | |
| TWM652987U (en) | Commodity sharing system | |
| JP6916423B1 (en) | Chat system | |
| US20160162874A1 (en) | Using successive levels of authentication in online commerce | |
| KR20020059499A (en) | Sending gift list and payment method by email | |
| US20250104043A1 (en) | Integrated event management and peer-to-peer financial platform |
Legal Events
| Date | Code | Title | Description |
|---|---|---|---|
| A621 | Written request for application examination |
Free format text: JAPANESE INTERMEDIATE CODE: A621 Effective date: 20241001 |
|
| A131 | Notification of reasons for refusal |
Free format text: JAPANESE INTERMEDIATE CODE: A131 Effective date: 20250610 |
|
| A977 | Report on retrieval |
Free format text: JAPANESE INTERMEDIATE CODE: A971007 Effective date: 20250611 |
|
| A601 | Written request for extension of time |
Free format text: JAPANESE INTERMEDIATE CODE: A601 Effective date: 20250806 |
|
| A521 | Request for written amendment filed |
Free format text: JAPANESE INTERMEDIATE CODE: A523 Effective date: 20250926 |
|
| A131 | Notification of reasons for refusal |
Free format text: JAPANESE INTERMEDIATE CODE: A131 Effective date: 20251202 |
|
| A521 | Request for written amendment filed |
Free format text: JAPANESE INTERMEDIATE CODE: A523 Effective date: 20260115 |
|
| RD01 | Notification of change of attorney |
Free format text: JAPANESE INTERMEDIATE CODE: A7421 Effective date: 20260115 |
|
| A521 | Request for written amendment filed |
Free format text: JAPANESE INTERMEDIATE CODE: A821 Effective date: 20260115 |
