JP2023052495A - ロボットアームの衝突の検出 - Google Patents
ロボットアームの衝突の検出 Download PDFInfo
- Publication number
- JP2023052495A JP2023052495A JP2023006322A JP2023006322A JP2023052495A JP 2023052495 A JP2023052495 A JP 2023052495A JP 2023006322 A JP2023006322 A JP 2023006322A JP 2023006322 A JP2023006322 A JP 2023006322A JP 2023052495 A JP2023052495 A JP 2023052495A
- Authority
- JP
- Japan
- Prior art keywords
- arm
- robot
- control unit
- force
- candidate
- Prior art date
- Legal status (The legal status is an assumption and is not a legal conclusion. Google has not performed a legal analysis and makes no representation as to the accuracy of the status listed.)
- Withdrawn
Links
- 230000009471 action Effects 0.000 claims description 54
- 238000000034 method Methods 0.000 claims description 13
- 230000004044 response Effects 0.000 claims description 13
- 238000001514 detection method Methods 0.000 claims description 3
- 239000002131 composite material Substances 0.000 claims description 2
- 230000005484 gravity Effects 0.000 description 7
- 238000010586 diagram Methods 0.000 description 5
- 238000001356 surgical procedure Methods 0.000 description 3
- 230000002123 temporal effect Effects 0.000 description 3
- 239000012636 effector Substances 0.000 description 2
- 238000012986 modification Methods 0.000 description 2
- 230000004048 modification Effects 0.000 description 2
- 230000003287 optical effect Effects 0.000 description 2
- 230000000903 blocking effect Effects 0.000 description 1
- 230000000694 effects Effects 0.000 description 1
- 239000000284 extract Substances 0.000 description 1
- 230000006870 function Effects 0.000 description 1
- 238000003384 imaging method Methods 0.000 description 1
- 230000002401 inhibitory effect Effects 0.000 description 1
- 238000012804 iterative process Methods 0.000 description 1
- 238000004519 manufacturing process Methods 0.000 description 1
- 230000007246 mechanism Effects 0.000 description 1
- 230000008569 process Effects 0.000 description 1
- 239000004065 semiconductor Substances 0.000 description 1
Images
Classifications
-
- B—PERFORMING OPERATIONS; TRANSPORTING
- B25—HAND TOOLS; PORTABLE POWER-DRIVEN TOOLS; MANIPULATORS
- B25J—MANIPULATORS; CHAMBERS PROVIDED WITH MANIPULATION DEVICES
- B25J9/00—Programme-controlled manipulators
- B25J9/0084—Programme-controlled manipulators comprising a plurality of manipulators
-
- B—PERFORMING OPERATIONS; TRANSPORTING
- B25—HAND TOOLS; PORTABLE POWER-DRIVEN TOOLS; MANIPULATORS
- B25J—MANIPULATORS; CHAMBERS PROVIDED WITH MANIPULATION DEVICES
- B25J9/00—Programme-controlled manipulators
- B25J9/16—Programme controls
- B25J9/1674—Programme controls characterised by safety, monitoring, diagnostic
-
- A—HUMAN NECESSITIES
- A61—MEDICAL OR VETERINARY SCIENCE; HYGIENE
- A61B—DIAGNOSIS; SURGERY; IDENTIFICATION
- A61B34/00—Computer-aided surgery; Manipulators or robots specially adapted for use in surgery
- A61B34/30—Surgical robots
- A61B34/37—Leader-follower robots
-
- A—HUMAN NECESSITIES
- A61—MEDICAL OR VETERINARY SCIENCE; HYGIENE
- A61B—DIAGNOSIS; SURGERY; IDENTIFICATION
- A61B34/00—Computer-aided surgery; Manipulators or robots specially adapted for use in surgery
- A61B34/70—Manipulators specially adapted for use in surgery
-
- A—HUMAN NECESSITIES
- A61—MEDICAL OR VETERINARY SCIENCE; HYGIENE
- A61B—DIAGNOSIS; SURGERY; IDENTIFICATION
- A61B34/00—Computer-aided surgery; Manipulators or robots specially adapted for use in surgery
- A61B34/70—Manipulators specially adapted for use in surgery
- A61B34/74—Manipulators with manual electric input means
-
- B—PERFORMING OPERATIONS; TRANSPORTING
- B25—HAND TOOLS; PORTABLE POWER-DRIVEN TOOLS; MANIPULATORS
- B25J—MANIPULATORS; CHAMBERS PROVIDED WITH MANIPULATION DEVICES
- B25J9/00—Programme-controlled manipulators
- B25J9/0084—Programme-controlled manipulators comprising a plurality of manipulators
- B25J9/0087—Dual arms
-
- B—PERFORMING OPERATIONS; TRANSPORTING
- B25—HAND TOOLS; PORTABLE POWER-DRIVEN TOOLS; MANIPULATORS
- B25J—MANIPULATORS; CHAMBERS PROVIDED WITH MANIPULATION DEVICES
- B25J9/00—Programme-controlled manipulators
- B25J9/16—Programme controls
- B25J9/1628—Programme controls characterised by the control loop
- B25J9/1633—Programme controls characterised by the control loop compliant, force, torque control, e.g. combined with position control
-
- B—PERFORMING OPERATIONS; TRANSPORTING
- B25—HAND TOOLS; PORTABLE POWER-DRIVEN TOOLS; MANIPULATORS
- B25J—MANIPULATORS; CHAMBERS PROVIDED WITH MANIPULATION DEVICES
- B25J9/00—Programme-controlled manipulators
- B25J9/16—Programme controls
- B25J9/1674—Programme controls characterised by safety, monitoring, diagnostic
- B25J9/1676—Avoiding collision or forbidden zones
-
- B—PERFORMING OPERATIONS; TRANSPORTING
- B25—HAND TOOLS; PORTABLE POWER-DRIVEN TOOLS; MANIPULATORS
- B25J—MANIPULATORS; CHAMBERS PROVIDED WITH MANIPULATION DEVICES
- B25J9/00—Programme-controlled manipulators
- B25J9/16—Programme controls
- B25J9/1679—Programme controls characterised by the tasks executed
- B25J9/1682—Dual arm manipulator; Coordination of several manipulators
-
- B—PERFORMING OPERATIONS; TRANSPORTING
- B25—HAND TOOLS; PORTABLE POWER-DRIVEN TOOLS; MANIPULATORS
- B25J—MANIPULATORS; CHAMBERS PROVIDED WITH MANIPULATION DEVICES
- B25J9/00—Programme-controlled manipulators
- B25J9/16—Programme controls
- B25J9/1694—Programme controls characterised by use of sensors other than normal servo-feedback from position, speed or acceleration sensors, perception control, multi-sensor controlled systems, sensor fusion
- B25J9/1697—Vision controlled systems
-
- A—HUMAN NECESSITIES
- A61—MEDICAL OR VETERINARY SCIENCE; HYGIENE
- A61B—DIAGNOSIS; SURGERY; IDENTIFICATION
- A61B34/00—Computer-aided surgery; Manipulators or robots specially adapted for use in surgery
- A61B34/20—Surgical navigation systems; Devices for tracking or guiding surgical instruments, e.g. for frameless stereotaxis
- A61B2034/2046—Tracking techniques
- A61B2034/2059—Mechanical position encoders
-
- A—HUMAN NECESSITIES
- A61—MEDICAL OR VETERINARY SCIENCE; HYGIENE
- A61B—DIAGNOSIS; SURGERY; IDENTIFICATION
- A61B34/00—Computer-aided surgery; Manipulators or robots specially adapted for use in surgery
- A61B34/30—Surgical robots
-
- G—PHYSICS
- G05—CONTROLLING; REGULATING
- G05B—CONTROL OR REGULATING SYSTEMS IN GENERAL; FUNCTIONAL ELEMENTS OF SUCH SYSTEMS; MONITORING OR TESTING ARRANGEMENTS FOR SUCH SYSTEMS OR ELEMENTS
- G05B2219/00—Program-control systems
- G05B2219/30—Nc systems
- G05B2219/39—Robotics, robotics to robotics hand
- G05B2219/39082—Collision, real time collision avoidance
-
- G—PHYSICS
- G05—CONTROLLING; REGULATING
- G05B—CONTROL OR REGULATING SYSTEMS IN GENERAL; FUNCTIONAL ELEMENTS OF SUCH SYSTEMS; MONITORING OR TESTING ARRANGEMENTS FOR SUCH SYSTEMS OR ELEMENTS
- G05B2219/00—Program-control systems
- G05B2219/30—Nc systems
- G05B2219/39—Robotics, robotics to robotics hand
- G05B2219/39089—On collision, lead arm around obstacle manually
-
- G—PHYSICS
- G05—CONTROLLING; REGULATING
- G05B—CONTROL OR REGULATING SYSTEMS IN GENERAL; FUNCTIONAL ELEMENTS OF SUCH SYSTEMS; MONITORING OR TESTING ARRANGEMENTS FOR SUCH SYSTEMS OR ELEMENTS
- G05B2219/00—Program-control systems
- G05B2219/30—Nc systems
- G05B2219/39—Robotics, robotics to robotics hand
- G05B2219/39091—Avoid collision with moving obstacles
-
- G—PHYSICS
- G05—CONTROLLING; REGULATING
- G05B—CONTROL OR REGULATING SYSTEMS IN GENERAL; FUNCTIONAL ELEMENTS OF SUCH SYSTEMS; MONITORING OR TESTING ARRANGEMENTS FOR SUCH SYSTEMS OR ELEMENTS
- G05B2219/00—Program-control systems
- G05B2219/30—Nc systems
- G05B2219/39—Robotics, robotics to robotics hand
- G05B2219/39109—Dual arm, multiarm manipulation, object handled in cooperation
-
- G—PHYSICS
- G05—CONTROLLING; REGULATING
- G05B—CONTROL OR REGULATING SYSTEMS IN GENERAL; FUNCTIONAL ELEMENTS OF SUCH SYSTEMS; MONITORING OR TESTING ARRANGEMENTS FOR SUCH SYSTEMS OR ELEMENTS
- G05B2219/00—Program-control systems
- G05B2219/30—Nc systems
- G05B2219/40—Robotics, robotics mapping to robotics vision
- G05B2219/40205—Multiple arm systems
Landscapes
- Engineering & Computer Science (AREA)
- Robotics (AREA)
- Health & Medical Sciences (AREA)
- Mechanical Engineering (AREA)
- Life Sciences & Earth Sciences (AREA)
- Surgery (AREA)
- Heart & Thoracic Surgery (AREA)
- Biomedical Technology (AREA)
- Nuclear Medicine, Radiotherapy & Molecular Imaging (AREA)
- Medical Informatics (AREA)
- Molecular Biology (AREA)
- Animal Behavior & Ethology (AREA)
- General Health & Medical Sciences (AREA)
- Public Health (AREA)
- Veterinary Medicine (AREA)
- Manipulator (AREA)
Abstract
【課題】ロボットアームの相対位置を知ることなくロボットアーム同士の衝突を検出する。
【解決手段】ロボットシステム300は、第1,第2のロボット301、302及び制御ユニット303を備える。ロボットは、各ジョイントを駆動する駆動部と、ジョイントを検知対象とする位置センサおよびトルクセンサを備える。制御ユニットは、位置センサからの入力308が示すアーム形状構成における、第1,第2のロボットのアームのジョイントの重力トルクを特定し、トルクセンサからの入力および特定した重力トルクから、示されたアーム形状構成での第1,第2のロボットのアームのジョイントの残留トルクを特定し、各アームにつき、当該アームに作用したときに特定した残留トルクを発生させ得る少なくとも1つの力候補を算出し、第1のロボットのアームの少なくとも1つの力候補が第2のロボットのアームの逆向きの力候補と釣り合う場合に、衝突であると判定する。
【選択図】図3
【解決手段】ロボットシステム300は、第1,第2のロボット301、302及び制御ユニット303を備える。ロボットは、各ジョイントを駆動する駆動部と、ジョイントを検知対象とする位置センサおよびトルクセンサを備える。制御ユニットは、位置センサからの入力308が示すアーム形状構成における、第1,第2のロボットのアームのジョイントの重力トルクを特定し、トルクセンサからの入力および特定した重力トルクから、示されたアーム形状構成での第1,第2のロボットのアームのジョイントの残留トルクを特定し、各アームにつき、当該アームに作用したときに特定した残留トルクを発生させ得る少なくとも1つの力候補を算出し、第1のロボットのアームの少なくとも1つの力候補が第2のロボットのアームの逆向きの力候補と釣り合う場合に、衝突であると判定する。
【選択図】図3
Description
本開示は、ロボット、特には手術用ロボットの動作の制御に関する。
図1に、共通の作業空間で動作している複数のロボット101,102,103を示す
。本例において、これらのロボットは、人間104に手術を実施するのに用いられる手術
用ロボットである。各ロボットは、基台がフレキシブルアームを介して手術器具と連結し
たものである。それらのロボットは、この例では外科医によって遠隔で操作される。その
外科医は、図2に示す外科医コンソール200に位置している。その外科医は、ハンドコ
ントローラ201,202を操縦する。制御システムにより、当該ハンドコントローラの
動作が、手術用ロボットのアームジョイント及び/又は手術器具エンドエフェクタを動か
す制御信号へと変換される。複数のロボットが、同時に動かされ得る。
。本例において、これらのロボットは、人間104に手術を実施するのに用いられる手術
用ロボットである。各ロボットは、基台がフレキシブルアームを介して手術器具と連結し
たものである。それらのロボットは、この例では外科医によって遠隔で操作される。その
外科医は、図2に示す外科医コンソール200に位置している。その外科医は、ハンドコ
ントローラ201,202を操縦する。制御システムにより、当該ハンドコントローラの
動作が、手術用ロボットのアームジョイント及び/又は手術器具エンドエフェクタを動か
す制御信号へと変換される。複数のロボットが、同時に動かされ得る。
ロボットアーム同士を共通の作業空間で動作させると、これらのロボットアームが互い
に衝突する恐れがある。これは、ロボットの動作領域が他のロボットの動作領域と著しく
重複してしまうほど共通の作業空間が狭小である場合に特に起こり易い。上記の外科医-
ロボットシステムのようなマスタ-スレーブマニピュレータシステムでは、ロボットアー
ムの動作が予め決められているのではなく外科医の入力に応じて執行されるものであるた
め、衝突の可能性が高くなる。
に衝突する恐れがある。これは、ロボットの動作領域が他のロボットの動作領域と著しく
重複してしまうほど共通の作業空間が狭小である場合に特に起こり易い。上記の外科医-
ロボットシステムのようなマスタ-スレーブマニピュレータシステムでは、ロボットアー
ムの動作が予め決められているのではなく外科医の入力に応じて執行されるものであるた
め、衝突の可能性が高くなる。
複数のロボットを有するマスタ-スレーブマニピュレータシステムでは、全てのロボッ
トを共通のシャーシに取り付けることが知られている。この場合、ロボットの基台同士の
相対的な位置が既知のものとなる。各ロボットアームの姿勢については、センサデータを
用いて特定することが可能である。これにより、ロボットアーム上の各点の位置に対する
別のロボットアーム上の各点の位置を特定することができる。制御システムは、この情報
を用いることで、ロボットアーム同士の差し迫った衝突を検出し、衝突を阻止するよう当
該ロボットアーム同士の動きを変更することが可能である。
トを共通のシャーシに取り付けることが知られている。この場合、ロボットの基台同士の
相対的な位置が既知のものとなる。各ロボットアームの姿勢については、センサデータを
用いて特定することが可能である。これにより、ロボットアーム上の各点の位置に対する
別のロボットアーム上の各点の位置を特定することができる。制御システムは、この情報
を用いることで、ロボットアーム同士の差し迫った衝突を検出し、衝突を阻止するよう当
該ロボットアーム同士の動きを変更することが可能である。
ロボット同士を共通のシャーシに取り付けずに互いに独立に取り付けているシステムで
は、所与のロボットに対する別のロボットの位置がそもそも既知でない。ロボット同士の
相対的な位置を特定しないと、上記の仕組みを利用して衝突を検出したり阻止したりする
ことができない。さらに、衝突が起こっても、ロボットアームのどの部分が衝突したのか
を特定することができない。
は、所与のロボットに対する別のロボットの位置がそもそも既知でない。ロボット同士の
相対的な位置を特定しないと、上記の仕組みを利用して衝突を検出したり阻止したりする
ことができない。さらに、衝突が起こっても、ロボットアームのどの部分が衝突したのか
を特定することができない。
ロボットアーム同士の相対的な位置についての情報がなくともロボットアーム同士の衝
突を検出する制御システムが望まれる。
突を検出する制御システムが望まれる。
第1の態様では、ロボットシステムが提供される。当該ロボットシステムは、第1およ
び第2のロボットならびに制御ユニットを備える。当該第1および第2のロボットは、基
台および当該基台から器具の取付部へと延びるアームをそれぞれ含む。当該アームは、当
該アームの形状構成を変化させることが可能な複数のジョイントを具備している。前記ロ
ボットは、各ジョイントにつき、当該ジョイントを駆動して動かすように構成された駆動
部、ならびに当該ジョイントを検知対象とするように構成された位置センサおよびトルク
センサを含む。前記制御ユニットは、前記位置センサおよびトルクセンサからの入力を受
け取って、受け取った当該入力に応じて前記駆動部を制御するように構成されている。前
記制御ユニットは、前記位置センサからの前記入力が示すアーム形状構成における、前記
第1および第2のロボットの前記アームの前記ジョイントの重力トルクを特定して、前記
トルクセンサからの前記入力および特定した前記重力トルクから、示された前記アーム形
状構成での前記第1および第2のロボットの前記アームの前記ジョイントの残留トルクを
特定して、各アームにつき、当該アームに作用したときに前記特定した残留トルクを発生
させ得る少なくとも1つの力候補を算出し、前記第1のロボットの前記アームの少なくと
も1つの力候補が前記第2のロボットの前記アームの逆向きの力候補と釣り合う場合に、
衝突であると判定するように構成されている。
び第2のロボットならびに制御ユニットを備える。当該第1および第2のロボットは、基
台および当該基台から器具の取付部へと延びるアームをそれぞれ含む。当該アームは、当
該アームの形状構成を変化させることが可能な複数のジョイントを具備している。前記ロ
ボットは、各ジョイントにつき、当該ジョイントを駆動して動かすように構成された駆動
部、ならびに当該ジョイントを検知対象とするように構成された位置センサおよびトルク
センサを含む。前記制御ユニットは、前記位置センサおよびトルクセンサからの入力を受
け取って、受け取った当該入力に応じて前記駆動部を制御するように構成されている。前
記制御ユニットは、前記位置センサからの前記入力が示すアーム形状構成における、前記
第1および第2のロボットの前記アームの前記ジョイントの重力トルクを特定して、前記
トルクセンサからの前記入力および特定した前記重力トルクから、示された前記アーム形
状構成での前記第1および第2のロボットの前記アームの前記ジョイントの残留トルクを
特定して、各アームにつき、当該アームに作用したときに前記特定した残留トルクを発生
させ得る少なくとも1つの力候補を算出し、前記第1のロボットの前記アームの少なくと
も1つの力候補が前記第2のロボットの前記アームの逆向きの力候補と釣り合う場合に、
衝突であると判定するように構成されている。
前記制御ユニットは、衝突であると判定した場合、前記第1および第2のロボットの前
記アームの動きを阻止するように前記駆動部を制御し得る。
記アームの動きを阻止するように前記駆動部を制御し得る。
前記制御ユニットは、衝突であると判定した場合、前記第1および第2のロボットの前
記アームを接触点から遠ざけるように前記駆動部を制御し得る。
記アームを接触点から遠ざけるように前記駆動部を制御し得る。
前記制御ユニットは、前記力候補が力閾値を上回った場合にのみ前記駆動部の制御を行
い得る。
い得る。
前記制御ユニットは、前記力候補の時間プロファイルの勾配が勾配閾値を上回った場合
にのみ前記駆動部の制御を行い得る。
にのみ前記駆動部の制御を行い得る。
前記制御ユニットは、期間閾値よりも短い期間のあいだ前記力候補の大きさが基準値を
上回った場合にのみ前記駆動部の制御を行い得る。
上回った場合にのみ前記駆動部の制御を行い得る。
前記ロボットシステムは、さらに、追加のロボットを備え得る。当該追加のロボットは
、基台および当該基台から器具の取付部へと延びるアームをそれぞれ含む。当該アームは
、当該アームの形状構成を変化させることが可能な複数のジョイントを具備している。前
記ロボットは、各ジョイントにつき、当該ジョイントを駆動して動かすように構成された
駆動部、ならびに当該ジョイントを検知対象とするように構成された位置センサおよびト
ルクセンサを含む。前記制御ユニットは、前記位置センサからの前記入力が示す前記アー
ム形状構成における、前記追加のロボットの前記アームの前記ジョイントの重力トルクを
特定して、前記トルクセンサからの前記入力および特定した前記重力トルクから、示され
た前記アーム形状構成での前記追加のロボットの前記アームの前記ジョイントの残留トル
クを特定して、前記追加のロボットの各アームにつき、当該アームに作用したときに前記
特定した残留トルクを発生させ得る少なくとも1つの力候補を算出し、衝突であると判定
した場合であって、前記第2のロボットの前記アームの逆向きの力候補と釣り合う前記第
1のロボットの前記アームの前記力候補が、追加のロボットの前記アームの逆向きの力候
補とは釣り合わない場合にのみ、前記駆動部の制御を行うように構成されている。
、基台および当該基台から器具の取付部へと延びるアームをそれぞれ含む。当該アームは
、当該アームの形状構成を変化させることが可能な複数のジョイントを具備している。前
記ロボットは、各ジョイントにつき、当該ジョイントを駆動して動かすように構成された
駆動部、ならびに当該ジョイントを検知対象とするように構成された位置センサおよびト
ルクセンサを含む。前記制御ユニットは、前記位置センサからの前記入力が示す前記アー
ム形状構成における、前記追加のロボットの前記アームの前記ジョイントの重力トルクを
特定して、前記トルクセンサからの前記入力および特定した前記重力トルクから、示され
た前記アーム形状構成での前記追加のロボットの前記アームの前記ジョイントの残留トル
クを特定して、前記追加のロボットの各アームにつき、当該アームに作用したときに前記
特定した残留トルクを発生させ得る少なくとも1つの力候補を算出し、衝突であると判定
した場合であって、前記第2のロボットの前記アームの逆向きの力候補と釣り合う前記第
1のロボットの前記アームの前記力候補が、追加のロボットの前記アームの逆向きの力候
補とは釣り合わない場合にのみ、前記駆動部の制御を行うように構成されている。
前記制御ユニットは、判定した前記衝突時の前記第1のロボットの前記アームの形状構
成および前記第2のロボットの前記アームの形状構成を記憶し、その後、記憶されたこれ
らの形状構成を前記第1のロボットおよび前記第2のロボットの双方が同時に採ることを
阻止し得る。
成および前記第2のロボットの前記アームの形状構成を記憶し、その後、記憶されたこれ
らの形状構成を前記第1のロボットおよび前記第2のロボットの双方が同時に採ることを
阻止し得る。
前記制御ユニットは、判定した前記衝突から前記第1のロボットの前記アームと前記第
2のロボットの前記アームとの相対的な位置を特定して、その後、同じ相対的な位置を前
記第1のロボットの前記アームおよび前記第2のロボットの前記アームが同時に採ること
を阻止し得る。
2のロボットの前記アームとの相対的な位置を特定して、その後、同じ相対的な位置を前
記第1のロボットの前記アームおよび前記第2のロボットの前記アームが同時に採ること
を阻止し得る。
前記制御ユニットは、前記第1のロボットと前記第2のロボットとの相対的な位置を知
ることなく動作し得る。
ることなく動作し得る。
前記制御ユニットは、前記第1および第2のロボットが互いに所定の向きを各自取って
いると仮定し得る。
いると仮定し得る。
前記制御ユニットは、各アームにつき、当該アームに作用したときに前記特定した残留
トルクを発生させ得る単一の力候補を算出し得る。
トルクを発生させ得る単一の力候補を算出し得る。
前記制御ユニットは、前記示されたアーム形状構成での前記第1のロボットの前記アー
ムに作用したときに当該第1のロボットの当該アームの前記ジョイントの前記特定した残
留トルクを発生させ得る単一の力候補が存在しなかった場合、衝突が起こらなかったと判
定し得る。
ムに作用したときに当該第1のロボットの当該アームの前記ジョイントの前記特定した残
留トルクを発生させ得る単一の力候補が存在しなかった場合、衝突が起こらなかったと判
定し得る。
前記制御ユニットは、各アームにつき、当該アームに作用したときに前記特定した残留
トルクを発生させ得る単一の力候補範囲を算出し得る。
トルクを発生させ得る単一の力候補範囲を算出し得る。
前記単一の力候補範囲は、大きさ候補範囲および作用線候補範囲を含み得る。
前記制御ユニットは、前記第1のロボットの前記アームの前記作用線候補範囲が前記第
2のロボットの前記アームの前記作用線候補範囲と重ならない場合、衝突が起こらなかっ
たと判定し得る。
2のロボットの前記アームの前記作用線候補範囲と重ならない場合、衝突が起こらなかっ
たと判定し得る。
前記制御ユニットは、前記第1のロボットの前記アームの前記作用線候補範囲が前記第
2のロボットの前記アームの前記作用線候補範囲内の作用線と反対方向の作用線を含んで
いない場合、衝突が起こらなかったと判定し得る。
2のロボットの前記アームの前記作用線候補範囲内の作用線と反対方向の作用線を含んで
いない場合、衝突が起こらなかったと判定し得る。
前記制御ユニットは、前記第1のロボットの前記アームの前記大きさ候補範囲が前記第
2のロボットの前記アームの前記大きさ候補範囲と重ならない場合、衝突が起こらなかっ
たと判定し得る。
2のロボットの前記アームの前記大きさ候補範囲と重ならない場合、衝突が起こらなかっ
たと判定し得る。
前記制御ユニットは、各アームにつき、当該アームに作用したときに前記特定した残留
トルクを各自発生させたかもしれない複数の力候補を求め得て、当該複数の力候補は、2
つ以上の個別力候補の合成である合成力候補を含み、前記制御ユニットは、前記第1のロ
ボットの前記アームの所与の合成力候補における個別力候補が前記第2のロボットの前記
アームの逆向きの力候補と釣り合う場合に、衝突であると判定するように構成されている
。
トルクを各自発生させたかもしれない複数の力候補を求め得て、当該複数の力候補は、2
つ以上の個別力候補の合成である合成力候補を含み、前記制御ユニットは、前記第1のロ
ボットの前記アームの所与の合成力候補における個別力候補が前記第2のロボットの前記
アームの逆向きの力候補と釣り合う場合に、衝突であると判定するように構成されている
。
前記ロボットシステムは手術ロボットシステムであり得て、前記第1および第2のロボ
ットは手術用ロボットであり得る。
ットは手術用ロボットであり得る。
第2の態様では、ロボットシステムの、基台および当該基台から器具の取付部へと延び
るアームをそれぞれ含む、第1のロボットと第2のロボットとの衝突を判定する方法が提
供される。前記アームは、当該アームの形状構成を変化させることが可能な複数のジョイ
ントを具備し、前記ロボットは、各ジョイントにつき、当該ジョイントを駆動して動かす
ように構成された駆動部、ならびに当該ジョイントを検知対象とするように構成された位
置センサおよびトルクセンサを含み、前記ロボットシステムは、さらに、前記位置センサ
およびトルクセンサからの入力を受け取って、受け取った当該入力に応じて前記駆動部を
制御する制御ユニットを備え、当該方法は、前記位置センサからの前記入力が示すアーム
形状構成における、前記第1および第2のロボットの前記アームの前記ジョイントの重力
トルクを特定する過程と、前記トルクセンサからの前記入力および特定した前記重力トル
クから、示された前記アーム形状構成での前記第1および第2のロボットの前記アームの
前記ジョイントの残留トルクを特定する過程と、各アームにつき、当該アームに作用した
ときに前記特定した残留トルクを発生させ得る少なくとも1つの力候補を算出する過程と
、前記第1のロボットの前記アームの少なくとも1つの力候補が前記第2のロボットの前
記アームの逆向きの力候補と釣り合う場合に、衝突であると判定する過程と、を備える。
るアームをそれぞれ含む、第1のロボットと第2のロボットとの衝突を判定する方法が提
供される。前記アームは、当該アームの形状構成を変化させることが可能な複数のジョイ
ントを具備し、前記ロボットは、各ジョイントにつき、当該ジョイントを駆動して動かす
ように構成された駆動部、ならびに当該ジョイントを検知対象とするように構成された位
置センサおよびトルクセンサを含み、前記ロボットシステムは、さらに、前記位置センサ
およびトルクセンサからの入力を受け取って、受け取った当該入力に応じて前記駆動部を
制御する制御ユニットを備え、当該方法は、前記位置センサからの前記入力が示すアーム
形状構成における、前記第1および第2のロボットの前記アームの前記ジョイントの重力
トルクを特定する過程と、前記トルクセンサからの前記入力および特定した前記重力トル
クから、示された前記アーム形状構成での前記第1および第2のロボットの前記アームの
前記ジョイントの残留トルクを特定する過程と、各アームにつき、当該アームに作用した
ときに前記特定した残留トルクを発生させ得る少なくとも1つの力候補を算出する過程と
、前記第1のロボットの前記アームの少なくとも1つの力候補が前記第2のロボットの前
記アームの逆向きの力候補と釣り合う場合に、衝突であると判定する過程と、を備える。
以下では、本開示について、添付の図面を参照しながら例を用いて説明する。
後述の説明は、複数のロボットおよび制御ユニットを備えたロボットシステムに関する
ものである。当該制御ユニットは、前記ロボット同士を駆動して動かす。ロボットアーム
の位置センサおよびトルクセンサが、センサデータを前記制御ユニットへと受け渡す。前
記制御ユニットは、このセンサデータを用いて、前記ロボットアームに作用する外力を検
出する。前記制御ユニットは、アームに作用した外力が別のアームに作用した対向する外
力と釣り合う場合、これら2つのアーム間で衝突が起こったと判定する。
ものである。当該制御ユニットは、前記ロボット同士を駆動して動かす。ロボットアーム
の位置センサおよびトルクセンサが、センサデータを前記制御ユニットへと受け渡す。前
記制御ユニットは、このセンサデータを用いて、前記ロボットアームに作用する外力を検
出する。前記制御ユニットは、アームに作用した外力が別のアームに作用した対向する外
力と釣り合う場合、これら2つのアーム間で衝突が起こったと判定する。
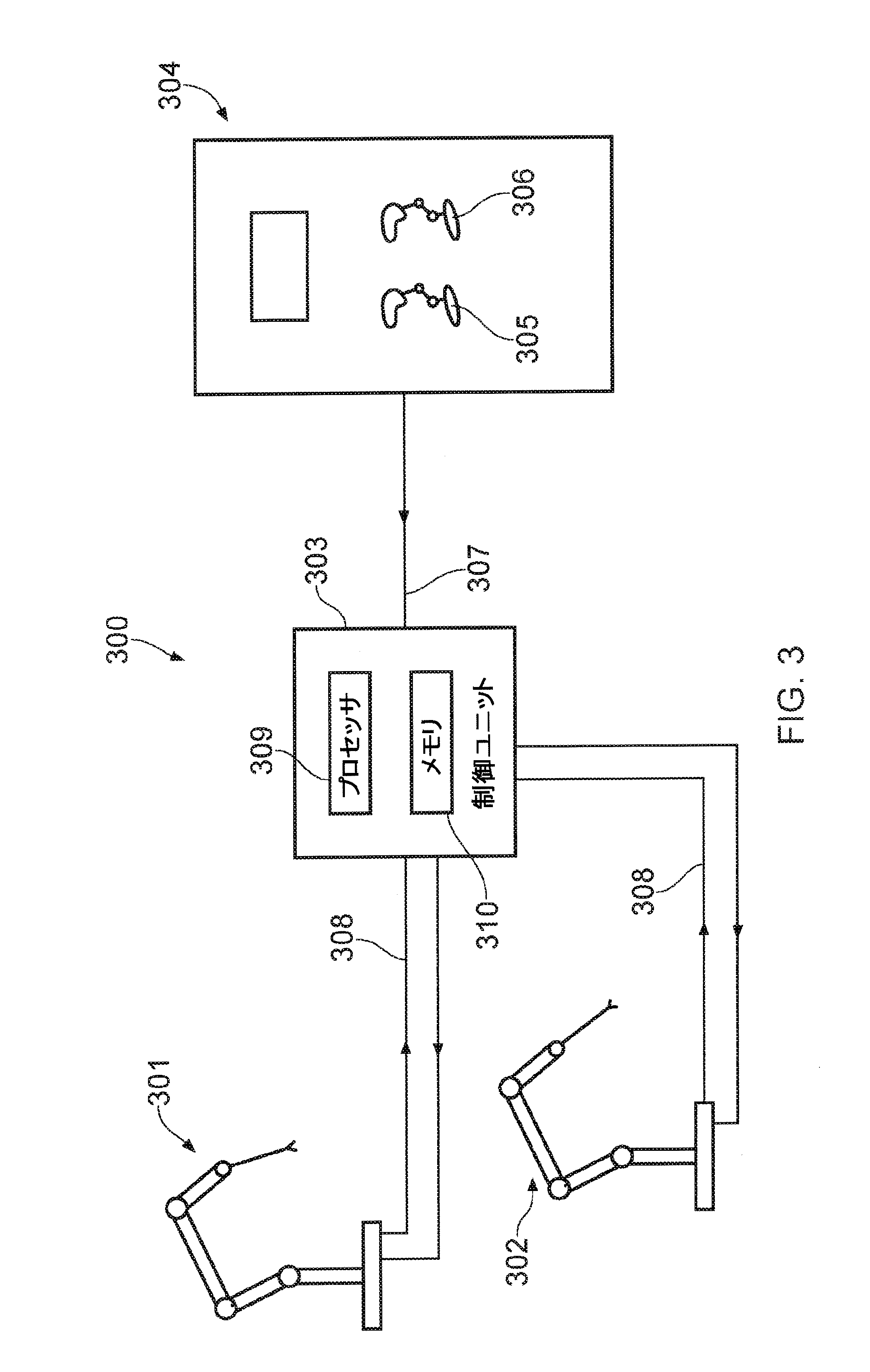
下記の例は、手術ロボットシステムに関するものである。図3を参照すると、手術ロボ
ットシステム300は、制御ユニット303によって駆動される2つの手術用ロボット3
01,302を備える。制御ユニット303は、第1および第2のハンドコントローラ3
05,306からの入力を含む、外科医コンソール304からの入力307を受け取る。
前記制御ユニットは、前記外科医コンソールから、フットペダル入力、ボタン入力、音声
認識入力、ジェスチャ認識入力、眼認識入力などのその他の入力307も受け取り得る。
制御ユニット303は、さらに、手術用ロボット301,302からの入力308も受け
取る。当該入力には、前記ロボットアームのジョイントに設けられた位置センサおよびト
ルクセンサからのセンサデータが含まれる。制御ユニット303は、各ロボットから、力
フィードバック、手術器具由来のデータなどのその他の入力308も受け取り得る。制御
ユニット303は、前記ロボットや前記外科医コンソールから受け取った前記入力に応じ
てロボット301,302を駆動する。制御ユニット303は、プロセッサ309および
メモリ310を含む。当該メモリは、前記プロセッサにより実行されると当該プロセッサ
に前記駆動部の制御を本明細書で説明する様式で行わせることが可能なソフトウェアコー
ドを、非過渡的に記憶している。
ットシステム300は、制御ユニット303によって駆動される2つの手術用ロボット3
01,302を備える。制御ユニット303は、第1および第2のハンドコントローラ3
05,306からの入力を含む、外科医コンソール304からの入力307を受け取る。
前記制御ユニットは、前記外科医コンソールから、フットペダル入力、ボタン入力、音声
認識入力、ジェスチャ認識入力、眼認識入力などのその他の入力307も受け取り得る。
制御ユニット303は、さらに、手術用ロボット301,302からの入力308も受け
取る。当該入力には、前記ロボットアームのジョイントに設けられた位置センサおよびト
ルクセンサからのセンサデータが含まれる。制御ユニット303は、各ロボットから、力
フィードバック、手術器具由来のデータなどのその他の入力308も受け取り得る。制御
ユニット303は、前記ロボットや前記外科医コンソールから受け取った前記入力に応じ
てロボット301,302を駆動する。制御ユニット303は、プロセッサ309および
メモリ310を含む。当該メモリは、前記プロセッサにより実行されると当該プロセッサ
に前記駆動部の制御を本明細書で説明する様式で行わせることが可能なソフトウェアコー
ドを、非過渡的に記憶している。
各ロボット301,302は、図4に示す形状構成400のものである。このロボット
は、手術の実施のあいだ定位置に固定されている基台401を含む。好適には、基台40
1は、シャーシに取り付けられる。当該シャーシは、カート、例えば、ロボットをベッド
の高さに取り付けるベッドサイドカートであり得る。変形例では、前記シャーシが、天井
取付装置またはベッド取付装置とされ得る。
は、手術の実施のあいだ定位置に固定されている基台401を含む。好適には、基台40
1は、シャーシに取り付けられる。当該シャーシは、カート、例えば、ロボットをベッド
の高さに取り付けるベッドサイドカートであり得る。変形例では、前記シャーシが、天井
取付装置またはベッド取付装置とされ得る。
アーム402は、ロボットの基台401から手術器具404の取付部403へと延びる
。当該アームは曲折可能である。前記アームは、当該アームの長さに沿った複数のフレキ
シブルジョイント405によって回動する。当該ジョイント間には、剛体のアーム部材4
06が存在する。図4のアームは、複数のジョイントを具備している。これらのジョイン
トは、1つ以上のロールジョイント(同ジョイントは、同ジョイントの片側にあるアーム
部材の長手方向に沿った回転軸心を有している)、1つ以上のピッチジョイント(同ジョ
イントは、基端側のアーム部材の長手方向と交差する回転軸心を有している)、および1
つ以上のヨージョイント(同ジョイントは、基端側のアーム部材の長手方向だけでなく同
じ場所に位置したピッチジョイントの回転軸心とも交差する回転軸心を有している)を含
む。しかしながら、前記アームは、別のジョイント方式とされてもよい。例えば、前記ア
ームにおけるジョイントの数が減らされても増やされてもよい。前記アームは、側方間の
回転以外の運動が可能なジョイント、例えば、伸縮ジョイントを含むものとされてもよい
。前記ロボットは、少なくとも1つのジョイント405をそれぞれ駆動する一連の駆動部
407を備えている。
。当該アームは曲折可能である。前記アームは、当該アームの長さに沿った複数のフレキ
シブルジョイント405によって回動する。当該ジョイント間には、剛体のアーム部材4
06が存在する。図4のアームは、複数のジョイントを具備している。これらのジョイン
トは、1つ以上のロールジョイント(同ジョイントは、同ジョイントの片側にあるアーム
部材の長手方向に沿った回転軸心を有している)、1つ以上のピッチジョイント(同ジョ
イントは、基端側のアーム部材の長手方向と交差する回転軸心を有している)、および1
つ以上のヨージョイント(同ジョイントは、基端側のアーム部材の長手方向だけでなく同
じ場所に位置したピッチジョイントの回転軸心とも交差する回転軸心を有している)を含
む。しかしながら、前記アームは、別のジョイント方式とされてもよい。例えば、前記ア
ームにおけるジョイントの数が減らされても増やされてもよい。前記アームは、側方間の
回転以外の運動が可能なジョイント、例えば、伸縮ジョイントを含むものとされてもよい
。前記ロボットは、少なくとも1つのジョイント405をそれぞれ駆動する一連の駆動部
407を備えている。
取付部403は、手術器具404が前記アームの先端部に着脱自在に取り付けられるの
を可能にする。手術器具404は、直線状の剛体のシャフトおよび当該シャフトの先端部
にある作業用先端部を有する。当該作業用先端部は、医療行為に使用するためのエンドエ
フェクタを備える。前記手術器具は、前記アームにおける末端ジョイントの回転軸心と平
行かつ直線状に延設されるように構成され得る。例えば、前記手術器具は、前記アームに
おける前記末端ジョイントの回転軸心と合致する軸心に沿って延設され得る。手術器具4
04は、例えば切断装置、把持装置、焼灼装置、撮像装置等であり得る。
を可能にする。手術器具404は、直線状の剛体のシャフトおよび当該シャフトの先端部
にある作業用先端部を有する。当該作業用先端部は、医療行為に使用するためのエンドエ
フェクタを備える。前記手術器具は、前記アームにおける末端ジョイントの回転軸心と平
行かつ直線状に延設されるように構成され得る。例えば、前記手術器具は、前記アームに
おける前記末端ジョイントの回転軸心と合致する軸心に沿って延設され得る。手術器具4
04は、例えば切断装置、把持装置、焼灼装置、撮像装置等であり得る。
前記ロボットアームは、一連のセンサ408,409を含む。これらのセンサは、各ジ
ョイントごとの、当該ジョイントの位置を検出する位置センサ408および当該ジョイン
トの回転軸心回りに作用するトルクを検出するトルクセンサ409を備える。ジョイント
の前記位置センサおよび/またはトルクセンサは、当該ジョイントのモータと一体化され
ていてもよい。これらのセンサの出力は、制御ユニット303に受け渡されてそこでプロ
セッサ309に対する入力となる。
ョイントごとの、当該ジョイントの位置を検出する位置センサ408および当該ジョイン
トの回転軸心回りに作用するトルクを検出するトルクセンサ409を備える。ジョイント
の前記位置センサおよび/またはトルクセンサは、当該ジョイントのモータと一体化され
ていてもよい。これらのセンサの出力は、制御ユニット303に受け渡されてそこでプロ
セッサ309に対する入力となる。
以降では、ロボット301,302から受け取ったセンサデータを使って制御ユニット
303が当該ロボット同士のアーム間の衝突を検出する例について説明する。
303が当該ロボット同士のアーム間の衝突を検出する例について説明する。
まず、前記制御ユニットは、各ロボットアームについて、明らかにされていない力が当
該ロボットアームに作用しているか否かを判定する。図5は、これを行うのに制御ユニッ
ト303が実施するステップについて説明したフロー図である。
該ロボットアームに作用しているか否かを判定する。図5は、これを行うのに制御ユニッ
ト303が実施するステップについて説明したフロー図である。
前記制御ユニットは、前記ロボットアームの前記ジョイントの位置センサ408から位
置センサデータ501を入力として受け取る。例えば、各位置センサは、検知対象とする
ジョイントのジョイント角度を報告し得る。前記制御ユニットは、ロボットアームの幾何
形状/レイアウト500をメモリ310に記憶する。前記制御ユニットのプロセッサ30
9は、メモリ310から、前記ロボットアームの記憶された幾何形状を取り出す。ステッ
プ502にて、前記制御ユニットのプロセッサ309は、受け取った前記位置センサデー
タおよび前記ロボットアームの前記幾何形状から、当該ロボットアームの最新の形状構成
を特定する。前記ロボットアームの形状構成は、当該ロボットアームの姿勢としても知ら
れている。好適には、プロセッサ309は、前記アームの前記最新の形状構成をメモリ3
10に記憶する。
置センサデータ501を入力として受け取る。例えば、各位置センサは、検知対象とする
ジョイントのジョイント角度を報告し得る。前記制御ユニットは、ロボットアームの幾何
形状/レイアウト500をメモリ310に記憶する。前記制御ユニットのプロセッサ30
9は、メモリ310から、前記ロボットアームの記憶された幾何形状を取り出す。ステッ
プ502にて、前記制御ユニットのプロセッサ309は、受け取った前記位置センサデー
タおよび前記ロボットアームの前記幾何形状から、当該ロボットアームの最新の形状構成
を特定する。前記ロボットアームの形状構成は、当該ロボットアームの姿勢としても知ら
れている。好適には、プロセッサ309は、前記アームの前記最新の形状構成をメモリ3
10に記憶する。
前記制御ユニットは、前記ロボットアームの重力モデル503をメモリ310に記憶す
る。メモリ310は、前記アーム及び取り付けられた前記器具における各構成要素につい
て、当該構成要素の質量、前記アームにおける手前側のジョイントからの当該構成要素の
質量中心の距離、および当該質量中心と当該手前側のジョイントのジョイントセンサの位
置出力との関係を記憶する。前記制御ユニットのプロセッサ309は、メモリ310から
、記憶された重力モデル503を取り出す。ステップ504にて、前記制御ユニットのプ
ロセッサ309は、前記ロボットアームの前記最新の形状構成および前記重力モデルを用
いて、当該ロボットアームの当該最新の形状構成での当該ロボットアームの前記構成要素
への重力の影響をモデル化する。この際、プロセッサ309は、前記ロボットアームの各
ジョイントへ作用する、重力に起因したトルクを特定する。
る。メモリ310は、前記アーム及び取り付けられた前記器具における各構成要素につい
て、当該構成要素の質量、前記アームにおける手前側のジョイントからの当該構成要素の
質量中心の距離、および当該質量中心と当該手前側のジョイントのジョイントセンサの位
置出力との関係を記憶する。前記制御ユニットのプロセッサ309は、メモリ310から
、記憶された重力モデル503を取り出す。ステップ504にて、前記制御ユニットのプ
ロセッサ309は、前記ロボットアームの前記最新の形状構成および前記重力モデルを用
いて、当該ロボットアームの当該最新の形状構成での当該ロボットアームの前記構成要素
への重力の影響をモデル化する。この際、プロセッサ309は、前記ロボットアームの各
ジョイントへ作用する、重力に起因したトルクを特定する。
前記制御ユニットは、前記ロボットアームの前記ジョイントのトルクセンサ409から
トルクセンサデータ505を入力として受け取る。ステップ506にて、前記制御ユニッ
トのプロセッサ309は、前記ロボットアームの各ジョイントの残留トルクを算出する。
残留トルクとは、前記トルクセンサで測定されたジョイントトルクから、ジョイントへ作
用した既知のトルクを差し引いたものである。例えば、プロセッサ309は、測定された
ジョイントトルクからステップ504にて算出された重力によるトルクを差し引くことに
よって前記残留トルクを算出し得る。前記外科医コンソールの操作のもとで前記制御ユニ
ットが前記ジョイントを駆動して動かしている場合であれば、プロセッサ309が、既知
の駆動トルク値を測定されたジョイントトルクから差し引くことによって前記残留トルク
を求め得る。好適には、プロセッサ309は、残留ジョイントトルクをメモリ310に記
憶する。
トルクセンサデータ505を入力として受け取る。ステップ506にて、前記制御ユニッ
トのプロセッサ309は、前記ロボットアームの各ジョイントの残留トルクを算出する。
残留トルクとは、前記トルクセンサで測定されたジョイントトルクから、ジョイントへ作
用した既知のトルクを差し引いたものである。例えば、プロセッサ309は、測定された
ジョイントトルクからステップ504にて算出された重力によるトルクを差し引くことに
よって前記残留トルクを算出し得る。前記外科医コンソールの操作のもとで前記制御ユニ
ットが前記ジョイントを駆動して動かしている場合であれば、プロセッサ309が、既知
の駆動トルク値を測定されたジョイントトルクから差し引くことによって前記残留トルク
を求め得る。好適には、プロセッサ309は、残留ジョイントトルクをメモリ310に記
憶する。
前記制御ユニットは、前記ロボットアームの姿勢を必ずしも実際に求めなくてよい。前
記制御ユニットは、前記位置センサデータ、前記ロボットアームの既知の幾何形状、およ
び重力モデルから、重力トルクを直接算出すればよい。
記制御ユニットは、前記位置センサデータ、前記ロボットアームの既知の幾何形状、およ
び重力モデルから、重力トルクを直接算出すればよい。
前記制御ユニットは、前記ロボットアームの各ジョイントに作用する重力トルクを必ず
しも実際に求めなくてよい。前記制御ユニットは、前記位置センサデータ、前記ロボット
アームの既知の幾何形状、重力モデルおよびトルクセンサデータから、前記残留トルクを
直接算出すればよい。
しも実際に求めなくてよい。前記制御ユニットは、前記位置センサデータ、前記ロボット
アームの既知の幾何形状、重力モデルおよびトルクセンサデータから、前記残留トルクを
直接算出すればよい。
前記制御ユニットは、当該制御ユニットと接続されている全ロボットアームについて、
図5との関連で説明したステップを実行する。
図5との関連で説明したステップを実行する。
制御ユニット303は、前記ロボットの前記アームの前記ジョイントに作用する前記残
留トルクを解析して、当該残留トルクの一部又は全部が前記ロボット同士の衝突で引き起
こされたものであるのか否かを判定する。前記制御ユニットは、これを、前記ロボット同
士の相対的な位置を知ることなく行う。ただし、前記制御ユニットは、前記ロボット同士
が互いに所定の向きを取っているものと仮定する。変形例では、前記ロボット同士が衝突
したか否かを前記制御ユニットが判定するのに先立って、同システムでの当該ロボット同
士の相対的な向きが前記制御ユニットへと入力され得る。例えば、動作開始前に前記ロボ
ット同士をセットアップする際に、当該ロボット同士の相対的な向きが前記制御ユニット
へと送られ得る。
留トルクを解析して、当該残留トルクの一部又は全部が前記ロボット同士の衝突で引き起
こされたものであるのか否かを判定する。前記制御ユニットは、これを、前記ロボット同
士の相対的な位置を知ることなく行う。ただし、前記制御ユニットは、前記ロボット同士
が互いに所定の向きを取っているものと仮定する。変形例では、前記ロボット同士が衝突
したか否かを前記制御ユニットが判定するのに先立って、同システムでの当該ロボット同
士の相対的な向きが前記制御ユニットへと入力され得る。例えば、動作開始前に前記ロボ
ット同士をセットアップする際に、当該ロボット同士の相対的な向きが前記制御ユニット
へと送られ得る。
次に、2つのロボットアーム間で衝突が起こったか否かを判定するのに制御ユニット3
03が当該ロボットアームのジョイントに作用した前記残留トルクをどのように解析する
のかについて、幾つかの例を説明する。
03が当該ロボットアームのジョイントに作用した前記残留トルクをどのように解析する
のかについて、幾つかの例を説明する。
図6aに、ロボットアームAとロボットアームBについての第1の実施形態を示す。ア
ームAについて算出した残留ジョイントトルクは、RTAj(j=1,2…J)と表記す
る。アームBの残留ジョイントトルクは、RTBl(l=1,2…L)と表記する。
ームAについて算出した残留ジョイントトルクは、RTAj(j=1,2…J)と表記す
る。アームBの残留ジョイントトルクは、RTBl(l=1,2…L)と表記する。
前記制御ユニットは、メモリ310から、アームAの前記最新の形状構成を取り出す。
前記制御ユニットは、さらに、メモリ310から、アームAの残留ジョイントトルクRT
Ajを取り出す。ステップ601にて、制御ユニット303は、アームAの前記最新の形
状構成で残留ジョイントトルクRTAjを発生させたかもしれない力候補集合FAi(i
=1,2…N)を特定する。
前記制御ユニットは、さらに、メモリ310から、アームAの残留ジョイントトルクRT
Ajを取り出す。ステップ601にて、制御ユニット303は、アームAの前記最新の形
状構成で残留ジョイントトルクRTAjを発生させたかもしれない力候補集合FAi(i
=1,2…N)を特定する。
前記制御ユニットは、メモリ310から、アームBの前記最新の形状構成を取り出す。
前記制御ユニットは、さらに、メモリ310から、アームBの残留ジョイントトルクRT
Blを取り出す。ステップ604にて、制御ユニット303は、アームBの前記最新の形
状構成で残留ジョイントトルクRTBlを発生させたかもしれない力候補集合FBk(k
=1,2…K)を特定する。
前記制御ユニットは、さらに、メモリ310から、アームBの残留ジョイントトルクRT
Blを取り出す。ステップ604にて、制御ユニット303は、アームBの前記最新の形
状構成で残留ジョイントトルクRTBlを発生させたかもしれない力候補集合FBk(k
=1,2…K)を特定する。
力候補とは、外部から対象のアームに作用する力のことである。前記力候補集合は、力
候補を一つだけ含むものであってもよい。前記力候補集合は、個別力候補を含み得る。換
言すると、前記制御ユニットは、前記アームの全残留ジョイントトルクを単独で発生させ
たかもしれない単一の外力を求め得る。前記力候補集合は、合成力候補を含み得る。換言
すると、前記制御ユニットは、前記アームの全残留ジョイントトルクを協働で発生させた
かもしれない2つ以上の外力を求め得る。前記力候補集合は、個別力候補および合成力候
補を含み得る。前記力候補集合は、前記アームに作用して当該アームの残留ジョイントト
ルクを発生させた可能性がある全ての外力を含み得る。
候補を一つだけ含むものであってもよい。前記力候補集合は、個別力候補を含み得る。換
言すると、前記制御ユニットは、前記アームの全残留ジョイントトルクを単独で発生させ
たかもしれない単一の外力を求め得る。前記力候補集合は、合成力候補を含み得る。換言
すると、前記制御ユニットは、前記アームの全残留ジョイントトルクを協働で発生させた
かもしれない2つ以上の外力を求め得る。前記力候補集合は、個別力候補および合成力候
補を含み得る。前記力候補集合は、前記アームに作用して当該アームの残留ジョイントト
ルクを発生させた可能性がある全ての外力を含み得る。
ステップ608にて、前記制御ユニットは、力候補FAi(式中、i=1)と力候補F
Bk(式中、k=1)を比較する。すなわち、前記制御ユニットは、アームAの第1の力
候補FA1をアームBの第1の力候補FB1と比較する。前記制御ユニットは、比較する
力候補同士が釣り合っていて且つ対向している場合、アームAがアームBと衝突したとス
テップ609にて判定する。具体的に述べると、前記制御ユニットは、力候補FA1の大
きさ、作用線および作用線方向と力候補FB1の大きさ、作用線および作用線方向を比較
し得る。前記制御ユニットは、これらの力の大きさが等しく且つ相対する方向に平行線で
作用している場合、アームAとアームBとの間で衝突が起こったと判定する。
Bk(式中、k=1)を比較する。すなわち、前記制御ユニットは、アームAの第1の力
候補FA1をアームBの第1の力候補FB1と比較する。前記制御ユニットは、比較する
力候補同士が釣り合っていて且つ対向している場合、アームAがアームBと衝突したとス
テップ609にて判定する。具体的に述べると、前記制御ユニットは、力候補FA1の大
きさ、作用線および作用線方向と力候補FB1の大きさ、作用線および作用線方向を比較
し得る。前記制御ユニットは、これらの力の大きさが等しく且つ相対する方向に平行線で
作用している場合、アームAとアームBとの間で衝突が起こったと判定する。
力候補FA1と力候補FB1が釣り合って且つ対向している力候補同士ではないと前記
制御ユニットがステップ608にて判定した場合、衝突は検出されない。ステップ610
にて、前記制御ユニットは、アームBの前記力候補集合内にさらなる力候補が存在するか
否かを確認する。すなわち、前記制御ユニットは、k=k+1の力が存在するか否かを確
認する。さらなる力候補が存在する場合、ステップ611にてk=k+1に設定されて解
析がステップ608へと戻る。このとき、前記制御ユニットは、力候補FAiと力候補F
Bk+1、すなわち、FA1とFB2を比較する。前記制御ユニットは、これら2つの力
候補が釣り合っていて且つ対向している場合、アームAがアームBと衝突したと判定する
。
制御ユニットがステップ608にて判定した場合、衝突は検出されない。ステップ610
にて、前記制御ユニットは、アームBの前記力候補集合内にさらなる力候補が存在するか
否かを確認する。すなわち、前記制御ユニットは、k=k+1の力が存在するか否かを確
認する。さらなる力候補が存在する場合、ステップ611にてk=k+1に設定されて解
析がステップ608へと戻る。このとき、前記制御ユニットは、力候補FAiと力候補F
Bk+1、すなわち、FA1とFB2を比較する。前記制御ユニットは、これら2つの力
候補が釣り合っていて且つ対向している場合、アームAがアームBと衝突したと判定する
。
力候補FA1と力候補FB2が釣り合って且つ対向している力候補同士ではないと前記
制御ユニットがステップ608にて判定した場合、衝突が検出されずにステップ610,
611,608のさらなる反復が行われる。力候補FA1が全ての力候補Bkに対して判
断され尽くすか又は衝突が検出されるまで、これらの反復は継続する。
制御ユニットがステップ608にて判定した場合、衝突が検出されずにステップ610,
611,608のさらなる反復が行われる。力候補FA1が全ての力候補Bkに対して判
断され尽くすか又は衝突が検出されるまで、これらの反復は継続する。
アームBにさらなる力候補が存在しないと前記制御ユニットがステップ610にて判定
した場合、処理がステップ612へと続行する。ステップ612にて、前記制御ユニット
は、アームAの前記力候補集合内にさらなる力候補が存在するか否かを確認する。すなわ
ち、前記制御ユニットは、i=i+1の力が存在するか否かを確認する。さらなる力候補
が存在する場合、ステップ613にてi=i+1,k=1に設定される。そして、解析が
ステップ608へと戻る。このとき、前記制御ユニットは、力候補FAi+1と力候補F
Bk、すなわち、FA2とFB1を比較する。前記制御ユニットは、これら2つの力候補
が釣り合っていて且つ対向している場合、アームAがアームBと衝突したと判定する。
した場合、処理がステップ612へと続行する。ステップ612にて、前記制御ユニット
は、アームAの前記力候補集合内にさらなる力候補が存在するか否かを確認する。すなわ
ち、前記制御ユニットは、i=i+1の力が存在するか否かを確認する。さらなる力候補
が存在する場合、ステップ613にてi=i+1,k=1に設定される。そして、解析が
ステップ608へと戻る。このとき、前記制御ユニットは、力候補FAi+1と力候補F
Bk、すなわち、FA2とFB1を比較する。前記制御ユニットは、これら2つの力候補
が釣り合っていて且つ対向している場合、アームAがアームBと衝突したと判定する。
力候補FA2と力候補FB1が釣り合って且つ対向している力候補同士ではないと前記
制御ユニットがステップ608にて判定した場合、衝突が検出されずにステップ610,
611,608のさらなる反復が行われる。力候補FA2が全ての力候補Bkに対して判
断され終わるか又は衝突が検出されるまで、これらの反復は継続する。
制御ユニットがステップ608にて判定した場合、衝突が検出されずにステップ610,
611,608のさらなる反復が行われる。力候補FA2が全ての力候補Bkに対して判
断され終わるか又は衝突が検出されるまで、これらの反復は継続する。
アームAの残りの力候補も、アームBの力候補と上記の様式によって同様に比較される
。制御ユニット303は、アームAの力候補FAiが一つでもアームBの力候補FBkの
いずれかと釣り合っていて且つ対向していれば、衝突であると判定する。制御ユニット3
03は、アームAの力候補FAiのいずれもアームBの力候補FBkと釣り合って且つ対
向している力候補でない場合、衝突が起こらなかったと判定する。
。制御ユニット303は、アームAの力候補FAiが一つでもアームBの力候補FBkの
いずれかと釣り合っていて且つ対向していれば、衝突であると判定する。制御ユニット3
03は、アームAの力候補FAiのいずれもアームBの力候補FBkと釣り合って且つ対
向している力候補でない場合、衝突が起こらなかったと判定する。
制御ユニット303は、衝突であると判定し次第、すなわち、互いに釣り合っていて且
つ対向している力候補対を特定し次第、図6aの解析を停止し得る。変形例において、制
御ユニット303は、衝突を検出したか否かに関係なく、アームAの全ての力候補をアー
ムBの全ての力候補と比較し得る。
つ対向している力候補対を特定し次第、図6aの解析を停止し得る。変形例において、制
御ユニット303は、衝突を検出したか否かに関係なく、アームAの全ての力候補をアー
ムBの全ての力候補と比較し得る。
前記制御ユニットは、衝突であると判定した場合、互いに釣り合っていて且つ対向して
いるアームA,Bの力候補同士をメモリ310に記憶し得る。また、前記制御ユニットは
、衝突時のアームA,B双方の形状構成をメモリ310に記憶し得る。
いるアームA,Bの力候補同士をメモリ310に記憶し得る。また、前記制御ユニットは
、衝突時のアームA,B双方の形状構成をメモリ310に記憶し得る。
この衝突解析によれば、衝突したロボットアームの一方又は双方に衝突の発生と同時に
別の外力が作用していた場合であっても、当該ロボットアーム同士の衝突が正確に検出さ
れる。
別の外力が作用していた場合であっても、当該ロボットアーム同士の衝突が正確に検出さ
れる。
図6bに、ロボットアームAとロボットアームBについての第2の実施例を示す。図6
aと同様に、アームAについて算出した残留ジョイントトルクは、RTAj(j=1,2
…J)と表記する。アームBの残留ジョイントトルクは、RTBl(l=1,2…L)と
表記する。
aと同様に、アームAについて算出した残留ジョイントトルクは、RTAj(j=1,2
…J)と表記する。アームBの残留ジョイントトルクは、RTBl(l=1,2…L)と
表記する。
前記制御ユニットは、単一の外力のみがアームAの残留ジョイントトルクを発生させた
と仮定するように構成されている。同じく、前記制御ユニットは、単一の外力のみがアー
ムBの残留ジョイントトルクを発生させたと仮定するように構成されている。つまり、前
記制御ユニットは、各アームにつき、当該アームに作用したときに残留ジョイントトルク
を発生させたかもしれない単一の力候補を算出するように構成されている。当該単一の力
候補は、合成力候補ではなく個別力候補とする。
と仮定するように構成されている。同じく、前記制御ユニットは、単一の外力のみがアー
ムBの残留ジョイントトルクを発生させたと仮定するように構成されている。つまり、前
記制御ユニットは、各アームにつき、当該アームに作用したときに残留ジョイントトルク
を発生させたかもしれない単一の力候補を算出するように構成されている。当該単一の力
候補は、合成力候補ではなく個別力候補とする。
前記制御ユニットは、メモリ310から、アームAの最新の形状構成を取り出す。前記
制御ユニットは、さらに、メモリ310から、アームAの残留ジョイントトルクRTAj
を取り出す。ステップ620にて、制御ユニット303は、アームAの前記最新の形状構
成で残留ジョイントトルクRTAjを発生させたかもしれない単一の力候補FA1を特定
する。前記制御ユニットは、単一の力候補FA1を特定することができなかった場合、衝
突が起こらなかったとステップ627にて判定する。
制御ユニットは、さらに、メモリ310から、アームAの残留ジョイントトルクRTAj
を取り出す。ステップ620にて、制御ユニット303は、アームAの前記最新の形状構
成で残留ジョイントトルクRTAjを発生させたかもしれない単一の力候補FA1を特定
する。前記制御ユニットは、単一の力候補FA1を特定することができなかった場合、衝
突が起こらなかったとステップ627にて判定する。
前記制御ユニットは、メモリ310から、アームBの最新の形状構成を取り出す。前記
制御ユニットは、さらに、メモリ310から、アームBの残留ジョイントトルクRTBl
を取り出す。ステップ624にて、制御ユニット303は、アームBの前記最新の形状構
成で残留ジョイントトルクRTBlを発生させたかもしれない単一の力候補FB1を特定
する。前記制御ユニットは、単一の力候補FB1を特定することができなかった場合、衝
突が起こらなかったとステップ628にて判定する。
制御ユニットは、さらに、メモリ310から、アームBの残留ジョイントトルクRTBl
を取り出す。ステップ624にて、制御ユニット303は、アームBの前記最新の形状構
成で残留ジョイントトルクRTBlを発生させたかもしれない単一の力候補FB1を特定
する。前記制御ユニットは、単一の力候補FB1を特定することができなかった場合、衝
突が起こらなかったとステップ628にて判定する。
ステップ620にて力候補FA1が求められて、かつ、ステップ624にて力候補FB
1が求められた場合、ステップ629にて前記制御ユニットがFA1とFB1を比較する
。前記制御ユニットは、比較する力候補同士が釣り合っていて且つ対向している場合、ア
ームAがアームBと衝突したとステップ630にて判定する。具体的に述べると、前記制
御ユニットは、力候補FA1の大きさ、作用線および作用線方向と力候補FB1の大きさ
、作用線および作用線方向を比較し得る。前記制御ユニットは、これらの力の大きさが等
しく且つ相対する方向に平行線で作用している場合、アームAとアームBとの間で衝突が
起こったと判定する。
1が求められた場合、ステップ629にて前記制御ユニットがFA1とFB1を比較する
。前記制御ユニットは、比較する力候補同士が釣り合っていて且つ対向している場合、ア
ームAがアームBと衝突したとステップ630にて判定する。具体的に述べると、前記制
御ユニットは、力候補FA1の大きさ、作用線および作用線方向と力候補FB1の大きさ
、作用線および作用線方向を比較し得る。前記制御ユニットは、これらの力の大きさが等
しく且つ相対する方向に平行線で作用している場合、アームAとアームBとの間で衝突が
起こったと判定する。
力候補FA1と力候補FB1が釣り合って且つ対向している力候補同士ではないと前記
制御ユニットがステップ629にて判定した場合、衝突は検出されない。
制御ユニットがステップ629にて判定した場合、衝突は検出されない。
図6aに関して説明した衝突解析に比べて、図6bに関して説明した衝突解析は計算負
荷が少ない。
荷が少ない。
図6cに、ロボットアームAとロボットアームBについての第3の実施例を示す。図6
a及び図6bと同様に、アームAについて算出した残留ジョイントトルクは、RTAj(
j=1,2…J)と表記する。アームBの残留ジョイントトルクは、RTBl(l=1,
2…L)と表記する。
a及び図6bと同様に、アームAについて算出した残留ジョイントトルクは、RTAj(
j=1,2…J)と表記する。アームBの残留ジョイントトルクは、RTBl(l=1,
2…L)と表記する。
前記制御ユニットは、単一の外力のみがアームAの残留ジョイントトルクを発生させた
と仮定するように構成されている。同じく、前記制御ユニットは、単一の外力のみがアー
ムBの残留ジョイントトルクを発生させたと仮定するように構成されている。前記制御ユ
ニットは、前記アームに作用したときに前記残留ジョイントトルクを発生させたかもしれ
ない単一の力候補について、その大きさ範囲および作用線範囲を算出するように構成され
ている。当該単一の力候補は、合成力候補ではなく個別力候補とする。
と仮定するように構成されている。同じく、前記制御ユニットは、単一の外力のみがアー
ムBの残留ジョイントトルクを発生させたと仮定するように構成されている。前記制御ユ
ニットは、前記アームに作用したときに前記残留ジョイントトルクを発生させたかもしれ
ない単一の力候補について、その大きさ範囲および作用線範囲を算出するように構成され
ている。当該単一の力候補は、合成力候補ではなく個別力候補とする。
前記制御ユニットは、メモリ310から、アームAの最新の形状構成を取り出す。前記
制御ユニットは、さらに、メモリ310から、アームAの残留ジョイントトルクRTAj
を取り出す。ステップ640にて、制御ユニット303は、アームAの前記最新の形状構
成で残留ジョイントトルクRTAjを発生させたかもしれない単一の力候補FA1につい
て、その大きさ範囲および作用線範囲を特定する。前記制御ユニットは、力FA1の単一
の大きさ候補範囲および作用線範囲を特定することができなかった場合、衝突が起こらな
かったとステップ647にて判定する。
制御ユニットは、さらに、メモリ310から、アームAの残留ジョイントトルクRTAj
を取り出す。ステップ640にて、制御ユニット303は、アームAの前記最新の形状構
成で残留ジョイントトルクRTAjを発生させたかもしれない単一の力候補FA1につい
て、その大きさ範囲および作用線範囲を特定する。前記制御ユニットは、力FA1の単一
の大きさ候補範囲および作用線範囲を特定することができなかった場合、衝突が起こらな
かったとステップ647にて判定する。
前記制御ユニットは、メモリ310から、アームBの最新の形状構成を取り出す。前記
制御ユニットは、さらに、メモリ310から、アームBの残留ジョイントトルクRTBl
を取り出す。ステップ644にて、制御ユニット303は、アームBの前記最新の形状構
成で残留ジョイントトルクRTBlを発生させたかもしれない単一の力候補FB1につい
て、その大きさ範囲および作用線範囲を特定する。前記制御ユニットは、力FB1の単一
の大きさ候補範囲および作用線範囲を特定することができなかった場合、衝突が起こらな
かったとステップ648にて判定する。
制御ユニットは、さらに、メモリ310から、アームBの残留ジョイントトルクRTBl
を取り出す。ステップ644にて、制御ユニット303は、アームBの前記最新の形状構
成で残留ジョイントトルクRTBlを発生させたかもしれない単一の力候補FB1につい
て、その大きさ範囲および作用線範囲を特定する。前記制御ユニットは、力FB1の単一
の大きさ候補範囲および作用線範囲を特定することができなかった場合、衝突が起こらな
かったとステップ648にて判定する。
ステップ640にて力FA1の大きさ候補範囲および作用線候補範囲が求められて、か
つ、ステップ644にて力FB1の大きさ候補範囲および作用線候補範囲が求められた場
合、解析がステップ649へと進む。ステップ649にて、前記制御ユニットがFA1の
作用線範囲とFB1の作用線範囲を比較する。FA1の作用線範囲がFB1の作用線範囲
と重ならない場合、衝突が起こらなかったと前記制御ユニットがステップ650にて判定
する。FA1の作用線範囲がFB1の作用線範囲と重複した場合、解析がステップ651
へと進む。
つ、ステップ644にて力FB1の大きさ候補範囲および作用線候補範囲が求められた場
合、解析がステップ649へと進む。ステップ649にて、前記制御ユニットがFA1の
作用線範囲とFB1の作用線範囲を比較する。FA1の作用線範囲がFB1の作用線範囲
と重ならない場合、衝突が起こらなかったと前記制御ユニットがステップ650にて判定
する。FA1の作用線範囲がFB1の作用線範囲と重複した場合、解析がステップ651
へと進む。
ステップ651にて、前記制御ユニットは、力FA1の前記範囲と力FB1の前記範囲
との重複領域における、力FA1の前記範囲内の作用線方向と力FB1の前記範囲内の作
用線方向を比較する。力FA1の作用線範囲と力FB1の作用線範囲との重複領域におい
て、一方の範囲内の作用線と反対方向の作用線が他方の範囲内になかった場合、衝突が起
こらなかったと前記制御ユニットがステップ652にて判定する。しかしながら、力FA
1の作用線範囲と力FB1の作用線範囲との重複領域において、一方の範囲内の作用線と
反対方向の作用線が他方の範囲内に1つ以上存在する場合には、解析がステップ653へ
と進む。
との重複領域における、力FA1の前記範囲内の作用線方向と力FB1の前記範囲内の作
用線方向を比較する。力FA1の作用線範囲と力FB1の作用線範囲との重複領域におい
て、一方の範囲内の作用線と反対方向の作用線が他方の範囲内になかった場合、衝突が起
こらなかったと前記制御ユニットがステップ652にて判定する。しかしながら、力FA
1の作用線範囲と力FB1の作用線範囲との重複領域において、一方の範囲内の作用線と
反対方向の作用線が他方の範囲内に1つ以上存在する場合には、解析がステップ653へ
と進む。
変形例では、ステップ649とステップ651が別々ではなく並行して前記制御ユニッ
トにて検討され得る。この場合、前記制御ユニットは、FA1の作用線範囲とFB1の作
用線範囲を、それらの作用線の方向同士を含めて比較する。力FA1の作用線範囲と力F
B1の作用線範囲との重複領域において、一方の範囲内の作用線と反対方向の作用線が他
方の範囲内になかった場合、衝突が起こらなかったと前記制御ユニットが判定する。力F
A1の作用線範囲と力FB1の作用線範囲との重複領域において、一方の範囲内の作用線
と反対方向の作用線が他方の範囲内に存在する場合には、解析がステップ653へと進む
。
トにて検討され得る。この場合、前記制御ユニットは、FA1の作用線範囲とFB1の作
用線範囲を、それらの作用線の方向同士を含めて比較する。力FA1の作用線範囲と力F
B1の作用線範囲との重複領域において、一方の範囲内の作用線と反対方向の作用線が他
方の範囲内になかった場合、衝突が起こらなかったと前記制御ユニットが判定する。力F
A1の作用線範囲と力FB1の作用線範囲との重複領域において、一方の範囲内の作用線
と反対方向の作用線が他方の範囲内に存在する場合には、解析がステップ653へと進む
。
ステップ653にて、前記制御ユニットは、力FA1の大きさ範囲を力FB1の大きさ
範囲と比較する。力FA1の大きさ範囲が力FB1の大きさ範囲と重ならない場合、衝突
が起こらなかったと前記制御ユニットがステップ654にて判定する。しかしながら、力
FA1の大きさ範囲が力FB1の大きさ範囲と重複した場合、衝突が起こったと制御ユニ
ット303がステップ655にて判定する。
範囲と比較する。力FA1の大きさ範囲が力FB1の大きさ範囲と重ならない場合、衝突
が起こらなかったと前記制御ユニットがステップ654にて判定する。しかしながら、力
FA1の大きさ範囲が力FB1の大きさ範囲と重複した場合、衝突が起こったと制御ユニ
ット303がステップ655にて判定する。
変形例において、制御ユニット303は、力FA1の大きさ範囲が力FB1の大きさ範
囲と重複した場合、衝突の可能性があると判定し得る。すると、前記制御ユニットは、ス
テップ640,644へと戻って図6cに関して説明した手法のさらなる反復を実行し得
る。この反復では、前記制御ユニットが、前記アームに作用したときに前記残留ジョイン
トトルクを発生させたかもしれない単一の力候補について、さらに狭い大きさ範囲および
/またはさらに狭い作用線範囲を算出する。制御ユニット303は、この反復後も力FA
1の大きさ範囲が力FB1の大きさ範囲と重複している場合、衝突が起こったと判定し得
る。この判定は、それ以前の反復で同じ判定を下した場合よりも、信頼度の高い判定とな
る。変形例では、制御ユニット303が、ステップ653の結果が肯定となるたびに毎回
ステップ640,644へ戻って図6cの手法のさらなる反復を実行し得て、かつ、それ
以降の各反復は、それ以前の反復よりも狭い大きさ範囲および/または作用線範囲で実行
され得る。この反復処理は:(i)衝突が起こらなかったと制御ユニット303が判定す
る;(ii)衝突が起こったと前記制御ユニットが判定してよいほど十分に範囲が狭まる
;のいずれかが成立するまで継続する。所定回数の反復後に、十分に範囲が狭まったとさ
れ得る。
囲と重複した場合、衝突の可能性があると判定し得る。すると、前記制御ユニットは、ス
テップ640,644へと戻って図6cに関して説明した手法のさらなる反復を実行し得
る。この反復では、前記制御ユニットが、前記アームに作用したときに前記残留ジョイン
トトルクを発生させたかもしれない単一の力候補について、さらに狭い大きさ範囲および
/またはさらに狭い作用線範囲を算出する。制御ユニット303は、この反復後も力FA
1の大きさ範囲が力FB1の大きさ範囲と重複している場合、衝突が起こったと判定し得
る。この判定は、それ以前の反復で同じ判定を下した場合よりも、信頼度の高い判定とな
る。変形例では、制御ユニット303が、ステップ653の結果が肯定となるたびに毎回
ステップ640,644へ戻って図6cの手法のさらなる反復を実行し得て、かつ、それ
以降の各反復は、それ以前の反復よりも狭い大きさ範囲および/または作用線範囲で実行
され得る。この反復処理は:(i)衝突が起こらなかったと制御ユニット303が判定す
る;(ii)衝突が起こったと前記制御ユニットが判定してよいほど十分に範囲が狭まる
;のいずれかが成立するまで継続する。所定回数の反復後に、十分に範囲が狭まったとさ
れ得る。
変形例では、ステップ653にて力FA1の大きさ範囲が力FB1の大きさ範囲と重複
した場合、衝突の可能性があると制御ユニット303が判定し得る。そして、前記制御ユ
ニットは、図6aに関して説明した手法を用いて、衝突が起こったか否かを判定し得る。
した場合、衝突の可能性があると制御ユニット303が判定し得る。そして、前記制御ユ
ニットは、図6aに関して説明した手法を用いて、衝突が起こったか否かを判定し得る。
変形例では、ステップ653にて力FA1の大きさ範囲が力FB1の大きさ範囲と重複
した場合、衝突の可能性があると制御ユニット303が判定し得る。そして、前記制御ユ
ニットは、図6bに関して説明した手法を用いて、衝突が起こったか否かを判定し得る。
した場合、衝突の可能性があると制御ユニット303が判定し得る。そして、前記制御ユ
ニットは、図6bに関して説明した手法を用いて、衝突が起こったか否かを判定し得る。
制御ユニット303は、衝突が起こらなかったと、例えば作用線範囲同士が重複しなか
った場合にステップ650等にて判定し次第、図6cの衝突解析を停止し得る。変形例で
は、衝突解析が続行させられて、ステップ651,653にて前述のような力候補同士の
その他の特性についての比較が行われ得る。
った場合にステップ650等にて判定し次第、図6cの衝突解析を停止し得る。変形例で
は、衝突解析が続行させられて、ステップ651,653にて前述のような力候補同士の
その他の特性についての比較が行われ得る。
場合にもよるが、図6cに関して説明した衝突解析によれば、図6aや図6bに関して
説明した衝突解析よりも迅速に、前記制御ユニットにおいて、2つのロボットアームで検
出された残留ジョイントトルクを、衝突を示唆していないことにより判断の対象から外す
ことが可能となる。
説明した衝突解析よりも迅速に、前記制御ユニットにおいて、2つのロボットアームで検
出された残留ジョイントトルクを、衝突を示唆していないことにより判断の対象から外す
ことが可能となる。
図6a、図6b及び図6cとの関連で述べた上記の例では、2つのロボットアーム間で
衝突が起こったか否かを前記制御ユニットがどのように判定するのかについて説明した。
前記制御ユニットは、衝突が起こらなかったと判定すれば、衝突判断前と変わらず2つの
ロボットアームを動作させ続ける。例えば、前記制御ユニットは、前記外科医コンソール
からの入力に応じて前記ロボットアームの前記ジョイントを駆動して動かしていたのであ
れば、前記ジョイントの駆動をそのまま継続させる。
衝突が起こったか否かを前記制御ユニットがどのように判定するのかについて説明した。
前記制御ユニットは、衝突が起こらなかったと判定すれば、衝突判断前と変わらず2つの
ロボットアームを動作させ続ける。例えば、前記制御ユニットは、前記外科医コンソール
からの入力に応じて前記ロボットアームの前記ジョイントを駆動して動かしていたのであ
れば、前記ジョイントの駆動をそのまま継続させる。
前記制御ユニットは、衝突が起こったと判定した場合、衝突した2つのロボットアーム
のさらなる動作を阻止することで対処し得る。前記ロボットが前記外科医コンソールから
の入力に応じて操縦されていたのであれば、ロボットアームの動作を阻止することにより
、外科医が当該ロボットアームを操縦できないようにする。前記ロボットは、前記器具が
衝突時と同じ位置および形状構成に維持されたまま各ロボットアームの前記ジョイントが
外力に反応して動くというコンプライアントモードに置かれ得る。これにより、手術室の
スタッフは、ロボットアームを押すことで、ロボットアーム同士を引き離すよう位置変更
させることが可能となる。例えば、前記コンプライアントモードでは、前記制御ユニット
が、前記ロボットアームの前記ジョイントの力センサからセンサ入力を受け取り得る。前
記制御ユニットは、前記ロボットアームに外力が作用したことをこのセンサ入力から判断
する。前記制御ユニットは、前記外力のうち、前記ロボットアームを衝突点から遠ざける
ような方向の成分を抽出する。そして、前記制御ユニットは、ロボットアームジョイント
を駆動して、前記外力のその成分の方向へと前記ロボットアームを動かす。このアプロー
チでは、手術室のスタッフが、他方のロボットアームとの接触点から遠ざけるかたちでの
みロボットアームを位置変更させることが可能となる。前記制御ユニットは、一方又は双
方のロボットアームが位置変更され次第、当該ロボットアームを、前記外科医コンソール
からの入力に応じて操縦される動作モードへと戻し得る。
のさらなる動作を阻止することで対処し得る。前記ロボットが前記外科医コンソールから
の入力に応じて操縦されていたのであれば、ロボットアームの動作を阻止することにより
、外科医が当該ロボットアームを操縦できないようにする。前記ロボットは、前記器具が
衝突時と同じ位置および形状構成に維持されたまま各ロボットアームの前記ジョイントが
外力に反応して動くというコンプライアントモードに置かれ得る。これにより、手術室の
スタッフは、ロボットアームを押すことで、ロボットアーム同士を引き離すよう位置変更
させることが可能となる。例えば、前記コンプライアントモードでは、前記制御ユニット
が、前記ロボットアームの前記ジョイントの力センサからセンサ入力を受け取り得る。前
記制御ユニットは、前記ロボットアームに外力が作用したことをこのセンサ入力から判断
する。前記制御ユニットは、前記外力のうち、前記ロボットアームを衝突点から遠ざける
ような方向の成分を抽出する。そして、前記制御ユニットは、ロボットアームジョイント
を駆動して、前記外力のその成分の方向へと前記ロボットアームを動かす。このアプロー
チでは、手術室のスタッフが、他方のロボットアームとの接触点から遠ざけるかたちでの
みロボットアームを位置変更させることが可能となる。前記制御ユニットは、一方又は双
方のロボットアームが位置変更され次第、当該ロボットアームを、前記外科医コンソール
からの入力に応じて操縦される動作モードへと戻し得る。
変形例において、前記制御ユニットは、衝突が起こったと判定した場合、前記ロボット
アーム同士を当該2つのアームの接触点から遠ざけるように制御することで対処し得る。
前記制御ユニットは、衝突解析から、前記外力のうち衝突を引き起こした作用線を各ロボ
ットについて特定した。前記制御ユニットは、前記ロボットアームの最新の形状構成から
、各ロボットアームのどの箇所に力が加わったのかを特定することができる。各ロボット
アームにおける当該力の位置が、そのロボットアームの、他方のロボットアームとの前記
接触点となる。
アーム同士を当該2つのアームの接触点から遠ざけるように制御することで対処し得る。
前記制御ユニットは、衝突解析から、前記外力のうち衝突を引き起こした作用線を各ロボ
ットについて特定した。前記制御ユニットは、前記ロボットアームの最新の形状構成から
、各ロボットアームのどの箇所に力が加わったのかを特定することができる。各ロボット
アームにおける当該力の位置が、そのロボットアームの、他方のロボットアームとの前記
接触点となる。
前記制御ユニットは、図6a、図6b及び図6cの任意の図に関して述べたかたちで検
出した衝突に対し、前述のように前記ロボットアームの動作を阻止するか又は前記ロボッ
トアームを駆動して前記接触点から後退させることによって直接対処し得る。変形例にお
いて、前記制御ユニットは、検出した衝突に対して前述のように対処するのに、衝突が検
出された際に1つ以上のさらなる条件が満たされることを要件とし得る。
出した衝突に対し、前述のように前記ロボットアームの動作を阻止するか又は前記ロボッ
トアームを駆動して前記接触点から後退させることによって直接対処し得る。変形例にお
いて、前記制御ユニットは、検出した衝突に対して前述のように対処するのに、衝突が検
出された際に1つ以上のさらなる条件が満たされることを要件とし得る。
例えば、前記制御ユニットは、力閾値を超えた値であることを要件とし得る。この場合
、前記制御ユニットは、衝突を検出した際に力候補の大きさを力閾値と比較し得る。前記
制御ユニットは、力候補の大きさが前記力閾値を上回った場合、検出した衝突に対して前
述のように対処し得る。前記制御ユニットは、力候補の大きさが前記力閾値以下であった
場合、検出した衝突に対して前述のように対処しない。代わりに、前記制御ユニットは、
前記ロボットアームに通常動作を継続させるよう当該ロボットアームを駆動する。
、前記制御ユニットは、衝突を検出した際に力候補の大きさを力閾値と比較し得る。前記
制御ユニットは、力候補の大きさが前記力閾値を上回った場合、検出した衝突に対して前
述のように対処し得る。前記制御ユニットは、力候補の大きさが前記力閾値以下であった
場合、検出した衝突に対して前述のように対処しない。代わりに、前記制御ユニットは、
前記ロボットアームに通常動作を継続させるよう当該ロボットアームを駆動する。
他の例において、前記制御ユニットは、力候補が特定の波形を有することを要件とし得
る。例えば、前記制御ユニットは、急な衝突を指す急峻な力増加を力候補が示しているこ
とを要件とし得る。この場合、前記制御ユニットは、衝突を検出した際に力候補の時間プ
ロファイルを確認し得る。具体的に述べると、前記制御ユニットは、力の大きさが基準値
を上回っている期間のあいだの力候補の時間プロファイル(すなわち、大きさ-対-時間
)の勾配を確認し得る。前記制御ユニットは、この期間のあいだの時間プロファイルの勾
配が勾配閾値を上回った場合、検出した衝突に対して前述のように対処し得る。前記制御
ユニットは、この期間のあいだの時間プロファイルの勾配が勾配閾値以下であった場合、
検出した衝突に対して前述のように対処しない。代わりに、前記制御ユニットは、前記ロ
ボットアームに通常動作を継続させるよう当該ロボットアームを駆動する。
る。例えば、前記制御ユニットは、急な衝突を指す急峻な力増加を力候補が示しているこ
とを要件とし得る。この場合、前記制御ユニットは、衝突を検出した際に力候補の時間プ
ロファイルを確認し得る。具体的に述べると、前記制御ユニットは、力の大きさが基準値
を上回っている期間のあいだの力候補の時間プロファイル(すなわち、大きさ-対-時間
)の勾配を確認し得る。前記制御ユニットは、この期間のあいだの時間プロファイルの勾
配が勾配閾値を上回った場合、検出した衝突に対して前述のように対処し得る。前記制御
ユニットは、この期間のあいだの時間プロファイルの勾配が勾配閾値以下であった場合、
検出した衝突に対して前述のように対処しない。代わりに、前記制御ユニットは、前記ロ
ボットアームに通常動作を継続させるよう当該ロボットアームを駆動する。
他の例として、前記制御ユニットは、力候補の波形がステップ関数を模していることを
要件し得る。前記制御ユニットは、衝突を検出した際に(i)期間閾値よりも短い期間の
あいだ力候補の大きさが基準値を上回ったか否かを確認すると共に(ii)時間プロファ
イルの勾配が勾配閾値を上回ったか否かを確認することによってこれを実施し得る。前記
制御ユニットは、前記期間閾値よりも短い期間のあいだ力候補の大きさが前記基準値を上
回り、かつ、当該期間のあいだ力候補の勾配が前記勾配閾値を上回ったと判定した場合、
検出した衝突に対して前述のように対処し得る。前記制御ユニットは、この期間のあいだ
にこれらの要件が一方でも満たされなければ、検出した衝突に対して前述のように対処し
ない。代わりに、前記制御ユニットは、前記ロボットアームに通常動作を継続させるよう
当該ロボットアームを駆動する。
要件し得る。前記制御ユニットは、衝突を検出した際に(i)期間閾値よりも短い期間の
あいだ力候補の大きさが基準値を上回ったか否かを確認すると共に(ii)時間プロファ
イルの勾配が勾配閾値を上回ったか否かを確認することによってこれを実施し得る。前記
制御ユニットは、前記期間閾値よりも短い期間のあいだ力候補の大きさが前記基準値を上
回り、かつ、当該期間のあいだ力候補の勾配が前記勾配閾値を上回ったと判定した場合、
検出した衝突に対して前述のように対処し得る。前記制御ユニットは、この期間のあいだ
にこれらの要件が一方でも満たされなければ、検出した衝突に対して前述のように対処し
ない。代わりに、前記制御ユニットは、前記ロボットアームに通常動作を継続させるよう
当該ロボットアームを駆動する。
前記ロボットシステムは、上述した第1および第2のロボット以外にも追加のロボット
を備え得る。さらなる各ロボットは、図4を参照しながら説明した形状構成のものである
。前記制御ユニットは、さらなる各ロボットからも同様のセンサデータを受け取り、かつ
、当該さらなる各ロボットについても前記第1および第2のロボットに関して既述したよ
うに駆動するよう構成されている。また、前記制御ユニットは、さらなる各ロボットにつ
いても前述の衝突解析を実行する。前記制御ユニットは、検出した衝突に対して前述のよ
うに対処するのに、釣り合っていて且つ対向している力候補によって引き起こされたと判
断される残留ジョイントトルクを有しているのが2つのロボットアームだけであることを
要件とし得る。前記制御ユニットは、釣り合っていて且つ対向している力候補によって引
き起こされた可能性がある残留ジョイントトルクを3つ以上のロボットアームが有してい
ると判断した場合、検出した衝突に対して前述のように対処しない。代わりに、前記制御
ユニットは、前記ロボットアームに通常動作を継続させるよう当該ロボットアームを駆動
する。
を備え得る。さらなる各ロボットは、図4を参照しながら説明した形状構成のものである
。前記制御ユニットは、さらなる各ロボットからも同様のセンサデータを受け取り、かつ
、当該さらなる各ロボットについても前記第1および第2のロボットに関して既述したよ
うに駆動するよう構成されている。また、前記制御ユニットは、さらなる各ロボットにつ
いても前述の衝突解析を実行する。前記制御ユニットは、検出した衝突に対して前述のよ
うに対処するのに、釣り合っていて且つ対向している力候補によって引き起こされたと判
断される残留ジョイントトルクを有しているのが2つのロボットアームだけであることを
要件とし得る。前記制御ユニットは、釣り合っていて且つ対向している力候補によって引
き起こされた可能性がある残留ジョイントトルクを3つ以上のロボットアームが有してい
ると判断した場合、検出した衝突に対して前述のように対処しない。代わりに、前記制御
ユニットは、前記ロボットアームに通常動作を継続させるよう当該ロボットアームを駆動
する。
衝突は、3つ以上のロボットアーム間で同時に起こるとは考えられ難い。前記制御ユニ
ットが、釣り合っていて且つ対向している力候補を3つ以上のロボットアームで検出した
場合、その外力の起源は他のロボットアームではなく患者である(患者内の手術部位に器
具をアクセスさせる結果として、それら全てのロボットアームが患者と繋がっている)可
能性が高い。よって、前記制御ユニットは、そのような検知に対し、前記ロボットアーム
の通常動作の継続を許容するという対応を取る。
ットが、釣り合っていて且つ対向している力候補を3つ以上のロボットアームで検出した
場合、その外力の起源は他のロボットアームではなく患者である(患者内の手術部位に器
具をアクセスさせる結果として、それら全てのロボットアームが患者と繋がっている)可
能性が高い。よって、前記制御ユニットは、そのような検知に対し、前記ロボットアーム
の通常動作の継続を許容するという対応を取る。
前記制御ユニットは、検出した衝突に対して前述のようにロボットアームの動作を阻止
するか又は前記ロボットアームを駆動して接触点から後退させて対処するのに、上記のさ
らなる条件のいずれか1つ以上が満たされることを要件とし得る。これは、前述の衝突解
析からの誤判定の数を減らすためである。すなわち、検出した力の起源が実際には別のも
のであるのにロボットアーム間の衝突であると前記制御ユニットが検出してしまう回数を
減らすためである。よって、これにより、ロボットアーム間で衝突が発生しなかったにも
かかわらず前記制御ユニットが処理を停止して前記手術器具の操作を前記外科医コンソー
ルから取り上げてしまうという可能性が抑制される。
するか又は前記ロボットアームを駆動して接触点から後退させて対処するのに、上記のさ
らなる条件のいずれか1つ以上が満たされることを要件とし得る。これは、前述の衝突解
析からの誤判定の数を減らすためである。すなわち、検出した力の起源が実際には別のも
のであるのにロボットアーム間の衝突であると前記制御ユニットが検出してしまう回数を
減らすためである。よって、これにより、ロボットアーム間で衝突が発生しなかったにも
かかわらず前記制御ユニットが処理を停止して前記手術器具の操作を前記外科医コンソー
ルから取り上げてしまうという可能性が抑制される。
前記制御ユニットは、衝突を検出すると、衝突した各ロボットアームの衝突時の形状構
成をメモリ310に記憶し得る。前記制御ユニットは、記憶された当該形状構成をその後
の動作において2つのロボットアームが同時に採ることを阻止する。これにより、前記制
御ユニットは、2つのロボットアームが当初の衝突であると同じ様式で再び衝突するのを
阻止する。前記制御ユニットは、残りの手術の時間中ずっと、又は一方もしくは双方のロ
ボットの基台が動かされるまでこれを行う。
成をメモリ310に記憶し得る。前記制御ユニットは、記憶された当該形状構成をその後
の動作において2つのロボットアームが同時に採ることを阻止する。これにより、前記制
御ユニットは、2つのロボットアームが当初の衝突であると同じ様式で再び衝突するのを
阻止する。前記制御ユニットは、残りの手術の時間中ずっと、又は一方もしくは双方のロ
ボットの基台が動かされるまでこれを行う。
2つのロボットアーム間の衝突時には、双方のロボットアームに外力が同時に加わる。
各ロボットアームの力の大きさが同じになり、かつ、力の作用線がそれら2つのアームで
反対方向になる。前記ロボットアームの幾何形状についての知識および当該ロボットアー
ム同士の相対的な向きを基に、当該ロボットアームからのセンサデータを用いれば、当該
ロボットアーム同士の相対的な位置が不明であるにもかかわらず本明細書の説明のように
衝突を特定することが可能となる。また、前記制御ユニットは、検出した衝突にて明らか
になった作用線を用いることで、前記ロボットアームの幾何形状についての知識および当
該ロボットアーム同士の相対的な向きを基に、当該ロボットアーム同士の相対的な位置を
特定することも可能である。前記ロボットアーム同士の相対的な位置が明らかになると、
前記制御ユニットは、当該技術分野で既知の衝突回避手法を用いて前記ロボットアーム間
の衝突を回避することが可能となる。
各ロボットアームの力の大きさが同じになり、かつ、力の作用線がそれら2つのアームで
反対方向になる。前記ロボットアームの幾何形状についての知識および当該ロボットアー
ム同士の相対的な向きを基に、当該ロボットアームからのセンサデータを用いれば、当該
ロボットアーム同士の相対的な位置が不明であるにもかかわらず本明細書の説明のように
衝突を特定することが可能となる。また、前記制御ユニットは、検出した衝突にて明らか
になった作用線を用いることで、前記ロボットアームの幾何形状についての知識および当
該ロボットアーム同士の相対的な向きを基に、当該ロボットアーム同士の相対的な位置を
特定することも可能である。前記ロボットアーム同士の相対的な位置が明らかになると、
前記制御ユニットは、当該技術分野で既知の衝突回避手法を用いて前記ロボットアーム間
の衝突を回避することが可能となる。
前記制御ユニットは、本明細書で説明した衝突解析を周期的に実行するものとされ得る
。変形例では、前記制御ユニットが、図5を参照しながら説明したかたちで残留トルクを
連続的に特定して、2つのロボットアームの残留トルクが算出されるたびに図6a、図6
b及び図6cのいずれかの衝突解析を実行し得る。後続の衝突解析をトリガするための要
件として、2つのロボットアームの残留トルクが基準値を上回ることを要件としてもよい
。
。変形例では、前記制御ユニットが、図5を参照しながら説明したかたちで残留トルクを
連続的に特定して、2つのロボットアームの残留トルクが算出されるたびに図6a、図6
b及び図6cのいずれかの衝突解析を実行し得る。後続の衝突解析をトリガするための要
件として、2つのロボットアームの残留トルクが基準値を上回ることを要件としてもよい
。
前述の衝突解析で前記制御ユニットにセンサデータを供与するよう用いられる前記位置
センサおよびトルクセンサは、衝突解析にのみ利用されるものでない。前記位置センサは
、別の目的で前記ロボットアームの形状構成を特定するのにも用いられる。前記トルクセ
ンサは、前記ロボットアームに加わる外力を測定するのに用いられる。前記ロボットアー
ムのコンプライアントモードでの前記制御ユニットは、作用した外力に対し、前記ロボッ
トを駆動して当該外力の方向に動かすという対応をとる。
センサおよびトルクセンサは、衝突解析にのみ利用されるものでない。前記位置センサは
、別の目的で前記ロボットアームの形状構成を特定するのにも用いられる。前記トルクセ
ンサは、前記ロボットアームに加わる外力を測定するのに用いられる。前記ロボットアー
ムのコンプライアントモードでの前記制御ユニットは、作用した外力に対し、前記ロボッ
トを駆動して当該外力の方向に動かすという対応をとる。
前記位置センサは、例えばポテンショメータ、光学式の位置エンコーダ、超音波距離セ
ンサ、電波距離センサ等であり得る。前記力センサは、例えば抵抗式の歪みゲージ、圧電
式の歪みゲージ、光学式の歪みゲージ、半導体歪みゲージ等であり得る。前記ロボットの
前記ジョイントを駆動して動かす前記駆動部は、回転モータ、リニアモータ、またはモー
タ以外の例えば油圧ラム、空気圧ラム等の手段であり得る。
ンサ、電波距離センサ等であり得る。前記力センサは、例えば抵抗式の歪みゲージ、圧電
式の歪みゲージ、光学式の歪みゲージ、半導体歪みゲージ等であり得る。前記ロボットの
前記ジョイントを駆動して動かす前記駆動部は、回転モータ、リニアモータ、またはモー
タ以外の例えば油圧ラム、空気圧ラム等の手段であり得る。
前記ロボットは、手術以外の目的にも適用可能である。例えば、前記ロボットは、自動
車製造でエンジン内部を確認するのに用いられることが可能である。
車製造でエンジン内部を確認するのに用いられることが可能である。
出願人は、本明細書で説明した個々の構成及び2つ以上のそのような構成の任意の組合
せのそれぞれが、本願の明細書全体と当業者の一般常識とに基づいてこのような構成又は
組合せが実施可能である限り、このような構成又は構成の組合せが本明細書で開示した任
意の課題を解決するか否かにかかわらず、特許請求の範囲に限定されることなく開示され
ているものとする。本発明の態様は、そのような任意の個々の構成又は構成の組合せのい
ずれで構成されたものであってもよい。本発明の範疇で様々な変更が施されてもよいこと
は、前述の説明を参酌することにより当業者にとって明白である。
せのそれぞれが、本願の明細書全体と当業者の一般常識とに基づいてこのような構成又は
組合せが実施可能である限り、このような構成又は構成の組合せが本明細書で開示した任
意の課題を解決するか否かにかかわらず、特許請求の範囲に限定されることなく開示され
ているものとする。本発明の態様は、そのような任意の個々の構成又は構成の組合せのい
ずれで構成されたものであってもよい。本発明の範疇で様々な変更が施されてもよいこと
は、前述の説明を参酌することにより当業者にとって明白である。
出願人は、本明細書で説明した個々の構成及び2つ以上のそのような構成の任意の組合せのそれぞれが、本願の明細書全体と当業者の一般常識とに基づいてこのような構成又は組合せが実施可能である限り、このような構成又は構成の組合せが本明細書で開示した任意の課題を解決するか否かにかかわらず、特許請求の範囲に限定されることなく開示されているものとする。本発明の態様は、そのような任意の個々の構成又は構成の組合せのいずれで構成されたものであってもよい。本発明の範疇で様々な変更が施されてもよいことは、前述の説明を参酌することにより当業者にとって明白である。
なお、本発明は、実施の態様として以下の内容を含む。
[態様1]
基台および当該基台から器具の取付部へと延びるアームをそれぞれ有する、第1のロボットおよび第2のロボットであって、前記アームは、当該アームの形状構成を変化させることが可能な複数のジョイントを具備し、当該ロボットは、各ジョイントにつき、当該ジョイントを駆動して動かすように構成された駆動部、ならびに当該ジョイントを検知対象とするように構成された位置センサおよびトルクセンサを備える、第1のロボットおよび第2のロボットと、
前記位置センサおよびトルクセンサからの入力を受け取って、受け取った当該入力に応じて前記駆動部を制御するように構成された制御ユニットと、
を備える、ロボットシステムであって、
前記制御ユニットは、
前記位置センサからの前記入力が示すアーム形状構成における、前記第1および第2のロボットの前記アームの前記ジョイントの重力トルクを特定して、
前記トルクセンサからの前記入力および特定した前記重力トルクから、示された前記アーム形状構成での前記第1および第2のロボットの前記アームの前記ジョイントの残留トルクを特定して、
各アームにつき、当該アームに作用したときに前記特定した残留トルクを発生させ得る少なくとも1つの力候補を算出し、
前記第1のロボットの前記アームの少なくとも1つの力候補が前記第2のロボットの前記アームの逆向きの力候補と釣り合う場合に、衝突であると判定する
ように構成されている、ロボットシステム。
[態様2]
請求項1に記載のロボットシステムにおいて、前記制御ユニットは、衝突であると判定した場合、前記第1および第2のロボットの前記アームの動きを阻止するように前記駆動部を制御するよう構成されている、ロボットシステム。
[態様3]
請求項1に記載のロボットシステムにおいて、前記制御ユニットは、衝突であると判定した場合、前記第1および第2のロボットの前記アームを接触点から遠ざけるように前記駆動部を制御するよう構成されている、ロボットシステム。
[態様4]
請求項2または3に記載のロボットシステムにおいて、前記制御ユニットは、前記力候補が力閾値を上回った場合にのみ同請求項に記載のように前記駆動部の制御を行うよう構成されている、ロボットシステム。
[態様5]
請求項2から4のいずれか一項に記載のロボットシステムにおいて、前記制御ユニットは、前記力候補の時間プロファイルの勾配が勾配閾値を上回った場合にのみ同請求項に記載のように前記駆動部の制御を行うよう構成されている、ロボットシステム。
[態様6]
請求項2から5のいずれか一項に記載のロボットシステムにおいて、前記制御ユニットは、期間閾値よりも短い期間のあいだ前記力候補の大きさが基準値を上回った場合にのみ同請求項に記載のように前記駆動部の制御を行うよう構成されている、ロボットシステム。
[態様7]
請求項2から6のいずれか一項に記載のロボットシステムにおいて、さらに、
基台および当該基台から器具の取付部へと延びるアームをそれぞれ含む、追加のロボットであって、前記アームは、当該アームの形状構成を変化させることが可能な複数のジョイントを具備し、当該ロボットは、各ジョイントにつき、当該ジョイントを駆動して動かすように構成された駆動部、ならびに当該ジョイントを検知対象とするように構成された位置センサおよびトルクセンサを含む、追加のロボット、
を備え、前記制御ユニットは、
前記位置センサからの前記入力が示す前記アーム形状構成における、前記追加のロボットの前記アームの前記ジョイントの重力トルクを特定して、
前記トルクセンサからの前記入力および特定した前記重力トルクから、示された前記アーム形状構成での前記追加のロボットの前記アームの前記ジョイントの残留トルクを特定して、
前記追加のロボットの各アームにつき、当該アームに作用したときに前記特定した残留トルクを発生させ得る少なくとも1つの力候補を算出し、
衝突であると判定した場合であって、前記第2のロボットの前記アームの逆向きの力候補と釣り合う前記第1のロボットの前記アームの前記力候補が、追加のロボットの前記アームの逆向きの力候補とは釣り合わない場合にのみ、同請求項に記載のように前記駆動部の制御を行う
よう構成されている、ロボットシステム。
[態様8]
請求項1から7のいずれか一項に記載のロボットシステムにおいて、前記制御ユニットは、判定した前記衝突時の前記第1のロボットの前記アームの形状構成および前記第2のロボットの前記アームの形状構成を記憶し、その後、前記第1のロボットおよび前記第2のロボットの双方が、記憶された前記形状構成を同時に採ることを阻止するように構成されている、ロボットシステム。
[態様9]
請求項1から8のいずれか一項に記載のロボットシステムにおいて、前記制御ユニットは、判定した前記衝突から前記第1のロボットの前記アームと前記第2のロボットの前記アームとの相対的な位置を特定して、その後、前記相対的な位置と同一の相対的な位置を前記第1のロボットの前記アームおよび前記第2のロボットの前記アームが同時に採ることを阻止するように構成されている、ロボットシステム。
[態様10]
請求項1から9のいずれか一項に記載のロボットシステムにおいて、前記制御ユニットは、前記第1のロボットと前記第2のロボットとの相対的な位置を知ることなく同請求項に記載のように動作するように構成されている、ロボットシステム。
[態様11]
請求項1から10のいずれか一項に記載のロボットシステムにおいて、前記制御ユニットは、前記第1および第2のロボットが互いに所定の向きを各自採っていると仮定するように構成されている、ロボットシステム。
[態様12]
請求項1から11のいずれか一項に記載のロボットシステムにおいて、前記制御ユニットは、各アームにつき、当該アームに作用したときに前記特定した残留トルクを発生させ得る単一の力候補を算出するように構成されている、ロボットシステム。
[態様13]
請求項12に記載のロボットシステムにおいて、前記制御ユニットは、前記示されたアーム形状構成での前記第1のロボットの前記アームに作用したときに当該第1のロボットの当該アームの前記ジョイントの前記特定した残留トルクを発生させ得る単一の力候補が存在しなかった場合、衝突が起こらなかったと判定するように構成されている、ロボットシステム。
[態様14]
請求項1から11のいずれか一項に記載のロボットシステムにおいて、前記制御ユニットは、各アームにつき、当該アームに作用したときに前記特定した残留トルクを発生させ得る単一の力候補範囲を算出するように構成されている、ロボットシステム。
[態様15]
請求項14に記載のロボットシステムにおいて、前記単一の力候補範囲が、大きさ候補範囲および作用線候補範囲を含む、ロボットシステム。
[態様16]
請求項15に記載のロボットシステムにおいて、前記制御ユニットは、前記第1のロボットの前記アームの前記作用線候補範囲が前記第2のロボットの前記アームの前記作用線候補範囲と重ならない場合、衝突が起こらなかったと判定するように構成されている、ロボットシステム。
[態様17]
請求項15または16に記載のロボットシステムにおいて、前記制御ユニットは、前記第1のロボットの前記アームの前記作用線候補範囲が前記第2のロボットの前記アームの前記作用線候補範囲内の作用線と反対方向の作用線を含んでいない場合、衝突が起こらなかったと判定するように構成されている、ロボットシステム。
[態様18]
請求項15から17のいずれか一項に記載のロボットシステムにおいて、前記制御ユニットは、前記第1のロボットの前記アームの前記大きさ候補範囲が前記第2のロボットの前記アームの前記大きさ候補範囲と重ならない場合、衝突が起こらなかったと判定するように構成されている、ロボットシステム。
[態様19]
請求項1から11のいずれか一項に記載のロボットシステムにおいて、前記制御ユニットは、各アームにつき、当該アームに作用したときに前記特定した残留トルクを各自発生させたかもしれない複数の力候補を特定するように構成されており、当該複数の力候補は、2つ以上の個別力候補の合成である合成力候補を構成し、前記制御ユニットは、前記第1のロボットの前記アームの所与の合成力候補における個別力候補が前記第2のロボットの前記アームの逆向きの力候補と釣り合う場合に、衝突であると判定するように構成されている、ロボットシステム。
[態様20]
請求項1から19のいずれか一項に記載のロボットシステムにおいて、当該ロボットシステムが手術ロボットシステムであり、前記第1および第2のロボットが手術用ロボットである、ロボットシステム。
[態様21]
ロボットシステムの、基台および当該基台から器具の取付部へと延びるアームをそれぞれ含む、第1のロボットと第2のロボットとの衝突を判定する方法であって、前記アームは、当該アームの形状構成を変化させることが可能な複数のジョイントを具備し、前記ロボットは、各ジョイントにつき、当該ジョイントを駆動して動かすように構成された駆動部、ならびに当該ジョイントを検知対象とするように構成された位置センサおよびトルクセンサを含み、前記ロボットシステムは、さらに、前記位置センサおよびトルクセンサからの入力を受け取って、受け取った当該入力に応じて前記駆動部を制御する制御ユニットを備え、当該方法は、
前記位置センサからの前記入力が示すアーム形状構成における、前記第1および第2のロボットの前記アームの前記ジョイントの重力トルクを特定する過程と、
前記トルクセンサからの前記入力および特定した前記重力トルクから、示された前記アーム形状構成での前記第1および第2のロボットの前記アームの前記ジョイントの残留トルクを特定する過程と、
各アームにつき、当該アームに作用したときに前記特定した残留トルクを発生させ得る少なくとも1つの力候補を算出する過程と、
前記第1のロボットの前記アームの少なくとも1つの力候補が前記第2のロボットの前記アームの逆向きの力候補と釣り合う場合に、衝突であると判定する過程と、
を備える、方法。
なお、本発明は、実施の態様として以下の内容を含む。
[態様1]
基台および当該基台から器具の取付部へと延びるアームをそれぞれ有する、第1のロボットおよび第2のロボットであって、前記アームは、当該アームの形状構成を変化させることが可能な複数のジョイントを具備し、当該ロボットは、各ジョイントにつき、当該ジョイントを駆動して動かすように構成された駆動部、ならびに当該ジョイントを検知対象とするように構成された位置センサおよびトルクセンサを備える、第1のロボットおよび第2のロボットと、
前記位置センサおよびトルクセンサからの入力を受け取って、受け取った当該入力に応じて前記駆動部を制御するように構成された制御ユニットと、
を備える、ロボットシステムであって、
前記制御ユニットは、
前記位置センサからの前記入力が示すアーム形状構成における、前記第1および第2のロボットの前記アームの前記ジョイントの重力トルクを特定して、
前記トルクセンサからの前記入力および特定した前記重力トルクから、示された前記アーム形状構成での前記第1および第2のロボットの前記アームの前記ジョイントの残留トルクを特定して、
各アームにつき、当該アームに作用したときに前記特定した残留トルクを発生させ得る少なくとも1つの力候補を算出し、
前記第1のロボットの前記アームの少なくとも1つの力候補が前記第2のロボットの前記アームの逆向きの力候補と釣り合う場合に、衝突であると判定する
ように構成されている、ロボットシステム。
[態様2]
請求項1に記載のロボットシステムにおいて、前記制御ユニットは、衝突であると判定した場合、前記第1および第2のロボットの前記アームの動きを阻止するように前記駆動部を制御するよう構成されている、ロボットシステム。
[態様3]
請求項1に記載のロボットシステムにおいて、前記制御ユニットは、衝突であると判定した場合、前記第1および第2のロボットの前記アームを接触点から遠ざけるように前記駆動部を制御するよう構成されている、ロボットシステム。
[態様4]
請求項2または3に記載のロボットシステムにおいて、前記制御ユニットは、前記力候補が力閾値を上回った場合にのみ同請求項に記載のように前記駆動部の制御を行うよう構成されている、ロボットシステム。
[態様5]
請求項2から4のいずれか一項に記載のロボットシステムにおいて、前記制御ユニットは、前記力候補の時間プロファイルの勾配が勾配閾値を上回った場合にのみ同請求項に記載のように前記駆動部の制御を行うよう構成されている、ロボットシステム。
[態様6]
請求項2から5のいずれか一項に記載のロボットシステムにおいて、前記制御ユニットは、期間閾値よりも短い期間のあいだ前記力候補の大きさが基準値を上回った場合にのみ同請求項に記載のように前記駆動部の制御を行うよう構成されている、ロボットシステム。
[態様7]
請求項2から6のいずれか一項に記載のロボットシステムにおいて、さらに、
基台および当該基台から器具の取付部へと延びるアームをそれぞれ含む、追加のロボットであって、前記アームは、当該アームの形状構成を変化させることが可能な複数のジョイントを具備し、当該ロボットは、各ジョイントにつき、当該ジョイントを駆動して動かすように構成された駆動部、ならびに当該ジョイントを検知対象とするように構成された位置センサおよびトルクセンサを含む、追加のロボット、
を備え、前記制御ユニットは、
前記位置センサからの前記入力が示す前記アーム形状構成における、前記追加のロボットの前記アームの前記ジョイントの重力トルクを特定して、
前記トルクセンサからの前記入力および特定した前記重力トルクから、示された前記アーム形状構成での前記追加のロボットの前記アームの前記ジョイントの残留トルクを特定して、
前記追加のロボットの各アームにつき、当該アームに作用したときに前記特定した残留トルクを発生させ得る少なくとも1つの力候補を算出し、
衝突であると判定した場合であって、前記第2のロボットの前記アームの逆向きの力候補と釣り合う前記第1のロボットの前記アームの前記力候補が、追加のロボットの前記アームの逆向きの力候補とは釣り合わない場合にのみ、同請求項に記載のように前記駆動部の制御を行う
よう構成されている、ロボットシステム。
[態様8]
請求項1から7のいずれか一項に記載のロボットシステムにおいて、前記制御ユニットは、判定した前記衝突時の前記第1のロボットの前記アームの形状構成および前記第2のロボットの前記アームの形状構成を記憶し、その後、前記第1のロボットおよび前記第2のロボットの双方が、記憶された前記形状構成を同時に採ることを阻止するように構成されている、ロボットシステム。
[態様9]
請求項1から8のいずれか一項に記載のロボットシステムにおいて、前記制御ユニットは、判定した前記衝突から前記第1のロボットの前記アームと前記第2のロボットの前記アームとの相対的な位置を特定して、その後、前記相対的な位置と同一の相対的な位置を前記第1のロボットの前記アームおよび前記第2のロボットの前記アームが同時に採ることを阻止するように構成されている、ロボットシステム。
[態様10]
請求項1から9のいずれか一項に記載のロボットシステムにおいて、前記制御ユニットは、前記第1のロボットと前記第2のロボットとの相対的な位置を知ることなく同請求項に記載のように動作するように構成されている、ロボットシステム。
[態様11]
請求項1から10のいずれか一項に記載のロボットシステムにおいて、前記制御ユニットは、前記第1および第2のロボットが互いに所定の向きを各自採っていると仮定するように構成されている、ロボットシステム。
[態様12]
請求項1から11のいずれか一項に記載のロボットシステムにおいて、前記制御ユニットは、各アームにつき、当該アームに作用したときに前記特定した残留トルクを発生させ得る単一の力候補を算出するように構成されている、ロボットシステム。
[態様13]
請求項12に記載のロボットシステムにおいて、前記制御ユニットは、前記示されたアーム形状構成での前記第1のロボットの前記アームに作用したときに当該第1のロボットの当該アームの前記ジョイントの前記特定した残留トルクを発生させ得る単一の力候補が存在しなかった場合、衝突が起こらなかったと判定するように構成されている、ロボットシステム。
[態様14]
請求項1から11のいずれか一項に記載のロボットシステムにおいて、前記制御ユニットは、各アームにつき、当該アームに作用したときに前記特定した残留トルクを発生させ得る単一の力候補範囲を算出するように構成されている、ロボットシステム。
[態様15]
請求項14に記載のロボットシステムにおいて、前記単一の力候補範囲が、大きさ候補範囲および作用線候補範囲を含む、ロボットシステム。
[態様16]
請求項15に記載のロボットシステムにおいて、前記制御ユニットは、前記第1のロボットの前記アームの前記作用線候補範囲が前記第2のロボットの前記アームの前記作用線候補範囲と重ならない場合、衝突が起こらなかったと判定するように構成されている、ロボットシステム。
[態様17]
請求項15または16に記載のロボットシステムにおいて、前記制御ユニットは、前記第1のロボットの前記アームの前記作用線候補範囲が前記第2のロボットの前記アームの前記作用線候補範囲内の作用線と反対方向の作用線を含んでいない場合、衝突が起こらなかったと判定するように構成されている、ロボットシステム。
[態様18]
請求項15から17のいずれか一項に記載のロボットシステムにおいて、前記制御ユニットは、前記第1のロボットの前記アームの前記大きさ候補範囲が前記第2のロボットの前記アームの前記大きさ候補範囲と重ならない場合、衝突が起こらなかったと判定するように構成されている、ロボットシステム。
[態様19]
請求項1から11のいずれか一項に記載のロボットシステムにおいて、前記制御ユニットは、各アームにつき、当該アームに作用したときに前記特定した残留トルクを各自発生させたかもしれない複数の力候補を特定するように構成されており、当該複数の力候補は、2つ以上の個別力候補の合成である合成力候補を構成し、前記制御ユニットは、前記第1のロボットの前記アームの所与の合成力候補における個別力候補が前記第2のロボットの前記アームの逆向きの力候補と釣り合う場合に、衝突であると判定するように構成されている、ロボットシステム。
[態様20]
請求項1から19のいずれか一項に記載のロボットシステムにおいて、当該ロボットシステムが手術ロボットシステムであり、前記第1および第2のロボットが手術用ロボットである、ロボットシステム。
[態様21]
ロボットシステムの、基台および当該基台から器具の取付部へと延びるアームをそれぞれ含む、第1のロボットと第2のロボットとの衝突を判定する方法であって、前記アームは、当該アームの形状構成を変化させることが可能な複数のジョイントを具備し、前記ロボットは、各ジョイントにつき、当該ジョイントを駆動して動かすように構成された駆動部、ならびに当該ジョイントを検知対象とするように構成された位置センサおよびトルクセンサを含み、前記ロボットシステムは、さらに、前記位置センサおよびトルクセンサからの入力を受け取って、受け取った当該入力に応じて前記駆動部を制御する制御ユニットを備え、当該方法は、
前記位置センサからの前記入力が示すアーム形状構成における、前記第1および第2のロボットの前記アームの前記ジョイントの重力トルクを特定する過程と、
前記トルクセンサからの前記入力および特定した前記重力トルクから、示された前記アーム形状構成での前記第1および第2のロボットの前記アームの前記ジョイントの残留トルクを特定する過程と、
各アームにつき、当該アームに作用したときに前記特定した残留トルクを発生させ得る少なくとも1つの力候補を算出する過程と、
前記第1のロボットの前記アームの少なくとも1つの力候補が前記第2のロボットの前記アームの逆向きの力候補と釣り合う場合に、衝突であると判定する過程と、
を備える、方法。
Claims (21)
- 基台および当該基台から器具の取付部へと延びるアームをそれぞれ有する、第1のロボ
ットおよび第2のロボットであって、前記アームは、当該アームの形状構成を変化させる
ことが可能な複数のジョイントを具備し、当該ロボットは、各ジョイントにつき、当該ジ
ョイントを駆動して動かすように構成された駆動部、ならびに当該ジョイントを検知対象
とするように構成された位置センサおよびトルクセンサを備える、第1のロボットおよび
第2のロボットと、
前記位置センサおよびトルクセンサからの入力を受け取って、受け取った当該入力に応
じて前記駆動部を制御するように構成された制御ユニットと、
を備える、ロボットシステムであって、
前記制御ユニットは、
前記位置センサからの前記入力が示すアーム形状構成における、前記第1および第2
のロボットの前記アームの前記ジョイントの重力トルクを特定して、
前記トルクセンサからの前記入力および特定した前記重力トルクから、示された前記
アーム形状構成での前記第1および第2のロボットの前記アームの前記ジョイントの残留
トルクを特定して、
各アームにつき、当該アームに作用したときに前記特定した残留トルクを発生させ得
る少なくとも1つの力候補を算出し、
前記第1のロボットの前記アームの少なくとも1つの力候補が前記第2のロボットの
前記アームの逆向きの力候補と釣り合う場合に、衝突であると判定する
ように構成されている、ロボットシステム。 - 請求項1に記載のロボットシステムにおいて、前記制御ユニットは、衝突であると判定
した場合、前記第1および第2のロボットの前記アームの動きを阻止するように前記駆動
部を制御するよう構成されている、ロボットシステム。 - 請求項1に記載のロボットシステムにおいて、前記制御ユニットは、衝突であると判定
した場合、前記第1および第2のロボットの前記アームを接触点から遠ざけるように前記
駆動部を制御するよう構成されている、ロボットシステム。 - 請求項2または3に記載のロボットシステムにおいて、前記制御ユニットは、前記力候
補が力閾値を上回った場合にのみ同請求項に記載のように前記駆動部の制御を行うよう構
成されている、ロボットシステム。 - 請求項2から4のいずれか一項に記載のロボットシステムにおいて、前記制御ユニット
は、前記力候補の時間プロファイルの勾配が勾配閾値を上回った場合にのみ同請求項に記
載のように前記駆動部の制御を行うよう構成されている、ロボットシステム。 - 請求項2から5のいずれか一項に記載のロボットシステムにおいて、前記制御ユニット
は、期間閾値よりも短い期間のあいだ前記力候補の大きさが基準値を上回った場合にのみ
同請求項に記載のように前記駆動部の制御を行うよう構成されている、ロボットシステム
。 - 請求項2から6のいずれか一項に記載のロボットシステムにおいて、さらに、
基台および当該基台から器具の取付部へと延びるアームをそれぞれ含む、追加のロボッ
トであって、前記アームは、当該アームの形状構成を変化させることが可能な複数のジョ
イントを具備し、当該ロボットは、各ジョイントにつき、当該ジョイントを駆動して動か
すように構成された駆動部、ならびに当該ジョイントを検知対象とするように構成された
位置センサおよびトルクセンサを含む、追加のロボット、
を備え、前記制御ユニットは、
前記位置センサからの前記入力が示す前記アーム形状構成における、前記追加のロボ
ットの前記アームの前記ジョイントの重力トルクを特定して、
前記トルクセンサからの前記入力および特定した前記重力トルクから、示された前記
アーム形状構成での前記追加のロボットの前記アームの前記ジョイントの残留トルクを特
定して、
前記追加のロボットの各アームにつき、当該アームに作用したときに前記特定した残
留トルクを発生させ得る少なくとも1つの力候補を算出し、
衝突であると判定した場合であって、前記第2のロボットの前記アームの逆向きの力
候補と釣り合う前記第1のロボットの前記アームの前記力候補が、追加のロボットの前記
アームの逆向きの力候補とは釣り合わない場合にのみ、同請求項に記載のように前記駆動
部の制御を行う
よう構成されている、ロボットシステム。 - 請求項1から7のいずれか一項に記載のロボットシステムにおいて、前記制御ユニット
は、判定した前記衝突時の前記第1のロボットの前記アームの形状構成および前記第2の
ロボットの前記アームの形状構成を記憶し、その後、前記第1のロボットおよび前記第2
のロボットの双方が、記憶された前記形状構成を同時に採ることを阻止するように構成さ
れている、ロボットシステム。 - 請求項1から8のいずれか一項に記載のロボットシステムにおいて、前記制御ユニット
は、判定した前記衝突から前記第1のロボットの前記アームと前記第2のロボットの前記
アームとの相対的な位置を特定して、その後、前記相対的な位置と同一の相対的な位置を
前記第1のロボットの前記アームおよび前記第2のロボットの前記アームが同時に採るこ
とを阻止するように構成されている、ロボットシステム。 - 請求項1から9のいずれか一項に記載のロボットシステムにおいて、前記制御ユニット
は、前記第1のロボットと前記第2のロボットとの相対的な位置を知ることなく同請求項
に記載のように動作するように構成されている、ロボットシステム。 - 請求項1から10のいずれか一項に記載のロボットシステムにおいて、前記制御ユニッ
トは、前記第1および第2のロボットが互いに所定の向きを各自採っていると仮定するよ
うに構成されている、ロボットシステム。 - 請求項1から11のいずれか一項に記載のロボットシステムにおいて、前記制御ユニッ
トは、各アームにつき、当該アームに作用したときに前記特定した残留トルクを発生させ
得る単一の力候補を算出するように構成されている、ロボットシステム。 - 請求項12に記載のロボットシステムにおいて、前記制御ユニットは、前記示されたア
ーム形状構成での前記第1のロボットの前記アームに作用したときに当該第1のロボット
の当該アームの前記ジョイントの前記特定した残留トルクを発生させ得る単一の力候補が
存在しなかった場合、衝突が起こらなかったと判定するように構成されている、ロボット
システム。 - 請求項1から11のいずれか一項に記載のロボットシステムにおいて、前記制御ユニッ
トは、各アームにつき、当該アームに作用したときに前記特定した残留トルクを発生させ
得る単一の力候補範囲を算出するように構成されている、ロボットシステム。 - 請求項14に記載のロボットシステムにおいて、前記単一の力候補範囲が、大きさ候補
範囲および作用線候補範囲を含む、ロボットシステム。 - 請求項15に記載のロボットシステムにおいて、前記制御ユニットは、前記第1のロボ
ットの前記アームの前記作用線候補範囲が前記第2のロボットの前記アームの前記作用線
候補範囲と重ならない場合、衝突が起こらなかったと判定するように構成されている、ロ
ボットシステム。 - 請求項15または16に記載のロボットシステムにおいて、前記制御ユニットは、前記
第1のロボットの前記アームの前記作用線候補範囲が前記第2のロボットの前記アームの
前記作用線候補範囲内の作用線と反対方向の作用線を含んでいない場合、衝突が起こらな
かったと判定するように構成されている、ロボットシステム。 - 請求項15から17のいずれか一項に記載のロボットシステムにおいて、前記制御ユニ
ットは、前記第1のロボットの前記アームの前記大きさ候補範囲が前記第2のロボットの
前記アームの前記大きさ候補範囲と重ならない場合、衝突が起こらなかったと判定するよ
うに構成されている、ロボットシステム。 - 請求項1から11のいずれか一項に記載のロボットシステムにおいて、前記制御ユニッ
トは、各アームにつき、当該アームに作用したときに前記特定した残留トルクを各自発生
させたかもしれない複数の力候補を特定するように構成されており、当該複数の力候補は
、2つ以上の個別力候補の合成である合成力候補を構成し、前記制御ユニットは、前記第
1のロボットの前記アームの所与の合成力候補における個別力候補が前記第2のロボット
の前記アームの逆向きの力候補と釣り合う場合に、衝突であると判定するように構成され
ている、ロボットシステム。 - 請求項1から19のいずれか一項に記載のロボットシステムにおいて、当該ロボットシ
ステムが手術ロボットシステムであり、前記第1および第2のロボットが手術用ロボット
である、ロボットシステム。 - ロボットシステムの、基台および当該基台から器具の取付部へと延びるアームをそれぞ
れ含む、第1のロボットと第2のロボットとの衝突を判定する方法であって、前記アーム
は、当該アームの形状構成を変化させることが可能な複数のジョイントを具備し、前記ロ
ボットは、各ジョイントにつき、当該ジョイントを駆動して動かすように構成された駆動
部、ならびに当該ジョイントを検知対象とするように構成された位置センサおよびトルク
センサを含み、前記ロボットシステムは、さらに、前記位置センサおよびトルクセンサか
らの入力を受け取って、受け取った当該入力に応じて前記駆動部を制御する制御ユニット
を備え、当該方法は、
前記位置センサからの前記入力が示すアーム形状構成における、前記第1および第2
のロボットの前記アームの前記ジョイントの重力トルクを特定する過程と、
前記トルクセンサからの前記入力および特定した前記重力トルクから、示された前記
アーム形状構成での前記第1および第2のロボットの前記アームの前記ジョイントの残留
トルクを特定する過程と、
各アームにつき、当該アームに作用したときに前記特定した残留トルクを発生させ得
る少なくとも1つの力候補を算出する過程と、
前記第1のロボットの前記アームの少なくとも1つの力候補が前記第2のロボットの
前記アームの逆向きの力候補と釣り合う場合に、衝突であると判定する過程と、
を備える、方法。
Applications Claiming Priority (4)
| Application Number | Priority Date | Filing Date | Title |
|---|---|---|---|
| GB1810754.0 | 2018-06-29 | ||
| GB1810754.0A GB2575113B (en) | 2018-06-29 | 2018-06-29 | Detecting collisions of robot arms |
| PCT/GB2019/051819 WO2020002922A1 (en) | 2018-06-29 | 2019-06-27 | Detecting collisions of robot arms |
| JP2020573161A JP7394797B2 (ja) | 2018-06-29 | 2019-06-27 | ロボットアームの衝突の検出 |
Related Parent Applications (1)
| Application Number | Title | Priority Date | Filing Date |
|---|---|---|---|
| JP2020573161A Division JP7394797B2 (ja) | 2018-06-29 | 2019-06-27 | ロボットアームの衝突の検出 |
Publications (1)
| Publication Number | Publication Date |
|---|---|
| JP2023052495A true JP2023052495A (ja) | 2023-04-11 |
Family
ID=63143480
Family Applications (2)
| Application Number | Title | Priority Date | Filing Date |
|---|---|---|---|
| JP2020573161A Active JP7394797B2 (ja) | 2018-06-29 | 2019-06-27 | ロボットアームの衝突の検出 |
| JP2023006322A Withdrawn JP2023052495A (ja) | 2018-06-29 | 2023-01-19 | ロボットアームの衝突の検出 |
Family Applications Before (1)
| Application Number | Title | Priority Date | Filing Date |
|---|---|---|---|
| JP2020573161A Active JP7394797B2 (ja) | 2018-06-29 | 2019-06-27 | ロボットアームの衝突の検出 |
Country Status (8)
| Country | Link |
|---|---|
| US (1) | US11992285B2 (ja) |
| EP (2) | EP4234180A3 (ja) |
| JP (2) | JP7394797B2 (ja) |
| CN (1) | CN112384336B (ja) |
| AU (1) | AU2019295378B2 (ja) |
| BR (1) | BR112020026857A2 (ja) |
| GB (1) | GB2575113B (ja) |
| WO (1) | WO2020002922A1 (ja) |
Families Citing this family (14)
| Publication number | Priority date | Publication date | Assignee | Title |
|---|---|---|---|---|
| US10145747B1 (en) | 2017-10-10 | 2018-12-04 | Auris Health, Inc. | Detection of undesirable forces on a surgical robotic arm |
| GB2578791B (en) * | 2018-11-09 | 2022-08-17 | Cmr Surgical Ltd | Haptic control of a surgeon console |
| JP7290472B2 (ja) * | 2019-05-29 | 2023-06-13 | ファナック株式会社 | ロボットシステム |
| GB2593740B (en) * | 2020-03-31 | 2024-08-14 | Cmr Surgical Ltd | Control system of a surgical robot |
| CN111604897B (zh) * | 2020-04-15 | 2022-12-02 | 上海钧控机器人有限公司 | 一种艾灸机械臂避碰撞安全防护方法 |
| WO2022173793A1 (en) * | 2021-02-11 | 2022-08-18 | Mako Surgical Corp. | Robotic manipulator comprising isolation mechanism for force/torque sensor |
| CN117062579A (zh) * | 2021-03-26 | 2023-11-14 | 奥瑞斯健康公司 | 用于规程设置的术中调整的系统和方法 |
| JP2022156449A (ja) * | 2021-03-31 | 2022-10-14 | ソニーグループ株式会社 | 手術ロボット及び手術システム |
| CN115500954B (zh) * | 2021-06-07 | 2025-08-12 | 深圳市精锋医疗科技股份有限公司 | 手术机器人及其臂的防碰撞方法、防碰撞系统 |
| US20230263574A1 (en) * | 2021-12-29 | 2023-08-24 | Asensus Surgical Us, Inc. | Systems and methos for monitoring proximity between robotic manipulators |
| GB2621578B (en) * | 2022-08-15 | 2024-09-25 | Cmr Surgical Ltd | Controlling a surgical robot arm whilst entering a sleep mode |
| US20250017672A1 (en) * | 2023-07-12 | 2025-01-16 | Auris Health, Inc. | Application of torque limits to surgical robots |
| CN116901088B (zh) * | 2023-09-14 | 2023-12-15 | 深圳市协和传动器材有限公司 | 多机械臂交叉作业防碰撞距离监测及控制系统 |
| CN119658711B (zh) * | 2025-02-21 | 2025-05-02 | 湖南大学 | 双臂机器人碰撞估计方法、系统、计算机设备和存储介质 |
Family Cites Families (13)
| Publication number | Priority date | Publication date | Assignee | Title |
|---|---|---|---|---|
| US5762458A (en) | 1996-02-20 | 1998-06-09 | Computer Motion, Inc. | Method and apparatus for performing minimally invasive cardiac procedures |
| JP3865158B2 (ja) | 1997-05-30 | 2007-01-10 | 株式会社安川電機 | ロボットアームのインピーダンス制御装置 |
| US7837674B2 (en) * | 2005-01-24 | 2010-11-23 | Intuitive Surgical Operations, Inc. | Compact counter balance for robotic surgical systems |
| US9895813B2 (en) * | 2008-03-31 | 2018-02-20 | Intuitive Surgical Operations, Inc. | Force and torque sensing in a surgical robot setup arm |
| JP5902425B2 (ja) * | 2011-09-21 | 2016-04-13 | 株式会社東芝 | ロボット制御装置、外乱判定方法およびアクチュエータ制御方法 |
| DE102013220798A1 (de) * | 2013-10-15 | 2015-04-16 | Kuka Laboratories Gmbh | Verfahren zum Handhaben von Objekten mittels wenigstens zweier Industrieroboter, und zugehöriger Industrieroboter |
| EP3017920B1 (en) * | 2014-11-07 | 2017-08-23 | Comau S.p.A. | An industrial robot and a method for controlling an industrial robot |
| DE102015200355B3 (de) * | 2015-01-02 | 2016-01-28 | Siemens Aktiengesellschaft | Medizinische roboterartige Vorrichtung mit Kollisionsdetektion und Verfahren zur Kollisionsdetektion einer medizinischen roboterartigen Vorrichtung |
| US10690558B2 (en) * | 2015-09-16 | 2020-06-23 | Panasonic Intellectual Property Management Co., Ltd. | Robot collision detection method |
| US10219868B2 (en) * | 2016-01-06 | 2019-03-05 | Ethicon Llc | Methods, systems, and devices for controlling movement of a robotic surgical system |
| CN107427328B (zh) * | 2016-01-22 | 2020-03-20 | 奥林巴斯株式会社 | 医疗用机械手系统 |
| US10145747B1 (en) * | 2017-10-10 | 2018-12-04 | Auris Health, Inc. | Detection of undesirable forces on a surgical robotic arm |
| GB2593740B (en) | 2020-03-31 | 2024-08-14 | Cmr Surgical Ltd | Control system of a surgical robot |
-
2018
- 2018-06-29 GB GB1810754.0A patent/GB2575113B/en active Active
-
2019
- 2019-06-27 WO PCT/GB2019/051819 patent/WO2020002922A1/en not_active Ceased
- 2019-06-27 AU AU2019295378A patent/AU2019295378B2/en not_active Ceased
- 2019-06-27 EP EP23174058.0A patent/EP4234180A3/en not_active Withdrawn
- 2019-06-27 CN CN201980044134.4A patent/CN112384336B/zh active Active
- 2019-06-27 JP JP2020573161A patent/JP7394797B2/ja active Active
- 2019-06-27 EP EP19736453.2A patent/EP3814071A1/en not_active Ceased
- 2019-06-27 BR BR112020026857-7A patent/BR112020026857A2/pt active Search and Examination
- 2019-06-27 US US17/255,564 patent/US11992285B2/en active Active
-
2023
- 2023-01-19 JP JP2023006322A patent/JP2023052495A/ja not_active Withdrawn
Also Published As
| Publication number | Publication date |
|---|---|
| US20210267700A1 (en) | 2021-09-02 |
| CN112384336A (zh) | 2021-02-19 |
| AU2019295378A1 (en) | 2021-02-11 |
| EP3814071A1 (en) | 2021-05-05 |
| WO2020002922A1 (en) | 2020-01-02 |
| GB2575113A (en) | 2020-01-01 |
| JP7394797B2 (ja) | 2023-12-08 |
| JP2021531846A (ja) | 2021-11-25 |
| BR112020026857A2 (pt) | 2021-04-06 |
| EP4234180A2 (en) | 2023-08-30 |
| AU2019295378B2 (en) | 2022-09-15 |
| EP4234180A3 (en) | 2023-09-27 |
| GB2575113B (en) | 2022-06-08 |
| GB201810754D0 (en) | 2018-08-15 |
| CN112384336B (zh) | 2024-11-22 |
| US11992285B2 (en) | 2024-05-28 |
Similar Documents
| Publication | Publication Date | Title |
|---|---|---|
| JP2023052495A (ja) | ロボットアームの衝突の検出 | |
| US12324643B2 (en) | Method and system for mitigating collision of surgical robot | |
| KR102730736B1 (ko) | 가상 경계를 이용하는 충돌 회피 시스템 및 방법 | |
| CN107427328B (zh) | 医疗用机械手系统 | |
| US11999062B2 (en) | Robotic joint control | |
| JP6739544B2 (ja) | 医療システムとその制御方法 | |
| US12349996B2 (en) | Robotic joint control | |
| AU2020392895A1 (en) | Controlling a surgical instrument | |
| GB2593738A (en) | Control system of a surgical robot | |
| WO2021198664A1 (en) | Control system of a surgical robot | |
| JP2022548573A (ja) | 外科手術器具の制御 | |
| JP2025503912A (ja) | 外科手術ロボットアームの制御 | |
| US20260041511A1 (en) | Control system for a surgical robotic system | |
| CN121337473A (zh) | 一种手术机器人系统的运动控制方法及手术机器人系统 | |
| WO2024175889A1 (en) | Control system for a surgical robotic system | |
| WO2024038254A1 (en) | Control system of a surgical robot |
Legal Events
| Date | Code | Title | Description |
|---|---|---|---|
| A521 | Request for written amendment filed |
Free format text: JAPANESE INTERMEDIATE CODE: A523 Effective date: 20230216 |
|
| A621 | Written request for application examination |
Free format text: JAPANESE INTERMEDIATE CODE: A621 Effective date: 20230216 |
|
| A761 | Written withdrawal of application |
Free format text: JAPANESE INTERMEDIATE CODE: A761 Effective date: 20231129 |
