JP2023013930A - 表示装置 - Google Patents
表示装置 Download PDFInfo
- Publication number
- JP2023013930A JP2023013930A JP2022048483A JP2022048483A JP2023013930A JP 2023013930 A JP2023013930 A JP 2023013930A JP 2022048483 A JP2022048483 A JP 2022048483A JP 2022048483 A JP2022048483 A JP 2022048483A JP 2023013930 A JP2023013930 A JP 2023013930A
- Authority
- JP
- Japan
- Prior art keywords
- liquid crystal
- crystal display
- luminance
- display panel
- decorative member
- Prior art date
- Legal status (The legal status is an assumption and is not a legal conclusion. Google has not performed a legal analysis and makes no representation as to the accuracy of the status listed.)
- Pending
Links
Images
Landscapes
- Liquid Crystal (AREA)
- Liquid Crystal Display Device Control (AREA)
- Control Of Indicators Other Than Cathode Ray Tubes (AREA)
- Devices For Indicating Variable Information By Combining Individual Elements (AREA)
Abstract
【課題】表示の視認性を低下させず、表示領域と非表示領域との境界が視認されにくい表示装置を提供する。
【解決手段】表示装置10は、文字又は画像を表示する第1液晶表示パネル110を有する液晶表示部100と、加飾部材200と、液晶表示部100の表示を制御する制御部300とを備える。加飾部材200は、液晶表示部100の表示面側に配置され、液晶表示部100の表示が透けて表示される表示領域210と、表示領域210に隣接する非表示領域220とを有する。制御部300は、液晶表示部100の黒表示における加飾部材200越しの輝度をユーザに視認不能な輝度に制御し、液晶表示部100の黒表示を除く低階調領域における加飾部材200越しの輝度をユーザに視認可能な輝度に制御する。
【選択図】図2
【解決手段】表示装置10は、文字又は画像を表示する第1液晶表示パネル110を有する液晶表示部100と、加飾部材200と、液晶表示部100の表示を制御する制御部300とを備える。加飾部材200は、液晶表示部100の表示面側に配置され、液晶表示部100の表示が透けて表示される表示領域210と、表示領域210に隣接する非表示領域220とを有する。制御部300は、液晶表示部100の黒表示における加飾部材200越しの輝度をユーザに視認不能な輝度に制御し、液晶表示部100の黒表示を除く低階調領域における加飾部材200越しの輝度をユーザに視認可能な輝度に制御する。
【選択図】図2
Description
本開示は、表示装置に関する。
液晶表示パネルの表示面側に透光性を有する加飾部材を配置することにより、意匠性を高めた液晶表示装置が知られている。加飾部材を配置された液晶表示装置では、ユーザは、加飾部材越しに液晶表示パネルの表示を観察するので、低階調領域の表示を見づらくなる。一方、低階調領域の表示を見やすくするために、例えば、バックライトの輝度を高くすると、液晶表示パネルの黒表示の輝度が高くなるので、加飾部材における、液晶表示パネルの表示が表示される領域(表示領域)と液晶表示パネルの表示が表示されない領域(非表示領域)との境界がユーザに視認され、液晶表示装置の意匠性が低下する。
そこで、表示領域と非表示領域との境界が視認されることを防ぐために、特許文献1は、表示領域の周囲に非表示領域を有する液晶表示パネルと、液晶表示パネルの前面側に配置され、暗色系の材料からなる第1の透光性部材と、液晶表示パネルの後面側に配置された第2の透光性部材と、を備える液晶表示装置を開示している。特許文献1の液晶表示装置では、遮光層を透光性部材の非表示領域に対応する領域に設け、グラデーション層を透光性部材の表示領域の周縁に対応する領域に設けることにより、液晶表示パネルの表示領域と非表示領域との境界線がユーザに視認されることを防いでいる。
特許文献1の液晶表示装置では、グラデーション層が表示領域の周縁に対応する領域に設けられているので、表示領域の周縁における表示が暗くなり、表示の視認性が低下する。
本開示は、上記の事情に鑑みてなされたものであり、表示の視認性を低下させず、表示領域と非表示領域との境界が視認されにくい表示装置を提供することを目的とする。
上記目的を達成するため、本開示の表示装置は、
文字又は画像を表示する第1液晶表示パネルを有する液晶表示部と、
前記液晶表示部の表示面側に配置され、前記液晶表示部の表示が透けて表示される表示領域と、前記表示領域に隣接する非表示領域とを有する加飾部材と、
前記液晶表示部の表示を制御する制御部と、を備え、
前記制御部は、前記液晶表示部の黒表示における加飾部材越しの輝度をユーザに視認不能な輝度に制御し、前記液晶表示部の黒表示を除く低階調領域における前記加飾部材越しの輝度を前記ユーザに視認可能な輝度に制御する。
文字又は画像を表示する第1液晶表示パネルを有する液晶表示部と、
前記液晶表示部の表示面側に配置され、前記液晶表示部の表示が透けて表示される表示領域と、前記表示領域に隣接する非表示領域とを有する加飾部材と、
前記液晶表示部の表示を制御する制御部と、を備え、
前記制御部は、前記液晶表示部の黒表示における加飾部材越しの輝度をユーザに視認不能な輝度に制御し、前記液晶表示部の黒表示を除く低階調領域における前記加飾部材越しの輝度を前記ユーザに視認可能な輝度に制御する。
本開示によれば、黒表示を除く低階調領域における加飾部材越しの輝度をユーザに視認可能な輝度に制御するので、表示の視認性を低下させず、表示領域と非表示領域との境界を視認しにくくできる。
以下、実施形態に係る表示装置について、図面を参照して説明する。
<実施形態1>
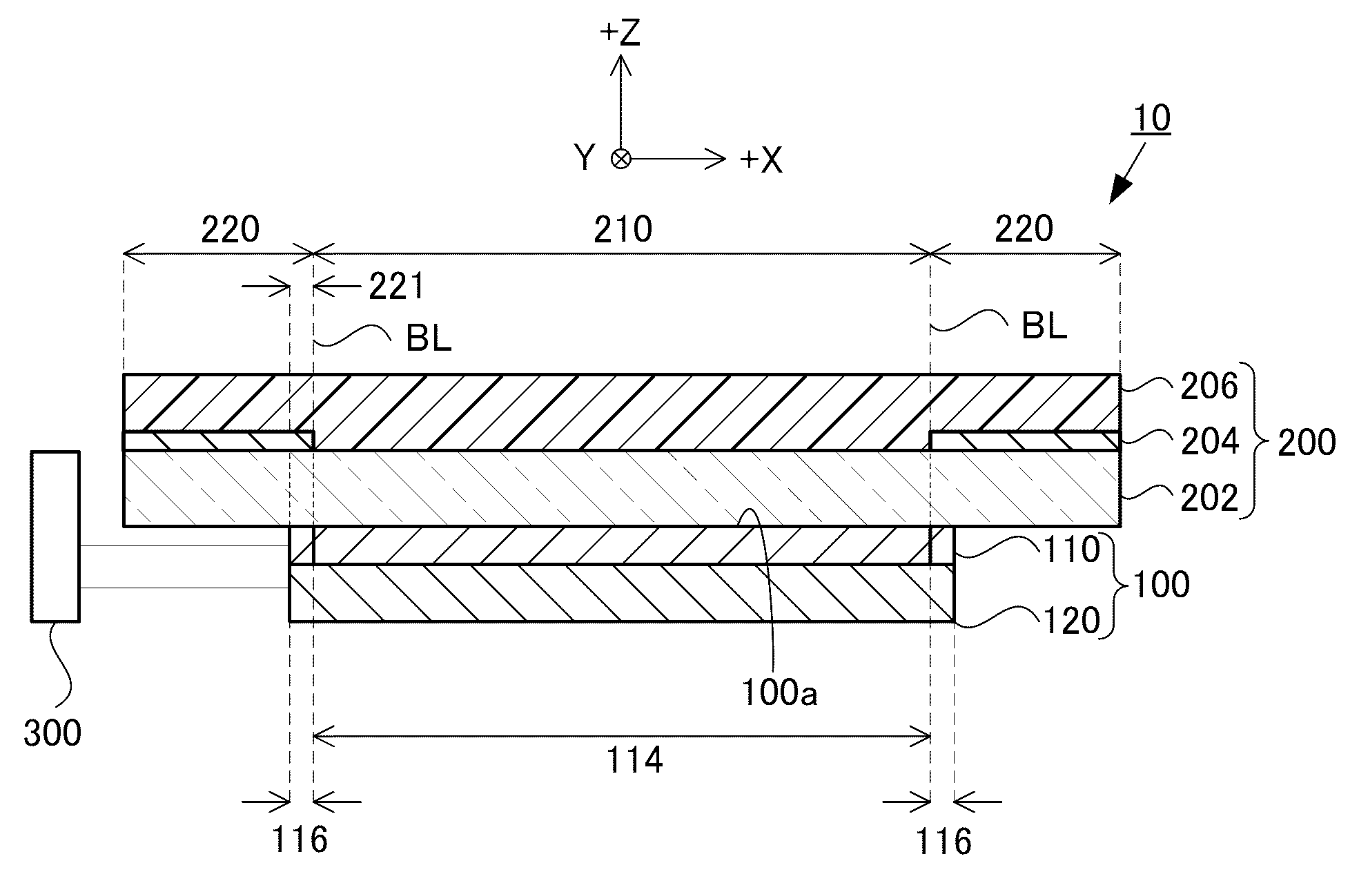
図1~図5を参照して、本実施形態に係る表示装置10を説明する。表示装置10は、図1と図2に示すように、液晶表示部100と加飾部材200と制御部300とを備える。液晶表示部100は、文字又は画像を表示する。加飾部材200は、液晶表示部100の表示を透かして表示する。加飾部材200は、液晶表示部100の表示が透けて表示される表示領域210と、表示領域210に隣接する非表示領域220とを有する。制御部300は、液晶表示部100の表示を制御する。
表示装置10は、自動車のダッシュボード、家具、家電等に設けられる。なお、理解を容易にするため、本明細書では、図1における表示装置10の長手右方向(紙面の右方向)を+X方向、上方向(紙面の上方向)を+Y方向、+X方向と+Y方向に垂直な方向(紙面の手前方向)を+Z方向として説明する。
図1~図5を参照して、本実施形態に係る表示装置10を説明する。表示装置10は、図1と図2に示すように、液晶表示部100と加飾部材200と制御部300とを備える。液晶表示部100は、文字又は画像を表示する。加飾部材200は、液晶表示部100の表示を透かして表示する。加飾部材200は、液晶表示部100の表示が透けて表示される表示領域210と、表示領域210に隣接する非表示領域220とを有する。制御部300は、液晶表示部100の表示を制御する。
表示装置10は、自動車のダッシュボード、家具、家電等に設けられる。なお、理解を容易にするため、本明細書では、図1における表示装置10の長手右方向(紙面の右方向)を+X方向、上方向(紙面の上方向)を+Y方向、+X方向と+Y方向に垂直な方向(紙面の手前方向)を+Z方向として説明する。
表示装置10の液晶表示部100は、文字又は画像を表示する透過型液晶表示装置である。液晶表示部100は加飾部材200に貼り付けられている。液晶表示部100は、図2に示すように、第1液晶表示パネル110とバックライト120とを有する。
液晶表示部100の第1液晶表示パネル110は、例えば、TFT(Thin Film Transistor)によりアクティブマトリクス駆動される横電界方式のモノクロ液晶表示パネルである。第1液晶表示パネル110は文字又は画像を表示する。第1液晶表示パネル110は、図3に示すように、主画素112がマトリクス状に配置された表示可能領域114と、配線、駆動回路等が配置され表示可能領域114を囲む額縁領域116とを有する。表示可能領域114は、文字、画像等を表示可能な領域であり、額縁領域116は文字、画像等を表示できない領域である。本実施形態では、表示可能領域114は、図2に示すように、加飾部材200の表示領域210に対応している。
液晶表示部100のバックライト120は、図2に示すように、第1液晶表示パネル110の背面側(-Z側)に配置される。バックライト120は、例えば、直下型バックライトである。バックライト120は、白色LED(Light emitting diode)素子、反射シート、拡散シート、点灯回路等を備えている(いずれも図示せず)。本実施形態では、バックライト120は均一な輝度の光を第1液晶表示パネル110に照射する。
表示装置10の加飾部材200は、透光性を有し、ユーザに対して意匠を提供する部材である。加飾部材200は、平板状で、液晶表示部100の表示面100a側に配置される。加飾部材200は、図2に示すように、透光性カバー202と遮光層204と加飾層206とを有する。
加飾部材200の透光性カバー202は、透光性を有する平板である。透光性カバー202は、例えば、合成樹脂から形成される。液晶表示部100の表示面100aが透光性カバー202に貼り付けられる。透光性カバー202の透過率を調整することにより、加飾部材200の透過率を調整できる。また、透光性カバー202の屈折率を調整することにより、加飾部材200と液晶表示部100との界面で生じる表示光の反射を抑制できる。
加飾部材200の遮光層204は、透光性カバー202の上(+Z側)に設けられる。遮光層204は、表示領域210を画定し、液晶表示部100から出射される表示光を遮る。遮光層204は、例えば、黒色インクを用いて、透光性カバー202の上に印刷される。
加飾部材200の加飾層206は、ユーザに対して意匠を提供する層である。加飾層206は、遮光層204を覆って、透光性カバー202の上に形成される。加飾層206は、例えば、任意の色で、木目調、大理石調、幾何学模様等の任意の柄を印刷することにより、形成される。
加飾部材200は、図1と図2に示すように、表示領域210と非表示領域220とを有する。表示領域210は、液晶表示部100の表示可能領域114に対応し、液晶表示部100の表示が透けて表示される。非表示領域220は、表示領域210の外側に位置し、表示領域210に隣接している。非表示領域220は、第1液晶表示パネル110の額縁領域116に対応する領域221を含み、液晶表示部100の表示が表示されない領域である。
表示装置10の制御部300は、第1液晶表示パネル110の表示とバックライト120の輝度とを制御することにより、液晶表示部100の1階調目における加飾部材200越しの輝度をユーザに視認可能な最小の輝度Lminに制御する。また、制御部300は、液晶表示部100の黒表示(零階調目)における加飾部材200越しの輝度をユーザに視認不能な輝度Luに制御する。
ここで、ユーザに視認可能な最小の輝度Lminは、ユーザが加飾部材200越しに液晶表示部100の表示を見え始める輝度を指す。また、ユーザに視認不能な輝度Luは、加飾部材200の非表示領域220の輝度(反射輝度)以上でユーザに視認可能な最小の輝度Lminよりも小さい輝度である。ユーザに視認可能な最小の輝度Lminとユーザに視認不能な輝度Luは表示装置10の使用環境に依存する。ユーザに視認可能な最小の輝度Lminは、例えば、0.09cd/m2以上70cd/m2以下である。本実施形態では、ユーザに視認不能な輝度Luを加飾部材200の非表示領域220の輝度とする。また、ユーザに視認可能な最小の輝度Lminと加飾部材200の非表示領域220の輝度は、表示装置10の使用環境に応じて予め測定されて、記憶部310に予め記憶されている。
制御部300は、記憶部310とバックライト制御部320と表示制御部330とを備える。
制御部300の記憶部310は、第1液晶表示パネル110の階調と輝度との関係を表す第1階調輝度データと、ユーザに視認可能な最小の輝度Lminと、加飾部材200の非表示領域220の輝度とを記憶する。第1階調輝度データは、予め測定されている。また、記憶部310は、バックライト制御部320と表示制御部330とを機能させるプログラム、データ等を記憶する。
制御部300のバックライト制御部320は、記憶部310に記憶されている第1階調輝度データと加飾部材200の非表示領域220の輝度に基づいて、バックライト120の輝度を制御する。バックライト制御部320は、バックライト120の輝度を、第1液晶表示パネル110の黒表示における加飾部材200越しの輝度と加飾部材200の非表示領域220の輝度とを等しくする輝度に制御する。バックライト制御部320は、バックライト120の輝度を表すバックライト制御信号をバックライト120の点灯回路に送信する。バックライト120は、送信されたバックライト制御信号に基づいて点灯する。
制御部300の表示制御部330は、記憶部310に記憶されている第1階調輝度データとユーザに視認可能な最小の輝度Lminに基づいて、入力画像データから第1液晶表示パネル110に表示する第1表示画像データを生成する。具体的には、表示制御部330は、図5に示すように、第1階調輝度データにおける1階調目の輝度値をユーザに視認可能な最小の輝度Lminに増加させ、第1階調輝度データにおける2階調目以降のそれぞれの輝度値を1階調目の輝度値の増加分(最小の輝度Lminと第1階調輝度データにおける1階調目の輝度値との差)ΔL1増加させて、入力画像データから第1表示画像データを生成する。これにより、第1液晶表示パネル110の1階調目以降における加飾部材200越しの輝度は、ユーザに視認可能な最小の輝度Lmin以上となる。なお、図5は、一部の階調と輝度との関係を示している。
表示制御部330は、生成された第1表示画像データを表す第1表示画像信号を第1液晶表示パネル110のドライバ回路(図示せず)へ送信する。第1液晶表示パネル110は、送信された第1表示画像信号に基づいて、文字、画像等を表示する。
本実施形態では、制御部300が、第1液晶表示パネル110の黒表示(零階調目)における加飾部材200越しの輝度を加飾部材200の非表示領域220の輝度に制御し、第1液晶表示パネル110の1階調目以降における加飾部材200越しの輝度をユーザに視認可能な最小の輝度Lmin以上に制御する。これらにより、第1液晶表示パネル110の黒表示(零階調目)はユーザに視認されず、第1液晶表示パネル110の1階調目以降の表示はユーザに視認される。したがって、表示装置10は、表示の視認性を低下させず、表示領域210と非表示領域220との境界BLを視認しにくくできる。
制御部300は、CPU(Central Processing Unit)、メモリ等から構成される。制御部300の機能は、例えば、CPUがメモリに記憶されたプログラムを実行することによって実現される。
以上のように、制御部300が、黒表示(零階調目)における加飾部材200越しの輝度を加飾部材200の非表示領域220の輝度とし、1階調目以降における加飾部材200越しの輝度をユーザに視認可能な最小の輝度Lmin以上とするので、表示装置10は、表示の視認性を低下させず、表示領域210と非表示領域220との境界BLを視認しにくくできる。
<実施形態2>
実施形態1では、バックライト120は均一な輝度の光を第1液晶表示パネル110へ照射する。バックライト120は、光を第1液晶表示パネル110の複数の領域毎に照射してもよい(ローカルデミング)。
実施形態1では、バックライト120は均一な輝度の光を第1液晶表示パネル110へ照射する。バックライト120は、光を第1液晶表示パネル110の複数の領域毎に照射してもよい(ローカルデミング)。
本実施形態の表示装置10は、実施形態1の表示装置10と同様に、液晶表示部100と加飾部材200と制御部300とを備える。本実施形態の加飾部材200の構成は、実施形態1の加飾部材200と同様であるので、本実施形態の液晶表示部100と制御部300とを説明する。
本実施形態の液晶表示部100は、実施形態1の液晶表示部100と同様に、第1液晶表示パネル110とバックライト120とを備える。
本実施形態の第1液晶表示パネル110では、図6に示すように、表示可能領域114が複数の領域114aに分割されている。本実施形態の第1液晶表示パネル110のその他の構成は、実施形態1の第1液晶表示パネル110の構成と同様である。なお、領域114aは、複数の主画素112から形成されても、1つの主画素112から形成されてもよい。
本実施形態のバックライト120は、図7に示すように、第1液晶表示パネル110の領域114aのそれぞれに対応した複数の出射領域120aを有する。出射領域120aのそれぞれは、対応する領域114aのそれぞれに光を照射する。本実施形態のバックライト120では、例えば、1つ又は複数の白色LED素子が出射領域120aのそれぞれに配置されている。本実施形態のバックライト120のその他の構成は、実施形態1のバックライト120の構成と同様である。
本実施形態の制御部300は、実施形態1の制御部300と同様に、記憶部310とバックライト制御部320と表示制御部330とを有する。本実施形態の記憶部310は、実施形態1の記憶部310と同様であるので、本実施形態のバックライト制御部320と表示制御部330とを説明する。
本実施形態のバックライト制御部320は、入力画像データと第1階調輝度データと加飾部材200の非表示領域220の輝度とに基づいて、バックライト120の輝度を出射領域120a毎に制御する(ローカルデミング処理)。具体的には、本実施形態のバックライト制御部320は、第1液晶表示パネル110の黒を表示する主画素112を含む領域114aに対応する出射領域120aから出射される光の輝度を、第1液晶表示パネル110の黒表示における加飾部材200越しの輝度と加飾部材200の非表示領域220の輝度とを等しくする輝度に制御する。すなわち、本実施形態のバックライト制御部320は、第1液晶表示パネル110の黒を表示する主画素112に照射される光の輝度を、第1液晶表示パネル110の黒表示における加飾部材200越しの輝度と加飾部材200の非表示領域220の輝度とを等しくする輝度に制御する。
本実施形態のバックライト制御部320は、第1液晶表示パネル110の黒を表示する主画素112に対応する出射領域120aから出射される光の輝度を、零にしてもよい。すなわち、第1液晶表示パネル110の黒を表示する主画素112に対応する出射領域120aは、光を出射せずともよい。
また、本実施形態のバックライト制御部320は、第1液晶表示パネル110の黒を表示する主画素112を含む領域114a以外の領域114aに対応する出射領域120aの輝度を、第1液晶表示パネル110の表示に応じた輝度に制御する。
本実施形態の表示制御部330は、実施形態1の表示制御部330と同様に、第1液晶表示パネル110に表示する第1表示画像データを生成する。本実施形態の表示制御部330は、実施形態1の表示制御部330と同様に、第1階調輝度データにおける1階調目の輝度をユーザに視認可能な最小の輝度Lminに増加させて、第1表示画像データを生成する。また、本実施形態の表示制御部330は、入力画像データにおける2階調目以降のそれぞれの輝度を1階調目の輝度の増加分ΔL1増加させて、第1表示画像データを生成する。
本実施形態おいても、制御部300が、第1液晶表示パネル110の黒表示(零階調目)における加飾部材200越しの輝度を加飾部材200の非表示領域220の輝度に制御し、第1液晶表示パネル110の1階調目以降における加飾部材200越しの輝度をユーザに視認可能な最小の輝度Lmin以上に制御する。したがって、本実施形態の表示装置10は、実施形態1の表示装置10と同様に、表示の視認性を低下させず、表示領域210と非表示領域220との境界BLを視認しにくくできる。また、制御部300は、第1液晶表示パネル110の表示に応じて、表示可能領域114の領域114a毎にバックライト120の輝度を制御するので、本実施形態の表示装置10は高コントラストの表示を実現できる。
<実施形態3>
実施形態1では、液晶表示部100は、第1液晶表示パネル110とバックライト120とを有する。液晶表示部100は、モノクロ画像を表示する第2液晶表示パネル130を更に有してもよい。本実施形態では、液晶表示部100は、第1液晶表示パネル110と第2液晶表示パネル130とにより、加飾部材200越しに画像を表示する。
実施形態1では、液晶表示部100は、第1液晶表示パネル110とバックライト120とを有する。液晶表示部100は、モノクロ画像を表示する第2液晶表示パネル130を更に有してもよい。本実施形態では、液晶表示部100は、第1液晶表示パネル110と第2液晶表示パネル130とにより、加飾部材200越しに画像を表示する。
本実施形態の表示装置10は、実施形態1の表示装置10と同様に、液晶表示部100と加飾部材200と制御部300とを備える。本実施形態の加飾部材200の構成は、実施形態1の加飾部材200と同様であるので、本実施形態の液晶表示部100と制御部300とを説明する。
本実施形態の液晶表示部100は、図8に示すように、第1液晶表示パネル110と第2液晶表示パネル130とバックライト120とを有する。本実施形態の第1液晶表示パネル110の構成は、実施形態1の第1液晶表示パネル110と同様であるので、第2液晶表示パネル130とバックライト120とを説明する。
第2液晶表示パネル130は、モノクロ画像を表示する。第2液晶表示パネル130は、例えば、TFTによりアクティブマトリクス駆動される横電界方式のモノクロ液晶表示パネルである。第2液晶表示パネル130は、第1液晶表示パネル110とバックライト120との間に配置されている。
第2液晶表示パネル130は、図9に示すように、マトリクス状に配列した主画素132を有する。第2液晶表示パネル130の主画素132は、少なくとも1つの第1液晶表示パネル110の主画素112に対応している。液晶表示部100の主画素は、第1液晶表示パネル110の主画素112と第2液晶表示パネル130の主画素132とから形成されている。
本実施形態のバックライト120は、均一な輝度の光を第1液晶表示パネル110と第2液晶表示パネル130とに向けて照射する。本実施形態のバックライト120のその他の構成は、実施形態1のバックライト120と同様である。
本実施形態の制御部300は、第1液晶表示パネル110と第2液晶表示パネル130の表示と、バックライト120の輝度とを制御することにより、液晶表示部100の1階調目における加飾部材200越しの輝度をユーザに視認可能な最小の輝度Lminに制御する。また、制御部300は、液晶表示部100の黒表示(零階調目)における加飾部材200越しの輝度を加飾部材200の非表示領域220の輝度に制御する。本実施形態では、制御部300は、第2液晶表示パネル130の表示を制御することにより、液晶表示部100の黒表示における加飾部材200越しの輝度を制御する。
本実施形態の制御部300は、図10に示すように、記憶部310とバックライト制御部320と表示制御部330とを備える。
本実施形態の記憶部310は、第1階調輝度データと、第2液晶表示パネル130の階調と輝度との関係を表す第2階調輝度データとを記憶する。第2階調輝度データは、予め測定されている。また、本実施形態の記憶部310は、ユーザに視認可能な最小の輝度Lminと加飾部材200の非表示領域220の輝度とを記憶している。さらに、本実施形態の記憶部310は、バックライト制御部320と表示制御部330とを機能させるプログラム、データ等を記憶している。
本実施形態のバックライト制御部320は、第1階調輝度データと第2階調輝度データと加飾部材200の非表示領域220の輝度とに基づいて、第1液晶表示パネル110と第2液晶表示パネル130の表示に応じた輝度に制御する。
本実施形態の表示制御部330は、図10に示すように、第1画像生成部332と第2画像生成部334とを有する。第1画像生成部332は、第1液晶表示パネル110に表示する第1表示画像データを生成する。第2画像生成部334は、第2液晶表示パネル130に表示する画像を表す第2表示画像データを生成する。
第1画像生成部332は、第1階調輝度データとユーザに視認可能な最小の輝度Lminとに基づいて、入力画像データから第1液晶表示パネル110に表示する画像を表す第1表示画像データを生成する。第1画像生成部332は、実施形態1の表示制御部330と同様に、第1階調輝度データにおける1階調目の輝度をユーザに視認可能な最小の輝度Lminに増加させ、第1階調輝度データにおける2階調目以降のそれぞれの輝度を1階調目の輝度の増加分ΔL1増加させて、入力画像データから第1表示画像データを生成する。
第1画像生成部332は、生成された第1表示画像データを表す第1表示画像信号を第1液晶表示パネル110のドライバ回路(図示せず)と第2画像生成部334へ送信する。第1液晶表示パネル110は、送信された第1表示画像信号に基づいて、文字、画像等を表示する。
第2画像生成部334は、まず、第1表示画像データと第2階調輝度データとに基づいて、入力画像データからモノクロ画像を生成するための輝度データを生成する。例えば、第2液晶表示パネル130の1つの主画素132が第1液晶表示パネル110の1つの主画素112に対応している場合、第2画像生成部334は、第1液晶表示パネル110の1つの主画素112の第1表示画像データに基づいて、対応する第2液晶表示パネル130の1つの主画素132の輝度を求めて、輝度データを生成する。また、第2液晶表示パネル130の1つ主画素132が第1液晶表示パネル110の複数の主画素112に対応している場合、第2画像生成部334は、対応する複数の主画素112の階調値の平均値、頻出値、最小値、最大値等から、第2液晶表示パネル130の主画素132の輝度を求めて、輝度データを生成する。
次に、第2画像生成部334は、生成された輝度データと加飾部材200の非表示領域220の輝度とに基づいて、第2液晶表示パネル130に表示する画像を表す第2表示画像データを生成する。本実施形態では、第2画像生成部334は、第2液晶表示パネル130の主画素132のうちの、第1液晶表示パネル110の黒を表示する主画素112に対応する主画素132の輝度を、第1液晶表示パネル110の黒表示における加飾部材200越しの輝度と加飾部材200の非表示領域220の輝度とを等しくする輝度に調整して、第2表示画像データを生成する。
第2画像生成部334は、生成された第2表示画像データを表す第2表示画像信号を第2液晶表示パネル130のドライバ回路(図示せず)へ送信する。第2液晶表示パネル130は、送信された第2表示画像信号に基づいて画像を表示する。
本実施形態おいても、制御部300が、第1液晶表示パネル110の黒表示(零階調目)における加飾部材200越しの輝度を加飾部材200の非表示領域220の輝度に制御し、第1液晶表示パネル110の1階調目以降における加飾部材200越しの輝度をユーザに視認可能な最小の輝度Lmin以上に制御する。したがって、本実施形態の表示装置10は、実施形態1の表示装置10と同様に、表示の視認性を低下させず、表示領域210と非表示領域220との境界BLを視認しにくくできる。また、本実施形態の表示装置10は、実施形態2の表示装置10と同様に、高コントラストの表示を実現できる。
<実施形態4>
表示装置10は、外光を検出する検出部500を備えてもよい。表示装置10は、検出部500により検出された外光の明るさに応じて、液晶表示部100の1階調目における加飾部材200越しの輝度をユーザに視認可能な最小の輝度Lminに制御してもよい。
表示装置10は、外光を検出する検出部500を備えてもよい。表示装置10は、検出部500により検出された外光の明るさに応じて、液晶表示部100の1階調目における加飾部材200越しの輝度をユーザに視認可能な最小の輝度Lminに制御してもよい。
本実施形態の表示装置10は、実施形態1の表示装置10と同様に、液晶表示部100と加飾部材200と制御部300とを備える。また、本実施形態の表示装置10は、図11と図12に示すように、検出部500を更に備える。本実施形態の液晶表示部100と加飾部材200は実施形態1と同様であるので、本実施形態の検出部500と制御部300とを説明する。
検出部500は、外光を検出する。外光は、太陽光と照明とを含む、表示装置10の周囲から加飾部材200に入射する光を意味する。検出部500は、例えば、照度センサであり、外光の明るさを検出する。検出部500は、検出された外光の明るさを表す外光信号を制御部300に送信する。
検出部500は、例えば、図11に示すように、加飾部材200の透光性カバー202の-Z側の面に設けられる。また、検出部500は、図12に示すように、表示装置10を+Z方向から平面視した場合に、加飾部材200の非表示領域220のうちの、表示領域210に近い位置に配置される。なお、遮光層204と加飾層206における検出部500の+Z側(直上)に位置する部分には、図13に示すように、外光を透過する透光部502が設けられている。
本実施形態の制御部300は、検出部500により検出された外光の明るさに応じて、液晶表示部100の1階調目における加飾部材200越しの輝度をユーザに視認可能な最小の輝度Lminに制御する。本実施形態の制御部300は、図14に示すように、記憶部310とバックライト制御部320と表示制御部330とを有する。
本実施形態の記憶部310は、第1階調輝度データと、外光の明るさとユーザに視認可能な最小の輝度Lminとの関係を表す最小輝度データとを記憶する。最小輝度データは、外光の照度Ldと第1液晶表示パネル110の表示(例えばチェッカーパターン)の輝度とを変えて、ユーザがいずれの輝度で加飾部材200越しに表示を視認できるか否かを測定することにより、得ることができる。例えば、透過率が20%の加飾部材200では、図15に示すように、Lmin=0.002×Ld0.9676の関係(決定係数:0.9695)を得ることができる。
本実施形態のバックライト制御部320は、第1階調輝度データと最小輝度データと検出された外光の明るさ(外光の照度Ld)とに基づいて、バックライト120の輝度を制御する。本実施形態のバックライト制御部320は、バックライト120の輝度を、第1液晶表示パネル110の黒表示における加飾部材200越しの輝度がユーザに視認不能な輝度Luとなる輝度に制御する。ユーザに視認不能な輝度Luは、例えば、検出された外光の明るさ(外光の照度Ld)と最小輝度データとから求められる、ユーザに視認可能な最小の輝度Lminよりもわずかに小さい(例えば、0.01cd/m2~0.5cd/m2)輝度とすることができる。
本実施形態の表示制御部330は、第1階調輝度データと最小輝度データと検出された外光の明るさ(外光の照度Ld)とに基づいて、入力画像データから第1液晶表示パネル110に表示する第1表示画像データを生成する。具体的には、本実施形態の表示制御部330は、まず、検出された外光の明るさ(外光の照度Ld)と最小輝度データとから、ユーザに視認可能な最小の輝度Lminを求める(例えば、Ld=50lxではLmin=0.09cd/m2、Ld=50klxでは70cd/m2)。次に、本実施形態の表示制御部330は、第1階調輝度データにおける1階調目の輝度を、求められたユーザに視認可能な最小の輝度Lminに増加させ、第1階調輝度データにおける2階調目以降のそれぞれの輝度を1階調目の輝度の増加分ΔL1増加させて、第1表示画像データを生成する。
本実施形態の制御部300は、図16に示すように、外光の明るさに応じて(外光2の明るさ>外光1の明るさ)、第1液晶表示パネル110の黒表示(零階調目)における加飾部材200越しの輝度を視認不能な輝度Luに制御し、第1液晶表示パネル110の1階調目以降における加飾部材200越しの輝度をユーザに視認可能な最小の輝度Lmin以上に制御する。これらにより、第1液晶表示パネル110の黒表示(零階調目)はユーザに視認されず、第1液晶表示パネル110の1階調目以降の表示はユーザに視認される。したがって、本実施形態の表示装置10は、使用環境に依らずに、表示の視認性を低下させず、表示領域210と非表示領域220との境界BLを視認しにくくできる。なお、図16は、一部の階調と輝度との関係を示している。
<実施形態5>
表示装置10は、加飾部材200の色に応じて、第1液晶表示パネル110の輝度を制御してもよい。本実施形態の表示装置10は、実施形態1の表示装置10と同様に、液晶表示部100と加飾部材200と制御部300とを備える。本実施形態の加飾部材200の構成は、実施形態1の加飾部材200と同様であるので、本実施形態の液晶表示部100と制御部300とを説明する。
表示装置10は、加飾部材200の色に応じて、第1液晶表示パネル110の輝度を制御してもよい。本実施形態の表示装置10は、実施形態1の表示装置10と同様に、液晶表示部100と加飾部材200と制御部300とを備える。本実施形態の加飾部材200の構成は、実施形態1の加飾部材200と同様であるので、本実施形態の液晶表示部100と制御部300とを説明する。
本実施形態の液晶表示部100は、実施形態1の液晶表示部100と同様に、文字又は画像を表示する透過型液晶表示装置であり、加飾部材200に貼り付けられている。液晶表示部100は、実施形態1の液晶表示部100と同様に、第1液晶表示パネル110とバックライト120とを有する。本実施形態のバックライト120の構成は、実施形態1のバックライト120と同様であるので、本実施形態の第1液晶表示パネル110を説明する。
本実施形態の第1液晶表示パネル110は、例えば、TFTによりアクティブマトリクス駆動される横電界方式のカラー液晶表示パネルである。第1液晶表示パネル110は、実施形態1の第1液晶表示パネル110と同様に、主画素112がマトリクス状に配置された表示可能領域114と、配線、駆動回路等が配置され表示可能領域114を囲む額縁領域116とを有する。本実施形態の主画素112は、図17に示すように、赤色光を出射する赤色画素112Rと、緑色光を出射する緑色画素112Gと、青色光を出射する青色画素112Bとから形成されている。以下では、赤色画素112Rと緑色画素112Gと青色画素112Bとを総称して、サブ画素と記載する場合がある。
本実施形態の制御部300は、実施形態1の制御部300と同様に、記憶部310とバックライト制御部320と表示制御部330とを有する。以下では、色の色度座標を(x,y)のように、赤色画素112Rと緑色画素112Gと青色画素112B(サブ画素)の輝度を(Rxy,Gxy,Bxy)のように記載する。
本実施形態の記憶部310は、第1液晶表示パネル110の出射光の加飾部材200による色の変化を表す色変化データを記憶する。色変化データは、表示装置10の使用環境に応じて予め測定されている。色変化データの詳細については、後述する。
また、本実施形態の記憶部310は、第1液晶表示パネル110の階調輝度データ(すなわち、サブ画素毎の階調輝度データ)と、ユーザに視認可能な最小の輝度Lminと、加飾部材200の非表示領域220の輝度とを記憶している。さらに、本実施形態の記憶部310は、バックライト制御部320と表示制御部330とを機能させるプログラム、データ等を記憶している。
本実施形態のバックライト制御部320は、サブ画素毎の階調輝度データと加飾部材200の非表示領域220の輝度とに基づいて、バックライト120の輝度を制御する。本実施形態のバックライト制御部320は、実施形態1のバックライト制御部320と同様に、バックライト120の輝度を、第1液晶表示パネル110の黒表示における加飾部材200越しの輝度と加飾部材200の非表示領域220の輝度とを等しくする輝度に制御する。
本実施形態の表示制御部330は、加飾部材200の色に応じて、第1液晶表示パネル110のサブ画素(赤色画素112R、緑色画素112G、青色画素112B)の輝度を制御する。本実施形態の表示制御部330は、図18に示すように、色補正部335と輝度補正部337と第1表示画像生成部339とを有する。
まず、色変化データを説明する。第1液晶表示パネル110が白色(色度座標(Wx1,Wy1))を表示した場合に加飾部材200越しの色の色度座標が(Wx2,Wy2)であるとすると、第1液晶表示パネル110の出射光の加飾部材200による色の変化(Δx,Δy)は、図19に示すように、(Δx,Δy)=(Wx1-Wx2,Wy1-Wy2)と表される。本実施形態では、記憶部310は、測定により得られた(Δx,Δy)に対応する、サブ画素の輝度(ΔRxy,ΔGxy,ΔBxy)を色変化データとして記憶している。
色補正部335は、第1液晶表示パネル110が表示する色を、入力画像を加飾部材200越しに再現できる色に調整する。色補正部335は、サブ画素毎の階調輝度データと第1色変化データとに基づいて、サブ画素毎に、記憶部310に記憶されている階調輝度データを、入力画像を加飾部材200越しに再現できる階調輝度データ(以下、第1色補正データと記載)に変換する。
具体的には、色補正部335は、赤色画素112Rの階調輝度データのそれぞれの輝度値から色変化データのΔRxyを引くことにより、赤色画素112Rの階調輝度データから赤色画素112Rの第1色補正データを生成する。また、色補正部335は、緑色画素112Gの階調輝度データのそれぞれの輝度値から色変化データのΔGxyを引くことにより、緑色画素112Gの階調輝度データから緑色画素112Gの第1色補正データを生成する。色補正部335は、青色画素112Bについても、赤色画素112Rと緑色画素112Gと同様に、青色画素112Bの階調輝度データから青色画素112Bの第1色補正データを生成する。以上により、表示制御部330は、第1液晶表示パネル110が表示する色を、入力画像を加飾部材200越しに再現できる色に調整できる。
輝度補正部337は、1階調目の輝度を視認可能な最小の輝度Lminに制御する。輝度補正部337は、ユーザに視認可能な最小の輝度Lminとサブ画素毎の第1色補正データとに基づいてサブ画素のそれぞれの輝度値を調整して、サブ画素毎に、色と輝度を調整された階調輝度データ(以下、第1補正輝度データと記載)を生成する。
具体的には、輝度補正部337は、サブ画素毎の色補正データの1階調目の輝度値のうち最も大きな輝度値をユーザに視認可能な最小の輝度Lminとする。また、輝度補正部337は、最も大きな輝度値をユーザに視認可能な最小の輝度Lminに増加する増加分に応じて、他の輝度値を調整する。これらにより、輝度補正部337は、サブ画素毎に、図20に示すような第1補正輝度データを生成する。図20は、赤色画素112Rの1階調目の輝度値が最も大きな輝度値である場合における第1補正輝度データの一例を示す。また、図20では、サブ画素の輝度値の最大値(例えば、第1液晶表示パネル110が白色を表示する時の、サブ画素の輝度)を100%とした輝度を示している。以上により、表示制御部330は、1階調目の輝度を視認可能な最小の輝度Lminに制御できる。
第1表示画像生成部339は、サブ画素毎の第1補正輝度データに基づいて、入力画像データから第1液晶表示パネル110に表示するカラー画像データを生成する。また、第1表示画像生成部339は、生成されたカラー画像データを表す第1表示画像信号を第1液晶表示パネル110のドライバ回路(図示せず)へ送信する。第1液晶表示パネル110は、送信された第1表示画像信号に基づいて、文字、画像等を表示する。
以上のように、本実施形態の制御部300が加飾部材200の色に応じてサブ画素毎に輝度を制御するので、本実施形態の表示装置10は入力画像を加飾部材200越しに再現できる。また、実施形態1と同様に、第1液晶表示パネル110の黒表示(零階調目)における加飾部材200越しの輝度が、加飾部材200の非表示領域220の輝度に制御され、第1液晶表示パネル110の1階調目以降における加飾部材200越しの輝度が、ユーザが視認可能な最小の輝度Lmin以上に制御されるので、本実施形態の表示装置10は、表示の視認性を低下させず、表示領域210と非表示領域220との境界BLを視認しにくくできる。
<実施形態6>
実施形態5では、制御部300(色補正部335)は、サブ画素の階調輝度データの輝度値から、色の変化を表す色変化データの輝度を引くことにより、第1液晶表示パネル110が表示する色を、入力画像を加飾部材200越しに再現できる色に調整している。制御部300は、他の方法により、第1液晶表示パネル110が表示する色を、入力画像を加飾部材200越しに再現できる色に調整してもよい。
実施形態5では、制御部300(色補正部335)は、サブ画素の階調輝度データの輝度値から、色の変化を表す色変化データの輝度を引くことにより、第1液晶表示パネル110が表示する色を、入力画像を加飾部材200越しに再現できる色に調整している。制御部300は、他の方法により、第1液晶表示パネル110が表示する色を、入力画像を加飾部材200越しに再現できる色に調整してもよい。
本実施形態の表示装置10では、制御部300が実施形態5の制御部300と異なる。本実施形態の表示装置10のその他の構成は、実施形態5の表示装置10と同様である。
本実施形態の制御部300は、実施形態5の制御部300と同様に、記憶部310とバックライト制御部320と表示制御部330とを有する。
本実施形態の記憶部310は、第1液晶表示パネル110の出射光の加飾部材200による色の変化を調整するための第1輝度比データを記憶する。第1輝度比データは、表示装置10の使用環境に応じて予め測定されている。第1輝度比データの詳細については、後述する。また、本実施形態の記憶部310は、第1液晶表示パネル110の階調輝度データ(サブ画素毎の階調輝度データ)、ユーザに視認可能な最小の輝度Lmin、加飾部材200の非表示領域220の輝度、プログラム等を記憶している。
本実施形態のバックライト制御部320は、実施形態5のバックライト制御部320と同様に、サブ画素毎の階調輝度データと加飾部材200の非表示領域220の輝度とに基づいて、バックライト120の輝度を、第1液晶表示パネル110の黒表示における加飾部材200越しの輝度と加飾部材200の非表示領域220の輝度とを等しくする輝度に制御する。
本実施形態の表示制御部330は、加飾部材200の色に応じて、第1液晶表示パネル110のサブ画素の輝度を制御する。本実施形態の表示制御部330は、実施形態5の表示制御部330と同様に、色補正部335と輝度補正部337と第1表示画像生成部339とを有する。
まず、第1輝度比データを説明する。実施形態5と同様に、第1液晶表示パネル110が白色を表示した場合の色度座標を(Wx1,Wy1)とする。本実施形態では、加飾部材200越しの色の色度座標が(Wx1,Wy1)となるサブ画素の輝度比を第1輝度比データとする。第1輝度比データは、例えば、最大の輝度値を有するサブ画素(例えば、緑色画素112G)の輝度を100%として、予め測定されている。
本実施形態の色補正部335は、サブ画素毎の階調輝度データと第1輝度比データとに基づいて、サブ画素毎に、記憶部310に記憶されている階調輝度データを、入力画像を加飾部材200越しに再現できる階調輝度データ(以下、第2色補正データと記載)に変換する。
具体的には、最大の輝度値を有するサブ画素が緑色画素112Gである場合、色補正部335は、第1液晶表示パネル110の緑色画素112Gの階調輝度データを緑色画素112Gの第2色補正データとする。一方、色補正部335は、第1液晶表示パネル110の緑色画素112Gの階調輝度データのそれぞれの輝度値に、第1輝度比データにおける赤色画素112Rの輝度比(例えば、R1%)を掛けて、赤色画素112Rの第2色補正データを生成する。また、色補正部335は、第1液晶表示パネル110の緑色画素112Gの階調輝度データのそれぞれの輝度値に、第1輝度比データにおける青色画素112Bの輝度比(例えば、B1%)を掛けて、青色画素112Bの第2色補正データを生成する。以上により、表示制御部330は、第1液晶表示パネル110が表示する色を、入力画像を加飾部材200越しに再現できる色に調整できる。
本実施形態の輝度補正部337は、1階調目の輝度をユーザに視認可能な輝度(最小の輝度Lmin以上の輝度)に制御する。本実施形態の輝度補正部337は、ユーザに視認可能な最小の輝度Lminとサブ画素毎の第2色補正データとに基づいてサブ画素のそれぞれの輝度値を調整して、サブ画素毎に、色と輝度を調整された階調輝度データ(以下、第2補正輝度データと記載)を生成する。
具体的には、本実施形態の輝度補正部337は、サブ画素毎の第2色補正データの1階調目の輝度値のうちの、最も大きな輝度値(例えば、緑色画素112Gの1階調目の輝度値)を、ユーザに視認可能な最小の輝度Lmin以上とする。また、本実施形態の輝度補正部337は、最も大きな輝度値をユーザに視認可能な最小の輝度Lmin以上に増加する増加分に応じて、他の輝度値を調整する。これらにより、本実施形態の輝度補正部337は、サブ画素毎に、図21に示すような第2補正輝度データを生成する。図21は、緑色画素112Gの輝度値が最も大きな輝度値である場合における第2補正輝度データの一例を示す。また、図21では、サブ画素の輝度値の最大値(例えば、第1液晶表示パネル110が白色を表示する時の、サブ画素の輝度値)を100%とした輝度を示している。以上により、表示制御部330は、1階調目の輝度を視認可能な最小の輝度Lmin以上に制御できる。
本実施形態の第1表示画像生成部339は、サブ画素毎の第2補正輝度データに基づいて、入力画像データから第1液晶表示パネル110に表示するカラー画像データを生成する。また、本実施形態の第1表示画像生成部339は、生成されたカラー画像データを表す第1表示画像信号を第1液晶表示パネル110のドライバ回路へ送信する。第1液晶表示パネル110は、送信された第1表示画像信号に基づいて、文字、画像等を表示する。
以上のように、本実施形態の制御部300が加飾部材200の色に応じてサブ画素毎に輝度を制御するので、本実施形態の表示装置10は入力画像を加飾部材200越しに再現できる。また、第1液晶表示パネル110の黒表示(零階調目)における加飾部材200越しの輝度が、加飾部材200の非表示領域220の輝度に制御され、第1液晶表示パネル110の1階調目以降における加飾部材200越しの輝度が、ユーザが視認可能な最小の輝度Lmin以上に制御されるので、本実施形態の表示装置10は、表示の視認性を低下させず、表示領域210と非表示領域220との境界BLを視認しにくくできる。
<実施形態7>
実施形態6では、最大の輝度値を有するサブ画素以外のサブ画素は、すべての階調において、同じ比率で輝度を小さく調整されている。制御部300は、サブ画素の輝度を、最大階調を除く任意の階調において入力画像を加飾部材200越しに再現する輝度比とし、最大階調において最大の輝度値(例えば、第1液晶表示パネル110が白色を表示する時の輝度値)を有するように、調整してもよい。
実施形態6では、最大の輝度値を有するサブ画素以外のサブ画素は、すべての階調において、同じ比率で輝度を小さく調整されている。制御部300は、サブ画素の輝度を、最大階調を除く任意の階調において入力画像を加飾部材200越しに再現する輝度比とし、最大階調において最大の輝度値(例えば、第1液晶表示パネル110が白色を表示する時の輝度値)を有するように、調整してもよい。
本実施形態では、黒から白への階調における1階調目(任意の階調)の加飾部材200越しの色の色度座標が、第1液晶表示パネル110が黒から白への階調における1階調目を表示した色の色度と一致するサブ画素の輝度比を、第2輝度比データとする。本実施形態においても、第2輝度比データは、例えば、最大の輝度値を有するサブ画素(例えば、緑色画素112G)の輝度を100%として、予め測定されている。また、第2輝度比データは、記憶部310に記憶されている。
本実施形態の色補正部335は、サブ画素毎の階調輝度データと第2輝度比データとに基づいて、サブ画素毎に、記憶部310に記憶されている階調輝度データを、1階調目において入力画像を加飾部材200越しに再現できる階調輝度データ(以下、第3色補正データと記載)に変換する。
具体的には、最大の輝度値を有するサブ画素が緑色画素112Gである場合、色補正部335は、第1液晶表示パネル110の緑色画素112Gの階調輝度データを緑色画素112Gの第3色補正データとする。色補正部335は、第1液晶表示パネル110の緑色画素112Gの階調輝度データの1階調目の輝度値に、第2輝度比データにおける赤色画素112Rの輝度比(例えば、R2%)を掛けて、赤色画素112Rの第3色補正データにおける1階調目の輝度値を生成する。また、色補正部335は、赤色画素112Rの1階調目以降の輝度値を、最大階調における輝度値が最大輝度値(第1液晶表示パネル110が白色を表示する時の輝度値)となるように、赤色画素112Rの第3色補正データにおける1階調目以降の輝度値を生成する。さらに、色補正部335は、第1液晶表示パネル110の緑色画素112Gの階調輝度データの1階調目の輝度値に、第2輝度比データにおける青色画素112Bの輝度比(例えば、B2%)を掛けて、青色画素112Bの第3色補正データにおける1階調目の輝度値を生成する。色補正部335は、青色画素112Bの1階調目以降の輝度値を、最大階調における輝度値が最大輝度値となるように、青色画素112Bの第3色補正データにおける1階調目以降の輝度値を生成する。以上により、表示制御部330は、1階調目(最大階調を除く任意の階調)付近において、第1液晶表示パネル110が表示する色を、入力画像を加飾部材200越しに再現できる色に調整できると共に、最大階調において明るい表示を実現できる。
本実施形態の輝度補正部337は、実施形態6の輝度補正部337と同様に、ユーザに視認可能な最小の輝度Lminとサブ画素毎の第3色補正データとに基づいてサブ画素のそれぞれの輝度値を調整して、サブ画素毎に、図22に示すような、色と輝度を調整された階調輝度データ(以下、第3補正輝度データと記載)を生成する。図22は、緑色画素112Gの輝度値が最も大きな輝度値である場合における第3補正輝度データの一例を示す。また、図22では、サブ画素の輝度値の最大値(例えば、第1液晶表示パネル110が白色を表示する時の、サブ画素の輝度値)を100%とした輝度を示している。以上により、表示制御部330は、1階調目の輝度を視認可能な最小の輝度Lmin以上に制御できる。
本実施形態のバックライト制御部320、第1表示画像生成部339等の構成は、実施形態6と同様である。
以上のように、本実施形態の表示装置10は、最大階調を除く任意の階調付近において、入力画像を加飾部材200越しに再現できると共に、最大階調において明るい表示を実現できる。また、実施形態6の表示装置10と同様に、本実施形態の表示装置10は、表示の視認性を低下させず、表示領域210と非表示領域220との境界BLを視認しにくくできる。
<実施形態8>
制御部300は、黒色を表示した場合に、黒色の色度を調整してもよい。
制御部300は、黒色を表示した場合に、黒色の色度を調整してもよい。
例えば、実施形態5の表示装置10において、液晶表示部100が文字、画像等を表示していない状態(OFF状態)で、表示領域210と非表示領域220との境界BLを視認しにくくするために、加飾部材200の遮光層204の黒色の色度座標(SBx,SBy)を、液晶表示部100の、OFF状態における黒色の色度座標(Blx0,Bly0)に近づける。この場合、図23に示すように、第1液晶表示パネル110が黒色(零階調目)を表示した色度座標(Blx1,Bly1)と加飾部材200の遮光層204の黒色の色度座標(SBx,SBy)との色度差(Δx1,Δy1)=(Blx1-SBx,Bly1-SBy)が大きくなり、表示領域210と非表示領域220との境界BLが視認されやすくなる虞がある。
本実施形態の色補正部335は、図23に示すように、第1液晶表示パネル110が黒色を表示する場合に、黒色の色度座標(Blx2,Bly2)と加飾部材200の遮光層204の黒色の色度座標(SBx,SBy)との色度差(Δx2,Δy2)を小さくするように、サブ画素の輝度を調整して、サブ画素毎の第1色補正データを生成する。色度差(Δx2,Δy2)は、ユーザに視認できない色度差であることが、好ましい。本実施形態のその他の構成は、実施形態5と同様である。
本実施形態では、第1液晶表示パネル110の黒表示(零階調目)における加飾部材200越しの輝度が、加飾部材200の非表示領域220の輝度に制御されると共に、黒色の色度も制御される。したがって、本実施形態の表示装置10は、表示領域210と非表示領域220との境界BLを更に視認しにくくできる。
<変形例>
以上、実施形態を説明したが、本開示は、要旨を逸脱しない範囲で種々の変更が可能である。
以上、実施形態を説明したが、本開示は、要旨を逸脱しない範囲で種々の変更が可能である。
例えば、第1液晶表示パネル110と第2液晶表示パネル130は、横電界方式の液晶表示パネルに限られない。第1液晶表示パネル110と第2液晶表示パネル130の方式は、VA(Vertical Alignment)モード、TN(Twisted Nematic)モード等であってもよい。また、実施形態1~実施形態4の第1液晶表示パネル110は、カラー画像を表示するカラー液晶表示パネルであってもよい。
実施形態1~実施形態5では、制御部300は、1階調目の輝度をユーザに視認可能な最小の輝度Lminに制御している。制御部300は、1階調目の輝度をユーザに視認可能な輝度(最小の輝度Lmin以上の輝度)に制御すればよい。また、制御部300は黒を除く低階調領域(例えば、256階調のうちの1階調~16階調)のいずれかの階調以降の輝度をユーザに視認可能な輝度に制御すればよい。
実施形態1~実施形態3と実施形態5~8においても、制御部300は、実施形態4と同様に、外光の明るさに応じて、1階調目における加飾部材200越しの輝度を制御してもよい。
検出部500は、外光を受光する受光面を除いて黒色であることが好ましい。これにより、検出部500をユーザに視認されにくくできる。
実施形態8では、第1液晶表示パネル110の黒表示(零階調目)の色度が、色度(Blx2,Bly2)に調整されている。表示装置10では、加飾部材200の遮光層204の黒色の色度座標(SBx,SBy)が、第1液晶表示パネル110の黒表示の色度(Blx1,Bly1)に近づけられてもよい。これにより、表示装置10は、表示領域210と非表示領域220との境界BLを更に視認しにくくできる。
以上、好ましい実施形態について説明したが、本開示は係る特定の実施形態に限定されるものではなく、本開示には、特許請求の範囲に記載された発明とその均等の範囲が含まれる。
10 表示装置、100 液晶表示部、100a 表示面、110 第1液晶表示パネル、112 主画素、112R 赤色画素、112G 緑色画素、112B 青色画素、114 表示可能領域、114a 領域、116 額縁領域、120 バックライト、120a 出射領域、130 第2液晶表示パネル、132 主画素、200 加飾部材、202 透光性カバー、204 遮光層、206 加飾層、210 表示領域、220 非表示領域、221 領域、300 制御部、310 記憶部、320 バックライト制御部、330 表示制御部、332 第1画像生成部、334 第2画像生成部、335 色補正部、337 輝度補正部、339 第1表示画像生成部、500 検出部、502 透光部、BL 境界、ΔL1 1階調目の輝度の増加分、Ld 外光の照度、Lu ユーザに視認不能な輝度、Lmin ユーザに視認可能な最小の輝度、Wx1,Wx2,Wy1,Wy2:,Blx0,Bly0,Blx1,Bly1,Blx2,Bly2,SBx,SBy 色度座標、Δx,Δy 色の変化(色度座標の差)、色度差 Δx1,Δy1,Δx2,Δy2
Claims (7)
- 文字又は画像を表示する第1液晶表示パネルを有する液晶表示部と、
前記液晶表示部の表示面側に配置され、前記液晶表示部の表示が透けて表示される表示領域と、前記表示領域に隣接する非表示領域とを有する加飾部材と、
前記液晶表示部の表示を制御する制御部と、を備え、
前記制御部は、前記液晶表示部の黒表示における加飾部材越しの輝度をユーザに視認不能な輝度に制御し、前記液晶表示部の黒表示を除く低階調領域における前記加飾部材越しの輝度を前記ユーザに視認可能な輝度に制御する、
表示装置。 - 前記液晶表示部は、前記第1液晶表示パネルの背面側に設けられ、前記第1液晶表示パネルに光を照射するバックライトを有し、
前記バックライトは、前記第1液晶表示パネルの複数の領域のそれぞれに対応し、前記光を前記第1液晶表示パネルの複数の領域のそれぞれに照射する複数の出射領域を有し、
前記制御部は、前記出射領域のそれぞれから出射される前記光を制御することにより、前記第1液晶表示パネルの黒を表示する主画素に照射される前記光の輝度を、前記黒表示における前記加飾部材越しの輝度を前記ユーザに視認不能な輝度にする、輝度に制御する、
請求項1に記載の表示装置。 - 前記液晶表示部は、前記第1液晶表示パネルの背面側に設けられモノクロ画像を表示する第2液晶表示パネルと、前記第2液晶表示パネルの背面側に設けられ前記第1液晶表示パネルと前記第2液晶表示パネルに向けて光を照射するバックライトと、を有し、
前記制御部は、前記第2液晶表示パネルの表示を制御することにより、前記第1液晶表示パネルの黒を表示する主画素に照射される前記光の輝度を、前記黒表示における前記加飾部材越しの輝度を前記ユーザに視認不能な輝度にする、輝度に制御する、
請求項1に記載の表示装置。 - 外光を検出する検出部を備え、
前記制御部は、前記検出部により検出された前記外光の明るさに応じて、前記液晶表示部の黒表示を除く低階調領域における前記加飾部材越しの輝度を前記ユーザに視認可能な輝度に制御する、
請求項1から3のいずれか1項に記載の表示装置。 - 前記第1液晶表示パネルは、互いに異なる色に対応する複数のサブ画素を含み、マトリクス状に配列された主画素を有し、
前記制御部は、前記加飾部材の色に応じて前記サブ画素のそれぞれの輝度を制御する、
請求項1から4のいずれか1項に記載の表示装置。 - 前記制御部は、前記液晶表示部の前記低階調領域以降の階調における前記加飾部材越しの輝度を、前記液晶表示部の前記低階調領域の前記加飾部材越しの輝度の増加分、増加させる、
請求項1から5のいずれか1項に記載の表示装置。 - 前記液晶表示部の黒表示を除く低階調領域が、前記液晶表示部の1階調目であり、
前記制御部は、前記液晶表示部の1階調目における前記加飾部材越しの輝度をユーザに視認可能な最小の輝度に制御する、
請求項1から6のいずれか1項に記載の表示装置。
Priority Applications (2)
| Application Number | Priority Date | Filing Date | Title |
|---|---|---|---|
| US17/856,115 US11841564B2 (en) | 2021-07-15 | 2022-07-01 | Display device |
| CN202210773744.1A CN115273764B (zh) | 2021-07-15 | 2022-07-01 | 显示设备 |
Applications Claiming Priority (2)
| Application Number | Priority Date | Filing Date | Title |
|---|---|---|---|
| JP2021117075 | 2021-07-15 | ||
| JP2021117075 | 2021-07-15 |
Publications (1)
| Publication Number | Publication Date |
|---|---|
| JP2023013930A true JP2023013930A (ja) | 2023-01-26 |
Family
ID=85129328
Family Applications (1)
| Application Number | Title | Priority Date | Filing Date |
|---|---|---|---|
| JP2022048483A Pending JP2023013930A (ja) | 2021-07-15 | 2022-03-24 | 表示装置 |
Country Status (1)
| Country | Link |
|---|---|
| JP (1) | JP2023013930A (ja) |
Cited By (1)
| Publication number | Priority date | Publication date | Assignee | Title |
|---|---|---|---|---|
| JP2024176437A (ja) * | 2023-06-08 | 2024-12-19 | シャープディスプレイテクノロジー株式会社 | 表示装置 |
Citations (8)
| Publication number | Priority date | Publication date | Assignee | Title |
|---|---|---|---|---|
| WO2007055189A1 (ja) * | 2005-11-08 | 2007-05-18 | Nissha Printing Co., Ltd. | 意匠パネル |
| JP2007201997A (ja) * | 2006-01-30 | 2007-08-09 | Toppan Printing Co Ltd | 映像表示装置 |
| WO2009096329A1 (ja) * | 2008-01-30 | 2009-08-06 | Sharp Kabushiki Kaisha | 映像表示装置 |
| JP2009192565A (ja) * | 2008-02-12 | 2009-08-27 | Sharp Corp | 表示装置 |
| US20110141379A1 (en) * | 2008-08-26 | 2011-06-16 | Sharp Kabushiki Kaisha | Television receiver and method for driving television receiver |
| JP2011128251A (ja) * | 2009-12-16 | 2011-06-30 | Hitachi Displays Ltd | 液晶表示装置 |
| JP2018084760A (ja) * | 2016-11-25 | 2018-05-31 | パナソニック液晶ディスプレイ株式会社 | 液晶表示装置 |
| JP7369955B2 (ja) * | 2020-07-14 | 2023-10-27 | パナソニックIpマネジメント株式会社 | 表示装置、及び、制御方法 |
-
2022
- 2022-03-24 JP JP2022048483A patent/JP2023013930A/ja active Pending
Patent Citations (9)
| Publication number | Priority date | Publication date | Assignee | Title |
|---|---|---|---|---|
| WO2007055189A1 (ja) * | 2005-11-08 | 2007-05-18 | Nissha Printing Co., Ltd. | 意匠パネル |
| JP2007201997A (ja) * | 2006-01-30 | 2007-08-09 | Toppan Printing Co Ltd | 映像表示装置 |
| WO2009096329A1 (ja) * | 2008-01-30 | 2009-08-06 | Sharp Kabushiki Kaisha | 映像表示装置 |
| CN101911175A (zh) * | 2008-01-30 | 2010-12-08 | 夏普株式会社 | 视频显示装置 |
| JP2009192565A (ja) * | 2008-02-12 | 2009-08-27 | Sharp Corp | 表示装置 |
| US20110141379A1 (en) * | 2008-08-26 | 2011-06-16 | Sharp Kabushiki Kaisha | Television receiver and method for driving television receiver |
| JP2011128251A (ja) * | 2009-12-16 | 2011-06-30 | Hitachi Displays Ltd | 液晶表示装置 |
| JP2018084760A (ja) * | 2016-11-25 | 2018-05-31 | パナソニック液晶ディスプレイ株式会社 | 液晶表示装置 |
| JP7369955B2 (ja) * | 2020-07-14 | 2023-10-27 | パナソニックIpマネジメント株式会社 | 表示装置、及び、制御方法 |
Cited By (1)
| Publication number | Priority date | Publication date | Assignee | Title |
|---|---|---|---|---|
| JP2024176437A (ja) * | 2023-06-08 | 2024-12-19 | シャープディスプレイテクノロジー株式会社 | 表示装置 |
Similar Documents
| Publication | Publication Date | Title |
|---|---|---|
| CN115273764B (zh) | 显示设备 | |
| US20100045694A1 (en) | Image Display Apparatus | |
| KR101231445B1 (ko) | 표시 장치 및 표시 방법 | |
| CN102750909B (zh) | 液晶显示装置、多显示器装置和发光量决定方法 | |
| CN101622657B (zh) | 液晶显示装置 | |
| US10810950B2 (en) | Light source control device, display device, and image processing device | |
| JP4757545B2 (ja) | 液晶表示装置 | |
| CN102483905A (zh) | 显示装置和显示方法 | |
| JP2011145676A (ja) | 背景照明レベルの局所的な動的制御を介したディスプレイの強調表示技術 | |
| JP2005309338A (ja) | 画像表示装置および画像表示方法 | |
| KR20220059684A (ko) | 디스플레이패널 구동 장치 및 방법, 그리고, 디스플레이장치 | |
| US20110157489A1 (en) | Image display device, television receiver, method for driving image display device, and method for driving television receiver | |
| US8400394B2 (en) | Backlight unit assembly, liquid crystal display having the same, and dimming method thereof | |
| KR102861391B1 (ko) | 화상 처리 장치, 표시 장치, 및 화상 처리 방법 | |
| JP2014182290A (ja) | 画像表示装置及びその制御方法 | |
| JP2019128553A (ja) | 表示装置 | |
| JP2023013930A (ja) | 表示装置 | |
| JP7481828B2 (ja) | 表示装置および制御方法 | |
| JP7222835B2 (ja) | 表示装置 | |
| US12004280B2 (en) | Display device | |
| JP7751521B2 (ja) | 表示装置 | |
| JP2019105709A (ja) | 表示装置 | |
| JP2022165334A (ja) | 表示システム、及び表示システムの駆動方法 | |
| JP2008310148A (ja) | 液晶表示装置 | |
| JP7240828B2 (ja) | 表示装置 |
Legal Events
| Date | Code | Title | Description |
|---|---|---|---|
| A621 | Written request for application examination |
Free format text: JAPANESE INTERMEDIATE CODE: A621 Effective date: 20241119 |
|
| A977 | Report on retrieval |
Free format text: JAPANESE INTERMEDIATE CODE: A971007 Effective date: 20251006 |
|
| A131 | Notification of reasons for refusal |
Free format text: JAPANESE INTERMEDIATE CODE: A131 Effective date: 20251021 |
|
| A521 | Request for written amendment filed |
Free format text: JAPANESE INTERMEDIATE CODE: A523 Effective date: 20260116 |
