JP2021168897A - Scar keloid treatment tool - Google Patents
Scar keloid treatment tool Download PDFInfo
- Publication number
- JP2021168897A JP2021168897A JP2020111253A JP2020111253A JP2021168897A JP 2021168897 A JP2021168897 A JP 2021168897A JP 2020111253 A JP2020111253 A JP 2020111253A JP 2020111253 A JP2020111253 A JP 2020111253A JP 2021168897 A JP2021168897 A JP 2021168897A
- Authority
- JP
- Japan
- Prior art keywords
- keloid
- treatment
- stretch sheet
- gel
- state
- Prior art date
- Legal status (The legal status is an assumption and is not a legal conclusion. Google has not performed a legal analysis and makes no representation as to the accuracy of the status listed.)
- Pending
Links
Images
Landscapes
- Materials For Medical Uses (AREA)
Abstract
【課題】外観が醜悪である上に痛みやかゆみを伴い、かつ症状の改善が困難であるケロイドの治療において、安価な素材で構成され、患者にかかる負荷が少ないケロイド治療用具を提供する。
【解決手段】ケロイド治療用具を、気密性と可撓性と伸縮性とを備える結晶質ポリマー樹脂製のストレッチシートと、保湿効果を備えるジェルとによって構成し、ストレッチシートにはポリ塩化ビニリデンや多層ポリオレフィンを使用し、保湿効果を備えるがジェル精製水とグリセリンとカルボマーとポリアクリス酸ナトリウムとメチルパラベンとプロピルパラベンとを含有するようにする。
【選択図】図11PROBLEM TO BE SOLVED: To provide a keloid treatment tool which is made of an inexpensive material and has a small load on a patient in the treatment of keloid which has an ugly appearance, is accompanied by pain and itch, and is difficult to improve the symptom.
SOLUTION: A keroid treatment tool is composed of a stretch sheet made of a crystalline polymer resin having airtightness, flexibility and elasticity, and a gel having a moisturizing effect, and the stretch sheet is made of polyvinylidene chloride or a multilayer. Use polyolefins to have a moisturizing effect but contain purified water of gel, glycerin, carbomer, sodium polyacrysate, methylparaben and propylparaben.
[Selection diagram] FIG. 11
Description
本発明は、外傷、手術創、虫刺傷やざ瘡の跡などに形成される、膠原繊維が増殖した瘢痕やケロイド(以下、瘢痕ケロイド)を治療するための治療用具に関する。 The present invention relates to a therapeutic tool for treating scars and keloids (hereinafter referred to as scar keloids) in which collagen fibers have proliferated, which are formed on trauma, surgical wounds, scars of insect bites and acne.
瘢痕ケロイドは、外傷、手術や虫刺傷、ざ瘡などが原因で膠原線維性瘢痕が腫瘍様に増殖するものであり、傷が治る過程において原因不明の炎症が持続することにより、線維形成が終息しないことによる皮膚線維増殖性疾患と考えられている。いったん瘢痕ケロイド化した皮膚は、自然に元の状態に戻ることは難しい。外観が醜悪であるのみならず、病巣に炎症細胞が生成されることにより痒みや痛みを感じる上に、中には周辺健常部位への広がりが生じるものがあり、放置すれば生活の質(QOL)が低下することになる。しかし、瘢痕ケロイドの発生原因が解明されていないため、治療は対症療法に頼らざるをえないものであり、薬の投与や塗布は、効果に個人差があるなど、十分な効果を得られない場合も多かった。 Scar keloid is a tumor-like growth of collagenous scar caused by trauma, surgery, insect bites, acne, etc., and fibrosis is terminated by persistent inflammation of unknown cause in the process of healing the wound. It is believed to be a skin fibroproliferative disorder caused by not doing so. Once scarred and keloid, it is difficult for the skin to return to its original state on its own. Not only is the appearance ugly, but itching and pain are felt due to the generation of inflammatory cells in the lesion, and some of them spread to the surrounding healthy areas, so if left untreated, the quality of life (QOL) ) Will decrease. However, since the cause of scar keloids has not been elucidated, treatment must rely on symptomatic treatment, and administration and application of drugs do not provide sufficient effects, such as individual differences in effects. In many cases.
皮膚の緊張が強い胸部や肩が瘢痕ケロイドの好発部位であること、瘢痕ケロイドが皮膚張力の方向に伸展していくことなどから、瘢痕ケロイドの発症には皮膚の緊張が悪影響を与えていると考えられていたので、皮膚の張力を弱めることを主な目的として伸縮性テープやシリコンシートを用いた治療が行われており、例えば、有機シリコン化合物及び化粧学的に活性な物質とからなり、しかも、該化合物及び該物質は、これらを皮膚内で固定する材料からなる分子と結合していること、を特徴とする生成物(特許文献1)が知られている。 Skin tension has an adverse effect on the onset of scar keloids because the chest and shoulders, where skin tension is strong, are the most common sites for scar keloids, and scar keloids extend in the direction of skin tension. Therefore, treatment using elastic tape or silicon sheet is performed mainly for the purpose of weakening the tension of the skin, and it consists of, for example, an organic silicon compound and a cosmetically active substance. Moreover, a product (Patent Document 1) is known in which the compound and the substance are bound to a molecule made of a material that fixes them in the skin.
しかし、シリコンシートは高価であるため、患部周辺を洗うためにはがす際にその都度廃棄していると費用負担が高額となるため、はがして貼り直す度に洗浄しなければならず、患者に負担をかけ、また、本人の気付かないうちに剥がれて紛失してしまうという問題もあった。 However, since the silicon sheet is expensive, if it is discarded each time it is peeled off in order to wash the area around the affected area, the cost burden will be high. There was also the problem that it would come off and be lost without the person's knowledge.
本発明はこのような事情に鑑みてなされたものであり、瘢痕ケロイドの治療において、安価な素材で構成され、患者にかかる負荷が少ない瘢痕ケロイド治療用具を提供することを目的とする。 The present invention has been made in view of such circumstances, and an object of the present invention is to provide a scar keloid treatment tool which is made of an inexpensive material and has a small load on a patient in the treatment of scar keloid.
このような目的に応えるために、本発明に係る瘢痕ケロイド治療用具は、気密性と可撓性と伸縮性とを備える結晶質ポリマー樹脂製のストレッチシートと、
保湿効果を備えるジェルと、
によって構成されることを特徴とする。
In order to meet such an object, the scar keloid treatment tool according to the present invention includes a stretch sheet made of a crystalline polymer resin having airtightness, flexibility and elasticity.
A gel with a moisturizing effect and
It is characterized by being composed of.
このような構成によれば、ケロイドの発生に係るメカニズムとケロイドのアポトーシスを阻害するメカニズムに関与するTGF−β1というサイトカインを活性化させる空気を遮断し、かつ、患部の乾燥によるTGF−β1の活性化も防ぐことができる。 According to such a configuration, the air that activates a cytokine called TGF-β1 involved in the mechanism involved in keloid development and the mechanism that inhibits keloid apoptosis is blocked, and the activity of TGF-β1 due to drying of the affected area is blocked. It can also be prevented from becoming keloid.
また、このような目的に応えるために、本発明に係る治療用具の結晶質ポリマー樹脂製のストレッチシートは、ポリ塩化ビニリデン製であることを特徴とする。 Further, in order to meet such an object, the stretch sheet made of a crystalline polymer resin of the therapeutic tool according to the present invention is characterized by being made of polyvinylidene chloride.
このような構成によれば、ストレッチシートは、分子間の隙間が小さく、バリア性に優れ、ニオイ・水分(湿気)・酸素を通しにくくなり、分子間に働く力が大きいため密着性も高く、耐熱性、透過性、引張弾性にも優れるようになる。 According to such a configuration, the stretch sheet has a small gap between molecules, has excellent barrier properties, makes it difficult for odor, moisture (moisture), and oxygen to pass through, and has a large force acting between molecules, so that it has high adhesion. It also has excellent heat resistance, permeability, and tensile elasticity.
さらに、このような目的に応えるために、本発明に係る治療用具の結晶質ポリマー樹脂製のストレッチシートが、多層ポリオレフィン製であることを特徴とする。 Further, in order to meet such an object, the stretch sheet made of a crystalline polymer resin of the therapeutic tool according to the present invention is made of multilayer polyolefin.
このような構成によれば、価格は安いが単層では酸素を通しやすいポリエチレンなどのシートを多層構造とすることで、単層と比べて高いバリア性や粘着性を得ることができる。 According to such a configuration, a sheet made of polyethylene or the like, which is inexpensive but easily allows oxygen to pass through in a single layer, has a multi-layer structure, so that higher barrier properties and adhesiveness can be obtained as compared with the single layer.
そして、このような目的に応えるために、本発明に係る治療用具の結晶質ポリマー樹脂製のストレッチシートに、ポリアルキルメタクリレート類のアモルファスポリマーがブレンディングされていることを特徴とする。 In order to meet such an object, the stretch sheet made of a crystalline polymer resin of the therapeutic tool according to the present invention is characterized in that an amorphous polymer of polyalkyl methacrylates is blended.
このような構成によれば、ストレッチシートに形状記憶を持たせることができ,皮膚とのフィット性を向上することができる。 According to such a configuration, the stretch sheet can have a shape memory, and the fit with the skin can be improved.
その上、このような目的に応えるために、本発明に係る治療用具の樹脂製のストレッチシートの厚さが、0.008mmないし0.011mmであることを特徴とする。 Moreover, in order to meet such an object, the thickness of the resin stretch sheet of the therapeutic tool according to the present invention is 0.008 mm to 0.011 mm.
このような構成によれば、十分な気密性を備えながら可撓性と伸縮性を保つことができる。 According to such a configuration, flexibility and elasticity can be maintained while providing sufficient airtightness.
一方、このような目的に応えるために、本発明に係る治療用具の保湿効果を備えるジェルが、精製水とグリセリンとカルボマーとポリアクリス酸ナトリウムとメチルパラベンとプロピルパラベンとを含有することを特徴とする。 On the other hand, in order to meet such an object, the gel having a moisturizing effect of the therapeutic device according to the present invention is characterized by containing purified water, glycerin, carbomer, sodium polyacrisate, methylparaben and propylparaben.
このような構成によれば、瘢痕ケロイドのある皮膚とストレッチシートとの粘着性を高めて、酸素の遮断と保湿機能を高めることができる。 According to such a configuration, the adhesiveness between the skin with scar keloid and the stretch sheet can be enhanced, and the oxygen blocking and moisturizing functions can be enhanced.
さらに、このような目的に応えるために、本発明に係る治療用具の保湿効果を備えるジェルが、メタクリル酸アルキル共重合体を含むことを特徴とする。 Further, in order to meet such an object, the gel having a moisturizing effect of the therapeutic tool according to the present invention is characterized by containing an alkyl methacrylate copolymer.
このような構成によれば、ジェルの親水性を高め、ストレッチシートをはがした時でも皮膜形成効果があるために一時的に酸素の遮断と保湿効果を継続することができる。 According to such a configuration, the hydrophilicity of the gel is enhanced, and even when the stretch sheet is peeled off, there is a film-forming effect, so that oxygen blocking and moisturizing effects can be temporarily continued.
以上説明したように本発明に係る本発明に係る瘢痕ケロイド治療用具によれば、安価な素材で構成され、患者にかかる負荷が少なく、また、本人の気付かないうちに剥がれて紛失してしまうこともない瘢痕ケロイド治療用具を提供することができるという優れた効果がある。 As described above, the scar keloid treatment tool according to the present invention according to the present invention is made of an inexpensive material, has a small load on the patient, and is peeled off and lost without the person's knowledge. It has the excellent effect of being able to provide a scar keloid treatment tool.
本発明は以上のような構成であるので、これを図面に基づきながら本発明の実施の形態を説明する。 Since the present invention has the above-described configuration, an embodiment of the present invention will be described with reference to the drawings.
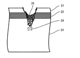
図1ないし図6は、本発明に係る瘢痕ケロイド治療用具の治療対象であるケロイドの生成過程を説明するための図である。
図1に示すように、皮膚は、外側から表皮21、真皮乳頭層22、真皮網上層というように重なって構成されている。
瘢痕ケロイドは皮膚が傷を負うことが原因で発生するが、そのメカニズムは以下の通りである。
1 to 6 are diagrams for explaining a process of producing keloid, which is a therapeutic target of the scar keloid treatment tool according to the present invention.
As shown in FIG. 1, the skin is composed of an
Scar keloids are caused by skin injuries, and the mechanism is as follows.
図2のように皮膚が傷を負うと、表皮を構成する上皮細胞が増殖を始めて修復を行う。 When the skin is injured as shown in FIG. 2, the epithelial cells constituting the epidermis begin to proliferate and repair.
ここで、図2のように傷が真皮乳頭層22や真皮網上層23に及んだ場合に、線維芽細胞24が真皮の再生を始めるが、このとき図3のように線維芽細胞が増殖しその増殖を促進するTGF−β1というサイトカインが産生される。
Here, when the wound extends to the
図4のようにケロイド25が盛り上がり、さらに境界部分が周りに広がる病態については、上皮細胞が線維芽細胞24などの間葉系細胞への変化が促進することが関与しており、ここでTGF−β1は上皮間葉転換(EMT)を誘導する役割を果たす。これにより肥満細胞や炎症担当細胞が誘導され、ケロイド25が発生する。
As shown in FIG. 4, regarding the pathological condition in which keloid 25 rises and the boundary portion spreads around, it is involved that epithelial cells promote change to mesenchymal cells such as
表皮の上皮細胞はアポトーシス(自然死)を生じて新陳代謝を行うが、ケロイド25は、アポトーシスが生じにくい状態を呈しており、図5のように発生したケロイド25は自然消退せず、加えて図6のように新たな増殖の亢進により更に大きくなる。TGF−β1はケロイド25のアポトーシス耐性の獲得にも関与しし、ケロイドの治癒を妨げている。
Epithelial cells of the epidermis undergo apoptosis (natural death) and metabolize, but keloid 25 is in a state where apoptosis is unlikely to occur, and
図7は膝に負った傷がケロイド31を発した状態を示す。前述の通り、シリコンシートのケロイド治癒効果は皮膚の張力を弱め保湿する性能があるためと考えられてきたが、上記のケロイド生成メカニズムを勘案し、TGF−β1を不活性化することができれば治療効果が期待できる。
FIG. 7 shows a state in which a wound inflicted on the knee emits
上皮と異なり、真皮は通常外気と接していないので、空気成分との接触がなく、また、常に適切な水分を保っている。ここで真皮が傷を負うことで外気と接し、空気中の主たる刺激成分である酸素の刺激、及び、水分を蒸発によって失うという刺激によって、TGF−β1が活性化されていると考えられるので、TGF−β1を不活性化させることで、ケロイドの増殖を抑制して自然な新陳代謝による表皮の修復を促進することが期待できる。
なぜならまず、表皮の低酸素状態はケラチン生成細胞におけるTNF−α誘導TSLP発現を阻害することが判明しており、TSLPの発現増加とTGF−βの発現増加は正の相関関係にあるので、ケロイド表皮を低酸素状態にすることにより、TSLPの発現を低下させれば、ケロイド組織中のTGF−βの発現低下につながりケロイドの増殖を抑制することが期待できる。
また、表皮のケラチノサイト(角化細胞)と真皮線維芽細胞との間の間葉クロストークによって、ケロイド表皮は正常表皮と比べ菲薄化しており、そのためケロイド表皮の水分蒸散量(TEWL)は、正常表皮より大きくなっていので、ケロイド表皮のTEWLを低下させればケロイドの増殖を抑制することが期待できる。
Unlike the epithelium, the dermis is usually out of contact with the outside air, so it has no contact with air components and always retains adequate moisture. Here, it is considered that TGF-β1 is activated by the stimulation of oxygen, which is the main stimulating component in the air, and the stimulation of losing water by evaporation when the dermis is injured and comes into contact with the outside air. By inactivating TGF-β1, it can be expected to suppress the growth of keloids and promote the repair of the epidermis by natural metabolism.
First, it has been found that the hypoxic state of the epidermis inhibits TNF-α-induced TSLP expression in keratin-producing cells, and the increased expression of TSLP and the increased expression of TGF-β are positively correlated, and thus keloids. If the expression of TSLP is reduced by lowering the epidermis to a hypoxic state, it can be expected that the expression of TGF-β in the keloid tissue will be reduced and the growth of keloids will be suppressed.
In addition, the keloid epidermis is thinner than the normal epidermis due to the interlobar crosstalk between the keratinocytes (keratinocytes) of the epidermis and the dermal fibroblasts, so that the water evaporation amount (TEWL) of the keloid epidermis is normal. Since it is larger than the epidermis, it can be expected that the proliferation of keloids can be suppressed by lowering the TEWL of the keloid epidermis.
図8は図6の状態に精製水とグリセリンとカルボマーとポリアクリス酸ナトリウムとメチルパラベンとプロピルパラベンとメタクリル酸アルキル共重合体を含有する保湿ジェル11を塗布した状態の断面図である。図9は図7のケロイド31の周囲に保湿ジェル11を塗布した状態を示す。
このまま乾燥してしまうと、メタクリル酸アルキル共重合体が被膜を形成することにより一時的に空気の遮断と保湿は行われるが、効果は限定的である。
FIG. 8 is a cross-sectional view of the state of FIG. 6 in which purified water, glycerin, carbomer, sodium polyacrisate, methylparaben, propylparaben, and a moisturizing
If it is dried as it is, the alkyl methacrylate copolymer forms a film to temporarily block air and moisturize, but the effect is limited.
そこで、図10のように、図8の状態の保湿ジェル11が乾燥しないうちにポリ塩化ビニリデン製又は多層ポリオレフィン製のストレッチシート10を、保湿ジェル11を塗布したケロイド25周辺の皮膚に貼り付けると、空気の遮断と保湿の効果が継続する。
Therefore, as shown in FIG. 10, when the
図11は図9のケロイド31の周囲に保湿ジェル11を塗布した状態の皮膚にポリ塩化ビニリデン製又は多層ポリオレフィン製のストレッチシート10を貼り付けた状態を示す。図12は、ストレッチシート10を貼り付けたまま、膝を曲げた状態を示す。このように膝を屈曲しても空気の遮断と保湿の効果が継続するように、ストレッチシート10の厚さは、0.008mmないし0.011mmであることが望ましい。この範囲の厚さであれば、ストレッチシートの伸縮性により膝を屈曲してもストレッチシート10がはがれることはない。さらに、結晶質ポリマー樹脂製のストレッチシート10に、ポリアルキルメタクリレート類のアモルファスポリマーをブレンディングすれば、形状記憶効果が得られ、ストレッチシート10を貼り付けた部位を屈曲してもさらにはがれにくくなる。
FIG. 11 shows a state in which a
以下に、治療例を挙げて効果を示す。患者は毎日入浴時にはがしてン中浴後貼り直す間を除き、終日本願に係るケロイド治療具を装着している。
図13ないし図17は治療例1の治療経過写真である。
下記の表1に示すように、硬結、隆起、赤さ、周囲発赤、痛み、掻痒を点数化した。図13は治療開始日、図14は治療開始から1月、図15は治療開始から3月、図15は治療開始から5月、図15は治療開始から7月後の状態で、各要素において有意な効果がみられる。
The effects are shown below with examples of treatment. The patient wears the keloid treatment tool according to the present application all day except during the period of peeling off at the time of bathing and reapplying after bathing.
13 to 17 are the treatment progress photographs of the treatment example 1.
As shown in Table 1 below, induration, ridges, redness, peripheral redness, pain, and pruritus were scored. FIG. 13 shows the treatment start date, FIG. 14 shows the state from the start of treatment to January, FIG. 15 shows the state from the start of treatment to March, FIG. 15 shows the state from the start of treatment to May, and FIG. Significant effect is seen.
図18ないし図21は治療例2の治療経過写真である。
下記の表2に示すように、硬結、隆起、赤さ、周囲発赤、痛み、掻痒を点数化した。図18は治療開始日、図19は治療開始から1月、図20は治療開始から2.5月、図21は治療開始から4月の状態で、各要素において有意な効果がみられる。
18 to 21 are the treatment progress photographs of the treatment example 2.
As shown in Table 2 below, induration, ridges, redness, peripheral redness, pain, and pruritus were scored. FIG. 18 shows the treatment start date, FIG. 19 shows the state from the start of treatment to January, FIG. 20 shows the state from the start of treatment to 2.5 months, and FIG. 21 shows the state from the start of treatment to April, and significant effects can be seen in each element.
図22ないし図25は治療例3の治療経過写真である。
下記の表3に示すように、硬結、隆起、赤さ、周囲発赤、痛み、掻痒を点数化した。図22は治療開始日、図23は治療開始から1月、図24は治療開始から2月、図25は治療開始から3月の状態で、各要素において有意な効果がみられる。
22 to 25 are the treatment progress photographs of the treatment example 3.
As shown in Table 3 below, induration, ridges, redness, peripheral redness, pain, and pruritus were scored. FIG. 22 shows the treatment start date, FIG. 23 shows the state from the start of the treatment to January, FIG. 24 shows the state from the start of the treatment to February, and FIG. 25 shows the state from the start of the treatment to March.
図26ないし図27は比較のためのシリコンシートを使用した治療例の治療経過写真である。
下記の表4に示すように、硬結、隆起、赤さ、周囲発赤、痛み、掻痒を点数化した。このシリコンシートの治療効果と比べて本発明に係るケロイド治療用具は、遜色ない治療効果を上げているといえる。
なお、シリコンシートは、治療開始は受傷後週間程度とし、少なくとも2か月間、一日に12時間以上装着しておくことが、推奨されている。
26 to 27 are treatment progress photographs of a treatment example using a silicon sheet for comparison.
As shown in Table 4 below, induration, ridges, redness, peripheral redness, pain, and pruritus were scored. It can be said that the keloid therapeutic tool according to the present invention has a therapeutic effect comparable to that of the silicone sheet.
It is recommended that the silicone sheet be worn for at least 2 months, 12 hours or more a day, with the start of treatment about a week after the injury.
なお、本発明は上述した実施の形態で説明した構造には限定されず、各部の形状、構造等を適宜変形、変更し得ることはいうまでもない。
例えば、あらかじめストレッチシート10の皮膚への貼付側の全体又は周縁部に粘着力の強い成分を付着させておくことにより、さらにはがれにくくすることもできる。
粘着性分としてやわらかいゲル粘着剤を使用すれば、皮膚の凹凸にぴったりなじんでよく密着し、強い粘着力を得ることができうる上に、剥がすときに皮膚表面の角質層をほとんど剥離・損傷しないようにすることもできる。
勿論、これらに限定されないことも言うまでもない。
It goes without saying that the present invention is not limited to the structure described in the above-described embodiment, and the shape, structure, etc. of each part can be appropriately modified or changed.
For example, it is possible to further prevent the
If a soft gel adhesive is used as the adhesive component, it will fit tightly to the unevenness of the skin and adhere well, and it will be possible to obtain strong adhesive strength, and when peeling off, the stratum corneum on the skin surface will hardly be peeled off or damaged. You can also do it.
Of course, it goes without saying that it is not limited to these.
10 ストレッチシート
11 保湿ジェル
21 表皮
22 真皮乳頭層
23 真皮網上層
24 繊維芽細胞
25 ケロイド
30 脚
31 ケロイド
10
Claims (7)
保湿効果を備えるジェルと、
によって構成されることを特徴とするケロイド治療用具 A stretch sheet made of crystalline polymer resin that is airtight, flexible, and stretchable.
A gel with a moisturizing effect and
Keloid therapeutic tool characterized by being composed of
Applications Claiming Priority (2)
| Application Number | Priority Date | Filing Date | Title |
|---|---|---|---|
| JP2020073244 | 2020-04-16 | ||
| JP2020073244 | 2020-04-16 |
Related Child Applications (1)
| Application Number | Title | Priority Date | Filing Date |
|---|---|---|---|
| JP2024002270U Continuation JP3248192U (en) | 2020-04-16 | 2024-07-09 | Keloid scar treatment equipment |
Publications (1)
| Publication Number | Publication Date |
|---|---|
| JP2021168897A true JP2021168897A (en) | 2021-10-28 |
Family
ID=78119487
Family Applications (1)
| Application Number | Title | Priority Date | Filing Date |
|---|---|---|---|
| JP2020111253A Pending JP2021168897A (en) | 2020-04-16 | 2020-06-29 | Scar keloid treatment tool |
Country Status (1)
| Country | Link |
|---|---|
| JP (1) | JP2021168897A (en) |
Citations (9)
| Publication number | Priority date | Publication date | Assignee | Title |
|---|---|---|---|---|
| JPH101545A (en) * | 1996-04-19 | 1998-01-06 | Pilot Ink Co Ltd | Thermoplastic resin composition and its molded product capable of temperature-dependent deformation and shaping |
| JP2004033524A (en) * | 2002-07-04 | 2004-02-05 | Harasawa Pharmaceutical Co Ltd | Silicone sheet and surgical bandage using the same |
| JP2006503172A (en) * | 2002-10-11 | 2006-01-26 | ユニバーシティ オブ コネチカット | Blends of amorphous and semi-crystalline polymers with shape memory properties |
| JP2009545382A (en) * | 2006-08-03 | 2009-12-24 | ザ ボード オブ トラスティーズ オブ ザ レランド スタンフォード ジュニア ユニバーシティー | Device and bandage for the treatment or prevention of scars and / or keloids, and methods and kits therefor |
| JP2014012835A (en) * | 2012-06-08 | 2014-01-23 | Kose Corp | Aqueous gel-like composition |
| WO2016194395A1 (en) * | 2015-05-29 | 2016-12-08 | 株式会社共和 | Medical tape |
| US20170360984A1 (en) * | 2014-12-30 | 2017-12-21 | Avery Dennison Corporation | Multi-layer adhesive tape to compress and contract a scar |
| WO2019131484A1 (en) * | 2017-12-27 | 2019-07-04 | 株式会社コーセー | Gel sheet for skin patch |
| WO2019131845A1 (en) * | 2017-12-28 | 2019-07-04 | 株式会社 資生堂 | Cosmetic |
-
2020
- 2020-06-29 JP JP2020111253A patent/JP2021168897A/en active Pending
Patent Citations (9)
| Publication number | Priority date | Publication date | Assignee | Title |
|---|---|---|---|---|
| JPH101545A (en) * | 1996-04-19 | 1998-01-06 | Pilot Ink Co Ltd | Thermoplastic resin composition and its molded product capable of temperature-dependent deformation and shaping |
| JP2004033524A (en) * | 2002-07-04 | 2004-02-05 | Harasawa Pharmaceutical Co Ltd | Silicone sheet and surgical bandage using the same |
| JP2006503172A (en) * | 2002-10-11 | 2006-01-26 | ユニバーシティ オブ コネチカット | Blends of amorphous and semi-crystalline polymers with shape memory properties |
| JP2009545382A (en) * | 2006-08-03 | 2009-12-24 | ザ ボード オブ トラスティーズ オブ ザ レランド スタンフォード ジュニア ユニバーシティー | Device and bandage for the treatment or prevention of scars and / or keloids, and methods and kits therefor |
| JP2014012835A (en) * | 2012-06-08 | 2014-01-23 | Kose Corp | Aqueous gel-like composition |
| US20170360984A1 (en) * | 2014-12-30 | 2017-12-21 | Avery Dennison Corporation | Multi-layer adhesive tape to compress and contract a scar |
| WO2016194395A1 (en) * | 2015-05-29 | 2016-12-08 | 株式会社共和 | Medical tape |
| WO2019131484A1 (en) * | 2017-12-27 | 2019-07-04 | 株式会社コーセー | Gel sheet for skin patch |
| WO2019131845A1 (en) * | 2017-12-28 | 2019-07-04 | 株式会社 資生堂 | Cosmetic |
Non-Patent Citations (1)
| Title |
|---|
| 創傷, vol. 1(3), JPN6024018672, 2010, pages 112 - 118, ISSN: 0005325727 * |
Similar Documents
| Publication | Publication Date | Title |
|---|---|---|
| Monstrey et al. | Updated scar management practical guidelines: non-invasive and invasive measures | |
| US20090104252A1 (en) | Wound dressing for improving scarring | |
| Hierner et al. | Skin grafting and wound healing—the “dermato-plastic team approach” | |
| US9414970B2 (en) | Wrinkle reducing skin patch, process of manufacture and useful articles thereof | |
| US20110071105A1 (en) | Wound-healing pharmaceutical compositions in the form of a cream based on amino acids and sodium hyaluronate | |
| Hunt et al. | Early tangential excision and immediate mesh autografting of deep dermal hand burns | |
| US8426384B2 (en) | Wound-healing pharmaceutical compositions in the form of a sterile powder based on amino acids and sodium hyaluronate | |
| US5525335A (en) | Wound healing agent | |
| Bunyan et al. | Medium thickness plantar skin graft for the management of digital and palmar flexion contractures | |
| Gore et al. | Banana leaf dressing for skin graft donor areas | |
| CN112638286B (en) | Closure device and method for ulcers and irregular skin defects | |
| Teot et al. | Burn scar treatment | |
| JP3248192U (en) | Keloid scar treatment equipment | |
| JP2021168897A (en) | Scar keloid treatment tool | |
| Bayley | Wound healing in the patient with burns | |
| Kumagai et al. | Treatment of nevus of Ota with autologous-cultured epithelium grafting combined with dermabrasion | |
| Iida et al. | Treatment of severe deformities of the toenails by the modified Zadik method with artificial skin | |
| Moshref | Topical zinc oxide adhesive tape for keloid management | |
| RU2547386C1 (en) | Regenerative bioplasty technique for investing tissue defects | |
| RU2320349C1 (en) | Method for treating burn wounds | |
| Sallustro et al. | No-option chronic limb-threatening ischemia: what can we do to save limb | |
| Stekelenburg et al. | On the surgical treatment of hypertrophic scars: a comprehensive guideline for the surgical treatment of hypertrophic scars | |
| CN115414524A (en) | Application of recombinant human III type collagen hydrogel dressing in preventing and treating burn scar | |
| Rode et al. | Burns and burn surgery | |
| E’atelaf | The effect of banana leaf as poultice on wound healing in rabbits |
Legal Events
| Date | Code | Title | Description |
|---|---|---|---|
| A621 | Written request for application examination |
Free format text: JAPANESE INTERMEDIATE CODE: A621 Effective date: 20230114 |
|
| A977 | Report on retrieval |
Free format text: JAPANESE INTERMEDIATE CODE: A971007 Effective date: 20231228 |
|
| A131 | Notification of reasons for refusal |
Free format text: JAPANESE INTERMEDIATE CODE: A131 Effective date: 20240105 |
|
| A521 | Request for written amendment filed |
Free format text: JAPANESE INTERMEDIATE CODE: A523 Effective date: 20240207 |
|
| A131 | Notification of reasons for refusal |
Free format text: JAPANESE INTERMEDIATE CODE: A131 Effective date: 20240517 |
|
| A521 | Request for written amendment filed |
Free format text: JAPANESE INTERMEDIATE CODE: A523 Effective date: 20240709 |
