[go: up one dir, main page]

JP2018126537A - Breathable impact absorbing cushioning and construction - Google Patents

Breathable impact absorbing cushioning and construction Download PDF

Info

Publication number
JP2018126537A
JP2018126537A JP2018054621A JP2018054621A JP2018126537A JP 2018126537 A JP2018126537 A JP 2018126537A JP 2018054621 A JP2018054621 A JP 2018054621A JP 2018054621 A JP2018054621 A JP 2018054621A JP 2018126537 A JP2018126537 A JP 2018126537A
Authority
JP
Japan
Prior art keywords
pad
layer
channel
thickness
hinge
Prior art date
Legal status (The legal status is an assumption and is not a legal conclusion. Google has not performed a legal analysis and makes no representation as to the accuracy of the status listed.)
Pending
Application number
JP2018054621A
Other languages
Japanese (ja)
Inventor
ワイナー,ダニエル,エム.
M Wyner Daniel
カファロ,トーマス
Cafaro Thomas
ガラード,リチャード,エル.
L Garrard Richard
ソーン,ステファニー
Thorn Stephanie
マクリナ,マリア,イー.
E Macrina Maria
Current Assignee (The listed assignees may be inaccurate. Google has not performed a legal analysis and makes no representation or warranty as to the accuracy of the list.)
G Form LLC
Original Assignee
G Form LLC
Priority date (The priority date is an assumption and is not a legal conclusion. Google has not performed a legal analysis and makes no representation as to the accuracy of the date listed.)
Filing date
Publication date
Application filed by G Form LLC filed Critical G Form LLC
Publication of JP2018126537A publication Critical patent/JP2018126537A/en
Pending legal-status Critical Current

Links

Images

Classifications

    • AHUMAN NECESSITIES
    • A41WEARING APPAREL
    • A41DOUTERWEAR; PROTECTIVE GARMENTS; ACCESSORIES
    • A41D13/00Professional, industrial or sporting protective garments, e.g. surgeons' gowns or garments protecting against blows or punches
    • A41D13/015Professional, industrial or sporting protective garments, e.g. surgeons' gowns or garments protecting against blows or punches with shock-absorbing means
    • A41D13/0158Professional, industrial or sporting protective garments, e.g. surgeons' gowns or garments protecting against blows or punches with shock-absorbing means having ventilation features
    • AHUMAN NECESSITIES
    • A41WEARING APPAREL
    • A41DOUTERWEAR; PROTECTIVE GARMENTS; ACCESSORIES
    • A41D13/00Professional, industrial or sporting protective garments, e.g. surgeons' gowns or garments protecting against blows or punches
    • A41D13/05Professional, industrial or sporting protective garments, e.g. surgeons' gowns or garments protecting against blows or punches protecting only a particular body part
    • AHUMAN NECESSITIES
    • A41WEARING APPAREL
    • A41DOUTERWEAR; PROTECTIVE GARMENTS; ACCESSORIES
    • A41D31/00Materials specially adapted for outerwear
    • A41D31/04Materials specially adapted for outerwear characterised by special function or use
    • A41D31/14Air permeable, i.e. capable of being penetrated by gases
    • AHUMAN NECESSITIES
    • A41WEARING APPAREL
    • A41DOUTERWEAR; PROTECTIVE GARMENTS; ACCESSORIES
    • A41D31/00Materials specially adapted for outerwear
    • A41D31/04Materials specially adapted for outerwear characterised by special function or use
    • A41D31/28Shock absorbing

Landscapes

  • Engineering & Computer Science (AREA)
  • Textile Engineering (AREA)
  • Health & Medical Sciences (AREA)
  • General Health & Medical Sciences (AREA)
  • Physical Education & Sports Medicine (AREA)
  • Professional, Industrial, Or Sporting Protective Garments (AREA)
  • Laminated Bodies (AREA)
  • Buffer Packaging (AREA)
  • Vibration Dampers (AREA)
  • Mattresses And Other Support Structures For Chairs And Beds (AREA)

Abstract

PROBLEM TO BE SOLVED: To provide a breathable cushioning pad that is breathable for a portion requiring a range of motion and a joint portion.SOLUTION: The invention includes a cushioning pad that includes an upper layer with an upper surface, a lower layer with a lower surface 10, and a cushioning material positioned between the upper layer and the lower layer. The cushioning pad has a thickness. A channel 38 is positioned on the cushioning pad and defines a cushioning region 20. The channel 38 has a thickness less than a thickness of the cushioning region. At least one vent 30 extends through the upper surface and the lower surface 10, and connects the upper surface and the lower surface in a flowable manner.SELECTED DRAWING: Figure 1

Description

本発明は、通気性があり、且つ身体になじむ(comfortable)保護用パッド、このようなパッドを含む物品、及び、該パッド及び該物品を製造及び使用する方法に関する。特には、人間向け、及び制限を受けない可動域を要する領域向けの、通気性があり、且つ触り心地の良い保護用パッドに関する。   The present invention relates to breathable and comfortable protective pads, articles comprising such pads, and methods of making and using the pads. In particular, the present invention relates to a protective pad that is breathable and comfortable to touch for humans and for regions that require an unrestricted range of motion.

(関連出願の相互参照)
本出願は、2011年8月11日に出願された、共同所有で同時係属の米国出願第13/208,229号の一部継続出願であり、2012年1月28日に出願された米国仮出願第61/591,902号の利益を請求する。いずれも、参照することによりすべて本書に含まれる。
(Cross-reference of related applications)
This application is a continuation-in-part of co-owned and co-pending US Application No. 13 / 208,229, filed on August 11, 2011, and filed on January 28, 2012. Claim the benefit of application 61 / 591,902. All of which are incorporated herein by reference.

多くの活動、特に運動は衝撃による身体への潜在的リスクを含んでいる。肘、膝、肩、足首、臀部及び他の関節部は特に衝撃によるダメージの影響を受けやすいが、可動域やそれぞれの動作を制限することなく保護することは困難を伴う。衝撃保護具(impact
protection)は重くて通気性がなく、又は拘束され、又は特定の身体部分を対象としておらず、一貫性もない。
Many activities, especially exercise, involve potential risks to the body from impact. The elbows, knees, shoulders, ankles, buttocks, and other joints are particularly susceptible to damage from impact, but are difficult to protect without limiting their range of motion and their respective actions. Impact protector (impact
protection) is heavy, non-breathable, or constrained, or is not intended for a specific body part and is not consistent.

ある衝撃保護システムは、重くて柔軟性のない、別個のパッドで構成され、動作が制限される。柔軟性のない構成要素は、身体になじむように、柔らかいクッション材による形状で覆われている場合がある。これは身体への衝撃を緩衝することを意図しているが、余分な層がパッドの重量と違和感を増す結果となる。さらに、パッドによるシステムは、装着するには暑く、湿気と汗の蒸発を妨げる。   Some impact protection systems consist of separate pads that are heavy and inflexible and have limited operation. The non-flexible component may be covered with a soft cushion material so as to fit the body. This is intended to cushion the impact on the body but results in an extra layer that adds to the weight and discomfort of the pad. In addition, the pad system is hot to wear and prevents moisture and sweat evaporation.

別の保護パッドはより柔らかい材料で作られているため、屈曲可能であるが、深刻な衝撃、特に岩やその他の堅い物体による衝撃からの保護という観点ではあまり効果がない。これらの材料は一般的な、化学的に発泡されたポリエーテルフォーム(発泡体)又はポリエステルフォームを含む。   Another protective pad is made of a softer material, so it can be bent, but is less effective in terms of protection from severe impacts, especially those caused by rocks and other hard objects. These materials include common, chemically foamed polyether foam (foam) or polyester foam.

架橋ポリエチレンフォーム、又はEVAフォームなど、より固いフォーム材料でパッドを作成することも可能である。これらのフォームは保護力が多少増すが、ユーザの可動域を制限する。結果として、これらの材料は動作を制限するにも関わらず、十分な保護をもたらさない。   It is also possible to make the pad with a stiffer foam material, such as cross-linked polyethylene foam or EVA foam. These foams provide some protection but limit the user's range of motion. As a result, these materials do not provide sufficient protection despite limiting their operation.

より硬質なフォームをパッドに使用する試みも存在するが、硬質なフォーム片に起因する動作の制限を軽減するために、フォームを小片に切断しなければならない。装着者にとっては残念なことだが、そのような小片は、最適とは言いがたい保護しかもたらさない。   There have also been attempts to use a harder foam for the pad, but the foam must be cut into small pieces in order to alleviate the movement limitations caused by the hard foam pieces. Unfortunately for the wearer, such a piece provides protection that is less than optimal.

フォームは湾曲した、又は複雑な形状に熱成形でき、小片や構成部品を適所に保持する材料の層の間に縫合可能である。d30(登録商標)といったより高い衝撃吸収を可能とする他の材料がパッドに使用されているが、それらの材料もまた硬い。   The foam can be thermoformed into a curved or complex shape and can be stitched between layers of material that hold the pieces and components in place. Other materials have been used for the pad that allow higher shock absorption, such as d30®, but those materials are also hard.

より高い柔軟性を実現するために、各構成部品に薄い部分を持たせることで、先述の材料の、装着者が感じる硬さを和らげるようとする試みも存在する。しかし、このような方
法で製造された保護パッドは、該材料は薄い部分で曲げられると破れてしまうため、パッドの位置における全可動域を提供することはできない。これらの材料は露出させるには耐久性が低く、また見た目に美しいとは言えないため、織物の層の下に埋め込まれる必要がある。カバー用材料を使用すると、パッドに不要な重量を加え、尚且つパッドのコストが増加する。
In order to realize higher flexibility, there is an attempt to soften the hardness of the above-mentioned material that the wearer feels by giving each component a thin portion. However, a protective pad manufactured in this way cannot provide full range of motion at the pad location because the material will break when bent in thin sections. These materials are not durable to be exposed and are not aesthetically pleasing, so they need to be embedded under the fabric layer. The use of the cover material adds unnecessary weight to the pad and increases the cost of the pad.

とりわけ、可動域を要する部分、及び関節部分のための、通気性のある改良保護パッドが必要である。   In particular, there is a need for improved breathable protective pads for parts requiring range of motion and joints.

一実施形態における本発明は、通気性のある緩衝(クッション)パッドである。緩衝パッドは、上面を有する上層、下面を有する下層、及び、該上層と該下層との間に位置する緩衝材を含む。緩衝パッドには、チャネル(経路、channel)が施され、厚みを持つ緩衝領域を定める。チャネルの厚さは緩衝領域の厚さよりも薄い。少なくとも1つの通気孔が延びており、上層及び下層とを流動可能に接続(fluid connection)する。   In one embodiment, the present invention is a breathable cushion pad. The buffer pad includes an upper layer having an upper surface, a lower layer having a lower surface, and a buffer material positioned between the upper layer and the lower layer. The buffer pad is provided with a channel and defines a buffer region having a thickness. The channel thickness is thinner than the buffer region thickness. At least one vent extends and fluidly connects the upper and lower layers.

別の実施形態では、通気性のある緩衝パッドは、緩衝領域の上層に定められた溝を含む。該溝の厚さはクッション材の厚さよりも薄く、チャネルの厚さよりも厚い。   In another embodiment, the breathable cushion pad includes a groove defined in the upper layer of the cushion region. The groove is thinner than the cushion material and thicker than the channel.

別の実施形態では、通気性のある緩衝パッドは、フランジと、該フランジに隣接するチャネルを含む。チャネルの厚みが、該チャネルの厚さよりも厚く、緩衝領域よりも薄い。   In another embodiment, the breathable cushion pad includes a flange and a channel adjacent to the flange. The channel is thicker than the channel and thinner than the buffer region.

別の実施形態では、通気性を有する緩衝パッドは、上面と下面とを通って(貫通して)延びるとともに該上面及び該下面を流動可能に接続する少なくとも1つの通気孔を有する。   In another embodiment, the breathable cushion pad has at least one vent extending through (through) the top and bottom surfaces and fluidly connecting the top and bottom surfaces.

一実施形態における本発明は通気性のある緩衝パッドであって、上層、下層、厚さ、及び幅を有する緩衝領域から成る。緩衝領域は、連続する上層と連続する下層の間に配置され、間断なく接着されるクッション材を含む。チャネルは緩衝領域の周囲に配置され、該領域を定める。チャネルはクッション領域の厚さよりも薄い。さらに、チャネルは連続する上層と連続する下層を含み、連続する上層は少なくとも一部が、連続する下層に接着されている。少なくとも1つの通気孔が上面と下面とを通って(貫通して)延びるとともに該上面及び該下面を流動可能に接続する。   The present invention in one embodiment is a breathable cushion pad comprising a buffer region having an upper layer, a lower layer, a thickness, and a width. The buffer region includes a cushioning material that is disposed between the continuous upper layer and the continuous lower layer, and is bonded without interruption. The channel is disposed around the buffer area and defines the area. The channel is thinner than the thickness of the cushion area. Further, the channel includes a continuous upper layer and a continuous lower layer, and the continuous upper layer is at least partially bonded to the continuous lower layer. At least one vent extends through (through) the top and bottom surfaces and fluidly connects the top and bottom surfaces.

別の実施形態では、通気性のある緩衝パッドは、チャネルの上面と下面とを通って(貫通して)延びるとともに該上面及び該下面を流動可能に接続する少なくとも1つの通気孔を含みうる。   In another embodiment, the breathable cushion pad may include at least one vent extending through (through) the upper and lower surfaces of the channel and fluidly connecting the upper and lower surfaces.

別の実施形態では、通気性のある緩衝パッドは、緩衝領域の上層で定められる溝を含んでもよく、該溝の厚みはクッション領域の厚さよりも薄く、チャネルの厚さよりも厚くてもよい。   In another embodiment, the breathable cushion pad may include a groove defined in an upper layer of the cushion region, the groove thickness being less than the cushion region thickness and greater than the channel thickness.

別の実施形態では、通気性のある緩衝パッドは、外周フランジと外周チャネルを含みうる。外周フランジは外周チャネルの幅で緩衝領域と隔てることが可能である。外周フランジの厚みが外周チャネルの厚さよりも厚く、クッション領域の厚さよりも薄い。別の実施形態では、外周チャネルは、外周チャネルの上面と下面とを通って(貫通して)延びるとともに該上面及び該下面を流動可能に接続(連絡)する少なくとも1つの通気孔を含みうる。   In another embodiment, the breathable cushion pad may include a peripheral flange and a peripheral channel. The peripheral flange can be separated from the buffer region by the width of the peripheral channel. The thickness of the outer peripheral flange is thicker than the thickness of the outer peripheral channel and thinner than the thickness of the cushion region. In another embodiment, the peripheral channel may include at least one vent extending through (through) the upper and lower surfaces of the peripheral channel and fluidly connecting the upper and lower surfaces.

緩衝パッドのどの実施形態においても、連続する上層及び下層は熱可塑性ポリエステルポリウレタンを含んでもよい。   In any embodiment of the cushion pad, the continuous upper and lower layers may comprise a thermoplastic polyester polyurethane.

緩衝パッドのどの実施形態においても、上層及び下層はスパンデックス(登録商標)素材の層に接着されたTPEフィルムを含んでもよく、TPE層はクッション材に隣接して配置される。   In any embodiment of the cushion pad, the upper and lower layers may include a TPE film adhered to a layer of spandex® material, the TPE layer being disposed adjacent to the cushioning material.

緩衝パッドのどの実施形態においても、クッション材は最小気泡直径(minimum
cell diameter)を有する複数の気泡を含むセル状(又は細胞質、cellular)材料を含んでもよい。内層及び外層の間のクッション材の厚さは、最小気泡直径よりも薄い。
In any embodiment of the cushion pad, the cushioning material has a minimum bubble diameter (minimum).
Cellular (or cellular) material including a plurality of bubbles having cell diameters may be included. The thickness of the cushioning material between the inner layer and the outer layer is smaller than the minimum bubble diameter.

先述の、及び別の特徴と有効性は、関連する図面に図示されるとおり、本発明の例示的実施形態の、より具体的な記載によって明らかとなる。同様の参照文字は、異なる表示を通して同一部分を示している。図面は必ずしも縮尺通りではなく、本発明の本質を図示することに重きを置いている。   The foregoing and other features and advantages will become apparent from the more specific description of exemplary embodiments of the invention as illustrated in the associated drawings. Similar reference characters indicate the same parts through different displays. The drawings are not necessarily to scale, emphasis instead being placed on illustrating the nature of the invention.

図1は、本発明に準拠した、複数のメダル部(medallion)の四角いクッション材を含む、緩衝パッドの一実施形態の横断面の上面図である。FIG. 1 is a cross-sectional top view of one embodiment of a cushioning pad that includes a plurality of medalion square cushions in accordance with the present invention.

図2は、図1に示される緩衝パッドの透視図である。FIG. 2 is a perspective view of the buffer pad shown in FIG.

図3は、図1に示される緩衝パッドの底面図である。FIG. 3 is a bottom view of the buffer pad shown in FIG.

図4は、図1に示される緩衝パッドを形成するメダル部の四角いクッション材の1つの上面図である。FIG. 4 is a top view of one of the square cushion members of the medal portion forming the buffer pad shown in FIG.

図5は、図4に示されるメダル部の四角いクッション材の透視図である。FIG. 5 is a perspective view of the square cushion material of the medal portion shown in FIG.

図6は、図4に示されるメダル部の四角いクッション材の断面図である。FIG. 6 is a cross-sectional view of the square cushion material of the medal portion shown in FIG.

図7は、図4に示されるメダル部の四角いクッション材の一部の断面図である。FIG. 7 is a cross-sectional view of a part of the square cushion material of the medal portion shown in FIG.

図8は、本発明に準拠した、メダル部の間に配置された複数の通気孔を含む、クッション材の別の実施形態の横断面の上面図である。FIG. 8 is a cross-sectional top view of another embodiment of a cushioning material that includes a plurality of vents disposed between medal portions in accordance with the present invention.

図9は、図8に示されたクッション材の横断面の底面図である。FIG. 9 is a bottom view of a cross section of the cushion material shown in FIG.

図10は、本発明に準拠した、メダル部の間に配置された複数の直線状の通気孔を含む、クッション材の別の実施形態の横断面の透視図である。FIG. 10 is a cross-sectional perspective view of another embodiment of a cushioning material including a plurality of linear vents disposed between medal portions in accordance with the present invention.

図11は、図10に示されるクッション材の横断面の上面図である。FIG. 11 is a top view of a cross section of the cushion material shown in FIG.

図12は、図10に示されるクッション材の横断面の底面図である。FIG. 12 is a bottom view of the cross section of the cushion material shown in FIG.

図13は、図4に示されるメダル部の四角いクッション材の、別の実施形態の上面図であり、メダル部の外部側壁から延在し、且つ外部側壁を通気孔側壁に流動可能に連結する気流チャネルを含む。FIG. 13 is a top view of another embodiment of the square cushion material of the medal portion shown in FIG. 4, extending from the outer side wall of the medal portion, and connecting the outer side wall to the vent hole side wall in a flowable manner. Includes airflow channel.

図14は、図13に示されるメダル部の四角いクッション材の透視図である。FIG. 14 is a perspective view of the square cushion material of the medal part shown in FIG.

図15は、図13に示されるメダル部の四角いクッション材の断面図である。FIG. 15 is a cross-sectional view of the square cushion material of the medal portion shown in FIG.

図16は、メダル部の六角形のクッション材の、別の実施形態の上面図であり、中央通気孔と、メダル部の外部側壁から延在し、且つ外部側壁を通気孔側壁に流動可能に連結する気流チャネルを含む。FIG. 16 is a top view of another embodiment of the hexagonal cushion material of the medal part, extending from the central vent hole and the outer side wall of the medal part, and connecting the outer side wall to the vent hole side wall in a flowable manner. Including airflow channels.

図17は、図16に示されるクッション材メダル部の透視図である。FIG. 17 is a perspective view of the cushion material medal portion shown in FIG. 16.

図18は、図16に示されるメダル部の六角形のクッション材の断面図である。18 is a cross-sectional view of the hexagonal cushion material of the medal portion shown in FIG.

図19は、中央通気孔を含む、別のメダル部の八角形のクッション材の上面図である。FIG. 19 is a top view of an octagonal cushion material of another medal portion including a central vent hole.

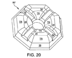
図20は、中央通気孔を含む、別のメダル部の八角形のクッション材の透視図であり、中央通気孔と、メダル部の外部側壁から延在し、且つ外部側壁を通気孔側壁に流動可能に接続する気流チャネルを含む。FIG. 20 is a perspective view of an octagonal cushion material of another medal part including a central vent hole, extending from the central vent hole and the outer side wall of the medal part, and allowing the outer side wall to flow to the vent hole side wall. Includes airflow channel to connect.

図21は、図16に示されるメダル部の八角形のクッション材の断面図である。FIG. 21 is a cross-sectional view of the octagonal cushion material of the medal portion shown in FIG.

図22は、肘パッドの前面と背面から延在し、且つ流動可能に連結する複数の通気孔を含む、例示の肘パッドの一実施形態の上面図である。FIG. 22 is a top view of one embodiment of an exemplary elbow pad that includes a plurality of vent holes extending from the front and back surfaces of the elbow pad and fluidly connected thereto. 図23は、肘パッドの前面と背面から延在し、且つ流動可能に連結する複数の通気孔を含む、例示の肘パッドの一実施形態の断面図である。FIG. 23 is a cross-sectional view of one embodiment of an exemplary elbow pad that includes a plurality of vent holes extending from the front and back surfaces of the elbow pad and fluidly connected thereto.

図24は、肘パッドの前面と背面から延在し、且つ流動可能に連結する複数の通気孔を含む、例示の肘パッドの別の実施形態の上面図である。FIG. 24 is a top view of another embodiment of an exemplary elbow pad that includes a plurality of vent holes extending from the front and back surfaces of the elbow pad and fluidly connected thereto. 図25は、肘パッドの前面と背面から延在し、且つ流動可能に連結する複数の通気孔を含む、例示の肘パッドの別の実施形態の断面図である。FIG. 25 is a cross-sectional view of another embodiment of an exemplary elbow pad that includes a plurality of vent holes extending from the front and back surfaces of the elbow pad and fluidly connected thereto.

図26は、肘パッドの前面と背面から延在し、且つ流動可能に連結する複数の曲線状通気孔を含む、例示の肘パッドの別の実施形態の上面図である。FIG. 26 is a top view of another embodiment of an exemplary elbow pad that includes a plurality of curved vents extending from the front and back of the elbow pad and fluidly connected.

図27は、本発明に準拠した、パッドの様々な寸法の、典型的な範囲を示した表である。FIG. 27 is a table showing exemplary ranges of various pad dimensions in accordance with the present invention.

本発明は、通気性があり、身体になじみやすい保護用緩衝パッド、該パッドを含む物品、及び該パッドを製造し、使用するための方法を意図している。   The present invention contemplates a protective cushioning pad that is breathable and familiar to the body, articles comprising the pad, and methods for making and using the pad.

本パッドは、様々な形状、サイズ、構造及び厚さの緩衝領域を含む。説明をわかりやすくするために、「緩衝領域(cushoning region)」及び「メダル部(medallion)」という用語は、全記載を通じて交互に用いられるものとする。先述のとおり、メダル部には様々な材料が使用されうる。メダル部は、メダル部の外周を定義
し、柔軟性のある「ヒンジ」として機能する、様々な奥行き及び構造のチャネルによって隔てられている。本パッドは、1つ以上のメダル部、1つ以上のチャネル、又は1つ以上のメダル部及びチャネルに配置される、少なくとも1つの通気孔を含む。通気孔はパッドの反対側への空気、且つパッドの反対側からの空気の流れを可能とし、このことによりパッド、及びパッドを含む衣服に高い通気性の特徴をもたらし、同時にパッドの重量を軽減する。したがって、このような衣服は身体の水分や蒸気を放出させ、過熱又は不快感を起こさせることなく、スポーツウェアとして使用できる。
The pad includes buffer regions of various shapes, sizes, structures and thicknesses. For ease of explanation, the terms “cushing region” and “medalion” are used interchangeably throughout the description. As described above, various materials can be used for the medal part. The medal portions are separated by channels of various depths and structures that define the perimeter of the medal portion and function as a flexible “hinge”. The pad includes at least one vent hole disposed in one or more medal portions, one or more channels, or one or more medal portions and channels. The vents allow air to flow to and from the opposite side of the pad, thereby providing high breathability characteristics to the pad and the garment containing the pad, while reducing the weight of the pad To do. Therefore, such clothes can be used as sportswear without releasing moisture or vapor from the body and causing overheating or discomfort.

メダル部の表面は、メダル部の輪郭を部分的に定め、通気をもたらす、様々な奥行き及び構造のチャネル及び/又は溝を含みうる。ある例では、外周フランジはパッドの外周に隔てられてもよい。   The surface of the medal portion may include channels and / or grooves of various depths and structures that partially define the medal portion and provide ventilation. In one example, the outer peripheral flange may be separated from the outer periphery of the pad.

メダル部、通気孔、チャネル、溝、フランジ、及びパッドが形成される材料、これらが共に、パッドに様々な機能的特性をもたらす。例えば、チャネルは溝よりも深く、且つ、重要な領域、例えば関節周りなどで、締め付けのない、制限を受けない可動域を提供するように構成されている。溝はヒンジよりも浅く、柔軟性を与え、一方で緩衝性及び/又は耐衝撃性を維持している。ただし、パッドの連結度を高めるチャネルと溝は、両方が「ヒンジ」として機能していることに留意すべきである。   Medals, vents, channels, grooves, flanges, and the material from which the pad is formed, all of which provide the pad with various functional properties. For example, the channel is deeper than the groove and is configured to provide an unrestricted, unrestricted range of motion in critical areas such as around the joint. The groove is shallower than the hinge and provides flexibility while maintaining shock and / or impact resistance. However, it should be noted that both the channels and grooves that increase the pad connectivity function as “hinges”.

本緩衝パッドは衣服に組み込むことができ、特定の機能的特徴を持つように設計することもできる。このような衣服は、身体の屈曲部分、特に関節部分を保護するための性能の面で優れている。パッドは全可動域において、装着者に常時、密着、又は直接接触するため、パッドは、衣服の素材がぴったりフィットしながら、身体、又は特定の関節形状に伸縮してなじみ、結果として他の製品よりも装着者を衝撃から保護する、一体化したパッドシステムとなるように、衣服の中に特有の方法で組み込むことができる。本発明のパッドを組み込んだ衣服は、パッドの基礎部分、またはパッドの基礎部分に充てる材料は、伸縮し、かつぴったりフィットする布に組み込まれると、使用時にユーザの身体に直接接触した状態が保たれるため、装着した時、怪我からの保護を向上させる。パッドの柔軟性により、ユーザの体型になじみ、それによりパッドがユーザの身体に接触した状態で維持される。つまり、運動時、本パッドのある程度の柔軟性がなければ、パッドがユーザの異なる体型になじむことは不可能である。説明をわかりやすくするために、ここで使用される「柔軟性(又は可撓性、flexible)」という用語は、折り曲げる、ねじる、屈曲する及び/または伸縮させるなどによりパッドが機能(又は変形)することを意味する。   The cushion pad can be incorporated into clothing and can also be designed to have specific functional characteristics. Such a garment is excellent in terms of performance for protecting a bent portion of the body, particularly a joint portion. Because the pad is always in close contact with or directly in contact with the wearer over the entire range of motion, the pad stretches and conforms to the body or a specific joint shape while the material of the garment fits tightly, resulting in other products. Rather than being integrated into the garment in a unique way so as to provide an integrated pad system that protects the wearer from impact. When the garment incorporating the pad of the present invention is incorporated in a fabric that stretches and fits snugly, the pad base or the material used for the pad base remains in direct contact with the user's body during use. Improves protection from injury when worn. The flexibility of the pad allows it to adapt to the user's body shape and thereby keep the pad in contact with the user's body. In other words, if the pad does not have some flexibility during exercise, it is impossible for the pad to adapt to the different body shapes of the user. For clarity of explanation, the term “flexible” as used herein means that the pad functions (or deforms) by bending, twisting, bending and / or stretching, etc. Means that.

メダル部の特定の形状、サイズ、構成、輪郭と方向、ヒンジ、溝及び/又は外周フランジと、特定のパッド及び服地とを組み合わせることにより、身体の特定の目的領域、特に関節部分を保護しながら、衣服はユーザの自由可動域を最大にするように設計されうる。このような衣服は見た目にも美しく、より耐久性があり、低コストであり、通気性及び快適性が高く、加えて、身体に対して顕著な可動域と的を絞った正確な保護とをもたらす。   By combining specific shapes, sizes, configurations, contours and orientations of medals, hinges, grooves and / or peripheral flanges with specific pads and clothing, while protecting specific areas of the body, especially joints The garment can be designed to maximize the user's free range of motion. Such garments are aesthetically pleasing, more durable, low cost, highly breathable and comfortable, plus significant range of motion and targeted precise protection for the body. Bring.

同様に、本発明の緩衝パッドは、保護ケースなどの他の物品に組み込むことが可能である。例えば、パッドは、ラップトップコンピュータ又はメディア装置などの電子機器の形状やサイズに合わせたスリーブやケースに、ぴったりとフィットするように、且つケースの外面に沿って伸縮してなじむように、組み込むことができる。本発明のパッドを含むケースは軽量かつ耐衝撃性保護を備え、ケースに入れられた機器の熱を放出する。   Similarly, the cushion pad of the present invention can be incorporated into other articles such as a protective case. For example, the pad should be incorporated so that it fits snugly into a sleeve or case that matches the shape and size of an electronic device such as a laptop computer or media device, and that it stretches and fits along the outer surface of the case. Can do. The case including the pad of the present invention has light weight and impact resistance protection and releases the heat of the equipment contained in the case.

切れ目なく接着された、複数層による構造を含む、ある例示の実施形態では、本発明のパッドと、該パッドを含む物品は、頑丈で耐久性があり、工業用及び/又は商業用洗浄で使用される温度、洗剤及び機械的動作に耐えうる物品を備えており、上記のような過酷な条件において劣化しがちな他のパッド入り衣服とは異なる。メダル部を適所に「ロック(
固定、閉じ込め)」し、パッドからクッション材が脱出することを最小限に抑制もしくは防止し、又は、液体のような物質がパッド内に侵入することを最小限に抑制もしくは防止することから、ヒンジ上の層と層の間での切れ目のない接着には効果がある。したがって、ヒンジは、剥離を起こさせうる液体や他の物質のパッドへの浸透が起こらないように、パッド、特にクッション材を固定させる。間断なく接着されている通気孔の存在も、パッドの耐久性や耐水洗性を損ねることなく、パッドの通気性及び通風性を最大限に発揮させる。
In certain exemplary embodiments, including multi-layered structures that are seamlessly bonded, the pads of the present invention and articles comprising the pads are robust and durable for use in industrial and / or commercial cleaning. Unlike other padded garments that are prone to deterioration under the harsh conditions described above, they are equipped with articles that can withstand the temperatures, detergents and mechanical movements. Place the medal in the right place.
Fixed or confined) to minimize or prevent the cushion material from escaping from the pad, or to minimize or prevent the entry of a liquid-like material into the pad. It is effective for seamless bonding between upper layers. Therefore, the hinge fixes the pad, particularly the cushioning material, so that liquid or other substances that can cause peeling do not penetrate into the pad. The presence of air holes that are continuously bonded also maximizes the air permeability and ventilation of the pad without impairing the durability and water resistance of the pad.

図1から6は共に、本発明に準拠したクッション材のセクション(部位)100を図示している。説明をわかりやすくするために、セクション100は、以下「パッド100」と記す。図示されるとおり、パッド100は前面10、背面12及び外周14を含む。パッド100はさらに、複数のチャネル38で隔てられ、相互接続された複数の緩衝領域20を含み、それぞれのメダル部20の中央に位置する、少なくとも1つの通気孔30を含む。   1 to 6 both illustrate a section 100 of a cushion material in accordance with the present invention. For ease of explanation, the section 100 is hereinafter referred to as “pad 100”. As shown, the pad 100 includes a front surface 10, a back surface 12 and an outer periphery 14. The pad 100 further includes a plurality of buffer regions 20 separated by a plurality of channels 38 and interconnected, and includes at least one vent hole 30 located in the center of each medal portion 20.

記述全体の説明をわかりやすくするために、「緩衝領域」は以後、メダル部と記述される。複数のメダル部で図示されているが、当然のことながら、パッドは少なくとも1つの通気孔を有する1つのメダル部を含んでもよい。同様に、複数のメダル部のそれぞれに通気孔がついているように図示されているが、当然のことながら、必ずしも、それぞれのメダル部が通気孔を含む必要はない。本実施形態において、パッド100及び緩衝領域20は正方形だが、パッド100と緩衝領域20は、個別のデザイン又は利用において実用的又は望ましい、いかなる形状、サイズ又は構造を含んでもよいことを認識する必要がある。パッド、メダル部及び通気孔のサイズ、形状、厚さ、及び材料組成は、所望のパッドの柔軟性、耐衝撃性、通気性などの度合を含むがそれに限定されない要素の数によって可変であってもよい。さらに、メダル部の構造は可変であってもよく、1つ以上のタイプのメダル部の形状又は通気孔の形状がパッド上で使用されてもよい。   In order to make the description of the entire description easier to understand, the “buffer area” is hereinafter described as a medal part. Although illustrated with multiple medal portions, it will be appreciated that the pad may include one medal portion having at least one vent. Similarly, although each of the plurality of medal portions is illustrated as having a vent hole, it should be understood that each medal portion does not necessarily include a vent hole. In this embodiment, the pad 100 and the buffer region 20 are square, but it should be recognized that the pad 100 and the buffer region 20 may include any shape, size, or structure that is practical or desirable in a separate design or application. is there. The size, shape, thickness, and material composition of the pads, medallions and vents can vary depending on the number of elements including, but not limited to, the desired degree of pad flexibility, impact resistance, breathability, etc. Also good. Furthermore, the structure of the medal portion may be variable, and one or more types of medal portion shapes or vent hole shapes may be used on the pad.

図6及び7に図示されるように、パッド100は任意の外層16と内層17との間に配置されたクッション材層15を含む。本実施形態において、クッション材層15は任意の外層16と任意の内層17との間に配置され、且つ任意の外層16と任意の内層17によって密閉される。外層16は、上面34と、上面34からチャネル38の下面10に対して下方に延びる外部側壁36を定めることにより、メダル部の外形を定める。同様に、外層16は、上面34から内層17へと下方に延びる通気孔側壁37を定める。必要に応じて、側壁36と37は上面34に垂直か、又は上面34に対して傾斜のついた外形を有してもよい。図示されるように、必要に応じて、上面34には、上面と側壁36、37との間の移行領域「TR」でアールが形成されてもよい。   As illustrated in FIGS. 6 and 7, pad 100 includes a cushioning material layer 15 disposed between optional outer layer 16 and inner layer 17. In the present embodiment, the cushion material layer 15 is disposed between the optional outer layer 16 and the optional inner layer 17 and is sealed by the optional outer layer 16 and the optional inner layer 17. The outer layer 16 defines the outer shape of the medal portion by defining an upper surface 34 and an outer side wall 36 extending downward from the upper surface 34 to the lower surface 10 of the channel 38. Similarly, the outer layer 16 defines a vent sidewall 37 that extends downwardly from the top surface 34 to the inner layer 17. If desired, the side walls 36 and 37 may have a profile that is perpendicular to the top surface 34 or inclined with respect to the top surface 34. As shown, the top surface 34 may be formed with a radius at the transition region “TR” between the top surface and the sidewalls 36, 37, if desired.

上記のとおり、複数のメダル部20は分離され、且つ複数のチャネル38によって相互に連結されている。上記それぞれの説明のために、「チャネル」という用語は以降の説明においてヒンジと呼称される。図7に示されるように、ヒンジ38は、隣接するメダル部の境界の間の間隔によって定義される、幅「W」と、メダル部の上面34とパッド100の上面10との間の間隔によって定義される、深さ「D」と、内層と外層16、17及び当該層の間のクッション材15の厚さの合計によって定義される、厚さ「T」を有する。ヒンジ38の幅Wは必要に応じて変更可能で、1ミリメートルから、約1000ミリメートルかそれ以上の狭さまで変動しうる。例えば、メダル部の保護機能を最大にする一方で、パッドの柔軟性を維持するために、ヒンジの幅「W」ができるだけ狭いことが望ましい。このような使用には、最大限の保護が必要な使用、又はヒンジが角部分を覆うことを目的とする使用が含まれる。このような例では、幅「W」は約1ミリメートルから約10ミリメートルの範囲、特に約3ミリメートルから約7ミリメートル、とりわけ約5ミリメートルの範囲でもよい。 As described above, the plurality of medal portions 20 are separated and connected to each other by the plurality of channels 38. For each of the above descriptions, the term “channel” will be referred to as a hinge in the following description. As shown in FIG. 7, the hinge 38 has a width “W 1 ” defined by a distance between the boundaries of adjacent medal parts, and a distance between the upper surface 34 of the medal part and the upper surface 10 of the pad 100. Having a depth “D 1 ” and a thickness “T 1 ” defined by the sum of the thicknesses of the inner and outer layers 16, 17 and the cushioning material 15 between the layers. The width W 1 of the hinge 38 can be varied as needed and can vary from 1 millimeter to as narrow as about 1000 millimeters or more. For example, it is desirable that the hinge width “W 1 ” be as narrow as possible in order to maximize the medal protection function while maintaining the flexibility of the pad. Such uses include those where maximum protection is required or where the hinge is intended to cover the corners. In such an example, the width “W 1 ” may range from about 1 millimeter to about 10 millimeters, particularly from about 3 millimeters to about 7 millimeters, especially about 5 millimeters.

保護機能があまり重要でない別の例示では、ヒンジの美的特徴を高めるために、ヒンジの幅「W」はより大きいことが望ましく、メダル部との色の対比を可能にする。このような例では、幅「W」はミリメータ又はセンチメータの範囲でもよく、必要に応じてさらに大きくてもよい。 In another example where the protective function is less important, the hinge width “W 1 ” is desirably larger to enhance the aesthetic features of the hinge, allowing for color contrast with the medal portion. In such an example, the width “W 1 ” may be in the millimeter or centimeter range, and may be larger if desired.

ヒンジ38はメダル部の形状によって、直線状又は曲線状であってもよい。メダル部の間のヒンジの深さは同一又は異なり、深さはヒンジに沿って可変である。本実施形態に示されるように、曲線状及び直線状ヒンジは、いずれもパッドに混在して使用されうる。また、曲線状及び直線状のヒンジ領域の混在を含みうる。   The hinge 38 may be linear or curved depending on the shape of the medal portion. The depth of the hinge between the medal portions is the same or different, and the depth is variable along the hinge. As shown in the present embodiment, both curved and linear hinges can be mixed and used in the pad. It can also include a mixture of curved and straight hinge regions.

本実施形態では、ヒンジ38の上層及び下層16、17の間に配置されたクッション材層15の厚さは、製造工程においては、ヒンジ38にて厚さがゼロに近づくように、最小化されうる。結果として、ヒンジ38のクッション材は肉眼では見えず、極めて精密な隙間ゲージを使用することによってのみ検知されうる。   In the present embodiment, the thickness of the cushioning material layer 15 disposed between the upper layer and the lower layer 16, 17 of the hinge 38 is minimized so that the thickness is close to zero at the hinge 38 in the manufacturing process. sell. As a result, the cushion material of the hinge 38 is not visible to the naked eye and can only be detected by using a very precise clearance gauge.

該当する場合、層16、17の間に残る残留クッション材15は、ヒンジ38内に層16、17を接着させるための補助となる。使用される材料によって、層16、17での接着は、少なくともその一部が化学接合、熱接合、及び/又は機械的結合となりうる。例えば、クッション材として使用される材料が樹脂の場合、ヒンジ38の残留樹脂は層16、17を接着するための接着剤として機能できる。比較的薄いヒンジ領域での個別の接着の必要性をなくし、パッド全体に一貫して平均した柔軟性を保ち、それらによりパッドの耐久性を拡張することから、接着剤としての樹脂の使用は有効である。   If applicable, the remaining cushion material 15 remaining between the layers 16, 17 assists in bonding the layers 16, 17 within the hinge 38. Depending on the materials used, the adhesion in the layers 16, 17 can be at least partly a chemical bond, a thermal bond and / or a mechanical bond. For example, when the material used as the cushion material is a resin, the residual resin of the hinge 38 can function as an adhesive for bonding the layers 16 and 17. The use of resin as an adhesive is effective because it eliminates the need for separate bonding in the relatively thin hinge area and maintains consistent average flexibility across the pad, thereby extending the durability of the pad. It is.

その他にも、織物が層16、17の1つとして使用される場合、ヒンジ内の層の間の接着は、樹脂が織物の開口部又は孔へと圧搾されることにより、少なくとも一部が機械的に行われ、製造中に層16、17部分が接着し、結果として、接着された層16、17による「島(island)」の間に位置する、接着された層15、16、17による島ができる。   Alternatively, if the fabric is used as one of the layers 16, 17, the adhesion between the layers in the hinge is at least partially machined by the resin being squeezed into the fabric openings or holes. The layers 16, 17 are bonded together during manufacture, and as a result, by the bonded layers 15, 16, 17 located between the “islands” by the bonded layers 16, 17. An island is created.

ヒンジ38の残留クッション材15を最小化する、又は除去することにより、ヒンジの柔軟性は最大化され、パッド100全体が様々な方向に屈曲し、折りたたみ、ねじることが可能となる。   By minimizing or removing the residual cushion material 15 of the hinge 38, the flexibility of the hinge is maximized and the entire pad 100 can be bent, folded and twisted in various directions.

上記のとおり、外層及び内層16、17は任意だが、多くの理由においてあることが望ましい。特にクッション材層15がセル状材料及び/又は形状を保持しにくい材料である場合に望ましい。   As noted above, the outer and inner layers 16, 17 are optional, but are desirable for a number of reasons. This is particularly desirable when the cushioning material layer 15 is a cellular material and / or a material that is difficult to retain its shape.

例えば、上記の実施形態において、外層及び内層16、17はパッド全体を通して、ヒンジ内も含め、クッション材層15に間断なく接着されている。パッドの構造によっては、ヒンジ内の材料の量が最小化され、又は除去される場合には、外層及び内層はクッション材15に接着され、又は互いに接着されうる。前面をクッション材層15に接着することの1つの有効性は、連続するとともに一体となった表面をクッション材層15の上部及び下部に施すこと、つまり、パッドの外周以外のクッション材15を密閉することである。連続する上層及び下層はヒンジと溝領域を強化し、ヒンジ及び/又は溝がメダル部よりも薄いことから、使用中のパッドの屈曲により起こりうるヒンジ及び/又は溝の破損を最小限に抑える。屈曲時、薄いヒンジ領域を保護するために、少なくとも1つの接着された層が使用されうる。熱可塑性ポリウレタンフィルムは、外層16として使用される場合、ヒンジ又は溝の層17のひび割れや破損を防ぐために望ましい。内層は、フォームに接着されている場合、ヒンジ又は溝に強度を与えうる。又は、多くの実施形態において、内層
及び外層はフォームに接着される。ヒンジの厚さが極めて薄い場合、特にヒンジにクッション材がほとんどない、又は全くない場合、接着された内層及び外層はパッドの構造的完全性を保持することが望ましい。内層及び外層のための、TPEフィルムやスパンデックス(登録商標)素材といった、実質的に弾性の材料を使用することが望ましい。ポリウレタンフィルム薄板など、織物及びフィルムによる薄板の内層は、ヒンジの耐久性を最大化するために極めて望ましい。
For example, in the above embodiment, the outer layer and the inner layers 16 and 17 are bonded to the cushion material layer 15 without interruption, including the inside of the hinge, throughout the pad. Depending on the pad construction, the outer and inner layers can be bonded to the cushioning material 15 or bonded together if the amount of material in the hinge is minimized or removed. One effectiveness of adhering the front surface to the cushioning material layer 15 is to apply a continuous and integral surface to the upper and lower portions of the cushioning material layer 15, that is, to seal the cushioning material 15 other than the outer periphery of the pad. It is to be. The continuous upper and lower layers reinforce the hinge and groove area, and the hinge and / or groove is thinner than the medal, thus minimizing hinge and / or groove breakage that may occur due to bending of the pad during use. At least one glued layer can be used to protect the thin hinge region when bent. A thermoplastic polyurethane film, when used as the outer layer 16, is desirable to prevent cracking or breakage of the hinge or groove layer 17. The inner layer can provide strength to the hinge or groove when adhered to the foam. Or, in many embodiments, the inner and outer layers are adhered to the foam. If the thickness of the hinge is very thin, it is desirable that the bonded inner and outer layers retain the structural integrity of the pad, especially if the hinge has little or no cushioning. It is desirable to use a substantially elastic material such as a TPE film or spandex® material for the inner and outer layers. Inner layers of woven and film sheets, such as polyurethane film sheets, are highly desirable to maximize hinge durability.

随意に、及び、2011年8月11日に出願された、参照することによりすべて本書に含まれる、共同所有で同時係属の米国出願第13/208,229号で開示されるように、メダル部の上面34は、平面、曲面、及び平面と曲面の組み合わせを含む様々な形状を使用して形成されうる。あるいは、メダル部の上面34は、メダル部の外周方向に放射状に減少する厚さ、又はパッドの外周に向かって減少する厚さによって定められる面を含みうる。   Optionally, and as disclosed in co-owned and co-pending US application Ser. No. 13 / 208,229, filed Aug. 11, 2011, all hereby incorporated by reference. The top surface 34 may be formed using a variety of shapes, including flat surfaces, curved surfaces, and combinations of flat and curved surfaces. Alternatively, the upper surface 34 of the medal portion may include a surface defined by a thickness that decreases radially toward the outer periphery of the medal portion or a thickness that decreases toward the outer periphery of the pad.

本パッドは、参照することによりすべて本書に含まれる、米国特許第7,827,704、米国出願第2008/0034614及び米国出願第2009/0255625で開示される技術を使用して製造されうる。本パッドのモールドは、パッドの特定の実施形態のために、ヒンジ38、50、60のフォームを最小化又は除去するのに十分な条件のもと、層15、16、17が一緒に圧縮され、一方で化学接合、熱接合、及び/又は機械的結合により各層が接着されるように設計される。   The pad can be manufactured using the techniques disclosed in US Pat. No. 7,827,704, US Application No. 2008/0034614 and US Application No. 2009/0255625, all of which are hereby incorporated by reference. The pad mold is such that the layers 15, 16, 17 are compressed together under conditions sufficient to minimize or eliminate the form of the hinges 38, 50, 60 for the particular embodiment of the pad. However, each layer is designed to be bonded by chemical bonding, thermal bonding, and / or mechanical bonding.

図8及び9は共に、本発明に準拠した、典型的な緩衝パッド200の別の実施形態を図示している。パッド200はパッド100と同様の構造を有し、メダル部20の間のヒンジ38に配置される複数の通気孔40(以降、「ヒンジ通気孔」と呼ぶ)が加えられている。ヒンジ通気孔はメダル部の通気孔の変形版であり、パッドの通気性を最大化し、同時にパッドの重量を減らすための別の方法である。ヒンジ通気孔は単体で、又はメダル部通気孔30に追加して使用可能である。本実施形態において、ヒンジ通気孔40は円形であるが、上記のとおり、いかなるサイズ又は形状であっても使用できる。   FIGS. 8 and 9 both illustrate another embodiment of an exemplary buffer pad 200 in accordance with the present invention. The pad 200 has the same structure as the pad 100, and a plurality of ventilation holes 40 (hereinafter referred to as “hinge ventilation holes”) disposed in the hinges 38 between the medal portions 20 are added. The hinge vent is a modified version of the vent of the medal portion and is another way to maximize the breathability of the pad and at the same time reduce the weight of the pad. The hinge vent can be used alone or in addition to the medal vent 30. In the present embodiment, the hinge vent 40 is circular, but as described above, any size or shape can be used.

図10から12は共に、本発明に準拠した、典型的な緩衝パッド300の別の実施形態を図示している。パッド300はパッド100と同様の構造を有し、メダル部30の間のヒンジ38に配置される複数のヒンジ通気孔50が加えられている。本実施形態において、ヒンジ通気孔50は直線状であるが、上記のとおり、いかなるサイズ又は形状であっても使用できる。また、本実施形態では、ヒンジは他の実施形態と比較して比較的狭く、このことにより、特に、パッドが任意の内層及び外層を含む場合、ならびに、内層及び/又は外層が伸縮可能及び/又は弾性である場合に、パッドの柔軟性を高めることとなる。   FIGS. 10-12 together illustrate another embodiment of an exemplary buffer pad 300 in accordance with the present invention. The pad 300 has a structure similar to that of the pad 100, and a plurality of hinge vent holes 50 arranged in the hinges 38 between the medal portions 30 are added. In the present embodiment, the hinge vent 50 is linear, but as described above, any size or shape can be used. Also, in this embodiment, the hinge is relatively narrow compared to the other embodiments, which makes it possible to stretch and / or stretch the inner layer and / or the outer layer, especially when the pad includes any inner and outer layers. Or, if it is elastic, the flexibility of the pad is increased.

図13から15は共に、本発明に準拠した、典型的なメダル部60の別の実施形態を図示している。メダル部60はメダル部30と同様の構造を有し、メダル部の上面34に形成され、各外部側壁36から通気孔側壁37へと延在する、複数の溝42が加えられている。溝42は、通気孔30との間の空気の流れを向上させ、同時にパッドの重量を軽減する通気孔へと流動可能に接続される。さらに、ヒンジ38のように、溝42はパッドの柔軟性を向上させ、溝42のクッション材層15の厚さが薄くなるにつれ、溝42とパッド100の柔軟性、及びパッドの通気性が向上する。   FIGS. 13-15 together illustrate another embodiment of a typical medal portion 60 in accordance with the present invention. The medal portion 60 has a structure similar to that of the medal portion 30, is formed on the upper surface 34 of the medal portion, and is provided with a plurality of grooves 42 extending from the respective outer side walls 36 to the vent hole side walls 37. The groove 42 is fluidly connected to a vent that improves the air flow to and from the vent 30 and at the same time reduces the weight of the pad. Further, like the hinge 38, the groove 42 improves the flexibility of the pad, and the flexibility of the groove 42 and the pad 100 and the air permeability of the pad improve as the thickness of the cushioning material layer 15 in the groove 42 decreases. To do.

メダル部の上面34における溝42の幅、深さ、方向、及び位置は、望ましい方向や柔軟性の度合などを含むがそれに限定されない要素の数によって可変である。しかし、通気性を最大化するために、通気孔への流動式の連結が望ましい。また、溝42の幅、深さ、方向、及び位置は、溝が形成されるパッド及び/又はメダル部の、望ましい屈曲量や、パッドの望ましい通気性などを含むがそれに限定されない要素の数によって可変である。溝
42は、メダル部の最も厚い部分において、ヒンジ領域よりも厚く、しかしメダル部よりも薄く設計されている。したがって、溝厚さはメダル部の約10%から95%の厚さであり、メダル部の厚さの約20%から約75%の厚さであり、とりわけ、メダル部の厚さの約50%に及ぶ。また、本発明に準拠したすべてのパッドにおいて、溝42は所望の領域でパッドを屈曲させることができ、さらに通気孔に流動可能に連結されている場合には空気の流れをもたらすことができるように設計されている。
The width, depth, direction, and position of the groove 42 on the upper surface 34 of the medal portion are variable depending on the number of elements including, but not limited to, a desired direction and a degree of flexibility. However, a fluid connection to the vent is desirable to maximize breathability. Further, the width, depth, direction, and position of the groove 42 depend on the number of elements including, but not limited to, a desired amount of bending of the pad and / or medal part in which the groove is formed and a desired air permeability of the pad. It is variable. The groove 42 is designed to be thicker than the hinge region at the thickest part of the medal part, but thinner than the medal part. Accordingly, the groove thickness is about 10% to 95% of the medal portion, about 20% to about 75% of the thickness of the medal portion, and particularly about 50% of the thickness of the medal portion. %. Also, in all pads in accordance with the present invention, the groove 42 can bend the pad in a desired area, and can provide an air flow if it is fluidly connected to the vent. Designed to.

ヒンジ38のように、溝42は、閉口軸及び/又は交差軸に沿って配置される、曲線状溝、又は直線状溝であってもよい。曲線状及び直線状溝はいずれも組み合わせて使用されることがあり、溝は曲線領域及び直線領域の両方を含みうる。パッド又はメダル部の溝の厚さは同一又は異なってもよい。厚さは溝の長さ、及び溝から溝への長さに従って可変である。   Like the hinge 38, the groove 42 may be a curved groove or a straight groove disposed along the closing axis and / or the intersecting axis. Both curved and straight grooves may be used in combination, and the grooves may include both curved and straight regions. The thickness of the groove of the pad or medal part may be the same or different. The thickness is variable according to the length of the groove and the length from groove to groove.

図16から18は共に、本発明に準拠した、典型的なメダル部70の別の実施形態を図示している。メダル部70はメダル部60と同様の構造を有しているが、正方形の構造ではなく六角形の構造である。さらにメダル部70はメダル部の上面34に形成され、各外部六角形側壁36から通気孔側壁37へと延在する複数の溝42が加えられている。   FIGS. 16-18 together illustrate another embodiment of a typical medal portion 70 in accordance with the present invention. The medal portion 70 has a structure similar to that of the medal portion 60, but has a hexagonal structure instead of a square structure. Further, the medal portion 70 is formed on the upper surface 34 of the medal portion, and a plurality of grooves 42 extending from each external hexagonal side wall 36 to the vent hole side wall 37 are added.

図19は、本発明に準拠した、典型的なメダル部80の別の実施形態を図示している。メダル部80はメダル部30と同様の構造を有しているが、正方形の構造ではなく八角形の構造である。   FIG. 19 illustrates another embodiment of a typical medal portion 80 in accordance with the present invention. The medal portion 80 has a structure similar to that of the medal portion 30, but has an octagonal structure instead of a square structure.

図20と21は共に、本発明に準拠した、典型的なメダル部80’の別の実施形態を図示している。メダル部80’はメダル部60、70と同様の構造を有しているが、正方形や六角形の構造ではなく八角形の構造である。さらにメダル部80’はメダル部の上面34に形成され、各外部八角形側壁36から通気孔側壁37へと延在する、複数の溝42が加えられている。   20 and 21 both illustrate another embodiment of a typical medal portion 80 'consistent with the present invention. The medal portion 80 'has the same structure as the medal portions 60 and 70, but has an octagonal structure rather than a square or hexagonal structure. Further, the medal portion 80 ′ is formed on the upper surface 34 of the medal portion, and a plurality of grooves 42 extending from each external octagonal side wall 36 to the vent hole side wall 37 are added.

上記のとおり、本発明の別の様態は、身体の特定の箇所を保護するために、上記パッドを衣服、特に圧迫帯(compression garment)に一体化することである。先述のパッドの1つが、装着者にしっかりとフィットする圧迫スリーブ又は圧迫帯に一体化されると、ヒンジ及び又は溝のついた多層構造によるパッドは、スパンデックス(登録商標)織物、その他の伸縮素材に、保護すべき箇所にぴったり接触する形でヒンジパッドが保持されるように、縫合、接着、又は貼り付けられる。パッドは圧迫帯の内側でも外側でも縫合可能である。パッドはスリーブの全外周の一部分のみを覆うことが望ましい。これにより、スリーブは装着者にフィットするように伸縮できる。保護用パッドと圧縮帯の一体化は、衣服全体を変えることなく、身体の特定の部分に保護を加えるために、簡素かつ安価な方法である。   As mentioned above, another aspect of the present invention is to integrate the pad into a garment, particularly a compression garment, to protect a particular part of the body. When one of the aforementioned pads is integrated into a compression sleeve or compression band that fits tightly to the wearer, the multi-layered hinged and / or grooved pad can be spandex® fabric or other elastic material Then, it is stitched, glued or affixed so that the hinge pad is held in close contact with the area to be protected. The pad can be sutured either inside or outside the compression band. It is desirable that the pad cover only a part of the entire outer periphery of the sleeve. Thereby, a sleeve can be expanded-contracted so that a wearer may be fitted. The integration of the protective pad and compression band is a simple and inexpensive way to add protection to specific parts of the body without changing the entire garment.

パッドが圧迫スリーブに一体化されると、動きのある関節部分を保護するための他の方法と比較して、特異的な特性と効果がもたらされる。パッドが圧迫スリーブに一体化されると、パッドは保護すべき関節部分にぴったりフィットして接触する、間断のない形状になりうる。適切なヒンジの選択は、保護用スリーブが自然に正しい位置と方向に維持されることが可能となることから、膝、肘、肩、足首などの柔軟な関節を保護する場合に望ましい。ヒンジ及び衣服のスリーブの位置の適切な選択により、保護用圧迫スリーブは手足と一体となって動き、従前のパッドよりもはるかに広範な動きを可能とする。   When the pad is integrated into the compression sleeve, it provides unique properties and effects compared to other methods for protecting moving joints. When the pad is integrated into the compression sleeve, the pad can be an unbroken shape that fits snugly and contacts the articulated portion to be protected. Appropriate hinge selection is desirable when protecting flexible joints such as knees, elbows, shoulders and ankles, as the protective sleeve can naturally be maintained in the correct position and orientation. With proper selection of the hinge and garment sleeve positions, the protective compression sleeve moves with the limb and allows a much wider range of movement than previous pads.

保護用スリーブがユーザの身体にぴったりフィットして接触する形で位置している時、パッドがユーザに当たることで生ずる衝撃によって、ユーザがさらに怪我をする可能性は最小限に抑えられる。硬いパッドは、十分な柔軟性がないため、ユーザの身体部分や関節
に間断なくフィットして接触させるには向かない。パッドが密着しない場合、パッドは装着者に怪我を負わせる衝撃の一因となりうる。スリーブ構造におけるパッドは、放射状の幅広い範囲を包み、ある例では、関節全体を包むことにより、360度に渡り保護しうるため、動きのある関節部分にさらなる保護をもたらす。一般的には、スリーブが伸縮して腕になじむように、圧迫スリーブに、追加のパッド層を有さない、いくらかの領域を残すことが望ましい。
When the protective sleeve is positioned in close contact with the user's body, the possibility of further injury to the user due to the impact of the pad hitting the user is minimized. A hard pad is not flexible enough to fit and contact a user's body part or joint without interruption. If the pad does not adhere, the pad can contribute to an impact that injures the wearer. Pads in the sleeve structure cover a wide range of radials, and in some cases can protect over 360 degrees by wrapping the entire joint, thus providing additional protection to the moving joint part. In general, it is desirable to leave some area in the compression sleeve that does not have an additional pad layer so that the sleeve can expand and contract to fit the arm.

ある実施形態では、衣服を、皮膚層から水分を逃がすように設計されたウィッキング(芯材)織物で作ることが望ましい。   In some embodiments, it is desirable to make the garment from a wicking fabric designed to allow moisture to escape from the skin layer.

本パッドは、保護機能を著しく損ねることなく、空気透過及び/又は透湿を高めるように設計可能である。このような選択肢を他の保護用パッドは有しない。上記のとおり、ヒンジ、溝及び/又はメダル部における通気孔の使用は、透湿率及び/又は空気透過率を上昇させる。内層としてのスペーサ織物又はウィッキング織物の使用、又は内層としてのTPEフィルム層との組み合わせの使用により、付け心地のよさを向上させ、同時にヒンジを通じて水分を逃がすことができる。また、高水蒸気透過(「MVT」)フィルム層はさらに付け心地のよさを向上させることができる。このようなフィルムは化学吸収/脱着により機能する。これらのフィルムの事例として、製品名Sympatex(登録商標)又はOmniflex社のTX1540が使用可能である。また、Gore−tex(登録商標)又はPorelle(登録商標、Porvair社)といった、微小孔性の高MVTフィルム、あるいはその他の類似フィルムも使用可能である。   The pad can be designed to increase air and / or moisture permeability without significantly impairing the protective function. No other protective pad has such an option. As described above, the use of vents in the hinges, grooves and / or medals increases the moisture permeability and / or air permeability. By using a spacer fabric or wicking fabric as the inner layer, or in combination with a TPE film layer as the inner layer, the comfort can be improved and moisture can escape through the hinge at the same time. Also, a high water vapor transmission (“MVT”) film layer can further improve comfort. Such films function by chemical absorption / desorption. Examples of these films are the product name Sympatex® or Omniflex TX1540. Also, a microporous high MVT film such as Gore-tex (registered trademark) or Porelle (registered trademark, Porvair) or other similar films can be used.

図22と図23は共に、典型的な肘用パッド500の別の実施形態を図示しており、先述の実施形態のいずれかと同一の構造、及び任意のフランジを有しうる。本実施形態では、パッドはチャネル、溝及びフランジに配置される、複数の円形通気孔30を含む。   22 and 23 both illustrate another embodiment of a typical elbow pad 500, which may have the same structure and optional flange as any of the previous embodiments. In this embodiment, the pad includes a plurality of circular vents 30 disposed in the channel, groove and flange.

図24と図25は共に、典型的な肘用パッド500の別の実施形態を図示しており、先述の実施形態のいずれかと同一の構造、及び任意のフランジを有しうる。本実施形態では、パッドはチャネル、溝及びフランジに配置される、複数の円形通気孔30を含む。本実施形態では、チャネル及びフランジのクッション材の厚さは最小化又は除去されている。   24 and 25 both illustrate another embodiment of a typical elbow pad 500, which may have the same structure and optional flange as any of the previous embodiments. In this embodiment, the pad includes a plurality of circular vents 30 disposed in the channel, groove and flange. In this embodiment, the thickness of the channel and flange cushioning material is minimized or eliminated.

図26は、‘229の適用例にて開示されているように、典型的な肘用パッド600の別の実施形態を図示しており、複数の曲線を成す通気孔30を含む。本実施形態で図示される曲線を成す通気孔の形状は、曲線を成す通気孔領域により高い動作性と伸縮性をもたらし、一方で接着された多層構造によってもたらされる「密封されたメダル部(encapsulated medallion)」を保持する。   FIG. 26 illustrates another embodiment of a typical elbow pad 600 as disclosed in the '229 application, which includes a plurality of curved vents 30. The curved vent shape illustrated in this embodiment provides a higher operability and stretchability in the curved vent area while providing a “encapsulated medal” provided by a bonded multilayer structure. medallion) ".

先述の実施形態のいずれか、又は全てにおいて、パッドは、メダル部をパッドの外周から隔てられた位置関係に維持するために、上面10によって定められた任意の外周フランジ40’(図22から図26を参照)を含みうる。任意のフランジ40’は、最外部のメダル部の外周と、パッドの外周14との間の間隔によって定められる幅「W」を含みうる。フランジ40’の外周の幅Wは必要に応じて可変である。外周フランジ40’はメダル部よりも薄くてもよい。それにより、縫合、糊付け、溶接、接着、ヒートシールなど、様々な技術を用いて、パッドをフランジ領域に沿った衣服部分などのアイテムに取り付けることが可能となる。例えば、パッドが圧迫スリーブと一体化する場合、パッドはフランジ部分のスリーブ織物の外側に縫合、糊付け又は付着されうる。あるいは、スリーブの内面に縫合又は付着され、スリーブの該当する開口部から露出される。 In any or all of the previous embodiments, the pad may have an optional outer peripheral flange 40 'defined by the top surface 10 (see FIGS. 22 to 22) to maintain the medal portion in a positional relationship spaced from the outer periphery of the pad. 26). The optional flange 40 ′ may include a width “W 2 ” defined by the spacing between the outer periphery of the outermost medal portion and the outer periphery 14 of the pad. The width W 2 of the outer periphery of the flange 40 'is variable as necessary. The outer peripheral flange 40 'may be thinner than the medal part. Thereby, the pad can be attached to an item such as a garment portion along the flange region using various techniques such as stitching, gluing, welding, bonding, heat sealing, and the like. For example, if the pad is integral with the compression sleeve, the pad can be sutured, glued or attached to the outside of the sleeve fabric of the flange portion. Alternatively, it is stitched or attached to the inner surface of the sleeve and exposed from the corresponding opening of the sleeve.

当然のことながら、フランジはパッドに付随しているとは限らない。また、パッドは、縫合、糊付け、溶接、ヒートシール、接着などの他の手段を用いて、下層面に取り付けら
れうる。
Of course, the flange is not necessarily associated with the pad. The pad can also be attached to the lower surface using other means such as stitching, gluing, welding, heat sealing, adhesion, and the like.

先述の実施形態のいずれか、又は全てにおいて、クッション材層15は、モールドなどにより、あらかじめ決められた形状に形成されるのに十分な構造的完全性を有する材料、又は該材料の組み合わせ、及び、該材料が使用されようとする環境に、深刻な劣化を起こすことなく耐えうる材料又は該材料の組み合わせによる、1つ以上の層を含みうる。   In any or all of the foregoing embodiments, the cushioning material layer 15 is a material having sufficient structural integrity to be formed into a predetermined shape, such as a mold, or a combination of the materials, and It may include one or more layers of materials or combinations of materials that can withstand the environment in which the materials are to be used without causing significant degradation.

材料の種類及び構成は、物品及び/又は物品の領域に所定の材料特性を提供するために選択されうる。材料の種類及び構成は、クッション性、耐衝撃性、耐摩耗性などの特定の適用に合わせて、パッドをカスタマイズするために使用されうる。適した材料の例には、ポリマー材料、複合材料などが含まれる。適したポリマー材料の例には、熱硬化性ポリマー材料、弾性ポリマー材料、熱可撓性材料、熱可撓性弾性材料、及び先述の少なくとも1つを含む組み合わせが含まれるがこれに限定されない。使用可能なポリマー材料には、ポリウレタン、シリコン、及び/又はそれに類似するもの、及び先述の材料の少なくとも1つを含む組み合わせが含まれるがこれに限定されない。   The material type and composition can be selected to provide a predetermined material property to the article and / or region of the article. Material types and configurations can be used to customize the pad for specific applications such as cushioning, impact resistance, wear resistance, and the like. Examples of suitable materials include polymeric materials, composite materials and the like. Examples of suitable polymeric materials include, but are not limited to, thermosetting polymeric materials, elastic polymeric materials, thermoflexible materials, thermoflexible elastic materials, and combinations including at least one of the foregoing. Polymer materials that can be used include, but are not limited to, polyurethane, silicone, and / or the like, and combinations including at least one of the foregoing materials.

ある例示では、身体と接触した状態で使用される場合などに、柔らかくてしなりやすく、なじみやすい感触を与えるために、パッドがクッション性の特性を有することが望ましい。このような例示では、ポリマーゲルが適している。適したポリマーゲルの1つの例は、デュロメータでショア00硬さ約0.01からショアA硬さ約70以下又は約70、特にショア00硬さ70以下、とりわけショア00硬さ60以下を含むポリウレタンゲルである。材料は、ショア000硬さ約30からショアD硬さ88を含んでもよい。ポリマーのデュロメータは、デュロメータ又は透過度計といったツールを用いて、当業者が判定できる。ゲルの形成は、当業者に知られる様々な方法によって行われる。例えば、ポリウレタンゲルの形成は、適したポリマー前駆体物質を反応させること、例えば、ポリオールとイソシアン酸塩を触媒と反応させることを含みうる。   In one example, it is desirable for the pad to have a cushioning characteristic in order to provide a soft and flexible feel when used in contact with the body. In such an illustration, a polymer gel is suitable. One example of a suitable polymer gel is a polyurethane comprising a durometer from about 0.01 Shore 00 hardness to about 70 or less Shore A hardness, or about 70, especially Shore 00 hardness 70 or less, especially Shore 00 hardness 60 or less. It is a gel. The material may include a Shore 000 hardness of about 30 to a Shore D hardness of 88. The durometer of the polymer can be determined by one skilled in the art using a tool such as a durometer or a permeability meter. Gel formation is accomplished by a variety of methods known to those skilled in the art. For example, the formation of a polyurethane gel can include reacting a suitable polymer precursor material, for example, reacting a polyol and isocyanate with a catalyst.

ある例示では、パッドは軽量であることが望ましく、このような例示では、クッション材15は低密度フォーム材料のようなフォーム材料を含みうる。適した低密度フォーム材料の例には、ポリエーテル及びポリエーテルウレタンフォームが含まれる。   In one example, the pad is desirably lightweight, and in such an example, the cushion material 15 may include a foam material, such as a low density foam material. Examples of suitable low density foam materials include polyether and polyether urethane foam.

ある例示では、パッドは耐衝撃性をもたらすことが望ましい。このような例示では、クッション材、具体的にはエネルギー吸収フォームとして様々なタイプの衝撃吸収材が適していることが判明されている。この適用では、フォームに約5ポンドから約35ポンド立方フィート(pcf)の密度を有しており、特に約10pcfから約30pcf、とりわけ約15pcfから約25pcfの密度を有する。適した比率依存のフォームは、Rogers Corporation社からPORON(登録商標)及びPORON XRD(登録商標)といったブランド名で利用可能であり、それらはオープンセル型で微小孔質のポリウレタンフォームである。   In certain instances, it is desirable for the pad to provide impact resistance. In such illustrations, it has been found that various types of impact absorbing materials are suitable as cushioning materials, specifically energy absorbing foams. In this application, the foam has a density of from about 5 pounds to about 35 pounds cubic feet (pcf), in particular from about 10 pcf to about 30 pcf, especially from about 15 pcf to about 25 pcf. Suitable ratio-dependent foams are available under the brand names such as PORON® and PORON XRD® from Rogers Corporation, which are open cell, microporous polyurethane foams.

先述のすべての実施形態において、任意の外層16は、力が加えられたときに破れ及び/又は張りを防ぐのに十分な弾性、あらかじめ決められた形状に形成するのに十分な構造的完全性をもたらすことができ、さらに、使用される環境(例えば、ねじる、折れ曲がる、屈曲する、伸縮するなど)に耐えうる、深刻な劣化を伴わない、あらゆる材料を含みうる。外層16は、ある例示において粘着性の特性を含む層15の取り扱いを容易にするために選択されうる。従って、外層16は、モールド後、人間の感触に対して比較的粘着性が低く、滑らかな表面を実現させるために選択されうる。   In all the previous embodiments, the optional outer layer 16 is elastic enough to prevent tearing and / or tension when force is applied, and structural integrity sufficient to form a predetermined shape. And can include any material that can withstand the environment in which it is used (eg, twisting, bending, bending, stretching, etc.) without serious degradation. The outer layer 16 may be selected to facilitate handling of the layer 15 that in some instances includes adhesive properties. Thus, the outer layer 16 can be selected to achieve a smooth surface that is relatively less sticky to human touch after molding.

外層16はいかなる厚さでもよく、該厚さは適用次第で可変である。特定の適用のための望ましい厚さは、当業者による所定の実験によって決定されうる。外層16は、約0.
2ミリインチ(以下、mil)から約60milであり、とりわけ約0.5milから約30mil、とりわけ約1.0milから約15milである。
The outer layer 16 can be of any thickness, and the thickness is variable depending on the application. The desired thickness for a particular application can be determined by routine experimentation by one skilled in the art. The outer layer 16 is about 0.
It is about 2 mil inch (hereinafter referred to as mil) to about 60 mil, especially about 0.5 mil to about 30 mil, especially about 1.0 mil to about 15 mil.

製品の手触りが重要な場合、外層の厚さを最小化することが望ましいことが判明している。したがって、このような製品では、耐久性を犠牲にすることなく、最も薄い外層を使用することが望ましい。例えば、比較的薄い外層16が望ましい適用において、約0.2milから約6mil、特に約0.5milから約3mil、とりわけ約0.6milから約2milの厚さを含みうる。   It has been found that it is desirable to minimize the thickness of the outer layer when the feel of the product is important. Therefore, it is desirable to use the thinnest outer layer in such products without sacrificing durability. For example, in applications where a relatively thin outer layer 16 is desired, it may include a thickness of about 0.2 mil to about 6 mil, especially about 0.5 mil to about 3 mil, especially about 0.6 mil to about 2 mil.

ある例示では、薄い外層と比較して、より高い耐久性を提供する、より厚い外層16を使用することが望ましい。例えば、本材料が振動抑制への適用に用いられる場合、外層16の厚さは約50milから約60milであることが望ましい。一方で、クッション材層が粘着性の場合には、より厚みのある層が望ましい。なぜなら、粘着性の材料は、外層16に穴が開いた場合に露出され、製品の取り扱いが困難となるからである。   In one example, it may be desirable to use a thicker outer layer 16 that provides greater durability compared to a thin outer layer. For example, if the material is used for vibration suppression applications, the thickness of the outer layer 16 is desirably about 50 mils to about 60 mils. On the other hand, when the cushion material layer is adhesive, a thicker layer is desirable. This is because the adhesive material is exposed when a hole is formed in the outer layer 16 and it becomes difficult to handle the product.

本製品が熱成形の工程で形成される場合、約1/8インチまでの厚さを有する外層を使用することが望ましい。また、ある例示においては、必要に応じて、それ以上の厚さが望ましい。熱形成の工程で熱及び/又は真空状態を適用することにより、6mil以上もの厚さを有する外層に、極めて高い柔軟性を維持することができることが分かっている。   If the product is formed by a thermoforming process, it is desirable to use an outer layer having a thickness of up to about 1/8 inch. In some examples, a thickness greater than that is desirable, if necessary. It has been found that by applying heat and / or vacuum conditions in the thermoforming process, extremely high flexibility can be maintained in the outer layer having a thickness of 6 mils or more.

また、外層16は、材料の取り扱いを補助する支持層(図示されず)を含む。あるいは、外層は、当業者に知られる様々な技術を用いて、モールド工程中、及び工程後に材料のコーティングとして適用されてもよい。   The outer layer 16 includes a support layer (not shown) that assists in handling the material. Alternatively, the outer layer may be applied as a coating of material during and after the molding process using various techniques known to those skilled in the art.

外層16に適した材料には、プラスチック、ゴム、熱可塑性エラストマー(「TPE」)及び/又は類似の材料といったエラストマー材料、及び先述の材料の少なくとも1つを含む組み合わせが含まれる。外層に使用可能なプラスチックの例は、エチレン酢酸ビニル(「EVA」)、ナイロン、ポリエステル、ポリエチレン、ポリオレフィン、ポリウレタン、ポリ塩化ビニル(「PVC」)、ポリスチレン、四フッ化エチレン樹脂(「PTFE」)、ラテックス、シリコン、ビニル、及びそれらの組み合わせを含むがそれに限定されない。   Suitable materials for the outer layer 16 include elastomeric materials such as plastics, rubber, thermoplastic elastomers (“TPE”) and / or similar materials, and combinations including at least one of the foregoing materials. Examples of plastics that can be used for the outer layer are ethylene vinyl acetate (“EVA”), nylon, polyester, polyethylene, polyolefin, polyurethane, polyvinyl chloride (“PVC”), polystyrene, and tetrafluoroethylene resin (“PTFE”). , Latex, silicone, vinyl, and combinations thereof.

外層16に使用可能なその他の材料には、紙、織物、スペーサ布、金属、金属化プラスチック、プラスチックフィルム、金属箔、及び/又は類似の材料、及び先述の少なくとも1つを含む合成物及び/又は組み合わせを含むがそれに限定されない、多様な合成材料及び/又は非合成材料が含まれる。ニット、織布、不織布、皮、ビニル又はその他の適当な材料を含む、他の耐久性のある材料が外層に使用されうる。外層にスペーサ布を使用すると、空気の流れを最大化することが可能である。   Other materials that can be used for the outer layer 16 include paper, fabrics, spacer fabrics, metals, metallized plastics, plastic films, metal foils, and / or similar materials, and composites and / or at least one of the foregoing. Or a variety of synthetic and / or non-synthetic materials, including but not limited to combinations. Other durable materials can be used for the outer layer, including knitted, woven, non-woven, leather, vinyl or other suitable materials. The use of spacer fabric for the outer layer can maximize air flow.

多少弾性のある材料を外層として使用することが望ましい。したがって、スパンデックス(登録商標)織物などの伸縮性の織物が望ましい。伸縮性の織物を外層として使用することは、ヒンジや溝の屈曲、及び外層の輪郭形状への形成を容易にするため、望ましい。一部の例では、より限られた伸縮性を有する材料の加熱、形成、事前の伸張によって最終製品が改良されることとなる。   It is desirable to use a somewhat elastic material as the outer layer. Accordingly, stretchable fabrics such as spandex (registered trademark) fabrics are desirable. The use of a stretchable fabric as the outer layer is desirable because it facilitates bending of hinges and grooves and formation of the outer layer into a contour shape. In some instances, the final product will be improved by heating, forming, and pre-stretching a material with more limited stretch.

外層16が織物層(ファブリック層)を含む場合、該織物はニット、織布、不織布、合成繊維、非合成繊維、及び先述の少なくとも1つを含む組み合わせであってよい。また、該織物層は例えばTPEフィルムに積層されてもよい。パッドの適用に伸縮性が必要な場合、伸張する外層の使用が望ましく、外層が薄板の場合には、薄板内の各層が伸張することが望ましい。   When the outer layer 16 includes a woven layer (fabric layer), the woven fabric may be knit, woven fabric, non-woven fabric, synthetic fiber, non-synthetic fiber, and a combination including at least one of the foregoing. Moreover, this textile layer may be laminated | stacked on a TPE film, for example. When stretchability is required for application of the pad, it is desirable to use an outer layer that stretches, and when the outer layer is a thin plate, it is desirable that each layer within the thin plate be stretched.

上記のとおり、多少弾性のある材料を外層として使用することが望ましい。TPE材料はフィルムとして使用可能であり、比較的厚みがないため、望ましい。いかなるフィルムの厚さも、モールド加工の方法と相性がよければ、また、意図する利用に適していれば、使用可能である。ただし、約1milから約10milの間のフィルム厚さが望ましい。厚いフィルムはより耐久性があるが、薄いフィルムはより安価で、手触りが柔らかい。厚いフィルムを選ぶ理由は他にもあり、例えばモールド工程を改良するために、深みのある形状を熱成形する場合などが当てはまる。外層として織物ではなくフィルムを使用することにより、製品の洗浄を容易にし、且つ、クッション材の破損や汚れからの保護が容易になる。フィルムは約100パーセント(%)から約1500%、特に約200%から約1000%、とりわけ300%から約700%の伸長率を含みうる。   As described above, it is desirable to use a somewhat elastic material as the outer layer. TPE material is desirable because it can be used as a film and is relatively thin. Any film thickness can be used if it is compatible with the method of molding and is suitable for the intended use. However, a film thickness between about 1 mil and about 10 mils is desirable. Thick films are more durable, but thin films are less expensive and soft to the touch. There are other reasons for choosing a thick film, for example, when a deep shape is thermoformed to improve the molding process. By using a film instead of a woven fabric as the outer layer, the product can be easily washed, and the cushion material can be easily protected from breakage and dirt. The film may comprise an elongation of from about 100 percent (%) to about 1500%, especially from about 200% to about 1000%, especially from 300% to about 700%.

使用可能なTPE材料は、スチレンブロック共重合体、ポリオレフィンブレンド、エラストマアロイ、熱可塑性ポリウレタン、熱可塑性共重合ポリエステル、熱可塑性ポリアミド、及びそれらの組み合わせを含む。商業利用が可能なエラストマアロイの例には、溶融加工可能なゴム及び熱可塑性加硫物が含まれる。適したTPEの例には、熱可塑性ポリウレタン(「TPU」)が含まれる。TPUフィルムは耐久性、弾性、柔らかさ、及び柔軟性の点で望ましい。適したフィルムの1つは“Bayer Material Science Company社”の“Deerfield Urethane”から入手可能な、製品名Dureflex(登録商標)PS5400のポリエステルウレタンである。ポリエーテルTPUフィルムよりもポリエステルTPUフィルムを使用することが望ましい。これは、ポリエステルTPUフィルムは、ポリエーテルTPUフィルムよりも高い耐摩耗性を有していることに加え、運動着やクリーニングといった、高湿度の条件において、予想外の性能を発揮するためである。   TPE materials that can be used include styrene block copolymers, polyolefin blends, elastomer alloys, thermoplastic polyurethanes, thermoplastic copolyesters, thermoplastic polyamides, and combinations thereof. Examples of elastomer alloys that can be used commercially include melt processable rubbers and thermoplastic vulcanizates. Examples of suitable TPE include thermoplastic polyurethane (“TPU”). TPU films are desirable in terms of durability, elasticity, softness, and flexibility. One suitable film is a polyester urethane with the product name Dureflex® PS5400, available from “Deerfield Urethane” of “Bayer Material Science Company”. It is desirable to use a polyester TPU film rather than a polyether TPU film. This is because the polyester TPU film exhibits higher performance than the polyether TPU film, and exhibits unexpected performance under high humidity conditions such as exercise wear and cleaning.

さらに、パッドと衣服はパッドの異なる部分に、織物とフィルムの両方で製造されうる。両方の材料を使用することで、全可動域とさらなる保護機能を可能とする。外層は織物とフィルムの複合材料が望ましいだろう。それにより、フィルムはヒンジが屈曲する時の保護を補助し、クッション材の防護壁として機能しうる。   In addition, the pad and garment can be manufactured in different parts of the pad, both woven and film. The use of both materials allows for a full range of motion and an additional protective function. The outer layer may be a woven / film composite. Thereby, the film can assist protection when the hinge is bent, and can function as a protective wall of the cushion material.

先述の実施形態のいずれか、又は全てにおいて、内層17は外層16と同一の材料を含みうる。内層17が織物層を含む場合、該織物はニット、織布、不織布、合成繊維、非合成繊維、及び先述の少なくとも1つを含む組み合わせであってよい。また、該織物層は例えばTPEフィルムに積層されてもよい。パッドの適用に伸縮性が必要な場合、伸張する内層の使用が望ましく、内層が薄板の場合には、薄板内の各層が伸張することが望ましい。内層17として織物層を使用することは、層の中、又は層の間に形成される気泡を閉じ込め、消散させるために効果があり、結果として最終的なモールド製品としての見栄えがよくなる。   In any or all of the previous embodiments, the inner layer 17 may comprise the same material as the outer layer 16. When the inner layer 17 includes a woven layer, the woven fabric may be a knit, woven fabric, non-woven fabric, synthetic fiber, non-synthetic fiber, and a combination including at least one of the foregoing. Moreover, this textile layer may be laminated | stacked on a TPE film, for example. When stretchability is required for application of the pad, it is desirable to use a stretchable inner layer. When the inner layer is a thin plate, it is desirable that each layer in the thin plate be stretched. The use of a woven layer as the inner layer 17 is effective for trapping and dissipating bubbles formed in or between the layers, and as a result, the final molded product looks good.

内層、外層及び/又はクッション材層に活性剤を使用することが望ましい。例えば、銀又は銅系の活性剤を加えることにより、材料に抗菌性又は抗真菌性の特性を与える。内層又は外層、又はフォームそのものに、抗菌剤又は抗真菌剤として効くように、銀又は銅系活性剤を加えるなどして、活性剤を使用することが望ましい。   It is desirable to use an active agent in the inner layer, outer layer and / or cushioning material layer. For example, the addition of a silver or copper based activator imparts antibacterial or antifungal properties to the material. It is desirable to use an active agent, for example, by adding a silver or copper-based active agent to the inner layer or the outer layer, or the foam itself so as to be effective as an antibacterial agent or antifungal agent.

内層及び外層16、17のうちの1つ又は両方は、色、グラフィックス、及び/又は文字を含むマーク(indicia)を含みうる。該層上に施される色、グラフィックス及び/又はマークは、別の層が無色及び/又は透明の材料で形成される層の場合、該別の層を介して透過させてもよい。これは、見た目の良さ、及びコストの理由から望ましい。さらに、必要な場合、内層及び外層16、17のうちの1つ又は両方は、通流性であってもよい。ここで使用される「通流性(fluid−permeable)」とは、層を形成
する材料が、流体の流路又は入口に対して開放されていることを意味する。
One or both of the inner and outer layers 16, 17 may include indicia that includes color, graphics, and / or text. The color, graphics and / or marks applied on the layer may be transmitted through the other layer if the other layer is a layer formed of a colorless and / or transparent material. This is desirable for reasons of appearance and cost. Further, if necessary, one or both of the inner and outer layers 16, 17 may be permeable. As used herein, “fluid-permeable” means that the material forming the layer is open to the fluid flow path or inlet.

パッド、メダル部、メダル部の輪郭、ヒンジ、溝及びフランジのサイズ、形状、構造、方向、寸法は、パッドの設計に望ましい特性を実現させるために、必要に応じて可変であってよい。先述の特徴の全て、単体、あるいは組み合わせは、ユーザの身体に対して、動作中
になじむよう、内側方向又は外側方向へのパッドの柔軟性を促進するように設計されている。しかし、先述の実施形態のそれぞれにおいて、及び、本発明に準拠したいかなるパッドにおいて、先述の寸法は、パッドの望ましい特性と設計によって可変である。例えば、パッドは、クッション材、通気性、換気、振動抑制、及び/又は衝撃吸収などを含むがこれに限定されない様々な特性を提供するように設計されている。パッドの特性は、メダル部のクッション材層15の厚さ及び/又は材料の種類の変更、通気孔のサイズ、形状、数、及び位置の変更、メダル部の間の間隔(すなわちヒンジの幅)の変更、及び/又は、メダル部の輪郭などの変更により変化しうる。例えば、クッション材層15にゲルを使用すればパッドにクッション性と振動抑制の特性がもたらされる、フォームを使用すればパッドの重量を軽減できる、衝撃速度依存性(rate dependent)又は衝撃吸収性フォームを使用すればパッドの衝撃吸収性が高まる、などが挙げられる。一般的には、メダル部のクッション材15の厚さを厚くすると、通常、先述の特性を高める。また、クッション材層15のための材料の組み合わせを使用すると、特性の組み合わせも可能となりうる。
The size, shape, structure, direction, and dimensions of the pad, medal portion, medal portion contour, hinge, groove and flange may be varied as needed to achieve the desired characteristics for the pad design. All of the aforementioned features, alone or in combination, are designed to promote the flexibility of the pad inwardly or outwardly to adapt to the user's body during operation. However, in each of the foregoing embodiments, and in any pad in accordance with the present invention, the aforementioned dimensions are variable depending on the desired properties and design of the pad. For example, the pads are designed to provide various properties including, but not limited to, cushioning, breathability, ventilation, vibration suppression, and / or shock absorption. The characteristic of the pad is that the thickness and / or material type of the cushioning material layer 15 of the medal part is changed, the size, shape, number, and position of the vent holes are changed, and the interval between the medal parts (that is, the width of the hinge). And / or a change in the outline of the medal portion or the like. For example, if gel is used for the cushioning material layer 15, cushioning and vibration suppression characteristics are provided to the pad, and if the foam is used, the weight of the pad can be reduced, rate dependent or shock absorbing foam Can be used to increase the shock absorption of the pad. Generally, when the thickness of the cushion material 15 of the medal portion is increased, the above-described characteristics are usually improved. Also, using a combination of materials for the cushioning material layer 15 may allow for a combination of properties.

先述の実施形態のいずれか、又は全てにおいて、及び、本発明に準拠したいかなるパッドにおいても、ヒンジは、柔軟性が望まれる、又は必要とされる目的の領域のパッドに柔軟性を与えるように設計されている。曲線状の、平行する、及び/又は交差するヒンジは、例えば動作中の関節を保護するなどの特定の機能に合わせた、パッドの柔軟性を可能にする。ヒンジの幅、深さ、方向及び位置は、パッドの柔軟性の必要な量及び位置を含むがそれに限定されない要素の数によって可変である。   In any or all of the previous embodiments, and in any pad in accordance with the present invention, the hinges provide flexibility to the pads in the area of interest where flexibility is desired or required. Designed. Curvilinear, parallel, and / or intersecting hinges allow pad flexibility for specific functions, such as protecting a working joint. The width, depth, direction and position of the hinge can vary depending on the number of elements including, but not limited to, the required amount and position of pad flexibility.

ヒンジの柔軟性は、ヒンジ領域の材料の厚さを変更することによって変えることができる。例えば、ヒンジ内の材料の厚さを薄くすると、パッドの柔軟性が向上し、ヒンジ領域の材料の厚さを厚くすれば、柔軟性は低下する。内層及び外層16、17のうちの1つ又は両方を含む実施形態では、ヒンジ領域の材料の量を最小化、又は排除するために、ヒンジのクッション材15を「圧搾する」ことが可能である。このような実施形態では、ヒンジ内のクッション材15の厚さを最小化することによって、又は、パッドがヒンジ38内のクッション材層15を伴わずにモールドされる場合には、柔軟性が最大化又は改善されうる。例えば、約4milの厚さを有する内層及び外層16、17を使用する場合、モールド工程にてヒンジ領域からできる限りクッション材15を除去することによって、8milに近いヒンジ厚さ、又は内層及び外層16、17の合計の厚さに近いヒンジ厚さが可能となる。   The flexibility of the hinge can be changed by changing the thickness of the hinge region material. For example, reducing the thickness of the material in the hinge improves the flexibility of the pad, and increasing the thickness of the material in the hinge region decreases the flexibility. In embodiments that include one or both of the inner and outer layers 16, 17, the hinge cushion 15 can be "squeezed" to minimize or eliminate the amount of material in the hinge region. . In such embodiments, flexibility is maximized by minimizing the thickness of the cushioning material 15 in the hinge or if the pad is molded without the cushioning material layer 15 in the hinge 38. Or can be improved. For example, when using inner and outer layers 16, 17 having a thickness of about 4 mils, the hinge thickness close to 8 mils, or inner and outer layers 16, can be removed by removing the cushioning material 15 from the hinge region as much as possible in the molding process. , The hinge thickness close to the total thickness of 17.

積層構造における柔軟性を最大化するために、ヒンジ深さをメダル部厚さの約20%以下とすることが望ましく、特にメダル部厚さの約10%以下、とりわけメダル部厚さの約5%以下が望ましい。ヒンジ深さ0.020”、0.040”及び0.081”で良好なパーツが製造されている。   In order to maximize the flexibility in the laminated structure, it is desirable that the hinge depth is about 20% or less of the medal part thickness, particularly about 10% or less of the medal part thickness, especially about 5% of the medal part thickness. % Or less is desirable. Good parts are produced with hinge depths 0.020 ", 0.040" and 0.081 ".

パッドが任意の内層及び/又は外層、又は両方の層を伴ってモールドされる時、ヒンジ厚さが層15以外の層の合計厚さに相当する厚さである場合、又はクッション材15の厚さが最小化され、ゼロに近い厚さである場合には、パッドの最大限の柔軟性が得られうる。   When the pad is molded with any inner layer and / or outer layer, or both layers, the hinge thickness is equivalent to the total thickness of layers other than layer 15, or the thickness of cushioning material 15 If the thickness is minimized and the thickness is close to zero, the maximum flexibility of the pad can be obtained.

深いヒンジはフォームの厚さを有しうるものの、それでもなお高い可動性をもたらす。
上記のとおり、本保護用パッドの1つの特徴は、外層及び/又は内層が繰り返し屈曲される際、比較的薄いヒンジ領域での破損からクッション材を保護でき、それゆえフォームが内層及び外層のいずれか、又は両方に接着されていれば、フォーム厚さはフォームの曲げ強度によって制限されない点である。
Deep hinges can have foam thickness, but still provide high mobility.
As noted above, one feature of the present protective pad is that it can protect the cushioning material from breakage in the relatively thin hinge region when the outer layer and / or inner layer is repeatedly bent, so that the foam is either the inner layer or the outer layer. The foam thickness is not limited by the flexural strength of the foam if it is adhered to either or both.

先述の各実施形態において、また、本発明に準拠するいかなるパッドにおいても、ヒンジの幅、又はメダル部の間の間隔はパッドが最大限に屈曲でき、一方でメダル部の保護特性が保持されるように設計されている。それゆえ、メダル部の間の間隔は、メダル部の間の隙間が衝撃を受けた際に怪我をするような、メダル部の間の間隔を空けすぎることなく、柔軟なヒンジに必要な距離によって決定されうる。このように、最大限の保護性能が、メダル部の約20%以下のヒンジ幅、特にメダル部の約10%以下のヒンジ幅、とりわけメダル部の約5%以下のヒンジ幅を用いて発揮される。上記のように、角度のついた、又はのこぎり状のヒンジ、及び/又は溝(図示されず)が、保護されない表面の露出量を減少させる。   In each of the embodiments described above and in any pad according to the present invention, the width of the hinge or the distance between the medal parts allows the pad to be bent to the maximum while maintaining the protection characteristics of the medal part. Designed to be Therefore, the distance between the medal parts depends on the distance required for the flexible hinges without leaving too much space between the medal parts, such that the gaps between the medal parts are injured when impacted. Can be determined. Thus, the maximum protection performance is exhibited using a hinge width of about 20% or less of the medal part, particularly a hinge width of about 10% or less of the medal part, especially about 5% or less of the medal part. The As described above, angled or saw-shaped hinges and / or grooves (not shown) reduce the exposure of unprotected surfaces.

先述の実施形態のいずれか、又は全てにおいて、パッドは、パッド全体に概して均一な密度を有するフォームで形成されうる。具体的には、ある例示では、圧縮はフォームの密度を高め、それにより可動域を狭め、フォームを除去することにより不均一なパッドとなる傾向があることから、モールド又は成型時、溝又はヒンジのフォームを圧縮することは最小限に抑えることが望ましい。成形されたメダル部とフォーム厚さの変化は、見た目に美しいパッドだけでなく、最も必要とされる箇所での保護を最大化し、それほど必要とされない箇所での保護を軽減する性能をもたらす。均一なフォーム密度と必要に応じて変化する厚さとによって、パッドの重量は軽減され、可動域は広がる。フォームを取り込み、形成すべき領域を圧縮するための熱成形又は圧縮は、それらの領域の密度を高め、重量を加え、不均一な保護とより狭い可動域を生じさせる。   In any or all of the previous embodiments, the pad may be formed of a foam having a generally uniform density throughout the pad. Specifically, in some instances, compression increases the density of the foam, thereby narrowing the range of motion, and tends to result in a non-uniform pad by removing the foam, so that during molding or molding, a groove or hinge It is desirable to minimize the compression of the foam. The changes in the molded medal and foam thickness provide the ability to maximize protection at the most needed locations and reduce protection at less needed locations, as well as visually stunning pads. The uniform foam density and varying thickness as needed reduces the weight of the pad and increases the range of motion. Thermoforming or compression to capture the foam and compress the areas to be formed increases the density of those areas, adds weight, yields non-uniform protection and a narrower range of motion.

本クッション材は他の材料よりも有効性を有している。本通気孔のついたクッション材は、通気性がよく、薄型で、なじみやすい保護用パッド及びアスリート向けの衣服を作成するために使用されうる。このようなパッド及び衣服は通気性がよく、それによって汗と空気を蒸発させることができる。さらに、ある実施形態では、パッドのそれぞれの気泡(cell)が互いに独立して移動できる。   This cushion material is more effective than other materials. The cushioned material with the vents can be used to create protective pads and athlete clothing that are well ventilated, thin, and easy to adapt. Such pads and garments are well ventilated, thereby allowing sweat and air to evaporate. Further, in some embodiments, each cell of the pad can move independently of each other.

本通気孔のついたクッション材で作られたパッドと衣服は洗濯可能で、耐久性があり、通気孔のないパッドと比較して通気性が高い。さらに、通気孔のあるメダル部及びパッドは壁の移動及び分解(又は崩壊)する性能のため、より多量のエネルギーを吸収することから、通気孔を含まない同じような構造と比較して、本パッドの保護性能は高まる。頻度依存材料がパッドを形成するために使用される場合、通気構造は、該頻度依存材料への衝撃又はエネルギー伝達のための領域を増大する。   Pads and garments made of cushioned material with this air vent are washable, durable, and highly breathable compared to pads without air holes. In addition, medal parts and pads with vents absorb more energy due to the ability to move and disassemble (or collapse) the wall, so compared to similar structures without vents, The protection performance of the pad is increased. If a frequency dependent material is used to form the pad, the vent structure increases the area for impact or energy transfer to the frequency dependent material.

内側及び外側のフィルム層がパッドに使用される場合、パッドの構造により、製造者は緩衝領域の間の間隔の幅を減らすことができる。必ずしもパッドを設置し、位置を合わせるために織物を使用しなくてもよいからである。また、製造者は、動作中に伸縮、フィットして適所に維持される一方で、全可動域において、ユーザを被覆し、保護するための溝とヒンジの形状に角度をつけ、設計できる。   When inner and outer film layers are used for the pad, the pad structure allows the manufacturer to reduce the width of the spacing between the buffer areas. This is because it is not always necessary to use a fabric to install and align the pad. In addition, the manufacturer can design the groove and hinge shapes to cover and protect the user at all angles while designing, while stretching and fitting during operation to maintain it in place.

ポケットに内包されるパッドを比較して、露出された、又は外骨格の保護用パッドの製造能力は、膝装具、足首補助具、背中補助具などの補助又は矯正装具を着用する個人にとって効果的である。ゆえに、パッドは適応可能な可動域のアスリートを、彼ら自身及び同様の装具を着用した他のアスリートから保護するための機械的補助に取り付けたり、接着したりできる。同様に、本発明に準拠したパッドの設計はカスタマイズでき、従前のアス
リートが着用する装具に接着でき、装具の着用者だけでなく、矯正装具と接触する他のアスリートをも保護する。プロのフットボール選手が使用する膝装具上のパッドは1つの例である。
Compared to pads contained in pockets, the ability to produce exposed or exoskeleton protective pads is effective for individuals wearing assistive or orthodontic appliances such as knee braces, ankle aids, back aids, etc. It is. Thus, the pads can be attached or bonded to mechanical aids to protect the adaptable range of athletes from themselves and other athletes wearing similar appliances. Similarly, the pad design according to the present invention can be customized and adhered to the brace worn by previous athletes, protecting not only the brace wearer but also other athletes in contact with the orthotic brace. The pad on the knee brace used by professional football players is one example.

また、本パッドは若者、成人、プロのサッカー選手が着用するすね当てにも使用されうる。衝撃吸収フォームパッドとぴったりフィットする衣服との組み合わせによる特性は、目的の身体部分に特有且つ極めて正確な保護を提供する。よって、本発明の1つの実施形態は柔軟性があり、密着し、通気性のある、サッカー選手用のすね及び足首用装具である。このようなすね及び足首用装具を使用することで、フォームの密着度、ウィッキング材による快適性、構造に使用される通気孔や貫通孔のおかげで、サッカー選手の保護を向上させる。また、例えば、紐、またはユーザのソックスとの摩擦により固定される、通気性のない硬質なプラスチックパッドと比べて、より耐久性の高い製品を提供できる。   The pad can also be used for shin wear worn by young people, adults and professional soccer players. The combination of a shock-absorbing foam pad and a tight-fitting garment provides a unique and extremely accurate protection for the intended body part. Thus, one embodiment of the present invention is a shin and ankle brace for soccer players that is flexible, intimate, and breathable. By using such shin and ankle brace, the protection of soccer players is improved thanks to the degree of adhesion of the foam, the comfort of the wicking material, and the vents and through holes used in the structure. In addition, for example, a product with higher durability can be provided as compared with a hard plastic pad without air permeability that is fixed by friction with a string or a user's socks.

先述のとおり、フォームパッド材層及び他の層は、最小限の劣化又は劣化のない衝撃保護具を考慮して、材料全体、又は溝又はヒンジ領域内のいずれかに貫通孔が設計されている。ある実施形態において、パッドの全ての層が間断なく接着されている、という事実は、パッドへの吸収ではなく、所定の経路を通じた水蒸気の蒸散を可能にする。水分が織物層に逃がされる時、表面が接着してあるため、パッドを介して外部へ導かれる。対照的に、他のパッドは1つ以上の浮遊(自由に動く)層を有し、着用を不快にさせる。   As previously noted, the foam pad material layer and other layers are designed with through-holes either in the entire material, or in the groove or hinge region, with minimal degradation or non-degrading impact protection. . In certain embodiments, the fact that all layers of the pad are bonded without interruption allows for the evaporation of water vapor through a predetermined path rather than absorption into the pad. When moisture is released to the fabric layer, the surface is adhered, so that the moisture is led to the outside through the pad. In contrast, other pads have one or more floating (free moving) layers, which makes them uncomfortable to wear.

ある実施形態では、外面(織物又はフィルム)が(ある実施形態では)衣服又はスリーブの実際の外面であるとする事実は、重要な特徴である。接着されていない織物、又はパッドを覆う、外側に縫合された別のカバーを有するパッドは、衝撃を受ける際に、パッド全体の外層のずれを生じさせる。本発明に準拠した衣服を装着する際、装着者はぴったりフィットする衣服の外側にパットを有することになり、特定の身体部分又は関節を正確に保護できる。衣服又はスリーブの外部の層として、本発明のパッドの露出された外層を有することで(図12と13を参照)、ゆったりしたカバー(loose cover)のあらゆる形状にフォームを細かく切断するために改善された水分又は空気の流れのより良好な管理が可能となる。精度の高い通気孔と空気チャネルは、熱と水分の増加を抑える。さらに、露出されたパッドの外側の表面を含む実施形態では、パッドの内側の表面は通常平らであることから、ぴったりフィットする衣服の内側に、ユーザの肌に対して平らに配置される。弾性の織物の外部に取り付けられた場合、ユーザは、弾性織物又は他の材料でできた一体化された層を身に着けることができる。これにより、パッドは肌表面をしっかりと抱えることができ、肌に擦れたり、炎症を起こしたりすることのない、シームレスの内側表面を可能にする。   In certain embodiments, the fact that the outer surface (textile or film) is (in one embodiment) the actual outer surface of the garment or sleeve is an important feature. Pads that have an unbonded fabric or another cover stitched to the outside that covers the pad will cause a displacement of the entire outer layer of the pad when impacted. When wearing a garment according to the present invention, the wearer will have a pad on the outside of the garment that fits snugly and can accurately protect certain body parts or joints. By having the exposed outer layer of the pad of the present invention as the outer layer of the garment or sleeve (see FIGS. 12 and 13), improved to finely cut the foam into any shape of a loose cover Better control of the water or air flow is possible. Accurate vents and air channels reduce heat and moisture build-up. Further, in embodiments that include the exposed outer surface of the pad, the inner surface of the pad is usually flat and is therefore placed flat against the user's skin inside the tight-fitting garment. When attached to the exterior of an elastic fabric, the user can wear an integrated layer of elastic fabric or other material. This allows the pad to hold the skin surface tight and allows a seamless inner surface that does not rub or irritate the skin.

表面で露出するパッドの使用により、ヒンジ又は溝は強化され、及び/又は小型化される。これは、追加された外部材料が、ヒンジの間隔を埋めてヒンジの動作を妨げることによって、屈曲を阻止しうるためである。溝及びヒンジは、対象をより正確に覆い、且つ保護するように、傾斜が作られたり、特有のデザインに形成されうる。独自の、より空気力学的な形状は、本パッドを使用して、衣服表面に作成できる。保護機能が付加された空気力学的表面は、スキー競技などのスポーツに有効性がある。装着者は、例えばゲートでの衝撃から保護され、一方で耐風性が強化される。バイクレースなどの他のスポーツでも、改良された空気力学による恩恵がもたらされる。   Through the use of pads exposed on the surface, the hinges or grooves are strengthened and / or miniaturized. This is because the added external material can prevent bending by filling the hinges and preventing the hinges from moving. The grooves and hinges can be beveled or have a unique design to more accurately cover and protect the object. Unique, more aerodynamic shapes can be created on the garment surface using this pad. Aerodynamic surfaces with added protection are effective for sports such as skiing. The wearer is protected from impact at the gate, for example, while wind resistance is enhanced. Other sports such as motorcycle racing can also benefit from improved aerodynamics.

衣服表面に露出されている本衝撃吸収パッドを使用すると、パッドと衝撃の間の層が存在しないことから、衝撃吸収フォームがより速く作用する。このことは、PORON XRD(登録商標)、又は衝撃で硬化する類似の材料といった、「衝撃速度依存性の」衝撃吸収フォームを使用する場合に、望ましい特徴である。さらに、接着されたフィルムの1枚の層のみを有する、露出された表面又はフォームとパッドに衝撃を与える対象物との間
の別の材料の使用により、フォームがより速く作用する。
When using the present shock absorbing pad exposed on the garment surface, the shock absorbing foam works faster because there is no layer between the pad and the shock. This is a desirable feature when using “impact speed dependent” shock absorbing foams, such as PORON XRD®, or similar materials that cure on impact. In addition, the foam works faster due to the use of another material between the exposed surface or foam and the object impacting the pad, having only one layer of glued film.

ある実施形態では、スリーブ又は衣服に取り付けられたパッドの外側の層として、フィルム、特にポリエステルポリウレタンフィルムを使用して、耐久性があり、より洗濯がしやすいパッドシステムを実現する。フィルムが露出した外部表面は耐久性があり、同時に汚れにも強い。縫合されるか付着された最上層の織物は、破損や汚れの可能性があり、洗浄が難しい。内層又は外層として連続的に接着された織物及び/又はフィルムは、ヒンジ領域で一緒に接着されるか、メダル部のクッション材に接着されており、多くのパッドで使用される、接着されずに縫合された織物よりも耐久性が高い。そのようなパッドは、破れた衣服の外面では装着者を保護するためのパッドが露出され、衣服から外れ、抜け落ちてしまう。織物層を内層又は外層として使用する本発明の実施形態において、織物内部のフィルム層は、フォームに浸透又は透過する汚れや液体を最小化及び/又は防止することができる。   In one embodiment, a film, particularly a polyester polyurethane film, is used as the outer layer of the pad attached to the sleeve or garment to provide a durable and more washable pad system. The exposed external surface of the film is durable and at the same time resistant to dirt. The top layer fabric that is stitched or attached may be damaged or soiled and difficult to clean. Fabrics and / or films that are continuously bonded as an inner or outer layer are bonded together in the hinge area or bonded to the cushioning material of the medal part, which is used in many pads, unbonded More durable than stitched fabrics. In such a pad, the pad for protecting the wearer is exposed on the outer surface of the torn clothing, and the pad is detached from the clothing and falls off. In embodiments of the present invention where the fabric layer is used as an inner or outer layer, the film layer inside the fabric can minimize and / or prevent dirt and liquids that penetrate or permeate the foam.

多くの実施形態のパッドはフォームパッドの均一な密度で(つまり、圧縮フォームよりも高くない密度で)モールドされる、という事実は、保護を目的としたより正確なデザインと、圧縮によって生ずるばらつきのある密度のそれよりも、広範な可動域を可能にする。   The fact that the pads of many embodiments are molded with a uniform density of foam pads (i.e., no higher density than the compressed foam) is due to the more accurate design for protection and the variability caused by compression. Allows a wider range of motion than that of a certain density.

本パッド、衣服、及び製造方法は多くの理由から有効性がある。例えば、多くの要素を有する、単一の連続するパッドは、たくさんの人手を要する切断や折り目付け(scoring)、あるいは最終的な衣服構造に必要な熱成形を排除することにより、従前のパッド構築技術と比べて、経済的な有効性をもたらす。   The pad, garment, and manufacturing method are effective for a number of reasons. For example, a single continuous pad with many elements can be used to build a traditional pad by eliminating the need for extensive manual cutting and scoring, or the thermoforming required for the final garment structure. Provides economic effectiveness compared to technology.

ある実施形態では、ヒンジ領域はゼロに近いが、別のヒンジ領域は0.010”(10
mil)、 0.020”(20 mil)、又は0.080”(80 mil)又は0.120”(120 mil)である。
In one embodiment, the hinge region is near zero, but another hinge region is 0.010 "(10
mil), 0.020 "(20 mil), or 0.080" (80 mil) or 0.120 "(120 mil).

緩衝パッドが伸縮性衣服に取り付けられるような、伸縮性が望ましい実施形態では、弾性の接着された内層と、弾性の接着された外層を使用することが望ましい。   In embodiments where stretch is desirable, such as when the cushion pad is attached to a stretch garment, it is desirable to use an elastic bonded inner layer and an elastic bonded outer layer.

ヒンジ領域の厚さがゼロに近い箇所、又は薄いヒンジ領域(0.100”(1 mil)以下のフォーム)において、パッド全体が間断なく接着された内層又は外層(あるいは両方)を有していることにより、間隔を維持し、ならびに保護されていない領域の分離を防ぐ。これは、切片は圧力や力によって分離する可能性があり、ユーザが無防備となり、怪我の原因となるため、分離された切片がパッド作成に使用されるパッドとは対照的である。   In locations where the thickness of the hinge region is near zero, or in a thin hinge region (foam of 0.100 "(1 mil) or less), the entire pad has an inner layer or an outer layer (or both) bonded without interruption. To maintain separation and prevent separation of unprotected areas, because the sections can be separated by pressure or force, which can leave them unprotected and cause injury In contrast to the pad where the section is used to make the pad.

ある実施形態では、ヒンジの狭い間隔を用いることは関節がある一定の方法で屈曲する場合に、露出領域を防ぐ目的で望ましいことが判明した。本発明は極めて狭いヒンジ、又はメダル部の間の極めて狭い間隔を可能としており、使用中にヒンジが分離する危険を最小化する。   In certain embodiments, it has been found that using narrow hinge spacing is desirable for the purpose of preventing exposed areas when the joint is bent in a certain manner. The present invention allows for very narrow hinges, or very narrow spacing between medal sections, minimizing the risk of the hinges separating during use.

本パッドは軽量にも関わらず、特定の身体領域に、より高度な保護をもたらすように製造されることが可能であり、これはアスリートや活動的な個人にとって顕著な利点である。   Despite being lightweight, the pad can be manufactured to provide a higher degree of protection for specific body areas, which is a significant advantage for athletes and active individuals.

本保護用パッドの1つの有効性は、屈曲領域全体が、切断された小さなパッドや、衣服に縫合された小片ではなく、身体の特定の部分のためにデザインされた1つのパッド又は複数のパッドによって保護されうる点である。間断なく接着された大型のパッドは、より
経済的で、同時に、保護の際に隙間が生じうる、切断されたパッドや小片によるパッドのずれを防ぐ。従前の製品よりも改良され、より正確な保護を提供することに加え、本保護用パッドは、耐久性の高いパッド全体が表面に露出し、それにより見た目もよく、軽量で、より良い水分又は空気の伝達により、パッドをより快適にする。
One advantage of this protective pad is that the entire bend area is not a small pad that is cut or a piece sewn to clothing, but a pad or pads that are designed for a specific part of the body. It can be protected by. Large pads that are bonded without interruption are more economical, and at the same time prevent pad misalignment due to cut pads and small pieces that can create gaps during protection. In addition to providing improved and more accurate protection than previous products, this protective pad exposes the entire durable pad to the surface, which makes it look good, light weight, better moisture or Air transmission makes the pad more comfortable.

当業者は他の取り付け方法が使用されうることを認識すると思われるが、縫合には明白な有効性があることが判明している。ヒートシールや溶接と比較して、外周フランジに沿って適所に緩衝パッドを縫合することで、パッドが衣服から分離することを防ぎ、又は最小化することが判明している。このことは、衣服内でだぶついているパッド(例えば、パッドを内包するようにデザインされたポケットに緩く固定されている)、あるいは縫合、接着、溶接、ヒートシールなどによって取り付けられたパッドと比べて効果的である。   Those skilled in the art will recognize that other attachment methods may be used, but it has been found that suturing has a clear effectiveness. Compared to heat sealing or welding, it has been found that stitching the cushion pad in place along the outer flange prevents or minimizes the pad from separating from the garment. This is compared to pads that are loose in clothing (eg, loosely secured in a pocket designed to contain the pad) or pads attached by stitching, gluing, welding, heat sealing, etc. It is effective.

先述のパッドは極めて耐久性が高く、繰り返しクリーニングで処理されても耐えうる。このようなパッドにおいて、衣服に合体させる場合、理論的には、外周フランジの厚さ(例えば、約20mil)により、縫合する際に頑丈な領域が備えられる。この領域は、20milの外周フランジによってサポートされていなければ、クッション材がなく、ほつれたり、擦り切れたりしかねない。さらに、外周フランジは、緩衝パッドの外周をフィルムで仕上げることで実現される、より柔らかい端部により、さらに魅力的な製品を可能にする。   The pads described above are extremely durable and can withstand repeated cleaning. In such a pad, when combined with a garment, the thickness of the outer flange (for example, about 20 mil) theoretically provides a sturdy area when stitched. If this area is not supported by a 20 mil perimeter flange, there is no cushioning and it can fray or fray. In addition, the peripheral flange allows for a more attractive product due to the softer edges realized by finishing the outer periphery of the cushioning pad with a film.

パッド全体におけるヒンジがほぼゼロであることは、ヒンジ内のフォーム材料が極めて薄いため、セル状構造は存在しないことから、パッドが洗浄サイクル中にパッドの耐久性に役立つと考えられる。したがって、縫合された外周フランジは、パッドが度重なる洗浄で剥離すること、つまり、緩衝パッドの外周をロックダウン(lock down)することを防ぎ、又は最小化する。   A near zero hinge throughout the pad is believed to help the pad durability during the cleaning cycle because the cellular material is not present because the foam material in the hinge is very thin. Therefore, the stitched outer peripheral flange prevents or minimizes the pad from peeling off with repeated cleaning, ie, locking the outer periphery of the buffer pad.

さらに、内層及び外層のいずれかをメダル部領域のクッション材、又はヒンジ上で互いに間断なく接着することは、液体又はその他の物質がパッドに侵入する可能性や、クッション材がパッドから飛び出す可能性を防ぎ、又は最小化する。両方の特徴を組み合わせることにより、過酷な状況において多数のパッドの耐久性を高め、他の製品で発生するような相関剥離を完全に除去又は防止する。外周フランジ及び隣接するほぼゼロのヒンジは、液体及び/又は微粒子が外周フランジを超えてパッドに浸透することを防ぎ、又は最小化すると考えられる。なぜなら、フォームはヒンジ領域からほぼ完全に除去されており、ヒンジ領域にフォームのセル状構造が存在しないため、流体及び/又は微粒子は外周フランジへと浸透できないからである。したがって、外周ヒンジはパッドへの液体及び/又は微粒子の浸透に対する緩衝として作用する。   Furthermore, if either the inner layer or the outer layer is bonded to the cushion material or hinges in the medal area without interruption, there is a possibility that liquid or other substances may enter the pad, or the cushion material may jump out of the pad. Prevent or minimize. The combination of both features increases the durability of a large number of pads in harsh conditions and completely eliminates or prevents correlated delamination as occurs in other products. The peripheral flange and the adjacent near-zero hinge are believed to prevent or minimize liquid and / or particulates from penetrating the pad beyond the peripheral flange. This is because the foam has been almost completely removed from the hinge region and the cellular structure of the foam is not present in the hinge region, so that fluid and / or particulates cannot penetrate the outer flange. Thus, the perimeter hinge acts as a buffer against the penetration of liquid and / or particulates into the pad.

同様に、緩衝パッド全体のヒンジ「ネットワーク」は、特に、ヒンジが「ほぼゼロ」のヒンジである場合、パッドの耐久性をさらに高める。これはヒンジ領域のフォーム又は他のクッション材を除去及び/又は最小化し、ヒンジ内の接着強度を向上させるためである。ヒンジ領域に残るクッション材は、(フォームの場合には)フォーム構造を支持するには不十分であることから、接着強度は向上する。フォームがヒンジ内に残留すると、接着強度はフォーム引裂強度にのみ限定されうる。このように、フォーム又は他のクッション材の厚さが最小化されると、引裂かれうる薄いフォームセル状壁が存在しないため、ヒンジの接着が向上する。つまり、ヒンジにセル状構造がなければ、液体及び/又は微粒子が外周フランジを超えて侵入するためのスペースがない。結果として、1つのメダル部又はヒンジが損傷、劣化したとしても、損傷は隣接するパッド及び/又はヒンジにのみ拡大しうることから、パッド全体の損傷は最小化され、又は損傷の影響は区分化される。   Similarly, the hinge “network” of the entire cushion pad further increases the durability of the pad, especially when the hinge is a “near zero” hinge. This is to remove and / or minimize the foam or other cushioning material in the hinge area and improve the bond strength within the hinge. The cushioning material remaining in the hinge region is insufficient to support the foam structure (in the case of foam), thus improving the bond strength. If the foam remains in the hinge, the adhesive strength can be limited only to the foam tear strength. Thus, when the thickness of the foam or other cushioning material is minimized, there is no thin foam cellular wall that can be torn, thus improving the adhesion of the hinge. That is, if the hinge does not have a cellular structure, there is no space for liquid and / or particulates to penetrate beyond the outer flange. As a result, even if one medal or hinge is damaged or degraded, the damage can only extend to adjacent pads and / or hinges, so that damage to the entire pad is minimized or the effects of damage are segmented Is done.

本パッドの別の有効性は、保護領域に広範な可動域を維持しながら、深いヒンジとそれ
よりも浅い溝、又は多階層のヒンジの組み合わせが、衣服により高い保護機能を与えることである。連結された最上層、最下層、又は両方の層によって、ヒンジと溝をより正確に使用でき、個々のメダル部が互いに動き合うのを防ぐ。さらに、伸縮可能にぴったりフィットする衣服素材との一体化は、結果として保護すべき領域を充分に包み、さらに外部パッドを身体の特定の領域と間断なく接触させる。
Another advantage of the pad is that the combination of deep hinges and shallower grooves or multiple levels of hinges provides a higher protective function to the garment while maintaining a wide range of motion in the protective area. The connected top layer, bottom layer, or both layers allow the hinges and grooves to be used more accurately and prevent the individual medal parts from moving together. Furthermore, the integration with the stretchable, tightly fitting garment material results in sufficient coverage of the area to be protected, and the outer pad is in continuous contact with a specific area of the body.

ここに記述されている「第一の」や「第二の」といった用語は、順序や重要性を表すものではなく、1つの要素と別の要素とを区別するために用いられている。また、「a」や「an」といった用語は分量や数量を表すものではなく、少なくとも1つの参照物品が存在することを表す。同様に、ここで使用される「下部」及び「上部」といった用語は、注記されていない限り、便宜上の表記に過ぎず、ある特定の位置又は空間的定位に限定されない。さらに、分量や数量に関連して使用される修飾語句である「約」は、記載される値を包含し、文脈によって決定づけられる意図を有する(例えば、特定の分量や数量の計測に関連づいたエラーの度合を含む)。   Terms such as “first” and “second” described herein do not represent order or importance, but are used to distinguish one element from another. Further, terms such as “a” and “an” do not represent quantities or quantities, but indicate that there is at least one reference article. Similarly, the terms “lower” and “upper” as used herein are for convenience only and are not limited to any particular location or spatial orientation unless otherwise noted. In addition, the modifier “about” used in connection with quantities or quantities is intended to encompass the stated value and have an intent determined by the context (eg, related to the measurement of a particular quantity or quantity). Including the degree of error).

ここでは、化合物は標準的な用語体系を用いて記載される。例えば、指定された基で置換されない、いかなる位置における結合価も、指定される結合は水素原子により満たされている理解される。2つの文字又は記号の間に位置しない「−(ダッシュ)」は、置換基の付着点を示すために使用される。例えば、−CHOはカルボニル基の炭素を通じて付着される。このような定義がない場合、すべてのパーセンテージは重量パーセント(「wt.%」)を意味する。さらに、ここに開示されるすべての範囲が包含され、化合できる(例えば、「約25重量パーセント(wt.%)以下で、望ましくは約5wt.%から約20wt.%、さらに好ましくは10wt.%から約15wt.%」という範囲は、該範囲のエンドポイントとすべての中間値を包含し、例えば、「約5wt.%から約25wt.%、約5wt.%から約15wt.%」となる)。「10±10%」という表記は、示された測定結果は、記載された値の10%を差し引いた量から、10%加算した量であってもよい。   Here, compounds are described using standard terminology. For example, a valence at any position that is not substituted with a specified group is understood to be that the specified bond is filled with a hydrogen atom. A "-(dash)" that is not located between two letters or symbols is used to indicate the point of attachment of a substituent. For example, -CHO is attached through carbon of the carbonyl group. In the absence of such a definition, all percentages refer to weight percent (“wt.%”). Further, all ranges disclosed herein are encompassed and can be combined (eg, "less than about 25 weight percent (wt.%), Desirably about 5 wt.% To about 20 wt.%, More preferably 10 wt.%." The range “from about 15 wt.% To about 15 wt.%” Includes the endpoints of the range and all intermediate values, eg, “about 5 wt.% To about 25 wt.%, About 5 wt.% To about 15 wt. . The notation “10 ± 10%” may be an amount obtained by adding 10% to an amount obtained by subtracting 10% of the described value.

最後に、特記されていない場合、ここで使用される技術的及び科学的用語は、本開示が属する分野の当業者が常識的に理解するのと同一の意味を有する。   Finally, unless stated otherwise, technical and scientific terms used herein have the same meaning as commonly understood by one of ordinary skill in the art to which this disclosure belongs.

該開示は模範的な実施形態に準拠して記述されているが、当業者は開示の範囲からかけ離れることなく様々な変更がなされ、そこに含まれる要素と同等なものがそれに置き換えられてもよいことを理解する。さらに、本質的な請求の範囲からかけ離れることなく特定の状況又は材料を開示されている教示に適応させるために、多くの修正がなされうる。従って、本開示は、本開示を実行するために熟考された最良の形態として開示された、特定の実施形態に限定されることを意図しておらず、本発明は添付する請求項の範囲内に含まれる、すべての実施形態を包含する。   Although the disclosure has been described with reference to exemplary embodiments, those skilled in the art may make various changes without departing from the scope of the disclosure and replace equivalents of the elements contained therein. Understand good. In addition, many modifications may be made to adapt a particular situation or material to the disclosed teachings without departing from the essential claims. Accordingly, this disclosure is not intended to be limited to the particular embodiments disclosed as the best mode contemplated for carrying out this disclosure, but the present invention is intended to be within the scope of the appended claims. All embodiments are included.

Claims (10)

通気性緩衝パッドであって、
表面を有する上層、下面を有する下層、及び、前記上層と前記下層の間に位置するクッション材を備える、厚みを有する緩衝パッドと、
前記緩衝パッド内に配置され、厚さのある緩衝領域を定めるチャネルであって、前記チャネルの厚みが前記緩衝領域の厚みよりも薄い、チャネルと、
前記上面と前記下面とを通って延びるとともに前記上面と前記下面とを流動可能に接続する少なくとも1つの通気孔と、を備えることを特徴とする緩衝パッド。
A breathable cushion pad,
An upper layer having a surface, a lower layer having a lower surface, and a cushioning pad having a thickness, comprising a cushioning material positioned between the upper layer and the lower layer;
A channel disposed within the buffer pad to define a thick buffer region, wherein the channel has a thickness less than the thickness of the buffer region;
A buffer pad comprising: at least one vent hole extending through the upper surface and the lower surface and connecting the upper surface and the lower surface in a flowable manner.
前記緩衝領域の前記上面に定められる溝をさらに備え、前記溝の厚みが前記緩衝領域の厚みよりも薄く、前記チャネルの厚みよりも厚いことを特徴とする請求項1に記載の通気性緩衝パッド。   The air-permeable buffer pad according to claim 1, further comprising a groove defined on the upper surface of the buffer region, wherein the groove has a thickness smaller than that of the buffer region and larger than that of the channel. . フランジと前記フランジに隣接するチャネルとを備え、前記フランジの厚みが前記チャネルの厚みよりも厚く、前記緩衝領域の厚みよりも薄いことを特徴とする請求項1に記載の通気性緩衝パッド。   The breathable shock absorbing pad according to claim 1, further comprising a flange and a channel adjacent to the flange, wherein the flange has a thickness larger than that of the channel and smaller than that of the buffer region. 前記パッドはさらに、前記パッドの上面と下面とを通って延びるとともに前記パッドの上面及び下面を流動可能に接続する少なくとも1つの通気孔を備えることを特徴とする請求項1に記載の通気性緩衝パッド。   The breathable buffer according to claim 1, wherein the pad further comprises at least one vent hole extending through the top and bottom surfaces of the pad and fluidly connecting the top and bottom surfaces of the pad. pad. 前記通気孔は前記チャネル内に配置されていることを特徴とする請求項4に記載の通気性緩衝パッド。   The breathable shock absorbing pad according to claim 4, wherein the vent hole is disposed in the channel. 通気性緩衝パッドであって、
上面、下面、厚さ及び幅を有し、連続する上層と連続する下層の間に位置し、前記連続する上層と前記連続する下層に間断なく接着されたクッション材を含む緩衝領域と、
前記緩衝領域の周囲に配置され、前記緩衝領域を定めるチャネルだって、前記チャネルの厚みが前記緩衝領域の厚みよりも薄く、前記チャネルは前記連続する上層と前記連続する下層とをさらに含み、前記連続する上層が前記連続する下面に少なくとも部分的に接着されている、チャネルと、
前記上面と前記下面とを通って延びるとともに前記上面及び前記下面を流動可能に接続する少なくとも1つの通気孔と、を備えることを特徴とする通気性緩衝パッド。
A breathable cushion pad,
A buffer region having a top surface, a bottom surface, a thickness and a width, located between a continuous upper layer and a continuous lower layer, and including a cushion material bonded to the continuous upper layer and the continuous lower layer without interruption;
A channel disposed around the buffer region and defining the buffer region, the channel having a thickness smaller than that of the buffer region, the channel further including the continuous upper layer and the continuous lower layer, the continuous A channel, wherein an upper layer that is at least partially adhered to the continuous lower surface;
An air-permeable cushion pad, comprising: at least one vent hole extending through the upper surface and the lower surface and connecting the upper surface and the lower surface in a flowable manner.
前記チャネルの前記上面と前記下面とを通って延びるとともに前記上面と前記下面とを流動可能に接続する少なくとも1つの通気孔をさらに含むことを特徴とする請求項6に記載の通気性緩衝パッド。 The breathable shock absorbing pad according to claim 6, further comprising at least one vent hole extending through the upper surface and the lower surface of the channel and fluidly connecting the upper surface and the lower surface. 前記緩衝領域の前記上面に定められた溝をさらに備え、前記溝の厚みが前記緩衝領域の厚みよりも薄く、前記チャネルの厚みよりも厚いことを特徴とする請求項6に記載の通気性緩衝パッド。   The breathable buffer according to claim 6, further comprising a groove defined on the upper surface of the buffer region, wherein the groove has a thickness smaller than that of the buffer region and larger than that of the channel. pad. 外周フランジと外周チャネルをさらに備え、前記外周フランジは前記外周チャネルの幅によって前記緩衝領域から隔てられ、前記外周フランジの厚みが前記外周チャネルの厚みよりも厚く、前記緩衝領域の厚みよりも薄いことを特徴とする請求項6に記載の緩衝パッド。   An outer peripheral flange and an outer peripheral channel are further provided, and the outer peripheral flange is separated from the buffer region by a width of the outer peripheral channel. The buffer pad according to claim 6. 前記外周チャネルは前記外周チャネルの前記上面と前記下面とを通って延びるとともに前記上面と前記下面とを流動可能に接続する少なくとも1つの通気孔をさらに備えること
を特徴とする請求項9に記載の緩衝パッド。
The outer peripheral channel further includes at least one vent hole extending through the upper surface and the lower surface of the outer peripheral channel and connecting the upper surface and the lower surface in a flowable manner. Buffer pad.
JP2018054621A 2012-01-28 2018-03-22 Breathable impact absorbing cushioning and construction Pending JP2018126537A (en)

Applications Claiming Priority (2)

Application Number Priority Date Filing Date Title
US201261591902P 2012-01-28 2012-01-28
US61/591,902 2012-01-28

Related Parent Applications (1)

Application Number Title Priority Date Filing Date
JP2014554936A Division JP2015507104A (en) 2012-01-28 2013-01-28 Breathable shock absorber and structure

Publications (1)

Publication Number Publication Date
JP2018126537A true JP2018126537A (en) 2018-08-16

Family

ID=48905737

Family Applications (2)

Application Number Title Priority Date Filing Date
JP2014554936A Pending JP2015507104A (en) 2012-01-28 2013-01-28 Breathable shock absorber and structure
JP2018054621A Pending JP2018126537A (en) 2012-01-28 2018-03-22 Breathable impact absorbing cushioning and construction

Family Applications Before (1)

Application Number Title Priority Date Filing Date
JP2014554936A Pending JP2015507104A (en) 2012-01-28 2013-01-28 Breathable shock absorber and structure

Country Status (10)

Country Link
EP (2) EP2806758B8 (en)
JP (2) JP2015507104A (en)
KR (1) KR102132731B1 (en)
CN (1) CN104168784B (en)
BR (1) BR112014018557A8 (en)
CA (1) CA2862906A1 (en)
GB (1) GB2513803B (en)
HK (1) HK1203324A1 (en)
RU (1) RU2014134987A (en)
WO (1) WO2013116157A1 (en)

Families Citing this family (10)

* Cited by examiner, † Cited by third party
Publication number Priority date Publication date Assignee Title
SG187799A1 (en) 2010-08-11 2013-03-28 G Form Llc Flexible cushioning pads, items incorporating such pads, and methods of making and using
CN104856502A (en) * 2015-06-16 2015-08-26 罗继兵 Mattress with waterproof and antifouling function
US10695650B2 (en) 2015-10-07 2020-06-30 Under Armour, Inc. Protective apparatus with grooves
US11918885B2 (en) * 2017-05-04 2024-03-05 Nike, Inc. Remoldable impact plate
CN110269362A (en) * 2019-06-04 2019-09-24 北京世吉商贸有限公司 Novel ventilated cushion
CN110270047A (en) * 2019-07-31 2019-09-24 青岛鑫三鸿塑胶制品有限公司 A kind of Novel wooden decorative pattern tae kwon do ground cushion and production process
US11350682B2 (en) * 2019-09-12 2022-06-07 G-Form Llc Conformable and expandable protective cushioning pads and articles of apparel including such pads
CN111054048B (en) * 2019-12-06 2020-12-08 湖南文理学院 A mobile sports training safety protection device and method
KR102692336B1 (en) * 2021-12-27 2024-08-06 주식회사 타누스 A pad for protection
KR200498788Y1 (en) * 2023-10-06 2025-02-07 한국과학기술연구원 Protective vest

Citations (3)

* Cited by examiner, † Cited by third party
Publication number Priority date Publication date Assignee Title
JPH06504689A (en) * 1990-10-03 1994-06-02 クレント,エドワード ディー. body protection equipment
JP2005514222A (en) * 2002-09-13 2005-05-19 プラント,ダニエル,ジェームス Flexible energy absorbing material and manufacturing method thereof
JP2009024289A (en) * 2007-07-20 2009-02-05 Zett Corp Breast protecting pad and method for producing the same

Family Cites Families (20)

* Cited by examiner, † Cited by third party
Publication number Priority date Publication date Assignee Title
JPS54134568U (en) * 1978-03-07 1979-09-18
GB2246282A (en) * 1990-07-06 1992-01-29 Vesty Improvements in protective clothing
DE4229328A1 (en) * 1992-09-02 1994-03-03 Gericke Hein Gmbh Co Kg Protector
CA2120176A1 (en) * 1993-06-30 1994-12-31 Jamie Lynne Kalvestran Joint guard
US6093468A (en) * 1997-03-14 2000-07-25 The Procter & Gamble Company Flexible lightweight protective pad with energy absorbing inserts
US6131734A (en) * 1998-01-23 2000-10-17 Targus Group International Carrying case for portable computer and impact resistant cushions for use therein
US6295654B1 (en) * 1999-03-23 2001-10-02 Daniel P. Farrell Protective sports garment
US6547327B1 (en) * 2001-07-11 2003-04-15 Paul M. Yates Breathable cushion
KR200281646Y1 (en) * 2002-03-29 2002-07-13 신신상사 주식회사 Ghinguard
US7757311B2 (en) * 2004-03-29 2010-07-20 Louis Garneau Sports Inc. Seat pad for cyclist garment and method of manufacture
US7739754B2 (en) * 2004-03-29 2010-06-22 Louis Garneau Sports Inc. Seat pad for cyclist garment and method of manufacture
WO2007092091A2 (en) 2005-12-23 2007-08-16 Polyworks, Inc. Methods of making polymeric articles and the polymeric articles formed thereby
US7827704B2 (en) 2006-02-28 2010-11-09 Polyworks, Incorporated Methods of making polymeric articles and polymeric articles formed thereby
WO2008083408A2 (en) 2007-01-02 2008-07-10 Polyworks, Inc. Cushioning materials, methods of making, and articles formed thereby
US20090039688A1 (en) * 2007-04-13 2009-02-12 Polyworks, Inc. Cushioning medallions, methods of making and methods of using
CN201088697Y (en) * 2007-10-07 2008-07-23 李大任 Pad for human body recoverying
WO2010110804A1 (en) 2008-04-14 2010-09-30 Polyworks, Inc Deep draw method of making impact and vibration absorbing articles and the articles formed thereby
SG187799A1 (en) 2010-08-11 2013-03-28 G Form Llc Flexible cushioning pads, items incorporating such pads, and methods of making and using
CN202027317U (en) * 2011-04-03 2011-11-09 刘先德 Bowl mat
WO2013040488A1 (en) * 2011-09-14 2013-03-21 G-Form, LLC Slideable and abrasion resistant flexible impact absorbing cushioning pads, clothing incorporating such pads, and methods of making and using

Patent Citations (3)

* Cited by examiner, † Cited by third party
Publication number Priority date Publication date Assignee Title
JPH06504689A (en) * 1990-10-03 1994-06-02 クレント,エドワード ディー. body protection equipment
JP2005514222A (en) * 2002-09-13 2005-05-19 プラント,ダニエル,ジェームス Flexible energy absorbing material and manufacturing method thereof
JP2009024289A (en) * 2007-07-20 2009-02-05 Zett Corp Breast protecting pad and method for producing the same

Also Published As

Publication number Publication date
EP2806758B8 (en) 2018-12-19
CA2862906A1 (en) 2013-08-08
EP3473120A1 (en) 2019-04-24
BR112014018557A2 (en) 2017-06-20
HK1203324A1 (en) 2015-10-30
RU2014134987A (en) 2016-03-20
GB2513803A (en) 2014-11-05
KR20140119175A (en) 2014-10-08
BR112014018557A8 (en) 2017-07-11
CN104168784A (en) 2014-11-26
WO2013116157A1 (en) 2013-08-08
JP2015507104A (en) 2015-03-05
GB201415172D0 (en) 2014-10-08
EP2806758A1 (en) 2014-12-03
EP2806758B1 (en) 2018-09-12
EP2806758A4 (en) 2015-08-26
GB2513803B (en) 2017-06-21
KR102132731B1 (en) 2020-07-13
CN104168784B (en) 2018-11-13

Similar Documents

Publication Publication Date Title
CN106617374B (en) Buffer part
CN111134405B (en) Slidable and wear resistant flexible impact absorbing cushioning pad
JP2018126537A (en) Breathable impact absorbing cushioning and construction
US9615611B2 (en) Breathable impact absorbing cushioning and constructions
US20180144410A1 (en) Flexible Cushioning Pads, Items Incorporating Such Pads, and Methods of Making and Using
GB2540696A (en) Breathable impact absorbing cushioning and constructions

Legal Events

Date Code Title Description
A521 Request for written amendment filed

Free format text: JAPANESE INTERMEDIATE CODE: A523

Effective date: 20180420

A621 Written request for application examination

Free format text: JAPANESE INTERMEDIATE CODE: A621

Effective date: 20180420

A131 Notification of reasons for refusal

Free format text: JAPANESE INTERMEDIATE CODE: A131

Effective date: 20190625

A601 Written request for extension of time

Free format text: JAPANESE INTERMEDIATE CODE: A601

Effective date: 20190924

A601 Written request for extension of time

Free format text: JAPANESE INTERMEDIATE CODE: A601

Effective date: 20191122

A521 Request for written amendment filed

Free format text: JAPANESE INTERMEDIATE CODE: A523

Effective date: 20191224

A02 Decision of refusal

Free format text: JAPANESE INTERMEDIATE CODE: A02

Effective date: 20200602