JP2017201651A - Method for manufacturing oxide semiconductor - Google Patents
Method for manufacturing oxide semiconductor Download PDFInfo
- Publication number
- JP2017201651A JP2017201651A JP2016092433A JP2016092433A JP2017201651A JP 2017201651 A JP2017201651 A JP 2017201651A JP 2016092433 A JP2016092433 A JP 2016092433A JP 2016092433 A JP2016092433 A JP 2016092433A JP 2017201651 A JP2017201651 A JP 2017201651A
- Authority
- JP
- Japan
- Prior art keywords
- thin film
- oxide semiconductor
- film
- substrate
- semiconductor thin
- Prior art date
- Legal status (The legal status is an assumption and is not a legal conclusion. Google has not performed a legal analysis and makes no representation as to the accuracy of the status listed.)
- Pending
Links
Images
Landscapes
- Physical Vapour Deposition (AREA)
- Physical Deposition Of Substances That Are Components Of Semiconductor Devices (AREA)
- Thin Film Transistor (AREA)
Abstract
【課題】本発明はフリーキャリアの増加に起因する薄膜トランジスタの品質のばらつきが発生し難い酸化物半導体薄膜の製造方法の提供を目的とする。【解決手段】本発明の酸化物半導体の製造方法は、In、Ga、Zn、Sn又はこれらの組合せを含むターゲットを用い、スパッタリング法により基板の表面に酸化物半導体を製造する方法であって、上記ターゲットからスパッタリングされた原子により上記基板の表面に薄膜を成膜する工程と、プラズマにより生成した酸素ラジカルを含む活性種を上記薄膜に照射する工程とを備え、上記成膜工程と上記活性種照射工程とを交互に複数回繰り返す。上記成膜工程におけるスパッタリング時間としては、1回当たり0.01秒以上0.08秒以下が好ましい。上記活性種照射工程における活性種照射時間としては、1回当たり0.01秒以上0.08秒以下が好ましい。上記ターゲットが、In、Ga及びZnを含むとよい。【選択図】図3PROBLEM TO BE SOLVED: To provide a method for producing an oxide semiconductor thin film in which variations in the quality of a thin film transistor due to an increase in free carriers are unlikely to occur. The method for producing an oxide semiconductor of the present invention is a method for producing an oxide semiconductor on the surface of a substrate by a sputtering method using a target containing In, Ga, Zn, Sn or a combination thereof. A step of forming a thin film on the surface of the substrate by atoms sputtered from the target and a step of irradiating the thin film with an active species containing oxygen radicals generated by plasma are provided, and the film forming step and the active species are provided. The irradiation step is alternately repeated a plurality of times. The sputtering time in the film forming step is preferably 0.01 seconds or more and 0.08 seconds or less each time. The active seed irradiation time in the active seed irradiation step is preferably 0.01 seconds or more and 0.08 seconds or less each time. The target may include In, Ga and Zn. [Selection diagram] Fig. 3
Description
本発明は、酸化物半導体の製造方法、酸化物半導体及び薄膜トランジスタに関する。 The present invention relates to an oxide semiconductor manufacturing method, an oxide semiconductor, and a thin film transistor.
近年、アモルファス(非晶質)酸化物半導体を用いた薄膜トランジスタが注目されている。このような酸化物半導体として、例えばパルスレーザー蒸着法やスパッタリング蒸着法で形成されたIn−Ga−Zn−O薄膜が公知である(特開2006−165529号公報及び非特許文献1参照)。このIn−Ga−Zn−O薄膜を用いた薄膜トランジスタは、アモルファスシリコンの薄膜トランジスタに比べ10倍以上の電界効果移動度が得られる。また、In−Ga−Zn−O薄膜を用いた薄膜トランジスタは、スイッチング特性の急峻さを表すSS(Subthreshold Swing)値が0.1V程度であり、スイッチング特性に優れる。 In recent years, thin film transistors using an amorphous oxide semiconductor have attracted attention. As such an oxide semiconductor, for example, an In—Ga—Zn—O thin film formed by a pulse laser deposition method or a sputtering deposition method is known (see Japanese Patent Application Laid-Open No. 2006-165529 and Non-Patent Document 1). A thin film transistor using this In—Ga—Zn—O thin film has a field effect mobility of 10 times or more that of an amorphous silicon thin film transistor. In addition, a thin film transistor using an In—Ga—Zn—O thin film has an SS (Subthreshold Swing) value representing the steepness of switching characteristics of about 0.1 V, and is excellent in switching characteristics.
また、アモルファス酸化物半導体は低温で成膜できるので、樹脂フィルム等の可撓性を有する基板の表面に形成することができる。さらに、アモルファス酸化物半導体は光学バンドギャップが大きいので、透明である。このため、アモルファス酸化物半導体はフレキシブルディスプレイや透明ディスプレイのスイッチング素子としての応用が期待されている。 Further, since the amorphous oxide semiconductor can be formed at a low temperature, it can be formed on the surface of a flexible substrate such as a resin film. Furthermore, an amorphous oxide semiconductor is transparent because it has a large optical band gap. Therefore, amorphous oxide semiconductors are expected to be applied as switching elements for flexible displays and transparent displays.
このようなディスプレイへの応用のためには、アモルファス酸化物半導体を用いて形成した薄膜トランジスタが、ゲートに電圧をかけないときにチャネルが形成されないノーマリーオフ型であること、及びゲートに電圧をかけたときに十分なドレイン電流が流れることが必要である。これを実現するためには、薄膜トランジスタの閾値電圧を制御することが必要である。 For such display applications, a thin film transistor formed using an amorphous oxide semiconductor is a normally-off type in which a channel is not formed when no voltage is applied to the gate, and a voltage is applied to the gate. It is necessary for a sufficient drain current to flow. In order to realize this, it is necessary to control the threshold voltage of the thin film transistor.
ところが、従来の製造方法により製造した酸化物半導体は、意図せず取り込まれた水素原子により酸化物半導体内のフリーキャリアが増加し、キャリア濃度が高まるため、例えば薄膜トランジスタの閾値電圧がシフトする等のトランジスタの品質にばらつきが生じることが知られている(非特許文献2参照)。 However, in an oxide semiconductor manufactured by a conventional manufacturing method, free carriers in the oxide semiconductor increase due to unintentionally taken-in hydrogen atoms, and the carrier concentration increases. For example, the threshold voltage of a thin film transistor shifts. It is known that the quality of transistors varies (see Non-Patent Document 2).
このフリーキャリアの増加は、例えば薄膜トランジスタの形成において、シリコン酸化膜のパッシベーション絶縁膜を形成し熱処理(アニール処理)を行った後に発生することが知られている(非特許文献3参照)。つまり、CVD法(Chemical Vapor Deposition)により形成されるパッシベーション絶縁膜は、水素を30原子%程度含むため、パッシベーション絶縁膜形成後に行われる200℃以上の熱処理により、このパッシベーション絶縁膜中の水素が酸化物半導体内に移動する。酸化物半導体内に移動した水素は、酸化物半導体中の酸素空孔(酸素ベーカンシ)にトラップされると、フリーキャリア(自由電子)を生成し、これにより酸化物半導体のキャリア濃度が変化する。その結果、薄膜トランジスタの品質がばらついてしまう。従って、薄膜トランジスタの品質のばらつきを抑止できる酸化物半導体が望まれている。 It is known that this increase in free carriers occurs after forming a passivation insulating film of a silicon oxide film and performing a heat treatment (annealing process) in forming a thin film transistor, for example (see Non-Patent Document 3). In other words, the passivation insulating film formed by CVD (Chemical Vapor Deposition) contains about 30 atomic% of hydrogen, so that the hydrogen in the passivation insulating film is oxidized by heat treatment performed at 200 ° C. or higher after the formation of the passivation insulating film. Move into a physical semiconductor. When the hydrogen that has moved into the oxide semiconductor is trapped in oxygen vacancies (oxygen vacancy) in the oxide semiconductor, free carriers (free electrons) are generated, whereby the carrier concentration of the oxide semiconductor changes. As a result, the quality of the thin film transistor varies. Therefore, an oxide semiconductor that can suppress variations in quality of thin film transistors is desired.
本発明は、上述のような事情に基づいてなされたものであり、本発明の目的は、水素原子注入によるフリーキャリアの増加に起因する品質のばらつきが発生し難い酸化物半導体薄膜の製造方法及び酸化物半導体薄膜並びに当該酸化物半導体薄膜を用いた薄膜トランジスタを提供することである。 The present invention has been made on the basis of the above-described circumstances, and an object of the present invention is to provide a method for manufacturing an oxide semiconductor thin film in which variation in quality due to an increase in free carriers due to hydrogen atom injection is unlikely to occur. An oxide semiconductor thin film and a thin film transistor using the oxide semiconductor thin film are provided.
上記課題を解決するためになされた発明は、In、Ga、Zn、Sn又はこれらの組合せを含むターゲットを用い、スパッタリング法により基板の表面に酸化物半導体を製造する方法であって、上記ターゲットからスパッタリングされた原子により上記基板の表面に薄膜を成膜する工程と、プラズマにより生成した酸素ラジカルを含む活性種を上記薄膜に照射する工程とを備え、上記成膜工程と上記活性種照射工程とを交互に複数回繰り返すことを特徴とする。 The invention made to solve the above problems is a method for manufacturing an oxide semiconductor on the surface of a substrate by a sputtering method using a target including In, Ga, Zn, Sn, or a combination thereof. A step of forming a thin film on the surface of the substrate by the sputtered atoms, and a step of irradiating the thin film with active species containing oxygen radicals generated by plasma, the film forming step and the active species irradiation step, Is repeated a plurality of times alternately.
当該酸化物半導体の製造方法は、In、Ga、Zn、Sn又はこれらの組合せを含むターゲットからスパッタリングされた原子による成膜工程と酸素ラジカルを含む活性種照射工程とを交互に繰り返す。このため、成膜工程において形成された薄膜の金属と、活性種照射工程において照射される反応性の高い酸素とが結合し易く、成膜された酸化物半導体の酸素のダングリングボンドが減少する。その結果、トランジスタを形成する後工程で水素原子注入に起因するフリーキャリアが生じ難くなり、品質のばらつきが抑止できる。 In the method for manufacturing an oxide semiconductor, a film formation process using atoms sputtered from a target including In, Ga, Zn, Sn, or a combination thereof and an active species irradiation process including oxygen radicals are alternately repeated. For this reason, the metal of the thin film formed in the film formation step and the highly reactive oxygen irradiated in the active species irradiation step are easily bonded, and the dangling bonds of oxygen in the formed oxide semiconductor are reduced. . As a result, free carriers due to hydrogen atom injection are less likely to occur in a subsequent process for forming a transistor, and variation in quality can be suppressed.
上記成膜工程におけるスパッタリング時間としては、1回当たり0.01秒以上0.08秒以下が好ましい。また、上記活性種照射工程における活性種照射時間としては、1回当たり0.01秒以上0.08秒以下が好ましい。このように上記スパッタリング時間を上記範囲内とすることで、酸素ラジカルを含む活性種の照射前の薄膜が適度な膜厚で形成される。このため、上記活性種照射工程において、より確実かつ効率的に酸素ラジカルによる金属原子と酸素原子との結合を形成できる。また、上記活性種照射時間を上記範囲内とすることで、基板へのダメージを抑止しつつ、金属原子と酸素原子との結合に十分な酸素ラジカルが照射できる。従って、水素原子注入によるフリーキャリアの増加に起因する酸化物半導体薄膜の品質のばらつき抑止効果が高まる。 As sputtering time in the said film-forming process, 0.01 second or more and 0.08 second or less are preferable per time. Moreover, as active species irradiation time in the said active species irradiation process, 0.01 second or more and 0.08 second or less per time are preferable. In this way, by setting the sputtering time within the above range, a thin film before irradiation with active species containing oxygen radicals is formed with an appropriate thickness. For this reason, in the said active species irradiation process, the coupling | bonding of the metal atom and oxygen atom by an oxygen radical can be formed more reliably and efficiently. In addition, by setting the irradiation time of the active species within the above range, it is possible to irradiate oxygen radicals sufficient for bonding between metal atoms and oxygen atoms while suppressing damage to the substrate. Accordingly, the effect of suppressing variation in the quality of the oxide semiconductor thin film due to the increase in free carriers due to hydrogen atom implantation is enhanced.
不活性ガスを含むガスの電離により上記プラズマを生成するとよい。このように不活性ガスを含むガスの電離により上記プラズマを生成することで、酸素ラジカルの生成量の制御性が向上する。その結果、水素原子注入によるフリーキャリアの増加に起因する酸化物半導体薄膜の品質のばらつき抑止効果がより確実に得られる。 The plasma may be generated by ionization of a gas containing an inert gas. As described above, by generating the plasma by ionization of the gas containing the inert gas, the controllability of the generation amount of oxygen radicals is improved. As a result, the effect of suppressing variation in the quality of the oxide semiconductor thin film due to the increase in free carriers due to hydrogen atom implantation can be obtained more reliably.
上記ターゲットが、In、Ga及びZnを含むとよい。このように上記ターゲットが、In、Ga及びZnを含むことで、水素原子注入に起因するフリーキャリアの少ないIn−Ga−Zn−O薄膜を製造できる。その結果、フリーキャリアの増加による品質のばらつきが大きいIn−Ga−Zn−O薄膜のフリーキャリアの増加に起因する品質のばらつきが抑止できる。 The target may contain In, Ga, and Zn. As described above, when the target contains In, Ga, and Zn, an In—Ga—Zn—O thin film with few free carriers due to hydrogen atom implantation can be manufactured. As a result, variation in quality caused by an increase in free carriers in the In—Ga—Zn—O thin film having a large variation in quality due to an increase in free carriers can be suppressed.
上記課題を解決するためになされた別の発明は、In、Ga、Zn、Sn又はこれらの組合せを含む酸化物半導体薄膜であって、キャリア濃度が1×1012cm−3以上5×1013cm−3以下であり、300℃以上320℃以下で30分熱処理後のMOS構造における閾値電圧の熱処理前の閾値電圧に対する差の絶対値が、8V以下である。
Another invention made to solve the above problems is an oxide semiconductor thin film containing In, Ga, Zn, Sn, or a combination thereof, and has a carrier concentration of 1 × 10 12 cm −3 or more and 5 × 10 13. cm -3 or less, the absolute value of the difference with respect to the threshold voltage before the heat treatment threshold voltage in the
当該酸化物半導体薄膜は、キャリア濃度が上記範囲内であるので、薄膜トランジスタを形成した際のドレイン電流を確保できる。また、当該酸化物半導体薄膜は、熱処理による閾値電圧の差が上記上限以下であるので、水素原子注入に起因するフリーキャリアの増加が少ない。このため、当該酸化物半導体薄膜は、閾値電圧のマイナス側へのシフト、導体化、及びゲート電圧を複数回印加した際の閾値電圧のヒステリシスの発生を抑止することができる。従って、当該酸化物半導体薄膜を用いた薄膜トランジスタの品質のばらつきが発生し難い。 Since the oxide semiconductor thin film has a carrier concentration in the above range, a drain current when the thin film transistor is formed can be secured. Further, in the oxide semiconductor thin film, the difference in threshold voltage due to heat treatment is less than or equal to the above upper limit, so that an increase in free carriers due to hydrogen atom implantation is small. Therefore, the oxide semiconductor thin film can suppress the threshold voltage from being shifted to the negative side, conductive, and the occurrence of hysteresis of the threshold voltage when the gate voltage is applied a plurality of times. Therefore, variation in quality of the thin film transistor using the oxide semiconductor thin film hardly occurs.
本発明は、当該酸化物半導体薄膜を用いた薄膜トランジスタを含む。当該薄膜トランジスタは、当該酸化物半導体薄膜を用いるので、製造中の熱処理においてもトランジスタの品質のばらつきが生じ難い。 The present invention includes a thin film transistor using the oxide semiconductor thin film. Since the oxide semiconductor thin film is used for the thin film transistor, variation in transistor quality hardly occurs even during heat treatment during manufacture.
ここで、「キャリア濃度」とは、ホール効果測定により得られるキャリア濃度を指す。また、「MOS構造における閾値電圧」Vth[V]とは、半導体薄膜表面に平均厚さ250nmのシリコン酸化膜をOxideとするMOS(Metal−Oxide−Semiconductor)構造において、半導体のフェルミ準位をφf[eV]、フラットバンドシフト量をVFB[eV]、誘電率をε、不純物密度をN[m−3]、絶縁膜の容量をCox[F]及び電子電荷をq[C]とするとき、以下の式(1)で表される量を指す。
以上説明したように、本発明の酸化物半導体薄膜の製造方法を用いることで、水素原子注入によるフリーキャリアの増加に起因する品質のばらつきが発生し難い酸化物半導体薄膜が得られる。また、本発明の酸化物半導体薄膜は、水素原子注入によるフリーキャリアの増加に起因する品質のばらつきが発生し難いので、ディスプレイへの応用に好適な薄膜トランジスタを製造できる。 As described above, by using the method for manufacturing an oxide semiconductor thin film of the present invention, an oxide semiconductor thin film in which quality variation due to an increase in free carriers due to hydrogen atom injection hardly occurs can be obtained. In addition, since the oxide semiconductor thin film of the present invention is less likely to cause quality variation due to an increase in free carriers due to hydrogen atom injection, a thin film transistor suitable for application to a display can be manufactured.
以下、本発明の実施の形態を適宜図面を参照しつつ詳説する。 Hereinafter, embodiments of the present invention will be described in detail with reference to the drawings as appropriate.
[薄膜トランジスタ]
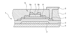
図1に示す当該薄膜トランジスタ1は、液晶ディスプレイや有機ELディスプレイ等の表示装置の製造に用いることができる。当該薄膜トランジスタ1は、基板Xの表面に形成されたボトムゲート型のトランジスタである。当該薄膜トランジスタ1は、ゲート電極2、ゲート絶縁膜3、酸化物半導体薄膜4、ESL(Etch Stop Layer)保護膜5、ソース及びドレイン電極6、パッシベーション絶縁膜7、並びに導電膜8を有する。
[Thin film transistor]
The thin film transistor 1 shown in FIG. 1 can be used for manufacturing a display device such as a liquid crystal display or an organic EL display. The thin film transistor 1 is a bottom-gate transistor formed on the surface of the substrate X. The thin film transistor 1 includes a
(基板)
基板Xとしては、特に限定されないが、例えば液晶表示装置に用いられる基板を用いられる。このような基板Xとしては、ガラス基板やシリコン樹脂基板等の透明基板を挙げることができる。上記ガラス基板に用いられるガラスとしては、特に限定されず、例えば無アルカリガラス、高歪点ガラス、ソーダライムガラス等を挙げることができる。また、有機ELディスプレイ等の自発光ディスプレイであれば、基板Xとして、金属ホイル等の金属基板、イミド樹脂等の耐熱性の不透明樹脂基板を用いることもできる。
(substrate)
Although it does not specifically limit as the board | substrate X, For example, the board | substrate used for a liquid crystal display device is used. Examples of such a substrate X include a transparent substrate such as a glass substrate and a silicon resin substrate. The glass used for the glass substrate is not particularly limited, and examples thereof include alkali-free glass, high strain point glass, and soda lime glass. In the case of a self-luminous display such as an organic EL display, a metal substrate such as a metal foil or a heat-resistant opaque resin substrate such as an imide resin can be used as the substrate X.
基板Xの平均厚さは、使用される液晶表示装置等に応じて適宜決定されるが、例えば0.5mm以上1.5mm以下とできる。また、基板Xの大きさ及び形状は、使用される液晶表示装置等の大きさに応じて決定され、例えば直径1インチ以上100インチ以下の円形状とできる。 Although the average thickness of the board | substrate X is suitably determined according to the liquid crystal display device etc. which are used, it can be 0.5 mm or more and 1.5 mm or less, for example. The size and shape of the substrate X are determined according to the size of the liquid crystal display device used, and can be, for example, a circular shape having a diameter of 1 inch to 100 inches.
(ゲート電極)
ゲート電極2は、基板Xの表面に形成され、導電性を有する。ゲート電極2を構成する薄膜としては、特に限定されないが、Al、Cu、Mo等の金属薄膜やこれらの合金の薄膜、ITO(Indium Tin Oxide)、ZnO等の透明導電膜などが挙げられる。また、ゲート電極2は、これら金属薄膜の単層構造であってもよく、2種以上の金属薄膜を積層した多層構造であってもよい。
(Gate electrode)
The
ゲート電極2の形状としては、特に限定されないが、当該薄膜トランジスタ1のチャネル長及びチャネル幅の制御性の観点から、当該薄膜トランジスタ1のチャネル長方向及びチャネル幅方向を縦横とする平面視方形状が好ましい。ゲート電極2の大きさとしては、当該薄膜トランジスタ1のチャネル長及びチャネル幅を確保できる大きさであればよく、例えば当該薄膜トランジスタ1のチャネル長方向を30μm以上50μm以下、当該薄膜トランジスタ1のチャネル幅方向を300μm以上500μm以下とすることができる。ここで、薄膜トランジスタ1のチャネル長方向とは、当該薄膜トランジスタ1のソース電極6a及びドレイン電極6bの対向方向である。また、当該薄膜トランジスタ1のチャネル幅方向とは、当該薄膜トランジスタ1のチャネル長方向に直交し、かつ基板Xの表面に平行な方向である。
The shape of the
ゲート電極2の平均厚さの下限としては、50nmが好ましく、80nmがより好ましい。一方、ゲート電極2の平均厚さの上限としては、200nmが好ましく、150nmがより好ましい。ゲート電極2の平均厚さが上記下限未満である場合、ゲート電極2の抵抗が大きいため、ゲート電極2での電力消費が増大するおそれや断線が発生し易くなるおそれがある。逆に、ゲート電極2の平均厚さが上記上限を超える場合、ゲート電極2の表面側に積層されるゲート絶縁膜3等の平坦化が困難となり、当該薄膜トランジスタ1の特性が悪化するおそれがある。
The lower limit of the average thickness of the
なお、ゲート絶縁膜3のカバレッジをよくするため、ゲート電極2の厚さ方向の断面は、基板Xに向かって拡張するテーパー状とするとよい。ゲート電極2をテーパー状とする場合のテーパー角度としては、30°以上40°以下が好ましい。
In order to improve the coverage of the gate insulating film 3, the cross section in the thickness direction of the
(ゲート絶縁膜)
ゲート絶縁膜3は、ゲート電極2を覆うように基板Xの表面側に積層される。ゲート絶縁膜3を構成する薄膜としては、特に限定されないが、シリコン酸化膜、シリコン窒化膜、シリコン酸窒化膜、Al2O3やY2O3等の金属酸化物膜などが挙げられる。また、ゲート絶縁膜3は、これら薄膜の単層構造であってもよく、2種以上の薄膜を積層した多層構造であってもよい。中でも水素濃度が比較的低いシリコン酸化膜が好ましい。このようにゲート絶縁膜3をシリコン酸化膜とすることで、当該酸化物半導体薄膜4への水素注入によるキャリア生成を抑止できる。
(Gate insulation film)
The gate insulating film 3 is laminated on the surface side of the substrate X so as to cover the
ゲート絶縁膜3の形状はゲート電極2が被覆される限り限定されず、例えばゲート絶縁膜3が基板X全面を覆ってもよい。
The shape of the gate insulating film 3 is not limited as long as the
ゲート絶縁膜3の平均厚さの下限としては、100nmが好ましく、150nmがより好ましい。また、ゲート絶縁膜3の平均厚さの上限としては、350nmが好ましく、300nmがより好ましい。ゲート絶縁膜3の平均厚さが上記下限未満である場合、ゲート絶縁膜3の耐圧が不足し、ゲート電圧の印加によりゲート絶縁膜3がブレークダウンするおそれがある。逆に、ゲート絶縁膜3の平均厚さが上記上限を超える場合、ゲート電極2と当該酸化物半導体薄膜4との間に形成されるキャパシタの容量が不足し、ドレイン電流が不十分となるおそれがある。
The lower limit of the average thickness of the gate insulating film 3 is preferably 100 nm, and more preferably 150 nm. Moreover, as an upper limit of the average thickness of the gate insulating film 3, 350 nm is preferable and 300 nm is more preferable. When the average thickness of the gate insulating film 3 is less than the lower limit, the withstand voltage of the gate insulating film 3 is insufficient, and the gate insulating film 3 may break down due to application of the gate voltage. Conversely, when the average thickness of the gate insulating film 3 exceeds the above upper limit, the capacity of the capacitor formed between the
(酸化物半導体薄膜)
当該酸化物半導体薄膜4は、ゲート絶縁膜3の表面に積層され、かつゲート電極2の直上に配設される。また、当該酸化物半導体薄膜4は、In、Ga、Zn、Sn又はこれらの組合せを含む。このような当該酸化物半導体薄膜4としては、In−Ga−Zn−O、In−Zn−Sn−O、In−Zn−O、Zn−Sn−O、Ga−Zn−Sn−O、Zn−O等を含む薄膜を挙げることができる。中でもアモルファスシリコンの薄膜トランジスタに比べ電界効果移動度が高く、SS値に優れる薄膜トランジスタが得られるIn−Ga−Zn−O薄膜が好ましい。当該酸化物半導体薄膜4としてIn−Ga−Zn−O薄膜を用いる場合、得られる当該薄膜トランジスタ1の特性の観点から、In、Ga及びZnの原子数比としては、In:Ga:Zn=1:1:1、又はIn:Ga:Zn=2:2:1が好ましい。
(Oxide semiconductor thin film)
The oxide semiconductor
当該酸化物半導体薄膜4が含むIn、Ga、Zn及びSnの合計金属含有量の下限としては、35mol%が好ましく、40mol%がより好ましい。一方、上記合計金属含有量の上限としては、60mol%が好ましく、55mol%がより好ましい。上記合計金属含有量が上記下限未満である場合、当該酸化物半導体薄膜4のO原子の比率が高まり水素原子注入に起因するフリーキャリアが増加するおそれがある。逆に、上記合計金属含有量が上記上限を超える場合、当該酸化物半導体薄膜4が導体化するおそれがある。
As a minimum of the total metal content of In, Ga, Zn, and Sn which the said oxide semiconductor
当該酸化物半導体薄膜4の平面視形状としては、特に限定されないが、当該薄膜トランジスタ1のチャネル長及びチャネル幅の制御性の観点から、ゲート電極2と同様の形状が好ましい。当該酸化物半導体薄膜4の平面視の大きさとしては、当該薄膜トランジスタ1のチャネル長及びチャネル幅を確保できる大きさであればよく、例えば当該薄膜トランジスタ1のチャネル長方向を25μm以上45μm以下、当該薄膜トランジスタ1のチャネル幅方向を290μm以上490μm以下とすることができる。
The shape of the oxide semiconductor
また、当該酸化物半導体薄膜4の平面視の大きさは、ゲート電極2の直上に確実に配設させるため、ゲート電極2の平面視の大きさより小さいことが好ましい。当該酸化物半導体薄膜4とゲート電極2とのチャネル方向及びチャネル幅方向の辺の長さの差の下限としては、2nmが好ましく、4nmがより好ましい。一方、上記辺の長さの差の上限としては、10nmが好ましく、8nmがより好ましい。上記辺の長さの差が上記下限未満である場合、パターニングのずれ等により当該酸化物半導体薄膜4の一部がゲート電極2の直上から外れ、その結果当該酸化物半導体薄膜4の平坦性が悪化し、当該薄膜トランジスタ1の特性が悪化するおそれがある。逆に、上記辺の長さの差が上記上限を超える場合、当該薄膜トランジスタ1が不要に大きくなるおそれがある。
In addition, the size of the oxide semiconductor
当該酸化物半導体薄膜4の平均厚さは、スイッチング素子として用いる場合にドレイン電流をオフ状態とできる条件から決めることができる。具体的には、ゲート電圧を印加することで当該酸化物半導体薄膜4の内部が完全に空乏化されるとよい。このためには、絶縁膜の誘電率をεOX、半導体の誘電率をεAOS、半導体のフェルミ準位をφf[eV]、電子電荷をq[C]とするとき、当該酸化物半導体薄膜4の平均厚さtch[m]は、キャリア濃度NC[m−3]に対して、以下に示す式(2)の関係を満たすとよい。下記式(2)と後述するキャリア濃度との関係、及び当該酸化物半導体薄膜4を製造する際の膜厚分布の制御精度の観点から、当該酸化物半導体薄膜4の平均厚さは、20nm以上50nm以下とできる。
なお、ソース及びドレイン電極6のカバレッジをよくするため、当該酸化物半導体薄膜4の厚さ方向の断面は、基板Xに向かって拡張するテーパー状とするとよい。当該酸化物半導体薄膜4をテーパー状とする場合のテーパー角度としては、30°以上40°以下が好ましい。
Note that, in order to improve the coverage of the source and drain electrodes 6, the cross section in the thickness direction of the oxide semiconductor
当該酸化物半導体薄膜4のキャリア濃度の下限としては、1×1012cm−3であり、2×1012cm−3がより好ましく、4×1012cm−3がさらに好ましい。一方、当該酸化物半導体薄膜4のキャリア濃度の上限としては、5×1013cm−3であり、3×1013cm−3がより好ましく、1×1013cm−3がさらに好ましい。当該酸化物半導体薄膜4のキャリア濃度が上記下限未満である場合、当該薄膜トランジスタ1のドレイン電流が不足するおそれがある。逆に、当該酸化物半導体薄膜4のキャリア濃度が上記上限を超える場合、水素原子注入に起因するフリーキャリアが多く当該酸化物半導体薄膜4の品質のばらつきが発生し易いおそれがある。特に当該酸化物半導体薄膜4のキャリア濃度が1018cm−3を超える場合は、当該酸化物半導体薄膜4の内部を完全に空乏化することが困難となるため、閾値電圧がマイナス側にシフトしてしまい、スイッチング素子として機能しないおそれがある。
The lower limit of the carrier concentration of the oxide semiconductor
当該酸化物半導体薄膜4のMOS構造における300℃以上320℃以下で30分熱処理後の閾値電圧V1の熱処理前の閾値電圧V0に対する差の絶対値(|V0−V1|)の上限としては、8Vであり、6Vがより好ましく、5Vがさらに好ましい。上記閾値電圧の差の絶対値が上記上限を超える場合、薄膜トランジスタの製造時に品質のばらつきが発生するおそれがある。一方、上記閾値電圧の差の絶対値の下限としては、0Vである。
The upper limit of the absolute value (| V0−V1 |) of the difference between the threshold voltage V1 after the heat treatment for 30 minutes at 300 ° C. to 320 ° C. and the threshold voltage V0 before the heat treatment in the MOS structure of the oxide semiconductor
当該酸化物半導体薄膜4の密度の下限としては、5.8g/cm3が好ましく、5.9g/cm3がより好ましく、6g/cm3がさらに好ましい。当該酸化物半導体薄膜4の密度が上記下限未満である場合、膜中の欠陥が増大し、当該薄膜トランジスタ1の電界効果移動度が低下するおそれがある。一方、当該酸化物半導体薄膜4の密度の上限は、特に限定されないが、通常当該酸化物半導体薄膜4の密度は10g/cm3以下である。
The lower limit of the density of the oxide semiconductor
当該酸化物半導体薄膜4のホール移動度の下限としては、5cm2/Vsが好ましく、10cm2/Vsがより好ましい。当該酸化物半導体薄膜4のホール移動度が上記下限未満である場合、当該薄膜トランジスタ1のスイッチング特性が低下するおそれがある。一方、当該酸化物半導体薄膜4のホール移動度の上限は、特に限定されないが、通常当該酸化物半導体薄膜4のホール移動度は20cm2/Vs以下である。ここで、「ホール移動度」とは、ホール効果測定により得られるキャリア移動度を指す。
The lower limit of the Hall mobility of the oxide semiconductor
(ESL保護膜)
ESL保護膜5は、ソース及びドレイン電極6をエッチングにより形成する際に当該酸化物半導体薄膜4が損傷を受けて当該薄膜トランジスタ1の特性が低下することを抑止する保護膜である。ESL保護膜5を構成する薄膜としては、特に限定されないが、水素濃度が比較的低いシリコン酸化膜が好適に用いられる。
(ESL protective film)
The ESL
ESL保護膜5の平均厚さの下限としては、50nmが好ましく、80nmがより好ましい。一方、ESL保護膜5の平均厚さの上限としては、250nmが好ましく、200nmがより好ましい。ESL保護膜5の平均厚さが上記下限未満である場合、ESL保護膜5の当該酸化物半導体薄膜4の保護効果が不足するおそれがある。逆に、ESL保護膜5の平均厚さが上記上限を超える場合、パッシベーション絶縁膜7の平坦化が困難となるおそれや、ソース及びドレイン電極6からの配線が断線し易くなるおそれがある。
As a minimum of average thickness of ESL
(ソース及びドレイン電極)
ソース及びドレイン電極6は、ゲート絶縁膜3及びESL保護膜5の一部を覆うと共に、当該薄膜トランジスタ1のチャネルの両端で当該酸化物半導体薄膜4と電気的に接続する。このソース電極6a及びドレイン電極6bの間には、ゲート電極2及びソース電極6a間の電圧並びにソース電極6a及びドレイン電極6b間の電圧に応じて、当該薄膜トランジスタ1のドレイン電流が流れる。
(Source and drain electrodes)
The source and drain electrodes 6 cover part of the gate insulating film 3 and the ESL
ソース及びドレイン電極6を構成する薄膜としては、導電性を有する限り特に限定されず、例えばゲート電極2と同様の薄膜を用いることができる。
The thin film constituting the source and drain electrodes 6 is not particularly limited as long as it has conductivity, and for example, a thin film similar to the
ソース及びドレイン電極6の平均厚さの下限としては、50nmが好ましく、80nmがより好ましい。一方、ソース及びドレイン電極6の平均厚さの上限としては、200nmが好ましく、150nmがより好ましい。ソース及びドレイン電極6の平均厚さが上記下限未満である場合、ソース及びドレイン電極6の抵抗が大きいため、ソース及びドレイン電極6での電力消費が増大するおそれや断線が発生し易くなるおそれがある。逆に、ソース及びドレイン電極6の平均厚さが上記上限を超える場合、パッシベーション絶縁膜7の平坦化が困難となり、導電膜8による配線が困難となるおそれがある。
As a minimum of average thickness of source and drain electrode 6, 50 nm is preferred and 80 nm is more preferred. On the other hand, the upper limit of the average thickness of the source and drain electrodes 6 is preferably 200 nm, and more preferably 150 nm. When the average thickness of the source and drain electrodes 6 is less than the lower limit, the resistance of the source and drain electrodes 6 is large, so that power consumption at the source and drain electrodes 6 may increase or disconnection may easily occur. is there. On the other hand, when the average thickness of the source and drain electrodes 6 exceeds the upper limit, it is difficult to planarize the
ソース電極6a及びドレイン電極6bの対向距離、すなわち当該薄膜トランジスタ1のチャネル長の下限としては、5μmが好ましく、10μmがより好ましい。一方、当該薄膜トランジスタ1のチャネル長の上限としては、50μmが好ましく、30μmがより好ましい。当該薄膜トランジスタ1のチャネル長が上記下限未満である場合、精度の高い加工が必要となり、製造歩留まりが低下するおそれがある。逆に、当該薄膜トランジスタ1のチャネル長が上記上限を超える場合、当該薄膜トランジスタ1のスイッチング時間が長くなるおそれがある。
The opposing distance between the
ソース電極6a及びドレイン電極6bのチャネル幅方向の長さ、すなわち当該薄膜トランジスタ1のチャネル幅の下限としては、100μmが好ましく、150μmがより好ましい。一方、当該薄膜トランジスタ1のチャネル幅の上限としては、300μmが好ましく、250μmがより好ましい。当該薄膜トランジスタ1のチャネル幅が上記下限未満である場合、ドレイン電流が不足するおそれがある。逆に、当該薄膜トランジスタ1のチャネル幅が上記上限を超える場合、ドレイン電流が過剰となり、当該薄膜トランジスタ1の消費電力が不要に増大するおそれがある。
The length of the
(パッシベーション絶縁膜)
パッシベーション絶縁膜7は、ゲート電極2、ゲート絶縁膜3、酸化物半導体薄膜4、ESL保護膜5、ソース電極6a及びドレイン電極6bを覆い、当該薄膜トランジスタ1の特性が劣化することを防ぐ。パッシベーション絶縁膜7を構成する薄膜としては、特に限定されないが、当該薄膜トランジスタ1の外部からの水分侵入を抑制するためシリコン窒化膜が好適に用いられる。
(Passivation insulation film)
The
パッシベーション絶縁膜7の平均厚さの下限としては、100nmが好ましく、200nmがより好ましい。一方、パッシベーション絶縁膜7の平均厚さの上限としては、500nmが好ましく、400nmがより好ましい。パッシベーション絶縁膜7の平均厚さが上記下限未満である場合、当該薄膜トランジスタ1の特性の劣化防止効果が不足するおそれがある。逆に、パッシベーション絶縁膜7の平均厚さが上記上限を超える場合、パッシベーション絶縁膜7が不要に厚くなり、当該薄膜トランジスタ1の製造コストの上昇や生産効率の低下が発生するおそれがある。
The lower limit of the average thickness of the
また、パッシベーション絶縁膜7には、ドレイン電極6bと電気的に接続できるようにコンタクトホール9が開けられている。コンタクトホール9の平面視形状及び大きさはドレイン電極6bとの電気的な接続が確保される限り特に限定されないが、例えば平面視で1辺10μm以上30μm以下の方形状とすることができる。
A
(導電膜)
導電膜8は、パッシベーション絶縁膜7に開けられたコンタクトホール9を介してドレイン電極6bに接続される。この導電膜8により当該薄膜トランジスタ1からドレイン電流を取得する配線が構成される。
(Conductive film)
The conductive film 8 is connected to the
導電膜8としては、特に限定されず、ゲート電極2と同様の薄膜を用いることができる。中でもディスプレイへの応用に好適な透明導電膜が好ましい。このような透明導電膜としてはITO膜、ZnO膜等を挙げることができる。
The conductive film 8 is not particularly limited, and a thin film similar to the
導電膜8がドレイン電極6bと接続する位置としては、ドレイン電極6bがゲート酸化膜3と接する位置であって、ゲート電極2の直上ではない位置が好ましい。導電膜8をこのような位置でドレイン電極6bと接続することで、導電膜8とドレイン電極6bとの接続部分の平坦性が高まるため、接触抵抗の増大を抑止できる。
The position where the conductive film 8 is connected to the
導電膜8の平均配線幅の下限としては、5μmが好ましく、10μmがより好ましい。一方、導電膜8の平均配線幅の上限としては、50μmが好ましく、30μmがより好ましい。導電膜8の平均配線幅が上記下限未満である場合、導電膜8による配線が高抵抗となり、導電膜8による配線での消費電力や電圧降下が増大するおそれがある。逆に、導電膜8の平均配線幅が上記上限を超える場合、当該薄膜トランジスタ1の集積度が低下するおそれがある。ここで、「導電膜8の平均配線幅」とは、導電膜8のうちパッシベーション絶縁膜7の表面に配設され、当該薄膜トランジスタ1からドレイン電流を取得する配線部分の平均幅を意味する。
The lower limit of the average wiring width of the conductive film 8 is preferably 5 μm and more preferably 10 μm. On the other hand, the upper limit of the average wiring width of the conductive film 8 is preferably 50 μm and more preferably 30 μm. When the average wiring width of the conductive film 8 is less than the above lower limit, the wiring by the conductive film 8 becomes high resistance, and there is a possibility that power consumption and voltage drop in the wiring by the conductive film 8 increase. Conversely, when the average wiring width of the conductive film 8 exceeds the above upper limit, the degree of integration of the thin film transistor 1 may be reduced. Here, the “average wiring width of the conductive film 8” means the average width of a wiring portion that is disposed on the surface of the
導電膜8の平均厚さの下限としては、50nmが好ましく、80nmがより好ましい。一方、導電膜8の平均厚さの上限としては、200nmが好ましく、150nmがより好ましい。導電膜8の平均厚さが上記下限未満である場合、導電膜8による配線が高抵抗となり、導電膜8による配線での消費電力や電圧降下が増大するおそれがある。逆に、導電膜8の平均厚さが上記上限を超える場合、導電膜8による配線の平均配線幅に対して導電膜8の平均厚さが大きくなり過ぎるため、配線が傾き易く、配線自身の断線や隣接する配線との短絡が発生し易くなるおそれがある。ここで、「導電膜8の平均厚さ」とは、導電膜8のうちパッシベーション絶縁膜7の表面に配設され、当該薄膜トランジスタ1からドレイン電流を取得する配線部分の平均厚さを意味する。
The lower limit of the average thickness of the conductive film 8 is preferably 50 nm, and more preferably 80 nm. On the other hand, the upper limit of the average thickness of the conductive film 8 is preferably 200 nm, and more preferably 150 nm. When the average thickness of the conductive film 8 is less than the above lower limit, the wiring formed by the conductive film 8 has high resistance, and power consumption and voltage drop in the wiring formed by the conductive film 8 may increase. On the other hand, when the average thickness of the conductive film 8 exceeds the above upper limit, the average thickness of the conductive film 8 becomes too large with respect to the average wiring width of the wiring by the conductive film 8, so that the wiring tends to be inclined and the wiring itself There is a possibility that a disconnection or a short circuit with an adjacent wiring is likely to occur. Here, the “average thickness of the conductive film 8” means the average thickness of a wiring portion that is disposed on the surface of the
当該薄膜トランジスタ1の閾値電圧の下限としては、−5Vが好ましく、0Vがより好ましい。一方、当該薄膜トランジスタ1の閾値電圧の上限としては、4Vが好ましい。当該薄膜トランジスタ1の閾値電圧が上記下限未満である場合、ゲート電極2に電圧を印加しないスイッチング素子としてのオフ状態におけるリーク電流が大きくなり、当該薄膜トランジスタ1の待機電力が大きくなり過ぎるおそれがある。逆に、当該薄膜トランジスタ1の閾値電圧が上記上限を超える場合、ゲート電極2に電圧を印加したスイッチング素子としてのオン状態におけるドレイン電流が不足するおそれがある。なお、「薄膜トランジスタの閾値電圧」とは、チャネル長が20μm、チャネル幅が200μmのトランジスタのドレイン電流が10−9Aとなるゲート電圧を指す。
The lower limit of the threshold voltage of the thin film transistor 1 is preferably −5V, and more preferably 0V. On the other hand, the upper limit of the threshold voltage of the thin film transistor 1 is preferably 4V. When the threshold voltage of the thin film transistor 1 is less than the lower limit, a leakage current in an off state as a switching element in which no voltage is applied to the
当該薄膜トランジスタ1の電界効果移動度(電子移動度)の下限としては、4cm2/Vsが好ましく、5cm2/Vsがより好ましい。当該薄膜トランジスタ1の電界効果移動度が上記下限未満である場合、当該薄膜トランジスタ1のスイッチング特性が低下するおそれがある。一方、当該薄膜トランジスタ1の電界効果移動度の上限は、特に限定されないが、通常当該薄膜トランジスタ1の電界効果移動度は10cm2/Vs以下である。ここで、「電界効果移動度」とは、ゲート電圧Vg[V]、ドレイン電圧Vd[V]、ドレイン電流Id[A]、チャネル長L[m]、チャネル幅W[m]、ゲート絶縁膜の容量Cox[F]とするとき、薄膜トランジスタの電流−電圧特性の線形領域において、以下の式(3)に示すμFE[m2/Vs]で求められる値を指す。
当該薄膜トランジスタ1のSS値の上限としては、0.7Vが好ましく、0.5Vがより好ましい。当該薄膜トランジスタ1のSS値が上記上限を超える場合、当該薄膜トランジスタ1のスイッチングに時間を要するおそれがある。一方、当該薄膜トランジスタ1のSS値の下限としては、特に限定されないが、通常当該薄膜トランジスタ1のSS値は0.2V以上である。ここで、「薄膜トランジスタのSS値」とは、ドレイン電流を1桁上昇させるのに必要なゲート電圧の変化量の最小値を指す。 The upper limit of the SS value of the thin film transistor 1 is preferably 0.7V, and more preferably 0.5V. When the SS value of the thin film transistor 1 exceeds the upper limit, switching of the thin film transistor 1 may take time. On the other hand, the lower limit of the SS value of the thin film transistor 1 is not particularly limited, but usually the SS value of the thin film transistor 1 is 0.2 V or more. Here, the “SS value of the thin film transistor” refers to the minimum value of the change amount of the gate voltage necessary for increasing the drain current by one digit.
当該薄膜トランジスタ1のヒステリシスの上限としては、0.5Vが好ましく、0.4Vがより好ましい。上記ヒステリシスが上記上限を超える場合、当該薄膜トランジスタ1の使用により当該薄膜トランジスタ1の特性が変化し、所望の性能が発揮されなくなるおそれがある。一方、当該薄膜トランジスタ1のヒステリシスの下限は特に限定されず、0Vであってもよい。ここで、「薄膜トランジスタのヒステリシス」とは、ゲート電圧を−30V〜+30Vまで変化させながら3回印加した際の閾値電圧のシフト量の絶対値を指す。 The upper limit of the hysteresis of the thin film transistor 1 is preferably 0.5 V, and more preferably 0.4 V. When the hysteresis exceeds the upper limit, the use of the thin film transistor 1 may change the characteristics of the thin film transistor 1 and the desired performance may not be exhibited. On the other hand, the lower limit of the hysteresis of the thin film transistor 1 is not particularly limited, and may be 0V. Here, “hysteresis of the thin film transistor” refers to the absolute value of the shift amount of the threshold voltage when the gate voltage is applied three times while changing from −30V to + 30V.
[薄膜トランジスタの製造方法]
当該薄膜トランジスタ1は、例えばゲート電極2を成膜する工程、ゲート絶縁膜3を成膜する工程、酸化物半導体薄膜4を成膜する工程、ESL保護膜5を成膜する工程、ソース及びドレイン電極6を成膜する工程、パッシベーション絶縁膜7を成膜する工程、導電膜8を成膜する工程及びアニール処理を行う工程を備える製造方法により製造することができる。
[Thin Film Transistor Manufacturing Method]
The thin film transistor 1 includes, for example, a step of forming a
<ゲート電極成膜工程>
ゲート電極成膜工程では、基板Xの表面にゲート電極2を成膜する。具体的には、まず基板Xの表面に公知の方法、例えばスパッタリング法により導電膜を所望の膜厚となるように積層する。スパッタリング法により導電膜を積層する際の条件としては、特に限定されないが、例えば基板温度20℃以上50℃以下、成膜パワー250W以上350W以下、圧力0.1Pa以上0.3Pa以下、キャリアガスArの条件とすることができる。
<Gate electrode deposition process>
In the gate electrode film formation step, the
次に、この導電膜をパターニングすることにより、ゲート電極2を形成する。パターニングの方法としては、特に限定されないが、例えばフォトリソグラフィを行った後に、ウエットエッチングを行う方法を用いることができる。このとき、ゲート絶縁膜3のカバレッジがよくなるように、ゲート電極2の断面を基板Xに向かって拡張するテーパー状にエッチングするとよい。
Next, the conductive film is patterned to form the
<ゲート酸化膜成膜工程>
ゲート酸化膜成膜工程では、ゲート電極2を覆うように基板Xの表面側にゲート酸化膜3を成膜する。具体的には、まず基板Xの表面側に公知の方法、例えば各種CVD法により絶縁膜を所望の膜厚となるように積層する。例えばプラズマCVD法によりシリコン酸化膜を積層する場合の条件としては、基板温度300℃以上400℃以下、成膜パワー250W以上350W以下、圧力100Pa以上300Pa以下、並びに原料ガスとしてN2Oの供給量80sccm以上120sccm以下、及び10%窒素希釈されたSiH4の供給量30sccm以上50sccm以下の条件とすることができる。
<Gate oxide film formation process>
In the gate oxide film forming step, the gate oxide film 3 is formed on the surface side of the substrate X so as to cover the
次に、この絶縁膜をパターニングすることにより、ゲート絶縁膜3を形成する。パターニングの方法としては、特に限定されないが、例えばフォトリソグラフィを行った後に、ウエットエッチングを行う方法を用いることができる。 Next, the gate insulating film 3 is formed by patterning this insulating film. The patterning method is not particularly limited. For example, a method of performing wet etching after performing photolithography can be used.
<酸化物半導体薄膜成膜工程>
酸化物半導体薄膜成膜工程では、ゲート絶縁膜3の表面で、かつゲート電極2の直上に当該酸化物半導体薄膜4を成膜する。当該酸化物半導体薄膜4は、例えば図2に示す酸化物半導体薄膜の製造装置を用いて、In、Ga、Zn、Sn又はこれらの組合せを含むターゲットYを用い、スパッタリング法により基板Xの表面に酸化物半導体を製造する方法により製造することができる。
<Oxide semiconductor thin film deposition process>
In the oxide semiconductor thin film forming step, the oxide semiconductor
(酸化物半導体薄膜の製造装置)
図2に示す酸化物半導体薄膜の製造装置は、チャンバー11と、上記チャンバー11を減圧する排気ポンプ12とを備える。
(Oxide semiconductor thin film manufacturing equipment)
The oxide semiconductor thin film manufacturing apparatus shown in FIG. 2 includes a
チャンバー11は、その内部に配設された円筒状の基板保持円筒部13と、2つの成膜工程部14(第1成膜工程部14a及び第2成膜工程部14b)と、活性種照射部15とを有する。
The
チャンバー11は、チャンバー11の壁から延出し基板保持円筒部13の近傍まで延びる一対の仕切板16により区画に仕切られる。チャンバー11は3つの上記区画を有する。これら3つの区画は、基板保持円筒部13の側面に沿って配設され、そのうち2つの区画が基板保持円筒部13の中心軸を挟んで対向する。また、各区画には、対向する2つの区画に第1成膜工程部14a及び第2成膜工程部14bがそれぞれ配設され、他の1区画に活性種照射部15が配設される。このように第1成膜工程部14a、第2成膜工程部14b及び活性種照射部15を仕切板16により仕切られた区画に配設することで、他の区画に配設される成膜工程部14又は活性種照射部15からガスが混入することを抑止できる。
The
チャンバー11の材質としては、特に限定されないが、例えば石英ガラス、セラミック、SiC等を用いることができる。チャンバー11の形状としては、基板保持円筒部13、成膜工程部14及び活性種照射部15を収容できる限り特に限定されないが、例えば円筒状のものを好適に用いることができる。また、チャンバー11は密閉され、減圧可能に構成される。
The material of the
基板保持円筒部13は、その側面に基板Xを収容する1又は複数の基板ホルダー17を有する。この基板ホルダー17により基板保持円筒部13は、1又は複数の基板Xを保持することができる。また、この基板保持円筒部13は、回転方向が第1成膜工程部14a、第2成膜工程部14b、活性種照射部15の順となるように、その中心軸を軸として回転することができる。
The substrate holding
2つの成膜工程部14(第1成膜工程部14a及び第2成膜工程部14b)は、ターゲットYからスパッタリングされた原子により基板Xの表面に薄膜を成膜する装置である。
The two film forming process units 14 (first film forming
成膜工程部14は、ターゲットYを保持するバッキングプレート18を有し、成膜工程部14に放電ガスを供給するガス供給管19と接続されている。また、上記ガス供給管19は、供給する放電ガスの供給量を制御するマスフローコントローラ20をその経路上に有する。
The film forming
バッキングプレート18は、ターゲットYを保持する面が基板保持円筒部13の側面と対向するように配設されている。また、成膜工程部14は、バッキングプレート18が陰極、基板保持円筒部13の基板ホルダー17が陽極となるように高電圧を印加することができる。上記印加電圧は、直流であっても、交流であってもよい。なお、基板保持円筒部13の回転によりバッキングプレート18と対向する基板ホルダー17が逐次移動していくので、基板保持円筒部13の基板ホルダー17の一部又は全部がバッキングプレート18と対向する位置にある場合に、この基板ホルダー17とバッキングプレート18との間に電圧印加が行われる構成としてもよい。
The
バッキングプレート18と基板保持円筒部13の側面との対向距離の下限としては、2cmが好ましく、3cmがより好ましい。一方、上記対向距離の上限としては、10cmが好ましく、7cmがより好ましい。上記対向距離が上記下限未満である場合、成膜される膜の厚さが不均一となるおそれがある。逆に、上記対向距離が上記上限を超える場合、スパッタリングされた原子が放電ガスにより散乱されるため、成膜速度が低下するおそれがある。
The lower limit of the facing distance between the
ガス供給管19及びマスフローコントローラ20は、図2に示すように2つの成膜工程部14に共通に設けてもよいし、第1成膜工程部14a及び第2成膜工程部14bにそれぞれ設けてもよい。ガス供給管19及びマスフローコントローラ20としては、それぞれ公知のガス供給管及びマスフローコントローラを使用することができる。
As shown in FIG. 2, the
成膜工程部14は、減圧環境下において放電ガスを流入させ、基板ホルダー17とバッキングプレート18との間に電圧を印加することでプラズマを形成できる。基板ホルダー17に基板Xを保持し、バッキングプレート18にターゲットYを保持した状態で、プラズマを生成することで、高速のイオンが陰極であるバッキングプレート18に保持されたターゲットYにスパッタリング現象を生じさせる。このスパッタリング現象によりターゲットYからスパッタリングされた原子が基板ホルダー17に保持された基板Xの表面に薄膜を形成する。
The film forming
活性種照射部15は、プラズマにより生成した酸素ラジカルを含む活性種を成膜工程部14で成膜された薄膜に照射する装置である。活性種照射部15は、基板保持円筒部13の側面と対向する位置で、かつ基板保持円筒部13の側面の回転方向に沿って第2成膜工程部14b、活性種照射部15、及び第1成膜工程部14aの順となるように配設されている。
The active
活性種照射部15は、プラズマ生成器21を有し、活性種照射部15に放電ガスを供給するガス供給管22と接続されている。また、上記ガス供給管22は、供給する放電ガスの供給量を制御するマスフローコントローラ23をその経路上に有する。
The active
プラズマ生成器21は、基板保持円筒部13の側面に向かって生成したプラズマの酸素ラジカルを含む活性種が照射されるように配設されている。このプラズマ生成器21は、マスフローコントローラ23を介して供給される酸素を含む原料ガスからプラズマを生成する。また、排気ポンプ12の吸引により生じるダウンフローに乗って、上記プラズマにより生成された酸素ラジカルを含む活性種が基板保持円筒部13の側面へと移動する。なお、このプラズマ生成器21としては、公知のプラズマ発生装置を用いることができる。
The
プラズマ生成器21のプラズマ生成空間と基板保持円筒部13の側面との対向距離の下限としては、2cmが好ましく、3cmがより好ましい。一方、上記対向距離の上限としては、7cmが好ましく、5cmがより好ましい。上記対向距離が上記下限未満である場合、基板Xがプラズマによりダメージを受けるおそれがある。逆に、上記対向距離が上記上限を超える場合、プラズマ生成器21により生成された酸素ラジカルが不活性化し、基板保持円筒部13の側面に十分に照射できないおそれがある。
The lower limit of the facing distance between the plasma generation space of the
排気ポンプ12は、チャンバー11の内部を減圧するためのポンプである。排気ポンプ12としては、公知のポンプ、例えばターボ分子ポンプ、ロータリポンプ、メカニカルブースターポンプ等を用いることができる。
The
以下、上記酸化物半導体薄膜の製造装置を用いて、当該酸化物半導体薄膜4を製造する方法について、図3を用いて説明する。
Hereinafter, a method for manufacturing the oxide semiconductor
当該酸化物半導体薄膜4の製造方法は、In、Ga、Zn、Sn又はこれらの組合せを含むターゲットYを用い、スパッタリング法により基板Xの表面に酸化物半導体4を製造する方法であって、基板X及びターゲットYを酸化物半導体薄膜の製造装置に保持する準備工程S1と、上記ターゲットYからスパッタリングされた原子により上記基板Xの表面に薄膜を成膜する工程S2と、プラズマにより生成した酸素ラジカルを含む活性種を上記薄膜に照射する工程S3と、当該酸化物半導体薄膜4のパターニングを行うパターニング工程S4とを備える。
The manufacturing method of the oxide semiconductor
(準備工程)
準備工程S1では、基板X及びターゲットYを酸化物半導体薄膜の製造装置に保持する。具体的には、上記酸化物半導体薄膜の製造装置の基板ホルダー17に基板Xを保持し、バッキングプレート18にターゲットYを保持する。
(Preparation process)
In the preparation step S1, the substrate X and the target Y are held in an oxide semiconductor thin film manufacturing apparatus. Specifically, the substrate X is held on the
ターゲットYは、スパッタリングにより原子が放出される固体であり、In、Ga、Zn、Sn又はこれらの組合せを含む。ターゲットYのこれらの金属原子の合計含有率としては、特に限定されないが、純度が高い方が好ましく、例えば99質量%以上100質量%以下とできる。ターゲットYに含まれる原子としては、成膜する当該酸化物半導体薄膜4の組成として必要な原子を含む限り特に限定されないが、上記ターゲットYが、In、Ga及びZnを含むとよい。このように上記ターゲットYが、In、Ga及びZnを含むことで、In−Ga−Zn−O薄膜が製造できる。In−Ga−Zn−O薄膜は、その特性のフリーキャリア依存性が強いため、当該酸化物半導体薄膜4の品質のばらつき抑止効果が特に高い。上記ターゲットYが、In、Ga及びZnを含む場合、得られる当該薄膜トランジスタ1の特性の観点から、Znに対するInの原子数比としては、1以上2以下が好ましい。また、Znに対するGaの原子数比としては、1以上2以下が好ましい。
The target Y is a solid from which atoms are released by sputtering, and includes In, Ga, Zn, Sn, or a combination thereof. The total content of these metal atoms in the target Y is not particularly limited, but is preferably higher in purity, for example, 99% by mass or more and 100% by mass or less. The atoms included in the target Y are not particularly limited as long as they include atoms necessary for the composition of the oxide semiconductor
基板X及びターゲットYの温度としては、特に限定されず、例えば25℃(室温)以上100℃以下とできる。 It does not specifically limit as temperature of the board | substrate X and the target Y, For example, it can be 25 degreeC (room temperature) or more and 100 degrees C or less.
基板Xを保持する基板ホルダー17は、基板保持円筒部13の側面に配設されている。このため、基板ホルダー17に保持された基板Xを基板保持円筒部13と共に回転させることができる。基板保持円筒部13を回転させることで、基板Xは第1成膜工程部14a、第2成膜工程部14b、及び活性種照射部15をこの順に通過し、再び第1成膜工程部14aに戻る。基板Xは、成膜工程部14を通過する際に後述する成膜工程S2での成膜処理を受け、活性種照射部15を通過する際に活性種照射工程S3での活性種照射を受ける。つまり、基板保持円筒部13を回転させることで、成膜工程S2と活性種照射工程S3とが交互に複数回繰り返される。
The
上記基板保持円筒部13の回転数の下限としては、50rpmが好ましく、70rpmがより好ましい。一方、上記基板保持円筒部13の回転数の上限としては、150rpmが好ましく、120rpmがより好ましい。上記基板保持円筒部13の回転数が上記下限未満である場合、基板Xの成膜工程S2での1回当たりの滞留時間が長くなるため、1回に成膜される膜厚が大きくなる。その結果、これに続く活性種照射工程S3において直前の成膜工程S2で成膜された膜の基板X側まで十分に酸化できないおそれがある。また、基板Xの成膜工程S2での1回当たりの滞留時間が長くなるため、基板Xに不要に多くの酸素ラジカルが照射され、製造効率が悪化するおそれや基板Xにダメージを与えるおそれがある。逆に上記基板保持円筒部13の回転数が上記上限を超える場合、基板Xの成膜工程S2での1回当たりの滞留時間が短くなるため成膜速度が低下し製造効率が悪化するおそれや、活性種照射工程S3での1回当たりの滞留時間が短くなるため成膜工程S2で成膜された膜を十分に酸化できないおそれがある。
As a minimum of the number of rotations of the above-mentioned substrate maintenance
(成膜工程)
成膜工程S2では、上記ターゲットYからスパッタリングされた原子により上記基板Xの表面に薄膜を成膜する。具体的には、上記酸化物半導体薄膜の製造装置の成膜工程部14を用いてスパッタリング法により金属薄膜を成膜する。
(Film formation process)
In the film forming step S2, a thin film is formed on the surface of the substrate X by atoms sputtered from the target Y. Specifically, a metal thin film is formed by sputtering using the film forming
スパッタリング法に用いる放電ガスとしては、特に限定されないが、Arが好ましい。Arは、不活性ガスであり他の原子と反応し難く、かつイオン1個がターゲットYに衝突した際に原子がスパッタリングされる確率(スパッタリング率)が高い。 The discharge gas used in the sputtering method is not particularly limited, but Ar is preferable. Ar is an inert gas, does not easily react with other atoms, and has a high probability (sputtering rate) that atoms are sputtered when one ion collides with the target Y.
成膜工程部14へ供給する上記放電ガスの供給量の下限としては、200sccmが好ましく、300sccmがより好ましい。一方、上記放電ガスの供給量の上限としては、800sccmが好ましく、700sccmがより好ましい。上記放電ガスの供給量が上記下限未満である場合、スパッタリングされる原子の不足により成膜速度が不十分となり、製造効率が低下するおそれがある。逆に、上記放電ガスの供給量が上記上限を超える場合、スパッタリングされた原子が放電ガスにより散乱され、基板Xの表面に到達し難くなるため、成膜が困難となるおそれがある。
The lower limit of the supply amount of the discharge gas supplied to the film forming
上記成膜工程部14のターゲットYと基板Xとの間の圧力(成膜工程部14の圧力)の下限としては、0.1Paが好ましく、0.3Paがより好ましい。一方、上記成膜工程部14の圧力の上限としては、10Paが好ましく、1Paがより好ましい。上記成膜工程部14の圧力が上記下限未満である場合、イオン化した放電ガスのターゲットYへの衝突量が少なくなるため、スパッタリングされる原子の不足により成膜速度が不十分となり、製造効率が低下するおそれがある。逆に、上記成膜工程部14の圧力が上記上限を超える場合、スパッタリングされた原子が放電ガスにより散乱され、基板Xの表面に到達し難くなるため、成膜が困難となるおそれがある。
The lower limit of the pressure between the target Y and the substrate X in the film forming process unit 14 (pressure in the film forming process unit 14) is preferably 0.1 Pa, and more preferably 0.3 Pa. On the other hand, the upper limit of the pressure of the film forming
上記成膜工程部14の成膜パワーとしては、プラズマが生成され、スパッタリングが発生する限り、特に限定されないが、例えば1000W以上3000W以下とできる。
The film forming power of the film forming
成膜工程S2における1回当たりのスパッタリング時間の下限としては、0.01秒が好ましく、0.02秒がより好ましい。一方、成膜工程S2における1回当たりのスパッタリング時間の上限としては、0.08秒が好ましく、0.06秒がより好ましい。上記スパッタリング時間が上記下限未満である場合、成膜速度が低下し、製造効率が悪化するおそれがある。逆に、上記スパッタリング時間が上記上限を超える場合、1回に成膜される膜厚が大きくなる。その結果、これに続く活性種照射工程S3において直前の成膜工程S2で成膜された膜の基板X側まで十分に酸化できないおそれがある。なお、1回当たりのスパッタリング時間とは、活性種照射工程S3と次の活性種照射工程S3との間でスパッタリングされた原子により基板Xの表面で成膜が行われている時間を指す。つまり、1回当たりのスパッタリング時間とは、第1成膜工程部14a及び第2成膜工程部14bにより基板Xの表面に成膜が行われている時間の和を意味する。
As a minimum of sputtering time per time in film formation process S2, 0.01 seconds are preferred and 0.02 seconds are more preferred. On the other hand, the upper limit of the sputtering time per time in the film forming step S2 is preferably 0.08 seconds, and more preferably 0.06 seconds. When the said sputtering time is less than the said minimum, there exists a possibility that the film-forming speed | rate may fall and manufacturing efficiency may deteriorate. On the other hand, when the sputtering time exceeds the upper limit, the film thickness formed at one time is increased. As a result, in the subsequent active species irradiation step S3, the film formed in the immediately preceding film forming step S2 may not be sufficiently oxidized to the substrate X side. Note that the sputtering time per time indicates the time during which film formation is performed on the surface of the substrate X by atoms sputtered between the active species irradiation step S3 and the next active species irradiation step S3. That is, the sputtering time per time means the sum of the time during which film formation is performed on the surface of the substrate X by the first film
成膜工程S2における1回当たりに成膜される金属薄膜の平均厚さの下限としては、3nmが好ましく、5nmがより好ましい。一方、成膜工程S2における1回当たりに成膜される金属薄膜の平均厚さの上限としては、15nmが好ましく、10nmがより好ましい。上記平均厚さが上記下限未満である場合、成膜速度が低下し、製造効率が悪化するおそれがある。逆に、上記平均厚さが上記上限を超える場合、これに続く活性種照射工程S3において直前の成膜工程S2で成膜された膜の基板X側まで十分に酸化できないおそれがある。 The lower limit of the average thickness of the metal thin film formed per time in the film forming step S2 is preferably 3 nm, and more preferably 5 nm. On the other hand, the upper limit of the average thickness of the metal thin film formed per time in the film forming step S2 is preferably 15 nm, and more preferably 10 nm. When the said average thickness is less than the said minimum, there exists a possibility that the film-forming speed | rate may fall and manufacturing efficiency may deteriorate. On the other hand, when the average thickness exceeds the upper limit, there is a possibility that the film formed in the immediately preceding film forming step S2 in the active species irradiation step S3 cannot be sufficiently oxidized to the substrate X side.
(活性種照射工程)
活性種照射工程S3は、プラズマにより生成した酸素ラジカルを含む活性種を上記薄膜に照射する。具体的には、上記酸化物半導体薄膜の製造装置の活性種照射部15を用いて酸素ラジカルを含む活性種を基板Xの表面側に照射する。
(Active species irradiation process)
In the active species irradiation step S3, the thin film is irradiated with active species containing oxygen radicals generated by plasma. Specifically, the active species containing oxygen radicals are irradiated on the surface side of the substrate X using the active
酸素ラジカルを生成する原料ガス(酸素原料ガス)としては、酸素ラジカルが生成できる限り特に限定されないが、O2、N2O等を挙げることができる。また、原料ガスに不活性ガスを含むとよい。このように不活性ガスを含むガスの電離によりプラズマを生成することで、酸素ラジカルの生成量の制御性が向上する。その結果、当該酸化物半導体薄膜4の品質のばらつき抑止効果がより確実に得られる。この不活性ガスとしては、N2やArを挙げることができる。中でもプラズマを生成し易いArが好ましい。
The source gas for generating oxygen radicals (oxygen source gas) is not particularly limited as long as oxygen radicals can be generated, and examples thereof include O 2 and N 2 O. In addition, the source gas may contain an inert gas. Thus, by generating plasma by ionization of a gas containing an inert gas, the controllability of the amount of oxygen radicals generated is improved. As a result, the effect of suppressing variation in quality of the oxide semiconductor
原料ガスが不活性ガスを含む場合、不活性ガスと酸素を含むガスとが混合された混合ガスをプラズマ生成器21に供給してもよいが、図2に示すように複数のマスフローコントローラ23を用いて別々に供給してもよい。不活性ガスと酸素を含むガスとを別々に供給する場合、図2に示すようにガス供給管22内で混合してもよいし、それぞれ独立にプラズマ生成器21に供給してもよい。なお、ガス供給管22及びマスフローコントローラ23としては、それぞれ公知のガス供給管及びマスフローコントローラを使用することができる。
When the source gas contains an inert gas, a mixed gas in which an inert gas and a gas containing oxygen are mixed may be supplied to the
活性種照射部15へ供給する上記酸素原料ガスの供給量の下限としては、3sccmが好ましく、5sccmがより好ましい。一方、上記酸素原料ガスの供給量の上限としては、55sccmが好ましく、30sccmがより好ましい。上記酸素原料ガスの供給量が上記下限未満である場合、酸素ラジカルの生成量が不足するため、当該酸化物半導体薄膜4の酸素空孔が増加し、当該酸化物半導体薄膜4の品質のばらつき抑止効果が不十分となるおそれがある。逆に、上記酸素原料ガスの供給量が上記上限を超える場合、酸素原料ガスにおける酸素ラジカルの濃度が低下し、成膜工程S2で成膜された膜を十分に酸化できないおそれがある。
The lower limit of the supply amount of the oxygen source gas supplied to the active
活性種照射部15へ供給する上記不活性ガスの供給量の下限としては、100sccmが好ましく、150sccmがより好ましい。一方、上記不活性ガスの供給量の上限としては、500sccmが好ましく、300sccmがより好ましい。上記不活性ガスの供給量が上記下限未満である場合、酸素ラジカルの生成量の制御性が悪化し、当該酸化物半導体薄膜4の品質のばらつき抑止効果が不十分となるおそれがある。逆に、上記不活性ガスの供給量が上記上限を超える場合、酸素ラジカルの濃度が低下し、成膜工程S2で成膜された膜を十分に酸化できないおそれがある。
The lower limit of the supply amount of the inert gas supplied to the active
上記活性種照射部15のプラズマ生成空間の圧力(活性種照射部15の圧力)の下限としては、0.05Paが好ましく、0.1Paがより好ましい。一方、上記活性種照射部15の圧力の上限としては、1Paが好ましく、0.3Paがより好ましい。上記活性種照射部15の圧力が上記下限未満である場合、酸素ラジカルの濃度が低下し、成膜工程S2で成膜された膜を十分に酸化できないおそれがある。逆に、上記活性種照射部15の圧力が上記上限を超える場合、プラズマの生成が困難となるおそれがある。
The lower limit of the pressure in the plasma generation space of the active species irradiation unit 15 (the pressure of the active species irradiation unit 15) is preferably 0.05 Pa, and more preferably 0.1 Pa. On the other hand, the upper limit of the pressure of the active
上記活性種照射部15の成膜パワーとしては、プラズマが生成される限り、特に限定されないが、例えば500W以上4000W以下とできる。
The film formation power of the active
活性種照射工程S3における1回当たりの活性種照射時間の下限としては、0.01秒が好ましく、0.02秒がより好ましい。一方、活性種照射工程S3における1回当たりの活性種照射時間の上限としては、0.08秒が好ましく、0.06秒がより好ましい。上記活性種照射時間が上記下限未満である場合、成膜工程S2で成膜された膜を十分に酸化できないおそれがある。逆に、上記活性種照射時間が上記上限を超える場合、基板Xに不要に多くの酸素ラジカルが照射されるため、当該酸化物半導体薄膜4中に過剰に酸素が取り込まれ、当該酸化物半導体薄膜4の特性が悪化するおそれがある。なお、1回当たりの活性種照射時間とは、成膜工程S2と次の成膜工程S2との間で酸素ラジカルが基板Xの表面に照射されている時間を指す。つまり、1回当たりの活性種照射時間とは、基板Xが活性種照射部15により活性種照射されている時間を意味する。
As a minimum of active species irradiation time per time in active species irradiation process S3, 0.01 seconds are preferred and 0.02 seconds are more preferred. On the other hand, the upper limit of the active species irradiation time per time in the active species irradiation step S3 is preferably 0.08 seconds, and more preferably 0.06 seconds. When the active species irradiation time is less than the lower limit, the film formed in the film forming step S2 may not be sufficiently oxidized. Conversely, when the active species irradiation time exceeds the upper limit, the substrate X is irradiated with an unnecessarily large amount of oxygen radicals, so that oxygen is excessively taken into the oxide semiconductor
活性種を基板Xの表面側に照射した後、酸化物半導体薄膜4の膜厚が所望の膜厚であるか否かを判定し、所望の膜厚になっていると判定される場合、酸化物半導体薄膜4のパターニング工程S4を行う。また、所望の膜厚になっていないと判定される場合は、成膜工程S2に戻り、成膜工程S2及び活性種照射工程S3を繰り返す。
After irradiating the active species to the surface side of the substrate X, it is determined whether or not the oxide semiconductor
この判定は、成膜工程S2で行うこともできるが、図3に示すように活性種照射工程S3で行うことが好ましい。活性種照射工程S3で行うことで、酸化物半導体薄膜4の表面まで水素原子注入に起因するフリーキャリアの発生を抑止することができる。
This determination can be performed in the film forming step S2, but is preferably performed in the active species irradiation step S3 as shown in FIG. By performing in active species irradiation process S3, generation | occurrence | production of the free carrier resulting from hydrogen atom injection to the surface of the oxide semiconductor
判定基準となる酸化物半導体薄膜4の膜厚は、膜厚測定器を用いてIn−Situでモニタしてもよいが、過去の実績に基づく酸化物半導体薄膜4の成膜速度を基にした成膜時間からの見積値等であってもよい。
The film thickness of the oxide semiconductor
(パターニング工程)
パターニング工程S4は、酸化物半導体薄膜4のパターニングを行い、酸化物半導体薄膜4を得る。
(Patterning process)
In the patterning step S4, the oxide semiconductor
酸化物半導体薄膜4のパターニングの方法としては、特に限定されないが、例えばフォトリソグラフィを行った後に、ウエットエッチングを行う方法を用いることができる。
A method for patterning the oxide semiconductor
<ESL保護膜成膜工程>
ESL保護膜成膜工程では、当該酸化物半導体薄膜4の表面でソース及びドレイン電極6が形成されない部分にESL保護膜5を成膜する。具体的には、まず基板Xの表面側に公知の方法、例えば各種CVD法により絶縁膜を所望の膜厚となるように積層する。例えばプラズマCVD法によりシリコン酸化膜を積層する場合の条件としては、基板温度100℃以上300℃以下、成膜パワー50W以上200W以下、圧力100Pa以上300Pa以下、並びに原料ガスとしてN2O供給量80sccm以上120sccm以下、及び10%窒素希釈されたSiH4供給量30sccm以上50sccm以下の条件とすることができる。
<ESL protective film formation process>
In the ESL protective film formation step, the ESL
次に、この絶縁膜をパターニングすることにより、ESL保護膜5を形成する。パターニングの方法としては、特に限定されないが、例えばフォトリソグラフィを行った後に、ウエットエッチングを行う方法を用いることができる。
Next, the ESL
<ソース及びドレイン電極成膜工程>
ソース及びドレイン電極成膜工程では、当該薄膜トランジスタ1のチャネルの両端で当該酸化物半導体薄膜4と電気的に接続するソース電極6a及びドレイン電極6bを成膜する。ソース及びドレイン電極6は、ゲート電極2と同様の方法で成膜することができる。
<Source and drain electrode film formation process>
In the source and drain electrode film forming step, the
<パッシベーション絶縁膜成膜工程>
パッシベーション絶縁膜成膜工程では、当該薄膜トランジスタ1を覆うパッシベーション絶縁膜7を成膜する。具体的には、基板Xの表面側に公知の方法、例えば各種CVD法により絶縁膜を所望の膜厚となるように積層する。例えばプラズマCVD法によりシリコン酸化膜を積層する場合の条件としては、基板温度100℃以上200℃以下、成膜パワー50W以上150W以下、圧力100Pa以上300Pa以下、並びに原料ガスとしてN2O供給量80sccm以上120sccm以下、及び10%窒素希釈されたSiH4供給量30sccm以上50sccm以下の条件とすることができる。
<Passivation insulating film formation process>
In the passivation insulating film forming step, a
<導電膜成膜工程>
導電膜成膜工程では、コンタクトホール9を介してドレイン電極6bに電気的に接続する導電膜8を成膜する。具体的には、まず公知の方法、例えばフォトリソグラフィによってドレイン電極6bとのコンタクト部分のパターニングを行った後にドライエッチングを行う方法によってコンタクトホール9を形成する。次に公知の方法、例えばスパッタリング法によりコンタクトホール9を介してドレイン電極6bに電気的に接続する導電膜8を成膜する。スパッタリング法により導電膜8を積層する際の条件としては、特に限定されないが、例えば基板温度20℃以上50℃以下、成膜パワー250W以上350W以下、圧力0.1Pa以上0.3Pa以下、キャリアガスArの条件とすることができる。
<Conductive film formation process>
In the conductive film deposition step, a conductive film 8 that is electrically connected to the
<アニール処理工程>
アニール処理工程は、最終の熱処理を行う工程である。この熱処理により当該酸化物半導体薄膜4とゲート絶縁膜3との界面や、当該酸化物半導体薄膜4とESL保護膜5との界面に形成されたトラップ準位の密度を低減できる。これにより当該薄膜トランジスタ1は、ゲート電圧を複数回印加した際の閾値電圧のシフト(ヒステリシス)を抑制することができる。
<Annealing process>
The annealing process is a process for performing a final heat treatment. By this heat treatment, the density of trap states formed at the interface between the oxide semiconductor
アニール処理の温度の下限としては、200℃が好ましく、250℃がより好ましい。一方、アニール処理の温度の上限としては、400℃が好ましく、350℃がより好ましい。アニール処理の温度が上記下限未満である場合、当該薄膜トランジスタ1の電気的な特性向上効果が不足するおそれがある。逆に、アニール処理の温度が上記上限を超える場合、当該薄膜トランジスタ1が熱によるダメージを受けるおそれがある。なお、熱によるダメージの観点から、アニール処理温度は低い方がよい。 As a minimum of the temperature of annealing treatment, 200 ° C is preferred and 250 ° C is more preferred. On the other hand, the upper limit of the annealing temperature is preferably 400 ° C., more preferably 350 ° C. If the annealing temperature is lower than the lower limit, the effect of improving the electrical characteristics of the thin film transistor 1 may be insufficient. Conversely, when the annealing temperature exceeds the upper limit, the thin film transistor 1 may be damaged by heat. In view of heat damage, the annealing temperature should be low.
アニール処理の圧力、温度及び時間の条件は特に限定されないが、例えば大気圧(0.9気圧以上1.1気圧以下)で、200℃以上400℃以下の環境下で10分以上60分以下の時間の条件を用いることができる。また、アニール処理の雰囲気としては、大気雰囲気下で行ってもよいが、窒素等の不活性ガスの雰囲気下で行うことが好ましい。このように不活性ガスの雰囲気下で行うことで、アニール処理中に雰囲気中に含まれる分子等の当該薄膜トランジスタ1への結合による当該薄膜トランジスタ1の品質がばらつくことを抑止できる。 The conditions of the annealing pressure, temperature, and time are not particularly limited. For example, atmospheric pressure (0.9 to 1.1 atmospheres) and an environment of 200 to 400 degrees C. for 10 to 60 minutes. Time conditions can be used. The annealing treatment may be performed in an air atmosphere, but is preferably performed in an inert gas atmosphere such as nitrogen. By performing the process in an inert gas atmosphere as described above, it is possible to prevent the quality of the thin film transistor 1 from being varied due to the binding of molecules or the like contained in the atmosphere to the thin film transistor 1 during the annealing process.
[利点]
当該酸化物半導体薄膜4は、In、Ga、Zn、Sn又はこれらの組合せを含むターゲットYからスパッタリングされた原子による成膜工程S2と酸素ラジカルを含む活性種照射工程S3とを交互に繰り返すことにより製造される。このため、成膜工程S2において形成された薄膜の金属と、活性種照射工程S3において照射される反応性の高い酸素とが結合し易く、成膜された当該酸化物半導体薄膜4の酸素のダングリングボンドが減少する。その結果、トランジスタを形成する後工程で水素原子注入に起因するフリーキャリアが生じ難くなり、フリーキャリアの増加に起因する品質のばらつきが抑止できる。
[advantage]
The oxide semiconductor
[その他の実施形態]
本発明の酸化物半導体の製造方法、酸化物半導体及び薄膜トランジスタは、上記実施形態に限定されるものではない。
[Other Embodiments]
The oxide semiconductor manufacturing method, oxide semiconductor, and thin film transistor of the present invention are not limited to the above embodiment.
上記実施形態では、薄膜トランジスタとしてボトムゲート型のトランジスタの場合を説明したが、トップゲート型のトランジスタであってもよい。 In the above embodiment, the case of a bottom gate type transistor has been described as the thin film transistor, but a top gate type transistor may be used.
上記実施形態では、薄膜トランジスタがESL保護膜を有する場合を説明したが、ESL保護膜は必須の構成要件ではない。例えばマスク蒸着やリフトオフによりソース及びドレイン電極を成膜する場合は、酸化物半導体層がダメージを受け難いため、ESL保護膜を省略することができる。 In the above embodiment, the case where the thin film transistor has the ESL protective film has been described. However, the ESL protective film is not an essential component. For example, in the case where the source and drain electrodes are formed by mask vapor deposition or lift-off, the ESL protective film can be omitted because the oxide semiconductor layer is hardly damaged.
また、薄膜トランジスタの製造方法において、酸化物半導体薄膜成膜工程の直後にプレアニール処理を行う工程を備えてもよい。プレアニール処理は、酸化物半導体薄膜の膜質を向上させる効果がある。プレアニール処理の条件は、特に限定されないが、例えば大気圧(0.9気圧以上1.1気圧以下)で、200℃以上400℃以下の環境下で30分以上90分以下の時間の条件を用いることができる。また、雰囲気としては、大気雰囲気下で行ってもよいし、窒素等の不活性ガスの雰囲気下で行ってもよい。 In the method for manufacturing a thin film transistor, a pre-annealing process may be provided immediately after the oxide semiconductor thin film forming process. The pre-annealing treatment has an effect of improving the film quality of the oxide semiconductor thin film. The conditions for the pre-annealing treatment are not particularly limited, but for example, conditions of a time of 30 minutes to 90 minutes in an environment of 200 to 400 ° C. at atmospheric pressure (0.9 to 1.1 atm) are used. be able to. Moreover, as an atmosphere, you may carry out in air | atmosphere atmosphere and you may carry out in the atmosphere of inert gas, such as nitrogen.
上記実施形態では、酸化物半導体薄膜の製造装置として2つの成膜工程部と1つの活性種照射部とを備える製造装置を説明したが、成膜工程部と活性種照射部との数はこれに限定されるものではなく、例えば2つの成膜工程部と2つの活性種照射部とを備えてもよい。2つの成膜工程部と2つの活性種照射部とを備える場合、基板保持円筒部の側面の回転方向に沿って、第1成膜工程部、第1活性種照射部、第2成膜工程部、及び第2活性種照射部がこの順に配設される構成とできる。 In the above embodiment, the manufacturing apparatus including two film forming process units and one active species irradiation unit has been described as an oxide semiconductor thin film manufacturing apparatus. However, the number of film forming process units and active species irradiation units is the same. For example, two film forming process units and two active species irradiation units may be provided. In the case of including two film formation process units and two active species irradiation units, the first film formation process unit, the first active species irradiation unit, and the second film formation process are performed along the rotation direction of the side surface of the substrate holding cylindrical unit. And the second active species irradiation part can be arranged in this order.
また、上記実施形態では、酸化物半導体薄膜の製造装置として基板保持円筒部が回転することにより成膜工程と活性種照射とを交互に行う構成を説明したが、成膜工程と活性種照射とを交互に行う構成は他の構成であってもよい。他の構成として、例えば成膜工程部と活性種照射部との間をベルトコンベア等の搬送装置により往復する構成を挙げることができる。 In the above-described embodiment, the structure in which the film forming process and the active species irradiation are alternately performed by rotating the substrate holding cylindrical portion as the oxide semiconductor thin film manufacturing apparatus has been described. Other configurations may be used as the configuration for alternately performing the steps. As another configuration, for example, a configuration in which the film forming process unit and the active species irradiation unit reciprocate by a transfer device such as a belt conveyor can be given.
以下、実施例に基づき本発明を詳述するが、この実施例の記載に基づいて本発明が限定的に解釈されるものではない。 EXAMPLES Hereinafter, although this invention is explained in full detail based on an Example, this invention is not interpreted limitedly based on description of this Example.
[実施例1]
10枚のガラス基板(コーニング社製の「イーグルXG」、直径2インチ、厚さ0.7mm)を用意し、まずこのガラス基板の表面にMo薄膜を平均厚さが100nmとなるように成膜した。成膜条件は基板温度25℃(室温)、成膜パワーDC300W、圧力0.266Pa、及びキャリアガスArとした。Mo薄膜を成膜後、パターニングによりゲート電極を形成した。
[Example 1]
Ten glass substrates (Corning “Eagle XG”, 2 inches in diameter, 0.7 mm in thickness) are prepared. First, a Mo thin film is formed on the surface of the glass substrate so that the average thickness is 100 nm. did. The film formation conditions were a substrate temperature of 25 ° C. (room temperature), a film formation power of DC 300 W, a pressure of 0.266 Pa, and a carrier gas Ar. After forming the Mo thin film, a gate electrode was formed by patterning.
次に、ゲート絶縁膜として、平均厚さ250nmのシリコン酸化膜をCVD法により上記ゲート電極を覆うように成膜した。原料ガス及びその供給量としては、N2Oを100sccm、10%窒素希釈のSiH4を40sccmとした。成膜条件は基板温度320℃、成膜パワーRF300W、及び圧力200Paとした。 Next, a silicon oxide film having an average thickness of 250 nm was formed as a gate insulating film so as to cover the gate electrode by a CVD method. The source gas and the supply amount thereof were 100 sccm for N 2 O and 40 sccm for SiH 4 diluted with 10% nitrogen. Film formation conditions were a substrate temperature of 320 ° C., a film formation power of RF 300 W, and a pressure of 200 Pa.
次に、ガラス基板の表面側に酸化物半導体薄膜として、上述の酸化物半導体薄膜の製造装置を用いて、成膜工程と活性種照射工程とを交互に複数回繰り返すことで、In−Ga−Zn−O薄膜を40nm成膜した。用いたターゲットは、In、Ga、及びZnを原子数で1:1:1の比率で含むターゲットを用いた。成膜条件は、表1に示す。酸化物半導体薄膜を成膜後、ウエットエッチング(エッチャントは、関東科学株式会社製の「ITO−07N」)によりパターニングした。 Next, as an oxide semiconductor thin film on the surface side of the glass substrate, by using the above-described oxide semiconductor thin film manufacturing apparatus, the film formation step and the active species irradiation step are alternately repeated a plurality of times, so that In—Ga— A Zn-O thin film was formed to a thickness of 40 nm. The target used was a target containing In, Ga, and Zn at a ratio of 1: 1: 1 in terms of the number of atoms. The film forming conditions are shown in Table 1. After the oxide semiconductor thin film was formed, it was patterned by wet etching (an etchant is “ITO-07N” manufactured by Kanto Kagaku Co., Ltd.).
ここで、この酸化物半導体薄膜の膜質改善のためプレアニール処理を行ったものと、プレアニール処理を行わなかったものとの2種類の試料5枚ずつに分け、以降の工程はこの2種類の試料に対して行った。なお、プレアニール処理の条件は、大気圧、大気雰囲気、及び350℃の環境下で60分間とした。 Here, for improving the film quality of the oxide semiconductor thin film, the sample is divided into two types of five samples, one that has been pre-annealed and one that has not been pre-annealed. I went against it. Note that the conditions for the pre-annealing treatment were 60 minutes under an atmospheric pressure, an air atmosphere, and an environment of 350 ° C.
次に、ガラス基板の表面側にシリコン酸化膜をCVD法により平均厚さが200nmとなるように成膜した。原料ガス及びその供給量としては、N2Oを100sccm、10%窒素希釈のSiH4を40sccmとした。成膜条件は基板温度230℃、成膜パワーRF100W、及び圧力133Paとした。シリコン酸化膜を成膜後、パターニングによりESL保護膜を形成した。 Next, a silicon oxide film was formed on the surface side of the glass substrate by a CVD method so as to have an average thickness of 200 nm. The source gas and the supply amount thereof were 100 sccm for N 2 O and 40 sccm for SiH 4 diluted with 10% nitrogen. The film formation conditions were a substrate temperature of 230 ° C., a film formation power of RF 100 W, and a pressure of 133 Pa. After forming the silicon oxide film, an ESL protective film was formed by patterning.
次に、ガラス基板の表面側にMo薄膜を平均厚さが100nmとなるように成膜した。成膜条件は上記ゲート電極の成膜条件と同様とした。Mo薄膜を成膜後、パターニングにより、ソース電極及びドレイン電極を形成した。 Next, a Mo thin film was formed on the surface side of the glass substrate so as to have an average thickness of 100 nm. The film formation conditions were the same as those for the gate electrode. After forming the Mo thin film, a source electrode and a drain electrode were formed by patterning.
次に、ガラス基板の表面側にシリコン酸化膜(平均厚さ200nm)とシリコン窒化膜(平均厚さ150nm)との2層構造のパッシベーション絶縁膜をCVD法により形成した。シリコン酸化膜の原料ガス及びその供給量としては、N2Oを100sccm、10%窒素希釈のSiH4を40sccmとした。シリコン酸化膜の成膜条件は基板温度150℃、成膜パワーRF100W、及び圧力133Paとした。また、シリコン窒化膜の原料ガス及びその供給量としては、NH3を6sccm、10%窒素希釈のSiH4を125sccmとした。また、キャリアガスとして、N2を185sccmの供給量で供給した。シリコン窒化膜の成膜条件は基板温度150℃、成膜パワーRF100W、及び圧力133Paとした。
Next, a passivation insulating film having a two-layer structure of a silicon oxide film (
次に、ドライエッチによりコンタクトホールを形成し、ドレイン電極に電気的に接続するためのパッドを設けた。このパッドにプローブを当てることで薄膜トランジスタの電気的な測定が行える。 Next, a contact hole was formed by dry etching, and a pad for electrical connection to the drain electrode was provided. The thin film transistor can be electrically measured by applying a probe to the pad.
最後に、各試料について異なる条件でアニール処理を行った。各試料の条件は、アニールなし、250℃でのアニール、270℃でのアニール、300℃でのアニール、及び320℃でのアニールの5条件である。なお、アニールを行った試料の温度以外のアニール条件は、大気圧及び窒素雰囲気の環境下で30分間とした。 Finally, each sample was annealed under different conditions. Each sample has five conditions: no annealing, annealing at 250 ° C., annealing at 270 ° C., annealing at 300 ° C., and annealing at 320 ° C. The annealing conditions other than the temperature of the annealed sample were 30 minutes under an atmosphere of atmospheric pressure and nitrogen atmosphere.
このようにしてアニール処理条件の異なる10個の薄膜トランジスタを得た。なお、この薄膜トランジスタのチャネル長は20μm、チャネル幅は200μmとした。 In this way, ten thin film transistors with different annealing conditions were obtained. The thin film transistor has a channel length of 20 μm and a channel width of 200 μm.
また、ホール移動度及びキャリア濃度測定用に同条件で酸化物半導体薄膜を100nm成膜し、プレアニール以降の工程を省略した試料を1個用意した。 In addition, an oxide semiconductor thin film having a thickness of 100 nm was formed under the same conditions for measuring hole mobility and carrier concentration, and one sample was prepared by omitting the steps after pre-annealing.
この合計11個の薄膜トランジスタを実施例1の薄膜トランジスタとする。 The total of 11 thin film transistors is referred to as the thin film transistor of Example 1.
[実施例2、3]
酸化物半導体薄膜の成膜条件を表1に示すように変更した以外は、実施例1と同様にして実施例2及び実施例3の薄膜トランジスタを得た。
[Examples 2 and 3]
The thin film transistors of Examples 2 and 3 were obtained in the same manner as in Example 1 except that the film forming conditions of the oxide semiconductor thin film were changed as shown in Table 1.
[比較例1]
酸化物半導体薄膜を従来のスパッタリング法により形成した以外は実施例1と同様にして比較例1の薄膜トランジスタを得た。比較例1の酸化物半導体薄膜の成膜条件としては、表1に示す条件とした。具体的には、キャリアガスと共に酸素ガスを供給し、ターゲットからスパッタリングされた原子により基板に成膜させる際に酸化を行い、In−Ga−Zn−O薄膜を成膜した。
[Comparative Example 1]
A thin film transistor of Comparative Example 1 was obtained in the same manner as in Example 1 except that the oxide semiconductor thin film was formed by a conventional sputtering method. The conditions for forming the oxide semiconductor thin film of Comparative Example 1 were as shown in Table 1. Specifically, oxygen gas was supplied together with the carrier gas, and oxidation was performed when a film was formed on the substrate by atoms sputtered from the target, whereby an In—Ga—Zn—O thin film was formed.
[測定方法]
実施例1〜3及び比較例1の試料に対して、酸化物半導体薄膜のホール移動度及びキャリア濃度、並びに薄膜トランジスタの電界効果移動度、SS値及び閾値電圧を測定した。また、閾値電圧の結果から熱処理による薄膜トランジスタの品質のばらつきについて判定を行った。
[Measuring method]
For the samples of Examples 1 to 3 and Comparative Example 1, the hole mobility and carrier concentration of the oxide semiconductor thin film, and the field effect mobility, SS value, and threshold voltage of the thin film transistor were measured. Further, the variation in quality of the thin film transistor due to the heat treatment was determined from the result of the threshold voltage.
<ホール移動度及びキャリア濃度>
ホール移動度及びキャリア濃度は、ホール移動度及びキャリア濃度測定用の試料を用いて測定した。ホール移動度及びキャリア濃度は、ホール効果測定により求めた。結果を表2に示す。
<Hole mobility and carrier concentration>
The hole mobility and carrier concentration were measured using a sample for measuring hole mobility and carrier concentration. Hall mobility and carrier concentration were determined by Hall effect measurement. The results are shown in Table 2.
<電界効果移動度>
電界効果移動度は、薄膜トランジスタの静特性(Id−Vg特性)から算出した。薄膜トランジスタの静特性の測定は、半導体パラメータアナライザ(Keithley社の「4200SCS」)を用いて、ゲート電圧−30V〜+30V(ステップ0.25V)、ソース電圧0V、ドレイン電圧10Vの条件で行った。この薄膜トランジスタの電流−電圧特性の線形領域において、以下の式(4)に示す式を用いてμFEで算出した。結果を表3に示す。
The field effect mobility was calculated from the static characteristics (Id-Vg characteristics) of the thin film transistor. The static characteristics of the thin film transistor were measured under the conditions of a gate voltage of −30 V to +30 V (step 0.25 V), a source voltage of 0 V, and a drain voltage of 10 V using a semiconductor parameter analyzer (“4200SCS” manufactured by Keithley). In the linear region of the current-voltage characteristics of this thin film transistor, the calculation was performed by μFE using the following equation (4). The results are shown in Table 3.
<SS値>
SS値は、上記薄膜トランジスタの静特性からドレイン電流を1桁上昇させるのに必要なゲート電圧の変化量を算出し、その最小値とした。結果を表3に示す。
<SS value>
The SS value is the minimum value obtained by calculating the amount of change in the gate voltage required to increase the drain current by one digit from the static characteristics of the thin film transistor. The results are shown in Table 3.
<閾値電圧>
閾値電圧は、トランジスタのドレイン電流が10−9Aとなるゲート電圧を上記薄膜トランジスタの静特性から算出した値とした。結果を表3に示す。
<Threshold voltage>
The threshold voltage was a value obtained by calculating the gate voltage at which the drain current of the transistor was 10 −9 A from the static characteristics of the thin film transistor. The results are shown in Table 3.
<ヒステリシス>
ヒステリシスは、上述の薄膜トランジスタの静特性の測定を3回行い、それぞれの静特性から算出した閾値電圧のシフト量の絶対値とした。ヒステリシスを求める際の静特性の測定結果の一例を図4に示す。算出した結果から、ヒステリシスは、以下の判定基準で判定した。
(ヒステリシスの判定基準)
A:ヒステリシスが0.5V以下である。
B:ヒステリシスが0.5V超である。
<Hysteresis>
Hysteresis was the absolute value of the shift amount of the threshold voltage calculated from each static characteristic after measuring the static characteristics of the thin film transistor described above three times. An example of the measurement result of the static characteristics when determining the hysteresis is shown in FIG. From the calculated results, hysteresis was determined according to the following criteria.
(Hysteresis criteria)
A: Hysteresis is 0.5 V or less.
B: Hysteresis is more than 0.5V.
<判定>
酸化物半導体薄膜に酸素空孔が多く、かつアニール処理により酸化物半導体薄膜に水素注入がなされる場合、薄膜トランジスタの品質がばらつく。特に薄膜トランジスタの閾値電圧がアニール処理を行わないものに比べてマイナス方向へシフトし易く、場合によっては導体化する。このことから、アニール処理後の閾値電圧の測定結果を基に、薄膜トランジスタの品質のばらつきの有無について以下の基準で判定した。なお、この判定はプレアニールを行った試料と行わなかった試料とに分けて行った。結果を表3に示す。
(判定基準)
A:閾値電圧の最小値が−2V以上であり、品質のばらつきが非常に小さい。
B:閾値電圧の最小値が−6V以上−2V未満であり、品質のばらつきが小さい。
C:閾値電圧の最小値が−6V未満又は導体化が生じ、品質のばらつきが大きい。
<Judgment>
When the oxide semiconductor thin film has many oxygen vacancies and hydrogen is injected into the oxide semiconductor thin film by annealing, the quality of the thin film transistor varies. In particular, the threshold voltage of the thin film transistor is more likely to shift in the negative direction than that in which the annealing treatment is not performed, and in some cases, it becomes a conductor. From this, based on the measurement result of the threshold voltage after the annealing treatment, the presence or absence of variation in the quality of the thin film transistor was determined according to the following criteria. This determination was made separately for samples that were pre-annealed and samples that were not. The results are shown in Table 3.
(Criteria)
A: The minimum value of the threshold voltage is −2 V or more, and the variation in quality is very small.
B: The minimum value of the threshold voltage is −6 V or more and less than −2 V, and the variation in quality is small.
C: The minimum value of the threshold voltage is less than −6V or conductorization occurs, and the quality variation is large.
表3において、判定欄の閾値電圧の最大差とは、ポストアニールなしの閾値電圧とポストアニールありの各閾値電圧との差の絶対値のうちの最大値を意味する。 In Table 3, the maximum difference in threshold voltage in the determination column means the maximum value among the absolute values of the difference between the threshold voltage without post-annealing and each threshold voltage with post-annealing.
表3の結果から、実施例1〜3の薄膜トランジスタは、電界効果移動度及びSS値がそれぞれ4cm2/Vs以上及び0.7V以下の範囲にあり比較例1と同等であり、アニール処理による薄膜トランジスタの品質のばらつきが比較例1の薄膜トランジスタに比べて少ない。また、実施例1〜3の薄膜トランジスタは、300℃以下のポストアニール処理後において、ヒステリシスが比較例1と同等であり、かつ320℃のポストアニール処理後において比較例1に比べてヒステリシスに優れる。これに対し、比較例1の薄膜トランジスタは、アニール処理による薄膜トランジスタの品質のばらつきが大きく、特に320℃のアニール処理により導体化してしまう。比較例1の薄膜トランジスタは、酸化物半導体薄膜の内部に多くの水素原子を含むため、熱処理によりキャリア濃度が増加し、導体化したと考えられる。このことから、ターゲットからスパッタリングされた原子により基板の表面に薄膜を成膜する工程と、プラズマにより生成した酸素ラジカルを含む活性種を上記薄膜に照射する工程とを交互に複数回繰り返して酸化物半導体薄膜を製造することで、水素原子注入によるフリーキャリアの増加に起因する薄膜トランジスタの品質のばらつきを抑止できることが分かる。 From the results shown in Table 3, the thin film transistors of Examples 1 to 3 have field effect mobility and SS values in the range of 4 cm 2 / Vs or more and 0.7 V or less, respectively, and are equivalent to Comparative Example 1; Variation in the quality of the thin film transistor is smaller than that of the thin film transistor of Comparative Example 1. In addition, the thin film transistors of Examples 1 to 3 have a hysteresis equivalent to that of Comparative Example 1 after the post-annealing process of 300 ° C. or lower, and are excellent in hysteresis as compared with Comparative Example 1 after the post-annealing process of 320 ° C. On the other hand, the thin film transistor of Comparative Example 1 has a large variation in the quality of the thin film transistor due to the annealing treatment, and becomes a conductor particularly by the annealing treatment at 320 ° C. Since the thin film transistor of Comparative Example 1 contains a large number of hydrogen atoms inside the oxide semiconductor thin film, it is considered that the carrier concentration is increased by the heat treatment and thus becomes a conductor. Therefore, the process of forming a thin film on the surface of the substrate by atoms sputtered from the target and the process of irradiating the thin film with active species containing oxygen radicals generated by plasma are alternately repeated several times. It can be seen that manufacturing the semiconductor thin film can suppress variations in the quality of the thin film transistor due to an increase in free carriers due to hydrogen atom injection.
<絶縁膜からの水素脱離評価>
上記水素原子注入の影響を調べるため、実施例1のパッシベーション絶縁膜に用いたシリコン窒化膜からの水素脱離の温度依存性を評価した。
<Evaluation of hydrogen desorption from insulating film>
In order to investigate the influence of the hydrogen atom implantation, the temperature dependence of hydrogen desorption from the silicon nitride film used for the passivation insulating film of Example 1 was evaluated.
[実施例4]
水素脱離のないシリコン基板の表面側にシリコン窒化膜(平均厚さ150nm)とシリコン酸化膜(平均厚さ200nm)との2層構造のパッシベーション絶縁膜をCVD法により形成した。シリコン窒化膜の原料ガス及びその供給量としては、NH3を6sccm、10%窒素希釈のSiH4を125sccmとした。また、キャリアガスとして、N2を185sccmの供給量で供給した。シリコン窒化膜の成膜条件は基板温度150℃、成膜パワーRF100W、及び圧力133Paとした。また、シリコン酸化膜の原料ガス及びその供給量としては、N2Oを100sccm、10%窒素希釈のSiH4を40sccmとした。シリコン酸化膜の成膜条件は基板温度150℃、成膜パワーRF100W、及び圧力133Paとした。
[Example 4]
A passivation insulating film having a two-layer structure of a silicon nitride film (average thickness 150 nm) and a silicon oxide film (
[参考例1]
実施例4と同様のシリコン基板の表面側に、シリコン酸化膜であるESL保護膜(平均厚さ200nm)を形成した。ESL保護膜の原料ガス及びその供給量としては、N2Oを100sccm、10%窒素希釈のSiH4を40sccmとした。ESL保護膜の成膜条件は基板温度230℃、成膜パワーRF100W、及び圧力133Paとした。
[Reference Example 1]
An ESL protective film (average thickness: 200 nm), which is a silicon oxide film, was formed on the surface side of the same silicon substrate as in Example 4. The source gas for the ESL protective film and the supply amount thereof were 100 sccm for N 2 O and 40 sccm for SiH 4 diluted with 10% nitrogen. The film formation conditions for the ESL protective film were a substrate temperature of 230 ° C., a film formation power of RF 100 W, and a pressure of 133 Pa.
[評価]
実施例4及び参考例1について、昇温脱離ガス質量分析を行った。具体的には、50℃〜750℃まで温度を変化させつつ、各試料から脱離するH2ガスの質量分析を行った。実施例4の結果を図5Aに示す。また、参考例1の結果を図5Bに示す。
[Evaluation]
Example 4 and Reference Example 1 were subjected to temperature programmed desorption gas mass spectrometry. Specifically, mass spectrometry of H 2 gas desorbed from each sample was performed while changing the temperature from 50 ° C. to 750 ° C. The result of Example 4 is shown in FIG. 5A. The result of Reference Example 1 is shown in FIG. 5B.
図5A及び図5Bのグラフから、実施例4の2層構造のパッシベーション絶縁膜では、300℃以上の温度で水素の脱離が発生していることが分かる。これに対し、参考例1のESL保護膜では300℃以上の温度であっても水素の脱離がほとんど見られない。このことから、300℃以上の温度では主にシリコン窒化膜から水素脱離が発生することが分かる。 From the graphs of FIGS. 5A and 5B, it can be seen that hydrogen desorption occurs at a temperature of 300 ° C. or higher in the two-layer passivation insulating film of Example 4. In contrast, the ESL protective film of Reference Example 1 shows almost no desorption of hydrogen even at a temperature of 300 ° C. or higher. This shows that hydrogen desorption occurs mainly from the silicon nitride film at a temperature of 300 ° C. or higher.
薄膜トランジスタでは、脱離した水素は、酸化物半導体薄膜に注入される。膜中に酸素空孔が多い酸化物半導体薄膜では、この脱離水素によりフリーキャリアが生成され、酸化物半導体薄膜が導体化する。以上から、比較例1において350℃のポストアニールを行った薄膜トランジスタが導体化したのは、シリコン窒化膜から脱離した水素が酸化物半導体薄膜に注入され、フリーキャリアが生成したことによると推察できる。 In the thin film transistor, the desorbed hydrogen is injected into the oxide semiconductor thin film. In an oxide semiconductor thin film with many oxygen vacancies in the film, free carriers are generated by this desorbed hydrogen, and the oxide semiconductor thin film becomes a conductor. From the above, it can be inferred that the thin film transistor subjected to post-annealing at 350 ° C. in Comparative Example 1 was made conductive because hydrogen desorbed from the silicon nitride film was injected into the oxide semiconductor thin film and free carriers were generated. .
これに対し、実施例1〜3の酸化物半導体薄膜では、ターゲットからスパッタリングされた原子により基板の表面に薄膜を成膜する工程と、プラズマにより生成した酸素ラジカルを含む活性種を上記薄膜に照射する工程とを交互に複数回繰り返して酸化物半導体薄膜を製造したため、酸素空孔が少ないと考えられる。このため、シリコン窒化膜から脱離した水素が酸化物半導体薄膜に注入されてもフリーキャリアの生成が抑制される。従って、実施例1〜3の酸化物半導体薄膜では、水素原子注入に起因するフリーキャリアの増加に起因する薄膜トランジスタの品質のばらつきを抑止できたと考えられる。 On the other hand, in the oxide semiconductor thin films of Examples 1 to 3, the thin film is formed on the surface of the substrate with atoms sputtered from the target, and the thin film is irradiated with active species including oxygen radicals generated by plasma. It is considered that there are few oxygen vacancies because the oxide semiconductor thin film was manufactured by alternately repeating the step of performing multiple times. For this reason, even if hydrogen desorbed from the silicon nitride film is injected into the oxide semiconductor thin film, the generation of free carriers is suppressed. Therefore, it is considered that in the oxide semiconductor thin films of Examples 1 to 3, variations in the quality of the thin film transistor due to the increase in free carriers due to hydrogen atom injection could be suppressed.
以上説明したように、本発明の酸化物半導体薄膜の製造方法を用いることで、水素原子注入によるフリーキャリアの増加に起因する薄膜トランジスタの品質のばらつきが発生し難い酸化物半導体薄膜が得られる。また、本発明の酸化物半導体薄膜は、水素原子注入によるフリーキャリアの増加に起因する品質のばらつきが発生し難いので、ディスプレイへの応用に好適な薄膜トランジスタを製造できる。 As described above, by using the method for manufacturing an oxide semiconductor thin film of the present invention, an oxide semiconductor thin film in which variations in quality of thin film transistors due to an increase in free carriers due to hydrogen atom injection hardly occur can be obtained. In addition, since the oxide semiconductor thin film of the present invention is less likely to cause quality variation due to an increase in free carriers due to hydrogen atom injection, a thin film transistor suitable for application to a display can be manufactured.
1 薄膜トランジスタ
2 ゲート電極
3 ゲート絶縁膜
4 酸化物半導体薄膜
5 ESL保護膜
6 ソース及びドレイン電極
6a ソース電極
6b ドレイン電極
7 パッシベーション絶縁膜
8 導電膜
9 コンタクトホール
11 チャンバー
12 排気ポンプ
13 基板保持円筒部
14 成膜工程部
14a 第1成膜工程部
14b 第2成膜工程部
15 活性種照射部
16 仕切板
17 基板ホルダー
18 バッキングプレート
19、22 ガス供給管
20、23 マスフローコントローラ
21 プラズマ生成器
S1 準備工程
S2 成膜工程
S3 活性種照射工程
S4 パターニング工程
X 基板
Y ターゲット
DESCRIPTION OF SYMBOLS 1
本発明は、酸化物半導体の製造方法に関する。 The present invention relates to a method for manufacturing an oxide semiconductor.
当該酸化物半導体薄膜4のキャリア濃度の下限としては、1×1012cm−3であり、2×1012cm−3がより好ましく、4×1012cm−3がさらに好ましい。一方、当該酸化物半導体薄膜4のキャリア濃度の上限としては、5×1013cm−3であり、3×1013cm−3がより好ましく、1×1013cm−3がさらに好ましい。当該酸化物半導体薄膜4のキャリア濃度が上記下限未満である場合、当該薄膜トランジスタ1のドレイン電流が不足するおそれがある。逆に、当該酸化物半導体薄膜4のキャリア濃度が上記上限を超える場合、水素原子注入に起因するフリーキャリアが多く当該酸化物半導体薄膜4の品質のばらつきが発生し易いおそれがある。特に当該酸化物半導体薄膜4のキャリア濃度が1018cm−3を超える場合は、当該酸化物半導体薄膜4の内部を完全に空乏化することが困難となるため、閾値電圧がマイナス側にシフトしてしまい、スイッチング素子として機能しないおそれがある。ここで、「キャリア濃度」とは、ホール効果測定により得られるキャリア濃度を指す。
The lower limit of the carrier concentration of the oxide semiconductor
Claims (6)
上記ターゲットからスパッタリングされた原子により上記基板の表面に薄膜を成膜する工程と、
プラズマにより生成した酸素ラジカルを含む活性種を上記薄膜に照射する工程と
を備え、
上記成膜工程と上記活性種照射工程とを交互に複数回繰り返すことを特徴とする酸化物半導体の製造方法。 A method of manufacturing an oxide semiconductor on a surface of a substrate by a sputtering method using a target including In, Ga, Zn, Sn, or a combination thereof,
Forming a thin film on the surface of the substrate by atoms sputtered from the target;
Irradiating the thin film with active species containing oxygen radicals generated by plasma,
An oxide semiconductor manufacturing method, wherein the film forming step and the active species irradiation step are alternately repeated a plurality of times.
上記活性種照射工程における活性種照射時間が1回当たり0.01秒以上0.08秒以下である請求項1に記載の酸化物半導体の製造方法。 Sputtering time in the film forming step is 0.01 second or more and 0.08 second or less per time,
The method for producing an oxide semiconductor according to claim 1, wherein the active species irradiation time in the active species irradiation step is 0.01 second or more and 0.08 seconds or less per time.
キャリア濃度が1×1012cm−3以上5×1013cm−3以下であり、
300℃以上320℃以下で30分熱処理後のMOS構造における閾値電圧の熱処理前の閾値電圧に対する差の絶対値が、8V以下である酸化物半導体薄膜。 An oxide semiconductor thin film containing In, Ga, Zn, Sn, or a combination thereof,
The carrier concentration is 1 × 10 12 cm −3 or more and 5 × 10 13 cm −3 or less,
An oxide semiconductor thin film in which an absolute value of a difference between a threshold voltage and a threshold voltage before heat treatment in a MOS structure after heat treatment at 300 to 320 ° C. for 30 minutes is 8 V or less.
Priority Applications (1)
| Application Number | Priority Date | Filing Date | Title |
|---|---|---|---|
| JP2016092433A JP2017201651A (en) | 2016-05-02 | 2016-05-02 | Method for manufacturing oxide semiconductor |
Applications Claiming Priority (1)
| Application Number | Priority Date | Filing Date | Title |
|---|---|---|---|
| JP2016092433A JP2017201651A (en) | 2016-05-02 | 2016-05-02 | Method for manufacturing oxide semiconductor |
Publications (1)
| Publication Number | Publication Date |
|---|---|
| JP2017201651A true JP2017201651A (en) | 2017-11-09 |
Family
ID=60264998
Family Applications (1)
| Application Number | Title | Priority Date | Filing Date |
|---|---|---|---|
| JP2016092433A Pending JP2017201651A (en) | 2016-05-02 | 2016-05-02 | Method for manufacturing oxide semiconductor |
Country Status (1)
| Country | Link |
|---|---|
| JP (1) | JP2017201651A (en) |
Cited By (1)
| Publication number | Priority date | Publication date | Assignee | Title |
|---|---|---|---|---|
| JP2021038415A (en) * | 2019-08-30 | 2021-03-11 | 芝浦メカトロニクス株式会社 | Film deposition apparatus, method for manufacturing film deposition work-piece and film evaluation method |
Citations (9)
| Publication number | Priority date | Publication date | Assignee | Title |
|---|---|---|---|---|
| JP2001234338A (en) * | 2000-02-25 | 2001-08-31 | Shincron:Kk | Deposition method of metallic compound thin film and deposition system therefor |
| WO2004108981A1 (en) * | 2003-06-03 | 2004-12-16 | Shincron Co., Ltd. | Thin film forming method and forming device therefor |
| JP2005226088A (en) * | 2004-02-10 | 2005-08-25 | Ulvac Japan Ltd | Film deposition method and film deposition system |
| JP2010040645A (en) * | 2008-08-01 | 2010-02-18 | Fujifilm Corp | Thin film field effect transistor manufacturing method and thin film field effect transistor manufactured by manufacturing method |
| JP2010111914A (en) * | 2008-11-06 | 2010-05-20 | Ulvac Japan Ltd | Method and apparatus for forming conductive film |
| JP2011127198A (en) * | 2009-12-18 | 2011-06-30 | Shincron:Kk | Solar battery cover, method for producing it and snow-melting method |
| JP2012207307A (en) * | 2007-12-20 | 2012-10-25 | Ulvac Japan Ltd | Film deposition apparatus and film deposition method |
| JP2013214958A (en) * | 2012-03-05 | 2013-10-17 | Semiconductor Energy Lab Co Ltd | Latch circuit and semiconductor device |
| JP2015188092A (en) * | 2008-09-12 | 2015-10-29 | 株式会社半導体エネルギー研究所 | semiconductor device |
-
2016
- 2016-05-02 JP JP2016092433A patent/JP2017201651A/en active Pending
Patent Citations (9)
| Publication number | Priority date | Publication date | Assignee | Title |
|---|---|---|---|---|
| JP2001234338A (en) * | 2000-02-25 | 2001-08-31 | Shincron:Kk | Deposition method of metallic compound thin film and deposition system therefor |
| WO2004108981A1 (en) * | 2003-06-03 | 2004-12-16 | Shincron Co., Ltd. | Thin film forming method and forming device therefor |
| JP2005226088A (en) * | 2004-02-10 | 2005-08-25 | Ulvac Japan Ltd | Film deposition method and film deposition system |
| JP2012207307A (en) * | 2007-12-20 | 2012-10-25 | Ulvac Japan Ltd | Film deposition apparatus and film deposition method |
| JP2010040645A (en) * | 2008-08-01 | 2010-02-18 | Fujifilm Corp | Thin film field effect transistor manufacturing method and thin film field effect transistor manufactured by manufacturing method |
| JP2015188092A (en) * | 2008-09-12 | 2015-10-29 | 株式会社半導体エネルギー研究所 | semiconductor device |
| JP2010111914A (en) * | 2008-11-06 | 2010-05-20 | Ulvac Japan Ltd | Method and apparatus for forming conductive film |
| JP2011127198A (en) * | 2009-12-18 | 2011-06-30 | Shincron:Kk | Solar battery cover, method for producing it and snow-melting method |
| JP2013214958A (en) * | 2012-03-05 | 2013-10-17 | Semiconductor Energy Lab Co Ltd | Latch circuit and semiconductor device |
Cited By (2)
| Publication number | Priority date | Publication date | Assignee | Title |
|---|---|---|---|---|
| JP2021038415A (en) * | 2019-08-30 | 2021-03-11 | 芝浦メカトロニクス株式会社 | Film deposition apparatus, method for manufacturing film deposition work-piece and film evaluation method |
| JP7412926B2 (en) | 2019-08-30 | 2024-01-15 | 芝浦メカトロニクス株式会社 | Film deposition equipment, film deposition work manufacturing method |
Similar Documents
| Publication | Publication Date | Title |
|---|---|---|
| JP6864059B2 (en) | How to make a transistor | |
| JP5723262B2 (en) | Thin film transistor and sputtering target | |
| KR101980196B1 (en) | Transistor, method of manufacturing the same and electronic device including transistor | |
| CN102084486A (en) | Thin film transistor and display device | |
| TW201234593A (en) | Semiconductor device | |
| JP6756875B1 (en) | Oxide semiconductor thin films for displays, thin film transistors for displays and sputtering targets | |
| CN110034178A (en) | Thin film transistor (TFT) and preparation method thereof, array substrate and display device | |
| JP2012028481A (en) | Field-effect transistor and manufacturing method of the same | |
| Lee et al. | Mesh-patterned IZO/Hf-doped IGZO thin film transistors with high mobility and mechanical stability for flexible display | |
| CN111226307B (en) | Oxide semiconductor thin films, thin film transistors and sputtering targets | |
| CN104685633B (en) | The method for making thin film transistor (TFT) | |
| Song et al. | Top-gated indium–zinc–oxide thin-film transistors with in situ Al 2 O 3/HfO 2 gate oxide | |
| JP2018137422A (en) | THIN FILM TRANSISTOR, THIN FILM DEVICE, AND METHOD FOR PRODUCING THIN FILM TRANSISTOR | |
| JP2017201651A (en) | Method for manufacturing oxide semiconductor | |
| TW202520895A (en) | Engineering metal oxide layer interfaces to improve electronic device stability | |
| CN103296064A (en) | Thin-film transistor | |
| JP7625671B1 (en) | Oxide semiconductor thin film, thin film transistor and sputtering target | |
| WO2019107043A1 (en) | Oxide semiconductor thin film, thin film transistor, and sputtering target | |
| CN115136323B (en) | Transistor, electronic device, and method for manufacturing transistor | |
| KR101139185B1 (en) | Forming method of oxide semiconductor thin film, oxide semiconductor transister, and forming method of the same | |
| KR20110014782A (en) | A method of forming an oxide semiconductor thin film, an oxide semiconductor transistor, and a method of forming an oxide semiconductor transistor | |
| Kishore et al. | Impact of Bias Temperature Stress on IGZO/Ni/IGZO Steep Subthreshold Vertical Current Driver Fabricated at Room Temperature | |
| Jean et al. | Surface Treatment for Improved Performance of Solution-Processed Gate Dielectric in a-IGZO TFTs | |
| Kiani | Analysis of metal oxide thin film transistors with high-k dielectrics and source/drain contact metals | |
| JP2025042539A (en) | Oxide semiconductor thin film, semiconductor device and method for manufacturing same, sputtering target and method for manufacturing sputtering target |
Legal Events
| Date | Code | Title | Description |
|---|---|---|---|
| A521 | Request for written amendment filed |
Free format text: JAPANESE INTERMEDIATE CODE: A523 Effective date: 20160901 |
|
| A621 | Written request for application examination |
Free format text: JAPANESE INTERMEDIATE CODE: A621 Effective date: 20181115 |
|
| A977 | Report on retrieval |
Free format text: JAPANESE INTERMEDIATE CODE: A971007 Effective date: 20190815 |
|
| A131 | Notification of reasons for refusal |
Free format text: JAPANESE INTERMEDIATE CODE: A131 Effective date: 20190827 |
|
| A601 | Written request for extension of time |
Free format text: JAPANESE INTERMEDIATE CODE: A601 Effective date: 20191024 |
|
| A521 | Request for written amendment filed |
Free format text: JAPANESE INTERMEDIATE CODE: A523 Effective date: 20191217 |
|
| A02 | Decision of refusal |
Free format text: JAPANESE INTERMEDIATE CODE: A02 Effective date: 20200421 |
