JP2016225665A - Optical semiconductor element mounting substrate and optical semiconductor device - Google Patents
Optical semiconductor element mounting substrate and optical semiconductor device Download PDFInfo
- Publication number
- JP2016225665A JP2016225665A JP2016198177A JP2016198177A JP2016225665A JP 2016225665 A JP2016225665 A JP 2016225665A JP 2016198177 A JP2016198177 A JP 2016198177A JP 2016198177 A JP2016198177 A JP 2016198177A JP 2016225665 A JP2016225665 A JP 2016225665A
- Authority
- JP
- Japan
- Prior art keywords
- optical semiconductor
- semiconductor element
- light
- weight
- element mounting
- Prior art date
- Legal status (The legal status is an assumption and is not a legal conclusion. Google has not performed a legal analysis and makes no representation as to the accuracy of the status listed.)
- Granted
Links
Images
Classifications
-
- H10W90/756—
Landscapes
- Led Device Packages (AREA)
Abstract
【課題】可視光から近紫外光領域において高い反射率を有する高放熱性の光反射用熱硬化性樹脂組成物を用いた光半導体素子搭載用基板を提供する。【解決手段】金属配線の上に、光半導体素子搭載領域となり且つリフレクターとなる凹部が1つ以上形成されている光半導体素子搭載用基板であって、前記凹部の少なくとも一部が、エポキシ樹脂、無機充填剤及び白色顔料を含み、該無機充填剤と白色顔料の合計量が、光反射用熱硬化性樹脂全体に対して85重量%〜95重量%の範囲である光反射用熱硬化性樹脂を用いたトランスファー成型により形成されており、該光反射用熱硬化性樹脂は、前記金属配線の半導体素子搭載面の反対面には配置形成されていない、光半導体素子搭載用基板。【選択図】図1Provided is a substrate for mounting an optical semiconductor element using a highly heat-dissipating thermosetting resin composition for light reflection having a high reflectance in a visible light to near ultraviolet light region. An optical semiconductor element mounting substrate in which one or more recesses serving as an optical semiconductor element mounting region and serving as a reflector are formed on a metal wiring, wherein at least a part of the recess includes an epoxy resin, A light-reflective thermosetting resin comprising an inorganic filler and a white pigment, wherein the total amount of the inorganic filler and the white pigment ranges from 85% by weight to 95% by weight with respect to the entire light-reflective thermosetting resin. A substrate for mounting an optical semiconductor element, wherein the thermosetting resin for reflecting light is not disposed on the opposite side of the semiconductor element mounting surface of the metal wiring. [Selection] Figure 1
Description
本発明は、光半導体素子と蛍光体などの波長変換手段とを組み合わせた光半導体装置に用いる光反射用熱硬化性樹脂組成物を用いた光半導体素子搭載用基板とその製造方法および光半導体装置に関する。 The present invention relates to a substrate for mounting an optical semiconductor element using a thermosetting resin composition for light reflection used in an optical semiconductor device in which an optical semiconductor element and a wavelength conversion means such as a phosphor are combined, a method for manufacturing the same, and an optical semiconductor device About.
LED(Light Emitting Diode:発光ダイオード)などの光半導体素子と蛍光体を組み合わせた光半導体装置は、省電力で寿命が長い発光装置として注目されている。中でも、1次光となる近紫外光を発光するLED素子と、該1次光を吸収して、赤(R)、緑(G)、青(B)の3色を発光する蛍光体とを組み合わせた白色LEDは、演色性に優れるという点から、その開発が活発に進められている。近紫外光とRGB蛍光体を用いる白色LEDの発光効率は、1次紫外光の41%が白色光として、27%が透過紫外光として、32%が熱などに変換されている(非特許文献1にて引用された「21世紀あかりプロジェクト2001年度成果報告書」から)。 2. Description of the Related Art An optical semiconductor device in which an optical semiconductor element such as an LED (Light Emitting Diode) and a phosphor are combined has been attracting attention as a light-emitting device with low power consumption and long life. Among them, an LED element that emits near-ultraviolet light serving as primary light, and a phosphor that absorbs the primary light and emits three colors of red (R), green (G), and blue (B). The combined white LED has been actively developed from the viewpoint of excellent color rendering. The luminous efficiency of a white LED using near ultraviolet light and RGB phosphors is converted into 41% of primary ultraviolet light as white light, 27% as transmitted ultraviolet light, and 32% as heat (non-patent document). (From the “21st Century Akari Project 2001 Results Report” cited in 1).
白色光に変換されなかった透過紫外光や熱は、LEDパッケージなどに使用されている透明封止剤やリフレクタを劣化させる要因となるため、輝度低下の原因となっていた。特許文献1には、65重量%以上の熱可塑性樹脂と35重量%以下の充填剤からなるリフレクタ材料が開示されているが、近紫外光の反射率や熱伝導性などの特性が十分であるとはいえない。そこで、可視光から近紫外光の反射率が高く、かつ高熱伝導性を有する材料の開発が待たれていた。 The transmitted ultraviolet light and heat that have not been converted into white light cause deterioration of the transparent sealant and reflector used in the LED package and the like, which has caused a decrease in luminance. Patent Document 1 discloses a reflector material composed of 65% by weight or more of a thermoplastic resin and 35% by weight or less of a filler, but has sufficient characteristics such as reflectance of near ultraviolet light and thermal conductivity. That's not true. Therefore, development of a material having high reflectivity from visible light to near ultraviolet light and high thermal conductivity has been awaited.
上記を鑑みて、本発明は、光反射率が高く、高熱伝導性を有する光反射用熱硬化性樹脂組成物、ならびに該光反射用熱硬化性樹脂組成物を用いた光半導体搭載用基板とその製造方法および光半導体装置を提供することを目的とする。 In view of the above, the present invention provides a light-reflective thermosetting resin composition having high light reflectivity and high thermal conductivity, and a substrate for mounting an optical semiconductor using the light-reflective thermosetting resin composition, and An object of the present invention is to provide a manufacturing method and an optical semiconductor device.
本発明は、以下の(1)〜(3)に記載の事項をその特徴とする。
(1)光半導体素子搭載領域となる凹部が1つ以上形成されている光半導体搭載用基板の製造方法であって、前記凹部がエポキシ樹脂、無機充填剤及び白色顔料を含む光反射用熱硬化性樹脂をトランスファー成型により形成することを特徴とする光半導体搭載用基板の製造方法であり、
無機充填剤と白色顔料の合計量が、光反射用熱硬化性樹脂全体に対して85重量%〜95重量%の範囲である光半導体素子搭載用基板の製造方法。
The present invention is characterized by the following items (1) to (3).
(1) A method for manufacturing an optical semiconductor mounting substrate in which at least one recess serving as an optical semiconductor element mounting region is formed, wherein the recess includes an epoxy resin, an inorganic filler, and a white pigment. A method for producing a substrate for mounting an optical semiconductor, characterized by forming a conductive resin by transfer molding,
The manufacturing method of the board | substrate for optical semiconductor element mounting whose total amount of an inorganic filler and a white pigment is the range of 85 weight%-95 weight% with respect to the whole thermosetting resin for light reflections.
(2)光半導体素子搭載領域となる凹部が1つ以上形成されている光半導体素子搭載用基板であって、前記凹部がエポキシ樹脂、無機充填剤及び白色顔料を含む光反射用熱硬化性樹脂を用いてなるものであり、無機充填剤と白色顔料の合計量が、光反射用熱硬化性樹脂全体に対して85重量%〜95重量%の範囲である光半導体素子搭載用基板。 (2) An optical semiconductor element mounting substrate in which one or more recesses serving as optical semiconductor element mounting regions are formed, wherein the recess includes an epoxy resin, an inorganic filler, and a white pigment. A substrate for mounting an optical semiconductor element, wherein the total amount of the inorganic filler and the white pigment is in the range of 85 wt% to 95 wt% with respect to the entire thermosetting resin for light reflection.
(3)上記(2)に記載の光半導体素子搭載用基板と、
前記光半導体素子搭載用基板の凹部底面に搭載される光半導体素子と、
前記光半導体素子を覆うように形成される封止樹脂と、
を備える光半導体装置。
(3) The optical semiconductor element mounting substrate according to (2),
An optical semiconductor element mounted on the bottom of the recess of the optical semiconductor element mounting substrate;
A sealing resin formed so as to cover the optical semiconductor element;
An optical semiconductor device comprising:
本発明によれば、光反射率が高く、高熱伝導性を有する光反射用熱硬化性樹脂組成物を用いた光半導体搭載用基板およびその製造方法を提供することが可能となる。 ADVANTAGE OF THE INVENTION According to this invention, it becomes possible to provide the board | substrate for optical semiconductor mounting using the thermosetting resin composition for light reflection which has high light reflectivity, and high thermal conductivity, and its manufacturing method.
上記(A)エポキシ樹脂としては、電子部品封止用エポキシ樹脂成形材料で一般に使用されているものを用いることができ、特に限定されないが、例えば、フェノールノボラック型エポキシ樹脂、オルソクレゾールノボラック型エポキシ樹脂をはじめとするフェノール類とアルデヒド類のノボラック樹脂をエポキシ化したもの、ビスフェノールA、ビスフェノールF、ビスフェノールS、アルキル置換ビフェノール等のジグリシジエーテル、ジアミノジフェニルメタン、イソシアヌル酸等のポリアミンとエピクロルヒドリンの反応により得られるグリシジルアミン型エポキシ樹脂、オレフィン結合を過酢酸等の過酸で酸化して得られる線状脂肪族エポキシ樹脂、及び脂環族エポキシ樹脂等があり、これらは単独でも、2種以上併用してもよい。また、使用するエポキシ樹脂は比較的着色のないものであることが好ましく、そのようなエポキシ樹脂としては、例えば、ビスフェノールA型エポキシ樹脂、ビスフェノールF型エポキシ樹脂、ビスフェノールS型エポキシ樹脂、トリグリシジルイソシアヌレートを挙げることができる。 As said (A) epoxy resin, what is generally used by the epoxy resin molding material for electronic component sealing can be used, Although it does not specifically limit, For example, a phenol novolak type epoxy resin, an ortho cresol novolak type epoxy resin Obtained by epoxidizing novolak resins of phenols and aldehydes such as bisphenol A, bisphenol A, bisphenol F, bisphenol S, diglycidiethers such as alkyl-substituted biphenols, polyamines such as diaminodiphenylmethane, isocyanuric acid and epichlorohydrin Glycidylamine type epoxy resins, linear aliphatic epoxy resins obtained by oxidizing olefinic bonds with peracids such as peracetic acid, and alicyclic epoxy resins, etc., either alone or in combination of two or more. GoodIn addition, it is preferable that the epoxy resin used is relatively uncolored, and examples of such an epoxy resin include bisphenol A type epoxy resin, bisphenol F type epoxy resin, bisphenol S type epoxy resin, and triglycidyl isocyanate. Nurate can be mentioned.
上記(B)硬化剤としては、エポキシ樹脂と反応するものであれば、特に制限なく用いることができるが、比較的着色のないものが好ましい。例えば、酸無水物系硬化剤、フェノール系硬化剤などが挙げられる。酸無水物系硬化剤としては、例えば、無水フタル酸、無水マレイン酸、無水トリメリット酸、無水ピロメリット酸、ヘキサヒドロ無水フタル酸、テトラヒドロ無水フタル酸、無水メチルナジック酸、無水ナジック酸、無水グルタル酸、メチルヘキサヒドロ無水フタル酸、メチルテトラヒドロ無水フタル酸などが挙げられる。これら酸無水物系硬化剤の中では、無水フタル酸、へキサヒドロ無水フタル酸、テトラヒドロ無水フタル酸、メチルヘキサヒドロ無水フタル酸を用いることが好ましい。酸無水物系硬化剤は、その分子量が、140〜200程度のものが好ましく、また、無色ないし淡黄色の酸無水物が好ましい。 As said (B) hardening | curing agent, if it reacts with an epoxy resin, it can be used without a restriction | limiting especially, However, The thing without a coloring is preferable. For example, an acid anhydride curing agent, a phenol curing agent, and the like can be given. Examples of the acid anhydride curing agent include phthalic anhydride, maleic anhydride, trimellitic anhydride, pyromellitic anhydride, hexahydrophthalic anhydride, tetrahydrophthalic anhydride, methyl nadic anhydride, nadic anhydride, glutaric anhydride. Examples include acid, methylhexahydrophthalic anhydride, methyltetrahydrophthalic anhydride, and the like. Among these acid anhydride curing agents, phthalic anhydride, hexahydrophthalic anhydride, tetrahydrophthalic anhydride, and methylhexahydrophthalic anhydride are preferably used. The acid anhydride curing agent preferably has a molecular weight of about 140 to 200, and is preferably a colorless or light yellow acid anhydride.
これらの硬化剤は単独で用いても、二種以上併用しても良い。エポキシ樹脂と、硬化剤との配合割合は、エポキシ樹脂中のエポキシ基1当量に対して、硬化剤におけるエポキシ基と反応可能な活性基(酸無水基または水酸基)が0.5〜1.5当量となるような割合であることが好ましく、0.7〜1.2当量となるような割合であることがより好ましい。活性基が0.5当量未満の場合には、エポキシ樹脂組成物の硬化速度が遅くなるとともに、得られる硬化体のガラス転移温度が低くなる場合があり、一方、1.5当量を超える場合には、耐湿性が低下する場合がある。 These curing agents may be used alone or in combination of two or more. The mixing ratio of the epoxy resin and the curing agent is such that the active group (acid anhydride group or hydroxyl group) capable of reacting with the epoxy group in the curing agent is 0.5 to 1.5 with respect to 1 equivalent of the epoxy group in the epoxy resin. The ratio is preferably equivalent, and more preferably 0.7 to 1.2 equivalent. When the active group is less than 0.5 equivalent, the curing rate of the epoxy resin composition is slowed, and the glass transition temperature of the resulting cured product may be lowered. The moisture resistance may be reduced.
上記(C)硬化促進剤としては、特に限定されるものではなく、例えば、1,8−ジアザ−ビシクロ(5,4,0)ウンデセン−7、トリエチレンジアミン、トリ−2,4,6−ジメチルアミノメチルフェノールなどの3級アミン類、2−エチル−4−メチルイミダゾール、2−メチルイミダゾールなどのイミダゾール類、トリフェニルホスフィン、テトラフェニルホスホニウムテトラフェニルボレート、テトラ−n−ブチルホスホニウム−o,o−ジエチルホスホロジチオエートなどのリン化合物、4級アンモニウム塩、有機金属塩類、およびこれらの誘導体などが挙げられる。これらは単独で使用してもよく、あるいは、併用してもよい。これら硬化促進剤の中では、3級アミン類、イミダゾール類、リン化合物を用いることが好ましい。 The (C) curing accelerator is not particularly limited, and examples thereof include 1,8-diaza-bicyclo (5,4,0) undecene-7, triethylenediamine, tri-2,4,6-dimethyl. Tertiary amines such as aminomethylphenol, imidazoles such as 2-ethyl-4-methylimidazole and 2-methylimidazole, triphenylphosphine, tetraphenylphosphonium tetraphenylborate, tetra-n-butylphosphonium-o, o- Examples thereof include phosphorus compounds such as diethyl phosphorodithioate, quaternary ammonium salts, organometallic salts, and derivatives thereof. These may be used alone or in combination. Among these curing accelerators, it is preferable to use tertiary amines, imidazoles, and phosphorus compounds.
硬化促進剤の含有率は、エポキシ樹脂に対して、0.01〜8.0重量%であることが好ましく、より好ましくは、0.1〜3.0重量%である。硬化促進剤の含有率が、0.01重量%未満では、充分な硬化促進効果を得られない場合があり、また、8.0重量%を超えると、得られる硬化体に変色が見られる場合がある。 It is preferable that the content rate of a hardening accelerator is 0.01 to 8.0 weight% with respect to an epoxy resin, More preferably, it is 0.1 to 3.0 weight%. When the content of the curing accelerator is less than 0.01% by weight, a sufficient curing acceleration effect may not be obtained. When the content exceeds 8.0% by weight, discoloration is observed in the obtained cured product. There is.
上記(D)無機充填材としては、例えば、シリカ、アルミナ、酸化マグネシウム、酸化アンチモン、水酸化アルミニウム、硫酸バリウム、炭酸マグネシウム、炭酸バリウムなどを挙げることができ、単独でも、併用しても構わない。熱伝導性、光反射特性、成型性、難燃性の点からは、シリカ、アルミナ、酸化アンチモン、水酸化アルミニウムのうちの2種以上の混合物であることが好ましい。また、無機充填材の粒径は、特に限定されるものではないが、白色顔料とのパッキング効率を考慮すると、中心粒径が1〜100μmの範囲であることが好ましい。 Examples of the inorganic filler (D) include silica, alumina, magnesium oxide, antimony oxide, aluminum hydroxide, barium sulfate, magnesium carbonate, and barium carbonate, and may be used alone or in combination. . From the viewpoint of thermal conductivity, light reflection characteristics, moldability, and flame retardancy, a mixture of two or more of silica, alumina, antimony oxide, and aluminum hydroxide is preferable. The particle size of the inorganic filler is not particularly limited, but it is preferable that the center particle size is in the range of 1 to 100 μm in consideration of packing efficiency with the white pigment.
上記(E)白色顔料としては、例えば、アルミナ、酸化マグネシウム、酸化アンチモン、水酸化アルミニウム、硫酸バリウム、炭酸マグネシウム、炭酸バリウムなどを挙げることができ、単独でも、併用しても構わない。熱伝導性、光反射特性の点からは、アルミナ、酸化マグネシウム、またはそれらの混合物であることが好ましい。また、白色顔料の粒径は、中心粒径が0.1〜5μmの範囲にあることが好ましい。中心粒径が0.1μm未満であると粒子が凝集しやすく、分散性が悪くなる傾向があり、5μmを超えると反射特性が十分に得られなくなる傾向がある。 Examples of the white pigment (E) include alumina, magnesium oxide, antimony oxide, aluminum hydroxide, barium sulfate, magnesium carbonate, and barium carbonate, and may be used alone or in combination. From the viewpoint of thermal conductivity and light reflection characteristics, alumina, magnesium oxide, or a mixture thereof is preferable. The white pigment preferably has a central particle size in the range of 0.1 to 5 μm. If the center particle size is less than 0.1 μm, the particles tend to aggregate and the dispersibility tends to deteriorate, and if it exceeds 5 μm, the reflection characteristics tend not to be sufficiently obtained.
上記(D)無機充填材と上記(E)白色顔料の合計量は、樹脂組成物全体に対して、85重量%〜95重量%の範囲であることが好ましい。この合計量が85重量%未満であると熱伝導性や光反射特性が不十分になる恐れがあり、95重量%を超えると樹脂組成物の成型性が悪くなり、光半導体搭載用基板の作製が困難となる。 The total amount of the (D) inorganic filler and the (E) white pigment is preferably in the range of 85% by weight to 95% by weight with respect to the entire resin composition. If this total amount is less than 85% by weight, the thermal conductivity and light reflection characteristics may be insufficient. If it exceeds 95% by weight, the moldability of the resin composition will be deteriorated, and the optical semiconductor mounting substrate will be produced. It becomes difficult.
上記(F)カップリング剤としては、特に限定されないが、例えば、シラン系カップリング剤やチタネート系カップリング剤等を用いることができ、シランカップリング剤としては、例えば、エポキシシラン系、アミノシラン系、カチオニックシラン系、ビニルシラン系、アクリルシラン系、メルカプトシラン系、およびこれらの複合系等を用いることができる。カップリング剤の種類や処理条件は特に限定しないが、カップリング剤の配合量は5重量%以下であることが好ましい。 Although it does not specifically limit as said (F) coupling agent, For example, a silane coupling agent, a titanate coupling agent, etc. can be used, As an silane coupling agent, an epoxysilane type, an aminosilane type, for example Cationic silane, vinyl silane, acryl silane, mercapto silane, and composites thereof can be used. The type and treatment conditions of the coupling agent are not particularly limited, but the amount of coupling agent is preferably 5% by weight or less.
また、本発明の樹脂組成物には、必要に応じて、酸化防止剤、離型剤、イオン補足剤等の添加剤を添加してもよい。 Moreover, you may add additives, such as antioxidant, a mold release agent, and an ion supplement agent, to the resin composition of this invention as needed.
以上のような成分を含有する本発明の樹脂組成物は、熱硬化前、室温において加圧成形可能であり、熱硬化後の、波長800nm〜350nmにおける光反射率が80%以上であり、かつ熱伝導率が1〜10W/mKの範囲である。上記加圧成形は、例えば、室温(約25℃)において、0.5〜2MPa、1〜5秒程度の条件下で行うことができればよい。また、上記光反射率が80%未満であると、光半導体装置の輝度向上に十分寄与できない傾向がある。より好ましくは、光反射率は90%以上である。また、熱伝導率が1W/mK未満であると光半導体素子から発生する熱を十分に逃がすことができず、封止樹脂等を劣化させてしまう恐れがある。 The resin composition of the present invention containing the components as described above can be pressure-molded at room temperature before thermosetting, and has a light reflectance of 80% or more at a wavelength of 800 nm to 350 nm after thermosetting, and The thermal conductivity is in the range of 1 to 10 W / mK. The pressure molding may be performed, for example, at room temperature (about 25 ° C.) under conditions of 0.5 to 2 MPa and about 1 to 5 seconds. Further, if the light reflectance is less than 80%, there is a tendency that it cannot sufficiently contribute to the improvement in luminance of the optical semiconductor device. More preferably, the light reflectance is 90% or more. Further, if the thermal conductivity is less than 1 W / mK, the heat generated from the optical semiconductor element cannot be sufficiently released, and the sealing resin or the like may be deteriorated.
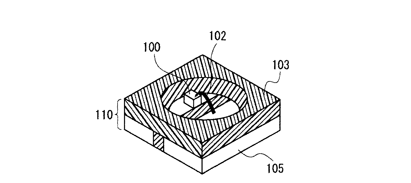
本発明の光半導体素子搭載用基板は、光半導体素子搭載領域となる凹部が1つ以上形成されており、少なくとも前記凹部の内周側面が本発明の光反射用熱硬化性樹脂組成物からなることを特徴とするものである。本発明の光半導体素子搭載用基板の一実施形態を図1に示す。 The substrate for mounting an optical semiconductor element of the present invention has one or more recesses to be an optical semiconductor element mounting region, and at least the inner peripheral side surface of the recess is made of the thermosetting resin composition for light reflection of the present invention. It is characterized by this. One embodiment of a substrate for mounting an optical semiconductor element of the present invention is shown in FIG.
本発明の光半導体素子搭載用基板の製造方法は、特に限定されないが、例えば、本発明の光反射用熱硬化性樹脂組成物をトランスファー成型により成型し、製造することができる。より具体的には、例えば、図2(a)に示すように、金属箔から打ち抜きやエッチング等の公知の方法により金属配線105を形成し、ついで、該金属配線105を所定形状の金型301に配置し(図2(b))、金型301の樹脂注入口300から本発明の樹脂組成物を注入し、これを好ましくは金型温度170〜190℃で60〜120秒、アフターキュア温度120℃〜180℃で1〜3時間の条件にて熱硬化させた後、金型301を外し、硬化した樹脂組成物からなるリフレクター103に周囲を囲まれてなる光半導体素子搭載領域(凹部)200の所定位置に、電気めっきによりNi/銀めっき104を施すことで製造することができる(図2(c))。
Although the manufacturing method of the board | substrate for optical semiconductor element mounting of this invention is not specifically limited, For example, the thermosetting resin composition for light reflections of this invention can be shape | molded and manufactured by transfer molding. More specifically, for example, as shown in FIG. 2A, a
また、本発明の光半導体装置は、例えば、図3および図4に示すように、本発明の光半導体素子搭載用基板110の光半導体素子搭載領域(凹部)200の所定位置に光半導体素子100を搭載し、該光半導体素子100と金属配線105とをボンディングワイヤ102やはんだバンプ107などの公知の方法により電気的に接続した後、公知の蛍光体106を含む透明封止樹脂101により該光半導体素子100を覆うことで製造することができる。
Further, for example, as shown in FIGS. 3 and 4, the optical semiconductor device of the present invention has an
以下、本発明を実施例によって詳述する。 Hereinafter, the present invention will be described in detail by way of examples.
(光反射用樹脂組成物の作製)
(実施例1)
下記組成の材料を混練温度20〜30℃、混練時間10分の条件でロール混練し、光反射用樹脂組成物を作製した。
エポキシ樹脂:トリグリシジルイソシアヌレート 100重量部(エポキシ当量100)
硬化剤:ヘキサヒドロ無水フタル酸 140重量部
硬化促進剤:テトラ−n−ブチルホスホニウム−
o,o−ジエチルホスホロジチオエート 0.4重量部
無機充填剤:溶融シリカ(中心粒径20μm) 1118重量部
アルミナA(中心粒径40μm) 660重量部
白色顔料:アルミナB(中心粒径1μm) 627重量部
カップリング剤:エポキシシラン 3重量部
酸化防止剤:9,10−ジヒドロ−9−オキサ−
10−ホスファフェナントレン−10−オキシド 1重量部
(Preparation of resin composition for light reflection)
Example 1
A material having the following composition was roll kneaded at a kneading temperature of 20 to 30 ° C. and a kneading time of 10 minutes to prepare a light reflecting resin composition.
Epoxy resin:
Curing agent: 140 parts by weight of hexahydrophthalic anhydride Curing accelerator: Tetra-n-butylphosphonium
o, o-Diethyl phosphorodithioate 0.4 part by weight Inorganic filler: fused silica (center particle size 20 μm) 1118 parts by weight
Alumina A (center particle size 40 μm) 660 parts by weight White pigment: Alumina B (center particle size 1 μm) 627 parts by weight Coupling agent: Epoxy silane 3 parts by weight Antioxidant: 9,10-dihydro-9-oxa-
10-phosphaphenanthrene-10-oxide 1 part by weight
(実施例2)
無機充填剤:溶融シリカ(中心粒径20μm) 373重量部
アルミナA(中心粒径40μm) 1881重量部
白色顔料:アルミナB(中心粒径1μm) 660重量部
とした以外は実施例1と同様にして光反射用樹脂組成物を作製した。
(Example 2)
Inorganic filler: fused silica (center particle size 20 μm) 373 parts by weight
Alumina A (center particle size 40 μm) 1881 parts by weight White pigment: Alumina B (center particle size 1 μm) A light reflecting resin composition was prepared in the same manner as in Example 1 except that the amount was 660 parts by weight.
(実施例3)
無機充填剤:溶融シリカ(中心粒径20μm) 1088重量部
アルミナA(中心粒径40μm) 610重量部
白色顔料:酸化マグネシウム(中心粒径0.2μm) 544重量部
とした以外は実施例1と同様にして光反射用樹脂組成物を作製した。
Example 3
Inorganic filler: fused silica (center particle size 20 μm) 1088 parts by weight
Alumina A (center particle size 40 μm) 610 parts by weight White pigment: Magnesium oxide (center particle size 0.2 μm) A light reflecting resin composition was prepared in the same manner as in Example 1 except that the amount was 544 parts by weight.
(比較例1)
無機充填剤:溶融シリカ(中心粒径20μm) 419重量部
アルミナA(中心粒径40μm) 235重量部
白色顔料:アルミナB(中心粒径1μm) 247重量部
とした以外は実施例1と同様にして光反射用樹脂組成物を作製した。
(Comparative Example 1)
Inorganic filler: fused silica (center particle size 20 μm) 419 parts by weight
Alumina A (center particle size 40 μm) 235 parts by weight White pigment: Alumina B (center particle size 1 μm) A light reflecting resin composition was prepared in the same manner as in Example 1 except that 247 parts by weight was used.
(比較例2)
無機充填剤:溶融シリカ(中心粒径20μm) 623重量部
アルミナA(中心粒径40μm) 3147重量部
白色顔料:アルミナB(中心粒径1μm) 1105重量部
とした以外は実施例1と同様にして光反射用樹脂組成物を作製した。
(Comparative Example 2)
Inorganic filler: fused silica (center particle size 20 μm) 623 parts by weight
Alumina A (center particle size 40 μm) 3147 parts by weight White pigment: Alumina B (center particle size 1 μm) A light reflecting resin composition was prepared in the same manner as in Example 1 except that 1105 parts by weight was used.
(光反射率および熱伝導率の測定)
各実施例及び各比較例の光反射用樹脂組成物を、金型温度180℃、キュア時間90秒の条件でトランスファー成形を行った後、150℃の温度で2時間ポストキュアを行うことによって厚み0.5mmのテストピースを作製した。ついで、各テストピースの、波長350〜800nmにおける光反射率を積分球型分光光度計V−570型(日本分光株式会社製)を用いて測定した。また、150℃、72時間熱処理後の各テストピースの光反射特性も合わせて評価した。評価基準は下記のとおりである。結果を表1に示す。
<光反射率の評価基準>
○:光反射率80%以上
△:光反射率70%以上、80%未満
×:光反射率70%未満
(Measurement of light reflectance and thermal conductivity)
The thickness of the resin composition for light reflection of each example and each comparative example was obtained by performing transfer molding at a temperature of 150 ° C. for 2 hours after transfer molding under conditions of a mold temperature of 180 ° C. and a curing time of 90 seconds. A test piece of 0.5 mm was produced. Subsequently, the light reflectance in the wavelength of 350-800 nm of each test piece was measured using the integrating sphere type spectrophotometer V-570 type (made by JASCO Corporation). The light reflection characteristics of each test piece after heat treatment at 150 ° C. for 72 hours were also evaluated. The evaluation criteria are as follows. The results are shown in Table 1.
<Evaluation criteria for light reflectance>
○: Light reflectance 80% or more Δ: Light reflectance 70% or more, less than 80% ×: Light reflectance 70% or less
さらに、各テストピースの熱拡散率を熱拡散率測定装置LFA447Nanoflash(ネッチゲレイテバウ社製)を用いて測定し、熱伝導率を下記式1に基づいて計算した。結果を表1に示す。
λ=α×Cp×ρ (式1)
λ:熱伝導率
α:熱拡散率
Cp:熱容量(比熱)
ρ:密度
Furthermore, the thermal diffusivity of each test piece was measured using a thermal diffusivity measuring apparatus LFA447 Nanoflash (manufactured by Netchgereitebau), and the thermal conductivity was calculated based on the following formula 1. The results are shown in Table 1.
λ = α × Cp × ρ (Formula 1)
λ: thermal conductivity α: thermal diffusivity Cp: heat capacity (specific heat)
ρ: Density
(タブレット作製)
各実施例及び各比較例の光反射用樹脂組成物について、室温(25℃)でタブレット成型できるものを○、タブレット成型できないものを×として評価した。なお、タブレットの成型は、MTV−I−37((株)丸七鉄工所製、商品名)を用い、0.7MPa、2秒の条件で行った。
(Tablet production)
About the resin composition for light reflection of each Example and each comparative example, what can be tablet-molded at room temperature (25 degreeC) was evaluated as (circle) and what cannot be tablet-molded as x. The tablet was molded using MTV-I-37 (manufactured by Marunouchi Iron Works, trade name) under conditions of 0.7 MPa and 2 seconds.
表1に示したように、各実施例は各比較例と比べて、反射特性、熱伝導率、作業性(タブレット成型性)に優れている。したがって、本発明に係る光反射用熱硬化性樹脂組成物を用いると、可視光から近紫外光領域において高い反射率を有する高放熱性の光半導体素子搭載用基板を効率的に得ることができる。 As shown in Table 1, each example is superior in reflection characteristics, thermal conductivity, and workability (tablet moldability) as compared with each comparative example. Therefore, when the thermosetting resin composition for light reflection according to the present invention is used, a highly heat-dissipating optical semiconductor element mounting substrate having a high reflectance in the visible to near-ultraviolet region can be efficiently obtained. .
100・・・・・光半導体素子(LED素子)
101・・・・・封止樹脂
102・・・・・ボンディングワイヤ
103・・・・・リフレクター
104・・・・・Ni/Agめっき
105・・・・・金属配線
106・・・・・蛍光体
107・・・・・はんだバンプ
110・・・・・光半導体素子搭載用基板
200・・・・・光半導体素子搭載領域(凹部)
300・・・・・樹脂注入口
301・・・・・金型
100 ... Optical semiconductor element (LED element)
101 ... Sealing
300: Resin injection port 301: Mold
Claims (1)
A thermosetting resin composition for light reflection, comprising an epoxy resin, a curing agent, an inorganic filler, and a white pigment, wherein the curing agent includes an acid anhydride curing agent, and the inorganic filler includes silica.
Priority Applications (1)
| Application Number | Priority Date | Filing Date | Title |
|---|---|---|---|
| JP2016198177A JP6210577B2 (en) | 2016-10-06 | 2016-10-06 | Optical semiconductor element mounting substrate and optical semiconductor device |
Applications Claiming Priority (1)
| Application Number | Priority Date | Filing Date | Title |
|---|---|---|---|
| JP2016198177A JP6210577B2 (en) | 2016-10-06 | 2016-10-06 | Optical semiconductor element mounting substrate and optical semiconductor device |
Related Parent Applications (1)
| Application Number | Title | Priority Date | Filing Date |
|---|---|---|---|
| JP2014076822A Division JP6367593B2 (en) | 2014-04-03 | 2014-04-03 | Optical semiconductor element mounting substrate and optical semiconductor device |
Publications (2)
| Publication Number | Publication Date |
|---|---|
| JP2016225665A true JP2016225665A (en) | 2016-12-28 |
| JP6210577B2 JP6210577B2 (en) | 2017-10-11 |
Family
ID=57748619
Family Applications (1)
| Application Number | Title | Priority Date | Filing Date |
|---|---|---|---|
| JP2016198177A Expired - Fee Related JP6210577B2 (en) | 2016-10-06 | 2016-10-06 | Optical semiconductor element mounting substrate and optical semiconductor device |
Country Status (1)
| Country | Link |
|---|---|
| JP (1) | JP6210577B2 (en) |
Citations (6)
| Publication number | Priority date | Publication date | Assignee | Title |
|---|---|---|---|---|
| JPH1117073A (en) * | 1997-06-20 | 1999-01-22 | Toshiba Chem Corp | Optical coupling semiconductor device and sealing resin composition |
| JPH11307820A (en) * | 1998-04-17 | 1999-11-05 | Stanley Electric Co Ltd | Surface mount LED and method of manufacturing the same |
| JP2002212450A (en) * | 2001-01-22 | 2002-07-31 | Toshiba Chem Corp | Sealing resin composition and semiconductor sealing device |
| JP2002322474A (en) * | 2001-02-07 | 2002-11-08 | Patent Treuhand Ges Elektr Gluehlamp Mbh | High efficiency phosphor and light source having high efficiency phosphor |
| JP2003277479A (en) * | 2002-03-22 | 2003-10-02 | Sanyu Rec Co Ltd | Method for manufacturing LED bare chip mounting substrate and resin composition |
| JP2004200531A (en) * | 2002-12-20 | 2004-07-15 | Stanley Electric Co Ltd | Surface mount type LED element |
-
2016
- 2016-10-06 JP JP2016198177A patent/JP6210577B2/en not_active Expired - Fee Related
Patent Citations (6)
| Publication number | Priority date | Publication date | Assignee | Title |
|---|---|---|---|---|
| JPH1117073A (en) * | 1997-06-20 | 1999-01-22 | Toshiba Chem Corp | Optical coupling semiconductor device and sealing resin composition |
| JPH11307820A (en) * | 1998-04-17 | 1999-11-05 | Stanley Electric Co Ltd | Surface mount LED and method of manufacturing the same |
| JP2002212450A (en) * | 2001-01-22 | 2002-07-31 | Toshiba Chem Corp | Sealing resin composition and semiconductor sealing device |
| JP2002322474A (en) * | 2001-02-07 | 2002-11-08 | Patent Treuhand Ges Elektr Gluehlamp Mbh | High efficiency phosphor and light source having high efficiency phosphor |
| JP2003277479A (en) * | 2002-03-22 | 2003-10-02 | Sanyu Rec Co Ltd | Method for manufacturing LED bare chip mounting substrate and resin composition |
| JP2004200531A (en) * | 2002-12-20 | 2004-07-15 | Stanley Electric Co Ltd | Surface mount type LED element |
Non-Patent Citations (1)
| Title |
|---|
| 光時代の透明性樹脂, JPN7016001406, 30 June 2004 (2004-06-30), pages 123 - 124, ISSN: 0003465170 * |
Also Published As
| Publication number | Publication date |
|---|---|
| JP6210577B2 (en) | 2017-10-11 |
Similar Documents
| Publication | Publication Date | Title |
|---|---|---|
| JP5060707B2 (en) | Thermosetting resin composition for light reflection | |
| JP5298468B2 (en) | Thermosetting light reflecting resin composition, substrate for mounting optical semiconductor element using the same, method for manufacturing the same, and optical semiconductor device | |
| JP5778605B2 (en) | Thermosetting light-reflective resin composition, optical semiconductor element mounting substrate using the same, optical semiconductor device, and methods for producing them | |
| JP2007297601A (en) | Thermosetting resin composition for light reflection, optical semiconductor element mounting substrate using the same, manufacturing method thereof, and optical semiconductor device | |
| JP5303097B2 (en) | Thermosetting light reflecting resin composition, optical semiconductor mounting substrate using the same, manufacturing method thereof, and optical semiconductor device. | |
| JP5233186B2 (en) | Thermosetting light reflecting resin composition, substrate for mounting optical semiconductor element using the same, method for manufacturing the same, and optical semiconductor device | |
| JP2008306151A (en) | Epoxy resin composition for optical semiconductor, optical semiconductor element mounting substrate and optical semiconductor device using the same | |
| KR101092015B1 (en) | Thermosetting light reflecting resin composition, a method of manufacturing the same, an optical semiconductor element mounting reflector prepared therefrom, and an optical semiconductor device comprising the same | |
| JP5376014B2 (en) | A thermosetting resin composition for light reflection, an optical semiconductor mounting substrate using the same, a manufacturing method thereof, and an optical semiconductor device. | |
| JP2010212717A (en) | Substrate for mounting optical semiconductor using light-reflecting thermosetting resin composition, method for manufacturing the same, and optical semiconductor device | |
| JP6269774B2 (en) | Optical semiconductor element mounting substrate and optical semiconductor device | |
| JP6210577B2 (en) | Optical semiconductor element mounting substrate and optical semiconductor device | |
| JP6210576B2 (en) | Optical semiconductor element mounting substrate and optical semiconductor device | |
| JP6409845B2 (en) | Optical semiconductor element mounting substrate and optical semiconductor device | |
| JP6210575B2 (en) | Optical semiconductor element mounting substrate and optical semiconductor device | |
| JP5967135B2 (en) | Thermosetting light reflecting resin composition, optical semiconductor mounting substrate using the same, manufacturing method thereof, and optical semiconductor device. | |
| JP6367593B2 (en) | Optical semiconductor element mounting substrate and optical semiconductor device | |
| JP6163131B2 (en) | A thermosetting resin composition for light reflection, an optical semiconductor mounting substrate using the same, a manufacturing method thereof, and an optical semiconductor device. | |
| JP6740997B2 (en) | Substrate for mounting optical semiconductor element and optical semiconductor device | |
| TW202307059A (en) | Heat-curable resin composition for light reflection, substrate for mounting optical semiconductor element, and optical semiconductor device | |
| JP2013012763A (en) | Thermosetting resin composition for light reflection, optical semiconductor mounting substrate manufactured using the same, method for manufacturing the substrate, and optical semiconductor device | |
| JP2012178567A (en) | Thermosetting resin composition for reflecting light, substrate for mounting optical semiconductor element using the same and method for manufacturing the same, and optical semiconductor device | |
| JP2024045302A (en) | Thermosetting resin composition for light reflection, substrate for mounting optical semiconductor elements, and optical semiconductor devices | |
| JP2013163777A (en) | Epoxy resin composition for led reflector, led reflector using the resin composition, surface-mounting led light-emitting device, and led luminaire |
Legal Events
| Date | Code | Title | Description |
|---|---|---|---|
| A521 | Request for written amendment filed |
Free format text: JAPANESE INTERMEDIATE CODE: A523 Effective date: 20161025 |
|
| A621 | Written request for application examination |
Free format text: JAPANESE INTERMEDIATE CODE: A621 Effective date: 20161025 |
|
| A871 | Explanation of circumstances concerning accelerated examination |
Free format text: JAPANESE INTERMEDIATE CODE: A871 Effective date: 20161025 |
|
| A975 | Report on accelerated examination |
Free format text: JAPANESE INTERMEDIATE CODE: A971005 Effective date: 20161206 |
|
| A131 | Notification of reasons for refusal |
Free format text: JAPANESE INTERMEDIATE CODE: A131 Effective date: 20161220 |
|
| A521 | Request for written amendment filed |
Free format text: JAPANESE INTERMEDIATE CODE: A523 Effective date: 20170209 |
|
| A131 | Notification of reasons for refusal |
Free format text: JAPANESE INTERMEDIATE CODE: A131 Effective date: 20170509 |
|
| A521 | Request for written amendment filed |
Free format text: JAPANESE INTERMEDIATE CODE: A523 Effective date: 20170609 |
|
| TRDD | Decision of grant or rejection written | ||
| A01 | Written decision to grant a patent or to grant a registration (utility model) |
Free format text: JAPANESE INTERMEDIATE CODE: A01 Effective date: 20170905 |
|
| A61 | First payment of annual fees (during grant procedure) |
Free format text: JAPANESE INTERMEDIATE CODE: A61 Effective date: 20170907 |
|
| R151 | Written notification of patent or utility model registration |
Ref document number: 6210577 Country of ref document: JP Free format text: JAPANESE INTERMEDIATE CODE: R151 |
|
| LAPS | Cancellation because of no payment of annual fees |
