JP2015170284A - Forklift type automatic guided vehicle, control method and control apparatus therefor - Google Patents
Forklift type automatic guided vehicle, control method and control apparatus therefor Download PDFInfo
- Publication number
- JP2015170284A JP2015170284A JP2014046634A JP2014046634A JP2015170284A JP 2015170284 A JP2015170284 A JP 2015170284A JP 2014046634 A JP2014046634 A JP 2014046634A JP 2014046634 A JP2014046634 A JP 2014046634A JP 2015170284 A JP2015170284 A JP 2015170284A
- Authority
- JP
- Japan
- Prior art keywords
- vehicle body
- obstacle
- obstacle detection
- automatic guided
- type automatic
- Prior art date
- Legal status (The legal status is an assumption and is not a legal conclusion. Google has not performed a legal analysis and makes no representation as to the accuracy of the status listed.)
- Pending
Links
Images
Classifications
-
- G—PHYSICS
- G05—CONTROLLING; REGULATING
- G05D—SYSTEMS FOR CONTROLLING OR REGULATING NON-ELECTRIC VARIABLES
- G05D1/00—Control of position, course, altitude or attitude of land, water, air or space vehicles, e.g. using automatic pilots
- G05D1/20—Control system inputs
- G05D1/24—Arrangements for determining position or orientation
- G05D1/242—Means based on the reflection of waves generated by the vehicle
- G05D1/2427—Means based on the reflection of waves generated by the vehicle for monitoring a zone of adjustable size or form
-
- G—PHYSICS
- G05—CONTROLLING; REGULATING
- G05D—SYSTEMS FOR CONTROLLING OR REGULATING NON-ELECTRIC VARIABLES
- G05D1/00—Control of position, course, altitude or attitude of land, water, air or space vehicles, e.g. using automatic pilots
- G05D1/60—Intended control result
- G05D1/617—Safety or protection, e.g. defining protection zones around obstacles or avoiding hazards
- G05D1/622—Obstacle avoidance
-
- G—PHYSICS
- G05—CONTROLLING; REGULATING
- G05D—SYSTEMS FOR CONTROLLING OR REGULATING NON-ELECTRIC VARIABLES
- G05D1/00—Control of position, course, altitude or attitude of land, water, air or space vehicles, e.g. using automatic pilots
- G05D1/60—Intended control result
- G05D1/65—Following a desired speed profile
-
- G—PHYSICS
- G05—CONTROLLING; REGULATING
- G05D—SYSTEMS FOR CONTROLLING OR REGULATING NON-ELECTRIC VARIABLES
- G05D2105/00—Specific applications of the controlled vehicles
- G05D2105/20—Specific applications of the controlled vehicles for transportation
- G05D2105/28—Specific applications of the controlled vehicles for transportation of freight
-
- G—PHYSICS
- G05—CONTROLLING; REGULATING
- G05D—SYSTEMS FOR CONTROLLING OR REGULATING NON-ELECTRIC VARIABLES
- G05D2107/00—Specific environments of the controlled vehicles
- G05D2107/70—Industrial sites, e.g. warehouses or factories
-
- G—PHYSICS
- G05—CONTROLLING; REGULATING
- G05D—SYSTEMS FOR CONTROLLING OR REGULATING NON-ELECTRIC VARIABLES
- G05D2109/00—Types of controlled vehicles
- G05D2109/10—Land vehicles
-
- G—PHYSICS
- G05—CONTROLLING; REGULATING
- G05D—SYSTEMS FOR CONTROLLING OR REGULATING NON-ELECTRIC VARIABLES
- G05D2111/00—Details of signals used for control of position, course, altitude or attitude of land, water, air or space vehicles
- G05D2111/10—Optical signals
- G05D2111/17—Coherent light, e.g. laser signals
Landscapes
- Engineering & Computer Science (AREA)
- Physics & Mathematics (AREA)
- Aviation & Aerospace Engineering (AREA)
- Radar, Positioning & Navigation (AREA)
- Remote Sensing (AREA)
- General Physics & Mathematics (AREA)
- Automation & Control Theory (AREA)
- Control Of Position, Course, Altitude, Or Attitude Of Moving Bodies (AREA)
- Electromagnetism (AREA)
- Forklifts And Lifting Vehicles (AREA)
Abstract
Description
本発明は、フォークリフト型無人搬送車、その制御方法および制御装置に関する。 The present invention relates to a forklift type automatic guided vehicle, a control method thereof, and a control device.
無人搬送車は、人と無人搬送車の各走行路を分離する、或いは、無人搬送車の走行路を柵で囲うことにより、人と無人搬送車が接触しない本質的な安全を実現することができる。
しかし、実際の運用においては、無人搬送車は、人と走行路を分離したり、或いは、走行路を柵で囲んでしまっては有軌道搬送車と同様になり、無人搬送車の最大のメリットである多様性をもった運用を阻害する。そのため、従来、バンパースイッチによる接触検知、レーザや赤外線あるいは超音波を使用した物体の相対距離検出手段による機能安全手段により対人接触リスクと、万が一接触した場合の障害の低減策を講じることで運用している。
The automatic guided vehicle can realize the intrinsic safety that the human and the automatic guided vehicle do not come into contact with each other by separating the traveling paths of the automatic guided vehicle and the automatic guided vehicle with a fence. it can.
However, in actual operation, the automatic guided vehicle has the same merit as the tracked vehicle if the road is separated from the person or the road is surrounded by a fence. This hinders operations with diversity. Therefore, it has been operated by taking measures to reduce interpersonal contact risks and obstacles in the event of contact by means of contact safety detection using bumper switches and functional safety means using object relative distance detection means using laser, infrared or ultrasonic waves. ing.
一般の無人搬送車は走行速度も安全とされる60m/分以下の速度で運用してきた歴史があり、事故のリスクが低かった。
一方、国内では無人搬送車の販売実績のうち、フォークリフト型の比率は約1割で増加傾向にある。一般の無人搬送車と無人フォークリフトとは、用途の違い、荷移載の有無などから、車体形状、走行性能、走行時の動的挙動が全く異なる。また、有人フォークリフトも対人接触の労働災害が数多く発生しており、一般の無人搬送車とは異なるフォークリ フトの特性に合った対人接触を回避する方法が求められている。
General automated guided vehicles have a history of operating at speeds of 60 m / min or less, which is considered safe, and the risk of accidents was low.
On the other hand, the ratio of forklift trucks is increasing at about 10% of the sales results of automated guided vehicles in Japan. A general automatic guided vehicle and an automatic forklift are completely different from each other in terms of vehicle shape, running performance, and dynamic behavior during running due to differences in applications and the presence or absence of load transfer. In addition, manned forklifts are also subject to a lot of interpersonal contact occupational accidents, and there is a need for a method for avoiding interpersonal contact that matches the characteristics of forklifts different from general automatic guided vehicles.
無人搬送車の人との接触回避として、JIS D6802 無人搬送車システム−安全通則では人との接触、周囲のものとの衝突を回避する接近検出装置の設置が求められている。接近検出装置に対応するものの例として下記の特許文献1〜4がある。 In order to avoid contact with a person of an automated guided vehicle, JIS D6802 Automated guided vehicle system—General safety rules require the installation of an approach detection device that avoids contact with a person and collision with surrounding objects. The following patent documents 1-4 are examples of what corresponds to an approach detection device.
一方、フォークリフトとしては、JIS D6201 では形状によりカウンターバランスフォークリフト、ストラドルフォークリフト、パレットスタッキングトラック、サイドフォークリフト、リーチフォークリフト、ウォーキーフォークリフトなどがあるが、電動フォークリフトとして自動化が容易な車体構造のリーチ型フォークリフトで説明する。 On the other hand, as forklifts, there are counterbalance forklifts, straddle forklifts, pallet stacking trucks, side forklifts, reach forklifts, walkie forklifts, etc. depending on the shape according to JIS D6201; To do.
フォークリフトは、一般の無人搬送車と異なり車体からフォークが飛び出しフォークの上に荷を積載して搬送するため、荷を積載することで車体前方に荷が占有する空間が発生し、この荷と人の接触リスクが発生すること、車体から突出したフォークと人との接触リスクがある。 Unlike a general automatic guided vehicle, a fork lifts a fork from a vehicle body and loads and transports the load on the fork. Therefore, loading the load creates a space occupied by the load in front of the vehicle body. There is a risk of contact between the fork protruding from the vehicle body and a person.
加えて、後輪で操舵し、操舵輪が90度以上の角度で操舵し、内輪と外輪の通過する旋回時の挙動は車体中心の軌跡、操舵を行う後輪の軌跡、荷の外周の軌跡、フォーク先端の軌跡がそれぞれ異なり、対人接触のリスクが一般の無人搬送車よりも大きい。 In addition, the steering wheel is steered by the rear wheel, the steering wheel is steered at an angle of 90 degrees or more, and the turning behavior of the inner wheel and the outer wheel is as follows. The fork tips have different trajectories, and the risk of interpersonal contact is greater than that of a general automated guided vehicle.
本発明は上記実状に鑑み、フォークリフト固有の対物接触リスクを低減することが可能なフォークリフト型無人搬送車、その制御方法および制御装置の提供を目的とする。 In view of the above circumstances, an object of the present invention is to provide a forklift type automatic guided vehicle, a control method thereof, and a control device capable of reducing the object contact risk inherent to the forklift.
上記目的を達成すべく、第1の本発明に関わるフォークリフト型無人搬送車は、車体の周囲に配置され、前記車体の周囲環境を検出する複数の第1の障害物検出装置と、前記車体の走行速度、操舵方向、移載動作を含む運転状況に応じて設定される前記車体の周囲の障害物検出領域が予め記憶される検出領域記憶部と、前記車体の実際の走行速度、操舵方向、移載動作を含む運転状況に応じて前記障害物検出領域を選択して、該選択された前記障害物検出領域の情報を前記複数の第1の障害物検出装置に送る障害物検出安全制御部と備え、前記障害物検出安全制御部は、選択された前記障害物検出領域に障害物があると前記第1の障害物検出装置により検出される場合、前記車体の走行を停止させる制御を行っている。 In order to achieve the above object, a forklift type automatic guided vehicle according to the first aspect of the present invention is arranged around a vehicle body, and includes a plurality of first obstacle detection devices for detecting the surrounding environment of the vehicle body, A detection area storage unit in which an obstacle detection area around the vehicle body set in accordance with a driving situation including a traveling speed, a steering direction, and a transfer operation is stored in advance, and an actual traveling speed of the vehicle body, a steering direction, An obstacle detection safety control unit that selects the obstacle detection area in accordance with the driving situation including the transfer operation and sends information on the selected obstacle detection area to the plurality of first obstacle detection devices. The obstacle detection safety control unit performs control to stop the vehicle body when the first obstacle detection device detects that there is an obstacle in the selected obstacle detection area. ing.
第2の本発明に関わるフォークリフト型無人搬送車は、車体の無人での走行を制御する誘導制御装置と、前記車体の周囲にある障害物を検出する第1の障害物検出装置と、設定した領域内に前記障害物が存在するか否かを判定し、前記判定した信号と前記誘導制御装置の信号とを組合せ、前記車体の運転状態により前記車体の停止制御を行う障害物検出安全制御部とを備えている。 The forklift type automatic guided vehicle according to the second aspect of the present invention includes a guidance control device that controls unmanned traveling of the vehicle body, and a first obstacle detection device that detects obstacles around the vehicle body. An obstacle detection safety control unit that determines whether or not the obstacle exists in a region, combines the determined signal and the signal of the guidance control device, and performs stop control of the vehicle body according to the driving state of the vehicle body And.
第3の本発明に関わる制御装置は、第1の本発明のフォークリフト型無人搬送車を制御するのに用いられる制御装置である。 A control device according to the third aspect of the present invention is a control device used to control the forklift type automatic guided vehicle according to the first aspect of the present invention.
第4の本発明に関わる制御装置は、第2の本発明のフォークリフト型無人搬送車を制御するのに用いられる制御装置である。 A control device according to the fourth aspect of the present invention is a control device used to control the forklift type automatic guided vehicle according to the second aspect of the present invention.
第5の本発明に関わるフォークリフト型無人搬送車の制御方法は、第1の本発明のフォークリフト型無人搬送車を制御する方法である。 The control method for a forklift type automatic guided vehicle according to the fifth aspect of the present invention is a method for controlling the forklift type automatic guided vehicle according to the first aspect of the present invention.
第6の本発明に関わるフォークリフト型無人搬送車の制御方法は、第2の本発明のフォークリフト型無人搬送車を制御する方法である。 A control method for a forklift type automatic guided vehicle according to the sixth aspect of the present invention is a method for controlling the forklift type automatic guided vehicle according to the second aspect of the present invention.
本発明によれば、フォークリフト固有の対物接触リスクを低減することが可能なフォークリフト型無人搬送車、その制御方法および制御装置を実現できる。 ADVANTAGE OF THE INVENTION According to this invention, the forklift type automatic guided vehicle which can reduce the objective contact risk intrinsic | native to a forklift, its control method, and a control apparatus are realizable.
以下、本発明の実施形態について添付図面を参照して説明する。
リーチ型の電動フォークリフトを自動化した実施形態のフォークリフト型無人搬送車1(以下、フォーク型無人搬送車1と称す)の構成を図1に示す。図1(a)は、本発明に係る実施形態のフォークリフト型無人搬送車を示す側面図であり、図1(b)は上面図であり、図1(c)は後面図である。
Embodiments of the present invention will be described below with reference to the accompanying drawings.
The configuration of a forklift type automatic guided vehicle 1 (hereinafter referred to as a fork type automatic guided vehicle 1) according to an embodiment in which a reach type electric forklift is automated is shown in FIG. Fig.1 (a) is a side view which shows the forklift type automatic guided vehicle of embodiment based on this invention, FIG.1 (b) is a top view, FIG.1 (c) is a rear view.
フォーク型無人搬送車1は、前後方向にのみ回転する左右の前輪w1、w1がアウトリガー1Oにリジッドに取り付けられており、駆動輪かつ操舵輪の左後輪w2とキャスタである後輪w3とが車体1Bに取り付けられている(図1(c)参照)。
In the fork-type automatic guided
そして、フォーク型無人搬送車1は、前部に荷を積載するフォーク5と、フォーク5を上げ下げするバックレスト5bと、バックレスト5bが案内されるマスト5mとを備えている。
フォーク型無人搬送車1の後部には、左後輪w2を操舵して駆動する走行モータなどが設けられる駆動部6が備えられ、駆動部6の頂部にはスタンド7が設けられている。スタンド7の頂部には、フォーク型無人搬送車1を認知させるヘッドランプ7pが設置されている。なお、フォーク型無人搬送車1には、緊急の場合に非常停止させる非常停止ボタン(図示せず)が設置されている。
The fork type automatic guided
At the rear part of the fork type automatic guided
<センサ>
スタンド7の上部には、誘導用センサ8aが設置されている。誘導用センサ8aで作成した建物内のレイアウトを示す環境地図に基づき、フォーク型無人搬送車1の誘導制御が遂行され無人での自動運転が行われる。
フォーク型無人搬送車1のリアバンパー1bには物、人などが当接(衝突)したことを検出するバンパースイッチ1sが設けられている。バンパースイッチ1sとしては、占有スペースが小さくて済むテープ状の感圧スイッチなどが用いられる。
<Sensor>
A
The
駆動部6の上部には、3次元位置認識の対人検出用センサ8bが設置されている。
図2は、フォーク型無人搬送車1のセンサが障害物を検出する範囲を示す上面図である。
対人検出用センサ8bは、フォーク型無人搬送車1が後進するに際して、停止制御領域Tにある障害物と、減速制御領域Gにある障害物とを検出する。
なお、図2では、減速制御領域Gに柱や壁などの構造物Kがある場合を示している。また、図2以降の図では、後・前方障害物センサ2、3、4のブラケット3b、4bなどは一部省略して示している。
対人検出用センサ8bは、3次元で障害物の検出を行い、対人検出用センサ8bによる障害物の位置情報が水平面の情報に置換されることで環境地図上の障害物の位置が明示される。
An
FIG. 2 is a top view showing a range in which the sensor of the fork type automatic guided
The
FIG. 2 shows a case where the deceleration control region G has a structure K such as a column or a wall. Further, in the drawings after FIG. 2, the
The
図1(b)に示すように、車体1Bの後下部には、車体1Bの後方と車体1Bの側方の障害物を検出する2次元距離計測装置である後方障害物センサ2が設置される。また、車体1Bの前方には車体前方と車体側方の障害物を検出する一対の前方障害物センサ3、4が左右のアウトリガー1O1、1O2の上部に設置される。図1(a)に示すように、2次元距離計測装置の後・前方障害物センサ2、3、4は床面に近い位置での障害物を検出するため上下を転置し取り付ける。
As shown in FIG. 1B, a
なお、床面に近い位置での障害物の検出が可能であれば、必ずしも後・前方障害物センサ2、3、4は上下を転置しなくともよい。後・前方障害物センサ2、3、4は例えばレーザ光が用いられ、検出対象物(障害物など)に反射して返ってくる時間などにより検出対象物との距離が測定される。
If the obstacle can be detected at a position close to the floor, the rear and
後・前方障害物センサ2、3、4は、床面Yから100〜250mm位の高さの障害物を検出するように設置される。この検出高さにより、立っている人また人が倒れている場合にも人がいることを検出できる。これにより、障害物などを確実に検出することができる。
なお、後・前方障害物センサ2、3、4の高さは、床面Yから200〜230mmが最も望ましい。ここでは、後・前方障害物センサ2、3、4が230mm位の高さに取り付けられているものとする。
The rear /
The height of the rear /
図1(a)、(b)に示すように、前方側のアウトリガー1O1、1O2に取り付ける前方障害物センサ3、4には、人が踏んだり荷が当たって破損しないように、左・右保護取り付けブラケット3b、4bを厚さ5mm程度の保護用鋼板で形成し、取り付けブラケットと装置保護を兼用するものとする。
As shown in FIGS. 1 (a) and 1 (b), the
左保護取り付けブラケット3bは、左のアウトリガー1O1に取り付けられる取り付け部3b1と、取り付け部3b1から連続して前方障害物センサ3の上方を覆う形状の保護部3b2とを有している。取り付け部3b1に前方障害物センサ3が取り付けられる。
The left
同様に、右保護取り付けブラケット4bは、右のアウトリガー1O2に取り付けられる取り付け部4b1と、取り付け部4b1から連続して前方障害物センサ4の上方を覆う形状の保護部4b2とを有している。取り付け部4b1に前方障害物センサ4が取り付けられる。
Similarly, the right
前方障害物センサ3、4は、フォーク5が下がった位置での車体前方および車体側方の230mm位の高さの障害物の検出を行う。また、フォーク5が前方障害物センサ3、4よりも上がった位置でのフォーク5の下方を含む前方と側方の230mm位の高さの障害物の検出を行う。
The
後方障害物センサ2は、フォーク型無人搬送車1の後方および後左右側方の230mm位の高さの障害物の検出を行う。
後・前方障害物センサ2、3、4は、減速制御領域Gおよび停止制御領域Tが検出しない領域、すなわち主に領域(G、T)とは別に設定される監視領域A(図2参照)に障害物があることを検出する。
The
The rear and
フォーク型無人搬送車1は、通常後ろ向きに走行させる(後進させる)。何故なら、操舵輪かつ駆動輪の左後輪w2が配置されない前向きの走行は、車体1Bの追従性が悪くなり、意図に従った機敏な走行が不可能だからである。つまり、操舵輪かつ駆動輪の左後輪w2が進行方向になる方が、制御が安定するからである。このような工学上の理由で、前進方向は低速でしか動かさない(走行させない)。
The fork-type automatic guided
後・前方障害物センサ2、3、4は、汎用の2次元レーザ距離計などの距離計測装置を使用する。なお、後方障害物センサ2、前方障害物センサ3、4は後記する2次元距離計測装置の機能が果たせれば、どのようなセンサでもよい。
The rear /
その他、フォーク型無人搬送車1には、走行速度を検出する速度センサ(図3参照)、操舵方向などを検出する操舵角センサ(図3参照)、フォーク5に積まれた荷の位置を確認するリミットスイッチ(図示せず)などが設けられている。
フォーク5に載せた荷の位置はフォーク端部の規定位置までフォークがパレットに挿入されたことをリミットスイッチで検出する。
In addition, the fork type automatic guided
The position of the load placed on the
<システム構成>
図3は、フォーク型無人搬送車の制御部の構成を示す概念図である。
フォーク型無人搬送車1は、制御系として、車体制御部1Cと障害物検出安全制御部1Sと非常停止安全制御部1Tとを具備している。
<System configuration>
FIG. 3 is a conceptual diagram showing a configuration of a control unit of the fork type automatic guided vehicle.
The fork type automatic guided
車体制御部1Cは、誘導用センサ8a(図1参照)の情報に基づいて、フォーク型無人搬送車1を既定の経路を走行させたり制動を行ったり、フォーク5の上げ下げを行う。また、車体制御部1Cは、対人検出用センサ8bの情報に基づき、減速制御領域G(図2参照)に障害物を検出した際にはフォーク型無人搬送車1を減速させ、停止制御領域T(図2参照)に障害物を検出した際にはフォーク型無人搬送車1を停止させる。これにより、フォーク型無人搬送車1が人や物に衝突することを回避することができる。
The vehicle
非常停止安全制御部1Tは、バンパースイッチ1sで衝突を検出した場合および非常停止釦が押下された場合、ブレーキでフォーク型無人搬送車1を停止させた後、ブレーキへの動力供給を遮断する。
The emergency stop
障害物検出安全制御部1Sは、予め様々な条件に対応した複数の監視領域(防護エリア)A(図2参照、詳細は後記)がテーブルなどに登録され、後・前方障害物センサ2、3、4の検出信号により障害物が監視領域(防護エリア)A内にあることを判定する。非常停止安全制御部1Tは、障害物が監視領域(防護エリア)A内にあることを判定した場合、走行モータの動力を遮断後、ブレーキで制動してフォーク型無人搬送車1を停止させる。
The obstacle detection
障害物検出安全制御部1Sは、適宜出力信号を送信して電気的接点が溶着していないか監視する、自己診断プログラムを実行させる、内部バスの状態を監視する、内部が2系統に構成されるなどの方策を用いて、故障があるか否かの自己診断を行い故障の早期発見に努めている。
The obstacle detection
<後方障害物センサ2と前方障害物センサ3、4>
後・前方障害物センサ2、3、4は、距離走査の範囲が、水平面上で270度の範囲を検出するセンサを使用している。なお、検出範囲は270度に限定されるものでなく、その他の角度の範囲を検出することとしてもよい。
<
The rear and
後・前方障害物センサ2、3、4を、上下転置して設置した場合での各センサと後方にある障害物Pとの関係は図4に示す関係で表される。なお、図4は後方の障害物と、後方障害物センサおよび前方障害物センサとの位置関係の座標を表した上面図である。
後方障害物センサ2は、y1軸を中心に振り分けて270度の範囲を監視する。前方障害物センサ3は、y3軸を中心に振り分けて270度の範囲を監視する。前方障害物センサ4は、y2軸を中心に振り分けて270度の範囲を監視する。
When the rear /
The
例えば、センサの取り付け位置を、
後方障害物センサ2の座標 (X1、Y1)=(0、0)
右前方障害物センサ4の座標 (X2、Y2)=(−1.706、0.478)
左前方障害物センサ3の座標 (X3、Y3)=(−1.706、−0.478)
にそれぞれ設置した場合について説明する。
For example, the sensor mounting position
Coordinates (X2, Y2) = (− 1.706, 0.478) of right
Coordinates (X3, Y3) = (− 1.706, −0.478) of the left
The case where each is installed will be described.
後方障害物センサ2の座標を原点(0、0)として障害物Pの座標(X、Y)とする場合、障害物Pの座標(X、Y)と右前方障害物センサ4の座標(X2、Y2)との関係は公知の座標変換の式で表される。
同様に、障害物Pの座標(X、Y)と左前方障害物センサ3の座標(X3、Y3)との関係は公知の座標変換の式で表される。
When the coordinates of the
Similarly, the relationship between the coordinates (X, Y) of the obstacle P and the coordinates (X3, Y3) of the left
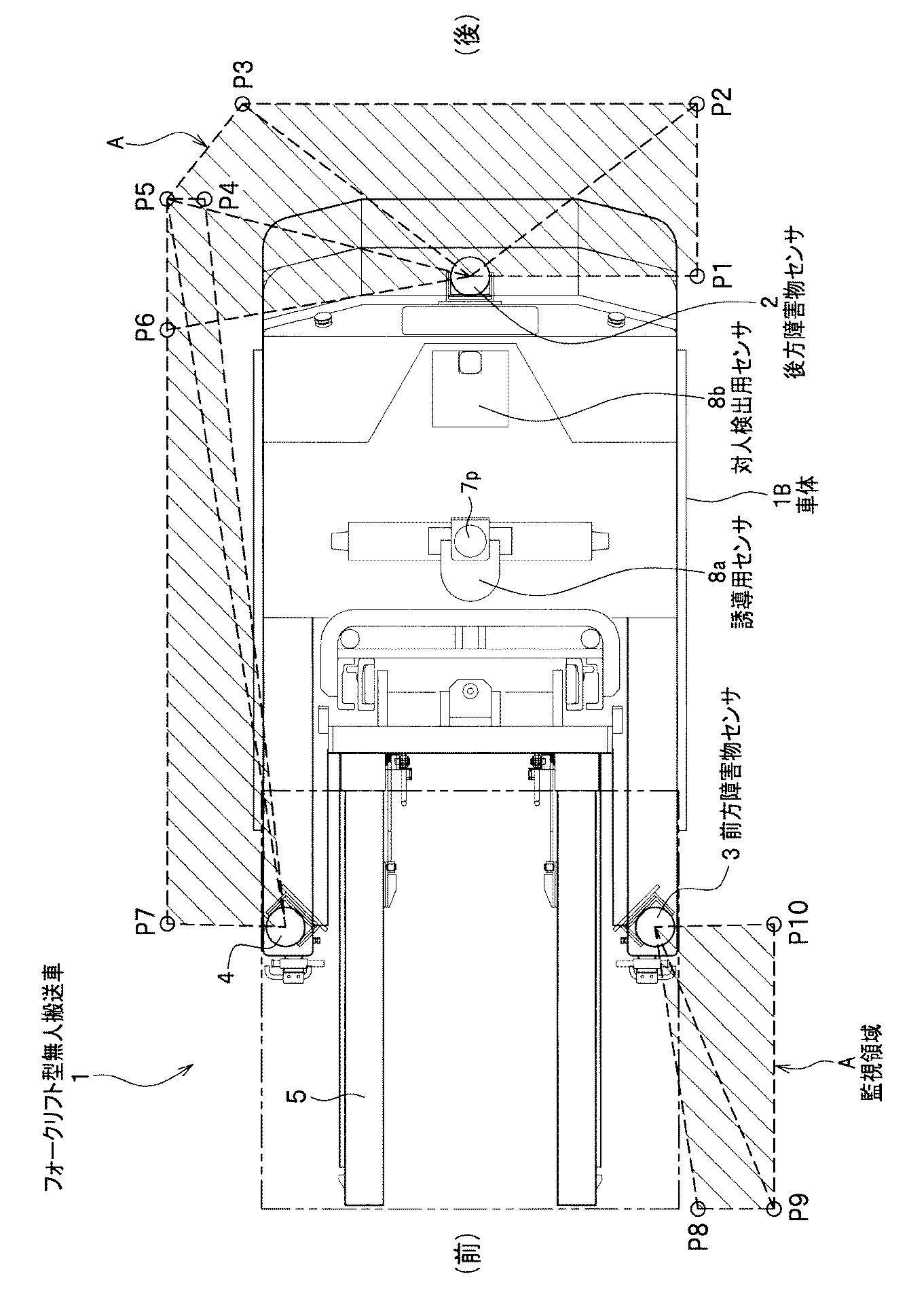
図5は、後方障害物センサと左右の前方障害物センサとが検出する領域の一例を示す上面図である。
後方障害物センサ2、左・右の前方障害物センサ3、4が障害物を監視する領域は、複数の点(P1〜P7)で指定される点で囲まれる範囲の監視領域Aの障害物を検出する。後方障害物センサ2は、図5に示す領域では、点P1、P2、P3、P5、P6で囲まれる領域(監視領域A)の障害物を監視する。右の前方障害物センサ4は点P4、P5、P7で囲まれた領域(監視領域A)の障害物を監視する。左の前方障害物センサ3は点P8、P9、P10で囲まれた領域(監視領域A)の障害物を監視する。
FIG. 5 is a top view illustrating an example of a region detected by the rear obstacle sensor and the left and right front obstacle sensors.
The area where the
このように各センサ(2、3、4)の分担する範囲を極座標系で同一の偏角に対し一つの距離値を持つ領域(2つ以上の距離値を持たない領域)を設定し、座標点は複数の領域で共有可能として、フォーク型無人搬送車1の周囲に防護するための監視領域Aを設定する。監視領域(防護エリア)Aとは、後・前方障害物センサ2、3、4の何れかが障害物を検出した場合、フォーク型無人搬送車1が非常停止される領域を意味する。
In this way, the range that each sensor (2, 3, 4) shares is set in a polar coordinate system with one distance value for the same declination (region without two or more distance values). The point can be shared by a plurality of areas, and a monitoring area A for protection around the fork type automatic guided
<監視領域の設定>
監視領域の設定は、以下のように決定する。
フォーク型無人搬送車1の1方向への走行(例えば、後方または前方への走行)時には、フォーク型無人搬送車1の1方向への走行する速度での制動距離を求め、当該制動距離でフォーク型無人搬送車1を停止させて障害物に衝突しない距離を監視領域Aとする。つまり、制動距離にある程度の余裕を持たせる。
<Monitoring area settings>
The setting of the monitoring area is determined as follows.
When the fork-type automatic guided
フォーク型無人搬送車1の走行速度、その重量、荷の重量、ブレーキ制動力などを設定することにより、運動方程式を用いて制動距離が求められる。なお、フォーク型無人搬送車1では、走行速度を「極低速」(速度0を含む極低速)、「低速」、「中速」、「高速」の4速に分類している。
By setting the traveling speed of the fork type automatic guided
例えば、ブレーキ制動力をフォーク型無人搬送車1の荷を含めた質量で除算して減速度が求められる。そして、減速度を時間積分して速度と等価の式から停止までの時間が求められ、減速度を時間で2回積分することで制動距離が演算される。
For example, the deceleration is obtained by dividing the brake braking force by the mass including the load of the fork type automatic guided
フォーク型無人搬送車1がカーブを曲がるに際しては、カーブを走行する速度からブレーキの減速により停止するまでの制動距離を求め、障害物に衝突しない余裕をもった距離を設定する。ここで、余裕とは、例えば10〜50cmの余裕をとることを意味する。なお、制動距離は、フォーク型無人搬送車1の速度、荷の有無などから、上述の如く理論的または実験的に求められる。
When the fork-type automatic guided
<カーブする際の監視領域の設定>
フォーク型無人搬送車1がカーブするに際しての監視領域Aの設定方法を説明する。
図6は、フォーク型無人搬送車1がカーブを走行している際の監視領域を示す上面図である。
例えば、走行速度1.00m/secからブレーキの減速により停止するまでの走行距離(制動距離)を0.44m、カーブ時の旋回半径2mとする。制動距離L0.44m移動するまでに曲がる角度θは、旋回半径rとすると、円弧の長さと該円弧の成す角度θ との関係から、下式(1)で表される。
<Setting the monitoring area when turning>
A method for setting the monitoring area A when the fork type automatic guided
FIG. 6 is a top view showing a monitoring area when the fork type automatic guided
For example, a travel distance (braking distance) from a travel speed of 1.00 m / sec to a stop by deceleration of the brake is set to 0.44 m, and a turning radius at the time of curve is 2 m. The angle θ that is bent until the braking distance L is 0.44 m is expressed by the following expression (1) from the relationship between the length of the arc and the angle θ formed by the arc when the turning radius is r.
そこで、図6に示すように、荷Nを積んだフォーク型無人搬送車1が、旋回半径rが2mで角度θが12.6degでカーブし、0.44mの制動距離(円弧の長さ)Lをもって停止するフォーク型無人搬送車1の移動軌跡の領域を求める。そして、制動距離Lによるフォーク型無人搬送車1の移動軌跡をそのまま監視領域Aに用いると障害物に接触してしまうので、障害物との接触を回避するために該領域に幾分かの余裕y1をもって監視領域Aを決定する。このように、監視領域Aは荷Nを積んだフォーク型無人搬送車1、または、荷Nを積まない場合はフォーク型無人搬送車1の移動軌跡を包含すればよい。
Therefore, as shown in FIG. 6, the fork type automatic guided
<監視領域Aの代表的な9パターン>
検出領域の監視領域Aの配置として代表的な9パターンを図7(a)〜(i)に示す。
図7(a)に示す設定番号9のフォーク型無人搬送車1が後方に向けて高速で走行する場合の監視領域Aの後方領域Aa1の最遠後方の点は走行中の速度で非常停止をする(制動させる)場合、すなわち走行のための駆動装置の動力を遮断し、ブレーキで減速して停止する制動距離の値を用いて、障害物に衝突しないように設定する。
<Nine representative patterns of monitoring area A>
Nine typical patterns for the arrangement of the monitoring area A in the detection area are shown in FIGS.
When the fork-type automatic guided
図7(b)、(c)、(d)、(e)に示す設定番号3、5、6、8のように、カーブを走行する場合は、前述の図6に示すように、カーブを当該速度で走行した場合のフォーク型無人搬送車1の軌跡を包含する範囲が設定される。図7(b)、(d)は、フォーク型無人搬送車1が後方に向けて左折する場合を示し、図7(c)、(e)は、フォーク型無人搬送車1が後方に向けて右折する場合を示す。
When traveling along a curve as shown in setting
設定番号3、5、6、8のように非対称になっている監視領域Aの設定の場合は操舵角を大きく取り、曲率半径の小さな旋回をする場合、車体1B中心に比べてその後部が大きく移動するのはフォークリフト固有の挙動である。
When setting the monitoring area A that is asymmetrical such as setting
この場合、有人フォークリフトでは人の巻き込みを発生しやすいことに加えて、一般にフォークリフトは狭いところに入るために大きく舵を切るが、そのときは周囲の構造物や既に置かれた荷との空隙(間隙)が少ない。そのため、監視領域Aを非対称に設定して周囲との空隙がとれ、対人接触も防護できる範囲を設定する。 In this case, in addition to being prone to human entrainment in manned forklifts, generally forklifts are largely turned to enter narrow spaces, but at that time there is a gap between surrounding structures and loads already placed ( There are few gaps. For this reason, the monitoring area A is set asymmetrically so that a gap with the surrounding area can be taken and a range in which interpersonal contact can be protected is set.
図7(f)の設定番号4は、例えばフォーク型無人搬送車1が後方に向けて低速で進む監視領域Aを示している。フォーク型無人搬送車1が後方に向けて低速で進むため、制動する場合には後方への制動距離が必要なため、監視領域Aは後方側の領域が前方側の領域よりも広くとっている。
The setting
また、フォーク型無人搬送車1の側方側の監視領域Aは、後方への走行の際の両側方にある物や人に対する余裕の領域(物や人に衝突しないための領域)である。
Further, the monitoring area A on the side of the fork-type automatic guided
図7(g)の設定番号7は、フォーク型無人搬送車1が後方に向けて低速で進む監視領域Aを示している。フォーク型無人搬送車1の速度が図7(f)の設定番号4より高速になるので、進行方向である後方側の監視領域Ag1が、図7(f)の進行方向である後方側の監視領域Af1より後方側に長く延びて設定する。
The setting number 7 in FIG. 7G indicates the monitoring area A in which the fork type automatic guided
図7(h)の設定番号2は、荷をフォーク5に積む際の「移載中」を表す。荷をフォーク5に積む際の「移載中」は、フォーク型無人搬送車1の前方側の荷を積む側は、荷の移動のため、前方側の領域Ah1は設定されない監視領域Aとなる。
The setting
図7(i)の設定番号1は、フォーク5に荷を積み降ろし際の監視領域Aを示す。図7(i)の設定番号1では、積み降ろしの際の「極低速」運転であるので、後方のエリアに小さい監視領域Ai1を設定する。
The setting
<監視領域の選択>
表1に図7(a)〜(i)の監視領域Aを決定する選択条件を示す。
表1の「操舵方向」とはフォーク型無人搬送車1の操舵する方向を示す。表1中の「don’t care」は、フォーク5が動作時で右折左折の操舵方向を問わないことを示す。
<Selection of monitoring area>
Table 1 shows the selection conditions for determining the monitoring area A shown in FIGS.
The “steering direction” in Table 1 indicates the steering direction of the fork type automatic guided
表1の「移載中」は、フォーク5を稼動させて、パレットに載せた荷をフォーク5に載せたり、フォーク5から降ろしている最中であることを示す。「移載中」の「TRUE」はパレットに載せた荷をフォーク5に載せたり、フォーク5から降ろしたりする「移載中」の状態であることを示す。一方、「FALSE」はフォーク5を稼動させておらず、パレットに載せた荷をフォーク5に載せたり、フォーク5から降ろしていない状態であることを示す。
“Transferring” in Table 1 indicates that the
図7(a)〜(i)に示す設定した監視領域Aは表1に示す走行速度、操舵方向、移載中(移載動作)の3条件の組み合わせにより、障害物検出安全制御部1Sが、表1の条件選択表に従い監視する監視領域Aを選択する。
In the set monitoring area A shown in FIGS. 7 (a) to 7 (i), the obstacle detection
なお、不正な組合せの状態に対しては「異常」と判断し、フォーク型無人搬送車1を非常停止させる。不正な組合せとは、走行速度が「極低速(速度0を含む極低速)」でフォーク5を上げ下げして移載中であるべきところ、「中速」や「高速」で走行する。カーブを走行速度「低速」や「中速」で曲がるべきところ、「高速」でカーブを曲がる等々である。これら、設定された走行速度、操舵方向、移載中の3条件から外れる場合は、不正な組合せ「異常」と判断し、フォーク型無人搬送車1を非常停止させる。
It is determined that the state of the incorrect combination is “abnormal”, and the fork-type automatic guided
表1に示すように、第1番目の走行速度が「極低速(速度0を含む極低速)」、操舵方向が「don’t care」、移載中が「FALSE」(移載中でない)の場合、設定番号「1」(図7(i)参照)を選択する。フォーク型無人搬送車1が荷を積み際の極低速での走行であり、後方の監視領域Ai1が小さい監視領域Aをとっている。
As shown in Table 1, the first traveling speed is “very low speed (very low speed including 0)”, the steering direction is “don't care”, and “FALSE” is being transferred (not being transferred) In this case, the setting number “1” (see FIG. 7 (i)) is selected. The fork-type automatic guided
第2番目の走行速度が「極低速」、操舵方向が「don’t care」、移載中が「TRUE」(移載中)の場合、設定番号「2」(図7(h)参照)を選択する。フォーク型無人搬送車1が荷を積んだ直後の走行であり、荷が置いてあった箇所は状態の推定が困難であるため、前方の領域は監視しない監視領域Aとしている。
When the second travel speed is “very low speed”, the steering direction is “don't care”, and the transfer is “TRUE” (transfer), the setting number is “2” (see FIG. 7 (h)). Select. Since the fork type automatic guided
第3番目の走行速度が「低速」、操舵方向が「右折」、移載中が「FALSE」(移載中でない)の場合、設定番号「3」(図7(b)参照)を選択する。フォーク型無人搬送車1の進行方向である右側後方の領域が大きく、左側前方の領域が大きい監視領域Aとする。
When the third travel speed is “low speed”, the steering direction is “right turn”, and the transfer is “FALSE” (not being transferred), the setting number “3” (see FIG. 7B) is selected. . The monitoring area A is a large area on the right rear side, which is the traveling direction of the fork-type automatic guided
第4番目の走行速度が「低速」、操舵方向が「左折」、移載中が「FALSE」の場合、設定番号「5」(図7(c)参照)を選択する。フォーク型無人搬送車1の進行方向である左側後方の領域が大きく、右側前方の領域が大きい監視領域Aとしている。
When the fourth travel speed is “low speed”, the steering direction is “left turn”, and the transfer is “FALSE”, the setting number “5” (see FIG. 7C) is selected. The monitoring area A is a monitoring area A in which the left rear area, which is the traveling direction of the fork-type automatic guided
第5番目の走行速度が「低速」、操舵方向が「直進」、移載中が「FALSE」の場合、設定番号「4」(図7(f)参照)を選択する。フォーク型無人搬送車1の進行方向である後方の領域Af1が大きい監視領域Aとしている。
When the fifth travel speed is “low speed”, the steering direction is “straight forward”, and the transfer in progress is “FALSE”, the setting number “4” (see FIG. 7F) is selected. A rear area Af1 that is the traveling direction of the fork type automatic guided
第6番目の走行速度が「低速」、操舵方向が「don’t care」、移載中が「TRUE」の場合、不正な組み合わせ「異常」であるとしている。フォーク5を動作させてフォーク型無人搬送車1に荷を移載中であるので走行速度が「極低速」であるべきところ、走行速度が「低速」で速すぎる。そこで、移載がスムーズに遂行されない可能性あるいは各種データの設定間違いの可能性があるので、不正な組み合わせ「異常」であるとしてフォーク型無人搬送車1を非常停止させる。
If the sixth travel speed is “low speed”, the steering direction is “do n’t care”, and the transfer is “TRUE”, the incorrect combination is “abnormal”. Since the
第7番目の走行速度が「中速」、操舵方向が「右折」、移載中が「FALSE」(移載中でない)の場合、設定番号「6」(図7(d)参照)を選択する。フォーク型無人搬送車1が「中速」で、「右折」することから、進行方向である右側後方の領域が「低速」の場合(図7(b)参照)より大きく、左側前方の領域が「低速」の場合より大きい監視領域Aとしている。
When the seventh travel speed is “medium speed”, the steering direction is “right turn”, and the transfer is “FALSE” (not being transferred), the setting number “6” (see FIG. 7D) is selected. To do. Since the fork-type automatic guided
第8番目の走行速度が「中速」、操舵方向が「左折」、移載中が「FALSE」の場合、設定番号「8」(図7(e)参照)を選択する。フォーク型無人搬送車1の進行方向である左側後方の領域が「低速」の場合(図7(c)参照)より大きく、右側前方の領域が「低速」の場合より大きい監視領域Aとしている。
When the eighth travel speed is “medium speed”, the steering direction is “left turn”, and the transfer is “FALSE”, the setting number “8” (see FIG. 7E) is selected. The left rear region, which is the traveling direction of the fork-type automatic guided
第9番目の走行速度が「中速」、操舵方向が「直進」、移載中が「FALSE」の場合、設定番号「7」(図7(g)参照)を選択する。フォーク型無人搬送車1の進行方向である後方の領域Ag1が「低速」の場合より大きい監視領域Aとしている。
When the ninth travel speed is “medium speed”, the steering direction is “straight forward”, and the transfer is “FALSE”, the setting number “7” (see FIG. 7G) is selected. The rear region Ag1 that is the traveling direction of the fork type automatic guided
第10番目の走行速度が「中速」、操舵方向が「don’t care」、移載中が「TRUE」の場合、不正な組み合わせ「異常」であるとする。フォーク5を稼動させてフォーク型無人搬送車1に荷を移載中であるので走行速度が「極低速」であるべきところ、「中速」で走行速度が速すぎる。そこで、移載がスムーズに遂行されない可能性あるいは各種データの設定間違いの可能性があるので、不正な組み合わせ「異常」であるとしてフォーク型無人搬送車1を非常停止させる。
If the tenth traveling speed is “medium speed”, the steering direction is “do n’t care”, and the transfer is “TRUE”, it is assumed that the combination is “abnormal”. Since the
第11番目の走行速度が「高速」、操舵方向が「右折」、移載中が「FALSE」(移載中でない)の場合、不正な組み合わせ「異常」であるとする。フォーク型無人搬送車1が「右折」であるので走行速度が「中速」、「低速」、「極低速」などであるべきところ「高速」で走行速度が速すぎる。そのため、カーブの走行がスムーズに行えない可能性あるいは各種データの設定間違いの可能性があるので、不正な組み合わせ「異常」であるとしてフォーク型無人搬送車1を非常停止させる。
If the eleventh travel speed is “high speed”, the steering direction is “right turn”, and the transfer is “FALSE” (not being transferred), it is assumed that the combination is “abnormal”. Since the fork type automatic guided
第12番目の走行速度が「高速」、操舵方向が「左折」、移載中が「FALSE」の場合、不正な組み合わせ「異常」であるとしている。フォーク型無人搬送車1が「右折」であるので走行速度が「中速」、「低速」、「極低速」などであるべきところ「高速」であり、走行速度が速すぎる。そのため、カーブの走行がスムーズに行えない可能性あるいは各種データの設定間違いの可能性があるので、不正な組み合わせ「異常」であるとしてフォーク型無人搬送車1を非常停止させる。
When the twelfth travel speed is “high speed”, the steering direction is “left turn”, and the transfer is “FALSE”, it is assumed that the combination is “abnormal”. Since the fork type automatic guided
第13番目の走行速度が「高速」、操舵方向が「直進」、移載中が「FALSE」の場合、設定番号「9」(図7(a)参照)を選択する。フォーク型無人搬送車1の進行方向である後方の領域Aa1が「中速」の場合より大きい監視領域Aとしている。
When the thirteenth travel speed is “high speed”, the steering direction is “straight forward”, and the transfer in progress is “FALSE”, the setting number “9” (see FIG. 7A) is selected. The rear area Aa1 that is the traveling direction of the fork-type automatic guided
第14番目の走行速度が「高速」、操舵方向が「don’t care」、移載中が「TRUE」(移載中)の場合、不正な組み合わせ「異常」であるとする。フォーク5を動作させてフォーク型無人搬送車1に荷を移載中であるので走行速度が「極低速」であるべきところ、「高速」で走行速度が速すぎる。そこで、移載がスムーズに遂行されない可能性あるいは各種データの設定間違いの可能性があるので、不正な組み合わせ「異常」であるとしてフォーク型無人搬送車1を非常停止させる。
If the 14th travel speed is “high speed”, the steering direction is “do n’t care”, and the transfer is “TRUE” (transfer), it is assumed that the combination is “abnormal”. Since the
表1の情報は、障害物検出安全制御部1Sのメモリ(検出領域記憶部)に記憶されており、障害物検出安全制御部1Sは、入力の実際(フォーク型無人搬送車1の運転中)の「走行速度」、「操舵方向」、「移載中」の情報により、設定番号1〜9の監視領域Aまたは「異常」の振り分けを行う。
The information in Table 1 is stored in the memory (detection area storage unit) of the obstacle detection
以上の表1の「走行速度」、「操舵方向」、「移載中」の情報が障害物検出安全制御部1S(図3参照)への入力となり、設定番号が出力されて監視領域Aが特定される(図7参照)。「走行速度」は、前記の速度センサで検出され、「操舵方向」は、前記の操舵角センサで検出される。「移載中」であるか否かは、フォーク5を稼動させるモータ(図示せず)に電流が供給されたか否かを検出することで判定される。
The information on “traveling speed”, “steering direction”, and “transferring” in Table 1 above is input to the obstacle detection
そして、障害物検出安全制御部1Sから、後・前方障害物センサ2、3、4に監視領域Aの情報が出力され、後・前方障害物センサ2、3、4で監視領域Aの監視が遂行される。
また、後・前方障害物センサ2、3、4により、監視領域A内に障害物(人や物など)が検出された場合、障害物検出安全制御部1Sの制御により車体制御部1Cと独立して、フォーク型無人搬送車1は非常停止される
なお、表1に示す情報は、さらに詳しく条件を追加して、新たな監視領域Aを加えることが可能であることは勿論である。
Then, the information on the monitoring area A is output from the obstacle detection
Further, when an obstacle (such as a person or an object) is detected in the monitoring area A by the rear /
<フォーク型無人搬送車1の運転中の監視領域Aの切り替え>
次に、フォーク型無人搬送車1の運転中の監視領域Aの切り替えについて説明する。
図8は、フォーク型無人搬送車の運転中の監視領域の切り替えを示す上面図である。
フォーク型無人搬送車1の運転中は、図8に示すように、「走行速度」、「操舵方向」、「移載中」などの運転状態により防護する範囲の監視領域Aを切り替えて走行する。
<Switching of monitoring area A during operation of fork type automatic guided
Next, switching of the monitoring area A during operation of the fork type automatic guided
FIG. 8 is a top view showing switching of the monitoring area during operation of the fork type automatic guided vehicle.
While the fork-type automatic guided
(I)の高速後進時は、監視領域Aで後遠方まで監視する。(II)の低速後進時は、停止前の監視領域Aの低速領域での近いところだけを監視する。
(III)は、移載のために前方側に90度の方向転換をする際に、フォーク型無人搬送車1が停止した場合である。フォーク型無人搬送車1が停止した場合、監視領域Aは設定されない。
When traveling backward at high speed (I), the monitoring area A is monitored farther away. At the time of low speed reverse movement of (II), only a place near the low speed area of the monitoring area A before the stop is monitored.
(III) is a case where the fork type automatic guided
(IV)の90度の方向転換中は、監視領域Aで、フォーク型無人搬送車1の前方とフォーク型無人搬送車1の側方の人の巻き込みを監視する。つまり、監視領域Aは、フォーク型無人搬送車1が移動する左折側のフォーク型無人搬送車1の左前方の領域とフォーク型無人搬送車1の右後方の領域とを大きい領域で監視する。
During the 90-degree direction change of (IV), in the monitoring area A, the front of the fork type automatic guided
(V)で、リーチ機構で積み動作のフォーク5を前方に移動する前に、監視領域Aの領域Avで荷Nとフォーク5の間に障害物などがないかを確認する。その後、リーチ機構を前進させてパレットへのフォーク5の挿入、フォーク5上げ、フォーク5が固定されるリーチ機構戻しの一連の動作が行われる。
At (V), before moving the
(VI)は、フォーク5に荷Nを積載直後の状態を示す。荷Nの積載直後の監視領域Aは、フォーク5がある前方側の状態は推定できないので監視する領域はない。
(VII)の荷Nを積んだ後は、後方側へ右折90度の旋回半径が大きい方向転換で、左右の人の巻き込みの監視を行う。(VII)の監視領域Aは、旋回半径が大きい。その後の(VIII)のフォーク型無人搬送車1の直進の経路にフォーク型無人搬送車1がのるため、フォーク型無人搬送車1の旋回半径外側がより大きい防護範囲をもつ監視領域Aとする。
(VI) shows a state immediately after the load N is loaded on the
After loading the load N of (VII), the left and right people are monitored by turning in the direction with a large turning radius of 90 degrees to the right. In the monitoring area A of (VII), the turning radius is large. Since the fork-type automatic guided
(VIII)で、直線の軌道に乗った後は、フォーク型無人搬送車1の走行速度に応じて後方の監視範囲が大きい監視領域Aにより、進行方向の後遠方までの監視をしながら目的位置に向かって走行する。
In (VIII), after getting on a straight track, the target position is monitored while monitoring the rearward direction of the traveling direction by the monitoring area A having a large rear monitoring range according to the traveling speed of the fork type automatic guided
<様々な監視領域A>
次に、様々な監視領域Aについて説明する。
以下の監視領域Aは、説明した図7や表1の監視領域Aに加えられるものの例であり、下記以外のものも加えてもよいことは勿論である。
<Various monitoring areas A>
Next, various monitoring areas A will be described.
The following monitoring area A is an example of what is added to the monitoring area A in FIG. 7 and Table 1 described above, and it goes without saying that other than the following may be added.
図9〜図14は、フォーク型無人搬送車の様々な監視領域の例を示す上面図である。
フォーク5上の荷の有無や荷の形状により、図9〜図11に示すように、更に複雑な防護範囲である監視領域Aを設定することもできる。なお、図9〜図11は、図7の監視領域Aを一部含んでいる。
9 to 14 are top views showing examples of various monitoring areas of the fork type automatic guided vehicle.
Depending on the presence / absence of the load on the
図9(a)は後進直線走行で「極低速」での走行の場合である。荷の積み降ろしに際しての後進時は走行速度が「極低速」のため、監視領域Aにおけるフォーク型無人搬送車1の後方の防護エリアは、100mm程度と小さい。
図9(b)は後進直線走行で「極低速」での走行の場合である。フォーク5でパレットに載せられた荷を積んだ直後は、パレットより前方は、防護すべき領域か否か推定できないため、パレットより前方は、防護せず監視領域Aとしない。
FIG. 9A shows a case where the vehicle travels at “very low speed” in the backward straight traveling. Since the traveling speed is “extremely low” during reverse travel when loading and unloading the load, the protection area behind the fork type automatic guided
FIG. 9B shows a case where the vehicle travels at “very low speed” in reverse straight traveling. Immediately after loading the load placed on the pallet with the
これに対して、荷をフォーク5に載せたときに前方障害物センサ3、4が荷を検知可能な高さにある場合には、監視領域Aを前方に設定して、荷のパレットにフォーク5を挿入した段階、フォーク5を挿入する過程での荷の有無と障害物の検知に使用することができる。荷が存在しないあるいは存在しても前方障害物センサ3、4の高さに満たない荷を扱っているときに、前方障害物センサ3、4の監視領域A内に障害物を検出した場合は異常とみなせる。
On the other hand, when the
図9(c)は後進左折で「極低速」での走行の場合である。フォーク型無人搬送車1が狭小な場所を後進しつつ左折する場合、左右で非対称の監視領域Aとする。監視領域Aは、進行方向であるフォーク型無人搬送車1の後方の領域Au1と、フォーク型無人搬送車1が曲がる反対側であるフォーク型無人搬送車1の後部左側の領域Au2と、フォーク型無人搬送車1が曲がる側の前部右側の領域Am1とが、フォーク型無人搬送車1を包含する領域となるように設定される。後部右側の領域と前部左側の領域は、余裕がない場合は監視領域Aとしない。
FIG. 9C shows a case where the vehicle is traveling at a “very low speed” with a reverse left turn. When the fork type automatic guided
図9(d)は後進右折で「極低速」での走行の場合である。図9(c)と反対のフォーク型無人搬送車1が狭小な場所を後進しつつ右折する場合である。図9(d)では、図9(c)と同様、左右で非対称の監視領域Aとする。監視領域Aは、進行方向であるフォーク型無人搬送車1の後方の領域Au1と、フォーク型無人搬送車1が曲がる反対側であるフォーク型無人搬送車1の後部右側の領域Au2と、フォーク型無人搬送車1が曲がる側の前部左側の領域Am1とが、フォーク型無人搬送車1を包含する領域となるように設定される。
FIG. 9D shows a case where the vehicle is traveling at "very low speed" with a reverse right turn. This is a case where the fork type automatic guided
図9(e)は後進右折で「極低速」での走行の場合である。図9(d)と同様、フォーク型無人搬送車1が狭小な場所を後進しつつ右折する場合であるが、後進での右折の走行速度が低い場合である。監視領域Aは、走行速度が低いので、面積が小さくなる。図9(d)、(e)では、後部左側の領域と前部右側の領域は、余裕がない場合は監視領域Aとしない。
FIG. 9 (e) shows a case where the vehicle travels at a "very low speed" when turning backward. Similarly to FIG. 9 (d), the fork-type automatic guided
図10(a)は前進直線走行で「極低速」(走行速度0)での走行の場合である。荷が積載されたパレットをフォーク5に積むとき、リーチ機構でフォーク5をパレットに挿入前に、フォーク型無人搬送車1を極低速で前進するケースである。フォーク5の前に監視領域Aを設定する。
図10(b)は、図10(a)と同じ場合で、フォーク5内の領域の一部を監視領域Aに設定したケースを示す。
FIG. 10A shows the case of traveling at “very low speed” (traveling speed 0) in forward straight traveling. In this case, when a pallet loaded with a load is loaded onto the
FIG. 10B shows a case where a part of the area in the
図10(c)は、前進左折で「極低速」での走行の場合である。微小な場所でカーブの外側に面したフォーク型無人搬送車1の右後部と左前部の各片側領域を監視領域Aとする。監視領域Aにはフォーク5の手前も含める。
図10(d)は、前進左折で「極低速」での走行の場合である。図10(d)は、図10(c)と同じケースであるが、フォーク5内の領域の一部と、フォーク5の左右の領域を監視領域Aに設定したケースである。
FIG. 10 (c) shows a case where the vehicle is traveling at "very low speed" with a left turn forward. Each one-side area of the right rear part and the left front part of the fork type automatic guided
FIG. 10 (d) shows a case of traveling at "very low speed" with a left turn forward. FIG. 10D is the same case as FIG. 10C, but is a case where a part of the area in the
図10(e)は、前進右折で「極低速」での走行の場合である。微小な場所でカーブの外側に面したフォーク型無人搬送車1の左後部と右前部の各片側領域を監視領域Aとする。監視領域Aにはフォーク5の手前も含める。
図10(f)は、前進右折で「極低速」での走行の場合である。図10(f)は、図10(e)と同じケースであるが、フォーク5内の領域の一部と、フォーク5の左右の領域を監視領域Aに設定したケースである。
FIG. 10E shows a case where the vehicle travels at a “very low speed” by turning right forward. Each one-side area of the left rear part and the right front part of the fork type automatic guided
FIG. 10 (f) shows a case where the vehicle travels at a "very low speed" with a right turn forward. FIG. 10 (f) is the same case as FIG. 10 (e), but is a case where a part of the area in the
図11(a)は後進直線走行で「低速」の場合である。後進で直線走行する低速の場合、監視領域Aにおけるフォーク型無人搬送車1の後方の防護エリアは、200mm程度と小さい。
図11(b)は後進直線走行で「低速」の場合である。フォーク型無人搬送車1の車体1B幅ぎりぎりの狭小場所の走行であり、フォーク型無人搬送車1の両側部、フォーク5に載せたパレットの下方は防護せず、監視領域Aとしない。
FIG. 11A shows the case of “low speed” in the backward straight line traveling. In the case of a low speed traveling in a straight line in reverse, the protective area behind the fork type automatic guided
FIG. 11B shows the case of “low speed” in the backward straight traveling. The fork-type automatic guided
図11(c)は後進左折の「低速」走行の場合である。フォーク型無人搬送車1が走り出した後は、フォーク5の先端より前は監視領域Aに含める。走行方向であるフォーク型無人搬送車1の後方の監視領域Aは、200mm程度と小さい。
図11(d)は後進左折の「低速」走行の場合である。狭小場所を後進左折する場合、非対称の監視領域Aを設定して通過する。監視領域Aは「極低速」の場合よりも広くとる。
FIG. 11C shows the case of “low speed” traveling with a reverse left turn. After the fork type automatic guided
FIG. 11 (d) shows the case of “low speed” traveling in a reverse left turn. When turning backward in a narrow place, set an asymmetrical monitoring area A and pass. The monitoring area A is wider than in the “very low speed” case.
図11(e)は後進右折の「低速」走行の場合である。フォーク型無人搬送車1が走り出した後は、フォーク5の先端より前は監視領域Aに含める。走行方向であるフォーク型無人搬送車1の後方の監視領域Aは、200mm程度と小さい。
図11(f)は後進右折の「低速」走行の場合である。狭小場所を後進右折する場合、非対称の監視領域Aを設定して通過する。監視領域Aは「極低速」の場合よりも広くとる。
FIG. 11 (e) shows the case of "low speed" traveling with a reverse right turn. After the fork type automatic guided
FIG. 11 (f) shows a case of “low speed” traveling with a reverse right turn. When making a right turn backward in a narrow place, an asymmetrical monitoring area A is set and passed. The monitoring area A is wider than in the “very low speed” case.
フォーク5で荷を移載中は特に危険なため、走行は止まっていてもフォーク5を出す前に、図12(a)、(b)に示すように、人がフォーク型無人搬送車1近傍に接近していないことを確認し、次の移載シーケンスに進めるなど、移載シーケンスの途中段階での安全確認を入れることも検出領域を適宜組み合わせることで可能である。
Since the
図12(a)は移載時の前方確認である。フォーク型無人搬送車1が停止してフォーク5を出す直前の安全確認であり、監視領域Aはフォーク5の前方の領域とする。
図12(b)は別の移載時の前方確認である。フォーク型無人搬送車1が停止してフォーク5を出す直前の安全確認であり、監視領域Aはフォーク5の前方の領域とフォーク5内の領域の一部としたケースである。
FIG. 12A shows the forward confirmation at the time of transfer. This is a safety check immediately before the fork type automatic guided
FIG. 12B shows the forward confirmation during another transfer. This is a safety check immediately before the fork type automatic guided
図12(c)は移載時の後方確認である。フォーク型無人搬送車1の後方の領域を監視領域Aとして後方確認するケースである。移載時でフォーク5の昇降動作中はフォーク5で移載されるパレットの領域は監視領域Aとしない。
図12(d)は移載時の後方確認である。図12(c)と同じ場合であるが、図12(c)の監視領域Aに、後部のリアバンパー1b(図1(a)参照)の上を監視領域Aに加えたケースである。
FIG. 12C shows the backward confirmation at the time of transfer. In this case, the rear area of the fork type automatic guided
FIG. 12 (d) shows the backward confirmation at the time of transfer. This is the same case as FIG. 12 (c), except that the rear
図13(a)は後進直線走行で「中速」走行の場合である。後進直線走行で、走行速度「中速」の場合、監視領域Aにおけるフォーク型無人搬送車1の後方の監視領域Aは、300mm程度と小さい。
FIG. 13A shows a case of “medium speed” traveling in reverse straight traveling. In the case of reverse straight traveling and a traveling speed of “medium speed”, the monitoring area A behind the fork type automatic guided
図13(b)は後進直線走行で「中速」走行の場合であり、フォーク型無人搬送車1の車体1B幅ぎりぎりの狭小場所の走行である。走行方向であるフォーク型無人搬送車1の後方の領域を監視領域Aとして、車体1Bの側方の領域とフォーク5に載せたパレットの下方は監視領域Aとしないケースである。
FIG. 13 (b) shows a case of “medium speed” traveling in the reverse straight traveling, which is traveling in a narrow space just below the width of the
図13(c)は後進左折で「中速」での走行の場合である。フォーク型無人搬送車1が走行し出した後は、フォーク5の先端より前の領域を監視領域Aに含める。
図13(d)は後進左折で「中速」での走行の場合であり、狭小場所を通過する際には、非対称の監視領域Aとする。監視領域Aは「低速」走行よりも広くとる。
FIG. 13 (c) shows a case where the vehicle is traveling at a "medium speed" with a reverse left turn. After the fork type automatic guided
FIG. 13D shows a case where the vehicle is traveling backward and turning left at “medium speed”. When passing through a narrow place, an asymmetric monitoring area A is set. The monitoring area A is wider than “low speed” traveling.
図13(e)は後進右折で「中速」での走行の場合である。フォーク型無人搬送車1が走行し出した後は、フォーク5の先端より前の領域を監視領域Aに含める。
図13(f)は後進右折で「中速」での走行の場合であり、狭小場所を通過する際には、非対称の監視領域Aとする。監視領域Aは「低速」走行よりも広くとる。
FIG. 13 (e) shows a case where the vehicle is traveling at a "medium speed" with a reverse right turn. After the fork type automatic guided
FIG. 13 (f) shows a case where the vehicle is traveling at a "medium speed" in a reverse right turn. When passing through a narrow place, an asymmetric monitoring area A is set. The monitoring area A is wider than “low speed” traveling.
図14(a)は後進直線走行で「高速」での走行の場合である。フォーク型無人搬送車1が「高速」で走行する場合は、走行方向の監視領域Aはブレーキで停止できる距離を含むものとする。上述の監視領域Aの設定により、フォーク型無人搬送車1では、荷Nを積んでないとき、最大180m/分の速度で安全に走行することができる。
FIG. 14A shows the case of traveling at “high speed” in the backward straight traveling. When the fork type automatic guided
図14(b)は後進直線走行で「高速」での走行であり、狭小場所を通過する場合である。フォーク型無人搬送車1が「高速」で走行する場合は、図14(a)と同様、走行方向の監視領域Aはブレーキで停止できる距離を含むものとするが、狭小場所では車体1Bの側方は監視領域Aとしないケースである。
FIG. 14B shows a case where the vehicle travels at a "high speed" in the reverse straight traveling and passes through a narrow place. When the fork-type automatic guided
ところで、荷をフォーク5に載せて搬送中はフォーク5の下側の領域は何も存在しないはずであるが、前方障害物センサ3、4(図1(a)参照)がフォーク5下方に障害物を検出した場合、それが人か物かを問わず、異常状態とみなしてフォーク型無人搬送車1を停止させる。障害物は人以外に、荷崩れやパレット上の荷を結束するストレッチフィルムの解けや破断で荷崩れ発生の前段階の場合もある。
By the way, while the load is placed on the
更に、90度操舵での車体1B(図1(b)参照)の中心を軸としたスピンターンやアウトリガーの従動輪の前輪w1を軸としたピボットターンを行う場合、更に非対称な防護領域を増やすことができる。
Furthermore, when performing a spin turn around the center of the
<フォーク型無人搬送車1の運転>
フォーク型無人搬送車1は次の手順で無人の自動運転が行われる。
無人での自動運転のフォーク型無人搬送車1が使用されるに際しては、まず、ユーザがフォーク型無人搬送車1を手動運転で操作して、フォーク型無人搬送車1を使用する建物内を走行して誘導用センサ8aにより建物内環境を検出して、車体制御部1Cにより建物内のレイアウトがどのようなものであるかの環境地図が作成される。
<Operation of fork type automatic guided
The fork-type automatic guided
When the fork-type automated guided
なお、環境地図は、建物内のレイアウトが変わった場合や、フォーク型無人搬送車1が使用される建物が変わった場合などに新たに作成される。
その後、フォーク型無人搬送車1は、車体制御部1Cの働きにより、無人で環境地図の情報を基に自身の位置を同定(特定)して自動運転が行われる。
The environment map is newly created when the layout in the building changes or when the building where the fork-type automatic guided
Thereafter, the fork-type automatic guided
<フォーク型無人搬送車1の障害物検出安全制御>
次に、フォーク型無人搬送車1の監視領域Aを用いる障害物検出安全制御について説明する。
監視領域Aによる障害物検出安全制御は、障害物検出安全制御部1S(図3参照)の制御により遂行される。
<Obstacle detection safety control of fork type automatic guided
Next, the obstacle detection safety control using the monitoring area A of the fork type automatic guided
The obstacle detection safety control by the monitoring area A is performed by the control of the obstacle detection
図15は、障害物検出安全制御の概要フローを示す図である。
まず、障害物検出安全制御部1S(図3参照)が、「走行速度」、「操舵方向」、「移載中」の情報から監視領域Aを選択して、後・前方障害物センサ2、3、4に設定する(図15のS101)。なお、S101の監視領域Aの選択は後に詳述する。
FIG. 15 is a diagram showing an outline flow of the obstacle detection safety control.
First, the obstacle detection
続いて、後・前方障害物センサ2、3、4は監視領域A内に人や物などの障害物がないかの検出を行い、監視領域A内に障害物を検出した場合には障害物検出安全制御部1Sにその情報(検出信号)を出力し、障害物検出安全制御部1Sによりフォーク型無人搬送車1が非常停止される(S102)。S102の車体1B周囲の防護は後に詳述する。
Subsequently, the rear /
<監視領域Aの選択>
次に、図15のS101の監視領域Aの選択について、図16に従って説明する。図16は、障害物検出安全制御における監視領域Aの選択制御を示すフロー図である。
障害物検出安全制御部1Sは、実際の「走行速度」、「操舵方向」、フォーク5を用いての荷の「移載中」(表1に示す入力参照)か否かの各情報を取得して、フォーク型無人搬送車1の運転状態を監視する(図16のS201)。S201では、障害物検出安全制御部1Sは、「走行速度」、「操舵方向」、および「移載中」か否かの各情報をそれぞれ速度センサ、操舵角センサ、およびフォーク5を駆動するモータの電流から取得する。
<Selection of monitoring area A>
Next, selection of the monitoring area A in S101 of FIG. 15 will be described with reference to FIG. FIG. 16 is a flowchart showing the selection control of the monitoring area A in the obstacle detection safety control.
The obstacle detection
そして、障害物検出安全制御部1Sは運転状態に変化がないか否か判定する(S202)。S202での運転状態の変化の判定は、実際の表1に示す入力の「走行速度」、「操舵方向」、「移載中」の情報の何れかに変化が生じ、No.が切り替わるに至ったかで判定する。
運転状態に変化がない場合(S202でNo)、S201に移行して運転状態の監視を行う。
Then, the obstacle detection
When there is no change in the operation state (No in S202), the process proceeds to S201 and the operation state is monitored.
一方、運転状態に変化がある場合(S202でYes)、実際の「走行速度」、「操舵方向」、および「移載中」の各情報を用いて、テーブルなどに記憶された表1に示す入力の「走行速度」、「操舵方向」、および「移載中」の各情報が合致する設定エリアの設定番号1〜9の何れかの監視領域Aを選択する。そして、後・前方障害物センサ2、3、4に選択した監視領域Aを設定する、または、実際の「走行速度」、「操舵方向」、および「移載中」が不正な組み合わせの場合、「異常」としてフォーク型無人搬送車1を非常停止させる(S203)。その後、S201に移行し、障害物検出安全制御部1Sがフォーク型無人搬送車1の運転状態の監視を行う。
On the other hand, when there is a change in the driving state (Yes in S202), the actual “traveling speed”, “steering direction”, and “transferring” information are used to show the information in Table 1 stored in a table or the like. The monitoring area A is selected from the setting
<車体1B周囲の防護>
次に、図15のS102の車体1B周囲の防護について、図17に従って説明する。図17は、障害物検出安全制御における車体1B周囲の防護制御を示すフロー図である。
後・前方障害物センサ2、3、4は、設定された監視領域A内に障害物がないか否か検出を行う(図17のS301)。
<Protection around the
Next, protection around the
The rear /
続いて、障害物検出安全制御部1Sは、監視領域A内に障害物があるか否か、後・前方障害物センサ2、3、4の信号から判定する(S302)。
監視領域A内に障害物がないと判定される場合(S302でNo)、S301に移行して、後・前方障害物センサ2、3、4が監視領域A内に障害物がないか否かの検出を行う。
Subsequently, the obstacle detection
When it is determined that there is no obstacle in the monitoring area A (No in S302), the process proceeds to S301, and whether or not the rear /
一方、監視領域A内に障害物がある場合(S302でYes)、障害物検出安全制御部1Sは、車体制御部1Cとは独立して、走行モータの電力供給を遮断し、ブレーキでフォーク型無人搬送車1を非常停止させる(S303)。その後、フォーク型無人搬送車1の運転が再開されると、S301に移行する。
On the other hand, when there is an obstacle in the monitoring area A (Yes in S302), the obstacle detection
障害物検出安全制御部1Sは、障害物を検出した場合、車体制御部1Cとは独立してフォーク型無人搬送車1を非常停止させるので、車体制御部1Cが万が一故障した場合にも非常停止が可能であり、安全性が高い。
When the obstacle detection
<フォーク型無人搬送車1の車体1B後方の対人検出用センサ8bによる障害物検出の処理>
次に、フォーク型無人搬送車1の後方に設定した減速制御領域G、停止制御領域T(図2参照)に障害物をあることを対人検出用センサ8bにより検出する場合の処理について、図18に従って説明する。図18は、フォーク型無人搬送車の車体後方の障害物検出処理を示すフロー図である。
<Processing of Obstacle Detection by
Next, with respect to the processing in the case where the
まず、車体制御部1Cは、対人検出用センサ8bの検出信号により、停止制御領域T(図2参照)内に障害物があるか否か判定する(図18のS401)。
停止制御領域T内に障害物があると判定された場合(S401でYes)、車体制御部1Cは目標速度を「0」に設定して走行モータの電力供給を遮断し、ブレーキでフォーク型無人搬送車1を非常停止させる(S402)。その後、フォーク型無人搬送車1の運転が再開されると、S401に移行する。
First, the vehicle
When it is determined that there is an obstacle in the stop control area T (Yes in S401), the vehicle
一方、停止制御領域T内に障害物がないと判定された場合(S401でNo)、車体制御部1Cは、対人検出用センサ8bが減速制御領域G(図2参照)内に障害物を検出したか否か判定する(S403)。
減速制御領域G内に障害物を検出したと判定された場合(S403でYes)、環境地図に登録された構造物と相関があるか否か判定される(S404)。
On the other hand, when it is determined that there is no obstacle in the stop control region T (No in S401), the vehicle
If it is determined that an obstacle has been detected in the deceleration control region G (Yes in S403), it is determined whether there is a correlation with the structure registered in the environmental map (S404).
検出された障害物が環境地図に登録された構造物と相関がないと判定された場合(S404でNo)、車体制御部1Cはフォーク型無人搬送車1の目標速度を安全速度に設定して減速する(S405)。その後、S401に移行する。
When it is determined that the detected obstacle has no correlation with the structure registered in the environmental map (No in S404), the vehicle
一方、S403で、減速制御領域G内に障害物を検出しないと判定された場合(S403でNo)、車体制御部1Cは対人検出用センサ8bによる障害物検出の処理でフォーク型無人搬送車1が減速または停止処理中か否か判定する(S406)。なお、S406での判定は、対人検出用センサ8bによる障害物検出の処理で減速または停止処理中か否かの判定が行われる。
On the other hand, when it is determined in S403 that no obstacle is detected in the deceleration control region G (No in S403), the vehicle
何故なら、図2に示すように、後・前方障害物センサ2、3、4で検出が行われる監視領域Aと対人検出用センサ8bで検出が行われる停止制御領域Tおよび減速制御領域Gとは、重複しないエリアがあるため、独立した判定にしないと停止すべきところ、走行を始めることが起こる場合があるためである。
This is because, as shown in FIG. 2, a monitoring area A where detection is performed by the rear /
フォーク型無人搬送車1が減速または停止処理中でないと判定され当該区間を設定された走行速度で走行している場合(S406でNo)、S401に移行する。
一方、フォーク型無人搬送車1が減速または停止処理中であると判定され場合(S406でYes)、車体制御部1Cはフォーク型無人搬送車1の目標速度を、当該区間の設定された走行速度に戻し(S407)、S401に移行する。
If it is determined that the fork-type automatic guided
On the other hand, when it is determined that the fork-type automatic guided
S404で、検出された障害物が環境地図に登録された構造物と相関があると判定された場合(S404でYes)、S406に移行する。
以上が、対人検出用センサ8bによる障害物検出の処理である。
If it is determined in S404 that the detected obstacle has a correlation with the structure registered in the environmental map (Yes in S404), the process proceeds to S406.
The above is the obstacle detection process by the
<SLAM技術との関連>
防護領域をそれぞれの障害物検出センサの後方障害物センサ2、左・右の前方障害物センサ3、4ごとに設ける例を説明したが、車体の誘導制御にSLAM技術(Simultaneously Localization And Mapping:自律的にロボットの移動を行うため、障害物の位置情報などを表した環境地図の生成と、自己位置推定を行う知能ロボットの制御技術)による自己位置推定を行っている場合で、自己位置推定に使用するレーザ距離計の誘導用センサ8aが人の検出を可能な高さに設置されているときには、以下のことが行える。
<Relationship with SLAM technology>
Although an example in which a protection area is provided for each of the
すなわち、対人検出用センサ8bに代えて、SLAM側で検出した人あるいは障害物に対して衝突回避の減速処理、停止処理を本実施例で説明した防護領域である監視領域Aの外側に設け、減速停止処理(図2の減速制御領域G、停止制御領域T参照)を階層化することで安全性を高めることができる。
That is, instead of the
SLAMによる減速・停止処理の領域(図2の減速制御領域G、停止制御領域T)は、無人搬送車の安全を確保するための設置要件を満たさない場所に設置することもあり、SLAMによる障害物回避は安全を担保できるものでないため、安全要件を満たす場所に設けた検出装置で確実に停止できることを担保することが必要条件となる。この必要条件は、後方障害物センサ2、左・右前方障害物センサ3、4で監視領域Aに障害物があることを検出してフォーク型無人搬送車1を非常停止させることで満たされることとなる。
SLAM deceleration / stop processing areas (deceleration control area G and stop control area T in FIG. 2) may be installed in locations that do not meet the installation requirements for ensuring the safety of automated guided vehicles. Since object avoidance cannot guarantee safety, it is necessary to ensure that it can be stopped reliably with a detection device provided in a place that satisfies safety requirements. This requirement is satisfied by detecting that there is an obstacle in the monitoring area A with the
<制御の分担>
制御の分担として、障害物センサの後方障害物センサ2、左・右の前方障害物センサ3、4から出力される距離データが監視領域Aに入っているかの判定を、誘導制御を行う制御装置の車体制御部1Cで行う場合、制御装置の故障、制御失敗(ソフトウエアのバグなどの要因)に対して安全を担保することができない場合がある。
<Share of control>
A control device that performs guidance control to determine whether the distance data output from the
そこで、前記したように、障害物センサの後方障害物センサ2、左・右の前方障害物センサ3、4から出力される距離データが監視領域Aに入っているかの判定を、誘導制御装置(車体制御部1C)と独立した制御装置の障害物検出安全制御部1S(図3参照)で行う場合には、誘導制御装置(車体制御部1C)の故障、制御失敗に対しても防護可能となる。
Therefore, as described above, it is determined whether or not the distance data output from the
また、障害物センサの後方障害物センサ2、前方障害物センサ3、4から出力される距離データを、障害物センサ(後方障害物センサ2、左・右前方障害物センサ3、4)に事前に防護する領域を登録し、判定までを障害物センサで行い、かつ、障害物センサ(後方障害物センサ2、左・右前方障害物センサ3、4)に危険側故障を生じ機能喪失したことが認識可能な場合、誘導制御と防護エリアに対する防護判定を、危険側故障)を生じ機能喪失したことが判定可能な制御装置で主なうことで安全系を構成することができる。なお、危険側故障とは、故障が起こると安全な機能に影響があり、安全でなくなる故障をいう。
In addition, distance data output from the
上記構成によれば、フォーク型無人搬送車1の様々な走行に際して、各走行に対応して安全に停止できる監視領域Aを設定し、監視領域Aに障害物があった場合に衝突することなく停止することが可能である。そのため、フォーク型無人搬送車1を無人でありながら、人や物に衝突することなく安全に使用することが可能である。
According to the above configuration, when the fork-type automatic guided
また、対人検出用センサ8bにより検出される減速制御領域G、停止制御領域T(図2参照)を監視領域Aに重ねて多層化することで、より安全性を高めることができる。
In addition, the deceleration control region G and the stop control region T (see FIG. 2) detected by the
さらに、監視領域Aによる停止制御を、誘導制御制御装置の車体制御部1Cとは独立した障害物検出安全制御部1Sで行うようにしたので、車体制御部1Cが故障した場合にも、障害物が監視領域A内にある際には安全にフォーク型無人搬送車1を停止制御することができる。
また、障害物検出安全制御部1Sの機能を有した制御装置を構成した場合にも、同様な作用効果を奏することができる。
Furthermore, since the stop control by the monitoring area A is performed by the obstacle detection
In addition, when the control device having the function of the obstacle detection
以上のことから、フォークリフト固有の対物接触リスクを低減することが可能なフォークリフト型無人搬送車、その制御方法および制御装置を実現できる。 From the above, it is possible to realize a forklift type automatic guided vehicle, a control method thereof, and a control device that can reduce the object contact risk inherent to the forklift.
<<その他の実施形態>>
1.前記実施形態では、フォーク型無人搬送車1の監視領域Aを設定する運転状況として、「走行速度」、「操舵方向」、「移載中」か否かを例示したが、その他、積載物の有無、または、積載物の形または大きさ、または、積載物が変形するものか否かのうちの少なくとも何れかを含むように構成してもよい。また、これら以外の運転状況を採用することも可能である。このように、運転状況を適宜選択して監視領域Aを設定することで、障害物との衝突を回避でき、よりきめの細かい安全性を確保できる。
<< Other Embodiments >>
1. In the above-described embodiment, the driving situation in which the monitoring area A of the fork-type automatic guided
2.本発明は、新規フォークリフトの製作時の改造,既に稼動しているフォークリフトの改造のいずれにも適用できる。 2. The present invention can be applied to any modification of a new forklift and the modification of a forklift that is already in operation.
なお、本発明は前記した実施形態に限定されるものでなく、様々な実施形態が含まれる。例えば、上記した実施形態は本発明を分り易く説明したものであり、必ずしも説明した全ての構成を備えるものに限定されるものではない。例えば、説明した構成の一部を含むものであってもよい。 In addition, this invention is not limited to above-described embodiment, Various embodiments are included. For example, the above-described embodiment is a description of the present invention in an easy-to-understand manner, and is not necessarily limited to one having all the configurations described. For example, a part of the configuration described may be included.
また、実施態形の一部を他の実施形態の構成に置き換えることが可能であり、また、ある実施形態の構成に他の実施形態の構成を加えることも可能である。また、各実施形態の構成の一部について、他の構成の追加・削除・置換をすることも可能である。 Moreover, it is possible to replace a part of embodiment form with the structure of other embodiment, and it is also possible to add the structure of other embodiment to the structure of a certain embodiment. Moreover, it is also possible to add, delete, and replace other configurations for a part of the configuration of each embodiment.
本技術の応用としてはリーチ型のフォークリフトに限定するものではなく、カウンターバランスフォークリフトや、より複雑な動きをするサイドフォークリフト(横にフォークが出て行って積むフォークリフト)に応用することができる。また一般の無人搬送車でも4輪操舵型などで複雑な動作をする無人搬送車や無人搬送車にロボットを搭載し、車体から荷やはみ出した運用を行う無人搬送車にも適用することができる。 The application of the present technology is not limited to reach-type forklifts, but can be applied to counterbalance forklifts and side forklifts that perform more complex movements (forklifts with forks coming out and loaded next to them). In addition, even a general automatic guided vehicle can be applied to an automatic guided vehicle in which a robot is mounted on an automatic guided vehicle that performs a complicated operation such as a four-wheel steering type or an automatic guided vehicle that performs an operation that loads or protrudes from a vehicle body. .
1 フォークリフト型無人搬送車
1B 車体
1C 車体制御部(誘導制御装置)
1S 障害物検出安全制御部(制御装置)
2 後方障害物センサ(第1の障害物検出装置)
3、4 前方障害物センサ(第1の障害物検出装置)
8a 誘導用センサ(第2の障害物検出装置)
8b 対人検出用センサ(第2の障害物検出装置)
A 監視領域(障害物検出領域)
G 減速制御領域
P 障害物
T 停止制御領域
1 Forklift-type automated guided
1S Obstacle detection safety control unit (control device)
2 Rear obstacle sensor (first obstacle detection device)
3, 4 Front obstacle sensor (first obstacle detection device)
8a Guiding sensor (second obstacle detection device)
8b Interpersonal detection sensor (second obstacle detection device)
A Monitoring area (obstacle detection area)
G Deceleration control area P Obstacle T Stop control area
Claims (15)
前記車体の走行速度、操舵方向、移載動作を含む運転状況に応じて設定される前記車体の周囲の障害物検出領域が予め記憶される検出領域記憶部と、
前記車体の実際の走行速度、操舵方向、移載動作を含む運転状況に応じて前記障害物検出領域を選択して、該選択された前記障害物検出領域の情報を前記複数の第1の障害物検出装置に送る障害物検出安全制御部と備え、
前記障害物検出安全制御部は、
選択された前記障害物検出領域に障害物があると前記第1の障害物検出装置により検出される場合、前記車体の走行を停止させる制御を行う
ことを特徴とするフォークリフト型無人搬送車。 A plurality of first obstacle detection devices arranged around the vehicle body for detecting the surrounding environment of the vehicle body;
A detection area storage unit that stores in advance an obstacle detection area around the vehicle body that is set according to a driving situation including a traveling speed of the vehicle body, a steering direction, and a transfer operation;
The obstacle detection area is selected in accordance with a driving situation including an actual traveling speed, a steering direction, and a transfer operation of the vehicle body, and information on the selected obstacle detection area is used as the plurality of first obstacles. With an obstacle detection safety control section to send to the object detection device,
The obstacle detection safety control unit is
A forklift type automatic guided vehicle that performs control for stopping the vehicle body when the first obstacle detection device detects that there is an obstacle in the selected obstacle detection area.
前記車体の進行方向にある障害物を検出する第2の障害物検出装置と、
前記車体の無人での走行を制御する誘導制御装置とを備え、
前記誘導制御装置は、
前記第2の障害物検出装置で検出した障害物の位置により、前記車体を減速する制御を行う減速制御領域と、前記車体を停止させる制御を行う停止制御領域とを設定して、前記車体の走行を減速または停止させる制御を行う
ことを特徴とするフォークリフト型無人搬送車。 In the forklift type automatic guided vehicle according to claim 1,
A second obstacle detection device for detecting an obstacle in the traveling direction of the vehicle body;
A guidance control device for controlling unmanned travel of the vehicle body,
The guidance control device includes:
Based on the position of the obstacle detected by the second obstacle detection device, a deceleration control region for performing deceleration control of the vehicle body and a stop control region for performing control for stopping the vehicle body are set, and A forklift-type automated guided vehicle that controls to decelerate or stop traveling.
前記運転状況は、積載物の有無、または、積載物の形または大きさ、または、積載物が変形するものか否かのうちの少なくとも何れかを含む
ことを特徴とするフォークリフト型無人搬送車。 In the forklift type automatic guided vehicle according to claim 1,
The driving situation includes at least one of the presence or absence of a load, the shape or size of the load, and whether or not the load is deformed.
前記第1の障害物検出装置は、
後下部と左右の前下部とに配置され、その高さは前記車体の走行面上100mm〜250mmに設けられる
ことを特徴とするフォークリフト型無人搬送車。 In the forklift type automatic guided vehicle according to claim 1,
The first obstacle detection device includes:
The forklift type automatic guided vehicle is arranged at a rear lower part and left and right front lower parts, and has a height of 100 mm to 250 mm on a running surface of the vehicle body.
前記車体の周囲にある障害物を検出する第1の障害物検出装置と、
設定した領域内に前記障害物が存在するか否かを判定し、前記判定した信号と前記誘導制御装置の信号とを組合せ、前記車体の運転状態により前記車体の停止制御を行う障害物検出安全制御部とを
備えることを特徴とするフォークリフト型無人搬送車。 A guidance control device for controlling unmanned traveling of the vehicle body;
A first obstacle detection device for detecting obstacles around the vehicle body;
Obstacle detection safety that determines whether or not the obstacle exists in the set area, combines the determined signal and the signal of the guidance control device, and performs stop control of the vehicle body according to the driving state of the vehicle body A forklift type automatic guided vehicle comprising a control unit.
前記車体の進行方向にある障害物を検出する第2の障害物検出装置と、
前記車体の無人での走行を制御する誘導制御装置とを備え、
前記誘導制御装置は、
前記第2の障害物検出装置で検出した障害物の位置により、前記車体を減速する制御を行う減速制御領域と、前記車体を停止させる制御を行う停止制御領域とを設定して、前記車体の走行を減速または停止させる制御を行う
ことを特徴とするフォークリフト型無人搬送車。 In the forklift type automatic guided vehicle according to claim 5,
A second obstacle detection device for detecting an obstacle in the traveling direction of the vehicle body;
A guidance control device for controlling unmanned travel of the vehicle body,
The guidance control device includes:
Based on the position of the obstacle detected by the second obstacle detection device, a deceleration control region for performing deceleration control of the vehicle body and a stop control region for performing control for stopping the vehicle body are set, and A forklift-type automated guided vehicle that controls to decelerate or stop traveling.
実際の走行速度、操舵方向、移載動作を含む運転状況に応じて前記障害物検出領域を選択して、該選択された前記障害物検出領域の情報を、前記車体の周囲環境を検出する複数の第1の障害物検出装置に送る障害物検出安全制御部とを備え、
前記障害物検出安全制御部は、選択された前記障害物検出領域に障害物があると前記第1の障害物検出装置により検出される場合、前記車体の走行を停止させる制御を行う
ことを特徴とする制御装置。 A detection area storage unit in which an obstacle detection area around the vehicle body set in accordance with a driving situation including a traveling speed of the vehicle body, a steering direction, and a transfer operation is stored in advance;
A plurality of obstacle detection areas are selected in accordance with driving conditions including actual traveling speed, steering direction, and transfer operation, and information on the selected obstacle detection areas is used to detect the surrounding environment of the vehicle body. An obstacle detection safety control unit to be sent to the first obstacle detection device,
The obstacle detection safety control unit performs control to stop traveling of the vehicle body when the first obstacle detection device detects that there is an obstacle in the selected obstacle detection area. Control device.
前記運転状況は、積載物の有無、または、積載物の形または大きさ、または、積載物が変形するものか否かのうちの少なくとも何れかを含む
ことを特徴とする制御装置。 The control device according to claim 7,
The operation state includes at least one of the presence or absence of a load, the shape or size of the load, and whether or not the load is deformed.
前記第1の障害物検出装置は、
後下部と左右の前下部とに配置され、その高さは前記車体の走行面上100mm〜250mmに設けられる
ことを特徴とする制御装置。 The control device according to claim 7,
The first obstacle detection device includes:
The control device, wherein the control device is disposed in a rear lower portion and left and right front lower portions, and has a height of 100 mm to 250 mm on a running surface of the vehicle body.
ことを特徴とする制御装置。 Whether or not there is an obstacle in the set area is determined by a detection signal of the first obstacle detection device, and the determined signal and a signal of a guidance control device for controlling unmanned traveling of the vehicle body A control apparatus that performs stop control of the vehicle body according to a combination and an operating state of the vehicle body.
前記検出領域記憶部には、車体の走行速度、操舵方向、移載動作を含む運転状況に応じて設定される前記車体の周囲の障害物検出領域が予め記憶され、
前記障害物検出安全制御部は、前記車体の実際の走行速度、操舵方向、移載動作を含む運転状況に応じて前記障害物検出領域を選択して、該選択された前記障害物検出領域の情報を前記複数の第1の障害物検出装置に送り、
前記第1の障害物検出装置は、前記障害物検出領域内に障害物があることを検出し、
前記障害物検出安全制御部は、選択された前記障害物検出領域に障害物があると検出される場合、前記車体の走行を停止させる制御を行う
ことを特徴とするフォークリフト型無人搬送車の制御方法。 A control method for a forklift type automatic guided vehicle including a first obstacle detection device, a detection area storage unit, and an obstacle detection safety control unit,
In the detection area storage unit, an obstacle detection area around the vehicle body that is set according to the driving situation including the traveling speed of the vehicle body, the steering direction, and the transfer operation is stored in advance.
The obstacle detection safety control unit selects the obstacle detection region according to a driving situation including an actual traveling speed, a steering direction, and a transfer operation of the vehicle body, and selects the obstacle detection region of the selected obstacle detection region. Sending information to the plurality of first obstacle detection devices;
The first obstacle detection device detects that there is an obstacle in the obstacle detection area;
The obstacle detection safety control unit controls the forklift type automatic guided vehicle to stop traveling of the vehicle body when it is detected that there is an obstacle in the selected obstacle detection area. Method.
前記フォークリフト型無人搬送車は、第2の障害物検出装置と車体の無人での走行を制御する誘導制御装置とを備え、
前記第2の障害物検出装置は、前記車体の進行方向にある障害物を検出し、
前記誘導制御装置は、前記第2の障害物検出装置で検出される障害物の位置により、前記車体を減速する制御を行う減速制御領域と、前記車体を停止させる制御を行う停止制御領域とを設定して、前記車体の走行を減速または停止させる制御を行う
ことを特徴とするフォークリフト型無人搬送車の制御方法。 In the control method of the forklift type automatic guided vehicle according to claim 11,
The forklift type automatic guided vehicle includes a second obstacle detection device and a guidance control device that controls unmanned traveling of the vehicle body,
The second obstacle detection device detects an obstacle in the traveling direction of the vehicle body,
The guidance control device includes a deceleration control region for performing control for decelerating the vehicle body and a stop control region for performing control for stopping the vehicle body according to the position of the obstacle detected by the second obstacle detection device. A control method for a forklift type automatic guided vehicle, characterized in that the control is performed to decelerate or stop the travel of the vehicle body.
前記運転状況は、積載物の有無、または、積載物の形または大きさ、または、積載物が変形するものか否かのうちの少なくとも何れかを含む
ことを特徴とするフォークリフト型無人搬送車の制御方法。 In the control method of the forklift type automatic guided vehicle according to claim 11,
The driving situation includes at least one of the presence or absence of a load, the shape or size of the load, and whether or not the load is deformed. Control method.
前記第1の障害物検出装置は、
後下部と左右の前下部とに配置され、その高さは前記車体の走行面上100mm〜250mmに設けられる
ことを特徴とするフォークリフト型無人搬送車の制御方法。 In the control method of the forklift type automatic guided vehicle according to claim 11,
The first obstacle detection device includes:
A control method for a forklift type automatic guided vehicle, characterized in that the forklift type automatic guided vehicle is disposed at a rear lower part and left and right front lower parts, and has a height of 100 mm to 250 mm on a running surface of the vehicle body.
前記誘導制御装置は、車体の無人での走行を制御し、
前記第1の障害物検出装置は、前記車体の周囲を走査して障害物を検出し、
前記障害物検出安全制御部は、設定した領域内に前記障害物が存在するか否かを判定し、前記判定した信号と前記誘導制御装置の信号とを組合せ、前記車体の運転状態により前記車体の停止制御を行う
ことを特徴とするフォークリフト型無人搬送車の制御方法。 In the control method of the forklift type automatic guided vehicle including the guidance control device, the first obstacle detection device, and the obstacle detection safety control unit,
The guidance control device controls unmanned travel of the vehicle body,
The first obstacle detection device detects an obstacle by scanning around the vehicle body,
The obstacle detection safety control unit determines whether or not the obstacle exists in a set region, combines the determined signal and the signal of the guidance control device, and determines the vehicle body according to the driving state of the vehicle body. A control method for a forklift type automatic guided vehicle, characterized in that stop control is performed.
Priority Applications (3)
| Application Number | Priority Date | Filing Date | Title |
|---|---|---|---|
| JP2014046634A JP2015170284A (en) | 2014-03-10 | 2014-03-10 | Forklift type automatic guided vehicle, control method and control apparatus therefor |
| CN201510096224.1A CN104914860A (en) | 2014-03-10 | 2015-03-02 | Forklift automated guided vehicle, control method and control apparatus therefor |
| KR1020150032732A KR20150105930A (en) | 2014-03-10 | 2015-03-09 | Forklift automated guided vehicle, control method and control apparatus therefor |
Applications Claiming Priority (1)
| Application Number | Priority Date | Filing Date | Title |
|---|---|---|---|
| JP2014046634A JP2015170284A (en) | 2014-03-10 | 2014-03-10 | Forklift type automatic guided vehicle, control method and control apparatus therefor |
Publications (1)
| Publication Number | Publication Date |
|---|---|
| JP2015170284A true JP2015170284A (en) | 2015-09-28 |
Family
ID=54084016
Family Applications (1)
| Application Number | Title | Priority Date | Filing Date |
|---|---|---|---|
| JP2014046634A Pending JP2015170284A (en) | 2014-03-10 | 2014-03-10 | Forklift type automatic guided vehicle, control method and control apparatus therefor |
Country Status (3)
| Country | Link |
|---|---|
| JP (1) | JP2015170284A (en) |
| KR (1) | KR20150105930A (en) |
| CN (1) | CN104914860A (en) |
Cited By (26)
| Publication number | Priority date | Publication date | Assignee | Title |
|---|---|---|---|---|
| CN105223953A (en) * | 2015-10-10 | 2016-01-06 | 北京微尘嘉业科技有限公司 | A kind of control system of Closed loop track object space of view-based access control model information of intelligence |
| JP2017142667A (en) * | 2016-02-10 | 2017-08-17 | シャープ株式会社 | Traveling device |
| EP3312131A1 (en) * | 2016-10-21 | 2018-04-25 | Linde Material Handling GmbH | Industrial truck with a sensor device for monitoring an ambient area |
| EP3339238A1 (en) * | 2016-12-23 | 2018-06-27 | The Raymond Corporation | Systems and methods for determining a rack interface for a material handling vehicle |
| EP3438040A1 (en) * | 2017-08-02 | 2019-02-06 | Jungheinrich Aktiengesellschaft | Industrial truck and method for monitoring the path of an industrial truck |
| EP3456681A1 (en) * | 2017-08-22 | 2019-03-20 | STILL GmbH | Industrial truck, in particular tractor |
| JP2019105995A (en) * | 2017-12-12 | 2019-06-27 | 株式会社豊田自動織機 | Automatic operation forklift |
| DE102018104986A1 (en) * | 2018-03-05 | 2019-09-05 | Jungheinrich Aktiengesellschaft | Method for operating an industrial truck |
| EP3269679B1 (en) | 2016-07-14 | 2019-09-11 | Toyota Material Handling Manufacturing Sweden AB | Floor conveyor |
| JP2020520008A (en) * | 2017-05-09 | 2020-07-02 | ブレーン コーポレーションBrain Corporation | System and method for robot motion control |
| CN112327846A (en) * | 2020-11-04 | 2021-02-05 | 珠海格力智能装备有限公司 | Control method and device of navigation vehicle and navigation vehicle |
| JP2021028266A (en) * | 2019-08-09 | 2021-02-25 | 株式会社小松製作所 | Working machine and control method of working machine |
| WO2021059335A1 (en) * | 2019-09-24 | 2021-04-01 | 株式会社日立産機システム | Autonomous movement assistance device and moving body having same |
| JP2021060825A (en) * | 2019-10-07 | 2021-04-15 | パナソニックIpマネジメント株式会社 | Mobile body system, mobile body control method, and program |
| CN112731920A (en) * | 2020-12-04 | 2021-04-30 | 北京旷视机器人技术有限公司 | Method and device for controlling conveying equipment, conveying equipment and storage medium |
| CN113724533A (en) * | 2021-09-02 | 2021-11-30 | 广州小鹏自动驾驶科技有限公司 | Vehicle speed control method, device and system for remote driving |
| JP2021195215A (en) * | 2020-06-12 | 2021-12-27 | 株式会社大林組 | forklift |
| WO2022050036A1 (en) | 2020-09-01 | 2022-03-10 | 株式会社豊田自動織機 | Industrial vehicle |
| JP2022518012A (en) * | 2019-01-23 | 2022-03-11 | 霊動科技(北京)有限公司 | Autonomous broadcasting system for self-driving cars |
| CN114271042A (en) * | 2019-09-23 | 2022-04-01 | 株式会社富士 | Periphery monitoring device |
| JP2022079136A (en) * | 2020-11-16 | 2022-05-26 | 株式会社日立製作所 | Automatic carrier vehicle |
| DE102021103799A1 (en) | 2021-02-18 | 2022-08-18 | Jungheinrich Aktiengesellschaft | INDUSTRIAL TRUCK WITH DETECTION DEVICES ON THE FORKS |
| JP2022133832A (en) * | 2021-03-02 | 2022-09-14 | 住友ナコ フォ-クリフト株式会社 | Perimeter monitoring device for work vehicle and work vehicle |
| JP2024058018A (en) * | 2022-10-14 | 2024-04-25 | 株式会社豊田自動織機 | Loading vehicle |
| DE102022132171A1 (en) * | 2022-12-05 | 2024-06-06 | Jungheinrich Aktiengesellschaft | Procedure for the automatic testing of at least one protection area on an industrial truck |
| US12180047B2 (en) | 2019-12-03 | 2024-12-31 | Kabushiki Kaisha Toyota Jidoshokki | Industrial vehicle |
Families Citing this family (35)
| Publication number | Priority date | Publication date | Assignee | Title |
|---|---|---|---|---|
| CN105399005B (en) * | 2015-12-08 | 2018-11-13 | 中机第一设计研究院有限公司 | A kind of material fork with inducing function |
| CN105403055B (en) * | 2015-12-08 | 2017-11-03 | 机械工业第一设计研究院 | Charging/discharging device before industrial furnace |
| CN105867367B (en) * | 2016-03-28 | 2018-12-18 | 广州飞锐机器人科技有限公司 | A kind of pair of automatic guided vehicle carries out the method and device of security control |
| CN105739503B (en) * | 2016-04-13 | 2018-06-01 | 上海物景智能科技有限公司 | Method for turning walking robot and control equipment |
| CN121232815A (en) * | 2016-08-26 | 2025-12-30 | 克朗设备公司 | Material handling vehicle obstacle scanning tool |
| CN108132619A (en) * | 2016-11-30 | 2018-06-08 | 比亚迪股份有限公司 | Signal processing method, device and engineering truck |
| FR3068344B1 (en) * | 2017-06-29 | 2019-08-23 | Compagnie Generale Des Etablissements Michelin | SYSTEM FOR CONTROLLING A FORKLIFT WITH AUTONOMOUS FORK, AND METHOD FOR CONTROLLING SUCH A TROLLEY. |
| JP6802137B2 (en) * | 2017-11-15 | 2020-12-16 | 株式会社日立インダストリアルプロダクツ | Transport vehicle system, transport vehicle control system and transport vehicle control method |
| JP6959179B2 (en) * | 2018-04-26 | 2021-11-02 | 株式会社クボタ | Work platform |
| CN110857859B (en) * | 2018-08-23 | 2022-02-08 | 杭州海康机器人技术有限公司 | Obstacle detection method and device |
| US11364903B2 (en) * | 2018-09-28 | 2022-06-21 | Logistics and Supply Chain MultiTech R&D Centre Limited | Automated guide vehicle with a collision avoidance apparatus |
| CN110968090B (en) * | 2018-09-28 | 2024-08-20 | 物流及供应链多元技术研发中心有限公司 | Automated guided vehicle with anti-collision device |
| CN109991982A (en) * | 2019-04-09 | 2019-07-09 | 广东嘉腾机器人自动化有限公司 | A kind of AGV trolley control method, device and AGV trolley |
| CN110028018A (en) * | 2019-04-15 | 2019-07-19 | 安徽意欧斯物流机器人有限公司 | A kind of heavy type Full-automatic tray stacking AGV |
| CN111760795B (en) * | 2019-07-16 | 2022-02-01 | 北京京东乾石科技有限公司 | Method and device for sorting goods |
| JP7368156B2 (en) * | 2019-09-26 | 2023-10-24 | ファナック株式会社 | robot control system |
| CN112572457B (en) * | 2019-09-27 | 2023-09-26 | 北京京东乾石科技有限公司 | Automatic guided vehicle control method, device, medium and electronic equipment |
| KR102389494B1 (en) * | 2020-04-13 | 2022-04-25 | 현대제뉴인 주식회사 | Autonomous Forklift Truck |
| US11851310B2 (en) | 2020-04-13 | 2023-12-26 | Hd Hyundai Xitesolution Co., Ltd. | Autonomous forklift truck |
| DE102020207479A1 (en) * | 2020-06-17 | 2021-12-23 | Zf Friedrichshafen Ag | Fork arm sensors for the detection of cross traffic |
| JP7409240B2 (en) * | 2020-07-02 | 2024-01-09 | 株式会社豊田自動織機 | Obstacle detection device and obstacle detection method |
| JP7608094B2 (en) * | 2020-09-11 | 2025-01-06 | 株式会社東芝 | MOBILE BODY, CONTROL DEVICE, MONITORING DEVICE, CONTROL METHOD, AND PROGRAM |
| CN112261588B (en) * | 2020-10-19 | 2022-07-05 | 中国科学院合肥物质科学研究院 | Method, system and device for self-adaptive formation and networking of multiple unmanned vehicles guided by manned vehicles |
| JP7372229B2 (en) * | 2020-11-30 | 2023-10-31 | トヨタ自動車株式会社 | Automatic transport machine control system and control method |
| DE102020133610A1 (en) * | 2020-12-15 | 2022-06-15 | Liebherr-Werk Bischofshofen Gmbh | Device and method for safe interaction of unmanned loading machines and manned vehicles and people |
| CN113233377B (en) * | 2021-03-29 | 2023-02-03 | 上海快仓自动化科技有限公司 | Motion control method of omnidirectional automatic forklift and omnidirectional automatic forklift |
| KR102521757B1 (en) * | 2021-05-31 | 2023-04-17 | 주식회사 로하우 | Remote driving control apparatus for forklift |
| DE102021121222A1 (en) | 2021-08-16 | 2023-02-16 | Jungheinrich Aktiengesellschaft | Autonomously guided industrial truck with a pair of scanner units |
| CN113880011B (en) * | 2021-08-31 | 2023-06-06 | 苏州易信安工业技术有限公司 | Vehicle driving safety protection system for forklift |
| US12415678B2 (en) | 2022-03-03 | 2025-09-16 | Samsung Electronics Co., Ltd. | Chemical supply system |
| CA3244393A1 (en) * | 2022-03-28 | 2023-10-05 | Seegrid Corporation | Safety field switching based on end effector conditions in vehicles |
| KR102866707B1 (en) * | 2022-11-03 | 2025-10-01 | 현대무벡스 주식회사 | Control Method of a Mobile Robot Having a Fork Device |
| JP7806658B2 (en) * | 2022-11-09 | 2026-01-27 | 株式会社豊田自動織機 | Industrial vehicles |
| CN115933683A (en) * | 2022-12-26 | 2023-04-07 | 杭州海康机器人股份有限公司 | Mobile robot obstacle avoidance protection method and device, electronic equipment and storage medium |
| DE102023136270B4 (en) * | 2023-12-21 | 2025-11-06 | Sick Ag | Autonomous transport system and a method for operating such an autonomous transport system |
Family Cites Families (4)
| Publication number | Priority date | Publication date | Assignee | Title |
|---|---|---|---|---|
| JP4396400B2 (en) * | 2004-06-02 | 2010-01-13 | トヨタ自動車株式会社 | Obstacle recognition device |
| KR101653968B1 (en) * | 2008-12-04 | 2016-09-05 | 크라운 이큅먼트 코포레이션 | Multiple zone sensing for materials handling vehicles |
| CN102449672B (en) * | 2009-06-02 | 2013-05-01 | 丰田自动车株式会社 | Vehicular peripheral surveillance device |
| JP5722127B2 (en) * | 2011-06-07 | 2015-05-20 | 株式会社小松製作所 | Work vehicle perimeter monitoring device |
-
2014
- 2014-03-10 JP JP2014046634A patent/JP2015170284A/en active Pending
-
2015
- 2015-03-02 CN CN201510096224.1A patent/CN104914860A/en active Pending
- 2015-03-09 KR KR1020150032732A patent/KR20150105930A/en not_active Abandoned
Cited By (49)
| Publication number | Priority date | Publication date | Assignee | Title |
|---|---|---|---|---|
| CN105223953A (en) * | 2015-10-10 | 2016-01-06 | 北京微尘嘉业科技有限公司 | A kind of control system of Closed loop track object space of view-based access control model information of intelligence |
| JP2017142667A (en) * | 2016-02-10 | 2017-08-17 | シャープ株式会社 | Traveling device |
| EP3269679B1 (en) | 2016-07-14 | 2019-09-11 | Toyota Material Handling Manufacturing Sweden AB | Floor conveyor |
| EP3269679B2 (en) † | 2016-07-14 | 2024-12-04 | Toyota Material Handling Manufacturing Sweden AB | Floor conveyor |
| EP3312131A1 (en) * | 2016-10-21 | 2018-04-25 | Linde Material Handling GmbH | Industrial truck with a sensor device for monitoring an ambient area |
| EP3312131B1 (en) | 2016-10-21 | 2023-07-12 | Linde Material Handling GmbH | Industrial truck with a sensor device for monitoring an ambient area |
| US10570001B2 (en) * | 2016-12-23 | 2020-02-25 | The Raymond Corporation | Systems and methods for determining a rack interface for a material handling vehicle |
| AU2017279735B2 (en) * | 2016-12-23 | 2023-06-15 | The Raymond Corporation | Systems and methods for determining a rack interface for a material handling vehicle |
| AU2017279735C1 (en) * | 2016-12-23 | 2024-01-18 | The Raymond Corporation | Systems and methods for determining a rack interface for a material handling vehicle |
| EP3339238A1 (en) * | 2016-12-23 | 2018-06-27 | The Raymond Corporation | Systems and methods for determining a rack interface for a material handling vehicle |
| JP2020520008A (en) * | 2017-05-09 | 2020-07-02 | ブレーン コーポレーションBrain Corporation | System and method for robot motion control |
| US11027953B2 (en) | 2017-08-02 | 2021-06-08 | Jungheinrich Aktiengesellschaft | Method for monitoring the road path of a truck and a floor conveyor |
| EP3438040A1 (en) * | 2017-08-02 | 2019-02-06 | Jungheinrich Aktiengesellschaft | Industrial truck and method for monitoring the path of an industrial truck |
| EP3456681A1 (en) * | 2017-08-22 | 2019-03-20 | STILL GmbH | Industrial truck, in particular tractor |
| JP2019105995A (en) * | 2017-12-12 | 2019-06-27 | 株式会社豊田自動織機 | Automatic operation forklift |
| US11275386B2 (en) | 2018-03-05 | 2022-03-15 | Jungheinrich Ag | Method for operating an industrial truck |
| DE102018104986A1 (en) * | 2018-03-05 | 2019-09-05 | Jungheinrich Aktiengesellschaft | Method for operating an industrial truck |
| JP2022518012A (en) * | 2019-01-23 | 2022-03-11 | 霊動科技(北京)有限公司 | Autonomous broadcasting system for self-driving cars |
| JP2021028266A (en) * | 2019-08-09 | 2021-02-25 | 株式会社小松製作所 | Working machine and control method of working machine |
| JP7370189B2 (en) | 2019-08-09 | 2023-10-27 | 株式会社小松製作所 | Work machines and work machine control methods |
| JP2023174836A (en) * | 2019-08-09 | 2023-12-08 | 株式会社小松製作所 | Working machine and control method of working machine |
| JP7650934B2 (en) | 2019-08-09 | 2025-03-25 | 株式会社小松製作所 | CONTROL SYSTEM AND CONTROL METHOD FOR CONSTRUCTION MACHINE |
| CN114271042A (en) * | 2019-09-23 | 2022-04-01 | 株式会社富士 | Periphery monitoring device |
| CN114271042B (en) * | 2019-09-23 | 2024-03-08 | 株式会社富士 | Perimeter monitoring device |
| US12120825B2 (en) | 2019-09-23 | 2024-10-15 | Fuji Corporation | Periphery monitoring device |
| WO2021059335A1 (en) * | 2019-09-24 | 2021-04-01 | 株式会社日立産機システム | Autonomous movement assistance device and moving body having same |
| JP7489609B2 (en) | 2019-10-07 | 2024-05-24 | パナソニックIpマネジメント株式会社 | MOBILE SYSTEM AND MOBILE SYSTEM CONTROL METHOD |
| JP2021060825A (en) * | 2019-10-07 | 2021-04-15 | パナソニックIpマネジメント株式会社 | Mobile body system, mobile body control method, and program |
| US12180047B2 (en) | 2019-12-03 | 2024-12-31 | Kabushiki Kaisha Toyota Jidoshokki | Industrial vehicle |
| JP7562997B2 (en) | 2020-06-12 | 2024-10-08 | 株式会社大林組 | forklift |
| JP2021195215A (en) * | 2020-06-12 | 2021-12-27 | 株式会社大林組 | forklift |
| EP4210020A4 (en) * | 2020-09-01 | 2024-02-28 | Kabushiki Kaisha Toyota Jidoshokki | INDUSTRIAL VEHICLE |
| US20230229178A1 (en) * | 2020-09-01 | 2023-07-20 | Kabushiki Kaisha Toyota Jidoshokki | Industrial vehicle |
| CN116018629A (en) * | 2020-09-01 | 2023-04-25 | 株式会社丰田自动织机 | industrial vehicle |
| KR20230042499A (en) | 2020-09-01 | 2023-03-28 | 가부시키가이샤 도요다 지도숏키 | industrial vehicle |
| CN116018629B (en) * | 2020-09-01 | 2025-10-10 | 株式会社丰田自动织机 | Industrial vehicles |
| WO2022050036A1 (en) | 2020-09-01 | 2022-03-10 | 株式会社豊田自動織機 | Industrial vehicle |
| CN112327846A (en) * | 2020-11-04 | 2021-02-05 | 珠海格力智能装备有限公司 | Control method and device of navigation vehicle and navigation vehicle |
| JP2022079136A (en) * | 2020-11-16 | 2022-05-26 | 株式会社日立製作所 | Automatic carrier vehicle |
| CN112731920A (en) * | 2020-12-04 | 2021-04-30 | 北京旷视机器人技术有限公司 | Method and device for controlling conveying equipment, conveying equipment and storage medium |
| EP4046958A1 (en) * | 2021-02-18 | 2022-08-24 | Jungheinrich Aktiengesellschaft | Industrial truck with detecting devices on fork tines |
| DE102021103799A1 (en) | 2021-02-18 | 2022-08-18 | Jungheinrich Aktiengesellschaft | INDUSTRIAL TRUCK WITH DETECTION DEVICES ON THE FORKS |
| JP2022133832A (en) * | 2021-03-02 | 2022-09-14 | 住友ナコ フォ-クリフト株式会社 | Perimeter monitoring device for work vehicle and work vehicle |
| JP7642401B2 (en) | 2021-03-02 | 2025-03-10 | 住友ナコ フォ-クリフト株式会社 | Surroundings monitoring device for work vehicle and work vehicle |
| CN113724533A (en) * | 2021-09-02 | 2021-11-30 | 广州小鹏自动驾驶科技有限公司 | Vehicle speed control method, device and system for remote driving |
| CN113724533B (en) * | 2021-09-02 | 2022-12-13 | 广州小鹏自动驾驶科技有限公司 | Vehicle speed control method, device and system for remote driving |
| JP2024058018A (en) * | 2022-10-14 | 2024-04-25 | 株式会社豊田自動織機 | Loading vehicle |
| EP4382471A1 (en) * | 2022-12-05 | 2024-06-12 | Jungheinrich Aktiengesellschaft | Method for automatically checking at least one protected area on an industrial truck |
| DE102022132171A1 (en) * | 2022-12-05 | 2024-06-06 | Jungheinrich Aktiengesellschaft | Procedure for the automatic testing of at least one protection area on an industrial truck |
Also Published As
| Publication number | Publication date |
|---|---|
| KR20150105930A (en) | 2015-09-18 |
| CN104914860A (en) | 2015-09-16 |
Similar Documents
| Publication | Publication Date | Title |
|---|---|---|
| JP2015170284A (en) | Forklift type automatic guided vehicle, control method and control apparatus therefor | |
| JP6109616B2 (en) | Automated guided vehicle | |
| CN103926929B (en) | Materials handling vehicle and its execution turn to the method for strategy and corresponding control system | |
| CA2851774C (en) | Steer control maneuvers for materials handling vehicles | |
| US10596705B2 (en) | Mobile robot with collision anticipation | |
| JP2019105995A (en) | Automatic operation forklift | |
| CN103935365A (en) | Intelligent anti-collision system of novel automated guided vehicle for material handling | |
| WO2019053798A1 (en) | Autonomous traveling robot system | |
| US11667502B2 (en) | Industrial truck, configured for driverless, autonomously acting operation for a load to be transported | |
| US20250091845A1 (en) | Vehicle-to-Vehicle Communication for Trajectory Awareness of a Material Handling Vehicle | |
| WO2018158831A1 (en) | Autonomous mobile system | |
| KR102515061B1 (en) | Method for preventing collision of automated guided vehicle for automated guided vehicle system | |
| US20250187890A1 (en) | Route setting method, program, and moving body | |
| JP2024035548A (en) | Towing vehicle travel control device | |
| CN112631289A (en) | Automatic safety obstacle avoidance system and method of laser navigation forklift |
Legal Events
| Date | Code | Title | Description |
|---|---|---|---|
| RD02 | Notification of acceptance of power of attorney |
Free format text: JAPANESE INTERMEDIATE CODE: A7422 Effective date: 20160715 |
