JP2014075418A - Silicon substrate for solar cell and manufacturing method therefor, and solar cell - Google Patents
Silicon substrate for solar cell and manufacturing method therefor, and solar cell Download PDFInfo
- Publication number
- JP2014075418A JP2014075418A JP2012221249A JP2012221249A JP2014075418A JP 2014075418 A JP2014075418 A JP 2014075418A JP 2012221249 A JP2012221249 A JP 2012221249A JP 2012221249 A JP2012221249 A JP 2012221249A JP 2014075418 A JP2014075418 A JP 2014075418A
- Authority
- JP
- Japan
- Prior art keywords
- silicon substrate
- solar cell
- substrate precursor
- aluminum oxide
- precursor
- Prior art date
- Legal status (The legal status is an assumption and is not a legal conclusion. Google has not performed a legal analysis and makes no representation as to the accuracy of the status listed.)
- Pending
Links
Images
Classifications
-
- Y—GENERAL TAGGING OF NEW TECHNOLOGICAL DEVELOPMENTS; GENERAL TAGGING OF CROSS-SECTIONAL TECHNOLOGIES SPANNING OVER SEVERAL SECTIONS OF THE IPC; TECHNICAL SUBJECTS COVERED BY FORMER USPC CROSS-REFERENCE ART COLLECTIONS [XRACs] AND DIGESTS
- Y02—TECHNOLOGIES OR APPLICATIONS FOR MITIGATION OR ADAPTATION AGAINST CLIMATE CHANGE
- Y02E—REDUCTION OF GREENHOUSE GAS [GHG] EMISSIONS, RELATED TO ENERGY GENERATION, TRANSMISSION OR DISTRIBUTION
- Y02E10/00—Energy generation through renewable energy sources
- Y02E10/50—Photovoltaic [PV] energy
- Y02E10/546—Polycrystalline silicon PV cells
Landscapes
- Photovoltaic Devices (AREA)
Abstract
【課題】シリコン基板前駆体の界面における、キャリアの再結合および電流のリークを抑えることが可能な、太陽電池用シリコン基板およびその製造方法を提供する。
【解決手段】平板状のシリコン基板前駆体101と、シリコン基板前駆体101の側面101cおよび二つの主面101a、101bを覆う酸化アルミニウム膜102と、を有し、シリコン基板前駆体101はp型のシリコンからなり、シリコン基板前駆体101の二つの主面101a、101bのうち、少なくとも一方がテクスチャーを有する形状である。
【選択図】図1A silicon substrate for a solar cell and a method for manufacturing the same are provided that can suppress carrier recombination and current leakage at the interface of a silicon substrate precursor.
SOLUTION: A flat silicon substrate precursor 101, and a side surface 101c of the silicon substrate precursor 101 and an aluminum oxide film 102 covering two main surfaces 101a, 101b, the silicon substrate precursor 101 is p-type. Of the two main surfaces 101a and 101b of the silicon substrate precursor 101, at least one has a textured shape.
[Selection] Figure 1
Description
本発明は、太陽電池用シリコン基板及びその製造方法、並びに太陽電池に関するものである。 The present invention relates to a silicon substrate for a solar cell, a manufacturing method thereof, and a solar cell.
自然エネルギーの有効利用の観点から、近年、太陽電池はますます広く一般的に利用されつつある。太陽電池を構成する材料としては、これまで主に、結晶シリコンが用いられてきた。 In recent years, solar cells have been increasingly and widely used from the viewpoint of effective use of natural energy. As a material constituting a solar cell, crystalline silicon has been mainly used so far.
結晶シリコンを用いた太陽電池は、n型シリコンとp型シリコンとが接合されてなる。この結晶シリコンに対して光を照射することにより、両者の境界(pn接合面)の近傍において、電子と正孔の対が発生する。そして、発生した電子、正孔を、それぞれn型シリコンおよびp型シリコンに接続された電極において捕捉させ、捕捉した電子、正孔による電流を発生させることができる。 A solar cell using crystalline silicon is formed by joining n-type silicon and p-type silicon. By irradiating the crystalline silicon with light, a pair of electrons and holes is generated in the vicinity of the boundary (pn junction surface) between the two. Then, the generated electrons and holes can be captured by the electrodes connected to the n-type silicon and the p-type silicon, respectively, and a current due to the captured electrons and holes can be generated.
すなわち、結晶シリコン太陽電池は、照射された光のエネルギーを、外部への出力が可能な電気のエネルギーに変換する機能を有している。特に、結晶シリコン太陽電池は、照射された光のエネルギーのうち、電気のエネルギーに変換される割合(光電変換効率)が高く、太陽電池市場において重要な位置を占めており、光電変換効率を更に高めるための技術開発が進められている。 That is, the crystalline silicon solar cell has a function of converting the energy of irradiated light into electric energy that can be output to the outside. In particular, crystalline silicon solar cells have a high rate of conversion to electrical energy (photoelectric conversion efficiency) in the energy of irradiated light, and occupy an important position in the solar cell market. Technological development is underway to enhance it.
結晶シリコン太陽電池の光電変換効率を更に高めるためには、界面におけるキャリア再結合を抑えることが重要となってくる(非特許文献1)。ここでのキャリア再結合は、原子配列の末端である表面において、結合すべき隣接原子を持たない未結合手(ダングリングボンド)といわれる不安定なエネルギー準位(界面準位)が、シリコン内部で生成されたキャリアを捕捉し、消滅させてしまう現象である。これにより、外部に取り出す電流を構成するキャリアが少なくなり、太陽電池としての特性が損なわれてしまうことが知られている。 In order to further increase the photoelectric conversion efficiency of the crystalline silicon solar cell, it is important to suppress carrier recombination at the interface (Non-Patent Document 1). The carrier recombination here is that the unstable energy level (interface level), called dangling bonds that do not have adjacent atoms to be bonded, on the surface that is the terminal of the atomic arrangement This is a phenomenon in which the carriers generated in are captured and disappear. As a result, it is known that the number of carriers constituting the current extracted to the outside is reduced, and the characteristics of the solar cell are impaired.
本発明は、以上のような点を考慮してなされたものであり、シリコン基板前駆体の界面における、キャリアの再結合を抑えることが可能な、太陽電池用シリコン基板を提供することを第一の目的とする。 The present invention has been made in consideration of the above points. It is a first object of the present invention to provide a silicon substrate for a solar cell capable of suppressing carrier recombination at the interface of a silicon substrate precursor. The purpose.
また、本発明は、キャリアがトンネル可能な膜厚の酸化アルミニウム膜を、平板状のシリコン基板前駆体の側面および二つの主面に形成した、太陽電池用シリコン基板の製造方法を提供することを第二の目的とする。 The present invention also provides a method for manufacturing a silicon substrate for a solar cell, in which an aluminum oxide film having a film thickness capable of tunneling carriers is formed on a side surface and two main surfaces of a planar silicon substrate precursor. Second purpose.
本発明の請求項1に係る太陽電池用シリコン基板は、平板状のシリコン基板前駆体と、前記シリコン基板前駆体の側面および二つの主面を覆う酸化アルミニウム膜と、を有し、前記シリコン基板前駆体はp型のシリコンからなり、前記シリコン基板前駆体の二つの主面のうち、少なくとも一方がテクスチャーを有する形状である、ことを特徴とする。 A silicon substrate for a solar cell according to claim 1 of the present invention includes a flat silicon substrate precursor, and an aluminum oxide film covering a side surface and two main surfaces of the silicon substrate precursor, and the silicon substrate The precursor is made of p-type silicon, and at least one of the two main surfaces of the silicon substrate precursor has a textured shape.
本発明の請求項2に係る太陽電池用シリコン基板は、請求項1において、前記酸化アルミニウム膜は、前記シリコン基板前駆体の側面側において、該シリコン基板前駆体の二つの主面側よりも厚みを有する形状である、ことを特徴とする。 The silicon substrate for a solar cell according to claim 2 of the present invention is the silicon substrate for solar cell according to claim 1, wherein the aluminum oxide film is thicker on the side surface side of the silicon substrate precursor than on the two main surface sides of the silicon substrate precursor. It is the shape which has.
本発明の請求項3に係る太陽電池用シリコン基板は、請求項1または2において、前記シリコン基板前駆体の二つの主面における、前記酸化アルミニウム膜の膜厚は、それぞれ0.5[nm]以上3[nm]以下である、ことを特徴とする。 The silicon substrate for a solar cell according to claim 3 of the present invention is the silicon substrate for solar cell according to claim 1 or 2, wherein the film thickness of the aluminum oxide film on each of the two main surfaces of the silicon substrate precursor is 0.5 [nm]. The above is 3 [nm] or less.
本発明の請求項4に係る太陽電池用シリコン基板の製造方法は、成膜装置内に、内側面と連続した突起部を有する貫通孔が設けられた平板状のトレイを配し、前記貫通孔内において、少なくとも一方の主面にテクスチャーが形成された、平板状のシリコン基板前駆体の二つの主面のうち、いずれか一方の周縁部のみが、前記突起部に支持された状態として、ALD法を用いて、前記シリコン基板前駆体の側面および二つの主面に、トリメチルアルミニウムの分子を吸着させる第一工程と、前記第一工程後に、吸着した前記トリメチルアルミニウムの分子を酸化させる第二工程と、からなるプロセスを複数回繰り返すことにより、前記シリコン基板前駆体の側面および二つの主面に酸化アルミニウム膜を形成する、ことを特徴とする。 According to a fourth aspect of the present invention, there is provided a method for producing a silicon substrate for a solar cell, wherein a flat tray provided with a through hole having a protrusion continuous with an inner surface is disposed in a film forming apparatus, and the through hole is provided. In the ALD, only one of the peripheral surfaces of the two main surfaces of the planar silicon substrate precursor having a texture formed on at least one main surface is supported by the protrusions. A first step of adsorbing trimethylaluminum molecules on the side surface and two main surfaces of the silicon substrate precursor using a method, and a second step of oxidizing the adsorbed trimethylaluminum molecules after the first step And an aluminum oxide film is formed on the side surface and two main surfaces of the silicon substrate precursor by repeating the process consisting of a plurality of times.
本発明の請求項5に係る太陽電池は、受光面と、該受光面と対向する裏面との間で光電変換機能を発現する太陽電池であって、請求項1〜3のいずれか一項に記載の太陽電池用シリコン基板と、前記太陽電池用シリコン基板の前記受光面側の主面に形成された、n型のアモルファスシリコンからなる半導体層と、前記半導体層の前記受光面側に形成された透明導電膜と、前記透明導電膜の前記受光面側に形成された受光面電極と、前記太陽電池用シリコン基板の前記裏面側の主面に形成された裏面電極と、を備えている、ことを特徴とする。 The solar cell which concerns on Claim 5 of this invention is a solar cell which expresses a photoelectric conversion function between a light-receiving surface and the back surface facing this light-receiving surface, Comprising: In any one of Claims 1-3. The silicon substrate for solar cells described above, a semiconductor layer made of n-type amorphous silicon formed on the main surface of the silicon substrate for solar cells on the light receiving surface side, and formed on the light receiving surface side of the semiconductor layer A transparent conductive film, a light receiving surface electrode formed on the light receiving surface side of the transparent conductive film, and a back electrode formed on a main surface on the back surface side of the solar cell silicon substrate, It is characterized by that.
本発明に係る太陽電池用シリコン基板の構成によれば、負の固定電荷を有する酸化アルミニウム膜が、基板界面に成膜されることによって、電界パッシベーション効果が生じ、基板界面におけるキャリア再結合を抑えることが可能な太陽電池用シリコン基板を提供することができる。 According to the configuration of the silicon substrate for a solar cell according to the present invention, an aluminum oxide film having a negative fixed charge is formed on the substrate interface, thereby generating an electric field passivation effect and suppressing carrier recombination at the substrate interface. It is possible to provide a silicon substrate for a solar cell that can be used.
また、本発明に係る太陽電池用シリコン基板の構成によれば、シリコン基板前駆体はP型のシリコンからなり、そのパッシベーション膜をなす酸化アルミニウム膜は負の固定電荷を多く含んでいる。そのため、シリコン基板前駆体と酸化アルミニウム膜との界面において、少数キャリアである電子のポテンシャルエネルギーが高くなり、電子は界面から遠ざけられる。したがって、界面から外部への電子(電流)のリークを抑えることが可能な、太陽電池用シリコン基板を提供することができる。 Further, according to the configuration of the silicon substrate for a solar cell according to the present invention, the silicon substrate precursor is made of P-type silicon, and the aluminum oxide film forming the passivation film contains a lot of negative fixed charges. Therefore, the potential energy of electrons that are minority carriers is increased at the interface between the silicon substrate precursor and the aluminum oxide film, and the electrons are moved away from the interface. Therefore, it is possible to provide a silicon substrate for a solar cell that can suppress leakage of electrons (current) from the interface to the outside.
また、本発明に係る太陽電池用シリコン基板の製造方法によれば、平板状のシリコン基板前駆体の側面および二つの主面に、膜厚が分子単位で制御された、良質な酸化アルミニウム膜を形成することができる。したがって、キャリアがトンネル可能な膜厚の酸化アルミニウム膜を、平板状のシリコン基板前駆体の側面および二つの主面に形成した、太陽電池用シリコン基板の製造方法を提供することができる。 In addition, according to the method for manufacturing a silicon substrate for a solar cell according to the present invention, a high-quality aluminum oxide film whose film thickness is controlled in molecular units is formed on the side surface and two main surfaces of the flat silicon substrate precursor. Can be formed. Therefore, the manufacturing method of the silicon substrate for solar cells which formed the aluminum oxide film | membrane of the film thickness which can tunnel a carrier on the side surface and two main surfaces of a flat silicon substrate precursor can be provided.
以下、好適な実施形態に基づき、図面を参照して本発明を説明する。 Hereinafter, based on a preferred embodiment, the present invention will be described with reference to the drawings.
<第一実施形態>
図1(a)は、第一実施形態に係る太陽電池用シリコン基板100の構成について説明する図である。太陽電池用シリコン基板100は、平板状のシリコン基板前駆体101と、シリコン基板前駆体の一方の主面101a、他方の主面101b、および両方の主面以外の側面101cを覆う酸化アルミニウム膜102とで構成される。
<First embodiment>
Fig.1 (a) is a figure explaining the structure of the
シリコン基板前駆体101は、p型の単結晶シリコンまたはp型の多結晶シリコンからなり、一方の主面101aおよび他方の主面101bが、テクスチャーを有する形状となっている。本実施形態においては、一方の主面101aおよび他方の主面101bは、それぞれ、テクスチャー形状を構成する、各頂部を含む面と各谷部を含む面との中間に位置する面として定義される。
The
図1(b)は、図1(a)に示した、太陽電池用シリコン基板100の周縁部のうち、一方の主面101a側の領域Aの断面を拡大した図である。図1(b)に示すように、シリコン基板前駆体の一方の主面101aは、テクスチャー形状を構成する、各頂部を含む面101pと各谷部を含む面101vとの中間に位置する面となっている。すなわち、一方の主面101aと各頂部を含む面101pとの距離d1は、一方の主面101aと各谷部を含む面101vとの距離d2に等しい。シリコン基板前駆体の一方の主面101a側に形成された、酸化アルミニウム膜102の膜厚Taは、テクスチャー形状を構成する各傾斜面から酸化アルミニウム膜102の表面までの距離として定義される。
FIG.1 (b) is the figure which expanded the cross section of the area | region A by the side of one
酸化アルミニウム膜102の膜厚が0.5[nm]より小さい場合、シリコン基板前駆体101の界面に対するパッシベーション機能が維持できなくなる。また、酸化アルミニウム膜102の膜厚が3[nm]より大きい場合、キャリアをトンネリングさせることが難しくなる。したがって、酸化アルミニウム膜102の膜厚は、二つの主面101a、101bにおいては、0.5[nm]以上3[nm]以下であることが望ましく、1[nm]以上2[nm]以下であれば、より望ましい。
When the thickness of the
酸化アルミニウム膜102は、シリコン基板前駆体101の側面101c側において、二つの主面101a、101b側よりも厚みを有する形状であることが望ましい。すなわち、図1(b)においては、シリコン基板前駆体の側面101c側に形成された酸化アルミニウム膜102の膜厚Tcは、シリコン基板前駆体の一方の主面101a側に形成された酸化アルミニウム膜102の膜厚Taよりも厚く形成されることが望ましい。
It is desirable that the
なお、第一実施形態としては、シリコン基板前駆体の二つの主面101a、101bが、いずれもテクスチャーを有する形状である例を示したが、二つの主面101a、101bのうち、少なくとも一方がテクスチャーを有する形状であればよい。すなわち、二つの主面101a、101bのうち、一方にのみドライエッチング処理を行い、処理した面のみをテクスチャーを有する形状としてもよい。
In addition, as 1st embodiment, although the two
以上説明したように、第一実施形態に係る太陽電池用シリコン基板100の構成によれば、シリコン基板前駆体101の界面が酸化アルミニウム膜102で覆われているため、キャリア再結合を抑えることが可能な、太陽電池用シリコン基板100を提供することができる。そして、第一実施形態に係る太陽電池用シリコン基板100を用いることにより、光電変換率を高めた太陽電池を得ることができる。
As described above, according to the configuration of the solar
また、第一実施形態に係る太陽電池用シリコン基板100の構成によれば、シリコン基板前駆体101はP型のシリコンからなり、パッシベーション膜をなす酸化アルミニウム膜102は負の固定電荷を多く含んでいる。そのため、シリコン基板前駆体101と酸化アルミニウム膜102との界面において、少数キャリアである電子のポテンシャルエネルギーが高くなり、電子は界面から遠ざけられる。したがって、界面から外部への電子(電流)のリークを抑えることが可能な、太陽電池用シリコン基板100を提供することができる。そして、第一実施形態に係る太陽電池用シリコン基板100を用いることにより、光電変換率を高めた太陽電池を得ることができる。
Further, according to the configuration of the solar
<太陽電池用シリコン基板の製造方法>
第一実施形態に係る、太陽電池用シリコン基板の製造方法について説明する。図2は、太陽電池の製造工程フローである。太陽電池は、主に、シリコン基板前駆体(基体)の洗浄、酸化アルミニウム(Al2O3)膜形成(成膜)、アモルファスシリコン膜形成(成膜)、透明導電膜(ITO膜)形成、アルミニウム電極形成、銀電極形成の6つの工程処理を、順に行うことにより製造される。第一実施形態に係る太陽電池用シリコン基板は、このうち初めの2つの工程処理、すなわち、シリコン基板前駆体の洗浄、酸化アルミニウム膜形成の工程処理を順に行うことにより製造される。以下に、第一実施形態に係る、太陽電池用シリコン基板の製造方法について、詳細に説明する。
<Method for producing silicon substrate for solar cell>
The manufacturing method of the silicon substrate for solar cells based on 1st embodiment is demonstrated. FIG. 2 is a manufacturing process flow of the solar cell. The solar cell is mainly composed of silicon substrate precursor (base) cleaning, aluminum oxide (Al 2 O 3 ) film formation (film formation), amorphous silicon film formation (film formation), transparent conductive film (ITO film) formation, It is manufactured by sequentially performing six process steps of forming an aluminum electrode and forming a silver electrode. The silicon substrate for solar cells according to the first embodiment is manufactured by sequentially performing the first two process processes, that is, the process of cleaning the silicon substrate precursor and the process of forming the aluminum oxide film. Below, the manufacturing method of the silicon substrate for solar cells which concerns on 1st embodiment is demonstrated in detail.
まず、シリコン基板前駆体の洗浄工程において、シリコン基板前駆体101に対して、水酸化カリウム(KOH)や水酸化ナトリウム(NaOH)をエッチャントとして用いたウェットエッチング処理を行う。そして、処理後のシリコン基板前駆体101に残存する有機物および金属汚染物を、フッ硝酸を用いて除去することにより、二つの主面101a、101bを、テクスチャーを有する形状に加工する。
First, in the silicon substrate precursor cleaning step, the
図3は、シリコン基板前駆体101に、酸化アルミニウム膜102を成膜するための成膜装置10の断面図である。成膜装置10は、成膜処理用のチャンバ11と、その内部に配され、プラズマ形成用の下部電極をなし、シリコン基板前駆体101を支持する平板状のトレイ103と、トレイ103を介してシリコン基板前駆体101を加熱するヒーター13と、シリコン基板前駆体101にガスを照射するシャワープレート17と、プラズマ形成用の上部電極18と、を備えている。ヒーター13はトレイ103に接触している。シャワープレート17と、トレイ103の主面とは、主面同士が平行となるように配されている。チャンバの壁部には、排気孔12、トリメチルアルミニウム(TMA)ガスの供給孔14、窒素(N2)ガスの供給孔15、酸化剤(例えばH2O)の供給孔16が設けられている。
FIG. 3 is a cross-sectional view of the
図3の成膜装置10を用いた、酸化アルミニウム膜形成工程について説明する。図4(a)は、図3に示したトレイ103を、上部電極18側からみた平面図である。トレイ103は、シリコン基板前駆体101を、固定した状態で支持する構造部Rを複数個所に備えている。なお、図4(a)では、トレイ103の形状を説明するために、シリコン基板前駆体101を除いた状態を示している。
An aluminum oxide film forming process using the
図4(b)は、図4(a)のトレイ103が備えた複数の構造部Rのうち、一つを囲む領域Bについて拡大した図である。構造部Rは、トレイ103の二つの主面の間を貫通する貫通孔Hを設け、貫通孔Hの内側に、内側面103bと連続した突起部103cを備えた形状となっている。突起部103cのシリコン基板前駆体101と接する側の面は、トレイ103の厚み方向において、テーパー状に加工された傾斜面103aとなっている。また、トレイ103の厚み方向において、傾斜面103aと内側面103bとのなす角は、鈍角となっている。
FIG. 4B is an enlarged view of a region B surrounding one of the plurality of structural portions R provided in the
図4(c)は、図4(b)のC―C線において、領域Bに含まれたトレイ103と、トレイ103に支持されるシリコン基板前駆体101とを、切断した断面を示す図である。シリコン基板前駆体101は、その他方の主面101bのうち周縁部101eのみが、突起部103cの傾斜面103aに支持された状態となる。この状態において、シリコン基板前駆体101に対する成膜処理が行われる。
4C is a diagram showing a cross section of the
上述したトレイ103を用いることにより、チャンバ11内において成膜処理を行う際に、シリコン基板前駆体の側面101cおよび二つの主面101a、101bが、同時に成膜ガスに曝されることになる。そのため、シリコン基板前駆体の側面101cおよび二つの主面101a、101bに対する成膜処理を同時に行うことができる。すなわち、一面ずつ成膜処理を行う場合には、シリコン基板前駆体101を反転させるプロセスが必要となるが、本実施形態のトレイ103を用いることにより、このプロセスは不要となる。したがって、シリコン基板前駆体101を反転させる機構を備える場合に比べて、装置構造を簡略化することができる。また、シリコン基板前駆体101の反転に要する時間が削減され、成膜処理時間を短縮することができる。
By using the
また、シリコン基板前駆体の側面101cとトレイ103との接点近傍において、成膜ガスの流路が狭くなるため、そこに成膜ガスが滞留しやすくなる。そのため、成膜速度は、側面101cにおいて、二つの主面101a、101bよりも大きくなる。したがって、酸化アルミニウム膜102は、シリコン基板前駆体101の側面101c側において、シリコン基板前駆体101の二つの主面101a、101b側よりも、厚みを有する形状とすることができる。
Further, in the vicinity of the contact point between the
貫通孔Hの対向する内側面103b同士の距離d4は、被処理体の主面において対向する周縁部101e同士の距離d5よりも大きくなるように形成されている。また、貫通孔Hの対向する突起部103cの先端103e同士の距離d3は、被処理体の主面において対向する周縁部101e同士の距離d5よりも小さく形成されている。なお、突起部103cは、トレイ103の主面から一定の深さの位置に形成され、シリコン基板前駆体の二つの主面101a、101bと、トレイ103の主面とが、互いに平行に配されるものとする。
A distance d4 between the inner side surfaces 103b facing each other of the through-hole H is formed to be larger than a distance d5 between the
図4(a)では、シリコン基板前駆体101の主面が正方形である場合に合わせて、構造部Rの形状も正方形とした例を示しているが、構造部Rの形状は、シリコン基板前駆体101の主面を包含できる形状であればよく、正方形でなくてもよい。
FIG. 4A shows an example in which the shape of the structure portion R is also square when the main surface of the
第一実施形態に係る、太陽電池用シリコン基板を製造するための成膜処理の方法について、図5(a)〜(d)に示す工程図を用いて説明する。なお、本実施形態における成膜処理は、ALD法を用いて行う。まず、成膜処理用のチャンバ内に備えられたトレイ103に、シリコン基板前駆体101を配する。ここで、シリコン基板前駆体101を、上述したように、トレイ103に設けられた貫通孔H内に配し、貫通孔Hの内側面における突起部103cに支持された状態とする。図5(a)〜(d)においては、シリコン基板前駆体の二つの主面101a、101bが、いずれも平坦であるように示しているが、二つの主面101a、101bのうち少なくとも一方は、微視的なスケールのテクスチャー形状を有するものとする。成膜処理中は、シリコン基板前駆体101の温度が、80〜200[℃]の範囲で制御されていることが望ましい。
The method of the film-forming process for manufacturing the silicon substrate for solar cells based on 1st embodiment is demonstrated using process drawing shown to Fig.5 (a)-(d). Note that the film formation process in the present embodiment is performed using the ALD method. First, the
そして、第一工程において、例えば、チャンバ内に窒素ガスを10[SLC]流し、圧力を300[Pa]とした上で、トリメチルアルミニウム(TMA)ガスを、1[cc/cycle]、1サイクル当たり10秒で、チャンバ内において均一となるように供給する。そして、シリコン基板前駆体の側面101cおよび二つの主面101a、101bに、トリメチルアルミニウムの分子Saを吸着させる。吸着後に、窒素ガスを10秒間流し続け、シリコン基板前駆体101の側面101cおよび二つの主面101a、101bに余分に吸着したトリメチルアルミニウムの分子Saをパージ(除去)する。パージ後、図5(a)に示すように、シリコン基板前駆体の側面101cおよび二つの主面101a、101bに吸着したトリメチルアルミニウム分子Saは、単分子層に近い状態の層を形成する。
In the first step, for example, 10 [SLC] of nitrogen gas is flowed into the chamber and the pressure is set to 300 [Pa], and then trimethylaluminum (TMA) gas is supplied at 1 [cc / cycle] per cycle. In 10 seconds, supply is made uniform in the chamber. Then, trimethylaluminum molecule Sa is adsorbed on the
次に第二工程において、酸化源として酸素ガスを導入し、RF放電によって生成される酸素イオンや酸素ラジカルを、第一工程において基板表面に吸着したトリメチルアルミニウム分子Saに供給することによって,トリメチルアルミニウム分子Saを酸化させ、良質な酸化アルミニウム膜102aを得る。なお、トリメチルアルミニウム分子Saの酸化源としては、酸素ガスを電離させたイオンやラジカルの他に、水などを用いても良い。
Next, in the second step, oxygen gas is introduced as an oxidation source, and oxygen ions and oxygen radicals generated by the RF discharge are supplied to the trimethylaluminum molecule Sa adsorbed on the substrate surface in the first step, thereby trimethylaluminum. The molecule Sa is oxidized to obtain a high-quality
次に、第三工程において、例えば、チャンバ内に窒素ガスを10[SLC]を流し、圧力を300[Pa]とした上で、トリメチルアルミニウム(TMA)ガスを、1[cc/cycle]、1サイクル当たり10秒で、チャンバ内において均一となるように供給する。そして、酸化アルミニウム膜102a上に、トリメチルアルミニウムの分子Sbを吸着させる。吸着後に、窒素ガスを10秒間流し続け、酸化アルミニウム膜102a上に余分に吸着したトリメチルアルミニウムの分子Sbをパージ(除去)する。パージ後、図5(c)に示すように、酸化アルミニウム膜102a上に吸着したトリメチルアルミニウム分子Sbは、単分子層に近い状態の層を形成する。
Next, in the third step, for example, 10 [SLC] of nitrogen gas is allowed to flow into the chamber and the pressure is set to 300 [Pa], and then trimethylaluminum (TMA) gas is supplied at 1 [cc / cycle], 1 Deliver uniformly within the chamber at 10 seconds per cycle. Then, the trimethylaluminum molecule Sb is adsorbed onto the
次に第四工程において、酸化源として酸素ガスを導入し、RF放電によって生成される酸素イオンや酸素ラジカルを、第三工程において基板表面に吸着したトリメチルアルミニウム分子Sbに供給することによって、トリメチルアルミニウム分子Sbを酸化させ、良質な酸化アルミニウム膜102bを得る。なお、トリメチルアルミニウム分子Sbの酸化源としては、酸素ガスを電離させたイオンやラジカルの他に、水などを用いても良い。
Next, in the fourth step, oxygen gas is introduced as an oxidation source, and oxygen ions and oxygen radicals generated by the RF discharge are supplied to the trimethylaluminum molecule Sb adsorbed on the substrate surface in the third step, thereby trimethylaluminum. The molecule Sb is oxidized to obtain a high-quality
第三工程と第四工程とからなるプロセスは、それぞれ第一工程と第二工程とからなるプロセスと同じ内容の繰り返しとなる。図5には、第一〜第四工程に対応する4つの工程図のみが示されているが、第四工程以降も、酸化アルミニウム膜102の膜厚が、所望の膜厚となるまで、第一工程と第二工程とからなるプロセスを複数回繰り返す。第一工程と第二工程とからなるプロセスを5〜25回繰り返すことにより、酸化アルミニウム膜102の膜厚は、シリコン基板前駆体101の界面に対するパッシベーション機能を有し、かつキャリアのトンネリングが可能となる膜厚(0.5〜3[nm])となる。繰り返す回数を10回程度とすることにより、最適な膜厚(1〜2[nm])の酸化アルミニウム膜102が得られる。
The process consisting of the third step and the fourth step is the same as the process consisting of the first step and the second step, respectively. FIG. 5 shows only four process diagrams corresponding to the first to fourth processes. However, in the fourth and subsequent processes, the process continues until the film thickness of the
以上説明したように、第一実施形態に係る太陽電池用シリコン基板100の製造方法によれば、平板状のシリコン基板前駆体の側面101cおよび二つの主面101a、101bに、膜厚が分子単位で制御された、良質な酸化アルミニウム膜102を形成することができる。したがって、キャリアがトンネル可能な膜厚の酸化アルミニウム膜102を、平板状のシリコン基板前駆体の側面101cおよび二つの主面101a、101bに形成した、太陽電池用シリコン基板の製造方法を提供することができる。
As described above, according to the method for manufacturing the solar
[実験例]
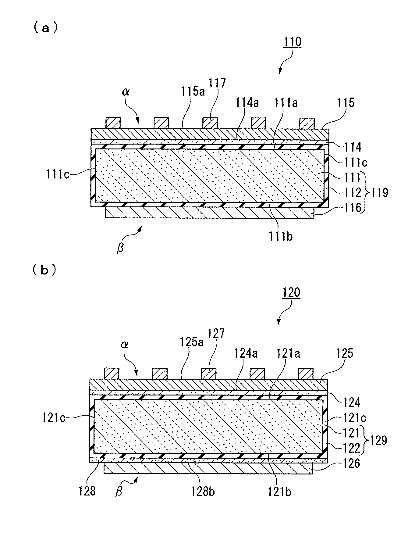
図6(a)は、第一実施形態に係る太陽電池用シリコン基板119を用いて形成される、太陽電池110の断面図である。太陽電池110は、光を受光する受光面と、受光面と対向する裏面を有する。そして、太陽電池110を構成する太陽電池用シリコン基板119は、太陽電池110の受光面側αに、n型の半導体層(n層)114と、透明導電膜115と、受光面電極117とを順に備え、太陽電池110の裏面側βに、裏面電極116を備えている。
[Experimental example]
Fig.6 (a) is sectional drawing of the
太陽電池用シリコン基板119は、平板状のシリコン基板前駆体111と、シリコン基板前駆体の一方(受光面側α)の主面111a、他方(裏面側β)の主面111b、および両方の主面以外の側面111cを覆う酸化アルミニウム膜112とで構成される。図6(a)においては、シリコン基板前駆体の二つの主面111a、111bが、いずれも平坦であるように示しているが、二つの主面111a、111bのうち少なくとも一方は、微視的なスケールのテクスチャー形状を有するものとする。
The silicon substrate 119 for solar cells includes a flat
n層114は、n型のアモルファスシリコンからなり、PECVD(Plasma Enhanced CVD)法を用いて、シリコン基板前駆体111の一方の主面111a側に、酸化アルミニウム膜112を挟んで形成される。形成されるn層114の膜厚は、2〜5[nm]程度とする。
The
透明導電膜115は、酸化インジウムスズ(ITO)からなり、n層114を形成した後にスパッタリング法を用いて、受光面側αのn層114の表面に形成される。形成される透明導電膜115の膜厚は、80〜100[nm]程度とする。
The transparent
裏面電極116は、Ag、Al、Cuのいずれかの元素を主成分として含み、透明導電膜115を形成した後にスパッタリング法またはスクリーン印刷法を用いて、シリコン基板前駆体111の他方の主面111b側に、酸化アルミニウム膜112を挟んで形成される。形成される裏面電極116の膜厚は、200〜500[nm]程度とする。
The
なお、裏面電極116と酸化アルミニウム膜112との間にTi、W、Nb、Ni、Cr等の元素からなる層を設けてもよい。この層は、裏面電極116を構成する金属元素が、酸化アルミニウム膜112側に拡散するのを防ぐためのバリア層として、また裏面電極116と酸化アルミニウム膜112とを密着させるための密着層として機能する。
Note that a layer made of an element such as Ti, W, Nb, Ni, or Cr may be provided between the
受光面電極117は、Ag元素からなり、裏面電極116を形成した後にスクリーン印刷法を用い、焼成を行うことにより、受光面側αの透明導電膜115の表面に形成される。
The light receiving
図6(b)は、第一実施形態に係る太陽電池用シリコン基板129を用いて形成される、太陽電池120の断面図である。太陽電池用シリコン基板129の裏面側βに、p型の半導体層(p層)128を備えた構成が、図6(a)の太陽電池110の構成と異なる。
FIG.6 (b) is sectional drawing of the
p層128は、p型のアモルファスシリコンからなり、PECVD(Plasma Enhanced CVD)法を用いて、シリコン基板前駆体121の他方の主面121b側に、酸化アルミニウム膜122を挟んで形成される。形成されるp層128の膜厚は、2〜5[nm]程度とする。図6(b)においては、シリコン基板前駆体の二つの主面121a、121bが、いずれも平坦であるように示しているが、二つの主面121a、121bのうち少なくとも一方は、微視的なスケールのテクスチャー形状を有するものとする。
The
p型の不純物濃度は、p層128において、シリコン基板前駆体121よりも高くなっている。p型不純物濃度の高いp層を、裏面電極126とシリコン基板前駆体121との間に設けることにより、裏面電極126とシリコン基板前駆体121との間において、電場が弱まり、電気抵抗が低減される。太陽電池用シリコン基板129の裏面側βに、p型半導体層(p層)128を備えている以外の構成については、図6(a)の太陽電池110の構成と同様である。
The p-type impurity concentration is higher in the
酸化アルミニウム膜122を、キャリアがトンネリング可能な膜厚とすることにより、シリコン基板前駆体121内において発生したキャリアは、配線層が形成されていなくても、酸化アルミニウム膜122をトンネルして受光面電極127あるいは裏面電極126に到達することができる。すなわち、第一実施形態に係る、太陽電池用シリコン基板を用いて形成される太陽電池110、120においては、配線層が形成される必要はなく、配線層を形成するために、酸化アルミニウム膜122に開口部(コンタクトホール)を設けるプロセスを削減することが可能となり、プロセスの簡略化を実現することができる。
By setting the
表1は、太陽電池110を構成する酸化アルミニウム膜の厚さ119を、0[nm](膜無し)、1.1[nm]、10[nm]と振った場合の太陽電池の電気特性(短絡電流密度Jsc、開放電圧Voc、曲線因子FF、変換効率Eff)について、実験結果をまとめたものである。酸化アルミニウム膜119を形成しない構成が、従来の太陽電池の構成に相当する。
Table 1 shows the electrical characteristics of the solar cell when the thickness 119 of the aluminum oxide film constituting the
実験結果によれば、酸化アルミニウム膜119の厚さを1.1[nm]形成した場合に、従来の構成とした場合に比べて、短絡電流密度Jsc、開放電圧Voc、および曲線因子FFが大きくなっており、これに伴って変換効率Effが向上している。これは、負の固定電荷を有する酸化アルミニウム膜119が、基板界面に成膜されることによって、電界パッシベーション効果が生じ、基板界面におけるキャリア再結合が抑えられることに起因している。 According to the experimental results, when the thickness of the aluminum oxide film 119 is formed to 1.1 [nm], the short-circuit current density J sc , the open-circuit voltage V oc , and the fill factor FF are compared to the case of the conventional configuration. As a result, the conversion efficiency Eff is improved. This is because the aluminum oxide film 119 having a negative fixed charge is formed on the substrate interface, thereby generating an electric field passivation effect and suppressing carrier recombination at the substrate interface.
一方、酸化アルミニウム膜119の厚さを10[nm]とした場合には、従来の構成とした場合に比べて、短絡電流密度Jsc、開放電圧Voc、および曲線因子FFが著しく小さくなっており、これに伴って変換効率Effが低下している。これは、酸化アルミニウム膜119が厚過ぎて、キャリアがトンネルできなくなることに起因している。したがって、太陽電池の特性を向上させる上で、基板を覆う酸化アルミニウム膜の厚さを10[nm]以上とすることは望ましくない。 On the other hand, when the thickness of the aluminum oxide film 119 is set to 10 [nm], the short-circuit current density J sc , the open-circuit voltage V oc , and the fill factor FF are significantly reduced as compared with the conventional configuration. As a result, the conversion efficiency E ff decreases. This is because the aluminum oxide film 119 is too thick and carriers cannot tunnel. Therefore, in order to improve the characteristics of the solar cell, it is not desirable that the thickness of the aluminum oxide film covering the substrate be 10 [nm] or more.
この実験に用いたサンプルの製法ついて、以下に説明する。まず、p型シリコン基板を、KOH(12%wt、60℃、0.6g)の溶液を用いて、10分間のエッチング処理を行う。そして、市販されているテクスチャエッチング液を用いて、さらに30分間のテクスチャエッチング処理を行い、反射率(波長400〜800[nm]平均)が12.56%となるようにする。 The method for producing the sample used in this experiment will be described below. First, a p-type silicon substrate is etched for 10 minutes using a solution of KOH (12% wt, 60 ° C., 0.6 g). Then, using a commercially available texture etching solution, a texture etching treatment is further performed for 30 minutes so that the reflectance (wavelength 400 to 800 [nm] average) becomes 12.56%.
テクスチャエッチング処理後、純水(25℃)を用いて、3分間のリンス処理を行い、硝酸:フッ酸=100:1の混合溶液に2分間浸し、基板の界面をエッチング処理し、その後に純水(25℃)を用いて3分間のリンス処理を行う。そして、塩酸と過酸化水素水と純水とを、体積比が1:1:5となるように混合した溶液(80℃)に5分間浸し、純水(25℃)を用いて3分間のリンス処理を行い、最後にHF(4%/wt)の溶液に1分間浸し、純水(25℃)を用いて3分間のリンス処理を行い、実験に用いる太陽電池用シリコン基板を準備する。 After the texture etching treatment, a rinsing treatment is performed for 3 minutes using pure water (25 ° C.). The substrate is immersed in a mixed solution of nitric acid: hydrofluoric acid = 100: 1 for 2 minutes to etch the interface of the substrate. Rinse for 3 minutes with water (25 ° C.). Then, the mixture is immersed in a solution (80 ° C.) in which hydrochloric acid, hydrogen peroxide solution, and pure water are mixed at a volume ratio of 1: 1: 5 for 5 minutes, and pure water (25 ° C.) is used for 3 minutes. A rinse treatment is performed, and finally, the substrate is immersed in a solution of HF (4% / wt) for 1 minute, followed by a rinse treatment for 3 minutes using pure water (25 ° C.) to prepare a silicon substrate for a solar cell used in the experiment.
次に、太陽電池用シリコン基板に対して、ALD法による酸化アルミニウムの成膜処理を行う。チャンバ内の圧力が6.8×10−3[Pa]となるように真空引きを行った上で、チャンバ内に、窒素ガスを2[SLM]流し、圧力を200[Pa]とし、TMAガスを1サイクル1秒間、2[cc/cycle]で流した後に、酸素ガスを100[sccm]流す。そして、周波数13.56[MHz]のRF電極に200[W]印加し、ラジカル、イオン、電子などの荷電粒子を供給してAl2O3の単分子膜を形成する。前述した工程(サイクルパージ)を行い、Al2O3を約1.1[nm]成膜したサンプル、10[nm]成膜したサンプル、成膜を行わなかったサンプルを、それぞれ作成する。ここでは、成膜処理中の基板温度を150[℃]としている。 Next, a film formation process of aluminum oxide by ALD is performed on the silicon substrate for solar cell. After evacuation so that the pressure in the chamber becomes 6.8 × 10 −3 [Pa], nitrogen gas is flowed into the chamber for 2 [SLM], the pressure is set to 200 [Pa], and TMA gas is supplied. Is supplied at 2 [cc / cycle] for 1 second for 1 cycle, and then oxygen gas is supplied at 100 [sccm]. Then, 200 [W] is applied to an RF electrode having a frequency of 13.56 [MHz], and charged particles such as radicals, ions, and electrons are supplied to form an Al 2 O 3 monomolecular film. The above-described process (cycle purge) is performed to prepare a sample in which Al 2 O 3 is formed to a thickness of about 1.1 [nm], a sample in which the film is formed to 10 [nm], and a sample in which no film is formed. Here, the substrate temperature during the film forming process is set to 150 [° C.].
Al2O3のパッシベーション膜を基板の両主面に形成した後に、PECVD法を用いて、基板の受光面側にn型のアモルファスシリコン(n−a−Si)膜を成膜する。成膜されるn−a−Si膜の厚さは、ここでは5[nm]とする。ただし、成膜処理前に、プラズマ前処理を行う。 After an Al 2 O 3 passivation film is formed on both main surfaces of the substrate, an n-type amorphous silicon (na-Si) film is formed on the light-receiving surface side of the substrate by PECVD. The thickness of the na-Si film to be formed is 5 [nm] here. However, plasma pretreatment is performed before film formation.
プラズマ前処理は、例えば、チャンバ内に、反応ガスとしてH2(300[sccm])、PH3(5[sccm])を供給し、圧力を60[Pa]とした上で、周波数を27.12[MHz]、ESを30[mm]、パワー密度を10[mW/cm2]として、プラズマを発生させて30秒間行う。プラズマ前処理中の基板温度は、ここでは150[℃]とする。 In the plasma pretreatment, for example, H 2 (300 [sccm]) and PH 3 (5 [sccm]) are supplied into the chamber as the reaction gas, the pressure is set to 60 [Pa], and the frequency is set to 27. Plasma is generated at 12 [MHz], ES is 30 [mm], and power density is 10 [mW / cm 2 ] for 30 seconds. Here, the substrate temperature during the plasma pretreatment is set to 150 [° C.].
プラズマによる成膜処理は、例えば、チャンバ内に、反応ガスとしてH2(200[sccm])、PH3(10[sccm])、SiH4(10[sccm])を供給し、圧力を80[Pa]とした上で、周波数を27.12[MHz]、ESを35[mm]、パワー密度を10[mW/cm2]として、プラズマを発生させて180秒間行う。成膜処理中の基板温度は、ここでは150[℃]とする。 In the film formation process using plasma, for example, H 2 (200 [sccm]), PH 3 (10 [sccm]), SiH 4 (10 [sccm]) are supplied as reaction gases into the chamber, and the pressure is set to 80 [ After setting the frequency to Pa], the frequency is 27.12 [MHz], the ES is 35 [mm], the power density is 10 [mW / cm 2 ], and plasma is generated for 180 seconds. Here, the substrate temperature during the film forming process is 150 [° C.].
次に、基板の受光面側に成膜されたn−a−Si膜上に、スパッタリグ法を用いて、ITO膜を成膜する。成膜されるITO膜の厚さは、ここでは90[nm]とする。成膜処理は、例えば、反応ガスとして酸素ガス(9[sccm])、Arガス(50[sccm])を供給し、到達圧力を3.6×10−4[Pa]、成膜圧力を0.8[Pa]とした上で、TSを70[mm]、パワー密度を3.2[W/cm2]として行う。スパッタリング処理用のターゲットとして、ここではSnO(10%wt)を用いる。成膜処理中の基板温度は、ここでは200[℃]とする。 Next, an ITO film is formed on the na-Si film formed on the light receiving surface side of the substrate by a sputtering method. Here, the thickness of the ITO film to be formed is 90 [nm]. In the film formation process, for example, oxygen gas (9 [sccm]) and Ar gas (50 [sccm]) are supplied as reaction gases, the ultimate pressure is 3.6 × 10 −4 [Pa], and the film formation pressure is 0. After setting to 0.8 [Pa], the TS is set to 70 [mm] and the power density is set to 3.2 [W / cm 2 ]. Here, SnO (10% wt) is used as a target for the sputtering treatment. The substrate temperature during the film forming process is 200 [° C.] here.
最後に、基板の裏面側に、スパッタリング法を用いてAl電極を成膜する。成膜されるAl電極の膜厚は、ここでは500[nm]とする。成膜処理は、例えばArガス(50[sccm])を供給し、到達圧力3.7×10−4[Pa]、成膜圧力0.9[Pa]とした上で、ヒーターの設定温度を100[℃]とし、パワー密度を3.2[W/cm2]、比抵抗を3.1[Ω・cm]、TSを70[mm]として行う。 Finally, an Al electrode is formed on the back side of the substrate by sputtering. Here, the film thickness of the Al electrode to be formed is 500 [nm]. In the film formation process, for example, Ar gas (50 [sccm]) is supplied, the ultimate pressure is set to 3.7 × 10 −4 [Pa], the film formation pressure is set to 0.9 [Pa], and the set temperature of the heater is set. The temperature is 100 [° C.], the power density is 3.2 [W / cm 2 ], the specific resistance is 3.1 [Ω · cm], and the TS is 70 [mm].
本発明は、結晶シリコンを用いた太陽電池の光電変換効率を高める場合に対し、広く適用することが出来る。 The present invention can be widely applied to the case where the photoelectric conversion efficiency of a solar cell using crystalline silicon is increased.
10・・・成膜装置、100・・・太陽電池用シリコン基板、
101a、101b・・・主面、101c・・・側面、101e・・・周縁部、
102・・・酸化アルミニウム膜、103・・・トレイ、103b・・・内側面、
103c・・・突起部、110・・・太陽電池、114・・・半導体層、
115・・・透明導電膜、116・・・裏面電極、117・・・受光面電極、
H・・・貫通孔、Sa、Sb・・・トリメチルアルミニウムの分子。
DESCRIPTION OF
101a, 101b ... main surface, 101c ... side surface, 101e ... peripheral edge,
102 ... aluminum oxide film, 103 ... tray, 103b ... inside surface,
103c ... projection, 110 ... solar cell, 114 ... semiconductor layer,
115: Transparent conductive film, 116: Back electrode, 117 ... Light receiving surface electrode,
H ... through-hole, Sa, Sb ... trimethylaluminum molecule.
Claims (5)
前記シリコン基板前駆体の側面および二つの主面を覆う酸化アルミニウム膜と、を有し、
前記シリコン基板前駆体はp型のシリコンからなり、
前記シリコン基板前駆体の二つの主面のうち、少なくとも一方がテクスチャーを有する形状である、ことを特徴とする太陽電池用シリコン基板。 A planar silicon substrate precursor;
An aluminum oxide film covering a side surface and two main surfaces of the silicon substrate precursor,
The silicon substrate precursor is made of p-type silicon,
A silicon substrate for a solar cell, wherein at least one of the two main surfaces of the silicon substrate precursor has a textured shape.
前記貫通孔内において、少なくとも一方の主面にテクスチャーが形成された、平板状のシリコン基板前駆体の二つの主面のうち、いずれか一方の周縁部のみが、前記突起部に支持された状態として、
ALD法を用いて、
前記シリコン基板前駆体の側面および二つの主面に、トリメチルアルミニウムの分子を吸着させる第一工程と、前記第一工程後に、吸着した前記トリメチルアルミニウムの分子を酸化させる第二工程と、からなるプロセスを複数回繰り返すことにより、前記シリコン基板前駆体の側面および二つの主面に酸化アルミニウム膜を形成する、ことを特徴とする太陽電池用シリコン基板の製造方法。 In the film forming apparatus, a flat tray provided with a through hole having a protrusion continuous with the inner surface is arranged,
In the through hole, a texture is formed on at least one main surface, and only one of the peripheral portions of the two main surfaces of the planar silicon substrate precursor is supported by the protrusion. As
Using ALD method,
A process comprising a first step of adsorbing trimethylaluminum molecules on the side surface and two main surfaces of the silicon substrate precursor, and a second step of oxidizing the adsorbed trimethylaluminum molecules after the first step. A method of manufacturing a silicon substrate for a solar cell, wherein an aluminum oxide film is formed on a side surface and two main surfaces of the silicon substrate precursor by repeating the above.
請求項1〜3のいずれか一項に記載の太陽電池用シリコン基板と、
前記太陽電池用シリコン基板の前記受光面側の主面に形成された、n型のアモルファスシリコンからなる半導体層と、
前記半導体層の前記受光面側に形成された透明導電膜と、
前記透明導電膜の前記受光面側に形成された受光面電極と、
前記太陽電池用シリコン基板の前記裏面側の主面に形成された裏面電極と、を備えている、ことを特徴とする太陽電池。 A solar cell that expresses a photoelectric conversion function between a light receiving surface and a back surface facing the light receiving surface,
The silicon substrate for solar cells according to any one of claims 1 to 3,
A semiconductor layer made of n-type amorphous silicon, formed on the main surface of the solar cell silicon substrate on the light-receiving surface side;
A transparent conductive film formed on the light-receiving surface side of the semiconductor layer;
A light-receiving surface electrode formed on the light-receiving surface side of the transparent conductive film;
A back electrode formed on a main surface of the back surface side of the silicon substrate for solar cell.
Priority Applications (1)
| Application Number | Priority Date | Filing Date | Title |
|---|---|---|---|
| JP2012221249A JP2014075418A (en) | 2012-10-03 | 2012-10-03 | Silicon substrate for solar cell and manufacturing method therefor, and solar cell |
Applications Claiming Priority (1)
| Application Number | Priority Date | Filing Date | Title |
|---|---|---|---|
| JP2012221249A JP2014075418A (en) | 2012-10-03 | 2012-10-03 | Silicon substrate for solar cell and manufacturing method therefor, and solar cell |
Publications (1)
| Publication Number | Publication Date |
|---|---|
| JP2014075418A true JP2014075418A (en) | 2014-04-24 |
Family
ID=50749382
Family Applications (1)
| Application Number | Title | Priority Date | Filing Date |
|---|---|---|---|
| JP2012221249A Pending JP2014075418A (en) | 2012-10-03 | 2012-10-03 | Silicon substrate for solar cell and manufacturing method therefor, and solar cell |
Country Status (1)
| Country | Link |
|---|---|
| JP (1) | JP2014075418A (en) |
Cited By (4)
| Publication number | Priority date | Publication date | Assignee | Title |
|---|---|---|---|---|
| JP2014175661A (en) * | 2013-03-06 | 2014-09-22 | Unrise Global Solar Energy Co Ltd | Photovoltaic element and manufacturing method therefor |
| JP2015220236A (en) * | 2014-05-14 | 2015-12-07 | シャープ株式会社 | Photoelectric conversion element |
| WO2016052046A1 (en) * | 2014-09-30 | 2016-04-07 | 株式会社カネカ | Solar cell, method for manufacturing same, solar cell module, and method for manufacturing same |
| FR3058075A1 (en) * | 2016-11-02 | 2018-05-04 | Commissariat A L'energie Atomique Et Aux Energies Alternatives | DETOURAGE PLATFORM HAVING A REMOVABLE PART |
Citations (5)
| Publication number | Priority date | Publication date | Assignee | Title |
|---|---|---|---|---|
| JPH10229211A (en) * | 1997-02-18 | 1998-08-25 | Hitachi Ltd | Photoelectric conversion device and method of manufacturing the same |
| WO2011033826A1 (en) * | 2009-09-18 | 2011-03-24 | 信越化学工業株式会社 | Solar cell, method for manufacturing solar cell, and solar cell module |
| JP2012502450A (en) * | 2008-09-03 | 2012-01-26 | フラウンホッファー−ゲゼルシャフト ツァー フェーデルング デア アンゲバンテン フォルシュング エー ファー | Hetero solar cell and hetero solar cell manufacturing method |
| JP2012060080A (en) * | 2010-09-13 | 2012-03-22 | Ulvac Japan Ltd | Crystal solar battery and method for producing the same |
| JP2012160732A (en) * | 2011-01-31 | 2012-08-23 | Imec | Fabrication method for local back contact photovoltaic cells |
-
2012
- 2012-10-03 JP JP2012221249A patent/JP2014075418A/en active Pending
Patent Citations (5)
| Publication number | Priority date | Publication date | Assignee | Title |
|---|---|---|---|---|
| JPH10229211A (en) * | 1997-02-18 | 1998-08-25 | Hitachi Ltd | Photoelectric conversion device and method of manufacturing the same |
| JP2012502450A (en) * | 2008-09-03 | 2012-01-26 | フラウンホッファー−ゲゼルシャフト ツァー フェーデルング デア アンゲバンテン フォルシュング エー ファー | Hetero solar cell and hetero solar cell manufacturing method |
| WO2011033826A1 (en) * | 2009-09-18 | 2011-03-24 | 信越化学工業株式会社 | Solar cell, method for manufacturing solar cell, and solar cell module |
| JP2012060080A (en) * | 2010-09-13 | 2012-03-22 | Ulvac Japan Ltd | Crystal solar battery and method for producing the same |
| JP2012160732A (en) * | 2011-01-31 | 2012-08-23 | Imec | Fabrication method for local back contact photovoltaic cells |
Cited By (5)
| Publication number | Priority date | Publication date | Assignee | Title |
|---|---|---|---|---|
| JP2014175661A (en) * | 2013-03-06 | 2014-09-22 | Unrise Global Solar Energy Co Ltd | Photovoltaic element and manufacturing method therefor |
| JP2015220236A (en) * | 2014-05-14 | 2015-12-07 | シャープ株式会社 | Photoelectric conversion element |
| WO2016052046A1 (en) * | 2014-09-30 | 2016-04-07 | 株式会社カネカ | Solar cell, method for manufacturing same, solar cell module, and method for manufacturing same |
| JPWO2016052046A1 (en) * | 2014-09-30 | 2017-07-20 | 株式会社カネカ | SOLAR CELL AND ITS MANUFACTURING METHOD, SOLAR CELL MODULE AND ITS MANUFACTURING METHOD |
| FR3058075A1 (en) * | 2016-11-02 | 2018-05-04 | Commissariat A L'energie Atomique Et Aux Energies Alternatives | DETOURAGE PLATFORM HAVING A REMOVABLE PART |
Similar Documents
| Publication | Publication Date | Title |
|---|---|---|
| CN102939662B (en) | Solar cell device and manufacture method thereof and solar module | |
| CN101515606B (en) | Thin-film solar cell and manufacturing method thereof | |
| US20100311203A1 (en) | Passivation process for solar cell fabrication | |
| CN104201214A (en) | Back-passivated solar battery and preparation method thereof | |
| TWI589015B (en) | Solar cell manufacturing method | |
| JP2014075418A (en) | Silicon substrate for solar cell and manufacturing method therefor, and solar cell | |
| TWI390755B (en) | Solar cell manufacturing method | |
| CN109004038A (en) | Solar cell, preparation method thereof and photovoltaic module | |
| JP5520834B2 (en) | Method for forming passivation film and method for manufacturing solar cell element | |
| JP2012517700A (en) | Negatively charged passivation layer in photovoltaic cells | |
| CN113785405B (en) | Method for manufacturing back contact type solar cell | |
| JP6688244B2 (en) | High efficiency solar cell manufacturing method and solar cell manufacturing system | |
| CN104112795B (en) | A kind of production method of silicon heterogenous solar cell | |
| JP2017005270A (en) | Method of manufacturing photoelectric conversion device | |
| CN110073498B (en) | High photoelectric conversion efficiency solar cell and method for manufacturing high photoelectric conversion efficiency solar cell | |
| JP5842168B2 (en) | Manufacturing method of solar cell | |
| CN104285304A (en) | Photoelectric conversion device and manufacturing method thereof | |
| CN115692516A (en) | Novel TOPCON battery and manufacturing method thereof | |
| JP7264673B2 (en) | Method for manufacturing back-contact solar cell | |
| CN113555472A (en) | Heterojunction cell processing method, sliced heterojunction cell and heterojunction cell assembly | |
| JP5933198B2 (en) | Method for manufacturing crystalline solar cell | |
| CN121419369A (en) | Solar cells and their fabrication methods, photovoltaic modules | |
| JPWO2019004126A1 (en) | Method for manufacturing photoelectric conversion device | |
| CN109659397B (en) | IBC battery and manufacturing method thereof | |
| JP2010140935A (en) | Photoelectromotive force device, and method of manufacturing the same |
Legal Events
| Date | Code | Title | Description |
|---|---|---|---|
| A621 | Written request for application examination |
Free format text: JAPANESE INTERMEDIATE CODE: A621 Effective date: 20150715 |
|
| A977 | Report on retrieval |
Free format text: JAPANESE INTERMEDIATE CODE: A971007 Effective date: 20160315 |
|
| A131 | Notification of reasons for refusal |
Free format text: JAPANESE INTERMEDIATE CODE: A131 Effective date: 20160329 |
|
| A02 | Decision of refusal |
Free format text: JAPANESE INTERMEDIATE CODE: A02 Effective date: 20161004 |
