[go: up one dir, main page]

JP2014019130A - Cartridge - Google Patents

Cartridge Download PDF

Info

Publication number
JP2014019130A
JP2014019130A JP2012162712A JP2012162712A JP2014019130A JP 2014019130 A JP2014019130 A JP 2014019130A JP 2012162712 A JP2012162712 A JP 2012162712A JP 2012162712 A JP2012162712 A JP 2012162712A JP 2014019130 A JP2014019130 A JP 2014019130A
Authority
JP
Japan
Prior art keywords
cartridge
printing material
chamber
ink
material supply
Prior art date
Legal status (The legal status is an assumption and is not a legal conclusion. Google has not performed a legal analysis and makes no representation as to the accuracy of the status listed.)
Pending
Application number
JP2012162712A
Other languages
Japanese (ja)
Inventor
Hiroyuki Nakamura
浩之 中村
Atsushi Kobayashi
淳 小林
Tadahiro Mizutani
忠弘 水谷
Current Assignee (The listed assignees may be inaccurate. Google has not performed a legal analysis and makes no representation or warranty as to the accuracy of the list.)
Seiko Epson Corp
Original Assignee
Seiko Epson Corp
Priority date (The priority date is an assumption and is not a legal conclusion. Google has not performed a legal analysis and makes no representation as to the accuracy of the date listed.)
Filing date
Publication date
Application filed by Seiko Epson Corp filed Critical Seiko Epson Corp
Priority to JP2012162712A priority Critical patent/JP2014019130A/en
Publication of JP2014019130A publication Critical patent/JP2014019130A/en
Pending legal-status Critical Current

Links

Images

Landscapes

  • Ink Jet (AREA)

Abstract

【課題】カートリッジの蓋部材の変形を抑制できる技術を提供する。
【解決手段】カートリッジは、開口を有する凹形状の容器本体部材と、前記容器本体部材の開口を塞ぐように取り付けられた蓋部材と、を有する外殻と、前記外殻の内部に設けられた印刷材を収容する印刷材収容室と、を備える。前記印刷材収容室は、メイン室と、前記メイン室よりも容積が小さいバッファ室と、を有し、前記容器本体部材は、前記メイン室とバッファ室とを仕切る仕切壁を有し、前記蓋部材の、前記印刷材収容室側の面に、前記仕切壁の少なくとも一部と対向する凸部が設けられる。
【選択図】図18
A technique capable of suppressing deformation of a lid member of a cartridge is provided.
A cartridge is provided inside an outer shell having a concave container body member having an opening, a lid member attached so as to close the opening of the container body member, and the outer shell. A printing material storage chamber for storing the printing material. The printing material storage chamber has a main chamber and a buffer chamber having a smaller volume than the main chamber, and the container body member has a partition wall that partitions the main chamber and the buffer chamber, and the lid A convex portion that faces at least a part of the partition wall is provided on a surface of the member on the printing material accommodation chamber side.
[Selection] Figure 18

Description

本発明は、カートリッジの技術に関する。   The present invention relates to a cartridge technology.

従来、印刷装置の一例であるプリンターにインクを供給する技術として、インクを収容するインクカートリッジ(単に「カートリッジ」ともいう。)を利用する技術が知られている。カートリッジは、インクを収容する印刷材収容室と、印刷材をプリンターに供給するための印刷材供給口と、を備える。また、印刷材収容室内の負圧を適切に調節するカートリッジとして、ばねなどの付勢部材の力を利用したもの(例えば、特許文献1および特許文献2)や、インク吸収部材を利用したもの(例えば、特許文献3)が知られている。   2. Description of the Related Art Conventionally, as a technique for supplying ink to a printer that is an example of a printing apparatus, a technique that uses an ink cartridge (also simply referred to as “cartridge”) that contains ink is known. The cartridge includes a printing material storage chamber for storing ink, and a printing material supply port for supplying the printing material to the printer. In addition, as a cartridge for appropriately adjusting the negative pressure in the printing material accommodation chamber, a cartridge using a force of a biasing member such as a spring (for example, Patent Document 1 and Patent Document 2), or a cartridge using an ink absorbing member ( For example, Patent Document 3) is known.

また、カートリッジは、未使用の初期状態においては、カートリッジの保護を目的として包装が施される場合がある。この包装の具体的な態様として、例えば、包装内を減圧した状態でカートリッジを包装内に収容する技術が知られている(例えば、特許文献4)。   In addition, the cartridge may be packaged for the purpose of protecting the cartridge in an unused initial state. As a specific aspect of the packaging, for example, a technique is known in which the cartridge is accommodated in the packaging in a state where the pressure in the packaging is reduced (for example, Patent Document 4).

特開2003−191488号公報JP 2003-191488 A 米国特許公開2012/0133713号US Patent Publication No. 2012/0133713 特開2007−230249号公報JP 2007-230249 A 特開2006−212883号公報JP 2006-212883 A

印刷材収容室内の負圧を適切に調節するべくばねなどの付勢部材の力を利用したカートリッジや、インク吸収部材を利用したカートリッジでは、サイズの大きい付勢部材やインク吸収部材が比較的容積の大きい印刷材収容室内に配置される。このため、印刷材収容室内に多数のリブ等の構造物を設けることは困難である。よって、容器本体部材の外周壁の端部に接着された蓋部材は、外周壁以外の部分では支持されずに外力を受けることで変形する虞があった。例えば、カートリッジの蓋部材上に他の物が置かれた場合や、減圧した状態でカートリッジが包装された場合等に蓋部材に外力が加わり蓋部材に変形(たわみ)が生じる場合がある。蓋部材に変形が生じると、様々な不具合が生じる。例えば、カートリッジの美感を損なう虞がある。また、例えば、蓋部材の変形によって、カートリッジ内部の構成部品を傷つけてしまい、印刷材収容室のインクが外部に漏れ出す虞がある。   In a cartridge that uses the force of a biasing member such as a spring or a cartridge that uses an ink absorbing member in order to appropriately adjust the negative pressure in the printing material storage chamber, the large biasing member or the ink absorbing member has a relatively large volume. Placed in a large printing material storage chamber. For this reason, it is difficult to provide a large number of structures such as ribs in the printing material accommodation chamber. Therefore, the lid member bonded to the end portion of the outer peripheral wall of the container main body member may be deformed by receiving an external force without being supported at a portion other than the outer peripheral wall. For example, when another object is placed on the lid member of the cartridge, or when the cartridge is packaged in a decompressed state, an external force may be applied to the lid member and the lid member may be deformed (bent). When the lid member is deformed, various problems occur. For example, the aesthetics of the cartridge may be impaired. Further, for example, deformation of the lid member may damage components inside the cartridge, and ink in the printing material storage chamber may leak out.

上記のように、カートリッジについて、蓋部材が外力によって変形することを抑制する技術が望まれる。こうした要望は、インクを収容するカートリッジに限らず、他の印刷材や、液体以外の印刷材を収容するカートリッジにも共通して存在する。また、このようなカートリッジにおいては、その小型化や、低コスト化、省資源化、製造の容易化、使い勝手の向上、印刷装置への使用時にカートリッジを安定した姿勢でホルダーに保持すること等が望まれている。   As described above, a technique for suppressing deformation of the lid member by an external force is desired for the cartridge. Such a demand is common not only to cartridges that contain ink but also to other printing materials and cartridges that contain printing materials other than liquid. In addition, in such a cartridge, it is possible to reduce the size, reduce costs, save resources, facilitate manufacturing, improve usability, hold the cartridge in a stable posture when used in a printing apparatus, etc. It is desired.

本発明は、上述の課題の少なくとも一部を解決するためになされたものであり、以下の形態として実現することが可能である。   SUMMARY An advantage of some aspects of the invention is to solve at least a part of the problems described above, and the invention can be implemented as the following forms.

(1)本発明の一形態によれば、印刷装置に供給する印刷材を収容するためのカートリッジが提供される。このカートリッジは、開口を有する凹形状の容器本体部材と、前記容器本体部材の開口を塞ぐように取り付けられた蓋部材と、を有する外殻と、前記外殻の内部に設けられた印刷材を収容する印刷材収容室と、を備える。前記印刷材収容室は、メイン室と、前記メイン室よりも容積が小さいバッファ室と、を有し、前記容器本体部材は、前記メイン室とバッファ室とを仕切る仕切壁を有する。前記蓋部材の、前記印刷材収容室側の面に、前記仕切壁の少なくとも一部と対向する凸部が設けられる。
この形態のカートリッジによれば、外力によって蓋部材がカートリッジの内方に変形しようとした場合でも、凸部が仕切壁に当たることで蓋部材の変形を抑制できる。
(1) According to one aspect of the present invention, a cartridge for containing a printing material to be supplied to a printing apparatus is provided. The cartridge includes an outer shell having a concave container body member having an opening, a lid member attached to close the opening of the container body member, and a printing material provided inside the outer shell. And a printing material storage chamber for storing. The printing material storage chamber includes a main chamber and a buffer chamber having a smaller volume than the main chamber, and the container body member includes a partition wall that partitions the main chamber and the buffer chamber. A convex portion facing at least a part of the partition wall is provided on the surface of the lid member on the printing material accommodation chamber side.
According to the cartridge of this aspect, even when the lid member tries to deform inward of the cartridge by an external force, the deformation of the lid member can be suppressed by the convex portion hitting the partition wall.

(2)上記形態のカートリッジにおいて、前記容器本体部材は、さらに、前記印刷材収容室を区画形成するための周囲壁を有し、前記蓋部材の前記印刷材収容室側の面には、さらに、前記カートリッジの内部に空気を導入する空気導入路の一部を形成するための溝部と、前記溝部の周囲に形成された土手が設けられ、前記土手の一部が、前記印刷材収容室を区画形成する周囲壁と対向していても良い。
この形態のカートリッジによれば、外力によって蓋部材がカートリッジの内方に変形しようとした場合でも、土手の一部が印刷材収容室の周囲壁に当たることで蓋部材の変形をさらに抑制できる。
(2) In the cartridge of the above aspect, the container body member further includes a peripheral wall for partitioning the printing material accommodation chamber, and the surface of the lid member on the printing material accommodation chamber side further includes A groove for forming a part of an air introduction path for introducing air into the cartridge, and a bank formed around the groove, and a part of the bank is provided in the printing material storage chamber. You may oppose the surrounding wall which divides and forms.
According to the cartridge of this aspect, even when the lid member is to be deformed inward by the external force, the deformation of the lid member can be further suppressed by a part of the bank hitting the peripheral wall of the printing material accommodation chamber.

上述した本発明の各形態の有する複数の構成要素はすべてが必須のものではなく、上述の課題の一部又は全部を解決するため、あるいは、本明細書に記載された効果の一部又は全部を達成するために、適宜、前記複数の構成要素の一部の構成要素について、その変更、削除、新たな他の構成要素との差し替え、限定内容の一部削除を行うことが可能である。また、上述の課題の一部又は全部を解決するため、あるいは、本明細書に記載された効果の一部又は全部を達成するために、上述した本発明の一形態に含まれる技術的特徴の一部又は全部を上述した本発明の他の形態に含まれる技術的特徴の一部又は全部と組み合わせて、本発明の独立した一形態とすることも可能である。   A plurality of constituent elements of each aspect of the present invention described above are not indispensable, and some or all of the effects described in the present specification are to be solved to solve part or all of the above-described problems. In order to achieve the above, it is possible to appropriately change, delete, replace with another new component, and partially delete the limited contents of some of the plurality of components. In order to solve part or all of the above-described problems or to achieve part or all of the effects described in this specification, technical features included in one embodiment of the present invention described above. A part or all of the technical features included in the other aspects of the present invention described above may be combined to form an independent form of the present invention.

例えば、本発明の一形態は、外殻と、印刷材収容室と、のうちの一つ以上の要素を備えた物として実現可能である。すなわち、この物は、外殻を有していても良く、有していなくても良い。また、この物は、印刷材収容室を有していても良く、有していなくても良い。こうした物は、例えばカートリッジとして実現できるが、カートリッジ以外の他の物としても実現可能である。このような形態によれば、その物の小型化や、低コスト化、省資源化、製造の容易化、使い勝手の向上等の種々の課題の少なくとも1つを解決することができる。前述したカートリッジの技術的特徴の一部又は全部は、いずれもこの物に適用することが可能である。   For example, one embodiment of the present invention can be realized as an object including one or more elements of an outer shell and a printing material accommodation chamber. That is, this thing may have an outer shell and does not need to have it. Moreover, this thing may have the printing material accommodation chamber, and does not need to have it. Such a thing can be realized, for example, as a cartridge, but can also be realized as a thing other than the cartridge. According to such a form, it is possible to solve at least one of various problems such as downsizing, cost reduction, resource saving, ease of manufacture, and improvement in usability of the product. Any or all of the above-described technical characteristics of the cartridge can be applied to this product.

なお、本発明は、種々の形態で実現することが可能であり、例えば、カートリッジ、カートリッジの製造方法、カートリッジと印刷装置とを備える印刷材システム、カートリッジと印刷装置に液体(印刷材)を流通させる流通管とを備える印刷材供給ユニット等の態様で実現することができる。   The present invention can be realized in various forms. For example, a cartridge, a manufacturing method of the cartridge, a printing material system including the cartridge and the printing device, and a liquid (printing material) is distributed to the cartridge and the printing device. It can implement | achieve in aspects, such as a printing material supply unit provided with the distribution pipe | tube made to carry out.

印刷材供給システム10の構成を示す斜視図である。1 is a perspective view illustrating a configuration of a printing material supply system 10. FIG. カートリッジ20が装着されたホルダー60を示す第1の斜視図である。FIG. 6 is a first perspective view showing a holder 60 to which a cartridge 20 is mounted. カートリッジ20が装着されたホルダー60を示す第2の斜視図である。It is a 2nd perspective view which shows the holder 60 with which the cartridge 20 was mounted | worn. カートリッジ20の第1の外観斜視図である。3 is a first external perspective view of a cartridge 20. FIG. カートリッジ20の第2の外観斜視図である。FIG. 10 is a second external perspective view of the cartridge 20. カートリッジ20の左側面図である。3 is a left side view of the cartridge 20. FIG. カートリッジ20の右側面図である。4 is a right side view of the cartridge 20. FIG. カートリッジ20の背面図である。4 is a rear view of the cartridge 20. FIG. カートリッジ20の正面図である。3 is a front view of the cartridge 20. FIG. カートリッジ20の上面図である。3 is a top view of the cartridge 20. FIG. カートリッジ20の底面図である。4 is a bottom view of the cartridge 20. FIG. カートリッジ20について説明するための第1の図である。FIG. 3 is a first diagram for explaining a cartridge 20. カートリッジ20について説明するための第2の図である。FIG. 10 is a second diagram for explaining the cartridge 20. カートリッジ20について説明するための第3の図である。FIG. 10 is a third diagram for describing the cartridge 20. カートリッジ20の第1の分解斜視図である。3 is a first exploded perspective view of the cartridge 20. FIG. カートリッジ20の第2の分解斜視図である。FIG. 6 is a second exploded perspective view of the cartridge 20. カートリッジ20の第3の分解斜視図である。FIG. 6 is a third exploded perspective view of the cartridge 20. カートリッジ20の第4の分解斜視図である。FIG. 10 is a fourth exploded perspective view of the cartridge 20. 蓋部材23の対向面23fbを示す図である。It is a figure which shows the opposing surface 23fb of the cover member 23. FIG. 容器本体部材21を示す図である。It is a figure which shows the container main body member. 蓋部材23を取り付ける前のカートリッジ20を示す図である。It is a figure which shows the cartridge 20 before attaching the cover member 23. FIG. 図10のF10−F10部分断面図である。It is F10-F10 partial sectional drawing of FIG. インク注入方法のフローである。It is a flow of an ink injection method. インク注入方法を説明するための第1の図である。It is a 1st figure for demonstrating the ink injection | pouring method. インク注入方法を説明するための第2の図である。It is a 2nd figure for demonstrating the ink injection | pouring method. 効果を説明するための第1の図である。It is a 1st figure for demonstrating an effect. 効果を説明するための第2の図である。It is a 2nd figure for demonstrating an effect. 凸部266,268の効果を説明するための図である。It is a figure for demonstrating the effect of the convex part 266,268. キャップ付きカートリッジ13の斜視図である。It is a perspective view of the cartridge 13 with a cap. 包装されたカートリッジ14の斜視図である。FIG. 4 is a perspective view of a packaged cartridge 14. 第1変形例のカートリッジ20aを説明するための図である。It is a figure for demonstrating the cartridge 20a of the 1st modification. カートリッジ20cを説明するための図である。It is a figure for demonstrating the cartridge 20c. カートリッジ20fを説明するための図である。It is a figure for demonstrating the cartridge 20f.

次に、本発明の実施の形態を以下の順序で説明する。
A,B,C.各種実施形態:
D.変形例:
Next, embodiments of the present invention will be described in the following order.
A, B, C.I. Various embodiments:
D. Variations:

A.第1実施形態:
A−1:印刷材システムの構成:
図1は、印刷材供給システム10の構成を示す斜視図である。図1には、互いに直交するXYZ軸が描かれている。図1のXYZ軸は他の図のXYZ軸にも対応している。印刷材供給システム10は、カートリッジ20と、印刷装置としてのプリンター50とを備える。印刷材供給システム10では、プリンター50のホルダー60に、利用者によってカートリッジ20が着脱可能に装着される。
A. First embodiment:
A-1: Configuration of printing material system:
FIG. 1 is a perspective view showing the configuration of the printing material supply system 10. In FIG. 1, XYZ axes orthogonal to each other are drawn. The XYZ axes in FIG. 1 also correspond to the XYZ axes in other figures. The printing material supply system 10 includes a cartridge 20 and a printer 50 as a printing apparatus. In the printing material supply system 10, the cartridge 20 is detachably mounted on the holder 60 of the printer 50 by the user.

印刷材供給システム10のカートリッジ20は、内部に印刷材(液体)としてのインクを収容する。カートリッジ20に収容されたインクは、後述する印刷材供給口及び印刷材供給管を介してヘッド540に供給される。本実施形態では、プリンター50のホルダー60には、複数のカートリッジ20が着脱可能に装着される。本実施形態では、6色(ブラック、イエロ、マゼンタ、ライトマゼンタ、シアンおよびライトシアン)のインクに対応して6種類のカートリッジ20が1つずつ、すなわち合計6つのカートリッジ20がホルダー60に装着される。   The cartridge 20 of the printing material supply system 10 contains ink as a printing material (liquid) inside. The ink stored in the cartridge 20 is supplied to the head 540 via a printing material supply port and a printing material supply pipe, which will be described later. In the present embodiment, a plurality of cartridges 20 are detachably mounted on the holder 60 of the printer 50. In this embodiment, six types of cartridges 20 are attached to the holder 60 corresponding to six colors (black, yellow, magenta, light magenta, cyan, and light cyan), that is, a total of six cartridges 20 are mounted on the holder 60. .

他の実施形態では、ホルダー60に装着されるカートリッジの数は、6つ以下であっても良いし、6つ以上であっても良い。他の実施形態では、カートリッジ20のインクの種類は、6色以下であっても、6色以上であっても良い。他の実施形態では、1色のインクに対応して2つ以上のカートリッジ20がホルダー60に装着されても良い。カートリッジ20およびホルダー60の詳細構成については後述する。   In other embodiments, the number of cartridges attached to the holder 60 may be six or less, or may be six or more. In other embodiments, the type of ink in the cartridge 20 may be 6 colors or less, or 6 colors or more. In another embodiment, two or more cartridges 20 may be mounted on the holder 60 corresponding to one color ink. Detailed configurations of the cartridge 20 and the holder 60 will be described later.

印刷材供給システム10のプリンター50は、個人向けの小型インクジェットプリンターである。プリンター50は、ホルダー60の他、制御部510と、ホルダー60を有するキャリッジ520と、を備える。キャリッジ520はヘッド540を備える。プリンター50は、ホルダー60に装着されたカートリッジ20から後述する印刷材供給管を介してヘッド540にインクを流通させ、紙やラベルなどの印刷媒体90に対してヘッド540からインクを吐出(供給)する。これにより、ヘッド540を用いて文字、図形および画像などのデータを印刷媒体90に印刷する。   The printer 50 of the printing material supply system 10 is a small inkjet printer for individuals. In addition to the holder 60, the printer 50 includes a control unit 510 and a carriage 520 having the holder 60. The carriage 520 includes a head 540. The printer 50 circulates ink from the cartridge 20 mounted in the holder 60 to the head 540 via a printing material supply pipe described later, and discharges (supplies) ink from the head 540 to a printing medium 90 such as paper or a label. To do. As a result, data such as characters, graphics, and images is printed on the print medium 90 using the head 540.

プリンター50の制御部510は、プリンター50の各部を制御する。プリンター50のキャリッジ520は、ヘッド540を印刷媒体90に対して相対的に移動可能に構成されている。プリンター50のヘッド540は、カートリッジ20に収容されたインクを印刷媒体90に吐出するインク吐出機構を備える。制御部510とキャリッジ520との間はフレキシブルケーブル517を介して電気的に接続されており、ヘッド540のインク吐出機構は、制御部510からの制御信号に基づいて動作する。   The control unit 510 of the printer 50 controls each unit of the printer 50. The carriage 520 of the printer 50 is configured to be able to move the head 540 relative to the print medium 90. The head 540 of the printer 50 includes an ink ejection mechanism that ejects ink contained in the cartridge 20 onto the print medium 90. The controller 510 and the carriage 520 are electrically connected via a flexible cable 517, and the ink ejection mechanism of the head 540 operates based on a control signal from the controller 510.

プリンター50の印刷領域外の位置には、カートリッジ20内のインクの残量状態を光学的に検出するための検出部57が設けられている。検出部57の内部には、発光部および受光部が設けられている。制御部51は、キャリッジ52の移動に伴ってカートリッジ20が検出部57の上方を通過する際に検出部57の発光部を用いて光を発し、その光を検出部57の受光部が受けるか否かによってカートリッジ20内のインク有無を検出する。なお、「インク無し」とは、インクが残り少ない状態を含む。   A detection unit 57 for optically detecting the remaining amount of ink in the cartridge 20 is provided at a position outside the printing area of the printer 50. Inside the detection unit 57, a light emitting unit and a light receiving unit are provided. The control unit 51 emits light using the light emitting unit of the detection unit 57 when the cartridge 20 passes over the detection unit 57 as the carriage 52 moves, and whether the light receiving unit of the detection unit 57 receives the light. The presence / absence of ink in the cartridge 20 is detected depending on whether or not it is present. Note that “no ink” includes a state where ink is low.

本実施形態では、キャリッジ520には、ヘッド540と共にホルダー60が構成されている。このように、ヘッド540を移動させるキャリッジ520上のホルダー60にカートリッジ20が装着されるプリンター50のタイプは、「オンキャリッジタイプ」とも呼ばれる。他の実施形態では、キャリッジ520とは異なる部位に、不動のホルダー60を構成し、ホルダー60に装着されたカートリッジ20からのインクを、フレキシブルチューブを介してキャリッジ520のヘッド540に供給しても良い。このようなプリンターのタイプは、「オフキャリッジタイプ」とも呼ばれる。   In the present embodiment, the carriage 520 includes a holder 60 together with the head 540. As described above, the type of the printer 50 in which the cartridge 20 is mounted in the holder 60 on the carriage 520 that moves the head 540 is also referred to as an “on-carriage type”. In another embodiment, the immovable holder 60 is configured in a different part from the carriage 520, and the ink from the cartridge 20 mounted on the holder 60 is supplied to the head 540 of the carriage 520 via the flexible tube. good. Such a printer type is also called an “off-carriage type”.

本実施形態では、プリンター50は、キャリッジ520と印刷媒体90とを相対的に移動させて印刷媒体90に対する印刷を実現するための主走査送り機構および副走査送り機構を備える。プリンター50の主走査送り機構は、キャリッジモーター522および駆動ベルト524を備え、駆動ベルト524を介してキャリッジモーター522の動力をキャリッジ520に伝達することによって、キャリッジ520を主走査方向に往復移動させる。プリンター50の副走査送り機構は、搬送モーター532およびプラテン534を備え、搬送モーター532の動力をプラテン534に伝達することによって、主走査方向に直交する副走査方向に印刷媒体90を搬送する。主走査送り機構のキャリッジモーター522、および副走査送り機構の搬送モーター532は、制御部510からの制御信号に基づいて動作する。   In the present embodiment, the printer 50 includes a main scan feed mechanism and a sub scan feed mechanism for realizing printing on the print medium 90 by relatively moving the carriage 520 and the print medium 90. The main scanning feed mechanism of the printer 50 includes a carriage motor 522 and a driving belt 524, and transmits the power of the carriage motor 522 to the carriage 520 via the driving belt 524, thereby reciprocating the carriage 520 in the main scanning direction. The sub-scan feed mechanism of the printer 50 includes a transport motor 532 and a platen 534, and transmits the power of the transport motor 532 to the platen 534, thereby transporting the print medium 90 in the sub-scan direction orthogonal to the main scan direction. The carriage motor 522 of the main scan feed mechanism and the transport motor 532 of the sub scan feed mechanism operate based on a control signal from the control unit 510.

本実施形態では、印刷材供給システム10の使用状態(「使用姿勢」ともいう。)において、印刷媒体90を搬送する副走査方向(前後方向)に沿った軸をX軸とし、キャリッジ520を往復移動させる主走査方向(左右方向)に沿った軸をY軸とし、重力方向(上下方向)に沿った軸をZ軸とする。なお、印刷材供給システム10の使用状態とは、水平な面に設置された印刷材供給システム10の状態であり、本実施形態では、水平な面はX軸およびY軸に平行な面(XY平面)である。   In the present embodiment, in the use state (also referred to as “use posture”) of the printing material supply system 10, the axis along the sub-scanning direction (front-rear direction) for transporting the print medium 90 is the X axis, and the carriage 520 is reciprocated. An axis along the main scanning direction (left-right direction) to be moved is a Y-axis, and an axis along the gravity direction (up-down direction) is a Z-axis. The usage state of the printing material supply system 10 is the state of the printing material supply system 10 installed on a horizontal surface. In this embodiment, the horizontal surface is a surface parallel to the X axis and the Y axis (XY). Plane).

本実施形態では、副走査方向(前方向)を+X軸方向、その逆方向(後方向)を−X軸方向とし、重力方向の下方から上方に向かう方向(上方向)を+Z軸方向、その逆方向(下方向)を−Z軸方向とする。本実施形態では、+X軸方向側(前側)が印刷材供給システム10の正面となる。本実施形態では、印刷材供給システム10の右側面から左側面に向かう方向を+Y軸方向(左方向)、その逆方向を−Y軸方向(右方向)とする。本実施形態では、ホルダー60に装着された複数のカートリッジ20の配列方向はY軸に沿った方向(左右方向,「単に「Y軸方向」とも呼ぶ。)である。なお、X軸に沿った方向(前後方向)を「X軸方向」とも呼び、Z軸に沿った方向(上下方向)を「Z軸方向」とも呼ぶ。   In this embodiment, the sub-scanning direction (front direction) is the + X-axis direction, the opposite direction (rear direction) is the -X-axis direction, the direction from the lower side to the upper side of the gravity direction (upward direction) is the + Z-axis direction, The reverse direction (downward) is taken as the −Z-axis direction. In the present embodiment, the + X axis direction side (front side) is the front surface of the printing material supply system 10. In the present embodiment, the direction from the right side surface to the left side surface of the printing material supply system 10 is defined as + Y axis direction (left direction), and the opposite direction is defined as −Y axis direction (right direction). In the present embodiment, the arrangement direction of the plurality of cartridges 20 attached to the holder 60 is a direction along the Y axis (left and right direction, also simply referred to as “Y axis direction”). The direction along the X axis (front-rear direction) is also referred to as the “X-axis direction”, and the direction along the Z axis (up-down direction) is also referred to as the “Z-axis direction”.

A−2.ホルダーの構成:
図2は、カートリッジ20が装着されたホルダー60を示す第1の斜視図である。図3は、カートリッジ20が装着されたホルダー60を示す第2の斜視図である。図2及び図3は、ホルダー60に1つのカートリッジ20が装着された状態を図示している。
A-2. Holder configuration:
FIG. 2 is a first perspective view showing the holder 60 to which the cartridge 20 is mounted. FIG. 3 is a second perspective view showing the holder 60 to which the cartridge 20 is mounted. 2 and 3 illustrate a state in which one cartridge 20 is mounted on the holder 60. FIG.

図2及び図3に示すように、プリンター50のホルダー60は、5つの壁部601,603,604,605,606を有する。これら5つの壁部によって形成された凹部が、カートリッジ収容室602(「カートリッジ装着部602」とも呼ぶ)となる。また、カートリッジ収容室602は、仕切り壁607によって、各カートリッジ20を受け入れ可能な複数のスロット(装着空間)に分割されている。仕切り壁607は、スロットにカートリッジ20を挿入する際のガイドとして機能する。各スロットに、印刷材供給管640と、接点機構61と、レバー80と、第2の装置側規制部620(図3)と、が設けられている。各スロットの一側面(+Z軸方向側面;上面)は開口しており、この開口した一側面(上面)を介して、カートリッジ20がホルダー60に対して着脱される。印刷材供給管640は、2つの仕切り壁607に挟まれるように設けられている。   As shown in FIGS. 2 and 3, the holder 60 of the printer 50 has five walls 601, 603, 604, 605, and 606. A concave portion formed by these five wall portions becomes a cartridge housing chamber 602 (also referred to as “cartridge mounting portion 602”). The cartridge housing chamber 602 is divided by a partition wall 607 into a plurality of slots (mounting spaces) that can receive the cartridges 20. The partition wall 607 functions as a guide when the cartridge 20 is inserted into the slot. Each slot is provided with a printing material supply pipe 640, a contact mechanism 61, a lever 80, and a second device-side regulating unit 620 (FIG. 3). One side surface (+ Z-axis side surface; upper surface) of each slot is opened, and the cartridge 20 is attached to and detached from the holder 60 through the opened one side surface (upper surface). The printing material supply pipe 640 is provided so as to be sandwiched between two partition walls 607.

カートリッジ20は、レバー80と第2の装置側規制部620とによって係止され、後述する印刷材供給口が印刷材供給管640に接続されることで、ホルダー60に装着される。この状態を「カートリッジ20がホルダー60に装着された状態」、または「装着状態」とも呼ぶ。印刷材供給管640は、カートリッジ20の印刷材供給口に接続されることによって、カートリッジ20に収容されたインクをヘッド540へと流通させる。印刷材供給管640は、+Z軸側に位置する先端部(「接続端部」とも呼ぶ。)642と、−Z軸側に位置する基端部645とを有する。基端部645は、底壁部601に設けられる。先端部642は、カートリッジ20の印刷材供給口に接続される。印刷材供給管640の中心軸CはZ軸と平行である。中心軸Cに沿って基端部645から先端部642に向かう方向が、+Z軸方向となる。   The cartridge 20 is locked by the lever 80 and the second apparatus-side restricting portion 620, and a printing material supply port, which will be described later, is connected to the printing material supply pipe 640, so that the cartridge 20 is mounted. This state is also referred to as “a state where the cartridge 20 is attached to the holder 60” or “an attached state”. The printing material supply pipe 640 is connected to the printing material supply port of the cartridge 20, and thereby distributes the ink stored in the cartridge 20 to the head 540. The printing material supply pipe 640 has a distal end portion (also referred to as “connection end portion”) 642 positioned on the + Z axis side and a proximal end portion 645 positioned on the −Z axis side. The base end portion 645 is provided on the bottom wall portion 601. The leading end 642 is connected to the printing material supply port of the cartridge 20. The central axis C of the printing material supply pipe 640 is parallel to the Z axis. The direction from the base end 645 toward the tip end 642 along the central axis C is the + Z axis direction.

図2及び図3に示すように、印刷材供給管640の周囲には、弾性部材648が設けられている。弾性部材648は、装着状態においてカートリッジ20の印刷材供給口の周囲を密閉する。これにより、弾性部材648は、印刷材供給口から周囲にインクが漏出することを防止する。装着状態において、弾性部材648は、カートリッジ20に対して、+Z軸方向の成分を含む付勢力を加える。   As shown in FIGS. 2 and 3, an elastic member 648 is provided around the printing material supply pipe 640. The elastic member 648 seals the periphery of the printing material supply port of the cartridge 20 in the mounted state. Accordingly, the elastic member 648 prevents ink from leaking out from the printing material supply port. In the mounted state, the elastic member 648 applies a biasing force including a component in the + Z-axis direction to the cartridge 20.

また装着状態では、カートリッジ20の後述する回路基板に設けられた端子群と接点機構61とが電気的に接続されることで、カートリッジ20とプリンター50との間で各種情報の伝達が行なわれる。   Further, in the mounted state, various information is transmitted between the cartridge 20 and the printer 50 by electrically connecting a terminal group provided on a circuit board (to be described later) of the cartridge 20 and the contact mechanism 61.

また、図示は省略するが、検出部57を利用して光学的にインクの有無を検出するために、壁部601には光が通過可能なように貫通孔が形成されている。   Although not shown, a through hole is formed in the wall portion 601 so that light can pass through in order to optically detect the presence or absence of ink using the detection portion 57.

A−3.カートリッジの外観構成:
図4は、カートリッジ20の第1の外観斜視図である。図5は、カートリッジ20の第2の外観斜視図である。図6は、カートリッジ20の左側面図である。図7は、カートリッジ20の右側面図である。図8は、カートリッジ20の背面図である。図9は、カートリッジ20の正面図である。図10は、カートリッジ20の上面図である。図11は、カートリッジ20の底面図である。本実施形態のカートリッジ20は、インクの消費に伴って間欠的に外部の空気を印刷材収容室200に導入する、いわゆる半密閉タイプのカートリッジ20である。
A-3. Appearance configuration of cartridge:
FIG. 4 is a first external perspective view of the cartridge 20. FIG. 5 is a second external perspective view of the cartridge 20. FIG. 6 is a left side view of the cartridge 20. FIG. 7 is a right side view of the cartridge 20. FIG. 8 is a rear view of the cartridge 20. FIG. 9 is a front view of the cartridge 20. FIG. 10 is a top view of the cartridge 20. FIG. 11 is a bottom view of the cartridge 20. The cartridge 20 of the present embodiment is a so-called semi-sealed type cartridge 20 that intermittently introduces external air into the printing material accommodation chamber 200 as ink is consumed.

図4に示すように、カートリッジ20は、内部にインクを収容するための印刷材収容室200と、印刷材収容室200のインクを外部のプリンター50に流通させるための印刷材供給口280と、を備える。   As shown in FIG. 4, the cartridge 20 includes a printing material storage chamber 200 for storing ink therein, a printing material supply port 280 for distributing ink in the printing material storage chamber 200 to the external printer 50, Is provided.

図4及び図5に示すように、カートリッジ20は略直方体形状の外殻22を有する。カートリッジ20は、外殻22を構成する6つの壁部として、6つの面201〜206を有する。6つの面は、第1面201(底面201)と、第2面202(上面202)と、第3面203(正面203)と、第4面204(背面204)と、第5面205(左側面205)と、第6面206(右側面206)とからなる。また図5に示すようにカートリッジ20は、6つの面の他に、第7面207と、第8面208とを有する。各面201〜208は、概ね平面である。概ね平面とは、面全域が完全に平坦である場合と、面の一部に凹凸を有する場合を含む。つまり、面の一部に多少の凹凸があっても、カートリッジ20の外殻22を構成する面や壁が把握できるような場合を含む。第1面〜第8面201〜208の平面視における外形は、いずれも長方形である。本実施形態では、第1面201〜第8面208は、複数の部材を組み立てた組立体の外表面であっても良い。本実施形態では、第1面201〜第8面208は、板状の部材で形成されている。他の実施形態では、第1面201〜第8面208の一部は、フィルム状(薄膜状)の部材で形成されていてもよい。第1面201〜第8面208は、例えば、ポリアセタール(POM)などの合成樹脂で形成されている。   As shown in FIGS. 4 and 5, the cartridge 20 has a substantially rectangular parallelepiped outer shell 22. The cartridge 20 has six surfaces 201 to 206 as six walls constituting the outer shell 22. The six surfaces are a first surface 201 (bottom surface 201), a second surface 202 (top surface 202), a third surface 203 (front surface 203), a fourth surface 204 (back surface 204), and a fifth surface 205 ( The left side surface 205) and the sixth surface 206 (right side surface 206). As shown in FIG. 5, the cartridge 20 has a seventh surface 207 and an eighth surface 208 in addition to the six surfaces. Each surface 201-208 is a substantially flat surface. A substantially flat surface includes a case where the entire surface is completely flat and a case where a part of the surface is uneven. That is, it includes a case where the surface or wall constituting the outer shell 22 of the cartridge 20 can be grasped even if there is some unevenness on a part of the surface. The outer shapes of the first to eighth surfaces 201 to 208 in plan view are all rectangular. In the present embodiment, the first surface 201 to the eighth surface 208 may be outer surfaces of an assembly in which a plurality of members are assembled. In the present embodiment, the first surface 201 to the eighth surface 208 are formed of plate-like members. In another embodiment, a part of the first surface 201 to the eighth surface 208 may be formed of a film-like (thin film-like) member. The first surface 201 to the eighth surface 208 are made of, for example, a synthetic resin such as polyacetal (POM).

本実施形態では、カートリッジ20の長さ(X軸方向の長さ)、幅(Y軸方向の長さ)、高さ(Z軸方向の長さ)は、大きいものから並べると、長さ、高さ、幅の順となる。カートリッジ20の長さ、幅、高さの大小関係は任意に変更可能であり、例えば、高さ、長さ、幅の順であってもよいし、高さ、長さ、幅がそれぞれ等しくてもよい。   In the present embodiment, the length (length in the X-axis direction), width (length in the Y-axis direction), and height (length in the Z-axis direction) of the cartridge 20 are set as follows: The order is height and width. The magnitude relationship of the length, width, and height of the cartridge 20 can be arbitrarily changed. For example, the order of height, length, and width may be changed, and the height, length, and width may be equal to each other. Also good.

図4及び図5に示すように、第1面201及び第2面202は、X軸及びY軸に平行な面である。第1面201及び第2面202は、Z軸方向において互いに対向する。第1面201は−Z軸方向側に位置し、第2面202は+Z軸方向側に位置する。第1面201および第2面202は、第3面203、第4面204、第5面205および第6面206と交わる位置関係にある。第3面203及び第4面204は、Y軸及びZ軸に平行な面である。第3面203及び第4面204は、X軸方向において互いに対向する。第3面203は+X軸方向側に位置し、第4面204は−X軸方向側に位置する。第5面205及び第6面206は、X軸及びZ軸に平行な面である。第5面205及び第6面206は、Y軸方向において互いに対向する。なお、本明細書では、2つの面が「交わる」とは、2つの面が相互に繋がって交わる状態と、一方の面の延長面が他方の面に交わる状態と、それぞれの延長面が交わる状態と、のいずれかの状態であることを意味する。本実施形態では、カートリッジ20がホルダー60に装着された装着状態で、第1面201はカートリッジ20の底面を構成し、第2面202はカートリッジ20の上面を構成する。図5に示すように、第7面207及び第8面208は、第1面201と第3面203を繋ぐ面である。第7面207は第1面201に接続され、第8面208は第3面203に接続されている。   As shown in FIGS. 4 and 5, the first surface 201 and the second surface 202 are surfaces parallel to the X axis and the Y axis. The first surface 201 and the second surface 202 face each other in the Z-axis direction. The first surface 201 is located on the −Z axis direction side, and the second surface 202 is located on the + Z axis direction side. The first surface 201 and the second surface 202 are in a positional relationship with the third surface 203, the fourth surface 204, the fifth surface 205, and the sixth surface 206. The third surface 203 and the fourth surface 204 are surfaces parallel to the Y axis and the Z axis. The third surface 203 and the fourth surface 204 oppose each other in the X-axis direction. The third surface 203 is located on the + X axis direction side, and the fourth surface 204 is located on the −X axis direction side. The fifth surface 205 and the sixth surface 206 are surfaces parallel to the X axis and the Z axis. The fifth surface 205 and the sixth surface 206 face each other in the Y-axis direction. In the present specification, “intersection” of two surfaces means a state in which the two surfaces are connected to each other, a state in which the extension surface of one surface intersects the other surface, and the respective extension surfaces intersect. Means any one of the states. In the present embodiment, the first surface 201 constitutes the bottom surface of the cartridge 20 and the second surface 202 constitutes the upper surface of the cartridge 20 in a mounted state in which the cartridge 20 is mounted in the holder 60. As shown in FIG. 5, the seventh surface 207 and the eighth surface 208 are surfaces that connect the first surface 201 and the third surface 203. The seventh surface 207 is connected to the first surface 201, and the eighth surface 208 is connected to the third surface 203.

図4及び図5に示すように、印刷材供給口280は第1面201から突出して設けられている。印刷材供給口280は、第1面201から−Z軸方向に沿って延びる。印刷材供給口280は、一端部に開口を形成する開口端288を有する。開口端288が形成する開口は、印刷材供給口280が突出する方向(−Z軸方向)に垂直な平面上に位置する。すなわち、開口端288が形成する開口は、X軸とY軸に平行な面に沿って形成されている。   As shown in FIGS. 4 and 5, the printing material supply port 280 is provided to protrude from the first surface 201. The printing material supply port 280 extends from the first surface 201 along the −Z axis direction. The printing material supply port 280 has an opening end 288 that forms an opening at one end. The opening formed by the opening end 288 is located on a plane perpendicular to the direction in which the printing material supply port 280 protrudes (−Z axis direction). That is, the opening formed by the opening end 288 is formed along a plane parallel to the X axis and the Y axis.

図5及び図11に示すように、印刷材供給口280内には、印刷材収容室200から印刷材供給口280内に流通したインクが外部に流出する印刷材出口31を備える。印刷材出口31は、装着状態において印刷材供給管640の先端部642側と接触する。これにより、印刷材出口31を介して印刷材供給管640へとインクが流通する。印刷材出口31は、インクを流通可能な多孔状のシート部材によって形成されている。   As shown in FIGS. 5 and 11, the printing material supply port 280 is provided with a printing material outlet 31 through which ink flowing from the printing material storage chamber 200 into the printing material supply port 280 flows out. The printing material outlet 31 is in contact with the tip 642 side of the printing material supply pipe 640 in the mounted state. As a result, ink flows through the printing material outlet 31 to the printing material supply pipe 640. The printing material outlet 31 is formed of a porous sheet member through which ink can flow.

図5及び図11に示すように、印刷材供給口280内には、印刷材供給口280内と外部とを連通させるための開口としての連通口32が形成されている。連通口32は、印刷材供給口280のインクの流れ方向(−Z軸方向)において、印刷材出口31よりも下流側に設けられている。また、連通口32は、第1面201にカートリッジ20を垂直投影した場合に、印刷材出口31と重ならない位置に設けられている。連通口32によって、印刷材供給口280内の空気が存在する領域(内部空間)が外部(外気)と連通し、内部空間と外部との圧力差を略一定に維持できる。   As shown in FIGS. 5 and 11, a communication port 32 is formed in the printing material supply port 280 as an opening for communicating the inside of the printing material supply port 280 with the outside. The communication port 32 is provided downstream of the printing material outlet 31 in the ink flow direction (−Z axis direction) of the printing material supply port 280. The communication port 32 is provided at a position that does not overlap the printing material outlet 31 when the cartridge 20 is vertically projected on the first surface 201. By the communication port 32, the area (internal space) where the air in the printing material supply port 280 exists communicates with the outside (outside air), and the pressure difference between the internal space and the outside can be maintained substantially constant.

図5及び図11に示すように、第1面201には、プリズムユニット270が配置されている。プリズムユニット270は、いわゆる直角プリズム275を備えている。プリズムユニット270の直角プリズム275は、略直角に交わる2つの表面(図示せず)を有する。これら2つの表面は、印刷材収容室200内に位置する。本実施形態では、インクの有無を、図1に示したプリンター50の制御部510において判断する。この判断は、図1に示したプリンター50の検出部57と、図5及び図11に示したカートリッジ20のプリズム275との間の光のやりとりに基づいて、次のように行われる。まず、検出部57の発光部から、プリズム275の2つの表面のうち、一方の表面に向けて光を射出する。このとき、プリズム275の周囲がインクで満たされている場合は、検出部57の発光部から射出した光のほとんどが、当該一方の表面を透過して、検出部57の受光部へは到達しない。一方、プリズム275の周囲にインクが存在しない場合は、発光部から射出した光の大部分が、プリズム275の一方の表面で反射する。この反射光は、プリズム275のもう一方の表面で検出部57に向かって反射して、検出部57の受光部へ到達する。このように、検出部57の受光部が、一定レベル以上の光を検知しない場合は、プリンター50の制御部510において「インク有り」と判定し、検知した場合は「インク無し」と判定する。なお、「インク無し」とは、インクが残り少ない状態を含む。   As shown in FIGS. 5 and 11, a prism unit 270 is disposed on the first surface 201. The prism unit 270 includes a so-called right-angle prism 275. The right-angle prism 275 of the prism unit 270 has two surfaces (not shown) that intersect at substantially right angles. These two surfaces are located in the printing material storage chamber 200. In this embodiment, the control unit 510 of the printer 50 shown in FIG. This determination is made as follows based on the exchange of light between the detection unit 57 of the printer 50 shown in FIG. 1 and the prism 275 of the cartridge 20 shown in FIGS. First, light is emitted from the light emitting unit of the detection unit 57 toward one of the two surfaces of the prism 275. At this time, when the periphery of the prism 275 is filled with ink, most of the light emitted from the light emitting unit of the detecting unit 57 passes through the one surface and does not reach the light receiving unit of the detecting unit 57. . On the other hand, when there is no ink around the prism 275, most of the light emitted from the light emitting portion is reflected by one surface of the prism 275. The reflected light is reflected toward the detection unit 57 by the other surface of the prism 275 and reaches the light receiving unit of the detection unit 57. As described above, when the light receiving unit of the detection unit 57 does not detect light of a certain level or more, the control unit 510 of the printer 50 determines “ink present”, and when it detects it, determines “no ink”. Note that “no ink” includes a state where ink is low.

また、図5及び図11に示すように、第1面201のうち、印刷材供給口280とプリズムユニット270との間の位置には、シート部材298が貼り付けられている。このシート部材298は、印刷材収容室200内の流路の一部246(「接続路246」とも呼ぶ。図11)を形成するための一部材である。接続路246は、印刷材収容室200内の印刷材供給口280に向かう流れ方向において、プリズムユニット270と印刷材供給口280との間に位置する。   Further, as shown in FIGS. 5 and 11, a sheet member 298 is attached to a position between the printing material supply port 280 and the prism unit 270 in the first surface 201. The sheet member 298 is a member for forming a part 246 (also referred to as “connection path 246”, FIG. 11) of the flow path in the printing material accommodation chamber 200. The connection path 246 is located between the prism unit 270 and the printing material supply port 280 in the flow direction toward the printing material supply port 280 in the printing material storage chamber 200.

図5及び図9に示すように、第3面203には、突起状の第1のカートリッジ側規制部210が形成されている。第1のカートリッジ側規制部210は、装着状態においてレバー80に係止される。図4及び図8に示すように、第4面204には、突起状の第2のカートリッジ側規制部221が形成されている。装着状態において、第2のカートリッジ側規制部221は、壁部604(図2)に形成された貫通孔である第2の装置側規制部620(図3)に挿入され係止される。すなわち、装着状態においては、ホルダー60のレバー80と、第2の装置側規制部620とによって、カートリッジ20がX軸方向両側において係止されることでホルダー60に対して位置決めされる。   As shown in FIGS. 5 and 9, the third surface 203 is formed with a protruding first cartridge side regulating portion 210. The first cartridge side regulating portion 210 is locked to the lever 80 in the mounted state. As shown in FIGS. 4 and 8, the fourth surface 204 is formed with a protruding second cartridge side regulating portion 221. In the mounted state, the second cartridge side regulating portion 221 is inserted and locked into the second device side regulating portion 620 (FIG. 3) which is a through hole formed in the wall portion 604 (FIG. 2). That is, in the mounted state, the cartridge 20 is positioned on both sides in the X-axis direction by the lever 80 of the holder 60 and the second device-side restricting portion 620 so that the cartridge 20 is positioned with respect to the holder 60.

図4に示すように、第8面208には、回路基板15が設けられている。回路基板15の表面には、装着状態において、接点機構61と接触する複数の端子が形成されている。また、回路基板15の裏面にはカートリッジ20の各種情報(インク残量状態、インク色等)を記憶する記憶装置が設けられている。   As shown in FIG. 4, the circuit board 15 is provided on the eighth surface 208. A plurality of terminals that are in contact with the contact mechanism 61 are formed on the surface of the circuit board 15 in the mounted state. Further, a storage device is provided on the back surface of the circuit board 15 for storing various types of information (ink remaining amount status, ink color, etc.) of the cartridge 20.

図4に示すように、第5面205にはカートリッジ20の内部に空気を導入するための通気口290が形成されている。   As shown in FIG. 4, the fifth surface 205 is formed with a vent 290 for introducing air into the cartridge 20.

A−4.カートリッジの内部構成の概略及び動作:
図12は、カートリッジ20について説明するための第1の図である。図13は、カートリッジ20について説明するための第2の図である。図14は、カートリッジ20について説明するための第3の図である。なお、図12〜図14は、カートリッジ20の内部の状態を説明するための模式図である。
A-4. Outline and operation of cartridge internal configuration:
FIG. 12 is a first diagram for explaining the cartridge 20. FIG. 13 is a second diagram for explaining the cartridge 20. FIG. 14 is a third diagram for explaining the cartridge 20. 12 to 14 are schematic diagrams for explaining the internal state of the cartridge 20.

図12に示すように、カートリッジ20の外殻22は、容器本体部材21と、蓋部材23を有する。容器本体部材21の開口を塞ぐように蓋部材23が取り付けられることで内部空間が形成される。カートリッジ20は、第1の連通路315と、第2の連通路310と、を備える。第1の連通路315および第2の連通路310は、いずれも大気が連通する流路である。また、カートリッジ20は、印刷材収容室200を備える。印刷材収容室200は、容器本体部材21と第1のシート部材291とによって区画されている。シート部材291は、可撓性を有する部材である。印刷材収容室200には、第1の連通路315を介して所定のタイミングで大気が導入される。印刷材収容室200への大気の入口は、空気導入口47である。カートリッジ20は、空気導入口47の開閉を行うための弁機構40を備える。   As shown in FIG. 12, the outer shell 22 of the cartridge 20 includes a container body member 21 and a lid member 23. An internal space is formed by attaching the lid member 23 so as to close the opening of the container body member 21. The cartridge 20 includes a first communication path 315 and a second communication path 310. The first communication path 315 and the second communication path 310 are both flow paths through which the atmosphere communicates. Further, the cartridge 20 includes a printing material accommodation chamber 200. The printing material accommodation chamber 200 is partitioned by the container body member 21 and the first sheet member 291. The sheet member 291 is a flexible member. Air is introduced into the printing material accommodation chamber 200 at a predetermined timing via the first communication path 315. An air inlet 47 is an air inlet to the printing material storage chamber 200. The cartridge 20 includes a valve mechanism 40 for opening and closing the air introduction port 47.

印刷材収容室200内には、表面(+Y軸方向側の面)が第1のシート部材291に接触する受圧板293が配置されている。また、印刷材収容室200内には、受圧板293の裏面(−Y軸方向側の面)側から印刷材収容室200内の容積を拡大する方向に第1のシート部材291を付勢する第1の付勢部材としてのコイルばね294が配置されている。これにより、印刷材収容室200内の圧力は大気圧よりも低い圧力(負圧)に維持される。カートリッジ20を対向壁206に垂直投影した場合に、受圧板293の重心は、コイルばね294が受圧板293に当接する領域の内側に位置する。   A pressure receiving plate 293 whose surface (surface on the + Y axis direction side) is in contact with the first sheet member 291 is disposed in the printing material accommodation chamber 200. In addition, the first sheet member 291 is urged into the printing material accommodation chamber 200 in the direction of expanding the volume in the printing material accommodation chamber 200 from the back surface (the surface on the −Y axis direction side) of the pressure receiving plate 293. A coil spring 294 as a first urging member is disposed. Thereby, the pressure in the printing material accommodation chamber 200 is maintained at a pressure (negative pressure) lower than the atmospheric pressure. When the cartridge 20 is vertically projected onto the facing wall 206, the gravity center of the pressure receiving plate 293 is located inside the region where the coil spring 294 contacts the pressure receiving plate 293.

印刷材収容室200は、メイン室242と、検出室244と、第1流路246と、バッファ室250とを備える。インクは、上流側のメイン室242から、検出室244、接続路246、バッファ室250をこの順番に流れて、下流側の印刷材供給口280に至る。メイン室242は、コイルばね294が配置された部分である。検出室244は、プリズム275(図5および図11)が配置された部分である。接続路246はバッファ室250と検出室244とを繋ぐ流路である。接続路246は、第1面201を形成する壁とシート部材298(図11)によって形成された流路である。接続路246は、接続路246から上流側流路(例えば、検出室244)にインクが逆流することを抑制するための流路である。接続路246は、メニスカスを形成することでインクを保持可能な保持流路248,249を有する。保持流路248,249は、流路断面に角となる部分を有さない形状を有する。これにより、バッファ室250のインクが毛管力によって上流側へと逆流する可能性を低減できる。例えば、印刷材収容室200内のインクが残り僅かとなり、バッファ室250のみにインクが存在する場合を考える。この場合において、バッファ室250から検出室244にインクが逆流すると、インク有無の誤検出の原因となる。また、バッファ室250から検出室244にインクが逆流すると、バッファ室250に気泡が侵入し、気泡がプリンター50側へと流入する原因にもなる。しかしながら、保持流路248,249によって、インクの逆流を防止できるため、上記の不具合の発生を低減できる。本実施形態では、保持流路248,249は、円柱状の流路である。バッファ室250は、印刷材供給口280に接続された流路である。   The printing material accommodation chamber 200 includes a main chamber 242, a detection chamber 244, a first flow path 246, and a buffer chamber 250. The ink flows from the main chamber 242 on the upstream side through the detection chamber 244, the connection path 246, and the buffer chamber 250 in this order, and reaches the printing material supply port 280 on the downstream side. The main chamber 242 is a portion where the coil spring 294 is disposed. The detection chamber 244 is a portion where the prism 275 (FIGS. 5 and 11) is disposed. The connection path 246 is a flow path that connects the buffer chamber 250 and the detection chamber 244. The connection path 246 is a flow path formed by the wall forming the first surface 201 and the sheet member 298 (FIG. 11). The connection path 246 is a flow path for suppressing the ink from flowing backward from the connection path 246 to the upstream flow path (for example, the detection chamber 244). The connection path 246 has holding channels 248 and 249 that can hold ink by forming a meniscus. The holding channels 248 and 249 have a shape that does not have corners on the channel cross section. Thereby, it is possible to reduce the possibility that the ink in the buffer chamber 250 flows backward to the upstream side due to the capillary force. For example, let us consider a case where the ink in the printing material storage chamber 200 is very small and ink exists only in the buffer chamber 250. In this case, if ink flows backward from the buffer chamber 250 to the detection chamber 244, it may cause erroneous detection of the presence or absence of ink. Further, when ink flows backward from the buffer chamber 250 to the detection chamber 244, bubbles enter the buffer chamber 250 and cause the bubbles to flow into the printer 50 side. However, since the backflow of ink can be prevented by the holding channels 248 and 249, the occurrence of the above-described problems can be reduced. In the present embodiment, the holding channels 248 and 249 are cylindrical channels. The buffer chamber 250 is a flow path connected to the printing material supply port 280.

第1の連通路315は、外部の空気を印刷材収容室200に導入するための空気導入路である。第1の連通路315は、一端部に通気口290(「外部空気導入口290」ともいう。)が形成され、他端部に空気導入口(「内部空気導入口47」ともいう。)が形成されている。通気口290は、蓋部材23に貫通形成された開口である。空気導入口47は、印刷材収容室200内に空気を取り込むための開口である。空気導入口47は、弁機構40によって開閉される。この弁機構40の詳細は後述する。   The first communication path 315 is an air introduction path for introducing external air into the printing material accommodation chamber 200. The first communication path 315 has a vent 290 (also referred to as “external air inlet 290”) at one end and an air inlet (also referred to as “internal air inlet 47”) at the other end. Is formed. The vent 290 is an opening formed through the lid member 23. The air introduction port 47 is an opening for taking air into the printing material accommodation chamber 200. The air inlet 47 is opened and closed by the valve mechanism 40. Details of the valve mechanism 40 will be described later.

第1の連通路315は、通気口290を上流側、空気導入口47を下流側としたとき、上流側から順に、通気口290と、内部連通路262と、連結部264と、空気室241と、空気導入口47と、を備える。なお、第1の連通路315の構成について説明する場合に用いる「上流」、「下流」は、通気口290から空気導入口47に向かう空気の流れ方向を基準とする。   The first communication path 315 has the vent 290, the internal communication path 262, the connecting portion 264, and the air chamber 241 in order from the upstream side when the vent 290 is the upstream side and the air introduction port 47 is the downstream side. And an air inlet 47. Note that “upstream” and “downstream” used in the description of the configuration of the first communication path 315 are based on the direction of air flow from the vent 290 toward the air inlet 47.

内部連通路262は、一端部が通気口290に接続され、他端部が連結部264に接続された流路である。内部連通路262は、蓋部材23のうち第1のシート部材291と対向する対向面23fb側に形成された流路である。内部連通路262は、対向面23fbに形成された溝部と、溝部を覆うように対向面23fbに取り付けられたシート部材295(「第2のシート部材295」ともいう。)によって構成されている。第2のシート部材295は、その少なくとも一部が第1のシート部材291と対向する位置に配置されている。また、内部連通路262は、蛇行路である。   The internal communication path 262 is a flow path having one end connected to the vent 290 and the other end connected to the connecting portion 264. The internal communication path 262 is a flow path formed on the facing surface 23 fb side facing the first sheet member 291 in the lid member 23. The internal communication path 262 includes a groove formed on the facing surface 23fb and a sheet member 295 (also referred to as “second sheet member 295”) attached to the facing surface 23fb so as to cover the groove. At least a part of the second sheet member 295 is disposed at a position facing the first sheet member 291. The internal communication path 262 is a meandering path.

連結部264は、内部連通路262の下流端部に接続されている。連結部264は、内部連通路262を通った空気を空気室241に導入する。連結部264は、蓋部材23のうち第1のシート部材291と対向する対向面23fbに凹設されている。すなわち、連結部264は、対向面23fbに形成された凹部である。空気室241は、蓋部材23と第1のシート部材291との間に形成された空間である。言い換えれば、空気室241は、蓋部材23と第1のシート部材291によって挟まれた空間である。空気導入口47は、弁機構40のカバーバルブ46に形成された開口である。   The connecting portion 264 is connected to the downstream end portion of the internal communication path 262. The connecting portion 264 introduces air that has passed through the internal communication path 262 into the air chamber 241. The connecting portion 264 is recessed in the facing surface 23 fb of the lid member 23 that faces the first sheet member 291. That is, the connection part 264 is a recessed part formed in the opposing surface 23fb. The air chamber 241 is a space formed between the lid member 23 and the first sheet member 291. In other words, the air chamber 241 is a space sandwiched between the lid member 23 and the first sheet member 291. The air inlet 47 is an opening formed in the cover valve 46 of the valve mechanism 40.

第2の連通路310は、カートリッジの内部空間を介して、印刷材供給口280のうち印刷材出口31よりも下流側の空間289(連通口32が配置されている空間289)と、カートリッジ20の外部と、を連通させる。この空間289は、印刷材供給口280が例えばキャップのようなもので塞がれた場合には、このような供給口280を塞ぐ他の部材と印刷材供給口280とによって区画される。このように、供給口280が他の部材によって塞がれると1つの閉じた部屋が供給口280内に構成されるため、この空間289を内部室289ともいう。ここで、供給口280を塞ぐ他の部材としては、キャップ以外にも、装着状態において供給口280の開口端288の周縁部に当接するホルダー60の弾性部材648(図3)が該当する。   The second communication path 310 has a space 289 downstream of the printing material outlet 31 in the printing material supply port 280 via the internal space of the cartridge (a space 289 in which the communication port 32 is disposed), and the cartridge 20. Communicate with the outside. When the printing material supply port 280 is closed with a cap or the like, the space 289 is partitioned by the printing material supply port 280 and another member that closes the supply port 280. As described above, when the supply port 280 is blocked by another member, one closed room is formed in the supply port 280, and this space 289 is also referred to as an internal chamber 289. Here, the other member that closes the supply port 280 corresponds to the elastic member 648 (FIG. 3) of the holder 60 that contacts the peripheral edge of the opening end 288 of the supply port 280 in the mounted state, in addition to the cap.

第2の連通路310の一端部は内部室289に設けられた連通口32であり、他端部は蓋部材23に貫通形成された通気口290である。連通口32を上流側、から通気口290を下流側としたとき、第2の連通路310は、連通口32と、貫通路33と、流路室252と、空気室241と、連結部264と、内部連通路262と、通気口290と、を備える。これらの要素のうち、空気室241と、連結部264と、内部連通路262と、通気口290の部分は、第1の連通路310を構成する要素と共通である。すなわち、第2の連通路310の下流側の部分と、第1の連通路315の上流側の部分は共用されている。空気室241、連結部264、内部連通路262、通気口290は、第1の連通路310では空気をカートリッジの外部から内部へ導入する流路として機能し、第2の連通路320では空気をカートリッジの内部から外部へ排出する流路として機能する。第2の連通路310の構成を述べる際に用いる「上流」、「下流」は、連通口32から通気口290に向かう流体(空気)の流れ方向を基準にする。   One end portion of the second communication path 310 is a communication port 32 provided in the internal chamber 289, and the other end portion is a vent port 290 formed through the lid member 23. When the communication port 32 is on the upstream side and the ventilation port 290 is on the downstream side, the second communication path 310 includes the communication port 32, the through path 33, the flow path chamber 252, the air chamber 241, and the connecting portion 264. And an internal communication path 262 and a vent 290. Among these elements, the air chamber 241, the connecting portion 264, the internal communication path 262, and the vent 290 are the same as the elements constituting the first communication path 310. That is, the downstream part of the second communication path 310 and the upstream part of the first communication path 315 are shared. The air chamber 241, the connecting portion 264, the internal communication path 262, and the vent 290 function as a flow path for introducing air from the outside to the inside of the cartridge in the first communication path 310, and the air in the second communication path 320. It functions as a flow path for discharging from the inside of the cartridge to the outside. The terms “upstream” and “downstream” used when describing the configuration of the second communication path 310 are based on the flow direction of the fluid (air) from the communication port 32 toward the vent 290.

貫通路33は、印刷材供給口280と流路室252との間の壁を貫通する流路である。貫通路33の上流端部は連通口32を形成する。流路室252は、容器本体部材21に形成された空間である。流路室252は、上流端部が貫通路33に接続され、下流端部が空気室241に接続されている。貫通路33は、流路室252を介して印刷材供給口280と空気室241とを接続する通路となる。   The through path 33 is a flow path that penetrates the wall between the printing material supply port 280 and the flow path chamber 252. An upstream end portion of the through passage 33 forms a communication port 32. The flow path chamber 252 is a space formed in the container body member 21. The flow path chamber 252 has an upstream end connected to the through passage 33 and a downstream end connected to the air chamber 241. The through passage 33 serves as a passage connecting the printing material supply port 280 and the air chamber 241 through the flow passage chamber 252.

第2の連通路310によって、供給口280が他の部材によって塞がれた場合にも、空間289の圧力を外部の圧力と略一定に維持できる。これにより、空間289の圧力変動に伴って生じる印刷材供給口280からのインク漏れの発生を低減できる。   Even when the supply port 280 is blocked by another member by the second communication path 310, the pressure in the space 289 can be maintained substantially constant with the external pressure. Thereby, it is possible to reduce the occurrence of ink leakage from the printing material supply port 280 caused by the pressure fluctuation in the space 289.

例えば、カートリッジ20をプリンター50に装着する際(装着動作時)には、ホルダー60の弾性部材648(図2)が印刷材供給口280の開口端288の周囲を密閉する。ここで、開口端288の周囲を密閉する際には、弾性部材648の一部が印刷材供給口280内に食い込むことで、印刷材供給口280内の容積が減少し印刷材供給口280内の圧力が上昇する。一般に、印刷材収容室200から印刷材出口31までの流路は、印刷材出口31から外部にインクが漏れ出さないようにするために流路抵抗が高い部分が存在する。本実施形態では、後述する印刷材供給口280内に設けられたシート部材や、フォームによって流路抵抗が高くなっている。よって、開口端288の周囲が密閉され、印刷材供給口280内の容積が減少した直後の状態では、減少した分の空気は印刷材収容室200には十分に流通しない。しかしながら、第2の連通路310によって減少した分の空気を外部に逃がすことができ、外部と印刷材供給口280内の圧力を略一定に維持できる。   For example, when the cartridge 20 is mounted on the printer 50 (at the time of mounting operation), the elastic member 648 (FIG. 2) of the holder 60 seals around the opening end 288 of the printing material supply port 280. Here, when sealing the periphery of the opening end 288, a part of the elastic member 648 bites into the printing material supply port 280, so that the volume in the printing material supply port 280 is reduced and the printing material supply port 280 is filled. The pressure increases. Generally, the flow path from the printing material storage chamber 200 to the printing material outlet 31 has a portion with a high flow path resistance so that ink does not leak outside from the printing material outlet 31. In the present embodiment, the flow path resistance is increased by a sheet member or foam provided in a printing material supply port 280 described later. Therefore, in the state immediately after the periphery of the opening end 288 is sealed and the volume in the printing material supply port 280 is reduced, the reduced amount of air does not sufficiently flow into the printing material accommodation chamber 200. However, the amount of air reduced by the second communication passage 310 can be released to the outside, and the pressure inside the printing material supply port 280 can be maintained substantially constant.

仮に、カートリッジ20に第2の連通路310が設けられていない場合は、例えば印刷材供給口280内の圧縮された空気が、カートリッジ20の装着後に徐々に印刷材収容室200に流入する。これにより、印刷材収容室200内に予期しない空気が侵入し、印刷材収容室200内を適切な圧力範囲に維持できない虞が生じる。また、例えば、印刷材供給口280内の上昇した圧力と、印刷材収容室200内の圧力が均衡するまで印刷材供給口280内の空気が印刷材収容室200に流入すると、印刷材収容室200内の圧力は空気が流入する前の状態に比べ上昇する。この状態で利用者がカートリッジ20をホルダー60から取り外した場合、印刷材供給口280内の圧力は大気圧になる。すなわち、印刷材供給口280内の圧力は低下し、圧力が高い印刷材収容室200から印刷材供給口280を通って外部にインクが漏れ出すことになる。   If the second communication path 310 is not provided in the cartridge 20, for example, compressed air in the printing material supply port 280 gradually flows into the printing material storage chamber 200 after the cartridge 20 is mounted. As a result, unexpected air may enter the printing material storage chamber 200, and the printing material storage chamber 200 may not be maintained in an appropriate pressure range. For example, when the air in the printing material supply port 280 flows into the printing material storage chamber 200 until the increased pressure in the printing material supply port 280 and the pressure in the printing material storage chamber 200 are balanced, the printing material storage chamber The pressure in 200 increases as compared to the state before air flows in. When the user removes the cartridge 20 from the holder 60 in this state, the pressure in the printing material supply port 280 becomes atmospheric pressure. That is, the pressure in the printing material supply port 280 decreases, and ink leaks out from the printing material storage chamber 200 having a high pressure through the printing material supply port 280.

弁機構40は、カバーバルブ46と、レバーバルブ44と、付勢部材としてコイルばね42と、を備える。レバーバルブ44は、コイルばね42によってカバーバルブ46に押し付けられ、貫通孔である空気導入口47を塞いでいる。レバーバルブ44は、受圧板293が変位することで当接するレバー部49と、空気導入口47を塞ぐための弁部43と、を備える。   The valve mechanism 40 includes a cover valve 46, a lever valve 44, and a coil spring 42 as an urging member. The lever valve 44 is pressed against the cover valve 46 by the coil spring 42 and closes the air inlet 47 which is a through hole. The lever valve 44 includes a lever portion 49 that contacts when the pressure receiving plate 293 is displaced, and a valve portion 43 for closing the air introduction port 47.

次に、カートリッジ20の動作について説明する。カートリッジ20の初期状態(未使用状態)では、図12のように、印刷材収容室200にはインクが充填されている。   Next, the operation of the cartridge 20 will be described. In the initial state (unused state) of the cartridge 20, the printing material storage chamber 200 is filled with ink as shown in FIG.

図13に示すように、印刷材収容室200のインクが消費され、受圧板293が第6面206側に近づくと、受圧板293がレバー部49を第6面206側に押す。これにより、弁部43が空気導入口47から離れ、外部の空気と印刷材収容室200とが一時的に連通する。すなわち、レバーバルブ44が開弁状態となる。そして、外部の空気が第1の連通路315を通って印刷材収容室200に流入する。これにより、図14に示すように空気が導入された分だけ印刷材収容室200の容積が大きくなる。同時に、印刷材収容室200内の負圧は少し小さくなる(大気圧に近づく)。そして、図14に示すように、印刷材収容室200にある程度の空気が導入されると、受圧板293がレバー部49から離れる。これにより、弁部43が再び空気導入口47を塞ぐ。すなわち、レバーバルブ44が閉弁状態となる。このように、印刷材収容室200のインクの消費に伴って、印刷材収容室200内の負圧が大きくなると一次的にレバーバルブ44が開弁状態になることで印刷材収容室200内の圧力を適切な圧力範囲に維持することが可能となる。   As shown in FIG. 13, when the ink in the printing material storage chamber 200 is consumed and the pressure receiving plate 293 approaches the sixth surface 206 side, the pressure receiving plate 293 pushes the lever portion 49 toward the sixth surface 206 side. Thereby, the valve part 43 leaves | separates from the air inlet 47, and external air and the printing material storage chamber 200 are connected temporarily. That is, the lever valve 44 is opened. Then, external air flows into the printing material accommodation chamber 200 through the first communication path 315. Thereby, as shown in FIG. 14, the volume of the printing material accommodation chamber 200 is increased by the amount of air introduced. At the same time, the negative pressure in the printing material accommodation chamber 200 is slightly reduced (approaches atmospheric pressure). Then, as shown in FIG. 14, when a certain amount of air is introduced into the printing material accommodation chamber 200, the pressure receiving plate 293 is separated from the lever portion 49. Thereby, the valve part 43 closes the air inlet 47 again. That is, the lever valve 44 is closed. As described above, when the negative pressure in the printing material storage chamber 200 increases with the consumption of ink in the printing material storage chamber 200, the lever valve 44 is temporarily opened, so that the inside of the printing material storage chamber 200 is increased. It becomes possible to maintain the pressure within an appropriate pressure range.

A−5.カートリッジの詳細構成:
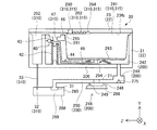
図15は、カートリッジ20の第1の分解斜視図である。図16は、カートリッジ20の第2の分解斜視図である。図17は、カートリッジ20の第3の分解斜視図である。図18は、カートリッジ20の第4の分解斜視図である。図19は、蓋部材23の対向面23fbを示す図である。図20は、容器本体部材21を示す図である。図21は、蓋部材23を取り付ける前のカートリッジ20を示す図である。図20には、印刷材収容室200のインクが印刷材供給口280を通って外部へ流通する様子を矢印で示している。また図20には、プリズム275の表面271を点線で図示している。図21には、蓋部材23の溝部261及び第2のシート部材295を点線で示している。
A-5. Detailed cartridge configuration:
FIG. 15 is a first exploded perspective view of the cartridge 20. FIG. 16 is a second exploded perspective view of the cartridge 20. FIG. 17 is a third exploded perspective view of the cartridge 20. FIG. 18 is a fourth exploded perspective view of the cartridge 20. FIG. 19 is a diagram illustrating the facing surface 23 fb of the lid member 23. FIG. 20 is a view showing the container main body member 21. FIG. 21 is a diagram illustrating the cartridge 20 before the lid member 23 is attached. In FIG. 20, the state in which the ink in the printing material storage chamber 200 circulates outside through the printing material supply port 280 is indicated by arrows. In FIG. 20, the surface 271 of the prism 275 is indicated by a dotted line. In FIG. 21, the groove portion 261 and the second sheet member 295 of the lid member 23 are indicated by dotted lines.

図15及び図16に示すように、カートリッジ20は、容器本体部材21と、蓋部材23と、第1のシート部材291と、を備える。容器本体部材21は、略直方体形状である。容器本体部材21は、一側壁(+Y軸方向側の壁)に開口222を有する凹形状である。第1のシート部材291は、容器本体部材21に接着または溶着されて、容器本体部材21と共に印刷材収容室200を区画形成する。第1のシート部材291は、可撓性を有する。すなわち、印刷材収容室200の外周壁の一部は、第1のシート部材291によって形成されている。第1のシート部材291には、空気室241と空気導入口47とを連通させる貫通孔292が形成されている。   As shown in FIGS. 15 and 16, the cartridge 20 includes a container body member 21, a lid member 23, and a first sheet member 291. The container main body member 21 has a substantially rectangular parallelepiped shape. The container main body member 21 has a concave shape having an opening 222 on one side wall (+ Y-axis direction side wall). The first sheet member 291 is adhered or welded to the container main body member 21 to form the printing material accommodation chamber 200 together with the container main body member 21. The first sheet member 291 has flexibility. That is, a part of the outer peripheral wall of the printing material accommodation chamber 200 is formed by the first sheet member 291. The first sheet member 291 has a through hole 292 that allows the air chamber 241 and the air inlet 47 to communicate with each other.

蓋部材23は、第1のシート部材291を覆うように容器本体部材21に取り付けられている。容器本体部材21と蓋部材23は、ポリプロピレン等の合成樹脂により形成されている。また、第1のシート部材291は、ナイロンとポロプロピレンを含む材料等の合成樹脂により形成されている。板状の蓋部材23は、第1のシート部材291と対向する対向面23fbと、対向面23fbとは反対側の面である表面23faとを有する。対向面23fbはカートリッジ20の内面、表面23faはカートリッジ20の外面となる。   The lid member 23 is attached to the container main body member 21 so as to cover the first sheet member 291. The container body member 21 and the lid member 23 are made of a synthetic resin such as polypropylene. The first sheet member 291 is made of a synthetic resin such as a material containing nylon and polypropylene. The plate-like lid member 23 has a facing surface 23fb that faces the first sheet member 291 and a surface 23fa that is a surface opposite to the facing surface 23fb. The facing surface 23fb is the inner surface of the cartridge 20, and the surface 23fa is the outer surface of the cartridge 20.

受圧板293は、ポリプロピレン等の合成樹脂や、ステンレス等の金属により形成される。受圧板293は、第1のシート部材291に接触して配置されている。コイルばね294は、印刷材収容室200のうちメイン室242内に配置される。コイルばね294は、受圧板293と、容器本体部材21の面のうち受圧板293と対向する面(対向面)に当接する。受圧板293は、印刷材収容室200のインクの消費に伴って印刷材収容室200内を移動する。受圧板293の移動方向は、Y軸方向(対向面23fbや表面23faに垂直な方向)である。   The pressure receiving plate 293 is formed of a synthetic resin such as polypropylene or a metal such as stainless steel. The pressure receiving plate 293 is disposed in contact with the first sheet member 291. The coil spring 294 is disposed in the main chamber 242 in the printing material accommodation chamber 200. The coil spring 294 contacts the pressure receiving plate 293 and a surface (opposing surface) facing the pressure receiving plate 293 among the surfaces of the container body member 21. The pressure receiving plate 293 moves in the printing material storage chamber 200 as the ink in the printing material storage chamber 200 is consumed. The moving direction of the pressure receiving plate 293 is the Y-axis direction (direction perpendicular to the facing surface 23fb and the surface 23fa).

図15に示すように、弁機構40は、バネ部材42と、レバーバルブ44と、カバーバルブ46とを備える。カバーバルブ46は、容器本体部材21のうち、第2面202と第4面204とが交わるコーナー部分240(図20)に収容され、容器本体部材21に取り付けられる。カバーバルブ46は、例えばポリプロピレン等の合成樹脂により形成される。図15及ぶ図16に示すように、カバーバルブ46は凹形状であり、開口を形成する端面41には第1のシート部材291が気密に貼り付けられている。カバーバルブ46の凹部は、第1のシート部材291の貫通孔292と連通している。また、カバーバルブ46の凹部の底部にはカバーバルブ46の裏側まで貫通した空気導入口47が形成されている。   As shown in FIG. 15, the valve mechanism 40 includes a spring member 42, a lever valve 44, and a cover valve 46. The cover valve 46 is accommodated in a corner portion 240 (FIG. 20) where the second surface 202 and the fourth surface 204 of the container main body member 21 intersect, and is attached to the container main body member 21. The cover valve 46 is made of a synthetic resin such as polypropylene. As shown in FIGS. 15 and 16, the cover valve 46 has a concave shape, and the first sheet member 291 is airtightly attached to the end surface 41 that forms the opening. The concave portion of the cover valve 46 communicates with the through hole 292 of the first seat member 291. Further, an air introduction port 47 penetrating to the back side of the cover valve 46 is formed at the bottom of the concave portion of the cover valve 46.

レバーバルブ44は、バネ部材42によってカバーバルブ46に押し付けられ、空気導入口47を塞いでいる。レバーバルブ44は、受圧板293が変位することで当接するレバー部49(図16)を有する。レバーバルブ44は、例えば、ポリプロピレン等の合成樹脂により形成しても良い。また、レバーバルブ44は、エラストマー等の弾性部材とポリプロピレン等の合成樹脂を用いて2色成型により形成しても良い。   The lever valve 44 is pressed against the cover valve 46 by the spring member 42 and closes the air introduction port 47. The lever valve 44 has a lever portion 49 (FIG. 16) that abuts when the pressure receiving plate 293 is displaced. The lever valve 44 may be formed of a synthetic resin such as polypropylene, for example. The lever valve 44 may be formed by two-color molding using an elastic member such as an elastomer and a synthetic resin such as polypropylene.

印刷材供給口280は、印刷材収容室200と連通している。図16に示すように印刷材収容室200と印刷材供給口280とは、印刷材連通孔277によって連通している。図15及び図16に示すように、印刷材供給口280は、内部に供給用部材30を備える。供給用部材30は、フォーム(多孔質部材)34とシート部材(フィルター部材)36とを備える。印刷材供給口280の開口端288から近い順に、シート部材36とフォーム34とが配置されている。フォーム34やシート部材36は、例えば、ポリエチレンテレフタレート等の合成樹脂により形成されている。装着状態では、シート部材36は印刷材供給管640(図2)に接触し、インクをプリンター50側へ流通させる。すなわち、シート部材36は、印刷材出口31を形成する。   The printing material supply port 280 communicates with the printing material storage chamber 200. As shown in FIG. 16, the printing material storage chamber 200 and the printing material supply port 280 communicate with each other through a printing material communication hole 277. As shown in FIGS. 15 and 16, the printing material supply port 280 includes a supply member 30 inside. The supply member 30 includes a foam (porous member) 34 and a sheet member (filter member) 36. The sheet member 36 and the foam 34 are arranged in the order closer to the opening end 288 of the printing material supply port 280. The foam 34 and the sheet member 36 are made of, for example, a synthetic resin such as polyethylene terephthalate. In the mounted state, the sheet member 36 contacts the printing material supply pipe 640 (FIG. 2), and distributes ink to the printer 50 side. That is, the sheet member 36 forms the printing material outlet 31.

図16に示すように、第1面201には第1面201を貫通する開口部278が形成されている。開口部278を覆うように第1面201にシート部材298が貼り付けられることで、接続路246が形成される。   As shown in FIG. 16, an opening 278 that penetrates the first surface 201 is formed in the first surface 201. By connecting the sheet member 298 to the first surface 201 so as to cover the opening 278, the connection path 246 is formed.

図19及び図20に示すように、蓋部材23の外縁部23pは、容器本体部材21の開口側(+Y軸方向側)の端部のうちシングルハッチングを付した容器側外縁部21pに接着または溶着によって接合されている。また、第1のシート部材291は、容器本体部材21の開口側(+Y軸方向側)の端部(端面)のうち、容器側外縁部21pよりも内側に位置する内側端部21t,22rpに気密に貼り付けられている。容器本体部材21のうち、第1のシート部材291が貼り付けられた領域外には、流路室252が形成されている(図20)。なお、内側端部21t,22rpには、理解の容易のためにクロスハッチングを付している。また、図20のうち、ドットを付した領域が、印刷材収容室200である。   As shown in FIGS. 19 and 20, the outer edge portion 23 p of the lid member 23 is bonded to the container-side outer edge portion 21 p with single hatching in the end portion on the opening side (+ Y-axis direction side) of the container body member 21. Joined by welding. The first sheet member 291 has inner end portions 21t and 22rp positioned on the inner side of the container-side outer edge portion 21p among the end portions (end surfaces) on the opening side (+ Y-axis direction side) of the container main body member 21. It is stuck airtight. A channel chamber 252 is formed outside the region of the container body member 21 where the first sheet member 291 is attached (FIG. 20). The inner end portions 21t and 22rp are cross-hatched for easy understanding. Further, in FIG. 20, a region with dots is the printing material accommodation chamber 200.

図15、図20、図21に示すように、印刷材収容室200は、開口222と対向する対向壁206(第6面206)から開口222側に向かって延びる仕切壁22rを有する。仕切壁22rは、メイン室242とバッファ室250とを区画している。図12〜図14では、検出室244をメイン室242とは独立した1つの部屋として示していたが、実際には図20および図21に示したように、検出室244は、メイン室242の一部として構成されている。印刷材収容室200は、仕切壁22rによって、容量が大きいメイン室242と、容量が小さいバッファ室250とに仕切られている。本実施形態では、メイン室242の容積は、バッファ室250の容積の概ね10倍である。図20の矢印に示すように、メイン室242のインクは、検出室244、接続路246、バッファ室250を通って印刷材供給口280に流入する。なお、図20及び図21では、メイン室242と検出室244との境界部分には点線を付している。
ここで、メイン室242とバッファ室250の容積との関係について説明する。本実施形態では、検出室244内のプリズム250を利用した光学的な検出によって、インク無しの判断がされた後、直ちに印字を止めるようにはしていない。光学的な検出によってインク無しの判断がされた時点では、メイン室242(検出室244を含む)のインクが無くなっただけであり、まだバッファ室250にはインクが残っている。そこで、この時点で、プリンター50は、まず、利用者に新たなカートリッジ20の準備を促す表示などを行う。そして、その後は、バッファ室250内のインクを利用して、印字を続けられるようにする。最終的に印字をとめるタイミングは、バッファ室250内のインクがどのくらい消費されたかを、プリンター50の制御部510で所定のデータに基づいて管理し、この管理情報に基づいて決定する。このような管理情報に基づくインク消費量の管理は、プリンター50の様々な動作ごとにあらかじめ設定されたインク消費量のデータに基づいて行われるものであり、実際のインク消費量を計測することで行われているものではない。プリズム250を用いて実際のインクの有無を検出する方が、データに基づくインク消費量の管理よりも、精度が高い。よって、データに基づいてインクの消費量が管理されるバッファ室250の容積を、実際のインクの有無を検出することでインクの消費状態が管理されるメイン室242の容積に対してなるべく小さくしておいた方が、全体のインク量の管理精度は高くなると言える。全体のインク量の管理精度が高まれば、最終的に印字がとめられたときにカートリッジ20内に残るインクの量を少なくすることが可能となる。よって、メイン室242の容積は、バッファ室250の容積の3倍以上、好ましくは5倍以上に設定することが好ましい。一方、バッファ室250の容積を、メイン室242の容積に対して小さくしすぎると、メイン室242(検出室244を含む)のインクが無くなった後、最終的に印字をとめるまでの期間が充分に確保できなくなってしまう。よって、メイン室242の容積は、バッファ室250の容積の20倍以下、好ましくは15倍以下に設定することが好ましい。まとめると、メイン室242の容積は、バッファ室250の容積の3倍以上20倍以下に設定することが好ましく、5倍以上15倍以下に設定することがさらに好ましい。
As shown in FIGS. 15, 20, and 21, the printing material accommodation chamber 200 includes a partition wall 22 r that extends from the facing wall 206 (sixth surface 206) facing the opening 222 toward the opening 222. The partition wall 22r partitions the main chamber 242 and the buffer chamber 250. In FIGS. 12 to 14, the detection chamber 244 is shown as one room independent of the main chamber 242, but in actuality, as shown in FIGS. 20 and 21, the detection chamber 244 is the main chamber 242. Configured as part. The printing material storage chamber 200 is partitioned by a partition wall 22r into a main chamber 242 having a large capacity and a buffer chamber 250 having a small capacity. In the present embodiment, the volume of the main chamber 242 is approximately 10 times the volume of the buffer chamber 250. As shown by the arrow in FIG. 20, the ink in the main chamber 242 flows into the printing material supply port 280 through the detection chamber 244, the connection path 246, and the buffer chamber 250. 20 and 21, a dotted line is attached to the boundary portion between the main chamber 242 and the detection chamber 244.
Here, the relationship between the main chamber 242 and the volume of the buffer chamber 250 will be described. In the present embodiment, printing is not stopped immediately after it is determined that there is no ink by optical detection using the prism 250 in the detection chamber 244. When it is determined that there is no ink by optical detection, only the ink in the main chamber 242 (including the detection chamber 244) has run out, and ink remains in the buffer chamber 250. Therefore, at this point, the printer 50 first displays a message prompting the user to prepare a new cartridge 20. After that, printing is continued using the ink in the buffer chamber 250. The timing of finally stopping printing is determined based on the management information based on predetermined data by the control unit 510 of the printer 50 and how much ink in the buffer chamber 250 is consumed. Management of ink consumption based on such management information is performed based on ink consumption data set in advance for each of various operations of the printer 50, and by measuring the actual ink consumption. It is not done. It is more accurate to detect the presence or absence of actual ink using the prism 250 than to manage ink consumption based on data. Therefore, the volume of the buffer chamber 250 in which the ink consumption is managed based on the data is made as small as possible with respect to the volume of the main chamber 242 in which the ink consumption state is managed by detecting the actual presence or absence of ink. It can be said that the management accuracy of the entire ink amount is higher when the above is set. If the management accuracy of the total ink amount is increased, it is possible to reduce the amount of ink remaining in the cartridge 20 when printing is finally stopped. Therefore, the volume of the main chamber 242 is preferably set to 3 times or more, preferably 5 times or more, the volume of the buffer chamber 250. On the other hand, if the volume of the buffer chamber 250 is made too small relative to the volume of the main chamber 242, there will be a sufficient period until the printing is finally stopped after the main chamber 242 (including the detection chamber 244) has run out of ink. It will not be possible to secure. Therefore, the volume of the main chamber 242 is preferably set to 20 times or less, preferably 15 times or less, of the volume of the buffer chamber 250. In summary, the volume of the main chamber 242 is preferably set to be not less than 3 times and not more than 20 times the volume of the buffer chamber 250, more preferably not less than 5 times and not more than 15 times.

図18及び図19に示すように、蓋部材23の対向面23fbには、溝部261と、連結部264と、凸部266,268とが形成されている。溝部261、連結部264、凸部266,268は、外縁部23pよりも内側に形成されている。先に説明したとおり、外延部23pは、容器本体部材21との接合部である。   As shown in FIGS. 18 and 19, a groove portion 261, a connecting portion 264, and convex portions 266 and 268 are formed on the facing surface 23 fb of the lid member 23. The groove part 261, the connecting part 264, and the convex parts 266 and 268 are formed inside the outer edge part 23p. As described above, the outer extension 23p is a joint with the container body member 21.

また、図19に示すように、蓋部材23は、他の部分269よりも厚さが大きい部分267を有する。他の部分269を「薄肉部分269」、厚さが大きい部分267を「厚肉部分267」と呼ぶ。厚肉部分267は、薄肉部分269よりも第1のシート部材291側に突出している。溝部261、通気口290、連結部264、凸部268は、厚肉部分267に形成されている。   Further, as shown in FIG. 19, the lid member 23 has a portion 267 having a larger thickness than the other portion 269. The other portion 269 is referred to as a “thin portion 269”, and the thick portion 267 is referred to as a “thick portion 267”. The thick part 267 protrudes to the first sheet member 291 side than the thin part 269. The groove portion 261, the vent 290, the connecting portion 264, and the convex portion 268 are formed in the thick portion 267.

溝部261は、蛇行した形状である。溝部261は、少なくとも1箇所において180°屈曲した部分を有する。溝部261の上流側端部は通気口290に接続されている。また、溝部261の下流側端部は連結部264に接続されている。連結部264は、対向面23fbに凹部として設けられている。図18に示すように、第2のシート部材295は、通気口290、溝部261を覆うように対向面23fbに取り付けられている。第2のシート部材295は、対向面23fbのうち、図19に斜線で示した通気口290および溝部261の周囲の土手261aに接着または溶着により取り付けられている。これにより、溝部261と第2のシート部材295とによる内部連通路262が構成される。この内部連通路262は、溝部261の形状に対応して、少なくとも一部が180°屈曲した蛇行路となる。また、図18に示すように、第2のシート部材295は連結部264と重なる位置(対向する位置)まで延長された部分295a(「延長部分295a」とも呼ぶ。)を備える。延長部分295aは、連結部264全体を覆うように対向している。延長部分295aは、対向面23fbに取り付けられていない。図19からわかるように、第2のシート部材295は、通気口290および溝部261の周囲の土手261a(図19の斜線で示した部分)には溶着または接着されているが、連結部264の周囲の土手264aには溶着も接着もされていない。すなわち、第2のシート部材295のうち、延長部分295aは、連結部264を覆っているだけである。連結部264は、シート部材295によって塞がれてはいない。図18には、理解の容易の為に、第2のシート部材295のうち、延長部分295aと、それ以外の部分の境界には点線を付している。ここで、連結部264の流路断面積は、内部連通路262の流路断面積よりも大きい。また、内部連通路262の流路断面積は、流路室252や空気室241の流路断面積よりも小さい。流路断面積とは、流路中の流体の流れ方向に垂直な面の面積である。   The groove part 261 has a meandering shape. The groove portion 261 has a portion bent by 180 ° at least at one place. The upstream end of the groove 261 is connected to the vent 290. Further, the downstream end portion of the groove portion 261 is connected to the connecting portion 264. The connecting portion 264 is provided as a recess in the facing surface 23fb. As shown in FIG. 18, the second sheet member 295 is attached to the facing surface 23fb so as to cover the vent 290 and the groove 261. The second sheet member 295 is attached to the vent 290 and the bank 261a around the groove portion 261 indicated by hatching in FIG. 19 on the opposing surface 23fb by adhesion or welding. As a result, an internal communication path 262 including the groove portion 261 and the second sheet member 295 is formed. The internal communication path 262 is a meandering path that is at least partially bent by 180 °, corresponding to the shape of the groove 261. As shown in FIG. 18, the second sheet member 295 includes a portion 295 a (also referred to as “extension portion 295 a”) extended to a position where it overlaps with the connecting portion 264 (a position facing it). The extended portion 295a is opposed to cover the entire connecting portion 264. The extension portion 295a is not attached to the facing surface 23fb. As can be seen from FIG. 19, the second sheet member 295 is welded or bonded to the bank 261 a around the vent 290 and the groove portion 261 (the portion shown by the oblique lines in FIG. 19). The surrounding bank 264a is neither welded nor bonded. That is, the extension portion 295 a of the second sheet member 295 only covers the connecting portion 264. The connecting portion 264 is not blocked by the sheet member 295. In FIG. 18, for easy understanding, a dotted line is attached to the boundary between the extended portion 295 a and the other portion of the second sheet member 295. Here, the flow path cross-sectional area of the connecting portion 264 is larger than the flow path cross-sectional area of the internal communication path 262. Further, the flow passage cross-sectional area of the internal communication passage 262 is smaller than the flow passage cross-sectional areas of the flow passage chamber 252 and the air chamber 241. The channel cross-sectional area is an area of a surface perpendicular to the fluid flow direction in the channel.

凸部266,261は、それぞれ直線状に延びる。また、凸部266,261は、同一直線状上に位置する。凸部266,268は、対向面23fbからカートリッジ20の内方、すなわち印刷材収容室200側に向かって突出している。凸部266,268は、メイン室242とバッファ室250とを仕切る仕切壁22r(図20,図21)と対向する。凸部266,268は、仕切り壁22rの開口222側の端部22rp(端面22rp)と対向する。   The convex portions 266 and 261 each extend linearly. The convex portions 266 and 261 are located on the same straight line. The convex portions 266 and 268 protrude from the facing surface 23fb toward the inside of the cartridge 20, that is, toward the printing material accommodation chamber 200 side. The convex portions 266 and 268 face the partition wall 22r (FIGS. 20 and 21) that partitions the main chamber 242 and the buffer chamber 250. The convex portions 266 and 268 oppose the end 22rp (end surface 22rp) on the opening 222 side of the partition wall 22r.

また、図21に示すように、溝部261の土手261a(図19)の一部は、印刷材収容室200を区画形成する周囲壁の一部と対向する。具体的には、溝部261の土手261a(図19参照)の一部が、印刷材収容室200を区画形成する周囲壁の内側端部21tと対向する。内側端部21tは、印刷材収容室200を区画形成する周囲壁の開口222側に位置する端部(端面)である。   Further, as shown in FIG. 21, a part of the bank 261 a (FIG. 19) of the groove part 261 faces a part of the surrounding wall that defines the printing material accommodation chamber 200. Specifically, a part of the bank 261a (see FIG. 19) of the groove portion 261 is opposed to the inner end portion 21t of the surrounding wall that defines the printing material accommodation chamber 200. The inner end portion 21t is an end portion (end surface) located on the opening 222 side of the peripheral wall that defines the printing material accommodation chamber 200.

図22は、図10のF10−F10部分断面図である。図22に示すように印刷材供給口280は、一端部に連通口32を形成する貫通路33を有する。貫通路33は、印刷材供給口280を形成する部材を貫通し、流路室252に連通する。貫通路33はZ軸方向に沿って延びる。   22 is a partial cross-sectional view of F10-F10 in FIG. As shown in FIG. 22, the printing material supply port 280 has a through passage 33 that forms the communication port 32 at one end. The through path 33 passes through a member that forms the printing material supply port 280 and communicates with the flow path chamber 252. The through passage 33 extends along the Z-axis direction.

A−6.インク注入方法:
次に、印刷材収容室200にインクを注入する方法について説明する。図23は、インク注入方法のフローである。図24は、インク注入方法を説明するための第1の図である。図25は、インク注入方法を説明するための第2の図である。
A-6. Ink injection method:
Next, a method for injecting ink into the printing material storage chamber 200 will be described. FIG. 23 is a flow of the ink injection method. FIG. 24 is a first diagram for explaining the ink injection method. FIG. 25 is a second diagram for explaining the ink injection method.

本実施形態では、図24及び図25に示すように、印刷材収容室200へのインク注入は、蓋部材23が取り外された状態で行なわれる。また、本実施形態では、印刷材収容室200へのインク注入は、貫通路33が流路室252に貫通していない状態で行なう。すなわち、インクを注入する前は、図22に示す貫通路33と流路室252との間が貫通しておらず、壁で仕切られた状態になっており、この状態でインクの注入を行う。こうすることで、印刷材収容室200にインクを注入する際に、第2の連通路310を介して外部にインクが漏れ出す可能性を低減できる。なお、貫通路33と流路室252との間が貫通した状態でインクを注入する場合は、連通口32を栓やシールなどで塞いでおけば良い。   In the present embodiment, as shown in FIGS. 24 and 25, ink is injected into the printing material accommodation chamber 200 with the lid member 23 removed. In the present embodiment, ink is injected into the printing material accommodation chamber 200 in a state where the through passage 33 does not penetrate the flow passage chamber 252. That is, before the ink is injected, the penetration path 33 and the flow path chamber 252 shown in FIG. 22 do not penetrate and are partitioned by the wall, and the ink is injected in this state. . In this way, when ink is injected into the printing material storage chamber 200, it is possible to reduce the possibility of ink leaking outside through the second communication path 310. In addition, when ink is injected in a state where the through passage 33 and the flow passage chamber 252 penetrate, the communication port 32 may be closed with a stopper or a seal.

図23及び図24に示すように、空気導入口47を封止部材560で塞いだ状態で、印刷材供給口280から印刷材収容室200の空気を吸い込んで、印刷材収容室200内を減圧する(ステップS10)。例えば、開口端288を塞ぐように吸引装置(図示せず)を配置して、印刷材供給口280から印刷材収容室200内を吸引する。   As shown in FIGS. 23 and 24, the air in the printing material storage chamber 200 is sucked from the printing material supply port 280 in a state where the air introduction port 47 is closed with the sealing member 560, and the inside of the printing material storage chamber 200 is decompressed. (Step S10). For example, a suction device (not shown) is disposed so as to close the opening end 288, and the inside of the printing material storage chamber 200 is sucked from the printing material supply port 280.

ステップS10の後に、印刷材供給口280から印刷材収容室200に所定量のインクを注入する(ステップS20)。ステップS20は、例えば、インクを収容するタンクと印刷材供給口280とを接続し、タンクからポンプ等を用いて印刷材供給口280にインクを流入させることで行なう。このインク注入装置と吸引装置は一体となったユニット装置として用いても良い。   After step S10, a predetermined amount of ink is injected from the printing material supply port 280 into the printing material storage chamber 200 (step S20). Step S20 is performed, for example, by connecting a tank for storing ink and the printing material supply port 280, and causing the ink to flow from the tank to the printing material supply port 280 using a pump or the like. The ink injection device and the suction device may be used as an integrated unit device.

図23に示すように、ステップS20の後に、第2の連通路310を形成する(ステップS30)。第2の連通路310は、例えば、針状の部材で貫通路33と流路室252とを仕切っていた壁を突き破ることで作成できる。なお、ステップS20やステップS30の後に、封止部材560を取り除いて蓋部材23を容器本体部材21に取り付ける。これにより、インクが印刷材収容室200に収容されたカートリッジ20が製造できる。   As shown in FIG. 23, after step S20, the second communication path 310 is formed (step S30). The second communication path 310 can be created, for example, by breaking through a wall that partitions the through passage 33 and the flow path chamber 252 with a needle-like member. After step S20 or step S30, the sealing member 560 is removed and the lid member 23 is attached to the container body member 21. Thereby, the cartridge 20 in which the ink is accommodated in the printing material accommodation chamber 200 can be manufactured.

A−7.効果:
上記の実施形態では、印刷材収容室200を形成するための第1のシート部材291と蓋部材23との間に第2のシート部材295が配置されている(図15、図16)。言い換えると、第2のシート部材295の少なくとも一部が、第1のシート部材291と対向する位置に設けられている。これにより、第1のシート部材291が受圧板293と共に外力によって蓋部材23側に動いた場合でも、第1のシート部材291が直接蓋部材23に接触する可能性を低減できる。これにより、第1のシート部材291が破れる可能性を低減できる。また、第1のシート部材291が蓋部材23に接触した場合でも、第2のシート部材295が緩衝材の役割を果たし、第1のシート部材291が破れる可能性を低減できる。また、空気を印刷材収容室200に導入するための第1の連通路315の一部を、蓋部材23のうち第1のシート部材291と対向する位置に設けることで、第2のシート部材295は、2つの役割を兼ねることができる。すなわち、第2のシート部材295は、第1のシート部材291が破れることを防止するための緩衝材としての役割と、第1の連通路315を形成するための部材としての役割の2つを兼ねる。これにより、別々にシート部材を設ける必要が無い。
A-7. effect:
In the above-described embodiment, the second sheet member 295 is disposed between the first sheet member 291 and the lid member 23 for forming the printing material accommodation chamber 200 (FIGS. 15 and 16). In other words, at least a part of the second sheet member 295 is provided at a position facing the first sheet member 291. Thereby, even when the first sheet member 291 moves to the lid member 23 side by an external force together with the pressure receiving plate 293, the possibility that the first sheet member 291 directly contacts the lid member 23 can be reduced. Thereby, the possibility that the first sheet member 291 is torn can be reduced. Further, even when the first sheet member 291 contacts the lid member 23, the second sheet member 295 serves as a cushioning material, and the possibility that the first sheet member 291 is broken can be reduced. Further, by providing a part of the first communication path 315 for introducing air into the printing material accommodation chamber 200 at a position facing the first sheet member 291 in the lid member 23, the second sheet member is provided. 295 can also serve two roles. That is, the second sheet member 295 has two roles as a cushioning material for preventing the first sheet member 291 from being torn and a member as a member for forming the first communication path 315. I also serve. Thereby, it is not necessary to provide a sheet member separately.

ここで、蓋部材23の対向面23fbのうち、第2のシート部材295が貼り付けられた部分には溝部261が形成されている(図18)。対向面23fbのうち、溝部261が形成された部分は凹凸形状である。このため、特に、溝部261が形成された領域に第1のシート部材291が接触すると、溝部261の角によって第1のシート部材291が破れやすい。しかしながら、本実施形態では、溝部261を覆うように第2のシート部材が貼り付けられていることから、第1のシート部材291が溝部261に当たって破れる可能性を低減できる。   Here, the groove part 261 is formed in the part where the 2nd sheet | seat member 295 was affixed among the opposing surfaces 23fb of the cover member 23 (FIG. 18). Of the facing surface 23fb, the portion where the groove 261 is formed has an uneven shape. For this reason, in particular, when the first sheet member 291 comes into contact with the region where the groove portion 261 is formed, the first sheet member 291 is easily broken by the corners of the groove portion 261. However, in this embodiment, since the 2nd sheet member is affixed so that the groove part 261 may be covered, possibility that the 1st sheet member 291 will hit the groove part 261 and torn can be reduced.

ここで、第1のシート部材291は受圧板293の動きに連動して動く傾向にある。よって、第1のシート部材291のうち受圧板293の周縁部に位置する部分は、変位が大きくなり蓋部材23に当たって破れやすくなる。よって、第2のシート部材295は、受圧板293の周縁部の少なくとも一部と対向する位置に配置されることが好ましい。さらに、第2のシート部材295は、受圧板293の周縁部の全ての部分に対向した位置に配置されることが好ましい。   Here, the first sheet member 291 tends to move in conjunction with the movement of the pressure receiving plate 293. Therefore, the portion of the first sheet member 291 located at the peripheral edge of the pressure receiving plate 293 is displaced greatly and hits the lid member 23 and is easily broken. Therefore, it is preferable that the second sheet member 295 is disposed at a position facing at least a part of the peripheral edge portion of the pressure receiving plate 293. Furthermore, it is preferable that the second sheet member 295 is disposed at a position facing all the peripheral portions of the pressure receiving plate 293.

また、上記実施形態では、蓋部材23のうち溝部261が位置する厚肉部分267は、他の部分(薄肉部分)269よりも厚さが大きい(図18)。こうすることで、溝部261内に侵入したインク中の水分や溶媒(以下、「水分等」として説明する。)が蓋部材を厚さ方向に通り抜けて外部へと流出することを抑制できる。図26及び図27を用いて、この理由を以下に詳述する。   Moreover, in the said embodiment, the thick part 267 in which the groove part 261 is located among the cover members 23 is thicker than the other part (thin part) 269 (FIG. 18). By doing so, it is possible to suppress the moisture and solvent in the ink that has entered the groove 261 (hereinafter referred to as “moisture”) from flowing out through the lid member in the thickness direction. The reason for this will be described in detail below with reference to FIGS.

図26は、効果を説明するための第1の図である。図27は、効果を説明するための第2の図である。図26は、比較例であり、本実施形態とは異なり、第2のシート部材295が表面23faに貼り付けられている態様である。図27は、本実施形態と同様に、第2のシート部材295が裏面23fbに貼り付けられている態様である。また、図26に図示する蓋部材23の厚みは一定であり、厚さAを有するものとする。また、図26に図示する蓋部材23は、溝部261が深さDを有する。また、蓋部材23の溝部261の底部から対向する蓋部材23の面までの距離を距離B1とする。   FIG. 26 is a first diagram for explaining the effect. FIG. 27 is a second diagram for explaining the effect. FIG. 26 is a comparative example, and is a mode in which the second sheet member 295 is attached to the surface 23fa, unlike the present embodiment. FIG. 27 shows a mode in which the second sheet member 295 is attached to the back surface 23fb, as in the present embodiment. Further, the thickness of the lid member 23 shown in FIG. 26 is constant and has a thickness A. In addition, the cover member 23 illustrated in FIG. The distance from the bottom of the groove 261 of the lid member 23 to the surface of the facing lid member 23 is a distance B1.

図26及び図27の矢印YPに示すように、印刷材収容室200内のインクが蒸発することで蒸気となった水分等は、収容室200内から第1のシート部材295を透過して、あるいは空気導入口47を介して、空気室241内に拡散する。空気室241内に拡散した蒸気は、内部連通路262を通じて通気口291から出て行くだけでなく、内部連通路262から蓋部材23を厚さ方向に通り抜けて出ていくこともある。ここで、表面23faに第2のシート部材295が貼られている場合は、蒸気が内部連通路262から蓋部材23を厚さ方向に通り抜けようとしても第2のシート部材295によって妨げられる。   As shown by an arrow YP in FIG. 26 and FIG. 27, moisture or the like that has become vapor due to evaporation of the ink in the printing material storage chamber 200 passes through the first sheet member 295 from the storage chamber 200, Alternatively, it diffuses into the air chamber 241 through the air inlet 47. The steam diffused into the air chamber 241 may not only exit from the vent 291 through the internal communication path 262 but also pass through the lid member 23 from the internal communication path 262 in the thickness direction. Here, when the second sheet member 295 is attached to the surface 23fa, the second sheet member 295 is obstructed even if steam tries to pass through the lid member 23 from the internal communication path 262 in the thickness direction.

これに対し、図27に示すように、第2のシート部材295が対向面23fbに貼られている場合は、蒸気が内部連通路262から蓋部材23を厚さ方向にそのまま通り抜けることができる。そこで、本実施形態では、溝部261が位置する蓋部材23の厚さを薄肉部分269の厚さよりも大きくすることで、蒸気が内部連通路262から蓋部材23を厚さ方向に通り抜けにくくしている。例えば、図27では、厚肉部分267の厚さは厚さCであり、溝部261の底部から対向する面(表面23fa)までの距離は、距離B2である。ここで、B2>B1の関係を満たす。こうすることで、蒸気が外部に流出することを抑制でき、インク中の水分等の蒸発を抑制することが可能となる。これにより、印刷材収容室200のインクの濃度変動を抑制できる。   On the other hand, as shown in FIG. 27, when the second sheet member 295 is attached to the facing surface 23fb, steam can pass through the lid member 23 from the internal communication path 262 in the thickness direction as it is. Therefore, in the present embodiment, by making the thickness of the lid member 23 where the groove portion 261 is located larger than the thickness of the thin portion 269, it is difficult for steam to pass through the lid member 23 from the internal communication path 262 in the thickness direction. Yes. For example, in FIG. 27, the thickness of the thick portion 267 is the thickness C, and the distance from the bottom of the groove 261 to the opposing surface (surface 23fa) is the distance B2. Here, the relationship of B2> B1 is satisfied. By doing so, it is possible to suppress the outflow of vapor to the outside, and it is possible to suppress evaporation of moisture and the like in the ink. Thereby, the ink density fluctuation in the printing material storage chamber 200 can be suppressed.

また、本実施形態では、第2のシート部材295の延長部分295aが、連結部264と重なる位置に配置されている(図18)。すなわち、延長部分295aが、連結部264を覆うように、連結部264と対向している。延長部分295aは、対向面23fbに取り付けられていない。これにより、連結部264を介して空気の導入を円滑に行うことができる一方、連結部264から内部連通路262を通って外部にインクが流出する可能性を低減できる。   In the present embodiment, the extended portion 295a of the second sheet member 295 is disposed at a position overlapping the connecting portion 264 (FIG. 18). That is, the extended portion 295a faces the connecting portion 264 so as to cover the connecting portion 264. The extension portion 295a is not attached to the facing surface 23fb. Accordingly, air can be smoothly introduced through the connecting portion 264, while the possibility that ink flows out from the connecting portion 264 through the internal communication path 262 can be reduced.

また、本実施形態では、連結部264の流路断面積は、内部連通路262の流路断面積よりも大きい(図18)。これにより、外部からの空気の導入を、より円滑に行うことができる。   Moreover, in this embodiment, the flow path cross-sectional area of the connection part 264 is larger than the flow path cross-sectional area of the internal communication path 262 (FIG. 18). Thereby, the introduction of air from the outside can be performed more smoothly.

また、本実施形態では、内部連通路262が180°屈曲した部分を有する蛇行路である(図18)。これにより、狭い領域内で内部連通路262の距離を長くできる。よって、インクが内部連通路262を通って外部に流出することを抑制できる。   In the present embodiment, the internal communication path 262 is a meandering path having a portion bent by 180 ° (FIG. 18). Thereby, the distance of the internal communication path 262 can be lengthened within a narrow region. Therefore, the ink can be prevented from flowing out through the internal communication path 262.

また、本実施形態では、蓋部材23の対向面23fbには、印刷材収容室200内に配置された仕切壁22rと対向する凸部266,268が設けられている(図19)。これにより、外力により蓋部材23がカートリッジ20の内方に変形しようとした場合でも、凸部266,268が仕切壁22rの端部22rpに当たることで蓋部材23の変形を抑制できる。   In the present embodiment, the facing surface 23fb of the lid member 23 is provided with convex portions 266 and 268 facing the partition wall 22r disposed in the printing material accommodation chamber 200 (FIG. 19). Thereby, even when the lid member 23 is going to deform inward of the cartridge 20 by an external force, the deformation of the lid member 23 can be suppressed by the convex portions 266 and 268 hitting the end portion 22rp of the partition wall 22r.

図28は、凸部266,268の効果を説明するための図である。蓋部材23の外縁部23pが接着される容器本体部材21の容器側外縁部21pは、第1のシート部材291が接着される内側端部21tや仕切壁22rの端部22rpよりも+Y軸方向側に位置する。これは、蓋部材23と第1のシート部材291とが擦れて第1のシート部材291が破れることを防止するために、第1のシート部材291と蓋部材23との間に所定の間隔をあけるためである。特に、第1のシート部材291のうち、内側端部21tに接着された部分が破れると、破れた部分から印刷材収容室200の外側にインクが漏れ出す可能性が高くなる。   FIG. 28 is a diagram for explaining the effects of the convex portions 266 and 268. The container side outer edge portion 21p of the container main body member 21 to which the outer edge portion 23p of the lid member 23 is bonded is more in the + Y-axis direction than the inner end portion 21t to which the first sheet member 291 is bonded and the end portion 22rp of the partition wall 22r. Located on the side. This is because a predetermined distance is provided between the first sheet member 291 and the lid member 23 in order to prevent the lid member 23 and the first sheet member 291 from rubbing and the first sheet member 291 from being broken. It is for opening. In particular, if a portion of the first sheet member 291 bonded to the inner end 21t is torn, there is a high possibility that ink leaks from the torn portion to the outside of the printing material storage chamber 200.

ここで、カートリッジ20の蓋部材23上に他の物が置かれた場合や、カートリッジ20が減圧された包装材に収容された場合には、蓋部材23をカートリッジ20の内方に変形させる外力Fが加わる。本実施形態では、蓋部材23は、蓋部材23の外縁部23pよりも内側に位置し、仕切壁22rと対向する凸部266,268を有する。これにより、蓋部材23に外力Fが加わった場合でも、凸部266,268が端部22rpに当接することで、蓋部材23の変形を抑制できる。   Here, when another object is placed on the lid member 23 of the cartridge 20 or when the cartridge 20 is accommodated in a decompressed packaging material, an external force that deforms the lid member 23 inward of the cartridge 20 is used. F is added. In the present embodiment, the lid member 23 has convex portions 266 and 268 that are located on the inner side of the outer edge portion 23p of the lid member 23 and face the partition wall 22r. Accordingly, even when an external force F is applied to the lid member 23, the deformation of the lid member 23 can be suppressed by the convex portions 266 and 268 coming into contact with the end portion 22rp.

また、本実施形態では、図19および図21から把握できるように、蓋部材23の溝部261の土手261aの一部が、印刷材収容室200を区画形成する周囲壁の一部と対向している。具体的には、溝部261の土手261a(図19参照)の一部が、印刷材収容室200を区画形成する周囲壁の内側端部21tと対向する。すなわち、蓋部材23の外縁部23pよりも内側の部分で、蓋部材23を支持できる箇所を増やすことができる。これにより、蓋部材23をカートリッジ20の内方に変形させる外力Fが蓋部材23に加わった場合でも、溝部261の土手261aが印刷材収容室200の周囲壁の内側端部21tに当たることで蓋部材23の変形をさらに抑制できる。   In this embodiment, as can be understood from FIGS. 19 and 21, a part of the bank 261 a of the groove part 261 of the lid member 23 faces a part of the peripheral wall that defines the printing material accommodation chamber 200. Yes. Specifically, a part of the bank 261a (see FIG. 19) of the groove portion 261 is opposed to the inner end portion 21t of the surrounding wall that defines the printing material accommodation chamber 200. That is, it is possible to increase the number of places where the lid member 23 can be supported in the portion inside the outer edge portion 23p of the lid member 23. As a result, even when an external force F that deforms the lid member 23 inward of the cartridge 20 is applied to the lid member 23, the bank 261 a of the groove portion 261 hits the inner end 21 t of the peripheral wall of the printing material accommodation chamber 200, thereby closing the lid. The deformation of the member 23 can be further suppressed.

また、蓋部材23の対向面23fb側に内部連通路262を形成する。これにより、カートリッジ20の外観の美感が損なわれることを抑制できる。特に、第2のシート部材295をカートリッジ20の外表面に貼り付けなくて済む。これにより、カートリッジ20の美感が損なわれることをさらに抑制できる。   Further, an internal communication path 262 is formed on the facing surface 23 fb side of the lid member 23. Thereby, it can suppress that the beauty | look of the external appearance of the cartridge 20 is impaired. In particular, the second sheet member 295 need not be attached to the outer surface of the cartridge 20. Thereby, it can further suppress that the aesthetics of the cartridge 20 are impaired.

B.印刷材供給口にキャップを取り付けたカートリッジ:
図29は、キャップ付きカートリッジ13の斜視図である。図29は、カートリッジ20と、キャップ71とを備える。カートリッジ20は、第1実施形態のカートリッジ20と同一の構成である。キャップ71は、カートリッジ20(キャップ付きの場合は、「カートリッジ本体20」とも呼ぶ。)に着脱可能に取り付けられている。また、キャップ71は、開口端288の開口を塞ぐように取り付けられている。キャップ71は、カートリッジ20がプリンター50に装着されていないとき、例えば運搬中、販売中、ホルダー60から一時的にカートリッジ20を取り外したときなどに、印刷材供給口280(図4等)からインクが漏れ出すのを防ぐためのものである。キャップ71は、カートリッジ20をプリンター50に装着する際に、使用者によって取り外される。キャップ71は、レバー72と、キャップ本体74とを備える。レバー72は、キャップ71をカートリッジ本体20から取り外す際に利用される。すなわち、利用者は、レバー72を摘まんでキャップを取り外すことができる。キャップ本体74は、内側に弾性部材(図示せず)が収容され、弾性部材によって開口端288の開口を塞ぐ。
B. Cartridge with cap attached to printing material supply port:
FIG. 29 is a perspective view of the cartridge 13 with a cap. FIG. 29 includes a cartridge 20 and a cap 71. The cartridge 20 has the same configuration as the cartridge 20 of the first embodiment. The cap 71 is detachably attached to the cartridge 20 (also referred to as “cartridge body 20” when the cap is attached). The cap 71 is attached so as to close the opening of the opening end 288. When the cartridge 20 is not attached to the printer 50, for example, when the cartridge 20 is temporarily removed from the holder 60 during transportation, sale, or the like, the cap 71 is used for ink from the printing material supply port 280 (FIG. 4, etc.). Is to prevent leakage. The cap 71 is removed by the user when the cartridge 20 is attached to the printer 50. The cap 71 includes a lever 72 and a cap body 74. The lever 72 is used when the cap 71 is removed from the cartridge body 20. That is, the user can pick the lever 72 and remove the cap. The cap body 74 accommodates an elastic member (not shown) inside and closes the opening of the opening end 288 by the elastic member.

キャップ付きカートリッジ13によれば、カートリッジ20がプリンター50に装着されていないときに、開口端288からインクが漏れ出す可能性を低減できる。   According to the cap-equipped cartridge 13, it is possible to reduce the possibility of ink leaking from the open end 288 when the cartridge 20 is not attached to the printer 50.

C.包装されたカートリッジ:
図30は、図29のキャップ付きカートリッジ13を包装材8によって包装した状態を示す斜視図である。包装材8の内部の圧力は、大気圧よりもかなり低い圧力まで減圧された状態となっている。すなわち、キャップ付きカートリッジ13は、包装材8によって減圧パックされている。このような減圧パックは、カートリッジ100を一部が開口した包装材8の中に配置した後、開口から包装材8の内部の空気を引き抜くことで減圧し、その状態を保持したまま包装材8の開口を閉じることで、形成できる。包装材8は、例えばポリエチレンやナイロン等の合成樹脂によって作製される。
C. Packaged cartridge:
FIG. 30 is a perspective view showing a state in which the cap-equipped cartridge 13 of FIG. The pressure inside the packaging material 8 is in a state where the pressure is reduced to a pressure considerably lower than the atmospheric pressure. In other words, the cap-equipped cartridge 13 is packed under reduced pressure by the packaging material 8. In such a decompression pack, after the cartridge 100 is disposed in the packaging material 8 partially opened, the pressure is reduced by extracting air inside the packaging material 8 from the opening, and the packaging material 8 is maintained while the state is maintained. It can be formed by closing the opening. The packaging material 8 is made of a synthetic resin such as polyethylene or nylon.

上記のように、本実施形態の包装されたカートリッジ14は、包装材8の内部が大気圧よりも低い圧力に減圧されていることから、カートリッジ20内部のインクの溶存気体量の低減を図ることができる。   As described above, the packaged cartridge 14 of the present embodiment is designed to reduce the amount of dissolved gas in the ink inside the cartridge 20 because the inside of the packaging material 8 is depressurized to a pressure lower than the atmospheric pressure. Can do.

D.変形例:
なお、上記実施形態における構成要素の中の、特許請求の範囲の独立項に記載した要素以外の要素は、付加的な要素であり、適宜省略可能である。また、本発明の上記実施形態に限られるものではなく、その要旨を逸脱しない範囲において種々の形態において実施することが可能であり、例えば次のような変形も可能である。
D. Variations:
In addition, elements other than the elements described in the independent claims of the claims in the constituent elements in the embodiment are additional elements and can be omitted as appropriate. Further, the present invention is not limited to the above-described embodiment, and can be implemented in various forms without departing from the gist thereof. For example, the following modifications are possible.

D−1.第1変形例:
図31は、第1変形例のカートリッジ20aを説明するための図である。第1実施形態のカートリッジ20(図20)と異なる点は、バッファ室250aの容積が小さくなった点と、バッファ室250aを設ける為に新たに区画壁251を設けた点である。その他の構成については第1実施例と同様であるため、同様の構成については同一符号を付すと共に説明を省略する。
D-1. First modification:
FIG. 31 is a view for explaining the cartridge 20a of the first modified example. The difference from the cartridge 20 (FIG. 20) of the first embodiment is that the volume of the buffer chamber 250a is reduced and a partition wall 251 is newly provided to provide the buffer chamber 250a. Since the other configuration is the same as that of the first embodiment, the same configuration is denoted by the same reference numeral and the description thereof is omitted.

図31のように、区画壁251を設けることで、バッファ室250aの大きさを容易に変更できる。すなわち、第1実施形態のカートリッジ20の容器本体部材21を形成するための金型に、区画壁251を形成するための入れ子を組み合わせることで、第1実施形態とは容積の異なるバッファ室250aを有する容器本体部材21aを容易に一体成形できる。第1変形例のカートリッジ20aも、先に図29や図30を参照して説明したように、キャップ71を取り付けたり、さらに包装材8によって減圧パックしたりすることが可能である。   As shown in FIG. 31, by providing the partition wall 251, the size of the buffer chamber 250a can be easily changed. That is, by combining the mold for forming the container main body member 21 of the cartridge 20 of the first embodiment with the insert for forming the partition wall 251, the buffer chamber 250 a having a volume different from that of the first embodiment can be obtained. The container main body member 21a can be easily formed integrally. As described above with reference to FIGS. 29 and 30, the cartridge 20 a of the first modified example can also be attached with the cap 71 and further packed under reduced pressure with the packaging material 8.

D−2.第2変形例:
図32Aおよび図32Bは、カートリッジの形状の種々の変形例を示す概念図である。図32Aおよび図32Bには、カートリッジ20cおよび20fの第5面205側を図示している。
D-2. Second modification:
32A and 32B are conceptual diagrams showing various modifications of the shape of the cartridge. 32A and 32B show the fifth surface 205 side of the cartridges 20c and 20f.

図32Aに示すカートリッジ20cの外殻22cは、楕円形又は長円形の側面を有している。また、カートリッジ20cは、その正面側に第1のカートリッジ側規制部210と、回路基板15とを有する。また、カートリッジ20cの底面側には、印刷材供給口280が形成されており、背面側には第2のカートリッジ側規制部220が形成されている。このカートリッジ20cでも、第1と第2のカートリッジ側規制部210,220と、回路基板15と、印刷材供給口280とが、プリンター50の対応する部材と接続するように構成されていれば、上記のカートリッジ20,20aと互換性を確保することが可能である。   The outer shell 22c of the cartridge 20c shown in FIG. 32A has an oval or oval side surface. Further, the cartridge 20c has a first cartridge side regulating portion 210 and a circuit board 15 on the front side thereof. Further, a printing material supply port 280 is formed on the bottom surface side of the cartridge 20c, and a second cartridge side regulating portion 220 is formed on the back surface side. Even in the cartridge 20c, if the first and second cartridge side regulating portions 210 and 220, the circuit board 15, and the printing material supply port 280 are configured to be connected to corresponding members of the printer 50, Compatibility with the cartridges 20 and 20a can be ensured.

図32Bに示すカートリッジ20fは第7面を有さない点や、第2面と第3面の交わるコーナー部分が切除されたような形状になっている点でカートリッジ20,20aと異なる。これらのカートリッジ20c,20fにおいても、第1と第2のカートリッジ側規制部210,220と、回路基板15と、印刷材供給口280とがプリンター50の対応する部材と接続するように構成されており、上記のカートリッジ20,20aと互換性を確保することが可能である。   The cartridge 20f shown in FIG. 32B is different from the cartridges 20 and 20a in that the cartridge 20f does not have a seventh surface and has a shape in which a corner portion where the second surface and the third surface intersect is cut off. These cartridges 20c and 20f are also configured such that the first and second cartridge side regulating portions 210 and 220, the circuit board 15, and the printing material supply port 280 are connected to corresponding members of the printer 50. Therefore, it is possible to ensure compatibility with the cartridges 20 and 20a.

図32Aおよび図32Bに示した例から理解できるように、カートリッジの外形の形状には、様々な変形例が考えられる。カートリッジの外形の形状が略直方体以外の形状を有している場合にも、例えば図32A及び図32Bに点線で示したように、略直方体の6つの面、すなわち、図4〜図11に示した底面201(第1面201)、上面202(第2面202)、正面203(第3面203)、背面204(第4面204)、左側面205(第5面205)、及び右側面206(第6面206)、を仮想的に考えることが可能である。本明細書において、「面」(プレーン)という用語は、このような仮想的な面(仮想面、非実在面とも呼ぶ)と、図4〜図11等に記載したような実在面と、の両方を包含した意味で使用することができる。また、「面」という用語は、平面と曲面の両方を包含した意味で使用される。   As can be understood from the examples shown in FIGS. 32A and 32B, various modifications can be considered for the outer shape of the cartridge. Even when the outer shape of the cartridge has a shape other than a substantially rectangular parallelepiped, for example, as shown by dotted lines in FIGS. 32A and 32B, six surfaces of the substantially rectangular parallelepiped, that is, shown in FIGS. Bottom surface 201 (first surface 201), upper surface 202 (second surface 202), front surface 203 (third surface 203), back surface 204 (fourth surface 204), left side surface 205 (fifth surface 205), and right side surface 206 (sixth surface 206) can be virtually considered. In this specification, the term “plane” refers to such a virtual plane (also called a virtual plane or a non-existing plane) and a real plane as described in FIGS. It can be used in the meaning including both. Further, the term “surface” is used to include both a flat surface and a curved surface.

D−3.第3変形例:
本発明は、インクジェットプリンター及びそのインクカートリッジに限らず、インク以外の他の液体を消費する任意の液体噴射装置及びそれらの液体噴射装置に用いられるカートリッジ(液体収容容器)にも適用することができる。例えば、以下のような各種の液体噴射装置に用いられるカートリッジとして本発明は適用可能である。
(1)ファクシミリ装置等の画像記録装置
(2)液晶ディスプレイ等の画像表示装置用のカラーフィルタの製造に用いられる色材噴射装置
(3)有機EL(Electro Luminescence)ディスプレイや、面発光ディスプレイ (Field Emission Display、FED)等の電極形成に用いられる電極材噴射装置
(4)バイオチップ製造に用いられる生体有機物を含む液体を噴射する液体噴射装置
(5)精密ピペットとしての試料噴射装置
(6)潤滑油の噴射装置
(7)樹脂液の噴射装置
(8)時計やカメラ等の精密機械にピンポイントで潤滑油を噴射する液体噴射装置
(9)光通信素子等に用いられる微小半球レンズ(光学レンズ)などを形成するために紫外線硬化樹脂液等の透明樹脂液を基板上に噴射する液体噴射装置
(10)基板などをエッチングするために酸性又はアルカリ性のエッチング液を噴射する液体噴射装置
(11)他の任意の微小量の液滴を吐出させる液体消費ヘッドを備える液体噴射装置
D-3. Third modification:
The present invention can be applied not only to an ink jet printer and its ink cartridge, but also to any liquid ejecting apparatus that consumes liquid other than ink and cartridges (liquid storage containers) used in those liquid ejecting apparatuses. . For example, the present invention can be applied as a cartridge used in the following various liquid ejecting apparatuses.
(1) Image recording device such as a facsimile machine (2) Color material injection device used for manufacturing a color filter for an image display device such as a liquid crystal display (3) Organic EL (Electro Luminescence) display, surface emitting display (Field Electrode material injection device used for electrode formation such as Emission Display (FED), etc. (4) Liquid injection device for injecting liquid containing biological organic material used for biochip manufacturing (5) Sample injection device as a precision pipette (6) Lubrication Oil injection device (7) Resin liquid injection device (8) Liquid injection device for injecting lubricating oil pinpoint to precision machines such as watches and cameras (9) Micro hemispherical lenses (optical lenses) used in optical communication elements, etc. ), Etc., to inject a transparent resin liquid such as an ultraviolet curable resin liquid onto the substrate (10) Acid or to etch the substrate A liquid ejecting apparatus that ejects alkaline of the etching solution (11) any other liquid ejecting apparatus comprising a liquid consumption head for discharging minute liquid droplets

なお、「液滴」とは、液体噴射装置から吐出される液体の状態をいい、粒状、涙状、糸状に尾を引くものも含むものとする。また、ここでいう「液体」とは、液体噴射装置が消費できるような材料であれば良い。例えば、「液体」は、物質が液相であるときの状態の材料であれば良く、粘性の高い又は低い液状態の材料、及び、ゾル、ゲル水、その他の無機溶剤、有機溶剤、溶液、液状樹脂、液状金属(金属融液)のような液状態の材料も「液体」に含まれる。また、物質の一状態としての液体のみならず、顔料や金属粒子などの固形物からなる機能材料の粒子が溶媒に溶解、分散または混合されたものなども「液体」に含まれる。また、液体の代表的な例としては上記実施形態で説明したようなインクや液晶等が挙げられる。ここで、インクとは一般的な水性インクおよび油性インク並びにジェルインク、ホットメルトインク等の各種の液体状組成物を包含するものとする。   The “droplet” refers to the state of the liquid ejected from the liquid ejecting apparatus, and includes those that have tails in the form of particles, tears, and threads. The “liquid” here may be any material that can be consumed by the liquid ejecting apparatus. For example, the “liquid” may be a material in a state in which the substance is in a liquid phase, such as a material in a liquid state having high or low viscosity, and sol, gel water, other inorganic solvents, organic solvents, solutions, Liquid materials such as liquid resins and liquid metals (metal melts) are also included in the “liquid”. Further, “liquid” includes not only a liquid as one state of a substance but also a liquid obtained by dissolving, dispersing or mixing particles of a functional material made of a solid such as a pigment or metal particles in a solvent. Further, representative examples of the liquid include ink and liquid crystal as described in the above embodiment. Here, the ink includes various liquid compositions such as general water-based ink and oil-based ink, gel ink, and hot-melt ink.

10…印刷材供給システム
13…キャップ付きカートリッジ
14…包装されたカートリッジ
15…回路基板
20…カートリッジ(カートリッジ本体)
20a〜20h…カートリッジ
21,21a…容器本体部材
21p…容器側外縁部
21t…内側端部
22…外殻
22c…外殻
22r…仕切壁
22rp…端部(端面)
23…蓋部材
23p…外縁部
23fa…表面
23fb…裏面(対向面)
30…供給用部材
31…印刷材出口
32…連通口
33…貫通路
34…フォーム
36…シート部材
40…弁機構
41…端面
42…コイルばね(バネ部材)
43…弁部
44…レバーバルブ
46…カバーバルブ
47…内部空気導入口
49…レバー部
50…プリンター
51…制御部
52…キャリッジ
57…検出部
60…ホルダー
61…接点機構
71…キャップ
72…レバー
74…キャップ本体
75…プリズム
80…レバー
90…印刷媒体
200…印刷材収容室
201…第1面(底面)
202…第2面(上面)
203…第3面(正面)
204…第4面(背面)
205…第5面(左側面)
206…第6面(右側面,対向壁)
207…第7面
208…第8面
210…第1のカートリッジ側規制部
221…第2のカートリッジ側規制部
222…開口
240…コーナー部分
241…空気室
242…メイン室
244…検出室
246…接続路
248…保持流路
250…バッファ室
250a…バッファ室
251…区画壁
252…流路室
261…溝部
262…内部連通路
264…連結部
266…凸部
267…厚肉部分
268…凸部
269…薄肉部分
270…プリズムユニット
271…表面
277…印刷材連通孔
278…開口部
280…印刷材供給口
288…開口端
289…内部室(空間)
290…通気口
291…第1のシート部材
292…貫通孔
293…受圧板
294…コイルばね
295…第2のシート部材
295a…延長部分
298…シート部材
310…第1の連通路
315…第2の連通路
510…制御部
517…フレキシブルケーブル
520…キャリッジ
522…キャリッジモーター
524…駆動ベルト
532…搬送モーター
534…プラテン
540…ヘッド
560…封止部材
601…壁部
602…カートリッジ装着部
604…壁部
607…仕切り壁
620…第2の装置側規制部
640…印刷材供給管
642…先端部
645…基端部
648…弾性部材
C…中心軸
F…外力
DESCRIPTION OF SYMBOLS 10 ... Printing material supply system 13 ... Cartridge with cap 14 ... Packaged cartridge 15 ... Circuit board 20 ... Cartridge (cartridge main body)
20a to 20h ... cartridge 21, 21a ... container body member 21p ... container side outer edge 21t ... inner end 22 ... outer shell 22c ... outer shell 22r ... partition wall 22rp ... end (end face)
23 ... Lid member 23p ... Outer edge portion 23fa ... Front surface 23fb ... Back surface (opposing surface)
DESCRIPTION OF SYMBOLS 30 ... Supply member 31 ... Printing material exit 32 ... Communication port 33 ... Through-passage 34 ... Form 36 ... Sheet member 40 ... Valve mechanism 41 ... End surface 42 ... Coil spring (spring member)
DESCRIPTION OF SYMBOLS 43 ... Valve part 44 ... Lever valve 46 ... Cover valve 47 ... Internal air introduction port 49 ... Lever part 50 ... Printer 51 ... Control part 52 ... Carriage 57 ... Detection part 60 ... Holder 61 ... Contact mechanism 71 ... Cap 72 ... Lever 74 ... Cap body 75 ... Prism 80 ... Lever 90 ... Print medium 200 ... Printing material accommodation chamber 201 ... First surface (bottom surface)
202 ... 2nd surface (upper surface)
203 ... Third surface (front)
204 ... 4th surface (back)
205 ... Fifth surface (left side)
206 ... 6th surface (right side, opposite wall)
207: Seventh surface 208: Eighth surface 210: First cartridge side regulating portion 221: Second cartridge side regulating portion 222 ... Opening 240 ... Corner portion 241 ... Air chamber 242 ... Main chamber 244 ... Detection chamber 246 ... Connection Path 248 ... Holding channel 250 ... Buffer chamber 250a ... Buffer chamber 251 ... Partition wall 252 ... Channel chamber 261 ... Groove 262 ... Internal communication channel 264 ... Connection portion 266 ... Convex portion 267 ... Thick portion 268 ... Convex portion 269 ... Thin portion 270 ... Prism unit 271 ... Surface 277 ... Printing material communication hole 278 ... Opening portion 280 ... Printing material supply port 288 ... Open end 289 ... Internal chamber (space)
290 ... Vent 291 ... First sheet member 292 ... Through hole 293 ... Pressure receiving plate 294 ... Coil spring 295 ... Second sheet member 295a ... Extension part 298 ... Sheet member 310 ... First communication path 315 ... Second Communication path 510 ... Control unit 517 ... Flexible cable 520 ... Carriage 522 ... Carriage motor 524 ... Drive belt 532 ... Conveyance motor 534 ... Platen 540 ... Head 560 ... Sealing member 601 ... Wall part 602 ... Cartridge mounting part 604 ... Wall part 607 ... partition wall 620 ... second apparatus side regulating part 640 ... printing material supply pipe 642 ... distal end part 645 ... base end part 648 ... elastic member C ... central axis F ... external force

Claims (2)

印刷装置に供給する印刷材を収容するためのカートリッジであって、
開口を有する凹形状の容器本体部材と、前記容器本体部材の開口を塞ぐように取り付けられた蓋部材と、を有する外殻と、
前記外殻の内部に設けられた印刷材を収容する印刷材収容室と、
を備え、
前記印刷材収容室は、メイン室と、前記メイン室よりも容積が小さいバッファ室と、を有し、
前記容器本体部材は、前記メイン室とバッファ室とを仕切る仕切壁を有し、
前記蓋部材の、前記印刷材収容室側の面に、前記仕切壁の少なくとも一部と対向する凸部が設けられる、カートリッジ。
A cartridge for storing a printing material to be supplied to a printing apparatus,
An outer shell having a concave container body member having an opening, and a lid member attached to close the opening of the container body member;
A printing material storage chamber for storing a printing material provided inside the outer shell;
With
The printing material storage chamber has a main chamber and a buffer chamber having a smaller volume than the main chamber,
The container body member has a partition wall that partitions the main chamber and the buffer chamber,
A cartridge in which a convex portion facing at least a part of the partition wall is provided on a surface of the lid member on the printing material accommodation chamber side.
請求項1に記載のカートリッジであって、
前記容器本体部材は、さらに、前記印刷材収容室を区画形成するための周囲壁を有し、
前記蓋部材の前記印刷材収容室側の面には、さらに、前記カートリッジの内部に空気を導入する空気導入路の一部を形成するための溝部と、前記溝部の周囲に形成された土手が設けられ、
前記土手の一部が、前記印刷材収容室を区画形成する周囲壁と対向している、カートリッジ。
The cartridge according to claim 1,
The container body member further includes a peripheral wall for defining the printing material accommodation chamber,
A groove portion for forming a part of an air introduction path for introducing air into the cartridge and a bank formed around the groove portion are further formed on the surface of the lid member on the printing material accommodation chamber side. Provided,
A cartridge in which a part of the bank is opposed to a peripheral wall that defines the printing material accommodation chamber.
JP2012162712A 2012-07-23 2012-07-23 Cartridge Pending JP2014019130A (en)

Priority Applications (1)

Application Number Priority Date Filing Date Title
JP2012162712A JP2014019130A (en) 2012-07-23 2012-07-23 Cartridge

Applications Claiming Priority (1)

Application Number Priority Date Filing Date Title
JP2012162712A JP2014019130A (en) 2012-07-23 2012-07-23 Cartridge

Publications (1)

Publication Number Publication Date
JP2014019130A true JP2014019130A (en) 2014-02-03

Family

ID=50194558

Family Applications (1)

Application Number Title Priority Date Filing Date
JP2012162712A Pending JP2014019130A (en) 2012-07-23 2012-07-23 Cartridge

Country Status (1)

Country Link
JP (1) JP2014019130A (en)

Cited By (7)

* Cited by examiner, † Cited by third party
Publication number Priority date Publication date Assignee Title
EP3112164A1 (en) 2015-07-01 2017-01-04 Brother Kogyo Kabushiki Kaisha Liquid cartridge
EP3112162A1 (en) 2015-07-01 2017-01-04 Brother Kogyo Kabushiki Kaisha Liquid cartridge
US9550366B2 (en) 2015-03-27 2017-01-24 Brother Kogya Kabushiki Kaisha Liquid cartridge
US9656472B2 (en) 2015-03-27 2017-05-23 Brother Kogyo Kabushiki Kaisha Liquid cartridge
US9738083B2 (en) 2015-03-27 2017-08-22 Brother Kogyo Kabushiki Kaisha Liquid cartridge
US9802419B2 (en) 2015-03-27 2017-10-31 Brother Kogyo Kabushiki Kaisha Liquid cartridge
US9815288B2 (en) 2015-03-27 2017-11-14 Brother Kogyo Kabushiki Kaisha Liquid cartridge

Cited By (26)

* Cited by examiner, † Cited by third party
Publication number Priority date Publication date Assignee Title
US10399345B2 (en) 2015-03-27 2019-09-03 Brother Kogyo Kabushiki Kaisha Liquid cartridge
US11453221B2 (en) 2015-03-27 2022-09-27 Brother Kogyo Kabushiki Kaisha Liquid cartridge
US9550366B2 (en) 2015-03-27 2017-01-24 Brother Kogya Kabushiki Kaisha Liquid cartridge
US9656472B2 (en) 2015-03-27 2017-05-23 Brother Kogyo Kabushiki Kaisha Liquid cartridge
US9738083B2 (en) 2015-03-27 2017-08-22 Brother Kogyo Kabushiki Kaisha Liquid cartridge
US9802419B2 (en) 2015-03-27 2017-10-31 Brother Kogyo Kabushiki Kaisha Liquid cartridge
US9815288B2 (en) 2015-03-27 2017-11-14 Brother Kogyo Kabushiki Kaisha Liquid cartridge
US9862200B2 (en) 2015-03-27 2018-01-09 Brother Kogyo Kabushiki Kaisha Liquid cartridge
US10226935B2 (en) 2015-03-27 2019-03-12 Brother Kogyo Kabushiki Kaisha Liquid cartridge
US12296597B2 (en) 2015-03-27 2025-05-13 Brother Kogyo Kabushiki Kaisha Liquid cartridge
US10232631B2 (en) 2015-03-27 2019-03-19 Brother Kogyo Kabushiki Kaisha Liquid cartridge
US10239322B2 (en) 2015-03-27 2019-03-26 Brother Kogyo Kabushiki Kaisha Liquid cartridge
US12017461B2 (en) 2015-03-27 2024-06-25 Brother Kogyo Kabushiki Kaisha Liquid cartridge
US11685162B2 (en) 2015-03-27 2023-06-27 Brother Kogyo Kabushiki Kaisha Liquid cartridge
US10960676B2 (en) 2015-03-27 2021-03-30 Brother Kogyo Kabushiki Kaisha Liquid cartridge
US10596819B2 (en) 2015-03-27 2020-03-24 Brother Kogyo Kabushiki Kaisha Liquid cartridge
US10759177B2 (en) 2015-03-27 2020-09-01 Brother Kogyo Kabushiki Kaisha Liquid Cartridge
US10549540B2 (en) 2015-03-27 2020-02-04 Brother Kogyo Kabushiki Kaisha Liquid cartridge
EP3702162A1 (en) 2015-07-01 2020-09-02 Brother Kogyo Kabushiki Kaisha Liquid cartridge
EP3785920A1 (en) 2015-07-01 2021-03-03 Brother Kogyo Kabushiki Kaisha Liquid cartridge
EP3978255A1 (en) 2015-07-01 2022-04-06 Brother Kogyo Kabushiki Kaisha Liquid cartridge
EP4039480A1 (en) 2015-07-01 2022-08-10 Brother Kogyo Kabushiki Kaisha Liquid cartridge
EP3560720A1 (en) 2015-07-01 2019-10-30 Brother Kogyo Kabushiki Kaisha Liquid cartridge
EP3112164A1 (en) 2015-07-01 2017-01-04 Brother Kogyo Kabushiki Kaisha Liquid cartridge
EP3112162A1 (en) 2015-07-01 2017-01-04 Brother Kogyo Kabushiki Kaisha Liquid cartridge
EP3453534A1 (en) 2015-07-01 2019-03-13 Brother Kogyo Kabushiki Kaisha Liquid cartridge

Similar Documents

Publication Publication Date Title
JP6060544B2 (en) Liquid container and container unit
JP6069964B2 (en) Cartridge manufacturing method, injection kit, and injection device
US9126417B2 (en) Cover and liquid container
US9085113B2 (en) Method for manufacturing liquid container, and liquid container
JP2014019130A (en) Cartridge
WO2013175791A1 (en) Cartridge and sealing member
US8894184B2 (en) Cover and liquid container
JP5617881B2 (en) Cap and liquid container
JP5861732B2 (en) Injection kit and injection method
JP6056723B2 (en) Cartridge and cap
JP5958441B2 (en) Cover and liquid container
JP2014040081A (en) Cartridge
JP6035867B2 (en) Liquid container and liquid ejection system
JP2014046525A (en) Cover, and liquid storing vessel
JP2014019118A (en) Cartridge
JP2014061675A (en) cartridge
CN104626754A (en) Cover and liquid container
JP2017094659A (en) Liquid supply unit
HK1192518B (en) Filling kit and filing method of a printing material
JP2014061688A (en) Method for manufacturing liquid storage container, and liquid storage container