JP2013058794A - Photovoltaic device including semiconductor nanocrystals - Google Patents
Photovoltaic device including semiconductor nanocrystals Download PDFInfo
- Publication number
- JP2013058794A JP2013058794A JP2012256583A JP2012256583A JP2013058794A JP 2013058794 A JP2013058794 A JP 2013058794A JP 2012256583 A JP2012256583 A JP 2012256583A JP 2012256583 A JP2012256583 A JP 2012256583A JP 2013058794 A JP2013058794 A JP 2013058794A
- Authority
- JP
- Japan
- Prior art keywords
- transport layer
- semiconductor
- metal chalcogenide
- layer
- inorganic
- Prior art date
- Legal status (The legal status is an assumption and is not a legal conclusion. Google has not performed a legal analysis and makes no representation as to the accuracy of the status listed.)
- Granted
Links
Images
Classifications
-
- Y—GENERAL TAGGING OF NEW TECHNOLOGICAL DEVELOPMENTS; GENERAL TAGGING OF CROSS-SECTIONAL TECHNOLOGIES SPANNING OVER SEVERAL SECTIONS OF THE IPC; TECHNICAL SUBJECTS COVERED BY FORMER USPC CROSS-REFERENCE ART COLLECTIONS [XRACs] AND DIGESTS
- Y02—TECHNOLOGIES OR APPLICATIONS FOR MITIGATION OR ADAPTATION AGAINST CLIMATE CHANGE
- Y02E—REDUCTION OF GREENHOUSE GAS [GHG] EMISSIONS, RELATED TO ENERGY GENERATION, TRANSMISSION OR DISTRIBUTION
- Y02E10/00—Energy generation through renewable energy sources
- Y02E10/50—Photovoltaic [PV] energy
Landscapes
- Electroluminescent Light Sources (AREA)
- Photovoltaic Devices (AREA)
Abstract
Description
本発明は、半導体ナノクリスタルを含む光起電力デバイスに関する。 The present invention relates to photovoltaic devices comprising semiconductor nanocrystals.
(連邦政府による資金提供を受けた研究又は開発)
アメリカ連邦政府は、Soldier Nanotechnology研究所の助成金番号6897284に従って、
本発明における特定の権利を有し得る。
(Research or development funded by the federal government)
The US federal government, in accordance with grant number 6897284 of the Soldier Nanotechnology Institute,
You may have certain rights in the invention.
光起電力デバイスは、当該デバイスの活性成分の励起に応答して、電流を生じることが
できる。励起は、当該デバイスを適当な光の波長で照らすことによって刺激されることが
でき、同時に、当該デバイス全体に渡って電圧を印加する。吸収性成分は、共役有機ポリ
マー又は吸収性部分若しくは有機分子の層を含むポリマーなどのポリマーであることがで
きる。当該デバイスの波長応答プロファイル及び他の物理学的性質は、使用される材料の
電子構造(例えば、エネルギーギャップ)によって変えられることができる。
A photovoltaic device can generate a current in response to excitation of the active component of the device. Excitation can be stimulated by illuminating the device with the appropriate wavelength of light, while simultaneously applying a voltage across the device. The absorbent component can be a polymer such as a conjugated organic polymer or a polymer comprising a layer of absorbent moieties or organic molecules. The wavelength response profile and other physical properties of the device can be altered by the electronic structure (eg, energy gap) of the materials used.
(要旨)
一般に、光起電力デバイスは、複数の半導体ナノクリスタルを含むことができる。半導
体ナノクリスタルは、有機配位子の層で任意に装飾された、例えば直径1〜15nmの無機半
導体粒子であることができる。ナノクリスタルは、強い量子閉じ込め効果を示すことがで
き、この効果は、ナノクリスタルのサイズ及び組成により調整可能な電子的及び光学的特
性を有する複合ヘテロ構造の作成のための、ボトムアップ化学的手法を設計する際に利用
され得る。
(Summary)
In general, a photovoltaic device can include a plurality of semiconductor nanocrystals. The semiconductor nanocrystals can be inorganic semiconductor particles, for example 1-15 nm in diameter, optionally decorated with a layer of organic ligands. Nanocrystals can exhibit a strong quantum confinement effect, a bottom-up chemical approach for the creation of composite heterostructures with electronic and optical properties that can be tuned by the size and composition of the nanocrystal Can be used when designing.
半導体ナノクリスタルは、光起電力デバイスの吸収性物質として用いることができる。
半導体ナノクリスタルは、液体中に分散させることができ、したがって回転成形、ドロッ
プキャスティング、及び浸漬コーティングなどの薄膜堆積技法に適合する。しかし、これ
らの堆積技法から生じるバルク半導体ナノクリスタル固体は、固相デバイスにおいて電気
輸送特性が乏しい。バルク固体よりはむしろ、半導体ナノクリスタルの薄膜などの層(例
えば、単層又は多層)が光起電力デバイスにおいて使用され得る。単層は、電気的性能に
対する影響を最小限にすると同時に、半導体ナノクリスタルの有益な光吸収特性を提供す
る。
Semiconductor nanocrystals can be used as an absorptive material for photovoltaic devices.
Semiconductor nanocrystals can be dispersed in a liquid and are therefore compatible with thin film deposition techniques such as rotational molding, drop casting, and dip coating. However, bulk semiconductor nanocrystal solids resulting from these deposition techniques have poor electrical transport properties in solid phase devices. Rather than bulk solids, layers such as thin films of semiconductor nanocrystals (eg, a single layer or multiple layers) can be used in photovoltaic devices. The monolayer provides the beneficial light absorption properties of semiconductor nanocrystals while minimizing the impact on electrical performance.
正孔輸送層又は電子輸送層(又は両方)に有機物質を使用するデバイスは、電気から光
への高効率変換を有することができるが、当該有機物質の固有の不安定性のために寿命が
短くなり得る。光ルミネッセンス研究により証明されたように、無機ナノクリスタル自体
は、これらの有機対応物よりも本質的に安定であり得る。吸収のために半導体ナノクリス
タルを利用し、かつ電気輸送のために無機半導体を利用するデバイスは、優れた光電子性
能、及び長期安定性を達成することができる。当該無機半導体は、スパッタリング、真空
蒸着、インクジェット印刷、又はイオンメッキなどの低温法により堆積され得る。
Devices that use organic materials in the hole transport layer and / or electron transport layer (or both) can have high efficiency conversion from electricity to light, but have a short lifetime due to the inherent instability of the organic material. Can be. As demonstrated by photoluminescence studies, inorganic nanocrystals themselves can be inherently more stable than their organic counterparts. Devices that utilize semiconductor nanocrystals for absorption and inorganic semiconductors for electrical transport can achieve excellent optoelectronic performance and long-term stability. The inorganic semiconductor can be deposited by a low temperature method such as sputtering, vacuum evaporation, ink jet printing, or ion plating.
半導体ナノクリスタルは、マイクロコンタクト印刷を使用して基板上に堆積され得る。
有利には、マイクロコンタクト印刷は、表面上へのフィーチャのミクロンスケール、又は
ナノスケール(例えば1mm未満、500μm未満、200μm未満、100μm未満、
25μm未満、又は1μm未満)のパターニングを可能にする。特に、半導体ナノクリス
タルの単層を、マイクロコンタクト印刷によって堆積することができる。この手法は、基
板へのパターン化半導体ナノクリスタル被膜の実質的な乾燥(すなわち、実質的に無溶媒
)塗布を可能にする。したがって、幅広い種類の基板を使用することができる。なぜなら
ば、基板の選択が、可溶性及び表面化学要件により制約されないためである。
Semiconductor nanocrystals can be deposited on the substrate using microcontact printing.
Advantageously, microcontact printing is performed on a surface on a micron scale or nanoscale (eg, less than 1 mm, less than 500 μm, less than 200 μm, less than 100 μm,
Patterning of less than 25 μm or less than 1 μm). In particular, a single layer of semiconductor nanocrystals can be deposited by microcontact printing. This approach allows for a substantially dry (ie, substantially solvent free) application of the patterned semiconductor nanocrystal coating to the substrate. Therefore, a wide variety of substrates can be used. This is because the choice of substrate is not constrained by solubility and surface chemistry requirements.
一態様において、光起電力デバイスは、第一電荷輸送層に電荷を導入するように配置さ
れた第一電極と接触している第一無機物質を含有した第一電荷輸送層、第二電荷輸送層に
電荷を導入するように配置された第二電極と接触している第二電荷輸送層、及び該第一電
荷輸送層と該第二電荷輸送層との間に配置された複数の半導体ナノクリスタルを含む。
In one aspect, the photovoltaic device comprises a first charge transport layer containing a first inorganic material in contact with a first electrode disposed to introduce charge into the first charge transport layer, a second charge transport. A second charge transport layer in contact with a second electrode disposed to introduce charge into the layer, and a plurality of semiconductor nanostructures disposed between the first charge transport layer and the second charge transport layer Includes crystals.
該第一無機物質はアモルファス、又は多結晶質であることができる。該第一無機物質は
、無機半導体であることができる。該無機半導体は、金属カルコゲニドを含むことができ
る。該金属カルコゲニドは、混合金属カルコゲニドであることができる。該金属カルコゲ
ニドは、酸化亜鉛、酸化チタン、酸化ニオブ、硫化亜鉛、酸化インジウムスズ、又はこれ
らの混合物を含むことができる。
The first inorganic material can be amorphous or polycrystalline. The first inorganic material can be an inorganic semiconductor. The inorganic semiconductor can include a metal chalcogenide. The metal chalcogenide can be a mixed metal chalcogenide. The metal chalcogenide can include zinc oxide, titanium oxide, niobium oxide, zinc sulfide, indium tin oxide, or mixtures thereof.
該第二電荷輸送層は、第二無機物質を含むことができる。該第二無機物質は、アモルフ
ァス、又は多結晶質であることができる。該第二無機物質は、無機半導体であることがで
きる。該無機半導体は、金属カルコゲニドを含むことができる。該金属カルコゲニドは、
混合金属カルコゲニドであることができる。該金属カルコゲニドは、酸化亜鉛、酸化チタ
ン、酸化ニオブ、硫化亜鉛、酸化インジウムスズ、又はこれらの混合物を含むことができ
る。
The second charge transport layer can include a second inorganic material. The second inorganic material can be amorphous or polycrystalline. The second inorganic material can be an inorganic semiconductor. The inorganic semiconductor can include a metal chalcogenide. The metal chalcogenide is
It can be a mixed metal chalcogenide. The metal chalcogenide can include zinc oxide, titanium oxide, niobium oxide, zinc sulfide, indium tin oxide, or mixtures thereof.
該第一電荷輸送層は、正孔輸送層、又は電子輸送層であることができる。該複数の半導
体ナノクリスタルは、単層を形成することができる。該複数の半導体ナノクリスタルは、
半導体ナノクリスタルの実質的な単分散集団とすることができる。該デバイスは、透明と
することができる。該第二電極は、該複数の半導体ナノクリスタルと直接接触することが
できる。
The first charge transport layer can be a hole transport layer or an electron transport layer. The plurality of semiconductor nanocrystals can form a single layer. The plurality of semiconductor nanocrystals are:
It can be a substantially monodisperse population of semiconductor nanocrystals. The device can be transparent. The second electrode can be in direct contact with the plurality of semiconductor nanocrystals.
該複数の半導体ナノクリスタルは、4nm〜2000nmの厚さを有する層を形成することがで
きる。該層は、100nm未満の厚さを有することができる。
The plurality of semiconductor nanocrystals can form a layer having a thickness of 4 nm to 2000 nm. The layer can have a thickness of less than 100 nm.
別の態様において、デバイスの製造方法は、電極の上に第一無機物質を含む第一電荷輸
送層を堆積すること、該電極の上に複数の半導体ナノクリスタルを堆積すること(ここで
該複数の半導体ナノクリスタルは該第一電荷輸送層と電気的に接触される)、及び該電極
の上に第二無機物質を含む第二電荷輸送層を堆積すること(ここで該複数の半導体ナノク
リスタルは該第二電荷輸送層と電気的に接触される)を含む。
In another aspect, a method for manufacturing a device includes depositing a first charge transport layer comprising a first inorganic material on an electrode, and depositing a plurality of semiconductor nanocrystals on the electrode (where the plurality The semiconductor nanocrystal is electrically contacted with the first charge transport layer) and depositing a second charge transport layer comprising a second inorganic material on the electrode, wherein the plurality of semiconductor nanocrystals In electrical contact with the second charge transport layer.
該第一無機物質を堆積することは、スパッタリングを含むことができる。該第二無機物
質を堆積することは、スパッタリングを含むことができる。
Depositing the first inorganic material can include sputtering. Depositing the second inorganic material can include sputtering.
別の態様において、電流を発生する方法は、デバイスに励起波長の光を曝すことを含み
、該デバイスは、第一電荷輸送層に電荷を導入するように配置された第一電極と接触して
いる第一無機物質を含有した第一電荷輸送層、第二電荷輸送層に電荷を導入するように配
置された第二電極と接触している第二電荷輸送層、及び該第一電荷輸送層と該第二電荷輸
送層との間に配置された複数の半導体ナノクリスタルを含む。
In another aspect, a method of generating an electric current includes exposing the device to light of an excitation wavelength, wherein the device is in contact with a first electrode arranged to introduce charge into the first charge transport layer. A first charge transport layer containing a first inorganic substance, a second charge transport layer in contact with a second electrode arranged to introduce charge into the second charge transport layer, and the first charge transport layer And a plurality of semiconductor nanocrystals disposed between the second charge transport layer.
本発明の他の特徴、目的、及び利点は、明細書、及び図面から、及び特許請求の範囲か
ら明らかにされるであろう。
Other features, objects, and advantages of the invention will be apparent from the description and drawings, and from the claims.
(詳細な説明)
光起電力デバイスは、当該デバイスの二つの電極を分離する二つの層を含むことができ
る。一方の層の物質は、物質が正孔を輸送できる能力に基づいて選択することができ、即
ち正孔輸送層(HTL)とすることができる。他方の層の物質は、物質が電子を輸送でき
る能力に基づいて選択することができ、即ち電子輸送層(ETL)とすることができる。
通常、該電子輸送層は、吸収性層を含む。電圧が印加され、かつ該デバイスが照射される
とき、一方の電極は、該正孔輸送層から正孔(正電荷キャリア)を受容し、他方の電極は
、該電子輸送層から電子を受容する;正孔及び電子は、吸収性物質の励起子として生じる
。該デバイスは、HTLとETLとの間に吸収性層を含むことができる。該吸収層は、吸
収波長又は線幅など、その吸収特性のために選択された物質を含むことができる。
(Detailed explanation)
A photovoltaic device can include two layers that separate the two electrodes of the device. The material of one layer can be selected based on the ability of the material to transport holes, ie a hole transport layer (HTL). The material of the other layer can be selected based on the ability of the material to transport electrons, ie it can be an electron transport layer (ETL).
Usually, the electron transport layer includes an absorptive layer. When a voltage is applied and the device is illuminated, one electrode accepts holes (positive charge carriers) from the hole transport layer and the other electrode accepts electrons from the electron transport layer. Holes and electrons are generated as excitons in the absorbing material. The device can include an absorbent layer between the HTL and the ETL. The absorption layer can include materials selected for its absorption characteristics, such as absorption wavelength or line width.
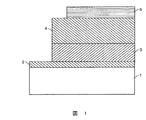
光起電力デバイスは図1に示されるような構造を有することができ、第一電極2と、電
極2に接触する第一層3と、第一層3に接触する第二層4と、及び第二層4に接触する第
二電極5とを有する。第一層3は、正孔輸送層とすることができ、第二層4は、電子輸送
層とすることができる。少なくとも一つの層を、非ポリマー性にすることができる。該層
は無機物質を含むことができる。この構造の電極の一つは、基板1に接触している。該構
造にわたって電圧を提供するために、各電極を電源に接触させることができる。適切な極
性及び大きさの電圧が該デバイスにわたって印加されるとき、該吸収性層によって光電流
を生じさせることができる。第一層3は、複数の半導体ナノクリスタル、例えばナノクリ
スタルの実質的な単分散集団を含むことができる。
The photovoltaic device can have a structure as shown in FIG. 1 and includes a
あるいは、別個の吸収性層(図1に示さず)を、正孔輸送層と電子輸送層との間に含む
ことができる。その別個の吸収性層は、複数のナノクリスタルを含むことができる。ナノ
クリスタルを含む層は、ナノクリスタルの単層、又はナノクリスタルの多層とすることが
できる。ある場合において、ナノクリスタルを含む層は、不完全な層、すなわちナノクリ
スタル層に隣接した層が部分的に接触し得るような材料を欠く領域を有する層であること
ができる。ナノクリスタル及び少なくとも一つの電極は、ナノクリスタルから第一電極又
は第二電極へ電荷キャリアを移すのに十分なバンドギャップ・オフセットを有する。該電
荷キャリアは、正孔又は電子であることができる。電荷キャリアを転送する電極の能力に
よって、光誘導性電流が光検出を容易にする方法で流れることができる。
Alternatively, a separate absorbent layer (not shown in FIG. 1) can be included between the hole transport layer and the electron transport layer. The separate absorbent layer can include a plurality of nanocrystals. The layer comprising nanocrystals can be a single layer of nanocrystals or a multilayer of nanocrystals. In some cases, the nanocrystal-containing layer can be an incomplete layer, ie, a layer having a region that lacks material such that a layer adjacent to the nanocrystal layer can be in partial contact. The nanocrystal and the at least one electrode have a bandgap offset sufficient to transfer charge carriers from the nanocrystal to the first electrode or the second electrode. The charge carriers can be holes or electrons. Depending on the electrode's ability to transfer charge carriers, a light-induced current can flow in a manner that facilitates light detection.
半導体ナノクリスタルを含む光起電力デバイスは、該HTL有機半導体分子及び半導体
ナノクリスタルを含む溶液を回転成形することによって作成することができ、該HTLは
、相分離によって半導体ナノクリスタル単層の下に形成した(例えば、2003年3月28日出
願の米国特許出願第10/400,907号及び米国特許出願公開第2004/0023010号を参照。各特許
文献の全体は引用により取り込まれている)。この相分離技法は、有機半導体HTLとE
TLとの間に半導体ナノクリスタルの単層を再現可能に配置し、それにより半導体ナノク
リスタルの好ましい光吸収特性を効率的に活用し、それと共に、それらの電気的性能への
影響を最小限にした。この技法によって作成されるデバイスは、溶媒中の不純物によって
、かつ半導体ナノクリスタルと同一の溶媒に可溶な有機半導体分子を使用する必要性によ
って制限された。相分離技法は、HTLとHILとの両方の上に半導体ナノクリスタルの
単層を堆積するには不適であった(溶媒が、下にある有機薄膜を破壊するため)。また、
相分離方法は、同一基板上で、異なる色を放出する半導体ナノクリスタルの位置の制御が
できず;同様に、相分離方法は、同一基板上の、異なる色を放出するナノクリスタルのパ
ターニングができなかった。
A photovoltaic device comprising a semiconductor nanocrystal can be made by spin molding a solution comprising the HTL organic semiconductor molecule and the semiconductor nanocrystal, the HTL being under a semiconductor nanocrystal monolayer by phase separation. (See, eg, US Patent Application No. 10 / 400,907 and US Patent Application Publication No. 2004/0023010, filed March 28, 2003, each of which is incorporated by reference in its entirety). This phase separation technique is based on organic semiconductors HTL and E
A reproducible placement of a single layer of semiconductor nanocrystals between the TL, thereby efficiently utilizing the favorable light absorption properties of the semiconductor nanocrystals, along with minimizing their impact on electrical performance did. Devices made by this technique were limited by impurities in the solvent and the need to use organic semiconductor molecules that are soluble in the same solvent as the semiconductor nanocrystals. The phase separation technique was unsuitable for depositing monolayers of semiconductor nanocrystals on both HTL and HIL (since the solvent destroys the underlying organic film). Also,
Phase separation methods cannot control the position of semiconductor nanocrystals that emit different colors on the same substrate; similarly, phase separation methods can pattern nanocrystals that emit different colors on the same substrate. There wasn't.
さらに、輸送層(すなわち正孔輸送層、正孔注入層、又は電子輸送層)に使用される有
機物質は、当該吸収性層に使用される半導体ナノクリスタルより不安定であり得る。結果
として、該有機物質の運用年数は、該デバイスの寿命を制限する。該輸送層に長寿命物質
を用いたデバイスを使用して、長寿命発光デバイスを製造することができる。
Furthermore, the organic material used in the transport layer (ie, hole transport layer, hole injection layer, or electron transport layer) can be more unstable than the semiconductor nanocrystal used in the absorbent layer. As a result, the age of operation of the organic material limits the lifetime of the device. A long-life light-emitting device can be manufactured using a device using a long-life material for the transport layer.
基板を、不透明又は透明にすることができる。透明基板を使用して透明デバイスを製造
することができる。例えばBulovic, V. らの論文, Nature 1996, 380, 29;及びGu, G.ら
の論文, Appl. Phys. Lett. 1996, 68, 2606-2608を参照されたい。各々はその全体にお
いて引用により取り込まれている。基板を、剛性又は可撓性にすることができる。基板を
、プラスチック、金属、又はガラスとすることができる。第一電極を、例えば、酸化イン
ジウムスズ(ITO)層など、高い仕事関数の正孔注入導体とすることができる。他の第
一電極物質は、ガリウムインジウムスズオキシド(gallium indium tin oxide)、亜鉛イ
ンジウムスズオキシド(zinc indium tin oxide)、窒化チタン、又はポリアニリンを含
むことができる。第二電極は、例えば、Al、Ba、Yb、Ca、リチウムアルミニウム
合金(Li:Al)、又はマグネシウム銀合金(Mg:Ag)など、低い仕事関数(例え
ば4.0eV未満)の電子注入金属とすることができる。Mg:Agなどの第二電極は、
不透明保護金属層、例えば大気の酸化から陰極層を保護するためのAgの層で、又は実質
的に透明なITOの比較的薄い層で被覆することができる。第一電極は、約500オング
ストロームから4000オングストロームの厚さを有することができる。第一層は、約5
0オングストロームから約5マイクロメートルの厚さ、例えば100オングストロームか
ら100nm、100nmから1マイクロメートル、又は1マイクロメートルから5マイクロ
メートルの範囲の厚さを有することができる。第二層は、約50オングストロームから約
5マイクロメートルの厚さ、例えば100オングストロームから100nm、100nmから
1マイクロメートル、又は1マイクロメートルから5マイクロメートルの範囲の厚さを有
することができる。第二電極は、約50オングストロームから約1000オングストロー
ムよりも大きい厚さを有することができる。
The substrate can be opaque or transparent. Transparent devices can be manufactured using transparent substrates. See, for example, Bulovic, V. et al., Nature 1996, 380, 29; and Gu, G. et al., Appl. Phys. Lett. 1996, 68, 2606-2608. Each is incorporated by reference in its entirety. The substrate can be rigid or flexible. The substrate can be plastic, metal, or glass. The first electrode can be a high work function hole injection conductor, such as, for example, an indium tin oxide (ITO) layer. Other first electrode materials can include gallium indium tin oxide, zinc indium tin oxide, titanium nitride, or polyaniline. The second electrode is composed of an electron injection metal having a low work function (for example, less than 4.0 eV) such as Al, Ba, Yb, Ca, lithium aluminum alloy (Li: Al), or magnesium silver alloy (Mg: Ag). can do. The second electrode such as Mg: Ag
It can be coated with an opaque protective metal layer, for example a layer of Ag to protect the cathode layer from atmospheric oxidation, or a relatively thin layer of substantially transparent ITO. The first electrode can have a thickness of about 500 Angstroms to 4000 Angstroms. The first layer is about 5
It can have a thickness of 0 angstroms to about 5 micrometers, for example, a thickness in the range of 100 angstroms to 100 nm, 100 nm to 1 micrometer, or 1 micrometer to 5 micrometers. The second layer can have a thickness of about 50 angstroms to about 5 micrometers, such as a thickness in the range of 100 angstroms to 100 nm, 100 nm to 1 micrometer, or 1 micrometer to 5 micrometers. The second electrode can have a thickness from about 50 angstroms to greater than about 1000 angstroms.
正孔輸送層(HTL)、又は電子輸送層(ETL)は、無機半導体などの無機物質を含
むことができる。無機半導体は、放出物質の発光エネルギーよりも大きいバンドギャップ
有する任意の物質とすることができる。無機半導体は、金属酸化物、金属硫化物、金属セ
レン化物、金属テルル化物、金属窒化物、金属リン化物、金属ヒ化物、又は金属ヒ化物な
どの金属カルコゲニド、金属プニクタイド(metal pnictide)、又は元素半導体を含むこ
とができる。例えば、該無機物質は、下記のものを含むことができる:酸化亜鉛、酸化チ
タン、酸化ニオブ、酸化インジウムスズ、酸化銅、酸化ニッケル、酸化バナジウム、酸化
クロム、酸化インジウム、酸化スズ、酸化ガリウム、酸化マンガン、酸化鉄、酸化コバル
ト、酸化アルミニウム、酸化タリウム、酸化ケイ素、酸化ゲルマニウム、酸化鉛、酸化ジ
ルコニウム、酸化モリブデン、酸化ハフニウム、酸化タンタル、酸化タングステン、酸化
カドミウム、酸化イリジウム、酸化ロジウム、酸化ルテニウム、酸化オスミウム、硫化亜
鉛、セレン化亜鉛、テルル化亜鉛、硫化カドミウム、セレン化カドミウム、テルル化カド
ミウム、硫化水銀、セレン化水銀、テルル化水銀、炭化ケイ素、ダイアモンド(炭素)、
ケイ素、ゲルマニウム、窒化アルミニウム、リン化アルミニウム、ヒ化アルミニウム、窒
化ガリウム、リン化ガリウム、ヒ化ガリウム、アンチモン化ガリウム、窒化インジウム、
リン化インジウム、ヒ化インジウム、アンチモン化インジウム、窒化タリウム、リン化タ
リウム、ヒ化タリウム、アンチモン化タリウム、硫化鉛、セレン化鉛、テルル化鉛、硫化
鉄、セレン化インジウム、硫化インジウム、テルル化インジウム、硫化ガリウム、セレン
化ガリウム、テルル化ガリウム、セレン化スズ、テルル化スズ、硫化スズ、硫化マグネシ
ウム、セレン化マグネシウム、テルル化マグネシウム、又はこれらの混合物である。金属
酸化物は、例えばITOなどの混合金属酸化物とすることができる。デバイスにおいて、
純粋金属酸化物(すなわち単一の実質的に純粋な金属を有する金属酸化物)の層は、長期
にわたると結晶領域を生じ、該デバイスの性能を低下する可能性がある。混合金属酸化物
は、前記結晶領域の形成を少なくする傾向にあり、純粋金属酸化物で得られるデバイス寿
命よりも長いデバイス寿命を提供することができる。金属酸化物は、ドープ金属酸化物と
することができる。ここで該ドープは、例えば、酸素欠損、ハロゲンドーパント(haloge
n dopant)、又は混合金属である。無機半導体は、ドーパントを含むことができる。一般
に、該ドーパントは、p型、又はn型ドーパントとすることができる。HTLは、p型ド
ーパントを含むことができ、一方ETLは、n型ドーパントを含むことができる。
The hole transport layer (HTL) or the electron transport layer (ETL) can contain an inorganic substance such as an inorganic semiconductor. The inorganic semiconductor can be any material having a band gap greater than the emission energy of the emitting material. Inorganic semiconductors include metal oxides, metal sulfides, metal selenides, metal tellurides, metal nitrides, metal phosphides, metal arsenides, or metal arsenides, metal chalcogenides, metal pnictides, or elements Semiconductors can be included. For example, the inorganic material can include: zinc oxide, titanium oxide, niobium oxide, indium tin oxide, copper oxide, nickel oxide, vanadium oxide, chromium oxide, indium oxide, tin oxide, gallium oxide, Manganese oxide, iron oxide, cobalt oxide, aluminum oxide, thallium oxide, silicon oxide, germanium oxide, lead oxide, zirconium oxide, molybdenum oxide, hafnium oxide, tantalum oxide, tungsten oxide, cadmium oxide, iridium oxide, rhodium oxide, ruthenium oxide , Osmium oxide, zinc sulfide, zinc selenide, zinc telluride, cadmium sulfide, cadmium selenide, cadmium telluride, mercury sulfide, mercury selenide, mercury telluride, silicon carbide, diamond (carbon),
Silicon, germanium, aluminum nitride, aluminum phosphide, aluminum arsenide, gallium nitride, gallium phosphide, gallium arsenide, gallium antimonide, indium nitride,
Indium phosphide, indium arsenide, indium antimonide, thallium nitride, thallium phosphide, thallium arsenide, thallium antimonide, lead sulfide, lead selenide, lead telluride, iron sulfide, indium selenide, indium sulfide, telluride Indium, gallium sulfide, gallium selenide, gallium telluride, tin selenide, tin telluride, tin sulfide, magnesium sulfide, magnesium selenide, magnesium telluride, or mixtures thereof. The metal oxide can be a mixed metal oxide such as ITO. On the device
A layer of pure metal oxide (ie, a metal oxide having a single substantially pure metal) can produce crystalline regions over time and reduce the performance of the device. Mixed metal oxides tend to reduce the formation of the crystalline region and can provide a device lifetime that is longer than that obtained with pure metal oxides. The metal oxide can be a doped metal oxide. Here, the doping may be, for example, oxygen deficiency, halogen dopant (haloge).
n dielectric) or mixed metals. The inorganic semiconductor can include a dopant. In general, the dopant can be a p-type or n-type dopant. The HTL can include a p-type dopant, while the ETL can include an n-type dopant.
デバイスの半導体ナノクリスタルに電荷輸送するために、単結晶無機半導体が提案され
ている。単結晶無機半導体は、被覆される基板を高温に加熱することを要求する技術によ
り堆積される。しかし、上層半導体は、該ナノクリスタル層上に直接堆積しなければなら
ない。これは高温処理に対して強固でなく、また容易なエピタキシャル成長に適切でない
。また、エピタキシャル技術(化学蒸着など)は、製造にコストがかかり、かつ一般に大
きな領域(すなわち直径12インチ(30.48cm)ウェーハよりも大きい領域)の被
覆に使用することができない。
Single crystal inorganic semiconductors have been proposed for charge transport to the semiconductor nanocrystals of the device. Single crystal inorganic semiconductors are deposited by techniques that require heating the substrate to be coated to a high temperature. However, the upper semiconductor must be deposited directly on the nanocrystal layer. This is not robust to high temperature processing and is not suitable for easy epitaxial growth. Also, epitaxial techniques (such as chemical vapor deposition) are costly to manufacture and generally cannot be used to coat large areas (i.e., areas larger than 12 inch (30.48 cm) diameter wafers).
有利には、該無機半導体を、例えばスパッタリングにより、低温で基板上に堆積するこ
とができる。スパッタリングは、低圧ガス(例えばアルゴン)に高電圧を印加し、高エネ
ルギー状態の電子及びガスイオンのプラズマを作成することにより行われる。電圧を印加
したプラズマイオンは、標的の所望の被覆物質に当たり、その標的からの原子を十分なエ
ネルギーで排出させ、該基板に移動し、かつ結合する。
Advantageously, the inorganic semiconductor can be deposited on the substrate at a low temperature, for example by sputtering. Sputtering is performed by applying a high voltage to a low-pressure gas (for example, argon) to create a plasma of electrons and gas ions in a high energy state. The plasma ions to which the voltage is applied hit the desired coating material of the target, eject atoms from the target with sufficient energy, move to the substrate, and bond.
製造される基板又はデバイスは、該成長プロセス時に温度制御のために冷却又は加熱さ
れる。該温度は、該堆積物質の結晶化度、並びに堆積される該表面上とどの程度相互作用
するかに影響を与える。該堆積物質は、多結晶質又はアモルファスとすることができる。
該堆積物質は、10オングストロームから1マイクロメートルの範囲サイズで、結晶ドメ
インを有することができる。スパッタリングプラズマのために使用される該ガス又はガス
混合物を変えることにより、ドーピング濃度を制御することができる。ドーピングの性質
、及び程度は、該堆積被膜の伝導度、並びに隣接する励起子を光学的に消光するその安定
性に影響を与える。ある物質を他の物質の上部に成長させることにより、p−n、又はp
−i−nダイオードを作成することができる。半導体ナノクリスタル単層に電荷を輸送す
るために、該デバイスを最適化することができる。
The substrate or device to be manufactured is cooled or heated for temperature control during the growth process. The temperature affects the crystallinity of the deposited material and how much it interacts with the surface being deposited. The deposited material can be polycrystalline or amorphous.
The deposited material may have a crystalline domain with a size in the range of 10 angstroms to 1 micrometer. By changing the gas or gas mixture used for the sputtering plasma, the doping concentration can be controlled. The nature and degree of doping affects the conductivity of the deposited film and its stability to optically quench adjacent excitons. By growing one substance on top of another, pn, or p
-I-n diodes can be made. The device can be optimized to transport charge to the semiconductor nanocrystal monolayer.
該電極の1つの表面上に該層を、スピンコーティング、ディップコーティング、蒸着、
スパッタリング、又は他の薄層堆積方法により堆積することができる。固体層の露出面上
に該第二電極を、サンドイッチ、スパッタ、又は蒸着させることができる。該電極の1つ
又は双方を、パターン状にすることができる。該デバイスの電極を、導電性経路により電
圧源に接続することができる。電圧印加時に、該デバイスから光が発生する。
Applying the layer on one surface of the electrode by spin coating, dip coating, vapor deposition,
It can be deposited by sputtering or other thin layer deposition methods. The second electrode can be sandwiched, sputtered or deposited on the exposed surface of the solid layer. One or both of the electrodes can be patterned. The electrode of the device can be connected to a voltage source by a conductive path. Light is generated from the device when a voltage is applied.
マイクロコンタクト印刷は、基板上の事前定義領域に物質を塗布する方法を提供する。
事前定義領域は、該物質が選択的に塗布される基板上の領域である。該物質及び基板は、
物質が事前定義域内部に実質的に完全に残るように選択され得る。パターンを成す事前定
義領域を選択することによって、物質がパターンを成すように、該物質を基板に塗布する
ことができる。該パターンは、規則パターン(アレイや一連のラインなど)、又は不規則
パターンにすることができる。該物質のパターンが基板上に形成されると、該基板は、該
物質を含む領域(事前定義領域)と、該物質を実質的に含まない領域とを有することがで
きる。いくつかの状況では、該物質は、基板上に単層を形成する。事前定義領域は、不連
続領域とすることができる。即ち、物質が基板の事前定義領域に塗布されるとき、物質を
含む位置を、物質を実質的に含まない他の位置によって分離することができる。
Microcontact printing provides a method for applying a material to a predefined area on a substrate.
A predefined area is an area on a substrate to which the substance is selectively applied. The substance and substrate are
The material can be selected to remain substantially completely within the predefined area. By selecting a predefined region that forms a pattern, the material can be applied to the substrate such that the material forms a pattern. The pattern can be a regular pattern (such as an array or a series of lines) or an irregular pattern. When the pattern of the material is formed on the substrate, the substrate may have a region containing the material (predefined region) and a region substantially free of the material. In some situations, the material forms a monolayer on the substrate. The predefined area can be a discontinuous area. That is, when a substance is applied to a predefined area of the substrate, a location containing the substance can be separated by another location that is substantially free of the substance.
一般に、マイクロコンタクト印刷は、パターンモールドを形成することから始まる。モ
ールドは、隆起部と窪み部のパターンを有する表面を有する。例えば、パターンモールド
表面に接触しながら硬化される液体ポリマー前駆体で、モールドのパターン表面を被覆す
ることによって、隆起部と窪み部の相補パターンを有するスタンプが形成される。次いで
、スタンプにインク付けすることができる。即ち、スタンプが、基板上に堆積されるべき
物質に接触される。物質は、スタンプに可逆に接着される。次いで、インク付きスタンプ
が、基板に接触される。スタンプの隆起領域は、基板に接触することができ、スタンプの
窪み領域は、基板から離すことができる。インク付きスタンプが基板に接触するとき、イ
ンク物質(又は少なくともその一部)が、スタンプから基板に転写される。このようにし
て、隆起部と窪み部のパターンが、基板上で物質を含む領域と物質を含まない領域として
、スタンプから基板に転写される。マイクロコンタクト印刷及び関連の技法は、例えば米
国特許第5,512,131号、第6,180,239号、第6,518,168号に記載されており、各特許文献の
全体は引用により取り込まれている。幾つかの場合において、スタンプは、インクのパタ
ーンを有する特徴のないスタンプとすることができる。ここで、該パターンは、該インク
が該スタンプに塗布される場合に形成される。その全体が引用により取り込まれている、
2005年10月21日に出願された米国特許出願第11/253,612号を参照されたい。加えて、イン
クは、スタンプから基質へインクを転写する前に、(例えば、化学的に又は熱的に)処理す
ることができる。この方法において、パターン化されたインクは、基質と互換性がない状
態に曝されることができる。
In general, microcontact printing begins with the formation of a pattern mold. The mold has a surface having a pattern of ridges and depressions. For example, by coating the pattern surface of the mold with a liquid polymer precursor that is cured while in contact with the pattern mold surface, a stamp having a complementary pattern of ridges and depressions is formed. The stamp can then be inked. That is, the stamp is contacted with the material to be deposited on the substrate. The material is reversibly adhered to the stamp. The inked stamp is then contacted with the substrate. The raised area of the stamp can contact the substrate and the recessed area of the stamp can be separated from the substrate. When the inked stamp contacts the substrate, the ink material (or at least a portion thereof) is transferred from the stamp to the substrate. In this manner, the pattern of the raised portion and the recessed portion is transferred from the stamp to the substrate as a region containing the substance and a region not containing the substance on the substrate. Microcontact printing and related techniques are described, for example, in US Pat. Nos. 5,512,131, 6,180,239, and 6,518,168, each of which is incorporated by reference in its entirety. In some cases, the stamp may be a featureless stamp having an ink pattern. Here, the pattern is formed when the ink is applied to the stamp. The whole is incorporated by citation,
See US patent application Ser. No. 11 / 253,612, filed Oct. 21, 2005. In addition, the ink can be treated (eg, chemically or thermally) prior to transferring the ink from the stamp to the substrate. In this way, the patterned ink can be exposed to a state that is not compatible with the substrate.
図2に、マイクロコンタクト印刷プロセスにおける基本ステップを概説する流れ図を示
す。最初に、シリコン表面上にパターン、例えば隆起部と窪み部のパターンを画定する標
準的な半導体処理技法を使用して、シリコンマスタが作成される(別法として、無パター
ン堆積の場合には、ブランクSiマスタを使用することができる)。次いで、ポリジメチ
ルシロキサン(PDMS、例えばSylgard 184)前駆体が混合され、脱気され、マスタ上に注
ぎ込まれ、再び脱気され、かつ室温(又は、より速い硬化時間のために、室温よりも高い
温度)で硬化される(ステップ1)。次いで、シリコンマスタのパターンを含む表面を有
するPDMSスタンプが、マスタから外され、所望の形状及びサイズに切断される。次いで、
このスタンプを、表面化学層で被覆する。これは、必要に応じてインクを容易に接着及び
解除できるように選択される。例えば、該表面化学層は、化学蒸着ペリレン−C層とする
ことができる。該表面化学層は、例えば0.1〜2μmの厚さとすることができ、複製さ
れるパターンに依存する(ステップ2)。次に、半導体ナノクリスタルの溶液を、例えば
回転成形、シリンジポンプ分注(syringe pump dispensing)、又はインクジェット印刷
することにより、このスタンプにインクを付ける(ステップ3)。この溶液は、例えば、
クロロホルム中、1〜10mg/mLの濃度を有することができる。該濃度は、所望の成
果により変更することができる。次いで、インク付きスタンプを基板に接触させ、穏やか
な圧力を例えば30秒間印加して、新たな基板に完全にインク(すなわち、半導体ナノク
リスタル単層)を転写することができる(ステップ4)。図2A及び2Bに、ITO被覆
ガラス基板の標本を示す。有機半導体を含む正孔輸送及び/又は正孔注入層(それぞれH
TL及びHIL)が、ITO基板上に熱蒸着される。パターン半導体ナノクリスタル単層
は、このHTL層に転写され、次いで、デバイスの残りの部分(所望により、例えば、電
子輸送層(ETL)、電子注入層(EIL)、及び金属コンタクト)を追加することがで
きる(ステップ5)。例えば、双方とも2005年10月21日に出願された米国特許出願第11/2
53,595号及び第11/253,612号、並びに2005年1月11日に出願された第11/032,163号を参照
されたい。これらの各々は、その全体において引用により取り込まれている。
FIG. 2 shows a flowchart outlining the basic steps in the microcontact printing process. First, a silicon master is created using standard semiconductor processing techniques that define patterns on the silicon surface, such as ridge and depression patterns (alternatively, in the case of patternless deposition, A blank Si master can be used). A polydimethylsiloxane (PDMS, eg Sylgard 184) precursor is then mixed, degassed, poured onto the master, degassed again, and room temperature (or higher than room temperature for faster cure times) (Step 1). The PDMS stamp with the surface containing the silicon master pattern is then removed from the master and cut to the desired shape and size. Then
This stamp is coated with a surface chemical layer. This is selected so that the ink can be easily adhered and released as needed. For example, the surface chemical layer can be a chemical vapor deposited perylene-C layer. The surface chemical layer can be, for example, 0.1-2 μm thick and depends on the pattern to be replicated (step 2). Next, ink is applied to the stamp by, for example, rotational molding, syringe pump dispensing, or ink jet printing of the semiconductor nanocrystal solution (step 3). This solution is, for example,
It can have a concentration of 1-10 mg / mL in chloroform. The concentration can be varied depending on the desired outcome. The inked stamp can then be brought into contact with the substrate and gentle pressure applied, for example for 30 seconds, to completely transfer the ink (ie, semiconductor nanocrystal monolayer) to the new substrate (step 4). 2A and 2B show a specimen of an ITO coated glass substrate. Hole transport and / or hole injection layer containing organic semiconductor (each H
TL and HIL) are thermally deposited on the ITO substrate. The patterned semiconductor nanocrystal monolayer is transferred to this HTL layer and then the rest of the device (optionally, eg, electron transport layer (ETL), electron injection layer (EIL), and metal contact) is added. (Step 5). For example, U.S. Patent Application No. 11/2, both filed October 21, 2005.
See 53,595 and 11 / 253,612, and 11 / 032,163, filed January 11, 2005. Each of these is incorporated by reference in its entirety.
ナノクリスタルが光子を吸収するときに、励起した電子正孔対が生じる。吸収波長は、
量子閉じ込め半導体物質の有効なバンドギャップに関連する。バンドギャップは、ナノク
リスタルのサイズ、形状、材料、及び配置の関数である。小さな直径を有するナノクリス
タルは、分子とバルク形態の物質との中間の性質を有することができる。例えば、小さな
直径を有する半導体物質に基づくナノクリスタルは、3次元すべてにおいて電子と正孔と
の両方の量子閉じ込めを示すことができ、結晶サイズの減少に伴い、物質の有効なバンド
ギャップを増加させる。それゆえ、結晶のサイズが小さくなるにつれて、ナノクリスタル
の吸光と発光との両方が、青色へ、すなわち、より高いエネルギーへシフトする。
When nanocrystals absorb photons, excited electron-hole pairs are generated. The absorption wavelength is
Related to the effective band gap of quantum confined semiconductor materials. The band gap is a function of nanocrystal size, shape, material, and arrangement. Nanocrystals with small diameters can have intermediate properties between molecules and bulk form materials. For example, nanocrystals based on semiconductor materials with small diameters can exhibit both electron and hole quantum confinement in all three dimensions, increasing the effective band gap of the material with decreasing crystal size. . Therefore, as the crystal size decreases, both the absorption and emission of the nanocrystal shift to blue, ie higher energy.
ナノクリスタルを形成する半導体には、II−VI族の化合物、II−V族の化合物、
III−VI族の化合物、III−V族の化合物、IV−VI族の化合物、I−III−
VI族の化合物、II−IV−VI族の化合物、又はII−IV−V族の化合物、例えば
ZnO、ZnS、ZnSe、ZnTe、CdO、CdS、CdSe、CdTe、MgO、
MgS、MgSe、MgTe、HgO、HgS、HgSe、HgTe、AlN、AlP、
AlAs、AlSb、GaN、GaP、GaAs、GaSb、InN、InP、InAs
、InSb、TlN、TlP、TlAs、TlSb、PbS、PbSe、PbTe、又は
これらの混合物を含めることができる。
Semiconductors that form nanocrystals include II-VI group compounds, II-V group compounds,
Group III-VI compounds, Group III-V compounds, Group IV-VI compounds, I-III-
Group VI compounds, II-IV-VI compounds, or II-IV-V compounds such as ZnO, ZnS, ZnSe, ZnTe, CdO, CdS, CdSe, CdTe, MgO,
MgS, MgSe, MgTe, HgO, HgS, HgSe, HgTe, AlN, AlP,
AlAs, AlSb, GaN, GaP, GaAs, GaSb, InN, InP, InAs
, InSb, TlN, TlP, TlAs, TlSb, PbS, PbSe, PbTe, or mixtures thereof.
単分散半導体ナノクリスタルの調製方法は、高温の配位溶媒に注入されるジメチルカド
ミウムなど有機金属試薬の熱分解を含む。これは、離散的な核形成を可能にし、巨視量の
ナノクリスタルの制御された成長をもたらす。ナノクリスタルの調製及び操作は、例えば
米国特許第6,322,901号及び第6,576,291号、並びに米国特許出願第60/550,314号に記載さ
れており、各特許文献の全体を引用により取り込む。ナノクリスタルの製造方法は、コロ
イド成長プロセスである。コロイド成長は、Mドナー及びXドナーを高温配位溶媒に急速
に注入することによって生じる。この注入により、核が生成され、制御された様式で成長
させてナノクリスタルを形成することができる。反応混合物は、ナノクリスタルを成長さ
せ、かつアニールするために、穏やかに加熱することができる。サンプル中のナノクリス
タルの平均サイズとサイズ分布との両方が、成長温度に依存する。安定した成長を維持す
るために必要な成長温度は、平均結晶サイズの増加に伴って増加する。ナノクリスタルは
、ナノクリスタルの集団のメンバーである。離散的な核形成及び制御された成長の結果、
得られるナノクリスタルの集団は、狭い単分散の直径分布を有する。単分散の直径分布は
、サイズと呼ぶこともできる。核形成に続く、配位溶媒中でのナノクリスタルの制御され
た成長及びアニーリングのプロセスは、一様な表面誘導体化及び規則的なコア構造を生じ
させることもできる。サイズ分布が鋭くなるにつれて、安定した成長を維持するために、
温度を上昇させることができる。より多くのMドナー又はXドナーを添加することによっ
て、成長期間を短縮することができる。
A method for preparing monodisperse semiconductor nanocrystals involves pyrolysis of an organometallic reagent such as dimethylcadmium that is injected into a hot coordinating solvent. This allows for discrete nucleation and results in controlled growth of macroscopic nanocrystals. The preparation and manipulation of nanocrystals is described, for example, in US Pat. Nos. 6,322,901 and 6,576,291, and US Patent Application No. 60 / 550,314, which are incorporated by reference in their entirety. The method for producing nanocrystals is a colloidal growth process. Colloidal growth occurs by rapidly injecting M and X donors into a hot coordinating solvent. This implantation produces nuclei that can be grown in a controlled manner to form nanocrystals. The reaction mixture can be heated gently to grow and anneal the nanocrystals. Both the average size and the size distribution of the nanocrystals in the sample depend on the growth temperature. The growth temperature required to maintain stable growth increases with increasing average crystal size. Nanocrystals are members of a group of nanocrystals. As a result of discrete nucleation and controlled growth,
The resulting population of nanocrystals has a narrow monodisperse diameter distribution. The monodisperse diameter distribution can also be called size. The process of controlled growth and annealing of nanocrystals in a coordinating solvent following nucleation can also result in uniform surface derivatization and regular core structure. To maintain stable growth as the size distribution sharpens,
The temperature can be raised. By adding more M donor or X donor, the growth period can be shortened.
Mドナーは、無機化合物、有機金属化合物、又は元素金属とすることができる。Mは、
カドミウム、亜鉛、マグネシウム、水銀、アルミニウム、ガリウム、インジウム、又はタ
リウムである。Xドナーは、Mドナーと反応して一般式MXを有する物質を生成すること
ができる化合物である。通常、Xドナーは、カルコゲニドドナー又はプニクタイドドナー
、例えば、ホスフィンカルコゲニド、ビス(シリル)カルコゲニド、二酸素、アンモニウ
ム塩、又はトリス(シリル)プニクタイドである。適切なXドナーは、二酸素、ビス(ト
リメチルシリル)セレニド((TMS)2Se)、トリアルキルホスフィンセレニド(例えば(ト
リ−n−オクチルホスフィン)セレニド(TOPSe)又は(トリ−n−ブチルホスフィン)
セレニド(TBPSe)など)、トリアルキルホスフィンテルリド(例えば(トリ−n−オク
チルホスフィン)テルリド(TOPTe)又はヘキサプロピルホスホラストリアミドテルリド
(HPPTTe)など)、ビス(トリメチルシリル)テルリド((TMS)2Te)、ビス(トリメチル
シリル)スルフィド((TMS)2S))、トリアルキルホスフィンスルフィド(例えば(トリ
−n−オクチルホスフィン)スルフィド(TOPS)など)、アンモニウム塩(例えばハロゲ
ン化アンモニウム(例えばNH4Cl)など)、トリス(トリメチルシリル)ホスフィド((TM
S)3P)、トリス(トリメチルシリル)アルセニド((TMS)3As)、又はトリス(トリメチル
シリル)アンチモニド((TMS)3Sb)を含む。特定の実施態様では、Mドナー及びXドナー
は、同一分子内の成分とすることができる。
The M donor can be an inorganic compound, an organometallic compound, or an elemental metal. M is
Cadmium, zinc, magnesium, mercury, aluminum, gallium, indium, or thallium. An X donor is a compound that can react with an M donor to produce a substance having the general formula MX. Typically, the X donor is a chalcogenide donor or pnictide donor, such as a phosphine chalcogenide, bis (silyl) chalcogenide, dioxygen, ammonium salt, or tris (silyl) pnictide. Suitable X donors are dioxygen, bis (trimethylsilyl) selenide ((TMS) 2 Se), trialkylphosphine selenides (eg (tri-n-octylphosphine) selenide (TOPSe) or (tri-n-butylphosphine))
Selenide (TBPSe), etc., trialkylphosphine telluride (eg (tri-n-octylphosphine) telluride (TOPTe) or hexapropylphosphorustriamide telluride (HPPTTe), etc.), bis (trimethylsilyl) telluride ((TMS) 2 Te), bis (trimethylsilyl) sulfide ((TMS) 2 S)), trialkylphosphine sulfide (eg (tri-n-octylphosphine) sulfide (TOPS) etc.), ammonium salt (eg ammonium halide (eg NH 4 Cl )), Tris (trimethylsilyl) phosphide ((TM
S) 3 P), tris (trimethylsilyl) arsenide ((TMS) 3 As), or tris (trimethylsilyl) antimonide ((TMS) 3 Sb). In certain embodiments, the M donor and the X donor can be components within the same molecule.
配位溶媒は、ナノクリスタルの成長の制御に役立たせることができる。配位溶媒は、ド
ナー孤立電子対を有する化合物であり、例えば、成長するナノクリスタルの表面に配位す
るのに利用できる孤立電子対を有する。溶媒配位は、成長するナノクリスタルを安定化さ
せることができる。代表的な配位溶媒としては、アルキルホスフィン、アルキルホスフィ
ンオキシド、アルキルホスホン酸、又はアルキルホスフィン酸があるが、ピリジン、フラ
ン、及びアミンなどの他の配位溶媒も、ナノクリスタルの生成に適していることがある。
適切な配位溶媒の例としては、ピリジン、トリ−n−オクチルホスフィン(TOP)、トリ
−n−オクチルホスフィンオキシド(TOPO)、及びトリス−ヒドロキシルプロピルホスフ
ィン(tHPP)がある。工業用のTOPOを使用することができる。
Coordinating solvents can help control the growth of nanocrystals. A coordination solvent is a compound having a donor lone electron pair, for example, having a lone electron pair that can be used to coordinate to the surface of the growing nanocrystal. Solvent coordination can stabilize the growing nanocrystals. Typical coordinating solvents include alkyl phosphines, alkyl phosphine oxides, alkyl phosphonic acids, or alkyl phosphinic acids, but other coordinating solvents such as pyridine, furan, and amines are also suitable for the formation of nanocrystals. There may be.
Examples of suitable coordinating solvents are pyridine, tri-n-octylphosphine (TOP), tri-n-octylphosphine oxide (TOPO), and tris-hydroxylpropylphosphine (tHPP). Industrial TOPO can be used.
反応の成長段階中のサイズ分布は、粒子の吸収線幅をモニタリングすることによって評
価することができる。粒子の吸収スペクトルの変化に応じた反応温度の修正により、成長
中、鋭い粒子サイズ分布の維持が可能になる。より大きな結晶を成長させるために、結晶
成長中に、核形成溶液に反応物を添加することができる。特定のナノクリスタル平均直径
で成長を停止させ、かつ半導体物質の適切な組成を選択することによって、ナノクリスタ
ルの発光スペクトルは、300nm〜5ミクロンの波長範囲にわたって、又はCdSe及
びCdTeについては400nm〜800nmにわたって連続的に調整することができる
。ナノクリスタルは、150Å未満の直径を有する。ナノクリスタルの集団は、15Å〜
125Åの範囲の平均直径を有する。
The size distribution during the growth phase of the reaction can be evaluated by monitoring the absorption line width of the particles. Modification of the reaction temperature in response to changes in the absorption spectrum of the particles makes it possible to maintain a sharp particle size distribution during growth. In order to grow larger crystals, reactants can be added to the nucleation solution during crystal growth. By stopping the growth at a specific nanocrystal average diameter and selecting an appropriate composition of the semiconductor material, the emission spectrum of the nanocrystals extends over a wavelength range of 300 nm to 5 microns, or for CdSe and CdTe, 400 nm to 800 nm. Can be continuously adjusted over time. Nanocrystals have a diameter of less than 150 mm. The group of nanocrystals is 15cm ~
It has an average diameter in the range of 125 mm.
ナノクリスタルは、狭いサイズ分布を有するナノクリスタルの集団のメンバーであって
よい。ナノクリスタルは、球形、棒状、円盤状、又は他の形状であってよい。ナノクリス
タルは、半導体物質のコアを含むことができる。ナノクリスタルは、式MXを有するコア
を含むことができ、ここでMは、カドミウム、亜鉛、マグネシウム、水銀、アルミニウム
、ガリウム、インジウム、タリウム、又はそれらの混合物であり、Xは、酸素、硫黄、セ
レン、テルル、窒素、リン、ヒ素、アンチモン、又はそれらの混合物である。
The nanocrystal may be a member of a population of nanocrystals having a narrow size distribution. Nanocrystals can be spherical, rod-shaped, disc-shaped, or other shapes. The nanocrystal can include a core of semiconductor material. The nanocrystal can include a core having the formula MX, where M is cadmium, zinc, magnesium, mercury, aluminum, gallium, indium, thallium, or mixtures thereof, where X is oxygen, sulfur, Selenium, tellurium, nitrogen, phosphorus, arsenic, antimony, or mixtures thereof.
コアは、該コアの表面上にオーバーコーティングを有することができる。オーバーコー
ティングは、該コアの組成物とは異なる組成物を有する半導体物質であってもよい。ナノ
クリスタルの表面上の半導体物質のオーバーコートは、II−VI族の化合物、II−V
族の化合物、III−VI族の化合物、III−V族の化合物、IV−VI族の化合物、
I−III−VI族の化合物、II−IV−VI族の化合物、又はII−IV−V族の化
合物、例えばZnO、ZnS、ZnSe、ZnTe、CdO、CdS、CdSe、CdT
e、MgO、MgS、MgSe、MgTe、HgO、HgS、HgSe、HgTe、Al
N、AlP、AlAs、AlSb、GaN、GaP、GaAs、GaSb、InN、In
P、InAs、InSb、TlN、TlP、TlAs、TlSb、TlSb、PbS、P
bSe、PbTe、又はそれらの混合物を含むことができる。例えば、ZnS、ZnSe
、又はCdSオーバーコーティングを、CdSe又はCdTeナノクリスタル上に成長さ
せることができる。オーバーコーティングプロセスは、例えば米国特許第6,322,901号に
記載されている。オーバーコーティング中に反応混合物の温度を調節し、コアの吸収スペ
クトルをモニタリングすることによって、高い発光量子効率と狭いサイズ分布とを有する
オーバーコート物質を得ることができる。オーバーコーティングは、1〜10層の単層の
厚さとすることができる。
The core can have an overcoating on the surface of the core. The overcoating may be a semiconductor material having a composition different from the composition of the core. The overcoat of semiconductor material on the surface of the nanocrystal is a group II-VI compound, II-V
Group III, Group III-VI compounds, Group III-V compounds, Group IV-VI compounds,
I-III-VI compounds, II-IV-VI compounds, or II-IV-V compounds such as ZnO, ZnS, ZnSe, ZnTe, CdO, CdS, CdSe, CdT
e, MgO, MgS, MgSe, MgTe, HgO, HgS, HgSe, HgTe, Al
N, AlP, AlAs, AlSb, GaN, GaP, GaAs, GaSb, InN, In
P, InAs, InSb, TlN, TlP, TlAs, TlSb, TlSb, PbS, P
bSe, PbTe, or mixtures thereof may be included. For example, ZnS, ZnSe
Alternatively, a CdS overcoating can be grown on CdSe or CdTe nanocrystals. The overcoating process is described, for example, in US Pat. No. 6,322,901. By adjusting the temperature of the reaction mixture during overcoating and monitoring the absorption spectrum of the core, an overcoat material with high emission quantum efficiency and narrow size distribution can be obtained. The overcoating can be 1 to 10 monolayers thick.
粒子サイズ分布は、米国特許第6,322,901号に記載されている、メタノール/ブタノー
ルなどのナノクリスタルに対する貧溶媒を用いるサイズ選択的沈殿法によって、さらに精
製することができる。例えば、ナノクリスタルは、10%ブタノールのヘキサン溶液中に
分散させることができる。メタノールは、乳光が持続するまで、この攪拌溶液に滴下して
加えることができる。遠心分離による上清と凝集物との分離により、サンプル中の最大結
晶に富んだ沈殿物が生成される。この手順を、吸光スペクトルのさらなる鋭利化が認めら
れなくなるまで繰り返すことができる。サイズ選択的沈殿法は、ピリジン/ヘキサン及び
クロロホルム/メタノールを含めた種々の溶媒/非溶媒のペアで実施することができる。
サイズ選択されたナノクリスタル集団は、平均直径から15%rms以下の偏差、好まし
くは10%rms以下の偏差、より好ましくは5%rms以下の偏差を有することができ
る。
The particle size distribution can be further purified by a size selective precipitation method using a poor solvent for nanocrystals such as methanol / butanol as described in US Pat. No. 6,322,901. For example, nanocrystals can be dispersed in 10% butanol in hexane. Methanol can be added dropwise to this stirred solution until the opalescence persists. Separation of the supernatant and aggregates by centrifugation produces a precipitate enriched in the largest crystals in the sample. This procedure can be repeated until no further sharpening of the absorption spectrum is observed. The size selective precipitation method can be carried out with various solvent / non-solvent pairs including pyridine / hexane and chloroform / methanol.
The size-selected nanocrystal population can have a deviation of 15% rms or less from the average diameter, preferably a deviation of 10% rms or less, more preferably a deviation of 5% rms or less.
ナノクリスタルの外部表面は、成長プロセス中に使用された配位溶媒から誘導される化
合物を含むことができる。過剰な競合配位基へ繰り返し曝露することによって表面を改質
することができる。例えば、覆われたナノクリスタルの分散は、ピリジンなどの配位性有
機化合物を用いて処理することができ、ピリジン、メタノール、及び芳香族中では容易に
分散し、しかし脂肪族溶媒中ではもはや分散しない結晶を生成する。そのような表面交換
プロセスは、例えばホスフィン、チオール、アミン、及びリン酸塩を含めた、ナノクリス
タルの外部表面と配位、又は結合できる任意の化合物を用いて実施することができる。ナ
ノクリスタルは、表面に対して親和性を示し、かつ懸濁液又は分散媒体に対して親和性を
有する成分で終わる短鎖ポリマーに曝露させることができる。そのような親和性は、懸濁
液の安定性を改善し、ナノクリスタルの凝集を妨げる。ナノクリスタル配位化合物は、例
えば米国特許第6,251,303号に記載されており、その全体は引用により取り込まれている
。
The outer surface of the nanocrystal can include compounds derived from the coordinating solvent used during the growth process. Surfaces can be modified by repeated exposure to excess competing coordination groups. For example, dispersion of covered nanocrystals can be treated with coordinating organic compounds such as pyridine, easily dispersed in pyridine, methanol, and aromatics, but no longer dispersed in aliphatic solvents. Produces crystals that do not. Such a surface exchange process can be performed using any compound that can coordinate or bind to the external surface of the nanocrystal, including, for example, phosphines, thiols, amines, and phosphates. The nanocrystals can be exposed to short chain polymers that have an affinity for the surface and end with a component that has an affinity for the suspension or dispersion medium. Such affinity improves the stability of the suspension and prevents nanocrystal aggregation. Nanocrystal coordination compounds are described, for example, in US Pat. No. 6,251,303, which is incorporated by reference in its entirety.
より具体的には、配位子が、次式を有することができる。
、4、又は5であり;Xは、O、S、S=O、SO2、Se、Se=O、N、N=O、P
、P=O、As、又はAs=Oであり;Y及びLはそれぞれ、独立して、アリール、ヘテ
ロアリール、或いは少なくとも一つの二重結合、少なくとも一つの三重結合、又は少なく
とも一つの二重結合及び一つの三重結合を任意に含む直鎖状の、又は分岐したC2−12
炭化水素鎖である。炭化水素鎖は、一種以上のC1−4アルキル、C2−4アルケニル、
C2−4アルキニル、C1−4アルコキシ、ヒドロキシ、ハロ、アミノ、ニトロ、シアノ
、C3−5シクロアルキル、3〜5員環ヘテロシクロアルキル、アリール、ヘテロアリー
ル、C1−4アルキルカルボニルオキシ、C1−4アルキルオキシカルボニル、C1−4
アルキルカルボニル、又はホルミルによって任意に置換することができる。また、炭化水
素鎖は、−O−、−S−、−N(Ra)−、−N(Ra)−C(O)−O−、−O−C(
O)−N(Ra)−、−N(Ra)−C(O)−N(Rb)−、−O−C(O)−O−、
−P(Ra)−、又は−P(O)(Ra)−によって任意に中断することができる。Ra
及びRbはそれぞれ、独立して、水素、アルキル、アルケニル、アルキニル、アルコキシ
、ヒドロキシルアルキル、ヒドロキシル、又はハロアルキルである。
More specifically, the ligand can have the following formula:
X is O, S, S = O, SO 2 , Se, Se = O, N, N = O, P
, P = O, As, or As = O; Y and L are each independently aryl, heteroaryl, or at least one double bond, at least one triple bond, or at least one double bond And a linear or branched C 2-12 optionally containing one triple bond
It is a hydrocarbon chain. The hydrocarbon chain is one or more C 1-4 alkyl, C 2-4 alkenyl,
C 2-4 alkynyl, C 1-4 alkoxy, hydroxy, halo, amino, nitro, cyano, C 3-5 cycloalkyl, 3-5 membered heterocycloalkyl, aryl, heteroaryl, C 1-4 alkylcarbonyloxy C 1-4 alkyloxycarbonyl, C 1-4
It can be optionally substituted by alkylcarbonyl or formyl. In addition, the hydrocarbon chain includes —O—, —S—, —N (R a ) —, —N (R a ) —C (O) —O—, —O—C (
O) —N (R a ) —, —N (R a ) —C (O) —N (R b ) —, —O—C (O) —O—,
It can be interrupted arbitrarily by -P (R <a> )-or -P (O) (R <a> )-. R a
And R b are each independently hydrogen, alkyl, alkenyl, alkynyl, alkoxy, hydroxylalkyl, hydroxyl, or haloalkyl.
アリール基は、置換又は非置換の環状芳香族基である。例としては、フェニル、ベンジ
ル、ナフチル、トリル、アントラシル、ニトロフェニル、又はハロフェニルがある。ヘテ
ロアリール基は、環の中に一つ以上のヘテロ原子を有するアリール基であり、例えばフリ
ル、ピリジル、ピロリル、フェナントリルである。
The aryl group is a substituted or unsubstituted cyclic aromatic group. Examples are phenyl, benzyl, naphthyl, tolyl, anthracyl, nitrophenyl or halophenyl. A heteroaryl group is an aryl group having one or more heteroatoms in the ring, such as furyl, pyridyl, pyrrolyl, phenanthryl.
適切な配位子を、商業的に購入することができ、又は、例えばJ. March「有機化学特論
(Advanced Organic Chemistry)」(その全体を引用により取り込む)に記載されている
通常の合成有機技法によって調製することができる。
Appropriate ligands can be purchased commercially, or can be purchased from ordinary synthetic organic materials such as those described in J. March “Advanced Organic Chemistry”, which is incorporated by reference in its entirety. Can be prepared by techniques.
透過型電子顕微鏡(TEM)が、ナノクリスタル集団のサイズ、形状、及び分布に関す
る情報を提供することができる。粉末X線回折(XRD)パターンが、ナノクリスタルの
結晶構造のタイプ及び質に関する最も完全な情報を提供することができる。また、粒子径
は、X線コヒーレンス長を介してピーク幅に反比例するので、サイズの評価も可能である
。例えば、ナノクリスタルの直径は、透過型電子顕微鏡によって直接測定することができ
、又は、例えばシェラーの式を使用してX線回折データから評価することができる。また
、UV/Vis吸収スペクトルから評価することもできる。
A transmission electron microscope (TEM) can provide information on the size, shape, and distribution of the nanocrystal population. Powder X-ray diffraction (XRD) patterns can provide the most complete information regarding the type and quality of the crystal structure of the nanocrystal. In addition, since the particle diameter is inversely proportional to the peak width via the X-ray coherence length, the size can be evaluated. For example, the diameter of the nanocrystal can be measured directly by transmission electron microscopy or can be estimated from X-ray diffraction data using, for example, Scherrer's equation. Moreover, it can also evaluate from a UV / Vis absorption spectrum.
光起電力配列を形成するために、個々のデバイスを、単一基板上の複数の位置に形成す
ることができる。いくつかの適用例では、基板は、バックプレーンを含むことができる。
バックプレーンは、個々の配列要素に又は個々の配列要素から、電力を制御又は切り換え
るための能動又は受動電子回路を含む。バックプレーンを含むことは、ディスプレイ、セ
ンサ、又は撮像装置などの用途で有用になることがある。特に、バックプレーンは、アク
ティブマトリックス、パッシブマトリックス、固定フォーマット、ダイレクトドライブ(
directly drive)、又はハイブリッドとして構成することができる。例えば、その全体が
引用により取り込まれている、2005年10月21日に出願された米国特許出願第11/253,612号
を参照されたい。
Individual devices can be formed at multiple locations on a single substrate to form a photovoltaic array. For some applications, the substrate can include a backplane.
The backplane includes active or passive electronic circuitry for controlling or switching power to or from individual array elements. Including a backplane may be useful in applications such as displays, sensors, or imaging devices. In particular, backplanes are active matrix, passive matrix, fixed format, direct drive (
directly drive) or as a hybrid. See, for example, US patent application Ser. No. 11 / 253,612 filed Oct. 21, 2005, which is incorporated by reference in its entirety.
デバイスは、製造プロセス中のデバイス効率の低下を防止する、制御された(酸素を含
まず、かつ水分を含まない)環境内で作成することができる。デバイス性能を改善するた
めに、他の多層構造を使用することもできる(例えば、2003年3月28日に出願された米国
特許出願第10/400,907号及び第10/400,908号を参照されたい。それら各特許文献の全体は
引用により取り込まれている)。電子ブロッキング層(EBL)、正孔ブロッキング層(
HBL)、又は正孔及び電子ブロッキング層(eBL)などのブロッキング層を構造内に
導入することができる。ブロッキング層が含むことができるのは、3−(4−ビフェニリ
ル)−4−フェニル−5−ターシャリー−ブチルフェニル−1,2,4−トリアゾール(
TAZ)、3,4,5−トリフェニル−1,2,4−トリアゾール、3,5−ビス(4−
ターシャリー−ブチルフェニル)−4−フェニル−1,2,4−トリアゾール、バトクプ
ロイン(BCP)、4,4’,4”−トリス{N−(3−メチルフェニル)−N−フェニ
ルアミノ}トリフェニルアミン(m-MTDATA)、ポリエチレンジオキシチオフェン(PEDOT
)、1,3−ビス(5−(4−ジフェニルアミノ)フェニル−1,3,4−オキサジアゾ
ール−2−イル)ベンゼン、2−(4−ビフェニリル)−5−(4−ターシャリー−ブチ
ルフェニル)−1,3,4−オキサジアゾール、1,3−ビス[5−(4−(1,1−ジ
メチルエチル)フェニル)−1,3,4−オキサジアゾール−2−イル]ベンゼン、1,
4−ビス(5−(4−ジフェニルアミノ)フェニル−1,3,4−オキサジアゾール−2
−イル)ベンゼン、又は1,3,5−トリス[5−(4−(1,1−ジメチルエチル)フ
ェニル)−1,3,4−オキサジアゾール−2−イル]ベンゼンである。
The device can be made in a controlled (oxygen-free and moisture-free) environment that prevents a reduction in device efficiency during the manufacturing process. Other multilayer structures can also be used to improve device performance (see, for example, US patent application Ser. Nos. 10 / 400,907 and 10 / 400,908 filed Mar. 28, 2003). Each of these patent documents is incorporated by reference). Electron blocking layer (EBL), hole blocking layer (
HBL) or blocking layers such as hole and electron blocking layers (eBL) can be introduced into the structure. The blocking layer may contain 3- (4-biphenylyl) -4-phenyl-5-tertiary-butylphenyl-1,2,4-triazole (
TAZ), 3,4,5-triphenyl-1,2,4-triazole, 3,5-bis (4-
Tert-butylphenyl) -4-phenyl-1,2,4-triazole, batocuproine (BCP), 4,4 ′, 4 ″ -tris {N- (3-methylphenyl) -N-phenylamino} triphenyl Amine (m-MTDATA), polyethylene dioxythiophene (PEDOT
), 1,3-bis (5- (4-diphenylamino) phenyl-1,3,4-oxadiazol-2-yl) benzene, 2- (4-biphenylyl) -5- (4-tertiary- Butylphenyl) -1,3,4-oxadiazole, 1,3-bis [5- (4- (1,1-dimethylethyl) phenyl) -1,3,4-oxadiazol-2-yl] Benzene, 1,
4-Bis (5- (4-diphenylamino) phenyl-1,3,4-oxadiazole-2
-Yl) benzene or 1,3,5-tris [5- (4- (1,1-dimethylethyl) phenyl) -1,3,4-oxadiazol-2-yl] benzene.
光起電力デバイスの性能は、それらの効率を高めることによって改善することができる
。例えば、Bulovicらの論文, Semiconductors and Semimetals 64, 255 (2000)、Adachi
らの論文, Appl. Phys. Lett. 78, 1622 (2001)、Yamasakiらの論文, Appl. Phys. Lett.
76, 1243 (2000)、Dirrらの論文, Jpn. J. Appl. Phys. 37, 1457 (1998)、及びD'Andra
deらの論文, MRS Fall Meeting, BB6.2 (2001)を参照されたい。各文献の全体は引用によ
り取り込まれている。ナノクリスタルは、効率の良いハイブリッド有機/無機発光デバイ
ス内に含めることができる。
The performance of photovoltaic devices can be improved by increasing their efficiency. For example, Bulovic et al., Semiconductors and Semimetals 64, 255 (2000), Adachi
Et al., Appl. Phys. Lett. 78, 1622 (2001), Yamasaki et al., Appl. Phys. Lett.
76, 1243 (2000), Dirr et al., Jpn. J. Appl. Phys. 37, 1457 (1998), and D'Andra.
See de et al., MRS Fall Meeting, BB6.2 (2001). The entirety of each document is incorporated by reference. Nanocrystals can be included in efficient hybrid organic / inorganic light emitting devices.
ディスプレイを製造するために、個々のデバイスを、単一基板上の複数の位置に形成す
ることができる。ディスプレイは、様々な波長で放出するデバイスを含むことができる。
様々な色の発光半導体ナノクリスタルのアレイを基板にパターニングすることにより、様
々な色の画素を含むディスプレイを製造することができる。
In order to produce a display, individual devices can be formed at multiple locations on a single substrate. The display can include devices that emit at various wavelengths.
By displaying an array of light emitting semiconductor nanocrystals of different colors on a substrate, a display comprising pixels of different colors can be manufactured.
デバイスを製造するために、例えばNiOなどのp型半導体を、酸化インジウムスズ(
ITO)などの透明電極上に堆積することができる。該透明電極は、透明基板上に配置さ
れることができる。次に、マイクロコンタクト印刷、又はラングミュアーブロジェット(
LB)技術などの広域適合性の単層堆積技術を用いて、半導体ナノクリスタルを堆積する
。続いて、n型半導体(例えばZnO又はTiO2)を、例えばスパッタリングによりこ
の層の上部に塗布する。該デバイスを完成させるために、この上に金属電極を熱的に蒸着
させることができる。より複雑なデバイス構造も可能である。例えば、少しドープした層
を、ナノクリスタル層に近接して含ませることができる。
In order to manufacture a device, for example, a p-type semiconductor such as NiO is used as indium tin oxide
It can be deposited on a transparent electrode such as ITO. The transparent electrode can be disposed on a transparent substrate. Next, microcontact printing or Langmuir jet (
LB) Semiconductor nanocrystals are deposited using a single layer deposition technique that is broadly compatible, such as a technique. Subsequently, an n-type semiconductor (eg ZnO or TiO 2 ) is applied on top of this layer, for example by sputtering. To complete the device, a metal electrode can be thermally deposited thereon. More complex device structures are possible. For example, a slightly doped layer can be included in proximity to the nanocrystal layer.
該デバイスは、2つの輸送層を個々に成長させ、かつポリジメチルシロキサン(PDM
S)などのエラストマーを用いて電気接触を物理的に適用することにより組み立てられる
。これは、ナノクリスタル層上の物質の直接的堆積の必要性を避ける。
The device grows two transport layers individually and polydimethylsiloxane (PDM).
Assembled by physically applying electrical contact using an elastomer such as S). This avoids the need for direct deposition of material on the nanocrystal layer.
該デバイスを、該輸送層の全てを塗布した後に熱的に処理することができる。熱処理は
、ナノクリスタルからの電荷の分離をさらに強化し、かつナノクリスタル上の有機キャッ
ピング基(organic capping groups)を排除することができる。該キャッピング基の不安
定性は、デバイスの不安定性の原因となり得る。
The device can be thermally processed after all of the transport layer has been applied. The heat treatment can further enhance charge separation from the nanocrystal and eliminate organic capping groups on the nanocrystal. The instability of the capping group can cause device instability.
使用される無機輸送層、特に金属酸化物質は、O2及びH2Oがデバイスの吸収性層(
半導体ナノクリスタル層)に入ることを防ぐ障壁層として作用することができる。無機層
の保護的性質は、包装に対する設計選択を提供することができる。例えば、該無機層は、
水及び/又は酸素に対する障壁となることができ、このような混入物が放出物質に達する
ことを防ぐ追加成分の必要性なく、デバイスを製造することができる。BARIX(Vitex製)
などのカプセル材料コーティングを、金属酸化物層とポリマー層とを交互に用いて作成す
ることができる。このような障壁において、該金属酸化物は、O2及びH2Oに対する障
壁となり、かつ該ポリマー層は、該金属酸化物層内のピンホール欠陥の発生を無作為化す
る。従って、輸送層として金属酸化物を用いることにおいて、デバイス自体は、半導体ナ
ノクリスタルに対する保護層として機能する。
The inorganic transport layer used, especially the metal oxide material, is O 2 and H 2 O are absorbing layers of the device (
It can act as a barrier layer that prevents entry into the semiconductor nanocrystal layer. The protective nature of the inorganic layer can provide design choices for packaging. For example, the inorganic layer is
Devices can be fabricated without the need for additional components that can be a barrier to water and / or oxygen and prevent such contaminants from reaching the release material. BARIX (Vitex)
Can be made using alternating metal oxide and polymer layers. In such a barrier, the metal oxide becomes a barrier to O 2 and H 2 O, and the polymer layer randomizes the occurrence of pinhole defects in the metal oxide layer. Therefore, in using a metal oxide as the transport layer, the device itself functions as a protective layer for the semiconductor nanocrystal.
図3A〜3Eは、可能なデバイス構造を示す。これらは、標準的なp−nダイオード図
(図3A)、p−i−nダイオード図(図3B)、透明デバイス(図3C)、逆デバイス
(inverted device)(図3D)、及び可撓性デバイス(flexible device)(図3E)で
ある。可撓性デバイスの場合、各単一層金属酸化物層に対して、スリッページ層(slippa
ge layers)、すなわち金属酸化物/金属/金属酸化物型の3層構造を組み込むことが可能
である。これは、透明度を維持すると同時に、伝導度を増加する金属酸化物薄膜の可撓性
を増加することが示されている。これは、該金属層、通常、銀層が、非常に薄く(各々約
12nm)、従って、多くの光を吸収しないためである。
3A-3E show possible device structures. These are the standard pn diode diagram (FIG. 3A), pin diode diagram (FIG. 3B), transparent device (FIG. 3C), inverted device (FIG. 3D), and flexibility A flexible device (FIG. 3E). For flexible devices, for each single layer metal oxide layer, a slippage layer (slippa
ge layers), ie, a three-layer structure of the metal oxide / metal / metal oxide type. This has been shown to increase the flexibility of metal oxide thin films that increase conductivity while maintaining transparency. This is because the metal layer, usually the silver layer, is very thin (each about 12 nm) and therefore does not absorb much light.
60nm厚さの酸化インジウムスズ(ITO)電極を、不活発アルゴン環境のrf-スパッタリング
を用いて、ガラス上に配置した。遅い成長速度及び低圧力を用いて、5nm未満の表面粗さ
を有するフィルムを達成し、基板を加熱することにより、ITOの比抵抗に渡って正確な制
御を可能にした。20nmの酸化ニッケル(NiO)を、アルゴン及び酸素下でITO電極上にrf-ス
パッタリングし、P型層を生じた。ここで、O2の割合により過剰な正孔ドナー部位の数が
決定される。その後、赤色の放出を有するように調整されるコロイド的に合成された亜鉛
セレン化カドミウム(ZnCdSe)ナノクリスタルを、NiO上へスピンコートした。遅い回転速
度を用いて、デバイス域全体に渡って、ナノクリスタル範囲のいくつかの単層を達成した
。その後、絶縁酸化亜鉛(ZnO)及び伝導性酸化スズ(SnO2)をアルゴン環境下で共同スパッ
タリングし、NiOの濃度と類似の担体濃度を有する40nmフィルムを得た。次に、銀の上部
電極を堆積した;しかし、ITO又は等しい伝導性の亜鉛酸化インジウムの上部電極をスパ
ッタリングすることによって、デバイスを調製することもできる。
A 60 nm thick indium tin oxide (ITO) electrode was placed on the glass using rf-sputtering in an inert argon environment. Using slow growth rates and low pressures, films with surface roughness of less than 5 nm were achieved, and heating the substrate allowed precise control over the resistivity of ITO. 20 nm nickel oxide (NiO) was rf-sputtered onto the ITO electrode under argon and oxygen to produce a P-type layer. Here, the number of excess hole donor sites is determined by the ratio of O 2 . Thereafter, colloidally synthesized cadmium zinc selenide (ZnCdSe) nanocrystals tuned to have a red emission were spin coated onto NiO. Slow rotation speeds were used to achieve several monolayers in the nanocrystal range across the device area. Thereafter, insulating zinc oxide (ZnO) and conductive tin oxide (SnO 2 ) were co-sputtered in an argon environment to obtain a 40 nm film having a carrier concentration similar to that of NiO. Next, a silver top electrode was deposited; however, the device could also be prepared by sputtering an ITO or equivalent conductivity zinc indium oxide top electrode.
図4は、デバイスの外部量子効率スペクトル及びI〜V特性を示す。波長依存的な外部量
子効率曲線は、625nmで小さいピークを示した。これは、ナノクリスタルが入射光の吸収
に関与することを示している。電流-電圧プロットは、遮光下及び照明下でのデバイスの
電流応答を示す。高い暗電流(黒及び青曲線)は、金属酸化物層が薄いという事実に起因し
得る。0.2の開路電圧が保証された。
他の実施態様は、添付の請求項の範囲内である。
FIG. 4 shows the external quantum efficiency spectrum and IV characteristics of the device. The wavelength-dependent external quantum efficiency curve showed a small peak at 625 nm. This indicates that the nanocrystal is involved in the absorption of incident light. The current-voltage plot shows the current response of the device under shading and under illumination. The high dark current (black and blue curves) can be attributed to the fact that the metal oxide layer is thin. An open circuit voltage of 0.2 was guaranteed.
Other embodiments are within the scope of the appended claims.
Claims (41)
第一電荷輸送層に電荷を導入するように配置された第一電極と接触している、第一無機
物質を含有した第一電荷輸送層、
第二電荷輸送層に電荷を導入するように配置された第二電極と接触している、第二電荷
輸送層、
該第一電荷輸送層と該第二電荷輸送層との間に配置された複数の半導体ナノクリスタル
を含み、該複数の半導体ナノクリスタルが半導体ナノクリスタルの実質的な単分散集団で
あり、かつ
該第一無機物質がアモルファス、又は多結晶質である、前記光起電力デバイス。 A photovoltaic device,
A first charge transport layer containing a first inorganic material in contact with a first electrode arranged to introduce charge into the first charge transport layer;
A second charge transport layer in contact with a second electrode arranged to introduce charge into the second charge transport layer;
A plurality of semiconductor nanocrystals disposed between the first charge transport layer and the second charge transport layer, the plurality of semiconductor nanocrystals being a substantially monodispersed population of semiconductor nanocrystals; and The photovoltaic device, wherein the first inorganic substance is amorphous or polycrystalline.
ス。 The photovoltaic device of claim 3, wherein the metal chalcogenide is a mixed metal chalcogenide.
ムスズ、又はこれらの混合物を含む、請求項3記載の光起電力デバイス。 The photovoltaic device of claim 3, wherein the metal chalcogenide comprises zinc oxide, titanium oxide, niobium oxide, zinc sulfide, indium tin oxide, or a mixture thereof.
ス。 The photovoltaic device according to claim 6, wherein the second inorganic material is amorphous or polycrystalline.
ス。 The photovoltaic device of claim 9, wherein the metal chalcogenide is a mixed metal chalcogenide.
ムスズ、又はこれらの混合物を含む、請求項9記載の光起電力デバイス。 The photovoltaic device of claim 9, wherein the metal chalcogenide comprises zinc oxide, titanium oxide, niobium oxide, zinc sulfide, indium tin oxide, or a mixture thereof.
。 The photovoltaic device of claim 1, wherein the plurality of semiconductor nanocrystals form a single layer.
イス。 The device of claim 1, wherein the second electrode is in direct contact with the plurality of semiconductor nanocrystals.
電極の上に第一無機物質を含む第一電荷輸送層を堆積すること;
該電極の上に複数の半導体ナノクリスタルを堆積すること(ここで、該複数の半導体ナ
ノクリスタルは半導体ナノクリスタルの実質的な単分散集団であり、かつ該複数の半導体
ナノクリスタルは該第一電荷輸送層と電気的に接触される);及び
該電極の上に第二無機物質を含む第二電荷輸送層を堆積すること(ここで該複数の半導
体ナノクリスタルは該第二電荷輸送層と電気的に接触される)を含み、
該第一無機物質がアモルファス、又は多結晶質である、前記方法。 A device manufacturing method comprising:
Depositing a first charge transport layer comprising a first inorganic material on the electrode;
Depositing a plurality of semiconductor nanocrystals on the electrode (wherein the plurality of semiconductor nanocrystals is a substantially monodispersed population of semiconductor nanocrystals and the plurality of semiconductor nanocrystals is the first charge); Depositing a second charge transport layer comprising a second inorganic material on the electrode (wherein the plurality of semiconductor nanocrystals are electrically connected to the second charge transport layer). Touched)
The method, wherein the first inorganic material is amorphous or polycrystalline.
ムスズ又はこれらの混合を含む、請求項20記載の方法。 21. The method of claim 20, wherein the metal chalcogenide comprises zinc oxide, titanium oxide, niobium oxide, zinc sulfide, indium tin oxide, or a mixture thereof.
ムスズ又はこれらの混合を含む、請求項26記載の方法。 27. The method of claim 26, wherein the metal chalcogenide comprises zinc oxide, titanium oxide, niobium oxide, zinc sulfide, indium tin oxide, or a mixture thereof.
。 18. The method of claim 17, wherein the second electrode is in direct contact with the plurality of semiconductor nanocrystals.
該デバイスは、第一電荷輸送層に電荷を導入するように配置された第一電極と接触して
いる第一無機物質を含有した第一電荷輸送層;
第二電荷輸送層に電荷を導入するように配置された第二電極と接触している第二電荷輸
送層;及び
該第一電荷輸送層と該第二電荷輸送層との間に配置された複数の半導体ナノクリスタル
を含み、該複数の半導体ナノクリスタルが半導体ナノクリスタルの実質的な単分散集団で
あり、かつ
該第一無機物質がアモルファス、又は多結晶質である、前記方法。 A method of generating a current comprising exposing light of an excitation wavelength to a device comprising:
The device comprises a first charge transport layer containing a first inorganic material in contact with a first electrode arranged to introduce charge into the first charge transport layer;
A second charge transport layer in contact with a second electrode disposed to introduce charge into the second charge transport layer; and disposed between the first charge transport layer and the second charge transport layer The method, comprising a plurality of semiconductor nanocrystals, wherein the plurality of semiconductor nanocrystals is a substantially monodispersed population of semiconductor nanocrystals, and the first inorganic material is amorphous or polycrystalline.
ムスズ、又はこれらの混合物を含む、請求項32記載の方法。 33. The method of claim 32, wherein the metal chalcogenide comprises zinc oxide, titanium oxide, niobium oxide, zinc sulfide, indium tin oxide, or mixtures thereof.
ムスズ、又はこれらの混合物を含む、請求項37記載の方法。 38. The method of claim 37, wherein the metal chalcogenide comprises zinc oxide, titanium oxide, niobium oxide, zinc sulfide, indium tin oxide, or mixtures thereof.
。 32. The method of claim 30, wherein the second electrode is in direct contact with the plurality of semiconductor nanocrystals.
Priority Applications (1)
| Application Number | Priority Date | Filing Date | Title |
|---|---|---|---|
| JP2012256583A JP5542900B2 (en) | 2012-11-22 | 2012-11-22 | Photovoltaic devices containing semiconductor nanocrystals |
Applications Claiming Priority (1)
| Application Number | Priority Date | Filing Date | Title |
|---|---|---|---|
| JP2012256583A JP5542900B2 (en) | 2012-11-22 | 2012-11-22 | Photovoltaic devices containing semiconductor nanocrystals |
Related Parent Applications (1)
| Application Number | Title | Priority Date | Filing Date |
|---|---|---|---|
| JP2010514708A Division JP5148701B2 (en) | 2007-06-25 | 2007-06-25 | Photovoltaic devices containing semiconductor nanocrystals |
Publications (2)
| Publication Number | Publication Date |
|---|---|
| JP2013058794A true JP2013058794A (en) | 2013-03-28 |
| JP5542900B2 JP5542900B2 (en) | 2014-07-09 |
Family
ID=48134324
Family Applications (1)
| Application Number | Title | Priority Date | Filing Date |
|---|---|---|---|
| JP2012256583A Active JP5542900B2 (en) | 2012-11-22 | 2012-11-22 | Photovoltaic devices containing semiconductor nanocrystals |
Country Status (1)
| Country | Link |
|---|---|
| JP (1) | JP5542900B2 (en) |
Cited By (2)
| Publication number | Priority date | Publication date | Assignee | Title |
|---|---|---|---|---|
| WO2015068683A1 (en) * | 2013-11-07 | 2015-05-14 | 積水化学工業株式会社 | Coating material for forming semiconductors, semiconductor thin film, thin film solar cell and method for manufacturing thin film solar cell |
| CN113594289A (en) * | 2021-07-07 | 2021-11-02 | 华中科技大学 | PbS homojunction device and preparation method thereof |
Citations (2)
| Publication number | Priority date | Publication date | Assignee | Title |
|---|---|---|---|---|
| JP2001320068A (en) * | 2000-05-01 | 2001-11-16 | Fuji Photo Film Co Ltd | Transparent photoelectric converting element, photo cell using the same, optical sensor and window glass |
| JP2006210102A (en) * | 2005-01-27 | 2006-08-10 | Kyocera Corp | Photoelectric conversion device and photovoltaic device using the same |
-
2012
- 2012-11-22 JP JP2012256583A patent/JP5542900B2/en active Active
Patent Citations (2)
| Publication number | Priority date | Publication date | Assignee | Title |
|---|---|---|---|---|
| JP2001320068A (en) * | 2000-05-01 | 2001-11-16 | Fuji Photo Film Co Ltd | Transparent photoelectric converting element, photo cell using the same, optical sensor and window glass |
| JP2006210102A (en) * | 2005-01-27 | 2006-08-10 | Kyocera Corp | Photoelectric conversion device and photovoltaic device using the same |
Cited By (4)
| Publication number | Priority date | Publication date | Assignee | Title |
|---|---|---|---|---|
| WO2015068683A1 (en) * | 2013-11-07 | 2015-05-14 | 積水化学工業株式会社 | Coating material for forming semiconductors, semiconductor thin film, thin film solar cell and method for manufacturing thin film solar cell |
| JPWO2015068683A1 (en) * | 2013-11-07 | 2017-03-09 | 積水化学工業株式会社 | Semiconductor forming coating liquid, semiconductor thin film, thin film solar cell, and method for manufacturing thin film solar cell |
| CN113594289A (en) * | 2021-07-07 | 2021-11-02 | 华中科技大学 | PbS homojunction device and preparation method thereof |
| CN113594289B (en) * | 2021-07-07 | 2023-04-21 | 华中科技大学 | PbS homojunction device and preparation method thereof |
Also Published As
| Publication number | Publication date |
|---|---|
| JP5542900B2 (en) | 2014-07-09 |
Similar Documents
| Publication | Publication Date | Title |
|---|---|---|
| JP5148701B2 (en) | Photovoltaic devices containing semiconductor nanocrystals | |
| JP5806895B2 (en) | Light-emitting devices containing semiconductor nanocrystals | |
| US9349975B2 (en) | Composite including nanoparticles, methods, and products including a composite | |
| KR101369205B1 (en) | Light emitting device including semiconductor nanocrystals | |
| JP5452218B2 (en) | Light-emitting devices containing semiconductor nanocrystals | |
| US9505978B2 (en) | Blue light emitting semiconductor nanocrystals and devices | |
| US20110079273A1 (en) | Photovoltaic devices | |
| US20190067611A1 (en) | Electro-optical device | |
| JP5542900B2 (en) | Photovoltaic devices containing semiconductor nanocrystals |
Legal Events
| Date | Code | Title | Description |
|---|---|---|---|
| A977 | Report on retrieval |
Free format text: JAPANESE INTERMEDIATE CODE: A971007 Effective date: 20130828 |
|
| A131 | Notification of reasons for refusal |
Free format text: JAPANESE INTERMEDIATE CODE: A131 Effective date: 20130917 |
|
| A601 | Written request for extension of time |
Free format text: JAPANESE INTERMEDIATE CODE: A601 Effective date: 20131216 |
|
| A602 | Written permission of extension of time |
Free format text: JAPANESE INTERMEDIATE CODE: A602 Effective date: 20131219 |
|
| A521 | Request for written amendment filed |
Free format text: JAPANESE INTERMEDIATE CODE: A523 Effective date: 20140317 |
|
| TRDD | Decision of grant or rejection written | ||
| A01 | Written decision to grant a patent or to grant a registration (utility model) |
Free format text: JAPANESE INTERMEDIATE CODE: A01 Effective date: 20140408 |
|
| A61 | First payment of annual fees (during grant procedure) |
Free format text: JAPANESE INTERMEDIATE CODE: A61 Effective date: 20140507 |
|
| R150 | Certificate of patent or registration of utility model |
Ref document number: 5542900 Country of ref document: JP Free format text: JAPANESE INTERMEDIATE CODE: R150 |
|
| R250 | Receipt of annual fees |
Free format text: JAPANESE INTERMEDIATE CODE: R250 |
|
| R250 | Receipt of annual fees |
Free format text: JAPANESE INTERMEDIATE CODE: R250 |
|
| R250 | Receipt of annual fees |
Free format text: JAPANESE INTERMEDIATE CODE: R250 |
|
| R250 | Receipt of annual fees |
Free format text: JAPANESE INTERMEDIATE CODE: R250 |
|
| R250 | Receipt of annual fees |
Free format text: JAPANESE INTERMEDIATE CODE: R250 |
|
| R250 | Receipt of annual fees |
Free format text: JAPANESE INTERMEDIATE CODE: R250 |
|
| R250 | Receipt of annual fees |
Free format text: JAPANESE INTERMEDIATE CODE: R250 |
|
| R250 | Receipt of annual fees |
Free format text: JAPANESE INTERMEDIATE CODE: R250 |
|
| R250 | Receipt of annual fees |
Free format text: JAPANESE INTERMEDIATE CODE: R250 |
